Главная // Актуальные документы // ГОСТ Р (Государственный стандарт)
СПРАВКА
Источник публикации
М.: Стандартинформ, 2005
Примечание к документу
Документ утратил силу с 1 августа 2019 года в связи с изданием Приказа Росстандарта от 15.11.2018 N 1014-ст. Взамен введен в действие ГОСТ Р ИСО 7176-1-2018.

Документ введен в действие с 1 января 2006 года.

Взамен ГОСТ Р 50604-93.
Название документа
"ГОСТ Р ИСО 7176-1-2005. Национальный стандарт Российской Федерации. Кресла-коляски. Часть 1. Определение статической устойчивости"
(утв. и введен в действие Приказом Ростехрегулирования от 03.08.2005 N 207-ст)

"ГОСТ Р ИСО 7176-1-2005. Национальный стандарт Российской Федерации. Кресла-коляски. Часть 1. Определение статической устойчивости"
(утв. и введен в действие Приказом Ростехрегулирования от 03.08.2005 N 207-ст)


Содержание


Утвержден и введен в действие
Приказом Федерального
агентства по техническому
регулированию и метрологии
от 3 августа 2005 г. N 207-ст
НАЦИОНАЛЬНЫЙ СТАНДАРТ РОССИЙСКОЙ ФЕДЕРАЦИИ
КРЕСЛА-КОЛЯСКИ
ЧАСТЬ 1
ОПРЕДЕЛЕНИЕ СТАТИЧЕСКОЙ УСТОЙЧИВОСТИ
Wheelchairs. Part 1. Determination of static stability
ISO 7176-1:1999
Wheelchairs - Part 1: Determination of static stability
(IDT)
ГОСТ Р ИСО 7176-1-2005
Группа Р23
ОКС 11.180
Дата введения
1 января 2006 года
Предисловие
Цели и принципы стандартизации в Российской Федерации установлены Федеральным законом от 27 декабря 2002 г. N 184-ФЗ "О техническом регулировании", а правила применения национальных стандартов Российской Федерации - ГОСТ Р 1.0-2004 "Стандартизация в Российской Федерации. Основные положения".
Сведения о стандарте
1. Подготовлен Региональной общественной организацией инвалидов "Центр гуманитарных программ" и Федеральным государственным унитарным предприятием "Всероссийский научно-исследовательский институт стандартизации" (ФГУП "ВНИИстандарт").
2. Внесен Техническим комитетом по стандартизации ТК 381 "Технические средства для инвалидов".
3. Утвержден и введен в действие Приказом Федерального агентства по техническому регулированию и метрологии от 3 августа 2005 г. N 207-ст.
4. Настоящий стандарт идентичен международному стандарту ИСО 7176-1:1999 "Кресла-коляски - Часть 1: Определение статической устойчивости" (ISO 7176-1:1999 "Wheelchairs - Part 1: Determination of static stability").
При применении настоящего стандарта рекомендуется использовать вместо ссылочных международных стандартов соответствующие им национальные стандарты, сведения о которых представлены в дополнительном Приложении B.
5. Настоящий стандарт разработан по заказу Минтруда России в рамках федеральной целевой программы "Социальная поддержка инвалидов на 2000 - 2005 гг.", утвержденной Постановлением Правительства Российской Федерации от 14 января 2000 г. N 36.
6. Взамен ГОСТ Р 50604-93.
Информация об изменениях к настоящему стандарту публикуется в ежегодно издаваемом информационном указателе "Национальные стандарты", а текст изменений и поправок - в ежемесячно издаваемых информационных указателях "Национальные стандарты". В случае пересмотра (замены) или отмены настоящего стандарта соответствующее уведомление будет опубликовано в ежемесячно издаваемом информационном указателе "Национальные стандарты". Соответствующая информация, уведомление и тексты размещаются также в информационной системе общего пользования - на официальном сайте национального органа Российской Федерации по стандартизации в сети Интернет.
Введение
Международная организация по стандартизации [ИСО (ISO)] является всемирной федерацией национальных органов по стандартизации (членов ИСО). Разработку международных стандартов обычно проводят технические комитеты ИСО. Каждый член организации, заинтересованный темой, для работы над которой был создан соответствующий технический комитет, имеет право участвовать в работе этого комитета. В работе принимают участие международные правительственные и неправительственные организации, поддерживающие связь с ИСО. ИСО тесно сотрудничает с Международной электротехнической комиссией [МЭК (IEC)] по всем вопросам стандартизации в области электротехники.
Международные стандарты разрабатывают в соответствии с правилами Руководства ИСО/МЭК. Часть 3.
Проекты международных стандартов, одобренные техническим комитетом, направляют на согласование членам этого комитета. Для публикации международных стандартов требуется оформление одобрения не менее 75% проголосовавших членов комитета.
Следует обратить внимание на возможность наличия в настоящем стандарте элементов, имеющих патентные права. ИСО не несет ответственности за патентную чистоту.
Международный стандарт ИСО 7176-1 подготовлен Техническим комитетом ИСО/ТК 173 "Технические системы и средства помощи для инвалидов или людей с ограничениями жизнедеятельности", подкомитетом ПК 1 "Кресла-коляски".
ИСО 7176 состоит из следующих частей под общим заголовком "Кресла-коляски":
- Часть 1: Определение статической устойчивости.
- Часть 2: Определение динамической устойчивости кресел-колясок с электроприводом.
- Часть 3: Определение эффективности действия тормозной системы.
- Часть 4: Определение запаса хода кресел-колясок с электроприводом и скутеров путем измерения расхода энергии.
- Часть 5: Определение габаритных размеров, массы и радиуса поворота.
- Часть 6: Определение максимальной скорости, ускорения и замедления кресел-колясок с электроприводом.
- Часть 7: Определение размеров сиденья и колеса кресла-коляски.
- Часть 8. Определение статической, ударной и усталостной прочности.
- Часть 9: Климатические испытания кресел-колясок с электроприводом.
- Часть 10: Определение возможности кресел-колясок с электроприводом преодолевать препятствия.
- Часть 11: Испытательные манекены.
- Часть 13: Определение коэффициента трения испытательных поверхностей.
- Часть 14: Электросистемы и системы управления кресел-колясок с электроприводом. Требования и методы испытаний.
- Часть 15: Требования к информационному описанию, документированию и маркировке.
- Часть 16: Сопротивление возгоранию частей с мягкой обивкой. Требования и методы испытаний.
- Часть 22. Правила установки.
Кроме того, следующие части также включены в рабочую программу ИСО/ТК 173:
- Часть 17: Средства управления серийным интерфейсом кресла-коляски с электроприводом.
- Часть 19: Колесные передвижные средства, используемые в автомобилях в качестве сиденья.
- Часть 20: Определение эксплуатационных характеристик кресел-колясок стоячего типа.
- Часть 21: Электромагнитная совместимость кресел-колясок с электроприводом и скутеров. Требования и методы испытаний.
1. Область применения
Настоящий стандарт распространяется на кресла-коляски, относящиеся к классификационной группировке 12.21 по ИСО 9999 и предназначенные для передвижения внутри и вне помещения людей, масса которых не превышает максимальную массу испытательного манекена по ИСО 7176-11.
Настоящий стандарт устанавливает методы испытаний для определения статической устойчивости кресел-колясок, включая скутеры.
2. Нормативные ссылки
В настоящем стандарте использованы нормативные ссылки на следующие стандарты (при этом стороны, заключающие соглашения на основе настоящего стандарта, должны применять самые последние издания нижеприведенных стандартов):
ИСО 6440:1985 Кресла-коляски - Номенклатура. Термины и определения
ИСО 7176-7:1996 Кресла-коляски - Часть 7: Определение размеров сиденья и колеса кресла-коляски
ИСО 7176-11:1992 Кресла-коляски - Часть 11: Испытательные манекены
ИСО 7176-15:1996 Кресла-коляски - Часть 15: Требования к информационному описанию, документированию и маркировке
ИСО 7176-22:2000 Кресла-коляски - Часть 22: Правила установки
ИСО 9999:1992 Технические средства помощи для инвалидов - Классификация.
3. Термины и определения
В настоящем стандарте применены термины по ИСО 6440, а также следующие термины с соответствующими определениями:
3.1. блокируемые колеса: Колеса, оборудованные стояночными тормозами, или колеса, блокировка которых осуществляется средствами приведения кресла-коляски в движение (например, руками, рычагами, двигателями).
3.2. предельный угол наклона: Угол наклона испытательной плоскости, при котором сила давления колес кресла-коляски, находящихся вверху на плоскости, становится равной нулю.
Примечание. Для определения момента, когда вышеупомянутая сила давления становится равной нулю, существует ряд методов, например протягивание листа бумаги под колесами, визуальная фиксация момента отрыва колес от испытательной плоскости или использование средств измерений силы.
3.3. устройство против опрокидывания: Элемент кресла-коляски, до определенной степени препятствующий опрокидыванию.
3.4. предельный угол наклона для устройства против опрокидывания назад: Угол наклона испытательной плоскости, при котором сила давления задних колес кресла-коляски на плоскость становится равной нулю.
4. Принцип
В зависимости от направления наклона кресло-коляска может опрокидываться относительно оси, проходящей через точки контакта колес с землей (если вращение колес относительно рамы заблокировано), или относительно оси колес (если колеса не заблокированы). Угол наклона, при котором кресло-коляска опрокидывается относительно оси, соответствующей направлению наименьшей устойчивости, определяют на испытательной плоскости с регулируемым наклоном, увеличивая его до тех пор, пока не будет достигнут предельный угол наклона.
5. Оборудование для испытаний и средства измерений
5.1. Испытательная плоскость, представляющая собой ровную жесткую поверхность достаточного размера для установки кресла-коляски; в процессе испытаний прогиб испытательной плоскости не должен превышать 5 мм.
Примечание 1. Прогиб испытательной плоскости контролируют с помощью воображаемых параллельных плоскостей.
Примечание 2. Кресло-коляску устанавливают по линиям, параллельным и перпендикулярным оси наклона испытательной плоскости.
5.2. Приспособления для регулировки наклона испытательной плоскости.
Примечание. При плавном увеличении наклона испытательной плоскости скорость изменения наклона не должна превышать 1°/с при приближении к углу опрокидывания. При шаговом увеличении наклона испытательной плоскости размер шага не должен влиять не достоверность полученного значения предельного угла наклона.
5.3. Приспособления, препятствующие вращению колес кресла-коляски или роликов устройств против опрокидывания, но не препятствующие свободному наклону кресла-коляски относительно выбранной для испытания оси опрокидывания.
5.4. Приспособления, предотвращающие скольжение колес или устройств против опрокидывания, но не препятствующие свободному наклону кресла-коляски относительно точек контакта с испытательной плоскостью.
Примечание 1. Примеры приведены в Приложении A.
Примечание 2. Применение упоров перед заблокированными колесами, находящимися внизу на плоскости, неприемлемо, так как в этом случае изменяется положение оси вращения при опрокидывании.
5.5. Ограничитель наклона, предотвращающий падение кресла-коляски на испытательную плоскость, но не влияющий на устойчивость кресла-коляски и не ограничивающий возможные деформации или свободный наклон кресла-коляски.
5.6. Средства измерений угла наклона испытательной плоскости с точностью не менее +/- 0,2°.
5.7. Испытательный манекен по ИСО 7176-11.
6. Подготовка кресла-коляски к испытаниям
6.1. При подготовке к испытанию:
a) оснащают кресло-коляску оборудованием, указанным изготовителем, или
b) если оборудование не указано, оснащают кресло-коляску для нормального использования, включая подлокотники, подножки и опоры стоп.
6.2. Для кресла-коляски с пневматическими шинами:
a) накачивают их так, чтобы давление соответствовало инструкции изготовителя, или
b) если предусмотрен диапазон давления, выбирают максимальное давление.
6.3. Регулируют стояночные тормоза согласно инструкции изготовителя.
6.4. Удаляют незакрепленные подушки кресла-коляски.
6.5. Если есть опасность вытекания жидкости из батарей, то заменяют их предметом той же массы и центра тяжести.
7. Регулировка кресла-коляски
Испытания (кроме испытания устройства против опрокидывания, в соответствии с разделом 11) проводят в наиболее и наименее устойчивых конфигурациях, определяемых положением регулируемых элементов кресла-коляски, указанных в таблицах 1 - 3. Может возникнуть необходимость провести эксперименты для определения наиболее и наименее устойчивых конфигураций применительно к другим элементам. Если не указано иное, данные регулировки должны соответствовать ИСО 7176-22 и не противоречить условиям нормальной эксплуатации, определенным изготовителем.
Примечание. Испытания могут быть проведены и для других положений регулируемых элементов (например, для конфигурации средней устойчивости).
8. Размещение испытательного манекена в кресле-коляске
8.1. Выбирают один из испытательных манекенов по ИСО 7176-11, максимальная масса которого соответствует указанной в инструкции изготовителя. Если манекен такой массы отсутствует, выбирают манекен большей массы следующей градации.
8.2. Определяют угол наклона спинки кресла-коляски по ИСО 7176-7.
8.3. Проверяют, чтобы шарнир между спинной и тазобедренной секциями был свободен при размещении испытательного манекена в кресле-коляске.
8.4. Помещают испытательный манекен по центру сиденья кресла-коляски.
8.5. Регулируют продольное положение испытательного манекена так, чтобы угол наклона спинной секции совпал с углом наклона спинки кресла-коляски по 8.2.
8.6. Закрепляют испытательный манекен в кресле-коляске так, чтобы в процессе испытаний была полностью исключена возможность его перемещения (если иное не указано) и чтобы углы между элементами испытательного манекена не изменялись. Средства крепления испытательного манекена в кресле-коляске (например, болты, ремни, крепеж для соединения стыков испытательного манекена) не должны деформировать элементы кресла-коляски и не должны влиять на его устойчивость.
9. Испытание на переднюю статическую устойчивость
9.1. Общие положения
Для кресла-коляски с двумя передними колесами предельный угол наклона определяют следующим образом:
a) для кресла-коляски с неблокируемыми передними колесами - только по 9.2 и 9.4 или
b) для кресла-коляски с блокируемыми передними колесами (3.1) - по 9.3 и 9.5.
Примечание 1. Для кресла-коляски с одним передним колесом или двумя передними колесами, расположенными очень близко друг к другу, испытания на устойчивость проводят в соответствии с требованиями раздела 12.
Примечание 2. Испытания, установленные в разделах 9 - 12, могут быть проведены в любой последовательности.
Предупреждение: Испытания могут быть опасны. Для защиты персонала должны быть приняты соответствующие меры предосторожности.
9.2. Колеса не заблокированы и кресло-коляска в наименее устойчивой конфигурации
9.2.1. Устанавливают регулируемые элементы кресла-коляски в положение, соответствующее наименее устойчивой конфигурации по таблице 1.
Таблица 1
Передняя устойчивость
Регулируемый элемент кресла-коляски
Наименее устойчивое положение
Наиболее устойчивое положение
Положение заднего колеса продольное
Вперед
Назад
Положение самоориентирующегося колеса относительно рамы продольное
Назад
Вперед
Положение сиденья продольное
Вперед
Назад
Положение сиденья по вертикали
Верхнее
Нижнее
Положение спинки продольное
Вперед
Назад
Положение откидывающейся назад спинки
Поднятое
Опущенное
Положение сиденья наклонное
Поднятое
Опущенное
Положение поднимающейся подножки
Вверх
Вниз
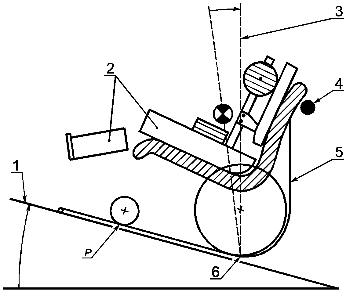
9.2.2. Помещают кресло-коляску на горизонтальную испытательную плоскость так, чтобы направление движения вперед совпадало с направлением последующего наклона плоскости, при этом линия осей передних колес и ось наклона испытательной плоскости должны быть параллельны между собой с допустимым отклонением +/- 3°.
9.2.3. Устанавливают самоориентирующиеся или ведущие колеса в положение, соответствующее движению на спуск, как показано на рисунках 1 - 5.
9.2.4. Устанавливают приспособления, препятствующие вращению колес кресла-коляски на испытательной плоскости (5.3 и рисунок 1).
1 - испытательная плоскость; 2 - вертикаль; 3 - ограничитель
дальнейшего опрокидывания; 4 - испытательный манекен;
5 - приспособление, препятствующее вращению колес; 6 - ось
опрокидывания; P - точка отрыва кресла-коляски
от испытательной плоскости
Рисунок 1. Передняя устойчивость кресла-коляски,
передние колеса не заблокированы
9.2.5. Увеличивают наклон испытательной плоскости до тех пор, пока не будет достигнут предельный угол наклона по 3.2 (см. рисунок 1).
Примечание. Если увеличение наклона слишком быстрое или резкое, полученный угол опрокидывания может отличаться от истинного предельного угла наклона.
Необходимо исключить непреднамеренный контакт кресла-коляски с испытательным оборудованием, который может повлиять на результат испытаний.
9.2.6. Проверяют еще раз положения испытательного манекена и кресла-коляски, чтобы убедиться в отсутствии их непреднамеренного смещения. Если во время испытания произошли обратимые либо необратимые изменения конфигурации кресла-коляски (например, слетела покрышка с обода колеса или кресло-коляска частично сложилось):
a) описывают характер этого явления и указывают угол испытательной плоскости, при котором это явление произошло, в разделе замечаний протокола испытаний [раздел 13, перечисление j)] и
b) завершают испытание.
9.2.7. Значение измеренного предельного угла наклона округляют до 1°.
9.2.8. Опускают испытательную плоскость в горизонтальное положение.
9.3. Колеса заблокированы и кресло-коляска в наименее устойчивой конфигурации
9.3.1. Выполняют процедуры по 9.2.1 - 9.2.3.
9.3.2. Блокируют колеса, находящиеся внизу на плоскости.
9.3.3. Устанавливают приспособления для предотвращения скольжения кресла-коляски на испытательной плоскости (5.4 и рисунок 2).
1 - испытательная плоскость; 2 - вертикаль; 3 - ограничитель
дальнейшего опрокидывания; 4 - испытательный манекен;
5 - гибкая система удерживания; 6 - ось опрокидывания;
P - точка отрыва кресла-коляски от испытательной плоскости
Рисунок 2. Передняя устойчивость кресла-коляски,
передние колеса заблокированы
9.3.4. Выполняют процедуры по 9.2.5 - 9.2.8.
9.4. Колеса не заблокированы и кресло-коляска в наиболее устойчивой конфигурации
9.4.1. Устанавливают регулируемые элементы кресла-коляски в положение, соответствующее наиболее устойчивой конфигурации по таблице 1.
9.4.2. Выполняют процедуры по 9.2.2 - 9.2.8.
9.5. Колеса заблокированы и кресло-коляска в наиболее устойчивой конфигурации
Выполняют процедуры по 9.4.1, 9.2.2, 9.2.3, 9.3.2, 9.3.3, 9.2.5 - 9.2.8.
10. Испытание на заднюю статическую устойчивость
10.1. Общие положения
Для кресла-коляски с двумя задними колесами измерение предельного угла наклона проводят следующим образом:
a) для кресла-коляски с неблокируемыми задними колесами - по 10.2 и 10.4 или
b) для кресла-коляски с блокируемыми задними колесами (3.1) - по 10.3 и 10.5.
Примечание. Для кресла-коляски с одним задним колесом или двумя задними колесами, расположенными очень близко друг к другу, ось опрокидывания будет проходить по линии, соединяющей оси заднего и переднего колес. В этом случае испытания на устойчивость проводят по правилам раздела 12.
Предупреждение: Испытания могут быть опасны. Для защиты персонала должны быть приняты соответствующие меры предосторожности.
10.2. Колеса не заблокированы и кресло-коляска в наименее устойчивой конфигурации
10.2.1. Устанавливают регулируемые элементы кресла-коляски в положение, соответствующее наименьшей устойчивости по таблице 2.
Таблица 2
Задняя устойчивость
Регулируемый элемент кресла-коляски
Наименее устойчивое положение
Наиболее устойчивое положение
Положение заднего колеса продольное
Вперед
Назад
Положение самоориентирующегося колеса относительно рамы продольное
Назад
Вперед
Положение сиденья продольное
Назад
Вперед
Положение сиденья по вертикали
Верхнее
Нижнее
Положение откидывающейся назад спинки
Опущенное
Поднятое
Положение сиденья наклонное
Опущенное
Поднятое
Положение спинки продольное
Назад
Вперед
10.2.2. Следуют процедуре по 9.2.2, но положение кресла-коляски должно соответствовать направлению движения назад в сторону наклона плоскости.
Примечание. Можно использовать клинья впереди задних колес, чтобы предотвратить качение колес вперед, если центр тяжести смещается за ось опрокидывания.
10.2.3. Следуют процедурам по 9.2.3 - 9.2.8 (кроме случая, изображенного на рисунке 3).
1 - испытательная плоскость; 2 - испытательный манекен;
3 - вертикаль; 4 - ограничитель дальнейшего опрокидывания;
5 - ось опрокидывания; 6 - упор; 7 - клин; P - точка отрыва
от испытательной плоскости
Рисунок 3. Задняя устойчивость кресла-коляски,
задние колеса не заблокированы
10.3. Колеса заблокированы и кресло-коляска в наименее устойчивой конфигурации
Выполняют процедуры по 10.2.1, 10.2.2, 9.2.3, 9.3.2, 9.3.3, 9.2.5 - 9.2.8 (кроме случая, изображенного на рисунке 4).
1 - испытательная плоскость; 2 - испытательный манекен;
3 - вертикаль; 4 - ограничитель дальнейшего опрокидывания;
5 - гибкая система удерживания; 6 - ось опрокидывания;
P - точка отрыва от испытательной плоскости
Рисунок 4. Задняя устойчивость кресла-коляски,
задние колеса заблокированы
10.4. Колеса не заблокированы и кресло-коляска в наиболее устойчивой конфигурации
10.4.1. Устанавливают регулируемые элементы кресла-коляски в положение, соответствующее наиболее устойчивой конфигурации по таблице 2.
10.4.2. Выполняют процедуры по 10.2.2, 9.2.3 - 9.2.8 (кроме случая, изображенного на рисунке 3).
10.5. Колеса заблокированы и кресло-коляска в наиболее устойчивой конфигурации
Выполняют процедуры по 10.4.1, 10.2.2, 9.2.3, 9.3.2, 9.3.3, 9.2.5 - 9.2.8 (кроме случая, изображенного на рисунке 5).
1 - испытательная плоскость; 2 - испытательный манекен;
3 - вертикаль; 4 - ограничитель дальнейшего опрокидывания;
5 - гибкая система удерживания; 6 - устройство против
опрокидывания назад; 7 - ось опрокидывания; P - точка
отрыва от испытательной плоскости
Рисунок 5. Задняя устойчивость при наличии устройства
против опрокидывания назад
11. Испытание на заднюю статическую устойчивость
кресла-коляски при наличии устройств
против опрокидывания назад
11.1. Общие положения
Испытание проводят с целью определить заднюю устойчивость кресла-коляски, снабженного устройствами против опрокидывания назад. При этом кресло-коляску наклоняют назад так, чтобы устройства против опрокидывания назад вошли в контакт с испытательной плоскостью.
Предупреждение: Это испытание может быть опасно. Для защиты персонала должны быть приняты соответствующие меры предосторожности.
11.2. Устройство против опрокидывания назад в наименее устойчивой конфигурации
11.2.1. Задние колеса переставляют назад в крайнее положение в диапазоне регулировок, указанном изготовителем.
Примечание. В большинстве образцов устройство против опрокидывания назад присоединено к раме кресла-коляски. Если заднее колесо отодвинуто назад, то устройство против опрокидывания выступает за пределы заднего колеса на меньшую длину и может быть менее эффективным.
11.2.2. Устанавливают все другие регулируемые элементы кресла-коляски в положение, соответствующее наименее устойчивой конфигурации, в диапазоне регулировок, указанном изготовителем. Таблица 2 иллюстрирует влияние типичных регулировок.
11.2.3. Устанавливают устройства против опрокидывания назад в положение наименьшей устойчивости, указанное изготовителем.
Многие устройства против опрокидывания назад могут быть установлены в положение, в котором они являются преднамеренно неэффективными (например, для преодоления бордюра). В этом случае испытание с устройствами против опрокидывания назад по 11.2 проводить не следует.
11.2.4. Выполняют процедуры по 10.2.2 и 9.2.3. Кресло-коляска с одним устройством против опрокидывания назад или двумя устройствами, расположенными очень близко друг к другу, будет опрокидываться относительно оси, проходящей через одно заднее колесо и одно устройство против опрокидывания. В таких случаях процедуру по 10.2.2 не проводят, а следуют процедуре по 12.1.2.
11.2.5. Устанавливают приспособления для предотвращения скольжения кресла-коляски на испытательной плоскости (5.4 и рисунок 5).
11.2.6. Выполняют процедуру по 9.2.5.
11.2.7. Плавно наклоняют кресло-коляску назад, пока устройство(а) против опрокидывания назад не [войдет (войдут) в контакт с испытательной плоскостью] упрется в испытательную плоскость. Если устройство против опрокидывания не будет удерживать кресло-коляску в данном положении вследствие того, что угол наклона, задаваемый устройством против опрокидывания назад, меньше, чем предельный угол наклона кресла-коляски с заблокированными колесами, опускают испытательную плоскость до горизонтального положения и приподнимают поворотные колеса (например, применяя прокладки) до такого уровня, пока устройства против опрокидывания назад твердо не войдут в контакт с испытательной плоскостью.
11.2.8. Увеличивают наклон испытательной плоскости до тех пор, пока не будет достигнут предельный угол наклона для устройства против опрокидывания назад (3.4).
11.2.9. Выполняют процедуры по 9.2.6 - 9.2.8.
11.3. Устройство против опрокидывания назад в наиболее устойчивой конфигурации
11.3.1. Выполняют процедуры по 11.2.1 и 11.2.2.
11.3.2. Устанавливают устройство против опрокидывания назад в положение наибольшей устойчивости, указанное изготовителем.
11.3.3. Выполняют процедуры по 11.2.4 - 11.2.9.
12. Испытание на боковую статическую устойчивость
Испытания проводят для левой и правой сторон кресла-коляски.
Предупреждение: Это испытание может быть опасно. Для защиты персонала должны быть приняты соответствующие меры предосторожности.
12.1. Кресло-коляска в наименее устойчивой конфигурации
12.1.1. Устанавливают регулируемые элементы кресла-коляски в положение, соответствующее наименее устойчивой конфигурации по таблице 3.
Если сиденье может иметь несколько положений вокруг вертикальной оси (например, у скутера), все испытания должны быть проведены при условии, что сиденье повернуто вперед.
Таблица 3
Боковая устойчивость
Регулируемый элемент кресла-коляски
Наименее устойчивое положение
Наиболее устойчивое положение
Положение заднего колеса, развал
Самая узкая колея
Самая широкая колея
Положение самоориентирующихся колес относительно рамы продольное
Назад
Вперед
Положение поворотного колеса относительно рамы внутрь - наружу
Внутрь
Наружу
Положение сиденья продольное
Вперед
Назад
Положение сиденья по вертикали
Верхнее
Вниз
Положение сиденья наклонное
Поднятое
Опущенное
Положение откидывающейся назад спинки
Поднятое
Опущенное
12.1.2. Располагают кресло-коляску поперек испытательной плоскости так, чтобы ось опрокидывания кресла-коляски была параллельна оси испытательной плоскости с допустимым отклонением +/- 3°. Если самоориентирующееся колесо заблокировано (3.1), ось опрокидывания будет на линии, соединяющей точки контакта переднего и заднего колес, находящихся внизу на плоскости. Если самоориентирующееся колесо не заблокировано, ось опрокидывания будет на линии, которая проходит через точку контакта ведущего колеса с испытательной плоскостью и ось самоориентирующегося колеса (12.1.3).
12.1.3. Располагают находящееся внизу на плоскости самоориентирующееся колесо или управляемое колесо так, чтобы оно было направлено для движения вверх по плоскости и чтобы линия, проходящая через ось этого самоориентирующегося колеса, была параллельна оси вращения испытательной плоскости. Если возможно, располагают находящееся вверху на плоскости самоориентирующееся колесо или управляемое колесо так, чтобы оно было направлено для движения вниз и чтобы линия, проходящая через ось этого самоориентирующегося колеса, была параллельна оси вращения испытательной плоскости.
12.1.4. Блокируют все блокируемые колеса (3.1).
12.1.5. Устанавливают приспособления, предотвращающие скольжение или рыскание кресла-коляски на испытательной плоскости, так чтобы они не препятствовали опрокидыванию кресла-коляски (5.3, 5.4 и рисунок 6).
а) Незаблокированные передние колеса, вид спереди
б) Заблокированные задние колеса, вид сзади
1 - испытательная плоскость; 2 - вертикаль; 3 - ось
опрокидывания; 4 - приспособление, предотвращающее вращение
колеса; 5 - ограничитель дальнейшего опрокидывания;
6 - гибкая система удерживания; P - точка отрыва
от испытательной плоскости
Рисунок 6. Боковая устойчивость
12.1.6. Выполняют процедуры по 9.2.5 - 9.2.8.
12.2. Кресло-коляска в наиболее устойчивой конфигурации
12.2.1. Устанавливают регулируемые элементы кресла-коляски в положение, соответствующее наиболее устойчивой конфигурации по таблице 3.
12.2.2. Выполняют процедуры по 12.1.2 - 12.1.6.
13. Протокол испытаний
Протокол испытаний должен содержать по меньшей мере следующую информацию:
a) наименование и адрес учреждения, которое проводило испытания;
b) наименование и адрес изготовителя кресла-коляски;
c) тип кресла-коляски, номер серии и партии;
d) описание всего оборудования, установленного на кресле-коляске;
e) параметры регулируемых элементов кресла-коляски;
f) размер испытательного манекена;
g) результаты испытаний (таблица 4);
h) дата испытания;
i) заявление о том, что методы испытаний соответствуют настоящему стандарту;
j) любые замечания или наблюдения.
Таблица 4
Результаты определения статической устойчивости
Устойчивость
Предельный угол наклона
Наименьшая устойчивость
Наибольшая устойчивость
Передняя
Передние колеса заблокированы
Передние колеса не заблокированы
Задняя
Задние колеса заблокированы
Задние колеса не заблокированы
Устройства против опрокидывания <1>
Боковая
Левая сторона
Правая сторона
<1> Для противонаклонных устройств при определении наименьшей и наибольшей устойчивости следует руководствоваться 11.2.3 и 11.3.2.
14. Сообщение о результатах испытаний
Изготовитель в листах спецификаций, выполненных по ИСО 7176-15, должен указать предельные углы наклона в наиболее и наименее устойчивом положении для следующих случаев:
a) задняя устойчивость (движение "в гору") (для заблокированных колес по 10.3, незаблокированных - по 10.2);
b) передняя устойчивость (движения "с горы") (для заблокированных колес по 9.3, незаблокированных - по 9.2);
c) боковая устойчивость - по 12.1 и 12.2 для левой и правой сторон, если разница составляет больше чем 1°;
d) устойчивость при наличии устройства против опрокидывания назад.
Приложение A
(справочное)
МЕТОДЫ ПРЕДОТВРАЩЕНИЯ СКОЛЬЖЕНИЯ КОЛЕС
НА ИСПЫТАТЕЛЬНОЙ ПЛОСКОСТИ
A.1. Общее положение
Методы, указанные в A.2 и A.3, применяют для предотвращения скольжения колес кресла-коляски на наклонной испытательной плоскости, как того требует 5.4.
A.2. Поверхность с большим коэффициентом трения
Используют поверхность с высоким коэффициентом трения, достаточным для того, чтобы наклон кресла-коляски происходил раньше, чем его скольжение на испытательной плоскости. Если скольжение кресла-коляски начинается раньше, чем его опрокидывание, или если тормоза проскальзывают, этот метод неприменим.
A.3. Гибкие средства
Прикрепляют гибкие, но неупругие средства (например, мембрану, ремни или канаты) к испытательной плоскости и к раме кресла-коляски, как показано на рисунках 2, 4, 5 и 6. Гибкие средства не должны влиять на характеристики устойчивости кресла-коляски.
A.4. Пояснения к рисункам
В качестве примера на рисунках изображено кресло-коляска с задними ведущими колесами и с ручным приводом, но методы определения статической устойчивости, установленные настоящим стандартом, применимы и к креслам-коляскам других типов, включая скутеры.
На рисунках 1 - 6 приведены примеры применения методов, позволяющих не допускать скольжения или вращения колес кресел-колясок на испытательной плоскости и падения кресла-коляски при опрокидывании во время испытаний. Колеса кресла-коляски, находящиеся вверху на испытательной плоскости, случается, начинают отрываться от нее в момент, когда центр тяжести достигает точки, расположенной на вертикали, проходящей через ось опрокидывания.
a) Рисунок 1 - Передняя устойчивость с передними незаблокированными колесами.
b) Рисунок 2 - Передняя устойчивость с передними заблокированными колесами. Гибкую систему удерживания крепят к испытательной плоскости в верхней ее части, пропускают под передними колесами и присоединяют к раме кресла-коляски для предотвращения скольжения передних колес.
c) Рисунок 3 - Задняя устойчивость с задними незаблокированными колесами.
d) Рисунок 4 - Задняя устойчивость с задними заблокированными колесами.
e) Рисунок 5 - Устойчивость при наличии устройства против опрокидывания назад.
Гибкую систему удерживания пропускают вокруг задних ведущих колес кресла-коляски, но не колес устройств против опрокидывания. В этом примере ось опрокидывания находится на линии, соединяющей оси колес устройства против опрокидывания. Если гибкую систему удерживания пропускают под колесами устройства против опрокидывания (блокировка их), ось опрокидывания находится на линии, соединяющей точки контакта колес устройства против опрокидывания с испытательной плоскостью.
f) Рисунок 6 - Боковая устойчивость.
В этом примере показаны приспособление, препятствующее вращению нижнего самоориентирующегося колеса, и гибкая система удерживания нижнего заднего ведущего колеса от скольжения.
Следует обратить внимание на небольшой наклон кресла-коляски, который часто необходим для того, чтобы обеспечить параллельность оси опрокидывания кресла-коляски и оси испытательной плоскости. Для упрощения испытательный манекен, подножки и опора стоп на рисунке не показаны, но при испытаниях их установка обязательна.
Приложение B
(обязательное)
СВЕДЕНИЯ О СООТВЕТСТВИИ НАЦИОНАЛЬНЫХ СТАНДАРТОВ
РОССИЙСКОЙ ФЕДЕРАЦИИ ССЫЛОЧНЫМ МЕЖДУНАРОДНЫМ СТАНДАРТАМ
Таблица B.1
Обозначение ссылочного международного стандарта
Обозначение и наименование соответствующего национального стандарта
ИСО 6440:1985
ГОСТ 30475-96 (ИСО 6440-85)/ГОСТ Р 50653-94 (ИСО 6440-85)
Кресла-коляски. Термины и определения
ИСО 7176-7:1996
ГОСТ Р 51082-97 (ИСО 7176-7-96)
Кресла-коляски. Метод измерения параметров и размеров сиденья и колеса
ИСО 7176-11:1992
Кресла-коляски. Испытательные манекены.
ИСО 7176-15:1996
ИСО 7176-22:2000
Кресла-коляски. Часть 22. Правила установки
ИСО 9999:1992
ГОСТ Р 51079-97 (ИСО 9999-92)
Технические средства реабилитации людей с ограничениями жизнедеятельности. Классификация
<*> Соответствующий национальный стандарт отсутствует. До его принятия рекомендуется использовать перевод на русский язык данного международного стандарта или гармонизированный с ним национальный (государственный) стандарт страны, на территории которой применяется настоящий стандарт. Информация о наличии перевода данного международного стандарта в национальном фонде стандартов или в ином месте, а также информация о действии на территории страны соответствующего национального (государственного) стандарта может быть приведена в национальных информационных данных, дополняющих настоящий стандарт.