Главная // Актуальные документы // ГОСТ Р (Государственный стандарт)СПРАВКА
Источник публикации
М.: ИПК Издательство стандартов, 1997
Примечание к документу
Документ утратил силу с 1 января 2017 года в связи с изданием
Приказа Росстандарта от 28.10.2015 N 2172-ст. Взамен введен в действие
ГОСТ Р ИСО 7176-7-2015.
С 1 июля 2003 года до вступления в силу технических регламентов акты федеральных органов исполнительной власти в сфере технического регулирования носят рекомендательный характер и подлежат обязательному исполнению только в части, соответствующей целям, указанным в
пункте 1 статьи 46 Федерального закона от 27.12.2002 N 184-ФЗ.
Документ
введен в действие с 1 января 1998 года.
Название документа
"ГОСТ Р 51082-97 (ИСО 7176-7-96). Государственный стандарт Российской Федерации. Кресла-коляски. Метод измерения параметров и размеров сиденья и колеса"
(принят и введен в действие Постановлением Госстандарта России от 28.07.1997 N 262)
"ГОСТ Р 51082-97 (ИСО 7176-7-96). Государственный стандарт Российской Федерации. Кресла-коляски. Метод измерения параметров и размеров сиденья и колеса"
(принят и введен в действие Постановлением Госстандарта России от 28.07.1997 N 262)
Принят и введен в действие
от 28 июля 1997 г. N 262
ГОСУДАРСТВЕННЫЙ СТАНДАРТ РОССИЙСКОЙ ФЕДЕРАЦИИ
КРЕСЛА-КОЛЯСКИ
МЕТОД ИЗМЕРЕНИЯ ПАРАМЕТРОВ И РАЗМЕРОВ СИДЕНЬЯ И КОЛЕСА
Wheelchairs. Method of measurement of seating
and wheel dimensions
ГОСТ Р 51082-97
(ИСО 7176-7-96)
Группа Р29
ОКС 11.180;
ОКСТУ 9403
Дата введения
1 января 1998 года
1. Разработан Всероссийским научно-исследовательским институтом стандартизации (ВНИИстандарт) Госстандарта России по Федеральной комплексной
программе "Социальная поддержка инвалидов", утвержденной Постановлением Правительства Российской Федерации от 16 января 1995 г. N 59.
Внесен Техническим комитетом по стандартизации ТК 381 "Технические средства для инвалидов".
2. Принят и введен в действие
Постановлением Госстандарта России от 28 июля 1997 г. N 262.
3. Разделы настоящего стандарта, за исключением
разделов 2 и
4, представляют собой аутентичный текст международного стандарта ИСО 7176-7-96 "Кресла-коляски. Метод измерения размеров сиденья и колеса".
4. Введен впервые.
Настоящий стандарт распространяется на кресла-коляски, предназначенные для пользователей массой, не превышающей 120 кг, и обеспечивающие их передвижение внутри и вне помещений со скоростью не более 15 км/ч.
Настоящий стандарт распространяется на кресла-коляски, относящиеся к следующим группам
ГОСТ Р 51079:
приводимые в движение и управляемые сопровождающим лицом - 12 21 03;
с двуручным приводом задних колес - 12 21 06;
с двуручным приводом передних колес - 12 21 09;
с двуручным рычажным приводом - 12 21 12;
не имеющие приводного двигателя с односторонним приводом - 12 21 15;
приводимые в движение ногами - 12 21 18;
с приводным двигателем и управляемые сопровождающим лицом - 12 21 21;
с электроприводом и ручным управлением - 12 21 24;
с электроприводом и с сервоуправлением - 12 21 27.
Настоящий стандарт не распространяется на кресла-коляски с сиденьем шириной менее 212 мм.
Требования настоящего стандарта являются обязательными.
В настоящем стандарте использованы ссылки на следующие стандарты:
ГОСТ 427-75. Линейки измерительные металлические. Технические условия
| | ИС МЕГАНОРМ: примечание. Взамен ГОСТ 7502-89 Постановлением Госстандарта России от 27.07.1999 N 220-ст с 1 июля 2000 года введен в действие ГОСТ 7502-98. | |
ГОСТ 7502-89. Рулетки измерительные металлические. Технические условия
ГОСТ 13837-79. Динамометры общего назначения. Технические условия
ГОСТ Р 51079-97. Технические средства реабилитации людей с ограничениями жизнедеятельности. Классификация
3. ОПРЕДЕЛЕНИЯ И СОКРАЩЕНИЯ
3.1. В настоящем стандарте применяют термины
ГОСТ Р 50653 и следующие термины с соответствующими определениями и сокращениями:
3.1.1. УН - устройство, используемое для нагружения кресла-коляски и создания базовых плоскостей, от которых проводят измерения;
3.1.2. УНВ - УН, соответствующее размеру тела взрослого человека;
3.1.3. УНР - УН, соответствующее размеру тела ребенка;
3.1.4. Базовая плоскость сиденья: плоскость основания узла сиденья УН
(рисунок 1);
3.1.5. Базовая плоскость спинки: плоскость, касательная к средней вертикальной линии наружной изогнутой стороны узла спинки УН
(рисунок 1);
3.1.6. Базовая плоскость подножки: плоскость, проходящая через задний край опоры стопы (или задника-держателя) и наиболее выступающую переднюю часть сиденья кресла-коляски, или плоскость, проходящая через задний край опоры стопы (или задника-держателя) кресла-коляски и наиболее выступающую часть подставки под голень
(рисунок 2).
1 - базовая плоскость сиденья; 2 - базовая плоскость спинки
Рисунок 1. Базовые плоскости сиденья и спинки
1 - базовая плоскость сиденья; 2 - базовая плоскость
подножки; 3 - подставка под голень;
4 - опора стопы
Рисунок 2. Базовая плоскость подножки
4. ОБОРУДОВАНИЕ И СРЕДСТВА ИЗМЕРЕНИЯ
4.1. Ровная, твердая испытательная площадка, удобная для размещения на ней кресла-коляски.
Для предотвращения смещения кресла-коляски испытательную площадку следует располагать у стены или у схожего с ней препятствия.
4.3. Линейка измерительная металлическая по
ГОСТ 427.
| | ИС МЕГАНОРМ: примечание. Взамен ГОСТ 7502-89 Постановлением Госстандарта России от 27.07.1999 N 220-ст с 1 июля 2000 года введен в действие ГОСТ 7502-98. | |
4.4. Рулетка измерительная металлическая по ГОСТ 7502.
5. ПОРЯДОК ПОДГОТОВКИ КРЕСЛА-КОЛЯСКИ К ПРОВЕДЕНИЮ ИЗМЕРЕНИЙ
5.1. Оснащение кресла-коляски
5.1.1. Кресло-коляска должно быть полностью оснащено для нормального использования подлокотниками, подножками и/или опорами стопы. Съемные подушки, ремни и т.п. должны быть удалены.
5.1.2. Если кресло-коляска оснащено пневматическими шинами, то давление воздуха в них должно соответствовать требованиям нормативных документов предприятия-изготовителя.
Если установлен диапазон давлений, то следует выбирать максимальное значение.
5.1.3. Во время проведения измерений кресло-коляска должно быть загружено УН.
5.2. Регулирование кресла-коляски
5.2.1. Кресло-коляску устанавливают в рабочее положение в соответствии с рекомендациями предприятия-изготовителя.
Если такие рекомендации предприятием-изготовителем не установлены, то кресло-коляску следует установить в следующей последовательности:
а) установить кресло-коляску на испытательную площадку;
б) установить кронштейн каждого поворотного колеса кресла-коляски вертикально с допуском от 0° до минус 1° или, если это невозможно, установить как можно ближе к вертикальному положению в отрицательном направлении;
Примечание. Если верхняя часть кронштейна (вилка) поворотного колеса смещена назад, то направление считают отрицательным.
в) если система опоры тела относительно рамы может регулироваться по высоте и (или) по горизонтали, то ее необходимо установить в среднее положение или, если это невозможно, - в ближайшее заднее и (или) нижнее положение с допуском +/- 5 мм;
г) установить положительный угол наклона сиденья кресла-коляски
(измерение 1) 8° +/- 2° или, если это невозможно, выбирают ближайшее наибольшее значение;
д) установить положительный угол наклона спинки сиденья кресла-коляски
(измерение 6) 10° +/- 2° или, если это невозможно, выбирают ближайшее наибольшее значение;
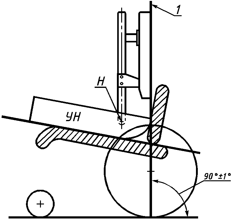
е) установить угол наклона подножки к поверхности сиденья кресла-коляски как можно ближе к 90° +/- 1°;
ж) установить ведущие колеса кресла-коляски в положение, при котором значение развала не более 2° +/- 1°, схождения - не более 1°;
з) установить горизонтальное положение оси ведущих колес в среднее положение с допуском +/- 3 мм или, если это невозможно, - в ближайшее к среднему отрицательное положение
(измерение 25);
и) установить вертикальное положение оси ведущих колес в среднее положение с допуском +/- 3 мм или, если это невозможно, - в ближайшее к среднему положительное положение
(измерение 26);
к) установить горизонтальное положение оси вращения поворотных колес в среднее положение с допуском +/- 3 мм или, если это невозможно, - в ближайшее к среднему отрицательное положение;
л) установить вертикальное положение оси вращения поворотных колес в среднее положение с допуском +/- 3 мм или, если это невозможно, - в ближайшее снизу к среднему положительному положению;
м) установить максимальное расстояние между поворотными колесами;
н) установить в среднее положение поворотные колеса в пределах кронштейна (вилки) по высоте с допуском +/- 1 мм или, если это невозможно, - выбрать ближайшее к среднему положению в сторону увеличения расстояние между колесом и кронштейном;
о) установить подножку/опору стопы с минимально возможным расстоянием от испытательной площадки до самой низкой ее части, но не менее 50 мм;
п) все остальные регулируемые детали кресла-коляски необходимо установить как можно ближе к среднему положению диапазона регулирования.
Если регулирование деталей кресла-коляски не обеспечивает их идеальное среднее положение, то следует выбрать такое положение, которое даст ближайший больший размер;
р) проверить надежность закрепления деталей в соответствии с документацией предприятия-изготовителя.
Тип УН (УНВ либо УНР) выбирают в зависимости от размера кресла-коляски таким образом, чтобы УН было размещено на сиденье кресла-коляски с боковым зазором с каждой стороны не менее 2 мм.
5.4. Расположение УН в кресле-коляске
5.4.1. В целях безопасности при загрузке кресла-коляски УН и измерении параметров и размеров кресла-коляски с низкой устойчивостью (особенно для кресел-колясок спортивного типа), кресло-коляску необходимо закрепить.
5.4.2. Расположить УН в кресле-коляске следующим образом:
а) установить кресло-коляску на испытательную площадку в соответствии с
4.1 у стены, применяя при этом тормоза или тормозные колодки;
б) поместить УН выбранного типа, без нагружающих масс, по центру сиденья кресла-коляски так, чтобы наружная сторона узла спинки и задний край узла сиденья соприкасались со спинкой кресла-коляски;
Примечание. УН можно устанавливать вручную или с помощью шкивов.
в) закрепить УН в кресле-коляске, чтобы полностью исключить возможность какого-либо перемещения УН во время проведения измерений;
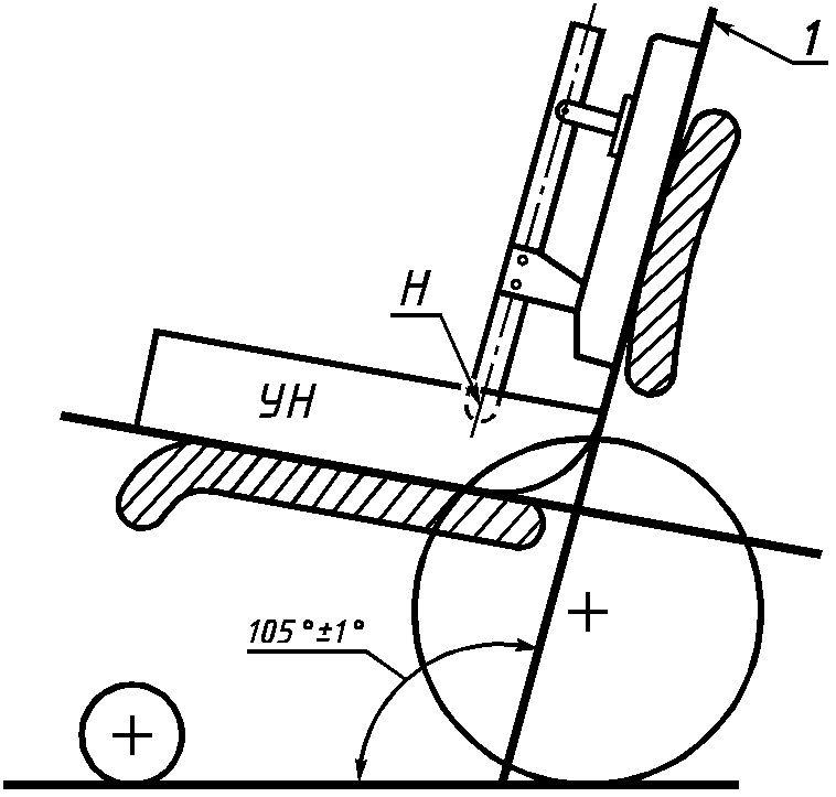
г) для кресел-колясок, имеющих зазор между сиденьем и спинкой, зафиксировать узел спинки УН в точке H узла сиденья УН под углом 105° +/- 1° к горизонтали
(рисунок 3);
д) для кресел-колясок с низкой спинкой (высота спинки 250 - 310 мм) зафиксировать узел спинки УН в точке H узла сиденья УН под углом 90° +/- 1° к горизонтали
(рисунок 4).
H - место крепления узла спинки УН на узле сиденья УН;
1 - базовая плоскость спинки
Рисунок 3. Фиксация узла спинки УН для кресел-колясок,
имеющих зазор между сиденьем и спинкой
H - место крепления узла спинки УН на узле сиденья УН;
1 - базовая плоскость спинки
Рисунок 4. Крепление узла спинки УН для кресла-коляски
с низкой спинкой
5.4.3 Для всех остальных типов кресел-колясок, отличных от указанных в
5.4.2, узел спинки УН устанавливают свободно.
В этом случае УН в кресле-коляске расположить следующим образом:
а) установить кресло-коляску на испытательную площадку в соответствии с
4.1 у стены, применяя при этом тормоза или тормозные колодки;
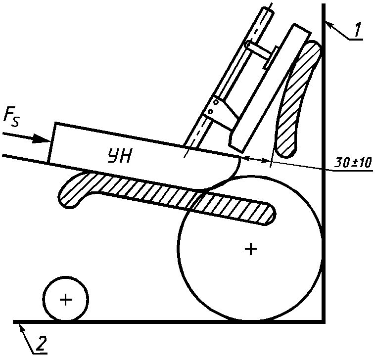
б) установить УН без нагружающих масс так, чтобы задняя часть его находилась на расстоянии (30 +/- 10) мм от спинки кресла-коляски (рисунок 5);
1 - стена; 2 - испытательная площадка
Рисунок 5. Расположение УН. Определение силы

в) приложить силу

в точке x передней поверхности УН (
рисунки А.1 и
А.4) через динамометр.
Сила прикладывается по средней линии УН параллельно верхней поверхности узла сиденья по направлению к спинке
(рисунок 5);
г) определить силу

в ньютонах, необходимую для начала скольжения УН;
е) приложить силу

в точке x в соответствии с
перечислением в) этого пункта до тех пор, пока не прекратится скольжение УН в кресле-коляске;
ж) сцентрировать узел сиденья УН в кресле-коляске и выровнять в горизонтальном направлении без изменения заднего и переднего положения;
з) зафиксировать узел спинки УН в точке H узла сиденья УН.
5.4.4. Разместить дополнительные нагружающие массы на УН, начиная с нагружения узла сиденья, кончая нагружением узла спинки, и закрепить эти массы.
6. ПОРЯДОК ОПРЕДЕЛЕНИЯ ПАРАМЕТРОВ СИСТЕМЫ ОПОРЫ ТЕЛА
И КОЛЕСА КРЕСЛА-КОЛЯСКИ
6.1. Все параметры системы опоры тела и колеса кресла-коляски определяют при нагруженном кресле-коляске.
| | ИС МЕГАНОРМ: примечание. Взамен ГОСТ 7502-89 Постановлением Госстандарта России от 27.07.1999 N 220-ст с 1 июля 2000 года введен в действие ГОСТ 7502-98. | |
6.2. Измерение линейных размеров системы опоры тела и колеса кресла-коляски проводят металлической линейкой по
ГОСТ 427 или рулеткой по ГОСТ 7502, угловых размеров - угломером по
ГОСТ 5378 прямым измерением.
6.3. Недоступные для прямого измерения размеры сиденья, спинки, подголовника и колеса кресла-коляски можно определить расчетным путем, используя известные размеры УН и размеры доступных частей кресла-коляски.
6.4. Погрешность измерения линейных размеров системы опоры тела и колеса кресла-коляски должна быть не более +/- 3 мм, угловых размеров - более +/- 1°.
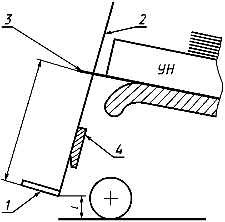
6.5. Размеры УН определяют следующим образом:
- поместить УН на ровную поверхность;
- определить линию пересечения базовых плоскостей узла сиденья УН и узла спинки УН скольжением тонких полосок из пластика или металла позади узла спинки УН (рисунок 6);
- измерить и записать размеры L и H.
H - длина узла спинки УН; L - длина узла сиденья УН;
1 - базовая плоскость спинки; 2 - базовая плоскость сиденья
Рисунок 6. Определение размеров УН
6.6. Для кресел-колясок с регулируемыми размерами системы опоры тела определяют диапазон регулирования, измеряя максимальное и минимальное значения размеров, а при отсутствии плавного регулирования размеров системы опоры тела кресла-коляски указывают количество переключений регулирования.
Измерение 1. Угол наклона сиденья - угол наклона базовой плоскости сиденья относительно горизонтали (рисунок 7). Угол показан положительным.

- угол наклона сиденья; 1 - базовая плоскость сиденья;
2 - угломер с нониусом
Рисунок 7. Угол наклона сиденья
Измерение 2. Эффективная глубина сиденья - расстояние между линиями, образованными пересечением базовой плоскости сиденья с базовой плоскостью подножки и базовой плоскости сиденья с базовой плоскостью спинки (рисунок 8).
L - длина узла сиденья УН; 1 - базовая плоскость сиденья;
2 - базовая плоскость спинки;
3 - базовая плоскость подножки
Рисунок 8. Эффективная глубина сиденья
Если глубина сиденья кресла-коляски больше длины узла сиденья УН, то этот размер можно определить измерением размера t, как показано на рисунке 8, и размера L, определенного в
6.5.
Измерение 3. Ширина сиденья - ширина сиденья, определенная параллельно базовой плоскости сиденья на расстоянии 120 мм (72 мм, когда используют УНР) от базовой плоскости спинки (рисунок 9).
1 - базовая плоскость сиденья;
2 - базовая плоскость спинки
Рисунок 9. Ширина сиденья
Для сидений типа "Корзина" с бортами более 50 мм или менее 50 мм ширину сиденья определяют, как показано на рисунке 9.
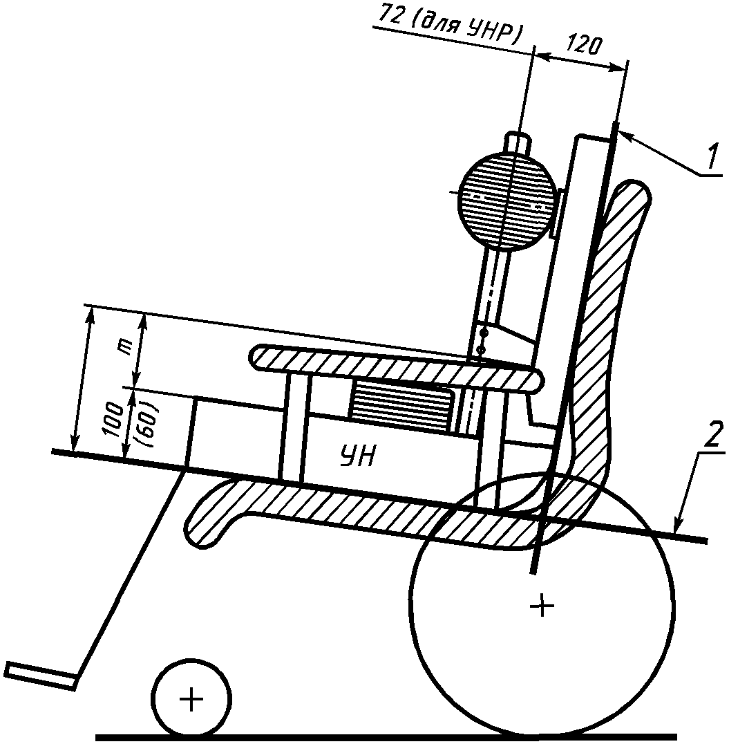
Измерение 4. Эффективная ширина сиденья - максимальная ширина сиденья внутри кресла-коляски, определенная на высоте 100 мм (60 мм, когда используют УНР) над базовой плоскостью сиденья и на расстоянии 120 мм (72 мм, когда используют УНР) от базовой плоскости спинки (
рисунки 9, 10).
1 - подлокотник
Рисунок 10. Эффективная ширина сиденья
Эффективную ширину сиденья определяют только для сидений кресел-колясок, ширина которых ограничена подлокотниками или бортами.
Измерение 5. Высота сиденья - расстояние по вертикали от испытательной площадки до наиболее выступающей вперед части сиденья (рисунок 11), измеренное на расстоянии 115 мм (69 мм, когда используют УНР) от центра сиденья.
1 - базовая плоскость сиденья; 2 - испытательная площадка
Рисунок 11. Высота сиденья
Измерение 6. Угол наклона спинки - угол наклона между вертикалью и базовой плоскостью спинки. Угол показан на рисунке 12 положительным.

- угол наклона спинки; 1 - базовая плоскость спинки;
2 - угломер с нониусом
Рисунок 12. Угол наклона спинки
Это измерение не применяют к креслам-коляскам с низкими спинками или с зазором между спинкой и сиденьем.
Измерение 7. Высота спинки - расстояние от базовой плоскости сиденья до верхней части спинки, измеренное параллельно базовой плоскости спинки посередине спинки (рисунок 13).
H - длина узла спинки УН; 1 - базовая плоскость сиденья;
2 - базовая плоскость спинки
Рисунок 13. Высота спинки
Это измерение не применяют к спинкам, изготовленным заодно с подголовниками.
Высоту спинки можно также определить измерением размера h, как показано на
рисунке 13, и размера H, определенного в
6.5.
Измерение 8. Ширина спинки - наибольшая ширина верхней части спинки, расположенной на участке 200 - 500 мм (120 - 300 мм, когда используют УНР) выше базовой плоскости сиденья (рисунок 14).
1 - базовая плоскость сиденья
Рисунок 14. Ширина спинки
Измерение 9. Расположение подголовника - расстояние l между наиболее выступающей вперед средней частью подголовника и базовой плоскостью спинки, измеренное перпендикулярно к этой плоскости.
Расположение подголовника, показанное на рисунке 15, положительное.
H - длина узла спинки УН; 1 - базовая плоскость сиденья;
2 - базовая плоскость спинки
Рисунок 15. Расположение подголовника
Измерение 10. Высота расположения подголовника над сиденьем - расстояние от базовой плоскости сиденья до наиболее выступающей вперед части подголовника в его средней вертикальной плоскости, измеренное параллельно базовой плоскости спинки
(рисунок 15).
Высоту расположения подголовника над сиденьем можно также определить измерением размера k, как показано на
рисунке 15, и размера H, определенного в
6.5.
Измерение 11. Длина подножки - расстояние от базовой плоскости сиденья до заднего края опоры стопы (рисунок 16), определяемое в базовой плоскости подножки на расстоянии 115 мм (69 мм, когда используют УНР) от центра сиденья. Это совпадает с пазами узла сиденья.
1 - опора стопы; 2 - базовая плоскость подножки;
3 - базовая плоскость сиденья; 4 - подставка под голень
Рисунок 16. Длина подножки и расположение опоры стопы
Измерение 12. Высота расположения нерегулируемой опоры стопы - расстояние по вертикали от поверхности испытательной площадки до самой нижней части опоры стопы l
(рисунок 16).
Измерение 13. Длина опоры стопы - расстояние между наиболее выступающей передней частью опоры стопы и базовой плоскостью подножки (рисунок 17).
а) Стандартная опора стопы
б) Трубчатая опора стопы с задником-держателем
в) Опора стопы с задником-держателем
г) Трубчатая опора стопы без задника-держателя

- длина опоры стопы; 1 - базовая плоскость подножки;
2 - задники-держатели
Рисунок 17. Расположение опоры стопы
Измерение 14. Угол наклона опоры стопы (кроме трубчатых) - угол между опорой стопы и базовой плоскостью подножки (рисунок 18).

- угол наклона опоры стопы;

- угол наклона подножки
к поверхности сиденья; 1 - базовая плоскость сиденья;
2 - базовая плоскость подножки; 3 - угломер с нониусом;
4 - опора стопы
Рисунок 18. Угол наклона опоры стопы и угол
наклона подножки к поверхности сиденья
Измерение 15. Угол наклона подножки к поверхности сиденья - угол между базовой плоскостью сиденья и базовой плоскостью подножки (рисунок 18).
Измерение 16. Высота подлокотника - расстояние от базовой плоскости сиденья до верхней части подлокотника, измеренное перпендикулярно к базовой плоскости сиденья на расстоянии 120 мм (72 мм, когда используют УНР) от базовой плоскости спинки.
Высоту подлокотника можно также определить измерением размера m, как показано на рисунке 19.
1 - базовая плоскость спинки; 2 - базовая плоскость сиденья
Рисунок 19. Высота подлокотника
Измерение 17. Расположение подлокотника - расстояние от переднего края подлокотника до пересечения с базовой плоскостью спинки, измеренное параллельно базовой плоскости сиденья (рисунок 20).
1 - базовая плоскость спинки; 2 - базовая плоскость сиденья
Рисунок 20. Расположение подлокотника
Измерение 18. Длина подлокотника - расстояние от переднего до заднего края подлокотника, измеренное по его поверхности.
Измерение 19. Ширина подлокотника - максимальная ширина подлокотника b (рисунок 21).
Рисунок 21. Ширина подлокотника и расстояние
между подлокотниками
Измерение 20. Угол наклона подлокотника - угол между поверхностью подлокотника и горизонталью (рисунок 22).
Угол показан на рисунке 22 положительным.
Рисунок 22. Угол наклона подлокотника
Измерение 21. Расстояние между подлокотниками - максимальное расстояние между подлокотниками, измеренное на расстоянии 120 мм (72 мм, когда используют УНР) от базовой плоскости спинки (
рисунки 9,
21).
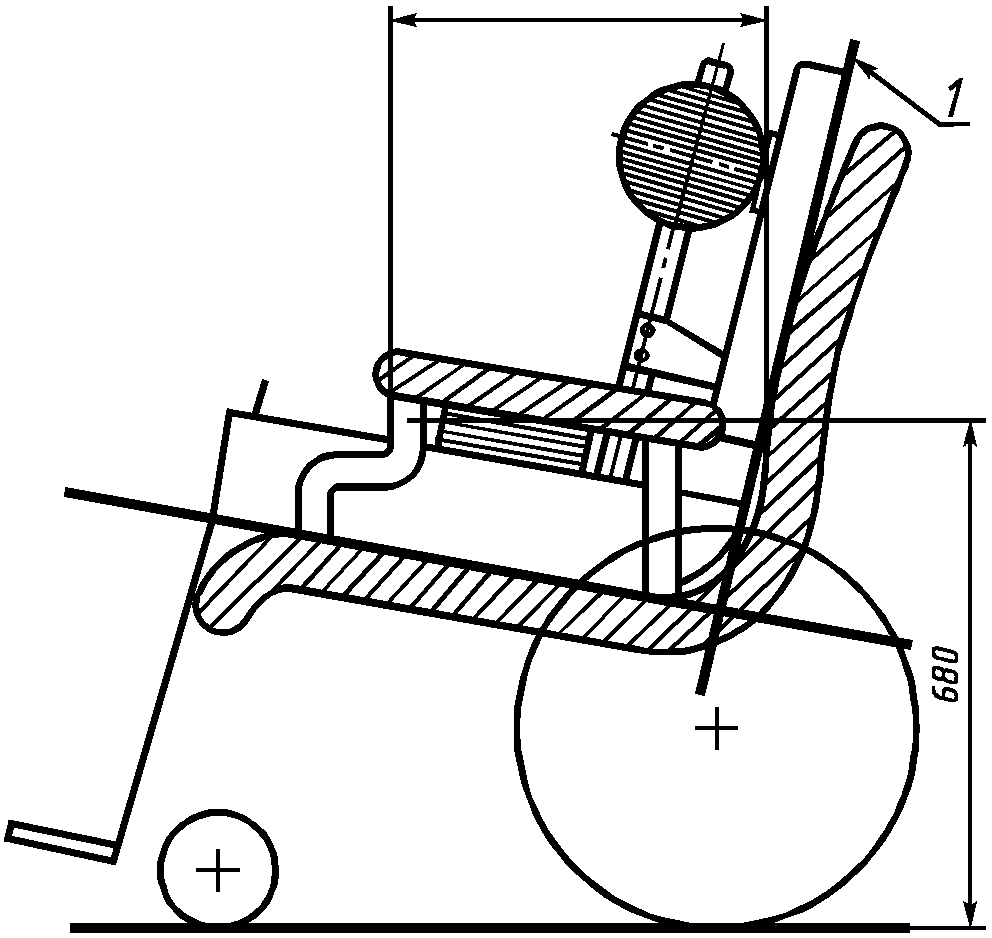
Измерение 22. Расположение узла подлокотника - расстояние между базовой плоскостью спинки и наиболее выступающей передней частью узла подлокотника, измеренное на высоте 680 мм в горизонтальной плоскости (рисунок 23).
1 - базовая плоскость спинки
Рисунок 23. Расположение узла подлокотника
Измерение 23. Диаметр ручного приводного обода - наружный диаметр ручного приводного обода

(рисунок 24).
Рисунок 24. Диаметр ручного приводного обода
и диаметр ведущего колеса
Измерение 24. Диаметр ведущего колеса - наружный диаметр обода ведущего колеса

(рисунок 24).
Измерение 25. Горизонтальное положение оси ведущего колеса - расстояние по горизонтали от оси ведущего колеса до линии пересечения базовых плоскостей сиденья и спинки.
Положение оси колеса, показанное на рисунке 25, отрицательное.
1 - базовая плоскость сиденья; 2 - базовая плоскость спинки
Рисунок 25. Горизонтальное положение оси ведущего колеса
Горизонтальное положение оси колеса x, мм, можно также определить следующим образом: для кресел-колясок с углом наклона сиденья

x = M - L, (1)
где M - расстояние по горизонтали от переднего края основания узла сиденья УН до центра оси колеса
(рисунок 25);
Для кресел-колясок с углом наклона сиденья

более 5°

. (2)
Измерение 26. Вертикальное положение оси ведущего колеса - расстояние по вертикали от оси ведущего колеса до линии пересечения базовых плоскостей сиденья и спинки
(рисунок 26).
Положение оси колеса, показанное на рисунке 26, положительное.
1 - базовая плоскость сиденья
Рисунок 26. Вертикальное положение оси ведущего колеса
Вертикальное положение оси колеса y, мм, можно также определить следующим образом:

, (3)
где H - расстояние от переднего края основания узла сиденья УН до испытательной площадки
(рисунок 26);
R - радиус ведущего колеса;

- угол наклона сиденья.
Измерение 27. Диаметр поворотного колеса - наружный диаметр обода поворотного колеса.
8. ПРАВИЛА ОФОРМЛЕНИЯ РЕЗУЛЬТАТОВ ИЗМЕРЕНИЙ
8.1. Результаты измерений оформляют протоколом, который должен содержать:
а) наименование и адрес организации, которая проводит измерения;
б) наименование и адрес предприятия - изготовителя кресла-коляски;
в) тип кресла-коляски и обозначение;
г) описание оснащения кресла-коляски, подготовленного для проведения измерений;
д) техническую характеристику используемой нагрузки;
е) для кресел-колясок, указанных в 5.4.2 (
перечисления г и
д), угол наклона узла спинки УН относительно горизонтали (
рисунки 3 и
4);
ж) длину узла спинки УН, длину узла сиденья УН, определенные в
6.5;
з) дату проведения измерений;
и) данные измерений по форме, приведенной в таблице 1.
Наименование измерения, ед. измерения | Значение для нерегулируемых размеров или минимальное значение для регулируемых размеров | Максимальное значение для регулируемых размеров | Количество переключений регулирования |
1. Угол наклона сиденья,...° | | | |
... | | | |
... | | | |
... | | | |
27. Диаметр поворотного колеса, мм | | | |
8.2. Параметры системы опоры тела и колеса кресла-коляски, определенные
измерениями 1,
4,
5,
6,
11,
15,
16,
24,
25,
26, должны быть указаны в паспорте на кресло-коляску по форме, соответствующей
таблице 1.
(обязательное)
УСТРОЙСТВО, ИСПОЛЬЗУЕМОЕ ДЛЯ НАГРУЖЕНИЯ КРЕСЛА-КОЛЯСКИ
УН предназначено для имитации распределения массы тела человека.
УН состоит из узла сиденья, к которому крепится узел спинки с регулируемым наклоном.
Применяют два размера УН для нагружения кресла-коляски, соответствующие размерам тела взрослого человека (УНВ) и размерам тела ребенка (УНР).
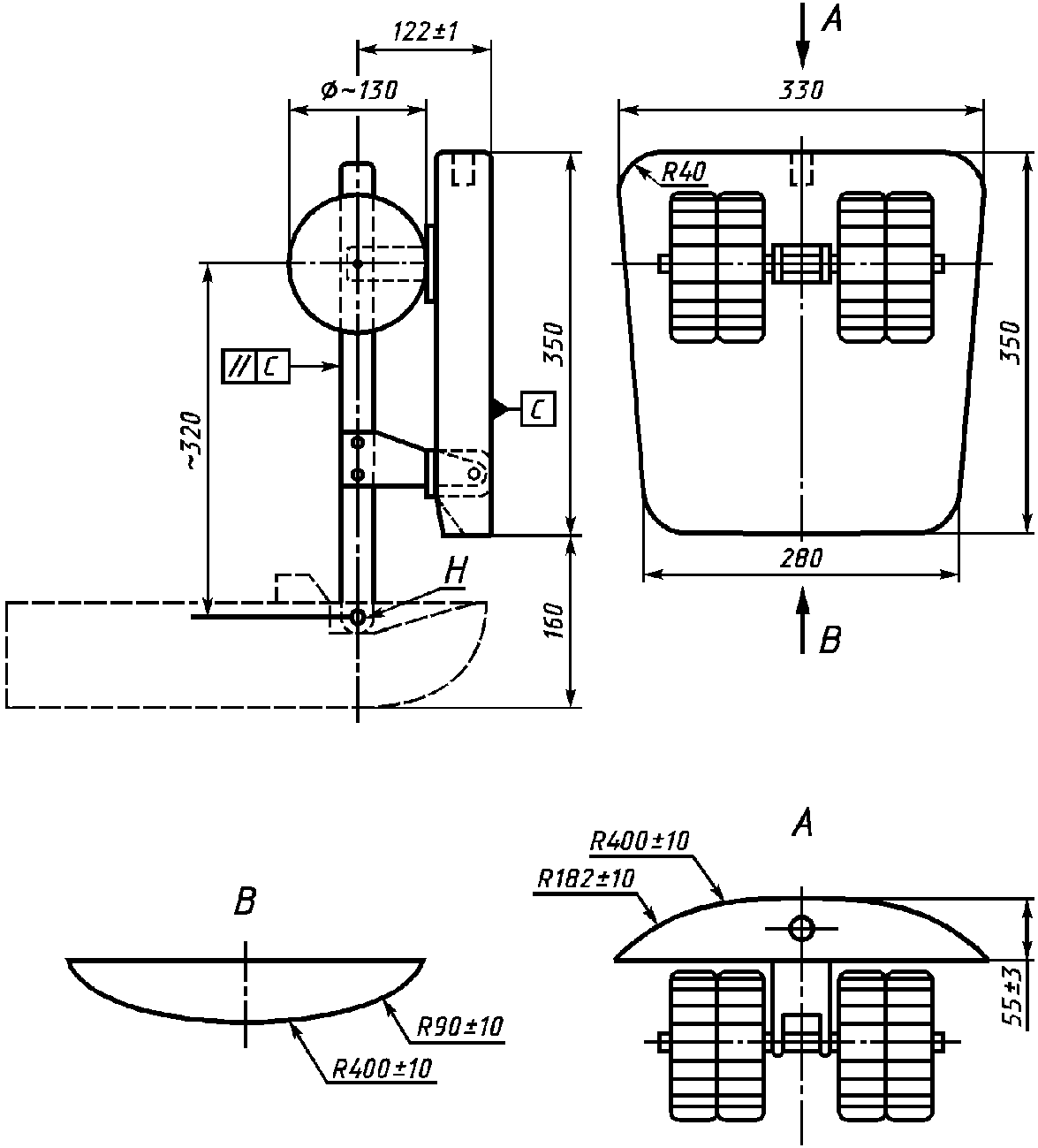
А.1. Конструкция
Узлы УН могут быть изготовлены из любого материала (например дерева), который должен обеспечивать форму и распределение массы.
Основные размеры приведены на рисунках А.1 -
А.6.
Рисунок А.1. Узел сиденья УНВ
Рисунок А.2. Узел спинки УНВ

- положение центра масс; 1 - узел сиденья УНВ;
2 - нагружающие массы; 3 - узел спинки УНВ
Рисунок А.3. Положение центра масс УНВ
Рисунок А.4. Узел сиденья УНР
Рисунок А.5. Узел спинки УНР

- положение центра масс; 1 - узел сиденья УНР;
2 - нагружающие массы; 3 - узел спинки УНР
Рисунок А.6. Положение центра масс УНР
Предельные отклонения линейных размеров узлов УН +/- 5 мм. Острые кромки деталей УН должны быть скруглены радиусом не менее 5 мм.
Конструкция УНВ должна предусматривать надежное закрепление нагружающих масс, полностью исключающее их перемещение во время проведения изменений.
А.2. Устройство нагружения, соответствующее размерам тела взрослого человека (УНВ)
А.2.1. Узел сиденья УНВ
Размеры узла сиденья УНВ и точки приложения силы

(точка x) приведены на
рисунке А.1.
Масса узла сиденья УНВ (без дополнительных нагружающих масс) не должна превышать 10 кг.
А.2.2. Узел спинки УНВ
Узел спинки УНВ состоит из стойки и задней панели. Положение узла спинки относительно узла сиденья фиксируется в точке H
(рисунок А.2).
Масса узла спинки УНВ (без дополнительных нагружающих масс) не должна превышать 6 кг.
А.2.3. Положение центра масс УНВ
Масса нагруженного узла сиденья должна составлять (24 +/- 0,2) кг, а масса нагруженного узла спинки - (27 +/- 0,2) кг.
Положение центра массы полностью собранного УНВ должно соответствовать
рисунку А.3.
Узел сиденья и узел спинки устанавливают взаимно перпендикулярно относительно друг друга и фиксируют это положение в точке H.
А.3. Устройство нагружения, соответствующее размерам тела ребенка (УНР)
А.3.1. Узел сиденья УНР
Размеры узла сиденья УНР и точки приложения силы

(точка x) приведены на
рисунке А.4.
Масса узла сиденья УНР (без дополнительных нагружающих масс) не должна превышать 2 кг.
А.3.2. Узел спинки УНР
Узел спинки УНР состоит из стойки и задней панели. Положение узла спинки относительно узла сиденья фиксируется в точке H
(рисунок А.5).
Масса узла спинки УНР (без дополнительных нагружающих масс) не должна превышать 1,1 кг.
А.3.3. Положение центра масс УНР
Масса нагруженного узла сиденья должна составлять (5,2 +/- 0,2) кг, а масса нагруженного узла спинки - (5,8 +/- 0,2) кг.
Положение центра массы полностью собранного УНР должно соответствовать
рисунку А.6.
Узел сиденья и узел спинки устанавливают взаимно перпендикулярно относительно друг друга и фиксируют это положение в точке H.