Главная // Актуальные документы // ГОСТ (Государственный стандарт)СПРАВКА
Источник публикации
М.: Издательство стандартов, 1989
Примечание к документу
С 1 июля 2003 года до вступления в силу технических регламентов акты федеральных органов исполнительной власти в сфере технического регулирования носят рекомендательный характер и подлежат обязательному исполнению только в части, соответствующей целям, указанным в
пункте 1 статьи 46 Федерального закона от 27.12.2002 N 184-ФЗ.
Ограничение срока действия снято по Протоколу N 7-95 Межгосударственного Совета по стандартизации, метрологии и сертификации ("ИУС", N 11, 1995).
Введен в действие с 1 января 1990 года.
Взамен ГОСТ 5378-66.
Название документа
"ГОСТ 5378-88 (СТ СЭВ 850-87). Государственный стандарт Союза ССР. Угломеры с нониусом. Технические условия"
(утв. и введен в действие Постановлением Госстандарта СССР от 17.10.1988 N 3447)
"ГОСТ 5378-88 (СТ СЭВ 850-87). Государственный стандарт Союза ССР. Угломеры с нониусом. Технические условия"
(утв. и введен в действие Постановлением Госстандарта СССР от 17.10.1988 N 3447)
Утвержден и введен в действие
Постановлением Госстандарта СССР
от 17 октября 1988 г. N 3447
ГОСУДАРСТВЕННЫЙ СТАНДАРТ СОЮЗА ССР
УГЛОМЕРЫ С НОНИУСОМ
ТЕХНИЧЕСКИЕ УСЛОВИЯ
Vernier protractors. Specifications
ГОСТ 5378-88
(СТ СЭВ 850-87)
Срок действия
с 1 января 1990 года
до 1 января 2000 года
1. Разработан и внесен Министерством станкостроительной и инструментальной промышленности СССР.
Исполнители: И.И. Городецкая, Т.Ю. Неудачина.
2. Утвержден и введен в действие Постановлением Государственного комитета СССР по стандартам от 17.10.1988 N 3447.
3. Срок проверки - III кв. 1994 г.
Периодичность проверки - 5 лет.
4. Стандарт полностью соответствует СТ СЭВ 850-87.
5. Взамен ГОСТ 5378-66.
6. Ссылочные нормативно-технические документы
────────────────────────────────┬─────────────────────────────────
Обозначение НТД, │ Номер пункта
на который дана ссылка │
────────────────────────────────┼─────────────────────────────────
ИС МЕГАНОРМ: примечание.
Взамен ГОСТ 2.601-68 Постановлением Госстандарта РФ от
29.02.1996 N 130 введен в действие с 1 июля 1996 года
ИС МЕГАНОРМ: примечание.
Взамен ГОСТ 8.001-80 и ГОСТ 8.383-80 на территории Российской
"ГСИ. Порядок проведения испытаний и утверждения типа средств
N 394-ст).
ИС МЕГАНОРМ: примечание.
ГОСТ 13006-67 утратил силу с 1 сентября 1991 года
(ИУС "Государственные стандарты", N 8, 1991).
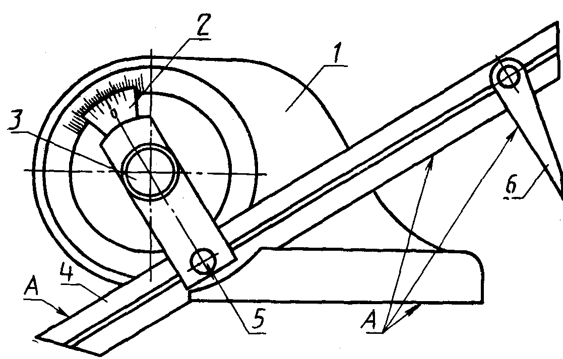
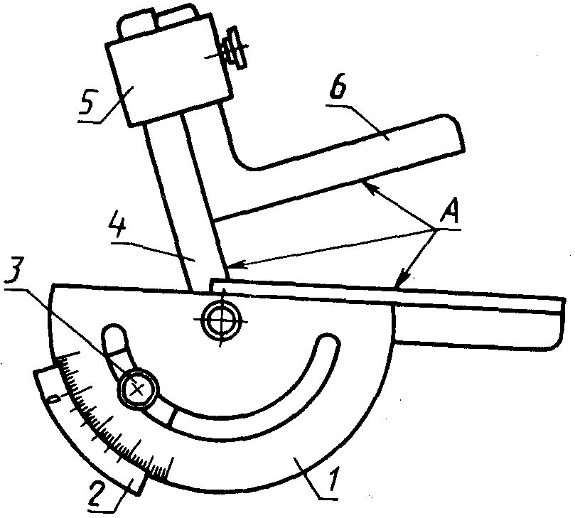
Настоящий стандарт распространяется на угломеры с отсчетом по нониусу 2', 5' и 10' для измерения наружных углов от 0° до 360° и внутренних от 40° до 180°.
1. ОСНОВНЫЕ ПАРАМЕТРЫ И РАЗМЕРЫ
1.1. Типы и основные параметры угломеров должны соответствовать указанным в табл. 1 и на
черт. 1 -
4.
Таблица 1
─────────┬───────────┬──────────────────────────────────┬─────────
Тип │ Значение │ Предел измерений │ Номер
угломера│ отсчета по├────────────────┬─────────────────┤ чертежа
│ нониусу │ наружных углов │внутренних углов │
─────────┼───────────┼────────────────┼─────────────────┼─────────
1 │ 2' и 5' │От 0° до 180° │ - │
1
2 │ 2' │ " 0° " 360° │ От 40° до 180° │
2
3 │ 5' и 10' │ " 0° " 360° │ - │
3
4 │ 10' │ " 0° " 180° │ - │
4
1 - основание; 2 - нониус; 3 - стопор; 4 - линейка;
5 - зажим; 6 - угольник; А - измерительные поверхности
1 - основание; 2 - нониус; 3 - стопор; 4 - линейка;
5 - зажим; 6 - угольник; 7 - сектор;
А - измерительные поверхности
1 - основание; 2 - нониус; 3 - стопор; 4 - линейка;
5 - зажим; 6 - вспомогательная линейка;
А - измерительные поверхности
1 - основание; 2 - нониус; 3 - стопор;
А - измерительные поверхности
Примечание.
Черт. 1 -
4 не определяют конструкцию угломеров.
1.2. Пример условного обозначения угломера
типа 1 со значением отсчета по нониусу 2':
Угломер типа 1-2 ГОСТ 5378-88
1.3. Угломер
типа 3 должен быть изготовлен с двумя линейками длиной 200 и 300 мм. Допускается применение линеек длиной 150 и 315 мм.
2. ТЕХНИЧЕСКИЕ ТРЕБОВАНИЯ
2.1. Характеристики
2.1.1. Угломеры должны быть изготовлены в соответствии с требованиями настоящего стандарта по конструкторской документации, утвержденной в установленном порядке.
2.1.2. Цена деления шкалы основания, угломеров с отсчетом по нониусу 2' и 5' должна быть 1°, у угломеров с отсчетом по нониусу 10' должна быть 1 или 2°.
2.1.3. Предел допускаемой погрешности угломеров как при незатянутом, так и при затянутом стопоре при температуре окружающего воздуха (20 +/- 5) °C и относительной влажности до 80% не должен быть более значений, указанных в табл. 2.
Таблица 2
────────────────────────────────┬─────────────────────────────────
Значение отсчета по нониусу │ Предел допускаемой погрешности
────────────────────────────────┼─────────────────────────────────
2' │ +/- 2'
5' │ +/- 5'
10' │ +/- 10'
2.1.4. Допуски плоскостности и прямолинейности измерительных поверхностей угломеров должны соответствовать указанным в табл. 3.
Таблица 3
───────────────────────────────────┬──────────────────────────────
Длина измерительных поверхностей, │ Допуск плоскостности и
мм │ прямолинейности, мкм
───────────────────────────────────┼──────────────────────────────
До 100 │ 3
Св. 100 " 150 │ 4
" 150 " 200 │ 5
" 200 │ 6
Примечание. Требования плоскостности и прямолинейности не распространяются: на зону в 1 мм от краев, ограничивающих длину, для измерительных поверхностей до 150 мм;
на зону в 1,5 мм для измерительных поверхностей свыше 150 мм;
на зону 0,2 мм вдоль краев плоских измерительных поверхностей.
2.1.5. Допуски параллельности измерительных поверхностей линейки угломера типа 3 и нониуса угломера типа 4 должны соответствовать указанным в табл. 4.
Таблица 4
───────────────────────────────────┬──────────────────────────────
Длина измерительных поверхностей, │ Допуск параллельности, мкм
мм │
───────────────────────────────────┼──────────────────────────────
До 100 │ 6
Св. 100 " 150 │ 8
" 150 " 200 │ 10
" 200 │ 12
2.1.6. Взаимное расположение верхней кромки нониуса (плоскость нониуса) и поверхности шкалы основания должно соответствовать исполнению 1 или 2, указанному на черт. 5.
Исполнение 2
Черт. 5
2.1.7. Детали угломеров, имеющие измерительные поверхности или шкалы, должны быть изготовлены из инструментальной, нержавеющей или легированной конструкционной сталей.
2.1.8. Наружные поверхности деталей угломеров, за исключением измерительных поверхностей и деталей, изготовленных из нержавеющей стали, должны быть хромированы.
2.1.9. Допускается применение шкал угломеров, изготовленных из нержавеющей стали, с матовым покрытием.
2.1.10. Твердость измерительных поверхностей деталей угломеров должна быть не менее 57

- изготовленных из инструментальной или легированной конструкционной стали; 51

- изготовленных из нержавеющей стали.
| | ИС МЕГАНОРМ: примечание. Нумерация пунктов дана в соответствии с официальным текстом документа. | |
2.1.1.1. Параметр шероховатости измерительных поверхностей Ra должен быть не более 0,2 мкм по
ГОСТ 2789.
2.1.1.2. Каждое пятое деление шкалы основания должно быть отмечено удлиненным штрихом, а каждое десятое - цифрой, обозначающей значение измеряемого угла, или угла, дополняющего до 180°, 270° или 360°. Длина видимой части коротких штрихов шкал основания и нониуса должна быть не менее 2 - 3 мм.
2.1.13. Штрихи шкал основания и нониуса должны быть направлены радиально. Шкала нониуса
исполнения 1 должна перекрывать шкалу основания не менее чем на 0,5 мм, а штрихи нониуса - доходить до края, перекрывающего шкалу основания.
2.1.14. Размеры штрихов шкалы основания и нониуса должны соответствовать указанным в табл. 5.
Таблица 5
мм
─────────┬─────────────────┬───────────────┬──────────────────────
Тип │ Расстояние между│Ширина штрихов │ Разница отдельных
угломера │штрихами шкал, не│ │штрихов по ширине для
│ менее │ │одной шкалы, не более
─────────┼─────────────────┼───────────────┼──────────────────────
─────────┤ │ до 0,20 │
─────────┼─────────────────┤ │
─────────┼─────────────────┤ ├──────────────────────
2.1.15. Угломеры со значением отсчета по нониусу 2' и 5' должны иметь приспособления для микрометрической подачи или какое-либо другое устройство для тонкой подачи при установке нониуса на требуемый угол. Холостой ход такой подачи не должен превышать 1/4 оборота.
2.1.16. Подвижные детали угломеров должны плавно перемещаться и надежно закрепляться в требуемом положении.
2.1.17. Конструкция угломеров
типа 4 должна позволять производить разметочные работы на плоскости.
2.1.18. Средняя наработка на отказ угломеров должна быть не менее 18 000 условных измерений.
Установленная безотказная наработка угломеров - не менее 3000 условных измерений.
Критерием отказа является невыполнение хотя бы одного требования
пп. 2.1.3 -
2.1.5.
2.1.19. Полный средний срок службы угломеров - не менее 8 лет.
Критерием предельного состояния является износ измерительных поверхностей угломеров, характеризуемый невозможностью восстановления их механической обработкой в соответствии с требованиями
пп. 2.1.3 -
2.1.5.
2.1.20. Установленный полный срок службы - не менее 5 лет.
2.1.21. Срок сохраняемости - не менее 2 лет.
2.1.22. Среднее время восстановления угломера - не более 4 ч.
2.2. Комплектность
| | ИС МЕГАНОРМ: примечание. Взамен ГОСТ 2.601-68 Постановлением Госстандарта РФ от 29.02.1996 N 130 введен в действие с 1 июля 1996 года ГОСТ 2.601-95. | |
2.2.1. К комплекту угломера с принадлежностями должен быть приложен паспорт по ГОСТ 2.601, включающий инструкцию по эксплуатации.
2.3. Маркировка, упаковка
2.3.1. Маркировка и упаковка угломеров - по
ГОСТ 13762.
2.3.2. На каждом угломере должны быть нанесены:
товарный знак предприятия-изготовителя;
пределы измерений в градусах;
значение отсчета по нониусу;
номер угломера согласно нумерации предприятия-изготовителя;
год выпуска или его обозначение;
цена деления шкалы основания.
Изображение государственного знака качества допускается наносить в паспорте к угломерам.
2.3.3. Для угломеров
типов 1 и
4 допускается мягкая упаковка.
3.1. Для проверки соответствия угломеров требованиям настоящего стандарта проводят государственные испытания, приемочный контроль, периодические испытания и испытания на надежность.
| | ИС МЕГАНОРМ: примечание. Взамен ГОСТ 8.001-80 и ГОСТ 8.383-80 на территории Российской Федерации с 1 декабря 2001 года введены в действие ПР 50.2.009-94 "ГСИ. Порядок проведения испытаний и утверждения типа средств измерений" (Постановление Госстандарта России от 27.09.2001 N 394-ст). | |
3.2. Государственные испытания - по ГОСТ 8.001 и ГОСТ 8.383.
3.4. Периодические испытания проводят не реже одного раза в три года не менее чем на трех угломерах из числа прошедших приемочный контроль на соответствие всем требованиям настоящего стандарта, кроме
пп. 2.1.18 -
2.1.22. На соответствие требованиям
пп. 2.1.18;
2.1.19;
2.1.20;
2.1.22 проверяют угломеры из числа выдержавших испытание на сохраняемость по п. 4.5. Требования
п. 2.1.18 подтверждают испытаниями на надежность, которые проводят не реже одного раза в три года. Допускается совмещать испытания на надежность с периодическими испытаниями.
Показатели
пп. 2.1.19 -
2.1.22 должны быть подтверждены результатами анализа подконтрольной эксплуатации не менее 10 угломеров.
Если при испытаниях обнаружено, что угломеры соответствуют требованиям настоящего стандарта, то результаты периодических испытаний и испытаний на надежность считают положительными.
4. МЕТОДЫ КОНТРОЛЯ И ИСПЫТАНИЙ
| | ИС МЕГАНОРМ: примечание. ГОСТ 13006-67 утратил силу с 1 сентября 1991 года (ИУС "Государственные стандарты", N 8, 1991). | |
4.1. Поверка угломеров - по ГОСТ 13006.
4.2. При проверке влияния транспортной тряски используют ударный стенд, создающий тряску ускорением 30 м/с2 при частоте 80 - 120 ударов в минуту.
Угломеры в упаковке крепят к стенду и испытывают при общем числе ударов 15000. После испытаний метрологические характеристики угломеров не должны превышать значений, указанных в
п. 2.1.3.
4.3. Воздействие климатических факторов внешней среды при транспортировании проверяют в климатических камерах. Испытания угломеров в упаковке проводят в следующем порядке:
сначала при температуре минус (50 +/- 3) °C, затем плюс (50 +/- 3) °C и далее при относительной влажности (95 +/- 3)% при температуре 35 °C. Выдержка в климатической камере по каждому виду испытаний - не менее 2 ч. После испытаний метрологические характеристики угломеров не должны превышать значений, указанных в
п. 2.1.3.
4.4. План контроля показателей безотказности:
продолжительность испытаний - 14400 условных измерений;
число испытуемых изделий - 5.
Если за время испытаний отказов не наблюдалось, то результаты испытаний считают положительными.
4.5. Результаты анализа подконтрольной эксплуатации следует считать положительными, если:
среднее время восстановления контролируемых изделий не более 4 ч (
п. 2.1.22);
среднее значение полного срока службы контролируемого изделия не менее 8 лет (
п. 2.1.19);
все контролируемые угломеры не достигнут своего предельного состояния до 5-летнего срока службы (
п. 2.1.20);
все контролируемые изделия, после нахождения в режиме хранения не менее 2 лет, соответствуют требованиям
пп. 2.1.3;
2.1.4;
2.1.5;
2.1.16 настоящего стандарта (
п. 2.1.21).
5. ТРАНСПОРТИРОВАНИЕ И ХРАНЕНИЕ
5.1. Транспортирование и хранение угломеров - по
ГОСТ 13762.
6.1. Изготовитель гарантирует соответствие угломеров требованиям настоящего стандарта при соблюдении условий эксплуатации, транспортирования и хранения.
6.2. Гарантийный срок эксплуатации угломеров - 12 мес со дня ввода их в эксплуатацию.