4.1.1 кресло-коляска: Устройство для обеспечения мобильности за счет колес, оснащенное системой поддержки сиденья, предназначенное для лица с ограниченной подвижностью. Примечание - Вспомогательное техническое средство с колесами, предназначенное для облегчения ходьбы, креслом-коляской не является. | en | wheelchair |
en | manual wheelchair | |
en | handrim-drive wheelchair | |
4.1.4 кресло-коляска с рычажной системой ручного привода: Кресло-коляска с ручным приводом (4.1.2), которое приводится в движение и направляется за счет использования рычага или рычагов. | en | lever-drive wheelchair |
en | foot-propelled wheelchair | |
en | push wheelchair | |
4.1.7 кресло-коляска для перемещения в проходах: Кресло-каталка (4.1.6), предназначенное для использования в узких проходах, например таких как в самолетах. | en | aisle wheelchair |
4.1.8 кресло-коляска с электроприводом: Кресло-коляска (4.1.1), в котором энергия для мотора поступает от встроенного источника электрической энергии. | en | electrically powered wheelchair |
(Нрк. электрическое кресло; электрическое кресло-коляска; кресло с механизированным приводом; кресло-коляска с механизированным приводом). Примечание - Скутер (4.1.9) является креслом-коляской с электроприводом. | en | e chair (deprecated), electric wheelchair (deprecated), powered chair (deprecated), powered wheelchair (deprecated) |
en | scooter | |
en | electrically powered wheelchair with integral seat | |
en | powerbase wheelchair | |
4.1.12 балансирующее кресло-коляска: Кресло-коляска с электроприводом (4.1.8), равновесие которого поддерживается электронной системой. | en | balancing wheelchair |
4.1.13 кресло-коляска с жесткой рамой: Кресло-коляска (4.1.1) с элементами рамы под сиденьем, которые закреплены и не могут быть сложены. | en | rigid wheelchair |
4.1.14 складное кресло-коляска: Кресло-коляска (4.1.1) с элементами рамы под сиденьем, которые могут быть сложены. | en | folding wheelchair |
4.1.15 кресло-коляска для душа: Кресло-коляска (4.1.1), предназначенное для использования в душе. | en | shower wheelchair |
4.1.16 кресло-коляска с гигиеническим отверстием: Кресло-коляска (4.1.1), предназначенное для использования в туалете. | en | toilet wheelchair |
en | stand-up wheelchair | |
en | stair-climbing device | |
en | stair-climbing chair | |
4.1.20 носитель кресла-коляски для преодоления лестниц: Устройство для преодоления лестниц (4.1.18), которое переносит кресло-коляску вместе с пользователем. | en | stair-climbing wheelchair carrier |
Примечание - Оператором может быть как пользователь, так и сопровождающий. | en | operator |
4.2.2 пользователь: Лицо, поддерживаемое системой сиденья кресла-коляски (4.7.2). | en | occupant |
(Нрк. потребитель). | en | user (deprecated) |
4.2.3 сопровождающий: Лицо, не являющееся пользователем (4.2.2), которое управляет креслом-коляской. | en | assistant |
(Нрк. провожатый; сиделка). | en | attendant (deprecated), carer (deprecated) |
4.3.1 габаритная длина: Расстояние между самой передней и самой задней точками кресла-коляски, когда кресло полностью подготовлено для использования, измеренное параллельно направлению движения вперед. Примечание - Методы измерений определены в ИСО 7176-5. | en | overall length |
4.3.2 габаритная ширина: Расстояние между самыми удаленными боковыми точками кресла-коляски, когда кресло полностью разложено и подготовлено к использованию, измеренное в направлении, перпендикулярном к направлению движения вперед. Примечание - Метод измерения определен в ИСО 7176-5. | en | overall width |
4.3.3 габаритная высота: Вертикальное расстояние от основания до самой верхней точки кресла-коляски, когда оно подготовлено для использования с опорой спины (4.7.9) в поднятом положении. Примечание - Метод измерения определен в ИСО 7176-5. | en | overall height |
4.3.4 длина в сложенном состоянии: Расстояние между самой передней и самой задней точками кресла-коляски, когда оно сложено и/или разобрано для транспортирования или хранения. Примечание - Метод измерения определен в ИСО 7176-5. | en | stowage length |
en | stowage width | |
(Нрк. габаритная ширина в сложенном состоянии). Примечание - Метод измерения определен в ИСО 7176-5. | en | overall width folded (deprecated) |
en | stowage height | |
(Нрк. габаритная высота в сложенном состоянии). Примечание - Метод измерения определен в ИСО 7176-5. | en | overall height folded (deprecated) |
4.3.7 колесная база: Расстояние между точками контакта с землей переднего и заднего колес кресла-коляски, измеренное в направлении, параллельном направлению движения вперед. Примечание - Метод измерения определен в ИСО 7176-5. | en | wheelbase |
Примечание - Метод измерения определен в ИСО 7176-5. | en | ground clearance |
en | turning diameter | |
(Нрк. радиус поворота; поворотный круг). Примечание - Метод измерения определен в ИСО 7176-5. | en | turning radius (deprecated), turning circle (deprecated) |
4.3.10 ширина разворота: Минимальная ширина коридора, которая требуется загруженному креслу-коляске для разворота на 180° при условии, что допустимо использование движения как вперед, так и назад. Примечание - Метод измерения определен в ИСО 7176-5. | en | reversing width |
4.3.11 ширина поворота: Минимальная ширина коридора, которая требуется загруженному креслу-коляске для разворота на 180° при условии, что не может быть использовано движение назад. Примечание - Метод измерения определен в ИСО 7176-5. | en | turning width |
Примечание - Метод измерения определен в ИСО 7176-5. | en | total mass |
en | control device | |
(Нрк. способ доступа; устройство управления вводом; устройство входного контроля; устройство ввода). Пример - Джойстик. | en | access method (deprecated), control input device (deprecated), input control device (deprecated), input device (deprecated) |
4.4.2 контроллер: Устройство, преобразующее входные сигналы от пользователя (4.2.2) в выходные сигналы, которые приводят в действие элементы силовой установки кресла-коляски. | en | controller |
en | powerbase | |
en | propulsion system | |
4.4.5 ручной привод с ободом и механическим усилителем: Ручной привод, работающий за счет объединения усилия пользователя и электрической энергии, причем приведение в действие электрической энергии осуществляется при приложении механического момента, перемещения или силы к ободу или ободам ручного привода (4.5.11). | en | handrim-activated power-assisted |
en | steering system | |
4.4.7 рулевой рычаг: Штанга, прикрепленная к поворотному колесу(ам) (4.5.4), для изменения положения поворотного колеса (колес) при управлении. | en | tiller |
en | direct steering | |
4.4.9 ручное прямое рулевое управление: Прямое рулевое управление (4.4.8), осуществляемое без помощи дополнительного источника энергии. | en | manual direct steering |
4.4.10 прямое рулевое управление с усилителем руля: Прямое рулевое управление (4.4.8), осуществляемое с помощью дополнительного источника энергии. | en | powered direct steering |
(Нрк. рулевой механизм с усилителем). Примечание - Как правило, для изменения ориентации поворотного колеса (4.5.4) или колес используется дополнительный двигатель. | en | servo steering (deprecated) |
4.4.11 дифференциальное рулевое управление: Управление направлением движения за счет передачи разной скорости вращения и/или направления движения маневровым колесам (4.5.2). | en | differential steering |
(Нрк. непрямое рулевое управление). | en | indirect steering (deprecated) |
4.4.12 полностью дифференциальное рулевое управление: Дифференциальное рулевое управление (4.4.11), при использовании которого центр разворота совпадает с центральной точкой кресла-коляски. Примечание - Кресло-коляска может поворачиваться вокруг своей центральной точки. | en | full differential steering |
4.4.13 ограниченное дифференциальное рулевое управление: Дифференциальное рулевое управление (4.4.11), при использовании которого центр разворота не совпадает с центральной точкой кресла-коляски. Примечание - Кресло-коляска с ограниченным дифференциальным рулевым управлением не может поворачиваться вокруг своей центральной точки. | en | limited differential steering |
en | manual differential steering | |
(Нрк. ручное непрямое рулевое управление). | en | manual indirect steering (deprecated) |
4.4.15 дифференциальное рулевое управление с усилителем руля: Дифференциальное рулевое управление (4.4.11), при котором различные скорости вращения колес производятся двумя отдельными двигателями. | en | powered differential steering |
(Нрк. непрямое рулевое управление с силовым приводом). | en | powered indirect steering (deprecated) |
en | parking brake | |
(Нрк. блокировка колес). | en | wheel lock (deprecated) |
4.4.17 автоматический тормоз: Стояночный тормоз (4.4.16), который срабатывает автоматически после остановки кресла-коляски и/или при прекращении подачи питания от кресла-коляски. | en | automatic brake |
en | running brake | |
(Нрк. динамический тормоз; фрикционный тормоз; регенеративный тормоз; служебный тормоз). Примечание - Рабочий тормоз может использовать один или более видов торможения: динамическое торможение, торможение за счет регенерации энергии и фрикционное торможение (приводимые в действие либо аварийно, либо вручную). | en | dynamic brake (deprecated), friction brake (deprecated), regenerative brake (deprecated), service brake (deprecated) |
4.4.19 ручка: Элемент конструкции, который обхватывает рука сопровождающего (4.2.3) для приведения в движение или наклона кресла-коляски. | en | push handle |
(Нрк. рычаг). | en | push cane (deprecated |
4.4.20 рукоятка: Чехол из материала на ручку (4.4.19), который обхватывает рука. Примечание - Рукоятка может составлять целое с ручкой или быть отдельной от нее. | en | handgrip |
en | anti-tip device | |
(Нрк. антиопрокидыватель; антиопрокидывающий рычаг). | en | anti-tipper (deprecated), anti-tipping lever (deprecated) |
4.4.22 устройство защиты цепи: Защитное устройство, которое осуществляет разрыв цепи, если значение тока и/или температуры этого устройства превышает установленное значение. Пример - Плавкий предохранитель, тепловой выключатель. | en | circuit protection device |
en | battery pack | |
en | rated capacity | |
(Нрк. номинальная мощность). [МЭК 60050-482, определение МЭС 482-03-15] | en | nominal capacity (deprecated) |
4.4.25 номинальное напряжение: Приблизительно соответствующее условиям применения значение напряжения, используемое для обозначения или идентификации источника напряжения, аккумуляторной батареи или любой электрохимической системы. [МЭК 60050-482, определение МЭС 482-03-31] | en | nominal voltage |
en | on-board battery charger | |
en | off-board battery charger | |
4.4.28 портативное зарядное устройство: Автономное зарядное устройство (4.4.27), предназначенное для транспортирования на кресле-коляске. | en | carry-on battery charger |
en | drive wheel | |
en | manoeuvring wheel | |
us | maneuvering wheel | |
en | guide wheel | |
en | pivot wheel | |
en | pivot drive wheel | |
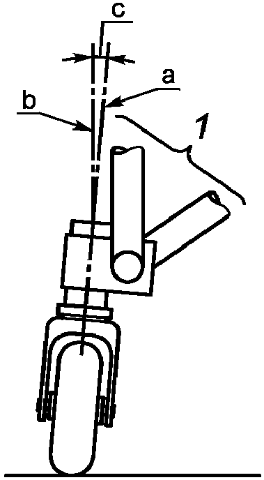
4.5.6 самоориентирующееся колесо: Колесо с горизонтальной осью вращения, которое может свободно вращаться относительно вертикальной оси. См. рисунок 1. | en | castor wheel |
us | caster wheel | |
(Нрк. ролик). | en | castor (deprecated) |
us | caster (deprecated) | |
4.5.7 сборочный узел самоориентирующегося колеса: Смонтированные в один узел самоориентирующееся колесо (4.5.6), ось самоориентирующегося колеса, вилка самоориентирующегося колеса (4.5.8), шток самоориентирующегося колеса (4.5.9), корпус штока самоориентирующегося колеса (4.5.10), подшипники и покрышки. См. рисунок 1. | en | castor assembly |
us | caster assembly |

en | castor fork | |
us | caster fork | |
(Нрк. опора самоориентирующегося колеса). Примечание - Вилка самоориентирующегося колеса не обязательно должна иметь конструктивные признаки вилки. | en | castor support (deprecated) |
us | caster support (deprecated) | |
4.5.9 шток самоориентирующегося колеса: Вал, прикрепленный к вилке самоориентирующегося колеса (4.5.8), который в сочетании с корпусом штока самоориентирующегося колеса (4.5.10) позволяет вилке самоориентирующегося колеса (4.5.8), а следовательно, и самоориентирующемуся колесу (4.5.6), и оси самоориентирующегося колеса вращаться относительно вертикальной оси. См. рисунок 1. | en | castor stem |
us | caster stem | |
en | castor stem housing | |
us | caster stem housing | |
en | handrim | |
(Нрк. обод привода). | en | pushrim (deprecated) |
en | wheel diameter | |
(Нрк. диаметр движущегося колеса). Примечание - Метод измерения определен в ИСО 7176-7 (см. диаметр движущегося колеса). | en | propelling wheel diameter (deprecated) |
4.6.2 диаметр обода ручного привода: Внешний диаметр всего обода ручного привода (4.5.11). Примечания 1 Метод измерения определен в ИСО 7176-7. 2 Диаметр обода ручного привода - это не диаметр трубки, из которой он изготовлен. | en | handrim diameter |
4.6.3 развал колеса: Ориентация колеса, характеризующаяся углом между вертикалью и плоскостью, перпендикулярной к оси колеса. См. рисунок 2. Примечания 1 Значение развала колеса отрицательно, если колесо наклонено внутрь (см. рисунок 2), равно нулю, если колесо расположено вертикально, и положительно, если колесо наклонено наружу. Значение развала колеса обычно выражают в градусах. 2 Метод измерения определен в ИСО 7176-5. | en | camber |

en | toe | |
(Нрк. сходимость передних колес; сходимость передних колес снаружи). Примечания 1 Значение схода колес положительно, если расстояние между колесами впереди меньше, чем расстояние сзади (см. рисунок 3), равно нулю, если расстояние между колесами одинаково как спереди, так и сзади, и отрицательно, если расстояние впереди больше, чем сзади. Значение схода колес обычно выражают в градусах. 2 Метод измерения определен в ИСО 7176-5. 3 Значение схода колес, отличное от нуля, обычно указывает на их несоосность. | en | toe-in (deprecated), toe-out (deprecated) |

4.6.5 горизонтальное положение оси колеса: Горизонтальное положение маневрового колеса (4.5.2) или ведущего колеса (4.5.1) относительно системы сиденья (4.7.2). Примечание - Метод измерения определен в ИСО 7176-7. | en | horizontal location of wheel axle |
4.6.6 вертикальное положение оси колеса: Вертикальное положение маневрового колеса (4.5.2) или ведущего колеса (4.5.1) относительно системы сиденья (4.7.2). Примечание - Метод измерения определен в ИСО 7176-7. | en | vertical location of wheel axle |
en | castor rake | |
us | caster rake | |
(Нрк. угол наклона штока самоориентирующегося колеса). Примечания 1 Значение наклона самоориентирующегося колеса положительно, если верхняя часть штока самоориентирующегося колеса смещена вперед относительно основания колеса [см. рисунок 4 a)], равно нулю, если шток самоориентирующегося колеса вертикален в направлении от передней части к задней [см. рисунок 4 b)], и отрицательно, если верхняя часть штока самоориентирующегося колеса смещена назад относительно основания колеса [см. рисунок 4 c)]. Наклон самоориентирующегося колеса обычно выражают в градусах. 2 Значение наклона самоориентирующегося колеса, отличное от нуля, обычно указывает на его смещение. 3 Метод измерения определен в ИСО 7176-5. | en | castor stem angle (deprecated) |
us | caster stem angle (deprecated) |



4.6.8 скос самоориентирующегося колеса: Угол между штоком самоориентирующегося колеса (4.5.9) и вертикалью, измеренный в поперечном направлении. См. рисунок 5. Примечания 1 Скос самоориентирующегося колеса отрицателен, если верхняя часть штока самоориентирующегося колеса смещена внутрь относительно основания колеса [см. рисунок 5 a)], равен нулю, если шток самоориентирующегося колеса вертикален в боковом направлении [см. рисунок 5 b)], и положителен, если верхняя часть штока самоориентирующегося колеса смещена наружу относительно основания колеса [см. рисунок 5 c)]. Значение скоса самоориентирующегося колеса обычно выражают в градусах. 2 Ненулевое значение скоса самоориентирующегося колеса обычно указывает на его разъюстировку. 3 Метод измерения определен в ИСО 7176-5. | en | castor cant |
us | caster cant |



en | castor trail | |
us | caster trail | |
(Нрк. эффект смещения). Примечания 1 Метод измерения определен в ИСО 7176-5. 2 Смещение самоориентирующегося колеса всегда положительно. | trail effect (deprecated) |

4.6.10 положение смещения: Ориентация самоориентирующегося колеса (4.5.6) относительно кресла-коляски. | en | trailing position |
en | forward trailing position |

en | rearward trailing position |

4.7.1 система опоры тела: Части кресла-коляски, которые непосредственно поддерживают или в которых размещено тело пользователя (4.2.2), | en | body support system |

en | seating system | |
4.7.3 устройство поддержания позы; УПП: Конструкция, смонтированная на кресле-коляске, поверхность которой соприкасается с телом пользователя (4.2.2) и используется либо для изменения его позы, либо для размещения пользователя в положении сидя. | en | postural support device PSD |
(Нрк. поддержание позы). | en | postural support (deprecated) |
4.7.4 встроенное устройство поддержания позы; встроенное УПП: Неотсоединяемое устройство поддержания позы (4.7.3), встроенное в конструкцию кресла-коляски. | en | integrated postural support device |
en | integrated PSD | |
en | postural support device unit | |
en | PSD unit | |
4.7.6 компонент устройства поддержания позы; компонент УПП: Отдельная конструкция (часть конструкции), которой можно дополнить кресло-коляску или устройство поддержания позы (4.7.3) для улучшения поддержания позы. | en | postural support device component PSD component |
en | support surface | |
4.7.8 сиденье: Устройство поддержания позы (4.7.3), предназначенное для поддержания нижней поверхности ягодиц и бедер. | en | seat |
(Нрк. нижняя часть сиденья; опора сиденья). | en | seat bottom (deprecated), seat support (deprecated) |
4.7.9 опора спины: Устройство поддержания позы (4.7.3), предназначенное для поддержания задней поверхности крестца, поясницы и/или грудного отдела позвоночника. | en | back support |
(Нрк. спинка; спинка; спинка сиденья). | en | back (deprecated), backrest (deprecated), seat back (deprecated) |
4.7.10 опора стопы: Устройство поддержания позы (4.7.3), предназначенное для поддержания стопы. | en | foot support |
(Нрк. доска для стопы; подставка для стопы; короб для стопы; платформа для стопы; площадка для стопы; подножка). | en | foot board (deprecated), foot box (deprecated), foot bucket (deprecated), foot platform (deprecated), footplate (deprecated), footrest (deprecated) |
4.7.11 опора нижней части ноги: Устройство поддержания позы (4.7.3), предназначенное для поддержания нижней части ноги. | en | lower leg support |
en | lower leg support assembly | |
(Нрк. сборочный узел подножки; передняя сторона оснастки; подвеска; подножка; сборочный узел подножки). | en | footrest assembly (deprecated), front rigging (deprecated), hanger (deprecated), legrest (deprecated), legrest assembly (deprecated) |
4.7.13 подлокотник: Устройство поддержания позы (4.7.3), предназначенное для опоры предплечья. | en | arm support |
(Нрк. желоб для руки, поддержка руки). | en | arm trough (deprecated), armrest (deprecated) |
4.7.14 подголовник: Устройство поддержания позы (4.7.3), предназначенное для опоры головы. | en | head support |
(Нрк. поддержка головы; кольцо для шеи; затылочное кольцо). | en | headrest (deprecated), neck ring (deprecated), occipital ring (deprecated) |
4.7.15 подушка сиденья: Отдельное, съемное устройство поддержания позы (4.7.3), предназначенное для поддержания нижней поверхности ягодиц и бедер. | en | seat cushion |
(Нрк. подушка). | en | pad (deprecated) |
4.7.16 мягкое сиденье: Сиденье (4.7.8), состоящее из эластичного(ых) материала(ов). | en | sling seat |
4.7.17 жесткое сиденье: Сиденье (4.7.8) с твердой поверхностью, которое может быть покрыто или не покрыто мягкой обивкой. | en | solid seat |
4.7.18 наклонное сиденье: Сиденье (4.7.8), расположенное под углом в продольном направлении. | en | inclined seat |
(Нрк. отклоненное сиденье; покатое сиденье; вклиненное сиденье). Примечание - Наклон сиденья положителен, если передняя поверхность сиденья выше, чем задняя поверхность сиденья, и отрицателен, если передняя поверхность сиденья ниже, чем задняя поверхность. | en | seat dump (deprecated), sloping seat (deprecated), wedge seat (deprecated) |
4.7.19 противоударное сиденье: Сиденье (4.7.8), предназначенное для предотвращения смещения вперед седалищных бугров. | en | anti-thrust seat |
en | solid seat insert | |
(Нрк. твердая вставка; жесткая вставка сиденья; ужесточитель; компенсатор прогиба). | en | solid insert (deprecated), rigid seat insert (deprecated), rigidizer (deprecated), sag compensator (deprecated) |
4.7.21 мягкая спинка: Опора спины (4.7.9), состоящая из эластичного(ых) материала(ов). | en | sling back |
4.7.22 жесткая опора спины: Опора спины (4.7.9) с твердой поверхностью, которая может быть покрыта или не покрыта мягкой обивкой. | en | solid back support |
4.7.23 передний фиксатор: Устройство поддержания позы (4.7.3), предназначенное для соприкосновения с передними частями тела. См. рисунок 10 для примеров 4, 5 и 6. | en | anterior support |
Примеры | ||
1 Передний фиксатор головы. | en | anterior head support |
(Нрк. передний ремень для головы, ремень для лба; фиксатор лба; лента для лба). | en | anterior head strap (deprecated), forehead strap (deprecated), forehead support (deprecated), headband (deprecated) |
2 Передний фиксатор плеча. | en | anterior shoulder support |
(Нрк. заплечные ремни; плечевой барьер; плечевой захват; плечевой ретрактор; плечевая лямка). | en | backpack straps (deprecated), shoulder bar (deprecated), shoulder hook (deprecated), shoulder retractor, (deprecated), shoulder strap (deprecated) |
3 Передний фиксатор предплечья. | en | anterior upper arm support |
(Нрк. плечевой ремень). | en | humeral strap (deprecated) |
en | anterior trunk support | |
(Нрк. передний фиксатор груди; ремень-бабочка; ремень-бабочка привязного типа; нагрудный ремень привязного типа; нагрудный ремень; ремень H-образного типа; ремень привязного типа; ремень "человек-паук"). | en | anterior thoracic support (deprecated), butterfly strap (deprecated), butterfly harness (deprecated), chest harness (deprecated), chest strap (deprecated), H-strap (deprecated), harness (deprecated), spider-man strap (deprecated) |
en | anterior pelvic support | |
(Нрк. поясной ремень; стабилизатор таза; набедренный ремень; ремень безопасности; нижний барьер). | en | lap belt (deprecated), pelvic stabilizer (deprecated), pelvic strap (deprecated), seat belt (deprecated), subasis bar (deprecated) |
en | anterior lower leg support | |
(Нрк. блок на колено; ремень для колена). | en | knee block (deprecated), knee strap (deprecated) |

4.7.24 задняя опора: Устройство поддержания позы (4.7.3), предназначенное для соприкосновения с задними частями тела. См. рисунок 11 для примеров 3, 5 и 6. | en | posterior support |
Примеры | ||
1 Задняя опора головы. | en | posterior head support |
2 Задняя опора предплечья. | en | posterior upper arm support |
(Нрк. поддержка локтевого блока; плечевой блок; протрактор). | en | elbow block (deprecated), humeral block (deprecated), protractor (deprecated) |
en | posterior lumbar support | |
(Нрк. поясничный амортизатор; поясничный валик). | en | lumbar pad (deprecated), lumbar roll (deprecated) |
4 Задняя опора крестца. | en | posterior sacral support |
(Нрк. задняя поддержка таза). | en | posterior pelvic support (deprecated) |
en | posterior lower leg support | |
(Нрк. площадка под икры ног; панель под икры ног; ремень для икр ног; подставка под икры ног; ремень для ноги; подставка под голень; площадка для опоры ног; опора нижней части ноги; задняя опора ноги). Примечание 1 - В данном случае термин "опора нижней части ноги" не рекомендуется использовать как синоним термина "задняя опора нижней части ноги". | en | calf pad (deprecated), calf panel (deprecated), calf strap (deprecated), calf support (deprecated), leg strap (deprecated), leg support (deprecated), legrest pad (deprecated), lower leg support (deprecated), posterior leg support (deprecated) |
en | posterior foot support | |
(Нрк. манжетка для пятки; петля для пятки; ремень для пятки). | heel cup (deprecated), heel loop (deprecated), heel strap (deprecated) |

4.7.25 опора средней части тела: Устройство поддержания позы (4.7.3), предназначенное для соприкосновения со средними частями тела. См. рисунок 12 для примера 1. | en | medial support |
Примеры | ||
en | medial upper leg support | |
(Нрк. ремень для приводящей мышцы; прокладка для приводящей мышцы; клин для приводящей мышцы; поддержка приводящей мышцы ноги; валик для сохранения зазора между ногами; клин; клин прокладки). | en | adduction strap (deprecated), adductor pad (deprecated), adductor wedge (deprecated), leg adductor support (deprecated), leg dividing support (deprecated), wedge (deprecated), wedge pad (deprecated) |
2 Опора среднего положения колена. | en | medial knee support |
(Нрк. головка). | en | pommel (deprecated) |
3 Опора среднего положения нижней части ног. | en | medial lower leg support |

4.7.26 боковая опора: Устройство поддержания позы (4.7.3), предназначенное для соприкосновения с боковыми частями тела. См. рисунок 13 для примеров 1, 3 и 5. | en | lateral support |
Примеры | ||
en | lateral head support | |
(Нрк. боковая поддержка головы; боковой подголовник). | en | head side support (deprecated), lateral headrest (deprecated) |
2 Боковая опора плеча. | en | lateral upper arm support |
(Нрк. плечевой блок; протрактор). | en | humeral block (deprecated), protractor (deprecated) |
en | lateral trunk support | |
(Нрк. боковая поддержка тела; боковина; боковая опора; площадка для боковой поддержки; площадка для боковой поддержки груди; боковая поддержка груди; площадка для боковой поддержки при сколиозе; боковые подушки; площадка для туловища). Примечание 1 - В данном случае термин "боковая опора" не рекомендуется использовать как синоним термина "боковая опора туловища". | en | body side support (deprecated), lateral (deprecated), lateral support (deprecated), lateral pad (deprecated), lateral thoracic pad (deprecated), lateral thoracic support (deprecated), scoliosis pad (deprecated), side cushion (deprecated), trunk pad (deprecated) |
4 Боковая опора таза. | en | lateral pelvic support |
(Нрк. блок для бедра; основание для бедра; площадка для бедра; боковая поддержка бедра). | en | hip block (deprecated), hip guide (deprecated), hip pad (deprecated), lateral hip support (deprecated) |
en | lateral upper leg support | |
(Нрк. прокладка для приводящей мышцы; клин для приводящей мышцы; боковая поддержка бедра; ножной блок; площадка для ног; ремень для ноги; набедренный блок; набедренный ремень). | en | adductor pad (deprecated), adductor wedge (deprecated), lateral thigh support (deprecated), leg block (deprecated), leg pad (deprecated), leg strap (deprecated), thigh block (deprecated), thigh strap (deprecated) |
6 Боковая опора колена. | en | lateral knee support |
(Нрк. прокладка для приводящей мышцы; ремень для приводящей мышцы). | en | adductor pad (deprecated), adductor strap (deprecated) |
7 Боковая опора нижней части ноги. | en | lateral lower leg support |
(Нрк. ремень для икр ног; подставка под икры ног; ножной блок; основание для ног; площадка для ног; ремень для ног; площадка для опоры ног). | en | calf strap (deprecated), |
en | calf support (deprecated), leg block (deprecated), leg guide (deprecated), leg pad (deprecated), leg strap (deprecated), legrest pad (deprecated) |

4.7.27 верхний фиксатор: Устройство поддержания позы (4.7.3), предназначенное для соприкосновения с верхними частями тела. См. рисунок 14 для примеров 1 и 3. | en | superior support |
Примеры | ||
en | superior lower arm support | |
(Нрк. захват предплечья; ремень предплечья). | en | forearm hook (deprecated), forearm strap (deprecated) |
2 Верхний фиксатор верхней части ноги. | en | superior upper leg support |
(Нрк. ремень для ноги; набедренный ремень). | en | leg strap (deprecated), thigh strap (deprecated) |
en | superior foot support | |
(Нрк. манжетка для стопы; петля для стопы). | en | toe cup (deprecated), toe loop (deprecated) |

4.7.28 нижний фиксатор: Устройство поддержания позы (4.7.3), предназначенное для соприкосновения с нижними частями тела. Примечание 1 - Нижний фиксатор обычно подкладывают под нижние части ягодиц и бедер и используют совместно или как часть подушки сиденья. См. рисунок 15 для примеров 1 и 2. | en | inferior support |
Примеры | ||
en | inferior pelvic support | |
(Нрк. прокладка для наклонного положения). | en | obliquity pad (deprecated) |
en | inferior upper leg support | |
(Нрк. набедренный клин). | en | thigh wedge (deprecated) |
3 Нижний фиксатор нижней части ног. | en | inferior lower leg support |
(Нрк. опора культи). | en | stump support (deprecated) |

4.7.29 опоясывающий фиксатор: Устройство поддержания позы (4.7.3), которое фиксирует положение участка тела по крайней мере с трех сторон и по крайней мере в трех направлениях. См. рисунки 16 и 17 для приведенных примеров. | en | circumferential support |
Пример 1 - Опоясывающий фиксатор шеи. | en | circumferential neck support |
(Нрк. шейный воротник; опоясывающая поддержка шеи; воротник). | en | cervical collar (deprecated), circumferential cervical support (deprecated), collar (deprecated) |
Пример 2 - Опоясывающий фиксатор лодыжки. | en | circumferential ankle support |
(Нрк. ремень для лодыжки). | en | ankle strap (deprecated) |


4.7.30 защитный экран для одежды: Компонент, который обеспечивает преграду между пользователем (4.2.2.) и колесом. | en | clothing guard |
(Нрк. панель для поддержки руки; панель-подлокотник; защитный экран для юбки). | en | arm support panel (deprecated), armrest panel (deprecated), skirt guard (deprecated) |
4.8.1 откидывание: Отклонение угла наклона опоры спины (4.9.24) от вертикального положения сидя до положения откинутого на спину пользователя, без перемещения сиденья. | en | recline |
4.8.2 наклон: Изменение ориентации положения сидящего пользователя в сагиттальной плоскости с сохранением угла между сиденьем и опорой спины (4.9.25). См. рисунок 18. | en | tilt |
(Нрк. наклон в пространстве) | en | tilt-in-space (deprecated) |

en | fixed | |
4.8.4 регулируемый пользователем: Предназначенный для регулирования, перемещения или установки пользователем (4.2.2) без использования инструментов. | en | occupant adjustable |
(Нрк. регулируемый потребителем). | en | user adjustable (deprecated) |
4.8.5 регулируемый сопровождающим: Предназначенный для регулирования, перемещения или установки сопровождающим (4.2.3) без использования инструментов. | en | assistant adjustable |
en | tool adjustable | |
4.8.7 с регулируемым углом: Предназначенный для переустановки путем вращения в соответствии с разными функциональными положениями. См. рисунки 19 и 20 для приведенных примеров. | en | angle adjustable |
Примеры | ||
1 Опора спины с регулируемым углом наклона. | en | angle adjustable back support |
2 Боковая опора с регулируемым углом наклона. | en | angle adjustable lateral support |
3 Сиденье с регулируемым углом наклона. | en | angle adjustable seat |
4 Сборочный узел опоры нижней части ноги с регулируемым углом наклона. | en | angle adjustable lower leg support assembly |
(Нрк. подвесная опора с регулируемым углом наклона). | en | angle adjustable hanger bracket (deprecated) |
5 Опора стопы с регулируемым углом наклона. | en | angle adjustable foot support |


4.8.8 откидной: Предназначенный для поворота вверх из горизонтального положения и обратно без использования инструментов, оставаясь при этом прикрепленным к креслу-коляске. См., например, рисунок 21. | en | flip-up |
Пример - Опора стопы откидная. | en | flip-up foot support |

4.8.9 поворотно-отводной: Предназначенный для перемещения из одного положения в другое без использования инструментов, оставаясь при этом прикрепленным к креслу-коляске. См. рисунок 22 в качестве примера. | en | swing-away |
Примеры | ||
1 Подлокотник поворотно-отводной. | en | swing-away arm support |
2 Опора боковая поворотно-отводная. | en | swing-away lateral support |
3 Опора среднего положения верхней части ног поворотно-отводная. | en | swing-away medial upper leg support |
4 Сборочный узел опоры нижней части ноги поворотно-отводной. | en | swing-away lower leg support assembly |
(Нрк. опора подвесная поворотно-отводная). | en | swing-away hanger bracket (deprecated) |

en | removable | |
(Нрк. отсоединяемый) | en | detachable (deprecated) |
Примеры | ||
1 Подлокотник съемный. | en | removable arm support |
2 Сборочный узел опоры нижней части ноги съемный. | en | removable lower leg support assembly |
3 Колесо съемное. | removable wheel | |
4.8.11 модульный: Составленный из стандартных элементов или секций для облегченной сборки или монтажа. Примечание - Этот термин используют для описания устройства поддержания позы (4.7.3) или кресла-коляски. | en | modular |
en | pre-contoured | |
(Нрк. контурный). | en | contoured (deprecated) |
4.8.13 специально профилированный: Обладающий уникальной формой, сочетающейся с формами пользователя кресла-коляски (4.2.2). | en | custom contoured |
(Нрк. формованный). | en | molded (deprecated) |
en | tension adjustable | |
en | bottomed out |
4.9.1 базовая плоскость сиденья: Воображаемая плоскость, используемая при измерениях, которая связана с сиденьем (4.7.8) кресла-коляски. Примечание - Метод определения положения базовой плоскости определен в ИСО 7176-7. | en | seat reference plane |
4.9.2 базовая плоскость опоры спины: Воображаемая плоскость, используемая при измерениях, которая связана с опорой спины (4.7.9) кресла-коляски. | en | back support reference plane |
(Нрк. базовая плоскость спинки сиденья). Примечание - Метод определения положения базовой плоскости определен в ИСО 7176-7. | en | backrest reference plane (deprecated) |
4.9.3 базовая плоскость ноги: Воображаемая плоскость, используемая при измерениях, которая связана с опорой стопы (4.7.10) и либо с сиденьем (4.7.8), либо с опорой нижней части ноги (4.7.11). Примечание - Метод определения положения базовой плоскости определен в ИСО 7176-7. | en | leg reference plane |
en | seat reference point | |
4.9.5 ширина сиденья: Расстояние между наиболее выступающими частями сиденья (4.7.8). Примечание - Метод измерения определен в ИСО 7176-7. | en | seat width |
4.9.6 эффективная ширина сиденья: Расстояние между боковыми поверхностями опоры (4.7.7) (т.е. подлокотниками, боковыми опорами таза), которые ограничивают пространство для расположения бедер пользователя (4.2.2). Примечание - Метод измерения определен в ИСО 7176-7. | en | effective seat width |
4.9.7 глубина сиденья: Расстояние между самой передней и самой задней точками сиденья (4.7.8). | en | seat depth |
4.9.8 эффективная глубина сиденья: Расстояние между самой передней точкой сиденья (4.7.8) и поверхностью опоры спины (4.7.9). Примечание - Метод измерения определен в ИСО 7176-7. | en | effective seat depth |
4.9.9 высота поверхности сиденья в передней части: Высота сиденья (4.7.8) относительно пола. | en | seat surface height at front edge |
(Нрк. высота сиденья). Примечание - Метод измерения определен в ИСО 7176-7. | en | seat height (deprecated) |
4.9.10 ширина опоры спины: Расстояние между наиболее выступающими частями опоры спины (4.7.9). | en | back support width |
(Нрк. ширина спинки). Примечание - Метод измерения определен в ИСО 7176-7. | en | backrest width (deprecated) |
en | back support height | |
(Нрк. высота спинки). Примечание - Метод измерения определен в ИСО 7176-7. | en | backrest height (deprecated) |
4.9.12 длина опоры стопы: Длина опоры стопы (4.7.10). | en | foot support length |
(Нрк. длина подножки). Примечание - Метод измерения определен в ИСО 7176-7. | en | footrest length (deprecated) |
en | foot support to seat | |
(Нрк. длина подножки). Примечание - Метод измерения определен в ИСО 7176-7. | en | footrest to seat (deprecated) |
4.9.14 клиренс опоры стопы: Высота свободного пространства под самой нижней частью опоры стопы (4.7.10). | en | foot support clearance |
(Нрк. клиренс подножки). Примечание - Метод измерения определен в ИСО 7176-7. | en | footrest clearance (deprecated) |
en | arm support length | |
(Нрк. длина поддержки руки). Примечание - Метод измерения определен в ИСО 7176-7. | en | armrest length (deprecated) |
en | arm support width | |
(Нрк. ширина поддержки руки). Примечание - Метод измерения определен в ИСО 7176-7. | en | armrest width (deprecated) |
en | arm support height | |
(Нрк. высота поддержки руки). Примечание - Метод измерения определен в ИСО 7176-7. | en | armrest height (deprecated) |
en | front of arm support to back support | |
(Нрк. положение переднего края поддержки руки относительно спинки). Примечание - Метод измерения определен в ИСО 7176-7. | en | front of armrest to backrest (deprecated) |
en | front location of arm support structure | |
(Нрк. переднее расположение узла поддержки руки). Примечание - Метод измерения определен в ИСО 7176-7. | en | front location of armrest structure (deprecated) |
4.9.20 расстояние между подлокотниками: Горизонтальное расстояние между наиболее приближенными частями двух подлокотников (4.7.13). | en | distance between arm supports |
(Нрк. расстояние между двумя поддержками рук). Примечание - Метод измерения определен в ИСО 7176-7. | en | distance between armrests (deprecated) |
en | head support height above seat | |
(Нрк. высота поддержки головы над сиденьем). Примечание 1 - Метод измерения определен в ИСО 7176-7. Примечание 2 - Измерение соотносится с высотой головы пользователя (4.2.2). | en | headrest height above seat (deprecated) |
en | head support in front of back support | |
(Нрк. расположение поддержки головы перед спинкой). Примечание - Метод измерения определен в ИСО 7176-7. | en | headrest in front of backrest (deprecated) |
4.9.23 угол наклона плоскости сиденья: Угол наклона базовой плоскости сиденья (4.9.1) относительно горизонтальной плоскости. | en | seat plane angle |
(Нрк. угол наклона сиденья). Примечание - Метод измерения определен в ИСО 7176-7. | en | seat angle (deprecated) |
4.9.24 угол наклона опоры спины: Угол наклона базовой плоскости опоры спины (4.9.2) относительно вертикальной плоскости. | en | back support angle |
(Нрк. угол спинки; угол спинки). Примечание - Метод измерения определен в ИСО 7176-7. | en | back angle (deprecated), backrest angle (deprecated) |
en | seat to back support angle | |
(Нрк. угол между сиденьем и спинкой). | en | seat to backrest angle (deprecated) |
4.9.26 угол наклона ноги к поверхности сиденья: Угол между базовой плоскостью ноги (4.9.3) и базовой плоскостью сиденья (4.9.1). Примечание - Метод измерения определен в ИСО 7176-7. | en | leg to seat surface angle |
en | foot support to leg angle | |
(Нрк. угол наклона подножки). Примечание - Метод измерения определен в ИСО 7176-7. | en | footrest to leg angle (deprecated) |
en | arm support angle | |
(Нрк. угол наклона поддержки руки). Примечание - Метод измерения определен в ИСО 7176-7. | en | armrest angle (deprecated) |
4.10.1 максимальная масса пользователя: Максимальная масса пользователя (4.2.2), определенная изготовителем кресла-коляски. | en | maximum occupant mass |
(Нрк. максимальная масса потребителя). | en | maximum user mass (deprecated) |
en | reference plane | |
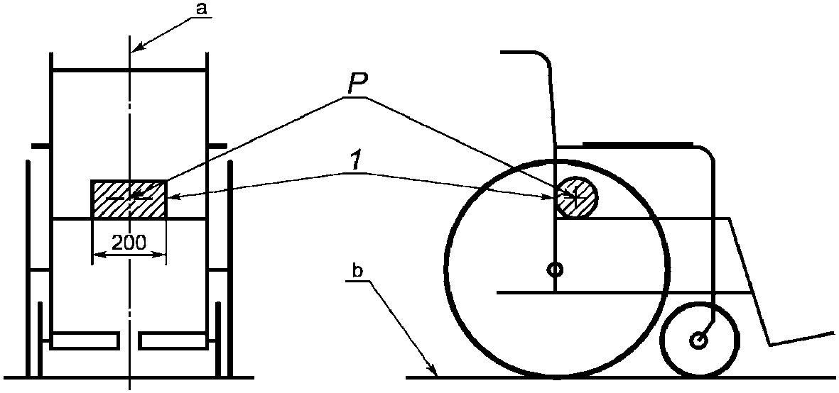
4.10.3 плоскость основания кресла-коляски: Плоскость, представляющая собой поверхность, на которой расположено кресло-коляска. См. рисунок 23. | en | wheelchair ground plane |
4.10.4 базовая плоскость кресла-коляски: Вертикальная плоскость, содержащая продольную ось кресла-коляски. См. рисунок 23. | en | wheelchair reference plane |
4.10.5 точка P: Базовая точка, расположенная в центре поперечного сечения легкого цилиндра (максимум 0,5 кг) диаметром 100 мм и длиной 200 мм с продольной осью, перпендикулярной к базовой плоскости кресла-коляски (4.10.4), и расположенного так, что наружная поверхность цилиндра соприкасается с опорой спины (4.7.9) и верхней поверхностью сиденья (4.7.8). См. рисунок 23. | en | point P |

en | wheelchair footprint | |
en | reference configuration | |
Примечание - Технические характеристики и конструктивные детали приведены в ИСО 7176-11. | en | test dummy |
4.10.9 стандартная контрольная нагрузка; СКН: Испытательное устройство, используемое для загружения кресла-коляски и формирования системы координат, относительно которой проводят измерения. Примечание - Технические характеристики и конструктивные детали приведены в ИСО 7176-7. | en | reference loader gauge RLG |
4.10.10 антропоморфическое испытательное устройство; АИУ: Шарнирно-сочлененный физический аналог тела человека, используемый для представления пользователя кресла-коляски (4.2.2) при испытаниях. Примечание - Технические характеристики данного устройства приведены в ИСО 10542-1. | en | anthropometric test device ATD |
4.10.11 точка H: Точка, расположенная с правой и левой сторон в области таза антропоморфического испытательного устройства (4.10.10), которая соответствует приблизительному положению точек центров тазобедренных суставов человека при виде сбоку, как это установлено изготовителем АИУ. | en | point H |
4.10.12 устройство для испытания при падении: Испытательное устройство, предназначенное для имитации эффекта падения при преодолении бордюра при движении кресла-коляски. Примечание - Технические характеристики данного испытательного устройства приведены в ИСО 7176-8. | en | drop test machine |
4.10.13 двухвалковый испытательный стенд: Испытательный стенд, предназначенный для испытания на износостойкость кресла-коляски. Примечание - Технические характеристики данного испытательного устройства приведены в ИСО 7176-8. | en | two-drum test machine |
4.10.14 индентер для нагружения подушки: Устройство, используемое для приложения вдавливающих сил к подушке сиденья (4.7.15) для определения опорных характеристик. Примечание - Технические характеристики данного устройства приведены в ИСО 16840-2. Дополнительные индентеры могут быть определены в других частях ИСО 16840, находящихся в стадии разработки. | en | cushion loading indenter |
en | wheelchair-tiedown and occupant-restraint system WTORS | |
en | forward-facing | |
en | rearward-facing | |
4.11.4 крепление кресла-коляски; соединение кресла-коляски: Устройство или система, предназначенная для крепления развернутого лицом вперед (4.11.2) кресла-коляски внутри автомобиля. Примечание - Термин "крепление кресла-коляски" прежде всего относится к системам, которые используют ремни. Термин "соединение кресла-коляски" прежде всего относится к системам, в которых кресло-коляска подсоединяется посредством системы стыковки, в которой не требуется использование ремней или других устройств, требующих применение ручных усилий. | en | wheelchair tiedown wheelchair securement |
en | four-point tiedown | |
4.11.6 четырехточечное крепление ременного типа: Четырехточечное крепление (4.11.5), которое использует комплект из четырех ремней для соединения кресла-коляски с транспортным средством. | en | four-point strap-type tiedown |
4.11.7 крепление зажимного типа: Метод крепления кресла-коляски (4.11.4), который использует механические сочленения и/или зажимы, которые требуют ручного позиционирования соединительных муфт на кресле-коляске. Примечание - Затяжка крепления на кресле-коляске может осуществляться либо с помощью ручного усилия, либо внешним источником энергии, который приводится в действие посредством электрического тумблера. | en | clamp-type tiedown |
4.11.8 крепление стыковочного типа: Метод крепления (4.11.4) кресла-коляски, при котором элементы конструкции кресла-коляски или встроенные компоненты, подсоединенные к креслу-коляске, выравнивают, подгоняют и зацепляют с устройством стыковочного крепления, смонтированным в автомобиле, при маневрировании кресла-коляски в нужную позицию внутри автомобиля. Примечание - Соединение кресла-коляски может осуществляться автоматически во время зацепления кресла-коляски или может требовать ручного вмешательства посредством манипулирования рычагом или электрическим тумблером. Отсоединение кресла-коляски обычно требует манипулирования механическим рычагом или электрическим тумблером. | en | docking-type tiedown |
4.11.9 устройство стыковочного крепления; устройство стыковочного соединения: Набор приспособлений и деталей, предназначенных для установки в автомобиле для соединения, зацепления и фиксации кресла-коляски в точках соединения (4.11.15) на раме кресла-коляски или на переходниках соединения кресла-коляски (4.11.12), прикрепленных к раме кресла-коляски. | en | docking tiedown device docking securement device |
4.11.10 универсальная конфигурация подсоединения; УКП: Задание размера, формы и положения точек соединения (4.11.15) кресла-коляски, включая окружающие свободные зоны, предназначенные для использования различных устройств стыковочного крепления (4.11.9), установленных на разных транспортных средствах. | en | universal docking interface geometry UDIG |
4.11.11 ремень: Кусок тканого материала, используемого для крепления кресла-коляски (4.11.4). | en | strap |
4.11.12 переходник крепления кресла-коляски; переходник соединения кресла-коляски: Оборудование, которое временно или постоянно подсоединено к раме кресла-коляски, для того чтобы осуществлять соединение кресла-коляски посредством устройства крепления кресла-коляски (4.11.4). | en | wheelchair tiedown adaptor wheelchair securement adaptor |
en | anchor point | |
4.11.14 фиксатор: Набор устройств и приспособлений, посредством которых нагрузка непосредственно передается от крепления кресла-коляски (4.11.4) к транспортному средству или от устройства удержания пользователя (4.11.16) к транспортному средству или креслу-коляске, или креплению кресла-коляски (4.11.4), или внутренним частям транспортного средства. | en | anchorage |
4.11.15 точки соединения: Точки на кресле-коляске, к которым подсоединяются крепления кресла-коляски (4.11.4). | en | securement points |
4.11.16 система удержания пользователя: Система или устройство, предназначенное для удержания пользователя транспортного средства при столкновении, чтобы предотвратить его выброс и предотвратить или минимизировать взаимодействие с внутренними компонентами транспортного средства и другими пассажирами. Примечание - Точки соединения (4.11.15) могут быть расположены на элементах компонентов оборудования, которые подсоединены к креслу-коляске постоянно или временно. | en | occupant restraint |
4.11.17 трехточечный ремень безопасности: Комплект системы удержания пользователя (4.11.16), состоящий из набедренного (4.11.19) и плечевого (4.11.18) ремней безопасности, соединенных вместе у тазобедренного сустава пользователя. См. рисунок 24. | en | three-point belt |
(Нрк. трехточечный ограничитель). | en | three-point restraint (deprecated) |
4.11.18 плечевой ремень безопасности: Часть системы удержания пользователя (4.11.16), предназначенная для ограничения перемещения грудной клетки и головы за счет приложения удерживающих сил к плечам и грудной клетке. См. рисунок 24. | en | shoulder belt |
(Нрк. ограничитель верхней части туловища). | en | upper torso restraint (deprecated) |
4.11.19 набедренный ремень безопасности; поясной ремень безопасности: Ремень безопасности (4.11.22) в составе системы удержания, предназначенный для ограничения перемещения таза. См. рисунок 24. | en | pelvic belt lap belt |
(Нрк. поясной ограничитель; набедренный ограничитель). | en | lap restraint (deprecated), pelvic restraint (deprecated) |

4.11.20 опора головы: Устройство, предназначенное для ограничения смещения назад головы пользователя (4.2.2). | en | head restraint |
en | restraint harness | |
en | belt | |
4.11.23 подушка безопасности: Дополнительная система удержания пользователя (4.11.16), состоящая прежде всего из датчика или датчиков, диагностических устройств, нагнетательного воздушного насоса(ов) и модуля(лей), которые надувают подушку при определенных видах столкновений транспортного средства для обеспечения защиты пользователя(ей) (4.2.2) от столкновений с внутренними частями транспортного средства. | en | airbag |
(Нрк. надувная удерживающая система). | en | inflatable restraint system (deprecated) |
en | test report | |
en | specification sheet | |
en | operator's manual | |
(Нрк. руководство пользователя). Примечание - Информация, которая должна быть предоставлена в руководстве оператора, приведена в ИСО 7176-15. | en | user manual (deprecated) |
en | service manual |
АИУ | |
база колесная | |
блок аккумуляторный | |
блок силовой | |
вилка самоориентирующегося колеса | |
вставка сиденья твердая | |
высота в сложенном состоянии | |
высота габаритная | |
высота опоры спины | |
высота поверхности сиденья в передней части | |
высота подголовника над сиденьем | |
высота подлокотника | |
глубина сиденья | |
глубина сиденья эффективная | |
диаметр колеса | |
диаметр обода ручного привода | |
диаметр поворота | |
длина в сложенном состоянии | |
длина габаритная | |
длина опоры стопы | |
длина подлокотника | |
достигшее нижнего предела | |
емкость номинальная | |
индентер для нагружения подушки | |
ККСУП | |
клиренс | |
клиренс опоры стопы | |
колесо ведущее | |
колесо маневровое | |
колесо направляющее | |
колесо поворотное | |
колесо поворотное ведущее | |
колесо самоориентирующееся | |
компонент УПП | |
компонент устройства поддержания позы | |
контроллер | |
конфигурация базовая | |
конфигурация подсоединения универсальная | |
корпус штока самоориентирующегося колеса | |
крепление зажимного типа | |
крепление кресла-коляски | |
крепление кресла-коляски и система удержания пользователя | |
крепление ременного типа четырехточечное | |
крепление стыковочного типа | |
крепление четырехточечное | |
кресло для преодоления лестниц | |
кресло-каталка | |
кресло-коляска | |
кресло-коляска балансирующее | |
кресло-коляска для душа | |
кресло-коляска для перемещения в проходах | |
кресло-коляска, перемещаемое ногами | |
кресло-коляска с вертикализатором | |
кресло-коляска с гигиеническим отверстием | |
кресло-коляска с жесткой рамой | |
кресло-коляска складное | |
кресло-коляска с ободом ручного привода | |
кресло-коляска с ручным приводом | |
кресло-коляска с рычажной системой ручного привода | |
кресло-коляска с силовым блоком | |
кресло-коляска с электроприводом | |
кресло-коляска с электроприводом и встроенным сиденьем | |
манекен испытательный | |
масса общая | |
масса пользователя максимальная | |
модульный | |
нагрузка стандартная контрольная | |
наклон | |
наклон самоориентирующегося колеса | |
напряжение номинальное | |
натяжение регулируемое | |
носитель кресла-коляски для преодоления лестниц | |
обод ручного привода | |
оператор | |
опора боковая | |
опора головы | |
опора задняя | |
опора нижней части ноги | |
опора спины | |
опора спины жесткая | |
опора средней части тела | |
опора стопы | |
откидной | |
откидывание | |
отчет об испытаниях | |
паспорт изделия | |
переходник крепления кресла-коляски | |
переходник соединения кресла-коляски | |
плоскость базовая | |
плоскость кресла-коляски базовая | |
плоскость ноги базовая | |
плоскость опоры спины базовая | |
плоскость основания кресла-коляски | |
плоскость сиденья базовая | |
поверхность опоры | |
поворотно-отводной | |
подголовник | |
подлокотник | |
подушка безопасности | |
подушка сиденья | |
положение оси колеса вертикальное | |
положение оси колеса горизонтальное | |
положение смещения | |
положение смещения заднее | |
положение смещения переднее | |
пользователь | |
привод ручной с ободом и механическим усилителем | |
профилированный | |
профилированный специально | |
развал колеса | |
развернутый лицом вперед | |
развернутый лицом назад | |
расположение опоры стопы относительно сиденья | |
расположение передней части подлокотника относительно опоры спины | |
расположение подголовника перед опорой спины | |
расположение узла подлокотника переднее | |
расстояние между подлокотниками | |
регулируемый пользователем | |
регулируемый с использованием инструментов | |
регулируемый сопровождающим | |
ремень | |
ремень безопасности | |
ремень безопасности набедренный | |
ремень безопасности плечевой | |
ремень безопасности поясной | |
ремень безопасности трехточечный | |
ремни безопасности | |
руководство оператора | |
руководство по сервисному обслуживанию | |
рукоятка | |
ручка | |
рычаг рулевой | |
сиденье | |
сиденье жесткое | |
сиденье мягкое | |
сиденье наклонное | |
сиденье противоударное | |
система опоры тела | |
система рулевого управления | |
система сиденья | |
система удержания пользователя | |
СКН | |
скос самоориентирующегося колеса | |
скутер | |
след кресла-коляски | |
смещение самоориентирующегося колеса | |
соединение кресла-коляски | |
сопровождающий | |
спинка мягкая | |
с регулируемым углом | |
стенд испытательный двухвалковый | |
сход колес | |
съемный | |
тормоз автоматический | |
тормоз рабочий | |
тормоз стояночный | |
точка H | |
точка P | |
точка сиденья базовая | |
точка фиксации | |
точки соединения | |
угол между сиденьем и опорой спины | |
угол наклона ноги к поверхности сиденья | |
угол наклона опоры спины | |
угол наклона опоры стопы | |
угол наклона плоскости сиденья | |
угол наклона подлокотника | |
узел опоры нижней части ноги сборочный | |
узел самоориентирующегося колеса сборочный | |
узел УПП | |
узел устройства поддержания позы | |
УКП | |
УПП | |
УПП встроенное | |
управление рулевое дифференциальное | |
управление рулевое дифференциальное ограниченное | |
управление рулевое дифференциальное ручное | |
управление рулевое дифференциальное с усилителем руля | |
управление рулевое полностью дифференциальное | |
управление рулевое прямое | |
управление рулевое прямое ручное | |
управление рулевое прямое с усилителем руля | |
установка силовая | |
устройство антиопрокидывающее | |
устройство для испытания при падении | |
устройство для преодоления лестниц | |
устройство зарядное автономное | |
устройство зарядное бортовое | |
устройство зарядное портативное | |
устройство защиты цепи | |
устройство испытательное антропоморфическое | |
устройство поддержания позы | |
устройство поддержания позы встроенное | |
устройство стыковочного крепления | |
устройство стыковочного соединения | |
устройство управления | |
фиксатор | |
фиксатор верхний | |
фиксатор нижний | |
фиксатор опоясывающий | |
фиксатор передний | |
фиксированный | |
ширина в сложенном состоянии | |
ширина габаритная | |
ширина опоры спины | |
ширина поворота | |
ширина подлокотника | |
ширина разворота | |
ширина сиденья | |
ширина сиденья эффективная | |
шток самоориентирующегося колеса | |
экран для одежды защитный |
airbag | |
aisle wheelchair | |
anchor point | |
anchorage | |
angle adjustable | |
anterior support | |
anthropometric test device | |
anti-thrust seat | |
anti-tip device | |
arm support | |
arm support angle | |
arm support height | |
arm support length | |
arm support width | |
assistant | |
assistant adjustable | |
ATD | |
automatic brake | |
back support | |
back support angle | |
back support height | |
back support reference plane | |
back support width | |
balancing wheelchair | |
battery pack | |
belt | |
body support system | |
bottomed out | |
camber | |
carry-on battery charger | |
caster assembly us | |
caster cant us | |
caster fork us | |
caster rake us | |
caster stem housing us | |
caster stem us | |
caster trail us | |
caster wheel us | |
castor assembly en | |
castor cant en | |
castor fork en | |
castor rake en | |
castor stem en | |
castor stem housing en | |
castor trail en | |
castor wheel en | |
circuit protection device | |
circumferential support | |
clamp-type tiedown | |
clothing guard | |
control device | |
controller | |
cushion loading indenter | |
custom contoured | |
differential steering | |
direct steering | |
distance between arm supports | |
docking securement device | |
docking tiedown device | |
docking-type tiedown | |
drive wheel | |
drop test machine | |
effective seat depth | |
effective seat width | |
electrically powered wheelchair | |
electrically powered wheelchair with integral seat | |
fixed | |
flip-up | |
folding wheelchair | |
foot support | |
foot support clearance | |
foot support length | |
foot support to leg angle | |
foot support to seat | |
foot-propelled wheelchair | |
forward trailing position | |
forward-facing | |
four-point strap-type tiedown | |
four-point tiedown | |
front location of arm support structure | |
front of arm support to back support | |
full differential steering | |
ground clearance | |
guide wheel | |
handgrip | |
handrim | |
handrim diameter | |
handrim-activated power-assisted | |
handrim-drive wheelchair | |
head restraint | |
head support | |
head support height above seat | |
head support in front of back support | |
horizontal location of wheel axle | |
H-point | |
inclined seat | |
inferior support | |
integrated postural support device | |
integrated PSD | |
lap belt | |
lateral support | |
leg reference plane | |
leg to seat surface angle | |
lever-drive wheelchair | |
limited differential steering | |
lower leg support | |
lower leg support assembly | |
maneuvering wheel us | |
manoeuvring wheel en | |
manual differential steering | |
manual direct steering | |
manual wheelchair | |
maximum occupant mass | |
medial support | |
modular | |
nominal voltage | |
occupant | |
occupant adjustable | |
occupant restraint | |
off-board battery charger | |
on-board battery charger | |
operator | |
operator's manual | |
overall height | |
overall length | |
overall width | |
parking brake | |
pelvic belt | |
pivot drive wheel | |
pivot wheel | |
point P | |
posterior support | |
postural support device | |
postural support device component | |
postural support device unit | |
powerbase | |
powerbase wheelchair | |
powered differential steering | |
powered direct steering | |
pre-contoured | |
propulsion system | |
PSD | |
PSD component | |
PSD unit | |
push handle | |
push wheelchair | |
rated capacity | |
rearward trailing position | |
rearward-facing | |
recline | |
reference configuration | |
reference loader gauge | |
reference plane | |
removable | |
restraint harness | |
reversing width | |
rigid wheelchair | |
RLG | |
running brake | |
scooter | |
seat | |
seat cushion | |
seat depth | |
seat plane angle | |
seat reference plane | |
seat reference point | |
seat surface height at front edge | |
seat to back support angle | |
seat width | |
seating system | |
securement points | |
service manual | |
shoulder belt | |
shower wheelchair | |
sling back | |
sling seat | |
solid back support | |
solid seat | |
solid seat insert | |
specification sheet | |
stair-climbing chair | |
stair-climbing device | |
stair-climbing wheelchair carrier | |
stand-up wheelchair | |
steering system | |
stowage height | |
stowage length | |
stowage width | |
strap | |
superior support | |
support surface | |
swing-away | |
tension adjustable | |
test dummy | |
test reports | |
three-point belt | |
tiller | |
tilt | |
toe | |
toilet wheelchair | |
tool adjustable | |
total mass | |
trailing position | |
turning diameter | |
turning width | |
two-drum test machine | |
UDIG | |
universal docking interface geometry | |
vertical location of wheel axle | |
wheel diameter | |
wheelbase | |
wheelchair | |
wheelchair footprint | |
wheelchair ground plane | |
wheelchair reference plane | |
wheelchair securement | |
wheelchair securement adaptor | |
wheelchair tiedown | |
wheelchair tiedown adaptor | |
wheelchair-tiedown and occupant-restraint system | |
WTORS |
[1] | ISO 7193, Wheelchairs - Maximum overall dimensions |
[2] | ISO/IEC TR 10000-1, Information technology - Framework and taxonomy of International Standardized Profiles - Part 1: General principles and documentation framework |
[3] | ISO 10241, International terminology standards - Preparation and layout |
[4] | ISO 128-30, Technical drawings - General principles of presentation - Part 30: Basic conventions for views |
[5] | ISO 128-34, Technical drawings - General principles of presentation - Part 34: Views on mechanical engineering drawings |
[6] | ISO 128-40, Technical drawings - General principles of presentation - Part 40: Basic conventions for cuts and sections |
[7] | ISO 128-44, Technical drawings - General principles of presentation - Part 44: Sections on mechanical engineering drawings |
[8] | ISO 31 (all parts), Quantities and units |
[9] | IEC 60027 (all parts), Letter symbols to be used in electrical technology |
[10] | ISO 1000, SI units and recommendations for the use of their multiples and of certain other units |
[11] | ISO 690, Documentation - Bibliographic references - Content, form and structure |
[12] | ISO 690-2, Information and documentation - Bibliographic references - Part 2: Electronic documents or parts thereof |
[13] | ISO 9999, Assistive products for persons with disability - Classification and terminology |
[14] | ISO 15225, Nomenclature - Specification for a nomenclature system for medical devices for the purpose of regulatory data exchange |
[15] | CR 14230, Global medical device nomenclature for the purpose of regulatory data exchange |
[16] | IEC 60050-482, International Electrotechnical Vocabulary - Part 482: Primary and secondary cells and batteries |
[17] | ISO 13570-1, Wheelchairs - Part 1: Guidelines for the application of the ISO 7176 series on weelchairs |
[18] | ISO 10542 (all parts), Technical systems and aids for disabled or handicapped persons - Wheelchair tiedown and occupant-restraint systems |
[19] | ISO 16840 (all parts), Wheelchair seating |