Главная // Актуальные документы // ГОСТ Р (Государственный стандарт)СПРАВКА
Источник публикации
М.: Стандартинформ, 2012
Примечание к документу
Документ
введен в действие с 1 октября 2011 года.
Название документа
"ГОСТ Р ИСО 7176-5-2010. Национальный стандарт Российской Федерации. Кресла-коляски. Часть 5. Определение размеров, массы и площади для маневрирования"
(утв. и введен в действие Приказом Росстандарта от 17.09.2010 N 246-ст)
"ГОСТ Р ИСО 7176-5-2010. Национальный стандарт Российской Федерации. Кресла-коляски. Часть 5. Определение размеров, массы и площади для маневрирования"
(утв. и введен в действие Приказом Росстандарта от 17.09.2010 N 246-ст)
Утвержден и введен в действие
агентства по техническому
регулированию и метрологии
от 17 сентября 2010 г. N 246-ст
НАЦИОНАЛЬНЫЙ СТАНДАРТ РОССИЙСКОЙ ФЕДЕРАЦИИ
КРЕСЛА-КОЛЯСКИ
ЧАСТЬ 5
ОПРЕДЕЛЕНИЕ РАЗМЕРОВ, МАССЫ И ПЛОЩАДИ ДЛЯ МАНЕВРИРОВАНИЯ
Wheelchairs. Part 5. Determination of dimensions, mass
and maneuvering space
ISO 7176-5:2008
Wheelchairs - Part 5: Determination of dimensions, mass
and maneuvering space
(IDT)
ГОСТ Р ИСО 7176-5-2010
Дата введения
1 октября 2011 года
Цели и принципы стандартизации в Российской Федерации установлены Федеральным
законом от 27 декабря 2002 г. N 184-ФЗ "О техническом регулировании", а правила применения национальных стандартов Российской Федерации -
ГОСТ Р 1.0-2004 "Стандартизация в Российской Федерации. Основные положения".
1. Подготовлен Федеральным государственным унитарным предприятием "Российский научно-технический центр информации по стандартизации, метрологии и оценке соответствия" (ФГУП "СТАНДАРТИНФОРМ") на основе собственного аутентичного перевода на русский язык текста стандарта, указанного в
пункте 4.
2. Внесен Техническим комитетом по стандартизации ТК 381 "Технические средства для инвалидов".
3. Утвержден и введен в действие
Приказом Федерального агентства по техническому регулированию и метрологии от 17 сентября 2010 г. N 246-ст.
4. Настоящий стандарт идентичен международному стандарту ИСО 7176-5:2008 "Кресла-коляски. Часть 5. Определение размеров, массы и площади для маневрирования" (ISO 7176-5:2008 "Wheelchairs - Part 5: Determination of dimensions, mass and maneuvering space").
При применении настоящего стандарта рекомендуется использовать вместо ссылочных международных стандартов соответствующие им национальные стандарты Российской Федерации, сведения о которых приведены в дополнительном
Приложении ДА.
Информация об изменениях к настоящему стандарту публикуется в ежегодно издаваемом информационном указателе "Национальные стандарты", а текст изменений и поправок - в ежемесячно издаваемых информационных указателях "Национальные стандарты". В случае пересмотра (замены) или отмены настоящего стандарта соответствующее уведомление будет опубликовано в ежемесячно издаваемом информационном указателе "Национальные стандарты". Соответствующая информация, уведомление и тексты размещаются также в информационной системе общего пользования - на официальном сайте Федерального агентства по техническому регулированию и метрологии в сети Интернет.
Предисловие к ИСО 7176-5:2008
Международная организация по стандартизации (ИСО) является всемирной федерацией национальных организаций по стандартизации (комитетов - членов ИСО). Разработка международных стандартов обычно осуществляется Техническими комитетами ИСО. Каждый комитет-член, заинтересованный в деятельности, для которой был создан Технический комитет, имеет право быть представленным в этом комитете. Международные правительственные и неправительственные организации, имеющие связи с ИСО, также принимают участие в работах. ИСО тесно взаимодействует с Международной электротехнической комиссией (МЭК) по всем вопросам стандартизации электротехники.
Международные стандарты разрабатываются в соответствии с правилами Директив ИСО/МЭК, часть 2.
Главной задачей Технических комитетов является подготовка международных стандартов. Проекты международных стандартов, одобренные Техническими комитетами, направляются членам этого комитета на голосование. Для их публикации в качестве международного стандарта требуется одобрение не менее 75% членов комитета, принимавших участие в голосовании.
Следует обратить внимание на возможность наличия в настоящем стандарте некоторых элементов, которые могут быть объектом патентного права. ИСО не несет ответственности за идентификацию некоторых или всех таких патентных прав.
ИСО 7176-5 подготовлен Техническим комитетом ИСО/ТК 173 "Средства помощи для людей с ограничениями жизнедеятельности", подкомитетом ПК 1 "Кресла-коляски".
Это второе издание отменяет и заменяет первое издание (ИСО 7176-5:1986), являясь его технической переработкой.
ИСО 7176 состоит из следующих частей под общим наименованием "Кресла-коляски":
- часть 1. Определение статической устойчивости;
- часть 2. Определение динамической устойчивости кресел-колясок с электроприводом;
- часть 3. Определение эффективности действия тормозной системы;
- часть 4. Определение запаса хода кресел-колясок с электроприводом и скутеров путем измерения расхода энергии;
- часть 5. Определение размеров, массы и площади для маневрирования;
- часть 6. Определение максимальной скорости, ускорения и замедления кресел-колясок с электроприводом;
- часть 7. Метод измерения параметров и размеров сиденья и колеса;
- часть 8. Технические требования и методы испытаний на статическую, ударную и усталостную прочность;
- часть 9. Климатические испытания кресел-колясок с электроприводом;
- часть 10. Методы испытаний для определения возможности преодолевать препятствия;
- часть 11. Испытательные манекены;
- часть 13. Методы испытаний для определения коэффициента трения испытательной поверхности;
- часть 14. Электросистемы и системы управления кресел-колясок с электроприводом. Требования и методы испытаний;
- часть 15. Требования к документации и маркировке для обеспечения доступности информации;
- часть 16. Стойкость к возгоранию элементов кресла-коляски с мягкой обивкой. Требования и методы испытания;
- часть 19. Колесные мобильные устройства для применения в качестве сидения в автомобилях;
- часть 21. Требования и методы испытаний для обеспечения электромагнитной совместимости кресел-колясок с электроприводом;
- часть 22. Правила установки;
- часть 23. Требования и методы испытаний устройств для преодоления лестниц, управляемых сопровождающим лицом;
- часть 24. Требования и методы испытаний устройств для преодоления лестниц, управляемых пользователем;
- часть 26. Словарь.
Настоящий стандарт устанавливает основные понятия технических характеристик кресел-колясок, а также описание соответствующих процедур для измерения размеров и массы кресел-колясок с ручным приводом и с электроприводом, включая скутеры, которые могут быть использованы для оценки их совместимости с условиями окружающей среды.
При этом используется новый подход к предварительному выбору основных размеров из всего набора моделей кресел-колясок за счет учета основных параметров предполагаемого пользователя. Такой подход гарантирует сопоставимость и воспроизводимость полученных результатов испытаний.
Настоящий стандарт предназначен для трех основных групп потребителей:
- потенциальные и настоящие пользователи кресла-коляски;
- проектировщики и специалисты по благоустройству;
- изготовители и поставщики кресла-коляски, сотрудники клинических и испытательных лабораторий.
Те особенности, которые важны для пользователей кресел-колясок и для проектировщиков и специалистов по благоустройству, а именно, габаритные размеры и оценка площади, необходимой для маневрирования, содержатся в
разделе 8. Значения характеристик кресел-колясок приводятся в паспорте на кресло-коляску и могут быть использованы для определения перед покупкой пригодности кресла-коляски применительно к конкретным требованиям и потребностям.
Те технические особенности кресел-колясок, которые важны для изготовителей, поставщиков кресел-колясок, сотрудников клинических и испытательных лабораторий, то есть то, что требует учета при изготовлении, установке, регулировании, ремонте или испытании кресел-колясок, включено в
Приложение A.
В настоящее время действует Технический отчет ИСО/ТО 13570-1
[1], предоставляя упрощенное объяснение различных частей ИСО 7176.
Технический отчет ИСО/TR 13570-2
[2] находится в стадии разработки.
Настоящий стандарт устанавливает методы определения размеров и массы кресел-колясок, включая специальные методы определения внешних размеров кресла-коляски вместе с эталонным пользователем и необходимой площади для маневрирования.
Настоящий стандарт устанавливает требования к предоставлению информации о размерах и массе и содержит пять справочных Приложений.
Приложение A определяет методы определения технических размеров, которые могут быть важны для функционирования кресла-коляски.
Приложение B содержит подробную информацию о ширине вращения и ширине разворота.
Приложение C содержит подробную информацию о диаметре вращения.
Приложение D содержит подробную информацию по определению продольной оси и центральной точки кресла-коляски.
Приложение E содержит техническое руководство и рекомендации для многих измерений, указанные в интересах содействия улучшению понимания, проектирования и изготовления кресел-колясок.
Настоящий стандарт распространяется на кресла-коляски с ручным приводом и электроприводом (включая скутеры).
В настоящем стандарте использованы нормативные ссылки на следующие стандарты. Для датированных ссылок применяют только издание, на которое сделана ссылка. Для недатированных ссылок применяют самое последнее издание документа, на который ссылаются (включая любые изменения).
ИСО 7176-7 Кресла-коляски. Часть 7. Метод измерения параметров и размеров сиденья и колеса (ISO 7176-7, Wheelchairs - Part 7: Measurement of seating and wheel dimensions)
ИСО 7176-11 Кресла-коляски. Часть 11. Испытательные манекены (ISO 7176-11, Wheelchairs - Part 11: Test dummies)
ИСО 7176-13 Кресла-коляски. Часть 13. Методы испытаний для определения коэффициента трения испытательной поверхности (ISO 7176-13, Wheelchairs - Part 13: Determination of coefficient of friction of test surfaces)
ИСО 7176-15 Кресла-коляски. Часть 15. Требования к документации и маркировке для обеспечения доступности информации (ISO 7176-15, Wheelchairs - Part 15: Requirements for information disclosure, documentation and labelling)
ИСО 7176-22 Кресла-коляски. Часть 22. Правила установки (ISO 7176-22:2000, Wheelchairs - Part 22: Set-up procedures)
ИСО 7176-26 Кресла-коляски - Часть 26: Словарь (ISO 7176-26, Wheelchairs - Part 26: Vocabulary)
В настоящем стандарте применены термины по ИСО 7176-26, а также следующие термины с соответствующими определениями:
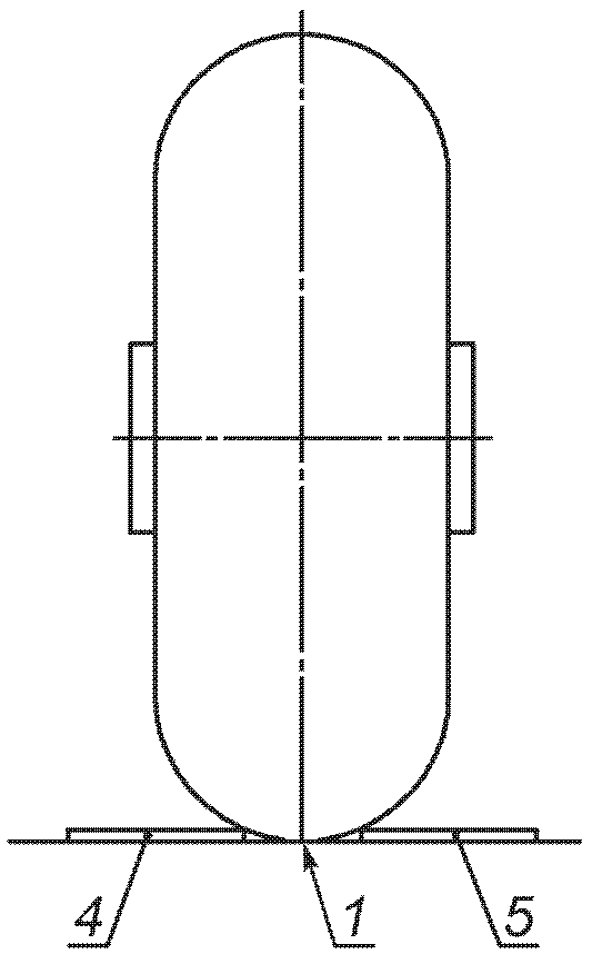
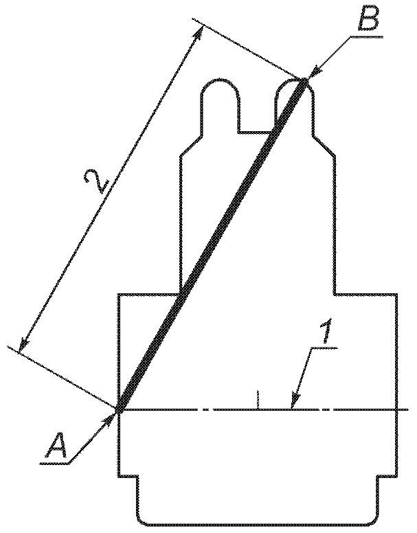
3.1. смещение самоориентирующегося колеса (castor wheel misalignment): Поперечное расстояние между точкой контакта самоориентирующегося колеса с землей и точкой, где ось шарнира самоориентирующегося колеса пересекается с землей. См.
рисунок 1.
Примечание 1. Измерение - в соответствии с
A.22 Приложения A.
Примечание 2. Значение, отличное от нуля, обычно указывает на наличие смещения. Полученное значение положительно, если точка контакта самоориентирующегося колеса с землей смещена внутрь относительно точки пересечения оси шарнира с землей, равно нулю, если занимает нужное нейтральное положение, отрицательно, если точка контакта с землей самоориентирующегося колеса смещена наружу от точки пересечения шарнира самоориентирующегося колеса с землей.
1 - смещение самоориентирующегося колеса
Рисунок 1. Смещение самоориентирующегося колеса (утрировано)
3.2. фиксированное колесо (fixed wheel): Колесо, которое не может менять ориентацию своей оси относительно кресла-коляски во время движения.
Пример - Приводное колесо, поворотное колесо или рулевое колесо.
3.3. колея передних колес (front wheel track): Расстояние между точками контакта передних колес с землей. См.
рисунок 2.
Примечание 1. Измерение - в соответствии с
A.15 Приложения A.
Примечание 2. Вид спереди.
1 - колея передних колес
Рисунок 2. Колея передних колес (пример)
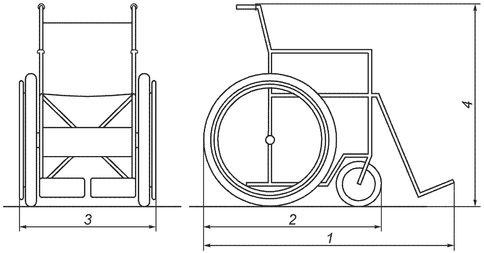
3.4. полная длина загруженного кресла-коляски (full occupied length): Расстояние между передней и задней точками кресла-коляски, включая нижние элементы опоры ног и эталонного пользователя. См.
рисунок 3.
Примечание 1. Измерение - в соответствии с
A.8 Приложения A.
Примечание 2. Это измерение применимо, если кресло-коляска имеет фиксированные опоры для ног и/или опоры стоп или если опоры для ног и/или опоры стоп являются съемными, но не сняты.
1 - полная длина в загруженном состоянии; 2 - уменьшенная
длина в загруженном состоянии; 3 - ширина в загруженном
состоянии; 4 - высота в загруженном состоянии
Рисунок 3. Размеры кресла-коляски в загруженном состоянии
3.5. полная габаритная длина (full overall length): Расстояние между самой передней и самой задней точками кресла-коляски, когда оно собрано и готово к использованию, при этом на нем смонтированы опоры для ног, опоры стоп и антиопрокидыватель. См.
рисунок 4.
Примечание 1. Измерения - в соответствии с
8.2.
Примечание 2. Эти измерения применимы, если кресло-коляска имеет фиксированные опоры для ног и/или опоры стоп или если опоры для ног и/или опоры стоп съемные, но не сняты.
1 - полная габаритная длина; 2 - уменьшенная габаритная
длина; 3 - габаритная ширина; 4 - габаритная высота
Рисунок 4. Габаритные размеры кресла-коляски
3.6. клиренс (ground clearance): Минимальное расстояние между загруженным креслом-коляской и землей. См.
рисунок 5.
Примечание. Измерения - в соответствии с
8.14.
1 - типичные критические точки; 2 - клиренс
--------------------------------
<a> Колеса, регулируемые опоры ног/стоп и антиопрокидыватель во внимание не принимают.
Рисунок 5. Клиренс (пример)
3.7. точка контакта с землей (ground contact point): Средняя точка области соприкосновения колеса с землей. См.
рисунок 6.
Примечание 1. Один из способов определения точки контакта с землей заключается в том, что четыре тонких щупа равной толщины и, по крайней мере, с одним ровным краем помещают на испытательную плоскость [примером тонкого щупа может служить кусок жести или другого жесткого материала толщиной (0,5 +/- 0,2) мм]. Проталкивают два из них спереди и сзади колеса так, чтобы их ровные стороны были горизонтальны и перпендикулярны к продольной оси кресла-коляски, а затем проталкивают два других щупа с двух боковых сторон под колеса так, чтобы их ровные края были расположены параллельно продольной оси кресла-коляски. Толкают все щупы до тех пор, пока они не упрутся в колесо. Точка контакта с землей находится посередине прямоугольника, образованного ровными краями четырех щупов.
Примечание 2.
Рисунок 6a) - вид сбоку,
6b) - вид спереди,
6c) - вид с 3/4 оборота колеса.
3.8. высота рукоятки (handgrip height): Вертикальное расстояние от земли до контрольной точки рукоятки кресла-коляски.
Примечание. Измерение - в соответствии с
8.4.
1 - область контакта колеса с землей;
2 - передний щуп; 3 - задний щуп; 4 - правый щуп;
5 - левый щуп; 6 - точка контакта с землей
Рисунок 6. Определение точки контакта с землей
3.9. контрольная точка рукоятки (handgrip reference point): Самая дальняя боковая точка посередине рукоятки. См. рисунок 7.
1 - контрольная точка рукоятки
Рисунок 7. Контрольная точка рукоятки
3.10. боковое отклонение обода ручного привода (ateral handrim deviation): Отклонение обода ручного привода от плоскости, которая перпендикулярна к оси колеса.
Примечание 1. Измерение - в соответствии с
A.7 Приложения A.
Примечание 2. Боковое отклонение обода ручного привода выражают как разность между положениями самой внутренней и самой внешней точек сплошной плоскости обода ручного привода, измеренную в направлении оси колеса. Значение, отличное от нуля, обычно указывает на смещение.
3.11. боковое отклонение колеса (lateral wheel deviation): Отклонение обода колеса от плоскости, которая перпендикулярна к оси колеса. См.
рисунок 8.
Примечание 1. Измерение - в соответствии с
A.5 Приложения A.
Примечание 2. Боковое отклонение колеса выражают как разность между положениями самой внутренней и самой внешней точек сплошной плоскости обода колеса, измеренную в направлении оси колеса. Значение, отличное от нуля, обычно указывает на смещение.
3.12. масса самой тяжелой части (mass of heaviest part): Масса самой тяжелой части (или комплекта частей) кресла-коляски в разобранном для транспортирования состоянии.
Примечание. Измерения - в соответствии с
8.10.
3.13. подвижное колесо (movable wheel): Колесо, которое может менять ориентацию оси относительно кресла-коляски во время движения.
Пример - Вращающееся колесо, вращающееся приводное колесо или самоориентирующееся колесо.
a) Колесо со смещенной осью
b) Колесо с боковой "грыжей"
c) Искривленное колесо
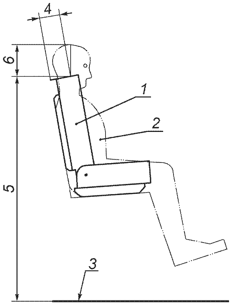
Рисунок 8. Некоторые боковые отклонения колес
3.14. высота в загруженном состоянии (occupied height): Вертикальное расстояние от испытательной плоскости до самой верхней точки головы эталонного пользователя. См.
рисунок 3.
Примечание 1. Измерение - в соответствии с
A.11 Приложения A.
Примечание 2. При измерении высоты в загруженном состоянии принимают во внимание наличие подушки сиденья.
3.15. ширина в загруженном состоянии (occupied width): Горизонтальное расстояние поперек кресла-коляски с учетом эталонного пользователя. См.
рисунок 3.
Примечание 1. Измерение - в соответствии с
A.10 Приложения A.
Примечание 2. Ширина в загруженном состоянии включает в себя руки пользователя, если кресло-коляска имеет обод ручного привода.
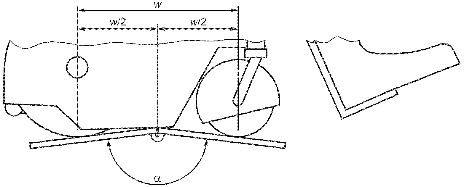
3.16. ширина вращения (pivot width): Минимальное расстояние между двумя вертикальными и параллельными стенами, между которыми кресло-коляска с полностью дифференциальным рулевым управлением может развернуться на 180°, используя один простой маневр во время плавного разворота. См.
рисунок 9 и
B.2 Приложения B.
Примечание. Измерение - в соответствии с
8.11.
1 - ширина вращения
Рисунок 9. Ширина вращения
3.17. радиальное отклонение обода ручного привода (radial handrim deviation): Отклонение обода ручного привода от правильного круга, концентричного оси.
Примечание 1. Измерение - в соответствии с
A.6 Приложения A.
Примечание 2. Радиальное отклонение обода ручного привода выражают как разность между наибольшим и наименьшим радиусами каждого обода ручного привода. Значение, отличное от нуля, указывает на наличие асимметрии.
3.18. радиальное отклонение колеса (radial wheel deviation): Отклонение внешней окружности колеса от правильного круга, концентричного оси. См.
рисунок 10.
Примечание 1. Измерение - в соответствии с
A.4 Приложения A.
Примечание 2. Радиальное отклонение колеса выражают как разность между наибольшим и наименьшим радиусами колеса. Значение, отличное от нуля, указывает на наличие асимметрии.
a) Эксцентричное колесо
b) Колесо с плоской частью
c) Колесо с "грыжей"
d) Эллиптическое колесо
Рисунок 10. Некоторые радиальные отклонения колеса
3.19. угол изменения наклона (ramp transition angle): Угол между наклонной и горизонтальной частями пути, который можно преодолеть, не соприкасаясь со скатом или ровной поверхностью никакой частью, кроме колес. См.
рисунок 11.
Примечание 1. Измерение - в соответствии с
A.12 Приложения A.
Примечание 2. Под углом изменения наклона понимают наименьший угол из трех возникающих при преодолении наклонной и ровной частей пути:
a) с передней частью у нижнего перехода;
b) с задней частью у нижнего перехода;
c) с той частью, которая расположена между колесами в верхней точке изменения наклона.
Угол изменения наклона выражают в градусах.
Примечание 3. Так как архитекторы выражают углы наклона в процентах, угол изменения наклона может быть также выражен в процентах. Перевод угла изменения наклона из градусов в проценты задают следующим соотношением:
где P - угол, %, D - угол, °, (для углов менее 10° ошибка менее 1% и для углов менее 20° ошибка менее 4%).
a) Передняя часть у нижнего перехода
b) Задняя часть у нижнего перехода
c) Часть, располагающаяся между колесами в верхней точке
изменения наклона
Рисунок 11. Угол изменения наклона
3.20. колея задних колес (rear wheel track): Расстояние между точками контакта задних колес с землей. См.
рисунок 12.
Примечание 1. Измерение - в соответствии с
A.14 Приложения A.
Примечание 2. На рисунке представлен вид сзади.
1 - колея задних колес
Рисунок 12. Колея задних колес (пример)
3.21. уменьшенная длина в загруженном состоянии (reduced occupied length): Расстояние между самой передней и самой задней точками кресла-коляски без нижних элементов опоры для ног, но включая эталонного пользователя. См.
рисунок 3.
Примечание 1. Измерение - в соответствии с
A.9 Приложения A.
Примечание 2. Это определение применимо, если кресло-коляска поставляется без опор для ног и/или опор стоп или если опоры для ног и/или опоры стоп съемные и они сняты.
3.22. уменьшенная габаритная длина (reduced overall length): Расстояние между самой передней и самой задней точками кресла-коляски, собранного и подготовленного к использованию без нижних элементов опоры для ног. См.
рисунок 4.
Примечание 1. Измерение - в соответствии с
A.2 Приложения A.
Примечание 2. Это определение применимо, если кресло-коляска поставляется без опор для ног и/или опор стоп или если опоры для ног и/или опоры стоп съемные и они сняты.
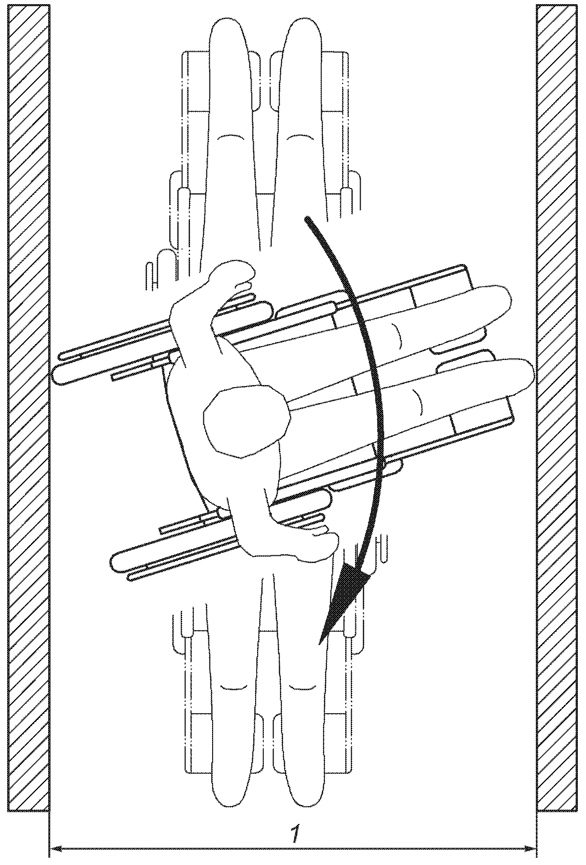
3.23. необходимая ширина коридора для бокового прохода (required corridor width for side opening): Минимальная ширина коридора, которая позволяет креслу-коляске въехать в коридор или выехать из коридора через свободный проход определенной ширины в одной из стен. См.
рисунок 13.
Примечание. Измерение - в соответствии с
8.17.
a) Выход
b) Вход
1 - 800 мм ширина бокового прохода; 2 - необходимая ширина
коридора для бокового прохода при выходе; 3 - необходимая
ширина коридора для бокового прохода при входе
Рисунок 13. Необходимая ширина коридора
для бокового прохода
3.24. необходимая глубина дверного проема (required doorway entry depth): Минимальное расстояние от стены с дверью до самой удаленной точки кресла-коляски при открывающейся двери шириной 800 мм, находящейся в 600 мм от боковой стены. См.
рисунок 14.
Примечание. Измерение - в соответствии с
8.16.
1 - открывающаяся дверь шириной 800 мм; 2 - расстояние
до стены 600 мм; 3 - необходимая глубина дверного проема
Рисунок 14. Необходимая глубина дверного проема
3.25. необходимая ширина углового коридора (required width of angled corridor): Минимальная ширина коридора с правым углом поворота, в котором кресло-коляска может двигаться в обоих направлениях как вперед, так и назад. См. рисунок 15.
Примечание. Измерение - в соответствии с
8.15.
1 - необходимая ширина углового коридора
Рисунок 15. Необходимая ширина углового коридора
3.26. ширина разворота (reversing width): Минимальное расстояние между двумя вертикальными и параллельными стенами, между которыми кресло-коляска с прямым рулевым управлением или ограниченным дифференциальным рулевым управлением может развернуться на 180°, используя в начале одно движение вперед, затем одно движение назад и одно завершающее движение вперед (т.е. разворот в три этапа). См.
рисунок 16 и
B.3 Приложения B.
Примечание. Измерение - в соответствии с
8.12.
1 - ширина разворота
Рисунок 16. Ширина разворота (пример со скутером)
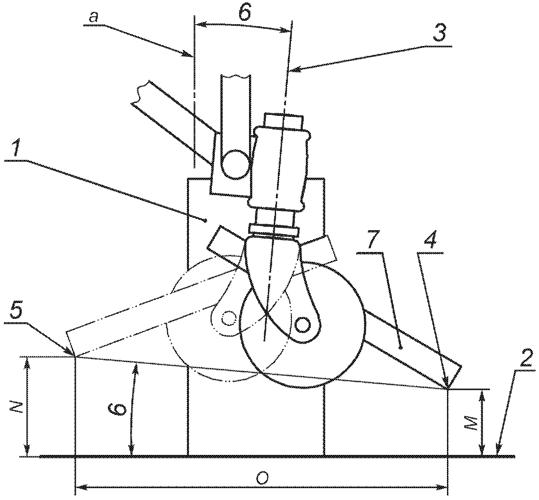
3.27. высота подъема (rising): Расстояние между землей и самой нижней точкой передних колес в положении, когда антиопрокидыватель упирается в землю. См.
рисунок 17.
Примечание. Измерение - в соответствии с
8.8.
1 - антиопрокидыватель, контактирующий с землей;
2 - высота подъема
Рисунок 17. Высота подъема
3.28. смещение (skew): Относительное положение пары фиксированных колес, если одно колесо находится перед другим. См.
рисунок 18.
Примечание 1. Размеры - в соответствии с
A.18 Приложения A.
Примечание 2. Значение, отличное от нуля, обычно указывает на смещения. Значение положительно, если левое колесо расположено перед правым, равно нулю при нейтральном положении, и отрицательно, если правое колесо находится перед левым.
1 - смещение
Рисунок 18. Смещение (утрировано)
3.29. средняя линия колеса (wheel median line): Воображаемая окружность, имеющая такой же диаметр, как и колесо, проходящая через точку контакта колеса с землей при вращении колеса. См.
рисунок 19.
Примечание. Если колесо выпуклое, средняя линия колеса - его наибольший диаметр. Если колесо цилиндрическое, средняя линия колеса расположена на середине его поверхности. В случае двойного колеса средняя линия колеса расположена посередине двух колес (на той же втулке).
a) Средняя линия выпуклого колеса
b) Средняя линия цилиндрического колеса
c) Средняя линия двойного колеса
Рисунок 19. Средняя линия колеса
3.30. колесная база (wheelbase); Продольное расстояние между точками контакта с землей переднего и заднего колес с любым из рулевых колес, развернутых в сторону движения. См.
рисунок 20.
Примечание 1. Измерение - в соответствии с
A.13 Приложения A.
Примечание 2. На рисунке представлен вид сбоку.
1 - колесная база
Рисунок 20. Колесная база
3.31. центральная точка кресла-коляски (wheelchair centre-point): Средняя точка на линии, соединяющей центры фиксированных колес. См.
рисунок 21 и
Приложение D.
Примечание. Если фиксированное колесо одно, центральная точка кресла-коляски находится в центре этого колеса; если осей с фиксированными колесами более одной, центральная точка кресла-коляски находится на оси с колесом большего диаметра; если все фиксированные колеса имеют одинаковый диаметр, центральная точка кресла-коляски находится на оси, на которую приходится большая часть нагрузки загруженного кресла-коляски.
1 - центр фиксированного колеса; 2 - центральная точка
кресла-коляски
--------------------------------
<a> Продольная ось кресла-коляски.
Рисунок 21. Центральная точка и продольная
ось кресла-коляски
3.32. продольная ось кресла-коляски (wheelchair longitudinal axis): Воображаемая горизонтальная линия, проходящая через центральную точку кресла-коляски, совпадающая с прямой линией, соответствующей направлению движения вперед/назад. См. рисунок 21 и
Приложение D.
4. Классы кресел-колясок и группы пользователей
в зависимости от их массы тела
Размеры кресла-коляски, главным образом, определяются его классом (только для кресел-колясок с электроприводом) и предполагаемой группой пользователей в зависимости от их массы тела.
4.2. Классы кресел-колясок с электроприводом
Кресла-коляски с электроприводом относятся к одному или более из следующих трех классов в зависимости от предполагаемых условий использования.
- Класс A: компактное маневренное кресло-коляска, не обязательно способное преодолевать препятствия вне помещений.
- Класс B: кресло-коляска, достаточно компактное и маневренное при некоторых условиях внутри помещения и способное преодолевать некоторые препятствия вне помещений.
- Класс C: кресло-коляска, обычно большего размера, не обязательно предназначенное для использования внутри помещения, но способное преодолевать более длинные расстояния и препятствия вне помещений.
Примечание 1. Как правило, к классу A относятся кресла-коляски, предназначенные прежде всего для использования в закрытых помещениях, к классу B - кресла-коляски, предназначенные для использования как в закрытых помещениях, так и вне помещений, к классу C - кресла-коляски, предназначенные для использования в основном вне помещений.
Примечание 2. Скутеры включены в приведенные выше классы.
4.3. Группы пользователей в зависимости от их массы тела
Кресла-коляски предназначены для одной из следующих трех групп пользователей в зависимости от их массы тела:
- группа пользователей I: пользователи с массой тела менее 50 кг;
- группа пользователей II: пользователи с массой тела от 50 до 125 кг;
- группа пользователей III: пользователи с массой тела свыше 125 кг.
5. Испытательное оборудование
5.1. Испытательная плоскость: жесткая горизонтальная площадка достаточных размеров для размещения на ней кресла-коляски и оборудованная переносными барьерами
(5.2) во время проведения испытаний, с достаточно ровной поверхностью, такой, что ее можно полностью расположить между двумя воображаемыми горизонтальными параллельными плоскостями, отстоящими одна от другой на расстояние 5 мм на каждые 1000 мм и 25 мм на каждые 6000 мм, с коэффициентом трения, соответствующим ИСО 7176-13.
5.2. Переносные барьеры: вертикальные плоскости, обеспечивающие возможность определения и обозначения внешних размеров и рабочей области кресла-коляски на испытательной плоскости, такие, что плоскость каждого барьера настолько ровная, что может быть расположена между двумя воображаемыми вертикальными параллельными плоскостями, отстоящими одна от другой на расстояние 5 мм на каждые 1000 мм.
Примеры - Реальные предметы, световые лучи или другие подходящие средства для обеспечения ровной и вертикальной плоскости.
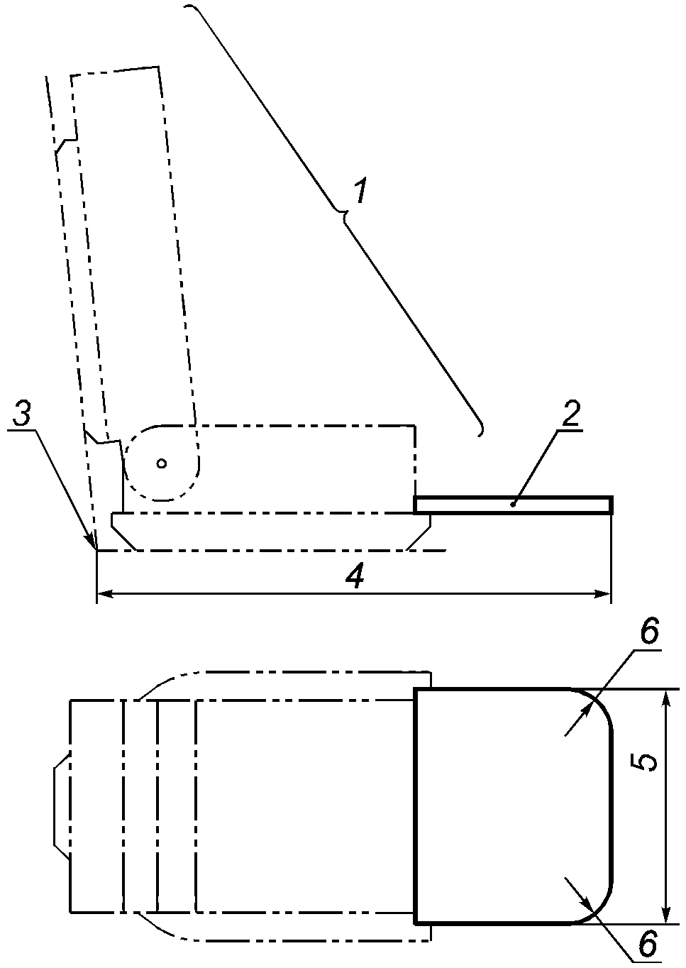
5.3. Испытательный манекен, соответствующий ИСО 7176-11, измененный следующим образом: заменяют секцию стопы испытательных манекенов двумя имитаторами стопы, каждый из которых имеет форму, показанную на рисунке 22, и массу (2 +/- 0,5) кг для группы пользователей I и массу (3,5 +/- 0,5) кг для групп пользователей II и III.
a) Группа пользователей I
b) Группы пользователей II и III
--------------------------------
<a> Перед стопы.
<b> Пятка.
Примечание 1. Может быть использована фанера толщиной (15 +/- 5) мм совместно со стальными брусками.
Примечание 2. На рисунках представлен вид сверху, перед стопы указывает на верх.
Рисунок 22. Имитатор стопы
5.4. Имитатор колена, заменяющий колени эталонного пользователя, который:
- дополняет соответствующую секцию коленей испытательного манекена до достижения общей длины, равной (520 +/- 3) мм для пользователей группы I и (650 +/- 3) мм для пользователей групп II и III при измерении параллельно плоскости сиденья между самой передней точкой имитатора колена и точкой пересечения плоскости сиденья с плоскостью спинки, поддерживающей испытательный манекен;
- имеет ширину, равную (270 +/- 3) мм для пользователей группы I, (340 +/- 3) мм - для пользователей группы II и (390 +/- 3) мм - для пользователей группы III;
- имеет радиус закругления, равный (50 +/- 2) мм для пользователей группы I и (60 +/- 2) мм для пользователей групп II и III.
Примечание 1. Может быть использована фанера толщиной (15 +/- 5) мм.
Примечание 2. Размеры соответствуют DIN 33402
[3] и ИСО 7176-11.
1 - испытательный манекен; 2 - имитатор колена;
3 - точка пересечения плоскости сиденья с плоскостью спинки,
поддерживающей испытательный манекен; 4 - общая длина
манекена, включая имитатор колена; 5 - ширина;
6 - радиус закругления
Рисунок 23. Имитатор колена
5.5. Устройство измерения длины: средства для измерения линейных размеров с ценой деления 0,5 мм в диапазоне измерений от 0 до 150 мм, с ценой деления 1 мм в диапазоне измерений от 150 до 2000 мм и с ценой деления 2 мм в диапазоне измерений от 2000 до 5000 мм.
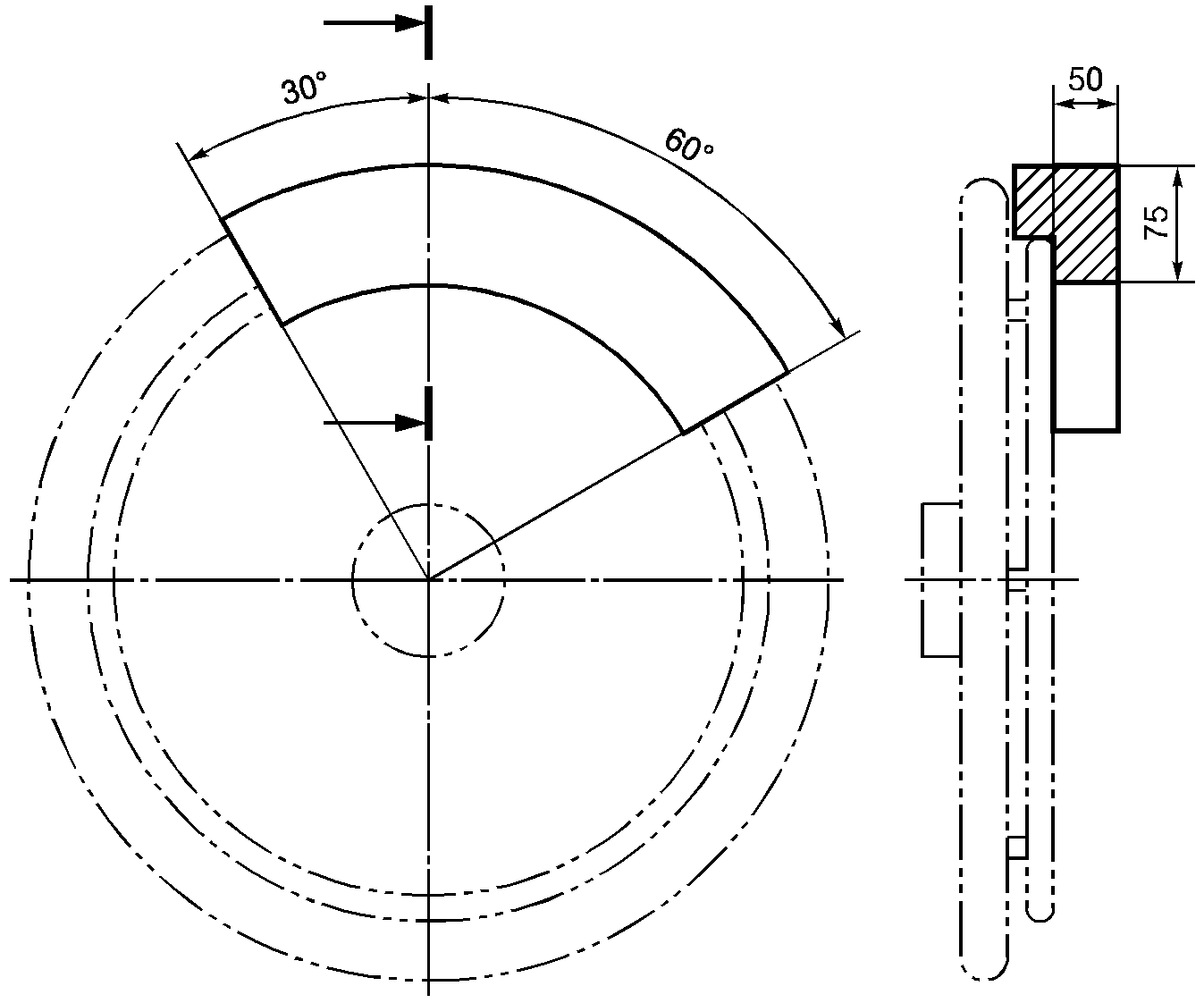
5.6. Имитаторы рук: приспособления, заменяющие руки эталонного пользователя, расположенные на ободах ручного привода. Они должны добавлять (75 +/- 1) мм к каждому ободу ручного привода в радиальном направлении и (50 +/- 1) мм в боковом направлении при измерении в верхней части (см.
рисунок 24). Они должны распространяться, по крайней мере, на 30° назад и на 60° вперед при измерении в верхней части обода ручного привода.
Пример - Кусок эластичного материала, обвернутого вокруг обода ручного привода.
Примечание. Вид колеса сбоку, направление вперед соответствует направлению направо.
Рисунок 24. Имитатор руки
5.7. Прямой угол: средство для установки ровной кромки перпендикулярно к испытательной плоскости с точностью +/- 1 мм на 1000 мм.
Пример - Слесарный угольник, металлический шаблон квадрата.
5.8. Устройство определения отклонения: устройство, с помощью которого можно определять как радиальное, так и боковое отклонения колеса или обода ручного привода.
Примечание. Радиальное отклонение колеса или обода ручного привода - это отклонение от правильной окружности с центром на оси вращения, а боковое отклонение - это отклонение от плоскости, перпендикулярной к этой оси.
Пример - Штатив, расположенный на испытательной плоскости с меткой, нанесенной мелом или фломастером или с микровыключателем, связанным с вращающимся приводом.
5.9. Имитатор пандуса A: ровный прямоугольный кусок из жесткого материала размерами около 500 x 500 мм и толщиной (2 +/- 0,5) мм.
5.10. Имитатор пандуса B: два ровных прямоугольных куска из жесткого материала размерами около 500 x 500 мм и толщиной (2 +/- 0,5) мм, шарнирно соединенные вместе с одной стороны (см. рисунок 25).
1 - шарнир
Рисунок 25. Имитатор пандуса B (пример)
5.11. Устройство измерения углов: средство для измерения углов с точностью +/- 0,5°.
5.12. Индикатор оси самоориентирующегося колеса: средство для установления линии, параллельной оси шарнира самоориентирующегося колеса.
Примечание. См. примеры на рисунках
A.5 и
A.6 Приложения A.
5.13. Устройство измерения массы: средство для измерения массы с точностью +/- 0,2 кг.
5.14. Условия проведения испытаний: окружающая среда, в пределах которой проводятся испытания, при комнатной температуре (20 +/- 5) °C.
6. Отбор кресла-коляски для испытаний
Для проведения испытаний кресло-коляска должно быть отобрано из серийной продукции.
Могут быть использованы опытные образцы, если они имеют размеры, предусмотренные при производстве.
Для сравнения разных моделей кресел-колясок контрольные значения настроек устанавливают для каждой из трех групп пользователей I, II и III. Эти контрольные значения настроек должны быть использованы при отборе тех кресел-колясок, размеры которых должны быть установлены на стадии заказа/покупки кресла-коляски и не могут быть изменены впоследствии.
Примечание. Глубина и ширина сиденья, высота спинки и т.д. - примеры размеров, которые обычно должны быть определены на стадии заказа/покупки кресла-коляски.
Отбирают кресло-коляску с номинальными размерами:
- в соответствии с контрольными значениями настроек, установленными в
таблице 1 (см.
7.3.2) для кресел-колясок с ободами ручного привода;
- в соответствии с контрольными значениями настроек, установленными в
таблице 2 (см.
7.3.2) для кресел-колясок без ободов ручного привода.
Если установить точные размеры невозможно, размеры должны быть установлены как можно ближе к контрольным значениям настроек.
Записывают фактически установленные размеры кресла-коляски. Записывают любые отклонения от требований, указанных в
разделе 8, и причины отклонения.
7. Подготовка кресла-коляски
Если для процедуры конкретного испытания установлены специальные требования к настройкам, используют процедуру настройки, определенную в процедуре этого конкретного испытания. Все другие процедуры настройки следует проводить в соответствии с
7.2 -
7.9.
7.2. Оснащение кресла-коляски
Кресло-коляска готово к применению, если система опоры тела или любые ее элементы могут существовать в различных вариантах: натяжное сиденье, натяжная задняя спинка, два съемных подлокотника на всю длину руки и два отдельных съемных подлокотника, регулируемая по углу система поддержки стопы с заранее установленной системой поддержки пятки. Если любой из этих вариантов недоступен, выбирают те варианты, которые рекомендованы изготовителем и записывают это в протокол испытаний.
Если кресло-коляска может поставляться с колесами различных диаметров, выбирают диаметр колес, рекомендованный изготовителем. Если таких рекомендаций нет, выбирают колеса наибольшего диаметра.
Если кресло-коляска может поставляться с антиопрокидывателем и/или с устройством для преодоления препятствий, эти приспособления необходимо использовать.
Элементы постуральной системы опоры, такие как подголовники, дополнительные подушки сиденья и т.д., если только они не являются неотъемлемой частью системы опоры тела, должны быть убраны.
Примечание. Съемные подушки сиденья, такие, которые поставляют с креслом-коляской и которые необходимы при обычном использовании кресла-коляски и фиксируются крючками и пристегиваются петлями, не следует рассматривать как дополнительные и не следует их убирать.
Кресло-коляска не должно быть оснащено никакими другими дополнительными принадлежностями.
7.3. Регулировка кресла-коляски
7.3.1. Кресла-коляски с ободами ручного привода
Примечание. Кресла-коляски с ободами ручного привода включают в себя кресла-коляски, которые продвигаются за счет приложения к ободу ручного привода силы рук пользователя, и кресла-коляски, к ободу ручного привода которых прикладывают дополнительную силу (HAPAW).
Устанавливают все регулируемые размеры кресла-коляски, как можно ближе к контрольным значениям настройки, установленным в
таблице 1 с точностью +/- 3 мм или +/- 1°, если не указано иное.
Если контрольное значение настройки недостижимо/невозможно, устанавливают значение, наиболее близкое к большему значению, или, если и это значение также недостижимо/невозможно, устанавливают значение, наиболее близкое, насколько это возможно, к контрольному значению настройки.
Регулируют антиопрокидыватель, как рекомендовано изготовителем. Если рекомендации отсутствуют, устанавливают его как можно ближе к следующему положению:
- устанавливают высоту подъема (см.
3.27), равную (25 +/- 3) мм;
- когда кресло-коляска стоит на ровной поверхности, антиопрокидыватель выдвинут назад, как можно дальше;
- если невозможно выполнить обе установки одновременно, приоритет отдают установке высоты подъема;
- если изготовитель рекомендует более одной установки, используют рекомендованные установки, наиболее близкие к принятым по умолчанию.
Если какие-либо регулировки приводят к нежелательным установкам, например, самоориентирующиеся колеса задевают другие части кресла-коляски, увеличивают/уменьшают регулировки так, чтобы быть уверенным в надлежащей пригодности кресла-коляски к использованию, и записывают реальные размеры с указанием причин их изменения.
7.3.2. Кресла-коляски без ободов ручного привода
Примечание. Кресла-коляски без ободов ручного привода включают в себя кресла-коляски с электроприводом и кресла-коляски с рычажной системой ручного привода, а также кресла-коляски, которые толкает сопровождающий.
Устанавливают все регулируемые размеры кресла-коляски, как можно ближе к контрольным значениям настройки, установленным в
таблице 1 с точностью +/- 3 мм или +/- 1°, если не указано иное.
Если контрольное значение настройки недостижимо/невозможно, устанавливают значение, наиболее близкое к большему значению, или, если это значение также недостижимо/невозможно, устанавливают значение, наиболее близкое, насколько это возможно, к контрольному значению настройки.
Регулируют антиопрокидыватель, как рекомендовано изготовителем. Если рекомендации отсутствуют, устанавливают его как можно ближе к следующему положению:
- устанавливают высоту подъема (см.
3.27), равную (50 +/- 3) мм;
- когда кресло-коляска стоит на ровной поверхности, антиопрокидыватель выдвинут назад, как можно дальше;
- если невозможно выполнить обе установки одновременно, приоритет отдают установке высоты подъема;
- если изготовитель рекомендует более одной установки, используют рекомендованные установки, наиболее близкие к принятым по умолчанию.
Устанавливают устройства для преодоления бордюра в рабочее положение, как это рекомендовано изготовителем.
В случае скутеров регулируют горизонтальное расстояние между рычагом и задней спинкой, как рекомендовано изготовителем. Если рекомендации отсутствуют, устанавливают это расстояние как можно ближе к значению, равному (640 +/- 25) мм для скутеров, предназначенных для пользователей групп II и III, и к значению, равному (460 +/- 25) мм для скутеров, предназначенных для пользователей группы I. Если рекомендовано более одной установки, используют рекомендованную установку, наиболее приближенную к этим предпочтительным установкам.
В случае кресла-коляски с рычажной системой ручного привода устанавливают рычаг(и) на максимальную длину и смещение в сторону, как рекомендовано изготовителем. Затем устанавливают их в следующее положение:
- когда кресло-коляска при измерении находится в состоянии покоя (см.
8.2 -
8.10 и
A.2 -
A.22), рычаг(и) располагают в крайних точках перемещения; если рычаг только один, располагают его в самой передней точке перемещения;
- когда кресло-коляска при измерении находится в движении (см.
8.11 -
8.17), перемещают рычаг(и) между их крайними точками перемещения.
Если какие-либо регулировки приводят к нежелательным установкам, например, колеса задевают другие части кресла-коляски, увеличивают/уменьшают регулировки так, чтобы быть уверенным в надлежащей пригодности кресла-коляски к использованию, и записывают реальные размеры с указанием причин их изменения.
Контрольные значения настроек для кресел-колясок
с ободами ручного привода
Наименование | Контрольные значения настроек |
Группа пользователей в зависимости от их массы тела |
Примечание - Термины, отличающиеся от используемых в ИСО 7176-7 и ИСО 7176-22, приведены в квадратных скобках | I (< 50 кг) | II (от 50 до 125 кг) | III (> 125 кг) |
Угол наклона плоскости сиденья, ° | 4 | 4 | 4 |
Эффективная глубина сиденья, мм | 340 | 450 | 450 |
Эффективная ширина сиденья <a>, мм | 320 | 450 | 500 |
Высота уровня сиденья от переднего края, мм | 470 | 520 | 520 |
Угол опоры спины [угол задней спинки], ° | 10 | 10 | 10 |
Высота опоры спины [высота задней спинки], мм | 340 | 420 | 420 |
Высота рукоятки, мм | 820 | 950 | 950 |
Ширина опоры спины [ширина спинки], мм | 320 | 450 | 500 |
Длина подножки, мм | 340 | 450 | 450 |
НО НЕ МЕНЕЕ ЧЕМ: клиренс подножки, мм | 50 | 40 | 40 |
Длина опоры стопы, мм | 150 | 150 | 150 |
Угол наклона опоры стопы, ° | 90 | 90 | 90 |
Угол наклона подножки к поверхности сиденья, ° | 90 | 97 | 97 |
Высота подлокотника, мм | 160 | 200 | 200 |
Расстояние от переднего края подлокотника до опоры спины [расстояние от переднего края подлокотника до спинки], мм | 200 | 320 | 320 |
Диаметр обода ручного привода, мм | 490 | 530 | 530 |
Диаметр ходового колеса [диаметр ведущего колеса], мм | 560 | 610 | 610 |
Колесная база, мм | 340 | 400 | 400 |
Развал, ° | -3 | 0 | 0 |
Горизонтальное положение оси колеса, мм | 20 | 20 | 20 |
Вертикальное положение оси колеса, мм | 166 | 184 | 184 |
Диаметр самоориентирующегося колеса, мм | 150 | 175 | 175 |
След самоориентирующегося колеса, мм | 35 | 50 | 50 |
Колея приводных колес или рулевых колес [ширина колеи приводных колес] | В среднем положении |
Колея самоориентирующихся колес или поворотных колес [ширина колеи самоориентирующегося колеса] | В среднем положении |
Съемные колеса, горизонтальное положение [положение стакана самоориентирующегося колеса, горизонтально] | В среднем положении |
Съемные колеса, вертикальное положение [положение стакана самоориентирующегося колеса, вертикально] | В среднем положении |
Съемные колеса, вертикальное положение оси [положение оси самоориентирующегося колеса, вертикально] | В среднем положении |
Наклон самоориентирующегося колеса в продольном направлении [угол наклона шарнира самоориентирующегося колеса, продольная плоскость], ° | По вертикали +1/-0 |
Наклон самоориентирующегося колеса в поперечном направлении [угол наклона шарнира самоориентирующегося колеса, поперечная плоскость], ° | По вертикали +/- 0,5 |
<a> Так как номинальная ширина сиденья (измеренная в ИСО 7176-7 как "ширина сиденья") измеряется разными способами, эти результаты не сопоставимы. Поэтому, эффективная ширина сиденья используется как контрольное значение, так как этот размер подходит и при сравнении значений, и при рассмотрении реальных потребностей пользователей. |
<b> Эти регулировки используются только в том случае, если они не противоречат любым регулировкам сиденья. |
Контрольные значения настроек для кресел-колясок
без ободов ручного привода
Наименование | Контрольные значения настроек |
Группа пользователей в зависимости от их массы тела |
Примечание - Термины, отличающиеся от используемых в ИСО 7176-7 и ИСО 7176-22, приведены в квадратных скобках | I (< 50 кг) | II (от 50 до 125 кг) | III (> 125 кг) |
Угол наклона плоскости сиденья, ° | 4 | 4 | 4 |
Эффективная глубина сиденья, мм | 340 | 450 | 450 |
Эффективная ширина сиденья <a>, мм | 340 | 470 | 520 |
Высота уровня сиденья от переднего края, мм | 470 | 520 | 520 |
Угол опоры спины [угол задней спинки], ° | 10 | 10 | 10 |
Высота опоры спины [высота задней спинки], мм | 400 | 500 | 500 |
Высота рукоятки, мм | 820 | 950 | 950 |
Ширина опоры спины [ширина спинки], мм | 340 | 470 | 520 |
Длина подножки, мм | 340 | 450 | 450 |
НО НЕ МЕНЕЕ ЧЕМ: клиренс подножки, мм | 50 | 40 | 40 |
Длина опоры стопы, мм | 150 | 150 | 150 |
Угол наклона опоры стопы, ° | 90 | 90 | 90 |
Угол наклона подножки к поверхности сиденья, ° | 90 | 97 | 97 |
Высота подлокотника, мм | 160 | 200 | 200 |
Расстояние от переднего края подлокотника до опоры спины [расстояние от переднего края подлокотника до спинки], мм | 200 | 320 | 320 |
Диаметр фиксированного колеса [диаметр ведущего колеса] | Наибольший диаметр |
Фиксированное колесо, горизонтальное положение [положение оси ведущего колеса, горизонтально] | |
Фиксированное колесо, вертикальное положение [положение оси ведущего колеса, вертикально] | Среднее положение |
Развал фиксированного колеса [развал ведущего колеса], <b> | 0 |
Колея ведущих колес или рулевых колес [ширина колеи ведущих колес] | Среднее положение |
Диаметр съемных колес [диаметр самоориентирующихся колес] | Наибольший диаметр |
Съемные колеса, горизонтальное положение [положение стакана самоориентирующегося колеса, горизонтально] | |
Съемные колеса, вертикальное положение [положение стакана самоориентирующегося колеса, вертикально] | Среднее положение |
Съемные колеса, вертикальное положение оси [положение оси самоориентирующегося колеса, вертикально] | Среднее положение |
Колея самоориентирующихся колес или поворотных колес [ширина колеи самоориентирующихся колес] | Среднее положение |
Наклон самоориентирующегося колеса в продольном направлении [угол наклона шарнира самоориентирующегося колеса, продольная плоскость], ° | Вертикаль +1/-0 |
Наклон самоориентирующегося колеса в поперечном направлении [угол наклона шарнира самоориентирующегося колеса, поперечная плоскость], ° | Вертикаль +/- 0,5 |
След самоориентирующегося колеса, мм | 50 |
<a> Так как номинальная ширина сиденья (измеренная в ИСО 7176-7 как "ширина сиденья") измеряется разными способами, эти результаты не сопоставимы. Поэтому, эффективная ширина сиденья используется как контрольное значение, так как этот размер подходит и при сравнении значений, и при рассмотрении реальных потребностей пользователей. |
<b> Эти регулировки используются только в том случае, если они не противоречат любым регулировкам сиденья. |
<c> Если среднее положение недостижимо/невозможно, устанавливают ближайшее положение, которое обеспечивает большую колесную базу, чем в среднем положении. |
7.3.3. Электрооборудование
7.3.3.1. Аккумуляторные батареи
Если кресло-коляска оснащено электроприводом, комплектуют его аккумуляторной батареей размера и типа, рекомендованных изготовителем. Заряжают аккумуляторную батарею, по крайней мере, на 75% ее номинальной емкости.
Предупреждение - Если кресло-коляска оборудовано аккумуляторной батареей с жидким электролитом, некоторые испытания могут быть опасны из-за риска его утечки. В таком случае аккумуляторная батарея может быть заменена на аналогичную гелиевую или герметизированную, с дополнительными грузами, создающими эквивалентное распределение массы.
7.3.3.2. Установка устройств управления
Для кресел-колясок с электроприводом с устройством управления, которое может быть расположено в разных положениях в пространстве, устройство управления устанавливают под правую руку пользователя в среднее положение. Если нет условия для такого положения, используют такое расположение, которое дает среднее положение, наиболее удаленное от подлокотника.
7.3.3.3. Электрическая настройка
Настраивают устройство управления в соответствии с рекомендациями изготовителя. Если рекомендации изготовителя отсутствуют, выбирают настройку, соответствующую максимальной скорости.
7.3.3.4. Другие электрические устройства управления
Устанавливают любые другие устройства управления, которые не требуют применения инструментов, в положение, рекомендованное изготовителем, не изменяя предыдущие регулировки по
7.3. Если такие рекомендации отсутствуют, устанавливают их в среднее положение.
7.3.4. Другие регулируемые элементы
Устанавливают механически регулируемые элементы кресла-коляски, которые не включены в
таблицу 1 или
2, в их среднее положение с точностью +/- 3 мм. Если среднего положения не существует, устанавливают их в положение, ближайшее к среднему в сторону большей длины, ширины и высоты.
7.3.5. Пневматические шины
Если кресло-коляска имеет пневматические шины, накачивают их до давления, рекомендованного изготовителем кресла-коляски. Если указан диапазон давления, накачивают до наибольшего значения этого диапазона. Если рекомендации изготовителя кресла-коляски относительно давления накачки отсутствуют, накачивают шины до максимального давления, рекомендованного изготовителем шин.
7.3.6. Стояночные тормоза
Некоторые регулировки могут влиять на функционирование тормозов, например, если тормозные колодки не соприкасаются с их рабочей поверхностью при регулировке положения колеса. Если тормоза допускают регулировку, а инструкции изготовителя по их регулировке отсутствуют, измеряют расстояние между тормозными колодками и поверхностью контакта, когда тормоза находятся в отпущенном состоянии. Записывают это расстояние.
Примечание. Это расстояние используют при перенастройке тормозов на заключительном этапе регулировки (см.
7.3.7).
7.3.7. Заключительные регулировки
После выполнения требований
7.3.1 -
7.3.6 проводят следующие заключительные регулировки, отдавая приоритет тем, которые находятся в списке последними и при этом не противоречат инструкциям изготовителя.
В случае необходимости регулируют угол задней спинки и угол наклона плоскости сиденья, не меняя положения колес, в соответствии с контрольными значениями настроек, приведенными в
таблицах 1 и
2. Если эти значения углов недостижимы/невозможны, устанавливают значения, наиболее близкие к большим значениям, или, если эти значения также недостижимы/невозможны, устанавливают значения наиболее близкие, насколько это возможно, к контрольным значениям настроек.
Если необходимо, регулируют наклон самоориентирующихся колес в продольном направлении с точностью +1°/0° или, если это невозможно, устанавливают его как можно ближе к вертикальному положению. Не допускается наклон самоориентирующегося колеса в поперечном направлении.
В случае регулируемых стояночных тормозов регулируют стояночные тормоза в соответствии с рекомендациями изготовителя. Если рекомендации изготовителя отсутствуют, регулируют тормоза в соответствии с измерениями по
7.3.6.
7.4. Заключительная проверка
После того, как процедуры по
7.2 и
7.3 завершены, следует убедиться, что все элементы крепления, использованные при регулировке, затянуты в соответствии с рекомендациями изготовителя. Если рекомендации изготовителя отсутствуют, корректируют затяжку соединений в соответствии с ИСО 7176-22, Приложение B.
Размещают кресло-коляску на испытательной плоскости. Подготавливают кресло-коляску к движению, как этого требует изготовитель. Устанавливают подвижные колеса в положение, соответствующее их положению при движении вперед прямо.
7.6. Загрузка кресла-коляски
7.6.1. Общие положения
Некоторые методы испытаний, описанные в настоящем стандарте, требуют, чтобы кресло-коляска было загружено, в то время как другие методы позволяют проводить испытания с незагруженным креслом-коляской. В случае если конкретный метод испытания требует, чтобы кресло-коляска было загружено, в качестве нагрузки может быть использован либо испытательный манекен, либо, если это разрешено для конкретного метода испытания, испытатель.
7.6.2. Испытательный манекен
В случае, если для конкретного испытания установлено, что кресло-коляска должно быть загружено, следует использовать испытательный манекен по
5.3.
Располагают испытательный манекен, как установлено в ИСО 7176-22, раздел 9, со следующими изменениями.
- Заменяют таблицу 1 ИСО 7176-22 на таблицу 3, приведенную ниже.
Выбор массы испытательного манекена
Максимальная масса пользователя, кг | Масса испытательного манекена, кг |
<= 50 | 50 |
От 50 до 75 | 75 |
> 75 | 100 |
Примечание. Настоящий стандарт не предназначен для испытаний по определению каких-либо технических характеристик. Поэтому считают, что максимальная масса испытательного манекена 100 кг является достаточной нагрузкой для кресла-коляски, даже если оно предназначено для использования с большей нагрузкой.
- Если кресло-коляска имеет две отдельные опоры стопы, располагают два соответствующих имитатора стопы (см.
5.3) в поперечном направлении параллельно друг другу и по центру каждой опоры стопы.
- Если кресло-коляска имеет цельную опору стопы, располагают два соответствующих имитатора стопы в поперечном направлении параллельно друг другу и на расстоянии (10 +/- 2) см с каждой стороны от центральной линии опоры стопы.
- Располагают имитаторы стопы на опоре стопы в направлении нос/корма, как указано на
рисунке 26. Если такое положение испытательного манекена невозможно, или окажется, что это соответствует анатомически нереальной позиции человека, задействованного в испытаниях, корректируют это положение до приемлемого и описывают положение и причину, по которой это оказалось необходимым.
- В случае трубчатых опор стопы устанавливают имитаторы стопы под углом (15 +/- 1)° к горизонтали (см.
рисунок 26).
- Зажимают имитаторы стопы на опоре(ах) стопы либо прикрепляют их болтами, просверлив отверстия диаметром не более 8 мм.
a) Плоская опора стопы без поддержки сзади
b) Плоская опора стопы с поддержкой сзади
c) Трубчатая опора стопы без поддержки сзади
d) Трубчатая опора стопы с поддержкой сзади
1 - точка визирования
Рисунок 26. Положение имитаторов стопы
при разных опорах стопы
Если установлено, что для конкретного испытания испытательный манекен может быть заменен испытателем, необходимо провести эту замену. В этом случае добавляют груз типа мешочков с песком к жилетке или другим элементам одежды и т.д. для того, чтобы компенсировать недостающую массу и выставить центр тяжести так, чтобы максимально соответствовать положению испытательного манекена. Располагают ноги испытателя на опорах стопы с носком стопы (ботинок) на том же самом месте, где находились бы передние части имитаторов стопы при установке, указанной выше.
Примечание. Для того чтобы определить правильное положение центра тяжести испытателя, можно сравнить распределение массы кресла-коляски с сидящим испытателем (плюс дополнительный груз, если он используется) с распределением массы кресла-коляски с испытательным манекеном, помещенным в системе опоры тела так, как это определено в ИСО 7176-22.
ПРЕДУПРЕЖДЕНИЕ - Необходимо принять все необходимые меры для гарантированного обеспечения безопасности персонала, принимающего участие в испытаниях.
7.7. Регистрация результатов
Записывают фактические установки или регулировки испытываемого кресла-коляски (
7.2 -
7.6). Записывают любые отклонения от требований по
7.2 -
7.6 и причины этих отклонений.
7.8. Использование имитаторов рук и имитаторов стоп
Если это установлено для конкретного испытания, должны быть использованы имитаторы рук для кресел-колясок с ободами ручного привода.
Если это установлено для конкретного испытания, должны быть использованы имитаторы ног.
Если в конкретном испытании требуется, чтобы метки Z на колесах были расположены на специальной линии (для того чтобы повернуть колеса так, чтобы они находились в положении минимального бокового отклонения колеса), должна быть выполнена следующая процедура (см.
рисунок 27).
Примечание 1. Такие метки Z являются средством определения нейтрального поперечного отклонения колеса.
Примечание 2. Процедура, описанная ниже, может быть проведена совместно с
A.5 и
A.7 Приложения A.
Приподнимают заднюю часть кресла-коляски, расположенного на испытательной плоскости, так, чтобы обеспечить возможность свободного вращения задних колес.
Примечание 3. Удержание передних колес в контакте с землей позволит креслу-коляске быть более устойчивым в ходе испытания.
X - наиболее удаленная боковая точка обода;
Y - наименее удаленная боковая точка обода; Z - нейтральное
поперечное отклонение обода; 1 - лицевая сторона обода;
2 - радиус, проходящий через точку X; 3 - радиус,
проходящий через точку Y; 4 - линия, делящая пополам угол
между радиусами 2 и 3;

- угол между радиусами 2 и 3
Рисунок 27. Расположение меток Z
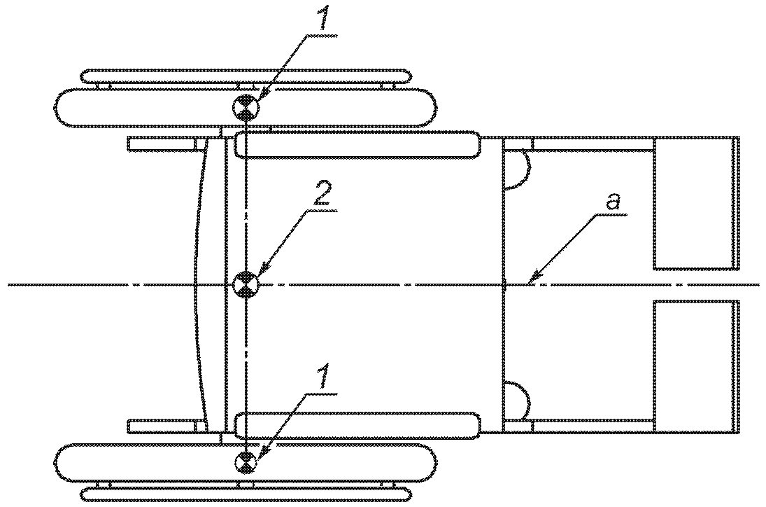
Рядом с ободом левого заднего колеса размещают на испытательной плоскости устройство определения отклонения (см.
5.8).
В то время пока колесо вращается, медленно перемещают устройство определения отклонения к ободу колеса в боковом направлении. Определяют точку, в которой устройство определения отклонения в первый раз коснется лицевой части обода колеса. В этой точке наносят метку X как знак самой удаленной боковой точки.
Пока колесо продолжает вращаться, продолжают медленно перемещать устройство определения отклонения ближе к ободу колеса в поперечном направлении, делая область контакта все длиннее и длиннее. Определяют точку, в которой устройство определения отклонения замкнет область контакта в окружность. В этой точке наносят метку Y как знак наименее удаленной боковой точки.
Проводят радиусы в точки X и Y и измеряют угол

между ними. Проводят линию, делящую угол

пополам, и отмечают две точки пересечения этой линии с лицевой стороной обода колеса Z как знак нейтрального поперечного отклонения. Повторяют эту процедуру для правого заднего колеса.
Приподнимают у кресла-коляски, расположенного на испытательной плоскости, переднюю часть так, чтобы обеспечить возможность свободного вращения передних колес. Повторяют процедуру для передних колес.
Примечание 4. Вилки самоориентирующихся колес могут фиксироваться при регулировке самоориентирующихся колес.
Примечание 5. Метки Z используют в
A.14 -
A.22.
7.10. Асимметричная конструкция испытываемого кресла-коляски
Если кресло-коляска имеет асимметричную конструкцию, а измерения проводят в процессе движения (см.
8.11 -
8.17), испытания проводят в обоих направлениях. Если результаты обоих испытаний неидентичные, записывают большее значение.
Пример - Обычно асимметричная конструкция имеет место на креслах-колясках с ручным приводом, которые приводятся в движение с помощью рычага, приводимого в движение одной рукой.
8. Обязательные измерения
Измерения, полученные при испытаниях по настоящему разделу, должны быть представлены в отчете об испытаниях, паспорте изделия и руководстве по эксплуатации в соответствии с
разделами 9 и
10.
Примечание 1. Приведенные в этих документах данные используют для определения, подойдет ли кресло-коляска для предполагаемого использования.
Процедуры испытаний установлены для обеспечения сопоставимости и воспроизводимости результатов.
Эти испытания применимы ко всем креслам-коляскам, если не установлено иное.
Перед каждым конкретным испытанием регулируют кресло-коляску в соответствии с
разделом 7 и располагают его на испытательной плоскости.
Для испытаний, описанных в
8.2 -
8.10, кресло-коляску не загружают испытательным манекеном. Для испытаний, описанных в
8.11 -
8.17, кресло-коляску загружают соответствующим испытательным манекеном (включая имитаторы стоп), как установлено в
7.6.2, или испытателем, как установлено в
7.6.3.
Примечание 2. Технический отчет
[2] находится в стадии разработки.
ПРЕДУПРЕЖДЕНИЕ - Настоящий стандарт требует применения процедур, которые могут нанести вред здоровью, если не предприняты адекватные меры предосторожности. Это относится только к технической стороне вопроса и не освобождает изготовителя или испытательную лабораторию от юридических обязательств, касающихся здоровья и безопасности на любой стадии испытаний.
8.2. Полная габаритная длина
Это испытание применимо к креслам-коляскам с опорами для ног и/или опорами стоп.
a) Определяют расстояние между самой передней и самой задней точками кресла-коляски при измерении параллельно продольной оси.
b) Измеряют и записывают полную габаритную длину с точностью +/- 10 мм.
a) Определяют расстояние между самыми выступающими сбоку частями кресла-коляски, когда оно собрано и подготовлено к использованию, измерение проводят по горизонтали в направлении, перпендикулярном к продольной оси кресла-коляски.
b) Измеряют и записывают габаритную ширину с точностью +/- 10 мм.
Примечание. Согласно
разделу 9 результаты этого испытания необходимы только для кресел-колясок с ободами ручного привода.
a) Определяют расстояние по вертикали от испытательной плоскости до контрольной точки рукоятки кресла-коляски.
b) Измеряют и записывают высоту рукоятки с точностью +/- 10 мм.
8.5. Длина в сложенном состоянии
Примечание. Согласно
разделу 9 результаты этого испытания необходимы только для кресел-колясок без ободов ручного привода.
a) Снимают все компоненты, которые можно снять без использования специальных инструментов. Полностью складывают и/или разбирают кресло-коляску для уменьшения его размеров, как это делают для целей хранения или транспортирования, без использования инструментов, как рекомендовано изготовителем.
b) Определяют расстояние между самой передней и самой задней точками кресла-коляски параллельно продольной оси кресла-коляски, исключая удаленные/разобранные части.
c) Измеряют и записывают длину в сложенном состоянии с точностью +/- 10 мм.
8.6. Ширина в сложенном состоянии
a) Снимают все компоненты, которые можно снять без использования специальных инструментов. Полностью складывают и/или разбирают кресло-коляску для уменьшения его размеров, как это делают для целей хранения или транспортирования, без использования инструментов, как рекомендовано изготовителем.
b) Определяют расстояние между самыми выступающими сбоку точками (справа и слева) по горизонтали перпендикулярно к продольной оси кресла-коляски, исключая удаленные/разобранные части.
c) Измеряют и записывают ширину в сложенном состоянии с точностью +/- 10 мм.
8.7. Высота в сложенном состоянии
Примечание 1. Согласно
разделу 9 результаты этого испытания необходимы только для кресел-колясок без ободов ручного привода.
a) Снимают все компоненты, которые можно снять без использования специальных инструментов. Полностью складывают и/или разбирают кресло-коляску для уменьшения его размеров, как это делают для целей хранения или транспортирования, без использования инструментов, как рекомендовано изготовителем.
Примечание 2. Если задняя спинка может складываться вместе с сиденьем, прижимают ее как можно ближе к сиденью.
b) Определяют вертикальное расстояние от испытательной плоскости до самой верхней точки кресла-коляски, исключая удаленные/разобранные части.
c) Измеряют и записывают высоту в сложенном положении с точностью +/- 10 мм.
Примечание. Согласно
разделу 9 результаты этого испытания необходимы только для кресел-колясок с ободами ручного привода.
Это испытание применимо к креслам-коляскам с антиопрокидывателем.
Проверяют положение антиопрокидывателя в соответствии с
7.3.1 -
7.3.2.
a) Наклоняют кресло-коляску назад до тех пор, пока антиопрокидыватель не упрется в испытательную плоскость. Определяют вертикальное расстояние между самой нижней точкой приподнятых передних колес и испытательной плоскостью.
b) Измеряют и записывают высоту подъема с точностью +/- 1 мм.
Определяют и записывают общую массу незагруженного кресла-коляски, округляя до килограммов.
8.10. Масса самой тяжелой части
Примечание 1. Согласно
разделу 9 результаты этого испытания необходимы только для кресел-колясок с ободом ручного привода.
a) Разбирают все части (или элементы частей) кресла-коляски, которые можно разобрать без использования специальных инструментов, как это делается для уменьшения его размеров при хранении или транспортировании, используя рекомендации изготовителя.
b) Определяют и записывают массу самой тяжелой части (или элемента частей) кресла-коляски, округляя до килограммов.
Примечание 2. Самой тяжелой частью может оказаться рама кресла-коляски.
Примечание 1. Согласно
разделу 9 результаты этого испытания необходимы только для кресел-колясок без ободов ручного привода.
Это испытание применимо к креслам-коляскам с полностью дифференциальным рулевым управлением.
Пример - Кресла-коляски с ободами ручного привода и приводимые в движение силой рук, и некоторые кресла-коляски с электроприводом.
Если кресло-коляска оснащено ободами ручного привода, необходимо использовать имитаторы рук (см.
5.6).
a) Выстраивают коридор так, чтобы расстояние между его стенами можно было изменять с помощью переносных барьеров. Располагают кресло-коляску внутри коридора параллельно стенам.
b) Разворачивают кресло-коляску внутри коридора самым удобным для кресла-коляски образом, используя одно непрерывное движение.
Примечание 2. Подробности этого маневра описаны в
разделе B.2.
c) Постепенно уменьшают ширину коридора и таким образом определяют минимальную ширину коридора, при которой кресло-коляска может вращаться, не задевая стен.
d) Измеряют и записывают ширину вращения с точностью +/- 25 мм.
Примечание 1. Согласно
разделу 9 результаты этого испытания необходимы только для кресел-колясок без ободов ручного привода.
Это испытание применимо к креслам-коляскам с прямым рулевым управлением или ограниченным дифференциальным рулевым управлением.
Пример - Скутеры и некоторые кресла-коляски с электроприводом.
a) Выстраивают коридор, так, чтобы расстояние между его стенами можно было изменять с помощью переносных барьеров. Располагают кресло-коляску внутри коридора параллельно стенам.
b) Разворачивают кресло-коляску внутри коридора самым удобным для выбранного кресла-коляски способом. При этом разрешается только одно начальное движение вперед, одно движение назад и одно завершающее движение вперед. Испытание закончено, когда кресло-коляска развернулось на 180°.
Примечание 2. Подробности маневра описаны в
B.3.
c) Постепенно уменьшают ширину коридора и таким образом определяют минимальную ширину коридора, при которой кресло-коляска может развернуться, не задевая стен.
d) Измеряют и записывают ширину разворота с точностью +/- 25 мм.
Примечание 1. Согласно
разделу 9 результаты этого испытания необходимы только для кресел-колясок без ободов ручного привода.
Если кресло-коляска оснащено ободом ручного привода, необходимо использовать имитаторы рук (см.
5.6).
a) Определяют наименьший диаметр цилиндрической поверхности, в которой кресло-коляска может развернуться на 360° за одно непрерывное движение вперед с максимально вывернутым рулевым управлением.
b) Измеряют и записывают диаметр вращения с точностью +/- 25 мм.
Примечание. Согласно
разделу 9 результаты этого испытания необходимы только для кресел-колясок без обода ручного привода.
a) Определяют самую нижнюю точку кресла-коляски, которая не находится на колесе, регулируемой опоре стопы или антиопрокидывателе. Определяют вертикальное расстояние между самой нижней точкой и испытательной плоскостью.
b) Измеряют и записывают значение клиренса с точностью +/- 1 мм.
8.15. Необходимая ширина углового коридора
Если кресло-коляска оснащено ободом ручного привода, необходимо использовать имитаторы рук (см.
5.6).
a) Выстраивают внутренние стены коридора с поворотом под углом 90° с помощью двух переносных барьеров, соединенных перпендикулярно друг к другу. На испытательной плоскости проводят ориентировочную линию, которая начинается от стены, ограничивающей внешний угол под углом 135°. Выстраивают внешние стены коридора с помощью двух переносных барьеров, соединенных перпендикулярно друг к другу. Помещают угол внешней стены на ориентировочную линию. Обращают внимание на параллельность стен (см.
рисунок 15).
b) Располагают кресло-коляску у входа в коридор, установив его параллельно стенам.
c) Перемещают кресло-коляску вперед по коридору за угол наиболее подходящим для данного кресла-коляски образом. При этом допустимо только движение вперед. Испытание считается законченным, когда кресло-коляска встанет параллельно выходу из коридора.
d) Постепенно уменьшают ширину коридора, перемещая угол по ориентировочной линии и определяют минимальную ширину коридора, при которой кресло-коляска может перемещаться, не задевая стен.
e) Измеряют и записывают минимальную ширину коридора с точностью +/- 25 мм.
f) Повторяют испытание, но перемещают кресло-коляску назад по коридору за угол.
g) Определяют больший из двух результатов испытаний и записывают его как необходимую ширину углового коридора.
8.16. Необходимая глубина дверного проема
Если кресло-коляска оснащено ободом ручного привода, необходимо использовать имитаторы рук (см.
5.6).
a) Располагают кресло-коляску перед стеной с дверью шириной 800 мм, которая открывается в сторону кресла-коляски (см.
рисунок 14).
b) Располагают один переносной барьер за креслом-коляской, а другой сбоку на расстоянии 600 мм от двери. Обращают внимание, чтобы задний барьер был параллелен, а боковой перпендикулярен к стене с дверью.
c) Передвигают кресло-коляску к двери и открывают дверь. В случае необходимости перемещают кресло-коляску, чтобы освободить место для створки двери.
d) Определяют минимальное расстояние между передвижным барьером, который находится за креслом-коляской, и стеной с дверью.
e) Измеряют и записывают необходимую глубину дверного проема с точностью до +/- 25 мм.
8.17. Необходимая ширина коридора для бокового прохода
Если кресло-коляска оснащено ободом ручного привода, необходимо использовать имитаторы рук (см.
5.6).
a) Выстраивают с помощью переносных барьеров стены коридора с боковым проходом шириной 800 мм. Обращают внимание на параллельность стен (см.
рисунок 13).
b) Располагают кресло-коляску в коридоре параллельно стенам и разворачивают его передней частью в сторону прохода.
c) Передвигают кресло-коляску вдоль коридора и наружу из прохода наиболее подходящим для данного кресла-коляски способом. При этом допускается движение только вперед. Испытательный заезд по выезду считают законченным, когда кресло-коляска выехало из коридора и встало перпендикулярно к стенам.
d) Постепенно уменьшают ширину коридора и определяют минимальную ширину коридора, из которого кресло-коляска может выехать из прохода, не задевая стен.
e) Определяют минимальную ширину коридора, необходимую чтобы выехать из него.
f) Располагают кресло-коляску у прохода, но вне коридора, перпендикулярно к стенам и развернутое передней частью к проходу. Затем передвигают кресло-коляску вперед через проход в коридор наиболее подходящим для данного кресла-коляски способом. При этом допускается движение только вперед. Испытательный заезд по въезду считают законченным, когда кресло-коляска въедет в коридор и расположится параллельно стенам.
g) Постепенно уменьшают ширину коридора и определяют минимальную ширину коридора, в который кресло-коляска может въехать через проход, не задевая стен.
h) Определяют минимальную ширину коридора для въезда в коридор.
i) Определяют больший из двух результатов испытаний и записывают его как необходимую ширину коридора для бокового прохода.
j) Измеряют и записывают необходимую ширину коридора для бокового прохода с точностью +/- 25 мм.
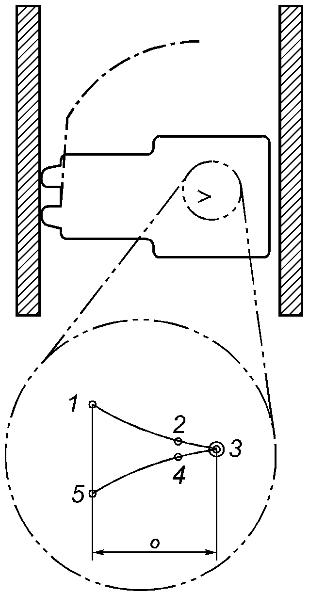
Примечание. Для некоторых кресел-колясок консервативных конструкций и с полностью дифференциальным рулевым управлением необходимая ширина коридора для бокового прохода равна расстоянию между точкой A (самой дальней боковой точкой кресла-коляски или имитатора руки, которая находится на оси фиксированных колес, с одной стороны кресла-коляски) и точкой B (точкой кресла-коляски или имитатора опоры стопы, с противоположной стороны, и наиболее удаленной от точки A) (см. рисунок 28). Так как в большинстве случаев для испытаний при въезде в коридор требуется больше места, чем при выезде, расстояние A-B может быть использовано как первое приближение при проведении испытаний в движении.
a) Контур типичного кресла-коляски с имитаторами рук
и имитаторами опор стоп
b) Испытание при въезде в коридор
1 - ось фиксированных колес; 2 - необходимая ширина
коридора для бокового прохода
Рисунок 28. Первое приближение при проведении испытания
в движении
9. Представление информации
Паспорт изделия и руководство по эксплуатации должны соответствовать требованиям ИСО 7176-15 и быть на официальном(ых) языке(ах) той страны, в которой реализуются кресла-коляски.
9.2. Кресла-коляски с ободами ручного привода
Примечание 1. Кресла-коляски с ободами ручного привода включают в себя кресла-коляски, которые передвигаются за счет приложения к ободу ручного привода силы рук, и кресла-коляски, к ободу ручного привода которых прикладывают дополнительную силу (HAPAW).
Паспорт изделия и руководство по эксплуатации должны содержать следующую информацию:
a) группу пользователей I, II или III в зависимости от массы тела, как установлено в
4.3;
b) эффективную ширину сиденья испытательного кресла-коляски;
c) следующие результаты испытаний:
1) полную габаритную длину (для кресел-колясок с опорами для ног и/или опорами стоп);
2) габаритную ширину;
3) высоту рукоятки;
4) ширину в сложенном состоянии.
Примечание 2. Рассматривая размеры в сложенном состоянии, необходимо учесть, что отделенные части также требуют места для их безопасного хранения;
5) высоту подъема (для кресел-колясок с антиопрокидывателем);
6) общую массу;
7) необходимую ширину углового коридора;
8) необходимую глубину дверного проема;
9) необходимую ширину коридора для бокового прохода.
9.3. Кресла-коляски без обода ручного привода
Примечание 1. Кресла-коляски без обода ручного привода включают в себя кресла-коляски с электроприводом и ручные кресла-коляски с рычажной системой привода, а также кресла-коляски, которые толкает сопровождающий.
Паспорт изделия и руководство по применению должны содержать следующую информацию:
a) класс A, B или C, как установлено в
4.2 (для кресел-колясок с электроприводом);
b) группу пользователей I, II или III в зависимости от массы тела, как установлено в
4.3;
c) эффективную ширину испытательного кресла-коляски;
d) следующие результаты испытаний:
1) полную габаритную длину (для кресел-колясок с опорами для ног и/или опорами стоп);
2) габаритную ширину;
3) длину в сложенном состоянии;
4) ширину в сложенном состоянии;
5) высоту в сложенном состоянии.
Примечание 2. Рассматривая размеры в сложенном состоянии, необходимо учесть, что отделенные части также требуют места для их безопасного хранения;
6) общую массу;
7) массу самой тяжелой части;
8) ширину вращения (для кресел-колясок с полностью дифференциальным рулевым управлением);
9) ширину разворота (для кресел-колясок с прямым рулевым управлением или ограниченным дифференциальным рулевым управлением);
10) диаметр вращения;
11) клиренс;
12) необходимую ширину углового коридора;
13) необходимую глубину дверного проема;
14) необходимую ширину коридора для бокового прохода.
Отчет об испытаниях должен содержать следующую информацию:
a) утверждение, что испытания были проведены в соответствии с настоящим стандартом;
b) наименование, адрес и статус аккредитации организации, проводившей испытания;
c) дату составления отчета об испытаниях;
d) наименование и адрес изготовителя кресла-коляски;
e) модель кресла-коляски и его серийный и заводские номера;
f) конфигурацию кресла-коляски для каждого испытания;
g) массу испытательного манекена или испытателя вместе с дополнительными грузами, которые были использованы при испытаниях;
h) фотографию испытываемого кресла-коляски;
i) класс кресла-коляски A, B или C, как установлено в
4.2 (для кресел-колясок с электроприводом);
j) группу пользователей I, II или III в зависимости от массы тела, как установлено в
4.3;
k) эффективную ширину сиденья испытательного кресла-коляски (если не достижимо контрольное значение настройки);
l) измерения, полученные при испытаниях, включенных в
раздел 8:
1) полную габаритную длину (для кресел-колясок с опорами для ног и/или опорами для стоп);
2) габаритную ширину;
3) высоту рукоятки;
4) длину в сложенном состоянии;
5) ширину в сложенном состоянии;
6) высоту в сложенном состоянии;
7) высоту подъема;
8) общую массу;
9) массу самой тяжелой части;
10) ширину вращения (для кресел-колясок с полностью дифференциальным рулевым управлением);
11) ширину разворота (для кресел-колясок с прямым рулевым управлением или с ограниченным дифференциальным рулевым управлением);
12) диаметр вращения;
13) клиренс;
14) необходимую ширину углового коридора;
15) необходимую глубину дверного проема;
16) необходимую ширину коридора для бокового прохода.
Если были проведены испытания в соответствии с
Приложением A, протокол испытаний должен содержать технические измерения, полученные при испытаниях, включенных в
Приложение A:
1) уменьшенную габаритную длину (для кресел-колясок без опор для ног и/или опор стоп или со съемными опорами для ног и/или опорами стоп);
2) габаритную высоту;
3) радиальное отклонение всех колес;
4) боковое отклонение всех колес;
5) радиальное отклонение всех ободов ручного привода (для кресел-колясок с ободами ручного привода);
6) боковое отклонение всех ободов ручного привода (для кресел-колясок с ободами ручного привода);
7) полную длину в загруженном состоянии (для кресел-колясок с опорами для ног и/или опорами стоп);
8) уменьшенную длину в загруженном состоянии (для кресел-колясок без опор для ног и/или опор стоп или со съемными опорами для ног и/или опорами стоп);
9) ширину в загруженном состоянии;
10) высоту в загруженном состоянии;
11) угол изменения наклона;
12) значения стандартной колесной базы и максимальной разности между значениями левой и правой колесных баз, значения минимальной и максимальной колесных баз и число установок (для кресел-колясок с ободом ручного привода);
13) значение колеи задних колес;
14) значение колеи передних колес;
15) значения стандартного развала и максимальной асимметрии между развалом правого и левого колес, значения самого положительного и самого отрицательного развала и число установок (для кресел-колясок с ободом ручного привода);
16) значение схода;
17) смещение;
18) значения наклона самоориентирующихся колес в продольном направлении и максимальной разности между наклоном правого и левого колес (для кресел-колясок с самоориентирующимися колесами);
19) значения наклона самоориентирующихся колес в поперечном направлении и максимальной асимметрии между наклоном правого и левого колес (для кресел-колясок с самоориентирующимися колесами);
20) значения следа самоориентирующихся колес и максимальной разности между правым и левым следами колес (для кресел-колясок с самоориентирующимися колесами);
21) значения смещения всех самоориентирующихся колес и максимальной асимметрии между левым и правым колесами (для кресел-колясок с самоориентирующимися колесами).
(справочное)
A.1. Общие положения
Технические размеры, полученные при испытаниях по настоящему Приложению, должны быть представлены в отчете об испытаниях.
Процедуры испытаний установлены для обеспечения сопоставимости и воспроизводимости результатов.
Эти испытания применимы ко всем креслам-коляскам, если не установлено иное.
При испытаниях по
разделам A.2 -
A.7 кресло-коляску испытательным манекеном не загружают. При испытаниях по разделам
A.8 -
A.22 кресло-коляску загружают соответствующим испытательным манекеном (включая имитаторы стоп), как установлено в
7.6.2.
Примечание. Типичные значения и рекомендованные ограничения для настоящего Приложения будут приведены в
[2]. Типичные значения и рекомендованные ограничения для размеров, массы и площади маневрирования - как это определено в настоящем стандарте.
ПРЕДУПРЕЖДЕНИЕ - Настоящий стандарт требует применения процедур, которые могут нанести вред здоровью, если не предприняты адекватные меры предосторожности. Это относится только к технической стороне вопроса и не освобождает изготовителя или испытательную лабораторию от юридических обязательств, касающихся здоровья и безопасности на любой стадии испытаний.
A.2. Уменьшенная габаритная длина
Это испытание применимо к креслам-коляскам без опор ног и/или опор стоп или со съемными опорами ног и/или опорами стоп.
a) Снимают любые нижние элементы опор стоп.
b) Определяют расстояние между самой передней и самой задней точками кресла-коляски в направлении, параллельном продольной оси кресла-коляски.
c) Измеряют и записывают уменьшенную габаритную длину с точностью +/- 10 мм.
A.3. Габаритная высота
a) Определяют расстояние по вертикали от испытательной плоскости до самой верхней точки кресла-коляски.
b) Измеряют и записывают габаритную высоту с точностью +/- 10 мм.
A.4. Радиальное отклонение колеса
Примечание. Это испытание может быть проведено совместно с испытаниями, описанными в
A.5,
A.6 и
A.7.
a) Приподнимают левую часть кресла-коляски таким образом, чтобы обеспечить свободное вращение левого колеса. Перед шиной левого колеса размещают на испытательной плоскости устройство для определения отклонения (см.
5.8).
b) Пока колесо вращается, медленно смещают устройство определения отклонения ближе к окружности колеса по радиусу. Отмечают точку, в которой устройство определения отклонения коснется средней линии колеса в первый раз. Измеряют наибольший радиус колеса в этой точке с точностью +/- 0,1 мм.
c) Пока колесо вращается, продолжают медленно смещать устройство определения отклонения ближе к окружности колеса по радиусу, причем делают область соприкосновения с колесом все больше и больше. Определяют точку, в которой устройство определения отклонения замкнет область соприкосновения в окружность. Измеряют наименьший радиус колеса в этой точке с точностью +/- 0,1 мм.
d) Вычисляют радиальное отклонение колеса путем вычитания наименьшего радиуса из наибольшего радиуса.
e) Повторяют эту процедуру для всех колес.
f) Записывают радиальное отклонение для всех колес с точностью +/- 0,1 мм.
A.5. Боковое отклонение колеса
Примечание. Это испытание может быть проведено совместно с испытаниями, описанными в
A.4,
A.6 и
A.7.
a) Определяют метки X и Y, как установлено в
7.9.
b) Размещают прямой угол (см.
5.7) на испытательной плоскости и сбоку от метки X. Измеряют параллельно оси колеса поперечное расстояние между прямым углом и лицевой стороной обода при метке X с точностью +/- 0,1 мм. Не передвигая кресло-коляску или прямой угол, проворачивают колесо так, чтобы метка Y оказалась на месте метки X. Измеряют параллельно оси колеса поперечное расстояние между прямым углом и лицевой стороной обода при метке Y с точностью +/- 0,1 мм.
c) Вычисляют боковое отклонение колеса, вычитая поперечное расстояние в положении, соответствующем метке X, из поперечного расстояния, соответствующего метке Y.
d) Повторяют эту процедуру для всех колес.
e) Записывают боковое отклонение для всех колес с точностью +/- 0,1 мм.
A.6. Радиальное отклонение обода ручного привода
Примечание. Это испытание может быть проведено совместно с испытаниями, описанными в
A.4,
A.5 и
A.7.
Это испытание применимо к креслам-коляскам с ободами ручного привода.
a) Приподнимают кресло-коляску таким образом, чтобы обеспечить свободное вращение ведущих колес. Располагают устройство определения отклонения (см.
5.8) на испытательной плоскости перед левым ободом ручного привода.
b) В то время когда обод ручного привода вращается, медленно перемещают устройство определения отклонения по радиусу к ободу ручного привода. Определяют точку, в которой устройство определения отклонения коснется средней линии обода ручного привода в первый раз. Измеряют наибольший радиус обода ручного привода в этой точке с точностью 0,1 мм.
c) В то время когда обод ручного привода вращается, продолжают медленно перемещать устройство определения отклонения ближе к ободу ручного привода по радиусу, увеличивая область контакта. Определяют точку, в которой устройство определения отклонения замкнет область контакта в окружность. Измеряют наименьший радиус обода ручного привода в этой точке с точностью +/- 0,1 мм.
d) Вычисляют радиальное отклонение левого обода ручного привода, вычитая наименьший радиус из наибольшего радиуса.
e) Повторяют эту процедуру для правого обода.
f) Если кресло-коляска имеет более двух ободов ручного привода, повторяют процедуру по перечислениям a) - d) для каждого обода.
g) Определяют наибольшее радиальное отклонение обода ручного привода кресла-коляски.
h) Записывают наибольшее радиальное отклонение обода ручного привода с точностью +/- 0,1 мм.
A.7. Боковое отклонение обода ручного привода
Примечание. Это испытание может быть проведено совместно с испытаниями, описанными в
A.4,
A.5 и
A.6.
Это испытание применимо к креслам-коляскам с ободами ручного привода.
a) Приподнимают кресло-коляску таким образом, чтобы обеспечить свободное вращение ведущих колес. Рядом с лицевой боковой частью обода ручного привода размещают на испытательной плоскости устройство определения отклонения (см.
5.8).
b) В то время когда обод ручного привода вращается, медленно перемещают устройство определения отклонения ближе к ободу ручного привода в боковом направлении. Определяют точку, в которой устройство определения отклонения коснется обода ручного привода в первый раз. В этой точке наносят на обод метку U как знак самой удаленной боковой точки.
c) В то время когда обод ручного привода вращается, продолжают медленно перемещать устройство определения отклонения ближе к ободу ручного привода в боковом направлении, увеличивая область контакта с ободом. Определяют точку, в которой устройство определения отклонения замкнет область контакта в окружность. В этой точке наносят на обод метку V как знак наименее удаленной боковой точки.
d) Размещают прямой угол (см.
5.7) на испытательной плоскости сбоку у отметки U. Измеряют параллельно оси колес боковое расстояние между прямым углом и боковой поверхностью обода ручного привода в точке U с точностью +/- 0,1 мм. Не передвигая кресло-коляску или прямой угол, проворачивают колесо так, чтобы метка V оказалась на месте метки U. Измеряют параллельно оси колес боковое расстояние между прямым углом и боковой поверхностью обода ручного привода в точке V с точностью +/- 0,1 мм.
e) Вычисляют боковое отклонение обода ручного привода, вычитая боковое расстояние в точке U из бокового расстояния в точке V.
f) Повторяют эту процедуру для правого обода ручного привода.
g) Если кресло-коляска имеет более двух ободов ручного привода, повторяют процедуру по перечислениям
a) -
e) для каждого обода.
h) Определяют наибольшее боковое отклонение обода ручного привода кресла-коляски.
i) Записывают наибольшее боковое отклонение обода ручного привода с точностью +/- 0,1 мм.
A.8. Полная длина в загруженном состоянии
Это испытание применимо к креслам-коляскам с опорами для ног и/или опорами стоп.
a) Определяют расстояние между самой передней точкой кресла-коляски или испытательного манекена (включая соответствующие имитаторы стоп) и самой задней точкой кресла-коляски или испытательного манекена, проводя измерения параллельно продольной оси кресла-коляски.
b) Измеряют и записывают полную длину с точностью +/- 10 мм.
A.9. Уменьшенная длина в загруженном состоянии
Это испытание применимо к креслам-коляскам без опор для ног и/или опор стоп или со снимаемыми опорами ног и/или опорами стоп.
Для этого конкретного испытания следует использовать имитатор колен (см.
5.4).
a) Снимают все нижние элементы опоры ног.
b) Определяют расстояние между самой передней точкой кресла-коляски или испытательного манекена (включая имитатор колен) и самой задней точкой кресла-коляски или испытательного манекена параллельно продольной оси кресла-коляски.
c) Измеряют и записывают уменьшенную длину в загруженном состоянии с точностью +/- 10 мм.
A.10. Ширина в загруженном состоянии
Если кресло-коляска оснащено ободом ручного привода, должны быть использованы имитаторы рук (см.
5.6).
a) На полностью разложенном и готовом для использования кресле-коляске измеряют по горизонтали в направлении, перпендикулярном к продольной оси кресла-коляски, расстояние между самыми дальними боковыми точками кресла-коляски и/или испытательного манекена и/или имитатора рук.
b) Измеряют и записывают ширину в загруженном состоянии с точностью +/- 10 мм.
A.11. Высота в загруженном состоянии
a) Измеряют расстояние по вертикали от испытательной плоскости до верхней точки испытательного манекена, отстоящей на 100 мм вперед от плоскости задней спинки сиденья (см.
рисунок A.1).
b) Оценивают высоту в загруженном состоянии (см.
рисунок A.1), принимая во внимание наличие подушки сиденья, следующим образом:
a) если кресло-коляска имеет сиденье из ременных строп или жесткое сиденье, не покрытое мягким материалом, добавляют к высоте дополнительно 180 мм для группы пользователей I и 350 мм для групп пользователей II и III;
b) если кресло-коляска имеет жесткое сиденье, покрытое мягким материалом, добавляют к высоте дополнительно 160 мм для группы пользователей I и 330 мм для групп пользователей II и III.
Примечание. Дополнительное значение высоты учитывает тот факт, что голова сидящего пользователя возвышается над испытательным манекеном, так как она находится в вертикальном положении, вне зависимости от угла наклона задней спинки сиденья. Таким образом, учитывается любой реальный угол наклона сиденья и угол наклона задней спинки. При необходимости также учитывается уменьшение толщины подушки сиденья на 20 мм. Размеры соответствуют
[3] и ИСО 7176-11.
c) Измеряют и записывают высоту в загруженном состоянии с точностью +/- 10 мм.
a) Группы пользователей II и III
b) Группа пользователей I
1 - испытательный манекен; 2 - эталонный пользователь
(в масштабе, соответствующем размерам человека);
3 - испытательная плоскость; 4 - 100 мм вперед от плоскости
задней спинки; 5 - вертикальное расстояние от испытательной
плоскости до точки, которая соответствует верхней части
испытательного манекена в 100 мм впереди от плоскости
задней спинки; 6 - дополнительное значение высоты
Рисунок A.1. Измерение высоты в загруженном состоянии
A.12. Угол изменения наклона
Проверяют, соответствует ли положение имитаторов стоп испытательного манекена требованиям
7.6.2.
a) Располагают имитатор пандуса A (см.
5.9) на испытательной плоскости так, чтобы он касался передних колес. Увеличивают угол наклона, поднимая его передний конец до тех пор, пока он не коснется любой части кресла-коляски или испытательного манекена. Если перед передними колесами отсутствуют элементы конструкции кресла-коляски, записывают этот факт в протокол испытаний. Измеряют и записывают передний угол изменения наклона с точностью +/- 1° [см.
рисунок 11 a)].
b) Располагают имитатор пандуса A (см.
5.9) на испытательной плоскости так, чтобы он касался задних колес. Увеличивают угол наклона этого пандуса, поднимая его задний конец до тех пор, пока он не коснется любой части кресла-коляски. Если за задними колесами отсутствуют элементы конструкции кресла-коляски, записывают этот факт в протокол испытаний. Измеряют и записывают задний угол изменения наклона с точностью +/- 1° [см.
рисунок 11 b)].
c) Приподнимают кресло-коляску так, чтобы нижние части между колесами оказались доступны. Используют имитатор пандуса B (см.
5.10) и измеряют наибольший угол

между двумя частями имитатора пандуса B с точностью +/- 1° [см.
рисунки 11 c) и
A.2]. Затем вычисляют и записывают дополнительный угол, вычитая наибольший измеренный угол

из 180°.
Примечание 1. Обычно наибольший угол

получается, если расположить имитатор пандуса B его двумя плоскими частями под передними и задними колесами, а шарнир расположить у самой нижней точки кресла-коляски вблизи середины расстояния между колесами.
Примечание 2. При подъеме загруженного кресла-коляски некоторые его размеры могут слегка изменяться. Эти изменения не надо учитывать.
d) Определяют наименьшее значение, полученное по перечислениям
a),
b) и
c), и записывают его как угол изменения наклона.
Рисунок A.2. Измерение наибольшего угла

,
когда кресло-коляска находится в верхней точке
изменения наклона
a) Измеряют расстояние между точками соприкосновения с землей левого переднего и левого заднего колес параллельно продольной оси кресла-коляски с точностью +/- 1 мм.
b) Измеряют расстояние между точками соприкосновения с землей правого переднего и правого заднего колес параллельно продольной оси кресла-коляски с точностью +/- 1 мм.
c) Если кресло-коляска имеет три колеса, проводят измерения от каждого парного колеса до одиночного колеса.
d) Вычисляют значение стандартной колесной базы как среднее двух измерений.
e) Вычисляют разность между значениями левой и правой колесных баз для стандартной установки, вычитая меньшее значение колесной базы из большего.
f) Если колесная база регулируется, устанавливают ее минимальное значение (как определено изготовителем) и повторяют измерения и вычисления по перечислениям
a) -
e).
g) Если колесная база регулируется, устанавливают ее максимальное значение (как определено изготовителем) и повторяют измерения и вычисления по перечислениям
a) -
e).
h) Исходя из абсолютных значений вычисленной разности между значениями левой и правой колесных баз для трех установок колесной базы (стандартной, максимальной и минимальной) определяют значение максимальной разности.
i) Определяют общее число установок колесной базы (как определено изготовителем).
j) Записывают значение стандартной установки колесной базы с точностью +/- 1 мм.
k) Записывают минимальное значение колесной базы с точностью +/- 1 мм.
l) Записывают максимальное значение колесной базы с точностью +/- 1 мм.
m) Записывают значение максимальной разности между значениями левой и правой колесных баз с точностью до +/- 1 мм.
n) Записывают число установок колесной базы.
a) Проворачивают все задние колеса так, чтобы для каждого из них две метки Z (см.
7.9) находились на вертикальной линии, проходящей через ось колеса.
b) Определяют расстояние между точками контакта левого и правого задних колес с землей по горизонтали в направлении, перпендикулярном к продольной оси кресла-коляски. Если у кресла-коляски только одно заднее колесо, колея задних колес равна нулю.
c) Измеряют и записывают значение колеи задних колес с точностью +/- 1 мм.
A.15. Колея передних колес
a) Проворачивают все передние колеса так, чтобы для каждого из них две метки Z (см.
7.9) находились на вертикальной линии, проходящей через ось колеса.
b) Определяют расстояние между точками контакта левого и правого передних колес с землей по горизонтали в направлении, перпендикулярном к продольной оси кресла-коляски. Если у кресла-коляски только одно переднее колесо, колея передних колес равна нулю.
c) Измеряют и записывают значение колеи передних колес с точностью +/- 1 мм.
A.16. Развал
a) Проворачивают все фиксированные колеса так, чтобы для каждого колеса две метки Z (см.
7.9) находились на вертикальной линии, проходящей через ось колеса.
b) Размещают прямой угол (см.
5.7) на испытательной плоскости сбоку левого фиксированного колеса.
c) Измеряют по горизонтали в направлении, перпендикулярном к продольной оси кресла-коляски, и записывают как A расстояние между прямым углом и самой нижней точкой лицевой стороны обода левого колеса с точностью +/- 1 мм.
d) Не передвигая кресло-коляску или прямой угол, измеряют по горизонтали в направлении, перпендикулярном к продольной оси кресла-коляски, и записывают как B расстояние между прямым углом и самой верхней точкой лицевой стороны обода левого колеса с точностью +/- 1 мм.
e) Измеряют и записывают как C кратчайшее расстояние между самой нижней и самой верхней точками и лицевой стороной обода левого колеса с точностью +/- 1 мм.
f) Вычисляют значение стандартного развала левого колеса, используя следующую формулу:

.
Примечание 1. Сохраняют запись C для последующего использования в
A.17.
Примечание 2. Следят за знаком результата.
g) Повторяют эту процедуру для правого фиксированного колеса.
h) Вычитают значение развала правого колеса из значения развала левого колеса с учетом знака. Абсолютное значение этой разности записывают как асимметрию между развалом левого и правого колес стандартной установки развала колес.
i) Если развал колес регулируется, устанавливают его на самое положительное значение и повторяют перечисления
a) -
h).
j) Если развал колес регулируется, устанавливают его на самое отрицательное значение и повторяют перечисления
a) -
h).
k) Из абсолютных значений вычисленной асимметрии между установками развала левого и правого колес трех установок (стандартной, самой положительной и самой отрицательной) определяют значение максимальной асимметрии.
l) Определяют число установок развала колес (как определено изготовителем).
m) Записывают значение стандартного развала колес с точностью +/- 0,1°.
n) Записывают самое положительное значение развала колес с точностью +/- 0,1°.
o) Записывают самое отрицательное значение развала колес с точностью +/- 0,1°.
p) Записывают значение максимальной асимметрии между развалом левого и правого колес с точностью +/- 0,1°.
q) Записывают число установок развала колес.
Примечание 1. Это испытание может быть проведено совместно с испытанием по
A.18.
a) Проворачивают все фиксированные колеса так, чтобы каждые две метки Z (см.
7.9) находились на вертикальной линии, проходящей через ось колеса.
Измеряют по горизонтали в направлении, перпендикулярном к продольной оси кресла-коляски, и записывают как расстояние между самой передней точкой внутренней стороны лицевой части обода левого колеса и самой передней точкой внутренней стороны лицевой части обода правого колеса с точностью +/- 1 мм.
Не передвигая кресло-коляску, измеряют по горизонтали в направлении, перпендикулярном к продольной оси кресла-коляски, и записывают как F расстояние между самой задней точкой внутренней стороны лицевой части обода левого колеса и самой задней точкой внутренней стороны лицевой части обода правого колеса с точностью +/- 1 мм.
Измеряют и записывают как C кратчайшее расстояние между самой задней и самой передней точками внутренней стороны лицевой части обода левого колеса с точностью +/- 1 мм.
b) Вычисляют угол схода колес, используя следующую формулу:

.
Примечание 3. Следят за знаком результата.
Примечание 4. Сохраняют записи E и F для последующего использования в
A.18.
c) Записывают значение схода колес с точностью +/- 0,1°.
Примечание 1. Это испытание может быть проведено совместно с испытанием по
A.17.
Загружают кресло-коляску испытательным манекеном в соответствии с
7.6.2. Испытательный манекен может быть заменен испытателем (см.
7.6.3).
a) Проворачивают фиксированные колеса таким образом, чтобы каждая из двух меток Z (см.
7.9) находилась на горизонтальной линии, проходящей через ось колеса.
b) Измеряют и записывают как G расстояние между самой передней точкой внутренней части лицевой стороны обода левого колеса и самой задней точкой внутренней части лицевой части обода правого колеса с точностью +/- 1 мм.
c) Не передвигая кресло-коляску, измеряют и записывают как H расстояние между самой передней точкой внутренней части лицевой стороны обода правого колеса и самой задней точкой внутренней части лицевой стороны обода левого колеса с точностью +/- 1 мм.
Примечание 2. Если разность между G и H менее 2 мм, смещение пренебрежимо мало.
d) Вычисляют смещение, используя следующую формулу:

,
где T - среднеарифметическое значение E и F (см.
A.17 Приложения A).
Примечание 3. Знак полученного выражения является информативным. Положительное значение смещения указывает на то, что левое колесо находится впереди правого, а отрицательное значение указывает, что правое колесо находится впереди левого.
e) Записывают смещение с точностью +/- 1 мм.
A.19. Наклон самоориентирующегося колеса в продольном направлении
Это испытание применимо к креслам-коляскам с самоориентирующимися колесами.
a) Располагают кресло-коляску на испытательной плоскости (см.
5.1) со всеми самоориентирующимися колесами, развернутыми вперед по направлению движения. Подкладывают колодки одинаковой толщины под каждое колесо.
b) Убирают колодку из-под левого самоориентирующегося колеса. Приподнимают и удерживают кресло-коляску за удобное место на раме так, чтобы это самоориентирующееся колесо находилось на таком же расстоянии от испытательной плоскости, как и другие колеса (см.
рисунок A.3).
c) Прикладывают индикатор к сборочному узлу самоориентирующегося колеса, для того чтобы установить вспомогательную точку, которая должна быть вынесена от оси самоориентирующегося колеса, по крайней мере, на 60 мм.
Примечание 1. Достаточно прижать тонкую планку (например, из стали или дерева) между колесом и вилкой.
d) Вращают левое самоориентирующееся колесо относительно оси шарнира, пока оно не встанет в положение, соответствующее движению вперед (смещенное назад). Измеряют и записывают как J вертикальное расстояние между испытательной плоскостью и вспомогательной точкой с точностью +/- 0,1 мм.
e) Вращают левое самоориентирующееся колесо относительно оси шарнира, пока оно не встанет в положение, соответствующее движению назад (смещенное вперед). Измеряют и записывают как K вертикальное расстояние между испытательной плоскостью и вспомогательной точкой с точностью +/- 0,1 мм.
f) Измеряют параллельно продольной оси кресла-коляски и записывают как L расстояние между двумя положениями вспомогательной точки.
g) Вычисляют значение наклона самоориентирующегося колеса в продольном направлении, используя следующую формулу:

.
h) Повторяют перечисления
a) -
g) для правого колеса.
i) Вычитают значение наклона правого самоориентирующегося колеса из значения наклона левого колеса с учетом знака. Абсолютное значение этой разности записывают как разность между наклоном левого и правого самоориентирующихся колес при стандартной установке.
j) Если наклон самоориентирующегося колеса зависит от любых регулировок (например, регулировки развала и/или положения фиксированных колес или сборочного узла самоориентирующегося колеса в вертикальном и/или горизонтальном направлении) проводят регулировку, которая дает наибольшее положительное значение наклона самоориентирующегося колеса, в соответствии с рекомендациями изготовителя. Затем корректируют значение наклона самоориентирующегося колеса как можно ближе к нулю в соответствии с рекомендациями изготовителя и повторяют перечисления
a) -
h).
Примечание 2. Коррекцию наклона самоориентирующегося колеса можно проводить любыми способами, рекомендованными изготовителями (например, регулировкой угла сборочного узла самоориентирующегося колеса).
k) Проводят регулировку, которая дает наибольшее отрицательное значение наклона самоориентирующегося колеса, в соответствии с рекомендациями изготовителя. Затем корректируют значение наклона самоориентирующегося колеса как можно ближе к нулю в соответствии с рекомендациями изготовителя и повторяют перечисления
a) -
h).
l) Определяют значения наибольшего положительного и наибольшего отрицательного наклона самоориентирующихся колес из результатов всех испытаний по перечислениям
a) -
k), которые не удалось скорректировать до нуля.
m) Записывают значение наклона самоориентирующихся колес в продольном направлении при стандартной установке с точностью +/- 0,1°.
n) Записывают значение разности между значениями наклона левого и правого самоориентирующихся колес при стандартной установке с точностью +/- 0,1°.
o) Записывают значения наибольшего положительного и наибольшего отрицательного наклона самоориентирующихся колес, которые невозможно скорректировать до нуля, с точностью +/- 0,1°.
1 - устройство для подъема и удержания
кресла-коляски; 2 - испытательная плоскость; 3 - ось
шарнира самоориентирующегося колеса (с отрицательным
наклоном самоориентирующегося колеса в данном примере);
4 - вспомогательная точка при положении самоориентирующегося
колеса, которое соответствует движению вперед;
5 - вспомогательная точка при положении самоориентирующегося
колеса, которое соответствует движению назад; 6 - наклон
самоориентирующегося колеса (отрицательный в данном
примере); 7 - индикатор; J - вертикальное расстояние
при положении колеса, которое соответствует движению вперед;
K - вертикальное расстояние при положении колеса,
которое соответствует движению назад; L - расстояние
между двумя вспомогательными точками
--------------------------------
<a> Вертикаль.
Рисунок A.3. Определение наклона самоориентирующегося
колеса в продольном направлении
A.20. Наклон самоориентирующегося колеса в поперечном направлении
Это испытание применимо к креслам-коляскам с самоориентирующимися колесами.
a) Располагают кресло-коляску на испытательной плоскости (см.
5.1) со всеми самоориентирующимися колесами по направлению движения. Подкладывают колодки одинаковой толщины под каждое колесо.
b) Убирают колодку из-под левого самоориентирующегося колеса. Приподнимают и удерживают кресло-коляску за удобное место на раме, так чтобы это самоориентирующееся колесо находилось на таком же расстоянии от испытательной плоскости, как и другие колеса (см. рисунок A.4).
1 - устройство для подъема и удержания
кресла-коляски; 2 - испытательная плоскость: 3 - ось
шарнира самоориентирующегося колеса (с положительным
наклоном в поперечном направлении в данном примере);
4 - вспомогательная точка самоориентирующегося колеса,
которая соответствует среднему положению смещения;
5 - вспомогательная точка самоориентирующегося колеса,
которая соответствует боковому положению смещения;
6 - наклон самоориентирующегося колеса (положительный
в данном примере); 7 - индикатор; M - вертикальное
расстояние при положении колеса, которое соответствует
среднему положению смещения; N - вертикальное расстояние
при положении колеса, которое соответствует боковому
положению смещения; O - расстояние между двумя
вспомогательными точками
--------------------------------
<a> Вертикаль.
Рисунок A.4. Определение наклона самоориентирующегося
колеса в поперечном направлении (вид спереди)
c) Прикладывают индикатор к сборочному узлу самоориентирующегося колеса, для того чтобы установить вспомогательную точку, которая должна быть вынесена от оси самоориентирующегося колеса, по крайней мере, на 60 мм.
Примечание 1. Достаточно прижать тонкую планку (например, из стали или дерева) между колесом и вилкой.
d) Вращают левое самоориентирующееся колесо относительно оси шарнира, пока оно не встанет в среднее положение смещения (указывая вбок). Измеряют и записывают как M вертикальное расстояние между испытательной плоскостью и вспомогательной точкой с точностью +/- 0,1 мм.
e) Вращают левое самоориентирующееся колесо относительно оси шарнира, пока оно не встанет в боковое положение смещения, направленное наружу колеи (указывая к середине). Измеряют и записывают как N вертикальное расстояние между испытательной плоскостью и вспомогательной точкой с точностью +/- 0,1 мм.
f) Измеряют по горизонтали в направлении, перпендикулярном к продольной оси кресла-коляски, и записывают как O расстояние между двумя положениями вспомогательной точки.
g) Вычисляют наклон самоориентирующегося колеса, используя следующую формулу:

.
Примечание 2. Следят за знаком результата.
h) Повторяют перечисления a) - g) для правого колеса.
i) Вычитают значение наклона правого самоориентирующегося колеса из значения наклона левого колеса с учетом знака. Абсолютное значение этой разности записывают как асимметрию между наклоном левого и правого самоориентирующихся колес при стандартной установке.
j) Записывают значение наклона самоориентирующихся колес в поперечном направлении с точностью до +/- 0,1°.
k) Записывают значение асимметрии между наклоном левого и правого самоориентирующихся колес с точностью +/- 0,1°.
A.21. След самоориентирующегося колеса
Это испытание применимо для кресел-колясок с самоориентирующимися колесами.
a) Вращают все самоориентирующиеся колеса таким образом, чтобы каждая из двух меток Z (см.
7.9) была расположена на вертикальной линии, проходящей через ось колеса.
b) Определяют точку контакта с землей левого самоориентирующегося колеса.
c) Не передвигая кресло-коляску, определяют продольное отклонение точки пересечения оси шарнира самоориентирующегося колеса с испытательной плоскостью.
Примечание. Одно из эффективных средств определения продольной ориентации точки пересечения шарнира самоориентирующегося колеса с испытательной плоскостью состоит в том, что индикатор (см.
5.12) оси самоориентирующегося колеса устанавливают у боковой части стакана самоориентирующегося колеса и определяют горизонтальное направление, перпендикулярное к продольной оси кресла-коляски (см.
рисунок A.5).
d) Измеряют параллельно продольной оси кресла-коляски расстояние между точкой контакта самоориентирующегося колеса с землей и точкой пересечения оси самоориентирующегося колеса с точностью +/- 1 мм.
e) Повторяют перечисления
a) -
d) для правого самоориентирующегося колеса.
f) Вычисляют значение следа самоориентирующегося колеса как среднее значение двух измерений.
g) Вычисляют разность между значениями следов левого и правого самоориентирующихся колес, вычитая меньшее значение следа из большего значения.
h) Записывают значение следа самоориентирующегося колеса с точностью +/- 1 мм.
i) Записывают разность между значениями следов левого и правого самоориентирующихся колес с точностью +/- 1 мм.
1 - след самоориентирующегося колеса
Рисунок A.5. Определение следа самоориентирующегося
колеса (пример)
A.22. Смещение самоориентирующегося колеса
Это испытание применимо к креслам-коляскам с самоориентирующимися колесами.
a) Вращают все самоориентирующиеся колеса таким образом, чтобы каждая из двух меток Z (см.
7.9) была расположена на вертикальной линии, проходящей через ось колеса.
b) Определяют точку контакта с землей левого самоориентирующегося колеса.
c) Не передвигая кресло-коляску, определяют значение поперечного отклонения точки пересечения оси шарнира колеса с испытательной плоскостью.
Примечание. Одно из эффективных средств определения поперечной ориентации точки пересечения шарнира самоориентирующегося колеса с испытательной плоскостью состоит в том, что индикатор (см.
5.12) оси самоориентирующегося колеса устанавливают у передней части стакана самоориентирующегося колеса и определяют направление, параллельное продольной оси кресла-коляски (см.
рисунок A.6).
d) Измеряют по горизонтали, перпендикулярно к продольной оси кресла-коляски, расстояние между точкой контакта самоориентирующегося колеса с землей и точкой пересечения оси шарнира самоориентирующегося колеса с точностью +/- 0,1 мм.
e) Проверяют положение точки контакта самоориентирующегося колеса с землей:
- если она смещена во внутрь (к середине), то точку пересечения оси шарнира самоориентирующегося колеса записывают как положительную;
- если она смещена наружу (к краю), то точку пересечения оси шарнира самоориентирующегося колеса записывают как отрицательную.
f) Повторяют перечисления
a) -
e) для правого самоориентирующегося колеса.
g) Вычитают значение смещения правого самоориентирующегося колеса из значения смещения левого колеса с учетом знака. Абсолютное значение этой разности записывают как асимметрию между смещением левого и правого самоориентирующихся колес.
h) Записывают значения смещения всех самоориентирующихся колес (знак и значение) с точностью +/- 0,1 мм.
i) Записывают значение асимметрии между левым и правым самоориентирующимися колесами с точностью +/- 0,1 мм.
1 - смещение самоориентирующегося колеса
Рисунок A.6. Определение смещения самоориентирующегося
колеса (пример)
(справочное)
ШИРИНА ВРАЩЕНИЯ И ШИРИНА РАЗВОРОТА
B.1. Общие положения
Настоящее Приложение подробно объясняет, как наиболее рационально передвигать кресло-коляску при определении ширины вращения для кресла-коляски с полностью дифференциальным рулевым управлением и при определении ширины разворота кресла-коляски с прямым рулевым управлением или ограниченным дифференциальным рулевым управлением и как при этом достичь соответствующих минимальных значений.
Понятие ширины вращения применимо только для кресел-колясок с полностью дифференциальным рулевым управлением.
Форма следа типичного загруженного кресла-коляски известна из полевых экспериментов. След типичного загруженного кресла-коляски с полностью дифференциальным рулевым управлением показан на
рисунке B.1. Он симметричен и наибольшая ширина кресла-коляски приходится на область ведущих колес, если подножка кресла-коляски уже (если ширина подножки кресла-коляски меньше). Имитатор стоп представлен двумя выступами в передней части, выпирающими на 200 мм от опоры стоп. На
рисунке B.1 следующим образом показаны три важных отрезка:
- отрезок l простирается между центральной точкой C кресла-коляски и точкой следа, которая находится сзади и справа от точки C и максимально удалена от нее. Отрезок l будет перпендикулярен к стенам, после того как кресло-коляска развернется налево на угол

. Этот отрезок показан пунктирной линией с маленькими квадратами;
- отрезок m простирается между двумя точками следа, которые дальше всего отстоят друг от друга. Отрезок m будет перпендикулярен к стенам, после того как кресло-коляска развернется налево на угол

. Отрезок m показан пунктирной линией с кружками;
Рисунок B.1. След типичного кресла-коляски
с полностью дифференциальным рулевым управлением
(пример кресла-коляски с ручным приводом)
- отрезок n простирается между центральной точкой C кресла-коляски и точкой следа, которая находится слева от точки C и максимально удалена от нее. Отрезок n будет перпендикулярен к стенам, после того как кресло-коляска развернется налево на угол

. Отрезок n показан пунктирной линией со звездочками.
Примечание 1. Конечные точки отрезков l и n обычно очень близки, но не совпадают с конечными точками отрезка m.
Когда опытный пользователь совершает разворот между ограничивающими стенами, передняя часть кресла-коляски будет совершать круговое движение без видимых отклонений от гладкого однонаправленного движения. Интуитивно пользователь будет корректировать положение кресла-коляски за счет незначительных маневрирований с рулевым управлением, регулируя положение кресла-коляски между стенами.
Маневр разворота происходит следующим образом:
Примечание 2. Для демонстрации предполагается, что расстояние между стенами уже уменьшено до ширины вращения.
a) Кресло-коляску располагают между стенами, параллельно им. Разворот может быть начат в любом месте, но нужно некое движение, для того чтобы достичь наилучшей стартовой позиции, при которой потребуется минимальное перемещение. Наилучшей стартовой позицией является такое положение точки C, при котором отрезок l находится в положении максимального удаления от правой стены, для того чтобы обеспечить достаточное пространство для свободного разворота (точке C соответствует цифра 1, которая показана в увеличенном изображении, приведенном ниже этой схемы).
b) Кресло-коляска поворачивается вокруг точки C (которая все еще в положении 1), позволяя правому заднему концу проследовать в непосредственной близости от правой стены после поворота на угол

(когда отрезок l перпендикулярен к стене). Отрезок l показан пунктирной линией с квадратиками.
c) Кресло-коляска продолжает поворачиваться вокруг точки C (которая все еще остается в положении 1) до тех пор, пока левая передняя часть коснется левой стены. На протяжении следующей стадии разворота точка C движется вдоль V-образной кривой (которая показана в середине схемы и в увеличенном изображении, приведенном ниже), пока передняя часть кресла-коляски проходит вдоль левой стены.
d) Эту стадию разворота кресла-коляски продолжают до тех пор, пока точка C достигнет положения 2 и после того как кресло-коляска развернется на угол

. Оба конца отрезка m касаются стен одновременно. Следовательно, ширина вращения равна длине отрезка m. Отрезок m показан пунктирной линией с кружочками. Если стены удалены друг от друга так, что кресло-коляска не может коснуться обеих стен в одно и то же время, минимальная ширина вращения еще не достигнута.
e) Разворот продолжают движением точки C вдоль V-образной кривой с проскальзыванием передней стороны кресла-коляски вдоль левой стены до тех пор, пока точка C достигнет положения 3 после поворота на угол

. Центральная точка кресла-коляски находится на расстоянии n от левой стены. Передняя часть кресла-коляски больше не испытывает противодействия со стороны стены свободному развороту. Отрезок n показан пунктирной линией со звездочками.
f) Дальнейший разворот относительно точки C (с точкой C в положении 3) приводит кресло-коляску к положению, перпендикулярному к стенам. Первая половина разворота (90°) завершена.
Так как в схеме разворота используют принцип симметрии, следует отразить первую половину разворота, для того чтобы показать соответствующее положение на протяжении второй половины. Вторая половина разворота не отражена на схеме. Во время второй половины разворота точка C передвигается из положения 3 через положение 4 в положение 5.
Так как l + m - n = o, расстояние между положением 1 и положением 3, измеренное в перпендикулярном к стенам направлении, также равно o [см.
рисунок B.2 f)].
В конце полного маневра разворота кресло-коляска опять расположено параллельно стенам, но развернуто на 180°.
Для того, чтобы изобразить всю схему движения, показаны перемещения двух основных точек кресла-коляски:
- центральной точки кресла-коляски C, двигающейся вдоль V-образной кривой от положения 1 через положения 2, 3 и 4 в положение 5;
- центра опоры стопы, двигающегося вдоль кривой линии, которая обозначена кривой в виде точек с тире.
b)
c)
d)
e)
PW = ширина вращения
--------------------------------
<a> Старт.
Рисунок B.2. Ширина вращения (пример кресла-коляски
с ручным приводом)
B.3.1. Общие положения
Понятие ширины разворота RW применимо только к креслам-коляскам с прямым рулевым управлением и с ограниченным дифференциальным управлением.
B.3.2. Определение минимального радиуса R
B.3.2.1. Общие положения
Минимальный радиус R траектории центральной точки C кресла-коляски (расстояние, измеренное между точкой C и центром M самого короткого разворота) зависит от типа рулевого управления и определяется, как описано в
B.3.2.2 и
B.3.2.3.
B.3.2.2. Кресла-коляски с прямым рулевым управлением
Минимальный радиус

типичного кресла-коляски с прямым рулевым управлением может быть определен исходя из
рисунка C.1.
Если колесо разворота или ведущее колесо разворота находится под максимальным углом рулевого управления, то

,
где

- радиус той части траектории точки C, когда она вращается вокруг M;
g - расстояние между точкой G и осью фиксированных колес;

- максимальный угол внутреннего поворотного колеса, развернутого в боковом направлении, °;
h - расстояние между точкой G и продольной осью кресла-коляски.
(Точка C - центральная точка кресла-коляски, M - центр разворота, точка G - точка контакта с землей внутреннего поворотного колеса, когда его угол поворота максимален).
B.3.2.3. Кресла-коляски с ограниченным дифференциальным рулевым управлением
Минимальный радиус

для типичного кресла-коляски с прямым рулевым управлением может быть получен, исходя из
рисунка C.2.
Если разность скоростей внутреннего и внешнего поворотного колеса максимальна, то

,
где

- радиус части траектории точки C при вращении вокруг M;
t - длина траектории поворотных колес;

- скорость внешнего поворотного колеса;

- скорость внутреннего поворотного колеса.
B.3.3. Определение основных точек, длин и углов кресла-коляски
Маневр разворота происходит одинаково как для кресел-колясок с прямым рулевым управлением, так и для кресел-колясок с ограниченным дифференциальным рулевым управлением.
Форма следа (проекция всех размеров на испытательную плоскость) типичного загруженного кресла-коляски известна из полевых экспериментов. Полная длина в загруженном состоянии FOL и ширина в загруженном состоянии OW получены из разделов
A.8 и
A.10 соответственно.
Для определения ширины разворота RW важно знать следующие параметры (см.
рисунок B.3):
j - расстояние M-J;
f - расстояние M-F;
R - радиус траектории точки C при развороте вокруг точки M (или

или

);

- угол C-M-E;
e - расстояние M-E:

- угол C-M-K;
k - расстояние M-K;
F, E, J и K - четыре точки кресла-коляски в загруженном состоянии, которые касаются стен.
(Точка C - центральная точка кресла-коляски, M - центр разворота).
C - центральная точка кресла-коляски;
F, E, J, K - точки, которые касаются стен;
e, f, j, k - расстояние между точкой M и соответствующими
точками;

,

- углы C-M-E и C-M-K соответственно;
Mm - центр оптимального разворота вправо; Mln - центр
оптимального разворота влево; FOL - полная длина
в загруженном состоянии; OW - ширина в загруженном
состоянии; R - радиус траектории точки C
при развороте относительно точки M
Примечание. Рисунок представляет вид кресла-коляски сверху при движении вперед.
Рисунок B.3. След типичного кресла-коляски с прямым рулевым
управлением (пример кресла-коляски с электроприводом)
B.3.4. Определение ширины разворота
B.3.4.1 Экспериментальное определение
При экспериментальном определении ширины разворота RW кресло-коляску следует располагать согласно схеме, объясненной в перечислениях
a) -
f) и как показано на
рисунке B.4 a) -
f).
a) Кресло-коляску располагают между стенами, параллельно им. Наилучшей стартовой позицией для начала маневра является такое положение кресла-коляски, когда правый центр

начального разворота находится от левой стены на расстоянии j.
b) Следовательно, кресло-коляска совершает свой первый маневр (который является начальным движением вперед) таким образом, что ее точка J проходит вдоль левой стены. J - эта точка следа, которая находится слева сзади от точки C и максимально удалена от

.
c) Кресло-коляску разворачивают вокруг точки

до тех пор, пока оно не коснется правой стены передней точкой E.
d) Далее следует второй маневр, который представляет собой единственное движение назад. Кресло-коляску разворачивают относительно левого центра разворота

, пока кресло-коляска не коснется левой стены задней точкой K.
e) Затем кресло-коляска совершает третий маневр, который является заключительным движением вперед. Кресло-коляску разворачивают вокруг правого центра разворота. Когда точка

находится на расстоянии f от правой стены, точка F может пройти вдоль правой стены вплотную, и не ударяясь о стены. F - это точка следа, которая находится слева впереди точки C и максимально удалена от точки

.
f) Кресло-коляска завершает разворот на 180°.
b)
c)
d)
e)
a) - f) - последовательность маневров; F, E, J, K - точки,
которые соприкасаются со стенами;

-

- центры трех
маневров разворота; RW - ширина разворота
Рисунок B.4. Ширина разворота (пример кресла-коляски
с электроприводом)
B.3.4.2. Математический подход
Математическое выражение ширины разворота задается формулой

,
где RW - ширина разворота;
j - расстояние M-J;
f - расстояние M-F;
R - радиус траектории точки C при развороте относительно точки M (или

или

);

- угол C-M-E;
e - расстояние M-E;

- угол C-M-K;
k - расстояние M-K;
(E, F, J и K - четыре точки загруженного кресла-коляски, которые соприкасаются со стенами, точка C - центральная точка кресла-коляски, точка M - центр маневрирования).
(справочное)
C.1. Общие положения
В настоящем Приложении приведены математические оценки диаметра вращения кресла-коляски с разными системами рулевого управления с указанием, как достичь его минимальных значений.
C.2 Прямое рулевое управление
Диаметр вращения

кресла-коляски с
- прямым рулевым управлением,
- симметричной конструкцией без какого-либо смещения колес;
- вращающимися колесами или вращающимися приводными колесами, которые вертикальны и вращаются вокруг вертикальной оси и
- всеми размерами, спроектированными на испытательную плоскость (указан след загруженного кресла-коляски)
вычисляют следующим образом:

,
где

- диаметр вращения кресла-коляски с прямым рулевым управлением, равный удвоенному расстоянию между точками M и W (см.
рисунок C.1);
y - расстояние между точкой W и продольной осью кресла-коляски;
h - расстояние между точкой G и продольной осью кресла-коляски:
g - расстояние между точкой G и осью фиксированных колес;

- максимальный угол рулевого управления для внутреннего поворотного колеса, развернутого в боковом направлении, °;
x - расстояние между точкой W и осью фиксированных колес.
Рисунок C.1. Диаметр вращения кресла-коляски
с прямым рулевым управлением
Дополнительно используют следующие обозначения:
C - центральная точка кресла-коляски;
M - центр разворота;
W - точка загруженного кресла-коляски, которая максимально удалена от точки M;
G - точка контакта с землей внутреннего поворотного колеса при максимальном угле рулевого управления, развернутого в боковом направлении.
C.3. Ограниченное дифференциальное управление
Минимальный диаметр вращения

кресла-коляски с
- ограниченным дифференциальным управлением,
- симметричной конструкцией без какого-либо смещения колес,
- самоориентирующимися колесами, которые вертикальны и вращаются вокруг вертикальных осей самоориентирующихся колес и
- всеми размерами, спроектированными на испытательную плоскость (указан след загруженного кресла-коляски),
вычисляют по следующей формуле:

,
где

- минимальный диаметр вращения кресла-коляски с ограниченным рулевым управлением, равный удвоенному расстоянию между точками M и W (см.
рисунок C.2);
t - длина траектории рулевых колес;

- скорость внешнего рулевого колеса;

- скорость внутреннего рулевого колеса;
y - расстояние между точкой W и продольной осью кресла-коляски;
x - расстояние между точкой W и осью рулевых колес.
Дополнительно используют следующие обозначения:
C - центральная точка кресла-коляски;
M - центр разворота;
W - точка следа загруженного кресла-коляски, которая максимально удалена от точки M.
Рисунок C.2. Диаметр вращения кресла-коляски с ограниченным
дифференциальным рулевым управлением
C.4. Полностью дифференциальное рулевое управление
Для кресел-колясок с полностью дифференциальным управлением ситуация гораздо проще (см.
рисунок C.3). В этом случае возможна ситуация, когда передняя скорость одного рулевого колеса равна задней скорости другого рулевого колеса

. Тогда формула, приведенная в
разделе C.3, упрощается до формулы

,
так как центр M наименьшей окружности разворота совпадает с центральной точкой C кресла-коляски.
Примечание. Точка W, точка следа наиболее удаленная от точки M, может отличаться от аналогичной для диаметра вращения кресла-коляски с ограниченным дифференциальным рулевым управлением.
Рисунок C.3. Диаметр вращения кресла-коляски с полностью
дифференциальным рулевым управлением
(справочное)
ПРОДОЛЬНАЯ ОСЬ КРЕСЛА-КОЛЯСКИ И ЦЕНТРАЛЬНАЯ ТОЧКА
КРЕСЛА-КОЛЯСКИ
Настоящее Приложение объясняет, как определить положение продольной оси кресла-коляски (см.
3.32) и центральную точку кресла-коляски (см.
3.31), которая имеет любое смещение (сход и/или смещение) ее фиксированных колес.
Обычно центральную точку кресла-коляски определяют в первую очередь, а продольную ось кресла-коляски находят как горизонтальную линию, проходящую через эту точку в направлении от кормы к носу. Определения, приведенные в
3.31 и
3.32, отражают эту концепцию и определяют продольную ось кресла-коляски во взаимосвязи с центральной точкой кресла-коляски.
Так как идеальное кресло-коляска имеет фиксированные колеса без какого-либо смещения, связанного со сходом или смещением, такие определения применимы. Но при рассмотрении кресла-коляски с наличием смещения колес, такой как сход или смещение, в первую очередь определяют положение продольной оси кресла-коляски по отношению к фиксированным колесам, а центральную точку кресла-коляски затем выбирают на продольной оси кресла-коляски, которая зависит от положения и ориентации колес.
Примечание 1. Положение самоориентирующихся колес не влияет на положение продольной оси кресла-коляски и центральной точки кресла-коляски.
Следующие научные объяснения включают случай нежелательного проявления смещения колес кресла-коляски. Они не противоречат определениям, приведенным в
3.31 и
3.32, которые опираются на обширную практику применения изготовителем случаев без какого-либо смещения колес.
Продольная ось кресла-коляски (научный подход)
Продольная ось кресла-коляски - горизонтальная линия, делящая пополам угол между линиями, которые проходят через самую переднюю и самую заднюю точки колеса средних линий фиксированных колес (см.
рисунок D.1).
Центральная точка кресла-коляски (научный подход)
Центральная точка кресла-коляски - точка, делящая пополам отрезок между точками пересечения осей фиксированных колес с продольной осью кресла-коляски (см.
рисунок D.1).
Примечание 2. В данном примере предполагается, что кресло-коляска не имеет выступов.
1 - середина колеса; 2 - центральная точка кресла-коляски;
3 - продольная ось кресла-коляски
Рисунок D.1. Продольная ось кресла-коляски и центральная
точка кресла-коляски (сход и смещение утрированы)
(справочное)
УКАЗАНИЯ И РЕКОМЕНДАЦИИ ПО КОНСТРУИРОВАНИЮ
И ЭКСПЛУАТАЦИИ КРЕСЕЛ-КОЛЯСОК
E.1. Развал
Некоторые кресла-коляски с ручным приводом имеют отрицательный развал. Развал используют для увеличения устойчивости и обеспечения лучших эргономических свойств во время движения. Он позволяет защищать руки пользователя, приводящего в движение кресло-коляску с помощью обода ручного привода, в узком пространстве и при занятиях спортом. Если отрицательный развал слишком велик, кресло-коляска становится слишком широким.
Рекомендуется избегать любой асимметрии в развале левого и правого колес для обеспечения лучших характеристик эргономики кресел-колясок с ручным приводом.
E.2. Наклон самоориентирующегося колеса в поперечном направлении
Вертикальное положение наклона самоориентирующегося колеса в поперечном направлении очень важно для работы рулевого управления и привода, как для предотвращения дребезжания самоориентирующихся колес, так и для вида их траектории. Настоятельно рекомендуется избегать любого отклонения от вертикали при изготовлении, подготовке, установке или регулировке кресла-коляски. Если передняя часть кресла-коляски поднята на разную высоту с левой и правой сторон при вертикальной регулировке колес или сборочных узлов самоориентирующихся колес, это тоже может привести к наклону самоориентирующегося колеса в поперечном направлении и, следовательно, к отклонению кресла-коляски в сторону. Самоориентирующееся колесо с отрицательным наклоном в поперечном направлении приводит к отклонению кресла-коляски наружу, а самоориентирующееся колесо с положительным наклоном в поперечном направлении - к отклонению во внутрь.
Также настоятельно рекомендуется избегать любой асимметрии между наклоном левого и правого самоориентирующихся колес в поперечном направлении. Асимметрия между наклоном левого и правого самоориентирующихся колес указывает на недостаточную компенсацию побочного влияния смещения самоориентирующихся колес. Даже скомпенсированные, любые отклонения самоориентирующихся колес приводят к повышенному износу шин, увеличению расхода энергии двигателя и чрезмерному дребезжанию самоориентирующегося колеса.
E.3. Наклон самоориентирующегося колеса в продольном направлении
Вертикальное положение наклона самоориентирующегося колеса в продольном направлении очень важно для работы рулевого управления и привода, как для предотвращения дребезжания самоориентирующихся колес, так и для вида их траектории. Настоятельно рекомендуется избегать любого отклонения от вертикали при изготовлении, подготовке, установке или регулировке кресла-коляски. Считается, что отрицательный угол наклона самоориентирующегося колеса в продольном направлении хуже, чем положительный. Так же настоятельно рекомендуется избегать различия между значениями наклона левого и правого самоориентирующихся колес. Некоторые кресла-коляски с ручным приводом имеют поворотные колеса, которые располагаются на раме кресла-коляски в различных местах и поэтому требуют средств компенсации, позволяющих удерживать стакан самоориентирующегося колеса в вертикальном положении. На некоторых креслах-колясках с электроприводом используется небольшой положительный наклон самоориентирующегося колеса в продольном направлении для лучшего поведения кресла-коляски при движении. Наличие любого наклона саморегулирующегося колеса в продольном направлении указывает на увеличенный расход энергии при управлении и движении, при отрицательном наклоне самоориентирующегося колеса добавляется неблагоприятное влияние на увеличение тенденции к дребезжанию самоориентирующегося колеса. Различие между значениями наклона левого и правого самоориентирующихся колес в продольном направлении указывает на недостаточную компенсацию неблагоприятного влияния смещения самоориентирующихся колес.
E.4. След самоориентирующегося колеса
След самоориентирующегося колеса является его важной характеристикой. Рекомендуется избегать больших различий между следом левого и правого самоориентирующихся колес.
E.5. Смещение самоориентирующихся колес
Предотвращение любого смещения самоориентирующихся колес необходимо для работы рулевого управления и привода, как для предотвращения дребезжания самоориентирующихся колес, так и для вида их траектории. Считается, что отрицательное смещение хуже, чем положительное. При этом настоятельно рекомендуется избегать смещения самоориентирующихся колес при изготовлении, подготовке, установке или регулировке кресла-коляски. Так же настоятельно рекомендуется избегать различия между значениями смещения левого и правого самоориентирующихся колес. Самоориентирующиеся колеса со смещением имеют тенденцию менять курс относительно выбранного направления движения. Для компенсации таких отклонений требуется затрачивать дополнительную энергию.
Самоориентирующиеся колеса с отрицательным значением смещения отклоняются наружу, а с положительным смещением - во внутрь.
Асимметрия между смещением левого и правого самоориентирующихся колес указывает на недостаточную компенсацию нежелательного эффекта разворота. Даже в случае полной компенсации любое смещение самоориентирующихся колес приводит к повышенному износу шин, увеличению расхода энергии и чрезмерному дребезжанию самоориентирующихся колес.
E.6. Клиренс
Клиренс определяет способность кресла-коляски преодолевать препятствия.
E.7. Боковое отклонение колеса
Предотвращение любого бокового отклонения колеса важно для его нормальной работы. Настоятельно рекомендуется избегать любого бокового отклонения колес при изготовлении, подготовке, установке или даже регулировке кресла-коляски.
E.8. Ширина вращения
Ширина вращения является размером, необходимым для оценки площади, необходимой при обычном использовании кресла-коляски.
E.9. Радиальное отклонение колеса
Предотвращение любого радиального отклонения колеса важно для его нормальной работы. Настоятельно рекомендуется избегать любого радиального отклонения колес при изготовлении, подготовке, установке или даже регулировке кресла-коляски.
E.10. Необходимая ширина коридора для бокового прохода
Необходимая ширина коридора для бокового прохода нужна, чтобы оценить необходимую площадь при использовании кресла-коляски в повседневной обстановке. Она зависит от ширины бокового прохода и типа кресла-коляски.
E.11. Необходимая глубина дверного проема
Необходимая глубина дверного проема нужна, чтобы оценить необходимую площадь при использовании кресла-коляски в повседневной обстановке.
E.12. Необходимая ширина углового коридора
Необходимая ширина углового коридора нужна, чтобы оценить необходимую площадь при использовании кресла-коляски в повседневной обстановке.
E.13. Ширина разворота
Ширина разворота нужна, чтобы оценить необходимую площадь при использовании кресла-коляски в повседневной обстановке.
E.14. Высота подъема
Высота подъема дает информацию об эффективности антиопрокидывателя и способности кресла-коляски преодолевать маленькие препятствия (такие как пороги).
E.15. Смещение
Предотвращение смещения очень важно для работы рулевого управления. Настоятельно рекомендуется избегать любого смещения колес при изготовлении, подготовке, установке или даже регулировке кресла-коляски. Неблагоприятное влияние наличия смещения сказывается в необходимости большей силы, прикладываемой к рулевому управлению, увеличении расхода энергии при движении по кривой, повышенном износе шин, дискомфорте при пользовании креслом-коляской с ободом ручного привода и трудности удержания гладкости движения при движении по кривой.
E.16. Сход
Предотвращение любого схода колес очень важно для работы рулевого управления и системы привода. Настоятельно рекомендуется избегать любого схода колес при изготовлении, подготовке, установке или даже регулировке кресла-коляски. Считается, что отрицательный сход хуже, чем положительный. Неблагоприятное влияние наличия схода колес заключается в повышенном износе шин и увеличении расхода энергии. Кроме того, положительный сход одного колеса, скомпенсированный отрицательным сходом другого колеса, обычно приводит к нежелательному смещению.
E.17. Диаметр вращения
Центр разворота будет всегда расположен на оси фиксированных колес. Он расположен более или менее близко к центральной точке кресла-коляски. Некоторые кресла-коляски могут разворачиваться очень близко от центра разворота, в то время как другие могут разворачиваться относительно более удаленной точки. Кресла-коляски с полностью дифференциальным рулевым управлением могут разворачиваться вокруг центра разворота, расположенного в центральной точке кресла-коляски. Кресла-коляски с прямым рулевым управлением имеют центр разворота в точке пересечения оси фиксированных колес с осью рулевых колес, находящихся в положении их наибольшего отклонения.
E.18. Колесная база
Различие значений колесных баз кресел-колясок указывает на увеличение вероятности неблагоприятного влияния на смещение (см.
A.18) и/или наклон самоориентирующегося колеса в продольном направлении (см.
A.19).
(справочное)
СВЕДЕНИЯ О СООТВЕТСТВИИ ССЫЛОЧНЫХ МЕЖДУНАРОДНЫХ СТАНДАРТОВ
НАЦИОНАЛЬНЫМ СТАНДАРТАМ РОССИЙСКОЙ ФЕДЕРАЦИИ
Таблица ДА.1
Обозначение ссылочного международного стандарта | Степень соответствия | Обозначение и наименование соответствующего национального стандарта |
ИСО 7176-7 | MOD | ГОСТ Р 51082-97 (ИСО 7176-7-96) "Кресла-коляски. Метод измерения параметров и размеров сиденья и колеса" |
ИСО 7176-11 | IDT | |
ИСО 7176-13 | IDT | ГОСТ Р ИСО 7176-13-96 "Кресла-коляски. Методы испытаний для определения коэффициента трения испытательной поверхности" |
ИСО 7176-15 | IDT | ГОСТ Р ИСО 7176-15-2007 "Кресла-коляски. Часть 15. Требования к документации и маркировке для обеспечения доступности информации" |
ИСО 7176-22:2000 | IDT | |
ИСО 7176-26 | - | |
<*> Соответствующий национальный стандарт отсутствует. До его принятия рекомендуется использовать перевод на русский язык данного международного стандарта. Перевод данного стандарта находится в Федеральном информационном фонде технических регламентов и стандартов. |
Примечание - В настоящей таблице использованы следующие условные обозначения степени соответствия стандартов: - IDT - идентичный стандарт; - MOD - модифицированный стандарт. |
| ИСО/ТО 13570-1 Кресла-коляски. Часть 1. Рекомендации по применению серии стандартов ИСО 7176 на кресла-коляски |
ISO/TR 13570-1, Wheelchairs - Part 1: Guidelines for the application of the ISO 7176 series on wheelchairs |
| ИСО/ТО 13570-2 Кресла-коляски. Часть 2. Типичные значения и рекомендации по ограничению размеров, массы и площади для маневрирования кресел-колясок в соответствии с ИСО 7176-5 |
ISO/TR 13570-2, Wheelchairs - Part 2: Typical values and recommended limits or dimensions, mass and manoeuvring space as determined in ISO 7176-5 |
| ДИН 33402-1 Эргономика. Размеры тела человека. Часть 1. Термины и определения, процедуры измерения |
DIN 33402-1, Ergonomics - Body dimensions of people - Part 1: Terms and definitions, measuring procedures |