Главная // Актуальные документы // ГОСТ Р (Государственный стандарт)СПРАВКА
Источник публикации
М.: Стандартинформ, 2019
Примечание к документу
Документ
введен в действие с 01.04.2020.
Взамен ГОСТ Р ИСО 16840-3-2012.
Название документа
"ГОСТ Р ИСО 16840-3-2019. Национальный стандарт Российской Федерации. Сиденья кресел-колясок. Часть 3. Определение статической, ударной и усталостной прочности устройств, поддерживающих положение тела"
(утв. и введен в действие Приказом Росстандарта от 03.09.2019 N 615-ст)
"ГОСТ Р ИСО 16840-3-2019. Национальный стандарт Российской Федерации. Сиденья кресел-колясок. Часть 3. Определение статической, ударной и усталостной прочности устройств, поддерживающих положение тела"
(утв. и введен в действие Приказом Росстандарта от 03.09.2019 N 615-ст)
Утвержден и введен в действие
по техническому регулированию
и метрологии
от 3 сентября 2019 г. N 615-ст
НАЦИОНАЛЬНЫЙ СТАНДАРТ РОССИЙСКОЙ ФЕДЕРАЦИИ
СИДЕНЬЯ КРЕСЕЛ-КОЛЯСОК
ЧАСТЬ 3
ОПРЕДЕЛЕНИЕ СТАТИЧЕСКОЙ, УДАРНОЙ И УСТАЛОСТНОЙ ПРОЧНОСТИ
УСТРОЙСТВ, ПОДДЕРЖИВАЮЩИХ ПОЛОЖЕНИЕ ТЕЛА
Wheelchair seating. Part 3. Determination of static, impact
and repetitive load strengths for postural support devices
(ISO 16840-3:2014, IDT)
ГОСТ Р ИСО 16840-3-2019
Дата введения
1 апреля 2020 года
1 ПОДГОТОВЛЕН Федеральным государственным унитарным предприятием "Российский научно-технический центр информации по стандартизации, метрологии и оценке соответствия" (ФГУП "СТАНДАРТИНФОРМ") на основе собственного перевода на русский язык англоязычной версии стандарта, указанного в
пункте 4
2 ВНЕСЕН Техническим комитетом по стандартизации ТК 381 "Технические средства и услуги для инвалидов и других маломобильных групп населения"
3 УТВЕРЖДЕН И ВВЕДЕН В ДЕЙСТВИЕ
Приказом Федерального агентства по техническому регулированию и метрологии от 3 сентября 2019 г N 615-ст
4 Настоящий стандарт идентичен международному стандарту ИСО 16840-3:2014 "Сиденья кресел-колясок. Часть 3. Определение статической, ударной и усталостной прочности устройств, поддерживающих положение тела" (ISO 16840-3:2014 "Wheelchair seating - Part 3: Determination of static, impact and repetitive load strengths for postural support devices", IDT).
При применении настоящего стандарта рекомендуется использовать вместо ссылочных международных стандартов соответствующие им национальные стандарты, сведения о которых приведены в дополнительном
приложении ДА
5 ВЗАМЕН ГОСТ Р ИСО 16840-3-2012
Правила применения настоящего стандарта установлены в статье 26 Федерального закона от 29 июня 2015 г. N 162-ФЗ "О стандартизации в Российской Федерации". Информация об изменениях к настоящему стандарту публикуется в ежегодном (по состоянию на 1 января текущего года) информационном указателе "Национальные стандарты", а официальный текст изменений и поправок - в ежемесячном информационном указателе "Национальные стандарты". В случае пересмотра (замены) или отмены настоящего стандарта соответствующее уведомление будет опубликовано в ближайшем выпуске ежемесячного информационного указателя "Национальные стандарты". Соответствующая информация, уведомление и тексты размещаются также в информационной системе общего пользования - на официальном сайте Федерального агентства по техническому регулированию и метрологии в сети Интернет (www.gost.ru)
Предисловие к ISO 16840-3:2014
Международная организация по стандартизации (ИСО) является всемирной федерацией национальных органов по стандартизации (членов ИСО). Разработка международных стандартов, как правило, ведется техническими комитетами ИСО. Каждая организация - член ИСО, проявляющая интерес к тематике, по которой учрежден технический комитет, имеет право быть представленной в этом комитете. Международные организации, государственные и негосударственные, имеющие связи с ИСО, также принимают участие в работе. ИСО тесно сотрудничает с Международной электротехнической комиссией (МЭК) по всем вопросам стандартизации в области электротехники.
Процедуры, используемые для разработки настоящего стандарта, и процедуры, предусмотренные для его дальнейшего ведения, описаны в руководстве ИСО/МЭК, часть 1. В частности, следует отметить различные критерии утверждения, требуемые для различных типов документов ИСО. Настоящий стандарт разработан в соответствии с редакционными правилами руководства ИСО/МЭК, часть 2 (см. www.iso.org/directives).
Некоторые элементы настоящего стандарта могут быть предметом патентных прав. Международная организация ИСО не должна нести ответственности за идентификацию таких прав частично или полностью. Сведения о патентных правах, идентифицированных при разработке настоящего стандарта, указаны во
введении и/или в перечне ИСО полученных объявлений о патентном праве (см. www.iso.org/patents).
Любое торговое наименование, использованное в настоящем стандарте, является информацией, предоставляемой для удобства пользователей и не влияющей на позиционирование как товара, так и компании, его производящей.
Для объяснения значения специфических терминов и выражений ИСО, применяемых для оценки соответствия, равно как информации о соблюдении ИСО принципов ВТО по техническим барьерам в торговле приведен следующий URL: Foreword-Supplementary Information.
Настоящий стандарт разработан Техническим комитетом ISO/TC 173 "Вспомогательные средства для лиц с ограничениями жизнедеятельности", подкомитетом ПК 1 "Кресла-коляски".
Стандарт ИСО 16840 состоит из следующих частей под общим наименованием "Сиденья кресел-колясок":
- часть 1. Словарь, условные обозначения опорных осей и размеров поверхностей, поддерживающих положение тела;
- часть 2. Определение физико-механических характеристик устройств, предназначенных для сохранения целостности тканей. Подушки сиденья;
- часть 3. Определение статической, ударной и усталостной прочности устройств, поддерживающих положение тела;
- часть 4. Системы сидений для автомобилей.
Устройства поддержания осанки (УПО), разработанные как дополнительные компоненты к сиденью кресла-коляски или как сиденье кресла-коляски, широко доступны и интенсивно используются людьми с ограничениями жизнедеятельности. Выбор и предписание наиболее подходящих УПО (где предназначено) зависят частично от знаний их способности противостоять статическим, ударным и циклическим нагрузкам. Настоящий стандарт предназначен для уточнения методов испытания, чтобы предоставить эту информацию.
Испытания включают в себя установку УПО на жесткие приспособления для испытания, чтобы предоставить эту информацию. Жесткое приспособление для испытания используют, чтобы обеспечить ситуацию в наихудшем случае, которую неоднократно повторяют, жесткое приспособление позволяет избежать разрушений большого числа кресел-колясок во время испытаний. Затем прикладывают статические, ударные и циклические нагрузки для имитации нормального применения. В некоторых из определенных тестов были установлены критерии эффективности функционирования. В иных случаях в настоящее время минимальные требования не определяют. Испытания проводят повторно при увеличении сил или крутящих моментов до достижения одной или нескольких предельных характеристик. Повторные испытания с применением конкретной циклической нагрузки или крутящего момента предназначены для того, чтобы вызвать ограничения усталости и соответствующих характеристик.
Испытания, представленные в настоящем стандарте, были взяты из стандарта ИСО 7176-8. Многие из принципов тестирования и

часть тестового оборудования идентичны для настоящего стандарта и ИСО 7176-8. Предполагается, что части ИСО 16840 будут и впредь разрабатываться и что в будущем могут включать результаты текущей работы в следующих областях:
- дальнейшее развитие испытательных усилий на основе клинических данных необходимо для определения фактических ударных, статических и циклических нагрузок, которым подвергаются УПО;
- продолжение дальнейших работ по сбору данных о наиболее распространенных неудачах, возникающих при фактическом использовании УПО.
Настоящий стандарт устанавливает методы испытаний для определения статической, ударной прочности и прочности при циклической нагрузке устройств поддержания осанки (УПО) с соответствующими приспособлениями, предназначенными для использования с креслами-колясками, а также требования к раскрытию информации о результатах испытаний.
Настоящий стандарт не распространяется на прочность УПО при аварии в автомобиле.
Настоящий стандарт не распространяется на УПО, которые предназначены на случай отказа при определенных статических, динамических или циклических нагрузках.
Примечание 1 - В стандарте ИСО 16840-4 представлены методы испытаний и требования к некоторым УПО при использовании в качестве части сиденья кресла-коляски места в автомобиле.
Примечание 2 - В некоторых определенных испытаниях были установлены критерии эффективности функционирования. В других случаях в настоящее время минимальные требования не определены.
Примечание 3 - Для масс более 150 кг или менее 25 кг допускается соответствующая экстраполяция размеров испытательных устройств, разделение точек крепления и т.д.
Примечание 4 - Жесткие замещающие испытательные стенды используют для обеспечения наихудшей ситуации, и, следовательно, в настоящем стандарте не описывают испытания УПО на конкретном кресле-коляске.
Примечание 5 - Если на одном УПО достигается более высокая нагрузка в точке отказа, чем на другом, это необязательно означает, что лучше или хуже. Можно также рассмотреть тип отказа и гибкость УПО. Также можно учитывать максимальное расстояние смещения до центра УПО от соседней точки крепления.
В настоящем стандарте использованы нормативные ссылки на следующие стандарты. Для датированных ссылок применяют только указанное издание, для недатированных - последнее издание ссылочного стандарта (включая все изменения):
ISO 554, Standard atmospheres for conditioning and/or testing - Specifications (Атмосферы стандартные для кондиционирования и (или) испытаний. Технические требования)
ISO 898-7, Mechanical properties of fasteners; part 7: torsional test and minimum torques for bolts and screws with nominal diameters 1 mm to 10 mm (Механические свойства крепежных изделий. Часть 7. Испытание на кручение и минимальные крутящие моменты для болтов и винтов номинальных диаметров от 1 до 10)
ISO 7176-8:1998 <1>, Wheelchairs - Part 8: Requirements and test methods for static, impact and fatigue strengths (Кресла-коляски. Часть 8. Требования и методы испытаний на статическую, ударную и усталостную прочность)
--------------------------------
<1> Заменен на ISO 7176-8:2014. Однако для однозначного соблюдения требований настоящего стандарта, выраженного в датированной ссылке, рекомендуется использовать только указанное в этой ссылке издание.
ISO 7176-15, Wheelchairs - Part 15: Requirements for information disclosure, documentation and labelling (Кресла-коляски. Часть 15. Требования к документации и маркировке для обеспечения доступности информации)
ISO 7176-26:2007, Wheelchairs - Part 26: Vocabulary (Кресла-коляски. Часть 26. Словарь)
ISO 16840-2, Wheelchair seating - Part 2: Determination of physical and mechanical characteristics of seat cushions intended to manage tissue integrity (Сиденья кресел-колясок. Часть 2. Определение физико-механических характеристик подушек сидений, предназначенных для сохранения целостности тканей)
В настоящем стандарте применены следующие термины с соответствующими определениями:
3.1 эластичные подсоединяемые приспособления (elastic attachment hardware): Приспособления, которые позволяют двигаться УПО, когда прикладывается сила, и возвращаться назад к своему первоначальному положению при удалении нагрузки.
Пример - УПО, сконструированное с пружиной, которая позволяет двигаться.
3.2 деформируемая опорная поверхность (deformable support surface): Опорная поверхность, которая приспосабливается к поддерживаемой форме.
Примечание - Поверхность может возвращаться или не возвращаться к своей первоначальной форме, но остается приспосабливаемой к поддерживаемой форме.
Пример - Опоры сиденья из текучего (газообразного) или пеноматериала являются примерами деформируемых опорных поверхностей.
3.3 пассивная опорная поверхность (passive support surface): УПО, которое смещается с минимальным сопротивлением, чтобы следовать за поддерживаемым телом.
Примечание - Пассивная опорная поверхность необязательно смещается назад к определенному положению.
Пример - Подвижная опора руки является пассивной опорной поверхностью, которая позволяет перемещаться с минимальным сопротивлением.
3.4 активная опорная поверхность (active support surface): УПО, приводимое в действие механической энергией для изменения своего положения или формы опорной поверхности.
Пример - Опора сиденья с переменным давлением или опорная поверхность спины, откидывающаяся назад и функционирующая с помощью электроники.
3.5
непрерывная боковая опора (continuous lateral support): Опорная поверхность, которая имеет глубину, увеличивающую минимум на 75 мм по перпендикуляру свою сдавленную смежную опорную поверхность, и имеет угол между смежной опорной поверхностью и боковой опорой, меньший или равный 120°.
Примечание 2 - На
рисунке 2 показана подложка с контурной поверхностью, которая не рассматривается как боковая опора.
Примечание 3 - Если существуют трудности в определении места расположения смежной опорной поверхности, используют базовые плоскости, как определено в ИСО 7176-26.
Размер в миллиметрах
Рисунок 1 - Поперечное сечение опорной поверхности
с непрерывной боковой опорой
Размер в миллиметрах
Рисунок 2 - Поперечное сечение опорной поверхности
с контуром, которая не рассматривается как боковая опора
3.6
разрывная боковая опора (discontinuous lateral support): Боковая опора, которая отделена от смежной опорной поверхности.
Рисунок 3 - Пример боковой опоры, которая является разрывной
со смежной опорной поверхностью
3.7 ось вращения (pivot axis): Ось, вокруг которой вращается поворотный рычаг.
3.8 точка крепления (mounting point): Предполагаемая точка или точки крепления любого поддерживающего положение туловища устройства.
4 Аппаратура для испытаний
4.1 Жесткие приспособления для испытания: приспособления, используемые для закрепления или позиционирования УПО во время проведения испытаний, как определено ниже. Приспособления должны быть жесткими при воздействии усилий, требуемых в
разделах 7,
8 и
9, для массы пользователя, определенной изготовителем УПО.
4.1.1 Регулируемая жесткая испытательная рама для имитации рамы кресла-коляски, обычно используемой для прикрепления ременных сидений или ременных спинок, которые позволяют выполнять регулирование углов приспособлений крепления УПО в полном диапазоне.
Примечание - Можно проводить испытание однокомпонентных оболочек в сочетании с двумя жесткими рамами.
Наружные размеры между регулируемыми жесткими компонентами испытательной рамы должны быть отрегулированы от (280 +/- 30) мм до (580 +/- 30) мм. Пример регулируемой жесткой рамы представлен на
рисунке 4.
Рисунок 4 - Пример регулируемой жесткой испытательной рамы
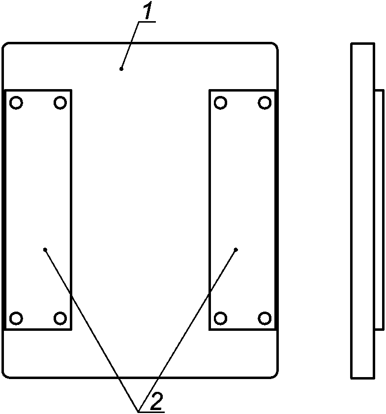
4.1.2 Жесткая суррогатная опорная поверхность: жесткая опорная поверхность потребуется для УПО, предназначенных для использования с жесткой опорной поверхностью, и когда опорная поверхность не входит в комплект. Пример показан на
рисунке 5.
1 - клееная фанера; 2 - сталь
Рисунок 5 - Пример жесткой суррогатной опорной поверхности
для испытуемого подсоединяемого приспособления
Могут быть просверлены отверстия или сделаны другие модификации для обеспечения размещения разнообразных подсоединяемых приспособлений.
4.1.3 Поворотная испытательная рама для приложения крутящего момента [до 50 Нм (+/- 3%) в течение не менее 5 с со скоростью не более 50 Нм (+/- 3%) в секунду] на нагрузочную подушку для имитации наклона вперед сидящего пользователя УПО.
Пример - Наглядный пример поворотной испытательной рамы показан на рисунках 6 и 7.
Рисунок 6 - Пример поворотной испытательной рамы
Рисунок 7 - Переменная нагрузочная подушка для туловища
для использования с поворотной испытательной рамой
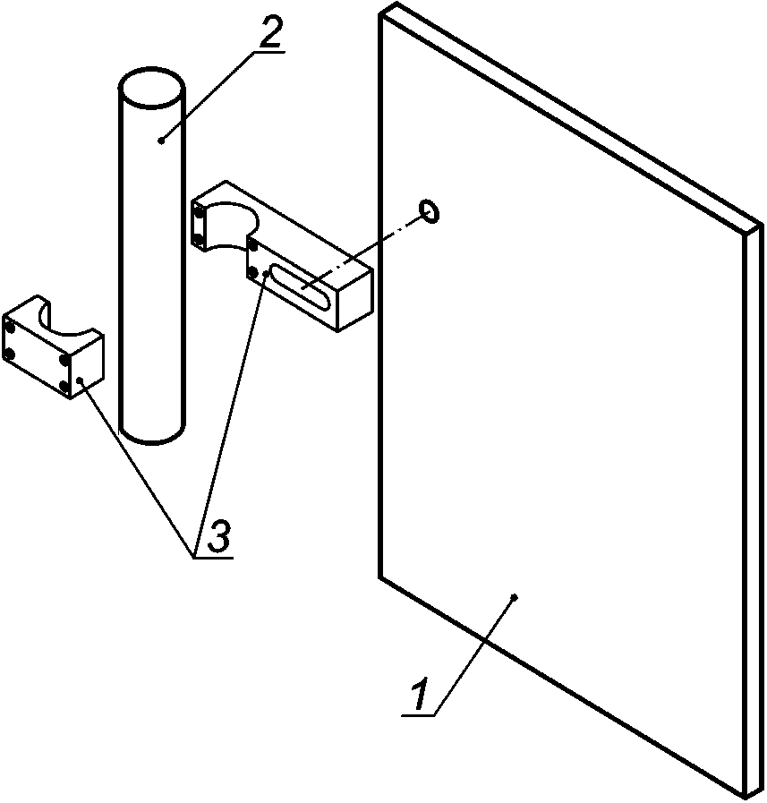
4.2 Суррогатное подсоединяемое приспособление: приспособление для закрепления УПО, предназначенного для использования с подсоединяемым приспособлением, но поставляемое без подсоединяемого приспособления. Суррогатное подсоединяемое приспособление позволяет подсоединять УПО к жесткому приспособлению для испытания.
Пример - Суррогатное подсоединяемое приспособление представлено на рисунке 8.
a) Установка суррогатного подсоединяемого приспособления
b) Детали суррогатного подсоединяемого приспособления
1 - тестируемое УПО; 2 - жесткая испытательная рама;
3 - суррогатное подсоединяемое приспособление
Рисунок 8 - Пример суррогатного подсоединяемого
приспособления
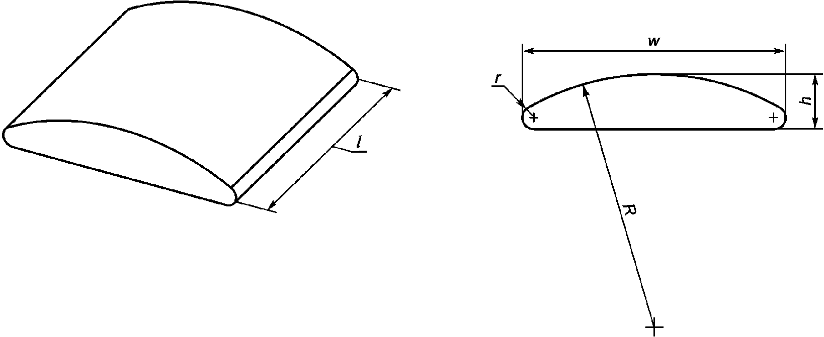
4.3 Нагрузочные подушки: подушки для прикладывания нагрузок к УПО, как определено ниже.
4.3.1 Нагрузочная подушка для сиденья включает жесткий профильный нагрузочный индентор, как определено в ИСО 16840-2.
4.3.2 Нагрузочная подушка для тазовой части, изготовленная из жесткого материала, с элементами выпуклой поверхности переменной ширины. На основании антропометрических данных для различных размеров тела определены нагрузочные подушки для тазовой части следующей массой:
- 25 кг;
- 50 кг;
- 75 кг;
- >= 100 кг.
Защитный слой добавляют между нагрузочной подушкой и тестируемым УПО. Выбирают наименьшую нагрузочную подушку, чтобы подогнать к диапазонному применению для УПО. Например, если УПО сконструировано для пользователя массой от 25 до 49 кг, используют для испытаний нагрузочную подушку массой 25 кг. Меньший радиус и ширина подушки обеспечат более правильное испытание для степени проскальзывания.
На
рисунке 9 представлены параметры нагрузочной подушки для тазовой части при использовании параметров, приведенных в
таблице 1.
Рисунок 9 - Нагрузочная подушка для тазовой части
Таблица 1
Размеры нагрузочных подушек для тазовой части,
Размер | Масса пользователя |
25 - 49 кг | 50 - 74 кг | 75 - 99 кг | >= 100 кг | Допуск |
Ширина w, мм | 210 | 270 | 323 | 360 | +/- 10 |
Высота h, мм | 62 | 79 | 95 | 106 | +/- 5 |
Длина l | Переменная <a> | Переменная <a> | Переменная <a> | Переменная <a> | - |
Радиус выпуклости R, мм | 210 | 270 | 323 | 360 | +/- 10 |
Радиус боковой кромки r, мм | 21 | 27 | 32 | 36 | +/- 3 |
<a> Для соответствия тестируемому УПО. |
4.3.3 Нагрузочная подушка для туловища, изготовленная из жесткого материала, переменного размера для моделирования верхней части туловища.
На основании антропометрических данных для различных размеров тела определены нагрузочные подушки для туловища следующей массой:
- 25 кг;
- 50 кг;
- 75 кг;
- >= 100 кг.
Добавляется между нагрузочной подушкой и тестируемым УПО. Выбирают наименьшую нагрузочную подушку, чтобы подогнать к диапазонному применению для УПО. Например, если УПО сконструировано для пользователя массой от 25 кг до 49 кг, используют для испытания нагрузочную подушку массой 25 кг. Меньший радиус и ширина подушки обеспечат более правильное испытание для степени проскальзывания.
На
рисунке 10 представлены параметры нагрузочной подушки для туловища при использовании параметров, приведенных в
таблице 2.
Рисунок 10 - Нагрузочная подушка для туловища
Таблица 2
Размеры нагрузочных подушек туловища
Размер | Масса пользователя |
25 - 49 кг | 50 - 74 кг | 75 - 99 кг | >= 100 кг | Допуск |
Ширина w, мм | 200 | 250 | 310 | 360 | +/- 10 |
Высота h, мм | 85 | 100 | 120 | 140 | +/- 10 |
Длина, l | Переменная | Переменная | Переменная | Переменная | - |
Ширина руки b, мм | 75 | 80 | 100 | 120 | +/- 10 |
Ширина плеча s, мм | 300 | 400 | 465 | 525 | +/- 10 |
От плеча до оси вращения d, мм | 360 | 535 | 600 | 660 | +/- 10 |
4.3.4 Выпуклая нагрузочная подушка, изготовленная из жесткого материала, как показано на
рисунке 11.
Размеры в миллиметрах
Рисунок 11 - Пример выпуклой нагрузочной подушки
(размеры приведены только для наглядности)
4.3.5 Вогнутая нагрузочная подушка, изготовленная из жесткого материала, с формой, как показано на
рисунке 12.
Размеры в миллиметрах
Рисунок 12 - Пример вогнутой нагрузочной подушки
(размеры приведены только для наглядности)
4.3.6 Выпуклая полусферическая нагрузочная подушка, изготовленная из жесткого материала, например, металла или дерева с твердой древесиной, как показано на
рисунке 13.
Размеры в миллиметрах
Рисунок 13 - Пример выпуклой полусферической нагрузочной
подушки (размеры представлены только для наглядности)
4.4 Устройство статической нагрузки: устройство приложения сил к УПО, которое соответствует следующим требованиям:
a) измеряет прикладываемую силу с точностью до +/- 3%,
b) прикладывает силу не более, чем 100 Н/с,
c) удерживает приложенную силу в течение не менее чем 5 с, и
d) измеряет смещение нагружаемой подушки во время приложения силы.
4.5 Устройство ударного нагружения: устройство для приложения ударной нагрузки к УПО, как определено ниже.
4.5.1 Устройство ударного нагружения поверхности сиденья и опоры спины, для приложения ударной нагрузки к УПО, состоящее:
a) из ударного маятника, как указано в ИСО 7176-8 (пункт 5.5), и
b) средства для измерения угла продольной оси маятника перед падением с точностью +/- 1°.
4.5.2 Устройство ударного нагружения опоры ступни, состоящее:
a) из ударного маятника, как указано в ИСО 7176-8 (пункт 5.7), и
b) средства измерения угла продольной оси маятника перед падением с точностью +/- 1°.
4.6 Устройство циклического нагружения: устройство для повторного приложения нагрузки к УПО, которое соответствует следующим требованиям:
a) измеряет прикладываемую силу или крутящий момент с точностью +/- 3%,
b) прикладывает силу или крутящий момент не более чем 100 Н/с или 50 Н·м/с,
c) полностью снимает усилие или крутящий момент,
d) повторно прикладывают силу или крутящий момент до достижения оговоренного числа циклов.
4.7 Средства контроля окружающей среды: среда, в которой проводят испытания и в которой должна поддерживаться температура (23 +/- 10) °C при относительной влажности (50 +/- 35)%, как определено в ИСО 554.
Испытания проводят или до момента, когда констатируется, что устройство повреждено, или до завершения испытаний, после которых устройство проверяют на наличие возможных повреждений.
Ниже приведены показатели, указывающие на наличие повреждений устройства:
a) разрушения или видимые трещины, разрывы или швы, которые мешают нормальному использованию по назначению;
b) любая ослабленная гайка, болт, винт, шпилька, компонент или аналогичный элемент;
c) проскальзывание от положения или регулировки УПО более чем на 10 мм в точке нагрузки по сравнению с их первоначальной установкой;
d) в случае использования в опорах материала типа тканной ленты, результатом испытания является изменение в ходе предварительных испытаний длины или угла опоры, выраженного смещением прокладки более, чем на 10 мм и/или 5°;
e) смещение или разъединение каких-либо электрических соединений, которое мешает нормальному использованию по назначению;
f) любые части, предназначенные для удаления, складывания или регулирования, прекращающие работу согласно описанию изготовителя;
g) любые УПО с механизированным функционированием, прекращающие работу согласно описанию изготовителя;
h) любые многопозиционные или регулируемые УПО, которые постоянно смещаются более чем на 10 мм или 5° в точке нагружения относительно предварительно установленной позиции;
i) любые компоненты или узлы частей, проявляющие постоянную деформацию или разрегулировку (в дополнение к залипанию);
j) невозможность достижения максимальной нагрузки при определенных условиях испытания.
Пример - Из-за чрезмерного отклонения.
6 Подготовка УПО для испытаний
6.1 Закрепляют УПО на жестком приспособлении для испытания, как определено в
4.1, согласно инструкциям изготовителя УПО по подсоединению к креслу-коляске.
6.2 Если УПО имеет свое приспособление для подсоединения как систему от изготовителя, устанавливают УПО и приспособление для подсоединения вместе, как единый узел. Закрепляют отдельные УПО, предназначенные для прикрепления с приспособлением, но поставляемые без приспособления для подсоединения, используя суррогатное приспособление для подсоединения, как определено в
4.2.
6.3 Если для испытания изготовителем представлено сочетание отдельных УПО как единого узла, выполняется установка всей системы. После чего тестируется каждый элемент системы, как указано в соответствующем разделе ИСО 16840.
Примечание - Различные крепежные элементы, например, крюк и петля, могут использоваться для содействия в поддержании положения УПО при испытании, при условии, что они не входят в противоречие с процедурой испытания. Подушки для нагружения могут подсоединяться к инерционным защелкам для предотвращения от ранения, если УПО выйдет из строя под действием испытательной нагрузки.
6.4 Регулируют все УПО, включая пассивные опорные поверхности и активные опорные поверхности, до положения, которое минимизирует их способность противостоять статической, ударной и циклической нагрузкам, но которое остается в пределах регулирования, оговоренных изготовителем.
Пример - Примером наихудшей ситуации для некоторых УПО может являться положение, которое вызывает ситуацию возникновения максимального момента руки. Например, с УПО при наибольшем выдвижении, положении и угле с полным боковым смещением.
6.5 Затягивают все крепежные элементы, как указано в инструкциях изготовителя. Если это не оговорено, затягивают до минимального крутящего момента, как определено в ИСО 898-7.
Примечание 1 - Дальнейшая информация может быть получена через ИСО (www.iso.org).
Примечание 2 - Необходимое входящее ручное усилие, требуемое для УПО, предназначенных для частой регулировки вручную и поставляемых с ручками или рукоятками, приведено в
таблице 3. УПО можно фиксировать в положении с помощью ручек и рукояток с применением указанных усилий/крутящего момента.
Таблица 3
Усилия рук на ручки, рычаги управления и рукоятки
Тип | Диаметр/длина (дюйм) | Диаметр/длина (метрические) | Усилие/крутящий момент |
Ручки | 1,5 - 3,0 дюйма | 38 - 76 мм | 2,3 Нм |
Рычаги управления | 2 дюйма | 50 мм | 66 Н |
Рукоятки | 3,5 - 19 дюймов | 90 - 500 мм | 89 Н на одну рукоятку |
6.6 Помещают испытуемое УПО в окружающую среду испытания для акклиматизации.
6.7 Поскольку УПО тестируется при испытании с приложением статической, ударной и циклической нагрузок, отсутствует определенный порядок проведения испытания, и для каждого испытания необходимо использовать отдельное УПО. При испытании с приложением ударных и циклических нагрузок положение УПО не подтягивать/не регулировать.
7 Методы испытания на статическую прочность УПО
Подготавливают УПО к испытаниям в соответствии с
разделом 6.
Проводят следующие испытания в испытательной окружающей среде, указанной в
4.7.
Выбирают и, если необходимо, изменяют наиболее подходящую подушку нагружения по
4.3.
Прикладывают испытательную нагрузку, как определено в
7.3, к каждому УПО согласно соответствующим процедурам по
7.4 -
7.10.
Примечание - Когда УПО испытывается до разрушения при испытании на статическую, ударную и циклическую нагрузки, не существует установленного порядка проведения испытания и для каждого испытания следует использовать новое УПО.
Прикладывают статическую силу следующим образом:
a) Выравнивают подушку нагружения таким образом, чтобы приложить испытательную силу или крутящий момент к центру поверхности опоры в пределах 10 мм.
При использовании поворотной подушки нагружения для туловища подушку нагружения выравнивают относительно оси вращения в соответствии с
таблицей 2.
b) Для опор тазовой части, подушку нагружения выравнивают для приложения усилия перпендикулярно в пределах +/- 10° опорной поверхности. Угол усилия может быть отрегулирован для обеспечения смещения УПО под воздействием нагрузки.
c) Отмечают позицию подушки нагружения под воздействием предварительной нагрузки.
d) Усилие прилагают с использованием устройства приложения статической нагрузки, как указано в
4.4.
e) Все усилия ослабляют с целью устранения натяжения в опоре в течение (30 +/- 10) мин, что даст возможность восстановления материалов опоры после любого временного удлинения.
f) Записывают следующее:
1) максимальное смещение, разрешаемое перемещением эластичного приспособления присоединения или деформируемой поверхностью опоры, или пассивной опорной поверхностью;
2) силу или крутящий момент для смещения или перемещения компонентов, для которых предусмотрено перемещение; такие компоненты включают эластичное приспособление присоединения или деформируемые опорные поверхности, или пассивные опорные поверхности;
3) прилагаемую максимальную силу/крутящий момент;
4) при повреждении силу/крутящий момент, при котором оно происходит, и вид повреждения;
5) расстояние смещения от точки присоединения до точки локального приложения;
6) жесткое испытательное приспособление для каждого испытания;
7) подушку нагружения, используемую для каждого испытания.
g) Снимают нагрузку или крутящий момент.
7.4 Методы испытания боковой и средней опорных поверхностей
Применяют следующие испытания, не ограничиваясь ими, к следующим устройствам боковой опоры:
- боковые опоры для туловища;
- боковые опоры таза;
- боковые опоры верхней части ноги;
- боковые опоры колена;
- боковые опоры нижней части ноги;
- боковые опоры головы;
- боковые опоры средней части колена.
7.4.1 Боковые опоры: внешние боковые силы
7.4.1.1 Определяют, как указано в
3.5 и
3.6, непрерывная или разрывная боковая опора.
7.4.1.2 Выбирают и, если необходимо, изменяют соответствующие размеры подушки нагружения, как определено в
4.3.
7.4.1.3 Для непрерывных боковых опор прикладывают испытательную силу
F, как определено в
7.3, но в точке, которая составляет (75 +/- 5)% общей глубины опоры, измеренной от несжатой смежной опорной поверхности, как показано на
рисунке 14.
Рисунок 14 - Пример приложения силы к боковой поверхности,
неразрывной со смежной опорной поверхностью
7.4.1.4 Для разрывных боковых опор прикладывают испытательную силу
F, как определено в
7.3, но в точке, которая составляет (75 +/- 5)% общей глубины опоры, измеренной от несжатой смежной опорной поверхности, как показано на
рисунке 15.
Рисунок 15 - Пример приложения силы к боковой поверхности,
разрывной со смежной опорной поверхностью
7.4.2 Боковые опоры: внутренние боковые силы
Следующая процедура испытания разработана для испытания внутренней прочности компонентов УПО, которые могут подвергнуться воздействию сил во время перемещения или контакта с окружающей средой.
7.4.2.1 Определяют, как указано в
3.5 и
3.6, непрерывная или разрывная боковая опора.
7.4.2.2 Выбирают и, если необходимо, изменяют соответствующие размеры подушки нагружения, как определено в
4.3.
7.4.2.3 Для непрерывных боковых опор прикладывают внутреннюю испытательную силу
F, как определено в
7.3, но в точке, которая составляет (75 +/- 5)% общей глубины опоры, измеренной от несжатой смежной опорной поверхности, как показано на
рисунке 16.
Рисунок 16 - Пример приложения силы к боковой поверхности,
неразрывной со смежной опорной поверхностью
7.4.2.4 Для разрывных боковых опор прикладывают внутреннюю испытательную силу
F, как определено в
7.3, но в точке, которая составляет (70 +/- 5)% общей глубины опоры, измеренной от несжатой смежной опорной поверхности, как показано на
рисунке 17.
Рисунок 17 - Пример приложения силы к боковой поверхности,
разрывной со смежной опорной поверхностью
7.4.3 Средние опоры колена: внутренние усилия
7.4.3.1 Определяют, как указано в
3.5 и
3.6, непрерывная или разрывная средняя опора.
7.4.3.2 Выбирают и, если необходимо, изменяют соответствующие размеры подушки нагружения, как определено в
4.3.
7.4.3.3 Для средней опоры колена прикладывают испытательную силу в направлении внутрь, как определено в
7.3, к центру опорной поверхности +/- 10 мм.
Примечание - Эта нагрузка имитирует внутренние силы, действующие на среднюю опору колена в горизонтальной плоскости.
7.5 Передняя опора таза и передняя опора туловища: силы спереди
7.5.1 Опора таза
7.5.1.1 Для выбора соответствующей подушки нагружения тазовой части масса пользователя для испытуемой опоры должна быть максимальной массой пользователя, определенной изготовителем в качестве подходящей для опоры. Выбирают соответствующую нагрузочную подушку тазовой части (как определено в
4.3). Для опор, в которых используются ремни, прикрепляют ремни к регулируемой жесткой испытательной раме (как определено в
4.1.1) или к суррогатной опорной поверхности (как определено в
4.1.2). Расстояние между точками крепления к регулируемой жесткой испытательной раме должно соответствовать указанному в
таблице 4. Исследования показали, что наиболее неблагоприятные условия для испытуемых передних опор таза имеют место при наименьших размерах пользователя и наименьших расстояниях между точками фиксации.
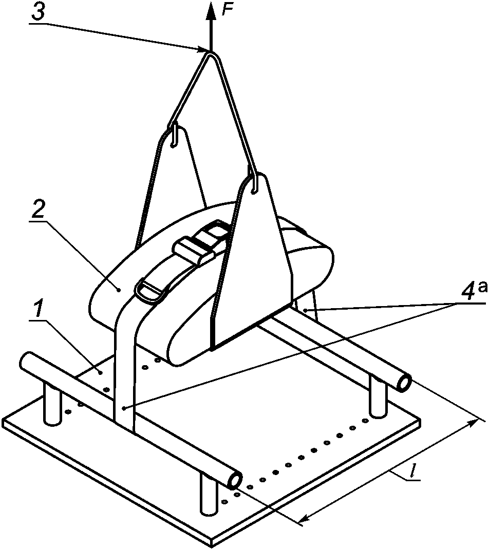
Пример - Пример испытательной установки приведен на рисунке 18.
1 - регулируемая жесткая испытательная рама; 2 - тазовая
выпуклая подушка нагружения; 3 - средняя точка подушки
нагружения; 4 - точки крепления; F - испытательная сила;
l - расстояние между точками крепления
--------------------------------
<a> Регулируемая жесткая испытательная рама крепится к передней тазовой опоре
Рисунок 18 - Пример настройки для проведения испытания
передней тазовой опоры на статическую нагрузку
7.5.1.2 Настраивают средства для приложения испытательной силы так, чтобы линия приложения силы была бы перпендикулярна к регулируемой жесткой испытательной раме, представляющей поверхность сиденья. Линия приложения силы должна также быть в расположении средней точки подушки нагружения.
7.5.1.3 Прилагают предварительную нагрузку, как указано в
таблице 4.
7.5.1.4 Оценивают положение подушки нагружения или разрабатывают средство для использования данного положения в качестве нулевой точки отсчета для измерения с использованием представленных ниже шагов
7.5.1.6 и
7.5.1.8.
7.5.1.5 Прикладывают испытательную силу на расстоянии от поверхности испытательной рамы, напротив передней тазовой опоры или передней опоры туловища, как определено в
7.3, до максимальной нагрузки, указанной в
таблице 4.
Таблица 4
Параметры соответствия расстояния между точками крепления
передней тазовой опоры и статической нагрузки
Параметр | Масса пользователя |
25 кг | 50 кг | 75 кг | 100 кг | 125 кг | > 150 кг | Допуск |
Расстояние между точками крепления, мм | 280 | 360 | 430 | 480 | 530 | 580 | +/- 30 мм |
Предварительная нагрузка, Н | 50 | 50 | 50 | 50 | 50 | 50 | +/- 3% |
Максимальная нагрузка, Н <a> | 250 | 500 | 750 | 1 000 | 1 250 | 1 500 | +/- 3% |
<a> Максимальная нагрузка основана на следующем: 10 x масса, выражаемая в ньютонах. |
7.5.1.6 Если в соответствии с
разделом 5 не произошел отказ, фиксируют максимальное смещение нагрузочной подушки.
7.5.1.7 Все усилия ослабляют для устранения натяжения в опоре в течение (30 +/- 10) мин, чтобы материалы опоры могли восстановиться после любого временного удлинения.
7.5.1.8 Повторно прилагают силу предварительной нагрузки, как указано в
таблице 4, и измеряют положение подушки нагружения. Любая разница между данным и исходным положением, определенным в
7.5.1.4, представляет собой смещение, вызываемое постоянной деформацией опоры. Записывают смещение, допускаемое опорой.
7.5.2 Опора туловища
7.5.2.1 Для выбора соответствующей подушки нагружения туловища масса пользователя для испытуемой опоры должна быть максимальной массой пользователя, определенной изготовителем в качестве подходящей для опоры. Выбирают соответствующую подушку нагружения туловища (как определено в
4.3). Для опор, в которых используются ремни, прикрепляют ремни к регулируемой жесткой испытательной раме (как определено в
4.1.1). Прикрепляют подушку нагружения к поворотной испытательной раме (как определено в
4.1.3). См. пример на
рисунке 7. Устанавливают опору на испытательную раму или суррогатную опорную поверхность, следуя указаниям изготовителя.
7.5.2.2 Разрабатывают способ приложения крутящего момента к вращающейся испытательной раме (см. пример на
рисунке 6). Подушку нагружения туловища размещают относительно оси вращения в соответствии с
таблицей 2 (пример установки см. на
рисунке 7).
7.5.2.3 Прикладывают крутящий момент установки, как определено в
таблице 5.
Таблица 5
Параметры статических нагрузок передней опоры для туловища
Параметр | Масса пользователя |
25 кг | 50 кг | 75 кг | 100 кг | 125 кг | > 150 кг | Допуск |
Установочный крутящий момент, Нм | 18 | 27 | 30 | 33 | 36 | 39 | +/- 3% |
Максимальный крутящий момент <a>, Нм | 63 | 185 | 315 | 460 | 630 | 820 | +/- 3% |
<a> Максимальная нагрузка основана на следующем: 7 x масса x длина штифта, d/1000, выражаемая в ньютонометрах. |
7.5.2.4 Измеряют угловое положение подушки нагружения.
7.5.2.5 Прикладывают испытательную силу на расстоянии от поверхности испытательной рамы, напротив передней опоры туловища, как определено в
7.3 до максимального крутящего момента, указанного в
таблице 5.
7.5.2.6 Если в соответствии с
разделом 5 не произошел отказ, фиксируют максимальное угловое смещение подушки нагружения.
7.5.2.7 Все крутящие моменты ослабляют для устранения натяжения в опоре в течение (30 +/- 10) мин, чтобы материалы опоры могли восстановиться после любого временного удлинения.
7.5.2.8 Установочный крутящий момент прилагают повторно, как указано в
таблице 5, и измеряют угловое положение подушки нагружения. Любая разница между данным и исходным углом, отмеченным в
7.5.2.4, представляет собой смещение, возникающее в результате постоянной деформации опоры. Записывают угол смещения, допускаемый опорой.
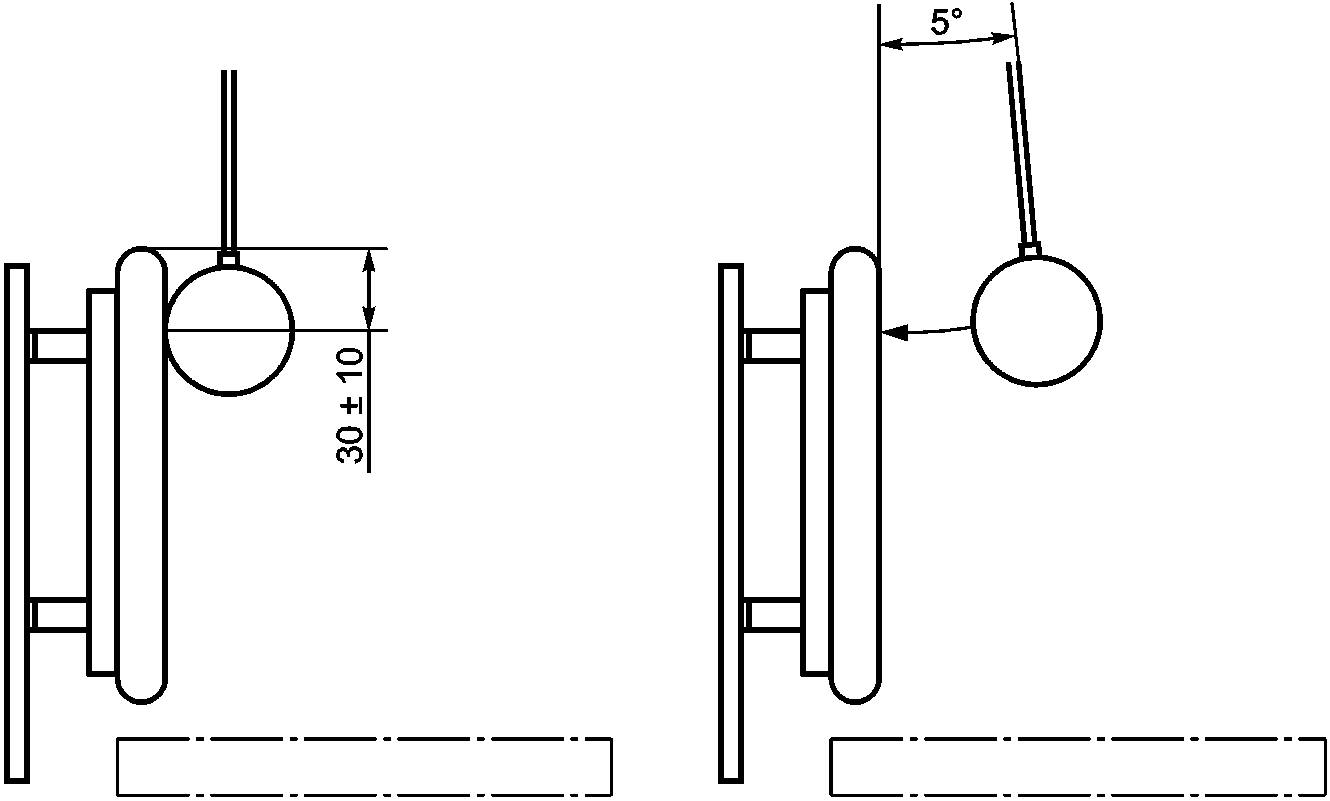
7.6 Опора головы: силы сзади
7.6.1 Выбирают и, если необходимо, изменяют выпуклую полусферическую подушку нагружения, как определено в
4.3.6.
7.6.2 Прикладывают испытательную силу F, с шагом 15 Н (+/- 3%).
7.6.3 Устанавливают устройство для приложения испытательной силы
F таким образом, чтобы линия ее действия была перпендикулярна к поверхности опоры головы и точка приложения была бы в центре (допуск +/- 10 мм) поверхности опоры головы, как показано на
рисунке 19.
Рисунок 19 - Пример приложения задней силы к опоре головы
7.6.4 Дополнительно устанавливают устройство для приложения испытательной силы перпендикулярно к поверхности опоры головы в точках на расстоянии по горизонтали (35 +/- 5) мм направо и налево от центра поверхности опоры головы.
7.6.5 Прикладывают каждую из этих сил, как определено в
7.3.
7.6.6 Любые боковые опоры головы должны быть испытаны, как определено в
7.4.
7.7 Опора спины: сила сзади
7.7.1 Выбирают и, если необходимо, изменяют соответствующие размеры подушки нагружения, как определено в
4.3.
7.7.2 Устанавливают устройство для приложения испытательной силы
F таким образом, чтобы точка ее приложения была бы посередине (допуск +/- 10 мм) верхней части поверхности опоры спины и линия ее действия была бы под углом от 40° до 50° к поверхности опоры спины, как показано на
рисунке 20.
Рисунок 20 - Пример приложения силы сзади к опоре спины
7.7.3 Прикладывают испытательную силу, как определено в
7.3.
7.8 Опора спины: силы спереди
7.8.1 Выбирают и, если необходимо, изменяют соответствующие размеры подушки нагружения, как определено в
4.3.
7.8.2 Устанавливают устройство для приложения испытательной силы
F таким образом, чтобы линия ее действия была бы вдоль средней линии (допуск +/- 10 мм) и перпендикулярна к поверхности опоры спины, и точка ее приложения была на (30 +/- 10) мм ниже верхней части поверхности опоры спины, см.
рисунок 21. Если имеются трудности в установке в этом положении, используют базовую плоскость опоры спины, как определено в ИСО 7176-26.
Размер в миллиметрах
Рисунок 21 - Пример приложения силы спереди к опоре спины
7.8.3 Прикладывают испытательную силу
F, как определено в
7.3.
7.9 Встроенные опоры руки: силы направлены вниз
Это испытание применимо только к УПО, которые имеют опоры рук.
Выполняют процедуру испытания, как определено в ИСО 7176-8 (пункт 8.4), с УПО, смонтированном на жестком испытательном приспособлении, как определено в
4.1.
Примечание - Настоящий стандарт не распространяется на силы, направленные вверх на опорах ноги, встроенных в УПО. Считается технически невозможным применять испытание для подъема кресла-коляски и пассажира к УПО, так как тип и масса кресла-коляски, на котором УПО будет использоваться, непредсказуемы.
7.10 Встроенные опоры ноги: силы направлены вниз
Это испытание применимо только к УПО, которые имеют опоры ноги.
Выполняют процедуру испытания, как определено в ИСО 7176-8 (пункт 8.5), с УПО, смонтированным на жестком испытательном приспособлении, как определено в
4.1.
Примечание - Настоящий стандарт не распространяется на силы, направленные вверх на опорах ноги, встроенных в УПО. Считается технически невозможным применять испытание для подъема кресла-коляски и пассажира к УПО, так как тип и масса кресла-коляски, на котором УПО будет использоваться, непредсказуемы.
8 Методы испытания на ударную прочность
Подготавливают УПО к испытаниям в соответствии с
разделом 6.
8.2 Процедура испытания. Общие положения
Проводят испытания, приведенные в этом разделе, в испытательной окружающей среде, указанной в
4.7. Если жесткое испытательное приспособление используется с вертикальной ориентацией, в
таблице 6 приведена информация о высоте вертикального опускания для данного угла маятника.
| | ИС МЕГАНОРМ: примечание. В официальном тексте документа, видимо, допущена опечатка: имеется в виду п. 8.5, а не 8.6. | |
Прикладывают ударную нагрузку к каждому УПО согласно соответствующей процедуре, указанной в
8.3 -
8.6.
В случае если УПО испытывают до разрушения при испытании на статическую, ударную и циклическую нагрузки и не существует установленного порядка проведения испытания, то для каждого испытания следует использовать новое УПО.
8.3 Сопротивление опоры спины: удар сзади
8.3.1 Устанавливают устройство ударного нагружения (см.
4.5.1) таким образом, чтобы маятник был расположен вертикально с допуском +/- 1°, когда шар ударяет поверхность опоры спины.
8.3.2 Регулируют маятник таким образом, чтобы ударная нагрузка была расположена по нормали к базовой плоскости опоры спины, как определено в ИСО 7176-26:2007 (пункт 4.9.2), и точка ее приложения была расположена на (30 +/- 10) мм ниже верхней части поверхности опоры спины, как показано на
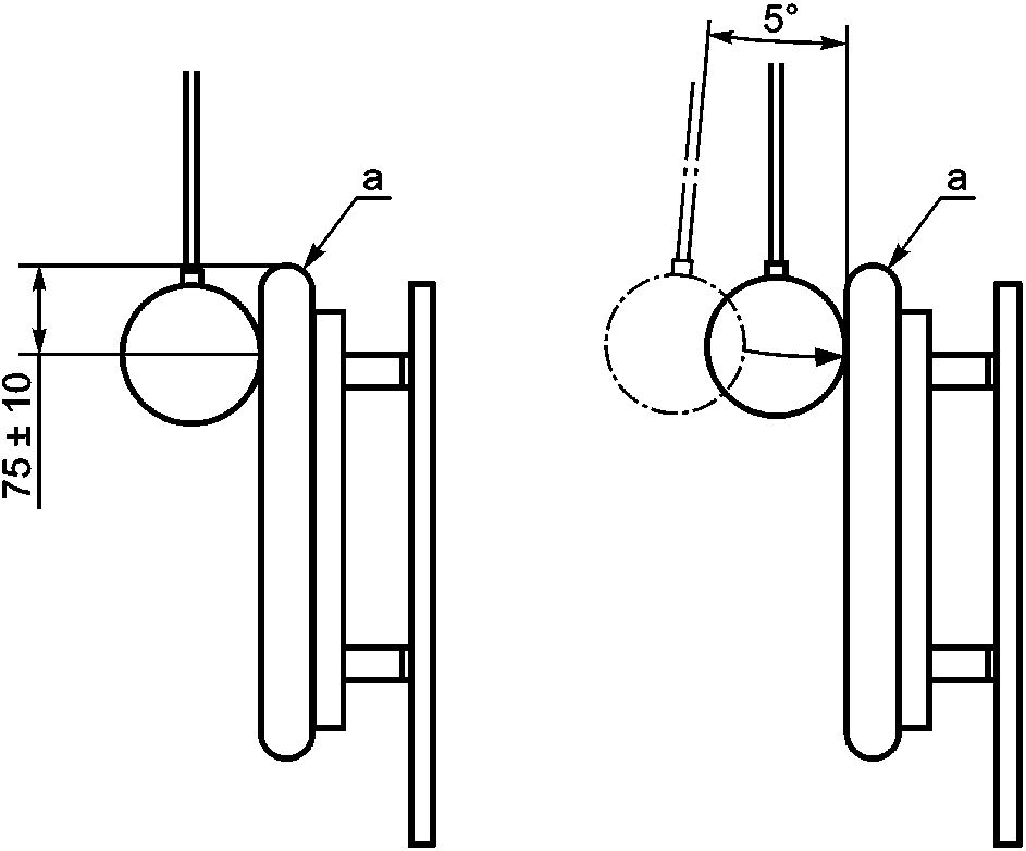
рисунке 22.
8.3.3 Поднимают маятник на угол 5° +/- 1° от точки касания с опорой спины и затем опускают его, чтобы он ударил опору спины, как показано на
рисунке 22.
Размер в миллиметрах
Рисунок 22 - Выравнивание и настройка испытания опоры спины
на ударное воздействие
8.3.4 Если появится какой-либо вид повреждения, указанный в
разделе 5, регистрируют вид повреждения и прекращают испытание, следуя инструкции, определенной в
8.3.6.
8.3.5 Повторяют ударное воздействие, увеличивая угол падения маятника на 5° до тех пор, пока не произойдет какой-либо вид повреждения, указанный в
разделе 5, или пока угол падения не достигнет 90°.
8.3.6 Регистрируют максимальный достигнутый угол маятника и высоту вертикального падения шара, как приведено в
таблице 6.
Таблица 6a
Высота вертикального падения, полученная из угла
вертикального маятника (длина рычага 1000 мм)
Угол маятника, градусы | Высота вертикального падения, мм |
5 | 4 |
10 | 15 |
15 | 34 |
20 | 60 |
25 | 94 |
30 | 134 |
35 | 181 |
40 | 234 |
45 | 293 |
50 | 357 |
55 | 426 |
60 | 500 |
65 | 577 |
70 | 658 |
75 | 741 |
80 | 826 |
85 | 913 |
90 | 1 000 |
Таблица 6b
Высота вертикального падения, полученная из угла
вертикального маятника (длина рычага 1200 мм)
Угол маятника, градусы | Высота вертикального падения, мм |
5 | 5 |
10 | 18 |
15 | 41 |
20 | 72 |
25 | 113 |
30 | 161 |
35 | 217 |
40 | 281 |
45 | 352 |
50 | 428 |
55 | 511 |
60 | 600 |
65 | 692 |
70 | 790 |
75 | 889 |
80 | 991 |
85 | 1 096 |
90 | 1 200 |
8.4 Опоры ног: ударная нагрузка для УПО со встроенными опорами для ног
8.4.1 Это испытание применяют для УПО со встроенными опорами для ног.
8.4.2 Располагают жесткий испытательный стенд таким образом чтобы его опорная поверхность для ног была вертикальна с допуском +/- 1°.
8.4.3 Устанавливают устройство ударного нагружения (см.
4.5.2), таким образом, чтобы маятник был расположен вертикально с допуском +/- 1° и сцентрирован (допуск +/- 10 мм) по отношению к передней кромке одной из опор ноги. Для УПО с одной встроенной опорой ног устанавливают устройство ударного нагружения таким образом, чтобы маятник был расположен вертикально с допуском +/- 1° и сцентрирован (допуск +/- 10 мм) по отношению к передней кромке опоры ног.
8.4.4 Поднимают и опускают маятник, начиная с угла 5° +/- 1°.
8.4.5 Если произойдет какой-либо вид повреждения, указанный в
разделе 5, регистрируют вид повреждения и прекращают испытание, следуя инструкции, определенной в
8.4.7.
8.4.6 Повторяют ударное воздействие, увеличивая начальный угол маятника на 5° до тех пор, пока не случится какой-либо вид повреждения, указанный в
разделе 5, или пока угол падения не достигнет 90°.
8.4.7 Регистрируют максимальный достигнутый угол маятника.
8.5 Поверхность сиденья: ударная нагрузка
8.5.1 Располагают жесткое испытательное приспособление так, чтобы поверхность сиденья была вертикальна с допуском +/- 1°.
8.5.2 Устанавливают устройство ударного нагружения (см.
4.5.1) таким образом, чтобы маятник был расположен вертикально с допуском +/- 1°, когда шар ударяет поверхность сиденья.
8.5.3 Регулируют таким образом, чтобы точка приложения ударной нагрузки была расположена на (75 +/- 25) мм по направлению назад по отношению к передней кромке поверхности сиденья, как показано на
рисунке 23.
8.5.4 Поднимают и опускают маятник, начиная с угла 5° +/- 1°, чтобы ударять поверхность сиденья, как показано на
рисунке 23.
Размер в миллиметрах
--------------------------------
<a> Передняя сторона элемента УПО.
Рисунок 23 - Установка для испытания сопротивления
поверхности сиденья на ударную нагрузку
8.5.5 Если произойдет какой-либо вид повреждения, указанный в
разделе 5, регистрируют вид повреждения и прекращают испытание, следуя инструкции, указанной в
8.5.7.
8.5.6 Повторяют ударное воздействие, увеличивая начальный угол маятника на 5° до тех пор, пока не произойдет какой-либо вид повреждения, указанный в
разделе 5, или пока угол падения не достигнет 90°.
8.5.7 Регистрируют максимальный достигнутый угол маятника и высоту вертикального падения шара, как приведено в
таблице 6.
9 Методы испытания на циклическую нагрузку
Эти испытания применимы к поверхностям сиденья, опорам спины, передним опорам таза и опорам грудной клетки.
9.2.1 Проводят испытания в испытательной среде, указанной в
4.7.
9.2.2 Прикладывают циклическую испытательную нагрузку к каждому УПО согласно соответствующим процедурам по
9.3 -
9.5.
9.2.3 Так как УПО испытывают до момента повреждения при статической, ударной и циклической нагрузках, не существует определенного порядка при проведении испытаний и для каждого испытания следует использовать новое УПО.
9.2.4 Записывают следующее:
a) максимальное смещение, разрешаемое перемещением эластичного приспособления присоединения или деформируемой поверхностью опоры, или пассивной опорной поверхностью;
b) силу или крутящий момент для смещения или перемещения компонентов, для которых предусмотрено перемещение; такие компоненты включают эластичное приспособление присоединения или деформируемые опорные поверхности, или пассивные опорные поверхности;
c) прилагаемую максимальную силу или крутящий момент;
d) если произошло повреждение - силу или крутящий момент, при котором оно возникло, а также тип повреждения;
e) расстояние (момент) смещения от точки присоединения до точки локального приложения силы;
f) жесткое испытательное приспособление для каждого испытания;
g) подушку нагружения, используемую для каждого испытания;
h) завершаемые циклы.
9.3 Поверхность сиденья: испытание на циклическую нагрузку
9.3.1 Устанавливают опору сиденья на жесткое испытательное приспособление, как указано в
4.1.
9.3.2 Выбирают подушку нагружения, как указано в
4.3.1.
9.3.3 Устанавливают приспособление для приложения циклической нагрузки, как указано в
4.6, таким образом, чтобы подушка нагружения была бы перпендикулярна в пределах +/- 5° к поверхности сиденья и сцентрирована по отношению к поверхности сиденья в пределах +/- 10 мм.
9.3.4 Настраивают циклическую испытательную нагрузку в пределах 10% значения
L, рассчитанного по
формуле (1):
где L - числовое значение циклической испытательной нагрузки, выраженное в ньютонах (Н);
m - числовое значение максимальной массы пользователя, рекомендованной изготовителем, выраженное в килограммах.
9.3.5 Прикладывают циклическую нагрузку, как указано в
4.6. Это испытание выводится из предположения, что пользователь нагружает сиденье 10 раз за час в течение 15-часового дня и семидневной недели.
9.3.6 Если произойдет какой-либо вид повреждения, указанный в
разделе 5, регистрируют число циклов, вид повреждения и прекращают испытание.
Примечание - Испытание проводят с учетом предполагаемого использования, и записывают число циклов.
9.4 Опора спины: циклическая нагрузка
9.4.1 Устанавливают опору спины на жесткое испытательное приспособление, как указано в
4.1.
9.4.2 Выбирают подушку нагружения, как указано в
4.3.3.
9.4.3 Устанавливают приспособление для приложения циклической нагрузки, как указано в
4.6, таким образом, чтобы подушка нагружения была бы перпендикулярна в пределах +/- 5° к поверхности спины и сцентрирована по отношению к поверхности спины в пределах +/- 10 мм.
9.4.4 Настраивают циклическую испытательную нагрузку в пределах 10% значения
L, рассчитанного по
формуле (1).
9.4.5 Прикладывают циклическую испытательную нагрузку, как указано в
4.6.
9.4.6 Если произойдет какой-либо вид повреждения, указанный в
разделе 5, регистрируют число циклов, вид повреждения и прекращают испытание.
Примечание - Испытание проводят с учетом предполагаемого использования, и записывают количество циклов.
9.5 Передняя опора таза: циклическая нагрузка
9.5.1 В данном подразделе передняя опора таза будет определяться как опора; применяемая подушка нагружения таза будет называться подушкой нагружения.
9.5.2 Устанавливают каждую опору и соответствующее испытательное оборудование, как указано в
7.5.1.1 и
7.5.1.2.
9.5.3 Устанавливают приспособление для приложения циклической нагрузки, как указано в
4.6, таким образом, чтобы подушка нагружения была бы перпендикулярна в пределах +/- 5° к опоре и сцентрирована по отношению к опоре в пределах +/- 10 мм.
9.5.4 Предварительно нагружают опору, приложив предварительную нагрузку, как указано в
таблице 7.
Таблица 7
Разделение точек крепления передней опоры таза и параметры
циклической нагрузки
Параметр | Масса пользователя |
25 кг | 50 кг | 75 кг | 100 кг | 125 кг | > 150 кг | Допуск |
Разделение точек крепления, мм | 280 | 360 | 430 | 480 | 530 | 580 | +/- 30 мм |
Предварительная нагрузка, Н | 50 | 50 | 50 | 50 | 50 | 50 | +/- 3% |
Максимальная нагрузка, Н <a> | 125 | 250 | 375 | 500 | 625 | 750 | +/- 3% |
<a> Максимальная нагрузка основана на следующем: 5 x масса, выражаемая в ньютонах. |
9.5.5 Отмечают позицию подушки нагружения или разрабатывают средство использования этой позиции в качестве нулевой точки отсчета, как приведено в
9.5.10.
9.5.6 Настраивают циклическую испытательную нагрузку до уровня максимальной нагрузки, как приведено в
таблице 7.
9.5.7 Прилагают циклическую испытательную нагрузку, как указано в
4.6, для 1000 циклов.
9.5.8 Если произойдет какой-либо вид повреждения, указанный в
разделе 5, в течение 1000 циклов, регистрируют вид повреждения, число циклов и прекращают испытание.
9.5.9 Ослабляют все силы, чтобы устранить натяжение в опоре в течение (30 +/- 10) мин для того, чтобы материалы опоры могли восстановиться после любого временного удлинения.
9.5.10 Прилагают предварительную нагрузку, как приведено в
таблице 7, и отмечают позицию подушки нагружения. Любая разница между этой позицией и начальным положением, указанным в
9.5.5, представляет собой смещение, вызванное постоянной деформацией опоры. Записывают данные о смещении.
9.6 Передняя опора туловища: циклическая нагрузка
9.6.1 В данном подразделе передняя опора туловища будет определяться как опора; применяемая изменяемая подушка нагружения туловища будет называться выпуклой подушкой нагружения.
9.6.2 Устанавливают каждую опору и соответствующее испытательное оборудование, как указано в
7.5.2.1 и
7.5.2.2.
9.6.3 Устанавливают приспособление для приложения циклического крутящего момента, как указано в
4.6, таким образом, чтобы подушка нагружения располагалась относительно оси вращения согласно
таблице 2.
9.6.4 Предварительно нагружают опору, приложив установочный крутящий момент согласно
таблице 8 к поворотной испытательной раме.
Таблица 8
Параметры циклической нагрузки передней опоры туловища
Параметр | Масса пользователя |
25 кг | 50 кг | 75 кг | 100 кг | 125 кг | > 150 кг | Допуск |
Установочный крутящий момент, Нм | 18 | 27 | 30 | 33 | 36 | 39 | +/- 3% |
Максимальный крутящий момент, Нм <a> | 31 | 92 | 157 | 230 | 315 | 410 | +/- 3% |
<a> Максимальная нагрузка основана на следующем: 3,5 x масса x длина штифта, d/1000, выражаемая в ньютонометрах. |
9.6.5 Регистрируют угловое положение подушки нагружения.
9.6.6 Настраивают циклическую нагрузку, задают на максимальный крутящий момент, как приведено в
таблице 8.
9.6.7 Прилагают циклический испытательный крутящий момент в соответствии с
4.6 в течение 1000 циклов.
9.6.8 Если произойдет какой-либо вид повреждения, указанного в
разделе 5, в течение 1000 циклов, регистрируют вид повреждения, число циклов и прекращают испытание.
9.6.9 Ослабляют все крутящие моменты, чтобы устранить натяжение в опоре в течение (30 +/- 10) мин для того, чтобы материалы опоры могли восстановиться после любого временного удлинения.
9.6.10 Прилагают установочный крутящий момент, как приведено в
таблице 8, и отмечают угловое положение подушки нагружения. Любая разница между данным и исходным углом, приведенным в
9.6.5, представляет собой смещение, вызванное постоянной деформацией опоры. Записывают угол смещения.
Отчет об испытаниях должен содержать следующее:
a) заявление, что УПО и приспособления прикрепления были испытаны в соответствии с настоящим стандартом;
b) наименование, адрес и статус аккредитации организации, проводившей испытания;
c) наименование и адрес изготовителя УПО;
d) дату выпуска отчета по испытанию;
e) обозначение модели, номер детали и/или любую другую информацию, которая однозначно определяет УПО;
f) максимальную массу пользователя, предназначенную для использования УПО;
g) список всех испытаний, примененных к устройству;
h) жесткое испытательное приспособление и/или прилегающие части, использованные для каждого испытания;
i) описание настройки, регулировки УПО, использованных для каждого испытания;
j) в дополнение к этому, для результатов статических испытаний:
1) максимальную упругую деформацию УПО перед тем, как произошел один из видов повреждений,
2) максимальную достигнутую силу или крутящий момент,
3) при возникновении повреждения - тип повреждения, как указано в
разделе 5,
4) величину смещения (момент) к точке приложения силы или крутящего момента от точки крепления к смежному УПО;
k) в дополнение к этому, для результатов испытаний на ударную нагрузку:
1) угол отпускания маятника до возникновения режима повреждения или утверждение о том, что в результате испытания не произошло повреждений,
2) вертикальную высоту падения шара, и
3) при возникновении повреждения - тип повреждения, как указано в
разделе 5,
l) в дополнение к этому, для результатов испытаний на циклическую нагрузку:
1) силу или крутящий момент, прикладываемые во время циклического нагружения к поверхности сиденья, опоре спины, передней опоре таза и/или передней опоре туловища,
2) при возникновении повреждения - тип повреждения, как указано в
разделе 5,
3) число выполненных циклов, и
4) a) линейное смещение, вызванное постоянной деформацией, измеренное в
9.5.10 или b) угловое смещение, вызванное деформацией, измеренное в
9.6.10;
m) заявление о типе или типах материалов покрытия УПО.
11 Требование к раскрытию информации
Следующие результаты по
разделу 10 должны быть представлены в предпродажной документации изготовителя или информации о продукте, как определено в ИСО 7176-15.
Отчет по результатам испытания:
(справочное)
СВЕДЕНИЯ О СООТВЕТСТВИИ ССЫЛОЧНЫХ МЕЖДУНАРОДНЫХ СТАНДАРТОВ
НАЦИОНАЛЬНЫМ СТАНДАРТАМ
Таблица ДА.1
Обозначение ссылочного международного стандарта | Степень соответствия | Обозначение и наименование соответствующего национального стандарта |
ISO 554 | - | |
ISO 898-7 | IDT | ГОСТ ISO 898-7-2015 "Механические свойства крепежных изделий. Часть 7. Испытание на кручение и минимальные крутящие моменты для болтов и винтов номинальных диаметров от 1 до 10" |
ISO 7176-8:1998 | IDT | |
ISO 7176-15 | IDT | ГОСТ Р ИСО 7176-15-2007 "Кресла-коляски. Часть 15. Требования к документации и маркировке для обеспечения доступности информации" |
ISO 7176-26:2007 | IDT | |
ISO 16840-2 | IDT | ГОСТ Р ИСО 16840-2-2015 "Сиденья кресел-колясок. Часть 2. Определение физико-механических характеристик устройств, предназначенных для сохранения целостности тканей. Подушки сиденья" |
<*> Соответствующий национальный стандарт отсутствует. До его принятия рекомендуется использовать перевод на русский язык данного международного стандарта. Официальный перевод данного международного стандарта находится в Федеральном информационном фонде стандартов. Примечание - В настоящей таблице использовано следующее условное обозначение степени соответствия стандартов: - IDT - идентичные стандарты. |
--------------------------------
<1> В Российской Федерации действует
ГОСТ Р ИСО 7176-8-2015 "Кресла-коляски. Часть 8. Требования и методы испытаний на статическую, ударную и усталостную прочность", идентичный ISO 7176-8:2014.
УДК 615.478.3.001.4:006.354 | | |
Ключевые слова: сиденье кресла-коляски, требования, методы испытаний, статическая прочность, ударная прочность, циклическая нагрузка, осанка |