Главная // Актуальные документы // ГОСТ Р (Государственный стандарт)СПРАВКА
Источник публикации
М.: Стандартинформ, 2016
Примечание к документу
Документ
введен в действие с 1 января 2017 года.
Название документа
"ГОСТ Р ИСО 7176-21-2015. Национальный стандарт Российской Федерации. Кресла-коляски. Часть 21. Требования и методы испытаний для обеспечения электромагнитной совместимости кресел-колясок с электроприводом и скутеров с зарядными устройствами"
(утв. и введен в действие Приказом Росстандарта от 28.10.2015 N 2176-ст)
"ГОСТ Р ИСО 7176-21-2015. Национальный стандарт Российской Федерации. Кресла-коляски. Часть 21. Требования и методы испытаний для обеспечения электромагнитной совместимости кресел-колясок с электроприводом и скутеров с зарядными устройствами"
(утв. и введен в действие Приказом Росстандарта от 28.10.2015 N 2176-ст)
Утвержден и введен в действие
по техническому регулированию
и метрологии
от 28 октября 2015 г. N 2176-ст
НАЦИОНАЛЬНЫЙ СТАНДАРТ РОССИЙСКОЙ ФЕДЕРАЦИИ
КРЕСЛА-КОЛЯСКИ
ЧАСТЬ 21
ТРЕБОВАНИЯ И МЕТОДЫ ИСПЫТАНИЙ ДЛЯ ОБЕСПЕЧЕНИЯ
ЭЛЕКТРОМАГНИТНОЙ СОВМЕСТИМОСТИ КРЕСЕЛ-КОЛЯСОК
С ЭЛЕКТРОПРИВОДОМ И СКУТЕРОВ С ЗАРЯДНЫМИ УСТРОЙСТВАМИ
Wheelchairs. Part 21. Requirements and test methods
for electromagnetic compatibility of electrically powered
wheelchairs and scooters, and battery chargers
(ISO 7176-21:2009, IDT)
ГОСТ Р ИСО 7176-21-2015
Дата введения
1 января 2017 года
1 ПОДГОТОВЛЕН Региональной общественной организацией инвалидов "Центр гуманитарных программ" и Федеральным государственным унитарным предприятием "Российский научно-технический центр информации по стандартизации, метрологии и оценке соответствия" (ФГУП "СТАНДАРТИНФОРМ") на основе собственного аутентичного перевода на русский язык англоязычной версии международного стандарта, указанного в
пункте 4
2 ВНЕСЕН Техническим комитетом по стандартизации ТК 381 "Технические средства для инвалидов"
3 УТВЕРЖДЕН И ВВЕДЕН В ДЕЙСТВИЕ
Приказом Федерального агентства по техническому регулированию и метрологии от 28 октября 2015 г. N 2176-ст
4 Настоящий стандарт идентичен международному стандарту ИСО 7176-21:2009 "Кресла-коляски. Часть 21. Требования и методы испытаний для обеспечения электромагнитной совместимости кресел-колясок с электроприводом и скутеров с зарядными устройствами" (ISO 7176-21:2009 "Wheelchairs - Part 21: Requirements and test methods for electromagnetic compatibility of electrically powered wheelchairs and scooters, and battery chargers", IDT).
При применении настоящего стандарта рекомендуется использовать вместо ссылочных международных стандартов соответствующие им национальные стандарты Российской Федерации, сведения о которых приведены в дополнительном
приложении ДА
Правила применения настоящего стандарта установлены в ГОСТ Р 1.0-2012
(раздел 8). Информация об изменениях к настоящему стандарту публикуется в ежегодном (по состоянию на 1 января текущего года) информационном указателе "Национальные стандарты", а официальный текст изменений и поправок - в ежемесячном информационном указателе "Национальные стандарты". В случае пересмотра (замены) или отмены настоящего стандарта соответствующее уведомление будет опубликовано в ближайшем выпуске ежемесячного информационного указателя "Национальные стандарты". Соответствующая информация, уведомление и тексты размещаются также в информационной системе общего пользования - на официальном сайте Федерального агентства по техническому регулированию и метрологии в сети Интернет (www.gost.ru)
ИСО (Международная организация по стандартизации) является всемирной федерацией национальных органов по стандартизации (членов ИСО). Разработку международных стандартов обычно проводят Технические комитеты ИСО. Каждый член организации, заинтересованный темой, для работы над которой был создан соответствующий Технический комитет, имеет право участвовать в работе этого комитета. В работе принимают участие международные правительственные и неправительственные организации, поддерживающие связь с ИСО, также принимают участие в работе. ИСО тесно сотрудничает с Международной электротехнической комиссией (МЭК) по всем вопросам стандартизации в области электротехники.
Международные стандарты разрабатывают в соответствии с правилами Руководства ИСО/МЭК, часть 2.
Основной задачей Технического комитета является подготовка международного стандарта. Проекты международных стандартов, одобренные Техническим комитетом, направляют на согласование членам этого комитета. Для публикации международных стандартов требуется оформление одобрения не менее 75% проголосовавших членов комитета.
Следует обратить внимание на возможность наличия в настоящем стандарте элементов, имеющих патентные права. ИСО не несет ответственности за патентную чистоту.
Настоящий стандарт подготовлен Техническим комитетом ИСО/ТК 173 "Средства помощи для лиц с ограничениями жизнедеятельности", подкомитет ПК 1 "Кресла-коляски".
Это второе издание отменяет и заменяет первое издание (ИСО 7176-21:2003), которое было технически пересмотрено.
ИСО 7176 состоит из следующих частей под общим наименованием "Кресла-коляски":
- часть 1. Определение статической устойчивости кресел-колясок;
- часть 2. Определение динамической устойчивости кресел-колясок с электроприводом;
- часть 3. Определение эффективности действия тормозной системы;
- часть 4. Определение запаса хода кресел-колясок с электроприводом и скутеров путем измерения расхода энергии;
- часть 5. Определение размеров, массы и площади для маневрирования кресел-колясок;
- часть 6. Определение максимальной скорости, ускорения и замедления кресел-колясок с электроприводом;
- часть 7. Измерение размеров сиденья и колес;
- часть 8. Требования и методы испытаний на статическую, ударную и усталостную прочность кресел-колясок;
- часть 9. Климатические испытания кресел-колясок с электроприводом;
- часть 10. Определение способности кресел-колясок с электроприводом преодолевать препятствия;
- часть 11. Испытательные манекены;
- часть 13. Методы испытаний для определения коэффициента трения испытательной поверхности;
- часть 14. Электросистемы и системы управления кресел-колясок с электроприводом и скутеров. Требования и методы испытаний;
- часть 15. Требования к документации и маркировке для обеспечения доступности информации;
- часть 16. Стойкость к возгоранию элементов кресла-коляски с мягкой обивкой. Требования и методы испытаний;
- часть 19. Колесные передвижные устройства, используемые в качестве сидений в моторных транспортных средствах;
- часть 21. Требования и методы испытаний для обеспечения электромагнитной совместимости кресел-колясок с электроприводом и скутеров с зарядными устройствами;
- часть 22. Правила установки;
- часть 23. Требования и методы испытаний устройств для преодоления лестниц, управляемых сопровождающим лицом;
- часть 24. Требования и методы испытаний устройств для преодоления лестниц, управляемых пользователем;
- часть 26. Словарь.
Технический отчет (ИСО/TR 13570-1 "Кресла-коляски. Часть 1. Рекомендации по применению стандартов ИСО серии 7176 на кресла-коляски") также имеется в наличии, предоставляя информацию, как использовать стандарты ИСО 7176 при выборе кресла-коляски, помогая читателям понять назначение и содержание международных стандартов на кресла-коляски.
Предполагается, что кресла-коляски с электроприводом и их устройства зарядки батарей работают без излучения значительных электромагнитных помех в окружающую среду и без существенного ухудшения качества их работоспособности в присутствие электромагнитных полей, ожидаемых при нормальном использовании. Кресла-коляски часто используются около дорог и, следовательно, должны быть защищены от радиочастотных полей, возникающих как от стационарного, так и подвижного коммуникационного оборудования, так же как от других источников электромагнитных помех. Возможное причинение вреда может произойти в виде непреднамеренного движения или изменения направления движения кресла-коляски.
Настоящий стандарт определяет требования и методы испытания кресел-колясок и их устройств зарядки батарей, чтобы минимизировать риск, связанный с воздействием на них достаточно предсказуемых электромагнитных помех и электростатических разрядов и с созданием ими электромагнитных полей, которые могут ухудшать работу других устройств и оборудования в их обычном окружении.
Требования ограничения верхних частот и уровня испытания на защищенность от излучаемых радиочастотных помех выбираются согласно окружающей среде, в которой используется кресло-коляска, и соответствующего риска. Следовательно, требования к креслу-коляске при его движении приравниваются с его использованием, как медицинское устройство, но требования к зарядному устройству приравниваются к использованию кресла-коляски и зарядного устройства, как домашнее электрическое оборудование.
ПРЕДУПРЕЖДЕНИЕ - Настоящий стандарт предусматривает использование процедур, которые могут быть вредными для здоровья, если не предпринять адекватных мер предосторожности. Это относится только к технической пригодности и не освобождает производителя или помещения, где проводятся испытания, от любых юридических обязательств, касающихся здоровья и безопасности.
Настоящий стандарт определяет требования и методы испытания электромагнитной эмиссии и электромагнитной защищенности кресел-колясок и скутеров с электроприводом с максимальной скоростью не более 15 км/ч, предназначенных для внутреннего и/или наружного использования людьми с ограниченными возможностями. Настоящий стандарт также применим к ручным креслам-коляскам с использованием электрического привода, но не применим к транспортным средствам, разработанным для перемещения более чем одного человека.
Настоящий стандарт также определяет требования и методы испытания электромагнитной совместимости устройств зарядки батарей, предназначенных для использования с креслами-колясками и скутерами с электроприводом.
Базовая конструкция определена для регулируемых кресел-колясок и скутеров, чтобы дать возможность использовать результаты испытания для сравнения эксплуатационных качеств.
Примечание - Термин "кресло-коляска" используется в настоящем стандарте, чтобы охватить кресла-коляски, скутера и ручные кресла-коляски с добавлением энергетического набора.
В настоящем стандарте использованы нормативные ссылки на следующие стандарты. Для датированных ссылок применяют только указанные издания. Для недатированных ссылок применяют самые последние издания (включая любые изменения и поправки).
ИСО 7176-5 Кресла-коляски. Часть 5. Определение размеров, массы и площади для маневрирования (ISO 7176-5, Wheelchairs - Part 5: Determination of dimensions, mass and manoeuvring space)
ИСО 7176-9 Кресла-коляски. Часть 9. Климатические испытания для кресел колясок с электроприводом (ISO 7176-9, Wheelchairs - Part 9: Climatic tests for electric wheelchairs)
ИСО 7176-15 Кресла-коляски. Часть 15. Требования к документации и маркировке для обеспечения доступности информации (ISO 7176-15, Wheelchairs - Part 15: Requirements for information disclosure, documentation and labelling)
ИСО 7176-22 Кресла-коляски. Часть 22. Правила установки (ISO 7176-22, Wheelchairs - Part 22: Set-up procedures)
МЭК 61000-3-2 Электромагнитная совместимость (EMC). Часть 3-2. Пределы. Пределы выбросов для синусоидального тока (оборудование с входным током менее или равным 16 А на фазу) (IEC 61000-3-2, Electromagnetic compatibility (EMC) - Part 3-2: Limits - Limits for harmonic current emissions (equipment input current u 16 A per phase))
МЭК 61000-3-3 Электромагнитная совместимость (EMC). Часть 3-3. Пределы. Ограничение изменений напряжения, флуктуации и мерцания напряжения в распределительных низковольтных системах питания для оборудования с номинальным током не более 16 А на фазу и не подлежащему условному соединению (IEC 61000-3-3, Electromagnetic compatibility (EMC) - Part 3-3: Limits - Limitation of voltage changes, voltage fluctuations and flicker in public low-voltage supply systems, for equipment with rated current u 16 A per phase and not subject to conditional connection)
МЭК 61000-4-2 Электромагнитная совместимость (EMC). Часть 4-2. Методики испытаний и измерений. Испытание на невосприимчивость к электростатическому разряду. (IEC 61000-4-2, Electromagnetic compatibility (EMC) - Part 4-2: Testing and measurement techniques - Electrostatic discharge immunity test)
МЭК 61000-4-3 Электромагнитная совместимость (EMC). Часть 4-3. Методики испытаний и измерений. Испытание на невосприимчивость к воздействию электромагнитного поля с излучением на радиочастотах. (IEC 61000-4-3, Electromagnetic compatibility (EMC) - Part 4-3: Testing and measurement techniques - Radiated, radio-frequency, electromagnetic field immunity test)
МЭК 61000-4-4 Электромагнитная совместимость (EMC). Часть 4-4. Методы испытаний и измерений. Испытание на невосприимчивость к быстрым переходным процессам и всплескам (IEC 61000-4-4, Electromagnetic compatibility (EMC) - Part 4-4: Testing and measurement techniques - Electrical fast transient/burst immunity test)
МЭК 61000-4-5 Электромагнитная совместимость (EMC). Часть 4-5. Методики испытаний и измерений. Испытание на невосприимчивость к выбросу напряжения. (IEC 61000-4-5, Electromagnetic compatibility (EMC) - Part 4-5: Testing and measurement techniques - Surge immunity test)
IEC 61000-4-6:2008 Электромагнитная совместимость (ЭМС). Часть 4-6. Методы испытаний и измерений. Устойчивость к кондуктивным помехам, наведенным радиочастотными электромагнитными полями (IEC 61000-4-6, Electromagnetic compatibility (EMC) - Part 4-6: Testing and measurement techniques - Immunity to conducted disturbances, induced by radio-frequency fields)
МЭК 61000-4-8 Электромагнитная совместимость (EMC). Часть 4-8. Методики испытаний и измерений. Испытание на помехоустойчивость в условиях магнитного поля промышленной частоты. (IEC 61000-4-8, Electromagnetic compatibility (EMC) - Part 4-8: Testing and measurement techniques - Power frequency magnetic field immunity test)
МЭК 61000-4-11 Электромагнитная совместимость (EMC). Часть 4-11. Методики испытаний и измерений. Кратковременные понижения напряжения, короткие отключения. (IEC 61000-4-11, Electromagnetic compatibility (EMC) - Part 4-11: Testing and measurement techniques - Voltage dips, short interruptions and voltage variations immunity)
СИСПР 11 (Международный специальный комитет по радиопомехам) Промышленное, научное и медицинское (ISM) радиочастотное оборудование. Характеристики электромагнитных помех. Границы и методы измерения (CISPR 11, Industrial, scientific and medical (ISM) radio-frequency equipment - Electromagnetic disturbance characteristics - Limits and methods of measurement)
В настоящем стандарте применены следующие термины с соответствующими определениями:
3.1 приводное колесо (drive wheel): Колесо или одно из передних и задних колес, которое приводит в движение кресло-коляску.
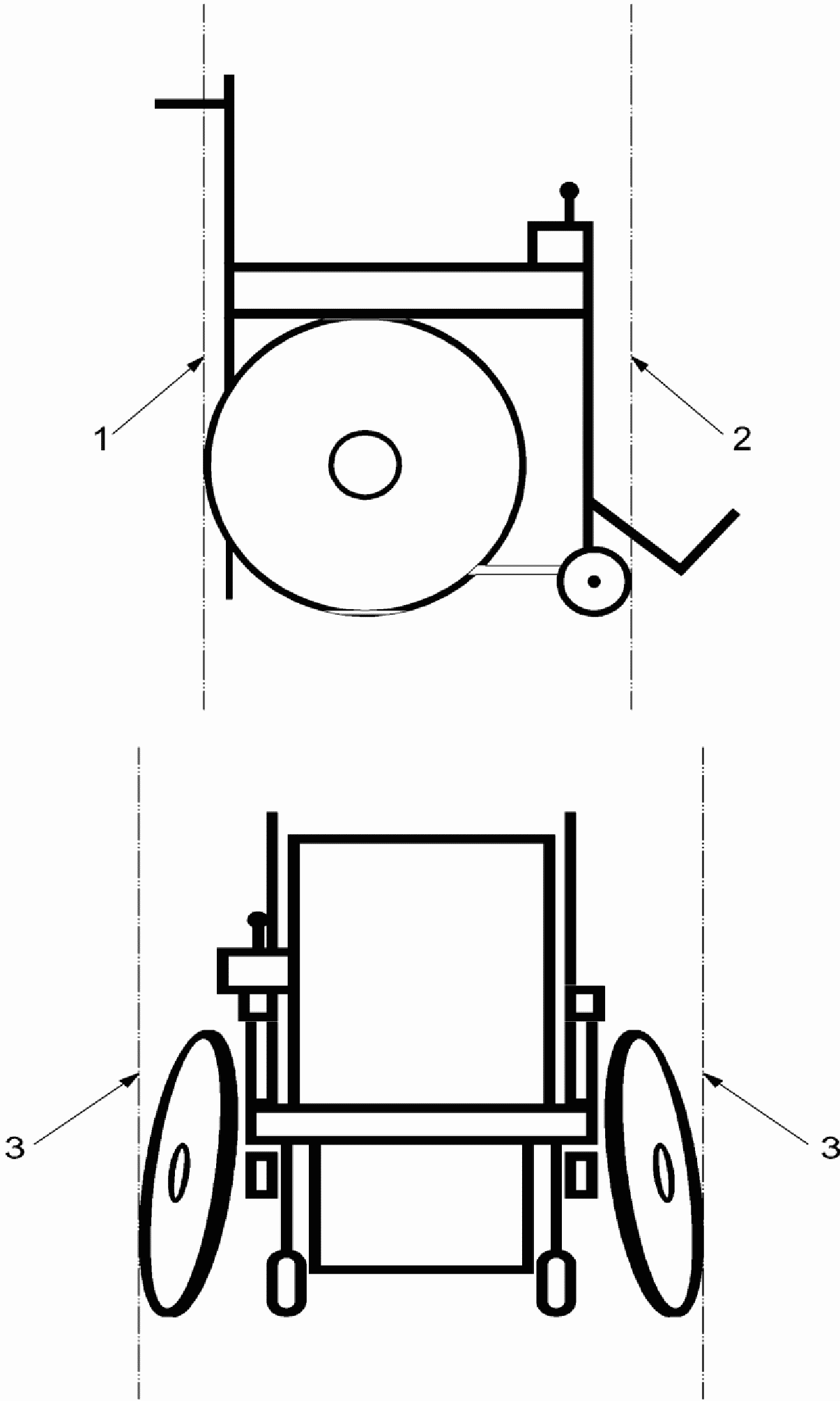
3.2 передняя вертикальная плоскость (front vertical plane): Плоскость, перпендикулярная к направлению движения вперед и касательная к передней кромке самого выступающего переднего колеса. См.
рисунок 1.
3.3 задняя вертикальная плоскость (rear vertical plane): Плоскость, перпендикулярная к направлению движения вперед и касательная к задней кромке самого выступающего заднего колеса. См.
рисунок 1.
3.4 боковая вертикальная плоскость (side vertical plane): Плоскость, параллельная направлению движения вперед и касательная к внешней кромке самого дальнего от центра колеса на боковой стороне кресла-коляски. См. рисунок 1.
1 - задняя вертикальная плоскость; 2 - передняя вертикальная
плоскость; 3 - боковая вертикальная плоскость
Рисунок 1 - Базовые плоскости
3.5 автономное (выносное) устройство зарядки батарей (off-board battery charger): Автономное, независимое устройство зарядки батарей, отделенное от кресла-коляски.
3.6 встроенное устройство зарядки батарей (carry-on battery charger): Автономное устройство зарядки батарей, предназначенное для транспортировки на кресле-коляске.
3.7 бортовое устройство зарядки батарей (on-board battery charger): Устройство зарядки батарей, которое встроено в кресло-коляску и которое не может быть удалено без использования инструмента.
4. Классификация кресел-колясок с электроприводом
Кресла-коляски с электроприводом классифицируют следующим образом:
- категория A: кресла-коляски с электронным дифференциальным рулевым управлением и электронным управлением тормозом;
- категория B: кресла-коляски с электронным управлением скоростью, электронным следящим рулевым управлением и электронным управлением тормозом;
- категория C: кресла-коляски с электронным управлением скоростью, ручным рулевым управлением и электронным управлением тормозом;
- категория D: кресла-коляски с электронным дифференциальным рулевым управлением и ручным управлением тормозом;
- категория E: кресла-коляски с электронным управлением скоростью, электронным следящим рулевым управлением и ручным управлением тормозом;
- категория F: кресла-коляски с электронным управлением скоростью, ручным рулевым управлением и ручным управлением тормозом;
- категория G: кресла-коляски с простым односкоростным (включить/выключить) двигателем, ручным рулевым управлением и ручным управлением тормозом.
Примечание - Кресло-коляска может быть отнесено к нескольким категориям.
5.1 Общие положения
Все кресла-коляски должны отвечать требованиям
5.2.
Кресла-коляски с встроенным устройством зарядки батарей должны также отвечать требованиям
5.3.
Автономные и встроенные устройства зарядки батарей должны отвечать требованиям
5.4.
Примечание - Период наблюдения 2 с определен во многих требованиях 5.2,
5.3 и
5.4. Это не означает, что для испытуемого кресла-коляски или зарядного устройства допустимо выйти из строя после истечения периода наблюдения. Неопределенный период наблюдения непрактичен и предполагается, что, если кресло-коляска или зарядное устройство не вышло из строя во время испытания, оно выйдет из строя в течение 2 с испытательного события.
5.2 Приводы кресел-колясок
5.2.1 Эмиссия излучаемых помех
При испытании в соответствии с
9.2.1 кресло-коляска должно отвечать границам эмиссии излучаемых помех, определенным в СИСПР 11 для группы 1, для оборудования класса B.
5.2.2 Защищенность от электростатических разрядов
До и после испытания, проводимого в соответствии с
10.1.1.1 и
10.1.1.2, кресло-коляска должно отвечать функциональным требованиям, определенным в ИСО 7176-9 (см. раздел 8).
Когда кресло-коляску испытывают в соответствии с
10.1.1.1, используя уровни испытания +/- 2, +/- 4 и +/- 6 кВ для контактных разрядов и уровни испытания +/- 2, +/- 4 и +/- 8 кВ для воздушных разрядов, и когда кресло-коляску испытывают в соответствии с
10.1.1.2, используя уровень испытания +/- 8 кВ:
a) система привода кресла-коляски должна отвечать требованиям
5.2.5 во время каждого разряда и в течение 2 с после каждого разряда или группы разрядов, если используется программируемый генератор ESD;
b) устройства с электроприводом, которые не используются для привода (такие как подставка для ног с сервоприводом и система сидения с функциями вставания), не должны двигаться во время каждого разряда и в течение 2 с после каждого разряда или группы разрядов, если используется программируемый генератор ESD.
5.2.3 Защищенность от излучаемого радиочастотного поля
До и после испытания, проводимого в соответствии с
10.2.1, кресло-коляска должно отвечать функциональным требованиям, определенным в ИСО 7176-9 (см. раздел 8).
Когда кресло-коляску испытывают в соответствии с
10.2.1, используя уровень испытания 20 В/м, от 26 МГц до 2,5 ГГц:
a) система привода кресла-коляски должна отвечать требованиям
5.2.5 в присутствии приложенного радиочастотного поля;
b) устройства с электроприводом, которые не используются для привода (такие как подставка для ног с сервоприводом и система сидения с функциями вставания), не должны двигаться в присутствии приложенного радиочастотного поля.
5.2.4 Защищенность от мощного частотного магнитного поля
До и после испытания, проводимого в соответствии с
10.6, кресло-коляска должно отвечать функциональным требованиям, определенным в ИСО 7176-9 (см. раздел 8).
Когда кресло-коляску испытывают в соответствии с
10.6, используя уровень испытания 4, определенный в МЭК 61000-4-8, при 50 и 60 Гц:
a) система привода кресла-коляски должна отвечать требованиям
5.2.5 в присутствии приложенного поля;
b) устройства с электроприводом, которые не используются для привода (такие как подставка для ног с сервоприводом и система сидения с функциями вставания), не должны двигаться в присутствии приложенного поля.
Примечание - Требования по защите от других магнитных полей находятся в разработке.
5.2.5 Постоянство скорости и направления движения
5.2.5.1 Скорость
Для кресел-колясок категорий A, B, C, D, E и F (кресла-коляски с электронным управлением скорости) среднее изменение скорости колеса

, рассчитанное, как определено в
разделе 11, не должно превышать +/- 20%.
Примечание - Положительное значение указывает на увеличение скорости, отрицательное значение указывает на уменьшение скорости.
Для кресел-колясок категории G (кресла-коляски без электронного управления скорости) требования к постоянству скорости движения не применяют.
5.2.5.2 Рулевое управление
Для кресел-колясок категорий A и D (кресла-коляски с электронным дифференциальным рулевым управлением) изменение дифференциальной скорости колеса

, рассчитанное, как определено в
разделе 11, не должно превышать +/- 25%.
Примечание - Положительное значение соответствует повороту направо, отрицательное значение соответствует повороту налево.
Для кресел-колясок категорий B и E (кресла-коляски с электронным следящим рулевым управлением) максимальное разрешенное изменение в позиции следящего рулевого управления или угла колеса рулевого управления равно изменению, соответствующему радиусу поворота 4 м, как определено в ИСО 7176-5.
Для кресел-колясок категорий C, F и G (кресла-коляски с ручным рулевым управлением) требование к рулевому управлению не применимо.
5.3 Кресла-коляски с бортовыми устройствами зарядки батарей
5.3.1 Помехи на сетевых терминалах
При испытании в соответствии с
9.1.1 кресло-коляска должно отвечать границам помех на сетевых терминалах, определенным в СИСПР 11 для группы 1, для оборудования класса B.
5.3.2 Эмиссия излучаемых помех
При испытании в соответствии с
9.2.2 кресло-коляска должно отвечать границам эмиссии излучаемых помех, определенным в СИСПР 11 для группы 1, для оборудования класса B.
5.3.3 Гармоническое излучение тока
При испытании в соответствии с
9.3.1 кресло-коляска должно отвечать требованиям МЭК 61000-3-2.
5.3.4 Колебание и пульсация напряжения
При испытании в соответствии с
9.4.1 кресло-коляска должно отвечать требованиям МЭК 61000-3-3.
5.3.5 Защищенность от электростатического разряда
До и после испытания, проводимого в соответствии с
10.1.2, кресло-коляска должно отвечать функциональным требованиям, определенным в ИСО 7176-9 (см. раздел 8).
Когда кресло-коляску испытывают в соответствии с
10.1.2, используя уровни испытания +/- 2, +/- 4 и +/- 6 кВ для контактных разрядов и уровни испытания +/- 2, +/- 4 и +/- 8 кВ для разрядов в воздухе, во время каждого разряда и в течение 2 с после каждого разряда или группы разрядов, если используется программируемый генератор ESD:
a) ведущие колеса не должны двигаться;
b) автоматические тормоза не должны отключаться;
c) устройства с электроприводом, которые не используются для привода (такие как подставка для ног с сервоприводом и система сидения с функциями вставания), не должны двигаться.
При завершении испытания в соответствии с
10.1.2 устройство зарядки батарей должно продолжать работать согласно предъявленным требованиям без вмешательства оператора.
5.3.6 Защищенность от излучаемого радиочастотного поля
До и после испытания, проводимого в соответствии с
10.2.2, кресло-коляска должно отвечать функциональным требованиям, определенным в ИСО 7176-9 (см. раздел 8).
Когда кресло-коляску испытывают в соответствии с
10.2.2, используя уровень испытания 3 В/м, от 80 МГц до 1,0 ГГц:
a) ведущие колеса не должны двигаться;
b) автоматические тормоза не должны отключаться;
c) устройства с электроприводом, которые не используются для привода (такие как подставка для ног с сервоприводом и система сидения с функциями вставания), не должны двигаться.
При завершении испытания в соответствии с
10.2.2 устройство зарядки батарей должно продолжать работать согласно предъявленным требованиям без вмешательства оператора.
5.3.7 Защищенность от быстрых переходных процессов/прерываний
До и после испытания, проводимого в соответствии с
10.3.1, кресло-коляска должно отвечать функциональным требованиям, определенным в ИСО 7176-9 (см. раздел 8).
Когда кресло-коляску испытывают в соответствии с
10.3.1, используя уровень испытания 2, определенный в МЭК 61000-4-4:
a) ведущие колеса не должны двигаться;
b) автоматические тормоза не должны отключаться;
c) устройства с электроприводом, которые не используются для привода (такие как подставка для ног с сервоприводом и система сидения с функциями вставания), не должны двигаться.
При завершении испытания в соответствии с
10.3.1 устройство зарядки батарей должно продолжать работать согласно предъявленным требованиям без вмешательства оператора.
5.3.8 Защищенность от импульсных помех
До и после испытания, проводимого в соответствии с
10.4.1 кресло-коляска должно отвечать функциональным требованиям, определенным в ИСО 7176-9 (см. раздел 8).
Когда кресло-коляску испытывают в соответствии с
10.4.1, используя уровень испытания 3, определенный в МЭК 61000-4-5, во время каждого выброса и в течение 2 с после каждого выброса:
a) приводные колеса не должны двигаться;
b) автоматические тормоза не должны отключаться;
c) устройства с электроприводом, которые не используются для привода (такие как подставка для ног с сервоприводом и система сидения с функциями вставания), не должны двигаться.
При завершении испытания в соответствии с
10.4.1 устройство зарядки батарей должно продолжать работать согласно предъявленным требованиям без вмешательства оператора.
5.3.9 Защищенность от кондуктивного излучения
До и после испытания, проводимого в соответствии с
10.5.1, кресло-коляска должно отвечать функциональным требованиям, определенным в ИСО 7176-9 (см. раздел 8).
Когда кресло-коляску испытывают в соответствии с
10.5.1, используя уровень испытания 2, определенный в МЭК 61000-4-6, от 150 кГц до 80 МГц:
a) ведущие колеса не должны двигаться;
b) автоматические тормоза не должны отключаться;
c) устройства с электроприводом, которые не используются для привода (такие как подставка для ног с сервоприводом и система сидения с функциями вставания), не должны двигаться.
При завершении испытания в соответствии с
10.5.1 устройство зарядки батарей должно продолжать работать согласно предъявленным требованиям без вмешательства оператора.
5.3.10 Защищенность от провалов и коротких прерываний напряжения
До и после испытания, проводимого в соответствии с
10.7.1 кресло-коляска должно отвечать функциональным требованиям, определенным в ИСО 7176-9 (см. раздел 8).
Когда кресло-коляску испытывают в соответствии с
10.7.1, используя уровень испытания 2, определенный в МЭК 61000-4-11, во время каждого провала/прерывания и в течение 2 с после каждого провала/прерывания:
a) ведущие колеса не должны двигаться;
b) автоматические тормоза не должны отключаться;
c) устройства с электроприводом, которые не используются для привода (такие как подставка для ног с сервоприводом и система сидения с функциями вставания), не должны двигаться.
Во время и после испытания в соответствии с
10.7.1 устройство зарядки батарей может временно прекратить функционирование или ухудшить работу, но это должно прекратиться с прекращением действия помех, и устройство зарядки батарей должно восстановить свою нормальную работоспособность без вмешательства оператора.
5.4 Автономные и встроенные устройства зарядки батарей
5.4.1 Помехи на сетевых терминалах
При испытании в соответствии с
9.1.2 устройство зарядки батарей должно отвечать границам помех на сетевых терминалах, определенным в СИСПР 11 для группы 1, для оборудования класса B.
5.4.2 Эмиссия излучаемых помех
При испытании в соответствии с
9.2.3 устройство зарядки батарей должно отвечать границам эмиссии излучаемых помех, определенным в СИСПР 11 для группы 1, для оборудования класса B.
5.4.3 Гармоническое излучение тока
При испытании в соответствии с
9.3.2 устройство зарядки батарей должно отвечать требованиям МЭК 61000-3-2.
5.4.4 Колебание и пульсация напряжения
При испытании в соответствии с
9.4.2 устройство зарядки батарей должно отвечать требованиям МЭК 61000-3-3.
5.4.5 Защищенность от электростатического разряда
По завершении испытания устройства зарядки батарей в соответствии с
10.1.3, используя уровни испытания +/- 2, +/- 4 и +/- 6 кВ для контактных разрядов и уровни испытания +/- 2, +/- 4 и +/- 8 кВ для разрядов в воздухе, во время каждого разряда и в течение 2 с после каждого разряда или группы разрядов, если используется программируемый генератор ESD, устройство зарядки батарей должно продолжать работать согласно предъявленным требованиям без вмешательства оператора.
5.4.6 Защищенность от излучаемого радиочастотного поля
По завершении испытания устройства зарядки батарей в соответствии с
10.2.3, используя уровень испытания 3 В/м от 80 МГц до 1,0 ГГц, устройство зарядки батарей должно продолжать работать согласно предъявленным требованиям без вмешательства оператора.
5.4.7 Защищенность от быстрых переходных процессов/прерываний
По завершении испытания устройства зарядки батарей в соответствии с
10.3.2, используя уровень испытания 2, определенный в МЭК 61000-4-4, устройство зарядки батарей должно продолжать работать согласно предъявленным требованиям без вмешательства оператора.
5.4.8 Защищенность от импульсных помех
По завершении испытания устройства зарядки батарей в соответствии с
10.4.2, используя уровень испытания 2, определенный в МЭК 61000-4-5, устройство зарядки батарей должно продолжать работать согласно предъявленным требованиям без вмешательства оператора.
5.4.9 Защищенность от кондуктивного излучения
По завершении испытания устройства зарядки батарей в соответствии с
10.5.2, используя уровень испытания 2, определенный в МЭК 61000-4-6, от 150 кГц до 80 МГц, устройство зарядки батарей должно продолжать работать согласно предъявленным требованиям без вмешательства оператора.
5.4.10 Защищенность от провалов и коротким прерываниям напряжения
Во время и после испытания в соответствии с
10.7.2, используя уровень испытания класса 2, определенный в МЭК 61000-4-11, устройство зарядки батарей может временно прекратить функционирование или ухудшить работу, но это должно прекратиться с прекращением действия помех, и устройство зарядки батарей должно восстановить свою нормальную работоспособность без вмешательства оператора.
6. Оборудование для испытания
6.1 Удерживающая система, состоящая из блоков, шин, веревок, ремней и/или подобных средств, удерживающих кресло-коляску в безопасном положении, но не препятствующих свободному вращению приводных колес.
Удерживающая система должна быть изготовлена из электрически изоляционных материалов. Она должна исключать прохождение электрического тока между креслом-коляской и окружающей его средой.
Примечание - Использование материалов с низкой электрической проводимостью предохраняет удерживающую систему от воздействия электромагнитных полей, производимых во время испытания, и предотвращает случайное заземление испытуемого кресла-коляски. Металлическая конструкция с изоляционным покрытием (таким как краска) не пригодна. Некоторые сорта дерева могут быть непригодными для использования в удерживающей системе для испытания ESD рамы с зарядом (см.
10.1.1.2).
Удерживающая система не должна поднимать кресло-коляску на высоту более 0,1 м. Различные колеса могут быть подняты на различные высоты (в пределах оговоренной выше границы), таким образом, для кресла-коляски не требуется оставаться на одном уровне после размещения на удерживающей системе.
6.2 Разрядная шина заземления, состоящая из стального троса или провода в оплетке, длиной не более 2 м, способная обеспечить низкое волновое сопротивление между креслом-коляской и металлической пластиной заземления.
Если шина заземления представляет собой стальной трос, то площадь поперечного сечения не должна быть менее 15 мм2.
Если шина заземления представляет собой провод в оплетке, то оплетка должна быть сплетена аналогично оплетке, используемой для внешней оплетки радиочастотных коаксиальных кабелей хорошего качества. Ширина этой оплетки при развертывании должна быть не менее 20 мм.
6.3 Средство измерения скорости колеса, способное отслеживать скорость вращения каждого приводного колеса с точностью 5% и вычислять среднее изменение скорости колеса и различное изменение скорости колеса от измеренной скорости вращения каждого из приводных колес, как представлено формулами в
разделе 11.
Постоянная времени средства измерения скорости колеса не должна превышать 0,1 с. Средство измерения скорости колеса не должно создавать какую-либо токопроводящую линию между креслом-коляской и пластиной заземления. Средство измерения скорости колеса не должно возмущать электромагнитные поля и не должно быть восприимчивым к измеряемым или генерируемым во время испытания электромагнитным полям.
6.4 Средство измерения рулевого управления (направления движения), способное отслеживать следящее положение рулевого управления (направления движения) или угла поворота колеса с точностью 10%.
Примечание - Средство измерения рулевого управления используют только при испытании кресел-колясок категорий B и E.
Постоянная времени средства измерения рулевого управления (направления движения) не должна превышать 0,1 с. Средство измерения рулевого управления (направления движения) не должно создавать какую-либо токопроводящую линию между креслом-коляской и пластиной заземления. Средство измерения рулевого управления (направления движения) не должно возмущать электромагнитные поля и не должно быть восприимчивым к измеряемым или генерируемым во время испытания электромагнитным полям.
6.5 Нагрузка для испытания зарядного устройства, включающая следующие позиции, как определено изготовителем зарядного устройства, объединенные вместе способом, подходящим для использования с зарядным устройством:
1) набор батарей с номинальным напряжением, типом и наименьшей номинальной емкостью, определенной для использования с зарядным устройством;
2) проводник с подходящей длиной, площадью поперечного сечения и изоляцией;
3) разъемы, совместимые с набором батарей и с выходными разъемами зарядного устройства.
Если изготовитель зарядного устройства не определяет длину проводников, используемых для подсоединения зарядного устройства к набору батарей, используют кабель длиной (2 +/- 0,1) м в дополнение к выходному кабелю зарядного устройства. Если изготовитель зарядного устройства не определяет площадь поперечного сечения проводников, используют проводники площадью поперечного сечения не менее, чем площадь поперечного сечения соответствующих проводников выходного кабеля зарядного устройства.
Если проводники, соединяющие зарядное устройство с набором батарей, разделяются для подсоединения к терминалам батарей, выполняют их соединение с минимальной площадью петли.
В случае если зарядное устройство предназначено для использования с особым креслом-коляской, кресло-коляска, оснащенное определенными батареями с наименьшей емкостью, может быть использовано, как нагрузка для испытания зарядного устройства.
7.1 Приводные кресла-коляски
Кресло-коляску устанавливают, как указано в ИСО 7176-22, но без манекена. Если кресло-коляска оснащено проливающимися батареями и должно наклоняться во время испытания, заменяют эти батареи на герметичные батареи того же типа с аналогичным номинальным напряжением.
Примечание - Батареи кресла-коляски разряжают при подготовке для некоторых испытаний (см.
7.3 и
7.4).
Закрепляют кресло-коляску, используя удерживающую систему, определенную в
6.1. Размещают удерживающую систему на пластине заземления или на поверхности стола, как применимо для каждого испытания. Предусматривают использование средства измерения скорости колеса и средства измерения направления движения (см.
6.4), применимые для каждого испытания.
Подготавливают кресло-коляску для работы в соответствии с инструкциями изготовителя для использования. Настраивают все доступные пользователю регулировки, которые оказывают влияние на реакцию кресла-коляски, на максимальную реакцию в пределе диапазона, определенного в инструкциях изготовителя. Регистрируют установки.
Пример - Максимальная скорость вперед, максимальная скорость назад, максимальная чувствительность, максимальное ускорение, максимальное замедление, максимальное торможение и минимальное время задержки.
Включают кресло-коляску. Настраивают устройство управления на скорость приводного колеса на (50 +/- 10)% максимальной скорости при направлении движения вперед. Дополнительно для кресел-колясок категорий B и E (кресла-коляски с электронным следящим управлением направления движения) настраивают устройство управления так, что следящая система направления движения находится в позиции прямо вперед (угол колеса направления движения равен 0° +/- 1°).
7.2 Неприводные кресла-коляски
Подготавливают кресло-коляску, как определено в
7.1.1. Включают кресло-коляску. Настраивают устройство управления так, что приводные колеса не поворачиваются и включены любые автоматические тормоза.
7.3 Кресла-коляски с бортовыми зарядными устройствами
Подготавливают кресло-коляску, как определено в
7.2. Если не оговорено иначе для особого испытания, разряжают набор батарей кресла-коляски до минимального напряжения, определенного изготовителем батарей, в пределах допуска

. Обеспечивают работу зарядного устройства в соответствии с инструкциями пользователя, выпущенными изготовителем кресел-колясок.
Примечание - Набор батарей можно разрядить в процессе работы кресла-коляски или использованием вспомогательной нагрузки, которая не будет разряжать набор батарей с интенсивностью более, чем интенсивность пятичасовой разрядки.
7.4 Автономные (выносные) и встроенные зарядные устройства
Если не оговорено иначе для особого испытания, разряжают набор батарей нагрузки для испытания зарядного устройства (см.
6.5) до минимального напряжения, определенного изготовителем батарей, в пределах допуска

. Обеспечивают работу зарядного устройства в соответствии с инструкциями пользователя, выпущенными изготовителем зарядного устройства, но используя нагрузку для испытания зарядного устройства вместо нагрузки, определенной изготовителем.
Примечание - Набор батарей можно разрядить в процессе работы кресла-коляски или использованием вспомогательной нагрузки, которая не будет разряжать набор батарей с интенсивностью более, чем интенсивность пятичасовой разрядки.
8. Порядок проведения испытаний
Испытания должны выполнять на одноместном кресле-коляске и/или зарядном устройстве. Испытуемое кресло-коляска и/или зарядное устройство могут быть отремонтированы или заменены в случае неисправности, не связанной с воздействием испытательных условий.
Испытания могут быть выполнены в любом порядке.
Проверяют выполнение требований по работоспособности, определенные в ИСО 7176-9, после завершения всех испытаний на помехозащищенность. Нет необходимости проверять выполнение требований по работоспособности после каждого испытания на помехозащищенность.
9. Методы испытания на эмиссию
9.1 Помехи на сетевых терминалах
9.1.1 Кресла-коляски с бортовым зарядным устройством
Подготавливают кресло-коляску, как определено в
7.3.
Выполняют испытание воздействия помех на сетевых терминалах, определенное в СИСПР 11, на кресло-коляску, как на напольное оборудование.
9.1.2 Автономные и встроенные устройства зарядки батарей
Подготавливают устройство зарядки батарей, как определено в
7.4.
Закрепляют нагрузку для испытания зарядного устройства (см.
6.5), как определено в СИСПР 11 для напольного оборудования.
Выполняют испытание воздействия помех на сетевых терминалах, определенное в СИСПР 11, на устройство зарядки батарей, как на настольное оборудование.
9.2 Эмиссия излучаемых помех
9.2.1 Привода кресел-колясок
Подготавливают кресло-коляску, как определено в
7.1.
Размещают удерживающую систему на пластине заземления.
Перед началом каждого испытания настраивают устройство управления на максимальный уровень возмущения для любой отдельной комбинации ориентации кресла-коляски и высоты антенны.
Выполняют испытание воздействия эмиссии излучаемых помех, определенное в СИСПР 11, на кресло-коляску, как на напольное оборудование. Сохраняют настройку устройства управления в процессе всего испытания.
9.2.2 Кресла-коляски с бортовым зарядным устройством
Подготавливают кресло-коляску, как определено в
7.3.
Выполняют испытание воздействия эмиссии излучаемых помех, определенное в СИСПР 11, на кресло-коляску, как на напольное оборудование.
9.2.3 Автономные и встроенные устройства зарядки батарей
Подготавливают устройство зарядки батарей, как определено в
7.4.
Закрепляют нагрузку для испытания зарядного устройства (см.
6.5), как определено в СИСПР 11 для напольного оборудования.
Выполняют испытание воздействия эмиссии излучаемых помех, определенное в СИСПР 11, на устройство зарядки батарей, как настольное оборудование.
9.3 Гармоническое излучение тока
9.3.1 Кресла-коляски с бортовым зарядным устройством
Подготавливают кресло-коляску, как определено в
7.3.
Полностью заряжают набор батарей кресла-коляски и затем разряжают набор батарей в течение (60 +/- 5) мин, I5, +/- 5%, при интенсивности полной разрядки за 5 ч.
Выполняют испытание на гармоническое излучение тока на кресле-коляске, как определено в МЭК 61000-3-2.
9.3.2 Автономные и встроенные устройства зарядки батарей
Подготавливают устройство зарядки батарей, как определено в
7.4.
Полностью заряжают набор батарей нагрузки для испытания зарядного устройства (см.
6.5) и затем разряжают набор батарей в течение (60 +/- 5) мин,
I5, +/- 5%, при интенсивности полной разрядки за 5 ч.
Выполняют испытание на гармоническое излучение тока на устройстве зарядки батарей, как определено в МЭК 61000-3-2.
9.4 Колебание и пульсация напряжения
9.4.1 Кресла-коляски с бортовым зарядным устройством
Подготавливают кресло-коляску, как определено в
7.3.
Выполняют испытание на колебание и пульсацию напряжения на кресле-коляске, как определено в МЭК 61000-3-3.
9.4.2 Автономные и встроенные устройства зарядки батарей
Подготавливают устройство зарядки батарей, как определено в
7.4.
Выполняют испытание на колебание и пульсацию напряжения на устройстве зарядки батарей, как определено в МЭК 61000-3-3.
10. Методы испытания на помехозащищенность
10.1 Защищенность от электростатических разрядов
10.1.1 Приводы кресел-колясок
10.1.1.1 Модель человеческого тела
Подготавливают кресло-коляску, как определено в
7.1.
Испытывают кресло-коляску, как определено в МЭК 61000-4-2 для напольного оборудования, за исключением следующего:
- выполняют испытание на непрямой разряд, используя только вертикальную стыковочную плоскость (VCP);
- не используют горизонтальную стыковочную плоскость.
Удерживающую систему (см.
6.1) размещают на пластине заземления.
После подготовки кресла-коляски для испытания устанавливают испытательные точки в следующих местах, которые доступны для разрядного наконечника генератора ESD:
a) по одной испытательной точке на каждом корпусе мотора, корпусе коробки скоростей, кабеле, корпусе разъема, рычаге или кнопке переключения, ручке управления и индикаторе;
b) для каждого кубовидного кожуха, содержащего электронную цепь, по одной испытательной точке на каждую сторону;
c) для каждого некубовидного кожуха, содержащего электронную цепь, по одной испытательной точке на каждую поверхность, которая наиболее близко выражала бы поверхность кубовидного кожуха аналогичного размера, всего не более шести точек;
d) если рама кресла-коляски является приблизительно кубовидной, по одной испытательной точке на каждую сторону;
e) если рама кресла-коляски не является кубовидной, по одной испытательной точке на каждую поверхность, которая наиболее близко выражала бы поверхность кубовидной рамы аналогичного размера, всего не более шести точек.
Подают 10 разрядов каждой полярности (положительной и отрицательной), при каждом применимом уровне испытания, к каждой испытательной точке.
Подают контактные разряды и/или воздушные разряды в соответствии с руководством, приведенным в МЭК 61000-4-2.
Кресло-коляску испытывают так, чтобы смоделировать накопление заряда на раме, которое имеет место, когда кресло-коляска движется по ковру, и последующий разряд, когда кресло-коляска достигает заземленного металлического объекта.
Используют заземленную эталонную пластину, как определено в МЭК 61000-4-2 для испытания напольного оборудования.
Подготавливают кресло-коляску в соответствии с
7.1. Размещают удерживающую систему на пластине заземления.
Подсоединяют один конец разрядной шины заземления (см.
6.2) и кабеля возврата разряда заземляющей шины генератора ESD к пластине заземления посредством зажима с низким сопротивлением.
Устанавливают одну испытательную точку на каждой позиции по периметру кресла-коляски, которая может войти в контакт с заземленными металлическими структурами во время нормальной работы.
Испытательный генератор устанавливают в режим воздушных разрядов.
Примечание - Использование испытательного генератора в режиме воздушного разряда обеспечивает постоянное накопление заряда на раме кресла-коляски.
Для каждой испытательной точки проводят следующее испытание.
Приводят разрядный наконечник генератора ESD в непосредственный электрический контакт с частью рамы, которая расположена наиболее близко к испытательной точке. Заряжают раму до испытательного уровня, используя генератор ESD. Удерживая наконечник генератора ESD на месте, выполняют разряд, перемещая разрядную шину к испытательной точке как можно быстрее.
Выполняют 10 разрядов каждой полярности (положительной и отрицательной) в каждой испытательной точке.
10.1.2 Кресла-коляски с бортовым зарядным устройством
Этот метод идентичен методу
10.1.1.1, со следующими изменениями:
1) подготавливают кресло-коляску, как определено в
7.3;
2) полностью растягивают шнур питания;
3) устанавливают дополнительную испытательную точку на кабеле питания, как можно ближе к месту, где кабель выходит из корпуса или рамы кресла-коляски.
10.1.3 Автономные и встроенные устройства зарядки батарей
Подготавливают устройство зарядки батарей, как определено в
7.4. Закрепляют нагрузку для испытания зарядного устройства (см.
6.5), как определено в МЭК 61000-4-2 для напольного оборудования.
Испытывают устройство зарядки батарей, как определено в МЭК 61000-4-2 для настольного оборудования.
Устанавливают испытательные точки в следующих местах:
a) по одной точке на каждом кабеле, корпусе разъема, рычаге или кнопке переключения, ручке управления и индикаторе;
b) по одной испытательной точке на каждую сторону, если кожух устройства зарядки батарей является приблизительно кубовидным;
c) по одной испытательной точке на каждую поверхность, которая наиболее близко выражала бы поверхность кубовидного кожуха аналогичного размера, но всего не более шести точек, если кожух устройства зарядки батарей не является кубовидным.
Подают 10 разрядов каждой полярности (положительной и отрицательной), при каждом применимом уровне испытания, к каждой испытательной точке.
Подают контактные разряды и/или воздушные разряды в соответствии с руководством, приведенным в МЭК 61000-4-2.
10.2 Защищенность от излучаемого радиочастотного поля
10.2.1 Приводы кресел-колясок
10.2.1.1 Общие положения
Подготавливают кресло-коляску, как определено в
7.1.
Выполняют испытание на защищенность от излучаемого радиочастотного поля, как определено в МЭК 61000-4-3, для настольного оборудования. Обеспечивают, чтобы каждый шаг частоты не превышал 1% текущей частоты.
Примечание - Кресло-коляска испытывается, как настольное оборудование, чтобы облегчить достижение требуемой однородности поля.
Испытания могут быть проведены при напряженности поля большем, чем указанный уровень, при соответствующей регулировке мощности сигнала, подаваемого на антенну.
На каждом частотном шаге регулируют мощность сигнала до уровня, получаемого во время калибровки или, если подходит, до уровня, необходимого для поля более высокой напряженности. Контролируют выходной сигнал мощного усилителя, чтобы убедиться, что он не насыщен. Поддерживают выходной сигнал на требуемом уровне в течение, по крайней мере, 2 с. Измеряют скорость колеса и угол поворота сервосистемы управления движением, если применимо, по истечении 2 с выдержки, в то время как радиочастотное поле все еще воздействует.
Обе из двух процедур испытания, определенные в 10.2.1.2 и
10.2.1.3 могут быть использованы. Одна процедура может быть использована в одной части частотного диапазона, в то время как другая процедура используется в оставшейся части диапазона.
10.2.1.2 Метод испытания в заглушенной и полузаглушенной камере
Используют заглушенную и полузаглушенную камеру, как определено в МЭК 61000-4-3. Ориентируют кресло-коляску таким образом, чтобы:
a) направление движения вперед было бы направлено к антенне;
b) направление движения назад было бы направлено к антенне;
c) направление движения вперед было бы направлено перпендикулярно к оси антенны, с антенной, обращенной к стороне кресла-коляски, на которой размещено устройство управления, или в случае, когда устройство управления размещено по центру, к стороне кресла-коляски, где размещена большая часть блоков электронного управления или протянута большая часть кабелей.
Располагают кресло-коляску таким образом, чтобы соответствующая вертикальная плоскость (см.
рисунок 1), наиближайшая к антенне, совпадала с однородной областью поля (UFA). Для каждой ориентации кресла-коляски выполняют испытание как с горизонтальной, так и с вертикальной поляризацией.
10.2.1.3 Метод испытания в камере GTEM
Используют гигагерцевую поперечную (пересекающуюся) электромагнитную камеру (GTEM), которая имеет максимальный размер для испытуемого оборудования, определенный изготовителем камеры GTEM, и которая не менее размера кресла-коляски.
Ориентируют кресло-коляску таким образом, чтобы:
a) при вертикальном (нормальном) положении кресла-коляски его передняя сторона находилась бы как можно ближе к вершине камеры GTEM (вертикальная поляризация);
b) при опрокинутом назад положении кресла-коляски его верхний край находился бы как можно ближе к вершине камеры GTEM (горизонтальная поляризация).
Для вертикальной поляризации располагают кресло-коляску так, чтобы область равномерного поля была размещена в геометрическом центре кресла-коляски при измерении от передней вертикальной плоскости к задней вертикальной плоскости. Для горизонтальной поляризации располагают кресло-коляску так, чтобы область равномерного поля была центральной между наивысшей частью кресла-коляски и основанием его колес (см. рисунки 2 и
3).
Рисунок 2 - Кресло-коляска, ориентированное
для вертикальной поляризации в камере GTEM
Рисунок 3 - Кресло-коляска, ориентированное
для горизонтальной поляризации в камере GTEM
10.2.2 Кресла-коляски с бортовым зарядным устройством
Метод испытания идентичен методу, определенному в
10.2.1, за исключением того, что кресло-коляску подготавливают, как определено в
7.3.
10.2.3 Автономные и встроенные устройства зарядки батарей
Подготавливают устройство зарядки батарей, как определено в
7.4. Закрепляют нагрузку для испытания зарядного устройства (см.
6.5), как определено в МЭК 61000-4-3 для напольного оборудования.
Выполняют испытание на защищенность от излучаемого радиочастотного поля, как определено в МЭК 61000-4-3, для устройства зарядки батарей, как настольного оборудования.
Если частота увеличивается непрерывно, скорость увеличения не должна превышать 1% за 500 мс.
Если частота увеличивается ступенчато, должно быть обеспечено, чтобы каждый шаг частоты не превышал 1% от текущей частоты и чтобы время выдержки на каждой частоте было бы не менее 500 мс.
Выполняют испытания с антенной, обращенной к каждой стороне устройства зарядки батарей, используя как горизонтальную, так и вертикальную поляризацию.
10.3 Защищенность от быстрых переходных процессов/прерываний
10.3.1 Кресла-коляски с бортовым зарядным устройством
Подготавливают кресло-коляску в соответствии с
7.3.
Выполняют испытание лабораторного типа, как определено в МЭК 61000-4-4 на порт электропитания переменного тока устройства зарядки батарей, как напольного оборудования, с обеспечением следующего:
- используют повторяющуюся скорость 100 кГц;
- используют обе полярности напряжения испытания;
- испытывают в течение не менее чем 1 мин и не более чем 2 мин, для каждой полярности напряжения испытания.
10.3.2 Автономные и встроенные устройства зарядки батарей
Подготавливают устройство зарядки батарей, как определено в
7.4.
Выполняют испытание лабораторного типа, как определено в МЭК 61000-4-4 на порт электропитания переменного тока устройства зарядки батарей, как настольного оборудования, с обеспечением следующего:
- закрепляют нагрузку для испытания зарядного устройства (см.
6.5), как определено в МЭК 61000-4-4 для напольного оборудования;
- используют повторяющуюся скорость 100 кГц;
- используют обе полярности напряжения испытания;
- испытывают в течение не менее чем 1 мин и не более чем 2 мин, для каждой полярности напряжения испытания.
10.4 Защищенность от импульсных помех
10.4.1 Кресла-коляски с бортовым зарядным устройством
Подготавливают кресло-коляску, как определено в
7.3.
Выполняют испытание на защищенность от импульсных помех, как определено в МЭК 61000-4-5 на порт электропитания переменного тока бортового устройства зарядки батарей, с обеспечением следующего:
- подают пять положительных и пять отрицательных импульсов, каждый при 0°, 90°, 180° и 270°;
- подают последовательные импульсы с периодом 60 с или менее.
10.4.2 Автономные и встроенные устройства зарядки батарей
Подготавливают устройство зарядки батарей, как определено в
7.4.
Выполняют испытание на защищенность от импульсных помех, как определено в МЭК 61000-4-5 на порт электропитания переменного тока устройства зарядки батарей, с обеспечением следующего:
- подают пять положительных и пять отрицательных импульсов, каждый при 0°, 90°, 180° и 270°;
- подают последовательные импульсы с периодом 60 с или менее.
10.5 Защищенность от кондуктивного излучения
10.5.1 Кресла-коляски с бортовым зарядным устройством
Подготавливают кресло-коляску, как определено в
7.3.
Выполняют испытание на защищенность от кондуктивного излучения, как определено в МЭК 61000-4-6 на порт электропитания переменного тока бортового устройства зарядки батарей, как напольного оборудования. Обеспечивают, чтобы выдержка времени на каждой частоте была бы не менее 2 с.
10.5.2 Автономные и встроенные устройства зарядки батарей
Подготавливают устройство зарядки батарей, как определено
7.4.
Выполняют испытание на защищенность от кондуктивного излучения, как определено в МЭК 61000-4-6 на порт электропитания переменного тока устройства зарядки батарей, как настольного оборудования. Обеспечивают, чтобы выдержка времени на каждой частоте была бы не менее 2 с.
10.6 Защищенность от мощного частотного магнитного поля
Подготавливают кресло-коляску, как определено в
7.1.
Выполняют испытание на защищенность от воздействия непрерывного поля, как определено в МЭК 61000-4-8, на кресло-коляску, как настольное оборудование. Испытывают кресло-коляску в течение не менее 1 мин для каждой ориентации приложенного поля.
Примечание - МЭК 61000-4-8 определяет индуктивную катушку достаточного размера, чтобы охватить испытуемое оборудование. Однако, для целей испытания кресла-коляски неэлектрические части могут выходить за пределы катушки.
10.7 Защищенность от провалов и коротких прерываний напряжения
10.7.1 Кресла-коляски с бортовым зарядным устройством
Подготавливают кресло-коляску, как определено в
7.3.
Выполняют испытания на защищенность от провалов и коротких прерываний напряжения, как определено в МЭК 61000-4-11 на порт электропитания переменного тока встроенного устройства зарядки батарей.
10.7.2 Автономные и встроенные устройства зарядки батарей
Подготавливают устройство зарядки батарей, как определено
7.4.
Выполняют испытания на защищенность от провалов и коротких прерываний напряжения, как определено в МЭК 61000-4-11 на порт электропитания переменного тока устройства зарядки батарей.
11. Вычисление изменения скорости колеса
Для всех кресел-колясок с двумя приводными колесами вычисляют среднее изменение скорости колеса

, %, по формуле

,
| | ИС МЕГАНОРМ: примечание. Экспликация дана в соответствии с официальным текстом документа. | |
где
S ,off - скорость левого колеса, установленного в соответствии с
7.1.2 и перед испытанием;
S ,on - скорость левого колеса во время испытания;
Sr,off - скорость правого колеса, установленного в соответствии с
7.1.2 и перед испытанием;
Sr,on - скорость правого колеса во время испытания.
В качестве альтернативы кресла-коляски категорий B, C, E и F (кресла-коляски без электронного дифференциального рулевого управления) с двумя приводными колесами и механическим дифференциалом могут быть испытаны с одним заблокированным колесом, при этом отслеживают скорость одного свободно вращающегося приводного колеса. В этом случае среднее изменение скорости колеса рассчитывают, используя равенство, приведенное ниже для кресла-коляски с одним приводным колесом.
Для кресла-коляски только с одним приводным колесом и испытаний, где измеряют скорость только одного колеса, рассчитывают

, %, по формуле

,
где
Soff - скорость колеса, установленного в соответствии с
7.1.2 и перед испытанием;
Son - скорость колеса во время испытания.
Дифференциальное изменение скорости колеса

, %, рассчитывают по формуле

,
где
Sl,off - скорость левого колеса, установленного в соответствии с
7.1.2 и перед испытанием;
Sl,on - скорость левого колеса во время испытания;
Sr,off - скорость правого колеса, установленного в соответствии с
7.1.2 и перед испытанием;
Sr,on - скорость правого колеса во время испытания.
Отчет об испытаниях должен содержать следующее:
a) ссылку на настоящий стандарт;
b) наименование и адрес организации, проводившей испытание;
c) наименование и адрес изготовителя кресла-коляски и/или устройства зарядки батарей;
d) дату подготовки протокола испытания;
e) номер типа и любой номер серии и/или номер партии кресла-коляски и/или устройства зарядки батарей;
f) взаиморасположение кресла-коляски и/или устройства зарядки батарей, включая записи, оговоренные при установке процедуры (см.
7.1.1);
g) заявление о соответствии кресла-коляски и/или устройства зарядки батарей требованиям настоящего стандарта.
Примечание - Эти испытания ввода в эксплуатацию могут потребовать дополнительную информацию, такую, как идентификация момента в процедуре испытания, когда произошел отказ.
13. Информационное описание
Следующая информация должна быть представлена, как определено в ИСО 7176-15:
a) номер типа или любая другая информация, которая однозначно идентифицирует кресло-коляску и/или устройство зарядки батарей;
b) отвечает ли кресло-коляска и/или устройство зарядки батарей требованиям настоящего стандарта.
14. Руководство пользователя
В дополнение к содержанию, определенному в ИСО 7176-15, руководство пользователя должно содержать предупреждения относительно рисков из-за вмешательства источников электромагнитной радиации в пространство кресла-коляски, включая, но не ограничиваясь:
- мобильные телефоны;
- системы наблюдения за электронным оборудованием.
(справочное)
СВЕДЕНИЯ О СООТВЕТСТВИИ ССЫЛОЧНЫХ МЕЖДУНАРОДНЫХ СТАНДАРТОВ
НАЦИОНАЛЬНЫМ СТАНДАРТАМ РОССИЙСКОЙ ФЕДЕРАЦИИ
Таблица ДА.1
Обозначение ссылочного международного стандарта | Степень соответствия | Обозначение и наименование соответствующего национального стандарта |
ИСО 7176-5 | IDT | |
ИСО 7176-9 | IDT | ГОСТ Р ИСО 7176-9-2014 "Кресла-коляски. Часть 9. Климатические испытания кресел-колясок с электроприводом" |
|
|
ИСО 7176-15 | IDT | ГОСТ Р ИСО 7176-15-1996 "Кресла-коляски. Часть 15. Требования к документации и маркировке для обеспечения доступности информации" |
ИСО 7176-22 | IDT | |
МЭК 61000-3-2 | IDT | ГОСТ Р 51317.3.2-99 (МЭК 61000-3-2-95) "Совместимость технических средств электромагнитная. Эмиссия гармонических составляющих тока техническими средствами с потребляемым током не более 16 А (в одной фазе). Нормы и методы" |
МЭК 61000-3-3 | IDT | ГОСТ IEC 61000-3-3-2015 "Электромагнитная совместимость (ЭМС). Часть 3-3. Нормы. Ограничение изменений напряжения, колебаний напряжения и фликера в общественных низковольтных системах электроснабжения для оборудования с номинальным током не более 16 А (в одной фазе), подключаемого к сети электропитания без особых условий" |
МЭК 61000-4-2 | IDT | ГОСТ Р 51317.4.2-99 (МЭК 61000-4-2-95) "Совместимость технических средств электромагнитная. Устойчивость к электростатическим разрядам. Требования и методы испытаний" |
МЭК 61000-4-3 | IDT | ГОСТ Р 51317.4.3-99 (МЭК 61000-4-3-95) "Совместимость технических средств электромагнитная. Устойчивость к радиочастотному электромагнитному полю. Требования и методы испытаний" |
МЭК 61000-4-4 | IDT | ГОСТ Р 51317.4.4-99 (МЭК 61000-4-4-95) "Совместимость технических средств электромагнитная. Устойчивость к наносекундным импульсным помехам. Требования и методы испытаний" |
МЭК 61000-4-5 | - | |
МЭК 61000-4-6 | IDT | ГОСТ Р 51317.4.6-99 (МЭК 61000-4-6-96) "Совместимость технических средств электромагнитная. Устойчивость к кондуктивным помехам, наведенным радиочастотными электромагнитными полями. Требования и методы" |
МЭК 61000-4-8 | - | |
МЭК 61000-4-11 | IDT | ГОСТ Р 51317.4.11-99 (МЭК 61000-4-11-94) "Совместимость технических средств электромагнитная. Устойчивость к динамическим изменениям напряжения электропитания. Требования и методы испытаний" |
CISPR 11; (2004) | IDT | ГОСТ Р 51318.11-2006 (СИСПР 11:2004) "Совместимость технических средств электромагнитная. Промышленные, научные, медицинские и бытовые (ПНМБ) высокочастотные устройства. Радиопомехи индустриальные. Нормы и методы измерений" |
<*> Соответствующий национальный стандарт отсутствует. До его утверждения рекомендуется использовать перевод на русский язык данного международного стандарта. Перевод данного международного стандарта Российской Федерации находится в Федеральном информационном фонде технических регламентов и стандартов. Примечание - В настоящей таблице использовано следующее условное обозначение степени соответствия стандартов: - IDT - идентичные стандарты. |