Скачать Пособие по организации лабораторного контроля качества материалов при строительстве аэродромов

Дата актуализации: 01.01.2021

Пособие по организации лабораторного контроля качества материалов при строительстве аэродромов

Статус:введен впервые
Название рус.:Пособие по организации лабораторного контроля качества материалов при строительстве аэродромов
Дата добавления в базу:01.09.2013
Дата актуализации:01.01.2021
Область применения:Пособие распространяется на вновь строящиеся и реконструируемые сооружения аэродромов Вооруженных сил РФ и устанавливает порядок организации и нормы контроля качества материалов, используемых при строительстве и реконструкции аэродромов.
Оглавление:1 Область применения
2 Определения
3 Общие принципы организации контроля качества
4 Организация работы строительной лаборатории
5 технические требования к строительным материалам
   5.1 Грунты естественных оснований
   5.2 Материалы искусственных оснований
   5.3 Материалы монолитных цементобетонных покрытий и оснований
   5.4 Предварительно напряженные плиты сборных аэродромных покрытий
   5.5 Материалы асфальтобетонных покрытий и оснований
   5.6 Материалы герметизирующие для швов аэродромных покрытий
6 НОРМЫ КОНТРОЛЯ КАЧЕСТВА
Приложение А Классификация грунтов
Приложение Б Методы испытаний грунтов
Приложение В Методы испытаний цемента
Приложение Г Методы испытаний песка
Приложение Д Методы испытаний щебня
Приложение Е Методы испытаний минерального порошка
Приложение Ж Методы испытаний органических вяжущих материалов
Приложение З Методы испытаний материалов оснований, обработанных неорганическими вяжущими
Приложение И Методы испытаний материалов оснований, обработанных органическими вяжущими
Приложение К Методика подбора состава цементобетона
Приложение Л Методика подбора состава асфальтобетона
Приложение М Методы испытаний бетонной смеси и бетона
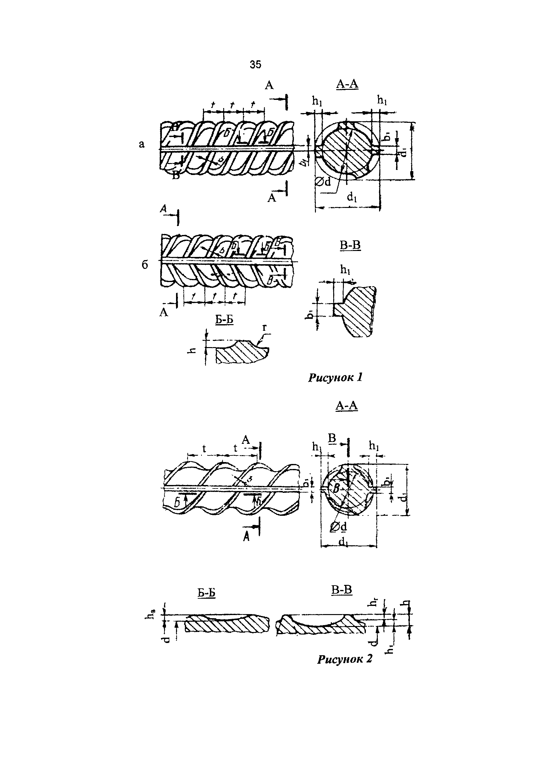
Приложение Н Методы испытаний арматурной стали
Приложение О Методы испытаний асфальтобетонной смеси и асфальтобетона
Приложение П Методы испытаний герметизирующих материалов для швов аэродромных покрытий
Приложение Р Методы испытаний материалов для ухода за свежеуложенным бетоном
Приложение С Полевые испытания плит ПАГ на трещиностойкость
Приложение Т Определение эффективности химических добавок
Приложение У Перечень основного оборудования для строительной лаборатории
Приложение Ф Перечень основных нормативно-методических документов, использованных при разработке пособия
Разработан: 26 ЦНИИ Минобороны РФ
Утверждён:07.10.2002 Министерство обороны РФ (Russian Federation Ministry of Defense )
Нормативные ссылки: