Главная // Актуальные документы // Актуальные документы (обновление 2025.08.04-2025.08.30) // ГОСТ (Государственный стандарт)
СПРАВКА
Источник публикации
М.: ФГБУ "Институт стандартизации", 2024
Примечание к документу
Документ введен в действие с 01.08.2025.

Взамен ГОСТ 20064-86.
Название документа
"ГОСТ 20064-2024. Межгосударственный стандарт. Доски классные. Общие технические условия"
(введен в действие Приказом Росстандарта от 14.10.2024 N 1449-ст)

"ГОСТ 20064-2024. Межгосударственный стандарт. Доски классные. Общие технические условия"
(введен в действие Приказом Росстандарта от 14.10.2024 N 1449-ст)


Содержание


Введен в действие
Приказом Федерального
агентства по техническому
регулированию и метрологии
от 14 октября 2024 г. N 1449-ст
МЕЖГОСУДАРСТВЕННЫЙ СТАНДАРТ
ДОСКИ КЛАССНЫЕ
ОБЩИЕ ТЕХНИЧЕСКИЕ УСЛОВИЯ
Blackboards. General specifications
ГОСТ 20064-2024
МКС 97.140
Дата введения
1 августа 2025 года
Предисловие
Цели, основные принципы и общие правила проведения работ по межгосударственной стандартизации установлены ГОСТ 1.0 "Межгосударственная система стандартизации. Основные положения" и ГОСТ 1.2 "Межгосударственная система стандартизации. Стандарты межгосударственные, правила и рекомендации по межгосударственной стандартизации. Правила разработки, принятия, обновления и отмены"
Сведения о стандарте
1 РАЗРАБОТАН Федеральным государственным бюджетным образовательным учреждением высшего образования "Московский государственный технический университет" им. Н.Э. Баумана (Национальный исследовательский университет МГТУ им. Н.Э. Баумана), Федеральным государственным бюджетным учреждением "Российский институт стандартизации" (ФГБУ "Институт стандартизации")
2 ВНЕСЕН Межгосударственным техническим комитетом по стандартизации МТК 135 "Мебель"
3 ПРИНЯТ Межгосударственным советом по стандартизации, метрологии и сертификации (протокол от 30 сентября 2024 г. N 177-П)
За принятие проголосовали:
Краткое наименование страны по МК (ИСО 3166) 004-97
Код страны по МК (ИСО 3166) 004-97
Сокращенное наименование национального органа по стандартизации
Армения
AM
ЗАО "Национальный орган по стандартизации и метрологии" Республики Армения
Азербайджан
AZ
Азстандарт
Беларусь
BY
Госстандарт Республики Беларусь
Киргизия
KG
Кыргызстандарт
Россия
RU
Росстандарт
Таджикистан
TJ
Таджикстандарт
Узбекистан
UZ
Узбекское агентство по техническому регулированию
4 Приказом Федерального агентства по техническому регулированию и метрологии от 14 октября 2024 г. N 1449-ст межгосударственный стандарт ГОСТ 20064-2024 введен в действие в качестве национального стандарта Российской Федерации с 1 августа 2025 г.
5 ВЗАМЕН ГОСТ 20064-86
Информация о введении в действие (прекращении действия) настоящего стандарта и изменений к нему на территории указанных выше государств публикуется в указателях национальных стандартов, издаваемых в этих государствах, а также в сети Интернет на сайтах соответствующих национальных органов по стандартизации.
В случае пересмотра, изменения или отмены настоящего стандарта соответствующая информация будет опубликована на официальном интернет-сайте Межгосударственного совета по стандартизации, метрологии и сертификации в каталоге "Межгосударственные стандарты"
1 Область применения
Настоящий стандарт распространяется на классные доски, предназначенные для оборудования помещений организаций, осуществляющих образовательную деятельность.
Настоящий стандарт не распространяется на проекционные и интерактивные классные доски.
Настоящий стандарт не устанавливает требования безопасности, связанные с конструкцией настенного крепления классных досок.
2 Нормативные ссылки
В настоящем стандарте использованы нормативные ссылки на следующие межгосударственные стандарты:
ГОСТ 3916.1 Фанера общего назначения с наружными слоями из шпона лиственных пород. Технические условия
ГОСТ 4598 Плиты древесно-волокнистые мокрого способа производства. Технические условия
ГОСТ 6449.1 Изделия из древесины и древесных материалов. Поля допусков для линейных размеров и посадки
ГОСТ 6449.2 Изделия из древесины и древесных материалов. Допуски углов
ГОСТ 6449.4 Изделия из древесины и древесных материалов. Допуски расположения осей отверстий для крепежных деталей
ГОСТ 6449.5 Изделия из древесины и древесных материалов. Неуказанные предельные отклонения и допуски
ГОСТ 8617 Профили прессованные из алюминия и алюминиевых сплавов. Технические условия
ГОСТ 8639 Трубы стальные квадратные. Сортамент
ГОСТ 8645 Трубы стальные прямоугольные. Сортамент
ГОСТ 8673 Плиты фанерные. Технические условия
ГОСТ 9621 Древесина слоистая клееная. Методы определения физических свойств
ГОСТ 10632 Плиты древесно-стружечные. Технические условия
ИС МЕГАНОРМ: примечание.
В официальном тексте документа, видимо, допущена опечатка: ГОСТ 10633 имеет название "Плиты древесно-стружечные и древесно-волокнистые. Общие правила подготовки и проведения физико-механических испытаний".
ГОСТ 10633 Плиты древесно-стружечные и древесно-волокнистые. Общие правила подготовки проведения физико-механических испытаний
ГОСТ 10634 Плиты древесно-стружечные. Методы определения физических свойств
ГОСТ 13345 Жесть. Технические условия
ГОСТ 14192 Маркировка грузов
ГОСТ 15140 Материалы лакокрасочные. Методы определения адгезии
ГОСТ 15846 Продукция, отправляемая в районы Крайнего Севера и приравненные к ним местности. Упаковка, маркировка, транспортирование и хранение
ГОСТ 15867 Детали и изделия из древесины и древесных материалов. Метод определения прочности клеевого соединения на неравномерный отрыв облицовочных материалов
ГОСТ 16143 Детали и изделия из древесины и древесных материалов. Методы определения блеска прозрачных лаковых покрытий
ГОСТ 16588 (ИСО 4470-81) Пилопродукция и деревянные детали. Методы определения влажности
ГОСТ 17066 Прокат тонколистовой из стали повышенной прочности. Технические условия
ГОСТ 20400 Продукция мебельного производства. Термины и определения
ГОСТ 24053 Плиты древесно-стружечные и древесно-волокнистые. Детали мебельные. Метод определения покоробленности
ГОСТ 24405 Эмали силикатные (фритты). Технические условия
ГОСТ 27627 Детали и изделия из древесины и древесных материалов. Метод определения стойкости защитно-декоративных покрытий к пятнообразованию
ГОСТ 27820 Детали и изделия из древесины и древесных материалов. Метод определения стойкости защитно-декоративных покрытий к истиранию
ГОСТ 30255 Мебель, древесные и полимерные материалы. Метод определения выделения формальдегида и других вредных летучих химических веществ в климатических камерах
ГОСТ 31149 (ISO 2409:2013) Материалы лакокрасочные. Определение адгезии методом решетчатого надреза
ГОСТ 33095-2014 Покрытия защитно-декоративные на мебели из древесины и древесных материалов. Классификация и обозначения
ГОСТ 33795 Древесное сырье, лесоматериалы, полуфабрикаты и изделия из древесины и древесных материалов. Допустимая удельная активность радионуклидов, отбор проб и методы измерения удельной активности радионуклидов
ГОСТ EN 1023-3 Мебель офисная. Перегородки. Часть 3. Методы испытаний
Примечание - При пользовании настоящим стандартом целесообразно проверить действие ссылочных стандартов и классификаторов на официальном интернет-сайте Межгосударственного совета по стандартизации, метрологии и сертификации (www.easc.by) или по указателям национальных стандартов, издаваемым в государствах, указанных в предисловии, или на официальных сайтах соответствующих национальных органов по стандартизации. Если на документ дана недатированная ссылка, то следует использовать документ, действующий на текущий момент, с учетом всех внесенных в него изменений. Если заменен ссылочный документ, на который дана датированная ссылка, то следует использовать указанную версию этого документа. Если после принятия настоящего стандарта в ссылочный документ, на который дана датированная ссылка, внесено изменение, затрагивающее положение, на которое дана ссылка, то это положение применяется без учета данного изменения. Если ссылочный документ отменен без замены, то положение, в котором дана ссылка на него, применяется в части, не затрагивающей эту ссылку.
3 Термины и определения
В настоящем стандарте применены следующие термины с соответствующими определениями:
3.1 классная доска: Изделие, предназначенное для осуществления образовательной деятельности, определенных габаритных размеров и конструкции, изготовленное из соответствующих материалов, имеющее рабочую(ие) поверхность(и) для нанесения или закрепления информации.
3.2 меловая классная доска: Классная доска, используемая для нанесения информации мелками.
3.3 маркерная классная доска: Классная доска, используемая для нанесения информации с помощью маркеров.
3.4 магнитная классная доска: Классная доска, рабочая поверхность которой изготовлена из листовой стали или из полимерных материалов, содержащих металлический наполнитель, используемая для закрепления информации с помощью магнитов.
3.5 пробковая классная доска: Классная доска, рабочая поверхность которой изготовлена из натуральной прессованной пробки или другого пористого материала, обтянутого тканью, используемая для закрепления информации с помощью металлических булавок или предметов, воспроизводящих их конструкцию.
3.6 ленточная классная доска: Классная доска, выполненная в виде эластичной ленты, натянутой между верхним и нижним горизонтальными параллельно вращающимися валиками, позволяющей при некотором их повороте протягивать ленту, создавая свободную рабочую поверхность для нанесения информации.
3.7 рабочая поверхность классной доски: Лицевая поверхность доски, предназначенная для нанесения и/или закрепления информации различными способами.
3.8 основание классной доски: Конструктивный элемент, на котором располагается рабочая поверхность доски.
3.9 настенная классная доска: Одно- или многостворчатая доска, закрепляемая на стене.
3.10 передвижная напольная классная доска: Одно- или многостворчатая доска, перемещаемая в пространстве помещения по полу.
3.11 поворотная классная доска: Классная доска, имеющая створку(и) с двухсторонней рабочей поверхностью, поворачивающуюся(иеся) с помощью шарнирного соединения в горизонтальном или вертикальном направлениях.
3.12 настенная подъемная классная доска: Классная доска, створки которой могут перемещаться по отношению стены подвески в горизонтальном или вертикальном направлении с помощью различных механизмов.
3.13 створка: стационарный или подвижный элемент классной доски с односторонней или двухсторонней рабочей поверхностью.
3.14 классная доска со складными створками: Разновидность классной доски, представляющая собой конструкцию из створки с одной односторонней рабочей поверхностью и закрепляемой к ней одной или нескольких створок.
3.15 доска с направляющим рельсом (рельсовая система с классной доской): Разновидность классной доски, конструкция которой позволяет ей перемещаться по направляющему(им) рельсу(ам), закрепленному(ым) горизонтально на стене.
3.16
блеск: Оптическое свойство поверхности лакокрасочного покрытия, характеризующее ее способность зеркально отражать пучки света.
[ГОСТ 31975-2017, пункт 3.1]
3.17
лакокрасочное покрытие: Сплошное покрытие, сформированное в результате нанесения одного или нескольких слоев лакокрасочного материала на окрашиваемую поверхность.
[ГОСТ 9.072-2017, статья 3]
3.18
лакокрасочный материал: Жидкий, пастообразный или порошковый материал, образующий при нанесении на окрашиваемую поверхность лакокрасочное покрытие с защитными, декоративными и/или специальными техническими свойствами.
[ГОСТ 28246-2017, статья 1]
4 Классификация, основные параметры и размеры
4.1 По виду средств нанесения, закрепления и воспроизведения учебно-иллюстративной информации доски классные (ДК) классифицируют:
- на меловые (ДКМЛ);
- маркерные (ДКМР);
- магнитные (ДКМГ);
- пробковые (ДКПБ).
Примечание - Классные доски по виду средств нанесения, закрепления и воспроизведения учебно-иллюстративной информации могут сочетать свойства двух видов досок, например магнитно-маркерная доска. Разновидностью магнитно-маркерной доски является маркерная доска флипчарт, оснащенная функцией крепления больших бумажных блоков, листы которых могут переворачиваться (перекидываться) по принципу канцелярского блокнота.
4.2 Классные доски по конструкции изготавливают четырех типов:
I - обыкновенные с одной (односторонние) или двумя (двухсторонние), рабочими поверхностями (см. рисунок 1);
II - створчатые с одной или несколькими дополнительными поворотными рабочими поверхностями (см. рисунок 2);
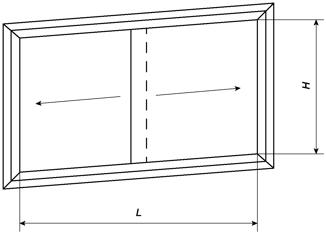
III - раздвижные с горизонтально или вертикально перемещающимися рабочими поверхностями (см. рисунок 3);
IV - ленточные с эластичной рабочей поверхностью (см. рисунок 4);
H - ширина рабочей поверхности;
L - длина рабочей поверхности
Рисунок 1 - Классная доска обыкновенная
а - классная доска с левой (или правой) дополнительной
поворотной рабочей поверхностью
б - классная доска с центральной дополнительной поворотной
рабочей поверхностью
в - классная доска с центральной дополнительной поворотной
рабочей поверхностью
Рисунок 2 - Классные доски поворотно-створчатые
Рисунок 3 - Классная доска раздвижная
Рисунок 4 - Классная доска ленточная
4.3 По согласованию с потребителем плоскости рабочих поверхностей классных досок типов I, II и III могут иметь различную геометрическую форму.
4.4 Классные доски по способу установки различают: настенные (Н); настенные подъемные (НП); стационарные напольные (СН); передвижные напольные (ПН).
Примечание - Стационарные и передвижные напольные классные доски могут подразделяться по изменению положения створок рабочих поверхностей на горизонтальные и вертикальные поворотные доски.
4.5 Основные параметры классных досок
4.5.1 Классные доски всех видов устанавливают на уровне восприятия размещаемой информации на рабочей поверхности в соответствии с санитарными нормами.
4.5.2 Классные доски настенные закрепляют на стене помещения с помощью различных крепежных средств и устройств.
Конструкция настенных досок может быть типов I, II и III.
4.5.3 Стационарные напольные доски устанавливают и закрепляют в специально подготовленном неподвижном устройстве, располагающемся в свободном пространстве помещения с удобным подходом.
Конструкцию стационарных напольных досок выполняют по типам I, II, III и IV.
4.5.4 Передвижные напольные доски закрепляют на устройствах, позволяющих перемещать их в пространстве помещения. В качестве механизмов перемещения могут быть использованы роликовые опоры или другие устройства.
Конструкцию досок выполняют по типам I, II, III и IV.
4.5.5 Стационарные и передвижные напольные доски, выполненные по типу I или II, должны иметь двусторонние рабочие поверхности.
4.5.6 Разлиновка рабочей поверхности доски или ее части и способ нанесения линовки устанавливают по согласованию с потребителем.
4.5.7 Для крепления таблиц, карт или других иллюстративных, наглядных материалов устанавливают зажимные планки выше уровня рабочей поверхности доски. Для передвижных зажимных планок вдоль верхнего края рабочей поверхности доски должны предусматриваться направляющие.
4.5.8 Конструкция настенных и стационарных напольных досок должна обеспечивать возможность их надежного крепления.
4.5.9 Вдоль нижнего края рабочей поверхности меловой доски должны предусматриваться лотки для меловой пыли. Другие конструкции классных досок могут предусматривать подобного вида лотки для размещения письменных и других вспомогательных принадлежностей.
4.6 Размеры рабочих поверхностей
4.6.1 Функциональные размеры рабочих поверхностей классных досок должны соответствовать указанным в таблице 1.
Таблица 1
Тип доски
Ширина рабочей поверхности H, мм
Длина рабочей поверхности L, мм
I
800, 900, 1000, 1100, 1200
900, 1000, 1200, 1500, 1600, 1700, 1800, 2000, 2400, 3000, 4000
II
900, 1000, 1100, 1200
1500, 1700, 1800, 2000, 2400
III
900, 1000, 1100, 1200
900, 1200, 1500, 1700, 1800
IV
1000, 1500, 2000
900 - 1000, 1300 - 1600, 1800 - 2000
Примечания
1 Размеры рабочих поверхностей классных досок типов I, II, III включают толщину обкладок. Плоскости рабочих поверхностей классных досок, отличающихся от прямоугольной формы, должны иметь габаритные размеры соответствующих типов.
2 Размеры створок устанавливают по согласованию с потребителем.
4.6.2 Предельные отклонения габаритных и функциональных размеров по ширине и длине должны быть не более +/- 5 мм.
4.6.3 По согласованию с потребителем рабочие поверхности классных досок могут иметь индивидуальные размеры, при этом классные доски должны соответствовать требованиям настоящего стандарта.
4.7 Условное обозначение классных досок должно содержать:
- вид классной доски (см. 4.1);
- тип классной доски (см. 4.2);
- способ установки (см. 4.4);
- функциональные размеры рабочих поверхностей (габаритные размеры по таблице 1 или индивидуальные размеры, согласованные с потребителем);
- геометрическую форму плоскости рабочих поверхностей, которую указывают при отличии от прямоугольной: круглая (КО), овальная (ОВ), треугольная (ТУ), шестиугольная (ШУ);
- цвет рабочей поверхности: красный (К), оранжевый (О), желтый (Ж), зеленый (З), голубой (Г), синий (С), фиолетовый (Ф), черный (Ч), серый (СР), белый (Б), коричневый (КР);
- обозначение настоящего стандарта.
Примеры условных обозначений:
1 Доска классная меловая, одностворчатая, настенная, длиной 2000 мм, шириной 1000 мм, с черным цветом рабочей поверхности
ДКМЛ - тип I - Н - 2000x1000 - Ч - ГОСТ 20064-2024
2 Доска классная маркерная, трехстворчатая, стационарная напольная, размер первой створки - длина 1000 мм, ширина 1000 мм; размер второй створки - длина 2000 мм, ширина 1000 мм; размер третьей створки - длина 1000 мм, ширина 1000 мм; с зеленым цветом рабочей поверхности
ДКМР - тип II - СН - 1000x1000, 2000x1000, 1000x1000 -
- З - ГОСТ 20064-2024
3 Доска классная пробковая, раздвижная, передвижная напольная, размеры створок - длина 1000 мм, ширина 1000 мм, круглая, с желтым цветом рабочей поверхности
ДКПБ - тип III - ПН - 1000x1000 - КО - Ж - ГОСТ 20064-2024
4 Доска классная маркерная, ленточная, передвижная напольная, длина 1000 мм, ширина 1000 мм, с белым цветом рабочей поверхности
ДКМР - тип IV - ПН - 1000x1000 - Б - ГОСТ 20064-2024
Примечание - Допускается использование торгового наименования классных досок при продаже предприятием-изготовителем.
5 Технические требования
5.1 Классные доски изготавливают в соответствии с требованиями настоящего стандарта, технической документации и по образцам-эталонам, утвержденными в установленном порядке.
5.2 Материалы для изготовления досок классных
5.2.1 Рекомендуемые материалы для изготовления классных досок приведены в приложении А.
5.2.2 Влажность деталей из массивной древесины должна быть (8 +/- 2)%. Влажность деталей из древесных материалов должна соответствовать указанной в нормативно-технической документации на конкретные материалы.
5.2.3 Применяемые клеевые материалы не должны вызывать изменения цвета рабочей и лицевых поверхностей досок.
5.2.4 Прочность приклеивания облицовочных материалов толщиной более 0,4 мм должна быть не менее 1,4 кН/м.
5.2.5 Адгезионная прочность лакокрасочных покрытий рабочих поверхностей к основаниям из металла или древесного материала должна соответствовать адгезионному характеру разрушения покрытие-основа. При испытании методом решетчатого надреза может наблюдаться отслаивание покрытия в виде мелких чешуек в местах пересечения линий решетки. Нарушение должно быть не более чем на 5% поверхности решетки.
5.3 Классные доски, предназначенные для оборудования помещений организаций, осуществляющих образовательную деятельность, должны обеспечивать возможность проведения дезинфекции поверхностей во избежание роста и развития микрофлоры (особенно патогенной). После дезинфекции химическими реагентами не должно быть видимых изменений поверхностей или возможно возникновение едва заметных изменений в блеске или цвете поверхностей.
5.4 Стойкость защитно-декоративных покрытий рабочих поверхностей к пятнообразованию от продолжительности воздействия пресной воды, химических реагентов и других веществ, должна соответствовать 2 баллам.
Продолжительность воздействия пресной воды - 1 ч; химических реагентов и других веществ - в соответствии с таблицей В.1 ГОСТ 33095-2014 для группы стойкости "С" (стойкое).
5.5 Рабочие поверхности классных досок должны быть ровными и соответствовать нормативным показателям качества внешнего вида покрытий класса II по ГОСТ 33095.
5.6 Рабочая поверхность досок должна иметь равномерную окраску по всей площади. Рекомендуемый цвет поверхности может быть темно-зеленым, темно-коричневым, черным (с коэффициентом отражения не более 20%), белым (с коэффициентом отражения не менее 80%).
Допускается рабочая поверхность досок других цветовых окрасок видимого спектра электромагнитного излучения, включая серые оттенки. По согласованию с потребителем предлагаемые цветовые окраски в этом случае должны соответствовать образцам, утвержденным в установленном порядке.
5.7 Рабочие поверхности досок должны обеспечивать отчетливую видимость нанесенной информации в виде текста и изображений, выполненных мелками, специальными маркерами. Блеск покрытия рабочих поверхностей, измеренный по ГОСТ 16143, блескомером с углами падения-отражения света 60°, не должен превышать 50 единиц с учетом светлоты контролируемой поверхности.
Меловые доски должны иметь темное антибликовое покрытие и должны быть оборудованы дополнительными источниками искусственного освещения, направленного непосредственно на рабочее поле.
При использовании маркерной доски цвет маркера должен быть контрастного цвета по отношению к цвету доски.
5.8 Для обеспечения возможности использования учебных пособий с магнитным креплением облицовку рабочих поверхностей магнитных досок выполняют с применением тонколистовой стали, покрытой силикатными эмалями (фриттами) по ГОСТ 24405 или красками, специальными магнитными пластиками или иными материалами в соответствии с требованиями 5.2.2, 5.4, 5.6, 5.7. В технической документации должна быть указана площадь поверхности доски, обеспечивающая возможность крепления пособий магнитами.
5.9 Конструкция передвижных напольных досок должна обеспечивать их устойчивое и неподвижное положение во время работы и не должна допускать опрокидывание доски.
5.10 Конструкция досок должна обеспечивать безопасную работу в условиях эксплуатации. Элементы досок, с которыми соприкасаются в процессе эксплуатации, а также фурнитура, выходящая на лицевую поверхность изделий, не должны иметь заусенцев. Ребра торцов погонажных деталей должны быть притуплены, сварные швы тщательно зачищены.
5.11 Подъемные доски всех типов должны перемещаться по вертикали, а раздвижные элементы досок типа III по горизонтали свободно, без перекосов и заеданий. В досках типа II должны быть предусмотрены устройства, предотвращающие самопроизвольное поворачивание створок на петлях. Доски с поворотными устройствами рабочих поверхностей по вертикали и горизонтали должны оснащаться ограничителями для закрепления их в рабочем положении.
Не допускается самопроизвольное отсоединение деталей, закрепленных на направляющем рельсе. Доска с направляющим рельсом должна перемещаться свободно, без перекосов и заеданий.
5.12 Вид обработки кромок рабочих поверхностей досок должен быть оговорен в технической документации на классные доски.
5.13 На видимой рабочей поверхности классной доски не допускаются следующие дефекты: расхождение полос облицовки, нахлестки, отслоения, пузыри под облицовкой, клеевые пятна, прошлифовка, потертость, загрязнения поверхности, вырывы, вмятины, царапины, трещины, пятна, пробитие клея, заусенцы и морщины.
Примечание - Соответствующие определения к указанным терминам, обозначающие дефекты, приведены в ГОСТ 20400.
5.14 Приспособления, устройства, фурнитура и крепежные детали, выходящие на лицевые поверхности, должны иметь защитные или защитно-декоративные покрытия. Поверхности деталей классных досок из древесных плитных материалов (пласти и кромки) должны иметь защитные или защитно-декоративные покрытия, кроме невидимых поверхностей в сопрягаемых соединениях, отверстий в местах установления фурнитуры, кромок рабочих поверхностей досок, закрытых при установки металлических раскладок.
5.15 Крепление фурнитуры (петель, кронштейнов и т.п.) шурупами к неупрочненным кромкам рабочих поверхностей досок из древесно-стружечной плиты не допускается.
5.16 Покоробленность рабочей поверхности доски не должна превышать 5 мм на 1 м ее длины по диагонали.
5.17 Коэффициент стойкости к истиранию рабочих поверхностей меловых и маркерных классных досок должен быть не более 0,15 г на 100 оборотов при вращении испытательного стола.
5.18 Детали и сборочные единицы сборно-разборных досок должны быть изготовлены с точностью, обеспечивающей их неоднократную сборку и разборку без дополнительной подгонки. К каждой доске должна быть приложена инструкция по сборке и установке.
Поля допусков для линейных размеров и посадки сопрягаемых деталей и узлов должны соответствовать требованиям ГОСТ 6449.1. Допуски расположения осей отверстий для крепежных деталей должны соответствовать требованиям ГОСТ 6449.4. Допуски на свободные размеры деталей классных досок должны соответствовать требованиям ГОСТ 6449.5. Допуски на отклонения угловых размеров деталей и узлов классных досок должны соответствовать требованиям ГОСТ 6449.2.
5.19 Предельно допустимая концентрация формальдегида, выделяемого в воздушную среду помещения из полимерсодержащих древесных материалов, используемых при изготовлении оснований классных досок, должна быть не более 0,08 мг/м3.
5.20 Допустимая удельная активность цезия-137 (Cs-137) в древесных материалах, используемых для изготовления классных досок, не должна превышать 300 Бк/кг, а стронция-90 (Sr-90) 520 Бк/кг.
5.21 Маркировка
5.21.1 Маркировку наносят на каждую классную доску в верхнем левом углу задней рабочей поверхности, невидимой при эксплуатации.
5.21.2 Маркировку наносят типографским, литографским или печатным способом на бумажном ярлыке, прочно приклеенном к классной доске.
Допускается наносить маркировку несмываемой краской штемпелеванием, выжиганием, продавливанием, а также проставлять отдельные реквизиты ярлыка штампом или печатным способом.
5.21.3 Маркировка должна быть четкой и содержать:
- наименование классной доски по виду средств нанесения, закрепления и воспроизведения учебно-иллюстративной информации;
- обозначение классной доски;
- товарный знак (логотип) изготовителя (при наличии);
- наименование страны-изготовителя;
- наименование и местонахождение изготовителя;
- наименование, юридический и фактический адрес уполномоченного изготовителем лица, импортера;
- дату изготовления;
- срок службы, установленный изготовителем;
- штриховой код продукции;
- обозначение настоящего стандарта.
5.21.4 Классная доска, поставляемая в разобранном виде, может не иметь маркировки с обозначением классной доски и даты изготовления. В этом случае обозначение классной доски проставляет изготовитель или продавец во время продажи или во время его сборки у пользователя. Дата выпуска должна быть указана на упаковке(ах). Маркировку классной доски в разобранном виде наносят на упаковку.
Маркировочный ярлык должен быть вложен в упаковку вместе с инструкцией по сборке. В инструкции должно быть дано графическое изображение всех вариантов сборки классной доски с их обозначением.
5.22 Упаковка
5.22.1 Классная доска должна быть упакована:
- при междугородных перевозках, транспортировании с перегрузкой на другие виды транспорта - в упаковку, предназначенную для однократного применения или многооборотную упаковку, обеспечивающую сохранность классных досок от повреждений и загрязнений, при выполнении требований манипуляционных знаков по ГОСТ 14192, нанесенных на упаковку;
- при транспортировании в районы Крайнего Севера и приравненные к ним местности водным транспортом в соответствии с ГОСТ 15846.
Влажность древесины упаковки для упаковывания классных досок не должна превышать 22%.
5.22.2 По согласованию с потребителем допускаются другие виды упаковки, обеспечивающие сохранность изделий при транспортировании.
5.22.3 При транспортировании классных досок автотранспортом или в универсальных контейнерах допускается не упаковывать классные доски по согласованию с потребителем при условии предохранения их от повреждений, загрязнения, атмосферных осадков и максимального использования грузоподъемности (вместимости) контейнера.
5.22.4 Для защиты классных досок от механических повреждений в местах их соприкосновения друг с другом, с кузовом транспортного средства, жесткой упаковкой и упаковочными материалами должны применяться вспомогательные упаковочные средства в соответствии с требованиями нормативной документации на эти средства.
5.22.5 Вся съемная фурнитура классных досок должна быть упакована в заклеенные (зашитые) пакет или коробку и приклеена к одной из деталей классных досок. Съемную фурнитуру и комплектующие изделия по согласованию с потребителем допускается поставлять отдельно упакованной с этой же партией классных досок с соответствующими указаниями в товаросопроводительной документации.
6 Правила приемки
6.1 Классные доски предъявляют к приемке единичными изделиями и партиями.
Партией считают количество классных досок одного наименования, оформленное одним документом.
Размер партии устанавливают по согласованию изготовителя с потребителем.
До начала испытаний испытуемые образцы подлежат выдержке в помещениях с относительной влажностью воздуха от 45% до 70% и температурой от 15 °C до 30 °C не менее 3 сут.
6.2 При приемо-сдаточных испытаниях:
- внешний вид, качество сборки, трансформацию изделий, качество рабочих поверхностей классных досок проверяют на каждом изделии предъявленной партии. При получении неудовлетворительных результатов хотя бы по одному показателю изделие бракуется и дальнейшей проверке не подлежит;
- покоробленность рабочих поверхностей в готовых классных досках определяют на 5% изделий от партии, но не менее чем на двух и не более чем на пяти изделиях;
- комплектность и возможность сборки без дополнительной подгонки изделий, функциональные или габаритные размеры, а также выполнение требований к креплению фурнитуры проверяют на 3% изделий от партии, но не менее двух и не более чем на десяти изделиях, отобранных методом случайного отбора.
Если хотя бы одно изделие не соответствует требованиям настоящего стандарта, проводят повторную проверку удвоенного количества изделий, взятых от той же партии, по показателям, по которым были получены неудовлетворительные результаты. Если при повторной проверке хотя бы одно изделие не соответствует требованиям настоящего стандарта, партию бракуют.
Для проверки классных досок на соответствие требованиям настоящего стандарта контролируют параметры, указанные в таблице 2.
Таблица 2
Наименование показателя
Виды испытаний
Номер пункта
Приемо-сдаточные
Квалификационные, периодические
Типовые
технических требований
метода контроля
Функциональные или габаритные размеры
+
-
-
Влажность
+
-
-
Прочность приклеивания облицовочных материалов
+
-
+
Покоробленность деталей
+
-
-
Трансформация изделий
+
-
-
Требования к креплению фурнитуры
+
-
-
Внешний вид
+
-
-
Комплектность и возможность сборки без дополнительной подгонки классных досок, поставляемых в разобранном виде
+
-
-
7.1 и 7.2
Устойчивость передвижных досок
-
+
+
Стойкость к истиранию рабочих поверхностей
-
-
+
Стойкость защитно-декоративных покрытий рабочих поверхностей к пятнообразованию от продолжительности воздействия пресной воды, химических реагентов и других веществ
-
-
+
Адгезия лакокрасочных покрытий рабочих поверхностей к металлическим и древесным основаниям
-
-
+
Качество проведения влажной дезинфекции классных досок, предназначенных для оборудования помещений организаций, осуществляющих образовательную деятельность
+
-
-
Предельно допустимая концентрация формальдегида, выделяемого в воздушную среду помещения из полимерсодержащих древесных материалов, используемых при изготовлении оснований классных досок
-
-
+
Допустимая удельная активность цезия-137 и стронция-90
-
-
+
Примечания - Знак "+" означает, что данный показатель контролируется; знак "-" - не контролируется.
6.3 Классные доски подвергают приемочным, квалификационным, периодическим, типовым испытаниям.
6.3.1 Квалификационным и периодическим испытаниям подвергают классные доски, прошедшие приемо-сдаточные испытания.
6.3.2 Для испытаний от партии до 400 шт. включительно отбирают методом случайного отбора одну классную доску, свыше 400 шт. - две.
6.3.3 При получении неудовлетворительных результатов квалификационных испытаний приемку классных досок на предприятиях прекращают до устранения дефектов и получения положительных результатов испытаний.
6.3.4 При получении неудовлетворительных результатов периодических испытаний классные доски представляют на повторные испытания.
При получении неудовлетворительных результатов повторных периодических испытаний приемку классных досок на предприятии прекращают до устранения дефектов и получения положительных результатов испытаний. Периодические испытания проводят раз в три года.
6.3.5 Приемочные испытания проводят при освоении новых классных досок по программе, включающей в себя показатели, контролируемые при приемо-сдаточных испытаниях.
7 Методы контроля
7.1 Размеры изделий классных досок проверяют универсальными измерительными инструментами.
Габаритные и функциональные линейные размеры измеряют с погрешностью +/- 1 мм.
7.2 Проверку соответствия комплектности, маркировки и упаковки проводят визуально путем осмотра и сверки с комплектом документации. Допускается возможность сборки без дополнительной подгонки, поставляемой в разобранном виде, контрольной сборкой изделия.
7.3 Влажность древесины определяют по ГОСТ 16588; древесно-стружечных плит по ГОСТ 10634; древесно-волокнистых плит по ГОСТ 10633; фанеры и фанерных плит по ГОСТ 9621.
7.4 Прочность клеевого соединения на неравномерный отрыв облицовочных материалов определяют по ГОСТ 15867.
7.5 Внешний вид, наличие защитного и защитно-декоративного покрытия рабочих поверхностей, трансформацию изделий, крепление фурнитуры контролируют визуально, без применения приборов.
7.6 Покоробленность деталей в изделии определяют по ГОСТ 24053.
7.7 Стойкость защитно-декоративных покрытий рабочих поверхностей к пятнообразованию от продолжительности воздействия пресной воды, химических реагентов и других веществ определяют по ГОСТ 27627.
7.8 Стойкость к истиранию рабочих поверхностей определяют по ГОСТ 27820.
7.9 Адгезию лакокрасочных покрытий рабочих поверхностей к металлическим основаниям определяют по ГОСТ 15140 и к древесным материалам оснований по ГОСТ 31149.
7.10 Устойчивость передвижных классных досок определяют в соответствии с ГОСТ EN 1023-3.
7.11 Уровень формальдегида, выделяющегося в воздушную среду помещения из полимерсодержащих древесных материалов, используемых при изготовлении оснований классных досок, определяют по ГОСТ 30255.
7.12 Уровни и методы измерения удельной активности радионуклидов цезия-137 и стронция-90 в древесных материалах, используемых для изготовления классных досок, определяют по ГОСТ 33795.
8 Транспортирование и хранение
8.1 Классные доски транспортируют всеми видами транспорта в крытых транспортных средствах, а также в контейнерах.
В пределах одного населенного пункта классные доски допускается перевозить открытым автотранспортом при условии предохранения их от повреждения и атмосферных осадков.
8.2 Транспортирование осуществляют в соответствии с правилами перевозок грузов, действующими на каждом виде транспорта.
8.3 Классные доски следует хранить в крытых помещениях при температуре не ниже 10 °C и относительной влажности воздуха от 45% до 70%.
9 Гарантии изготовителя
9.1 Изготовитель гарантирует соответствие классных досок требованиям настоящего стандарта при соблюдении условий транспортирования, хранения, сборки классных досок, поставляемых в разобранном виде, эксплуатации.
9.2 Гарантийный срок эксплуатации классных досок - не менее 18 месяцев.
9.3 Гарантийный срок при розничной продаже через торговую сеть исчисляют со дня продажи классных досок, при внерыночном распределении - со дня получения их потребителем.
Приложение А
(справочное)
МАТЕРИАЛЫ ДЛЯ ИЗГОТОВЛЕНИЯ КЛАССНЫХ ДОСОК
А.1 Для изготовления основания классных досок используют следующие материалы:
- плиты древесно-стружечные по ГОСТ 10632;
- плиты фанерные по ГОСТ 8673;
- плиты древесно-волокнистые мокрого способа производства по ГОСТ 4598, кроме мягких, полутвердых и сверхтвердых плит;
- фанеру общего назначения с наружными слоями из шпона лиственных пород по ГОСТ 3916.1;
- прокат тонколистовой из стали повышенной прочности по ГОСТ 17066;
- жесть по ГОСТ 13345;
- профили, прессованные из алюминия и алюминиевых сплавов по ГОСТ 8617;
- трубы стальные квадратные по ГОСТ 8639;
- трубы стальные прямоугольные по ГОСТ 8645.
А.2 При изготовлении рабочей поверхности классных досок следует учитывать следующие положения.
А.2.1 Меловые доски изготавливают из массивной древесины или древесных материалов, стекла, металла и покрывают темной матовой эмалью, обычно черного, темно-зеленого или коричневого цвета.
Для придания шероховатости рабочей поверхности доски в акриловую эмаль вводят измельченный минеральный наполнитель, делающий ее устойчивой к истиранию.
Рабочая поверхность меловой доски может иметь покрытие из полимерной пленки.
А.2.2 Маркерные доски изготавливают с покрытием рабочей поверхности полимерной пленкой белого, серого или другого цвета.
Доски магнитно-маркерные состоят из металлического основания, покрытого лаком, силикатной эмалью, стеклом или пластиком.
А.2.3 Магнитные доски изготавливают на основе листовой стали с покрытием или из смеси магнитного порошка и полимерных материалов, а также на основание доски может быть закреплена полимерная пленка с магнитным эффектом или рабочая поверхность такой доски на основе древесного материала может быть покрыта краской, содержащей металлический наполнитель.
А.2.4 Пробковые доски изготавливают из натуральной пробковой коры или другого пористого материала, обтянутого тканью.
А.2.5 Ленточные доски с эластичной рабочей поверхностью представляют собой полимерную пленку с мелкой текстурой, отличающейся высокой износостойкостью. Полимерная пленка может быть с магнитным эффектом.
УДК 645.449:006.354
МКС 97.140
Ключевые слова: классные доски, типы, рабочие поверхности, классификация и условное обозначение, маркировка, упаковка, правила приемки, методы контроля, транспортирование и хранение, гарантии изготовителя