Главная // Актуальные документы // ПриказСПРАВКА
Источник публикации
ИУС "Национальные стандарты", N 4, 2024
Примечание к документу
Текст данного документа приведен с учетом
поправки, опубликованной в "ИУС", N 9, 2024.
Документ
введен в действие на территории Российской Федерации с 01.02.2024 (Приказ Росстандарта от 28.12.2023 N 1708-ст).
Название документа
"Изменение N 1 к ГОСТ 23118-2019 "Конструкции стальные строительные. Общие технические условия"
(принято Протоколом Межгосударственного совета по стандартизации, метрологии и сертификации от 27.12.2023 N 168-П)
"Изменение N 1 к ГОСТ 23118-2019 "Конструкции стальные строительные. Общие технические условия"
(принято Протоколом Межгосударственного совета по стандартизации, метрологии и сертификации от 27.12.2023 N 168-П)
Принято
Протоколом Межгосударственного
совета по стандартизации,
метрологии и сертификации
от 27 декабря 2023 г. N 168-П
ИЗМЕНЕНИЕ N 1 К ГОСТ 23118-2019
"КОНСТРУКЦИИ СТАЛЬНЫЕ СТРОИТЕЛЬНЫЕ.
ОБЩИЕ ТЕХНИЧЕСКИЕ УСЛОВИЯ"
Принято Межгосударственным советом по стандартизации, метрологии и сертификации (протокол N 168-П от 27.12.2023)
Зарегистрировано Бюро по стандартам МГС N 17267
За принятие изменения проголосовали национальные органы по стандартизации следующих государств: AM, BY, KG, KZ, RU, TJ, UZ [коды альфа-2 по МК (ИСО 3166) 004]
Дату введения в действие настоящего изменения устанавливают указанные национальные органы по стандартизации <*>
--------------------------------
<*> Дата введения в действие на территории Российской Федерации - 2024-02-01.
"
ГОСТ 9.302 (ИСО 1463-82, ИСО 2064-82, ИСО 2106-82, ИСО 2128-76, ИСО 2177-85, ИСО 2178-82, ИСО 2360-82, ИСО 2361-82, ИСО 2819-80, ИСО 3497-76, ИСО 3543-81, ИСО 3613-80, ИСО 3882-86, ИСО 3892-80, ИСО 4516-80, ИСО 4518-80, ИСО 4522-1-85, ИСО 4522-2-85, ИСО 4524-1-85, ИСО 4524-3-85, ИСО 4524-5-85, ИСО 8401-86) Единая система защиты от коррозии и старения. Покрытия металлические и неметаллические неорганические. Методы контроля" на "
ГОСТ 9.916 <1> Единая система защиты от коррозии и старения. Покрытия металлические и неметаллические неорганические. Методы контроля";
"
ГОСТ 8713 Сварка под флюсом. Соединения сварные. Основные типы. Конструктивные элементы и размеры" на "
ГОСТ 8713 Сварка под флюсом. Соединения сварные. Основные типы, конструктивные элементы и размеры".
"--------------------------------
<1> В Российской Федерации до 1 октября 2024 г. действует
ГОСТ 9.302-88";
дополнить сносками "<1>", "<3>", "<4>", "<5>".
"--------------------------------
<1> В Российской Федерации действуют
ГОСТ Р 58905-2020/ISO/TR 25901-3:2016 "Сварка и родственные процессы. Словарь. Часть 3. Сварочные процессы",
ГОСТ Р ИСО 17659-2009 "Сварка. Термины многоязычные для сварных соединений",
ГОСТ Р 58904-2020/ISO/TR 25901-1:2016 "Сварка и родственные процессы. Словарь. Часть 1. Общие термины".
<2> В Российской Федерации действует
ГОСТ Р 55724-2013 "Контроль неразрушающий. Соединения сварные. Методы ультразвуковые".
<3> В Российской Федерации действует
ГОСТ Р 58938-2020 "Система обеспечения точности геометрических параметров в строительстве. Основные положения".
<4> В Российской Федерации действует
ГОСТ Р 58942-2020 "Система обеспечения точности геометрических параметров в строительстве. Технологические допуски".
<5> В Российской Федерации действует
ГОСТ Р 58943-2020 "Система обеспечения точности геометрических параметров в строительстве. Контроль точности";
заменить ссылки: "
ГОСТ 22353 <2> Болты высокопрочные класса точности B. Конструкция и размеры" на "
ГОСТ 32484.3-2013 (EN 14399-3:2005) Болтокомплекты высокопрочные для предварительного натяжения конструкционные. Система HR - комплекты шестигранных болтов и гаек";
"
ГОСТ 22356 <3> Болты и гайки высокопрочные и шайбы. Общие технические условия" на "
ГОСТ 32484.1-2013 (EN 14399-1:2005) Болтокомплекты высокопрочные для предварительного натяжения конструкционные. Общие требования";
"--------------------------------
<1> В Российской Федерации действует
ГОСТ Р 58939-2020 "Система обеспечения точности геометрических параметров в строительстве. Правила выполнения измерений. Элементы заводского изготовления".
<2> В Российской Федерации действует
ГОСТ Р 58945-2020 "Система обеспечения точности геометрических параметров в строительстве. Правила выполнения измерений параметров зданий и сооружений".
<3> В Российской Федерации действует
ГОСТ Р ИСО 6520-1-2012 "Сварка и родственные процессы. Классификация дефектов геометрии и сплошности в металлических материалах. Часть 1. Сварка плавлением".
"3.4 легкие стальные тонкостенные конструкции; ЛСТК: Конструкции, запроектированные и изготовленные из оцинкованных холодногнутых профилей и гофрированных листов с толщиной элементов не более 4 мм".
"4.1 Стальные строительные конструкции классифицируют по типам:
- стержневые сплошностенчатые;
- стержневые сквозные;
- листовые;
- легкие стальные тонкостенные;
- висячие;
- преднапряженные".
"- при температуре воздействия до 100 °C включительно;".
"Правка элементов ЛСТК не допускается".
"5.2.4 При холодной гибке листовых деталей толщиной t, мм, из сталей С235 - С255 внутренние радиусы закругления должны быть:";
заменить слова: "- не менее 1,2 мм" на "- не менее 1,2
t", "- 1,0 мм для меньших толщин" на "- 1,0
t для меньших толщин", "не менее 2,5 и 2,0 мм соответственно" на "не менее 2,5
t и 2,0
t соответственно".
"Термическая обработка элементов ЛСТК не допускается".
"Не допускается занижение значений катетов угловых швов относительно их проектных значений".
"Швы сварных соединений ЛСТК относятся к III - низкой категории уровня качества".
"Образование отверстий в элементах ЛСТК с помощью термической резки не допускается".
"
Отклонения диаметра отверстий, выполненных лазерной или плазменной резкой, а также их овальность | До 17 включ. | 0; +0,6; | 0; +0,24; | Не ограничивают |
Св. 17 | 0; +1,0 | 0; +0,28 |
".
Приложение А.
Таблица А.1. Пункт 13. Графа "Допустимые дефекты по уровням качества". Подзаголовок "Высокий". Исключить значение: "
h =
K - K
ф";
примечание 3.
Строка b. Заменить слова: "
b - фактическая толщина стыкового шва, мм" на "
b - фактическая ширина усиления стыкового шва, мм".
"Таблица Б.1
Предельные отклонения сборочных единиц
Вид предельного отклонения | Эскиз | Значение предельного отклонения |
1 Отклонение формы и линейных размеров двутавров и тавров |
1.1 Отклонение по высоте профиля H и ширине полки B | | +/- 3,0 мм |
Смещение стенки относительно оси полки d | Не более 0,5tст |
1.2 Перекос полки a относительно стенки в двутавровых сечениях: | | |
- в стыках и местах примыкания | 0,005B |
- в прочих местах | 0,01B |
1.3 Грибовидность полки c: | | |
- в стыках и местах примыкания | 0,005B |
- в прочих местах | 0,01B |
1.4 Перекос или грибовидность полки верхних поясов подкрановых балок | 0,005B |
1.5 Стрелка выгиба не укрепленная ребрами стенки балки f | | 0,003H |
- то же, для стенки, укрепленной ребрами жесткости | 0,006H |
- то же, для стенки подкрановых балок | 0,003H |
2 Коробчатые и замкнутые профили |
2.1 Двухстенчатые балки коробчатого сечения | | |
2.1.1 Отклонение по высоте профиля и ширине полки H и B | +/- 3,0 мм |
2.1.2 Грибовидность полки c | +/- 0,015b <= tст |
2.1.3 Стрелка выгиба стенки балки f | +/- 0,015H <= tст |
3 Трубы |
3.1 Отклонение наружного периметра трубы  от теоретического размера | | +/- 0,75tст |
3.2 Овальность сечения трубы D1: | | |
- в местах ребер жесткости | +/- 0,01D1 |
- в местах, не укрепленных ребрами жесткости | +/- 0,02D1 |
4 Отклонение размеров элементов с болтовыми соединениями |
4.1 Срезные, фрикционные и фрикционно-срезные соединения при: | | |
L <= 6000 мм | +/- 3,0 мм |
L > 6000 мм | +/- 5,0 мм |
4.2 Фланцевые соединения: | | |
4.2.1 Длина элемента L при наличии компенсационных прокладок | От 0 до 5,0 мм |
4.2.2 Отклонение от перпендикулярности фланца относительно оси элемента a | 0,0007B |
4.2.3 Местная неплоскостность рабочих поверхностей фланцев b | 0,3 мм |
5 Отклонение размеров элементов и деталей | |
5.1 Локальное искривление листовой детали. Зазор  между листом и стальной линейкой | | 1,5 мм |
5.2 Отклонение от прямолинейности. Зазор  между натянутой струной и обушком уголка, полкой или стенкой швеллера, тавра, двутавра, гнутосварного профиля и круглой трубы длиной L | | 0,001L, но не более 10,0 мм |
5.3 Отклонения линий кромок листовых деталей элементов с монтажными соединениями на сварке встык | - | От 0 до 5,0 мм |
То же, при соединении внахлестку, в тавр, в угол и на накладках | Не более 10,0 мм |
5.4 Отклонения при гибе просвета между шаблоном и поверхностью свальцованного листа, полкой, обушком профиля, согнутого: | - | |
- в холодном состоянии | 2,0 мм |
- в горячем состоянии | 1,5 мм |
5.5 Эллиптичность (разность диаметров) окружности в габаритных листовых конструкциях (при диаметре конструкции D): | - | |
- вне стыков | 0,005D |
- в монтажных стыках | 0,003D |
5.6 Скручивание z (винтообразность) элемента (длиной L) | | 0,001L, Не более 10,0 мм |
6 Отклонение размеров элементов, передающих опорные усилия через торцы |
6.1 Отклонение по высоте H стоек и колонн, монтируемых в один, два, три и более ярусов | | +/- 5,0 мм +/- 3,0 мм |
6.2 Отклонение от перпендикулярности торцов относительно ширины стойки | 0,0007B |
6.3 Отклонение от плоскостности смыкания торцевых поверхностей фланцев | 0,3 мм |
6.4 Расстояние H от опорной плиты стойки, колонны до опорной поверхности консолей, траверс и т.п. | | +/- 3,0 мм |
6.5 Отклонение от перпендикулярности a опорной поверхности консолей, столиков, траверс (по ширине опорной поверхности B1) | 0,001B1 |
6.6 Отклонение высоты Hб балки при передаче усилия: | | |
- через опорные ребра | +/- 2,0 мм |
- через опорные плиты | +/- 5,0 мм |
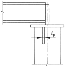
6.7 Отклонение от проектного положения опорных ребер и диафрагм жесткости при передаче сосредоточенных нагрузок в траверсах колонн, опорных узлах балок, узлов рам (при толщине ребра tр) | | 0,25tр |
6.8 Отклонение от проектного положения осей ребер жесткости и диафрагм, обеспечивающих устойчивость стенки | +/- 10,0 мм |
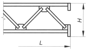
7 Отклонение в размерах ферм и решетчатых конструкций |
7.1 Отклонение линейных размеров решетчатых конструкций: | | |
- отклонение длины L сборочных единиц при наличии в монтажных соединениях прокладок или при сварном соединении с накладками | +/- 5,0 мм |
- отклонение по высоте H на опорах | +/- 3,0 мм |
- то же, в стыках | +/- 3,0 мм |
- то же, в прочих местах | +/- 10,0 мм |
7.2 Отклонение (расцентровка) e пересечения геометрических осей присоединяемых элементов решетки ферм, стоек и колонн из труб, гнутосварных профилей, двутавров и швеллеров (B - ширина пояса фермы, ветви стойки, колонны и т.п.) | | 0,004B |
То же, для конструкций из уголков | 0,003B |
7.3 Предельные отклонения от прямолинейности f в плоскости и из плоскости монтажного элемента по длине L | | 0,001L |
7.4 Отклонения d узловых фасонок решетчатых конструкций и фасонок для присоединения связей, балок и т.п. | | +/- 5,0 мм |
7.5 Отклонение по высоте от опорной поверхности ребра до наружной поверхности верхнего пояса H для ферм с передачей усилия через торцевые ребра | | +/- 5,0 мм |