Главная // Актуальные документы // ГОСТ Р (Государственный стандарт)СПРАВКА
Источник публикации
М.: Стандартинформ, 2007
Примечание к документу
Документ утратил силу с 1 апреля 2013 года в связи с изданием
Приказа Росстандарта от 29.11.2012 N 1637-ст. Взамен введен в действие
ГОСТ Р 52630-2012.
Документ включен в
Перечень документов в области стандартизации, содержащих правила и методы исследований (испытаний) и измерений, в том числе правила отбора образцов, необходимые для применения и исполнения технического
регламента о безопасности машин и оборудования, а также для осуществления оценки соответствия (
Распоряжение Правительства РФ от 05.08.2010 N 1328-р).
Введен в действие с 1 декабря 2007 года.
Название документа
"ГОСТ Р 52630-2006. Национальный стандарт Российской Федерации. Сосуды и аппараты стальные сварные. Общие технические условия"
(утв. Приказом Ростехрегулирования от 27.12.2006 N 369-ст)
"ГОСТ Р 52630-2006. Национальный стандарт Российской Федерации. Сосуды и аппараты стальные сварные. Общие технические условия"
(утв. Приказом Ростехрегулирования от 27.12.2006 N 369-ст)
Утвержден и введен в действие
Приказом Ростехрегулирования
от 27 декабря 2006 г. N 369-ст
НАЦИОНАЛЬНЫЙ СТАНДАРТ РОССИЙСКОЙ ФЕДЕРАЦИИ
СОСУДЫ И АППАРАТЫ СТАЛЬНЫЕ СВАРНЫЕ
ОБЩИЕ ТЕХНИЧЕСКИЕ УСЛОВИЯ
Steel welded vessels and apparatus.
General specifications
ГОСТ Р 52630-2006
Дата введения
1 декабря 2007 года
Цели и принципы стандартизации в Российской Федерации установлены Федеральным
законом от 27 декабря 2002 г. N 184-ФЗ "О техническом регулировании", а правила применения национальных стандартов Российской Федерации -
ГОСТ Р 1.0-2004 "Стандартизация в Российской Федерации. Основные положения".
1. Подготовлен ЗАО "Петрохим Инжиниринг" (ЗАО ПХИ), ОАО "Научно-исследовательский институт химического машиностроения" (ОАО НИИХИММАШ), ОАО "Всероссийский научно-исследовательский и проектно-конструкторский институт нефтяного машиностроения" (ОАО ВНИИНЕФТЕМАШ), Федеральной службой по экологическому, технологическому и атомному надзору (Ростехнадзор).
2. Внесен Техническим комитетом по стандартизации ТК 260 "Оборудование химическое и газонефтеперерабатывающее".
3. Утвержден и введен в действие Приказом Федерального агентства по техническому регулированию и метрологии от 27 декабря 2006 г. N 369-ст.
4. В настоящем стандарте учтены основные нормативные положения следующих международных стандартов:
- Директива 97/23 ЕС Европейского парламента и совета от 29 мая 1997 г. по сближению законодательства государств-членов, касающегося оборудования, работающего под давлением;
- Европейский стандарт ЕН 13445-2002 "Сосуды, работающие под давлением без огневого подвода теплоты" (EN 13445-2002 "Unfired Pressure Vessels").
5. Введен впервые.
Настоящий стандарт распространяется на стальные сварные сосуды и аппараты (далее - сосуды), работающие под давлением не более 16 МПа (160 кгс/см2), вакуумом с остаточным давлением не ниже 665 Па (5 мм рт. ст.) или без давления (под налив) и при температуре стенки не ниже минус 70 °C, предназначенные для применения в технологических установках химической, нефтехимической, нефтеперерабатывающей, нефтяной, газовой и других смежных отраслях промышленности.
Настоящий стандарт устанавливает основные технические требования к конструкции, материалам, изготовлению (доизготовлению), методам испытаний, приемке и поставке, реконструкции, ремонту, монтажу сосудов и аппаратов.
Настоящий стандарт не распространяется на:
- сосуды, работающие под вакуумом с остаточным давлением ниже 665 Па (5 мм рт. ст.);
- сосуды, предназначенные для транспортирования нефтяных и химических продуктов;
- баллоны для сжатых, сжиженных и растворенных газов;
- трубчатые печи;
- резервуары (емкости) для хранения химических и нефтяных продуктов, проектируемые в соответствии со строительными нормами и специальными правилами.
В дополнение к требованиям настоящего стандарта следует руководствоваться нормами и правилами по промышленной безопасности.
В настоящем стандарте использованы нормативные ссылки на следующие стандарты:
ГОСТ Р 2.901-99. Единая система конструкторской документации. Документация, отправляемая за границу. Общие требования
ГОСТ Р 12.4.026-2001. Система стандартов безопасности труда. Цвета сигнальные, знаки безопасности и разметка сигнальная. Назначение и правила применения. Общие технические требования и характеристики. Методы испытаний
ГОСТ Р 50460-92. Знак соответствия при обязательной сертификации. Форма, размеры и технические требования
ГОСТ Р 52627-2006 (ИСО 898-1:1999). Болты, винты и шпильки. Механические свойства и методы испытаний
ГОСТ 2.601-2006. Единая система конструкторской документации. Эксплуатационные документы
ГОСТ 9.014-78. Единая система защиты от коррозии и старения. Временная противокоррозионная защита изделий. Общие требования
ГОСТ 9.402-2004. Единая система защиты от коррозии и старения. Покрытия лакокрасочные. Подготовка металлических поверхностей к окрашиванию
ГОСТ 12.1.005-88. Система стандартов безопасности труда. Общие санитарно-гигиенические требования к воздуху рабочей зоны
ГОСТ 12.1.007-76. Система стандартов безопасности труда. Вредные вещества. Классификация и общие требования безопасности
ГОСТ 19.402-78. Единая система программной документации. Описание программы
ГОСТ 26.008-85. Шрифты для надписей, наносимых методом гравирования. Исполнительные размеры
ГОСТ 26.020-80. Шрифты для средств измерений и автоматизации. Начертания и основные размеры
ГОСТ 356-80. Арматура и детали трубопроводов. Давления условные, пробные и рабочие. Ряды
ГОСТ 427-75. Линейки измерительные металлические. Технические условия
ГОСТ 492-2006. Никель, сплавы никелевые и медно-никелевые, обрабатываемые давлением. Марки
ГОСТ 535-2005. Прокат сортовой и фасонный из стали углеродистой обыкновенного качества. Общие технические условия
ГОСТ 550-75. Трубы стальные бесшовные для нефтеперерабатывающей и нефтехимической промышленности. Технические условия
ГОСТ 931-90. Листы и полосы латунные. Технические условия
ГОСТ 977-88. Отливки стальные. Общие технические условия
ГОСТ 1050-88. Прокат сортовой, калиброванный со специальной отделкой поверхности из углеродистой качественной конструкционной стали. Общие технические условия
ГОСТ 1577-93. Прокат толстолистовой и широкополосный из конструкционной качественной стали. Технические условия
ГОСТ 2991-85. Ящики дощатые неразборные для грузов массой до 500 кг. Общие технические условия
ГОСТ 3262-75. Трубы стальные водогазопроводные. Технические условия
ГОСТ 4543-71. Прокат из легированной конструкционной стали. Технические условия
ГОСТ 4784-97. Алюминий и сплавы алюминиевые деформируемые. Марки
ГОСТ 5063-73. Полосы из медно-никелевых сплавов. Технические условия
ГОСТ 5520-79. Прокат листовой из углеродистой, низколегированной и легированной стали для котлов и сосудов, работающих под давлением. Технические условия
ГОСТ 5521-93. Прокат стальной для судостроения. Технические условия
ГОСТ 5582-75. Прокат тонколистовой коррозионно-стойкий, жаростойкий и жаропрочный. Технические условия
ГОСТ 5632-72. Стали высоколегированные и сплавы коррозионно-стойкие, жаростойкие и жаропрочные. Марки
ГОСТ 5949-75. Сталь сортовая и калиброванная коррозионно-стойкая, жаростойкая и жаропрочная. Технические условия
ГОСТ 5959-80. Ящики из листовых древесных материалов неразборные для грузов массой до 200 кг. Общие технические условия
ГОСТ 6032-2003 (ИСО 3651-1:1998, ИСО 3651-2:1998). Стали и сплавы коррозионно-стойкие. Методы испытаний на стойкость к межкристаллитной коррозии
ГОСТ 6533-78. Днища эллиптические отбортованные стальные для сосудов, аппаратов и котлов. Основные размеры
ГОСТ 6996-66. Сварные соединения. Методы определения механических свойств
ГОСТ 7350-77. Сталь толстолистовая коррозионно-стойкая, жаростойкая и жаропрочная. Технические условия
ГОСТ 7512-82. Контроль неразрушающий. Соединения сварные. Радиографический метод
ГОСТ 8479-70. Поковки из конструкционной углеродистой и легированной стали. Общие технические условия
ГОСТ 8724-2002 (ИСО 261-98). Основные нормы взаимозаменяемости. Резьба метрическая. Диаметры и шаги
ГОСТ 8731-74. Трубы стальные бесшовные горячедеформированные. Технические требования
ГОСТ 8733-74. Трубы стальные бесшовные холоднодеформированные и теплодеформированные. Технические требования
ГОСТ 9012-59 (ИСО 410-82, ИСО 6506-81). Металлы. Метод измерения твердости по Бринеллю
ГОСТ 9013-59 (ИСО 6508-86). Металлы. Метод измерения твердости по Роквеллу
ГОСТ 9045-93. Прокат тонколистовой холоднокатаный из низкоуглеродистой качественной стали для холодной штамповки. Технические условия
ГОСТ 9466-75. Электроды покрытые металлические для ручной дуговой сварки сталей и наплавки. Классификация и общие технические условия
ГОСТ 9940-81. Трубы бесшовные горячедеформированные из коррозионно-стойкой стали. Технические условия
ГОСТ 9941-81. Трубы бесшовные холодно- и теплодеформированные из коррозионно-стойкой стали. Технические условия
ГОСТ 10092-2006. Трубы мельхиоровые для теплообменных аппаратов. Технические условия
ГОСТ 10198-91. Ящики деревянные для грузов массой св. 200 до 20000 кг. Общие технические условия
ГОСТ 10494-80. Шпильки для фланцевых соединений с линзовым уплотнением на

свыше 10 до 100 МПа (свыше 100 до 1000 кгс/см2). Технические условия
ГОСТ 10495-80. Гайки шестигранные для фланцевых соединений на

свыше 10 до 100 МПа (свыше 100 до 1000 кгс/см2). Технические условия
ГОСТ 10702-78. Прокат из качественной конструкционной углеродистой и легированной стали для холодного выдавливания и высадки. Технические условия
ГОСТ 10706-76. Трубы стальные электросварные прямошовные. Технические требования
ГОСТ 10885-85. Сталь листовая горячекатаная двухслойная коррозионно-стойкая. Технические условия
ГОСТ 11036-75. Сталь сортовая электротехническая нелегированная. Технические условия
ГОСТ 12620-78. Днища конические неотбортованные с углами при вершине 60, 90 и 120°. Основные размеры
ГОСТ 12621-78. Днища конические неотбортованные с углом при вершине 140°. Основные размеры
ГОСТ 12816-80. Фланцы арматуры, соединительных частей и трубопроводов на

от 0,1 до 20,0 МПа (от 1 до 200 кгс/см2). Общие технические требования
ГОСТ 12971-67. Таблички прямоугольные для машин и приборов. Размеры
ГОСТ 14637-89 (ИСО 4995-75). Прокат толстолистовой из углеродистой стали обыкновенного качества. Технические условия
ГОСТ 14782-86. Контроль неразрушающий. Соединения сварные. Методы ультразвуковые
ГОСТ 15150-69. Машины, приборы и другие технические изделия. Исполнения для различных климатических районов. Категории, условия эксплуатации, хранения и транспортирования в части воздействия климатических факторов внешней среды
ГОСТ 15527-2004. Сплавы медно-цинковые (латуни), обрабатываемые давлением. Марки
ГОСТ 17217-79. Трубы из медно-никелевого сплава марки МНЖ 5-1. Технические условия
ГОСТ 17232-99. Плиты из алюминия и алюминиевых сплавов. Технические условия
ГОСТ 17314-81. Устройства для крепления тепловой изоляции стальных сосудов и аппаратов. Конструкция и размеры. Технические требования
ГОСТ 17375-2001. Детали трубопроводов бесшовные приварные из углеродистой и низколегированной стали. Отводы крутоизогнутые типа 3D (R = 1,5DN). Конструкция
ГОСТ 17380-2001 (ИСО 3419-81). Детали трубопроводов бесшовные приварные из углеродистой и низколегированной стали. Общие технические условия
ГОСТ 18442-80. Контроль неразрушающий. Капиллярные методы. Общие требования
ГОСТ 18475-82. Трубы холоднодеформированные из алюминия и алюминиевых сплавов. Технические условия
ГОСТ 18482-79. Трубы прессованные из алюминия и алюминиевых сплавов. Технические условия
ГОСТ 18661-73. Сталь. Измерение твердости методом ударного отпечатка
ГОСТ 18968-73. Прутки и полосы из коррозионно-стойкой жаропрочной стали для лопаток паровых турбин. Технические условия
ГОСТ 19281-89. Прокат из стали повышенной прочности. Общие технические условия
ГОСТ 20700-75. Болты, шпильки, гайки и шайбы для фланцевых и анкерных соединений, пробки и хомуты с температурой среды от 0 до 650 °C. Технические условия
ГОСТ 21488-97. Прутки прессованные из алюминия и алюминиевых сплавов. Технические условия
ГОСТ 21631-76. Листы из алюминия и алюминиевых сплавов. Технические условия
ГОСТ 21646-2003. Трубы медные и латунные для теплообменных аппаратов. Технические условия
ГОСТ 21650-76. Средства скрепления тарно-штучных грузов в транспортных пакетах. Общие требования
ГОСТ 23055-78. Контроль неразрушающий. Сварка металлов плавлением. Классификация сварных соединений по результатам радиографического контроля
ГОСТ 23304-78. Болты, шпильки, гайки и шайбы для фланцевых соединений атомных энергетических установок. Технические требования. Приемка. Методы испытаний. Маркировка, упаковка, транспортирование и хранение
ГОСТ 24634-81. Ящики деревянные для продукции, поставляемой для экспорта. Общие технические условия
ГОСТ 24643-81. Основные нормы взаимозаменяемости. Допуски формы и расположения поверхностей. Числовые значения
ГОСТ 25054-81. Поковки из коррозионно-стойких сталей и сплавов. Общие технические условия
| | ИС МЕГАНОРМ: примечание. Приказом Росстандарта от 22.11.2012 N 1020-ст ГОСТ 25347-82 признавался утрачивающим силу на территории Российской Федерации с 1 июля 2014 года в связи с введением в действие ГОСТ Р 55147-2012. Однако, Приказом Росстандарта от 19.12.2012 N 1938-ст приостановлено введение в действие с 1 июля 2014 года национального стандарта Российской Федерации ГОСТ Р 55147-2012 до разработки межгосударственного стандарта взамен ГОСТ 25347-82. | |
ГОСТ 25347-82. Основные нормы взаимозаменяемости. Единая система допусков и посадок. Поля допусков и рекомендуемые посадки
ГОСТ 26179-84. Основные нормы взаимозаменяемости. Допуски размеров свыше 10000 до 40000 мм
ГОСТ 26364-90. Ферритометры для сталей аустенитного класса. Общие технические условия
ГОСТ 26828-86. Изделия машиностроения и приборостроения. Маркировка
Примечание. При пользовании настоящим стандартом целесообразно проверить действие ссылочных стандартов в информационной системе общего пользования - на официальном сайте Федерального агентства по техническому регулированию и метрологии в сети Интернет или по ежегодно издаваемому информационному указателю "Национальные стандарты", который опубликован по состоянию на 1 января текущего года, и по соответствующим ежемесячно издаваемым информационным указателям, опубликованным в текущем году. Если ссылочный стандарт заменен (изменен), то при пользовании настоящим стандартом следует руководствоваться заменяющим (измененным) стандартом. Если ссылочный стандарт отменен без замены, то положение, в котором дана ссылка на него, применяется в части, не затрагивающей эту ссылку.
В настоящем стандарте применены следующие обозначения:
a - относительная овальность корпуса сосуда;
B - смещение кромок листов по срединной поверхности, мм;

и

- расстояние между кромками стыкуемых листов, мм;
D - внутренний диаметр элемента (корпус, днище), мм;

- наружный диаметр элемента (корпус, днище), мм;

- наибольший внутренний диаметр корпуса (элемента), мм;

- наименьший внутренний диаметр корпуса (элемента), мм;

- модуль упругости материала при температуре 20 °C, МПа (кгс/см2);

- модуль упругости материала при расчетной температуре t, МПа (кгс/см2);
f - увод (угловатость) кромок в стыковых сварных соединениях, мм;
P - расчетное давление, МПа (кгс/см2);

- пробное давление, МПа (кгс/см2);
S - толщина стенки обечайки, мм;

- толщина стенки днища, мм;
t - расчетная температура, °C;
y - расстояние от края днища до края обечайки, мм;

- угол скоса элементов разной толщины, ...°;

- угол проточки, ...°;

- допускаемое напряжение для материала при температуре 20 °C, МПа (кгс/см2);

- допускаемое напряжение для материала при расчетной температуре t, МПа (кгс/см2).
| | Применение на добровольной основе раздела 4 обеспечивает соблюдение требований технического регламента "О безопасности машин и оборудования", утв. Постановлением Правительства Российской Федерации от 15.09.2009 N 753 (Приказ Росстандарта от 20.08.2010 N 3108). | |
4. Требования к конструкции
4.1.1. Конструкция сосудов должна быть технологичной, надежной в течение установленного в технической документации срока службы, обеспечивать безопасность при изготовлении, монтаже и эксплуатации, предусматривать возможность осмотра (в том числе внутренней поверхности), очистки, промывки, продувки и ремонта, контроля технического состояния сосуда при диагностировании, а также контроля за отсутствием давления и отбора среды перед открытием сосуда.
Если конструкция сосуда не позволяет при техническом освидетельствовании проведение осмотра (наружного или внутреннего), гидравлического испытания, то разработчик сосуда должен в технической документации на сосуд указать методику, периодичность и объем контроля сосуда, выполнение которых обеспечит своевременное выявление и устранение дефектов.
4.1.2. Расчетный срок службы сосуда устанавливает разработчик сосуда, и он указывается в технической документации.
4.1.3. При проектировании сосудов следует учитывать требования Правил перевозки грузов железнодорожным, водным и автомобильным транспортом.
Сосуды, которые не могут транспортироваться в собранном виде, должны проектироваться из частей, соответствующих по габариту требованиям к перевозке транспортными средствами. Деление сосуда на транспортируемые части следует указывать в технической документации.
4.1.4. Расчет на прочность сосудов и их элементов следует проводить в соответствии с нормативным документом.
4.1.5. Сосуды, транспортируемые в собранном виде, а также транспортируемые части должны иметь строповые устройства (захватные приспособления) для проведения погрузочно-разгрузочных работ, подъема и установки сосудов в проектное положение.
Допускается использовать технологические штуцера, горловины, уступы, бурты и другие конструктивные элементы сосудов при подтверждении расчетом на прочность.
Конструкция, места расположения строповых устройств и конструктивных элементов для строповки, их количество, схема строповки сосудов и их транспортируемых частей должны быть указаны в технической документации.
4.1.6. Опрокидываемые сосуды должны иметь приспособления, предотвращающие самоопрокидывание.
4.1.7. В зависимости от расчетного давления, температуры стенки и характера рабочей среды сосуды подразделяют на группы. Группу сосуда определяет разработчик, но не ниже чем указано в таблице 1.
Таблица 1
Группа | Расчетное давление, МПа (кгс/см2) | Температура стенки, °C | Рабочая среда |
1 | Более 0,07 (0,7) | Независимо | Взрывоопасная, пожароопасная или 1-го, 2-го классов опасности |
2 | Более 0,07 (0,7) до 2,5 (25) | Выше +400 | Любая, за исключением указанной для 1-й группы сосудов |
Более 2,5 (25) до 5,0 (50) | Выше +200 |
Более 5,0 (50) | Независимо |
Более 4,0 (40) до 5,0 (50) | Ниже -40 |
3 | Более 0,07 (0,7) до 1,6 (16) | Ниже -20 Выше +200 до +400 |
Более 1,6 (16) до 2,5 (25) | До +400 |
Более 2,5 (25) до 4,0 (40) | До +200 |
Более 4,0 (40) до 5,0 (50) | От -40 до +200 |
4 | Более 0,07 (0,7) до 1,6 (16) | От -20 до +200 |
5а | До 0,07 (0,7) | Независимо | Взрывоопасная, пожаро- опасная или 1-го, 2-го, 3-го классов опасности |
5б | До 0,07 (0,7) | Независимо | Взрывобезопасная, пожаро- безопасная или 4-го класса |
Группу сосуда с полостями, имеющими различные расчетные параметры и среды, допускается определять для каждой полости отдельно. Сосуды, работающие под вакуумом <*> или при давлении менее 0,7 кгс/см2, независимо от расчетного давления, а также под наливом следует отнести к группе 5а или 5б.
--------------------------------
<*> Здесь и далее следует читать "вакуум" с остаточным давлением не ниже 665 (5 мм рт. ст.).
4.1.8. Базовые диаметры сосудов рекомендуется принимать по
ГОСТ 9617.
4.2. Днища, крышки, переходы
4.2.1. В сосудах применяют днища: эллиптические, полусферические, торосферические, сферические неотбортованные, конические отбортованные, конические неотбортованные, плоские отбортованные, плоские неотбортованные, плоские, присоединяемые на болтах.
4.2.2. Заготовки выпуклых днищ допускается изготовлять сварными из частей с расположением сварных швов согласно указанным на
рисунке 1.
а
б
в
г
д
е
ж
и
к
л
Рисунок 1. Расположение сварных швов заготовок
выпуклых днищ
Расстояния l и

от оси заготовки эллиптических и торосферических днищ до центра сварного шва должны быть не более 1/5 внутреннего диаметра днища.
При изготовлении заготовок с расположением сварных швов согласно
рисунку 1м количество лепестков не регламентируется.
4.2.3. Выпуклые днища допускается изготовлять из штампованных лепестков и шарового сегмента. Количество лепестков не регламентируется.
Если по центру днища устанавливают штуцер, то шаровой сегмент допускается не изготовлять.
4.2.4. Круговые швы выпуклых днищ, изготовленных из штампованных лепестков и шарового сегмента или заготовок с расположением сварных швов согласно
рисунку 1м, должны располагаться от центра днища на расстоянии по проекции не более 1/3 внутреннего диаметра днища. Для полусферических днищ расположение круговых швов не регламентируется.
Наименьшее расстояние между меридиональными швами в месте их примыкания к шаровому сегменту или штуцеру, установленному по центру днища вместо шарового сегмента, а также между меридиональными швами и швом на шаровом сегменте, должно быть более трехкратной толщины днища, но не менее 100 мм по осям швов.
4.2.5. Основные размеры эллиптических днищ должны соответствовать
ГОСТ 6533. Допускаются другие базовые диаметры эллиптических днищ при условии, что высота выпуклой части не менее 0,25 внутреннего диаметра днища.
4.2.6. Полусферические составные днища (см.
рисунок 2) применяют в сосудах при выполнении следующих условий:
- нейтральные оси полушаровой части днища и переходной части обечайки корпуса должны совпадать; совпадение осей должно обеспечиваться соблюдением размеров, указанных в конструкторской документации;
- смещение t нейтральных осей полушаровой части днища и переходной части обечайки корпуса не должно превышать

;
- высота h переходной части обечайки корпуса должна быть не менее 3y.
Рисунок 2. Узел соединения днища с обечайкой
4.2.7. Сферические неотбортованные днища допускается применять в сосудах 5а и 5б групп, за исключением работающих под вакуумом.
Сферические неотбортованные днища в сосудах 1, 2, 3, 4-й групп и в сосудах, работающих под вакуумом, допускается применять только в качестве элемента фланцевых крышек.
Сферические неотбортованные днища (см. рисунок 3) должны:
- иметь радиус сферы R не менее 0,85D и не более D;
- привариваться сварным швом со сплошным проваром.
Рисунок 3. Сферическое неотбортованное днище
4.2.8. Торосферические днища должны иметь:
- высоту выпуклой части, измеренную по внутренней поверхности, не менее 0,2 внутреннего диаметра днища;
- внутренний радиус отбортовки не менее 0,095 внутреннего диаметра днища;
- внутренний радиус кривизны центральной части не более внутреннего диаметра днища.
4.2.9. Конические неотбортованные днища или переходы допускается применять:
а) для сосудов 1, 2, 3, 4-й групп, если центральный угол при вершине конуса не более 45°;
б) для сосудов, работающих под наружным давлением или вакуумом, если центральный угол при вершине конуса не более 60°.
Части выпуклых днищ в сочетании с коническими днищами или переходами применяют без ограничения угла при вершине конуса.
Основные размеры конических неотбортованных днищ, предназначенных для сосудов 5а и 5б групп, за исключением работающих под наружным давлением или вакуумом, должны соответствовать ГОСТ 12620 и ГОСТ 12621.
4.2.10. Плоские днища (см.
рисунок 4), применяемые в сосудах 1, 2, 3, 4-й групп, следует изготовлять из поковок.
При этом следует выполнять следующие условия:
- расстояние от начала закругления до оси сварного шва не менее

(D - внутренний диаметр обечайки, S - толщина обечайки);
- радиус кольцевой выточки

, но не менее 8 мм (см.
рисунок 4б);
- наименьшая толщина днища (см.
рисунок 4б) в месте кольцевой выточки

, но не менее толщины обечайки S (

- толщина днища);
- длина цилиндрической части отбортовки днищ

;
- угол проточки

должен составлять от 30° до 90°;
- зона А контролируется в направлении Z согласно требованиям
5.4.2.
Допускается изготовление плоского днища (см.
рисунок 4) из листа, если отбортовка выполняется штамповкой или обкаткой кромки листа с изгибом на 90°.
4.2.11. Основные размеры плоских днищ, предназначенных для сосудов 5а и 5б групп, должны соответствовать
ГОСТ 12622 или
ГОСТ 12623.
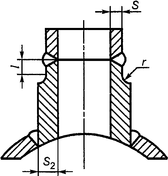
4.2.12. Длина цилиндрического борта l (l - расстояние от начала закругления отбортованного элемента до окончательно обработанной кромки) в зависимости от толщины стенки S (рисунок 5) для отбортованных и переходных элементов сосудов, за исключением штуцеров, компенсаторов и выпуклых днищ, должна быть не менее указанной в
таблице 2. Радиус отбортовки

.
Рисунок 5. Отбортованный и переходный элемент
Таблица 2
Длина цилиндрического борта
Толщина стенки S, мм | Длина цилиндрического борта l, мм |
До 5 включ. | 15 |
Св. 5 до 10 включ. | 2S + 5 |
Св. 10 до 20 включ. | S + 15 |
Св. 20 | S/2 + 25 |
4.3. Люки, лючки, бобышки и штуцера
4.3.1. Сосуды должны быть снабжены люками или смотровыми лючками, обеспечивающими осмотр, очистку, безопасность работ по защите от коррозии, монтаж и демонтаж разборных внутренних устройств, ремонт и контроль сосудов. Количество люков и лючков определяет разработчик сосуда. Люки и лючки необходимо располагать в доступных для пользования местах.
4.3.2. Сосуды с внутренним диаметром более 800 мм должны иметь люки.
Внутренний диаметр люка круглой формы у сосудов, устанавливаемых на открытом воздухе, должен быть не менее 450 мм, а у сосудов, располагаемых в помещении, - не менее 400 мм. Размер люков овальной формы по наименьшей и наибольшей осям должен быть не менее 325 x 400 мм.
Внутренний диаметр люка у сосудов, не имеющих корпусных фланцевых разъемов и подлежащих внутренней антикоррозионной защите неметаллическими материалами, должен быть не менее 800 мм.
Допускается проектировать без люков:
- сосуды, предназначенные для работы с веществами 1-го и 2-го классов опасности по
ГОСТ 12.1.007, не вызывающими коррозии и накипи, независимо от их диаметра, при этом следует предусмотреть необходимое количество смотровых лючков;
- сосуды с приварными рубашками и кожухотрубчатые теплообменные аппараты независимо от их диаметра;
- сосуды, имеющие съемные днища или крышки, а также обеспечивающие возможность проведения внутреннего осмотра без демонтажа трубопровода горловины или штуцера.
4.3.3. Сосуды с внутренним диаметром не более 800 мм должны иметь круглый или овальный лючок. Размер лючка по наименьшей оси должен быть не менее 80 мм.
4.3.4. Каждый сосуд должен иметь бобышки или штуцера для наполнения водой и слива, удаления воздуха при гидравлическом испытании. Для этой цели допускается использовать технологические бобышки и штуцера.
Штуцера и бобышки на вертикальных сосудах должны быть расположены с учетом возможности проведения гидравлического испытания как в вертикальном, так и в горизонтальном положениях.
4.3.5. Для крышек люков массой более 20 кг должны быть предусмотрены приспособления для облегчения их открывания и закрывания.
4.3.6. Шарнирно-откидные или вставные болты, закладываемые в прорези, хомуты и другие зажимные приспособления люков, крышек и фланцев должны быть предохранены от сдвига или ослабления.
4.4. Расположение отверстий
4.4.1. Расположение отверстий в эллиптических и полусферических днищах не регламентируется.
Расположение отверстий на торосферических днищах допускается в пределах центрального сферического сегмента. При этом расстояние от наружной кромки отверстия до центра днища, измеряемое по хорде, должно быть не более 0,4 наружного диаметра днища.
4.4.2. Отверстия для люков, лючков и штуцеров в сосудах 1, 2, 3, 4-й групп должны быть расположены вне сварных швов.
Расположение отверстий допускается на:
- продольных швах цилиндрических и конических обечаек сосудов, если диаметр отверстий не более 150 мм;
- кольцевых швах цилиндрических и конических обечаек сосудов без ограничения диаметра отверстий;
- швах выпуклых днищ без ограничения диаметра отверстий при условии 100-процентной проверки сварных швов днищ радиографическим или ультразвуковым методом;
- швах плоских днищ.
4.4.3. Отверстия не разрешается располагать в местах пересечения сварных швов сосудов 1, 2, 3, 4-й групп.
Данное требование не распространяется на случай, оговоренный в
4.2.3.
4.4.4. Отверстия для люков, лючков, штуцеров в сосудах 5а и 5б групп разрешается устанавливать на сварных швах без ограничения по диаметру.
4.5.1. Опоры из углеродистых сталей допускается применять для сосудов из коррозионно-стойких сталей при условии, что к сосуду приваривается переходная обечайка опоры из коррозионно-стойкой стали высотой, определяемой расчетом, выполненным разработчиком сосуда.
4.5.2. Для горизонтальных сосудов угол охвата седловой опоры, как правило, должен быть не менее 120°.
4.5.3. При наличии температурных расширений в продольном направлении в горизонтальных сосудах следует выполнять неподвижной лишь одну седловую опору, остальные опоры - подвижными. Указание об этом должно содержаться в технической документации.
4.6. Требования к внутренним и наружным устройствам
4.6.1. Внутренние устройства в сосудах (змеевики, тарелки, перегородки и др.), препятствующие осмотру и ремонту, должны быть съемными.
При использовании приварных устройств следует выполнять требования
4.1.1.
4.6.2. Внутренние приварные устройства необходимо конструировать так, чтобы было обеспечено удаление воздуха и полное опорожнение аппарата при гидравлическом испытании в горизонтальном и вертикальном положениях.
4.6.3. Рубашки и змеевики, применяемые для наружного обогрева или охлаждения сосудов, могут быть съемными и приварными.
4.6.4. Все глухие части сборочных единиц и элементов внутренних устройств должны иметь дренажные отверстия для обеспечения полного слива (опорожнения) жидкости в случае остановки сосуда.
5. Требования к материалам
5.1.1. Требования к основным материалам, их пределы применения, назначение, условия применения, виды испытаний должны удовлетворять требованиям
Приложений А -
Л.
5.1.2. Качество и характеристики материалов должны быть подтверждены предприятием-поставщиком в соответствующих сертификатах.
Сертификаты на материалы должны храниться на предприятии - изготовителе сосудов.
5.1.3. При отсутствии сопроводительных сертификатов на материалы или данных об отдельных видах испытаний должны быть проведены испытания на предприятии - изготовителе сосуда в соответствии с требованиями настоящего стандарта, стандартов или технических условий на эти материалы.
5.1.4. При выборе материалов для изготовления сосудов (сборочных единиц, деталей) следует учитывать расчетное давление, температуру стенки, химический состав и характер среды, технологические свойства и коррозионную стойкость материалов.
Для сосудов, устанавливаемых на открытой площадке или в неотапливаемом помещении, при выборе материалов также необходимо учитывать:
- абсолютную минимальную температуру наружного воздуха данного района (
СНиП 23-01 [1]), если температура стенки сосуда, находящегося под давлением, может стать отрицательной от воздействия окружающего воздуха;
- среднюю температуру воздуха наиболее холодной пятидневки данного района с обеспеченностью 0,92 (
СНиП 23-01 [1]), если температура стенки сосуда, находящегося под давлением, положительная. При этом пуск, остановка и испытания на герметичность выполняются в соответствии с "
Регламентом проведения в зимнее время пуска (остановки) или испытания на герметичность сосудов" (см. Приложение М), если нет других указаний в технической документации.
5.1.5. Элементы, привариваемые непосредственно к корпусу сосуда изнутри или снаружи (лапы, цилиндрические опоры, подкладки под фирменные пластинки, опорные кольца под тарелки и др.), следует изготовлять из материалов того же структурного класса, что и корпус, если в технической документации на сосуд нет соответствующего обоснования применения материалов разных структурных классов.
5.1.6. Углеродистую кипящую сталь не применяют:
- в сосудах, предназначенных для сжиженных газов;
- в сосудах, предназначенных для работы со взрыво- и пожароопасными веществами, вредными веществами 1-го и 2-го классов опасности по
ГОСТ 12.1.005,
ГОСТ 12.1.007 и средами, вызывающими коррозионное растрескивание (растворы едкого калия и натрия, азотнокислого калия, натрия, аммония и кальция, этаноламина, азотной кислоты, аммиачная вода, жидкий аммиак при содержании влаги менее 0,2% и др.) или сероводородное растрескивание и расслоение.
5.1.7. Коррозионно-стойкие стали (лист, трубы, сварочные материалы, поковки и штампованные детали) при наличии требований должны быть проверены на стойкость против межкристаллитной коррозии по
ГОСТ 6032.
5.2.1. Углеродистые и низколегированные стали следует поставлять с содержанием серы не более 0,035% и фосфора не более 0,035%.
5.2.2. Для проката по
ГОСТ 5520,
ГОСТ 14637,
ГОСТ 19281 допускается переводить сталь из одной категории в другую при условии проведения необходимых дополнительных испытаний в соответствии с требованиями указанных стандартов.
5.2.3. Коррозионно-стойкая, жаростойкая и жаропрочная толстолистовая сталь по
ГОСТ 7350 должна быть термически обработанной, травленой, с качеством поверхности по группе М2б. По указанию разработчика сосуда должны быть оговорены требования по содержанию

-фазы.
5.2.4. Листовая сталь толщиной листа более 30 мм, предназначенная для сосудов, работающих под давлением, должна полистно контролироваться на сплошность ультразвуковым или другим равноценным методом. Методы контроля должны соответствовать
ГОСТ 22727, нормы контроля - 1-му классу по
ГОСТ 22727.
5.2.5. Листы из двухслойных сталей, предназначенные для сосудов, работающих под давлением, следует контролировать ультразвуковым методом на сплошность сцепления слоев полистно. Нормы контроля - по 1-му классу сплошности по
ГОСТ 10885.
5.3.1. При заказе труб по
ГОСТ 9940 необходимо оговаривать требования по очистке от окалины и термообработке труб.
5.3.2. Трубы, закрепляемые в сосудах методом развальцовки, следует испытывать на раздачу, в остальных случаях - на загиб или сплющивание в соответствии со стандартами на трубы.
5.3.3. Допускается применять бесшовные трубы без проведения гидравлического испытания на предприятии - изготовителе труб в случае, если труба подвергается по всей поверхности контролю физическими методами (ультразвуковым или ему равноценным).
5.4.1. Каждая поковка из углеродистой, низколегированной и легированной сталей, предназначенная для работы под условным давлением более 6,3 МПа (63 кгс/см2) и имеющая один из габаритных размеров (диаметр) более 200 мм и/или толщину более 50 мм, должна быть проконтролирована ультразвуковым или другим равноценным ему методом. Поковки из аустенитных и аустенитно-ферритных высоколегированных сталей, работающие под давлением более указанного условного давления, следует подвергать неразрушающему контролю при наличии этого требования.
Контролю ультразвуковым или другим равноценным методом следует подвергать не менее 50% объема поковки.
Методика контроля и оценка качества должны соответствовать требованиям нормативных документов (НД).
5.4.2. Каждая поковка для плоских днищ, кроме поковок из высоколегированных сталей, должна быть проконтролирована ультразвуковым методом в зоне A в направлении Z (см.
рисунок 4) по всей площади.
5.5.1. Стальные отливки следует применять в термообработанном состоянии с проверкой механических свойств после термической обработки.
5.5.2. Отливки из легированных и коррозионно-стойких сталей подвергают контролю макро- и микроструктуры при наличии требований в технических условиях.
5.5.3. Каждую полую отливку, работающую при давлении свыше 0,07 МПа (0,7 кгс/см2), подвергают гидравлическому испытанию пробным давлением, указанным в технических условиях и
ГОСТ 356.
Испытание отливок, прошедших на предприятии-изготовителе 100-процентный контроль неразрушающими методами, допускается совмещать с испытанием собранного узла или сосуда пробным давлением, установленным для узла или сосуда.
5.6.1. Требования к материалам, виды их испытаний, пределы применения, назначение и условия применения должны удовлетворять требованиям
Приложения Ж.
5.6.2. Материалы шпилек и болтов следует выбирать с коэффициентом линейного расширения, близким по значению коэффициенту линейного расширения материала фланца. При этом разница в значениях коэффициентов линейного расширения не должна превышать 10%. Возможность применения материалов шпилек (болтов) и фланцев с коэффициентами линейного расширения, значения которых отличаются между собой более чем на 10%, должна быть подтверждена расчетом на прочность.
5.6.3. Для шпилек (болтов) из аустенитных сталей допускается применять гайки из сталей других структурных классов.
5.6.4. Твердость гаек должна быть ниже твердости шпилек (болтов) не менее чем на 15 НВ.
| | Применение на добровольной основе раздела 6 обеспечивает соблюдение требований технического регламента "О безопасности машин и оборудования", утв. Постановлением Правительства Российской Федерации от 15.09.2009 N 753 (Приказ Росстандарта от 20.08.2010 N 3108). | |
6.1.1. Перед изготовлением (доизготовлением), монтажом и ремонтом следует проводить входной контроль основных и сварочных материалов и полуфабрикатов.
Во время хранения и транспортирования материалов должна быть исключена возможность повреждения материалов и обеспечена возможность сличения нанесенной маркировки с данными сопроводительной документации.
6.1.2. На листах и плитах, принятых к изготовлению обечаек и днищ, должна быть сохранена маркировка металла. Если лист и плиту разрезают на части, на каждую из них должна быть перенесена маркировка металла листов и плит. Маркировка должна содержать следующие данные:
- марку стали (для двухслойной стали - марки основного и коррозионно-стойкого слоев);
- номер партии-плавки;
- номер листа (для листов с полистными испытаниями и двухслойной стали);
- клеймо технического контроля.
Маркировку наносят в соответствии с
10.1.4.
Маркировка должна находиться на стороне листа и плиты, не соприкасающейся с рабочей средой, в углу на расстоянии 300 мм от кромок.
6.1.3. Методы разметки заготовок деталей из сталей аустенитного класса марок 12Х18Н10Т, 10Х17Н13М3Т, 08Х17Н15М3Т и др. и двухслойных сталей с коррозионно-стойким слоем из этих сталей не должны допускать повреждений рабочей поверхности деталей.
Кернение допускается только по линии реза.
6.1.4. На поверхности обечаек, днищ и других элементах корпуса не допускаются риски, забоины, царапины, раковины и другие дефекты, если их глубина превышает минусовые предельные отклонения, предусмотренные соответствующими стандартами и техническими условиями.
6.1.5. Поверхности деталей должны быть очищены от брызг металла, полученных в результате термической (огневой) резки и сварки.
6.1.6. Заусенцы должны быть удалены, и острые кромки деталей и узлов притуплены.
6.1.7. Предельные отклонения размеров, если в чертежах или НД не указаны более жесткие требования, должны быть:
| | ИС МЕГАНОРМ: примечание. Приказом Росстандарта от 22.11.2012 N 1020-ст ГОСТ 25347-82 признавался утрачивающим силу на территории Российской Федерации с 1 июля 2014 года в связи с введением в действие ГОСТ Р 55147-2012. Однако, Приказом Росстандарта от 19.12.2012 N 1938-ст приостановлено введение в действие с 1 июля 2014 года национального стандарта Российской Федерации ГОСТ Р 55147-2012 до разработки межгосударственного стандарта взамен ГОСТ 25347-82. | |
- для механически обрабатываемых поверхностей: отверстий H14, валов h14, остальных

- по ГОСТ 25347;
- для поверхностей без механической обработки, а также между обработанной и необработанной поверхностями - в соответствии с таблицей 3.
Таблица 3
Предельные отклонения размеров поверхностей
┌───────────────────────┬─────────────────────────────────────────────────┐
│ Размер, мм │Предельное отклонение по ГОСТ 25347 и
ГОСТ 26179 │
│ ├─────────────────┬─────────────┬─────────────────┤
│ │ отверстий │ валов │ остальных │
├───────────────────────┼─────────────────┼─────────────┼─────────────────┤
│До 500 включ. │ H17 │ h17 │ IT17 │
│ │ │ │ +/- ---- │
│ │ │ │ 2 │
├───────────────────────┼─────────────────┼─────────────┼─────────────────┤
│Св. 500 до 3150 включ. │ H16 │ h16 │ IT16 │
│ │ │ │ +/- ---- │
│ │ │ │ 2 │
├───────────────────────┼─────────────────┼─────────────┼─────────────────┤
│Св. 3150 │ H15 │ h15 │ IT15 │
│ │ │ │ +/- ---- │
│ │ │ │ 2 │
└───────────────────────┴─────────────────┴─────────────┴─────────────────┘
Оси резьбовых отверстий деталей внутренних устройств должны быть перпендикулярны к опорным поверхностям. Допуск перпендикулярности должен быть в пределах 15-й степени точности по
ГОСТ 24643, если не предъявляются в чертежах или НД более жесткие требования.
6.1.8. Методы сборки элементов под сварку должны обеспечивать правильное взаимное расположение сопрягаемых элементов и свободный доступ к выполнению сварочных работ в последовательности, предусмотренной технологическим процессом.
6.2.1. Обечайки корпусов диаметром до 1000 мм следует изготовлять не более чем с двумя продольными швами.
6.2.2. После сборки и сварки обечаек корпус (без днищ) должен удовлетворять следующим требованиям:
а) отклонение по длине не более +/- 0,3% от номинальной длины, но не более +/- 50 мм;
б) отклонение от прямолинейности не более 2 мм на длине 1 м, но не более 30 мм при длине корпуса свыше 15 м.
При этом местная непрямолинейность не учитывается:
- в местах сварных швов;
- в зоне вварки штуцеров и люков в корпус;
- в зоне сопряжения разнотолщинных обечаек, выполненного с учетом допустимых смещений кромок в кольцевых швах сосудов.
6.2.3. Усиления кольцевых и продольных швов на внутренней поверхности корпуса должны быть зачищены в местах, где они мешают установке внутренних устройств.
Усиления сварных швов не снимают у корпусов сосудов, изготовленных из двухслойных и коррозионно-стойких сталей; при этом у деталей внутренних устройств делают местную выемку в местах прилегания к сварному шву. В случае, когда зачистка таких внутренних швов необходима, должна быть предусмотрена технология сварки, обеспечивающая коррозионную стойкость зачищенного шва.
6.2.4. Отклонение внутреннего (наружного) диаметра корпуса сосудов допускается не более +/- 1% номинального диаметра, если в технической документации не оговорены более жесткие требования.
Относительная овальность a корпуса сосудов (за исключением аппаратов, работающих под вакуумом или наружным давлением, теплообменных кожухотрубчатых аппаратов) не должна превышать 1%.
Относительную овальность a, %, вычисляют по формулам:
- в местах, где не установлены штуцера и люки:

;
- в местах установки штуцеров и люков:

,
где

,

- соответственно наибольший и наименьший внутренние диаметры корпуса, измеренные в одном поперечном сечении;
d - внутренний диаметр штуцера или люка.
Значение a допускается увеличивать до 1,5% для сосудов при отношении толщины корпуса к внутреннему диаметру не более 0,01.
Значение a для сосудов, работающих под вакуумом или наружным давлением, должно быть не более 0,5%.
Значение a для сосудов без давления (под налив) должно быть не более 2%.
6.2.5. Для выверки горизонтального положения базовая поверхность горизонтального сосуда должна быть указана в технической документации. На одном из днищ корпуса должны быть нанесены несмываемой краской две контрольные риски для выверки бокового положения сосуда на фундаменте.
6.2.6. Для выверки вертикального положения вверху и внизу корпуса под углом 90° должны быть предусмотрены у изолируемых вертикальных сосудов две пары приспособлений для выверки, а у неизолируемых - две пары рисок.
6.2.7. Корпусы вертикальных сосудов с фланцами, имеющими уплотнительные поверхности "шип-паз" или "выступ-впадина", для удобства установки прокладки следует выполнять так, чтобы фланцы с пазом или впадиной были нижними.
Отклонение внутреннего (наружного) диаметра в цилиндрической части отбортованных днищ и полусферического днища допускается не более +/- 1% номинального диаметра. Относительная овальность допускается не более 1%.
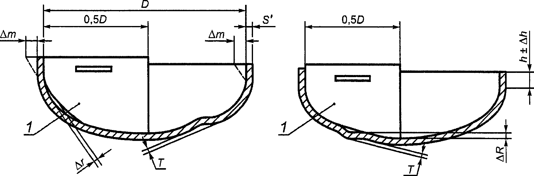
6.3.1. Эллиптические днища
6.3.1.1. Отклонения размеров и формы днищ (см. рисунок 6) не должны превышать значений, указанных в
таблицах 4 -
6.
1 - шаблон
Рисунок 6. Отклонение размеров и формы эллиптического днища
Таблица 4
Допуски высоты цилиндрической части и высоты выпуклости
(вогнутости) на эллипсоидной части днища
Диаметр днища D, мм | Предельное отклонение высоты цилиндрической части Дельта h, мм | Предельная высота отдельной вогнутости или выпуклости на эллипсоидной части T, мм |
До 720 | +/- 5 | 2 |
От 800 до 1300 | 3 |
От 1320 и более | 4 |
Примечания. 1. Высота отдельной вогнутости или выпуклости T на эллипсоидной части днища, изготавливаемого на фланжировочном прессе, допускается до 6 мм. 2. На цилиндрической части днища не допускаются гофры высотой более 2 мм. |
Таблица 5
Допуски наклона цилиндрической части
Толщина днища S', мм | Допуски наклона Дельта m, мм |
До 20 | 4 |
От 22 до 25 | 5 |
От 28 до 34 | 6 |
От 36 и более | 8 |
Таблица 6
Допуски формы эллипсоидной поверхности
Диаметр днищ D, мм | Зазор между шаблоном и эллипсоидной поверхностью, мм |
Дельта r | Дельта R |
До 530 | 4 | 8 |
От 550 до 1400 | 6 | 13 |
От 1500 до 2200 | 10 | 21 |
От 2400 до 2800 | 12 | 31 |
От 3000 и более | 16 | 41 |
6.3.1.2. Для днищ, изготовляемых штамповкой, допускается утонение в зоне отбортовки до 15% от исходной толщины заготовки.
6.3.1.3. Контроль формы готового днища следует проводить шаблоном длиной 0,5 внутреннего диаметра днища. Высоту цилиндрической части следует измерять линейкой по
ГОСТ 427.
6.3.2. Полусферические днища
6.3.2.1. Высота отдельной вогнутости или выпуклости 7 (см.
рисунок 7а) на поверхности днищ должна быть не более 4 мм.
1 - шаблон
Рисунок 7. Отклонение формы полусферического днища
6.3.2.2. Зазоры

и

между шаблоном и сферической поверхностью днища из лепестков и шарового сегмента (см.
рисунки 7б,
в) должны быть не более +/- 5 мм при внутреннем диаметре днища до 5000 мм и +/- 8 мм при внутреннем диаметре днища более 5000 мм. Зазор

может быть увеличен в 2 раза, если

(S - толщина обечайки,

- толщина днища).
6.3.2.3. Зазоры

и

между шаблоном и сферической поверхностью штампованного днища должны быть не более значений, указанных в
таблице 6.
6.3.2.4. Контроль формы готового днища проводят шаблоном длиной не менее 1/6 внутреннего диаметра днища.
6.3.3. Конические днища (переходы)
6.3.3.1. У конических днищ (переходов) продольные и кольцевые швы смежных поясов могут располагаться не параллельно образующей и основанию конуса. При этом должны выполняться требования
6.9.7.
6.3.3.2. Утонение толщины стенки отбортовки конических днищ (переходов), изготовляемых штамповкой, должно соответствовать требованию
6.3.1.2.
6.3.3.3. Отклонения высоты цилиндрической части днища допускаются не более плюс 10 и минус 5 мм.
6.3.4. Плоские днища
6.3.4.2. Отклонение от плоскостности для плоских днищ, работающих под давлением, после приварки их к обечайке не должно превышать 0,01 внутреннего диаметра сосуда, но не более 20 мм при условии, что в технической документации не указаны более жесткие требования.
Фланцы с гладкой уплотнительной поверхностью не допускается применять в сосудах 1-й и 2-й групп, за исключением тех случаев, когда во фланцах использованы спирально навитые прокладки с двумя ограничительными кольцами. Это ограничение не распространяется на фланцы эмалированных и гуммированных сосудов.
При выборе материала прокладок следует учитывать условия эксплуатации сосуда. Сведения о прокладках следует указывать в технической документации на сосуд.
6.4.2. Приварные встык фланцы следует изготовлять из поковок, штамповок или бандажных заготовок.
Приварные встык фланцы допускается изготовлять вальцовкой заготовки по плоскости листа (см.
рисунок 8) для сосудов, работающих под давлением, не более условного давления 2,5 МПа (25 кгс/см2) при соблюдении следующих условий:
- поверхность исходной заготовки параллельна оси обработанного фланца;
- сварные швы, соединяющие части вальцованной заготовки, должны быть стыковыми и проконтролированы радиографическим или ультразвуковым методом в объеме 100%;
- заготовки из углеродистых и низколегированных сталей подлежат термообработке по
6.11.1. При этом в качестве толщины принимают меньшее из двух значений: b или

. Здесь b - толщина тарелки фланца;

и D - наружный и внутренний диаметры фланца соответственно;
- наружная поверхность втулки фланца подлежит контролю магнитопорошковой или цветной дефектоскопией.
1 - толщина листа; 2 - ось фланца; 3 - волокно, 4 - лист
Рисунок 8. Схема вальцовки фланца приварного встык
по плоскости листа
Приварные встык фланцы допускается изготовлять точением из сортового проката.
6.4.3. Плоские фланцы допускается изготовлять сварными из частей при условии выполнения сварных швов с полным проваром по всему сечению фланца.
Качество радиальных сварных швов должно быть проверено радиографическим или ультразвуковым методом в объеме 100%.
6.4.4. Корпусные фланцы сосудов из двухслойной стали следует изготовлять из стали основного слоя двухслойной стали или из стали этого же класса с защитой уплотнительной и внутренней поверхностей фланца от коррозии наплавкой или облицовкой из коррозионно-стойкой стали.
6.4.5. Для контроля герметичности сварных соединений облицовки фланцев необходимо предусматривать контрольные отверстия под резьбу М10 по
ГОСТ 8724.
6.4.6. Длина шпилек (болтов) должна обеспечивать превышение резьбовой части над гайкой не менее чем на 1,5 шага резьбы.
6.5. Штуцера, люки, укрепляющие кольца
6.5.1. Штуцера сосудов из двухслойных сталей могут быть изготовлены:
- из двухслойной стали той же марки или того же класса;
- с коррозионно-стойкой наплавкой внутренней поверхности патрубка;
- с применением облицовочных гильз.
Толщина наплавленного слоя должна быть не менее 3 мм после механической обработки и не менее 6 мм при наличии требований по межкристаллитной коррозии. Толщина облицовки должна быть не менее 3 мм.
Штуцера сосудов из двухслойной стали с основным слоем из углеродистой или марганцево-кремнистой стали и плакирующим слоем из хромистой коррозионно-стойкой стали или хромоникелевой аустенитной стали допускается изготовлять из хромоникелевой аустенитной стали при соблюдении следующих условий:
- условный проход штуцера не более 100 мм, расчетная температура не более 400 °C независимо от режима работы сосуда;
- условный проход штуцера не более 200 мм, расчетная температура не более 250 °C и режим работы сосуда непрерывный или периодический с количеством циклов не более 1000.
6.5.2. Торцы штуцеров сосудов и люков из двухслойной стали и швы приварки их к корпусу должны быть защищены от корродирующего действия среды наплавкой или накладкой.
Толщина наплавленного слоя должна быть не менее указанной в
6.5.1. Толщина накладок должна быть не менее 3 мм.
6.5.3. При установке штуцеров и люков:
- позиционное отклонение (в радиусном измерении) осей штуцеров и люков допускается не более +/- 10 мм;
- отклонения диаметров отверстий под штуцера и люки должны быть в пределах зазоров, допускаемых для сварных соединений по конструкторской документации;
- оси отверстий для болтов и шпилек фланцев не должны совпадать с главными осями сосудов и должны быть расположены симметрично относительно этих осей, при этом отклонение от симметричности допускается не более +/- 5°;
- отклонение по высоте (вылету) штуцеров допускается не более +/- 5 мм.
6.5.4. Для контроля на герметичность при наличии облицовочной гильзы необходимо предусмотреть контрольное отверстие с резьбой М10 по
ГОСТ 8724.
6.5.5. При приварке к корпусу сосуда бобышек, патрубков штуцеров и люков, укрепляющих колец расстояние N между краем шва корпуса и краем шва приварки детали (см. рисунок 9) принимается в соответствии с требованиями
6.9.6.
1 - шов приварки патрубка или укрепляющего кольца;
2 - шов корпуса
Рисунок 9. Схема определения расстояния между краем шва
корпуса и краем шва приварки детали
6.5.6. Укрепляющие кольца допускается изготовлять из частей, но не более чем из четырех. При этом сварные швы следует выполнять с проваром на полную толщину кольца.
В каждом укрепляющем кольце или каждой его части, если сварку частей производят после установки их на сосуд, должно быть не менее одного контрольного отверстия с резьбой М10 по
ГОСТ 8724. Контрольное отверстие следует располагать в нижней части кольца или полукольца по отношению к сосуду, устанавливаемому в эксплуатационное положение, и оно должно быть открытым.
6.5.7. Укрепляющие кольца должны прилегать к поверхности укрепляемого элемента. Зазор допускается не более 3 мм. Зазор контролируют щупом по наружному диаметру укрепляющего кольца.
6.6.1. При изготовлении гнутых змеевиков следует соблюдать следующие условия:
а) расстояние между сварными стыками в змеевиках спирального, винтового и других типов должно быть не менее 4 м. Длина замыкающей трубы с каждого конца должна быть не менее 500 мм, за исключением случая приварки к замыкающей трубе патрубка, штуцера или отвода.
При горячей гибке труб с наполнителем допускается не более одного сварного стыка на каждом витке при условии, что расстояние между сварными стыками не менее 2 м;
б) в змеевиках с приварными двойниками (двойные колена) на прямых участках труб длиной не менее 2 м допускается один сварной стык, исключая швы приварки двойников.
Примечание. При горячей гибке вручную труб с наполнителем для змеевиков с диаметром витка не более 1,3 м допускается не более двух стыков на каждом витке. Для змеевиков с диаметром витка более 1,3 м количество стыков не нормируется, но при этом расстояние между стыками должно быть не менее 2 м.
6.6.2. Для сварки стыков труб допускается применять все виды сварки, за исключением газовой сварки, при соблюдении требований
6.9 -
6.11.
6.6.3. Применение газовой сварки допускается только для труб условным диаметром до 80 мм с толщиной стенки не более 4 мм.
6.6.4. Грат снаружи и внутри трубы после контактной сварки должен удаляться методом, принятым на предприятии-изготовителе.
Концы труб, подлежащие контактной сварке, должны быть очищены снаружи и внутри от грязи, масла, заусенцев. При этом не допускается исправление дефектов, дефектные стыки должны быть вырезаны. В местах вырезки допускается вставка отрезка трубы длиной не менее 200 мм.
6.6.5. На каждый крайний сварной стык, независимо от способа сварки, наносят клеймо, позволяющее установить фамилию сварщика, выполнявшего эту работу.
Место клеймения следует располагать на основном металле на расстоянии не более 100 мм от стыка.
6.6.6. Отклонение от перпендикулярности торца труб наружным диаметром не более 100 мм относительно оси трубы не должно превышать:
- 0,4 мм при контактной сварке;
- 0,6 мм при газовой и электродуговой сварках.
Отклонение от перпендикулярности торца труб наружным диаметром более 100 мм должно соответствовать нормам, принятым на предприятии-изготовителе.
6.6.7. Холодная раздача концов труб из углеродистой стали при их подгонке допускается для труб наружным диаметром не более 83 мм и толщиной стенки не более 6 мм на не более чем на 3% внутреннего диаметра трубы.
6.6.8. Отклонение от круглости в местах гиба труб и сужения внутреннего диаметра в зоне сварных швов не должны превышать 10% наружного диаметра труб. Отклонение от круглости следует проверять для труб диаметром не более 60 мм при радиусе гиба менее четырех диаметров пропусканием контрольного шара, а для остальных труб - измерением наружного диаметра.
Диаметр контрольного шара должен быть равен:
0,9d - для труб без гибов, за исключением труб с подкладными остающимися кольцами (d - фактический наименьший внутренний диаметр труб);
0,8d - для гнутых сварных труб, за исключением гнутых труб в горячем состоянии или с приварными коленами;
0,86d - для гнутых в горячем состоянии труб;
0,75d - для гнутых труб с приварными коленами.
Отклонение от номинального размера диаметра контрольного шара не должно превышать 1,5 мм.
6.6.9. Смещение кромок B стыкуемых труб (см. рисунок 10) в стыковых соединениях определяют шаблоном и щупом, и оно не должно превышать значений, указанных в
таблице 7.
1 - шаблон
Рисунок 10. Схема определения смещения кромок
стыкуемых труб
Таблица 7
Смещение кромок стыкуемых труб
Номинальная толщина стенки трубы S, мм | Смещение кромок B, мм |
До 3 включ. | 0,2S |
Св. 3 до 6 включ. | 0,1S + 0,3 |
Св. 6 до 10 включ. | 0,15S |
Св. 10 до 20 включ. | 0,05S + 1,0 |
Св. 20 | 0,1S, но не более 3 мм |
6.6.10. Отклонение от прямолинейности

оси трубы на расстоянии 200 мм от оси шва (см. рисунок 11) определяют шаблоном и щупом, и оно не должно превышать значений, указанных в
таблице 8.
1 - шаблон
Рисунок 11. Схема определения отклонения
от прямолинейности оси трубы
Таблица 8
Отклонение от прямолинейности оси трубы
Номинальная толщина стенки трубы S, мм | Дельта L, мм |
До 3 включ. | 0,2S + 1,0 |
Св. 3 до 6 включ. | 0,1S + 1,3 |
Св. 6 до 10 включ. | 0,15S + 1,0 |
Св. 10 до 20 включ. | 0,05S + 2,0 |
Св. 20 | 0,1S + 1,0, но не более 4 мм |
6.6.11. При изготовлении гнутых змеевиков (см.
рисунки 12а,
в) предельные отклонения размеров должны быть следующие:
+/- 6 мм - для L;
+/- 5 мм - для

и

;
+/- 4 мм - для

;
+/- 10 мм - для D.
Рисунок 12. Размеры гнутых змеевиков
Предельные отклонения радиусов

,

,

,

, диаметра

, шага

(см.
рисунки 12б, в) и излома оси в швах приварки выводов устанавливают чертежом предприятия-изготовителя.
Примечание. Допускается отклонение размеров L и

(если эти размеры более 6 м) увеличивать на 1 мм на каждый 1 м длины, но не более чем на 10 мм на всю длину.
6.6.12. Контроль сварных швов змеевиков следует проводить в соответствии с требованиями
8.2 -
8.10.
Объем контроля сварных швов радиографическим или ультразвуковым методом должен быть не менее указанного в
таблице 19. Группу змеевика определяют по
таблице 1.
6.6.13. Змеевики следует подвергать до установки в сосуд гидравлическому испытанию пробным давлением, указанным в чертежах предприятия-изготовителя. При испытании не должно быть признаков течи и потения.
6.7. Отводы и гнутые трубы
6.7.1. Отводы должны удовлетворять требованиям
ГОСТ 17375,
ГОСТ 17380 и чертежам предприятия-изготовителя.
6.7.2. Отводы следует изготовлять с углом гиба 45°, 60°, 90° и 180°.
Отводы, гнутые из труб под углом 180°, допускается изготовлять сварными из двух отводов под углом 90°.
Изменение угла гиба допускается по соглашению с заказчиком.
6.7.3. Круто изогнутые отводы допускается изготовлять из труб и листового проката. При изготовлении секторных отводов угол между поперечными сечениями секторов не должен превышать 30°. Расстояние между соседними сварными швами по внутренней стороне отвода должно обеспечивать доступность контроля согласно
разделу 8 этих швов с обеих сторон по наружной поверхности.
Применение секторных отводов в сосудах 1-й и 2-й групп не допускается для

мм.
6.7.4. Предельные отклонения размеров и допуск плоскостности торцов

отводов и гнутых труб не должны превышать значений, указанных в таблице 9.
Таблица 9
Предельные отклонения размеров
и допуск плоскостности отводов и гнутых труб
Толщина отводов или гнутых труб S, мм | Предельные отклонения, мм | Допуск плоскостности Дельта, мм |
внутреннего диаметра | толщины стенки |
От 2,5 до 3,0 включ. | +/- 0,5 | +/- 0,125S | +/- 0,5 |
От 3,5 до 4,5 включ. | +/- 1,0 | +/- 1,0 |
От 5,0 до 6,0 включ. | +/- 1,5 | +/- 0,125S | +/- 1,5 |
От 7,0 до 8,0 включ. | +/- 2,0 |
От 9,0 до 15,0 включ. | +/- 2,5 |
От 16,0 и более | +/- 3,0 |
Предельные отклонения размеров

,

,

отводов (см. рисунок 13) не должны превышать значений, указанных в
таблице 10.
Рисунок 13. Схема определения размеров

,

,

,

отводов в зависимости от угла изгиба
Таблица 10
Предельные отклонения размеров

,

,

отводов
┌──────────────────────────┬──────────────────────────────────────────────┐
│ Условный проход отводов, │Предельные отклонения размеров L , L , L , мм │
│ мм │ 1 2 3 │
├──────────────────────────┼──────────────────────────────────────────────┤
│До 125 включ. │ +/- 2,0 │
├──────────────────────────┼──────────────────────────────────────────────┤
│Св. 125 до 200 включ. │ +/- 3,0 │
├──────────────────────────┼──────────────────────────────────────────────┤
│Св. 200 до 350 включ. │ +/- 4,0 │
├──────────────────────────┼──────────────────────────────────────────────┤
│Св. 350 до 500 включ. │ +/- 5,0 │
├──────────────────────────┼──────────────────────────────────────────────┤
│Св. 500 │ +/- 6,0 │
└──────────────────────────┴──────────────────────────────────────────────┘
6.8.1. Сварку корпусов и приварку к ним деталей сосудов 1, 2, 3, 4-й групп, а также сварку внутренних устройств, если они относятся к указанным группам, должны проводить сварщики, сдавшие экзамены и имеющие удостоверение установленной формы.
6.8.2. Сосуды в зависимости от конструкции и размеров могут быть изготовлены с применением всех видов промышленной сварки, за исключением газовой сварки. Применение газовой сварки допускается только для труб диаметром до 80 мм и толщиной стенки не более 4 мм. Применяемая технология сварки должна быть аттестована в соответствии с НД.
6.8.3. Сварку сосудов (сборочных единиц, деталей) следует проводить в соответствии с требованиями технических условий на изготовление или технологической документации.
Технологическая документация должна содержать указания по:
- технологии сварки материалов, принятой для изготовления сосудов (сборочных единиц, деталей);
- применению присадочных материалов;
- видам и объему контроля;
- предварительному и сопутствующему подогреву;
- термической обработке.
6.8.4. Все сварочные работы при изготовлении сосудов (сборочных единиц и деталей) следует проводить при положительных температурах в закрытых отапливаемых помещениях.
При выполнении сварочных работ на открытой площадке сварщик и место сварки должны быть защищены от непосредственного воздействия дождя, ветра и снега. Температура окружающего воздуха должна быть не ниже указанной в таблице 11.
Таблица 11
Температура окружающего воздуха при сварке сосудов
Материал | Температура окружающего воздуха при сварке металла толщиной |
не более 16 мм | более 16 мм |
Углеродистая сталь с содержанием углерода менее 0,24%, низколегированные марганцовистые и марганцево-кремнистые стали и основной слой из этих сталей в двухслойной стали | Ниже 0 °C до -20 °C сварка без подогрева. При температуре ниже -20 °C сварка с подогревом до 100 °C - 200 °C | Ниже 0 °C до с подогревом до 100 °C - 200 °C |
Углеродистая сталь с содержанием углерода от 0,24% до 0,28% | Ниже 0 °C до -10 °C подогрева | Ниже 0 °C до с подогревом до 100 °C - 200 °C |
Низколегированные хромомолибде- новые стали (марок 12МХ, 12ХМ, 15ХМ) и основной слой из этих сталей в двухслойной стали | Ниже 0 °C до -10 °C <*> сварка с подогревом до 250 °C - 350 °C |
Стали марок 15Х5, 15Х5М, 15Х5ВФ, Х8, Х9М, 12Х8ВФ и т.д. | Не ниже 0 °C |
Высоколегированные, хромоникель- молибденовые и хромоникелевые стали аустенитного класса и коррозионно-стойкого слоя из этих сталей в двухслойной стали | Ниже 0 °C до -20 °C <*> сварка без подогрева |
<*> При температуре ниже указанной сварка не допускается. |
6.8.5. Форма подготовки кромок должна соответствовать требованиям технической документации или проекта.
Кромки подготовленных под сварку элементов сосудов должны быть зачищены на ширину не менее 20 мм, а для электрошлаковой сварки - на ширину не менее 50 мм. Кромки не должны иметь следов ржавчины, окалины, масла и прочих загрязнений. Кромки должны проходить визуальный осмотр для выявления пороков металла. Не допускаются расслоения, закаты, трещины, а для двухслойной стали - также и отслоения коррозионно-стойкого слоя.
При толщине листового проката более 36 мм зону, прилегающую к кромкам, дополнительно следует контролировать ультразвуковым методом на ширине не менее 50 мм для выявления трещин, расслоений и т.д.
Не допускаются дефекты площадью более 1000 мм2 при чувствительности контроля Д5Э по
ГОСТ 22727. На одном метре длины контролируемой кромки допускается не более трех зафиксированных дефектов при минимальном расстоянии между ними 100 мм.
В случае обнаружения недопустимых дефектов исправления производят в соответствии с инструкцией на исправление методом дуговой сварки строчечных дефектов, выявляемых в процессе изготовления толстостенной нефтехимической аппаратуры.
6.8.6. Все сварные швы подлежат клеймению, позволяющему установить сварщика, выполнявшего эти швы.
Клеймо наносят на расстоянии 20 - 50 мм от кромки сварного шва с наружной стороны. Если шов с наружной и внутренней сторон заваривается разными сварщиками, клейма ставят только с наружной стороны через дробь: в числителе клеймо сварщика с наружной стороны шва, в знаменателе клеймо сварщика - с внутренней стороны. Если сварные соединения сосуда выполнены одним сварщиком, то допускается клеймо ставить около таблички или на другом открытом участке.
У продольных швов клеймо должно быть расположено в начале и в конце шва на расстоянии 100 мм от кольцевого шва. На обечайке с продольным швом длиной менее 400 мм допускается ставить одно клеймо. Для кольцевого шва клеймо следует выбивать в месте пересечения кольцевого шва с продольным и далее через каждые 2 м, но при этом должно быть не менее двух клейм на каждом шве. На кольцевой шов сосуда диаметром не более 700 мм допускается ставить одно клеймо.
Место клеймения заключается в хорошо видимую рамку, выполняемую несмываемой краской.
При толщине стенки менее 4 мм вместо клеймения сварных швов допускается прилагать к паспорту сосуда схему расположения сварных швов с указанием фамилий сварщиков и их подписью.
6.9.1. При сварке обечаек и труб, приварке днищ к обечайкам следует применять стыковые швы с полным проплавлением.
Допускается применять угловые и тавровые швы при приварке штуцеров, люков, труб, трубных решеток, плоских днищ и фланцев.
Допускается применять нахлесточные сварные швы для приварки укрепляющих колец и опорных элементов.
Не допускается применение угловых и тавровых швов для приварки штуцеров, люков, бобышек и других деталей к корпусу с неполным проплавлением (конструктивным зазором):
- в сосудах 1, 2, 3-й групп при диаметре отверстия более 120 мм, в сосудах 4-й и 5а групп при диаметре отверстия более 275 мм;
- в сосудах 1, 2, 3, 4-й и 5а групп из низколегированных марганцовистых и марганцево-кремнистых сталей с температурой стенки ниже минус 30 °C без термообработки и ниже минус 40 °C с термообработкой;
- в сосудах всех групп, предназначенных для работы в средах, вызывающих коррозионное растрескивание, независимо от диаметра патрубка, за исключением случаев, когда предусмотрена засверловка отверстия в зонах конструктивного зазора.
Не допускается применение конструктивного зазора в соединениях фланцев с патрубками сосудов, работающих под давлением более 2,5 МПа (25 кгс/см2) и/или при температуре более 300 °C, и фланцев с обечайками и днищами сосудов, работающих под давлением более 1,6 МПа (16 кгс/см2) и/или при температуре более 300 °C. Не допускается конструктивный зазор в этих сварных соединениях независимо от рабочих параметров в сосудах, предназначенных для работы в средах, вызывающих коррозионное растрескивание.
6.9.2. Сварные швы сосудов должны быть расположены так, чтобы обеспечивать возможность их визуального измерительного контроля и контроля качества неразрушающим методом (ультразвуковым, радиографическим и др.), а также устранения в них дефектов.
Допускается в сосудах 1, 2, 3, 4-й и 5а групп не более одного стыкового шва, в сосудах 5б группы не более четырех стыковых швов, в теплообменниках - не более двух стыковых швов, доступных для визуального осмотра только с одной стороны. Швы следует выполнять способами, обеспечивающими провар по всей толщине свариваемого металла (например, с применением аргонно-дуговой сварки корня шва, подкладного кольца, замкового соединения).
6.9.3. Продольные сварные швы горизонтально устанавливаемых сосудов должны быть расположены вне центрального угла 140° нижней части корпуса, если нижняя часть недоступна для визуального осмотра, о чем должно быть указано в проекте.
6.9.4. Места пересечения сварных швов сосудов не должны перекрываться опорами, накладками и другими элементами.
Местное перекрытие кольцевых сварных швов седловыми опорами горизонтальных аппаратов, подвесными опорами вертикальных аппаратов, накладками, подкладными листами и другими элементами допускается на общей длине не более

при условии, что перекрываемые участки швов по всей длине проконтролированы радиографическим или ультразвуковым методом.
Перекрытие продольных швов круговыми опорами горизонтальных аппаратов с углом охвата 360° допускается при условии 100%-ного контроля радиографическим или ультразвуковым методом перекрываемых участков швов.
6.9.5. Расстояние между продольным швом корпуса горизонтального сосуда и швом приварки опоры должно приниматься:
- не менее

для нетермообработанного сосуда (D - внутренний диаметр сосуда, S - толщина обечайки);
- в соответствии с требованием 6.9.6 для термообработанного сосуда.
6.9.6. Расстояние между краем шва приварки внутренних и внешних устройств и деталей и краем ближайшего шва корпуса должно быть не менее толщины стенки корпуса, но не менее 20 мм. Для сосудов из углеродистых и низколегированных марганцовистых и марганцево-кремнистых сталей, подвергаемых после сварки термообработке, расстояние между краем шва приварки деталей и краем ближайшего шва корпуса должно быть не менее 20 мм независимо от толщины стенки корпуса.
Допускается пересечение стыковых швов корпуса угловыми швами приварки внутренних и внешних устройств (опорных элементов, тарелок, рубашек, перегородок и т.п.) при условии контроля перекрываемого участка шва корпуса, радиографическим или ультразвуковым методом.
При приварке колец жесткости к обечайке общая длина сварного шва с каждой стороны кольца должна быть не менее половины длины окружности.
6.9.7. Продольные швы смежных обечаек и швы днищ в сосудах 1, 2, 3 и 4-й групп должны быть смещены относительно друг друга на значение трехкратной толщины наиболее толстого элемента, но не менее чем на 100 мм между осями швов.
Допускается не смещать или смещать на меньшее значение указанные швы относительно друг друга:
- в сосудах, работающих под давлением не более 1,6 МПа (16 кгс/см2) и при температуре не более 400 °C, с толщиной стенки не более 30 мм при условии, что эти швы выполняют автоматической или электрошлаковой сваркой, а места пересечения швов контролируют радиографическим или ультразвуковым методом в объеме 100%;
- в сосудах 5а и 5б групп независимо от способа сварки.
6.9.8. При сварке стыковых сварных соединений элементов разной толщины необходимо предусмотреть плавный переход от одного элемента к другому постепенным утонением более толстого элемента. Угол скоса

элементов разной толщины (см.
рисунки 14а,
б,
в,
г,
е) должен быть не более 20° (уклон 1:3). Сварку патрубков разной толщины допускается выполнять в соответствии с
рисунками 14д,
е. При этом расстояние l должно быть не менее толщины S, но не менее 20 мм, а радиус

.
в - для электрошлаковой сварки
г - для сварки с подкладным кольцом
Рисунок 14. Стыковка элементов разной толщины
Допускается выполнять сварку стыковых швов без предварительного утонения более толстого элемента, если разность в толщинах соединяемых элементов не превышает 30% толщины более тонкого элемента, но не более 5 мм; при этом форма шва должна обеспечивать плавный переход от толстого элемента к тонкому. В сосудах, выполняемых из двухслойной стали, скос осуществляется со стороны основного слоя.
6.9.9. Смещение кромок B листов (см. рисунок 15), измеряемое по срединной поверхности, в стыковых соединениях, определяющих прочность сосуда, не должно превышать B = 0,1S, но не более 3 мм (S - наименьшая толщина свариваемых листов).
Рисунок 15. Смещение кромок
Примечания. 1. К стыковым соединениям, определяющим прочность сосуда, следует относить продольные швы обечаек, хордовые и меридиональные швы выпуклых днищ.
2. При измерении смещения B кромок листов толщиной S и

в стыковых соединениях следует учитывать, что:

,

,
где

и

- расстояния между кромками листов.
Смещение кромок в кольцевых швах, выполняемых электрошлаковой сваркой, не должно превышать 5 мм. Смещение кромок в кольцевых швах монометаллических сосудов, а также в кольцевых и продольных швах биметаллических сосудов со стороны коррозионно-стойкого слоя не должно превышать значений, указанных в таблице 12.
Таблица 12
Смещение кромок в кольцевых швах сосудов,
выполняемых всеми видами сварки,
за исключением электрошлаковой
Толщина свариваемых листов S, мм | Максимально допустимое смещение стыкуемых кромок, мм |
в кольцевых швах на монометаллических сосудах | в кольцевых и продольных швах на биметаллических сосудах со стороны коррозионно-стойкого слоя |
До 20 включ. | 10%S + 1 | 50% толщины плакирующего слоя |
Св. 20 до 50 включ. | 15%S, но не более 5 | 50% толщины плакирующего слоя |
Св. 50 до 100 включ. | 0,04S + 3,5 <*> | 0,04S + 3,0, но не более толщины плакирующего слоя |
Св. 100 | 0,025S + 5,0, но не более 10 <*> | 0,025S + 5,0, но не более 8 мм и не более толщины плакирующего слоя |
<*> При условии наплавки с уклоном 1:3 на стыкуемые поверхности для сварных соединений, имеющих смещение кромок более 5 мм. |
Смещение кромок свариваемых заготовок днищ не должно превышать 0,1S, но не более 3 мм (S - толщина листа), а днищ из двухслойных сталей со стороны плакирующего слоя не должно превышать значений, указанных в
таблице 12.
6.9.10. Увод (угловатость) f кромок (см.
рисунок 16) в стыковых сварных соединениях не должен превышать f = 0,1S + 3 мм, но не более соответствующих значений для элементов, указанных в
таблице 13, в зависимости от внутреннего диаметра D обечаек и днищ (S - толщина обечайки или днища).
1 - шаблон; 2 - линейка
Рисунок 16. Контроль увода кромок продольных
и кольцевых сварных соединений
Таблица 13
Максимально допустимый увод кромок
в стыковых сварных соединениях обечаек и днищ
Максимальный увод (угловатость) f кромок в стыковых сварных соединениях, мм |
обечаек | днищ из лепестков | конических днищ |
Независимо от D | D <= 5000 мм | D > 5000 мм | D <= 2000 мм | D > 2000 мм |
5 | 6 | 8 | 5 | 7 |
Увод (угловатость) кромок в продольных сварных соединениях обечаек и конических днищ, стыковых сварных соединениях днищ из лепестков определяют шаблоном длиной 1/6D (см.
рисунки 16а,
б), а в кольцевых сварных соединениях обечаек и конических днищ - линейкой длиной 200 мм (см.
рисунки 16в,
г). Увод (угловатость) кромок определяют без учета усиления шва.
6.9.11. При защите от коррозии элементов сосудов способом наплавки толщина наплавленного слоя после механической обработки должна быть указана в проекте.
6.9.12. Сварные стыковые соединения сталей, разнородных по термомеханическим свойствам (например, сталей перлитного и аустенитного классов), допускаются в конструкции при подтверждении расчетом на прочность и с соблюдением следующих условий:
- толщина материала в местах сварки соединения не должна превышать 36 мм для углеродистых сталей и 30 мм для марганцево-кремнистых сталей (марок 16ГС, 17ГС, 09Г2С и др.);
- среда не должна вызывать коррозионное растрескивание.
6.9.13. Технология сварки, качество и контроль сварных соединений из разнородных сталей должны соответствовать требованиям НД, утвержденного в установленном порядке.
6.10. Требования к качеству сварных соединений
6.10.1. Механические свойства сварных соединений должны быть не ниже норм, указанных в таблице 14.
Таблица 14
┌───────────────────────┬─────────────────────────────────────────────────┐
│ Наименование │ Минимальные нормы механических свойств сварных │
│ показателя │ соединений │
│ ├────────┬───────────┬────────────┬────────┬──────┤
│ │для │для низко- │для хромис- │для │для │
│ │углеро- │легирован- │тых, хромо- │аусте- │аусте-│
│ │дистых │ных марган-│молибденовых│нитно- │нитных│
│ │сталей │цовистых и │и хромо- │феррит- │сталей│
│ │ │марганцево-│ванадиево- │ных │ │
│ │ │кремнистых │вольфрамовых│сталей │ │
│ │ │сталей │сталей │ │ │
├───────────────────────┼────────┴───────────┴────────────┴────────┴──────┤
│Временное сопротивление│Не ниже нижнего значения временного сопротивления│
│разрыву при температуре│разрыву основного металла по стандарту или │
│плюс 20 °C │техническим условиям для данной марки стали │
├───────────────────────┼────────┬───────────┬────────────┬────────┬──────┤
│Минимальная ударная │ │ │ │ │ │
│вязкость, │ │ │ │ │ │
│Дж/см2 (кгс x м/см2): │ │ │ │ │ │
│- при температуре │ │ │ │ │ │
│+20 °C │ │ │ │ │ │
│ на образцах KCV │35 (3,5)│ 35 (3,5) │ 35 (3,5) │30 (3,0)│ - │
│ на образцах KCU │50 (5,0)│ 50 (5,0) │ 50 (5,0) │40 (4,0)│ - │
│- при температуре ниже │ │ │ │ │ │
│минус 20 °C │ │ │ │ │ │
│ на образцах KCV │20 (2,0)│ 20 (2,0) │ 20 (2,0) │20 (2,0)│ - │
│ на образцах KCU │30 (3,0)│ 30 (3,0) │ 30 (3,0) │30 (3,0)│ - │
├───────────────────────┼────────┼───────────┼────────────┼────────┼──────┤
│Минимальный угол │ │ │ │ │ │
│изгиба, ...°: │ │ │ │ │ │
│- при толщине не более │ 100 │ 80 │ 50 │ 80 │ 100 │
│20 мм │ │ │ │ │ │
│- при толщине более │ 100 │ 60 │ 40 │ 60 │ 100 │
│20 мм │ │ │ │ │ │
├───────────────────────┼────────┼───────────┼────────────┼────────┼──────┤
│Твердость металла шва │ - │ - │ 240 │ 220 │ 200 │
│сварных соединений НВ, │ │ │ │ │ │
│не более │ │ │ │ │ │
├───────────────────────┼────────┴───────────┴────────────┴────────┴──────┤
│Просвет между сжимае- │Не ниже норм, установленных НД на трубы │
│мыми поверхностями при │ │
│сплющивании стыковых │ │
│соединений труб │ │
├───────────────────────┴─────────────────────────────────────────────────┤
│ Примечания. 1. Твердость металла шва в коррозионно-стойком слое│
│сварных соединений сосудов из двухслойных сталей не должна превышать│
│220 НВ. │
│ 2. Показатели механических свойств сварных соединений по временному│
│сопротивлению разрыву и углу изгиба определяют как среднеарифметическое│
│результатов испытаний отдельных образцов. Общий результат считают│
│неудовлетворительным, если хотя бы один из образцов показал значение│
│временного сопротивления разрыву более чем на 7% и угла изгиба более чем│
│на 10% ниже норм, указанных в данной таблице. При испытании на ударный│
│изгиб результат считают неудовлетворительным, если хотя бы один из│
│образцов показал значение ниже норм, указанных в данной таблице. │
│ Допускается на одном образце (KCU) при температурах минус 40 °C │
│и ниже получение значения ударной вязкости не менее│
│25 Дж/см2 (2,5 кгс x м/см2). │
│ 3. Виды испытаний и гарантированные нормы механических свойств по│
│временному сопротивлению разрыву и ударной вязкости стыковых сварных│
│соединений типа "лист + поковка", "лист + литье", "поковка + поковка",│
│"поковка + труба", "поковка + сортовой прокат" должны соответствовать│
│требованиям, предъявляемым к материалу с более низкими показателями│
│механических свойств. │
│ Контроль механических свойств, а также металлографическое│
│исследование или испытание на стойкость против межкристаллитной коррозии│
│образцов этих соединений предусматриваются разработчиком технической│
│документации. │
│ Для сварных соединений типа "лист + поковка", "лист + литье",│
│"поковка + поковка", "поковка + труба", "поковка + сортовой прокат" угол│
│изгиба должен быть не менее: │
│ - 70° - для углеродистых сталей и сталей аустенитного класса; │
│ - 50° - для низколегированных марганцовистых и марганцево-кремнистых│
│сталей, высоколегированных сталей аустенитно-ферритного класса; │
│ - 30° - для низколегированных и среднелегированных (хромистых и│
│хромомолибденовых) сталей и высоколегированных сталей ферритного класса. │
│ 4. Твердость металла шва сварных соединений из стали марки 12ХМ,│
│выполненных ручной электродуговой сваркой ванадийсодержащими электродами,│
│должна быть не более 260 НВ при условии, что относительное удлинение│
│металла шва будет не менее 18%. Твердость металла шва сварных соединений│
│из стали марки 15Х5МУ должна быть не более 270 НВ. │
└─────────────────────────────────────────────────────────────────────────┘
6.10.2. В сварных соединениях не допускаются следующие поверхностные дефекты:
- трещины всех видов и направлений;
- свищи;
- подрезы;
- наплывы, прожоги и незаплавленные кратеры;
- смещение и совместный увод кромок свариваемых элементов свыше норм, предусмотренных настоящим стандартом;
- несоответствие формы и размеров швов требованиям стандартов, технических условий или проекта;
- поры, выходящие за пределы норм, установленных таблицей 15;
- чешуйчатость поверхности и глубина впадин между валиками шва, превышающие допуск на усиление шва по высоте.
Таблица 15
Нормы допустимых пор,
выявляемых при визуальном контроле
сварных соединений
Номинальная толщина наиболее тонкой детали, мм | Допустимый максимальный размер дефекта, мм | Допустимое число дефектов на любые 100 мм шва |
От 2 до 3 включ. | 0,5 | 3 |
Св. 3 до 4 включ. | 0,6 | 4 |
Св. 4 до 5 включ. | 0,7 | 4 |
Св. 5 до 6 включ. | 0,8 | 4 |
Св. 6 до 8 включ. | 1,0 | 5 |
Св. 8 до 10 включ. | 1,2 | 5 |
Св. 10 до 15 включ. | 1,5 | 5 |
Св. 15 до 20 включ. | 2,0 | 6 |
Св. 20 до 40 включ. | 2,5 | 7 |
Св. 40 | 2,5 | 8 |
Допускаются местные подрезы в сосудах 3, 4-й и 5а, 5б групп, предназначенных для работы при температуре свыше 0 °C. При этом их глубина не должна превышать 5% толщины стенки, но не более 0,5 мм, а протяженность - 10% длины шва.
Допускаются в сварных соединениях из сталей и сплавов марок 03Х21Н21М4ГБ, 03ХН28МДТ, 06ХН28МДТ отдельные микронадрывы протяженностью не более 2 мм.
6.10.3. В сварных соединениях не допускаются следующие внутренние дефекты:
- трещины всех видов и направлений, в том числе микротрещины, выявленные при металлографическом исследовании;
- свищи;
- смещение основного и плакирующего слоев в сварных соединениях двухслойных сталей выше норм, предусмотренных настоящим стандартом;
- непровары (несплавления), расположенные в сечении сварного соединения;
- поры, шлаковые и вольфрамовые включения, выявленные радиографическим методом, выходящие за пределы норм, установленных допустимым классом дефектности сварного соединения по
ГОСТ 23055 в соответствии с таблицей 16, или выявленные ультразвуковым методом по НД.
Таблица 16
Классы дефектности сварного соединения
Вид сварного соединения | Группа сосуда |
1, 2, 3 | 4 | 5а | 5б |
|
Стыковые | 3 | 4 | 5 | 6 |
Угловые, тавровые | 4 | 5 | 5 | 6 |
Нахлесточные | 5 | 6 | 6 | 7 |
Примечание. Оценку единичных дефектов (пор и включений) по ширине (диаметру) при толщине свариваемых элементов до 45 мм, а также цепочек независимо от толщины свариваемых элементов допускается проводить по нормам 4-го класса вместо 3-го класса, 5-го класса вместо 4-го класса, 6-го класса вместо 5-го класса, 7-го класса вместо 6-го класса. Оценку единичных пор и включений для кольцевых сварных соединений толщиной не более 10 мм, выполняемых ручной электродуговой сваркой, допускается проводить по классу 5.
6.11. Термическая обработка
6.11.1. Сосуды (сборочные единицы, детали) из углеродистых и низколегированных сталей (за исключением сталей, перечисленных в
6.11.3), изготовленные с применением сварки, штамповки или вальцовки, подлежат обязательной термической обработке, если:
а) толщина стенки цилиндрического или конического элемента, днища, фланца или патрубка сосуда в месте их сварного соединения более 36 мм для углеродистых сталей и более 30 мм для низколегированных марганцовистых и марганцево-кремнистых сталей (марок 16ГС, 09Г2С, 17Г1С, 10Г2 и др.);
б) номинальная толщина стенки S цилиндрических или конических элементов сосуда (патрубка), изготовленных из листовой стали вальцовкой (штамповкой), превышает значение, вычисленное по формуле

,
где D - минимальный внутренний диаметр элемента, мм;
в) отношение номинальной толщины к номинальному внутреннему радиусу обечайки или к наименьшему радиусу кривизны днища превышает 0,02. Данное требование не распространяется на отбортованные рубашки;
г) сосуды (сборочные единицы, детали) предназначены для эксплуатации в средах, вызывающих коррозионное растрескивание (жидкий аммиак, аммиачная вода, растворы едкого натрия и калия, азотнокислого натрия, калия, аммония, кальция, этаноламина, азотной кислоты и др.), и об этом есть указание в проекте;
д) днища сосудов и их элементов независимо от толщины изготовлены холодной штамповкой или холодным фланжированием.
6.11.2. Сварные соединения из углеродистых, низколегированных марганцовистых, марганцево-кремнистых и хромомолибденовых сталей, выполненные электрошлаковой сваркой, подлежат нормализации и высокому отпуску. Для кольцевых швов сосудов из стали марки 12ХМ допускается проводить только высокий отпуск без нормализации при условии выполнения многослойной электрошлаковой сварки по документации, согласованной с разработчиком проекта. Для кольцевых швов сосудов толщиной до 100 мм, предназначенных для работы при температуре стенки не ниже минус 20 °C для стали марки 20К, не ниже минус 40 °C для сталей марок 16ГС, 20ЮЧ, не ниже минус 55 °C для стали марки 09Г2С и толщиной до 60 мм, предназначенных для работы при температуре стенки не ниже минус 60 °C для стали 09Г2С, допускается осуществлять только высокий отпуск без нормализации при условии комбинированного способа выполнения сварного соединения - автоматической сварки под флюсом и электрошлаковой сварки с регулированием термического цикла.
При электрошлаковой сварке заготовок штампуемых и вальцуемых элементов из сталей марок 16ГС, 09Г2С и 10Г2С1, предназначенных для работы при температуре не ниже минус 40 °C, нормализация может быть совмещена с нагревом под штамповку с окончанием штамповки при температуре не ниже 700 °C.
6.11.3. Сварные сосуды (сборочные единицы, детали) из сталей марок 12МХ, 12ХМ, 15ХМ, 12Х1МФ, 10Х2М1А-А, 10Х2ГНМ, 15Х2МФА-А, 1Х2М1, 15Х5, Х8, 15Х5М, 15Х5ВФ, 12Х8ВФ, Х9М и из двухслойных сталей с основным слоем из сталей марок 12МХ, 12ХМ, 20Х2М следует подвергать термической обработке по режиму, оговоренному в проекте.
6.11.4. Сосуды (сборочные единицы, детали) из сталей марок 08Х18Н10Т, 08Х18Н12Б и других аустенитных сталей, стабилизированных титаном или ниобием, предназначенные для работы в средах, вызывающих коррозионное растрескивание, а также при температурах свыше 350 °C в средах, вызывающих межкристаллитную коррозию, следует подвергать термической обработке по режиму, оговоренному в проекте.
6.11.5. Необходимость и вид термической обработки сосудов (сборочных единиц, деталей) из двухслойной стали следует определять в соответствии с требованиями 6.11.1 [
перечисления а),
б),
в),
д)],
6.11.2,
6.11.3.
При определении толщины свариваемого элемента принимается толщина основного слоя двухслойной стали.
При наличии в проекте требований на стойкость против межкристаллитной коррозии технология сварки и режим термообработки сварных соединений двухслойных сталей должны обеспечивать стойкость сварных соединений коррозионно-стойкого слоя против межкристаллитной коррозии.
6.11.6. Днища и детали из углеродистых и низколегированных марганцево-кремнистых сталей, штампуемые (вальцуемые) вгорячую с окончанием штамповки (вальцовки) при температуре не ниже 700 °C, а также днища и детали из аустенитных хромоникелевых сталей, штампуемых (вальцуемых) при температуре не ниже 850 °C, термической обработке не подвергаются, если к указанным материалам не предъявлены другие требования в
Приложении А.
Днища и другие штампуемые (вальцуемые) вгорячую элементы, изготовляемые из сталей марок 09Г2С, 10Г2С1, работающие при температуре от минус 40 °C до минус 70 °C, должны подвергать термической обработке - нормализации или закалке и высокому отпуску.
Днища и другие элементы из низколегированных сталей марок 12ХМ и 12МХ, штампуемые (вальцуемые) вгорячую с окончанием штамповки (вальцовки) при температуре не ниже 800 °C, допускается подвергать только отпуску (без нормализации).
Технология изготовления днищ и других штампуемых элементов должна обеспечивать необходимые механические свойства, указанные в стандартах или технических условиях, а при наличии требования в проекте и стойкость против межкристаллитной коррозии.
6.11.7. Днища и другие элементы, выполненные из коррозионно-стойких сталей аустенитного класса методом холодной штамповки или холодным фланжированием, должны подвергать термической обработке (аустенизации или стабилизирующему отжигу), если они предназначены для работы в средах, вызывающих коррозионное растрескивание. В остальных случаях термообработку допускается не проводить, если относительное удлинение при растяжении в исходном состоянии металла не менее 30% при степени деформации в холодном состоянии не более 15%.
6.11.8. Гнутые участки труб из углеродистых и низколегированных сталей подлежат термообработке, если отношение среднего радиуса изгиба к номинальному наружному диаметру трубы составляет менее 3,5, а отношение номинальной толщины стенки трубы к ее номинальному диаметру превышает 0,05.
6.11.9. Приварку внутренних и наружных устройств к сосудам, подвергаемым термической обработке, следует проводить до термической обработки сосуда.
Допускается приварка внутренних и наружных устройств без последующей термической обработки к сосудам, термообработанным в соответствии с 6.11.1 [
перечисления а),
б)] при условии, что катет сварного шва не более 8 мм.
Допускается приварка наружных устройств на монтажной площадке к специальным накладкам, приваренным к корпусу сосуда и прошедшим вместе с ним термическую обработку на предприятии-изготовителе без последующей термической обработки монтажных сварных швов.
6.11.10. Допускается местная термическая обработка сварных соединений сосудов, при проведении которой должны быть обеспечены равномерный нагрев и охлаждение по всей длине шва и прилегающих к нему зон основного металла.
6.11.11. Объемную термическую обработку проводят в печах или нагревом сосуда (сборочной единицы, детали) путем ввода во внутреннюю полость теплоносителя.
При этом должны быть проведены мероприятия, предохраняющие сосуд (сборочную единицу, деталь) от деформаций, вызванных местным перегревом, неправильной установкой сосуда, действием собственной массы.
6.11.12. Свойства металла обечаек, днищ, патрубков, решеток после всех циклов термической обработки должны соответствовать требованиям настоящего стандарта.
7.1. Сосуды (сборочные единицы и детали), материалы и комплектующие изделия должны быть приняты отделом технического контроля предприятия-изготовителя и проверены на соответствие требованиям НД.
7.2. Каждое изделие (сосуд) на предприятии-изготовителе следует подвергать приемосдаточному испытанию, которое включает в себя проверку:
- габаритных и присоединительных размеров;
- прочности и герметичности;
- соответствия примененных материалов предусмотренным материалам в спецификации рабочей документации;
- качества сварных соединений;
- качества поверхности;
- качества покрытия;
- комплектности изделия (сосуда);
- комплектности сопроводительной документации;
- маркировки;
- консервации;
- упаковки.
7.3. Испытания сосудов следует проводить на испытательном оборудовании, аттестованном в установленном порядке, укомплектованном средствами защиты и приборами, имеющем эксплуатационную документацию и паспорт.
Испытания сосудов должен проводить обученный и аттестованный персонал по утвержденной технологии в соответствии с программами и методиками (технологическим процессом) на испытания.
| | Применение на добровольной основе раздела 8 обеспечивает соблюдение требований технического регламента "О безопасности машин и оборудования", утв. Постановлением Правительства Российской Федерации от 15.09.2009 N 753 (Приказ Росстандарта от 20.08.2010 N 3108). | |
8.1.1. Геометрические размеры и форму поверхностей следует измерять с помощью средств, обеспечивающих погрешность не более 30% установленного допуска на изготовление.
Габаритные размеры сосудов следует определять путем суммирования размеров входящих в них сборочных единиц и деталей.
8.1.2. Контроль качества поверхностей на отсутствие плен, закатов, расслоений, грубых рисок, трещин, снижающих качество и ухудшающих товарный вид, следует проводить путем визуального осмотра.
Браковочный признак устанавливают на основании требований соответствующего стандарта или проектной документации.
8.1.3. Обязательная проверка наличия, содержания, мест расположения клейм на сварных швах и маркировки на готовом сосуде (самостоятельно поставляемых сборочных единицах и деталях) должна осуществляться визуальным осмотром.
8.1.4. Контроль качества сварных соединений следует проводить следующими методами:
а) визуальным осмотром и измерительным контролем;
б) механическими испытаниями;
в) испытанием на стойкость против межкристаллитной коррозии;
г) металлографическими исследованиями;
д) стилоскопированием;
е) ультразвуковой дефектоскопией;
ж) радиографией;
и) цветной или магнитопорошковой дефектоскопией;
к) другими методами (акустической эмиссией, люминесцентным контролем, определением содержания ферритной фазы и др.), если необходимо.
8.1.5. Окончательный контроль качества сварных соединений сосудов, подвергаемых термической обработке, следует проводить после термической обработки.
Для сварных соединений сосуда из низколегированных марганцовистых и марганцево-кремнистых сталей или двухслойных сталей с основным слоем из этих сталей, подвергаемых в процессе изготовления нормализации или закалке с отпуском, механические испытания и металлографические исследования допускается проводить до окончательной термической обработки (высокого отпуска). При этом полученные положительные результаты механических испытаний следует считать окончательными.
8.1.6. Контроль комплектности, консервации, окраски, упаковки необходимо проводить путем сопоставления объема и качества выполненных работ с требованиями настоящего стандарта и технических условий.
8.1.7. Предприятие - изготовитель негабаритных сосудов, транспортируемых частями, должно провести контрольную сборку.
Допускается вместо сборки проводить контрольную проверку размеров стыкуемых частей при условии, что предприятие-изготовитель гарантирует собираемость сосуда.
8.1.8. В процессе изготовления сборочных единиц и деталей необходимо проверять на соответствие требованиям стандартов (технических условий) и проекта:
- состояние и качество свариваемых сборочных единиц и деталей и сварочных материалов;
- качество подготовки кромок и сборки под сварку;
- соблюдение технологического процесса сварки и термической обработки.
8.2. Визуальный и измерительный контроль сварных соединений
8.2.1. Визуальный контроль и измерение сварных швов необходимо проводить после очистки швов и прилегающих к ним поверхностей основного металла от шлака, брызг и других загрязнений.
8.2.2. Обязательному визуальному контролю и измерению подлежат все сварные швы в соответствии с
ГОСТ 3242 для выявления дефектов, выходящих на поверхность шва и недопустимых в соответствии с требованиями настоящего стандарта.
Визуальный контроль и измерение следует проводить в доступных местах с двух сторон по всей протяженности шва.
8.3. Механические испытания
8.3.1. Механическим испытаниям следует подвергать стыковые сварные соединения, определяющие прочность сосуда. Механические испытания необходимо проводить на контрольных стыковых сварных соединениях в объеме, указанном в таблице 17.
Таблица 17
Количество образцов из каждого контрольного стыкового
сварного соединения
Вид испытания | Группа сосуда | Количество образцов | Примечание |
Растяжение при температуре плюс 20 °C | 1 - 5 | Два образца типов XII, XIII, XIV или XV по | Испытание на растяжение отдельных образцов из сварных трубных стыков можно заменить испытанием на растяжение целых стыков со снятым усилием |
Изгиб при температуре плюс 20 °C | 1 - 5 | Два образца типов XXVII, XXVIII по | Испытание сварных образцов труб внутренним диаметром до 100 мм и толщиной стенки до 12 мм может быть заменено испытанием на сплющивание XXIX, XXX) |
Ударная вязкость на образцах KCV или KCU (при толщине металла не менее 12 мм) при температуре плюс 20 °C | 1 - 5 из сталей, склонных к термическому воздействию (12МХ, 12ХМ, 15Х5М, 10Х2М1А-А и др.) | Три образца типа VI или IX по надрезом по оси шва | Испытание на ударный изгиб околошовной зоны проводят на сварных соединениях, выпол- ненных электрошлаковой свар- кой без последующей нормали- зации, а также при наличии требований в технических условиях или проекте |
Ударная вязкость на образцах KCV или KCU (при толщине металла не менее 12 мм) при температуре плюс 20 °C | 1 - 3 при давлении более 5 МПа (50 кгс/см2) 1 - 2 при температуре свыше 450 °C | Три образца типа VI или IX по надрезом по оси шва | Испытание на ударный изгиб околошовной зоны проводят на сварных соединениях, выпол- ненных электрошлаковой свар- кой без последующей нормали- зации, а также при наличии требований в технических условиях или проекте |
Ударная вязкость на образцах KCV или KCU (при толщине металла не менее 12 мм) при рабочей температуре ниже минус 20 °C, равной минималь- ной отрицательной рабочей темпера- туре сосуда | 1 - 3, 5 при рабочей температуре ниже минус 20 °C | Три образца типа VI или IX по надрезом по оси шва | Испытание при рабочей температуре. Испытание на ударный изгиб околошовной зоны проводят на сварных соединениях, выполненных электрошлаковой сваркой без последующей нормализации, а также при наличии требований в технических условиях или проекте |
Измерение твер- дости металла шва при температуре +20 °C | 1 - 4 в соответствии с требова- | | - |
Примечания. 1. За длину контролируемого участка следует принимать длину сварного соединения, выполненного одним сварщиком по технологии, предусмотренной технической документацией на данный вид сборочной единицы или детали.
2. Допускается не проводить механические испытания сварных образцов для сосудов 5б группы, если предприятие-изготовитель гарантирует качество сварных швов.
3. Испытание на ударный изгиб сварных соединений сосудов, работающих при температуре не ниже минус 20 °C, следует проводить при комнатной температуре.
4. Допускается при испытаниях на изгиб образцов толщиной более 50 мм доводить толщину образцов до 50 мм строжкой или фрезерованием контрольных пластин. Образцы из двухслойных сталей следует фрезеровать или строгать со стороны основного слоя и изгибать основным слоем наружу. Тип образца XXVII по
ГОСТ 6996, диаметр оправки - две толщины образца.
Допускается проводить испытание на изгиб образцов с предварительным их утонением до толщины не менее 30 мм.
5. Испытание на ударный изгиб сварных соединений из двухслойных сталей следует проводить на образцах, изготовленных по
рисунку 17.
6. Испытания на растяжение, изгиб, ударный изгиб из сварного соединения толщиной не менее 50 мм следует проводить согласно требованиям НД.
7. Допускается не испытывать на ударный изгиб при отрицательных температурах сварные соединения из сталей аустенитно-ферритного класса.
8. Испытание на ударный изгиб сварных соединений из сталей аустенитного класса не проводят.
9. В случае снижения нижнего температурного предела применения углеродистых и низколегированных марганцовистых и марганцево-кремнистых сталей согласно требованиям
примечания 27 Приложения А,
примечания 11 Приложения В испытание на ударный изгиб сварных соединений из этих сталей проводят при минимальной температуре, указанной для стенки в
таблицах А.1 и
В.1 (Приложения А и В соответственно).
Рисунок 17. Схема расположения надреза на образцах
для испытания на ударный изгиб сварных соединений
из двухслойных сталей
8.3.2. Измерению твердости следует подвергать металл шва сварных соединений сосудов (работающих под давлением деталей) из сталей марок 12МХ, 12ХМ, 15ХМ, 20Х2М, 1Х2М1, 10Х2ГНМ, 10Х2МФА-А, 10Х2М1А-А, 15Х5М и металл шва коррозионно-стойкого слоя в сварных соединениях из двухслойных сталей. Твердость следует проверять не менее чем в трех точках поперек сварного соединения по НД, утвержденному в установленном порядке.
8.3.3. Допускается измерение твердости металла шва проводить на контрольных образцах, если невозможно его осуществить на готовом сосуде (детали).
При получении неудовлетворительных результатов по какому-либо виду механических испытаний допускается проведение повторного испытания на удвоенном количестве образцов, вырезанных из того же контрольного сварного соединения, по тому виду механических испытаний, которые дали неудовлетворительные результаты.
Если при повторном испытании получены неудовлетворительные результаты хотя бы на одном образце, сварное соединение считают непригодным.
8.4. Испытание на стойкость против межкристаллитной коррозии
8.4.1. Испытание сварного соединения на стойкость против межкристаллитной коррозии следует проводить для сосудов (сборочных единиц, деталей), изготовленных из сталей аустенитного, ферритного, аустенитно-ферритного классов и двухслойной стали с коррозионно-стойким слоем из аустенитных и ферритных сталей по требованию технических условий или проекта.
Необходимость испытания сварных соединений внутренних устройств, работающих без давления, на стойкость против межкристаллитной коррозии должна быть указана в проекте.
8.4.2. Форма, размеры и количество образцов должны соответствовать
ГОСТ 6032.
8.4.3. Испытание на стойкость против межкристаллитной коррозии следует проводить по
ГОСТ 6032 или соответствующему НД. Метод испытания должен быть указан в проекте.
Металл шва и зона термического влияния должны быть стойкими против межкристаллитной коррозии.
8.4.4. При получении неудовлетворительных результатов допускается проведение повторного испытания на удвоенном количестве образцов, вырезанных из того же контрольного сварного соединения.
Если при повторном испытании получены неудовлетворительные результаты хотя бы на одном образце, сварное соединение считают непригодным.
8.5. Металлографические исследования
8.5.1. Металлографическим исследованиям следует подвергать стыковые сварные соединения, определяющие прочность сосудов:
- 1, 2, 3-й групп, работающих под давлением более 5 МПа (50 кгс/см2) или при температуре ниже минус 40 °C;
- 1, 2-й групп, работающих при температуре свыше 450 °C;
- из сталей, склонных к термическому воздействию (марок 12МХ, 12ХМ, 15Х5М и др.), из сталей аустенитного класса без ферритной фазы (марок 06ХН28МДТ, 08Х17Н16М3Т и др.) и из двухслойных сталей.
Допускается не проводить металлографические исследования стыковых сварных швов сборочных единиц и деталей, работающих при температуре ниже минус 40 °C, толщиной не более 20 мм из сталей марок 12Х18Н10Т и 08Х18Н10Т.
8.5.2. Металлографические макро- и микроисследования следует проводить в соответствии с НД на одном образце от каждого контрольного сварного соединения.
8.5.3. Качество контрольного сварного соединения при металлографических исследованиях должно соответствовать требованиям
6.10.2 и
6.10.3.
8.5.4. Если при металлографическом исследовании в контрольном сварном соединении будут обнаружены недопустимые внутренние дефекты, которые должны быть выявлены радиографическим или ультразвуковым контролем согласно
8.10.13, все производственные сварные соединения, контролируемые данным сварным соединением, подлежат повторному испытанию тем же методом неразрушающего контроля в объеме 100% другим, более опытным и квалифицированным, дефектоскопистом. В случае получения удовлетворительных результатов повторного контроля сварные швы считают годными.
8.5.5. При получении неудовлетворительных результатов допускается повторное испытание на удвоенном количестве образцов, вырезанных из того же контрольного сварного соединения.
Если при повторном испытании получены неудовлетворительные результаты хотя бы на одном образце, сварное соединение считают непригодным.
8.6. Стилоскопирование сварных соединений
8.6.1. Стилоскопирование сварных швов следует проводить для установления марочного соответствия примененных сварочных материалов требованиям проекта и инструкций по сварке или настоящего стандарта.
При стилоскопировании следует руководствоваться Инструкцией по стилоскопированию основных и сварочных материалов и готовой продукции.
8.6.2. Стилоскопированию следует подвергать сварные швы работающих под давлением деталей из сталей марок 12ХМ, 12МХ, 15ХМ, 10Х2М1А-А, 20Х2М, 1Х2М1, 15Х2МФА-А, 10Х2ГНМ, 15Х5М, 15Х5, 08Х13, 08Х17Н13М2Т, 10Х17Н13М2Т, 10Х17Н13М3Т, 08Х17Н15М3Т, 03Х16Н15М3Т, 08Х21Н6М2Т и 06ХН28МДТ, 12Х18Н10Т, 08Х18Н10Т, 08Х22Н6Т и металл коррозионно-стойкой наплавки в объеме не менее указанного в таблице 18.
Таблица 18
Объем контроля стилоскопированием
Группа сосуда | Количество контролируемых сварных швов и металла коррозионно-стойкой наплавки от общего количества, % |
1, 2 | 100 |
3, 4 | 50 |
5 | 25 |
8.6.3. В процессе стилоскопирования следует определять в металле шва наличие хрома, молибдена, ванадия, ниобия, никеля и т.д.
8.6.4. Следует контролировать:
- каждый сварной шов в одной точке через каждые 2 м;
- места исправления каждого сварного шва;
- наплавку не менее чем в одной точке.
8.6.5. Контроль стилоскопированием допускается не проводить:
- при невозможности осуществления контроля из-за недоступности сварных швов (ввиду конструктивных особенностей сосуда, по условиям техники безопасности);
- из-за малых размеров шва (например, швы обварки теплообменных труб).
8.6.6. При получении неудовлетворительных результатов допускается повторное стилоскопирование того же сварного соединения на удвоенном количестве точек.
При неудовлетворительных результатах повторного контроля следует проводить спектральный или химический анализ сварного соединения, результаты которого считают окончательными.
8.6.7. При выявлении несоответствия марки использованных присадочных материалов хотя бы на одном из сварных соединений сосудов 3, 4-й, 5а и 5б групп стилоскопирование металла шва должно быть проведено на всех сварных соединениях, выполненных данным механизированным способом сварки.
8.6.8. Дефектные сварные швы, выявленные при контроле, должны быть удалены, швы вновь сварены и подвергнуты стилоскопированию.
8.7. Радиографический и ультразвуковой контроль сварных соединений
8.7.1. Для выявления внутренних дефектов сварных соединений следует применять методы неразрушающего контроля, в которых используют проникающие физические поля: радиографический, ультразвуковой.
Ультразвуковую дефектоскопию сварных соединений следует проводить в соответствии с
ГОСТ 14782 и НД.
Радиографический контроль сварных соединений следует проводить в соответствии с
ГОСТ 7512 и НД.
8.7.2. Метод контроля (ультразвуковой, радиографический или их сочетание) следует выбирать исходя из возможностей более полного и точного выявления недопустимых дефектов с учетом особенностей физических свойств металла, а также особенностей методики контроля для данного вида сварных соединений сосуда (сборочных единиц, деталей).
Метод контроля качества стыковых, угловых и тавровых сварных соединений следует определять согласно НД.
8.7.3. Обязательному контролю радиографическим или ультразвуковым методом подлежат:
а) стыковые, угловые, тавровые сварные соединения, доступные для этого контроля в объеме не менее указанного в
таблице 19;
б) места сопряжения (пересечений) сварных соединений;
в) сварные соединения внутренних и наружных устройств по указанию в проекте или технических условиях на сосуд (сборочную единицу, деталь);
г) сварные соединения элементов из стали перлитного класса с элементами из сталей аустенитного класса в 100%-ном объеме;
д) перекрываемые укрепляющими кольцами участки сварных швов корпуса, предварительно зачищенные заподлицо с наружной поверхностью корпуса;
е) прилегающие к отверстию участки сварных швов корпуса, на которых устанавливаются люки и штуцера, на длине, равной

(D - внутренний диаметр корпуса, S - толщина стенки корпуса в месте расположения отверстия).
Таблица 19
Объем контроля радиографическим или ультразвуковым методом
Группа сосуда | Длина контролируемых сварных соединений <*> от общей длины, % |
1, 2 | 100 |
3 | 50 |
4, 5а | 25 |
5б | 10 |
<*> Требование относится к каждому сварному соединению. |
Примечания. 1. Контроль сварных соединений, в том числе и мест сопряжений сварных соединений, сосудов 5б группы или работающих без давления (под налив), радиографическим или ультразвуковым методом, допускается не проводить по усмотрению предприятия-изготовителя, если нет других указаний в проекте.
2. Контроль сварных швов опор радиографическим или ультразвуковым методом следует проводить при наличии указания в проекте.
8.7.4. Места контроля сварных соединений сосудов 3, 4-й, 5а и 5б групп радиографическим или ультразвуковым методом должны быть указаны в технической документации на сосуд.
8.7.5. Перед контролем соответствующие участки сварных соединений должны быть так замаркированы, чтобы их можно было легко обнаружить на картах контроля и радиографических снимках.
8.7.6. При выявлении недопустимых дефектов в сварном соединении сосудов 3, 4-й, 5а и 5б групп обязательному контролю тем же методом подлежат все однотипные сварные соединения, выполненные данным сварщиком (оператором), по всей длине соединения (см.
Приложение Н).
8.7.7. При невозможности осуществления контроля сварных соединений радиографическим или ультразвуковым методом из-за их недоступности (ввиду конструктивных особенностей сосуда, ограниченности технических возможностей этих методов или по условиям техники безопасности) или неэффективности (в частности, при наличии конструктивного зазора) контроль качества этих сварных соединений следует проводить по НД в 100%-ном объеме.
8.8. Цветная и магнитопорошковая дефектоскопии
8.8.1. Цветной или магнитопорошковой дефектоскопии следует подвергать сварные швы, не доступные для осуществления контроля радиографическим или ультразвуковым методом, а также сварные швы сталей, склонных к образованию трещин при сварке (см.
Приложение П).
8.8.2. Цветную и магнитопорошковую дефектоскопии сварных соединений следует проводить в соответствии с
ГОСТ 18442,
ГОСТ 21105 и НД.
8.8.3. Объем контроля и класс чувствительности определяют в соответствии с требованиями НД или требованиями проекта.
8.9. Определение содержания

-фазы
8.9.1. Содержание

-фазы в металле шва или наплавленном металле аустенитной стали следует определять при наличии указаний в проекте или технических условиях на сосуд (сборочную единицу).
8.9.2. Предельное допустимое содержание

-фазы должно соответствовать НД и/или указаниям проекта.
8.9.3. Определение содержания ферритной фазы в металле шва или в металле, наплавленном аустенитными электродами, следует проводить магнитным методом согласно
ГОСТ 9466. Содержание феррита определяют ферритометром по ГОСТ 26364.
Допускается определять количество феррита

-фазометром пондеромоторного действия (магнитоотрывной метод), а при содержании его более 5% - металлографическим методом.
8.10. Контрольные сварные соединения
8.10.1. Для механических и коррозионных испытаний, а также металлографических исследований вырезают образцы из контрольных сварных соединений.
Если проведена производственная аттестация технологии сварки, то разрешается не выполнять механические испытания контрольных сварных соединений.
8.10.2. Контрольное сварное соединение должно воспроизводить одно из стыковых сварных соединений сосуда (сборочной единицы, детали), определяющих его прочность, и выполняться одновременно с контролируемым сосудом (сборочной единицей, деталью) с применением одинаковых исходных материалов, формы разделки кромок, сборочных размеров, методов и режимов сварки, режима термообработки.
8.10.3. При автоматической, полуавтоматической или электрошлаковой сварках сосудов (сборочных единиц, деталей) на каждый сосуд (сборочную единицу, деталь) необходимо сваривать одно контрольное сварное соединение (на каждый вид применяемого процесса) с использованием одинаковых присадочных материалов и режима термообработки.
8.10.4. Контрольные сварные соединения для проверки продольных швов сосудов (сборочных единиц, деталей) следует изготовлять таким образом, чтобы их швы являлись продолжением производственного продольного шва.
После сварки контрольное сварное соединение должно быть отделено от сосуда (сборочной единицы, детали) любым методом, за исключением отламывания.
8.10.5. При ручной сварке сосуда (сборочной единицы, детали) несколькими сварщиками каждый из сварщиков должен выполнять отдельное контрольное сварное соединение.
8.10.6. Если многопроходной шов выполняют несколько сварщиков, то на данный шов должно свариваться одно контрольное сварное соединение. При этом проходы следует выполнять теми же сварщиками и в аналогичном порядке. В противном случае каждый из сварщиков должен выполнять отдельное контрольное сварное соединение.
8.10.7. При изготовлении партии однотипных сосудов допускается на каждый вид сварки выполнять по одному контрольному сварному соединению на всю партию сосудов (сборочных единиц, деталей) при условии контроля стыковых сварных соединений, определяющих прочность сосуда, радиографическим или ультразвуковым методом в 100%-ном объеме. В одну партию сосудов (сборочных единиц, деталей) следует объединять сосуды (сборочные единицы, детали) одного вида, из сталей одного класса (см.
Приложение Р), имеющие одинаковые формы разделки кромок, выполненные по единому (типовому) технологическому процессу и подлежащие термообработке по одному режиму, если цикл их изготовления по сборочно-сварочным работам, термообработке и контрольным операциям не превышает 3 мес.
8.10.8. Для контроля качества сварных соединений в трубчатых элементах сосудов необходимо выполнять контрольные сварные соединения. Эти контрольные сварные соединения должны быть идентичны производственным контролируемым сварным соединениям: по марке стали, размерам труб, конструкции и виду соединения, форме разделки кромок, сборочным размерам, пространственному положению сварки и технологическому процессу.
Количество контрольных сварных соединений труб должно составлять 1% от общего числа сваренных каждым сварщиком однотипных сварных соединений труб данного сосуда, но не менее одного контрольного сварного соединения.
8.10.9. При невозможности изготовлять плоские образцы из сварного стыка трубчатого элемента допускается проводить испытание образцов, вырезанных из контрольных сварных соединений, сваренных в наиболее трудном для сварки положении.
8.10.10. Термообработку контрольных сварных соединений следует выполнять одновременно с сосудом (сборочной единицей, деталью). Допускается термообработку контрольных сварных соединений проводить отдельно от сосуда (сборочной единицы, детали) при условии применения одинаковых метода и режима термообработки.
8.10.11. Размеры контрольных сварных соединений должны быть выбраны так, чтобы из них возможно было вырезать необходимое количество образцов для металлографических исследований, всех видов механических испытаний и испытаний на стойкость против межкристаллитной коррозии, включая повторные.
8.10.12. Предусмотренный настоящим стандартом объем механических испытаний и металлографического исследования сварных соединений может быть изменен по согласованию с Ростехнадзором России в случае серийного изготовления предприятием однотипных сосудов при неизменном технологическом процессе, специализации сварщиков на определенных видах работ и высоком качестве сварных соединений, подтвержденном результатами контроля за не менее 12 мес.
8.10.13. Контрольные сварные соединения следует подвергать радиографическому или ультразвуковому контролю по всей длине сварных соединений.
Если в контрольном сварном соединении будут обнаружены недопустимые дефекты, все производственные сварные соединения, представленные данным соединением и не подвергнутые ранее радиографическому или ультразвуковому контролю, подлежат проверке тем же методом неразрушающего контроля по всей длине.
8.10.14. Контрольным сварным соединениям и вырезаемым из них образцам следует присваивать регистрационные номера согласно учетной документации предприятия-изготовителя, в которой отражают необходимые сведения по изготовляемому производственному сварному соединению.
8.11. Гидравлическое испытание на прочность и герметичность
8.11.1. Гидравлическому испытанию подлежат все сосуды после их изготовления.
Гидравлическое испытание следует проводить на предприятии-изготовителе.
Гидравлическое испытание сосудов, транспортируемых частями и собираемых на месте монтажа, допускается проводить после их изготовления на месте установки.
8.11.2. Гидравлическое испытание сосудов следует проводить с крепежом и прокладками, предусмотренными в технической документации.
8.11.3. Пробное давление

при гидравлическом испытании сосудов вычисляют по формуле

. (1)
Примечания. 1. Пробное давление гидравлического испытания сосуда следует определять с учетом минимальных значений расчетного давления и отношения допускаемых напряжений материала сборочных единиц (деталей).
2. Пробное давление при гидравлическом испытании сосуда, рассчитанное по зонам, следует определять с учетом той зоны, расчетное давление или расчетная температура которой имеет меньшее значение.
3. Если рассчитанное пробное давление (по
формуле (1)) при гидравлическом испытании сосуда, работающего под наружным давлением, вызывает необходимость утолщения стенки сосуда, то допускается пробное давление вычислять по формуле

. (2)
4. Пробное давление для гидравлического испытания сосуда (реактора и др.), предназначенного для работы в условиях нескольких режимов с различными расчетными параметрами (давлениями и температурами), следует принимать равным максимальному из определенных значений пробных давлений для каждого режима.
5. Для сосудов, работающих под вакуумом, расчетное давление принимается равным 0,1 МПа (1 кгс/см2).
6. Предельное отклонение пробного давления не должно превышать +/- 5%.
8.11.4. Гидравлическое испытание сосудов, устанавливаемых вертикально, допускается проводить в горизонтальном положении при условии обеспечения прочности корпуса сосуда. При этом разработчик сосуда должен выполнять расчет на прочность с учетом принятого способа опирания для проведения гидравлического испытания.
Пробное давление следует принимать с учетом гидростатического давления, действующего на сосуд в процессе его эксплуатации.
8.11.5. Для гидравлического испытания сосуда следует использовать воду.
Допускается по согласованию с разработчиком сосуда использование другой жидкости.
Температура воды принимается не ниже критической температуры хрупкости материала сосуда и указывается разработчиком сосуда в технической документации. При отсутствии указаний температура воды должна быть от 5 °C до 40 °C.
Разность температур стенки сосуда и окружающего воздуха во время испытания не должна вызывать конденсацию влаги на поверхности стенки сосуда.
8.11.6. При заполнении сосуда водой должен быть удален воздух из внутренних полостей. Давление следует поднимать равномерно до достижения пробного. Скорость подъема давления не должна превышать 0,5 МПа (5 кгс/см2) в минуту, если нет других указаний разработчика сосуда в технической документации.
Время выдержки под пробным давлением должно быть не менее значений, указанных в таблице 20.
Таблица 20
Время выдержки сосуда под пробным давлением
при гидравлическом испытании
Толщина стенки, мм | Время выдержки, мин |
До 50 включ. | 10 |
Св. 50 до 100 включ. | 20 |
Св. 100 | 30 |
После выдержки под пробным давлением давление снижают до расчетного, при котором проводят визуальный осмотр наружной поверхности, разъемных и сварных соединений. Не допускается обстукивание сосуда во время испытаний.
Визуальный осмотр сосудов, работающих под вакуумом, проводят при пробном давлении.
8.11.7. Пробное давление при гидравлическом испытании контролируют двумя манометрами. Манометры выбирают одного типа, предела измерения, класса точности, одинаковой цены деления. Манометры должны иметь класс точности не ниже 2.5.
8.11.8. После проведения гидравлического испытания вода должна быть полностью удалена.
8.11.9. Гидравлическое испытание допускается заменять пневматическим испытанием (сжатым воздухом, инертным газом или смесью воздуха с инертным газом) при условии контроля этого испытания методом акустической эмиссии. Контроль методом акустической эмиссии следует проводить в соответствии с НД.
Пневматическое испытание следует проводить по инструкции, утвержденной в установленном порядке.
Пробное давление следует определять согласно
8.11.3.
Время выдержки сосуда под пробным давлением должно быть не менее 5 мин и указываться в технической документации.
После выдержки под пробным давлением давление снижают до расчетного, при котором проводят визуальный осмотр наружной поверхности и проверку герметичности сварных и разъемных соединений.
8.11.10. Результаты испытаний считают удовлетворительными, если во время их проведения отсутствуют:
- падение давления по манометру;
- пропуски испытательной среды (течь, потение, пузырьки воздуха или газа) в сварных соединениях и на основном металле;
- признаки разрыва;
- течи в разъемных соединениях;
- остаточные деформации.
8.11.11. Испытание сосудов, работающих без давления (под налив), проводят смачиванием сварных швов керосином или наливом воды до верхней кромки сосуда.
Время выдержки сосуда при испытании наливом воды должно быть не менее 4 ч, а при испытании смачиванием керосином не менее указанного в таблице 21.
Таблица 21
Время выдержки сосуда и сварных швов при испытании
смачиванием керосином
Толщина стенки | Время выдержки, мин |
в нижнем положении шва | в потолочном, вертикальном положении шва |
До 4 включ. | 20 | 30 |
Св. 4 до 10 включ. | 25 | 35 |
Св. 10 | 30 | 40 |
8.11.12. Значение пробного давления и результаты испытания должны быть занесены в
паспорт (см. Приложение С).
8.12. Контроль на герметичность
8.12.1. Необходимость контроля на герметичность, степень герметичности и выбор методов и способов испытаний должны быть оговорены в технической документации на сосуд.
Контроль на герметичность следует проводить согласно требованиям НД.
Контроль на герметичность гидравлическим способом с люминесцентным индикаторным покрытием или люминесцентно-гидравлическим допускается совмещать с гидравлическим испытанием.
8.12.2. Контроль на герметичность крепления труб для трубных систем, соединений труба-решетка, где не допускается смешение сред (переток жидкости), следует проводить гелиевым (галогенным) течеискателем или люминесцентно-гидравлическим методом в соответствии с НД.
8.12.3. Контроль сварных швов на герметичность допускается проводить капиллярным методом смачиванием керосином. При этом поверхность контролируемого шва с наружной стороны следует покрывать мелом, а с внутренней - обильно смачивать керосином в течение всего периода испытания.
Время выдержки сварных швов при испытании смачиванием керосином должно быть не менее указанного в
таблице 21.
8.12.4. Контроль на герметичность швов приварки укрепляющих колец и сварных соединений облицовки патрубков и фланцев следует проводить пневматическим испытанием.
Пробное давление пневматического испытания должно быть:
- 0,4 - 0,6 МПа (4 - 6 кгс/см2), но не более расчетного давления сосуда для швов приварки укрепляющих колец;
- 0,05 МПа (0,5 кгс/см2) для сварных соединений облицовки.
Контроль необходимо осуществлять обмазкой мыльной эмульсией.
8.12.5. Качество сварного соединения следует считать удовлетворительным, если в результате применения любого соответствующего заданному классу герметичности метода не будет обнаружено течи (утечек).
9. Комплектность и документация
9.1.1. В комплект сосуда должны входить:
- сосуд в собранном виде или отдельно транспортируемые части с ответными фланцами, рабочими прокладками и крепежными деталями, не требующими замены при монтаже;
- запасные части (согласно указаниям в технической документации);
- фундаментные болты для крепления сосуда в проектном положении (по указанию в технической документации).
Примечание. Детали и сборочные единицы, которые при отправке в сборе с сосудом могут быть повреждены, допускается снимать и отправлять в отдельной упаковке. Тип и вид тары и упаковки этих деталей и сборочных единиц, а также покупных деталей должны соответствовать требованиям технических условий на конкретный сосуд.
9.1.2. Сосуд в собранном виде следует поставлять с внутренним защитным покрытием согласно требованиям технической документации.
Торкретирование, футеровку штучными материалами, теплоизоляцию осуществляет заказчик на монтажной площадке. Материалы для торкретирования, футеровки штучными материалами, теплоизоляции, а также неметаллические (керамические и др.) элементы для защиты внутренней футеровки в поставку предприятия-изготовителя, как правило, не входят. Металлические элементы для защиты внутренней футеровки, предусмотренные технической документацией, должно поставлять предприятие-изготовитель.
9.1.3. Транспортируемые части негабаритных сосудов следует поставлять с приваренными приспособлениями для сборки монтажного соединения под сварку.
После использования допускается приспособления срезать. Удалять их следует на расстоянии не менее 20 мм от стенок корпуса методами, не повреждающими стенки.
9.1.4. В поставку негабаритных сосудов, свариваемых на монтажной площадке из транспортируемых частей, должны, как правило, входить сварочные материалы и пластины металла для проведения контрольных испытаний сварных швов. При этом сварочные материалы и пластины должны отвечать требованиям
разделов 5 и
8.
9.1.5. Сосуды в собранном виде или транспортируемые части негабаритных сосудов следует поставлять с приваренными деталями для крепления изоляции, футеровки, обслуживающих площадок, металлоконструкций и др., предусмотренными техническим проектом. Приварные детали для крепления изоляции - по
ГОСТ 17314. Тип приварной детали выбирает предприятие-изготовитель.
9.1.6. В поставку тяжеловесного или негабаритного сосуда должны входить специальные траверсы, опорные устройства (цапфы), тележки или салазки для опоры нижней части сосуда, монтажные хомуты, съемные грузозахватные устройства, специальные строповые устройства, приспособления для выверки и устройства для перевода сосуда из горизонтального положения в вертикальное, если они предусмотрены в технической документации.
9.1.7. Изготовленные из труб детали (змеевики, секции, коллекторы, трубные пучки и др.), если они составляют части негабаритных сосудов или заказываются отдельно от сосудов, следует поставлять собранными на прокладках, предусмотренных технической документацией.
9.1.8. В комплект сосудов с механизмами и внутренними устройствами (реакторы, кристаллизаторы, емкости с погружными насосами и др.) должны входить электродвигатели, редукторы, насосы и др., предусмотренные технической документацией.
9.1.9. В комплект запасных частей должен входить комплект рабочих прокладок для фланцев. Если по условиям эксплуатации сосуда требуется большее количество запасных прокладок в течение предусмотренного срока службы, то поставка их осуществляется согласно требованиям технических условий на сосуд.
9.2.1. К сосудам следует прилагать следующую документацию:
- паспорт и приложения согласно требованиям НД. Форма паспортов сосудов, работающих под давлением свыше 0,07 МПа - согласно
ПБ 03-576-03 [2], а для сосудов, работающих не свыше 0,07 МПа, без давления (под налив) или под вакуумом, в соответствии с
Приложением С;
- инструкцию по монтажу;
- руководство по эксплуатации, включая регламент пуска и остановки;
- ведомость запасных частей;
- приложения согласно требованиям настоящего стандарта;
- чертежи быстроизнашивающихся деталей (по требованию заказчика);
- акт о проведении контрольной сборки или контрольной проверки размеров, схему монтажной маркировки, сборочные чертежи в трех экземплярах (для сосудов, транспортируемых частями);
- эксплуатационную документацию;
- техническую и сопроводительную документацию на комплектующие изделия (электродвигатели, редукторы, насосы и др.).
9.2.2. Сопроводительная документация на сосуды для экспорта должна соответствовать
ГОСТ 2.601,
ГОСТ Р 2.901, положению о порядке составления, оформления и рассылки технической и товаросопроводительной документации на товары, поставляемые для экспорта.
9.2.3. На чертеже, поставляемом с паспортом сосуда, предприятие-изготовитель должно указывать перечень транспортных блоков (частей) при поставке изделий блоками.
10. Маркировка, консервация и окраска, упаковка,
транспортирование и хранение
| | Применение на добровольной основе пункта 10.1 обеспечивает соблюдение требований технического регламента "О безопасности машин и оборудования", утв. Постановлением Правительства Российской Федерации от 15.09.2009 N 753 (Приказ Росстандарта от 20.08.2010 N 3108). | |
10.1.1. Сосуды должны иметь табличку, соответствующую требованиям
ГОСТ 12971.
Табличку допускается не устанавливать на сосудах наружным диаметром не более 325 мм. В этом случае необходимые данные наносят на корпус сосуда.
10.1.2. Табличку размещают на видном месте.
Табличку крепят на приварном подкладном листе, приварной скобе, приварных планках или приварном кронштейне.
10.1.3. На табличку должны быть нанесены:
- наименование или товарный знак предприятия-изготовителя;
- наименование или обозначение (шифр заказа) сосуда;
- порядковый номер сосуда по системе нумерации предприятия-изготовителя;
- расчетное давление, МПа;
- рабочее или условное давление, МПа;
- пробное давление, МПа;
- допустимая рабочая температура стенки, °C;
- масса сосуда, кг;
- год изготовления;
- клеймо технического контроля.
Сосуды, прошедшие сертификацию, следует маркировать знаком соответствия согласно
ГОСТ Р 50460.
10.1.4. На наружной поверхности стенки сосуда должна быть нанесена маркировка:
- наименование или товарный знак предприятия-изготовителя;
- порядковый номер по системе нумерации предприятия-изготовителя;
- год изготовления;
- клеймо технического контроля.
Маркировку сосудов с толщиной стенки корпуса не менее 4 мм наносят клеймением или гравировкой, а с толщиной стенки менее 4 мм - гравировкой или несмываемой краской. Маркировку заключают в рамку, выполненную атмосферостойкой краской, защищенной бесцветным лаком (тонким слоем смазки). Глубина маркировки клеймением или гравировкой должна быть 0,2 - 0,3 мм.
Качество и цвет маркировки должны соответствовать требованиям
ГОСТ 26828.
10.1.6. Кроме основной маркировки, следует:
а) выполнять по две контрольные метки вверху и внизу обечайки под углом 90° на неизолируемых вертикальных сосудах, не имеющих специальных приспособлений для выверки вертикальности их на фундаменте;
б) наносить монтажные метки (риски), фиксирующие в плане главные оси сосуда, для выверки проектного положения его на фундаменте;
в) наносить несмываемой краской отличительную окраску на строповые устройства;
г) прикреплять (или отливать) стрелку, указывающую направление вращения механизмов, при этом стрелку необходимо окрашивать в красный цвет несмываемой краской;
д) наносить монтажную маркировку (для негабаритных сосудов, транспортируемых частями);
е) наносить отметки, указывающие положение центра масс на обечайке сосудов, при этом отметки располагать на двух противоположных сторонах сосуда;
ж) указывать диаметр отверстий под регулировочные болты несмываемой краской вблизи от одного из отверстий (при наличии регулировочных болтов в опорной конструкции сосуда).
Примечание. Отметки центра масс выполняют по
ГОСТ 14192 (рекомендуется по
рисунку 12). Когда координаты центра тяжести изделия и груза, отправляемого без упаковки в тару, совпадают, то знак, определяющий координаты центра масс, наносят один раз с двух сторон, а когда не совпадают, то наносят дважды с двух сторон. К знаку, определяющему координаты центра масс, дополнительно наносят буквы "ЦМ".
10.1.7. Маркировка отгрузочных мест по
ГОСТ 14192.
10.1.8. На транспортируемых частях негабаритных сосудов должны быть указаны:
- обозначение сосуда;
- порядковый номер по системе нумерации предприятия-изготовителя;
- обозначение транспортируемой части.
10.1.9. На каждом сосуде, поставочном блоке, негабаритных частях сосуда следует указывать места крепления стропов, положение центра тяжести. Должны быть предусмотрены и поставлены предприятием-изготовителем устройства в соответствии с технической документацией, обеспечивающие установку в проектное положение сосуда в собранном виде или поставочного блока.
10.2. Консервация и окраска
10.2.1. Консервации и окраске подлежат сосуды, принятые отделом технического контроля.
10.2.2. Консервацию металлических неокрашенных поверхностей сосудов, поставляемых в полностью собранном виде, а также негабаритных поставочных частей, комплектующих деталей и сборочных единиц, входящих в объем поставки, следует проводить в соответствии с требованиями
ГОСТ 9.014, и она должна обеспечивать защиту от коррозии при транспортировании, хранении и монтаже в течение не менее 24 мес со дня отгрузки с предприятия-изготовителя.
10.2.3. Консервацию сосудов следует проводить по технологии предприятия-изготовителя с учетом условий транспортирования и хранения по
ГОСТ 9.014.
10.2.4. Методы консервации и применяемые для этого материалы должны обеспечивать возможность расконсервации сосудов в сборе и транспортируемых блоков (узлов) без их разборки.
Отвечающие требованиям НД марки консервационных материалов выбирают в каждом отдельном случае в зависимости от условий эксплуатации сосудов.
Примечание. Если по условиям эксплуатации требуется обезжиривание, которое невозможно выполнять без разборки сборочных единиц, то требование о безразборной расконсервации на эти сосуды не распространяется.
10.2.5. Свидетельство о консервации должно включать:
- дату консервации;
- марку консервационного материала;
- вариант внутренней упаковки;
- условия хранения;
- срок защиты без переконсервации;
- срок консервации;
- способы расконсервации.
Свидетельство прикладывается к паспорту сосуда, подвергнутого консервации. При этом следует применять обозначения в соответствии с
ГОСТ 9.014.
10.2.6. Поверхность сосуда (сборочной единицы) перед окраской должна быть подготовлена с учетом требований
ГОСТ 9.402 по инструкции предприятия-изготовителя.
10.2.7. Выбор системы покрытий и лакокрасочных материалов для защиты сосудов (сборочных единиц) проводят в зависимости от условий эксплуатации, категории размещения, транспортирования, хранения, монтажа, габаритов и других условий согласно НД.
10.2.8. Цвет покрытия в зависимости от условий эксплуатации выбирают по
ГОСТ Р 12.4.026 и техническим условиям на сосуд (сборочную единицу).
На период транспортирования, монтажа и хранения цвет покрытия не нормируется.
10.2.9. При поставке негабаритных сосудов частями или габаритными блоками защитное покрытие наносят в соответствии с требованиями
10.2.6,
10.2.7.
Примечание. Кромки, подлежащие сварке на монтажной площадке, и прилегающие к ним поверхности шириной 50 - 60 мм должны быть защищены. Окраска кромок не допускается.
10.3. Упаковка, транспортирование и хранение
10.3.1. Упаковку сосудов следует производить по технической документации на конкретный сосуд.
10.3.2. При необходимости, внутренние устройства и вращающиеся механизмы должны быть закреплены для предохранения от деформации под влиянием собственной массы и динамических нагрузок при транспортировании.
10.3.3. Все отверстия, патрубки, штуцера, муфты и присоединительные фланцы оборудования, поставляемого в сборе, а также поставочных блоков и узлов должны быть закрыты пробками или заглушками для защиты от повреждений уплотнительных поверхностей и от загрязнений. При этом ответственные разъемы оборудования, поставляемого в сборе, и поставочных блоков (узлов) должны быть опломбированы.
10.3.4. Отдельно отправляемые сборочные единицы, детали, запасные части должны быть упакованы в ящики или собраны в пакеты (стопы).
Вид упаковки выбирает предприятие-изготовитель, если нет других указаний в технической документации.
Ящики для запасных частей сосудов, предназначенных на экспорт, должны соответствовать требованиям
ГОСТ 24634 или требованиям контракта (договора).
10.3.5. Крепежные детали при отправке их в ящиках должны быть законсервированы согласно инструкции предприятия-изготовителя, а шпильки (болты) фланцевых соединений дополнительно упакованы в оберточную или парафинированную бумагу.
10.3.6. Техническая и товаросопроводительная документации, прилагаемые к сосудам, должны быть завернуты в водонепроницаемую бумагу или бумагу с полиэтиленовым покрытием и вложены в пакет, изготовленный из полиэтиленовой пленки толщиной не менее 150 мкм. Швы пакета сваривают (заклеивают).
Для дополнительной защиты от механических повреждений пакет должен быть обернут водонепроницаемой бумагой или полиэтиленовой пленкой. Края бумаги или пленки должны быть склеены синтетическим клеем.
10.3.7. Если сосуд поставляют в виде нескольких грузовых мест, техническую документацию следует упаковывать в грузовое место N 1.
10.3.8. При отгрузке сосудов без тары техническую документацию следует крепить внутри сосуда или на сосуде. При этом на сосуд наносят надпись: "Документация находится здесь".
10.3.9. Каждое грузовое место должно иметь свой упаковочный лист, который вкладывают в пакет из водонепроницаемой бумаги или бумаги с полиэтиленовым покрытием. Пакет дополнительно завертывают в водонепроницаемую бумагу и размещают в специальном кармане, изготовленном в соответствии с документацией, применяемой на предприятии-изготовителе. Карман крепят около маркировки груза.
К ярлыку грузов, отправляемых в пакетах и связках, следует крепить футляр для упаковочного листа в соответствии с документацией, используемой на предприятии-изготовителе.
Второй экземпляр упаковочного листа или комплектовочной ведомости вместе с технической документацией упаковывают в грузовое место N 1.
10.3.10. Техническую документацию и второй экземпляр упаковочного листа допускается отправлять почтой. Отправку технической документации осуществляют в течение одного месяца после отгрузки сосуда.
10.3.11. Сосуды следует транспортировать железнодорожным транспортом в соответствии с требованиями Правил перевозок грузов железнодорожным транспортом.
Допускается транспортирование автомобильным и водным транспортом.
Транспортирование и крепление сосудов следует осуществлять по документации предприятия-изготовителя.
10.3.12. В целях обеспечения сохранности оборудования и его упаковки транспортирование и погрузочно-разгрузочные работы следует проводить без резких толчков и ударов.
10.3.13. Условия транспортирования и хранения сосудов на предприятии-изготовителе и монтажной площадке должны обеспечивать сохранность качества сосудов, предохранять их от коррозии, эрозии, загрязнения, механических повреждений и деформации.
10.3.14. Категорию и условия транспортирования и хранения сосудов в части воздействия климатических факторов внешней среды по
ГОСТ 15150 следует указывать в технических условиях на конкретные сосуды. При назначении категории и условий хранения должна быть учтена сохраняемость комплектующих деталей.
11. Гарантии изготовителя
11.1. Предприятие-изготовитель должно гарантировать соответствие сосудов требованиям настоящего стандарта при соблюдении условий транспортирования, хранения, монтажа и эксплуатации.
11.2. Гарантийный срок эксплуатации сосудов не менее 18 мес со дня ввода сосуда в эксплуатацию, но не более 24 мес после отгрузки с предприятия-изготовителя.
(обязательное)
┌─────────────┬─────────────┬───────────────────┬─────────────────┬───────┐
│ Марка стали │ Технические │ Рабочие условия │ Вид испытания и │Номер │
│ │ требования ├────────┬──────────┤ дополнительное │приме- │
│ │ │темпера-│давление │ требование │чания к│
│ │ │тура │среды, МПа│ │данной │
│ │ │стенки, │(кгс/см2),│ │таблице│
│ │ │°C │не более │ │ │
├─────────────┼─────────────┼────────┼──────────┼─────────────────┼───────┤
│по
ГОСТ 380 │категория 2 ├────────┼──────────┤ │ │
│ │ │От -15 │0,07 (0,7)│ │ │
│ │ │до +350 │ │ │ │
│ │ ├────────┼──────────┤ ├───────┤
│ │ │до +550 │ │ │ │
├─────────────┼─────────────┼────────┼──────────┼─────────────────┼───────┤
│по
ГОСТ 380 │категория 4 │ │ │температуре │ │
├─────────────┼─────────────┼────────┤ │стенки свыше │ │
│Ст3пс, Ст3сп,│По │Св. 0 │ │+200 °C │ │
├─────────────┼─────────────┼────────┤ │ ├───────┤
│Ст3сп, Ст3пс,│По │От -20 │ │ │
4,
11, │
├─────────────┼─────────────┼────────┤ │ ├───────┤
│Ст4сп │По │Св. 0 │ │ │
6,
26 │
│ │категория 3 │ │ │ │ │
├─────────────┼─────────────┼────────┼──────────┼─────────────────┼───────┤
│по
ГОСТ 1050 ├─────────────┤до +425 │ограничено├─────────────────┼───────┤
│ │категория 2 │ │ │ │ │
├─────────────┼─────────────┼────────┤ ├─────────────────┼───────┤
│20К по │По │От -20 │ │По ТУ 14-1-4088 │
11,
26 │
│ТУ 14-1-4088 │ТУ 14-1-4088 │до +475 │ │
[3] полистно при │ │
│
[3] │
[3] │ │ │температуре стен-│ │
│ │ │ │ │ки свыше 200 °C │ │
├─────────────┼─────────────┼────────┤ ├─────────────────┼───────┤
│20К, 22К │категория 5 │до +200 │ │ │
12,
17,│
│ │категория 3 │до +200 │ │ │ │
│ ├─────────────┼────────┤ ├─────────────────┼───────┤
│ │категория 18 │до +475 │ │ │
11,
12,│
│ ├─────────────┼────────┤ │ │
17,
18,│
│ │категории 11,│до +475 │ │ │ │
│ │17 │ │ │ │ │
├─────────────┼─────────────┼────────┤ ├─────────────────┤ │
│22К по │По │От -20 │ │По ТУ 108.11.543 │ │
│ТУ 108.11.543│ТУ 108.11.543│до +350 │ │
[4] │ │
├─────────────┼─────────────┼────────┤ ├─────────────────┼───────┤
│20КА по ТУ │По ТУ │От -40 │ │По │
11,
26 │
│05764417-013 │05764417-013 │до +475 │ │ТУ 05764417-013 │ │
├─────────────┼─────────────┼────────┤ ├─────────────────┼───────┤
│ │8, 9 в │ │ │ │ │
│ │зависимости │ │ │ │ │
│ │от темпера- │ │ │ │ │
│ │туры стенки │ │ │ │ │
├─────────────┼─────────────┼────────┤ │ ├───────┤
│16ГС, 09Г2С, │категория 6 │до +200 │ │ │
10,
17,│
│по
ГОСТ 5520 ├─────────────┼────────┤ ├─────────────────┼───────┤
│ │категории 3, │до +200 │ │ │
26 │
│ │5 │ │ │ │ │
├─────────────┼─────────────┼────────┤ ├─────────────────┼───────┤
├─────────────┼─────────────┤ │ │ │
18,
26 │
│10Г2С1 │категории │ │ │ │ │
├─────────────┼─────────────┼────────┤ ├─────────────────┼───────┤
├─────────────┼─────────────┼────────┤ ├─────────────────┼───────┤
│09Г2С, 09Г2СА│По │От -70 │ │По ТУ 302.02.122 │
11 │
│по │ТУ 302.02.122│до +475 │ │
[6] │ │
│ТУ 302.02.122│
[6] │ │ │ │ │
├─────────────┼─────────────┼────────┤ ├─────────────────┼───────┤
│09Г2С │категория 3 │ │ │ │
26 │
├─────────────┼─────────────┼────────┤ ├─────────────────┼───────┤
│09Г2С, 09Г2 │категория 4 │ │ │ │
26 │
├─────────────┼─────────────┼────────┤ ├─────────────────┼───────┤
│09Г2С, 09Г2 │категория 12 │ │ │ │
26 │
├─────────────┼─────────────┼────────┤ ├─────────────────┼───────┤
│ │категории 7, │ │ │ │ │
│ │15 │ │ │ │ │
├─────────────┼─────────────┼────────┤ ├─────────────────┼───────┤
│16ГС по │По │От -40 │ │По ТУ 14-1-5241 │
15 │
│ТУ 14-1-5241 │ТУ 14-1-5241 │до +475 │ │
[7] │ │
├─────────────┤ ├────────┤ │ │ │
│09Г2С по │ │От -70 │ │ │ │
│ТУ 14-1-5241 │ │до +475 │ │ │ │
├─────────────┼─────────────┼────────┤ ├─────────────────┼───────┤
│09Г2С по │По │От -40 │ │По ТУ 14-1-5265 │
11,
26 │
│ТУ 14-1-5265 │ТУ 14-1-5265 │до +475 │ │
[8] │ │
├─────────────┼─────────────┼────────┤ ├─────────────────┼───────┤
│09Г2СЮЧ, │По │От -70 │ │По ТУ 14-1-5065 │
11 │
│09ХГ2СЮЧ по │ТУ 14-1-5065 │до +475 │ │
[9] │ │
│ТУ 14-1-5065 │
[9] │ │ │ │ │
├─────────────┼─────────────┼────────┤ ├─────────────────┼───────┤
│12МХ │По │Св. 0 │ │По ТУ 14-1-5093 │- │
│ │ТУ 24-10-003 │ │ │ │ │
├─────────────┼─────────────┼────────┤ ├─────────────────┤ │
│по
ГОСТ 5520;│ТУ 14-1-5093 │до +560 │ │ТУ 14-1-5093 │ │
│
[10]; │ТУ 24-10-003 │ │ │ТУ 24-10-003 │ │
│
[11]; │ТУ 302.02.031│ │ │ТУ 302.02.031 │ │
├─────────────┼─────────────┼────────┤ ├─────────────────┤ │
│10Х2М1А-А, │По │Св. 0 │ │По ТУ 302.02.121 │ │
│10Х2М1А, │ТУ 302.02.121│до +560 │ │
[13] │ │
│(10Х2М1А-ВД, │
[13] │ │ │ │ │
│10Х2М1А-Ш) │ │ │ │ │ │
│по │ │ │ │ │ │
│ТУ 302.02.121│ │ │ │ │ │
├─────────────┼─────────────┼────────┤ ├─────────────────┼───────┤
├─────────────┼─────────────┼────────┤ ├─────────────────┼───────┤
│10Х2ГНМ по │По │Св. 0 │ │По ТУ 108.11.928 │- │
│ТУ 108.11.928│ТУ 108.11.928│до +550 │ │
[15]; │ │
│ТУ 14-1-5117 │ТУ 14-1-5117 │ │ │ │ │
├─────────────┼─────────────┼────────┤ ├─────────────────┼───────┤
│20ЮЧ по │По │От -40 │ │По ТУ 14-1-4853 │
26 │
│ТУ 14-1-4853 │ТУ 14-1-4853 │до +475 │ │
[17] │ │
├─────────────┼─────────────┤ │ ├─────────────────┤ │
│09ХГ2НАБЧ │По │ │ │По ТУ 14-1-3333 │ │
│по │ТУ 14-1-3333 │ │ │
[18] │ │
│ТУ 14-1-3333 │
[18] │ │ │ │ │
├─────────────┼─────────────┼────────┤ ├─────────────────┼───────┤
│09ГСНБЦ по ТУ│По ТУ │От -40 │ │По │
26 │
│05764417-013 │05764417-013 │до +350 │ │ТУ 05764417-013 │ │
│ТУ 14-1-5307 │ТУ 14-1-5307 │ │ │ТУ 14-1-5307
[19]│ │
├─────────────┼─────────────┼────────┤ ├─────────────────┤ │
│09ГН2АБ по ТУ│По ТУ │От -60 │ │По │ │
│05764417-013 │05764417-013 │до +350 │ │ТУ 05764417-013 │ │
├─────────────┼─────────────┼────────┤ ├─────────────────┤ │
│16ГМЮЧ │По │От -40 │ │По ТУ 14-1-4826 │ │
│по ТУ 14-1- │ТУ 14-1-4826 │до +520 │ │
[20] │ │
├─────────────┼─────────────┼────────┤ ├─────────────────┼───────┤
│15Х2МФА-А по │По │Св. 0 │ │По ТУ 302.02-014 │- │
│ТУ 302.02-014│ТУ 302.02-014│до +560 │ │
[21] │ │
├─────────────┼─────────────┼────────┤ ├─────────────────┤ │
│12Х2МФА по │По ТУ 108.131│Св. 0 │ │По ТУ 108.131 │ │
├─────────────┼─────────────┼────────┤ ├─────────────────┼───────┤
│ │категории 12,│ │ │ │
26 │
│ │13, 14 в │ │ │ │ │
│ │зависимости │ │ │ │ │
│ │от темпера- │ │ │ │ │
│ │туры стенки │ │ │ │ │
├─────────────┼─────────────┤ │ ├─────────────────┼───────┤
│15Г2СФ по │По │ │ │По ТУ 14-1-4502 │
26 │
│ТУ 14-1-4502 │ТУ 14-1-4502 │ │ │
[23] │ │
├─────────────┼─────────────┼────────┤ ├─────────────────┼───────┤
│09Г2ФБ, │По │От -60 │ │По ТУ 14-1-4083 │
26 │
│10Г2ФБ по │ТУ 14-1-4083 │до +425 │ │
[24] │ │
│ТУ 14-1-4083 │
[24] │ │ │ │ │
├─────────────┼─────────────┼────────┤ ├─────────────────┼───────┤
│09Г2БТ, │По │От -70 │ │По ТУ 14-1-4083 │
26 │
│10Г2БТ, │ТУ 14-1-4083 │до +200 │ │
[24] │ │
│07ГФБ-у по │
[24] │ │ │ │ │
│ТУ 14-1-4083 │ │ │ │ │ │
├─────────────┼─────────────┼────────┤ ├─────────────────┼───────┤
├─────────────┼─────────────┼────────┤ │ │ │
│10ХСНД, │По │От -40 │ │ │ │
├─────────────┼─────────────┼────────┤ ├─────────────────┼───────┤
├─────────────┼─────────────┼────────┤ ├─────────────────┼───────┤
├─────────────┼─────────────┼────────┤ ├─────────────────┼───────┤
├─────────────┤ ├────────┤ │ │ │
│Д32, Д36, Д40│ │От -20 │ │ │ │
├─────────────┼─────────────┼────────┤ ├─────────────────┼───────┤
│ │ │ │ │М2а и М3а │ │
├─────────────┼─────────────┼────────┤ ├─────────────────┼───────┤
├─────────────┼─────────────┼────────┤ ├─────────────────┼───────┤
│03Х19АГ3Н10 │По │От -196 │ │По ТУ 14-1-2261 │- │
│по │ТУ 14-1-2261 │до +450 │ │
[25] │ │
│ТУ 14-1-2261 │
[25] │ │ │ │ │
├─────────────┼─────────────┼────────┤ ├─────────────────┼───────┤
├─────────────┼─────────────┼────────┼──────────┼─────────────────┼───────┤
├─────────────┼─────────────┼────────┤ ├─────────────────┼───────┤
│07Х13АГ20 по │По │От -70 │ │По ТУ 14-1-3342 │- │
│ТУ 14-1-3342 │ТУ 14-1-3342 │до -300 │ │
[26] │ │
├─────────────┼─────────────┼────────┼──────────┼─────────────────┼───────┤
│ │ТУ 14-1-3199 │ │ │М2а и М3а │ │
│ │ТУ 14-1-4780 ├────────┼──────────┤по ТУ 14-1-3199 │ │
│ │ТУ 14-1-2542 │до +700 │ │ТУ 14-1-4780 │ │
│ │ТУ 108-1151 │ │ │ТУ 14-1-2542 │ │
│ │ │ │ │ТУ 108-1151
[30] │ │
├─────────────┼─────────────┼────────┼──────────┼─────────────────┼───────┤
│ │ ├────────┼──────────┤ │ │
│ │ │От -196 │Не │ │ │
│ │ │до +610 │ограничено│ │ │
├─────────────┼─────────────┼────────┤ ├─────────────────┼───────┤
│03Х18Н11 │По
ГОСТ 5582 │От -253 │ │ТУ 14-1-5142 │- │
│ │
[31]; │ │ │ТУ 14-1-5073 │ │
│ │ТУ 14-1-5073 │ │ │
[32]; │ │
│ │
[32] │ │ │Группы М2а и М3а │ │
├─────────────┼─────────────┼────────┤ ├─────────────────┼───────┤
│ │ ├────────┤ │М2а и М3а ├───────┤
├─────────────┼─────────────┼────────┤ ├─────────────────┼───────┤
│08Х17Н13М2Т │По │От -253 │ │Группа А │- │
│по
ГОСТ 5632 │ТУ 14-1-394 │до +350 │ │по ТУ 14-1-394 │ │
│ │ │От +350 │ │ │
19,
20,│
├─────────────┼─────────────┼────────┤ ├─────────────────┼───────┤
│10Х17Н13М3Т │По │От -196 │ │Группа М2б по │
19,
23 │
│ │ТУ 14-1-394 │От +350 │ │ТУ 14-1-394
[33];│
19,
20,│
│ │
[33] │до +600 │ │группы М2а и М3а │
23 │
├─────────────┼─────────────┼────────┤ ├─────────────────┼───────┤
│02Х18Н11 │По │От -253 │ │По ТУ 14-1-3071 │- │
│по │ТУ 14-1-3071 │до +450 │ │
[34] │ │
│ТУ 14-1-3071 │
[34] │ │ │ │ │
├─────────────┼─────────────┼────────┤ ├─────────────────┼───────┤
│ │ ├────────┤ │ ├───────┤
│ │ │От +350 │ │ │
19,
20,│
├─────────────┼─────────────┼────────┤ ├─────────────────┼───────┤
│03ХН28МДТ, │По │От -196 │ │Группы М2б по │
19,
23 │
├─────────────┼─────────────┼────────┤ ├─────────────────┼───────┤
│03Х17Н14М3 │По │От -196 │ │По │- │
├─────────────┼─────────────┼────────┤ ├─────────────────┼───────┤
├─────────────┼─────────────┼────────┼──────────┼─────────────────┼───────┤
│ │ТУ 14-1-3669 │ │ │ │ │
├─────────────┼─────────────┼────────┼──────────┼─────────────────┼───────┤
│по
ГОСТ 5632 │ТУ 14-1-3199 │ │ │М2а и М3а по │ │
│ │ТУ 14-1-2542 │От +350 │ │ТУ 14-1-3199 │
19,
20,│
│ │ТУ 108-1151 │ │ │ТУ 14-1-2542 │ │
│ │ТУ 108-930 ├────────┼──────────┤ТУ 108-1151
[30];│ │
│ │
[37]; │От +610 │5 (50) │ТУ 108-930
[37]; │ │
│ │ТУ 14-1-394 │до +700 │ │ТУ 14-1-394
[33] │ │
├─────────────┼─────────────┼────────┼──────────┼─────────────────┼───────┤
│ │ │ │ │Группы М2а и М3а │
25 │
├─────────────┼─────────────┼────────┼──────────┼─────────────────┼───────┤
│08Х13, 12Х13,│По
ГОСТ 7350 │От -40 │Не │Группа М2б │
3,
19, │
│ │ │ │ │ │сталей │
│ │ │ │ │ │марок │
│ │ │ │ │ │12Х13, │
│ │ │ │ │ │20Х13) │
├─────────────┤ ├────────┼──────────┼─────────────────┼───────┤
│08Х17Т │ │Св. 0 │1,6 (16) │Группа М2б │
3,
19, │
├─────────────┤ ├────────┤ │ │ │
│15Х25Т │ │Св. 0 │ │ │ │
├─────────────┼─────────────┼────────┼──────────┼─────────────────┼───────┤
│07Х16Н6 по │По │От -40 │Не │По ТУ 14-1-2735 │- │
│ТУ 14-1-2735 │ТУ 14-1-2735 │до +350 │ограничено│
[38] │ │
├─────────────┼─────────────┼────────┤ ├─────────────────┼───────┤
│ХН32Т по │По │От -70 │ │По ТУ 14-1-625 │- │
│ТУ 14-1-625 │ТУ 14-1-625 │до +900 │ │
[39] │ │
├─────────────┴─────────────┴────────┴──────────┴─────────────────┴───────┤
│ Примечания. 1. Допускается применять сталь марок 15 и 20 по│
│
ГОСТ 1577 при тех же условиях, что и сталь марок 16К, 18К и 20К, при этом│
│объем и виды испытаний этих сталей на предприятии - изготовителе сосудов│
│должны быть проведены по
ГОСТ 5520 в том же объеме, что и для сталей│
│марок 15К, 16К, 18К и 20К соответствующих категорий. │
│ 2. Толщина листа - не более 16 мм. │
│ 3. Для трубных решеток, а также деталей внутренних устройств и других│
│неответственных конструкций. │
│ 4. Ограничения по толщине: для сталей марок Ст3сп и Ст3пс 3-й│
│категории - не более 40 мм, для сталей марок Ст3сп и Ст3пс 4-й и 5-й│
│категорий - не более 25 мм, для стали марки Ст3Гпс - не более 30 мм. │
│ 5. Механические свойства листов по
ГОСТ 5520 толщиной менее 12 мм│
│проверяют на листах, взятых от партии. │
│ 6. Допускается применять сталь марок Ст5пс2 и Ст5сп2 для деталей, не│
│подлежащих сварке, при тех же параметрах, что и сталь марки Ст4сп3, с│
│испытанием на ударный изгиб на предприятии - изготовителе сосудов или их│
│отдельных деталей. │
│ 7. Прокладки толщиной не более 2 мм допускается применять при│
│температуре среды до минус 70 °C. │
│ 8. Для сосудов из стали марки 10Г2С1, работающих под давлением,│
│температура стенки должна быть не ниже минус 60 °C. │
│ 9. При толщине листов более 60 мм и менее 12 мм применяют сталь 12-й│
│категории. │
│ 10. Допускается применение стали марки 10Г2 по
ГОСТ 1577 - при│
│температурах стенок от минус 70 до минус 40 °C с техническими│
│требованиями для стали марки 09Г2С в этом температурном интервале. │
│ 11. Испытание на механическое старение проводят в том случае, если│
│при изготовлении сосудов, имеющих температуру стенки свыше плюс 200 °C,│
│сталь подвергается холодной деформации (вальцовке, гибке, отбортовке и│
│др.). │
│ 12. Для сталей марок 16К, 18К, 20К испытание при минус 20 °C проводят│
│на металлургическом предприятии. Ударная вязкость не менее│
│30 Дж/см2 (3 кгсм/см2). │
│ 13. При толщине листов менее 5 мм допускается применение сталей по│
│
ГОСТ 14637 категории 2-й вместо сталей категорий 3-й и 4-й. При толщине│
│листов менее 7 мм допускается применение сталей по
ГОСТ 14637 категорий│
│3-й и 4-й вместо 5-й и 6-й категорий соответственно. │
│ 14. Листы следует поставлять с обязательным выполнением требований│
│следует проводить контроль макроструктуры по
ГОСТ 5520 от партии листов. │
│быть испытаны полистно при температуре стенки ниже минус 30 °C, выше плюс│
│200 °C или при давлении более 5 МПа (50 кгс/см2) при толщине листа не│
│менее 12 мм. │
│ 16. Для нетермообрабатываемых и термообрабатываемых сосудов. │
│ 17. При толщине листов менее 5 мм допускается применение сталей по│
│
ГОСТ 5520 категории 2-й вместо сталей категорий 3-й - 7-й. При толщине│
│листов менее 7 мм допускается применение сталей по
ГОСТ 5520 категории│
│3-й вместо категории 18-й, категории 6-й - вместо категорий 12-й и 17-й. │
│ 18. Допускается применение сталей марок 16К, 18К, 20К по
ГОСТ 5520│
│10-й категории вместо категории 18-й; стали марок 16ГС, 09Г2С по│
│
ГОСТ 5520 12-й - 15-й категорий (в зависимости от температуры стенки,│
│если она ниже 0 °C) вместо стали 17-й категории. │
│ 19. Допускается применение стали по
ГОСТ 7350 группы поверхности М3б│
│и М4б при условии, что в расчете на прочность должны быть учтены глубина│
│залегания дефектов и минусовые отклонения. │
│ 20. Для сред, не вызывающих межкристаллитную коррозию. │
│ 21. Для изделий толщиной до 12 мм. │
│ 22. Для изготовления деталей, не подлежащих сварке. │
│ 23. Сталь должна быть заказана в соответствии с требованиями
5.2.3. │
│ 24. При заказе проката толщиной до 32 мм включительно класс прочности│
│должен быть 325, 345; при толщине более 32 мм класс прочности - 265, 295.│
│ 25. Для внутренних, не подлежащих сварке деталей сосудов допускается│
│применение стали марки 08Х13 (
ГОСТ 5632) при температуре стенки от минус│
│60 °C до плюс 550 °C. │
│ 26. Допускается снижение нижнего температурного предела применения не│
│более чем на 20 °C (но не ниже минус 70 °C) для листов толщиной до 36 мм,│
│если: │
│ - при расчете на прочность допускаемые напряжения уменьшены не менее│
│чем в 1,35 раза и проводится термообработка сосуда независимо│
│ - при расчете на прочность допускаемые напряжения уменьшены не менее│
│чем в 2,85 раза без проведения термообработки сосуда, если она│
│не согласуется с требованиями
6.11. │
│ 27. Углеродистая кипящая сталь не должна применяться: │
│ - в сосудах, предназначенных для сжиженных газов; │
│ - в сосудах, предназначенных для работы со взрыво- и пожароопасными│
│веществами и вредными веществами 1-го и 2-го классов опасности│
│растрескивание (раствором едкого калия и натрия, азотнокислым калием,│
│натрием, аммонием и кальцием, этаноламином, азотной кислотой, аммиачной│
│водой, жидким аммиаком при содержании влаги менее 0,2% и др.) или│
│сероводородное растрескивание и расслоение. │
│ 28. Листовую углеродистую сталь марки Ст3сп (
ГОСТ 380) толщиной более│
│25 мм и сталь марки Ст3Гпс (
ГОСТ 380) толщиной более 30 мм допускается│
│применять в соответствии с параметрами, предусмотренными данным│
│приложением, при условии проведения испытания материала на ударный изгиб│
│на предприятии - изготовителе сосудов или их элементов. Испытание на│
│ударный изгиб следует проводить на трех образцах. │
│ При этом ударная вязкость KCU должна быть не менее: │
│ 50 Дж/см2 (5 кгс/см2) при температуре плюс 20 °C; │
│ 30 Дж/см2 (3 кгс/см2) при температуре минус 20 °C и после│
│механического старения, а на одном образце допускается ударная вязкость│
│не менее 25 Дж/см2 (25 кгс x м/см2). │
│ 29. Сталь марки Ст3пс 3, 4, 5-й категорий толщиной более 12 мм│
│до 25 мм допускается применять для сосудов объемом не более 50 м3,│
│а толщиной не более 12 мм наравне со сталью Ст3сп (
ГОСТ 380)│
│соответствующей категории. │
└─────────────────────────────────────────────────────────────────────────┘
(обязательное)
ЛИСТОВАЯ ДВУХСЛОЙНАЯ СТАЛЬ
Таблица Б.1
┌────────────────────┬────────────┬──────────────────┬────────────┬───────┐
│ Марка стали │Технические │ Рабочие условия │Вид испыта- │Номер │
│ │ требования ├───────┬──────────┤ния и допол-│приме- │
│ │ │темпе- │ давление │нительное │чания к│
│ │ │ратура │среды, МПа│требование │данной │
│ │ │стенки,│(кгс/см2),│ │таблице│
│ │ │°C │ не более │ │ │
├────────────────────┼────────────┼───────┼──────────┼────────────┼───────┤
│Ст3сп4 с плакирующим│По │От -20 │ 5 (50) │По │
1,
3 │
│марок 08Х13, │ │ │ │ │ │
│08Х18Н10Т, │ │ │ │ │ │
│12Х18Н10Т, │ │ │ │ │ │
│08Х18Н12Б, │ │ │ │ │ │
│10Х17Н13М3Т, │ │ │ │ │ │
│10Х17Н13М2Т, │ │ │ │ │ │
│08Х17Н15М3Т, │ │ │ │ │ │
│06ХН28МДТ │ │ │ │ │ │
├────────────────────┤ ├───────┤ │ │ │
│Ст3сп3 с плакирующим│ │От 0 │ │ │ │
│слоем из сталей │ │до +200│ │ │ │
│марок 08Х13, │ │ │ │ │ │
│08Х18Н10Т, │ │ │ │ │ │
│12Х18Н10Т, │ │ │ │ │ │
│08Х18Н12Б, │ │ │ │ │ │
│10Х17Н13М3Т, │ │ │ │ │ │
│10Х17Н13М2Т, │ │ │ │ │ │
│08Х17Н15М3Т, │ │ │ │ │ │
│06ХН28МДТ │ │ │ │ │ │
├────────────────────┤ ├───────┼──────────┤ ├───────┤
│Ст3сп5 с плакирующим│ │От -20 │ 5 (50) │ │
1,
3,
5│
│слоем из сталей │ │до +425│ │ │ │
│марок 08Х13, │ │ │ │ │ │
│08Х18Н10Т, │ │ │ │ │ │
│12Х18Н10Т, │ │ │ │ │ │
│08Х18Н12Б, │ │ │ │ │ │
│10Х17Н13М3Т, │ │ │ │ │ │
│10Х17Н13М2Т, │ │ │ │ │ │
│08Х17Н15М3Т, │ │ │ │ │ │
│06ХН28МДТ │ │ │ │ │ │
├────────────────────┤ ├───────┼──────────┤ ├───────┤
│20К-18 с плакирующим│ │От 0 │Не │ │
1,
3 │
│слоем из сталей │ │до +475│ограничено│ │ │
│марок 08Х13 │ │ │ │ │ │
├────────────────────┤ ├───────┤ │ ├───────┤
│20К категорий 11, 17│ │От -20 │ │ │
1,
3,
5│
│с плакирующим слоем │ │до +475│ │ │ │
│из стали марки 08Х13│ │ │ │ │ │
├────────────────────┤ ├───────┤ │ │ │
│20К категории 5 │ │От -20 │ │ │ │
│с плакирующим слоем │ │до +200│ │ │ │
│из сталей марок │ │ │ │ │ │
│08Х13, 08Х18Н10Т, │ │ │ │ │ │
│12Х18Н10Т, │ │ │ │ │ │
│08Х18Н12Б, │ │ │ │ │ │
│10Х17Н13М3Т, │ │ │ │ │ │
│10Х17Н13М2Т, │ │ │ │ │ │
│08Х17Н15М3Т, │ │ │ │ │ │
│06ХН28МДТ │ │ │ │ │ │
├────────────────────┤ ├───────┤ │ │ │
│20К категории 3 │ │От 0 │ │ │ │
│с плакирующим слоем │ │до +200│ │ │ │
│из сталей марок │ │ │ │ │ │
│08Х13, 08Х18Н10Т, │ │ │ │ │ │
│12Х18Н10Т, │ │ │ │ │ │
│08Х18Н12Б, │ │ │ │ │ │
│10Х17Н13М3Т, │ │ │ │ │ │
│10Х17Н13М2Т, │ │ │ │ │ │
│08Х17Н15М3Т, │ │ │ │ │ │
│06ХН28МДТ │ │ │ │ │ │
├────────────────────┤ ├───────┤ │ ├───────┤
│20К категории 18 │ │Св. 0 │ │ │
1,
2, │
│с плакирующим слоем │ │до +425│ │ │
3,
5 │
│из сталей марок │ │ │ │ │ │
│08Х18Н10Т, │ │ │ │ │ │
│12Х18Н10Т, │ │ │ │ │ │
│08Х18Н12Б, │ │ │ │ │ │
│10Х17Н13М3Т, │ │ │ │ │ │
│10Х17Н13М2Т, │ │ │ │ │ │
│08Х17Н15М3Т, │ │ │ │ │ │
│06ХН28МДТ │ │ │ │ │ │
├────────────────────┤ ├───────┤ │ ├───────┤
│20К-11 с плакирующим│ │От -20 │ │ │
1,
2, │
│слоем из сталей │ │до +425│ │ │
3,
5 │
│марок 08Х18Н10Т, │ │ │ │ │ │
│12Х18Н10Т, │ │ │ │ │ │
│08Х18Н12Б, │ │ │ │ │ │
│10Х17Н13М3Т, │ │ │ │ │ │
│10Х17Н13М2Т, │ │ │ │ │ │
│06ХН28МДТ │ │ │ │ │ │
├────────────────────┼────────────┼───────┤ ├────────────┼───────┤
│22К с плакирующим │По ТУ │От -20 │ │По ТУ │
5 │
│слоем из сталей │05764417-041│до +475│ │05764417-041│ │
│08Х18Н10Т по │ │ │ │ │ │
│ТУ 05764417-041
[41]│ │ │ │ │ │
├────────────────────┼────────────┼───────┤ ├────────────┼───────┤
│16ГС, 09Г2С │По │От -20 │ │По │
1,
4, │
│плакирующим слоем из│ │ │ │ │ │
│стали марки 08Х13 │ │ │ │ │ │
├────────────────────┤ ├───────┤ ├────────────┼───────┤
│09Г2С категорий 7, │ │От -70 │ │По │
1,
4, │
│от температуры │ │ │ │ │ │
│стенки с плакирующим│ │ │ │ │ │
│слоем из сталей │ │ │ │ │ │
│марок 08Х18Н10Т, │ │ │ │ │ │
│12Х18Н10Т, │ │ │ │ │ │
│08Х18Н12Б, │ │ │ │ │ │
│10Х17Н13Н3Т, │ │ │ │ │ │
│10Х17Н13М2Т, │ │ │ │ │ │
│08Х17Н15М3Т, │ │ │ │ │ │
│06ХН28МДТ │ │ │ │ │ │
├────────────────────┤ ├───────┤ │ ├───────┤
│16ГС, 09Г2С │ │От -40 │ │ │
1,
3,
5│
│категории 6 │ │до +200│ │ │ │
│с плакирующим слоем │ │ │ │ │ │
│из сталей марок │ │ │ │ │ │
│08Х13, 08Х18Н10Т, │ │ │ │ │ │
│12Х18Н10Т, │ │ │ │ │ │
│08Х18Н12Б, │ │ │ │ │ │
│10Х17Н13М3Т, │ │ │ │ │ │
│10Х17Н13М2Т, │ │ │ │ │ │
│08Х17Н15М3Т, │ │ │ │ │ │
│06ХН28МДТ │ │ │ │ │ │
├────────────────────┤ ├───────┤ │ ├───────┤
│16ГС, 09Г2С │ │От -30 │ │ │
1,
3,
5│
│категории 3 │ │до +200│ │ │ │
│с плакирующим слоем │ │ │ │ │ │
│из сталей марок │ │ │ │ │ │
│08Х13, 08Х18Н10Т, │ │ │ │ │ │
│12Х18Н10Т, │ │ │ │ │ │
│08Х18Н12Б, │ │ │ │ │ │
│10Х17Н13М3Т, │ │ │ │ │ │
│10Х17Н13М2Т, │ │ │ │ │ │
│08Х17Н15М3Т, │ │ │ │ │ │
│06ХН28МДТ │ │ │ │ │ │
├────────────────────┤ ├───────┤ │ ├───────┤
│16ГС, 09Г2С │ │От -40 │ │ │
1,
2, │
│категории 17 │ │до +425│ │ │
4,
5,
6│
│с плакирующим слоем │ │ │ │ │ │
│из сталей марок │ │ │ │ │ │
│08Х18Н10Т, │ │ │ │ │ │
│12Х18Н10Т, │ │ │ │ │ │
│08Х18Н12Б, │ │ │ │ │ │
│10Х17Н13М3Т, │ │ │ │ │ │
│10Х17Н13М2Т, │ │ │ │ │ │
│08Х17Н15М3Т, │ │ │ │ │ │
│06ХН28МДТ │ │ │ │ │ │
├────────────────────┼────────────┼───────┤ ├────────────┼───────┤
│09Г2С, 09Г2С-Ш, │По ТУ │От -60 │ │По ТУ │
5 │
│09Г2СА с плакирующим│05764417-041│до +475│ │05764417-041│ │
│марок 08Х13, │ │ │ │ │ │
│08Х18Н10Т по │ │ │ │ │ │
│ТУ 05764417-041
[41]│ │ │ │ │ │
├────────────────────┼────────────┼───────┤ ├────────────┼───────┤
│12МХ с плакирующим │По │Св. 0 │ │По │
1,
5 │
├────────────────────┤ ├───────┤ │ │ │
│12ХМ с плакирующим │ │Св. 0 │ │ │ │
│слоем из стали марки│ │до +560│ │ │ │
├────────────────────┼────────────┼───────┤ ├────────────┼───────┤
│15Г2СФ с плакирующим│По │От -40 │ │По │
1,
5 │
│слоем из сталей │ТУ 14-1-4212│до +350│ │ТУ 14-1-4212│ │
│12Х18Н10Т, │ │ │ │ │ │
│10Х17Н13М2Т, │ │ │ │ │ │
│08Х17Н15М3Т │ │ │ │ │ │
│по ТУ 14-1-4212
[42]│ │ │ │ │ │
├────────────────────┼────────────┼───────┼──────────┼────────────┼───────┤
│20К + НМжМц │По │От -20 │Не │По │
1,
3, │
├────────────────────┼────────────┼───────┤ ├────────────┼───────┤
│12ХМ + 08Х18Н10Т │По │Св. 0 │ │По │
1,
5 │
│ТУ 05764417-041
[41]│ТУ │ │ │ТУ │ │
│ │05764417-041│ │ │05764417-041│ │
├────────────────────┴────────────┴───────┴──────────┴────────────┴───────┤
│ Примечания. 1. При заказе двухслойной стали по
ГОСТ 10885 необходимо│
│требовать проведения неразрушающего метода контроля двухслойных листов│
│при условиях, оговоренных в
5.2.5. │
│ 2. Допускается применять двухслойные стали с коррозионно-стойким│
│слоем из сталей марок 08Х18Н10Т, 10Х17Н13М3Т, 10Х17Н13М2Т, 08Х17Н15М3Т│
│при температуре стенки, не превышающей максимально допустимую для стали│
│основного слоя, при толщине плакирующего слоя не более 15% от общей│
│толщины, но не более 8 мм. │
│ 3. При толщине двухслойных листов менее 10 мм допускается применение│
│сталей категорий 3, 4, 5, 6. При толщине двухслойных листов менее 12 мм│
│допускается применение сталей основного слоя категорий 3 и 4 вместо│
│категорий 6 и 5 соответственно. │
│ 4. По согласованию с автором проекта допускается применение│
│двухслойных сталей с основным слоем из сталей марок 16ГС, 09Г2С по│
│от температуры стенки, если она ниже 0 °C) вместо стали категории 17. │
│ 5. Испытания проводят полистно на предприятии - поставщике металла│
│при температуре стенки ниже минус 30 °C или выше плюс 200 °C при│
│давлении более 5 МПа (50 кгс/см2) при толщине листа не менее 12 мм. │
│ 6. Для двухслойного проката с основным слоем из стали марки 09Г2С│
│нижний температурный предел применения минус 70 °C. │
│ 7. Двухслойные стали с основным слоем из стали марки Ст3сп│
│(
ГОСТ 380) толщиной более 25 мм допускается применять в соответствии с│
│параметрами, предусмотренными
приложением Б при условии проведения│
│испытания материала на ударный изгиб на предприятии - изготовителе│
│сосудов или их элементов. Испытание на ударный изгиб следует проводить│
│на трех образцах. │
│ При этом ударная вязкость KCU должна быть не менее: │
│ 50 Дж/см2 (5 кгс/см2) при температуре плюс 20 °C; │
│ 30 Дж/см2 (3 кгс/см2) при температуре минус 20 °C и после│
│механического старения, а на одном образце допускается ударная вязкость│
│не менее 25 Дж/см2 (25 кгс x м/см2). │
└─────────────────────────────────────────────────────────────────────────┘
(обязательное)
СТАЛЬНЫЕ ТРУБЫ
┌─────────────────┬─────────────────┬───────────────────┬─────────────────┬─────────┐
│ Марка стали │ Технические │ Рабочие условия │ Вид испытания и │Номер │
│ │ требования ├────────┬──────────┤ дополнительное │приме- │
│ │ │темпе- │ давление │ требование │чания │
│ │ │ратура │среды, МПа│ │к данной │
│ │ │стенки, │(кгс/см2),│ │таблице │
│ │ │°C │ не более │ │ │
├─────────────────┼─────────────────┼────────┼──────────┼─────────────────┼─────────┤
│Ст3сп3, Ст3пс3 │Трубы водогазо- │От 0 │ 1,6 (16) │По
ГОСТ 3262 │- │
│по
ГОСТ 380 │проводные │до +200 │ │ │ │
│ │(усиленные) │ │ │ │ │
├─────────────────┼─────────────────┼────────┤ ├─────────────────┼─────────┤
│Ст3сп2 │Трубы │От +10 │ │Группа В по │
7,
11 │
│ │по
ГОСТ 10706 ├────────┼──────────┤Проверка механи- │ │
│ │ │От -15 │0,07 (0,7)│ческих свойств │ │
│ │ │до +350 │ │сварного соедине-│ │
│ │ │ │ │ния у каждой де- │ │
│ │ │ │ │сятой трубы одной│ │
│ │ │ │ │партии, контроль │ │
│ │ │ │ │радиографическим │ │
│ │ │ │ │или ультразвуко- │ │
│ │ │ │ │вым методом свар-│ │
│ │ │ │ │ных швов каждого │ │
│ │ │ │ │корпуса, изготов-│ │
│ │ │ │ │ленного из труб в│ │
│ │ │ │ │соответствии с │ │
│ │ │ │ │требованиями нас-│ │
│ │ │ │ │тоящего стандарта│ │
├─────────────────┼─────────────────┼────────┼──────────┼─────────────────┼─────────┤
│Ст3сп4, Ст3пс3 │Трубы │От -20 │ 5 (50) │Группа В по ГОСТ │
7,
11 │
│ │ │ │ │части труб для │ │
│ │ │ │ │магистральных │ │
│ │ │ │ │тепловых сетей │ │
├─────────────────┤ ├────────┼──────────┼─────────────────┼─────────┤
│Ст3сп5, Ст3пс5 │ │От -20 │ 5 (50) │Контроль радио- │- │
│по
ГОСТ 380 │ │до +400 │ │графическим или │ │
│ │ │ │ │ультразвуковым │ │
│ │ │ │ │методом сварных │ │
│ │ │ │ │швов каждого кор-│ │
│ │ │ │ │пуса, изготовлен-│ │
│ │ │ │ │ного из труб в │ │
│ │ │ │ │соответствии с │ │
│ │ │ │ │требованиями нас-│ │
│ │ │ │ │тоящего стандарта│ │
├─────────────────┼─────────────────┼────────┼──────────┼─────────────────┼─────────┤
│10, 20 │Трубы электро- │От -30 │ 4 (40) │По │
7,
11 │
│ │ТУ 14-3-624
[43] │ │ │ │ │
│ ├─────────────────┼────────┼──────────┼─────────────────┼─────────┤
│ │По ТУ 14-3Р-55 │От -30 │ 4 (40) │По │
7,
11 │
│ │
[44] │до +400 │ │ТУ 14-3Р-55
[44] │ │
│ ├─────────────────┼────────┼──────────┼─────────────────┼─────────┤
│ ├─────────────────┤ ├──────────┼─────────────────┤ │
│ │По
ГОСТ 8733 │ │ 16 (160) │Группа В по │ │
│ │ │ │ │Испытание на │ │
│ │ │ │ │сплющивание │ │
│ ├─────────────────┼────────┤ ├─────────────────┼─────────┤
│ │По
ГОСТ 550, │От -30 │ │Группы А, Б по │- │
│ │ │ │ │Испытание на │ │
│ │ │ │ │сплющивание и │ │
│ │ │ │ │проверка мак- │ │
│ │ │ │ │роструктуры │ │
├─────────────────┼─────────────────┼────────┼──────────┼─────────────────┼─────────┤
│20 по ТУ 14-3-460│По ТУ 14-3-460 │От -30 │Не │По ТУ 14-3-460 │
2,
6,
11 │
├─────────────────┼─────────────────┼────────┤ ├─────────────────┼─────────┤
│20ПВ по │По ТУ 14-3Р-55 │От -30 │ │По ТУ 14-3Р-55 │- │
├─────────────────┼─────────────────┼────────┤ ├─────────────────┼─────────┤
│20ЮЧ по │По ТУ 14-3-1600 │От -40 │ │По ТУ 14-3-1600 │
11 │
│ТУ 14-3-1600 │
[46], │до +475 │ │
[46], │ │
│
[46], │ТУ 14-3-1652 │ │ │ТУ 14-3-1652 │ │
│
[47], │ТУ 14-3-1745 │ │ │ТУ 14-3-1745 │ │
│ТУ 14-3Р-54
[49] │ │ │ │ │ │
├─────────────────┼─────────────────┼────────┤ ├─────────────────┼─────────┤
│15ГС по │По ТУ 14-3-460 │От -40 │ │По ТУ 14-3-460 │
10,
11 │
│ТУ 14-3Р-55
[44] │ТУ 14-3Р-55
[44] │ │ │ТУ 14-3Р-55
[44] │ │
├─────────────────┼─────────────────┼────────┤ ├─────────────────┼─────────┤
│09Г2С │По
ГОСТ 8731, │От -70 │ │Группа В по │- │
│ │ │ │ │тание на ударный │ │
│ │ │ │ │изгиб при темпе- │ │
│ │ │ │ │ратуре стенки для│ │
│ │ │ │ │толщин более │ │
│ │ │ │ │12 мм. │ │
│ │ │ │ │Испытание на │ │
│ │ │ │ │сплющивание и │ │
│ │ │ │ │проверка │ │
│ │ │ │ │макроструктуры │ │
├─────────────────┼─────────────────┼────────┤ ├─────────────────┼─────────┤
│ │ │ │ │ударный изгиб │ │
│ │ │ │ │при температуре │ │
│ │ │ │ │стенки для толщин│ │
│ │ │ │ │более 12 мм │ │
│ │ ├────────┤ ├─────────────────┼─────────┤
│ │ │От -30 │ │Группы А, Б по │
1,
2,
3, │
│ │ │ │ │группа В │ │
├─────────────────┼─────────────────┼────────┼──────────┼─────────────────┼─────────┤
│10Г2ФБ, 13Г1С-У │По ТУ 14-3-1573 │От -60 │ 10 (100) │По ТУ 14-3-1573 │
7,
11 │
│по ТУ 14-3-1573 │
[50] Трубы │до +420 │ │
[50] │ │
│
[50] │электросварные │ │ │ │ │
├─────────────────┼─────────────────┼────────┼──────────┼─────────────────┼─────────┤
│15ХМ по │По ТУ 14-3-460 │Св. 0 │Не │По ТУ 14-3-460 │- │
│ТУ 14-3Р-55
[44] │ТУ 14-3Р-55
[44] │ │ │ТУ 14-3Р-55
[44] │ │
├─────────────────┤ ├────────┤ │ │ │
│12Х1МФ │ │Св. 0 │ │ │ │
├─────────────────┼─────────────────┼────────┤ ├─────────────────┼─────────┤
├─────────────────┼─────────────────┼────────┤ ├─────────────────┼─────────┤
│15Х5 │По
ГОСТ 550 │Св. 0 │ │Группы А, Б │- │
├─────────────────┼─────────────────┼────────┤ ├─────────────────┤ │
│15Х5М, 15Х5М-У, │По
ГОСТ 550 │Св. 0 │ │Группы А, Б │ │
│15Х5ВФ, 12Х8ВФ │ │до +560 │ │по
ГОСТ 550 │ │
├─────────────────┼─────────────────┤ │ ├─────────────────┤ │
│15Х5М │По ТУ 14-3Р-62 │ │ │По ТУ 14-3Р-62 │ │
├─────────────────┼─────────────────┤ │ ├─────────────────┤ │
│13Х9М по │По ТУ 14-3-457 │ │ │По ТУ 14-3-457 │ │
├─────────────────┼─────────────────┼────────┤ ├─────────────────┼─────────┤
│ │ │до +475 │ │ │ │
├─────────────────┼─────────────────┼────────┤ ├─────────────────┼─────────┤
│10Х14Г14Н4Т по │По ТУ 14-3-1905 │От -196 │ │По ТУ 14-3-1905 │- │
├─────────────────┼─────────────────┼────────┤ ├─────────────────┤ │
│ │ТУ 14-3-1905
[53]│ │ │ТУ 14-3-1905
[53]│ │
├─────────────────┼─────────────────┼────────┼──────────┼─────────────────┤ │
│07Х13АГ20 │По ТУ 14-3-1322 │От -70 │ 5 (50) │По ТУ 14-3-1322 │ │
│по ТУ 14-3-1322 │
[54], │до +300 │ │
[54], │ │
│ТУ 14-3-1323
[55]│ │ │ │ │ │
├─────────────────┼─────────────────┼────────┼──────────┼─────────────────┤ │
│08Х21Н6М2Т │По ТУ 14-3-1905 │От -40 │Не │По ТУ 14-3-1905 │ │
├─────────────────┼─────────────────┼────────┼──────────┼─────────────────┤ │
│08Х18Г8Н2Т │По ТУ 14-3-1596 │От -20 │ 5 (50) │По ТУ 14-3-1596 │ │
├─────────────────┼─────────────────┼────────┼──────────┼─────────────────┤ │
│03Х19АГ3Н10 по │По ТУ 14-3-415 │От -196 │Не │По ТУ 14-3-415 │ │
├─────────────────┼─────────────────┤ │ ├─────────────────┤ │
│03Х17Н14М3 │По ТУ 14-3-396 │ │ │По ТУ 14-3-396 │ │
│ │ТУ 14-3-1348 │ │ │ТУ 14-3-1348 │ │
│ │ТУ 14-3-1357
[60]│ │ │ТУ 14-3-1357
[60]│ │
├─────────────────┼─────────────────┼────────┤ ├─────────────────┤ │
│02Х8Н22С6 по │По ТУ 14-3-1024 │От -40 │ │По │ │
├─────────────────┼─────────────────┼────────┼──────────┼─────────────────┤ │
│08Х18Н10Т, │Трубы электро- │От -273 │ 5(50) │По ТУ 14-3-1391 │ │
│10Х18Н10Т │сварные по │до +610 │ │
[62] и пункт │ │
│ │ │ │ │стандарта │ │
├─────────────────┼─────────────────┼────────┼──────────┼─────────────────┤ │
│ │ ├────────┤ │и
5.3.3 настояще-├─────────┤
│ │ │Св. +350│ │го стандарта │
5 │
│ │ │до +610 │ │ │ │
├─────────────────┼─────────────────┼────────┤ ├─────────────────┤ │
│12Х18Н12Т │По ТУ 14-3-460 │От -253 │ │По ТУ 14-3-460 │ │
│по ТУ 14-3-460 │
[45] │до +610 │ │
[45] │ │
│ТУ 14-3Р-55
[44] │ │ │ │ │ │
├─────────────────┼─────────────────┤ │ ├─────────────────┼─────────┤
│ │ │ │ │щего стандарта │ │
├─────────────────┼─────────────────┼────────┼──────────┼─────────────────┼─────────┤
│ │ │ │ │стандарта │ │
├─────────────────┼─────────────────┤ │ ├─────────────────┼─────────┤
│12Х18Н12Т по ТУ │По ТУ 14-3-460 │ │ │По ТУ 14-3-460 │
5 │
│ТУ 14-3Р-55
[44] │ │ │ │ │ │
├─────────────────┼─────────────────┼────────┼──────────┼─────────────────┼─────────┤
├─────────────────┤ ├────────┤ │
5.3.1,
5.3.2 и │ │
│10Х17Н13М2Т │ │От -196 │ │
6.11.4 настоящего│ │
│ │ ├────────┤ │ ├─────────┤
│ │ │до +700 │ │ │ │
├─────────────────┼─────────────────┼────────┤ ├─────────────────┼─────────┤
│ │ │От +350 │ │
6.11.4 настоящего│
5 │
│ │ │до 600 │ │стандарта │ │
├─────────────────┼─────────────────┼────────┤ ├─────────────────┼─────────┤
│03Х18Н11 │По ТУ 14-3-1401 │От -196 │ │По ТУ 14-3-1401 │- │
├─────────────────┼─────────────────┤ │ ├─────────────────┤ │
│02Х18Н11 по ТУ │По ТУ 14-3-1339 │ │ │По ТУ 14-3-1339 │ │
├─────────────────┼─────────────────┼────────┤ ├─────────────────┤ │
│03Х21Н21М4ГБ │По ТУ 14-3-751 │От -70 │ │По ТУ 14-3-751 │ │
│ │ТУ 14-3-694
[66],│ │ │ТУ 14-3-694
[66],│ │
│ │ТУ 14-3-696
[67] │ │ │ТУ 14-3-696
[67] │ │
├─────────────────┼─────────────────┼────────┤ ├─────────────────┤ │
│03ХН28МДТ │По ТУ 14-3-694 │От -196 │ │По ТУ 14-3-694 │ │
│ │ТУ 14-3-751
[65],│ │ │ТУ 14-3-751
[65],│ │
│ │ТУ 14-3-1201
[68]│ │ │ТУ 14-3-1201
[68]│ │
├─────────────────┼─────────────────┼────────┤ ├─────────────────┤ │
│06ХН28МДТ │По ТУ 14-3-763 │От -196 │ │По ТУ 14-3-763 │ │
│ │ТУ 14-3-822
[70] │ │ │ТУ 14-3-822
[70] │ │
├─────────────────┼─────────────────┼────────┼──────────┼─────────────────┼─────────┤
│15Х25Т │По ТУ 14-3-949 │От 0 до │ 1,6 (16) │По ТУ 14-3-949 │
8 │
├─────────────────┼─────────────────┼────────┼──────────┼─────────────────┼─────────┤
├─────────────────┤ ├────────┤ │настоящего │ │
│15Х25Т │ │От 0 до │ │стандарта │ │
├─────────────────┼─────────────────┤ ├──────────┼─────────────────┼─────────┤
├─────────────────┤ ├────────┤ │ │ │
│08Х13, 12Х13 │ │От -40 │ │ │ │
├─────────────────┼─────────────────┼────────┼──────────┼─────────────────┼─────────┤
│ │ │ │ │настоящего │ │
│ │ │ │ │стандарта │ │
├─────────────────┼─────────────────┼────────┼──────────┼─────────────────┼─────────┤
│15Х18Н12С4ТЮ │По ТУ 14-3-310 │От -20 │ 2,5 (25) │По ТУ 14-3-310 │- │
├─────────────────┼─────────────────┼────────┼──────────┼─────────────────┤ │
│ХН32Т (05Х20Н32Т)│По ТУ │От -70 │Не │По ТУ │ │
│по ТУ │1320-003-18648658│до +900 │ограничено│1320-003-18648658│ │
├─────────────────┴─────────────────┴────────┴──────────┴─────────────────┴─────────┤
│ Примечания. 1. Трубы толщиной не менее 12 мм по
ГОСТ 8731 должны быть │
│испытаны на ударный изгиб при температуре плюс 20 °C. Ударная вязкость и │
│и ТУ 14-3-460
[45], ТУ 14-3Р-55
[44], диаметрами 20 и 25 мм, толщиной │
│не более 2,5 мм допускается применять при температурах стенки от │
│минус 60 °C до плюс 475 °C. │
│ 3. При заказе труб по
ГОСТ 550, предназначенных для изготовления │
│теплообменных аппаратов, необходимо обговаривать группу А. │
│ 4. Для деталей внутренних устройств. │
│ 5. Для сред, не вызывающих межкристаллитную коррозию. │
│ 6. Допускается применять трубы толщиной не более 12 мм из сталей │
│ТУ 14-3-190
[74], ТУ 14-3Р-55
[44] при температуре стенки от минус 40 °C │
│и выше. │
│ 7. Контроль неразрушающими физическими методами продольных сварных │
│швов. │
│ 8. Для трубных пучков, не подлежащих сварке. │
│ 9. Ударная вязкость KCU при температуре минус 70 °C не менее │
│25 Дж/см2 (2,5 кгс x м/см2). │
│ 10. Трубы из стали марки 15ГС при температуре стенки ниже минус 30 °C │
│следует испытывать на ударный изгиб при температуре минус 40 °C. Ударная │
│вязкость - не менее 30 Дж/см2 (3,0 кгс x м/см2). │
│ 11. Допускается снижение нижнего температурного предела применения не │
│более чем на 20 °C (но не ниже минус 70 °C) для труб с толщиной стенки до │
│36 мм, если: │
│ - при расчете на прочность допускаемые напряжения уменьшены не менее │
│чем в 1,35 раза и проводят термообработку независимо от требований
6.11; │
│ - при расчете на прочность допускаемые напряжения уменьшены не менее │
│чем в 2,85 без проведения термообработки сосуда, если она не требуется │
│поставку труб из сталей группы В с проведением гидравлического испытания │
│и, при необходимости, контроля макроструктуры, испытания на раздачу или │
│сплющивание, или изгиб. │
└───────────────────────────────────────────────────────────────────────────────────┘
(обязательное)
ПОКОВКИ
Таблица Г.1
┌──────────────┬────────────────┬──────────────────┬───────────────┬──────┐
│ Марка стали │ Технические │ Рабочие условия │Вид испытания │Номер │
│ │ требования ├───────┬──────────┤и дополнитель- │приме-│
│ │ │темпе- │ давление │ное требование │чания │
│ │ │ратура │среды, МПа│ │к дан-│
│ │ │стенки,│(кгс/см2),│ │ной │
│ │ │°C │ не более │ │табли-│
│ │ │ │ │ │це │
├──────────────┼────────────────┼───────┼──────────┼───────────────┼──────┤
│Ст5сп │КП. 245 (КП. 25)│От -20 │ 5 (50) │Группа IV │
1,
7 │
├──────────────┼────────────────┼───────┤ │ ├──────┤
│Ст3сп │КП. 195 (КП. 20)│От -20 │ │ │
1 │
├──────────────┼────────────────┼───────┼──────────┤ ├──────┤
│20 │КП. 195 (КП. 20)│От -30 │Не │ │
1,
2, │
│по
ГОСТ 1050 │КП. 215 (КП. 22)│до +475│ограничено│ │
3,
6, │
├──────────────┼────────────────┤ │ │ ├──────┤
│20К по │КП. 195 (КП. 20)│ │ │ │
1,
9 │
├──────────────┼────────────────┼───────┤ ├───────────────┼──────┤
│20, 22К по ОСТ│По │От -30 │ │По ОСТ │
2,
6, │
│108.030.113 │ОСТ 108.030.113 │до +475│ │108.030.113 │
9 │
├──────────────┼────────────────┼───────┤ ├───────────────┼──────┤
│22К, 22К-Ш, │По ТУ 108.11.543│От -30 │ │По │
9 │
│22К-ВД, │
[4] │до +475│ │ТУ 108.11.543 │ │
│22К-ВРВ по │ │ │ │
[4] │ │
│ТУ 108.11.543 │ │ │ │ │ │
├──────────────┼────────────────┼───────┤ ├───────────────┼──────┤
│20КА по ТУ │По │От -40 │ │По ТУ │- │
│05764417-013 │ТУ 05764417-013 │до +475│ │05764417-013 │ │
├──────────────┼────────────────┼───────┤ ├───────────────┤ │
│20ЮЧ по ТУ │По │От -40 │ │По ТУ │ │
│26-0303-1532 │ТУ 26-0303-1532 │до +475│ │26-0303-1532 │ │
├──────────────┼────────────────┤ │ ├───────────────┼──────┤
│16ГС по │КП. 245 (КП. 25)│ │ │Группа IV │
1,
4, │
├──────────────┼────────────────┼───────┤ ├───────────────┼──────┤
│15ГС, 16ГС │По │От -40 │ │По ОСТ │
4,
9 │
│по ОСТ │ОСТ 108.030.113 │до +475│ │108.030.113 │ │
│
[75] │ОСТ 26-01-135 │ │ │ОСТ 26-01-135 │ │
├──────────────┼────────────────┼───────┤ ├───────────────┼──────┤
│10Г2 │КП. 215 (КП. 22)│От -70 │ │Группа IV │
1,
2, │
├──────────────┼────────────────┼───────┤ │ ├──────┤
│09Г2С │КП. 245 (КП. 25)│От -70 │ │ │
1,
4, │
├──────────────┼────────────────┼───────┤ ├───────────────┼──────┤
│20Х │КП. 395 (КП. 40)│От -40 │ │Группа IV │
1 │
├──────────────┼────────────────┼───────┤ │ │ │
│15ХМ │КП. 275 (КП. 28)│От -40 │ │ │ │
├──────────────┼────────────────┼───────┤ ├───────────────┼──────┤
│15Х5ВФ, 15Х5М │КП. 395 (КП. 40)│От -40 │ │Группа IV │
1,
2 │
│ │ │ │ │дельта >= 13%, │ │
│ │ │ │ │фи >= 35% │ │
│ │ │ │ │KCU >= │ │
│ │ │ │ │50 Дж/см2 │ │
├──────────────┼────────────────┼───────┤ ├───────────────┼──────┤
│12Х1МФ по ОСТ │По │От -20 │ │По ОСТ │- │
│108.030.113 │ОСТ 108.030.113 │до +560│ │108.030.113 │ │
├──────────────┼────────────────┼───────┤ ├───────────────┼──────┤
│12МХ │Группа IV-КП.235│От -40 │ │Группа IV │
1 │
├──────────────┼────────────────┼───────┤ ├───────────────┼──────┤
│12ХМ, 15ХМ по │По ТУ 302.02.031│От -40 │ │По │- │
│ТУ 302.02.031 │
[12] │до +560│ │ТУ 302.02.031 │ │
├──────────────┼────────────────┼───────┤ ├───────────────┤ │
│10Х2М1А-А по │По ТУ 108.13.39 │От -40 │ │По │ │
│ТУ 108.13.39 │
[78] │до +560│ │ТУ 108.13.39 │ │
├──────────────┼────────────────┼───────┤ ├───────────────┼──────┤
│10Х2М1А-А, │По ТУ 302.02.121│От -40 │ │По │- │
│10Х2М1А-ВД, │
[13] │до +560│ │ТУ 302.02.121 │ │
│10Х2М1А-Ш по │ │ │ │
[13] │ │
│ТУ 302.02.121 │ │ │ │ │ │
├──────────────┼────────────────┼───────┤ ├───────────────┼──────┤
│20Х2МА по │По ОСТ 26-01-135│От -40 │ │По │- │
│ОСТ 26-01-135 │
[77] │до +475│ │ОСТ 26-01-135 │ │
├──────────────┼────────────────┼───────┤ ├───────────────┼──────┤
│15Х2МФА-А по │По ТУ 302.02.014│От -40 │ │Группа II по │ │
│ТУ 302.02.014 │
[21] │до +560│ │ТУ 302.02.014 │ │
├──────────────┼────────────────┼───────┤ ├───────────────┼──────┤
├──────────────┤ ├───────┤ │ ├──────┤
│12Х18Н9Т, │ │От -253│ │ │
1,
2, │
│12Х18Н10Т │ │до +610│ │ │
8 │
│ │ │От +610│ 5 (50) │ │ │
│ │ │до +700│ │ │ │
├──────────────┤ ├───────┼──────────┤ ├──────┤
│08Х18Н10Т │ │От -253│Не │ │
1,
10 │
│ │ ├───────┼──────────┤ │ │
│ │ │От +610│ 5 (50) │ │ │
│ │ │до +700│ │ │ │
├──────────────┤ ├───────┼──────────┤ ├──────┤
│10Х17Н13М2Т │ │От -253│Не │ │
1,
8 │
├──────────────┤ ├───────┤ │ ├──────┤
│03Х18Н11 │ │От -253│ │ │
1 │
├──────────────┤ ├───────┤ │ ├──────┤
│03Х17Н14М3 │ │От -196│ │ │
1 │
├──────────────┤ ├───────┤ │ ├──────┤
│10Х17Н13М3Т │ │От -196│ │ │
1,
8 │
├──────────────┤ ├───────┤ │ ├──────┤
│08Х17Н15М3Т │ │От -196│ │ │
1,
8 │
├──────────────┤ ├───────┼──────────┤ ├──────┤
│06ХН28МДТ │ │От -196│ 5 (50) │ │
1 │
├──────────────┤ ├───────┼──────────┤ ├──────┤
│08Х13, 12Х13 │ │От -40 │ 6,4 (64) │ │
1,
7 │
├──────────────┴────────────────┴───────┴──────────┴───────────────┴──────┤
│ Примечания. 1. Допускается применять поковки группы II для│
│невзрывоопасных сред при давлении менее 0,07 МПа (0,7 кгс/см2). │
│ 2. Допускается наравне с поковками применять стальные горячекатаные│
│кольца для изготовления фланцев из сталей марки 20 по ТУ 14-1-1431
[79] и│
│марок 20, 10Г2, 15Х5М, 12Х18Н10Т по ТУ 14-3-375
[80]. │
│ 3. Допускается применять приварные встык фланцы из поковок группы│
│IV-КП. 215 (КП. 22) по
ГОСТ 8479 и горячекатаных колец из стали марки 20│
│по
ГОСТ 1050 для температуры стенки от минус 31 °C до минус 40 °C при│
│условии проведения термообработки - закалки и последующего высокого│
│отпуска или нормализации после приварки фланца к корпусу или патрубку.│
│При этом патрубок, привариваемый к корпусу, должен быть изготовлен из│
│стали марки 16ГС (09Г2С, 10Г2). Ударная вязкость основного металла не│
│менее 30 Дж/см2 (3 кгс x м/см2). Допускается применение ответных фланцев│
│штуцеров из стали марки 20 в термообработанном состоянии при температуре│
│стенки от минус 30 °C до минус 40 °C. │
│ 4. Поковки из сталей марок 15ГС, 16ГС, 09Г2С, 10Г2 следует испытывать│
│на ударный изгиб при температуре стенки ниже минус 30 °C. Ударная│
│вязкость не менее 30 Дж/см2 (3 кгс x м/см2). │
│ 5. Допускается применение заготовок, полученных методом│
│электрошлакового переплава из сталей марок 20Ш, 10Г2Ш по ТУ 0251-16
[81]│
│на параметры, аналогичные сталям 20 и 10Г2. │
│ 6. Допускается применять поковки из стали марки 20 с толщиной в месте│
│сварки не более 12 мм при температуре стенки не ниже минус 40 °C без│
│проведения термической обработки сварного соединения. │
│ 7. Для изготовления деталей, не подлежащих сварке. │
│ 8. При температуре свыше 350 °C для сред, не вызывающих│
│межкристаллитную коррозию. │
│ 9. Контроль ультразвуковым методом при условиях, оговоренных в
5.4.1,│
│
5.4.2 настоящего стандарта. │
│ 10. Термическая обработка по режиму стабилизирующего отжига при│
│условиях, оговоренных в
6.11.4 настоящего стандарта. │
└─────────────────────────────────────────────────────────────────────────┘
(обязательное)
СОРТОВАЯ СТАЛЬ (КРУГЛАЯ, ПОЛОСОВАЯ И ФАСОННЫХ ПРОФИЛЕЙ)
Таблица Д.1
┌─────────────┬──────────────┬───────────────────┬─────────────────┬──────┐
│ Марка стали │ Технические │ Рабочие условия │ Вид испытания │Номер │
│ │ требования ├────────┬──────────┤и дополнительное │приме-│
│ │ │темпера-│ давление │ требование │чания │
│ │ │тура │среды, МПа│ │к дан-│
│ │ │стенки, │(кгс/см2),│ │ной │
│ │ │°C │ не более │ │табли-│
│ │ │ │ │ │це │
├─────────────┼──────────────┼────────┼──────────┼─────────────────┼──────┤
│Ст3сп │категория 2 │до +200 │ │ │ │
│по
ГОСТ 380 │ ├────────┼──────────┤ │ │
│ │ │От -15 │0,07 (0,7)│ │ │
│ │ │до +350 │ │ │ │
│ │ ├────────┼──────────┤ ├──────┤
│ │ │до +550 │ │ │ │
├─────────────┼──────────────┼────────┼──────────┤ ├──────┤
│Ст3пс, Ст3сп │По
ГОСТ 535, │От -20 │ 5 (50) │ │
7 │
│по
ГОСТ 380 │категория 4 │до +200 │ │ │ │
├─────────────┼──────────────┼────────┤ │ │ │
│Ст3пс, Ст3сп │По
ГОСТ 535, │От 0 до │ │ │ │
│ ├──────────────┼────────┤ │ │ │
│ │категория 5 │до +425 │ │ │ │
├─────────────┼──────────────┼────────┤ │ ├──────┤
│по
ГОСТ 380 │категория 2 │до +425 │ │ │ │
├─────────────┼──────────────┼────────┼──────────┼─────────────────┼──────┤
├─────────────┼──────────────┼────────┤ ├─────────────────┼──────┤
│20ЮЧ по │По │От -40 │ │По ТУ 14-1-3332 │- │
│ТУ 14-1-3332 │ТУ 14-1-3332 │до +475 │ │
[82] │ │
├─────────────┼──────────────┼────────┤ ├─────────────────┼──────┤
│ │категория 7 │ │ │ │ │
│ ├──────────────┼────────┤ ├─────────────────┼──────┤
│ │категория 4 │ │ │ │ │
│ ├──────────────┼────────┤ │ │ │
│ │По │От -40 │ │ │ │
│ │категория 12 │ │ │ │ │
├─────────────┼──────────────┼────────┤ ├─────────────────┼──────┤
├─────────────┼──────────────┼────────┤ ├─────────────────┼──────┤
├─────────────┼──────────────┼────────┤ ├─────────────────┼──────┤
├─────────────┼──────────────┼────────┤ ├─────────────────┼──────┤
├─────────────┼──────────────┼────────┤ ├─────────────────┼──────┤
│08Х21Н6М2Т │ │до +300 │ │ │ │
├─────────────┤ ├────────┤ │ ├──────┤
│12Х18Н10Т │ │От -253 │ │ │
4 │
│ │ ├────────┼──────────┤ │ │
│ │ │От +610 │5 (50) │ │ │
│ │ │до +700 │ │ │ │
├─────────────┼──────────────┼────────┼──────────┼─────────────────┼──────┤
│08Х18Н12Б │ │до +610 │ограничено│ │ │
│ │ │От +610 │5 (50) │ │ │
│ │ │до +700 │ │ │ │
├─────────────┼──────────────┼────────┼──────────┼─────────────────┼──────┤
│15Х18Н12С4ТЮ │По ТУ 14-1-915│От -20 │2,5 (25) │По │- │
├─────────────┼──────────────┼────────┼──────────┼─────────────────┤ │
│02Х8Н22С6 по │По │От -40 │- │По ТУ 14-1-3812 │ │
│ТУ 14-1-3812 │ТУ 14-1-3812 │до +120 │ │
[84] │ │
├─────────────┼──────────────┼────────┼──────────┼─────────────────┼──────┤
├─────────────┤ ├────────┤ │ ├──────┤
│10Х17Н13М3Т │ │От -196 │ │ │
1,
4 │
├─────────────┤ ├────────┤ │ ├──────┤
│08Х17Н15М3Т │ │От -196 │ │ │
1 │
├─────────────┤ ├────────┤ │ ├──────┤
│06ХН28МДТ по │ │От -196 │ │ │- │
├─────────────┼──────────────┼────────┤ ├─────────────────┤ │
│07Х16Н6-Ш по │По │От -60 │ │По ТУ 14-1-1660 │ │
│ТУ 14-1-1660 │ТУ 14-1-1660 │до +350 │ │
[85] │ │
├─────────────┼──────────────┼────────┤ ├─────────────────┼──────┤
├─────────────┤ │ │ │ │ │
│12Х13 │ │ │ │ │ │
├─────────────┼──────────────┼────────┤ ├─────────────────┼──────┤
│03Х18Н11 │По │От -196 │ │По ТУ 14-1-1160 │- │
├─────────────┼──────────────┤ │ ├─────────────────┤ │
│03Х17Н14М3 │По │ │ │По ТУ 14-1-3303 │ │
├─────────────┼──────────────┼────────┼──────────┼─────────────────┼──────┤
├─────────────┤ ├────────┤ │ │ │
│15Х25Т, 15Х28│ │От 0 │ │ │ │
├─────────────┼──────────────┼────────┼──────────┼─────────────────┼──────┤
│15Х18Н12С4ТЮ │По ТУ 14-1-561│От -20 │ 2,5 (25) │По ТУ 14-1-561 │- │
├─────────────┼──────────────┼────────┼──────────┼─────────────────┤ │
│ХН32Т по ТУ │По ТУ 14-1-284│От -70 │Не │По ТУ 14-1-284 │ │
├─────────────┴──────────────┴────────┴──────────┴─────────────────┴──────┤
│ Примечания. 1. Испытания на стойкость против межкристаллитной│
│коррозии по
ГОСТ 6032 при условии требований в проекте. │
│ 2. При толщине проката менее 5 мм допускается применение сталей по│
│
ГОСТ 19281 2-й категории вместо категорий 4-й, 7-й, 12-й. │
│ 3. Для изделий, не подлежащих сварке. │
│ 4. Для сред, не вызывающих межкристаллитную коррозию при температуре│
│свыше плюс 350 °C. │
│ 5. Сортовой прокат испытывается на ударный изгиб при температуре│
│стенки ниже минус 30 °C. Ударная вязкость не менее 30 Дж/см2│
│(3 кгс x м/см2). │
│ 6. Для внутренних не подлежащих сварке деталей сосудов, работающих│
│без давления, допускается применение сталей марок 08Х13, 12Х13 при│
│температуре стенки от минус 60 °C до плюс 550 °C. │
│ 7. Ограничения по толщине: для сталей 3-й категории - не более 40 мм,│
│4, 5-й категорий - не более 25 мм. │
│ 8. Дополнительное испытание на ударный изгиб при температуре плюс│
│20 °C на заводе - изготовителе сосудов или их отдельных деталей. │
└─────────────────────────────────────────────────────────────────────────┘
(обязательное)
СТАЛЬНЫЕ ОТЛИВКИ
Таблица Е.1
┌─────────────────┬─────────────────┬──────────────────┬─────────────────┬───────┐
│ Марка стали │ Технические │ Рабочие условия │ Вид испытаний и │Номер │
│ │ требования ├───────┬──────────┤ дополнительное │приме- │
│ │ │темпе- │ давление │ требование │чания к│
│ │ │ратура │среды, МПа│ │данной │
│ │ │стенки,│(кгс/см2),│ │таблице│
│ │ │°C │ не более │ │ │
├─────────────────┼─────────────────┼───────┼──────────┼─────────────────┼───────┤
│20Л, 25Л │По
ГОСТ 977, ТУ │От -30 │Не │Группа 3 │
1,
2 │
├─────────────────┤
[90] │ │ │4112-091-00220302├───────┤
│35Л, 45Л │ │ │ │
[90] │
3 │
├─────────────────┼─────────────────┼───────┤ ├─────────────────┼───────┤
│20 ГМЛ │По ОСТ 26-07-402 │От -60 │ │По ОСТ 26-07-402 │- │
│по ОСТ 26-07-402 │
[91] │до +450│ │
[91] │ │
├─────────────────┼─────────────────┼───────┤ ├─────────────────┤ │
│ │4112-091-00220302│до +540│ │по
ГОСТ 977 │ │
├─────────────────┤
[90] ├───────┤ ├─────────────────┤ │
│20Х5МЛ │ │От -40 │ │Группа 3 │ │
│ │ │ │ │4112-091-00220302│ │
├─────────────────┼─────────────────┼───────┤ ├─────────────────┤ │
│20Х5ТЛ по ТУ │По ТУ │От -40 │ │По ТУ │ │
│4112-091-00220302│4112-091-00220302│до +425│ │4112-091-00220302│ │
├─────────────────┤ ├───────┤ │ │ │
│20Х5ВЛ по ТУ │ │От -40 │ │ │ │
│4112-091-00220302│ │до +550│ │ │ │
├─────────────────┼─────────────────┼───────┤ ├─────────────────┤ │
│20Х8ВЛ │По
ГОСТ 977, ТУ │От -40 │ │Группа 3 │ │
│ │
[90] │ │ │4112-091-00220302│ │
├─────────────────┼─────────────────┼───────┤ ├─────────────────┤ │
│20ХН3Л по ТУ │По ТУ │От -70 │ │По ТУ │ │
│4112-091-00220302│4112-091-00220302│до +450│ │4112-091-00220302│ │
│ │ │ │ │вязкость при │ │
│ │ │ │ │температуре минус│ │
│ │ │ │ │70 °C, если тем- │ │
│ │ │ │ │пература стенки │ │
│ │ │ │ │ниже минус 30 °C │ │
├─────────────────┼─────────────────┼───────┤ ├─────────────────┤ │
│10Х18Н9Л, │По
ГОСТ 977 │От -253│ │Группа 3 │ │
│12Х18Н9ТЛ, │ │до +600│ │по
ГОСТ 977 ТУ │ │
│12Х18Н12М3ТЛ │ │ │ │4112-091-00220302│ │
├─────────────────┼─────────────────┼───────┤ ├─────────────────┤ │
│10Х21Н6М2Л по ТУ │По ТУ │От -40 │ │По ТУ │ │
│4112-091-00220302│4112-091-00220302│до +300│ │4112-091-00220302│ │
├─────────────────┼─────────────────┼───────┼──────────┼─────────────────┤ │
│40Х24Н12СЛ │По
ГОСТ 977 │От 0 до│- │Группа 3 │ │
├─────────────────┤ ├───────┤ │ │ │
│35Х23Н7СЛ │ │От 0 до│ │ │ │
├─────────────────┴─────────────────┴───────┴──────────┴─────────────────┴───────┤
│ Примечания. 1. При содержании углерода более 0,25% сварку следует │
│производить с предварительным подогревом и последующей термической │
│обработкой. │
│ 2. Допускается применять отливки из углеродистых сталей марок 20Л, │
│25Л до температуры стенки минус 40 °C при условии проведения термической │
│обработки в режиме нормализации плюс отпуск или закалка плюс отпуск. │
│ 3. Для несвариваемых деталей. │
└────────────────────────────────────────────────────────────────────────────────┘
(обязательное)
Таблица Ж.1
┌────────────────┬────────────────────┬─────────────────────┬─────────────┐
│ Марка стали │ Технические │ Рабочие условия │ Назначение │
│ │ требования ├────────┬────────────┤ │
│ │ │темпера-│ давление │ │
│ │ │тура │ среды, МПа │ │
│ │ │стенки, │ (кгс/см2), │ │
│ │ │°C │ не более │ │
├────────────────┼────────────────────┼────────┼────────────┼─────────────┤
│Класс прочности │По
ГОСТ Р 52627 │От -30 │ 2,5 (25) │Шпильки, │
│5.6, 6.6, 8.8, │ │до +300 │ │болты, гайки │
│21, 22, 23, 5, │ │ │ │ │
│6, 8, 10 │ │ │ │ │
├────────────────┼────────────────────┼────────┼────────────┼─────────────┤
│Ст3сп4 │По СТП 26.260.2043 │От -20 │ 2,5 (25) │Шпильки, │
│ │ │ ├────────────┼─────────────┤
│ │ │ │ 10 (100) │Шайбы │
├────────────────┼────────────────────┼────────┼────────────┼─────────────┤
│10 по
ГОСТ 1050 │По СТП 26.260.2043 │От 0 │ 2,5 (25) │Гайки │
│ │ ├────────┼────────────┼─────────────┤
│ │ │От -40 │ 10 (100) │Шайбы │
│ │ │до +450 │ │ │
├────────────────┼────────────────────┼────────┼────────────┼─────────────┤
│20, 25 │По │От -40 │ 2,5 (25) │Шпильки, │
│ │ │ │ 10 (100) │Гайки │
│ │ ├────────┼────────────┼─────────────┤
│ │ │От -40 │ 10 (100) │Шайбы │
│ │ │до +450 │ │ │
├────────────────┼────────────────────┼────────┼────────────┼─────────────┤
│30, 35, 40, 45 │По СТП 26.260.2043 │От -40 │ 10 (100) │Шпильки, │
│ │ │ │ 16 (160) │Гайки │
│ │ ├────────┼────────────┼─────────────┤
│ │ │От -40 │ │ │
│ │ │до +450 │ 16 (160) │Шайбы │
├────────────────┼────────────────────┼────────┼────────────┼─────────────┤
│30Х, 35Х, 38ХА, │По СТП 26.260.2043 │От -40 │ 16 (160) │Шпильки, │
│ │ ├────────┤ ├─────────────┤
│ │ │От -40 │ │Гайки │
│ │ │до +450 │ │ │
│ │ ├────────┤ ├─────────────┤
│ │ │От -70 │ │Шайбы │
│ │ │до +450 │ │ │
├────────────────┼────────────────────┼────────┼────────────┼─────────────┤
│ │ │до +200 │ │ │
├────────────────┼────────────────────┼────────┼────────────┼─────────────┤
│09Г2С │По СТП 26.260.2043 │От -70 │ 16 (160) │Шпильки, │
│категория 7 │ ├────────┤ ├─────────────┤
│ │ │От -70 │ │Шайбы │
│ │ │до +450 │ │ │
├────────────────┼────────────────────┼────────┼────────────┼─────────────┤
│10Г2 │По СТП 26.260.2043 │От -70 │ 16 (160) │Шпильки, │
│ │ ├────────┤ ├─────────────┤
│ │ │От -70 │ │Шайбы │
│ │ │до +450 │ │ │
├────────────────┼────────────────────┼────────┼────────────┼─────────────┤
│18Х2Н4МА │По СТП 26.260.2043 │От -70 │ 16 (160) │Шпильки, │
│ │ ├────────┤ ├─────────────┤
│ │ │От -70 │ │Шайбы │
│ │ │до +450 │ │ │
├────────────────┼────────────────────┼────────┼────────────┼─────────────┤
│12Х13, 20Х13, │По СТП 26.260.2043 │От -30 │ 10 (100) │Шпильки, │
│30Х13 │
[92] │до +475 │ │болты, гайки,│
├────────────────┼────────────────────┼────────┼────────────┼─────────────┤
│по
ГОСТ 18968 │ │до +450 │ограничено │болты, шайбы │
│ │ ├────────┤ ├─────────────┤
│ │ │От 0 │ │Гайки │
│ │ │до +510 │ │ │
├────────────────┼────────────────────┼────────┼────────────┼─────────────┤
│10Х17Н13М2Т, │По СТП 26.260.2043 │От -70 │ 16 (160) │Шпильки, │
│10Х17Н13М3Т, │
[92] │до +600 │ │болты, гайки,│
│08Х17Н15М3Т, │ │ │ │шайбы │
│31Х19Н9МВБТ │ │ │ │ │
├────────────────┼────────────────────┼────────┼────────────┼─────────────┤
│31Х19Н9МВБТ │По
ГОСТ 23304, │От 0 │Не │Шпильки, │
├────────────────┼────────────────────┼────────┼────────────┼─────────────┤
│06ХН28МДТ │По СТП 26.260.2043 │От -70 │ 16 (160) │Шпильки, │
│ │ │ │ │шайбы │
├────────────────┼────────────────────┼────────┼────────────┼─────────────┤
│10Х14Г14Н4Т │По СТП 26.260.2043 │От -70 │ 16 (160) │Шпильки, │
├────────────────┼────────────────────┼────────┤ ├─────────────┤
│07Х21Г7АН5 │По СТП 26.260.2043 │От -70 │ │Шпильки, │
├────────────────┼────────────────────┼────────┼────────────┼─────────────┤
│08Х15Н24В4ТР │По СТП 26.260.2043 │От -70 │ 16 (160) │Шпильки, │
│ │ │ │ │шайбы │
├────────────────┼────────────────────┼────────┼────────────┼─────────────┤
│07Х16Н6 │По СТП 26.260.2043 │От -40 │ 10 (100) │Шпильки, │
│ │ │ │ │шайбы │
├────────────────┼────────────────────┼────────┼────────────┼─────────────┤
│10Х11Н22Т3МР по │По
ГОСТ 20700 │От -70 │Не │Шпильки, │
│
ГОСТ 20700 │ │до +650 │ограничено │болты, гайки │
├────────────────┼────────────────────┼────────┼────────────┼─────────────┤
│30ХМ, 30ХМА, │По СТП 26.260.2043 │От -40 │ 16 (160) │Шпильки, │
│35ХМ │
[92] │до +450 │ │болты │
│ │ │От -40 │ │Гайки │
│ │ │до +510 │ │ │
│ │ ├────────┤ ├─────────────┤
│ │ │От -70 │ │Шайбы │
│ │ │до +450 │ │ │
├────────────────┼────────────────────┼────────┼────────────┼─────────────┤
│40ХФА │По
ГОСТ 10494 │От -50 │ 80 (800) │Шпильки │
├────────────────┼────────────────────┼────────┼────────────┼─────────────┤
│25Х1МФ │По СТП 26.260.2043 │От -40 │ │Шпильки, │
│ │ ├────────┼────────────┼─────────────┤
│ │ │От -40 │ 16 (160) │Гайки │
│ │ │до +540 │ │ │
│ │ ├────────┼────────────┼─────────────┤
│ │ │От -70 │ │Шайбы │
│ │ │до +540 │ │ │
├────────────────┼────────────────────┼────────┼────────────┼─────────────┤
│25Х2М1Ф │По СТП 26.260.2043 │От -40 │ 16 (160) │Шпильки, │
│ │ ├────────┤ ├─────────────┤
│ │ │От -70 │ │Шайбы │
│ │ │до +540 │ │ │
├────────────────┼────────────────────┼────────┼────────────┼─────────────┤
│ │ ├────────┼────────────┼─────────────┤
│ │ │От 0 │ │Гайки │
│ │ │до +565 │ │ │
│ ├────────────────────┼────────┼────────────┼─────────────┤
│ │ │до +510 │ │ │
├────────────────┼────────────────────┼────────┼────────────┼─────────────┤
│20Х1М1Ф1ТР, │По СТП 26.260.2043 │От -40 │ 16 (160) │Шпильки, │
│20Х1М1Ф1БР │
[92] │до +565 │ │болты, гайки │
│ │ │От -70 │ │Шайбы │
│ │ │до +565 │ │ │
│ ├────────────────────┼────────┼────────────┼─────────────┤
│ │ │до +580 │ограничено │болты, гайки │
├────────────────┼────────────────────┼────────┼────────────┼─────────────┤
│15ХМ │По СТП 26.260.2043 │От -70 │ 16 (160) │Шайбы │
│ ├────────────────────┼────────┼────────────┼─────────────┤
│ │ │до +545 │ограничено │ │
├────────────────┼────────────────────┼────────┼────────────┼─────────────┤
│20ХН3А, 10Г2 │По СТП 26.260.2043 │От -70 │16 (160) │Шпильки, │
│ │ ├────────┤ ├─────────────┤
│ │ │От -70 │ │Шайбы │
│ │ │до +450 │ │ │
├────────────────┼────────────────────┼────────┼────────────┼─────────────┤
│37Х12Н8Г8МФБ │По СТП 26.260.2043 │От -40 │16 (160) │Шпильки, │
│ │ ├────────┤ ├─────────────┤
│ │ │От -70 │ │Шайбы │
│ │ │до +600 │ │ │
├────────────────┼────────────────────┼────────┼────────────┼─────────────┤
│12Х18Н10Т, │По СТП 26.260.2043 │От -70 │16 (160) │Шпильки, │
│08Х18Н10Т │
[92] │до +600 │ │болты, гайки,│
├────────────────┼────────────────────┼────────┼────────────┼─────────────┤
│45Х14Н14В2М │По СТП 26.260.2043 │От -70 │16 (160) │Шпильки, │
│ │ │ │ │шайбы │
├────────────────┼────────────────────┼────────┼────────────┼─────────────┤
│18Х12ВМБФР │По СТП 26.260.2043 │От -40 │16 (160) │Шпильки, │
│ │ │ │ │шайбы │
├────────────────┼────────────────────┼────────┼────────────┼─────────────┤
├────────────────┼────────────────────┼────────┼────────────┼─────────────┤
│08Х16Н13М2Б │По
ГОСТ 20700 │От -70 │Не │Шпильки, │
│по
ГОСТ 5632 │ │до +625 │ограничено │болты, гайки │
│ │ ├────────┤ ├─────────────┤
│ │ │От -70 │ │Шайбы │
│ │ │до +650 │ │ │
├────────────────┼────────────────────┼────────┼────────────┼─────────────┤
│по
ГОСТ 5632 │ │до +650 │ограничено │болты, гайки │
├────────────────┼────────────────────┼────────┼────────────┼─────────────┤
│08Х22Н6Т, │По СТП 26.260.2043 │От -40 │16 (160) │Шпильки, │
│08Х21Н6М2Т, │
[92] │до +200 │ │болты, гайки,│
│14Х17Н2 │ │ │ │шайбы │
│по
ГОСТ 5632 ├────────────────────┼────────┼────────────┼─────────────┤
│ │По СТП 26.260.2043 │От -70 │2,5 (25) │Шпильки, │
│ │
[92] │до +350 │ │болты, гайки,│
│ │ │ │ │шайбы │
└────────────────┴────────────────────┴────────┴────────────┴─────────────┘
(обязательное)
ЛИСТЫ, ПЛИТЫ ИЗ ЦВЕТНЫХ МЕТАЛЛОВ И СПЛАВОВ
Таблица И.1
┌────────────────┬──────────────┬──────────────────┬──────────────┬───────┐
│ Марка стали │ Технические │ Рабочие условия │Вид испытания │Номер │
│ │ требования ├───────┬──────────┤и дополни- │приме- │
│ │ │темпе- │ давление │тельное │чания к│
│ │ │ратура │среды, МПа│требование │данной │
│ │ │стенки,│(кгс/см2),│ │таблице│
│ │ │°C │ не более │ │ │
├────────────────┼──────────────┼───────┼──────────┼──────────────┼───────┤
│ЛС59-1, ЛО62-1 │ │до +250│ограничено│ │ │
├────────────────┼──────────────┤ │ ├──────────────┼───────┤
│ЛЖМп 59-1-1 │По │ │ │По │- │
│по
ГОСТ 15527 │ТУ 48-21-897 │ │ │ТУ 48-21-897 │ │
├────────────────┼──────────────┼───────┼──────────┼──────────────┼───────┤
├────────────────┼──────────────┼───────┼──────────┼──────────────┼───────┤
ИС МЕГАНОРМ: примечание.
Марки стали приведены в соответствии с официальным текстом документа.
│АД1, АМц, АМг3, │ │до +150│ │ │ │
│АМг5 по │ │ │ │ │ │
├────────────────┼──────────────┼───────┼──────────┼──────────────┼───────┤
│А6, Амц │ │до +150│ │ │ │
├────────────────┤ ├───────┤ │ │ │
│АМг3, АМг5, АМг6│ │От -210│ │ │ │
├────────────────┴──────────────┴───────┴──────────┴──────────────┴───────┤
│ Примечания. 1. Испытание на растяжение следует проводить в состоянии│
│поставки. │
│ 2. Испытание на растяжение следует проводить в мягком состоянии│
│марок Л63, Л68, ЛС59-1, а марки ЛО62-1 - в горячекатаном состоянии. │
│ 3. По требованию потребителя проводят испытания на глубину│
│выдавливания мягких полос толщинами 1 и 1,2 мм. │
│ 4. По требованию потребителя проводят испытание на изгиб. │
│ 5. Механические свойства листов без термической обработки и│
│отожженных (кроме сплавов марок АМг3, АМг5, АМг6) обеспечиваются│
│технологией изготовления. │
ИС МЕГАНОРМ: примечание.
В официальном тексте документа, видимо, допущена опечатка: пункт 4.4
в ГОСТ 17232-99 отсутствует.
│ 6. Механические свойства обеспечиваются технологией изготовления и│
│проверяются по требованию потребителя (
ГОСТ 17232, пункт 4.4). │
└─────────────────────────────────────────────────────────────────────────┘
(обязательное)
ТРУБЫ ИЗ ЦВЕТНЫХ МЕТАЛЛОВ И СПЛАВОВ
Таблица К.1
┌─────────────────┬──────────────┬──────────────────┬─────────────┬───────┐
│ Марка стали │ Технические │ Рабочие условия │Вид испытания│Номер │
│ │ требования ├───────┬──────────┤и дополни- │приме- │
│ │ │темпе- │давление │тельное │чания к│
│ │ │ратура │среды, МПа│требование │данной │
│ │ │стенки,│(кгс/см2),│ │таблице│
│ │ │°C │не более │ │ │
├─────────────────┼──────────────┼───────┼──────────┼─────────────┼───────┤
│ЛОМш 70-1-0,05, │ │до +250│ограничено│ │ │
│ЛАМш 77-2-0,05 │ │ │ │ │ │
├─────────────────┼──────────────┼───────┤ ├─────────────┼───────┤
│ЛС59-1, │ │до +250│ │ │ │
│ЛЖМц 59-1-1 │ │ │ │ │ │
├─────────────────┼──────────────┼───────┤ ├─────────────┼───────┤
├─────────────────┼──────────────┼───────┤ ├─────────────┼───────┤
├─────────────────┼──────────────┼───────┼──────────┼─────────────┼───────┤
├─────────────────┼──────────────┤ │ ├─────────────┼───────┤
├─────────────────┴──────────────┴───────┴──────────┴─────────────┴───────┤
│ Примечания. 1. Испытания на растяжение следует проводить в мягком│
│состоянии. │
│ 2. Испытания на растяжение латуни марки Л68 следует проводить в│
│мягком состоянии. │
│ 3. Испытания на растяжение латунных труб марок Л63, Л68 следует│
│проводить в мягком состоянии, трубы марок ЛС69-1, ЛЖМц 59-1-1 испытывают│
│прессованными. │
│ 4. По требованию потребителя тянутые и холоднокатаные трубы с│
│толщиной не более 3 мм подвергают испытанию на сплющивание. │
│ 5. По соглашению сторон трубы марок Л63, Л68 изготовляют с│
│повышенной пластичностью. │
│ 6. Испытание на растяжение следует проводить в отожженном состоянии. │
│ 7. Механические свойства отожженных труб предприятие-изготовитель не│
│контролирует. │
└─────────────────────────────────────────────────────────────────────────┘
(обязательное)
ПРУТКИ И ЛИТЬЕ ИЗ ЦВЕТНЫХ МЕТАЛЛОВ И СПЛАВОВ
Таблица Л.1
Марка стали | Технические требования | Рабочие условия | Вид испытания и дополни- тельное требование | Номер приме- чания к данной таблице |
темпе- ратура стенки, °C | давление среды, МПа (кгс/см2), не более |
НМЖМц 28-2,5-1,5 | | От -70 до +250 | 2,5 (25) | | |
ЛЦ23А6Ж3Мц2 (ЛАЖМц 66-6-3-2) | | Не ограничено | По ГОСТ 17711 | - |
АДО, АМг2, АМц | | От -70 до +150 | 6 (60) | |
Примечание. Испытание на растяжение следует проводить в мягком состоянии. |
(обязательное)
ПРОВЕДЕНИЯ В ЗИМНЕЕ ВРЕМЯ ПУСКА (ОСТАНОВКИ)
ИЛИ ИСПЫТАНИЯ НА ГЕРМЕТИЧНОСТЬ СОСУДОВ
М.1. Настоящий регламент распространяется на сосуды, изготовленные в соответствии с требованиями настоящего стандарта и эксплуатируемые под давлением на открытом воздухе или в неотапливаемом помещении.
М.2. Пуск (остановка) или испытание на герметичность в зимнее время, т.е. повышение (снижение) давления в сосуде при повышении (снижении) температуры стенки, должны осуществляться в соответствии с рисунком М.1:

- давление пуска;

- рабочее давление;

- наинизшая
температура воздуха, при которой допускается пуск сосуда
под давлением

;

- минимальная температура, при которой
сталь и ее сварные соединения допускаются для работы
Рисунок М.1
М.3. Давление пуска

принимается согласно таблице М.1 в зависимости от рабочего давления

.
Таблица М.1
┌──────────────────┬───────────────┬─────────────────────┬────────────────┐
│p , МПа (кгс/см2) │Менее 0,1 (1) │От 0,1 (1) до 0,3 (3)│Более 0,3 (3) │
│ 2 │ │ │ │
├──────────────────┼───────────────┼─────────────────────┼────────────────┤
│p , МПа (кгс/см2) │P │ 0,1 (1) │0,35P │
│ 1 │ 2 │ │ 2 │
└──────────────────┴───────────────┴─────────────────────┴────────────────┘
Примечание. При температуре

, ниже или равной

, давление пуска

принимается равным рабочему давлению

.
Достижение давлений

и

рекомендуется осуществлять постепенно по

или

в течение часа с 15 минутными выдержками давлений на ступенях

(

);

(

);

(

).
М.4. Температуры

и

принимаются по таблице М.2 в зависимости от типа сталей.
Скорость подъема (снижения) температуры должна быть не более 30 °C в час, если нет других указаний в технической документации.
┌─────────────────────────┬───────────┬───────────┬───────────────────────┐
│ Марка стали │ Наинизшая │Минимальная│ Допускаемая средняя │
│ │температура│температура│ температура наиболее │
│ │воздуха t ,│t , °C │ холодной пятидневки в │
│ │ 1 │ 2 │районе установки сосуда│
│ │ °C │ │ │
├─────────────────────────┼───────────┼───────────┼───────────────────────┤
│Ст3кп2 │Минус 20 │Плюс 10 │Минус 30 °C при объеме │
│ │ │ │менее 100 м3 │
├─────────────────────────┤ ├───────────┼───────────────────────┤
│Ст3сп3, Ст3пс3, Ст3сп6, │ │0 │Не ниже минус 40 °C │
│Ст3пс6, 20К-3, 20К-10 │ │ │ │
├─────────────────────────┼───────────┼───────────┤ │
│Ст3сп4, Ст3пс4, Ст3Гпс4, │Минус 40 │Минус 20 │ │
│Ст3сп5, 20К-5, 20К-11 │ │ │ │
├─────────────────────────┼───────────┼───────────┤ │
│16ГС-3, 09Г2С-3, 17ГС-3, │Минус 40 │Минус 30 │ │
│17Г1С-3 │ │ │ │
├─────────────────────────┤ ├───────────┤ │
│16ГС-6, 16ГС-17, 09Г2С-6,│ │Минус 40 │ │
│09Г2С-17, 17ГС-6, │ │ │ │
│17ГС-12, 17Г1С-6, │ │ │ │
│17Г1С-12, 20ЮЧ, 08Х22Н6Т,│ │ │ │
│08Х21Н6М2Т │ │ │ │
├─────────────────────────┤ ├───────────┤ │
│12ХМ, 12МХ, 10Х2ГНМ │ │0 │ │
├─────────────────────────┼───────────┼───────────┼───────────────────────┤
│09Г2С-7, 09Г2С-8, │Согласно │Ниже минус │Не регламентируется │
│12Х18Н10Т, 10Х17Н13М2Т │Приложениям│40 │ │
│ │настоящего │ │ │
│ │стандарта │ │ │
├─────────────────────────┴───────────┴───────────┴───────────────────────┤
│ Примечания. 1. Для материалов, не приведенных в
таблице М.2,│
│температура t определяется по
Приложениям А -
Д настоящего стандарта. │
│ 2 │
│ 2. В данной таблице приведены температуры t и t для сосудов из│
│ 1 2 │
│сталей марок 12ХМ и 12МХ со сроком службы не более 100 тыс. час. │
│ 3. В случае снижения нижнего температурного предела применения│
│углеродистых и низколегированных марганцовистых и марганцево-кремнистых│
│ 1│
│принимается равным рабочему давлению p , температура t - установленному│
│ 2 1 │
│нижнему температурному пределу применения стали согласно
примечанию 26│
│таблицы А.1. │
└─────────────────────────────────────────────────────────────────────────┘
(обязательное)
ОПРЕДЕЛЕНИЕ ПОНЯТИЯ ОДНОТИПНЫХ СВАРНЫХ СОЕДИНЕНИЙ
Однотипными сварными соединениями является группа сварных соединений, имеющих следующие общие признаки:
- способ сварки;
- марку (сочетание марок) основного металла. В одну группу допускается объединять сварные соединения деталей из сталей различных марок, для сварки которых согласно технологии предусмотрено применение сварочных материалов одних и тех же марок (сочетаний марок);
- марку (сочетание марок) сварочных материалов. В одну группу допускается объединять сварные соединения, выполненные с применением различных сварочных материалов, марки (сочетание марок) которых согласно технологии допускается использовать для сварки деталей из одной и той же стали; электроды должны иметь одинаковый вид покрытия по
ГОСТ 9466 (основной, рутиловый, целлюлозный, кислый);
- номинальную толщину свариваемых деталей в зоне сварки. В одну группу допускается объединять соединения с номинальной толщиной деталей в зоне сварки в пределах одного из следующих диапазонов, мм:
до 3 включительно
свыше 3 " 10 "
" 10 " 50
" 50
Для угловых, тавровых и нахлесточных соединений указанные диапазоны относятся к привариваемым деталям; толщину основных деталей разрешается не учитывать;
- радиус кривизны деталей в зоне сварки. В одну группу допускается объединять сварные соединения деталей с радиусом кривизны в зоне сварки (для труб - с половиной наружного номинального диаметра) в пределах одного из следующих диапазонов, мм:
до 12,5 включительно,
свыше 12,5 " 50 "
" 50 " 250 "
" 250 (включая плоские детали).
Для угловых, тавровых и нахлесточных соединений указанные диапазоны относятся к привариваемым деталям; радиусы кривизны основных деталей разрешается не учитывать;
- вид сварного соединения (стыковое, угловое, тавровое, нахлесточное). В одну группу могут быть объединены угловые, тавровые и нахлесточные соединения, кроме угловых сварных соединений приварки штуцеров (труб) к элементам сосудов;
- форму подготовки кромок. В одну группу допускается объединять сварные соединения с одной из следующих форм подготовки кромок:
с односторонней разделкой кромок и углом их скоса более 8°,
с односторонней разделкой кромок и углом их скоса до 8° включительно (узкая разделка);
с двухсторонней разделкой кромок;
без разделки кромок;
способ сварки корневого слоя: на остающейся подкладке (подкладном кольце), на расплавляемой подкладке, без подкладки (свободное формирование обратного валика), с подваркой корня шва;
- термический режим сварки: с предварительным и сопутствующим подогревом, без подогрева, с послойным охлаждением;
- режим термической обработки сварного соединения.
(рекомендуемое)
СТАЛИ, СКЛОННЫЕ К ОБРАЗОВАНИЮ ТРЕЩИН ПРИ СВАРКЕ
В СВАРНОМ ШВЕ И ОКОЛОШОВНОЙ ЗОНЕ
1. Низкоуглеродистые и низколегированные:
16ГС, 09Г2С, 17ГС, 10Г2С1, 20К - при ручной сварке или толщине более 36 мм; 14Х2ГМР, 16Г2АФ, 15Г2СФ, 10ХСНД - при ручной сварке или толщине более 10 мм;
2. Теплостойкие хромомолибденовые и хромистые: 12ХМ, 15ХМ, 12МХ, 12Х1МФ, 1Х2М1, 15Х5, 15Х5МУ, 15Х5ВФ, 12Х8ВФ, Х9М, Х8.
3. Аустенитные коррозионно-стойкие стали и сплавы без ферритной фазы: 02Х8Н22С6, 03Х19АГ3Н10, 03Х21Н21М4ГБ, 03Х17Н14М3, 08Х17Н15М3Г, 08Х18Н12Б, 10Х14Г14Н4Т, 06ХН28МДТ, 03ХН28МДТ, ХН32Т, ХН78Т - при толщине не менее 10 мм.
4. Высокохромистые ферритные коррозионно-стойкие: 08Х13, 08Х17Т, 15Х25Т - при толщине более 10 мм; 20Х13.
5. Двухслойные коррозионно-стойкие стали - переходный шов (термин определен в ОСТ 26.260.480
[94].
Примечание. В соединениях элементов разной толщины склонность к трещинам определяется элементом большей толщины.
(рекомендуемое)
ПОДРАЗДЕЛЕНИЕ СТАЛЕЙ НА КЛАССЫ
Таблица Р.1
Класс стали и сплава | Марка стали и сплава |
Углеродистый | Ст3, 10, 20, 15К, 16К, 18К, 20К, 20ЮЧ |
Низколегированный марганцовистый, марганцево-кремнистый | 16ГС, 17ГС, 17Г1С, 09Г2С, 10Г2СФ, 10Г2С1, 10Г2, 10Г2С1Д, 09Г2, 09Г2СЮЧ, 16ГМЮЧ, 09Г2СФБ |
Низколегированный хромомолибде- новый, хромомолибденованадиевый | 12МХ, 12ХМ, 12Х1МФ, 15ХМ, 10Х2ГМ, 1Х2М1, 20Х2МА, 15Х2МФА |
Мартенситный | 15Х5, 15Х5М, 15Х5ВФ, 12Х8ВФ, 20Х13, Х9М, 12Х13 |
Ферритный | 08Х13, 08Х17Т, 15Х25Т |
Аустенитный | 10Х14Г14Н4Т, 08Х18Н10Т, 08Х18Н12Б, 10Х17Н13М2Т, 08Х17Н15М3Т, 03Х17Н14М3, 12Х18Н12Т, 02Х18Н11, 02Х8Н22С6, 03Х19АГ3Н10Т, 07ХГ3АГ20, 12Х18Н10Т, 12Х18Н9Т, 03Х21Н21М4ГБ |
Сплавы на железоникелевой и никелевой основе | 06Х28МДТ, 03Х28МДТ, ХН32Т |
Аустенитно-ферритный | 08Х22Н6Т, 08Х21Н6М2Т, 08Х18Г8Н2Т, 15Х18Н12С4ТЮ |
(обязательное)
сосуда, работающего под давлением
не свыше 0,07 МПа (0,7 кгс/см2), без давления (под налив)
Заводской номер _______________________________________________________
1. Общие данные
Наименование и адрес владельца сосуда _________________________________
Наименование и адрес предприятия-изготовителя _________________________
Год изготовления ______________________________________________________
Наименование и назначение сосуда ______________________________________
2. Характеристика сосуда
┌────────────────────────────────────┬────────────────────────────────────┐
│ Характеристика │ Наименование рабочего пространства │
│ ├──────┬────────┬────────────────────┤
│ │корпус│рубашка │трубное пространство│
├────────────────────────────────────┼──────┼────────┼────────────────────┤
│Рабочее или условное давление, МПа │ │ │ │
│(кгс/см2) │ │ │ │
├────────────────────────────────────┼──────┼────────┼────────────────────┤
│Расчетное давление, МПа (кгс/см2) │ │ │ │
├─────────────────┬──────────────────┼──────┼────────┼────────────────────┤
│Пробное давление,│гидравлическое │ │ │ │
│МПа (кгс/см2) ├──────────────────┼──────┼────────┼────────────────────┤
│ │пневматическое │ │ │ │
├─────────────────┴──────────────────┼──────┼────────┼────────────────────┤
│Испытательная среда │ │ │ │
├────────────────────────────────────┼──────┼────────┼────────────────────┤
│Температура испытательной среды, °C │ │ │ │
├────────────────────────────────────┼──────┼────────┼────────────────────┤
│Внутренний диаметр, мм │ │ │ │
├────────────────────────────────────┼──────┼────────┼────────────────────┤
│Длина (высота), мм │ │ │ │
├────────────────────────────────────┼──────┼────────┼────────────────────┤
│Наименование рабочей среды │ │ │ │
├────────────────────────────────────┼──────┼────────┼────────────────────┤
│Внутренний объем, м3 │ │ │ │
├────────────────────────────────────┼──────┼────────┼────────────────────┤
│Масса пустого сосуда, кг │ │ │ │
├─────────────────┬──────────────────┼──────┼────────┼────────────────────┤
│Перемешивающее │Число оборотов │ │ │ │
│устройство ├──────────────────┼──────┼────────┼────────────────────┤
│ │Мощность двигателя│ │ │ │
└─────────────────┴──────────────────┴──────┴────────┴────────────────────┘
3. Материал основных частей
┌─────────────────────────────────────────┬───────────────────────────────┐
│ Наименование детали (обечайка, днище, │ Материал, ГОСТ, ТУ │
│ патрубки, фланцы, крепеж и др.) │ │
├─────────────────────────────────────────┼───────────────────────────────┤
│ │ │
└─────────────────────────────────────────┴───────────────────────────────┘
4. Комплектующие изделия (основные)
┌────────────────────────────────┬───────────────┬────────────────────────┐
│ Наименование и характеристика │ ГОСТ, ТУ │Предприятие-изготовитель│
├────────────────────────────────┼───────────────┼────────────────────────┤
│ │ │ │
└────────────────────────────────┴───────────────┴────────────────────────┘
5. Сведения по испытаниям на предприятии-изготовителе
6. Отклонение от чертежа при изготовлении
7. Перечень прилагаемой технической документации
┌────────────────────┬─────────────────┬───────────────┬──────────────────┐
│ Наименование │ Обозначение │Заводской номер│ Количество │
│ документа │ │ │ экземпляров │
├────────────────────┼─────────────────┼───────────────┼──────────────────┤
│ │ │ │ │
└────────────────────┴─────────────────┴───────────────┴──────────────────┘
8. Удостоверение о качестве
М.П. Технический руководитель
(Главный инженер) предприятия
Начальник ОТК
Приложения:
чертеж общего вида,
расчет на прочность,
инструкция по монтажу,
руководство по эксплуатации.
[2]
ПБ 03-576-03. Правила устройства и безопасной эксплуатации сосудов, работающих под давлением
[3] ТУ 14-1-4088-86. Прокат толстолистовой из углеродистой стали марки 20К. ОПП
[4] ТУ 108.11.543-80. Прокат толстолистовой котельной стали марки 22К
[5] ТУ 05764417-013-93. Заготовки из стали марок 09ГСНБЦ, 09ХГН2АБ, 20КА, 08Г2МФА
[6] ТУ 302.02.122-91. Заготовки из стали марок 09Г2С (09Г2С-Ш), 09Г2СА
[7] ТУ 14-1-5241-93. Прокат толстолистовой высококачественный из углеродистой низколегированной и легированной стали
[8] ТУ 14-1-5265-94. Прокат листовой повышенного качества из низколегированной стали марки 09Г2С. Опытная партия
[9] ТУ 14-1-5065-91. Сталь толстолистовая низколегированная марок 09Г2СЮЧ, 09ХГ2СЮЧ
[10] ТУ 14-1-5093-92. Прокат толстолистовой горячекатаный из теплоустойчивой стали марок 12МХ и 12ХМ
[11] ТУ 24-10-003-70. Листы из стали марок 12МХ и 12ХМ толщиной от 20 до 130 мм
[12] ТУ 302.02.031. Заготовки из стали марок 12ХМ и 15ХМ
[13] ТУ 302.02.121-91. Заготовки из стали марок 10Х2М1А-А и 10Х2М1А (10Х2М1А-ВД, 10Х2М1А-Ш)
[14] ТУ 14-1-2657-79. Прокат толстолистовой из теплоустойчивой стали марки 15Х5М
[15] ТУ 108.11.928-87. Листы из стали марки 10Х2ГНМА-А
[16] ТУ 14-1-5117-92. Прокат толстолистовой из легированной стали марки 10Х2ГНМ для сосудов, работающих под давлением
[17] ТУ 14-1-4853-90. Прокат толстолистовой стойкий к коррозионному растрескиванию
[18] ТУ 14-1-3333-82. Прокат толстолистовой стойкий к коррозионному растрескиванию. Опытная партия
[19] ТУ 14-1-5307-95. Прокат толстолистовой из стали марок 09ХГН2АБ и 09ГСНБЦ. Опытная партия
[20] ТУ 14-1-4826-90. Прокат листовой низколегированный марки 16ГМЮЧ
[21] ТУ 302.02.014-89. Заготовки корпусов реакторов установки гидрокрекинга. Марки
[22] ТУ 108.131-86. Заготовки из теплоустойчивой стали
[23] ТУ 14-1-4502-88. Прокат толстолистовой горячекатаный из легированной стали 15Г2СФ. Опытная партия
[24] ТУ 14-1-4083-86. Сталь листовая марки 09Г2ФБ и 10Г2ФБ улучшенной свариваемости и хладостойкости
[25] ТУ 14-1-2261-77. Сталь горячекатаная листовая коррозионно-стойкая. Марка 03Х19АГ3Н10
[26] ТУ 14-1-3342-82. Сталь толстолистовая коррозионно-стойкая марки 07Х13АГ20 (ЧС 46)
[27] ТУ 14-1-3199-81. Сталь тонколистовая коррозионно-стойкая. Марки 08Х18Н10, 08Х18Н10Т, 12Х18Н9, 12Х18Н10Т
[28] ТУ 14-1-4780-90. Прокат листовой коррозионно-стойкий в рулонах
[29] ТУ 14-1-2542-78. Сталь толстолистовая высоколегированная коррозионно-стойкая. Марки 08Х18Н18Т, 12Х18Н10Т
[30] ТУ 108-1151-82. Листы из стали марок 12Х18Н10Т, 08Х18Н10Т, 12Х18Н10ГТ, 08Х18Н10ГТ
[31] ТУ 14-1-5142-92. Прокат толстолистовой из коррозионно-стойкой стали марок 02Х18Н11-ВО и 03Х18Н11-ВО
[32] ТУ 14-1-5073-91. Прокат горячекатаный толстолистовой коррозионно-стойкий марок 03Х18Н11 и 03Х17Н14М3
[33] ТУ 14-1-394-72. Сталь толстолистовая высоколегированная коррозионно-стойкая
[34] ТУ 14-1-3071-80. Сталь горячекатаная толстолистовая коррозионно-стойкая вакуумно-обезуглероженная марок 02Х18Н11, 03Х18Н11 (опытная партия)
[35] ТУ 14-1-5071-91. Прокат толстолистовой из коррозионно-стойкой стали марок 02Х17Н14М3-ВИ, 03Х17Н14М3-ВИ
[36] ТУ 14-1-3669-83. Сталь тонколистовая коррозионно-стойкая. Марки 15Х18Н12С4ТЮ (ЭИ654) и 15Х18Н12С4ТЮ-Ш (ЭИ654-Ш)
[37] ТУ 108-930-80. Листы из стали. Марки 12Х18Н10Т и 08Х18Н10Т
[38] ТУ 14-1-2735. Прокат тонколистовой из стали марки 07Х16Н6
[39] ТУ 14-1-625-73. Лист толстый из сплава марки ХН32Т (ЭП-670)
[40] ТУ 14-1-5241-93. Прокат толстолистовой высококачественный из углеродистых и низколегированных марок стали: Ст3сп, Ст5сп, 09Г2, 12Г2С, 09Г2С, 17Г1-У, 17Г2(17Г1), 10Г2С1, 10ХНДП, 14Г2, 16ГС, 17ГС, 17Г1С, 14Г2АФ, 13Г2АФ, 16Г2АФ, 12ХГДАФ, 15Г2СФ, 10ХСНД, 15ХСНД, 12ХСНД, 18Г2ХФЮД, 14ХГ2САФД, 13ХГМРБ, 14Х2ГМР, 12ГН2МФАЮ
[41] ТУ 05764417-041-95. Сталь листовая двухслойная коррозионно-стойкая
[42] ТУ 14-1-4212-87. Сталь листовая двухслойная коррозионно-стойкая марок 15Г2СФ + 12Х18Н10Т, 15Г2СФ + 10Х17Н13М3Т, 15Г2СФ + 08Х17Н15М3Т
[43] ТУ 14-3-624-88. Трубы электросварные из углеродистой стали 10 и 20 для химического и нефтяного машиностроения
[44] ТУ 14-3Р-55-2001. Трубы стальные бесшовные для паровых котлов и трубопроводов
[45] ТУ 14-3-460-75. Трубы стальные бесшовные для паровых котлов и трубопроводов
[46] ТУ 14-3-1600-89. Трубы горячедеформированные из стали 20ЮЧ
[47] ТУ 14-3-1652-89. Трубы холоднодеформированные из стали марки 20ЮЧ
[48] ТУ 14-3-1745-90. Трубы стальные бесшовные из стали марки 20ЮЧ
[49] ТУ 14-3Р-54-2001. Трубы бесшовные горячедеформированные из стали марки 20ЮЧ
[50] ТУ 14-3-1573-96. Трубы стальные электросварные
[51] ТУ 14-3Р-62-2002. Трубы стальные бесшовные горячедеформированные из стали марки 15Х5М для нефтеперерабатывающей промышленности
[52] ТУ 14-3-457-76. Трубы печные коммуникационные для нефтеперерабатывающей промышленности
[53] ТУ 14-3-1905-93. Трубы бесшовные горяче- и холоднодеформированные из коррозионно-стойкой стали марок 08Х22Н6Т (ЭП-53), 08Х21Н6М2Т (ЭП-54) и 10Х14Г14Н4Т (ЭИ-711)
[54] ТУ 14-3-1322-85. Трубы бесшовные из стали марки 07Х13АГ20
[55] ТУ 14-3-1323-85. Трубы бесшовные из стали марки 07Х13АГ20
[56] ТУ 14-3-1596-88. Трубы бесшовные холодно- и теплодеформированные из коррозионно-стойкой стали
[57] ТУ 14-3-415-75. Трубы бесшовные из стали 03Х19АГ3Н10
[58] ТУ 14-3-396-75. Трубы бесшовные горячекатаные и холоднодеформированные из коррозионно-стойкой стали марки 03Х17Н14М3 (ЭИ-66)
[59] ТУ 14-3-1348-85. Трубы бесшовные тепло- и холоднодеформированные из стали марки 03Х17Н14М3
[60] ТУ 14-3-1357-86. Трубы бесшовные горячедеформированные из стали марки 03Х17Н14М3
[61] ТУ 14-3-1024-81. Трубы бесшовные холодно- и теплодеформированные
[62] ТУ 14-3-1391-85. Трубы стальные электросварные холоднодеформированные из коррозионно-стойкой стали
[63] ТУ 14-3-1401-86. Трубы бесшовные холоднодеформированные из стали марки 02Х18Н11
[64] ТУ 14-3-1339-85. Трубы бесшовные горячедеформированные из стали марки 02Х18Н11
[65] ТУ 14-3-751-78. Трубы бесшовные холоднодеформированные из сплава ЭП-516 и стали марки ЗИ-35
[66] ТУ 14-3-694-78. Трубы бесшовные холоднодеформированные из стали марки 03Х21Н21М4ГБ (ЭИ-35) и сплава 03ХН28МДТ (ЭП-516)
[67] ТУ 14-3-696-78. Трубы горячепрессованные из сплава 03ХН27МДТ (ЭИ-516) и стали 03Х21Н21М4ГБ (ЭИ-35) (опытная партия)
[68] ТУ 14-3-1201-83. Трубы бесшовные из стали марки ЭП-516
[69] ТУ 14-3-763-78. Трубы бесшовные холоднодеформированные из стали марки 06ХН28МДТ (ЭИ-943)
[70] ТУ 14-3-822-79. Трубы бесшовные из коррозионно-стойкой стали марки 06ХН28МДТ (ЭИ-943)
[71] ТУ 14-3-949-80. Трубы бесшовные теплодеформированные из марки стали 15Х25Т
[72] ТУ 14-3-310-74. Трубы бесшовные холоднодеформированные из стали 15Х18Н12С4ТЮ (ЭИ-654)
[73] ТУ 1320-003-18648658-90. Трубы деформированные из жаропрочных сталей и сплавов
[74] ТУ 14-3-190-2004. Трубы стальные бесшовные для котельных установок и трубопроводов
[75]
ОСТ 108.030.113-87. Поковки из углеродистой и легированной стали для оборудования и трубопроводов тепловых и атомных станций. Технические условия
[76] ТУ 26-0303-1532-84. Поковки из стали марки 20ЮЧ
[77] ОСТ 26-01-135-81. Поковки для деталей сосудов, аппаратов и деталей трубопроводов высокого давления. Общие технические требования, правила приемки, методы испытаний
[78] ТУ 108.13.39. Поковки из легированной стали марки 10Х2М1А-А
[79] ТУ 14-1-1431-75. Кольца горячекатаные для фланцев из стали марки 20
[80] ТУ 14-3-375-75. Кольца для фланцев стальные горячекатаные
[81] ТУ 0251-16. Заготовки, полученные методом электрошлакового переплава из сталей марок 20Ш, 10Г2Ш
[82] ТУ 14-1-3332-82. Прокат листовой стали марки 20ЮЧ
[83] ТУ 14-1-915-74. Прутки из коррозионно-стойкой стали марки 15Х18Н12С4ТЮ-Ш (ЭИ-654-Ш)
[84] ТУ 14-1-3812-84. Прутки из коррозионно-стойкой стали марок 02Х8Н22С6 (ЭП 794), 02Х8Н22С6-ПД (ЭП 794-ПД), 02Х8Н22С6-Ш (ЭП 794-Ш), 02Х8Н22С6-ИД (ЭП 794-ИД). Опытная партия
[85] ТУ 14-1-1660-76. Прутки из стали марки 07Х17Н6-Ш (Х16Н6-Ш)
[86] ТУ 14-1-1160-74. Сталь сортовая коррозионно-стойкая марки 03Х18Н11
[87] ТУ 14-1-3303-82. Сталь сортовая коррозионно-стойкая низкоуглеродистая марки 03Х17Н14М3 (ЭИ-66)
[88] ТУ 14-1-561-73. Прутки из коррозионно-стойкой стали марки 15Х18Н12С4ТЮ (ЭН-654), 15Х18Н12С4ТЮ-Ш (ЭН654-Ш)
[89] ТУ 14-1-284-72. Прутки горячекатаные и кованные из сплава марки ХН32Т (ЭП-670)
[90] ТУ 4112-091-00220302. Отливки стальные для оборудования нефтеперерабатывающих и нефтехимических заводов
[91] ОСТ 26-07-402-83. Отливки стальные для трубопроводной арматуры и приводных устройств к ней. Общие технические условия
[92] СТП 26.260.2043-2004. Болты, шпильки, гайки и шайбы для фланцевых соединений. Технические требования
[93] ТУ 48-21-897-90. Листы и плиты латунные
[94] ОСТ 26.260.480-2003. Сосуды и аппараты из двухслойных сталей. Сварка и наплавка.