Главная // Актуальные документы // ГОСТ Р (Государственный стандарт)СПРАВКА
Источник публикации
М.: Стандартинформ, 2018
Примечание к документу
По сведениям, размещенным на Информационном портале Росстандарта по адресу http://standard.gost.ru/, данный документ утратил силу с 01.07.2024 в связи с изданием
Приказа Росстандарта от 15.08.2022 N 763-ст, с учетом изменения, утв. Приказом Росстандарта от 07.12.2022 N 1449-ст. Взамен введен в действие
ГОСТ 34858-2022.
По сведениям, размещенным на Информационном портале Росстандарта по адресу http://standard.gost.ru/, дата утраты силы данного документа перенесена на 01.07.2024 Приказом Росстандарта от 07.12.2022 N 1449-ст.
Документ утрачивал силу с 01.07.2023 в связи с изданием
Приказа Росстандарта от 15.08.2022 N 763-ст. Взамен вводится в действие
ГОСТ 34858-2022.
Документ
введен в действие с 01.07.2019.
Название документа
"ГОСТ Р 52087-2018. Национальный стандарт Российской Федерации. Газы углеводородные сжиженные топливные. Технические условия"
(утв. и введен в действие Приказом Росстандарта от 29.03.2018 N 164-ст)
"ГОСТ Р 52087-2018. Национальный стандарт Российской Федерации. Газы углеводородные сжиженные топливные. Технические условия"
(утв. и введен в действие Приказом Росстандарта от 29.03.2018 N 164-ст)
Утвержден и введен в действие
агентства по техническому
регулированию и метрологии
от 29 марта 2018 г. N 164-ст
НАЦИОНАЛЬНЫЙ СТАНДАРТ РОССИЙСКОЙ ФЕДЕРАЦИИ
ГАЗЫ УГЛЕВОДОРОДНЫЕ СЖИЖЕННЫЕ ТОПЛИВНЫЕ
ТЕХНИЧЕСКИЕ УСЛОВИЯ
Fuel liquefied hydrocarbon gases. Specifications
ГОСТ Р 52087-2018
ОКПД2 19.20.31.000
Дата введения
1 июля 2019 года
1 РАЗРАБОТАН Акционерным обществом "Волжский научно-исследовательский институт углеводородного сырья" (АО "ВНИИУС")
2 ВНЕСЕН Федеральным агентством по техническому регулированию и метрологии
3 УТВЕРЖДЕН И ВВЕДЕН В ДЕЙСТВИЕ
Приказом Федерального агентства по техническому регулированию и метрологии от 29 марта 2018 г. N 164-ст
Правила применения настоящего стандарта установлены в
статье 26 Федерального закона от 29 июня 2015 г. N 162-ФЗ "О стандартизации в Российской Федерации". Информация об изменениях к настоящему стандарту публикуется в ежегодном (по состоянию на 1 января текущего года) информационном указателе "Национальные стандарты", а официальный текст изменений и поправок - в ежемесячном информационном указателе "Национальные стандарты". В случае пересмотра (замены) или отмены настоящего стандарта соответствующее уведомление будет опубликовано в ближайшем выпуске ежемесячного информационного указателя "Национальные стандарты". Соответствующая информация, уведомление и тексты размещаются также в информационной системе общего пользования - на официальном сайте Федерального агентства по техническому регулированию и метрологии в сети Интернет (www.gost.ru)
Настоящий стандарт распространяется на сжиженные углеводородные газы (далее - сжиженные газы), применяемые в качестве топлива для коммунально-бытового потребления, моторного топлива для автомобильного транспорта, а также в промышленных целях.
В настоящем стандарте использованы нормативные ссылки на следующие стандарты:
ГОСТ 8.423 Государственная система обеспечения единства измерений. Секундомеры механические. Методы и средства поверки
ГОСТ 12.1.005 Система стандартов безопасности труда. Общие санитарно-гигиенические требования к воздуху рабочей зоны
ГОСТ 12.1.007 Система стандартов безопасности труда. Вредные вещества. Классификация и общие требования безопасности
ГОСТ 12.1.018 Система стандартов безопасности труда. Пожаровзрывобезопасность статического электричества. Общие требования
ГОСТ 12.1.044 (ИСО 4589-84) Система стандартов безопасности труда. Пожаровзрывоопасность веществ и материалов. Номенклатура показателей и методы их определения
ГОСТ 12.4.021 Система стандартов безопасности труда. Системы вентиляционные. Общие требования
ГОСТ 17.2.3.02 Правила установления допустимых выбросов загрязняющих веществ промышленными предприятиями
ГОСТ 400 Термометры стеклянные для испытаний нефтепродуктов. Технические условия
ГОСТ EN 589-2014 Топлива для двигателей внутреннего сгорания. Газы углеводородные сжиженные. Технические требования и методы испытаний
ГОСТ 1510 Нефть и нефтепродукты. Маркировка, упаковка, транспортирование и хранение
ГОСТ 1770 Посуда мерная, лабораторная стеклянная. Цилиндры, мензурки, колбы, пробирки. Общие технические условия
ГОСТ ISO 4256 Газы углеводородные сжиженные. Определение манометрического давления паров. Метод СУГ
ГОСТ 6709 Вода дистиллированная. Технические условия
ГОСТ 6217 Уголь активный древесный дробленый. Технические условия
ГОСТ 10679 Газы углеводородные сжиженные. Метод определения углеводородного состава
ГОСТ 14921 Газы углеводородные сжиженные. Методы отбора проб
ГОСТ 16350 Климат СССР. Районирование и статистические параметры климатических факторов для технических целей
ГОСТ 17299 Спирт этиловый технический. Технические условия
ГОСТ 19433 Грузы опасные. Классификация и маркировка
ГОСТ 22387.5 Газ для коммунально-бытового потребления. Методы определения интенсивности запаха
ГОСТ 22985 Газы углеводородные сжиженные. Метод определения сероводорода и меркаптановой серы
ГОСТ 25336 Посуда и оборудование лабораторные стеклянные. Типы, основные параметры и размеры
ГОСТ 28656 Газы углеводородные сжиженные. Расчетный метод определения плотности и давления насыщенных паров
ГОСТ 29169 (ИСО 648-77) Посуда лабораторная стеклянная. Пипетки с одной отметкой
ГОСТ 30852.19 (МЭК 60079-20:1996) Электрооборудование взрывозащищенное. Часть 20. Данные по горючим газам и парам, относящиеся к эксплуатации электрооборудования
ГОСТ 32918 Нефть. Метод определения сероводорода, метил- и этилмеркаптанов
ГОСТ 33012 (ISO 7941:1988) Пропан и бутан товарные. Определение углеводородного состава методом газовой хроматографии
ГОСТ Р 12.4.026 Система стандартов безопасности труда. Цвета сигнальные, знаки безопасности и разметка сигнальная. Назначение и правила применения. Общие технические требования и характеристики. Методы испытаний
ГОСТ Р 50994 (ИСО 4256-78) Газы углеводородные сжиженные. Метод определения давления насыщенных паров
ГОСТ Р 53228 Весы неавтоматического действия. Часть 1. Метрологические и технические требования. Испытания
ГОСТ Р 54484 Газы углеводородные сжиженные. Методы определения углеводородного состава
ГОСТ Р 55609 Отбор проб газового конденсата, сжиженного углеводородного газа и широкой фракции легких углеводородов. Общие требования
ГОСТ Р 55878 Спирт этиловый технический гидролизный ректификованный. Технические условия
ГОСТ Р 56869 Газы углеводородные сжиженные и смеси пропан-пропиленовые. Определение углеводородов газовой хроматографией
Примечание - При пользовании настоящим стандартом целесообразно проверить действие ссылочных стандартов в информационной системе общего пользования - на официальном сайте Федерального агентства по техническому регулированию и метрологии в сети Интернет или по ежегодному информационному указателю "Национальные стандарты", который опубликован по состоянию на 1 января текущего года, и по выпускам ежемесячного информационного указателя "Национальные стандарты" за текущий год. Если заменен ссылочный стандарт, на который дана недатированная ссылка, то рекомендуется использовать действующую версию этого стандарта с учетом всех внесенных в данную версию изменений. Если заменен ссылочный стандарт, на который дана датированная ссылка, то рекомендуется использовать версию этого стандарта с указанным выше годом утверждения (принятия). Если после утверждения настоящего стандарта в ссылочный стандарт, на который дана датированная ссылка, внесено изменение, затрагивающее положение, на которое дана ссылка, на это положение рекомендуется применять без учета данного изменения. Если ссылочный стандарт отменен без замены, то положение, в котором дана ссылка на него, рекомендуется применять в части, не затрагивающей эту ссылку.
3.1 В зависимости от содержания основного компонента и направления использования сжиженных газов устанавливают марки и коды
ОКПД2, приведенные в таблице 1.
Таблица 1
Марки и коды
ОКПД2 для сжиженных газов
Марка | Наименование | |
ПТ | Пропан технический | 19.20.31.110 |
ПА | Пропан автомобильный | 19.20.31.110 |
ПБА | Пропан-бутан автомобильный | 19.20.31 |
ПБТ | Пропан-бутан технический | 19.20.31 |
БТ | Бутан технический | 19.20.31.120 |
|
Применение сжиженных газов различных марок в зависимости от климатического района по
ГОСТ 16350 приведено в
приложении А.
Пример условного обозначения топливных сжиженных углеводородных газов марки пропан технический (ПТ) по ГОСТ Р 52087-2018:
Газы углеводородные сжиженные топливные марки
пропан технический (ПТ) по ГОСТ Р 52087-2018
4.1 Сжиженные газы производят в соответствии с требованиями настоящего стандарта по технологической документации, утвержденной в установленном порядке.
4.2 По физико-химическим и эксплуатационным показателям сжиженные газы должны соответствовать требованиям и нормам, указанным в таблице 2.
Таблица 2
Физико-химические и эксплуатационные
показатели сжиженных газов
Наименование показателя | Норма для марки | Метод испытания |
ПТ | ПА | ПБА | ПБТ | БТ |
1 Массовая доля компонентов, %: | | |
- сумма метана, этана и этилена | Не нормируется. Определение обязательно |
- сумма пропана и пропилена, не менее | 75 | - | - | Не нормируется. Определение обязательно |
в том числе пропана | - | 85 +/- 10 | 50 +/- 10 | - | - |
- сумма бутанов и бутиленов: | Не нормируется. Определение обязательно | - | - |
не более | - | - | - | 60 | - |
не менее | - | - | - | - | 60 |
- сумма непредельных углеводородов, не более | - | 6,0 | 6,0 | - | - |
2 Объемная доля жидкого остатка при температуре 20 °C, %, не более | 0,7 | 0,7 | 1,6 | 1,6 | 1,8 | По 8.2 настоящего стандарта |
3 Давление насыщенных паров избыточное, МПа, при температуре: | | | | | | |
+45 °C, не более | 1,6 | 1,6 | 1,6 | 1,6 | 1,6 |
-20 °C, не менее | 0,16 | - | 0,07 | - | - |
-30 °C, не менее | - | 0,07 | - | - | - |
4 Массовая доля сероводорода и меркаптановой серы, %, не более | 0,013 | 0,01 | 0,01 | 0,013 | 0,013 | |
в т.ч. сероводорода, не более | 0,003 |
5 Наличие свободной воды и щелочи | Отсутствие | По 8.2 настоящего стандарта |
6 Интенсивность запаха, баллы, не менее | 3 | - | 3 | 3 | |
7 Запах | - | Характерный неприятный при концентрации в воздухе 20% об. от нижнего предела воспламеняемости | - | - | |
8 Октановое число, не менее | - | 89 | - | - | |
Примечания 1 В сжиженных газах марок ПА и ПБА массовая доля меркаптановой серы 0,001% (10 ppm) и более свидетельствует о наличии характерного неприятного запаха, который соответствует запаху, обнаруживаемому при концентрации в воздухе, равной 20% от нижнего предела воспламеняемости. Допускается не определять показатель "запах" в сжиженных газах марок ПА, ПБА при массовой доле меркаптановой серы 0,001% и более. При массовой доле меркаптановой серы менее 0,001% сжиженные газы должны быть одорированы в установленном порядке. 2 Допускается не определять показатель "интенсивность запаха" в сжиженных газах марок ПТ, ПБТ и БТ при массовой доле меркаптановой серы 0,002% и более. При массовой доле меркаптановой серы менее 0,002% или интенсивности запаха менее 3 баллов сжиженные газы должны быть одорированы в установленном порядке. 3 Давление насыщенных паров сжиженных газов при температурах минус 20 °C и минус 30 °C определяют только в зимний период. 4 При определении показателей качества арбитражными методами являются следующие показатели: 5 Допускается по согласованию с потребителем вырабатывать сжиженный газ марок ПА и ПБА с массовой долей: пропана более 95% и более 60% соответственно. |
4.3 Маркировка
4.3.1 Маркировка сжиженных газов - по
ГОСТ 1510 с указанием манипуляционного знака "Огнеопасно" и знака "Беречь от солнечных лучей" по
ГОСТ 14192. Транспортная маркировка - по
ГОСТ 19433: класс 2, подкласс 2.3.
4.3.2 Сигнальные цвета и знаки безопасности следует применять в соответствии с
ГОСТ Р 12.4.026.
4.4 Упаковка
Сжиженные газы наливают в цистерны, металлические баллоны и другие емкости, освидетельствованные в соответствии с
[1].
5 Требования безопасности
5.1 Сжиженные газы пожаро- и взрывоопасны, одорированные сжиженные газы имеют специфический характерный запах и по степени воздействия на организм человека относятся к веществам 4-го класса опасности (малоопасные) по
ГОСТ 12.1.007.
5.2 Для сжиженного газа известного состава показатели пожаровзрывоопасности определяют по
ГОСТ 12.1.044, характеристики пожаровзрывоопасности компонентов газа - по
ГОСТ 30852.19.
Сжиженные газы образуют с воздухом взрывоопасные смеси.
Концентрационные пределы распространения пламени в воздухе, % об.: пропан (нижний - 1,7; верхний - 10,9); нормальный бутан (нижний - 1,4; верхний - 9,3); изобутан (нижний - 1,3; верхний - 9,8).
Температура самовоспламенения в воздухе при давлении 0,1 МПа (760 мм рт. ст.) составляет: пропан - 470 °C; нормальный бутан - 372 °C; изобутан - 460 °C.
Температура кипения: пропан - минус 42,06 °C; нормальный бутан - минус 0,5 °C; изобутан - минус 11,7 °C в соответствии с
[2].
5.3 Предельно допустимая концентрация (далее - ПДК) в воздухе рабочей зоны предельных алифатических углеводородов C
1 - C
10 (в пересчете на углерод) - 300 мг/м
3, непредельных углеводородов (пропилен, бутилен) - 100 мг/м
3. Содержание вредных веществ в воздухе рабочей зоны не должно превышать предельно допустимых концентраций по
ГОСТ 12.1.005 и гигиеническим
нормативам [3], устанавливающим предельно допустимые концентрации вредных веществ.
5.4 Пары сжиженного газа тяжелее воздуха и могут скапливаться в низких непроветриваемых местах. Снижение объемной доли кислорода в атмосфере до 16% приводит к удушью.
Человек, находящийся в атмосфере с незначительным превышением ПДК паров сжиженного газа в воздухе, испытывает кислородное голодание, а при значительных концентрациях в воздухе может погибнуть от удушья.
Сжиженные газы, попадая на тело человека, могут вызвать обморожение, напоминающее ожог. При возможном контакте необходимо надевать защитную одежду, очки и перчатки.
5.5 Сжиженные газы действуют на организм наркотически. Признаками наркотического действия являются недомогание и головокружение, возможна потеря сознания.
Пары сжиженных газов при вдыхании быстро накапливаются в организме и столь же быстро выводятся через легкие, в организме человека не кумулируются.
5.6 При концентрациях, незначительно превышающих ПДК сжиженных газов, применяют промышленные фильтрующие противогазы с фильтрующей коробкой марки А или коробками с маркировкой по защите от вредных веществ АВЕР с соответствующими классами защиты. При высоких концентрациях и работе в закрытых емкостях, сосудах, колодцах и т.д. - шланговые изолирующие противогазы с принудительной подачей воздуха или изолирующие воздушно-дыхательные аппараты.
5.7 В производственных помещениях следует соблюдать требования санитарной гигиены по
ГОСТ 12.1.005. Производственные помещения должны быть оборудованы общеобменной приточно-вытяжной вентиляцией в соответствии с
ГОСТ 12.4.021, обеспечивающей содержание вредных веществ в воздухе рабочей зоны не выше их ПДК.
5.8 Емкости и трубопроводы, предназначенные для хранения и транспортирования сжиженных газов, должны быть защищены от статического электричества в соответствии с
ГОСТ 12.1.018.
5.9 В помещениях, где производят, хранят и перекачивают сжиженные газы, запрещается обращение с открытым огнем; электрические сети и искусственное освещение должны быть взрывозащищенного исполнения. Не допускается использовать инструменты, дающие при ударе искру.
5.10 При возгорании применяют следующие средства пожаротушения: газовые огнетушащие составы на основе инертных газов, порошковые составы, тонкораспыленную воду для охлаждения; при объемном тушении - углекислый газ.
5.11 Общие правила по взрыво- и пожарной безопасности, меры предупреждения и средства защиты работающих от воздействия сжиженных газов, требования их к личной гигиене, оборудованию и помещению регламентируют системой безопасности труда, утвержденной в установленном порядке.
6 Требования охраны окружающей среды
6.1 Основными требованиями, обеспечивающими сохранение природной среды, являются максимальная герметизация емкостей, коммуникаций, насосных агрегатов и другого оборудования, строгое соблюдение технологического режима.
6.2 При производстве и применении сжиженных газов должен быть организован производственный контроль за содержанием предельно допустимых выбросов в атмосферу по
ГОСТ 17.2.3.02.
6.3 При работе с сжиженными газами необходимо соблюдать требования охраны окружающей среды согласно санитарным
правилам и нормам [4].
7.1 Сжиженные газы принимают партиями. За партию принимают любое количество сжиженного газа одной марки и целевого назначения, сопровождаемое одним паспортом качества. Паспорт качества должен соответствовать требованиям технического
регламента [5].
Объем выборки - не менее 1 дм
3 в зависимости от количества определяемых показателей по
таблице 2.
7.2 При получении неудовлетворительных результатов испытаний хотя бы по одному из показателей качества проводят повторные испытания новой пробы, взятой из удвоенной выборки той же партии.
Результаты повторных испытаний распространяют на всю партию.
7.3 При разногласиях в оценке качества сжиженных газов между потребителем и изготовителем арбитражный анализ газа выполняют в лабораториях, аккредитованных в установленном порядке.
Примечание - Допускается применять аналогичное оборудование и средства измерения с метрологическими характеристиками, а также материалы, качество которых не ниже указанных в настоящем стандарте.
8.2 Определение жидкого остатка, свободной воды и щелочи
Сущность метода заключается в испарении пробы сжиженного газа и проведении качественных реакций на присутствие воды и щелочи в жидком остатке. Метод анализа изложен в
приложении Г.
Метод устанавливает оценку запаха сжиженного газа для использования в качестве топлива для автомобильного транспорта и изложен в
приложении Б.
Запах обусловлен присутствием ненасыщенных углеводородов или появляется в результате одорирования.
Сущность метода заключается в органолептической оценке запаха газовоздушной смеси, создаваемой в аппарате (см.
рисунок Б.1) или одориметре (метод с использованием одориметра) согласно
приложению Б.
При проведении испытания сжиженный газ должен обладать характерным неприятным запахом, обнаруживаемым при его концентрации в воздухе, составляющей 20% об. от нижнего предела воспламеняемости.
Примечания
1 Понятие "неприятный" является субъективным. Запах сжиженного газа должен настораживать пользователя и побуждать его к поиску утечки.
2 Для уменьшения воздействия сжиженных газов на испытателей, проводящих определение запаха, испытание рекомендуется проводить только при соответствии сжиженных газов остальным требованиям, приведенным в
таблице 2.
Испытатель должен быть ознакомлен с требованиями по технике безопасности при работе со сжиженными газами.
3 Если углеводородный компонентный состав пробы соответствует требованиям, установленным в
таблице 2, уровень воздействия на испытателя вдыхаемой смеси сжиженных газов с воздухом находится в допустимых пределах при условии, что количество вдыханий длительностью 10 с во время каждого испытания не превышает трех раз и при 8-часовом рабочем дне в течение 1 ч проводят не более двух испытаний проб сжиженных газов. Данное условие касается воздействия на испытателя только при оценке запаха сжиженных газов.
4 Требования к персоналу:
- персонал, проводящий определение запаха, должен состоять из трех человек - руководителя и испытателей. При необходимости одним из испытателей может быть руководитель группы. Испытатели должны быть без признаков простудных заболеваний, не должны курить, употреблять пищу с острым вкусом и резким запахом менее чем за 30 мин до начала испытаний;
- руководителем испытаний должен быть специалист квалификации не ниже лаборанта химического анализа четвертого квалификационного разряда, изучивший руководства по эксплуатации используемых средств измерений и требования настоящего стандарта;
- руководитель испытательной группы несет ответственность за подготовку проб и оборудования для испытания, контроль соблюдения требований настоящего стандарта в ходе проведения испытаний, регистрацию результатов испытаний, подготовку и проверку испытателей, разрешение спорных ситуаций по результатам оценки, оформление протокола испытаний.
5 Место проведения испытания должно быть защищено от ветра и изолировано от источников запаха.
9 Транспортирование и хранение
10.1 Изготовитель гарантирует соответствие сжиженного газа требованиям настоящего стандарта при соблюдении условий транспортирования и хранения.
10.2 Гарантийный срок хранения сжиженного газа всех марок - 6 месяцев с даты изготовления продукции.
(рекомендуемое)
ПРИМЕНЕНИЕ СЖИЖЕННОГО ГАЗА
Таблица А.1
Применение марок сжиженного газа
Назначение сжиженного газа | Применение марок сжиженных газов в макроклиматических районах по ГОСТ 16350 |
умеренных | холодных |
Летний период | Зимний период | Летний период | Зимний период |
1 Коммунально-бытовое потребление: | | | | |
а) газобаллонное: | | | | |
с наружной установкой баллонов | ПБТ | ПТ | ПБТ | ПТ |
с внутриквартирной установкой баллонов | ПБТ | ПБТ | ПБТ | ПБТ |
портативные баллоны | БТ | БТ | БТ | БТ |
б) групповые установки: | | | | |
без испарителей | ПБТ | ПТ | ПТ, ПБТ | ПТ |
с испарителями | ПБТ, БТ | ПТ, ПБТ, БТ | ПТ, ПБТ | ПТ, ПБТ |
2 Топливо для автомобильного транспорта | ПБА | ПА | - | - |
Примечания 1 Для всех климатических районов, за исключением холодных и очень холодных: - летний период - с 1 апреля по 1 октября; - зимний период - с 1 октября по 1 апреля. 2 Для холодных районов: - летний период - с 1 июня по 1 октября; - зимний период - с 1 октября по 1 июня. 3 Для очень холодных районов: - летний период - с 1 июня по 1 сентября; - зимний период - с 1 сентября по 1 июня. 4 Допускается применять газ марки ПБА в качестве топлива автомобильного транспорта во всех климатических районах при температуре окружающего воздуха не ниже минус 20 °C. |
(обязательное)
МЕТОД ОПРЕДЕЛЕНИЯ ЗАПАХА СЖИЖЕННЫХ ГАЗОВ
ДЛЯ АВТОМОБИЛЬНОГО ТРАНСПОРТА
Б.1 Метод с использованием установки
Б.1.1 Сущность метода
Пробу испытуемого сжиженного газа в газообразном состоянии разбавляют очищенным воздухом таким образом, чтобы смесь содержала сжиженный газ в концентрации, составляющей 20% об. от нижнего предела его воспламеняемости в воздухе.
Сущность метода заключается в органолептической оценке запаха газовоздушной смеси, создаваемой в аппарате (см.
рисунок Б.1).
Б.1.2 Средства измерений, материалы и реактивы
При определении запаха сжиженных газов используют следующие средства измерений, материалы и реактивы:
- расходомер воздуха поплавкового типа диапазоном измерения от 5 до 15 дм3/мин;
- расходомер газа поплавкового типа диапазоном измерения от 5 до 150 см3/мин;
- колонка для очистки воздуха объемом не менее 200 см3;
- колба для смешения диаметром 30 мм с выпускным отверстием диаметром 4 мм (см.
рисунок Б.2);
- активированный древесный уголь марки БАУ-МФ по
ГОСТ 6217.
Примечание - Допускается применять оборудование с аналогичными техническими и метрологическими характеристиками, а также реактивы квалификации не ниже указанных в настоящем стандарте.
Б.1.3 Проведение испытания
Аппаратура для определения запаха сжиженных газов приведена на
рисунке Б.1.
Б.1.3.1 Воздух пропускают через колонку для очистки воздуха 3, заполненную активированным древесным углем, с заданной скоростью, измеряемой расходомером воздуха 4. Расход воздуха для марки ПА - 12,5 дм3/мин, для марки ПБА - 13,6 дм3/мин.
Б.1.3.2 Испытатели определяют запах воздуха, приблизив нос к краю стеклянной воронки 7 и осторожно вдыхая воздух.
Б.1.3.3 При подтверждении всеми испытателями отсутствия запаха воздуха признают аппаратуру пригодной к проведению измерений. При наличии запаха продувают аппарат воздухом от 2 до 3 мин и проводят повторное определение.
Б.1.3.4 Испытуемый сжиженный газ пропускают через расходомер газа 4 со скоростью 40 см3/мин и проводят определение по Б.1.3.2.
Б.1.3.5 Испытатели поочередно оценивают запах газовоздушной смеси, выходящей из воронки, и записывают результаты испытаний в протокол (см.
приложение Д) или регистрируют результаты по другой установленной в лаборатории форме.
Б.1.4 Результаты испытаний
Партию сжиженного газа, представленную на испытания, считают соответствующей требованиям настоящего стандарта, если все испытатели, оценивающие запах, признают наличие характерного неприятного запаха.
На основании полученных от испытателей результатов оценки запаха руководитель группы фиксирует итоговый результат и при необходимости оформляет протокол испытаний.
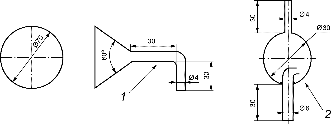
1 - стеклянная воронка диаметром 75 мм; 2 - колба
для смешения; 3 - колонка для очистки воздуха;
4 - расходомеры воздуха и газа; 5 - воздух;
6 - сжиженный газ
Рисунок Б.1 - Аппарат для определения запаха
сжиженных газов
1 - стеклянная воронка; 2 - колба для смешения
(воздух и газ)
Рисунок Б.2 - Детали аппарата
Б.2 Метод с использованием одориметра
Б.2.1 Сущность метода
Сущность метода заключается в органолептической оценке запаха газовоздушной смеси, создаваемой в одориметре.
Б.2.2 Средства измерений, материалы
Одориметры с пределом основной погрешности измерения объемной доли газа в воздухе не более +/- 20% от верхнего предела измерения, например органолептические одориметры газа "ОГ-05-00-00" (Реестр СИ N 49890-12) или "ОО-3" (Реестр СИ N 16295-97).
Б.2.3 Проведение испытания
Б.2.3.1 Одориметр подготавливают к работе согласно руководству по эксплуатации.
Б.2.3.2 Включают одориметр перед подключением его к источнику сжиженного газа и создают расход воздуха через одориметр.
Б.2.3.3 Испытатели поочередно определяют запах воздуха, выходящего из воронки одориметра, для определения его пригодности к проведению измерений.
Б.2.3.4 При подтверждении всеми испытателями отсутствия запаха воздуха одориметр признают пригодным к проведению измерений.
Б.2.3.5 При наличии запаха продувают одориметр воздухом от 3 до 5 мин и проводят повторное определение по Б.2.3.3. При отсутствии запаха одориметр признают пригодным к проведению измерений. При наличии запаха воздуха последующее измерение запаха сжиженных газов с использованием данного одориметра не проводят.
Б.2.3.6 Подключают одориметр к источнику сжиженного газа.
Б.2.3.7 Подачу сжиженного газа в одориметр из пробоотборника проводят, открывая верхний вентиль пробоотборника, установленного вертикально.
Б.2.3.8 Руководитель устанавливает в одориметре объемную долю сжиженного газа (в процентах) в воздухе согласно руководству по эксплуатации одориметра.
Б.2.3.9 Испытатели поочередно определяют запах газовоздушной смеси, выходящей из воронки одориметра, записывают результаты испытаний в бланк (см.
приложение Д) или регистрируют результаты по другой установленной в лаборатории форме. На основании полученных от испытателей результатов оценки запаха руководитель группы фиксирует итоговый результат и при необходимости оформляет протокол испытаний.
Б.2.3.10 Партию сжиженного газа, представленную на испытания, считают соответствующей требованиям настоящего стандарта, если все испытатели, оценивающие запах, признают наличие характерного неприятного запаха.
(обязательное)
МЕТОД ВЫЧИСЛЕНИЯ ОКТАНОВОГО ЧИСЛА ПО МОТОРНОМУ МЕТОДУ
НА ОСНОВЕ КОМПОНЕНТНОГО СОСТАВА СЖИЖЕННОГО ГАЗА
В.1 Сущность метода
Октановое число (ОЧ) пробы сжиженного газа рассчитывают по октановым числам компонентов, входящих в его состав, с учетом их содержания, определенного при анализе. Состав пробы сжиженного газа определяют методом газовой хроматографии.
В.2 Требования к показателям точности измерений
Методика обеспечивает получение результатов вычислений октанового числа сжиженного газа по измеренному компонентному составу со значением расширенной абсолютной неопределенности UОЧ, не превышающей значений, приведенных в таблице В.1, при доверительной вероятности 0,95.
Таблица В.1
Показатели точности измерений
Диапазон измерений октанового числа | Расширенная неопределенность UОЧ <*> (при коэффициенте охвата k = 2 и P = 0,95) |
От 89,0 до 98,0 включ. | 0,0068·РОЧ |
<*> Соответствует границам доверительного интервала абсолютной погрешности при доверительной вероятности P = 095. |
В.3 Расчет и обработка результатов
Расчетное октановое число (РОЧ) сжиженного газа вычисляют как сумму парциальных значений октановых чисел каждого компонента сжиженного газа по формуле

(В.1)
где n - количество компонентов в сжиженном газе;
ОЧi - октановое число i-го компонента сжиженного газа;
Ci - массовая доля i-го компонента, %.
Значения октановых чисел (ОЧi) компонентов сжиженного газа, определенные по моторному методу, приведены в таблице В.2.
Таблица В.2
Октановые числа компонентов сжиженных газов
Наименование компонента | Формула | Октановое число <*> (моторный метод) |
Метан | CH4 | 110,0 |
Этан | C2H6 | 100,7 |
Этен | C2H4 | 75,6 |
Пропан | C3H8 | 97,1 |
Пропен | C3H6 | 84,9 |
Изобутан | изо-C4H10 | 97,6 |
n-Бутан | n-C4H10 | 89,6 |
Бутен-1 | n-C4H8 | 80,8 |
Изобутен | изо-C4H8 | 87,0 |
транс-Бутен-2 | транс-C4H8 | 83,5 |
цис-Бутен-2 | цис-C4H8 | 83,5 |
Бутадиен-1,3 | C4H6 | 83,5 |
Изопентан | изо-C5H12 | 90,3 |
n-Пентан | n-C5H12 | 62,6 |
n-Гексан | C6H14 | 26,0 |
<*> Приведены справочные данные по [7] и стандарту [8]. |
В.4 Оформление результатов измерений
В.4.1 За результат измерения октанового числа сжиженного газа принимают среднеарифметические значения определений.
Примечание - Используемые для определения октанового числа массовые доли компонентов - это среднеарифметические значения, полученные по результатам двух последовательных измерений массовых долей, расхождение между которыми не превышает предела повторяемости согласно методике измерений компонентного состава по
ГОСТ 10679,
ГОСТ 33012,
ГОСТ Р 54484 или
ГОСТ Р 56869.
В.4.2 Результат определения октанового числа сжиженного газа записывают в виде:
[РОЧ +/- UОЧ], (В.2)
где
Uоч - расширенная неопределенность результата определения октанового числа, при коэффициенте охвата
k, равном 2 (соответствует границе абсолютной погрешности при
P = 0,95). Расширенную неопределенность (
UОЧ) вычисляют по формуле, приведенной в
таблице В.1. Вычисленное значение октанового числа и расширенной неопределенности (абсолютной погрешности) округляют до первого десятичного знака.
В.5 Прецизионность метода
Прецизионность метода установлена на основании статистического исследования результатов межлабораторных измерений.
В.6 Контроль точности результатов измерений
Точность результатов расчета октанового числа сжиженного газа зависит от точности измерения компонентного состава методом газовой хроматографии, поэтому контроль точности результатов расчета (измерения) октанового числа сжиженного газа сводится к контролю точности измерения массовой доли компонентов в образце контроля (ГСО) в соответствии с методикой измерений.
(обязательное)
МЕТОД ОПРЕДЕЛЕНИЯ ЖИДКОГО ОСТАТКА, СВОБОДНОЙ ВОДЫ И ЩЕЛОЧИ
Г.1 Аппаратура, реактивы и материалы
Отстойник вместимостью 100 или 500 см
3 по
[9].
Устройство для охлаждения представлено на рисунке Г.1.
1 - игольчатый вентиль; 2 - змеевик;
3 - сосуд для охлаждающей смеси
Рисунок Г.1 - Устройство для охлаждения сжиженного газа
Змеевик охлаждающий изготовляют из медной трубки наружным диаметром от 6 до 8 мм, длиной 6 м, навитой виток к витку в виде спирали диаметром от 60 до 90 мм.
Сосуд с тепловой изоляцией для охлаждения смеси размерами под охлаждающий змеевик (внутренний диаметр - не менее 120 мм, высота - не менее 220 мм).
Штатив лабораторный для отстойника.
Термостат или баня водяная с терморегулятором для поддержания температуры с погрешностью не более 1 °C.
Гайка накидная к штуцеру пробоотборника с уплотнительной прокладкой, снабженной металлической или пластиковой трубкой длиной от 20 до 30 см, внутренним диаметром от 1 до 3 мм, служащей для соединения пробоотборника с охлаждающим змеевиком.
Проволока медная диаметром от 1,5 до 2 мм.
Индикатор тимоловый синий водорастворимый, ч.д.а.
Индикатор фенолфталеин, ч.д.а., раствор в этиловом спирте с массовой долей 1%. (1 г индикатора растворяют в 80 см3 этилового спирта и доводят объем раствора дистиллированной водой до 100 см3).
Вата гигроскопическая.
Смесь охлаждающая, состоящая из крупнокристаллической поваренной соли и льда или ацетона и твердого диоксида углерода, или другие смеси, обеспечивающие требуемую температуру.
Примечание - Допускается применять оборудование с аналогичными техническими и метрологическими характеристиками, а также реактивы квалификации не ниже указанных в настоящем стандарте.
Г.2 Проведение испытания
Г.2.1 На штуцер пробоотборника с испытуемым сжиженным газом навинчивают накидную гайку с чистой сухой отводной трубкой. Открывая нижний вентиль (впускной вентиль) вертикально расположенного пробоотборника, осторожно наливают сжиженный газ через трубку в чистый сухой отстойник. При наливе конец трубки удерживают под поверхностью жидкости и наполняют отстойник до метки 100 см3.
Г.2.2 В пробку из ваты, неплотно вставленную в горло отстойника, незамедлительно устанавливают медную проволоку, доходящую приблизительно до середины мерной части отстойника. Проволока способствует равномерному испарению сжиженного газа, а пробка из ваты не пропускает в отстойник влагу из воздуха.
Г.2.3 После испарения основной массы сжиженного газа при температуре окружающей среды и прекращения заметного испарения жидкости отстойник помещают в водяную баню температурой (20 +/- 1) °C и выдерживают в течение 20 мин.
После этого измеряют объем жидкого остатка. При использовании отстойника применяют метод прямых (объемных) измерений.
Г.2.4 Если объемная доля жидкого остатка превышает норму, то проводят повторные испытания новой пробы, взятой из удвоенной выборки той же партии.
При проведении повторных и арбитражных испытаний отстойник заполняют сжиженным газом через охлаждающий змеевик. Змеевик устанавливают в сосуд для охлаждающей смеси, снабженный термометром, охлаждают до температуры, на несколько градусов ниже температуры кипения основного компонента пробы сжиженного газа, и присоединяют к пробоотборнику или пробоотборной точке.
Г.2.5 Открывая вентили на пробоотборнике или в пробоотборной точке и змеевике, промывают змеевик сжиженным газом в течение 1 - 3 мин. Затем отстойник наполняют пробой сжиженного газа, выходящей из змеевика, до метки 100 см
3, не допуская выброса пробы из отстойника. Далее повторяют операцию испарения газа и измеряют количество жидкого остатка по
Г.2.2 и
Г.2.3.
Г.2.6 Если в продукте имеется свободная вода, то после испарения пробы она остается на дне и стенках отстойника. При затруднениях в визуальной идентификации свободной воды в жидком остатке ее наличие определяют с использованием водорастворимого индикатора. Для этого в отстойник вносят на кончике сухой стеклянной палочки или проволоки несколько кристалликов тимолового синего. В углеводородном жидком остатке тимоловый синий не растворяется и не окрашивается.
Окрашивание жидкости указывает на наличие воды. В щелочной среде тимоловый синий окрашивается в синий цвет. В жидком остатке может содержаться метанол, который дает такое же окрашивание при проверке индикатором, как и свободная вода.
Для дополнительной идентификации свободной воды необходимо охладить жидкий остаток в течение 20 мин до температуры ниже минус 5 °C в соответствующей охлаждающей смеси или морозильной камере. Если при этом в отстойнике образуется лед, то констатируют наличие свободной воды, если жидкость не замерзает, то констатируют отсутствие свободной воды.
Г.2.7 Для определения наличия щелочи в жидком остатке допускается применять в качестве индикатора фенолфталеин. В отстойник добавляют 10 см3 дистиллированной воды и от 2 до 3 капель спиртового раствора фенолфталеина. Окрашивание раствора в розовый или красный цвет указывает на наличие щелочи. Жидкий остаток считают не содержащим щелочи при отсутствии окрашивания.
Г.2.8 За отсутствие в продукте жидкого остатка, свободной воды и щелочи принимают отсутствие жидкости на дне и стенках отстойника после испарения пробы.
Г.3 Обработка результатов
Г.3.1 За результат испытания принимают среднеарифметическое значение двух последовательных определений объемной доли жидкого остатка в процентах.
Результат измерений округляют до второго десятичного знака.
Таблица Г.1
Повторяемость (сходимость) и воспроизводимость метода
Объемная доля жидкого остатка V, % | Предел повторяемости r, % | Предел воспроизводимости R, % |
От 0,50 до 1,00 включ. | 0,06·V + 0,05 | 0,08·V + 0,07 |
Св. 1,00 до 2,00 включ. | 0,07·V + 0,04 | 0,09·V + 0,06 |
Примечание - Если вычисленное значение объемной доли жидкого остатка находится вне пределов диапазона измерений
таблицы Г.1, то результат измерения представляют в виде: "объемная доля жидкого остатка менее (более), ________%" и указывают границу диапазона измерений жидкого остатка.
Г.4 Прецизионность метода
Прецизионность метода установлена на основании статистического исследования результатов межлабораторных измерений.
Г.4.1 Повторяемость (сходимость)
Расхождение между результатами двух последовательных измерений, полученными одним оператором при постоянных условиях на одном и том же оборудовании, может превышать предел повторяемости
r, приведенный в
таблице Г.1, только в одном случае из двадцати при нормальном и правильном использовании метода измерений.
Г.4.2 Воспроизводимость
Расхождение между двумя независимыми результатами измерений, полученными в двух лабораториях на идентичном испытуемом материале при нормальном и правильном использовании метода измерений, может превышать предел воспроизводимости
R, приведенный в
таблице Г.1, только в одном случае из двадцати.
Г.4.3 Полученные результаты анализа оформляют по форме, принятой на конкретном предприятии.
(рекомендуемое)
ФОРМА ПРОТОКОЛА ОПРЕДЕЛЕНИЯ ЗАПАХА СЖИЖЕННОГО ГАЗА
ДЛЯ АВТОМОБИЛЬНОГО ТРАНСПОРТА
Протокол N __________
результатов определения запаха сжиженного газа
для автомобильного транспорта
Наименование сжиженного газа (марка)
Дата отбора пробы _________________________________________________________
Время отбора пробы ________________________________________________________
Место отбора пробы ________________________________________________________
Фамилия и инициалы испытателя _____________________________________________
Место работы и должность __________________________________________________
Запах | Оценка запаха |
воздуха до начала испытания | газовоздушной смеси после вдыхания |
Характерный неприятный | Да/Нет | Да/Нет |
Да или Нет (подчеркнуть)
Дата испытаний ________________________ Подпись испытателя ________________
Подпись руководителя испытаний ___________________________________ (Ф.И.О.)
| ФНП "Правила промышленной безопасности опасных производственных объектов, на которых используется оборудование, работающее под избыточным давлением" (утверждены приказом Федеральной службы по экологическому, технологическому и атомному надзору от 25 марта 2014 г. N 116) |
| Корольченко А.Я., Корольченко Д.А. Пожаровзрывоопасность веществ и материалов и средства их тушения. Справочник. - М., Ассоциация Пожнаука, 2004 г. |
| Гигиенические нормативы Российской Федерации | Предельно допустимые концентрации (ПДК) вредных веществ в воздухе рабочей зоны |
| Санитарные правила и нормы Российской Федерации | Гигиенические требования к обеспечению качества атмосферного воздуха населенных мест |
| Технический регламент Евразийского экономического союза | Требования к сжиженным углеводородным газам для использования их в качестве топлива |
| Европейское соглашение о международной дорожной перевозке опасных грузов (ДОПОГ) (ООН, Нью-Йорк и Женева, 2016 г.) |
| Рудин М.Г., Драбкин А.Е. Краткий справочник нефтепереработчика. - М.: Химия, 1980, - 328 с. |
| АСТМ Д 2598-02 (2007) | Стандартная методика расчета определенных физических свойств сжиженных нефтяных газов с использованием композиционного анализа |
| [ASTM D 2598-02 (2007)] | [Standard practice for calculation of certain physical properties of liquefied petroleum (LP) gases from compositional analysis] |
| ТУ 4321-016-07609129-2003 | Отстойники. Технические условия (свидетельство об утверждении типа средств измерений RU.C.29.083.A N 49897) |