Главная // Актуальные документы // ГОСТ (Государственный стандарт)СПРАВКА
Источник публикации
М.: Стандартинформ, 2018
Примечание к документу
Действие данного документа было приостановлено с 21.10.2019 по 01.05.2024
Приказом Росстандарта от 11.10.2019 N 965-ст (ред. от 22.04.2021).
Приказом Росстандарта от 25.04.2024 N 548-ст срок приостановления действия данного документа был изменен на период до 01.08.2024.
Приказом Росстандарта от 24.07.2024 N 962-ст срок приостановления действия данного документа изменен на период до 31.12.2024.
Документ включен в
Перечень международных и региональных (межгосударственных) стандартов, а в случае их отсутствия - национальных (государственных) стандартов, содержащих правила и методы исследований (испытаний) и измерений, в том числе правила отбора образцов, необходимые для применения и исполнения требований технического
регламента Таможенного союза "О требованиях к смазочным материалам, маслам и специальным жидкостям" (ТР ТС 030/2012) и осуществления оценки соответствия объектов технического регулирования (
Решение Коллегии Евразийской экономической комиссии от 25.07.2023 N 109).
Документ включен в
Перечень международных и региональных (межгосударственных) стандартов, а в случае их отсутствия - национальных (государственных) стандартов, в результате применения которых на добровольной основе обеспечивается соблюдение требований технического
регламента Таможенного союза "О безопасности низковольтного оборудования" (ТР ТС 004/2011) и в
Перечень международных и региональных (межгосударственных) стандартов, а в случае их отсутствия - национальных (государственных) стандартов, содержащих правила и методы исследований (испытаний) и измерений, в том числе правила отбора образцов, необходимые для применения и исполнения требований технического
регламента Таможенного союза "О безопасности низковольтного оборудования" (ТР ТС 004/2011) и осуществления оценки соответствия объектов технического регулирования (
Решение Коллегии Евразийской экономической комиссии от 11.05.2023 N 55).
Отдельные положения данного документа включены в
Перечень документов в области стандартизации, в результате применения которых на добровольной основе обеспечивается соблюдение требований Федерального
закона от 22 июля 2008 г. N 123-ФЗ "Технический регламент о требованиях пожарной безопасности" (
Приказ Росстандарта от 03.06.2019 N 1317).
Текст данного документа приведен с учетом
поправки, опубликованной в "ИУС", N 1, 2021.
Документ
введен в действие с 01.05.2019.
Название документа
"ГОСТ 12.1.044-2018. Межгосударственный стандарт. Система стандартов безопасности труда. Пожаровзрывоопасность веществ и материалов. Номенклатура показателей и методы их определения"
(введен в действие Приказом Росстандарта от 05.10.2018 N 717-ст)
"ГОСТ 12.1.044-2018. Межгосударственный стандарт. Система стандартов безопасности труда. Пожаровзрывоопасность веществ и материалов. Номенклатура показателей и методы их определения"
(введен в действие Приказом Росстандарта от 05.10.2018 N 717-ст)
агентства по техническому
регулированию и метрологии
от 5 октября 2018 г. N 717-ст
МЕЖГОСУДАРСТВЕННЫЙ СТАНДАРТ
СИСТЕМА СТАНДАРТОВ БЕЗОПАСНОСТИ ТРУДА
ПОЖАРОВЗРЫВООПАСНОСТЬ ВЕЩЕСТВ И МАТЕРИАЛОВ
НОМЕНКЛАТУРА ПОКАЗАТЕЛЕЙ И МЕТОДЫ ИХ ОПРЕДЕЛЕНИЯ
Occupational safety standards system. Fire and explosion
hazard of substances and materials. Nomenclature of indices
and methods of their determination
ГОСТ 12.1.044-2018
Дата введения
1 мая 2019 года
Цели, основные принципы и основной порядок проведения работ по межгосударственной стандартизации установлены в
ГОСТ 1.0-2015 "Межгосударственная система стандартизации. Основные положения" и
ГОСТ 1.2-2015 "Межгосударственная система стандартизации. Стандарты межгосударственные, правила и рекомендации по межгосударственной стандартизации. Правила разработки, принятия, обновления и отмены"
1 РАЗРАБОТАН Федеральным государственным бюджетным учреждением "Всероссийский ордена "Знак Почета" научно-исследовательский институт противопожарной обороны" МЧС России (ФГБУ ВНИИПО МЧС России)
2 ВНЕСЕН Межгосударственным техническим комитетом по стандартизации МТК 274 "Пожарная безопасность"
3 ПРИНЯТ Межгосударственным советом по стандартизации, метрологии и сертификации (протокол от 30 апреля 2018 г. N 108-П)
За принятие проголосовали:
Краткое наименование страны по МК (ИСО 3166) 004-97 | Код страны по МК (ИСО 3166) 004-97 | Сокращенное наименование национального органа по стандартизации |
Армения | AM | Минэкономики Республики Армения |
Беларусь | BY | Госстандарт Республики Беларусь |
Казахстан | KZ | Госстандарт Республики Казахстан |
Киргизия | KG | Кыргызстандарт |
Россия | RU | Росстандарт |
Туркмения | TM | Главгосслужба "Туркменстандартлары" |
4
Приказом Федерального агентства по техническому регулированию и метрологии от 5 октября 2018 г. N 717-ст межгосударственный стандарт ГОСТ 12.1.044-2018 введен в действие в качестве национального стандарта Российской Федерации с 1 мая 2019 г.
Информация об изменениях к настоящему стандарту публикуется в ежегодном информационном указателе "Национальные стандарты", а текст изменений и поправок - в ежемесячном информационном указателе "Национальные стандарты". В случае пересмотра (замены) или отмены настоящего стандарта соответствующее уведомление будет опубликовано в ежемесячном информационном указателе "Национальные стандарты". Соответствующая информация, уведомление и тексты размещаются также в информационной системе общего пользования - на официальном сайте Федерального агентства по техническому регулированию и метрологии в сети Интернет (www.gost.ru)
1.1 Настоящий стандарт распространяется на простые вещества, химические соединения и их смеси в различных агрегатных состояниях и комбинациях, в том числе полимерные и композитные материалы (далее - вещества и материалы), применяемые в различных отраслях промышленности, быту, транспорте. Методы
разделов 8,
9,
10,
11,
12,
13,
14,
15,
16,
17 распространяются также на строительные и отделочные материалы.
1.2 Стандарт не распространяется на взрывчатые и радиоактивные вещества и материалы.
1.3 Стандарт устанавливает номенклатуру показателей пожаровзрывоопасности веществ и материалов и методы их определения.
В настоящем стандарте использованы ссылки на следующие стандарты:
ГОСТ 12.1.004-91 Система стандартов безопасности труда. Пожарная безопасность. Общие требования
ГОСТ 12.1.005-88 Система стандартов безопасности труда. Общие санитарно-гигиенические требования к воздуху рабочей зоны
ГОСТ 12.1.010-76 Система стандартов безопасности труда. Взрывобезопасность. Общие требования
ГОСТ 12.1.018-93 Система стандартов безопасности труда. Пожаровзрывобезопасность статического электричества. Общие требования
ГОСТ 12.1.033-81 Система стандартов безопасности труда. Пожарная безопасность. Термины и определения
ГОСТ 12.2.003-91 Система стандартов безопасности труда. Оборудование производственное. Общие требования безопасности
ГОСТ 12.4.011-89 Система стандартов безопасности труда. Средства защиты работающих. Общие требования и классификация
ГОСТ 400-80 Термометры стеклянные для испытаний нефтепродуктов. Технические условия
ГОСТ 427-75 Линейки измерительные металлические. Технические условия
ГОСТ 745-2003 Фольга алюминиевая для упаковки. Технические условия
ГОСТ 1820-2001 Спички. Технические условия
ГОСТ 4333-2014 Нефтепродукты. Методы определения температур вспышки и воспламенения в открытом тигле
ГОСТ 5632-2014 Легированные нержавеющие стали и сплавы коррозионно-стойкие, жаростойкие и жаропрочные. Марки
ГОСТ 6309-93 Нитки швейные хлопчатобумажные и синтетические. Технические условия
ГОСТ 6616-94 Преобразователи термоэлектрические. Общие технические условия
ГОСТ 8894-86 Трубы стеклянные и фасонные части к ним. Технические условия
ГОСТ 9571-89 Целлюлоза сульфатная беленая из хвойной древесины. Технические условия
ГОСТ 12423-2013 Пластмассы. Условия кондиционирования и испытания образцов (проб)
ГОСТ 12766.1-90 Проволока из прецизионных сплавов с высоким электрическим сопротивлением. Технические условия
--------------------------------
<1> Утратил силу в Российской Федерации.
ГОСТ 19908-90 Тигли, чаши, стаканы, колбы, воронки, пробирки и наконечники из прозрачного кварцевого стекла. Общие технические условия
ГОСТ 20448-90 Газы углеводородные сжиженные топливные для коммунально-бытового потребления. Технические условия
ГОСТ 22226-76 Ликоподий. Технические условия
ГОСТ 22300-76 Реактивы. Эфиры этиловый и бутиловый уксусной кислоты. Технические условия
ГОСТ 24297-2013 Верификация закупленной продукции. Организация проведения и методы контроля
ГОСТ 30244-94 Материалы строительные. Методы испытаний на горючесть
ГОСТ 30852.5-2002 Электрооборудование взрывозащищенное. Часть 4. Метод определения температуры самовоспламенения
ГОСТ 31340-2013 Предупредительная маркировка химической продукции. Общие требования
ГОСТ 31430-2011 Изделия теплоизоляционные, применяемые в строительстве. Метод определения содержания органических веществ
ГОСТ 31613-2012 Электростатическая искробезопасность. Общие технические требования и методы испытаний
ГОСТ 31677-2012 Продукция парфюмерно-косметическая в аэрозольной упаковке. Общие технические условия
Примечание - При пользовании настоящим стандартом целесообразно проверить действие ссылочных стандартов в информационной системе общего пользования - на официальном сайте Федерального агентства по техническому регулированию и метрологии в сети Интернет или по ежегодному информационному указателю "Национальные стандарты", который опубликован по состоянию на 1 января текущего года, и по выпускам ежемесячного информационного указателя "Национальные стандарты" за текущий год. Если ссылочный стандарт заменен (изменен), то при пользовании настоящим стандартом следует руководствоваться заменяющим (измененным) стандартом. Если ссылочный стандарт отменен без замены, то положение, в котором дана ссылка на него, применяется в части, не затрагивающей эту ссылку.
В настоящем стандарте применены следующие термины с соответствующими определениями:
3.1 аэровзвесь: Взвешенная в атмосфере окислителя (воздуха) пыль.
3.2 аэрозоль (аэрозольный препарат): Вещество (включая пропеллент) в аэрозольной упаковке.
3.3 аэрозольная упаковка: Упаковка, имеющая корпус цилиндрической формы, с узкой горловиной, укупориваемой распылительным клапаном, внутри которой сохраняется заданное давление, позволяющее проводить распыление.
3.4 воспламенение: Пламенное горение вещества, инициированное источником зажигания и продолжающееся после его удаления.
3.5 вспышка: Быстрое сгорание газо- и паровоздушной смеси над поверхностью горючего вещества, сопровождающееся кратковременным видимым свечением.
3.6 газы: Вещества, давление насыщенных паров которых при температуре 25 °C превышает 101,3 кПа.
3.7 горение: Экзотермическая реакция, протекающая в условиях ее прогрессивного самоускорения.
3.8 горючие (сгораемые) вещества и материалы: Вещества и материалы, способные самовозгораться, а также возгораться при воздействии источника зажигания и самостоятельно гореть после его удаления.
Примечание - Горючие жидкости с температурой вспышки не более 61 °C в закрытом тигле или 66 °C в открытом тигле зафлегматизированных смесей, не имеющих вспышку в закрытом тигле, относят к легковоспламеняющимся. Особо опасными называют легковоспламеняющиеся жидкости с температурой вспышки не более 28 °C.
3.9 группа горючести: Классификационная характеристика способности веществ и материалов к горению.
3.10 дефлаграция: Распространение пламени по горючей газовой смеси, происходящее путем диффузии активных центров и передачи тепла из фронта пламени в несгоревшую смесь.
3.11 дефлаграционное горение: Режим горения, при котором происходит сравнительно медленное распространение фронта химической реакции горения относительно свежей смеси со скоростью от 0,5 до 50 м/с.
3.12 жидкости: Вещества, давление насыщенных паров которых при температуре 25 °C меньше 101,3 кПа.
Примечание - К жидкостям относят также твердые плавящиеся вещества, температура плавления или каплепадения которых меньше 50 °C.
3.13 излучающая способность пламени: Плотность теплового потока очага пожара непосредственно на поверхности пламени при горении материала при пожаре или в условиях специальных испытаний.
3.14 индекс взрывопожароопасности: Произведение максимальной скорости нарастания давления взрыва аэровзвеси и характерного размера данного сосуда.
Примечание - Для сосуда объемом V, формой, близкой к сфере, и источником зажигания, расположенным вблизи геометрического центра сосуда, характерный размер составит V1/3. Для испытательного сосуда объемом V, формой, близкой к цилиндру с отношением высоты к диаметру не более 5, и источником зажигания, расположенным вблизи геометрического центра сосуда, характерный размер составит V/S, где S - площадь внутренней поверхности сосуда. Рекомендуется определять индекс взрывопожароопасности в квазисферической камере объемом не менее 16 дм3.
3.15 индекс распространения пламени: Условный безразмерный показатель, характеризующий способность веществ воспламеняться, распространять пламя по поверхности и выделять тепло.
3.16 кислородный индекс: Минимальное содержание кислорода в кислородно-азотной смеси, при котором возможно свечеобразное горение материала в условиях специальных испытаний.
3.17 концентрационный предел диффузионного горения газовых смесей в воздухе (ПДГ): Предельная концентрация горючего газа в смеси с разбавителем, при которой данная газовая смесь при истечении в атмосферу неспособна к диффузионному горению.
3.18 коэффициент дымообразования: Показатель, характеризующий оптическую плотность дыма, образующегося при пламенном горении или термоокислительной деструкции (тлении) определенного количества твердого вещества (материала) в условиях специальных испытаний.
3.19 линейная скорость распространения пламени: Расстояние, пройденное фронтом пламени в единицу времени. Это физическая величина, характеризуемая поступательным линейным движением фронта пламени в заданном направлении в единицу времени.
3.20 максимальное давление взрыва: Наибольшее избыточное давление, возникающее при дефлаграционном сгорании газо-, паро- или пылевоздушной смеси в замкнутом сосуде при начальном давлении смеси 101,3 кПа.
3.21 массовая скорость выгорания жидкости: Масса жидкости или твердого горючего вещества, сгорающей в единицу времени.
3.22 минимальная флегматизирующая концентрация флегматизатора: Наименьшая концентрация флегматизатора в смеси с горючим и окислителем, при которой смесь становится неспособной к распространению пламени при любом соотношении горючего и окислителя.
3.23 минимальная энергия зажигания: Наименьшая энергия электрического разряда, способная воспламенить наиболее легко воспламеняющуюся смесь горючего вещества с воздухом.
3.24 минимальное взрывоопасное содержание кислорода: Такая концентрация кислорода в горючей смеси, состоящей из горючего вещества, воздуха и флегматизатора, меньше которой распространение пламени в смеси становится невозможным при любой концентрации горючего в смеси, разбавленной данным флегматизатором.
3.25 негорючие (несгораемые) вещества и материалы: Вещества и материалы, неспособные к горению в воздухе. Вещества и материалы относят к негорючим, если они удовлетворяют определенным критериям в условиях специальных стандартных испытаний.
Примечание - Негорючие вещества могут быть пожаровзрывоопасными (например, окислители или вещества, выделяющие горючие продукты при взаимодействии с водой, кислородом воздуха или друг с другом).
3.26 нестационарные аэровзвеси: Аэровзвеси, в которых присутствует относительное движение частиц горючего и газообразного окислителя (воздуха).
3.27 нижний (верхний) концентрационный предел распространения пламени: Минимальное (максимальное) содержание горючего вещества в однородной смеси с окислительной средой, при котором возможно распространение пламени по смеси на любое расстояние от источника зажигания.
3.28 нормальная скорость распространения пламени: Скорость перемещения фронта пламени относительно несгоревшего газа в направлении, перпендикулярном к его поверхности.
3.29 основной продукт: Содержимое аэрозольной упаковки без пропеллента.
3.30 пожаровзрывоопасность веществ и материалов: Совокупность свойств, характеризующих их способность к возникновению и распространению горения.
Примечание - Следствием горения, в зависимости от его скорости и условий протекания, могут быть пожар (диффузионное горение) или взрыв (дефлаграционное горение предварительно перемешанной смеси горючего с окислителем).
3.31 показатель токсичности продуктов горения материала: Отношение количества материала к единице объема замкнутого пространства, в котором образующиеся при горении материала продукты горения вызывают определенный токсический эффект: гибель 50% подопытных животных.
3.32 продукты горения: Летучие вещества, образующиеся при термоокислительном разложении (беспламенном горении, тлении) и/или пламенном горении материалов.
3.33 пропеллент: Сжиженный или сжатый газ, с помощью которого происходит эвакуация основного продукта.
3.34 пыли (горючие во взвешенном состоянии): Твердые дисперсные материалы, аэровзвеси которых способны в определенном диапазоне концентрации частиц распространять волну горения, представляющую как опасность пожара, так и опасность взрыва.
Примечание - Характерный размер частиц пыли (для частиц с формой, близкой к сфере, - габаритный размер; для волокон - поперечный размер волокна, для плоских частиц - толщина), горючей во взвешенном состоянии, как правило, не превышает 850 мкм.
3.35 самовозгорание: Резкое увеличение скорости экзотермических процессов в веществе, приводящее к возникновению очага горения.
3.36 самовоспламенение: Резкое увеличение скорости экзотермических объемных реакций, сопровождающихся резким увеличением температуры вещества на 50 °C и выше (по отношению к температуре окружающей атмосферы), и/или пламенным горением, и/или взрывом.
3.37 скорость нарастания давления взрыва: Производная давления взрыва при дефлаграционном горении (дефлаграции) на восходящем участке зависимости давления взрыва горючей смеси в замкнутом сосуде от времени.
3.38 способность взрываться и гореть при взаимодействии с водой, кислородом воздуха и другими веществами (взаимный контакт веществ): Качественный показатель, характеризующий особую пожарную опасность некоторых веществ.
3.39 стационарные аэровзвеси: Аэровзвеси, в которых отсутствует относительное движение частиц горючего и газообразного окислителя (воздуха).
3.40 твердые вещества и материалы: Индивидуальные вещества и их смесевые композиции с температурой плавления или каплепадения больше 50 °C, а также вещества, не имеющие температуру плавления (например, древесина, ткани и т.п.).
3.41 температура воспламенения: Наименьшая температура вещества, при которой в условиях специальных испытаний вещество выделяет горючие пары и газы с такой скоростью, что при воздействии на них источника зажигания наблюдается воспламенение.
3.42 температура вспышки: Наименьшая температура конденсированного вещества, при которой в условиях специальных испытаний над его поверхностью образуются пары, способные вспыхивать в воздухе от источника зажигания; устойчивое горение при этом не возникает.
3.43 температура самовоспламенения: Наименьшая температура окружающей среды, при которой в условиях специальных испытаний наблюдается самовоспламенение вещества.
3.44 температура тления: Наименьшая температура окружающей среды, при которой в условиях специальных испытаний наблюдается тление вещества.
3.45 температурные пределы распространения пламени (воспламенения): Такие температуры вещества, при которых его насыщенный пар образует в окислительной среде концентрации, равные соответственно нижнему (нижний температурный предел) и верхнему (верхний температурный предел) концентрационным пределам распространения пламени.
3.46 теплота сгорания: Количество тепла, выделившееся при полном сгорании единицы массы материала в среде кислорода.
3.47 тление: Беспламенное горение твердого вещества (материала), переходящее в видимое, в том числе пламенное горение при обдуве вещества потоком воздуха.
3.48 токсичность: Свойство химического вещества (продуктов горения) оказывать вредное действие на живой организм и вызывать отравление с возможным летальным исходом.
3.49 токсичные газы: Газообразные и парообразные компоненты продуктов горения, от которых в наибольшей мере зависит токсический (летальный) эффект.
3.50 трудногорючие (трудносгораемые) вещества и материалы: Вещества и материалы, способные гореть в воздухе при воздействии источника зажигания, но неспособные самостоятельно гореть после его удаления. Вещества и материалы относят к трудногорючим, если они удовлетворяют определенным критериям в условиях стандартных испытаний.
3.51 удельная массовая скорость выгорания: Количество жидкости или твердого вещества (материала), сгорающего в единицу времени с единицы площади.
Примечание - Удельная массовая скорость выгорания характеризует интенсивность горения жидкости или твердого тела.
3.52 условия теплового самовозгорания: Экспериментально выявленная зависимость между температурой окружающей среды, количеством вещества (материала) и временем до момента его самовозгорания.
4 Обозначения и сокращения
КИ - кислородный индекс, % об.;
КИд - допустимый кислородный индекс при нормальной температуре, % об.;
R - воспроизводимость метода определения показателя пожарной опасности при доверительной вероятности 95%;
tбез - безопасная температура, °C;
tвспд - допустимая температура вспышки, °C;
tвсп(з.т.) - температура вспышки в закрытом тигле, °C;
tс - минимальная температура среды, при которой наблюдается самовозгорание образца, °C;
tтл - температура тления, °C;
Kst - индекс взрывопожароопасности, Па·м/с;
Wбез - безопасная энергия зажигания, Дж;
Wmin - минимальная энергия зажигания, Дж;

- верхний концентрационный предел распространения пламени по смеси горючего вещества с воздухом, % об. (г/м
3);

- безопасная концентрация горючего вещества, % об. (г/м
3);

- нижний концентрационный предел распространения пламени по смеси газообразного горючего вещества с воздухом, % об. (г/м
3);

- минимальное взрывоопасное содержание кислорода в горючей смеси, % об.;

- безопасная концентрация кислорода в горючей смеси, % об.;

- минимальная флегматизирующая концентрация флегматизатора, % об.;

- безопасная флегматизирующая концентрация флегматизатора, % об.;

- показатель токсичности продуктов горения материала, г/м
3;
НКПР - нижний концентрационный предел распространения пламени, г/м3;
Pmax - максимальное давление взрыва пыли, Па;

- максимальная скорость нарастания давления взрыва аэровзвеси, Па/с;
Un - нормальная скорость распространения пламени, м/с;
МВСК - минимальное взрывоопасное содержание кислорода, % об.;
НТД - нормативная техническая документация.
5 Основные нормативные положения
5.1 Показатели пожаровзрывоопасности веществ и материалов определяют:
- с целью получения исходных данных для задач математического моделирования пожара, для разработки систем противопожарной защиты, предотвращения пожара и взрыва в соответствии с требованиями
ГОСТ 12.1.004,
ГОСТ 12.1.010 и ПУЭ
[9]; при классификации опасных грузов в соответствии с
ГОСТ 19433;
- для выбора категории помещений, зданий и сооружений, а также наружных установок по взрывопожарной и пожарной опасности;
- для подтверждения соответствия веществ и материалов требованиям пожарной безопасности, их классификации и установления областей применения;
- для включения в техническую и сопроводительную документацию.
5.2 Пожаровзрывоопасность веществ и материалов определяется показателями, выбор которых зависит от агрегатного состояния вещества (материала) и условий его применения.
Методы определения показателей применяют для строительных материалов по мере установления классификации этих показателей и введения по ним нормативных требований.
5.3 При определении пожаровзрывоопасности веществ и материалов различают: газы, жидкости, твердые вещества и материалы, пыли.
5.4 Номенклатура показателей и их применяемость для характеристики пожаровзрывоопасности веществ и материалов приведены в таблицах 5.1 -
5.3.
Таблица 5.1
Показатели, характеризующие вещество (материал)
как обладателя определенных индивидуальных пожаро-
и взрывоопасных свойств (первая группа)
Показатели пожарной опасности | Единица измерения | Вещества и материалы в различном агрегатном состоянии | Пыли |
газообразные | жидкие | твердые |
Группа горючести | | + | + | + | + |
Максимальное давление взрыва | Па | + | + | - | + |
Максимальная скорость нарастания давления взрыва | Па/с | + | + | - | + |
Линейная скорость распространения пламени | м/с | - | - | + | - |
Нормальная скорость распространения пламени | м/с | + | + | - | + |
Температура воспламенения | °C | - | + | + | + |
Температура вспышки | °C | - | + | - | - |
Температура самовоспламенения | °C | + | + | + | + |
Температура тления | °C | - | - | + | + |
Температурные пределы распространения пламени (воспламенения) | °C | - | + | - | - |
Теплота сгорания | мДж/кг | + | + | + | + |
Коэффициент дымообразования | м2/кг | - | - | + | - |
Показатель токсичности продуктов горения полимерных материалов | | - | - | + | - |
1 Знак "+" обозначает применяемость, знак "-" - неприменяемость показателя.
2 Кроме указанных показателей, допускается использовать другие, более детально характеризующие пожаровзрывоопасность веществ и материалов.
3 Первая группа показателей необходима:
- при категорировании наружных установок по взрывопожарной опасности;
- при категорировании пожарной опасности помещений;
- при классификации и определении области применения веществ и материалов;
- при математическом моделировании пожара в здании (сооружении).
4 Температура вспышки может определяться для твердых веществ, которые по условиям технологии обращаются нагретыми до расплавленного или разжиженного состояния.
5 Значения теплоты сгорания могут быть получены экспериментальными либо расчетными методами, изложенными в национальных и международных стандартах,
[7], а также из официально опубликованных справочных данных.
5.5 Показатели, необходимые и достаточные для характеристики пожаровзрывоопасности веществ и материалов в условиях производства, переработки, транспортирования и хранения, определяет разработчик системы обеспечения пожаровзрывобезопасности объекта или разработчик стандарта и технической документации на вещество (материал).
Таблица 5.2
Показатели (критерии), характеризующие условия
распространения пожара и его последствия (вторая группа)
Показатели пожарной опасности | Единица измерения | Вещества и материалы в различном агрегатном состоянии | Пыли |
газообразные | жидкие | твердые |
Излучающая способность пламени | | - | + | + | - |
Индекс взрывопожароопасности | Па·м/с | - | - | - | + |
Индекс распространения пламени | | - | - | + | - |
Кислородный индекс | % об. | - | - | + | - |
Максимальная скорость распространения пламени вдоль поверхности горючей жидкости | м/с | - | + | - | - |
Концентрационный предел диффузионного горения газовых смесей в воздухе | % об. | + | + | - | - |
Предельная скорость срыва диффузионного факела | м/с | + | + | - | - |
Способность к экзотермическому разложению | | + | + | + | + |
Удельная массовая скорость выгорания | кг/(м2·с) | - | - | + | - |
1 Знак "+" обозначает применяемость, знак "-" - неприменяемость показателя.
2 Кроме указанных, допускается использовать другие показатели, более детально характеризующие пожаровзрывоопасность веществ и материалов.
3 Вторая группа показателей (совместно с первой группой) необходима:
- для классификации веществ и материалов;
- для определения вероятности воздействия опасных факторов пожара;
- для определения вероятности возникновения пожара, взрыва в здании, на объектах и наружных установках.
Таблица 5.3
Показатели (критерии), необходимые для разработки
мероприятий, которые направлены на выбор и обоснование
организационно-технических и инженерных решений
по обеспечению пожаро- и взрывобезопасности изделий, зданий,
технологических процессов и объектов (третья группа)
Показатели пожарной опасности | Единица измерения | Вещества и материалы в различном агрегатном состоянии | Пыли |
газообразные | жидкие | твердые |
Минимальная флегматизирующая концентрация газообразного флегматизатора | % об. | + | + | - | + |
Минимальная энергия зажигания | Дж | + | + | - | + |
Минимальное взрывоопасное содержание кислорода | % об. | + | + | - | + |
Коэффициент дымообразования | м2/кг | - | - | + | - |
Показатель токсичности продуктов горения | г/м3 | - | - | + | - |
Безопасный экспериментальный максимальный зазор | мм | + | + | - | + |
Выделение токсичных продуктов горения с единицы массы горючего | кг/кг | - | + | + | - |
Концентрационные пределы распространения пламени (воспламенения) в газах и парах, в пылях | % об., кг/м3 | + | + | - | + |
Способность взрываться и гореть при взаимодействии с водой, кислородом воздуха и другими веществами | | + | + | + | + |
Способность к воспламенению при адиабатическом сжатии | | + | + | - | - |
Способность к самовозгоранию | | - | - | + | + |
Потребление кислорода на единицу массы горючего | кг/кг | - | + | + | - |
Скорость нарастания давления взрыва | Па/с | + | + | - | + |
Индекс взрывопожароопасности | Па·м/с | - | - | - | + |
5.6 Для обеспечения пожаровзрывобезопасности процессов производства, переработки, хранения и транспортирования веществ и материалов необходимо данные о показателях пожаровзрывоопасности веществ и материалов использовать с коэффициентами безопасности, приведенными в таблице 5.4.
Таблица 5.4
Условия пожаровзрывобезопасности при использовании
веществ и материалов
Способ предотвращения пожара, взрыва | Регламентируемый параметр | Условия пожаровзрывобезопасности |
Предотвращение образования горючей среды | | |
Ограничение воспламеняемости и горючести веществ и материалов | Горючесть вещества (материала) КИд tвсп. д | Горючесть вещества (материала) не должна быть более регламентированной КИд не менее КИ tвсп. д не менее tвсп. (з.т.) - 35 °C |
Предотвращение образования в горючей среде (или внесения в нее) источников зажигания | Wбез | Wбез не менее 0,4 Wmin tбез не менее 8 tтл tбез не менее 8 tс |
6 Метод экспериментального определения группы негорючих твердых веществ и материалов
Метод испытания предназначен для отнесения твердых веществ и материалов (за исключением строительных и отделочных материалов) к группе негорючих и соответствует стандарту
[6].
Метод применяют для однородных и комбинированных материалов.
Метод может использоваться для многослойных материалов. В этом случае испытания проводят для каждого слоя, составляющего материал. Если хотя бы один из слоев относится к горючим, то весь многослойный материал следует считать горючим.
6.2 Испытательное оборудование
6.2.1 В нижеследующем описании испытательного оборудования все размеры, за исключением приведенных с допусками, являются номинальными.
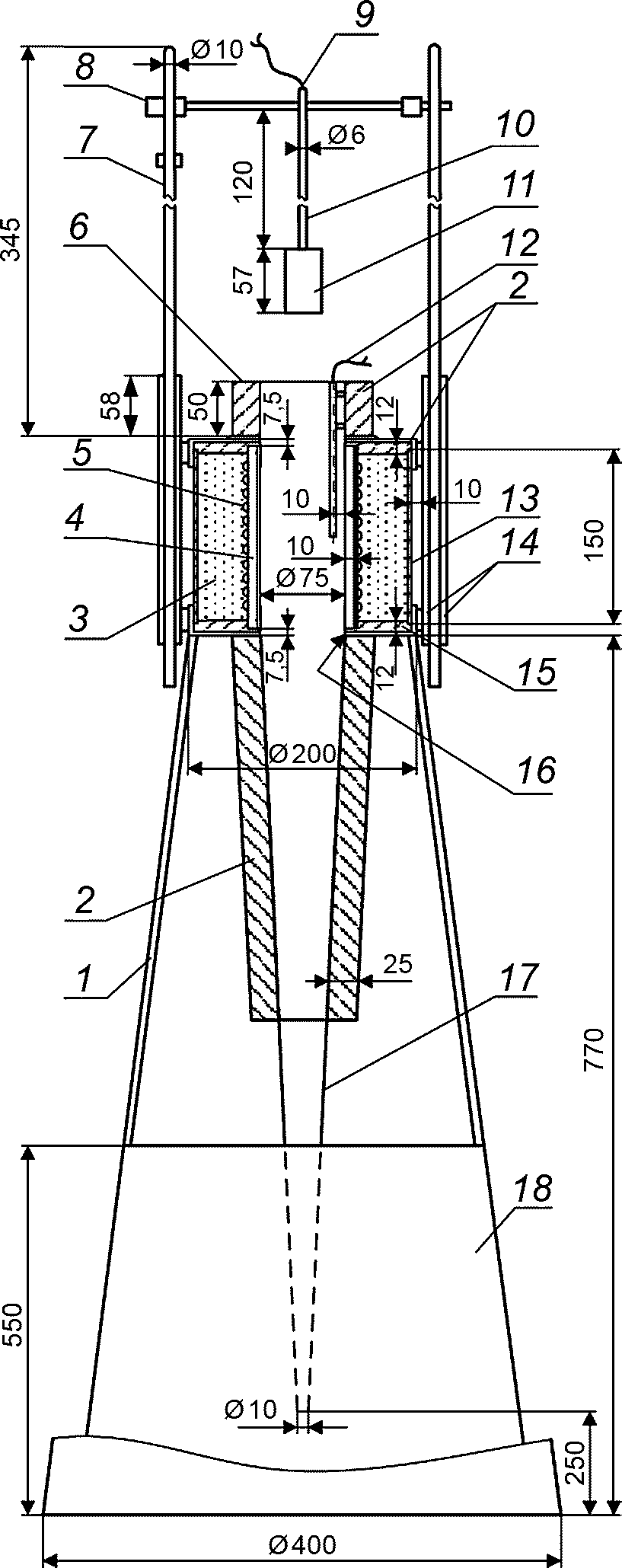
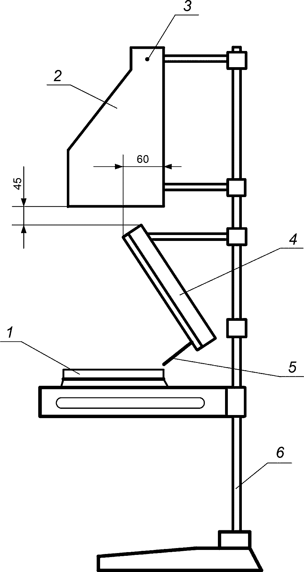
6.2.2 Установка для испытаний (см.
рисунок 6.1) состоит из трубчатой печи (см.
рисунок 6.2), помещенной в теплоизолирующую среду; конусообразного стабилизатора воздушного потока; защитного экрана, обеспечивающего тягу; держателя образца (см.
рисунок 6.3) и устройства для перемещения держателя образца; стойки, на которой монтируется печь.
1 - стойка; 2 - изоляция; 3 - порошок магнезии;
4 - трубчатая печь; 5 - нагревательные элементы печи;
6 - защитный экран; 7 - стержень из жаропрочной стали
для установки устройства; 8 - ограничитель; 9 - термопары
для измерения температуры в геометрическом центре образца
и на поверхности образца (произвольные); 10 - трубка
из нержавеющей стали; 11 - держатель образца; 12 - термопара
печи; 13 - внешняя изолированная стенка (кожух);
14 - направляющие; 15 - цемент с добавлением
минерального волокна; 16 - прокладка; 17 - стабилизатор
воздушного потока; 18 - экран вытяжки (металлический лист)
Рисунок 6.1 - Общий вид установки для определения группы
негорючих твердых веществ и материалов
6.2.3 Печь представляет собой трубу из огнеупорного материала плотностью (2800 +/- 300) кг/м3. Рекомендуемый состав огнеупорного материала трубчатой печи приведен в таблице 6.1. Высота трубы равна (150 +/- 1) мм, внутренний диаметр - (75 +/- 1) мм, толщина стенки - (10 +/- 1) мм. Для фиксации нагревательного элемента используется огнеупорный цементный материал. Общая толщина стенки с учетом огнеупорного цементного слоя должна составлять не более 15 мм.
Таблица 6.1
Рекомендуемый состав огнеупорного материала трубчатой печи
Материал | Содержание, % |
Глинозем (Al2O3) | Более 89,00 |
или кремнезем и глинозем (SiO2, Al2O3) | Более 98,00 |
Оксид железа (III) Fe2O3 | Менее 0,45 |
Диоксид титана (TiO2) | Менее 0,25 |
Оксид марганца (Mn3O4) | Менее 0,10 |
Следы других оксидов (калия, натрия, кальция и магния) | Остальное |
6.2.4 Нагревательный элемент рекомендуется изготавливать из никель-хромовой (80/20) ленты шириной 3,0 мм и толщиной 0,2 мм. Его фиксируют на поверхности трубчатой печи в соответствии с
рисунком 6.2.
Примечание - Возможно использование аналогичного нагревательного элемента, обеспечивающего температурный режим в соответствии с
6.4.3 и удовлетворяющего требованиям
6.4.4 и
6.4.5, например проволоки марки Х20Н80-Н
(ГОСТ 12766.1) диаметром (0,9 +/- 0,1) мм.
1 - трубчатая печь; 2 - нагревательный элемент
Рисунок 6.2 - Схема размещения нагревательного элемента
трубчатой печи
6.2.5 Трубчатая печь
4 (см.
рисунок 6.1) устанавливается в центре заполненного изолирующим материалом кожуха
13 (наружный диаметр равен 200 мм, высота равна 150 мм, толщина стенки равна 10 мм). Верхняя и нижняя части кожуха ограничены пластинами, имеющими изнутри углубления для фиксации торцов трубчатой печи. Пространство между трубчатой печью и стенками кожуха для теплоизоляции заполняют порошкообразным оксидом магния плотностью (140 +/- 20) кг/м
3.
Примечание - Возможно использование других теплоизоляционных материалов с аналогичными свойствами.
6.2.6 Нижнюю часть трубчатой печи герметично соединяют с конусообразным стабилизатором воздушного потока длиной не менее 500 мм. Внутренний диаметр стабилизатора составляет (75 +/- 1) мм в верхней части, (10,0 +/- 0,5) мм - в нижней части. Стабилизатор изготавливают из листовой стали толщиной 1 мм. Внутренняя поверхность стабилизатора должна быть отполирована. Верхнюю половину стабилизатора изолируют с наружной стороны слоем теплоизоляционного материала из минерального волокна толщиной не менее 25 мм теплопроводностью (0,04 +/- 0,01) Вт/(м·К) при 20 °C.
6.2.7 Верхнюю часть трубчатой печи 4 оборудуют защитным экраном 6 из листовой стали толщиной 1 мм, высотой 50 мм с отверстием диаметром (75 +/- 1) мм. Внутреннюю поверхность экрана и соединительный шов с трубчатой печью обрабатывают до получения гладкой поверхности. Наружную часть изолируют слоем теплоизоляционного материала из минерального волокна толщиной 25 мм теплопроводностью (0,04 +/- 0,01) Вт/(м·К) при 20 °C.
6.2.8 Блок, состоящий из трубчатой печи 4, конусообразного стабилизатора 17 и защитного экрана 6, монтируют на стойке 1, оборудованной основанием и экраном вытяжки 18 из листовой стали для защиты нижней части конусообразного стабилизатора от направленных воздушных потоков. Высота экрана вытяжки составляет не менее 550 мм, расстояние от нижней части конусообразного стабилизатора до основания стойки равно 250 мм.
6.2.9 Для наблюдения за поведением образца в процессе испытания над печью устанавливается зеркало.
6.2.10 Установку следует размещать так, чтобы солнечное, а также другие виды светового излучения, не влияли на наблюдение за поведением образца в печи в процессе испытания.
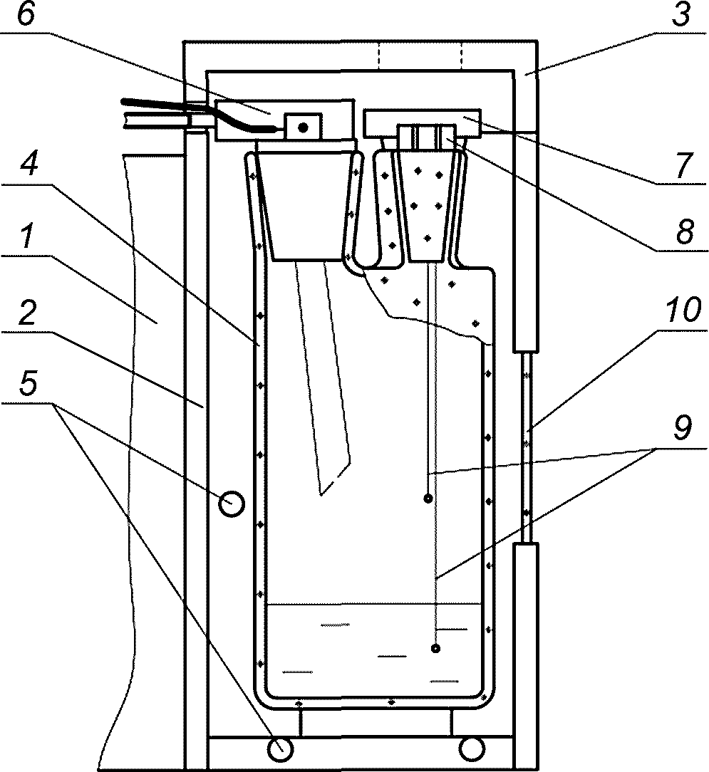
6.2.11 Держатель образца показан на
рисунке 6.3. Изготавливают его из жаростойкой стальной проволоки диаметром 1,5 мм, держатель должен иметь цилиндрическую форму. Основанием держателя является сетка из тонкой стальной жаростойкой проволоки. Высота держателя (50 +/- 2) мм, диаметр 47 мм. Масса держателя составляет (15 +/- 2) г. Держатель образца подвешен на трубке из нержавеющей стали с внешним диаметром 6 мм и внутренним - 4 мм. Конструкция держателя образца позволяет жестко фиксировать его в устройстве для перемещения.
TC - термоэлектрический преобразователь для измерения
температуры внутри образца;
TS - термоэлектрический преобразователь для измерения
температуры на поверхности образца;
1 - трубка из жаростойкой стали; 2 - сетка
(размер ячейки 0,9 мм, диаметр проволоки 0,4 мм)
Рисунок 6.3 - Держатель образца
Для сыпучих веществ держатель образца, изготовленный из сетки с размерами ячеек не более 1,0 мм (материал сетки - проволока из жаростойкой стали диаметром 0,55 мм), должен иметь цилиндрическую форму высотой (50 +/- 2) мм, диаметром 45 мм.
6.2.12 Устройство для перемещения держателя образца состоит из металлических стержней
7, установленных в направляющие
14 по боковым сторонам кожуха
13 (см.
рисунок 6.1). Устройство для перемещения держателя обеспечивает плавное его движение по оси трубчатой печи и жесткую фиксацию в геометрическом центре печи.
6.2.13 Для измерения температуры при испытании материалов и калибровки установки используют термоэлектрические преобразователи типа ТХА с диаметром термоэлектродов не более 0,5 мм, спай изолированный, с диапазоном измерения от 0 до 1300 °C включ., не более 2 класса точности. Термоэлектрические преобразователи должны иметь защитный кожух из нержавеющей стали диаметром (1,6 +/- 0,1) мм.
6.2.14 Печной термоэлектрический преобразователь устанавливается и фиксируется в направляющей трубке, прикрепленной к защитному экрану, таким образом, чтобы его горячий спай находился на середине высоты трубчатой печи на расстоянии (10,0 +/- 0,5) мм от ее стенки. Для установки и контроля термоэлектрического преобразователя в указанном положении используется шаблон (см. рисунок 6.4).
1 - деревянная ручка; 2 - сварной шов
Рисунок 6.4 - Шаблон для установки и контроля печного
термоэлектрического преобразователя
6.2.15 Термоэлектрический преобразователь для измерения температуры внутри образца устанавливается в трубку из жаростойкой стали таким образом, чтобы его горячий спай находился в геометрическом центре образца.
6.2.16 Термоэлектрический преобразователь для измерения температуры на поверхности образца устанавливается диаметрально противоположно печному термоэлектрическому преобразователю таким образом, чтобы его горячий спай с начала испытания находился на середине высоты образца в плотном контакте с его поверхностью (см. рисунок 6.5).
TF - печной термоэлектрический преобразователь;
TC - термоэлектрический преобразователь для измерения
температуры внутри образца; TS - термоэлектрический
преобразователь для измерения температуры на поверхности
образца; 1 - стенка трубчатой печи; 2 - середина высоты
постоянной температурной зоны; 3 - термоэлектрические
преобразователи в защитном кожухе; 4 - точка контакта
термоэлектрического преобразователя с материалом
Рисунок 6.5 - Расположение образца с термоэлектрическими
преобразователями в трубчатой печи
6.2.17 Принципиальная электрическая схема установки с измерительными приборами приведена на рисунке 6.6.
1 - стабилизатор напряжения; 2 - трансформатор;
3 - амперметр; 4 - термоэлектрические преобразователи;
5 - нагревательный элемент; 6 - оконечные устройства;
7 - компенсационный провод; 8 - средство измерения
температуры; 9 - регулятор мощности
Рисунок 6.6 - Электрическая схема установки
6.2.18 При испытаниях используют следующие средства измерения и приборы контроля за условиями окружающей среды:
- средство измерения температуры с диапазоном измерения от 0 до 1300 °C включ., не более 0,5 класса точности;
- средство измерения времени (секундомер) с диапазоном измерения от 0 до 60 мин и ценой деления 0,2 с;
- для измерения линейных размеров используют линейку металлическую или рулетку с диапазоном измерения от 0 до 1000 мм и ценой деления 1 мм;
- штангенциркуль с диапазоном измерения от 0 до 150 мм и ценой деления 0,1 мм;
- для измерения массы образцов используют весы с диапазоном измерения от 10 до 1000 г, не более III (среднего) класса точности;
- для измерения атмосферного давления используют барометр с диапазоном измерения от 600 до 800 мм рт. ст. и ценой деления 1 мм рт. ст.;
- для измерения влажности воздуха используют гигрометр с диапазоном измерения от 20 до 93% (от 15 до 40 °C) и ценой деления 0,2.
6.3 Образцы для испытаний
6.3.1 Для испытаний готовят пять образцов исследуемого материала диаметром

мм, толщиной (50 +/- 2) мм. Если толщина исследуемого материала составляет менее 50 мм, то образец набирают из нескольких слоев, чтобы обеспечить необходимую толщину. Слои в образце располагают только горизонтально и плотно соединяют между собой стальной проволокой диаметром не более 0,5 мм. Слои в образце располагают таким образом, чтобы рабочий спай термоэлектрического преобразователя, установленного в середине образца, находился внутри слоя материала, а не на границе раздела слоев.
Образцы должны характеризовать средние свойства исследуемого материала.
Для сыпучих веществ готовят пять образцов исследуемого материала, которые помещают в корзиночки цилиндрической формы, размерами согласно
6.2.11, объем каждого образца должен составлять не менее 80 см
3.
6.3.2 В верхней части образца делают осевое отверстие диаметром 2 мм для размещения термоэлектрического преобразователя. Перед испытанием образцы выдерживают в сушильном шкафу при температуре (60 +/- 6) °C в течение от 20 до 24 ч с последующим охлаждением их до температуры окружающей среды. Допускается кондиционирование образцов в соответствии с требованиями НТД на материал.
6.3.3 После кондиционирования определяют массу каждого образца с погрешностью измерения не более +/- 0,1 г.
6.4 Подготовка установки к испытаниям
6.4.1 Удалить держатель образца из трубчатой печи. Проконтролировать расположение печного термоэлектрического преобразователя в соответствии с
6.2.14.
6.4.2 Подключить нагревательный элемент печи к источнику питания в соответствии со схемой (см.
рисунок 6.6).
Примечание - Новую трубчатую печь следует прогревать постепенно. Рекомендуется ступенчатый режим нагрева с шагом 200 °C и выдержкой в течение 2 ч при каждой температуре.
6.4.3 Установить стабильный температурный режим в трубчатой печи. Стабилизацию считают достигнутой при условии обеспечения температуры в печи (750 +/- 5) °C в течение не менее 10 мин. При этом отклонение температуры от номинального значения должно быть не более 2 °C в течение 10 мин.
6.4.4 После стабилизации трубчатой печи (в соответствии с 6.4.3) измеряется температура стенки печи. Замеры проводят по трем равноудаленным вертикальным осям. По каждой оси температуру измеряют в трех точках: на середине высоты трубчатой печи, на расстоянии 30 мм вверх и 30 мм вниз по оси. Для измерений используется сканирующее устройство с термоэлектрическим преобразователем (см.
рисунок 6.7). При измерении следует обеспечивать плотный контакт термоэлектрического преобразователя со стенкой трубчатой печи и фиксировать температурные показания в каждой точке при достижении стабильных показаний прибора в течение не менее 5 мин.
Примечание - Рекомендуется использовать термоэлектрический преобразователь для измерения температуры поверхности.
6.4.5 Средняя температура стенки трубчатой печи, рассчитанная как среднее арифметическое значение во всех точках, перечисленных в
6.4.4, должна быть в диапазоне (835 +/- 10) °C. Температура стенки трубчатой печи поддерживается в указанных пределах в течение всего времени работы установки.
1 - огнестойкий стальной стержень; 2 - термоэлектрический
преобразователь в защитном кожухе из глиноземистого фарфора;
3 - серебряный припой; 4 - стальная проволока;
5 - керамическая трубка; 6 - горячий слой
Рисунок 6.7 - Сканирующее устройство с термоэлектрическим
преобразователем
6.4.6 По завершении стабилизации температуры печи в соответствии с
6.4.3 и после проверки температуры стенки печи в соответствии с
6.4.4 измеряют температуру печи вдоль ее центральной оси симметрии, используя печную термопару по
6.2.18 и соответствующие приборы для измерения и регистрации температуры.
Процедуру измерения температуры печи вдоль ее центральной вертикальной оси симметрии необходимо осуществлять, используя соответствующее устройство позиционирования для точного размещения печной термопары. Ориентиром вертикального размещения должна быть верхняя сторона медного цилиндра печной термопары по
6.2.18.
Сначала записывают температуру печи вдоль ее центральной оси в положении, соответствующем точке на середине высоты трубы печи.
От этого положения печную термопару перемещают в направлении "вниз" поэтапно, максимум через каждые 10 мм, до достижения нижней части трубы печи и записывают температуру после ее стабилизации на каждой позиции.
Перемещают печную термопару в направлении "вверх" от самого нижнего положения поэтапно, максимум через каждые 10 мм, до достижения верхней части печи и записывают температуру после ее стабилизации на каждой позиции.
От верхней части печи перемещают печную термопару в направлении "вниз" поэтапно, через 10 мм до тех пор, пока не достигают серединной точки печи, и записывают температуру после ее стабилизации на каждой позиции.
Для каждой позиции записывают две температуры: одну при перемещении вверх, а другую - вниз.
Записывают среднее арифметическое этих значений температуры через соответствующие промежутки перемещения печной термопары.
По результатам этих измерений и расчетов строится зависимость изменения температуры трубчатой печи по высоте. Эта зависимость должна находиться в пределах между минимальными Tmin и максимальными Tmax зависимостями, определяемыми по следующим формулам:
Tmin = 541,653 + (5,901·x) - (0,067·x2) +
+ (3,375·10-4·x3) - (8,553·10-7·x4), (6.1)
Tmax = 613,906 + (5,333·x) - (0,081·x2) +
+ (5,779·10-4·x3) - (1,767·10-6·x4), (6.2)
где x - высота печи, мм;
x = 0 соответствует нижней части печи.
Графическая форма зависимостей Tmin и Tmax приведена на рисунке 6.8.
1 - нижний предел, Tmin; 2 - верхний предел, Tmax
Рисунок 6.8 - Температурные профили стенки трубчатой печи
Дискретные численные значения этих зависимостей приведены в таблице 6.2.
Таблица 6.2
Дискретные допускаемые численные значения минимальных
и максимальных температур по высоте трубчатой печи
вдоль ее вертикальной оси симметрии
Высота печи, мм | Tmin, °C | Tmax, °C | Высота печи, мм | Tmin, °C | Tmax, °C |
145 | 639,4 | 671,0 | 65 | 719,6 | 746,0 |
135 | 663,5 | 697,5 | 55 | 711,9 | 742,5 |
125 | 682,8 | 716,1 | 45 | 698,8 | 735,5 |
115 | 697,9 | 728,9 | 35 | 679,3 | 723,5 |
105 | 709,3 | 737,4 | 25 | 652,2 | 705,0 |
95 | 717,3 | 742,8 | 15 | 616,2 | 677,5 |
85 | 721,8 | 745,9 | 5 | 569,5 | 638,6 |
75 | 722,7 | 747,0 |
6.4.7 При соответствии установки требованиям
6.4.4 -
6.4.5 калибровка считается успешной и установка может быть допущена для проведения испытаний.
Примечание - Операции, описанные в
6.4.2 -
6.4.4 включительно, проводятся при введении в эксплуатацию новой установки, при замене трубчатой печи, нагревательного элемента и теплоизоляционного материала.
6.5.1 Испытания должны проводиться в помещении при температуре (23 +/- 5) °C и относительной влажности воздуха (50 +/- 20)%.
| | ИС МЕГАНОРМ: примечание. В официальном тексте документа, видимо, допущена опечатка: пункты 6.3.14, 6.3.15 - 6.3.16, 6.3.12 отсутствуют. | |
6.5.2 Удалить держатель образца из трубчатой печи, проконтролировать расположение печного термоэлектрического преобразователя в соответствии с 6.3.14, включить источник питания и установить стабильный температурный режим в печи в соответствии с
6.4.3.
6.5.3 Измерить массу образца, поместить его в держатель, установить термоэлектрические преобразователи в центре и на поверхности образца в соответствии с 6.3.15 - 6.3.16 включительно.
Примечание - Масса образцов до и после испытаний определяется с точностью до 0,1 г.
6.5.4 Ввести держатель с образцом в трубчатую печь в соответствии с 6.3.12. Продолжительность операции должна быть не более 5 с.
6.5.5 В течение времени всего испытания регистрируют показания термоэлектрических преобразователей в печи, в центре и на поверхности образца и фиксируют (при наличии) продолжительность устойчивого пламенного горения образца.
6.5.6 Испытание прекращают при достижении температурного баланса. Температурный баланс считают достигнутым, если температура в точке расположения каждого из трех термоэлектрических преобразователей изменяется не более чем на 2 °C в течение 10 мин.
6.5.7 Держатель с образцом извлекают из трубчатой печи, образец охлаждают в эксикаторе и измеряют его массу.
Осыпавшиеся с образца во время или после испытания фрагменты (продукты карбонизации, зола и т.п.) собирают, измеряют массу, и полученное значение массы добавляют к значению массы образца после испытания.
6.5.8 При испытании фиксируют все наблюдения, касающиеся поведения образца, и регистрируют следующие показатели:
- массу образца до испытания mн, г;
- массу образца после испытания mк, г;
- начальную температуру печи Tпн, °C;
- максимальную температуру печи Tпм, °C;
- конечную температуру печи Tпк, °C;
- максимальную температуру в центре образца Tцм, °C;
- конечную температуру в центре образца Tцк, °C;
- максимальную температуру поверхности образца Tпом, °C;
- конечную температуру поверхности образца Tпок, °C;
- продолжительность устойчивого пламенного горения образца tг, с.
6.6 Оценка результатов испытаний
6.6.1 Рассчитывают для каждого образца изменение температуры в печи, в центре и на поверхности образца:
а) изменение температуры в печи
Tпп = Tпм - Tпк, (6.3)
б) изменение температуры в центре образца
Tцо = Tцм - Tцк, (6.4)
в) изменение температуры на поверхности образца
Tпо = Tпом - Tпок. (6.5)
6.6.2 Рассчитывают среднюю арифметическую величину (по пяти образцам) изменения температуры в печи, в центре и на поверхности образца.
6.6.3 Рассчитывают среднюю арифметическую величину (по пяти образцам) продолжительности устойчивого пламенного горения.
6.6.4 Рассчитывают уменьшение массы для каждого образца (в процентах от начальной массы образца) и определяют среднюю арифметическую величину для пяти образцов.
6.6.5 Материал относят к группе негорючих, если соблюдены следующие условия:
- среднее арифметическое изменение температуры в печи, или на поверхности, или внутри образца не превышает 50 °C;
- среднее арифметическое значение потери массы для пяти образцов не превышает 50% от их среднего значения первоначальной массы после кондиционирования;
- среднее арифметическое значение продолжительности устойчивого горения пяти образцов не превышает 10 с. Результаты испытаний пяти образцов, в которых продолжительность устойчивого горения составляет менее 10 с, принимают равными нулю.
6.7 Оформление протокола испытаний
В протоколе испытаний (см.
приложение А) приводят следующие данные:
- дату испытания;
- наименование испытательной лаборатории;
- наименование и адрес заказчика, изготовителя (поставщика) материала;
- условия в помещении (температура, °C; относительная влажность, %; атмосферное давление, кПа);
- наименование материала, торговую марку, номер стандарта или нормативного документа;
- описание материала с указанием состава, способа изготовления и других характеристик;
- наименование каждого материала, являющегося составной частью изделия, с указанием толщины слоя и способа крепления (для сборных элементов);
- результаты испытаний (в соответствии с
6.5.8 и
6.6.1 -
6.6.4 включительно);
- дополнительные наблюдения (поведение материала при испытаниях);
- фотографию образца до и после испытания (рекомендуемое);
- заключение по результатам испытаний с указанием, к какой группе относится материал (к горючим или негорючим);
- исполнителей.
6.8 Требования безопасности
Испытательное оборудование для определения группы негорючих материалов следует устанавливать в вытяжном шкафу. Рабочее место оператора должно удовлетворять действующим требованиям по электробезопасности и санитарно-гигиеническим требованиям в соответствии с
ГОСТ 12.1.005.
7 Метод экспериментального определения группы трудногорючих и горючих твердых веществ и материалов
Метод применяют к процедуре проведения испытаний по определению группы трудногорючих и горючих твердых веществ и материалов.
Настоящий метод распространяется на неметаллические материалы.
Для строительных материалов заключение о группе горючести делают по
ГОСТ 30244.
Результаты испытаний применимы только для оценки свойств материалов в контролируемых лабораторных условиях и не отражают поведение материалов в реальных условиях пожара.
7.2 Испытательное оборудование
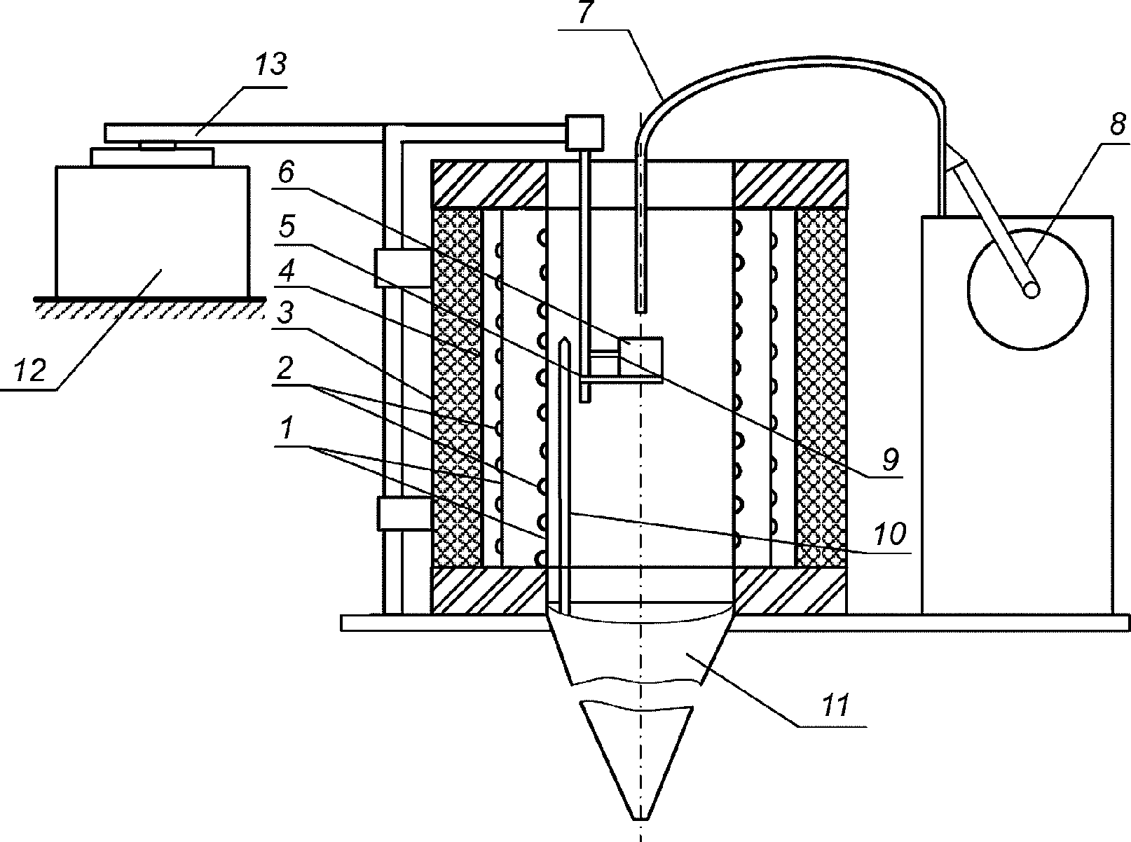
7.2.1 В состав испытательного оборудования входит прибор для определения группы трудногорючих и горючих твердых веществ и материалов (см.
рисунок 7.1), который включает в себя следующие элементы: керамическую реакционную камеру прямоугольной формы высотой (295 +/- 2) мм и имеющую в сечении квадрат со стороной (88 +/- 2) мм, установленную на металлическую подставку; газовую горелку внутренним диаметром (7,0 +/- 0,1) мм; механизм ввода образца с держателем, фиксирующим положение образца в центре реакционной камеры; зонт с рукояткой, установленный соосно на верхнюю кромку реакционной камеры, и смотровое зеркало для наблюдения за образцом в реакционной камере.
7.2.2 Внутреннюю поверхность реакционной камеры перед испытанием покрывают двумя слоями алюминиевой фольги толщиной не более 0,2 мм, которую по мере прогорания или загрязнения продуктами горения заменяют на новую.
7.2.3 Металлическая подставка снабжена створками для регулирования тяги и поддоном для сбора угля и пепла.
7.2.4 Газовая горелка расположена по центральной оси реакционной камеры и подсоединяется гибким шлангом через устройство, регулирующее расход газа, к баллону с пропан-бутановой фракцией по
ГОСТ 20448.
7.2.5 Вытяжной зонт служит для сбора и удаления продуктов горения.
7.2.6 Для измерения температуры газообразных продуктов горения используют термоэлектрический преобразователь с диаметром электрода 0,5 мм, рабочий спай которого располагают в центре зонта на расстоянии 15 мм от его верхней кромки; диапазон измерения от 0 до 800 °C, не более 2 класса точности.
7.2.7 При испытаниях используют следующие средства измерения и приборы контроля за условиями окружающей среды:
- устройство для измерения времени (секундомер) с диапазоном измерения от 0 до 60 мин и ценой деления 0,2 с;
- средства измерения температуры с диапазоном измерения от 0 до 800 °C, не более 0,5 класса точности;
- весы лабораторные с диапазоном измерения от 0 до 500 г, не более 3 класса точности, ценой деления 0,1 г;
- металлическая линейка с диапазоном измерения от 0 до 1000 мм и ценой деления 1 мм, предназначенная для измерения линейных размеров;
- шаблон (см.
рисунок 7.2), предназначенный для контроля положения образца относительно его вертикальной оси;
- зеркало, используемое для наблюдения за поведением образца в процессе испытания.
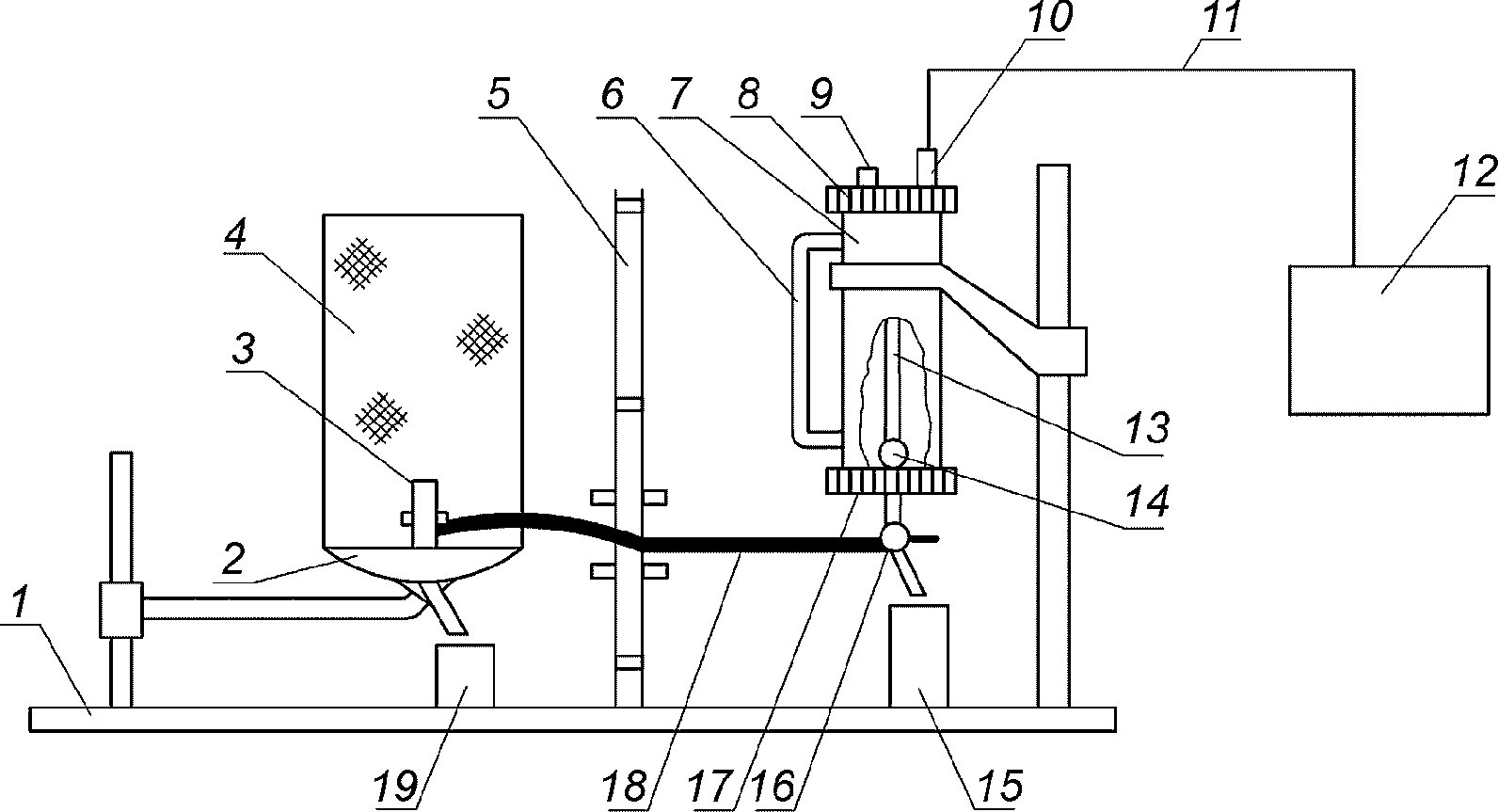
1 - горелка; 2 - реакционная камера; 3 - механизм ввода
образца; 4 - образец; 5, 6 - держатели образца; 7 - зеркало;
8 - термоэлектрический преобразователь; 9 - зонт
Рисунок 7.1 - Общий вид установки по определению группы
трудногорючих и горючих твердых веществ и материалов
1 - образец; 2, 3 - держатели образца; 4 - шаблон
7.3 Образцы для испытаний
7.3.1 Для испытания одного вида материала готовят три образца длиной (60 +/- 1) мм, высотой (150 +/- 3) мм и фактической толщиной, но не более 30 мм.
7.3.2 Для сыпучих веществ и материалов, веществ и материалов в виде гранул готовят три корзиночки прямоугольной формы длиной (60 +/- 1) мм, шириной (10 +/- 1) мм, высотой (150 +/- 3) мм, в которые помещают (90 +/- 1) см3 вещества. Корзиночки должны быть выполнены из сетки с размерами ячеек не более 1,0 мм; материал сетки - проволока из жаростойкой стали диаметром (0,55 +/- 0,5) мм.
Плавящиеся материалы, склонные к каплеобразованию при нагреве, помещают в мешочки прямоугольной формы длиной (65 +/- 1) мм, шириной (10 +/- 1) мм, высотой (160 +/- 1) мм. Мешочки изготавливают из ткани стеклянной толщиной от 0,10 до 0,15 мм, швы сшивают негорючими нитками или металлическими скрепками.
7.3.3 Лакокрасочные материалы, в том числе огнезащитные покрытия, наносят на образцы стандартных размеров длиной (60 +/- 1) мм, высотой (150 +/- 3) мм и фактической толщиной (но не более 30 мм), изготовленные из материала, используемого в реальной конструкции. При этом следует наносить не менее четырех слоев лакокрасочных покрытий с расходом каждого слоя в соответствии с технической документацией на материал. Материалы наносят на каждую сторону образца. Огнезащитные лакокрасочные покрытия наносят на образцы с расходом в соответствии с технической документацией.
7.3.4 Подготовленные образцы выдерживают в вентилируемом сушильном шкафу при температуре (60 +/- 5) °C не менее 20 ч, затем охлаждают до температуры окружающей среды, не вынимая их из шкафа. Допускается кондиционирование образцов в соответствии с требованиями технических условий на материал.
7.3.5 После кондиционирования измеряют массу образцов с погрешностью не более +/- 0,1 г. Измеряют массу сыпучих веществ и материалов; веществ и материалов в виде гранул вместе с корзиночками. Образцы одного материала (вещества) не должны отличаться по массе более чем на 2%.
7.4.1 Калибровка установки должна проводиться в помещении при температуре (23 +/- 5) °C и относительной влажности воздуха (50 +/- 20)% в следующем порядке:
7.4.1.1 Регулируют расход газа таким образом, чтобы температура, регистрируемая термоэлектрическим преобразователем в течение 300 с, была равна (200 +/- 5) °C.
7.4.1.2 Проверяют при помощи шаблона (см.
рисунок 7.2) положение закрепленного образца относительно его вертикальной оси. Поверхность образца должна касаться всех упоров шаблона.
7.4.1.3 Калибровку установки проводят при периодической или повторной метрологической аттестации, а также при вводе в эксплуатацию, замене узлов после ремонта установки.
7.5.1 Испытания должны проводиться в помещении при температуре (23 +/- 5) °C и относительной влажности воздуха (50 +/- 20)% в следующем порядке:
7.5.1.1 Включают прибор для регистрации температуры, зажигают газовую горелку, обеспечивая условия
7.4.1.2.
7.5.1.2 Устанавливают подготовленный к испытаниям образец материала в держатель, обеспечивая условия
7.4.1.3.
7.5.1.3 Образец, закрепленный в держателе, вводят в камеру за время не более 5 с, одновременно включают секундомер.
7.5.1.4 Испытание длится (300 +/- 2) с или до достижения максимальной температуры отходящих газообразных продуктов горения материала.
7.5.1.5 В процессе испытания регистрируют:
- максимальную температуру дымовых газов (tmax), °C;
- время

от начала испытания до достижения максимальной температуры, с.
7.5.1.6 Продолжительность испытания составляет (300 +/- 2) с, если при испытании максимальная температура не превышает 260 °C. Если при испытании максимальная температура превысила 260 °C, то продолжительность испытания определяется временем достижения максимальной температуры.
7.5.1.7 Горелку выключают, образец выдерживают в камере до полного остывания (комнатной температуры). Остывший образец извлекают из камеры и измеряют его массу.
7.6 Оценка результатов испытаний
7.6.1 Для каждого образца вычисляют максимальное приращение температуры

по формуле

(7.1)
где tmax - максимальная температура газообразных продуктов горения исследуемого материала, °C;
t0 - начальная температура испытания, равная 200 °C.
7.6.2 Для каждого образца вычисляют уменьшение массы

в процентах по формуле

(7.2)
где mн - масса образца до испытания, г;
mк - масса образца после испытания, г.
7.6.3 Сходимость и воспроизводимость метода
[8] при доверительной вероятности 95% не должна превышать 25%.
7.6.4 По значению максимального приращения температуры
tmax и потере массы

материалы классифицируют:
- трудногорючие -

меньше 60 °C и

меньше 60%;
- горючие -

больше и равно 60 °C и

больше или равно 60%.
7.6.4.1 Горючие материалы подразделяют в зависимости от времени

достижения
tmax на:
- трудновоспламеняемые, если время достижения tmax больше 180 с;
- легковоспламеняемые, если время достижения tmax меньше 180 с.
7.6.4.2 Если по результатам испытаний трех образцов в одном из них будет превышено любое из классификационных значений в устанавливаемой группе горючести, то проводят дополнительные испытания на трех образцах. Если в дополнительных испытаниях будет превышено одно из классификационных значений, то материал относят к ближайшей (более опасной) по горючести группе.
7.7 Оформление протокола испытаний
В протоколе испытаний, форма которого приведена в
приложении Б, приводят следующие сведения:
- наименование испытательной лаборатории;
- наименование и адрес заказчика, изготовителя (поставщика) материала;
- условия в помещении (температура, °C; относительная влажность, %; атмосферное давление, мм рт. ст.);
- описание материала или изделия, техническую документацию, торговую марку;
- состав, толщину, плотность, расход, массу и способ изготовления образцов;
- параметры, регистрируемые при испытаниях;
- классификацию материала;
- данные дополнительных наблюдений (поведение материала при испытаниях);
- исполнителей.
7.8 Требования безопасности
Помещение, в котором проводят испытания, должно быть оборудовано приточно-вытяжной вентиляцией. Рабочее место оператора должно удовлетворять действующим требованиям по электробезопасности и санитарно-гигиеническим требованиям в соответствии с
ГОСТ 12.1.005. Лица, допущенные в установленном порядке к испытаниям, должны быть ознакомлены с техническим описанием и инструкцией по эксплуатации испытательного и измерительного оборудования.
8 Метод экспериментального определения излучающей способности пламени твердых веществ и материалов
8.1.1 Метод экспериментального определения излучающей способности пламени твердых веществ и материалов устанавливает требования к процедуре проведения испытаний по определению излучающей способности пламени при горении горизонтально расположенных образцов твердых веществ и материалов.
8.1.2 Метод распространяется на горючие твердые вещества и материалы, в том числе строительные, а также на лакокрасочные покрытия.
8.1.3 Метод не распространяется на вещества в газообразном и жидком виде, сыпучие материалы и пыли.
8.1.4 Результаты испытаний применимы только для оценки свойств материалов в контролируемых лабораторных условиях и не отражают поведение материалов в реальных условиях пожара.
8.2 Испытательное оборудование
8.2.1 В состав испытательного оборудования входит установка для определения излучающей способности пламени (см.
рисунок 8.1), которая включает в себя следующие элементы: вертикальную стойку на опоре, электрическую радиационную панель, держатель образца и датчика теплового потока, вытяжной зонт, запальную газовую горелку и термоэлектрический преобразователь.
1 - держатель образца; 2 - держатель датчика теплового
потока; 3 - вытяжной зонт; 4 - термоэлектрический
преобразователь; 5 - электрическая радиационная панель;
6 - запальная газовая горелка; 7 - вертикальная стойка
на опоре
Рисунок 8.1 - Общий вид установки для определения излучающей
способности пламени твердых веществ и материалов
8.2.2 Электрическая радиационная панель состоит из керамической плиты, в пазах которой равномерно закреплен нагревательный элемент (спираль) из проволоки марки Х20Н80-Н
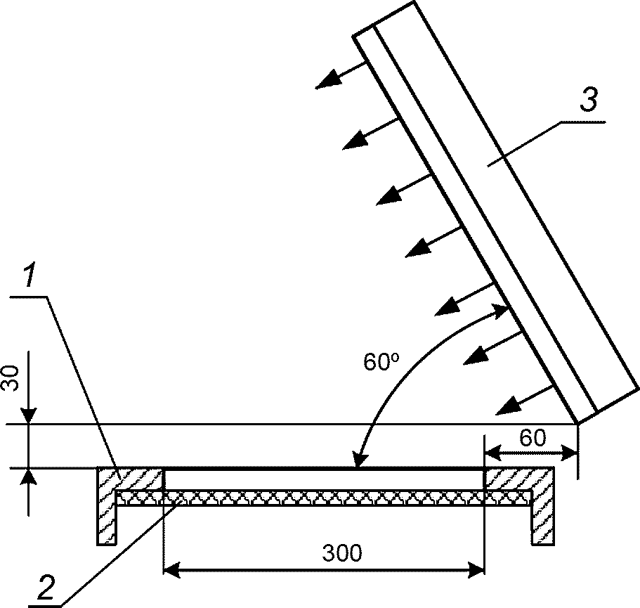
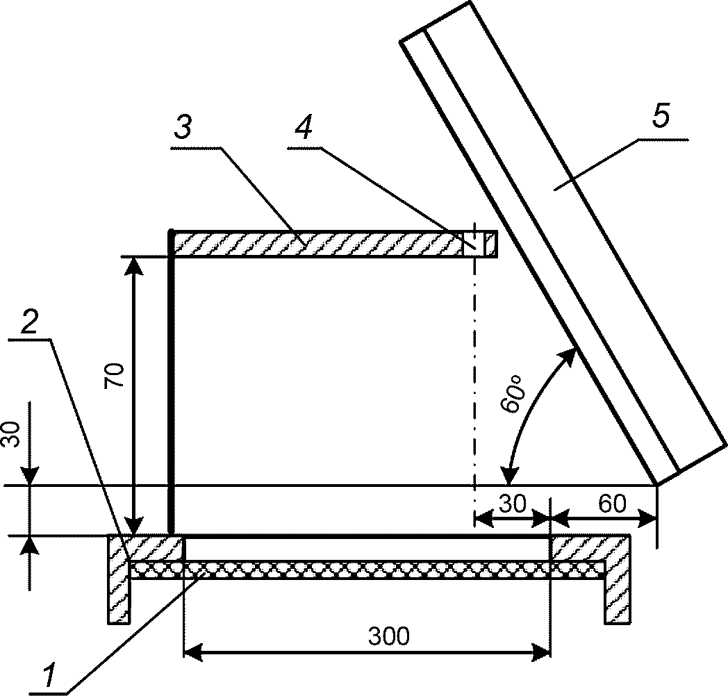
(ГОСТ 12766.1). Параметры спирали (диаметр, шаг намотки, электрическое сопротивление) должны быть такими, чтобы суммарная потребляемая мощность не превышала 8 кВт. Керамическая плита помещена в теплоэлектроизолированный корпус, закрепленный на вертикальной стойке, и подключена к электрической сети с помощью блока питания. Для повышения мощности инфракрасного излучения и уменьшения влияния потоков воздуха перед керамической плитой установлена сетка из жаростойкой стали. Радиационная панель устанавливается под углом 60° к поверхности горизонтально расположенного образца (см. рисунок 8.2).
1 - образец; 2 - держатель образца; 3 - держатель датчика
теплового потока; 4 - датчик теплового потока;
5 - электрическая радиационная панель
Рисунок 8.2 - Взаимное расположение электрической
радиационной панели, держателя образца и датчика
теплового потока
8.2.3 Держатель образца состоит из подставки и рамки. Рамку закрепляют горизонтально на подставке таким образом, чтобы нижняя кромка электрической радиационной панели находилась на расстоянии 30 мм по вертикали и 60 мм по горизонтали от верхней плоскости рамки с образцом.
8.2.4 Держатель датчика теплового потока состоит из стойки с закрепленной на ней негорючей плитой толщиной (15 +/- 5) мм и размером 220 x 140 мм. В качестве материала плиты можно использовать асбестоцемент
(ГОСТ 18124) и др. Плиту закрепляют горизонтально на расстоянии 70 мм от поверхности образца. Датчик теплового потока закрепляется таким образом, чтобы его рабочая поверхность находилась в одной плоскости с поверхностью плиты, а центр чувствительного элемента датчика располагался над центральной продольной осью образца на расстоянии 30 мм от края рамки держателя образца (см.
рисунок 8.2).
8.2.5 Вытяжной зонт размерами 360 x 360 x 700 мм служит для сбора и удаления продуктов горения.
8.2.6 Газовая горелка представляет собой трубку внутренним диаметром (2,0 +/- 0,1) мм из жаростойкой стали с запаянным концом и пятью отверстиями диаметром 0,6 мм, расположенными на расстоянии 20 мм друг от друга. Горелка в рабочем положении устанавливается горизонтально между радиационной панелью и образцом на расстоянии 15 мм от края держателя образца. Расстояние от горелки до поверхности испытываемого образца составляет (8 +/- 1) мм, а оси пяти отверстий находятся под углом 45° к поверхности образца. Для стабилизации запального пламени горелка помещена в однослойный чехол из металлической сетки. Газовая горелка подсоединяется гибким шлангом через устройство, регулирующее расход газа, к баллону с пропан-бутановой фракцией
(ГОСТ 20448). Давление газа должно находиться в диапазоне от 10 до 50 кПа. В качестве устройства, регулирующего расход газа, может использоваться расходомер типа ротаметр или аналогичный прибор с диапазоном, обеспечивающим требования
8.4.3.
8.2.7 При испытаниях используют следующие средства измерения и приборы контроля за условиями окружающей среды:
- блок питания, состоящий из двух регуляторов напряжения с максимальным током нагрузки не менее 20 А и регулируемым выходным напряжением от 0 до 240 В;
- устройство для измерения времени (секундомер) с диапазоном измерения от 0 до 60 мин и ценой деления 0,2 с;
- термоанемометр, предназначенный для измерения скорости воздушного потока с диапазоном измерения от 0,2 до 5,0 м/с и точностью +/- 0,1 м/с;
- датчик Гордона с погрешностью не более +/- 8%, применяемый для контроля плотности теплового потока при калибровке установки и в процессе проведения испытаний;
- термоэлектрический преобразователь типа ТХА с диаметром термоэлектрода не более 0,5 мм, используемый для измерения температуры (справочный показатель) при испытании материалов. Термоэлектрический преобразователь должен иметь защитный кожух из нержавеющей стали диаметром (1,6 +/- 0,1) мм и закрепляться таким образом, чтобы изолированный спай находился в центре сечения суженной части вытяжного зонта. Изолированный спай с диапазоном измерения от 0 до 500 °C, не более 2 класса точности;
- прибор для регистрации температуры с диапазоном измерения от 0 до 500 °C, не более 0,5 класса точности;
- металлическую линейку с диапазоном измерения от 0 до 1000 мм и ценой деления 1 мм, предназначенную для измерения линейных размеров;
- барометр с диапазоном измерения от 600 до 800 мм рт. ст. и ценой деления 1 мм рт. ст. для измерения атмосферного давления;
- гигрометр с диапазоном измерения от 20 до 93% (от 15 до 40 °C) и ценой деления 0,2 °C для измерения влажности воздуха.
8.3 Образцы для испытаний
8.3.1 Для испытания одного вида материала изготавливают пять образцов длиной (320 +/- 2) мм, шириной (140 +/- 2) мм, фактической толщиной, но не более 20 мм. Если толщина материала составляет более 20 мм, необходимо срезать часть материала с нелицевой стороны, чтобы общая толщина материала составляла 20 мм. При изготовлении образцов экспонируемая поверхность не должна подвергаться обработке.
8.3.2 Для анизотропных материалов изготавливают два комплекта образцов (например, по утку и по основе). При классификации материала принимается худший результат испытания.
8.3.3 Для слоистых материалов с различными поверхностными слоями изготавливают два комплекта образцов с целью экспонирования обеих поверхностей. При классификации материала принимается худший результат испытания.
8.3.4 Кровельные мастики, мастичные покрытия и лакокрасочные покрытия наносят на ту же основу, которая используется в реальной конструкции. При этом следует наносить не менее четырех слоев лакокрасочных покрытий с расходом каждого слоя в соответствии с технической документацией на материал.
8.3.5 Материалы толщиной менее 10 мм испытывают в сочетании с негорючей основой. Способ крепления должен обеспечивать контакт поверхностей материала и основы.
В качестве негорючей основы следует использовать хризотилцементные (допускается использование листов из асбестоцемента и других негорючих материалов) листы размерами 320 x 140 мм, толщиной 10 или 12 мм, изготовленные по
ГОСТ 18124.
8.3.6 Образцы кондиционируют в лабораторных условиях не менее 48 ч.
8.4.1 Калибровка установки должна проводиться в помещении при температуре (23 +/- 5) °C и относительной влажности воздуха (50 +/- 20)%.
8.4.2 Измеряют скорость воздушного потока в центре сечения суженной части вытяжного зонта. Она должна составлять (0,3 +/- 0,1) м/с.
8.4.3 Регулируют расход газа через запальную газовую горелку таким образом, чтобы высота пламени составляла (11 +/- 2) мм. После этого запальную горелку выключают и переводят в положение "контроль" (расположение горелки относительно поверхности образца под углом 90°).
8.4.4 Включают электрическую радиационную панель и устанавливают держатель образца с тарированной асбестоцементной плитой, в которой расположены отверстия с датчиками теплового потока в трех контрольных точках. Центры отверстий (контрольные точки) расположены по центральной продольной оси от края рамки держателя образца на расстоянии соответственно 15, 150 и 280 мм.
8.4.5 Нагревают радиационную панель, обеспечивая плотность теплового потока в стационарном режиме для первой контрольной точки (13,5 +/- 1,5) кВт·м
2, для второй и третьей точки соответственно (9 +/- 1) кВт·м
2 и (4,6 +/- 1) кВт·м
2.
8.4.6 Считается, что радиационная панель вышла на стационарный режим, если показания датчиков теплового потока достигают значений в заданных диапазонах и остаются неизменными в течение 15 мин.
8.4.7 Калибровку установки проводят при периодической или повторной метрологической аттестации, а также при вводе в эксплуатацию, замене узлов после ремонта установки.
8.5.1 Испытания должны проводиться в помещении при температуре (23 +/- 5) °C и относительной влажности воздуха (50 +/- 20)% в следующем порядке:
8.5.1.1 Регулируют скорость воздушного потока в вытяжной системе в соответствии с
8.4.2.
8.5.1.2 Нагревают радиационную панель, обеспечивая условия
8.4.5 и
8.4.6. Размещают плиту с датчиком теплового потока в соответствии с
рисунком 8.2 и фиксируют плотность теплового потока (
qрп) без испытываемого образца.
8.5.1.3 Зажигают запальную горелку и регулируют расход газа в соответствии с
8.4.3.
8.5.1.4 Закрепляют испытываемый образец в держателе, помещают держатель в установку, контролируют взаимное расположение радиационной панели и держателя в соответствии с
рисунком 8.2, переводят горелку в рабочее положение.
8.5.1.5 Включают секундомер в момент контакта пламени запальной горелки с поверхностью образца, фиксируют время воспламенения образца.
8.5.1.6 Размещают плиту с датчиком теплового потока в соответствии с
рисунком 8.2 и фиксируют плотность теплового потока (излучающую способность пламени) с интервалом 30 с до момента прекращения пламенного горения - окончания испытания.
8.5.1.7 Временем воспламенения образца считается момент, когда фронт (или пробежка) пламени достигнет отметки на расстоянии 30 мм от края рамки с образцом.
8.5.1.8 В процессе испытания регистрируют:
- время воспламенения образца, с;
- плотность теплового потока (qi) с интервалом 30 с, кВт/м2;
- максимальную плотность теплового потока (qmax), кВт/м2;
- время достижения максимальной плотности теплового потока, с.
8.6 Оценка результатов испытаний
8.6.1 Для каждого образца вычисляют среднее значение плотности теплового потока q, кВт/м2, без учета плотности теплового потока (qрп), создаваемой радиационной панелью, по формуле

(8.1)
где i - количество измерений с интервалом 30 с.
8.6.2 Излучающую способность пламени исследуемого материала q, кВт/м2, вычисляют по формуле

(8.2)
8.6.3 Сходимость и воспроизводимость метода
[8] при доверительной вероятности 95% не должна превышать 25%.
8.7 Оформление протокола испытаний
В протоколе испытания, форма которого приведена в
приложении В, приводят следующие сведения:
- наименование испытательной лаборатории;
- наименование и адрес заказчика, изготовителя (поставщика) материала;
- условия в помещении (температура, °C; относительная влажность, %; атмосферное давление, мм рт. ст.);
- описание материала или изделия, техническую документацию, торговую марку;
- состав, толщину, плотность, массу и способ изготовления образцов;
- для многослойных материалов - толщину и характеристику материала каждого слоя;
- параметры, регистрируемые при испытаниях;
- среднюю плотность теплового потока (излучающая способность пламени);
- дополнительные наблюдения (поведение материала при испытаниях);
- исполнителей.
8.8 Требования безопасности
Помещение, в котором проводят испытания, должно быть оборудовано приточно-вытяжной вентиляцией. Рабочее место оператора должно удовлетворять действующим требованиям по электробезопасности и санитарно-гигиеническим требованиям в соответствии с
ГОСТ 12.1.005. Лица, допущенные в установленном порядке к испытаниям, должны быть ознакомлены с техническим описанием и инструкцией по эксплуатации испытательного и измерительного оборудования.
9 Метод экспериментального определения индекса распространения пламени
Настоящий метод устанавливает требования к процедуре проведения испытаний по определению индекса распространения пламени образцов твердых веществ и материалов.
Настоящий метод распространяется на горючие твердые вещества и материалы, в том числе строительные, а также на лакокрасочные покрытия и не распространяется на вещества в газообразном и жидком виде, сыпучие материалы и пыли.
Результаты испытаний применимы только для оценки свойств материалов в контролируемых лабораторных условиях и не отражают поведение материалов в реальных условиях пожара.
9.2 Испытательное оборудование
9.2.1 В состав испытательного оборудования входит установка для определения индекса распространения пламени (см.
рисунок 9.1), которая включает в себя следующие элементы: вертикальную стойку на опоре, электрическую радиационную панель, держатель образца, вытяжной зонт, запальную газовую горелку, щелевую калибровочную газовую горелку и термоэлектрический преобразователь.
9.2.2 Электрическая радиационная панель размером 470 x 250 мм состоит из керамической плиты, в пазы которой уложены спирали из проволоки марки Х20Н80-Н
(ГОСТ 12766.1). Параметры спиралей (диаметр, шаг намотки, электрическое сопротивление) должны быть такими, чтобы при равномерном распределении спиралей по поверхности керамической плиты суммарная потребляемая мощность не превышала 8 кВт. Керамическая плита закреплена в теплоэлектроизолированном корпусе, имеющем отверстия для крепления к вертикальной стойке и возможность подключения электрического питания. Для увеличения мощности инфракрасного излучения, равномерного ее распределения и уменьшения влияния потоков воздуха, перед керамической плитой установлена сетка из жаропрочной стали.
9.2.3 Держатель образца состоит из подставки и рамки. Рамку закрепляют на подставке так, чтобы плоскость образца материала, установленного в ней, была наклонена под углом 30° от вертикали в сторону радиационной панели. Держатель образца устанавливают так, чтобы расстояние от края образца, ограниченного рамкой, до сетки радиационной панели составляло значение, полученное при калибровке установки. Боковая поверхность рамки имеет деления через каждые (30 +/- 1) мм, пронумерованные цифрами от нуля до девяти.
9.2.4 Вытяжной зонт размерами 360 x 360 x 700 мм служит для сбора и удаления продуктов горения.
9.2.5 Для измерения температуры при испытании материалов и калибровки установки используют термоэлектрический преобразователь типа ТХА с диаметром термоэлектродов не более 0,5 мм, изолированный спай, с диапазоном измерения от 0 до 800 °C, не более 2 класса точности. Термоэлектрический преобразователь должен иметь защитный кожух из нержавеющей стали диаметром (1,6 +/- 0,1) мм и закрепляться таким образом, чтобы изолированный спай находился в центре сечения суженной части вытяжного зонта на расстоянии (90 +/- 2) мм от его верхнего края.
1 - держатель образца; 2 - запальная газовая горелка;
3 - вытяжной зонт; 4 - термоэлектрический преобразователь;
5 - электрическая радиационная панель;
6 - вертикальная стойка на опоре
Рисунок 9.1 - Общий вид установки для определения индекса
распространения пламени
9.2.6 Запальная газовая горелка представляет собой трубку внутренним диаметром (2,0 +/- 0,1) мм из жаростойкой стали с запаянным концом и пятью отверстиями диаметром 0,6 мм, расположенными на расстоянии 20 мм друг от друга, оси которых ориентированы по нормали к поверхности образца. Горелка в рабочем положении устанавливается горизонтально между радиационной панелью и образцом на расстоянии (8 +/- 1) мм от поверхности образца напротив середины нулевого участка. Для стабилизации запального пламени горелка помещена в однослойный чехол из металлической сетки. Газовая горелка подсоединяется гибким шлангом через устройство, регулирующее расход газа, к баллону с пропан-бутановой фракцией
(ГОСТ 20448). Давление газа должно находиться в диапазоне от 10 до 50 кПа. В положении "контроль" горелку выводят за край рамки.
9.2.7 Щелевая калибровочная газовая горелка представляет собой трубку с насадкой из жаростойкой стали и устанавливается таким образом, чтобы край насадки горелки располагался на расстоянии (10 +/- 2) мм от поверхности тарированной плиты на половине ее длины. Размер прямоугольного щелевого сечения насадки горелки составляет 40 x 0,5 мм.
9.2.8 При испытаниях используют следующие средства измерения и приборы контроля за условиями окружающей среды:
- блок питания, состоящий из двух регуляторов напряжения с максимальным током нагрузки не менее 20 А и регулируемым выходным напряжением от 0 до 240 В;
- устройство для измерения времени (секундомер) с диапазоном измерения от 0 до 60 мин и ценой деления 0,2 с;
- датчик Гордона с погрешностью не более +/- 8%, применяемый для контроля плотности теплового потока при калибровке установки;
- прибор для регистрации температуры с диапазоном измерения от 0 до 500 °C, не более 0,5 класса точности;
- металлическую линейку с диапазоном измерения от 0 до 1000 мм и ценой деления 1 мм, предназначенную для измерения линейных размеров;
- барометр с диапазоном измерения от 600 до 800 мм рт. ст. и ценой деления 1 мм рт. ст. для измерения атмосферного давления;
- гигрометр с диапазоном измерения от 20 до 93% (от 15 до 40 °C) и ценой деления 0,2 °C для измерения влажности воздуха.
9.3 Образцы для испытаний
9.3.1 Для испытания одного вида материала изготавливают пять образцов длиной (320 +/- 2) мм, шириной (140 +/- 2) мм, фактической толщиной, но не более 20 мм. Если толщина материала составляет более 20 мм, необходимо срезать часть материала с нелицевой стороны. При изготовлении образцов экспонируемая поверхность не должна подвергаться обработке.
9.3.2 Для анизотропных материалов изготавливают два комплекта образцов (например, по утку и по основе). При классификации материала принимается худший результат испытания.
9.3.3 Для слоистых материалов с различными поверхностными слоями (разные плотности слоев) изготавливают два комплекта образцов в целях экспонирования обеих поверхностей. При классификации материала принимается худший результат испытания. В случае, если обе поверхности могут применяться как лицевые, проводятся испытания обеих поверхностей.
9.3.4 Кровельные мастики, мастичные покрытия и лакокрасочные покрытия наносят на ту же основу, которая используется в реальной конструкции. При этом следует наносить не менее четырех слоев лакокрасочных покрытий с расходом каждого слоя в соответствии с технической документацией на материал.
9.3.5 Материалы толщиной менее 10 мм испытывают в сочетании с негорючей основой. Способ крепления должен обеспечивать контакт поверхностей материала и основы.
В качестве негорючей основы следует использовать хризотилцементные листы размерами 320 x 140 мм, толщиной 10 или 12 мм, изготовленные по
ГОСТ 18124. Допускается использование листов из асбестоцемента и других негорючих материалов.
9.3.6 Образцы кондиционируют в лабораторных условиях не менее 48 ч.
9.4.1 Калибровка установки должна проводиться в помещении при температуре (23 +/- 5) °C и относительной влажности воздуха (50 +/- 20)% в следующем порядке:
9.4.1.1 Регулируют расход газа через запальную газовую горелку таким образом, чтобы высота пламени составляла (11 +/- 2) мм. После этого запальную горелку выключают и переводят в положение "контроль".
9.4.1.2 Включают электрическую радиационную панель и устанавливают держатель образца с тарированной негорючей плитой длиной (320 +/- 2) мм, шириной (140 +/- 2) мм, в которой расположены отверстия с датчиками теплового потока в трех контрольных точках. Центры отверстий (контрольные точки) расположены по центральной продольной оси от края рамки держателя образца на расстоянии соответственно 25, 160 и 295 мм.
9.4.1.3 Нагревают радиационную панель и, перемещая держатель образца с тарированной плитой, обеспечивают плотность теплового потока в стационарном режиме для первой контрольной точки (32,0 +/- 3,0) кВт/м
2, для второй и третьей точки соответственно (20,0 +/- 3,0) кВт/м
2 и (12,0 +/- 1,5) кВт/м
2. Считают, что радиационная панель вышла на стационарный режим, если показания датчиков теплового потока достигают значений в заданных диапазонах и остаются неизменными в течение 15 мин.
9.4.1.4 Замеряют расстояние между держателем образца и радиационной панелью и используют его при проведении испытаний.
9.4.1.5 Заменяют тарированную негорючую плиту и устанавливают перед ней щелевую калибровочную газовую горелку. Переводят в рабочее положение и включают запальную газовую горелку, регистрируя через 15 мин горения температуру (t0) в вытяжном зонте. Зажигают щелевую калибровочную горелку, регулируя подачу газа с расходом (0,030 +/- 0,001) дм3/с. Через 10 мин горения регистрируют температуру (t1) в вытяжном зонте.
Тепловой коэффициент установки

вычисляют по формуле

(9.1)
где q - удельная теплота сгорания газа, кДж/дм3;
Q - расход газа запальной горелки, дм3/с.
В качестве теплового коэффициента установки принимают среднее арифметическое значение результатов пяти калибровочных испытаний.
9.4.2 Калибровку установки проводят при периодической или повторной метрологической аттестации, а также при вводе в эксплуатацию, замене узлов после ремонта установки.
9.5.1 Испытания должны проводиться в помещении при температуре (23 +/- 5) °C и относительной влажности воздуха (50 +/- 20)% в следующем порядке:
9.5.1.1 Нагревают радиационную панель, обеспечивая условия
9.4.1.3.
9.5.1.2 Зажигают запальную горелку, переводят ее в рабочее положение и регулируют расход газа в соответствии с
9.2.7.
9.5.1.3 Устанавливают подготовленный к испытаниям образец материала в держатель, на поверхность образца наносят риски с шагом (30 +/- 1) мм, помещают держатель в установку и включают секундомер.
9.5.1.4 Испытание длится до момента прекращения распространения пламени по поверхности образца.
9.5.1.5 В процессе испытания регистрируют:
- время

воспламенения образца, с;
- время

прохождения фронтом пламени
i-го участка поверхности образца (
i = 1, 2, ... 9), с;
- расстояние (L), на которое распространился фронт пламени, мм;
- максимальную температуру дымовых газов (tmax), °C;
- время

от начала испытания до достижения максимальной температуры, с.
9.6 Оценка результатов испытаний
9.6.1 Для каждого образца вычисляют индекс распространения пламени (I) по формуле

(9.2)
где 0,0115 - размерный коэффициент, Вт-1;
0,2 - размерный коэффициент, с·мм-1.
9.6.2 Среднее арифметическое значение индекса пяти испытанных образцов принимают за индекс распространения пламени исследуемого материала.
9.6.3 Сходимость и воспроизводимость метода
[8] при доверительной вероятности 95% не должна превышать 25%.
9.7.1 Значение индекса распространения пламени следует применять для классификации материалов:
- не распространяющие пламя по поверхности - индекс распространения пламени равен 0;
- медленно распространяющие пламя по поверхности - индекс распространения пламени более 0 до 20 включительно;
- быстро распространяющие пламя по поверхности - индекс распространения пламени более 20.
9.7.2 Условия и результаты испытаний регистрируют в протоколе.
9.8 Оформление протокола испытаний
В протоколе испытаний (см.
приложение Г) приводят следующие сведения:
- наименование испытательной лаборатории;
- наименование и адрес заказчика, изготовителя (поставщика) материала;
- условия в помещении (температура, °C; относительная влажность, %; атмосферное давление, мм рт. ст.);
- описание материала или изделия, техническую документацию, торговую марку;
- состав, толщину, плотность, массу и способ изготовления образцов;
- толщину и характеристику материала каждого слоя - для многослойных материалов;
- параметры, регистрируемые при испытаниях;
- классификацию материала;
- данные дополнительных наблюдений (поведение материала при испытаниях);
- исполнителей.
9.9 Требования безопасности
Помещение, в котором проводят испытания, должно быть оборудовано приточно-вытяжной вентиляцией. Рабочее место оператора должно удовлетворять действующим требованиям по электробезопасности и санитарно-гигиеническим требованиям в соответствии с
ГОСТ 12.1.005. Лица, допущенные в установленном порядке к испытаниям, должны быть ознакомлены с техническим описанием и инструкцией по эксплуатации испытательного и измерительного оборудования.
10 Метод экспериментального определения кислородного индекса пластмасс
Сущность метода определения кислородного индекса заключается в нахождении минимальной концентрации кислорода в потоке кислородно-азотной смеси, при которой наблюдается самостоятельное горение вертикально расположенного образца, зажигаемого сверху.
Значение кислородного индекса следует применять при разработке полимерных композиций пониженной горючести и контроле горючести полимерных материалов, тканей, целлюлозно-бумажных изделий и других материалов. Кислородный индекс необходимо включать в стандарты или техническую документацию на твердые вещества (материалы).
Метод применим для испытания пластмасс, в том числе ячеистых, плотностью не менее 100 кг/м3, для пластмасс в виде пленок и листов толщиной не более 10,5 мм, для тканей, целлюлозно-бумажных изделий и других материалов, за исключением материалов с большой усадкой при высоких температурах.
Метод применяют в сертификационных и арбитражных целях для сравнительной оценки горючести твердых веществ и материалов в определенных контролируемых условиях.
10.2 Испытательное оборудование
Испытательное оборудование для определения кислородного индекса показано на рисунке 10.1 и включает в себя следующие элементы.
1 - вентиль предварительной регулировки; 2 - вентиль точной
регулировки; 3 - смеситель; 4 - расходомер; 5 - реакционная
камера; 6 - держатель образца; 7 - кислородный анализатор
Рисунок 10.1 - Оборудование для определения
кислородного индекса
10.2.1 Реакционная камера, представляющая собой термостойкую прозрачную трубу внутренним диаметром не менее 70 мм и высотой не менее 450 мм, установленная вертикально на основании.
На дно камеры монтируют приспособление для равномерного распределения газовой смеси, состоящее, например, из стеклянных или металлических шариков диаметром от 3 до 5 мм, помещенных слоем высотой от 80 до 100 мм.
10.2.2 Держатель образца для закрепления его в вертикальном положении в трубе (см. рисунок 10.2). Рекомендуется применять: для жестких образцов - маленькие клещи, закрепляющие образец на расстоянии не менее 15 мм от самой нижней горящей точки образца; для гибких образцов - рамку, маркированную в соответствии с
10.3.3.
Все детали держателя не должны иметь острых кромок для лучшего обтекания газовым потоком.
Рисунок 10.2 - Реакционная камера
и рамка - держатель образца
10.2.3 Металлическое проволочное сито размером ячейки от 1,0 до 1,6 мм, помещенное над шариками для улавливания падающих частиц.
10.2.4 Баллоны с газообразными кислородом и азотом (чистота которых должна быть не менее 98%) или с очищенным воздухом при концентрации кислорода 20,9% об.
Если результаты испытаний зависят от влажности газов, то влажность каждого газа не должна превышать 0,1% масс.
10.2.5 Система смешивания и регулировки газов перед поступлением в реакционную камеру, позволяющая изменять концентрацию кислорода с шагом не более 0,2% об.
10.2.6 Средства измерения и контроля концентрации кислорода в газовой смеси с погрешностью не более 0,5% об. и регулировки концентрации с погрешностью +/- 0,1% об.
Рекомендуется применять: игольчатые клапаны на линиях отдельных газов и смеси газов; парамагнитный кислородный анализатор для непрерывного отбора пробы смеси; градуированные расходомеры (ротаметры); градуированные диафрагмы с манометрами.
10.2.7 Источник зажигания [например, горелка с диаметром наконечника (2 +/- 1) мм], обеспечивающий на пропане высоту пламени (16 +/- 4) мм и свободно входящий в камеру через верхний открытый конец.
10.2.8 Секундомер с погрешностью измерения не более 1 с.
10.2.9 Приспособление для удаления сажи, дыма и тепла, обеспечивающее достаточное отсасывание без изменения потока газов в колонке или ее температуры.
10.2.10 Проверку правильности работы установки контролируют каждые 6 мес, а также после длительной ее остановки или при получении сомнительных результатов. Перечень стандартных материалов для проверки установки приведен в таблице 10.1.
Таблица 10.1
Стандартный материал | Кислородный индекс, % об., для варианта зажигания |
А | Б |
Полипропилен | От 18,3 до 19,0 | От 17,7 до 18,2 |
Меламин-формальдегид | От 41,0 до 43,6 | От 39,6 до 42,5 |
Полиметилметакрилат (толщиной 3 мм) | От 17,3 до 18,1 | От 17,2 до 18,0 |
Полиметилметакрилат (толщиной 10 мм) | От 17,9 до 19,0 | От 17,5 до 18,5 |
Фенольная пена (толщиной 10,5 мм) | От 39,1 до 40,7 | От 39,6 до 40,9 |
ПВХ-пленка (толщиной 0,02 мм) | - | От 22,4 до 23,6 |
10.3 Образцы для испытаний
10.3.1 Для испытания применяют не менее 15 образцов. Размеры образцов должны соответствовать значениям, указанным в таблице 10.2.
Таблица 10.2
Тип образца | Размер образца, мм | Тип материала |
Длина | Ширина | Толщина |
1 | От 80 до 150 | 10,0 +/- 0,5 | 4,00 +/- 0,25 | Материалы, обладающие стабильной формой |
2 | 10,0 +/- 0,5 | Ячеистые материалы |
3 | До 10,5 | Листовые и пленочные материалы |
4 | От 70 до 150 | 6,5 +/- 0,5 | 3,00 +/- 0,25 | Материалы, обладающие стабильной формой, или листовые материалы для электротехнических устройств |
5 | 140,0 +/- 0,5 | 52,0 +/- 0,5 | До 10,5 | Гибкие листы и пленки |
Примечание - Результаты, полученные на образцах различных размеров, несопоставимы.
10.3.2 Края образцов должны быть гладкими.
10.3.3 На образцы наносят поперечные линии (метки) на две смежные стороны. Перед испытанием метки должны быть сухими.
На образцы типов 1 - 4 включительно наносят метки на расстоянии 50 мм от конца образца, вступающего в контакт с источником зажигания, в случае варианта А и на расстоянии 10 и 60 мм в случае варианта Б зажигания.
Для образцов типа 5 метки наносят на держатель образца (и/или на образец) на расстоянии 20 и 100 мм от верхнего края.
10.3.4 В случае анизотропных материалов записывают расположение и ориентацию образцов в зависимости от осей анизотропии.
10.4 Проведение испытания
10.4.1 Если нет других указаний, образцы перед испытанием кондиционируют не менее 88 ч в стандартной атмосфере 23/50 мм рт. ст. по
ГОСТ 12423.
10.4.2 Время между изготовлением исследуемого материала и началом испытания должно быть не менее 72 ч.
10.4.3 Испытания проводят при температуре (23 +/- 2) °C.
10.4.4 В случае необходимости аппаратуру калибруют в соответствии с
10.2.10.
10.4.5 Начальную концентрацию кислорода выбирают на основе опыта работы с материалами, аналогичными исследуемому. В противном случае один из приготовленных образцов сжигают на воздухе и наблюдают за горением.
Устанавливают начальную концентрацию кислорода:
- объемная доля (18 +/- 2)%, если образец горит быстро;
- объемная доля (21 +/- 2)%, если образец горит медленно или неустойчиво;
- объемная доля не менее 25%, если образец затухает.
10.4.6 Образец закрепляют в вертикальном положении в держателе в центре колонки так, чтобы верхний край образца находился на расстоянии не менее 100 мм от верхнего края колонки.
10.4.7 Приборы для измерения давления и расхода газов регулируют так, чтобы газовый поток в колонке при температуре (23 +/- 2) °C с заданной концентрацией кислорода имел скорость (40 +/- 10) мм/с.
10.4.8 Систему продувают газовой смесью не менее 30 с перед испытанием и поддерживают концентрацию кислорода постоянной до конца испытания.
10.4.9 Зажигание образцов проводят в зависимости от типа образцов по одному из следующих вариантов.
Вариант А (для образцов типа 1 - 4 включительно)
Подводят самую нижнюю часть пламени горелки к верхней горизонтальной поверхности образца, медленно перемещая так, чтобы пламя покрывало ее полностью и не касалось вертикальных поверхностей или граней образца. Длительность воздействия пламени на образец составляет 30 с с короткими перерывами через каждые 5 с. Образец считают воспламененным, если после отвода горелки через 5 с вся его верхняя часть горит.
Вариант Б (для образцов типа 5)
Наклоняют и подводят горелку так, чтобы высокотемпературная зона пламени покрыла верхнюю и вертикальные поверхности образца по длине около 6 мм. Длительность воздействия пламени на образец составляет 30 с с короткими перерывами через каждые 5 с или до момента, когда горение доходит до верхней метки на рамке.
10.4.10 После воспламенения образца включают секундомер и наблюдают за распространением горения.
10.4.11 Если горение прекращается и не возобновляется в течение 1 с, то, выключив секундомер, определяют время горения и измеряют максимальную длину сгоревшей части образца.
Если хотя бы один из указанных показателей горения образца превосходит приведенные в таблице 10.3 критерии, то результат испытания записывают как x. В противном случае результат испытания записывают как 0.
Тип образца | Вариант зажигания | Критерии |
Время горения после зажигания, с | Длина сгоревшей части образца, мм |
1 2 | А | 180 | 50 от верхнего торца образца |
3 4 | 180 | 50 ниже верхней метки |
5 | Б | 180 | 80 ниже верхней метки (на рамке) |
10.4.12 По ходу испытания отмечают процессы, сопровождающие горение, такие как, например, падение частиц, обугливание, неравномерное горение, тление.
10.4.13 Гасят и вынимают образец из реакционной камеры. Для испытания следующего образца охлаждают камеру до (23 +/- 2) °C или монтируют другую, имеющую температуру до (23 +/- 2) °C.
В случае необходимости очищают поверхности горелки и камеры, сито и приспособление для равномерного распределения газовой смеси.
10.4.14 При испытании последующего образца выбирают концентрацию кислорода таким образом, что:
- уменьшают концентрацию кислорода, если предыдущий образец считается способным к горению (горит) (см.
таблицу 10.3), или
- увеличивают концентрацию кислорода, если образец считается неспособным к горению (не горит, горит неустойчиво).
10.4.15 Для определения необходимой концентрации кислорода повторяют этапы, указанные в
10.4.6 - 10.4.14 включительно, произвольно изменяя при этом концентрацию кислорода до получения концентраций, отличающихся друг от друга не более чем на 1%.
10.4.16 Начальную концентрацию кислорода изменяют до тех пор, пока не установится минимальная концентрация кислорода в смеси с азотом, которая поддерживает горение образца в течение 180 с или при которой за время менее 180 с сгорает 50 мм образца типа 1 - 4 включительно и 80 мм образца типа 5 (образец, способный к горению) (см.
таблицу 10.3). Минимальная концентрация должна отличаться от максимальной, не поддерживающей указанные условия горения (образец, неспособный к горению), не более чем на 1%.
Таким образом, в серии последовательных опытов определяется значение КИ - концентрация кислорода, являющаяся предельной для горения. За значение параметра КИ берется среднее между значением концентрации кислорода, при котором образец способен к горению КИг, и значением концентрации кислорода, при котором образец неспособен к горению КИнг.
10.5 Оценка результатов испытаний
10.5.1 Кислородный индекс КИ, % об., вычисляют по формуле

(10.1)
где КИг - конечное значение концентрации кислорода, при которой образец способен к горению, %;
КИнг - конечное значение концентрации кислорода, при которой образец неспособен к горению, %.
10.5.2 Сходимость метода
[8] при доверительной вероятности 95% не должна превышать 0,5% об.
10.5.3 Воспроизводимость метода
[8] при доверительной вероятности 95% не должна превышать 1,4% об.
10.6 Оформление протокола испытаний
Условия и результаты испытаний регистрируют в протоколе, форма которого приведена в
приложении Д, содержащем следующем сведения:
- дату испытания;
- условия в помещении (температура, °C; относительная влажность, %; атмосферное давление, кПа);
- наименование испытательной лаборатории;
- наименование методики испытаний;
- наименование и адрес заказчика;
- наименование и адрес изготовителя (поставщика) материала;
- описание материала или изделия, техническую документацию, а также торговую марку, состав, толщину, плотность, массу и способ изготовления образцов;
- результаты испытаний;
- дополнительные наблюдения;
- исполнителей.
10.7 Требования безопасности
Установку для определения кислородного индекса следует помещать в вытяжной шкаф или под вытяжной зонт, обеспечивающий удаление газообразных продуктов горения без изменения скорости потока в реакционной камере. Рабочее место оператора должно удовлетворять санитарно-гигиеническим требованиям по
ГОСТ 12.1.005.
11 Метод экспериментального определения коэффициента дымообразования твердых веществ и материалов
Сущность метода определения коэффициента дымообразования заключается в определении оптической плотности дыма, образующегося при горении или тлении известного количества испытуемого вещества или материала, распределенного в заданном объеме.
Значение коэффициента дымообразования следует применять для классификации материалов по дымообразующей способности. Различают три группы материалов:
- с малой дымообразующей способностью - коэффициент дымообразования до 50 м2/кг включительно;
- с умеренной дымообразующей способностью - коэффициент дымообразования свыше 50 до 500 м2/кг включительно;
- с высокой дымообразующей способностью - коэффициент дымообразования свыше 500 м2/кг.
11.2 Испытательное оборудование
Испытательное оборудование для определения коэффициента дымообразования (см.
рисунок 11.1) включает в себя следующие элементы.
11.2.1 Камера сгорания вместимостью 3·10
-3 м
3, выполненная из нержавеющей стали. Внутренняя поверхность камеры теплоизолирована асбосилитовыми плитами толщиной 20 мм и покрыта алюминиевой фольгой толщиной 0,2 мм. В камере сгорания установлены электронагревательная панель и держатель образца. Электронагревательную панель размерами 120 x 120 мм монтируют на верхней стенке камеры под углом 45° к горизонтали. Электроспираль панели изготавливается из проволоки марки Х20Н80-Н
(ГОСТ 12766.1) диаметром от 0,8 до 1,0 мм.
Держатель образца размерами 100 x 100 x 20 мм крепят на дверце камеры сгорания. В держателе установлен вкладыш из асбосилита размерами 92 x 92 x 20 мм, в центре которого имеется углубление для размещения лодочки с образцом (углубление во вкладыше должно быть таким, чтобы нагреваемая поверхность образца находилась на расстоянии 60 мм от электронагревательной панели).
Установленный в лодочку образец должен опираться на вставку из негорючего материала, плотностью (850 +/- 100) кг/м3 и толщиной, обеспечивающей расстояние от экспонируемой поверхности образца до внутренней нижней поверхности лодочки, 15 мм.
Над держателем образца установлена запальная газовая горелка, представляющая собой трубку из нержавеющей стали внутренним диаметром от 1,5 до 2,0 мм.
В камере сгорания имеются верхнее и нижнее отверстия сечением 30 x 160 мм, соединяющие ее с камерой измерений.
1 - камера сгорания; 2 - держатель образца; 3 - окно
из кварцевого стекла; 4, 7 - клапаны продувки; 5 - приемник
света; 6 - камера измерений; 8 - кварцевое стекло;
9 - источник света; 10 - предохранительная мембрана;
11 - вентилятор; 12 - направляющий козырек; 13 - запальная
горелка; 14 - вкладыш; 15 - электронагревательная панель
Рисунок 11.1 - Оборудование для определения коэффициента
дымообразования
11.2.2 Камера измерений размерами 800 x 800 x 800 мм, изготовленная из нержавеющей стали, имеет в верхней стенке отверстия для возвратного клапана продувки, источника света и предохранительной мембраны. На боковой стенке камеры установлен вентилятор с частотой вращения 5 с-1. На передней стенке камеры имеется дверца с уплотнением из мягкой резины по периметру. В днище камеры должны быть отверстия для приемника света и возвратного клапана продувки.
11.2.3 Фотометрическая система, состоящая из источника и приемника света. Источник света (гелий-неоновый лазер мощностью от 2 до 5 мВт) крепят на верхней стенке камеры измерений, приемник света (фотодиод) расположен в днище камеры. Между источником света и камерой измерений устанавливают защитное кварцевое стекло, нагреваемое электроспиралью до температуры от 120 до 140 °C.
Фотометрическая система должна обеспечивать измерение светового потока в рабочем диапазоне светопропускания от 2 до 90% с погрешностью не более 10%.
11.3 Образцы для испытаний
11.3.1 Для испытаний готовят от 10 до 15 образцов исследуемого материала фактической толщиной, но не более 10 мм (для образцов вспененных материалов допускается толщина до 15 мм).
11.3.2 При проведении испытаний многослойных комбинированных материалов, например, таких как трехслойные панели типа "сэндвич", ламинированные теплозвукоизоляционные утеплительные панели и маты, кабельная продукция, многослойные ковровые изделия, мягкие элементы мебели и т.п., в соответствии с данным методом оценка подхода сводится к расчетному определению коэффициента дымообразования для комбинации материалов на основании данных, полученных при последовательных испытаниях одиночных материалов, входящих в состав комбинации. Негорючие материалы (фольга, металлические элементы и т.п.), а также металлические каркасы с лакокрасочным (полимерным) покрытием, входящие в состав композитного изделия, при оценке коэффициента дымообразования не учитываются.
Для испытаний лакокрасочных покрытий, используемых для негорючих поверхностей, образцы готовят в виде свободной пленки, а их толщина должна соответствовать принятой в технической документации, и иметь не менее четырех слоев лакокрасочного покрытия с расходом каждого слоя в соответствии с технической документацией на материал. Для испытаний лакокрасочных покрытий, используемых для нанесения на горючие основы, образцы готовят на реальной основе толщиной, не превышающей 10 мм.
Для испытаний средств огнезащиты, используемых для защиты негорючих материалов (бетон, металл и т.п.), образцы готовят в виде свободной пленки той толщины и способа нанесения, которые указаны в сопроводительной и технической документации. Для испытаний средств огнезащиты, предназначенных для защиты горючих материалов, образцы готовят нанесенными на реальную основу, толщина которой не должна превышать 10 мм.
11.3.3 Образцы перед испытанием кондиционируют при температуре (23 +/- 2) °C и относительной влажности (50 +/- 5)% не менее 48 ч, затем измеряют массу с погрешностью не более

. Постоянная масса считается достигнутой, когда два последовательных взвешивания, проведенных с интервалом 24 ч, не отличаются друг от друга более чем на 0,1%.
11.3.4 Проверку режимов работы установки, применяемой для определения коэффициента дымообразования, осуществляют с помощью стандартного образца (см. рисунок 11.2), включающего в себя лодочку из листовой нержавеющей стали толщиной 1 мм, в центре которой закреплена цилиндрическая емкость внутренним диаметром 15 мм, высотой 8 мм и толщиной стенки 2 мм. Емкость наполнена смесью дибутилфталата и дисперсного кварцевого песка (размолотого кварцевого стекла).
1 - песок; 2 - жидкость; 3 - лодочка;
4 - цилиндрическая емкость
Рисунок 11.2 - Стандартный образец
11.3.5 Перед приготовлением стандартного образца лодочку прокаливают при температуре от 750 до 800 °C не менее 5 мин. После охлаждения лодочки до комнатной температуры ее очищают от сажи и промывают спиртом. С помощью дозирующего устройства (например, медицинского шприца) в чистую сухую цилиндрическую емкость лодочки наливают определенное количество дибутилфталата, а затем туда же насыпают (10,0 +/- 0,1) г кварцевого песка. Количество дибутилфталата для режима тления - (0,10 +/- 0,01) г, для режима горения - (0,20 +/- 0,01) г.
При этом значения коэффициента дымообразования (Dm) должно быть в пределах:
- режим тления (без инициирующего пламени) Dm = (360 +/- 20) м2/кг;
- режим горения (с инициирующим пламенем) Dm = (120 +/- 8) м2/кг.
11.4 Проведение испытания
11.4.1 Испытание образцов проводят в двух режимах: в режиме тления и в режиме горения с использованием газовой горелки (длина пламени горелки от 10 до 15 мм).
11.4.2 Включают электропитание установки в таком режиме, чтобы плотность теплового потока, падающего на образец, составляла 35 кВт/м2. Контролируют плотность падающего теплового потока с помощью теплоприемника типа Гордона с погрешностью не более 8%.
11.4.3 Включают источник и приемник света. Устанавливают начальное значение светопропускания, соответствующее верхнему пределу измерений регистрирующего прибора и принимаемое за 100%.
11.4.4 Подготовленный образец помещают в лодочку из нержавеющей стали. Открывают дверцу камеры сгорания и без задержки устанавливают лодочку с образцом в держатель, после чего дверцу закрывают.
11.4.5 Испытание прекращают при достижении минимального значения светопропускания.
В случае, когда минимальное значение светопропускания выходит за пределы рабочего диапазона или находится вблизи его границ, необходимо уменьшать массу образца.
При испытаниях в режиме тления образцы не должны самовоспламеняться. В случае самовоспламенения образца последующие испытания проводят при уменьшенном на 5 кВт·м-2 значении плотности теплового потока. Плотность теплового потока снижают до тех пор, пока не прекратится самовоспламенение образца во время испытания.
11.4.6 По окончании испытания лодочку с остатками образца вынимают из камеры сгорания. Установку вентилируют в течение от 3 до 5 мин, но не менее чем требуется для достижения исходного значения светопропускания в камере измерений.
Примечание - В случае, когда не достигается начальное значение светопропускания, защитные стекла фотометрической системы протирают тампоном из мягкой ткани, слегка смоченным этиловым спиртом.
11.4.7 В каждом режиме испытывают по пять образцов.
11.5 Оценка результатов испытаний
11.5.1 Коэффициент дымообразования (Dm), м2/кг, вычисляют по формуле

(11.1)
где V - вместимость камеры измерения, м3;
L - длина пути луча света в задымленной среде, м;
m - масса образца, кг;
T0, Tmin - соответственно значения начального и конечного светопропускания, %.
11.5.2 Для каждого режима испытаний определяют коэффициент дымообразования как среднее арифметическое по результатам пяти испытаний.
За коэффициент дымообразования исследуемого материала принимают большее значение коэффициента дымообразования, вычисленное для двух режимов испытания.
11.5.3 Сходимость и воспроизводимость метода
[8] при доверительной вероятности 95% не должна превышать 15%.
11.6 Оценка результатов испытаний для комбинации материалов
11.6.1 Расчет по определению коэффициента дымообразования для комбинации материалов на основании данных, полученных при последовательных испытаниях одиночных материалов, входящих в состав комбинации, проводится по формуле

(11.2)
где Dрасч - расчетное значение коэффициента дымообразования для комбинации материалов;
i - номер материала в комбинации;
gi - массовый процент i-го материала в комбинации;
Di - экспериментально установленные значения коэффициента дымообразования i-го материала;
n - количество материалов в комбинации.
11.6.2 Для установления расчетных значений коэффициента дымообразования в соответствии с
формулой (11.2) изначально принимаются следующие допущения:
- вклад каждого одиночного материала в формирование среды с измененными оптическими свойствами пропорционален его содержанию в комбинации и его дымообразующей способности;
- количественная оценка дымообразующей способности комбинированных изделий подчиняется правилу аддитивности.
11.6.3 Параметры дымообразования, установленные при испытаниях одиночных материалов, принимались за исходные данные для расчета ожидаемых значений коэффициента дымообразования комбинаций материалов. В соответствии с принципом аддитивности выполнялся расчет коэффициента дымообразования комбинации материалов по
формуле (11.2).
11.6.4 Для расчетного определения коэффициента дымообразования комбинированных материалов проводится сравнительный анализ полученных данных - ожидаемые (расчетные) параметры, - экспериментально установленных, и применяется формула (11.3) для определения величины относительной погрешности

(11.3)
где

- относительная погрешность, %;

- значение коэффициента дымообразования, полученное при испытаниях комбинированных материалов;

- расчетное значение коэффициента дымообразования.
11.6.5 Взаимное расположение слоев в комбинированных материалах (изделиях) по отношению к источнику зажигания испытательной установки на значения параметров дымообразования не влияет.
11.6.6 Относительная погрешность, рассчитанная по
формуле (11.3), не должна превышать 10% для оценки исследуемых параметров, как в режиме термоокислительного разложения, так и в режиме пламенного горения.
11.7 Оформление протокола испытаний
Условия и результаты испытаний регистрируют в протоколе, форма которого приведена в
приложении Е.
11.8 Требования безопасности
Установку для определения коэффициента дымообразования необходимо располагать под вытяжным зонтом. Рабочее место оператора должно удовлетворять действующим требованиям по электробезопасности и санитарно-гигиеническим требованиям в соответствии с
ГОСТ 12.1.005.
12 Метод экспериментального определения линейной скорости распространения пламени твердых веществ и материалов
12.1.1 Метод определения линейной скорости распространения пламени (ЛСРП) по поверхности горизонтально расположенных образцов твердых веществ и материалов распространяется на горючие твердые вещества и материалы, в том числе строительные, а также на лакокрасочные покрытия.
12.1.2 Методика не распространяется на вещества в газообразном и жидком виде, сыпучие материалы и пыли.
12.1.3 Результаты испытаний применимы только для оценки свойств материалов в контролируемых лабораторных условиях и не всегда отражают поведение материалов в реальных условиях пожара.
12.2 Испытательное оборудование
12.2.1 Схема испытательного оборудования для определения ЛСРП представлена на
рисунке 12.1.
12.2.2 Электрическая радиационная панель
4 состоит из керамической плиты, в пазах которой равномерно закреплен нагревательный элемент (спираль) из проволоки марки Х20Н80-Н
(ГОСТ 12766.1). Параметры спирали (диаметр, шаг намотки, электрическое сопротивление) должны быть такими, чтобы суммарная потребляемая мощность не превышала 8 кВт. Керамическая плита помещена в теплоэлектроизолированный корпус, закрепленный на вертикальной стойке
6, и подключена к электрической сети с помощью блока питания. Для увеличения мощности инфракрасного излучения и уменьшения влияния потоков воздуха перед керамической плитой установлена сетка из жаростойкой стали. Радиационная панель устанавливается под углом 60° к поверхности горизонтально расположенного образца.
12.2.3 Держатель образца
1 (см.
рисунок 12.1) состоит из подставки и рамки.
Рамку закрепляют на подставке горизонтально так, чтобы нижняя кромка электрической радиационной панели находилась от верхней плоскости рамки с образцом на расстоянии 30 мм по вертикали и 60 мм по горизонтали (см.
рисунок 12.2).
На боковой поверхности рамки нанесены контрольные деления через каждые (30 +/- 1) мм.
12.2.4 Вытяжной зонт
2 (см.
рисунок 12.1) размерами 360 x 360 x 700 мм, установленный над держателем образца, служит для сбора и удаления продуктов горения.
12.2.5 Газовая горелка
5 (см.
рисунок 12.1) представляет собой трубку диаметром 3,5 мм из жаростойкой стали с запаянным концом и пятью отверстиями, расположенными на расстоянии 20 мм друг от друга. Горелка в рабочем положении установлена перед радиационной панелью параллельно поверхности образца по длине середины нулевого участка. Расстояние от горелки до поверхности испытываемого образца составляет (8 +/- 1) мм, а оси пяти отверстий ориентированы под углом 45° к поверхности образца. Для стабилизации запального пламени горелка помещена в однослойный чехол из металлической сетки. Газовая горелка подсоединяется гибким шлангом через вентиль, регулирующий расход газа, к баллону с пропан-бутановой фракцией. Давление газа должно находиться в диапазоне от 10 до 50 кПа. В положении "контроль" горелку выводят за край рамки.
12.2.6 Блок питания состоит из регулятора напряжения с максимальным током нагрузки не менее 20 А и регулируемым выходным напряжением от 0 до 240 В.
12.2.7 При испытаниях используют следующие средства измерения и приборы контроля за условиями окружающей среды:
- устройство для измерения времени (секундомер) с диапазоном измерения от 0 до 60 мин, с ценой деления 0,2 с;
- термоанемометр предназначен для измерения скорости воздушного потока с диапазоном измерения от 0,2 до 5,0 м/с и точностью +/- 0,1 м/с;
- для измерения температуры (справочный показатель) при испытании материалов используют термоэлектрический преобразователь 3 (см.
рисунок 12.1) типа ТХА с диаметром термоэлектрода не более 0,5 мм, спай изолированный, с диапазоном измерения от 0 до 500 °C, не более 2 класса точности. Термоэлектрический преобразователь должен иметь защитный кожух из нержавеющей стали диаметром (1,6 +/- 0,1) мм и закрепляться таким образом, чтобы изолированный спай находился в центре сечения суженной части вытяжного зонта;
- прибор для регистрации температуры с диапазоном измерения от 0 до 500 °C, не более 0,5 класса точности;
- для измерения линейных размеров используют линейку металлическую или рулетку, имеющую диапазон измерения от 0 до 1000 мм, с ценой деления 1 мм;
- для измерения атмосферного давления используют барометр с диапазоном измерения от 600 до 800 мм рт. ст. и ценой деления 1 мм рт. ст.;
- для измерения влажности воздуха используют гигрометр, имеющий диапазон измерения от 20 до 93% (от 15 до 40 °C), с ценой деления 0,2.
1 - держатель образца; 2 - вытяжной зонт;
3 - термоэлектрический преобразователь; 4 - электрическая
радиационная панель; 5 - газовая горелка;
6 - вертикальная стойка на опоре
Рисунок 12.1 - Общий вид установки для определения
линейной скорости распространения пламени
Примечание - В качестве устройства, регулирующего расход газа, может использоваться расходомер типа ротаметр или аналогичный прибор с диапазоном, обеспечивающим требования
12.4.3.
1 - держатель с образцом; 2 - образец;
3 - электрическая радиационная панель
Рисунок 12.2 - Взаимное расположение радиационной
панели и держателя с образцом
12.3 Образцы для испытаний
12.3.1 Для испытания одного вида материала изготавливают пять образцов длиной (320 +/- 2) мм, шириной (140 +/- 2) мм, фактической толщиной, но не более 20 мм. Если толщина материала составляет более 20 мм, необходимо срезать часть материала с нелицевой стороны, чтобы толщина составляла 20 мм. При изготовлении образцов экспонируемая поверхность не должна подвергаться обработке.
12.3.2 Для анизотропных материалов изготавливают два комплекта образцов (например, по утку и по основе). При классификации материала принимается худший результат испытания.
12.3.3 Для слоистых материалов с различными поверхностными слоями изготавливают два комплекта образцов с целью экспонирования обеих поверхностей. При классификации материала принимается худший результат испытания.
12.3.4 Кровельные мастики, мастичные покрытия и лакокрасочные покрытия испытывают нанесенными на ту же основу, которая использована в реальной конструкции. При этом лакокрасочные покрытия следует наносить не менее чем в четыре слоя, с расходом каждого в соответствии с технической документацией на материал.
12.3.5 Материалы толщиной менее 10 мм испытывают в сочетании с негорючей основой. Способ крепления должен обеспечивать плотный контакт поверхностей материала и основы.
В качестве негорючей основы следует использовать хризотилцементные листы размерами 320 x 140 мм, толщиной 10 или 12 мм, изготовленные по
ГОСТ 18124.
Примечание - Допускается использование листов из асбестоцемента и других негорючих материалов.
12.3.6 Образцы для испытаний кондиционируют в лабораторных условиях до достижения постоянной массы, но не менее 48 ч.
12.4 Калибровка установки
12.4.1 Калибровка установки должна проводиться в помещении при температуре (23 +/- 5) °C и относительной влажности воздуха (50 +/- 20)%.
12.4.2 Измеряют скорость воздушного потока в центре сечения суженной части вытяжного зонта. Она должна находиться в диапазоне от 0,25 до 0,35 м/с.
12.4.3 Необходимо отрегулировать расход газа через запальную газовую горелку таким образом, чтобы высота язычков пламени составляла (11 +/- 2) мм. После этого запальную горелку выключают и переводят в положение "контроль".
12.4.4 Нужно включить электрическую радиационную панель и установить держатель образца с тарированной асбестоцементной плитой, в которой расположены отверстия с датчиками теплового потока в трех контрольных точках. Центры отверстий (контрольные точки) расположены по центральной продольной оси от края рамки держателя образца на расстоянии соответственно 15, 150 и 280 мм.
12.4.5 Следует нагреть радиационную панель, обеспечивая плотность теплового потока в стационарном режиме для первой контрольной точки (13,5 +/- 1,5) кВт/м
2, для второй и третьей точки соответственно (9 +/- 1) кВт/м
2 и (4,6 +/- 1) кВт/м
2. Плотность теплового потока контролируют датчиком типа Гордона с погрешностью не более +/- 8%.
12.4.6 Считается, что радиационная панель вышла на стационарный режим, если показания датчиков теплового потока достигают значений заданных диапазонов и остаются неизменными в течение 15 мин.
12.4.7 Калибровку установки проводят при периодической или повторной метрологической аттестации, а также при вводе в эксплуатацию, замене узлов после ремонта установки.
12.5 Проведение испытания
12.5.1 Испытания должны проводиться в помещении при температуре (23 +/- 5) °C и относительной влажности воздуха (50 +/- 20)%.
12.5.2 Необходимо настроить скорость воздушного потока в вытяжном зонте согласно
12.4.2.
12.5.3 Следует нагреть радиационную панель и проконтролировать плотность теплового потока в трех контрольных точках согласно
12.4.5.
12.5.4 Нужно закрепить испытываемый образец в держателе, нанести на лицевой поверхности риски с шагом (30 +/- 1) мм, зажечь запальную горелку, перевести ее в рабочее положение и отрегулировать расход газа согласно
12.4.3.
12.5.5 Необходимо поместить держатель с исследуемым образцом в установку в соответствии с
рисунком 12.2 и включить секундомер в момент контакта пламени запальной горелки с поверхностью образца. Временем воспламенения образца считается момент, когда фронт (или пробежка) пламени достигает отметки нулевого участка.
12.5.6 Испытание длится до момента прекращения распространения фронта пламени по поверхности образца.
В процессе испытания фиксируют:
- время воспламенения образца, с;
- время

прохождения фронтом пламени каждого i-го участка поверхности образца (
i = 1, 2, ... 9), с;
- общее время

прохождения фронтом пламени всех участков, с;
- расстояние L, на которое распространился фронт пламени, м;
- максимальную температуру Tmax дымовых газов, °C;
- время достижения максимальной температуры дымовых газов, с.
12.6 Оценка результатов испытаний
12.6.1 Для каждого образца вычисляют линейную скорость распространения пламени по поверхности (V, м/с) по формуле

(12.1)
Среднее арифметическое значение линейной скорости распространения пламени по поверхности пяти испытанных образцов принимают за линейную скорость распространения пламени по поверхности исследуемого материала.
12.6.2 Сходимость и воспроизводимость метода
[8] при доверительной вероятности 95% не должна превышать 25%.
12.7 Оформление протокола испытаний
В протоколе испытания (см.
приложение Ж) приводят следующие сведения:
- наименование испытательной лаборатории;
- наименование и адрес заказчика, изготовителя (поставщика) материала;
- условия в помещении (температура, °C; относительная влажность, %; атмосферное давление, мм рт. ст.);
- описание материала или изделия, техническую документацию, торговую марку;
- состав, толщину, плотность, массу и способ изготовления образцов;
- толщину и характеристику материала каждого слоя - для многослойных материалов;
- параметры, регистрируемые при испытаниях;
- среднее арифметическое значение линейной скорости распространения пламени;
- данные дополнительных наблюдений (поведение материала при испытаниях);
- исполнителей.
12.8 Требования безопасности
Помещение, в котором проводят испытания, должно быть оборудовано приточно-вытяжной вентиляцией. Рабочее место оператора должно удовлетворять действующим требованиям по электробезопасности и санитарно-гигиеническим требованиям в соответствии
с ГОСТ 12.1.005. Лица, допущенные в установленном порядке к испытаниям, должны быть ознакомлены с техническим описанием и инструкцией по эксплуатации испытательного и измерительного оборудования.
13 Метод экспериментального определения показателя токсичности продуктов горения полимерных материалов
Метод устанавливает экспериментально-расчетный и биологический методы определения показателя токсичности продуктов горения полимерных строительных материалов и изделий из них, включая композиты и природные полимеры.
Значения показателя токсичности продуктов горения следует применять для сравнительной оценки материалов и их классификации, включать в техническую документацию и стандарты на отделочные, облицовочные, теплоизоляционные, текстильные материалы, напольные покрытия, ковровые изделия и другие материалы и учитывать в совокупности с другими характеристиками пожарной опасности материалов при разработке нормативных требований, направленных на обеспечение безопасности людей при пожарах, определении области применения и сертификации продукции.
13.1.1 Сущность экспериментально-расчетного метода определения показателя токсичности продуктов горения материала заключается в определении показателя токсичности

путем расчета на основании концентраций токсичных газов и CO
2, образующихся в условиях специальных испытаний материала, а также с учетом недостатка O
2. При этом термическое разложение образцов материала производится в трех характерных режимах: окислительного разложения без пламени, окислительного разложения с воспламенением образца и окислительного разложения с искусственным подавлением пламенного горения [далее, соответственно, режим тления, режим горения и режим подавления пламенного горения (ППГ)], из которых для расчета выбирается наиболее опасный. Если в процессе испытания наблюдается значительное уменьшение содержания кислорода (менее 14% об.), то этот фактор также учитывается в расчетной формуле.
Полученное расчетным путем значение показателя токсичности

проверяется контрольным опытом с использованием животных.
При невозможности использования экспериментально-расчетного метода (или при отрицательном контрольном опыте) проводится испытание материала биологическим методом.
13.1.2 Сущность биологического метода заключается в получении ряда летальных эффектов при воздействии продуктов горения на белых мышей и установлении зависимости летального эффекта от величины отношения массы образца материала к внутреннему объему установки.
При определении

биологическим методом нет необходимости определять наличие и концентрации многих токсичных компонентов. Однако непрерывная регистрация изменения концентраций CO, CO
2 и O
2 является необходимым условием проведения биологических исследований.
Примечание - В зависимости от состава материала в продуктах горения чаще других химических соединений компонентами являются: оксид углерода - CO, циановодород - HCN, хлороводород - HCl, могут присутствовать, кроме того, оксиды азота - NxOy, акролеин - CH2CHCHO, фтороводород - HF, бромоводород - HBr, диоксид серы - SO2, формальдегид - CH2O и другие.
На токсический эффект продуктов горения может оказывать влияние высокое содержание диоксида углерода - CO2. Этот эффект также усиливается при уменьшении концентрации кислорода - O2.
13.1.3 Алгоритм испытания экспериментально-расчетным методом
Определение показателя токсичности продуктов горения и установление класса опасности материала проводят в следующем порядке:
- определение параметров испытания: выбор наиболее опасного режима разложения для данного материала (тления, горения и ППГ);
- определение времени полного разложения образца;
- определение перечня токсичных компонентов, концентрации которых необходимо будет определять в продуктах разложения;
- получение экспериментальных данных в выбранном режиме: концентрация каждого из токсичных компонентов продуктов горения, а также CO2;
- регистрация минимального значения концентрации O2;
- расчет показателя токсичности проводят по
формулам (13.5) -
(13.7), исходя из предположения аддитивности (суммирования) вкладов компонентов продуктов горения в их общий токсический эффект;
- проверка расчетного значения показателя токсичности

проводится в контрольном опыте с экспозицией животных;
- интерпретация результатов. При подтверждении соответствия расчетного значения

ожидаемому токсическому эффекту (гибели в контрольном опыте от 20 до 80% животных) принимают это значение показателя токсичности за количественную характеристику потенциала токсичности материала и используют для установления класса опасности материала в соответствии с разработанной классификацией (см. таблицу 13.1). В случае если расчетное значение

не подтверждается результатами контрольного опыта, показатель токсичности определяют биологическим методом.
Таблица 13.1
Классификация материалов по величине показателя
токсичности продуктов горения
Класс опасности | Наименование категории материалов | Показатель токсичности  , г/м 3 |
Т1 | Малоопасные |  не менее 120 |
Т2 | Умеренно опасные |  от 40 до 120 включ. |
Т3 | Высокоопасные |  от 13 до 40 включ. |
Т4 | Чрезвычайно опасные |  не более 13 включ. |
13.1.4 Алгоритм испытания биологическим методом
Предварительно образцы каждого материала подвергают воздействию тепловых потоков различной плотности, обеспечивающих в каждом последующем опыте повышение температуры испытания образца на 50 °C. При этом находят значение температуры испытания материала в режиме термоокислительного разложения (тления). Оно должно быть на 50 °C ниже температуры, при которой наблюдается воспламенение образца. Материалы испытывают в одном из двух режимов - термоокислительного разложения или пламенного горения, а именно в режиме, способствующем выделению более токсичных смесей летучих веществ. Режим пламенного горения обеспечивается при температуре от 670 до 680 °C (плотность падающего теплового потока 45 кВт/м2).
Критерием выбора режима основных испытаний служит наибольшее число летальных исходов в сравниваемых группах подопытных животных.
Затравку животных проводят статическим способом. В каждом опыте используют не менее восьми белых мышей массой от 18 до 25 г. Продолжительность экспозиции составляет 30 мин.
13.2 Испытательное оборудование
Определение показателя токсичности продуктов горения проводят на установке "Токсичность", условная схема которой дана на
рисунке 13.1. Установка включает в себя следующие основные элементы: экспозиционную камеру с подвижной секцией
7 и стационарной секцией 6, клапан продувки для присоединения к воздуховоду
16, камеру сгорания
1 с электронагревательным излучателем
2, переходные рукава
5 и
17, блок задания и регулирования теплового потока (на схеме не указан), бокс для животных
9, системы пробоотбора и газового анализа (на схеме не указаны).
13.2.1 Экспозиционная камера выполнена из нержавеющей стали толщиной (2,0 +/- 0,1) мм и состоит из стационарной и подвижной секций. Перемещение подвижной секции позволяет изменять внутренний объем установки "Токсичность" от 0,1 до 0,2 м3. По периметру стационарной секции имеется паз для надувной резиновой прокладки 15, рассчитанной на рабочее давление не менее 0,10 МПа.
Верхняя часть стационарной секции соединена через патрубок с вытяжной вентиляционной системой, внутри патрубка выполнен клапан продувки с рычагом для ручного открывания клапана. Стационарная секция экспозиционной камеры соединена через верхний и нижний переходные рукава с камерой сгорания 1.
На подвижной секции имеются: бокс для размещения клетки с животными
8; предохранительная мембрана; штуцеры
10 и
14 (см.
рисунок 13.1), предусмотренные для забора и возврата газовой среды при ее анализе во время эксперимента.
Экспозиционная камера снабжена четырехлопастным внутренним вентилятором
13 (см.
рисунок 13.1) диаметром 150 мм с частотой вращения 5 с
-1.
1 - камера сгорания; 2 - электронагревательный излучатель;
3 - электровоспламенитель; 4 - держатель образца;
5 и 17 - переходные рукава; 6 - стационарная секция
экспозиционной камеры; 7 - подвижная секция экспозиционной
камеры; 8 - клетка для животных; 9 - бокс для животных;
10 и 14 - штуцеры; 11 - термометр; 12 - предохранительная
мембрана; 13 - вентилятор; 15 - резиновая прокладка;
16 - клапан продувки; 18 - заслонки переходных рукавов
Рисунок 13.1 - Установка "Токсичность" для определения
показателя токсичности продуктов горения материалов
13.2.2 Камера сгорания вместимостью 0,003 м3 выполнена из нержавеющей стали толщиной (2,0 +/- 0,1) мм. Внутренняя поверхность камеры сгорания изолирована асбоцементными (асбосилитовыми) плитами толщиной 20 мм.
В камере сгорания установлен унифицированный нагревательный комплекс, состоящий из изолированного электронагревателя 2 (далее - излучатель) с размером излучающей поверхности 100 x 100 мм и источника воспламенения 3 (далее - электровоспламенитель), предназначенный для ускоренного воспламенения образцов материалов при испытаниях в режимах пламенного горения и ППГ.
Камера снабжена дверцей, на которой закреплен держатель образца
4 (см.
рисунок 13.1) размером 120 x 120 x 25 мм. На боковой стенке камеры сгорания имеется окно из кварцевого стекла (на схеме не обозначено) для наблюдения за процессом разложения образцов при испытаниях. Камера сгорания соединена с экспозиционной камерой верхним и нижним переходными рукавами
5,
17 (см.
рисунок 13.1). Длина верхнего рукава - 250 мм, нижнего - 180 мм, проходные сечения рукавов соответственно 160 x 40 мм и 160 x 30 мм. Внутренняя поверхность верхнего переходного рукава облицована, как и камера сгорания, плитами из термостойкого материала толщиной 20 мм.
13.2.3 Излучатель
2 (схема излучателя представлена на
рисунке 13.2) установлен под углом 45° к горизонтали на верхней стенке камеры сгорания. Нагревательный элемент излучателя изготовлен из двух соединенных параллельно спиралей, изготовленных из нихромовой проволоки (Х20Н80Н) диаметром (0,9 +/- 0,1) мм. Электрическое сопротивление каждой спирали должно составлять (22,0 +/- 0,1) Ом. Спирали размещают на восьми керамических стержнях, равномерно расположенных на излучательной поверхности перед стальным полированным отражателем с водяным охлаждением. Излучатель изолирован от камеры сгорания оптическим кварцевым стеклом толщиной от 3 до 4 мм, свободно пропускающим излучение инфракрасного спектра. Мощность электронагревателя регулируют любым доступным прибором, имеющим возможность плавной регулировки подаваемого напряжения или тока: трансформатор (ЛАТР), тиристорный или симисторный регулятор и др. Возможно использование автоматических регулирующих устройств.

1 - стекло кварцевое оптическое толщиной 3 - 4 мм;
2 - спираль нихромовая; 3 - стержень керамический;
4 - штуцеры подвода воды; 5 - водоохлаждаемый отражатель;
6 - полированная пластина отражателя; 7 - корпус камеры
сгорания; 8 - асбестоцементная рамка;
9 - прокладка асбестовая
Рисунок 13.2 - Схема электронагревательного излучателя
Электровоспламенитель, представляющий собой керамическую трубку диаметром от 5 до 7 мм с навитой на нее спиралью длиной (75 +/- 5) мм из нихромовой проволоки диаметром от 0,3 до 0,4 мм, смонтирован на боковой, противоположной смотровому окну стенке камеры сгорания. Специфическая особенность его расположения заключается в том, что нагревательный элемент (нихромовая спираль) расположен параллельно верхней кромке держателя образца на расстоянии (20,0 +/- 5,0) мм в конвективном движущемся потоке газообразных продуктов термического разложения, образовавшихся под воздействием радиационного нагрева образца.
Подаваемое на спираль электровоспламенителя напряжение должно обеспечивать ее нагрев до температуры, при которой происходит воспламенение этой газовоздушной смеси.
Примечание - Допускается использование нагревателя и электровоспламенителя других конструкций, позволяющих воспроизводить требуемые режимы термического разложения.
13.2.4 Держатель образца, закрепленный на дверце камеры сгорания, выполнен в виде металлической рамки, в которой находится поддон из асбоцемента (или асбосилита). Поддон имеет углубление для размещения съемного вкладыша из аналогичного материала, в котором должен располагаться образец. Нагреваемая поверхность образца и поверхность электронагревательного излучателя параллельны, расстояние между ними равно (60 +/- 2) мм при закрытом положении дверцы камеры сгорания.
13.2.5 Бокс для животных
9 (см.
рисунок 13.1) вместимостью 0,015 м
3 оборудован наружной дверцей со смотровым окном (на схеме не обозначены) и двумя-тремя штуцерами
10, 14 для осуществления отбора и многокомпонентного анализа образующейся токсичной среды, а также для установки термометра
11 с диапазоном измерения температуры от 0 до 50 °C, с погрешностью не более 1 °C.
13.2.6 Время испытания фиксируют секундомером с диапазоном измерения от 0 до 30 мин и ценой деления 1 с.
13.2.7 Для непрерывного анализа газовоздушной среды, образующейся при испытаниях, применяют промышленные автоматические газоанализаторы CO, CO2 и O2 со следующими диапазонами измеряемых концентраций: CO - от 0 до 1% об.; CO2 - от 0 до 10% об.; кислород - от 0 до 21% об. Допустимая основная приведенная погрешность измерений газоанализаторов должна составлять не более +/- 5%. Газоанализаторы должны быть внесены в Государственный реестр средств измерений.
13.2.8 Концентрации HCN, NxOy, HCl и других токсичных газов определяют методами, аттестованными органами государственной метрологической службы, или с помощью технических средств, включенных в Государственный реестр средств измерений.
13.2.9 При проведении биологических испытаний с экспозицией животных предварительно формируют выборки из беспородных белых мышей с массой каждой (20 +/- 2) г. Группа подопытных животных для каждого опыта должна включать от 8 до 10 особей.
13.3 Образцы для испытаний
13.3.1 Материал, принимаемый на испытания, должен иметь сопроводительный документ, в котором должны быть приведены: полное название материала, сведения об изготовителе, нормативный документ, в соответствии с которым изготовлен данный материал, физико-химические характеристики и информация о его составе (при наличии).
13.3.2 Для испытаний готовят не менее 10 образцов. Оптимальные размеры 40 x 40 мм фактической толщины, но не более 10 мм. Если масса образца принятых размеров 40 x 40 мм не позволяет получить эффекты меньше или больше уровня летальности 50%, допускается уменьшить размеры образца или увеличить их до 80 x 80 мм и толщину до 20 мм.
13.3.3 С целью ускорения процесса термического разложения при выборе образца для испытаний из одноименной группы продукции, имеющей одинаковый рецептурный состав, предпочтение следует отдавать материалу наименьшей толщины.
13.3.4 Для испытаний лакокрасочных покрытий, используемых для негорючих поверхностей, образцы готовят в виде свободной пленки, а их толщина должна соответствовать принятой в технической документации и иметь не менее четырех слоев.
Для испытаний лакокрасочных покрытий, используемых для нанесения на горючие основы, образцы готовят на реальной основе толщиной, не превышающей 10 мм.
Для испытаний средств огнезащиты (пропитки, покрытия, лаки, краски, обмазки), используемых для защиты негорючих материалов (бетон, металл), образцы готовят в виде свободной пленки той толщины с учетом способа нанесения, которые указаны в сопроводительной и технической документации.
Для испытаний средств огнезащиты, предназначенных для защиты горючих материалов, образцы готовят нанесенными на реальную основу, толщина которой не должна превышать 10 мм.
В случае, если объектом испытания является композиционный материал или изделие, состоящее из нескольких видов материалов, готовят образец, в котором массовая доля компонентов и порядок их расположения соответствуют объекту испытаний.
13.3.5 Перед испытанием образцы кондиционируют не менее 48 ч при температуре (23 +/- 2) °C и относительной влажности воздуха (50 +/- 5)%.
13.4 Подготовка к испытаниям (калибровка электронагревательного излучателя)
13.4.1 При наладке установки определяют параметры напряжения на спирали электронагревательного излучателя, при которых обеспечиваются значения плотности теплового потока, равные 20, 25 и 45 кВт/м2. Для измерения плотности падающего теплового потока в центре держателя образца устанавливают неселективный приемник теплового потока на центральном участке держателя образца с диапазоном измерений от 5 до 100 кВт/м2 и регистрирующий прибор. Измерения проводят при закрытых дверцах камеры сгорания, предкамеры и герметизированной экспозиционной камеры (заслонки переходных рукавов открыты). Суммарная погрешность измерительной системы "датчик - регистрирующий прибор" при измерении плотности теплового потока, падающего на образец, не должна превышать +/- 8%.
По результатам измерений строят график зависимости плотности теплового потока излучателя от подаваемого напряжения (или другого регулируемого параметра X) Q = f(X), который используют в дальнейшей работе.
После определения графика зависимости плотности теплового потока излучателя от подаваемого напряжения (или другого регулируемого параметра X) Q = f(X) при заданном значении Q = 25 кВт/м2 определяют время (мин) выхода излучателя на рабочий (квазистационарный) режим. Критерием выхода электронагревателя на рабочий режим является изменение регистрируемой величины плотности теплового потока не более чем на 5% за 1 мин.
13.4.2 Установку следует считать готовой к испытаниям материалов, если при контрольной проверке:
- значения плотности падающего теплового потока соответствуют установленным параметрам напряжения на спирали электронагревательного излучателя;
- время выхода электронагревательного излучателя на установленный режим не превышает 5 мин;
- удельный выход CO в условиях беспламенного окислительного разложения образца целлюлозы по ГОСТ 9571 массой 2,5 г при плотности падающего теплового потока 20 кВт/м2 составляет (200 +/- 20) мг/г;
- концентрация CO в экспозиционной камере за 30 мин испытания снижается не более чем на 7% от максимального уровня.
Примечание - Расчет значения удельного выхода CO (gCO, мг/г) проводят по формуле

(13.1)
где 11450 - коэффициент пересчета (1% об. CO соответствует 11450 мг/м3 CO при давлении 101325 Па и температуре 20 °C);
CO - наибольшая величина концентрации CO, установленная при испытании, % об.;
VK - внутренний объем установки, м3;
m0 - масса образца до испытания (исходная масса), г.
13.4.3 Калибровку установки проводят при периодической или повторной метрологической аттестации, а также при вводе в эксплуатацию, замене узлов после ремонта установки.
13.5 Проведение испытания
13.5.1 Испытания подразделяются на предварительные и основные.
В ходе предварительных испытаний образцы материала одинаковой массы подвергают нагреву в трех характерных режимах при фиксированном объеме установки:
- окислительного разложения без пламени при Q = 25 кВт/м2 (тление);
- окислительного разложения с воспламенением образца при Q = 45 кВт/м2 (горение). Режим горения достигается принудительным воспламенением образца материала включением электровоспламенителя 3;
- подавления пламенного горения при
Q = 45 кВт/м
2 (ППГ). Режим ППГ достигается принудительным тушением воспламенившегося образца материала путем перекрывания заслонок переходных рукавов
5 и
17 (см.
рисунок 13.1) до момента полного отсутствия пламени и последующего их открытия.
В случае повторного воспламенения образца допускается неоднократное повторение операции принудительного тушения до полного отсутствия пламенного горения.
Примечание - Рекомендуемая начальная масса образца соответствует пограничному значению показателя токсичности между группами Т2 и Т3 (Т1 и Т2).
Проводят серию опытов, в результате чего:
- устанавливают параметры терморазложения: динамику газовыделения, время разложения, концентрации токсичных газов, уменьшение массы образцов;
- по совокупности полученных данных выбирают наиболее опасный режим, способствующий выделению более токсичных смесей летучих веществ (наибольшая среднеобъемная концентрация CO, минимальное время разложения, минимальная концентрация кислорода, температура в боксе для животных и т.д.);
- устанавливают наличие в продуктах горения других токсичных газов, кроме оксида углерода, появление которых прогнозируется на основе химического состава материала.
После завершения предварительных испытаний проводят основные испытания одним из выбранных методов: экспериментально-расчетным или биологическим.
13.5.2 В соответствии с экспериментально-расчетным методом определения

в ходе основных испытаний находят значение средней концентрации для каждого из анализируемых газов (
Ci). Для этого проводят термическое разложение образцов материала с исходной массой, позволяющей достигать значения среднеобъемной концентрации CO (0,4 +/- 0,03)% об. в течение всего времени эксперимента, равного 30 мин. Отбор проб газовоздушной среды из экспозиционной камеры выполняют во время испытания непрерывно в течение 30 мин или, если аппаратура не позволяет, то дискретно через промежутки времени не более 5 мин.
При каждом фиксированном значении плотности теплового потока должны быть получены результаты не менее трех испытаний, различающиеся по удельному выходу оксида углерода (мг/г материала) не более чем на 15%.
Численные значения
Ci можно устанавливать путем интегрирования зарегистрированной непрерывной зависимости "концентрация - время"

по времени и деления полученной величины на продолжительность всего опыта


(13.2)
В случае, если концентрация
i-го токсиканта измерялась не непрерывно, а через промежутки времени

, то
Ci рассчитывается по следующей формуле

(13.3)
где Ci - среднеобъемная концентрация i-го газа в течение 30 мин;
N - количество пробоотборов;

- время пробоотбора с момента начала термического воздействия на испытываемый образец,

,

,

.
Расчет

, контроль и интерпретация результатов, полученных экспериментально-расчетным методом, приведены в
13.6 и
13.7.
13.5.3 В соответствии с биологическим методом определения

образцы испытывают в режиме, способствующем выделению наиболее токсичных смесей летучих веществ. Критерием выбора режима испытания материала (тление, горение или ППГ) служит большее число летальных исходов в сравниваемых группах подопытных животных при одинаковой начальной массе образца.
При испытаниях в установленном режиме находят ряд значений зависимости токсического действия продуктов горения от величины отношения массы образца к объему экспозиционной камеры. Для получения токсических эффектов ниже и выше уровня 50% летальности изменяют объем экспозиционной камеры при постоянных размерах образцов материала. Токсический эффект, полученный равным 0 и 100%, в расчет не принимается.
Для расчета показателя токсичности продуктов горения

, при котором будет наблюдаться 50%-ная смертность подопытных животных, используется следующая формула

(13.4)
где m - масса образца до испытания, г;
v - внутренний объем установки при испытании, м3.
Во время опыта (экспозиции животных) концентрация кислорода в объеме установки должна быть не менее 14% об., а температура в боксе за все время испытания не должна превышать 30 °C (допускается кратковременно до 35 °C).
Если масса образца размерами 40 x 40 мм не позволяет получить эффекты меньше или больше уровня летальности 50%, допускается уменьшить размеры образца или увеличить их до 80 x 80 мм.
Выживших после опытов животных помещают в отдельные клетки, на которых пишут дату и номер опыта. Животных обеспечивают доступной водой и пищей и, не проводя специальных восстановительных мероприятий, наблюдают за ними в течение необходимого периода, регистрируя их возможную гибель (так называемую "отложенную смертность").
При определении токсического эффекта учитывают гибель животных, наступившую во время опыта, а также в течение последующих от 7 до 14 сут (в постэкспозиционный период).
Примечание - При отсутствии в постэкспозиционный период случаев гибели животных и других проявлений интоксикации (достоверного снижения массы тела, одышки и др.) срок наблюдения ограничивают 7 сут. При наличии указанных симптомов интоксикации срок наблюдения продлевают до 14 сут.
Полученный ряд данных зависимости летального эффекта продуктов горения (%) от количества испытываемого материала (г/м
3) используют для расчета показателя токсичности
. Расчет проводят с помощью пробит-анализа или других способов расчета средних эффективных доз и концентраций химических веществ.
13.5.4 Порядок проведения испытаний
Рекомендуемые начальные условия проведения испытания материала: размеры образца материала 40 x 40 мм, внутренний объем установки 0,10 м3.
Измеряют массу подготовленного и предварительно кондиционированного образца материала с погрешностью не более +/- 0,1 г и помещают в специальный вкладыш. При необходимости образец закрепляют во вкладыше с помощью тонкой проволоки (толщиной от 0,2 до 0,3 мм).
Примечание - Испытания термопластичных материалов проводят в заранее изготовленной форме (подложке) из алюминиевой фольги толщиной не менее от 0,1 до 0,2 мм. Размеры подложки выбирают, исходя из фактических размеров образца материала (подложка должна исключать вытекание расплава из держателя во время испытания). Подложку с образцом размещают и закрепляют во вкладыше.
Нагнетают воздух (см.
рисунок 13.1) в надувную резиновую прокладку
15 до давления, обеспечивающего герметичность соединения подвижной
7 и стационарной
6 секций, подают воду для охлаждения излучателя
2, закрывают клапан продувки
16, дверцы камеры сгорания
1 и бокса
9. В боксе предварительно устанавливают клетку с подопытными животными
8 (если при испытании должен быть определен токсический эффект продуктов горения). После этого задают с помощью регулируемого параметра (напряжение, ток, мощность или др.) соответствующий тепловой поток, включают излучатель и одновременно секундомер.
После выхода излучателя на установленный режим (в соответствии с результатами калибровки) открывают дверцу камеры сгорания и помещают вкладыш с образцом материала в углубление держателя образца. Без промедления закрывают дверцу камеры сгорания и с этого момента отсчитывают с помощью секундомера время воздействия теплового потока на образец материала, а также фиксируют общую продолжительность испытания.
Время теплового воздействия на образец не должно превышать 20 мин. Излучатель немедленно отключают в тех случаях, когда по показаниям газоанализатора установлено, что максимальная концентрация оксида углерода достигается раньше этого времени.
Примечание - Допускается в целях сокращения времени терморазложения образца материала в режиме ТОР, а также превышения температуры в экспозиционной камере, проводить ступенчатый нагрев образца материала, т.е. постепенно увеличивать температуру нагревателя в процессе испытаний, но не допуская самовоспламенения.
После снятия напряжения с нагревательного элемента излучателя включают вентилятор перемешивания газовой среды в объеме установки на 3 мин.
Продолжительность экспозиции животных в токсичной газовоздушной среде должна составлять 30 мин. В течение этого времени непрерывно регистрируют с помощью газоанализаторов изменения концентраций CO, CO2, O2, а также при необходимости отбирают пробы газовоздушной среды из бокса для животных для определения концентраций других токсичных газов. Во время испытания контролируют температуру среды, в которой находятся подопытные животные.
Примечание - При экспозиции животных температура в боксе должна быть не выше 30 °C. Допускается ее повышение в пределах от 30 до 35 °C на время не более 10 мин. Для предупреждения перегрева подопытных животных следует до начала испытания обеспечить в лабораторном помещении температуру воздуха, соответствующую нижней допустимой границе (от 17 до 20 °C).
По истечении времени экспозиции открывают клапан продувки, дверцы бокса и камеры сгорания. Установку вентилируют не менее 10 мин. Регистрируют число погибших и выживших животных, измеряют массу несгоревшего остатка образца для последующего расчета потери массы.
13.6 Расчет показателя токсичности и проведение контрольного эксперимента
13.6.1 По результатам газового анализа, полученным в ходе основных испытаний (в соответствии с экспериментально-расчетным методом определения

), вычисляют суммарный индекс токсичности
KT

(13.5)
где CCO,  , CHCN, Ci | - | средние концентрации газов (мг/м 3), полученные при испытании (см. формулы 13.2 и 13.3); |
C50CO,  , C50HCN, C50i | - | средние смертельные концентрации газов (мг/м3) при изолированном 30-минутном воздействии, принятые равными следующим значениям: |
CO | - | 4600; |
CO2 | - | 800 000; |
HCN | - | 175; |
NxOy | - | 700; |
HCl | - | 3900; |
CH2CHCHO | - | 315. |
13.6.2 В том случае, когда при испытании содержание кислорода в анализируемой среде снижается до не более 14% об., вычисление KT проводят с учетом вклада недостатка кислорода в токсический эффект продуктов горения

(13.6)
где [O2] - минимальная величина концентрации O2, зарегистрированная при испытании, % об.
13.6.3 Значение показателя токсичности рассчитывают по формуле

(13.7)
где m0 - масса образца до испытания, г;
VK - внутренний объем установки при испытании, м3.
13.6.4 По
формулам (13.5) -
(13.7) для каждого из трех режимов испытаний рассчитывают варианты значений показателя токсичности, основываясь на результатах испытаний, в которых были получены достаточно близкие величины удельного выхода оксида углерода (см.
13.5.2), т.е. лежащие в пределах (0,4 +/- 0,03)% об. Затем вычисляют среднее значение

для каждого заданного режима испытания материала. Меньшее из трех средних значений проверяют в контрольном эксперименте.
13.6.5 В контрольном эксперименте испытывают образец материала, равный по величине относительной массы (г/м
3) расчетному значению
. При проведении опыта воспроизводят соответствующий этому значению

режим испытания и осуществляют 30-минутную экспозицию в токсической среде 10 белых мышей (биоконтроль). Токсический эффект продуктов горения выражают в процентах летальных исходов в группе подопытных животных.
13.7 Оценка результатов испытаний
13.7.1 На основании данных контрольного эксперимента различают следующие результаты экспериментально-расчетного определения показателя токсичности продуктов горения:
- удовлетворительный, если в течение 30 мин испытания и последующих от 7 до 14 сут наблюдения отмечена гибель от 20 до 80% подопытных животных;
- сомнительный, если летальность в группе подопытных животных составляет 10 или 90%;
- неудовлетворительный, если летальные исходы в группе подопытных животных не зарегистрированы или, напротив, отмечена гибель 100% животных.
13.7.2 В зависимости от результата экспериментально-расчетного определения показателя токсичности

порядок дальнейшей работы следующий:
- при удовлетворительном результате проверенное значение

принимают за оценочное (окончательное);
- при сомнительном результате проводят повторный контрольный эксперимент с экспозицией животных для заключения о соответствии или несоответствии значения

фактической токсичности продуктов горения материала;
- при неудовлетворительном результате находят реальное значение

, применяя биологический метод испытания.
13.7.3 Сходимость метода
[8] при доверительной вероятности 95% не должна превышать по выходу CO (мг/г) 15%.
13.7.4 Воспроизводимость метода
[8] при доверительной вероятности 95% не должна превышать по выходу CO (мг/г) 25%.
13.8 Оформление протокола испытаний
При определении показателя токсичности продуктов горения материала экспериментально-расчетным методом данные основных испытаний оформляют протоколом (см.
приложение И). В дополнение к протоколу приводят результаты расчета и проверки параметров токсичности в контрольном эксперименте (см.
приложение К).
При определении показателя токсичности продуктов горения материала биологическим методом полученные данные также представляют в протоколе соответствующей формы (см.
приложение Л).
13.9 Требования безопасности
К работе на установке допускаются лица не моложе 18 лет, изучившие устройство и принцип действия установки по паспорту, методику проведения испытаний по настоящему руководству и прошедшие инструктаж по технике безопасности.
Рабочее место оператора должно удовлетворять действующим требованиям по электробезопасности и санитарно-гигиеническим требованиям в соответствии с
ГОСТ 12.1.005.
На рабочем месте оператора должна находиться инструкция по охране труда, в которой указаны требования безопасности при подготовке и проведению испытаний материала и меры оказания первой помощи пострадавшим.
Оператор должен выполнять правила личной гигиены и правила безопасности при обращении с лабораторными животными.
Запрещено проводить испытания одному оператору в нерабочее время.
14 Метод экспериментального определения температуры воспламенения твердых веществ и материалов
Метод реализуют в диапазоне температур от 25 до 600 °C и не применяют для испытания металлических порошков.
14.2 Испытательное оборудование
14.2.1 Схема испытательного оборудования для определения температуры воспламенения показана на
рисунке 14.1.
14.2.2 Прибор ОТП, представляющий собой вертикальную электропечь с двумя коаксиально расположенными цилиндрами, выполненными из кварцевого стекла. Один из цилиндров внутренним диаметром (80 +/- 3) мм, высотой 240 мм является реакционной камерой; второй цилиндр такой же высоты имеет внутренний диаметр (101 +/- 3) мм. На цилиндры навиты спиральные электронагреватели общей мощностью не менее 2 кВт, что позволяет создавать температуру рабочей зоны 600 °C за время не более 40 мин.
14.2.3 Для размещения образца исследуемого вещества (материала) применяют контейнер диаметром (45 +/- 1) мм, высотой 18,0-0,4 мм, выполненный из стальной сетки или стального листа толщиной не более 0,5 мм. Контейнер устанавливают в кольцо держателя диаметром (49,0 +/- 0,6) мм. Держатель представляет собой металлическую трубку из жаростойкой стали с приваренным в нижней части кольцом для размещения контейнера.
14.2.4 Газовая горелка для зажигания образца, представляющая собой трубку внутренним диаметром (6 +/- 1) мм, выполнена из жаростойкой стали, запаяна снизу и имеет на боковой поверхности отверстие диаметром (0,8 +/- 0,1) мм на расстоянии (5,0 +/- 0,5) мм от запаянного конца.
14.2.5 Ламинатор, выполненный из листовой жаростойкой стали в форме конуса верхним диаметром не более 78 мм, нижним диаметром не более 11 мм и длиной (500 +/- 5) мм, служит для подачи естественного потока воздуха в реакционную камеру.
1 - стеклянные цилиндры; 2 - спиральные электронагреватели;
3 - теплоизоляционный материал; 4 - стальной экран;
5 - держатель образца; 6 - контейнер; 7 - газовая горелка;
8 - электропривод горелки; 9, 10 - термоэлектрические
преобразователи; 11 - ламинатор
Рисунок 14.1 - Схема испытательного оборудования
для определения температуры воспламенения
14.2.6 Термоэлектрические преобразователи диаметром термоэлектродов не более 0,5 мм. Термоэлектрический преобразователь 9 служит для измерения температуры образца и расположен таким образом, чтобы обеспечивался контакт с дном и стенкой контейнера (см. рисунок 14.1). Термоэлектрический преобразователь 10 служит для контроля и регулирования температуры печи и расположен внутри реакционной камеры на расстоянии (140 +/- 5) мм от верхнего края камеры и (5 +/- 1) мм от стенки камеры. Погрешность измерения регулирующего и регистрирующего температуру приборов не должна превышать 0,5%.
14.2.7 Зеркало для наблюдения за образцом внутри камеры.
14.2.8 Секундомер с погрешностью измерения не более 1 с.
14.2.9 Шаблоны для определения расстояния от нижнего края горелки до поверхности образца и для центровки контейнера внутри камеры.
14.2.10 Источник сжатого воздуха для горелки с расходом до 40 дм3/ч.
14.3 Образцы для испытаний
14.3.1 Для испытаний готовят от 10 до 15 образцов исследуемого вещества (материала) массой по (3,0 +/- 0,1) г. Образцы ячеистых материалов должны иметь цилиндрическую форму диаметром (45 +/- 1) мм. Пленочные и листовые материалы набирают в стопку диаметром (45 +/- 1) мм, накладывая слои друг на друга до достижения указанной массы.
14.3.2 Перед испытанием образцы кондиционируют в соответствии с требованиями
ГОСТ 12423 или технической документацией на материал. Образцы должны характеризовать средние свойства исследуемого вещества (материала).
14.3.3 В зависимости от объема образца определяют с помощью шаблонов и фиксируют положение контейнера внутри камеры и расстояние между газовой горелкой и поверхностью образца.
14.3.4 Пригодность установки к работе проверяют по стандартному веществу - органическому стеклу
(ГОСТ 10667), температура воспламенения которого равна (265 +/- 10) °C.
14.4 Проведение испытания
14.4.1 Нагревают реакционную камеру до температуры начала разложения исследуемого вещества (материала) или до 300 °C.
14.4.2 Регулируя подачу газа и воздуха в горелку, формируют пламя газовой горелки в виде клина длиной (10 +/- 2) мм.
14.4.3 Извлекают из камеры держатель с контейнером. В контейнер помещают образец за время не более 15 с и вводят его в реакционную камеру. Электропривод газовой горелки включают в заданный режим работы. Периодичность подвода газовой горелки к образцу на расстояние (10 +/- 1) мм от его поверхности должна составлять (10 +/- 2) с. Наблюдают за образцом в рабочей камере с помощью зеркала.
14.4.4 Если при температуре испытания образец воспламенится, то испытание прекращают, горелку останавливают в положении "вне печи", контейнер с образцом извлекают из камеры. Отмечают в протоколе температуру воспламенения и следующее испытание проводят с новым образцом при меньшей температуре (например, на 50 °C меньше).
Если в течение 20 мин образец не воспламенится или ранее этого времени полностью прекратится дымовыделение, то испытание прекращают и в протоколе отмечают отказ.
За температуру испытания принимают показания термоэлектрического преобразователя, измеряющего температуру образца.
14.4.5 Методом последовательных приближений, используя новые образцы и изменяя температуру испытания, определяют минимальную температуру образца, при которой за время выдержки в печи не более 20 мин образец воспламенится и будет гореть более 5 с после удаления горелки, а при температуре на 10 °C меньше воспламенение отсутствует.
14.5 Оценка результатов испытаний
14.5.1 За температуру воспламенения исследуемого вещества (материала) принимают среднее арифметическое двух температур, отличающихся не более чем на 10 °C, при одной из которых наблюдается воспламенение трех образцов, а при другой - три отказа. Полученное значение температуры округляют с точностью до 5 °C.
14.5.2 Сходимость метода
[8] при доверительной вероятности 95% не должна превышать 7 °C.
14.5.3 Воспроизводимость метода
[8] при доверительной вероятности 95% не должна превышать 20 °C.
14.6 Оформление протокола испытаний
Условия и результаты испытаний регистрируют в протоколе, форма которого приведена в
приложении М.
14.7 Требования безопасности
Прибор для определения температуры воспламенения следует устанавливать в вытяжном шкафу. Рабочее место оператора должно удовлетворять действующим требованиям по электробезопасности и санитарно-гигиеническим требованиям в соответствии с
ГОСТ 12.1.005.
15 Метод экспериментального определения температуры самовоспламенения твердых веществ и материалов
Метод реализуется в диапазоне температур от 25 до 600 °C и не применим для испытания металлических порошков.
15.2 Испытательное оборудование
Испытательное оборудование для определения температуры самовоспламенения твердых веществ и материалов - по
14.2.
Газовую горелку при определении температуры самовоспламенения не используют, она находится в положении "вне печи".
15.3 Образцы для испытаний
Подготовка к испытаниям - в соответствии с
14.3.
15.4 Проведение испытания
15.4.1 Нагревают рабочую камеру до температуры, превышающей на 200 °C температуру начала разложения исследуемого вещества (материала), или до 500 °C.
15.4.2 После установления в рабочей камере стационарного температурного режима, определяемого по постоянству показаний двух термоэлектрических преобразователей, извлекают из камеры контейнер, заполняют его образцом за время не более 15 с и опускают внутрь камеры. Наблюдают за образцом с помощью зеркала.
15.4.3 Если при заданной температуре испытания наблюдается самовоспламенение, то следующее испытание проводят при меньшей температуре (например, на 50 °C).
Если в течение 20 мин или до момента полного прекращения дымовыделения самовоспламенение не наблюдается, испытание прекращают и в протоколе отмечают отказ.
15.4.4 Методом последовательных приближений определяют минимальную температуру рабочей камеры, при которой образец самовоспламеняется и горит более 5 с, а при температуре на 10 °C меньше наблюдается отказ.
15.5 Оценка результатов испытаний
15.5.1 За температуру самовоспламенения исследуемого вещества (материала) принимают среднее арифметическое двух температур, отличающихся не более чем на 10 °C, при одной из которых наблюдается самовоспламенение трех образцов, а при другой - три отказа. Полученное значение температуры самовоспламенения округляют с точностью до 5 °C.
15.5.2 Сходимость метода
[8] при доверительной вероятности 95% не должна превышать 5 °C.
15.5.3 Воспроизводимость метода
[8] при доверительной вероятности 95% не должна превышать 17 °C.
15.6 Оформление протокола испытаний
Условия и результаты испытаний регистрируют в протоколе, форма которого приведена в
приложении М.
15.7 Требования безопасности
Прибор для определения температуры самовоспламенения следует устанавливать в вытяжном шкафу. Рабочее место оператора должно удовлетворять действующим требованиям по электробезопасности и санитарно-гигиеническим требованиям в соответствии с
ГОСТ 12.1.005.
16 Метод экспериментального определения температуры тления твердых веществ и материалов
Метод реализуется при температурах от 25 до 600 °C и не применим для испытания металлических порошков.
16.2 Испытательное оборудование
Для определения температуры тления применяют прибор ОТП, описанный в
14.2.
16.3 Образцы для испытаний
16.3.1 Для испытаний готовят от 10 до 15 образцов исследуемого вещества (материала) массой (3,0 +/- 0,1) г. Образцы ячеистых материалов должны иметь цилиндрическую форму диаметром (45 +/- 1) мм; в образце делают сквозное отверстие диаметром (20 +/- 1) мм со смещением от центра на (3,5 +/- 0,2) мм для ввода горелки.
Пленочные и листовые материалы набирают в стопку диаметром (45 +/- 1) мм, накладывая слои друг на друга до достижения указанной массы.
16.3.2 Перед испытанием образцы кондиционируют в соответствии с требованиями
ГОСТ 12423 или технической документацией на материал. Образцы должны характеризовать средние свойства исследуемого вещества (материала).
16.3.3 В зависимости от объема образца определяют с помощью шаблонов и фиксируют положение контейнера внутри камеры и расстояние между газовой горелкой и поверхностью образца.
16.3.4 Газовую горелку в данном методе используют как магистраль для принудительной подачи воздуха на образец. Для этого необходимо включить микрокомпрессор, обеспечивающий расход воздуха 0,7 дм3/мин и полностью открыть вентиль расхода воздуха.
16.4 Проведение испытания
16.4.1 Нагревают реакционную камеру до температуры начала разложения исследуемого вещества (материала) или до 300 °C.
16.4.2 Извлекают из реакционной камеры держатель с контейнером. За время не более 15 с помещают образец в контейнер и вводят его в реакционную камеру. Опускают внутрь реакционной камеры горелку.
16.4.3 Если при температуре испытания образец тлеет (наблюдается свечение) более 5 с, то испытание прекращают, контейнер извлекают из камеры и освобождают от продуктов тления. Следующее испытание с новым образцом проводят при меньшей температуре (например, на 50 °C меньше).
Если в течение 20 мин образец не тлеет, испытание прекращают и в протоколе отмечают отказ. Методом последовательных приближений определяют минимальную температуру, при которой за время выдержки в печи не более 20 мин наблюдается тление образца, а при температуре на 10 °C меньше тление отсутствует.
16.5 Оценка результатов испытаний
16.5.1 За температуру тления принимают среднее арифметическое значение двух температур, отличающихся не более чем на 10 °C, при одной из которых наблюдается тление трех образцов, а при другой - три отказа. Полученное значение температуры округляют с точностью до 5 °C.
16.5.2 Сходимость метода
[8] при доверительной вероятности 95% не должна превышать 7 °C.
16.5.3 Воспроизводимость метода
[8] при доверительной вероятности 95% не должна превышать 20 °C.
16.6 Оформление протокола испытаний
Условия и результаты испытаний регистрируют в протоколе, форма которого приведена в
приложении М.
16.7 Требования безопасности
Прибор для определения температуры тления следует устанавливать в вытяжном шкафу. Рабочее место оператора должно удовлетворять действующим требованиям по электробезопасности и санитарно-гигиеническим требованиям в соответствии с
ГОСТ 12.1.005.
17 Метод экспериментального определения удельной массовой скорости выгорания твердых веществ и материалов
17.1.1 Метод определения удельной массовой скорости выгорания (УМСВ) твердых веществ и материалов распространяется на горючие твердые вещества и материалы, в том числе строительные, а также на лакокрасочные покрытия.
17.1.2 Метод УМСВ не распространяется на вещества в газообразном и жидком виде, пыли и металлы.
17.1.3 Результаты испытаний применимы только для оценки свойств материалов в контролируемых лабораторных условиях и не отражают поведение материалов в реальных условиях пожара.
17.1.4 Метод испытания (см.
17.5.1 -
17.5.9 включительно) предназначен для экспериментального определения температуры воспламенения твердых веществ и материалов.
Примечание - При калибровке установки и проведении испытаний весы не используются.
17.1.5 Метод испытания (см.
17.5.10 -
17.5.15 включительно) предназначен для испытания твердых веществ и материалов с целью определения их удельной массовой скорости выгорания.
Примечание - Калибровка установки для данного метода испытаний не требуется.
Данные методы испытаний реализуют в диапазоне температур от 25 до 600 °C.
17.2 Испытательное оборудование
17.2.1 Испытательное оборудование для определения УМСВ (см.
рисунок 17.1) устанавливается в вытяжном шкафу и представляет собой вертикальную электрическую печь с двумя коаксиально расположенными цилиндрами
1 (см.
рисунок 17.1) высотой 240 мм, выполненными из кварцевого стекла. Один из цилиндров внутренним диаметром (80 +/- 3) мм является реакционной камерой. Второй цилиндр имеет внутренний диаметр (101 +/- 3) мм. На внешних поверхностях цилиндров закреплен нагревательный элемент (спираль)
2 (см. рисунок 17.1) из проволоки марки Х20Н80-Н
(ГОСТ 12766.1) общей мощностью не менее 2 кВт, что позволяет создавать температуру рабочей зоны реакционной камеры не менее 600 °C за время не более 40 мин.
1 - цилиндры из кварцевого стекла;
2 - нагревательный элемент; 3 - теплоизоляционный материал;
4 - стальной экран; 5 - держатель образца; 6 - контейнер;
7 - газовая горелка; 8 - электропривод газовой горелки;
9, 10 - термоэлектрические преобразователи; 11 - ламинатор;
12 - весы; 13 - коромысло
Рисунок 17.1 - Общий вид установки для определения удельной
массовой скорости выгорания твердых веществ и материалов
17.2.2 Для размещения образца исследуемого вещества (материала) используют держатель 5 (см. рисунок 17.1), представляющий собой металлическую трубку из жаростойкой стали с приваренным в нижней части кольцом диаметром (49,0 +/- 0,6) мм и контейнер из стальной сетки 6 (см. рисунок 17.1) диаметром (45 +/- 1) мм и высотой (18 +/- 1) мм. Контейнер устанавливается в кольцо держателя образца.
17.2.3 Устройство для перемещения держателя образца с контейнером состоит из металлического стержня, установленного в направляющие на боковой стороне корпуса установки, и горизонтального коромысла, сопряженного с весами. Устройство для перемещения держателя образца обеспечивает плавное его движение по вертикальной оси реакционной камеры, одновременную жесткую фиксацию образца в геометрическом центре рабочей зоны и коромысла на рабочей поверхности весов.
17.2.4 Газовая горелка
7 (см.
рисунок 17.1) для воспламенения образца, представляющая собой трубку внутренним диаметром (6 +/- 1) мм, выполнена из жаростойкой стали, запаяна снизу и имеет на боковой поверхности отверстие диаметром (0,8 +/- 0,1) мм на расстоянии (5,0 +/- 0,3) мм от запаянного конца. Газовая горелка подсоединяется гибким шлангом через устройство, регулирующее расход газа, к баллону с пропан-бутановой фракцией
(ГОСТ 20448). Давление газа должно находиться в диапазоне от 10 до 50 кПа.
| | ИС МЕГАНОРМ: примечание. В официальном тексте документа, видимо, допущена опечатка: пункт 7.4.4 отсутствует. | |
Примечание - В качестве устройства, регулирующего расход газа, может использоваться расходомер типа ротаметр или аналогичный прибор с диапазоном, обеспечивающим требования 7.4.4.
17.2.5 Ламинатор
11 (см.
рисунок 17.1), выполненный из листовой жаростойкой стали в форме конуса верхним диаметром не более 78 мм, нижним диаметром не более 11 мм и длиной (500 +/- 5) мм, служит для подачи естественного потока воздуха в реакционную камеру.
17.2.6 Для измерения температуры при испытании материалов и калибровки установки используют термоэлектрические преобразователи типа ТХА с диаметром термоэлектрода не более 0,5 мм, спай изолированный, с диапазоном измерения от 0 до 800 °C, не более 2 класса точности. Термоэлектрические преобразователи должны иметь защитный кожух из нержавеющей стали диаметром (1,6 +/- 0,1) мм.
Термоэлектрический преобразователь
9 (см.
рисунок 17.1) служит для измерения температуры образца и расположен таким образом, чтобы обеспечивался плотный контакт с дном и стенкой контейнера. Термоэлектрический преобразователь
10 (см.
рисунок 17.1) служит для контроля и регулирования температуры печи и расположен внутри реакционной камеры на расстоянии (140 +/- 5) мм от верхнего края камеры и (5 +/- 1) мм от стенки камеры. Погрешность измерения регулирующего и регистрирующего температуру средства измерения не должна превышать 0,5%.
17.2.7 Весы
12 (см.
рисунок 17.1) с диапазоном измерения от 0 до 1000 г, не более III (среднего) класса точности.
17.2.8 При испытаниях используют следующие средства измерения, приборы контроля за условиями окружающей среды и оборудование:
- прибор для регулирования и регистрации температуры с диапазоном измерения от 0 до 800 °C, не более 0,5 класса точности;
- устройство для измерения времени (секундомер) с диапазоном измерения от 0 до 60 мин и ценой деления 0,2 с;
- компрессор с расходом до 40 дм3/ч, подсоединяется гибким шлангом к газовой горелке через устройство, регулирующее расход воздуха;
Примечание - В качестве устройства, регулирующего расход воздуха, может использоваться расходомер типа ротаметр или аналогичный прибор с диапазоном, обеспечивающим требования
17.3.8.
- зеркало для наблюдения за поведением образца в процессе испытания;
- шаблоны для определения расстояния от нижнего края горелки до поверхности образца и для центровки контейнера внутри камеры;
- для измерения атмосферного давления используют барометр с диапазоном измерения от 600 до 800 мм рт. ст. и ценой деления 1 мм рт. ст.;
- для измерения влажности воздуха используют гигрометр с диапазоном измерения от 20 до 93%, от 15 до 40 °C и ценой деления 0,2.
17.3 Калибровка установки
17.3.1 Калибровка установки должна проводиться в помещении при температуре (23 +/- 5) °C и относительной влажности воздуха (50 +/- 20)%.
17.3.2 Калибровку установки проводят при периодической или повторной метрологической аттестации, а также при вводе в эксплуатацию, замене узлов после ремонта установки.
17.3.3 Калибровка установки заключается в проведении испытаний по определению температуры воспламенения стандартного образца - органического стекла
(ГОСТ 10667), температура воспламенения которого составляет (265 +/- 10) °C.
17.3.4 Последовательность операций при калибровке.
17.3.5 Изготовить образцы органического стекла в соответствии с
17.4.1.
17.3.6 Отрегулировать с помощью шаблонов положение контейнера с образцом внутри реакционной камеры, установить расстояние между нижним краем газовой горелки и поверхностью образца равное (10 +/- 1) мм, перевести горелку в положение "вне печи" и удалить образец из контейнера.
17.3.7 Включить вытяжную вентиляцию.
17.3.8 Отрегулировать подачу газа и воздуха, формируя пламя газовой горелки длиной (10 +/- 2) мм.
17.3.9 Нагреть реакционную камеру до температуры 255 °C и убедиться в стабильности температурного режима. Стабилизацию считают достигнутой при условии обеспечения заданной температуры в течение не менее 5 мин. За температуру реакционной камеры (испытания) принимают показания термоэлектрического преобразователя, измеряющего температуру образца.
17.3.10 Извлечь из камеры держатель с контейнером, поместить образец в контейнер (за время не более 15 с), зафиксировать контейнер в геометрическом центре рабочей зоны реакционной камеры, включить электропривод газовой горелки и зафиксировать время начала проведения испытания.
Примечание - Периодичность подвода газовой горелки к образцу должна составлять (10 +/- 2) с.
17.3.11 Зафиксировать время воспламенения образца.
17.3.12 Нагреть реакционную камеру до температуры 275 °C, убедиться в стабильности температурного режима и повторить операции в соответствии с
17.3.10. Время проведения испытаний составляет 20 мин.
17.3.13 Зафиксировать отсутствие воспламенения образца.
17.3.14 Провести при каждом температурном режиме (
17.3.9 и
17.3.12) еще по два испытания.
17.3.15 Соблюдение условий
17.3.11 и
17.3.13 является положительным результатом калибровки, что означает пригодность установки к работе.
17.4 Образцы для испытаний
17.4.1 Для испытания одного вида исследуемого вещества (материала) по определению температуры воспламенения изготавливают от 10 до 15 образцов массой по (3,0 +/- 0,1) г.
17.4.2 Пленочные и листовые материалы набирают в стопку, накладывая слои друг на друга, до достижения указанной массы.
17.4.3 Для испытания по определению удельной массовой скорости выгорания одного вида материала изготавливают три образца размером 15 x 15 мм. Толщина образцов должна соответствовать толщине материала, применяемого в реальных условиях, но не более 10 мм. Если толщина материала составляет более 10 мм, необходимо срезать часть материала с нелицевой стороны.
17.4.4 Для сыпучих материалов используют поддон размером 15 x 15 мм и глубиной 10 мм, изготовленный из алюминиевой фольги по
ГОСТ 745, толщиной не менее 0,2 мм. Поддон с испытуемым материалом помещается в контейнер держателя образца и заменяется между испытаниями.
17.4.5 Кровельные мастики, мастичные покрытия и лакокрасочные покрытия наносят на алюминиевую фольгу (толщина фольги - не более 0,2 мм). Лакокрасочные покрытия следует наносить не менее четырех слоев, с расходом каждого слоя в соответствии с технической документацией на материал. Масса фольги при расчетах не учитывается.
17.4.6 Образцы для испытаний кондиционируют при температуре (20 +/- 5) °C и относительной влажности воздуха (65 +/- 5)% до достижения постоянной массы, но не менее 72 ч.
17.4.7 Образцы должны характеризовать средние свойства исследуемого вещества (материала).
17.5 Проведение испытания
Определение температуры воспламенения твердых веществ и материалов:
17.5.1 Испытания должны проводиться в помещении при температуре (23 +/- 5) °C и относительной влажности воздуха (50 +/- 20)%.
17.5.2 Изготовить образцы исследуемого материала в соответствии с
17.4.1 и
17.4.2, выполнить процедуры по подготовке оборудования к работе в соответствии с
17.3.6 -
17.3.8 включительно.
17.5.3 Нагреть реакционную камеру до температуры начала разложения исследуемого материала или до 300 °C, убедиться в стабильности температурного режима и выполнить процедуры в соответствии с
17.3.10.
17.5.4 При воспламенении образца испытание останавливают, горелку переводят в положении "вне печи", контейнер с образцом извлекают из камеры, фиксируют в протоколе температуру воспламенения и время ее достижения и проводят следующее испытание с новым образцом при меньшей температуре.
17.5.5 Если в течение 20 мин образец не воспламенится или ранее этого времени полностью прекратится дымовыделение, то испытание прекращают и в протоколе отмечают отказ.
17.5.6 Методом последовательных приближений, используя новые образцы и изменяя температуру реакционной камеры, определяют минимальную температуру образца, при которой за время выдержки в печи (не более 20 мин) образец воспламенится и будет гореть более 5 с после удаления газовой горелки. При температуре на 10 °C меньше образец не воспламенится.
17.5.7 За температуру воспламенения исследуемого вещества (материала) принимают среднее арифметическое двух температур, отличающихся не более чем на 10 °C, при одной из которых наблюдается воспламенение трех образцов, а при другой - три отказа. Полученное значение температуры округляют с точностью до 5 °C.
17.5.8 Сходимость метода
[8] при доверительной вероятности 95% не должна превышать 7 °C.
17.5.9 Воспроизводимость метода
[8] при доверительной вероятности 95% не должна превышать 20 °C.
Определение удельной массовой скорости выгорания твердых веществ и материалов:
17.5.10 Испытания должны проводиться в помещении при температуре (23 +/- 5) °C и относительной влажности воздуха (50 +/- 20)%.
17.5.11 Следует изготовить образцы исследуемого материала в соответствии с
17.4.3 -
17.4.5 включительно, затем включить весы, проконтролировать взаимное расположение контейнера с образцом и коромысла на рабочей поверхности весов и выполнить процедуры по подготовке оборудования к работе в соответствии с
17.3.6 -
17.3.8 включительно.
17.5.12 Нужно нагреть реакционную камеру до температуры воспламенения испытуемого материала и убедиться в стабильности температурного режима.
17.5.13 Следует извлечь из камеры держатель с контейнером, поместить образец в контейнер (за время не более 15 с), зафиксировать контейнер в геометрическом центре рабочей зоны реакционной камеры с одновременной фиксацией коромысла на рабочей поверхности весов и включить электропривод газовой горелки.
17.5.14 Необходимо зафиксировать начальную массу образца (без учета массы коромысла и держателя образца с контейнером) и время начала проведения испытания.
17.5.15 В процессе проведения испытания регистрируют время воспламенения образца и уменьшение массы образца через фиксированный интервал времени (не более 10 с).
Примечание - Для большей точности получаемых результатов испытаний возможно уменьшение фиксированного интервала времени в зависимости от технических характеристик измерительного оборудования.
Окончанием опыта считается момент прекращения пламенного горения и/или тления и изменения потери массы образца.
17.6 Оценка результатов испытаний
17.6.1 Для каждого интервала разложения вычисляют удельную массовую скорость выгорания образца Vm, кг/(м2·с), по формуле

(17.1)
где mi - mi-1 - изменение массы образца в интервале разложения, кг;
s - площадь образца, м2;

- интервал времени разложения, с.
Для каждого опыта во всем интервале разложения вычисляют удельную массовую скорость выгорания.
17.6.2 Среднее значение удельной массовой скорости выгорания трех испытанных образцов принимают за удельную массовую скорость выгорания материала.
17.6.3 Сходимость и воспроизводимость метода
[8] при доверительной вероятности 95% не должна превышать 25%.
17.7 Оформление протокола испытаний
В протоколе испытания (см.
приложение Н) приводят следующие сведения:
- наименование испытательной лаборатории;
- наименование и адрес заказчика, изготовителя (поставщика) материала;
- условия в помещении (температура, °C; относительная влажность, %; атмосферное давление, кПа);
- описание материала или изделия, техническую документацию, торговую марку;
- состав, толщину, плотность, массу и способ изготовления образцов;
- толщину и характеристику материала каждого слоя - для многослойных материалов;
- параметры, регистрируемые при испытаниях:
- численное значение температуры воспламенения материала;
- численное значение удельной массовой скорости выгорания
материала;
- дополнительные наблюдения (поведение материала при испытаниях);
- исполнителей.
17.8 Требования безопасности
Помещение, в котором проводят испытания, должно быть оборудовано приточно-вытяжной вентиляцией. Рабочее место оператора должно удовлетворять действующим требованиям по электробезопасности и санитарно-гигиеническим требованиям в соответствии с
ГОСТ 12.1.005. Лица, допущенные в установленном порядке к испытаниям, должны быть ознакомлены с техническим описанием и инструкцией по эксплуатации испытательного и измерительного оборудования.
18 Метод экспериментального определения условий теплового самовозгорания твердых веществ и материалов
Сущность метода заключается в определении параметров, характеризующих склонность горючих твердых веществ и материалов к самовозгоранию. Полученные результаты могут быть использованы для предотвращения пожаров при хранении и транспортировании твердых горючих веществ и материалов. По данной методике разработано программное средство "Специальное программное обеспечение для автоматизации расчетов самовозгорания материалов математическими методами (Расчет самовозгорания)", регистрационный номер ФАП ГПС 105/2011.
18.2 Испытательное оборудование
Испытательное оборудование для определения условий теплового самовозгорания включает в себя следующие элементы.
18.2.1 Термостат вместимостью рабочей камеры не менее 40 дм3 с терморегулятором, позволяющим поддерживать постоянную температуру от 60 до 500 °C с погрешностью не более 2 °C.
18.2.2 Корзинки кубической или цилиндрической формы высотой 15, 30, 35, 50, 70, 140 и 200 мм. Диаметр цилиндрической корзинки должен быть равен ее высоте. Материалом для корзинок служит сетка из латуни или нержавеющей стали для сыпучих материалов (с размером ячеек не более 1 мм).
18.2.3 Термоэлектрические преобразователи (термопары ТХА и ТХК) с максимальным диаметром рабочего спая не более 0,8 мм.
18.2.4 Измеритель термоэлектродвижущей силы, позволяющий осуществлять визуализацию изменений температуры образца материала во времени с записью на бумажном или электронном носителе.
18.3 Подготовка к испытаниям
18.3.1 К корзинкам крепят по три термоэлектрических преобразователя таким образом, чтобы один конец одной термопары находился внутри корзинки в ее центре, а второй - на расстоянии не более 5 мм от внешней ее стороны (на высоте центра корзинки). Эти термопары соединяют по дифференциальной схеме с тем, чтобы они измеряли разность температур между образцом материала и температурой рабочей камеры. Для фиксирования температуры в термостате рабочий конец третьей термопары располагают на расстоянии (30 +/- 1) мм от стенки корзинки на высоте ее центра.
18.3.2 Корзинки заполняют исследуемым веществом и измеряют массу на весах. При испытаниях листового материала его набирают в стопку, соответствующую внутренним размерам корзинки. В образцах монолитных материалов предварительно высверливают до центра отверстие диаметром (7 +/- 5) мм для термоэлектрического преобразователя.
18.3.3 Свободные концы термоэлектрических преобразователей подсоединяют к измерителю термоэлектродвижущей силы для регистрации изменения разности температур в центре образца и температуры в рабочей камере термостата. За температуру испытания принимают показания термоэлектрического преобразователя, расположенного на расстоянии 30 мм от образца.
18.4 Проведение испытаний
18.4.1 Корзинку помещают в центр термостата, нагретого до заданной температуры, и наблюдают за изменением температуры в центре образца.
18.4.2 За самовозгорание образца принимают повышение температуры по показаниям термоэлектрического преобразователя, расположенного в центре образца, на (450 +/- 50) °C.
18.4.3 Если при первом испытании самовозгорание не происходит в течение времени, указанного в таблице 18.1, то испытание с новым образцом материала того же размера проводят при температуре на 20 °C больше заданной. Если самовозгорание произошло, то испытание проводят при температуре на 10 °C меньше.
Таблица 18.1
Высота корзинки, мм | Продолжительность испытания на самовозгорание, ч |
35 | 6 |
50 | 12 |
70 | 24 |
100 | 48 |
140 | 96 |
200 | 192 |
18.4.4 Испытания продолжают с образцами данного размера при различной температуре рабочего пространства термостата до достижения минимальной температуры, при которой образец самовозгорается. При уменьшении температуры ниже минимальной на 1 °C самовозгорания не должно происходить. При этих температурах выполняют по два эксперимента. Минимальную температуру, при которой исследуемый материал самовозгорается, принимают за температуру самовозгорания образца данного размера.
18.4.5 Аналогичные испытания проводят с образцами исследуемого вещества в корзинках других размеров. Результаты испытаний оформляются в виде таблицы 18.2.
Размер образца, мм | Температура самовозгорания |
°C | К |
| | |
18.5 Оценка результатов испытаний
Исходными данными для определения параметров кинетического уравнения реакции окисления являются:
- данные
таблицы 18.2 для критической температуры самовозгорания
T0 (К) образцов размером
D, м;
- коэффициент теплопроводности материала
, Вт/(м·К);
- теплоемкость исследуемого материала c, Дж/(кг·К);
- теплота реакции Q, Дж/кг.
Расчет предэкспоненциального множителя и энергии активации реакции окисления выполняется в следующем порядке.
18.5.1 Для каждого размера образца рассчитывают число Рэлея по уравнению

(18.1)
где g - ускорение силы тяжести, м/с2;

- кинематическая вязкость воздуха при температуре
T0, м
2/с;
a - температуропроводность воздуха при температуре T0, м2/с;
D - размер образца, м;
R - универсальная газовая постоянная, Дж/(моль·К);
T0 - температура рабочего пространства термостата, К;
E - энергия активации реакции окисления (в первом приближении допускается принимать равной 100 кДж/моль).
Для облегчения расчетов зависимость комплекса

от температуры в диапазоне от 350 до 800 К может быть рассчитана по формуле

(18.2)
18.5.2 Для всех размеров образцов вычисляют коэффициенты теплоотдачи

по уравнениям
- при Ra не меньше 5·102 и не более 2·107

(18.3)
- при Ra больше 2·107

(18.4)
где

равно 5,67·10
-8 - постоянная Стефана - Больцмана, Вт·м
-2·К
-4.
Зависимость коэффициента теплопроводности воздуха от температуры может быть определена по формуле

(18.5)
18.5.3 По величине

, коэффициенту теплопроводности материала

и при
r = D/2 вычисляют критерии Био для каждого образца

(18.6)
18.5.4 Функцию

, учитывающую интенсивность теплообмена образца с воздухом, определяют по уравнению

(18.7)
18.5.5 Рассчитывают параметры

и

, характеризующие индивидуальные свойства реакции окисления:

(18.8)

(18.9)
где c - теплоемкость материала, Дж/(кг·К).
18.5.6 С учетом интенсивности теплообмена и особенностей реакции для каждого размера образца материала рассчитывают критическое значение параметра Франк-Каменецкого

(18.10)
где

- критическая величина параметра

при интенсивном теплообмене, равная 2,52 для образцов кубической формы и 2,76 для цилиндра высотой, равной диаметру.
Таблица 18.3
Размер r, м | T0, К | Ra |  , Вт/(м 2·К) | Bi | | | | |
| | | | | | | | |
18.5.7 Зависимость критического значения параметра Франк-Каменецкого

от кинетических параметров реакции окисления

(18.11)
записывают в виде

(18.12)
где

(18.13)

(18.14)

- плотность материала, кг/м
3;
k0 - константа скорости реакции, 1/с.
18.5.8 По
уравнению (18.13) для каждого размера образца рассчитывают величину
M. С учетом значений
M и
N по
уравнению (18.12) методом наименьших квадратов определяют численные значения
N и энергию активации.
18.5.9 Вычисляют предэкспоненциальный множитель реакции окисления

путем деления
N на
E. Данные расчетов по
уравнениям (18.12) -
(18.14) сводят в таблицу 18.4.
Таблица 18.4
Размер r, м | T0, К | | | E, Дж/моль |  , м·К/кг |
| | | | | |
18.5.10 Если величина энергии активации, вычисленная в
18.5.8, отличается от ранее принятой и равной 100 кДж/моль более чем на 5%, расчеты по
18.5.1 - 18.5.10 необходимо повторить с новым значением энергии активации. Процесс итераций выполняют до тех пор, пока значения энергии активации в начале и в конце расчета не будут отличаться менее чем на 5%.
По параметрам кинетического уравнения реакции окисления расчетным методом определяют значения критической температуры, критического размера и время индукции реальных образцов, укладок или засыпок веществ и материалов.
18.5.11 Исходными данными для расчета критического размера, критической температуры и времени индукции при хранении и транспортировании веществ и материалов являются:
- энергия активации реакции окисления E, Дж/моль;
- предэкспоненциальный множитель

, м·К/кг;
- температура хранения, К;
- плотность упаковки материала

, кг/м
3;
- теплоемкость исследуемого материала c, Дж/(кг·К);
- теплота реакции Q, Дж/кг;
- форма и размеры упаковки материала;
- коэффициент теплопроводности материала
, Вт/(м·К);
- критическая температура самовозгорания для заданного размера и формы упаковки материала Tкр;
- размер упаковки r, м.
Расчет критической температуры
18.5.12 Для заданной формы упаковки материала из
таблицы 18.5 выбирают величину критерия Франк-Каменецкого

.
18.5.13 Подставляют полученную величину в
уравнение (18.11) вместо

и решают его относительно
T0, находя нулевое приближение для температуры самовозгорания.
18.5.18 Рассчитывают критическое значение параметра Франк-Каменецкого

по
уравнению (18.10).
18.5.19 Подставляют величину

в
уравнение (18.11) и находят новое значение температуры
T0.
18.5.20 Используя это значение
T0, повторяют расчет параметров по
18.5.12 - 18.5.19.
18.5.21 Указанную процедуру расчета продолжают до тех пор, пока предыдущее и последующее значения температуры не будут отличаться друг от друга менее чем на 1 °C. За критическую температуру Tкр принимают результат последнего расчета.
Форма тела p | |
Бесконечная пластина толщиной 2r | 0,88 |
Бесконечный цилиндр радиусом r | 2,00 |
Бесконечный квадратный стержень, сторона 2r | 1,70 |
Сфера радиусом r | 3,32 |
Цилиндр радиусом r высотой 2r | 2,76 |
Куб, высота 2r | 2,52 |
Тетраэдр, радиус вписанной сферы r, сторона  | 2,23 |
Полусфера | 6,27 |
Расчет критического размера
18.5.22 Определяют величину параметра

в соответствии с
18.5.1.
18.5.24 Рассчитывают параметр

по формуле

(18.15)
18.5.25 В первом приближении минимальный размер находят из выражения

(18.16)
18.5.29 По
формуле (18.16) вычисляют новое значение размера упаковки материала.
18.5.30 Используя это значение
r, повторяют расчет параметров по
18.5.22 - 18.5.29.
18.5.31 Процедуру расчета продолжают до тех пор, пока предыдущее и последующее значения размеров будут отличаться друг от друга менее чем на 5%. За критический размер принимается результат последнего расчета.
Расчет времени индукции
18.5.34 По
формуле (18.11) рассчитывают параметр

, соответствующий температуре хранения
T0, и параметр

для критической температуры
Tкр.
18.5.35 Вычисляют относительное удаление от предела воспламенения

(18.17)
и функции

(18.18)

(18.19)
18.5.36 Рассчитывают безразмерное время индукции с помощью
уравнений (18.17) - (18.19) по выражению

(18.20)
18.5.37 Определяют размерное время индукции tи (с) по формуле

(18.21)
Расчет времени индукции производится в том случае, когда хранение или перевозка материалов осуществляются при температуре окружающей среды больше критической.
18.6 Оформление протокола испытаний
В протоколе испытаний, форма которого приведена в
приложении П, приводят следующие сведения:
- наименование испытательной лаборатории;
- наименование и адрес заказчика, изготовителя (поставщика) материала;
- условия в помещении (температура, °C; относительная влажность, %; атмосферное давление, мм рт. ст.);
- описание материала или изделия, техническую документацию, торговую марку;
- состав, толщину, плотность, расход, массу и способ изготовления образцов;
- параметры, регистрируемые при испытаниях;
- классификацию материала;
- данные дополнительных наблюдений (поведение материала при испытаниях);
- исполнителей.
18.7 Требования безопасности
Из-за выделения токсичных продуктов термического разложения термостат следует устанавливать в отдельном помещении, оборудованном приточно-вытяжной вентиляцией, обеспечивающей кратность обмена воздуха не менее восьми. Рабочее место оператора должно удовлетворять действующим требованиям по электробезопасности и санитарно-гигиеническим требованиям в соответствии с
ГОСТ 12.1.005. Лица, допущенные в установленном порядке к испытаниям, должны быть ознакомлены с техническим описанием и инструкцией по эксплуатации испытательного и измерительного оборудования.
19 Определение группы горючести газообразных, жидких и дисперсных (пылей) веществ и материалов
Определение группы горючести газов, жидкостей и пылей осуществляется, исходя из значений показателей пожаровзрывоопасности, определяемых по методам настоящего стандарта для соответствующих агрегатных состояний веществ и материалов.
При наличии концентрационных пределов распространения пламени газ относят к горючим; при отсутствии концентрационных пределов распространения пламени и наличии температуры самовоспламенения газ относят к трудногорючим; при отсутствии концентрационных пределов распространения пламени и температуры самовоспламенения газ относят к негорючим.
При наличии температуры воспламенения жидкость относят к группе горючая. При наличии температуры воспламенения, а также температуры вспышки в закрытом тигле не более 61 °C или температуры вспышки в открытом тигле не более 66 °C (для зафлегматизированных смесей, не имеющих вспышку в закрытом тигле) жидкость относят к легковоспламеняющейся.
При отсутствии температуры воспламенения, но наличии какого-либо из перечисленных показателей: температуры вспышки в открытом и закрытом тигле, температуры самовоспламенения, температурных или концентрационных пределов распространения пламени, жидкость относят к группе трудногорючая. При отсутствии температуры воспламенения, а также всех перечисленных показателей жидкость относят к группе негорючая.
Жидкие смеси и растворы горючих веществ, содержащие легкокипящие негорючие или трудногорючие компоненты, у которых возгорание паров в открытом тигле наблюдается только после выкипания указанных компонентов, относят к трудногорючим.
При наличии хотя бы одного из перечисленных ниже показателей пожаровзрывоопасности (температуры воспламенения, нижнего концентрационного предела распространения пламени по аэровзвеси, максимального давления взрыва аэровзвеси, максимальной скорости нарастания давления взрыва аэровзвеси) пыль относят к группе горючих материалов.
20 Методы расчета скорости выгорания жидкостей
20.1 Расчет скорости выгорания в любом режиме горения без экспериментальных исследований (если известны параметры состояния жидкости)
Если известны параметры состояния исследуемой жидкости, входящие в формулы (20.1) -
(20.10), то в зависимости от имеющихся данных скорость выгорания (
m) в любом режиме горения можно вычислить, не проводя экспериментальных исследований, по формулам:

(20.1)

(20.2)

(20.3)
где M - безразмерная скорость выгорания;

- динамическая вязкость паров жидкости при температуре кипения, Па·с;

- плотность паров жидкости при температуре кипения, кг/м
3;
MF - молекулярная масса жидкости, кг/моль;
d - характерный размер зеркала горящей жидкости, м. Определяется как корень квадратный из площади поверхности горения; если площадь горения имеет форму окружности, то характерный размер равен ее диаметру. При расчете скорости турбулентного горения можно принять d = 10 м;
Tk - температура кипения жидкости, К;

- кинематическая вязкость паров жидкости при температуре кипения, м
2/с.
Если величина

не известна, то ее вычисляют по формуле

(20.4)
Порядок расчета следующий.
20.1.1 Определяют режим горения по величине критерия Галилея Ga, вычисляемого по формуле

(20.5)
где g - ускорение свободного падения, м/с2.
20.1.2 В зависимости от режима горения вычисляют безразмерную скорость выгорания M. Для ламинарного режима горения
Ga < 3·106; M = 10,87AB. (20.6)
Для переходного режима горения
если 3·106 <= Ga < 4,8·108, то M = ABGa0,16; (20.7)
если 4,8·108 <= Ga < 3·1012,
то M = 1,67·10-3ABGa0,48. (20.8)
Для турбулентного режима горения

(20.9)
где
A = 0,570 + 0,773
s;

;
MO - молекулярная масса кислорода, кг/моль;
nO - стехиометрический коэффициент кислорода в реакции горения;
nF - стехиометрический коэффициент жидкости в реакции горения;
Примечание - При Ga < 4,8·108 для ароматических углеводородов A = 1,45, при s <= 0,9 и A = 3,40s - 1,56 при s > 0,9.
B - безразмерный параметр, характеризующий интенсивность массопереноса, вычисляемый по формуле

(20.10)
где Q - низшая теплота сгорания жидкости, кДж/кг;

- безразмерное значение массы кислорода, необходимого для сгорания 1 кг жидкости;
c - изобарная теплоемкость продуктов горения (принимается равной теплоемкости воздуха c = 1), кДж/(кг·К);
TO - температура окружающей среды, принимаемая равной 293 К;
H - теплота парообразования жидкости при температуре кипения, кДж/кг;
cв - средняя изобарная теплоемкость жидкости в интервале от TO до Tk.
20.2 Расчет скорости турбулентного горения с использованием экспериментальных данных
Если известны кинематическая вязкость пара или молекулярная масса и температура кипения исследуемой жидкости, то скорость турбулентного горения вычисляют с использованием экспериментальных данных по формуле

(20.11)
| | ИС МЕГАНОРМ: примечание. В официальном тексте документа, видимо, допущена опечатка: пункт 24.4.5 отсутствует. | |
где
mп - экспериментальное значение скорости выгорания в переходном режиме горения, полученное по 24.4.5 -
24.5.2, кг·м
-2·с
-1;
dп - диаметр горелки, в которой получено значение mп, м. Рекомендуется использовать горелку диаметром 30 мм. Если в горелке диаметром 30 мм наблюдается ламинарный режим горения, следует применять горелку большего диаметра.
20.3 Оценка скорости выгорания жидкости
Если не известны кинематическая вязкость паров или молекулярная масса и температура кипения исследуемой жидкости, то оценку скорости выгорания проводят в следующем порядке.
20.3.1 Находят скорость выгорания жидкости в горелках диаметром 10, 15, 18, 20, 25 и 30 мм в соответствии с 24.4.5 -
24.5.2 включительно. Полученные результаты заносят в таблицу 20.1.
Таблица 20.1
Диаметр горелки di, м | Скорость выгорания , кг/(м 2·с) | Режим горения (визуальное наблюдение) | ,м4/с2 | ,кг/(м·с) |
| | | | |
20.3.2 Вычисляют среднее арифметическое значение (md)л для всех испытаний, в которых наблюдалось ламинарное горение.
Примечание - Обычно значения

в условиях ламинарного горения близки по значению или монотонно убывают с увеличением диаметра горелки. Для переходного режима горения характерно возрастание значений

.
20.3.3 Результаты испытаний, относящиеся к переходному режиму горения, заносят в
таблицу 20.2 в виде функций
, 
,
, xiyi с точностью до четвертого знака после запятой.
| | ИС МЕГАНОРМ: примечание. В официальном тексте документа, видимо, допущена опечатка: пункт 25.5.2 отсутствует. | |
Количество экспериментальных точек должно быть не менее трех, в противном случае проводят дополнительные эксперименты в горелках диаметром более 30 мм в соответствии с
25.4.5 - 25.5.2 включительно.
и средние значения

,
,
где n - число экспериментальных точек, относящихся к переходному режиму горения.
20.3.4 Вычисляют параметры a и b по формулам

(20.12)

(20.13)
20.3.5 Определяют кинематическую вязкость паров исследуемой жидкости

в м
2/с по формуле

(20.14)
Относительная погрешность метода оценки по
20.3.1 - 20.3.5 - не более 30%.
21 Метод экспериментального определения группы горючести пылей
Настоящий стандарт устанавливает требования к методу определения группы горючести пылей.
21.2 Испытательное оборудование
21.2.1 Испытательное оборудование для определения группы горючести пылей включает в себя следующие элементы:
21.2.1.1 Муфельная печь с контролем температуры в рабочем пространстве. Допускается использовать муфельную электропечь любого типа с рабочим объемом не менее 6 дм3, позволяющую создавать температуру (900 +/- 10) °C.
21.2.1.2 Для размещения образца исследуемого вещества (материала) применяют контейнер диаметром (45 +/- 1) мм, высотой 18,0-0,4 мм, выполненный из стальной сетки или стального листа толщиной не более 0,5 мм.
21.2.1.3 Смотровое зеркало для наблюдения за образцом.
21.2.1.4 Секундомер в соответствии с действующими нормативными документами, класс точности 3.
21.2.1.5 Весы лабораторные общего назначения в соответствии с действующими нормативными документами, с наибольшим пределом взвешивания 200 г, класс точности 2.
21.3 Образцы для испытаний
Перед проведением испытаний устанавливают соответствие исследуемого вещества паспортным данным.
21.4 Проведение испытания
Образцом исследуемого вещества наполняют контейнер. Контейнер с образцом устанавливают в муфельную печь. Продолжительность нагревания образца с момента введения его в муфельную печь составляет (3,0 +/- 0,1) мин.
Если образец в течение этого времени не воспламеняется или начинает интенсивно кипеть без воспламенения, испытание прекращают и считают его отказом.
Испытанию подвергают пять образцов исследуемого вещества. Если хотя бы в одном из пяти испытаний образец воспламенится, ему дают возможность разгореться, затем тигель с горящим образцом выносят из электропечи, одновременно включают секундомер и определяют продолжительность самостоятельного горения образца.
21.5 Оценка результатов испытаний
Если образец вне печи самостоятельно горит менее 5 с, то исследуемое вещество относят к группе трудногорючих.
Если образец вне печи продолжает гореть 5 с и более, то для определения группы горючести необходимо провести дополнительное испытание на температуру воспламенения. При наличии температуры воспламенения исследуемое вещество относят к группе горючих, при отсутствии - к группе трудногорючих.
При испытании неазеотропных смесей, состоящих из разнородных по горючести веществ, возможно постепенное изменение горючести смеси по мере выкипания более летучего компонента. В этом случае для правильной оценки горючести точно фиксируют момент времени начала интенсивного кипения расплавленного образца. Если этот момент времени во всех пяти испытаниях не сопровождается воспламенением паров, то исследуемую смесь считают негорючей.
21.6 Оформление протокола испытаний
Условия и результаты испытаний регистрируют в протоколе (см.
приложение Р), содержащем:
- наименование и адрес лаборатории с указанием документа аккредитации;
- указание о марке и типе аппарата и оборудования, наличии аттестата метрологической поверки;
- наименование исследуемого образца, состав и физико-химические свойства, результаты входного контроля;
- дату и условия проведения испытаний (температура, атмосферное давление и влажность в лаборатории);
- полученные результаты;
- характерные особенности проведения испытаний;
- ФИО оператора и руководителя лаборатории.
21.7 Требования безопасности
Прибор для определения группы горючести следует устанавливать в вытяжном шкафу. Рабочее место оператора должно удовлетворять действующим требованиям по электробезопасности и санитарно-гигиеническим требованиям в соответствии с
ГОСТ 12.1.005.
22 Метод экспериментального определения концентрационного предела диффузионного горения (ПДГ) газовых смесей в воздухе
Сущность метода экспериментального определения концентрационного предела диффузионного горения газовых смесей в воздухе заключается в определении предельной концентрации горючего газа в смеси с разбавителем, при которой данная газовая смесь неспособна к диффузионному горению. При этом фиксируется предельная скорость подачи газовой смеси.
Концентрационный предел диффузионного горения газовых смесей в воздухе следует учитывать при разработке мероприятий по обеспечению пожаровзрывобезопасности технологических процессов в соответствии с требованиями
ГОСТ 12.1.004 и
ГОСТ 12.1.010.
Метод экспериментального определения концентрационного предела диффузионного горения газовых смесей в воздухе применим для смесей с температурой от 20 до 300 °C.
22.2 Испытательное оборудование
Испытательное оборудование для определения ПДГ газовых смесей в воздухе представлено на
рисунке 22.1.
22.2.1 Термостат представляет собой замкнутый объем с термоизоляцией. Термостат предназначен для поддержания заданного температурного режима от 20 до 300 °C газовой смеси путем нагрева элементов системы газоприготовления. Обогрев термостата осуществляется нагревателем Э3 мощностью 9,6 кВт. Внутри термостата размещен ресивер для приготовления смеси горючего газа с разбавителем и парогенератор, предназначенный для приготовления водяного пара или пара горючей жидкости. Ресивер представляет собой сосуд объемом 20 дм3, рассчитанный на давление 2,5 МПа. Обогрев ресивера осуществляется нагревателем Э1 мощностью 6,2 кВт. Парогенератор представляет собой сосуд объемом 25 дм3. Для получения водяного пара служит нагреватель Э2 мощностью 9,6 кВт. Допускается отклонение от указанных значений объемов и мощностей на 5%.
22.2.2 Насадок диффузионного горения (НДГ) представляет собой сопло Лаваля с форсункой (2,1 +/- 0,1) мм.
22.2.3 Элементы измерительной системы:
- система терморегулирования и управления нагревателями Э1, Э2, Э3;
- вакуумметры класса точности 0,4;
- манометры с диапазоном измерения 1,0 и 0,25 МПа класса точности 0,4; тип манометра выбирается, исходя из условия приготовления газовой смеси с точностью 0,5% об. и необходимого начального давления смеси в ресивере;
- датчик давления с диапазоном измерения 1,0 МПа;
- измерительно-регистрирующая аппаратура для измерения сигналов с датчика давления в частотном диапазоне до 10 Гц с верхним пределом измерения не более 1,0 МПа.
1 - парогенератор; 2 - нагреватель Э2; 3 - ресивер;
4 - первичный термопреобразователь t1; 5 - вакуумметр;
6 - вакуумный насос; 7 - измерительное устройство сигналов
с датчика давления; 8 - датчик давления; 9 - вентиль
точной регулировки; 10 - насадок диффузионного горения;
11 - первичный термопреобразователь t3; 12 - нагреватель Э3;
13 - термостат; 14 - нагреватель Э1; 15 - первичный
термопреобразователь t2; 16 - вакуумметр; 17 - манометр;
18 - система терморегулирования; 19 - емкость для воды
Рисунок 22.1 - Схема оборудования для определения
концентрационного предела диффузионного горения
газовых смесей
22.3 Подготовка к испытаниям
22.3.1 Проверяют наличие и содержание паспортных данных на исследуемое вещество.
22.3.2 Проверяют оборудование на герметичность. Для этого в ресивер подают воздух или инертный разбавитель под избыточным давлением 1,0 МПа. Установка считается герметичной, если за 300 с давление упало менее чем наполовину деления по шкале манометра с диапазоном измерения 1,0 МПа класса точности 0,4.
22.3.3 Проводят тарировку датчика давления по показаниям образцового манометра с диапазоном измерения 0,25 МПа класса точности 0,4.
22.3.4 При работе с горючей жидкостью с низким давлением паров при температуре 20 °C жидкость наливают в парогенератор, включают нагреватели Э1, Э2, Э3 и нагревают парогенератор, ресивер и термостат до температуры, при которой давление паров горючей жидкости достаточно для создания требуемых газовых смесей.
22.4 Проведение испытания
22.4.1 Проводят вакуумирование газовых магистралей, подключенных к смесителю и обеспечивающих подачу газовой смеси на насадки диффузионного горения.
22.4.2 По парциальным давлениям газов Pi в ресивере приготавливают требуемую газовую смесь исследуемого горючего и разбавителя. Концентрацию газа Ci рассчитывают по формуле
Ci = 100·Pi/Pобщ, (22.1)
где Pобщ - общее давление в ресивере, МПа.
Приготовление смеси осуществляют в последовательности:
- в ресивер подают горючий газ;
- осуществляют вакуумирование газовых магистралей;
- подают в ресивер разбавитель.
22.4.3 Включают нагреватель Э1, исследуемую газовую смесь нагревают до заданной температуры. Указанную температуру вносят в протокол испытаний (см.
приложение С) как температуру исследуемой газовой смеси.
22.4.4 Открывают линию подачи газовой смеси на НДГ. Скорость истечения заданной газовой смеси из форсунки при этом должна быть минимально возможной. Одновременно ее зажигают (пламенем спиртовки, спичками и т.п.).
После зажигания газовой смеси и образования устойчивого горения диффузионного факела начинают увеличивать скорость истечения газа из форсунки с помощью вентиля точной регулировки. Увеличение скорости истечения продолжается до тех пор, пока не наступит срыв пламени.
В момент срыва горения фиксируют давление на входе НДГ.
Процедуру определения давления срыва диффузионного пламени повторяют пять раз. По результатам этих измерений определяют среднее арифметическое значение.
22.4.5 Повторяют серию экспериментов в соответствии с
22.4.1 -
22.4.4 при концентрациях горючего газа в смеси на 5% об. ниже предыдущих значений. В области предельных концентраций горючего газа в смеси с разбавителем концентрация горючего газа изменяется с шагом 1% об.
При проведении серии огневых испытаний в каждом опыте в момент зажигания газовой смеси необходимо выполнение условия, при котором давление газа перед форсункой должно быть ниже первого измеренного в данной серии испытаний значения

.
Путем последовательного уменьшения концентрации горючего газа в смеси с разбавителем определяют концентрацию горючего газа, при которой данная газовая смесь при истечении в атмосферу неспособна к диффузионному горению.
22.5 Оценка результатов испытаний
22.5.1 За концентрационный предел диффузионного горения газовых смесей в воздухе принимают среднее арифметическое значение ближайших концентраций горючего, различающихся не более чем на 2% об., при одной из которых наблюдается диффузионное горение газовой смеси при истечении в атмосферу, а при другой - его отсутствие.
22.5.2 По результатам измерений рассчитывают скорость срыва диффузионного горения V, м/с, по формуле

(22.2)
где K - коэффициент расхода форсунки, равный 0,75;

- молекулярная масса исследуемой газовой смеси, кг/моль;
Cp - теплоемкость исследуемой газовой смеси, кДж/(моль·К);
T - температура газа, К;
Pа - атмосферное давление, Pа = 1,01·10 Па;

- избыточное давление, при котором наблюдается срыв диффузионного горения, Па;

.
22.6 Оформление протокола испытаний
Условия и результаты испытаний регистрируют в протоколе, форма которого приведена в
приложении С.
22.7 Требования безопасности
При испытаниях необходимо соблюдать меры безопасности, связанные с работой с открытым огнем.
В процессе подготовки и проведения испытаний следует применять индивидуальные средства защиты, выбираемые в соответствии со свойствами исследуемого вещества.
Рабочее место оператора должно удовлетворять действующим требованиям по электробезопасности и санитарно-гигиеническим требованиям в соответствии с
ГОСТ 12.1.005.
Обслуживающий персонал обязан строго выполнять инструкции по безопасной эксплуатации сосудов, работающих под давлением.
23 Метод экспериментального определения нормальной скорости распространения пламени в нестационарных аэровзвесях
Настоящий стандарт устанавливает метод определения нормальной скорости распространения пламени в нестационарных аэровзвесях при нормальном атмосферном давлении.
Значение нормальной скорости распространения пламени следует применять при моделировании движения пламени по нестационарным пылевоздушным смесям и при расчете скорости нарастания давления взрыва таких смесей в закрытом, негерметичном оборудовании и помещениях критического (гасящего) диаметра, при разработке и создании огнепреградителей, площади легкосбрасываемых конструкций, предохранительных мембран и других разгерметизирующих устройств; при разработке мероприятий по обеспечению пожаровзрывобезопасности технологических процессов в соответствии с требованиями
ГОСТ 12.1.004 и
ГОСТ 12.1.010.
Сущность метода определения нормальной скорости распространения пламени заключается в зажигании точечным источником имитатора аэровзвеси, видеорегистрации распространения пламени и математической обработке результатов видеорегистрации. В рамках данного метода экспериментального определения нормальной скорости распространения пламени по аэровзвеси исследование горения аэровзвеси заменяется экспериментальным исследованием скорости распространения пламени по цилиндрическому образцу того же горючего материала в той же окислительной атмосфере путем видеорегистрации данного процесса с последующей математической обработкой результата.
23.2 Испытательное оборудование
Метод не применим для испытания плавящихся горючих веществ.
Схема установки для определения нормальной скорости распространения пламени по аэровзвеси представлена на
рисунке 23.1. В правом нижнем углу вид сбоку (А-А) на узел размещения образца (увеличен).
Испытательное оборудование включает в себя следующие элементы.
23.2.1 Каркас держателя дисперсного образца на весу, выполненный из алюминиевой проволоки толщиной (2,0 +/- 0,5) мм, с поперечно натянутыми через каждые (10 +/- 1) мм капроновыми нитями толщиной (20 +/- 5) мкм и длиной (40 +/- 4) мм.
23.2.2 Измерительная линейка для отсчета положения пламени.
23.2.3 Ограждение длиной (250 +/- 30) мм, предназначенное для исключения воздействия потоков воздуха приточно-вытяжной вентиляции на процесс горения.
23.2.4 Источник зажигания - горящая спичка по ГОСТ 1820.
23.2.5 Видеокамера с частотой кадров (28 +/- 4) с-1.
23.2.6 Установку следует считать подготовленной к работе, а результаты испытаний удовлетворительными, если полученное значение нормальной скорости распространения пламени для стандартного вещества: хлопковая нить по
ГОСТ 6309, составляет (1,70 +/- 0,25) 10
-2 м/с.
Рисунок 23.1 - Общий вид установки для определения
нормальной скорости распространения пламени по аэровзвеси
23.3 Образцы для испытаний
23.3.1 Устанавливают соответствие исследуемого вещества паспортным данным. Перед началом испытания вещество должно иметь температуру (20 +/- 3) °C.
23.3.2 Объектами экспериментального исследования являются цилиндрические образцы или волокна (далее - образцы) материала того же химического состава, что и горючая компонента аэровзвеси, для которой определяется нормальная скорость распространения пламени Un.
23.3.3 Длина образца должна составлять от 50 до 150 мм.
23.3.4 С помощью микроскопа или штангенциркуля измеряется диаметр образца D, мкм. Он должен находиться в диапазоне от 100 до 500 мкм.
23.4 Проведение испытаний
23.4.1 Образец устанавливается в контейнер горизонтально на натянутых в поперечном к нему направлении капроновых нитях.
23.4.2 В соответствии с инструкцией по эксплуатации видеокамеры определяют ее готовность к работе.
23.4.3 Устанавливают сетчатое ограждение и включают видеокамеру.
23.4.4 Производят зажигание свободного конца волокна горящей спичкой.
23.4.5 Процесс прохождения пламенем контрольного участка длиной от 30 до 100 мм в центральной части образца фиксируется видеокамерой.
23.4.6 Испытание прекращают после того, как пламя преодолеет контрольный участок образца.
23.4.7 Проводят еще два параллельных испытания на той же установке в соответствии с
23.4.1 - 23.4.6 включительно.
23.5 Оценка результатов испытаний
23.5.1 Скорость распространения пламени по образцу для каждого испытания Ui, м/с, вычисляют по формуле
Ui = LF/N, (23.1)
где L - длина контрольного участка прохождения пламени по образцу, м;
F - частота кадров видеокамеры, с-1;
N - число кадров, фиксирующих расположение пламени в пределах контрольного участка прохождения пламени по образцу.
23.5.2 Вычисляют среднее арифметическое значение скорости Uср по результатам, полученным при испытании исследуемого образца горючего.
23.5.3 За нормальную скорость распространения пламени по аэровзвеси с частицами диаметром ds, мкм, принимают скорость, вычисляемую по формуле
Un = UсрD/ds, (23.2)
где D - диаметр образца, мкм.
23.5.4 Условия и результаты испытаний регистрируют в протоколе, форма которого приведена в
приложении Т.
23.5.5 Точность метода определения нормальной скорости распространения пламени составляет 15%.
23.6 Оформление протокола испытаний
В протоколе испытания (см.
приложение Т) приводят следующие сведения:
- наименование и адрес испытательной лаборатории;
- наименование исследуемого образца;
- дату и условия проведения испытаний (температура, атмосферное давление и влажность в лаборатории);
- название и номер установки;
- результаты испытаний;
- характерные особенности проведения испытаний (возможные отклонения от изложенной выше методики проведения исследования, а также особенности процесса распространения пламени);
- ФИО оператора и руководителя лаборатории.
23.7 Требования безопасности
Установку для определения нормальной скорости распространения пламени по аэровзвеси следует помещать в вытяжной шкаф.
При работе с токсичными веществами необходимо применять соответствующие индивидуальные средства защиты.
Рабочее место оператора должно удовлетворять действующим требованиям по электробезопасности и санитарно-гигиеническим требованиям в соответствии с
ГОСТ 12.1.005.
24 Метод экспериментального определения нормальной скорости распространения пламени в стационарных аэровзвесях
Настоящий стандарт устанавливает метод определения нормальной скорости распространения пламени в стационарных аэровзвесях при нормальном атмосферном давлении.
Значение нормальной скорости распространения пламени следует применять при моделировании движения пламени по стационарным пылевоздушным смесям и при расчете скорости нарастания давления взрыва таких смесей в закрытом, негерметичном оборудовании и помещениях критического (гасящего) диаметра, при разработке и создании огнепреградителей, площади легкосбрасываемых конструкций, предохранительных мембран и других разгерметизирующих устройств; при разработке мероприятий по обеспечению пожаровзрывобезопасности технологических процессов в соответствии с требованиями
ГОСТ 12.1.004 и
ГОСТ 12.1.010.
Сущность метода определения нормальной скорости распространения пламени заключается в зажигании точечным источником стационарной аэровзвеси, видеорегистрации распространения пламени и математической обработке результатов видеорегистрации.
24.2 Испытательное оборудование
Испытательное оборудование (см.
рисунок 24.1), состоит из следующих элементов:
- подложка из негорючего материала с низкой теплопроводностью (например, асбеста) длиной не менее 550 мм и шириной не менее 100 мм;
- прямоугольный поддон, выполненный из нержавеющей металлической сетки с размером ячейки (2,0 +/- 1,0) мм, имеющий длину (500 +/- 20) мм, ширину (70 +/- 10) мм и боковые стенки высотой (140 +/- 10) мм. На высоте (70 +/- 10) мм относительно дна поддона вдоль внешней стороны боковых граней отмечен "контрольный уровень" заполнения поддона образцом стационарной аэровзвеси. При этом "максимальный уровень" заполнения соответствует заполнению на всю высоту боковых стенок поддона. Одна из торцевых стенок поддона имеет сквозное отверстие диаметром (25 +/- 5) мм, геометрический центр которого расположен на уровне (35 +/- 5) мм относительно дна поддона и на расстоянии (35 +/- 5) мм от боковых стенок поддона. Для придания форме поддона необходимой жесткости, через каждые 0,1 м длины на поддоне крепятся "корсеты" из алюминиевой проволоки толщиной (2,5 +/- 1,0) мм;
- линейка измерительная металлическая по
ГОСТ 427;
- источник зажигания - горящая спичка по ГОСТ 1820;
- цифровая видеокамера с частотой кадров (28 +/- 4) с-1.
Рисунок 24.1 - Общий вид установки определения нормальной
скорости распространения пламени в стационарных аэровзвесях
24.3 Подготовка к испытаниям
24.3.1 При исследовании горения стационарной аэровзвеси минимальной плотности

поддон заполняют образцом стационарной аэровзвеси до "контрольного уровня" без уплотнения. Для исследования горения стационарной аэровзвеси с плотностью, превосходящей минимальную в 2, 3, 4 и более раз, используют процедуру уплотнения соответственно 1, 2, 3 и более раз. Единичная процедура уплотнения образца состоит в добавлении к уже имеющемуся образцу, заполняющему поддон до "контрольного уровня", новой порции "неуплотненной" стационарной аэровзвеси в объеме от "контрольного уровня" до "максимального уровня" с последующим уплотнением общего объема стационарной аэровзвеси. Уплотнение состоит в механическом смещении верхней границы объединенной стационарной аэровзвеси с "максимального уровня" до "контрольного уровня".
24.3.2 Сбоку от поддона с исследуемым образцом на расстоянии (2,0 +/- 0,1) м располагают видеокамеру для регистрации процесса распространения пламени.
24.3.3 Вдоль боковой стенки поддона, обращенной к видеокамере, располагают линейку, позволяющую фиксировать положение передней границы пламени относительно поддона.
24.4 Образцы для испытаний
Устанавливают соответствие исследуемого вещества паспортным данным.
24.5 Проведение испытаний
24.5.1 Включают видеокамеру.
24.5.2 Образец зажигают пламенем спички, поднося его с внешней стороны к отверстию в торце поддона.
24.5.3 По достижении пламенем противоположного торца поддона видеорегистрацию процесса прекращают.
24.5.4 Процесс повторяют для образцов различной плотности с целью последующего построения графика зависимости скорости распространения пламени по стационарной аэровзвеси от ее плотности.
24.6 Оценка результатов испытаний
24.6.1 К обработке допускаются лишь те опыты, в которых имело место распространение пламени по образцу. Процесс распространения пламени по образцу считается реализованным, если пламя способно распространяться в его объеме. Отсутствие распространения пламени в объеме образца или отсутствие зажигания образца в течение 10 с воздействия пламени спички интерпретируется как отказ.
24.6.2 В опытах, где имело место распространение пламени по образцу, для обработки результатов видеонаблюдения используют "контрольный участок" распространения пламени по образцу. Его длина составляет 250 мм, а его начало и конец располагаются не ближе 100 мм от торцов поддона.
24.6.3 Скорость распространения пламени Un, м/с, в каждом испытании вычисляют по формуле
Un = 0,25f/N, (24.1)
где 0,25 - длина контрольного участка пути, пройденного в образце передним фронтом пламени, м;
f - частота кадров видеокамеры, с-1;
N - число кадров видеосъемки прохождения передним фронтом пламени контрольного участка пути.
24.6.4 За результат испытания принимают среднее арифметическое трех параллельных определений. Допустимое расхождение между наиболее отличающимися результатами, полученными одним оператором при одинаковых условиях испытаний, не должно отличаться более чем на 20%.
24.6.5 Строят зависимость среднего (по параллельным испытаниям) значения скорости распространения пламени по образцу стационарной аэровзвеси от плотности образца. За величину нормальной скорости распространения пламени для стационарных аэровзвесей принимают наибольшее значение показателя скорости на построенном графике.
24.7 Оформление протокола испытаний
В протоколе испытания (см.
приложение У) приводят следующие сведения:
- наименование и адрес испытательной лаборатории;
- наименование исследуемого образца;
- дату и условия проведения испытаний (температура, атмосферное давление и влажность в лаборатории);
- название и номер установки;
- результаты огневых испытаний для каждой плотности исследуемых образцов стационарной аэровзвеси;
- время распространения пламени на контрольном участке исследуемого вещества в каждом испытании;
- значение скорости распространения пламени в каждом испытании;
- среднее арифметическое значение скорости распространения пламени;
- график зависимости среднего (по параллельным испытаниям) значения скорости распространения пламени по образцу стационарной аэровзвеси от плотности образца;
- величину нормальной скорости распространения пламени для стационарных аэровзвесей как наибольшее значение показателя скорости на построенном графике;
- ФИО оператора и руководителя лаборатории.
24.8 Требования безопасности
Прибор для определения распространения пламени следует устанавливать в специальном шкафу, оборудованном вытяжной вентиляцией. При испытании ядовитых веществ или веществ, выделяющих при горении и термическом разложении ядовитые пары или газы, скорость движения воздуха в открытом проеме вытяжного шкафа должна быть не менее 1,5 м/с.
В процессе подготовки образцов исследуемого вещества и проведения испытаний применяют индивидуальные средства защиты, выбираемые в соответствии со свойствами исследуемого вещества.
Оператор должен быть защищен прозрачным защитным экраном.
Рабочее место оператора должно удовлетворять действующим требованиям по электробезопасности и санитарно-гигиеническим требованиям в соответствии с
ГОСТ 12.1.005.
25 Метод экспериментального определения скорости выгорания жидкостей
Метод не применим для испытания жидкостей с кинематической вязкостью более 1,5·10-3 м2/с при 20 °C, давлением насыщенного пара более 19,9 кПа при 20 °C, а также жидкостей, образующих на поверхности при горении твердые продукты реакции.
25.2 Испытательное оборудование
Испытательное оборудование для определения массовой скорости выгорания жидкостей (см. рисунок 25.1) включает в себя следующие элементы.
1 - основание; 2 - блок горелок; 3 - горелка; 4 - сетчатое
ограждение; 5 - теплоизолирующий экран с передвижными
шторками; 6 - уровнемер; 7 - заправочная емкость;
8 - верхняя крышка; 9 - винт; 10 - штуцер; 11, 18 - гибкие
шланги; 12 - измерительный блок; 13 - трубка;
14 - смотровое окно; 15, 19 - стаканы;
16 - трехходовой кран; 17 - нижняя крышка
Рисунок 25.1 - Общий вид установки для определения
массовой скорости выгорания жидкостей
25.2.1 Набор горелок внутренним диаметром 10,0
+0,1, 15,0
+0,1, 18,00
+0,15, 20,00
+0,15, 25,0
+0,2, 30,00
+0,25, 40,00
+0,25, 50,00
+0,25, 60,0
+0,3 мм, высотой (50,0 +/- 0,5) мм, толщиной стенки 0,5
-0,1 мм, выполненных из стали марки 12Х18Н9Т по
ГОСТ 5632.
25.2.2 Блок горелок, служащий для закрепления горелки в рабочем положении, сбора пролитой жидкости в стакан и установки сетчатого ограждения.
25.2.3 Сетчатое ограждение высотой (300 +/- 2) мм и диаметром (200 +/- 2) мм, изготовленное из металлической сетки с размером ячеек от 0,25 до 0,50 мм, предназначено для исключения воздействия потоков воздуха приточно-вытяжной вентиляции на процесс горения.
25.2.4 Заправочная емкость высотой 250 мм, внутренним диаметром 45 мм, герметично закрытая торцевыми крышками, выполнена из нержавеющей стали и служит для поддержания постоянного уровня исследуемой жидкости в горелке. Заполнение емкости жидкостью производят через отверстие в верхней крышке. Заправочная емкость соединена с измерительным блоком гибким шлангом. По вмонтированной в верхнюю крышку трубке в заправочную емкость поступает воздух из атмосферы. Контроль за работой установки осуществляют визуально через смотровое окно по поступлению пузырьков воздуха в заправочную емкость.
Примечание - Допускается в качестве заправочной емкости применять стеклянный сосуд таких же размеров.
25.2.5 Двойной теплоизолирующий экран высотой 460 мм, шириной 230 мм, расположенный между блоком горелок и заправочной емкостью, снабжен передвижными шторками, закрывающими отверстие, через которое проходит соединительный шланг от нижней крышки заправочной емкости к горелке.
25.2.6 Измерительный блок для преобразования изменения давления в верхней части заправочной емкости, пропорционального массе выгоревшей жидкости, в электрический сигнал. Запись сигнала осуществляют электронным потенциометром класса точности не ниже 0,5; ширина диаграммной ленты - не менее 250 мм. Измерительный блок должен фиксировать уменьшение массы (2·10-6 - 1,5·10-4) кг·с-1 и иметь градуировочный коэффициент при максимальной чувствительности не ниже 8,5 мм/г.
25.2.7 Установку следует считать подготовленной к работе и состояние проведения испытаний удовлетворительным, если полученное значение массовой скорости выгорания стандартного вещества этилацетата по
ГОСТ 22300 на горелке диаметром 30 мм составляет (296 +/- 25)·10
-4 кг/(м
2·с).
25.3 Проведение испытания
25.3.1 Устанавливают соответствие исследуемой жидкости паспортным данным. Перед началом испытания жидкость должна иметь температуру (20 +/- 3) °C.
25.3.2 Проверяют герметичность установки, для чего заполняют заправочную емкость и соединенную с ней горелку дистиллированной водой, закрывают наливное отверстие винтом и включают измерительную систему. На диаграмме должна фиксироваться прямая линия, параллельная направлению движения ленты потенциометра. Отклонение каретки потенциометра от этой линии указывает на недостаточную герметичность установки, которую следует устранить.
25.3.3 В соответствии с инструкцией по эксплуатации установки определяют градуировочный коэффициент R измерительной системы, который представляет собой отношение отклонения показаний измерительного прибора к соответствующей ему потере массы жидкости в горелке.
25.3.4 Заполняют заправочную емкость исследуемой жидкостью и проверяют работу установки по
25.3.2. Если исследуемая жидкость имеет давление пара выше допустимого, наблюдаются явления, подобные случаю нарушения герметичности заправочной емкости.
25.3.5 Определяют массовую скорость выгорания жидкости, для чего соединяют заправочную емкость с горелкой, установив уровень жидкости в горелке на высоте ее среза. В зависимости от принятого метода определения скорости выгорания (
21.2 или
21.3) проводят эксперименты на одной горелке или последовательно на горелках разного диаметра. Зажигают жидкость в горелке открытым пламенем или электрической спиралью. Устанавливают сетчатое ограждение и включают регистрирующий прибор.
25.3.6 Если при разгорании жидкость вскипает или, расширяясь, переливается через край горелки, то необходимо произвести плавную корректировку уровня жидкости в горелке, понизив его на минимальное расстояние, позволяющее устранить перечисленные выше эффекты.
25.3.7 В протоколе испытаний фиксируют ламинарный или переходный режим горения жидкости. Ламинарное горение обычно наблюдается в горелках диаметром менее 20 мм и характеризуется отсутствием колебаний и закручивания пламени. Пульсирующее горение следует квалифицировать как переходное.
25.3.8 Испытание прекращают после того, как регистрирующий прибор зафиксирует прямолинейный участок длиной не менее 1/3 длины шкалы показаний регистрирующего прибора.
25.3.9 Проводят еще два параллельных испытания на той же горелке в соответствии с
25.3.4 - 25.3.8 включительно.
25.4 Оценка результатов испытаний
25.4.1 Массовую скорость выгорания каждого испытания (mi), кг/(м2·с), вычисляют по формуле

(25.1)
где

- скорость движения диаграммной ленты, мм/с;

- проекция прямолинейного участка диаграммы на ось абсцисс, мм;
d - внутренний диаметр горелки, мм;
R - градуировочный коэффициент, мм/г;

- проекция прямолинейного участка диаграммы на ось ординат, мм.
Вычисления проводят с точностью до четвертого знака после запятой.
25.4.2 Вычисляют среднее арифметическое значение скорости выгорания

по результатам, полученным при испытании исследуемой жидкости на горелке данного диаметра.
25.4.3 За скорость выгорания исследуемой жидкости принимают скорость выгорания в турбулентном режиме, вычисляемую по
формуле (20.9).
25.4.4 Сходимость метода
[8] при доверительной вероятности 95% не должна превышать 15%.
25.4.5 Воспроизводимость метода
[8] при доверительной вероятности 95% не должна превышать 23%.
25.5 Оформление протокола испытаний
Условия и результаты испытаний регистрируют в протоколе, форма которого приведена в
приложении Ф.
25.6 Требования безопасности
Установку для определения скорости выгорания жидкости следует помещать в вытяжной шкаф. При работе с токсичными веществами необходимо применять соответствующие индивидуальные средства защиты. Рабочее место оператора должно удовлетворять действующим требованиям по электробезопасности и санитарно-гигиеническим требованиям в соответствии с
ГОСТ 12.1.005.
26 Метод экспериментального определения способности взрываться и гореть при взаимодействии с водой, кислородом воздуха и другими веществами
Настоящий стандарт устанавливает требования к методу определения способности взрываться и гореть при взаимодействии с водой, кислородом воздуха и другими веществами.
Сущность метода определения способности взрываться и гореть при взаимном контакте веществ заключается в механическом смешивании исследуемых веществ в заданной пропорции и оценке результатов испытания.
Данные о способности веществ взрываться и гореть при взаимном контакте применяются при определении категории помещений по взрывопожарной и пожарной опасности в соответствии с требованиями норм технологического проектирования; при выборе безопасных условий проведения технологических процессов и условий совместного хранения и транспортирования веществ и материалов; при выборе или назначении средств пожаротушения.
26.2 Испытательное оборудование
Испытательное оборудование, применяемое для определения способности веществ взрываться и гореть при взаимодействии с водой, кислородом воздуха и друг с другом, включает в себя следующие элементы.
26.2.1 Термостат (электрический сушильный шкаф) вместимостью не менее 2 дм3 с терморегулятором, позволяющим поддерживать постоянную температуру рабочей зоны в диапазоне от 25 до 100 °C с погрешностью не более 1 °C.
26.2.2 Термоэлектрические преобразователи среднеинерционные.
26.2.3 Реакционные сосуды из коррозионно-стойкого материала (например, фарфоровые тигли диаметром 50 мм).
26.3 Образцы для испытаний
Устанавливают соответствие исследуемых веществ паспортным данным.
26.4 Проведение испытания
26.4.1 Предварительные испытания веществ на способность взрываться и гореть при взаимодействии друг с другом проводят путем контакта капли, кристаллика или небольшого количества порошкообразного вещества с таким же количеством другого вещества или подачей нескольких капель одного вещества на избыточное количество (до 1 см3) другого вещества.
Если при этом происходит энергичное взаимодействие (взрыв или самовоспламенение) веществ, то такие вещества являются несовместимыми.
26.4.2 Если при контакте малых количеств веществ не происходит активного взаимодействия, то в последующих испытаниях исследуют двухкомпонентные смеси испытуемых веществ в соотношении 10:10, 2:18 и 18:2 см3 (общим объемом 20 см3).
26.4.3 Образцы исследуемых веществ помещают в отдельные реакционные сосуды, устанавливают их в термостат с заданной температурой испытания и выдерживают в течение (40 +/- 10) мин до выравнивания температур исследуемых веществ и рабочей зоны термостата (оценивается по показаниям термоэлектрических преобразователей: два из которых измеряют температуры в центре образцов исследуемых веществ, третий - температуру рабочей зоны термостата).
26.4.4 За температуру испытания принимают показания термоэлектрического преобразователя, измеряющего температуру рабочей зоны термостата.
26.4.5 После выравнивания температур образцов и рабочей зоны термостата, разница между которыми не должна превышать 3 °C, смешивают исследуемые вещества в одном из реакционных сосудов.
26.4.6 Испытание веществ на способность взрываться и гореть при взаимодействии друг с другом длится не менее 2 ч.
26.4.7 Для каждой смеси проводят по три испытания при каждой из температур: 25, 50 и 100 °C.
Температура испытания не должна быть равной температуре изменения агрегатного состояния вещества.
26.5 Оценка результатов испытаний
26.5.1 Если за время не менее 2 ч температура смеси в каждом испытании увеличится не более чем на 5 °C, то вещества считают совместимыми с точки зрения пожарной безопасности и допускается их совместное хранение.
26.5.2 Если температура смеси твердых веществ хотя бы в одном испытании увеличится более чем на 5 °C, то для окончательного вывода о совместимости веществ определяют условия теплового самовозгорания данной смеси.
В случае выявления способности данной смеси к тепловому самовозгоранию считают недопустимым совместное хранение исследуемых веществ.
26.6 Оформление протокола испытаний
Условия и результаты испытаний регистрируют в протоколе, форма которого приведена в
приложении Х.
26.7 Требования безопасности
Взаимодействие некоторых веществ может быть бурным или даже взрывоопасным, поэтому при проведении испытаний необходимо соблюдать особую осторожность и руководствоваться соответствующей документацией по технике безопасности, утвержденной в установленном порядке.
Термостат следует устанавливать в вытяжном шкафу. Рабочее место оператора должно удовлетворять санитарно-гигиеническим требованиям по
ГОСТ 12.1.005.
27 Метод экспериментального определения температурных пределов распространения пламени по паровоздушным смесям
Настоящий стандарт устанавливает метод определения температурных пределов распространения пламени - горючих жидкостей, жидкостей, которые содержат суспендированные твердые вещества, жидкостей, склонных к образованию пленки на поверхности в условиях испытания, жидких, вязких, а также твердых и пастообразных веществ, плавящихся и разжижающихся в условиях испытания.
Метод реализуется в диапазоне температур от минус 50 °C до плюс 300 °C и не применим для испытания полимеризующихся при нагревании, гидролизующихся и быстро окисляющихся жидкостей.
Значения температурных пределов распространения пламени используются при определении группы горючести вещества и материала, при расчете пожаровзрывобезопасных температурных режимов работы технологического оборудования, процессов транспортировки, хранения, использования и утилизации, для расчета концентрационных пределов распространения пламени, а также при разработке мероприятий по обеспечению пожаровзрывобезопасности объектов в соответствии с требованиями действующих нормативно-правовых документов.
Значения температурных пределов распространения пламени следует включать в техническую документацию (в том числе паспорта, технологические регламенты) на вещества и материалы, обращаемые в технологических процессах, а также используемые для эксплуатации объектов.
27.2 Испытательное оборудование
27.2.1 Для испытаний применяются приборы для полуавтоматического или автоматического определения температурных пределов распространения пламени, дающие результаты в пределах допускаемых расхождений по настоящему методу. Прибор включает в себя следующие элементы.
27.2.2 Реакционный сосуд (см.
рисунок 27.1) наружным диаметром (65 +/- 2) мм с тремя горловинами из термостойкого стекла и высотой до нижнего основания горловин (125 +/- 5) мм.
27.2.3 Термостат, обеспечивающий возможность нагрева или охлаждения реакционного сосуда в диапазоне температур испытаний от минус 50 °C до плюс 300 °C, с окошком для наблюдения за воспламенением в реакционном сосуде (при отсутствии датчика воспламенения).
Примечание - Для проведения испытаний при температурах пробы ниже температуры окружающей среды для охлаждения реакционного сосуда помимо технических способов можно использовать охлаждающую баню, содержащую смесь льда с хлористым натрием, либо ацетона или этанола с сухим льдом, либо гексана с жидким азотом. Реакционный сосуд должен быть погружен в охлаждающую баню до основания горловин.
1 - термостат; 2 - термокамера; 3 - крышка термокамеры;
4 - реакционный сосуд; 5 - электронагреватели; 6 - пробка
с электродами; 7 - пробка с клапаном; 8 - пробка
с измерительными термопреобразователями 9;
10 - смотровое окно термостата
Рисунок 27.1 - Реакционный сосуд
27.2.4 Искровой источник зажигания с энергией мощностью (5 +/- 1) Дж, выделяемой в разрядном промежутке за время 1 с. Искровой промежуток между электродами должен составлять (5 +/- 1) мм. Электроды зажигающегося устройства должны располагаться в центре паровоздушного пространства.
Примечание - Для веществ, пары которых не воспламеняются от искрового источника зажигания или содержат большое количество воды, применяют нагреваемую спираль [из нихромовой проволоки диаметром 0,3 мм и длиной 300 мм; внутренний диаметр спирали (5 +/- 1) мм], размещаемую в месте разрядного промежутка. Температура накала спирали от 1000 до 1200 °C, время выхода на рабочую температуру - не более 4 с.
27.2.5 Термоэлектрические преобразователи с максимальным диаметром рабочего спая не более 1 мм для измерения температуры исследуемой жидкости и паровоздушной смеси с погрешностью не более 1 °C или другие измерители температуры с погрешностью не более указанной.
27.2.6 Устройство для продувки реакционного сосуда воздухом и клапан сброса избыточного давления.
Примечание - В качестве клапана допускается использовать плоскую шайбу или шар массой до 6 г, прикрывающие выходное горло сосуда только за счет своего веса, что обеспечивает поддержание в сосуде атмосферного давления при изменении температуры испытаний.
27.2.7 Кроме аппарата Пенски - Мартенса при испытаниях используют следующие приборы:
- таймер с погрешностью не более 1 с для контроля времени термостатирования;
- барометр с погрешностью измерения не более 0,1 кПа.
27.3 Подготовка оборудования
27.3.1 Аппарат устанавливают на устойчивой горизонтальной поверхности.
27.3.2 Испытания проводят в помещении, достаточно затемненном для наблюдений за воспламенением в реакционном сосуде.
27.3.3 При подготовке прибора к проведению испытаний выполняют инструкции изготовителя по проверке, калибровке и эксплуатации.
27.3.4 Пригодность прибора к работе проверяют по испытаниям додекана (C12H26, чистотой не менее 99%), температурные пределы которого должны составлять: нижний - (79 +/- 3) °C, верхний - (119 +/- 5) °C.
27.4 Образцы для испытаний
27.4.1 Образцы хранят в плотно закрытой таре, открывая только на короткое время для отбора пробы для испытаний.
27.4.2 Образцы жидких продуктов перед отбором пробы для испытания следует перемешать осторожным встряхиванием. Образцы нефтепродуктов, содержащие нерастворенную воду, должны быть предварительно обезвожены.
27.4.3 Перед отбором пробы убеждаются соответствию исследуемого образца паспортным данным на вещество.
27.4.4 Образцы твердых, пастообразных продуктов, вязких жидкостей, типа лаков, красок, нефтяных и аналогичных продуктов, веществ, склонных к образованию в условиях испытания пленки на поверхности (далее - вязких веществ), предварительно нагревают до достаточной текучести.
27.4.5 Предполагаемые значения температурных пределов распространения пламени принимают по имеющимся справочным данным либо определяют расчетом в соответствии с
приложением Ц. Предполагаемое значение для нижнего температурного предела образца допускается принимать, исходя из его температуры вспышки в закрытом тигле (для смесей - по данным для компонента с наименьшей температурой вспышки).
27.5 Проведение испытания
Проба образца помещается в негерметично закрытый реакционный сосуд, который нагревают до определенной температуры с последующим термостатированием на время достижения термодинамического равновесия между жидкой и паровой фазами образца. Затем с помощью источника зажигания проводят испытание на воспламенение паровоздушной смеси и установление факта наличия или отсутствия распространения пламени от источника зажигания по всему объему сосуда. Изменяя температуру испытания, находят такие ее значения (минимальное и максимальное), при которых насыщенный пар образует с воздухом смесь, способную воспламеняться от источника зажигания и распространять пламя в объеме реакционного сосуда.
27.5.1 В чистый сухой реакционный сосуд заливают (70 +/- 2) см3 исследуемого образца жидкости.
27.5.2 В горловинах реакционного сосуда устанавливают: искровой источник зажигания, искровой промежуток которого должен находиться в центре паровоздушного пространства сосуда; два термоэлектрических преобразователя таким образом, чтобы рабочий спай одного из них находился в центре слоя жидкости, а рабочий спай другого - в центре паровоздушного пространства; приспособление для продувки сосуда воздухом и клапан для сброса избыточного давления.
Реакционный сосуд помещают в термостат.
27.5.3 При определении нижнего значения температурного предела для первого испытания устанавливают температуру термостата на 10 °C меньше его расчетного значения или значения температуры вспышки в закрытом тигле. При определении верхнего значения температурного предела для первого испытания устанавливают температуру на 15 °C больше его расчетного значения или на 50 °C больше значения нижнего температурного предела, определенного экспериментально.
Примечание - Попытка зажигания смеси при температурах, находящихся в диапазоне между нижним и верхним значением температурных пределов может привести к значительному повышению давления при сгорании паровоздушной смеси и, как следствие, привести к разрушению (взрыву) сосуда.
27.5.4 Включают термостат. При достижении заданной температуры испытания реакционный сосуд с исследуемым образцом термостатируют в течение от 12 до 15 мин для установления термодинамического равновесия между жидкой и паровоздушной фазами внутри сосуда. При этом в течение всего времени термостатирования разница между заданной температурой испытания и температурой жидкой фазы образца, а также между температурами жидкой и паровоздушной фазы не должна превышать 1 °C.
За температуру испытания принимают округленное до целого числа значение температуры жидкой фазы.
27.5.5 Проводят испытание на воспламенение паровоздушной смеси, включая источник зажигания на 1 с либо нагреваемую спираль на 4 с.
27.5.6 Наличие воспламенения паровоздушной смеси оценивают визуально или с помощью датчика. За распространение пламени принимают воспламенение паровоздушной смеси от источника зажигания до боковых стенок и верхней части реакционного сосуда.
27.5.7 Если при испытании на воспламенение получен отрицательный результат, то температуру следующего испытания при определении нижнего предела увеличивают не более чем на 5 °C, при определении верхнего предела - уменьшают не более чем на 5 °C.
Если при испытании на воспламенение получен положительный результат, то температуру следующего испытания при определении нижнего предела уменьшают не более чем на 2 °C, при определении верхнего предела - увеличивают не более чем на 2 °C, пока не находят два таких значения температуры с разницей не более 2 °C, при одном из которых происходит воспламенение, а при другом - отказ.
27.5.8 После каждого испытания на воспламенение независимо от его результатов реакционный сосуд продувают воздухом с умеренной скоростью потока, обеспечивая обмен воздуха не менее трехкратного объема паровоздушного пространства сосуда.
Если исследуемая жидкость явно меняет свои физические свойства или внешний вид, то последующие испытания необходимо проводить с новым образцом.
27.5.9 При отсутствии воспламенения паровоздушной смеси испытания прекращают при достижении температуры кипения исследуемой жидкости или ее компонентов. При отсутствии нижнего предела распространения пламени испытания по определению верхнего предела не проводят, считая его отсутствующим.
27.6 Оценка результатов испытаний
За температурные пределы распространения пламени принимают среднее арифметическое не менее трех пар определений на воспламенение и отказ, полученных на трех образцах исследуемой жидкости, с поправкой на атмосферное давление, и округленное до целого числа, выраженного в градусах Цельсия.
Сходимость и воспроизводимость методов
[8] при доверительной вероятности 95% не должны превышать значений, указанных в
таблице 27.1.
Поправку

на атмосферное давление, °C, вычисляют по формуле

(27.1)
где pа - атмосферное давление, кПа.
Вещество | Допускаемые расхождения, °C |
сходимость | воспроизводимость |
Химические органические вещества и нефтепродукты | 6 | 8 |
Технические смеси и реакционные массы | 9 | 15 |
27.7 Оформление протокола испытаний
Условия и результаты испытаний регистрируют в протоколе, форма которого приведена в
приложении Ш.
Протокол испытания должен содержать:
- наименование и адрес лаборатории с указанием документа аккредитации;
- указание о марке и типе аппарата и оборудования, наличии аттестата метрологической поверки;
- полное наименование исследуемого образца, состав и физико-химические свойства, результаты входного контроля;
- дату и условия проведения испытаний (температура, атмосферное давление и влажность в лаборатории);
- скорректированные на атмосферное давление результаты испытаний;
- характерные особенности проведения испытаний;
- ФИО оператора и руководителя лаборатории.
27.8 Требования безопасности
Прибор для определения температурных пределов распространения пламени следует устанавливать в вытяжном шкафу. Рабочее место оператора должно удовлетворять действующим требованиям по электробезопасности и санитарно-гигиеническим требованиям в соответствии с
ГОСТ 12.1.005.
28 Метод экспериментального определения температуры воспламенения жидкостей
Метод реализуют в диапазоне температур от минус 15 °C до плюс 360 °C и не применяют для испытания полимеризующихся при нагревании, гидролизующихся и быстро окисляющихся жидкостей.
28.2 Испытательное оборудование
Температуру воспламенения определяют в приборах, применяемых для определения температуры вспышки в открытом тигле (см.
30.2).
28.3 Образцы для испытаний
Подготовка к испытаниям (см.
30.3).
28.4 Проведение испытания
Определение температуры воспламенения может осуществляться как самостоятельно, так и одновременно с температурой вспышки на том же образце в соответствии с
30.5.
28.5 Оценка результатов испытаний
Оценка результатов испытаний производится в соответствии с
30.6. Сходимость и воспроизводимость результатов не должна превышать значений, указанных в
30.6.2.
28.6 Оформление протокола испытаний
Условия и результаты испытаний регистрируют в протоколе, форма которого приведена в
приложении Щ.
28.7 Требования безопасности
Прибор для определения температуры воспламенения следует устанавливать в вытяжном шкафу. Рабочее место оператора должно удовлетворять действующим требованиям по электробезопасности и санитарно-гигиеническим требованиям в соответствии с
ГОСТ 12.1.005.
29 Метод экспериментального определения температуры вспышки жидкостей в закрытом тигле
29.1.1 Настоящий стандарт устанавливает метод определения температуры вспышки в аппарате Пенски - Мартенса с закрытым тиглем - горючих жидкостей; жидкостей которые содержат суспендированные твердые вещества; жидкостей, склонных к образованию пленки на поверхности в условиях испытания; жидких, вязких, а также твердых и пастообразных веществ, плавящихся и разжижающихся в условиях испытания.
29.1.2 Метод реализуется в диапазоне температур от минус 50 °C до плюс 360 °C и не применим для испытания полимеризующихся при нагревании, гидролизующихся и быстро окисляющихся жидкостей.
29.1.3 Метод соответствует
[3] в части аппаратуры закрытого тигля Пенски - Мартенса, скорости нагревания образца и проведения испытания на вспышку в закрытом тигле (метод А), за исключением скорости нагревания образца и проведения испытания для пастообразных продуктов и вязких веществ.
29.1.4 Значения температуры вспышки в закрытом тигле используются при определении группы горючести вещества и материала, при определении категории помещений по взрывопожарной и пожарной опасности, при оценке пожарной и взрывопожарной опасности оборудования и технологических процессов производства, транспортировки, хранения, использования и утилизации, при разработке мероприятий по обеспечению пожаровзрывобезопасности объектов в соответствии с требованиями действующих нормативно-правовых документов. Значения температуры вспышки в закрытом тигле следует включать в техническую документацию (в том числе паспорта, технологические регламенты) на вещества и материалы, обращаемые в технологических процессах, а также используемые для эксплуатации объектов.
29.2 Испытательное оборудование
29.2.1 Для испытаний применяются аппараты Пенски - Мартенса с закрытым тиглем для ручного или автоматического определения температуры вспышки, дающие результаты в пределах допускаемых расхождений по настоящему методу.
Примечание - При возникновении спорных случаев и разногласий по значениям температуры вспышки в закрытом тигле, полученным с использованием автоматических аппаратов, указанные показатели следует определить вручную.
Аппараты Пенски - Мартенса включают в себя следующие основные элементы.
29.2.2 Тигель (см.
рисунок 29.1) высотой (55,9 +/- 0,1) мм, внутренним диаметром 50,8 мм, выполненный из коррозионно-стойкого металла, с указателем уровня заполнения на глубине 21,8 мм от верхнего края тигля. Тигель снабжен хорошо пригнанной крышкой с мешалкой, открывающейся заслонкой и зажигающей горелкой.
29.2.3 Устройство для нагревания тигля, обеспечивающее скорость нагревания от 5 до 6 °C/мин.
Примечание - Нагревание тигля с твердыми, пастообразными продуктами и вязкими жидкостями типа лаков, красок, нефтяных и аналогичных продуктов можно проводить в жидкостной бане достаточной теплоемкости, позволяющей регулировать скорость нагрева в заданном режиме.
Для проведения испытаний при температурах пробы ниже температуры окружающей среды тигель охлаждают. Помимо технических способов охлаждения можно использовать охлаждающую баню, содержащую смесь льда с хлористым натрием, либо ацетона или этанола с сухим льдом, либо гексана с жидким азотом. Тигель должен быть погружен в охлаждающую баню до уровня испытательной пробы внутри тигля.
1 - зажигающая горелка; 2 - заслонка; 3 - термометр;
4 - пружинный механизм; 5 - крышка; 6 - мешалка;
7 - тигель; 8 - штифт-фиксатор крышки
Рисунок 29.1 - Аппарат Пенски - Мартенса
с закрытым тиглем
29.2.4 Испытательная газовая горелка, имеющая пламя в форме шара диаметром (4,0 +/- 0,5) мм. В качестве газа допускается использование природного газа (метана), а также пропана, бутана. Допускается применение электрического источника зажигания (разогреваемой проволоки), устанавливаемой в нагреваемой части зажигающего устройства в отверстие испытательной крышки так же, как и зажигающей газовой горелки.
Примечание - Использование электрического источника зажигания в некоторых случаях может дать результаты, отличающиеся от полученных при использовании газовой зажигающей горелки. В спорных случаях температуру вспышки следует определять вручную при использовании газовой зажигающей горелки.
29.2.5 При испытаниях используют следующие средства измерения и прибора контроля за условиями окружающей среды:
- термометры типов ТН 1-1, ТН 1-2, ТН-6 по
ГОСТ 400 с делением шкалы не более 1 °C или другие измерители температуры с погрешностью не более указанной;
- секундомер с погрешностью не более 1 с для контроля скорости нагревания жидкости;
- барометр с погрешностью измерения не более 0,1 кПа.
29.2.6 Аппарат устанавливают на устойчивой горизонтальной поверхности.
29.2.7 Испытания проводят в помещении, достаточно затемненном для наблюдения за вспышкой и без сквозняка. При работе в вытяжном шкафу скорость движения воздуха следует поддерживать без создания заметного движения над тиглем.
Примечание - Для защиты аппарата от движений воздуха рекомендуется применение трехстворчатого экрана с шириной створки 460 мм и высотой 610 мм.
Результаты испытаний, проведенных в лаборатории под тягой или в другом месте, где имеется вытяжка, могут быть не вполне надежны.
29.2.8 При подготовке ручного или автоматического прибора к проведению испытаний выполняют инструкции изготовителя по проверке, калибровке и эксплуатации.
29.2.9 Аппараты и правильность результатов определений проверяются по стандартным образцам
[2]. Аппарат пригоден к испытанию и выдержаны условия испытания, если полученный результат определения температуры вспышки стандартного образца не превышает абсолютной погрешности его аттестованной характеристики. Порядок применения стандартного образца изложен в инструкции к свидетельству.
Для проверки аппаратов и правильности результатов определений также допускается использовать сертифицированные стандартные образцы и методики, предусмотренные соответствующими положениями
[3].
29.3 Образцы для испытаний
29.3.1 Образцы хранят в плотно закрытой таре, открывая только на короткое время для отбора пробы для испытаний.
29.3.2 Образцы жидких продуктов перед отбором пробы для испытания следует перемешать осторожным встряхиванием. Образцы нефтепродуктов, содержащие нерастворенную воду, должны быть предварительно обезвожены.
29.3.3 Перед отбором пробы убеждаются соответствию исследуемого образца паспортным данным на вещество.
29.3.4 Отбор пробы для испытания проводят при температуре образца не менее чем на 18 °C ниже предполагаемой температуры вспышки в закрытом тигле. При необходимости образец охлаждают.
Образцы твердых, пастообразных продуктов, вязких жидкостей типа лаков, красок, нефтяных и аналогичных продуктов, веществ, склонных к образованию в условиях испытания пленки на поверхности (далее - вязких веществ), предварительно нагревают до достаточной текучести, но не более чем до температуры, которая на 28 °C ниже предполагаемой температуры вспышки.
Примечание - Температуру жидкостной бани при определении температуры вспышки вязких веществ устанавливают примерно на 5 °C ниже предполагаемой температуры вспышки.
Значение предполагаемой температуры вспышки жидкости в закрытом тигле принимают по имеющимся справочным данным (для смесей - по данным для компонента с наименьшей температурой вспышки), либо определяют расчетом в соответствии с
приложением Э, либо проводят предварительное испытание.
29.4 Проведение испытаний
29.4.1 Исследуемый образец наливают в чистый сухой тигель до метки (приблизительно 75 см3 жидкости). При наполнении тигля выше метки избыток жидкости удаляют пипеткой или другим соответствующим приспособлением. При попадании жидкости на внешние стенки тигель освобождают от пробы и заново моют и сушат.
29.4.2 Тигель закрывают крышкой и устанавливают в аппарат. Перед проведением каждого нового испытания аппарат должен иметь комнатную температуру. В соответствующий держатель устанавливают измеритель температуры.
29.4.3 Зажигают газовую горелку, регулируя напор газа для получения на конце зажигательного устройства шара пламени диаметром (4,0 +/- 0,5) мм.
29.4.4 Включают перемешивающее устройство, обеспечивая частоту вращения от 90 до 120 мин-1. При испытании вязких веществ ограничений на частоту вращения мешалки не вводят.
29.4.5 Включают обогрев прибора и нагревают исследуемую пробу со скоростью от 5 до 6 °C/мин. При испытании вязких веществ (см.
примечание к 30.5.4) скорость нагревания должна составлять не более 1 °C за 3 мин. При использовании жидкостной бани нагревание ведут с такой скоростью, чтобы разница между температурами жидкости в бане и исследуемого образца в закрытом тигле не превышала 2 °C.
29.4.6 Испытание на вспышку в закрытом тигле начинают проводить при достижении температуры пробы на (23 +/- 5) °C ниже предполагаемой температуры вспышки и повторяют через каждый 1 °C повышения температуры для жидкостей с предполагаемой температурой вспышки до 110 °C и через каждые 2 °C - для жидкостей с температурой вспышки более 110 °C.
Испытание на вспышку для вязких веществ начинают проводить за 5 °C до предполагаемой температуры вспышки и повторяют через каждые 0,5 °C повышения температуры.
29.4.7 Для проведения испытания на вспышку перемешивание прекращают. Поворотом пружинного механизма открывают заслонку на крышке и опускают источник зажигания внутрь тигля за время 0,5 с, оставляют в нижнем положении 1 с и быстро возвращают в исходное положение. При открывании и закрывании заслонки следят за пламенем.
29.4.8 Если пламя горелки погасло в момент открывания крышки, результат этого определения не учитывают.
29.4.9 За температуру вспышки принимают показания измерителя температуры пробы в момент первого появления пламени над всей поверхностью жидкости. Голубоватый ореол, иногда окружающий испытательное пламя, а также вспышку паров над поверхностью крышки тигля не учитывают.
29.4.10 Если вспышка произошла сразу же при первом применении испытательного пламени, эксперимент прекращают и проводят заново со свежей пробой, используя полученное значение в качестве предполагаемой температуры вспышки.
29.4.11 При достижении температуры кипения нагрев и испытание проб прекращают.
29.5 Оценка результатов испытаний
29.5.1 За результат определения температуры вспышки образца принимают среднее арифметическое значение результатов двух определений при испытании вязких веществ и трех определений при испытании других жидкостей, с поправкой на атмосферное давление, и округленное до целого числа, выраженного в градусах Цельсия.
Поправку

на атмосферное давление, °C, вычисляют по формуле

(29.1)
где pа - атмосферное давление, кПа.
29.5.2 Сходимость и воспроизводимость методов
[8] при доверительной вероятности 95% не должны превышать значений, указанных в таблице 29.1.
Таблица 29.1
Вещество | Температура вспышки, °C | Допускаемые расхождения |
сходимость | воспроизводимость |
Химические органические вещества и нефтепродукты | До 104 | 2,0 | 3,5 |
Св. 104 | 5,5 | 8,0 |
Вязкие жидкости типа лаков, красок, эмалей, нефтяных и аналогичных продуктов, жидкости, склонные к образованию в условиях испытания поверхностной пленки или содержащие суспендированные твердые вещества | - | 2,0 | 6,0 |
Высоковязкие вещества, твердые, пастообразные продукты | - | 5,0 | 10,0 |
29.6 Оформление протокола испытаний
Условия и результаты испытаний регистрируют в протоколе, форма которого приведена в
приложении Щ.
Протокол испытания должен содержать:
- наименование и адрес лаборатории с указанием документа аккредитации;
- указание о марке и типе аппарата и оборудования, наличии аттестата метрологической поверки;
- полное наименование исследуемого образца, состав и физико-химические свойства, результаты входного контроля;
- дату и условия проведения испытаний (температура, атмосферное давление и влажность в лаборатории);
- скорректированные на атмосферное давление результаты испытаний;
- характерные особенности проведения испытаний;
- ФИО оператора и руководителя лаборатории.
29.7 Требования безопасности
Прибор для определения температуры вспышки следует устанавливать в вытяжном шкафу. Рабочее место оператора должно удовлетворять действующим требованиям по электробезопасности и санитарно-гигиеническим требованиям в соответствии с
ГОСТ 12.1.005.
30 Метод экспериментального определения температуры вспышки жидкостей в открытом тигле
Настоящий стандарт устанавливает метод определения в открытом тигле по Кливленду температуры вспышки и температуры воспламенения горючих жидкостей, жидкостей, которые содержат суспендированные твердые вещества, жидкостей, склонных к образованию пленки на поверхности в условиях испытания, вязких, жидких, а также твердых и пастообразных веществ, плавящихся и разжижающихся в условиях испытания.
Метод реализуется в диапазоне температур от минус 50 °C до плюс 360 °C и не применим для испытания полимеризующихся при нагревании, гидролизующихся и быстро окисляющихся жидкостей.
Метод соответствует стандартам
[4],
ГОСТ 4333 (метод А) в части аппаратуры, определения температур вспышки и воспламенения нефтепродуктов в открытом тигле по Кливленду, значений сходимости и воспроизводимости результатов испытаний.
Температура вспышки и воспламенения в открытом тигле ориентировочно характеризует температурные условия, при которых горючее вещество становится огнеопасным в открытом сосуде или при проливе.
Значения температуры вспышки и температуры воспламенения в открытом тигле используются при определении группы горючести вещества и материала, при оценке пожарной опасности оборудования и технологических процессов производства, транспортировки, хранения, использования и утилизации, при разработке мероприятий по обеспечению пожарной безопасности объектов в соответствии с требованиями действующих нормативно-правовых документов.
30.2 Испытательное оборудование
30.2.1 Для испытаний применяются аппараты для ручного или автоматического определения температур вспышки и воспламенения в открытом тигле, дающие результаты в пределах допускаемых расхождений по методу Кливленда.
Примечание - При возникновении спорных случаев и разногласий по значениям температур вспышки и воспламенения, полученных с использованием автоматических аппаратов, указанные показатели следует определить вручную.
Аппаратура для испытаний должна включать в себя следующие основные элементы.
30.2.2 Открытый тигель Кливленда с внутренним указателем уровня заполнения (см.
рисунок 30.1), выполненный из коррозионно-стойкого материала.
30.2.3 Устройство для нагревания тигля, обеспечивающее скорость нагревания до 17 °C/мин.
30.2.4 Для проведения испытаний при температурах пробы ниже температуры окружающей среды тигель охлаждают. Помимо технических способов охлаждения можно использовать охлаждающую баню, содержащую смесь льда с хлористым натрием, либо ацетона или этанола с сухим льдом, либо гексана с жидким азотом. Тигель должен быть погружен в охлаждающую баню до уровня испытательной пробы внутри тигля.
30.2.5 Испытательная газовая горелка, имеющая пламя в форме шара диаметром (4,0 +/- 0,5) мм. В качестве газа допускается использование природного газа (метана), а также пропана, бутана.
30.2.6 Трехстворчатый экран с шириной створки 460 мм и высотой 610 мм для защиты поверхности тигля от потоков воздуха.
30.2.7 Термометры типа ТН-2 и ТИН-3 по
ГОСТ 400 с делением шкалы не более 1 °C или другие измерители температуры с погрешностью не более указанной.
30.2.8 Секундомер с погрешностью не более 1 с для контроля скорости нагревания жидкости.
30.2.9 Барометр с погрешностью измерения не более 0,1 кПа.
Рисунок 30.1 - Открытый тигель Кливленда
30.3 Образцы для испытаний
30.3.1 Образцы хранят в закрытой таре, открывая только на короткое время для отбора пробы для испытаний.
30.3.2 Образцы жидких продуктов перед отбором пробы для испытания следует перемешать осторожным встряхиванием. Образцы нефтепродуктов, содержащие нерастворенную воду, должны быть предварительно обезвожены.
30.3.3 Перед отбором пробы убеждаются соответствию исследуемого образца паспортным данным на вещество.
30.3.4 Отбор пробы для испытания проводят при температуре образца не менее чем на 28 °C ниже предполагаемой температуры вспышки. При необходимости образец охлаждают.
Образцы твердых, пастообразных продуктов и вязких жидкостей предварительно разогревают до достаточной текучести, но не более чем до температуры, которая на 56 °C ниже предполагаемой температуры вспышки.
Значение предполагаемой температуры вспышки жидкости в открытом тигле принимают по имеющимся справочным данным (для смесей - по данным для компонента с наименьшей температурой вспышки), либо проводят предварительное испытание, или определяют расчетом в соответствии с
приложением Ю.
30.4 Подготовка оборудования
30.4.1 Испытательное оборудование устанавливают на устойчивой горизонтальной поверхности в помещении без сквозняка и достаточно затемненном для наблюдения за воспламенением.
30.4.2 Испытательный тигель с трех сторон окружают экраном для защиты от движений воздуха, которые могут привести к искажению результатов испытаний. При работе в вытяжном шкафу скорость движения воздуха следует поддерживать без создания заметного движения над тиглем.
Примечание - Результаты испытаний, проведенных в лаборатории под тягой или в другом месте, где имеется вытяжка, могут быть не вполне надежны.
30.4.3 При подготовке ручного или автоматического прибора к проведению испытаний выполняют инструкции изготовителя по проверке, калибровке и эксплуатации.
30.4.4 Аппараты и правильность результатов определений проверяются по стандартным образцам
[1]. Аппарат пригоден к испытанию и выдержаны условия испытания, если полученный результат определения температуры вспышки стандартного образца не превышает абсолютной погрешности его аттестованной характеристики. Порядок применения стандартного образца изложен в инструкции к свидетельству.
Для проверки аппаратов и правильности результатов определений также допускается использовать сертифицированные стандартные образцы и методики, предусмотренные соответствующими положениями
[4].
30.5 Проведение испытания
30.5.1 Исследуемый образец наливают в чистый сухой тигель до метки (приблизительно 70 см3 жидкости). При наполнении тигля выше метки избыток жидкости удаляют пипеткой или другим соответствующим приспособлением. При попадании жидкости на внешние стенки тигель освобождают от пробы и заново моют и сушат.
30.5.2 Тигель помещают в аппарат. Перед проведением каждого нового испытания аппарат должен полностью охладиться от предыдущего. В тигель вертикально опускают измеритель температуры на расстояние 6 мм от дна и помещая его в точке, лежащей посередине между центром и стенкой тигля.
30.5.3 Зажигают газовую горелку, регулируя напор газа для получения на конце зажигательного устройства шара пламени диаметром (4,0 +/- 0,5) мм.
30.5.4 Включают обогрев и регулируют скорость нагрева тигля с пробой.
При испытаниях проб с предполагаемой температурой вспышки ниже 79 °C скорость нагревания должна составлять от 5 до 6 °C/мин.
При испытаниях проб с предполагаемой температурой вспышки выше 79 °C скорость нагревания на начальном этапе должна составлять от 5 до 17 °C/мин. За 56 °C до предполагаемой температуры вспышки обогрев уменьшают настолько, чтобы скорость нагрева за последние 28 °C до температуры вспышки была равна от 5 до 6 °C/мин.
Для жидкостей с неизвестной температурой вспышки проводят ее предварительное определение, нагревая пробу со скоростью от 5 до 6 °C/мин во всех диапазонах температур.
При испытаниях вязких веществ, а также жидкостей, склонных к образованию поверхностной пленки, нагревание пробы за 5 °C до предполагаемой температуры вспышки следует проводить со скоростью не более 1 °C за 3 мин.
Примечание - Высокая вязкость характеризуется наличием неравномерного прогрева по объему пробы, проверяемого путем кратковременного изменения местоположения измерителя температуры и сравнением значений наблюдаемой температуры в различных точках пробы.
30.5.5 Испытания пробы на вспышку начинают при достижении температуры пробы на 28 °C (5 °C - для вязких веществ, а также склонных к образованию поверхностной пленки) ниже предполагаемой температуры вспышки и при дальнейшем повышении температуры повторяют через каждые 2 °C (1 °C - для вязких веществ, а также склонных к образованию поверхностной пленки).
Примечание - В процессе нагрева пробы до вышеуказанных температур начала стандартных испытаний рекомендуется несколько раз произвести испытание на вспышку для обнаружения возможного присутствия в веществе легколетучих воспламеняемых продуктов. При наличии визуального присутствия таких продуктов в процессе начального нагрева указанное испытание на вспышку следует применять через каждые 10 °C.
Перед каждым испытанием на вспышку вязких жидкостей, а также веществ, склонных к образованию поверхностной пленки, образец перемешивают в течение от 3 до 4 с при помощи стеклянной палочки, погружая ее на глубину от 12 до 15 мм. Затем палочку вынимают и проводят испытания.
30.5.6 Для проведения испытания пламя газовой горелки равномерно без остановок перемещают в горизонтальной плоскости над тиглем в течение 1 с, в одном направлении. Расстояние от нижнего края пламени до верхнего края тигля должно составлять не более 2 мм. При последующем испытании пламя зажигания перемещают в обратном направлении.
Вспышкой считается кратковременное возгорание паров над частью или над всей поверхностью пробы после применения испытательного пламени.
Примечание - Вспышку не следует путать с ореолом, иногда окружающим испытательное пламя. В случае появления неясной вспышки результат должен быть подтвержден последующей вспышкой через 2 °C (1 °C - для вязких веществ, а также жидкостей, склонных к образованию поверхностной пленки).
30.5.7 За температуру вспышки в открытом тигле принимают температуру пробы, при которой после применения испытательного пламени появляется кратковременное (менее 5 с) возгорание паров над частью или над всей поверхностью жидкости, при этом при температуре предшествующего испытания появление пламени не происходит.
30.5.8 Определение температуры воспламенения может осуществляться как при самостоятельных испытаниях, так и одновременно с температурой вспышки на том же образце. Для этого после получения вспышки образец продолжают нагревать в том же режиме, что и при определении температуры вспышки. Испытание на воспламенение при дальнейшем повышении температуры повторяют через каждые 2 °C (1 °C - для вязких жидкостей, а также веществ, склонных к образованию поверхностной пленки).
30.5.9 За температуру воспламенения в открытом тигле принимают температуру пробы, при которой образующиеся над ее поверхностью пары после применения испытательного пламени воспламеняются по всей поверхности жидкости и продолжают гореть не менее 5 с после его удаления.
Примечание - Температура вспышки и температура воспламенения иногда могут совпадать, в то же время при наличии у вещества температуры вспышки воспламенение может отсутствовать.
30.5.10 Если вспышка или воспламенение произошли сразу же при первом применении испытательного пламени, эксперимент прекращают и проводят заново со свежей пробой, используя полученное значение в качестве предполагаемой температуры вспышки.
30.5.11 При отсутствии температуры вспышки или воспламенения нагрев и испытание проб индивидуальных однокомпонентных веществ прекращают при достижении температуры кипения.
Для проб смесей и растворов, содержащих легкокипящие негорючие (в том числе воду) или трудногорючие компоненты, за результат испытания принимают наличие или отсутствие температуры вспышки или воспламенения до момента достижения видимого кипения и начала заметного снижения уровня жидкости в тигле.
Если вспышка или воспламенение отсутствуют, нагрев и испытания продолжают до выкипания негорючих или трудногорючих компонентов. Результаты этого испытания не учитывают, однако факт появления горения паров образца после выкипания указанных компонентов отмечают в протоколе и учитывают при определении группы горючести в соответствии с
19.3.
30.6 Оценка результатов испытаний
30.6.1 За результат определения температуры вспышки и температуры воспламенения образца в открытом тигле принимают среднее арифметическое значение результатов трех определений, с поправкой на атмосферное давление (во время испытания) и округленное до целого числа, выраженного в градусах Цельсия.
Поправку

на атмосферное давление, °C, вычисляют по формуле

(30.1)
где pа - атмосферное давление, кПа.
30.6.2 Сходимость и воспроизводимость методов
[8] при доверительной вероятности 95% не должны превышать значений, указанных в таблице 30.1.
Таблица 30.1
Наименование показателя | Сходимость, °C | Воспроизводимость, °C |
Температура вспышки | 5 | 16 |
Температура воспламенения | 8 | 14 |
30.7 Оформление протокола испытаний
Условия и результаты испытаний регистрируют в протоколе, форма которого приведена в
приложении Щ.
Протокол испытания должен содержать:
- наименование и адрес лаборатории с указанием документа аккредитации;
- указание о марке и типе аппарата и оборудования, наличии аттестата метрологической поверки;
- полное наименование исследуемого образца, состав и физико-химические свойства, результаты входного контроля;
- дату и условия проведения испытаний (температура, атмосферное давление и влажность в лаборатории);
- скорректированные на атмосферное давление результаты испытаний;
- характерные особенности проведения испытаний;
- ФИО оператора и руководителя лаборатории.
30.8 Требования безопасности
Прибор для определения температуры вспышки следует устанавливать в вытяжном шкафу. Рабочее место оператора должно удовлетворять действующим требованиям по электробезопасности и санитарно-гигиеническим требованиям в соответствии с
ГОСТ 12.1.005.
31 Метод экспериментального определения температуры самовоспламенения жидкостей и газов
Настоящий стандарт устанавливает метод определения температуры самовоспламенения пара или газа в воздухе при нормальном атмосферном давлении.
Метод реализуется в диапазоне температур от 25 до 600 °C.
Значение температуры самовоспламенения следует применять при определении группы взрывоопасной смеси для выбора типа взрывозащищенного электрооборудования, а также при разработке мероприятий по обеспечению пожаровзрывобезопасности технологических процессов.
31.2 Испытательное оборудование
31.2.1 Для испытаний применяются печи, сконструированные в соответствии
с ГОСТ 30852.5. Допускается использовать аппараты с аналогичными характеристиками по равномерности нагрева испытательной колбы, дающие результаты в пределах допускаемых расхождений по настоящему методу.
Испытательное оборудование для определения температуры самовоспламенения должно включать в себя следующие элементы.
31.2.2 Испытательная колба - колба Erlenmeyer вместимостью 200 см
3 из термически устойчивого (боросиликатного) либо кварцевого стекла (Кн-200 по
ГОСТ 19908). Для испытаний должна использоваться химически чистая колба.
Примечание - Если температура самовоспламенения исследуемого вещества превышает температуру размягчения стекла колбы, допускается применять аналогичные колбы из металла (это необходимо указать в протоколе испытаний).
31.2.3 Воздушный нагревательный термостат (см. рисунок 31.1), обеспечивающий равномерный нагрев верхней, средней и нижней частей колбы до заданной температуры путем независимой регулировки каждого из трех нагревателей.
1 - реакционный сосуд; 2 - воздушный термостат с крышкой;
3 - термоэлектрические преобразователи; 4 - зеркало;
5 - нагреватели
Рисунок 31.1 - Воздушный нагревательный термостат
31.2.4 Для измерения температуры колбы используют три калиброванных термоэлектрических преобразователя максимальным диаметром рабочего спая не более 0,8 мм, расположенных в выбранных точках в тесном контакте с внешней поверхностью колбы (см. рисунок 31.1).
31.2.5 Для удобства наблюдения за внутренним объемом колбы на крышке печи на высоте примерно 250 мм над колбой закрепляют зеркало (см.
рисунок 31.1).
31.2.6 Для дозированной подачи газов рекомендуется использовать газонепроницаемый стеклянный калиброванный шприц вместимостью 200 см3 (цена деления не более 10 см3), снабженный трехходовым краном (см. рисунок 31.2).
1 - огнепреградитель (с перегородками); 2 - кран;
3 - герметичный шприц; 4 - резервуар с газом
Рисунок 31.2 - Схема дозированной подачи газов
Для дозированной подачи жидкостей используют:
а) шприц вместимостью 0,25 или 1 см3 и ценой деления не более 0,01 см3, снабженный антикоррозионной стальной иглой с диаметром отверстия не более 0,15 мм;
б) аттестованную мерную пипетку вместимостью 1 см3, позволяющую выпустить 1 см3 дистиллированной воды при комнатной температуре от 35 до 40 капель.
Для дозированной подачи вязких и твердых веществ готовят несколько проб, отличающихся друг от друга от 0,05 до 0,10 г с погрешностью не более 0,01 г.
Примечание - Допускается использовать другие дозирующие средства, обеспечивающие указанные параметры.
31.2.7 Кроме испытательного оборудования используют следующие приборы:
- таймер для определения периода индукции самовоспламенения с погрешностью не более 1 с;
- устройство продувки реакционного сосуда чистым воздухом;
- барометр с погрешностью измерения не более 0,1 кПа.
31.3 Подготовка оборудования
31.3.1 Термостат устанавливают на устойчивой горизонтальной поверхности.
31.3.2 Испытания проводят в помещении, достаточно затемненном для наблюдения за самовоспламенением. При работе в вытяжном шкафу скорость движения воздуха следует поддерживать без создания заметного движения над горлом сосуда.
31.3.3 При подготовке аппаратуры к проведению испытаний выполняют инструкции изготовителя по проверке, калибровке и эксплуатации.
31.3.4 Пригодность аппаратуры по равномерному нагреву колбы и правильность проведения испытаний следует считать удовлетворительными, если полученные значения температур самовоспламенения соответствуют данным таблицы 31.1 с допустимыми отклонениями по сходимости и воспроизводимости метода.
Таблица 31.1
Вещество | Температура самовоспламенения, °C |
н-Гептан | 220 |
Этилен | 435 |
Бензол | 560 |
Примечание - Вещества, используемые для проверки аппарата, должны иметь чистоту не менее 99,9%.
31.4 Образцы для испытаний
31.4.1 Образцы хранят в плотно закрытой таре, открывая только на короткое время для отбора пробы для испытаний.
31.4.2 Образцы жидких продуктов перед отбором пробы для испытания следует перемешать осторожным встряхиванием.
31.4.3 Перед отбором пробы убеждаются соответствию исследуемого образца паспортным данным на вещество.
31.4.4 Если испытуемое вещество является жидкостью с температурой кипения, близкой к температуре окружающей среды, его надо охладить, чтобы избежать изменения агрегатного состояния до введения вещества в колбу и обеспечить правильное дозирование.
Вязкие, пастообразные и твердые вещества для обеспечения правильного дозирования нагревают до температуры разжижения либо применяют в твердом состоянии заранее подготовленными навесками.
31.5 Проведение испытания
Сущность метода: проба вещества заданного объема вводится в нагретую открытую колбу, затем проводится наблюдение за возможным самовоспламенением. Испытание проводят с различными температурами колбы и объемами пробы. Наименьшую температуру колбы, при которой происходит самовоспламенение, принимают в качестве температуры самовоспламенения в воздухе при атмосферном давлении.
31.5.1 Чистую реакционную колбу размещают внутри воздушного термостата, устанавливают термоэлектрические преобразователи в соответствии с
рисунком 31.1 и проверяют наличие контакта рабочих спаев с внешней поверхностью колбы.
31.5.2 Включают нагрев термостата.
31.5.3 Нагревают колбу до температуры испытания, при этом показания термопар перед началом испытания должны находиться в пределах +/- 1 °C от испытательной температуры в течение не менее 1 мин.
31.5.4 Вводят пробу вещества в колбу.
Пробу жидкого исследуемого вещества вводят в центр колбы за время не более 2 с, не допуская ее попадания на стенки колбы. После ввода пробы дозирующее устройство быстро извлекают из колбы.
Газообразные пробы равномерно вводят с помощью предварительно наполненного герметичного шприца со скоростью около 2·10-5 м3/с.
Пробы вязких веществ допускается вносить в колбу на алюминиевой фольге.
31.5.5 В момент окончания ввода пробы запускают таймер и наблюдают за реакцией в колбе до появления пламени и/или хлопка. В этот момент таймер останавливают и регистрируют период индукции самовоспламенения. Если пламя не наблюдают в течение 5 мин, испытание считают законченным.
31.5.6 После каждого испытания колбу продувают воздухом, после чего она должна принять необходимую температуру испытания. В случае заметных загрязнений колбы твердыми продуктами сгорания ее очищают или заменяют чистой. Замена сосуда производится также перед проведением испытания каждого нового вещества и перед каждой серией заключительных испытаний.
31.5.7 Испытания проводят при различных температурах с различными объемами проб до определения минимальной температуры, при которой произошло самовоспламенение.
31.5.8 С целью предварительного определения температуры самовоспламенения проводят первоначальные испытания. Для этого на нескольких пробах первичного объема, изменяя температуру испытания ступенями через 25, 10, 5 °C, находят минимальную температуру, при которой происходит самовоспламенение, а также температуру, на 5 °C ниже которой самовоспламенение не наблюдается.
Рекомендуемая величина первичной пробы для предварительного испытания жидкостей - 0,4 см3, газов - 20 см3, вязких и твердых веществ - массой 0,2 г.
31.5.9 Затем проводят испытания по определению наиболее легко самовоспламеняющегося количества вещества, выбирая 6 - 8 проб, отличающихся от 0,05 до 0,2 см3 для жидких и от 4 до 5 см3 для газообразных проб.
Для каждой из них, изменяя температуру опыта вблизи температуры самовоспламенения, полученной при предварительных испытаниях, ступенями через 25, 10, 5 °C находят минимальную температуру, при которой происходит самовоспламенение, а также температуру, на 5 °C ниже которой самовоспламенение не наблюдается.
По полученным данным строят график зависимости температуры самовоспламенения от объема пробы (приблизительный вид получаемой зависимости представлен на рисунке 31.3). Объем пробы, соответствующий минимуму полученной кривой, принимают за наиболее легко самовоспламеняющееся количество исследуемого вещества.
Рисунок 31.3 - График зависимости температуры
самовоспламенения от объема пробы
31.5.10 Заключительные испытания проводят с наиболее легко самовоспламеняющимся количеством вещества через интервалы температуры 2 °C.
Испытания заканчиваются после определения наименьшей температуры, при которой наблюдается самовоспламенение, а при температуре на 2 °C ниже самовоспламенения не происходит при пятикратном повторении испытания.
31.6 Оценка результатов испытаний
31.6.1 За температуру самовоспламенения исследуемого вещества принимают минимальную температуру испытаний, при которой наблюдалось самовоспламенение образца в ходе заключительных испытаний. При этом фиксируются также период индукции самовоспламенения и давление окружающей среды.
31.6.2 Сходимость метода
[8] при доверительной вероятности 95% не должна превышать 2%.
31.6.3 Воспроизводимость метода
[8] при доверительной вероятности 95% не должна превышать 5%.
31.7 Оформление протокола испытаний
Условия и результаты испытаний регистрируют в протоколе (см.
приложение Я). Протокол испытания должен содержать:
- наименование и адрес лаборатории с указанием документа аккредитации;
- указание о марке и типе аппарата и оборудования, наличии аттестата метрологической поверки;
- полное наименование исследуемого образца, состав и физико-химические свойства, результаты входного контроля;
- дату и условия проведения испытаний (температура, атмосферное давление и влажность в лаборатории);
- полученные значения температуры самовоспламенения, с указанием объема пробы и периода индукции самовоспламенения;
- характерные особенности проведения испытаний;
- ФИО оператора и руководителя лаборатории.
31.8 Требования безопасности
Термостат для определения температуры самовоспламенения следует устанавливать в вытяжном шкафу. Рабочее место оператора должно удовлетворять действующим требованиям по электробезопасности и санитарно-гигиеническим требованиям в соответствии с
ГОСТ 12.1.005.
32 Методы экспериментального определения пожарной опасности веществ в аэрозольных упаковках. Классификация
Настоящий стандарт устанавливает методы определения пожарной опасности веществ в аэрозольных упаковках (аэрозолей) различного назначения и устанавливает требования к классификации, в том числе для маркировки опасной химической продукции в аэрозольной упаковке по
ГОСТ 31340 и парфюмерно-косметической продукции в аэрозольной упаковке по
ГОСТ 31677.
Методы не распространяются на взрывчатые, радиоактивные и сильнодействующие ядовитые аэрозоли.
Методы в целом соответствуют процедурам классификации, а также методам испытаний для определения расстояния, на котором происходит возгорание распыляемых аэрозолей и испытаний на воспламеняемость пенных аэрозолей, изложенных в Рекомендациях по перевозке опасных грузов (часть III, разделы 31.3 - 31.4)
[5].
32.2.1 Аэрозоли классифицируются как чрезвычайно легковоспламеняющиеся, легковоспламеняющиеся или невоспламеняющиеся в зависимости от удельной низшей теплоты сгорания (далее - теплоты сгорания), процентного содержания легковоспламеняющихся компонентов, а также:
- для аэрозолей распыляемого типа - на основе результатов испытания по определению расстояния, на котором происходит воспламенение аэрозольной струи;
- для аэрозолей пенного типа - на основе результатов испытания пены на воспламеняемость.
Примечание - К легковоспламеняющимся компонентам относятся горючие (легковоспламеняющиеся) газы, легковоспламеняющиеся жидкости и легковоспламеняющиеся твердые вещества.
32.2.2 Аэрозоль классифицируется как чрезвычайно легковоспламеняющийся (класс опасности 1 для маркировки по
ГОСТ 31340):
а) если теплота сгорания аэрозоля (независимо от типа) составляет 30 МДж/кг и более, а массовая доля легковоспламеняющихся компонентов составляет не менее 85%;
б) если условие пункта а) не выполняется, но при этом:
- при испытании распыляемых аэрозолей возгорание аэрозольной струи происходит на расстоянии 75 см и более;
- при испытании пенных аэрозолей высота пламени составляет 20 см и более, а время, в течение которого наблюдается пламя, составляет не менее 2 с; либо высота пламени составляет 4 см и более, а время, в течение которого наблюдается пламя, составляет не менее 7 с.
32.2.3 Аэрозоль классифицируется как легковоспламеняющийся (класс опасности 2 для маркировки по
ГОСТ 31340), если он не относится к чрезвычайно легковоспламеняющимся по
32.2.2, а также при наличии одного из следующих признаков:
а) если теплота сгорания аэрозоля (независимо от типа) составляет 20 МДж/кг и более;
б) если теплота сгорания аэрозоля составляет менее 20 МДж/кг, но при этом:
- при испытании распыляемых аэрозолей происходит возгорание или вспыхивание (с продолжительностью горения менее 5 с) аэрозольной струи на расстоянии менее 75 см;
- при испытании пенных аэрозолей высота пламени составляет 4 см и более, а время, в течение которого наблюдается пламя, составляет не менее 2 с.
32.2.4 Аэрозоль классифицируется как невоспламеняющийся (класс опасности 3 для маркировки по
ГОСТ 31340) при наличии одного из следующих признаков:
а) если теплота сгорания аэрозоля (независимо от типа) составляет менее 20 МДж/кг и массовая доля легковоспламеняющихся компонентов не превышает 1%;
б) если теплота сгорания аэрозоля составляет менее 20 МДж/кг и при этом:
- при испытании распыляемых аэрозолей возгорание или вспыхивание (с продолжительностью горения менее 5 с) аэрозольной струи не происходит на любом расстоянии;
- при испытании пенных аэрозолей возгорание отсутствует либо высота пламени не превышает 4 см, а время, в течение которого наблюдается пламя, составляет менее 2 с.
32.2.5 Классификация по уровням и группам пожарной опасности (продукции в аэрозольной упаковке по
ГОСТ 31677).
Продукция в аэрозольной упаковке классифицируется в зависимости от теплоты сгорания по уровням:
- уровень 1 - аэрозоли с теплотой сгорания менее 20 МДж/кг;
- уровень 2 - аэрозоли с теплотой сгорания от 20 до 30 МДж/кг;
- уровень 3 - аэрозоли с теплотой сгорания более 30 МДж/кг.
Продукция в аэрозольной упаковке классифицируется по группам пожарной опасности в зависимости от длины распространения пламени по струе аэрозоля:
группа 1 - длина распространения пламени по струе аэрозоля составляет более 0,45 м или существует "обратное" пламя, т.е. распространение пламени от источника зажигания к аэрозольной упаковке;
группа 2 - длина распространения пламени по струе аэрозоля составляет от 0,20 до 0,45 м, образование "обратного" пламени нехарактерно;
группа 3 - длина распространения пламени по струе аэрозоля составляет от 0,05 до 0,20 м, образование "обратного" пламени нехарактерно;
группа 4 - длина распространения пламени по струе аэрозоля составляет менее 0,05 м, образование "обратного" пламени нехарактерно.
Методы определения теплоты сгорания и длины распространения пламени по струе аэрозоля проводятся в соответствии с
[10].
32.2.6 Значение удельной низшей теплоты сгорания содержимого аэрозольной упаковки определяется суммированием значений удельной теплоты сгорания индивидуальных компонентов с учетом их массовой доли.
При отсутствии данных по низшей теплоте сгорания допускается использовать значения стандартной (высшей) теплоты сгорания, которая по абсолютному значению заведомо больше низшей на теплоту конденсации воды, образующейся при сгорании вещества.
Для компонентов с неизвестной удельной теплотой сгорания (либо для аэрозольной упаковки с неизвестным составом содержимого) допускается принимать значение 45,7 МДж/кг.
Пример расчета удельной низшей теплоты сгорания аэрозоля приведен в таблице 32.1.
Таблица 32.1
Компоненты аэрозоля | % масс. | Удельная теплота сгорания, МДж/кг | Удельная теплота сгорания с учетом массовой доли, МДж/кг |
Изобутан | 29 | 45,5 | 13,2 |
Этанол | 60 | 30,6 | 18,4 |
Вода | 19 | 0 | 0 |
Ингибитор, ПАВ и т.д. | 1 | 45,7 | 0,5 |
| Всего: 32,1 МДж/кг |
32.3 Метод испытания распыляемых аэрозолей для определения расстояния, на котором происходит возгорание
Сущность метода заключается в распылении аэрозоля в направлении источника зажигания, размещаемого от упаковки на изменяемых расстояниях с интервалами 15 см, для выяснения факта наличия возгорания и устойчивого горения аэрозольной струи.
Данный метод не распространяется на аэрозольные упаковки пенного типа, содержащие пены, муссы, гели и пасты, а также на упаковки, снабженные дозирующим клапаном.
32.3.1 Испытательное оборудование
32.3.1.1 Испытательное оборудование должно включать следующие элементы.
32.3.1.2 Емкость с водой при температуре (20 +/- 1) °C и объемом, достаточным для погружения и выдерживания аэрозольных упаковок.
32.3.1.3 Весы лабораторные с точностью не менее +/- 0,1 г.
32.3.1.4 Секундомер с погрешностью не более 1 с.
32.3.1.5 Термометр с делением шкалы не более 1 °C или другие измерители температуры с погрешностью не более указанной.
32.3.1.6 Основание для крепления аэрозольной упаковки, горелки и измерительной линейки (см. рисунок 32.1). Устройство с кнопкой управления для нажатия на клапан аэрозольной упаковки.
Примечание - Проведение испытаний допускается проводить без использования устройств для крепления упаковки и нажатия на клапан, удерживая и нажимая на клапан упаковки вручную с соблюдением необходимых мер предосторожности.
1 - кнопка управления устройством нажатия; 2 - устройство
для нажатия на клапан аэрозольной упаковки;
3 - испытательная аэрозольная упаковка; 4 - измерительная
линейка; 5 - струя аэрозоля; 6 - газовая горелка;
7 - основание для крепления
Рисунок 32.1 - Схема проведения испытания по определению
расстояния, на котором происходит возгорание аэрозоля
32.3.1.7 Измерительная линейка длиной не менее 1 м, с ценой делений 0,001 м.
32.3.1.8 Зажигающее устройство - газовая горелка, позволяющая получить голубое несветящееся пламя с вертикальным размером от 4 до 5 см.
32.3.2 Подготовка оборудования и образцы для испытаний
32.3.2.1 Основание устанавливают на устойчивой горизонтальной поверхности, на удалении от горючих материалов. Испытания проводят в помещении, достаточно затемненном для наблюдения за воспламенением, при температуре (20 +/- 5) °C. При работе в вытяжном шкафу величину тяги следует поддерживать без создания сильного движения воздуха.
Примечание - В помещении следует обеспечить достаточное проветривание, принимая все необходимые меры предосторожности для предотвращения вдыхания продуктов горения.
32.3.2.2 Перед началом испытания убеждаются соответствию аэрозольной упаковки наименованию исследуемого образца. Измеряют массу аэрозольной упаковки и записывают ее массу. Бракованные или неполные баллоны изымаются.
32.3.2.3 Аэрозольные упаковки перед каждым испытанием погружают (не менее 95% корпуса упаковки) в емкость с водой с температурой (20 +/- 1) °C и выдерживают не менее 30 мин.
32.3.2.4 Каждый аэрозольный распылитель приводится в рабочее состояние, а затем путем нажатия на клапан производится распыление содержимого в течение примерно 1 с для удаления из баллончика неоднородных материалов.
Примечание - Необходимо строго соблюдать инструкции изготовителя по применению, в том числе учитывать требуемое расположение баллона для использования (прямое или перевернутое). Если его необходимо встряхивать, то это нужно сделать непосредственно перед испытанием.
32.3.3 Проведение испытания
32.3.3.1 Устанавливают горелку на основание, при необходимости закрепив при помощи зажима. Включают горелку и регулируют напор газа до получения пламени высотой от 4 до 5 см. Расстояние от выходного отверстия распылителя упаковки до вертикальной оси горелки для первого испытания первой упаковки принимается 60 см (см.
рисунок 32.1).
32.3.3.2 Устанавливают либо вручную удерживают аэрозольную упаковку в положении, предусмотренном инструкцией по применению, при этом край выходного отверстия распылителя должен совпадать с началом измерительной линейки, а ось аэрозольной струи направлена точно в сторону пламени и проходить через ее верхнюю часть (см.
рисунок 32.1).
32.3.3.3 Нажимают на клапан упаковки и распыляют аэрозоль не менее 5 с, ожидая его воспламенения. Если воспламенение происходит, распыление продолжают, поддерживая пламя в течение не менее 5 с. Возгоранием считается воспламенение и визуальное устойчивое горение аэрозольной струи на протяжении как минимум 5 с. Если возгорания не происходит, убеждаются в отсутствии возгорания и при других ориентациях упаковки (например, в перевернутом положении для изделий, предназначенных для использования в вертикальном положении). Испытания для каждого расстояния повторяют три раза. Факт наличия или отсутствия возгорания фиксируют в протоколе испытаний.
Примечание - Случаи вспыхивания аэрозоля с продолжительностью горения менее 5 с возгоранием не считаются, но отмечаются в протоколе испытаний.
32.3.3.4 При наличии возгорания аэрозоля хотя бы в одном испытании расстояние между выходным отверстием распылителя и пламенем горелки увеличивают на 15 см. Если возгорания не происходит, расстояние уменьшается на 15 см. Испытания по
32.3.3.1 -
32.3.3.3 повторяют в диапазоне расстояний от 15 до 90 см, находя максимальное расстояние, при котором происходит возгорание распыляемой струи. Если на расстоянии 15 см возгорания не происходит, для упаковки фиксируют отсутствие возгорания.
32.3.3.5 Для одного наименования аэрозольной продукции испытания по
32.3.3.1 - 32.3.3.4 последовательно проводят не менее чем на трех упаковках, при этом при первом испытании каждой последующей упаковки в качестве начального значения расстояния между выходным отверстием распылителя и пламенем горелки устанавливается максимальное значение, на котором отмечалось возгорание для предыдущей упаковки.
32.3.3.6 Далее проводятся контрольные испытания на трех упаковках аэрозольной продукции того же наименования, но заполненных от 10 до 12% от начальной массы.
Примечание - Для испытаний допускается использовать упаковки с остаточным заполнением более 12% после проведения предыдущих испытаний либо использовать новые.
32.3.3.7 Опорожнение аэрозольной упаковки осуществляется путем последовательных нажатий на распылитель продолжительностью не более 30 с, с интервалами между отдельными нажатиями не менее 300 с. На время этого интервала упаковка помещается в ванну с водой по
32.3.2.3. Степень опорожнения упаковки от 10 до 12% контролируется определением величины изменения массы.
32.3.3.8 Для каждой из предварительно опорожненных упаковок проводят по одному испытанию по
32.3.3.1 -
32.3.3.3 только на одном расстоянии, при этом:
- расстояние между выходным отверстием распылителя и пламенем горелки устанавливается на 15 см больше максимального расстояния, на котором происходило возгорание при предыдущем испытании заполненных упаковок (либо расстояние устанавливается равным 15 см, если возгорания ранее не происходило);
- ориентация упаковки (прямое или перевернутое положение и т.д.) выбирается в зависимости от того, в каком положении происходило возгорание при испытаниях заполненных упаковок.
32.3.4 Оценка результатов испытаний и классификация
Классификация распыляемых аэрозолей проводится в соответствии с
32.2 и с учетом полученных результатов испытаний.
Аэрозоль с теплотой сгорания равной 20 МДж/кг или более классифицируется как чрезвычайно легковоспламеняющийся, если хотя бы в одном испытании возгорание происходит на расстоянии 75 см или более. В противном случае аэрозоль классифицируется как легковоспламеняющийся.
Аэрозоль с теплотой сгорания менее 20 МДж/кг классифицируется:
- как чрезвычайно легковоспламеняющийся, если возгорание происходит на расстоянии 75 см и более;
- как легковоспламеняющийся, если происходит возгорание или вспыхивание (с продолжительностью горения менее 5 с) аэрозольной струи на расстоянии менее 75 см;
- как невоспламеняющийся, если во всех испытаниях возгорания или вспыхивания аэрозоля (с продолжительностью горения менее 5 с) не происходит на любом расстоянии.
32.3.5 Оформление протокола испытаний
Условия и результаты испытаний регистрируют в протоколе испытаний.
Протокол испытания должен содержать:
- наименование и адрес лаборатории с указанием документа аккредитации;
- полное наименование исследуемого образца, наименование и состав основного продукта и пропеллента;
- дату и условия проведения испытаний (температура, атмосферное давление и влажность в лаборатории);
- характерные особенности проведения испытаний;
- значения, полученные при испытаниях (см. таблицу 32.2);
- выводы о максимальном расстоянии, на котором происходит возгорание, либо об отсутствии возгорания, а также вспыхивания аэрозоля (с продолжительностью горения менее 5 с);
- ФИО оператора и руководителя лаборатории.
Таблица 32.2
Результаты испытаний распыляемых аэрозолей для определения
расстояния, на котором происходит возгорание
Расстояние от распылителя | Результат испытания (ДА или НЕТ) | Баллончик 1 | Баллончик 2 | Баллончик 3 |
1 | 2 | 3 | 1 | 2 | 3 | 1 | 2 | 3 |
15 см | Возгорание Вспыхивание | | | |
30 см | Возгорание Вспыхивание | | | |
45 см | Возгорание Вспыхивание | | | |
60 см | Возгорание Вспыхивание | | | |
75 см | Возгорание Вспыхивание | | | |
90 см | Возгорание Вспыхивание | | | |
Примечания | | | | |
32.4 Метод испытания на воспламеняемость аэрозольной пены
Данный метод распространяется на аэрозольные упаковки, выпускающие продукт в виде пены, мусса, геля или пасты, в том числе с дозирующим устройством. Сущность метода заключается в нанесении указанного аэрозоля (приблизительно 5 г) на препаратное стекло и помещении источника огня (горелка, свеча, спичка или зажигалка) у основания препаратного стекла для наблюдения, произойдет ли возгорание пены, мусса, геля или пасты.
32.4.1 Испытательное оборудование
Испытательное оборудование должно включать следующие элементы.
32.4.1.1 Емкость с водой при температуре (20 +/- 1) °C и объемом, достаточным для погружения и выдерживания аэрозольных упаковок.
32.4.1.2 Весы лабораторные с точностью не менее +/- 0,1 г.
32.4.1.3 Секундомер с точностью не менее +/- 0,2 с.
32.4.1.4 Термометр с делением шкалы не более 1 °C или другие измерители температуры с погрешностью не более указанной.
32.4.1.5 Огнеупорное препаратное стекло диаметром примерно 150 мм.
32.4.1.6 Опорная стойка и зажим.
32.4.1.7 Измерительная линейка длиной не менее 0,5 м, с ценой делений 0,001 м.
32.4.1.8 Зажигающее устройство - горелка, восковая или парафиновая свеча, спичка или зажигалка.
32.4.2 Подготовка оборудования и образцы для испытаний
32.4.2.1 Препаратное стекло помещается на устойчивую горизонтальную огнеупорную поверхность, на удалении от горючих материалов. Мерная линейка помещается непосредственно за препаратным стеклом и закрепляется в вертикальном положении с помощью опорной стойки и зажима таким образом, чтобы ее начало находилось на уровне основания препаратного стекла.
32.4.2.2 Оборудование устанавливают на удалении от горючих материалов. Испытания проводят в помещении, достаточно затемненном для наблюдения за воспламенением, при температуре, поддерживаемой на уровне (20 +/- 5) °C. При работе в вытяжном шкафу величину тяги следует поддерживать без создания сильного движения воздуха.
Примечание - В помещении следует обеспечить достаточное проветривание, принимая все необходимые меры предосторожности для предотвращения вдыхания продуктов горения.
32.4.2.3 Перед началом испытания убеждаются соответствию аэрозольной упаковки наименованию исследуемого образца. Бракованные или неполные баллоны изымаются.
32.4.2.4 Аэрозольные упаковки перед каждым испытанием погружают (не менее 95% корпуса упаковки) в емкость с водой с температурой (20 +/- 1) °C и выдерживают не менее 30 мин.
32.4.2.5 Каждый аэрозольный распылитель приводится в рабочее состояние, а затем путем нажатия на клапан производится распыление содержимого в течение примерно 1 с для удаления из баллончика неоднородных материалов.
Примечание - Необходимо строго соблюдать инструкции изготовителя по применению, в том числе учитывать требуемое расположение баллона для использования (прямое или перевернутое). Если его необходимо встряхивать, то это нужно сделать непосредственно перед испытанием.
32.4.2.6 Путем пробного нажатия оценивается скорость выхода или интенсивность потока аэрозольного продукта для последующего точного дозирования количества выдавленного продукта при проведении испытаний.
32.4.3 Проведение испытания
32.4.3.1 Произвести измерение массы аэрозольной упаковки и записать полученный результат.
32.4.3.2 Выпустить продукт в размере типовой потребительской дозы (принимаемой, исходя из указаний завода-изготовителя или в соответствии с назначением продукции, обычно - около 5 г) в центральную часть чистого препаратного стекла, с тем чтобы образовалась горка высотой не более 25 мм.
32.4.3.3 В течение не более 5 с после завершения выпуска поднести источник огня к краю образца у его основания и одновременно включить секундомер. При необходимости источник огня удалить от края образца примерно через 2 с, с тем чтобы четко видеть, произошло ли возгорание. Возгорание определяется как устойчивый факел пламени над образцом высотой не менее 4 см, сохраняющийся на протяжении не менее 2 с. Если возгорание образца не происходит, источник огня подносят еще раз.
32.4.3.4 Если возгорание происходит, следует зафиксировать:
- максимальную высоту пламени в сантиметрах над основанием препаратного стекла;
- время, в течение которого видно пламя, в секундах.
Далее следует вновь произвести измерение массы аэрозольной упаковки, подсчитать и указать массу выпущенного продукта.
32.4.3.5 Если возгорания не происходит, но и форма выпущенного продукта (конфигурация горки пены или пасты) визуально не меняется, следует заново повторить операции по
32.4.3.1 -
32.4.3.2, но перед поднесением источника огня следует дать продукту отстояться в течение 30 с. Если воспламенения вновь не происходит, аналогичную процедуру последовательно повторяют с соответствующими задержками на 60, 120 и 240 с.
32.4.3.6 Испытания по
32.4.3.1 -
32.4.3.5 для каждой упаковки повторяют три раза.
32.4.3.7 Для каждого наименования аэрозольной продукции испытания последовательно проводят не менее чем на трех упаковках.
32.4.4 Оценка результатов испытаний и классификация
Классификация пенных аэрозолей проводится в соответствии с
32.2 и с учетом полученных результатов испытаний.
Аэрозоль классифицируется как чрезвычайно легковоспламеняющийся, если хотя бы в одном испытании высота пламени составляет 20 см и более, а время, в течение которого наблюдается пламя, составляет не менее 2 с; либо высота пламени составляет 4 см и более, а время, в течение которого наблюдается пламя, составляет не менее 7 с.
Аэрозоль с теплотой сгорания менее 20 МДж/кг классифицируется как невоспламеняющийся, если во всех испытаниях пламя отсутствует либо высота пламени не превышает 4 см, а время, в течение которого наблюдается пламя, составляет менее 2 с.
Во всех остальных случаях аэрозоль классифицируется как легковоспламеняющийся.
32.4.5 Оформление протокола испытаний
Условия и результаты испытаний регистрируют в протоколе испытаний, который должен содержать:
- наименование и адрес лаборатории с указанием документа аккредитации;
- полное наименование исследуемого образца, наименование и состав основного продукта и пропеллента;
- дату и условия проведения испытаний (температура, атмосферное давление и влажность в лаборатории);
- результаты испытаний:
а) при наличии возгорания - максимальную высоту пламени в сантиметрах над основанием препаратного стекла; время, в течение которого видно пламя, в секундах; время отстаивания продукта (если проводилось); массу пробы;
б) при отсутствии возгорания - факт отсутствия возгорания, массу пробы;
- характерные особенности проведения испытаний;
- ФИО оператора и руководителя лаборатории.
33 Метод экспериментального определения показателей взрыва аэровзвесей - максимального давления взрыва, нижнего концентрационного предела распространения пламени, минимального взрывоопасного содержания кислорода и минимальной флегматизирующей концентрации флегматизатора
Метод экспериментального определения показателей взрыва аэровзвесей - максимального давления взрыва, нижнего концентрационного предела распространения пламени, минимального взрывоопасного содержания кислорода и минимальной флегматизирующей концентрации.
Значение максимальной скорости нарастания давления взрыва следует применять при разработке мероприятий по обеспечению пожаровзрывобезопасности технологических процессов в соответствии с требованиями
ГОСТ 12.1.004 и
ГОСТ 12.1.010.
Значение нижнего концентрационного предела распространения пламени необходимо включать в стандарты или техническую документацию на твердые вещества, способные образовывать взрывоопасные пылевоздушные смеси (для пылей определяют только нижний концентрационный предел). Значения концентрационных пределов следует применять при определении категории помещений по взрывопожарной и пожарной опасности в соответствии с требованиями норм технологического проектирования; при расчете взрывобезопасных концентраций пылей внутри технологического оборудования и трубопроводов; при проектировании вентиляционных систем, а также при расчете предельно допустимых взрывобезопасных концентраций пылей в воздухе рабочей зоны с потенциальными источниками зажигания в соответствии с требованиями
ГОСТ 12.1.010; при разработке мероприятий по обеспечению пожарной безопасности объекта в соответствии с требованиями
ГОСТ 12.1.004; при выборе электрооборудования в соответствии с требованиями ПУЭ
[9].
Значение минимального взрывоопасного содержания кислорода следует применять при разработке мероприятий по обеспечению пожаровзрывобезопасности технологических процессов в соответствии с требованиями
ГОСТ 12.1.004 и
ГОСТ 12.1.010.
Значение минимальной флегматизирующей концентрации флегматизатора следует применять при разработке мероприятий по обеспечению пожаровзрывобезопасности технологических процессов методом флегматизации в соответствии с требованиями
ГОСТ 12.1.004 и
ГОСТ 12.1.010.
33.2 Испытательное оборудование
Испытательное оборудование для определения показателей взрыва пылевоздушных смесей (см.
рисунок 33.1) включает в себя следующие элементы.
33.2.1 Реакционный сосуд, представляющий собой цилиндр высотой (450 +/- 25) мм и внутренним диаметром (105 +/- 5) мм, выполнен из нержавеющей стали и рассчитан на рабочее давление до 1 МПа. Сосуд снабжен штуцерами для подачи газовых компонентов и подсоединения датчика давления.
Кроме металлического реакционного сосуда установка снабжена реакционным сосудом из стеклянной трубы по
ГОСТ 8894 высотой (450 +/- 25) мм, внутренним диаметром

и толщиной стенки (7 +/- 1) мм.
1 - реакционный сосуд; 2 - конус распылителя; 3 - форкамера;
4 - обратный клапан; 5 - клапан с электроприводом;
6 - манометр; 7 - ресивер; 8 - газоанализатор; 9 - пульт
управления; 10 - источник зажигания; 11 - регистрирующая
аппаратура; 12 - датчик давления
Рисунок 33.1 - Схема испытательного оборудования
для определения показателей взрыва пылевоздушных смесей
33.2.2 Система газоприготовления и распыления исследуемого вещества, рассчитанная на рабочее давление до 1 МПа, состоит из:
- конусного распылителя с углом раствора (30 +/- 5)°, который является верхней крышкой реакционного сосуда и выполнен из нержавеющей стали;
- форкамеры, в которую помещают образец исследуемого вещества (рекомендуемая конструкция форкамеры приведена на
рисунке 33.2);
- обратного клапана и клапана с электроприводом; время открытия электропневмоклапана (0,3 +/- 0,1) с;
- ресивера с трубопроводами вместимостью (1,0 +/- 0,2) дм3;
- манометра класса точности 0,25.
1 - конус; 2 - гайка накидная; 3 - патрубок; 4 - форкамера;
5 - донышко; h = l = 15,0 +/- 0,5
Форкамера состоит из корпуса 4 и донышка 5, образующих внутреннюю сферу диаметром (40 +/- 1) мм. Образец исследуемого вещества, помещенный на донышко форкамеры, взвихривается при кратковременной подаче сжатого воздуха и через патрубок 3, соединенный с конусом распылителя накидной гайкой 2, увлекается в реакционный сосуд.
Условный диаметр прохода трубопроводов должен быть (10,0 +/- 0,5) мм, элементов системы газоприготовления и распыления - не менее 10 мм, вентилей - не менее 4 мм. Длина трубопроводов между ресивером и распылителем должна составлять (0,9 +/- 0,1) м.
33.2.3 Источник зажигания, представляющий собой нагреваемую электрическим током до температуры (1050 +/- 50) °C спираль из проволоки марки Х80Н20-Н
(ГОСТ 12766.1) диаметром 0,8 мм. Длина спирали (50 +/- 1) мм, внутренний диаметр спирали (8,0 +/- 0,5) мм; число витков 30; потребляемая мощность при токе (13,0 +/- 0,5) А составляет (475 +/- 25) Вт, время выхода на рабочую температуру (8 +/- 1) с. Спираль расположена горизонтально на оси цилиндра на расстоянии (150 +/- 5) мм от нижнего фланца.
33.2.4 Система регистрации давления, состоящая из датчика давления и вторичных приборов, должна обеспечивать непрерывную или дискретную запись изменения давления во времени в частотном диапазоне от 0 до 300 Гц с верхним пределом измерения не менее 1 МПа. За начало отсчета времени принимают момент срабатывания клапана распыления образца исследуемого вещества.
33.2.5 Контроль содержания кислорода в реакционном сосуде и ресивере осуществляют газоанализатором с диапазоном измерения от 0 до 21% об. и пределом допускаемой погрешности показаний не более +/- 2,5%.
33.2.6 Пульт управления, обеспечивающий электропитание и синхронизацию в заданной последовательности работы системы распыления, источника зажигания и системы регистрации.
33.3 Образцы для испытаний
Подготовка к испытаниям
33.3.1 Устанавливают соответствие исследуемого вещества паспортным данным по внешнему виду, влажности, зольности, а для плавящихся веществ - дополнительно по температуре плавления.
33.3.2 Исследуемые вещества рассеивают; при испытании используют образцы с размерами частиц менее 50 мкм - для металлов и менее 100 мкм - для других веществ.
33.3.3 Проверяют стальной реакционный сосуд на герметичность.
33.3.4 Тарируют систему регистрации давления.
33.3.5 Пригодность установки к работе проверяют по ликоподию (ГОСТ 22226), показатели взрыва которого должны быть равны: максимальное давление взрыва (620 +/- 85) кПа, нижний концентрационный предел (34 +/- 8) г/м3, минимальное взрывоопасное содержание кислорода (10,2 +/- 1,0)% об.
33.4 Проведение испытания
33.4.1 Готовят газовую смесь заданного состава отдельно в реакционном сосуде и в ресивере по парциальным давлениям компонентов (pк), вычисляемым по формуле

(33.1)
где

- задаваемая концентрация компонента смеси, % об.;
pсм - общее давление газовой смеси, кПа.
В реакционном сосуде готовят газовую смесь с таким расчетом, чтобы общее давление газовой смеси превышало атмосферное не менее чем на 50 кПа. Затем сбрасывают избыточное давление через газоанализатор, определяя при этом содержание кислорода в реакционном сосуде.
В ресивере готовят газовую смесь с таким расчетом, чтобы общее давление газовой смеси превышало атмосферное не менее чем на 350 кПа. Затем сбрасывают избыточное давление через газоанализатор до начального давления распыления pн, равного (300 +/- 10) кПа, определяя при этом содержание кислорода в ресивере. Различие концентрации кислорода в реакционном сосуде и ресивере не должно превышать 0,5% об.
33.4.2 Измеряют массу образца исследуемого вещества с погрешностью не более 0,01 г и помещают его в форкамеру.
33.4.3 Устанавливают на пульте управления продолжительность распыления образца. Включают источник зажигания и по выходу последнего на режим распыляют образец, фиксируя при этом изменение давления в реакционном сосуде и конечное давление (pк) в ресивере. После распыления образца определяют массу оставшегося в форкамере нераспыленного вещества.
33.4.4 Очищают реакционный сосуд от остатков вещества и продуктов горения. Продувают реакционный сосуд, ресивер и трубопроводы воздухом.
33.4.5 Повторяют испытания с различными по массе образцами исследуемого вещества.
Примечание - Для подтверждения пламенного характера взрыва пылегазовых смесей, близких по составу к нижнепредельным, испытания проводят в стеклянном сосуде.
33.5 Оценка результатов испытаний
33.5.1 По результатам единичного испытания определяют наибольшие значения избыточного давления взрыва и концентрацию исследуемого вещества во взвеси по формулам:

(33.2)

(33.3)

(33.4)
где
pвзр,

- соответственно значения избыточного давления взрыва и максимального изменения давления в процессе единичного испытания, кПа;
pа - атмосферное давление, кПа;
pо - размерный коэффициент, кПа;
Cs - концентрация исследуемого вещества в реакционном сосуде для единичного испытания, кг/м3;
m - масса образца в единичном испытании, кг;
Vк, Vр - соответственно вместимость реакционного сосуда и ресивера, м3;
pн, pк - соответственно начальное и конечное давления в ресивере в процессе единичного испытания, кПа.
Примечание - Конечное давление в ресивере измеряют спустя 15 - 20 с после завершения процесса горения в реакционном сосуде до продувки ресивера воздухом.
33.5.2 Для определения максимального избыточного давления взрыва исследуемого вещества строят кривую зависимости избыточного давления взрыва (
pвзр) от концентрации вещества (
Cs). Массу образца, соответствующую наибольшему из полученных значений
pвзр, принимают за оптимальную (типичные значения оптимальных масс образца находятся в диапазоне от 1,5 до 5,0 г). Наибольшее из полученных значений избыточного давления взрыва принимают за максимальное давление взрыва исследуемого вещества.
33.5.3 За величину нижнего концентрационного предела распространения пламени пылевоздушной смеси исследуемого вещества принимают значение концентрации
Cs, соответствующее давлению взрыва 50 кПа на упомянутой в
33.5.2 зависимости.
33.5.4 Минимальное взрывоопасное содержание кислорода

определяют на образцах оптимальной массы
Ms, соответствующей максимальному давлению взрыва (см.
33.5.2), путем последовательного уменьшения содержания кислорода в газопылевоздушной смеси. За первое значение

(1) принимают среднее арифметическое двух концентраций кислорода в смеси, различающихся не более чем на 1% об., при большем из которых наблюдается давление взрыва свыше 50 кПа, а при меньшем давление взрыва не превышает 50 кПа при шестикратном повторении испытаний.
Затем повторяют упомянутую процедуру определения на образцах уменьшенной массы:

и получают второе значение

(2).
За минимальное взрывоопасное содержание кислорода

принимают наименьшее из двух величин

(1) и

(2).
33.5.5 Значение минимальной флегматизирующей концентрации флегматизатора в пылевоздушных смесях

, % об., вычисляют по формуле

(33.5)
где

- содержание водяного пара в воздухе, % об., вычисляемое по формуле

(33.6)
где E - относительная влажность воздуха, %;

- давление насыщенного водяного пара, кПа.
33.5.6 Если в процессе испытаний пылевоздушных смесей нижний концентрационный предел распространения пламени превышает 100 г/м
3 или максимальное давление взрыва не превышает 50 кПа, рекомендуется провести испытания в укрупненной взрывной камере в соответствии с
приложением 1.
33.5.7 Для определения показателей взрыва стационарных аэровзвесей рекомендуется использовать
приложение 2.
33.5.8 Сходимость и воспроизводимость метода
[8] определения показателей взрыва пылевоздушных смесей при доверительной вероятности 95% не должны превышать значений, приведенных в таблице 33.1.
Таблица 33.1
Показатель взрыва пылевоздушных смесей | Показатель точности, % |
сходимость | воспроизводимость |
Максимальное давление взрыва | 14 | 23 |
Нижний концентрационный предел | 12 | 59 |
Минимальное взрывоопасное содержание кислорода | 10 | 11 |
Минимальная флегматизирующая концентрация флегматизатора | 13 | 14 |
33.6 Оформление протокола испытаний
Условия и результаты испытаний регистрируют в протоколе, форма которого приведена в
приложении 3.
33.7 Требования безопасности
При испытаниях реакционный сосуд следует устанавливать в специальном шкафу, оборудованном вытяжной вентиляцией и обеспечивающем безопасность оператора в случае разрушения реакционного сосуда.
В процессе подготовки образцов для испытания следует применять индивидуальные средства защиты, выбираемые в соответствии со свойствами исследуемого вещества.
Рабочее место оператора должно удовлетворять действующим требованиям по электробезопасности и санитарно-гигиеническим требованиям в соответствии с
ГОСТ 12.1.005.
34 Метод экспериментального определения температуры самовоспламенения металлических порошков
Настоящий стандарт устанавливает метод определения температуры самовоспламенения металлических порошков. Метод реализуется в диапазоне температур от 25 до 600 °C. Метод не применяется для испытания пирофорных веществ.
34.2 Испытательное оборудование
Описание испытательного оборудования для определения температуры самовоспламенения приведено в
14.2, за исключением размера контейнера для размещения образца. Для размещения образца исследуемого вещества (материала) применяют контейнер диаметром (46 +/- 1) мм, высотой 8,0
-0,4 мм, выполненный из стальной сетки или стального листа толщиной не более 0,5 мм.
34.3 Образцы для испытаний
Для испытаний готовят от 10 до 15 образцов исследуемого вещества объемом по (10 +/- 1) см3, который полностью заполняет контейнер. Используют образцы с размерами частиц не более 400 мкм.
Устанавливают соответствие исследуемого вещества паспортным данным. Образцы должны характеризовать средние свойства исследуемого вещества (материала).
34.4 Проведение испытания
34.4.1 Нагревают рабочую камеру до 600 °C.
34.4.2 После установления в рабочей камере стационарного температурного режима, определяемого по постоянству показаний двух термоэлектрических преобразователей (один из них располагается внутри контейнера таким образом, чтобы обеспечивался контакт с дном и стенкой контейнера), извлекают из камеры контейнер, полностью заполняют его образцом за время не более 15 с и опускают внутрь камеры. Наблюдают за образцом с помощью зеркала и следят за показаниями термопар.
34.4.3 Если при заданной температуре испытания наблюдается самовоспламенение, то следующее испытание проводят при меньшей температуре (например, на 50 °C).
За температуру испытания принимают показания термоэлектрического преобразователя, измеряющего температуру образца.
Если в течение времени выдержки (20 мин с момента достижения показания термоэлектрического преобразователя в образце, отличающегося от температуры испытания не более чем на 10 °C) самовоспламенение не наблюдается, испытание прекращают и в протоколе отмечают отказ.
Критерий самовоспламенения проводится по факту изменения разницы между температурой в контейнере с образцом и температурой в контейнере без образца [с типичных при отсутствии самовоспламенения (от 10 до 20 °C) до 85 °C и выше].
34.4.4 Методом последовательных приближений, используя новые образцы и изменяя температуру испытания, определяют минимальную температуру образца, при которой за время выдержки в печи образец самовоспламенится, а при температуре на 10 °C меньше самовоспламенение отсутствует.
34.5 Оценка результатов испытаний
За температуру самовоспламенения исследуемого вещества (материала) принимают среднее арифметическое двух температур, отличающихся не более чем на 10 °C, при одной из которых наблюдается самовоспламенение трех образцов, а при другой - три отказа. Полученное значение температуры самовоспламенения округляют с точностью до 5 °C.
34.6 Оформление протокола испытаний
Условия и результаты испытаний регистрируют в протоколе (см.
приложение 4) испытаний, который должен содержать:
- наименование и адрес лаборатории;
- наименование исследуемого образца, состав и физико-химические свойства;
- дату и условия проведения испытаний (температура, атмосферное давление и влажность в лаборатории);
- указание о марке, типе аппарата и оборудования, наличии аттестата метрологической поверки;
- характерные особенности проведения испытаний;
- ФИО оператора и руководителя лаборатории.
34.7 Требования безопасности
Прибор для определения температуры самовоспламенения следует устанавливать в вытяжном шкафу. Рабочее место оператора должно удовлетворять действующим требованиям по электробезопасности и санитарно-гигиеническим требованиям в соответствии с
ГОСТ 12.1.005.
35 Методы экспериментального определения концентрационных пределов распространения пламени по газо- и паровоздушным смесям
Методы не применимы для определения концентрационных пределов распространения холодного пламени, а также веществ:
- склонных к термическому разложению, окислению или полимеризации при разогреве реакционного сосуда до температуры проведения испытаний;
- смеси которых чувствительны к детонации;
- способных вызвать в результате самопроизвольных химических реакций изменение состава смеси или ее горение до момента зажигания;
- с растворенными или взвешенными в них компонентами в виде твердой фазы;
- температура самовоспламенения которых меньше величины (tи + 50) °C, где tи - температура испытания.
Метод определения концентрационных пределов распространения пламени при атмосферном давлении и повышенных температурах распространяется на простые вещества, химические соединения и их смеси в газообразном и парообразном состоянии при атмосферном давлении и температуре от 15 до 150 °C.
Метод определения концентрационных пределов распространения пламени при повышенных давлениях и температурах распространяется на простые вещества, химические соединения и их смеси в газообразном и парообразном состоянии при температуре от 15 до 150 °C и абсолютном давлении от 101,3 до 500,0 кПа.
35.1.1 Нижний (верхний) концентрационный предел распространения пламени - минимальное (максимальное) содержание горючего вещества в однородной смеси с окислительной средой, при котором возможно распространение пламени по смеси на любое расстояние от источника зажигания.
Значения концентрационных пределов распространения пламени необходимо включать в стандарты или техническую документацию на газы, легковоспламеняющиеся индивидуальные жидкости и азеотропные смеси жидкостей, на твердые вещества, способные образовывать взрывоопасные пылевоздушные смеси (для пылей определяют только нижний концентрационный предел). Значения концентрационных пределов следует применять при определении категории помещений по взрывопожарной и пожарной опасности; при расчете взрывобезопасных концентраций газов, паров и пылей внутри технологического оборудования и трубопроводов, при проектировании вентиляционных систем, а также при расчете предельно допустимых взрывобезопасных концентраций газов, паров и пылей в воздухе рабочей зоны с потенциальными источниками зажигания в соответствии с требованиями
ГОСТ 12.1.010, при разработке мероприятий по обеспечению пожарной безопасности объекта в соответствии с требованиями
ГОСТ 12.1.004.
Допускается использовать экспериментальные и расчетные значения концентрационных пределов распространения пламени.
35.1.2 Физический смысл экспериментального определения концентрационных пределов распространения пламени по газо- и паровоздушным смесям.
Сущность методов определения концентрационных пределов распространения пламени заключается в зажигании газо-, паро- или пылевоздушной смеси заданной концентрации исследуемого вещества в объеме реакционного сосуда и установлении факта наличия или отсутствия распространения пламени. Изменяя концентрацию горючего в смеси, устанавливают ее минимальное и максимальное значения, при которых происходит распространение пламени.
35.2 Испытательное оборудование
Испытательное оборудование для определения концентрационных пределов распространения пламени при повышенных температурах и атмосферном давлении (см.
рисунок 35.1) включает в себя следующие элементы.
35.2.1 Термошкаф, представляющий собой ящик с теплоизолированными стенками, имеющий электронагреватели, вентилятор, продувочные окна с задвижками, дверь со смотровым окном, концевой выключатель.
Электронагреватели термошкафа совместно с изоляцией должны обеспечивать нагревание внутреннего объема термошкафа с расположенными в нем узлами установки до температуры (150 +/- 5) °C в течение 1 ч.
Вентилятор должен обеспечивать циркуляцию воздуха вокруг электронагревателя, а также во всем объеме термошкафа для создания однородного поля температур с максимальной разницей в двух любых точках не более 5 °C; электродвигатель вентилятора должен иметь электрический тормоз для быстрой остановки.
Продувочные окна с задвижками должны обеспечивать продувку объема термошкафа воздухом за время не более 15 мин.
Дверь со смотровым окном должна обеспечивать доступ ко всем узлам установки внутри термошкафа и возможность визуального наблюдения за пламенем в реакционном сосуде.
Концевой выключатель служит для включения источника зажигания.
Конструкция термошкафа должна обеспечивать относительную его газонепроницаемость для создания необходимых санитарно-гигиенических условий на рабочем месте.
Все металлические элементы, расположенные внутри термошкафа, и его внутренние стенки должны быть выполнены из коррозионно-стойкой стали.
35.2.2 Реакционный сосуд, представляющий собой цилиндр с внутренним диаметром (300 +/- 10) мм, высотой (800 +/- 30) мм и толщиной стенки не менее 2 мм, герметично закрываемый неподвижной верхней и подвижной нижней крышками.
Реакционный сосуд крепят вертикально внутри термошкафа. Расстояние от нижнего торца реакционного сосуда до нижней стенки термошкафа, обеспечивающее свободный выход продуктов горения из сосуда, должно быть от 100 до 150 мм.
1 - термошкаф; 2 - реакционный сосуд; 3 - смотровое окно;
4 - продувочный патрубок; 5 - термоэлектропреобразователь
блока регулирования температуры; 6 - задвижка;
7 - вентиляционный патрубок; 8 - испаритель; 9 - вентиль;
10 - ртутный манометр; 11 - пневмопульт; 12 - газовый
термометр; 13 - датчик термометра; 14 - электроды источника
зажигания; 15 - огнепреградитель; 16 - нижняя крышка;
17 - коромысло; 18 - шестерни; 19 - продувочное отверстие;
20 - заслонка; 21 - штурвал; 22 - вентилятор;
23 - электродвигатель; 24 - электронагреватели;
25 - перемешиватели; 26 - источник зажигания;
27 - электропульт; 28 - блок регулирования температуры
Рисунок 35.1 - Принципиальная схема установки
для определения концентрационных пределов распространения
пламени при повышенных температурах и атмосферном давлении
Реакционный сосуд должен иметь электроды зажигания, два конвективных перемешивателя, огнепреградитель, температурный датчик, продувочное отверстие, смотровое окно, механизм управления нижней крышкой, вводы и выводы газов.
Электроды служат для зажигания смесей в реакционном сосуде. Они представляют собой металлические стержни диаметром (3,0 +/- 0,3) мм, устанавливаемые горизонтально и соосно друг к другу в диаметральной плоскости реакционного сосуда на расстоянии (750 +/- 20) мм от верхней крышки. Ввод электродов в реакционный сосуд осуществляют через герметичные разъемы. Внутренние концы электродов, заточенные под углом (10 +/- 3)°, должны отстоять друг от друга на расстоянии от 5 до 7 мм.
Конвективные перемешиватели, служащие для перемешивания смесей в реакционном сосуде, представляют собой трубчатые нагреватели с проточной водой. Перемешиватели имеют форму петли и устанавливаются: один - на расстоянии не менее 30 мм ниже электродов зажигания, второй - на расстоянии не более 100 мм от верхней крышки сосуда. Перемешиватели должны обеспечивать перемешивание смеси за время не более 15 мин.
Огнепреградитель, служащий для предотвращения выброса пламени из реакционного сосуда, не должен создавать повышения давления в сосуде при сгорании смеси более чем 25 кПа. Огнепреградитель устанавливают в нижней части реакционного сосуда ниже конвективного перемешивателя.
Температурный датчик, представляющий собой колбу газового термометра, служит для измерения температуры смеси в реакционном сосуде. Датчик вводят в сосуд через гермоввод и устанавливают в горизонтальной плоскости электродов на расстоянии 70 мм от них.
Продувочный патрубок диаметром от 25 до 30 мм, служащий для удаления продуктов горения из сосуда, располагают в верхней крышке и герметично закрывают съемной заглушкой.
Смотровое окно должно обеспечивать возможность визуального наблюдения за пламенем по всей высоте реакционного сосуда и иметь размеры не менее чем 720 x 130 мм. Окно герметично закрывают стеклом толщиной от 10 до 12 мм с прижимным фланцем.
Механизм управления нижней крышкой служит для обеспечения герметичности контакта крышки с сосудом в его закрытом положении и отведения крышки в боковом направлении при открывании сосуда. Механизм состоит из винта, коромысла, системы шестерен и штурвала, с помощью которого вручную открывают крышку. Штурвал должен быть выведен за пределы термошкафа. Крышка должна иметь уплотнительный элемент, а механизм управления - упоры для фиксации в крайних положениях.
Вводы и выводы газов служат для подсоединения к реакционному сосуду трубопроводов пневмосистемы.
Реакционный сосуд должен выдерживать без разрушения и деформаций вакуум до 100 Па, давление до 200 кПа.
Все металлические части реакционного сосуда и его узлов должны быть выполнены из коррозионно-стойкой стали.
Конструкция реакционного сосуда должна обеспечивать свободное, без контакта с какой-либо поверхностью, распространение пламени от электродов до боковой стенки и верхней крышки.
35.2.3 Испаритель, служащий для обеспечения необходимого давления пара жидких горючих веществ не более 10 МПа, должен иметь собственный нагреватель для испарения жидкостей в том случае, когда электронагреватели термошкафа не включены. Испаритель должен быть изготовлен из коррозионно-стойкой стали.
35.2.4 Трубопроводы с арматурой, изготовленные из коррозионно-стойкой стали и служащие для:
- подачи в реакционный сосуд атмосферного воздуха;
- измерения давления в реакционном сосуде;
- подачи горючего газа из баллона;
- подачи горючего компонента в паровой или жидкой фазе из испарителя в реакционный сосуд;
- отбора проб смеси из реакционного сосуда для количественного анализа;
- вакуумирования реакционного сосуда и испарителя.
Все трубопроводы должны иметь запорные вентили. Суммарный объем трубопроводов между вентилями и реакционным сосудом не должен превышать 1% объема реакционного сосуда.
Все трубопроводы, кроме их концов, идущих на манометр и вакуумный насос, должны быть расположены внутри термошкафа. Маховики запорной арматуры должны быть выведены за пределы термошкафа в пневмопульт.
Трубопроводы, запорная арматура, связанная с испарителем, и сам испаритель должны выдерживать вакуум до 100 Па и давление до 15 МПа; трубопроводы и запорная арматура, связанные только с реакционным сосудом, должны выдерживать вакуум до 100 Па и давление до 200 кПа.
35.2.5 Пневмопульт, служащий для управления пневмосистемой установки при составлении смесей, должен иметь ртутный манометр, газовый термометр, маховики запорной арматуры трубопроводов, блок подвода газов к установке.
Ртутный манометр служит для измерения давления в реакционном сосуде. Манометр должен иметь пределы измерения от 0 до 120 кПа и погрешность измерения давления не более +/- 66 Па. Манометр должен иметь устройство для определения уровня ртути с погрешностью не более 13,3 Па. На трубопроводе, соединяющем манометр с реакционным сосудом, должна быть ртутная ловушка.
Допускается для измерения давления в реакционном сосуде использовать вакуумметр класса точности 0,25.
Газовый термометр служит для измерения температуры в реакционном сосуде. Термометр должен иметь пределы измерений от 15 до 150 °C и погрешность измерения температуры не более 2 °C. Инерционность термометра не должна превышать 3 мин. Допускается использование других измерителей температуры с погрешностью не более указанной.
Маховики запорной арматуры должны обеспечивать удобство их вращения при одновременном наблюдении за уровнем ртути в манометре как на нижнем, так и на верхнем пределах измерения.
Блок подвода газов к установке должен иметь присоединительные элементы для подключения трубопроводов от баллонов, а также трубопроводы для подвода газов к запорной арматуре трубопроводов термошкафа. Элементы блока должны выдерживать давление до 0,3 МПа.
Суммарный объем трубопровода, соединяющего реакционный сосуд с ртутным манометром, ртутной ловушкой и ртутной чашкой манометра при минимальном уровне ртути в ней, не должен превышать 1,5% объема реакционного сосуда.
35.2.6 Вакуум-насос, служащий для создания необходимого разрежения в реакционном сосуде и пневмосистеме установки. Производительность вакуум-насоса должна обеспечивать вакуумирование реакционного сосуда и пневмосистемы до 100 Па за время не более 30 мин.
35.2.7 Блок регулирования температуры, служащий для создания и автоматического поддержания температуры термошкафа на любом заданном уровне в диапазоне рабочих температур. Блок должен обеспечивать совместно с электронагревателями термошкафа повышение температуры в объеме термошкафа до заданного уровня с погрешностью не более 2 °C за время не более 1 ч.
35.2.8 Зажигающее устройство, служащее для формирования искрового разряда в искровом промежутке между электродами реакционного сосуда, должно обеспечивать пробой искрового промежутка индукционной искрой и образование в воздухе устойчивого плазменного "колпачка" высотой от 0,5 до 1,5 см. Выделяемая энергия искр на электродах при нормальных условиях при длительности разряда (2,0 +/- 0,1) с должна составлять от 30 до 40 Дж. Конструкция зажигающего устройства должна обеспечивать дистанционное управление.
35.2.9 Электропульт, служащий для подачи электропитания на все потребители установки: электронагреватели термошкафа, электродвигатель вентилятора, блок регулирования температуры, зажигающее устройство, вакуум-насос. Качество и прочность электроизоляции электропульта, проводов и потребителей должны соответствовать требованиям электробезопасности при работе на установке.
Установка для определения концентрационных пределов распространения пламени при повышенных температурах и давлении в диапазоне от 100 до 500 кПа (см.
рисунок 35.2) включает в себя перечисленные ниже элементы:
35.2.10 Сферический реакционный сосуд с внутренним диаметром (205 +/- 5) мм и объемом (4,3 +/- 0,1) дм3, изготовленный из нержавеющей стали и рассчитанный на рабочее давление 5,0 МПа при температуре 150 °C.
Допускается применять сферические реакционные сосуды объемом от 3 до 25 дм3.
Сосуд помещен в термостат и равномерно обогревается по поверхности нагревателями. Сосуд снабжен штуцерами для подсоединения газовых магистралей, ввода источника зажигания, датчика давления и манометра.
35.2.11 Систему газоприготовления, обеспечивающую дозированную подачу в реакционный сосуд газообразных компонентов в виде окислителя, горючего и разбавителя и включающую в себя:
а) коллектор и трубопроводы с вентилями. Условный диаметр прохода трубопроводов должен быть (8,0 +/- 0,5) мм, вентилей - не менее 4 мм.
Длина трубопроводов между коллектором и реакционным сосудом, а также между парогенератором и реакционным сосудом должна быть не менее (0,3 +/- 0,1) м. Объем коллектора до вентиля точной регулировки не должен превышать 1% объема реакционного сосуда;
б) вакуумметр класса точности 0,25; манометр с диапазоном измерения 1,0 МПа класса точности 0,25 и манометр с диапазоном измерения 0,6 МПа класса точности 0,15;
в) вакуумный насос, обеспечивающий остаточное давление в реакционном сосуде не более 1,0 кПа.
35.2.12 Систему дозированной подачи воды, состоящую из расширительного бачка объемом 4,0 дм3 и мерной емкости объемом 5,0 дм3.
35.2.13 Парогенератор, предназначенный для создания водяного пара заданной плотности и представляющий собой теплоизолированный цилиндрический сосуд диаметром (140 +/- 10) мм и длиной (300 +/- 20) мм, рассчитанный на рабочее давление 1,0 МПа. В нижней части парогенератора расположен теплоэлектронагреватель мощностью 1 кВт. Парогенератор заполняется водой из мерной емкости до уровня 0,8 от высоты.
35.2.14 В качестве источника зажигания используют электрическую искру. Выделяемая энергия искр на электродах при нормальных условиях при длительности разряда (2,0 +/- 0,1) с должна составлять от 30 до 40 Дж. Расстояние между конусообразными концами электродов должно составлять не более 3 мм.
Допускается в качестве источника зажигания использовать свечу с двумя электродами, на которых размещается нихромовая проволочка диаметром (0,20 +/- 0,05) мм и длиной (3 +/- 1) мм. Проволочка располагается в центре реакционного сосуда и пережигается электрическим током при подаче напряжения (40 +/- 5) В.
1 - вакуумметр; 2 - вакуумный насос; 3 - вентили;
4 - вентиль точной регулировки; 5 - коллектор; 6 - мерные
емкости; 7 - датчик давления; 8 - пульт управления;
9 - терморегулятор; 10 - термопреобразователи;
11 - электронагреватель; 12 - источник зажигания;
13 - термостат; 14 - реакционный сосуд; 15 - парогенератор;
16 - расширительный бачок; 17 - мерная емкость;
18 - манометры
Рисунок 35.2 - Принципиальная схема установки
для определения концентрационных пределов распространения
пламени при повышенных давлениях и температурах
35.2.15 Термостат, представляющий собой замкнутый объем с термоизоляцией и предназначенный для поддержания заданного температурного режима. Термостат выполнен в виде двухслойного металлического шкафа, внутреннее пространство которого заполнено минеральной ватой толщиной не менее 0,04 м. Обогрев термостата осуществляется электрическими нагревателями.
35.2.16 Систему термостабилизации, обеспечивающую заданную температуру в термостате и состоящую из первичного преобразователя температуры, размещенного вблизи внутренней поверхности реакционного сосуда, и терморегулятора. Система термостабилизации обеспечивает нагрев реакционного сосуда до 150 °C и поддержание ее с точностью +/- 5 °C.
Допустимо использование других систем термостабилизации, отвечающих данным требованиям.
35.2.17 Систему регистрации температуры, обеспечивающую контроль температуры различных частей реакционного сосуда в диапазоне от 15 до 150 °C с точностью +/- 5 °C и состоящую из двух термопреобразователей, размещенных по внешней поверхности реакционного сосуда, термопреобразователя, введенного внутрь сосуда, а также термопреобразователя, установленного на парогенераторе. Регистрация температуры осуществляется автоматическим потенциометром или другой аналогичной аппаратурой с диапазоном измерения до 150 °C и погрешностью +/- 5 °C.
35.2.18 Систему регистрации распространения пламени, состоящую из датчика давления и вторичной аппаратуры, обеспечивающую непрерывную или дискретную запись изменения давления во времени в реакционном сосуде в процессе горения газо- и паровоздушной смеси в частотном диапазоне от 0 до 10 кГц с верхним пределом измерения до 5,0 МПа.
35.2.19 Пульт управления, обеспечивающий электропитание и синхронизацию в заданной последовательности работы системы регистрации распространения пламени, источника зажигания и других систем установки.
35.3 Подготовка к испытаниям
Перед проведением испытаний устанавливают соответствие исследуемого вещества паспортным данным.
35.3.1 Подготовка к испытаниям при определении концентрационных пределов распространения пламени при повышенных температурах и атмосферном давлении.
35.3.1.1 Перед испытанием проверяют установку на герметичность. Герметичность установки, включая испаритель, реакционный сосуд, трубопроводы с арматурой, ртутный манометр, должна быть такой, чтобы при остаточном давлении от 0,90 до 1,33 кПа изменение давления за счет натечек не превышало 66 Па за 30 мин.
35.3.1.2 Проверяют пригодность установки к работе при температуре (25 +/- 10) °C по пропану с чистотой не менее 99,95%, нижний предел которого должен составлять (2,05 +/- 0,10)% об.
35.3.2 Подготовка к испытаниям при определении концентрационных пределов распространения пламени при повышенных давлениях и температурах.
35.3.2.1 Проверяют герметичность реакционного сосуда на вакуум. Вакуумным насосом проводят разрежение реакционного сосуда до остаточного давления не выше 1 кПа и образцовым вакуумметром контролируют натекание воздуха в сосуд. Установка считается герметичной на вакуум, если в течение 20 мин давление в сосуде повысилось не более чем на 1,0 кПа.
35.3.2.2 Проверяют герметичность реакционного сосуда на давление. Для этого в сосуд через коллектор подают воздух или инертный разбавитель (азот) под избыточным давлением 0,8 МПа. Установка считается герметичной, если в течение 5 мин давление упало менее чем на 10 кПа по шкале манометра с диапазоном измерения 1,0 МПа класса точности 0,25.
35.3.2.3 Проверяют пригодность установки к работе при температуре (25 +/- 10) °C по пропану с чистотой не менее 99,95%, нижний концентрационный предел распространения пламени которого должен составлять (2,05 +/- 0,10)% об.
35.4 Проведение испытания
Методы предусматривают определение предельных условий горения (распространение пламени или отказ) газо- и паровоздушных смесей при повышенных давлении и температуре и заключаются в оценке результатов распространения пламени по объему реакционного сосуда путем зажигания газопаровоздушной смеси заданного состава в условиях испытаний.
35.4.1 Для определения нижнего предела органических веществ, содержащих только атомы C, H, O, N и один атом Cl, вначале приготавливают газо- и паровоздушную смесь, содержащую в 1,3 раза меньше исследуемого вещества, чем необходимо для создания смеси, соответствующей его расчетному пределу. Для других веществ вначале приготавливают смесь, содержащую в два раза меньше исследуемого вещества, чем на расчетном пределе.
Следует учитывать, что нижний предел при температуре (25 +/- 10) °C не может быть ниже следующих значений: для паров - 0,4% об., для газов - 1,5% об.
Для определения верхнего предела органических веществ, содержащих только атомы C, H, O, N и один атом Cl, вначале приготавливают смесь, содержащую кислорода в 1,5 раза меньше, чем необходимо для создания смеси, соответствующей расчетному пределу. Для других веществ вначале приготавливают смесь, содержащую кислорода в два раза меньше, чем в расчетной предельной смеси.
35.4.2 Проведение испытаний при определении концентрационных пределов распространения пламени при повышенных температурах и атмосферном давлении.
35.4.2.1 При необходимости заполняют испаритель жидким горючим, нагревают испаритель, включают блок регулирования температуры и выводят установку на требуемый температурный режим.
35.4.2.2 Для приготовления смеси требуемого состава реакционный сосуд вакуумируют до остаточного давления 133,3 Па, затем поочередно подают в него компоненты смеси по парциальным давлениям (pк), вычисляемым по формуле

(35.1)
где

- задаваемая концентрация компонента смеси, % об.;
pсм - общее давление газовой смеси, кПа.
При необходимости допускаются иные способы приготовления смесей, если они дают точность не ниже, чем предлагаемый способ.
35.4.2.3 Общее давление смеси выбирают в пределах от атмосферного давления до 120 кПа. Выбор величины общего давления определяется необходимостью иметь избыток давления смеси по отношению к атмосферному давлению при проведении количественного анализа.
35.4.2.4 Очередность подачи компонентов смеси в реакционный сосуд зависит от их парциальных давлений: компонент с меньшим парциальным давлением подают первым, компонент с большим парциальным давлением - последним.
35.4.2.5 После напуска компонентов в реакционный сосуд смесь перемешивают в течение 15 мин.
35.4.2.6 При необходимости проводят количественный анализ смеси при ее отборе через трубопровод с запорным вентилем, сообщающим реакционный сосуд с атмосферой. После анализа избыток давления в реакционном сосуде понижают до значения атмосферного давления.
35.4.2.7 Выключают нагреватели и вентилятор термошкафа. Затемняют помещение лаборатории. Открывают нижнюю крышку реакционного сосуда до упора в концевой выключатель.
35.4.2.8 С переносного пульта зажигают смесь путем подачи искры на электроды. Продолжительность времени с момента открытия нижней крышки до момента зажигания смеси не должна превышать 5 с.
35.4.2.9 Результат испытания на распространение пламени оценивают визуально. Для наблюдения за пламенем используют зеркало, установленное под углом не больше 45° к установке.
35.4.2.10 В смесях, где пламя распространяется в виде деформированной конвектирующей сферы, за горючую смесь принимают такую, в которой пламя распространяется до боковых стенок реакционного сосуда. Дальнейшее поведение пламени (дойдет оно до верхней крышки сосуда или в результате выталкивающего "эффекта трубы", будет выброшено из сосуда, не успев достигнуть верхней крышки сосуда) не должно приниматься во внимание при оценке результата опыта.
В смесях, где пламя может достигнуть верхней крышки сосуда раньше, чем боковых стенок, за горючую смесь принимают такую, в которой пламя распространяется до верхней крышки реакционного сосуда.
35.4.2.11 Если при первом испытании смеси получен отрицательный результат, то в каждом последующем испытании при определении нижнего (верхнего) предела концентрацию исследуемого вещества следует увеличивать не более чем на 10% (уменьшать не более чем на 5%) от первоначальной концентрации до получения положительного результата.
Если при первом испытании получен положительный результат, то последующие испытания проводят с уменьшенной на нижнем пределе и увеличенной на верхнем пределе концентрациями горючего компонента до получения отрицательного результата.
В дальнейшем шаг изменения концентрации компонентов в смеси постепенно уменьшают до тех пор, пока наблюдается повторяемость результатов.
35.4.2.12 После каждого испытания реакционный сосуд и термошкаф продувают воздухом для удаления продуктов горения или газов и для охлаждения стенок сосуда. Последующее испытание начинают после того, как температура в реакционном сосуде достигнет температуры заданного режима.
35.4.2.13 После серии испытаний с одним веществом следует тщательно промыть сосуд, трубопроводы и запорную арматуру этанолом, а затем их просушить и продуть воздухом.
35.4.3 Проведение испытаний при определении концентрационных пределов распространения пламени при повышенных давлениях и температурах.
35.4.3.1 Включают системы термостабилизации и регистрации температуры и с помощью терморегулятора выводят установку на требуемый температурный режим со скоростью нагрева реакционного сосуда не более 50 °C в 1 ч.
35.4.3.2 Проводят вакуумирование реакционного сосуда до остаточного давления не более 1 кПа.
35.4.3.3 При проведении испытаний при (25 +/- 10) °C приготавливают газовую смесь в реакционном сосуде по парциальным давлениям газовых компонентов, определяемым по формуле
Pi = Pобщ·Ci/100, (35.2)
где Ci - объемная концентрация i-го газового компонента, % об.;
Pобщ - общее давление в смеси, кПа;
Pi - парциальное давление газового компонента, кПа.
35.4.3.4 Очередность подачи компонентов смеси в реакционный сосуд зависит от их парциальных давлений: компонент с меньшим парциальным давлением подают первым, компонент с большим парциальным давлением - последним.
35.4.3.5 При проведении испытаний при повышенных температурах газовые компоненты смеси подают в реакционный сосуд из мерных емкостей по величине разности падения давления в мерной емкости. Падение давления в мерной емкости контролируется манометром М1.
При этом используют следующую формулу для пересчета парциального давления газового компонента, учитывая влияние температуры

(35.3)
где
- падение давления в мерной емкости, кПа;
Vм - объем мерной емкости, дм3;
Tр - температура газа в реакционном сосуде, °C;
Vр - объем реакционного сосуда, дм3;
Tм - температура газа в мерной емкости, °C.
35.4.3.6 Перегретый водяной пар, используемый в качестве флегматизатора, подают в реакционный сосуд из парогенератора при температуре, равной температуре реакционного сосуда.
Давление пара контролируют манометром, установленным на реакционном сосуде.
При работе с флегматизатором в виде насыщенного водяного пара газовую смесь подают в следующем порядке. В вакуумированный реакционный сосуд из мерной емкости (позиция
15 на
рисунке 35.1) подают дистиллированную воду по
ГОСТ 6709 при температуре от 60 до 80 °C в количестве (0,15 +/- 0,02) дм
3. Затем реакционный сосуд нагревают до заданной температуры и измеряют давление насыщенного водяного пара. При достижении заданной концентрации насыщенного водяного пара нагрев реакционного сосуда прекращают и осуществляют подачу других реагентов газо- и паровоздушной смеси в соответствии с
35.4.3.4.
35.4.3.7 Отключают питание электронагревателей в термостате, закрывают все клапаны установки и с пульта управления инициируют зажигание газо- и паровоздушной смеси в реакционном сосуде.
35.4.3.8 Регистрируют распространение пламени по газо- и паровоздушной смеси в объеме реакционного сосуда. В случае нераспространения пламени испытания повторяют три раза и регистрируют отказ.
Критерием распространения пламени по газо- и паровоздушной смеси считают повышение избыточного давления взрыва в реакционном сосуде не менее чем на 50% от начального давления смеси.
35.4.3.9 По окончании испытания проводят сброс избыточного давления в реакционном сосуде до атмосферного.
35.4.3.10 После каждого испытания реакционный сосуд и подводящие трубопроводы вакуумируют для удаления продуктов горения.
35.4.3.11 Если распространения пламени по газо- и паровоздушной смеси не наблюдалось, то в каждом последующем испытании при определении нижнего (верхнего) концентрационных пределов распространения пламени концентрацию исследуемого горючего компонента увеличивают не более чем на 10% (уменьшают не более чем на 5%) от первоначальной величины до получения положительного результата.
В случае регистрации распространения пламени по горючей смеси последующие испытания проводят с уменьшением концентраций исследуемого горючего компонента на нижнем пределе и ее увеличением на верхнем концентрационном пределе распространения пламени.
В дальнейшем шаг изменения концентрации компонентов в смеси уменьшают до тех пор, пока наблюдается повторяемость результатов.
35.5 Оценка результатов испытаний
35.5.1 За величину нижнего (верхнего) концентрационного предела распространения пламени в газопаровоздушной смеси принимают среднее арифметическое шести ближайших значений концентрации исследуемого вещества в смеси, в трех из которых наблюдается положительный результат испытания, в трех других - отрицательный. Полученное значение предела округляют до второго знака после запятой.
35.5.2 Оценка результатов при определении концентрационных пределов распространения пламени при повышенных температурах и атмосферном давлении.
35.5.2.1 Сходимость метода
[8] при доверительной вероятности 95% не должна превышать 0,1% об. на нижнем концентрационном пределе распространения пламени и 0,2% об. на верхнем концентрационном пределе распространения пламени.
35.5.2.2 Воспроизводимость метода
[8] при доверительной вероятности 95% не должна превышать 0,3% об. на нижнем концентрационном пределе распространения пламени и 0,6% об. на верхнем концентрационном пределе распространения пламени при определении пределов на установке по
35.2.1 и 0,5 и 1,0% об. соответственно при определении пределов на установке по
35.2.11.
35.5.3 Оценка результатов при определении концентрационных пределов распространения пламени при повышенных давлениях и температурах.
35.5.3.1 Сходимость метода при доверительной вероятности 95% не должна превышать 0,1% об. на нижнем концентрационном пределе распространения пламени и 0,2% об. на верхнем концентрационном пределе распространения пламени.
35.5.3.2 Воспроизводимость метода при доверительной вероятности 95% не должна превышать 0,3% об. на нижнем концентрационном пределе распространения пламени и 0,6% об. на верхнем концентрационном пределе распространения пламени.
35.6 Оформление протокола испытаний
Условия и результаты испытаний регистрируют в протоколе, форма которого приведена в
приложении 5.
35.7 Требования безопасности
35.7.1 Не следует проводить испытания смесей с концентрацией горючего больше, чем концентрация первой горючей смеси в бедных смесях, и меньше, чем концентрация первой горючей смеси в богатых смесях.
35.7.2 При зажигании горючей смеси при работе на установке по определению концентрационных пределов распространения пламени при повышенных температурах и атмосферном давлении оператор должен находиться на расстоянии не менее 2 м от установки.
35.7.3 Установки для определения концентрационных пределов распространения пламени размещают в помещении, оборудованном приточно-вытяжной вентиляцией.
35.7.4 К обслуживанию установки допускаются лица, достигшие 18-летнего возраста, прошедшие медицинское освидетельствование, производственное обучение и имеющие допуск к обслуживанию сосудов под давлением.
35.7.5 Проведение испытаний осуществляют два человека. Рабочие места операторов должны удовлетворять действующим требованиям по электробезопасности и санитарно-гигиеническим требованиям в соответствии с
ГОСТ 12.1.005.
35.7.6 Средства защиты обслуживающего персонала должны соответствовать
ГОСТ 12.4.011.
35.7.7 Не допускается работа на установке по определению концентрационных пределов распространения пламени при повышенных давлениях и температурах при начальном давлении, превышающем 500 кПа.
36 Методы экспериментального определения нормальной скорости распространения пламени по газо- и паровоздушным смесям
Значение нормальной скорости распространения пламени следует применять в расчетах скорости нарастания давления взрыва газо- и паровоздушных смесей в закрытом, негерметичном оборудовании и помещениях, критического (гасящего) диаметра при разработке и создании огнепреградителей, площади легкосбрасываемых конструкций, предохранительных мембран и других разгерметизирующих устройств; при разработке мероприятий по обеспечению пожаровзрывобезопасности технологических процессов в соответствии с требованиями
ГОСТ 12.1.004 и
ГОСТ 12.1.010.
Физический смысл экспериментального определения нормальной скорости распространения пламени по газо- и паровоздушным смесям.
Сущность метода определения нормальной скорости распространения пламени заключается в приготовлении горючей смеси известного состава внутри реакционного сосуда, зажигании смеси в центре точечным источником, регистрации изменения во времени давления в сосуде и обработке экспериментальной зависимости "давление-время" с использованием математической модели процесса горения газа в замкнутом сосуде и процедуры оптимизации. Математическая модель позволяет получить расчетную зависимость "давление-время", оптимизация которой по аналогичной экспериментальной зависимости дает в результате изменение нормальной скорости в процессе развития взрыва для конкретного испытания.
Для экспериментального определения нормальной скорости распространения пламени по газопаровоздушным смесям допускается использовать два метода:
- метод оптимизации, применяемый для определения нормальной скорости в широком диапазоне давлений и температур;
- метод начального участка, применяемый для определения одиночных значений нормальной скорости распространения пламени.
36.2 Испытательное оборудование
36.2.1 Схема испытательного оборудования для определения нормальной скорости распространения пламени по газо- и паровоздушным смесям по методу оптимизации приведена на
рисунке 36.1.
36.2.2 Реакционный сферический сосуд вместимостью 10 дм3, который может иметь смотровое окно для регистрации процесса распространения пламени. Реакционный сосуд снабжен датчиком давления и соединен через клапаны с манометром, вакуумным насосом, системой подачи и сброса газов и паров. В центре сферической полости сосуда сформирован разрядный промежуток.
Примечание - Допускается применять сферические реакционные сосуды вместимостью от 3 до 25 дм3.
36.2.3 Смеситель газовый для приготовления гомогенной газопаровой смеси при повышенном давлении позволяет проводить подряд несколько экспериментов в реакционном сосуде со смесью заданной концентрации.
36.2.4 Датчик давления должен обеспечивать регистрацию быстроизменяющегося давления в частотном диапазоне от 0 до 1500 Гц и иметь верхний предел измерения не менее чем в 10 раз больше начального давления в сосуде.
36.2.5 В качестве источника зажигания используют электрическую искру с энергией не более 0,1 Дж и длительностью не более 3 мс. Расстояние между конусообразными концами электродов не более 2,5 мм. Диаметр электродов не более 3 мм.
1 - реакционный сосуд; 2 - электроды зажигания;
3 - термостат; 4 - линия подачи горючего; 5 - линия подачи
окислителя; 6 - линия подачи флегматизатора; 7 - измеритель
давления; 8 - клапаны; 9 - ртутный манометр; 10 - вакуумный
насос; 11 - газовый смеситель; 12 - усилители тиристорные;
13 - регуляторы температуры; 14 - электронагреватели;
15, 24 - термоэлектрические преобразователи; 16 - датчик
давления; 17 - регистратор динамического давления;
18 - пульт управления; 19 - зажигающее устройство;
20 - усилитель; 21 - смотровые окна; 22 - скоростная
кинокамера; 23 - измеритель температуры
Рисунок 36.1 - Схема испытательного оборудования
для определения нормальной скорости распространения пламени
36.2.6 Термошкаф, обеспечивающий нагрев реакционного сосуда, испарителя и связывающих их пневмолиний до необходимой температуры с равномерностью не менее 5%.
36.2.7 Регистратор динамического давления должен обеспечивать непрерывную или дискретную запись изменения во времени давления внутри сосуда в процессе горения. За начало отсчета времени принимают момент срабатывания источника зажигания.
36.2.8 Манометры для измерения статического давления в сосуде, пневмолиниях, испарителе и газовом смесителе с погрешностью измерения не более 0,133 кПа при давлении до 100 кПа и не более 0,25% при давлении более 100 кПа.
36.2.9 Вакуумный насос, обеспечивающий остаточное давление в реакционном сосуде не более 0,266 кПа.
36.2.10 Клапаны и пневмолинии, выдерживающие давление взрыва и обеспечивающие возможность вакуумирования сосуда.
36.2.11 Пульт управления, обеспечивающий синхронизацию момента зажигания смеси с регистрацией процесса распространения пламени с помощью скоростной кинокамеры.
36.2.12 Схема установки для определения нормальной скорости распространения пламени по газо- и паровоздушным смесям в соответствии с методом начального участка.
Описание установки приведено в
36.2.1. Метод может применяться при наличии в реакционном сосуде смотрового окна.
36.3 Проведение испытаний
Проведение испытаний в соответствии с методом оптимизации
36.3.1 Реакционный сосуд проверяют на герметичность. Герметичность сосуда должна быть такой, чтобы при остаточном давлении не более 1 кПа изменение давления за 10 мин не превысило 0,133 кПа.
36.3.2 Приготавливают в реакционном сосуде горючую смесь. Для чего вакуумируют сосуд до остаточного давления не более 0,266 кПа, затем поочередно подают в него компоненты смеси по парциальным давлениям или газовую смесь из смесителя, где она предварительно подвергается конвективному перемешиванию.
36.3.3 При необходимости сосуд и испаритель нагревают до температуры испытаний, для чего используют термошкаф и устройства автоматического регулирования температуры. Допускается нагревать исходную смесь до температуры, не превышающей 55% температуры самовоспламенения.
В реакционном сосуде создают требуемое для испытаний давление горючей смеси.
36.3.4 Закрывают все клапаны установки и с пульта управления инициируют зажигание смеси в сосуде. Момент срабатывания зажигающего устройства и изменение давления в сосуде записываются регистратором динамического давления.
36.3.5 Испытание при заданных значениях начального давления, температуры и концентрации смеси повторяют не менее трех раз.
Каждую экспериментальную зависимость изменения давления во времени обрабатывают в соответствии с
34.5.
36.3.6 После каждого испытания реакционный сосуд вакуумируют и продувают воздухом не менее трех раз. При наличии конденсата сосуд промывают.
36.3.7 С целью определения максимального значения нормальной скорости распространения пламени для исследуемого вещества при заданных значениях начального давления и температуры проводят испытания со смесями различного состава, близкого к стехиометрическому.
36.3.8 Для определения значений нормальной скорости распространения пламени по смеси заданного состава в широком диапазоне давлений и температур проводят серии испытаний, отличающиеся начальным давлением и/или температурой.
Проведение испытаний в соответствии с методом начального участка
36.3.9 Испытания проводят в соответствии с
36.3.1. Для регистрации процесса распространения пламени применяют скоростную кинокамеру. В отличие от требования
36.3.5 экспериментальная зависимость изменения давления внутри сосуда во времени не подлежит обработке в соответствии с 36.4.
36.4 Оценка результатов испытаний в соответствии с методом оптимизации
36.4.1 Расчетную зависимость изменения давления в сосуде во времени получают интегрированием дифференциального уравнения математической модели процесса

(36.1)
в котором

(36.2)

(36.3)
где
- относительное давление;
p - текущее расчетное давление в сосуде, кПа;
pi - начальное давление в сосуде, кПа;
t - время, с;
a - радиус реакционного сосуда, м;

,
- соответственно показатели адиабат горючей смеси и продуктов горения;

- относительная масса горючей смеси в сосуде;
mu - текущее значение массы горючей смеси, кг;
mi - начальное значение массы горючей смеси, кг;
- относительное максимальное давление взрыва в сосуде;
pe - максимальное давление взрыва в сосуде при начальном давлении pi, кПа;
su - текущее значение нормальной скорости распространения пламени, м/с.
Зависимость нормальной скорости от давления и температуры смеси принимают в виде
su = sui(p/pi)n(Tu/Ti)m, (36.4)
где sui - начальная скорость распространения пламени (при начальных давлении и температуре), м/с;
Tu - текущее значение температуры смеси, К;
Ti - начальная температура смеси в сосуде, К;
n - барический показатель;
m - температурный показатель.
В приближении адиабатического сжатия смеси изменение нормальной скорости с ростом относительного давления описывается выражением

(36.5)
где

- термокинетический показатель.
Входящие в расчетные формулы параметры

,

,

определяют термодинамическим расчетом. При отсутствии расчетных значений

и

вычисления могут проводиться в приближении

, а значение

может быть заимствовано из экспериментальных данных.
Расчетная зависимость

определяется двумя неизвестными параметрами -
sui и

.
36.4.2 Из экспериментальной записи изменения давления во времени выбирают не менее пяти значений pk (tk), удовлетворяющих условию
1,1·pi <= pk (tk) <= 0,9·pп, (36.6)
где pп - давление, соответствующее точке перегиба кривой изменения давления взрыва от времени, кПа.
Примечание - Для оценки соответствия энергии искры условиям испытания используют экспериментальную точку pi(0), соответствующую моменту срабатывания зажигающего устройства. При этом считают, что энергия искры соответствует условиям испытания, если расчетная зависимость изменения давления, полученная в результате оптимизации, совпадает с экспериментальной, включая точку pi(0).
36.4.3 Оптимизируют расчетную зависимость изменения давления внутри сосуда по экспериментальной путем минимизации функционала


(36.7)
где

- вектор-столбец неизвестных параметров;
- экспериментальное относительное давление в момент времени
tk;
- расчетное относительное давление в момент времени
tk, получаемое численным интегрированием
уравнения (36.1);
N - число экспериментальных точек, по которым производят оптимизацию.
Примечание - Метод применим в условиях пренебрежения конвекцией. Контроль правильности определения нормальной скорости распространения пламени методом оптимизации осуществляют по условию Fr не менее 0,11, в котором число Фруда

(36.8)
где ss - видимая скорость пламени, м/с;
g - ускорение силы тяжести, м/с2;
d - диаметр сосуда, м.
36.4.4 Обрабатывают в соответствии с
36.4.3 серию экспериментальных зависимостей изменения давления, которые получены при одних и тех же условиях.
Контроль правильности использования данного метода осуществляют по условию равенства нормальной скорости распространения пламени в стехиометрической изопропаноло-воздушной смеси в стандартных условиях значению (0,29 +/- 0,02) м/с.
Сходимость метода
[8] при доверительной вероятности 95% не должна превышать 10%. Воспроизводимость метода
[8] при доверительной вероятности 95% не должна превышать 20%.
36.4.5 Для каждой серии испытаний, отличающейся начальным давлением и/или температурой, определяют значения нормальной скорости в процессе горения по
формуле (36.3). Температура горючей смеси в процессе горения изменяется по закону

(36.9)
Используя
формулы (36.3) и
(36.7), на графике
su(
p) строят серию изотерм. Например, первую изотерму (
Tu =
Ti) при условии равенства начальной температуры смеси во всех сериях испытаний строят по точкам

, где различные начальные давления
pi заданы, а

- определены методом оптимизации. Для построения следующих изотерм (
Tu = const) по
формуле (36.7) определяют относительное давление

и давление

, при котором температура горючей смеси равна выбранному значению
Tu в серии испытаний с различными начальными давлениями. Определив из
формулы (36.7) значение

, находят по
формуле (36.3) соответствующее значение нормальной скорости
su для каждой серии испытаний, т.е. при одинаковой температуре
Tu и различных давлениях
p.
36.5 Оценка результатов испытаний в соответствии с методом начального участка
36.5.1 По кинограмме распространения пламени на начальном участке (до 1/3 радиуса сосуда), по углу наклона прямой, выражающей зависимость радиуса пламени от времени, определяют значение видимой скорости распространения пламени ss.
36.5.2 Значение коэффициента расширения продуктов горения (Ei) определяют расчетным путем по формуле

(36.10)
либо по экспериментальным данным из соотношения
Ei = 0,85pe/pi, (36.11)
где

,
Ti и

,
Mi - соответственно температура и молекулярная масса продуктов горения сразу после зажигания и начальной горючей смеси.
36.5.3 Нормальную скорость распространения пламени при начальных значениях давления и температуры в сосуде вычисляют по формуле

(36.12)
36.5.4 Сходимость метода
[8] при доверительной вероятности 95% не должна превышать 10%.
36.5.5 Воспроизводимость метода
[8] при доверительной вероятности 95% не должна превышать 20%.
36.6 Оформление протокола испытаний
Условия и результаты испытаний регистрируют в протоколе, форма которого приведена в
приложении 6.
36.7 Требования безопасности
Реакционный сосуд следует устанавливать в отдельном специальном помещении с вытяжной вентиляцией. Подготовку и проведение эксперимента при давлении больше атмосферного осуществляют дистанционно. Рабочее место оператора должно удовлетворять действующим требованиям по электробезопасности и санитарно-гигиеническим требованиям в соответствии с
ГОСТ 12.1.005.
37 Методы экспериментального определения максимального давления взрыва и максимальной скорости нарастания давления взрыва газо- и паровоздушных смесей
Значение максимального давления взрыва следует применять при определении категории помещений по взрывопожарной и пожарной опасности в соответствии с требованиями норм технологического проектирования, при разработке мероприятий по обеспечению пожаровзрывобезопасности технологических процессов в соответствии с требованиями
ГОСТ 12.1.004 и
ГОСТ 12.1.010.
Допускается использовать экспериментальные и расчетные значения максимального давления взрыва. Расчет максимального давления взрыва допускается проводить путем использования специального программного обеспечения либо метода, изложенного в
приложении 7.
Скорость нарастания давления взрыва - производная давления взрыва по времени на восходящем участке зависимости давления взрыва горючей смеси в замкнутом сосуде от времени. Допускается использовать экспериментальные и расчетные значения максимальной скорости нарастания давления взрыва. Расчет максимальной скорости нарастания давления взрыва допускается проводить путем использования метода, изложенного в
приложении 8.
Значение скорости нарастания давления взрыва следует применять при разработке мероприятий по обеспечению пожаровзрывобезопасности технологических процессов в соответствии с требованиями
ГОСТ 12.1.004 и
ГОСТ 12.1.010.
Физический смысл экспериментального определения максимального давления взрыва и максимальной скорости нарастания давления взрыва газо- и паровоздушных смесей.
Сущность метода определения максимального давления взрыва заключается в зажигании газо-, паро- и пылевоздушной смеси заданного состава в объеме реакционного сосуда и регистрации избыточного развивающегося при воспламенении горючей смеси давления. Изменяя концентрацию горючего в смеси, выявляют максимальное значение давления взрыва.
Сущность метода определения скорости нарастания давления заключается в экспериментальном определении максимального давления взрыва горючей смеси в замкнутом сосуде, построении графика изменения давления взрыва во времени и расчете средней и максимальной скорости по известным формулам.
37.2 Испытательное оборудование
| | ИС МЕГАНОРМ: примечание. В официальном тексте документа, видимо, допущена опечатка: рисунок 36.1 находится в пункте 36.2.5, а не в пункте 36.2.1. | |
Схема испытательного оборудования (установки) для определения максимального давления взрыва и максимальной скорости нарастания давления взрыва газо- и паровоздушных смесей представлена на
рисунке 36.1 в 36.2.1.
Установка для определения максимального давления взрыва и максимальной скорости нарастания давления взрыва газо- и паровоздушных смесей соответствует установке для определения нормальной скорости распространения пламени по газо- и паровоздушным смесям.
37.3 Проведение испытаний
Возможность использования расчетных методов. Для расчетов максимального давления взрыва следует использовать специальное программное обеспечение, реализующее термодинамический расчет взрыва при постоянном объеме.
Испытания по определению максимального давления взрыва и максимальной скорости нарастания давления взрыва газо- и паровоздушных смесей проводят в соответствии с методикой проведения испытаний по определению нормальной скорости распространения пламени по газо- и паровоздушным смесям. Экспериментальную зависимость изменения давления во времени обрабатывают в соответствии с 37.4.
37.4 Оценка результатов испытаний
За максимальное давление взрыва исследуемой газо- и паровоздушной смеси при известных значениях начального давления и температуры принимают наибольшее давление взрыва, полученное в процессе испытаний при различных концентрациях горючего в смеси.
За максимальную скорость нарастания давления принимают наибольшее значение тангенса угла наклона касательной к экспериментальной зависимости "давление-время", полученное в процессе испытаний при различных концентрациях горючего в смеси.
37.5 Оформление протокола испытаний
Условия и результаты испытаний регистрируют в протоколе, форма которого приведена в
приложении 6.
37.6 Требования безопасности
Реакционный сосуд следует устанавливать в отдельном специальном помещении с вытяжной вентиляцией. Подготовку и проведение эксперимента при давлении больше атмосферного осуществляют дистанционно. Рабочее место оператора должно удовлетворять действующим требованиям по электробезопасности и санитарно-гигиеническим требованиям в соответствии с
ГОСТ 12.1.005.
38 Метод экспериментального определения минимальной флегматизирующей концентрации флегматизатора и минимального взрывоопасного содержания кислорода в газо- и паровоздушных смесях
38.1.1 Значение минимальной флегматизирующей концентрации флегматизатора следует применять при разработке мероприятий по обеспечению пожаровзрывобезопасности технологических процессов методом флегматизации в соответствии с требованиями
ГОСТ 12.1.004 и
ГОСТ 12.1.010.
Допускается использовать экспериментальные и расчетные значения минимальной флегматизирующей концентрации флегматизатора.
38.1.2 Значение минимального взрывоопасного содержания кислорода следует применять при разработке мероприятий по обеспечению пожаровзрывобезопасности технологических процессов в соответствии с требованиями
ГОСТ 12.1.004 и
ГОСТ 12.1.010.
Допускается использовать экспериментальные и расчетные значения минимальной концентрации взрывоопасного содержания кислорода.
38.1.3 Сущность метода определения минимальной флегматизирующей концентрации флегматизатора заключается в определении концентрационных пределов распространения пламени горючего вещества при разбавлении газо-, паро- и пылевоздушной смеси данным флегматизатором и получении "кривой флегматизации".
Пик "кривой флегматизации" соответствует значению минимальной флегматизирующей концентрации флегматизатора.
Сущность метода определения минимального взрывоопасного содержания кислорода заключается в испытании на воспламенение газо-, паро- или пылевоздушных смесей различного состава, разбавленных данным флегматизатором, до выявления минимальной концентрации кислорода и максимальной концентрации флегматизатора, при которых еще возможно распространение пламени по смеси.
Расчетные методы определения минимальной флегматизирующей концентрации флегматизатора и минимального взрывоопасного содержания кислорода в газо- и паровоздушных смесях представлены в
приложении 9.
38.2 Испытательное оборудование
Определение минимальной флегматизирующей концентрации флегматизатора и минимального взрывоопасного содержания кислорода в газо- и паровоздушной смеси осуществляют на испытательном оборудовании, описанном в методах определения концентрационных пределов распространения пламени (см.
приложение 9).
38.3 Проведение испытания
Испытания проводят по методам, аналогичным методам определения концентрационных пределов распространения пламени.
38.3.1 В вакуумированный реакционный сосуд последовательно подают по парциальным давлениям исследуемое вещество и заданный флегматизатор, а затем подают воздух до выравнивания давления в реакционном сосуде с атмосферным.
38.3.2 Изменяя содержание исследуемого вещества в смеси при неизменной концентрации флегматизатора, находят концентрационные пределы распространения пламени по смеси.
38.3.3 Затем увеличивают на 2% содержание флегматизатора в смеси и снова находят пределы распространения пламени.
38.3.4 Проводя аналогичные испытания, находят такое содержание флегматизатора в смеси, при котором нижний и верхний предел распространения пламени сходятся на графике в одну точку Cф (см. рисунок 38.1). Испытание смеси, соответствующей по составу точке Cф, повторяют не менее трех раз.
Рисунок 38.1 - Типичная концентрационная область
распространения пламени в смесях горючее, воздух,
флегматизатор
38.4 Оценка результатов испытаний
38.4.1 Содержание флегматизатора, соответствующее точке Cф, принимают за минимальную флегматизирующую концентрацию данного флегматизатора для исследуемого вещества.
38.4.2 Минимальное взрывоопасное содержание кислорода

, % об., вычисляют по формуле

(38.1)
где Cф - минимальная флегматизирующая концентрация флегматизатора, % об.;
Cг - концентрация горючего в смеси с флегматизатором и воздухом, где концентрация флегматизатора равна Cф.
38.4.3 Сходимость метода
[8] при доверительной вероятности 95% не должна превышать 0,2% об.
38.4.4 Воспроизводимость метода
[8] при доверительной вероятности 95% не должна превышать 0,6% об.
38.5 Оформление протокола испытаний
Условия и результаты проведения испытаний регистрируют в протоколе, форма которого приведена в
приложении 10.
38.6 Требования безопасности
Рабочее место оператора должно удовлетворять действующим требованиям по электробезопасности и санитарно-гигиеническим требованиям в соответствии с
ГОСТ 12.1.005.
39 Метод экспериментального определения минимальной энергии зажигания пылевоздушных смесей
39.1.1 Значение минимальной энергии зажигания пылевоздушных смесей следует применять при разработке мероприятий по обеспечению электростатической пожаровзрывобезопасности (в соответствии с
ГОСТ 12.1.018,
ГОСТ 31613) технологических процессов на объектах, связанных с образованием или использованием двухфазных пылевоздушных смесей (пневмотранспорт, дробление и размол твердых веществ, их пневмосушка и т.п.).
39.1.2 Минимальную энергию зажигания указывают в стандартах и технических условиях на вещества и материалы, а также в системах стандартных справочных данных.
39.1.3 Сущность метода определения минимальной энергии зажигания пылевоздушных смесей заключается в создании в экспериментальной камере пылевоздушной смеси заданной концентрации, нахождении функциональной зависимости между концентрацией смеси и энергией воспламеняющего ее электрического заряда. По достижении оптимальной для зажигания концентрации изменяют энергию разряда до установления минимальной энергии зажигания, соответствующей вероятности воспламенения 0,01.
39.2 Испытательное оборудование
39.2.1 Установка для определения минимальной энергии зажигания пылевоздушных смесей (см. рисунок 39.1) включает в себя следующие элементы.
1 - вибратор; 2 - распылитель; 3 - сетка; 4 - электроды
зажигания; 5 - регулятор межэлектродного расстояния
Рисунок 39.1 - Схема испытательного оборудования
для определения минимальной энергии зажигания
пылевоздушных смесей
39.2.2 Виброситовой распылитель на базе электромагнитного вибратора от вибромассажного прибора ВПМ-3 мощностью 18 Вт, обеспечивающий создание пылевого облака различной концентрации. Изменение концентрации пылевоздушной смеси достигается регулировкой напряжения на вибраторе распылителя в диапазоне от 20 до 240 В. Распылитель снабжен ситами с размером ячеек 40 и 100 мкм. Диаметр сит должен быть от 15 до 20 мм. Расстояние между ситом распылителя и горизонтальной плоскостью расположения электродов должно регулироваться дискретно с погрешностью не более 1 мм и принимать значения 5, 10 мм.
39.2.3 Электроды искрового источника зажигания, представляющие собой стержни из нержавеющей стали диаметром не более 3 мм, длиной не менее 20 мм. Электроды закреплены горизонтально и соосно друг к другу. Угол заточки электродов должен быть не более 15°, расстояние между электродами составляет от 2 до 6 мм и регулируется дискретно с шагом 1 мм и погрешностью +/- 0,1 мм.
39.2.4 Установка должна обеспечивать искровой разряд с запасенной энергией от 10-3 до 10-1 Дж (при необходимости указанные пределы можно расширить). Частота следования искровых разрядов не должна превышать 2 Гц. В блоке формирования искрового разряда используют: источник высокого напряжения постоянного тока с регулируемым напряжением от 5 до 12 кВ; киловольтметр типа С-196; измеритель L, C, R типа Е7-11; конденсаторы вакуумные типа КП 1-4 для запасаемой энергии от 0 до 50 мДж и дополнительные конденсаторы типа ФГТ-И для запасаемой энергии от 50 до 100 мДж; индуктивность, в качестве которой использована высоковольтная обмотка автомобильной катушки зажигания типа Б115; вакуумные выключатели типа ВВ-16/10. Монтаж высоковольтной цепи должен производиться высоковольтным проводом марки ППОВ, а суммарная длина провода не должна превышать 2 м.
39.2.5 Пригодность установки к работе проверяют по ликоподию (ГОСТ 22226), минимальная энергия зажигания которого должна быть равной (15 +/- 5) мДж.
39.3 Проведение испытаний
39.3.1 Для испытаний используют пыль дисперсностью менее 100 мкм.
39.3.2 Регулируют параметры разрядного контура (емкость рабочего конденсатора и напряжение на его обкладках) таким образом, чтобы обеспечивалось заданное значение запасенной в конденсаторе энергии.
39.3.3 Устанавливают в распылитель сито с таким размером ячеек, при котором достигается максимальный диапазон изменения концентрации пыли. Виброситовым распылителем создается пылевоздушная смесь, пронизывающая разрядный промежуток.
39.3.4 Включают рабочую и контролирующую аппаратуру, обеспечив режим периодичного инициирования искрового разряда.
39.3.5 Испытания на воспламенение пылевоздушной смеси проводят при заведомо зажигающей энергии, дающей вероятность воспламенения от 0,1 до 0,6. При этом величина разрядного промежутка равна 4 мм, расстояние между ситом и электродами равно 10 мм.
Если при 100 мДж нет воспламенения пылевоздушной смеси, то испытания повторяют, изменяя величину разрядного промежутка (см.
39.2.2), высоту сита над электродами, а также напряжение на вибраторе с шагом 50 В. Число искровых разрядов в каждой серии должно быть не менее 100.
Минимальной энергией зажигания данной пылевоздушной смеси считают энергию свыше 100 мДж, если при испытаниях не зарегистрировано ни одного воспламенения.
39.3.6 В момент воспламенения пылевоздушной смеси отключают виброситовой распылитель и источник высокого напряжения постоянного тока.
За воспламенение принимают горение пылевоздушной смеси и распространение пламени от источника зажигания на расстояние, более чем в два раза превышающее разрядный промежуток.
39.3.7 Испытания на воспламенение пылевоздушной смеси повторяют при различном напряжении на вибраторе распылителя до выявления наиболее легко воспламеняющейся смеси.
Наиболее легко воспламеняющаяся пылевоздушная смесь имеет самую высокую вероятность воспламенения. Вероятность воспламенения (P) вычисляют по формуле

(39.1)
где m - число воспламенений пылевоздушной смеси в данной серии испытаний;
n - общее число искровых разрядов в данной серии испытаний.
Примечание - Число воспламенений должно быть одинаковым в каждой серии и не менее 10.
39.3.8 Изменяя расстояние (h) между ситом дозатора и электродами, а также величину разрядного промежутка (l), повторяют испытания с наиболее легко воспламеняющейся пылевоздушной смесью до выявления оптимальных значений переменных параметров h и l. Оптимальные значения указанных параметров характеризуются наибольшей вероятностью воспламенения.
39.3.9 Изменяя энергию искрового разряда, проводят испытания с наиболее легко воспламеняющейся пылевоздушной смесью при оптимальных значениях h и l до выявления минимальной энергии зажигания. По экспериментальным данным строят кривую зависимости вероятности воспламенения от величины энергии зажигания (см. рисунок 39.2).
Рисунок 39.2 - Зависимость вероятности воспламенения
пылевоздушной смеси сополимер САМЕД
(ГОСТ 12271) от значения
энергии зажигания
39.4 Оценка результатов испытаний
За минимальную энергию зажигания исследуемой пылевоздушной смеси принимают значение энергии зажигания, соответствующее вероятности воспламенения 0,01.
39.5 Оформление протокола испытаний
Условия и результаты проведения испытаний регистрируют в протоколе, форма которого приведена в
приложении 11.
39.6 Требования безопасности
Помещение, в котором проводят испытания, должно быть оборудовано приточно-вытяжной вентиляцией. Рабочее место оператора должно удовлетворять действующим требованиям по электробезопасности и санитарно-гигиеническим требованиям в соответствии с
ГОСТ 12.1.005. Лица, допущенные в установленном порядке к испытаниям, должны быть ознакомлены с техническим описанием и инструкцией по эксплуатации испытательного и измерительного оборудования.
(рекомендуемое)
ФОРМА ПРОТОКОЛА ИСПЫТАНИЙ ПО ОПРЕДЕЛЕНИЮ
ГРУППЫ ГОРЮЧЕСТИ ТВЕРДЫХ ВЕЩЕСТВ И МАТЕРИАЛОВ
(ЗА ИСКЛЮЧЕНИЕМ СТРОИТЕЛЬНЫХ И ОТДЕЛОЧНЫХ МАТЕРИАЛОВ)
___________________________________________________________________
(Наименование организации, выполняющей испытания)
Протокол N ____
определения группы горючести твердых веществ и материалов
(за исключением строительных и отделочных материалов)
от "___" _______________ г.
1. Заказчик (изготовитель) ____________________________________________
2. Условия в помещении (температура, °C; относительная влажность, %;
атмосферное давление, мм рт. ст.) _________________________________________
3. Испытательное и измерительное оборудование (заводской номер, марка,
свидетельство о поверке, диапазон измерения, класс точности, срок действия)
___________________________________________________________________________
4. Наименование методики испытаний ____________________________________
5. Наименование материала (марка, номер стандарта или нормативного
документа): _______________________________________________________________
6. Характеристики материала (плотность, толщина, состав, цвет и т.д.):
___________________________________________________________________________
Экспериментальные данные:
N опыта | Масса образца, г | Показания термоэлектрических преобразователей, °C | Время горения, с |
mн | mк |  , % | в печи | на поверхности образца | в центре образца |
Tп.м | Tп.к | | Tп.о.м | Tп.о.к | | Tц.м | Tц.к | T |
1 | | | | | | | | | | | | | |
2 | | | | | | | | | | | | | |
3 | | | | | | | | | | | | | |
4 | | | | | | | | | | | | | |
5 | | | | | | | | | | | | | |
Среднее арифметическое значение | | | | | | | | | | | |
Примечание _____________________________________________________
Вывод: _________________________________________________________
Исполнители:
Фамилия оператора ______________________________________________
Наименование лаборатории _______________________________________
(рекомендуемое)
ФОРМА ПРОТОКОЛА ИСПЫТАНИЙ ПО ОПРЕДЕЛЕНИЮ ГРУППЫ
ТРУДНОГОРЮЧИХ И ГОРЮЧИХ ТВЕРДЫХ ВЕЩЕСТВ И МАТЕРИАЛОВ
___________________________________________________________________
(Наименование организации, выполняющей испытания)
Протокол N ____
определения группы трудногорючих и горючих
твердых веществ и материалов
от "___" _______________ г.
1. Заказчик (изготовитель) ____________________________________________
2. Условия в помещении (температура, °C; относительная влажность, %;
атмосферное давление, мм рт. ст.) _________________________________________
3. Испытательное и измерительное оборудование (заводской номер, марка,
свидетельство о поверке, диапазон измерения, класс точности, срок действия)
___________________________________________________________________________
4. Наименование методики испытаний ____________________________________
5. Наименование материала (марка, номер стандарта или нормативного
документа) ________________________________________________________________
6. Характеристики материала (плотность, толщина, состав, количество
слоев, цвет) ______________________________________________________________
Экспериментальные данные:
Номер образца | Температура реакционной камеры до введения образца, °C | Максимальная температура газообразных продуктов горения, °C | Время достижения максимальной температуры, с | Масса образца, г | Потеря массы образца, % |
до испытания | после испытания |
| | | | | | |
| | | | | | |
| | | | | | |
Примечание _____________________________________________________
Вывод: _________________________________________________________
Исполнители:
Фамилия оператора ______________________________________________
Наименование лаборатории _______________________________________
(рекомендуемое)
ФОРМА ПРОТОКОЛА ИСПЫТАНИЙ ПО ОПРЕДЕЛЕНИЮ ИЗЛУЧАЮЩЕЙ
СПОСОБНОСТИ ПЛАМЕНИ ТВЕРДЫХ ВЕЩЕСТВ И МАТЕРИАЛОВ
___________________________________________________________________
(Наименование организации, выполняющей испытания)
Протокол N ____
определения излучающей способности
пламени твердых веществ и материалов
от "___" _______________ г.
1. Заказчик (изготовитель) ____________________________________________
2. Условия в помещении (температура, °C; относительная влажность, %;
атмосферное давление, мм рт. ст.) _________________________________________
3. Испытательное и измерительное оборудование (заводской номер, марка,
свидетельство о поверке, диапазон измерения, класс точности, срок действия)
___________________________________________________________________________
4. Наименование методики испытаний ____________________________________
5. Наименование материала (марка, номер стандарта или нормативного
документа) ________________________________________________________________
6. Характеристики материала (плотность, толщина, состав, количество
слоев, цвет) ______________________________________________________________
Экспериментальные данные:
N опыта | Плотность теплового потока qрп, кВт/м2 | Время, с | Максимальная плотность теплового потока qmax, кВт/м2 | Плотность теплового потока с интервалом 30 с, q30, кВт/м2 | Средняя плотность теплового потока qiср, кВт/м2 | Излучающая способность пламени q, кВт/м2 |
воспламенения | достижения qmax |
1 | 2 | 3 | 4 | 5 | 6 | 7 | 8 | 9 |
1 | | | | | | | | | | | | | | | |
2 | | | | | | | | | | | | | | |
3 | | | | | | | | | | | | | | |
4 | | | | | | | | | | | | | | |
5 | | | | | | | | | | | | | | |
Примечание _____________________________________________________
Вывод: _________________________________________________________
Исполнители:
Фамилия оператора ______________________________________________
Наименование лаборатории _______________________________________
(рекомендуемое)
ФОРМА ПРОТОКОЛА ИСПЫТАНИЙ ПО ОПРЕДЕЛЕНИЮ ИНДЕКСА
РАСПРОСТРАНЕНИЯ ПЛАМЕНИ ТВЕРДЫХ ВЕЩЕСТВ И МАТЕРИАЛОВ
___________________________________________________________________
(Наименование организации, выполняющей испытания)
Протокол N ____
определения индекса распространения пламени
твердых веществ и материалов
от "___" _______________ г.
1. Заказчик (изготовитель) ____________________________________________
2. Условия в помещении (температура, °C; относительная влажность, %;
атмосферное давление, мм рт. ст.) _________________________________________
3. Испытательное и измерительное оборудование (заводской номер, марка,
свидетельство о поверке, диапазон измерения, класс точности, срок действия)
___________________________________________________________________________
4. Наименование методики испытаний ____________________________________
5. Наименование материала (марка, номер стандарта или нормативного
документа) ________________________________________________________________
6. Характеристики материала (плотность, толщина, состав, количество
слоев, цвет) ______________________________________________________________
Экспериментальные данные:
N | Время, с | Максимальная температура дымовых газов, °C | Время прохождения фронтом пламени участка поверхности N 1, 2, ... 9, с | Показатели распространения пламени |
воспламенения | достижения максимальной температуры | 1 | 2 | 3 | 4 | 5 | 6 | 7 | 8 | 9 | длина, мм | индекс |
1 | | | | | | | | | | | | | | |
2 | | | | | | | | | | | | | | |
3 | | | | | | | | | | | | | | |
4 | | | | | | | | | | | | | | |
5 | | | | | | | | | | | | | | |
Примечание
- значение теплового коэффициента установки

= _______________
- значение температуры дымовых газов t0 = ______________________
Вывод: Индекс распространения пламени I = ______________________
Исполнители:
Фамилия оператора ______________________________________________
Наименование лаборатории _______________________________________
(рекомендуемое)
ФОРМА ПРОТОКОЛА ИСПЫТАНИЙ ПО ОПРЕДЕЛЕНИЮ
КИСЛОРОДНОГО ИНДЕКСА (КИ)
___________________________________________________________________
(Наименование организации, выполняющей испытания)
Протокол N ____
определения кислородного индекса (КИ)
от "___" _______________ г.
1. Заказчик (изготовитель) ____________________________________________
2. Условия в помещении (температура, °C; относительная влажность, %;
атмосферное давление, мм рт. ст.) _________________________________________
3. Испытательное и измерительное оборудование (заводской номер, марка,
свидетельство о поверке, диапазон измерения, класс точности, срок действия)
___________________________________________________________________________
4. Наименование методики испытаний ____________________________________
5. Наименование материала (марка, номер стандарта или нормативного
документа) ________________________________________________________________
6. Характеристики материала (плотность, толщина, состав, количество
слоев, цвет) ______________________________________________________________
7. Вид, размеры и ориентация образца___________________________________
8. Вариант зажигания (А или Б)_________________________________________
9. Кондиционирование___________________________________________________
Экспериментальные данные:
N опыта | Концентрация кислорода, % | Результат эксперимента наблюдения | Время горения/длина |
1 | | Не горит | |
2 | | Горит неустойчиво | |
3 | | Горит неустойчиво | |
4 | | Горит устойчиво | |
Примечание _____________________________________________________
Вывод: КИ = ____________________________________________________
Исполнители:
Фамилия оператора ______________________________________________
Наименование лаборатории _______________________________________
(рекомендуемое)
ФОРМА ПРОТОКОЛА ИСПЫТАНИЙ ПО ОПРЕДЕЛЕНИЮ
КОЭФФИЦИЕНТА ДЫМООБРАЗОВАНИЯ
___________________________________________________________________
(Наименование организации, выполняющей испытания)
Протокол N ____
определения коэффициента дымообразования
от "___" _______________ г.
1. Заказчик (изготовитель) ____________________________________________
2. Условия в помещении (температура, °C; относительная влажность, %;
атмосферное давление, мм рт. ст.) _________________________________________
3. Испытательное и измерительное оборудование (заводской номер, марка,
свидетельство о поверке, диапазон измерения, класс точности, срок действия)
___________________________________________________________________________
4. Наименование методики испытаний ____________________________________
5. Наименование материала (марка, номер стандарта или нормативного
документа) ________________________________________________________________
6. Характеристики материала (плотность, толщина, состав, количество
слоев, цвет) ______________________________________________________________
7. Размеры и внешние признаки испытываемых образцов ___________________
Экспериментальные данные:
Режим испытаний | Номер образца для испытаний | Масса образца, г | Светопропускание, % | Коэффициент дымообразования для каждого образца, м2/кг |
начальное | конечное |
| | | | | |
Примечание _____________________________________________________
Вывод: _________________________________________________________
Исполнители:
Фамилия оператора ______________________________________________
Наименование лаборатории _______________________________________
(рекомендуемое)
ФОРМА ПРОТОКОЛА ИСПЫТАНИЙ ПО ОПРЕДЕЛЕНИЮ
ЛИНЕЙНОЙ СКОРОСТИ РАСПРОСТРАНЕНИЯ ПЛАМЕНИ
ПО ПОВЕРХНОСТИ ТВЕРДЫХ ВЕЩЕСТВ И МАТЕРИАЛОВ
___________________________________________________________________
(Наименование организации, выполняющей испытания)
Протокол N ____
определения линейной скорости распространения пламени
по поверхности твердых веществ и материалов
от "___" _______________ г.
1. Заказчик (изготовитель) ____________________________________________
2. Условия в помещении (температура, °C; относительная влажность, %;
атмосферное давление, мм рт. ст.) _________________________________________
3. Испытательное и измерительное оборудование (заводской номер, марка,
свидетельство о поверке, диапазон измерения, класс точности, срок действия)
___________________________________________________________________________
4. Наименование методики испытаний ____________________________________
5. Наименование материала (марка, номер стандарта или нормативного
документа) ________________________________________________________________
6. Характеристики материала (плотность, толщина, состав, количество
слоев, цвет) ______________________________________________________________
Экспериментальные данные:
N опыта | Время, с | Максимальная температура дымовых газов Tmax, °C | Время прохождения фронтом пламени участков поверхности N 1 ... 9 | Показатели распространения пламени |
воспламенения | достижения Tmax | | 1 | 2 | 3 | 4 | 5 | 6 | 7 | 8 | 9 | длина L, м | линейная скорость V, м/с |
1 | | | | | | | | | | | | | | |
2 | | | | | | | | | | | | | | |
3 | | | | | | | | | | | | | | |
4 | | | | | | | | | | | | | | |
5 | | | | | | | | | | | | | | |
Примечание _____________________________________________________
Вывод: _________________________________________________________
Исполнители:
Фамилия оператора ______________________________________________
Наименование лаборатории _______________________________________
(рекомендуемое)
ФОРМА ПРОТОКОЛА ИСПЫТАНИЙ ПО ОПРЕДЕЛЕНИЮ
ПОКАЗАТЕЛЯ ТОКСИЧНОСТИ ПРОДУКТОВ ГОРЕНИЯ
ЭКСПЕРИМЕНТАЛЬНО-РАСЧЕТНЫМ МЕТОДОМ
___________________________________________________________________
(Наименование организации, выполняющей испытания)
Протокол N ____
определения показателя токсичности продуктов горения
экспериментально-расчетным методом
от "___" _______________ г.
1. Заказчик (изготовитель) ____________________________________________
2. Условия в помещении (температура, °C; относительная влажность, %;
атмосферное давление, мм рт. ст.) _________________________________________
3. Испытательное и измерительное оборудование (заводской номер, марка,
свидетельство о поверке, диапазон измерения, класс точности, срок действия)
___________________________________________________________________________
4. Наименование методики испытаний ____________________________________
5. Наименование материала (марка, номер стандарта или нормативного
документа) ________________________________________________________________
6. Характеристики материала (плотность, толщина, состав, цвет
и т.д.) ___________________________________________________________________
Экспериментальные данные:
Дата | N опыта | Масса образца, г (m0 и m1) | Объем установки, м3 (V) | Режим испытания | Время действия излучателя и время опыта, мин | Концентрация каждого измеряемого газа в объеме установки (% об. или мг/м3) | Потеря массы образца, % | Примечание |
фактическая, в течение опыта | предельная | средняя (Ci) |
| | | | | | | | | | |
Примечание _____________________________________________________
Вывод: _________________________________________________________
Исполнители:
Фамилия оператора ______________________________________________
Наименование лаборатории _______________________________________
(рекомендуемое)
РАСЧЕТ ПОКАЗАТЕЛЯ ТОКСИЧНОСТИ ПРОДУКТОВ ГОРЕНИЯ
И ДАННЫЕ КОНТРОЛЬНОГО ОПЫТА (БИОКОНТРОЛЬ)
к протоколу N _____ от "___" _____________ г. по определению показателя
токсичности продуктов горения экспериментально-расчетным методом
Наименование материала (марка, номер стандарта или нормативного
документа) ________________________________________________________________
___________________________________________________________________________
Расчет по данным опыта (N, дата) | Суммарный индекс токсичности | Расчетное значение  , г/м 3 | Данные биоконтроля | Результат биоконтроля | Примечание |
проверочное значение  , г/м 3 | летальность, % |
после экспозиции | после 7 (14) дней наблюдения |
| | | | | | | |
Примечание _____________________________________________________
Вывод: _________________________________________________________
Исполнители:
Фамилия оператора ______________________________________________
Наименование лаборатории _______________________________________
(рекомендуемое)
ФОРМА ПРОТОКОЛА ИСПЫТАНИЙ ПО ОПРЕДЕЛЕНИЮ ПОКАЗАТЕЛЯ
ТОКСИЧНОСТИ ПРОДУКТОВ ГОРЕНИЯ БИОЛОГИЧЕСКИМ МЕТОДОМ
___________________________________________________________________
(Наименование организации, выполняющей испытания)
Протокол N ____
определения показателя токсичности продуктов горения
биологическим методом
от "___" _______________ г.
1. Заказчик (изготовитель) ____________________________________________
2. Условия в помещении (температура, °C; относительная влажность, %;
атмосферное давление, мм рт. ст.) _________________________________________
3. Испытательное и измерительное оборудование (заводской номер, марка,
свидетельство о поверке, диапазон измерения, класс точности, срок действия)
___________________________________________________________________________
4. Наименование методики испытаний ____________________________________
5. Наименование материала (марка, номер стандарта или нормативного
документа) ________________________________________________________________
6. Характеристики материала (плотность, толщина, состав, цвет
и т.д.) ___________________________________________________________________
Экспериментальные данные:
Дата | N опыта | Масса образца, г (m0 и m1) | Объем установки, м3 (V) | Режим испытания | Время действия излучателя и время опыта, мин | Концентрации газов в боксе | Потеря массы образца, % | Летальность, % | Показатель токсичности  | Примечание |
газ | предельная концентрация, % об. | после экспозиции | после 7 (14) дней |
| | | | | | CO | | | | | | |
| | | | | | CO2 | | | | | | |
| | | | | | O2 | | | | | | |
Примечание _____________________________________________________
Вывод: _________________________________________________________
Исполнители:
Фамилия оператора ______________________________________________
Наименование лаборатории _______________________________________
(рекомендуемое)
ФОРМА ПРОТОКОЛА ИСПЫТАНИЙ ПО ОПРЕДЕЛЕНИЮ
ТЕМПЕРАТУРЫ ВОСПЛАМЕНЕНИЯ (САМОВОСПЛАМЕНЕНИЯ ИЛИ ТЛЕНИЯ)
ТВЕРДЫХ ВЕЩЕСТВ И МАТЕРИАЛОВ
___________________________________________________________________
(Наименование организации, выполняющей испытания)
Протокол N ____
определения температуры воспламенения (самовоспламенения
или тления) твердых веществ и материалов
от "___" _______________ г.
1. Заказчик (изготовитель) ____________________________________________
2. Условия в помещении (температура, °C; относительная влажность, %;
атмосферное давление, мм рт. ст.) _________________________________________
3. Испытательное и измерительное оборудование (заводской номер, марка,
свидетельство о поверке, диапазон измерения, класс точности, срок действия)
___________________________________________________________________________
4. Наименование методики испытаний ____________________________________
5. Наименование материала (марка, номер стандарта или нормативного
документа) ________________________________________________________________
6. Характеристики материала (плотность, толщина, состав, количество
слоев, цвет) ______________________________________________________________
Экспериментальные данные:
Номер образца для испытания | Температура испытания, °C | Результат испытания | Особенности испытания |
| | | |
Примечание _____________________________________________________
Вывод: _________________________________________________________
Исполнители:
Фамилия оператора ______________________________________________
Наименование лаборатории _______________________________________
(рекомендуемое)
ФОРМА ПРОТОКОЛА ИСПЫТАНИЙ ПО ОПРЕДЕЛЕНИЮ УДЕЛЬНОЙ
МАССОВОЙ СКОРОСТИ ВЫГОРАНИЯ ТВЕРДЫХ ВЕЩЕСТВ И МАТЕРИАЛОВ
___________________________________________________________________
(Наименование организации, выполняющей испытания)
Протокол N ____
определения удельной массовой скорости выгорания
твердых веществ и материалов
от "___" _______________ г.
1. Заказчик (изготовитель) ____________________________________________
2. Условия в помещении (температура, °C; относительная влажность, %;
атмосферное давление, мм рт. ст.) _________________________________________
3. Испытательное и измерительное оборудование (заводской номер, марка,
свидетельство о поверке, диапазон измерения, класс точности, срок действия)
___________________________________________________________________________
4. Наименование методики испытаний ____________________________________
5. Наименование материала (марка, номер стандарта или нормативного
документа) ________________________________________________________________
6. Характеристики материала (плотность, толщина, состав, количество
слоев, цвет) ______________________________________________________________
7. Испытательное и измерительное оборудование (заводской номер, марка,
свидетельство о поверке, диапазон измерения, класс точности, срок действия)
___________________________________________________________________________
8. Температура воспламенения образца

, °C _________________________
9. Площадь образца, м2 ________________________________________________
Экспериментальные данные:
Наименование величины | Опыт N 1 | УМСВ, кг/(м2·с) |
Время, с | 0 | 10 | 20 | 30 | 40 | 50 | 60 | 70 | 80 | 90 | 100 | 110 | 120 | 130 | |
Масса, г | | | | | | | | | | | | | | | |
УМСВi | | | | | | | | |
Опыт N 2 |
Время, с | 0 | 10 | 20 | 30 | 40 | 50 | 60 | 70 | 80 | 90 | 100 | 110 | 120 | 130 | |
Масса, г | | | | | | | | | | | | | | | |
УМСВi | | | | | | | | |
Опыт N 3 |
Время, с | 0 | 10 | 20 | 30 | 40 | 50 | 60 | 70 | 80 | 90 | 100 | 110 | 120 | 130 | |
Масса, г | | | | | | | | | | | | | | | |
УМСВi | | | | | | | | |
Примечание
Температура в печи, °C ________________________________________________
Время воспламенения образца, с: опыт N 1 ___ опыт N 2 ___ опыт N 3 ____
Вывод: Удельная массовая скорость выгорания,

, кг/(м2·с) ____________
Исполнители:
Фамилия оператора _____________________________________________________
Наименование лаборатории ______________________________________________
(рекомендуемое)
ФОРМА ПРОТОКОЛА ИСПЫТАНИЙ ПО ОПРЕДЕЛЕНИЮ УСЛОВИЙ
ТЕПЛОВОГО САМОВОЗГОРАНИЯ ТВЕРДЫХ ВЕЩЕСТВ И МАТЕРИАЛОВ
___________________________________________________________________
(Наименование организации, выполняющей испытания)
Протокол N ____
определения условий теплового самовозгорания
твердых веществ и материалов
от "___" _______________ г.
1. Заказчик (изготовитель) ____________________________________________
2. Условия в помещении (температура, °C; относительная влажность, %;
атмосферное давление, мм рт. ст.) _________________________________________
3. Испытательное и измерительное оборудование (заводской номер, марка,
свидетельство о поверке, диапазон измерения, класс точности, срок действия)
___________________________________________________________________________
4. Наименование методики испытаний ____________________________________
5. Наименование материала (марка, номер стандарта или нормативного
документа) ________________________________________________________________
6. Характеристики материала (плотность, толщина, состав, количество
слоев, цвет) ______________________________________________________________
Экспериментальные данные:
Номер образца для испытания | Размер образца (по размеру корзиночки), мм | Удельная поверхность образца, м-1 | Показания термоэлектрических преобразователей | Температура испытания, °C | Время до самовозгорания, ч | Продолжительность испытания, ч |
1 | 2 | 3 |
| | | | | | | | |
Примечание _____________________________________________________
Уравнения, выражающие условия теплового самовозгорания:
lgtс = _________________; lgtс = _________________
Вывод: _________________________________________________________
Исполнители:
Фамилия оператора ______________________________________________
Наименование лаборатории _______________________________________
(рекомендуемое)
ФОРМА ПРОТОКОЛА ИСПЫТАНИЙ
ОПРЕДЕЛЕНИЯ ГРУППЫ ГОРЮЧЕСТИ ПЫЛЕЙ
___________________________________________________________________
(Наименование организации, выполняющей испытания)
Протокол N ____
определения группы горючести пылей
от "___" _______________ г.
1. Заказчик (изготовитель) ____________________________________________
2. Условия в помещении (температура, °C; относительная влажность, %;
атмосферное давление, мм рт. ст.) _________________________________________
3. Испытательное и измерительное оборудование (заводской номер, марка,
свидетельство о поверке, диапазон измерения, класс точности, срок действия)
___________________________________________________________________________
4. Наименование методики испытаний ____________________________________
5. Наименование, состав и физико-химические свойства исследуемого
вещества __________________________________________________________________
Экспериментальные данные:
Номер образца | Температура в печи, °C | Время горения образца вне печи, с | Результат испытания | Особенности испытания |
| | | | |
| | | | |
| | | | |
Примечание _____________________________________________________
Вывод: _________________________________________________________
Исполнители:
Фамилия оператора ______________________________________________
Наименование лаборатории _______________________________________
(рекомендуемое)
ФОРМА ПРОТОКОЛА ИСПЫТАНИЙ ПО ОПРЕДЕЛЕНИЮ КОНЦЕНТРАЦИОННОГО
ПРЕДЕЛА ДИФФУЗИОННОГО ГОРЕНИЯ ГАЗОВЫХ СМЕСЕЙ В ВОЗДУХЕ
___________________________________________________________________
(Наименование организации, выполняющей испытания)
Протокол N ____
определения концентрационного предела диффузного
горения газовых смесей в воздухе
от "___" _______________ г.
1. Заказчик (изготовитель) ____________________________________________
2. Условия в помещении (температура, °C; относительная влажность, %;
атмосферное давление, мм рт. ст.) _________________________________________
3. Испытательное и измерительное оборудование (заводской номер, марка,
свидетельство о поверке, диапазон измерения, класс точности, срок действия)
___________________________________________________________________________
4. Наименование методики испытаний ____________________________________
5. Наименование горючего ______________________________________________
6. Наименование разбавителя ___________________________________________
Экспериментальные данные:
Номер п/п | Концентрация горючего, % об. | Давление срыва, кПа | Скорость срыва диффузионного горения, м/с |
| | | |
Примечание
Принятое значение ПДГ смеси ___ в воздухе при температуре ___ °C составляет ___ % об.
Вывод: _________________________________________________________
Исполнители:
Фамилия оператора ______________________________________________
Наименование лаборатории _______________________________________
(рекомендуемое)
ФОРМА ПРОТОКОЛА ИСПЫТАНИЙ ПО ЭКСПЕРИМЕНТАЛЬНОМУ
ОПРЕДЕЛЕНИЮ НОРМАЛЬНОЙ СКОРОСТИ РАСПРОСТРАНЕНИЯ
ПЛАМЕНИ В НЕСТАЦИОНАРНЫХ АЭРОВЗВЕСЯХ
___________________________________________________________________
(Наименование организации, выполняющей испытания)
Протокол N ____
экспериментального определения нормальной скорости
распространения пламени в нестационарных аэровзвесях
от "___" _______________ г.
1. Заказчик (изготовитель) ____________________________________________
2. Условия в помещении (температура, °C; относительная влажность, %;
атмосферное давление, мм рт. ст.) _________________________________________
3. Испытательное и измерительное оборудование (заводской номер, марка,
свидетельство о поверке, диапазон измерения, класс точности, срок действия)
___________________________________________________________________________
4. Наименование методики испытаний ____________________________________
5. Наименование, состав и физико-химические свойства исследуемого
горючего вещества _________________________________________________________
6. Характеристика видеокамеры (тип, частота кадров) ___________________
7. Размер частиц аэровзвеси, мм _______________________________________
Экспериментальные данные:
Номер образца для испытания | Длина контрольного участка образца, м | Диаметр образца, мм | Число кадров | Скорость пламени по образцу, м/с |
1 | | | | |
2 | | | | |
3 | | | | |
Примечание _____________________________________________________
Вывод: Uср = _______________; Un = ________________
Исполнители:
Фамилия оператора ______________________________________________
Наименование лаборатории _______________________________________
(рекомендуемое)
ФОРМА ПРОТОКОЛА ИСПЫТАНИЙ ПО ЭКСПЕРИМЕНТАЛЬНОМУ
ОПРЕДЕЛЕНИЮ НОРМАЛЬНОЙ СКОРОСТИ РАСПРОСТРАНЕНИЯ
ПЛАМЕНИ В СТАЦИОНАРНЫХ АЭРОВЗВЕСЯХ
___________________________________________________________________
(Наименование организации, выполняющей испытания)
Протокол N ____
экспериментального определения нормальной скорости
распространения пламени в стационарных аэровзвесях
от "___" _______________ г.
1. Заказчик (изготовитель) ____________________________________________
2. Условия в помещении (температура, °C; относительная влажность, %;
атмосферное давление, мм рт. ст.) _________________________________________
3. Испытательное и измерительное оборудование (заводской номер, марка,
свидетельство о поверке, диапазон измерения, класс точности, срок действия)
___________________________________________________________________________
4. Наименование методики испытаний ____________________________________
5. Наименование, состав и физико-химические свойства исследуемого
горючего вещества _________________________________________________________
6. Характеристика видеокамеры (тип, частота кадров) ___________________
Экспериментальные данные:
N п/п | Плотность образца, г/см3 | Результат испытаний | Время распространения пламени, с | Значение скорости распространения пламени, м/с |
1 | | | | |
2 | | | | |
3 | | | | |
Примечание _____________________________________________________
Вывод: Uср = _______________; Un = ________________
Исполнители:
Фамилия оператора ______________________________________________
Наименование лаборатории _______________________________________
(рекомендуемое)
ФОРМА ПРОТОКОЛА ИСПЫТАНИЙ ПО ОПРЕДЕЛЕНИЮ
СКОРОСТИ ВЫГОРАНИЯ ЖИДКОСТЕЙ
___________________________________________________________________
(Наименование организации, выполняющей испытания)
Протокол N ____
определения скорости выгорания жидкостей
от "___" _______________ г.
1. Заказчик (изготовитель) ____________________________________________
2. Условия в помещении (температура, °C; относительная влажность, %;
атмосферное давление, мм рт. ст.) _________________________________________
3. Испытательное и измерительное оборудование (заводской номер, марка,
свидетельство о поверке, диапазон измерения, класс точности, срок действия)
___________________________________________________________________________
4. Наименование методики испытаний ____________________________________
5. Наименование, состав и физико-химические свойства исследуемой
жидкости __________________________________________________________________
6. Градуировочный коэффициент установки R = ___________________________
Экспериментальные данные:
Номер испытания | Диаметр горелки, мм | Показания регистрирующего прибора, мм | Массовая скорость выгорания mi, кг/(м2·с) | Среднее значение скорости выгорания  , кг/(м 2·с) | Характер и режим горения |
| |
| | | | | | |
Примечание _____________________________________________________
Вывод: _________________________________________________________
Исполнители:
Фамилия оператора ______________________________________________
Наименование лаборатории _______________________________________
(рекомендуемое)
ФОРМА ПРОТОКОЛА ИСПЫТАНИЙ ПО ОПРЕДЕЛЕНИЮ СПОСОБНОСТИ
ВЗРЫВАТЬСЯ И ГОРЕТЬ ПРИ ВЗАИМОДЕЙСТВИИ С ВОДОЙ,
КИСЛОРОДОМ ВОЗДУХА И ДРУГИМИ ВЕЩЕСТВАМИ
___________________________________________________________________
(Наименование организации, выполняющей испытания)
Протокол N ____
определения способности взрываться и гореть
при взаимодействии с водой, кислородом воздуха
и другими веществами
от "___" _______________ г.
1. Заказчик (изготовитель) ____________________________________________
2. Условия в помещении (температура, °C; относительная влажность, %;
атмосферное давление, мм рт. ст.) _________________________________________
3. Испытательное и измерительное оборудование (заводской номер, марка,
свидетельство о поверке, диапазон измерения, класс точности, срок действия)
___________________________________________________________________________
4. Наименование методики испытаний ____________________________________
5. Наименование, состав и физико-химические свойства исследуемой
жидкости __________________________________________________________________
Экспериментальные данные:
Номер образца для испытания | Количество исследуемого вещества в образце, 10-3 кг/м3 | Температура испытания, °C | Продолжительность испытания, ч | Результат испытания | Особенности испытания |
| | | | | |
Примечание _____________________________________________________
Вывод: _________________________________________________________
Исполнители:
Фамилия оператора ______________________________________________
Наименование лаборатории _______________________________________
(рекомендуемое)
МЕТОДЫ РАСЧЕТА ТЕМПЕРАТУРНЫХ ПРЕДЕЛОВ
РАСПРОСТРАНЕНИЯ ПЛАМЕНИ
Ц.1 Расчет температурных пределов распространения пламени индивидуальных жидкостей
Ц.1.1 Если известна зависимость давления насыщенного пара от температуры, то значение нижнего или верхнего температурного предела распространения пламени (
tп), °C, вычисляют по соответствующему значению концентрационного предела распространения пламени

по формуле

(Ц.1)
где A, B, CA - константы уравнения Антуана;
p0 - атмосферное давление, кПа.
Значение

может быть определено экспериментально либо расчетным методом. Погрешность расчета по
формуле (Ц.1) определяется погрешностью расчета

.
Ц.1.2 Если неизвестна зависимость давления насыщенного пара от температуры, то для веществ, состоящих из атомов C, H, O, N значение нижнего или верхнего температурного предела (tп) вычисляют по формуле

(Ц.2)
где a0 - размерный коэффициент, равный минус 62,46 °C для нижнего и минус 41,43 °C для верхнего пределов;
a1 - безразмерный коэффициент, равный 0,655 для нижнего и 0,723 для верхнего пределов;
aj - эмпирические коэффициенты, характеризующие вклад j-х структурных групп, приведены в таблице Ц.1.
Таблица Ц.1
Вид структурной группы | aj, °C | Вид структурной группы | aj, °C |
tн | tвсп | tн | tвсп |
C-C | -0,909 | -1,158 | C-N | -2,14 | 0,096 |
C=C | -2,66 | -4,64 | N-H | 6,53 | 6,152 |
C-H | -0,009 | 0,570 | O-H | 19,75 | 17,80 |
C-O | 0,110 | 1,267 | | -4,40 | -4,60 |
C=O | 5,57 | 5,86 | | | |
Среднее квадратическое отклонение расчета по
формуле (Ц.2) составляет 9 °C.
Ц.1.3 Если неизвестна температура кипения исследуемого вещества при нормальном атмосферном давлении, то значение нижнего температурного предела распространения пламени (tн) вычисляют по формуле
где tвсп - экспериментальное значение температуры вспышки, °C;
C - константа, равная 2 °C, если для расчета используют значение tвсп в закрытом тигле, и равная 8 °C, если для расчета используют значение tвсп в открытом тигле.
Средняя квадратическая погрешность расчета по
формуле (Ц.3) не превышает 12 °C.
Ц.2 Расчет температурных пределов распространения пламени для смесей жидкостей, представляющих собой растворы
Ц.2.1 Если известна зависимость давления насыщенного пара от температуры для каждого из компонентов смеси, то температурный предел распространения пламени для смеси (tп.см), °C, вычисляют по формуле

(Ц.4)
где k - число компонентов смеси;

- коэффициент активности
i-го компонента;
xi - мольные доли i-го компонента в жидкой фазе;

(Ц.5)
Bi, CAi - константы уравнения Антуана для i-го компонента;
tпi - температурный предел распространения пламени i-го компонента, °C.
Средняя квадратическая погрешность расчета составляет 10 °C для нижнего температурного предела и не превышает 20 °C для верхнего предела.
Ц.2.2 Если неизвестна зависимость давления насыщенного пара от температуры хотя бы для одного компонента смеси, то нижний температурный предел распространения пламени для смеси (tн.см), °C, вычисляют по формуле

(Ц.6)
где

- мольная теплота испарения
i-го компонента, кДж/моль;
tнi - нижний температурный предел распространения пламени i-го компонента, °C.
Значение

может быть определено по интерполяционной формуле (Ц.7)

(Ц.7)
где tкипi - температура кипения i-го компонента, °C.
Средняя квадратическая погрешность расчета по
формуле (Ц.5) составляет 10 °C.
Ц.3 Расчет нижнего температурного предела распространения пламени для смесей горючих и негорючих жидкостей
Если смесь жидкостей представляет собой раствор, то, используя известную зависимость давления насыщенных паров от температуры для каждого негорючего компонента, можно рассчитать нижний температурный предел распространения пламени для смеси (Tн.см) в градусах Кельвина по формуле

(Ц.8)
где xi, xj - мольные доли i-го горючего и j-го негорючего компонентов в жидкой фазе;

,

- мольная теплота испарения
i-го горючего и
j-го негорючего компонента, кДж/моль;
Tнi - нижний температурный предел распространения пламени i-го горючего компонента, К;
Tнj - условный нижний температурный предел распространения пламенного негорючего компонента, вычисляемый по формуле

(Ц.9)
где A, B, CA - константы уравнения Антуана для данного негорючего компонента;
p0 - атмосферное давление, кПа;
y - параметр, характеризующий флегматизирующее или ингибирующее влияние негорючего компонента в паровой фазе.
Значения n для наиболее распространенных негорючих компонентов приведены в таблице Ц.2.
Таблица Ц.2
Наименование вещества | n |
Вода | 1,23 |
Тетрахлорметан | 4,80 |
1,1,2-Трифтортрихлорэтан | 5,60 |
1,2-Дибромтетрафторэтан | 21,30 |
Средняя квадратическая погрешность расчета составляет 10 °C.
(рекомендуемое)
ФОРМА ПРОТОКОЛА ИСПЫТАНИЙ ПО ОПРЕДЕЛЕНИЮ ТЕМПЕРАТУРНЫХ
ПРЕДЕЛОВ РАСПРОСТРАНЕНИЯ ПЛАМЕНИ ПО ПАРОВОЗДУШНЫМ СМЕСЯМ
___________________________________________________________________
(Наименование организации, выполняющей испытания)
Протокол N ____
определения температурных пределов распространения
пламени по паровоздушным смесям
от "___" _______________ г.
1. Заказчик (изготовитель) ____________________________________________
2. Условия в помещении (температура, °C; относительная влажность, %;
атмосферное давление, мм рт. ст.) _________________________________________
3. Испытательное и измерительное оборудование (заводской номер, марка,
свидетельство о поверке, диапазон измерения, класс точности, срок действия)
___________________________________________________________________________
4. Наименование методики испытаний ____________________________________
5. Наименование, состав и физико-химические свойства исследуемой
жидкости __________________________________________________________________
Экспериментальные данные:
Номер образца для испытания | Температура, °C | Мощность источника зажигания, мДж | Результат испытания на воспламенение | Особенности испытания |
жидкой фазы | паровой фазы |
| | | | | |
Примечание _____________________________________________________
Вывод: _________________________________________________________
Исполнители:
Фамилия оператора ______________________________________________
Наименование лаборатории _______________________________________
(рекомендуемое)
ФОРМА ПРОТОКОЛА ИСПЫТАНИЙ ПО ОПРЕДЕЛЕНИЮ
ТЕМПЕРАТУРЫ ВСПЫШКИ ЖИДКОСТЕЙ
___________________________________________________________________
(Наименование организации, выполняющей испытания)
Протокол N ____
определения температуры вспышки жидкостей
от "___" _______________ г.
1. Заказчик (изготовитель) ____________________________________________
2. Условия в помещении (температура, °C; относительная влажность, %;
атмосферное давление, мм рт. ст.) _________________________________________
3. Испытательное и измерительное оборудование (заводской номер, марка,
свидетельство о поверке, диапазон измерения, класс точности, срок действия)
___________________________________________________________________________
4. Наименование методики испытаний ____________________________________
5. Наименование, состав и физико-химические свойства исследуемой
жидкости __________________________________________________________________
Экспериментальные данные:
Номер образца для испытания | Скорость нагревания образца, °C/мин | Температура испытания, °C | Результат испытания на вспышку | Температура вспышки, °C | Особенности испытания |
| | | | | |
Примечание _____________________________________________________
Вывод: tвсп = tвсп,средн + 0,27(101,3 - p) = ___________________
Исполнители:
Фамилия оператора ______________________________________________
Наименование лаборатории _______________________________________
(рекомендуемое)
МЕТОДЫ РАСЧЕТА ТЕМПЕРАТУРЫ ВСПЫШКИ
В ОТКРЫТОМ И ЗАКРЫТОМ ТИГЛЕ
Э.1 Метод расчета температуры вспышки индивидуальных жидкостей в открытом тигле
Э.1.1 Температуру вспышки индивидуальных жидкостей в открытом тигле (
tвсп), °C, имеющих нижеперечисленные виды связей (см.
таблицу Э.1), вычисляют по формуле

(Э.1)
где a0 - размерный коэффициент, равный минус 73,14 °C;
a1 - безразмерный коэффициент, равный 0,659;
tкип - температура кипения исследуемой жидкости, °C;
aj - эмпирические коэффициенты, приведенные в таблице Э.1;
lj - количество связей вида j в молекуле исследуемой жидкости.
Средняя квадратическая погрешность расчета

составляет 13 °C.
Вид связи | aj, °C | Вид связи | aj, °C |
C-C | -2,03 | C-Cl | 15,11 |
| -0,28 | C-Br | 19,40 |
C=C | 1,72 | C-Si | -4,84 |
C-H | 1,105 | Si-H | 11,00 |
C-O | 2,47 | Si-Cl | 10,07 |
C=O | 11,66 | N-H | 5,83 |
C-N | 14,15 | O-H | 23,90 |
| 12,13 | S-H | 5,64 |
C-S | 2,09 | P-O | 3,27 |
C=S | -11,91 | P=O | 9,64 |
C-F | 3,33 | | |
Э.1.2 Для нижеперечисленных классов веществ температуру вспышки, °C, вычисляют по формуле
tвсп = a + b·tкип, (Э.2)
где
a,
b - эмпирические коэффициенты, приведенные в таблице Э.2 вместе со средними квадратическими погрешностями расчета

.
Таблица Э.2
Класс веществ | Коэффициенты |  , °C |
a, °C | b |
Алканы | -73,22 | 0,659 | 1,5 |
Спирты | -41,69 | 0,652 | 1,4 |
Алкиланилины | -21,94 | 0,533 | 2,0 |
Карбоновые кислоты | -43,57 | 0,708 | 2,2 |
Алкилфенолы | -38,42 | 0,623 | 1,4 |
Ароматические углеводороды | -67,83 | 0,665 | 3,0 |
Альдегиды | -74,76 | 0,813 | 1,5 |
Бромалканы | -49,56 | 0,665 | 2,2 |
Кетоны | -52,69 | 0,643 | 1,9 |
Хлоралканы | -55,70 | 0,631 | 1,7 |
Э.1.3 Если для исследуемой жидкости известна зависимость давления насыщенного пара от температуры, то температуру вспышки, °C, в открытом тигле вычисляют по формуле

(Э.3)
где AБ - константа, для расчета вспышки в открытом тигле, равная 280 кПа·см2·с-1·К;
pвсп - парциальное давление пара исследуемой жидкости при температуре вспышки, кПа;
D0 - коэффициент диффузии пара в воздухе, 10-4 м2/с;

- стехиометрический коэффициент кислорода в реакции горения, определяемый по формуле

(Э.4)
где mC, mS, mH, mX, mO, mP - число атомов соответственно углерода, серы, водорода, галоида, кислорода и фосфора в молекуле жидкости.
Средняя квадратическая погрешность расчета составляет 13 °C.
Э.2 Метод расчета температуры вспышки смесей горючих жидкостей в закрытом тигле
Э.2.1 Температуру вспышки смесей горючих жидкостей (tвсп.см), °C, вычисляют по формуле

(Э.5)
где xi - мольная доля i-го компонента в жидкой фазе;

- мольная теплота испарения
i-го компонента, кДж/моль;
tвспi - температура вспышки i-го компонента, °C;
R - универсальная газовая постоянная.
Значение

может быть вычислено по интерполяционной формуле

(Э.6)
где tкипi - температура кипения i-го компонента, °C.
Средняя квадратическая погрешность расчета по
формуле (Э.5) составляет 9 °C.
Э.2.2 Если для компонентов смеси известна зависимость давления насыщенного пара от температуры, то температуру вспышки смеси вычисляют по формуле

(Э.7)
где

;

;

;
Bi, CAi - константы уравнения Антуана для i-го компонента.
Средняя квадратическая погрешность расчета по
формуле (Э.7) составляет 11 °C.
Э.2.3 Температуру вспышки бинарных смесей жидкостей, принадлежащих одному гомологическому ряду, вычисляют по формуле

(Э.8)
где

- температура вспышки легкокипящего компонента, °C;

- гомологическая разность по температуре вспышки в рассматриваемом ряду, °C;
x - массовая доля высококипящего компонента в жидкой фазе;
m - разность между числом углеродных атомов компонентов смеси;
x' - коэффициент, учитывающий нелинейный характер зависимости tвсп от x.
Если x больше или равен 0,5, то x' принимаем равным 2x - 1, если x меньше 0,5, то x' принимаем равным 0.
Формула (Э.8) применима для гомологических рядов
H-спиртов и сложных эфиров нормального строения.
Средняя квадратическая погрешность расчета составляет 2 °C.
(рекомендуемое)
МЕТОДЫ РАСЧЕТА ТЕМПЕРАТУРЫ ВСПЫШКИ И ТЕМПЕРАТУРЫ
ВОСПЛАМЕНЕНИЯ ИНДИВИДУАЛЬНЫХ ЖИДКОСТЕЙ В ОТКРЫТОМ ТИГЛЕ
Ю.1 Температуру вспышки индивидуальных жидкостей в открытом тигле (
tвсп), °C, имеющих нижеперечисленные виды связей (см.
таблицу Ю.1), вычисляют по формуле

(Ю.1)
где a0 - размерный коэффициент, равный минус 73 °C;
a1 - безразмерный коэффициент, равный 0,409;
tкип - температура кипения исследуемой жидкости, °C;
aj - эмпирические коэффициенты, приведенные в таблице Ю.1;
lj - количество связей вида j в молекуле исследуемой жидкости.
Вид связи | aj, °C | Вид связи | aj, °C |
C-C | 3,63 | C-S | 14,86 |
| 6,48 | Si-H | -4,58 |
C=C | -4,18 | -SiCl3 | 50,49 |
C-H | 0,35 | O-H | 44,29 |
C-O | 4,62 | S-H | 10,75 |
C=O | 25,36 | P-O | 22,23 |
C-N | -7,03 | P=O | -9,86 |
| | N-H | 18,15 |
Средняя квадратическая погрешность расчета составляет 10 °C.
Ю.2 Если для исследуемой жидкости известна зависимость давления насыщенного пара от температуры, то температуру вспышки, °C, в открытом тигле вычисляют по формуле

(Ю.2)
где AБ - константа, для расчета вспышки в открытом тигле равная 427 кПа·см2·с-1·К;
pвсп - парциальное давление пара исследуемой жидкости при температуре вспышки, кПа;
D0 - коэффициент диффузии пара в воздухе, 10-4 м2/с;

- стехиометрический коэффициент кислорода в реакции горения, определяемый по формуле

(Ю.3)
где mC, mS, mH, mX, mO, mP - число атомов соответственно углерода, серы, водорода, галоида, кислорода и фосфора в молекуле жидкости.
Средняя квадратическая погрешность расчета составляет 13 °C.
Методы расчета температуры воспламенения жидкостей в открытом тигле
Ю.3 Температуру воспламенения индивидуальных жидкостей в открытом тигле (
tвсп), °C, имеющих нижеперечисленные виды связей (см.
таблицу Ю.2), вычисляют по формуле

(Ю.4)
где a0 - размерный коэффициент, равный минус 47,78 °C;
a1 - безразмерный коэффициент, равный 0,882;
tкип - температура кипения исследуемой жидкости, °C;
aj - эмпирические коэффициенты, приведенные в таблице Ю.2;
lj - количество связей вида j в молекуле исследуемой жидкости.
Вид связи | aj, °C | Вид связи | aj, °C |
C-C | 0,027 | C=O | -0,826 |
| -2,069 | C-N | -5,876 |
C=C | -8,980 | O-H | 8,216 |
C-H | -2,118 | N-H | -0,261 |
C-O | -0,111 | | |
Средняя квадратическая погрешность расчета составляет 5 °C.
Ю.4 Если известна зависимость давления насыщенных паров от температуры, то температуру воспламенения, °C, индивидуальных жидкостей, состоящих из атомов C, H, O, N, вычисляют по формуле

(Ю.5)
где AБ - константа, равная 453 кПа·см2·с-1·К (для фосфорорганических веществ AБ = 1333 кПа·см2·с-1·К);
pвосп - парциальное давление пара исследуемой жидкости при температуре вспышки, кПа;
D0 - коэффициент диффузии пара в воздухе, 10-4 м2/с;

- стехиометрический коэффициент кислорода в реакции горения, определяемый по формуле

(Ю.6)
где mC, mS, mH, mX, mO, mP - число атомов соответственно углерода, серы, водорода, галоида, кислорода и фосфора в молекуле жидкости.
Средняя квадратическая погрешность расчета составляет 6 °C.
Ю.5 Температуру воспламенения алифатических спиртов и сложных эфиров вычисляют по формуле

(Ю.7)
где K - эмпирический коэффициент, равный 6·10-4 для спиртов и 7·10-4 для сложных эфиров.
Средняя квадратическая погрешность расчета составляет 2 °C - для спиртов и 4 °C - для сложных эфиров.
(рекомендуемое)
ФОРМА ПРОТОКОЛА ИСПЫТАНИЙ ПО ОПРЕДЕЛЕНИЮ ТЕМПЕРАТУРЫ
САМОВОСПЛАМЕНЕНИЯ ГАЗОВ И ЖИДКОСТЕЙ
___________________________________________________________________
(Наименование организации, выполняющей испытания)
Протокол N ____
определения температуры самовоспламенения газов и жидкостей
от "___" _______________ г.
1. Заказчик (изготовитель) ____________________________________________
2. Условия в помещении (температура, °C; относительная влажность, %;
атмосферное давление, мм рт. ст.) _________________________________________
3. Испытательное и измерительное оборудование (заводской номер, марка,
свидетельство о поверке, диапазон измерения, класс точности, срок действия)
___________________________________________________________________________
4. Наименование методики испытаний ____________________________________
5. Наименование, состав и физико-химические свойства исследуемой
жидкости __________________________________________________________________
Экспериментальные данные:
Номер пробы вещества | Количество вещества в пробе, см3 (г) | Температура колбы, °C | Температура испытания, °C | Период индукции, с | Результат испытания |
верх | середина | низ |
| | | | | | | |
Примечание _____________________________________________________
Вывод: _________________________________________________________
Исполнители:
Фамилия оператора ______________________________________________
Наименование лаборатории _______________________________________
(рекомендуемое)
МЕТОД ЭКСПЕРИМЕНТАЛЬНОГО ОПРЕДЕЛЕНИЯ ПОКАЗАТЕЛЕЙ ВЗРЫВА
НЕСТАЦИОНАРНЫХ АЭРОВЗВЕСЕЙ В УКРУПНЕННОЙ ВЗРЫВНОЙ КАМЕРЕ
П.1.1 Основные положения
Настоящий метод предназначен для экспериментального определения показателей пожаровзрывоопасности нестационарных аэровзвесей - нижнего концентрационного предела распространения пламени (НКПР), максимального давления взрыва (
Pmax), максимальной скорости нарастания давления взрыва

, индекса взрывопожароопасности пылей (
Kst), нормальной скорости распространения пламени (
Un), минимального взрывоопасного содержания кислорода при разбавлении пылевоздушной смеси газом-флегматизатором (МВСК) и минимальной флегматизирующей концентрации флегматизатора

.
Данный метод не распространяется на взрывчатые и радиоактивные вещества и материалы.
П.1.2 Объект испытаний
Объектами испытаний являются дисперсные твердые вещества и материалы, прошедшие технический контроль предприятия-изготовителя.
Сопроводительная документация должна содержать данные технического контроля объекта испытаний и меры безопасности при работе с ним.
П.1.3 Метод испытаний
При определении НКПР,
Pmax,

и
Kst навеска исследуемого вещества, помещенная в форкамеру, впрыскивается импульсом сжатого воздуха в предварительно вакуумированную реакционную камеру. С заданной на пульте управления задержкой зажигания срабатывает пиротехнический источник зажигания, инициирующий воспламенение пылевоздушной смеси. Сигналы с датчиков давления, установленных на реакционной камере и ресивере, поступают в систему регистрации пульта управления. Повторяют опыты с навесками разной массы для получения зависимостей давления продуктов горения и скорости нарастания давления от концентрации исследуемого вещества в пылевоздушной смеси. Концентрация аэровзвеси равна отношению массы навески к объему реакционной камеры.
При определении МВСК и

в камере и ресивере предварительно по парциальным давлениям готовится газовая смесь путем разбавления воздуха газом-флегматизатором. Приготовленная в реакционной камере и ресивере газовая смесь контролируется анализатором кислорода. В форкамеру помещается оптимальная навеска исследуемого вещества и производится серия опытов при различной концентрации кислорода в газовоздушной среде для получения зависимости давления продуктов горения от концентрации кислорода.
П.1.4 Испытательное оборудование
Экспериментальное определение показателей пожаровзрывоопасности пылевоздушных смесей проводится на установке, схема которой приводится на
рисунке П.1.1.
П.1.4.1 Реакционная камера имеет форму внутреннего объема, близкую к сферической, с отношением максимального габаритного размера к минимальному не более 1,3 и рассчитанная на рабочее давление 1 МПа. Вместимость камеры (20,0 +/- 2,5) дм3. Камера снабжена штуцерами для ее вакуумирования, подачи газовых компонентов, впрыска навески, подсоединения датчика давления и электродов источника зажигания.
П.1.4.2 Система распыления исследуемого вещества, рассчитанная на давление 1 МПа, состоит из:
- ресивера вместимостью (0,7 +/- 0,2) дм3, снабженного штуцерами для подачи газовых компонентов и подсоединения датчика давления;
- вентиля мембранного с электромагнитным приводом, обеспечивающего импульс сжатого воздуха длительностью (0,10 +/- 0,01) с;
- форкамеры вместимостью (0,20 +/- 0,01) дм3, в которую помещают образец исследуемого вещества;
- обратного клапана, вмонтированного в нижний штуцер реакционной камеры;
- конусного распылителя диаметром (30 +/- 1) мм, установленного в нижней части реакционной камеры на высоте (15 +/- 1) мм.
Общая длина тракта ресивер-камера должна составлять (0,6 +/- 0,1) м, условный диаметр прохода трубопроводов и арматуры должен составлять (15,0 +/- 1,0) мм.
П.1.4.3 Система газоприготовления, рассчитанная на рабочее давление до 1,2 МПа, состоит из:
- манометров с пределами измерения от 0,1 до 2,5 МПа для контроля давления в ресивере, от 0,1 до 1,0 МПа для контроля давления в камере и вакуумметра с пределами измерения от 0 до минус 100 кПа, класс точности приборов 0,4;
- медных трубопроводов с условным проходом (0,6 +/- 0,1) мм;
- вентилей с условным проходом не менее 4 мм;
- вакуумного насоса, обеспечивающего создание остаточного давления до 10 кПа.
1 - реакционная камера; 2 - источник зажигания; 3 - датчики
давления; 4 - манометры; 5 - блок управления и регистрации;
6 - вакуумметр; 7 - вакуумный насос; 8 - газоанализатор;
9 - ресивер; 10 - вентиль мембранный с электромагнитным
приводом; 11 - форкамера; 12 - обратный клапан
Рисунок П.1.1 - Схема установки для определения показателей
пожаровзрывоопасности пылевоздушных смесей
П.1.4.4 Источник зажигания представляет пиротехнический заряд с запасом энергии 2,5 кДж. Для его приготовления смешивают мелкодисперсные порошки циркония, нитрата бария и пероксида бария в соотношении 4:3:3 и общем количестве 0,6 г. Для приготовления источника зажигания можно также смешивать мелкодисперсные порошки алюминия и перекиси бария в соотношении 1:9,4 и общем количестве 1,0 г. Пиротехнический заряд закрепляется на электродах в геометрическом центре камеры. Инициирование источника зажигания осуществляется через 0,11 с после начала распыления исследуемого вещества.
П.1.4.5 Система регистрации давления взрыва, состоящая из датчиков давления, подключаемых к реакционной камере и ресиверу, и вторичных приборов с погрешностью измерения не более 10%. Время реакции системы регистрации давления взрыва на прямоугольный импульс не должно превышать 0,1 мс. Система цифровой записи давления продуктов горения аэровзвеси регистрирует сигнал с датчика давления через равные промежутки времени, составляющие от 0,3 до 1,2 мс.
П.1.4.6 Газоанализатор для контроля содержания кислорода в реакционной камере и ресивере с диапазоном измерения от 0 до 21% об. и пределом допускаемой основной приведенной погрешности не более 2,0%.
П.1.4.7 Блок управления, обеспечивающий срабатывание в заданной последовательности вакуумного насоса, системы распыления, источника зажигания и системы регистрации.
П.1.4.8 Весы лабораторные с пределами измерения от 0 до 1000 г, класс точности 4.
П.1.5 Образцы для испытаний
П.1.5.1 Отбор образцов дисперсных веществ и материалов для проведения испытаний производится в соответствии с требованиями нормативной документации на конкретный образец.
П.1.5.2 Образцы, предназначенные для испытаний, должны храниться в соответствии с требованиями нормативной документации на конкретный образец.
П.1.6 Подготовка к испытаниям
П.1.6.1 Устанавливают соответствие исследуемого вещества паспортным данным.
П.1.6.2 Исследуемые вещества подвергают рассеву: при испытании используют образцы с размерами частиц менее 50 мкм для металлов и менее 100 мкм для других веществ.
П.1.6.3 Проверяют реакционную камеру и ресивер на герметичность путем подачи сжатого воздуха до давления не менее 900 кПа в камере и не менее 1200 кПа в ресивере. Камера и ресивер считаются герметичными, если в течение 60 с давление упало менее чем на 50 кПа.
П.1.6.4 Калибруют каналы регистрации давления в ресивере и камере.
П.1.6.5 Калибруют канал регистрации концентрации кислорода.
П.1.6.6 Подбирают начальное давление в реакционной камере Pко (кПа) и начальное рабочее давление в ресивере Pро (кПа), при которых после холостого опыта (срабатывает только система распыления; навеска в форкамере и источник зажигания отсутствуют) в реакционной камере устанавливается давление, отличающееся от атмосферного Pа не более чем на 10 кПа. При этом учитывают соотношение (Pа - Pко)Vк приблизительно равно (Pро - Pа)Vр, где Vк и Vр - объем реакционной камеры и ресивера соответственно, дм3. При нормальном функционировании узлов установки начальное давление в реакционной камере Pко составляет от 50 до 85 кПа, а рабочее давление в ресивере Pро составляет от 900 до 1200 кПа.
П.1.6.7 Пригодность установки к работе проверяют по ликоподию (ГОСТ 22226), показатели взрыва которого должны быть равны: максимальное давление взрыва (755 +/- 60) кПа, индекс взрывопожароопасности (146 +/- 36)·105 м·Па/с, нижний концентрационный предел распространения пламени (42 +/- 8) г/м3, минимальное взрывоопасное содержание кислорода (10,2 +/- 0,5)% об.
П.1.7 Проведение испытаний и обработка результатов
П.1.7.1 Определение НКПР,
Pmax,

,
Kst и МВСК.
П.1.7.2 Закрепляют на электродах источника зажигания пиротехнический заряд.
П.1.7.3 Герметизируют реакционную камеру.
П.1.7.4 В форкамеру помещают навеску исследуемого вещества, взвешенную с погрешностью не более 0,01 г.
П.1.7.5 Подают в ресивер воздух до рабочего давления.
П.1.7.6 Вакуумируют реакционную камеру, распыляют образец и включают источник зажигания, фиксируя изменение давления в реакционной камере и конечное давление в ресивере.
П.1.7.7 Стравливают избыточное давление, открывают крышку камеры и проводят с помощью пылесоса чистку камеры.
П.1.7.8 Проводят серию экспериментов с разными навесками исследуемого вещества для получения зависимости давления взрыва от концентрации пыли. Рекомендуемая первоначальная масса навески соответствует концентрации взвеси 500 г/м
3, масса каждой последующей большей навески отличается от предыдущей на 250 г/м
3. Масса каждой последующей навески меньшей 500 г/м
3 отличается от предыдущей на 50%. Для определения максимального давления взрыва и максимальной скорости его нарастания проводят две дополнительные серии экспериментов на трех различных навесках в области наибольших значений давления взрыва, определенной в первой серии. Для определения нижнего концентрационного предела распространения пламени рекомендуемый шаг изменения концентраций составляет 50 г/м
3 - в области концентраций менее 250 г/м
3 и 20 г/м
3 - в области концентраций менее 100 г/м
3.
П.1.7.9 При определении минимального взрывоопасного содержания кислорода готовят газовую смесь заданного состава отдельно в ресивере и реакционной камере по парциальным давлениям компонентов (Pк), вычисляемым по формуле

(П.1.1)
где Pсм - общее давление газовой смеси, кПа;

- концентрация задаваемого компонента смеси, % об.
П.1.7.10 Проводят контроль правильности приготовления смеси в реакционной камере и ресивере с помощью анализатора кислорода. Различие концентрации кислорода в реакционной камере и ресивере не должно превышать 0,5% об.
П.1.7.11 Проводят серию экспериментов при постоянной концентрации взвеси
c1, отвечающей максимальному значению давления взрыва аэровзвеси при содержании кислорода 21% об., для получения зависимости давления взрыва от концентрации кислорода
CК. Рекомендуемая первоначальная концентрация кислорода в газовой смеси составляет 10% об. Шаг изменения концентраций в области давлений взрыва около 100 кПа не должен превышать 1% об. После каждого опыта проводится продувка системы газоприготовления воздухом. Определяют значение концентрации кислорода
CК1, соответствующее давлению 100 кПа на упомянутой выше зависимости методом, аналогичным изложенному в
П.1.7.17. После этого аналогичным образом проводят дополнительную серию экспериментов с уменьшенной концентрацией аэровзвеси
c2 =
c1CК1/21, строят соответствующую зависимость и определяют для нее значение концентрации кислорода
CК2, соответствующее давлению 100 кПа.
П.1.7.12 По результатам единичного испытания определяют наибольшее значение избыточного давления взрыва (
Pвзр), скорости его нарастания

и концентрацию исследуемого вещества во взвеси (
cs) по формулам:
(П.1.2)
где Pвзр - избыточное давление взрыва;
PМ - максимальное абсолютное давление по графику зависимости давления P в реакционной камере от времени в единичном испытании, кПа;
PИ.З. - максимальное абсолютное давление по графику зависимости давления P в реакционной камере от времени в единичном испытании, когда отсутствует навеска пыли, но срабатывает используемый источник зажигания с энергией 2,5 кДж; для источника зажигания на основе смеси мелкодисперсных порошков циркония, нитрата бария и пероксида бария в соотношении 4:3:3 PИ.З. примерно равно 140 кПа;
P0 - давление в камере к моменту срабатывания источника зажигания, кПа;

(П.1.3)
где

- скорость нарастания избыточного давления взрыва;

- максимальная скорость изменения давления на графике зависимости давления
P в реакционной камере от времени в диапазоне значений
P, превышающих
PИ.З., МПа/с;

(П.1.4)
где m - масса навески, г;
Vк - объем реакционной камеры, м3.
П.1.7.13 За максимальное давление взрыва (
Pmax), кПа, принимают среднее арифметическое из наибольших значений давления взрыва, полученных в каждой из трех серий в соответствии с
П.1.7.8.
П.1.7.14 За максимальную скорость нарастания давления взрыва

, МПа/с, принимают среднее арифметическое из наибольших значений скорости нарастания давления взрыва, полученных в каждой из трех серий в соответствии с
П.1.7.8.
П.1.7.15 Индекс взрывопожароопасности (Kst), МПа·м/с, рассчитывают по формуле

(П.1.5)
где

- максимальная скорость нарастания давления, МПа/с;
Vк - объем реакционной камеры, м3.
П.1.7.16 Нормальную скорость распространения пламени по аэровзвеси (Un), м/с, рассчитывают по формуле
(П.1.6)
где R - радиус камеры, м;
F - фактор турбулизации, допускается принимать равным 4;
Pmax - абсолютное значение максимального давления взрыва, кПа;

- максимальная скорость нарастания давления взрыва, кПа/с;
P0 - абсолютное значение атмосферного давления, P0 равно 101,3 кПа.
П.1.7.17 За нижний концентрационный предел распространения пламени (НКПР) пылевоздушной смеси исследуемого вещества принимают концентрацию, соответствующую давлению 50 кПа на упомянутой в
П.1.7.8 зависимости.
П.1.7.18 За минимальное взрывоопасное содержание кислорода (МВСК), % об., принимают наименьшее из значений
CК1 и
CК2 (см.
П.1.7.11).
П.1.7.19 Минимальную флегматизирующую концентрацию флегматизатора

, % об., вычисляют по формуле

(П.1.7)
где

- содержание водяного пара в воздухе, % об., рассчитываемое по формуле

(П.1.8)
где E - относительная влажность воздуха, %;

- давление насыщенного водяного пара, кПа;
Pа - атмосферное давление, кПа.
П.1.7.20 Если в процессе испытаний пылевоздушных смесей получили максимальное давление взрыва Pmax меньше 50 кПа, то аэровзвесь исследуемого дисперсного материала считается невзрывоопасной для выбранных условий испытаний.
Если в процессе испытаний пылевоздушных смесей получили максимальное давление взрыва Pmax от 50 до 250 кПа или индекс взрывоопасности Kst менее 1 МПа·м/с, то в этом случае рекомендуется провести эксперименты в реакционной камере объемом 1 м3 с пиротехническим источником зажигания, имеющим запас энергии 10 кДж.
Примечание - На рост взрывоопасности аэровзвеси оказывают влияние многие факторы, например увеличение температуры, присутствие добавок горючих газов и паров в воздухе, снижение влажности пыли, снижение размера частиц пыли и др.
П.1.7.21 Условия и результаты испытаний регистрируют в протоколе в виде таблицы, содержащей название вещества, дату испытаний, условия в помещении, название и номер установки, вместимость реакционной камеры и ресивера, результаты испытаний, подпись оператора, проводившего испытания, и наименование лаборатории.
П.1.8 Требования безопасности
П.1.8.1 Реакционную камеру следует устанавливать в специальном шкафу, оборудованном вытяжной вентиляцией и обеспечивающим безопасность оператора в случае разрушения реакционного сосуда.
П.1.8.2 В процессе подготовки образцов для испытания следует применять индивидуальные средства защиты, выбираемые в соответствии со свойствами исследуемого вещества.
П.1.8.3 Рабочее место оператора должно удовлетворять требованиям электробезопасности.
П.1.8.4 Испытания должны быть прекращены при обнаружении неисправностей испытательного и вспомогательного оборудования, влияющих на безопасность проведения работ.
П.1.8.5 К проведению испытаний допускаются лица, изучившие настоящую методику и прошедшие инструктаж по технике безопасности.
(рекомендуемое)
МЕТОД ЭКСПЕРИМЕНТАЛЬНОГО ОПРЕДЕЛЕНИЯ ПОКАЗАТЕЛЕЙ ВЗРЫВА
СТАЦИОНАРНЫХ АЭРОВЗВЕСЕЙ В УКРУПНЕННОЙ ВЗРЫВНОЙ КАМЕРЕ
П.2.1 Основные положения
П.2.1.1 Настоящий метод предназначен для экспериментального определения показателей пожаровзрывоопасности стационарных аэровзвесей - нижнего концентрационного предела распространения пламени (НКПР), максимального давления взрыва (
Pmax), максимальной скорости нарастания давления взрыва

, индекса взрывопожароопасности пылей (
Kst), минимального взрывоопасного содержания кислорода при разбавлении пылевоздушной смеси газом-флегматизатором (МВСК), минимальной флегматизирующей концентрации флегматизатора

и нормальной скорости распространения пламени (
Un).
П.2.1.2 Данный метод не распространяется на взрывчатые и радиоактивные вещества и материалы.
П.2.2 Объект испытаний
П.2.2.1 Объектами испытаний являются стационарные аэровзвеси, представляющие покоящиеся распушенные горючие волокнистые материалы малой плотности (менее 2 кг/м3).
П.2.2.2 Сопроводительная документация должна содержать данные технического контроля объекта испытаний и меры безопасности при работе с ним.
П.2.3 Метод испытаний
П.2.3.1 При определении
Un, НКПР,
Pmax,

и
Kst образец исследуемого волокнистого вещества (далее - образец) фиксированной массы помещается непосредственно в объем реакционной камеры. Минимальная масса образца отвечает условию полного заполнения реакционной камеры без уплотнения. По мере увеличения массы образца заполнение реакционной камеры сопровождается его соответствующим уплотнением. Концентрация исследуемого вещества в реакционной камере определяется делением общей массы образца на объем реакционной камеры. По команде с пульта управления срабатывает пиротехнический источник зажигания, инициирующий воспламенение образца. Сигнал с датчика давления, установленного на реакционной камере, поступает в систему регистрации пульта управления. Повторяют опыты с образцами разной массы для получения зависимостей давления продуктов горения и скорости нарастания давления от концентрации исследуемого вещества в реакционной камере.
Если образец минимальной массы воспламеняется и горит, под термином НКПР понимают минимально возможную концентрацию образца.
Для определения Un в каждом испытании с аэровзвесями выбранных концентраций фиксируют график зависимости давления продуктов горения аэровзвеси от времени.
П.2.3.2 При определении МВСК и

в камере после ее заполнения образцом оптимального состава по парциальным давлениям готовится газовая смесь путем разбавления воздуха газом-флегматизатором. Приготовленная в реакционной камере газовая смесь контролируется анализатором кислорода. Оптимальная навеска исследуемого вещества определяется условием достижения наибольшего значения давления взрыва при исследовании этого показателя для смеси волокнистого вещества с воздухом. По команде с пульта управления срабатывает пиротехнический источник зажигания, инициирующий воспламенение стационарной аэровзвеси, разбавленной газом-флегматизатором. Сигнал с датчика давления, установленного на реакционной камере, поступает в систему регистрации пульта управления. Повторяют опыты при различной концентрации кислорода в газовоздушной среде для получения зависимости давления продуктов горения от концентрации кислорода в реакционной камере.
П.2.4 Испытательное оборудование
П.2.4.1 Экспериментальное определение показателей пожаровзрывоопасности стационарных аэровзвесей проводится на установке, схема которой приводится на
рисунке П.1.1.
П.2.4.2 Описание испытательного оборудования приводится в
разделе П.1.4.
П.2.4.3 При исследовании горения стационарных аэровзвесей момент инициирования источника зажигания является началом отсчета времени регистрации сигнала с датчика давления, установленного на взрывной камере.
П.2.5 Отбор образцов
Требования к образцам для испытаний приводятся в
П.1.5.
П.2.6 Подготовка к испытаниям
П.2.6.1 Устанавливают соответствие исследуемого вещества паспортным данным.
П.2.6.2 Проверяют реакционную камеру на герметичность путем подачи сжатого воздуха до давления не менее 900 кПа. Камера считается герметичной, если в течение 60 с давление упало менее чем на 50 кПа.
П.2.6.3 Калибруют каналы регистрации давления в камере.
П.2.6.4 Калибруют канал регистрации концентрации кислорода.
П.2.6.5 Пригодность установки к работе проверяют по тополиному пуху, показатели взрыва которого должны быть равны: НКПР как минимально возможная концентрация образца (240 +/- 30) г/м3, максимальное давление взрыва (550 +/- 50) кПа, индекс взрывоопасности (2,6 +/- 0,6) м·Мбар/с, минимальное взрывоопасное содержание кислорода (10 +/- 1)% об., минимальная флегматизирующая концентрация флегматизатора-азота (55 +/- 5)% об.
П.2.7 Проведение испытаний и обработка результатов
П.2.7.1 Определение НКПР,
Pmax,

и
Kst.
П.2.7.2 Закрепляют на электродах источника зажигания пиротехнический заряд с запасом энергии 2,5 кДж.
П.2.7.3 Заполняют камеру исследуемым веществом без уплотнения, фиксируя его массу с погрешностью не более 0,01 г. В этом случае стационарная аэровзвесь будет иметь минимальную концентрацию Cmin.
П.2.7.4 Герметизируют реакционную камеру.
П.2.7.5 Включают источник зажигания, фиксируя изменение давления в реакционной камере. Полученная в результате данного опыта информация будет относиться к стационарной аэровзвеси минимальной концентрации Cmin.
П.2.7.6 Стравливают избыточное давление, открывают крышку камеры и проводят чистку камеры с помощью пылесоса.
П.2.7.7 Проводят серию экспериментов с разной (путем уплотнения) массой исследуемого вещества для получения зависимостей давления в реакционной камере и скорости его нарастания от концентрации пыли. Масса каждой последующей навески отличается от предыдущей не более чем на 50% в относительных единицах измерения и не более чем на 5 г в абсолютных единицах измерения. Для полученных зависимостей определяют максимальные значения давления взрыва и скорости его нарастания.
П.2.7.8 Определение МВСК.
П.2.7.9 При определении минимального взрывоопасного содержания кислорода огневые испытания проводят с образцом постоянной массы. Первоначально используется масса образца, при которой было достигнуто максимальное значение давления взрыва.
П.2.7.10 После чистки и продувки взрывной камеры в нее помещают образец нужной массы. Затем камеру герметизируют. Готовят в реакционной камере газовую смесь заданного состава по парциальным давлениям компонентов (Pк), вычисляемым по формуле

(П.2.1)
где Pсм - общее давление газовой смеси, кПа;

- концентрация задаваемого компонента смеси, % об.
Для этого добавляют в камеру газ-флегматизатор и конвективно перемешивают его в течение 5 мин с имеющимся в камере воздухом путем локального подогрева феном днища камеры на температуру от 10 до 15 °C.
Проводят контроль правильности приготовления смеси в реакционной камере путем стравливания избыточного давления смеси через приемный патрубок газоанализатора.
П.2.7.11 Проводят серию экспериментов при постоянной концентрации взвеси c1, отвечающей максимальному значению давления взрыва аэровзвеси при содержании кислорода 21% об., для получения зависимости давления взрыва от концентрации кислорода CК. Рекомендуемая первоначальная концентрация кислорода в газовой смеси составляет 10% об. Шаг изменения концентраций в области давлений взрыва около 50 кПа не должен превышать 1% об. После каждого опыта проводится продувка системы газоприготовления воздухом.
Определяют значение концентрации кислорода
CК1, соответствующее давлению 50 кПа на упомянутой выше зависимости методом, аналогичным изложенному в
П.1.7.17. После этого аналогичным образом проводят дополнительную серию экспериментов с уменьшенной концентрацией аэровзвеси
c2 =
c1CК2/21, строят соответствующую зависимость и определяют для нее значение концентрации кислорода
CК2, соответствующее давлению 50 кПа. Если
C2 меньше
Cmin, то принимают
C2 равное
Cmin.
П.2.7.12 По графику зависимости давления в реакционной камере от времени в единичном испытании определяют наибольшее значение избыточного давления взрыва
Pвзр, наибольшее значение скорости нарастания избыточного давления взрыва

и соответствующую этим параметрам концентрацию исследуемого горючего вещества
cs по формулам:

(П.2.2)
Pвзр = PМ - PИ.З., (П.2.3)

(П.2.4)
где m - масса образца для выбранного испытания, г;
Vк - объем камеры, м3;
Pвзр - избыточное давление взрыва;
PМ - максимальное абсолютное давление по графику зависимости давления P в реакционной камере от времени в единичном испытании, кПа;
PИ.З. - максимальное абсолютное давление по графику зависимости давления P в реакционной камере от времени в единичном испытании, когда отсутствует навеска пыли, но срабатывает используемый источник зажигания с энергией 2,5 кДж; для источника зажигания на основе смеси мелкодисперсных порошков циркония, нитрата бария и пероксида бария в соотношении 4:3:3 PИ.З. примерно равно 140 кПа;

- скорость нарастания избыточного давления взрыва;

- максимальная скорость изменения давления на графике зависимости давления
P в реакционной камере от времени в области
P больше
PИ.З., МПа/с.
П.2.7.13 За максимальное давление взрыва Pmax, кПа, принимают максимальное из полученных экспериментальных значений давления взрыва.
П.2.7.14 За максимальную скорость нарастания давления взрыва

, МПа/с, принимают максимальное из полученных экспериментальных значений скорости нарастания давления взрыва.
П.2.7.15 Индекс взрывопожароопасности Kst, МПа·м/с, рассчитывают по формуле

(П.2.5)
где

- максимальная скорость нарастания давления, МПа/с;
Vк - объем реакционной камеры, м3.
П.2.7.16 Если при горении стационарной аэровзвеси минимальной концентрации Cmin давление взрыва превышает 50 кПа, то за нижний концентрационный предел распространения пламени (НКПР) стационарной аэровзвеси исследуемого вещества принимают концентрацию, соответствующую Cmin, делая соответствующее примечание в протоколе испытаний.
В противном случае за нижний концентрационный предел распространения пламени (НКПР) стационарной аэровзвеси исследуемого вещества принимают концентрацию, соответствующую давлению 50 кПа на упомянутой в
П.2.7.7 зависимости.
П.2.7.17 За минимальное взрывоопасное содержание кислорода (МВСК), % об., принимают наименьшее из значений
CК1 и
CК2 (см.
П.1.7.11).
МВСК рассчитывают аналогично НКПР.
П.2.7.18 Минимальную флегматизирующую концентрацию флегматизатора

, % об., вычисляют по формуле
(П.2.6)
где

- содержание водяного пара в воздухе, % об., рассчитываемое по формуле

(П.2.7)
где E - относительная влажность воздуха, %;

- давление насыщенного водяного пара, кПа;
Pа - атмосферное давление, кПа.
П.2.7.19 Если в процессе испытаний пылевоздушных смесей получили максимальное давление взрыва Pmax меньше 50 кПа, то аэровзвесь исследуемого дисперсного материала считается невзрывоопасной для выбранных условий испытаний.
Примечание - На рост взрывоопасности аэровзвеси оказывают влияние многие факторы, например увеличение температуры, присутствие добавок горючих газов и паров в воздухе, снижение влажности пыли, снижение размера частиц пыли и др.
П.2.7.20 Определение Un.
Нормальную скорость распространения пламени стационарной аэровзвеси заданной концентрации определяют с использованием графика зависимости P(t). С помощью следующего соотношения

(П.2.8)
строят график зависимости U(P). За нормальную скорость распространения пламени стационарной аэровзвеси заданной концентрации при атмосферном начальном давлении принимают значение U, соответствующее величине атмосферного давления.
Здесь P, dP/dt - текущие значения соответственно абсолютного давления продуктов горения (кПа) и его производной по времени - скорости нарастания давления продуктов горения (кПа/с) во взрывной камере;
Pа - начальное (атмосферное) абсолютное давление воздуха во взрывной камере, Pа равно 100 кПа;
Pm - максимальное абсолютное давление продуктов горения, кПа;
R - радиус взрывной камеры, R равно 0,17 м;

- постоянная адиабаты для воздуха,

равно 1,4;
Rf - расчетное значение радиуса сферы, объем которой совпадает с текущим значением объема продуктов горения

(П.2.9)
П.2.7.21 Условия и результаты испытаний регистрируют в протоколе в виде таблицы, содержащей название вещества, дату испытаний, условия в помещении, название и номер установки, вместимость реакционной камеры и ресивера, результаты испытаний, подпись оператора, проводившего испытания, и наименование лаборатории, а также все возможные отклонения от изложенной выше методики проведения испытаний.
П.2.8 Требования безопасности
(рекомендуемое)
ФОРМА ПРОТОКОЛА ИСПЫТАНИЙ ПО ОПРЕДЕЛЕНИЮ МАКСИМАЛЬНОГО
ДАВЛЕНИЯ ВЗРЫВА, МАКСИМАЛЬНОЙ СКОРОСТИ НАРАСТАНИЯ ДАВЛЕНИЯ
ВЗРЫВА, НИЖНЕГО КОНЦЕНТРАЦИОННОГО ПРЕДЕЛА РАСПРОСТРАНЕНИЯ
ПЛАМЕНИ, ИНДЕКСА ВЗРЫВОПОЖАРООПАСНОСТИ, НОРМАЛЬНОЙ СКОРОСТИ
РАСПРОСТРАНЕНИЯ ПЛАМЕНИ, МИНИМАЛЬНОГО ВЗРЫВООПАСНОГО
СОДЕРЖАНИЯ КИСЛОРОДА И МИНИМАЛЬНОЙ ФЛЕГМАТИЗИРУЮЩЕЙ
КОНЦЕНТРАЦИИ ФЛЕГМАТИЗАТОРА
___________________________________________________________________
(Наименование организации, выполняющей испытания)
Протокол N ____
определения максимального давления взрыва,
максимальной скорости нарастания давления взрыва,
нижнего концентрационного предела распространения
пламени, индекса взрывопожароопасности, нормальной
скорости распространения пламени, минимального
взрывоопасного содержания кислорода и минимальной
флегматизирующей концентрации флегматизатора
от "___" _______________ г.
1. Заказчик (изготовитель) ____________________________________________
2. Условия в помещении (температура, °C; относительная влажность, %;
атмосферное давление, мм рт. ст.) _________________________________________
___________________________________________________________________________
3. Испытательное и измерительное оборудование (заводской номер, марка,
свидетельство о поверке, диапазон измерения, класс точности, срок действия)
___________________________________________________________________________
4. Наименование методики испытаний ____________________________________
5. Наименование, состав и физико-химические свойства исследуемого
горючего вещества _________________________________________________________
6. Вместимость реакционного сосуда ____________________________________
вместимость ресивера ______________________________________________________
7. Графики зависимости абсолютного давления в камере от времени
(со ссылкой на номер образца для испытания)
Экспериментальные данные:
Номер образца для испытания | Содержание кислорода в газовоздушной смеси, % об. | Масса образца, г | Концентрация вещества в реакционном сосуде, г/м3 | Давление взрыва, кПа | Скорость нарастания давления, МПа/с |
| | | | | |
Примечание ____________________________________________________________
Вывод: НКПР = __________;

= __________;

= ____________

= ________;

= _________;

= _________;

= __________
Исполнители:
Фамилия оператора _____________________________________________________
Наименование лаборатории ______________________________________________
(рекомендуемое)
ФОРМА ПРОТОКОЛА ИСПЫТАНИЙ ПО ОПРЕДЕЛЕНИЮ ТЕМПЕРАТУРЫ
ВОСПЛАМЕНЕНИЯ (САМОВОСПЛАМЕНЕНИЯ ИЛИ ТЛЕНИЯ) ТВЕРДЫХ
ВЕЩЕСТВ И МАТЕРИАЛОВ, ВКЛЮЧАЯ МЕТАЛЛЫ
(В ЧАСТИ САМОВОСПЛАМЕНЕНИЯ)
___________________________________________________________________
(Наименование организации, выполняющей испытания)
Протокол N ____
определения температуры воспламенения (самовоспламенения
или тления) твердых веществ и материалов, включая металлы
(в части самовоспламенения)
от "___" _______________ г.
1. Заказчик (изготовитель) ____________________________________________
2. Условия в помещении (температура, °C; относительная влажность, %;
атмосферное давление, мм рт. ст.) _________________________________________
___________________________________________________________________________
3. Испытательное и измерительное оборудование (заводской номер, марка,
свидетельство о поверке, диапазон измерения, класс точности, срок действия)
___________________________________________________________________________
4. Наименование методики испытаний ____________________________________
5. Наименование, состав и физико-химические свойства исследуемого
вещества __________________________________________________________________
Экспериментальные данные:
N п/п | Температура в печи, °C | Температура испытания, °C | Результат испытания | Особенности испытания |
| | | | |
| | | | |
Примечание _____________________________________________________
Вывод: _________________________________________________________
Исполнители:
Фамилия оператора ______________________________________________
Наименование лаборатории _______________________________________
(рекомендуемое)
ФОРМА ПРОТОКОЛА ИСПЫТАНИЙ ПО ОПРЕДЕЛЕНИЮ КОНЦЕНТРАЦИОННЫХ
ПРЕДЕЛОВ РАСПРОСТРАНЕНИЯ ПЛАМЕНИ ПО ГАЗО- И ПАРОВОЗДУШНЫМ
СМЕСЯМ ПРИ ПОВЫШЕННЫХ ТЕМПЕРАТУРАХ И АТМОСФЕРНОМ ДАВЛЕНИИ
___________________________________________________________________
(Наименование организации, выполняющей испытания)
Протокол N ____
определения концентрационных пределов распространения
пламени по газо- и паровоздушным смесям при повышенных
температурах и атмосферном давлении
от "___" _______________ г.
1. Заказчик (изготовитель) ____________________________________________
2. Условия в помещении (температура, °C; относительная влажность, %;
атмосферное давление, мм рт. ст.) _________________________________________
___________________________________________________________________________
3. Испытательное и измерительное оборудование (заводской номер, марка,
свидетельство о поверке, диапазон измерения, класс точности, срок действия)
___________________________________________________________________________
4. Наименование методики испытаний ____________________________________
5. Название и состав вещества, температура кипения и давление
насыщенного пара при температуре испытаний ________________________________
6. Температура исследуемой газо- и паровоздушной смеси, °C ____________
7. Расчетное значение концентрационных пределов:

= _______________% об.,

= _______________% об.
Экспериментальные данные:
Номер испытания | Атмосферное давление, мм рт. ст. | Температура испытаний, °C | Относительная влажность воздуха, % | Парциальное давление компонентов смеси, мм рт. ст. | Концентрация компонентов смеси, % об. | Результат испытания на воспламенение |
1 | 2 | 3 | 4 | 5 | 1 | 2 | 3 | 4 | 5 |
| | | | | | | | | | | | | | |
Примечание ____________________________________________________________
Вывод:

= _______________% об.,

= _______________% об. __________
Исполнители:
Фамилия оператора _____________________________________________________
Наименование лаборатории ______________________________________________
(рекомендуемое)
ФОРМА ПРОТОКОЛА ИСПЫТАНИЙ ПО ОПРЕДЕЛЕНИЮ НОРМАЛЬНОЙ
СКОРОСТИ РАСПРОСТРАНЕНИЯ ПЛАМЕНИ, МАКСИМАЛЬНОГО ДАВЛЕНИЯ
ВЗРЫВА И МАКСИМАЛЬНОЙ СКОРОСТИ НАРАСТАНИЯ ДАВЛЕНИЯ
ВЗРЫВА ГАЗО- И ПАРОВОЗДУШНОЙ СМЕСИ
___________________________________________________________________
(Наименование организации, выполняющей испытания)
Протокол N ____
определения нормальной скорости распространения пламени,
максимального давления взрыва и максимальной скорости
нарастания давления взрыва газо- и паровоздушной смеси
от "___" _______________ г.
1. Заказчик (изготовитель) ____________________________________________
2. Условия в помещении (температура, °C; относительная влажность, %;
атмосферное давление, мм рт. ст.) _________________________________________
___________________________________________________________________________
3. Испытательное и измерительное оборудование (заводской номер, марка,
свидетельство о поверке, диапазон измерения, класс точности, срок действия)
___________________________________________________________________________
4. Наименование методики испытаний ____________________________________
5. Наименование, состав и физико-химические свойства исследуемого
горючего вещества _________________________________________________________
6. Название и состав вещества, температура кипения и давление
насыщенного пара при температуре испытаний ________________________________
7. Вместимость реакционного сосуда, дм3 _______________________________
8. Способ приготовления горючей смеси _________________________________
Концентрация горючего в реакционном сосуде, % об. (мм рт. ст.) | Время термостатирования, мин | Равномерность нагрева реакционного сосуда, K | Энергия искрового разряда, мДж | Длительность искрового разряда, мс | Особенности испытания |
T1 | T2 | T3 |
| | | | | | | |
Особенности проведения расчета ________________________________________
Тип применяемой ЭВМ ___________________________________________________
Метод оптимизации _____________________________________________________
Название программы и фамилия программиста _____________________________
Точность расчета (одинарная, двойная) _________________________________
Результаты расчетов для каждой серии испытаний оформляют в виде
отдельной таблицы.
Характеристики серии испытаний:
начальное давление

, Па = ______________________________________
исходная температура T, К = __________________________________________
концентрация горючего

, % об. = ____________________________________
относительное максимальное давление взрыва,

= _____________________
(подчеркните: расчет, экспер.)
показатель адиабаты исходной смеси

= _______________________________
показатель адиабаты продуктов горения

= ____________________________
Номер испытания в серии | Результаты эксперимента | Результаты расчета | Среднее значение в серии испытаний |
p·105, Па | t, мс | | | | |
| | | | | | |
Целесообразно к протоколу прилагать график зависимости максимального давления взрыва и максимальной скорости нарастания давления от концентрации исследуемого вещества в горючей смеси с указанием начального давления, температуры и значений этих величин в каждом испытании.
Исполнители:
Фамилия оператора ______________________________________________
Наименование лаборатории _______________________________________
(рекомендуемое)
МЕТОД РАСЧЕТА МАКСИМАЛЬНОГО ДАВЛЕНИЯ ВЗРЫВА
ГАЗО- И ПАРОВОЗДУШНЫХ СМЕСЕЙ
Метод расчета максимального давления взрыва газо- и паровоздушных смесей распространяется на вещества, состоящие из атомов C, H, O, N, S, F, Cl, Br, P, Si.
П.7.1 Максимальное давление взрыва pmax без учета степени диссоциации продуктов горения, кПа, вычисляют по формуле
(П.7.1)
где pН - начальное давление, при котором находится исходная смесь, кПа;
Tад(V) - адиабатическая температура горения стехиометрической смеси горючего с воздухом при постоянном объеме, К;

- сумма числа молей конечных продуктов горения;
TH - температура исходной смеси, К;

- сумма числа молей газообразных исходных веществ.
П.7.2 Если для горючего вещества неизвестна адиабатическая температура горения стехиометрической смеси, то ее вычисляют по формуле
(П.7.2)
где

- абсолютная энтальпия горючего, кДж/моль. Вычисляют по формуле

(П.7.3)
где

- стандартная теплота образования горючего вещества, кДж/моль;

,

,

,

,

,

,

- абсолютная энтальпия простых веществ и продуктов их горения, значения которых приведены в
таблицах П.7.1 -
П.7.3;

- абсолютная энтальпия галогена, кДж/моль. Если в молекуле горючего вещества несколько галогенов, то выражение

заменяют на

;
R - универсальная газовая постоянная, Дж/(моль·К);
To, T' - соответственно начальная температура исходной горючей смеси и температура горения, К;
Задача вычисления адиабатической температуры горения сводится к нахождению такой температуры (T'), при которой наблюдается равенство внутренних энергий исходных веществ и продуктов их горения.
Вещество | Абсолютная энтальпия при 298,15 К, кДж/моль |
Br2 (жидкость) | -21,159 |
C (газ) | 1108,235 |
H2O (жидкость) | -34,071 |
P (тв., белый) | 719,625 |
S (ромб.) | 298,460 |
S2 (газ) | 725,954 |
Si | 906,514 |
П.7.3 Значение

без учета степени диссоциации продуктов горения вычисляют по формуле

(П.7.4)
где mC, mS, mX, mH, mN, mP - число атомов углерода, серы, галоида, водорода, азота, фосфора в молекуле горючего вещества.
Значение

вычисляют по формуле

(П.7.5)
где

- стехиометрический коэффициент кислорода, вычисляемый по
формуле (П.7.4).
Относительная средняя квадратическая погрешность расчета по
формуле (П.7.1) составляет 30%.
T, К | Абсолютные энтальпии простых веществ и продуктов их горения, кДж/моль |
Воздух | CO2 | CO | O2 | O | H2O | OH | H2 | H | N2 | NO | Ar | C (графит) |
0 | 0 | 0 | 279,07 | 0 | 246,55 | 0 | 158,04 | 238,94 | 335,17 | 0 | 89,78 | 0 | 393,21 |
298,15 | 8,66 | 9,35 | 287,74 | 8,67 | 253,27 | 9,91 | 166,86 | 247,39 | 341,36 | 8,67 | 98,95 | 6,19 | 394,19 |
400 | 11,64 | 13,36 | 290,71 | 11,69 | 255,48 | 13,36 | 169,88 | 250,37 | 343,47 | 11,64 | 101,99 | 8,30 | 395,21 |
600 | 17,62 | 22,25 | 296,67 | 17,91 | 259,73 | 20,41 | 175,78 | 256,22 | 347,63 | 17,56 | 108,09 | 12,46 | 398,14 |
800 | 23,86 | 32,14 | 302,90 | 24,49 | 263,93 | 27,93 | 181,72 | 262,11 | 351,79 | 23,71 | 114,48 | 16,61 | 401,87 |
1000 | 30,36 | 42,72 | 309,40 | 31,36 | 268,12 | 35,94 | 187,76 | 268,09 | 355,94 | 30,13 | 121,15 | 20,77 | 406,02 |
1200 | 37,09 | 53,77 | 316,14 | 38,41 | 272,29 | 44,48 | 193,98 | 274,21 | 360,09 | 36,78 | 128,02 | 24,92 | 410,45 |
1400 | 44,00 | 65,19 | 323,04 | 45,60 | 276,46 | 53,51 | 200,39 | 280,49 | 364,24 | 43,61 | 135,04 | 29,08 | 415,09 |
1600 | 51,05 | 76,87 | 330,08 | 52,91 | 280,63 | 62,97 | 206,99 | 286,95 | 368,40 | 50,58 | 142,17 | 33,23 | 419,90 |
1800 | 58,20 | 88,70 | 337,21 | 60,31 | 284,79 | 72,82 | 213,72 | 293,57 | 372,55 | 57,65 | 149,39 | 37,38 | 424,83 |
2000 | 65,44 | 100,71 | 344,42 | 67,81 | 288,96 | 83,02 | 220,60 | 300,36 | 376,70 | 64,81 | 156,66 | 41,54 | 429,85 |
2200 | 72,76 | 112,82 | 351,69 | 75,41 | 293,11 | 93,41 | 227,60 | 306,99 | 380,86 | 71,97 | 163,98 | 45,69 | 434,53 |
2400 | 80,14 | 125,04 | 359,01 | 83,10 | 297,28 | 104,14 | 234,71 | 314,03 | 385,01 | 79,26 | 171,35 | 49,85 | 439,69 |
2600 | 86,58 | 137,32 | 366,37 | 90,88 | 301,44 | 115,08 | 241,91 | 321,19 | 389,16 | 86,57 | 178,75 | 54,00 | 444,92 |
2800 | 95,06 | 149,69 | 373,77 | 98,74 | 305,61 | 126,22 | 249,22 | 328,46 | 393,32 | 93,91 | 186,17 | 58,15 | 450,20 |
3000 | 102,60 | 162,10 | 381,18 | 106,69 | 309,79 | 137,56 | 256,56 | 335,82 | 397,47 | 101,30 | 193,62 | 62,307 | 455,54 |
3200 | 110,17 | 174,55 | 388,64 | 114,72 | 313,98 | 149,05 | 263,99 | 343,27 | 401,62 | 108,71 | 201,08 | 66,46 | 460,93 |
3400 | 117,77 | 187,06 | 396,10 | 122,82 | 318,18 | 160,69 | 271,49 | 350,81 | 405,77 | 116,14 | 208,57 | 70,60 | 466,37 |
3600 | 125,41 | 199,61 | 403,60 | 130,98 | 322,39 | 172,47 | 279,04 | 358,44 | 409,93 | 123,61 | 216,08 | 74,77 | 471,86 |
3800 | 133,08 | 212,19 | 411,10 | 139,22 | 326,62 | 184,37 | 286,65 | 366,13 | 414,08 | 131,08 | 223,60 | 78,92 | 477,41 |
4000 | 140,78 | 224,81 | 418,63 | 147,51 | 330,87 | 196,42 | 294,30 | 373,90 | 418,23 | 138,58 | 231,13 | 83,08 | 483,00 |
T, К | Абсолютные энтальпии простых веществ и продуктов их горения, кДж/моль |
HF | CF4 | F2 | F | HCl | Cl2 | Cl | HBr | Br2 | Br | P4O10 | P (газ) | SO2 | SiO2 |
0 | 0 | 75,04 | 298,14 | 226,25 | 27,35 | 0 | 119,33 | 67,90 | 0 | 94,93 | 0 | 1030,60 | 64,06 | 0 |
298,15 | 8,60 | 87,77 | 306,97 | 232,76 | 35,99 | 9,18 | 125,59 | 76,55 | 9,73 | 101,14 | 30,17 | 1036,80 | 44,61 | 6,93 |
400 | 11,56 | 94,60 | 310,25 | 235,06 | 38,96 | 12,71 | 127,85 | 79,53 | 13,43 | 103,25 | 51,69 | 1038,90 | 78,86 | 11,97 |
600 | 17,40 | 110,70 | 317,11 | 239,48 | 44,83 | 19,92 | 132,38 | 85,42 | 20,84 | 107,41 | 102,52 | 1043,10 | 88,15 | 23,85 |
800 | 23,28 | 128,93 | 324,29 | 243,80 | 50,82 | 27,30 | 136,92 | 91,52 | 28,33 | 111,59 | 159,64 | 1047,20 | 98,33 | 37,57 |
1000 | 29,25 | 148,32 | 331,67 | 248,07 | 57,04 | 34,78 | 141,39 | 97,86 | 35,86 | 115,82 | 220,03 | 1051,40 | 109,04 | 52,61 |
1200 | 35,36 | 168,37 | 339,18 | 252,30 | 63,48 | 42,32 | 145,80 | 104,45 | 43,43 | 120,13 | 282,27 | 1055,50 | 120,08 | 66,97 |
1400 | 41,63 | 188,84 | 346,82 | 256,52 | 70,12 | 49,91 | 150,17 | 111,23 | 51,02 | 124,51 | 345,66 | 1059,70 | 131,35 | 81,26 |
1600 | 48,08 | 209,58 | 354,54 | 260,72 | 76,94 | 57,54 | 154,49 | 118,19 | 58,65 | 128,96 | 409,78 | 1063,90 | 142,77 | 95,99 |
1800 | 54,70 | 230,49 | 362,38 | 264,91 | 83,90 | 65,21 | 158,79 | 125,27 | 66,30 | 133,45 | 474,42 | 1068,00 | 154,31 | 111,29 |
2000 | 61,45 | 251,56 | 370,35 | 269,10 | 90,99 | 72,93 | 163,06 | 132,48 | 73,98 | 137,98 | 539,42 | 1072,30 | 165,95 | 126,59 |
2200 | 68,27 | 272,46 | 378,05 | 273,27 | 98,08 | 80,62 | 167,32 | 139,64 | 81,61 | 142,52 | 604,11 | 1076,49 | 177,55 | 154,34 |
2400 | 75,26 | 293,67 | 386,25 | 277,45 | 105,34 | 88,43 | 171,56 | 147,00 | 89,37 | 147,08 | 669,52 | 1080,81 | 189,27 | 174,42 |
2600 | 82,32 | 314,95 | 394,55 | 281,62 | 112,67 | 96,30 | 175,78 | 154,45 | 97,16 | 151,63 | 735,08 | 1085,23 | 201,21 | 194,50 |
2800 | 89,48 | 336,25 | 402,92 | 285,79 | 120,09 | 104,21 | 180,01 | 161,74 | 105,02 | 156,16 | 800,76 | 1089,75 | 213,16 | 214,59 |
3000 | 96,74 | 357,59 | 411,38 | 289,96 | 127,64 | 112,21 | 184,22 | 169,49 | 112,96 | 160,71 | 866,57 | 1094,38 | 225,15 | 234,67 |
3200 | 104,04 | 378,99 | 419,91 | 294,12 | 135,06 | 120,26 | 188,42 | 177,08 | 121,00 | 165,23 | 932,45 | 1099,14 | 237,24 | 254,75 |
3400 | 111,40 | 400,39 | 428,44 | 298,28 | 142,62 | 128,37 | 192,62 | 184,75 | 129,16 | 169,74 | 998,40 | 1104,04 | 249,36 | 274,83 |
3600 | 118,84 | 421,81 | 436,93 | 302,44 | 150,24 | 136,59 | 196,82 | 192,44 | 137,44 | 174,23 | 1064,38 | 1109,06 | 261,59 | 294,92 |
3800 | 126,33 | 445,00 | 445,46 | 306,61 | 157,90 | 144,81 | 201,01 | 200,20 | 145,88 | 178,71 | 1130,42 | 1114,21 | 273,89 | 315,00 |
4000 | 133,85 | 464,73 | 453,91 | 310,77 | 165,60 | 153,14 | 205,20 | 207,99 | 154,46 | 183,17 | 1196,50 | 1119,50 | 286,20 | 335,00 |
(рекомендуемое)
МЕТОДЫ РАСЧЕТА СКОРОСТИ НАРАСТАНИЯ ДАВЛЕНИЯ ВЗРЫВА
ГАЗО- И ПАРОВОЗДУШНЫХ СМЕСЕЙ
П.8.1 Метод заключается в определении верхних границ для максимальной и средней скорости нарастания давления взрыва газо- и паровоздушных смесей в сферическом реакционном сосуде постоянного объема.
Верхнюю границу для максимальной скорости нарастания давления, кПа/с, вычисляют по формуле

(П.8.1)
где pi - начальное давление, кПа;
Sui - нормальная скорость распространения пламени при начальных давлении и температуре, м/с;
a - радиус сферического реакционного сосуда, м;

- безразмерное максимальное давление взрыва;
pe - максимальное абсолютное давление взрыва, кПа;

- показатель адиабаты для исследуемой смеси;

- термокинетический показатель степени в зависимости нормальной скорости распространения пламени от давления и температуры. Если значение

неизвестно, его принимают равным 0,4.
Верхнюю границу для средней скорости нарастания давления, кПа/с, вычисляют по формуле

(П.8.2)
где

- функция от параметров

,

,

, значения которой находят с помощью номограмм, показанных на
рисунке П.8.1.
Значения

и

находят термодинамическим расчетом или в случае невозможности расчета принимают равными соответственно 9,0 и 1,4.
П.8.2 Максимальную скорость нарастания давления взрыва газо- и паровоздушных смесей для веществ, состоящих из атомов C, H, O, N, S, F, Cl, вычисляют по формуле

(П.8.3)
где V - объем реакционного сосуда, м3.
Относительная средняя квадратическая погрешность расчета по формуле (П.8.3) не превышает 30%.
Рисунок П.8.1, лист 1 - Номограммы зависимости функции
Рисунок П.8.1, лист 2
(рекомендуемое)
МЕТОДЫ РАСЧЕТА КОНЦЕНТРАЦИОННЫХ ПРЕДЕЛОВ РАСПРОСТРАНЕНИЯ
ПЛАМЕНИ, МИНИМАЛЬНОЙ ФЛЕГМАТИЗИРУЮЩЕЙ КОНЦЕНТРАЦИИ
И МИНИМАЛЬНОГО ВЗРЫВООПАСНОГО СОДЕРЖАНИЯ КИСЛОРОДА
ДЛЯ ГАЗО- И ПАРОВОЗДУШНЫХ СМЕСЕЙ
П.9.1 Общие положения
П.9.1.1 Методы распространяются, если не оговорено особо, на органические соединения.
П.9.1.2 Предполагается, если не оговорено особо, что исходная температура горючей смеси составляет 298 К, а исходное давление равно атмосферному.
П.9.1.3 Предполагается, если не оговорено особо, что окислительная среда представляет собой воздух.
П.9.1.4 Методы распространяются на вещества, не вступающие между собой и окислительной средой в химическую реакцию при начальных температуре и давлении.
П.9.1.5 Сложные парогазовые смеси в общем случае могут быть представлены в качестве трехкомпонентных составов горючее-окислительная среда-флегматизатор. Типичная концентрационная область распространения пламени имеет вид полуострова, ограниченного кривой флегматизации (см.
рисунок П.9.1).
Линии 5 и 6 делят плоскость Cf - Cd на несколько областей:
I - область горючих смесей (концентрационная область распространения пламени);
II, III - области негорючих смесей, смешение которых с воздухом не приведет к образованию горючих составов;
IV - область негорючих смесей, которые могут стать горючими при разбавлении воздухом.
Парогазовая смесь любого состава отображается на плоскости Cf - Cd точкой, расположение которой характеризует ее пожарную опасность (например, является ли смесь горючей при нахождении ее в области I или может ли она стать горючей при нахождении ее в области IV).
Cf, Cd - концентрации горючего и флегматизатора в тройной
смеси горючее-окислительная среда-флегматизатор;
Cl, Cu - нижний концентрационный предел распространения
пламени (НКПР) и верхний концентрационный предел
распространения пламени (ВКПР) в рассматриваемой
окислительной среде (например, воздухе); 1, 2 - точки,
соответствующие НКПР и ВКПР; 3 - точка флегматизации;
4 - точка, отвечающая смеси, предельной по горючести;
5 - кривая флегматизации; 6 - касательная к кривой
флегматизации; 7 - прямая, отвечающая заданному
соотношению концентраций горючего и флегматизатора

в рассматриваемой смеси;
8 - горючая смесь;
9, 10 - негорючие смеси, которые могут быть безопасно
(без образования горючих составов) выпущены в воздух;
11 - негорючая смесь, которая может стать горючей
при разбавлении воздухом; 12 - точка, отвечающая НКПР
смеси с заданным отношением горючих и негорючих компонентов

;
13 - точка, отвечающая ВКПР смеси с заданным
соотношением горючих и негорючих компонентов
Рисунок П.9.1 - Типичная концентрационная область
распространения пламени
П.9.2 Методы расчета концентрационных пределов распространения пламени в воздухе
П.9.2.1 Расчет НКПР индивидуальных соединений
П.9.2.1.1 Органические соединения, состоящие из атомов углерода (C), водорода (H), кислорода (O), азота (N), НКПР определяем по формуле

(П.9.1)
где Cl - величина НКПР, % об.;
nC, nH, nO, nN - число атомов C, H, O, N в молекуле горючего;
hC, hH, hO, hN, hf - коэффициенты, значения которых составляют hC = 8,737, hH = 2,488, hO = -0,522, hN = -0,494, hf = 0,0236 кДж/моль;

- стандартная теплота образования горючего вещества, кДж/моль, определяемая по справочным данным или вычисляемая по методам, описанным в литературе.
Относительная средняя квадратическая погрешность расчета по
формуле (П.9.1) составляет 6%.
При отсутствии данных о величине

значение НКПР может быть вычислено по формуле

(П.9.2)
где
hk - коэффициенты, значения которых приведены в
таблице П.9.1;
mk - число структурных групп в молекуле горючего.
Относительная средняя квадратическая погрешность расчета по формуле (П.9.2) не превышает 10%.
П.9.2.1.2 Элементорганические соединения
НКПР определяем по формуле

(П.9.3)
где
hj - коэффициент, отвечающий
j-му атому, входящему в молекулу горючего (см.
таблицу П.9.2);
mj - число j-х атомов в молекуле горючего.
Таблица П.9.1
Вид связи | hk | Вид связи | hk |
C-H | 49,2 | | 341,5 |
C-C | 41,2 | C-N | 25,0 |
C=C | 122,1 | N-H | 20,9 |
C-O | 10,9 | | 80,9 |
C=O | 34,3 | | |
O-H | 5,7 | | |
Таблица П.9.2
hj | Значение hj | hj | Значение hj |
hC | 10,1 | hCl | -1,0 |
hH | 1,5 | hS | 10,9 |
hO | -2,2 | hSi | 1,3 |
hN | 0,8 | | |
П.9.2.2 Расчет ВКПР индивидуальных соединений, состоящих из атомов C, H, O, N, хлора (Cl)
ВКПР определяем по формуле

(П.9.4)
где Cu - величина ВКПР, % об.;
nj - число j-х молекулярных связей в молекуле горючего (например, C-C, C-H, C-O и т.д.);
hj - коэффициент, отвечающий j-й связи (см. таблицу П.9.3);
gk - коэффициент, учитывающий те или иные особенности строения молекулы горючего (см.
таблицу П.9.4).
Таблица П.9.3
Вид связи | Значение hj | Вид связи | Значение hj |
C-H | 1,39 | C-N | -1,77 |
C-C | -0,84 | N-H | 0,69 |
C=C | 0,24 | | 0,89 |
C-O | -1,40 | O-H | 1,25 |
C=O | 1,31 | | 2,07 |
C-H | 0,71 | | 1,93 |
Относительная средняя квадратическая погрешность расчета по
формуле (П.9.4) составляет 11%.
Таблица П.9.4
Структурная группа | Значение gk |
-CHO | -1,47 |
| -1,11 |
Неароматический цикл | 9/nC |
П.9.2.3 Метод расчета НКПР и ВКПР смесей горючих газов и паров НКПР и ВКПР Clu, % об., рассчитываем по формуле
(П.9.5)
где CПk - КПР k-го горючего компонента, % об.;
Ck - концентрация k-го горючего компонента в смеси, % об.;
n - число горючих компонентов в смеси.
Если какие-либо из величин
CПk неизвестны, их рассчитываем по методам, изложенным в
П.9.2.1,
П.9.2.2. Относительная средняя квадратическая погрешность расчета не превышает 30%.
П.9.2.4 Метод расчета концентраций горючего и флегматизатора в точке флегматизации
Метод применим для горючих газов и паров органических соединений, состоящих из атомов C, H, O, N.
Концентрации горючего Cfi, % об., и флегматизатора Cdi, % об., в точке флегматизации рассчитываем по формулам

(П.9.6)

(П.9.7)
где

,

- числа молей воздуха и флегматизатора на 1 моль горючего соответственно, рассчитываемые по формулам:

(П.9.8)

(П.9.9)
где

- содержание O
2 в окислительной среде, равное для воздуха 20,6% об.;

- стехиометрический коэффициент O
2 в реакции сгорания до CO и H
2O, вычисляемый по формуле

(П.9.10)

- коэффициент избытка горючего по отношению к смеси, являющейся стехиометрической относительно сгорания до CO и H
2O, принимаемый равным 0,9;

- параметр, характеризующий эффективность флегматизации, значения которого для различных флегматизаторов приведены в таблице П.9.5.
Таблица П.9.5
Значения параметра

для различных флегматизаторов
Флегматизатор | Величина  | Флегматизатор | Величина  |
Азот N2 | 1,0 | Фтортрихлорметан CFCl3 | 4,0 |
Диоксид углерода CO2 | 1,6 | Тетрахлорметан CCl4 | 4,8 |
Водяной пар H2O | 1,2 | Тетрафтордихлорэтан C2F4Cl2 | 6,0 |
Трифтортрихлорэтан C2F3Cl3 | 5,6 | Пентафторхлорэтан C2F5Cl | 6,0 |
1,2-дибромтетрафторэтан C2F4Br2 | 21,3 | Перфторбутан C4F10 | 4,3 |
| | ИС МЕГАНОРМ: примечание. Текст дан в соответствии с официальным текстом документа. | |
|
Шестихлористая сера SF6 | 3,9 | Пентафториодэтан C2F5I | 5,6 |
Дифторхлорметан CF2ClH | 3,3 | Трифторметан CF3H | 1,6 |
Дифтордихлорметан CF2Cl2 | 4,5 | Гептафторпропан C3F7H | 3,0 |
Перфторпропан C3F8 | 6,1 | Перфторциклобутан C4F8 | 2,7 |
Тетрафторметан CF4 | 2,4 | Пентафторэтан C2F5H | 2,5 |
Трифторбромметан CF3Br | 16,2 | Трифториодметан CF3I | 15,5 |
Относительная средняя квадратическая погрешность расчета величин Cfi и Cdi не превышает 15%.
П.9.2.5 Метод расчета концентраций горючего и флегматизатора в смеси, предельной по горючести
Метод применим для горючих газов и паров органических соединений, состоящих из атомов C, H, O, N.
Концентрации горючего
Cfl, % об., и флегматизатора
Cdl, % об., в смеси, предельной по горючести, рассчитываем по
формулам (П.9.6) -
(П.9.9), принимая коэффициенты:

равно 3,530,

равно 4,038,

равно минус 0,522,

равно минус 0,494,

равно 0,0363 кДж/моль (для химически инертных и термически стойких разбавителей типа N
2, CO
2, H
2O);

равно 2,741,

равно 3,166,

равно минус 0,522,

равно минус 0,494,

равно 0,0291 кДж/моль (для галоидсодержащих флегматизаторов), а величину

равной 0,73 для химически инертных разбавителей (азот, диоксид углерода, водяной пар и т.п.) и 0,94 для галоидсодержащих соединений.
Относительная средняя квадратическая погрешность расчета величин Cfl и Cfd не превышает 25%.
П.9.2.6 Аналитическая аппроксимация кривых флегматизации
Концентрацию горючего
Cf на нижней ветви кривой флегматизации от точки 1 до точки 4 (см.
рисунок П.9.1) в зависимости от концентрации флегматизатора
Cd рассчитываем по формуле

(П.9.11)
Концентрацию горючего
Cf на нижней ветви кривой флегматизации от точки 4 до точки 3 (см.
рисунок П.9.1) в зависимости от концентрации флегматизатора
Cd рассчитываем по формуле

(П.9.12)
Концентрацию горючего
Cf на верхней ветви кривой флегматизации от точки 2 до точки 3 (см.
рисунок П.9.1) в зависимости от концентрации флегматизатора
Cd рассчитываем по формуле

(П.9.13)
Относительная средняя квадратическая погрешность аналитической аппроксимации кривой флегматизации, как правило, не превышает 25%.
В случае, если при расчетах окажется, что величина
Cl превышает
Cfi, то концентрацию горючего на нижней ветви вычисляем по
формуле (П.9.11).
П.9.2.7 Особенности расчетов в случаях, когда горючее и/или флегматизатор состоит из нескольких компонентов
П.9.2.7.1 В случае, если горючее состоит из нескольких компонентов, величины
Cl и
Cu вычисляем по
формуле (П.9.5).
Значения
Cfi,
Cdi,
Cfl,
Cdl вычисляем по методам, описанным в
П.9.1.4,
П.9.1.5, учитывая эффективные значения числа атомов различных элементов и мольной теплоты образования составного горючего:

(П.9.14)

(П.9.15)

(П.9.16)

(П.9.17)

(П.9.18)
где Ci - концентрация i-го горючего компонента в смеси;
k - число горючих компонентов;

,

,

,

и

- число атомов C, H, O, N и мольная теплота образования для
i-го компонента.
П.9.2.7.2 В случае, если флегматизатор состоит из нескольких компонентов, величину

вычисляем по формуле

(П.9.19)
где Cj - концентрация j-го флегматизатора в смеси;

- параметр

для
j-го флегматизатора;
m - число флегматизаторов.
При расчете концентраций горючего и флегматизатора в смеси, предельной по горючести, величину

вычисляем по формуле

(П.9.20)
где Cr, Cs - концентрации химически инертных флегматизаторов и галоидуглеводородов;
p, q - число химически инертных флегматизаторов и галоидуглеводородов (p + q = m).
При расчете концентраций горючего и флегматизатора в смеси, предельной по горючести, величины

,

,

вычисляем по формулам

(П.9.21)

(П.9.22)

(П.9.23)
а величины

и

принимаем равными -0,522 и -0,494 соответственно.
При расчетах
Cfi,
Cdi,
Cfl,
Cdl используем методы, описанные в
П.9.2.4,
П.9.2.5.
П.9.3 Оценка горючести газовых смесей сложного состава
П.9.3.1 Изложенный ниже метод расчета применим для смесей, концентрации кислорода COX и азота CN в которых (до выпуска этих смесей в воздух) удовлетворяют соотношению

(П.9.24)
т.е. из рассматриваемой среды можно выделить воздух как изначально присутствующий в ней окислитель.
Концентрацию указанного первоначально воздуха

, % об., определяем по формуле

(П.9.25)
В число компонентов смеси не должны входить иные, кроме кислорода, окислители.
П.9.3.2 Определяем концентрации компонентов смеси Ci, % об., без первоначального воздуха по формуле

(П.9.26)
где

- концентрации компонентов в смеси с наличием первоначального воздуха, % об.
П.9.3.3 Рассчитываем кривую флегматизации для смеси с концентрациями компонентов
Ci в соответствии с методами, изложенными в
П.9.2, и строим кривую флегматизации (см.
рисунок П.9.1).
П.9.3.4 На плоскости
Cf -
Cd откладываем точку, отвечающую составу исходной смеси. При этом концентрации горючего

и флегматизатора

вычисляем следующим образом.
П.9.3.4.1 Концентрацию

определяем по формуле

(П.9.27)
где

- концентрация
i-го горючего компонента в исходной смеси, % об.
П.9.3.4.2 Концентрацию

определяем по формуле

(П.9.28)
П.9.3.5 В зависимости от расположения точки с координатами (

,

) на плоскости

(см.
рисунок П.9.1) могут быть сделаны следующие выводы о пожарной опасности рассматриваемой смеси.
Возможны четыре случая расположения точки с координатами (

,

) на плоскости
Cf -
Cd:
точка 8 - отвечает горючей смеси;
точки 9, 10 - отвечают негорючим смесям, которые неспособны образовывать горючие смеси при разбавлении воздухом;
точка 11 - отвечает негорючей смеси, которая может стать горючей смесью при разбавлении воздухом. При этом сохраняется соотношение между горючим и флегматизатором, т.е. точка 11 двигается вдоль прямой 7 к началу координат (точка 0) и пересекает концентрационную область распространения пламени (область I).
П.9.4 Определение концентрационных пределов распространения пламени в воздухе для смесей горючих и негорючих газов
В настоящем разделе описан метод определения НКПР и ВКПР в воздухе для смесей горючих и негорючих компонентов, у которых соотношение
Cf/
Cd отвечает прямым, лежащим выше прямой
6 на
рисунке П.9.1 (например, прямая
7).
П.9.4.1 Для рассматриваемой смеси горючих и негорючих газов и паров строим кривую флегматизации по методу, изложенному в
П.9.2.
П.9.4.2 Графически или аналитически находим координаты точек пересечения прямой, отвечающей заданному соотношению
Cf/
Cd (прямая
7 на
рисунке П.9.1), с нижней и верхней ветвями построенной кривой флегматизации (точки
12 и
13 на
рисунке П.9.1 соответственно). Эти координаты составляют (

,

) и (

,

) соответственно.
П.9.4.3 НКПР и ВКПР рассматриваемой смеси в воздухе Cl и Cu рассчитываем по формулам

(П.9.29)

(П.9.30)
П.9.5 Особенности оценки концентрационных пределов распространения пламени в окислительных средах с содержанием кислорода, отличным от воздуха
Методы, изложенные в данном разделе, применимы для окислительных сред, состоящих из азота и кислорода.
П.9.5.1 Окислительные среды с пониженным содержанием кислорода
П.9.5.1.1 НКПР рассчитываем по методам, изложенным в
П.9.2.1 как для воздуха.
П.9.5.1.2 ВКПР Cu, % об., рассчитываем по формуле
(П.9.31)
где
Cua - величина ВКПР данного горючего газа в воздухе, % об., вычисляемая по методам, изложенным в
П.9.2.2;

- концентрация кислорода в рассматриваемой окислительной среде, % об.
П.9.5.1.3 Величины
Cfi,
Cdi рассчитываем по методу, изложенному в
П.9.2.4, принимая в качестве

содержание кислорода в рассматриваемой окислительной среде.
П.9.5.1.4 Величины
Cfi,
Cdi рассчитываем по методу, изложенному в
П.9.2.5, принимая в качестве

содержание кислорода в рассматриваемой окислительной среде.
П.9.5.1.5 Кривые флегматизации и КПР смесей сложного состава рассчитываем по методам, изложенным в
П.9.3 и
П.9.4.
П.9.5.2 Окислительные среды с повышенным содержанием кислорода
Поскольку многие флегматизаторы склонны к химическим превращениям с дополнительным тепловыделением при горении в средах с повышенным содержанием кислорода (т.е. их флегматизирующая эффективность может быть ниже, чем при горении в воздухе), результаты расчета по изложенным ниже методам носят ориентировочный характер и должны быть проверены путем проведения соответствующих экспериментальных работ.
П.9.5.2.1 НКПР рассчитываем по методам, изложенным в
П.9.2.1, как для воздуха.
П.9.5.2.2 ВКПР рассчитываем по формуле

(П.9.32)
где

- содержание кислорода в воздухе, составляющее 20,6% об.;

- величина ВКПР в кислороде, % об., вычисляемая по формуле

(П.9.33)
П.9.5.2.3 Дальнейший расчет кривой флегматизации производим аналогично расчету, описанному в
П.9.5.1.
П.9.6 Влияние температуры на концентрационные пределы распространения пламени
Формулы данного раздела применимы для температур, находящихся в диапазоне от 25 до 200 °C.
П.9.6.1 НКПР CiT, % об., при температуре T (К) вычисляем по формуле
(П.9.34)
где Cl - величина НКПР при температуре 25 °C, вычисляемая по методам, изложенным в предыдущих разделах.
П.9.6.2 ВКПР CuT, % об., при температуре T (К) вычисляем по формуле
(П.9.35)
где Cu - ВКПР при температуре 25 °C, вычисляемый по методам, указанным в предыдущих разделах.
П.9.6.3 Концентрацию флегматизатора в точке флегматизации CdiT, % об., и в смеси, предельной по горючести CdlT, % об., при температуре T (К), вычисляем по формулам:

(П.9.36)

(П.9.37)
где Cdi, Cdl - концентрации флегматизатора, % об., в точке флегматизации и в смеси, предельной по горючести при температуре 25 °C, определяемые по методам, указанным в предыдущих разделах.
П.9.6.4 Концентрации горючего в точке флегматизации и в смеси, предельной по горючести при комнатной T (К), допускается принимать равными соответствующим величинам при температуре 25 °C.
П.9.7 Особенности оценки концентрационных пределов распространения пламени для смесей водород-окислительная среда-флегматизатор
Методы, указанные в настоящем разделе, применимы для окислительных сред, состоящих из кислорода и азота.
В случаях, когда содержание кислорода в окислительной среде выше, чем в воздухе, указанные методы могут быть в полной мере использованы лишь для химически инертных и термически стабильных при температуре пламени околопредельных смесей флегматизаторов, а для иных флегматизаторов действуют ограничения, изложенные в
П.9.5.2.
П.9.7.1 НКПР водорода в азотно-кислородной окислительной среде может быть принят независящим от содержания O2.
ВКПР водорода в азотно-кислородной окислительной среде Cu, % об., с содержанием кислорода CO2 может быть определен по формуле

(П.9.38)
где

- предельная для распространения пламени в смеси H
2-O
2-N
2 концентрация кислорода в окислительной среде, составляющая 5,2% об.
П.9.7.2 Типичная концентрационная область распространения пламени в смесях водород-окислительная среда-флегматизатор в упрощенном виде представлена на рисунке П.9.2.
1, 2 - НКПР и ВКПР водорода в рассматриваемой
окислительной среде; 3 - точка флегматизации;
4 - прямая, отвечающая стехиометрическим смесям;
5 - точка на верхней ветви кривой флегматизации,
отвечающая стехиометрическому составу
Рисунок П.9.2 - Типичная кривая флегматизации смесей
вида водород-окислительная среда
П.9.7.3 Концентрацию горючего Cf, % об., на нижней ветви кривой флегматизации определяем по формуле

(П.9.39)
где Cd - концентрация флегматизатора, % об.
П.9.7.4 Концентрацию горючего Cf, % об., на верхней ветви кривой флегматизации определяем по формуле

(П.9.40)
где
Cfst,
Cdst - концентрации горючего и флегматизатора на верхней ветви, отвечающие стехиометрическому соотношению между горючим и окислителем (точка
5 на
рисунке П.9.2) и определяемые по формулам:

(П.9.41)

(П.9.42)

(П.9.43)
(рекомендуемое)
ФОРМА ПРОТОКОЛА ИСПЫТАНИЙ ПО ОПРЕДЕЛЕНИЮ МИНИМАЛЬНОЙ
ФЛЕГМАТИЗИРУЮЩЕЙ КОНЦЕНТРАЦИИ ФЛЕГМАТИЗАТОРА
И МИНИМАЛЬНОГО ВЗРЫВООПАСНОГО СОДЕРЖАНИЯ КИСЛОРОДА
В ГАЗО- И ПАРОВОЗДУШНЫХ СМЕСЯХ
___________________________________________________________________
(Наименование организации, выполняющей испытания)
Протокол N ____
определения минимальной флегматизирующей концентрации
флегматизатора и минимального взрывоопасного
содержания кислорода в газо- и паровоздушных смесях
от "___" _______________ г.
1. Заказчик (изготовитель) ____________________________________________
2. Условия в помещении (температура, °C; относительная влажность, %;
атмосферное давление, мм рт. ст.) _________________________________________
___________________________________________________________________________
3. Испытательное и измерительное оборудование (заводской номер, марка,
свидетельство о поверке, диапазон измерения, класс точности, срок действия)
___________________________________________________________________________
4. Наименование методики испытаний ____________________________________
5. Наименование, состав и физико-химические свойства исследуемого
вещества __________________________________________________________________
6. Расчетное значение концентрационных пределов _______________________
Экспериментальные данные:
Наименование пробы вещества | Остаточное давление в реакционном сосуде, мм рт. ст. | Парциальные давления компонентов смеси, мм рт. ст. | Концентрация компонентов смеси, % об. | Результат испытания на воспламенение | Концентрационные пределы распространения пламени по смеси, % об. |
Вещество | Флегматизатор | Воздух | Вещество | Флегматизатор | Воздух |
| | | | | | | | | |
Примечание _____________________________________________________
Вывод:
Cф = ____________;

= ____________
Исполнители:
Фамилия оператора ______________________________________________
Наименование лаборатории _______________________________________
(рекомендуемое)
ФОРМА ПРОТОКОЛА ИСПЫТАНИЙ ПО ОПРЕДЕЛЕНИЮ МИНИМАЛЬНОЙ
ЭНЕРГИИ ЗАЖИГАНИЯ ПЫЛЕВОЗДУШНЫХ СМЕСЕЙ
___________________________________________________________________
(Наименование организации, выполняющей испытания)
Протокол N ____
определения минимальной энергии зажигания
пылевоздушных смесей
от "___" _______________ г.
1. Заказчик (изготовитель) ____________________________________________
2. Условия в помещении (температура, °C; относительная влажность, %;
атмосферное давление, мм рт. ст.) _________________________________________
___________________________________________________________________________
3. Испытательное и измерительное оборудование (заводской номер, марка,
свидетельство о поверке, диапазон измерения, класс точности, срок действия)
___________________________________________________________________________
4. Наименование методики испытаний ____________________________________
5. Наименование, состав и физико-химические свойства исследуемого
вещества __________________________________________________________________
6. Данные о фракционном составе образца _______________________________
7. Расчетное значение концентрационных пределов _______________________
Экспериментальные данные:
Номер испытания | Напряжение на вибраторе, В | Расстояние между распылителем и электродами h, мм | Разрядный промежуток l, мм | Напряжение на конденсаторе, кВ | Емкость конденсатора, пФ | Число искровых разрядов n | Число воспламенений m | Энергия искрового разряда, мДж |
U1 | U2 |
| | | | | | | | | |
| | | | | | | | | |
| | | | | | | | | |
Примечание _____________________________________________________
Вывод: W = _____________________________________________________
Исполнители:
Фамилия оператора ______________________________________________
Наименование лаборатории _______________________________________
| ГСО 4407-89 ТОТ-1 - ГСО 4409-89 ТОТ-3 [МСО 0252:2001 (1) - (3)] | Температура вспышки нефтепродуктов в открытом тигле |
| ГСО 4088-87 - ГСО 4092-87 [МСО 0252:2001 (1) - (5)] | Температура вспышки нефтепродуктов в закрытом тигле |
| ИСО 2719:2002 | Определение температуры вспышки - Пенски - Мартенса метод закрытого сосуда |
| ИСО 2592:2000 | Определение температур вспышки и воспламенения. Метод с применением прибора Кливленда с открытым тиглем |
| Рекомендации по перевозке опасных грузов. Руководство по испытаниям и критериям. Пятое пересмотренное издание. ООН, 2014 |
| ИСО 1182:2010 (ISO 1182:2010) | Reaction to fire tests for products - Non-combustibility test. Реакция на огнестойкость изделий. Испытание на несгораемость |
| | Материалы строительные. Метод определения теплоты сгорания |
| | Точность (правильность и прецизионность) методов и результатов измерений. Часть 1. Основные положения и определения |
| ПУЭ | Правила устройства электроустановок |
| СТБ 2464-2016 | Система стандартов пожарной безопасности. Продукция в аэрозольной упаковке. Классификация по пожарной опасности. Методы испытаний |