Главная // Актуальные документы // ГОСТ (Государственный стандарт)СПРАВКА
Источник публикации
М.: Издательство стандартов, 1994
Примечание к документу
Документ включен в "
Перечень основных нормативных документов РФ и действующих стандартов, распространяющихся на деятельность авиационных предприятий ГА в области сертификации и стандартизации технической эксплуатации гражданской авиационной техники" (согласовано УНПЛГ ГВС ФСНСТ 14.08.2006).
С 1 июля 2003 года до вступления в силу технических регламентов акты федеральных органов исполнительной власти в сфере технического регулирования носят рекомендательный характер и подлежат обязательному исполнению только в части, соответствующей целям, указанным в
пункте 1 статьи 46 Федерального закона от 27.12.2002 N 184-ФЗ.
Документ
введен в действие с 1 января 1981 года.
Взамен ГОСТ 400-64.
Название документа
"ГОСТ 400-80. Государственный стандарт Союза ССР. Термометры стеклянные для испытаний нефтепродуктов. Технические условия"
(утв. и введен в действие Постановлением Госстандарта СССР от 15.02.1980 N 748)
(ред. от 01.07.1991)
"ГОСТ 400-80. Государственный стандарт Союза ССР. Термометры стеклянные для испытаний нефтепродуктов. Технические условия"
(утв. и введен в действие Постановлением Госстандарта СССР от 15.02.1980 N 748)
(ред. от 01.07.1991)
Утвержден и введен в действие
Постановлением Государственного
комитета СССР по стандартам
от 15 февраля 1980 г. N 748
ГОСУДАРСТВЕННЫЙ СТАНДАРТ СОЮЗА ССР
ТЕРМОМЕТРЫ СТЕКЛЯННЫЕ ДЛЯ ИСПЫТАНИЙ НЕФТЕПРОДУКТОВ
ТЕХНИЧЕСКИЕ УСЛОВИЯ
Glass thermometers for testings of petroleum products.
Specifications
ГОСТ 400-80
Е
| | Список изменяющих документов (в ред. Изменения N 1, утв. в марте 1982 г., Изменения N 2, утв. в декабре 1986 г. Изменения N 3, утв. в декабре 1987 г. Изменения N 4, утв. в июне 1989 г. Изменения N 5, утв. в июле 1991 г.) | |
Дата введения
1 января 1981 года
для термометров ТИН2, ТИН3, ТИН5 - ТИН9, ТИН12
1 января 1983 года
1. Разработан и внесен Министерством приборостроения, средств автоматизации и систем управления.
Разработчики: Н.Н. Карпов; В.Ф. Климова (руководитель темы).
2. Утвержден и введен в действие Постановлением Государственного комитета СССР по стандартам от 15.02.1980 N 748.
3. Взамен ГОСТ 400-64.
4. Периодичность проверки - 5 лет.
5. Ссылочные нормативно-технические документы.
Обозначение НТД, на который дана ссылка | Номер пункта | Обозначение НТД, на который дана ссылка | Номер пункта |
ГОСТ 8.001-80 | | | |
ГОСТ 8.279-78 | | | |
ГОСТ 8.383-80 | | | |
| | | |
| | | |
| | | |
| | | |
| | | |
| | ГОСТ 15155-89 | |
| | | |
| | | |
| | | |
| | | |
| | | |
| | ГОСТ 18337-80 | |
| | | |
| | | |
| | | |
6. Ограничение срока действия снято Постановлением Госстандарта СССР от 12.07.1991 N 1252.
7. Переиздание (март 1994 г.) с Изменениями N 1, 2, 3, 4, 5, утвержденными в марте 1982 г., декабре 1986 г., декабре 1987 г., июне 1989 г., июле 1991 г. (ИУС 6-82, 3-87, 3-88, 9-89, 10-91).
Настоящий стандарт распространяется на стеклянные термометры, предназначенные для измерения температур при испытании нефтепродуктов (далее - термометры), изготовляемые для нужд народного хозяйства и для экспорта.
Требования
п. 2.12 настоящего стандарта являются обязательными, другие требования - рекомендуемыми.
(Измененная редакция, Изм. N 5).
1. ТИПЫ, ОСНОВНЫЕ ПАРАМЕТРЫ И РАЗМЕРЫ
1.1. Типы, основные параметры и размеры термометров должны соответствовать указанным на
черт. 1 -
8 и в
табл. 1 -
8.
Для термометров, предназначенных для учебных целей, требования данного пункта устанавливают в технических условиях на наборы термометров.
(Измененная редакция, Изм. N 1, 2, 3, 4).
Тип | Код ОКП | Исполнение | Диапазон измерения, °C | Цена деления шкалы, °C | Пределы допускаемой погрешности, °C | Глубина погружения, мм | Длина деления шкалы, мм, не менее | Область применения |
ТИН1 | 43 2123 0551 00 | 1 | От -7 до 110 | 0,5 | +/- 0,5 | 57 +/- 5 | 0,50 | Для определения температуры вспышки в закрытом тигле |
43 2123 0552 10 | 2 | От 90 до 360 | 2,0 | +/- 1,5 | 0,90 |
43 2123 0553 09 | 3 | От -58 до 50 | 0,5 | +/- 0,5 | 0,50 |
ТН2 | 43 2123 0211 06 | - | От 0 до 360 | 1,0 | +/- 1,0 (для диапазонов измерения от 0 до 260 включ.), +/- 2,0 (для диапазонов измерения св. 260) | 45 +/- 5 | 0,50 | Для определения температуры вспышки в открытом тигле |
ТИН2 | 43 2123 0581 05 | 1 | От 18 до 25 | 0,2 | +/- 0,1 | 90 +/- 5 | 0,89 | При определении условной вязкости |
43 2123 0582 04 | 2 | От 39 до 54 |
43 2123 0583 03 | 3 | От 95 до 105 |
ТН4 | 43 2123 0411 00 | 1 | От 0 до 150 | 1,0 | +/- 1,0 (для диапазонов измерения от 0 до 210 включ.), +/- 2,0 (для диапазонов измерения св. 210) | Полная | 0,70 | Для определения температуры каплепадения |
43 2123 0412 10 | 2 | От 100 до 250 |
43 2123 0415 07 | 3 | От 200 до 350 |
ТН5 | 43 2123 0511 08 | - | От 30 до 100 | 0,2 | +/- 0,2 | 65 +/- 5 | 0,50 | Для определения температуры плавления парафинов |
ТИН3 | 43 2123 0611 05 | 1 | От -38 до 50 | 1,0 | +/- 0,5 | 108 +/- 3 | 0,54 | Для определения температуры застывания и помутнения |
43 2123 0612 04 | 2 | От -30 до 30 | 0,5 | 160 +/- 3 | 0,65 |
43 2123 0613 03 | 3 | От -80 до 20 | 1,0 | +/- 1,0 (для диапазонов измерения от 20 до -33 включ.), +/- 2,0 (для диапазонов измерения ниже -33) | 76 +/- 5 | 0,70 |
ТИН4 | 43 2123 0631 01 | 1 | От -2 до 400 | 1,0 | +/- 1,0 (для диапазонов измерения от -2 до 300 включ.), +/- 1,5 (для диапазонов измерения св. 300) | Полная | 0,43 | При определении фракционного состава |
43 2123 0632 00 | 2 | От -2 до 300 | +/- 0,5 (для диапазонов измерения от -2 до 150 включ.), +/- 1,0 (для диапазонов измерения св. 150) |
ТН8 | 43 2123 0541 02 | - | От -80 до 60 | 1,0 | +/- 3,0 (для диапазонов измерения от -80 до -60 включ), +/- 2,0 (для диапазонов измерения св. -60 до -40 включ.), +/- 1,5 (для диапазонов измерения св. -40 до -20), +/- 1,0 (для диапазонов измерения св. -20) | 160 +/- 5 | 0,70 | Для определения низких температур нефтепродуктов |
ТИН5 | 43 2123 0641 10 | 1 | От -20 до 20 | 0,2 | +/- 0,1 | Полная | 0,39 | При определении плотности |
43 2123 0642 09 | 2 | От 17 до 25 | 0,1 | 0,61 |
43 2123 0643 08 | 3 | От 0 до 50 | 0,2 | 0,39 |
43 2123 0644 07 | 4 | От 50 до 102 |
ТИН6 | 43 2123 0661 06 | - | От -35 до 30 | 1,0 | +/- 0,5 | 255 +/- 5 | 0,70 | Для определения температуры хрупкости |
ТИН7 | 43 2123 0671 04 | 1 | От 20 до 100 | 0,2 | +/- 0,2 | 65 +/- 5 | 0,36 | Для определения анилиновой точки |
43 2123 0672 03 | 2 | От 25 до 105 |
43 2123 00673 02 | 3 | От 90 до 170 | +/- 0,2 (для диапазонов измерения от 90 до 100 включ.); +/- 0,4 (для диапазонов измерения св. 100) | 51 +/- 5 | 0,59 |
43 2123 0674 01 | 4 | От -38 до 42 | +/- 0,3 (для диапазонов, измерения от -38 до 0); +/- 0,2 (для диапазонов измерения св. 0) |
ТИН8 | 43 2123 0711 02 | - | От -80 до 20 | 0,5 | +/- 1,0 | Полная | 0,70 | Для определения температуры помутнения и начала кристаллизации |
ТИН9 | 43 2123 0721 00 | - | От -5 до 400 | 1,0 | +/- 1,0 (для диапазонов измерения до 370 включ.); +/- 1,5 (для диапазонов измерения св. 370) | Полная | 0,46 | При определении фактических смол |
ТИН10 | 43 2123 0731 09 | 1 | От 18,6 до 21,4 | 0,05 | +/- 0,1 | Полная | 0,5 | При определении кинематической вязкости |
43 2123 0732 08 | 2 | От 36,6 до 39,4 |
43 2123 0733 07 | 3 | От 48,6 до 51,4 |
43 2123 0734 06 | 4 | От 98,6 до 101,4 |
43 2123 0735 05 | 5 | От -2 до 2 |
43 2123 0736 04 | 6 | От -41,4 до -38,6 |
43 2123 0737 03 | 7 | От 23,6 до 26,4 |
43 2123 0738 02 | 8 | От 38,6 до 41,4 |
43 2123 0739 01 | 9 | От 58,0 до 62,0 |
43 2123 0740 08 | 10 | От -19,2 до -15,4 |
ТИН11 | 43 2123 0761 03 | 1 | От -46,3 до -43,5 | 0,05 | +/- 0,2 | Полная | 0,5 | При определении псевдокумола и метаксилола |
43 2123 0762 02 | 2 | От -50,3 до -47,5 |
ТИН12 | 43 2123 0781 10 | - | От 34 до 42 | 0,1 | +/- 0,1 | 0,61 | При определении давления насыщенных паров |
ТИН13 | 43 2123 0786 06 | - | От -37 до 21 | 0,5 | +/- 0,2 | 79 +/- 5 | 1,8 | При определении содержания масла в твердых парафинах |
ТИН14 | 43 2123 0791 08 | - | От 38 до 82 | 0,1 | +/- 0,1 | 0,75 | Для определения температуры плавления парафинов |
ТИН15 | 43 2123 0796 03 | - | От -5 до 300 | 1,0 | +/- 1,0 | 75 +/- 5 | 0,7 | При определении температуры каплепадения |
Примечание. Термометры типов ТН2, ТН4 и ТН8 модернизированы и условное обозначение термометров дополняется буквой "М".
Примеры условного обозначения при заказе:
термометра типа ТН4 исполнения 2 модернизированного:
Термометр ТН4-2 М ГОСТ 400-80;
то же, термометра типа ТН4 исполнения 2 модернизированного без гильзы и чашечки:
Термометр ТН4-2 М (без гильзы и чашечки) ГОСТ 400-80;
то же термометра типа ТИН12 немодернизированного:
Термометр ТИН 12 ГОСТ 400-80.
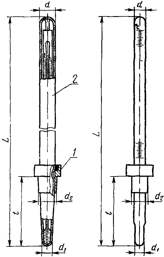
Термометр типа ТИН1
1 - гильза; 2 - термометр
Таблица 2
мм
Обозначение типоразмера | L | l | d | | |
ТИН1-1 | 287 +/- 5 | 63 +/- 0,5 | 6,5 +/- 0,5 | Не более 7 | |
ТИН1-2 | 5,25 +/- 0,75 |
ТИН1-3 |
Термометр типа ТН2
Черт. 2
Таблица 3
мм
Обозначение типоразмера | L | l | d |  не более |
ТН2: | | | | 6 |
с вложенной шкальной пластиной | 330 +/- 10 | 45 +/- 5 | 7,5 +/- 0,5 |
палочный | | | 7,5 +/- 1,0 |
Термометр типа ТН4
--------------------------------
<*> Размер обеспечивается инструментом.
Черт. 4 <**>
--------------------------------
<**> Черт. 3. (Исключен, Изм. N 3).
Таблица 4
мм
Обозначение типоразмера | L | d | |
ТН4 | 250 +/- 10 | 8,5 +/- 0,5 | 3,5 +/- 0,5 |
Термометры типов ТН5, ТИН3-2, ТН8, ТИН6
Черт. 5
Таблица 5
мм
Обозначение типоразмера | L | l | d | | |
ТН5 | 300 +/- 10 | 65 +/- 5 | 7,5 +/- 0,5 | 5,5 +/- 0,5 | 6 +/- 0,5 |
ТИН3-2 | 330 +/- 10 | 160 +/- 3 | 10 +/- 1,0 | 6 +/- 1,0 | 6 +/- 1,0 |
ТН8 | 400 +/- 10 | 160 +/- 5 | 11 +/- 1,0 | 5,5 +/- 1,5 | 6,5 +/-0,5 |
ТИН6 | 380 +/- 5 | 255 +/- 5 | 9 +/- 1 | | |
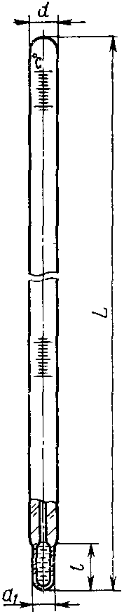
Термометры типов ТИН3-1, ТИН3-3, ТИН4,
ТИН7-1, ТИН8, ТИН9, ТИН13, ТИН14, ТИН15
Черт. 6
Таблица 6
мм
Обозначение типоразмера | L | l | d | |
ТИН3-1 | 231 +/- 5 | 8,25 +/- 1,25 | 7,5 +/- 0,5 | 6,25 +/- 0,75 |
ТИН3-3 | 232 +/- 5 | 8,7 5 +/- 0,75 | 5,75 +/- 0,75 |
ТИН4 | 386 +/- 5 | - | 6,5 +/- 0,5 | 5,5 +/- 0,5 |
ТИН7-1 | 330 +/- 10 | 7,5 +/- 0,5 | 5,5 +/- 0,5 |
ТИН8 | 300 +/- 10 | 12 +/- 4,00 | 6,75 +/- 1,2 | Не более 8 |
ТИН9 | 415 +/- 5 | - | 6,75 +/- 0,75 |
ТИН13 | 350 +/- 5 | 17,5 +/- 2,5 | 7,5 +/- 0,5 | |
ТИН14 | 377 +/- 5 | 23 +/- 5 | 6,5 +/- 0,5 | |
ТИН15 | 390 +/- 5 | 12,5 +/- 2,5 | 5,5 +/- 0,5 | 5,5 +/- 0,5 |
Термометры типов ТИН2, ТИН5, ТИН7-2 - ТИН7-4, ТИН12
Черт. 7
Таблица 7
мм
Обозначение типоразмера | L | d |
ТИН2-1 | 212 +/- 5 | 6 +/- 1 |
ТИН2-2 | 237 +/- 5 |
ТИН2-3 | 212 +/- 5 |
ТИН5-1 | 420 +/- 5 |
ТИН5-2 | 255 +/- 5 |
ТИН7-2 | 419 +/- 5 |
ТИН7-3 |
ТИН7-4 |
ТИН12 | 275 +/- 5 |
ТИН5-3 | 420 +/- 5 |
ТИН5-4 |
Термометры типов ТИН10, ТИН11
мм
Обозначение типоразмера | L | d | |
ТИН10-1 | 280 +/- 10 | | |
ТИН10-2 | 6,5 +/- 1,5 | 6,5 +/- 1,5 |
ТИН10-3 |
ТИН10-4 |
ТИН10-5 | |
ТИН10-6 | 305 +/- 5 | |
ТИН10-7 | 280 +/- 5 | 6,5 +/- 1,5 | 6,5 +/- 1,5 |
ТИН10-8 |
ТИН10-9 |
ТИН10-10 | 305 +/- 5 |
ТИН11-1 | | |
ТИН11-2 |
2. ТЕХНИЧЕСКИЕ ТРЕБОВАНИЯ
2.1. Термометры должны быть изготовлены в соответствии с требованиями настоящего стандарта,
ГОСТ 28498-90 по рабочим чертежам, утвержденным в установленном порядке.
Палочные термометры по заказу потребителя изготовляют с шариком в верхней части.
(Измененная редакция, Изм. N 4, 5).
2.2. Для заполнения термометров типов ТН2, ТН4, ТН5, ТИН1-1, ТИН1-2, ТИН2, ТИН3 (исполнения 1 и 2), ТИН4, ТИН5 - ТИН7, ТИН9, ТИН10 (исполнения 1 - 5, 7 - 10), ТИН12 - ТИН15 следует применять ртуть по
ГОСТ 4658-73.
Для заполнения термометров типов ТИН3 (исполнение 3), ТН8, ТИН8 следует применять толуол по
ГОСТ 5789-78 или другую жидкость, по физико-химическим свойствам заменяющую толуол.
Для заполнения термометров типов ТИН1-3, ТИН10 (исполнение 6), ТИН11 следует применять ртутно-таллиевую амальгаму (ртуть по
ГОСТ 4658-73 - 92,5%; таллий по ГОСТ 18337-80 - 7,5%).
Мениск столбика жидкости не должен опускаться в резервуар у термометров, наполненных ртутью, при температуре минус 35 °C, у термометров, наполненных ртутно-таллиевой амальгамой, - при температуре минус 55 °C.
(Измененная редакция, Изм. N 2, 3, 5).
2.3. Термометры типов ТИН10 и ТИН11 должны быть вакуумными.
2.4. Ширина отметок шкалы термометров типов ТИН10 и ТИН11 должна быть не более 0,3 длины деления шкалы.
2.5. Термометры типов ТИН10, ТИН11 и ТИН14 независимо от предела измерения должны иметь отметку 0 °C.
2.4;
2.5. (Измененная редакция, Изм. N 2).
2.6. (Исключен, Изм. N 2).
2.7. Выше и ниже нулевой отметки термометров типов ТИН10, ТИН11 и ТИН14 должны быть нанесены дополнительные деления, число которых должно быть не менее значения допускаемой погрешности для термометра конкретного типа.
2.8. Ампулы термометров типов ТИН10 и ТИН11 должны быть подвергнуты отжигу и искусственному старению.
Удельная разность хода лучей не должна превышать

.
Удельная разность хода лучей в местах обработки после отжига не должна превышать

.
(Измененная редакция, Изм. N 2, 5).
2.9. (Исключен, Изм. N 4).
2.10. Термометры типа ТИН1 должны быть изготовлены с гильзами из стали по
ГОСТ 1414-75. Параметры шероховатости наружных поверхностей гильз должны быть Ra <= 2,5 мкм по
ГОСТ 2789-73, для термометров, предназначенных для экспорта, - Ra <= 1,25 мкм.
Термометры типа ТН4 должны быть изготовлены с чашечками и гильзами из латуни по
ГОСТ 15527-70. Гильзы должны быть жестко закреплены на термометрах. Параметр шероховатости внутренней поверхности чашечки должен быть Ra <= 0,63 мкм, наружных поверхностей чашечек и гильз - Ra <= 2,5 мкм. Поверхности чашечек и гильз должны иметь окисное покрытие по
ГОСТ 9.306-85.
Для термометров типа ТН4, предназначенных для экспорта, параметр шероховатости внутренней поверхности чашечки должен быть Ra <= 0,63 мкм, наружной поверхности гильз - Ra <= 1,25 мкм. Поверхности должны иметь защитное цинковое покрытие с последующим хроматированием или трехслойное (медь-никель-хром) по
ГОСТ 9.306-85.
Примечание. Конструкция чашечки термометра устанавливается рабочими чертежами, утвержденными в установленном порядке.
По согласованию с потребителем допускается термометр типа ТН4 изготовлять без гильзы и чашечки. Условное обозначение термометра при заказе дополняется словами: "(без гильзы и чашечки)".
(Измененная редакция, Изм. N 2, 3, 4).
2.11. Средняя наработка до отказа для ртутных и ртутно-таллиевых термометров должна быть не менее 40000 ч, для термометров, наполненных толуолом, - 28600 ч, что соответствует вероятности безотказной работы 0,95 за 2000 ч для ртутных и ртутно-таллиевых термометров и 0,93 за 2000 ч для термометров, наполненных толуолом.
Критерием отказа термометров следует считать превышение предела допускаемой погрешности
(п. 1.1).
(Измененная редакция, Изм. N 3).
2.11а. (Исключен, Изм. N 5).
2.12. Термометры в упаковке для транспортирования должны выдерживать воздействие транспортной тряски с ускорением 30 м/с2 при частоте от 60 до 80 ударов в минуту в течение 2 ч.
2.13. Поверяемые температурные отметки шкалы приведены в
табл. 10.
К каждому термометру следует прилагать инструкцию по эксплуатации.
Допускается прилагать одну инструкцию по эксплуатации к нескольким термометрам. Число термометров устанавливают по согласованию между изготовителем и потребителем.
(Измененная редакция, Изм. N 3, 4).
--------------------------------
<*> Табл. 9. (Исключена, Изм. N 4).
Термометры | Поверяемые температурные отметки шкалы, °C |
Тип | Исполнение |
ТИН1 | 1 2 3 | 0; 30; 50; 80; 100 100; 200; 300 -50; -30; 0; 30; 50 |
ТН2 | - | 0; 100; 150; 200; 250; 300 |
ТИН2 | 1 2 3 | 18; 21; 25 40; 45; 50 95; 100; 105 |
ТН4 | 1 2 3 | 0; 50; 100; 150 100; 150; 200; 250 200; 300; 350 |
ТН5 | - | 40; 60; 80; 100 |
ТИН3 | 1 2 3 | -30; -20; 0; 20; 40 -30; -20; 0; 10 -78; -60; -40; -20; 0; 20 |
ТИН4 | 1 2 | 0; 100; 200; 300; 370 0; 100; 200; 300 |
ТН8 | - | -78; -60; -40; -20; 0; 60 |
ТИН5 | 1 2 3 4 | -20; -10; 0; 20; 40; 60; 80; 100 0; 21; 25 0; 20; 40 60; 80; 100 |
ТИН6 | - | -30,0; 30 |
ТИН7 | 1 2 3 4 | 20; 40; 60; 80; 100 40; 60; 80; 100 100; 120; 140; 160 -30; -20; 0; 20; 40 |
ТИН8 | - | -78; -60; -40; -20; 0; 20 |
ТИН9 | - | 0; 100; 200; 300; 370 |
ТИН 10 | 1 2 3 4 5 6 7 8 9 10 | 0; 19; 20; 21,1 0, 37; 37,8; 39 0; 49; 50; 51 0; 98,9; 100; 101 -1; 0; 1 -41; -40; -39; 0 0; 24; 25; 26 0; 39; 40,5; 41 0; 59; 60; 61 0; -18; -17,8; -17 |
ТИН11 | 1 2 | -46; -45; -44; 0 -50; -49; -48; 0 |
ТИН12 | - | 0; 34; 38; 42 |
ТИН13 | - | -35; -20; 0; 20 |
ТИН14 | - | 40; 60; 80 |
ТИН15 | - | 0; 100; 200; 300 |
3.1. Для проверки соответствия термометров требованиям настоящего стандарта предприятие-изготовитель должно проводить государственные, приемо-сдаточные, периодические испытания и испытания на надежность.
3.2. Государственные испытания - по ГОСТ 8.383-80 и ГОСТ 8.001-80.
3.1;
3.2. (Измененная редакция, Изм. N 2).
3.3. Приемо-сдаточным испытаниям следует подвергать каждый термометр на соответствие требованиям
пп. 1.1 (кроме размеров, обозначенных знаком "*", длины деления шкалы);
2.1;
2.2;
2.5;
2.7;
2.9;
2.10.
На соответствие требованиям
пп. 1.1 (длина деления шкалы),
2.4 и
2.8 проверяют не менее 3% термометров от партии.
Партией следует считать число термометров одного типа, предъявленных к приемке по одному документу.
Результаты проверки распространяют на всю партию.
(Измененная редакция, Изм. N 2, 4).
3.4. Периодическим испытаниям, проводимым не реже раза в год, следует подвергать не менее 10 термометров на соответствие всем требованиям настоящего стандарта (кроме
п. 2.11).
(Измененная редакция, Изм. N 4).
3.5. Результаты периодических испытаний считают удовлетворительными, если термометры, подвергнутые испытаниям, соответствует всем требованиям настоящего стандарта.
При несоответствии термометров хотя бы одному из требований настоящего стандарта проводят повторные испытания удвоенного числа термометров.
Результаты повторных испытаний являются окончательными.
3.6. Контрольные испытания на безотказность
(п. 2.11) следует проводить один раз на установочной серии или после модернизации, влияющей на безотказность, одноступенчатым методом при

;

;

;

; объеме выборки n = 10; приемочном числе отказов c = 1 для ртутных и ртутно-таллиевых термометров и при

;

;

;

; объеме выборки n = 9; приемочном числе отказов c = 1 для термометров, наполненных толуолом.
Продолжительность испытаний - 2000 ч.
(Измененная редакция, Изм. N 3, 4, 5).
4.1. Испытания термометров на соответствие требованиям настоящего стандарта следует проводить по
ГОСТ 28498-90.
(Измененная редакция, Изм. N 5).
4.3. (Исключен, Изм. N 2).
4.5. Качество искусственного старения термометров в соответствии с
ГОСТ 28498-90 следует проверять при температуре верхнего предела измерения посредством выдержки их в течение - 6 ч в термостате или печи.
Термометры до начала испытаний проверяют на отметке 0 °C в сосуде тройной точки воды, затем выдерживают в термостате, охлаждают до окружающей температуры (20 +/- 5) °C в течение 24 ч и снова проверяют на отметке 0 °C в сосуде тройной точки воды. Термометры считают выдержавшими испытания, если смещение отметки 0 °C не превышает значений, указанных в табл. 11.
(Измененная редакция, Изм. N 2).
Таблица 11
°C
Температура испытаний | Значения смещения отметки 0 или нижней оцифрованной отметки при цене деления |
0,05 | 0,1 | 0,2 | 0,5 | 1,0 | 2,0 |
| | До | 25 | | 0,02 | 0,05 | 0,1 | 0,25 | 0,5 | - |
Св. | 25 | до | 40 | включ. |
" | 40 | " | 100 | " | 0,1 |
" | 100 | " | 200 | " | - |
" | 200 | " | 300 | " | - | - | - |
" | 300 | " | 400 | " | - | 1,0 |
4.6. Проверка погрешностей термометров
(п. 1.1) - по ГОСТ 8.279-78.
Для термометров с гильзами допускается проводить проверку без гильз.
(Измененная редакция, Изм. N 3).
4.7. (Исключен, Изм. N 4).
4.8. Качество покрытий гильз и чашечек термометров, предназначенных для экспорта
(п. 2.10), следует проверять по
ГОСТ 9.302-88.
4.9. Испытания термометров на надежность
(п. 2.11) следует проводить по программе и методике, утвержденным в установленном порядке.
(Измененная редакция, Изм. N 3).
4.10. (Исключен, Изм. N 4).
5. МАРКИРОВКА, УПАКОВКА, ТРАНСПОРТИРОВАНИЕ И ХРАНЕНИЕ
5.1. На каждом термометре должна быть нанесена маркировка, содержащая:
товарный знак предприятия-изготовителя;
обозначение °C;
квартал и год изготовления (последние две цифры);
обозначение настоящего стандарта;
наименование или условное обозначение смачивающей термометрической жидкости;
глубину погружения (для термометров частичного погружения);
отметку "состарен" - для термометров, прошедших искусственное старение;
порядковый номер термометра по системе нумерации предприятия-изготовителя. Допускается не наносить порядковый номер на термометры, не имеющие паспорта;
букву У - на термометрах, предназначенных для учебных целей;
знак Государственного реестра по ГОСТ 8.383-80.
Допускается наносить только на потребительской таре или указывать на бумажной обертке или в эксплуатационной документации следующую маркировку:
условное наименование термометрической жидкости;
знак Государственного реестра по ГОСТ 8.383-80;
обозначение стандарта.
Маркировка термометров, предназначенных для экспорта, должна соответствовать условиям договора между предприятием и внешнеэкономической организацией.
5.2. Транспортная маркировка грузов должна соответствовать требованиям
ГОСТ 14192-77.
Транспортная маркировка грузов, предназначенных для экспорта, должна соответствовать требованиям
ГОСТ 14192-77 и условиям договора между предприятием и внешнеэкономической организацией.
5.3. Каждый термометр должен быть уложен в футляр или коробку, изготовленные по рабочим чертежам, утвержденным в установленном порядке, или другую упаковку с мягкой или амортизирующей прокладкой, обеспечивающую сохранность термометров при хранении и транспортировании.
По согласованию с потребителем допускается упаковывать термометры по 5 - 10 шт. в одну коробку с мягкой или амортизирующей прокладкой.
5.4. Каждый термометр, предназначенный для экспорта, должен быть уложен в футляр. Футляр из бумаги для термометров, предназначенных для экспорта, должен быть окрашен нитроэмалью НЦ по
ГОСТ 5406-84 или ХВ по
ГОСТ 10144-89.
Допускается не красить футляры, если это не предусмотрено в договоре между предприятием и внешнеэкономической организацией.
При перевозке в универсальных контейнерах по
ГОСТ 15102-75 термометры в футлярах, коробках или другой упаковке должны быть уложены в ящики из гофрированного картона по
ГОСТ 22852-77 и
ГОСТ 9142-90 или сформированы в пакеты по чертежам, утвержденным в установленном порядке.
Транспортная тара и упаковка должны обеспечивать сохранность термометров при транспортировании транспортом любого вида.
5.6. Термометры в футлярах или в другой упаковке, предназначенные для экспорта, должны быть упакованы в ящики по
ГОСТ 24634-81.
Термометры в футлярах, предназначенные для экспорта в страны с тропическим климатом, должны быть упакованы в чехлы из полиэтиленовой пленки по
ГОСТ 10354-82.
Для районов с умеренным климатом термометры допускается упаковывать в ящики из гофрированного картона по
ГОСТ 9142-90 и
ГОСТ 22852-77.
5.7. В соответствии с условиями договора между предприятием и внешнеэкономической организацией ящики и прокладочный материал для термометров, предназначенных для экспорта в страны с тропическим климатом, должны быть подвергнуты защитной обработке в соответствии с ГОСТ 15155-89.
5.8. Масса ящика с упакованными термометрами не должна превышать 50 кг.
5.9. В каждый ящик с термометрами должна быть вложена сопроводительная документация с указанием:
наименования и количества термометров;
обозначения настоящего стандарта;
наименования термометрической жидкости.
Товаросопроводительная документация для термометров, предназначенных для экспорта, должна соответствовать требованиям нормативно-технической документации и составляться на языке, указанном в договоре между предприятием и внешнеэкономической организацией.
Техническая и товаросопроводительная документация должна быть завернута в оберточную бумагу по
ГОСТ 8273-75 и вложена в пакет из полиэтиленовой пленки по
ГОСТ 10354-82 толщиной не менее 100 мкм, а для стран с тропическим климатом - в два герметичных пакета толщиной не менее 150 мкм каждый с последующей упаковкой в водонепроницаемую бумагу по
ГОСТ 8828-89.
Края водонепроницаемой бумаги должны быть склеены синтетическим клеем. Швы пакета из полиэтиленовой пленки должны быть герметично сварены.
5.10. В наружный пакет с товаросопроводительной документацией должен быть вложен вкладыш, изготовленный из бумаги или картона, с четкой надписью на языке, указанном в договоре между предприятием и внешнеэкономической организацией, которую можно прочитать, не вскрывая пакета.
Надпись допускается наносить на пакет. Товаросопроводительную документацию помещают в ящик с упакованной продукцией.
5.11. Один экземпляр упаковочного листа для термометров, предназначенных для экспорта в страны с умеренным климатом, должен быть помещен в пакет из водонепроницаемой бумаги или бумаги с полиэтиленовым покрытием и уложен в специальный карман ящика.
Для термометров, предназначенных для экспорта в страны с тропическим климатом, упаковочный лист должен быть помещен в пакет из полиэтиленовой пленки толщиной не менее 150 мкм, швы которого надежно сварены. Пакет должен быть дополнительно обернут в водонепроницаемую бумагу или покрыт полиэтиленовой пленкой и уложен в специальный карман ящика.
5.12. Упаковка термометров, отправляемых в районы Крайнего Севера и труднодоступные районы, - в соответствии с требованиями
ГОСТ 15846-79.
5.13. Термометры допускается транспортировать транспортом любого вида, кроме воздушного.
5.14. При хранении и транспортировании термометров, наполненных ртутью, температура окружающего воздуха должна быть от плюс 50 до минус 35 °C, термометров, наполненных ртутно-таллиевой амальгамой, - от плюс 50 до минус 50 °C.
5.15. Термометры транспортируют в крытых транспортных средствах.
5.16. Пакетирование грузовых мест проводят на поддоне по
ГОСТ 9078-84,
ГОСТ 9570-84. Число ящиков в одном пакете - от 4 до 8 шт. Ящики с поддоном должны быть обвязаны в двух местах металлической лентой размером 0,4 x 20 мм по
ГОСТ 3560-73.
5.17. Транспортирование и хранение термометров, наполненных толуолом, следует проводить в вертикальном или наклонном (не менее 10° от горизонтали) положении резервуарами вниз.
5.18. Транспортирование и хранение термометров, отправляемых в районы Крайнего Севера и труднодоступные районы, - в соответствии с требованиями
ГОСТ 15846-79.
5.19. Термометры следует хранить в закрытых помещениях.
Разд. 5. (Измененная редакция, Изм. N 5).
6.1. Предприятие-изготовитель гарантирует соответствие термометров требованиям настоящего стандарта при соблюдении условий транспортирования, хранения и эксплуатации.
6.2. Гарантийный срок хранения для термометров, наполненных толуолом, - 12 мес, для всех остальных термометров - 24 мес с момента их изготовления.
Гарантийный срок эксплуатации для термометров, наполненных толуолом, - 12 мес, для всех остальных термометров - 24 мес со дня ввода в эксплуатацию.
Для термометров, предназначенных для экспорта, гарантийный срок хранения и эксплуатации - 12 мес с момента их проследования через Государственную границу.
(Измененная редакция, Изм. N 3).