Главная // Актуальные документы // ГОСТ Р (Государственный стандарт)СПРАВКА
Источник публикации
М.: Стандартинформ, 2008
Примечание к документу
Документ
введен в действие с 1 января 2009 года.
Название документа
"ГОСТ Р 52900-2007. Национальный стандарт Российской Федерации. Шины пневматические для легковых автомобилей и прицепов к ним. Технические условия"
(утв. и введен в действие Приказом Ростехрегулирования от 27.12.2007 N 602-ст)
"ГОСТ Р 52900-2007. Национальный стандарт Российской Федерации. Шины пневматические для легковых автомобилей и прицепов к ним. Технические условия"
(утв. и введен в действие Приказом Ростехрегулирования от 27.12.2007 N 602-ст)
Утвержден и введен в действие
по техническому регулированию
и метрологии
от 27 декабря 2007 г. N 602-ст
НАЦИОНАЛЬНЫЙ СТАНДАРТ РОССИЙСКОЙ ФЕДЕРАЦИИ
ШИНЫ ПНЕВМАТИЧЕСКИЕ ДЛЯ ЛЕГКОВЫХ АВТОМОБИЛЕЙ
И ПРИЦЕПОВ К НИМ
ТЕХНИЧЕСКИЕ УСЛОВИЯ
Pneumatic tyres for passenger cars and trailers for them.
Specifications
ГОСТ Р 52900-2007
Дата введения
1 января 2009 года
Цели и принципы стандартизации в Российской Федерации установлены Федеральным
законом от 27 декабря 2002 г. N 184-ФЗ "О техническом регулировании", а правила применения национальных стандартов Российской Федерации -
ГОСТ Р 1.0-2004 "Стандартизация в Российской Федерации. Основные положения".
1. Разработан Техническим комитетом по стандартизации ТК 97 "Шины пневматические для механических транспортных средств, их прицепов и авиационной техники" (Обществом с ограниченной ответственностью "Научно-технический центр "Научно-исследовательский институт шинной промышленности").
2. Внесен Управлением технического регулирования и стандартизации Федерального агентства по техническому регулированию и метрологии.
3. Утвержден и введен в действие
Приказом Федерального агентства по техническому регулированию и метрологии от 27 декабря 2007 г. N 602-ст.
4. Введен впервые.
Информация об изменениях к настоящему стандарту публикуется в ежегодно издаваемом информационном указателе "Национальные стандарты", а текст изменений и поправок - в ежемесячно издаваемых информационных указателях "Национальные стандарты". В случае пересмотра (замены) или отмены настоящего стандарта соответствующее уведомление будет опубликовано в ежемесячно издаваемом информационном указателе "Национальные стандарты". Соответствующая информация, уведомление и тексты размещаются также в информационной системе общего пользования - на официальном сайте Федерального агентства по техническому регулированию и метрологии в сети Интернет.
Настоящий стандарт распространяется на новые пневматические шины (далее - шины) для легковых автомобилей и прицепов к ним категорий М1, О1 и О2 по
ГОСТ Р 52051, предназначенные для эксплуатации на дорогах различных категорий.
Стандарт не распространяется на спортивные шины, предназначенные для соревнований.
В настоящем стандарте использованы нормативные ссылки на следующие стандарты:
ГОСТ Р 15.201-2000 Система разработки и постановки продукции на производство. Продукция производственно-технического назначения. Порядок разработки и постановки продукции на производство
ГОСТ Р 41.30-99 (Правила ЕЭК ООН N 30) Единообразные предписания, касающиеся официального утверждения шин для автомобилей и их прицепов
ГОСТ Р ИСО 4000-2-2005 Шины для легковых автомобилей и ободья. Часть 2. Ободья
ГОСТ Р 52051-2003 Механические транспортные средства и прицепы. Классификация и определения
ГОСТ 2.124-85 Единая система конструкторской документации. Порядок применения покупных изделий
ГОСТ 2.304-81 Единая система конструкторской документации. Шрифты чертежные
ГОСТ 27.002-89 Надежность в технике. Основные понятия. Термины и определения
ГОСТ 263-75 Резина. Метод определения твердости по Шору А
ГОСТ 2405-88 Манометры, вакуумметры, мановакуумметры, напоромеры, тягомеры и тягонапоромеры. Общие технические условия
ГОСТ 8107-75 Вентили для пневматических камер и шин постоянного давления. Общие технические условия
ГОСТ 11358-89 Толщиномеры и стенкомеры индикаторные с ценой деления 0,01 и 0,1 мм. Технические условия
ГОСТ 15150-69 Машины, приборы и другие технические изделия. Исполнения для различных климатических районов. Категории, условия эксплуатации, хранения и транспортирования в части воздействия климатических факторов внешней среды
ГОСТ 16504-81 Система государственных испытаний продукции. Испытания и контроль качества продукции. Основные термины и определения
ГОСТ 22374-77 (ИСО 3877-1-78, ИСО 3877-3-78, ИСО 4223-1-78) Шины пневматические. Конструкция. Термины и определения
ГОСТ 24779-81 Шины пневматические. Упаковка, транспортирование, хранение
ГОСТ 25692-83 Шины пневматические. Метод определения статического дисбаланса покрышки
ГОСТ 26000-83 Шины пневматические. Метод определения основных размеров
ГОСТ 27704-88 Шины пневматические. Правила подготовки шин для проведения стендовых испытаний
Примечание. При пользовании настоящим стандартом целесообразно проверить действие ссылочных стандартов в информационной системе общего пользования - на официальном сайте Федерального агентства по техническому регулированию и метрологии в сети Интернет или по ежегодно издаваемому информационному указателю "Национальные стандарты", который опубликован по состоянию на 1 января текущего года, и по соответствующим ежемесячно издаваемым информационным указателям, опубликованным в текущем году. Если ссылочный стандарт заменен (изменен), то при пользовании настоящим стандартом следует руководствоваться заменяющим (измененным) стандартом. Если ссылочный стандарт отменен без замены, то положение, в котором дана ссылка на него, применяется в части, не затрагивающей эту ссылку.
3.1. Новая шина: шина, которая не была в эксплуатации в течение гарантийного срока службы.
3.2. Всесезонная шина: обычная (дорожная) шина с элементами рисунка и материалом протектора, позволяющими эксплуатировать ее в летний и зимний периоды.
3.3. Зимняя шина: пневматическая шина, резина, рисунок протектора и конструкция которой специально рассчитаны для обеспечения повышенного сцепления с обледенелой и покрытой снегом дорогой по сравнению с обычной(дорожной) шиной.
3.4.
Запасная шина временного пользования: пневматическая шина, отличающаяся от шины, предназначенной для установки на любом транспортном средстве при нормальных условиях движения, и предназначенная для временного использования в ограниченных условиях движения. |
|
3.5.
Запасная шина временного пользования типа T: тип пневматической шины временного пользования, предназначенной для эксплуатации при более высоком внутреннем давлении, чем в стандартных и усиленных шинах. |
|
3.6. Гарантийный срок службы: календарная продолжительность хранения и эксплуатации шины, в течение которой действуют гарантийные обязательства изготовителя.
4. КЛАССИФИКАЦИЯ, ОБОЗНАЧЕНИЕ И ПРИМЕНЕНИЕ
4.1. Шины подразделяют:
- по конструкции - на диагональные, диагонально-опоясанные, радиальные;
- по категории использования - на обычные (дорожные), зимние и запасные шины временного пользования, а также всесезонные;
- по способу герметизации - на камерные и бескамерные.
4.2. Обозначение шины включает: обозначение размера, обозначение конструкции в соответствии с
ГОСТ Р 41.30 (2.17, 2.18, 3.1.3), ГОСТ Р ИСО 4000-1
(раздел 4), Приложением А настоящего стандарта
(таблица А.1).
Примеры обозначений шин
1. 185/70 R 14.
2. 175/80-16.
3. 155-13/6,15-13.
185, 175, 155 - обозначения номинальной ширины профиля (мм);
6,15 - обозначение номинальной ширины профиля (дюйм);
70 и 80 - номинальное отношение высоты профиля шины к ее ширине (%);
R - обозначение радиальной шины.
Для диагональных шин, как правило, в обозначении не указывают конструкцию - примеры 2, 3, допускается использовать для этих целей букву D.
Диагонально-опоясанную конструкцию шины обозначают буквой B;
14, 16, 13 - обозначение номинального посадочного диаметра обода (дюйм).
Обозначение камер к соответствующим шинам приведено в Приложении А
(таблица А.2).
4.3. Обозначения эксплуатационных характеристик шины (индекс несущей способности, категория скорости и др.) - по ГОСТ Р ИСО 4000-1 (
4.2,
4.3).
4.4. Обозначения и основные размеры ободьев - по ГОСТ Р ИСО 4000-2, Приложению А
(таблица А.1).
4.5. Применение шин на транспортных средствах - в соответствии с актом приемочной комиссии по ГОСТ Р 15.201
(7.4) или протоколом разрешения применения по
ГОСТ 2.124.
4.6. Зимние шины могут применяться с шипами противоскольжения. Ошиповку шин производят в соответствии с конструкторской документацией по технологической документации, утвержденной в установленном порядке.
4.7. Требования к шине, обеспечивающие устойчивость, управляемость, уровень шума, издаваемого шиной при качении, тормозной путь автомобиля, сцепление шины со смоченной асфальтобетонной поверхностью, озоностойкость устанавливают в техническом задании на разработку шины.
Значения показателей определяют при приемочных испытаниях шины.
5. ТЕХНИЧЕСКИЕ ТРЕБОВАНИЯ
5.1. Шины должны соответствовать требованиям настоящего стандарта и изготовляться по технологическому регламенту, утвержденному в установленном порядке.
Технологический регламент на производство шин для Министерства обороны Российской Федерации (МО) должен быть согласован с военным представительством на предприятии-изготовителе.
5.2. Характеристики
5.2.1. Основные размеры шины (наружный диаметр и ширина профиля) - в соответствии с
ГОСТ Р 41.30 (6.1) и Приложением А
(таблица А.1).
При эксплуатации допускается увеличение ширины профиля, указанной в
таблице А.1, на 4%, наружного диаметра - на 2% от номинального значения.
5.2.3. Физико-механические показатели резин и их нормы, масса и показатели внешнего вида шин, нормы конструктивно-технологического анализа покрышек и бескамерных шин, а также периодичность и методы испытаний - в соответствии с технологическим регламентом на производство шин, утвержденным в установленном порядке.
Твердость резины протектора шины для МО должна быть не менее 55 условных единиц по Шору А.
5.2.4. Характеристики камеры - в соответствии с
таблицей А.2 (Приложение А).
Тип вентиля - по
ГОСТ 8107. По согласованию с потребителем допускается применять другой тип вентиля.
5.2.5. Бескамерная шина, смонтированная на ободе, и камера должны быть герметичными.
5.2.6. В бескамерной шине (покрышке камерной шины) не допускаются следующие производственные дефекты:
- расслоение в каркасе, брекере и борте;
- отслоение протектора, боковины и бортовой ленты;
- гребень по протектору с выпрессовкой корда;
- запрессовка твердых включений на внутренней и наружной поверхностях покрышки;
- механические повреждения (сквозные проколы, порезы до корда);
- отставание нитей корда по первому слою каркаса;
- складки по основанию, пятке и носку борта от запрессовки бортовой ленты;
- обнажение кромок бортовой ленты;
- отрыв и отслоение герметизирующего резинового слоя по внутренней поверхности каркаса и на бортах.
В камере не допускаются:
- расхождение стыка камеры;
- механические повреждения;
- пористость стенок камеры;
- посторонние включения.
5.2.7. Статический дисбаланс шины (бескамерной шины и покрышки камерной шины) должен быть не более 0,35% произведения массы шины на свободный радиус.
Легкое место должно быть отмечено меткой в виде круга диаметром от 5 до 10 мм, нанесенного стойкой несмываемой краской так, чтобы она не закрывалась ободом колеса.
При вкладывании камеры в покрышку легкое место покрышки должно быть совмещено с вентилем камеры.
5.2.8. Динамический дисбаланс шины в сборе с контрольным ободом должен устраняться корректирующей массой, указанной в таблице 1, с каждой стороны обода колеса.
Таблица 1
Значения корректирующей массы
Конструкция шин | Обозначение номинального посадочного диаметра обода | Корректирующая масса, г, не более |
Радиальные шины всех размеров | 12 | 50 |
13 | 60 |
14 - 16 | 70 |
Диагональные и диагонально-опоясанные шины всех размеров | 13 | 80 |
14 | 100 |
15 | 140 |
5.2.9. Колебания радиальной и боковой сил радиальной шины с металлокордным брекером за счет неоднородности должны быть не более 2,5% максимально допустимой нагрузки на шину для шин, поставляемых на комплектацию нового транспортного средства; для остальных шин - 3,5%.
5.2.10. Конусный эффект радиальной шины с металлокордным брекером, поставляемой на комплектацию нового транспортного средства, должен быть не более 2% максимально допустимой нагрузки на шину.
5.2.11. Энергия разрушения шины должна быть не менее значения, указанного в
Приложении Б.
5.2.12. Сопротивление сдвигу борта бескамерной шины с полки обода должно быть, не менее:
- 6,7 кН (680 кгс) - при ширине профиля менее 152 мм;
- 8,9 кН (907 кгс) - при ширине профиля от 152 до 202 мм;
- 11,1 кН (1134 кгс) - при ширине профиля свыше 202 мм.
5.2.13. Коэффициент сопротивления качению шины должен быть не более:
- радиальной - 0,015;
- диагональной - 0,030.
5.2.14. Шина должна соответствовать требованиям
ГОСТ Р 41.30 в части испытания ее на безотказность в зависимости от нагрузки и скорости.
5.2.15. Шина должна иметь не менее шести поперечных рядов индикаторов износа, расположенных по окружности примерно на одинаковом расстоянии друг от друга в канавках средней зоны беговой дорожки протектора.
Индикаторы должны быть выполнены так, чтобы исключалась возможность спутать их с мостиками резины между ребрами или шашками беговой дорожки протектора. Высота индикаторов износа на шине должна быть

.
Допускается высота индикатора износа

до замены действующего парка пресс-форм.
5.2.16. Радиальное и боковое биения шины должны соответствовать значениям, приведенным в таблице 2.
Таблица 2
Значения радиального и бокового биений шины
Конструкция шин | Обозначение номинального посадочного диаметра обода | Биение шины, мм |
радиальное | боковое |
Радиальные шины всех размеров | 12 | 1,0 | 1,5 |
13 |
14 |
15 | 1,5 | 2,0 |
16 и более |
Диагональные и диагонально-опоясанные шины всех размеров | Номинальные посадочные диаметры всех применяемых ободьев | 2,0 | 3,0 |
5.3. Комплектность
5.3.1. В комплект камерной шины входит покрышка и камера с вентилем, снабженным колпачком или колпачком-ключиком, в комплект бескамерной шины - покрышка.
5.3.2. По согласованию с потребителем допускается поставлять отдельно покрышки и камеры.
5.4. Маркировка
5.4.1. На бескамерную шину (покрышку камерной шины) должна быть нанесена следующая обязательная маркировка:
- товарный знак и(или) наименование предприятия-изготовителя;
- наименование страны-изготовителя на английском языке;
- обозначение шины;
- торговая марка (модель шины);
- индекс несущей способности для максимально допустимой нагрузки;
- индекс категории скорости.
Маркировка шин, пригодных для скоростей свыше 300 км/ч, - в соответствии с
ГОСТ Р 41.30 (3.1.4.1);
- "TUBELESS" - для бескамерной шины;
- "REINFORCED" или "EXTRA LOAD" - для усиленной шины;
- "M + S" или "M & S", или "M.S" - для зимней шины;
- дата изготовления из четырех цифр (две первые цифры указывают неделю года, две последние - год изготовления);
- "REGROOVABLE" - для шины, имеющей возможность углубления рисунка протектора методом нарезки;
- знак официального утверждения "E" с указанием номера официального утверждения и страны, оформившей одобрение типа пневматической шины;
- национальный знак соответствия при сертификации шины (допускается указывать только в сопроводительной технической документации);
- знак направления вращения (для направленного рисунка протектора);
- "TWI" или

, либо иной символ в плечевой или других зонах протектора, указывающий расположение индикаторов износа протектора;
- "ВД" - на шине для МО.
5.4.2. Расположение обязательной маркировки на шине - по
ГОСТ Р 41.30.
5.4.3. На бескамерную шину (покрышку камерной шины) для МО наносят порядковый номер оттиском от жетона или другим способом, обеспечивающим его сохранность в течение гарантийного срока службы.
5.4.4. Допускается наносить на покрышку в дополнение к перечисленной в
5.4.1 маркировку по усмотрению изготовителя или по требованию потребителя, в том числе:
- обозначение настоящего стандарта (без года утверждения);
- "All seasons" - для всесезонных шин;
- пиктограмму "снежинка" - для зимних шин;
- порядковый номер, балансировочную метку, штамп технического контроля и др.
При отнесении бескамерной шины к камерной надпись "TUBELESS" удаляют.
5.4.5. На камеру наносят следующую маркировку:
- обозначение камеры;
- товарный знак и (или) наименование предприятия-изготовителя;
- дату изготовления из четырех цифр (две первые цифры указывают неделю года, две последние - год изготовления).
Допускается дополнительно наносить маркировку по усмотрению изготовителя или по требованию потребителя, в том числе:
- штамп технического контроля;
- "ВД" - на камере для МО;
- обозначение "БК" - для камер из бутилкаучука.
5.4.6. Маркировку на покрышку и камеру наносят оттиском гравировки от пресс-формы или жетона.
Обозначения "БК" и "ВД" на камере, дату изготовления и штамп технического контроля наносят стойкой краской, хорошо различимой на поверхности камеры.
Обозначение "ВД" на покрышку наносят оттиском от жетона или стойкой краской, хорошо различимой на поверхности изделия шрифтом N 10 по
ГОСТ 2.304.
5.5. Упаковка
6.1. Шины принимают партиями. Партией считают шины одного обозначения в количестве не более 10000 шт., сопровождаемые одним документом о качестве, содержащим:
- товарный знак и(или) наименование предприятия-изготовителя;
- обозначение, модель шины и количество шин;
- обозначение настоящего стандарта;
- номер партии;
- дату отгрузки;
- подтверждение соответствия партии шин требованиям настоящего стандарта.
6.2. Для проверки шин на соответствие требованиям настоящего стандарта проводят приемо-сдаточные, периодические и типовые испытания.
6.2.1. При приемо-сдаточных испытаниях шины подвергают сплошному контролю по показателям:
- наличие производственных дефектов на бескамерной шине, покрышке, камере;
- статический дисбаланс;
- колебания радиальной и боковой сил (для радиальных шин с металлокордным брекером);
- конусный эффект (для радиальных шин с металлокордным брекером);
- герметичность камер.
6.2.2. При приемо-сдаточных испытаниях для МО военное представительство проверяет по показателям:
- наличие производственных дефектов в бескамерной шине и камере - на не менее 10% шин партии;
- статический дисбаланс - на не менее 10% шин партии;
- герметичность бескамерных шин - на одной шине от партии;
- твердость резины протектора - на не менее чем пяти шинах от партии;
- сопротивление сдвигу борта бескамерной шины с полки обода - на одной шине от партии;
- герметичность камер - на не менее 10% камер от партии.
Допускается по требованию военного представительства предъявлять шины в разукомплектованном виде.
6.2.3. Периодические испытания проводит изготовитель:
один раз в квартал по показателям:
- основные размеры шины, толщина камеры - на трех шинах, камерах;
- соответствие требованиям
ГОСТ Р 41.30 в части испытаний шины на безотказность в зависимости от нагрузки и скорости - на одной шине;
один раз в год по показателю высота индикаторов износа - на одной шине.
При получении неудовлетворительных результатов периодических испытаний хотя бы по одному из показателей проводят повторные испытания по его определению на удвоенной выборке шин.
В случае неудовлетворительных результатов повторных периодических испытаний показатель переводят в разряд приемо-сдаточных испытаний до получения положительных результатов на трех партиях шин подряд.
При получении неудовлетворительного результата по испытанию на соответствие требованиям
ГОСТ Р 41.30 в части испытаний шины на безотказность в зависимости от нагрузки и скорости отгрузку шин приостанавливают до выявления причин возникновения дефектов, их устранения и получения положительных результатов повторных испытаний на двух шинах подряд.
6.2.4. Периодические испытания для МО по определению основных размеров шин изготовитель (дополнительно к
6.2.3) проводит не реже двух раз в месяц на трех шинах.
6.2.5. Правила приемки шин для МО - в соответствии с требованиями документа на испытания и приемку серийных изделий военной техники.
6.2.6. Типовые испытания шин по определению сопротивления сдвигу борта бескамерной шины с полки обода, энергии разрушения, коэффициента сопротивления качению, радиального и бокового биений, герметичности бескамерных шин проводят при изменении конструкции, рецептуры резин или технологического процесса изготовления шины.
7.2. Двойную толщину стенки камеры определяют по методу, изложенному в
В.1 (Приложение В).
7.3. Твердость резины протектора покрышки определяют по
ГОСТ 263 твердомером в шести точках. На шинах, имеющих сильно расчлененный рисунок протектора, твердость измеряют на наиболее широких выступах рисунка протектора. При измерении индентор твердомера должен находиться в середине выступа, а опорная площадка должна быть в тесном контакте с протектором покрышки. Показания твердомера фиксируют через (3 + 1) с с момента приложения нагрузки. Не допускается устанавливать опорную площадку твердомера на выпрессовку протектора покрышки.
7.4. Герметичность бескамерной шины или камеры определяют полным погружением наполненного воздухом изделия в воду, при этом не должно быть выделения пузырьков воздуха из изделия. Испытания бескамерной шины проводят на контрольном ободе.
7.5. Наличие производственных дефектов в шине контролируют визуально.
7.6. Статический дисбаланс бескамерной шины (покрышки камерной шины) определяют по
ГОСТ 25692.
7.7. Динамический дисбаланс шины определяют на балансировочном станке по методике, аттестованной в установленном порядке.
Динамический дисбаланс шины в сборе с ободом проверяет потребитель для каждого колеса в процессе его монтажа (сборки).
7.8. Радиальное и боковое биения шины определяют по методу, изложенному в
В.2 (Приложение В).
7.9. Колебания радиальной и боковой сил за счет неоднородности шины и конусный эффект определяют по методу, изложенному в
В.3 (Приложение В).
7.10. Сопротивление сдвигу борта бескамерной шины с полки обода определяют по методу, изложенному в
В.4 (Приложение В), энергию разрушения - по методу, изложенному в
В.5 (Приложение В).
7.11. Коэффициент сопротивления качению шины определяют по методу, изложенному в
В.6 (Приложение В).
7.12. Испытания шины на безотказность в зависимости от нагрузки и скорости проводят по
ГОСТ Р 41.30.
7.13. Высоту индикатора износа шины определяют как разность высоты рисунка протектора в основании индикатора износа и расстояния от поверхности протектора до верхней части поверхности индикатора износа. Измерение проводят индикаторным глубиномером по
ГОСТ 7661 с ценой деления не более 0,1 мм.
7.14. Допускается применять другие методы испытаний шин, аттестованные в установленном порядке, обеспечивающие сопоставимость результатов испытаний с результатами, полученными при использовании методов, изложенных в
разделе 7.
При разногласиях в оценке качества шин используют методы, изложенные в
7.1 - 7.13.
8. ТРАНСПОРТИРОВАНИЕ И ХРАНЕНИЕ
8.1. Транспортирование и хранение шин - по
ГОСТ 24779.
8.2. Бескамерные шины транспортируют и хранят в вертикальном положении не более чем в три яруса. По согласованию с потребителем допускаются другие условия транспортирования и хранения бескамерных шин, обеспечивающие их сохранность.
9. УКАЗАНИЯ ПО ЭКСПЛУАТАЦИИ
9.1. Эксплуатация шин должна соответствовать правилам эксплуатации автомобильных шин, утвержденным в установленном порядке, информации изготовителя о шине.
Условия эксплуатации конкретной шины - по договору (контракту) на поставку шины.
9.2. Нормы нагрузок на шины для выбора режима эксплуатации при различном внутреннем давлении - по ГОСТ Р ИСО 4000-1
(Приложение D), Приложению Г
(таблица Г.1).
Эквивалентные типы шин для соответствующих индексов максимально допустимой нагрузки приведены в ГОСТ Р ИСО 4000-1
(Приложение E).
9.3. Изменение нагрузки на шину при изменении скорости (при давлении в шине, соответствующем максимальной нагрузке) - по
ГОСТ Р 41.30 (2.31) или ГОСТ Р ИСО 4000-1
(таблица 2).
9.4. Рекомендуемый температурный диапазон для эксплуатации шин - от минус 45 °C до плюс 55 °C.
Зимние шины рекомендуется использовать до температуры плюс 10 °C.
9.5. Бескамерные шины, утратившие герметичность, комплектуют камерами в соответствии с
5.2.4.
9.6. Эксплуатация шин для МО - в соответствии с порядком, утвержденным МО.
10. ГАРАНТИИ ИЗГОТОВИТЕЛЯ
10.1. Гарантийный срок службы шин - 5 лет с даты изготовления.
10.2. Изготовитель гарантирует в пределах гарантийного срока службы шины отсутствие производственных дефектов и работоспособность шин до предельного износа рисунка протектора, соответствующего высоте индикатора износа, при соблюдении правил транспортирования, хранения по
8.1 и эксплуатации по
разделу 9.
10.3. Замена шин для МО - в соответствии с требованиями документа на порядок предъявления и удовлетворения рекламаций на военную технику.
(обязательное)
РАЗМЕРЫ ШИН НА РЕКОМЕНДУЕМОМ ОБОДЕ, НОРМЫ ЭКСПЛУАТАЦИОННЫХ
ПАРАМЕТРОВ, ОБОЗНАЧЕНИЕ КАМЕР
Таблица А.1
Размеры шин на рекомендуемом ободе и нормы
эксплуатационных параметров
Обозначение шины | Обозначение профиля обода | Размеры шин (обычных) на рекомендуемом ободе, мм | Экономичная нагрузка на шину и давление в шине, соответствующее нагрузке |
Наружный диаметр, (пред. откл. +/- 1%) | Ширина профиля, не более | Статический радиус (пред. откл. +/- 1%) | Радиус качения (справочный) | Нагрузка, Н (кгс) | Давление, МПа (кгс/см2) |
Радиальные шины |
135/80 R12 | | 521 | 140 | 239 | 252 | 2599 | 0,20 |
(265) | (2,0) |
155/80 R13 | | 578 | 157 | 263 | 279 | 3629 | 0,19 |
(370) | (1,9) |
5J |
|
165/80 R13 | | 596 | 167 | 271 | 287 | 4021 | 0,20 |
(410) | (2,0) |
4J |
|
175/80 R13 | | 608 | 172 | 276 | 293 | 4413 | 0,20 |
(450) | (2,0) |
165/80 R14 | | 622 | 172 | 284 | 301 | 4266 | 0,20 |
(435) | (2,0) |
175/80 R16 | 5J | 686 | 178 | 315 | 330 | 4925 | 0,20 |
(505) | (2,0) |
155/70 R13 | | 548 | 157 | 252 | 267 | 3138 | 0,20 |
(320) | (2,0) |
5J |
165/70 R13 | | 568 | 167 | 260 | 275 | 3530 | 0,20 |
(360) | (2,0) |
4J |
175/70 R13 | | 580 | 176 | 265 | 281 | 3972 | 0,20 |
(405) | (2,0) |
|
185/70 R13 | | 598 | 188 | 272 | 287 | 4070 | 0,19 |
(415) | (1,9) |
175/70 R14 | | 600 | 176 | 278 | 293 | 4168 | 0,20 |
(425) | (2,0) |
185/70 R14 | | 624 | 187 | 285 | 301 | 4658 | 0,21 |
(475) | (2,1) |
205/70 R14 | | 652 | 206 | 295 | 313 | 5688 | 0,21 |
(580) | (2,1) |
|
185/65 R13 | | 568 | 191 | 260 | 275 | 3883 | 0,19 |
(396) | (1,9) |
Диагональные шины |
155-13/6,15-13 | | 600 | 158 | 278 | 284 | 3629 | 0,19 |
(370) | (1,9) |
165-13/6,45-13 | | 610 | 167 | 285 | 291 | 3629 | 0,17 |
(370) | (1,7) |
175-13/6,95-13 | | 610 | 178 | 282 | 288 | 4070 | 0,17 |
(415) | (1,7) |
185-14/7,35-14 | 5J | 668 | 185 | 310 | 316 | 5492 | 0,21 |
(560) | (2,1) |
175/80-16 | 5J | 692 | 178 | 326 | 328 | 4168 | 0,17 |
(425) | (1,7) |
Примечания |
1. Допускается изменять наружный диаметр и статический радиус на 1,5% номинального значения для шин иных категорий использования. |
2. В числителе указаны обозначения рекомендуемого обода, в знаменателе - допускаемого. |
3. Экономичная нагрузка составляет 85% - 88% максимально допустимой нагрузки, обеспечивает оптимальную работоспособность шин и комфортабельность езды. |
4. Ширина профиля шин приведена при измерении на рекомендуемом ободе. При монтаже на допускаемый обод ширина профиля изменяется на 40% разности ширины двух ободьев. |
Таблица А.2
Обозначение камеры | Обозначение шин (в том числе бескамерных, отнесенных к камерным) | Двойная толщина стенки камеры, мм, не менее |
из каучуков общего назначения | из бутилкаучука |
УК-13-01 | 155-13/6,15-13, 155/80R13, 155/70R13, 165/70R13 | - | 2,0 |
УК-13-02 | 155-13/6,15-13, 155/70R13, 165-13/6,45-13, 185/65R13, 165/80R13, 165/70R13, 185/70R13 | - | 2,0 |
УК-13М | 155-13/6,15-13, 165-13/6,45-13, 175-13/6,95-13, 165/80R13, 175/80R13, 175/70R13 | 2,0 | 2,0 |
| 155-13/6,15-13, 165-13/6,45-13, 165/80R13 | 2,0 | 2,0 |
6,15-13 | 155-13/6,15-13 | 2,5 | 2,0 |
6,45-13 | 175-13/6,95-13, 175/80R13 | 2,5 | 2,0 |
7,35-14 | 185-14/7,35-14, 205/70 R14 | 3,0 | 2,5 |
УК-14-02 | 185-14/7,35-14, 185/70R14, 205/70 R14 | 2,5 | 2,5 |
УК-14-М | 165/80R14, 175/70R14, 185/70 R14 | 2,5 | - |
6,95-16 | 175/80R16 | 3,0 | - |
135-12 | 135/80R12 | 2,0 | - |
(обязательное)
Таблица Б.1
Обозначение шины | Энергия разрушения, Дж, не менее |
Радиальные шины |
135/80 R12 | 220 |
155/80 R13 | |
165/80 R13 | 294 |
175/80 R13 | |
165/80 R14 | |
175/80 R16 | |
155/70 R13 | 220 |
165/70 R13 | 294 |
175/70 R13 | |
185/70 R13 | |
175/70 R14 | |
185/70 R14 | |
205/70 R14 | |
185/65 R13 | |
Диагональные шины |
155-13 (6,15-13) | |
165-13 (6,45-13) | |
175-13 (6,95-13) | |
185-14 (7,35-14) | |
175/80-16: | |
с вискозным кордом | 186 |
с кордом из синтетических волокон | 294 |
(обязательное)
МЕТОДЫ ИСПЫТАНИЙ
В.1. Определение двойной толщины стенки камеры
Метод заключается в измерении двойной толщины стенки плоскосложенной камеры, из которой удален воздух до остаточного давления 6 - 8 кПа (0,06 - 0,08) кгс/см2.
В.1.1. Аппаратура
Для измерения двойной толщины стенки камеры используют индикаторный толщиномер типа TP25-250 по
ГОСТ 11358 с ценой деления 0,1 мм.
В.1.2. Подготовка к измерению
Измерения проводят в помещении при температуре (25 +/- 10) °C. Измеряют камеры, выдержанные после вулканизации в течение не менее 4 ч.
В.1.3. Проведение измерения
В.1.3.1. Плоскосложенную камеру укладывают на ровную поверхность, подсоединяют к вакуумному насосу и устанавливают остаточное давление воздуха в камере 6 - 8 кПа (0,06 - 0,08 кгс/см2).
В.1.3.2. Измерения двойной толщины стенки камеры по беговой и бандажной частям проводят в четырех равномерно расположенных по окружности сечениях, исключая зоны стыка и вентиля. В каждом сечении измерение проводят один раз.
В.1.3.3. Площадки толщиномера при измерении должны полностью прилегать к поверхности камеры и устанавливаться на участке, удаленном от краев камеры не менее чем на 30 мм. Погрешность измерений не должна превышать 0,3 мм.
В.1.4. Обработка результатов
За результат измерения принимают минимальное значение измерений.
Результат измерения оформляют протоколом.
В.2. Определение радиального и бокового биений шин
Радиальное и боковое биения шин определяют методом измерения расстояния от неподвижной базовой точки до точек поверхности шины при ее вращении вокруг оси.
В.2.1. Аппаратура
В.2.1.1. В качестве измерительного прибора применяют измерительное средство (в т.ч. индикатор часового типа), обеспечивающее измерение биения шины от 0 до 20 мм с погрешностью не более 0,1 мм.
Устройство для измерения биения шины должно обеспечивать непрерывность контакта наконечника индикатора с наружной поверхностью шины при переходе с одного выступа протектора на другой.
В.2.1.2. Давление воздуха в шине измеряют манометром по
ГОСТ 2405 с погрешностью не более 6 кПа (0,06 кгс/см2).
В.2.1.3. Значения радиального и осевого биений обода на участках, прилегающих к шине, не должны быть более 0,1 мм.
В.2.2. Подготовка к испытанию
Покрышка, предназначенная для испытания, должна быть чистой, сухой, без выпрессовок, деформаций, которые могут оказывать влияние на результаты испытаний и затруднять посадку покрышки на обод для измерения.
В.2.3. Проведение испытания
В.2.3.1. Шину монтируют на обод и устанавливают в ней давление воздуха, соответствующее нагрузке, составляющей 85% - 88% максимально допустимой нагрузки на шину.
Допускается отклонение установившегося давления воздуха в шине 0,02 кПа (0,2 кгс/см2).
Допускается определять радиальное и боковое биения покрышки камерной шины, смонтированной на испытательный обод, без камеры.
В.2.3.2. Измерение радиального биения проводят в центральной плоскости вращения колеса как разности наибольшего и наименьшего расстояний от точек беговой дорожки протектора шины до оси вращения колеса.
Допускается измерять радиальное биение по ребрам или шашкам протектора в двух плоскостях, равноудаленных от центральной плоскости колеса.
В.2.3.3. Измерение бокового биения шины как разности наибольшего и наименьшего расстояний от точек поверхности боковины шины, расположенных в зоне наибольшей ширины, до базовой измерительной плоскости, параллельной плоскости вращения колеса, проводят на обеих боковинах. Биение, вызываемое надписями и декоративными выступами, не учитывают. Допускается определять боковое биение шин в зонах боковины, свободных от надписей и декоративных выступов.
В.2.4. Обработка результатов
За результаты испытания принимают:
- значение радиального биения, измеренное по
В.2.3.2 (при измерении радиального биения в двух плоскостях за результат принимают максимальное из двух значений);
- максимальное из двух значений бокового биения, измеренных по
В.2.3.3.
Результат испытания оформляют протоколом.
В.3. Определение колебания радиальной и боковой сил за счет неоднородности и конусного эффекта
Колебания радиальной и боковой сил определяют методом измерения сил, действующих в зоне контакта шины с опорной поверхностью барабана, при качении шины с постоянным межцентровым расстоянием между осями колеса и барабана при заданных нагрузке и давлении воздуха в шине, нулевых углах увода и развала.
В.3.1. Аппаратура
В.3.1.1. Испытательное оборудование должно соответствовать требованиям, указанным в таблице В.1.
Таблица В.1
Наименование показателя | Значение |
1. Нагрузка на шину, кН (кгс), не более | 9,8 (1000) |
2. Относительная погрешность задания нагрузки на шину, % | +/- 2,0 |
3. Предел измерения колебаний радиальной и боковой сил, кН (кгс), не более | 0,49 (50) |
4. Погрешность измерения колебаний сил, Н (кгс) | +/- 4,9 (+/- 0,5) |
5. Диаметр барабана, мм | 854,0 +/- 2,5 |
6. Частота вращения шин при измерениях,  | 20 - 220 |
7. Радиальное и боковое биения посадочных поверхностей обода, мм, не более | 0,05 |
8. Погрешность измерения давления воздуха в шине манометром по ГОСТ 2405, кПа (кгс/см2), не более | 6 (0,06) |
В.3.1.2. Измерительная система оборудования должна обеспечивать автоматическую обработку и фиксирование результатов измерений при необходимости их регистрации.
В.3.2. Подготовка к испытанию
В.3.2.1. При выборочном контроле шин подготовку к испытанию проводят в соответствии с
ГОСТ 27704, при этом шина должна храниться в вертикальном положении на стеллажах или ровном полу.
В.3.2.2. При сплошном контроле, выполняемом в технологическом процессе изготовления шин, подготовку шин к испытанию не проводят.
В.3.3. Проведение испытания
В.3.3.1. Шину (покрышку камерной шины) монтируют на соответствующий обод (адаптер) испытательного стенда. Плотная посадка шины на обод достигается подачей в полость шины воздуха давлением, превышающим заданное не более чем в два раза, или обкаткой в течение 5 - 10 с с частотой вращения

.
В.3.3.2. В шине устанавливают давление воздуха 200 кПа (2,0 кгс/см2) и прижимают к барабану стенда усилием, составляющим 70% максимально допустимой нагрузки на шину, при этом значение нагрузки округляют до кратного 5. При этой нагрузке фиксируют расстояние между осями барабана и колеса, проводят обкатку шины и регистрируют результаты измерения изменения радиальной и боковой сил.
В.3.3.3. Измеряют колебания сил при вращении шины в обе стороны.
В.3.3.4. В случае необходимости уточнения результатов измерения проводят последовательно не менее 10 измерений (включая первоначальное) при обязательном монтаже шины на обод.
В.3.4. Обработка результатов
За результат измерения принимают вычисленные измерительной системой стенда значения:
- радиальной и боковой сил как наибольшую разность между максимальным и минимальным значениями радиальной (боковой) реакции по результатам вращения шины в обе стороны;
- конусного эффекта как полусуммы средних значений боковых реакций за один оборот в прямом и обратном направлениях вращения шины.
Результат испытания оформляют протоколом.
В.4. Определение сопротивления сдвигу борта бескамерных шин с полки обода
Метод заключается в определении усилия, при котором происходит сдвиг борта шины с полки обода при приложении сторонней силы.
В.4.1. Аппаратура
В.4.1.1. Устройство для определения сопротивления сдвигу борта шины с полки обода должно обеспечивать:
- создание нагрузки не менее 9800 Н (1000 кгс);
- скорость перемещения упора от 20 до 50 мм/мин;
- регистрацию усилия, приложенного к шине с указанием максимального значения.
Относительная погрешность регистрации усилия - +/- 1%.
В.4.1.2. Испытательный обод, размеры которого должны соответствовать указанным в настоящем стандарте.
В.4.1.3. Манометр по
ГОСТ 2405, обеспечивающий погрешность измерения не более 6 кПа (0,06 кгс/см2).
В.4.1.4. Устройство для определения сопротивления сдвигу борта бескамерной шины с полки обода
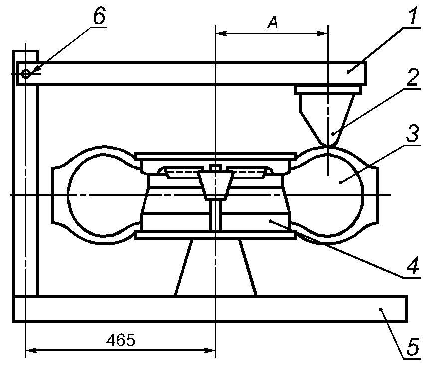
1 - подвижный рычаг; 2 - специальный упор; 3 - шина;
4 - обод; 5 - неподвижная плита (основание);
6 - ось поворота рычага
Рисунок В.1. Схема устройства для определения
сопротивления сдвигу борта бескамерных шин с полки обода
Рисунок В.2. Специальный упор
В.4.2. Подготовка к испытанию
В.4.2.1. Подготовку шины к испытанию, включающую осмотр и выдержку перед испытанием, проводят в соответствии с
ГОСТ 27704.
В.4.2.2. Борта шины промывают водой и высушивают без применения источников тепла до отсутствия следов влаги.
В.4.2.3. Шину монтируют на обод без применения смазки и склеивающих веществ.
В.4.2.4. Для более плотной посадки борта шины на полку обода во время монтажа следует обеспечить двукратное увеличение давления воздуха в шине по сравнению с максимально допустимым для данного вида шины, но не более 1200 кПа (12 кгс/см2).
В.4.2.5. В шине устанавливают давление воздуха на 60 кПа (0,6 кгс/см2) меньше, чем соответствующее максимально допустимой нагрузке.
В.4.2.6. На боковине шины равномерно по окружности обозначают не менее четырех сечений, в которых проводят измерения.
В.4.2.7. Шину выдерживают в помещении не менее 3 ч.
В.4.3. Проведение испытаний
В.4.3.1. Испытания проводят при температуре (25 +/- 10) °C.
В.4.3.2. Шину устанавливают на стенд, схема которого представлена на
рисунке В.1. Упор устанавливают таким образом, чтобы точка приложения шины находилась на расстоянии A от оси вращения шины.
Расстояние A, мм, вычисляют по формуле
где H - высота профиля шины, мм (таблица В.2);
Таблица В.2
Высота профиля шины
Обозначение номинальной ширины профиля шины | Высота профиля шины H, мм, для серии |
80 | 70 | 65 |
135 | 108 | 95 | 88 |
155 | 124 | 101 | 101 |
165 | 132 | 116 | 107 |
175 | 140 | 123 | 114 |
185 | 148 | 130 | 120 |
195 | 156 | 137 | 117 |
205 | 164 | 144 | 123 |
215 | 172 | 151 | 140 |
225 | 180 | 158 | 146 |
235 | 188 | 165 | 153 |
245 | 196 | 172 | 159 |
255 | 204 | 179 | 166 |
265 | - | 186 | 172 |
275 | - | 193 | 172 |
Таблица В.3
Номинальный посадочный диаметр обода
Обозначение номинального диаметра обода | Номинальный посадочный диаметр обода  , мм |
12 | 305 |
13 | 330 |
14 | 356 |
15 | 381 |
16 | 406 |
17 | 437 |
18 | 462 |
19 | 487 |
В.4.3.3. Измеряют давление воздуха в шине и при необходимости корректируют до значения, указанного в
В.4.2.5, не раньше чем за 15 мин до проведения испытаний.
В.4.3.4. Воздействие упора на боковину с возрастающей силой проводят до сдвига борта шины с полки обода или достижения нормативного значения усилия. Сдвиг борта шины с полки обода характеризуется резким падением регистрируемого усилия.
В.4.3.5. Измерения проводят последовательно в отмеченных сечениях. Перед каждым измерением контролируют давление воздуха в шине по
В.4.2.5.
В.4.4. Обработка результатов
За результат испытания принимают минимальное значение измерений по В.4.3.5.
Результат испытания оформляют протоколом.
В.5. Определение энергии разрушения пневматической шины
Энергию разрушения шин определяют методом вдавливания цилиндрического стального плунжера диаметром 20 мм с полусферической головкой в ребро рисунка протектора шины.
В.5.1. Аппаратура
В.5.1.1. Устройство для определения энергии разрушения должно обеспечивать:
- создание нагрузки не менее 19,6 кН (2000 кгс);
- диаметр плунжера (20 +/- 0,2) мм;
- скорость перемещения плунжера (50,0 +/- 2,5) мм/мин;
- регистрацию усилия, приложенного к шине;
- регистрацию глубины проникания плунжера.
Приведенная погрешность измерения разрушающей нагрузки не должна быть более 2%. Погрешность измерения перемещения плунжера - 1 мм.
В.5.1.2. Посадочный диаметр и ширина ободьев, применяемых при испытании шин, должны соответствовать требованиям настоящего стандарта.
Измерение давления воздуха в шине проводят манометром по
ГОСТ 2405 с погрешностью не более 6 кПа (0,06 кгс/см2).
В.5.2. Подготовка к испытанию
В.5.2.1. Подготовку шины к испытанию, включающую осмотр и выдержку перед испытанием, проводят по
ГОСТ 27704.
В.5.2.2. Шину монтируют на обод. Для более плотной посадки борта шины на полку обода во время монтажа следует обеспечить двукратное увеличение давления воздуха в шине по сравнению с максимально допустимым для данного вида шины, но не более 1200 кПа (12 кгс/см2).
В.5.2.3. В шине устанавливают давление воздуха на 60 кПа (0,6 кгс/см2) меньше, чем соответствующее максимально допустимой нагрузке.
Бескамерные шины можно испытывать с камерами.
В.5.3. Проведение испытаний
В.5.3.1. Испытания проводят при температуре (25 +/- 10) °C.
В.5.3.2. Шину устанавливают на стенд. Плунжер вдавливают в ребро (шашку) рисунка протектора перпендикулярно к поверхности ребра как можно ближе к средней линии беговой дорожки протектора.
Следует избегать попадания плунжера в канавку рисунка протектора.
В.5.3.3. Вдавливание плунжера проводят до разрушения шины или упора плунжера в обод в пяти местах, равномерно расположенных по окружности шины. Перед каждым измерением контролируют давление воздуха в шине.
Фиксируют в момент разрыва шины или упора плунжера в обод силу и глубину проникания плунжера.
В.5.4. Обработка результатов
Энергию разрушения W, Дж, для каждого места испытания вычисляют по формуле
где F - сила вдавливания плунжера, Н;
P - глубина проникания плунжера или деформация шины, м.
За результат испытания принимают среднеарифметическое значение пяти полученных значений результатов.
Результат испытания оформляют протоколом.
В.6. Определение коэффициента сопротивления качению пневматической шины
Сопротивление качению шины определяют методом измерения продольной силы на оси колеса, катящегося по гладкому стальному барабану испытательного стенда.
В.6.1. Аппаратура
В.6.1.1. Для испытания применяют испытательный стенд с наружной беговой поверхностью барабана диаметром 1592 мм +/- 1%.
Допускается применять стенды с диаметром барабана 1707 мм +/- 1% и 2000 мм +/- 1%.
Ширина барабана должна превышать ширину беговой дорожки протектора не менее чем на 10%.
Испытательный стенд должен обеспечивать создание нагрузки на шину не менее максимально допустимой и должен быть оснащен устройством для измерения продольной силы с погрешностью не более 1%.
Давление воздуха в шине измеряют манометром по
ГОСТ 2405 с погрешностью не более 6 кПа (0,06 кгс/см2).
Радиальное и боковое биения обода на участках прилегания к шине не должны превышать 0,8 и 1,2 мм.
В.6.2. Подготовка к испытанию
В.6.2.1. Подготовку шины к испытанию проводят по
ГОСТ 27704. Покрышки и бескамерные шины должны соответствовать требованиям настоящего стандарта по показателям статического дисбаланса и биений.
В.6.3. Проведение испытания
В.6.3.1. Испытания проводят при температуре (25 +/- 5) °C, ее измеряют на расстоянии 2 м от испытуемой шины с погрешностью 1 °C.
В шине устанавливают давление воздуха в соответствии с таблицей В.4.
Таблица В.4
Испытательное давление в шине
Индекс категории скорости | Испытательное давление, МПа (кгс/см2) |
P, Q, R, S | 0,26 (2,6) |
T, U, H | 0,28 (2,8) |
V | 0,29 (3,0) |
Шину прижимают к барабану испытательного стенда нагрузкой, равной 80% максимально допустимой, эквивалентной индексу несущей способности.
Перед измерением продольной силы шину обкатывают на стенде в течение 1 ч со скоростью 80 км/ч. По истечении времени обкатки регистрируют продольную силу и динамический радиус шины, а затем - продольную силу при вращении шины, прижатой к барабану усилием 50 Н.
В.6.4. Обработка результатов
В.6.4.1. За результат испытания принимают коэффициент сопротивления качению, вычисленный по формуле
где

- продольная сила, Н;

- продольная сила при нагрузке 50 Н;
P - нагрузка на шину, Н;

- динамический радиус шины, м;
R - радиус барабана стенда, м.
При наличии на стенде устройства для компенсации потерь в узлах стенда первоначально проводят обнуление показателей измерительного устройства при качении шины без нагрузки, затем проводят измерение при качении шины под нагрузкой.
Если температура окружающего воздуха при испытании отличалась от 25 °C, значение коэффициента сопротивления качению корректируется по формуле
где

- коэффициент сопротивления качению, скорректированный на температуру 25 °C;

- коэффициент сопротивления качению при температуре, отличающейся от 25 °C;

- действительная температура окружающего воздуха во время проведения испытания, °C.
Влияние диаметра барабана на коэффициент сопротивления качению определяют по формуле
где

,

- значения коэффициентов сопротивления качению шины, измеренные на барабанах 1 и 2;

и

- радиусы барабанов 1 и 2, соответственно, м;

- свободный радиус шины, м.
Результат испытания оформляют протоколом.
(рекомендуемое)
НОРМЫ НАГРУЗОК НА ШИНЫ ДЛЯ ВЫБОРА РЕЖИМА РАБОТЫ
ПРИ РАЗЛИЧНЫХ ДАВЛЕНИЯХ
Таблица Г.1
Нормы нагрузок на шины для выбора режима работы
при различных давлениях
Обозначение шины | Индекс несущей способности | Нагрузка на шину, Н (кгс), при давлении, МПа (кгс/см2) |
0,12 | 0,14 | 0,15 | 0,16 | 0,17 | 0,18 | 0,19 | 0,20 | 0,21 | 0,22 | 0,23 | 0,24 | 0,25 |
(1,2) | (1,4) | (1,5) | (1,6) | (1,7) | (1,8) | (1,9) | (2,0) | (2,1) | (2,2) | (2,3) | (2,4) | (2,5) |
Радиальные шины |
135/80R12 | 68 | - | - | 2059 | 2158 | 2256 | 2354 | 2501 | | 2697 | 2795 | 2893 | 2991 | 3089 |
(210) | (220) | (230) | (240) | (255) | | (275) | (285) | (295) | (305) | (315) |
155/80R13 | 78 | - | 2010 | 2991 | 3138 | 3285 | 3481 | | | 3972 | 4168 | - | - | - |
(205) | (305) | (320) | (335) | (355) | | | (405) | (425) |
165/80R13 | 82 | - | 2991 | 3187 | 3334 | 3530 | 3678 | 3874 | | 4217 | 4413 | 4658 | - | - |
(305) | (325) | (340) | (360) | (375) | (395) | | (430) | (450) | (475) |
175/80R13 | 86 | - | 3285 | 3481 | 3678 | 3874 | 4070 | 4217 | | 4658 | 4854 | 5100 | - | 5198 |
(335) | (355) | (375) | (395) | (415) | (430) | | (475) | (495) | (520) | (530) |
165/80R14 | 84 | - | 3138 | 3334 | 3530 | 3727 | 3929 | 4070 | | 4462 | 4658 | 4854 | - | 4903 |
(320) | (340) | (360) | (380) | (400) | (415) | | (455) | (475) | (495) | (500) |
175/80R16 | 88 | 3217 | 3658 | 3874 | 4099 | 4315 | 4541 | 4805 | | 5168 | 5354 | 5492 | - | - |
(328) | (373) | (395) | (418) | (440) | (463) | (490) | | (527) | (546) | (560) |
155/70R13 | 75 | - | 2305 | 2452 | 2599 | 2746 | 2893 | 3040 | | 3285 | 3383 | 3481 | - | 3795 |
(235) | (250) | (265) | (280) | (295) | (310) | | (335) | (345) | (355) | (387) |
165/70R13 | 79 | - | 2550 | 2746 | 2942 | 3089 | 3236 | 3383 | | 3678 | 3776 | 3923 | - | 4286 |
(260) | (280) | (300) | (315) | (330) | (345) | | (375) | (385) | (400) | (437) |
175/70R13 | 80 | - | 2795 | 2991 | 3187 | 3383 | 3579 | 3776 | | 4119 | 4218 | 4413 | - | - |
(285) | (305) | (325) | (345) | (365) | (385) | | (420) | (430) | (450) |
185/70R13 | 84 | | 3040 | 3285 | 3481 | 3678 | 3874 | 4070 | 4266 | | 4660 | 4707 | 4854 | 4903 |
(310) | (335) | (355) | (375) | (395) | (415) | (435) | | (465) | (480) | (495) | (450) |
175/70R14 | 84 | - | 2991 | 3187 | 3383 | 3579 | 3776 | 3972 | | 4315 | 4462 | 4609 | - | 4903 |
(305) | (325) | (345) | (365) | (385) | (405) | | (440) | (455) | (470) | (500) |
185/70R14 | 86 | - | 3187 | 3438 | 3678 | 3874 | 4070 | 4266 | 4462 | | 4805 | 5001 | 5142 | 5198 |
(325) | (350) | (375) | (395) | (415) | (435) | (455) | | (490) | (510) | (525) | (530) |
205/70R14 | 93 | - | 3874 | 4168 | 4462 | 4707 | 4952 | 5198 | 5443 | | 5884 | 6033 | 6176 | 6374 |
(395) | (425) | (455) | (480) | (505) | (530) | (555) | | (600) | (615) | (630) | (650) |
185/65R13 | 84 | - | 2991 | 3168 | 3344 | 3530 | 3707 | 3883 | 4040 | 4227 | 4384 | 4540 | 4717 | 4903 |
(305) | (323) | (340) | (360) | (378) | (396) | (412) | (431) | (447) | (463) | (481) | (500) |
Диагональные шины |
155-13/6,15-13 | 75 | 2745 | 2991 | 3138 | 3236 | 3334 | 3481 | | - | 3795 | - | - | - | - |
(280) | (305) | (320) | (330) | (340) | (355) | | (387) |
165-13/6,45-13 | 78 | 2991 | 3136 | 3383 | 3482 | | 3727 | 3923 | 4121 | 4168 | - | - | - | - |
(305) | (320) | (345) | (355) | | (380) | (400) | (410) | (425) |
175-13/6,95-13 | 82 | 3138 | 3530 | - | - | | - | 4364 | - | 4658 | - | - | - | - |
(320) | (360) | | (444) | (475) |
185-14/7,35-14 | 91 | 3923 | 4168 | 4413 | 4609 | 4756 | 4952 | 5149 | 5345 | | 5639 | 5786 | 5933 | 6031 |
(400) | (425) | (450) | (470) | (485) | (505) | (525) | (545) | | (575) | (590) | (605) | (615) |
175/80-16 | 85 | 3481 | 3776 | 3923 | 4121 | | 4315 | 4560 | 4805 | 5050 | - | - | - | - |
(355) | (385) | (400) | (410) | | (440) | (465) | (490) | (515) |
Примечание. Подчеркнуты значения нагрузки, обеспечивающие оптимальную работоспособность шин и комфортабельность езды. |