Главная // Актуальные документы // ГОСТ Р (Государственный стандарт)СПРАВКА
Источник публикации
М.: Стандартинформ, 2016
Примечание к документу
Документ включен в
Перечень международных и региональных (межгосударственных) стандартов, а в случае их отсутствия - национальных (государственных) стандартов, содержащих правила и методы исследований (испытаний) и измерений, в том числе правила отбора образцов, необходимые для применения и исполнения требований технического
регламента Евразийского экономического союза "О безопасности газа горючего природного, подготовленного к транспортированию и (или) использованию" (ТР ЕАЭС 046/2018) и осуществления оценки соответствия объектов технического регулирования (
Решение Коллегии Евразийской экономической комиссии от 13.09.2021 N 112).
Документ
введен в действие с 1 июля 2017 года.
Название документа
"ГОСТ Р 56916-2016. Национальный стандарт Российской Федерации. Газ горючий природный. Определение содержания водяных паров методом Карла Фишера"
(утв. и введен в действие Приказом Росстандарта от 26.04.2016 N 277-ст)
"ГОСТ Р 56916-2016. Национальный стандарт Российской Федерации. Газ горючий природный. Определение содержания водяных паров методом Карла Фишера"
(утв. и введен в действие Приказом Росстандарта от 26.04.2016 N 277-ст)
Утвержден и введен в действие
по техническому регулированию
и метрологии
от 26 апреля 2016 г. N 277-ст
НАЦИОНАЛЬНЫЙ СТАНДАРТ РОССИЙСКОЙ ФЕДЕРАЦИИ
ГАЗ ГОРЮЧИЙ ПРИРОДНЫЙ
ОПРЕДЕЛЕНИЕ СОДЕРЖАНИЯ ВОДЯНЫХ ПАРОВ МЕТОДОМ КАРЛА ФИШЕРА
Natural combustible gas. Determination of water vapours
content by Karl Fischer method
(ISO 10101-1:1993, NEQ)
(ISO 10101-2:1993, NEQ)
(ISO 10101-3:1993, NEQ)
ГОСТ Р 56916-2016
Дата введения
1 июля 2017 года
1 РАЗРАБОТАН Обществом с ограниченной ответственностью "Газпром ВНИИГАЗ" на основе собственного перевода на русский язык англоязычной версии международных стандартов, указанных в
пункте 4
2 ВНЕСЕН Техническим комитетом по стандартизации ТК 52 "Природный и сжиженные газы"
3 УТВЕРЖДЕН И ВВЕДЕН В ДЕЙСТВИЕ
Приказом Федерального агентства по техническому регулированию и метрологии от 26 апреля 2016 г. N 277-ст
4 В настоящем стандарте учтены основные нормативные положения следующих международных стандартов:
- ИСО 10101-1:1993 "Газ природный. Определение воды методом Карла Фишера. Часть 1. Введение" (ISO 10101-1:1993 "Natural gas - Determination of water by the Karl Fischer method - Part 1: Introduction", NEQ);
- ИСО 10101-2:1993 "Газ природный. Определение воды методом Карла Фишера. Часть 2. Метод титрования" (ISO 10101-2:1993 "Natural gas - Determination of water by the Karl Fischer method - Part 2: Titration procedure", NEQ);
- ИСО 10101-3:1993 "Газ природный. Определение воды методом Карла Фишера. Часть 3. Кулонометрический метод" (ISO 10101-3:1993 "Natural gas - Determination of water by the Karl Fischer method - Part 3: Coulometric procedure", NEQ)
5 ВВЕДЕН ВПЕРВЫЕ
Правила применения настоящего стандарта установлены в ГОСТ Р 1.0-2012 (раздел 8). Информация об изменениях к настоящему стандарту публикуется в ежегодном (по состоянию на 1 января текущего года) информационном указателе "Национальные стандарты", а официальный текст изменений и поправок - в ежемесячном информационном указателе "Национальные стандарты". В случае пересмотра (замены) или отмены настоящего стандарта соответствующее уведомление будет опубликовано в ближайшем выпуске ежемесячного информационного указателя "Национальные стандарты". Соответствующая информация, уведомление и тексты размещаются также в информационной системе общего пользования - на официальном сайте Федерального агентства по техническому регулированию и метрологии в сети Интернет (www.gost.ru)
Содержание водяных паров в природном газе является одним из важнейших показателей качества, информация о котором актуальна в процессах подготовки, переработки и транспортирования природного газа. Значимость данного показателя для нефтегазовой отрасли обусловлена необходимостью оценки эффективности работы установок промысловой подготовки природного газа. При использовании на промысле низкотемпературного процесса подготовки природного газа измерение содержания водяных паров гигрометрами, реализующими сорбционные методы, затруднено в связи с наличием в природном газе паров метанола, который влияет на результаты измерений. В отличие от сорбционных методов определения содержания водяных паров в природном газе, метод титрования по Карлу Фишеру является селективным по отношению к воде и присутствие метанола в газе не оказывает влияния на конечный результат. К достоинствам метода Карла Фишера также следует отнести достаточно высокую точность и чувствительность при малых концентрациях воды в исследуемом газе, а также достаточно широкий диапазон измерений. Указанные выше преимущества позволяют использовать метод в качестве арбитражного при контрольных измерениях содержания водяных паров, а также при поверке и калибровке средств измерений. Метод также можно применять на объектах нефтегазовой отрасли, где технология подготовки газа предусматривает низкое содержание водяных паров, а именно: АГНКС, установки адсорбционной подготовки природного газа, ГПЗ и т.д.
Настоящий стандарт разработан с учетом основных требований международных стандартов ИСО 10101-1:1993 "Natural gas. Determination of water by the Karl Fischer method. Part 1. Introduction" ("Газ природный. Определение воды методом Карла Фишера. Часть 1. Введение"), ИСО 10101-2:1993 "Natural gas. Determination of water by the Karl Fischer method. Part 2. Titration procedure" ("Газ природный. Определение воды методом Карла Фишера. Часть 2. Метод титрования") и ИСО 10101-3:1993 "Natural gas. Determination of water by the Karl Fischer method. Part 3. Coulometric procedure" ("Газ природный. Определение воды методом Карла Фишера. Часть 3. Кулонометрический метод").
Настоящий стандарт объединяет основные положения указанных международных стандартов, поскольку они имеют относительно небольшой объем, а также в целях повышения удобства пользования объединенным стандартом.
1.1 Настоящий стандарт устанавливает определение содержания водяных паров методом Карла Фишера в природном горючем газе (далее - ГГП), поступающем с установок промысловой подготовки, подземных хранилищ газа и газоперерабатывающих заводов в магистральные газопроводы, транспортируемом по ним и поставляемом в системы газораспределения, используемом в качестве сырья и топлива промышленного и коммунально-бытового назначения, а также в качестве компримированного газомоторного топлива для двигателей внутреннего сгорания.
1.2 Настоящий стандарт не распространяется на ГГП, содержащий сероводород и меркаптаны, суммарная массовая концентрация которых в пересчете на серу превышает 30 мг/м3.
1.3 Настоящий стандарт устанавливает требования к определению содержания (массовой концентрации) и молярной доли водяных паров в ГГП методом Карла Фишера в диапазоне от 1,5 мг/м3 до 7,5 г/м3 (при температуре 20,0 °C и давлении 101,325 кПа) и от 0,0002% мол. до 1,0% мол.
В настоящем стандарте использованы нормативные ссылки на следующие стандарты:
ГОСТ 8.547-2009 Государственная система обеспечения единства измерений. Государственная поверочная схема для средств измерений влажности газов
ГОСТ 12.0.004-90 Система стандартов безопасности труда. Организация обучения безопасности труда. Общие положения
ГОСТ 12.1.004-91 Система стандартов безопасности труда. Пожарная безопасность. Общие требования
ГОСТ 12.1.005-88 Система стандартов безопасности труда. Общие санитарно-гигиенические требования к воздуху рабочей зоны
ГОСТ 12.1.007-76 Система стандартов безопасности труда. Вредные вещества. Классификация и общие требования безопасности
ГОСТ 12.1.044-89 (ИСО 4589:84) Система стандартов безопасности труда. Пожаровзрывоопасность веществ и материалов. Номенклатура показателей и методы их определения
ГОСТ 12.4.009-83 Система стандартов безопасности труда. Пожарная техника для защиты объектов. Основные виды. Размещение и обслуживание
ГОСТ 12.4.021-75 Система стандартов безопасности труда. Системы вентиляционные. Общие требования
ГОСТ 17.1.3.05-82 Охрана природы. Гидросфера. Общие требования к охране поверхностных и подземных вод от загрязнения нефтью и нефтепродуктами
ГОСТ 17.1.3.13-86 Охрана природы. Гидросфера. Общие требования к охране поверхностных вод от загрязнения
ГОСТ 17.2.3.02-2014 Правила установления допустимых выбросов вредных веществ промышленными предприятиями
ГОСТ 17.4.2.01-81 Охрана природы. Почвы. Номенклатура показателей санитарного состояния
ГОСТ 17.4.3.04-85 Охрана природы. Почвы. Общие требования к контролю и охране от загрязнения
ГОСТ 5632-2014 Легированные нержавеющие стали и сплавы коррозионно-стойкие, жаростойкие и жаропрочные. Марки
ГОСТ 9293-74 (ИСО 2435-73) Азот газообразный и жидкий. Технические условия
ГОСТ 14162-79 Трубки стальные малых размеров (капиллярные). Технические условия
ГОСТ 14254-96 (МЭК 529-89) Степени защиты, обеспечиваемые оболочками (код IP)
ГОСТ 15150-69 Машины, приборы и другие технические изделия. Исполнения для различных климатических районов. Категории, условия эксплуатации, хранения и транспортирования в части воздействия климатических факторов внешней среды
ГОСТ 22387.2-97 Газы горючие природные. Методы определения сероводорода и меркаптановой серы
ГОСТ 28498-90 Термометры жидкостные стеклянные. Общие технические требования. Методы испытаний
ГОСТ 30852.0-2002 (МЭК 60079-0:1998) Электрооборудование взрывозащищенное. Часть 0. Общие требования
ГОСТ 30852.1-2002 (МЭК 60079-1:1998) Электрооборудование взрывозащищенное. Часть 1. Взрывозащита вида "взрывонепроницаемая оболочка"
ГОСТ 30852.5-2002 (МЭК 60079-4:1975) Электрооборудование взрывозащищенное. Часть 4. Метод определения температуры самовоспламенения
ГОСТ 30852.10-2002 (МЭК 60079-11:1999) Электрооборудование взрывозащищенное. Часть 11. Искробезопасная электрическая цепь i
ГОСТ 30852.11-2002 (МЭК 60079-12:1978) Электрооборудование взрывозащищенное. Часть 12. Классификация смесей газов и паров с воздухом по безопасным экспериментальным максимальным зазорам и минимальным воспламеняющим токам
ГОСТ 30852.19-2002 (МЭК 60079-20:1996) Электрооборудование взрывозащищенное. Часть 20. Данные по горючим газам и парам, относящиеся к эксплуатации электрооборудования
ГОСТ OIML R 76-1-2011 Государственная система обеспечения единства измерений. Весы неавтоматического действия. Часть 1. Метрологические и технические требования. Испытания
ГОСТ OIML R 111-1-2009 Государственная система обеспечения единства измерений. Гири классов точности E (индекса 1), E (индекса 2), F (индекса 1), F (индекса 2), M (индекса 1), M (индекса 1-2), M (индекса 2), M (индекса 2-3) и M (индекса 3). Часть 1. Метрологические и технические требования
ГОСТ Р 12.1.019-2009 Система стандартов безопасности труда. Электробезопасность. Общие требования и номенклатура видов защиты
ГОСТ Р 53367-2009 Газ горючий природный. Определение серосодержащих компонентов хроматографическим методом
Примечание - При пользовании настоящим стандартом целесообразно проверить действие ссылочных стандартов в информационной системе общего пользования - на официальном сайте Федерального агентства по техническому регулированию и метрологии в сети Интернет или по ежегодному информационному указателю "Национальные стандарты", который опубликован по состоянию на 1 января текущего года, и выпускам ежемесячного информационного указателя "Национальные стандарты" за текущий год. Если заменен ссылочный стандарт, на который дана недатированная ссылка, то рекомендуется использовать действующую версию этого стандарта с учетом всех внесенных в данную версию изменений. Если заменен ссылочный стандарт, на который дана датированная ссылка, то рекомендуется использовать версию этого стандарта с указанным выше годом утверждения (принятия). Если после утверждения настоящего стандарта в ссылочный стандарт, на который дана датированная ссылка, внесено изменение, затрагивающее положение, на которое дана ссылка, это положение рекомендуется применять без учета данного изменения. Если ссылочный стандарт отменен без замены, то положение, в котором дана ссылка на него, рекомендуется применять в части, не затрагивающей эту ссылку.
В настоящем стандарте применены термины по
ГОСТ 31370,
рекомендациям по межгосударственной стандартизации
[1], а также следующие термины с соответствующими определениями:
3.1 реактив Карла Фишера: Химический раствор или растворы, содержащие йод, диоксид серы, а также вспомогательные компоненты (как правило, спирт и азотистое основание), применяемые для количественного селективного определения содержания воды в разных веществах и материалах.
3.2 метод Карла Фишера: Метод количественного селективного определения содержания воды в разных веществах и материалах, основанный на химической реакции окисления диоксида серы йодом, протекающей только в присутствии воды и в специфической среде - реактиве Карла Фишера.
3.3 титриметрический метод Карла Фишера: Метод Карла Фишера, по которому содержание воды в исследуемом образце определяется по известной величине объема используемого для титрования реактива Карла Фишера, затраченного в процессе измерения.
3.4 кулонометрический метод Карла Фишера: Метод Карла Фишера, по которому содержание воды в исследуемом образце определяется по известной величине тока генерации йода, пропущенного через реактив Карла Фишера в течение известного времени.
3.5 титратор по Карлу Фишеру: Средство измерения (далее - СИ) содержания воды в разных веществах и материалах, реализующее метод Карла Фишера.
3.6 автоматический титратор по Карлу Фишеру: Титратор, в котором момент окончания реакции (конечная точка титрования), а также объем подаваемого реактива Карла Фишера или количество генерируемого на аноде йода определяются автоматически.
3.7 измерительная камера (ячейка) [титратор по Карлу Фишеру]: Стеклянная емкость, снабженная рабочими и/или индикаторными электродами, погруженными в рабочий раствор, в котором протекает реакция воды с реактивом Карла Фишера.
3.8 кулонометрическая измерительная камера (ячейка): Измерительная камера (ячейка) титратора по Карлу Фишеру, обеспечивающая реализацию кулонометрического метода Карла Фишера.
3.9 кулонометрическая измерительная камера (ячейка) с мембраной: Кулонометрическая измерительная камера (ячейка) титратора по Карлу Фишеру, в которой анодное и катодное пространства разделены ион-проницаемой мембраной.
3.10 кулонометрическая измерительная камера (ячейка) без мембраны: Кулонометрическая измерительная камера (ячейка) титратора по Карлу Фишеру, в которой анодное и катодное пространства не разделены ион-проницаемой мембраной.
3.11 пробоотборное устройство: Приспособление, используемое для подачи представительной пробы исследуемого вещества из точки отбора проб в пробоотборную линию.
Примечание - В состав пробоотборного устройства входят, как правило, пробоотборный зонд, запорный вентиль или шаровой кран, также можно использовать отдельные элементы системы пробоподготовки.
3.12 система пробоподготовки: Совокупность приспособлений, используемых для подготовки пробы исследуемого вещества с целью корректного измерения физико-химических показателей.
Примечание - В состав системы пробоподготовки входят, как правило, фильтры очистки от механических примесей, сернистых соединений и других нежелательных примесей, а также системы редуцирования газа, подогрева и т.п.
3.13 пробоотборная система: Совокупность приспособлений, используемых для передачи представительной и подготовленной пробы исследуемого вещества из точки отбора проб непосредственно в анализатор или в контейнер для проб.
Примечание - В состав пробоотборной системы входят пробоотборное устройство, пробоотборная линия, система пробоподготовки, а также арматура и средства измерений (СИ) для обеспечения передачи представительной и подготовленной пробы из точки отбора проб в анализатор.
4 Требования безопасности
4.1 ГГП является газообразным малотоксичным пожаровзрывоопасным продуктом. По токсикологической характеристике ГГП относят к 4-му классу опасности по
ГОСТ 12.1.007.
4.2 При работе с ГГП следует учитывать предельно допустимые концентрации (ПДК) вредных веществ ГГП в воздухе рабочей зоны, установленные в
ГОСТ 12.1.005 и в гигиенических
нормативах [2]. Для алифатических предельных углеводородов C
2 - C
10 среднесменная ПДК в воздухе рабочей зоны (в пересчете на углерод) - 300 мг/м
3. Максимальные разовые ПДК составляют: для метана - 7000 мг/м
3; для алифатических предельных углеводородов C
2 - C
10 - 900 мг/м
3. Для сероводорода максимальная разовая ПДК в воздухе рабочей зоны - 10 мг/м
3, максимальная разовая ПДК сероводорода в смеси с алифатическими предельными углеводородами C
1 - C
5 в воздухе рабочей зоны - 3,0 мг/м
3.
4.3 Концентрацию вредных веществ в воздухе рабочей зоны при работе с ГГП определяют газоанализаторами, соответствующими требованиям
ГОСТ 12.1.005.
4.4 ГГП образует с воздухом взрывоопасные смеси. Концентрационные пределы воспламенения ГГП в смеси с воздухом в пересчете на метан: нижний - 4,4% об., верхний - 17,0% об. по
ГОСТ 30852.19. Для ГГП конкретного состава концентрационные пределы воспламенения определяют по
ГОСТ 12.1.044. Категория взрывоопасности и группа взрывоопасных смесей для смеси ГГП с воздухом - IIA и T1 по
ГОСТ 30852.11 и
ГОСТ 30852.5 соответственно.
4.5 Реактив Карла Фишера является жидким высокотоксичным пожаровзрывоопасным продуктом. По токсикологической характеристике реактив Карла Фишера относят к веществам 2-го класса опасности согласно
ГОСТ 12.1.007.
4.6 Реактив Карла Фишера содержит йод, диоксид серы, а также, в зависимости от модификации, может содержать метанол, пиридин, метиловый и этиловый эфиры этиленгликоля (метил- и этилцеллозольв), имидазол и др.
4.7 Йод и диоксид серы являются негорючими токсичными веществами, метанол, метилцеллозольв, этилцеллозольв, пиридин являются горючими токсичными веществами, имидазол - негорючее, малотоксичное вещество. Йод, диоксид серы и пиридин оказывают раздражающее действие на кожные покровы, а также слизистые оболочки глаз и верхних дыхательных путей.
4.8 При работе с реактивом Карла Фишера учитывают ПДК вредных компонентов реактива в воздухе рабочей зоны, установленные в
ГОСТ 12.1.005 и в гигиенических
нормативах [2]. Максимальные разовые ПДК составляют: для йода - 1 мг/м
3; для метанола и пиридина - 5 мг/м
3; для диоксида серы и этилцеллозольва - 10 мг/м
3.
4.9 Санитарно-гигиенические требования к показателям микроклимата и допустимому содержанию вредных веществ в воздухе рабочей зоны должны соответствовать
ГОСТ 12.1.005.
4.10 Реактив Карла Фишера относят к легковоспламеняющимся жидкостям 3-го класса по
ГОСТ 19433.
4.11 Пары компонентов реактива Карла Фишера могут образовывать с воздухом взрывоопасные смеси. Концентрационные пределы воспламенения паров реактива Карла Фишера в смеси с воздухом в пересчете на метанол: нижний - 5,5% об.; верхний - 36,0% об. по
ГОСТ 30852.19. Категория взрывоопасности и группа взрывоопасных смесей для смеси паров реактива Карла Фишера с воздухом - IIA и T2 по
ГОСТ 30852.11 и
ГОСТ 30852.5 соответственно.
4.14 Лица, работающие с ГГП и реактивом Карла Фишера, должны быть обучены правилам безопасности труда по
ГОСТ 12.0.004.
4.15 Помещения, в которых проводят испытания по настоящему стандарту, должны быть обеспечены приточно-вытяжной вентиляцией, отвечающей требованиям
ГОСТ 12.4.021 и
своду правил [5], соответствовать требованиям пожарной безопасности по
ГОСТ 12.1.004 и иметь средства пожаротушения по
ГОСТ 12.4.009.
4.16 Используемые приборы искусственного освещения и электрооборудование должны соответствовать требованиям взрывобезопасности по
ГОСТ 30852.0. В зданиях и помещениях также должен быть предусмотрен комплекс противопожарных мероприятий в соответствии со сводами правил
[6] -
[8].
4.17 В настоящем стандарте не предусмотрено рассмотрение всех вопросов безопасности, связанных с его применением. Пользователь настоящего стандарта несет ответственность за установление соответствующих правил по технике безопасности и охране здоровья персонала, а также определяет целесообразность применения законодательных ограничений перед его использованием.
5 Требования охраны окружающей среды
5.1 Правила установления допустимых выбросов ГГП и паров реактива Карла Фишера в атмосферу - по
ГОСТ 17.2.3.02.
5.2 Гигиенические требования к охране атмосферного воздуха населенных мест регламентируются санитарными
правилами и нормами [9].
5.4 Охрану почвы от загрязнения реактивом Карла Фишера осуществляют в соответствии с
ГОСТ 17.4.2.01,
ГОСТ 17.4.3.04 и действующим законодательством Российской Федерации. Санитарно-эпидемиологические требования к качеству почвы регламентируются санитарными
правилами и нормами [12].
6 Требования к квалификации персонала
6.1 Процедуры по настоящему стандарту проводят лица, имеющие квалификацию не ниже оператора 3-го разряда.
6.2 Выполнение измерений и обработку результатов по настоящему стандарту проводят лица, имеющие квалификацию не ниже лаборанта химического анализа 4-го разряда, изучившие руководства по эксплуатации используемых СИ, а также требования настоящего стандарта.
6.3 Лица, указанные в
6.1 и
6.2, должны изучить методики, изложенные в настоящем стандарте, пройти аттестацию по общим требованиям промышленной безопасности в нефтяной и газовой промышленности и обязательный инструктаж по охране труда и промышленной безопасности.
7 Условия выполнения измерений
7.1 Следует соблюдать требования, установленные в эксплуатационной документации на используемое СИ, а также следующие требования:
- значения температуры, давления и относительной влажности окружающего воздуха в месте проведения определений должны находиться в диапазонах, в которых обеспечиваются заявленные в эксплуатационной документации и требуемые настоящим стандартом (см.
раздел 8) метрологические и технические характеристики применяемых СИ;
- при размещении титратора по Карлу Фишеру (далее - титратора) в неотапливаемых помещениях при низких значениях температуры окружающей среды допускается устанавливать его в обогреваемый шкаф или аналогичное устройство (при условии, что уровень и вид взрывозащиты используемого устройства соответствует классу взрывоопасных зон, категории и группе взрывоопасных смесей).
7.2 Механические воздействия, внешние электрические и магнитные поля, влияющие на работу используемых СИ, не должны превышать допустимых пределов, указанных в эксплуатационной документации на конкретное СИ.
| | ИС МЕГАНОРМ: примечание. В официальном тексте документа, видимо, допущена опечатка: имеется в виду пункт 8.3, а не 8.4. | |
7.3 Титратор и другие СИ, результаты измерений которых используются при определении содержания водяных паров по
формулам (5) -
(8), должны быть поверены (калиброваны) в установленном порядке. СИ, применяемые для контроля условий выполнения измерений, и дополнительные СИ (см.
8.4) также должны быть поверены (калиброваны) в установленном порядке.
8 Средства измерений, оборудование, материалы и реактивы
8.1 Для определения содержания водяных паров в ГГП используют следующие СИ, оборудование, материалы и реактивы:
- лабораторный или портативный титратор, соответствующий следующим основным требованиям:
а) климатическое исполнение для соответствующего условиям эксплуатации макроклиматического района - по
ГОСТ 15150;
б) по защищенности от воздействия окружающей среды титратор должен быть выполнен в пыле- и влагозащищенном исполнении. Степень защиты от проникновения пыли и воды должна быть не ниже IP54 по
ГОСТ 14254;
г) титратор должен реализовывать титриметрический или кулонометрический метод и иметь метрологические и технические характеристики, не уступающие приведенным ниже:
1) абсолютный нижний предел измерения содержания воды для титриметрического метода должен быть не более 10 мкг, для кулонометрического метода - не более 1 мкг,
2) абсолютный верхний предел измерения содержания воды для титриметрического метода должен быть не менее 100 мг, для кулонометрического метода - не более 10 мг,
3) пределы допускаемой относительной погрешности измерений массы воды должны быть не более +/- 3,0%,
4) возможность эксплуатации и транспортирования при температуре окружающей среды - в диапазоне от 5 °C до 40 °C,
5) время установления рабочего режима (предварительный прогрев) - не более 20 мин;
- автоматическая цифровая бюретка, снабженная поршневым микродозатором и системой автоматического заполнения реактивом, с рабочим объемом не менее 5 см3 и точностью (дискретностью) дозирования титранта (реактива Карла Фишера) не более 5 мкл (если бюретка не входит в комплект поставки титратора);
- измерительная стеклянная камера (ячейка) объемом не менее 100 см3 (если измерительная камера не входит в комплект поставки титратора);
- магнитная мешалка с возможностью регулирования скорости перемешивания, обеспечивающая вращение перемешивающего магнитного якоря со скоростью не менее 200 об/мин и перемешивание не менее 100 см3 раствора Карла Фишера (если магнитная мешалка не входит в комплект поставки титратора);
- СИ объема исследуемого газа (газовый счетчик), позволяющее измерять объем газа в диапазоне значений расхода газа от 0,1 до 1,0 дм3/мин с пределами допускаемой относительной погрешности не более +/- 1,0% или не ниже 1,0 класса точности, снабженное СИ температуры и избыточного давления исследуемого газа;
- СИ давления, позволяющее измерять атмосферное давление в диапазоне от 80 до 106 кПа с пределами допускаемой абсолютной погрешности не более +/- 0,2 кПа;
- СИ расхода, позволяющее измерять объемный расход исследуемого газа в диапазоне от 0,1 до 1,0 дм
3/мин с пределами допускаемой относительной погрешности не более +/- 4% верхнего предела измерений, обеспечивающее измерение объемного расхода газа при выполнении измерений (см.
раздел 10), а также объемного расхода газа при продувке пробоотборной системы (например, ротаметр по
ГОСТ 13045);
- СИ температуры, позволяющее измерять температуру исследуемого газа в диапазоне от 0 °C до 45 °C с пределами допускаемой абсолютной погрешности не более +/- 0,5 °C (например, ртутные стеклянные термометры I класса по
ГОСТ 28498);
- фильтр для очистки исследуемого газа от механических примесей;
- фильтр для очистки исследуемого газа от сернистых соединений (например, фильтры сернистых соединений SulfurTrap производства Valco Instruments Co.);
- осушающий фильтр для очистки исследуемого газа от водяных паров (например, осушающий фильтр с пятиокисью фосфора).
Примечания
1 Можно использовать фильтр, аналогичный по конструкции фильтру для очистки исследуемого газа от механических примесей, заполненный пятиокисью фосфора.
2 Для предотвращения увлажнения пятиокиси фосфора парами воды из окружающего воздуха картриджи фильтра заполняют непосредственно перед проведением измерений или хранят предварительно заполненные картриджи в герметичной емкости из инертного (негигроскопичного) и непроницаемого материала;
- соединительные трубки из нержавеющей стали (см.
9.5) диаметром от 3 до 6 мм (например, трубка диаметром 3 мм из нержавеющей стали по
ГОСТ 14162);
- тройник из нержавеющей стали (см.
9.5) с резьбовыми соединениями, соответствующими диаметру соединительных трубок;
- вентили тонкой регулировки из нержавеющей стали (см.
9.5) с резьбовыми соединениями, соответствующими диаметру соединительных трубок, обеспечивающие регулирование объемного расхода исследуемого газа в диапазоне от 0,1 до 2,5 дм
3/мин;
- имеющийся в продаже реактив Карла Фишера или приготовленный в лабораторных условиях в соответствии с
ГОСТ 14870;
- осушающая трубка (осушающий фильтр), заполненная хлоридом кальция, ангидроном, силикагелем-индикатором по
ГОСТ 8984 или другим подходящим поглотителем водяных паров для предотвращения реверсного попадания водяных паров из газового счетчика в измерительную камеру (ячейку) титратора;
- двухвентильный баллон (контейнер) из нержавеющей стали марок 12X18H10T, 08X18H12T по
ГОСТ 5632 или других аналогичных материалов, инертных к водяным парам и не сорбирующих их, рассчитанный на рабочее давление в точке отбора проб исследуемого газа (с коэффициентом запаса не менее 1,25), внутренним объемом, достаточным для выполнения необходимого количества измерений, но не менее 1,0 дм
3;
- газовый редуктор, обеспечивающий снижение избыточного давления исследуемого газа на входе в титратор до атмосферного давления (рабочего давления титратора);
- смазка для шлифовых стеклянных соединений, инертная к водяным парам и компонентам исследуемого газа (например, смазка ЦИАТИМ-221 по
ГОСТ 9433);
- гибкие поливинилхлоридные трубки, обеспечивающие герметичное соединение элементов схем (см.
рисунки 1 и
2) от выходной трубки титратора до газового счетчика;
- вспомогательный чистый инертный газ для продувки измерительной камеры (например, азот по
ГОСТ 9293 или аргон по
ГОСТ 10157);
- весы неавтоматического действия особого класса точности по
ГОСТ OIML R 76-1, позволяющие измерять массу образцов в диапазоне от 0,01 до 200 г с пределами допускаемой абсолютной погрешности не более 0,002 г;
- гири по
ГОСТ OIML R 111-1, обеспечивающие измерение массы образцов в диапазоне от 0,01 до 200 г (при использовании двухчашечных весов);
- микрошприцы вместимостью от 5 до 100 мкл;
- шприцы вместимостью от 1,0 до 5,0 см3;
- государственный стандартный образец массовой доли воды с массовой долей воды в диапазоне от 0,1% до 0,01% с пределами допускаемой относительной погрешности не более +/- 3,0% [допускается использовать ГСО массовой доли воды в органической жидкости (o-ксилол) ГСО 9088-2008];
- генератор влажного газа не ниже 1-го разряда по
ГОСТ 8.547, обеспечивающий генерацию парогазовой смеси в диапазоне от 0,5 до 2,0 дм
3/мин с пределами допускаемой относительной погрешности молярной доли водяных паров в генерируемой парогазовой смеси не более +/- 2,5% (для значений молярной доли водяных паров в диапазоне от 0,001% до 0,1%) и не более +/- 1,5% (для значений молярной доли водяных паров более 0,1%).
8.2 Допускается использовать другие СИ, оборудование, материалы и реактивы, не уступающие вышеперечисленным требованиям по метрологическим, техническим и квалификационным характеристикам.
8.3 Для контроля температуры, давления и относительной влажности окружающего воздуха в месте размещения титратора применяют дополнительные СИ.
9 Общие требования к отбору проб
9.1 Отбор проб - по
ГОСТ 31370 с учетом следующих требований.
9.2 Если молярная доля водяных паров в исследуемом газе не превышает 0,1% (см.
приложение А), отбор проб из газопровода следует проводить непосредственно в измерительную камеру (ячейку) титратора, аппарата или другого производственного объекта через штуцер, снабженный запорным вентилем (см.
рисунок 1).
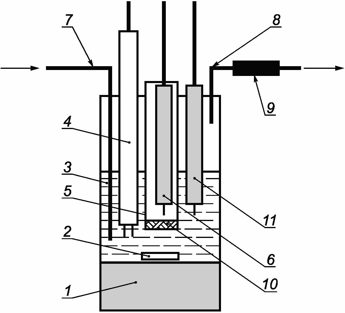
1 - источник исследуемого газа; 2 - запорный вентиль;
3 - механический (капельный) фильтр; 4 - осушающий фильтр;
5, 6, 9 - вентили тонкой регулировки; 7 - фильтр с сорбентом
сернистых соединений; 8 - сбросной вентиль;
10 - измерительная камера (ячейка); 11 - осушающая трубка;
12 - СИ расхода исследуемого газа; 13 - термометр;
14 - СИ давления; 15 - газовый счетчик с жидкостным затвором
Рисунок 1 - Схема пробоподготовки для реализации
метода Карла Фишера в полевых условиях
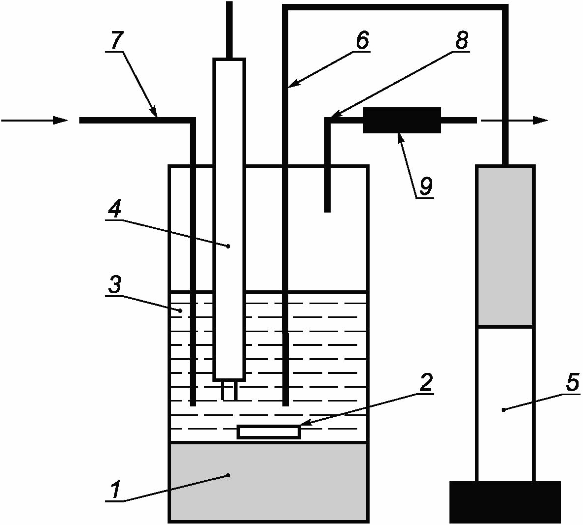
9.3 Если молярная доля водяных паров в исследуемом газе превышает 0,1%, допускается отбирать пробу исследуемого газа в двухвентильные баллоны (контейнеры) (см.
рисунок 2).
1 - баллон с сухим инертным газом; 2 - запорный вентиль
линии подачи исследуемого газа; 3 - регулятор давления;
4 - осушающий фильтр; 5,7,9 - вентили тонкой регулировки;
6 - фильтр с сорбентом сернистых соединений; 8 - сбросной
вентиль; 10 - измерительная камера (ячейка); 11 - осушающая
трубка; 12 - СИ расхода исследуемого газа; 13 - термометр;
14 - СИ давления; 15 - газовый счетчик с жидкостным затвором
Рисунок 2 - Схема пробоподготовки для реализации
метода Карла Фишера в лабораторных условиях
9.4 Объем баллонов (контейнеров) для отбора проб должен быть достаточным для проведения предусмотренного методикой числа измерений с учетом давления и температуры исследуемого газа в баллоне.
9.5 Пробоотборные линии должны быть по возможности короткими, изготовлены из нержавеющей стали марок 12X18H10T, 08X18H12T по
ГОСТ 5632 или других материалов, аналогичных им по свойствам, химически инертных к водяным парам и не сорбирующих их.
9.6 Элементы пробоотборной системы, контактирующие с исследуемым газом, должны быть изготовлены из нержавеющей стали марок, указанных в
9.5, или других материалов, аналогичных им по свойствам, химически инертных к водяным парам и не сорбирующих их. Концы пробоотборных трубок должны иметь уплотнения и плотно прилегать к соединительным деталям или элементам пробоотборной системы.
9.7 Уплотнения между элементами пробоотборной системы, контактирующие с исследуемым газом, должны быть изготовлены из нержавеющей стали по
9.5 или из фторопласта по
ГОСТ 10007, или других материалов, аналогичных им по свойствам, химически инертных к водяным парам и не сорбирующих их.
9.8 Для обеспечения эффективного взаимодействия исследуемого газа с реактивом вводят газ в измерительную камеру (ячейку) титратора при помощи капилляра или трубки, снабженной распылителем из спеченного металла или другого материала, аналогичного по свойствам, химически инертного к компонентам реактива Карла Фишера.
9.9 Особое внимание следует уделять герметичности шлифовых соединений измерительной камеры (ячейки) титратора. Шлифовые стеклянные соединения должны быть смазаны специальной смазкой для шлифовых соединений.
9.10 Температура в пробоотборной линии должна быть не ниже температуры в точке отбора пробы исследуемого газа (далее - точке отбора). Если температура в пробоотборной линии ниже температуры исследуемого газа в точке отбора, пробоотборную линию подогревают электронагревательными элементами, соответствующими требованиям
ГОСТ 31370.
9.11 Если массовая концентрация сероводорода и меркаптанов в исследуемом газе (в пересчете на серу) не превышает 20% от предполагаемого значения массовой концентрации водяных паров, влияние указанных сернистых компонентов на результат измерений корректируют по формуле

, (1)
где Wф - фактическая массовая концентрация водяных паров в исследуемом газе при 293,15 К (20,0 °C) и 101,325 кПа (1 атм), мг/м3;
Wи - измеренная массовая концентрация водяных паров в исследуемом газе при 293,15 К (20,0 °C) и 101,325 кПа (1 атм), мг/м3;

- коэффициент для учета эквивалентного количества сероводородной серы при реакции сероводорода с йодом;

- массовая концентрация сероводородной серы в исследуемом газе при 293,15 К (20,0 °C) и 101,325 кПа (1 атм), мг/м
3, которую вычисляют по формуле

, (2)

- коэффициент для учета эквивалентного количества меркаптановой серы при реакции меркаптанов с йодом;
SRSH - массовая концентрация меркаптановой серы в исследуемом газе при 293,15 К (20,0 °C) и 101,325 кПа (1 атм), мг/м
3, определяемая по
ГОСТ 22387.2 или
ГОСТ Р 53367.
Пример вычисления, учитывающий влияние сернистых соединений на результат измерений содержания водяных паров в природном газе, приведен в
приложении Б.
Примечание - Если массовая концентрация сероводорода и меркаптанов в исследуемом газе (в пересчете на серу) не превышает 0,7% от измеренного значения массовой концентрации водяных паров, допускается не корректировать результат измерений по
9.11.
9.12 Если массовая концентрация сероводорода и меркаптанов в исследуемом газе (в пересчете на серу) превышает 20% от предполагаемой массовой концентрации водяных паров, но менее 30 мг/м3 (в пересчете на серу), влияние указанных серосодержащих компонентов можно устранить при помощи специальных фильтров.
9.13 Следует учитывать, что использование специальных фильтров приводит к увеличению времени продувки системы пробоподготовки на 5 - 30 мин в зависимости от содержания водяных паров в исследуемом газе.
9.14 При анализе газов с молярной долей водяных паров от 0,0002% до 0,001% для быстрого высушивания пробоотборной линии и измерительной камеры (ячейки) титратора между измерениями или для проведения холостого измерения при реализации кулонометрического метода допускается применять вспомогательный сухой газ, подаваемый из баллона (см.
рисунок 2) или из линии подачи газа (см.
рисунок 1).
9.15 В качестве сухого вспомогательного газа из баллона можно использовать любой инертный газ с достаточной степенью чистоты, например азот по
ГОСТ 9293, аргон по
ГОСТ 10157 или другой инертный газ с аналогичными характеристиками.
9.16 Вспомогательный газ осушают при помощи осушающего фильтра с пятиокисью фосфора или другого осушителя, обеспечивающего требуемую степень осушения, таким образом, чтобы значение молярной доли водяных паров во вспомогательном сухом газе не превышало 0,00001%.
9.17 Для удаления из исследуемого газа капель жидкости или механических примесей следует использовать специальный фильтр.
10 Методы выполнения измерений
10.1 Сущность метода Карла Фишера
10.1.1 Сущность метода заключается в химическом взаимодействии йода с сернистым ангидридом, которое протекает в присутствии воды в специфической среде, содержащей органический полярный растворитель (как правило, метанол или этилцеллозольв) и азотистое основание (например, пиридин, имидазол и т.п.), с образованием соответствующих продуктов йодистоводородной и метилсерной кислоты с азотистым основанием по следующим реакциям (для варианта с растворителем - метанолом):
CH
3OH + SO
2 + RN = (RNH)SO
3CH
3, (3)
H2O + I2 + (RNH)SO3CH3 + 2RN = (RNH)SO4CH3 + 2(RNH)I, (4)
где RN - азотистое основание.
10.1.2 В зависимости от регистрируемой физической величины, связанной с содержанием водяных паров в исследуемом газе, используют титриметрический (волюмометрический) и кулонометрический методы Карла Фишера.
10.1.3 В титриметрическом методе фиксируется объем реактива Карла Фишера, затраченного на титрование воды из исследуемого газа в измерительной камере; в кулонометрическом - фиксируется количество электричества, затраченного на генерацию йода от начала до окончания реакции с водой из исследуемого газа в измерительной камере.
10.1.4 После завершения реакции воды из исследуемого газа с реактивом Карла Фишера в измерительной камере в растворе повышается концентрация свободного йода, что подтверждает окончание реакции.
10.1.5 Момент окончания реакции в зависимости от конфигурации титратора можно зафиксировать бипотенциометрическим или биамперометрическим способами.
10.2 Титриметрический метод
10.2.1 Измеряют объем титранта (реактива Карла Фишера), израсходованного в процессе реакции с водой, поглощенной реактивом при пропускании через него известного объема исследуемого газа.
10.2.2 Момент окончания реакции титрования определяют бипотенциометрическим или биамперометрическим способом при помощи индикаторных электродов, погруженных в реактив Карла Фишера в измерительной камере.
10.2.3 Можно использовать ручную титровальную бюретку или автоматическую бюретку. В настоящем стандарте предусмотрено использование автоматической бюретки.
10.2.4 Массу воды в анализируемой пробе N, мг, вычисляют по объему израсходованного титранта (реактива Карла Фишера) по формуле
где V - объем реактива Карла Фишера, израсходованного на титрование пробы, см3;
T - титр реактива Карла Фишера, мг/см3.
10.2.5 Титр реактива Карла Фишера определяют, анализируя пробу с известным содержанием воды в соответствии с руководством по эксплуатации титратора.
10.2.6 При снижении значения титра реактива Карла Фишера ниже установленного в руководстве по эксплуатации титратора реактив в измерительной камере заменяют на свежий.
10.2.7 Титриметрический метод следует применять для диапазона величины молярной доли (массовой концентрации) водяных паров в природном газе от 0,001% (7,5 мг/м3) до 1,0% (7,5 г/м3).
10.3 Кулонометрический метод
10.3.1 Измеряют количество электричества, затраченного на генерацию йода, при реакции с водой, поглощенной реактивом при пропускании через него известного объема исследуемого газа.
10.3.2 Момент окончания реакции титрования определяют бипотенциометрическим или биамперометрическим способом при помощи индикаторных электродов, погруженных в реактив Карла Фишера в измерительной камере.
10.3.3 Для кулонометрического метода используют только автоматический титратор.
10.3.4 Массу воды, содержащейся в анализируемой пробе, вычисляют в соответствии с законом Фарадея по количеству электричества, израсходованного по реакции Карла Фишера.
10.3.5 Титратор автоматически регистрирует время начала и окончания реакции (по изменению потенциала на индикаторных электродах), затем вычисляет массу воды N, мг или мкг, содержащейся в пропущенной через кулонометрическую ячейку пробе исследуемого газа по формуле

(6)
где M - масса моля воды, равна 18015,3 мг/моль;
Q - количество электричества, прошедшего через раствор за время анализа, Кл;
z - количество электронов, переходящих по реакции Карла Фишера из раствора на электрод в пересчете на одну молекулу воды, равно 2;
F - постоянная Фарадея (F = 96485,33289 Кл/моль);
I - сила тока, измеренная титратором, А;
t - время электролиза (с момента начала до полного завершения титрования), с.
10.3.6 Кулонометрический метод следует применять для диапазона молярной доли (массовой концентрации) водяных паров в природном газе от 0,0002% (1,5 мг/м3) до 0,1% (0,75 г/м3).
10.4 Подготовка к выполнению измерений
10.4.1 В чистую сухую измерительную камеру (ячейку) наливают реактив Карла Фишера в количестве, не превышающем предельную величину, указанную в руководстве по эксплуатации используемого титратора или на конкретную измерительную камеру.
Примечание - Если в измерительной камере (ячейке) кулонометрического титратора анодное и катодное пространства разделены ион-проницаемой мембраной на отдельные камеры, то в анодную камеру заливают реактив Карла Фишера КФИ-АНОД, а в катодную камеру - КФИ-КАТОД или их аналоги.
10.4.2 Собирают титратор в соответствии с руководством по его эксплуатации.
Примечание - В измерительной камере следует обеспечить принудительное перемешивание реактива Карла Фишера при помощи магнитной мешалки.
10.4.3 Включают титратор, проверяют его готовность и проводят предварительные процедуры в соответствии с руководством по эксплуатации.
10.4.4 Перед началом основных измерений допускается проводить пробное титрование для определения пригодности реактива Карла Фишера. Критерием замены реактива может служить изменение его титра (для титриметрического метода), длительное время титрования известного количества воды или другой признак, указанный в руководстве по эксплуатации титратора.
10.4.5 При несоответствии реактива Карла Фишера критериям, указанным в
10.4.4, реактив заменяют свежим.
10.4.6 Используют имеющиеся в продаже реактивы Карла Фишера. Допускается также использовать реактив Карла Фишера, приготовленный в лабораторных условиях по методике, изложенной в
ГОСТ 14870, который перед применением выдерживают не менее 24 ч.
10.4.7 Пробоотборное устройство, соответствующее требованиям
ГОСТ 31370, продувают исследуемым газом, для чего полностью открывают запорный вентиль на несколько секунд, затем закрывают запорный вентиль и подсоединяют к пробоотборной линии.
10.4.8 Пробоотборную линию продувают исследуемым газом, полностью открывая запорный вентиль на несколько секунд, и затем подсоединяют систему пробоподготовки.
10.4.9 Собирают и подключают к пробоотборной линии систему пробоподготовки (см.
рисунки 1 и
2) до вентилей тонкой регулировки
8,
9 включительно.
10.4.10 Открывают полностью запорный вентиль пробоотборного устройства, регулируют поток исследуемого газа сбросным вентилем
8 (при закрытом вентиле
9) для продувки пробоотборной линии и устанавливают расход исследуемого газа в пределах от 1,0 до 2,0 дм
3/мин по СИ расхода, подсоединяя его к выходу вентиля
8.
10.4.11 После запуска исследуемого газа в пробоотборную систему, но до начала продувки, проверяют герметичность системы под рабочим давлением до вентилей 8, 9 путем обработки трубок и соединений пробоотборной системы пенящимся раствором.
10.4.12 При необходимости устраняют утечки, предварительно закрыв запорный вентиль и сбросив давление путем постепенного открытия вентиля
8 или
9. Затем выполняют процедуры по
10.4.10.
10.4.13 После продувки пробоотборной системы в течение 10 - 15 мин закрывают вентиль 8, подсоединяют к вентилю 9 входную трубку титратора, при помощи гибких трубок подсоединяют к выходу титратора последовательно осушающую трубку, СИ расхода и газовый счетчик.
10.4.14 Затем плавно приоткрывают вентиль
9 и устанавливают расход газа через камеру титратора, равный 1 дм
3/мин.
10.4.15 Проверяют отсутствие утечек исследуемого газа, начиная с вентиля 9 и далее по схеме до газового счетчика, путем обработки соединений пенящимся раствором.
10.4.16 При необходимости устраняют негерметичность соединений, предварительно закрыв вентиль
9. Затем повторяют процедуры начиная с
10.4.14.
10.4.17 После проверки герметичности соединений закрывают вентиль 9 и приступают к выполнению измерений.
10.4.18 Перед началом выполнения измерений убеждаются в готовности титратора к началу измерений по индикации на его дисплее или проводят процедуры в соответствии с руководством по эксплуатации титратора для его приведения в состояние готовности.
10.5 Выполнение измерений титриметрическим методом
10.5.1 При помощи вентиля тонкой регулировки устанавливают расход исследуемого газа через измерительную камеру в зависимости от предполагаемой молярной доли водяных паров в соответствии с
таблицей 1 и одновременно фиксируют начальные показания газового счетчика.
Таблица 1
Рекомендуемые объемные расходы и объемы исследуемого газа
в зависимости от предполагаемой молярной доли водяных паров
в исследуемом газе при реализации титриметрического метода
Карла Фишера
Молярная доля водяных паров в исследуемом газе, % | Объемный расход исследуемого газа, дм3/мин | Объем исследуемого газа для анализа, дм3 |
От 0,001 до 0,002 включ. | От 1,0 до 0,75 включ. | От 10 до 6 включ. |
От 0,002 до 0,005 включ. | От 0,75 до 0,60 включ. | От 6,0 до 3,6 включ. |
От 0,005 до 0,01 включ. | От 0,60 до 0,45 включ. | От 3,60 до 2,16 включ. |
От 0,01 до 0,02 включ. | От 0,45 до 0,33 включ. | От 2,16 до 1,30 включ. |
От 0,02 до 0,05 включ. | От 0,33 до 0,25 включ. | От 1,30 до 0,77 включ. |
От 0,05 до 0,1 включ. | От 0,25 до 0,20 включ. | От 0,77 до 0,46 включ. |
От 0,1 до 0,2 включ. | От 0,20 до 0,17 включ. | От 0,46 до 0,28 включ. |
От 0,2 до 0,5 включ. | От 0,17 до 0,13 включ. | От 0,28 до 0,17 включ. |
От 0,5 до 1,0 включ. | От 0,13 до 0,10 включ. | От 0,17 до 0,10 включ. |
Примечание - В каждом диапазоне значений молярной доли водяных паров меньшим значениям молярной доли соответствуют большие значения объемного расхода и объем исследуемого газа. |
10.5.2 Пропускают через измерительную камеру объем исследуемого газа, указанный в
таблице 1, в зависимости от предполагаемой молярной доли водяных паров, затем перекрывают вентиль регулирования расхода и фиксируют конечное показание газового счетчика.
10.5.3 После пропускания заданного объема исследуемого газа через измерительную ячейку включают титратор на измерение, если он не автоматический.
10.5.4 После окончания измерений записывают показания титратора (количество измеренной воды), мг. Допускается записывать объем использованного на титрование реактива Карла Фишера с точностью до 1 мкл.
10.5.5 Записывают показания газового счетчика, а также значения температуры окружающей среды (газа в счетчике) и атмосферное давление (давление в счетчике).
10.5.6 Вычисляют массовую концентрацию водяных паров W, мг/м3, в исследуемом газе по результатам измерений по формуле

, (7)
где
N - масса воды в пропущенном объеме исследуемого газа, определенная титратором, мг [для титриметрического метода
N предварительно определяют по
формуле (3)];
tk - температура исследуемого газа в газовом счетчике, измеренная при проведении испытаний, °C;
Примечания
1 Если при измерении объема исследуемого газа температура в газовом счетчике изменилась более чем на 0,5 °C, за температуру исследуемого газа следует принимать среднеарифметическое значение начальной и конечной температур в период измерений в газовом счетчике.
2 Если при измерении объема исследуемого газа температура в газовом счетчике изменилась более чем на 2,0 °C, измерение следует провести повторно;
V - объем исследуемого газа, пропущенного через измерительную камеру титратора, измеренный газовым счетчиком, дм3;
Pa - абсолютное давление в газовом счетчике, кПа;
Pt - давление насыщенного водяного пара при температуре
tk, определяемое по
приложению В, кПа.
10.5.7 При необходимости коррекции измеренного значения массовой концентрации водяных паров в исследуемом газе с учетом влияния сернистых соединений используют
формулу (1).
10.5.8 Значения молярной доли водяных паров в исследуемом газе вычисляют, используя значения массовой концентрации водяных паров по
приложению А.
10.5.9 Повторяют процедуры измерений по
10.5.1 -
10.5.8 в условиях повторяемости еще три раза. При обработке результатов измерений учитывают результаты двух последних измерений.
10.5.10 Обработка и оформление результатов измерений - по
разделу 12.
10.5.11 Контроль точности измерений - по
разделу 13.
10.6 Выполнение измерений кулонометрическим методом
10.6.1 Соединяют входную трубку измерительной камеры титратора с вентилем тонкой регулировки расхода исследуемого газа, предварительно подключив осушающую трубку и газовый счетчик к выходному патрубку измерительной камеры титратора.
10.6.2 При помощи вентиля тонкой регулировки устанавливают расход исследуемого газа через измерительную камеру титратора в зависимости от предполагаемой молярной доли водяных паров в исследуемом газе в соответствии с
таблицей 2, одновременно фиксируют начальные показания газового счетчика.
Таблица 2
Рекомендуемые объемные расходы и объемы исследуемого газа
в зависимости от предполагаемой молярной доли водяных паров
в исследуемом газе при реализации кулонометрического метода
Карла Фишера
Молярная доля водяных паров в исследуемом газе, % | Объемный расход исследуемого газа, дм3/мин | Объем исследуемого газа для анализа, дм3 |
От 0,0002 до 0,0005 включ. | От 0,75 до 0,60 включ. | От 6,00 до 3,60 включ. |
От 0,0005 до 0,001 включ. | От 0,60 до 0,45 включ. | От 3,60 до 2,16 включ. |
От 0,001 до 0,002 включ. | От 0,45 до 0,33 включ. | От 2,16 до 1,30 включ. |
От 0,002 до 0,005 включ. | От 0,33 до 0,25 включ. | От 1,30 до 0,77 включ. |
От 0,005 до 0,01 включ. | От 0,25 до 0,20 включ. | От 0,77 до 0,46 включ. |
От 0,01 до 0,02 включ. | От 0,20 до 0,17 включ. | От 0,46 до 0,28 включ. |
От 0,02 до 0,05 включ. | От 0,17 до 0,13 включ. | От 0,28 до 0,17 включ. |
От 0,05 до 0,1 включ. | От 0,13 до 0,10 включ. | От 0,17 до 0,10 включ. |
Примечание - В каждом диапазоне значений молярной доли водяных паров меньшим значениям молярной доли соответствуют большие значения объемного расхода и объем исследуемого газа. |
10.6.3 Пропускают через измерительную камеру титратора объем исследуемого газа, указанный в
таблице 2, в зависимости от предполагаемой молярной доли водяных паров, затем закрывают вентиль регулирования расхода исследуемого газа и фиксируют конечное показание газового счетчика.
10.6.4 После пропускания заданного объема исследуемого газа через измерительную камеру титратора включают титратор на измерение, если он не автоматический.
10.6.5 После окончания измерений записывают показания титратора (массу измеренной воды).
10.6.6 Записывают показания газового счетчика, а также значения температуры окружающей среды (газа в счетчике) и атмосферного давления.
10.6.7 При измерении малых значений молярной доли водяных паров (от 0,001% до 0,0002%) следует провести предварительное холостое измерение на исследуемом газе, осушенном пятиокисью фосфора, с целью определения значения "фоновой влажности газа" для компенсации расхода йода из реактива Карла Фишера при продувке его исследуемым газом.
10.6.8 Холостое измерение проводят по
10.6.2 -
10.6.6 с осушенным исследуемым газом. Учитывают массу воды при холостом титровании, если ее значение превышает значение эквивалентной массовой концентрации водяных паров в газе 0,1 мг/м
3 с учетом пропущенного через измерительную камеру титратора объема осушенного исследуемого газа.
10.6.9 Следует строго соблюдать условие равенства объемов осушенного и исследуемого газов, пропускаемых через ячейку при холостом и основном измерениях.
10.6.10 Вычисляют массовую концентрацию водяных паров W, мг/м3, в исследуемом газе по формуле

, (8)
где N - масса воды в пропущенном объеме исследуемого газа, определенная титратором, мг;
No - масса воды в пропущенном объеме осушенного исследуемого газа, определенная титратором при холостом измерении, мг;
Примечание - Значение No принимают равным нулю, если не проводят холостое измерение;
tk - температура исследуемого газа в газовом счетчике при проведении испытаний, °C.
Примечания
1 Если при измерении объема исследуемого газа температура в газовом счетчике изменилась более чем на 0,5 °C, за температуру следует принимать среднеарифметическое значение начальной и конечной температуры в газовом счетчике.
2 Если при измерении объема исследуемого газа температура в газовом счетчике изменилась более чем на 2,0 °C, измерение следует провести повторно;
V - объем исследуемого газа, пропущенного через измерительную камеру (ячейку), дм3;
Pa - абсолютное давление в газовом счетчике, кПа;
Pt - давление насыщенного водяного пара при температуре
tk (см.
приложение В), кПа.
10.6.11 При необходимости коррекции значения массовой концентрации водяных паров в исследуемом газе с учетом влияния сернистых соединений используют
формулу (1).
10.6.12 Значения молярной доли водяных паров в исследуемом газе вычисляют по значениям массовой концентрации водяных паров по
приложению А.
10.6.13 Повторяют процедуру измерения по
10.6.2 -
10.6.12 в условиях повторяемости еще три раза. При обработке результатов измерений используют результаты двух последних измерений.
10.6.14 Обработка и оформление результатов измерений - по
разделу 12.
10.6.15 Контроль точности измерений - по
разделу 13.
11.1 Значения доверительных границ относительной погрешности и среднеквадратического отклонения повторяемости результатов измерений молярной доли водяных паров в природном газе титриметрическим методом Карла Фишера приведены в
таблице 3.
Таблица 3
Доверительные границы относительной погрешности результатов
измерений молярной доли водяных паров в природном газе
титриметрическим методом Карла Фишера
Молярная доля водяных паров в исследуемом газе X, % | Доверительные границы относительной погрешности результатов измерений  , P = 0,95, % | Среднеквадратическое отклонение повторяемости результатов измерений  , % |
От 0,001 до 0,002 включ. | -20,596·lgX - 31,79 | -5,149·lgX - 7,947 |
От 0,002 до 0,005 включ. | -15,58·lgX - 18,25 | -3,895·lgX - 4,563 |
От 0,005 до 0,01 включ. | -12,29·lgX - 10,68 | -3,073·lgX - 2,67 |
От 0,01 до 0,02 включ. | -9,634·lgX - 5,367 | -2,408·lgX - 1,342 |
От 0,02 до 0,05 включ. | -7,036·lgX - 0,954 | -1,759·lgX - 0,239 |
От 0,05 до 0,1 включ. | -5,647·lgX - 0,853 | -1,412·lgX - 0,213 |
От 0,1 до 0,2 включ. | -4,651·lgX - 1,849 | -1,163·lgX - 0,462 |
От 0,2 до 0,5 включ. | -3,267·lgX - 2,817 | -0,817·lgX - 0,704 |
От 0,5 до 1,0 включ. | -2,657·lgX - 3,00 | -0,664·lgX - 0,75 |
11.2 Значения доверительных границ относительной погрешности и среднеквадратического отклонения повторяемости результатов измерений молярной доли водяных паров в природном газе кулонометрическим методом Карла Фишера приведены в
таблице 4.
Таблица 4
Доверительные границы относительной погрешности результатов
измерений молярной доли водяных паров в природном газе
кулонометрическим методом Карла Фишера
Молярная доля водяных паров в исследуемом газе X, % | Доверительные границы относительной погрешности результатов измерений  , P = 0,95, % | Среднеквадратическое отклонение повторяемости результатов измерений  , % |
От 0,0002 до 0,0005 включ. | -23,873·lgX - 53,3 | -5,968·lgX - 13,32 |
От 0,0005 до 0,001 включ. | -18,27·lgX - 34,8 | -4,568·lgX - 8,7 |
От 0,001 до 0,002 включ. | -14,949·lgX - 24,85 | -3,737·lgX - 6,21 |
От 0,002 до 0,005 включ. | -10,554·lgX - 12,99 | -2,638·lgX - 3,25 |
От 0,005 до 0,01 включ. | -7,64·lgX - 6,28 | -1,91·lgX - 1,57 |
От 0,01 до 0,02 включ. | -6,644·lgX - 4,288 | -1,661·lgX - 1,072 |
От 0,02 до 0,05 включ. | -4,523·lgX - 0,685 | -1,131·lgX - 0,171 |
От 0,05 до 0,1 включ. | -3,986·lgX + 0,014 | -0,996·lgX + 0,004 |
12 Обработка и оформление результатов измерений
12.1 За результат измерения молярной доли водяных паров в исследуемом газе принимают среднеарифметическое значение результатов двух последовательных измерений молярной доли водяных паров, полученных в условиях повторяемости, если выполняется условие приемлемости, которое выражается соотношением
|
X1 -
X2| <=
r(
Xср2)·
Xср2/100, (9)
где X1, X2 - результаты двух последовательных измерений молярной доли водяных паров в исследуемом газе, полученные в условиях повторяемости, %;
Xср2 - среднеарифметическое значение результатов двух последовательных измерений молярной доли водяных паров в исследуемом газе (X1 и X2), %;
r(Xср2) - значение предела повторяемости двух измерений, которое вычисляют по формуле

, (10)
где 2,77 - коэффициент критического диапазона двух результатов измерений;

- среднеквадратическое отклонение повторяемости результатов измерений молярной доли водяных паров, вычисленное при
Xср2, % (см.
раздел 11).
12.2 Если условие по
формуле (9) не выполняется, проводят еще одно дополнительное измерение в условиях повторяемости по
10.5 (для титриметрического метода) и по
10.6 (для кулонометрического метода) и для дальнейшей обработки используют результаты последних трех измерений содержания водяных паров, полученные в условиях повторяемости.
12.3 За результат измерения молярной доли водяных паров принимают среднеарифметическое значение результатов трех последовательных измерений, полученных в условиях повторяемости, если выполняется условие приемлемости, которое выражается соотношением
Xmax -
Xmin <=
CR0,95(
Xср3)·
Xср3/100, (11)
где Xmax, Xmin - максимальное и минимальное значения результатов трех последовательных измерений молярной доли водяных паров, полученных в условиях повторяемости, %;
Xср3 - среднеарифметическое значение результатов трех последовательных измерений молярной доли водяных паров в исследуемом газе, полученных в условиях повторяемости, %;
CR0,95(Xср3) - значение критического диапазона для уровня вероятности P = 0,95, %, которое вычисляют по формуле

, (12)
где 3,3 - коэффициент критического диапазона для результатов трех измерений;

- среднеквадратическое отклонение повторяемости результатов измерений молярной доли водяных паров, вычисленное при
Xср3, % (см.
раздел 11).
12.4 Результат измерения молярной доли водяных паров в исследуемом газе представляют в следующей записи:

,
P = 0,95, (13)
где
Xср - среднеарифметическое значение двух или трех результатов измерений молярной доли водяных паров в исследуемом газе, признанных приемлемыми по
12.1 или
12.3, %;

- доверительные границы относительной погрешности результата измерений молярной доли водяных паров, рассчитанные при
Xср, % (см.
раздел 11).
12.5 В случае невыполнения условия по
формуле (11) результат измерения молярной доли водяных паров в исследуемом газе представляют в виде следующей записи:

,
P = 0,95, (14)
где X(2) - второй наименьший из трех результатов последовательных измерений молярной доли водяных паров в исследуемом газе, полученных в условиях повторяемости, %;

- доверительные границы относительной погрешности результата измерений молярной доли водяных паров, рассчитанные при
X(2), % (см.
раздел 11).
12.6 Если измеренное значение молярной доли водяных паров в исследуемом газе выходит за нижний предел полного диапазона измерений соответствующего метода, результат измерения представляют в виде следующей записи:
X < Xн, (15)
где Xн - нижний предел полного диапазона измерений для соответствующего метода измерений молярной доли водяных паров в исследуемом газе, %.
12.7 Если измеренное значение молярной доли водяных паров в исследуемом газе выходит за верхний предел полного диапазона измерений соответствующего метода, результат измерения представляют в виде следующей записи:
X > Xв, (16)
где Xв - верхний предел полного диапазона измерений для соответствующего метода измерений молярной доли водяных паров в исследуемом газе, %.
13 Контроль точности измерений
13.1 Контроль точности измерений проводят при первичном внедрении метода в испытательной лаборатории и затем не реже одного раза в год, а также после ремонта, замены, модификации заводских настроек или конфигурации титратора либо входящего в его комплект оборудования.
13.2 Контроль точности измерений титратором проводят, анализируя на титраторе известное количество воды и сравнивая полученный результат с известным значением.
13.3 Для анализа по
13.2 в измерительную камеру титратора вводят пробу дистиллированной воды (аттестованный стандартный образец с известным содержанием воды) или пропускают через камеру титратора газ с известной молярной долей водяных паров (при помощи генератора влажного газа).
13.4 Контроль точности измерений с использованием жидких контрольных образцов
13.4.1 Готовят титратор к выполнению измерений по
10.4.
13.4.2 При помощи сухого чистого шприца соответствующего объема отбирают пробу дистиллированной воды или ГСО с расчетом, чтобы количество чистой воды, попадающей в измерительную камеру титратора находилось в диапазонах значений от 0,5 до 5 мг для кулонометрического метода и от 5 до 50 мг - для титриметрического метода.
13.4.3 Для определения массы введенной пробы воды взвешивают на весах шприц с пробой перед введением пробы и после него. За массу введенной пробы воды принимают разность измеренных значений массы (с учетом массовой концентрации воды при использовании ГСО), результаты измерения и расчетов значений массы округляют до 0,0001 г.
13.4.4 Проводят измерение массы воды в анализируемой пробе в соответствии с руководством по эксплуатации титратора.
13.4.5 После окончания измерений записывают показания титратора (массу воды).
13.4.6 Вычисляют допускаемое относительное расхождение

, %, между результатом измерения массы воды соответствующим методом
mи, мг, и известным (расчетным) значением массы воды, введенной в камеру титратора
mв, мг, по формуле

. (17)
13.4.7 Допускаемое относительное расхождение

, %, вычисленное по
13.4.6, должно удовлетворять следующему условию:

, (18)
где

- доверительные границы относительной погрешности результата измерения массы воды титратором в соответствии с руководством по эксплуатации титратора, %;

- доверительные границы относительной погрешности результата измерения массы образца дистиллированной воды или ГСО, %, которые вычисляют для дистиллированной воды по
формуле (19), а для ГСО - по
формуле (20)

, (19)
где

- доверительные границы абсолютной погрешности результата измерения массы жидких контрольных образцов для используемых весов, мг;
mв - масса дистиллированной воды, определенная с помощью весов, мг;

, (20)
где

- доверительные границы абсолютной погрешности результата измерения массы для используемых весов, мг;
mгсо - масса образца ГСО, определенная с помощью весов, мг;

- доверительные границы относительной погрешности ГСО, %.
13.4.8 В случае невыполнения условия по
формуле (18) проводят повторный контроль точности измерений соответствующим методом по
13.4.1 -
13.4.5.
13.4.9 В случае повторного невыполнения условия по
формуле (18) результат измерения массы воды соответствующим методом признают недостоверным и проводят мероприятия по выявлению и устранению причин недостоверности результатов измерений.
13.4.10 Недостоверность результатов измерений может быть вызвана отступлением от требований руководства по эксплуатации титратора или его неисправностью.
13.4.11 После устранения причин недостоверности результатов измерений повторяют контроль точности измерений по
13.4.
13.5 Контроль точности измерений с использованием генератора влажного газа
13.5.1 Готовят генератор влажного газа к работе в соответствии с руководством по его эксплуатации.
13.5.2 Устанавливают на генераторе влажного газа значение молярной доли водяных паров в диапазоне от 0,001% до 0,5%.
13.5.3 Проводят предварительную подготовку титратора к выполнению измерений по
10.4.
13.5.4 Определяют молярную долю водяных паров в генерируемой парогазовой смеси методом Карла Фишера по
10.5 или
10.6 титриметрическим или кулонометрическим методом соответственно.
13.5.5 Вычисляют допускаемое относительное расхождение

, %, между результатами измерений молярной доли водяных паров соответствующим методом
Xи, %, и значением молярной доли водяных паров, установленным при помощи генератора
Xв, %, по формуле

. (21)
13.5.6 Допускаемое относительное расхождение

, %, вычисленное по
13.5.5, должно удовлетворять следующему условию:

, (22)
где

- доверительные границы относительной погрешности результатов измерений молярной доли водяных паров в исследуемом газе для соответствующего метода и диапазона значений молярной доли водяных паров в соответствии с
таблицами 3 и
4, %;

- доверительные границы относительной погрешности создания молярной доли водяных паров в генерируемой парогазовой смеси для соответствующего диапазона значений молярной доли водяных паров в соответствии с руководством по эксплуатации генератора, %.
13.5.7 При невыполнении условия по
формуле (22) проводят повторный контроль точности измерений соответствующим методом по
13.5.1 -
13.5.6.
13.5.8 При повторном невыполнении условия по
формуле (22) результат измерения молярной доли водяных паров соответствующим методом считают недостоверным и проводят мероприятия по выявлению и устранению причин недостоверности результатов измерений молярной доли водяных паров в исследуемом газе.
13.5.9 Недостоверность результатов измерений может быть вызвана отступлением от требований руководства по эксплуатации титратора или его неисправностью.
13.5.10 После устранения причин недостоверности результатов измерений повторяют контроль точности измерений по
13.5.
(справочное)
ПЕРЕСЧЕТ ЕДИНИЦ ИЗМЕРЕНИЯ СОДЕРЖАНИЯ ВОДЯНЫХ ПАРОВ
В ПРИРОДНОМ ГАЗЕ
А.1 Для пересчета значений молярной доли X, %, в массовую концентрацию W, мг/м3, при температуре 20,0 °C и давлении 101,325 кПа водяных паров в природном газе используют формулы:
X = 0,0001332587·
W. (А.2)
А.2 Допускается использовать значения концентрации водяных паров в природном газе в разных единицах по
таблице А.1.
Таблица А.1
Значения молярной доли и массовой концентрации водяных паров
(при 20,0 °C и 101,325 кПа) в природном газе, вычисленные
Молярная доля, % | Массовая концентрация, мг/м3 |
0,000200 | 1,500 |
0,000220 | 1,651 |
0,000240 | 1,801 |
0,000260 | 1,951 |
0,000280 | 2,101 |
0,000300 | 2,251 |
0,000325 | 2,439 |
0,000350 | 2,626 |
0,000375 | 2,814 |
0,000400 | 3,002 |
0,000425 | 3,189 |
0,000450 | 3,377 |
0,000475 | 3,564 |
0,000500 | 3,752 |
0,000550 | 4,127 |
0,000600 | 4,503 |
0,000650 | 4,878 |
0,000700 | 5,253 |
0,000750 | 5,628 |
0,000800 | 6,003 |
0,000850 | 6,379 |
0,000900 | 6,754 |
0,000950 | 7,129 |
0,00100 | 7,504 |
0,00110 | 8,255 |
0,00120 | 9,005 |
0,00130 | 9,755 |
0,00140 | 10,51 |
0,00150 | 11,26 |
0,00160 | 12,01 |
0,00170 | 12,76 |
0,00180 | 13,51 |
0,00190 | 14,26 |
0,00200 | 15,01 |
0,00220 | 16,51 |
0,00240 | 18,01 |
0,00260 | 19,51 |
0,00280 | 21,01 |
0,00300 | 22,51 |
0,00325 | 24,39 |
0,00350 | 26,26 |
0,00375 | 28,14 |
0,00400 | 30,02 |
0,00425 | 31,89 |
0,00450 | 33,77 |
0,00475 | 35,64 |
0,00500 | 37,52 |
0,00550 | 41,27 |
0,00600 | 45,03 |
0,00650 | 48,78 |
0,00700 | 52,53 |
0,00750 | 56,28 |
0,00800 | 60,03 |
0,00850 | 63,79 |
0,00900 | 67,54 |
0,00950 | 71,29 |
0,0100 | 75,04 |
0,0110 | 82,55 |
0,0120 | 90,05 |
0,0130 | 97,55 |
0,0140 | 105,1 |
0,0150 | 112,6 |
0,0160 | 120,1 |
0,0170 | 127,6 |
0,0180 | 135,1 |
0,0190 | 142,6 |
0,0200 | 150,1 |
0,0220 | 165,1 |
0,0240 | 180,1 |
0,0260 | 195,1 |
0,0280 | 210,1 |
0,0300 | 225,1 |
0,0325 | 243,9 |
0,0350 | 262,6 |
0,0375 | 281,4 |
0,0400 | 300,2 |
0,0425 | 318,9 |
0,0450 | 337,7 |
0,0475 | 356,4 |
0,0500 | 375,2 |
0,0550 | 412,7 |
0,0600 | 450,3 |
0,0650 | 487,8 |
0,0700 | 525,3 |
0,0750 | 562,8 |
0,0800 | 600,3 |
0,0850 | 637,9 |
0,0900 | 675,4 |
0,0950 | 712,9 |
0,1000 | 750,4 |
0,1100 | 825,5 |
0,1200 | 900,5 |
0,1300 | 975,5 |
0,1400 | 1051 |
0,1500 | 1126 |
0,1600 | 1201 |
0,1700 | 1276 |
0,1800 | 1351 |
0,1900 | 1426 |
0,2000 | 1501 |
0,2200 | 1651 |
0,2400 | 1801 |
0,2600 | 1951 |
0,2800 | 2101 |
0,3000 | 2251 |
0,3250 | 2439 |
0,3500 | 2626 |
0,3750 | 2814 |
0,4000 | 3002 |
0,4250 | 3189 |
0,4500 | 3377 |
0,4750 | 3564 |
0,5000 | 3752 |
0,5500 | 4127 |
0,6000 | 4503 |
0,6500 | 4878 |
0,7000 | 5253 |
0,7500 | 5628 |
0,8000 | 6003 |
0,8500 | 6379 |
0,9000 | 6754 |
0,9500 | 7129 |
1,0000 | 7504 |
(справочное)
ПРИМЕР ВЫЧИСЛЕНИЯ СОДЕРЖАНИЯ ВОДЯНЫХ ПАРОВ С УЧЕТОМ ВЛИЯНИЯ
НА РЕЗУЛЬТАТ ИЗМЕРЕНИЙ СЕРНИСТЫХ СОЕДИНЕНИЙ
Б.1 Пример вычисления значения фактической массовой концентрации водяных паров в природном газе, содержащем сернистые соединения
Б.1.1 Исходные данные для исследуемого газа:
- предполагаемая массовая концентрация водяных паров - 75 мг/м3;
- измеренная массовая концентрация сероводорода - 5 мг/м3;
- измеренная массовая концентрация меркаптановой серы - 10 мг/м3;
- измеренная массовая концентрация водяных паров Wи - 76 мг/м3.
| | ИС МЕГАНОРМ: примечание. В официальном тексте документа, видимо, допущена опечатка: имеется в виду пункт 9.11, а не 9.10. | |
Б.1.2 Проверка условия по 9.10
Вычисляют массовую концентрацию сероводородной серы в исследуемом газе при 293,15 К (20,0 °C) и 101,325 кПа (1 атм), мг/м
3, по
формуле (2)

. (Б.1)
Сумма массовых концентраций сернистых соединений в пересчете на серу составляет менее 20% от предполагаемой массовой концентрации водяных паров, поэтому можно использовать
формулу (1)

. (Б.2)
Б.1.3 Вычисляют фактическую массовую концентрацию водяных паров по
формуле (1)
Wф = 76 - 0,5625·4,7 - 0,28125·10 =
= 76 - 2,6 - 2,8 = 70,6 мг/м3. (Б.3)
В результате вычислений получают Wф - значение фактической массовой концентрации водяных паров в исследуемом газе при температуре 293,15 К (20,0 °C) и давлении 101,325 кПа (1 атм), мг/м3.
(справочное)
ДАВЛЕНИЕ НАСЫЩЕННЫХ ВОДЯНЫХ ПАРОВ В ПРИРОДНОМ ГАЗЕ
В ЗАВИСИМОСТИ ОТ ТЕМПЕРАТУРЫ
Значения давления насыщенных водяных паров в природном газе в зависимости от температуры приведены в
таблице В.1.
Таблица В.1
Значения давления насыщенных водяных паров
в зависимости от температуры
Температура, °C | Давление, кПа |
| 0,61165 |
0,5 | 0,63378 |
1,0 | 0,65709 |
1,5 | 0,68115 |
2,0 | 0,70599 |
2,5 | 0,73162 |
3,0 | 0,75808 |
3,5 | 0,78538 |
4,0 | 0,81355 |
4,5 | 0,84260 |
5,0 | 0,87257 |
5,5 | 0,90348 |
6,0 | 0,93535 |
6,5 | 0,96822 |
7,0 | 1,0021 |
7,5 | 1,0370 |
8,0 | 1,0730 |
8,5 | 1,1101 |
9,0 | 1,1483 |
9,5 | 1,1876 |
10,0 | 1,2282 |
10,5 | 1,2700 |
11,0 | 1,3130 |
11,5 | 1,3572 |
12,0 | 1,4028 |
12,5 | 1,4498 |
13,0 | 1,4981 |
13,5 | 1,5478 |
14,0 | 1,5990 |
14,5 | 1,6516 |
15,0 | 1,7058 |
15,5 | 1,7615 |
16,0 | 1,8188 |
16,5 | 1,8777 |
17,0 | 1,9384 |
17,5 | 2,0007 |
18,0 | 2,0647 |
18,5 | 2,1306 |
19,0 | 2,1983 |
19,5 | 2,2678 |
20,0 | 2,3393 |
20,5 | 2,4128 |
21,0 | 2,4882 |
21,5 | 2,5657 |
22,0 | 2,6453 |
22,5 | 2,7271 |
23,0 | 2,8111 |
23,5 | 2,8973 |
24,0 | 2,9858 |
24,5 | 3,0767 |
25,0 | 3,1699 |
25,5 | 3,2656 |
26,0 | 3,3639 |
26,5 | 3,4647 |
27,0 | 3,5681 |
27,5 | 3,6742 |
28,0 | 3,7830 |
28,5 | 3,8947 |
29,0 | 4,0092 |
29,5 | 4,1266 |
30,0 | 4,2470 |
30,5 | 4,3704 |
31,0 | 4,4969 |
31,5 | 4,6266 |
32,0 | 4,7596 |
32,5 | 4,8958 |
33,0 | 5,0354 |
33,5 | 5,1785 |
34,0 | 5,3251 |
34,5 | 5,4752 |
35,0 | 5,6290 |
35,5 | 5,7865 |
36,0 | 5,9479 |
36,5 | 6,1131 |
37,0 | 6,2823 |
37,5 | 6,4555 |
38,0 | 6,6328 |
38,5 | 6,8144 |
39,0 | 7,0002 |
39,5 | 7,1903 |
40,0 | 7,3849 |
<*> Значение давления приведено для температуры 0,01 °C (тройная точка воды). |
(справочное)
СХЕМАТИЧЕСКОЕ ИЗОБРАЖЕНИЕ ИЗМЕРИТЕЛЬНЫХ КАМЕР (ЯЧЕЕК)
ДЛЯ МЕТОДА КАРЛА ФИШЕРА
Г.1 Схематическое изображение измерительной камеры (ячейки) титратора для метода Карла Фишера приведено на
рисунке Г.1.
1 - магнитная мешалка; 2 - якорь магнитной мешалки;
3 - измерительная камера (ячейка); 4 - индикаторные
электроды; 5 - автоматическая поршневая бюретка; 6 - трубка
подачи реактива; 7 - трубка подачи исследуемого газа;
8 - трубка выхода исследуемого газа; 9 - осушающая трубка
Рисунок Г.1 - Схематическое изображение
измерительной камеры (ячейки) титратора
Г.2 Схематическое изображение измерительной камеры (ячейки) титратора без разделительной мембраны с перемешиванием магнитной мешалкой для кулонометрического варианта метода Карла Фишера приведено на
рисунке Г.2.
1 - магнитная мешалка; 2 - якорь магнитной мешалки;
3 - измерительная камера (ячейка);
4 - индикаторные электроды; 5 - катодная камера; 6 - катод;
7 - трубка для подачи исследуемого газа; 8 - трубка
для выхода исследуемого газа; 9 - осушающая трубка;
10 - фильтр; 11 - анод
Рисунок Г.2 - Схематическое изображение измерительной камеры
(ячейки) титратора без разделительной мембраны
для кулонометрического варианта метода Карла Фишера
| Рекомендации по межгосударственной стандартизации РМГ 29-99 | Государственная система обеспечения единства измерений. Метрология. Основные термины и определения |
| | Предельно допустимые концентрации (ПДК) вредных веществ в воздухе рабочей зоны |
| Федеральные нормы и правила в области промышленной безопасности "Правила безопасности в нефтяной и газовой промышленности" (утверждены приказом Ростехнадзора от 12.03.2013 N 101) |
| Федеральные нормы и правила в области промышленной безопасности "Правила промышленной безопасности опасных производственных объектов, на которых используется оборудование, работающее под избыточным давлением" (утверждены приказом Ростехнадзора от 25.03.2014 N 116) |
| | Отопление, вентиляция и кондиционирование. Актуализированная редакция СНиП 41-01-2003 |
| | Внутренний водопровод и канализация зданий. Актуализированная редакция СНиП 2.04.01-85 |
[7] | | Водоснабжение. Наружные сети и сооружения. Актуализированная редакция СНиП 2.04.02-84 |
| | Системы противопожарной защиты. Установки пожарной сигнализации и пожаротушения автоматические. Нормы и правила проектирования |
| | Гигиенические требования к обеспечению качества атмосферного воздуха населенных мест |
| Федеральный закон Российской Федерации от 30 марта 1999 г. N 52-ФЗ "О санитарно-эпидемиологическом благополучии населения" |
| | Питьевая вода. Гигиенические требования к качеству воды централизованных систем питьевого водоснабжения. Контроль качества. Гигиенические требования к обеспечению безопасности систем горячего водоснабжения |
| | Санитарно-эпидемиологические требования к качеству почвы |