Главная // Актуальные документы // ГОСТ Р (Государственный стандарт)
СПРАВКА
Источник публикации
М.: Стандартинформ, 2016
Примечание к документу
Документ введен в действие с 1 июля 2017 года.
Название документа
"ГОСТ Р 57168-2016. Национальный стандарт Российской Федерации. Оборудование для спортивных игр. Оборудование спортивное пляжное. Требования и методы испытаний"
(утв. и введен в действие Приказом Росстандарта от 19.10.2016 N 1428-ст)


"ГОСТ Р 57168-2016. Национальный стандарт Российской Федерации. Оборудование для спортивных игр. Оборудование спортивное пляжное. Требования и методы испытаний"
(утв. и введен в действие Приказом Росстандарта от 19.10.2016 N 1428-ст)


Содержание


Утвержден и введен в действие
Приказом Федерального агентства
по техническому регулированию
и метрологии
от 19 октября 2016 г. N 1428-ст
НАЦИОНАЛЬНЫЙ СТАНДАРТ РОССИЙСКОЙ ФЕДЕРАЦИИ
ОБОРУДОВАНИЕ ДЛЯ СПОРТИВНЫХ ИГР
ОБОРУДОВАНИЕ СПОРТИВНОЕ ПЛЯЖНОЕ
ТРЕБОВАНИЯ И МЕТОДЫ ИСПЫТАНИЙ
Equipment for sport games. Beach sport equipment.
Requirements and test methods
(DIN 33957:2012, NEQ)
ГОСТ Р 57168-2016
ОКС 97.220.40
Дата введения
1 июля 2017 года
Предисловие
1 РАЗРАБОТАН Саморегулируемой организацией Некоммерческим партнерством "Отраслевое объединение национальных производителей в сфере физической культуры и спорта "Промспорт" (СРО "Промспорт")
2 ВНЕСЕН Техническим комитетом по стандартизации ТК 444 "Спортивные и туристские изделия, оборудование, инвентарь, физкультурные и спортивные услуги"
3 УТВЕРЖДЕН И ВВЕДЕН В ДЕЙСТВИЕ Приказом Федерального агентства по техническому регулированию и метрологии от 19 октября 2016 г. N 1428-ст
4 Настоящий стандарт разработан с учетом основных нормативных положений немецкого национального стандарта DIN 33957-2012 "Оборудование игровых площадок. Спортивное оборудование на пляже. Требования и методы испытаний" (DIN 33957:2012 "Playing field equipment - Beach sports equipment - Requirements and test methods", NEQ)
5 ВВЕДЕН ВПЕРВЫЕ
Правила применения настоящего стандарта установлены в статье 26 Федерального закона от 29 июня 2015 г. N 162-ФЗ "О стандартизации в Российской Федерации". Информация об изменениях к настоящему стандарту публикуется в ежегодном (по состоянию на 1 января текущего года) информационном указателе "Национальные стандарты", а официальный текст изменений и поправок - в ежемесячном информационном указателе "Национальные стандарты". В случае пересмотра (замены) или отмены настоящего стандарта соответствующее уведомление будет опубликовано в ближайшем выпуске ежемесячного информационного указателя "Национальные стандарты". Соответствующая информация, уведомление и тексты размещаются также в информационной системе общего пользования - на официальном сайте Федерального агентства по техническому регулированию и метрологии в сети Интернет (www.gost.ru)
1 Область применения
Настоящий стандарт распространяется на спортивное пляжное оборудование и устанавливает функциональные требования, требования безопасности и методы испытаний спортивного пляжного оборудования.
Настоящий стандарт не распространяется на оборудование детских игровых площадок <*>, универсальное спортивное оборудование свободного доступа <**>, оборудование для фитнес-маршрутов и оборудование для детей до трех лет.
--------------------------------
<*> Требования к оборудованию детских игровых площадок установлены в ГОСТ Р 52169.
<**> Требования к универсальному спортивному оборудованию свободного доступа установлены в ГОСТ Р 56440.
2 Нормативные ссылки
В настоящем стандарте использованы нормативные ссылки на следующие стандарты:
ГОСТ 2.601-2013 Единая система конструкторской документации. Эксплуатационные документы
ГОСТ 2224-93 Коуши стальные для стальных канатов. Технические условия
ГОСТ 19191-73 Талрепы с автоматическим стопорением. Технические условия
ГОСТ 30188-97 Цепи грузоподъемные калиброванные высокопрочные. Технические условия
ГОСТ 30441-97 Цепи короткозвенные грузоподъемные некалиброванные класса прочности Т(8). Технические условия
ГОСТ Р 52169-2012 Оборудование и покрытия детских игровых площадок. Безопасность конструкции и методы испытаний. Общие требования
ГОСТ Р 55664-2013 Оборудование для спортивных игр. Ворота футбольные. Требования и методы испытаний с учетом безопасности
ГОСТ Р 55665-2013 Оборудование для спортивных игр. Ворота для мини-футбола и гандбола. Требования и методы испытаний с учетом безопасности
ГОСТ Р 56440-2015 Оборудование спортивное универсальное свободного доступа. Требования и методы испытания с учетом безопасности
ГОСТ Р 56433-2015 Оборудование для спортивных игр. Оборудование волейбольное. Функциональные требования, требования безопасности и методы испытаний
ГОСТ Р 56434-2015 Оборудование для спортивных игр. Оборудование баскетбольное. Функциональные требования, требования безопасности и методы испытаний
ГОСТ Р 56446-2015 Оборудование гимнастическое. Общие требования безопасности и методы испытаний
ГОСТ Р 56897-2016 Оборудование для спортивных игр. Оборудование для бадминтона. Функциональные требования, требования безопасности и методы испытаний
ГОСТ Р 56898-2016 Оборудование для спортивных игр. Оборудование для тенниса. Функциональные требования, требования безопасности и методы испытаний
Примечание - При пользовании настоящим стандартом целесообразно проверить действие ссылочных стандартов в информационной системе общего пользования - на официальном сайте Федерального агентства по техническому регулированию и метрологии в сети Интернет или по ежегодному информационному указателю "Национальные стандарты", который опубликован по состоянию на 1 января текущего года, и по выпускам ежемесячного информационного указателя "Национальные стандарты" за текущий год. Если заменен ссылочный стандарт, на который дана недатированная ссылка, то рекомендуется использовать действующую версию этого стандарта с учетом всех внесенных в данную версию изменений. Если заменен ссылочный стандарт, на который дана датированная ссылка, то рекомендуется использовать версию этого стандарта с указанным выше годом утверждения (принятия). Если после утверждения настоящего стандарта в ссылочный стандарт, на который дана датированная ссылка, внесено изменение, затрагивающее положение, на которое дана ссылка, то это положение рекомендуется применять без учета данного изменения. Если ссылочный стандарт отменен без замены, то положение, в котором дана ссылка на него, рекомендуется применять в части, не затрагивающей эту ссылку.
3 Термины и определения
В настоящем стандарте применены следующие термины с соответствующими определениями:
3.1 спортивное пляжное оборудование: Оборудование для пляжного волейбола, футбола, гандбола, бадминтона и тенниса.
3.2 разметка игровой площадки: Приспособления, с помощью которых на песке обозначают границы игровой площадки.
3.3 зона безопасности: Свободное пространство вокруг игровой площадки, обеспечивающее безопасность игроков и третьих лиц.
4 Требования безопасности
4.1 Общие требования
Спортивное пляжное оборудование должно соответствовать требованиям безопасности, установленным в ГОСТ Р 56446, если в настоящем стандарте не установлено иное.
4.2 Требования к элементам спортивного пляжного оборудования
4.2.1 Элементы спортивного пляжного оборудования должны быть защищены от коррозии (или изготовлены из коррозионно-стойких материалов).
4.2.2 Конкретные элементы спортивного пляжного оборудования должны соответствовать требованиям:
- ГОСТ Р 56433 - для волейбола;
- ГОСТ Р 55664 - для футбола;
- ГОСТ Р 55665 - для гандбола;
- ГОСТ Р 56897 - для бадминтона;
- ГОСТ Р 56434 - для баскетбола;
- ГОСТ Р 56898 - для тенниса.
4.2.3 Если конструкцией спортивного пляжного оборудования предусмотрено наличие съемных/заменяемых деталей (например, стойки), то верхняя грань съемной/заменяемой детали должна быть расположена на высоте не менее 200 мм над поверхностью песка или быть защищена таким образом, чтобы предотвратить возможность получения травм пользователями.
4.3 Требования к материалам
Применяемые материалы не должны:
- вызывать термический ожог при контакте с кожей пользователей в климатических зонах с очень высокими или очень низкими температурами;
- оказывать вредное воздействие на окружающую среду от начала эксплуатации до утилизации/переработки спортивного пляжного оборудования.
4.4 Требования к стальным канатам
4.4.1 Стальные канаты должны соответствовать следующим требованиям:
- быть нераскручивающимися;
- быть изготовлены из оцинкованной или коррозионно-стойкой проволоки;
- концы стального каната в опрессованных петлях должны совпадать с краем опрессовки;
- концы стального каната должны быть укреплены в петлях с зажимами, концы резьб зажимов должны иметь травмобезопасную защиту;
- талреп каната должен быть изготовлен из коррозионно-стойкого материала, иметь опрессованные петли или петли с коушем и зажимами; талреп не должен допускать возможность демонтажа без применения инструмента.
4.4.2 Коуши должны соответствовать требованиям ГОСТ 2224, а талрепы - требованиям ГОСТ 19191.
4.4.3 Петля с опрессовкой, талреп и петля с коушем и зажимами показаны на рисунке 1.
1 - петля с опрессовкой; 2 - талреп;
3 - петля с коушем и зажимами
Рисунок 1 - Опрессованная петля, талреп, петля
с коушем и зажимами
4.5 Требования к цепям
4.5.1 Применяемые цепи должны соответствовать требованиям ГОСТ 30188 и ГОСТ 30441.
4.5.2 Внутренний размер звеньев цепи (за исключением соединительных) должен быть не более 8,6 мм в любом направлении звена. Внутренний размер соединительных звеньев должен быть менее 8,6 мм или более 12 мм в любом направлении звена.
4.6 Требования к игровой площадке и зоне безопасности
4.6.1 Поверхность игровой площадки и зоны безопасности должна быть покрыта песком.
4.6.2 Рекомендуемые размеры игровых площадок и зоны безопасности для соревнований по пляжным видам спорта приведены в таблице 1.
Примечание - Размеры игровых площадок и зоны безопасности для соревнований по пляжным видам спорта следует уточнять в правилах проведения соответствующих соревнований.
Таблица 1
Размеры игровых площадок и зоны безопасности
для соревнований по пляжным видам спорта
Вид пляжного спорта
Размеры игровой площадки, м
Ширина зоны безопасности, м
Размеры игровой площадки с зоной безопасности, м
вдоль боковой линии
вдоль лицевой линии
Волейбол
16 x 8
5
5
26 x 18
Футбол
37 x 28
1
1
38 x 30
Гандбол
27 x 12
3
3
33 x 18
Бадминтон
12 x 5
1
2
16 x 7
Баскетбол
12 <*>
-
-
-
Теннис (парная игра)
18 x 9
3
3
24 x 15
Теннис (одиночная игра)
18 x 6
3
3
24 x 12
<*> Расстояние между корзинами.
4.6.3 Рекомендуемая высота свободного пространства над поверхностью крытых игровых площадок для соревнований по пляжным видам спорта приведена в таблице 2.
Примечание - Высоту свободного пространства над поверхностью игровых площадок для соревнований по пляжным видам спорта следует уточнять в правилах проведения соответствующих соревнований.
Таблица 2
Высота свободного пространства над поверхностью
игровых площадок для соревнований по пляжным видам спорта
Вид пляжного спорта
Уровень соревнований
Высота свободного пространства, м, не менее
Волейбол
Региональный
7,0
Национальный
Международный
12,5
Бадминтон
Региональный
7,0
Национальный
Международный
9,0
Теннис
Региональный
7,0
Национальный
9,0
Международный
4.6.4 Размеры песчаных игровых площадок и зоны безопасности для массового спорта приведены в таблице 3.
Таблица 3
Размеры песчаных игровых площадок и зоны безопасности
для массового спорта
Вид игры
Размеры игровой площадки, м
Ширина зоны безопасности, м
Размеры игровой площадки с зоной безопасности, м
вдоль боковой линии
вдоль лицевой линии
Волейбол
16 x 8
3
3
22 x 14
Футбол <*>
37 x 28
1
1
38 x 30
Гандбол <*>
27 x 12
3
3
33 x 18
Бадминтон
12 x 5
1
2
16 x 7
Баскетбол
15 x 8
1
-
15 x 10
Теннис (парная игра)
18 x 9
3
3
24 x 15
Теннис (одиночная игра)
18 x 6
3
3
24 x 12
<*> Для массовой игры в пляжный футбол и гандбол допускается использовать площадки меньших размеров.
4.6.5 Высота свободного пространства над поверхностью песчаных площадок для массовой игры в пляжный волейбол, бадминтон и теннис должна быть не менее 5,5 м.
4.7 Требования к разметке игровых площадок
4.7.1 Разметка должна быть установлена таким образом, чтобы при приложении к ее боковой линии нагрузки в соответствии с 5.2 она возвращалась в исходное положение с максимальным отклонением +/- 100 мм и без повреждений.
4.7.2 Разметка игровых площадок должна быть выполнена таким образом, чтобы обеспечить отсутствие возможности получения травм пользователями.
4.8 Требования к установке спортивного пляжного оборудования
4.8.1 Спортивное пляжное оборудование устанавливают в песок с помощью фундаментов, установочных гильз и анкерных креплений.
4.8.2 Фундаменты и анкерные крепления должны быть выполнены таким образом, чтобы предотвратить получение травм пользователями.
4.8.3 Фундаменты и анкерные крепления должны находиться под слоем песка, при этом глубина установки фундамента в песок должна быть достаточной, чтобы предотвратить их обнажение вследствие эрозии.
4.8.4 Установочные гильзы должны соответствовать профилю стоек спортивного пляжного оборудования. Установочные гильзы и их нижние рамы (при наличии) должны быть защищены от коррозии.
4.8.5 Фундаменты, анкерные крепления и установочные гильзы должны обеспечивать устойчивость спортивного пляжного оборудования при приложении к ним следующих нагрузок:
- по ГОСТ Р 56433 (приложение А) - для волейбольных стоек;
- ГОСТ Р 55664 (приложение Б) - для футбольных ворот;
- ГОСТ Р 55665 (приложение Б) - для гандбольных ворот;
- ГОСТ Р 56446 (приложение Б) - для стоек для бадминтона;
- ГОСТ Р 56434 (приложение Д) - для несущей фермы баскетбольного оборудования;
- ГОСТ Р 56898 (приложение А) - для стоек для тенниса.
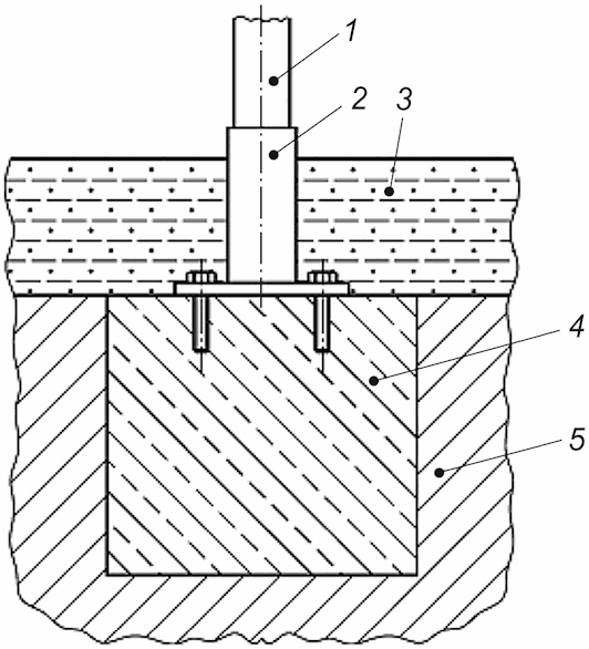
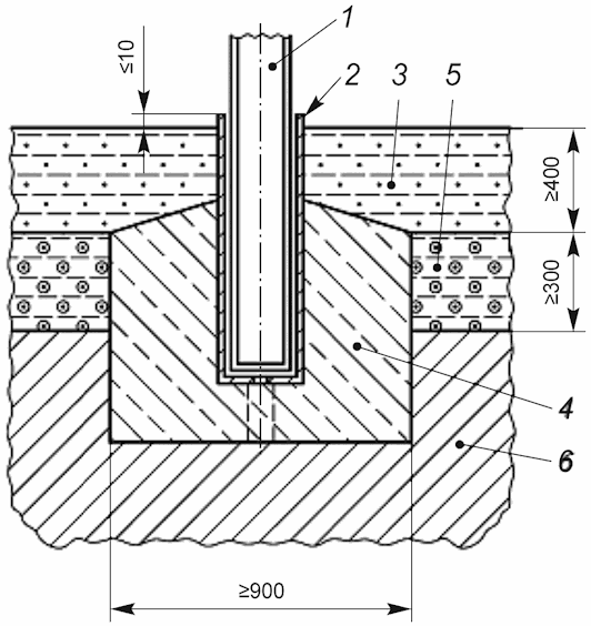
4.8.6 Примеры установки спортивного пляжного оборудования показаны на рисунках 2 - 4.
1 - стойка; 2 - установочная гильза; 3 - слой песка;
4 - бетонный фундамент; 5 - дренажный слой (щебень);
6 - основание (грунт)
Рисунок 2 - Пример установки
спортивного пляжного оборудования с помощью
установочной гильзы, вмонтированной в фундамент
1 - стойка; 2 - установочная гильза; 3 - слой песка;
4 - бетонный фундамент; 5 - основание (грунт)
Рисунок 3 - Пример установки
спортивного пляжного оборудования с помощью
установочной гильзы, закрепленной на фундаменте
1 - стойка; 2 - установочная гильза;
3 - нижняя рама установочной гильзы; 4 - слой песка;
5 - дренажный слой (щебень); 6 - основание (грунт)
Рисунок 4 - Пример установки
спортивного пляжного оборудования с помощью
установочной гильзы с нижней рамой в песке
5 Методы испытаний
5.1 Общие требования
Требования безопасности, установленные в разделе 5, проверяют по ГОСТ Р 55664, ГОСТ Р 55665, ГОСТ Р 56433, ГОСТ Р 56434, ГОСТ Р 56446, ГОСТ Р 56897 и ГОСТ Р 56898, если не установлено иное.
5.2 Испытание разметки игровых площадок
5.2.1 На плоскую песчаную поверхность, аналогичную условиям эксплуатации, устанавливают разметку.
5.2.2 По центру боковой линии разметки прикладывают такую сосредоточенную горизонтальную нагрузку, чтобы боковая линия отклонилась от исходного положения на (200 +/- 10) мм, затем нагрузку отпускают.
5.2.3 После проведения испытаний боковая линия разметки должна вернуться в исходное положение с максимальным отклонением +/- 100 мм и без повреждений.
5.3 Отчет о проведении испытаний
Отчет о проведении испытаний должен содержать, как минимум, следующее:
- дату проведения испытаний;
- информацию об испытательной лаборатории;
- условия проведения испытаний;
- характеристики испытательного оборудования;
- описание состояния спортивного пляжного оборудования до и после проведения испытаний;
- результаты проведения испытаний;
- заключение о соответствии требованиям настоящего стандарта.
6 Маркировка
На спортивное пляжное оборудование должна быть нанесена четкая маркировка, содержащая:
- товарный знак предприятия-изготовителя;
- модель и заводской номер оборудования;
- дату изготовления (месяц и год);
- обозначение настоящего стандарта.
7 Документация и информация, предоставляемая изготовителем
7.1 Общие требования
К каждому комплекту спортивного пляжного оборудования изготовитель прикладывает эксплуатационную документацию в соответствии с ГОСТ 2.601.
7.2 Дополнительные требования
7.2.1 Рекомендации по установке и техническому обслуживанию спортивного пляжного оборудования должны содержать:
- подробное описание установки;
- сведения о монтаже;
- сведения о натяжном приспособлении (при наличии);
- описание технического обслуживания;
- сведения о хранении.
7.3 Дополнительная информация
7.3.1 На оборудовании для пляжного баскетбола должна быть закреплена табличка со следующей надписью: "Запрещено висеть на кольцах".
7.3.2 На воротах для пляжного футбола и гандбола должна быть закреплена табличка со следующими надписями:
- "Перед эксплуатацией ворот необходимо проверить прочность затяжки всех соединений";
- "Ворота должны быть защищены от опрокидывания";
- "Не залезать на сетку или раму ворот".