Главная // Актуальные документы // Акт (форма)
СПРАВКА
Источник публикации
В данном виде документ опубликован не был.
Первоначальный текст документа опубликован в издании
М.: Стандартинформ, 2014.
Информацию о публикации документов, создающих данную редакцию, см. в справке к этим документам.
Примечание к документу
Изменение N 1, утв. Приказом Росстандарта от 02.09.2016 N 1028-ст, введено в действие с 1 января 2017 года.
Название документа
"ГОСТ Р 55664-2013. Национальный стандарт Российской Федерации. Оборудование для спортивных игр. Ворота футбольные. Требования и методы испытаний с учетом безопасности"
(утв. и введен в действие Приказом Росстандарта от 28.10.2013 N 1269-ст)
(ред. от 02.09.2016)

"ГОСТ Р 55664-2013. Национальный стандарт Российской Федерации. Оборудование для спортивных игр. Ворота футбольные. Требования и методы испытаний с учетом безопасности"
(утв. и введен в действие Приказом Росстандарта от 28.10.2013 N 1269-ст)
(ред. от 02.09.2016)


Содержание


Утвержден и введен в действие
Приказом Федерального
агентства по техническому
регулированию и метрологии
от 28 октября 2013 г. N 1269-ст
НАЦИОНАЛЬНЫЙ СТАНДАРТ РОССИЙСКОЙ ФЕДЕРАЦИИ
ОБОРУДОВАНИЕ ДЛЯ СПОРТИВНЫХ ИГР
ВОРОТА ФУТБОЛЬНЫЕ
ТРЕБОВАНИЯ И МЕТОДЫ ИСПЫТАНИЙ С УЧЕТОМ БЕЗОПАСНОСТИ
Equipment for sports games. Football goals.
Requirements and test methods with regard to safety
EN 748:2004
(NEQ)
ГОСТ Р 55664-2013
Список изменяющих документов
Росстандарта от 02.09.2016 N 1028-ст)
ОКС 97.220.30
97.220.40
ОКП 96 1530
Дата введения
1 января 2015 года
Предисловие
1. Разработан Саморегулируемой организацией Некоммерческим партнерством "Отраслевое объединение национальных производителей в сфере физической культуры и спорта "Промспорт" (СРО "Промспорт") и автономной некоммерческой организацией "Центр содействия развитию физической культуры и спорта" (АНО "ЦСРФКиС").
(в ред. Изменения N 1, утв. Приказом Росстандарта от 02.09.2016 N 1028-ст)
2. Внесен Техническим комитетом по стандартизации ТК 444 "Спортивные и туристские изделия, оборудование, инвентарь, физкультурные и спортивные услуги".
3. Утвержден и введен в действие Приказом Федерального агентства по техническому регулированию и метрологии от 28 октября 2013 г. N 1269-ст.
4. Настоящий стандарт разработан с учетом основных нормативных положений европейского регионального стандарта ЕН 748:2004 "Оборудование для спортивных игр. Футбольные ворота. Требования и методы испытаний, включая безопасность" (EN 748:2004 "Playing field equipment - Football goals - Functional and safety requirements, test methods", NEQ).
5. Введен впервые.
Правила применения настоящего стандарта установлены в ГОСТ Р 1.0-2012 (раздел 8). Информация об изменениях к настоящему стандарту публикуется в ежегодном (по состоянию на 1 января текущего года) информационном указателе "Национальные стандарты", а официальный текст изменений и поправок - в ежемесячном информационном указателе "Национальные стандарты". В случае пересмотра (замены) или отмены настоящего стандарта соответствующее уведомление будет опубликовано в ближайшем выпуске ежемесячного информационного указателя "Национальные стандарты". Соответствующая информация, уведомление и тексты размещаются также в информационной системе общего пользования - на официальном сайте Федерального агентства по техническому регулированию и метрологии в сети Интернет (gost.ru).
1. Область применения
Настоящий стандарт распространяется на оборудование для спортивных игр.
Настоящий стандарт устанавливает функциональные требования и требования безопасности к футбольным воротам четырех типов и двух размеров для проведения соревнований и тренировок на открытых и закрытых спортивных площадках.
2. Нормативные ссылки
В настоящем стандарте использована нормативная ссылка на следующий стандарт:
ГОСТ 2.601-2013 Единая система конструкторской документации. Эксплуатационные документы
(ссылка введена Изменением N 1, утв. Приказом Росстандарта от 02.09.2016 N 1028-ст)
ГОСТ 25552-82 Изделия крученые и плетеные. Методы испытаний.
Примечание. При пользовании настоящим стандартом целесообразно проверить действие ссылочных стандартов в информационной системе общего пользования - на официальном сайте Федерального агентства по техническому регулированию и метрологии в сети Интернет или по ежегодному информационному указателю "Национальные стандарты", который опубликован по состоянию на 1 января текущего года, и по выпускам ежемесячного информационного указателя "Национальные стандарты" за текущий год. Если заменен ссылочный стандарт, на который дана недатированная ссылка, то рекомендуется использовать действующую версию этого стандарта с учетом всех внесенных в данную версию изменений. Если заменен ссылочный стандарт, на который дана датированная ссылка, то рекомендуется использовать версию этого стандарта с указанным выше годом утверждения (принятия). Если после утверждения настоящего стандарта в ссылочный стандарт, на который дана датированная ссылка, внесено изменение, затрагивающее положение, на которое дана ссылка, то это положение рекомендуется применять без учета данного изменения. Если ссылочный стандарт отменен без замены, то положение, в котором дана ссылка на него, рекомендуется применять в части, не затрагивающей эту ссылку.
3. Требования
3.1. Функциональные требования
3.1.1. Классификация футбольных ворот
Классификация футбольных ворот приведена в таблице 1.
Таблица 1
Классификация футбольных ворот
Тип
Рисунок
Описание
1
Футбольные ворота со штангами, закрепленными в установочных гильзах, и стойками натяжения
2
Футбольные ворота со стойками, закрепленными в установочных гильзах, и консолью для натяжения сетки
3
Свободно стоящие футбольные ворота с креплением к земле
4
Свободно стоящие футбольные ворота с противовесом
3.1.2. Размеры футбольных ворот
Размеры ворот приведены в таблице 2.
Таблица 2
Размеры футбольных ворот
Размеры в миллиметрах
Код размера
Длина l, +/- 8
Высота h, +/- 8
732 x 244
7320
2440
500 x 200
5000
2000
Футбольные ворота типа 1 представлены на рисунке 1 и состоят из следующих элементов:
- рама ворот (две штанги и одна перекладина) с элементами крепления сетки;
- установочные гильзы;
- сетка, включая шнур натяжения сетки, а также средства фиксации сетки на земле;
- стойка натяжения сетки с установочными гильзами.
1 - перекладина; 2 - штанги; 3 - сетка;
4 - стойка натяжения сетки; 5 - шнур натяжения сетки
Рисунок 1. Конструкция футбольных ворот типа 1
Примечание. Требования к стойкам (позиция 4) и их положению могут зависеть от национальных правил по обеспечению безопасного пространства и правил национальных футбольных союзов.
Футбольные ворота типа 2 представлены на рисунке 2 и состоят из следующих элементов:
- рама ворот (две штанги и одна перекладина) с элементами крепления сетки и консолями для натяжения сетки;
- установочные гильзы;
- сетка, включая шнур натяжения сетки, а также средства фиксации сетки на земле.
1 - консоль для натяжения сетки
Рисунок 2. Конструкция футбольных ворот типа 2
Футбольные ворота типа 3 представлены на рисунке 3 и состоят из следующих элементов:
- рама ворот (две штанги, одна перекладина и наземная часть рамы) с элементами крепления сетки, стойками натяжения сетки, угловыми кронштейнами и элементами для крепления к земле (как минимум по одному с каждой стороны);
- сетка, включая шнур натяжения сетки, а также средства фиксации сетки на земле.
1 - консоль; 2 - наземная часть рамы; 3 - угловой кронштейн;
4 - элемент крепления рамы к земле
Рисунок 3. Конструкция футбольных ворот типа 3
Футбольные ворота типа 4 представлены на рисунке 4 и состоят из следующих элементов:
- рама ворот (две штанги, одна перекладина и наземная часть рамы с закрепленным на ней противовесом) с элементами крепления сетки, стойками натяжения сетки, включая угловые кронштейны;
- сетка, включая шнур натяжения сетки, а также средства фиксации сетки на земле.
3.1.3. Применяемые материалы
Рама футбольных ворот должна быть изготовлена из стали, легкого металла или пластика с условием, что должны быть выполнены требования настоящего стандарта.
Наземная часть рамы, установочные гильзы, элементы крепления сетки и стойки натяжения сетки должны быть изготовлены из легкого металла и/или стали, защищенной от коррозии (например, оцинкованной, с порошковым покрытием или окрашенной).
Элементы крепления сетки к воротам должны быть изготовлены из некорродирующего металла или пластика.
Веревка, из которой изготовлена сетка, может быть синтетической или натуральной.
Для шнура натяжения сетки следует использовать синтетическую веревку.
3.1.4. Конструкция ворот
3.1.4.1. Рама ворот
Конструкция ворот должна обладать достаточной прочностью, чтобы выдерживать нагрузки, возникающие во время игры и перемещения ворот.
Штанги ворот и перекладины могут быть выполнены как единые детали или составными.
Штанги и перекладины футбольных ворот должны иметь одинаковое поперечное сечение.
Перекладина не должна деформироваться в ходе испытаний более чем на 10 мм.
Элементы крепления сетки должны быть устойчивы к нагрузкам.
1 - консоль; 2 - наземная часть рамы;
3 - угловой кронштейн; 4 - противовес
Рисунок 4. Конструкция футбольных ворот типа 4
Рама ворот должна быть либо белого цвета, либо естественного серебристого цвета при изготовлении из легкого металла. Белый цвет - в соответствии с требованиями спортивного союза.
Наземная часть рамы ворот типа 4 должна быть оснащена противовесом, который должен составлять неотъемлемую часть конструкции.
3.1.4.2. Сетка
Размеры сетки должны соответствовать указанным в таблице 3.
Таблица 3
Размеры сетки
Размеры в миллиметрах
Код размера сетки
Длина, не менее
Высота, не менее
Глубина, не менее
Ширина ячейки, не более
Диаметр веревки <*>, не менее
Вверху
Внизу
750 x 250
7500
2500
800
1500
120
2
515 x 205
5150
2050
<*> Диаметр представляет собой минимальный размер, позволяющий уменьшить опасность пореза.
Физические характеристики сетки должны соответствовать указанным в таблицах 4 и 5.
Таблица 4
Устойчивость сетки к разрыву
Класс
Усилие, Н, не менее
A
1800
B
1080
C
792
Таблица 5
Устойчивость шнура натяжения сетки к разрыву
Класс
Усилие, Н, не менее
Z
7000
Y
3000
Шнур натяжения сетки должен быть закреплен к сетке таким образом, чтобы не допускать его смещения.
Сетка должна свисать свободно, чтобы попавший в сетку мяч не мог отскочить обратно.
Сетка должна быть свободно закреплена на раме ворот. В случае ворот типов 1 и 2 нижний край сетки должен быть закреплен на земле (например, с помощью утяжеленной веревки или путем крепления в ряде точек), чтобы исключить проскальзывание мяча под сеткой.
Испытание устойчивости шнура натяжения сетки - по ГОСТ 25552.
3.1.4.3. Установочные гильзы
Диаметр установочных гильз должен соответствовать диаметру штанг и стоек натяжения сетки.
Установочные гильзы закладывают в бетонные блоки, в которых должны быть предусмотрены дренажные отверстия.
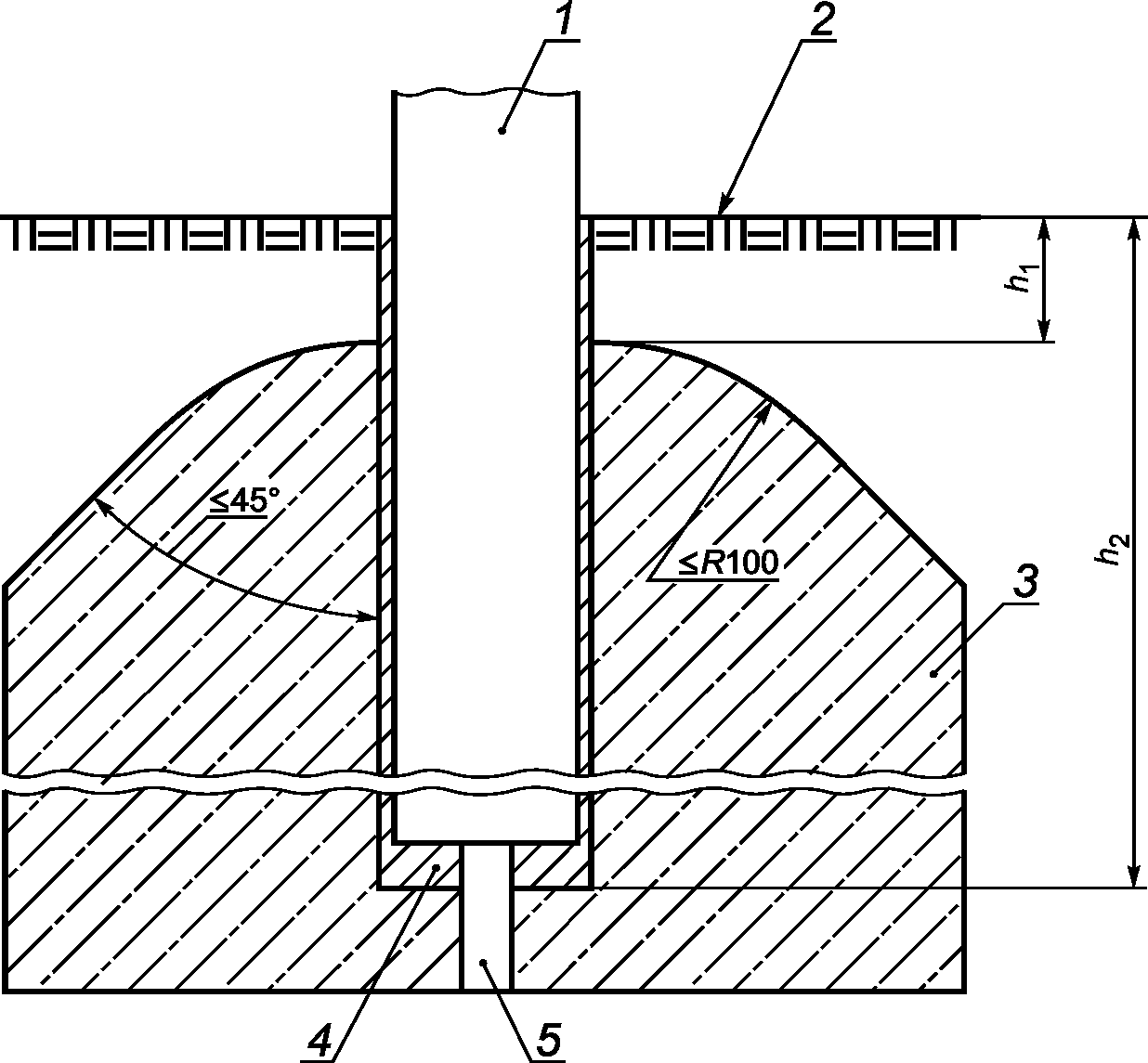
Примечание. Пример установки гильзы в бетонные блоки приведен на рисунке Г.1 (см. Приложение Г).
3.2. Требования безопасности
3.2.1. Общие требования
Углы и грани (ребра), могущие стать причиной травм, должны иметь радиус закругления не менее 3 мм.
3.2.2. Требования к раме ворот (штанги и перекладина)
Между штангами и наземной частью рамы ворот (если она имеется) не должно быть свободного пространства.
Профиль боковых деталей наземной части рамы ворот не должен выступать за пределы штанг.
3.2.3. Прочность
При проведении испытаний на прочность в соответствии с Приложением А верхняя перекладина ворот не должна иметь трещин, поломок или остаточной деформации более 10 мм через 30 мин после снятия нагрузки.
3.2.4. Устойчивость
При проведении испытаний в соответствии с Б.1 (см. Приложение Б) ворота типов 1 - 3 не должны опрокидываться или смещаться.
При проведении испытаний в соответствии с Б.2 (см. Приложение Б) ворота типа 4 не должны опрокидываться.
3.2.5. Крепление сетки
При проведении испытаний точки крепления сетки не должны разрушаться или деформироваться.
Элементы крепления сетки должны быть разработаны таким образом, чтобы исключить травмы спортсменов.
Это требование выполняется, если, например, любые отверстия или зазоры (то есть отверстия или зазоры, расположенные на окружности профиля штанг и перекладины ворот) имеют размер не более 8 мм или не менее 25 мм. Не должны использоваться открытые крючки из металла для крепления сетки. Если в качестве элементов крепления сетки к земле или для присоединения к штангам используют карабинные крюки, допускаются только оснащенные колпачковыми гайками.
3.2.6. Предотвращение застреваний
Во избежание застреваний ни один из элементов конструкции ворот, расположенных выше 1200 мм от поверхности земли (например, стойка натяжения сетки), не должен иметь сужений, направленных вниз под углом менее чем 60° и отверстий (проемов) диаметром менее 230 мм.
4. Методы испытаний
4.1. Требования в соответствии с разделом 3 проверяют визуально, органолептически или инструментальными методами.
4.2. При проведении проверки в лабораторных условиях ворота должны быть выдержаны как минимум 1 ч при температуре (20 +/- 5) °C.
4.3. Испытания на прочность - в соответствии с Приложением А.
4.4. Испытания на устойчивость ворот типов 1 - 3 - в соответствии с Б.1 (см. Приложение Б).
4.5. Испытания на устойчивость ворот типа 4 - в соответствии с Б.2 (см. Приложение Б).
4.6. Испытания на прочность крепления сетки - в соответствии с Приложением В.
4.7. По результатам испытаний оформляют отчет или протокол.
5. Документация изготовителя (поставщика)
(раздел 5 в ред. Изменения N 1, утв. Приказом
Росстандарта от 02.09.2016 N 1028-ст)
5.1. Изготовитель (поставщик) должен иметь паспорт на ворота согласно ГОСТ 2.601 на русском языке, а также при необходимости на государственных языках субъектов Российской Федерации и родных языках народов Российской Федерации.
5.2. Паспорт на ворота должен содержать следующую минимальную информацию:
- основные сведения об оборудовании;
- основные технические данные;
- комплектность;
- гарантийные обязательства;
- сведения о хранении;
- инструкцию по монтажу/установке ворот;
- инструкцию по контролю и техническому обслуживанию ворот;
- правила безопасной эксплуатации;
- форму подтверждения ввода оборудования в эксплуатацию.
Рекомендуемая форма акта подтверждения ввода оборудования в эксплуатацию приведена в Приложении Д.
5.3. Инструкция по монтажу/установке ворот должна содержать следующую минимальную информацию:
- порядок монтажа;
- необходимые обозначения, облегчающие сборку;
- перечень необходимых специальных приспособлений и инструментов для монтажа (шаблонов, калибров, лекал);
- меры предосторожности при монтаже и установке;
- значение крутящего момента (по необходимости);
- инструкцию по способу установки ворот (для ворот со стойками, закрепленными в установочных гильзах), обеспечивающему устойчивость ворот на месте эксплуатации в соответствии с требованиями 3.2.4;
- инструкцию по способу установки ворот (для свободно стоящих ворот с противовесом), обеспечивающему устойчивость ворот на месте эксплуатации в соответствии с требованиями 3.2.4.
5.4. В документации изготовителя (поставщика) следует указать, что ворота должны быть защищены от опрокидывания в том случае, когда они не используются.
6. Информационная табличка
На воротах должна быть закреплена табличка с одной из следующих надписей:
"Ворота предназначены для использования исключительно в качестве футбольных ворот".
"Перед использованием ворот необходимо проверить прочность затяжки всех соединений и регулярно повторять такую проверку в дальнейшем".
"Ворота должны быть защищены от опрокидывания".
"Не залезать на сетку или раму ворот".
Примечание. Вместо таблички с текстом возможно использование подходящих графических материалов.
7. Маркировка оборудования
(раздел 7 в ред. Изменения N 1, утв. Приказом
Росстандарта от 02.09.2016 N 1028-ст)
7.1. Маркировка оборудования должна содержать информацию для потребителей, однозначно понимаемую, полную и достоверную.
7.2. Маркировка не должна содержать информацию рекламного характера.
7.3. Информация об организации, принимающей претензии (предложения) по качеству оборудования на территории Российской Федерации, указывается в эксплуатационной документации.
7.4. Маркировка, содержащая информацию в соответствии с эксплуатационной документацией, в виде текста, отдельных графических, цветовых знаков (условных обозначений) и (или) рисунка и их комбинаций наносится непосредственно на оборудование и (или) этикетку (ярлык, табличку).
7.5. Маркировка должна быть нанесена на русском языке. В дополнение к маркировке на русском языке допускается наносить идентичную информацию на других языках.
7.6. Маркировка должна быть четко обозначенной, разборчивой и размещаться на фоне, контрастном по отношению к цвету поверхности, на котором она расположена.
7.7. Маркировка должна сохраняться в течение срока службы оборудования, установленного производителем. Способы нанесения и изготовления этикеток (ярлык, табличка), должны учитывать особенности оборудования и обеспечивать необходимое качество изображения.
7.8. Маркировка, нанесенная на оборудование, не должна влиять на его безопасность и качество, должна обеспечивать стойкость нанесенной информации при хранении, транспортировании, реализации, использовании и воздействии климатических факторов.
7.9. Сохранность маркировки, применяемой в условиях активного воздействия окружающей среды, может быть обеспечена одним из следующих способов или их сочетанием:
- применение стойкого к воздействию материала-носителя (влагостойкого, термостойкого);
- применение соответствующего метода нанесения (выдавливание, травление);
- применение стойкой к воздействию оболочки (прозрачная пленка).
7.10. Маркировка всего оборудования должна содержать следующую минимальную информацию:
- обозначение настоящего стандарта;
- наименование или товарный знак изготовителя (при наличии);
- информационную табличку в соответствии с разделом 6;
- уникальный идентификационный номер (для единичного изделия).
8. Обеспечение требований безопасности
(раздел 8 введен Изменением N 1, утв. Приказом
Росстандарта от 02.09.2016 N 1028-ст)
8.1. Ввод оборудования в эксплуатацию
8.1.1. Готовность ворот к применению (использованию) осуществляется в форме документально оформленного ввода в эксплуатацию.
8.1.2. В эксплуатацию вводится оборудование, сертифицированное на соответствие требованиям настоящего стандарта в части, подлежащей обязательной сертификации.
8.1.3. Ввод в эксплуатацию осуществляется по завершении монтажа/установки оборудования на месте эксплуатации. Монтаж/установка должны быть осуществлены по технологии, учитывающей требования технической документации, местные условия проведения монтажа и обеспечивающей выполнение требований безопасности. По окончании монтажных/установочных работ выполняющая их организация вносит запись о качестве монтажа/установки оборудования в паспорт оборудования. Указанная запись должна быть подписана уполномоченными лицами организации, эксплуатирующей оборудование, организации, выполнившей монтаж/установку (при монтаже силами сторонней организации), скреплена печатями. Указанная запись является подтверждением ввода оборудования в эксплуатацию.
8.1.4. Не допускается использование ворот, не прошедших сертификацию и/или не введенных в эксплуатацию.
8.2. Контроль и техническое обслуживание оборудования
8.2.1. Ворота осматривают и обслуживают в соответствии с инструкцией изготовителя с периодичностью, установленной изготовителем.
8.2.2. Контроль за техническим состоянием ворот, техническое обслуживание и ремонт осуществляет эксплуатант (владелец).
8.2.3. При обнаружении в процессе контроля и технического обслуживания ворот дефектов, влияющих на безопасность оборудования, дефекты немедленно устраняют. Если это невозможно, эксплуатант (владелец) принимает меры, исключающие возможность использования ворот, либо удаляет ворота с места эксплуатации.
8.3. Требования безопасности при эксплуатации
Эксплуатант (владелец) разрабатывает и обеспечивает выполнение комплекса мероприятий по безопасной эксплуатации ворот на основе учета:
- конструкции ворот;
- эксплуатационных и иных документов, предоставленных владельцем;
- установки, обслуживания и использования ворот;
- климатических условий и условий эксплуатации ворот.
8.4. Вся эксплуатационная документация подлежит постоянному хранению. Следует обеспечить постоянный доступ персонала к документации во время осмотров, технического обслуживания и ремонта ворот.
Приложение А
(обязательное)
ОЦЕНКА ПРОЧНОСТИ ВОРОТ ПРИ ВЕРТИКАЛЬНОМ НАГРУЖЕНИИ
А.1. Сущность метода
При испытаниях к середине перекладины ворот прикладывают сосредоточенную вертикальную нагрузку (1800 +/- 50) Н и выдерживают в течение (60 +/- 10) с.
При приложении вертикальной испытательной нагрузки фиксируют наличие повреждений, в т.ч. трещин, поломок, ослабление соединений и значение прогиба перекладины в вертикальном направлении.
После снятия нагрузки проверяют наличие остаточной деформации ворот через (1800 +/- 30) с, которая не должна превышать 10 мм.
После испытаний на перекладине не должно быть повреждений, в т.ч. трещин, поломок, ослабления соединений и связей.
А.2. Устройство нагружения
Устройство нагружения должно обеспечивать сосредоточенную вертикальную нагрузку (1800 +/- 50) Н, прикладываемую к середине перекладины ворот.
А.3. Процедура
А.3.1. Прикладывают вертикальную сосредоточенную нагрузку F = (1800 +/- 50) Н к середине перекладины ворот и выдерживают в течение (60 +/- 10) с.
А.3.2. Контролируют и фиксируют наличие повреждений, в т.ч. трещин, поломок, ослабление соединений и значение прогиба перекладины в вертикальном направлении.
А.3.3. Через (1800 +/- 30) с после снятия нагрузки проверяют наличие остаточной деформации ворот, которая не должна превышать 10 мм.
Приложение Б
(обязательное)
ОЦЕНКА УСТОЙЧИВОСТИ ВОРОТ ПРИ ГОРИЗОНТАЛЬНОМ НАГРУЖЕНИИ
Б.1. Оценка устойчивости ворот типов 1 - 3 при горизонтальном нагружении
Б.1.1. Сущность метода
При испытаниях к середине перекладины прикладывают сосредоточенную горизонтальную нагрузку (1100 +/- 50) Н и выдерживают в течение (60 +/- 10) с.
При приложении горизонтальной испытательной нагрузки ворота не должны опрокидываться или скользить.
После испытаний на конструкции ворот не должно быть повреждений, в т.ч. трещин, поломок, чрезмерных остаточных деформаций, ослабления соединений и связей.
Б.1.2. Аппаратура
Б.1.2.1. Устройство нагружения
Устройство нагружения должно обеспечивать сосредоточенную горизонтальную нагрузку (1100 +/- 50) Н, прикладываемую к середине перекладины ворот.
Б.1.3. Процедура
Б.1.3.1. Прикладывают горизонтальную сосредоточенную нагрузку F = (1100 +/- 50) Н к середине перекладины и выдерживают в течение (60 +/- 10) с, используя веревку длиной 3000 мм, в соответствии с рисунком Б.1.
Рисунок Б.1. Схема нагружения ворот
Б.1.3.2. Регистрируют наличие опрокидывания или скольжения.
Б.1.4. После снятия нагрузки осматривают ворота. На конструкции ворот не должно быть повреждений, в т.ч. трещин, поломок, чрезмерных остаточных деформаций, ослабления соединений и связей.
Б.2. Оценка устойчивости ворот типа 4 при горизонтальном нагружении
Б.2.1. Сущность метода
При испытаниях к середине перекладины прикладывают сосредоточенную горизонтальную нагрузку (1100 +/- 50) Н и выдерживают в течение (60 +/- 10) с.
При приложении горизонтальной испытательной нагрузки ворота не должны опрокидываться или скользить.
После испытаний на конструкции ворот не должно быть повреждений, в т.ч. трещин, поломок, чрезмерных остаточных деформаций, ослабления соединений и связей.
Б.2.2. Аппаратура
Б.2.2.1. Устройство нагружения
Устройство нагружения должно обеспечивать сосредоточенную горизонтальную нагрузку (1100 +/- 50) Н, прикладываемую к середине перекладины ворот.
Б.2.3. Процедура
Б.2.3.1. Прикладывают горизонтальную сосредоточенную нагрузку F = (1100 +/- 50) Н к середине перекладины и выдерживают в течение (60 +/- 10) с, используя веревку длиной 3000 мм, в соответствии с рисунком Б.2.
Рисунок Б.2. Схема нагружения ворот
Б.2.3.2. Регистрируют наличие опрокидывания или скольжения.
Б.2.4. После снятия нагрузки осматривают ворота. На конструкции ворот не должно быть повреждений, в т.ч. трещин, поломок, чрезмерных остаточных деформаций, ослабления соединений и связей.
Приложение В
(обязательное)
ОЦЕНКА ПРОЧНОСТИ КРЕПЛЕНИЯ СЕТКИ
ПРИ ГОРИЗОНТАЛЬНОМ НАГРУЖЕНИИ
В.1. Сущность метода
При испытаниях в середине ворот к ячейкам сетки, расположенным на 1000 мм ниже перекладины ворот, прикладывают горизонтальную нагрузку (1100 +/- 50) Н и выдерживают в течение 10 с.
После испытаний проверяют и фиксируют наличие на сетке повреждений и чрезмерных остаточных деформаций, ослабления соединений и связей.
В.2. Аппаратура
В.2.1. Устройство нагружения
Устройство нагружения должно обеспечивать сосредоточенную горизонтальную нагрузку (1100 +/- 50) Н, прикладываемую в середине ворот к ячейкам сетки, расположенным на 1000 мм ниже перекладины.
В.2.3. Процедура
Прикладывают в середине ворот к ячейкам сетки, расположенным на 1000 мм ниже перекладины, горизонтальную сосредоточенную нагрузку F = (1100 +/- 50) Н и выдерживают в течение 10 с.
В.2.4. После снятия нагрузки фиксируют наличие на сетке повреждений и чрезмерных остаточных деформаций, ослабления соединений и связей.
Приложение Г
(справочное)
ПРИМЕР ФУНДАМЕНТА И КРЕПЛЕНИЯ УСТАНОВОЧНЫХ ГИЛЬЗ
Г.1. Пример крепления установочной гильзы в бетонный блок показан на рисунке Г.1. Размеры h1 и h2 приведены в таблице Г.1.
1 - штанга/стойка натяжения сетки; 2 - покрытие
футбольного поля; 3 - бетон; 4 - установочная
гильза; 5 - дренажное отверстие
Рисунок Г.1. Пример крепления установочной
гильзы в бетонный блок
Таблица Г.1
Размеры h1 и h2
Параметр
Размер, мм, не менее
h1
40
h2
350
Приложение Д
(рекомендуемое)
(Приложение Д введено Изменением N 1, утв. Приказом
Росстандарта от 02.09.2016 N 1028-ст)
ФОРМА
АКТА ПОДТВЕРЖДЕНИЯ ВВОДА ОБОРУДОВАНИЯ В ЭКСПЛУАТАЦИЮ
Место составления __________________________________ дата _____________
Мы, нижеподписавшиеся: ______________________________________ (эксплуатант, монтажная организация при наличии), настоящим подтверждаем, что ворота футбольные _____________________ (производитель, модель, иная идентификационная информация) установлены по адресу: _________________________________________________________.
Установка осуществлена надлежащим образом, с соблюдением требований ГОСТ 55664, паспорта оборудования и инструкции по монтажу/установке.
Члены комиссии:
______________ (подпись, печать) ______________ (подпись, печать).