Главная // Актуальные документы // ГОСТ Р (Государственный стандарт)
СПРАВКА
Источник публикации
М.: Стандартинформ, 2016
Примечание к документу
Документ введен в действие с 1 января 2017 года.
Название документа
"ГОСТ Р 56898-2016. Национальный стандарт Российской Федерации. Оборудование для спортивных игр. Оборудование для тенниса. Функциональные требования, требования безопасности и методы испытаний"
(утв. и введен в действие Приказом Росстандарта от 25.03.2016 N 209-ст)

"ГОСТ Р 56898-2016. Национальный стандарт Российской Федерации. Оборудование для спортивных игр. Оборудование для тенниса. Функциональные требования, требования безопасности и методы испытаний"
(утв. и введен в действие Приказом Росстандарта от 25.03.2016 N 209-ст)


Содержание


Утвержден и введен в действие
Приказом Федерального
агентства по техническому
регулированию и метрологии
от 25 марта 2016 г. N 209-ст
НАЦИОНАЛЬНЫЙ СТАНДАРТ РОССИЙСКОЙ ФЕДЕРАЦИИ
ОБОРУДОВАНИЕ ДЛЯ СПОРТИВНЫХ ИГР
ОБОРУДОВАНИЕ ДЛЯ ТЕННИСА
ФУНКЦИОНАЛЬНЫЕ ТРЕБОВАНИЯ, ТРЕБОВАНИЯ БЕЗОПАСНОСТИ
И МЕТОДЫ ИСПЫТАНИЙ
Equipment for sports games. Tennis equipment.
Functional requirements, safety requirements
and test methods
ГОСТ Р 56898-2016
ОКС 97.220.30
Дата введения
1 января 2017 года
Предисловие
1 РАЗРАБОТАН Саморегулируемой организацией Некоммерческим партнерством "Отраслевое объединение национальных производителей в сфере физической культуры и спорта "Промспорт" (СРО "Промспорт")
2 ВНЕСЕН Техническим комитетом по стандартизации ТК 444 "Спортивные и туристские изделия, оборудование, инвентарь, физкультурные и спортивные услуги"
3 УТВЕРЖДЕН И ВВЕДЕН В ДЕЙСТВИЕ Приказом Федерального агентства по техническому регулированию и метрологии от 25 марта 2016 г. N 209-ст
4 Настоящий стандарт разработан с учетом основных нормативных положений европейского регионального стандарта ЕН 1510:2004 "Оборудование для спортивных площадок. Оборудование для игры в теннис. Функциональные требования, требования безопасности и методы испытаний" ("Playing field equipment - Tennis equipment - Functional and safety requirements, test methods", NEQ)
5 ВВЕДЕН ВПЕРВЫЕ
Правила применения настоящего стандарта установлены в ГОСТ Р 1.0-2012 (раздел 8). Информация об изменениях к настоящему стандарту публикуется в ежегодном (по состоянию на 1 января текущего года) информационном указателе "Национальные стандарты", а официальный текст изменений и поправок - в ежемесячном информационном указателе "Национальные стандарты". В случае пересмотра (замены) или отмены настоящего стандарта соответствующее уведомление будет опубликовано в ближайшем выпуске ежемесячного информационного указателя "Национальные стандарты". Соответствующая информация, уведомление и тексты размещаются также в информационной системе общего пользования - на официальном сайте Федерального агентства по техническому регулированию и метрологии в сети Интернет (www.gost.ru)
1 Область применения
Настоящий стандарт распространяется на оборудование для тенниса типов 1 - 2 с сеткой классов A - C, используемое в спортивных залах и на открытом воздухе.
Настоящий стандарт устанавливает классификацию, функциональные требования, требования безопасности и методы испытаний оборудования для тенниса типов 1 - 2.
Настоящий стандарт не распространяется на ракетки и мячи для тенниса.
2 Нормативные ссылки
В настоящем стандарте использована нормативная ссылка на следующий стандарт:
ГОСТ ISO 2062-2014 Материалы текстильные. Пряжа в паковках. Методы определения разрывной нагрузки и относительного удлинения при разрыве одиночной нити с использованием прибора для испытаний с постоянной скоростью растяжения образца (CRE)
Примечание - При пользовании настоящим стандартом целесообразно проверить действие ссылочных стандартов в информационной системе общего пользования - на официальном сайте Федерального агентства по техническому регулированию и метрологии в сети Интернет или по ежегодному информационному указателю "Национальные стандарты", который опубликован по состоянию на 1 января текущего года, и по выпускам ежемесячного информационного указателя "Национальные стандарты" за текущий год. Если заменен ссылочный стандарт, на который дана недатированная ссылка, то рекомендуется использовать действующую версию этого стандарта с учетом всех внесенных в данную версию изменений. Если заменен ссылочный стандарт, на который дана датированная ссылка, то рекомендуется использовать версию этого стандарта с указанным выше годом утверждения (принятия). Если после утверждения настоящего стандарта в ссылочный стандарт, на который дана датированная ссылка, внесено изменение, затрагивающее положение, на которое дана ссылка, то это положение рекомендуется применять без учета данного изменения. Если ссылочный стандарт отменен без замены, то положение, в котором дана ссылка на него, рекомендуется применять в части, не затрагивающей эту ссылку.
3 Требования
3.1 Функциональные требования
3.1.1 Классификация
3.1.1.1 Оборудование для тенниса классифицируют по типам в соответствии с таблицей 1.
Таблица 1
Классификация оборудования для тенниса по типам
Тип
Внешний вид
Описание
1
Оборудование для тенниса с установочными гильзами
2
Оборудование для тенниса со стаканом и элементами крепления к земле
3
Свободно стоящее оборудование для тенниса
3.1.1.2 Сетки для тенниса классифицируют по классам в соответствии с таблицей 2.
Таблица 2
Классификация сеток для тенниса по классам
Класс
Разрывная нагрузка ячеек сетки, Н/м
Разрушающая нагрузка несущего троса, Н/м
Растягивающая нагрузка верхней ленты сетки, Н/м
A
1800 (1500)
8000
2500
B
1080 (900)
6000
1250
C
792 (660)
3000
900
Примечание - В скобках указаны значения разрывной нагрузки ячеек сетки по ГОСТ ISO 2062.
3.1.2 Основные размеры
3.1.2.1 Основные размеры оборудования для тенниса показаны на рисунке 1.
1 - стойка; 2 - подпорка; 3 - сетка; 4 - регулятор сетки;
5 - несущий трос; 6 - верхняя лента сетки; 7 - анкер
для крепления к земле; 8 - крюки для натяжения сетки;
9 - регулировочная лента сетки
Рисунок 1 - Основные размеры оборудования и элементы
конструкции сетки для тенниса
3.1.2.2 Оборудование для тенниса типа 1 состоит из следующих элементов:
- две стойки (одна с натяжным устройством, одна без него);
- сетка с несущим тросом;
- регулятор сетки;
- две установочные гильзы;
- две подпорки.
Примечание - Допускается отсутствие подпорок в комплекте оборудования для тенниса типа 1.
3.1.2.3 Оборудование для тенниса типа 2 состоит из следующих элементов:
- две стойки (одна с натяжным устройством, одна без него) со стаканом и элементами крепления к земле;
- сетка;
- регулятор сетки.
3.1.3 Материалы
3.1.3.1 Оборудование для тенниса должно быть изготовлено из стали, легких сплавов, синтетического материала или дерева.
Легкие сплавы должны быть коррозионно-стойкими.
Сталь должна быть защищена от коррозии (например, путем горячего цинкования, нанесения порошкового покрытия или окрашивания).
3.1.3.2 Сетка должна быть изготовлена из синтетических волокон.
3.1.3.3 Несущий трос должен быть изготовлен из оцинкованной или защищенной от коррозии стальной проволоки либо любого другого материала, имеющего аналогичные свойства.
Примечание - Допускается использование синтетического покрытия несущего троса.
3.1.3.4 Верхняя и регулировочная ленты сетки должны быть изготовлены из синтетического материала или натуральных волокон.
3.1.4 Конструкция
3.1.4.1 Стойки
Поперечное сечение стойки должно иметь форму круга диаметром не более 150 мм или квадрата, сторона которого не более 150 мм.
Стойки должны быть сконструированы таким образом, чтобы поддерживать трос на высоте 1070 мм.
Одна из стоек должна быть оснащена натяжным устройством, а другая - направляющим и крепежным устройством для несущего троса.
При испытаниях стоек по приложению А значение остаточной деформации должно быть не более 10 мм.
3.1.4.2 Сетка
Элементы конструкции сетки показаны на рисунке 1.
Верхняя лента сетки должна быть белого цвета.
Ширина верхней ленты сетки в сложенном виде должна быть от 50 до 65 мм.
Верхняя лента должна быть пришита к сетке одним из следующих способов:
- минимум двукратно - в случае синтетической нити с разрывной нагрузкой 50 Н;
- однократно - в случае синтетической нити с разрывной нагрузкой 100 Н;
- любым другим способом, обеспечивающим требуемую прочность.
Диаметр несущего троса должен быть не более 8 мм.
Несущий трос должен быть протянут в верхней ленте сетки.
Концы несущего троса должны быть выведены таким образом, чтобы они не истирались и была обеспечена возможность их присоединения к соответствующему натяжному и/или крепежному устройству.
Сетка должна полностью заполнять пространство между стойками, верхней лентой сетки и игровым полем. Сетка не должна быть натянутой.
Размеры ячеек сетки должны предотвращать сквозное проскальзывание мяча.
Разрывную, разрушающую и растягивающую нагрузки элементов сетки выбирают в зависимости от класса сетки для тенниса в соответствии с таблицей 2.
3.1.4.3 Регулятор сетки
Регулятор сетки должен состоять из следующих элементов:
- одна регулирующая лента сетки;
- один натяжной крюк;
- один анкер для крепления к земле (для оборудования типов 1 и 2).
Регулирующая лента сетки должна быть белого цвета.
Диапазон регулировки натяжного крюка по высоте сетки должен быть от 1070 до 910 мм.
Примечание - В случаях оборудования для тенниса, используемого для официальных международных или национальных соревнований, высота середины сетки должна быть установлена требованиями соответствующих федераций тенниса.
3.1.4.4 Подпорки
Сетка может поддерживаться двумя свободно стоящими стойками (подпорками), если сетку, рассчитанную на парную игру, используют для одиночной игры.
Подпорки, поддерживающие сетку для парной игры, должны удерживать несущий трос на требуемой высоте (см. рисунок 1).
Поперечное сечение подпорки должно иметь форму круга диаметром не более 75 мм или квадрата, сторона которого равна не более 75 мм.
Высота подпорки должна быть меньше высоты стоек.
3.1.4.5 Установочные гильзы
Установочные гильзы должны быть защищены от коррозии.
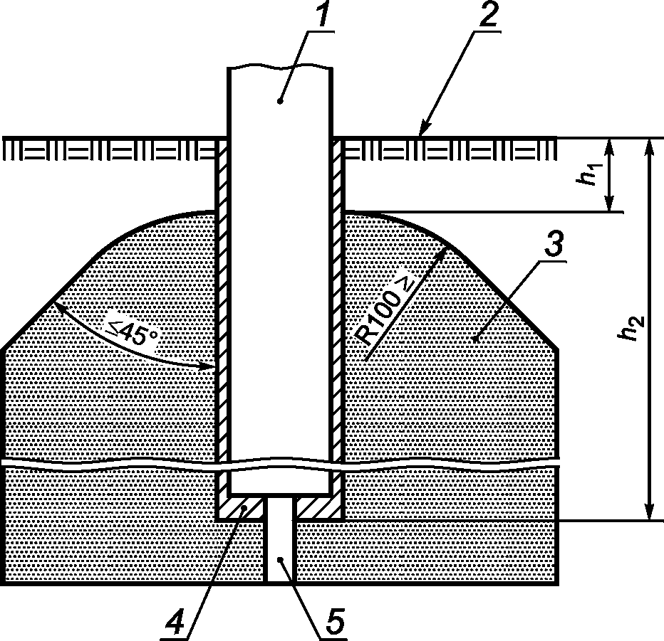
Пример фундамента для монтажа оборудования для тенниса типа 1 показан на рисунке 2.
1 - стойка; 2 - покрытие игровой площадки; 3 - бетонный
блок; 4 - установочная гильза; 5 - дренажное отверстие;
h1 - расстояние между поверхностью игровой площадки
и верхней точкой бетонного блока; h2 - высота
установочной гильзы
Рисунок 2 - Пример фундамента для монтажа оборудования
для тенниса типа 1
3.2 Требования безопасности
3.2.1 Общие положения
3.2.1.1 Радиус закругления выступающих углов и кромок оборудования для тенниса должен быть не менее 3 мм.
3.2.1.2 Анкер для крепления оборудования к земле должен быть расположен за пределами игрового поля.
3.2.2 Натяжное устройство
3.2.2.1 Конструкция натяжного устройства должна обеспечивать отсутствие возможности самопроизвольного расцепления при испытаниях в соответствии с приложением А.
3.2.2.2 Рукоятка или лебедка (при наличии) натяжного устройства не должна выступать за периметр стойки.
3.2.3 Крюки для натяжения сетки
Открытый конец крюка для натяжения сетки (при наличии) должен быть сконструирован таким образом, чтобы исключить опасность для пользователей.
Открытый конец крюка для крепления сетки не должен быть обращен к игровому полю.
4 Методы испытаний
4.1 Соответствие оборудования для тенниса требованиям, изложенным в разделе 3, проверяют визуальными, органолептическими и инструментальными методами.
4.2 Испытания стоек и натяжного устройства - по приложению А.
4.3 Испытания ячеек сетки - по [1].
4.4 Испытания несущего троса - по [2].
4.5 Испытания верхней ленты сетки - по [3].
4.6 По результатам испытаний оформляют отчет или протокол.
5 Инструкция по эксплуатации
Изготовитель/поставщик вместе с оборудованием для тенниса должен предоставить инструкцию по эксплуатации, содержащую следующую информацию:
- наименование оборудования;
- указания по установке оборудования;
- указания по сборке (в т.ч. сведения о натяжном устройстве, регулировке высоты стоек и т.д.);
- указания по креплению сетки;
- указания по техническому обслуживанию.
6 Маркировка
На оборудовании для тенниса, которое соответствует требованиям настоящего стандарта, должна быть нанесена следующая маркировка:
- наименование оборудования;
- тип оборудования;
- класс сетки;
- обозначение настоящего стандарта;
- наименование и/или торговый знак изготовителя;
- год изготовления.
Примечание - В случае оборудования для тенниса, предназначенного для официальных международных или национальных соревнований, следует учитывать требования соответствующих федераций по теннису относительно размещения рекламных материалов на сетке, регулирующей ленте сетки и подпорках.
Приложение А
(обязательное)
ИСПЫТАНИЯ СТОЕК И НАТЯЖНОГО УСТРОЙСТВА
А.1 Сущность метода
А.1.1 Стойки устанавливают в рабочее положение, несущий трос заменяют на стальную проволоку, к которой присоединяют динамометр.
А.1.2 С помощью натяжного устройства постепенно увеличивают натяжение стальной проволоки до (2290 +/- 50) Н и выдерживают в течение 10 мин при температуре (20 +/- 5) °C.
А.1.3 После снятия нагрузки регистрируют значение остаточной деформации стоек.
А.2 Устройство нагружения
Для проведения испытаний используют стальную проволоку диаметром 5 мм и динамометр.
Натяжное устройство оборудования для тенниса должно обеспечивать натяжение, равное (2290 +/- 50) Н, в течение 10 мин.
А.3 Условия проведения испытаний
Испытания стоек оборудования для тенниса проводят при температуре окружающей среды (20 +/- 5) °C.
А.4 Процедура
А.4.1 Стойки устанавливают в рабочее положение, несущий трос заменяют на стальную проволоку, к которой присоединяют динамометр.
А.4.2 С помощью натяжного устройства постепенно увеличивают натяжение стальной проволоки до (2290 +/- 50) Н и выдерживают в течение 10 мин при температуре (20 +/- 5) °C.
А.4.3 После снятия нагрузки регистрируют значение остаточной деформации стоек.
А.4.4 На конструкции стоек не должно быть повреждений, в т.ч. трещин, поломок, чрезмерных остаточных деформаций.
БИБЛИОГРАФИЯ
[1]
EN ISO 1806:2002
Сети рыболовные. Определение разрывной нагрузки ячеек сетного полотна (Fishing nets - Determination of mesh breaking force of netting)
[2]
ISO 3108:1974
Канаты стальные проволочные общего назначения. Определение фактической разрывной нагрузки (Steel wire ropes for general purposes - Determination of actual breaking load)
[3]
EN ISO 13934-1:2013
Ткани текстильные. Свойства при растяжении. Часть 1. Определение максимального усилия и относительного удлинения при максимальном усилии методом полосы (Textiles - Tensile properties of fabrics - Part 1: Determination of maximum force and elongation at maximum force using the strip method)