Главная // Актуальные документы // ГОСТ Р (Государственный стандарт)
СПРАВКА
Источник публикации
М.: Стандартинформ, 2016
Примечание к документу
Документ утратил силу с 01.07.2022 в связи с изданием Приказа Росстандарта от 29.12.2021 N 1884-ст. Взамен введен в действие ГОСТ Р 56433-2021.

Документ введен в действие с 01.07.2016.
Название документа
"ГОСТ Р 56433-2015. Национальный стандарт Российской Федерации. Оборудование для спортивных игр. Оборудование волейбольное. Функциональные требования, требования безопасности и методы испытаний"
(утв. и введен в действие Приказом Росстандарта от 15.06.2015 N 651-ст)

"ГОСТ Р 56433-2015. Национальный стандарт Российской Федерации. Оборудование для спортивных игр. Оборудование волейбольное. Функциональные требования, требования безопасности и методы испытаний"
(утв. и введен в действие Приказом Росстандарта от 15.06.2015 N 651-ст)


Содержание


Утвержден и введен в действие
Приказом Федерального агентства
по техническому регулированию
и метрологии
от 15 июня 2015 г. N 651-ст
НАЦИОНАЛЬНЫЙ СТАНДАРТ РОССИЙСКОЙ ФЕДЕРАЦИИ
ОБОРУДОВАНИЕ ДЛЯ СПОРТИВНЫХ ИГР
ОБОРУДОВАНИЕ ВОЛЕЙБОЛЬНОЕ
ФУНКЦИОНАЛЬНЫЕ ТРЕБОВАНИЯ, ТРЕБОВАНИЯ БЕЗОПАСНОСТИ
И МЕТОДЫ ИСПЫТАНИЙ
Equipment for sports games. Volleyball equipment. Functional
requirements, safety requirements and test methods
(EN 1271:2004+AC:2005, NEQ)
ГОСТ Р 56433-2015
ОКС 97.220.30
Дата введения
1 июля 2016 года
Предисловие
1 РАЗРАБОТАН Саморегулируемой организацией Некоммерческим партнерством "Отраслевое объединение национальных производителей в сфере физической культуры и спорта "Промспорт" (СРО "Промспорт")
2 ВНЕСЕН Техническим комитетом по стандартизации ТК 444 "Спортивные и туристские изделия, оборудование, инвентарь, физкультурные и спортивные услуги"
3 УТВЕРЖДЕН И ВВЕДЕН В ДЕЙСТВИЕ Приказом Федерального агентства по техническому регулированию и метрологии от 15 июня 2015 г. N 651-ст
4 Настоящий стандарт разработан с учетом основных нормативных положений европейского регионального стандарта ЕН 1271:2004+AC:2005 "Оборудование для спортивных игр. Оборудование волейбольное. Функциональные требования, требования безопасности и методы испытаний" (EN 1271:2004+AC:2005 "Playing field equipment - Volleyball equipment - Functional and safety requirements, test methods", NEQ)
5 ВВЕДЕН ВПЕРВЫЕ
Правила применения настоящего стандарта установлены в ГОСТ Р 1.0-2012 (раздел 8). Информация об изменениях к настоящему стандарту публикуется в ежегодном (по состоянию на 1 января текущего года) информационном указателе "Национальные стандарты", а официальный текст изменений и поправок - в ежемесячном информационном указателе "Национальные стандарты". В случае пересмотра (замены) или отмены настоящего стандарта соответствующее уведомление будет опубликовано в ближайшем выпуске ежемесячного информационного указателя "Национальные стандарты". Соответствующая информация, уведомление и тексты размещаются также в информационной системе общего пользования - на официальном сайте Федерального агентства по техническому регулированию и метрологии в сети Интернет (www.gost.ru)
1 Область применения
Настоящий стандарт распространяется на волейбольное оборудование типов 1 - 2 и классов A - C. Стандарт устанавливает функциональные требования, требования безопасности и методы испытаний волейбольного оборудования.
Настоящий стандарт не распространяется на оборудование для пляжного волейбола.
2 Нормативные ссылки
В настоящем стандарте использованы нормативные ссылки на следующие стандарты:
ГОСТ 3241-91 Канаты стальные. Технические условия
ГОСТ 25552-82 Изделия крученые и плетеные. Методы испытаний
ГОСТ Р 56446-2015 Оборудование гимнастическое. Общие требования безопасности и методы испытаний
ГОСТ Р ИСО 2307-2007 Изделия канатные. Методы определения физических и механических свойств
Примечание - При пользовании настоящим стандартом целесообразно проверить действие ссылочных стандартов в информационной системе общего пользования - на официальном сайте Федерального агентства по техническому регулированию и метрологии в сети Интернет или по ежегодному информационному указателю "Национальные стандарты", который опубликован по состоянию на 1 января текущего года, и по выпускам ежемесячного информационного указателя "Национальные стандарты" за текущий год. Если заменен ссылочный стандарт, на который дана недатированная ссылка, то рекомендуется использовать действующую версию этого стандарта с учетом всех внесенных в данную версию изменений. Если заменен ссылочный стандарт, на который дана датированная ссылка, то рекомендуется использовать версию этого стандарта с указанным выше годом утверждения (принятия). Если после утверждения настоящего стандарта в ссылочный стандарт, на который дана датированная ссылка, внесено изменение, затрагивающее положение, на который дана ссылка, то это положение рекомендуется применять без учета данного изменения. Если ссылочный стандарт отменен без замены, то положение, в котором дана ссылка на него, рекомендуется применять в части, не затрагивающей эту ссылку.
3 Требования
3.1 Функциональные требования
3.1.1 Классификация волейбольного оборудования
Волейбольное оборудование, которое используют в залах и на открытом воздухе, классифицируют по типам в соответствии с таблицей 1 и по классам в соответствии с таблицей 2.
Таблица 1
Классификация волейбольного оборудования по типам
Тип
Рисунок
Описание оборудования
1
Волейбольное оборудование с установочными гильзами
2
Волейбольное оборудование с элементами крепления к земле
Таблица 2
Классификация волейбольного оборудования по классам
Класс
Описание оборудования
A
Волейбольное оборудование для международных соревнований
B
Волейбольное оборудование для национальных соревнований
C
Волейбольное оборудование для массового спорта и занятий физической культурой в образовательных учреждениях
3.1.2 Размеры
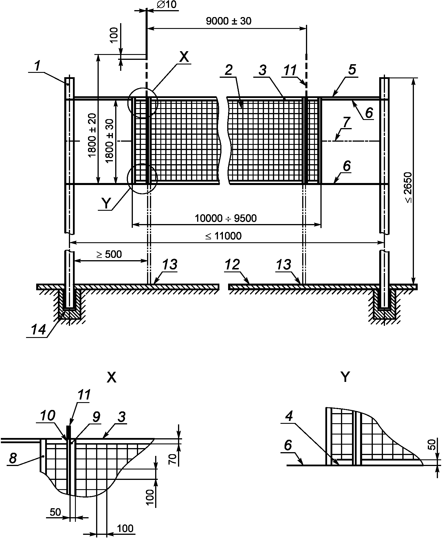
3.1.2.1 Элементы конструкции и размеры волейбольного оборудования типа 1 классов A и B представлены на рисунке 1.
1 - стойка; 2 - сетка; 3 - верхняя окантовочная лента;
4 - нижняя окантовочная лента; 5 - несущий трос;
6 - натяжная сторона; 7 - натяжной трос (опция); 8 - краевая
окантовка; 9 - боковая лента; 10 - карман антенны
(альтернатива боковой ленты 9); 11 - антенна; 12 - покрытие
игрового поля; 13 - боковая линия; 14 - установочная гильза
Рисунок 1 - Конструкции и размеры волейбольного оборудования
типа 1 классов A и B
3.1.2.2 Полный комплект волейбольного оборудования типа 1 должен состоять из следующих частей:
- стойки - 2 шт. (одна с натяжным устройством и одна с устройством крепления троса);
- обшивка для стойки (для оборудования классов A и B) - 2 шт.;
- установочная гильза - 2 шт.;
- сетка - 1 шт.;
- антенна (для оборудования классов A и B) - 2 шт.;
- боковая лента (для оборудования классов A и B) - 2 шт.
3.1.2.3 Элементы конструкции волейбольного оборудования типа 2 классов A и B, отличающиеся от элементов конструкции волейбольного оборудования типа 1 классов A и B, представлены на рисунке 2. Размеры волейбольного оборудования типа 2 классов A и B такие же, как и для волейбольного оборудования типа 1 классов A и B (см. рисунок 1).
1 - стойки; 2 - стакан для крепления стойки;
3 - элементы для крепления к земле
Рисунок 2 - Элементы конструкции волейбольного
оборудования типа 2
3.1.2.4 Полный комплект волейбольного оборудования типа 2 должен состоять из следующих частей:
- стойка - 2 шт. (одна с натяжным устройством и одна с устройством крепления троса);
- обшивка для стойки (для оборудования класса B) - 2 шт.;
- стакан для крепления стойки с элементами для крепления к земле - 2 шт.;
- сетка - 1 шт.;
- антенна (для оборудования класса B) - 2 шт.;
- боковая лента (для оборудования класса B) - 2 шт.
3.1.3 Материалы
3.1.3.1 Стойки должны быть изготовлены из стали, легкого металла или синтетического материала при условии, что выполняются требования настоящего стандарта.
3.1.3.2 Легкий металл должен быть коррозионно-стойким, а сталь должна быть защищена от коррозии (например, путем горячего цинкования, нанесения порошкового покрытия или окрашивания).
3.1.3.3 Сетка должна быть изготовлена из синтетических волокон.
3.1.3.4 Несущий трос должен быть изготовлен из оцинкованной или защищенной от коррозии стальной проволоки, синтетического материала или другого равноценного материала.
3.1.3.5 Допускается синтетическое покрытие несущего троса.
3.1.3.6 Все окантовочные ленты для сетки должны быть изготовлены из синтетического материала.
3.1.3.7 Антенны должны быть изготовлены из синтетического материала, армированного стекловолокном, или аналогичного материала.
3.1.4 Конструкция
3.1.4.1 Закрепленная на стойках сетка должна иметь диапазон регулирования по высоте от покрытия игрового поля 2000 - 2500 мм.
3.1.4.2 Сетка для волейбольного оборудования классов A и B должна быть черной, а нижняя и верхняя окантовочные и боковая ленты должны быть белыми.
3.1.4.3 Ячейки сетки должны быть квадратной формы.
3.1.4.4 Несущий трос должен быть протянут в верхней окантовочной ленте.
3.1.4.5 В верхних и нижних углах сетка должна натягиваться горизонтально с помощью натяжных тросов, так чтобы несущий трос проходил параллельно нижнему шнуру сетки на расстоянии 1000 мм.
3.1.4.6 Сетка и ее составные части в зависимости от класса волейбольного оборудования должны быть устойчивы к нагрузкам, приведенным в таблицах 3 - 6.
Таблица 3
Устойчивость ячеек сетки к разрывной нагрузке
Класс
Нагрузка, Н, не менее
A
1800
B
1080
C
792
Испытания ячеек сетки на устойчивость к разрывной нагрузке проводят по ГОСТ 25552.
Таблица 4
Устойчивость натяжного шнура к растягивающей нагрузке
Класс
Нагрузка, Н, не менее
A
5000
B
3400
C
1100
Испытания натяжного шнура на устойчивость к растягивающей нагрузке проводят по ГОСТ Р ИСО 2307.
Таблица 5
Устойчивость несущего троса к разрывной нагрузке
Класс
Нагрузка, Н, не менее
A
8000
B
6000
C
3000
Испытания несущего троса на устойчивость к разрывной нагрузке проводят по ГОСТ 3241.
Таблица 6
Устойчивость лент сетки к растягивающей нагрузке
Класс
Нагрузка, Н, не менее
A
2500
B
1250
C
900
Испытания лент сетки на устойчивость к растягивающей нагрузке проводят по ГОСТ 25552.
3.1.4.7 Волейбольное оборудование классов A и B должно быть оснащено антеннами.
Антенны должны быть окрашены в виде поочередно расположенных полос красного и белого цветов.
Первый участок антенны над верхней лентой сетки должен быть белого цвета.
Съемные карманы антенн должны быть закреплены с обеих сторон сетки вертикально над точками пересечения боковых линий и центральной линии игрового поля.
3.1.4.8 Установочные гильзы волейбольного оборудования, предназначенного для использования на открытом воздухе, должны быть защищены от коррозии и иметь дренажные отверстия.
3.2 Требования безопасности
3.2.1 Радиус закругления выступающих углов и кромок должен составлять не менее 3 мм.
3.2.2 Стойки
3.2.2.1 Значение прогиба стоек волейбольного оборудования классов A и B при испытаниях по приложению А должно быть не более 80 мм. После снятия нагрузки не должно быть зарегистрировано остаточных деформаций.
3.2.2.2 Масса стоек волейбольного оборудования классов A и B должна быть установлена в соответствующих правилах проведения соревнований. Масса стоек волейбольного оборудования класса C - в соответствии с таблицей 7.
Таблица 7
Масса стоек волейбольного оборудования класса C
Тип
Масса, кг, не более
1
20
2
30 <*>
<*> В т.ч. масса роликов.
3.2.3 Натяжные устройства и устройства крепления троса
3.2.3.1 При испытаниях натяжного устройства по приложению Б установочный механизм натяжного устройства не должен непреднамеренно расцепляться.
3.2.3.2 Установочный механизм натяжного устройства, например, лебедки должен иметь съемную или выдвижную рукоятку, укладываемую внутрь стойки.
3.2.3.3 Натяжные устройства и устройства крепления троса волейбольного оборудования классов A и B должны быть расположены на внешней стороне стойки, то есть за пределами игрового поля, или должны быть утоплены в стойку. Для волейбольного оборудования класса C допускается закрепление натяжных устройств и устройства крепления троса на стойке со стороны сетки.
3.2.4 Обшивка стоек волейбольного оборудования классов A и B
3.2.4.1 Стойка должна иметь обшивку на расстоянии 2000 мм от поверхности игрового поля.
3.2.4.2 При испытаниях обшивки по ГОСТ Р 56446 (приложение В) с высотой падения 200 мм торможение, которое обеспечивает обшивка, должно составлять не более 50 g.
3.2.5 Стакан для крепления стойки
Стакан для крепления стойки волейбольного оборудования типа 2 должен быть расположен за пределами игрового поля (см. рисунок 2) и во время игры должен быть защищен для предотвращения травмы, например, с помощью обшивки с характеристиками, указанными в 3.2.4.2.
4 Методы испытаний
4.1 Требования, изложенные в разделе 3, проверяют инструментальными методами.
4.2 Испытания стоек волейбольного оборудования - по приложению А.
4.3 Испытания натяжного устройства - по приложению Б.
4.4 По результатам испытаний оформляют отчет или протокол.
5 Инструкция по сборке, монтажу и техническому обслуживанию
Изготовитель вместе с комплектом волейбольного оборудования должен предоставить инструкцию по сборке, монтажу и техническому обслуживанию.
6 Маркировка оборудования
На оборудование должна быть нанесена следующая маркировка:
- обозначение настоящего стандарта;
- наименование или товарный знак изготовителя.
Приложение А
(обязательное)
ИСПЫТАНИЕ СТОЕК ВОЛЕЙБОЛЬНОГО ОБОРУДОВАНИЯ
А.1 Сущность метода
При испытаниях к несущему тросу на высоте его установки над поверхностью игровой площадки прикладывают сосредоточенную горизонтальную нагрузку (1200 +/- 50) Н в течение (60 +/- 10) с и регистрируют прогиб стоек на высоте приложения нагрузки.
После снятия нагрузки регистрируют наличие остаточных деформаций стоек.
А.2 Аппаратура
А.2.1 Устройство нагружения должно обеспечивать сосредоточенную горизонтальную нагрузку F (1200 +/- 50) Н в течение (60 +/- 10) с на высоте установки несущего троса.
А.3 Процедура
К несущему тросу на высоте его установки над поверхностью игровой площадки прикладывают сосредоточенную горизонтальную нагрузку (1200 +/- 50) Н в течение (600 +/- 60) с и регистрируют прогиб стоек на высоте приложения нагрузки.
После снятия нагрузки регистрируют наличие остаточных деформаций стоек.
А.4 На стойках не должно быть повреждений, в т.ч. трещин, поломок, чрезмерных остаточных деформаций.
Приложение Б
(обязательное)
ИСПЫТАНИЕ НАТЯЖНОГО УСТРОЙСТВА
Б.1 Сущность метода
При испытаниях к несущему тросу на высоте его установки над поверхностью игровой площадки прикладывают сосредоточенную горизонтальную нагрузку (1200 +/- 50) Н, а затем увеличивают нагрузку до (1440 +/- 50) Н в течение (60 +/- 10) с и регистрируют прогиб стоек на высоте приложения нагрузки.
Регистрируют изменение положения натяжного устройства, запирающей системы и крепления сетки.
После снятия нагрузки:
- проверяют расцепление запирающего механизма натяжного устройства или крепления сетки;
- регистрируют наличие остаточных деформаций стоек.
Б.2 Аппаратура
Устройство нагружения должно обеспечивать на высоте установки несущего троса сосредоточенную горизонтальную нагрузку F (1200 +/- 50) Н с возможностью повышения нагрузки до (1440 +/- 50) Н и выдерживать эту нагрузку в течение (60 +/- 10) с.
Б.3 Процедура
Б.3.1 К несущему тросу на высоте его установки над поверхностью игровой площадки прикладывают сосредоточенную горизонтальную нагрузку (1200 +/- 50) Н, а затем увеличивают нагрузку до (1440 +/- 50) Н в течение (60 +/- 10) с и регистрируют прогиб стоек на испытательной высоте.
Б.3.2 Регистрируют изменение положения натяжного устройства, запирающей системы и крепления сетки.
Б.3.3 После снятия нагрузки:
- проверяют расцепление запирающего механизма натяжного устройства или крепления сетки;
- регистрируют наличие остаточных деформаций стоек.
На стойках не должно быть повреждений, в т.ч. трещин, поломок, чрезмерных остаточных деформаций.
УДК 796.022:006.354
ОКС 97.220.30
Ключевые слова: волейбольное оборудование, функциональные требования, требования безопасности, методы испытания