Главная // Актуальные документы // ГОСТ Р (Государственный стандарт)СПРАВКА
Источник публикации
М.: Стандартинформ, 2020
Примечание к документу
Документ
введен в действие с 01.09.2020.
Название документа
"ГОСТ Р 58935-2020. Национальный стандарт Российской Федерации. Формы для изготовления железобетонных виброгидропрессованных напорных труб. Технические условия"
(утв. и введен в действие Приказом Росстандарта от 21.07.2020 N 388-ст)
"ГОСТ Р 58935-2020. Национальный стандарт Российской Федерации. Формы для изготовления железобетонных виброгидропрессованных напорных труб. Технические условия"
(утв. и введен в действие Приказом Росстандарта от 21.07.2020 N 388-ст)
Утвержден и введен в действие
Приказом Федерального
агентства по техническому
регулированию и метрологии
от 21 июля 2020 г. N 388-ст
НАЦИОНАЛЬНЫЙ СТАНДАРТ РОССИЙСКОЙ ФЕДЕРАЦИИ
ФОРМЫ ДЛЯ ИЗГОТОВЛЕНИЯ ЖЕЛЕЗОБЕТОННЫХ
ВИБРОГИДРОПРЕССОВАННЫХ НАПОРНЫХ ТРУБ
ТЕХНИЧЕСКИЕ УСЛОВИЯ
Forms for reinforced concrete pressure pipes
made by vibrohydropressed method. Specifications
ГОСТ Р 58935-2020
Дата введения
1 сентября 2020 года
1 РАЗРАБОТАН Научно-исследовательским, проектно-конструкторским и технологическим институтом бетона и железобетона им. А.А. Гвоздева (НИИЖБ им. А.А. Гвоздева) - структурным подразделением Акционерного общества "Научно-исследовательский центр "Строительство" (АО "НИЦ "Строительство")
2 ВНЕСЕН Техническим комитетом по стандартизации ТК 465 "Строительство"
3 УТВЕРЖДЕН И ВВЕДЕН В ДЕЙСТВИЕ Приказом Федерального агентства по техническому регулированию и метрологии от 21 июля 2020 г. N 388-ст
4 ВВЕДЕН ВПЕРВЫЕ
Правила применения настоящего стандарта установлены в статье 26 Федерального закона от 29 июня 2015 г. N 162-ФЗ "О стандартизации в Российской Федерации". Информация об изменениях к настоящему стандарту публикуется в ежегодном (по состоянию на 1 января текущего года) информационном указателе "Национальные стандарты", а официальный текст изменений и поправок -
в ежемесячном информационном указателе "Национальные стандарты". В случае пересмотра (замены) или отмены настоящего стандарта соответствующее уведомление будет опубликовано в ближайшем выпуске ежемесячного информационного указателя "Национальные стандарты". Соответствующая информация, уведомление и тексты размещаются также в информационной системе общего пользования -
на официальном сайте Федерального агентства по техническому регулированию и метрологии в сети Интернет (www.gost.ru)
Настоящий стандарт распространяется на стальные формы (далее - формы), предназначаемые для изготовления железобетонных виброгидропрессованных напорных труб.
В настоящем стандарте использованы нормативные ссылки на следующие документы:
ГОСТ 2.601 Единая система конструкторской документации. Эксплуатационные документы
ГОСТ 8.062 Государственная система обеспечения единства измерений. Государственный специальный эталон и государственная поверочная схема для средств измерений твердости по шкалам Бринелля
ГОСТ 9.014 Единая система защиты от коррозии и старения. Временная противокоррозионная защита изделий. Общие требования
ГОСТ 9.032 Единая система защиты от коррозии и старения. Покрытия лакокрасочные. Группы, технические требования и обозначения
ГОСТ 9.104 Единая система защиты от коррозии и старения. Покрытия лакокрасочные. Группы условий эксплуатации
ГОСТ 9.402 Единая система защиты от коррозии и старения. Покрытия лакокрасочные. Подготовка металлических поверхностей к окрашиванию
ГОСТ 380 Сталь углеродистая обыкновенного качества. Марки
ГОСТ 1050 Металлопродукция из нелегированных конструкционных качественных и специальных сталей. Общие технические условия
ГОСТ 2789 Шероховатость поверхности. Параметры и характеристики
ГОСТ 3242 Соединения сварные. Методы контроля качества
ГОСТ 4543 Металлопродукция из конструкционной легированной стали. Технические условия
ГОСТ 5264 Ручная дуговая сварка. Соединения сварные. Основные типы, конструктивные элементы и размеры
ГОСТ 8713 Сварка под флюсом. Соединения сварные. Основные типы, конструктивные элементы и размеры
ГОСТ 9238 Габариты железнодорожного подвижного состава и приближения строений
ГОСТ 9467 Электроды покрытые металлические для ручной дуговой сварки конструкционных и теплоустойчивых сталей. Типы
ГОСТ 10198 Ящики деревянные для грузов массой св. 200 до 20000 кг. Общие технические условия
ГОСТ 12586.0 Трубы железобетонные напорные виброгидропрессованные. Технические условия
ГОСТ 12586.1 Трубы железобетонные напорные виброгидропрессованные. Конструкция и размеры
ГОСТ 12969 Таблички для машин и приборов. Технические требования
ГОСТ 12971 Таблички прямоугольные для машин и приборов. Размеры
ГОСТ 14771 Дуговая сварка в защитном газе. Соединения сварные. Основные типы, конструктивные элементы и размеры
ГОСТ 14959 Металлопродукция из рессорно-пружинной нелегированной и легированной стали. Технические условия
ГОСТ 15150 Машины, приборы и другие технические изделия. Исполнения для различных климатических районов. Категории, условия эксплуатации, хранения и транспортирования в части воздействия климатических факторов внешней среды
ГОСТ 15151 Машины, приборы и другие технические изделия для районов с тропическим климатом. Общие технические условия
ГОСТ 16037 Соединения сварные стальных трубопроводов. Основные типы, конструктивные элементы и размеры
ГОСТ 23170 Упаковка для изделий машиностроения. Общие требования
ГОСТ 26271 Проволока порошковая для дуговой сварки углеродистых и низколегированных сталей. Общие технические условия
СП 130.13330 "СНиП 3.09.01-85 Производство сборных железобетонных конструкций и изделий"
Примечание - При пользовании настоящим стандартом целесообразно проверить действие ссылочных стандартов (сводов правил) в информационной системе общего пользования - на официальном сайте Федерального агентства по техническому регулированию и метрологии в сети Интернет или по ежегодному информационному указателю "Национальные стандарты", который опубликован по состоянию на 1 января текущего года, и по выпускам ежемесячного информационного указателя "Национальные стандарты" за текущий год. Если заменен ссылочный документ, на который дана недатированная ссылка, то рекомендуется использовать действующую версию этого документа с учетом всех внесенных в данную версию изменений. Если заменен ссылочный документ, на который дана датированная ссылка, то рекомендуется использовать версию этого документа с указанным выше годом утверждения (принятия). Если после утверждения настоящего стандарта в ссылочный документ, на который дана датированная ссылка, внесено изменение, затрагивающее положение, на которое дана ссылка, то это положение рекомендуется применять без учета данного изменения. Если ссылочный документ отменен без замены, то положение, в котором дана ссылка на него, рекомендуется применять в части, не затрагивающей эту ссылку. Сведения о действии свода правил целесообразно проверить в Федеральном информационном фонде стандартов.
В настоящем стандарте применены термины по
ГОСТ 12586.0 и
ГОСТ 12586.1, а также следующие термины с соответствующими определениями:
3.1 вибропрессование: Способ изготовления труб из жестких бетонных смесей с применением вибрации и немедленной распалубки, обеспечивающий получение изделий с высокими физико-механическими характеристиками бетона.
3.2 закладные анкеры: Замоноличенные в стенке трубы стальные элементы, используемые для перемещения и монтажа труб.
3.3 номинальный диаметр трубы: Геометрический параметр, равный внутреннему диаметру трубы di, выражаемый в миллиметрах, без учета допускаемых отклонений.
3.4 полезная длина трубы L1: Длина трубы, учитываемая при проектировании и монтаже трубопровода.
3.5 радиальное прессование: Высокопроизводительный способ изготовления труб внутренним диаметром 400 - 1200 мм без футеровки с использованием жестких бетонных смесей и немедленной распалубки, основанный на уплотнении бетона вращающейся роликовой головкой.
3.6 уплотнитель: Резиновый или силиконовый, или из иных эластомеров кольцевой элемент, устанавливаемый в раструбе трубы между обечайкой и компрессионной прокладкой, обеспечивающий ее сохранность и герметизацию стыкового соединения труб.
3.7 уплотнительная манжета: Кольцевой элемент из резины или иных эластомеров, устанавливаемый между стыкуемыми поверхностями раструбной обечайки и втулки трубы при их соединении, обеспечивающий водонепроницаемость стыкового соединения трубопровода.
4.1.1 Формы следует изготовлять в соответствии с требованиями настоящего стандарта и технической документации, утвержденной в установленном порядке. Исполнение форм для климатических районов с умеренным климатом У, категории размещения 5 - по
ГОСТ 15150, для эксплуатации в тропическом климате - по
ГОСТ 15151.
4.1.3 При изготовлении форм для экспорта, кроме того, следует учитывать требования контракта, а для стран с тропическим климатом - требования
ГОСТ 15151.
4.1.4 Комплектующие изделия должны быть изготовлены в том же исполнении, что и форма.
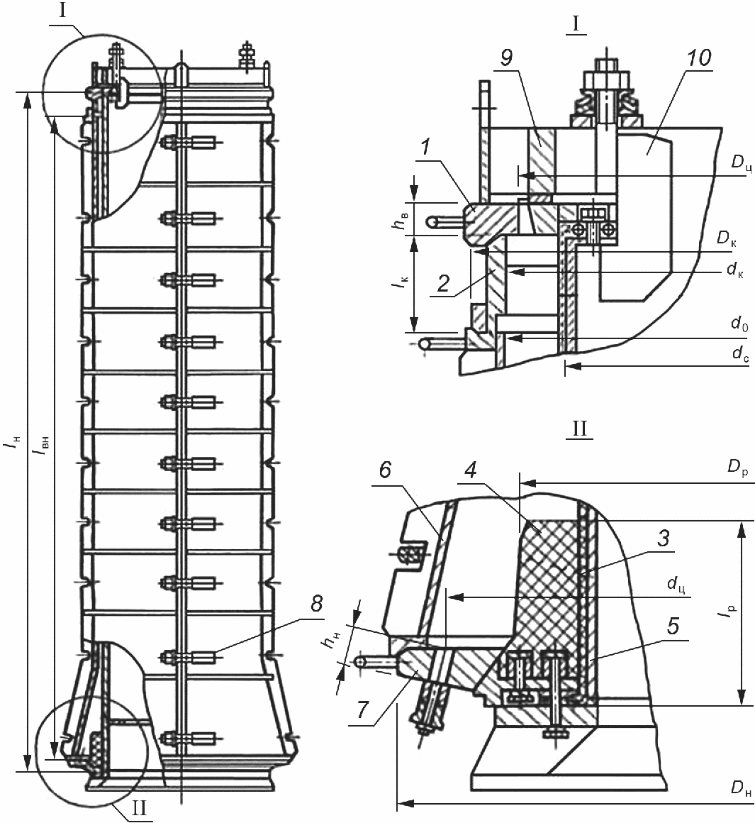
4.2 Основные параметры и размеры
4.2.1 Основные параметры и предельные отклонения от проектных размеров форм должны соответствовать указанным в таблицах 1 -
3 и на
рисунке 1.
Диаметр условного прохода трубы, мм | Число разъемов наружной формы | Максимальное опрессовочное давление, МПа (кгс/см2) | Масса формы, кг, не более |
500 | 2 | 3,8 (38) | 3500 |
600 | 2 | 3,8 (38) | 4000 |
800 | 4 | 3,6 (36) | 6300 |
1000 | 4 | 3,6 (36) | 7900 |
1200 | 4 | 3,6 (36) | 9400 |
1400 | 4 | 3,7 (37) | 13500 |
1600 | 4 | 3,7 (37) | 15500 |
Таблица 2
Наименование размера | Предельное отклонение от проектных размеров, мм |
Длина наружной формы (секций) lн | +/- 0,70 |
Длина внутренней формы lвн | +/- 3,00 |
Длина раструбообразователя lр | +/- 3,00 |
Длина калибрующего кольца lк | +/- 0,25 |
Толщина анкерных колец hн, hв | +/- 0,15 |
Внутренний диаметр наружной формы для труб диаметром условного прохода d0: | |
500, 600, 800 | +4,00 -2,00 |
1000, 1200 | +6,00 -2,00 |
1400, 1600 | +7,00 -3,00 |
Наружный диаметр раструбообразователя Dр | -4,00 |
Внутренний диаметр калибрующего кольца dк | +/- 1,00 |
Диаметральное расстояние между осями отверстий и выступов пазов анкерных колец Dц, dц | +/- 0,50 |
Наружный диаметр калибрующего и нижнего анкерного колец Dк, Dн | -1,00 |
Наружный диаметр внутренней формы dс | +1,00 -2,00 |
Радиальное смещение анкерных и калибрующих колец от внутренней поверхности наружной формы | +/- 1,00 |
Примечание - На наружной поверхности внутренней формы допускаются черноты в пределах допуска. |
Диаметр условного прохода трубы, мм | Толщины анкерных колец, мм |
hн | hв |
500 | 46 | 45 |
600 | 45 |
800 | 47 |
1000 | 46 |
1200 | 45 |
1400 | 46 |
1600 | 45 |
4.2.2 Формы подразделяют на два типа в зависимости от способа укладки и уплотнения бетонной смеси:
НВП - для работы с навесными вибраторами или на виброплощадке;
НВПС - для работы с навесными вибраторами или на виброплощадке, или с вибросердечником.
4.2.3 Условное обозначение форм состоит из типа формы и диаметра условного прохода трубы.
Пример условного обозначения формы, предназначенной для работы с навесными вибраторами или на виброплощадке для изготовления труб диаметром условного прохода 1000 мм:
Форма НВП 1000 ГОСТ Р 58935-2020
1 - верхнее анкерное кольцо; 2 - калибрующее кольцо;
3 - чехол; 4 - раструбообразователь; 5 - внутренняя форма;
6 - наружная форма; 7 - нижнее анкерное кольцо;
8 - пружинный болт; 9 - крестовина;
10 - захват крестовины
Примечание - Чертеж не определяет конструкцию формы.
4.3.1 Высокочастотное виброформование проводят в вертикальном положении в формах, оборудованных внутренним вибросердечником, что обеспечивает качественное виброуплотнение бетона.
Формование радиальным прессованием осуществляется в вертикальных формах путем уплотнения бетона вращающейся роликовой головкой, перемещающейся вертикально вверх внутри неподвижной формы. Уплотнение обеспечивается за счет распределения бетонной смеси центробежными силами по стенкам формы и радиального давления на бетон лопастей или роликов прессующей головки, с частотой вращения 80 - 300 мин-1.
Конструкция форм должна обеспечивать:
- сборку и разборку с применением механизированного инструмента;
- фиксацию секций наружной формы с использованием специальных штифтов;
- плотное соединение стыков формы с применением уплотняющих материалов, не допускающее вытекания цементного молока при формовании трубы;
- установку и фиксацию защитных устройств;
- установку и фиксацию арматуры в проектном положении;
- установку и фиксацию загрузочного конуса;
- жесткое крепление навесных вибраторов к наружной форме типа НВП или НВПС;
- передачу вибрации на бетонную смесь от вибраторов или виброплощадки, или вибросердечника для форм типа НВПС;
- равномерное раскрытие секций наружной формы в процессе гидропрессования;
- полный слив воды из подчехольного пространства;
- распалубку и съем готовых труб без повреждений;
- применение грузозахватных устройств.
4.3.2 Внутренняя форма, трубопроводы и рукав высокого давления должны выдерживать испытание на давление, превышающее не менее чем на 0,4 МПа, но не более 0,45 МПа, опрессовочное давление, указанное в
таблице 1.
4.3.3 Наружная форма должна выдерживать испытание на внутреннее давление не менее чем на 0,24 МПа, но не более чем 0,3 МПа.
4.3.4 Число, расположение и тарировка пружинных болтов должны обеспечивать при указанном в
4.3.3 давлении работу наружной формы при требуемых значениях раздвижки формы, указанных в технической документации на эти формы.
Параметры тарировки пружинных болтов должны быть указаны в документе о качестве (паспорте) на форму.
Конструкция пружинного болта предусматривает, как правило, применение тарельчатых пружин.
Допускается использовать пружинные болты другой конструкции, обеспечивающие параметры, указанные в документе о качестве на форму.
4.3.5 Требования надежности
4.3.5.1 Гамма-процентный (при

) ресурс до первого капитального ремонта - не менее 600 циклов.
4.3.5.2 Установленный ресурс до первого капитального ремонта - не менее 400 циклов.
4.3.5.3 Средняя наработка на отказ - не менее 80 циклов. Под отказом следует понимать неисправность, на устранение которой требуется более 1 ч.
4.3.5.4 Установленная безотказная наработка - не менее 50 циклов.
4.3.5.5 Полный ресурс отдельных элементов форм должен быть, циклов, не менее:
1500 - наружной формы;
2000 - внутренней формы;
300 - пружинного болта;
1500 - нижнего анкерного кольца;
750 - калибрующего кольца;
500 - верхнего анкерного кольца;
250 - раструбообразователя;
200 - резинового чехла.
4.3.6 Требования к защитным покрытиям
Все нерабочие поверхности форм, сменных элементов и запасных частей должны быть окрашены лакокрасочным материалом, удовлетворяющим условиям эксплуатации группы У2 по
ГОСТ 9.104.
Лакокрасочные покрытия по показателям внешнего вида должны быть не ниже класса VI по
ГОСТ 9.032.
Поверхности, подготовленные под окраску, должны быть очищены не ниже 3-й степени очистки от окалины и ржавчины по
ГОСТ 9.402.
4.3.7 Требования безопасности
4.3.7.1 Конструкция форм должна обеспечивать безопасность ее эксплуатации, технического обслуживания и ремонта.
4.3.7.2 Конструкция форм должна предусматривать применение в процессе эксплуатации защитных устройств для обслуживающего персонала, предохраняющего его в случае обрыва арматуры.
4.3.7.3 Кожухи пружинных болтов должны быть надежно прикреплены к наружной форме гибкой связью, исключающей возможность травматизма персонала при разрыве штока.
4.3.7.4 Сборка секций наружной формы без фиксации их относительно друг друга специальными штифтами категорически запрещается.
4.3.7.5 Соединение секций наружной формы следует проводить только пружинными болтами, оттарированными для данного диаметра.
4.3.7.6 При проведении крановых операций строповку формы допускается производить только за устройства, предназначенные для этой цели.
4.3.7.7 При изготовлении и эксплуатации формы следует выполнять требования системы стандартов безопасности труда, инструкций и документов, разработанных и утвержденных в установленном порядке.
4.3.8 Требования к сварке
4.3.8.1 Швы сварных соединений металлоконструкций выполняют по
ГОСТ 5264,
ГОСТ 14771 и
ГОСТ 8713, трубопроводов - по
ГОСТ 16037. Сварку следует проводить стальной сварочной проволокой по
ГОСТ 26271 или электродами, физико-механические свойства которых не ниже чем у электродов типа Э46 по
ГОСТ 9467.
4.3.8.2 Сварные швы на формующих поверхностях элементов формы должны быть зачищены заподлицо с основной поверхностью. Шероховатость зачищенной поверхности
Ra <= 50 мкм по
ГОСТ 2789.
4.3.8.3 При сварке не допускаются следующие дефекты:
- трещины всех видов и направлений, расположенные в металле шва, по границе шва и в околошовной зоне;
- подрезы основного металла глубиной более 0,5 мм при толщине металла до 6 мм и более 1 мм при толщине металла св. 6 мм;
- скопления мелких пор и включений диаметром более 0,5 мм при числе пор в одном скоплении более 10 на 1 см2 поверхности шва.
4.3.8.4 При сварке прерывистым швом допускается увеличение длин провариваемых участков за счет уменьшения расстояний между ними до 25% указанных в технической документации, если это не препятствует дальнейшей сборке формы или ее элементов.
4.3.8.5 Исправление дефектов, кроме подрезов, следует проводить путем удаления сварного шва в месте дефекта, разделки и зачистки кромок и повторной заварки. При этом не допускается исправление дефектов в одном и том же месте более двух раз.
4.3.9 Требования к точности изготовления
4.3.9.1 Борта секций собранной наружной формы с установленными пружинными болтами должны плотно прилегать друг к другу в местах установки пружинных болтов.
Допускаются зазоры в бортах формы между пружинными болтами и по краям разъема бортов до 1,5 мм и длиной до 250 мм.
4.3.9.2 Пазы для пружинных болтов в сопрягаемых бортах секций наружной формы должны совпадать. Смещение пазов не должно превышать 1,5 мм вдоль оси формы.
4.3.9.3 Допуск прямолинейности образующих цилиндрической и конической частей внутренней поверхности наружной формы не должен превышать 2 мм по всей длине.
4.3.10 Требования к рабочим поверхностям
4.3.10.1 На формующих поверхностях формы не допускаются трещины, рябизна, плены, расслоения, заусенцы, продиры, коррозия, а также царапины, отпечатки глубиной более 0,5 мм, шириной более 2 мм и длиной более 20 мм числом более трех на 1 м
2.
4.3.10.2 Стенки формующих поверхностей форм следует изготовлять из целого листа. Допускается образование этих поверхностей из нескольких частей со сваркой встык. Перепад листов в месте стыка не должен превышать 1 мм; кромка выступающего листа при этом должна быть зачищена на всей длине стыка на ширину не менее 20 мм.
4.3.10.3 Шероховатость конических посадочных поверхностей калибрующих, анкерных колец и фланцев формы
Ra <= 5,0 мкм по
ГОСТ 2789.
4.3.11 Требования к материалам
4.3.11.1 Для изготовления форм следует применять стали с физико-механическими свойствами не ниже чем у сталей марок:
- Ст3пс3 по
ГОСТ 380 - для внутренних и наружных форм, калибрующих колец;
- 40Х по
ГОСТ 4543 с последующей термообработкой до твердости 240 - 280 HB - для штоков пружинных болтов;
- 35 по
ГОСТ 1050 - для анкерных колец, болтов и гаек;
- 20 по
ГОСТ 1050 или Ст3пс5 по
ГОСТ 380 - для элементов формы, предназначенных для строповки грузозахватными устройствами.
4.3.11.2 Твердость рабочей поверхности верхнего анкерного кольца формы, воспринимающей усилие от натяжения арматуры, должна быть не менее 207 HB по ГОСТ 8.062.
4.3.11.3 Качество металла, предназначенного для изготовления формы, должно быть удостоверено документом, подтверждающим оценку соответствия предприятия - изготовителя металла или актом профильной лаборатории, выданными в порядке, установленном действующим законодательством Российской Федерации.
4.3.11.4 Материал резинового чехла и раструбообразователя должен соответствовать требованиям нормативных документов и технической документации на эти изделия.
4.4.1 Формы необходимо поставлять укомплектованными в соответствии с ведомостью комплекта поставки, входящей в состав формуляра или паспорта по
ГОСТ 2.601 и согласованной с потребителем.
4.4.2 К комплекту форм должна быть приложена эксплуатационная документация по
ГОСТ 2.601.
4.4.3 Сопроводительная документация форм, предназначенных для экспорта, - по условиям контракта.
4.5.1 На каждой форме должна быть укреплена табличка из коррозионно-стойкого материала, изготовленная по
ГОСТ 12969 и
ГОСТ 12971.
На табличке должны быть нанесены:
- наименование или товарный знак предприятия-изготовителя;
- индекс, тип, диаметр формы;
- порядковый номер формы по системе нумерации предприятия-изготовителя;
- год выпуска;
- обозначение настоящего стандарта.
4.5.2 На формах, изготовляемых для экспорта, табличка должна содержать:
- наименование или товарный знак предприятия-изготовителя;
- порядковый номер формы по системе нумерации предприятия-изготовителя;
- надпись "Сделано в России" на русском и/или иностранном языке.
4.5.3 Съемные узлы, входящие в комплект формы, должны иметь на нерабочих поверхностях маркировку с указанием диаметра условного прохода трубы, изготовляемой в форме.
4.6.1 Формы отправляют потребителю частично упакованными.
4.6.2 Малогабаритные сборочные единицы и детали, пружинные болты и крепежные детали должны быть упакованы в ящик, выложенный внутри водонепроницаемым материалом.
4.6.3 Ящики для упаковки следует предусматривать по
ГОСТ 10198, типа I, щитовые неразборные сплошные, собранные на четырех планках.
4.6.4 Раструбообразователь и резиновый чехол отправляют потребителю согласно регламенту предприятия - изготовителя резинотехнических изделий.
4.6.5 Основные параметры грузовых мест формы должны соответствовать указанным в таблице 4.
Таблица 4
Наименование и состав грузового места | Значение параметров грузового места, не более |
Число | Габаритные размеры, мм | Масса, кг |
мест | Длина | Ширина | Высота |
Форма в сборе без упаковки | 1 | 5800 | 2400 | 2400 | 16000 |
Деревянный ящик (мелкие сборочные единицы) | 1 | 1600 | 1000 | 800 | 1000 |
Примечание - Приведенные в настоящей таблице параметры грузовых мест даны для наибольшего типоразмера формы и могут меняться в зависимости от конкретного типоразмера. |
4.6.6 Эксплуатационная и товаросопроводительная документация должна быть упакована в соответствии с
ГОСТ 23170 и уложена в ящик с мелкими сборочными единицами.
4.6.7 В наружный пакет с документацией должен быть вложен вкладыш из бумаги или картона с четкой надписью на русском языке и языке, указанном в контракте (последнее только для поставок на экспорт): "Техническая и сопроводительная документация", которую можно прочесть, не вскрывая пакета.
4.6.8 Каждое грузовое место должно иметь транспортную маркировку по
ГОСТ 14192, содержащую основные, дополнительные и информационные надписи.
Транспортную маркировку грузовых мест, транспортируемых без упаковки, наносят на фанерные ярлыки, а ящиков - на одну из боковых сторон. Способ нанесения маркировки - водостойкая краска, чертежный шрифт.
Ярлыки должны быть надежно прикреплены к сборочным единицам проволокой.
4.6.9 Неокрашенные формующие металлические поверхности форм и ее сборочных единиц, транспортируемых без упаковки, а также мелкие сборочные единицы, запасные части, инструмент и принадлежности перед упаковкой должны быть подвергнуты консервации по группе II - 1, вариант защиты ВЗ-4 по
ГОСТ 9.014.
Срок действия консервации - три года.
4.6.10 Консервацию резинотехнических изделий проводят согласно нормативным документам и технической документации на эти изделия.
5.1 Формы должны быть приняты отделом технического контроля предприятия - изготовителя форм по результатам входного, операционного и приемочного контроля.
5.2 При входном контроле материалов и комплектующих изделий устанавливают их соответствие техническим требованиям, изложенным в
4.3.11.
5.3 При операционном контроле на технологических постах устанавливают соответствие изготовляемых элементов форм следующим требованиям: длина наружной формы
lн, длина внутренней формы
lвн, длина раструбообразователя
lр, длина калибрующего кольца
lк, толщина анкерных колец
hн (
hв), наружный диаметр раструбообразователя
Dр, внутренний диаметр калибрующего кольца
dк, наружный диаметр калибрующего и нижнего анкерного колец
Dк и
Dн, а также требованиям
таблицы 3 и
4.3.8 -
4.3.10.
5.4 При приемо-сдаточных испытаниях осуществляют приемку каждой формы, устанавливая соответствие ее следующим требованиям: число разъемов наружной формы, внутренний диаметр наружной формы, масса формы, диаметральное расстояние между осями отверстий и выступов пазов анкерных колец, радиальное смещение анкерных и калибрующего колец, сборка и разборка формы с применением механизированного инструмента, фиксация секций наружной формы с использованием специальных штифтов, плотное соединение стыков, применение грузозахватных устройств, установка и фиксация защитных устройств и
4.3.6 и
4.3.7.3.
5.5 Периодические испытания форм проводят на предприятии - потребителе форм в процессе их эксплуатации на соответствие требованиям
4.3.1 -
4.3.5,
4.3.7. При этом фактический ресурс форм и ее элементов устанавливают по данным заводских документов, удостоверяющих соответствие требованиям
4.3.5.
Периодическим испытаниям подвергают две формы каждого диаметра, проработавших не менее 100 циклов, не реже одного раза в два года.
Кроме того, периодические испытания форм проводят при изменении конструкции или технологии изготовления, или вида и качества материалов.
6 Методы испытаний и контроля
6.1 Средства измерения
Для измерения линейных размеров, шероховатости поверхности, давления и веса используются стандартизованные средства измерений, а также нестандартизованные средства измерений линейных размеров, прошедшие метрологическую аттестацию в соответствии с правилами по метрологии
[1] -
[4].
6.2 Применяемые средства измерения геометрических размеров должны обеспечивать погрешность измерения не более 1/3 допуска измеряемого параметра формы.
6.3 Длину наружной формы и толщину нижнего анкерного кольца контролируют нестандартизованными средствами измерений, толщину верхнего анкерного кольца - штангенциркулем.
6.4 Длину внутренней формы, диаметры раструбообразователя и калибрующего кольца контролируют металлической рулеткой по образующим в четырех местах через 90°.
6.5 Внутренние диаметры наружной формы, анкерных и калибрующих колец контролируют нутромером дважды через 90°.
Внутренний диаметр наружной формы контролируют в собранной форме на стенде или в вертикальном положении с технологическими прокладками, имитирующими величину раздвижки на расстоянии 0,8 м от ее торцов.
6.6 Наружные диаметры внутренней формы, раструбообразователя контролируют штангенциркулем или нестандартизованными средствами измерений дважды через 90°.
6.7 Диаметральное расстояние между осями отверстий и пазов анкерных колец и радиальное смещение анкерных и калибрующих колец контролируют штангенциркулем.
6.8 Качество сварных швов внутренней формы проверяют по
ГОСТ 3242 внешним осмотром и капиллярным методом путем смачивания керосином на выявление сквозных дефектов.
6.9 Качество сварных швов соединений продольных бортов секций с остальными элементами наружной формы проверяют в течение всего технологического процесса в соответствии с заводской документацией, согласованной с базовой организацией, - внешним осмотром и измерением по
ГОСТ 3242.
6.10 Испытание внутренней и наружной форм в сборе на прочность и герметичность проводят на посту гидропрессования предприятия - потребителя формы в процессе эксплуатации путем подачи воды под резиновый чехол давлением, превышающим на 0,4 МПа опрессовочное давление, указанное в
таблице 1.
6.11 Лакокрасочные покрытия контролируют по
ГОСТ 9.032.
6.12 Шероховатость поверхности по
4.3.8.2,
4.3.10.3 контролируют профилографом-профилометром или образцами шероховатости поверхности.
6.13 Зазоры по
4.3.9.1 проверяют щупом.
6.14 Смещение пазов в продольных бортах контролируют штангенглубиномером.
6.15 Прямолинейность образующих цилиндрической и конической частей внутренней поверхности наружной формы контролируют щупом и нестандартизованными средствами измерения по двум образующим в каждой секции.
6.16 Качество формующих поверхностей по
4.3.10.1 контролируют визуально, штангенциркулем и профилографом-профилометром или образцами шероховатости поверхности.
6.17 За результаты измерения линейных размеров принимают измерения, не выходящие за пределы допусков.
7 Транспортирование и хранение
7.1.1 Перевозку форм проводят транспортом любого вида в соответствии с требованиями
ГОСТ 9238 и
[5].
Вид транспортных средств - открытый.
Условия транспортирования - по
ГОСТ 15150, группа ОЖ1.
7.1.2 При установке формы на площадку транспортного средства следует подкладывать деревянные прокладки под цилиндрическую часть формы, не допуская касания раструбом платформы.
Допускается укладка форм на транспортном средстве в два ряда с деревянными прокладками между рядами. На деревянных прокладках в местах опирания форм должны быть сделаны седловидные выемки.
Крепление форм следует проводить за узлы, предназначенные для строповки грузозахватными устройствами.
7.2.1 Условия хранения форм у изготовителя и потребителя должны соответствовать группе ОЖ2 по
ГОСТ 15150. При хранении форм чехлы и раструбообразователи должны быть сняты, формы хранят в вертикальном положении с установкой их на раструбную часть. Допускается хранение форм на открытой площадке с обеспечением защиты от попадания атмосферных осадков внутрь формы.
7.2.2 Хранение резиновых чехлов и раструбообразователей следует проводить в затемненном помещении при температуре от 0 °C до 35 °C при относительной влажности воздуха не более 85% и на расстоянии не менее 1,5 м от источника тепла. Резиновые чехлы хранят в горизонтальном положении, подвешенными на полуцилиндрах с длиной дуги от 500 до 900 мм, нижняя часть чехла должна касаться опоры.
Раструбообразователи должны быть уложены на опорную поверхность.
При хранении чехлы и раструбообразователи должны быть защищены от воздействия прямых солнечных лучей и не должны подвергаться действию бензина, масел и других разрушающих резину веществ.
8 Указания по эксплуатации
8.1 Перед сборкой формы резиновый чехол и раструбообразователи должны быть смазаны мыльной эмульсией.
8.2 Соединительные поверхности между раструбообразователем и чехлом должны быть проклеены клейкой лентой.
8.3 В период эксплуатации не реже одного раза в 3 мес следует проводить разборку и чистку пружинных болтов, после чего их необходимо вновь тарировать.
8.4 При эксплуатации следует руководствоваться требованиями
СП 130.13330.
9.1 Изготовитель гарантирует соответствие форм требованиям настоящего стандарта при соблюдении условий транспортирования, хранения и эксплуатации.
9.2 Гарантийный срок эксплуатации форм, а также форм, поставляемых на экспорт, - 12 мес со дня ввода их в эксплуатацию, но не более 18 мес со дня поступления форм на предприятие-потребитель.
9.3 Гарантийный срок эксплуатации резинотехнических изделий - в соответствии с нормативными документами и технической документацией на эти изделия.
| | Государственная система обеспечения единства измерений. Порядок проведения испытаний стандартных образцов или средств измерений в целях утверждения типа |
[2] | | Государственная система обеспечения единства измерений. Порядок утверждения типа стандартных образцов или типа средств измерений |
[3] | | Государственная система обеспечения единства измерений. Порядок выдачи свидетельств об утверждении типа стандартных образцов или типа средств измерений, установления и изменения срока действия указанных свидетельств и интервала между поверками средств измерений |
| | Государственная система обеспечения единства измерений. Требования к знакам утверждения типа стандартных образцов или типа средств измерений и порядок их нанесения |
| Технические условия размещения и крепления грузов в вагонах и контейнерах (утверждены Министерством путей сообщения России 27 мая 2003 г. N ЦМ-943, с изменениями, внесенными Решением Суда Российской Федерации от 23 октября 2017 г. N АКПИ 17-799) |
УДК 693.486.41.032.5:006.354 | |
Ключевые слова: железобетонные виброгидропрессованные трубы, напорные трубы, технические условия, форма для изготовления, вибропрессование, роликовое формование, радиальное прессование |