Список изменяющих документов (в ред. Изменения N 1, утв. в декабре 1988 г.) |
Обозначение НТД, на который дана ссылка | Номер пункта |
Диаметр условного прохода трубы d, мм | Марка трубы | Класс бетона по прочности на сжатие | Расход материалов | |
Бетон, м3 | Сталь, кг | |||
500 | ТН50-0 ТН50-I ТН50-II | В40 | 0,53 | 70,8 61,3 44,7 |
ТН50-III | B30 | 44,7 | ||
600 | ТН60-0 ТН60-I ТН60-II | В40 | 0,76 | 78,6 74,4 52,4 49,3 |
ТН60-III | B30 | |||
800 | ТН80-I ТН80-II ТН80-III | B40 | 0,99 | 106,6 (139,8) 92,7 67,2 |
1000 | ТН100-I ТН100-II ТН100-III | 1,42 | 186,5 158,3 111,4 | |
1200 | ТН120-I ТН120-II ТН120-III | 1,98 | 287,0 207,9 146,1 | |
1400 | ТН140-I ТН140-II ТН140-III | 2,66 | 441,2 308,2 226,9 | |
1600 | ТН160-I ТН160-II ТН160-III | 3,28 | 593,5 386,4 285,7 | |

Марка трубы | a1 <*> | a2 <**> | a3 <**> |
ТН50-0 | 17 | 32 | 19 |
TH50-I | 16 | ||
TH50-II | 17 | ||
TH50-III | 17 | ||
ТН60-0 | 17 | 43 | 20 |
TH60-I | 17 | ||
TH60-II | 18 | ||
TH60-III | 18 | ||
TH80-I | 18 (17) | 39,5 | 22 |
TH80-II | 18 | ||
TH80-III | 19 | ||
TH100-I | 18 | 49,5 | 22 |
TH100-II | 18 | ||
TH100-III | 19 | ||
TH120-I | 18 | 55 | 31 |
TH120-II | 19 | ||
TH120-III | 20 | ||
TH140-I | 18 | 64,5 | 28 |
TH140-II | 18 | ||
TH140-III | 19 | ||
TH160-I | 18 | 74 | 29 |
TH160-II | 18 | ||
TH160-III | 19 |

Марка трубы | Каркас | Продольная арматура | ||
Марка | Количество | Марка | Количество | |
ТН50-0 | К1 | 1 | П1 | 15 |
ТН50-I | К2 | |||
ТН50-II | К3 | |||
ТН50-III | К3 | |||
ТН60-0 | К4 | 1 | П1 | 14 |
ТН60-I | К5 | |||
ТН60-II | К6 | |||
ТН60-III | К6а | |||
ТН80-I | К7 | 1 | П2 | 20 |
ТН80-II | К8 | |||
ТН80-III | К9 | |||
ТН100-I | К10 | 1 | П2 | 24 |
ТН100-II | К11 | |||
ТН100-III | К12 | |||
ТН120-I | К13 | 1 | П3 | 35 |
ТН120-II | К14 | 30 | ||
ТН120-III | К15 | 30 | ||
ТН140-I | К16 | 1 | П4 | 44 |
ТН140-II | К17 | 40 | ||
ТН140-III | К18 | 40 | ||
ТН160-I | К19 | 1 | П5 | 54 |
ТН160-II | К20 | 50 | ||
ТН160-III | К21 | 50 | ||
Марка трубы | Арматурная сталь по ГОСТ 7348 | Сталь прокатная по ГОСТ 503 | Всего | ||||||||
Класс Вр-II | Класс В-II | Итого | |||||||||
Диаметр 5 мм | Диаметр, мм | Итого | |||||||||
3 | 4 | 5 | 6 | 7 | 8 | ||||||
Сечение 20 х 0,7 мм | |||||||||||
ТН50-0 | 12,0 | - | 51,9 | - | - | - | - | 51,9 | 63,9 | 6,9 | 70,8 |
ТН50-I | - | 42,4 | - | - | - | - | 42,4 | 54,4 | 61,3 | ||
ТН50-II | 25,8 | - | - | - | - | - | 25,8 | 37,8 | 44,7 | ||
ТН50-III | 25,8 | - | - | - | - | - | 25,8 | 37,8 | 44,7 | ||
ТН60-0 | 11,2 | - | 60,5 | - | - | - | - | 60,5 | 71,7 | 6,9 | 78,6 |
ТН60-I | - | 56,3 | - | - | - | - | 56,3 | 67,5 | 74,4 | ||
ТН60-II | 34,3 | - | - | - | - | - | 34,3 | 45,5 | 52,4 | ||
ТН60-III | 31,2 | - | - | - | - | - | 31,2 | 42,4 | 49,3 | ||
ТН80-I | 16,0 | - | 80,2 (113,4) | - | - | - | - | 80,2 (113,4) | 96,2 (129,4) | 10,4 | 106,6 (139,8) |
ТН80-II | 16,0 | - | 66,3 | - | - | - | - | 66,3 | 82,3 | 92,7 | |
ТН80-III | 16,0 | 40,8 | - | - | - | - | - | 40,8 | 56,8 | 67,2 | |
ТН100-I | 19,2 | - | - | 156,9 | - | - | - | 156,9 | 176,1 | 10,4 | 186,5 |
ТН100-II | 19,2 | - | - | 128,7 | - | - | - | 128,7 | 147,9 | 10,4 | 158,3 |
ТН100-III | 19,2 | - | 81,8 | - | - | - | - | 81,8 | 101,0 | 10,4 | 111,4 |
ТН120-I | 28,0 | - | - | - | 245,2 | - | - | 245,2 | 273,2 | 13,8 | 287,0 |
ТН120-II | 24,0 | - | - | 170,1 | - | - | - | 170,1 | 194,1 | 13,8 | 207,9 |
ТН120-III | 24,0 | - | 108,3 | - | - | - | - | 108,3 | 132,3 | 13,8 | 146,1 |
ТН140-I | 35,7 | - | - | - | - | 391,7 | - | 391,7 | 427,4 | 13,8 | 441,2 |
ТН140-II | 32,4 | - | - | - | 262,0 | - | - | 262,0 | 294,4 | 13,8 | 308,2 |
ТН140-III | 32,4 | - | - | 180,7 | - | - | - | 180,7 | 213,1 | 13,8 | 226,9 |
ТН160-I | 43,8 | - | - | - | - | - | 532,5 | 532,5 | 576,3 | 17,2 | 593,5 |
ТН160-II | 40,5 | - | - | - | 328,7 | - | - | 328,7 | 369,2 | 17,2 | 386,4 |
ТН160-III | 40,5 | - | - | 228,0 | - | - | - | 228,0 | 268,5 | 17,2 | 285,7 |

Марка каркаса | Размеры в мм | |||||||
d1 | d2 | l | l1 | l2 | d3 | m | ||
К1 | 569 | 753 | 5145 | 490 | 4655 | 4 | 18 | 30° |
К2 | 4 | 22 | ||||||
К3 | 3 | 20 | ||||||
К4 | 688 | 901 | 5145 | 570 | 4575 | 4 | 18 | 30° |
К5 | 688 | 901 | 4 | 20 | ||||
К6 (К6а) | 687 | 900 | 3 | 18 (20) | ||||
К7 (К7а) | 885 | 1109 | 5155 | 630 | 4525 | 4 (5) | 18 (20) | 20° |
К8 | 885 | 1109 | 4 | 22 | ||||
К9 | 884 | 1108 | 3 | 20 | ||||
К10 | 1102 | 1340 | 5155 | 660 | 4495 | 5 | 18 | 20° |
К11 | 1102 | 1340 | 5 | 22 | ||||
К12 | 1101 | 1339 | 4 | 22 | ||||
К13 | 1319 | 1597 | 5155 | 780 | 4375 | 6 | 20 | 15° |
К14 | 1318 | 1596 | 5 | |||||
К15 | 1317 | 1595 | 4 | |||||
К16 | 1538 | 1846 | 5185 | 850 | 4335 | 7 | 20 | 15° |
К17 | 1538 | 1846 | 6 | 22 | ||||
К18 | 1537 | 1845 | 5 | 22 | ||||
К19 | 1757 | 2085 | 5185 | 925 | 4260 | 8 | 22 | 12° |
К20 | 1757 | 2085 | 6 | 20 | ||||
К21 | 1756 | 2084 | 5 | 20 | ||||
Позиция | S | h | b |
18,02 | 3,5 | 9,5 | |
23 | 20,03 | 3,5 | 9,5 |
22,03 | 4,5 | 11,5 | |
25 | 18,02 | 4,5 | 11,5 |
26 | 20,03 | 5,0 | 13,3 |
27 | 22,03 | 5,0 | 13,3 |
28 | 20,03 | 5,5 | 17,0 |
22,03 | 6,5 | 19,0 |
Марка изделия | Позиция | Эскиз стержня | Диаметр или сечение, мм | Длина, мм | Кол. | Общая длина, м | Выборка стали | ||
Диаметр или сечение, мм | Масса, кг | Масса, изделия, кг | |||||||
1 | 4ВII | 529300 | 1 | 529,3 | 4BII | 51,9 | 58,8 | ||
25 | См. черт. 3 | 20 x 0,7 | 5220 | 12 | 62,64 | 20 x 0,7 | 6,9 | ||
К2 | 2 | 4 | 432000 | 1 | 432 | 4BII | 42,4 | 49,3 | |
24 | См. черт. 3 | 20 x 0,7 | 5220 | 12 | 62,64 | 20 x 0,7 | 6,9 | ||
К3 | 3 | 3ВII | 469000 | 1 | 469,0 | 3BII | 25,8 | 32,7 | |
23 | См. черт. 3 | 20 x 0,7 | 5220 | 12 | 62,64 | 20 x 0,7 | 6,9 | ||
К4 | 4 | 4ВII | 617700 | 1 | 617,7 | 4BII | 60,5 | 67,4 | |
25 | См. черт. 3 | 20 x 0,7 | 5220 | 12 | 62,64 | 20 x 0,7 | 6,9 | ||
К5 | 5 | 4 | 576500 | 1 | 576 | 4BII | 56,3 | 63,2 | |
23 | См. черт. 3 | 20 x 0,7 | 5220 | 12 | 62,64 | 20 x 0,7 | 6,9 | ||
К6 (К6а) | 6 (6а) | 3 | 623000 (566900) | 1 | 623 (566,9) | 3BII | 34,3 (31,2) | 41,2 (38,1) | |
22 (23) | См. черт. 3 | 20 x 0,7 | 5220 | 12 | 62,64 | 20 x 0,7 | 6,9 | ||
К7 (К7а) | 7 (7а) | 4 (5) | 818500 (736640) | 1 | 818,5 (736,6) | 4BII (5BII) | 80,2 (113,4) | 90,6 (123,8) | |
25 (26) | См. черт. 3 | 20 x 0,7 | 5220 | 18 | 93,96 | 20 x 0,7 | 10,4 | ||
8 | 4ВII | 676400 | 1 | 676,4 | 4BII | 66,3 | 76,7 | ||
24 | См. черт. 3 | 20 x 0,7 | 5220 | 18 | 93,96 | 20 x 0,7 | 10,4 | ||
К9 | 9 | 3ВII | 742700 | 1 | 742,7 | 3BII | 40,8 | 51,2 | |
23 | См. черт. 3 | 20 x 0,7 | 5220 | 18 | 93,96 | 20 x 0,7 | 10,4 | ||
К10 | 10 | 5ВII | 1018800 | 1 | 1018,8 | 5BII | 156,9 | 167,3 | |
25 | См. черт. 3 | 20 x 0,7 | 5220 | 18 | 93,96 | 20 x 0,7 | 10,4 | ||
К11 | 11 | 5ВII | 835600 | 1 | 835,6 | 5BII | 128,7 | 139,1 | |
27 | См. черт. 3 | 20 x 0,7 | 5220 | 18 | 93,96 | 20 x 0,7 | 10,4 | ||
К12 | 12 | 4ВII | 835600 | 1 | 835,6 | 4BII | 81,8 | 92,2 | |
24 | См. черт. 3 | 20 x 0,7 | 5220 | 18 | 93,96 | 20 x 0,7 | 10,4 | ||
К13 | 13 | 6ВII | 1104600 | 1 | 1104,6 | 6BII | 245,2 | 259,0 | |
26 | См. черт. 3 | 20 x 0,7 | 5220 | 24 | 125,3 | 20 x 0,7 | 13,8 | ||
К14 | 14 | 5ВII | 1104600 | 1 | 1104,6 | 5BII | 170,1 | 183,9 | |
26 | См. черт. 3 | 20 x 0,7 | 5220 | 24 | 125,3 | 20 x 0,7 | 13,8 | ||
К15 | 15 | 4ВII | 1104600 | 1 | 1104,6 | 4BII | 108,3 | 122,1 | |
23 | См. черт. 3 | 20 x 0,7 | 5220 | 24 | 125,3 | 20 x 0,7 | 13,8 | ||
К16 | 16 | 7ВII | 1297100 | 1 | 1297,1 | 7BII | 391,7 | 405,5 | |
28 | См. черт. 3 | 20 x 0,7 | 5220 | 24 | 125,3 | 20 x 0,7 | 13,8 | ||
К17 | 17 | 6ВII | 1180200 | 1 | 1180,2 | 6BII | 262,0 | 275,8 | |
27 | См. черт. 3 | 20 x 0,7 | 5220 | 24 | 125,3 | 20 x 0,7 | 13,8 | ||
К18 | 18 | 5ВII | 1173200 | 1 | 1173,2 | 5BII | 180,7 | 194,5 | |
27 | См. черт. 3 | 20 x 0,7 | 5220 | 24 | 125,3 | 20 x 0,7 | 13,8 | ||
К19 | 19 | 8ВII | 1348100 | 1 | 1348,1 | 8BII | 532,5 | 549,7 | |
29 | См. черт. 3 | 20 x 0,7 | 5220 | 30 | 156,6 | 20 x 0,7 | 17,2 | ||
К20 | 20 | 6ВII | 1480600 | 1 | 1480,6 | 6BII | 328,7 | 345,9 | |
26 | См. черт. 3 | 20 x 0,7 | 5220 | 30 | 156,6 | 20 x 0,7 | 17,2 | ||
21 | 5ВII | 1480600 | 1 | 1480,6 | 5BII | 228,0 | 245,2 | ||
26 | См. черт. 3 | 20 x 0,7 | 5220 | 30 | 156,6 | 20 x 0,7 | 17,2 | ||
П1 | 31 | 5ВрII | 5193 | 1 | 5,19 | 5BрII | 0,8 | 0,8 | |
П2 | 32 | 5ВрII | 5205 | 1 | 5,21 | 5BрII | 0,8 | 0,8 | |
П3 | 33 | 5ВрII | 5208 | 1 | 5,21 | 5BрII | 0,8 | 0,8 | |
П4 | 34 | 5ВрII | 5239 | 1 | 5,24 | 5BрII | 0,81 | 0,81 | |
П5 | 35 | 5ВрII | 5240 | 1 | 5,24 | 5BрII | 0,81 | 0,81 | |

Позиция | Эскиз | Диаметр или сечение, мм | Длина, мм | Кол. | Общая длина, м | Выборка стали | ||
Диаметр или сечение, мм | Масса, кг | Масса изделия, кг | ||||||
См. черт. 4 | 25 х 5 | 50 | 2 | 0,1 | 25 х 5 | 0,1 | 0,12 | |
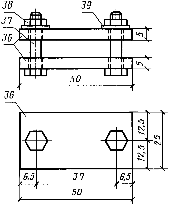
37 | Болт М5 х 25 по ГОСТ 7805 | - | - | 2 | - | Метизы | 0,02 | |
38 | Гайка М5 по ГОСТ 5927 | - | - | 2 | - | - | ||
39 | Шайба М5 по ГОСТ 11371 | - | - | 2 | - | |||

Позиция | Эскиз | Диаметр или сечение, мм | Длина, мм | Кол. | Общая длина, м | Выборка стали | ||
Диаметр или сечение, мм | Масса, кг | Масса изделия, кг | ||||||
![]() | 4BpI | 450 | 1 | 0,45 | 4BpI | 0,044 | 0,064 | |
41 | Гайка М16 по ГОСТ 5916 | - | - | 1 | - | Гайка | 0,02 | 0,04 |