Скачать Шифр М24.2/04 Конструкции стен, покрытий и полов с теплоизоляцией из пенополистирольных плит. Материалы для проектирования и рабочие чертежи узлов

Дата актуализации: 01.01.2021

Шифр М24.2/04

Конструкции стен, покрытий и полов с теплоизоляцией из пенополистирольных плит. Материалы для проектирования и рабочие чертежи узлов

Обозначение: Шифр М24.2/04
Обозначение англ: М24.2/04
Статус:не определен законодательством
Название рус.:Конструкции стен, покрытий и полов с теплоизоляцией из пенополистирольных плит. Материалы для проектирования и рабочие чертежи узлов
Дата добавления в базу:01.09.2013
Дата актуализации:01.01.2021
Дата введения:16.04.2004
Область применения:Альбом содержит материалы для проектирования и рабочие чертежи трехслойных стен, покрытий и полов отапливаемых зданий различного назначения с теплоизоляцией из плитного пенополистирола типа ПСБ-С марок 15, 25 и 35 (ГОСТ 15588-86) и 25Ф (ТУ 2244-025-49643056-02)
Оглавление:М24.39/04-ПЗ Пояснительная записка
   1. Общие положения
   2. Теплоизоляция
   3. Нормы теплозащиты и данные по толщине теплоизоляции
   4. Конструктивные решения стен
   5. Отделка штукатурных фасадов
   6. Конструктивные решения покрытий
      А. Новое строительство
      Б. Реконструкция
   7. Конструктивные решения полов
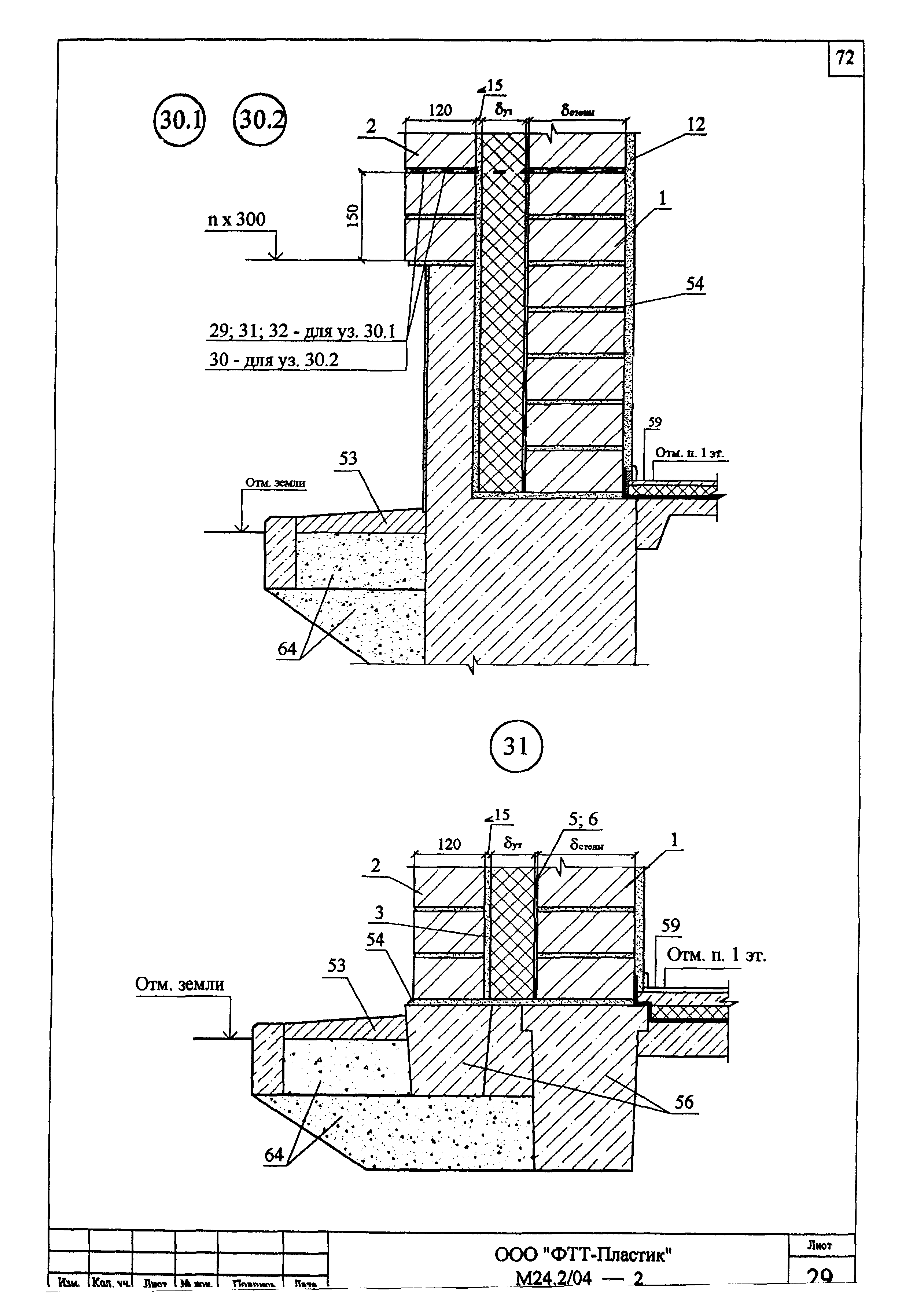
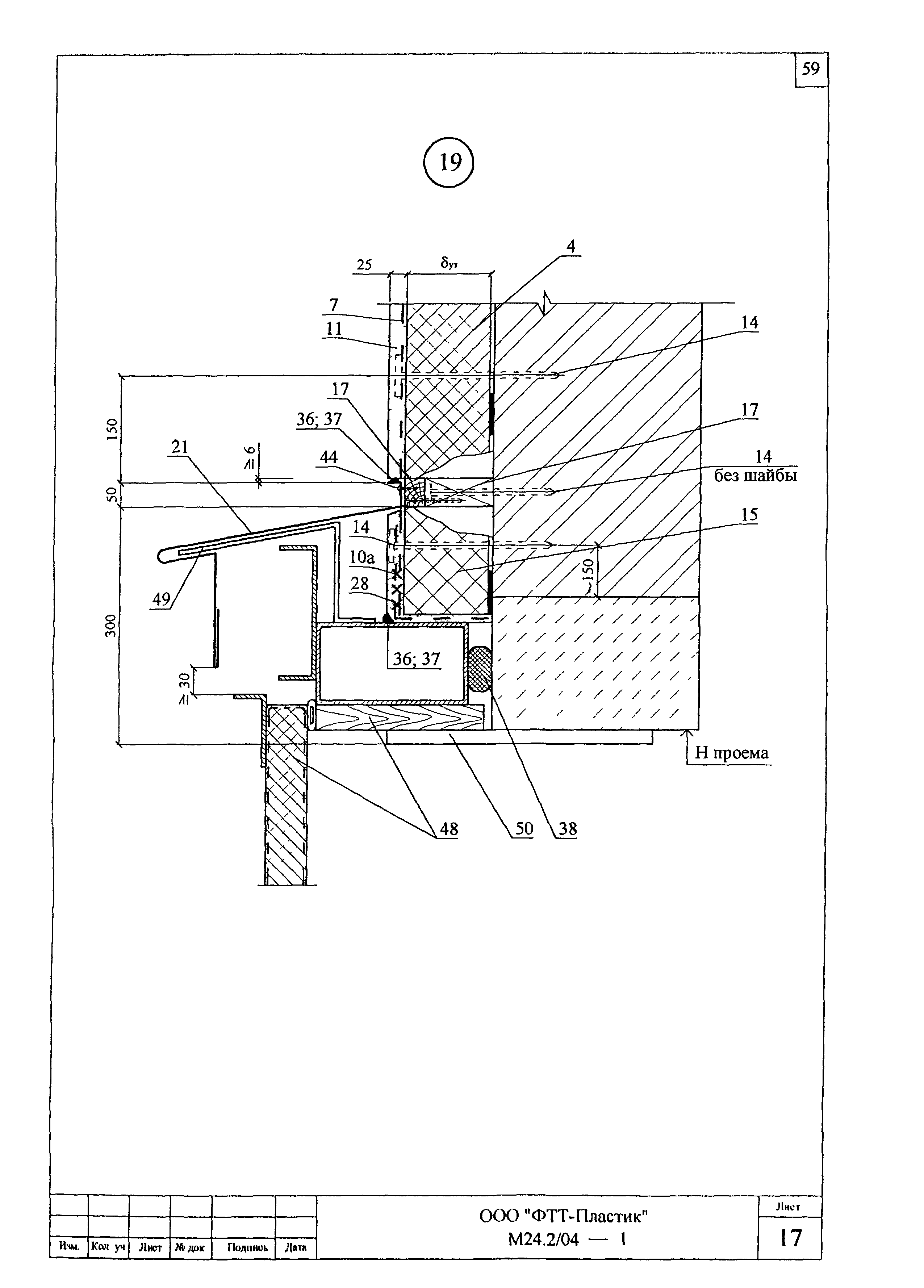
М24.39/04-1.0 Разделы 1-3 Стены
М24.39/04-1 Раздел 1 Новое строительство и реконструкция. Защитно-декоративный слой из штукатурки
М24.39/04-2 Раздел 2 Новое строительство. Облицовка кирпичом
М24.39/04-3 Раздел 3 Реконструкция. Облицовка кирпичом
М24.39/04-4 Раздел 4 Покрытия
М24.39/04-5 Раздел 5 Полы
М24.39/04-6 Раздел 6 Изделия комплектующие
Приложение 1. Пример расчета повышения теплозащиты стены
Приложение 2. Пример расчета парозащиты стены
Приложение 3. Пример определения показателя теплоусвоения поверхности пола по СНиП 23-02-2003
Приложение 4. Обеспечение пожарной безопасности при использовании в стенах и покрытиях теплоизоляции из плит пенополистирольных типа ПСБ-С марок 15, 25Ф и 35
Разработан: ОАО ЦНИИпромзданий
Утверждён:01.01.2004 ОАО ЦНИИпромзданий (TsNIIpromzdaniy OAO )
Нормативные ссылки:
Шифр М24.2/04Шифр М24.2/04Шифр М24.2/04Шифр М24.2/04Шифр М24.2/04Шифр М24.2/04Шифр М24.2/04Шифр М24.2/04Шифр М24.2/04Шифр М24.2/04Шифр М24.2/04Шифр М24.2/04Шифр М24.2/04Шифр М24.2/04Шифр М24.2/04Шифр М24.2/04Шифр М24.2/04Шифр М24.2/04Шифр М24.2/04Шифр М24.2/04Шифр М24.2/04Шифр М24.2/04Шифр М24.2/04Шифр М24.2/04Шифр М24.2/04Шифр М24.2/04Шифр М24.2/04Шифр М24.2/04Шифр М24.2/04Шифр М24.2/04Шифр М24.2/04Шифр М24.2/04Шифр М24.2/04Шифр М24.2/04Шифр М24.2/04Шифр М24.2/04Шифр М24.2/04Шифр М24.2/04Шифр М24.2/04Шифр М24.2/04Шифр М24.2/04Шифр М24.2/04Шифр М24.2/04Шифр М24.2/04Шифр М24.2/04Шифр М24.2/04Шифр М24.2/04Шифр М24.2/04Шифр М24.2/04Шифр М24.2/04Шифр М24.2/04Шифр М24.2/04Шифр М24.2/04Шифр М24.2/04Шифр М24.2/04Шифр М24.2/04Шифр М24.2/04Шифр М24.2/04Шифр М24.2/04Шифр М24.2/04Шифр М24.2/04Шифр М24.2/04Шифр М24.2/04Шифр М24.2/04Шифр М24.2/04Шифр М24.2/04Шифр М24.2/04Шифр М24.2/04Шифр М24.2/04Шифр М24.2/04Шифр М24.2/04Шифр М24.2/04Шифр М24.2/04Шифр М24.2/04Шифр М24.2/04Шифр М24.2/04Шифр М24.2/04Шифр М24.2/04Шифр М24.2/04Шифр М24.2/04Шифр М24.2/04Шифр М24.2/04Шифр М24.2/04Шифр М24.2/04Шифр М24.2/04Шифр М24.2/04Шифр М24.2/04Шифр М24.2/04Шифр М24.2/04Шифр М24.2/04Шифр М24.2/04Шифр М24.2/04Шифр М24.2/04Шифр М24.2/04Шифр М24.2/04Шифр М24.2/04Шифр М24.2/04Шифр М24.2/04Шифр М24.2/04Шифр М24.2/04Шифр М24.2/04Шифр М24.2/04Шифр М24.2/04Шифр М24.2/04Шифр М24.2/04Шифр М24.2/04Шифр М24.2/04Шифр М24.2/04Шифр М24.2/04Шифр М24.2/04Шифр М24.2/04Шифр М24.2/04Шифр М24.2/04Шифр М24.2/04Шифр М24.2/04Шифр М24.2/04Шифр М24.2/04Шифр М24.2/04Шифр М24.2/04Шифр М24.2/04Шифр М24.2/04Шифр М24.2/04Шифр М24.2/04Шифр М24.2/04Шифр М24.2/04Шифр М24.2/04Шифр М24.2/04Шифр М24.2/04Шифр М24.2/04Шифр М24.2/04Шифр М24.2/04Шифр М24.2/04Шифр М24.2/04Шифр М24.2/04Шифр М24.2/04