Скачать ГОСТ Р 56719-2015 Газ горючий природный сжиженный. Отбор проб

Дата актуализации: 01.01.2021

ГОСТ Р 56719-2015

Газ горючий природный сжиженный. Отбор проб

Обозначение: ГОСТ Р 56719-2015
Обозначение англ: GOST R 56719-2015
Статус:введен впервые
Название рус.:Газ горючий природный сжиженный. Отбор проб
Название англ.:Liquefied natural gas. Sampling
Дата добавления в базу:01.02.2017
Дата актуализации:01.01.2021
Дата введения:01.01.2017
Область применения:Стандарт распространяется на сжиженный природный газ (СПГ), поступающий с установок сжижения, а также подаваемый для дальнейшего хранения, транспортирования и потребления. Стандарт устанавливает основные принципы и порядок действий при проведении отбора проб сжиженного природного газа.
Оглавление:1 Область применения
2 Нормативные ссылки
3 Термины и определения
4 Требования безопасности
5 Требования к охране окружающей среды
6 Требования к квалификации персонала
7 Общие требования к отбору проб
8 Требования к средствам измерений, вспомогательному оборудованию и материалам
9 Организация точки отбора проб
10 Проведение отбора проб
Приложение А (справочное) Пример проверки соответствия состояния сжиженного природного газа условиям переохлаждения
Приложение Б (справочное) Примеры способов расположения и разновидностей пробоотборных зондов
Приложение В (справочное) Примеры различных конструкций испарителей сжиженного природного газа
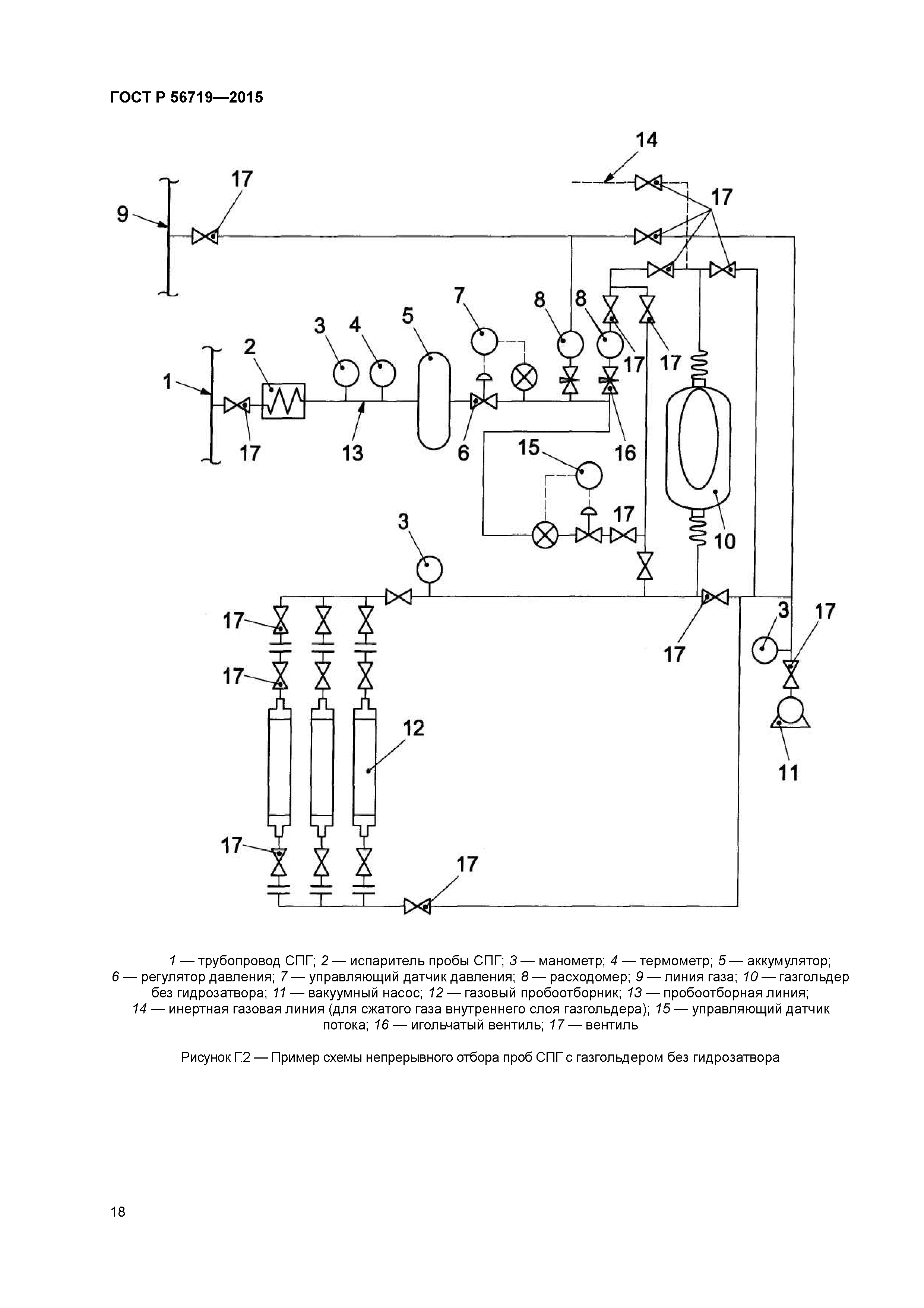
Приложение Г (справочное) Примеры различных схем для отбора проб сжиженного природного газа
Приложение Д (справочное) Техническое описание пробоотборного контейнера постоянного давления
Приложение Е (справочное) Рекомендуемая форма протокола отбора пробы сжиженного природного газа
Библиография
Разработан: ООО Газпром ВНИИГАЗ
Утверждён:18.11.2015 Федеральное агентство по техническому регулированию и метрологии (1847-ст)
Издан: Стандартинформ (2016 г. )
Нормативные ссылки:
ГОСТ Р 56719-2015ГОСТ Р 56719-2015ГОСТ Р 56719-2015ГОСТ Р 56719-2015ГОСТ Р 56719-2015ГОСТ Р 56719-2015ГОСТ Р 56719-2015ГОСТ Р 56719-2015ГОСТ Р 56719-2015ГОСТ Р 56719-2015ГОСТ Р 56719-2015ГОСТ Р 56719-2015ГОСТ Р 56719-2015ГОСТ Р 56719-2015ГОСТ Р 56719-2015ГОСТ Р 56719-2015ГОСТ Р 56719-2015ГОСТ Р 56719-2015ГОСТ Р 56719-2015ГОСТ Р 56719-2015ГОСТ Р 56719-2015ГОСТ Р 56719-2015ГОСТ Р 56719-2015ГОСТ Р 56719-2015ГОСТ Р 56719-2015ГОСТ Р 56719-2015ГОСТ Р 56719-2015