
|
ОТРАСЛЕВЫЕ СТАНДАРТЫ |
ПОДОГРЕВАТЕЛИ ПАРОВОДЯНЫЕ ТЕПЛОВЫХ СЕТЕЙ
|
РАЗРАБОТАН Научно-производственным объединением по исследованию и проектированию энергетического оборудования им. И.И. Ползунова (НПО ЦКТИ) |
|
|
Генеральный директор |
Н.М. МАРКОВ |
|
Заведующий отраслевым отделом стандартизации |
В.Л. МАРКОВ |
|
Руководители темы: |
Л.О. МУРЗО, М.И. ЯНКЕЛЕВИЧ |
|
Исполнители: |
А.М. БЕЛЯЕВА, А.Ф. ПОПОВ, З.П. ШУЛЯТЬЕВА, Н.М. ГРАЖДАНОВА |
|
Ленинградским филиалом проектно-технологического института «Энергомонтажпроект» |
|
|
Главный инженер |
A.М. ШАГИН |
|
Руководитель темы |
B.И. ЕСАРЕВ |
|
Исполнители: |
Б.З. ФЕЙГИН, Р.Р. КЕЙЗЕЛЬ |
|
ВНЕСЕН Научно-производственным объединением по исследованию и проектированию энергетического оборудования им. И.И. Ползунова (НПО ЦКТИ) |
|
|
Генеральный директор |
Н.М. МАРКОВ |
|
Заведующий отраслевым отделом стандартизации |
В.Л. МАРКОВ |
|
ПОДГОТОВЛЕН К УТВЕРЖДЕНИЮ Техническим управлением Министерства энергетического машиностроения |
|
|
Начальник Технического управления |
В.П. ПЛАСТОВ |
|
Начальник отдела опытно-конструкторских и научно-исследовательских работ по котлостроению |
В.В. ЛЕБЕДЕВ |
|
СОГЛАСОВАН с Госгортехнадзором СССР |
|
|
Заместитель начальника управления по котлонадзору и подъемным сооружениям |
А.И. МУРАЧЕВ |
|
с трестом Союзкотлокомплект |
|
|
Управляющий |
И.Ф. ГРИГОРЬЕВ |
|
с ЦП КБ Главтехмонтаж Минмонтажспецстроя |
|
|
Заместитель начальника ЦПКБ |
В.В. БОНДАРЕНКО |
|
УТВЕРЖДЕН И ВВЕДЕН В ДЕЙСТВИЕ указанием Министерства энергетического машиностроения от 27 декабря 1976 г. № ПС-002/9623 |
|
|
Заместитель министра |
П.О. СИРЫЙ |
|
ОТРАСЛЕВОЙ СТАНДАРТ |
|
|
ПОДОГРЕВАТЕЛИ
ПАРОВОДЯНЫЕ |
ОСТ
108.369.105-76 Введен впервые |
(Измененнная редакция. Изм. № 3)
Указанием Министерства энергетического машиностроения от 27 декабря 1976 г. № ПС-002/9623 срок действия установлен
с 01.01.76
не ограничен
(Измененнная редакция. Изм. № 1, 2, 3, 4)
Проверен в 1982 г.
(Введен дополнительно. Изм. № 1)
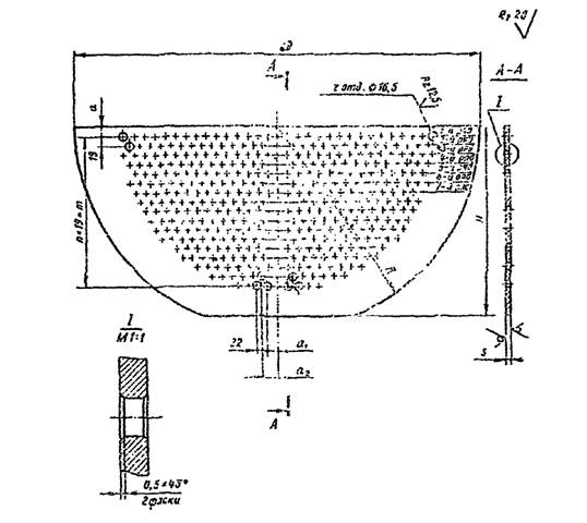
1. Настоящий стандарт распространяется на опорные решетки трубных систем пароводяных подогревателей.
2. Конструкция и размеры опорных решеток должны
соответствовать указанным на чертеже и в табл. 1.
Неуказанные предельные отклонения размеров: h
16;
.
(Измененнная редакция. Изм. № 3)
3. Размещение отверстий в опорных решетках должно соответствовать указанным на чертеже и в табл. 2.
4. Материал - Сталь марки ВСтЗкп2 ГОСТ 380.
(Измененнная редакция. Изм. № 3)
Пример обозначения:
РЕШЕТКА ОПОРНАЯ 03 ОСТ 108.369.105-76

(Измененнная редакция. Изм. № 3)
Размеры в мм
|
Обозначение опорной решетки |
Д |
R |
H |
S |
n |
a |
a1 |
a2 |
Масса, не более, кг |
n |
|
300 (296) |
150 (148) |
130 |
6 (5) |
4 |
15 |
15 |
26 |
1,27 |
76 |
|
|
400 (390) |
200 (195) |
170 |
6 (5) |
6 |
15 |
15 |
26 |
2,90 |
114 |
|
|
450 (448) |
225 (224) |
190 |
6 (5) |
7 |
20 |
20 |
31 |
2,68 |
133 |
|
|
500 (494) |
250 (247) |
215 |
6 (5) |
8 |
20 |
20 (31) |
31 (20) |
4,28 |
152 |
|
|
600 (595) |
300 (275) |
270 |
6 (5) |
11 |
20 |
20 |
31 |
5,99 |
209 |
|
|
690 |
345 |
315 |
8 |
13 |
20 |
20 (31) |
31 (20) |
7,75 |
247 |
|
|
790 |
395 |
365 |
8 |
16 |
20 |
20 |
31 |
9,86 |
304 |
Примечание: в скобках указаны размеры для аппаратов, выпускаемых отдельными предприятиями-изготовителями.
(Новая редакция. Изм. № 1, 2, 3)
Таблица 2
|
Обозначение опорной решетки |
Количество отверстий в опорных решетках по рядам |
Сумма отверстий z |
||||||||||||||||
|
1 |
2 |
3 |
4 |
5 |
6 |
7 |
8 |
9 |
10 |
11 |
12 |
13 |
14 |
15 |
16 |
17 |
||
|
8 |
8 |
8 |
6 |
4 |
- |
- |
- |
- |
- |
- |
- |
- |
- |
- |
- |
- |
34 |
|
|
12 |
10 |
12 |
10 |
8 |
6 |
4 |
- |
- |
- |
- |
- |
- |
- |
- |
- |
- |
62 |
|
|
14 |
14 |
14 |
12 |
12 |
10 |
8 |
4 |
- |
- |
- |
- |
- |
- |
- |
- |
- |
88 |
|
|
16 |
16 |
14 (16) |
16 (14) |
14 |
14 (16) |
10 (12) |
10 |
6 |
- |
- |
- |
- |
- |
- |
- |
- |
116 |
|
|
22 |
20 |
20 |
20 |
20 |
18 |
18 |
16 |
14 |
12 |
10 |
6 |
- |
- |
- |
- |
- |
196 |
|
|
24 |
26 |
24 |
24 |
22 |
24 |
22 |
22 |
20 |
18 |
16 |
16 |
12 |
10 |
- |
- |
- |
280 |
|
|
30 |
28 |
30 |
28 |
28 |
28 |
28 |
26 |
26 |
24 |
24 |
22 |
20 |
18 |
16 |
12 |
8 |
396 |
|
(Измененная редакция. Изм. № 3)