Главная // Актуальные документы // Актуальные документы (обновление 2025.02.03-2025.03.01) // ПНСТ (Предварительный национальный стандарт)
СПРАВКА
Источник публикации
М.: ФГБУ "Институт стандартизации", 2024
Примечание к документу
Документ введен в действие с 01.01.2025 на период до 01.01.2028 (Приказ Росстандарта от 25.11.2024 N 97-пнст).
Название документа
"ПНСТ 978-2024. Предварительный национальный стандарт Российской Федерации. Конструкции из полимерных композитов для пассажирских железнодорожных платформ. Общие технические требования"
(утв. и введен в действие Приказом Росстандарта от 25.11.2024 N 97-пнст)

"ПНСТ 978-2024. Предварительный национальный стандарт Российской Федерации. Конструкции из полимерных композитов для пассажирских железнодорожных платформ. Общие технические требования"
(утв. и введен в действие Приказом Росстандарта от 25.11.2024 N 97-пнст)


Содержание


Утвержден и введен в действие
Приказом Федерального
агентства по техническому
регулированию и метрологии
от 25 ноября 2024 г. N 97-пнст
ПРЕДВАРИТЕЛЬНЫЙ НАЦИОНАЛЬНЫЙ СТАНДАРТ РОССИЙСКОЙ ФЕДЕРАЦИИ
КОНСТРУКЦИИ ИЗ ПОЛИМЕРНЫХ КОМПОЗИТОВ
ДЛЯ ПАССАЖИРСКИХ ЖЕЛЕЗНОДОРОЖНЫХ ПЛАТФОРМ
ОБЩИЕ ТЕХНИЧЕСКИЕ ТРЕБОВАНИЯ
Polymer composite structures for passenger railway
platforms. General technical requirements
ПНСТ 978-2024
ОКС 83.120
91.080
93.100
Срок действия
с 1 января 2025 года
до 1 января 2028 года
Предисловие
1 РАЗРАБОТАН Федеральным государственным бюджетным образовательным учреждением высшего образования "Национальный исследовательский Московский государственный строительный университет" (НИУ МГСУ), Объединением юридических лиц "Союз производителей композитов" (Союзкомпозит) при участии Акционерного общества "Юматекс" (АО "Юматекс")
2 ВНЕСЕН Техническим комитетом по стандартизации ТК 465 "Строительство"
3 УТВЕРЖДЕН И ВВЕДЕН В ДЕЙСТВИЕ Приказом Федерального агентства по техническому регулированию и метрологии от 25 ноября 2024 г. N 97-пнст
4 ВВЕДЕН ВПЕРВЫЕ
Правила применения настоящего стандарта и проведения его мониторинга установлены в ГОСТ Р 1.16-2011 (разделы 5 и 6).
Федеральное агентство по техническому регулированию и метрологии собирает сведения о практическом применении настоящего стандарта. Данные сведения, а также замечания и предложения по содержанию стандарта можно направить не позднее, чем за 4 мес до истечения срока его действия разработчикам настоящего стандарта по адресам: KornevOA@mgsu.ru, standart@uncm.ru и/или в Федеральное агентство по техническому регулированию и метрологии по адресу: 123112 Москва, Пресненская набережная, дом 10, стр. 2.
В случае отмены настоящего стандарта соответствующая информация будет опубликована в ежемесячном информационном указателе "Национальные стандарты" и также будет размещена на официальном сайте Федерального агентства по техническому регулированию и метрологии в сети Интернет (www.rst.gov.ru)
1 Область применения
Настоящий стандарт распространяется на конструкции из термореактивных или термопластичных конструкционных полимеров, армированных различными видами и типами волокнистых материалов (далее - полимерные композиты), изготавливаемые различными технологическими методами и предназначенные для строительства всех видов новых, реконструкции или капитального ремонта существующих пассажирских железнодорожных платформ, а также пассажирских перронов (далее - полимерные композитные конструкции).
Настоящий стандарт устанавливает классификацию полимерных композитных конструкций и общие технические требования к ним.
2 Нормативные ссылки
В настоящем стандарте использованы нормативные ссылки на следующие документы:
ГОСТ 12.1.044 Система стандартов безопасности труда. Пожаровзрывоопасность веществ и материалов. Номенклатура показателей и методы их определения
ГОСТ 809-2020 Шурупы путевые. Общие технические условия
ГОСТ 2789 Шероховатость поверхности. Параметры и характеристики
ГОСТ 6402 Шайбы пружинные. Технические условия
ГОСТ 9238 Габариты железнодорожного подвижного состава и приближения строений
ГОСТ 11371 Шайбы. Технические условия
ГОСТ 13015-2012 Изделия бетонные и железобетонные для строительства. Общие технические требования. Правила приемки, маркировки, транспортирования и хранения
ГОСТ 14192 Маркировка грузов
ГОСТ 15150 Машины, приборы и другие технические изделия. Исполнения для различных климатических районов. Категории, условия эксплуатации, хранения и транспортирования в части воздействия климатических факторов внешней среды
ГОСТ 15846 Продукция, отправляемая в районы Крайнего Севера и приравненные к ним местности. Упаковка, маркировка, транспортирование и хранение
ГОСТ 24297 Верификация закупленной продукции. Организация проведения и методы контроля
ГОСТ 27751 Надежность строительных конструкций и оснований. Основные положения
ГОСТ 30244 Материалы строительные. Методы испытаний на горючесть
ГОСТ 30247.0 Конструкции строительные. Методы испытаний на огнестойкость. Общие требования
ГОСТ 30247.1 Конструкции строительные. Методы испытаний на огнестойкость. Несущие и ограждающие конструкции
ГОСТ 30402 Материалы строительные. Метод испытания на воспламеняемость
ГОСТ 32588 Композиты полимерные. Номенклатура показателей
ГОСТ 32794 Композиты полимерные. Термины и определения
ГОСТ 33119-2014 Конструкции полимерные композитные для пешеходных мостов и путепроводов. Технические условия
ГОСТ 33942 Услуги на железнодорожном транспорте. Обслуживание пассажиров. Термины и определения
ГОСТ 34682.2 (EN 81-41) Платформы подъемные для инвалидов и других маломобильных групп населения. Требования безопасности к устройству и установке. Часть 2. Платформы с вертикальным перемещением
ГОСТ ISO 4032 Гайки шестигранные нормальные (тип 1). Классы точности A и B
ГОСТ ISO 7093-1 Шайбы плоские. Крупная серия. Часть 1. Класс точности A
ГОСТ ISO 7093-2 Шайбы плоские. Крупная серия. Часть 2. Класс точности C
ГОСТ Р 51032 Материалы строительные. Метод испытания на распространение пламени
ГОСТ Р 51261 Устройства опорные стационарные для маломобильных групп населения. Типы и общие технические требования
ГОСТ Р 52875 Указатели тактильные наземные для инвалидов по зрению. Технические требования
ГОСТ Р 56214 Качество данных. Часть 1. Обзор
ГОСТ Р 57700.10 Численное моделирование физических процессов. Определение напряженно-деформированного состояния. Верификация и валидация численных моделей сложных элементов конструкций в упругой области
ГОСТ Р 57942-2017 Шпунт композитный полимерный. Общие технические требования и методы испытаний
ГОСТ Р 58427 Материалы противогололедные для применения на территории населенных пунктов. Общие технические условия
ГОСТ Р 58701 Информационные технологии. Идентификация радиочастотная для управления предметами. Параметры радиоинтерфейса для связи в диапазоне частот от 860 МГц до 960 МГц (Тип C)
ГОСТ Р 59428 Скрепление рельсовое промежуточное железнодорожного пути. Общие технические условия
ГОСТ Р 70116-2022 Соединения резьбовые. Типы стопорения
ГОСТ Р ЕН 40-7 Опоры освещения из полимерных композиционных материалов, армированных волокном. Технические требования
ГОСТ Р ИСО 2009 Винты с потайной головкой со шлицем. Класс точности A
ГОСТ Р ИСО 4014 Болты с шестигранной головкой. Классы точности A и B
ГОСТ Р ИСО 4017 Винты с шестигранной головкой. Классы точности A и B
ГОСТ Р ИСО 7046-1 Винты с потайной головкой и крестообразным шлицем типа H или типа Z. Класс точности A. Часть 1. Винты стальные класса прочности 4.8
ГОСТ Р ИСО 8676 Винты с шестигранной головкой с мелким шагом резьбы. Классы точности A и B
ГОСТ Р ИСО 8765 Болты с шестигранной головкой с мелким шагом резьбы. Классы точности A и B
СП 14.13330.2018 "СНиП II-7-81* Строительство в сейсмических районах"
СП 20.13330 "СНиП 2.01.07-85* Нагрузки и воздействия"
СП 24.13330.2021 "СНиП 2.02.03-85 Свайные фундаменты"
СП 35.13330.2011 "СНиП 2.05.03-84* Мосты и трубы"
СП 59.13330.2020 "СНиП 35-01-2001 Доступность зданий и сооружений для маломобильных групп населения"
СП 417.1325800.2020 Железнодорожные вокзальные комплексы. Правила проектирования
Примечание - При пользовании настоящим стандартом целесообразно проверить действие ссылочных стандартов (сводов правил) в информационной системе общего пользования - на официальном сайте Федерального агентства по техническому регулированию и метрологии в сети Интернет или по ежегодному информационному указателю "Национальные стандарты", который опубликован по состоянию на 1 января текущего года, и по выпускам ежемесячного информационного указателя "Национальные стандарты" за текущий год. Если заменен ссылочный документ, на который дана недатированная ссылка, то рекомендуется использовать действующую версию этого документа с учетом всех внесенных в данную версию изменений. Если заменен ссылочный документ, на который дана датированная ссылка, то рекомендуется использовать версию этого документа с указанным выше годом утверждения (принятия). Если после утверждения настоящего стандарта в ссылочный документ, на который дана датированная ссылка, внесено изменение, затрагивающее положение, на которое дана ссылка, то это положение рекомендуется применять без учета данного изменения. Если ссылочный документ отменен без замены, то положение, в котором дана ссылка на него, рекомендуется применять в части, не затрагивающей эту ссылку. Сведения о действии сводов правил целесообразно проверить в Федеральном информационном фонде стандартов.
3 Термины и определения
В настоящем стандарте применены термины по ГОСТ 33942, ГОСТ 32794, ГОСТ Р 57700.10, а также следующие термины с соответствующими определениями:
3.1 базовое направление (армирования полимерного композитного пултрузионного профиля): Нормаль к поперечному сечению профиля.
3.2 защитное ограждение (из полимерных композитов); ЗО: Ограждающая предохранительная полимерная композитная конструкция, служащая для предотвращения непреднамеренного доступа человека к границе перепада по высоте при нахождении на пассажирской железнодорожной платформе или пассажирском перроне, лестничных маршах и пандусах для входа пассажиров на платформу и выхода пассажиров с платформы.
3.3 защитное перильное ограждение (из полимерных композитов); ЗПО: Ограждающая предохранительная полимерная композитная конструкция с перилами, служащая для предотвращения непреднамеренного доступа человека к границе перепада по высоте при нахождении на лестничных маршах и пандусах для входа пассажиров на платформу и выхода пассажиров с платформы.
3.4 каркас навеса (из полимерных композитов); КН: Несущая полимерная композитная конструкция, обеспечивающая механическое крепление листов остекления и/или иных листовых материалов, обеспечивающих защиту от воздействия атмосферных осадков и ультрафиолетового излучения.
3.5
ламель: Монослой многослойного полимерного композита, армированный одним видом армирующего наполнителя - ровингом, кордной тканью, тканью, мультиаксиальной тканью или матом.
Примечание - В зависимости от вида армирующего наполнителя ламель является однонаправленно-, двунаправленно-, многонаправленно- или хаотичноармированной.
[ГОСТ Р 54928-2012, пункт 3.1.22]
3.6
ламинат: Многослойный полимерный композит, состоящий из нескольких ламелей одинаковой или различной толщины.
[ГОСТ Р 54928-2012, пункт 3.1.23]
3.7 лестничный марш (из полимерных композитов); ЛМ: Несущая полимерная композитная конструкция схода, состоящая из косоуров и непрерывной последовательности ступеней, расположенных между лестничными площадками.
Примечание - В зависимости от конструкции платформы (перрона) конструкция лестничного марша может состоять только из косоуров и непрерывной последовательности ступеней.
3.8 лестничная площадка (из полимерных композитов); ЛП: Несущая полимерная композитная конструкция схода, представляющая собой горизонтальную площадку для соединения лестничных маршей между собой и с прохожей частью платформы.
3.9
метод конечных элементов: Сеточный метод численного решения задач математической физики, в котором дискретизация исходных краевых задач производится на основе вариационных или проекционных методов при использовании специальных конечномерных подпространств функций, определяемых выбранной сеткой.
[ГОСТ Р 57188-2016, пункт 2.3.6]
3.10 модульная сборная полимерная композитная конструкция настила; МСПККН: Сборный элемент настила, представляющий собой модульную сборную конструкцию, собираемую из полимерных композитных конструкционных профилей, изготавливаемых методом пултрузии и предназначенный для монтажа настила пассажирской железнодорожной платформы или пассажирского перрона.
3.11 монолитная полимерная композитная трехслойная плита; МПКТП: Монолитный элемент настила, представляющий собой трехслойную конструкцию заводского изготовления, изготовленную методом формования под давлением или под вакуумом и предназначенный для монтажа настила пассажирской железнодорожной платформы или пассажирского перрона.
Примечание - Термин введен для понимания отличий основных методов изготовления конструкций из полимерных композитов для строительных сооружений (формование под давлением или под вакуумом; пултрузия) и их классификации по аналогии с бетонными конструкциями (монолитные; сборные) - монолитные, изготавливаемые методами формования под давлением или под вакуумом, сборные - собираемые из профилей, изготавливаемых методом пултрузии.
3.12 навес (пассажирской платформы из полимерных композитов): Сборная или монолитная несущая полимерная композитная конструкция пассажирской железнодорожной платформы или пассажирского перрона, предназначенная для защиты пассажиров и багажа от атмосферных осадков и ультрафиолетового излучения.
3.13 настил (пассажирской платформы из полимерных композитов): Сборная несущая полимерная композитная конструкция пассажирской железнодорожной платформы или пассажирского перрона, по которой осуществляется проход, накопление, а также посадка пассажиров в вагоны и их высадка, образующая габариты платформы или перрона и опирающаяся в точках опирания на фундамент.
3.14 опора навеса (из полимерных композитов): Несущая полимерная композитная конструкция (стойка, колонна), обеспечивающая механическое крепление каркаса навеса.
3.15 опора осветительной установки (из полимерных композитов); мачта освещения; ООУ: Несущая полимерная композитная конструкция (мачта), предназначенная для закрепления светильников.
3.16 пандус для маломобильных групп населения (из полимерных композитов); ПМГН: Несущая полимерная композитная конструкция схода в виде наклонной поверхности для перемещения маломобильных групп населения вверх или вниз на пассажирскую железнодорожную платформу или с платформы.
3.17 подъемная платформа для маломобильных групп населения (с элементами конструкций из полимерных композитов); ППМГН: Подъемная платформа с вертикальным перемещением, устанавливаемая стационарно, предназначенная для использования маломобильными группами населения и изготовленная с применением конструктивных элементов из полимерных композитов.
3.18
программное обеспечение компьютерного моделирования; ПО КМ: Программы, выполняющие математические расчеты, и программы, предназначенные для подготовки исходных данных, обработки результатов расчета, а также другие вспомогательные программы. Программное обеспечение компьютерного моделирования не является программным обеспечением средств измерений согласно ГОСТ Р 8.654.
[ГОСТ Р 57700.2-2017, пункт 3.1.1]
3.19
пропитка смолой под вакуумом (вакуумная инфузия); VaRTM: Процесс изготовления конструкции или изделия из полимерного композита в герметичных формах с использованием вакуума для пропитки армирующих наполнителей.
Примечание - Технология закрытого формования с применением как жестких, так и гибких форм.
[ГОСТ Р 54928-2012, пункт 3.1.25]
3.20
пропитка смолой под давлением (инфузия); RTM: Процесс изготовления конструкции или изделия из полимерного композита в герметичных формах с использованием избыточного давления для пропитки армирующих наполнителей.
Примечание - Технология закрытого формования с применением формы, жесткой по обеим сторонам.
[ГОСТ Р 54928-2012, пункт 3.1.24]
3.21
пултрузия (протяжка): Процесс изготовления изделий с постоянным профилем поперечного сечения непрерывным протягиванием пропитанных термореактивной смолой непрерывных волокон армирующего наполнителя через нагретую фильеру.
Примечания
1 Профильные изделия, изготовленные пултрузией, обладают высокой прочностью в направлении армирования.
2 При необходимости профильные изделия, изготовленные пултрузией, протягивают через камеру постотверждения.
[ГОСТ 32794-2014, пункт 2.4.24]
Примечание - В настоящем стандарте под пултрузией понимается процесс изготовления изделий с постоянным профилем поперечного сечения непрерывным протягиванием пропитанных термореактивной или термопластичной смолой непрерывных волокон армирующего наполнителя через нагретую фильеру.
3.22 радиочастотная идентификация; технология RFID: Технология автоматической идентификации и сбора данных, которая использует электромагнитную или индуктивную связь, осуществляемую посредством радиоволн, для взаимодействия с радиочастотной меткой и однозначного считывания ридером ее уникального идентификатора путем применения различных видов модуляции сигнала и кодирования данных.
3.23 радиочастотная метка; RFID-метка: Радиоэлектронное средство, содержащее устройство хранения информации и предназначенное для однозначной идентификации объекта, на котором оно установлено.
3.24 свайный фундамент (из полимерных композитов): Комплекс шпунтовых свай из полимерных композитов, объединенных в единую конструкцию, передающую нагрузку на основание.
3.25 секции настила (пассажирской платформы из полимерных композитов): Монолитные или сборные несущие конструкции, предназначенные для монтажа настила пассажирской железнодорожной платформы или пассажирского перрона.
Примечания
1 К монолитным секциям настила относятся монолитные полимерные композитные трехслойные плиты, изготавливаемые методами формования под давлением или под вакуумом.
2 К сборным секциям настила относятся модульные сборные конструкции, собираемые из полимерных композитных конструкционных профилей, изготавливаемых методом пултрузии.
3.26 сход (пассажирской платформы из полимерных композитов): Несущая полимерная композитная конструкция пассажирской железнодорожной платформы или пассажирского перрона, предназначенная для входа пассажиров на платформу и выхода пассажиров с платформы.
Примечание - К сходам пассажирской платформы относятся лестничные марши с перилами и пандусы.
3.27 трехслойная конструкция; "сэндвич"-конструкция: Конструкция, состоящая из верхнего и нижнего профилей (плоского или криволинейного) из многослойного полимерного композита (ламината) и поперечных и продольных стенок и/или системы поперечных и продольных стенок, соединяющих профили в единую конструкцию.
Примечание - Поперечные и продольные стенки также изготавливаются из многослойного полимерного композита. Пространство между стенками не заполняется или заполняется заполнителями из вспененных пластмасс и/или иными материалами и/или их сочетанием.
3.28 уникальный идентификатор полимерной композитной конструкции: Уникальный идентификационный номер RFID-метки, задаваемый пользователем и однозначно сопоставляемый при считывании ридером с конкретной полимерной композитной конструкцией, на которой установлена настоящая радиочастотная метка.
Примечание - Уникальный идентификатор полимерной композитной конструкции является пользовательским идентификатором радиочастотной метки.
3.29 устройство считывания; ридер: Устройство, предназначенное для выполнения процедур извлечения данных, хранящихся на RFID-метке, и/или записи данных на RFID-метку и, при необходимости, для управления процессами разрешения коллизий и коррекции ошибок, а также для выполнения операций канального декодирования и декодирования данных источника, что необходимо для восстановления их исходного вида.
Примечание - Устройство считывания должно иметь встроенный дисплей и/или содержать параллельный или последовательный порт для подключения к управляющему компьютеру или контроллеру.
3.30
численный метод: Представление математической модели в форме алгоритма, который может быть реализован в виде компьютерной программы.
[ГОСТ Р 57188-2016, пункт 2.2.13]
3.31 шпунтовая свая (из полимерных композитов); ШС: Несущая полимерная композитная вертикальная или наклонная конструкция из полимерного композитного шпунта, погруженная в грунт и предназначенная для передачи нагрузки на основание.
Примечание - Под шпунтовой сваей в настоящем стандарте понимается шпунтовая свая круглого сечения (трубчатый композитный шпунт) по ГОСТ Р 57942-2017 (рисунок 3), конструкция и метод изготовления которой идентичны конструкции и методу изготовления полых свай из композитных труб, погружаемых с открытым нижним концом без выемки грунта, применяемых при проектировании фундаментов из разных типов свай в различных инженерно-геологических условиях и при любых видах строительства по СП 24.13330.2021 [перечисление б) пункта 6.1].
4 Классификация
4.1 Типы
4.1.1 Настоящий стандарт устанавливает классификацию полимерных композитных конструкций по следующим основным признакам:
- функциональному назначению;
- материалу матрицы полимерного композита;
- материалу армирующего наполнителя полимерного композита.
4.1.2 В зависимости от функционального назначения полимерные композитные конструкции подразделяют на следующие типы:
- секции настила (СН);
- лестничные марши (ЛМ);
- лестничные площадки (ЛП);
- пандусы для маломобильных групп населения (ПМГН);
- подъемные платформы для маломобильных групп населения с элементами конструкций из полимерных композитов (ППМГН);
- опоры навеса (ОН);
- каркасы навеса (КН);
- шпунтовые сваи (ШС);
- опоры осветительных установок (ООУ);
- защитные ограждения (ЗО);
- защитные перильные ограждения (ЗПО).
4.1.3 В зависимости от материала матрицы полимерного композита полимерные композитные конструкции подразделяют на следующие типы:
- термореактивные (ТР);
- термопластичные (ТП).
4.1.4 В зависимости от материала армирующего наполнителя полимерного композита полимерные композитные конструкции подразделяют на следующие типы:
- стеклокомпозитные (СК);
- базальтокомпозитные (БК);
- углекомпозитные (УК);
- полиэтиленкомпозитные (ПЭК);
- комбинированные композитные (КК).
Примечание - Под полиэтиленкомпозитными материалами в настоящем стандарте понимаются термореактивные или термопластичные конструкционные полимеры, армированные волокнистыми наполнителями из сверхвысокомолекулярного полиэтилена (СВМПЭ).
4.2 Условные обозначения
Условное обозначение полимерных композитных конструкций должно включать в себя: условное обозначение типа конструкции по функциональному назначению в соответствии с 4.1.2, условное обозначение материала армирующего наполнителя в соответствии с 4.1.4, условное обозначение материала матрицы в соответствии с 4.1.3, характерные геометрические размеры и обозначение настоящего стандарта.
Примеры условных обозначений полимерных композитных конструкций:
Монолитная секция настила пассажирской железнодорожной платформы, изготовленная из стеклокомпозита на основе термореактивной смолы, длиной 6000 мм, шириной 2000 мм:
МПКТП (СК/ТР) - 6000/2000 ПНСТ 978-2024
Защитное ограждение пассажирского перрона, изготовленное из полиэтиленкомпозита на основе термопластичной смолы, длиной 1500 мм, высотой 1100 мм:
ОЗ (ПЭК/ТП) - 1500/1100 ПНСТ 978-2024
5 Технические требования
5.1 Общие требования
5.1.1 Полимерные композитные конструкции должны соответствовать требованиям настоящего стандарта и изготавливаться по технологической документации, утвержденной в установленном порядке.
Технологическая документация должна включать в себя отдельные пооперационные карты технологических процессов изготовления или ремонта для каждого типа (в соответствии с 4.1.2) полимерной композитной конструкции и каждого вида формообразования (метода изготовления) или ремонта.
5.1.2 Секции настила, лестничные марши, лестничные площадки, каркасы навеса, пандусы для маломобильных групп населения, подъемные платформы для маломобильных групп населения с элементами конструкций из полимерных композитов следует изготавливать из термореактивных или термопластичных конструкционных полимеров, армированных волокнистыми наполнителями различных типов и видов, методами формования под давлением или под вакуумом, и/или из сортамента профилей, произведенных из аналогичных материалов методом пултрузии.
Защитные ограждения и защитные перильные ограждения следует изготавливать из сортамента профилей, произведенных из термореактивных или термопластичных конструкционных полимеров, армированных волокнистыми наполнителями различных типов и видов, методом пултрузии.
Мачты освещения (опоры осветительных установок), опоры навеса, шпунтовые сваи следует изготавливать из термореактивных или термопластичных конструкционных полимеров, армированных волокнистыми наполнителями различных типов и видов методами намотки или методом пултрузии.
5.1.3 Для полимерных композитов полимерных композитных конструкций должны быть определены следующие характеристики пожарной опасности: группа горючести по ГОСТ 30244, группа воспламеняемости по ГОСТ 30402, группа распространения пламени по ГОСТ Р 51032, группа дымообразующей способности по ГОСТ 12.1.044, группа токсичности продуктов горения по ГОСТ 12.1.044.
Характеристики пожарной опасности полимерных композитов секций настилов, лестничных маршей, лестничных площадок, опор навеса, пандусов для маломобильных групп населения, элементов конструкций подъемных платформ для маломобильных групп населения должны быть не менее:
Г1 по ГОСТ 30244 ....................................... для горючести;
В2 по ГОСТ 30402 ................................ для воспламеняемости;
РП1 по ГОСТ Р 51032 ............... для группы распространения пламени;
Д1 по [1] ............................. для дымообразующей способности;
Т2 по [1] .......................... для токсичности продуктов горения.
Характеристики пожарной опасности полимерных композитов защитных ограждений, защитных перильных ограждений, шпунтовых свай, каркасов навеса, мачт освещения должны быть не менее:
Г2 по ГОСТ 30244 ....................................... для горючести;
В2 по ГОСТ 30402 ................................ для воспламеняемости;
РП1 по ГОСТ Р 51032 ............... для группы распространения пламени;
Д2 по [1] ............................. для дымообразующей способности;
Т2 по [1] .......................... для токсичности продуктов горения.
Примечания
1 Соответствие характеристикам пожарной опасности полимерных композитов защитных ограждений, защитных перильных ограждений и мачт освещения должно обеспечиваться за счет введения ингибиторов горения (антипиренов) в состав полимерного композита или нанесением на поверхность или поверхности конструкций огнезащитных покрытий или иными способами, обеспечивающими соблюдение указанных требований к пожарной опасности материалов.
2 Допускается изготовление защитных ограждений, защитных перильных ограждений и мачт освещения из полимерных композитов, с показателем горючести ниже Г2 по ГОСТ 30244. В этом случае характеристики пожарной опасности полимерных композитов данных конструкций должны обеспечиваться нанесением на их поверхность или поверхности огнезащитных покрытий (в заводских условиях или на строительной площадке) и подтверждаться испытаниями полимерных композитов данных конструкций с нанесенным защитным покрытием.
3 Информация о способе обеспечения соответствия защитных ограждений, защитных перильных ограждений и мачт освещения характеристикам пожарной опасности полимерных композитов, установленных настоящим стандартом, должна приводиться в документе по стандартизации производителя конкретной полимерной композитной конструкции (стандарт организации, технические условия).
5.1.4 Предел огнестойкости секций настилов, лестничных маршей, лестничных площадок, опор навеса и пандусов для маломобильных граждан должен быть не менее RE 30 по ГОСТ 30247.0 и ГОСТ 30247.1.
Предел огнестойкости защитных ограждений, защитных перильных ограждений, свайных фундаментов, каркасов навеса, мачт освещения должен быть не менее R 15 по ГОСТ 30247.0 и ГОСТ 30247.1.
5.1.5 Требования к обеспечению безопасности и (или) безвредности для человека полимерных композитных конструкций устанавливают в документах по стандартизации (национальных стандартах и/или стандартах организаций), регламентирующих требования к конкретным полимерным композитным конструкциям с учетом требований [2] и иных гигиенических нормативов и/или санитарно-эпидемиологических правил.
5.1.6 Полимерные композитные конструкции должны быть пригодны для эксплуатации в различных климатических условиях по ГОСТ 15150. Вид климатического исполнения по ГОСТ 15150 устанавливают в документах по стандартизации (национальных стандартах и/или стандартах организаций), регламентирующих требования к конкретным полимерным композитным конструкциям.
5.1.7 Полимерные композитные конструкции должны быть пригодны для эксплуатации в сейсмических районах с расчетной сейсмической интенсивностью в баллах шкалы MSK-64 для средних грунтовых условий и трех степеней сейсмической опасности - до 8 баллов по СП 14.13330.2018 (приложение А).
Сейсмические районы с расчетной сейсмической интенсивностью в баллах шкалы MSK-64 для средних грунтовых условий и трех степеней сейсмической опасности по СП 14.13330.2018 (приложение А) для каждого вида полимерных композитных конструкций должны устанавливаться в документах по стандартизации (национальных стандартах и/или стандартах организаций), регламентирующих требования к конкретным полимерным композитным конструкциям.
5.1.8 На все виды полимерных композитных конструкций должны быть разработаны и утверждены предприятием - изготовителем инструкции и/или руководства по монтажу, эксплуатации и ремонту, содержащие в том числе:
- порядок приемки конструкций на строительной площадке;
- правила монтажа конструкций;
- рекомендации по эксплуатации и мониторингу технического состояния конструкций;
- перечень дефектов и повреждений конструкций, правила их выявления и методы устранения.
Данные требования (полностью или частично) могут содержаться в документах по стандартизации (национальных стандартах и/или стандартах организаций), регламентирующих требования к конкретным полимерным композитным конструкциям. В этом случае разработка отдельных инструкций и/или руководств не требуется или они разрабатываются только в части требований, не вошедших в соответствующие документы по стандартизации.
5.1.9 Расчетный срок службы для полимерных композитных конструкций, предназначенных для эксплуатации в условиях в соответствии с 5.1.6, 5.1.7, не должен быть менее срока службы пассажирской железнодорожной платформы (пассажирского перрона) и составлять не менее 50 лет при соответствии требованиям 5.6 и 5.7 в течение всего срока службы.
5.2 Требования к конструктивному исполнению и внешней форме
5.2.1 Геометрические размеры секций настилов пассажирской железнодорожной платформы определяются расчетом исходя из требований, предъявляемым к настилам платформы по 5.2.2 - 5.2.7 с учетом требований ГОСТ 9238 и СП 417.1325800.2020 (подраздел 5.3).
5.2.2 Длина настила пассажирской железнодорожной платформы должна соответствовать наибольшей длине пассажирского поезда, в том числе пригородного, с учетом перспективного развития пассажирского железнодорожного транспорта на 5 лет. В случае отсутствия информации о перспективной длине пассажирских поездов следует принимать длину настила по максимальной длине пассажирских, в том числе пригородных, поездов с запасом 15 м. Допускается принимать величину запаса 10 м в случае отсутствия остановки пассажирских поездов с локомотивной тягой в пятилетней перспективе.
5.2.3 Ширина настила береговой (боковой) пассажирской железнодорожной платформы, примыкающей к железнодорожному вокзалу, должна составлять, м, не менее:
6 - в пределах расположения здания железнодорожного вокзала;
5 - в пределах расположения здания железнодорожного вокзала в трудных и особо трудных условиях или при реконструкции;
4 - на остальном протяжении.
При отсутствии скоростного движения ширину настила пассажирской железнодорожной платформы вне пределов расположения пассажирского здания, а также на железнодорожных вокзалах вместимостью менее 200 человек допускается уменьшать до 3 м.
5.2.4 Ширина настила береговых (боковых) пассажирских железнодорожных платформ, расположенных на раздельных пунктах с путевым развитием, на которых осуществляют безостановочный пропуск поездов со скоростью более 160 км/ч, должна составлять не менее 4,5 м при условии обустройства сигнального ограждения.
5.2.5 Ширина настила островных пассажирских железнодорожных платформ должна составлять не менее 6 м. На реконструируемых раздельных пунктах с путевым развитием при скоростях движения поездов 160 км/ч и менее допускается при обосновании устройство настила островной пассажирской железнодорожной платформы с шириной не менее 4 м на отдельных ее участках, расположенных вне зоны устройства торцевого схода, где далее предусматривается пешеходная дорожка к пешеходному переходу, устраиваемому в одном уровне с железнодорожными путями.
5.2.6 На раздельных пунктах с путевым развитием и пассажирских остановочных пунктах при безостановочном пропуске пассажирских поездов со скоростями движения свыше 160 км/ч по главному железнодорожному пути, смежному с пассажирской железнодорожной платформой, ширину настила платформы принимают равной исходя из условия нахождения пассажиров не ближе 3 м от края платформы во время пропуска скоростного поезда.
5.2.7 На раздельных пунктах с путевым развитием с безостановочным движением пассажирских поездов со скоростями движения свыше 140 км/ч ширина настила островной пассажирской железнодорожной платформы при расположении ее между главными путями должна составлять не менее 8 м. В трудных и особо трудных условиях допускается уменьшать это расстояние до значения не менее 6 м.
5.2.8 Конструкция секций, образующих край настила пассажирской железнодорожной платформы со стороны железнодорожного пути, должна обеспечивать возможность регулирования габарита платформы в случае проведения путевых работ.
5.2.9 Полимерные композитные конструкции, по поверхностям которых в соответствии с проектной документацией предусматривается прокладка инженерных сетей, необходимых для эксплуатации пассажирской железнодорожной платформы, должны включать в себя технологические узлы для крепления или прохождения данных сетей.
5.2.10 Уклоны лестничных маршей на сходах с платформ должны быть не более 23° (со ступенями 140 x 320 мм) и не менее 17° (со ступенями 120 x 400 мм). Число ступеней в одном марше должно быть не менее 3 и не более 12 (при необходимости только в пределах одного марша допускается предусматривать до 20 ступеней).
Ширина лестничных маршей сходов высоких платформ должна быть равной половине ширины платформы, но не менее 2,5 м.
Высота защитного перильного ограждения (защитного ограждения) лестничных маршей на сходах с высоких платформ со стороны поля и торцов должна находиться в диапазоне от 1000 до 1200 мм. Конструкция защитного перильного ограждения (защитного ограждения) должна иметь заполнение, исключающее возможность падения людей. Расстояния в свету между элементами заполнения не должны превышать 150 мм.
5.2.11 Общие требования к конструктивному исполнению пандусов для маломобильных граждан - по ГОСТ Р 51261 и СП 59.13330. Геометрические размеры пандусов для маломобильных групп населения - в соответствии с СП 59.13330.2020 (пункт 5.1.16, таблица 5.1).
5.2.12 Общие требования к конструктивному исполнению подъемных платформ для маломобильных групп населения с элементами конструкций из полимерных композитов - по ГОСТ 34682.2.
5.2.13 Общие требования к конструктивному исполнению шпунтовых свай и свайного фундамента - по ГОСТ Р 57942.
5.2.14 Общие требования к конструктивному исполнению опор осветительных установок - по ГОСТ Р ЕН 40-7.
5.2.15 Рабочие поверхности секций настила, лестничных маршей, пандусов для маломобильных групп населения, подъемных платформ для маломобильных групп населения должны быть ровными, без выбоин, не допускать скопления воды, обладать противоскользящими свойствами, иметь возможность устройства тактильных (осязаемых) наземных указателей для граждан с ослабленным зрением, а также отделки декоративными материалами с учетом требований к защитным покрытиям по 5.4.
5.2.16 Требования к конкретным конструктивным решениям полимерных композитных конструкций каждого типа (в соответствии с 4.1.2) и вида формообразования (метода изготовления) устанавливают в документах по стандартизации (национальных стандартах и/или стандартах организаций), регламентирующих требования к конкретным полимерным композитным конструкциям.
5.3 Требования к соединительным деталям и соединениям
5.3.1 При соединении МПКТП с фундаментами рекомендуется применять путевые шурупы с защитным покрытием по ГОСТ 809-2020 (пункт 5.1.7) и дюбели из полимерных материалов, применяемые для промежуточных рельсовых шурупно-дюбельных скреплений по ГОСТ Р 59428, соответствующих требованиям [3].
По согласованию с владельцем инфраструктуры железнодорожного транспорта допускается применение путевых шурупов по ГОСТ 809 без защитного покрытия.
При расчетах узловых соединений различных материалов (сталь, полимерный композит и др.) необходимо учитывать коэффициенты линейного теплового расширения данных материалов.
При монтаже МСПККН следует применять:
- болты класса прочности 8.8 по ГОСТ Р ИСО 4014, ГОСТ Р ИСО 4017, ГОСТ Р ИСО 8676, ГОСТ Р ИСО 8765;
- гайки класса прочности 6 по ГОСТ ISO 4032;
- шайбы по ГОСТ 11371;
- шайбы крупные класса точности A по ГОСТ ISO 7093-1;
- шайбы крупные класса точности C по ГОСТ ISO 7093-2;
- шайбы пружинные по ГОСТ 6402;
- винты по ГОСТ Р ИСО 2009, ГОСТ Р ИСО 7046-1.
Все болты и гайки должны быть класса точности B.
5.3.2 Рекомендации по выполнению болтовых соединений при монтаже МСПККН приведены в приложении А.
Требования к применяемым типам болтовых соединений устанавливают в документах по стандартизации (национальных стандартах и/или стандартах организаций), регламентирующих требования к конкретным полимерным композитным конструкциям.
5.4 Требования к применению защитных покрытий
5.4.1 Рабочие поверхности секций настила, лестничных маршей, лестничных площадок, пандусов для маломобильных групп населения должны быть защищены износостойким противоскользящим покрытием, обеспечивающим безопасность и удобство передвижения пешеходов.
Защитное покрытие должно удовлетворять в течение всего срока его службы требованиям по морозостойкости к полимерным композитам по 5.7 и соответствовать требованиям по истираемости бетона для марки по истираемости G1 по ГОСТ 13015-2012 (пункт 5.6.11), предъявляемым к конструкциям, работающим в условиях повышенной интенсивности движения.
Методы определения истираемости защитного покрытия, значения показателей противоскользящих свойств и шероховатости поверхности защитного покрытия, а также адгезии (устойчивости к отслаиванию) защитного покрытия к материалу рабочих поверхностей должны устанавливаться (в соответствии с типом применяемого защитного покрытия) в документах по стандартизации (национальных стандартах и/или стандартах организаций), регламентирующих требования к конкретным полимерным композитным конструкциям. Требования к шероховатости поверхности устанавливают с учетом требований ГОСТ 2789.
5.4.2 Защитное покрытие должно наноситься на поверхности секций настила, лестничных маршей, пандусов для маломобильных групп населения заводского изготовления в заводских условиях и быть ремонтопригодным в течение всего срока службы покрытия.
Для сборных секций настила, лестничных маршей, лестничных площадок, пандусов для маломобильных групп населения по согласованию с владельцем инфраструктуры железнодорожного транспорта допускается нанесение защитного покрытия на рабочие поверхности конструкций непосредственно на строительной площадке после завершения монтажа конструкций.
Нанесенное на строительной площадке покрытие должно быть ремонтопригодным в течение всего срока службы покрытия.
5.4.3 На защитном покрытии секций настила на расстоянии 0,75 м от края секции на стороне, образующей край настила пассажирской железнодорожной платформы, должна быть нанесена ограничительная однородная тактильная линия из контрастного по отношению к цвету защитного покрытия материала, шириной от 90 до 100 мм (белого или желтого цвета), выступающая на 5 мм над уровнем поверхности защитного покрытия секции настила, верхняя поверхность линии должна иметь закругленные края.
Между торцами линии с целью отвода воды должны быть предусмотрены зазоры по 30 мм на расстоянии от 600 до 1200 мм по ГОСТ Р 52875 (см. рисунок 1).
Рисунок 1 - Обозначение границы опасной зоны платформы
(зона, в которой пассажирам нельзя находиться
при движении поезда, см. рисунок 2)
1 - ограничительная линия; 2 - указатель границы опасной
зоны; 3 - защитное ограждение; 4 - настил платформы;
5 - фундамент; УГР - уровень головки рельса
Рисунок 2 - Размещение сигнальной разметки на защитном
покрытии настила пассажирской железнодорожной платформы
5.4.4 При скоростях движения поездов свыше 160 км/ч на защитном покрытии секции настила дополнительно к ограничительной линии должна быть нанесена на расстоянии не менее 2,0 м от края секции настила на стороне, образующей край настила пассажирской железнодорожной платформы, линия, обозначающая границу опасной зоны (см. рисунок 2).
5.4.5 Для граждан с ослабленным зрением также в конструкции секций настила с защитным покрытием, монтируемых непосредственно перед сходами, а также на площадках сходов с защитным покрытием должны быть предусмотрены тактильные (осязаемые) наземные указатели в соответствии с требованиями ГОСТ Р 52875 (см. рисунок 1).
В конструкции секций настила с защитным покрытием, монтируемых в торцевом конце пассажирской железнодорожной платформы, при отсутствии торцевого схода на расстоянии 750 мм от края платформы должны быть предусмотрены тактильно-контрастные указатели размерами 500 x 500 или 600 x 600 мм, запрещающие дальнейшее движение (см. рисунок 1).
5.4.6 На перилах ЗПО вдоль путей движения граждан с ослабленным зрением должны размещаться тактильные указатели направления, которые должны информировать о направлении движения к эвакуационному выходу (при наличии), к определенному помещению (при наличии), а также тактильные идентификаторы места нахождения пользователя, указывающие, например, номер платформы.
5.4.7 Внешние поверхности защитных ограждений, защитных перильных ограждений, мачт освещения должны быть защищены от воздействия ультрафиолетового излучения и/или воздействия открытого пламени путем нанесения защитного покрытия.
Допускается обеспечивать защиту от воздействия ультрафиолетового излучения и/или воздействия открытого пламени путем внесения в материал матрицы полимерного композита стабилизаторов ультрафиолетового излучения и/или ингибиторов горения.
При нанесении защитного покрытия указатели по 5.4.6 наносят на поверхность защитного покрытия.
5.5 Физико-механические характеристики
ИС МЕГАНОРМ: примечание.
В официальном тексте документа, видимо, допущена опечатка: пункт 5.5.4 отсутствует.
5.5.1 Основные физико-механические характеристики полимерных композитов для полимерных композитных конструкций должны соответствовать требованиям 5.5.2 - 5.5.4 и устанавливаться в документах по стандартизации (национальных стандартах и/или стандартах организаций), регламентирующих требования к конкретным полимерным композитным конструкциям.
5.5.2 Рекомендуемые минимальные значения нормативных сопротивлений или деформационных характеристик полимерных композитов для полимерных композитных конструкций следует принимать в соответствии с таблицами 1 - 4 и/или документами по стандартизации (национальными стандартами и/или стандартами организаций), регламентирующими требования к конкретным полимерным композитным конструкциям.
Таблица 1
Сопротивления полимерных композитных пултрузионных профилей
Вид напряженного состояния
Направление армирования
Минимальные значения нормативных сопротивлений, МПа
Растяжение
Базовое
184
Поперечное
38
Сжатие
Базовое
151
Поперечное
55
Изгиб
Базовое
184
Поперечное
77
Скалывание при расчете соединений
Базовое
29
Поперечное
19
Межслойный сдвиг
21
Таблица 2
Деформационные характеристики полимерных композитных
пултрузионных профилей
Наименование показателя
Минимальное среднее значение показателя
Модуль упругости при растяжении профилей с толщиной стенки более 10 мм в базовом направлении, МПа
28 000
Модуль упругости при растяжении профилей с толщиной стенки менее 10 мм в базовом направлении, МПа
23 000
Модуль упругости при растяжении в поперечном направлении, МПа
8500
Коэффициент Пуассона в направлении 0° - 90° (базовое-поперечное)
0,23
Модуль сдвига, МПа
3000
Таблица 3
Сопротивления многослойных полимерных композитов
(ламинатов), изготовляемых методом вакуумной инфузии
Вид напряженного состояния
Направление армирования
Минимальные значения нормативных сопротивлений, МПа
Растяжение
0° (ось X)
450
90° (ось Y)
45
Сжатие
0° (ось X)
270
90° (ось Y)
70
Межслойный сдвиг
0° - 90° (XY)
55
Таблица 4
Деформационные характеристики многослойных полимерных
композитов (ламинатов), изготовляемых методом
вакуумной инфузии
Наименование показателя
Направление армирования
Минимальное среднее значение показателя
Модуль упругости при растяжении, МПа
0° (ось X)
29 000
90° (ось Y)
6000
Модуль сдвига, МПа
0° - 90° (XY)
5000
Коэффициент Пуассона
0° - 90° (XY)
0,28
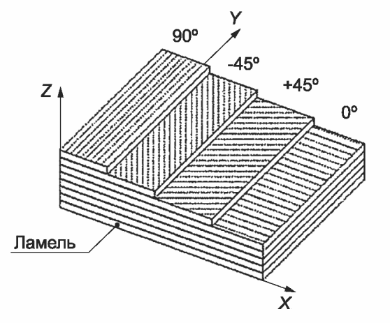
На рисунке 3 приведен пример строения ламината полимерных композитных конструкций, изготовляемого методом вакуумной инфузии (указанный ламинат состоит из ламелей, в которых реализовано следующее чередование направлений армирующих волокон: 0°, +45°, -45°, 90°).
Рисунок 3 - Пример строения ламината
конструктивных элементов
5.6 Требования надежности
5.6.1 Полимерные композитные конструкции должны соответствовать требованиям ГОСТ 27751 в части их надежности в процессе монтажа и эксплуатации, в том числе с учетом особых воздействий, а также изменений свойств полимерных композитов во времени в процессе эксплуатации под воздействием влажности, ультрафиолетового излучения, повышенных и пониженных температур.
5.6.2 Для применения полимерных композитных конструкций в районах со средней температурой наружного воздуха наиболее холодной пятидневки ниже минус 50 °C, изготовителем конструкций должна подтверждаться соответствующими протоколами испытаний возможность их применения в данных климатических условиях.
Испытания для подтверждения возможности применения полимерных композитных конструкций должны проводиться в независимых испытательных лабораториях или центрах, допущенных к проведению данного вида испытаний в порядке, установленном действующим законодательством.
Возможность применения полимерных композитных конструкций в районах со средней температурой наружного воздуха наиболее холодной пятидневки ниже минус 50 °C характеризуется коэффициентом сохранения механических характеристик полимерного композита конструкций по ГОСТ 33119-2014 (пункт 5.2.4) после постоянного воздействия на полимерный композит пониженной температуры (не выше минус 50 °C) в течение не менее 168 ч с учетом требований ГОСТ Р 57942-2017 (подпункты 6.4.4.1, 6.4.5.3).
5.6.3 Характеристики деформативности и прочности полимерных композитных конструкций должны быть определены на основе расчетов напряженно-деформированного состояния по методу предельных состояний на неблагоприятные и особые сочетания постоянных и временных нагрузок с учетом требований ГОСТ 27751.
Примечание - Сейсмические воздействия входят в состав особых сочетаний нагрузок и воздействий.
5.6.4 Требования к расчетам аналитическими и/или численными методами полимерных композитных конструкций по методу предельных состояний каждого типа (в соответствии с 4.1.2) и вида формообразования (метода изготовления) устанавливают в национальных стандартах на конкретные полимерные композитные конструкции.
Общие требования к расчетам полимерных композитных конструкций по методу предельных состояний - по СП 35.13330.2011 (пункты 12.5, 12.10, 12.14), к назначению нагрузок, воздействий и их сочетаний - по СП 20.13330.
5.6.5 Расчеты напряженно-деформированного состояния по методу предельных состояний на неблагоприятные и особые сочетания постоянных и временных нагрузок численными методами следует выполнять в CAE-модулях ПО КМ, позволяющих выполнять компьютерное моделирование и расчеты методом конечных элементов.
Примечание - CAE - автоматическое конструирование (computer aided engineering) - по ГОСТ Р 56214.
5.7 Требования стойкости к внешним воздействиям
5.7.1 Полимерный композит полимерных композитных конструкций должен удовлетворять требованиям по стойкости к внешним воздействиям по морозостойкости, влагостойкости, термостойкости, стойкости к климатическому старению, стойкости к циклическому нагружению (выносливости) и ползучести.
5.7.2 Морозостойкость, влагостойкость, термостойкость, стойкость к климатическому старению, стойкость к циклическому нагружению и ползучесть полимерного композита конструкций определяются по изменению основных механических характеристик и характеризуются коэффициентами сохранения свойств.
Минимальные (предельно допустимые) значения коэффициентов сохранения полимерных композитов полимерных композитных конструкций должны соответствовать ГОСТ Р 57942-2017 (пункт 5.2.5, таблица 5).
5.7.3 Конструкции из полимерных композитов, соответствующие требованиям по морозостойкости по 5.7.2, могут эксплуатироваться без потери свойств при воздействии противогололедных материалов по ГОСТ Р 58427.
Перечень противогололедных материалов, при воздействии которых гарантируется безремонтная эксплуатация конструкций, должен быть указан в документах по стандартизации (национальных стандартах и/или стандартах организаций), регламентирующих требования к конкретным полимерным композитным конструкциям.
5.8 Требования к материалам
5.8.1 Материалы, применяемые для изготовления полимерных композитных конструкций, должны соответствовать требованиям действующих документов по стандартизации, распространяющихся на данные материалы, иметь сопроводительную документацию, подтверждающую соответствие материалов указанным требованиям, включая паспорта качества, и должны подвергаться входному контролю по ГОСТ 24297.
5.8.2 В случае отсутствия на внешней поверхности защитных покрытий, в состав полимерных композитов полимерных композитных конструкций должны вводиться стабилизаторы ультрафиолетового излучения, а также ингибиторы горения, предназначенные для обеспечения свойств конструкций в соответствии с требованиями 5.1.3 и 5.1.4.
5.8.3 В состав полимерных композитов полимерных композитных конструкций также могут быть введены цветные пигменты, волокна, не являющиеся армирующими наполнителями (например, термопластичные полиэфирные волокна, полиамидные волокна, хлопковые волокна и др.), прочие наполнители [например, мел, оксид кремния, стеклянные микросферы (полые или сплошные), полые полимерные микросферы (из термопластичных или термореактивных полимеров) и др.].
Введение наполнителей в состав полимерных композитов конструкций не должно приводить к снижению физико-механических характеристик материалов.
5.8.4 Полимерный композит полимерных композитных конструкций должен представлять собой конструкционный многослойный материал (ламинат), каждый слой которого (ламель) состоит из термореактивной или термопластичной смолы, наполненной армирующими материалами.
Виды армирующих материалов - в соответствии с 4.1.4.
Физико-механические характеристики полимерного композита - по 5.5.
5.8.5 В качестве термореактивных смол следует использовать:
- ненасыщенные полиэфирные смолы;
- эпоксиакрилатные (винилэфирные) смолы;
- эпоксидные смолы;
- полиуретановые смолы.
Конкретные типы термореактивных смол и требования к ним приводятся в документах по стандартизации (национальных стандартах и/или стандартах организаций), регламентирующих требования к конкретным полимерным композитным конструкциям.
5.8.6 Виды применяемых термопластичных материалов приводятся в документах по стандартизации (национальных стандартах и/или стандартах организаций), регламентирующих требования к конкретным полимерным композитным конструкциям.
5.9 Маркировка
5.9.1 Каждая полимерная композитная конструкция должна иметь маркировку, содержащую минимально необходимый объем информации для однозначной идентификации и верификации конструкции в течение всего жизненного цикла. Маркировку осуществляют с помощью RFID-метки по ГОСТ Р 58701, хранящей уникальный идентификатор конструкции.
Уникальный идентификатор полимерной композитной конструкции должен однократно записываться и многократно считываться ридером, хранящим минимально необходимый объем информации о конструкции и/или обеспечивающим дистанционный доступ к базе данных ОАО "РЖД" или иного владельца инфраструктуры железнодорожного транспорта, хранящей весь необходимый объем информации о конструкции. Требования к содержанию минимально необходимого объема информации приведены в приложении Б.
Диапазон рабочих частот меток - от 865 до 868 МГц.
Рабочая температура - от минус 50 °C до плюс 70 °C.
5.9.2 RFID-метка должна находиться под полимерным композитом, соединенным с материалом полимерной композитной конструкции клеевым способом.
5.9.3 Маркировка должна сохраняться в течение всего срока службы полимерной композитной конструкции при хранении, транспортировании, погрузочно-разгрузочных работах и эксплуатации, причем маркировка должна оставаться легко считываемой ридером.
5.9.4 Маркировка, наносимая при транспортировании полимерных композитных конструкций, должна соответствовать требованиям ГОСТ 14192.
5.10 Упаковка
5.10.1 Упаковку полимерных композитных конструкций заводского изготовления или изделий из полимерных композитов, предназначенных для монтажа полимерных композитных конструкций на строительной площадке, проводят в соответствии с документами по стандартизации (национальными стандартами и/или стандартами организаций), регламентирующими требования к конкретным полимерным композитным конструкциям.
5.10.2 Для районов Крайнего Севера упаковку проводят по ГОСТ 15846.
Приложение А
(рекомендуемое)
РЕКОМЕНДАЦИИ ПО ВЫПОЛНЕНИЮ
БОЛТОВЫХ СОЕДИНЕНИЙ ПРИ МОНТАЖЕ МСПККН
А.1 Наружный диаметр шайб должен превышать номинальный диаметр болта не менее чем в два раза.
А.2 Клеймо завода и маркировка класса прочности болтов обязательны. Применение болтов без маркировки не допускается. Применение автоматной стали, а также облегченных болтов (диаметр гладкой части равен среднему диаметру резьбы) не допускается.
А.3 Разность номинальных диаметров отверстий и болтов следует принимать равной 1,0 мм.
А.4 При сверлении отверстий следует использовать кондукторы либо другое профильное оборудование, обеспечивающее выполнение требований по качеству и допускаемым отклонениям в размерах отверстий. Допускаемые отклонения от номинального диаметра и овальность - не более +0,5 мм. Отклонение расстояния между центрами отверстий в группе не должно превышать +/- 0,5 мм как для смежных, так и для крайних отверстий. Несовпадение осей отверстий (чернота) - не более 1 мм.
А.5 При сборке соединений не допускается, чтобы резьба болтов находилась в отверстии (не допускается, чтобы резьба попадала в "тело" профиля).
А.6 В односрезных соединениях головки болтов следует располагать со стороны более тонкого элемента, в двухсрезных - со стороны более тонкой накладки.
А.7 Для компенсации ослабления натяжения болтов М8, М10, М12, М16, М20 из-за вязкоупругой реакции полимерной матрицы следует устанавливать контргайки или пружинные шайбы между обычной шайбой и гайкой, а также между головкой болта и шайбой, с учетом требований ГОСТ Р 70116-2022 (пункты 4.2, 4.3).
А.8 Стержень болта должен выходить из гайки не менее чем на два шага резьбы.
А.9 Контрольная сборка конструкций с соединениями на болтах выполняется на предприятии-изготовителе в случаях, если это оговорено в рабочей документации или по требованию технического заказчика.
А.10 Контрольная сборка осуществляется в соответствии с требованиями рабочей документации. Несовпадение отверстий (чернота) проверяется калибром диаметром на 0,5 мм больше номинального диаметра болта. Калибр должен проходить в 100% отверстий каждого соединения.
Приложение Б
(обязательное)
ТРЕБОВАНИЯ К СОДЕРЖАНИЮ
МИНИМАЛЬНОГО ОБЪЕМА ИНФОРМАЦИИ О ПОЛИМЕРНОЙ КОМПОЗИТНОЙ
КОНСТРУКЦИИ, СООТВЕТСТВУЮЩЕЙ ЕЕ УНИКАЛЬНОМУ ИДЕНТИФИКАТОРУ,
ХРАНЯЩЕМУСЯ В RFID-МЕТКЕ, УСТАНОВЛЕННОЙ НА КОНСТРУКЦИИ
На предприятии - изготовителе полимерной композитной конструкции должна быть внесена следующая информация:
- наименование и условное обозначение полимерной композитной конструкции;
- наименование государства - изготовителя полимерной композитной конструкции;
- наименование и товарный знак и/или товарная марка предприятия - изготовителя полимерной композитной конструкции;
- юридический и фактический адрес предприятия - изготовителя полимерной композитной конструкции, адрес производственной площадки, на которой произведена полимерная композитная конструкция;
- виды и типы исходных материалов, из которых изготовлена полимерная композитная конструкция;
- даты изготовления, сроки годности и результаты заводского входного контроля исходных материалов, из которых изготовлена полимерная композитная конструкция;
- метод изготовления полимерной композитной конструкции;
- фактические значения основных физико-механических показателей, физико-химических показателей, показателей надежности и показателей безопасности по ГОСТ 32588 полимерных композитов полимерной композитной конструкции;
- комплектность полимерной композитной конструкции;
- дата изготовления полимерной композитной конструкции, номер смены, Ф.И.О. контролера;
- обозначение документов по стандартизации (стандартов или технических условий), по которым полимерная композитная конструкция изготавливается и идентифицируется.
БИБЛИОГРАФИЯ
[1]
Федеральный закон от 22 июля 2008 г. N 123-ФЗ "Технический регламент о требованиях пожарной безопасности"
[2]
Гигиенические нормативы и требования к обеспечению безопасности и (или) безвредности для человека факторов среды обитания
[3]
Решение Комиссии Таможенного союза от 15 июля 2011 г. N 710 "О принятии технических регламентов Таможенного союза "О безопасности железнодорожного подвижного состава", "О безопасности высокоскоростного железнодорожного транспорта", "О безопасности инфраструктуры железнодорожного транспорта"
УДК 678.5:006.354
ОКС 83.120
Ключевые слова: конструкции из полимерных композитов, пассажирские железнодорожные платформы, общие технические требования