Главная // Актуальные документы // ГОСТ (Государственный стандарт)СПРАВКА
Источник публикации
М.: Стандартинформ, 2015
Примечание к документу
Документ
введен в действие с 1 июля 2015 года.
Название документа
"ГОСТ 33119-2014. Межгосударственный стандарт. Конструкции полимерные композитные для пешеходных мостов и путепроводов. Технические условия"
(введен в действие Приказом Росстандарта от 12.12.2014 N 2043-ст)
"ГОСТ 33119-2014. Межгосударственный стандарт. Конструкции полимерные композитные для пешеходных мостов и путепроводов. Технические условия"
(введен в действие Приказом Росстандарта от 12.12.2014 N 2043-ст)
агентства по техническому
регулированию и метрологии
от 12 декабря 2014 г. N 2043-ст
МЕЖГОСУДАРСТВЕННЫЙ СТАНДАРТ
КОНСТРУКЦИИ ПОЛИМЕРНЫЕ КОМПОЗИТНЫЕ
ДЛЯ ПЕШЕХОДНЫХ МОСТОВ И ПУТЕПРОВОДОВ
ТЕХНИЧЕСКИЕ УСЛОВИЯ
Polymer composites constructions for foot-bridges.
Specifications
ГОСТ 33119-2014
Дата введения
1 июля 2015 года
Цели, основные принципы и основной порядок проведения работ по межгосударственной стандартизации установлены
ГОСТ 1.0-92 "Межгосударственная система стандартизации. Основные положения" и
ГОСТ 1.2-2009 "Межгосударственная система стандартизации. Стандарты межгосударственные, правила и рекомендации по межгосударственной стандартизации. Правила разработки, принятия, применения, обновления и отмены".
1. Разработан Объединением юридических лиц "Союз производителей композитов" совместно с "Научно-проектным институтом "Исследование мостов и других инженерных сооружений" (ЗАО "Институт "ИМИДИС") и Научно-производственным предприятием "АпАТэК - Прикладные перспективные технологии" (ООО НПП "АпАТэК").
2. Внесен Техническим комитетом по стандартизации ТК 465 "Строительство".
3. Принят Межгосударственным советом по стандартизации, метрологии и сертификации (Протокол от 5 декабря 2014 г. N 46-2014).
За принятие проголосовали:
Краткое наименование страны по МК (ИСО 3166) 004-97 | Код страны по МК (ИСО 3166) 004-97 | Сокращенное наименование национального органа по стандартизации |
Азербайджан | AZ | Азстандарт |
Армения | AM | Минэкономики Республики Армения |
Казахстан | KZ | Госстандарт Республики Казахстан |
Киргизия | KG | Кыргызстандарт |
Россия | RU | Росстандарт |
Узбекистан | UZ | Узстандарт |
4.
Приказом Федерального агентства по техническому регулированию и метрологии от 12 декабря 2014 г. N 2043-ст межгосударственный стандарт ГОСТ 33119-2014 введен в действие в качестве национального стандарта Российской Федерации с 1 июля 2015 г.
5. Введен впервые.
Информация об изменениях к настоящему стандарту публикуется в ежегодном информационном указателе "Национальные стандарты", а текст изменений и поправок - в ежемесячном информационном указателе "Национальные стандарты". В случае пересмотра (замены) или отмены настоящего стандарта соответствующее уведомление будет опубликовано в ежемесячном информационном указателе "Национальные стандарты". Соответствующая информация, уведомление и тексты размещаются также в информационной системе общего пользования - на официальном сайте Федерального агентства по техническому регулированию и метрологии в сети Интернет.
Настоящий стандарт, национальные стандарты <*> государств - участников Содружества Независимых Государств, рекомендации Центра исследований и нормирования в гражданском строительстве Европейского Союза "Aanbeveling 96. Vezelversterkte kunststoffen in civiele draagconstructies" используют одинаковые базовые принципы и подходы для обеспечения безопасности и надежности эксплуатации пешеходных мостов из полимерных композитных конструктивных материалов путем назначения оптимальных требований к расчетам конструкций, физико-механическим свойствам материалов и приемке моста в эксплуатацию.
--------------------------------
<*> На территории Российской Федерации действует
ГОСТ Р 54928-2012 "Пешеходные мосты и путепроводы из полимерных композитов. Технические условия".
Технические требования включают в себя требования к физико-механическим свойствам полимерных композитных конструктивных элементов и методам контроля свойств материала, а также требования к особенностям расчета и конструирования таких элементов при проектировании пешеходных мостов и путепроводов.
Настоящий стандарт следует использовать при разработке проектной документации на строительство, ремонт и реконструкцию пешеходных мостов и путепроводов с применением полимерных композитных конструктивных материалов заказчиками строительства, строительными организациями, организациями, осуществляющими контроль и приемку работ, а также организациями, проводящими испытания, мониторинг и эксплуатацию пешеходных мостов.
Внесенные в настоящий стандарт изменения по отношению к рекомендациям обусловлены существенными климатическими различиями территорий Западной Европы и континентальной Евразии.
Настоящий стандарт распространяется на полимерные композитные конструкции для пешеходных мостов и путепроводов (далее - конструкции).
Настоящий стандарт устанавливает технические требования к следующим конструкциям: пролетным строениям, сходам, настилам, водоотводным лоткам, перилам и конструкциям светопрозрачных галерей, изготовленным пултрузией, инфузией, вакуумной инфузией и др.
Настоящий стандарт не распространяется на опоры пролетных строений, изготовляемых из полимерных композитов или с применением полимерных композитов.
В настоящем стандарте использованы нормативные ссылки на следующие межгосударственные стандарты:
ГОСТ 9.708-83 Единая система защиты от коррозии и старения. Пластмассы. Методы испытаний на старение при воздействии естественных и искусственных климатических факторов
ГОСТ 9.719-94 Единая система защиты от коррозии и старения. Материалы полимерные. Методы испытаний на старение при воздействии влажного тепла, водяного и соляного тумана
ГОСТ 12.1.004-91 Система стандартов безопасности труда. Пожарная безопасность. Общие требования
ГОСТ 12.1.005-88 Система стандартов безопасности труда. Общие санитарно-гигиенические требования к воздуху рабочей зоны
ГОСТ 12.1.018-93 Система стандартов безопасности труда. Пожаровзрывобезопасность статического электричества. Общие требования
ГОСТ 12.1.044-89 (ИСО 4589-84) Система стандартов безопасности труда. Пожаровзрывоопасность веществ и материалов. Номенклатура показателей и методы их определения
ГОСТ 12.2.003-91 Система стандартов безопасности труда. Оборудование производственное. Общие требования безопасности
ГОСТ 12.3.030-83 Система стандартов безопасности труда. Переработка пластических масс. Требования безопасности
ГОСТ 12.4.004-74 Респираторы фильтрующие противогазовые РПГ-67. Технические условия
ГОСТ 12.4.011-89 Система стандартов безопасности труда. Средства защиты работающих. Общие требования и классификация
ГОСТ 12.4.021-75 Система стандартов безопасности труда. Системы вентиляционные. Общие требования
ГОСТ 12.4.028-76 Система стандартов безопасности труда. Респираторы ШБ-1 "Лепесток". Технические условия
ГОСТ 12.4.068-79 Система стандартов безопасности труда. Средства индивидуальной защиты дерматологические. Классификация и общие требования
ГОСТ 12.4.121-83 Система стандартов безопасности труда. Противогазы промышленные фильтрующие. Технические условия
ГОСТ 17.1.3.13-86 Охрана природы. Гидросфера. Общие требования к охране поверхностных вод от загрязнения
ГОСТ 17.2.3.01-86 Охрана природы. Атмосфера. Правила контроля качества воздуха населенных пунктов
ГОСТ 17.2.3.02-2014 Правила установления допустимых выбросов загрязняющих веществ промышленными предприятиями
ГОСТ 17.4.3.04-85 <*> Охрана природы. Почвы. Общие требования к контролю и охране от загрязнения
--------------------------------
<*> Действует только на территории Российской Федерации.
ГОСТ 25.601-80 Расчеты и испытания на прочность. Методы механических испытаний композиционных материалов с полимерной матрицей (композитов). Метод испытания плоских образцов на растяжение при нормальной, повышенной и пониженной температурах
ГОСТ 25.602-80 Расчеты и испытания на прочность. Методы механических испытаний композиционных материалов с полимерной матрицей (композитов). Метод испытания на сжатие при нормальной, повышенной и пониженной температурах
ГОСТ 2246-70 Проволока стальная сварочная. Технические условия
| | ИС МЕГАНОРМ: примечание. ГОСТ 4647-80 утратил силу с 1 января 2017 года в связи с введением в действие ГОСТ 4647-2015 (Приказ Росстандарта от 20.11.2015 N 1915-ст). | |
ГОСТ 4647-80 (СТ СЭВ 1491-79) Пластмассы. Метод определения ударной вязкости по Шарпи
ГОСТ 4648-2014 (ISO 178:2010) Пластмассы. Метод испытания на статический изгиб
ГОСТ 4650-2014 (ISO 62:2008) Пластмассы. Методы определения водопоглощения
ГОСТ 5582-75 Прокат тонколистовой коррозионно-стойкий, жаростойкий и жаропрочный. Технические условия
ГОСТ 5632-72 Стали высоколегированные и сплавы коррозионно-стойкие, жаростойкие и жаропрочные. Марки
ГОСТ 5949-75 Сталь сортовая и калиброванная коррозионно-стойкая, жаростойкая и жаропрочная. Технические условия
ГОСТ 6943.5-79 Материалы текстильные стеклянные. Метод определения разрывного напряжения элементарной нити
| | ИС МЕГАНОРМ: примечание. ГОСТ 6943.10-79 утратил силу с 1 июня 2016 года в связи с введением в действие ГОСТ 6943.10-2015 (Приказ Росстандарта от 21.07.2015 N 957-ст). | |
ГОСТ 6943.10-79 Материалы текстильные стеклянные. Метод определения разрывной нагрузки и удлинения при разрыве
ГОСТ 7350-77 Сталь толстолистовая коррозионно-стойкая, жаростойкая и жаропрочная. Технические условия
ГОСТ 8829-94 Изделия строительные железобетонные и бетонные заводского изготовления. Методы испытаний нагружением. Правила оценки прочности, жесткости и трещиностойкости
ГОСТ 9466-75 Электроды покрытые металлические для ручной дуговой сварки сталей и наплавки. Классификация и общие технические условия
ГОСТ 10180-2012 Бетоны. Методы определения прочности по контрольным образцам
ГОСТ 13015-2012 Изделия бетонные и железобетонные для строительства. Общие технические требования. Правила приемки, маркировки, транспортирования и хранения
ГОСТ 14359-69 Пластмассы. Методы механических испытаний. Общие требования
ГОСТ 15139-69 Пластмассы. Методы определения плотности (объемной массы)
ГОСТ 15846-2002 Продукция, отправляемая в районы Крайнего Севера и приравненные к ним местности. Упаковка, маркировка, транспортирование и хранение
| | ИС МЕГАНОРМ: примечание. ГОСТ 16782-92 утратил силу с 1 января 2017 года в связи с введением в действие ГОСТ 16782-2015 (Приказ Росстандарта от 20.11.2015 N 1917-ст). | |
ГОСТ 16782-92 (ИСО 974-80) Пластмассы. Метод определения температуры хрупкости при ударе
ГОСТ 18197-82 Пластмассы. Метод определения ползучести при растяжении
ГОСТ 18329-73 Смолы и пластификаторы жидкие. Методы определения плотности
ГОСТ 20010-93 Перчатки резиновые технические. Технические условия
ГОСТ 24297-2013 Верификация закупленной продукции. Организация проведения и методы контроля
ГОСТ 26433.1-89 Система обеспечения точности геометрических параметров в строительстве. Правила выполнения измерений. Элементы заводского изготовления
ГОСТ 30244-94 Материалы строительные. Методы испытаний на горючесть
ГОСТ 30247.0-94 (ИСО 834-75) Конструкции строительные. Методы испытаний на огнестойкость. Общие требования
ГОСТ 30247.1-94 (ИСО 834-75) Конструкции строительные. Методы испытаний на огнестойкость. Несущие и ограждающие конструкции
ГОСТ 30402-96 Материалы строительные. Метод испытания на воспламеняемость
ГОСТ 32618.2-2014 (ISO 11359-2:1999) Пластмассы. Термомеханический анализ (ТМА). Часть 2. Определение коэффициента линейного теплового расширения и температуры стеклования
ГОСТ 32656-2014 (ISO 527-4:1997, ISO 527-5:2009) Композиты полимерные. Методы испытаний. Испытания на растяжение
ГОСТ 32657-2014 (ISO 75-1:2004, ISO 75-3:2004) Композиты полимерные. Методы испытаний. Определение температуры изгиба под нагрузкой
ГОСТ 32658-2014 (ISO 14129:1997) Композиты полимерные. Определение механических характеристик при сдвиге в плоскости армирования методом испытания на растяжение под углом +/- 45 град
ГОСТ 32659-2014 (ISO 14130:1997) Композиты полимерные. Методы испытаний. Определение кажущегося предела прочности при межслойном сдвиге методом испытания короткой балки
ГОСТ 32667-2014 (ISO 11566:1996) Волокно углеродное. Определение свойств при растяжении элементарной нити
Примечание. При пользовании настоящим стандартом целесообразно проверить действие ссылочных стандартов в информационной системе общего пользования - на официальном сайте Федерального агентства по техническому регулированию и метрологии в сети Интернет или по ежегодному информационному указателю "Национальные стандарты", который опубликован по состоянию на 1 января текущего года, и по выпускам ежемесячного информационного указателя "Национальные стандарты" за текущий год. Если ссылочный стандарт заменен (изменен), то при пользовании настоящим стандартом следует руководствоваться заменяющим (измененным) стандартом. Если ссылочный стандарт отменен без замены, то положение, в котором дана ссылка на него, применяется в части, не затрагивающей эту ссылку.
В настоящем стандарте применены термины по
ГОСТ 32794, а также следующие термины с соответствующими определениями:
3.1. Пешеходный мост: инженерное сооружение, состоящее из опор и пролетных строений, предназначенное для пропуска пешеходов через препятствия.
Примечание. К пешеходным мостам относятся путепроводы, эстакады, виадуки.
3.2. Пешеходный путепровод: пешеходный мост для пропуска одной транспортной магистрали над другой в разных уровнях.
3.3. Конструкции пешеходного моста (путепровода) (конструкции): отдельные части пешеходного моста, в том числе пролетные строения, фундаменты, опоры, опорные части, настилы мостового полотна, лестничные марши, лестничные площадки, перила, мачты освещения, водоотводные лотки, светопрозрачные галереи, узлы соединений элементов, ограждения, подъемные устройства и знаки.
3.4. Несущие конструкции пешеходного моста (путепровода) (несущие конструкции): конструктивные элементы пешеходного моста, воспринимающие постоянную и временную подвижную нагрузки и обеспечивающие несущую способность моста.
Примечание. К несущим конструкциям относятся в том числе пролетные строения, настилы, лестничные марши и лестничные площадки.
3.5. Пролетное строение пешеходного моста (путепровода) (пролетное строение); ПС: несущая конструкция (ферма или балка), перекрывающая пространство между опорами, воспринимающая нагрузку от элементов мостового полотна и пешеходов и передающая нагрузку на опоры.
Примечание. В настоящем стандарте в состав пролетного строения включены настилы, покрытие прохожей части и перила.
3.6. Сход пешеходного моста (сход): конструкция, предназначенная для схода и подъема пешеходов на прохожую часть пролетного строения, включающая в себя лестничные марши, лестничные площадки и пандусы.
3.7. Лестничный марш: несущая конструкция схода, состоящая из косоуров и непрерывной последовательности ступеней, расположенных между лестничными площадками.
3.8. Лестничная площадка: несущая конструкция схода, представляющая собой горизонтальную площадку для соединения лестничных маршей между собой и с прохожей частью пролетного строения.
3.9. Пандус для маломобильных групп населения (пандус): несущая конструкция схода в виде наклонной поверхности для перемещения маломобильных групп населения вверх или вниз относительно прохожей части пролетного строения.
3.10. Перила пешеходного моста (путепровода) (перила): конструкция, расположенная с внешних сторон пролетного строения и сходов и предназначенная для предотвращения падения пешеходов.
3.11. Строительный подъем: выгиб вверх пролетного строения, создаваемый в процессе его изготовления или монтажа для обеспечения проектного очертания пролетного строения под эксплуатационными нагрузками.
3.12. Коробчатая балка пролетного строения: балка из многослойного полимерного композита (ламината), имеющая замкнутое поперечное коробчатое сечение, которое образовано верхней и нижней горизонтальными плитами, объединенными сплошными продольными наклонными стенками и поперечно установленными вдоль пролета балки поперечными диафрагмами, которые расположены во внутреннем пространстве коробчатого сечения.
Примечание. Внутреннее пространство между стенками может быть заполнено, например, вспененной пластмассой.
3.13. U-балка пролетного строения: балка из многослойного полимерного композита U-образного разомкнутого к верху поперечного сечения, содержащая две сплошные продольные стенки полигонального верхнего очертания, объединенные сплошной нижней горизонтальной плитой и дискретно расположенными поперек пролета поперечными диафрагмами.
3.14. Ферма пролетного строения (ферма): стержневая конструкция из полимерных композитных профилей, состоящая из верхнего и нижнего поясов и расположенной между поясами треугольной решетки, которая включает в себя восходящие (нисходящие) раскосы и стойки (подвески).
3.15. Единичное значение свойства полимерного композита: среднее значение свойства полимерного композита на одном выбранном участке данного конструктивного элемента или среднее значение свойства одного конструктивного элемента в партии из нескольких конструктивных элементов.
3.16. Анализируемый период: период времени, в котором контролируют средние значения коэффициентов вариации.
3.17. Проба полимерного композита: твердый кусок (часть конструкции) полимерного композита одного состава, из которого изготовляют образцы для испытаний.
3.18. Водоотводный лоток (лоток): водопроводящая конструкция незамкнутого поперечного сечения из полимерного композита для сбора воды с прохожей части пешеходного моста и ее пропуска вдоль пролетного строения.
Примечание. В настоящем стандарте приведены требования для двух типов лотков. Лоток прохожей части служит для сбора воды с поверхности прохожей части и установлен в ее уровне. Подвесной лоток - для отвода воды от пролетного строения и размещен на подвесках под пролетным строением.
3.19. Настил: несущий элемент прохожей части пролетного строения моста, по которому осуществляется движение пешеходов.
3.20. Нормативное значение показателя свойства полимерного композита: значение показателя для данного свойства, полученное по результатам испытаний, с учетом статистических показателей установленной обеспеченности.
3.21. Расчетное значение сопротивления полимерного композита: значение сопротивления для данного вида напряженного состояния конструктивного элемента из полимерного композита, полученное путем деления нормативного значения на коэффициенты надежности.
3.22. Номинальное значение сопротивления полимерного композита: значение сопротивления, принятое на стадии вариантного проектирования.
3.23. Коэффициент надежности по технологии изготовления: коэффициент, характеризующий разброс свойств полимерного композита для различных технологий его изготовления.
Примечание. Используется для определения расчетных значений сопротивлений полимерного композита.
3.24. Обобщенный коэффициент надежности по материалу: коэффициент, учитывающий суммарное влияние всех факторов (выраженных коэффициентами сохранения свойств) температуры, влажности, ползучести, усталости, морозостойкости, климатического старения на снижение физико-механических свойств полимерных композитов в процессе эксплуатации сооружения.
Примечание. Используется для определения расчетных значений сопротивлений полимерного композита.
3.25. Коэффициент сохранения свойств: коэффициент, учитывающий влияние отдельного фактора на снижение механических свойств полимерного композита, рассчитываемый как отношение значений сопротивлений до и после начала приложения воздействия.
4.1. Типы
4.1.1. Настоящий стандарт устанавливает классификацию конструкций по следующим основным признакам:
- функциональное назначение;
- материал армирующего наполнителя полимерного композита конструкций;
- материал матрицы полимерного композита конструкций.
4.1.2. По функциональному назначению конструкции подразделяют следующим образом:
- несущие конструкции: пролетные строения (ПС), лестничные марши (ЛМ), лестничные площадки (ЛП), настилы (Н);
- ненесущие конструкции: перила (П), светопрозрачные галереи (СГ), лотки (ВЛ).
4.1.3. В зависимости от материала армирующего наполнителя полимерного композита конструкции подразделяют на следующие:
- стеклокомпозитные (СК);
- углекомпозитные (УК);
- комбинированные композитные (КК).
4.1.4. В зависимости от материала матрицы полимерного композита конструкции подразделяют на следующие:
- полиэфирные (ПЭ);
- винилэфирные (ВЭ);
- эпоксидные (Э);
- фенольные (Ф).
4.2. Условные обозначения
Условное обозначение конструкций должно включать в себя: наименование, тип конструкции в зависимости от функционального назначения в соответствии с
4.1.2, обозначение армирующего наполнителя в соответствии с
4.1.3, обозначение материала матрицы в соответствии с
4.1.4, характерные геометрические размеры и обозначение настоящего стандарта.
Пример условного обозначения пролетного строения из стеклокомпозита на основе винилэфирной смолы длиной 10 м и шириной 2,5 м:
ПС (СК/ВЭ) - 10/2,5 ГОСТ 33119-2014
5. Технические требования
5.1. Требования к конструкциям
5.1.1. Общие требования
5.1.1.1. Конструкции должны соответствовать требованиям настоящего стандарта и изготовляться по технологической документации, утвержденной в установленном порядке.
Технологическая документация должна включать в себя пооперационную карту производства работ и контроля производства конструкций.
5.1.1.2. Несущие конструкции должны соответствовать требованиям действующих нормативных документов <*> на пешеходные мосты и путепроводы.
--------------------------------
<*> В Российской Федерации действуют
СП 35.13330.2011 "СНиП 2.05.03-84*. Мосты и трубы" и
МГСН 5.02-99 "Проектирование городских мостовых сооружений".
5.1.1.3. Несущие конструкции изготовляют вакуумной инфузией или пултрузией.
Ненесущие конструкции изготовляют вакуумной инфузией, пултрузией, формованием из препрега и ручной выкладкой.
5.1.1.4. На поверхность конструкций должно быть нанесено в заводских условиях покрытие, обеспечивающее стойкость полимерного композита конструкций к внешним воздействиям (ультрафиолетовое излучение, воздействие влажности и др.).
На рабочую поверхность несущих конструкций: прохожей части пролетных строений и лестничных маршей, лестничных площадок, перил - должно быть нанесено защитное износостойкое покрытие.
Защитное износостойкое покрытие должно наноситься в заводских условиях, быть ремонтопригодным и соответствовать требованиям к истираемости по
ГОСТ 13015, предъявляемым к изделиям для конструкций, работающих в условиях повышенной интенсивности движения, в течение всего срока службы покрытия, а также требованиям по морозостойкости.
5.1.1.5. Предел огнестойкости конструкций и характеристики пожарной опасности полимерных композитов конструкций должны обеспечивать безопасную эвакуацию людей, находящихся на пешеходных мостах и путепроводах.
5.1.1.7. Значения характеристик пожарной опасности полимерных композитов должны быть не менее:
Г2 по
ГОСТ 30244 ....................................... для горючести;
В2 по
ГОСТ 30402 ................................ для воспламеняемости;
Д2 по
ГОСТ 12.1.044 ................... для дымообразующей способности;
Т2 по
ГОСТ 12.1.044 ................ для токсичности продуктов горения.
5.1.1.8. Мероприятия по обеспечению пожарной безопасности пешеходных мостов на всех стадиях жизненного цикла должны осуществляться в соответствии с
ГОСТ 12.1.004.
5.1.1.9. Рекомендуемые внешние условия, в которых могут эксплуатироваться композитные пешеходные мосты, определяются следующими требованиями: интервал расчетных температур от минус 45 °C до плюс 50 °C, географические зоны от сухой до влажной в соответствии с действующими нормативными документами <**>, географический район с сейсмичностью до 9 баллов.
--------------------------------
<**> В Российской Федерации применяют
СП 50.13330.2012 "СНиП 23-02-2003 Тепловая защита зданий".
5.1.2. Требования к балкам и фермам пролетных строений
5.1.2.1. В качестве балок пролетных строений используют коробчатые балки и/или U-балки.
Фермы пролетных строений собирают из пултрузионных профилей, имеющих поперечное сечение в виде двутавров, швеллеров, уголков, прямоугольных и круглых труб.
5.1.2.2. Не допускается армирование композитного материала балок пролетных строений матами.
Допускается в качестве армирующего наполнителя композитного материала поперечных диафрагм балок использовать маты только в сочетании с другими видами армирующего наполнителя.
5.1.2.3. Узлы опирания балок и ферм пролетных строений на опоры должны предотвращать отрыв пролетного строения от опор под действием сейсмических, ветровых и других сдвигающих пролетное строение нагрузок, в том числе под действием воздушных масс от проходящего под путепроводом транспорта.
5.1.2.4. Цельноперевозимые балки и блоки ферм пролетных строений должны содержать элементы, обеспечивающие крепление перил, светопрозрачных галерей и других устройств, необходимых для обеспечения проектной эксплуатации пролетного строения.
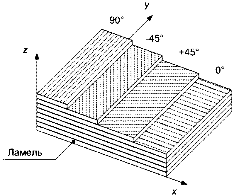
5.1.2.5. При проектировании конструктивных элементов пешеходных мостов, изготовленных методом инфузии, рекомендуется, чтобы ламинат содержал ламели, в которых чередуются направления армирующих волокон (например: 0°, +45°, -45°, 90° - рисунок 1).
Рисунок 1. Пример строения ламината конструктивных элементов
5.1.2.6. Допускается применение в составе ферм пролетных строений несущих конструктивных элементов и узлов из нержавеющей стали с использованием болтовых и сварных соединений.
5.1.2.7. Рекомендуется для балок и ферм пролетных строений на стадии изготовления создавать строительный подъем, значения которого устанавливаются проектом, но не менее 0,1% длины пролета.
5.1.3. Требования к сходам и ограждениям
5.1.3.1. Сходы должны содержать элементы, обеспечивающие крепление перил, светопрозрачных галерей и других обустройств, необходимых для обеспечения эксплуатации пешеходных мостов и путепроводов.
5.1.3.2. Сходы должны опираться на опорные части, обеспечивающие передачу на опоры горизонтальных усилий, а также предотвращение отрыва мест опирания сходов.
5.1.3.3. Узлы крепления перил и элементов светопрозрачных галерей к несущим конструкциям рекомендуется выполнять с использованием болтовых соединений.
5.1.3.4. Стыки секций светопрозрачных галерей должны обеспечивать герметичность конструкций с восприятием температурных деформаций и инфильтрации наружного воздуха.
5.1.4. Требования к лоткам
5.1.4.1. Лотки следует устанавливать на пролетных строениях пешеходных мостов и путепроводах в случаях, когда на таких сооружениях не предусмотрены светопрозрачные галереи.
5.1.4.2. Отвод воды с прохожей части моста следует предусматривать по лоткам прохожей части, затем в навесные лотки через переходную трубу и далее под мост через вертикальные трубы сброса воды.
5.1.4.3. Крепление подвесных лотков к пролетному строению следует осуществлять с помощью подвесок, в свою очередь, закрепляемых на пролетных строениях с использованием болтовых соединений.
5.1.5. Требования к стыковым соединениям
Допускается применение в узлах соединений пултрузионных профилей:
- стали марок 04Х18Н9Т, 04Х18Н10Т, 08Х18Н9Т, 08Х18Н10Т, 12Х18Н9Т, 12Х18Н10Т (зарубежный аналог - сталь марки AISI 321)
ГОСТ 5582,
ГОСТ 7350, сортамент по
ГОСТ 19903,
ГОСТ 19904, сталь 10Х17Н13М2
ГОСТ 5632 (зарубежный аналог - сталь марки AISI 316) с использованием способов сварки РДС и АрДС. Для деталей и узлов, подвергаемых сварке способом АрДС, следует применять в качестве присадочного материала проволоку из стали той же марки; допускается применение для указанных марок сталей присадочной проволоки 06Х19Н9Т или 12Х18Н9Т
ГОСТ 2246. Для способа сварки РДС следует применять электроды ЦД-11, ЦТ-15, НИАТ-1 (СВ-04Х19Н9)
ГОСТ 9466;
- болтов, гаек и шайб из стали марок 08Х18Н9, 12Х18Н10Т, 12Х18Н9, 12Х18Н9Т, 12Х18Н10, 08Х18Н10Т, 03Х18Н11
ГОСТ 5632. Для высокопрочных болтов и гаек следует применять коррозионно-стойкие стали марок 14Х17Н2 или 07Х16Н6
ГОСТ 5949.
5.1.6. Требования к допустимым отклонениям размеров конструкций от проектных величин
5.1.6.1. Для пролетных строений и настилов значения допустимых отклонений от проектных размеров приведены в таблице 1. Такие отклонения следует определять в соответствии с требованиями
ГОСТ 26433.1,
ГОСТ 26877.
Таблица 1
Допустимые отклонения размеров и формы пролетных
строений и настилов от проектных значений
В миллиметрах
Наименование отклонения | Предельное отклонение, мм |
1. Отклонение длины балки или фермы при длине L, мм: | |
- до 50000 включ. | +/- 10 |
- свыше 50000 | 0,0002L |
2. Отклонение расстояний между соседними узлами ферм или связей решетки при расстоянии l: | |
- до 9000 включ. | 0,0003l |
- свыше 9000 | +/- 3 |
3. Отклонение от проектных значений величин строительного подъема пролетного строения h: | |
- до 100 включительно | +/- 10 |
- свыше 100 | +/- 0,1h |
4. Отклонение от проектного положения в плане оси главной балки или фермы при пролете L | 0,0002L |
5. Отклонение в плане узла от прямой, соединяющей два соседних с ним узла, при длине L | 0,001L |
6. Отклонение расстояний между осями вертикальных стенок балок | +/- 4 |
7. Отклонение расстояний между смежными вертикальными ребрами жесткости, а также отклонение расстояний между поперечными балками | +/- 2 |
8. Отклонение расстояний: | |
- между осями продольных ребер в зоне стыков и пересечений с поперечными балками | +/- 2 |
- на других участках | +/- 4 |
9. Отклонения по высоте балок в зоне стыков | +/- 2 |
10. Допускаемый выгиб осей элементов длиной l: | |
- отдельных элементов главных ферм, балок, балок настила | 0,001l, но не более 10 |
- элементов связей | 0,0015l, но не более 15 |
11. Грибовидность, перекос, грибовидность с перекосом поясов балок, коробчатых профилей, плит (для коробчатых профилей и плит b - величина свободного свеса пояса или настила, для двутавровых балок - ширина пояса): | |
- в стыках, в местах сопряжения балок с другими элементами, в зонах установки опорных частей | b/200, но не более 1 |
- на других участках | b/100 при  |
5.1.6.2. Для лотков предельно допустимые отклонения от проектных размеров приведены в таблице 2.
Таблица 2
Допустимые отклонения размеров лотков от проектных значений
В миллиметрах
Параметр лотка | Номинальное значение | Предельное отклонение |
Длина L | L <= 1000 | +/- 2,0 |
1000 < L <= 4000 | +/- 4,0 |
L > 4000 | +/- 5,0 |
Ширина b | b <= 500 | +/- 2,0 |
500 < b <= 1000 | +/- 3,0 |
Высота h | h <= 200 | +/- 2,0 |
h > 200 | +/- 1,0% с максимумом +/- 3,0 |
5.1.7. Требования к расчетам конструкций
5.1.7.1. Расчет конструктивных элементов из полимерных композитов следует проводить в предположении их линейно-упругой работы.
5.1.7.2. Расчет несущих конструкций осуществляют в соответствии с
Приложением А.
5.1.7.3. Конструкция лотков прохожей части должна быть рассчитана по прочности на действие сосредоточенной в зоне лотка нагрузки в соответствии с действующими нормативными документами
<*>.
5.1.7.4. Конструкции подвесных лотков и подвесок должны быть рассчитаны на прочность с учетом массы воды (льда), а также должны быть определены предельные значения прогибов, не создающих условий для ее скопления внутри лотка
5.1.7.5. Расчет стальных элементов, входящих в состав несущих конструктивных элементов композитного пешеходного моста, а также расчет болтовых соединений следует выполнять в соответствии с действующими нормативными документами <*>.
--------------------------------
<*> В Российской Федерации действует
СП 35.13330.2011 "СНиП 2.05.03-84 Мосты и трубы".
5.1.7.6. Нормативные значения физико-механических характеристик полимерных композитов, использованные при проектировании и расчете конструкций и заявленные в нормативных документах на эти изделия, должны быть подтверждены экспериментально для данного объекта предприятием - изготовителем конструкций в процессе периодических и приемосдаточных испытаний.
5.1.7.7. Переход от нормативных значений свойств к их расчетным значениям осуществляется в соответствии с
Приложением А. При этом значения коэффициентов сохранения свойств по материалу должны быть подтверждены экспериментально для данного объекта предприятием - изготовителем конструкций в процессе периодических и приемосдаточных испытаний.
5.2. Требования к материалам
5.2.1. Материалы, применяемые для изготовления конструкций, должны соответствовать требованиям действующих нормативных документов, иметь сопроводительную документацию, подтверждающую их соответствие нормативным требованиям, включая паспорта качества, и должны подвергаться входному контролю по
ГОСТ 24297.
5.2.2. Наполнители
5.2.2.1. В состав полимерных композитов конструкций допускается вводить стабилизаторы ультрафиолетового излучения и озона, а также ингибиторы горения, предназначенные для обеспечения свойств конструкций в соответствии с требованиями настоящего стандарта (см.
5.1.1.5).
5.2.2.2. В состав полимерных композитов конструкций также могут быть введены цветные пигменты, волокна, не являющиеся армирующими наполнителями (например, термопластичные полиэфирные волокна, полиамидные волокна, хлопковые волокна и др.), прочие наполнители [например, мел (CaCO3), оксид кремния (SiO2), стеклянные микросферы (полые или сплошные), полые полимерные микросферы (из термопластичных или термореактивных полимеров) и др.].
5.2.2.3. Введение наполнителей в состав полимерных композитов конструкций не должно приводить к снижению физико-механических характеристик материалов.
5.2.3. Для изготовления конструкций используют полиэфирную, винилэфирную, эпоксидную или фенольную смолу и стеклянные и углеродные армирующие наполнители или комбинацию из стеклянных и углеродных армирующих наполнителей. Рекомендованные характеристики смол и армирующих наполнителей приведены в
Приложении Б.
5.2.4. Основные механические и физико-химические характеристики полимерных композитов для несущих конструкций и нормативные документы по определению их значений приведены в таблице 3.
Таблица 3
Механические и физико-химические характеристики полимерных
композитов для несущих конструкций и нормативные документы
по определению из значений
Характеристика | Нормативные документы |
Механические характеристики |
Предел прочности при растяжении в направлении 0° и 90° | ГОСТ 32656 |
Напряжение при сжатии в направлениях 0° и 90° | |
Изгибающее напряжение в направлениях 0° и 90° | ГОСТ 4648 |
Кажущееся напряжение при межслойном сдвиге (в том числе расчет на касательные напряжения и смятие) | ГОСТ 32659 |
Модуль упругости при растяжении в направлениях 0° и 90° | ГОСТ 32656 |
Модуль сдвига | ГОСТ 32658 |
Модуль упругости при сжатии и коэффициент Пуассона в направлениях 0° и 90° | ГОСТ 25.602 |
Физико-химические характеристики |
Плотность | |
Водопоглощение | |
Коэффициент теплопроводности | |
Коэффициент линейного теплового расширения и температура стеклования | ГОСТ 32618.2 |
Температура изгиба под нагрузкой | |
| | ИС МЕГАНОРМ: примечание. ГОСТ 16782-92 утратил силу с 1 января 2017 года в связи с введением в действие ГОСТ 16782-2015 (Приказ Росстандарта от 20.11.2015 N 1917-ст). | |
|
Температура хрупкости | ГОСТ 16782 |
5.2.5. Значения основных механических и физико-химических характеристик полимерных композитов конструкций и нормативные документы по определению значений таких характеристик - по
Приложению В.
5.3. Требования стойкости полимерных композитов конструкций к внешним воздействиям
5.3.1. Требования к условиям эксплуатации
5.3.1.1. Значения температуры хрупкости и максимальной температуры изгиба под нагрузкой (см.
таблицу 3) полимерных композитов конструкций должны находиться за пределами диапазона расчетных температур эксплуатации пешеходного моста не менее чем на 30 °C.
5.3.1.2. Расчетные сроки службы полимерных композитных конструкций устанавливаются соответствующими территориальными нормами с учетом местных условий эксплуатации сооружения. Рекомендуемую проектную продолжительность эксплуатации несущих конструкций допускается принимать равной 100 лет.
5.3.2. Требования стойкости к внешним воздействиям полимерных композитов конструкций
5.3.2.1. Полимерный композит конструкций должен удовлетворять требованиям по стойкости к внешним воздействиям и, в отдельных случаях, устанавливаемых проектом, их неблагоприятным сочетаниям по морозостойкости, влагостойкости, термостойкости, стойкости к климатическому старению, стойкости к циклическому нагружению (выносливости) и ползучести.
5.3.2.2. Морозостойкость, влагостойкость, термостойкость, стойкость к климатическому старению, стойкость к циклическому нагружению и ползучесть полимерного композита конструкций определяются по изменению основных механических и физико-химических характеристик и характеризуются коэффициентами сохранения свойств.
5.3.2.3. Рекомендуемые минимальные значения коэффициентов сохранения свойств, которые могут быть использованы при проектировании как номинальные (принятые на стадии проектирования), приведены в таблице 4. Данные значения должны быть подтверждены экспериментально.
Таблица 4
Изменение прочности полимерных композитов
на растяжение и сжатие в направлениях 0° и 90°
Характеристика сопротивления воздействию | Метод реализации | Рекомендуемое значение частного коэффициента |
Морозостойкость | Марка F 300. В солях. По 9.6 | 1,1 |
Влагостойкость | | 1,3 |
Термостойкость | | 1,2 |
Климатическое старение | | 1,3 |
Ползучесть | | 1,37 - 2,50 (сред. значение 1,66) |
Выносливость | | 1,1 |
Истираемость прохожей части | | Менее 10,0 мм3/м |
5.4.1. Каждая несущая конструкция из полимерного композита должна иметь четкую, легко читаемую в течение всего срока годности несущей конструкции маркировку, хорошо распознаваемую при хранении, транспортировании, погрузочно-разгрузочных работах и эксплуатации конструкции.
5.4.2. Рекомендуется наносить маркировку термопечатным способом на информационную табличку, которая должна быть согласована с заказчиком и закреплена на несущей конструкции. При этом расположение информационной таблички определяется проектной документацией.
5.4.3. Маркировка несущих конструкций должна содержать дополнительные сведения о предприятии-изготовителе, массе нетто и годе изготовления конструкции.
5.4.4. Маркировка, наносимая при транспортировании конструкций, должна соответствовать требованиям
ГОСТ 14192.
5.5. Упаковка
5.5.1. Упаковку конструкций проводят в соответствии с требованиями, определенными в договоре на изготовление (поставку) данной продукции.
5.5.2. Для районов Крайнего Севера упаковку проводят по
ГОСТ 15846.
6. Требования безопасности
6.1. При контакте с готовыми конструкциями не возникает опасности для человека, и работа с этими конструкциями не требует специальных мер безопасности.
6.2. При подготовке производства и механической обработке конструкций в воздушную среду рабочей зоны могут выделяться пары стирола и ацетона, фрагменты армирующих волокон, пыль полимера, вызывающие раздражение слизистых оболочек глаз, кожи, зуд, оказывающие фиброгенное воздействие на верхние дыхательные пути.
При работе со смолами возможно попадание смолы на кожу рук, что вызывает раздражение и дерматиты.
Предельно допустимые концентрации (ПДК) и классы опасности вредных веществ в воздухе рабочей зоны, а также веществ, входящих в конструкции, согласно
ГОСТ 12.1.005 и соответствующим нормативным документам <*> приведены в
таблице 5.
--------------------------------
<*> В Российской Федерации действуют гигиенические нормативы
ГН 2.2.5.1313-03 "Химические факторы производственной среды. Предельно допустимые концентрации (ПДК) вредных веществ в воздухе рабочей зоны".
Таблица 5
Предельно допустимые концентрации веществ
и классы опасности в воздухе рабочей зоны
Наименование вещества | ПДК, мг/м3 | Класс опасности |
Пероксид циклогексанона | 1 | III |
Стекловолокно | 2 | III |
Стеклянная пыль | 2 | III |
Углеродные композитные материалы | 3 | III |
Пыль стеклокомпозита | 5 | III |
Пыль углерода | 6 | IV |
Стирол | 30 | III |
Ацетон | 200 | IV |
Эпоксидные смолы (по эпихлоргидрину) | 0,1 - 1 | II |
6.3. При изготовлении, в том числе при механической обработке конструкций, должны выполняться требования безопасности в соответствии с
ГОСТ 12.3.030.
6.4. Для защиты от вредного воздействия, указанного в
6.2, применяют средства коллективной и индивидуальной защиты работающих по
ГОСТ 12.4.011.
6.5. Для защиты органов дыхания от паро- и газообразных вредных веществ необходимо использовать фильтрующие противогазовые респираторы РПГ-67 (патрон А) по
ГОСТ 12.4.004. Для защиты органов дыхания от пыли и аэрозолей необходимо использовать респираторы ШБ-1 "Лепесток" по
ГОСТ 12.4.028.
Для защиты кожи рук применяют пасту на основе ланолина, силиконовый крем для рук, технические резиновые перчатки по
ГОСТ 20010, а также индивидуальные защитные дерматологические средства с маркировкой Пн, Пт, Ск и О по
ГОСТ 12.4.068.
6.6. К работе по производству конструкций допускаются лица не моложе 18 лет, прошедшие предварительный медицинский осмотр, специальное обучение, вводный инструктаж по технике безопасности, пожарной безопасности, а также сдавшие экзамены специальной комиссии.
6.7. Состояние воздуха рабочей зоны в производственных помещениях, в которых изготовляют конструкции, должно соответствовать санитарно-гигиеническим требованиям
ГОСТ 12.1.005 и соответствующим нормативным документам <*>.
--------------------------------
<*> В Российской Федерации действуют гигиенические нормативы
ГН 2.2.5.1313-03 "Химические факторы производственной среды. Предельно допустимые концентрации (ПДК) вредных веществ в воздухе рабочей зоны".
6.8. Производственные помещения, в которых изготовляют конструкции, должны быть оборудованы приточно-вытяжной вентиляцией по
ГОСТ 12.4.021, а рабочие места - местными отсосами, обеспечивающими выполнение требований
6.7.
6.9. Конструкции (в зависимости от исполнения) в соответствии с
ГОСТ 12.1.044 классифицируются как умеренно горючие твердые вещества. Конструкции не взрывоопасны.
6.10. Пожарную безопасность на предприятии и рабочих местах следует обеспечивать в соответствии с требованиями
ГОСТ 12.1.004.
6.11. В местах производства работ с конструкциями, а также в местах их складирования запрещается разводить огонь, хранить легковоспламеняющиеся вещества в количествах, превышающих сменную потребность в них.
6.12. Рабочие места и места складирования материалов должны быть оборудованы средствами пожаротушения (водой, пеной, песком, кошмой и др.). При использовании первичных средств пожаротушения при ликвидации возгораний конструкций следует использовать промышленные фильтрующие противогазы по
ГОСТ 12.4.121, тип I.
6.13. В соответствии с правилами защиты от статического электричества по
ГОСТ 12.1.018 оборудование должно быть заземлено. Относительная влажность в рабочем помещении должна соответствовать требованиям
ГОСТ 12.1.005. Рабочие места должны быть снабжены резиновыми ковриками.
6.14. Все оборудование, используемое в производственном процессе, должно отвечать требованиям
ГОСТ 12.2.003.
7. Требования охраны окружающей среды
7.1. Конструкции устойчивы при действии влаги, агрессивных сред, температуры воздуха и не оказывают вредного влияния на окружающую среду и качество грунтовых и поверхностных вод.
7.2. Отходы, полученные в процессе производства конструкций, должны быть захоронены в специально отведенных для этого местах или на полигоне промышленных отходов в соответствии с правилами, утвержденными в соответствующем порядке, или действующими нормативными документами <**>.
--------------------------------
<**> В Российской Федерации действуют санитарно-эпидемиологические правила и нормативы
СанПиН 2.1.7.1322-03 "Гигиенические требования к размещению и обезвреживанию отходов производства и потребления".
7.3. Правила контроля качества воздуха населенных пунктов - по
ГОСТ 17.2.3.01. Правила установления допустимых выбросов вредных веществ промышленными предприятиями - по
ГОСТ 17.2.3.02.
8.1.1. Конструкции принимают партиями.
Партией считают определенное количество изделий (конструкций) одного типа, изготовленных по одному технологическому документу (проекту, соответствующему техническому заданию потребителя) и технологическому процессу, из одинаковых сырьевых материалов и сопровождаемых одним документом о качестве. Размер партии устанавливают в нормативном документе или технической документации на конкретный тип конструкции и/или по согласованию между заказчиком и производителем.
8.1.2. Для проверки соответствия конструкций проводят квалификационные, приемосдаточные и периодические испытания.
8.1.3. Квалификационные испытания конструкций проводят по всем показателям
таблиц 1 -
3 и
Приложения В предприятием-изготовителем в период освоения технологии производства конструкций, а также при изменении: технологического процесса изготовления, марок используемых материалов, поставщика и/или изготовителя используемых материалов.
8.1.4. Допускается в состав квалификационных испытаний включать испытания конструкций в соответствии с таблицей 6.
Таблица 6
Состав квалификационных испытаний
Контролируемые показатели | Конструкции |
Несущие | Ненесущие |
Дефекты внешнего вида (цвет, раковины, повреждения поверхности и др.) поверхности | + | + |
Маркировка | + | + |
Предел огнестойкости | + (фрагмент конструкции) | + |
Морозостойкость | + (с защитным покрытием) | + (с защитным покрытием) |
Истираемость | + (защитное покрытие прохожей части) | + (защитное покрытие прохожей части) |
| Трехточечный изгиб | + (фрагмент конструкции) | - |
При местном смятии, в том числе мест опирания | + (фрагмент конструкции) | + (фрагмент конструкции) |
Вертикальные упругие прогибы от нагрузки, имитирующей нормативную пешеходную | + (фрагмент конструкции) | - |
Расчетные периоды собственных колебаний конструкции | + | - |
Прочность крепления перил, перила (балки и лестничного схода) | + (фрагмент конструкции) | + |
8.1.5. Приемосдаточные испытания проводят на предприятии-изготовителе в целях контроля соответствия требованиям настоящего стандарта отдельных основных параметров конструкций.
8.1.6. Приемосдаточные испытания проводят для каждой несущей конструкции (допускается приемка партиями ненесущих конструктивных элементов) по следующим основным показателям:
- внешний вид каждого конструктивного элемента;
- маркировка (для несущих конструкций);
- класс пожарной безопасности;
- плотность;
- растяжение и сжатие в направлениях 0° и 90°;
- межслоевой сдвиг;
- модуль упругости при растяжении в направлениях 0° и 90°;
- морозостойкость.
8.1.7. Периодические испытания конструктивных элементов, прошедших приемосдаточные испытания, проводятся по всем показателям, указанным в
таблицах 2,
3 и
Приложении В.
8.1.8. Периодические испытания следует проводить не реже одного раза в год для подтверждения качества конструкций, которое характеризует стабильность технологического процесса изготовления и подтверждает возможность продолжения производства элементов по действующей технологической документации.
8.2. Приемка конструкций на предприятии-изготовителе
8.2.1. Приемку конструкций на предприятии-изготовителе осуществляет комиссия предприятия-изготовителя.
8.2.2. Приемка несущих конструкций из полимерных композитов включает в себя испытания образцов материала конструкций и испытание конструкций с определением их напряженно-деформированного состояния.
8.2.3. Допускаются изготовление и испытание образцов полимерного композита проводить до начала изготовления конструкций с выдержкой образцов перед испытаниями в течение семи дней в комнатных температурно-влажностных условиях.
8.2.4. Образцы для контроля свойств полимерного композита должны быть изготовлены по технологии и с использованием исходных ингредиентов, предназначенных для данной конструкции.
8.2.5. Определение и контроль основных свойств полимерных композитов, к которым относятся плотность, прочность на растяжение, сжатие, межслоевой сдвиг, модуль упругости, следует проводить с использованием методов испытаний, указанных в
таблицах 2 и
3 настоящего стандарта.
8.2.6. Необходимое количество образцов и обработку результатов испытаний для определения основных свойств полимерных композитов (растяжение, межслоевой сдвиг, модуль упругости и плотность) рекомендуется проводить в соответствии с основными положениями ГОСТ 18105
(схема Б).
8.2.7. Рекомендуется определять значения свойств полимерного композита с учетом характеристик неоднородности материала в контролируемой партии конструктивных элементов не менее чем по 15 единичным значениям, устанавливаемым на не менее чем шести участках в конструкциях для одной партии. Количество образцов для определения единичного значения свойства устанавливают по
ГОСТ 10180, но не менее 2 шт.
8.2.8. Допускается объединять в одну контролируемую партию полимерные композиты из предыдущих партий, изготовленных по одной технологии из одинаковых сырьевых материалов в пределах анализируемого периода. При этом максимальный средний коэффициент вариации v, %, данного свойства в каждой объединенной партии за анализируемый период не должен превышать 13%, а допустимая разность между максимальным и минимальным значениями коэффициента вариации v данного свойства в объединенных партиях не должна превышать 2%.
8.2.9. Результаты испытаний образцов полимерного композита конструкций оформляют протоколами.
8.2.10. При получении неудовлетворительных результатов контроля хотя бы по одному из свойств необходимо проведение повторных испытаний. Результаты повторных испытаний распространяются на всю партию полимерного композита.
8.2.11. В случае неудовлетворительных результатов повторных испытаний, не соответствующих требованиям настоящего стандарта, проводят анализ прочности конструкции с определением возможности его усиления или отбраковки.
8.2.12. При приемке конструкций проверяют:
- сводный перечень материалов, примененных для изготовления конструкций, с приложением полученных от поставщиков сертификатов соответствия, паспортов качества и протоколов испытаний на данные материалы, а также результаты входного контроля на предприятии;
- результаты испытаний основных свойств (растяжение, сжатие, межслоевой сдвиг, модуль упругости, плотность, а также морозостойкость) образцов полимерного композита конструкций;
- соответствие конструкций требованиям конструкторской и технологической документации, в том числе в части обеспечения их проектной несущей способности и долговечности;
- перечень отступлений от утвержденного проекта и от технологического процесса изготовления с соответствующими согласованиями.
8.2.13. В период освоения технологии изготовления конструкций или изменения технологии производства, или изменения ингредиентов полимерных композитов рекомендуется проведение натурных испытаний конструкций (фрагментов) в соответствии с действующими нормативными документами <*> на их соответствие требованиям по жесткости и динамическим параметрам <**>.
--------------------------------
<*> В Российской Федерации действует
СП 79.13330.2012 "СНиП 3.06.07-86 Мосты и трубы. Правила обследований и испытаний".
<**> В Российской Федерации применяют
СП 35.13330.2011 "СНиП 2.05.03-84 Мосты и трубы".
8.2.14. Конструкция, признанная непригодной для применения в качестве несущей конструкции, по решению комиссии может быть признана частично пригодной к ограниченному применению для других условий эксплуатации, о чем вносится соответствующая запись в паспорт качества с указанием рекомендаций по эксплуатации данного конструктивного элемента.
8.2.15. Конструкция, признанная по результатам приемки полностью непригодной для применения, подлежит утилизации в соответствии с действующими правилами утилизации данной продукции.
8.2.16. По результатам приемки конструкций комиссия оформляет акт.
8.3. Приемка конструкций, поступивших на строительную площадку
8.3.1. Приемку конструкций, поступивших на строительную площадку, осуществляет комиссия, в состав которой входят представители строительной организации и предприятия-изготовителя.
8.3.2. Входной контроль при приемке конструкций должен осуществляться строительной организацией путем проверки документации и комплектации поставки конструкций. Проверке подлежит:
- документ, подтверждающий соответствие материала конструкций требованиям настоящего стандарта;
- сертификат пожарной безопасности;
- протокол приемосдаточных испытаний материала конструкций;
- инструкция по эксплуатации, содержанию и ремонту;
- комплектность конструкций;
- сохранность конструкций после транспортирования с отбраковкой элементов, имеющих повреждения, снижающие несущую способность и долговечность поврежденных конструкций;
- паспорт качества.
8.3.3. Паспорт качества на конструктивный элемент из полимерных композитов должен содержать следующую информацию:
- наименование, тип и условное обозначение;
- наименование страны-изготовителя;
- наименование и/или товарный знак предприятия-изготовителя;
- юридический адрес предприятия-изготовителя;
- фактический адрес и контактную информацию предприятия-изготовителя (телефон, телефакс, адрес электронной почты);
- массу, кг;
- дату приемки;
- срок хранения;
- обозначение настоящего стандарта;
- запись о соответствии конструктивного элемента требованиям настоящего стандарта;
- штамп и подпись ответственного лица отдела технического контроля предприятия-изготовителя.
8.3.4. Для несущих конструкций дополнительно сопроводительная документация должна включать в себя документ, подтверждающий соответствие материала конструктивного элемента требованиям настоящего стандарта.
8.3.5. По результатам входного контроля строительная организация и предприятие-изготовитель оформляют акт приема-передачи конструктивных элементов пешеходного моста.
8.4. Приемка моста в эксплуатацию
8.4.1. Приемку моста в эксплуатацию проводит комиссия после обследования и испытания моста на основе данных проектной сопроводительной и производственной документации.
8.4.2. В состав комиссии по приемке моста рекомендуется включать представителей строительной организации, предприятия-изготовителя конструкций, разработчика проекта и заказчика в соответствии с порядком, установленным в системе заказчика.
9. Методы контроля и испытаний
9.1. Для завершенного строительством пешеходного моста контроль фактических физико-механических и динамических параметров, напряженно-деформированного состояния, оценку фактической грузоподъемности пролетного строения, а также соответствие фактической работы всего мостового сооружения проектным данным следует осуществлять путем его испытания в соответствии с действующими нормативными документами <*>.
--------------------------------
<*> В Российской Федерации действует
СП 79.13330.2012 "СНиП 3.06.07-86 Мосты и трубы. Правила обследований и испытаний".
9.2. Допускается при проведении испытаний несущих конструкций и их фрагментов учитывать соответствующие положения
ГОСТ 8829.
9.3. Геометрические параметры конструкций проверяют в соответствии с требованиями
ГОСТ 26433.1 с применением измерительного инструмента необходимой точности.
9.4. Проверку состояния поверхности, цвета, дефектов и маркировки конструкций проводят визуально путем их сравнения с контрольным образцом.
9.6. Метод определения морозостойкости
9.6.1. Сущность метода заключается в том, что образцы полимерного композита конструкций подвергают многократному замораживанию и оттаиванию и определяют стойкость к указанному воздействию по изменению предела прочности при растяжении.
9.6.3. Подготовка к проведению испытаний
9.6.3.1. Для испытания применяют образцы по ГОСТ 32656.
9.6.3.2. Основные и контрольные образцы перед испытанием насыщают 5%-ным водным раствором хлорида натрия.
9.6.3.3. Контрольные образцы извлекают из раствора, обтирают влажной тканью, взвешивают и испытывают на растяжение по ГОСТ 32656.
9.6.4. Проводят испытания основных образцов и обработку результатов по ГОСТ 10060 (
пункты 5.2.3,
5.2.4).
9.6.5. Коэффициент сохранения свойств (морозостойкость) KМ вычисляют по формуле

, (1)
где

- среднее арифметическое значение предела прочности при растяжении контрольных образцов композитного материала конструкций, МПа;

- среднее арифметическое значение предела прочности при растяжении основных образцов композитного материала конструкций, МПа.
9.6.6. Среднее арифметическое значение предела прочности при растяжении контрольных образцов композитного материала конструкций

и среднее арифметическое значение предела прочности при растяжении основных образцов композитного материала конструкций

вычисляют в соответствии с ГОСТ 14359
(пункт 4.3).
9.7. Метод определения влагостойкости
9.7.1. Влагостойкость определяют по ГОСТ 9.719 (раздел 4).
9.7.2. Сущность метода заключается в том, что образцы по ГОСТ 32656 подвергают воздействию водяного тумана в течение не менее 168 ч и определяют изменение предела прочности при растяжении.
9.7.3. Коэффициент сохранения свойств (влагостойкость) KВ вычисляют по формуле

, (2)
где

- среднее арифметическое значение предела прочности при растяжении образцов композитного материала конструкций до испытаний (в исходном состоянии), МПа;

- среднее арифметическое значение предела прочности при растяжении образцов композитного материала конструкций после испытаний, МПа.
9.7.4. Среднее арифметическое значение предела прочности при растяжении образцов композитного материала конструкций до испытаний (в исходном состоянии)

и среднее арифметическое значение предела прочности при растяжении образцов композитного материала конструкций после испытаний

вычисляют в соответствии с ГОСТ 14359
(пункт 4.3).
9.8. Метод определения термостойкости
9.8.1. Сущность метода заключается в том, что образцы полимерного композита конструкций подвергают нагреву до заданной температуры и определяют стойкость к указанному воздействию по изменению предела прочности при растяжении.
9.8.2. Оборудование по ГОСТ 32656, а также термокамера для испытательных машин.
9.8.3. Для испытания применяют образцы по ГОСТ 32656.
9.8.4. На контрольных образцах определяют исходный предел прочности при растяжении по ГОСТ 32656.
9.8.5. Основные образцы нагревают в термокамере до температуры 40 °C. Время выдержки образцов при заданной температуре должно быть не менее 20 мин на 1 мм его толщины.
9.8.6. Проводят испытания основных образцов и обработку результатов по ГОСТ 32656 (раздел 7 и пункт 8.1).
9.8.7. Коэффициент сохранения свойств (термостойкость) KТ вычисляют по формуле

, (3)
где

- среднее арифметическое значение предела прочности при растяжении образцов композитного материала конструкций до испытаний (в исходном состоянии), МПа;

- среднее арифметическое значение предела прочности при растяжении образцов композитного материала конструкций после испытаний, МПа.
9.8.8. Среднее арифметическое значение предела прочности при растяжении образцов композитного материала конструкций до испытаний (в исходном состоянии)

и среднее арифметическое значение предела прочности при растяжении образцов композитного материала конструкций после испытаний

вычисляют в соответствии с ГОСТ 14359
(пункт 4.3).
9.9. Метод определения стойкости к климатическому старению
9.9.1. Стойкость к климатическому старению для подтверждения технических требований, установленных настоящим стандартом, при типовых, периодических и приемосдаточных испытаниях определяют по ГОСТ 9.708
(метод 2).
Сущность метода заключается в том, что образцы по ГОСТ 32656 подвергают воздействию искусственно созданных факторов в аппарате искусственной погоды в течение заданной продолжительности испытаний и определяют изменение предела прочности при растяжении.
Искусственные факторы и время воздействия устанавливают в соответствии с
Приложением Д. Количество образцов после одного периода испытаний должно быть не менее 6.
9.9.2. Стойкость к климатическому старению для подтверждения расчетного срока службы и гарантийных обязательств по настоящему стандарту определяют по ГОСТ 9.708
(метод 1).
Сущность метода заключается в том, что образцы по ГОСТ 32656 подвергают воздействию естественных климатических факторов на климатических станциях в течение расчетного срока службы и гарантийного срока эксплуатации (см.
5.3.1.2 и
12.3) и определяют изменение предела прочности при растяжении.
Контроль прочности при растяжении в процессе испытаний проводят через 1, 3, 6, 9, 12, 36, 60 мес, в дальнейшем не реже одного раза в 10 лет. Количество образцов после одного периода испытаний должно быть не менее 6.
9.9.3. Коэффициент сохранения свойств (стойкость к климатическому старению) KК вычисляют по формуле

, (4)
где

- среднее арифметическое значение предела прочности при растяжении образцов композитного материала конструкций до испытаний (в исходном состоянии), МПа;

- среднее арифметическое значение предела прочности при растяжении образцов композитного материала конструкций после испытаний, МПа.
9.9.4. Среднее арифметическое значение предела прочности при растяжении образцов композитного материала конструкций до испытаний (в исходном состоянии)

и среднее арифметическое значение предела прочности при растяжении образцов композитного материала конструкций после испытаний

вычисляют в соответствии с ГОСТ 14359
(пункт 4.3).
9.10. Метод определения стойкости к ползучести
9.10.1. Испытания на ползучесть для подтверждения технических требований, установленных настоящим стандартом, при типовых, периодических и приемосдаточных испытаниях проводят по ГОСТ 18197.
Сущность метода заключается в том, что к образцам по ГОСТ 32656 в течение 1500 ч прикладывают нагрузку таким образом, чтобы напряжение составляло 0,300 +/- 0,005 предела прочности при растяжении, определенного по ГОСТ 32656, после чего вычисляют модуль ползучести при растяжении и строят кривую "модуль ползучести при растяжении - время".
9.10.2. Испытания на ползучесть для подтверждения расчетного срока службы и гарантийных обязательств по настоящему стандарту проводят по ГОСТ 18197.
Сущность метода заключается в том, что к образцам по ГОСТ 32656 в течение расчетного срока службы и гарантийного срока эксплуатации (см.
5.3.1.2 и
12.3) прикладывают нагрузку таким образом, чтобы напряжение составляло 0,300 +/- 0,005 предела прочности при растяжении, определенного по ГОСТ 32656, после чего вычисляют модуль ползучести при растяжении и строят кривую "модуль ползучести при растяжении - время".
Контроль ползучести в процессе испытаний проводят через 1, 3, 6, 9, 12, 36, 60 мес, в дальнейшем не реже одного раза в 10 лет. Количество образцов после одного периода испытаний должно быть не менее 6 шт.
9.10.3. Коэффициент сохранения свойств (ползучесть) KП вычисляют по формуле

, (5)
где

- среднее арифметическое значение модуля упругости при растяжении образцов композитного материала конструкций до испытаний (в исходном состоянии), МПа;

- среднее арифметическое значение модуля ползучести при растяжении образцов композитного материала конструкций после испытаний, полученное экстраполяцией по кривой "модуль ползучести при растяжении - время", МПа.
9.10.4. Среднее арифметическое значение модуля упругости при растяжении образцов композитного материала конструкций до испытаний (в исходном состоянии)

и среднее арифметическое значение модуля ползучести при растяжении образцов композитного материала конструкций после испытаний

вычисляют в соответствии с ГОСТ 14359
(пункт 4.3).
9.11. Определение истираемости прохожих частей с нанесенным дополнительным износостойким противоскользящим покрытием пролетных строений и сходов проводят по
ГОСТ 13087.
10. Транспортирование и хранение
10.1. Транспортирование
10.1.1. Транспортирование конструкций проводят любым видом транспорта в соответствии с правилами перевозки грузов, действующими на данном виде транспорта.
10.1.2. При транспортировании необходимо, чтобы подкладки под конструкции оставались в проектном положении на все время транспортирования, что должно быть обеспечено, в частности, их креплением к основанию платформы или непосредственно к конструкциям.
10.1.3. Погрузочно-разгрузочные работы необходимо проводить с соблюдением следующих требований:
- избегать точечных нагрузок (ударов);
- стропы располагать вдоль линий, соединяющих точку приложения нагрузки и точку подъема;
- соблюдать мероприятия по предохранению конструкций от повреждения строповочными устройствами;
- места контакта строп с конструкциями должны быть защищены деревянными или другими твердыми прокладками, препятствующими движению строп вдоль конструкций;
- выгрузку конструкций следует проводить в обратном порядке по отношению к погрузочным операциям.
10.1.4. Складирование конструкций необходимо проводить с соблюдением следующих требований:
- установка конструкций на складе допускается только на деревянные прокладки толщиной не менее 150 мм на расстояниях между прокладками, исключающими образование остаточных деформаций в конструкциях;
- при складировании конструкций в несколько ярусов верхние прокладки необходимо располагать на одной вертикали с ниже расположенными прокладками, при этом высота штабеля не должна превышать значения, указанного в проектной документации.
10.2. Хранение
10.2.1. Конструкции следует хранить под навесом при температуре окружающей среды и относительной влажности, соответствующих условиям эксплуатации.
10.2.2. Конструкции длиной более 1,5 м рекомендуется хранить на расстоянии не менее 1,5 м друг от друга в продольном направлении и не ближе 1,5 м к источникам тепла.
11. Указания по эксплуатации
11.1. Эксплуатация пешеходных мостов и путепроводов, изготовленных с применением полимерных конструкций, должна проводиться в соответствии с нормативными документам или технической документацией, регламентирующими требования к эксплуатации пешеходных и автодорожных мостов и путепроводов.
11.2. Эксплуатация пешеходных мостов и путепроводов, изготовленных с применением полимерных конструкций, в течение не менее чем первых пяти лет должна сопровождаться мониторингом напряженно-деформированного состояния конструктивных элементов сооружения по отдельной программе мониторинга, согласованной с организацией, на балансе которой находится данное мостовое сооружение.
12. Гарантии изготовителя
12.1. Изготовитель должен гарантировать соответствие заявленных свойств конструкций требованиям настоящего стандарта при соблюдении условий транспортирования, хранения и эксплуатации.
12.2. Гарантийный срок эксплуатации конструкций, в течение которого изготовитель обязан устранять обнаруженные потребителем дефекты, устанавливается договором на изготовление (поставку) данной продукции.
12.3. Для подтверждения расчетного срока службы и гарантийного срока эксплуатации несущих конструкций изготовитель обязан проводить испытания несущих конструкций в течение всего срока их эксплуатации по
9.9.2 и
9.10.2 и предоставлять результаты потребителю.
(обязательное)
ТРЕБОВАНИЯ К РАСЧЕТУ НЕСУЩИХ КОНСТРУКЦИЙ ПЕШЕХОДНЫХ
МОСТОВ И ПУТЕПРОВОДОВ ИЗ ПОЛИМЕРНЫХ КОМПОЗИТОВ
А.1.1. Расчет конструкций из полимерных композитов проводят в соответствии с действующими нормативными документами
<*> с использованием следующего неравенства

, (А.1)
где S - напряжения (деформации) в конструкции от воздействия нормативных нагрузок, МПа;

- коэффициент надежности по нагрузке;
Rср - средние значения сопротивлений (деформаций) полимерного композита, МПа;

- коэффициент вариации (в долях единицы), характеризующий разброс свойств композитного материала, значения которого должны быть приняты по результатам не менее чем 12 испытаний в одной пробе полимерного композита с допустимой отбраковкой двух результатов. На стадии вариантного проектирования допускается принимать v равным не менее чем 13%;

- коэффициент надежности для технологии изготовления, характеризующий разброс свойств для различных методов изготовления полимерного композита
(таблица А.1);

- обобщенный коэффициент надежности по материалу, определяемый с использованием частных коэффициентов, учитывающих влияние различных факторов, снижающих физико-механические характеристики слоистых стеклопластиков в процессе эксплуатации, по формуле (А.2):

, (А.2)
здесь K1 - коэффициент влияния температуры;
K2 - коэффициент, учитывающий увлажнение конструкций;
K3 - коэффициент ползучести стеклопластика для долговременных нагрузок;
K4 - коэффициент усталости стеклопластика;
K5 - коэффициент морозостойкости стеклопластика;
K6 - коэффициент старения стеклопластика за время эксплуатации моста.
--------------------------------
<*> В Российской Федерации действует
СП 35.13330.2011 "СНиП 2.05.03-84* Мосты и трубы".
Таблица А.1
Значения коэффициента надежности

для различных
технологий изготовления конструкций из полимерных композитов
Способ производства | Коэффициент надежности  |
Постотвержденный полимерный композит | Полимерный композит без постотверждения |
Инфузия (RTM) | 1,2 | 1,4 |
Вакуумная инфузия (VaRTM) | 1,2 | 1,4 |
Формование из препрега | 1,1 | 1,3 |
Пултрузия | 1,1 | 1,3 |
Ручная выкладка | 1,4 | 1,7 |
А.1.2. Минимальное значение коэффициента

должно быть более 3,0 при расчетах на прочность и более 2,5 при расчете устойчивости конструктивных элементов.
А.1.3. Применение частных коэффициентов и их комбинаций в расчетах по первому или второму предельному состоянию осуществляется в соответствии с таблицей А.2.
Таблица А.2
Комбинации частных коэффициентов
для соответствующих предельных состояний
Коэффициенты пересчета для различных факторов | Первое предельное состояние | Второе предельное | Прогрессирующее разрушение |
Прочность | Устойчивость | Выносливость | Жесткость (прогибы) | Трещиностойкость |
Температура K1 | x | x | x | x | x |
Влагостойкость K2 | x | x | x | x | x |
Ползучесть K3 | x | x | - | x | x |
Выносливость K4 | - | x | x | x | x |
Морозостойкость K5 | x | - | x | - | x |
Старение K6 | x | x | x | x | x |
А.1.4. Допускается на стадии вариантного проектирования композитных конструкций пешеходных мостов с последующим экспериментальным подтверждением принимать значения коэффициентов K
1 - K
6 по
таблице 4 настоящего стандарта.
А.2. Прочность и выносливость
А.2.1. В расчетах на прочность правую часть
неравенства (А.1) следует умножать на коэффициент надежности по ответственности, равный 0,9.
А.2.2. Расчет на выносливость рекомендуется производить в соответствии с
неравенством (А.1) без учета коэффициента надежности по нагрузке в зависимости от асимметрии цикла переменной нагрузки

, который характеризуется отношением наименьших

(со знаком "-" для сжатия) и наибольших

(со знаком "+" для растяжения) напряжений.
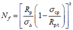
А.2.2.1. Номинальное (теоретическое) значение расчетного числа циклов (Nf) переменной нагрузки с постоянной амплитудой до разрушения полимерного композита допускается определять по формулам:
- для симметричных нагрузок с постоянной амплитудой


, (А.3)
где RC - расчетное значение прочности полимерного композита при растяжении;

,

- минимальное и максимальное напряжения соответственно в конструктивном элементе от переменной нагрузки (в данной формуле используются абсолютные значения напряжений);
k - значение первой производной функции "напряжение - деформация" полимерного композита при растяжении в системе десятичных логарифмических осей координат;
- для асимметричных нагрузок с постоянной амплитудой

, (А.4)

- разница (амплитуда напряжений) между максимальным

(со знаком "+" для растяжения и "-" для сжатия) и минимальным значением напряжений

(со знаком "+" для растяжения и "-" для сжатия) в конструктивном элементе;

- среднее значение действующего напряжения в цикле;
R
р/с - расчетная прочность полимерного композита на сжатие или растяжение, выбираемая в зависимости от знака среднего значения напряжений

, действующего в цикле.
А.2.2.2. Оценку выносливости конструктивного элемента при циклических нагрузках с переменными амплитудами допускается выполнять путем выделения и последующего суммирования (численное интегрирование) предельных состояний, каждое из которых имеет одно и то же значение амплитуды напряжений

и значение

(правило Майнера):

, (А.5)
где M - количество отрезков времени с одинаковыми на данном отрезке значениями амплитуд напряжений

и значений

;
n
i - количество циклов внутри каждого отрезка времени с одинаковыми значениями амплитуд напряжений

и значений

;
N
i - максимальное допустимое (предельное) количество циклов для данных

и

.
А.3.1. Влияние ползучести на изменение модуля упругости рекомендуется рассчитывать с использованием номинального (теоретическое) значения коэффициента K
3 (таблица А.3) по формуле
K3 = tn, (А.6)
где t - продолжительность действия нагрузки, ч;
n - показатель степени, зависящий от типа армирования, при расположении волокон по направлению нагрузки:
- n = 0,01 - для однонаправленно армированных слоев;
- n = 0,04 - для дву- или многонаправленно армированных слоев;
- n = 0,1 - для хаотично-армированных слоев (слоев из мата).
Таблица А.3
Расчетные значения частного коэффициента K
3
Продолжительность действия нагрузки t, годы | Значение для показателя tn для степени n |
0,01 | 0,04 | 0,1 |
40 лет | 1,14 | 1,67 | 3,59 |
100 | 1,15 | 1,73 | 3,93 |
А.3.2. Для слоистых стеклопластиков с различной ориентацией в слоях стекловолокон по отношению направления действия нагрузки допускается на предварительных этапах проектирования (с последующим экспериментальным подтверждением) определять обобщенный коэффициент надежности по ползучести K3об по формуле
K3об = K3K', (А.7)
K' - коэффициент, определяемый расчетным путем как отношение деформаций ламината без учета работы волокон, которые расположены не в направлении действия нагрузки к деформациям ламината с полным учетом всех армирующих его волокон.
А.3.3. Для различных типов армирования слоистых стеклопластиков, например комбинацией однонаправленных слоев, ткани или мата, следует определять значение суммарного показателя степени n.
А.3.4. Включение в работу каждого типа армирования определяется путем перемножения соответствующего данному типу армирования показателя n на толщину слоя и на процентное содержания волокон в этом слое с последующим делением полученного значения на произведение суммы толщин всех слоев, умноженных на процентное содержание в них волокон (только для ламелей с волокнами, ориентированными по направлению долговременной деформации). Двунаправленно-армированные и разнонаправленно-армированные ламинаты должны рассматриваться в качестве пакета однонаправленно-армированных слоев с различной ориентацией волокон.
А.4.1. Величины прогибов определяются от действия нормативных нагрузок с использованием
неравенства А.1 (при

), в котором расчетные значения модуля упругости определяются с использованием его средних значений.
А.4.2. Допускается принимать расчетные значения прогибов не более 1/400 L.
Расчетные значения модуля упругости определяются в соответствии с
А.1.1.
А.6. Возможность сопротивления прогрессирующему обрушению
Конструкция и материал конструктивных элементов должны проектироваться с учетом недопущения возможности прогрессирующего обрушения при выходе из строя одного или нескольких конструктивных элементов пешеходного моста в случае экстремальных природных или техногенных воздействий. При этом устойчивость к прогрессирующему разрушению допускается рассчитывать с учетом предельного состояния по трещиностойкости каждого слоя ламината отдельного конструктивного элемента по
неравенству (А.1).
(справочное)
ХАРАКТЕРИСТИКИ МАТЕРИАЛОВ
Б.1. Характеристики термореактивных смол
Таблица Б.1
Требования к эпоксивинилэфирным смолам
Наименование показателя | Значение показателя | Метод испытания |
Для жидких смол |
Плотность, г/см3 | 1,00 - 1,20 | По ГОСТ 18329 |
Динамическая вязкость, Па·с | 0,35 - 0,45 | По сопроводительной документации |
Время гелеобразования | В соответствии с нормативной или технической документацией |
Для отвержденных смол |
Предел прочности при растяжении, МПа, не менее | 80 | По ГОСТ 32656 |
Модуль упругости при растяжении, МПа, не менее | 3100 |
Относительная деформация при растяжении, %, не менее | 5 |
Изгибающее напряжение, МПа, не менее | 120 | По ГОСТ 4648 |
Модуль упругости при изгибе, МПа, не менее | 3300 |
Температура изгиба под нагрузкой, °C, не ниже | 100 | |
Температура стеклования, °C, не ниже | 50 | По ГОСТ 32618.2 |
Б.2. Характеристики армирующих наполнителей
Таблица Б.2
Тип армирующего наполнителя | Наименование показателя |
Предел прочности при растяжении, МПа, не менее | Модуль упругости при растяжении, ГПа, не менее | Удлинение при разрыве, %, не более |
Метод испытания |
| | |
Высокопрочное углеродное волокно | 3500 | 220 | 2,0 |
Высокомодульное углеродное волокно | 2700 | 300 | 1,14 |
Сверхвысокомодульное углеродное волокно | 2100 | 540 | 0,4 |
E-стекло | 2000 | 70 | 4,3 |
S-стекло | 3500 | 85 | 5,3 |
Б.2.1. Предел прочности при растяжении углеродных волокон определяют в соответствии с ГОСТ 32667.
Предел прочности при растяжении стеклянных волокон определяют в соответствии с ГОСТ 6943.5.
Б.2.2. Модуль упругости при растяжении волокон определяют в соответствии с ГОСТ 32667.
Б.2.3. Удлинение при разрыве углеродных волокон определяют по ГОСТ 32667.
| | ИС МЕГАНОРМ: примечание. ГОСТ 6943.10-79 утратил силу с 1 июня 2016 года в связи с введением в действие ГОСТ 6943.10-2015 (Приказ Росстандарта от 21.07.2015 N 957-ст). | |
Удлинение при разрыве стеклянных волокон определяют по ГОСТ 6943.10.
(обязательное)
ЗНАЧЕНИЯ ОСНОВНЫХ МЕХАНИЧЕСКИХ И ФИЗИКО-ХИМИЧЕСКИХ
ХАРАКТЕРИСТИК ПОЛИМЕРНЫХ КОМПОЗИТОВ КОНСТРУКЦИЙ
Значения основных механических и физико-химических характеристик полимерных композитов для несущих конструкций и нормативные документы по определению их значений приведены в таблице В.1.
Таблица В.1
Предел прочности при растяжении, МПа, не менее | Модуль упругости при растяжении, ГПа, не менее | Предельная относительная деформация при разрушении, %, не более | Плотность, кг/м3, не менее |
Методы испытаний |
По ГОСТ 32656 | |
Эпоксидопласт, армированный однонаправленными высокопрочными углеродными волокнами |
2500 | 150 | 2,0 | 1600 |
Винилэфиропласт, армированный однонаправленными волокнами из E-стекла |
1200 | 40 | 4,3 | 1800 |
Винилэфиропласт, симметрично армированный волокнами из E-стекла в направлении 0°/90° |
350 | 20 | 1,8 | 1800 |
Винилэфиропласт, симметрично армированный волокнами из E-стекла в направлении +45°/-45° |
280 | 15 | 2,0 | 1800 |
Значения основных механических и физико-химических характеристик полимерных композитов для ненесущих конструкций и нормативные документы по определению их значений приведены в таблице В.2.
Таблица В.2
Наименование показателя | Лоток | Метод испытания |
Прохожей части | Подвесной |
Плотность материала, кг/м3 | Не менее 1800 | |
Предел прочности при растяжении вдоль волокон, МПа | Не менее 450 | Не менее 150 | По ГОСТ 32656 |
Модуль упругости при растяжении вдоль волокон, ГПа | Не менее 25 | Не менее 10 | По ГОСТ 32656 |
Водопоглощение, % | Не более 0,7 | |
| | ИС МЕГАНОРМ: примечание. ГОСТ 4647-80 утратил силу с 1 января 2017 года в связи с введением в действие ГОСТ 4647-2015 (Приказ Росстандарта от 20.11.2015 N 1915-ст). | |
|
Ударная вязкость, КДж/м2 | 250 | 100 | По ГОСТ 4647 |
Морозостойкость | F300 в солях | |
(обязательное)
МЕТОД ОПРЕДЕЛЕНИЯ ПРЕДЕЛА ВЫНОСЛИВОСТИ
ПРИ ЦИКЛИЧЕСКОМ НАПРЯЖЕННОМ СОСТОЯНИИ "РАСТЯЖЕНИЕ",
"СЖАТИЕ" И "РАСТЯЖЕНИЕ - СЖАТИЕ"
Г.1. Метод отбора образцов
Г.1.1. Размеры образцов должны соответствовать
ГОСТ 25.601 при растяжении и ГОСТ 25.602 при сжатии.
Г.1.2. Для испытаний используют не менее 15 образцов.
Г.1.3. Перед испытанием образцы кондиционируют при температуре (23 +/- 2) °C и относительной влажности (50 +/- 5)%, если иное не установлено в нормативном документе или технической документации на материал.
Требования к оборудованию приведены в
ГОСТ 25.601 при растяжении и ГОСТ 25.602 при сжатии.
Испытательная машина должна обеспечивать деформирование образцов при симметричном и асимметричном, знакопостоянном и знакопеременном циклическом нагружении.
Захваты испытательных машин должны исключать изгибные деформации и потерю устойчивости образцов при сжатии.
Г.3. Подготовка к испытанию
Г.3.1. Измеряют ширину и толщину рабочей длины образцов.
Г.3.2. Перед началом циклических испытаний должны быть определены разрушающие напряжения при кратковременном статическом нагружении: в случае циклического растяжения - при растяжении по
ГОСТ 25.601, в случае циклического сжатия - при сжатии по ГОСТ 25.602, в случае знакопеременного растяжения - сжатия - при растяжении и при сжатии по указанным стандартам. Испытания при кратковременном нагружении следует проводить на машинах и в захватах, применяемых для определения пределов ограниченной выносливости при циклическом нагружении.
Г.3.3. Выбирают коэффициент асимметрии цикла R по формуле

, (Г.1)
где

и

- минимальное и максимальное напряжения цикла, МПа,
и определяют значения начальных нагрузок цикла Pmax и Pmin, Н, по формулам:

, (Г.2)

, (Г.3)
где F - площадь поперечного сечения рабочей части образца, мм2.
Уровни начальных нагрузок должны соответствовать максимальным при растяжении или минимальным при сжатии напряжениям цикла, равным 0,8 соответствующего напряжения при кратковременном статическом нагружении.
При растяжении - сжатии начальный уровень напряжений зависит от выбранного для испытаний серии образцов коэффициента асимметрии цикла.
Если выполняется неравенство (Г.4), то начальный уровень максимальных напряжений цикла

, МПа, вычисляют по
формуле (Г.5):

, (Г.4)

, (Г.5)
где

- разрушающее напряжение при кратковременном растяжении, МПа;

- разрушающее напряжение при кратковременном сжатии, МПа.
Если выполняется неравенство (Г.6), то начальный уровень минимальных напряжений цикла

, МПа, вычисляют по
формуле (Г.7):

, (Г.6)

. (Г.7)
При сравнении коэффициента R и отношения

необходимо учитывать знак напряжений: напряжения сжатия следует считать отрицательными, напряжения растяжения - положительными. Последующие уровни напряжений следует назначать с учетом результатов испытаний на предшествующих, но меньшими, чем начальные.
Г.3.4. Настройку испытательной машины в соответствии с требованиями
Г.3.3 проводят без установки испытуемых образцов.
Г.4. Проведение испытаний
Г.4.1. Испытуемый образец устанавливают в захваты машины, тщательно центрируют и закрепляют. Затем включают испытательную машину и проводят контрольную проверку действующих на образец нагрузок.
Г.4.2. Испытания образцов одной серии, по результатам которых строят кривую усталости, проводят при постоянном коэффициенте асимметрии цикла.
Г.4.3. При испытании образцов нагружение проводят с постоянной скоростью, причем частота нагружения не должна превышать 5 Гц.
Г.4.4. Нагружение проводят в режиме постоянства заданных максимальных и амплитудных напряжений цикла в процессе всего испытания образца.
Испытание каждого образца проводят до разрушения или определенное число циклов, принимаемое в качестве базы испытаний. База испытаний должна составлять не менее 104 циклов нагружения.
Г.4.5. На каждом уровне напряжений должно быть испытано не менее трех образцов. Число уравнений задаваемых напряжений должно быть не менее четырех.
Г.5. Обработка результатов
Г.5.1. По результатам испытаний серии образцов на диаграмму с координатами (

, lgN) наносят экспериментальные точки и строят кривую усталости. При знакопеременном растяжении - сжатии по оси ординат откладывают значение максимальных напряжений цикла, если выполняется
неравенство (Г.4), и минимальных, если выполняется
неравенство (Г.6).
Г.5.2. Кривую усталости строят путем графической или аналитической (по корреляционному уравнению) аппроксимации результатов испытаний образцов одной серии.
Г.5.3. Предел ограниченной выносливости следует определять по графику кривой усталости или ее уравнению как ординату точки, абсцисса которой равна соответствующей циклической долговечности N.
Наряду с пределом ограниченной выносливости следует указывать меру рассеяния

.
Г.5.4. По окончании испытания каждого образца определяют и фиксируют число циклов до разрушения N. Если образец не разрушился после базового числа циклов, испытание прекращают, а в протоколе испытаний делают пометку "Не разрушился". Неразрушившиеся образцы рекомендуется испытывать кратковременным статическим нагружением для определения остаточных разрушающих напряжений.
Г.6. Протокол об испытании
Протокол об испытании должен содержать следующую информацию:
- сведения об образцах, испытательном оборудовании, условиях кондиционирования и проведения испытаний;
- минимальную и максимальную нагрузку на образец;
- минимальные и максимальные напряжения, возникающие в образце;
- число циклов до разрушения;
- коэффициент асимметрии;
- предел ограниченной выносливости и меру рассеяния.
(обязательное)
УСЛОВИЯ ПРОВЕДЕНИЯ ИСПЫТАНИЙ НА СВЕТОСТОЙКОСТЬ
Образцы испытывают в порядке и условиях, приведенных в таблице Д.1.
Таблица Д.1
N цикла | Период экспонирования | Тип лампы | Плотность потока излучения | Температура черной панели | Относительная влажность, % |
1 | Сухой период - 8 ч | 1A (UVA-340) | 0,76 Вт·м-2·нм-1 при длине волны 340 нм | (60 +/- 3) °C | Не контролируется |
Конденсация влаги - 4 ч | Источник света включен | (50 +/- 3) °C |
2 | Сухой период - 8 ч | 1A (UVA-340) | 0,76 Вт·м-2·нм-1 при длине волны 340 нм | (50 +/- 3) °C | Не контролируется |
Дождевание - 0,25 ч | Не контролируется |
Конденсация влаги - 3,75 ч | Источник света включен | (50 +/- 3) °C |
3 | Сухой период - 5 ч | Комбинированный Тип 1A | 45 Вт·м-2 при длине волны 290 - 400 нм | (50 +/- 3) °C | До 15 |
Дождевание - 1 ч | | (25 +/- 3) °C | Не контролируется |
4 | Сухой период - 5 ч | Комбинированный Тип 1A | 45 Вт·м-2 при длине волны 290 - 400 нм | (70 +/- 3) °C | До 15 |
Дождевание - 1 ч | | (25 +/- 3) °C | Не контролируется |
Примечание. Характеристики ламп типа 1A и комбинированного типа 1A приведены в таблице Д.2. |
Испытания на светостойкость проводят при сухом режиме выдерживания образцов.
Таблица Д.2
Относительная плотность потока излучения в ультрафиолетовом
спектре для ламп Типа 1A и комбинированного Типа 1A
Длина волны  , нм | Тип 1A (UVA-340) | Комбинированный Тип 1A |
Минимум, % | Максимум, % | Минимум, % | Максимум, % |
| | 0,01 | | 0 |
| 5,9 | 9,3 | 4 | 7 |
| 60,9 | 65,5 | 48 | 56 |
| 26,5 | 32,8 | 38 | 46 |