Главная // Актуальные документы // ГОСТ (Государственный стандарт)СПРАВКА
Источник публикации
М.: Стандартинформ, 2018
Примечание к документу
Текст данного документа приведен с учетом
поправки, опубликованной в "ИУС", N 5, 2019.
Документ
введен в действие с 1 сентября 2015 года.
Название документа
"ГОСТ 32657-2014 (ISO 75-1:2013, ISO 75-3:2004). Межгосударственный стандарт. Композиты полимерные. Методы испытаний. Определение температуры изгиба под нагрузкой"
(введен в действие Приказом Росстандарта от 29.05.2014 N 471-ст)
(ред. от 30.11.2017)
"ГОСТ 32657-2014 (ISO 75-1:2013, ISO 75-3:2004). Межгосударственный стандарт. Композиты полимерные. Методы испытаний. Определение температуры изгиба под нагрузкой"
(введен в действие Приказом Росстандарта от 29.05.2014 N 471-ст)
(ред. от 30.11.2017)
агентства по техническому
регулированию и метрологии
от 29 мая 2014 г. N 471-ст
МЕЖГОСУДАРСТВЕННЫЙ СТАНДАРТ
КОМПОЗИТЫ ПОЛИМЕРНЫЕ
МЕТОДЫ ИСПЫТАНИЙ.
ОПРЕДЕЛЕНИЕ ТЕМПЕРАТУРЫ ИЗГИБА ПОД НАГРУЗКОЙ
Polymer composites. Test methods. Determination
of temperature of deflection under load
(ISO 75-1:2013,
Plastics - Determination of temperature of deflection
under load - Part 1: General test method,
MOD)
(ISO 75-3:2004,
Plastics - Determination of temperature of deflection
under load - Part 3: High-strength thermosetting
laminates and long-fibre-reinforced plastics,
MOD)
ГОСТ 32657-2014
(ISO 75-1:2013,
ISO 75-3:2004)
| | Список изменяющих документов (в ред. Изменения N 1, принятого Протоколом Межгосударственного совета по стандартизации, метрологии и сертификации от 30.11.2017 N 52) | |
Дата введения
1 сентября 2015 года
Цели, основные принципы и основной порядок проведения работ по межгосударственной стандартизации установлены в
ГОСТ 1.0-2015 "Межгосударственная система стандартизации. Основные положения" и
ГОСТ 1.2-2015 "Межгосударственная система стандартизации. Стандарты межгосударственные, правила и рекомендации по межгосударственной стандартизации. Правила разработки, принятия, обновления и отмены"
1 ПОДГОТОВЛЕН Объединением юридических лиц "Союз производителей композитов" совместно с Автономной некоммерческой организацией "Центр нормирования, стандартизации и классификации композитов" на основе перевода на русский язык англоязычной версии стандартов, указанных в
пункте 5
2 ВНЕСЕН Техническим комитетом по стандартизации ТК 497 "Композиты, конструкции и изделия из них"
3 ПРИНЯТ Межгосударственным советом по стандартизации, метрологии и сертификации (протокол от 28 марта 2014 г. N 65-П)
За принятие проголосовали:
Краткое наименование страны по МК (ИСО 3166) 004-97 | Код страны по МК (ИСО 3166) 004-97 | Сокращенное наименование национального органа по стандартизации |
Азербайджан | AZ | Азстандарт |
Армения | AM | Минэкономики Республики Армения |
Беларусь | BY | Госстандарт Республики Беларусь |
Киргизия | KG | Кыргызстандарт |
Россия | RU | Росстандарт |
Таджикистан | TJ | Таджикстандарт |
Узбекистан | UZ | Узстандарт |
4
Приказом Федерального агентства по техническому регулированию и метрологии от 29 мая 2014 г. N 471-ст межгосударственный стандарт ГОСТ 32657-2014 (ISO 75-1:2013, ISO 75-3:2004) введен в действие в качестве национального стандарта Российской Федерации с 1 сентября 2015 г.
5 Настоящий стандарт модифицирован по отношению к международным стандартам ISO 75-1:2013 "Пластмассы. Определение температуры изгиба под нагрузкой. Часть 1. Общий метод испытания", ("Plastics - Determination of temperature of deflection under load - Part 1: General test method", MOD), ISO 75-3:2004 "Пластмассы. Определение температуры прогиба под нагрузкой. Часть 3. Высокопрочные слоистые реактопласты и пластмассы с длинноволокнистым наполнителем", ("Plastics - Determination of temperature of deflection under load - Part 3: High-strength thermosetting laminates and long-fibre-reinforced plastics", MOD) путем внесения модификаций различного типа:
- исключения раздела 10 международных стандартов;
- добавления положений;
- изменения содержания положений, элементов;
- изменения структуры.
Официальный экземпляр международного стандарта, на основе которого разработан настоящий межгосударственный стандарт, имеется в Федеральном информационном фонде стандартов.
Сопоставление структуры настоящего стандарта со структурой примененных в нем международных стандартов приведено в
приложении A.
В настоящий стандарт не включен раздел 10 примененных международных стандартов в соответствии с требованиями ГОСТ 1.5,
п. 7.9.11. Содержание исключенного раздела 10 приведено в
приложении B.
Дополнительные положения приведены в
6.1.4 и заключены в рамки из тонких линий. Дополнительные положения приведены с целью установления требования к образцам, полученным литьем.
Текст измененных положений, элементов выделен в стандарте одиночной вертикальной полужирной линией на полях слева (четные страницы) или справа (нечетные страницы) от соответствующего текста.
Содержание измененных положений, элементов международных стандартов приведено в
приложении B.
Измененные фразы, слова выделены в тексте курсивом.
Ссылки на международные стандарты, которые не приняты в качестве межгосударственных стандартов, заменены в
разделе "Нормативные ссылки" и тексте стандарта ссылками на соответствующие межгосударственные стандарты.
Наименование настоящего стандарта изменено относительно наименования международных стандартов в целях соблюдения принятой терминологии
6 ВВЕДЕН ВПЕРВЫЕ
7 ИЗДАНИЕ (март 2018 г.) с Изменением N 1 (ИУС 3-2018)
Изменение N 1 принято Межгосударственным советом по стандартизации, метрологии и сертификации (протокол N 52 от 30.11.2017)
За принятие изменения проголосовали национальные органы по стандартизации следующих государств: BY, KG, RU, TJ, UZ [коды альфа-2 по МК (ИСО 3166) 004]
Дату введения в действие настоящего изменения устанавливают указанные национальные органы по стандартизации <*>
--------------------------------
<*> Дата введения в действие на территории Российской Федерации - 2018-06-01.
Информация об изменениях к настоящему стандарту публикуется в ежегодном информационном указателе "Национальные стандарты", а текст изменений и поправок - в ежемесячном информационном указателе "Национальные стандарты". В случае пересмотра (замены) или отмены настоящего стандарта соответствующее уведомление будет опубликовано в ежемесячном информационном указателе "Национальные стандарты". Соответствующая информация, уведомление и тексты размещаются также в информационной системе общего пользования - на официальном сайте Федерального агентства по техническому регулированию и метрологии в сети Интернет (www.gost.ru)
Настоящий стандарт распространяется на полимерные композиты и устанавливает метод определения температуры изгиба под нагрузкой. Под полимерными композитами в настоящем стандарте следует понимать многослойные реактопласты (далее - ламинаты), а также пластмассы, армированные волокном длиной не менее 7,5 мм. |
В настоящем стандарте использованы ссылки на следующие стандарты:
ГОСТ 25.604-82 Расчеты и испытания на прочность. Методы механических испытаний композиционных материалов с полимерной матрицей (композитов). Метод испытания на изгиб при нормальной, повышенной и пониженной температурах
ГОСТ 9550-81 Пластмассы. Методы определения модуля упругости при растяжении, сжатии и изгибе
ГОСТ 12015-66 Пластмассы. Изготовление образцов для испытания из реактопластов. Общие требования
ГОСТ 12019-66 Пластмассы. Изготовление образцов для испытания из термопластов. Общие требования
ГОСТ 12423-2013 (ISO 291:2008) Пластмассы. Условия кондиционирования и испытания образцов (проб)
ГОСТ 26277-84 Пластмассы. Общие требования к изготовлению образцов способом механической обработки
Примечание - При пользовании настоящим стандартом целесообразно проверить действие ссылочных стандартов в информационной системе общего пользования - на официальном сайте Федерального агентства по техническому регулированию и метрологии в сети Интернет или по ежегодному информационному указателю "Национальные стандарты", который опубликован по состоянию на 1 января текущего года, и по выпускам ежемесячного информационного указателя "Национальные стандарты" за текущий год. Если ссылочный стандарт заменен (изменен), то при пользовании настоящим стандартом следует руководствоваться заменяющим (измененным) стандартом. Если ссылочный стандарт отменен без замены, то положение, в котором дана ссылка на него, применяется в части, не затрагивающей эту ссылку.
Раздел 2. (Измененная редакция, Изм. N 1).
В настоящем стандарте применены термины и определения по ГОСТ 32794, а также следующие термины с соответствующими определениями:
3.1
деформация изгиба (flexural strain)

, %: Номинальное относительное изменение длины элемента наружной поверхности образцов в середине пролета.
Примечание - Деформацию изгиба также допускается выражать как безразмерное отношение.
3.2
увеличение деформации изгиба (flexural strain increase)

, %: Заданное увеличение деформации
изгиба в процессе нагревания.
Примечание - Термин увеличение деформации изгиба введен для того, чтобы подчеркнуть, что начальный изгиб, вызванный приложением испытательной нагрузки, не измеряется, и, следовательно, критерий для окончания испытания не представляет значения абсолютной деформации, наблюдается только увеличение прогиба (см. также 3.4).
3.3 прогиб (deflection) s, мм: Расстояние, на которое верхняя или нижняя поверхность образца в середине пролета отклоняется во время изгиба от первоначального положения.
3.4
стандартный прогиб (standard deflection)

, мм: Увеличение прогиба, соответствующее увеличению деформации изгиба на поверхности образца.
Примечание - Стандартный прогиб зависит от размеров и положения образца и расстояния между опорами (пролета).
3.5
напряжение при изгибе (flexural stress)
, МПа: Номинальное напряжение на наружной поверхности образца в середине пролета.
3.6 нагрузка (load) F, Н: Усилие, прикладываемое к образцу в середине пролета и вызывающее определенное напряжение при изгибе.
3.7 температура изгиба под нагрузкой (temperature of deflection under load) Tf, °C: Температура, при которой изгиб образца по мере ее увеличения достигает значения стандартного прогиба.
3.8 пролет L, мм: Расстояние между точками контакта образца с опорами. |
Образец подвергают трехточечному изгибу под действием постоянной нагрузки со стороны главной (предпочтительно) или боковой плоскости образца для получения напряжения при изгибе. Температуру повышают с равномерной скоростью и измеряют ее значение, при котором возникает стандартный прогиб, соответствующий установленному увеличению напряжения при изгибе.
5.1 Устройство для создания напряжения при изгибе
Устройство для создания напряжения при изгибе (далее -
устройство) должно быть сконструировано в соответствии с рисунком 1. Устройство состоит из жесткой металлической рамы, где может свободно перемещаться стержень в вертикальном направлении,
в основании которой в горизонтальном положении устанавливают металлические опоры полуцилиндрической формы.
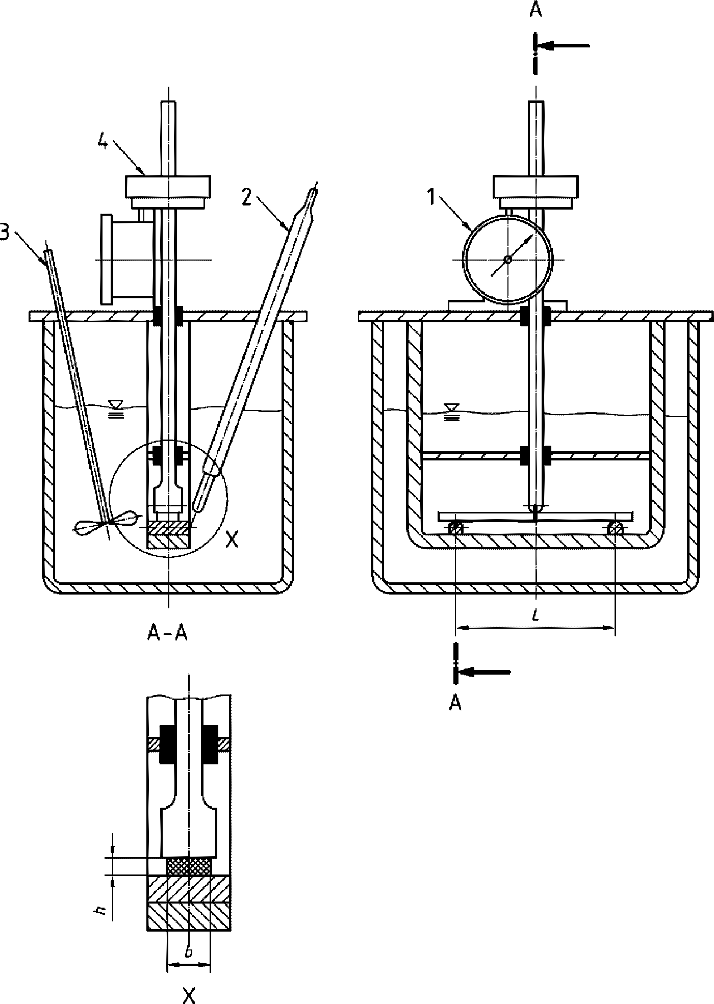
Материал опор и вертикальных элементов рамы должен иметь такой же коэффициент теплового линейного расширения, что и стержень. Примечание - Если коэффициенты теплового линейного расширения вертикальных элементов прибора не одинаковы, то разность в изменении длины этих элементов приводит к погрешности измерения кажущегося прогиба образца. В этом случае необходимо провести контрольное испытание образца из инвара или боросиликатного стекла. Толщина контрольного образца должна быть равна толщине образца из полимерного композита. Диапазон температур испытания контрольного образца должен соответствовать диапазону температур испытания образца из полимерного композита. Определяют поправочный коэффициент, размерность которого выражается в миллиметрах; если он превышает 0,01 мм, то его значение необходимо учитывать в результатах испытания, прибавляя к значению кажущегося прогиба образца. Стержень должен быть оснащен подставкой для помещения грузов и нагружающим наконечником. Радиус закругления нагружающего наконечника и опор должен составлять (3,0 +/- 0,2) мм, ширина контактной поверхности - не меньше ширины образца. Расстояние между опорами должно быть регулируемым и изменяться в зависимости от значения пролета L, мм, который определяется по формуле где h - толщина образца, мм. Примечание - При использовании устройства с фиксированным пролетом между опорами 100 мм толщину образца следует сократить механической обработкой (см. 6.4) до значения не более 3 мм. 1 - прибор с круговой шкалой; 2 - термометр; 3 - мешалка; 4 - нагрузка; b - ширина образца Рисунок 1 - Прибор для определения температуры изгиба под нагрузкой (со стороны главной плоскости образца) Вертикальное усилие, приложенное к образцу с помощью наконечника, должно приходиться на середину расстояния между опорами с точностью до +/- 1 мм. Линии их соприкосновения с образцом должны быть параллельны плоскости наконечника и находиться под прямым углом к длине образца, размещенного симметрично поперек этих линий. |
5.2 Нагревательное оборудование
В комплект нагревательного оборудования должны входить нагревательная ванна, включающая теплопередающую среду (жидкость или псевдоожиженный слой) или сушильный шкаф, мешалка и блок управления.
Для теплопередающих сред, за исключением газа (воздуха), образец погружают на глубину не менее чем на 50 мм.
Теплопередающая жидкость (при ее использовании в качестве теплопередающей среды) должна быть стабильной в диапазоне изменения температуры испытания и не должна вызывать набухание или растрескивание образца.
В качестве теплопередающей жидкости рекомендуется использовать парафин, глицерин, трансформаторное или силиконовое масла. Допускается применение других жидкостей. При использовании в качестве теплопередающей среды псевдоожиженного слоя рекомендуется применять порошок оксида алюминия.
Блок управления должен обеспечивать увеличение температуры с равномерной скоростью (120 +/- 10) °C/ч.
Для проверки скорости нагревания измеряют температуру автоматически через заданные промежутки времени или вручную через каждые 6 мин.
Требования к скорости нагревания считают выполненными, если через каждые 6 мин в процессе испытания изменение температуры составит (12 +/- 1) °C.
Разность температур жидкости в нагревательной ванне между температурой в середине и у концов образца не должна превышать +/- 1 °C.
Примечания
1 В конструкции нагревательного оборудования следует предусмотреть автоматическое прекращение нагревания по достижении значения стандартного прогиба.
2 Метод с использованием теплопередающей жидкости считают эталонным в случае разногласий или сомнений, если это возможно в рассматриваемом диапазоне температур.
(Измененная редакция, Изм. N 1).
5.3 Грузы
Для нагружения образца до требуемого напряжения при изгибе, рассчитанного в соответствии с
7.1,
необходимо иметь набор грузов, обеспечивающий точность задания начального прогиба в соответствии с п. 7.1.
Примечание - Может потребоваться набор разновесов, отличающихся по массе на 1 г.
5.4 Средства измерения температуры
Средство для измерения температуры должно быть откалибровано на глубине погружения для конкретного используемого прибора и иметь точность не менее 0,5 °C. Датчик средства измерения температуры должен располагаться на расстоянии (2,0 +/- 0,5) мм от середины образца и не соприкасаться с ним.
(Измененная редакция, Изм. N 1).
5.5 Прибор для измерения прогиба
Для измерения прогиба следует использовать микрометр с круговой шкалой с точностью измерения 0,01 мм и проводить в середине образца между опорами. Для измерения прогиба допускается применять другие средства измерения, отвечающие требованиям точности. Примечание - В приборах определенного типа усилие Fs, прилагаемое пружиной прибора с круговой шкалой, действует вверх и поэтому уменьшает усилие нагруженного стержня, направленное вниз, тогда как в приборах других типов усилие Fs действует вниз и увеличивает усилие нагруженного стержня. В таких случаях необходимо определить величину и направление Fs, чтобы иметь возможность компенсировать его (см. 7.1). Поскольку в определенных приборах с круговой шкалой Fs значительно изменяется в диапазоне измерения прибора, его необходимо измерять в части диапазона, в которой будет использоваться прибор |
6
Подготовка к проведению испытания
6.1.1 Поверхности образцов должны быть ровными и гладкими, смежные поверхности - взаимно перпендикулярными. На поверхностях образцов не допускается наличие царапин, вмятин, следов травления и заусенцев. Все плоскости резания должны быть гладкими, следы механической обработки направлены вдоль образца. Примечание - Образцы, полученные литьем под давлением, как правило, имеют углы наклона от 1° до 2° для облегчения выемки из формы. В общем случае боковые плоскости у таких образцов не будут параллельны. На поверхности образцов, полученных литьем под давлением, почти всегда присутствуют следы травления. Вследствие различий при охлаждении, как правило, толщина в центре образцов меньше, чем по краям. (Измененная редакция, Изм. N 1). 6.1.2 Внешний вид проверяют визуальным контролем, прямизну, прямоугольность и плоскостность - с помощью микрометрического штангенциркуля. 6.1.3 Образцы, не отвечающие требованиям 6.1.1, должны браковаться или подвергаться механической обработке до получения соответствующих размера и формы перед испытанием. |
6.1.4 При использовании образцов, полученных литьем, допускается наличие вмятин, угла литейного уклона от 1° до 2° для облегчения распалубки, перепад по толщине не более 0,1 мм, который образуется при охлаждении образца из-за разности температур в центре и по краям, поэтому образцы могут деформироваться при нагревании и изгибаться без нагрузки. В связи с этим необходимо применять удвоенное количество образцов, полученных литьем, и прикладывать нагрузку к двум образцам с противоположных сторон. |
6.2 Форма и размеры образцов
Образец изготавливают в форме прямоугольного параллелепипеда, размеры которого должны соответствовать таблице 1. Таблица 1 Размеры образца | |
Параметр, мм | Значение параметра | |
Длина, l | >= (10 + L) |
Ширина, b | от 9,8 до 12,8 |
Толщина, h | от 2,0 до 7,0 |
Примечание - Значения ширины и толщины не должны отклоняться более чем на 2% от среднего значения. |
Испытывают не менее пяти образцов. Чтобы компенсировать влияние искривления, образцы необходимо располагать взаимно противоположными плоскостями по отношению к нагружающему наконечнику. Для каждого повторного испытания необходимы два дополнительных образца.
Примечание - В целях контроля качества или по взаимному согласию заинтересованных сторон допускается проводить испытание только на одной стороне образца. В этом случае в протоколе испытаний отмечают сторону, которую подвергали нагружению.
(Измененная редакция, Изм. N 1).
|
|
Образцы изготавливают в соответствии с нормативно-технической документацией на полимерный композитный материал. При отсутствии таких указаний образцы изготавливают прессованием в соответствии с ГОСТ 12015, литьем под давлением - ГОСТ 12019 и механической обработкой - ГОСТ 26277. При использовании образцов, полученных литьем под давлением, ширина образца должна быть перпендикулярна направлению формующего усилия. При изготовлении образцов из листового материала толщиной более 7 мм механической обработке подвергают одну из сторон образца, пока его толщина не будет уменьшена до заданного размера. Если стороны образца неодинаковы, в протоколе испытания необходимо отметить сторону, которая подвергалась механической обработке. |
Примечание - Большинство армированных реактопластов анизотропно и, как следствие, неоднородны по толщине, поэтому после механической обработки могут измениться их свойства.
Чтобы свести к минимуму расхождения в результатах испытания, вызванных различными условиями формования, образцы подвергают предварительному отжигу, процедура которого устанавливается в нормативно-технической документации на материал. |
Кондиционирование образцов проводят в соответствии с требованиями нормативно-технической документации на материал. При отсутствии указаний образцы кондиционируют при одной из стандартных атмосфер по ГОСТ 12423. |
7.1 Расчет прилагаемой нагрузки 7.1.1 Измеряют толщину и ширину образца с точностью до 0,1 мм. Пролет между опорами устанавливают в соответствии с формулой (1) и измеряют с точностью до 0,5 мм. 7.1.2 При трехточечном изгибе нагрузку, прилагаемую к образцу со стороны главной плоскости, F, Н, вычисляют по формуле  (2) <*> -------------------------------- <*> Формула (3). (Исключена. Изм. N 1). Прилагаемая нагрузка должна создавать напряжение при изгибе, равное 1/1000 модуля упругости при нормальной температуре, определяемого по ГОСТ 9550 или ГОСТ 25.604. Допускается определять прилагаемую нагрузку как нагрузку, требуемую для создания начального прогиба, эквивалентного увеличению деформации изгиба, равному 0,1% в образце. В этом случае не требуется определять модуль упругости при изгибе. Начальный прогиб должен быть измерен с точностью до +/- 2,5%. 7.1.3 При расчете нагрузки необходимо учитывать массу стержня, а также усилие, прилагаемое пружиной прибора с круговой шкалой (см. 5.5). 7.1.4 Массу груза mw, кг, необходимую для нагружения образца до требуемого напряжения при изгибе, вычисляют по формуле  (4) где Fs - усилие, прилагаемое пружиной прибора с круговой шкалой, Н; mr - масса стержня, кг. |
Значение усилия Fs имеет положительный знак, если противодействие пружины направлено в сторону образца (т.е. вниз), и отрицательный, если оно действует в противоположном направлении (т.е. против опускания стержня), или нулю, если пружинный инструмент вообще не используется.
Значение фактической прилагаемой нагрузки должно быть равно (F +/- 2,5%).
Примечание - Все равенства, касающиеся свойств при изгибе, верны только для линейной зависимости деформации от напряжения и для большинства пластмасс точны только при незначительном прогибе. Данные равенства могут, однако, применяться для сравнения.
7.2 Начальная температура оборудования для нагрева
Перед началом каждого испытания температура нагревательного оборудования
(5.2) должна быть
не более 27 °C.
Устанавливают образец на опоры главной плоскостью. Помещают устройство в нагревательную ванну, как показано на
рисунке 1, и прикладывают нагрузку, рассчитанную по
7.1, чтобы получить напряжение при изгибе образца. Через 5 мин после первоначального приложения нагрузки записывают показание микрометра
(5.5) или устанавливают его на 0.
Примечание - Пятиминутный интервал необходим для того, чтобы частично компенсировать ползучесть, проявляемую некоторыми материалами при комнатной температуре под воздействием напряжения при изгибе, т.к. она составляет значительную долю ползучести, возникающей в первые 30 мин. Допускается не выдерживать образец в течение 5 мин под нагрузкой при испытании материалов, не проявляющих заметной ползучести в течение первых 5 мин при исходной температуре испытания.
Повышают температуру в ванне с равномерной скоростью (120 +/- 10) °C/ч и записывают температуру, при которой начальный прогиб образца увеличился на значение стандартного прогиба [см. формулу (5)]. Эта температура является температурой изгиба под нагрузкой.
Стандартный прогиб

, мм, со стороны главной плоскости образца вычисляют по формуле
 (5) <*> |
--------------------------------
<*> Формула (6). (Исключена. Изм. N 1).
Значение увеличения деформации изгиба принимают равным 0,2%.
Примечания
1 При интерпретации результатов испытания допускается пользоваться зависимостью (если она известна) величины прогиба образца от его температуры. Таким образом, рекомендуется, чтобы там, где возможно, прогиб образца измерялся непрерывно во время ожидания и нагревания. Испытание следует выполнять не менее чем на двух образцах, каждый из которых должен использоваться только один раз. Чтобы компенсировать эффект асимметрии, например искривление, образцы необходимо измерять попарно и располагать противоположными сторонами к нагружающему наконечнику.
2 Испытания образцов с разными размерами или образов, подготовленных при разных условиях, могут давать разные результаты. В связи с этим, когда требуются воспроизводимые данные, условия подготовки образцов и переменные испытания должны быть одинаковыми.
За результат испытания принимается среднеарифметическое значение температур изгиба под нагрузкой образцов с точностью до одного градуса Цельсия.
Протокол испытания должен включать следующую информацию:
a) ссылку на настоящий стандарт;
b) все сведения, необходимые для идентификации испытуемого материала;
c) метод подготовки образцов;
d) используемую теплопередающую среду;
e) методы кондиционирования и отжига, если применялись;
f) температуру изгиба под нагрузкой в градусах Цельсия (если отдельные результаты двух измерений при различных направлениях нагружения отличаются более чем на заданное предельное значение, все отдельные результаты должны сообщаться отдельно для каждого из двух направлений);
g) размеры использованных образцов;
h) напряжение при изгибе, указывающее дополнительно, было ли применение:
- модуль упругости при изгибе (при нормальной температуре);
- начальный прогиб, соответствующий разности деформаций изгиба 0,1%;
| | ИС МЕГАНОРМ: примечание. Обозначения пунктов даны в соответствии с официальным текстом документа. | |
k) использованный пролет;
l) необычное поведение образца, отмеченное во время испытания или после извлечения из прибора;
m) механически обработанную грань, если было необходимо уменьшить толщину образца механической обработкой;
n) сторону образца, которую подвергали нагружению при проведении испытаний только на одной стороне образца.
Раздел 9. (Измененная редакция, Изм. N 1).
(справочное)
СОПОСТАВЛЕНИЕ СТРУКТУРЫ НАСТОЯЩЕГО СТАНДАРТА
СО СТРУКТУРОЙ ПРИМЕНЕННЫХ В НЕМ МЕЖДУНАРОДНЫХ СТАНДАРТОВ
Таблица A.1
Структура настоящего стандарта | Структура международного стандарта ISO 75-1:2013 | Структура международного стандарта ISO 75-3:2004 |
Раздел | Подраздел | Пункт | Раздел | Подраздел | Пункт | Раздел | Подраздел | Пункт |
| | - | 3 | - | - | 3 | - | - |
| - | - | 4 | - | - | 4 | - | - |
| | - | 5 | 5.1 - 5.5 | - | 5 | 5.1 - 5.5 | - |
- | - | 5.6 | - | - | - |
| | | 6 | 6.1 | - | 6 | 6.1 | - |
| - | 6.2 | - | 6.2 | - |
- | - | 6.3 | - | 6.3 | - |
| - | 6.4 | - | 6.4 | - |
| - | - | - | 6.5 | - |
| - | - | - | 6.6 | - |
| - | 7 | - | - | 7 | - | - |
| | ИС МЕГАНОРМ: примечание. В официальном тексте документа, видимо, допущена опечатка: пункт 7.14 отсутствует. Возможно, имеется в виду пункт 7.1.4. | |
|
| | | 8 | 8.1 | - | 8 | 8.1 | - |
| - | 8.2 | - | 8.2 | - |
| - | 8.3 | - | 8.3 | - |
| - | - | 9 | - | - | 9 | - | - |
- | - | - | 10 | - | - | 10 | - | - |
| - | - | 11 | - | - | 11 | - | - |
| | ИС МЕГАНОРМ: примечание. В официальном тексте документа, видимо, допущена опечатка: приложения А, Б, В, Г отсутствуют. Возможно, имеются в виду приложения A, B, C, D соответственно. | |
|
Приложения | | Приложения | - | Приложения | - |
| - | - |
| - | - |
| - | - |
| | ИС МЕГАНОРМ: примечание. В официальном тексте документа, видимо, допущена опечатка: приложение D отсутствует. Возможно, имеется в виду приложение E. | |
|
Примечания 1 Сравнение структур стандартов приведено, начиная с раздела 3, так как предыдущие разделы стандартов и их иные структурные элементы (за исключением предисловия) идентичны. 6 Раздел 10 исключен в соответствии с требованиями ГОСТ 1.5, п. 7.9.11. 7 Внесены дополнительные приложения A, B, C, D в соответствии с требованиями, установленными к оформлению межгосударственного стандарта, модифицированного по отношению к международному стандарту. |
(справочное)
ОРИГИНАЛЬНЫЙ ТЕКСТ ИЗМЕНЕННЫХ И ИСКЛЮЧЕННЫХ ПОЛОЖЕНИЙ
ИСО 75-3:2004 "ПЛАСТМАССЫ. ОПРЕДЕЛЕНИЕ ТЕМПЕРАТУРЫ ИЗГИБА
ПОД НАГРУЗКОЙ. ЧАСТЬ 3. ВЫСОКОПРОЧНЫЕ СЛОИСТЫЕ РЕАКТОПЛАСТЫ
И ПЛАСТМАССЫ С ДЛИННОВОЛОКНИСТЫМ НАПОЛНИТЕЛЕМ"
B.1.1 Область применения
Данная часть ISO 75 устанавливает метод определения температуры изгиба пластмасс под нагрузкой высокопрочных слоистых термореактопластов и формованных под давлением пластмасс с длинноволокнистым наполнителем, длина волокон в котором превышает 7,5 мм. Используемое напряжение при изгибе не фиксируется, как в ISO 75-2, а является долей (1/1000) начального (при комнатной температуре) модуля изгиба испытуемого материала. Это позволяет применить описываемый метод к материалам с широким диапазоном модулей изгиба.
Примечание - Данный текст изменен в межгосударственном стандарте в целях соблюдения норм русского языка и принятой терминологии.
B.25.1 Устройства для создания напряжения при изгибе
См. ISO 75-1:2004, подраздел 5.1.
B.35.2 Нагревательное оборудование
См. ISO 75-1:2004, подраздел 5.2.
B.4.5.4 Средство для измерения температуры
См. ISO 75-1:2004, подраздел 5.4.
B.5.6.1 Общие требования
См. ISO 75-1:2004, подраздел 6.1.
B.6.6.2 Форма и размеры
См. ISO 75-1:2004, подраздел 6.2.
Испытуемые образцы должны иметь следующие размеры:
длина l: не менее чем на 10 мм длиннее пролета;
ширина b: от 9,8 мм до 12,8 мм;
толщина h: от 2,0 мм до 7,0 мм.
Примечание - Данный текст изменен в межгосударственном стандарте в целях соблюдения норм русского языка и принятой терминологии.
B.7.6.3 Контроль образцов
См. ISO 75-1:2004, подраздел 6.3.
B.86.5 Подготовка испытуемых образцов
Образцы для испытания должны изготавливаться в соответствии с ISO 295, ISO 10724-1 или соответствующей частью ISO 1268 (и ISO 2818, если применимо), либо по согласованию между заинтересованными сторонами.
Обеспечивают, чтобы все плоскости резания были, по возможности, гладкими, и чтобы все неизбежные следы механической обработки были в направлении длины.
В случае образцов, формованных под давлением, ширина должна быть перпендикулярна направлению формующего усилия. Для материалов в форме листа толщина образцов для испытания (т.е. толщина листа) должна находиться в диапазоне от 2 мм до 7 мм. Для образцов толщиной свыше 7 мм толщину уменьшают до 7 мм с помощью механической обработки одной поверхности (грани). Если грани испытуемого образца не одинаковы, в протоколе испытания отмечают механически обработанную плоскость.
В свете требования, чтобы пролет был в 30 раз больше толщины образца для испытания (см.
5.1), он может быть любым в интервале от 60 мм до 210 мм. Некоторые испытательные машины имеют фиксированный пролет 100 мм и, следовательно, могут использоваться только с образцами, толщина которых не превышает 3 мм. Такую машину использовать можно, но, если толщина испытуемого образца превышает 3 мм, ее необходимо будет сократить путем механической обработки. Как и в предыдущем случае, обтачивают только одну поверхность и, если грани получаются разные, в протоколе испытания сообщают, какая из поверхностей подвергалась механической обработке.
Примечание - Большинство армированных термореактивных реактопластов анизотропно и может оказаться неоднородным по толщине, поэтому механическая обработка может значительно изменить их свойства.
B.9.8.1 Начальная температура оборудования для нагрева
См. ISO 75-1:2004, подраздел 8.1.
Прилагаемое усилие должно быть таким, чтобы создаваемое напряжение изгиба составило 1/1000 модуля изгиба материала при комнатной температуре (определяют модуль изгиба либо в соответствии с ISO 178 или ISO 14125, по обстоятельствам, либо используют значение, данное изготовителем).
Прилагаемое усилие можно также определить как усилие, требуемое для создания начального прогиба эквивалентного увеличению деформации изгиба

в испытуемом образце [см. ISO 75-1:2004, уравнение (5)]. Такой подход имеет то преимущество, что не требует знания точного значения модуля изгиба для определения прикладываемого усилия. Если используется такой подход, начальный прогиб должен быть измерен с точностью до +/- 2,5%. Подставив значения

и требуемого пролета
L, равного 30
h, в уравнение (5) в ISO 75-1:2004, можно видеть, что приемлемой погрешностью в начальном прогибе будет +/- (3,75 x 10
-3)
h.
Примечание - Для толщины образца h = 4 мм это соответствует приемлемой погрешности +/- 0,015 мм.
B.10.8.3 Измерение
См. ISO 75-1:2004, подраздел 8.3.
Регулируют пролет между опорами до 30-кратной толщины h (+/- 1 мм) испытуемого образца.
| | ИС МЕГАНОРМ: примечание. В официальном тексте документа, видимо, допущена опечатка: пункт 8.1 отсутствует. Возможно, имеется в виду пункт 7.1. | |
Помещают испытуемый образец на опоры плашмя. Прикладывают рассчитанное усилие (см.
8.1), чтобы получить требуемое напряжение изгиба.
Рассчитывают стандартный прогиб

по уравнению (5) в ISO 75-1:2004, используя значение 0,2% для увеличения деформации изгиба
.
Записывают температуру, при которой начальный прогиб бруска увеличился на значение стандартного прогиба. Эта температура является температурой изгиба под нагрузкой. Если отдельные результаты отличаются более чем на 5 °C, необходимо выполнить повторные испытания.
| | ИС МЕГАНОРМ: примечание. Нумерация пунктов дана в соответствии с официальным текстом документа. | |
B.1110 Прецизионность
См. ISO 75-1:2004, раздел 10.
(справочное)
ОРИГИНАЛЬНЫЙ ТЕКСТ ИЗМЕНЕННЫХ ПОЛОЖЕНИЙ ИСО 75-1:2013
"ПЛАСТМАССЫ. ОПРЕДЕЛЕНИЕ ТЕМПЕРАТУРЫ ИЗГИБА ПОД НАГРУЗКОЙ.
ЧАСТЬ 1. ОБЩИЙ МЕТОД ИСПЫТАНИЯ"
C.1.5.1 Устройства для создания напряжения при изгибе
Прибор для испытания должен быть сконструирован, в основном, в соответствии с
рисунком 1. Он состоит из жесткой металлической рамы, в которой может свободно перемещаться стержень в вертикальном направлении. Стержень оснащен подставкой для помещения грузов и нагружающим наконечником. В основании рамы имеются опоры для испытуемого образца: эти опоры и вертикальные элементы рамы изготовлены из материала, имеющего такой же коэффициент линейного расширения, как и стержень.
Опоры для испытуемого образца представляют собой металлические детали, имеющие цилиндрическую форму и находящиеся в горизонтальном положении, находятся в контакте с испытуемым образцом. Размер пролета, т.е. расстояние между точками контакта образца с опорами, задается в соответствующей части данного международного стандарта. Опоры соединены с основанием рамы таким образом, что вертикальное усилие, приложенное к испытуемому образцу посредством наконечника, приходится на середину расстояния между опорами. Линии соприкосновения опор с образцом параллельны плоскости наконечника и находятся под прямым углом к длине испытуемого образца, размещенного симметрично поперек этих линий. Опоры и наконечник, контактирующие с образцом, имеют закругление радиусом (3,0 +/- 0,2) мм и должны быть длиннее, чем ширина испытуемого образца.
Если вертикальные элементы прибора не имеют одинакового коэффициента теплового линейного расширения, то разность в изменении длины этих элементов вводит погрешность в показание кажущегося прогиба испытуемого образца. Необходимо выполнить контрольный опыт на каждом приборе, используя испытуемый образец, изготовленный из жесткого материала, имеющего низкий коэффициент расширения и толщину, сопоставимую с шириной испытуемого образца. Контрольный опыт должен проходить в диапазоне температур, который будет использоваться в фактическом определении, также должен быть определен поправочный член для каждой температуры. Если поправочный член равен 0,01 мм или больше, его значение и алгебраический знак необходимо записать и применять для каждого результата испытания, прибавляя его алгебраически к показанию кажущегося прогиба испытуемого образца.
Примечание 1 - Подходящими материалами для образца, используемого в контрольном опыте, считаются инвар или боросиликатное стекло.
Примечание 2 - Данный текст изменен в межгосударственном стандарте в целях соблюдения норм русского языка и принятой терминологии.
C.2.5.2 Нагревательное оборудование
Нагревательным оборудованием должна служить нагревательная ванна, содержащая подходящую жидкость, в которую можно погрузить испытуемый образец на глубину не менее 50 мм. Должна иметься эффективная мешалка. Ванна должна быть такой, чтобы выбранная жидкость была стабильна в используемом диапазоне температур и не влияла на испытуемый материал, например, вызывая его набухание или растрескивание.
Нагревательное оборудование должно обеспечиваться блоком управления, чтобы можно было увеличивать температуру с равномерной скоростью (120 +/- 10) °C/ч.
Примечание - Данный текст изменен в межгосударственном стандарте в целях соблюдения норм русского языка и принятой терминологии.
C.3.5.4 Средство для измерения температуры
Для калибровки средств измерения температуры необходимо следовать инструкциям изготовителя (см. примечание 2).
Примечание 2 - На момент публикации данной части ISO 75 не существовало международного стандарта на калибровку средств измерений температуры.
C.5.5.6 Микрометры и калибры
Эти средства используются для измерения ширины и толщины испытуемых образцов. Они должны иметь точность до 0,01 мм.
Примечание - Данный текст исключен из межгосударственного стандарта, так как суть этого текста изложена в
5.5.
C.4.6.1 Общие требования
Все испытуемые образцы не должны иметь искривлений, вызванных любой асимметрией в отношении толщины. Благодаря, например, различиям условий охлаждения формованных образцов или любой асимметрии в конструкции, испытуемые образцы могут перекашиваться во время нагревания, т.е. изгибаться без нагрузки. Это необходимо проверять путем приложения нагрузки к двум испытуемым образцам с противоположных поверхностей.
Примечание - Данный текст изменен в межгосударственном стандарте в целях соблюдения норм русского языка и принятой терминологии.
C.5.6.2 Форма и размеры
Каждый испытуемый образец должен представлять собой брусок прямоугольного сечения (длина l > ширина b > толщина h). Размеры испытуемых образцов должны соответствовать установленным в соответствующей части данного международного стандарта.
В каждом испытуемом образце толщина и ширина в центральной трети длины нигде не должны отклоняться более чем на 2% от среднего значения.
Испытуемые образцы должны изготавливаться в соответствии с требованиями соответствующей части данного международного стандарта.
Примечание - Данный текст изменен в межгосударственном стандарте в целях соблюдения норм русского языка и принятой терминологии.
C.6.6.3 Контроль образцов
Образцы не должны быть искривленными, соседние плоскости должны быть взаимно перпендикулярны. На всех гранях и ребрах не должно быть царапин, вмятин, следов травления и заусенцев.
Необходимо обеспечить, чтобы все плоскости резания были, по возможности, гладкими и чтобы неизбежные следы механической обработки располагались в направлении длины.
Образцы необходимо проверять на соответствие этим требованиям путем визуального контроля прямизны ребер, прямоугольности и плоскостности граней и путем измерения микрометрическими штангенциркулями.
Образцы, демонстрирующие измеряемое или наблюдаемое отклонение от одного или нескольких указанных требований, должны браковаться или подвергаться механической обработке до соответствующего размера и формы перед испытанием.
C.7.8.1 Расчет прилагаемой нагрузки
В методе трехточечного нагружения, описанном в данном международном стандарте, прилагаемое к испытуемому образцу усилие (нагрузка) задается в ньютонах как функция напряжения при изгибе одним из следующих равенств:
Для предпочтительного положения (со стороны главной плоскости)

(1)
где F - нагрузка в ньютонах;

- напряжение при изгибе, в мегапаскалях, на поверхности образца;
b - ширина испытуемого образца, в миллиметрах;
h - толщина испытуемого образца, в миллиметрах;
L - пролет между опорами, в миллиметрах.
Толщину h и ширину b измеряют с точностью до 0,1 мм, а размер L с точностью до 0,5 мм.
Пролет и напряжение при изгибе должны быть заданы в соответствующей части данного международного стандарта.
Влияние массы
mr стержня, который прикладывает нагрузку
F, должно приниматься во внимание - как компонента усилия в испытании. Если используется прибор с пружиной, такой как циферблатный индикатор, величина и направление усилия
Fs, оказываемого пружиной, также должны учитываться как положительная или отрицательная составляющая усилия
F (см.
5.5).
Масса mw любых дополнительных грузов, которые необходимо поместить на стержень для получения общей требуемой нагрузки F, задается равенством:
F = 9,81(mw + mr) + Fs, (3)
где mw - масса, в килограммах, дополнительных грузов;
F - общая нагрузка, в ньютонах, прикладываемая к испытуемому образцу;
Fs - усилие, в ньютонах, оказываемое используемым пружинным измерительным инструментом.
Значение усилия Fs имеет положительный знак, если противодействие пружины направлено в сторону испытуемого образца (т.е. вниз), и отрицательный, если противодействие пружины направлено в противоположном направлении (т.е. против опускания стержня), или нулю, если пружинный инструмент вообще не используется.
Фактически прилагаемая нагрузка должна равняться расчетной нагрузке F +/- 2,5%.
Примечание 1 - Все равенства, касающиеся свойств при изгибе, верны только для линейной зависимости деформации от напряжения; таким образом, для большинства пластмасс эти равенства точны только при незначительном прогибе. Данные равенства могут, однако, применяться в целях сравнения.
Примечание 2 - Данный текст изменен в межгосударственном стандарте в целях соблюдения норм русского языка и принятой терминологии.
C.8.8.3 Измерение
| | ИС МЕГАНОРМ: примечание. В официальном тексте документа, видимо, допущена опечатка: пункт 8.1 отсутствует. Возможно, имеется в виду пункт 7.1. | |
Проверяют пролет между опорами испытуемого образца (см.
5.1) и, если необходимо, регулируют его до подходящего значения. Измеряют это расстояние с точностью до 0,5 мм и записывают для применения в расчетах в
8.1.
Помещают испытуемый образец на опоры, так чтобы продольная ось образца была перпендикулярна опорам. Помещают нагружающий узел
(5.1) в нагревательную ванну. Прикладывают усилие, рассчитанное в
8.1, чтобы получить напряжение при изгибе испытуемого образца согласно установленному значению в соответствующей части данного международного стандарта. Через пять минут после первоначального приложения усилия записывают показание инструмента, измеряющего прогиб
(5.5), или устанавливают его на 0 (см.
примечание 1).
Поднимают температуру в ванне с равномерной скоростью (120 +/- 10) °C/ч. Записывают температуру, при которой начальный прогиб бруска увеличился на стандартный прогиб, т.е. температуру изгиба под нагрузкой при изгибном напряжении, заданном в соответствующей части данного международного стандарта. Стандартный прогиб является функцией высоты (
h или
b, в зависимости от ориентации испытуемого образца, см.
8.1), используемого пролета и увеличения деформации изгиба, заданных в соответствующей части данного международного стандарта. Рассчитывают его следующим образом:
Для предпочтительного (со стороны главной плоскости) положения:

(5)
Для необязательного (со стороны главной плоскости) положения

(6)
где

- стандартный прогиб, в миллиметрах;
L - пролет, в миллиметрах, расстояние между линиями контакта испытуемого образца с опорами;

- увеличение деформации изгиба, в процентах;
h - толщина, в миллиметрах, испытуемого образца;
b - ширина, в миллиметрах, испытуемого образца.
Примечание 1 - Период ожидания в пять минут предоставляется для того, чтобы частично компенсировать ползучесть, проявляемую некоторыми материалами при комнатной температуре под воздействием напряжения изгиба. Ползучесть, которая возникает в первые 5 мин, обычно составляет значительную долю ползучести, возникающей в первые 30 мин. Такой период ожидания можно не применять при испытании материалов, не проявляющих заметной ползучести в течение первых 5 мин при исходной температуре испытания.
Примечание 2 - Часто при интерпретации результатов испытания пользуются зависимостью, если она известна, величины прогиба образца от его температуры. Таким образом, рекомендуется, чтобы, там где возможно, прогиб образца наблюдался непрерывно во время ожидания и во время нагревания. Испытание необходимо выполнять не менее чем на двух образцах. Каждый испытуемый образец должен использоваться только один раз. Чтобы компенсировать эффекты асимметрии, например, искривление образца, испытуемые образцы необходимо измерять попарно и располагать противоположными сторонами к нагружаемому наконечнику.
Примечание 3 - Данный текст изменен в межгосударственном стандарте в целях соблюдения норм русского языка и принятой терминологии.
C.10.10 Прецизионность
Для пластмасс и эбонита имеются данные по прецизионности (см. ISO 75-2). Для высокопрочных слоистых реактопластов (см. ISO 75-3) таких данных в настоящее время не имеется.
ПРИЛОЖЕНИЕ C. (Измененная редакция, Изм. N 1).
| | ИС МЕГАНОРМ: примечание. Обозначение приложений дано в соответствии с официальным текстом документа. | |
(справочное)
ТЕХНИЧЕСКИЕ ОТКЛОНЕНИЯ НАСТОЯЩЕГО СТАНДАРТА
ОТ ПРИМЕНЕННЫХ В НЕМ МЕЖДУНАРОДНЫХ СТАНДАРТОВ
E.1 Полный перечень изменений нормативных ссылок приведен в таблице E.1.
Таблица E.1
Структурный элемент (раздел, подраздел, пункт, подпункт, таблица, приложение) | Модификация |
|
|
| Ссылка на ISO 178 "Пластмассы. Определение свойств при изгибе" удалена, так как в тексте международного стандарта предлагается альтернатива: "в соответствии с ISO 178 или ISO 14125". Ссылка на ISO 14125 "Материалы композиционные пластмассовые. Определение свойств гибкости" заменена на ГОСТ 25.604-82 <1> "Расчеты и испытания на прочностью. Методы механических испытаний композиционных материалов с полимерной матрицей (композитов). Метод испытания на изгиб при нормальной, повышенной и пониженной температурах" |
Ссылки на ISO 295 "Пластмассы. Изготовление образцов из термореактивных материалов методом прямого прессования", ISO 10724-1 "Пластмассы. Литье под давлением испытательных образцов термореактивных порошкообразных формовочных материалов. Часть 1. Общие принципы и литье под давлением испытательных образцов многоцелевого назначения", ISO 1268 "Волокниты. Методы приготовления плит для испытаний" заменены ссылками на ГОСТ 12019-66 <1> "Пластмассы. Изготовление образцов для испытания из термопластов. Общие требования", ГОСТ 12015-66 <1> "Пластмассы. Изготовление образцов для испытания из реактопластов. Общие требования" |
Ссылка на ISO 2818 "Пластмассы. Приготовление образцов для испытаний с помощью механической обработки" заменена ссылкой на ГОСТ 26277-84 <1> "Пластмассы. Общие требования к изготовлению образцов способом механической обработки" |
Ссылка на ISO 291:2008 "Пластмассы. Стандартные атмосферы для кондиционирования и испытания" заменена ссылкой на ГОСТ 12423-2013 <2> "Пластмассы. Условия кондиционирования и испытания образцов (проб)" |
<1> Степень соответствия - NEQ. <2> Степень соответствия - MOD. |
E.2 Перечень технических отклонений приведен в таблице E.2.
Таблица E.2
Структурный элемент (раздел, подраздел, пункт, подпункт, таблица, приложение) | Модификация |
| Примечания удалены, а обозначения единиц измерений приведены после терминов в соответствии с ГОСТ 1.5, п. 3.10.3 |
Добавлен термин "пролет" с соответствующим определением "расстояние между точками контакта образца с опорами" |
| | ИС МЕГАНОРМ: примечание. В официальном тексте документа, видимо, допущена опечатка: пункт 8.1 отсутствует. Возможно, имеется в виду пункт 7.1. | |
|
| В подразделе 5.4 исключена фраза "Для калибровки средств измерения температуры необходимо следовать инструкциям изготовителя" и примечание 2, так как является справочной информацией |
В подразделе 5.1 фраза "Пролет (расстояние между линиями контакта образца для испытания с опорами" перенесена в раздел 3 |
|
В подразделе 5.5 фраза "В приборах определенного типа усилие Fs, прилагаемое пружиной прибора с круговой шкалой, действует вверх и поэтому уменьшает усилие, направленное вниз, оказываемое нагруженным стержнем, тогда как в приборах других типов усилие Fs действует вниз и увеличивает приложенное усилие, оказываемое нагруженным стержнем. В таких случаях необходимо определить величину и направление Fs, чтобы иметь возможность компенсировать его (см. 8.1). Поскольку в определенных приборах с круговой шкалой Fs значительно изменяется в диапазоне измерения прибора, его необходимо измерять в той части диапазона, в которой будет использоваться прибор" оформлена в виде примечания, так как является справочной информацией |
Раздел 6. Подготовка к проведению испытания | В подразделе 6.3 изменить фразу "Испытывают не менее двух образцов" на "Испытывают не менее пяти образцов" по результатам публичного обсуждения |
| Из подраздела 7.2 исключена фраза "если предыдущие испытания не показали, что для конкретного испытуемого материала не будет вводиться погрешности, если начать испытание при более высокой температуре" |
ПРИЛОЖЕНИЕ E. (Измененная редакция, Изм. N 1).
БИБЛИОГРАФИЯ. (Исключена, Изм. N 1).