Главная // Актуальные документы // ГОСТ (Государственный стандарт)СПРАВКА
Источник публикации
М.: Стандартинформ, 2017
Примечание к документу
Текст данного документа приведен с учетом
поправки, опубликованной в "ИУС", N 5, 2019.
Документ
введен в действие с 01.01.2017.
Взамен ГОСТ 4647-80.
Название документа
"ГОСТ 4647-2015. Межгосударственный стандарт. Пластмассы. Метод определения ударной вязкости по Шарпи"
(введен в действие Приказом Росстандарта от 20.11.2015 N 1915-ст)
"ГОСТ 4647-2015. Межгосударственный стандарт. Пластмассы. Метод определения ударной вязкости по Шарпи"
(введен в действие Приказом Росстандарта от 20.11.2015 N 1915-ст)
агентства по техническому
регулированию и метрологии
от 20 ноября 2015 г. N 1915-ст
МЕЖГОСУДАРСТВЕННЫЙ СТАНДАРТ
ПЛАСТМАССЫ
МЕТОД ОПРЕДЕЛЕНИЯ УДАРНОЙ ВЯЗКОСТИ ПО ШАРПИ
Plastics. Method for determination
of Charpy impact strength
(ISO 179-1:2010, NEQ)
ГОСТ 4647-2015
Дата введения
1 января 2017 года
Цели, основные принципы и порядок проведения работ по межгосударственной стандартизации установлены в
ГОСТ 1.0-2015 "Межгосударственная система стандартизации. Основные положения" и
ГОСТ 1.2-2015 "Межгосударственная система стандартизации. Стандарты межгосударственные, правила и рекомендации по межгосударственной стандартизации. Правила разработки, принятия, обновления и отмены"
1 ПОДГОТОВЛЕН Федеральным государственным унитарным предприятием "Всероссийский научно-исследовательский институт стандартизации материалов и технологий" (ФГУП "ВНИИ СМТ") совместно с Открытым акционерным обществом "НПО Стеклопластик"; Автономной некоммерческой организацией "Центр нормирования, стандартизации и классификации композитов" и Открытым акционерным обществом "Институт пластмасс имени Г.С. Петрова" при участии Объединения юридических лиц "Союз производителей композитов" на основе аутентичного перевода на русский язык англоязычной версии стандарта, указанного в
пункте 5
2 ВНЕСЕН Техническим комитетом по стандартизации ТК 230 "Пластмассы, полимерные материалы и методы их испытаний"
3 ПРИНЯТ Межгосударственным советом по стандартизации, метрологии и сертификации (протокол от 12 ноября 2015 г. N 82-П)
За принятие проголосовали:
Краткое наименование страны по МК (ИСО 3166) 004-97 | Код страны по МК (ИСО 3166) 004-97 | Сокращенное наименование национального органа по стандартизации |
Армения | AM | Минэкономики Республики Армения |
Беларусь | BY | Госстандарт Республики Беларусь |
Казахстан | KZ | Госстандарт Республики Казахстан |
Киргизия | KG | Кыргызстандарт |
Россия | RU | Росстандарт |
Таджикистан | TJ | Таджикстандарт |
Узбекистан | UZ | Узстандарт |
4
Приказом Федерального агентства по техническому регулированию и метрологии от 20 ноября 2015 г. N 1915-ст межгосударственный стандарт ГОСТ 4647-2015 введен в действие в качестве национального стандарта Российской Федерации с 1 января 2017 г.
5 Настоящий стандарт соответствует международному стандарту ISO 179-1:2010 Пластмассы. Определение ударной вязкости по Шарпи. Часть 1. Неинструментальный метод испытания на удар (Plastics - Determination of Charpy impact properties - Part 1: Non-instrumented impact test), NEQ.
6 ВЗАМЕН ГОСТ 4647-80
7 ПЕРЕИЗДАНИЕ. Июль 2017 г.
Информация об изменениях к настоящему стандарту публикуется в ежегодном информационном указателе "Национальные стандарты", а текст изменений и поправок - в ежемесячном информационном указателе "Национальные стандарты". В случае пересмотра (замены) или отмены настоящего стандарта соответствующее уведомление будет опубликовано в ежемесячном информационном указателе "Национальные стандарты". Соответствующая информация, уведомление и тексты размещаются также в информационной системе общего пользования - на официальном сайте Федерального агентства по техническому регулированию и метрологии в сети Интернет (www.gost.ru)
1.1 Настоящий стандарт распространяется на пластмассы и устанавливает метод определения ударной вязкости по Шарпи на образцах с надрезом и без надреза.
Данный метод применяют для оценки поведения образцов для испытания, предусмотренных настоящим стандартом, под действием ударных напряжений и для оценки хрупкости или вязкости образцов в пределах, установленных условиями испытания.
1.2 Ударную вязкость по Шарпи определяют для следующих материалов:
- жестких термопластов для литья и экструзии, включая наполненные и упрочненные композиции;
- жестких листов из термопластов и реактопластов;
- жестких формовочных реактопластов, включая наполненные и упрочненные композиции и слоистые пластики;
- термо- и реактопластов, упрочненных волокном, включая материалы с однонаправленными или разнонаправленными упрочняющими компонентами, такими как маты, ткани, стеклянные ткани из ровинга, рубленые комплексные нити с комбинированными и гибридными упрочняющими компонентами, ровинги и дробленые волокна);
- листов из предварительно пропитанных материалов (препреги), включая наполненные и упрочненные композиции;
- термотропных жидкокристаллических полимеров;
- ячеистых пластмасс.
1.3 Настоящий стандарт предусматривает использование образцов для испытания, которые могут быть изготовлены методами прессования, литья под давлением или экструзии, механической обработкой из готовых изделий, полуфабрикатов, слоистых пластиков и листов, полученных экструзией или литьем.
1.4 В настоящем стандарте установлены рекомендуемые размеры образца для испытания. Испытания, проведенные на образцах разных размеров или с разными надрезами или на образцах, изготовленных при разных условиях, например на образцах специально изготовленных и полученных из готовых изделий, могут дать несопоставимые результаты. Другие факторы, такие как энергия маятника, скорость нанесения удара и условия кондиционирования образцов, также влияют на результаты испытания.
1.5 Результаты испытаний используют для контроля качества пластмасс и готовых изделий из пластмасс, для сравнения свойств пластмасс, а также при проведении исследовательских работ (см.
раздел 10).
1.6 Данный метод не рекомендуется применять для конструкторских расчетов.
Более полную информацию о поведении материала можно получить, испытывая его при различных температурах, скоростях удара маятника, путем изменения радиуса надреза (см.
раздел 10) и/или толщины образца, а также испытывая образцы, изготовленные в различных условиях.
В настоящем стандарте использованы нормативные ссылки на следующие межгосударственные стандарты:
ГОСТ 10708-82 Копры маятниковые. Технические условия
ГОСТ 12015-66 Пластмассы. Изготовление образцов для испытания из реактопластов. Общие требования
ГОСТ 12019-66 Пластмассы. Изготовление образцов для испытания из термопластов. Общие требования
ГОСТ 12423-2013 (ISO 291:2008) Пластмассы. Условия кондиционирования и испытания образцов (проб)
ГОСТ 14359-69 Пластмассы. Методы механических испытаний. Общие требования
ГОСТ 26277-84 Пластмассы. Общие требования к изготовлению образцов способом механической обработки
Примечание - При пользовании настоящим стандартом целесообразно проверить действие ссылочных стандартов в информационной системе общего пользования - на официальном сайте Федерального агентства по техническому регулированию и метрологии в сети Интернет или по ежегодному информационному указателю "Национальные стандарты", который опубликован по состоянию на 1 января текущего года, и по выпускам ежемесячного информационного указателя "Национальные стандарты" за текущий год. Если ссылочный стандарт заменен (изменен), то при пользовании настоящим стандартом следует руководствоваться заменяющим (измененным) стандартом. Если ссылочный стандарт отменен без замены, то положение, в котором дана ссылка на него, применяется в части, не затрагивающей эту ссылку.
В настоящем стандарте применены следующие термины с соответствующими определениями:
3.1
ударная вязкость по Шарпи образца без надреза аn, кДж/м
2: Энергия удара, поглощенная при разрушении испытуемого образца без надреза, отнесенная к площади первоначального поперечного сечения образца.
Примечание - При проведении научно-исследовательских работ (см.
раздел 10) этот показатель обозначают
acU.
3.2
ударная вязкость по Шарпи образца с надрезом аk, кДж/м
2: Энергия удара, поглощенная при разрушении испытуемого образца с надрезом, отнесенная к площади первоначального поперечного сечения образца под надрезом.
Примечание - При проведении научно-исследовательских работ этот показатель обозначают
acN,
N обозначает тип надреза A, B или C (см.
раздел 10).
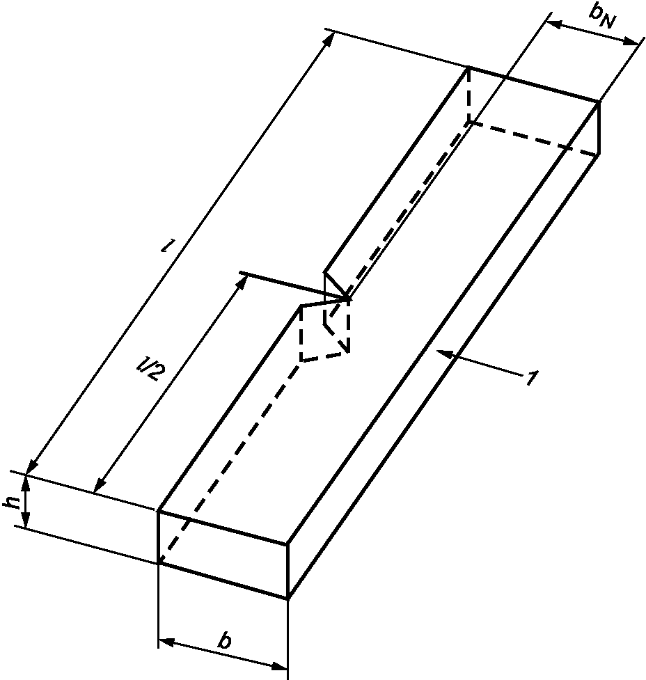
3.3
удар в ребро (параллельно ширине образца) e: Направление удара параллельно размеру
b, с ударом по узкой продольной поверхности образца
h x
l (см.
рисунки 1 и
3).
3.4
удар плашмя (параллельно толщине образца) f: Направление удара параллельно размеру
h, с ударом по широкой продольной поверхности образца
b x
l (см.
рисунки 2 и
3).
3.5
перпендикулярный удар n: Направление удара перпендикулярно к плоскости упрочняющего материала (ориентации слоев) (см.
рисунок 3).
Примечание - Используют для слоистых упрочненных пластмасс.
3.6
параллельный удар p: Направление удара параллельно плоскости упрочняющего материала (см.
рисунок 3).
3.7
сопротивление удару по Шарпи a: Качественный результат испытания на удар образца без надреза, определяемый в случае, когда образец не разрушается, а проскальзывает между опорами в соответствии с
8.8.
1 - направление удара
Рисунок 1 - Удар по Шарпи в ребро
e образца с надрезом
1 - направление удара
Рисунок 2 - Удар по Шарпи плашмя
f
1 - направление удара
Рисунок 3 - Схема обозначений, описывающих направление удара
Примечание - Удар в ребро e и удар плашмя f определяют направление удара по отношению к толщине h и ширине b образца соответственно. Обозначения перпендикулярного n и параллельного p удара определяют направление удара по отношению к плоскости слоистого листа. Испытания на удар по Шарпи fn и ep - используют для изучения слоистых пластиков, а испытание на удар по Шарпи en и ep для всех других материалов. Испытание на удар по Шарпи fn и fp используют для изучения материалов, проявляющих поверхностные эффекты.
Сущность метода заключается в испытании, при котором образец, лежащий на двух опорах, подвергается удару маятника с постоянной скоростью (при ударе "плашмя" или "в ребро"), причем линия удара находится посередине между опорами и непосредственно напротив надреза у образцов с надрезом. Удар наносится по поверхности образца, противоположной надрезу (см.
рисунки 1 и
2).
5 Средства измерений, аппаратура
5.1 Для испытания используют маятниковые копры по ГОСТ 10708, обеспечивающие измерение энергии удара, затраченной на разрушение образца и определяемой как разность между первоначальным запасом потенциальной энергии маятника и энергией, оставшейся у маятника после разрушения испытуемого образца.
5.2 Измерение ширины и толщины образцов, а также толщины или ширины образцов под надрезом проводят микрометром по
ГОСТ 6507, обеспечивающим измерение размеров образцов в миллиметрах с точностью до второго десятичного знака. У образцов с надрезом измеряют толщину или ширину под надрезом, используя микрометры с наконечником профиля, соответствующего профилю надреза.
6.1 Размеры образцов
6.1.1 Типы и размеры образцов для испытания приведены в
таблице 1.
В миллиметрах
Тип образца | Длина l | Ширина b | Толщина h | Расстояние между опорами L |
1 | 120 +/- 2 | 15,0 +/- 0,5 | 10,0 +/- 0,5 | 70 |
2 | 80 +/- 2 | 10,0 +/- 0,5 | 4,0 +/- 0,2 | 60 |
3 | 50 +/- 1 | 6,0 +/- 0,2 | 4,0 +/- 0,2 | 40 |
Примечание - Допускается использовать образец номинальной шириной 4 мм, толщиной 10 мм, длиной 80 мм при расстоянии между опорами 70 мм. |
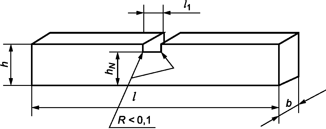
Образцы изготовляют без надреза и с надрезом. Типы надрезов приведены на
рисунках 4 и
5, размеры - в
таблице 2.
Рисунок 4 - Надрез типа A
Рисунок 5 - Надрез типа B
В миллиметрах
Тип образца | Тип надреза | Толщина под надрезом hN | Ширина надреза l1 |
1 | А | 6,7 +/- 0,3 | 2,0 +/- 0,2 |
В | 8,0 +/- 0,3 | - |
2 | А | 2,7 +/- 0,2 | 2,0 +/- 0,2 |
В | 3,2 +/- 0,2 | - |
3 | А | 2,7 +/- 0,3 | 0,8 +/- 0,1 |
В | 3,2 +/- 0,3 | - |
Примечание - Толщина образца под надрезом hN должна составлять для надреза типа A 2/3 толщины образца, для надреза типа B - 0,8 толщины образца. |
6.1.2 Тип образца и надреза указывают в нормативном документе или технической документации на материал.
Если такое указание отсутствует, рекомендуется использовать образец типа 2, надрез типа B.
6.1.3 Результаты, полученные на образцах различных размеров, с надрезами различной формы, изготовленных различными методами, несопоставимы.
6.2 Изготовление образцов для испытания
6.2.1 Образцы изготовляют методами литья под давлением или прессования в соответствии с нормативным документом или технической документацией на материал, соблюдая общие требования
ГОСТ 12019 и ГОСТ 12015.
6.2.2 Из листов и слоистых плит образцы изготовляют путем механической обработки в соответствии с ГОСТ 26277. Рекомендуемым является образец типа 2 толщиной, равной толщине листа.
При изготовлении образцов из листов и слоистых плит толщиной до 10,5 мм толщина образца должна быть равна толщине листа или плиты.
Если толщина листа или плиты более 10,5 мм, образцы обрабатывают с одной стороны механическим способом до толщины (10,0 +/- 0,5) мм. При испытании таких образцов с помощью удара плашмя растяжению должна подвергаться необработанная сторона.
Допускается обработка образцов с обеих сторон до толщины (10,0 +/- 0,5) мм.
Из листов и слоистых плит толщиной от 1 до 5 мм допускается изготовление образцов типа 3, толщиной от 5 до 10 мм - типа 1.
На образцы из листов и слоистых плит надрез наносят при номинальной толщине образца не менее 4,0 мм.
6.2.3 Для анизотропных материалов и материалов, ударная вязкость которых зависит от направления упрочняющих компонентов или слоев, вырезают две группы образцов, с главными осями симметрии, параллельными и перпендикулярными к направлениям упрочняющих компонентов или слоев.
Для каждой группы испытывают образцы в направлении удара параллельно и перпендикулярно к направлению упрочняющих компонентов или слоев.
Направления вырезки образцов из анизотропных и слоистых материалов, положение надреза и направления удара по отношению к слоям указывают в нормативном документе или технической документации на материал.
6.2.4 Для ячеистых пластмасс используют образцы типа 1 или 3 без надреза.
6.2.5 Образцы должны иметь, гладкую ровную поверхность, без трещин, сколов и других видимых дефектов, образцы из ячеистых пластмасс, кроме того, должны быть без поверхностной пленки.
Образцы не должны быть изогнуты, все поверхности образцов должны быть взаимно перпендикулярными и параллельными. Поверхности и кромки образцов не должны иметь вмятин, царапин, усадочных раковин, заусенцев и других видимых дефектов.
Образцы следует проверять на соответствие указанным требованиям путем визуального осмотра с помощью столярного угольника или плоской плиты и измерения микрометром.
Образцы, которые после осмотра или измерения не соответствуют требованиям, должны быть изъяты или обработаны до необходимых размеров и формы перед испытанием.
6.2.6 Количество образцов указывают в нормативном документе или технической документации на материал. Если таких указаний нет, испытывают не менее 10 образцов.
6.2.7 Способ нанесения, требования к контролю формы и размеров надреза указывают в нормативном документе или технической документации на материал. Общие требования по изготовлению образцов с надрезом приведены в
приложении А.
Применение абразивных режущих инструментов для нанесения надреза не допускается.
Образец с надрезом, полученным при изготовлении образца методами литья под давлением или прессования, используют, если это указано в нормативном документе или технической документации на материал. Результаты испытаний, полученные на таких образцах, несопоставимы с результатами испытаний, полученными на образцах с надрезами, нанесенными механическим способом.
7 Подготовка к проведению испытания
7.1 Перед испытанием образцы кондиционируют в соответствии с требованиями нормативного документа или технической документации на материал. При отсутствии таких требований рекомендуемые условия кондиционирования - атмосфера 23/50 по
ГОСТ 12423.
7.2 Перед испытанием измеряют ширину и толщину каждого образца.
Ширину и толщину образца без надреза измеряют в его середине, записывая результат измерения в миллиметрах с точностью до второго десятичного знака. При испытании образцов, изготовленных литьем под давлением, допускается измерять размеры одного образца из подлежащих испытанию. При соответствии размеров образца размерам, приведенным в
таблице 1, за результат принимают номинальные значения ширины и толщины образца.
У образца с надрезом измеряют толщину или ширину под надрезом, используя микрометры с наконечником профиля, соответствующего профилю надреза.
Для контроля качества надреза рекомендуется измерить толщину или ширину образца под надрезом на обоих концах надреза и вычислить среднеарифметическое значение.
8.1 Испытание проводят в тех же условиях, которые использовались для кондиционирования образцов, если в нормативном документе или технической документации на материал нет других указаний.
8.2 Выбирают маятник с соответствующим запасом энергии и такой скоростью, чтобы на разрушение образца было израсходовано не менее 10% и не более 80% запаса энергии маятника.
Если этому требованию удовлетворяют характеристики нескольких маятников, выбирают маятник с наибольшим запасом энергии. Результаты, полученные на маятниках с разным запасом энергии, сопоставлять не рекомендуется.
8.3 Определяют потери энергии маятника на трение и корректируют величину поглощенной образцом энергии в соответствии с ГОСТ 10708.
8.4 Образец без надреза помещают на опоры маятникового копра так, чтобы удар ножа маятника приходился на середину образца. Образец с надрезом помещают на опоры маятникового копра так, чтобы удар ножа маятника приходился по ненадрезанной плоскости образца, напротив надреза.
Если используют удар "в ребро", указывают это в нормативном документе или технической документации на материал, если такие указания отсутствуют, используют удар "плашмя".
8.5 Поднимают маятник на заданную высоту и закрепляют его, затем осторожно (без рывка) отпускают маятник.
8.6 Регистрируют энергию удара, поглощенную образцом, и вносят необходимые поправки на трение (см.
8.3).
8.7 В расчет принимают результаты, полученные на образцах, разрушившихся полностью или с разделением на части, удерживающиеся на тонкой пленке (нитке).
8.8 Если образец без надреза не разрушается, а проскальзывает между опорами маятникового копра, определяют показатель "сопротивление удару".
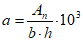
9.1 Ударную вязкость по Шарпи образца без надреза an или acU, кДж/м2, вычисляют по формуле

, (1)
где
a -
an или
acU, кДж/м
2 (см.
3.1);
An - энергия удара, затраченная на разрушение образца без надреза, Дж;
b - ширина образца, мм;
h - толщина образца, мм.
9.2 Ударную вязкость по Шарпи образца с надрезом ak или acN, кДж/м2, вычисляют по формуле

, (2)
где
a -
ak или
acN, кДж/м
2 (см.
3.2);
Ak - энергия удара, затраченная на разрушение образца с надрезом, Дж;
b - ширина образца, мм;
sN - bN (при ударе "в ребро") или hN (при ударе "плашмя"), мм.
9.3 За результат испытания принимают среднеарифметическое значение результатов испытания всех образцов.
Если указано в нормативном документе или технической документации на материал, вычисляют стандартное отклонение и коэффициент вариации по
ГОСТ 14359.
9.4 Все вычисленные значения округляют до двух значащих цифр.
9.5 Протокол испытания
Протокол испытания должен содержать:
а) ссылку на настоящий стандарт;
б) обозначение испытуемого материала;
в) дату и метод изготовления образцов;
г) условия кондиционирования;
д) тип и размеры образца;
е) тип надреза:
ж) атмосферные условия в помещении испытания;
и) количество испытанных образцов;
к) тип маятникового копра;
л) скорость удара;
м) место и направление вырезки образцов из анизотропных пластмасс;
н) при испытании образцов слоистых пластиков - положение надреза и направление удара относительно расположения слоев;
п) при испытании образцов, вырезанных из полуфабрикатов или готовых изделий - положение образца в изделии, из которого он вырезан;
р) при испытании образцов из анизотропных пластмасс - положение надреза и направление удара относительно направления при изготовлении испытуемого материала;
с) внешний вид образцов после испытания с указанием, разрушается образец или нет;
т) значение определяемого показателя каждого образца;
у) среднеарифметическое значение определяемого показателя и среднеквадратичное отклонение при его вычислении или результат определения показателя "сопротивление удару по Шарпи" при его определении.
ф) дату проведения испытания.
10 Определение ударной вязкости по Шарпи при проведении научно-исследовательских работ
10.1 Общие указания
При изучении свойств пластмасс, при разработке новых пластмасс, а также при сравнении пластмасс с зарубежными аналогами рекомендуется использовать образцы для испытаний, типы надрезов, анализировать типы наблюдаемых разрушений согласно методу, приведенному в настоящем разделе.
10.2 Образцы для испытания
10.2.1 Изготовление образцов для испытания - согласно
6.2.1 -
6.2.3.
Требования к образцам - см.
6.2.5.
10.2.2 Нанесение надреза
10.2.2.1 Наносимые механическим способом надрезы должны быть выполнены в соответствии с ГОСТ 26277. Профиль зуба режущего инструмента должен быть таким, чтобы получить на образце надрез контуром и глубиной, соответствующими надрезу, приведенному на
рисунке 6, под прямыми углами к его основным осям.
Примечание - Радиус вершины надреза можно измерить методом, описанным в
приложении Б.
10.2.2.2 Образцы с надрезами, полученными при формовании образца, можно использовать, если это допускается для испытуемого материала.
Примечание - Образцы с отформованными надрезами дают результаты, несопоставимые с результатами, полученными на образцах с надрезами, нанесенными механическим способом.
а - Тип А/179-1
Радиус вершины надреза
rN - (0,25 +/- 0,05) мм
б - Тип В/179-1
Радиус вершины надреза
rN - (1,00 +/- 0,05) мм
c - Тип С/179-1
Радиус вершины надреза
rN - (0,10 +/- 0,02) мм
Рисунок 6 - Типы надрезов
10.2.3 Форма и размеры образцов для материалов, не проявляющих межслоевой сдвиг при разрушении
10.2.3.1 Материалы для литья и экструзии
Применяют образцы для испытаний, указанные в
таблице 3, - типа 1/179-1 без надреза или с одним из трех типов надреза (см.
рисунок 6). Надрез должен располагаться в центре образца.
Таблица 3
Типы образцов, размеры образцов и расстояние между опорами
В миллиметрах
Тип образца (обозначение образца) | | | | Расстояние между опорами L |
1/179-1 | 80 +/- 2 | 10,0 +/- 0,2 | 4,0 +/- 0,2 | |
| 25h | | | 20h |
| 11h или 13h | | | 6h или 8h |
<1)> Размеры образца (толщина h, ширина b и длина l) установлены в соответствии с требованием h < b < l. <2)> Образцы типов 2 и 3 используют только для материалов, описанных в 10.2.4. <3)> 10 мм - для образцов, упрочненных компонентами с тонкой структурой; 15 мм - для образцов, упрочненных компонентами с грубой прошитой структурой (см. 10.2.4.2). <4)> Предпочтительная толщина. Если образец вырезают из листа или изделия толщиной h менее 10,2 мм, то толщина образца должна быть равна толщине листа или изделия (см. 10.2.3.4). |
Таблица 4
Обозначения метода, типы образцов, типы надреза
и размеры надреза. Материалы, не проявляющие
межслоевой сдвиг при разрушении
Обозначение метода в соответствии с ИСО 179-1 <1)> | Тип образца | Направление удара | Тип надреза | Радиус вершины надреза rN | Ширина образца под надрезом bN |
| 1/179-1 | В ребро | А/179-1 | 0,25 +/- 0,05 | 8,0 +/- 0,2 |
ISO 179-1/1eB | В/179-1 | 1,00 +/- 0,05 | 8,0 +/- 0,2 |
ISO 179-1/1eC | С/179-1 | 0,10 +/- 0,02 | 8,0 +/- 0,2 |
| Без надреза |
| Плашмя | Без надреза |
<1)> Если образец изготовлен из листа или изделия, к обозначению добавляют толщину листа или изделия. Неупрочненные образцы следует испытывать так, чтобы при испытании обработанная механическим способом поверхность не подвергалась растяжению. <2)> Предпочтительный метод. <3)> Специально для изучения поверхностных эффектов (см. 10.2.3.3). |
10.2.3.2 Предпочтительным является надрез типа А/179-1 (см.
таблицу 3 и
рисунок 6). Для большинства материалов приемлемым является испытание образцов без надреза и образцов с одним надрезом типа А/179-1 путем удара в ребро. Если образцы с надрезом типа А/179-1 не разрушаются в процессе испытания, используют образцы с надрезом типа С/179-1. Если требуется получить информацию о чувствительности определенного материала к надрезу, необходимо испытать образцы со всеми типами надреза.
10.2.3.3 Образцы без надреза или с двойным надрезом испытывают, используя удар плашмя, и применяют для изучения поверхностных эффектов (см.
приложение В).
Рекомендованная толщина h равна 4 мм. Если образец вырезан из листа или изделия толщиной менее 10,2 мм, то толщина образца должна быть такой же, как и толщина листа или изделия.
Образцы, изготовленные из листа, толщина которого больше 10,2 мм, необходимо обработать с одной стороны механическим способом до толщины (10,0 +/- 0,2) мм при условии, что лист является однородным по толщине и имеет упрочняющий компонент только одного типа, распределенный равномерно. Если испытывают образцы без надреза или с двойным надрезом, используя удар плашмя, растяжению должна подвергаться необработанная поверхность образца при испытании.
10.2.4 Форма и размеры образцов для материалов, у которых происходит разрушение с межслоевым сдвигом (например, материалы, упрочненные длинным волокном)
10.2.4.1 Используют образцы без надреза типа 2/179-1 или 3/179-1. Размеры образцов, кроме толщины, не регламентируются. Важным параметром является отношение расстояния между опорами к размеру образца в направлении удара (см.
таблицу 3). Как правило, образцы испытывают в перпендикулярном направлении (см.
рисунок 3).
10.2.4.2 Испытание типа "перпендикулярно плашмя" (см.
рисунок 3): для материалов, упрочненных компонентами с тонкой структурой (тонкие ткани и параллельные нити), ширина образцов должна быть 10 мм, а для материалов, упрочненных компонентами с грубой прошитой структурой (ровинговые ткани) или с нерегулярной структурой, - 15 мм.
10.2.4.3 Испытание типа "параллельно в ребро" (см.
рисунок 3): при испытании образцов в параллельном направлении размер образца, перпендикулярный к направлению удара, должен быть равен толщине листа, из которого вырезан образец.
10.2.4.4 Длину образца
l следует выбирать согласно соотношению расстояния между опорами и толщины
L/
h, равному 20, для образцов типа 2/179-1 и 6 - для образцов типа 3/179-1 (см.
таблицу 3).
Если маятниковый копер не позволяет обеспечить отношение L/h, равное 6, можно использовать отношение L/h, равное 8.
10.2.4.5 Разрушение образцов типа 2/179-1 происходит по типу растяжения; разрушение образцов типа 3/179-1 может произойти как межслоевой сдвиг листа. Различные типы разрушения, которые могут возникнуть, приведены в
таблице 5.
Примечание - В некоторых случаях (если в качестве упрочняющего компонента используют тонкие ткани), разрушение со сдвигом не происходит. При испытании образцов типа 3/179-1 разрушение начинается как один или множественный сдвиг, а продолжается как разрушение при растяжении.
Таблица 5
Метод обозначения и типы образцов.
Материалы, у которых происходит
разрушение с межслоевым сдвигом
Обозначение метода в соответствии с ИСО 179-1 | Тип образца | L/h | Тип разрушения | Схема |
ИСО 179-1/2 | 2/179-1 | 20 | Растяжение | t | |
| Сжатие | c | |
| Выпучивание | b | |
ИСО 179-1/3 | 3/179-1 | 6 или 8 | Сдвиг | s | |
| Множественный сдвиг | ms | |
| Сдвиг с последующим растяжением | st | |
<1)> n - перпендикулярное, p - параллельное направление удара по отношению к плоскости листа (см. рисунок 3). |
10.2.5 Количество образцов для испытания
10.2.5.1 Если нет иных указаний и другие условия не согласованы заинтересованными сторонами, следует испытывать не менее 10 образцов. Если коэффициент вариации по
ГОСТ 14359 менее 5%, достаточно испытать не менее 5 образцов.
10.2.5.2 При испытании слоистых пластиков в параллельном и перпендикулярном направлениях испытывают по 10 образцов в каждом направлении.
10.2.6 Определение расстояния между опорами L
Расстояние между опорами
L определяют как расстояния между линиями контакта образца с опорами (см.
рисунок 7).
Рисунок 7 - Расстояние между опорами
L и метод его измерения
10.2.7 Кондиционирование
Если другие условия не согласованы заинтересованными сторонами, образцы следует кондиционировать не менее 16 ч после изготовления при атмосфере 23/50 в соответствии с
ГОСТ 12423, образцы с надрезом следует кондиционировать после нанесения надреза.
10.3 Проведение испытания
10.3.1 Проведение испытания - в соответствии с
8.1 -
8.6.
10.3.2 При испытании литьевых и экструзионных материалов могут происходить разрушения, которые подразделяют на четыре типа, обозначаемые следующими буквенными символами:
C - полное разрушение: разрушение, при котором образец разделяется на две или несколько частей;
H - шарнирообразное разрушение: неполное разрушение, при котором обе части образца удерживаются вместе только тонким периферийным слоем в форме шарнира, имеющего низкую остаточную жесткость;
P - частичное разрушение: неполное разрушение, которое не подходит под определение шарнирообразного;
N - разрушения не произошло: образец проскальзывает между опорами, возможно в сочетании с его "побелением" от напряжения.
10.4 Обработка результатов
10.4.1 Обработка результатов - см.
раздел 9.
Если образцы одной партии имеют разные типы разрушения, указывают число образцов и среднеарифметические значения ударной вязкости для каждого типа разрушения.
10.5 Протокол испытания
Протокол испытания должен содержать:
а) ссылку на настоящий стандарт;
б) обозначение метода в соответствии с
таблицей 4, например:
в) всю информацию, необходимую для идентификации испытуемого материала, включая марку пластмассы, наименование изготовителя, форму и условия предварительной обработки, если эти данные известны;
г) описание природы и формы материала (т.е. изделие, полуфабрикат, лист или образец, включая основные размеры, форму, метод изготовления и т.д.);
д) скорость удара;
е) номинальный запас энергии маятника;
ж) метод изготовления образца;
и) при испытании образцов, вырезанных из изделий, полуфабрикатов, листов, положение испытуемого образца в изделии, полуфабрикате или листе, из которого он вырезан;
к) число испытанных образцов;
л) стандартную атмосферу для кондиционирования и испытания, а также любую специальную обработку, если она предусмотрена в нормативном документе или технической документации на материал или изделие;
м) тип(ы) наблюдаемых разрушений;
н) результаты отдельных испытаний представляют в соответствии с
таблицей 6 (результаты группируют по трем основным типам разрушения):
C - полное разрушение, включая шарнирообразное разрушение
H;
P - частичное разрушение;
N - разрушение не произошло.
Для разрушений типа C или P выбирают наиболее часто встречающийся из них и записывают среднеарифметическое значение ударной вязкости x для этого типа разрушения; если наиболее часто встречающимся типом разрушения является тип N, записывают только букву N.
Добавляют в скобках букву C, P или N для второго наиболее часто встречающегося типа разрушения, но только если к нему относится более 1/3 разрушений (если меньше - добавляют знак "*");
п) стандартное отклонение среднего значения (если это необходимо);
р) дату(ы) проведения испытания.
Таблица 6
Представление результатов испытаний
Тип разрушения | Обозначение |
C | P | N |
x | * | * | xC* |
x | (P) | * | xC(P) |
x | * | (N) | xC(N) |
* | x | * | xP* |
(C) | x | * | xP(C) |
* | x | (N) | xP(N) |
* | * | N | N* |
(C) | * | N | N(C) |
* | (P) | N | N(P) |
Примечание - В настоящей таблице использованы следующие обозначения: x - среднеарифметическое значение ударной вязкости для наиболее часто встречаемого типа разрушения, исключая тип N. C, P или N - наиболее часто встречающийся тип разрушения. (C), (P) или (N) - второй наиболее часто встречающийся тип разрушения записывают, если к нему относится более 1/3 разрушений. * - добавляют при наличии менее 1/3 разрушений. |
(рекомендуемое)
МЕТОД ИЗГОТОВЛЕНИЯ ОБРАЗЦОВ С НАДРЕЗОМ
Способ нанесения, контроль формы и размеров надреза предусматривают в нормативном документе или технической документации на материал.
Образцы с надрезом изготовляют из образцов без надреза, полученных в соответствии с нормативным документом или технической документацией на материал.
Надрез проводят на фрезерном станке. Рекомендуется использовать фрезерный станок с однозубой фрезой, чтобы придать надрезу необходимый профиль.
Режущая кромка фрезы должна быть тщательно заточена, не должна иметь заусенцев и царапин. Рекомендуются фрезы без переднего угла резания и с задним углом резания от 15° до 20°.
Профиль режущего зуба должен быть таким, чтобы получить надрез, расположенный перпендикулярно к продольной оси образца и соответствующий по форме и глубине (см.
рисунки 4 -
6 настоящего стандарта).
При использовании однозубой фрезы можно контролировать профиль зуба вместо профиля надреза, если для испытуемого материала между ними имеется соответствие или определенное соотношение.
Профили надрезов, нанесенные одной фрезой на образцы из материалов с разными физическими свойствами, могут различаться.
Линейная скорость движения режущей кромки фрезы рекомендуется от 90 до 185 м/мин, скорость подачи - от 10 до 130 мм/мин.
Скорость для каждого материала выбирают в зависимости от влияния скорости резания на качество надреза. После нанесения 500 надрезов или, если надрезают образцы из твердого, изнашивающего фрезу материала, следует проверять состояние заточки фрезы, наличие царапин, правильность профиля и радиуса на конце фрезы. Если профиль и радиус не соответствуют требованиям настоящего стандарта, фрезу заменяют. Проверку осуществляют оптическим прибором с 60-кратным увеличением.
Допускается изготовление образцов с надрезом, получаемым при формовании образца.
Результаты, полученные на образцах с фрезерованным и отформованным надрезом, несопоставимы.
(рекомендуемое)
ОПРЕДЕЛЕНИЕ РАДИУСА ВЕРШИНЫ НАДРЕЗА
Б.1 Результат испытания на удар по Шарпи иногда в значительной степени зависит от радиуса вершины надреза. В таких случаях необходимо точно измерить радиус вершины надреза. В
таблице Б.1 приведены методы измерения радиуса вершины надреза
Таблица Б.1
Методы определения радиуса вершины надреза
Метод | Принцип | Определение | Методика | Способность к обнаружению, мм | Примечание |
Метод с использованием цифрового микроскопа | Оптический микроскоп CCD. Простой метод, хорошая прецизионность | Цифровой | Профиль надреза осматривают, используя микроскоп CCD (увеличение от 100x до 600x). Радиус рассчитывают путем цифровой обработки данных | 1/1000 | Определение быстрое и простое. Улучшенная резкость предпочтительна для измерения 3D-изображения |
Метод с использованием компаратора [1] | Оптическое сравнение с шаблоном. Непрямой метод, достаточно сложный | Сравнительный | Увеличенное изображение сравнивают с прозрачным шаблоном (изготовленным заранее), чтобы определить, попадает ли радиус вершины надреза в установленный диапазон | 1/100 | Метод не позволяет определить фактическое значение радиуса |
Метод с использованием пера | Физическое изображение контура надреза пером. Простой метод, чувствителен к вибрациям | Цифровой | Для исследования поверхности образца и получения профиля надреза используют иглу. Радиус рассчитывают путем цифровой обработки данных | 1/1000 | Перо очень чувствительно к вибрациям. Наличие заусенцев в надрезе приводит к погрешностям |
(рекомендуемое)
ДЛЯ ОПРЕДЕЛЕНИЯ ВЛИЯНИЯ ПОВЕРХНОСТНЫХ ЭФФЕКТОВ
В.1 Для материалов, не проявляющих межслоевой сдвиг при разрушении
(10.2.3.1), можно использовать следующие дополнительные методы испытания на образцах с двойным V-образным надрезом, как указано в
таблице В.1.
Если необходимо измерить влияние поверхностных эффектов для средне- и высокоударопрочных материалов, можно применять удар плашмя, используя образцы с двойным V-образным надрезом. Оба надреза перпендикулярны к линии удара. Размер каждого надреза
h - в соответствии с
рисунком В.1.
Таблица В.1
Параметры для испытания образцов с двойным надрезом
В миллиметрах
Обозначение метода в соответствии со стандартом ИСО <1)> | Тип образца | Направление удара | Тип надреза | Радиус вершины надреза rN | Ширина под надрезом bN |
| | | Двойной надрез |
ИСО 179-1/1fA | 1/179-1 | | A/179-1 | 0,25 +/- 0,05 | 6,0 +/- 0,2 |
ИСО 179-1/1fB | | Плашмя | B/179-1 | 1,00 +/- 0,05 | 6,0 +/- 0,2 |
ИСО 179-1/1fC | | | C/179-1 | 0,10 +/- 0,02 | 6,0 +/- 0,2 |
<1)> Если образцы вырезают из листов или изделий, толщина листа или изделия должна быть добавлена к обозначению. |
1 - направление удара
Рисунок В.1 - Образец с двойным V-образным надрезом
| Стандартный метод испытания для определения ударной вязкости по Шарпи образцов пластмасс с надрезом |
(ASTM D6110) | Standard Test Method for Determining the Charpy Impact Resistance of Notched Specimens of Plastics |