Главная // Актуальные документы // ГОСТ Р (Государственный стандарт)СПРАВКА
Источник публикации
М.: Стандартинформ, 2014
Примечание к документу
Документ
введен в действие с 1 сентября 2014 года.
Название документа
"ГОСТ Р ЕН 40-7-2013. Национальный стандарт Российской Федерации. Опоры освещения из полимерных композиционных материалов, армированных волокном. Технические требования"
(утв. и введен в действие Приказом Росстандарта от 31.10.2013 N 1312-ст)
"ГОСТ Р ЕН 40-7-2013. Национальный стандарт Российской Федерации. Опоры освещения из полимерных композиционных материалов, армированных волокном. Технические требования"
(утв. и введен в действие Приказом Росстандарта от 31.10.2013 N 1312-ст)
Утвержден и введен в действие
агентства по техническому
регулированию и метрологии
от 31 октября 2013 г. N 1312-ст
НАЦИОНАЛЬНЫЙ СТАНДАРТ РОССИЙСКОЙ ФЕДЕРАЦИИ
ОПОРЫ ОСВЕЩЕНИЯ ИЗ ПОЛИМЕРНЫХ КОМПОЗИЦИОННЫХ МАТЕРИАЛОВ,
АРМИРОВАННЫХ ВОЛОКНОМ
ТЕХНИЧЕСКИЕ ТРЕБОВАНИЯ
Fibre reinforced polymer composite of lighting columns.
Technical specifications
EN 40-7:2009
Lighting columns. Part 7: Requirements for fibre
reinforced polymer composite lighting columns
(IDT)
ГОСТ Р ЕН 40-7-2013
Дата введения
1 сентября 2014 года
1. Подготовлен Федеральным государственным унитарным предприятием "Всероссийский научно-исследовательский институт стандартизации и сертификации в машиностроении" (ВНИИНМАШ) на основе собственного аутентичного перевода на русский язык стандарта, указанного в пункте 4.
2. Внесен Техническим комитетом по стандартизации ТК 39 "Энергосбережение, энергетическая эффективность, энергоменеджмент".
3. Утвержден и введен в действие
Приказом Федерального агентства по техническому регулированию и метрологии от 31 октября 2013 г. N 1312-ст.
4. Настоящий стандарт идентичен региональному стандарту ЕН 40-7:2009 "Столбы фонарные. Часть 7. Требования к фонарным столбам из полимерных композиционных материалов, армированных волокном" (EN 40-7:2009 "Lighting columns. Part 7: Requirements for fibre reinforced polymer composite lighting columns").
Наименование настоящего стандарта изменено относительно наименования указанного европейского стандарта для приведения в соответствие с ГОСТ Р 1.5-2012
(пункт 3.5).
При применении настоящего стандарта рекомендуется использовать вместо ссылочных международных стандартов соответствующие им национальные стандарты, сведения о которых приведены в дополнительном
Приложении ДА.
5. Введен впервые.
Правила применения настоящего стандарта установлены в ГОСТ Р 1.0-2012
(раздел 8). Информация об изменениях к настоящему стандарту публикуется в ежегодном (по состоянию на 1 января текущего года) информационном указателе "Национальные стандарты", а официальный текст изменений и поправок - в ежемесячном информационном указателе "Национальные стандарты". В случае пересмотра (замены) или отмены настоящего стандарта соответствующее уведомление будет опубликовано в ближайшем выпуске информационного указателя "Национальные стандарты". Соответствующая информация, уведомление и тексты размещаются также в информационной системе общего пользования - на официальном сайте Федерального агентства по техническому регулированию и метрологии в сети Интернет (gost.ru).
Настоящий стандарт устанавливает технические требования к опорам освещения из полимерных композиционных материалов, армированных волокном (далее - опоры). Стандарт содержит требования к материалам, из которых изготавливают опоры, и устанавливает методы их испытаний. Стандарт распространяется на опоры наружного освещения высотой не более 20 м для венчающих светильников, а также на опоры высотой не более 18 м с кронштейном для светильников. Настоящий стандарт устанавливает классы опор в зависимости от сопротивляемости горизонтальным ветровым нагрузкам и устойчивости к динамическому воздействию (в случае наезда транспортного средства (пассивная безопасность)).
Нижеуказанные стандарты содержат положения, которые посредством ссылок в данном тексте составляют положения настоящего стандарта.
Для датированных ссылок применяют только ту версию, которая была упомянута в тексте. Для недатированных ссылок необходимо использовать самое последнее издание документа (включая любые поправки).
ЕН 40-1:1991 Опоры освещения. Часть 1. Термины и определения (EN 40-1:1991, Lighting columns - Part 1: Definitions and terms)
pr ЕН 40-2:1991 Опоры освещения. Часть 2. Общие требования и размеры (pr EN 40-2:1991, Lighting columns - Part 2: General requirements and dimensions)
ЕН 40-3-1 Опоры освещения. Часть 3-1. Конструкция и контроль. Технические условия для расчетных нагрузок (EN 40-3-1, Lighting columns - Part 3-1: Design and verification - Specification for characteristic loads)
ЕН 40-3-2 Опоры освещения. Часть 3-2. Конструкция и контроль. Проверка конструкции по типовым испытаниям (EN 40-3-2, Lighting columns - Part 3-2: Design and verification - Verification by testing)
pr ЕН 40-3-3:1996 Опоры освещения. Часть 3-3. Конструкция и контроль. Проверка расчетом (pr EN 40-3-3:1996, Lighting columns - Part 3-3: Design and verification - Verification by calculation)
ЕН 12767 Пассивная безопасность несущих конструкций для оборудования автомобильных дорог. Требования и методы испытаний (EN 12767, Passive safety of support structures for road equipment - Requirements and test methods)
ЕН 50102 Степени защиты, обеспеченные кожухами, для электрического оборудования от внешних механических воздействий (IK-код) (EN 50102, Degrees of protection provided by enclosures for electrical equipment against external mechanical impacts (IK code))
ЕН ИСО 527-4 Пластмассы. Определение механических свойств при растяжении. Часть 4. Условия испытаний для изотропных и анизотропных пластмассовых композиционных материалов, армированных волокнами (ИСО 527-4:1997) (EN ISO 527-4, Plastics - Determination of tensile properties - Part 4: Test conditions for isotropic and anisotropic fibre-reinforced plastic composites (ISO 527-4:1997))
ЕН ИСО 527-5 Пластмассы. Определение механических свойств при растяжении. Часть 5. Условия испытаний для пластмассовых композиционных материалов, армированных однонаправленными волокнами (ИСО 527-5:1997) (EN ISO 527-5, Plastics - Determination of tensile properties - Part 5: Test conditions for unidirectional fibre-reinforced plastic composites (ISO 527-5:1997))
ЕН ИСО 14125 Композиционные материалы, армированные волокнами. Определение прочности при изгибе (ИСО 14125:1998) (EN ISO 14125, Fibre-reinforced plastic composites - Determination of flexural properties (ISO 14125:1998))
ЕН ИСО 14129 Композиционные материалы, армированные волокнами. Определение прочности при сдвиге/деформации в плоскости, включая модуль упругости при сдвиге, методом испытания на растяжение под углом +/- 45° (ИСО 14129:1997) (EN ISO 14129, Fibre-reinforced plastic composites - Determination of the in-plane shear stress/shear strain response, including the in-plane shear modulus and strength, by the +/- 45° tension test method (ISO 14129:1997)).
В настоящем стандарте применены термины по ЕН 40-1:1991.
В настоящем стандарте в дополнение к приведенным в pr ЕН 40-3-3 условным обозначениям использованы следующие условные обозначения:
K - коэффициент, применяемый с коэффициентом

при расчете прочности при изгибе;
E1 - модуль упругости при продольном изгибе;
E2 - модуль упругости при поперечном изгибе;
G - модуль сдвига при продольной нагрузке;
V12 - коэффициент Пуассона (отношение поперечного относительного укорочения к продольному относительному удлинению образца при растяжении);
V21 - коэффициент Пуассона при изменении направления нагрузки (при сжатии образца);

- прочность материала опоры при сдвиге;

- константа.
Примечание. Определения условных обозначений приведены в тексте настоящего стандарта.
5.1. Армирующий волокнистый материал
Опоры изготовляют из композиционных материалов, содержащих полимерную смолу (матрицу), армированную высокопрочным волокнистым материалом.
Армирующий волокнистый материал должен обладать механическими свойствами и прочностью, соответствующими условиям окружающей среды и предусмотренному сроку службы опоры. В качестве армирующего материала применяют стеклянное волокно (далее - стекловолокно) марки E, обладающее основными свойствами, приведенными в
Приложении A.
Дополнительные или иные волокнистые материалы должны обладать аналогичными или лучшими механическими свойствами и прочностью, чем у стекловолокна марки E.
Каждая поставляемая изготовителю опор партия волокнистого материала должна иметь сертификат соответствия, подтверждающий, что партия соответствует техническим требованиям изготовителя волокнистого материала.
5.2. Полимерная смола
Полимерная смола должна обладать механическими свойствами и прочностью, соответствующими условиям окружающей среды и предусмотренному сроку службы опоры, а также должна обладать технологическими свойствами, соответствующими технологии производства и процессу армирования волокнами.
Рекомендуется применять затвердевающую при положительной температуре изофталево-полиэстеровую смолу, обладающую основными свойствами, приведенными в Приложении A,
таблица A.3. Дополнительные или иные смолы должны обладать аналогичными или лучшими механическими свойствами и прочностью, чем у изофталево-полиэстеровой смолы. Содержание наполнителя не должно отрицательно влиять на механические свойства и прочность смолы.
Для того чтобы в течение предусмотренного срока службы свести к минимуму ухудшение свойств материала и его выцветание, в смолу добавляют стабилизирующий компонент, снижающий воздействие ультрафиолетового излучения.
Каждая поставляемая изготовителю опор партия смолы должна иметь сертификат соответствия, подтверждающий, что партия соответствует техническим требованиям изготовителя смолы.
5.3. Места присоединения и крепления элементов опоры
Места присоединения и крепления элементов опоры, выполняющие несущую функцию, должны состоять из полимерных композиционных материалов или других материалов, обладающих аналогичной или более высокой прочностью.
Основные размеры опор должны соответствовать pr ЕН 40-2.
7. Определение параметров
Параметры опор определяют в соответствии с ЕН 40-3-1, ЕН 40-3-2, pr ЕН 40-3-3 и
Приложением B к настоящему стандарту.
Конструкция опоры должна выдерживать собственный вес и ветровые нагрузки, установленные в ЕН 40-3-1.
Конструкцию опоры проверяют расчетом в соответствии с pr ЕН 40-3-3 или по результатам испытаний в соответствии с ЕН 40-3-2. В случае, если выбирают расчет, то методика расчета и применяемые параметры необходимо подтвердить при помощи соответствующих испытаний (см.
Приложение E).
8. Требования к материалам
8.1. Пигментация
Композиционные материалы, применяемые для изготовления опор, должны быть по всей массе и по всей структуре пигментированы одним цветом.
8.2. Поверхностный слой
Опоры и крепления должны иметь гладкий защитный слой из соответствующего материала, наносимого на их поверхности, с целью предотвращения выступания волокон над поверхностью в течение предусмотренного срока службы опоры.
Примечание. Покрытие может быть выполнено в виде вуали, образующей в сочетании со структурой композиционного материала защитный слой, в виде соответствующей системы полиуретанового или акрилового покрытия или в виде гелиевого слоя, нанесенного на основу в виде мата из рубленого стекловолокна.
Во избежание проникновения воды и загрязнителей все обрезные кромки по краям отверстий опоры должны быть запечатаны исходной смолой или соответствующим аналогичным материалом до нанесения покрытий.
8.4. Механические свойства
Основные механические свойства материалов, применяемых для изготовления опор, определяют в соответствии с
Приложением C.
Соединения всех элементов опоры должны удовлетворять требованиям
раздела 7.
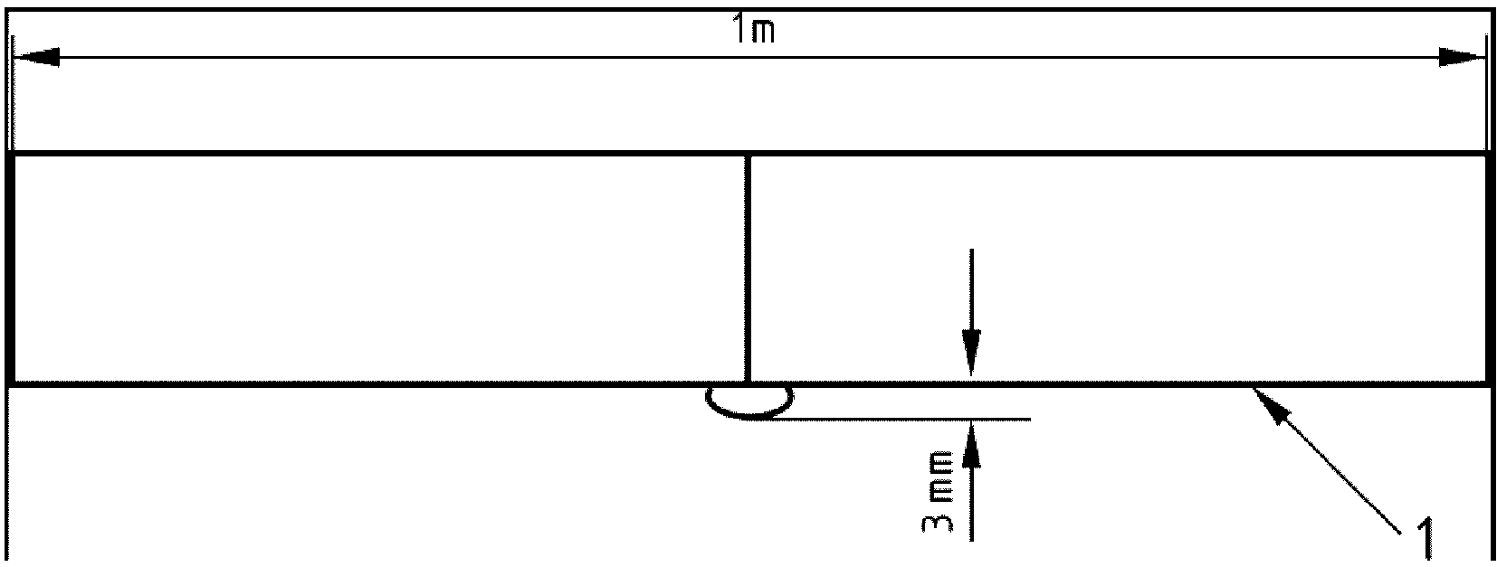
Для любого типа конструкции опор или элемента опоры (при условии, что элемент конструкции над или под люком имеет высоту не менее 0,3 м) проводят испытания на ударостойкость. В результате испытаний конструкции опоры со встроенной крышкой люка должна быть подтверждена степень защиты от внешних механических ударов (код IK08) в соответствии с ЕН 50102.
В качестве испытательной установки применяют маятниковый копер или вертикальный свободно падающий молот.
Равномерно наносят пять ударов по периметру опоры на высоте середины люка. Для опор с круглым сечением удары распределяют равномерно по периметру конструкции без учета люка. Для опор с восьмиугольным сечением удары наносят на все поверхности за исключением поверхности люка.
После испытаний при контроле поперечного сечения шаблоном не должно быть вмятин размером более 3 мм. Такие испытания позволяют оценить изделия с аналогичным или меньшим наружным (или внутренним) диаметром, аналогичной толщиной стенки и прочностью.
Примечания
1. Тип конструкции определяют по форме, размерам, толщине стенки и материалу, а также по поперечному сечению на высоте середины люка.
2. Аналогичные требования распространяются на опоры с другими формами сечений.
11. Внутренние поверхности
11.1. Кабельные каналы
Кабельные каналы в опорах должны соответствовать требованиям pr ЕН 40-2.
11.2. Места доступа к оборудованию
В местах доступа для установки и монтажа электрооборудования не должно быть острых кромок и выступов.
12. Антикоррозионная защита
Для опор в соответствии с настоящим стандартом специальную антикоррозионную защиту не выполняют, за исключением запечатывания обрезных кромок, которое выполняют в соответствии с требованиями
8.3.
Примечание.
Приложение D содержит рекомендации, которые помогут продлить срок службы опор.
Все опоры и кронштейны должны иметь четкую маркировку, выполненную способом, гарантирующим ее долговечность, с указанием следующих данных:
a) наименование или логотип изготовителя;
b) дата изготовления;
c) ссылка на настоящий стандарт;
d) код изделия.
Примечание. Маркировка может быть выполнена прессованием в виде изображения информации об изделии и изготовителе.
14.1. Контроль качества
14.1.1. Производственный контроль
В процессе изготовления опор и кронштейнов проводят непрерывный производственный контроль, включающий в себя соответствующие требования, изложенные в
14.3 -
14.8 и
разделах 15 и
16.
При производственном контроле осуществляют следующие мероприятия:
- описание и идентификацию исходного материала и комплектующих изделий;
- идентификация методов контроля и испытаний для новых или измененных изделий, включая поверку и калибровку оборудования;
- проведение контроля и испытаний в процессе изготовления с установленной периодичностью;
- идентификация и регистрация выявленных несоответствий;
- методы корректировки выявленных несоответствий.
Результаты производственного контроля должны быть зарегистрированы в протоколе.
В протокол должны быть включены, как минимум, следующие данные:
- идентификация испытуемого изделия;
- дата отбора образцов;
- методы испытаний;
- результаты испытаний и контроля;
- дата проведения испытаний;
- сведения об ответственном специалисте, осуществляющем контроль;
- анализ данных.
В случае, если проведения контроля требует третья сторона, необходимо:
- определить методы испытаний, необходимые для подтверждения соответствия;
- установить периодичность проведения испытаний;
- обеспечить возможность третьей стороне подтвердить правильность данных, зарегистрированных в протоколе;
- обеспечить возможность предоставления протокола для проверки по требованию третьей стороны.
14.1.2. Типовые испытания
14.2. Отбор образцов
По требованию заказчика все изготовленные опоры и/или кронштейны должны быть предъявлены на испытания. Из каждой партии, предъявленной на испытания, изделия отбирают в выборку методом случайного отбора. Минимальный объем выборки должен соответствовать таблице 1.
Таблица 1
Объем выборки в зависимости от размера партии
Число единиц в партии | Объем выборки (минимальное число единиц) |
от 1 до 3 | 1 |
от 4 до 500 | 3 |
от 501 до 1200 | 5 |
Партия должна состоять из опор или кронштейнов, имеющих одинаковую конструкцию, номинальную высоту/радиус и одинаковые расчетные значения прочности.
Все параметры опор, установленные в pr ЕН 40-2, должны быть определены и занесены в протокол, включая:
- высоту/радиус;
- поперечное сечение (с обоих концов, а также для всех изменений поперечного сечения);
- размеры люка;
- размеры отверстия для введения кабеля;
- глубину заглубления опор в грунт;
- размеры фланца;
- размеры опорной плиты;
- диаметр, длину и угол наклона кронштейна для подсоединения светильника.
Допуски должны соответствовать pr ЕН 40-2. Толщина стенки в любой точке поперечного сечения опоры может превышать установленный показатель на 40%.
При проведении измерений опора или кронштейн должны быть в горизонтальном положении. Измерения проводят с помощью измерительной линейки или рулетки.
Если какое-либо изделие в выборке покажется не прямым, его проверяют с помощью одного или обоих из следующих методов. Опору помещают в горизонтальное положение на ровную поверхность или на деревянный настил. При этом сторона с самым большим прогибом должна быть расположена под углом 90° к горизонтали.
Метод A. Над самым большим прогибом натягивают веревку и закрепляют ее на обеих сторонах опоры. С помощью линейки или рулетки измеряют расстояние над прогибом между веревкой и поверхностью опоры как минимум в шести точках.
Метод B. Стальную линейку (рисунок 1) располагают перпендикулярно к оси опоры так, чтобы она прилегала ребром "X" к проверяемой поверхности. Линейку передвигают вдоль оси опоры с интервалом не более 1 м. У опор с четырехугольным сечением проверяют две поверхности, у опор с круглым сечением - поверхность под углом 15 +/- 5° с каждой стороны от изначально проведенной осевой линии.
1 - ребро "X"
Рисунок 1. Стальная линейка для проверки прогиба
14.5. Проверка материала
Качество и толщину материала проверяет изготовитель. Должны быть представлены документы, подтверждающие то, что для изготовления изделий данных партий были использованы материалы, соответствующие необходимым требованиям.
14.6. Проверка конструкции
Проверку конструкции опоры проводят в соответствии с ЕН 40-3-1 и
разделом 7.
14.7. Проверка маркировки
Маркировка должна обеспечивать однозначную идентификацию опоры.
Данные о применяемых материалах, процессах и методах, отборе образцов и испытаниях должны быть зарегистрированы. Записи хранят не менее семи лет и предъявляют по требованию для проверки.
15.1. Общие требования
Партию считают принятой, если все изделия, отобранные в выборку методом случайного отбора, соответствуют установленным требованиям.
Размерные параметры, приведенные в
14.3, должны быть в пределах установленных допусков.
15.3. Прогиб
Метод A. При проверке методом A по
14.4 расстояние между веревкой и опорой при измерении не должно превышать значения, рассчитанного в соответствии с pr ЕН 40-2:1991 (пункт 5.1) для опоры данной высоты.
Метод B. При проверке методом B по
14.4 оба конца линейки ни в одной из точек не должны соприкасаться с опорой.
15.4. Материал
Соответствие материалов требованиям, установленным в
разделе 5, должно быть подтверждено сертификатом.
15.5. Конструкция
Соответствие конструкции опоры должно быть подтверждено сертификатом, выданным на основании испытаний в соответствии с
14.6.
15.6. Маркировка
Маркировка должна быть легко читаемой и соответствовать
разделу 13 и
14.7.
15.7. Регистрируемые данные
Предъявляемые для проверки данные, зарегистрированные в протоколе, должны быть актуальными.
Если хотя бы одно изделие из первой случайной выборки не соответствует критериям приемки по
15.2 - 15.7, то отбирают еще две случайные выборки и проводят повторный контроль соответствующих параметров.
Если каждая из дополнительно отобранных случайных выборок соответствует требованиям по
15.2 - 15.7, то партию считают принятой.
Если одна из двух дополнительно отобранных случайных выборок не соответствует требованиям, то все изделия партии отбраковывают до принятия решения о проведении дальнейших испытаний или об устранении дефектов.
17. Устойчивость к динамическому воздействию
(при наезде транспортного средства
(пассивная безопасность))
Устойчивость опоры к динамическому воздействию (при наезде транспортного средства) должна соответствовать одному из классов, установленных в ЕН 12767. Если это не требуется, то опору относят к классу 0 в соответствии с ЕН 12767.
(справочное)
ОСНОВНЫЕ КОМПОНЕНТЫ И СВОЙСТВА СТЕКЛОВОЛОКНА
A.1. Основные компоненты стекловолокна марки E
Стекловолокно марки E - материал в виде волокон диаметром от 15 мкм до 20 мкм, состоящий из компонентов, приведенных в таблице A.1.
Таблица A.1
Основные компоненты стекловолокна марки E
Компонент | Массовая доля, % |
SiO2 | 54 |
Al2O3 | 15 |
CaO - MgO | 22 |
B2O3 | 6,5 |
A.2. Основные свойства стекловолокна марки E
Основные свойства стекловолокон марки E приведены в таблице A.2.
Таблица A.2
Основные свойства стекловолокон марки E
Свойство | Значение |
Модуль упругости | 72 ГПа |
Прочность при растяжении | 1500 МПа |
A.3. Коррозионная стойкость стекловолокна (марки E, R, AR)
Коррозионная стойкость стекловолокна различных марок представлена на рисунке A.1.
Рисунок A.1. Коррозионная стойкость стекловолокна
различных марок
A.4. Основные свойства изофталево-полиэстеровой смолы
Основные свойства полностью затвердевшей изофталево-полиэстеровой смолы приведены в таблице A.3.
Таблица A.3
Основные свойства полностью затвердевшей
изофталево-полиэстеровой смолы
Свойство | Значение |
Модуль упругости | 3,4 ГПа |
Прочность при растяжении | 79 МПа |
Удлинение при разрыве | 3,5% |
Твердость по методу Баркола | 43 |
Температура изгиба под нагрузкой | 78 °C |
(обязательное)
ОПРЕДЕЛЕНИЕ ПАРАМЕТРОВ ОПОР ОСВЕЩЕНИЯ ИЗ ПОЛИМЕРНЫХ
КОМПОЗИЦИОННЫХ МАТЕРИАЛОВ, АРМИРОВАННЫХ ВОЛОКНОМ
Примечание. В настоящем приложении номера разделов стандарта ЕН 40-3 указаны в скобках.
B.1. Определение значений нагрузок (по ЕН 40-3-1:2000, рисунок 1)
1 - коэффициент

; 2 - период колебаний T, с
Рисунок B.1. Коэффициент

для определения
динамических характеристик опор
B.2. Проверка опор при проведении типовых испытаний (по ЕН 40-3-2)
B.2.1. Требования к конструкции опоры (5.3)
Для опор остаточный прогиб после снятия испытательной нагрузки должен составлять не более 5% от начального прогиба до нагружения.
B.2.2. Обязательное требование (5.4)
Образцы для испытаний должны быть изготовлены из материалов и при помощи технологий, максимально приближенных к материалам и технологиям, применяемым для производства испытуемой опоры.
Предел прочности при изгибе f
yT определяют в соответствии с
Приложением C.
B.2.3. Требования к проведению испытаний на усталость (11)
При эксплуатации значительные нагрузки на опору отсутствуют, поэтому усталостные явления не учитывают и испытаний на усталость не проводят. Рекомендуется на стадии проектирования опор учитывать прочность при сжатии, растяжении и сдвиге.
B.3. Проверка опор расчетом (ЕН 40-3-3)
Примечание. Конструкцию опоры проверяют по результатам испытаний в соответствии с
разделом 7. Методы расчета, указанные в B.3.2 -
B.3.5, приведены для информации.
B.3.1. Коэффициент надежности (5.6.2.1, таблица 2)
Коэффициент надежности ym для полимерных композиционных материалов с волокнистым наполнителем - 1,5.
B.3.2. Проверка расчетом (5.6.2)
Проверку опор расчетом проводят в соответствии с pr ЕН 40-3-3:1996 (пункт 5.6.2) и B.3.3 -
B.3.5 настоящего стандарта.
B.3.3. Определение прочности при изгибе
Коэффициент

, значение которого установлено в pr ЕН 40-3-3:1996 (пункт 5.6.2.1, формула (2)), умножают на коэффициент K. Коэффициент K должен быть <= 1, и его рассчитывают для опор с круглым поперечным сечением по формуле B.1
K = [2[1 + V12(E2/E1)1/2](E2/E1)1/2(G/E1)1/2]1/2 (B.1)
или для опор с восьмиугольным сечением по формуле B.2
K = 0,5[(E2/E1)1/2 + V12[E2/E1] +
+ 2(1 - V12[E2/E1])(G/E1)], (B.2)
где V12 - коэффициент Пуассона (отношение поперечного относительного укорочения к продольному относительному удлинению образца при растяжении);
E2 - модуль упругости при поперечном изгибе, кН/м2;
E1 - модуль упругости при продольном изгибе, кН/м2;
G - модуль сдвига при продольной нагрузке, кН/м2.
Коэффициент Пуассона при изменении направления нагрузки (при сжатии образца) - V21 = V12E2/E1.
Значения V12, V21 и G определяют при помощи стандартных методов измерений и соответствующих расчетов.
Примечание. Stephen Tsai "Laminate Analysis" - один из примеров.
Значения E
1 и E
2 определяют по результатам испытаний в соответствии с
Приложением C.
B.3.4. Определение прочности при кручении
Коэффициент

, значение которого установлено в pr ЕН 40-3-3:1996 (пункт 5.6.2.1, формула (3)), должен быть <= 1, и его рассчитывают по формуле B.3

(B.3)
где

- прочность материала опоры при сдвиге, кН/м
2;
t - толщина стенки опоры, мм;
R - радиус наружной поверхности опоры с круглым сечением или радиус описанной окружности опоры с восьмиугольным сечением, мм.

определяют по результатам испытаний в соответствии с
Приложением C.
B.3.5. Определение прочности при продольном изгибе
Прочность при продольном изгибе является основным параметром опор. Прочность при продольном изгибе рассчитывают по формуле B.4

(B.4)
где

- константа, зависящая от свойств материала и размера люка;
E
1, E
2, V
12 и V
21 определяют в соответствии с
B.3.3, t и R - в соответствии с
B.3.4.
Изготовитель должен подтвердить, что обладает достаточным опытом проведения испытаний для определения достоверных значений

.
B.4. Определение основных механических свойств материалов (5.5)
Основные механические свойства материалов, применяемых для изготовления опор, определяют по результатам испытаний в соответствии с
Приложением C.
Информацию об определении усталости материалов, применяемых для изготовления опор, см. в
B.2.3.
(обязательное)
ОПРЕДЕЛЕНИЕ ОСНОВНЫХ МЕХАНИЧЕСКИХ СВОЙСТВ МАТЕРИАЛОВ,
ПРИМЕНЯЕМЫХ ДЛЯ ИЗГОТОВЛЕНИЯ ОПОР ОСВЕЩЕНИЯ ИЗ ПОЛИМЕРНЫХ
КОМПОЗИЦИОННЫХ МАТЕРИАЛОВ, АРМИРОВАННЫХ ВОЛОКНОМ
C.1. Общие сведения
В настоящем приложении приведены методы для определения прочности материалов, применяемых для изготовления опор, при растяжении, изгибе и сдвиге.
C.2. Определение прочности при растяжении
Прочность при растяжении определяют по результатам испытаний образцов, изготовленных из материалов и при помощи технологий, максимально приближенных к материалам и технологиям, применяемым для производства испытуемой опоры. Образцы для испытаний должны быть изготовлены в продольном и поперечном исполнении. Методы испытаний установлены в ЕН ИСО 527-4 и ЕН ИСО 527-5.
C.3. Определение прочности при изгибе
Прочность при изгибе определяют по результатам испытаний образцов, изготовленных из материалов и при помощи технологий, максимально приближенных к материалам и технологиям, применяемым для производства испытуемой опоры. Образцы для испытаний должны быть изготовлены в продольном и поперечном исполнении. Методы испытаний установлены в ЕН ИСО 14125.
C.4. Определение прочности при сдвиге
Прочность при сдвиге определяют расчетом или по результатам испытаний образцов, изготовленных из материалов и при помощи технологий, максимально приближенных к материалам и технологиям, применяемым для производства испытуемой опоры. Методы испытаний установлены в ЕН ИСО 14129.
(справочное)
АНТИКОРРОЗИОННАЯ ЗАЩИТА ДЛЯ ОПОР ОСВЕЩЕНИЯ
ИЗ ПОЛИМЕРНЫХ КОМПОЗИЦИОННЫХ МАТЕРИАЛОВ,
АРМИРОВАННЫХ ВОЛОКНОМ
С целью проведения работ по антикоррозионной защите конструкцию опоры подразделяют на зоны A, B и C.
Зона A. Наружная поверхность опоры от вершины до уровня 0,2 м над грунтом или вся наружная поверхность опоры с фланцем. Допускается увеличивать зону A ниже уровня грунта на глубину до 0,05 м.
Примечание. Уровень 0,2 м обеспечивает перекрытие защитных слоев.
Зона B. Наружная поверхность опоры ниже уровня грунта, включая зону 0,25 м над уровнем грунта.
Зона C. Внутренняя поверхность опоры.
Для антикоррозионной защиты опор рекомендуется следующая обработка зон A, B и C.
Обработку зоны A проводить не требуется. В некоторых регионах с высоким уровнем ультрафиолетового излучения (УФ) допускается проведение дополнительной обработки путем нанесения полиуретанового покрытия или другого покрытия, устойчивого к воздействию УФ. Покрытие наносят на поверхность опоры, включая зону ниже уровня грунта на глубине 0,05 м.
Обработку зоны B проводить не требуется. Допускается проведение дополнительной обработки путем нанесения покрытий из полиуретана или акрила на поверхность опоры ниже уровня грунта с целью предотвращения проникновения химических веществ. Покрытие наносят после соответствующей предварительной обработки.
Обработку зоны C проводить не требуется. Допускается проведение дополнительной обработки как для зоны B путем нанесения защитных покрытий на поверхность опоры ниже уровня грунта.
(обязательное)
E.1. Типовым испытаниям подвергают каждый новый тип изделия. Типовые испытания проводят с целью подтверждения соответствия изделия требованиям настоящего стандарта.
В процессе производственного контроля параметры изделий проверяют с помощью испытаний или расчетом. При производственном контроле допускается учитывать результаты ранее проведенных в соответствии с требованиями настоящего стандарта типовых испытаний. К новому типу относят изделия, изготовленные с помощью технологий или сырья, в которые внесены существенные изменения, влияющие на свойства готового изделия.
E.2. Типовые испытания проводят для проверки:
E.2a:
- размеров,
- прогиба,
- материала,
- ударостойкости;
- конструкции опоры,
- устойчивости к динамическому воздействию (в случае наезда транспортного средства (пассивная безопасность)).
Результаты типовых испытаний должны быть зарегистрированы.
(справочное)
РАЗДЕЛЫ СТАНДАРТА, СООТВЕТСТВУЮЩИЕ ОСНОВНЫМ ТРЕБОВАНИЯМ
И ПОЛОЖЕНИЯМ ДИРЕКТИВ ЕВРОПЕЙСКОГО СОЮЗА
ZA.1. Разделы стандарта, соответствующие положениям
директивы Европейского союза "Строительная продукция"
Настоящий стандарт разработан Европейским комитетом по стандартизации в соответствии с поручением Европейской комиссии и Европейской ассоциации свободной торговли.
Приведенные в настоящем приложении разделы настоящего стандарта соответствуют требованиям поручения М/111 "Оборудование автомобильных дорог", отданного согласно
директиве Европейского союза (ЕС) 89/106/ЕЭС "Строительная продукция".
Соответствие изделия разделам настоящего стандарта является основанием для признания его пригодности для применения по назначению.
ПРЕДУПРЕЖДЕНИЕ: к изделию, на которое распространяется действие настоящего стандарта, могут быть применимы требования, установленные в других директивах ЕС.
Примечания
1. В части применения опасных веществ к изделию могут быть установлены требования в других документах, например, европейских и национальных законодательных и административно-правовых актах. Изделие для соответствия требованиям
директивы ЕС "Строительная продукция" должно удовлетворять требованиям, установленным в настоящем стандарте и других документах, распространяющихся на это изделие.
2. Информационная база данных опасных веществ, применяемых в строительстве, представлена на веб-сайте с европейскими строительными нормами и правилами (доступ по ссылке: http://europa.eu.int).
Область применения опор и разделы настоящего стандарта, устанавливающие требования к параметрам в соответствии с поручением М/111, представлены в таблице ZA.1.
Таблица ZA.1
Область применения опор и разделы настоящего стандарта,
устанавливающие требования к параметрам
в соответствии с поручением М/111
Строительное изделие: опора освещения из полимерных композиционных материалов, армированных волокном Назначение: наружное освещение в зонах движения транспорта |
Требование/параметр в соответствии с поручением | Разделы настоящего стандарта или других европейских стандартов, устанавливающие требование | Уровни и/или классы в соответствии с поручением | Примечания |
Сопротивление горизонтальным ветровым нагрузкам | | отсутствуют | Классы A или B (коэффициент нагрузки yf) |
Устойчивость к динамическому воздействию (в случае наезда транспортного средства (пассивная безопасность)) | | отсутствуют | Классы I, II или III (максимально допустимый горизонтальный прогиб) |
Прочность | | отсутствуют | Классы |
Если в странах - членах ЕС отсутствуют нормы и не установлены требования к определенному параметру изделия, то изготовители при реализации своих изделий в таких странах - членах ЕС не обязаны определять или декларировать качество изделий в части данного параметра, а в сведениях, прилагаемых к маркировке CE (см.
ZA.3), указывают информацию "Параметр не определен".
Если для параметра установлено обязательное предельное значение, то информацию "Параметр не определен" указывать нельзя. Однако информацию "Параметр не определен" допускается указывать в тех случаях, когда к параметру изделия, применяемому в конкретной области, не установлены требования в других нормативных документах.
ZA.2. Мероприятия по подтверждению соответствия
Система подтверждения соответствия, применяемая к опорам, указанным в
таблице ZA.1, представлена в таблице ZA.2 и соответствует требованиям приложения III поручения М/111 и решению комиссии 96/579/ЕЭС от 24 июня 1996 г.
Таблица ZA.2
Система подтверждения соответствия опор
Изделие | Назначение | Уровни и/или классы в соответствии с поручением | Система подтверждения соответствия |
Опоры освещения из полимерных композиционных материалов, армированных волокном | Наружное освещение в зонах движения транспорта | отсутствуют | 1 |
| | ИС МЕГАНОРМ: примечание. В официальном тексте документа, видимо, допущена опечатка: Приложение 111.2 в Директиве 89/106/ЕЭС отсутствует. | |
|
Система подтверждения соответствия 1 - см. директиву 89/106/ЕЭС (приложение 111.2 (1) без проверки образцов). |
С целью подтверждения соответствия опор проводят мероприятия, представленные в таблице ZA.3.
Таблица ZA.3
Мероприятия по подтверждению соответствия опор
Мероприятия | Содержание мероприятия | Пункты настоящего стандарта, применяемые для подтверждения соответствия |
Мероприятия, проводимые изготовителем | Производственный контроль | | |
Испытания образцов | | |
Мероприятия, проводимые уполномоченным органом | Первичный контроль производства | | |
Инспекционный контроль | | |
Периодический контроль | | |
При получении результатов, удовлетворяющих требованиям настоящего приложения, орган по сертификации должен выдать сертификат соответствия с указанием следующих данных:
- наименование, адрес и идентификационный номер органа по сертификации;
- наименование и адрес изготовителя или его уполномоченного представителя и место производства;
- наименование типа изделия (тип, идентификационное наименование, назначение, копии сведений, прилагаемых к маркировке CE, с информацией о параметрах изделия);
- требования, которым соответствует изделие, например, требования, установленные в настоящем приложении;
- дополнительная информация, относящаяся к особенностям применения изделия, например, ограничение по эксплуатации изделия, при изготовлении которого были использованы обычные связующие вещества, и пр.;
- номер сертификата;
- условия и срок действия сертификата (если требуется);
- фамилия и должность лица, уполномоченного на выдачу сертификата.
Такой сертификат соответствия дает изготовителю право использовать маркировку CE в соответствии с
ZA.3.
Кроме того, изготовитель должен оформить декларацию соответствия, содержащую следующие данные:
- наименование и адрес изготовителя или его уполномоченного представителя;
- наименование и адрес уполномоченного органа;
- наименование типа изделия (тип, идентификационное наименование, назначение и пр.) и копии сведений, прилагаемых к маркировке CE;
- требования, которым соответствует изделие, например, требования, установленные в настоящем приложении;
- дополнительная информация, относящаяся к особенностям применения изделия, например, ограничение по эксплуатации изделия, при изготовлении которого были использованы обычные связующие вещества;
- номер действующего сертификата соответствия;
- фамилия и должность лица, уполномоченного изготовителем на подписание декларации.
Декларация и сертификат соответствия должны быть представлены на официальном языке ЕС или официальных языках страны - члена ЕС или стран - членов ЕС, в которой(-ых) данное изделие будут применять.
ZA.3. Маркировка знаком CE
Изготовитель или его уполномоченный представитель несут ответственность за правильность и обоснованность нанесения маркировки CE.
Знак соответствия CE должен удовлетворять требованиям директивы 93/68/ЕЭС и быть сопровожден следующими сведениями:
- идентификационный номер уполномоченного органа;
- наименование или идентификационная маркировка изготовителя;
- зарегистрированный адрес изготовителя;
- две последние цифры, обозначающие год нанесения маркировки;
- номер сертификата соответствия;
- ссылка на настоящий стандарт;
- наименование и назначение изделия с кодовым номером и обозначением;
- параметры изделия;
- сопротивление горизонтальным ветровым нагрузкам: вид проверки (расчет (C) или испытания (T)), контрольная скорость ветра, коэффициент нагрузки, зона ветровой нагрузки и масса вершины опоры, степень прогиба, категория грунта, если она не соответствует II;
- устойчивость к динамическому воздействию (в случае наезда транспортного средства (пассивная безопасность)): вид воздействия и испытательное оборудование (если применяют нестандартное оборудование).
Знак соответствия CE и необходимые сведения наносят на само изделие, этикетку, упаковку или на сопроводительную документацию.
Пример маркировки CE представлен на рисунке ZA.1.
Рисунок ZA.1. Пример маркировки CE
Дополнительно к сведениям об изделии должна быть приложена документация, оформленная соответствующим образом, о применяемых опасных веществах с указанием требований и положений действующего законодательства в этой области.
Примечание. Если дополнительные требования к применению опасных веществ в национальных законодательных актах государства - члена ЕС не установлены, то упоминать европейские законодательные акты не требуется.
(справочное)
СВЕДЕНИЯ О СООТВЕТСТВИИ ССЫЛОЧНЫХ МЕЖДУНАРОДНЫХ СТАНДАРТОВ
НАЦИОНАЛЬНЫМ СТАНДАРТАМ РОССИЙСКОЙ ФЕДЕРАЦИИ
Таблица ДА.1
Обозначение ссылочного международного стандарта | Степень соответствия | Обозначение и наименование соответствующего национального стандарта |
ЕН 40-1:1991 | - | |
pr ЕН 40-2:1991 | - | |
ЕН 40-3-1 | - | |
ЕН 40-3-2 | - | |
pr ЕН 40-3-3:1996 | - | |
ЕН 12767 | - | |
ЕН 50102 | - | |
ЕН ИСО 527-4 | - | <*> |
ЕН ИСО 527-5 | - | <*> |
ЕН ИСО 14125 | - | <*> |
ЕН ИСО 14129 | - | <*> |
<*> Соответствующий национальный стандарт отсутствует. До его утверждения рекомендуется использовать перевод на русский язык данного международного стандарта. Перевод данного международного стандарта находится в Федеральном информационном фонде технических регламентов и стандартов. |