Главная // Актуальные документы // ПравилаСПРАВКА
Источник публикации
В данном виде документ опубликован не был.
Первоначальный текст документа опубликован в издании
М.: Минстрой России, 2018.
Информацию о публикации документов, создающих данную редакцию, см. в справке к этим документам.
Примечание к документу
Документ включен в
Перечень документов в области стандартизации, в результате применения которых на добровольной основе обеспечивается соблюдение требований Федерального
закона от 30.12.2009 N 384-ФЗ "Технический регламент о безопасности зданий и сооружений" (
Приказ Росстандарта от 02.04.2020 N 687).
Название документа
"СП 436.1325800.2018. Свод правил. Инженерная защита территорий, зданий и сооружений от оползней и обвалов. Правила проектирования"
(утв. и введен в действие Приказом Минстроя России от 05.12.2018 N 787/пр)
(ред. от 12.12.2023)
"СП 436.1325800.2018. Свод правил. Инженерная защита территорий, зданий и сооружений от оползней и обвалов. Правила проектирования"
(утв. и введен в действие Приказом Минстроя России от 05.12.2018 N 787/пр)
(ред. от 12.12.2023)
Утвержден и введен в действие
и жилищно-коммунального хозяйства
Российской Федерации
от 5 декабря 2018 г. N 787/пр
СВОД ПРАВИЛ
ИНЖЕНЕРНАЯ ЗАЩИТА ТЕРРИТОРИЙ, ЗДАНИЙ И СООРУЖЕНИЙ
ОТ ОПОЛЗНЕЙ И ОБВАЛОВ
ПРАВИЛА ПРОЕКТИРОВАНИЯ
Engineering protection of territories, buildings
and structures from landslides and rockfalls. Design rules
СП 436.1325800.2018
| | Список изменяющих документов Минстроя России от 12.12.2023 N 908/пр) | |
Дата введения
6 июня 2019 года
Сведения о своде правил
1 ИСПОЛНИТЕЛИ - АО "НИЦ "Строительство" - НИИОСП им. Н.М. Герсеванова, ООО "НТЦ ГеоПроект"
2 ВНЕСЕН Техническим комитетом по стандартизации ТК 465 "Строительство"
3 ПОДГОТОВЛЕН к утверждению Департаментом градостроительной деятельности и архитектуры Министерства строительства и жилищно-коммунального хозяйства Российской Федерации (Минстрой России)
4 УТВЕРЖДЕН
приказом Министерства строительства и жилищно-коммунального хозяйства Российской Федерации от 5 декабря 2018 г. N 787/пр и введен в действие с 6 июня 2019 г.
5 ЗАРЕГИСТРИРОВАН Федеральным агентством по техническому регулированию и метрологии (Росстандарт)
6 ВВЕДЕН ВПЕРВЫЕ
В случае пересмотра (замены) или отмены настоящего свода правил соответствующее уведомление будет опубликовано в установленном порядке. Соответствующая информация, уведомление и тексты размещаются также в информационной системе общего пользования - на официальном сайте разработчика (Минстрой России) в сети Интернет
Настоящий свод правил разработан с учетом требований федеральных законов от 30 декабря 2009 г.
N 384-ФЗ "Технический регламент о безопасности зданий и сооружений", от 27 декабря 2002 г.
N 184-ФЗ "О техническом регулировании", от 21 июля 1997 г.
N 117-ФЗ "О безопасности гидротехнических сооружений".
Настоящий свод правил разработан в развитие
СП 116.13330 "Инженерная защита территорий, зданий и сооружений от опасных геологических процессов. Основные положения" в целях конкретизации положений по проектированию инженерной защиты территорий, зданий и сооружений от оползней и обвалов.
Свод правил разработан коллективом авторов: НИИОСП им. Н.М. Герсеванова - институт АО "НИЦ "Строительство" (канд. техн. наук И.В. Колыбин, канд. техн. наук Д.Е. Разводовский, канд. техн. наук В.Г. Федоровский, канд. техн. наук С.В. Курилло, канд. техн. наук Г.А. Бобырь) и ООО "НТЦ ГеоПроект" (д-р техн. наук. С.И. Маций, канд. техн. наук О.Ю. Ещенко, канд. техн. наук Н.Н. Любарский, канд. техн. наук Д.В. Плешаков, В.Ю. Тимошенко).
Изменение N 1 к СП 436.1325800.2018 разработано авторским коллективом АО "НИЦ "Строительство" - НИИОСП им. Н.М. Герсеванова (канд. техн. наук Р.Ф. Шарафутдинов, канд. техн. наук И.В. Колыбин, канд. техн. наук Д.Е. Разводовский, канд. техн. наук И.А. Боков, канд. техн. наук С.В. Курилло, канд. техн. наук Г.А. Бобырь.
(абзац введен
Изменением N 1, утв. Приказом Минстроя России от 12.12.2023 N 908/пр)
(раздел 1 в ред.
Изменения N 1, утв. Приказом Минстроя России от 12.12.2023 N 908/пр)
Настоящий свод правил распространяется на проектирование систем, объектов, сооружений и мероприятий инженерной защиты от оползней и обвалов территорий населенных пунктов, жилых, промышленных, транспортных, энергетических, общественно-деловых и коммунально-бытовых объектов, месторождений полезных ископаемых и горных выработок, сельскохозяйственных и лесных угодий, природных ландшафтов, в том числе, расположенных в районах развития опасных криогенных склоновых процессов (термоденудации, солифлюкции, курумообразования).
В настоящем своде правил использованы нормативные ссылки на следующие документы:
Ссылка исключена с 13.01.2024. -
Изменение N 1, утв. Приказом Минстроя России от 12.12.2023 N 908/пр.
ГОСТ 34028-2016 Прокат арматурный для железобетонных конструкций. Технические условия
(в ред.
Изменения N 1, утв. Приказом Минстроя России от 12.12.2023 N 908/пр)
Ссылка исключена с 13.01.2024. -
Изменение N 1, утв. Приказом Минстроя России от 12.12.2023 N 908/пр.
ГОСТ 27751-2014 Надежность строительных конструкций и оснований. Основные положения
ГОСТ 31937-2011 Здания и сооружения. Правила обследования и мониторинга технического состояния
ГОСТ 32868-2014 Дороги автомобильные общего пользования. Требования к проведению инженерно-геологических изысканий
ГОСТ 22.0.03-2022 Безопасность в чрезвычайных ситуациях. Природные чрезвычайные ситуации. Термины и определения
(в ред.
Изменения N 1, утв. Приказом Минстроя России от 12.12.2023 N 908/пр)
СП 14.13330.2018 "СНиП II-7-81* Строительство в сейсмических районах" (с изменениями N 2, N 3)
(в ред.
Изменения N 1, утв. Приказом Минстроя России от 12.12.2023 N 908/пр)
СП 16.13330.2017 "СНиП II-23-81* Стальные конструкции" (с изменениями N 1, N 2, N 3, N 4, N 5)
(в ред.
Изменения N 1, утв. Приказом Минстроя России от 12.12.2023 N 908/пр)
СП 20.13330.2016 "СНиП 2.01.07-85* Нагрузки и воздействия" (с изменениями N 1, N 2, N 3, N 4)
(в ред.
Изменения N 1, утв. Приказом Минстроя России от 12.12.2023 N 908/пр)
СП 22.13330.2016 "СНиП 2.02.01-83* Основания зданий и сооружений" (с изменениями N 1, N 2, N 3, N 4)
(в ред.
Изменения N 1, утв. Приказом Минстроя России от 12.12.2023 N 908/пр)
СП 23.13330.2018 "СНиП 2.02.02-85* Основания гидротехнических сооружений" (с изменением N 1)
(в ред.
Изменения N 1, утв. Приказом Минстроя России от 12.12.2023 N 908/пр)
(в ред.
Изменения N 1, утв. Приказом Минстроя России от 12.12.2023 N 908/пр)
СП 25.13330.2020 "СНиП 2.02.04-88 Основания и фундаменты на вечномерзлых грунтах" (с изменением N 1)
(ссылка введена
Изменением N 1, утв. Приказом Минстроя России от 12.12.2023 N 908/пр)
СП 28.13330.2017 "СНиП 2.03.11-85 Защита строительных конструкций от коррозии" (с изменениями N 1, N 2, N 3)
(в ред.
Изменения N 1, утв. Приказом Минстроя России от 12.12.2023 N 908/пр)
СП 32.13330.2018 "СНиП 2.04.03-85 Канализация. Наружные сети и сооружения" (с изменениями N 1, N 2)
(в ред.
Изменения N 1, утв. Приказом Минстроя России от 12.12.2023 N 908/пр)
СП 39.13330.2012 "СНиП 2.06.05-84* Плотины из грунтовых материалов" (с изменениями N 1, N 2, N 3)
(ссылка введена
Изменением N 1, утв. Приказом Минстроя России от 12.12.2023 N 908/пр)
СП 45.13330.2017 "СНиП 3.02.01-87 Земляные сооружения, основания и фундаменты" (с изменениями N 1, N 2, N 3)
(в ред.
Изменения N 1, утв. Приказом Минстроя России от 12.12.2023 N 908/пр)
СП 47.13330.2016 "СНиП 11-02-96 Инженерные изыскания для строительства. Основные положения" (с изменением N 1)
(в ред.
Изменения N 1, утв. Приказом Минстроя России от 12.12.2023 N 908/пр)
СП 58.13330.2019 "СНиП 33-01-2003 Гидротехнические сооружения. Основные положения" (с изменениями N 1, N 2)
(в ред.
Изменения N 1, утв. Приказом Минстроя России от 12.12.2023 N 908/пр)
СП 63.13330.2018 "СНиП 52-01-2003 Бетонные и железобетонные конструкции. Основные положения" (с изменениями N 1, N 2)
(в ред.
Изменения N 1, утв. Приказом Минстроя России от 12.12.2023 N 908/пр)
СП 80.13330.2016 "СНиП 3.07.01-85 Гидротехнические сооружения речные" (с изменением N 1)
(в ред.
Изменения N 1, утв. Приказом Минстроя России от 12.12.2023 N 908/пр)
СП 101.13330.2023 "СНиП 2.06.07-87 Подпорные стены, судоходные шлюзы, рыбопропускные и рыбозащитные сооружения"
(в ред.
Изменения N 1, утв. Приказом Минстроя России от 12.12.2023 N 908/пр)
СП 103.13330.2012 "СНиП 2.06.14-85 Защита горных выработок от подземных и поверхностных вод"
(ссылка введена
Изменением N 1, утв. Приказом Минстроя России от 12.12.2023 N 908/пр)
СП 104.13330.2016 "СНиП 2.06.15-85 Инженерная защита территории от затопления и подтопления" (с изменением N 1)
(ссылка введена
Изменением N 1, утв. Приказом Минстроя России от 12.12.2023 N 908/пр)
СП 116.13330.2012 "СНиП 22-02-2003 Инженерная защита территорий, зданий и сооружений от опасных геологических процессов. Основные положения" (с изменениями N 1, N 2)
(в ред.
Изменения N 1, утв. Приказом Минстроя России от 12.12.2023 N 908/пр)
(ссылка введена
Изменением N 1, утв. Приказом Минстроя России от 12.12.2023 N 908/пр)
(ссылка введена
Изменением N 1, утв. Приказом Минстроя России от 12.12.2023 N 908/пр)
СП 305.1325800.2017 Здания и сооружения. Правила проведения геотехнического мониторинга при строительстве (с изменением N 1)
(ссылка введена
Изменением N 1, утв. Приказом Минстроя России от 12.12.2023 N 908/пр)
СП 317.1325800.2017 Инженерно-геодезические изыскания для строительства. Общие правила производства работ (с изменением N 1)
(ссылка введена
Изменением N 1, утв. Приказом Минстроя России от 12.12.2023 N 908/пр)
(ссылка введена
Изменением N 1, утв. Приказом Минстроя России от 12.12.2023 N 908/пр)
(ссылка введена
Изменением N 1, утв. Приказом Минстроя России от 12.12.2023 N 908/пр)
СП 420.1325800.2018 Инженерные изыскания для строительства в районах развития оползневых процессов. Общие требования
(ссылка введена
Изменением N 1, утв. Приказом Минстроя России от 12.12.2023 N 908/пр)
СП 425.1325800.2018 Инженерная защита территорий от эрозионных процессов. Правила проектирования
(ссылка введена
Изменением N 1, утв. Приказом Минстроя России от 12.12.2023 N 908/пр)
СП 446.1325800.2019 Инженерно-геологические изыскания для строительства. Общие правила производства работ (с изменением N 1)
(ссылка введена
Изменением N 1, утв. Приказом Минстроя России от 12.12.2023 N 908/пр)
СП 482.1325800.2020 Инженерно-гидрометеорологические изыскания для строительства. Общие правила производства работ
(ссылка введена
Изменением N 1, утв. Приказом Минстроя России от 12.12.2023 N 908/пр)
СП 493.1325800.2020 Инженерные изыскания для строительства в районах распространения многолетнемерзлых грунтов. Общие требования
(ссылка введена
Изменением N 1, утв. Приказом Минстроя России от 12.12.2023 N 908/пр)
СП 497.1325800.2020 Основания и фундаменты зданий и сооружений на многолетнемерзлых грунтах. Правила эксплуатации
(ссылка введена
Изменением N 1, утв. Приказом Минстроя России от 12.12.2023 N 908/пр)
СП 502.1325800.2021 Инженерно-экологические изыскания для строительства. Общие правила производства работ
(ссылка введена
Изменением N 1, утв. Приказом Минстроя России от 12.12.2023 N 908/пр)
Примечание - При пользовании настоящим сводом правил целесообразно проверить действие ссылочных документов в информационной системе общего пользования - на официальном сайте федерального органа исполнительной власти в сфере стандартизации в сети Интернет или по ежегодному информационному указателю "Национальные стандарты", который опубликован по состоянию на 1 января текущего года, и по выпускам ежемесячного информационного указателя "Национальные стандарты" за текущий год. Если заменен ссылочный документ, на который дана недатированная ссылка, то рекомендуется использовать действующую версию этого документа с учетом всех внесенных в данную версию изменений. Если заменен ссылочный документ, на который дана датированная ссылка, то рекомендуется использовать версию этого документа с указанным выше годом утверждения (принятия). Если после утверждения настоящего свода правил в ссылочный документ, на который дана датированная ссылка, внесено изменение, затрагивающее положение, на которое дана ссылка, то это положение рекомендуется применять без учета данного изменения. Если ссылочный документ отменен без замены, то положение, в котором дана ссылка на него, рекомендуется применять в части, не затрагивающей эту ссылку. Сведения о действии сводов правил целесообразно проверить в Федеральном информационном фонде стандартов.
(в ред.
Изменения N 1, утв. Приказом Минстроя России от 12.12.2023 N 908/пр)
3.1 вывал: Внезапный отрыв и падение отдельных глыб и блоков горных пород из откосов выемок и полувыемок, с крутых и отвесных склонов, сложенных скальными или полускальными породами.
3.2 гибкий барьер: Гибкое улавливающее сооружение в виде сетчатого ограждения, перехватывающего продукты обвалов и рассеивающего энергию их удара за счет упругопластических деформаций конструкций.
3.3 инженерная защита от склоновых процессов: Комплекс сооружений и мероприятий, направленных на предупреждение отрицательного воздействия склоновых процессов на защищаемый объект, а также на защиту от их последствий.
3.4 обвальные процессы: Совокупность опасных геологических процессов, проявляющихся в виде обвалов, вывалов и осыпей.
3.5 осыпь: Длительное (в течение многих лет) движение вниз по склону накопившейся несвязной массы мелких обломочных продуктов выветривания с малыми скоростями и только в поверхностном слое. Интенсивность движения осыпи может существенно измениться под воздействием атмосферных осадков.
3.6 пропускающее сооружение: Противообвальное сооружение, предназначенное для организованного пропуска продуктов обвальных процессов над и под защищаемым объектом в виде галерей и эстакад соответственно.
3.7 улавливающие сооружения: Противообвальные сооружения, предназначенные для перехвата и остановки продуктов обвальных процессов перед защищаемым объектом.
3.8 устойчивость склона: Способность склона сохранять свой профиль.
3.9 десерпция: Процесс медленного массового смещения несвязного обломочного материала на склонах под воздействием гравитации и криогенных факторов.
(п. 3.9 введен
Изменением N 1, утв. Приказом Минстроя России от 12.12.2023 N 908/пр)
3.10 термогенная десерпция: Десерпция, обусловленная периодическим (суточным и сезонным) колебанием температуры, приводящим к циклическому расширению и сокращению размера обломков пород и пульсационному смещению крупнообломочного материала вниз по склону.
(п. 3.10 введен
Изменением N 1, утв. Приказом Минстроя России от 12.12.2023 N 908/пр)
3.11 криогенная десерпция: Десерпция, обусловленная поднятием обломков в направлении, перпендикулярном к склону (за счет образования линз и прослоев льда в теле крупнообломочного материала), с последующим опусканием по вертикали обломков вместе с заполнителем в результате вытаивания льда.
(п. 3.11 введен
Изменением N 1, утв. Приказом Минстроя России от 12.12.2023 N 908/пр)
3.12 термоденудация: Комплекс криогенного разрушения горных пород, сложенных многолетнемерзлыми грунтами и обнаженных в результате природных или техногенных процессов, и движения (сноса) продуктов разрушения вниз по склону, вызванный криогенным выветриванием, солифлюкцией, термоэрозией, термоабразией, десерпцией, термокарстом, курумообразованием.
(п. 3.12 введен
Изменением N 1, утв. Приказом Минстроя России от 12.12.2023 N 908/пр)
3.13
термоэрозия: Разрушение и вынос оттаивающих и мерзлых дисперсных грунтов и льдов в результате теплового и механического воздействия водных потоков. |
(п. 3.13 введен
Изменением N 1, утв. Приказом Минстроя России от 12.12.2023 N 908/пр)
3.14
термоабразия: Процесс отступания, разрушения берегов морей, озер, водохранилищ, а также подводных береговых склонов, сложенных многолетнемерзлыми породами, под совместным механическим и тепловым воздействием водных масс. |
(п. 3.14 введен
Изменением N 1, утв. Приказом Минстроя России от 12.12.2023 N 908/пр)
3.15
солифлюкция: Смещение (течение, оползание, соскальзывание, сплывы, оплывины) оттаивающего переувлажненного тонкодисперсного грунта на склонах в теплое время суток года, обусловленное сезонным промерзанием и оттаиванием. |
(п. 3.15 введен
Изменением N 1, утв. Приказом Минстроя России от 12.12.2023 N 908/пр)
3.16 курумы: Скопление крупнообломочного материала на склонах различной крутизны, образующееся в результате интенсивного физического выветривания скальной породы.
(п. 3.16 введен
Изменением N 1, утв. Приказом Минстроя России от 12.12.2023 N 908/пр)
3.17
курумообразование: Процесс криогенного выветривания, выпучивания и выдавливания крупнообломочного материала на поверхность склона с его дальнейшим медленным перемещением вниз по склону под воздействием криогенной, термогенной, влажностной десерпции или солифлюкции. |
(п. 3.17 введен
Изменением N 1, утв. Приказом Минстроя России от 12.12.2023 N 908/пр)
4.1 К наиболее опасным и часто встречающимся склоновым процессам относятся оползни различного типа, обвалы и осыпи, представляющие собой смещение грунтов и горных пород на склоне под действием сил гравитации, а также дополнительных внешних природных и техногенных воздействий (гидродинамического, вибрационного, сейсмического и др.).
4.2 Проектирование инженерной защиты территорий, зданий и сооружений предусматривает разработку комплекса мероприятий, обеспечивающих предотвращение оползневых и обвальных проявлений в зависимости от требований их функционального назначения и охраны природной среды или устранение отрицательных воздействий на защищаемую территорию.
(в ред.
Изменения N 1, утв. Приказом Минстроя России от 12.12.2023 N 908/пр)
4.3 Разработка проектной и рабочей документации по инженерной защите осуществляется на основе:
- сведений о географическом положении, хозяйственных связях и границах защищаемой территории;
- сведений о существующих сооружениях инженерной защиты, их состоянии, условиях эксплуатации и возможности их реконструкции, а также о мероприятиях инженерной защиты;
- результатов инженерно-геодезических, инженерно-геологических, инженерно-геотехнических, инженерно-гидрометеорологических и инженерно-экологических изысканий для строительства;
(в ред.
Изменения N 1, утв. Приказом Минстроя России от 12.12.2023 N 908/пр)
- материалов о проводимых или намечаемых региональных мероприятиях по инженерной подготовке территории и их влиянии на природные условия и ресурсы защищаемой территории;
- планировочных решений и вариантной проработки решений инженерной защиты;
- данных, характеризующих особенности использования территорий, зданий и сооружений, как существующих, так и проектируемых, с прогнозом изменения этих особенностей и с учетом установленного режима природопользования (заповедники, сельскохозяйственные земли и т.п.) и санитарно-гигиенических норм;
- результатов мониторинга объектов градостроительной деятельности;
- обоснования инвестиций и технико-экономического сравнения возможных вариантов проектных решений инженерной защиты (при ее одинаковых функциональных свойствах) с оценкой предотвращенных потерь (ущерба и социальных потерь).
При проектировании инженерной защиты следует учитывать ее градо- и объектоформирующее значение, местные условия, а также имеющийся опыт проектирования, строительства и эксплуатации сооружений инженерной защиты в аналогичных природных условиях.
4.4 Требования к выполнению инженерных изысканий для разработки проектной документации противооползневых и противообвальных мероприятий приведены в
СП 14.13330,
СП 25.13330,
СП 47.13330,
СП 104.13330,
СП 116.13330,
СП 317.1325800,
СП 420.1325800,
СП 425.1325800,
СП 446.1325800,
СП 482.1325800,
СП 493.1325800,
СП 502.1325800, а также стандартах на инженерные изыскания и исследования грунтов для строительства. Состав, содержание и детальность материалов инженерных изысканий определяются масштабом графических материалов в соответствии с указаниями
СП 116.13330.
(в ред.
Изменения N 1, утв. Приказом Минстроя России от 12.12.2023 N 908/пр)
4.5 Проектируемые противооползневые и противообвальные мероприятия должны обеспечивать:
- предотвращение, устранение или снижение до допустимого уровня отрицательных воздействий на защищаемые территории, здания и сооружения;
- наиболее полное использование местных строительных материалов и природных ресурсов;
- производство работ методами, исключающими возможность появления новых или активизацию действующих оползневых и обвальных процессов;
- сохранение заповедных зон, ландшафтов, исторических объектов, памятников;
(в ред.
Изменения N 1, утв. Приказом Минстроя России от 12.12.2023 N 908/пр)
- надлежащее эстетическое и экологическое оформление сооружений;
- мониторинг состояния защищаемых объектов и сооружений инженерной защиты.
(в ред.
Изменения N 1, утв. Приказом Минстроя России от 12.12.2023 N 908/пр)
4.6 Эффективность принятых проектных решений определяется на основании оценки риска развития склоновых процессов с учетом предотвращенных потерь (экономического ущерба и социальных потерь) в соответствии с указаниями
СП 116.13330.
4.7 Уровень ответственности (класс) противооползневых и противообвальных сооружений назначается в соответствии с уровнем ответственности или классом защищаемых объектов [
1,
статья 4]. При расположении на защищаемой территории объектов различных уровней ответственности уровень ответственности сооружений инженерной защиты должен соответствовать уровню ответственности большинства защищаемых объектов. При этом отдельные объекты с повышенным уровнем ответственности могут иметь локальную защиту. Классы таких объектов и их локальной защиты должны соответствовать друг другу.
Если технико-экономическим обоснованием установлена неэффективность локальной защиты, то класс инженерной защиты территории устанавливается по объектам наиболее высокого класса.
(п. 4.7 в ред.
Изменения N 1, утв. Приказом Минстроя России от 12.12.2023 N 908/пр)
4.8 Исключен с 13.01.2024. -
Изменение N 1, утв. Приказом Минстроя России от 12.12.2023 N 908/пр.
4.9 Нагрузки и воздействия, учитываемые в расчетах сооружений инженерной защиты, коэффициенты надежности, а также возможные сочетания нагрузок следует принимать в соответствии с
СП 20.13330 с учетом требований соответствующих разделов настоящего свода правил.
4.10 При разработке проектной и рабочей документации противооползневых и противообвальных мероприятий следует рассматривать целесообразность применения следующих основных решений или их комбинаций:
- изменение рельефа склона в целях повышения его устойчивости;
- защита от абразии и эрозии устройством берегозащитных сооружений;
(в ред.
Изменения N 1, утв. Приказом Минстроя России от 12.12.2023 N 908/пр)
- регулирование стока поверхностных вод с применением вертикальной планировки территории и устройством системы поверхностного водоотвода;
- предотвращение инфильтрации воды в грунт и эрозионных процессов;
- искусственное понижение уровня подземных вод;
- агролесомелиорация;
- закрепление грунтов (в том числе армированием);
- устройство удерживающих сооружений и конструкций;
- устройство улавливающих или пропускающих сооружений и конструкций;
- прочие мероприятия (регулирование тепловых процессов с помощью теплозащитных устройств и покрытий, защита от вредного влияния процессов промерзания и оттаивания, установление охранных зон).
(в ред.
Изменения N 1, утв. Приказом Минстроя России от 12.12.2023 N 908/пр)
При проектировании сооружений инженерной защиты следует учитывать их влияние на существующую гидрогеологическую обстановку (возникновение барражного эффекта, переформирование путей фильтрации и разгрузки подземных вод) и предусматривать мероприятия по предупреждению обводнения участка. Мероприятия по реализации комплекса мер по регулированию стока подземных и поверхностных вод следует по возможности реализовывать заблаговременно, до проведения земляных работ.
(в ред.
Изменения N 1, утв. Приказом Минстроя России от 12.12.2023 N 908/пр)
4.11 В случае технической невозможности или значительных экономических показателей методов активной защиты следует предусматривать мероприятия пассивной защиты объекта: приспособление защищаемых сооружений к обтеканию их оползнем или обвалом; устройство улавливающих, пропускающих или отводящих сооружений и устройств, противообвальных галерей.
(в ред.
Изменения N 1, утв. Приказом Минстроя России от 12.12.2023 N 908/пр)
4.12 При проектировании противооползневых и противообвальных сооружений на берегах водоемов и водотоков необходимо комплексное решение инженерной защиты с учетом необходимых мероприятий берегозащиты или учетом существующих объектов берегозащиты, в связи с чем следует дополнительно соблюдать требования
СП 116.13330 и соответствующих нормативных документов по гидротехническому строительству (
СП 23.13330,
СП 39.13330,
СП 58.13330,
СП 80.13330,
СП 101.13330,
СП 277.1325800,
СП 416.1325800).
(в ред.
Изменения N 1, утв. Приказом Минстроя России от 12.12.2023 N 908/пр)
4.13 Для геотехнической категории объектов 3 (СП 22.13330.2016,
таблица 4.1) в рамках разработки проектной и рабочей документации противооползневой и противообвальной защиты допускается предусматривать экспериментальные, модельные исследования и выполнение опытно-производственных работ, особо оговариваемые в техническом задании на проектирование.
(в ред.
Изменения N 1, утв. Приказом Минстроя России от 12.12.2023 N 908/пр)
4.14 Проектная и рабочая документация для сооружений противооползневой и противообвальной защиты должна отвечать требованиям охраны окружающей среды и, при необходимости, включать разработку комплекса мероприятий, предусматривающих непревышение допустимого уровня антропогенного вмешательства в природную среду и гарантирующих предотвращение развития в ней негативных процессов.
4.15 При проектировании систем, объектов, сооружений и мероприятий инженерной защиты особо опасных, технически сложных и уникальных объектов, объектов, находящихся в особых условиях эксплуатации (подвергающихся сейсмическим воздействиям, интенсивным воздействиям температуры, радиации, агрессивных сред и др.), в районах развития иных опасных процессов и грунтов с особыми свойствами (просадочных, набухающих, многолетнемерзлых, засоленных и др.), а также на подрабатываемых территориях следует дополнительно учитывать требования соответствующих сводов правил.
4.16 В настоящем своде правил, если не оговорено иное:
- под склонами следует также понимать различные формы рельефа (обрывы, косогоры, откосы, борта котлованов и карьеров, стенки траншей и т.п.), сформированные в результате действия рельефообразующих процессов и (или) инженерно-хозяйственной деятельности человека;
- под поверхностью скольжения следует понимать существующую или расчетную границу, разделяющую смещающиеся грунтовые массы от неподвижного (или условно неподвижного) грунтового массива.
(в ред.
Изменения N 1, утв. Приказом Минстроя России от 12.12.2023 N 908/пр)
5 Инженерно-геологические изыскания
5.1 Инженерно-геологические исследования, в состав которых также входят гидрологические, геокриологические, сейсмологические исследования (СП 446.1325800.2019,
пункт 5.1), должны обеспечивать надежные данные о современном состоянии и содержать прогноз изменения инженерно-геологических, гидрологических, геокриологических и экологических условий на расчетный срок с учетом природных и техногенных факторов, а также территориальную оценку (районирование) территории по порогам геологической безопасности и рекомендации по выбору принципиальных направлений инженерной защиты.
(в ред.
Изменения N 1, утв. Приказом Минстроя России от 12.12.2023 N 908/пр)
5.2 Требования к разработке программы инженерно-геологических изысканий, с учетом дополнительного состава и объемов исследований, приведены в
СП 47.13330,
СП 420.1325800,
СП 446.1325800,
СП 493.1325800,
[2] и уточняются в зависимости от типа, стадии (фазы) развития и масштабности проявления склоновых процессов.
(п. 5.2 в ред.
Изменения N 1, утв. Приказом Минстроя России от 12.12.2023 N 908/пр)
5.3 Состав и методы исследования оползнеопасных и обвалоопасных территорий и участков включают:
- сбор, обработку и анализ материалов изысканий предыдущих лет на исследуемой и прилегающих территориях;
- сбор, дешифровку и анализ материалов аэро- и космосъемки, выполненные в различные периоды времени;
- маршрутные наблюдения (рекогносцировочные и в процессе оползневой съемки);
- проходку горных выработок (буровых скважин, шурфов, дудок и в особых случаях - штолен);
- геофизические исследования;
- полевые исследования грунтов, в том числе методом сбрасывания камней на участках обвалоопасных склонов;
- гидрогеологические исследования, в том числе опытно-фильтрационные работы;
- стационарные наблюдения за оползневыми и обвальными проявлениями, которые в зависимости от типа склонового процесса, стадии развития, масштабности проявления, защищаемых объектов и т.п. могут включать:
- наблюдения за оползневыми подвижками с использованием поверхностных и глубинных реперов, инклинометров, марок и датчиков;
- наблюдения за изменением напряженного состояния, порового давления и влажности грунтов;
- режимные наблюдения за подземными водами - одним из основных факторов оползнеобразования;
- наблюдения за процессами выветривания горных пород, слагающих оползне-, осыпе- и обвалоопасные склоны;
- гидрометеорологические наблюдения за факторами оползнеобразования, в том числе за переработкой берегов на водоемах и водотоках, поверхностным стоком и другими метеорологическими и климатическими явлениями, влияющими на образование или активизацию склоновых процессов;
- лабораторные исследования грунтов и подземных вод;
- камеральную обработку комплексных инженерно-геологических изысканий, материалы которой должны дополнительно включать расчетную оценку устойчивости склонов с учетом возможного развития склоновых процессов, размеров исследуемой территории, сложности и степени изученности ее инженерно-геологических условий.
(в ред.
Изменения N 1, утв. Приказом Минстроя России от 12.12.2023 N 908/пр)
5.4 Особое внимание следует уделить получению изыскательской информации об условиях обводнения поверхности скольжения оползневого тела и прилегающего к ней массива грунта.
5.5 Для обеспечения надежности оценок и прогнозов устойчивости склонов математическое моделирование следует выполнять с использованием различных методов расчета и математических моделей, описывающих механические свойства грунта.
(в ред.
Изменения N 1, утв. Приказом Минстроя России от 12.12.2023 N 908/пр)
При этом следует учитывать возможные (вероятные) изменения условий в период строительства и эксплуатации объекта:
- прочностных и деформационных характеристик грунта вследствие замачивания, осушения, водонасыщения, температурного режима, реологии, по поверхностям скольжения;
- параметров оползневого тела, обвала или осыпи (площади, мощности, направления движения);
- влияния планировочных и строительных работ;
- величин и расположения нагрузки на склоне (транспортной, техногенной).
(абзац введен
Изменением N 1, утв. Приказом Минстроя России от 12.12.2023 N 908/пр)
5.6 По результатам изысканий должны быть выполнены районирование (зонирование) территории по степени опасности склоновых процессов, а также прогнозирование возможных негативных последствий обвальных и оползневых смещений - затопление территорий при возникновении обвально-оползневых запруд, образование ударной волны при быстром смещении обвально-оползневых масс в водоемы, загрязнение подземных и поверхностных вод, иногда - атмосферы (при разрушении оползнями или обвалами экологически опасных объектов).
5.7 Дополнительные требования к инженерно-геологическим изысканиям в районах распространения карстовых и карстово-суффозионных процессов, многолетнемерзлых грунтов, сейсмически опасных районах, районах распространения специфических грунтов, на подрабатываемых территориях приведены в
СП 47.13330,
СП 446.1325800,
СП 493.1325800.
(п. 5.7 в ред.
Изменения N 1, утв. Приказом Минстроя России от 12.12.2023 N 908/пр)
6 Противооползневые сооружения и мероприятия
6.1 Общие положения и методы расчета
6.1.1 Проектирование противооползневой защиты должно предусматривать реализацию комплекса инженерных мероприятий, основные виды которых приведены в
4.10.
(в ред.
Изменения N 1, утв. Приказом Минстроя России от 12.12.2023 N 908/пр)
6.1.2 Требования к проектированию противооползневых и противообвальных сооружений и их конструкций по методу предельных состояний двух групп приведены в
СП 116.13330,
СП 381.1325800.
(в ред.
Изменения N 1, утв. Приказом Минстроя России от 12.12.2023 N 908/пр)
6.1.3 В общем случае проектирование противооползневых сооружений включает решение следующих взаимосвязанных задач:
- анализ, в том числе с применением соответствующих расчетов, устойчивости природного и проектируемого профиля склона с учетом расположения на нем основных защищаемых объектов;
- выбор типа, расположения и основных параметров противооползневых сооружений и мероприятий (водопонижение, закрепление грунтов и т.д.);
- определение внешних нагрузок на сооружение и его конструктивные элементы;
- расчет сооружения в целях определения усилий в элементах конструкций;
- конструирование сооружения и его элементов на основе расчетов по первой и второй группам предельных состояний;
- расчеты общей и местной устойчивости склона с учетом запроектированных противооползневых сооружений и мероприятий, при необходимости - уточнение и корректировка принятых решений.
6.1.4 Оценка устойчивости существующего и проектируемого склона должна включать:
- сбор исходных данных;
- выбор расчетных створов;
- составление расчетной схемы;
- выбор метода расчета в соответствии с зафиксированным (предполагаемым) механизмом оползня, природными и техногенными условиями (см. также
6.1.11,
6.1.12,
6.1.13);
- выполнение и анализ результатов расчетов устойчивости;
- определение и построение эпюр оползневого давления;
- рекомендации по мероприятиям инженерной защиты.
(п. 6.1.4 в ред.
Изменения N 1, утв. Приказом Минстроя России от 12.12.2023 N 908/пр)
6.1.5 Расчеты выполняются с учетом всех реально возможных неблагоприятных факторов и изменений инженерно-геологической обстановки:
- изменения рельефа в процессе освоения (реорганизации) склона;
- изменения гидрогеологических условий (поверхностного и подземного стока);
- изменения прочностных и деформационных характеристик грунтов;
- изменения и появления дополнительных внешних нагрузок и воздействий;
- активизации и развития опасных инженерно-геологических процессов (эрозии и оползней);
- развития зон выветривания горных пород;
- активизации сейсмических воздействий.
(п. 6.1.5 в ред.
Изменения N 1, утв. Приказом Минстроя России от 12.12.2023 N 908/пр)
6.1.6 Расчеты общей и местной устойчивости склонов выполняются, как на этапе строительства, так и на этапе эксплуатации, на основе исходных данных, которые включают:
- топографический план защищаемого участка в масштабе 1:200 - 1:1 000;
- характерные инженерно-геологические разрезы защищаемого участка, отражающие максимально достоверные особенности геологического строения склона;
- положение существующих и проектируемых зданий, сооружений, автомобильных дорог и различных проездов, а также любых других объектов, создающих дополнительную нагрузку на склон;
- величины статических и динамических техногенных нагрузок от существующих и проектируемых на склоне объектов;
- положение и параметры существующих удерживающих сооружений (подпорных, подпорно-планировочных стен, свайных, свайно-анкерных и анкерных удерживающих сооружений);
- гидрогеологические условия участка инженерной защиты (данные об уровнях грунтовых вод или пьезометрических уровнях напорных подземных вод и водовмещающих породах);
- существующие и прогнозируемые области распространения опасных инженерно-геологических процессов: типы оползней по механизму оползневого процесса, границы оползневых тел в плане и по глубине; положение в массиве склона поверхностей ослабления: трещин различного происхождения, старых и свежих поверхностей оползневых смещений, контактов слоев, прослоев и зон малопрочных пород, зон тектонического дробления; положение промоин, областей плоскостной эрозии (размыва и смыва грунтов); глубины зон выветривания горных пород;
- расчетные величины прочностных и деформационных свойств пород ненарушенной структуры, а также по поверхностям и зонам ослабления (смещения) с учетом ожидаемых изменений этих показателей по сезонным периодам и за многолетний срок;
- расчетную величину сейсмичности защищаемого склона;
- классы капитальности и категории защищаемых зданий и сооружений.
(п. 6.1.6 в ред.
Изменения N 1, утв. Приказом Минстроя России от 12.12.2023 N 908/пр)
6.1.7 Расчетные створы следует выбирать в соответствии с главным направлением движения существующего или прогнозируемого оползня в направлении наибольшей крутизны падения поверхности склона. Количество расчетных разрезов зависит от размеров (ширины) оползневого участка, а также от однородности инженерно-геологических, топографических, гидрогеологических и других условий формирования оползня с учетом расположения существующих и проектируемых зданий и сооружений на склоне и вблизи него. На каждом оползне назначается не менее одного расчетного створа, приуроченного к оси оползня. На крупных оползневых участках следует рассматривать расчетные створы по нескольким направлениям, с учетом возможности изменения условий устойчивости в результате строительства и стадии развития.
В сложных инженерно-геологических условиях при высокой степени их изученности и проектировании сооружений инженерной защиты наиболее ответственных объектов следует выполнять расчеты устойчивости в трехмерной постановке с использованием соответствующего программного обеспечения.
(п. 6.1.7 в ред.
Изменения N 1, утв. Приказом Минстроя России от 12.12.2023 N 908/пр)
6.1.8 Расчет основных параметров противооползневого сооружения следует вести с учетом этапности производства работ. При этом обязательному рассмотрению подлежат этапы срезки основания до отметок устройства очередного яруса анкеров (при их наличии) и максимальной подрезки с учетом устройства временной траншеи для отвода воды или переуглубления выемки не более чем на 0,5 м.
(п. 6.1.8 в ред.
Изменения N 1, утв. Приказом Минстроя России от 12.12.2023 N 908/пр)
6.1.9 В случае если подпорное сооружение возводится в непосредственной близости от другого сооружения, следует рассмотреть взаимное влияние сооружений на их устойчивость. Такую оценку следует выполнять с учетом этапности строительства обоих сооружений. При невозможности учета этапности строительства допускается провести соответствующее объединение сооружений с представлением комплекса в виде единого сооружения, состоящего, по меньшей мере, из двух отдельных конструкций, с выполнением расчетов в трехмерной постановке.
(п. 6.1.9 в ред.
Изменения N 1, утв. Приказом Минстроя России от 12.12.2023 N 908/пр)
6.1.10 Величины предельно допустимых деформаций противооползневых сооружений следует устанавливать с учетом предельно допустимых деформаций самих сооружений инженерной защиты, а также защищаемых объектов, расположенных в зоне влияния проектируемого подпорного сооружения, границы которой определяются в соответствии с указаниями
СП 22.13330.
(в ред.
Изменения N 1, утв. Приказом Минстроя России от 12.12.2023 N 908/пр)
Абзац исключен с 13.01.2024. -
Изменение N 1, утв. Приказом Минстроя России от 12.12.2023 N 908/пр.
При любых сочетаниях нагрузок не следует допускать расчетные горизонтальные перемещения подпорного сооружения более 1/100 его высоты (измеренной от верха подпорного сооружения до отметки экскавации с учетом временной подрезки или случайного перезаглубления до 0,5 м), но не более 10 см. При необходимости превышения указанных значений в расчете следует учитывать возможность образования заколов в зоне призмы обрушения, дополнительную вертикальную составляющую активного давления и т.п.
6.1.11 Расчет общей и местной устойчивости природного склона и проектируемого откоса в зависимости от типа оползневого процесса, особенностей инженерно-геологических условий и других факторов допускается выполнять с использованием различных расчетных схем и методик, основанных на теории предельного равновесия, метода конечных элементов (МКЭ) с использованием упругопластических моделей грунта или их комбинации.
При неизвестной поверхности скольжения оползневого массива метод расчета должен обеспечивать ее нахождение (или прогнозируемую систему поверхностей скольжения) в соответствии с минимальными значениями коэффициента запаса устойчивости.
(п. 6.1.11 в ред.
Изменения N 1, утв. Приказом Минстроя России от 12.12.2023 N 908/пр)
6.1.12 Для сооружений классов ответственности КС-3 и КС-2 согласно
ГОСТ 27751 и категории сложности III
(СП 47.13330) расчеты устойчивости следует выполнять не менее чем двумя различными методами. В качестве обязательного, наряду с методами круглоцилиндрических или фиксированных поверхностей скольжения, а также различных модификаций метода отсеков, в состав расчетов должен быть включен метод снижения прочностных характеристик, реализуемый в рамках теории предельного равновесия или с использованием МКЭ в нелинейной постановке согласно
СП 22.13330,
СП 116.13330.
(п. 6.1.12 в ред.
Изменения N 1, утв. Приказом Минстроя России от 12.12.2023 N 908/пр)
6.1.13 Если расчеты устойчивости по прочностным характеристикам грунтов по данным инженерно-геологических изысканий не подтверждают установленное состояние устойчивости природного склона, то для сооружений классов ответственности КС-1 и КС-2
(ГОСТ 27751) необходимо уточнение прочностных характеристик грунтов методом обратных расчетов. Для сооружений класса КС-3 требуется выполнение дополнительных инженерно-геологических изысканий.
(п. 6.1.13 в ред.
Изменения N 1, утв. Приказом Минстроя России от 12.12.2023 N 908/пр)
6.1.14 - 6.1.17 Исключены с 13.01.2024. -
Изменение N 1, утв. Приказом Минстроя России от 12.12.2023 N 908/пр.
6.2 Противооползневые мероприятия
6.2.1 Изменение рельефа склона
6.2.1.1 Изменение (формирование) рельефа склона является одним из основных действенных методов предупреждения или снижения процессов сдвига, скольжения, выдавливания, обвалов, осыпей и течения на оползнеопасных или обвалоопасных территориях, что позволяет использовать его как самостоятельное или как часть комплекса защитных мероприятий на территории с различными видами склоновых процессов.
(п. 6.2.1.1 в ред.
Изменения N 1, утв. Приказом Минстроя России от 12.12.2023 N 908/пр)
6.2.1.2 Основной принцип формирования рационального профиля склона заключается в разгрузке верхнего, активного участка оползневого тела и пригрузке нижнего
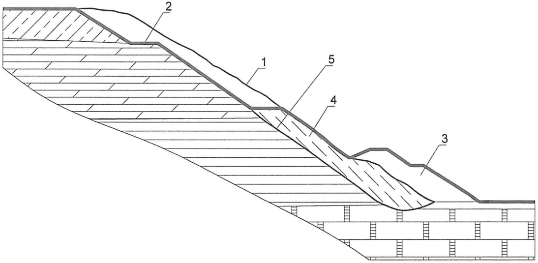
(рисунок 6.1), что приводит к уменьшению объема потенциального оползня и изменению соотношения сдвигающих и удерживающих сил и, в конечном счете, к повышению его устойчивости. Образование такого склона достигается срезкой грунта, перегружающего склон, уменьшением его крутизны, террасированием, отсыпкой в его нижней части упорной призмы (контрбанкета), удалением или заменой слабых неустойчивых грунтов.
1 - поверхность исходного склона; 2 - поверхность
террасированного склона; 3 - контрбанкет;
4 - оползневой массив; 5 - вероятная поверхность скольжения
оползневого массива
Рисунок 6.1 - Формирование устойчивого профиля склона
(п. 6.2.1.2 в ред.
Изменения N 1, утв. Приказом Минстроя России от 12.12.2023 N 908/пр)
6.2.1.3 Изменение рельефа склона, как правило, следует предусматривать при отсутствии стесняющих условий, преимущественно при дисперсных породах, реже - при полускальных. В районах распространения многолетнемерзлых грунтов изменение рельефа допускается только при обосновании теплотехническими расчетами.
6.2.1.4 Уступчатая форма склона достигается устройством по его высоте горизонтальных площадок (берм, террас). Расположение, количество и ширина террас определяется в зависимости от высоты склона, рельефа, геологических и гидрогеологических условий, назначения и способа производства работ. Широкие площадки устраивают при размещении на них сооружений, дорог, оборудования. Минимальная ширина площадок составляет: в строительных котлованах - 1,5 - 2 м; на откосах земляных сооружений и природных склонах - 2 - 3 м; в карьерах - 6 - 8 м. При размещении террас по высоте склона их следует располагать на контакте пластов грунта и на участках высачивания грунтовых вод с шагом по высоте не более 15 м.
Планировку берм и террас следует проектировать с учетом требований к организации водоотведения в соответствии с указаниями
6.2.2.
(п. 6.2.1.4 в ред.
Изменения N 1, утв. Приказом Минстроя России от 12.12.2023 N 908/пр)
6.2.1.5 При замене оползневых грунтов их сопряжение на участке примыкания к устойчивым коренным грунтам следует проектировать в виде небольших уступов с наклонными плоскостями.
6.2.1.6 Формирование рационального проектного профиля следует выполнять с учетом расположения характерных участков природного оползневого склона (зон выпора, заколов, трещин и других признаков членения оползня, верхней и нижней отметок стенок и ступеней срыва и пр.), а также крутизны устойчивых естественных склонов, имеющих аналогичные геологические и гидрогеологические условия. На участках развития консеквентных оползней при полускальных породах уположение следует проектировать с учетом падения основной выраженной системы поверхностей ослабления (трещин, слоистости).
(в ред.
Изменения N 1, утв. Приказом Минстроя России от 12.12.2023 N 908/пр)
6.2.1.7 Проектный профиль склона строится на основании расчетов общей и локальной устойчивости по нескольким характерным профилям по фронту оползня с учетом размещения на них всех предполагаемых генеральным планом объектов в соответствии с указаниями
раздела 6.1.
(п. 6.2.1.7 в ред.
Изменения N 1, утв. Приказом Минстроя России от 12.12.2023 N 908/пр)
6.2.1.8 Контрбанкеты (упорные призмы) следует применять главным образом для стабилизации инсеквентных оползней при наличии явной, близкой к круглоцилиндрической, поверхности скольжения, для борьбы с оползнями выдавливания, а также в качестве упора для консеквентных оползней (для восприятия горизонтальных сил). Контрбанкеты также рекомендуются к применению:
- на участках, примыкающих к водоемам, совмещая функции противооползневых и берегоукрепительных сооружений;
- участках со значительной глубиной промерзания грунтов, подверженных морозному пучению, на участках распространения многолетнемерзлых грунтов.
(п. 6.2.1.8 в ред.
Изменения N 1, утв. Приказом Минстроя России от 12.12.2023 N 908/пр)
6.2.1.9 Для повышения сопротивления контрбанкетов сдвигу по основанию следует предусматривать их врезку в коренные породы с устройством уступов шириной 2 - 3 м и высотой, изменяющейся в зависимости от уклона склона. Врезку следует проектировать во всех случаях при незначительной глубине залегания коренных пород (до 3 м).
В условиях глубокого залегания коренных пород при наличии в основании контрбанкетов слабых грунтов следует предусматривать их удаление или замену.
Врезка контрбанкетов в коренные породы, а также удаление или замена слабых грунтов в их основании допускаются, если по условиям устойчивости склона возможна его кратковременная подрезка на период производства работ.
(п. 6.2.1.9 в ред.
Изменения N 1, утв. Приказом Минстроя России от 12.12.2023 N 908/пр)
6.2.1.10 Верхнюю часть контрбанкета следует проектировать в виде террасы. Высокие откосы контрбанкетов следует проектировать многоярусными, с устройством промежуточных берм. Планировку берм и террас контрбанкетов, мероприятия по водоотведению следует выполнять в соответствии с требованиями
6.2.1,
6.2.2.
(п. 6.2.1.10 введен
Изменением N 1, утв. Приказом Минстроя России от 12.12.2023 N 908/пр)
6.2.1.11 Контрбанкеты следует проектировать в виде единой протяженной призмы. Допускается применение контрбанкетов с разрывами по ширине склона.
(п. 6.2.1.11 введен
Изменением N 1, утв. Приказом Минстроя России от 12.12.2023 N 908/пр)
6.2.1.12 Для устройства контрбанкетов следует отдавать предпочтение дренирующим грунтам, в том числе крупнообломочным. При устройстве контрбанкетов из слабопроницаемых местных грунтов, а также при выклинивании в тело проектируемого контрбанкета водоносного горизонта дополнительно следует предусматривать дренажные мероприятия.
(п. 6.2.1.12 введен
Изменением N 1, утв. Приказом Минстроя России от 12.12.2023 N 908/пр)
6.2.1.13 При необходимости ограничения полосы отвода контрбанкеты следует возводить из армированных грунтов или поддерживать их низовые откосы подпорными стенами.
(п. 6.2.1.13 введен
Изменением N 1, утв. Приказом Минстроя России от 12.12.2023 N 908/пр)
6.2.1.14 Допускается применение контрбанкетов с полной засыпкой оползневых логов при условии организации водопропускных сооружений по их тальвегам, при этом контрбанкет создает дополнительный отпор оползневому давлению благодаря распору между бортами.
Сброс на контрбанкеты вод с прилегающих территорий не допускается.
(п. 6.2.1.14 введен
Изменением N 1, утв. Приказом Минстроя России от 12.12.2023 N 908/пр)
6.2.1.15 Требования к укреплению наружного откоса контрбанкета с учетом механизма переформирования берегового склона и динамики развития оползневых процессов, если наружный откос контрбанкета подвергается морской или речной абразии, устанавливаются
СП 80.13330,
СП 277.1325800.
(п. 6.2.1.15 введен
Изменением N 1, утв. Приказом Минстроя России от 12.12.2023 N 908/пр)
6.2.1.16 Возведение контрбанкетов следует выполнять при оптимальной влажности, выполняя послойное уплотнение грунтов, достигая коэффициента уплотнения не менее 0,98 (за исключением крупнообломочных грунтов). Работы по удалению или замене слабых грунтов в основании контрбанкета следует выполнять короткими чередующимися захватками.
(п. 6.2.1.16 введен
Изменением N 1, утв. Приказом Минстроя России от 12.12.2023 N 908/пр)
6.2.2 Регулирование стока поверхностных вод
6.2.2.1 Регулирование стока поверхностных вод следует предусматривать для повышения устойчивости склонов за счет предупреждения их эродирующего воздействия на поверхность склона, исключения их аккумуляции в понижениях рельефа и предотвращения их инфильтрации в оползневые склоны.
6.2.2.2 Регулирование стока поверхностных вод следует осуществлять путем перехвата стока поверхностных вод с вышерасположенных прилегающих территорий, а также путем сбора и организованного отведения поверхностного стока непосредственно на оползневом участке. В пределах оползневого участка следует предусматривать наиболее совершенную систему водоотводных устройств для сбора и отведения стока за пределы оползневого участка. При сохранении на участке существующих водотоков следует предусматривать расчистку и укрепление их русел.
6.2.2.3 Регулирование стока поверхностных вод предусматривает организацию вертикальной планировки, обеспечивающей организованный свободный сток, совместно с устройством системы водосборных и водоотводных сооружений.
6.2.2.4 Организацию вертикальной планировки, обеспечивающей организованный свободный сток, следует осуществлять путем выравнивания поверхностей склонов, берм и террас, при необходимости - с приданием продольных и поперечных уклонов, таким образом, чтобы избежать возникновения бессточных участков.
6.2.2.5 Продольный уклон берм и террас следует, как правило, назначать по требуемому уклону водоотводных лотков, обычно в пределах 0,003 - 0,005. Поперечный уклон берм и террас следует назначать к водоотводным лоткам в пределах 0,01 - 0,05.
6.2.2.6 Продольные и поперечные уклоны автомобильных дорог, площадок и иных сооружений следует назначать в соответствии с требованиями к их проектированию.
6.2.2.7 Системы водосборных и водоотводных сооружений следует проектировать в соответствии с требованиями
СП 32.13330,
СП 116.13330.
6.2.2.8 Существующие на участке водотоки следует по возможности сохранять и, при необходимости, предусматривать расчистку, углубление и укрепление их русел.
6.2.2.9 Как правило, пропуск стока поверхностных вод с прилегающих территорий следует предусматривать в обход оползневого склона. Сброс стока поверхностных вод с прилегающих территорий на оползневые склоны не допускается.
6.2.2.10 Перехват стока поверхностных вод с прилегающих территорий следует, как правило, предусматривать нагорными канавами, достаточно удаленными от верхней границы оползня. Трассировку нагорных канав следует выполнять в виде плавных кривых, без резких изломов и поворотов или в виде прямых таким образом, чтобы оползневой участок был оконтурен по всему периметру. При изменении направления трассы нагорных канав в плане сопряжение участков должно осуществляться плавными кривыми радиусом не менее 10 м и не менее 20 м на участках, где в силу больших уклонов предусматривается устройство перепадов, быстротоков. Основную нагорную канаву подлежит проектировать с земляным валом из грунта, извлекаемого при ее разработке. При необходимости для перехвата и отвода стока с площади между нагорной канавой и границей оползня следует предусматривать дополнительные ограждающие канавы. Дно и низовой откос нагорных канав рекомендуется покрывать водонепроницаемым или мало водопроницаемым материалом, а верховой откос - укреплением, допускающим выход грунтовых вод в канавы.
(в ред.
Изменения N 1, утв. Приказом Минстроя России от 12.12.2023 N 908/пр)
6.2.2.11 На крутых продольных уклонах водостоков следует проектировать быстротоки - одноступенчатые, многоступенчатые, с водобойными колодцами или другими гасителями энергии, что определяется уклоном трассы и расчетными расходами стока.
6.2.2.12 На участках развития поверхностных сплывов и оплывин между верховым склоном и открытыми водоотводными сооружениями следует предусматривать полки шириной не менее 2 м.
6.2.2.13 Отведение поверхностного стока непосредственно в границах оползневого участка следует осуществлять путем устройства системы канав-осушителей и магистральных канав. Канавы-осушители собирают воду из понижений, перехватывают небольшие ручьи, ключи и отводят их в магистральные канавы. Магистральные канавы в зависимости от рельефа местности следует располагать в центральной части оползневого участка или у его границ (варианты организации такой системы представлены на рисунке 6.2).
1 - нагорная канава; 2 - граница оползня; 3 - застои воды;
4 - магистральная канава; 5 - канава-осушитель
Рисунок 6.2 - Примеры организации водоотведения
на оползневых участках по схеме "елочка" (а)
и по схеме "решетка" (б)
6.2.2.14 Для обеспечения лучших условий поверхностного водоотведения сеть канав-осушителей следует проектировать разветвленной, согласованной с рельефом склона, при этом их сечения следует предусматривать минимальными требуемыми.
6.2.2.15 Поперечные сечения канав-осушителей, как правило, следует назначать из конструктивных соображений, принимая ширину по дну 0,4 м, глубину до 0,6 м, заложение откосов 1:1,5. Во избежание потери устойчивости верхних слоев грунта заглубление канав более чем на 0,6 м не рекомендуется.
6.2.2.16 При размещении и выборе конструкций нагорных канав, канав-осушителей, магистральных канав, выборе их конструкции и типа укрепления следует стремиться к минимизации инфильтрации воды в оползневой массив.
6.2.3 Регулирование стока подземных вод
6.2.3.1 Регулирование стока подземных вод следует предусматривать для повышения устойчивости склонов за счет предупреждения их эродирующего и разупрочняющего воздействия на грунты, снижения сопротивления сдвигу по поверхностям скольжения при смачивании, снижения гидростатического и фильтрационного давления.
6.2.3.2 Регулирование стока подземных вод следует предусматривать путем предотвращения или ограничения притока подземных вод, поступающих с прилагающих участков (в том числе трещинных вод), а также путем непосредственного осушения оползневого склона. Существующие на участке формы разгрузки подземных вод следует по возможности сохранять с устройством каптажей и предусматривать организованное отведение их стока.
6.2.3.3 При необходимости в границах водосборного бассейна следует предусматривать организационно-технические мероприятия по сокращению инфильтрационного питания подземных вод за счет ликвидации стихийного сброса хозяйственно-бытовых вод путем организации централизованного водоотведения в населенных пунктах, устранения протечек водонесущих инженерных сетей и водовмещающих сооружений, устранения влияния "мокрых" производств, регулирования полива сельскохозяйственных и декоративных насаждений и пр.
6.2.3.4 При необходимости для осушения оползневых массивов следует предусматривать мероприятия по интенсификации процессов разгрузки подземных вод за счет понижения базиса естественного дренирования путем расчистки и углубления русел водотоков и понижений в рельефе в случаях, если указанные мероприятия не приведут к активизации процессов абразии и линейной эрозии, а также не угрожают потерей устойчивости склона.
6.2.3.5 Перехват подземных вод, поступающих с вышерасположенной части водосборного бассейна, а также осушение оползневых массивов следует осуществлять с применением различных типов дренажей (траншейных, пластовых, трубчатых, лучевых, галерейных, контрфорсных, дренажных штолен и др.) или водопонизительных скважин и колодцев (в том числе самоизливающихся и водопоглощающих).
(в ред.
Изменения N 1, утв. Приказом Минстроя России от 12.12.2023 N 908/пр)
6.2.3.6 Траншейные дренажи открытого (лотки, канавы, дренажные траншеи) и закрытого типов (траншеи, прорези, заполняемые фильтрационным материалом) следует применять в качестве наружных дренажных устройств в верхних водоносных горизонтах для осушения оползневого тела, как правило, в виде временного мероприятия. После стабилизации оползневых подвижек временные дренажи ликвидируются и заменяются постоянными. При проектировании траншейных дренажей следует проверять устойчивость подсекаемого массива.
(в ред.
Изменения N 1, утв. Приказом Минстроя России от 12.12.2023 N 908/пр)
6.2.3.7 Пластовые дренажи следует применять для предотвращения суффозионного выноса грунта в зоне высачивания подземных вод, в целях понижения их уровня в приповерхностной части склона, а также в слабопроницаемых грунтах для перехвата и отвода утечек из локальных водовмещающих накопителей, хранилищ и емкостей. Пластовые дренажи следует проектировать в виде фильтрующей постели, соединенной с дренажным коллектором (траншейным или трубчатым). Толщину дренажного слоя обычно следует принимать не менее 150 мм, на грунтах мягкопластичной консистенции - не менее 200 мм.
6.2.3.8 Трубчатые и галерейные дренажи, дренажные штольни следует применять для долговременной эксплуатации в устойчивой зоне за пределами смещающихся грунтов для перехвата потока подземных вод или в зоне стабилизировавшегося оползня для поддержания его в осушенном состоянии. Для повышения эффективности дрены следует, как правило, располагать параллельно гидроизогипсам с уклоном не менее 0,003. Глубина заложения определяется условиями водопонижения, но должна быть не менее глубины промерзания. На прямолинейных участках через каждые 30 - 50 м, а также в местах пересечения, изменения уклона и направления, изменения диаметра труб следует предусматривать смотровые колодцы.
6.2.3.9 Трубы для дренажных устройств следует подбирать с учетом нагрузки, агрессивности грунтовых вод, а сечение - в соответствии с расчетными расходами. Грунтонепроницаемость дренажей следует обеспечивать однослойными или многослойными обратными фильтрами, выполняемыми из природных (гравий, щебень, песок) и (или) синтетических материалов.
6.2.3.10 На участках развития консеквентных оползней допускается проектирование контрфорсных дренажей, совмещающих несущие и дренажные функции. Контрфорсные дренажи следует проектировать из сухой каменной наброски, сухой кладки или габионов с заполнением пустот чистым крупнозернистым песком, а также комбинированными (с наружными стенами из сухой кладки или габионов с заполнением песком, гравием, щебнем).
Допускается самостоятельное применение щебня. В этом случае для повышения устойчивости в верхней части такого контрфорса следует предусматривать подпорную стену из сухой кладки или габионов.
При необходимости в основании контрфорсных дренажей следует предусматривать размещение дренажных труб с устройством обратного фильтра. Заглубление контрфорсного дренажа следует назначать ниже наиболее глубокой прогнозной поверхности скольжения.
6.2.3.11 Открытые водопонизительные скважины используются для снижения уровня или напора грунтовых вод в нескальных и скальных трещиноватых породах с коэффициентом фильтрации не менее 2 м/сут при глубоком залегании водоносных горизонтов и в языках оползневых тел, перекрывающих выходы подземных вод. В зависимости от конкретных условий площадки строительства может применяться вертикальный буровой дренаж:
- со скважинами, оборудованными погружными или эрлифтовыми насосами;
- с самоизливающимися скважинами;
- с водопоглощающими скважинами, которые сбрасывают подземные воды из вышележащего горизонта в нижележащий.
Горизонтальный лучевой дренаж применяется в условиях, аналогичных вертикальному. Горизонтальные или слабонаклонные скважины-дрены выполняются буровым способом или продавливанием. Скважины располагаются кустовым способом с количеством лучей в кусте не менее трех. Сбор воды осуществляется в шахте (водосборном колодце), откуда либо откачивается насосами, либо отводится самотеком по водоотводящему коллектору.
(п. 6.2.3.11 в ред.
Изменения N 1, утв. Приказом Минстроя России от 12.12.2023 N 908/пр)
6.2.3.12 Вакуумное водопонижение применяется в горных породах с коэффициентами фильтрации водонесущих грунтов до 50 м/сут, в отдельных случаях - и более.
В зависимости от грунтовых условий и требуемого понижения уровня подземных вод (не более 20 м) используются вакуумные системы различных типов:
- легкие иглофильтровые установки, не имеющие индивидуальных водоподъемников и работающие за счет центральной насосной станции (для группы иглофильтров) с общим всасывающим коллектором, используются при требуемой глубине понижения уровня подземных вод до 4 - 5 м при максимальной глубине погружения иглофильтров не более 8 - 9 м;
- эжекторные иглофильтры водопонизительных скважин, снабженные индивидуальными эжекторными водоподъемниками, объединенными с центральной насосной станцией общим (для группы иглофильтров) напорным и водоотводящим водоводами, допускается применять при понижении уровня подземных вод до 12 м (при надлежащем обосновании до 20 м);
- установки из вакуум-концентрических скважин, снабженные индивидуальными эжекторными водоподъемниками и соединенные с центральной насосной станцией напорным и водоотводящим водоводами, следует применять для осушения слоистых толщ, представленных водоносными горизонтами, разделенными суглинистыми или глинистыми прослоями, в пределах глубин водопонижения до 20 м.
(п. 6.2.3.12 введен
Изменением N 1, утв. Приказом Минстроя России от 12.12.2023 N 908/пр)
6.2.3.13 Проектирование водопонижения на оползнеопасных территориях должно выполняться в соответствии с указаниями соответствующих разделов
СП 45.13330,
СП 103.13330,
СП 116.13330.
(п. 6.2.3.13 введен
Изменением N 1, утв. Приказом Минстроя России от 12.12.2023 N 908/пр)
6.2.4 Закрепление грунтов
6.2.4.1 Закрепление грунтов следует применять в целях повышения устойчивости склонов за счет реализации методов технической мелиорации грунтов, сопровождающихся существенным изменением их физико-механических свойств.
6.2.4.2 Закрепление грунтов в целях повышения устойчивости склонов в зависимости от инженерно-геологических условий необходимо выполнять следующими методами:
- инъекционным - путем нагнетания в грунт цементных или других химических растворов через погружаемые инъекторы или нагнетательные скважины (цементация, смолизация, силикатизация);
- буросмесительным механическим перемешиванием грунта с цементным раствором, цементом, известью или другими вяжущими в виде раствора или в сухом состоянии в процессе бурения без извлечения грунта на поверхность;
- струйным - разрушением грунта струей высокого давления в скважине и смешиванием его с цементным раствором или полным замещением грунта путем его вытеснения через устье скважины;
- термическим или термохимическим и электрохимическим способами - за счет спекания грунтов в скважине высокотемпературными газами, электронагревом, электроосмосом, электрохимическим закреплением.
6.2.4.3 Форма и размеры закрепленных массивов, а также физико-механические характеристики закрепленных грунтов устанавливаются исходя из инженерно-геологических и гидрологических условий площадки, принятого способа и технологии работ по закреплению, лабораторных и полевых опытно-производственных работ, а также результатов расчетного обоснования.
6.2.4.4 В зависимости от конкретных условий закрепление проводится во всем массиве оползневого тела; при наличии выраженного слабого слоя проводят его закрепление аналогично работе свай-шпонок. Кроме того, из закрепленного грунта в нижней части склона могут быть сформированы упорные призмы, выполняющие роль контрфорсов, а на самом склоне - продольные и (или) поперечные зоны усиления в виде стен, разбивающие оползнеопасный участок на устойчивые элементы.
6.2.4.5 При использовании химического способа закрепления происходит существенное ухудшение фильтрационных свойств грунтов, что может приводить к подпору грунтовых вод и ухудшению оползневой обстановки. В этом случае, как правило, следует осуществлять дополнительные мероприятия по регулированию подземного стока грунтовых вод.
6.2.4.6 Разработку проектной и рабочей документации по закреплению грунтов на оползнеопасных территориях выполняют в соответствии с указаниями соответствующих разделов настоящего свода правил (в зависимости от конструктивного решения области закрепления), а также на основе требований и рекомендаций
СП 22.13330,
СП 45.13330.
6.2.5 Агролесомелиоративные мероприятия
6.2.5.1 Агролесомелиоративные мероприятия предусматриваются для повышения устойчивости склонов за счет армирования грунта корневой системой растений, осушения грунтов, предотвращения эрозии, выветривания, смывания и инфильтрации поверхностных вод в грунт, для чего выполняют одерновку склонов посевом многолетних трав и посадку кустарников и деревьев.
6.2.5.2 Агролесомелиоративные мероприятия следует применять для укрепления склонов крутизной не более 45°, сложенных легковыветривающимися (полускальными) грунтами и подверженных воздействию осыпных и эрозионных процессов. Укрепление склонов достигается путем повышения местной устойчивости, осушением грунта, предотвращением эрозии, уменьшением инфильтрации в грунт поверхностных вод, снижением воздействия выветривания, образования осыпей и вывалов за счет укрепления грунта и отведения излишней влаги корневой системой растений.
6.2.5.3 К агролесомелиоративным мероприятиям относят посадку деревьев, кустарников и лиан в сочетании с посевом многолетних трав или одерновкой, образующих покровно-барьерную систему посадок. Подбор растений, их размещение в плане, типы и схемы посадок следует назначать в соответствии с почвенно-климатическими условиями, особенностями рельефа и эксплуатации склона, а также с учетом требований к охране окружающей среды и эстетических требований. Посадку кустарников или деревьев, обладающих развитой корневой системой, необходимо комбинировать с посевом многолетних трав. Требования к проектированию агролесомелиоративных мероприятий приведены в
[3].
(в ред.
Изменения N 1, утв. Приказом Минстроя России от 12.12.2023 N 908/пр)
6.2.5.4 Посев многолетних трав должен осуществляться по слою растительного грунта толщиной не менее 100 мм. При недостатке растительного грунта допускается покрывать выветрившиеся скальные склоны местным делювиальным грунтом с внесением комплекса минеральных удобрений. Посев многолетних трав на склонах крутизной до 35° допускается без других вспомогательных средств защиты, а при большей крутизне - с пропиткой грунта вяжущими материалами или с использованием биоматов. Технологичным решением является гидропосев - нанесение на склон под давлением жидкой смеси, состоящей из воды, семян, удобрений, мульчи и технических добавок.
6.2.5.5 Для участков, где были проведены агролесомелиоративные мероприятия, следует предусматривать уход и мониторинг их состояния. Уход за лесопосадками состоит в периодическом рыхлении почвы на глубину 50 - 100 мм, удалении сорняков, восстановлении посадочного субстрата при необходимости.
6.3 Удерживающие сооружения
6.3.1 Общие указания
6.3.1.1 Удерживающие сооружения подразделяются:
а) по выполняемой функции:
- удерживающие оползневой массив,
- создающие стесненные условия смещению оползневого массива,
- защищающие отдельный объект и работающие в условиях обтекания грунтом;
б) по расположению относительно защищаемого объекта:
- верховые (расположенные на верховом склоне),
- низовые (расположенные на низовом склоне),
- совмещенные (выполняющие функцию фундамента объекта);
в) по мощности непосредственно удерживаемого массива:
- удерживающие всю оползневую толщу,
- удерживающие нижнюю часть оползневой толщи и создающие стесненные условия для грунта в условиях "переползания" им сооружения;
г) по длине фронта удержания:
- перекрывающие весь оползневой массив,
- локальные (отдельно стоящие) сооружения;
д) по протяженности удерживаемого оползневого склона:
- одноярусные,
- многоярусные (расположенные в два яруса и более по длине оползня);
е) по механизму работы:
- контрфорсы,
- гравитационные (массивные) сооружения,
(в ред.
Изменения N 1, утв. Приказом Минстроя России от 12.12.2023 N 908/пр)
- свайные сооружения,
- анкерные сооружения,
- комбинированные сооружения.
6.3.1.2 Расположение удерживающих противооползневых сооружений относительно защищаемого объекта определяется положением объекта на склоне. Если защищаемый объект расположен:
- в головной части потенциально оползневого массива - следует предусматривать устройство преимущественно низовых удерживающих сооружений;
- в срединной части - следует предусматривать устройство верховых, низовых удерживающих сооружений или их сочетания, в зависимости от прогнозируемого положения поверхности скольжения и соотношения размеров выемки и насыпи на защищаемом участке;
- в языковой части - следует предусматривать устройство преимущественно верховых удерживающих сооружений или низовых сооружений в сочетании с контрбанкетом.
Защитные противооползневые сооружения рекомендуется располагать непосредственно перед защищаемым объектом таким образом, чтобы максимально исключить влияние оползневого грунта на защищаемый объект.
В случае невозможности реализации технических решений по устройству верховых или низовых сооружений (например, при чрезмерных нагрузках на склон от защищаемого объекта) рекомендуется предусмотреть устройство непосредственно под объектом свайного удерживающего сооружения, совмещающего функции противооползневого сооружения и свайного фундамента.
6.3.1.3 Размещение противооползневых сооружений на склоне следует выбирать на основе расчетов устойчивости склона и анализа расположения поверхностей скольжения и эпюр оползневого давления, проводимых с учетом возможного многоярусного расположения сооружений.
6.3.1.4 В целях снижения оползневых давлений на каждый ярус удерживающих противооползневых сооружений рекомендуется увеличивать количество ярусов. Необходимое количество ярусов удерживающих сооружений определяется протяженностью удерживаемого оползневого склона из условия обеспечения локальной устойчивости грунтов склона между каждыми двумя смежными ярусами, а также общей устойчивости склона с учетом всех ярусов сооружений.
В целях снижения давления обтекания оползневой массы защитные противооползневые сооружения допускается устраивать под непрямым углом к вектору смещения оползневых грунтов или "клином".
6.3.1.5 Длина фронта удержания определяется поставленной задачей и технологической возможностью устройства конструктивных элементов, способных воспринять прогнозируемые оползневые усилия. Возможны следующие ситуации:
- ширина участка инженерной защиты сопоставима с шириной оползневого или оползнеопасного массива, длина фронта удержания относительно невелика - удерживающее сооружение должно перекрывать весь оползневой или оползнеопасный участок единой (сплошной) конструкцией и закрепляться в устойчивых грунтах за его пределами;
- ширина участка инженерной защиты сопоставима с шириной оползневого или оползнеопасного массива, длина фронта удержания велика - допускается делить удерживающее сооружение на секции или отдельно стоящие сооружения. При этом следует учитывать эффект пространственного воздействия оползня с учетом различной жесткости отдельных секций;
- ширина участка инженерной защиты существенно меньше размеров оползневого массива в плане - удержание всего оползнеопасного массива в этом случае может быть неэффективно и следует применять отдельно стоящие сооружения для защиты локального объекта без обеспечения устойчивости всего оползневого (оползнеопасного) массива.
(в ред.
Изменения N 1, утв. Приказом Минстроя России от 12.12.2023 N 908/пр)
6.3.2 Контрфорсы
6.3.2.1 Контрфорсы в качестве самостоятельных сооружений следует применять в качестве упора для консеквентных оползней небольшой мощности (для восприятия горизонтальных сил) в случаях, когда нарушение естественных условий на участке должно быть минимальным.
6.3.2.2 Устройство контрфорсов, опирающихся на грунт основного деформируемого горизонта, представленных суглинками и глинами мягкопластичной и текучепластичной консистенции, не рекомендуется.
6.3.2.3 Контрфорсы следует располагать в нижней части склонов или у подошвы склонов с шагом, определяемым по результатам расчетов устойчивости, при условии отсутствия выпирания грунта между ними и потери устойчивости по поверхностям скольжения, проходящим выше и ниже их верха и подошвы соответственно. Заглубление контрфорсов следует назначать ниже наиболее глубокой прогнозной поверхности скольжения таким образом, чтобы обеспечить по ней дополнительное сопротивление сдвигу.
6.3.2.4 Поперечное сечение контрфорсов следует назначать постоянным по высоте или с увеличением от верха к основанию плавно или уступами. Продольное сечение контрфорсов следует назначать с учетом расположения прогнозных поверхностей скольжения или высоты основного деформируемого горизонта. Верх контрфорсов обычно следует проектировать в одном уровне с поверхностью земли, а основание - в одном уровне или в виде уступов.
6.3.2.5 Для повышения устойчивости контрфорсов против сдвига по основанию рекомендуется предусматривать их врезку в коренные породы.
6.3.2.6 Контрфорсы рекомендуется проектировать из каменной, бутовой или сухой кладки, габионов, бетонными, бутобетонными и железобетонными. Допускается применение грунтовых контрфорсов, укрепленных камнем.
6.3.3 Гравитационные сооружения
(в ред.
Изменения N 1, утв. Приказом Минстроя России от 12.12.2023 N 908/пр)
6.3.3.1 Гравитационные сооружения выполняют в виде перепадных конструкций на различных участках склона, а также в виде контрбанкета, пригружающего нижнюю часть оползневого тела. Основное условие их использования - опирание подошвы на прочные грунты, расположенные вне зоны сдвигаемого массива. Применяются, как правило, массивные монолитные конструкции с вертикальной и наклонной гранью (
рисунок 6.3,
а,
б) из кладки бетонных массивов или каменной кладки (
рисунок 6.3,
в), железобетонные уголковые стенки (монолитные и сборные) консольного типа, контрфорсные и с внутренней анкеровкой (
рисунок 6.3,
г -
е), ряжевые конструкции из сборных железобетонных элементов (
рисунок 6.3,
ж), конструкции из габионов (
рисунок 6.3,
и), а также армогрунтовые насыпи и подпорные стены с использованием георешеток, геосеток, геотекстиля и других геосинтетических материалов (
рисунок 6.3,
к), с облицовкой и без нее. В целях повышения устойчивости гравитационных конструкций и увеличения высоты удерживающего склона в их состав могут включаться свайные и (или) анкерные элементы.

а, б - монолитные с вертикальной и наклонной гранью;
в - из бетонных блоков и каменной кладки;
г, д, е - уголковые стенки; ж - ряжевые; и - габионные;
к - армогрунтовые насыпи
Рисунок 6.3 - Гравитационные сооружения
Минстроя России от 12.12.2023 N 908/пр)
6.3.3.2 Обратная засыпка (разгрузочная призма) выполняется из дренирующих грунтов (песок, песчано-гравийные смеси, крупнообломочные грунты). Использование тяжелых и пластичных глинистых грунтов, а также грунтов, содержащих органические и растворимые включения более 5% по весу не допускается. Требования к грунтам обратной засыпки, методам и качеству их уплотнения принимаются в соответствии с указаниями
СП 45.13330,
СП 277.1325800,
СП 381.1325800.
(п. 6.3.3.2 в ред.
Изменения N 1, утв. Приказом Минстроя России от 12.12.2023 N 908/пр)
6.3.3.3 В качестве водозащитных мероприятий выполняется пристенный дренаж с противосуффозионной защитой и выпускными дренажными трубами, водоотводной кювет (возле стены на поверхности засыпки) и водоотводной лоток у низовой грани основания сооружения.
(п. 6.3.3.3 в ред.
Изменения N 1, утв. Приказом Минстроя России от 12.12.2023 N 908/пр)
6.3.3.4 По длине гравитационные сооружения (ГрС) разделяются деформационными температурно-усадочными швами на секции. Расстояние между швами определяется в зависимости от инженерно-геологических условий участка, расположения защищаемых объектов, конструктивного решения подпорного сооружения и температурно-климатических условий. Максимальное расстояние между швами не должно превышать:
- 10 м - в монолитных бутобетонных и бетонных ГрС без армирования;
- 15 м - в каменных и кирпичных ГрС без армирования;
- 20 м - в монолитных бетонных ГрС при наличии конструктивного армирования;
- 25 м - в монолитных и сборно-монолитных железобетонных ГрС;
- 30 м - в сборных железобетонных ГрС.
(п. 6.3.3.4 в ред.
Изменения N 1, утв. Приказом Минстроя России от 12.12.2023 N 908/пр)
6.3.3.5 Расчеты гравитационных удерживающих сооружений в зависимости от инженерно-геологических условий и используемых конструкций включают расчеты общей устойчивости (несущей способности грунтового основания) и расчеты местной устойчивости:
- на сдвиг по подошве сооружения;
- на смешанный сдвиг;
- на опрокидывание;
- на внутреннюю устойчивость (для сооружений из армированного грунта, габионов);
- на сдвиг с поворотом в плане (для секций, нагруженных с эксцентриситетом).
Для конструкций из каменной кладки и бетонных массивов должна быть проведена проверка на сдвиг и опрокидывание по штрабам (швам).
Деформационные расчеты ГрС выполняются с целью определения осадки, горизонтального смещения (в том числе неравномерного по длине секций) и крена.
(п. 6.3.3.5 в ред.
Изменения N 1, утв. Приказом Минстроя России от 12.12.2023 N 908/пр)
6.3.3.6 Расчет несущих элементов конструкции по прочности (первая группа предельных состояний) проводят на расчетные значения действующих усилий от нагрузки (сила, момент), а также, при необходимости, на усилия, возникающие при температурных деформациях.
(п. 6.3.3.6 в ред.
Изменения N 1, утв. Приказом Минстроя России от 12.12.2023 N 908/пр)
6.3.3.7 Расчеты подпорных стен уголковой конструкции включают расчеты прочности и трещиностойкости:
- фундаментной плиты;
- вертикальных элементов (стенки, контрфорсы);
- анкерной тяги, узлов крепления и соединений анкерных тяг.
(п. 6.3.3.7 в ред.
Изменения N 1, утв. Приказом Минстроя России от 12.12.2023 N 908/пр)
6.3.3.8 Расчет конструкций из габионов, армогрунта с использованием георешеток, геотекстиля, геосеток следует проводить на основе геотехнического программного обеспечения с использованием нелинейных геомеханических моделей грунта по
СП 22.13330, в которых предусмотрена возможность моделирования элементов армирования и определения в них расчетных усилий.
(п. 6.3.3.8 в ред.
Изменения N 1, утв. Приказом Минстроя России от 12.12.2023 N 908/пр)
6.3.3.9 Предельное значение бокового откосного давления грунта на противооползневые сооружения (горизонтальная и вертикальная составляющие активного
Eа и пассивного
Ep давления), а также значение давления грунта в покое
E0 определяют в соответствии с указаниями
СП 22.13330 и
СП 101.13330,
СП 381.1325800. При расчетах МКЭ обязательно выполнение тестовых расчетов методами теории предельного равновесия с контролем обобщенного силового воздействия бокового давления грунта на сооружения (

и (или)

). При определении значений бокового давления грунта на сооружение и его элементы для расчетов по первой группе предельных состояний следует использовать значения прочностных и деформационных характеристик грунтов -

,
cI,
EI; для расчетов по второй группе -

,
cII,
EII.
(п. 6.3.3.9 в ред.
Изменения N 1, утв. Приказом Минстроя России от 12.12.2023 N 908/пр)
6.3.3.10 - 6.3.3.16 Исключены с 13.01.2024. -
Изменение N 1, утв. Приказом Минстроя России от 12.12.2023 N 908/пр.
6.3.3.17 Для проведения предварительных расчетов общей устойчивости в первом приближении рекомендуется принимать высоту контрбанкета, равную 1/3 высоты поддерживаемого склона, а ширину верхней террасы контрбанкета - не менее 3 м. По результатам предварительных расчетов указанные размеры затем следует уточнять методом итерационных приближений.
6.3.3.18 При проектировании контрбанкетов с заменой грунтов следует отдельно проверять устойчивость их откосов.
6.3.3.19 - 6.3.3.25 Исключены с 13.01.2024. -
Изменение N 1, утв. Приказом Минстроя России от 12.12.2023 N 908/пр.
6.3.3.26 Расчеты с учетом сейсмических воздействий выполняют в соответствии с рекомендациями
СП 14.13330 и
СП 101.13330.
При этом следует осуществлять перебор направлений сейсмического воздействия в целях определения наибольшей величины бокового давления грунта.
6.3.4 Свайные сооружения
6.3.4.1 Свайные конструкции, включая продольные удерживающие стены, целесообразно использовать в случаях, когда имеется подстилающий прочный слой грунта, в который возможна заделка нижних концов свай.
6.3.4.2 Однорядное расположение (
рисунок 6.4,
а) соответствующее консольной схеме работы сваи, применяется при сравнительно небольшой мощности оползневого тела (до 5 - 6 м). С ее увеличением следует раскреплять свайные ряды (стены) грунтовыми анкерами (
рисунок 6.5,
г), что позволит снизить перемещения удерживающих конструкций и внутренние усилия в сваях, или переходить на двухрядные и многорядные конструкции (
рисунок 6.4,
б,
в,
г), работающие по рамной схеме. Головы свай в этом случае объединяются железобетонным ростверком, на котором дополнительно может устраиваться подпорная стенка.
(в ред.
Изменения N 1, утв. Приказом Минстроя России от 12.12.2023 N 908/пр)
6.3.4.3 В качестве свай используются:
- железобетонные, деревянные и стальные (в том числе шпунтовые) сваи заводского изготовления. Погружение таких свай в грунт осуществляется задавливанием или погружением в предварительно пробуренные лидерные скважины; погружение с помощью молотов и вибропогружателей требует дополнительного обоснования и применяется при незначительной мощности оползней;
- буронабивные сваи сплошного сечения, выполняемые в зависимости от грунтовых условий и технологии изготовления без крепления стенок скважин; с креплением инвентарными обсадными трубами или растворами (глинистыми, цементно-песчаными и т.п.); по технологии непрерывного полого шнека;
- буроинъекционные сваи, в том числе выполняемые по разрядно-импульсной технологии.
(п. 6.3.4.3 в ред.
Изменения N 1, утв. Приказом Минстроя России от 12.12.2023 N 908/пр)
6.3.4.4 С увеличением глубины потенциального оползня и возрастанием нагрузки на сваи целесообразно использовать свайно-контрфорсные конструкции (продольные стены или баретты) (
рисунок 6.4,
д)
, которые по аналогии со свайными могут быть однорядными, двухрядными и многорядными, с ростверковой частью и без нее. Выполняются баретты шахтным способом, а также более прогрессивным - буровым из буросекущихся или бурокасательных свай большого диаметра (
D >= 600 мм), а также методом "стена в грунте". На застраиваемой территории свайные и бареттные противооползневые конструкции совмещаются с фундаментами зданий и сооружений, а также служат основанием автомобильных дорог и инженерных коммуникаций (если нет других условий и требований).
(в ред.
Изменения N 1, утв. Приказом Минстроя России от 12.12.2023 N 908/пр)
6.3.4.5 Расположение свай и баретт на склоне должно исключать обтекание и продавливание грунта, что достигается выбором соответствующего расстояния между ними, расстановкой в шахматном порядке, а также устройством верховой или низовой (что предпочтительней) грунтоудерживающей стенки.
6.3.4.6 В отдельных случаях при выраженной поверхности скольжения оползневого массива, проходящей в слое слабого грунта ограниченной мощности (как правило, не более 1,5 - 2,0 м), могут быть использованы сваи-шпонки, выполняемые буровым способом (
рисунок 6.4,
е).
6.3.4.7 Шпонки применяют для предотвращения возникновения консеквентных оползней при сравнительно небольшой мощности основного деформируемого горизонта и возможности заделки в прочные коренные породы.
6.3.4.8 Расположение шпонок в плане обычно предусматривается в шахматном порядке. Расстояние между шпонками, глубина заделки в прочные коренные породы устанавливаются расчетами из условия недопущения продавливания грунта между шпонками, их среза, чрезмерного изгиба, а также образования поверхностей скольжения ниже их концов. Положение верха шпонок устанавливается из условия обеспечения устойчивости массива выше их голов.
6.3.4.9 Шпонки следует проектировать в виде железобетонных столбов или призм, устраиваемых через шурфы или скважины, с размещением их верхней части в оползневом массиве, а нижней - в устойчивых, прочных грунтах ниже поверхности скольжения.
6.3.4.10 После устройства шпонок следует предусматривать их омоноличивание цементно-песчаным раствором, а выработки над ними - заполнять местным глинистым грунтом с тщательным уплотнением.
(п. 6.3.4.11 в ред.
Изменения N 1, утв. Приказом Минстроя России от 12.12.2023 N 908/пр)
а - однорядные; б, в, г - многорядные; д - контрфорсные;
е - сваи-шпонки; 1 - поверхность скольжения; 2 - сваи
(баретты); 3 - ростверки; 4 - грунтоудерживающая стенка
Рисунок 6.4 - Свайные конструкции
6.3.4.12 Выбор состава расчетов конкретного конструктивного решения противооползневого сооружения должен учитывать специфику выполняемой функции и условий работы конструкции на склоне:
- давление грунта на сооружение определяется величиной активного давления оползневого массива, действующего перпендикулярно оси сооружения (фронтально), а также под определенным углом или в условиях обтекания свай оползневыми массами;
- расстояние между сваями в ряду и необходимое количество рядов определяются из условия непродавливания грунта между смежными сваями при направлении вектора оползневого давления перпендикулярно оси сооружения;
- оценку общей устойчивости сооружения проводят с учетом поверхностей скольжения, проходящих ниже концов свай;
- расстояние между смежными сооружениями определяют из условия обеспечения пространственной устойчивости участка склона между ними.
6.3.4.13 Расчет шага свай и контрфорсов из условия непродавливания грунта следует выполнять в соответствии с теорией пластичности.
6.3.4.14 В расчетах многорядных свайных конструкций, оказывающих сопротивление продавливанию грунта, необходимо учитывать, что распределение давлений грунта между рядами свай носит неравномерный характер и существенно зависит от прочностных свойств грунтов и конфигурации свайного поля.
6.3.4.15 Распределение давления между сваями может быть определено по соответствующим графикам, полученным экспериментальным и расчетным путем, по зависимостям взаимовлияния свай в составе группы (СП 24.13330.2021, приложение Б,
пункт Б.7, а также численными методами с использованием трехмерных (пространственных) решений МКЭ.
(в ред.
Изменения N 1, утв. Приказом Минстроя России от 12.12.2023 N 908/пр)
6.3.4.16 Давление грунта на сооружение в соответствующих пропорциях прикладывается к сваям каждого ряда в пределах их свободной длины, в виде распределенных по глубине нагрузок.
6.3.4.17 Расчет внутренних усилий свайной противооползневой конструкции допускается проводить аналитическими и численными методами (МКЭ, метод конечных разностей, методы коэффициента постели и т.д.). Расчеты могут проводиться как вручную, так и с привлечением программных средств (в том числе комплексных, учитывающих взаимодействие конструкции с грунтами склона). При этом используемые методы должны учитывать все основные требования
СП 24.13330 по расчету свайных фундаментов, в том числе:
- по расчету несущей способности свай;
- по расчету осадок свай и свайных кустов;
- по расчету свай на действие горизонтальных и моментных нагрузок.
6.3.4.18 Расчет и конструирование железобетонных свайных конструкций (свай и свайных ростверков) проводят согласно требованиям
СП 24.13330 и
СП 63.13330; при использовании металлических свай - согласно
СП 16.13330.
6.3.4.19 Применение забивных и вибропогружаемых свай допускается в случаях, когда производство работ не ухудшает условий устойчивости склона (откоса) и обеспечивает плотное примыкание грунта к свае у поверхности земли.
6.3.4.20 Если свайные конструкции предполагается сочетать с грунтовыми анкерами, то поперечное армирование свай следует выполнять из арматуры того же класса, что и продольное.
6.3.5 Анкерные сооружения
6.3.5.1 Анкерное и (или) нагельное крепление применяется для закрепления неустойчивых участков грунтовых и скальных склонов и откосов в качестве самостоятельных удерживающих сооружений с локальными упорными элементами (шайбами, плитами, балками, поясами и т.д.), с использованием сплошных металлических, железобетонных или сетчатых покрытий, а также в сочетании с подпорными стенами, гравитационными, свайными и бареттными конструкциями (
рисунки 6.5,
6.6).
а - с опорной плитой; б - с поясами в виде балок;
в - в составе однорядного или многорядного ростверка;
г - для крепления подпорной стены; д - для крепления
подпорной стены на свайном фундаменте; е - для крепления
столбчатой (контрфорсной) конструкции
Рисунок 6.5 - Анкерные удерживающие конструкции
Рисунок 6.6 - Нагельное крепление с упорными плитами
6.3.5.2 Основным условием применения анкерных конструкций является наличие на достаточном расстоянии прочных грунтов, в которых располагается корневая часть анкера. В практике строительства применяются грунтовые анкеры (анкерные сваи) длиной от 10 - 15 м до 50 - 60 м и более.
6.3.5.3 По назначению анкеры подразделяются на две категории: временные - используемые в строительный период и постоянные - обеспечивающие устойчивость строительного объекта на весь период эксплуатации.
6.3.5.4 В конструктивном отношении временные и постоянные анкерные конструкции не имеют принципиального отличия, за исключением степени защиты от коррозии.
6.3.5.5 Основными конструктивными элементами анкеров являются
(рисунок 6.7):
- оголовок - часть анкера, обеспечивающая его закрепление в опорной конструкции или сооружении с последующим натяжением;
- анкерная тяга - напрягаемый элемент, передающий растягивающее усилие от анкеруемого сооружения в анкерную заделку (корень);
(в ред.
Изменения N 1, утв. Приказом Минстроя России от 12.12.2023 N 908/пр)
- анкерная заделка - корневая часть анкера, обеспечивающая передачу выдергивающего усилия от сооружения окружающему грунту.
| | ИС МЕГАНОРМ: примечание. Рисунок дан в соответствии с официальным текстом документа. | |
Рисунок 6.7 - Принципиальная конструкция
инъекционного анкера
6.3.5.6 По способу устройства и принципу взаимодействия с грунтом анкерной заделки анкеры подразделяются на буроинъекционные и якорные (самораскрывающиеся).
6.3.5.7 К буроинъекционным относятся анкеры, устраиваемые в буровых скважинах с последующим формированием анкерной заделки фиксированной длины методом нагнетания цементного раствора (одноразовая или двухразовая цементация). По технологии устройства буроинъекционные анкеры подразделяются на буроопускные - анкерная тяга погружается в предварительно пробуренную скважину (с обсадной трубой или заполненную цементно-песчаным раствором) и самозабуриваемые - буровая колонна остается в скважине по окончании проходки и выполняет функцию анкерной тяги.
6.3.5.8 В качестве анкерной тяги используются: стальные арматурные стержни, стальные тросы, металлические трубы буровых колонн, стекло- и базальтопластиковая арматура.
6.3.5.9 К самораскрывающимся анкерам относятся грунтовые анкеры, корневая часть которых формируется раскрытием якорной системы (упорная плита, лопасти и т.д.) после погружения на заданную глубину. Погружение осуществляется забивкой или вдавливанием под любым углом от вертикального до горизонтального.
6.3.5.10 Нагельное крепление (см.
рисунок 6.6) используется для повышения устойчивости вертикальных и крутонаклонных грунтовых откосов за счет укрепления грунтового массива системой армирующих стержней (грунтовых нагелей) и устройства наружной облицовки, соединяемой с нагелями. Нагельное крепление следует применять при сравнительно небольших объемах оползневых тел. Принципиальное отличие нагеля от анкера заключается в отсутствии предварительного натяжения и формируемой корневой части.
6.3.5.11 Нагели выполняются из стержневой арматуры периодического или винтового профиля диаметром 12 - 28 мм. Их погружение в грунт осуществляется забивкой, вдавливанием или установкой в буровые скважины, заполненные цементным раствором
[6]. По аналогии с анкерным креплением допускается применять трубчатые винтовые нагели с теряемой буровой коронкой, погружение которых осуществляется буровым способом (нагель в данном случае является буровой колонной) с последующим заполнением скважины цементным раствором
[6].
(в ред.
Изменения N 1, утв. Приказом Минстроя России от 12.12.2023 N 908/пр)
Крепление поверхности откоса осуществляется: нанесением набрызгом бетонного покрытия; устройством рамной конструкции из сборного железобетона, состоящей из горизонтальных и вертикальных балок; установкой сборных железобетонных плит; покрытием сетками, геотекстилем и другими синтетическими материалами.
6.3.5.12 При проектировании анкерных конструкций должны быть выполнены следующие виды расчетов:
- расчеты общей устойчивости сооружения;
- деформационные расчеты системы "сооружение-анкерное крепление" (численными методами);
- расчеты несущей способности анкера по грунту и прочности по материалу;
- расчеты прочности отдельных элементов, входящих в состав анкера (оголовок, замок, упорная плита и т.д.).
При этом должны быть обеспечены следующие требования:
- достаточная несущая способность анкера для восприятия усилий, передаваемых от удерживаемого сооружения, с требуемыми коэффициентами запаса;
- расположение зоны заделки анкера (корня) за пределами призмы обрушения или потенциального оползневого массива;
- достаточный уровень коррозионной защиты анкера и узла крепления к сооружению с учетом эксплуатационного срока службы.
6.3.5.13 При проектировании грунтовых анкеров определяются:
- число ярусов анкерного крепления, число анкеров в каждом ярусе, их шаг и угол наклона;
- свободная длина анкерной тяги, обеспечивающая размещение заделки (корня) анкера в несмещаемую зону грунтового массива;
- диаметр и длина корневой части анкера (заделки), необходимые для восприятия расчетных нагрузок;
- места для установки опытных анкеров и программа пробных испытаний для окончательного подтверждения или корректировки принятой конструкции.
6.3.5.14 Кроме того, в составе проектной и рабочей документации наряду с пробными должны быть предусмотрены контрольные и приемочные испытания анкеров. Требования к разработке программы испытаний приведены в
СП 381.1325800,
[4],
[5].
(в ред.
Изменения N 1, утв. Приказом Минстроя России от 12.12.2023 N 908/пр)
Абзац исключен с 13.01.2024. -
Изменение N 1, утв. Приказом Минстроя России от 12.12.2023 N 908/пр.
6.3.5.15 Расчеты общей устойчивости выполняют в зависимости от типа и конструкции анкерного сооружения согласно указаниям соответствующих пунктов настоящего раздела. В результате расчетов определяются основные габариты сооружения, а также расчетная нагрузка на анкер, его длина и расположение корневой части.
6.3.5.16 Деформационные расчеты системы "сооружение - грунтовый массив - анкерное крепление" выполняют в целях определения всех расчетных усилий, действующих на элементы сооружения и анкера с учетом их жесткости и податливости при взаимодействии с грунтовым массивом. При расчетах аналитическими или численными методами (с использованием контактных или континуальных упругопластических моделей грунта) жесткость и несущая способность анкерного крепления на выдергивание может быть определена расчетом, а также по материалам испытания анкеров в аналогичных грунтовых условиях с обязательной последующей корректировкой по результатам пробных испытаний на строительной площадке.
6.3.5.17 Для расчета несущей способности по грунту и прочности анкера
условие (5.1) СП 116.13330.2012 принимает вид:
(в ред.
Изменения N 1, утв. Приказом Минстроя России от 12.12.2023 N 908/пр)

(6.2)
Минстроя России от 12.12.2023 N 908/пр)
(в ред.
Изменения N 1, утв. Приказом Минстроя России от 12.12.2023 N 908/пр)
исключено с 13.01.2024. -
Изменение N 1, утв. Приказом Минстроя России от 12.12.2023 N 908/пр;

- коэффициент условий работы, учитывающий степень точности определения анкерного усилия; принимает значения:

- для постоянных анкеров,

- для временных анкеров;

- коэффициент условий работы анкера в грунтовом массиве, учитывающий степень точности определения его несущей способности:

и

- для постоянных анкеров при определении несущей способности расчетом и по результатам испытаний соответственно,

и

- для временных анкеров при определении несущей способности расчетом и при испытаниях,

и

- для расчета прочности постоянных и временных анкеров соответственно.
(в ред.
Изменения N 1, утв. Приказом Минстроя России от 12.12.2023 N 908/пр)
6.3.5.19 Расчет прочности анкерного крепления в зависимости от материала анкерной тяги проводят в соответствии с указаниями
СП 16.13330,
СП 28.13330,
ГОСТ 34028.
(в ред.
Изменения N 1, утв. Приказом Минстроя России от 12.12.2023 N 908/пр)
6.3.5.20 При разработке и выполнении работ по устройству грунтовых анкеров должны быть проведены комплексные испытания анкеров, включающие пробные, контрольные и приемочные испытания. Требования к определению состава и методики испытаний в программе работ приведены в
[4].
(в ред.
Изменения N 1, утв. Приказом Минстроя России от 12.12.2023 N 908/пр)
Кроме того, для сооружений повышенной ответственности должны быть предусмотрены мероприятия по осуществлению регулярного контроля за деформациями противооползневого сооружения и грунтовыми анкерами. Требования к разработке таких мероприятий приведены в
СП 58.13330,
СП 22.13330,
СП 23.13330,
[4].
(в ред.
Изменения N 1, утв. Приказом Минстроя России от 12.12.2023 N 908/пр)
6.3.5.21, 6.3.5.22 Исключены с 13.01.2024. -
Изменение N 1, утв. Приказом Минстроя России от 12.12.2023 N 908/пр;
6.3.5.23 При изготовлении анкеров в качестве альтернативы цементному раствору допускается применять полимеры и полимерные растворы при условии, что их пригодность к применению подтверждена документом по оценке соответствия. Для проверки качества смеси, времени схватывания и характеристик должны быть проведены лабораторные и полевые исследования.
6.3.5.24 Исключен с 13.01.2024. -
Изменение N 1, утв. Приказом Минстроя России от 12.12.2023 N 908/пр;
6.3.5.25 Расстояние от подошвы фундамента или края подземной части сооружения до ближайшей точки корня грунтового анкера должно быть не менее 3 м (рисунок 6.8, а), а от поверхности планировки или естественного склона - не меньше 4 м (рисунок 6.8, б).
Рисунок 6.8 - Минимальное расстояние до корня анкера
6.3.5.26 Расстояние от этих же объектов до центра корня грунтового анкера должно быть не менее 4,5 м (рисунок 6.9).
x = 1,5 м или 0,27H
Рисунок 6.9 - Минимальное заглубление корня анкера
6.3.5.27 Заделка анкера (корень) должна располагаться за пределами расчетной зоны обрушения, выпора или поверхности грунта. Расстояние от любой расчетной поверхности обрушения до корня анкера должно быть не менее 1,5 м или 0,27
H, где
H - наибольшая высота удерживаемого массива за период строительства и эксплуатации сооружения с учетом устройства временных траншей или прогнозного подмыва нижнего рельефа (см.
рисунок 6.9).
6.3.5.28 Расстояние между корнями параллельных анкеров в плане должно быть не менее трех диаметров корня анкера, но не менее 1,2 м.
6.3.5.29 Если на криволинейных участках сооружений не удается обеспечить расстояние
Sh между анкерами одного яруса более 1,2 м, то необходимо менять углы наклона анкеров

так, чтобы соблюдалось минимальное расстояние между корнями с учетом технологической погрешности на устройство скважины в данных грунтах (рисунок 6.10).
Рисунок 6.10 - Расположение анкеров на криволинейных
участках сооружения
6.3.5.30 Запрещено располагать корень анкера на границе песчаных и глинистых инженерно-геологических элементов (ИГЭ) (рисунок 6.11).
а - недопустимое расположение анкера;
б - допустимое расположение
Рисунок 6.11 - Расположение анкеров на границе ИГЭ
6.3.5.31 Для повышения эффективности противооползневые анкерные сооружения следует, как правило, сочетать с систематическим дренажом.
6.3.5.32 Сооружение должно перекрывать по возможности весь оползневой или оползнеопасный участок единой (сплошной) конструкцией и закрепляться в устойчивых грунтах за его пределами.
При необходимости допускается делить сооружение на секции или применять в пределах оползневого (оползнеопасного) участка отдельно стоящие сооружения. При этом следует учитывать эффект пространственного воздействия оползня с учетом различной жесткости отдельных секций. Анкеры соседних секций не должны проходить ближе 3 м к расчетной поверхности смещения соседних отдельно стоящих секций.
6.3.5.33 Конструкция деформационных швов должна исключать поперечные смещения смежных секций относительно продольной оси сооружений.
6.3.5.34 Следует избегать расположения деформационных швов в местах максимальных оползневых нагрузок (например, в середине оползневого участка).
6.3.5.35 В облицовочных панелях с большой поверхностью нагрева в районах со значительной амплитудой температурных колебаний следует предусматривать температурно-деформационные швы. Частоту расположения температурно-деформационных швов следует назначать по результатам расчета температурных деформаций удерживающего сооружения или назначать из конструктивных соображений по требованиям соответствующих сводов правил.
6.3.5.36 При наличии расчетного обоснования допускается использовать облицовочную панель в качестве распределительной балки анкеров.
6.3.5.37 Кроме вышеперечисленных испытаний проектной и рабочей документацией могут предусматриваться другие виды испытаний (стендовые и т.д.), обусловленные особенностями конструкции элементов анкеров или технологией их устройства в данных инженерно-геологических условиях.
6.3.5.38 Испытания анкеров следует проводить не ранее достижения цементным камнем ствола 70% расчетной прочности.
6.3.5.39 Применяемые конструктивные мероприятия должны снижать чувствительность сооружения к сейсмическим нагрузкам. Для этого допускается:
- увеличивать глубину заделки свай или заглубление удерживающего сооружения;
- увеличивать длину свободной части тяги анкера;
- дополнительно заглублять корень анкера.
6.3.5.40 При проектировании грунтовых анкеров допускается руководствоваться также указаниями СП 248.1325800.2016
(раздел 12).
6.4 Противооползневые мероприятия защиты от опасных криогенных склоновых процессов
(подраздел 6.4 введен
Изменением N 1, утв. Приказом Минстроя России от 12.12.2023 N 908/пр)
6.4.1 Общие указания
6.4.1.1 К криогенным процессам, приводящим к оползневым проявлениям на склонах, относятся:
- термоденудация в результате протекающих криогенных процессов (термоабразия и термоэрозия);
- солифлюкция;
- курумообразование.
Термоабразия и термоэрозия входят в группу флювиальных, абразионных экзогенных геологических процессов, вызванных механическим и тепловым воздействиями на мерзлые и оттаивающие породы водных масс, годовыми колебаниями теплообмена на поверхности грунта и многолетними колебаниями водного баланса поверхности. Развитию всех этих процессов всегда предшествует оттаивание пород, сопровождающееся нарушением структурных связей в породах, изменением их физико-механических и теплофизических свойств.
Солифлюкция (а также сплывы, оползание, осыпание, десерпция) и курумообразование входят в группу гравитационных экзогенных геологических процессов, с которыми связано формирование специфического состава и строения склоновых отложений.
6.4.1.2 В случае выявления термоденудационых процессов в прибрежной зоне проектируемых сооружений при проведении инженерно-геологических изысканий требуется:
- установить морфологию склона;
- установить физико-механические свойства грунтов, слагающих подножье склона;
- определить состав и льдистость грунтов в прибровочной части на глубину не меньше высоты склона от поверхности земли (наличие полигонально-жильных льдов, пластовых льдов, засоленных грунтов);
- прогноз скорости отступания и разрушения береговых склонов при активизации термоэрозии, термоабразии или иных деструктивных процессов, установленных на исследуемом склоне по результатам геотехнического мониторинга, выполненного с учетом требований СП 25.13330.2020
(раздел 15) и СП 497.1325800.2020
(раздел 9), или с привлечением научно-технического сопровождения
(СП 116.13330).
6.4.1.3 При выявлении необходимости инженерной защиты сначала проводится стабилизация термоабразионных и термоэрозионных процессов в основании склона, затем предусматривается защита остальной части склона от развития термоденудационных процессов.
6.4.1.4 В случае выявления процесса солифлюкции при строительном освоении присклоновой территории при инженерно-геологических изысканиях следует оценить факторы, влияющие на интенсивность (медленная или быстрая) солифлюкции:
- крутизна склона;
- глубина оттаивания пород;
- состав склоновых отложений;
- прочность дернового покрова;
- характер рельефа и т.д.
Медленная солифлюкция характеризуется скоростями от 1 см до 10 см в год и проявляется на склонах крутизной до 15°, основной особенностью является то, что движение материала происходит без существенного изменения внутренней структуры грунта.
Быстрая солифлюкция характеризуется скоростью движения от 10 см до десятков метров в сутки (солифлюкционный сплыв), развивается на склонах крутизной более 10° - 15° при сильном переувлажнении пород слоя сезонного оттаивания. Она сопровождается нарушением внутренних связей грунта, а также разрывами дернового покрова.
6.4.1.5 Для предотвращения оползания мерзлых оттаивающих и крупнообломочных грунтов необходимо предусмотреть инженерную защиту склонов в соответствии с положениями
6.4.3.
6.4.1.6 Курумы представляют собой дресвяно-глыбово-щебенистые накопления на склонах различной крутизны, формирующиеся при наличии многолетнемерзлых пород под воздействием комплекса процессов: выветривания вследствие колебания температур, криогенного выпучивания крупнообломочного материала, десерпции (криогенной, термогенной и пр.) и др.
Процесс развития курумов приводит к образованию крупнообломочного материала, его движению на склонах и аккумуляции в основании склонов. Перемещение курумов происходит в слое сезонного оттаивания, иногда - по талой подложке, сложенной глинистым материалом.
6.4.1.7 При выявлении склонов, подверженных процессам курумообразования, при строительном освоении присклоновой территории необходимо определить:
- крутизну склона;
- вид курума (подвижный или затухший);
- толщину курумного слоя;
- скорость смещения подвижного курума;
- инженерно-геологическое строение склона;
- наличие поверхностного стока вод;
- наличие горизонтов с многолетним гольцовым льдом;
- наличие высокольдистого или водонасыщенного мелкозема и др.,
на основании чего оценивать степень опасности для строящихся сооружений. При прогнозировании негативного влияния на строящийся объект для предотвращения оползания крупнообломочных материалов (грунтов) необходимо предусмотреть инженерную защиту склонов.
6.4.2 Основные расчетные положения
6.4.2.1 Определение зоны возможного влияния термоабразионных и термоэрозионных процессов следует осуществлять по результатам инженерных изысканий в соответствии с
СП 439.1325800.
6.4.2.2 Расчет формирующегося в процессе термоденудации профиля склона следует проводить в соответствии с СП 116.13330.2012 (
пункты 15.2.1 -
15.2.3).
6.4.2.3 Расчет устойчивости солифлюкционного склона следует выполнять на основании СП 25.13330.2020
(раздел 14).
Расчет защитных инженерных сооружений производится из условия недопущения течения мерзлого и оттаивающего грунта между элементами защитных сооружений.
6.4.2.4 Расчет защитных инженерных сооружений от криогенных склоновых процессов допускается выполнять на основании положений
6.1, требований СП 116.13330.2012
(раздел 5.2), основных положений и требований
СП 25.13330. Оценка влияния смещения курума на проектируемое сооружение и эффективность защитных инженерных сооружений следует осуществлять на основании выполнения расчетов методом математического моделирования с учетом скорости смещения курумного чехла, инженерно-геологического строения склона, принятого принципа использования многолетнемерзлых грунтов.
6.4.3 Мероприятия инженерной защиты
6.4.3.1 В качестве инженерной защиты от опасных проявлений криогенных склоновых процессов допускается применять противооползневые, противообвальные и берегозащитные сооружения и мероприятия в соответствии с
разделами 6 и
7, СП 116.13330.2012 (
разделы 5 и
9).
6.4.3.2 Защитные мероприятия включают укрепление склонов георешетками, геоматами, другими видами покрытий, устройство габионов, террасирование и т.д.
Мероприятия инженерной защиты не должны приводить к увеличению глубины сезонного протаивания многолетнемерзлых грунтов.
Применение проектных решений с оттаиванием многолетнемерзлых грунтов допускается при разработке в проекте и проведении мероприятий по укреплению склонов в талом состоянии.
Сезонноохлаждающие устройства применяются в случаях практической невозможности или недостаточной эффективности других мероприятий для стабилизации склона и обеспечения на весь период эксплуатации температуры грунта, необходимой по расчету несущей способности основания.
6.4.3.3 При проектировании зданий и сооружений в зоне потенциального развития термоденудационных склонов следует учитывать отступание бровки склона и образующуюся морфологию склона, а также предусмотреть в проекте мероприятия по мониторингу склоновых процессов - регулярный визуальный осмотр, геодезические наблюдения и повторные геофизические работы.
6.4.3.4 Эффективным способом снижения опасного воздействия термоденудации склона на близрасположенные сооружения являются мероприятия по уменьшению скорости отступания склона. Для достижения данной цели используются теплоизолирующие покрытия поверхности склона (синтетические теплоизоляторы), что приводит к увеличению слоя сезонного промерзания склона по отношению к слою его сезонного оттаивания, позволяет существенно снизить температуру грунтов склона, защитить его поверхность от воздействия атмосферных осадков и тем самым уменьшить скорость отступания склона. Синтетический теплоизолятор укладывается на склон и крепится на нем с помощью металлических шпилек.
Если негативное воздействие атмосферных осадков незначительно, допускается применение каменной наброски в качестве естественного теплоизолятора.
6.4.3.5 В качестве инженерных сооружений, противодействующих солифлюкционным процессам, следует применять традиционные сооружения: контрфорсы, контрбанкеты, подпорные стены, ряды свай и др. Количество и расположение защитных сооружений и их элементов на склоне обосновывается расчетами местной и общей устойчивости склона, исходя из условия недопущения течения мерзлого и оттаивающего грунта между ними и не препятствия фильтрации воды по склону.
6.4.3.6 Затухшие курумы вследствие отсутствия движения не оказывают негативного влияния на проектируемые объекты. Устройство дополнительных инженерных мероприятий и средств защиты не требуется. Однако в период эксплуатации в связи с изменениями климатических условий, определяющих условия промерзания - оттаивания и снегонакопления, с изменением режима подземного стока возможна активизация движения затухших курумов, вследствие чего в этом случае необходим регулярный мониторинг за присклоновыми сооружениями и подвижками курумного чехла.
6.4.3.7 При проектировании строительных объектов в районе подвижных курумов необходимо предусмотреть следующие защитные мероприятия:
- создание системы отвода поверхностных вод выше проектируемых объектов;
- создание улавливающих траншей, рвов у нижней кромки курума;
- устройство улавливающих траншей (рвов) в теле обратной засыпки сооружения;
- устройство удерживающих берм;
- устройство удерживающих полей с применением сеток повышенной прочности.
При производстве взрывных работ по устройству инженерной защиты следует выполнить оценку устойчивости склона на динамические воздействия
[8],
[9].
6.4.3.8 Отвод поверхностных вод осуществляется устройством нагорных канав, дренажей и др. в соответствии с положениями
6.2.2, а также требованиями
СП 32.13330,
СП 116.13330.
6.4.3.9 Улавливающие и удерживающие защитные сооружения необходимо периодически очищать от накапливающегося в них перемещенного материала курумов. В связи с чем, размеры и глубина улавливающих траншей и рвов, высота удерживающей бермы определяются скоростью смещения курумов, объемом смещаемого крупнообломочного материала, транспортной доступностью объекта и зависящей от нее периодичностью расчистки улавливающих и удерживающих сооружений.
6.4.3.10 Улавливающие траншеи и рвы могут быть выполнены между телом курума и (перед) обратной засыпкой сооружения. При этом траншея предназначена для перехвата обломочного материала, а обратная засыпка выступает в роли демпфера, исключая дополнительную боковую нагрузку на сооружение. Использование песчаного грунта, песчано-гравийной или песчано-галечниковой смеси в качестве обратной засыпки уменьшит глубину сезонного оттаивания.
Минимальные размеры улавливающей траншеи должны быть:
- глубина - не менее 1 м, либо доходить до коренных пород грунта;
- ширина подошвы рва - не менее чем в 2 раза больше максимального смещения курума за период эксплуатации сооружения.
6.4.3.11 Покровные сетки в сочетании с анкерным или нагельным креплением применяются для стабилизации в качестве защитного мероприятия участков курума, примыкающих к защищаемым объектам.
6.4.3.12 При строительстве и эксплуатации сооружений на многолетнемерзлых грунтах вблизи склонов следует производить мониторинг во время всего жизненного цикла сооружения.
7 Противообвальные сооружения и мероприятия
7.1.1 Требования к проектированию противообвальных сооружений на основе исследований деформации склона по механизму смещения, масштабности проявлений, цикличности и причин развития обвальных процессов в конкретных инженерно-геологических условиях с учетом прогноза их изменения в период строительства и эксплуатации объекта приведены в
[10].
(в ред.
Изменения N 1, утв. Приказом Минстроя России от 12.12.2023 N 908/пр)
7.1.2 Мероприятия противообвальной защиты применяются при объемах обвальных процессов до нескольких тысяч кубических метров. На участках крупных обвальных проявлений в объемах, превышающих десятки тысяч кубических метров, целесообразно осуществлять вынос объектов из зоны вероятного воздействия.
(в ред.
Изменения N 1, утв. Приказом Минстроя России от 12.12.2023 N 908/пр)
7.1.3 В зависимости от конкретных условий объекта подлежит применять средства активной или пассивной противообвальной защиты, а также их комбинации.
(в ред.
Изменения N 1, утв. Приказом Минстроя России от 12.12.2023 N 908/пр)
7.1.4 Сооружения и мероприятия активной защиты используются для предотвращения развития обвальных процессов:
- при недостаточной общей устойчивости склона;
- при необходимости стабилизации неустойчивых крупных скальных блоков;
- для закрепления раздробленных и ослабленных зон скальных склонов, на которых возможно формирование массового обрушения скальных обломков;
- для предотвращения процессов эрозии (выветривания и разрушения) на склоне.
7.1.5 Средства пассивной противообвальной защиты применяют в случаях, если применение средств активной противообвальной защиты невозможно, экономически неэффективно или не исключает с достаточной надежностью возможность развития обвальных процессов. К средствам пассивной противообвальной защиты относят сооружения и мероприятия, которые позволяют предотвратить или снизить до требуемого уровня воздействие обвальных процессов на защищаемый объект за счет реализации комплекса решений по перехвату, остановке и (или) организованному пропуску продуктов обвальных процессов.
(в ред.
Изменения N 1, утв. Приказом Минстроя России от 12.12.2023 N 908/пр)
7.1.6 В зависимости от принципа действия в качестве средств активной противообвальной защиты применяют:
- изменение рельефа склонов;
- массивные (гравитационные) удерживающие сооружения;
- анкерные удерживающие сооружения;
- защитные покрытия и закрепление грунтов;
- агролесомелиоративные мероприятия.
7.1.7 Кроме того, в комплексе с основными методами активной противообвальной защиты рекомендуется предусматривать дополнительные мероприятия, такие как:
- регулирование стока поверхностных вод с применением вертикальной планировки территории и устройством системы поверхностного водоотвода;
- регулирование тепловых процессов с применением теплозащитных устройств и покрытий;
- установление охранных зон (для сохранения естественного растительного покрова) и др.
7.1.8 Средства пассивной противообвальной защиты в зависимости от принципа действия и конструктивных решений подразделяются на улавливающие (для площадных и линейных объектов) и пропускающие (для линейных объектов) сооружения.
7.1.9 Улавливающие сооружения выполняют в целях задержания продуктов отвала и исключения возможности их попадания на защищаемый объект. К основным типам улавливающих сооружений относятся:
- массивные (гравитационные) улавливающие сооружения (улавливающие полки, траншеи, валы, улавливающие и оградительные стены);
- гибкие улавливающие сооружения (гибкие барьеры, гибридные барьеры и пассивные покровные сетки).
7.1.10 Пропускающие сооружения предназначены для организованного пропуска продуктов обвальных процессов. В зависимости от способа пропуска различаются:
- галереи (пропуск над защищаемым объектом);
- эстакады (пропуск под защищаемым объектом).
7.1.11 В целях предупреждения обвальных процессов на горных склонах должны быть предусмотрены профилактические мероприятия, которые включают современную очистку склона, удаление накопившихся продуктов обрушения в улавливающих сооружениях, обрушение крупных скальных массивов, угрожающих обвалами (см. также
8.2).
7.1.12 На участках развития обвальных процессов должны быть предусмотрены мероприятия по геотехническому мониторингу в целях обеспечения безопасности защищаемых сооружений и территорий, контроля состояния сооружений, склонов, обвалоопасных участков, прогноза развития опасных геологических процессов и их своевременного предупреждения. В зависимости от конкретных геотехнических условий участка, принятых методов противообвальной защиты, уровня ответственности сооружений определяются виды, состав, сроки и объемы геотехнического мониторинга (см.
8.1).
7.2 Методы активной противообвальной защиты
7.2.1 Формирование устойчивого профиля склона осуществляется преимущественно при полускальных, скальных разрушенных и дисперсных породах, слагающих природный склон, за счет его уполаживания срезкой, расчисткой от продуктов обрушения, удалением нависающих и неустойчивых скальных глыб и обломков и т.д.
7.2.2 Для склонов высотой до 12 - 15 м, как правило, проводят их выполаживание:
- в случае сложения грунтами, дающими в процессе выветривания мелкие обломки (например, сланцами, мергелями аргиллитами и др.), приданием крутизны склона до угла, меньшего угла естественного откоса слагающих грунтов;
- при совпадении основной ярко выраженной системы поверхностей ослабления (трещин, слоистости) с поверхностью природного склона допускается создание как постоянного, так и ломаного профиля откоса.
7.2.3 При высоте природного склона более 12 - 15 м наряду с выполаживанием должно осуществляться его террасирование.
Размеры террас и расстояния между ними по высоте обусловливаются способом производства земляных работ и условиями механизированной очистки склонов от неустойчивых обломков горных пород в процессе эксплуатации. Высоту уступов следует принимать не менее 7 - 8 м, а ширину полок - не менее 5 - 8 м. Крутизна откосов уступов террас должна определяться расчетом. Водоотвод с полок (террас) следует предусматривать за счет придания им продольного и поперечного уклонов, а также прокладкой канав и лотков.
Выполаживание склона может быть применено как самостоятельное мероприятие повышения устойчивости, так и в сочетании с другими методами активной противообвальной защиты.
7.2.4 Проектирование устойчивого очертания склона проводят на основании расчетов общей и местной устойчивости в соответствии с указаниями
раздела 6.
7.2.5 Устойчивость скальных склонов, в отличие от дисперсных грунтов, обусловлена особенностями строения скальных массивов, являющихся структурно-анизотропными (неоднородными) средами. Расчет устойчивости в этом случае должен учитывать их очертание, характер и расположение (направление) поверхностей ослабления (трещиноватость, слоистость) по отношению к проектируемому профилю, прочностные параметры грунтов, возможность их деградации во времени вследствие выветривания, внешние нагрузки, гидрогеологические условия (обводненность пород), криогенные процессы (см.
6.4) и, при необходимости, сейсмические воздействия.
(в ред.
Изменения N 1, утв. Приказом Минстроя России от 12.12.2023 N 908/пр)
7.2.6 Указания и рекомендации по выполнению расчетов общей и местной устойчивости в этих случаях изложены в
[11],
[12],
[3].
(в ред.
Изменения N 1, утв. Приказом Минстроя России от 12.12.2023 N 908/пр)
7.2.7 Удерживающие сооружения применяют для повышения устойчивости склонов, предотвращения обвалов, вывалов, обрушения карнизов, удержания застенной призмы грунтов, отдельных неустойчивых массивов, крупных скальных блоков и т.д.
7.2.8 В зависимости от конкретных условий и поставленной задачи проектируют следующие основные виды удерживающих противообвальных сооружений
(рисунок 7.1):
- поддерживающие стены - для укрепления нависающих карнизов;
- подпорные стены - для удержания массива горной породы от смещения в горизонтальном направлении или вывала; при большой высоте удерживаемого склона применяют стены, закрепленные в нижележащих устойчивых породах;
- контрфорсы - для локального укрепления неустойчивых монолитных скальных массивов, разрушение которых может привести к нарушению устойчивости скального склона в целом. При неоднородном, нарушенном залегании скальных грунтов пространство между контрфорсами усиливается (закрепляется) поддерживающими и подпорными стенами, облицовкой или железобетонными поясами (опоясками);
- опояски применяют для укрепления неустойчивых наклонных слоев горных пород, когда использование подпорных стен или контрфорсов неэффективно по технико-экономическим соображениям. Опояски выполняются в виде системы горизонтальных элементов по ширине и длине удерживаемого склона каскадом или в шахматном порядке;
(в ред.
Изменения N 1, утв. Приказом Минстроя России от 12.12.2023 N 908/пр)
- облицовочные стены и пломбы - для закрепления раздробленных и ослабленных зон скальных склонов сравнительно небольшой мощности и защиты от дальнейшей эрозии горных пород;
- массивные удерживающие сооружения (подпорные и поддерживающие стены, контрфорсы) могут быть выполнены из сборного или монолитного железобетона, бутобетона, армогрунта, габионов.
а - поддерживающая стена; б - подпорная стена;
в - контрфорс; г - опояски; д - облицовочная стена;
е - пломба
Рисунок 7.1 - Монолитные удерживающие сооружения
7.2.9 Облицовочные стены, пломбы и пояски проектируются, как правило, из бетона (монолитного или сборного), каменной кладки на растворе или бутобетона. При этом рекомендуется применять следующие бетоны и растворы:
- для каменной и бутобетонной кладки - цементный раствор марки не ниже М150;
- для бетонных блоков и контрфорсов - бетон класса не ниже B15;
- для конструкций из железобетона - бетон класса не ниже B25.
7.2.10 Размеры и конфигурацию поддерживающих, подпорных стен и контрфорсов устанавливают по конструктивным соображениям в зависимости от профиля откоса выемки или склона, а также по результатам расчета устойчивости склона. В конструкциях следует предусматривать устройство вертикальных деформационных швов (за исключением конструкций из армогрунта и габионов).
7.2.11 При наличии водоносных горизонтов за задними гранями поддерживающих и подпорных стен в целях снижения гидростатического давления следует предусматривать дренаж.
7.2.12 Анкерные удерживающие сооружения (анкеры) наряду с использованием в дисперсных грунтах в качестве противооползневых конструкций (см.
6.3) целесообразно применять для укрепления склонов, сложенных слабовыветрелыми скальными породами крупноглыбовой или сланцевой структуры. По конструктивному исполнению и характеру работы анкеры делятся на две группы:
- анкеры мелкого заложения длиной до 5 м, с несущей способностью не более 100 кН закрепляются в скважине вяжущим раствором или механическим способом (буроинъекционные, клиновидные, распорные и набивные анкеры) (
рисунки 7.2 -
7.5);
- анкеры глубокого заложения длиной до 60 м, с несущей способностью более 100 кН, закрепляются в скважине вяжущим раствором.
1 - оголовок; 2 - опорная плита; 3 - удерживаемая
конструкция; 4 - скважина; 5 - пластиковая трубка
для изоляции анкерной тяги; 6 - анкерная тяга;
7 - цементное ядро; 8 - упорный элемент; 9 - гофрированная
труба; 10 - центратор; 11 - переходная трубка;
12 - уплотнитель; 13 - защитная крышка
Рисунок 7.2 - Схема буроинъекционного анкера
1 - клин; 2 - прорезь; 3 - стержень; 4 - участок с резьбой;
5 - хвостовик (под насадку при установке);
6 - опорная шайба; 7 - гайка
Рисунок 7.3 - Схема клиновидного анкера
1 - распорная муфта из двух полугильз;
2 - проволочное кольцо; 3 - стержень; 4 - установочная
труба; 5 - опорная шайба; 6 - гайка
Рисунок 7.4 - Схема распорного анкера
1 - цементно-песчаный раствор;
2 - забивной металлический стержень
Рисунок 7.5 - Схема набивного анкера
7.2.13 Анкеры мелкого заложения следует выполнять в виде стержней, штанг, крепи стальной конструкции для закрепления поверхностного слоя толщиной до 3 м для защиты от разуплотнения и осыпания, а также для закрепления крупноглыбовых отдельностей размером до 2 - 3 м. Расстояние между анкерами крепи следует определять из условия обеспечения устойчивости блоков между анкерами, но не менее 1 м.
7.2.14 Анкеры глубокого заложения следует проектировать из труб, толстостенных трубчатых винтовых штанг, стержневой арматуры (одного или нескольких стержней) или стальных тросов и канатов, предварительно напряженными (активными) или без предварительного напряжения (пассивными).
7.2.15 Выбор типа анкеров глубокого заложения следует проводить с учетом следующих их особенностей:
- анкеры без предварительного напряжения в основном предназначаются для работы на срез и изгиб;
- анкеры с предварительным напряжением предназначаются для случаев, когда преобладает нагрузка, вызывающая в основном растягивающие напряжения в направлении анкера.
7.2.16 Требования к проектированию анкеров глубокого заложения приведены в
разделе 6.3.5. При проектировании анкеров рассчитывают:
(в ред.
Изменения N 1, утв. Приказом Минстроя России от 12.12.2023 N 908/пр)
- общую устойчивость сооружения;
- несущую способность анкера в целом по грунту и материалу;
- прочность отдельных элементов, входящих в состав анкера.
7.2.17 Укрепление склона анкерами в зависимости от инженерно-геологических условий может быть конструктивно оформлено в виде:
- отдельных анкеров с опорными шайбами и плитами;
- групповых анкеров, опертых на упорные балки (железобетонные или металлические из прокатных профилей);
- сочетанием анкеров с покрытием участков склона между ними металлической сеткой.
7.2.18 Отдельные анкеры применяют в монолитных и слаботрещиноватых прочных скальных грунтах. Групповыми анкерами следует крепить склоны в скальных грунтах, менее прочных и в большей степени разбитых трещинами. Анкеры в сочетании с металлической сеткой следует использовать при мелкоглыбовой раздробленности скальных грунтов (на участках, где возможны вывалы и отслоения).
7.2.19 Анкеры на укрепляемой поверхности склонов следует располагать рядами или в шахматном порядке. Схему расстановки анкеров на укрепляемом скальном массиве и их ориентацию по отношению к вероятным поверхностям обрушения принимают таким образом, чтобы создать наибольший укрепительный эффект, а также с учетом общей схемы организации и производства строительно-монтажных работ. При расстановке анкеров следует учитывать, что наибольший укрепляющий эффект достигается при установке их в нижней половине укрепляемого скального массива.
7.2.20 При укреплении склонов анкерами необходимо стремиться к тому, чтобы их оси лежали в той же вертикальной плоскости, в которой действует усилие, сдвигающее укрепляемый массив. Отклонение оси анкеров от этой плоскости может привести к возникновению усилий, снижающих эффект укрепления (в частности, при применении предварительно напряженных анкеров).
7.2.21 При слоистой, сланцеватой структуре естественного основания, с расположением пластов горизонтально или с падением в сторону склона анкеры следует располагать таким образом, чтобы пересекать два пласта и более.
При выборе угла наклона анкеров к расчетной поверхности смещения закрепляемого массива необходимо учитывать следующее:
- несущая способность анкеров зависит от их ориентации относительно поверхности скольжения в вертикальной плоскости;
- при расположении анкеров нормально к поверхности предполагаемого скольжения стабилизирующее действие достигается лишь за счет сил трения, пропорциональных величине нормального давления, создаваемого за счет предварительного натяжения в активных анкерах или за счет реактивных усилий при смещении закрепляемых массивов в пассивных анкерах;
- если анкеры ориентированы относительно поверхности предполагаемого смещения под углами, отличными от 90°, то, помимо сил трения, обусловленных нормальной составляющей, возникают тангенциальные усилия, которые увеличивают или уменьшают устойчивость закрепляемого массива;
- следует ориентировать анкер к поверхности вероятного смещения закрепляемого массива под углом менее 90°; рекомендуемое значение угла - 30° - 60°.
(в ред.
Изменения N 1, утв. Приказом Минстроя России от 12.12.2023 N 908/пр)
7.2.22 Защитное покрытие и поверхностное закрепление грунтов осуществляются для предотвращения эрозии склонов, образования осыпей и вывалов, уменьшения инфильтрации жидких осадков в грунт. В качестве основного метода применяют покрытие пневмонабрызгом из торкрет-бетона, набрызг бетона и аэрированных песчано-цементных растворов (аэроцемент). Указания по конструированию защитных покрытий приведены в
[11]. Пневмонабрызг применяется для защитных покрытий относительно ровных, расчищенных откосов высотой до 20 м, на предварительно навешанную и закрепленную анкерами металлическую сетку
(рисунок 7.6).
1 - несущий анкер; 2 - слой покрытия по металлической сетке;
3 - отверстия для выпуска воды; 4 - монтажные анкеры
Рисунок 7.6 - Схема покрытия пневмонабрызгом
7.2.23 Инъекционное закрепление скальных трещиноватых склонов применяют в целях повышения их устойчивости и инфильтрации осадков в грунт. Инъектирование применяют при наличии сквозной системы трещиноватости, позволяющей раствору вяжущих веществ, нагнетаемому через скважины, проникать во все или большую часть примыкающих трещин.
7.2.24 В качестве вяжущих при инъектировании трещин принимают цементные и коллоидные химические растворы, эпоксидные смолы. Крупные трещины и разломы шириной 200 мм и более следует заполнять бетоном. Для заделки мелких трещин инъектированием следует применять глиноземистый цемент или осуществлять нагнетание химических растворов. Для повышения проникания цементного раствора в мелкие трещины в него добавляют водные растворы жидкого стекла, кремнекислого натрия или сульфата аммония. При инъекции раствора крупность зерен песка не должна быть более 0,1 мм.
7.2.25 При значительной ширине трещин (40 - 50 мм) нагнетание следует проводить цементно-песчаными растворами состава 1:3, при меньшей ширине - раствором состава 1:1. Для инъекции в породы, содержащие напорные подземные воды, применяют быстросхватывающиеся цементы. В качестве ускорителей схватывания могут быть использованы специальные добавки. В качестве заполнителя должен использоваться чистый речной или морской песок с зернами крупностью не более 1 мм.
7.2.26 Расстояние между нагнетательными скважинами следует принимать от 3 до 6 м в зависимости от характера и интенсивности трещиноватости. Давление инъектирования выбирают с таким расчетом, чтобы исключить разуплотнение массивов. Объем подаваемого вяжущего следует принимать в размере 4 - 5 объемов ствола нагнетательной скважины.
7.2.27 Агролесомелиоративные мероприятия следует проектировать в соответствии с положениями
6.2.5.
7.3 Методы пассивной противообвальной защиты
7.3.1 Массивные улавливающие сооружения предназначены для улавливания продуктов обвала и гашения их кинетической энергии за счет собственного веса конструкций.
7.3.2 В зависимости от применяемых конструктивных решений выделяют следующие виды массивных улавливающих сооружений
(рисунок 7.7):
- улавливающие траншеи и полки с бордюром;
- улавливающие стены;
- оградительные улавливающие стены;
- улавливающие валы.
а - улавливающая траншея; б - улавливающая полка с бордюром;
в - улавливающая стена; г - оградительная улавливающая
стена; д - улавливающий вал у подошвы; е - улавливающий вал
на склоне
Рисунок 7.7 -
Массивные улавливающие сооружения
7.3.3 Улавливающие траншеи, валы, а также стены располагают непосредственно у подошвы откоса и на склоне. Улавливающие полки с бордюром следует устраивать только у подошвы склонов.
7.3.4 Улавливающие траншеи (
рисунок 7.7,
а) и полки с бордюром (
рисунок 7.7,
б) у подошвы обвалоопасных склонов следует проектировать для защиты объектов от падения обломков скального грунта при высоте склонов до 60 м и крутизне их более 35°.
7.3.5 Улавливающие стены (
рисунок 7.7, в) предусматривают у подошвы обвальных склонов крутизной 25° - 35°. Допускается устройство этих стен также на относительно пологих участках склонов при расположении их на высоте не более 30 - 50 м над защищаемым объектом.
7.3.6 Оградительные улавливающие стены (
рисунок 7.7,
г) предусматривают у подошвы крутых (свыше 40° - 45°), относительно невысоких (до 25 - 30 м) склонов для улавливания мелких обломков или задержания осыпающегося скального грунта при выветривании поверхности склонов. Расчет на прочность и устойчивость оградительных улавливающих стен следует проводить только на статическое воздействие продуктов выветривания в случае полного завала ими застенного пространства (улавливающей пазухи). При расчете бокового давления грунта на стену уклон откоса осыпного материала принимают равным углу естественного откоса продуктов выветривания, уменьшенному на 5°.
7.3.7 Улавливающие валы следует располагать у подошвы затяжных склонов (при высоте их более 60 м), являющихся самостоятельными источниками обвальной опасности, когда расстояние между подошвой склона и защищаемым объектом достаточно для их размещения (
рисунок 7.7,
д). Улавливающие валы на склонах (
рисунок 7.7,
е) проектируются при крутизне их до 25° на высоте не более 30 - 50 м над защищаемым объектом.
(в ред.
Изменения N 1, утв. Приказом Минстроя России от 12.12.2023 N 908/пр)
7.3.8 Конструкции улавливающих траншей и полок с бордюром в зависимости от местных условий могут проектироваться заглубленного типа или на уровне защищаемых объектов с устройством оградительных конструкций.
7.3.9 Улавливающие и оградительные стены
(рисунок 7.8) проектируют из железобетона и бутобетона (сборными, монолитными или сборно-монолитными), габионов. Сборные железобетонные стены из бетонных блоков возводятся у подошвы склона при высоте стен 6 - 8 м. При меньшей высоте применяют сборные железобетонные стены уголкового профиля. Улавливающие и оградительные стены из бетонных блоков должны омоноличиваться по высоте с усилением арматурой диаметром не менее 20 мм. Стены из габионов и бутобетона применяют в труднодоступных местах и при наличии местного камня, когда использование механизмов для транспортирования сборных конструкций к месту работ и их монтажа невозможно.
(в ред.
Изменения N 1, утв. Приказом Минстроя России от 12.12.2023 N 908/пр)
а - стена из бетонных блоков; б - стена из коробчатых
габионных конструкций; в - стена из монолитного
железобетона; г - стена из сборного железобетона уголкового
профиля; 1 - улавливающая пазуха; 2 - амортизирующая
отсыпка; 3 - крупный камень; 4 - бетонные блоки;
5 - арматура; 6 - коробчатый габион
Рисунок 7.8 - Оградительные стены
7.3.10 Улавливающие валы на склонах
(рисунок 7.9) рекомендуется возводить из местных грунтов при крутизне склонов до 25° и толщине делювиального покрова более 1 м. При крутизне склонов 20° - 25° низовому откосу вала следует придавать крутизну 1:1, укрепляя его каменной выкладкой на цементном растворе. В обоих случаях у подошвы низового откоса вала необходимо устраивать упор из бутовой или бутобетонной кладки. Улавливающие валы у подошвы откосов и склонов сооружают из местного грунта без создания специального упора в основании наружного откоса.
1 - упор из каменной кладки; 2 - укрепление откоса;
3 - вал из местного грунта; 4 - уступы в основании вала
(штрабы); 1:n - крутизна низового откоса; 1:m - крутизна
верхового откоса; hn - высота улавливающего вала;
Zn - высота штрабы
Рисунок 7.9 - Улавливающие валы
7.3.11 Размеры и форму улавливающих пазух, конфигурацию призмы амортизирующей отсыпки массивных улавливающих сооружений следует назначать в зависимости от скорости и размеров падающих скальных обломков. В массивных улавливающих сооружениях дну улавливающих пазух рекомендуется придавать уклон не менее 0,002 по направлению к концам сооружения. Допускается в продольном направлении дна пазухи устраивать уступы, не превышающие 0,7 м, через 10 - 12 м.
7.3.12 В целях снижения стоимости строительно-монтажных работ и охраны окружающей среды при проектировании массивных улавливающих сооружений необходимо стремиться к уменьшению объема работ по срезке нагорного склона за счет следующих мероприятий:
- максимальное удаление сооружения от нагорного склона;
- применение конструкций из сборных тонкостенных конструкций;
- устройство откосов склонов и амортизирующей отсыпки с максимально возможным заложением;
- увеличение высоты сооружения;
- перенос защищаемого объекта от нагорного склона.
7.3.13 В тех случаях, когда срезка нагорного склона неизбежна, следует проводить мероприятия по рекультивации склона, обеспечив его защиту от выветривания и разрушения. При устройстве улавливающих траншей у подошвы склонов в целях уменьшения объема работ по их срезке следует придавать склонам максимально допустимый по условиям общей устойчивости уклон.
7.3.14 Крутизну откосов улавливающих пазух с нагорной стороны принимают в зависимости от расположения точки, удар обломков в которую создает наиневыгоднейшую траекторию их движения. В конструкциях массивных улавливающих сооружений, за исключением улавливающих траншей и полок с бордюром, по фронту следует предусматривать дренажные окна с шагом не менее 3 м.
7.3.15 Гибкие улавливающие сооружения предназначены для улавливания продуктов обвала и гашения их кинетической энергии за счет упругопластических деформаций конструкций сооружений. Их используют на склонах в стесненных условиях, а также для перекрытия обвальных логов, ложбин и распадков при условии исключения возможности их запруживания.
7.3.16 К основным видам гибких улавливающих сооружений относятся: гибкие барьеры, гибридные барьеры, пассивные покровные сетки
(рисунок 7.10).
1 - пассивная покровная сетка; 2 - гибридный барьер
с покровной сеткой; 3 - гибридный барьер с подвесной
сеткой; 4 - гибкий барьер
Рисунок 7.10 - Гибкие улавливающие сооружения
7.3.17 Основными конструктивными элементами гибкого барьера являются
(рисунок 7.11):
- улавливающая система, которая включает основную сетку с несущими тросами;
- опорная система, состоящая из системы стоек, закрепленных на фундаментной конструкции;
- соединительные и направляющие элементы, к которым относятся продольные и поперечные растяжки, блоки, скобы, талрепы и т.п.;
- тормозные устройства различной конструкции для снижения уровня динамических воздействий.
1 - улавливающая сетка с несущими тросами; 2 - опорная
стойка; 3 - фундаментная конструкция (анкерная);
4 - поперечная растяжка; 5 - тормозное устройство
Рисунок 7.11 - Схема гибкого барьера
7.3.18 В качестве упрощенного варианта гибкого барьера применяются сетчатые ограждения в виде вертикальных завес, располагаемых, как правило, у основания скального склона.
| | ИС МЕГАНОРМ: примечание. Текст дан в соответствии с официальным текстом документа. | |
7.3.19 Гибкие барьеры рекомендуется проектировать прямолинейного в плане очертания, минимизируя количество стоек и растяжек в пределах обвалоопасного участка во избежание повреждения прямым попаданием обломков. При перекрытии обвалоопасного лога с отвесными бортами применяются решения без стоек - с закреплением продольных тросов непосредственно анкерами на противоположных бортах лога. При многоярусном расположении расстояние между ярусами следует назначать в зависимости от предполагаемого отклонения барьера при ударе, при этом растяжки барьеров одного яруса не должны пересекать барьеры другого яруса. Минимальное расстояние от барьера до защищаемого объекта следует назначать исходя из предполагаемого максимального отклонения барьера, увеличенного на 20%, но не менее чем на 1 м.
7.3.20 Гибридные барьеры представляют собой гибкие барьеры, которые перехватывают и направляют скальные обломки в улавливающие пазухи ниже по склону. Их конструкция позволяет снижать скорость движения скальных обломков, гасить их энергию, контролировать траекторию их падения и предотвращать их аккумуляцию на склоне.
7.3.21 Гибридные барьеры следует применять как самостоятельно, так и в комплексе с другими типами улавливающих и пропускающих сооружений в следующих случаях:
- при значительных объемах обвалов, высокой массе и скорости скальных обломков, при наличии опасности схода селей и лавин, т.к. пропускают их без повреждений, уменьшая при этом их энергию;
- в стесненных условиях, т.к. позволяют контролировать траекторию движения обломков и сократить габариты улавливающих сооружений;
- на труднодоступных склонах, где очистка улавливающих сооружений затруднена, т.к. пропускаются продукты обвалов к их подошве.
7.3.22 В зависимости от способа монтажа нижней панели выделяют гибридные барьеры с покровными сетками (нижняя панель закрепляется по склону) и гибридные барьеры с подвесными сетками (нижняя панель вертикально подвешивается).
7.3.23 При значительных скоростях и размерах скальных обломков, а также на затяжных склонах следует предусматривать монтаж гибридных барьеров в два и более яруса. При наличии крутых (свыше 40° - 45°) участков у подошвы склона в нижнем ярусе рекомендуется применять гибридные барьеры с подвесными сетками.
7.3.24 Пассивные покровные сетки следует применять в стесненных условиях для ограничения траектории падения (скатывания) обломков и направления их в улавливающие пазухи на склонах высотой от 15 до 45 м (при необходимости до 120 м) с уклоном более 35° (как правило, 60° - 80°) при угрозе выпадения скальных обломков малого и среднего размера (до 0,5 - 1,0 м3). Как правило, покровные сетки применяют совместно с улавливающим сооружением, расположенным между подошвой склона и границей линейного сооружения, в пазухах которого будет происходить накопление обломочного материала.
7.3.25 Пропускающие сооружения в виде галерей и эстакад, пропускающих продукты обвальных процессов транзитом, соответственно над и под защищаемым объектом
(рисунок 7.12), проектируются в стесненных горных условиях, когда другие решения противообвальной защиты экономически и технологически нецелесообразны
[10].
(в ред.
Изменения N 1, утв. Приказом Минстроя России от 12.12.2023 N 908/пр)
Галереи: а - балочная; б - рамная; в - арочная;
г - консольная; д - полурамная; е - гибкая подвесная;
ж - эстакада
Рисунок 7.12 - Пропускающие противообвальные сооружения
Минстроя России от 12.12.2023 N 908/пр)
7.3.26 Галереи и эстакады подлежит устраивать при крутизне нагорного склона не менее 50° - 60°, в тех случаях, когда очаги обвала находятся на достаточном расстоянии и исключена возможность свободного падения непосредственно на кровлю галереи и эстакады скальных обломков размером более расчетной крупности.
(в ред.
Изменения N 1, утв. Приказом Минстроя России от 12.12.2023 N 908/пр)
7.3.27 Пропускающие галереи в зависимости от топографических и геологических условий, действующих нагрузок и возможностей производства работ могут иметь следующие конструктивные решения:
- балочные галереи, разгружающие низовые опоры от горизонтальных нагрузок, наиболее просты по устройству и монтажу, используются при сравнительно небольших уровнях воздействий;
- рамные галереи - позволяют сократить объем работ по устройству перекрытий и опор, что особенно существенно при значительных нагрузках на конструкции;
- арочные галереи - их конструкции существенно снижают материалоемкость сооружения, однако их применение ограничено топографическими и геологическими условиями, поскольку низовые опоры воспринимают значительные горизонтальные силы;
- консольные галереи, используемые для защиты от мелких обломков скального грунта и осыпного материала, требуют надежного крепления перекрытия в устойчивый скальный грунт нагорного склона;
- гибкие подвесные галереи работают как упруго-деформируемые системы, аналогично гибким улавливающим конструкциям; не исключают падения на проезжую часть продуктов осыпей, обломков крупностью менее размера ячеек покровной сетки; испытывают значительные деформации под нагрузкой, что следует учитывать для обеспечения нормативных габаритов приближения к защищаемому объекту.
7.3.28 Для защиты галерей от падающих скальных обломков на перекрытии формируется грунтовая амортизирующая отсыпка (или другие демпфирующие конструкции). На кровле галерей следует устраивать систему водоотвода и гидроизоляции.
7.3.29 Противообвальные эстакады применяют в исключительных случаях, когда трасса линейного сооружения пересекает глубокие и узкие логи (ущелья) или на некотором участке проходит вдоль крутого горного склона. При проектировании эстакад следует избегать устройства опор в зонах преобладающего движения скальных обломков, применяя большепролетные сооружения, или использовать защитные мероприятия в виде улавливающих конструкций с амортизирующими системами.
7.3.30 Проектирование улавливающих и пропускающих сооружений включает определение расположения, конструктивного решения и габаритов сооружения, а также расчет их на прочность и устойчивость.
7.3.31 Расположение и габаритные размеры улавливающих сооружений назначают по результатам расчетов из условия исключения возможности перелета и выскакивания скальных обломков, падающих со склона. Расчетом на перелет определяют высоту сооружений и их месторасположение. Расчетом на выкатывание и подскакивание устанавливают необходимую глубину улавливающих пазух, при которой исключается возможность вылета из них скальных обломков.
7.3.32 Расположение и габаритные размеры пропускающих сооружений устанавливают исходя из протяженности обвалоопасного участка, при этом сооружения следует располагать на достаточном расстоянии от очагов обвальных процессов, исключающем возможность прямого падения скальных обломков на кровлю галереи или пролетное строение эстакады.
7.3.33 Расчетную скорость скальных обломков рекомендуется определять в зависимости от типа поперечного профиля нагорного склона. Расчетную скорость определяют экспериментально, в том числе в полевых условиях, а также путем компьютерного моделирования в соответствующем программном обеспечении с учетом профиля склона, его покрова, размеров скальных отдельностей, физико-механических характеристик пород.
7.3.34 Расчетную крупность скальных обломков определяют на основании статистических характеристик распределения их фактической крупности по многолетним наблюдениям за падением обломков скальных грунтов в пределах защищаемого участка.
7.3.35 При отсутствии многолетних наблюдений за падением скальных обломков их расчетная крупность может быть определена в зависимости от потенциальной блочности скальных грунтов, слагающих склон, и уточнена путем опытного их сбрасывания с нагорного склона по направлению эксплуатируемого или проектируемого объекта. Расчет также допускается проводить путем компьютерного моделирования.
7.3.36 При расчете прочности и устойчивости проектируемых сооружений необходимо учитывать следующие нагрузки и их сочетания:
- постоянные нагрузки (от веса конструкций, грунтовой и амортизирующей засыпки и т.п.);
- временные длительные нагрузки (от веса и бокового давления грунтовых масс при их накоплении);
- кратковременные нагрузки, в том числе динамические от удара одиночного скального обломка расчетной крупности;
- особые нагрузки (от сейсмического воздействия).
7.3.37 Указания по выбору расчетных схем, определению расчетных нагрузок и используемым методам расчета в зависимости от конструктивных особенностей улавливающих и пропускающих сооружений приведены в
СП 116.13330,
[3],
[11].
(в ред.
Изменения N 1, утв. Приказом Минстроя России от 12.12.2023 N 908/пр)
8 Геотехнический мониторинг и профилактические мероприятия
8.1 Геотехнический мониторинг
8.1.1 На участках развития обвальных и оползневых процессов рекомендуется предусматривать мероприятия по геотехническому мониторингу. Состав мероприятий по геотехническому мониторингу и его вид следует назначать с учетом уровня ответственности объекта, степени опасности оползневых и скальных склонов, применяемых средств противооползневой и противообвальной защиты и местных условий, а также в соответствии с требованиями
СП 305.1325800.
(в ред.
Изменения N 1, утв. Приказом Минстроя России от 12.12.2023 N 908/пр)
8.1.2 В обязательном порядке геотехнический мониторинг следует выполнять:
- при классе сооружения КС-3;
- на особо опасных участках развития склоновых процессов (степень опасности определяется в соответствии с
СП 116.13330);
- в случае применения средств противообвальной и противооползневой защиты с использованием новых или сложных конструктивно-технологических решений и материалов.
8.1.3 Под геотехническим мониторингом понимается система наблюдений и контроля, реализуемая в целях:
- обеспечения безопасной эксплуатации защищаемых и прилегающих объектов;
- обеспечения безопасности населения;
- своевременного выявления отклонений в строящихся или существующих сооружениях от проектных данных;
- своевременного выявления, предупреждения и прогнозирования развития опасных геологических процессов;
- управления природными рисками;
- оценки эффективности принятых методов расчета и проектных решений.
8.1.4 Мониторинг оползневых и обвалоопасных участков позволяет:
- своевременно обеспечить мероприятия по ликвидации последствий развития оползневых и обвальных процессов;
- оценить эффективность и соответствие принятых укрепительных мероприятий местным условиям;
- оперативно укрепить дополнительные участки при необходимости;
- зафиксировать развитие перемещений неустойчивых участков, принять предупредительные меры по их принудительному обрушению с соблюдением требований техники безопасности;
- определить комплекс мер по повышению эффективности реализованных мероприятий.
8.1.5 Виды геотехнического мониторинга классифицируются:
- по форме представления информации в течение времени (периодический и непрерывный);
- по наблюдаемому объекту (мониторинг склоновых процессов и мониторинг сооружений).
8.1.6 При периодическом мониторинге измерения необходимых параметров осуществляются специалистами непосредственно на участке через определенные промежутки времени. Периодичность измерений устанавливается программой и может изменяться в процессе ведения мониторинга.
8.1.7 При непрерывном мониторинге в автономном режиме выполняются сбор, обработка, накопление и передача информации о состоянии склона и сооружения непрерывно или с минимальными интервалами времени для принятия оперативных решений.
8.1.8 Мониторинг склоновых процессов включает в себя систему режимных наблюдений за изменением состояния склонов и развитием опасных геологических процессов (оползни, эрозии, обвалов, вывалов, осыпей и т.п.).
8.1.9 Мониторинг склоновых процессов выполняется на оползнеопасных и обвалоопасных склонах как в естественном состоянии, так и с реализованными мероприятиями противооползневой и противообвальной защиты.
Мониторинг склоновых процессов предусматривают периодическим, с применением средств визуального и инструментального контроля. Состав и периодичность наблюдений определяется программой мониторинга в соответствии с указаниями СП 22.13330.2016
(раздел 12),
СП 305.1325800, СП 497.1325800.2020
(раздел 9), а также пунктов
8.1.12,
8.1.17,
8.1.18.
Мониторинг склонов, подверженных опасным криогенным процессам (термоденудации, солифлюкции, курумообразованию), производится на протяжении всего периода эксплуатации строительных объектов в прибрежной зоне и присклоновых сооружений с учетом требований СП 25.13330.2020
(раздел 15), СП 497.1325800.2020
(раздел 9).
(п. 8.1.9 в ред.
Изменения N 1, утв. Приказом Минстроя России от 12.12.2023 N 908/пр)
8.1.10 Мониторинг сооружений включает в себя все виды наблюдений за состоянием конструкций противооползневых и противообвальных сооружений, в том числе измерение деформаций сооружений (осадки, крены, горизонтальные смещения и др.), фиксацию и наблюдение дефектов и повреждений (трещины, коррозия, разрывы сеток и тросов и т.п.); измерение усилий в анкерных конструкциях и т.п.
8.1.11 Мониторинг сооружений выполняется в соответствии с рекомендациями по мониторингу соответствующих типов сооружений и предусматривается как периодическим, с применением средств визуального и инструментального контроля, так и непрерывным, с применением автоматизированных систем.
При строительстве и эксплуатации сооружений на многолетнемерзлых грунтах вблизи склонов мониторинг следует производить на протяжении всего жизненного цикла сооружений с учетом требований СП 25.13330.2020
(раздел 15), СП 497.1325800.2020
(раздел 9).
(абзац введен
Изменением N 1, утв. Приказом Минстроя России от 12.12.2023 N 908/пр)
8.1.12 Требования к мониторингу гравитационных и анкерных удерживающих сооружений, а также гравитационных улавливающих сооружений приведены в
ГОСТ 31937,
[3],
[7], а требования к мониторингу пропускающих сооружений - галерей и эстакад - приведены в нормативных документах по мониторингу тоннелей и мостовых сооружений
[3],
[13],
[14].
(в ред.
Изменения N 1, утв. Приказом Минстроя России от 12.12.2023 N 908/пр)
8.1.13 Визуальный контроль при мониторинге склоновых процессов и техническом мониторинге предусматривает регулярные обследования и фотофиксацию с последующим сопоставлением состояния участков и сооружений во времени. Фотофиксация выполняется с фиксированных точек, расположение которых определяется в рамках рекогносцировочного обследования. Точки фотофиксации назначаются исходя из необходимости получения фотоматериалов:
- обзорных, с общим изображением наблюдаемого склона, сооружения;
- детальных, с изображениями состояния неукрепленных участков, участков с противооползневыми и противообвальными сооружениями (анкерных конструкций, покровных сеток, покрытия из пневмонабрызга, субстрата и корневой системы насаждений), их общего состояния, отдельных конструкций и повреждений в них.
8.1.14 Инструментальный контроль при мониторинге склоновых процессов и техническом мониторинге предусматривает:
- геодезический контроль перемещений склонов и сооружений (также может быть применено сплошное лазерное сканирование участков);
- определение перемещений, раскрытия трещин в сооружениях и скальных массивах с применением трещиномеров, монтируемых на характерных участках;
- определение наклона сооружений, крупных скальных отдельностей с применением наклономеров, монтируемых на их поверхности;
- определение величины нагрузок и возникающих напряжений в конструкциях сооружений.
8.1.15 Срок службы измерительных приборов, устанавливаемых на объекте мониторинга, должен быть не менее длительности проведения работ по мониторингу. Измерение каждого параметра рекомендуется осуществлять не менее чем двумя датчиками, приборами или другими средствами измерений.
8.1.16 При изменении внешних условий окружающей среды необходимо обеспечить стабильность параметров измерительных устройств. При необходимости следует вносить поправки в результаты измерений в зависимости от изменения температуры, влажности воздуха и других факторов.
8.1.17 Визуальный и инструментальный мониторинг рекомендуется выполнять до начала и во время строительства - ежемесячно, затем в течение одного года - не реже одного раза в месяц, при установлении устойчивого состояния склона - не реже двух раз в год.
8.1.18 В отдельных, труднодоступных участках, а также на участках повышенного риска обвальных явлений рекомендуется выполнять непрерывный мониторинг. Непрерывный мониторинг, как правило, следует предусматривать для гибких улавливающих и пропускающих сооружений. Для выполнения непрерывного мониторинга применяют автоматизированные системы мониторинга.
8.1.19 В составе автоматизированных систем мониторинга обычно применяют датчики, фиксирующие:
- изменения геометрии конструкций (удлинение тросов, изменение наклона стоек, их перемещение и пр.);
- изменение нагрузок на конструкцию (рост усилий в тросах, анкерах, фиксируемый непосредственно динамометрами, тензометрический контроль напряженно-деформированного состояния в элементах);
- срабатывание контрольных механизмов (страховочные кольца и пр.).
8.1.20 Принципы работы автоматизированной системы мониторинга заключаются в сборе и отправке в диспетчерский пункт значений наблюдаемых параметров или сигналов о превышении заданных пороговых значений.
8.1.21 Автоматизированные комплексы следует, как правило, предусматривать с автономным питанием и значительным периодом межсервисного обслуживания. Элементы автоматизированной системы мониторинга должны быть снабжены защитой от механических повреждений, а также предусматривать решения по защите от ложных срабатываний. При проектировании следует отдавать предпочтение решениям, обеспечивающим многократное повторное применение после срабатывания.
8.1.22 Для сбора метеорологических и климатических комплексов рекомендуется предусматривать автономные метеорологические станции. Как правило, применяют датчики измерения температуры, количества и периодичности осадков (термометры, плювиометры и плювиографы).
8.1.23 При вводе в эксплуатацию автоматизированных систем мониторинга следует проводить их пусконаладку и проверку работоспособности с подготовкой исполнительных актов.
8.2 Профилактические мероприятия по предупреждению обвалов
8.2.1 Профилактические мероприятия по предупреждению обвалов следует выполнять путем своевременной очистки скальных склонов от неустойчивых в обвальном отношении обломков горных пород, обрушения крупных скальных массивов, угрожающих обвалами.
8.2.2 Очистка горных склонов должна осуществляться в тех случаях, когда возможно обрушение отдельных неустойчивых обломков горных пород, средствами малой механизации или вручную. В отдельных случаях допускается применение буровзрывных работ.
8.2.3 Очистку скальных склонов от неустойчивых в обвальном отношении обломков горных пород следует проектировать поэтапно в зависимости от степени опасности, которая выявляется в результате предварительного осмотра склонов обборщиками (верхолазами). Особое внимание следует уделять кулуарам (расщелинам в склоне), где происходит аккумуляция обломочного материала с последующим его транзитом вниз по склону.
8.2.4 При выполнении профилактических мероприятий следует учитывать меры по защите близлежащих объектов от разрушений и деформаций. Место производства работ должно быть ограждено, должны быть установлены предупреждающие знаки.
Минстроя России от 12.12.2023 N 908/пр)
[1] Федеральный
закон N 384-ФЗ от 30 декабря 2009 г. "Технический регламент о безопасности зданий и сооружений"
[2]
ОДМ 218.2.033-2013 Методические рекомендации по выполнению инженерно-геологических изысканий на оползнеопасных склонах и откосах автомобильных дорог
[3]
ОДМ 218.2.051-2015 Рекомендации по проектированию и расчету противообвальных сооружений на автомобильных дорогах
[4]
ВСН 506-88 Проектирование и устройство грунтовых анкеров
[5]
Руководство по проектированию и технологии устройства анкерного крепления в транспортном строительстве. - М.: ЦНИИС Минтрансстроя СССР, 1987
[6]
ОДМ 218.2.102-2019 Рекомендации по расчету и проектированию нагельных креплений откосов автомобильных дорог
[7]
ОДМ 218.3.008-2011 Рекомендации по мониторингу и обследованию подпорных стен и удерживающих сооружений на оползневых участках автомобильных дорог
[8]
ВСН 178-91 Нормы проектирования и производства буровзрывных работ при сооружении земляного полотна
[9]
Приказ федеральной службы по экологическому, технологическому и атомному надзору от 3 декабря 2020 г. N 494 "Об утверждении Федеральных норм и правил в области промышленной безопасности "Правила безопасности при производстве, хранении и применении взрывчатых материалов промышленного назначения"
[10] Методические
рекомендации по проектированию противообвальных и противолавинных галерей и эстакад для пропуска скальных обвалов в районах Северной строительно-климатической зоны. - М.: ЦНИИС Минтрансстроя СССР, 1972"
[11] Руководство по проектированию противооползневых и противообвальных защитных сооружений. Проектирование противообвальных защитных сооружений. - М.: ЦНИИС Минтрансстроя СССР, 1983
[12] Методические указания по проектированию земляного полотна (выемок) в легковыветривающихся скальных породах. - М.: ЦНИИС Минтрансстроя СССР, 1974
[13]
ОДМ 218.4.002-2008 Руководство по проведению мониторинга состояния эксплуатируемых мостовых сооружений
[14] Методическое руководство по комплексному горно-экологическому мониторингу при строительстве и эксплуатации транспортных тоннелей (утверждено Тоннельной ассоциацией России 1 сентября 2009 г., согласовано Федеральной службой по экологическому, технологическому и атомному надзору Российской Федерации 10 августа 2009 г.)