Главная // Актуальные документы // ПравилаСПРАВКА
Источник публикации
В данном виде документ опубликован не был.
Первоначальный текст документа опубликован в издании
М., 2017.
Информацию о публикации документов, создающих данную редакцию, см. в справке к этим документам.
Примечание к документу
Документ включен в
Перечень документов в области стандартизации, в результате применения которых на добровольной основе обеспечивается соблюдение требований Федерального
закона от 30.12.2009 N 384-ФЗ "Технический регламент о безопасности зданий и сооружений" (
Приказ Росстандарта от 02.04.2020 N 687).
Документ включен в
Перечень документов в области стандартизации, в результате применения которых на добровольной основе обеспечивается соблюдение требований Федерального
закона от 30.12.2009 N 384-ФЗ "Технический регламент о безопасности зданий и сооружений" (
Приказ Росстандарта от 17.04.2019 N 831).
Название документа
"СП 305.1325800.2017. Свод правил. Здания и сооружения. Правила проведения геотехнического мониторинга при строительстве"
(утв. и введен в действие Приказом Минстроя России от 17.10.2017 N 1435/пр)
(ред. от 17.10.2023)
"СП 305.1325800.2017. Свод правил. Здания и сооружения. Правила проведения геотехнического мониторинга при строительстве"
(утв. и введен в действие Приказом Минстроя России от 17.10.2017 N 1435/пр)
(ред. от 17.10.2023)
Утвержден и введен в действие
и жилищно-коммунального хозяйства
Российской Федерации
от 17 октября 2017 г. N 1435/пр
СВОД ПРАВИЛ
ЗДАНИЯ И СООРУЖЕНИЯ
ПРАВИЛА ПРОВЕДЕНИЯ ГЕОТЕХНИЧЕСКОГО МОНИТОРИНГА
ПРИ СТРОИТЕЛЬСТВЕ
Buildings and structures. The rules of geotechnical
monitoring under construction
СП 305.1325800.2017
| | Список изменяющих документов России от 17.10.2023 N 746/пр) | |
Дата введения
18 апреля 2018 года
Сведения о своде правил
1 ИСПОЛНИТЕЛИ - АО "НИЦ "Строительство" - НИИОСП им. Н.М. Герсеванова, ЗАО "Триада-Холдинг"
2 ВНЕСЕН Техническим комитетом по стандартизации ТК 465 "Строительство"
3 ПОДГОТОВЛЕН к утверждению Департаментом градостроительной деятельности и архитектуры Министерства строительства и жилищно-коммунального хозяйства Российской Федерации (Минстрой России)
4 УТВЕРЖДЕН
Приказом Министерства строительства и жилищно-коммунального хозяйства Российской Федерации от 17 октября 2017 г. N 1435/пр и введен в действие с 18 апреля 2018 г.
5 ЗАРЕГИСТРИРОВАН Федеральным агентством по техническому регулированию и метрологии (Росстандарт)
6 ВВЕДЕН ВПЕРВЫЕ
В случае пересмотра (замены) или отмены настоящего свода правил соответствующее уведомление будет опубликовано в установленном порядке. Соответствующая информация, уведомление и тексты размещаются также в информационной системе общего пользования - на официальном сайте разработчика (Минстрой России) в сети Интернет
Настоящий свод правил содержит указания по проведению геотехнического мониторинга при строительстве зданий и сооружений, в том числе подземных, возводимых в различных инженерно-геологических условиях, а также плотной городской застройки.
Разработан АО "НИЦ "Строительство" - НИИОСП им. Н.М. Герсеванова (канд. техн. наук И.В. Колыбин, Д.Е. Разводовский - руководители темы; канд. техн. наук Ф.Ф. Зехниев, инженер Д.А. Внуков - ответственные исполнители; д-ра техн. наук В.И. Крутов, В.И. Шейнин; канд. техн. наук А.Г. Алексеев, В.А. Ковалев, В.К. Когай, В.Г. Федоровский, М.Л. Холмянский, О.А. Шулятьев; инженеры И.А. Боков, А.Б. Мещанский, О.А. Мозгачева) при участии закрытого акционерного общества "Триада-Холдинг" (ЗАО "Триада-Холдинг") (д-р техн. наук А.А. Шилин; канд. техн. наук А.Ю. Бауков, А.М. Кириленко).
Изменение N 1 к СП 305.1325800.2017 подготовлено авторским коллективом АО "НИЦ" Строительство" - НИИОСП им. Н.М. Герсеванова (канд. техн. наук И.В. Колыбин - руководитель разработки; канд. техн. наук Ф.Ф. Зехниев, Д.А. Внуков - ответственные исполнители; канд. техн. наук А.Г. Алексеев, канд. техн. наук И.А. Боков, канд. техн. наук С.В. Курилло, С.А. Виноградова, Д.Д. Жданов, А.С. Петухов).
(абзац введен
Изменением N 1, утв. Приказом Минстроя России от 17.10.2023 N 746/пр)
Настоящий свод правил распространяется на правила проведения геотехнического мониторинга объектов капитального строительства в процессе нового строительства или реконструкции зданий и сооружений.
Настоящий свод правил не распространяется на правила проведения геотехнического мониторинга гидротехнических сооружений, дорожного и железнодорожного полотна, аэродромных покрытий, магистральных трубопроводов и фундаментов машин с динамическими нагрузками.
В настоящем своде правил использованы нормативные ссылки на следующие документы:
ГОСТ 17623-87 Бетоны. Радиоизотопный метод определения средней плотности
(в ред.
Изменения N 1, утв. Приказом Минстроя России от 17.10.2023 N 746/пр)
ГОСТ 23061-2012 Грунты. Методы радиоизотопных измерений плотности и влажности
(ссылка введена
Изменением N 1, утв. Приказом Минстроя России от 17.10.2023 N 746/пр)
ГОСТ 23422-87 Материалы строительные. Нейтронный метод измерения влажности
ГОСТ 24846-2019 Грунты. Методы измерения деформаций оснований зданий и сооружений
(в ред.
Изменения N 1, утв. Приказом Минстроя России от 17.10.2023 N 746/пр)
(в ред.
Изменения N 1, утв. Приказом Минстроя России от 17.10.2023 N 746/пр)
ГОСТ 27751-2014 Надежность строительных конструкций и оснований. Основные положения
ГОСТ 31937-2011 Здания и сооружения. Правила обследования и мониторинга технического состояния
ГОСТ Р ИСО 5725-1-2002 Точность (правильность и прецизионность) методов и результатов измерений. Часть 1. Основные положения и определения
ГОСТ Р 52892-2007 Вибрация и удар. Вибрация зданий. Измерение вибрации и оценка ее воздействия на конструкцию
ГОСТ Р 56198-2014 Мониторинг технического состояния объектов культурного наследия. Недвижимые памятники. Общие требования
(ссылка введена
Изменением N 1, утв. Приказом Минстроя России от 17.10.2023 N 746/пр)
СП 14.13330.2018 "СНиП II-7-81* Строительство в сейсмических районах" (с изменениями N 2, N 3)
(в ред.
Изменения N 1, утв. Приказом Минстроя России от 17.10.2023 N 746/пр)
СП 22.13330.2016 "СНиП 2.02.01-83* Основания зданий и сооружений" (с изменениями N 1, N 2, N 3, N 4)
(в ред.
Изменения N 1, утв. Приказом Минстроя России от 17.10.2023 N 746/пр)
СП 26.13330.2012 "СНиП 2.02.05-87 Фундаменты машин с динамическими нагрузками" (с изменением N 1)
СП 47.13330.2016 "СНиП 11-02-96 Инженерные изыскания для строительства. Основные положения" (с изменением N 1)
(в ред.
Изменения N 1, утв. Приказом Минстроя России от 17.10.2023 N 746/пр)
СП 104.13330.2016 "СНиП 2.06.15-85 Инженерная защита территорий от затопления и подтопления" (с изменением N 1)
(в ред.
Изменения N 1, утв. Приказом Минстроя России от 17.10.2023 N 746/пр)
СП 420.1325800.2018 Инженерные изыскания для строительства в районах развития оползневых процессов. Общие требования
(ссылка введена
Изменением N 1, утв. Приказом Минстроя России от 17.10.2023 N 746/пр)
Примечание - При пользовании настоящим сводом правил целесообразно проверить действие ссылочных документов в информационной системе общего пользования - на официальном сайте федерального органа исполнительной власти в сфере стандартизации в сети Интернет или по ежегодному информационному указателю "Национальные стандарты", который опубликован по состоянию на 1 января текущего года, и по выпускам ежемесячного информационного указателя "Национальные стандарты" за текущий год. Если заменен ссылочный документ, на который дана недатированная ссылка, то рекомендуется использовать действующую версию этого документа с учетом всех внесенных в данную версию изменений. Если заменен ссылочный документ, на который дана датированная ссылка, то рекомендуется использовать версию этого документа с указанным выше годом утверждения (принятия). Если после утверждения настоящего свода правил в ссылочный документ, на который дана датированная ссылка, внесено изменение, затрагивающее положение на которое дана ссылка, то это положение рекомендуется применять без учета данного изменения. Если ссылочный документ отменен без замены, то положение, в котором дана ссылка на него, рекомендуется применять в части, не затрагивающей эту ссылку. Сведения о действии сводов правил целесообразно проверить в Федеральном информационном фонде стандартов.
В настоящем своде правил применены следующие термины с соответствующими определениями:
3.1
зона влияния нового строительства или реконструкции: Расстояние, за пределами которого негативное воздействие на окружающую застройку пренебрежимо мало. |
3.2
наблюдательный метод: Метод проектирования, изначально предполагающий возможность корректировать проект на основании результатов геотехнического мониторинга. |
3.3
окружающая застройка: Существующие здания и сооружения, инженерные и транспортные коммуникации, расположенные вблизи объектов нового строительства или реконструкции. |
3.4
специализированные организации: Организации, основным направлением деятельности которых является выполнение комплексных инженерных изысканий и проектирование оснований, фундаментов и подземных частей сооружений, располагающие квалифицированным и опытным персоналом, в т.ч. с обязательным привлечением научных кадров, соответствующим сертифицированным оборудованием и программным обеспечением. |
3.5 геотехнический мониторинг: Комплекс работ, основанный на натурных наблюдениях за поведением конструкций вновь возводимого или реконструируемого сооружения, его основания, в т.ч. грунтового массива, окружающего (вмещающего) сооружение, и конструкций сооружений окружающей застройки.
3.6
деформационная марка: Геодезический знак, жестко укрепленный на конструкции здания или сооружения (фундаменте, колонне, стене), меняющий свое положение вследствие осадки, просадки, подъема, сдвига, крена и т.п. фундамента (сооружения). |
(п. 3.6 введен
Изменением N 1, утв. Приказом Минстроя России от 17.10.2023 N 746/пр)
4.1 Целью геотехнического мониторинга является обеспечение безопасности строительства и эксплуатационной надежности объектов нового строительства или реконструкции, включая здания и сооружения окружающей застройки, за счет своевременного выявления изменения контролируемых параметров конструкций и грунтов оснований, которые могут привести к переходу объектов в ограниченно работоспособное или аварийное состояние.
Примечание - Далее вместо термина "здания и сооружения" используется термин "сооружения", в число которых входят также подземные сооружения.
4.2 Настоящий свод правил:
- регламентирует правила проведения геотехнического мониторинга объектов капитального строительства в процессе нового строительства или реконструкции сооружений;
- детализирует положения
СП 22.13330 и
ГОСТ 31937 в части применяемых методов наблюдений, анализа результатов мониторинга и алгоритма действия в случае выявления возможности реализации аварийной ситуации;
- дополняет положения
СП 22.13330 в части правил проведения геотехнического мониторинга в особых условиях: плотной городской застройки; при строительстве на насыпных, органоминеральных и органических, просадочных, вечномерзлых грунтах; на подтопленных и подрабатываемых территориях; на территориях, подверженных сейсмическим воздействиям и территориях с распространением оползневых процессов и возможностью карстообразования; а также особенности мониторинга уникальных сооружений и при наблюдательном методе проектирования.
4.3 Объекты нового строительства и реконструкции, подлежащие геотехническому мониторингу, устанавливают в соответствии с
СП 22.13330 в зависимости от геотехнической категории, которая представляет собой категорию сложности геотехнического проектирования объекта, определяемую в зависимости от уровня ответственности объекта и сложности инженерно-геологических условий площадки строительства.
Уникальность объекта и уровень ответственности сооружения устанавливают в соответствии с
[1],
[2] и
ГОСТ 27751.
Категорию сложности инженерно-геологических условий строительства определяют в соответствии с
СП 47.13330.
4.4 Сооружения окружающей застройки уровней ответственности КС-3 (повышенный) и КС-2 (нормальный), в т.ч. подземные инженерные коммуникации, подлежат геотехническому мониторингу при их расположении в зоне влияния нового строительства или реконструкции, размеры которой определяют по результатам геотехнического прогноза.
Примечания
1 При отсутствии результатов геотехнического прогноза влияния возводимого сооружения объекты геотехнического мониторинга окружающей застройки назначают по предварительной зоне влияния, определяемой в соответствии с
СП 22.13330.
2 Для зданий и сооружений, частично расположенных в зоне влияния строительства или реконструкции, геотехнический мониторинг должен выполняться в полном объеме секций или блоков, расположенных в зоне влияния.
3 Объекты культурного наследия, а также памятники истории и культуры, расположенные за пределами расчетной зоны влияния объектов строительства или реконструкции геотехнической категории III, подлежат геотехническому мониторингу в случае их расположения в предварительно назначаемой зоне влияния по
СП 22.13330. При этом проводят мониторинг только той части здания или сооружения, которая расположена в предварительной зоне влияния.
(примечания в ред.
Изменения N 1, утв. Приказом Минстроя России от 17.10.2023 N 746/пр)
4.5 Геотехнический мониторинг объектов нового строительства и реконструкции, а также сооружения окружающей застройки, в т.ч. подземных инженерных коммуникаций, осуществляют в соответствии с программой (см.
5.1), которую разрабатывают и утверждают в составе проектной документации.
4.6 Для сооружений геотехнической категории 3 по
СП 22.13330 или по специальному заданию в других случаях на основании программы разрабатывают проект геотехнического мониторинга (наблюдательной системы).
4.7 Наблюдательная система геотехнического мониторинга в период строительства должна обеспечивать возможность ее последующего включения в структурированную систему мониторинга и управления инженерными системами сооружений (СМИС) в случае, если предусмотрена система мониторинга объекта в период эксплуатации.
При этом используемые приборы и оборудование следует подбирать исходя из условий обеспечения проектного срока действия системы мониторинга в период эксплуатации, требуемой точности и устойчивости к внешним воздействиям, возможности дистанционного снятия показаний.
(в ред.
Изменения N 1, утв. Приказом Минстроя России от 17.10.2023 N 746/пр)
5 Состав работ по геотехническому мониторингу
5.1 Программа и проект мониторинга
5.1.1 Программа геотехнического мониторинга объекта строительства определяет состав, объемы, периодичность и методы работ с учетом инженерных изысканий на площадке строительства, конструктивных решений проектируемого или реконструируемого сооружения и сооружений окружающей застройки, последовательность выполнения строительных работ и т.п.
5.1.2 При разработке программы геотехнического мониторинга следует учитывать особенности расположения площадки проектируемого сооружения на территориях с распространением отдельных видов специфических грунтов (см.
4.2), подрабатываемых территориях, в сейсмических районах, а также возможность проявления опасных геологических процессов (см.
раздел 8).
(п. 5.1.2 в ред.
Изменения N 1, утв. Приказом Минстроя России от 17.10.2023 N 746/пр)
5.1.3 При разработке программы геотехнического мониторинга следует руководствоваться требованиями
СП 22.13330.
5.1.4 При разработке проекта геотехнического мониторинга (см.
4.7) помимо сведений, содержащихся в программе геотехнического мониторинга, необходимо учитывать требования по составу, предусмотренные
СП 22.13330.
5.1.5 Программу (проект) мониторинга разрабатывают в составе проектной документации.
5.2 Контролируемые параметры
5.2.1 К контролируемым параметрам при геотехническом мониторинге вновь возводимых сооружений относятся осадки фундаментов и относительная разность осадок, крен, напряжения под подошвой фундаментов, послойные осадки грунтов основания, напряжения в основании под пятой свай и в стволе свай, усилия в грунтовых анкерах, напряжения в конструкциях подземной части (фундаменты, колонны, перекрытия), уровень подземных вод, поровое давление и др.
Состав контролируемых параметров следует назначать в зависимости от конструктивных особенностей сооружения, в т.ч. его высоты, и геотехнической категории в соответствии с
СП 22.13330, а также особенностей инженерно-геологических условий площадки в соответствии с
8.4 -
8.11.
5.2.2 К контролируемым параметрам при геотехническом мониторинге реконструируемых сооружений относятся дополнительные осадки фундаментов и относительная разность дополнительных осадок, дополнительный крен, напряжения под подошвой фундаментов, послойные осадки грунтов основания, напряжения в основании под пятой свай и в стволе свай, напряжения в конструкциях подземной части (фундаменты, колонны, перекрытия) и др.
Состав контролируемых параметров назначают в зависимости от уникальности и геотехнической категории реконструируемого сооружения в соответствии с
СП 22.13330.
5.2.3 К контролируемым параметрам при геотехническом мониторинге конструкций ограждения котлована вновь возводимых и реконструируемых сооружений относятся горизонтальные перемещения верха ограждающей конструкции, горизонтальные перемещения ограждающей конструкции по высоте, напряжения в стальных распорках, в тягах анкерных устройств, в арматуре и бетоне ограждающих конструкций, в арматуре и бетоне перекрытий при разработке котлована под их защитой, температура и глубина промерзания грунтов, уровень подземных вод за пределами ограждения.
Состав контролируемых параметров назначают в зависимости от глубины котлована и геотехнической категории в соответствии с
СП 22.13330.
5.2.4 К контролируемым параметрам при геотехническом мониторинге массива грунта, окружающего вновь возводимые и реконструируемые сооружения, относятся вертикальные и горизонтальные перемещения поверхностных грунтовых марок, уровень подземных вод, вертикальные и горизонтальные перемещения массива грунта по глубине, температура и химический состав подземных вод.
Состав контролируемых параметров назначают в зависимости от глубины котлована и геотехнической категории в соответствии с
СП 22.13330.
5.2.5 К контролируемым параметрам при геотехническом мониторинге сооружений окружающей застройки, расположенных в зоне влияния нового строительства (реконструкции) или прокладки подземных инженерных коммуникаций, относятся дополнительные осадки фундаментов и их относительная разность, деформации конструкций, в т.ч. ширина раскрытий и глубина образования трещин, дополнительный крен, горизонтальные перемещения конструкций и фундаментов, уровень вибрации существующих конструкций.
Состав контролируемых параметров назначают в зависимости от глубины котлована и геотехнической категории в соответствии с
СП 22.13330.
5.2.6 К контролируемым параметрам при геотехническом мониторинге подземных инженерных коммуникаций, расположенных в зоне влияния нового строительства (реконструкции) или прокладки подземных инженерных коммуникаций, относятся дополнительные осадки и горизонтальные перемещения обечаек люков, колодцев и других конструкций, выступающих на поверхность, дополнительные осадки, горизонтальные перемещения и деформации конструкций обделок проходных и полупроходных коллекторов, уровень вибрации существующих конструкций.
Состав контролируемых параметров назначают в зависимости от глубины котлована и геотехнической категории в соответствии с
СП 22.13330.
5.2.7 Назначение контролируемых параметров при проведении геотехнического мониторинга в особых условиях следует выполнять с учетом положений
раздела 8.
5.3 Сроки и периодичность выполнения работ по мониторингу
5.3.1 Сроки выполнения работ по проведению геотехнического мониторинга назначают в соответствии с
СП 22.13330, зависят от продолжительности строительства (реконструкции) объекта, в т.ч. возведения подземной части, и их допускается продлевать при отсутствии стабилизации контролируемых параметров.
5.3.2 Периодичность фиксации контролируемых параметров определяют в соответствии с
СП 22.13330, увязывают с графиком проведения строительно-монтажных работ и допускается корректировать при превышении значениями контролируемых параметров ожидаемых значений или выявлении прочих опасных отклонений.
Примечание - Периодичность фиксации контролируемых параметров объектов культурного наследия определяется в соответствии с ГОСТ Р 56198-2014
(пункт 4.17).
(примечание введено
Изменением N 1, утв. Приказом Минстроя России от 17.10.2023 N 746/пр)
5.4 Предельные значения контролируемых параметров
5.4.1 Предельные значения контролируемых параметров вновь возводимого сооружения при геотехническом мониторинге (см.
5.2.1) устанавливаются проектной организацией на основе расчета сооружения во взаимодействии с основанием при проектировании, в т.ч. с учетом архитектурных и технологических требований.
В случае если конструкции сооружения не рассчитаны на усилия, возникающие в них при взаимодействии с основанием, и в задании на проектирование не установлены предельные значения к деформациям сооружения по архитектурным и технологическим требованиям, предельные значения контролируемых параметров деформации основания допускается назначать в соответствии с
СП 22.13330.
5.4.2 Предельные значения контролируемых параметров реконструируемого сооружения при геотехническом мониторинге (см.
5.2.2) устанавливаются проектной организацией на основе расчета сооружения во взаимодействии с основанием при проектировании реконструкции.
В случае если конструкции сооружения не рассчитаны на усилия, возникающие в них при взаимодействии с основанием в период реконструкции и дальнейшей эксплуатации, предельные значения контролируемых параметров деформации основания допускается назначать в соответствии с
СП 22.13330 в зависимости от конструктивной схемы и категории технического состояния.
5.4.3 Предельные значения контролируемых параметров дополнительных деформаций основания для сооружений окружающей застройки (см.
5.2.5) устанавливаются в соответствии с
СП 22.13330 с учетом категории технического состояния сооружения.
5.4.4 Предельные значения контролируемых параметров конструкций ограждения котлована (см.
5.2.3), массива грунта (см.
5.2.4) и подземных инженерных коммуникаций (см.
5.2.6), расположенных в зоне влияния строительства, устанавливаются проектной организацией и определяются аналитическими и численными методами расчета при выполнении геотехнического прогноза.
6 Методы геотехнического мониторинга
6.1 Визуально-инструментальные методы
6.1.1 Визуально-инструментальные методы мониторинга состоят из визуальных наблюдений (осмотр объекта) и инструментальных измерений (фиксация дефектов и повреждений в конструкциях).
6.1.2 Визуально-инструментальные методы следует применять для наблюдения за возводимым (реконструируемым) сооружением, сооружениями окружающей застройки, конструкциями проходных и полупроходных коллекторов, поверхностью прилегающего грунта, в т.ч. вдоль трасс инженерных коммуникаций.
6.1.3 Инструментальные наблюдения за раскрытием существующих трещин в конструкциях зданий и сооружений осуществляются путем:
- установки на трещины маяков различного типа, используемых в качестве индикаторов процесса развития трещинообразования;
- периодических измерений ширины раскрытия трещин с применением ручных портативных деформометров, микроскопов, щупов, щелемеров;
- применения автоматизированных средств измерений (АСИ) при измерении раскрытия трещин в труднодоступных местах, быстропротекающих процессов или в случае применения автоматизированной системы мониторинга (АСМ).
6.1.4 Фиксация ширины раскрытия трещин с использованием ручных и автоматизированных средств измерений должна выполняться с точностью не ниже 0,1 мм.
6.1.5 При проведении периодических измерений ширины раскрытия трещин, с целью определения деформаций, вызванных изменением температуры окружающего воздуха, необходимо контролировать температуру поверхности исследуемой конструкции. Точность измерений температуры - не ниже 0,5 °C.
6.1.6 Наблюдение за развитием трещин по длине осуществляют путем фиксации поперечными штрихами с указанием даты. Точность измерений должна быть не ниже 0,5 мм.
6.1.7 По результатам визуально-инструментального мониторинга составляют:
- ведомости зафиксированных в конструкциях сооружения дефектов и повреждений с указанием их характера и местоположения;
- карты дефектов, нанесенные на схематические фасады, планы и разрезы зданий;
- журналы наблюдения за маяками (с указанием номеров и мест расположения маяков, даты их установки и дат наблюдения);
- фотодокументацию по зафиксированным дефектам и повреждениям.
6.2.1 Геодезические методы в составе геотехнического мониторинга следует применять для измерения вертикальных и горизонтальных перемещений искусственных сооружений, земной поверхности, грунтового массива по глубине.
6.2.2 Геодезические методы используют с применением нивелиров, теодолитов, тахеометров, сканеров (в т.ч. оптических, электронных, лазерных и др.) и навигационных спутниковых систем.
6.2.3 При ведении мониторинга геодезическими методами измеряют (отдельно или совместно) следующие параметры:
- вертикальные перемещения (осадки, вертикальные сдвиги, просадки, подъемы, прогибы и т.п.);
- горизонтальные перемещения (сдвиги);
- наклоны (крены).
6.2.4 Задачи геодезических методов мониторинга:
- определение участков, подверженных наибольшим отклонениям от первоначального положения;
- выявление величины и направления деформационных процессов;
- выявление закономерностей, позволяющих спрогнозировать дальнейшее развитие деформационных процессов.
6.2.5 При проведении геотехнического мониторинга с применением геодезических методов следует соблюдать требования
ГОСТ 24846.
6.2.6 Геодезический мониторинг следует проводить в следующей последовательности:
- анализ исходных и архивных данных;
- разработка соответствующего раздела программы мониторинга;
- детальная рекогносцировка местности, определение мест расположения и установка опорных геодезических знаков высотной и плановой основы вне зоны возможных деформаций;
- установка деформационных марок на объекте строительства или реконструкции, зданиях и сооружениях окружающей застройки, в конструкциях инженерных коммуникаций, выходящих на поверхность, проходных и полупроходных коллекторах;
- осуществление высотной и плановой привязки установленных опорных геодезических знаков;
- проведение нулевого цикла измерений положения контролируемых деформационных марок;
- периодические геодезические измерения вертикальных и горизонтальных перемещений и кренов;
- обработка и анализ результатов наблюдений;
- составление отчетной документации.
6.2.7 Перечень используемых геодезических методов на объекте следует устанавливать в соответствующем разделе программы геотехнического мониторинга в зависимости от требуемой точности измерений (в соответствии с
ГОСТ 24846), степени автоматизации измерительного процесса, конструктивных особенностей контролируемых объектов, инженерно-геологических и гидрогеологических характеристик грунтов.
Основные геодезические методы и средства измерений, применяемые при геотехническом мониторинге, в зависимости от контролируемых параметров, представлены в таблице 6.1.
Таблица 6.1
Основные геодезические методы и средства измерений,
применяемые при геотехническом мониторинге
Методы геодезического мониторинга | Средства измерений и регистрации данных | Контролируемый параметр | Возможность автоматизации |
Геометрическое нивелирование коротким лучом визирования | Оптический нивелир | Вертикальные перемещения конструкций зданий и сооружений, основания, фундаментов и поверхности грунтового массива | Отсутствует |
Цифровой нивелир | Отсутствует |
Тригонометрическое нивелирование | Электронный тахеометр | Имеется |
Оптический теодолит | Имеется |
Гидростатическое нивелирование | Переносной шланговый нивелир | Отсутствует |
Стационарная гидростатическая система | Имеется |
Метод относительных спутниковых измерений с использованием глобальной спутниковой навигационной системы (ГНСС) | Автоматизированные аппаратно-программные системы, состоящие из приемников (роверов) и базовых станций | Вертикальные и плановые перемещения конструкций зданий и сооружений, основания, фундаментов и поверхности грунтового массива | Имеется |
Геодезические наблюдения по кустам глубинных реперов | Оптический нивелир | Вертикальные перемещения грунтового массива по глубине | Отсутствует |
Цифровой нивелир | Отсутствует |
Электронный тахеометр | Имеется |
Метод створных наблюдений (метод бокового нивелирования) | Электронный тахеометр | Горизонтальные смещения. Сдвиг (здания и сооружения, ограждающие конструкции котлованов, грунтовый массив) | Имеется |
Оптический теодолит | Отсутствует |
Метод полигонометрии | Электронный тахеометр | Имеется |
Оптический теодолит | Отсутствует |
Метод отдельных направлений | Электронный тахеометр | Имеется |
Оптический теодолит | Отсутствует |
Метод триангуляции | Электронный тахеометр | Имеется |
Оптический теодолит | Отсутствует |
Метод фотограмметрии | Фототеодолит | Отсутствует |
Метод трилатерации | Электронный тахеометр | Имеется |
Оптический теодолит | Отсутствует |
Метод проецирования | Электронный тахеометр | Крен фундамента и наклон здания в целом | Имеется |
Оптический теодолит | Отсутствует |
Метод координирования | Электронный тахеометр | Имеется |
Оптический теодолит | Отсутствует |
Метод измерения углов или направлений | Электронный тахеометр | Имеется |
Оптический теодолит | Отсутствует |
Метод фотограмметрии | Фототеодолит | Отсутствует |
6.2.8 Требования к программе работ в части инструментального обеспечения геодезического мониторинга:
- сведения о наличии пунктов государственной геодезической сети, а также знаков, установленных для целей строительства;
- данные о системе координат и высотных отметок;
- сведения о ранее выполненных работах по определению деформаций и связь их с последующими работами;
- описание мест закладки геодезических знаков, обоснование выбора типа знаков;
- предварительная схема измерительной сети, точность определения деформаций;
- методы измерений горизонтальных и вертикальных перемещений, применяемые инструменты;
- периодичность проведения измерений.
6.2.9 При использовании систем на основе автоматизированных тахеометров программа должна содержать: план расположения измерительных инструментов, контролируемых точек (призм), точек обратной засечки (вне зоны влияния контролируемого объекта); схему крепления мониторинговых призм, конструктивную схему оснащения базовой точки, в которой расположен роботизированный тахеометр.
6.2.10 Камеральную обработку результатов геодезических измерений (проверка полевых журналов, уравнивание ходов, расчеты по оценке точности и подготовка материалов для отчетной документации) следует выполнять отдельно по каждому циклу.
6.2.11 Требования к отчетной документации
При ведении мониторинга с использованием геодезических методов составляют три вида отчетной документации:
- отчет по результатам нулевого цикла, включающий исполнительные схемы опорной геодезической сети и расположения деформационных марок, первичные результаты измерений, являющиеся "нулевыми" для последующих измерений;
- промежуточные отчеты (информационные справки), предоставляемые в процессе ведения измерений, содержащие пояснительную записку и результаты измерений в виде таблиц и графиков;
- окончательный отчет по результатам всех геодезических измерений на объекте.
6.2.12 Характерные места расположения деформационных марок в конструкциях зданий и сооружений для измерения осадок назначаются в соответствии с требованиями ГОСТ 24846-2019
(пункт 5.1.9), а для объектов культурного наследия - в том числе с учетом требований ГОСТ Р 56198-2014
(пункт 7.1.11).
(п. 6.2.12 введен
Изменением N 1, утв. Приказом Минстроя России от 17.10.2023 N 746/пр)
6.3 Параметрические методы
6.3.1 При применении параметрических методов в составе геотехнического мониторинга следует выполнять следующие измерения:
- вертикальных и горизонтальных деформаций (послойные осадки грунтов оснований; горизонтальные и вертикальные перемещения массива грунта по глубине; горизонтальные перемещения ограждающей конструкции котлована);
- угловые (крен фундамента и конструкций сооружения);
- напряжений (в основании под пятой и в стволе свай, в конструкциях подземной части сооружений, под подошвой фундаментов, в стальных распорках, тягах анкерных устройств, арматуре и бетоне ограждающих конструкций котлована, конструкций перекрытий);
- порового давления подземных вод.
Основные средства измерений параметрических методов, применяемые при геотехническом мониторинге, в зависимости от контролируемых параметров, представлены в таблице 6.2.
Таблица 6.2
Основные средства измерений параметрических методов,
в зависимости от контролируемых параметров,
при геотехническом мониторинге
Контролируемый параметр | Средства измерений и регистрации данных | Возможность автоматизации |
Геотехнический мониторинг оснований, фундаментов и конструкций вновь возводимых, реконструируемых и расположенных в зоне влияния строительства сооружений |
Крен фундамента и конструкций | Высокоточные электроуровни, в том числе балочного типа | Имеется |
Датчики на основе одно-, двухосевых микроэлектромеханических систем (МЭМС) инклинометров | Имеется |
Оптоволоконный точечный инклинометр | Имеется |
Стационарная автоматизированная система контроля деформаций на основе прямых/обратных отвесов | Имеется |
Напряжения: - под подошвой фундаментов - в основании под пятой свай - на контакте с конструкцией | Струнные датчики давления | Имеется |
Электрические датчики давления | Имеется |
Напряжения: - в конструкциях подземной части сооружений - стволе свай | Струнные датчики нагрузки | Имеется |
Тензорезисторные датчики нагрузки | Имеется |
Струнные замоноличиваемые тензодатчики | Имеется |
Электрические замоноличиваемые тензодатчики | Имеется |
Оптоволоконные замоноличиваемые тензодатчики | Имеется |
Послойные осадки грунтов оснований | Портативный скважинный ручной магнитный экстензометр (с одним зондом) | Отсутствует |
Портативный скважинный ручной экстензометр (двухточечный зонд) | Отсутствует |
Стержневой экстензометр | Имеется |
Струнный экстензометр | Имеется |
Оптоволоконный экстензометр | Имеется |
Поровое давление подземных вод | Струнные пьезометры | Имеется |
Электрические пьезометры | Имеется |
Оптиковолоконные пьезометры | Имеется |
Геотехнический мониторинг конструкций ограждения котлованов вновь возводимых и реконструируемых сооружений |
Горизонтальные перемещения ограждающей конструкции котлована по высоте | Портативные скважинные инклинометры | Отсутствует |
Стационарные скважинные инклинометры | Имеется |
Напряжения: - в стальных распорках - тягах анкерных устройств | Струнные тензодатчики, устанавливаемые методом дуговой или точечной сварки | Имеется |
Электрические тензодатчики | Имеется |
Оптоволоконные тензодатчики | Имеется |
Струнные датчики нагрузки с центральным отверстием | Имеется |
Тензорезисторные датчики нагрузки с центральным отверстием | Имеется |
Напряжения: - в арматуре и бетоне ограждающих конструкций котлована - арматуре и бетоне перекрытий | Струнные замоноличиваемые тензодатчики | Имеется |
Электрические замоноличиваемые тензодатчики | Имеется |
Оптоволоконные замоноличиваемые тензодатчики | Имеется |
Геотехнический мониторинг массива грунта, окружающего вновь возводимые и реконструируемые сооружения |
Вертикальные перемещения массива грунта по глубине | Портативный скважинный ручной магнитный экстензометр (с одним зондом) | Отсутствует |
Портативный скважинный ручной экстензометр (двухточечный зонд) | Отсутствует |
Стержневой экстензометр | Имеется |
Струнный экстензометр | Имеется |
Оптоволоконный экстензометр | Имеется |
Горизонтальные перемещения массива грунта по глубине | Портативные скважинные инклинометры | Отсутствует |
Стационарные скважинные инклинометры | Имеется |
Примечания 1 Точность измерений с помощью параметрических методов приведена в приложении А. 2 Описание аппаратурного обеспечения, правил проведения измерений и обработки результатов мониторинга с использованием параметрических методов приведены в приложениях Б - Д. |
6.3.2 Контроль параметров следует осуществлять с использованием измерительных датчиков (первичных преобразователей), устанавливаемых (периодически или стационарно) в заранее определенные измерительные точки.
6.3.3 При измерениях горизонтальных перемещений ограждающих конструкций котлованов по высоте с применением параметрических методов следует использовать портативные или стационарные инклинометры. Измерения следует проводить в скважинах, оборудованных направляющими инклинометрическими трубами (металлическими или пластиковыми с направляющими пазами). Количество скважин, их расположение, а также предельно допустимые значения горизонтальных перемещений устанавливают в программе мониторинга на основе результатов расчетов ограждающих конструкций. В каждом цикле инклинометрических измерений положение верха инклинометрических труб следует измерять геодезическим способом.
6.3.4 При измерениях напряжений в арматуре и бетоне ограждающих конструкций котлованов закладные точечные тензодатчики (струнные, электрические, оптоволоконные) следует устанавливать на различных высотных отметках ограждающей конструкции с шагом не более 5 м. Результаты измерений группы датчиков, объединенных в измерительное сечение, следует анализировать совместно.
6.3.5 При измерениях напряжений в стальных распорных элементах котлована измерительные датчики устанавливают группами (четыре датчика, расположенные ортогонально по окружности) в центральной части распорного элемента и у опоры. Количество контролируемых распорных элементов, а также предельно допустимые значения относительных деформаций устанавливают в программе мониторинга на основе результатов расчетов распорной системы котлована.
6.3.6 При измерениях напряжений в тягах анкерных устройств с применением датчиков усилий количество измерительных точек для контроля усилий в анкерных креплениях следует принимать не менее 10% общего числа анкеров.
6.3.7 При контроле послойных осадок грунтового массива, окружающего строящиеся и реконструируемые сооружения следует применять скважинные стационарные (стержневые, струнные, звеньевые, оптоволоконные) и портативные (одноточечные и двухточечные) экстензометры. Количество контролируемых скважин, их глубина и количество измерительных точек в каждой скважине устанавливают в программе мониторинга на основе результатов геотехнического прогноза влияния строительства.
6.3.8 В случае одновременного контроля на объекте нескольких параметров с использованием большого количества средств измерений (если осуществление одного измерительного цикла по всем контролируемым точкам требует значительных временных затрат) отдельные датчики и приборы допускается объединять в измерительные системы с различной степенью автоматизации.
6.3.9 Измерительная система должна обеспечивать синхронность проведения измерений с заданным интервалом. Линии связи должны обеспечивать бесперебойную и помехоустойчивую передачу данных на протяжении всего периода эксплуатации системы. Организация передачи данных между отдельными элементами измерительной системы возможна как с использованием кабельных линий, так и с помощью беспроводных систем связи.
6.3.10 Необходимо предусматривать возможность интеграции измерительных датчиков, устанавливаемых в несущих конструкциях и грунтах основания строящегося или реконструируемого сооружения, в систему СМИК на этапе дальнейшей эксплуатации объекта.
6.3.11 При выборе измерительных датчиков и приборов необходимо учитывать специфические условия, в которых они будут эксплуатироваться, включая:
- механическое, гидромеханическое или термомеханическое взаимодействия между компонентами системы геотехнических измерений (например, датчиками, линиями связи) и средой, в которой установлены компоненты;
- условия окружающей среды (агрессивные грунтовые воды и газы; давление грунта; электромагнитные помехи), которые могут влиять на установленные измерительные датчики и приборы;
- уязвимость информационной связи внутри системы мониторинга (длинные измерительные линии, которые часто проходят через зоны ведения строительных работ).
6.3.12 Измерительные датчики и приборы должны обладать необходимой надежностью, чтобы эффективно выполнять свои функции в течение всего срока проведения мониторинга, с учетом условий воздействия окружающей среды.
6.3.13 Необходимо предусматривать защиту средств измерений, используемых при параметрических методах мониторинга: защитные оголовки для наблюдательных скважин; внешние корпусы, защищающие измерительные датчики от воздействия атмосферных осадков и прямых солнечных лучей; армированные кабельные соединения; антивандальные шкафы для размещения регистрирующей аппаратуры.
6.3.14 При проведении измерений необходимо предусматривать меры для снижения влияния внешних факторов на результаты измерений: применение датчиков с автоматической компенсацией температурных воздействий и перепадов атмосферного давления, с защитой от перепадов напряжения; применение материалов с низким коэффициентом теплового расширения, высокой коррозионной стойкостью.
6.3.15 Конструкция датчиков и технология их установки не должны влиять на результаты мониторинга.
6.3.16 В разделе параметрических методов программы мониторинга должны содержаться: перечень контролируемых параметров и оборудования; схемы расположения измерительных точек и устанавливаемых в них датчиков и приборов; предельные значения контролируемых параметров; способ установки датчиков и приборов на объекте, порядок и периодичность проведения измерений, форма отчетности.
6.4 Виброметрические методы
6.4.1 Виброметрические методы в составе геотехнического мониторинга обеспечивают контроль допустимого уровня вибраций сооружений и их оснований в период строительства и после его завершения.
При оценке допустимости вибраций следует исходить из обеспечения:
- допустимости колебаний для людей
[3];
- штатного функционирования виброчувствительного оборудования согласно требованиям технической документации на оборудование и задания на проектирование. При отсутствии таких данных допускается применять
СП 26.13330.
6.4.2 В состав работ по виброметрическому мониторингу входят системно организованные инструментальные наблюдения за вибрациями и их контроль, выполняемые в соответствии с программой геотехнического мониторинга.
6.4.3 Вибрационные наблюдения проводят в целях получения фактических данных об уровнях вибраций грунта и конструкций фундаментов сооружений при наличии динамических воздействий:
- от стационарного оборудования, установленного или планируемого к установке внутри или вблизи сооружения;
- автомобильного и железнодорожного транспорта и метрополитена;
- строительного оборудования;
- прочих источников (взрывные работы и т.д.).
6.4.4 При оценке вибраций следует измерять параметры вибраций (виброперемещения, виброскорости, виброускорения). Выбор параметров и точности их измерений следует осуществлять в соответствии с требованиями согласно
6.4.1.
Для их анализа и оценки следует вести измерения вибрационного фона до начала строительства. Полученные результаты должны быть использованы при разработке виброметрического раздела программы (проекта) геотехнического мониторинга.
6.4.5 В разделе виброметрических методов программы геотехнического мониторинга указывают измеряемые параметры вибраций, точки и направления измерений, предельные уровни вибраций, периодичность измерений.
Примечание исключено с 18.11.2023. -
Изменение N 1, утв. Приказом Минстроя России от 17.10.2023 N 746/пр.
6.4.6 Предельные уровни вибраций устанавливают с учетом конструктивной схемы зданий и сооружений, их технического состояния, инженерно-геологических условий площадки строительства на основе имеющихся нормативных документов.
6.4.7 В особых случаях, в том числе для уникальных зданий и сооружений, зданий исторической застройки, памятников архитектуры, истории и культуры, находящихся в предаварийном или аварийном техническом состоянии, предельные уровни вибраций назначают на основе опытных исследований специализированных организаций.
(в ред.
Изменения N 1, утв. Приказом Минстроя России от 17.10.2023 N 746/пр)
6.5.1 Целью геофизических измерений в составе геотехнического мониторинга является фиксация и оценка изменений состояния строительных конструкций и геологической среды, обусловленных как техногенными, так и природными факторами, в условиях ограниченности возможностей использования прямых методов измерений контролируемых параметров таких изменений. По результатам геофизических наблюдений оценивают пространственно-временные изменения напряженно-деформированного состояния (НДС) грунтов оснований, а также изменения особенностей их залегания в массиве (зоны разуплотнения, обводнения, трещиноватости и т.д.). При наблюдениях за строительными конструкциями по результатам геофизических измерений выявляют и оценивают изменения НДС, их сплошности и целостности.
6.5.2 Геофизические наблюдения допускается выполнять:
- в основаниях и строительных конструкциях подземных частей возводимых сооружений, в т.ч. окружающей застройки;
- на участках развития опасных геомеханических процессов (оползни, карст, подтопление и т.п.).
6.5.3 Геофизические наблюдения состоят из следующих полевых работ:
- подготовки мест измерений в массиве и строительных конструкциях;
- монтажа измерительного оборудования;
- проведения измерений;
- занесения результатов измерений в полевые журналы, акты снятия показаний и т.д., и их освидетельствование.
6.5.4 При геофизических наблюдениях за изменениями состояния грунтов оснований и строительных конструкций применяют акустические, электромагнитные и ядерно-физические методы (таблица 6.3).
(в ред.
Изменения N 1, утв. Приказом Минстроя России от 17.10.2023 N 746/пр)
Таблица 6.3
Основные методы геофизических наблюдений, применяемых
при геотехническом мониторинге
Метод | Технология наблюдений | Измеряемые параметры | Решаемые задачи/особые условия |
Электромагнитные методы |
Радиолокационное зондирование (РЛЗ) | По поверхности | Характеристики электромагнитных импульсов, возбуждаемых внешними устройствами и отраженных от границ сред с различной диэлектрической проницаемостью | Фиксация в грунтовом массиве изменений границ зон повышенной влажности, зон разуплотнения и т.д. |
Электропрофилирование (ЭП) | По поверхности | Кажущиеся электрические сопротивления и удельные электрические сопротивления (УЭС) пород | То же, в том числе в подземных конструкциях |
Вертикальное электрическое зондирование (ВЭЗ) |
Электрокаротаж сопротивлений (КС), токовый каротаж | В скважинах |
Метод естественного электромагнитного излучения (ЕЭМИ) | По поверхности, в шпурах, скважинах | Амплитудные и частотные характеристики импульсов ЕЭМИ | Оценка изменений напряженного состояния участков грунтового массива, элементов строительных конструкций |
Радиоволновое просвечивание (РВП) | Скважинная, скважинно-поверхностная | Изучение компонентов электромагнитного поля при возбуждении в одной скважине и приеме в другой, на поверхности или в той же скважине | Оценка изменений свойств грунтов под фундаментами сооружений и изменений состояния подземных конструкций, в т.ч. на участках плотной городской застройки |
Сейсмоакустические методы |
Корреляционный метод преломленных волн (КМПВ, МПВ), метод отраженных волн (МОВ), в модификации общей глубинной точки (МОВ ОГТ) профилирование по поверхностям подземных конструкций | По поверхности | Изучение динамических и кинематических характеристик упругих колебаний в среде, вызванных искусственными источниками возбуждения колебаний | Оценка изменений состояния массивов грунтов и состояния конструкций |
Сейсмоакустический каротаж (СК), вертикальное сейсмоакустическое профилирование (ВСП) | В скважинах |
Ультразвуковой каротаж (УЗК), ультразвуковое профилирование по поверхностям подземных конструкций | Скважинная, по поверхности | Оценка изменений свойств скальных оснований и состояния конструкций |
Акустическая эмиссия (АЭ) | По поверхности, в шпурах, скважинах | Амплитудные и частотные характеристики импульсов АЭ | Оценка изменений напряженного состояния участков грунтового массива и элементов строительных конструкций |
Ядерно-физические методы |
Гамма-гамма метод (ГГМ), нейтрон-нейтронный метод (ННМ) | Скважинная, по поверхности | Характеристики ослабления радиоактивного излучения в грунтах и материалах конструкций | Оценка изменений свойств грунтов (плотность, влажность) под фундаментами сооружений и изменений состояния конструкций, в т.ч. на участках плотной городской застройки |
6.5.5 Использование конкретных методов геофизических наблюдений, приведенных в
таблице 6.3, определяют в зависимости от контролируемых параметров (показателей напряженного состояния, трещиноватости, обводнения, плотности и т.д.), определяющих состояние грунтов оснований зданий и конструкций сооружений.
6.5.6 При выполнении мониторинга с использованием ультразвуковых и радиоизотопных измерений следует руководствоваться требованиями к точности измерений по
ГОСТ 17624,
ГОСТ 23061,
ГОСТ 17623,
ГОСТ 23422.
6.5.7 Периодичность геофизических измерений при выполнении геотехнического мониторинга определяют при составлении программы мониторинга с учетом требований технического задания заказчика в зависимости от уровня ответственности сооружения, степени влияния контролируемых параметров на состояние оснований и конструкций сооружения и прогнозируемой скорости их изменения во времени.
6.6 Гидрогеологические методы
6.6.1 Гидрогеологические методы в составе геотехнического мониторинга включают в себя комплекс работ по определению изменений уровней подземных вод (УПВ) или величин пьезометрических напоров в водоносных горизонтах на строительной площадке и на прилегающей территории в период строительства и реконструкции объекта, а также на начальном этапе его эксплуатации.
6.6.2 Целью гидрогеологических методов геотехнического мониторинга является контроль за изменениями УПВ или пьезометрических напоров для своевременного принятия мер по исключению негативного влияния указанных изменений на сооружения и коммуникации, расположенные на близлежащей к строительной площадке территории, а также на строящееся сооружение, включая опасность всплытия объекта строительства.
6.6.3 Гидрогеологический мониторинг следует выполнять для вновь возводимых и реконструируемых сооружений с уровнями ответственности КС-3 (повышенный) и КС-2 (нормальный) при ожидаемом изменении положения УПВ, вызванного:
- влиянием подземной части сооружения или способов его строительства, в т.ч. при реконструкции, на изменение естественного положения УПВ или величины пьезометрического напора;
- водопонижением или проявлением барражного эффекта в результате перекрытия фильтрационного потока подземных вод.
6.6.4 Контроль за положением УПВ следует проводить при расположении строящегося объекта на склоне, где в результате дождей малой обеспеченности возможна потеря его устойчивости из-за значительного увлажнения грунтового массива.
6.6.5 При расположении строительства в непосредственной близости к особо охраняемым территориям, национальным паркам и т.п. следует контролировать на указанных территориях или их границах отсутствие влияния строящегося сооружения на изменение УПВ относительно естественных значений.
6.6.6 Гидрогеологический мониторинг допускается не проводить в тех случаях, когда дно котлована расположено не менее чем на 0,5 м выше расчетного УПВ.
Примечание - Расчетный уровень определяют с учетом максимального значения величины сезонных колебаний УПВ.
6.6.7 Система гидрогеологического мониторинга должна быть подготовлена не менее чем за один месяц до начала строительных работ, которые могут оказать влияние на изменение фильтрационного режима одного или нескольких водоносных горизонтов в зоне влияния строящегося объекта. В указанный период следует выполнить два-три цикла наблюдений, включая начальный, для определения естественного положения УПВ на площадке. Перед началом наблюдений следует определить высотное положение оголовка каждой скважины в абсолютных отметках и выполнить плановую привязку каждой скважины на территории стройплощадки.
(в ред.
Изменения N 1, утв. Приказом Минстроя России от 17.10.2023 N 746/пр)
6.6.8 Гидрогеологический мониторинг следует осуществлять путем измерений УПВ в скважинах или кустах скважин (в случае влияния строительства на несколько водоносных горизонтов), выполненных по специальному проекту. Площадку вокруг скважины следует зацементировать, патрубок оголовка окрасить, на оголовок нанести номер скважины. Оголовок скважины должен иметь крышку с запорным устройством. В скважине обязательно наличие отстойника длиной не менее 1 м. Дно отстойника должно быть закрыто пробкой или заварено. Типовая конструкция наблюдательной скважины приведена на
рисунке 6.1.
1 - фильтровая колонна; 2 - песчано-гравийная обсыпка;
3 - сетчатый фильтр на каркасе трубы; 4 - отстойник;
5 - крышка с запорным устройством
Рисунок 6.1 - Типовая конструкция наблюдательной скважины
6.6.9 Замеры УПВ в наблюдательных скважинах выполняют гидрогеологической рулеткой, электроуровнемером, автоматическим регистратором с электронной памятью. Точность замеров должна не превышать 3 см.
6.6.10 Организацию системы гидрогеологического мониторинга на стройплощадке следует выполнять в соответствии с программой геотехнического мониторинга.
В составе программы определяют количество скважин и места их расположения, конструкцию скважин, периодичность циклов наблюдений за УПВ, необходимость контроля температуры воды в скважине и ее химического состава, продолжительность мониторинга с четким указанием условий его прекращения (завершение строительства, осушение грунтового массива постоянными дренажными устройствами).
6.6.11 По результатам гидрогеологического мониторинга должен быть прослежен период восстановления УПВ после возведения подземной части объекта или отключения системы водопонижения с целью контроля за отсутствием превышения восстановленного уровня над расчетным, что очень важно при возможности всплытия построенного сооружения.
6.6.12 Методика гидрогеологических наблюдений, указанная в программе геотехнического мониторинга, должна основываться на результатах прогнозных расчетов, выполняемых аналитическими или численными методами в соответствии с
СП 250.1325800.
6.6.13 При назначении в соответствии с инженерно-геологическим разрезом интервала установки фильтровых звеньев наблюдательных скважин следует предусматривать возможность возникновения аварийных ситуаций, когда при нарушении водонепроницаемости ограждения котлована может резко понизиться УПВ в наблюдаемом водоносном пласте.
6.6.14 Проверку работоспособности и конструктивной целостности наблюдательных скважин следует проводить не реже двух раз в год. В случае выхода скважин из строя рядом следует пробурить новую скважину с теми же конструктивными параметрами и интервалом установки фильтра.
6.6.15 При наблюдениях за изменениями уровней (напоров) нескольких водоносных горизонтов, на которые распространяется влияние нового строительства, следует организовать кусты наблюдательных скважин, в которых каждая скважина обслуживает соответствующий горизонт.
6.6.16 При осуществлении гидрогеологического мониторинга следует определить температуру подземных вод, что позволит определить причину отклонения замеренных УПВ от прогнозных значений в связи со значительными утечками из водонесущих коммуникаций (водопровод, теплосети, канализация).
(в ред.
Изменения N 1, утв. Приказом Минстроя России от 17.10.2023 N 746/пр)
6.6.17 При значительных отклонениях замеренных УПВ от прогнозных или существенном повышении температуры подземных вод по сравнению со значениями, полученными при изысканиях, следует определить их причину и наметить мероприятия, устраняющие эти явления.
6.6.18 На начальном этапе строительства следует выполнять замеры УПВ с частотой не реже одного цикла в 7 - 10 сут. В дальнейшем, после стабилизации депрессионной воронки при водопонижении или полном проявлении барражного эффекта, интервал замеров может быть увеличен до одного цикла в месяц.
(в ред.
Изменения N 1, утв. Приказом Минстроя России от 17.10.2023 N 746/пр)
6.6.19 В отчетной документации по результатам гидрогеологических наблюдений также следует приводить графики изменения УПВ во времени, анализ и оценку причин, вызвавших изменения УПВ, выводы по результатам наблюдений и рекомендации по сохранению работоспособности наблюдательных скважин, устранению возможных нештатных ситуаций.
6.7.1 Температурные наблюдения в составе геотехнического мониторинга выполняют для получения достоверной информации о температуре грунтов на различной глубине.
6.7.2 Полевые измерения температуры грунтов следует проводить в соответствии с программой геотехнического мониторинга для контроля и оценки изменений, происходящих в тепловом режиме грунтов в результате возведения сооружений.
6.7.3 Измерения температуры грунтов следует проводить в заранее подготовленных и выстоянных термометрических скважинах. Измерения следует выполнять термоизмерительными комплектами, представляющими собой "заленивленные" ртутные термометры или электрические датчики температуры с соответствующей измерительной аппаратурой, устройствами для накопления информации (логгеры) в автоматическом режиме и дистанционной передачи данных, или гирлянды.
6.7.4 Оборудование термометрических скважин, а также требования к измерительному оборудованию должны соответствовать
ГОСТ 25358.
6.7.5 В отчетной документации по результатам температурных наблюдений также следует приводить данные измерений в виде графиков и таблиц, анализ изменения температурного режима грунтов в период строительства, выводы по результатам наблюдений и рекомендации по сохранению температурного режима в случае его изменения.
6.7.6 Требования, предъявляемые к точности температурных измерений, указаны в
ГОСТ 25358.
7 Результаты геотехнического мониторинга
7.1 Анализ результатов проведения геотехнического мониторинга
7.1.1 Анализ результатов мониторинга включает сопоставление измеренных значений контролируемых параметров с предельными значениями (см.
5.4) и скорости их изменения, а также определение необходимости реализации плана корректирующих мер (изменение технологии работ, изменение проектных решений, применение специальных геотехнических мероприятий).
(п. 7.1.1 в ред.
Изменения N 1, утв. Приказом Минстроя России от 17.10.2023 N 746/пр)
7.1.2 Задачей анализа результатов работ по мониторингу является сопоставление значений измеренных величин, характера и скоростей их изменения с предпосылками, заложенными на этапе планирования работ, и их оценка. Проводят оценку общей адекватности принятой при проектировании модели взаимодействия сооружения с основанием.
7.1.3 Следует анализировать полученные результаты в зависимости от характера воздействия и во времени. Под воздействием понимается процесс, приводящий к изменению измеряемых величин (параметров), например, нагрузка от сооружения, глубина котлована, высота насыпи, изменение уровня подземных вод, расстояние до забоя подземной выработки и др.
7.1.4 В случае установления систематического изменения измеряемой величины контролируемого параметра от постороннего (фонового) воздействия (температурного, атмосферного и др.), обусловленного как особенностями метода измерения, так и особенностями работы конструкций, их следует учитывать при анализе и рассматривать при прогнозировании динамики изменения значений величин.
(в ред.
Изменения N 1, утв. Приказом Минстроя России от 17.10.2023 N 746/пр)
7.1.5 В случае наличия результатов мониторинга аналогичных конструкций в сопоставимых условиях указанные данные следует использовать при анализе результатов измерений.
7.1.6 В случае, если анализ измерений показывает малую эффективность применяемого метода наблюдения или способа измерения, следует рассмотреть возможность применения других методов и способов измерения при последующих наблюдениях.
7.1.7 Анализ результатов измерений и погрешностей методов измерений следует проводить с учетом требований
ГОСТ Р ИСО 5725-1.
7.1.8 В том случае, если изменение значений измеряемой величины не превышает точности метода измерения, а направление вектора изменения величин по близрасположенным точкам измерений имеет случайный характер, допускается считать измеряемую величину неизменной.
7.2 Алгоритм действий в случае выявления возможности реализации аварийных ситуаций
При выявлении динамики изменения показаний, свидетельствующей о возможности реализации аварийной или предаварийной ситуации, следует:
| | ИС МЕГАНОРМ: примечание. В официальном тексте документа, видимо, допущена опечатка: подраздел 6.8 в ГОСТ 31937-2011 отсутствует. | |
- незамедлительно проинформировать представителей авторского и технического надзора и иных представителей, предусмотренных
ГОСТ 31937-2011 (подраздел 6.8), о выявленных отклонениях контролируемых параметров от прогнозных значений или превышении предельных значений величин и необходимости оперативного принятия решения о приостановке строительных работ;
- увеличить частоту проведения измерений до момента установления причин наступления опасной ситуации, их устранения и восстановления прогнозной динамики изменения измеряемых значений величин. При этом для локализации опасных явлений возможно увеличение количества точек или видов измерений;
- разработать рекомендации по комплексу первоочередных мероприятий, направленных на предотвращение развития предаварийной или аварийной ситуации на объекте строительства и прилегающей территории;
- установить причины выявленных опасных отклонений контролируемых параметров, в т.ч. с помощью проведения дополнительных инженерных изысканий;
- разработать рекомендации по обеспечению дальнейшей безопасности строительства и эксплуатационной надежности вновь возводимых (реконструируемых) объектов, эксплуатационной пригодности окружающей застройки.
8 Геотехнический мониторинг в особых условиях
8.1 Мониторинг уникальных зданий и сооружений
8.1.1 Дополнительно к программе мониторинга для уникальных зданий требуется разработка проекта мониторинга. В проекте следует разработать детальный проект наблюдательной системы с привязкой ее элементов к конструкциям возводимых зданий.
8.1.2 При возведении зданий и сооружений, уникальность которых определяется глубиной заложения их подземной части, дополнительно к требованиям
СП 22.13330 необходимо организовать наблюдения за подъемом дна котлована путем установки глубинных марок внутри контура разрабатываемого грунта.
8.1.3 При возведении сооружений, уникальность которых определяется их высотой, наблюдательную систему следует выполнять таким образом, чтобы она была сохранена на все время эксплуатации здания.
8.1.4 При возведении большепролетных сооружений дополнительно к требованиям
СП 22.13330 обязательным является измерение горизонтальных перемещений опорных узлов большепролетных конструкций.
8.1.5 При наличии в техническом задании соответствующих требований, а также при строительстве на слабых водонасыщенных глинистых грунтах в составе работ по мониторингу следует выполнять измерение порового давления в прилегающем грунтовом массиве.
(в ред.
Изменения N 1, утв. Приказом Минстроя России от 17.10.2023 N 746/пр)
8.1.6 При возведении уникальных зданий применение наблюдательного метода не допускается.
8.2 Мониторинг в условиях плотной городской застройки
8.2.1 При проведении геотехнического мониторинга в условиях плотной городской застройки измерения вертикальных и горизонтальных перемещений конструкций ограждения котлована и сооружений окружающей застройки допускается выполнять с применением автоматических тахеометров.
(в ред.
Изменения N 1, утв. Приказом Минстроя России от 17.10.2023 N 746/пр)
8.2.2 Измерение горизонтальных перемещений конструкций ограждения котлована по глубине следует выполнять с применением инклинометрических систем. При этом величину перемещения верхней точки конструкции ограждения котлована следует контролировать с помощью тахеометра с последующей корректировкой измеренных значений величин перемещения по глубине инклинометрической скважины.
(в ред.
Изменения N 1, утв. Приказом Минстроя России от 17.10.2023 N 746/пр)
8.2.3 При примыкании сооружений окружающей застройки к реконструируемому или сносимому сооружению в случае демонтажа строительных конструкций с применением средств механизации в период проведения работ следует выполнять измерение уровня вибраций.
(в ред.
Изменения N 1, утв. Приказом Минстроя России от 17.10.2023 N 746/пр)
8.2.4 При невозможности установки грунтовых марок в связи с расположением в контролируемой зоне подземных инженерных коммуникаций контроль перемещений грунтового массива следует выполнять по обечайкам люков и колодцев.
(в ред.
Изменения N 1, утв. Приказом Минстроя России от 17.10.2023 N 746/пр)
8.3 Мониторинг при наблюдательном методе проектирования
8.3.1 Применение интерактивного наблюдательного метода установлено
СП 22.13330,
СП 248.1325800 и предполагает возможность выбора одного из ранее разработанных проектных решений в зависимости от результатов мониторинга. Возможность применения наблюдательного метода определяется на стадии разработки проектной документации.
8.3.2 Наблюдательный метод применяют в следующих случаях:
- наличие участков, доступ к которым затруднен по техническим или иным причинам;
- неопределенности в механических характеристиках закрепленных массивов;
- сложный порядок проведения работ, определяющий усилия в создаваемых конструкциях;
- выбор технологических параметров при выполнении геотехнических или тоннельных работ;
- выбор технологии при компенсационном нагнетании или использовании геобарьеров.
8.3.3 Проект мониторинга, содержащий элементы наблюдательного метода, должен включать в себя последовательность наблюдений или измерений в объеме, достаточном для принятия решения о реализации разработанных альтернативных проектных решений. Проект мониторинга должен быть интегрирован с процессом проектирования, включая разработку алгоритма принятия решений на всех этапах строительства.
8.3.4 При применении наблюдательного метода в составе проектной документации разрабатывают проект мониторинга, в котором устанавливают:
- контролируемые параметры и характеристики;
- допустимый диапазон изменения контролируемых характеристик;
- программу контроля изменения выбранных характеристик;
- критерии перехода к определенным в проекте техническим решениям;
- план мероприятий и ведения мониторинга в случае достижения контролируемыми характеристиками допустимых пределов.
8.3.5 В составе проекта мониторинга должен быть обеспечен контроль всех вероятных схем развития недопустимых деформаций грунтов основания или несущих конструкций, включая:
- разрушение отдельных фундаментов или несущих конструкций;
- разрушение грунтового основания или достижение первого предельного состояния в элементе грунтового основания;
- достижение недопустимых деформаций устраиваемой конструкции;
- достижение недопустимых деформаций конструкций существующих зданий или инженерных коммуникаций;
- потеря устойчивости склона или грунтового откоса;
- увеличение скорости смещения склона или откоса;
- возможность аварийных притоков грунтовых вод в котлован, которые способны вызвать затопление котлована или гидравлическое разрушение основания.
8.3.6 Оперативность получения результатов мониторинга должна быть такова, чтобы иметь возможность вносить изменения в ход и последовательность проведения работ. При необходимости непрерывного получения результатов мониторинга допускается разрабатывать постоянные системы, позволяющие получать необходимую информацию в непрерывном режиме.
8.3.7 Расположение контролируемых точек и их количество должно назначаться авторами геотехнических разделов проекта. Точность измерения контролируемых параметров должна быть увязана с их расчетными значениями, полученными в ходе геотехнических расчетов.
8.3.8 Проект мониторинга при использовании наблюдательного метода должен включать мероприятия по защите наблюдательной системы. На наиболее ответственных участках следует применять дублирующие друг друга независимые системы наблюдений.
(в ред.
Изменения N 1, утв. Приказом Минстроя России от 17.10.2023 N 746/пр)
8.4 Мониторинг при строительстве в условиях распространения органоминеральных и органических грунтов
8.4.1 Исключен с 18.11.202. -
Изменение N 1, утв. Приказом Минстроя России от 17.10.2023 N 746/пр.
8.4.2 Измерение горизонтальных перемещений грунтового массива по глубине следует выполнять с применением скважинных инклинометров.
8.4.3 Инклинометрические скважины следует размещать на участках, где ожидаются максимальные горизонтальные перемещения грунтового массива - по периметру строящегося сооружения или насыпи.
8.4.4 На стадии проектирования следует конструктивно предусматривать возможность измерения контролируемых параметров не в прилегающем грунтовом массиве, а непосредственно в основании возводимого сооружения.
(в ред.
Изменения N 1, утв. Приказом Минстроя России от 17.10.2023 N 746/пр)
8.4.5 Грунтовые марки для измерения общих осадок грунтового основания при предпостроечном уплотнении следует устанавливать на поверхности грунтов природного сложения непосредственно перед отсыпкой первого слоя пригрузочной насыпи.
(п. 8.4.5 введен
Изменением N 1, утв. Приказом Минстроя России от 17.10.2023 N 746/пр)
8.4.6 Контрольные точки измерения послойных осадок уплотняемого грунтового основания следует располагать на границах слоев органических и органоминеральных грунтов в пределах сжимаемой толщи, при этом шаг контрольных точек по глубине должен составлять не более 0,4b, где b - ширина подошвы пригрузочной насыпи или фундамента.
(п. 8.4.6 введен
Изменением N 1, утв. Приказом Минстроя России от 17.10.2023 N 746/пр)
8.4.7 Периодичность измерений деформаций грунтового массива (общих и послойных осадок, а также горизонтальных перемещений по глубине) следует принимать: не реже одного раза в неделю - в период нагружения консолидируемых грунтов (отсыпка пригрузочной насыпи и (или) возведение сооружения); не реже двух раз в месяц - до стабилизации осадок; далее - не реже одного раза в месяц в соответствии с
СП 22.13330.
Примечание - Критерии стабилизации осадок (доля конечной осадки и (или) скорость осадки) устанавливаются с учетом норм проектирования для конкретных видов сооружений и результатов произведенных при проектировании расчетов. При систематическом отклонении величины и скорости осадок от прогнозных значений следует руководствоваться положениями
раздела 7 настоящего свода правил.
(п. 8.4.7 введен
Изменением N 1, утв. Приказом Минстроя России от 17.10.2023 N 746/пр)
8.4.8 Пьезометрические датчики для изменения избыточного порового давления, возникающего в толще органоминеральных и органических грунтов вследствие приложения на основание дополнительной нагрузки, следует устанавливать в зоне прогнозируемых максимальных значений избыточного порового давления с учетом принятой при проектировании расчетной схемы.
(п. 8.4.8 введен
Изменением N 1, утв. Приказом Минстроя России от 17.10.2023 N 746/пр)
8.4.9 Периодичность наблюдений за изменением порового давления следует устанавливать в зависимости от прогнозируемой скорости консолидации. В качестве рекомендуемой периодичности следует принимать: в период нагружения грунтового основания (отсыпка пригрузочной насыпи и (или) возведение сооружения) и в течение первой недели после завершения данных работ - ежедневно, далее - не реже, чем один раз в две недели до достижения заданной проектом степени консолидации.
(п. 8.4.9 введен
Изменением N 1, утв. Приказом Минстроя России от 17.10.2023 N 746/пр)
8.4.10 Измерение уровня подземных вод, выполняемое для внесения поправок в значение измеренного порового давления, следует осуществлять на участках установки пьезометрических датчиков, измеряющих поровое давление.
(п. 8.4.10 введен
Изменением N 1, утв. Приказом Минстроя России от 17.10.2023 N 746/пр)
8.4.11 Периодичность проведения замеров уровня подземных вод должна соответствовать периодичности наблюдений за поровым давлением. Замеры УПВ и наблюдения за поровым давлением должны, по возможности, выполняться одновременно.
(п. 8.4.11 введен
Изменением N 1, утв. Приказом Минстроя России от 17.10.2023 N 746/пр)
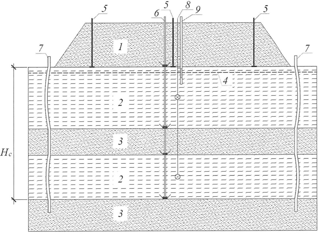
8.4.12 Типовая расстановка контрольно-измерительных средств при проведении геотехнического мониторинга строительства в условиях распространения органических и органоминеральных грунтов представлена на рисунке 8.1.
1 - пригрузочная насыпь; 2 - слои слабых грунтов;
3 - плотные грунты; 4 - УПВ; 5 - грунтовые марки
для наблюдения за общими вертикальными деформациями;
6 - система скважинного экстензометра;
7 - инклинометрические колонны; 8 - система пьезометрических
датчиков; 9 - гидрогеологическая наблюдательная скважина;
Hс - глубина сжимаемой толщи
Рисунок 8.1 - Принципиальная схема расстановки системы
контрольно-измерительных средств
при геотехническом мониторинге
(п. 8.4.12 введен
Изменением N 1, утв. Приказом Минстроя России от 17.10.2023 N 746/пр)
8.5 Мониторинг при строительстве в условиях распространения насыпных грунтов
8.5.1 Геотехнический мониторинг при строительстве сооружений на насыпных грунтах выполняют с учетом особенностей образования, вида, состава, сложения, основных характеристик насыпных грунтов, а также происходящих в них процессов, с учетом выполняемой вертикальной планировки застраиваемого участка, напряженно-деформированного состояния грунтов основания (взаимодействия их с глубокими фундаментами).
8.5.2 Основными задачами геотехнического мониторинга наряду с приведенными в
СП 22.13330 являются систематические измерения следующих контролируемых параметров:
- осадок за счет самоуплотнения существующих и вновь отсыпаемых насыпных грунтов, подстилающих их грунтов природного сложения от веса планировочных насыпей;
- осадок от фундаментов возводимых сооружений от нагрузок и других воздействий, в том числе на окружающей их территории;
- изменение основных характеристик насыпных грунтов;
- положения УПВ на различных этапах устройства планировочных насыпей, искусственных оснований, свайных фундаментов и в целом сооружений.
8.5.3 Основными факторами, определяющими необходимость выполнения геотехнического мониторинга, являются:
- возведение сооружений, особенно с новыми конструктивными схемами и решениями, относящиеся к уровням ответственности КС-3 (повышенный) и КС-2 (нормальный);
- грунтовые условия, относящиеся к первой и второй категории сложности, искусственных оснований и планировочной насыпи толщиной более 2 м и насыпных грунтов ниже подошвы фундаментов и ростверков более 2 м;
- расположения площадок на склонах, устойчивость которых за счет пригрузки грунтового массива от веса зданий и сооружений, планировочных насыпей или подрезки склонов снижается более чем на 10%;
- устройство подземной части сооружений глубиной более 5 м с применением специальных ограждающих конструкций котлованов.
8.5.4 Объем, сроки и периодичность работ при выполнении геотехнического мониторинга вновь возводимых сооружений назначают в соответствии с
СП 22.13330, а контролируемые при мониторинге параметры следующим образом:
а) оснований, фундаментов, конструкций вновь возводимых сооружений, а также окружающей застройки принимают по аналогии с
таблицей Е.1 приложения Е, в которой вместо расчетной суммарной просадки
ssl.g, см, и дополнительной осадки
sul, см, указывают суммарные осадки
s за счет сжатия насыпных грунтов и дополнительной осадки
sul подстилающих их природных грунтов от веса планировочной насыпи в интервалах их значений от 5 до 10 см, от 10 до 30 см и свыше 30 см, а вместо просадочной толщи
Hsl - суммарная сжимаемая толща насыпных и подстилающих их природных грунтов
Hs +
Hul, м, в графе 1 вместо осадки и просадки указывают суммарные осадки;
б) конструкций ограждения котлованов и грунтового массива, окружающего вновь возводимые сооружения, принимают по аналогии с
таблицей Е.2 приложения Е с учетом изменений к
таблице Е.1;
в) подземных инженерных коммуникаций, расположенных в зоне влияния нового строительства, по аналогии с
таблицей Е.3 с учетом изменений приведенных выше к
таблице Е.1.
8.6 Мониторинг при строительстве в условиях распространения просадочных грунтов
8.6.1 К контролируемым параметрам при строительстве и реконструкции сооружений уровней ответственности КС-3 (повышенный) и КС-2 (нормальный), расположенных на территориях распространения просадочных грунтов, помимо предусмотренных
СП 22.13330, следует отнести:
- просадки грунтов и фундаментов;
- дополнительное сжатие подстилающих непросадочных грунтов от нагрузок, возникающих при застройке площадки с учетом планировочных насыпей, нагрузок от фундаментов и др.;
- горизонтальные перемещения грунтового массива и фундаментов;
- положение УПВ;
- изменение основных характеристик просадочных грунтов.
8.6.2 При возведении и реконструкции зданий и сооружений, относящихся к уровням ответственности КС-3 (повышенный) и КС-2 (нормальный), в особенности с новыми конструктивными схемами и техническими решениями, на площадках с типом II грунтовых условий по просадочности при
ssl,g >= 5 см дополнительно к требованиям
СП 22.13330 необходимо организовать наблюдения за просадками грунтов и фундаментов, горизонтальными перемещениями
(приложение Е).
8.6.3 При выполнении планировки застраиваемой площадки путем подсыпки грунтов с устройством планировочных насыпей высотой более 2 м при типе II и 4 м при типе I грунтовых условий по просадочности дополнительно к требованиям
СП 22.13330 необходимо организовать наблюдения за просадками грунтов и фундаментов, горизонтальными перемещениями, дополнительным сжатием непросадочных подстилающих грунтов
(приложение Е).
8.6.4 Сооружения окружающей застройки, в т.ч. подземные инженерные коммуникации, подлежат геотехническому мониторингу при их расположении в зоне влияния нового строительства или реконструкции, размеры которой определяют по результатам геотехнического прогноза и составляют не менее 3Hsl - величины просадочной толщи.
8.6.5 При устранении просадочных свойств грунтов путем предварительного замачивания, в т.ч. глубинными взрывами, а также при выполнении работ с использованием интенсивных вибраций, сооружения окружающей застройки, в т.ч. подземные инженерные коммуникации, подлежат геотехническому мониторингу при их расположении в зоне влияния, размеры которой определяют по результатам геотехнического прогноза и составляют не менее 1,5Hsl.
8.7 Мониторинг при строительстве в условиях распространения многолетнемерзлых грунтов
8.7.1 Геотехнический мониторинг на многолетнемерзлых грунтах - комплекс работ, основанный на натурных наблюдениях за состоянием грунтов основания (температурный режим), гидрогеологическим режимом, функционированием термостабилизаторов, перемещением конструкций фундаментов вновь возводимого, реконструируемого и эксплуатируемого сооружения.
8.7.2 В районах распространения многолетнемерзлых грунтов мониторинг необходимо проводить для всех видов зданий и сооружений, в том числе подземных инженерных коммуникаций.
8.7.3 В проекте мониторинга следует учитывать факторы, оказывающие влияние на вновь возводимое (реконструируемое) сооружение, его основание, окружающий грунтовый массив и окружающую застройку в процессе строительства и эксплуатации, в т.ч. возможность проявления опасных геокриологических процессов (криогенное пучение, термокарст, оползневые процессы, оседание поверхности при оттаивании и др.), а также тепловые воздействия от строительных работ.
8.7.4 Для осуществления мониторинга в период строительства сооружений оборудуют контрольные термометрические и гидрогеологические скважины, на фундаментах сооружений устанавливают постоянные геодезические марки, по которым выполняют измерения температуры грунта, уровень подземных вод, их состав и температуру, нивелирование фундаментов, в т.ч. погруженных свай, измеряют отметки подкрановых путей мостовых кранов, водоотводных лотков в технических этажах и подпольях зданий, а также тротуаров у сооружений. Кроме того, контролируют плотность грунтов, уложенных в насыпях, при замене грунтов в выемках и при намыве территории. Термометрические скважины оборудуют в соответствии с
ГОСТ 25358, гидрогеологические скважины - [
4,
части I,
IV], устройство нивелирных марок и геодезические измерения проводят в соответствии с
ГОСТ 24846.
8.7.5 В процессе мониторинга необходимо обеспечивать своевременность информирования заинтересованных сторон о выявленных отклонениях контролируемых параметров, в т.ч. тенденции их изменений, превышающие ожидаемые, от проектных значений и результатов тепло- и геотехнического прогноза.
8.7.6 Контролируемые параметры, параметры устройств контроля, применяемые при геотехническом мониторинге сооружений в зависимости от принципа строительства, представлены в таблице 8.1. Периодичность проведения измерений контролируемых параметров при геотехническом мониторинге в период строительства в зависимости от принципа использования многолетнемерзлых грунтов в качестве основания сооружения представлены в
таблице 8.2. Контролируемые параметры при геотехническом мониторинге территорий застройки, подверженной криогенным (мерзлотным) природным процессам, представлены в
таблице 8.2а.
(в ред.
Изменения N 1, утв. Приказом Минстроя России от 17.10.2023 N 746/пр)
Таблица 8.1
Основные контролируемые параметры при геотехническом
мониторинге сооружений
Контролируемый параметр | Устройство для наблюдения за контролируемым параметром | Параметры устройств контроля | Принципы использования многолетнемерзлых грунтов в качестве основания сооружений |
принцип I | принцип II |
Предварительное искусственное оттаивание грунтов | Допущение оттаивания грунтов в период эксплуатации сооружения |
Температура грунта | Термометрическая скважина | Количество | Не менее 2% общего числа фундаментов (свай, столбчатых фундаментов) | Допускается не предусматривать | Не менее 2% общего числа фундаментов |
Расположение | У наружных фундаментов и фундаментов, расположенных посредине здания | - | У наружных рядов фундаментов, а также в центре и на расстоянии от центра, равном 0,25 - 0,4 ширины здания |
Глубина заложения | Не менее глубины заложения фундаментов | - | На глубину сжимаемого слоя, но не более 20 м |
Уровень подземных вод | Гидрогеологическая скважина | Количество | Не менее двух |
Расположение | Одна внутри контура здания, одна снаружи | В контуре здания |
Глубина заложения | На глубине заложения фундаментов плюс 5 м, а в случае свайных фундаментов - на глубине заложения свай |
Осадка фундамента | Геодезическая марка | Расположение | Устанавливают на угловых фундаментах, в средней части по осям здания по его наружному контуру, а также по обе стороны от осадочных швов |
Примечание - Температуру в контрольных термометрических скважинах измеряют по всей их глубине с интервалами: 0,5 м до глубины 5 м, 1 м - свыше 5 м до глубины 10 м и 2 м - свыше 10 м связками инерционных термометров или электротермометров в ручном или автоматическом режимах. |
Таблица 8.2
Периодичность проведения измерений контролируемых параметров
при строительстве (реконструкции) сооружения
Контролируемый параметр | Принципы использования многолетнемерзлых грунтов в качестве основания сооружения |
принцип I | принцип II |
Предварительное искусственное оттаивание грунтов | Допущение оттаивания грунтов в период эксплуатации сооружения |
Температура грунта | Ежемесячно |
Уровень подземных вод | Один раз в конце летнего периода | Ежемесячно | Один раз в конце летнего периода |
Осадки фундаментов строящегося (реконструируемого) сооружения | Ежемесячно |
Осадки фундаментов сооружения окружающей застройки | Один раз в квартал | Ежемесячно | Один раз в квартал |
Примечания 1 Периодичность замеров может быть увеличена при превышении максимально допустимых значений контролируемых параметров или при приближении к этим значениям, при отсутствии стабилизации деформаций или повышении (отсутствии понижения) температур. 2 При мониторинге в сложных геокриологических условиях, а также уникальных вновь возводимых и реконструируемых сооружений, допускается дополнительно проводить фиксацию контролируемых параметров, не указанных в таблицах 8.1, 8.2. |
Таблица 8.2а
Таблица основных контролируемых параметров
при геотехническом мониторинге территорий застройки,
подверженных криогенным (мерзлотным) природным процессам
Минстроя России от 17.10.2023 N 746/пр)
Контролируемый параметр | Устройства (методы) для наблюдения за контролируемым параметром | Параметры устройств контроля |
Для сооружений, расположенных в зоне морозного пучения грунтов |
Глубина промерзания грунта | Мерзлотомер | Количество | Не менее двух |
Расположение | У наружных фундаментов и фундаментов, расположенных посредине неотапливаемого здания |
Глубина заложения | Глубже (ниже) на 1 м максимальной расчетной глубины промерзания грунта |
Температура грунта | Термометрическая скважина | Количество | Не менее двух |
Расположение | У наружных фундаментов и фундаментов, расположенных посредине неотапливаемого здания |
Глубина заложения | На максимальной расчетной глубине промерзания фундаментов плюс 1 м |
УПВ | Гидрогеологическая скважина | Количество | Не менее двух |
Расположение | Одна внутри контура здания, другая - снаружи |
Глубина заложения | На максимальной расчетной глубине промерзания фундаментов плюс 5 м, а в случае свайных фундаментов - на глубине заложения свай |
Деформация поверхности грунта | Поверхностная марка | Расположение | У наружных фундаментов и фундаментов, расположенных посредине неотапливаемого здания |
Количество | Не менее пяти |
Деформация грунта по глубине | Пучиномер | Расположение | В месте расположения пучинистых грунтов |
Количество | Не менее одного на площадку |
Глубина заложения | Каждые 10 см от поверхности грунта до глубины промерзания плюс 1 м |
Нормальное давление морозного пучения | Электрические или струнные датчики давления с регистрирующей аппаратурой | Расположение | В грунте в слое промерзания-оттаивания, на глубине промерзания грунта, на уровне подошвы фундамента, на контакте вертикальной стены и грунта, в массиве грунта за стеной |
Количество | Не менее трех под каждый фундамент |
Касательные силы морозного пучения | Датчики силы с регистрирующей аппаратурой. Динамометр. Шаровой индикатор. Распорная система | Расположение | Оголовок сваи |
Количество | В соответствии с программой испытаний не менее трех |
Для сооружений, построенных по принципу I и расположенных на склонах или присклоновой территории, включая береговую линию, в зоне развития криогенных склоновых процессов (термоденудации, термоабразии, солифлюкции) |
Температура грунта | Термометрическая скважина | Количество | Не менее четырех на расстоянии 100 м |
Расположение | Над бровкой склона, у подножия склона (по возможности) |
Глубина заложения | Глубже (ниже) на 3 м глубины заложения фундаментов или верхней границы многолетнемерзлых грунтов при устройстве малозаглубленных фундаментов или их отсутствии |
Периодичность | Ежемесячно |
Деформация поверхности склона | Визуальный контроль | Объем | От подножия до бровки склона |
Периодичность | Не реже одного раза в год в осенний (бесснежный) период |
Деформация поверхности склона при проявлениях (активизации) криогенных склоновых процессов | Геодезическая съемка (автоматизированные аппаратно-программные системы, нивелир, электронный тахеометр, оптический теодолит, инклинометр, грунтовая марка) | Объем | От подножия до бровки склона, марки и глубинные репера следует устанавливать вне зоны активного развития склоновых процессов |
Периодичность | Не реже одного раза в год |
Для сооружений, расположенных в зоне развития наледей |
Образование, рост, разрыв сплошности в кровле наледей. Особенности динамики формирования и разрушения в годовом и многолетнем цикле | Визуально-инструментальный контроль (аэровизуальные обследования; аэрофотосъемка; радиолокационное зондирование; космическая съемка) | Периодичность | Не реже двух раз в месяц в зимний период |
Для сооружений, построенных по принципу I и расположенных в зоне развития криопэгов |
Температура грунта | Термометрическая скважина | Количество | Не менее четырех |
Расположение | По периметру здания, сооружения, на расстоянии не менее 5 м и не более 40 м и в местах, где происходит повышение температуры (участки повышенного снегонакопления, локальные понижения, подножия склонов) |
Глубина заложения | Глубже (ниже) на 3 м глубины заложения фундаментов или верхней границы многолетнемерзлых грунтов при устройстве малозаглубленных фундаментов или их отсутствии |
Периодичность | Ежемесячно |
Химический состав и температура криопэгов | Наблюдательные (пьезометрические) скважины | Количество | Не менее двух |
Расположение | В местах нахождения криопэгов |
Периодичность | Ежемесячно |
Местоположение криопэгов | Методы электротомографии, георадиолокации и магнитотеллурического зондирования | Объем | По наружному периметру здания и на расстоянии не более 40 м |
8.8 Мониторинг при строительстве на территориях, подверженных сейсмическим воздействиям
8.8.1 При проведении геотехнического мониторинга объектов строительства, расположенных на территориях, подверженных сейсмическим воздействиям, необходимо выполнять требования
СП 14.13330 и
СП 22.13330 с учетом положений настоящего свода правил.
8.8.2 При наличии в проекте сооружения инженерно-сейсмометрической станции (комплекса регистрации движений элементов сооружения и участков прилегающего грунта при землетрясениях) в программе мониторинга следует предусматривать полный или поэтапный ввод комплекса в эксплуатацию на возможно ранних этапах строительства, предусматривая для этого дополнительные приспособления (ниши, консоли, тумбы, контейнеры и т.д.).
8.9 Мониторинг при строительстве на территориях с распространением оползневых процессов
8.9.1 Основными задачами геотехнического мониторинга на территориях с распространением оползневых процессов наряду с приведенными в
СП 22.13330 являются систематические измерения следующих контролируемых параметров:
- плановых и вертикальных перемещений на поверхности оползня;
- деформаций грунтового массива по глубине;
(в ред.
Изменения N 1, утв. Приказом Минстроя России от 17.10.2023 N 746/пр)
- УПВ;
(введено
Изменением N 1, утв. Приказом Минстроя России от 17.10.2023 N 746/пр)
- визуальных признаков активизации оползневого процесса (заколы, валы выпора и т.д.).
(введено
Изменением N 1, утв. Приказом Минстроя России от 17.10.2023 N 746/пр)
При строительстве на территориях с распространением оползневых процессов в условиях распространения многолетнемерзлых грунтов перечень контролируемых параметров следует дополнить температурой грунта в соответствии с положениями
таблицы 8.2а.
(абзац введен
Изменением N 1, утв. Приказом Минстроя России от 17.10.2023 N 746/пр)
8.9.2 Измерение плановых и вертикальных перемещений на поверхности оползня следует выполнять геодезическими методами, а также спутниковыми системами глобального позиционирования.
(в ред.
Изменения N 1, утв. Приказом Минстроя России от 17.10.2023 N 746/пр)
8.9.3 Наблюдение за деформациями грунтового массива по глубине выполняют с применением извлекаемых инклинометров скважинного типа, инклинометров непрерывного действия, а также оптоволоконных систем.
8.9.4 В случае установки скважинного оборудования для измерения деформаций глубину скважин выбирают таким образом, чтобы одна из точек измерения оказалась в заведомо неподвижном массиве грунта, вне зоны действия оползня.
(в ред.
Изменения N 1, утв. Приказом Минстроя России от 17.10.2023 N 746/пр)
8.9.5 В местах, где сход оползня имеет высокую опасность с точки зрения экономических и социальных последствий следует предусматривать системы непрерывного измерения, работающие в автоматическом режиме.
(в ред.
Изменения N 1, утв. Приказом Минстроя России от 17.10.2023 N 746/пр)
8.9.6 В период дождей следует увеличить частоту наблюдений периодических измерений.
(в ред.
Изменения N 1, утв. Приказом Минстроя России от 17.10.2023 N 746/пр)
8.9.7 Оборудование для измерения в скважинах рекомендуется предусматривать комбинированным, объединяющим несколько измеряемых величин (например, наклон, ориентацию скважины, температуру и поровое давление).
8.9.8 Оборудование для измерений и необходимые коммуникации должны обеспечивать прочность и необходимую точность измерений при деформациях, соответствующих прогнозным уровням, но не менее одного метра. Следует применять оборудование, позволяющее восстанавливать функциональность после выхода из строя в результате чрезмерных деформаций.
(в ред.
Изменения N 1, утв. Приказом Минстроя России от 17.10.2023 N 746/пр)
8.9.9 Скорость перемещения поверхности оползня определяется на основе плановых измерений поверхности в контрольных точках. Скорость поверхностного смещения определяется по результатам измерений как средняя величина ненулевого приращения смещения за один цикл наблюдений.
Скорость перемещения тела оползня определяют на основе инклинометрических измерений. Скорость смещения принимают по середине глубины тела оползня, которую определяют в пределах прироста смещения (изгиба) инклинометрической скважины за один цикл.
(п. 8.9.9 введен
Изменением N 1, утв. Приказом Минстроя России от 17.10.2023 N 746/пр)
8.9.10 Наряду с наблюдениями за уровнем подземных вод в гидрогеологических скважинах следует определять коэффициенты фильтрации грунтов согласно
ГОСТ 23278.
(п. 8.9.10 введен
Изменением N 1, утв. Приказом Минстроя России от 17.10.2023 N 746/пр)
8.9.11 Периодичность измерений контролируемых параметров при геотехническом мониторинге в потенциально оползнеопасном районе приведена в таблице 8.2б. В случае достижения скорости смещения оползня 1600 мм/год следует устанавливать периодичность измерений не реже одного раза в 7 сут, при достижении скорости 16000 мм/год - не реже одного раза в сутки. При промежуточных значениях скоростей смещений в интервалах от 160 мм/год до 1600 мм/год и от 1600 мм/год до 16000 мм/год периодичность измерений определяется интерполяцией. При достижении скорости смещения 16000 мм/год дополнительно следует руководствоваться положениями
7.2.
Таблица 8.2б
Основные контролируемые параметры при геотехническом
мониторинге в потенциально оползнеопасном районе
Контролируемый параметр | Устройство для наблюдения за контролируемым параметром | Периодичность измерений в зависимости от стадии оползневого процесса в соответствии с приложением Д СП 420.1325800.2018 и его скорости |
Стадии "Подготовительный период", "Начальный период проявления" и "Временная стабилизация" при скоростях смещения до 16 мм/год | Стадии "Начальный период проявления", "Основное смещение оползня" и "Временная стабилизация" при скоростях смещения до 160 мм/год |
Осадки и плановые перемещения фундаментов зданий и сооружений, расположенных вблизи потенциальной стенки срыва оползня | Геодезическая марка | Не реже одного раза в месяц | Не реже двух раз в месяц |
Плановое перемещение поверхности | Геодезическая марка или спутниковое оборудование | Не реже одного раза в месяц | Не реже двух раз в месяц |
Перемещения грунтового массива по глубине | Инклинометр | Не реже одного раза в месяц | Не реже двух раз в месяц |
Визуальный мониторинг признаков активизации оползневого процесса (заколы, валы выпора и т.д.) | - | Не реже одного раза в месяц | Не реже двух раз в месяц |
УПВ | Гидрогеологическая скважина | Не реже одного раза в месяц | Не реже двух раз в месяц |
Скорость перемещения линии уреза и бровки абразионного уступа (при расположении склона вблизи берега водоема) | Тахеометр, спутниковый геодезический приемник и аэрофотокосмические методы (при условии обеспечения требуемой точности) | Не реже одного раза в месяц | Не реже двух раз в месяц |
Средние суммы атмосферных осадков по месяцам и за год | Автоматическая метеостанция | Не реже одного раза в месяц | Не реже одного раза в месяц |
(п. 8.9.11 введен
Изменением N 1, утв. Приказом Минстроя России от 17.10.2023 N 746/пр)
8.10 Мониторинг при строительстве на территориях с возможностью карстообразования
8.10.1 Карстологический мониторинг (карстомониторинг) необходим для своевременного принятия мер противокарстовой защиты в пределах населенных пунктов (региональный) и для объектов, относящихся к уровням ответственности КС-3 (повышенный) и КС-2 (нормальный), возводимых на территориях с пониженными категориями устойчивости к образованию карстовых деформаций (II, III, IV) и на территориях с высокой вероятностью активизации карстово-суффозионного процесса под влиянием техногенных факторов, а также в случае возникновения деформаций зданий и аварийных ситуаций в процессе их эксплуатации.
8.10.2 Необходимость проведения карстомониторинга обосновывается проектом с учетом результатов инженерно-геологических изысканий.
8.10.3 Работы по карстомониторингу следует выполнять в соответствии со специально разработанной программой карстомониторинга, включаемой в состав проектной документации.
8.10.4 В составе программы карстомониторинга приводят:
- используемые методы геотехнического мониторинга, состав которых следует назначать в соответствии с
разделом 6;
- контролируемые параметры и характеристики;
- допустимый диапазон изменения контролируемых характеристик;
- комплекс контролирующих средств (марок, реперов, датчиков деформаций и измерительных приборов и др.);
- наблюдательную сеть точек установки измерительных устройств, учитывающую прогнозируемый характер, динамику развития карстовых процессов, а также особенности деформаций оснований, фундаментов и наземных конструкций, обусловленные такими процессами;
- необходимую частоту циклов карстомониторинга;
- план мероприятий в случае достижения контролируемыми характеристиками допустимых пределов.
8.11 Мониторинг при строительстве на подтопленных территориях
8.11.1 В состав работ по геотехническому мониторингу на подтопленных территориях помимо обязательных требований
СП 22.13330 должен быть включен мониторинг за изменением режима подземных вод, а также наблюдения за работой сооружений инженерной защиты.
8.11.2 При выполнении геотехнического мониторинга на подтопленных территориях следует руководствоваться требованиями
СП 22.13330,
СП 104.13330, а также
разделами 5 и
6 настоящего свода правил.
8.11.3 При строительстве на подтопленных территориях выполнение гидрогеологического мониторинга является обязательным.
8.11.4 При проектировании системы гидрогеологического мониторинга на подтопленных территориях следует располагать наблюдательные скважины с возможностью их сохранения и использования в эксплуатационный период.
(в ред.
Изменения N 1, утв. Приказом Минстроя России от 17.10.2023 N 746/пр)
8.12 Мониторинг при строительстве на подрабатываемых территориях
8.12.1 Мониторинг при строительстве на подрабатываемых территориях выполняют для обеспечения безопасности и эксплуатационной надежности объектов застройки, попадающих в зону влияния подработки, в т.ч. от строительства подземных сооружений и коммуникаций закрытым способом.
Особенности данного вида мониторинга заключаются в том, что зона его выполнения изменяется в пространстве и во времени по мере развития фронта горных работ или продвижения забоя подземной выработки. Мониторинг на подрабатываемых территориях должен проводиться в процессе подработки и в начальный период после ее завершения, а при необходимости - и в процессе эксплуатации подземной выработки.
Требования данного подраздела не распространяются на мониторинг, выполняемый внутри подземной горной выработки, независимо от ее назначения.
8.12.2 В дополнение к перечню работ, выполняемых при геотехническом мониторинге и указанных в
разделе 5, мониторинг на подрабатываемых территориях включает следующее:
при выполнении полевых работ - кроме периодических обследований и наблюдений за изменениями контролируемых параметров поверхностной застройки, периодические наблюдения за изменениями состояния массива горных пород в пределах зоны подработки;
при выполнении камеральных работ - анализ взаимосвязи между сдвижениями массива горных пород и техническим состоянием, а также перемещениями и деформациями объектов окружающей застройки.
8.12.3 Пояснительная записка к проекту мониторинга на подрабатываемых территориях должна включать, дополнительно к указанному в
5.1, также разделы:
- особенности подземной выработки (назначение, уровень ответственности и проектные решения, способ проходки и устройства конструкций и др.);
- краткая характеристика инженерно-геологических и гидрогеологических условий участка подработки, включая характеристики горных пород (грунтов), прогнозируемые изменения уровня подземных вод (при подработке с водопонижением), прогнозируемые значения сдвижений массива горных пород и оснований объектов окружающей застройки;
- контролируемые параметры подземной выработки, массива горных пород и объектов окружающей застройки.
8.12.4 Графическая часть к проекту мониторинга на подрабатываемых территориях должна включать, дополнительно к указанному в
5.1, также следующую информацию:
- геологические разрезы по профильным линиям;
- планы наблюдательных сетей, а также геологические разрезы, выполняемые с нанесением на них проектируемых горных выработок и подземных сооружений, прогнозных границ зоны влияния подработки, объектов окружающей застройки, элементов наблюдательной сети (в т.ч. по профильным линиям).
8.12.5 Контролируемые параметры, сроки, периодичность и методы работ при выполнении мониторинга назначают в соответствии с указаниями таблицы 8.3.
Таблица 8.3
Контролируемые параметры, сроки, периодичность и методы
работ по геотехническому мониторингу при строительстве
на подрабатываемых территориях
Контролируемые параметры, сроки, периодичность и методы | Массив горных пород | Объекты подрабатываемой застройки |
Контролируемые параметры | | |
Сроки выполнения работ | До начала подработки и не менее 1 года после ее завершения |
Периодичность измерений | Не реже 1 раза в месяц |
Методы | Принимаются в зависимости от вида контролируемых параметров, типа наблюдаемых объектов, требований к точности измерений |
Примечания 1 Сроки выполнения мониторинга необходимо продлевать при отсутствии стабилизации изменений контролируемых параметров. 2 Периодичность измерений контролируемых параметров необходимо увязывать с графиком выполнения горных работ и допускается корректировать (т.е. выполнять чаще, чем это указано в проекте мониторинга) при превышении значений контролируемых параметров ожидаемых значений (в т.ч. их изменений, превышающих ожидаемые тенденции) или выявлении прочих опасных отклонений, а также при расположении подрабатываемой территории в условиях плотной городской застройки. 3 При подработке с целью добычи полезных ископаемых в период опасных деформаций наблюдения следует проводить не реже 2 раз в месяц. 4 Для уникальных поверхностных сооружений мониторинг следует продолжать не менее 2 лет после завершения процесса подработки. 5 При превышении контролируемыми параметрами расчетных значений, их измерения необходимо выполнять не реже 3 - 4 раз в месяц. 6 После завершения подработки и при стабилизации изменений контролируемых параметров массива горных пород и окружающей застройки наблюдения допускается вести 1 раз в 3 месяца. При наличии вибраций, которые могут возникнуть при проходке открытых горных выработок следует проводить измерение уровня колебаний оснований и конструкций объектов поверхностной застройки. |
8.12.6 Результаты мониторинга на подрабатываемых территориях следует отражать в отчетной документации, для которой принимается следующий состав:
(в ред.
Изменения N 1, утв. Приказом Минстроя России от 17.10.2023 N 746/пр)
а) первичный отчет, включающий краткую характеристику горно-геологических и гидрогеологических условий участка подработки, методы наблюдений за изменениями контролируемых параметров, характеристики применяемых приборов и оборудования, результаты оценки точности измерений, исполнительные схемы фактического расположения элементов наблюдательной сети; результаты первичных обследований и измерений;
б) промежуточные отчеты, включающие результаты текущих обследований и измерений контролируемых параметров, выполненные этапы горных работ, анализ результатов измерений и их сопоставление с прогнозными и предельными (допустимыми) значениями и рекомендации о необходимых дополнительных мерах защиты (при необходимости);
в) заключительный отчет, включающий окончательные результаты обследований и измерений контролируемых параметров, подтверждение их стабилизации, анализ результатов измерений и их сопоставление с прогнозными и предельными (допустимыми) значениями, последствия влияния на окружающую застройку, рекомендации по необходимым ремонтно-восстановительным работам и др.
9 Отчетная документация по геотехническому мониторингу
9.1 Состав отчетной документации при проведении геотехнического мониторинга возводимых объектов капитального строительства и окружающей застройки следует определять в соответствии с СП 22.13330.2016
(пункт 12.14).
9.2 Периодичность представления промежуточной отчетной документации должна обеспечивать своевременность информирования заинтересованных сторон о выявленных отклонениях контролируемых параметров за отчетный период и содержать достаточные данные для принятия обоснованного решения по реализации целей проведения мониторинга.
СРЕДСТВА ИЗМЕРЕНИЙ КОНТРОЛИРУЕМЫХ ПАРАМЕТРОВ
ПРИ ГЕОТЕХНИЧЕСКОМ МОНИТОРИНГЕ
Таблица А.1
Средства измерений, контролируемые параметры,
погрешности измерений
Средства измерений | Схема (эскиз) | Измерительный диапазон | Погрешность измерения (для стандартных измерительных диапазонов) |
1 Контроль смещений поверхности грунтового массива и конструкции |
Нивелир | | Определяется условиями измерений | 2 мм/0,5 мм (в зависимости от расположения измерительных точек) |
Электронный тахеометр (в т.ч. роботизированные) | | Определяется условиями измерений | 1 - 5 мм (в зависимости от измеренного расстояния) |
Лазерный электронный дальномер | | до 5 км | 0,5 - 3,0 мм (в зависимости от измеренного расстояния) |
Глобальная навигационная спутниковая система | | Определяется условиями измерений | 20 мм (определение по четырем спутникам и приемником, расположенным в базовой точке) |
Поверхностный струнный трещиномер (струна из инварного сплава, натянутая с помощью груза) | | 3 м (диапазон увеличивается при использовании струны большей длины, в зависимости от местных условий) | 10 мм (в зависимости от длины струны) |
Экстензометр для измерения конвергенции со струной из инвара | | +/- 50 мм | +/- 0,05 мм |
То же со стальной лентой (ленточный экстензометр) | | +/- 50 мм | +/- 0,5 мм |
Трещиномер одно- или двухосевой | | 5 - 50 мм | 0,01 - 0,10 мм |
Трещиномер трехосевой | | 5 - 50 мм | 0,02 - 0,20 мм |
Индикатор угла наклона с прецизионным уровнем | | 10° | 0,1 мм/м или 20" |
Индикатор угла наклона с маятниковым датчиком | | 5°/10°/20°/30° | 0,5% измерительного диапазона |
Прецизионный индикатор угла наклона с сервоакселерометром | | 1°/15°/30°/45°/90° | 0,02% измерительного диапазона |
Индикатор угла наклона с электроуровнем | | 1°/10°/45°/60° | 0,5 - 1,0% измерительного диапазона |
2 Контроль смещения в грунтовом массиве или внутри конструкций |
Инклинометр (с обсадной направляющей трубой) в скважине | | 0° ... 30° 0° ... 90° | 2 - 3 мм/10 м |
Скважинный стержневой экстензометр | | +/- 100 мм | +/- 0,2 мм |
Портативный ручной экстензометр (двухточечный) | | +/- 20 мм/м | +/- 0,3 мм |
Портативный скважинный экстензометр (с одним зондом) | | +/- 1000 мм | +/- 2 мм |
Гидравлический уровнемер | | 100 - 200 мм | 1 мм |
Гидравлический уровнемер с датчиком давления | | Без ограничений | 5 - 10 мм (0,1% измерительного диапазона с датчиком давления) |
Оптиковолоконный экстензометр | | 1% активной длины волокна | 0,01 мм |
3 Контроль уровня подземных вод и порового давления |
Портативный уровнемер для измерения в открытых гидронаблюдательных скважинах и колодцах | | До 2 км | 10 мм |
Портативный пьезометр для измерения уровня воды в открытых гидронаблюдательных скважинах | | До 2 км | 10 мм |
Пьезометр пневматический (закрытая измерительная система) | | < 3,5 МПа | 2% измерительного диапазона |
Пьезометр, электрический (закрытая измерительная система) | | < 15 МПа | 0,1% измерительного диапазона |
4 Контроль усилия и давления |
Датчик усилий в анкерах, распорных элементах, сваях | | 100 - 5000 кН | 1% измерительного диапазона |
Датчик давления замоноличиваемый | | < 35 МПа | 0,25% измерительного диапазона |
Датчик давления для измерения напряжений на контакте "конструкция-грунтовый массив" или внутри грунта | | < 35 МПа | 0,25% измерительного диапазона |
5 Контроль уровня вибраций |
Геофон Акселерометр | | | Не более 0,1vlim, где vlim - предельное значение измеряемого параметра |
ТИПЫ, ОБЛАСТЬ И ПРАВИЛА ПРИМЕНЕНИЯ
СКВАЖИННЫХ ИНКЛИНОМЕТРОВ
Б.1 Скважинный инклинометр - аппаратно-программный комплекс для контроля поперечных смещений в грунтовом массиве или конструкции вдоль линейного профиля с помощью угловых измерений в специально оборудованных скважинах.
Б.2 Определение изменения угла наклона зонда инклинометра во времени проводят путем сравнения измеренных углов в текущем цикле с реперными ("нулевыми") значениями. Также осуществляют расчет смещений измерительных точек относительно "нулевого" измерительного профиля.
Б.3 Комплекс состоит из измерительного зонда, оснащенного одним или двумя датчиками угла наклона, колонны направляющих труб, устройства для определения положения зонда в направляющей трубе и считывающего устройства с программным обеспечением. Измерительный зонд инклинометра (измерительный модуль - для стационарных инклинометров) состоит из водонепроницаемого стального корпуса с одним или двумя встроенными датчиками угла наклона. Зонд инклинометра оснащают устройствами для позиционирования его в скважине (как правило - две пары подпружиненных направляющих роликов, обеспечивающих перемещение зонда вдоль измерительного профиля скважины по направляющим пазам).
Б.4 В качестве реперной точки, относительно которой осуществляется расчет смещений измерительных точек в профиле, допускается использовать нижнюю измеряемую точку в скважине или верх направляющей трубы. Для измерения абсолютных перемещений необходимо периодически определять координаты верхней точки с применением геодезических методов контроля.
Б.5 Типы скважинных инклинометров, область их применения и точностные характеристики приведены в таблицах Б.1,
Б.2 и
Б.3 соответственно.
Таблица Б.1
Типы скважинных инклинометров
Тип инклинометра | Подтип измерительного прибора | Принцип проведения измерений | Возможность автоматизации |
Портативный | - вертикальный - горизонтальный | Зонд инклинометра перемещается от одной измерительной точки к другой (с одинаковым интервалом) по направляющим пазам внутри инклинометрической трубы. Измерения проводятся отдельными циклами | Не предусмотрена |
Стационарный <1> | - вертикальный - горизонтальный | Измерительные зонды устанавливаются стационарно на различных отметках внутри инклинометрической трубы на весь период измерений | Предусмотрена |
<1> Возможно применение комбинированных инклинометров, состоящих из вертикальных и горизонтальных модулей. |
Таблица Б.2
Область применения скважинных инклинометров
Область применения | Инклинометр |
стационарный | портативный |
В | Г | В | Г |
Контроль горизонтальных деформаций по высоте ограждающих конструкций котлованов | + | - | + | - |
Устойчивость зданий и сооружений, находящихся в зоне влияния строительства | + | + | + | - |
Испытания свай (испытания горизонтальной нагрузкой) | + | +/- | + | - |
Контроль вертикальности скважин, ограждающих конструкций котлованов | +/- | - | + | - |
Контроль фактической кривизны скважин | +/- | - | +/- | +/- |
Устойчивость склонов (мониторинг оползневых процессов) | + | +/- | + | - |
Искусственные насыпи | + | +/- | + | +/- |
Контроль выпучивания грунта | - | + | - | +/- |
Примечание - В настоящей таблице применены следующие обозначения: "В" - вертикальный инклинометр; "Г" - горизонтальный инклинометр; "+" - применяется; "+/-" - применение ограничено; "-" - не применяется. |
(примечание в ред. Изменения N 1, утв. Приказом Минстроя России от 17.10.2023 N 746/пр) |
Таблица Б.3
Точностные характеристики скважинных инклинометров
Тип инклинометра | Параметр | Значение параметра |
вертикальный инклинометр | горизонтальный инклинометр |
Портативный | Точность измерительного зонда | +/- 0,05% измерительного диапазона (+/- 0,26 мм/м для диапазона +/- 30°) |
Повторяемость результатов измерений профиля длиной 30 м (при неизменном положении инклинометрической скважины) | +/- 2 мм | +/- 10 мм |
Стационарный | Повторяемость результатов измерений цепочки измерительных модулей стационарного инклинометра, измерительный диапазон +/- 10°, расстояние между модулями - 2 м (при неизменном положении инклинометрической скважины) | +/- 2 мм | +/- 2 мм |
Портативный и стационарный | Разница в результатах измерений, выполненных с временным интервалом 24 ч (при одинаковых условиях измерения) | +/- 0,1 мм/м |
Б.6 Портативный скважинный инклинометр - измерительный комплекс, состоящий из одно- или двухосевого инклинометрического зонда, используемого для пошаговых измерений углов наклона зонда вдоль линии контроля (скважины).
Б.7 Одноосевой скважинный инклинометр, оснащенный одним измерительным датчиком угла наклона, предназначен для проведения измерений вдоль одной плоскости и применяется для измерений в горизонтальных скважинах.
(в ред.
Изменения N 1, утв. Приказом Минстроя России от 17.10.2023 N 746/пр)
Б.8 Двухосевой скважинный инклинометр, измерительный зонд которого оснащен двумя датчиками угла наклона, расположенными под углом 90° относительно друг друга, предназначен для измерений углов по двум взаимно перпендикулярным плоскостям и применяется для измерений в вертикальных скважинах.
(в ред.
Изменения N 1, утв. Приказом Минстроя России от 17.10.2023 N 746/пр)
Б.9 Вертикальный портативный скважинный инклинометр предназначен для измерения горизонтальных смещений вдоль вертикального профиля.
Б.10 Горизонтальный портативный инклинометр предназначен для измерения перемещений в вертикальном направлении (осадка или подъем вдоль горизонтально-ориентированного профиля).
Б.11 Расстояние между двумя соседними измерительными точками, используемое при расчете профиля смещений, составляет измерительную базу. При проведении периодических измерений зонд портативного скважинного инклинометра перемещается с одинаковым шагом вдоль измерительного профиля по трубе, при этом шаг измерений должен совпадать с длиной зонда и измерительной базой
(рисунок Б.1).
I - вид сверху на инклинометрическую скважину; II - вид
сбоку; III - положение зонда инклинометра в момент R и F;
z - длина измерительного профиля; L - длина зонда; l - шаг
измерений; n - количество измерений; R - начальное положение
инклинометрической скважины ("нулевое" измерение);
F - положение инклинометрической скважины в момент измерений
F; 1 - недеформированный участок инклинометрической трубы;
2 - участок деформированной инклинометрической трубы;
3 - измерительный зонд инклинометра; 4 - участок деформаций
грунтового массива; 5 - устойчивая зона грунтового массива;
6 - реперная точка (в данном случае за реперную точку
принимается ось нижней пары направляющих роликов
инклинометрического зонда); 7 - приспособление для измерения
положения зонда в скважине (стандартно металлические
маркеры, расположенные с равным шагом на соединительном
кабеле);

- изменение угла наклона измерительного зонда
относительно "нулевого" измерения
Рисунок Б.1 - Принципиальная схема измерений с применением
портативного скважинного инклинометра
Б.12 Для правильного позиционирования измерительного зонда вдоль профиля в скважине кабель инклинометра должен быть оснащен системой прочных стальных цилиндрических маркеров, расположенных с шагом, соответствующим длине зонда. При перемещении измерительного зонда от одной точки к другой маркер зажимается в специальном кабельном фиксаторе, устанавливаемом на верхний срез инклинометрической трубы.
Б.13 Для получения необходимой точности измерений с использованием портативных скважинных инклинометров необходимо обеспечить повторяемость определения положения зонда в отдельных измерительных циклах +/- 5 мм.
Б.14 Стационарный инклинометр - измерительный комплекс, состоящий из одного или нескольких измерительных модулей, расположенных вдоль скважины на фиксированных отметках (при измерениях перемещения вдоль скважины не происходят) и объединенных в измерительную цепочку с помощью соединительных элементов
(рисунок Б.2).
а) Стационарный инклинометр с измерительными модулями,
оснащенными роликовыми направляющими, все модули соединены
в одну цепочку
б) Стационарный инклинометр с измерительными модулями,
оснащенными роликовыми направляющими, модули не соединены
в одну цепочку
в) Стационарный инклинометр с измерительными модулями
без направляющих роликов, модули не соединены в одну цепочку
1 - верхняя подвеска измерительных модулей; 2 - блок
роликовых направляющих; 3 - шарнирное соединение;
4 - направляющая инклинометрическая труба; 5 - жесткий
соединительный элемент; 6 - измерительный модуль; 7 - длина
измерительного модуля; 8 - измерительная база;
9 - промежуточная соединительная подвеска; 10 - распорное
крепление измерительного модуля; 11 - материал-заполнитель
Рисунок Б.2 - Разновидности стационарных инклинометров
Б.15 Измерительные модули, соединенные в одну цепочку, должны обладать максимальной жесткостью конструкции. Изменение углов между соседними измерительными модулями должно происходить только в местах их сопряжения (шарнирное соединение). Соединительные элементы должны обеспечивать неизменное положение в скважине измерительных модулей на протяжении всего периода измерений.
Б.16 Длина измерительных модулей (включая соединительные элементы) в цепочке не должна превышать 2 м. Чем короче длина измерительных модулей, тем больше разрешающая способность измеренного профиля смещений.
Б.17 Для правильного позиционирования зонда инклинометра в измерительной скважине трубы круглого сечения с внутренней стороны должны иметь направляющие пазы, обеспечивающие перемещение по ним роликов зонда инклинометра
(рисунок Б.3). Продольные внутренние направляющие пазы в количестве четырех штук должны быть расположены с шагом 90°, с тем чтобы измерения зондом выполнялись во взаимно перпендикулярных плоскостях. Стандартный диапазон внутренних диаметров направляющих труб составляет 45 - 85 мм.
1 - точка, положение которой контролируется геодезическим
методом; 2 - уровень поверхности земли; 3 - стенка скважины;
4 - телескопическая секция; 5 - раствор, заполняющий полость
между стенкой скважины и инклинометром; 6 - реперная точка;
7 - нижняя заглушка; 8 - область массива, подверженная
деформациям; 9 - стабильная область массива; 10 - пазы
для инклинометра; 11 - направляющая труба; 12 - направление
Рисунок Б.3 - Скважина, оснащенная направляющими трубами
для инклинометров
Б.18 Материал, из которого изготавливают направляющие трубы должен соответствовать следующим требованиям:
- нейтральный к окружающей среде (бетон, грунтовый массив, подземные воды);
- сохраняющий форму и прочность на протяжении всего периода измерений;
- достаточная эластичность при изгибе;
- устойчивость к механическим воздействиям в процессе установки.
Стандартным материалом для направляющих инклинометрических труб является АБС-пластик (акрилонитрилбутадиенстирол). Также применяют трубы из ПВХ, металла и алюминия. Металлические и алюминиевые направляющие трубы подвержены химической (агрессивное воздействие подземных вод) и электрохимической (возникновение тока между геологическими слоями с различным электрическим потенциалом) коррозиям.
(в ред.
Изменения N 1, утв. Приказом Минстроя России от 17.10.2023 N 746/пр)
Б.19 Закручивание пазов после установки трубы в скважину не должно превышать 0,25°/м. Соединение смежных отрезков инклинометрических труб должно обеспечивать сохранение профиля направляющих пазов.
Б.20 Для компенсации возможных деформаций контролируемой среды вдоль линии контроля следует применять телескопические секции
(рисунок Б.3).
(п. Б.20 в ред.
Изменения N 1, утв. Приказом Минстроя России от 17.10.2023 N 746/пр)
Б.21 Диаметр скважины при бурении выбирают исходя из конкретных условий установки и гидрогеологических параметров. Диаметр скважины не должен превышать тройного диаметра направляющих инклинометрических труб.
Б.22 При мониторинге грунтовых и скальных массивов следует использовать скважины и направляющие трубы большого диаметра, что уменьшает риск их преждевременного разрушения при деформации окружающего массива.
(в ред.
Изменения N 1, утв. Приказом Минстроя России от 17.10.2023 N 746/пр)
Б.23 При выборе диаметра труб и сечения скважины следует учитывать, что увеличение зазора между стенкой скважины и внешней поверхностью направляющей трубы уменьшает чувствительность измерительной системы к малым деформациям.
Б.24 Нижнюю часть скважины, по возможности, следует располагать в устойчивых грунтах, не подверженных деформациям, на величину не менее шести длин измерительного зонда.
Б.25 Непосредственно перед установкой направляющих инклинометрических труб скважину следует очистить или промыть с использованием воды или сжатого воздуха.
Б.26 Установку направляющих инклинометрических труб в скважины следует осуществлять таким образом, чтобы плоскость, образуемая двумя противоположно расположенными направляющими пазами, совпадала с главным направлением наблюдений. Для вертикальных скважин главное направление наблюдений совпадает с направлением возможных смещений контролируемой среды.
(в ред.
Изменения N 1, утв. Приказом Минстроя России от 17.10.2023 N 746/пр)
Б.27 Технология установки направляющих труб должна исключать их закручивание вокруг продольной оси. После установки всех труб в скважину попытки развернуть трубы не допускаются.
Б.28 При установке направляющих труб общей длиной более 50 м закручивание направляющих пазов вокруг продольной оси следует определять с использованием специализированной аппаратуры (зонды со встроенными гироскопами или магнитными компасами).
Б.29 При установке направляющих инклинометрических труб в неустойчивых обводненных грунтах их монтаж в скважины осуществляют под защитой бентонитового раствора либо временных обсадных труб, удерживающих стенки скважины от обрушения. После установки направляющих труб в скважину обсадные трубы должны быть извлечены.
Б.30 При установке пластиковых направляющих инклинометрических труб в скважину, заполненную буровым раствором, необходимо исключить их всплытие. Для этого направляющие трубы, при их погружении в скважину, следует наполнить водой либо утяжелить с помощью грузов, прикрепляемых к нижней секции труб. Не допускается установка труб в скважину путем приложения нагрузки к верху трубы - это может привести к изгибанию труб по длине скважины, что значительно снизит точность измерений.
Б.31 При установке и эксплуатации инклинометрических скважин в зимнее время допускается заполнение труб незамерзающей жидкостью, химически нейтральной к материалу направляющих труб и компонентам скважинного инклинометра.
Б.32 Для обеспечения передачи деформаций контролируемой среды к направляющей инклинометрической трубе зазор между стенкой скважины и внешней поверхностью трубы должен быть полностью заполнен специальным составом. Физико-механические свойства данного состава (после его твердения) должны максимально соответствовать свойствам окружающей контролируемой среды.
Б.33 Для заполнения зазоров используют цементные, цементно-бентонитовые водные растворы. Конкретный состав раствора определяют на основании имеющегося опыта и исходя из конкретных условий объекта. Добавление в смесь бентонита проводят с целью снижения седиментации готового раствора на протяжении времени его закачивания в скважину. Допускается использование золы уноса в качестве нейтрального заполнителя.
(в ред.
Изменения N 1, утв. Приказом Минстроя России от 17.10.2023 N 746/пр)
Б.34 В случае, если скважина заполнена буровым раствором, нагнетание цементного состава необходимо проводить с нижней точки скважины через подающий шланг (внутренним диаметром от 16 мм), прикрепленный к направляющим трубам. В нагнетаемый раствор необходимо добавлять пластифицирующие добавки.
Б.35 В отдельных случаях (при установке в карстовых, крупнообломочных скальных породах, грунтах с высокой водопроницаемостью) возможно использование обратной засыпки с применением гранулированных материалов.
Б.36 При проведении инклинометрических измерений для достижения необходимой точности перед осуществлением первого замера на скважине следует обрезать верх направляющей инклинометрической трубы на высоте 0,8 - 1,0 м от земной поверхности, при этом срез должен быть горизонтальным. После проведения первичных измерений на скважине с помощью инклинометра последующая обрезка направляющей трубы не допускается.
Б.37 При проведении измерений необходимо соблюдать правильную ориентацию измерительного зонда в пространстве относительно измерительных осей X и Y (рисунок Б.4).
Рисунок Б.4 - Направления измерительных осей зонда
скважинного инклинометра
Б.38 Обработка результатов инклинометрических измерений заключается в расчете и построении кумулятивных профилей вдоль осей
X и
Y (рисунок Б.5), а также плановых перемещений точек (
XY) в контролируемых скважинах относительно нулевого измерения.
Рисунок Б.5 - Построение кумулятивного профиля скважины
вдоль оси X по данным инклинометрических измерений
Построение кумулятивного профиля осуществляют путем расчета положения измерительных точек в скважине по формулам:

(Б.1)

(Б.2)

(Б.3)

(Б.4)

(Б.5)
где Mxi, Myi - смещение вдоль в i-ной измерительной точке осей X и Y соответственно;
Mx, My - суммарные смещения всего профиля вдоль осей X и Y соответственно;
Mi - вектор смещения в i-ной измерительной точке в осях XY;
L - база измерений;

,

- измеренный в
i-ной измерительной точке зенитный угол отклонения зонда инклинометра от вертикали вдоль осей
X и
Y соответственно.
Б.39 В отчетную документацию следует включать результаты инклинометрических измерений в графическом и табличном виде. На графиках
(рисунок Б.6) отображают профили поперечных смещений относительно нулевого цикла измерений вдоль двух взаимно перпендикулярных осей
X и
Y, а также график смещений в плане в осях
XY.
(в ред.
Изменения N 1, утв. Приказом Минстроя России от 17.10.2023 N 746/пр)
u - перемещения вдоль оси X, мм; h - относительная
вертикальная шкала глубины, м; 1 - результаты нулевого
измерения (смещения вдоль профиля = 0); 2 - серия измерений,
выполненных в процессе откопки котлована; 3 - временные
уровни отметки дна котлована в процессе земляных работ
в месте сопряжения со стеной в грунте; 4 - временные уровни
отметки дна котлована в процессе земляных работ на удалении
от стены в грунте; 5 - теоретическая кривая деформаций стены
в грунте, полученная в результате математических расчетов
(фаза откопки котлована 3/4); 6 - теоретическая кривая
деформаций стены в грунте, полученная в результате
математических расчетов (фаза откопки котлована на проектную
глубину); 7 - уровень обвязочной балки; 8 - отметки
распорных элементов; 9 - нижняя отметка стены в грунте;
10 - низ инклинометрической скважины
Рисунок Б.6 - Графическое представление результатов
инклинометрических измерений (мониторинг деформаций
"стены в грунте")
ТИПЫ, ОБЛАСТЬ И ПРАВИЛА ПРИМЕНЕНИЯ ЭКСТЕНЗОМЕТРОВ
В.1 При геотехническом мониторинге применяют стационарные, портативные и ленточные типы экстензометров. Технические характеристики экстензометров приведены в таблице В.1, а область их применения - в
таблице В.2.
Таблица В.1
Технические характеристики экстензометров
Параметр | Тип экстензометра |
стационарный | портативный | ленточный |
СЭ-СТ | СЭ-П | Э-З | ПЭ-1 | ПЭ-2-1 | ПЭ-2-2 | ЛЭ-1 | ЛЭ-2 | ЛЭ-3 |
Стандартные измерительные длины | 30 (300) | 10 (300) | 30 (200) | 30 (200) | 30 (150) | 30 (150) | 15 (100) | 15 (30) | 15 (30) |
Стандартный измерительный диапазон, мм | +/- 100 | +/- 250 | +/- 100 | +/- 1000 (+/- 10% длины трубы) | +/- 20 на метр | +/- 10/+/- 50 на метр | +/- 50 | +/- 20 | +/- 50 |
Точность измерений (на стандартном диапазоне), мм | +/- 0,2 | +/- 2 | +/- 0,2 | +/- 2 | +/- 0,3 | +/- 0,05/+/- 0,5 | +/- 0,05 | +/- 0,1 | +/- 0,5 |
Возможность автоматизации | Да | Да | Да | Нет | Нет | Нет | Нет | Нет | Нет |
Примечания 1 В скобках приведены максимальные значения измерительных длин. 2 В настоящей таблице применены следующие обозначения: СЭ-СТ - стержневой скважинный экстензометр; СЭ-П - проволочный скважинный экстензометр; Э-З - звеньевой скважинный экстензометр; ПЭ-1 - одноточечный портативный экстензометр; ПЭ-2-1 - двухточечный портативный механический экстензометр; ПЭ-2-2 - двухточечный портативный электрический экстензометр; ЛЭ-1 - ленточный экстензометр с инварной струной (резьбовые анкерные болты); ЛЭ-2 - ленточный экстензометр со стальной лентой (резьбовые анкерные болты); ЛЭ-3 - ленточный экстензометр со стальной лентой (анкерные болты с проушиной). |
Таблица В.2
Область применения экстензометров
Область применения | Тип экстензометра |
СЭ-СТ | СЭ-П | Э-З | ПЭ-1 | ПЭ-2-1 | ПЭ-2-2 | ЛЭ-1 | ЛЭ-2 | ЛЭ-3 |
Фундаменты неглубокого заложения на грунтовом основании | + | - | + | - | + | +/- | - | - | - |
Фундаменты неглубокого заложения на скальном основании | + | - | + | - | +/- | + | - | - | - |
Свайные и свайно-ростверковые фундаменты, включая свайные испытания | + | - | + | - | +/- | + | - | - | - |
Открытые земляные работы (котлованы и тоннели открытого способа строительства) вблизи существующих зданий и сооружений | +/- | - | +/- | + | +/- | + | + | +/- | +/- |
Пучение грунта | +/- | - | +/- | +/- | + | + | - | - | - |
Разуплотнение и карстообразование в грунтовом массиве | +/- | +/- | +/- | + | + | +/- | - | - | - |
Мониторинг технического состояния конструкций зданий и сооружений | +/- | - | +/- | +/- | +/- | + | + | +/- | - |
Оползневые процессы | + | +/- | + | +/- | - | - | - | - | +/- |
Примечание - В настоящей таблице применены следующие обозначения: "+" - применяется; "+/-" - применение ограничено; "-" - не применяется. |
(примечание в ред. Изменения N 1, утв. Приказом Минстроя России от 17.10.2023 N 746/пр) |
В.2 Стационарные скважинные экстензометры применяют стержневого, проволочного и звеньевого видов
(рисунок В.1). Данные виды экстензометров могут выполняться с применением оптоволоконных измерительных систем.
а) Стержневой экстензометр
б) Проволочный экстензометр
в) Звеньевой экстензометр
1 - анкеры; 2 - соединительные стержни; 3 - реперный
элемент; 4 - стенка скважины; 5 - считывающее устройство;
6 - устройство натяжения проволоки; 7 - устройство
натяжения; 8 - звеньевые реперные элементы
Рисунок В.1 - Принципиальные схемы стационарных
скважинных экстензометров
В.3 Портативные скважинные экстензометры применяют одно- или двухточечного видов
(рисунок В.2).
а) Одноточечный экстензометр
б) Двухточечный экстензометр
1 - направляющая труба доступа; 2 - магнитные кольца;
3 - измерительный зонд; 4 - измерительная лента
с градуировкой; 5 - измерительное устройство (снятие
показаний относительно реперной точки у устья скважины);
6 - измерительные кольца; 7 - измерительный двухточечный
зонд; 8 - направляющая штанга (трос); 9 - заполнитель
межскважинного пространства; 10 - стенка скважины
Рисунок В.2 - Принципиальные схемы
портативных экстензометров
В.4 Ленточные экстензометры применяют с инварной струной или стальной лентой (рисунок В.3).
1 - анкерный болт (с резьбовым соединением или проушиной);
2 - измерительная стальная лента (или струна);
3 - устройство натяжения ленты (струны) и измерительное
устройство; 4 - соединение (резьбовое либо проушина - крюк)
Рисунок В.3 - Принципиальная схема ленточного экстензометра
В.5 При применении стационарных, портативных и ленточных экстензометров в качестве измерительной точки принимают:
- середину анкера (стержневой, проволочный и звеньевой стационарные скважинные экстензометры);
- центр магнитного кольца (портативные скважинные экстензометры);
- центр резьбового соединения или проушины анкеров (ленточные экстензометры).
В.6 Точка, относительно которой проводят измерения расстояний, называется "реперной точкой" и считается условно неподвижной. Для измерений в абсолютной системе координат необходимо определить координаты реперной точки с использованием геодезических методов.
В.7 Для передачи перемещений исследуемой среды на измерительную точку необходимо обеспечить жесткое крепление специальных приспособлений (анкеров, магнитных колец и др.).
В.8 Для регистрации перемещений измерительных точек стационарных экстензометров применяют: цифровые микрометры, индикаторы часового типа, первичные преобразователи линейных перемещений (струнные, электрические, оптоволоконные) с регистрирующей аппаратурой (портативные считывающие устройства либо стационарные автоматизированные системы регистрации).
В.9 Установку стационарных скважинных экстензометров выполняют с учетом следующих требований.
В.9.1 Соединительные элементы (стержни) должны быть защищены от заполнителя с использованием муфт.
В.9.2 Правильное положение стационарных стержневых скважинных экстензометров в скважине обеспечивается за счет применения специализированных сложных тампонажных растворов в сочетании с жестко зафиксированными измерительными точками (механический, гидравлический, пакер-анкер).
Осевая жесткость измерительной экстензометрической системы не должна превышать жесткость окружающей среды.
В.10 Установку портативных скважинных экстензометров выполняют с учетом следующих требований.
В.10.1 Для обеспечения передачи деформаций контролируемой среды к магнитным целям, установленным на направляющих трубах, зазор между стенкой скважины и внешней поверхностью трубы должен быть полностью заполнен специальным составом. Физико-механические свойства данного состава (после его твердения) должны максимально соответствовать свойствам окружающей контролируемой среды.
В.10.2 Направляющая труба доступа не должна препятствовать перемещению вдоль нее магнитных колец.
В.10.3 При работе с одноточечным портативным экстензометром магнитные кольца допускается устанавливать вдоль трубы доступа на любом заданном расстоянии друг от друга.
В.10.4 При оснащении наблюдательной скважины для работы с двухточечным экстензометром магнитные кольца следует устанавливать с определенным шагом, соответствующим базе измерений и зависящим от измерительного диапазона зонда экстензометра.
В.10.5 Перед проведением первичных замеров положения магнитных целей раствор должен набрать необходимую прочность.
В.11 Установку ленточных экстензометров выполняют с учетом следующих требований.
В.11.1 Анкерные болты должны быть выполнены из коррозионно-стойких прочных материалов. Конструкция анкеров должна позволять устанавливать на них геодезические визирные знаки (призмы или нивелирные рейки) с целью определения их абсолютного положения.
В.11.2 При установке в железобетонные конструкции анкерные болты монтируют в заранее пробуренные отверстия и фиксируют с использованием быстротвердеющих составов на основе цемента или эпоксидных смол. Допускается также использовать анкерные болты с механическим распорным механизмом.
В.11.3 При установке на металлические поверхности анкерные болты могут быть зафиксированы с использованием дуговой сварки.
В.11.4 Анкерные болты должны быть защищены от воздействия прямых солнечных лучей, агрессивной среды, строительных работ. Защита может быть обеспечена применением солнцезащитных козырьков, защитных корпусов.
В.12 При обработке результатов измерений с использованием стационарных экстензометров изменение положения измерительной точки
i 
в период между начальным и текущим измерениями вычисляют по формуле

(В.1)
где Siт - измеренное значение положения измерительной точки i в текущем цикле;
Siн - измеренное значение положения измерительной точки i в нулевом цикле.
При этом

идентично изменению расстояния между измерительной точкой и устьем скважины

(В.2)
где wiотн - смещение измерительной точки i (вдоль направления измерений) относительно устья скважины.
Абсолютное смещение wi измерительной точки i вдоль направления измерений вычисляют по формуле
wi = wiотн + w0, (В.3)
где w0 - абсолютное смещение устья скважины вдоль направления измерений, определяемое геодезическим методом.
В.13 При проведении измерений с использованием портативных скважинных одноточечных экстензометров вертикальное смещение wiт измерительной точки i в текущем измерительном цикле относительно "нулевого" измерения вычисляют по формуле
| | ИС МЕГАНОРМ: примечание. Формула дана в соответствии с официальным текстом документа. | |
wiт = diт - diн - wнт, (В.4)
где diт - расстояние от измерительной точки до устья скважины в текущем цикле;
diн - расстояние от измерительной точки до устья скважины в "нулевом" цикле;
wн,т - вертикальное смещение отметки устья скважины относительно положения при "нулевом" цикле измерений (определяют геодезическими методами).
В.14 При проведении измерений с использованием портативных скважинных двухточечных экстензометров относительное смещение

соседних измерительных точек
i и
i - 1 вычисляют по формуле

(В.5)
где liт - расстояние между измерительными точками i и i - 1 в текущем цикле;
liн - расстояние между измерительными точками i и i - 1 в "нулевом" цикле.
Абсолютное смещение wi измерительной точки i вдоль направления измерений вычисляют по формуле

(В.6)
В.15 При проведении измерений с использованием ленточных экстензометров изменение расстояния между измерительными точками

вычисляют по формуле

(В.7)
где Sт, Sн - измеренные значения в текущем и "нулевом" цикле соответственно.
В случае возникновения температурных изменений в различных измерительных циклах при обработке результатов необходимо вводить температурную поправку

(В.8)
где Kтемп - коэффициент температурной поправки, вычисляемый по формуле

(В.9)
где

- коэффициент линейного температурного расширения материала ленты (струны);
l - расстояние между измеряемыми точками;

- разница в измеренной температуре между текущим и "нулевым" циклами.
ТИПЫ, ОБЛАСТЬ И ПРАВИЛА ПРИМЕНЕНИЯ
ТЕНЗОМЕТРИЧЕСКИХ ДАТЧИКОВ
Г.1 Тензометрический датчик - устройство, позволяющее преобразовать величину деформации конструкции на локальном участке в электрический или оптический сигнал.
Г.2 Тензометрические датчики, применяемые при геотехническом мониторинге, применяют по типу чувствительного элемента и подразделяют на струнные, оптоволоконные и электрические (резистивные, емкостные, индуктивные). Основные технические характеристики тензометрических датчиков представлены в таблице Г.1.
Таблица Г.1
Технические характеристики тензометрических датчиков
Тип датчика | Измерительная база, мм | Измерительный диапазон, мкм/м | Разрешающая способность | Точность измерений |
Электрический | 3 - 120 | +/- 2000 | 1 мкм/м | 1% полной шкалы |
Струнный | 50 - 250 | +/- 3000 | 1 мкм/м | 0,5% полной шкалы |
Оптоволоконный | 150 - 10000 | +/- 5000 | 0,5 мкм | 1 мкм |
Г.3 По способу монтажа тензометрические датчики подразделяют на закладные (замоноличиваемые), накладные и наклеиваемые. Область применения тензометрических датчиков приведена в таблице Г.2.
Таблица Г.2
Область применения тензометрических датчиков
Область применения | Тип тензометрического датчика по способу монтажа |
закладной | накладной | наклеиваемый |
Контроль деформаций свай | + | + | + |
Контроль деформации арматурного каркаса | - | + | + |
Контроль деформации бетона | + | + | + |
Контроль деформаций распорных элементов ограждающих конструкций котлованов | - | + | + |
Контроль деформаций ограждающих конструкций котлованов | + | + | + |
Контроль деформаций металлических конструкций | - | + | + |
Примечание - В настоящей таблице применены следующие обозначения: "+" - применяется; "-" - не применяется. |
(в ред. Изменения N 1, утв. Приказом Минстроя России от 17.10.2023 N 746/пр) |
Г.4 При геотехническом мониторинге конструкций применяют два метода установки закладных тензометрических датчиков в конструкцию:
- датчик закрепляют на арматуру или стальной каркас, затем осуществляют бетонирование;
- датчик бетонируют в брикете с последующей его установкой в конструкцию.
При установке тензометрический датчик должен быть сориентирован вдоль направления, в котором проводят измерение деформации. Отклонение от указанного направления может привести к увеличению погрешности измерения. Для получения более точных результатов необходимо измерять деформацию по трем ортогональным осям (рисунок Г.1).
1 - арматурный каркас; 2 - закладные
тензометрические датчики
Рисунок Г.1 - Схема ориентации закладных
тензометрических датчиков
Г.5 При установке накладного тензометрического датчика на бетонную поверхность его крепление осуществляют посредством механических или химических анкеров (рисунок Г.2).
1 - анкер; 2 - поверхность бетона
Рисунок Г.2 - Установка накладного тензометрического датчика
на поверхность бетона
На металлические конструкции накладной тензометрический датчик допускается устанавливать при помощи точечной или дуговой сварки (рисунки Г.3 -
Г.5).
1 - ограждающие конструкции котлована; 2 - накладные
тензометрические датчики; 3 - распорные элементы котлована
Рисунок Г.3 - Установка накладного тензометрического датчика
на распорные элементы ограждения котлована
1 - арматурный каркас сваи; 2 - накладные
тензометрические датчики
Рисунок Г.4 - Установка накладного тензометрического датчика
на арматурный каркас сваи
1 - накладные тензометрические датчики;
2 - арматурный каркас
Рисунок Г.5 - Установка накладного тензометрического датчика
на арматурный каркас железобетонной конструкции
Г.6 Перед установкой наклеиваемых тензометрических датчиков необходимо выровнять, отшлифовать и обезжирить участок поверхности объекта контроля. После чего провести наклеивание тензометрических датчиков на поверхность. Клеевой состав и шероховатость подготовленной поверхности подбирают согласно рекомендациям производителя тензометрических датчиков.
Г.7 Данные, полученные с тензометрических датчиков представлены в относительных единицах микрострейнах

, где относительная деформация есть отношение изменения длины датчика к единице длины (мкм/м).
Для расчета измеренных относительных деформаций струнных датчиков применяют следующую формулу

(Г.1)
где f - измеренная частота собственных колебаний струны датчика, Гц;
G - калибровочный коэффициент, определяемый для каждого датчика индивидуально.
Изменение относительных деформаций

вычисляют по формуле

(Г.2)
Lт - результаты измерений относительных деформаций датчика в текущем цикле;
Lн - результаты измерений относительных деформаций датчика в "нулевом" цикле.
Г.8 Для электрических датчиков измеренное значение относительной деформации

(мкм/м), вычисляют по формуле

(Г.3)
где Lэл - измеренное значение в электрических единицах;
S - коэффициент чувствительности датчика.
Г.9 В случае возникновения температурных изменений в различных измерительных циклах измеренную разницу относительных деформаций с учетом температурной поправки

вычисляют по формуле

(Г.4)
где
Tд - коэффициент температурного расширения датчика,

;
Tс - коэффициент температурного расширения контролируемой среды,

;
tт - измеренная температура в текущем цикле;
tн - измеренная температура в "нулевом" цикле.
ТИПЫ, ОСНОВНЫЕ ХАРАКТЕРИСТИКИ И ОБЛАСТЬ ПРИМЕНЕНИЯ ДАТЧИКОВ
ДЛЯ ИЗМЕРЕНИЯ ДАВЛЕНИЯ И УСИЛИЙ
Д.1 Типы и основные параметры применяемых при геотехническом мониторинге датчиков для измерения давления и усилий приведены в таблице Д.1, область их применения - в
таблице Д.2.
Таблица Д.1
Основные характеристики датчиков давления и усилий
Тип датчика | Стандартный измерительный диапазон | Точность измерений | Возможность автоматизации |
Датчик общего давления в грунте, на контакте конструкция - грунтовый массив, в конструкции |
Струнный | 0 - 35000 кПа | +/- 0,1% полного диапазона | Имеется |
Оптоволоконный | 0 - 20000 кПа | +/- 0,25% полного диапазона | Имеется |
Электрический | 0 - 20000 кПа | +/- 0,25% полного диапазона | Имеется |
Датчик порового давления в грунте (пьезометр) |
Струнный | 0 - 15000 кПа | +/- 0,1% полного диапазона | Имеется |
Оптоволоконный | 0 - 7000 кПа | +/- 0,25% полного диапазона | Имеется |
Электрический | 0 - 5000 кПа | +/- 0,1% полного диапазона | Имеется |
Пневматический | 30 - 3500 кПа | +/- 2% полного диапазона | Отсутствует |
Комбинированный задавливаемый датчик общего и порового давления в грунте |
Струнный | 0 - 5000 кПа | +/- 0,1% полного диапазона | Имеется |
Электрический | 0 - 5000 кПа | +/- 0,1% полного диапазона | Имеется |
Датчик усилий в анкерных креплениях, сваях, распорных элементах котлованов |
Струнный | 0 - 5000 кН | +/- 1,0% полного диапазона | Имеется |
Электрический | 0 - 5000 кН | +/- 1,0% полного диапазона | Имеется |
Гидравлический | 0 - 2500 кН | +/- 1,5% полного диапазона | Отсутствует |
Таблица Д.2
Область применения датчиков давления и усилий
Область применения | Датчики общего давления | Датчики порового давления (пьезометр) | Датчики усилий |
ДДГ | ДДГК | ДДК | ДПД | ДПДЗ | ДУА | ДУР | ДУС |
Измерение общего давления в грунтовом массиве | + | - | - | - | +/- | - | - | - |
Измерение общего давления в насыпных грунтах | + | - | - | - | +/- | - | - | - |
Измерение порового давления и пьезометрического уровня подземных вод в грунтовом массиве | - | - | - | + | + | - | - | - |
Измерение общего давления в железобетонных конструкциях | - | - | + | - | - | - | - | - |
Измерение общего давления на контакте конструкция-грунтовый массив | - | + | - | - | - | - | - | - |
Измерение усилий в анкерных элементах | - | - | - | - | - | + | - | - |
Измерение усилий в распорных элементах котлованов | - | - | - | - | - | - | + | +/- |
Измерение усилий в сваях | - | - | - | - | - | - | - | + |
Примечание - В настоящей таблице применены следующие обозначения: "+" - применяется; "+/-" - применение ограничено; "-" - не применяется; ДДГ - датчик давления в грунте; ДДГК - датчик давления на контакте грунт-конструкция; ДДК - датчик давления в конструкциях; ДПД - датчик порового давления; ДПДЗ - задавливаемый датчик порового/общего давления; ДУЛ - датчик усилий анкерный; ДУР - датчик усилий в распорных элементах котлованов; ДУС - датчик усилий в сваях. |
(в ред. Изменения N 1, утв. Приказом Минстроя России от 17.10.2023 N 746/пр) |
КОНТРОЛИРУЕМЫЕ ПАРАМЕТРЫ ПРИ ГЕОТЕХНИЧЕСКОМ МОНИТОРИНГЕ
В УСЛОВИЯХ РАСПРОСТРАНЕНИЯ ПРОСАДОЧНЫХ ГРУНТОВ
Е.1 В
таблицах Е.1 -
Е.3 знак "+" означает контролируемые параметры, которые необходимо фиксировать в процессе геотехнического мониторинга, знак "-" означает параметры, которые не требуется фиксировать при выполнении геотехнического мониторинга.
Е.2 При геотехническом мониторинге уникальных зданий и сооружений в особо сложных грунтовых условиях допускается по специальному заданию дополнительно проводить фиксацию контролируемых параметров, не указанных в таблицах Е.1 -
Е.3.
Таблица Е.1
Контролируемые параметры при геотехническом мониторинге
оснований, фундаментов и конструкций вновь возводимых
сооружений, а также сооружений окружающей застройки
Контролируемые параметры | Расчетная суммарная просадка ssl.g, см, и дополнительная осадка sul, см |
5 - 10 | 10 - 30 | > 30 |
Просадочная толща Hsl, м |
< 10 | 10 - 15 | 10 - 15 | 15 - 20 | > 20 | 15 - 20 | > 20 |
Вновь возводимые сооружения |
Осадки, просадки фундаментов и грунтов их относительные разности | + | + | + | + | + | + | + |
Крен | + | + | + | + | + | + | + |
Послойные осадки грунтов основания | - | - | - | - | | | |
Напряжения в толще и под пятой сваи | - | - | | | | | |
Уровень подземных вод | - | - | + | + | + | + | + |
Изменение влажности грунта по глубине | - | - | + | + | + | + | + |
Существующие сооружения окружающей застройки |
Дополнительные осадки и просадки фундаментов окружающих зданий | + | + | + | + | + | + | + |
Крены | + | + | + | + | + | + | + |
Горизонтальные перемещения поверхностных марок | + | + | + | + | + | + | + |
Ширина раскрытия существующих трещин и появление новых | + | + | + | + | + | + | + |
<1> Выполняют для зданий и сооружений уровня ответственности КС-3. <2> Выполняют для уникальных зданий и сооружений уровня ответственности КС-3 при дополнительных осадках подстилающих грунтов sul > 5 см. |
Таблица Е.2
Контролируемые параметры при геотехническом мониторинге:
конструкций ограждения котлована; грунтового массива,
окружающего вновь возводимые и реконструируемые сооружения;
подземных инженерных коммуникаций, расположенных в зоне
влияния нового строительства
Контролируемые параметры | Глубина котлована Hк, м |
5 <= Hк <10 | Hк > 10 |
Расчетная просадка ssl.g, см и дополнительная осадка sul, см |
< 0,1 | 0,1 - 0,3 | > 0,3 | < 0,1 | 0,1 - 0,3 | > 0,3 |
Горизонтальные перемещения | | | | | | + |
Горизонтальные перемещения ограждения по высоте | - | - | | | | |
Осадки и просадки верха ограждения | - | | | - | - | |
Напряжение в стальных распорках анкерах | | | | | | |
Осадки и просадки поверхностных марок | | | | | | |
Послойные осадки и просадки грунта | - | - | | - | | |
Горизонтальные перемещения поверхностных марок | | | | | | |
Послойные горизонтальные перемещения по глубине | - | | | - | | |
Уровень подземных вод | | | | | | |
Изменение влажности по глубине | - | | | | | |
Измерение вибраций | | | | | | |
Осадки и просадки люков коммуникаций | | | | | | |
Осадки и просадки обделок проходных каналов и коллекторов | + <3> | + <3> | + <3> | + <3> | + <3> | + <3> |
<1>, <2>, <3> Выполняют при геотехническом мониторинге соответственно: конструкции ограждения котлована; грунтового массива, окружающего вновь возводимого здания и сооружения или при реконструкции существующих объектов; подземных инженерных коммуникаций, расположенных в зоне влияния нового строительства. |
Таблица Е.3
Контролируемые параметры при геотехническом мониторинге
подземных инженерных коммуникаций, расположенных в зоне
влияния нового строительства
Контролируемые параметры | Расчетная просадка ssl.g, см |
10 - 30 | > 30 |
Просадки люков | + | + |
Просадки конструкций проходных или полупроходных каналов (коллекторов) | + | + |
Горизонтальные перемещения люков | - | + |
Горизонтальные перемещения конструкций каналов (коллекторов) | - | + |
Вибрации люков, конструкций, каналов и коллекторов | + <1> | + <1> |
<1> Выполняют по специальному заданию. |
КОНТРОЛИРУЕМЫЕ ПАРАМЕТРЫ ПРИ ГЕОТЕХНИЧЕСКОМ МОНИТОРИНГЕ
НА ПОДРАБАТЫВАЕМЫХ ТЕРРИТОРИЯХ
Ж.1 В
таблицах Ж.1 -
Ж.3 знак "+" обозначает контролируемые параметры, которые необходимо фиксировать в процессе мониторинга, знак "-" обозначает параметры, которые не требуется фиксировать при выполнении мониторинга.
Ж.2 При проходке и строительстве уникальных подземных сооружений, а также при мониторинге уникальных подрабатываемых сооружений по специальному заданию допускается дополнительно проводить фиксацию контролируемых параметров, не указанных в таблицах Ж.1 -
Ж.3.
Таблица Ж.1
Контролируемые параметры при мониторинге массива
горных пород, окружающего выработку
Контролируемые параметры | Массив горных пород |
Вертикальные перемещения поверхности грунта | + |
Горизонтальные перемещения поверхности грунта | + |
Деформации поверхности грунта по профильным линиям | + |
Уровень подземных вод | |
Вертикальные перемещения массива грунта по глубине | |
Горизонтальные перемещения массива грунта по глубине | |
Геометрические параметры сосредоточенных деформаций земной поверхности (трещин, уступов) | + <3> |
<1> Контроль выполняют при проходке с открытым забоем с водопонижением. <2> Контроль выполняют по специальному заданию. <3> Контроль выполняют при подработке с целью добычи полезных ископаемых. Примечание - Поверхностные грунтовые марки закладывают по профильным линиям, которых должно быть не менее двух. |
Таблица Ж.2
Контролируемые параметры при мониторинге сооружений
поверхностной застройки (кроме подземных инженерных
коммуникаций), расположенных в зоне влияния подработки
Контролируемые параметры | Здания и сооружения окружающей застройки |
Дополнительные осадки фундаментов и их относительная разность | + |
Ширина раскрытия и глубина образования трещин | + |
Дополнительный крен | |
Горизонтальные перемещения конструкций и фундаментов | |
Измерение вибраций | |
<1> Выполняют для высоких сооружений. <2> Выполняют при L/( Hп - Hс) <= 0,5, где L - расстояние в свету по горизонтали между строящимся подземным сооружением и объектом окружающей застройки, Hп и Hс - глубины заложения устраиваемой выработки и объекта окружающей застройки. <3> Выполняют по специальному заданию. Примечание - В процессе геотехнического мониторинга необходимо проводить периодические визуальные обследования сооружений поверхностной застройки на предмет выявления повреждений их конструкций. |
Таблица Ж.3
Контролируемые параметры при мониторинге подземных
и надземных инженерных коммуникаций, расположенных в зоне
влияния подработки
Контролируемые параметры | Прокладка инженерных коммуникаций |
ниже поверхности земли | на или над поверхностью земли (байпас и др.) |
в проходных коллекторах, тоннелях или каналах | в грунте или непроходных защитных конструкциях <7>, при глубине заложения Hпк, м |
Hпк <= 2 | Hпк > 2 |
Осадки обечаек люков или других выступающих из земли (над землей) элементов конструкций камер и колодцев | + | + | + | - |
Горизонтальные перемещения обечаек люков или других выступающих из земли (над землей) элементов конструкций камер и колодцев | | | | - |
Осадки дна лотков колодцев самотечных водонесущих коммуникаций | - | | | - |
Осадки конструкций обделок проходных коллекторов, тоннелей или каналов | + | - | - | - |
Горизонтальные перемещения конструкций обделок проходных коллекторов, тоннелей или каналов | | - | - | - |
Осадки фундаментов (конструкций) трубопроводов | - | | - | + |
Горизонтальные перемещения фундаментов (конструкций) трубопроводов | - | | - | |
Осадки массива грунта вблизи коммуникаций | - | - | | - |
Горизонтальные перемещения массива грунта вблизи коммуникаций | - | - | | - |
Уровень подземных вод вблизи водонесущих коммуникаций | - | + | + | - |
Температура и химический состав подземных вод (грунта) вблизи коммуникаций | - | | | - |
Температура поверхности земли вдоль трасс "горячих" трубопроводов с помощью тепловизоров | - | | | - |
Продольные осевые (кольцевые) напряжения в стенках трубопроводов | | | - | |
Перемещения и раскрытие стыковых соединений секционных трубопроводов | | - | - | |
Деформации стенок проходных коллекторов (тоннелей, каналов) и трубопроводов в поперечном сечении | | - | - | |
Ширина раскрытия трещин в стенках (обделке) проходных коллекторов, тоннелей или каналов, трубопроводов | + | | - | |
Параметры колебаний трубопровода (грунта) при вибрациях | | | | |
<1> Выполняют при L/( Hп - Hс) <= 0,5, где L - расстояние в свету между строящимся подземным сооружением и объектом окружающей застройки, Hп и Hс - глубины заложения устраиваемой выработки и объекта окружающей застройки. <2> Выполняют по специальному заданию. <3> Марки устанавливают на конструкциях предварительно отшурфованных коммуникаций. <4> Грунтовые марки устанавливают на отметке заложения коммуникации, с двух сторон от нее. <5> Выполняют с использованием тензометров, индикаторов часового типа и др. <6> Выполняют для коммуникаций в грунте при возникновении нагрузок и воздействий, направленных на коммуникации. <7> Футляры, обойма, непроходные коллекторы (тоннели, микротоннели, каналы). Примечание - В процессе геотехнического мониторинга коммуникаций необходимо проводить периодические визуальные обследования состояния поверхности грунта (просадки, наличие пара и др.) вдоль трасс коммуникаций и конструкций обделок проходных коллекторов (тоннелей, каналов), а также колодцев и камер (по специальному заданию) коммуникаций непроходного типа. |
[1] Федеральный
закон от 29 декабря 2004 г. N 190-ФЗ "Градостроительный кодекс Российской Федерации"
[2] Федеральный
закон от 30 декабря 2009 г. N 384-ФЗ "Технический регламент о безопасности зданий и сооружений"
[3]
СанПиН 1.2.3685-21 Гигиенические нормативы и требования к обеспечению безопасности и (или) безвредности для человека факторов среды обитания
(в ред.
Изменения N 1, утв. Приказом Минстроя России от 17.10.2023 N 746/пр)
[4] СП 11-105-97 Инженерно-геологические изыскания для строительства