Главная // Актуальные документы // Правила
СПРАВКА
Источник публикации
М., 2018
Примечание к документу
Документ включен в Перечень документов в области стандартизации, в результате применения которых на добровольной основе обеспечивается соблюдение требований Федерального закона от 30.12.2009 N 384-ФЗ "Технический регламент о безопасности зданий и сооружений" (Приказ Росстандарта от 02.04.2020 N 687).

Документ введен в действие с 27 мая 2019 года.
Название документа
"СП 439.1325800.2018. Свод правил. Здания и сооружения. Правила проектирования аварийного освещения"
(утв. и введен в действие Приказом Минстроя России от 26.11.2018 N 747-пр)

"СП 439.1325800.2018. Свод правил. Здания и сооружения. Правила проектирования аварийного освещения"
(утв. и введен в действие Приказом Минстроя России от 26.11.2018 N 747-пр)


Содержание


Утвержден и введен в действие
Приказом Министерства строительства
и жилищно-коммунального хозяйства
Российской Федерации
от 26 ноября 2018 г. N 747-пр
СВОД ПРАВИЛ
ЗДАНИЯ И СООРУЖЕНИЯ
ПРАВИЛА ПРОЕКТИРОВАНИЯ АВАРИЙНОГО ОСВЕЩЕНИЯ
Buildings and structures. Emergency lighting design
СП 439.1325800.2018
Дата введения
27 мая 2019 года
Предисловие
Сведения о своде правил
1 ИСПОЛНИТЕЛИ - Федеральное государственное бюджетное учреждение "Научно-исследовательский институт строительной физики Российской академии архитектуры и строительных наук" (НИИСФ РААСН), Общество с ограниченной ответственностью "ЦЕРЕРА-ЭКСПЕРТ" (ООО "ЦЕРЕРА-ЭКСПЕРТ")
2 ВНЕСЕН Техническим комитетом по стандартизации ТК 465 "Строительство"
3 ПОДГОТОВЛЕН к утверждению Департаментом градостроительной деятельности и архитектуры Министерства строительства и жилищно-коммунального хозяйства Российской Федерации (Минстрой России)
4 УТВЕРЖДЕН приказом Министерства строительства и жилищно-коммунального хозяйства Российской Федерации от 26 ноября 2018 г. N 747/пр и введен в действие с 27 мая 2019 г.
5 ЗАРЕГИСТРИРОВАН Федеральным агентством по техническому регулированию и метрологии (Росстандарт)
6 ВВЕДЕН ВПЕРВЫЕ
В случае пересмотра (замены) или отмены настоящего свода правил соответствующее уведомление будет опубликовано в установленном порядке. Соответствующая информация, уведомление и тексты размещаются также в информационной системе общего пользования - на официальном сайте разработчика (Минстрой России) в сети Интернет
Введение
Настоящий свод правил разработан в соответствии с Федеральным законом от 30 декабря 2009 г. N 384-ФЗ "Технический регламент о безопасности зданий и сооружений" и в развитие СП 52.13330.2016 "СНиП 23-05-95* Естественное и искусственное освещение".
Настоящий свод правил разработан авторским коллективом: федеральное государственное бюджетное учреждение "Научно-исследовательский институт строительной физики Российской академии архитектуры и строительных наук" (канд. техн. наук И.А. Шмаров, Л.В. Бражникова); ООО "ЦЕРЕРА-ЭКСПЕРТ" (Е.А. Литвинская) при участии Нижегородского государственного технического университета им. Р.Е. Алексеева (канд. техн. наук Е.Б. Солнцев, канд. техн. наук О.Ю. Малафеев), Общества с ограниченной ответственностью "Белый свет 2000" (С.Ю. Горюшин, В.П. Ипатов), Общества с ограниченной ответственностью "УСП Компьюлинк" (В.В. Чернов).
1 Область применения
1.1 Настоящий свод правил распространяется на проектирование систем аварийного освещения производственных, общественных и жилых зданий и сооружений, а также мест производства работ вне зданий.
1.2 Требования свода правил не распространяются на аварийное освещение подземных выработок, морских и речных портов, аэродромов, железнодорожных станций, метрополитенов.
2 Нормативные ссылки
В настоящем своде правил использованы нормативные ссылки на следующие документы:
ГОСТ 12.4.026-2015 Система стандартов безопасности труда. Цвета сигнальные, знаки безопасности и разметка сигнальная. Назначение и правила применения. Общие технические требования и характеристики. Методы испытаний
ГОСТ 14254-2015 (IEC 60529:2013) Степени защиты, обеспечиваемые оболочками (Код IP)
ГОСТ 31565-2012 Кабельные изделия. Требования пожарной безопасности
ГОСТ IEC 60331-21-2011 Испытания электрических и оптических кабелей в условиях воздействия пламени. Сохранение работоспособности. Часть 21. Проведение испытаний и требования к ним. Кабели на номинальное напряжение до 0,6/1,0 кВ включительно
ГОСТ IEC 60332-1-2-2011 Испытания электрических и оптических кабелей в условиях воздействия пламени. Часть 1-2. Испытание на нераспространение горения одиночного вертикально расположенного изолированного провода или кабеля. Проведение испытания при воздействии пламенем газовой горелки мощностью 1 кВт с предварительным смешением газов
ГОСТ IEC 60598-2-22-2012 Светильники. Часть 2-22. Частные требования. Светильники для аварийного освещения
ГОСТ IEC 60924-2012 Аппараты пускорегулирующие электронные, питаемые от источников постоянного тока, для трубчатых люминесцентных ламп. Общие требования и требования безопасности
ГОСТ ISO 3864-1-2013 Графические символы. Сигнальные цвета и знаки безопасности. Часть 1. Принципы проектирования знаков и сигнальной разметки
ГОСТ Р 12.2.143-2009 Система стандартов безопасности труда. Системы фотолюминесцентные эвакуационные. Требования и методы контроля
ГОСТ Р 50571.5.51-2013/МЭК 60364-5-51:2005 Электроустановки низковольтные. Часть 5-51. Выбор и монтаж электрооборудования. Общие требования
ГОСТ Р 50571.5.52-2011/МЭК 60364-5-52:2009 Электроустановки низковольтные. Часть 5-52. Выбор и монтаж электрооборудования. Электропроводки
ГОСТ Р 50571.5.56-2013/МЭК 60364-5-56:2009 Электроустановки низковольтные. Часть 5-56. Выбор и монтаж электрооборудования. Системы обеспечения безопасности
ГОСТ Р 53780-2010 (ЕН 81-1:1998, ЕН 81-2:1998) Лифты. Общие требования безопасности к устройству и установке
ГОСТ Р 55842-2013 (ИСО 30061:2007) Освещение аварийное. Классификация и нормы
ГОСТ Р МЭК 60331-11-2012 Испытания электрических и оптических кабелей в условиях воздействия пламени. Сохранение работоспособности. Часть 11. Испытательное оборудование. Воздействие пламени температурой не менее 750 °C
ГОСТ Р МЭК 60598-1-2011 Светильники. Часть 1. Общие требования и методы испытаний
СП 6.13130.2013 Системы противопожарной защиты. Электрооборудование. Требования пожарной безопасности
СП 52.13330.2016 "СНиП 23-05-95* Естественное и искусственное освещение"
СП 54.13330.2016 "СНиП 31-01-2003 Здания жилые многоквартирные"
СП 56.13330.2011 "СНиП 31-03-2001 Производственные здания" (с изменением N 1)
СП 113.13330.2016 "СНиП 21-02-99* Стоянки автомобилей"
СП 118.13330.2012 "СНиП 31-06-2009 Общественные здания и сооружения" (с изменениями N 1, N 2)
СП 158.13330.2014 Здания и помещения медицинских организаций. Правила проектирования (с изменением N 1)
СП 251.1325800.2016 Здания общеобразовательных организаций. Правила проектирования (с изменением N 1)
СП 252.1325800.2016 Здания дошкольных образовательных организаций. Правила проектирования
СП 253.1325800.2016 Инженерные системы высотных зданий
СП 256.1325800.2016 Электроустановки жилых и общественных зданий. Правила проектирования и монтажа (с изменением N 1)
СП 257.1325800.2016 Здания гостиниц. Правила проектирования
СП 267.1325800.2016 Здания и комплексы высотные. Правила проектирования
СП 310.1325800.2017 Бассейны для плавания. Правила проектирования
СанПиН 2.1.2.1188-03 Плавательные бассейны. Гигиенические требования к устройству, эксплуатации и качеству воды. Контроль качества
Примечание - При пользовании настоящим сводом правил целесообразно проверить действие ссылочных документов в информационной системе общего пользования - на официальном сайте федерального органа исполнительной власти в сфере стандартизации в сети Интернет или по ежегодному информационному указателю "Национальные стандарты", который опубликован по состоянию на 1 января текущего года, и по выпускам ежемесячного информационного указателя "Национальные стандарты" за текущий год. Если заменен ссылочный документ, на который дана недатированная ссылка, то рекомендуется использовать действующую версию этого документа с учетом всех внесенных в данную версию изменений. Если заменен ссылочный документ, на который дана датированная ссылка, то рекомендуется использовать версию этого документа с указанным выше годом утверждения (принятия). Если после утверждения настоящего свода правил в ссылочный документ, на который дана датированная ссылка, внесено изменение, затрагивающее положение на которое дана ссылка, то это положение рекомендуется применять без учета данного изменения. Если ссылочный документ отменен без замены, то положение, в котором дана ссылка на него, рекомендуется применять в части, не затрагивающей эту ссылку. Сведения о действии сводов правил целесообразно проверить в Федеральном информационном фонде стандартов.
3 Термины и определения
В настоящем своде правил применены следующие термины с соответствующими определениями:
3.1
аварийное освещение: Освещение, предусматриваемое в случае выхода из строя питания рабочего освещения.
[СП 52.13330.2016, статья 3.1]
3.2
антипаническое освещение: Вид эвакуационного освещения для предотвращения паники и безопасного подхода к путям эвакуации.
[СП 52.13330.2016, статья 3.4]
3.3 безопасная зона: Определенное место, где эвакуирующиеся люди могут собраться и где они не подвергаются опасности, вызванной аварийной ситуацией.
3.4 знак безопасности: Знак, являющийся источником сообщения о необходимости соблюдения мер безопасности, образованный комбинацией цветов и геометрических фигур и передающий через дополнительные графические символы отдельные сообщения о необходимости соблюдения мер безопасности.
3.5
знак безопасности с внешней подсветкой: Знак безопасности, освещаемый извне.
[СП 52.13330.2016, статья 3.22]
3.6
знак безопасности с внутренней подсветкой: Знак безопасности, освещаемый изнутри.
Примечание - Знак безопасности с внутренней подсветкой является световым указателем.
[СП 52.13330.2016, статья 3.23]
3.7
индекс цветопередачи Ra: Мера соответствия зрительных восприятий цветного объекта, освещенного исследуемым и стандартным источниками света при одинаковых условиях наблюдения.
[СП 52.13330.2016, статья 3.24]
3.8
маломобильные группы населения; МГН: Люди, испытывающие затруднения при самостоятельном передвижении, получении услуги, необходимой информации или при ориентировании в пространстве. К маломобильным группам населения для целей настоящего свода правил здесь отнесены: инвалиды, люди с ограниченными (временно или постоянно) возможностями здоровья, люди с детскими колясками и т.п.
[СП 59.13330.2016, статья 3.21]
3.9
освещение зон повышенной опасности: Вид эвакуационного освещения для безопасного завершения потенциально опасного рабочего процесса.
[СП 52.13330.2016, статья 3.46]
3.10
освещение путей эвакуации: Вид эвакуационного освещения для надежного определения и безопасного использования путей эвакуации.
[СП 52.13330.2016, статья 3.47]
3.11 продолжительность работы аварийного освещения: Время, в течение которого обеспечивается нормируемая освещенность от аварийного освещения.
3.12 путь эвакуации: Маршрут, используемый для эвакуации в случае возникновения чрезвычайной ситуации. Такой маршрут начинается в точке начала эвакуации и заканчивается в безопасной зоне.
3.13
рабочая поверхность: Поверхность, на которой проводится работа, нормируется и измеряется освещенность.
[СП 52.13330.2016, статья 3.66]
3.14
рабочее освещение: Освещение, обеспечивающее нормируемые световые условия (освещенность, качество освещения) в помещениях и местах производства работ вне зданий.
[СП 52.13330.2016, статья 3.67]
3.15 расчетная продолжительность работы аварийного источника электроснабжения: Продолжительность работы, на которую рассчитан аварийный источник электроснабжения при нормальных условиях эксплуатации.
3.16
резервное освещение: Вид аварийного освещения для продолжения работы в случае отключения рабочего освещения.
[СП 52.13330.2016, статья 3.74]
3.17
светодиод: Источник света, основанный на испускании некогерентного излучения в видимом диапазоне длин волн при пропускании электрического тока через полупроводниковый диод.
[СП 52.13330.2016, статья 3.78]
3.18 система указания пути эвакуации: Система, обеспечивающая достаточное число знаков безопасности, позволяющих людям эвакуироваться из места расположения в случае возникновения пожара или чрезвычайной ситуации по установленному пути эвакуации.
3.19
условная рабочая поверхность: Условная горизонтальная поверхность, расположенная на высоте 0,8 м от пола.
[СП 52.13330.2016, статья 3.95]
3.20 указатель выхода: Знак безопасности, предназначенный для обозначения эвакуационного выхода.
3.21
эвакуационное освещение: Вид аварийного освещения для эвакуации людей или завершения потенциально опасного процесса.
[СП 52.13330.2016, статья 3.107]
3.22
эвакуационный выход: Выход, предназначенный для эвакуации людей в аварийной ситуации на путь эвакуации, ведущий непосредственно наружу или в безопасную зону.
[СП 52.13330.2016, статья 3.108]
4 Общие положения
4.1 Аварийное освещение подразделяется на эвакуационное и резервное. Виды аварийного освещения представлены на рисунке 4.1.
Рисунок 4.1 - Виды аварийного освещения
Эвакуационное освещение подразделяется на систему освещения путей эвакуации, эвакуационное освещение зон повышенной опасности и эвакуационное антипаническое освещение в соответствии с рисунком 4.1.
Аварийное освещение предусматривается на случай нарушения питания рабочего освещения. Аварийное освещение должно включаться автоматически при отключении питания рабочего освещения, а также по сигналам систем пожарной и аварийной сигнализации.
Аварийное освещение подключается к источнику питания, независимому от источника питания рабочего освещения.
4.2 Применяемое оборудование и материалы должны удовлетворять требованиям безопасности, установленным техническими регламентами и (или) национальными стандартами, и иметь документы об оценке соответствия требованиям нормативных документов и требованиям пожарной безопасности, выданные в порядке, установленном действующим законодательством Российской Федерации.
4.3 Для аварийного освещения следует использовать энергоэффективные источники света [1], отдавая предпочтение при равной мощности источникам света с наибольшими световой отдачей и сроком службы, с учетом требований к цветоразличению. Источники света должны отвечать требованиям [3].
4.4 При аварийном освещении нормируется и рассчитывается минимальная освещенность.
4.5 В целях различения знаков безопасности индекс цветопередачи Ra применяемых источников света для аварийного освещения должен быть не менее 40.
4.6 Конструкция, исполнение, класс защиты, степень защиты оборудования должны соответствовать [5].
4.7 Осветительные приборы аварийного освещения предусматриваются либо постоянного действия, включаемыми одновременно с осветительными приборами рабочего освещения, либо непостоянного действия, автоматически включаемыми при нарушении питания рабочего освещения в данной зоне.
В случае применения для рабочего и аварийного освещения светильников с однотипным корпусом светильники аварийного освещения должны быть маркированы буквой "А" красного цвета согласно СП 52.13330.2016 (пункт 7.6.8).
4.8 Помещения для управления системами аварийного освещения и размещения аварийных источников питания, каналы, ниши, закладные детали, конструкции для установки светильников и размещения электропроводок должны быть предусмотрены в составе проектной документации в объеме, предусмотренном [4].
5 Эвакуационное аварийное освещение
5.1 Общие положения
5.1.1 Эвакуационное освещение должно обеспечивать безопасный выход людей из помещений и рабочих площадок зданий и сооружений за счет обеспечения безопасных визуальных условий для движения людей в направлении путей эвакуации и специальных мест, а также для облегчения поиска и использования оборудования для пожаротушения и безопасности.
5.1.2 Светильники, используемые для эвакуационного освещения, должны соответствовать ГОСТ IEC 60598-2-22 и размещаться так, чтобы обеспечить нормируемую освещенность рядом с каждым эвакуационным выходом и в местах, где необходимо обозначить потенциальную опасность или разместить оборудование для обеспечения безопасности.
5.1.3 Светильники эвакуационного освещения следует устанавливать во всех нижеперечисленных местах:
а) Перед каждой дверью выхода, который предназначен для использования в случае опасности в качестве эвакуационного выхода на расстоянии не далее 2 м от двери в горизонтальной плоскости. При этом необходимо обеспечить горизонтальную освещенность 5 лк на полу у эвакуационного выхода. Светильник может располагаться над выходом, как на потолке, так и на стене помещения (рисунок 5.1).
Рисунок 5.1 - Расположение светильника эвакуационного
освещения над каждым аварийным выходом
б) На лестницах - с таким расположением светильников, чтобы каждая ступенька лестничного пролета была освещена прямым светом (то есть расчетная точка на ступени лестницы может быть соединена с точкой на выходном отверстии светильника прямой линией), в соответствии с рисунком 5.2.
Рисунок 5.2 - Расположение светильника эвакуационного
освещения на лестничном пролете
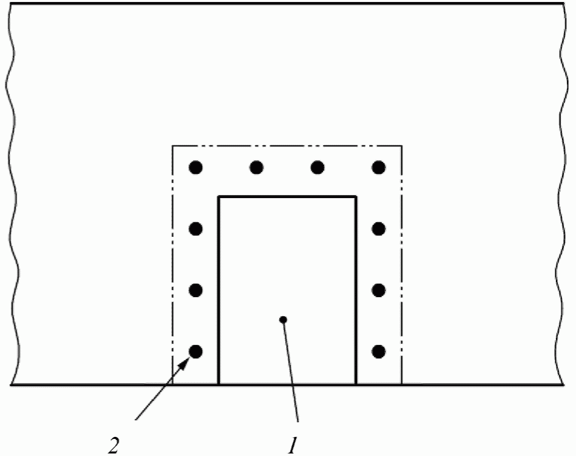
в) В местах изменения уровня пола - на расстоянии не более 2 м в горизонтальной плоскости от места изменения уровня пола в соответствии с рисунком 5.3.
Рисунок 5.3 - Расположение светильника эвакуационного
освещения в месте изменения уровня пола
г) В местах каждого изменения направления пути эвакуации - на расстоянии не более 2 м в горизонтальной плоскости от места изменения направления, в соответствии с рисунком 5.4.
Рисунок 5.4 - Расположение светильника эвакуационного
освещения на месте изменения направления (повороте)
пути эвакуации
д) В местах пересечения коридоров - на расстоянии не более 2 м от центра пересечения в горизонтальной плоскости, в соответствии с рисунком 5.5.
Рисунок 5.5 - Расположение светильника эвакуационного
освещения на пересечении коридоров
е) В местах размещения знаков безопасности с внешней подсветкой, в соответствии с рисунком 5.6.
Рисунок 5.6 - Расположение светильника эвакуационного
освещения в местах расположения знаков безопасности
ж) В местах расположения средств медицинской помощи (медицинской аптечки) - на расстоянии не более 2 м от места расположения медицинской аптечки в горизонтальной плоскости. При этом необходимо обеспечить вертикальную освещенность 5 лк в центре места расположения медицинской аптечки, располагая светильник в соответствии с рисунком 5.7.
Рисунок 5.7 - Расположение светильника эвакуационного
освещения в местах расположения медицинской аптечки
и) В местах размещения первичных средств пожаротушения и противопожарного оборудования и кнопки экстренной связи - на расстоянии не более 2 м от места расположения средств в горизонтальной плоскости. При этом необходимо обеспечить вертикальную освещенность 5 лк в центре места их расположения, размещая светильник в соответствии с рисунком 5.8.
Рисунок 5.8 - Расположение светильника эвакуационного
освещения возле пожарной кнопки и огнетушителя
к) В местах расположения оборудования для эвакуации инвалидов - на расстоянии не более 2 м от места расположения оборудования в горизонтальной плоскости. Туалет для инвалидов должен быть оборудован кнопкой экстренной связи.
л) Перед каждым конечным выходом на улицу внутри и снаружи здания - на расстоянии не более 2 м от выхода в горизонтальной плоскости, располагая светильник в соответствии с рисунком 5.9.
Рисунок 5.9 - Расположение светильника эвакуационного
освещения снаружи здания
5.1.4 Если дым оценивается в числе первичных угроз, то рекомендуется располагать светильники на расстоянии не менее 0,5 и 2 м от пола.
Для мест, указанных в перечислениях б), в), и), к) 5.1.3, если через них не проходят маршруты эвакуации и они не относятся к площадкам на открытых пространствах, должна быть обеспечена освещенность не менее 5 лк на уровне пола.
5.2 Освещение путей эвакуации
5.2.1 Для маршрутов эвакуации с шириной b до 2 м эвакуационное освещение должно обеспечивать горизонтальную освещенность на полу вдоль осевой линии маршрута эвакуации не менее 1 лк. На полу в полосе шириной не менее 50% ширины прохода, симметрично расположенного относительно центральной линии, горизонтальная освещенность E должна быть не менее 0,5 лк. Расположение светильников эвакуационного освещения на маршруте эвакуации показано на рисунке 5.10.
Рисунок 5.10 - Освещение маршрутов эвакуации
Маршруты эвакуации с большей шириной могут быть либо приняты как некоторое число 2-метровых полос, либо обеспечиваться освещением, как для антипанического освещения.
5.2.2 Равномерность распределения освещенности, определяемая отношением минимальной освещенности к максимальной Eмин/Eмакс, вдоль осевой линии маршрута эвакуации должна быть не менее 1:40.
5.2.3 Ослепление покидающих помещение людей светильниками эвакуационного освещения должно быть снижено за счет ограничения силы света для каждого светильника в пределах угла видимости во время действия аварийного режима.
Для горизонтальных маршрутов эвакуации сила света соответствующих светильников не должна превышать значений, указанных в таблице 5.1, в пределах зоны от 60° до 90° относительно вертикали, направленной к полу, на всех углах азимута согласно рисунку 5.11.
Таблица 5.1
Ограничение слепящего действия светильников аварийного
освещения по силе света
Высота установки светильников аварийного освещения h, м
Сила света светильников аварийного освещения, кд, не более
Освещение путей эвакуации и антипаническое освещение
Освещение зон повышенной опасности
h < 2,5
500
1000
2,5 < h < 3,0
900
1800
3,0 < h < 3,5
1600
3200
3,5 < h < 4,0
2500
5000
4,0 < h < 4,5
3500
7000
h > 4,5
5000
10000
Примечания
1 В настоящей таблице приведены значения, которые следует сравнивать с паспортными данными эвакуационных светильников.
2 Приведенные в настоящей таблице максимальные значения силы света соответствуют ГОСТ Р 55842.
1 - зоны, где максимальная сила света не должна превышать
значений таблицы 5.1
Рисунок 5.11 - Ограничение слепящего действия на путях
эвакуации, расположенных на одном уровне
Для всех других маршрутов эвакуации и пространств граничные значения не должны быть превышены при любом угле согласно рисунку 5.12.
1 - зона, где максимальная сила света не должна превышать
значений таблицы 5.1
Рисунок 5.12 - Ограничение слепящего действия на путях
эвакуации, расположенных на разных уровнях
Примечание - Высокий контраст между яркостью эвакуационного светильника и окружающего его фона может вызывать слепимость. В освещении маршрутов эвакуации главной проблемой становится ослепление, при котором яркость эвакуационных светильников может слепить и мешать нормально видеть препятствия и знаки.
5.2.4 Минимальная продолжительность работы эвакуационного освещения, требуемая для эвакуации, составляет 1 ч.
5.2.5 Эвакуационное освещение должно обеспечивать 50% уровня нормируемой освещенности не более чем через 5 с после нарушения питания рабочего освещения и 100% уровня нормируемой освещенности не более чем через 60 с.
5.2.6 Соответствие текущих условий освещения требованиям пунктов 5.2.1 - 5.2.3 и 5.2.5 можно проверить путем измерения или сравнения с подтвержденными проектными данными.
5.3 Антипаническое аварийное освещение
5.3.1 Горизонтальная освещенность должна быть не менее чем 0,5 лк на всей свободной поверхности пола, кроме полосы шириной 0,5 м вдоль границы помещения, показанной на рисунке 5.13.
Рисунок 5.13 - Зона помещения (в плане), которая освещается
антипаническим аварийным освещением
5.3.2 Равномерность распределения освещенности, определяемая отношением минимальной освещенности к максимальной Eмин/Eмакс, при антипаническом освещении должна быть не менее 1:40.
5.3.3 Ослепление должно быть снижено ограничением силы света для каждого светильника в пределах угла видимости при максимальном световом потоке во время действия аварийного режима. Эти величины не должны превышать значений, указанных в таблице 5.1, в пределах зоны от 60° до 90° относительно вертикали, направленной к полу, на всех углах азимута.
5.3.4 Антипаническое освещение должно обеспечивать 50% уровня нормируемой освещенности не более чем через 5 с после нарушения питания рабочего освещения и 100% уровня нормируемой освещенности не более чем через 60 с.
5.4 Аварийное освещение зон повышенной опасности
5.4.1 В зонах повышенной опасности постоянная освещенность на рабочей поверхности должна быть не менее 10% от нормируемой освещенности для рабочего освещения, но не менее 15 лк. Коэффициент пульсации освещенности не должен превышать 10%.
5.4.2 Равномерность распределения освещенности, определяемая отношением минимальной освещенности к максимальной Eмин/Eмакс, в освещении зон повышенной опасности должна быть не менее 1:10.
5.4.3 Ослепление находящихся людей должно быть снижено ограничением силы света для каждого светильника в пределах угла видимости при максимальном световом выходе во время действия аварийного режима. Эти значения не должны превышать значений, указанных в таблице 5.1, в пределах зоны от 60° до 90° относительно вертикали, направленной к полу, на всех углах азимута.
5.4.4 Для того чтобы идентифицировать цвета знаков безопасности минимальное значение индекса цветопередачи применяемого источника света Ra должно быть более 40. Данный показатель светильника не должен уменьшаться.
5.4.5 Освещение рабочей зоны повышенной опасности должно обеспечивать требуемую нормируемую освещенность постоянно или достигать его за 0,5 с в зависимости от применения. Минимальная продолжительность определяется временем, при котором существует опасность для людей.
6 Резервное аварийное освещение
6.1 Резервное освещение помещений сооружений и открытых пространств предусматривается, если по условиям технологического процесса или ситуации требуется нормальное продолжение работы при нарушении питания рабочего освещения, а также если связанное с этим нарушение обслуживания оборудования и механизмов может вызвать:
а) гибель, травмирование или отравление людей;
б) взрыв, пожар, длительное нарушение технологического процесса;
в) утечку токсических и радиоактивных веществ в окружающую среду;
г) нарушение работы таких объектов, как электрические станции, узлы радио- и телевизионных передач и связи, диспетчерские пункты, насосные установки водоснабжения, канализации и теплофикации, установки вентиляции и кондиционирования воздуха для производственных помещений, в которых недопустимо прекращение работ, и т.п.
6.2 Резервное освещение не допускается использовать для целей эвакуационного освещения. Если резервное освещение проектируется так, чтобы быть использованным для целей эвакуационного освещения, то оно должно удовлетворять соответствующим требованиям, установленным выше для эвакуационного освещения.
6.3 Нормируемая освещенность Eн на горизонтальной рабочей поверхности должна быть не менее 30% нормируемой освещенности для общего рабочего освещения.
Необходимость принятия для резервного освещения более высоких норм освещенности определяется в зависимости от условий функционирования данного объекта.
6.4 Равномерность распределения освещенности, определяемая отношением минимальной освещенности к максимальной Eмин/Eмакс, для резервного освещения должна быть не менее 1:40.
6.5 Резервное аварийное освещение должно обеспечивать 50% нормируемой освещенности не более чем через 15 с после нарушения питания рабочего освещения и 100% нормируемой освещенности - не более чем через 60 с, если иное не установлено соответствующим обоснованием.
6.6 Резервное аварийное освещение должно работать до восстановления питания рабочего освещения.
Эвакуационное освещение предусматривается независимым от резервного освещения.
7 Знаки безопасности
7.1 Все знаки безопасности и дополнительные направляющие знаки, используемые для безопасной эвакуации, должны соответствовать требованиям стандартов ГОСТ ISO 3864-1 и ГОСТ 12.4.026.
7.2 Применяемые знаки безопасности могут быть:
- с внутренней подсветкой - светильник с нанесенной на прозрачное световое отверстие знаком безопасности и источником света внутри;
- с внешней подсветкой - знак безопасности, требующий дополнительного освещения светильником аварийного освещения.
7.3 Допускается применять фотолюминесцентные знаки безопасности, соответствующие ГОСТ Р 12.2.143. Фотолюминесцентные знаки безопасности следует относить к знакам с внешней подсветкой.
7.4 Эвакуационные знаки безопасности устанавливаются в помещениях без естественного освещения с одновременным пребыванием более 30 человек и в помещениях с естественным освещением площадью более 100 м2 с одновременным пребыванием более 50 человек.
Эвакуационные знаки безопасности устанавливаются:
а) над каждым эвакуационным выходом;
б) на путях эвакуации, однозначно указывая направления эвакуации;
в) для обозначения поста медицинской помощи;
г) для обозначения мест размещения первичных средств пожаротушения;
д) для обозначения мест размещения средств экстренной связи и других средств, предназначенных для оповещения о чрезвычайной ситуации.
7.5 В дошкольных образовательных организациях, учебных и медицинских организациях и зданиях с постоянным пребыванием МГН эвакуационные знаки безопасности устанавливаются независимо от числа находящихся в них людей.
7.6 Яркость эвакуационных знаков безопасности в пределах любой части цветной поверхности знаков безопасности во всех направлениях должна быть, кд/м2, не менее:
2 - в отсутствие вероятности задымления;
10 - при наличии вероятности задымления.
7.7 Отношение минимальной яркости к максимальной в пределах зоны одного цвета должно быть не менее 1:10.
При измерениях яркости знака безопасности яркость измеряют по нормали к поверхности на участке диаметром 10 мм для каждой цветной области знака.
7.8 Яркость знака безопасности на уровне 50% нормируемого значения должна быть обеспечена через 5 с после нарушения питания рабочего освещения, а 100% нормируемой яркости - через 60 с.
7.9 Знак безопасности должен иметь высоту, достаточную для его различения с максимального расстояния наблюдения (расстояние распознавания), определяемого исходя из условий конкретного(й) помещения (рабочей площадки).
Расстояние распознавания, с которого знак безопасности ясно виден и различаем по форме и цвету, связано с высотой знака безопасности, приведенного на рисунке 7.1, формулой
h = l/Z,
где h - высота знака;
l - расстояние распознавания;
Z - коэффициент, равный 100 для знаков, освещенных извне, и 200 - для знаков, освещенных изнутри.
Рисунок 7.1 - Расчет высоты знака безопасности
8 Влияние дыма на аварийное освещение
При проектировании аварийного освещения в помещениях, где возможно задымление, необходимо:
а) применять только знаки безопасности с внутренней подсветкой;
б) размещать знаки безопасности на путях эвакуации на высотах 0,5 и 2,0 м от пола в пределах прямой видимости из любой точки на путях эвакуации;
в) обеспечивать яркость знаков безопасности не менее 10 кд/м2.
9 Применение систем аварийного освещения в помещениях зданий и сооружений
В настоящем разделе рассмотрены требования к аварийному освещению отдельных видов зданий и сооружений, различных по своему функциональному назначению.
9.1 Аварийное освещение зрелищных учреждений
9.1.1 Настоящий подраздел распространяется на аварийное освещение зданий театров, кинотеатров, концертных залов, входящих в функционально-типологическую группу "Зрелищные учреждения" в соответствии с приложением В СП 118.13330.2012.
9.1.2 Аварийное освещение и его нормативные показатели для зрелищных учреждений должны проектироваться и выполняться в помещениях, приведенных в позициях 1.1 - 1.9 таблицы 9.1.
Таблица 9.1
Аварийное освещение зданий и сооружений
Назначение помещения
Вид аварийного освещения
Минимальная освещенность, лк
Максимальное время включения
Расчетная длительность работы источника аварийного электроснабжения, ч
Постоянно включенные эвакуационные указатели и указатели безопасности
1 Зрелищные учреждения
1.1 Зрительные залы площадью более 60 м2
Антипаническое освещение
0,5
15
1,0
+
Освещение путей эвакуации
1,0
15
1,0
1.2 Зрительные залы площадью менее 60 м2
Освещение путей эвакуации
1,0
15
1,0
+
1.3 Сцены (эстрады, манежи) площадью менее 60 м2 при отсутствии факторов повышенной опасности
Освещение путей эвакуации
1,0
15
1,0
+
1.4 Сцены (эстрады, манежи) площадью менее 60 м2 при наличии факторов повышенной опасности (движущиеся транспортные средства и подъемные механизмы, открытый огонь (фейерверк), ванны с водой, дикие животные и т.п.)
Освещение зон повышенной опасности
15
0,5
1,0
+
1.5 Сцены (эстрады, манежи) площадью более 60 м2 при отсутствии факторов повышенной опасности
Антипаническое освещение
0,5
15
1,0
+
Освещение путей эвакуации
1,0
15
1,0
1.6 Сцены (эстрады, манежи) площадью более 60 м2 при наличии факторов повышенной опасности (движущиеся транспортные средства и подъемные механизмы, открытый огонь (фейерверк), ванны с водой, дикие животные и т.п.)
Антипаническое освещение
0,5
15
1,0
+
Освещение зон повышенной опасности
15
0,5
1,0
1.7 Пути эвакуации: используемые при эвакуации коридоры и лестницы, холлы, помещения между лестницами, выходы на улицу
Освещение путей эвакуации
1,0
15
1,0
+
1.8 Центральный диспетчерский пункт, узел связи, технические, аппаратные, электропомещения (помещения ГРЩ, ВРУ и все иные помещения с доступом для квалифицированного персонала, в которых размещаются либо источники аварийного электроснабжения, либо электрооборудование, питаемое от системы аварийного электроснабжения), регуляторные, киноаппаратные, диспетчерские, помещения управления сценическим освещением, звуком, механизмами сцены
Освещение зон повышенной опасности
10% нормы освещенности при рабочем освещении, но не менее 15
0,5
1,0
-
1.9 Кабины пассажирских лифтов
Освещение путей эвакуации
1,0
15
1,0
+
2 Предприятия общественного питания
2.1 Обеденные и банкетные залы площадью более 60 м2, с возможностью нахождения в них более 30 человек
Антипаническое освещение
0,5
15
1,0
+
Освещение путей эвакуации
1,0
15
1,0
2.2 Обеденные и банкетные залы площадью менее 60 м2
Освещение путей эвакуации
1,0
15
1,0
+
2.3 Пути эвакуации: используемые при эвакуации коридоры и лестницы, холлы, помещения между лестницами, выходы на улицу
Освещение путей эвакуации
1,0
15
1,0
+
2.4 Места перед каждым эвакуационным выходом и эвакуационным выходом снаружи здания, места расположения средств медицинской помощи (медицинской аптечки), расположения противопожарного оборудования, размещения плана эвакуации, аварийной сигнализации
Освещение путей эвакуации
5,0
15
1,0
+
2.5 Технологические помещения с факторами опасности (электро- и газовые плиты, жаровни, печи, электромеханическое оборудование для обработки пищи и отходов и т.п.)
Освещение зон повышенной опасности
10% нормы освещенности при рабочем освещении, но не менее 15
0,5
0,5
-
2.6 Кабины пассажирских и грузовых лифтов
Освещение путей эвакуации
1,0
15
1,0
+
3 Торговые помещения
3.1 Торговые залы площадью более 60 м2
Антипаническое освещение
0,5
15
1,0
+
Освещение путей эвакуации
1,0
15
1,0
3.2 Торговые залы площадью менее 60 м2
Освещение путей эвакуации
1,0
15
1,0
+
3.3 Пути эвакуации: используемые при эвакуации коридоры и лестницы, холлы, помещения между лестницами, выходы на улицу
Освещение путей эвакуации
1,0
15
1,0
+
3.4 Места перед каждым эвакуационным выходом и эвакуационным выходом снаружи здания, места расположения средств медицинской помощи (медицинской аптечки), расположения противопожарного оборудования, размещения плана эвакуации, аварийной сигнализации
Освещение путей эвакуации
5,0
15
1,0
+
3.5 Входы и сходы на эскалаторы и траволаторы, предлифтовые площадки
Освещение зон повышенной опасности
15
0,5
1,0
-
3.6 Помещения для обеспечения безопасности: посты охраны, посты полиции, пожарные посты и пункты неотложной и медицинской помощи и пр.
Освещение путей эвакуации
5,0
15
1,0
+
3.7 Диспетчерские и электропомещения (помещения ГРЩ, ВРУ и все иные помещения с доступом для квалифицированного персонала, в которых размещаются либо источники и распределительные щиты аварийного электроснабжения, либо электрооборудование, питаемое от системы аварийного электроснабжения), в зонах применения подъемно-транспортного или иного опасного оборудования, дебаркадерах и зонах разгрузки
Освещение зон повышенной опасности
10% нормы освещенности при рабочем освещении, но не менее 15
0,5
1,0
-
3.8 Кабины пассажирских лифтов
Освещение путей эвакуации
1,0
15
1,0
+
4 Спортивные сооружения
4.1 Пути эвакуации: используемые при эвакуации коридоры и лестницы, наружные лестницы трибун, холлы, помещения между лестницами, пешеходные эстакады, выходы на улицу
Освещение путей эвакуации
1,0
15
1,0
+
4.2 Спортивные арены, физкультурно-спортивные залы, крытые трибуны для зрителей, закрытые фойе площадью более 60 м2
Антипаническое освещение
0,5
15
1,0
+
Освещение путей эвакуации
1,0
15
1,0
4.3 Физкультурно-спортивные залы, закрытые фойе площадью менее 60 м2
Освещение путей эвакуации
1,0
15
1,0
+
5 Бассейны для плавания
5.1 Крытые трибуны для зрителей
Антипаническое освещение
0,5
15
1,0
+
5.2 Водная поверхность ванн и проходы вдоль периметра ванн площадью зеркала до 100 м2 при отсутствии факторов опасности
Освещение путей эвакуации
5,0 <*>
15
1,0
+
5.3 Водная поверхность ванн и проходы вдоль периметра ванн площадью зеркала более 100 м2 при отсутствии факторов опасности
Освещение зон повышенной опасности
15
0,5
1,0
+
5.4 Водная поверхность ванн бассейнов и проходы вдоль периметра при наличии факторов опасности (прыжки в воду с высоты; подводное плавание и тренировки с аквалангом; водные аттракционы; плавание на лодках и т.п.)
Освещение зон повышенной опасности
10% нормы освещенности при рабочем освещении, но не менее 15
0,5
1,0
+
5.5 Места перед каждым эвакуационным выходом и эвакуационным выходом снаружи здания, места расположения средств медицинской помощи (медицинской аптечки), расположения противопожарного оборудования, размещения плана эвакуации, аварийной сигнализации
Освещение путей эвакуации
5,0
15
1,0
+
5.6 Помещения для обеспечения безопасности (посты охраны и входного контроля, пожарные посты и пункты неотложной и медицинской помощи)
Освещение путей эвакуации
5,0
15
1,0
+
5.7 Диспетчерские, электропомещения (помещения ГРЩ, ВРУ и все иные помещения с доступом для квалифицированного персонала, в которых размещаются либо источники аварийного электроснабжения, либо электрооборудование, питаемое от системы аварийного электроснабжения), помещения для дезинфекции воды и баллонов с газами
Освещение зон повышенной опасности
10% нормы освещенности при рабочем освещении, но не менее 15
0,5
1,0
+
6 Помещения гостиниц
6.1 Пути эвакуации: используемые при эвакуации коридоры и лестницы, холлы, помещения между лестницами, выходы на улицу
Освещение путей эвакуации
1,0
15
1,0
+
6.2 Помещения для обеспечения безопасности (посты охраны и входного контроля, пожарные посты и пункты неотложной и медицинской помощи)
Освещение путей эвакуации
5,0
15
1,0
+
6.3 Диспетчерские, электропомещения (помещения ГРЩ, ВРУ и все иные помещения с доступом для квалифицированного персонала, в которых размещаются либо источники аварийного электроснабжения, либо электрооборудование, питаемое от системы аварийного электроснабжения), помещения для дезинфекции воды и баллонов с газами
Освещение зон повышенной опасности
10% нормы освещенности при рабочем освещении, но не менее 15
0,5
1,0
-
6.4 Кабины пассажирских лифтов
Освещение путей эвакуации
5,0
15
1,0
+
7 Жилые помещения
7.1 Пути эвакуации: используемые при эвакуации коридоры и лестницы, холлы, помещения между лестницами, выходы на улицу
Освещение путей эвакуации
1,0
15
1,0
7.2 Кабины пассажирских лифтов
Освещение путей эвакуации
1,0
15
1,0
+
8 Помещения высотных зданий
8.1 Пути эвакуации: используемые при эвакуации коридоры и лестницы, холлы, помещения между лестницами, выходы на улицу
Освещение путей эвакуации
1,0
15
1,0
+
8.2 Кабины пассажирских лифтов и лифтов пожарных расчетов, освещение площадок для вертолетов и аварийно-спасательных кабин
Освещение путей эвакуации
5,0
15
1,0
+
8.3 Помещения для обеспечения безопасности (посты охраны и входного контроля, пожарные посты и пункты неотложной и медицинской помощи)
Освещение путей эвакуации
5,0
15
1,0
+
8.4 Диспетчерские, электропомещения (помещения ГРЩ, ВРУ и все иные помещения с доступом для квалифицированного персонала, в которых размещаются либо источники аварийного электроснабжения, либо электрооборудование, питаемое от системы аварийного электроснабжения)
Освещение зон повышенной опасности
10% нормы освещенности при рабочем освещении, но не менее 15
0,5
1,0
+
9 Здания и помещения медицинских организаций
9.1 Пути эвакуации: используемые при эвакуации коридоры, основные проходы и лестницы, холлы, помещения между лестницами, выходы на улицу
Освещение путей эвакуации
5,0
15
1,0
+
9.2 Операционные блоки, реанимационные, родовые отделения, перевязочные, манипуляционные процедурные, приемные отделения, лаборатории срочных анализов, посты дежурных медицинских сестер
Резервное освещение
30% нормы освещенности при рабочем освещении
60
1,0
+
9.3 Помещения оперативной части, хранения ящиков выездных бригад, аптечные комнаты станций (отделений) скорой (неотложной) медицинской помощи, помещения диспетчерских, операторских, узлов связи, электрощитовых, дежурных, пожарных постов, постов постоянной охраны; гардеробы, вестибюли, тепловые пункты, насосные и т.п.
Резервное освещение
30% нормы освещенности при рабочем освещении
60
1,0
+
9.4 Помещения для обеспечения безопасности (посты охраны и входного контроля, пожарные посты и пункты неотложной и медицинской помощи)
Освещение путей эвакуации
5,0
15
1,0
+
9.5 Диспетчерские, электропомещения (помещения ГРЩ, ВРУ и все иные помещения с доступом для квалифицированного персонала, в которых размещаются либо источники аварийного электроснабжения, либо электрооборудование, питаемое от системы аварийного электроснабжения)
Освещение зон повышенной опасности
10% нормы освещенности при рабочем освещении, но не менее 15
0,5
1,0
-
9.6 Кабины лифтов для персонала, перевозки больных и лифтов пожарных расчетов
Освещение путей эвакуации
1,0
15
1,0
-
10 Общеобразовательные организации и дошкольные образовательные организации
10.1 Пути эвакуации: используемые при эвакуации коридоры и лестницы, холлы, помещения между лестницами, выходы на улицу
Освещение путей эвакуации
5,0
15
1,0
+
10.2 Помещения для обеспечения безопасности (посты охраны и входного контроля, пожарные посты и пост медицинской сестры)
Освещение путей эвакуации
5,0
15
1,0
+
10.3 Игровые, групповые, музыкальные и актовые залы
Освещение путей эвакуации
1,0
15
1,0
+
10.4 Столовые и спальные комнаты
Освещение путей эвакуации
1,0
15
1,0
+
10.5 Иные помещения без окон, предназначенные для пребывания детей
Освещение путей эвакуации
5,0
15
1,0
+
10.6 Водная поверхность бассейна и проходы вдоль периметра ванн с площадью зеркала более 100 м
Освещение зон повышенной опасности
15
0,5
1,0
+
10.7 Помещения для приготовления пищи
Освещение зон повышенной опасности
10% нормы освещенности при рабочем освещении, но не менее 15
0,5
0,5
+
10.8 Электропомещения (помещения ГРЩ, ВРУ и все иные помещения с доступом для квалифицированного персонала, в которых размещаются либо источники аварийного электроснабжения, либо электрооборудование, питаемое от системы аварийного электроснабжения)
Освещение путей эвакуации
5,0
15
1,0
+
11 Помещения стоянок автомобилей
11.1 Пути эвакуации: проезды для автомобилей, пешеходные проходы и дорожки вдоль проездов и рядом с ними, лифтовые площадки, лестницы и пути, ведущие к аварийным выходам, основные и запасные выходы на улицу
Освещение путей эвакуации
1,0
15
1,0
+
11.2 Помещения для обеспечения безопасности (посты охраны и входного контроля, пожарные посты)
Освещение путей эвакуации
5,0
15
1,0
+
11.3 Электропомещения (помещения ГРЩ, ВРУ и все иные помещения с доступом для квалифицированного персонала, в которых размещаются либо источники аварийного электроснабжения, либо электрооборудование, питаемое от системы аварийного электроснабжения)
Освещение зон повышенной опасности
10% нормы освещенности при рабочем освещении, но не менее 15
0,5
1,0
-
11.4 Кабины пассажирских лифтов и лифтов для пожарных расчетов
Освещение путей эвакуации
1,0
15
1,0
-
12 Производственные здания, помещения и зоны
12.1 Пути эвакуации: используемые при эвакуации коридоры и лестницы, холлы, помещения между лестницами, выходы на улицу
Освещение путей эвакуации
5,0
15
1,0
+
12.2 Производственные помещения площадью менее 60 м2 при одновременном нахождении в помещении менее 30 человек при отсутствии факторов повышенной опасности
Освещение путей эвакуации
1,0
15
1,0
+
12.3 Производственные помещения площадью более 60 м2 при одновременном нахождении в помещении менее 30 человек при наличии факторов повышенной опасности
Освещение зон повышенной опасности
15
0,5
1,0
+
12.4 Производственные помещения площадью более 60 м2 при одновременном нахождении в помещении более 30 человек при отсутствии факторов повышенной опасности
Антипаническое освещение
0,5
15
1,0
+
Освещение путей эвакуации
1,0
15
1,0
12.5 Производственные помещения площадью более 60 м2 при одновременном нахождении в помещении более 30 человек при наличии факторов повышенной опасности
Антипаническое освещение
0,5
15
1,0
+
Освещение зон повышенной опасности
10% нормы освещенности при рабочем освещении, но не менее 15
0,5
1,0
12.6 Кабины пассажирских и грузовых лифтов и лифтов для пожарных расчетов
Освещение путей эвакуации
1,0
15
1,0
-
12.7 Помещения для обеспечения безопасности (посты охраны и входного контроля, пожарные посты и пункты неотложной и медицинской помощи)
Освещение путей эвакуации
5,0
15
1,0
+
12.8 Диспетчерские, электропомещения (помещения ГРЩ, ВРУ и все иные помещения с доступом для квалифицированного персонала, в которых размещаются либо источники аварийного электроснабжения, либо электрооборудование, питаемое от системы аварийного электроснабжения)
Освещение зон повышенной опасности
10% нормы освещенности при рабочем освещении, но не менее 15
0,5
1,0
-
13 Помещения и зоны транспортного сооружения
13.1 Крытые залы ожидания площадью менее 60 м2 и вероятным количеством одновременного нахождения в помещении пассажиров менее 30 человек
Освещение путей эвакуации
1,0
15
1,0
+
13.2 Крытые залы ожидания площадью 60 м2 и вероятным количеством одновременного нахождения в помещении пассажиров более 30 человек
Антипаническое освещение
0,5
15
1,0
+
Освещение путей эвакуации
1,0
15
1,0
13.3 Крытые подземные транспортные платформы для пассажиров
Освещение путей эвакуации
1,0
15
1,0
+
13.4 Основные и запасные пути эвакуации, включая галереи для прохода, тамбуры и шлюзовые, любые лестницы и пандусы, ступени эскалаторов и полотно траволаторов, выходы на улицу (наружные платформы)
Освещение путей эвакуации
1,0
15
1,0
+
13.5 Входы и сходы на эскалаторы и траволаторы, предлифтовые площадки
Освещение зон повышенной опасности
15
0,5
1,0
-
13.6 Подземные переходы для пассажиров и пешеходов
Освещение путей эвакуации
1,0
15
1,0
+
13.7 Места размещения вызывных устройств и телефонов экстренных служб, тревожных кнопок и кнопок пожарной сигнализации, огнетушители и иные средства спасения для использования пассажирами (пешеходами)
Освещение путей эвакуации
5,0
15
1,0
+
13.8 Кабины пассажирских и грузовых лифтов и лифтов для пожарных расчетов
Освещение путей эвакуации
1,0
15
1,0
-
13.9 Помещения для обеспечения безопасности (посты охраны и входного контроля, пожарные посты и пункты неотложной и медицинской помощи)
Освещение путей эвакуации
5,0
15
1,0
+
13.10 Диспетчерские, электропомещения (помещения ГРЩ, ВРУ и все иные помещения с доступом для квалифицированного персонала, в которых размещаются либо источники аварийного электроснабжения, либо электрооборудование, питаемое от системы аварийного электроснабжения)
Освещение зон повышенной опасности
10% нормы освещенности при рабочем освещении, но не менее 15
0,5
1,0
-
14 Выставочные учреждения
14.1 Выставочные залы, залы музеев и галерей площадью менее 60 м2 и вероятной численностью одновременно находящихся в нем посетителей менее 30 человек
Освещение путей эвакуации
1,0
15
1,0
+
14.2 Выставочные залы, залы музеев и галерей площадью 60 м2 и вероятной численностью одновременно находящихся в нем посетителей более 30 человек
Антипаническое освещение
0,5
15
1,0
+
Освещение путей эвакуации
1,0
15
1,0
14.3 Пути эвакуации: используемые при эвакуации коридоры и лестницы, холлы, помещения между лестницами, выходы на улицу
Освещение путей эвакуации
5,0
15
1,0
+
14.4 Помещения для обеспечения безопасности (посты охраны и входного контроля, посты полиции, пожарные посты и пункты неотложной и медицинской помощи)
Освещение путей эвакуации
5,0
15
1,0
+
14.5 Технические, аппаратные, включая электропомещения (помещения ГРЩ, ВРУ и все иные помещения с доступом для квалифицированного персонала, в которых размещаются либо источники аварийного электроснабжения, либо электрооборудование, питаемое от системы аварийного электроснабжения), регуляторные, киноаппаратные, диспетчерские, помещения управления освещением, звуком, механизмами сцены
Освещение зон повышенной опасности
10% нормы освещенности при рабочем освещении, но не менее 15
0,5
1,0
-
14.6 Кабины пассажирских и грузовых лифтов
Освещение путей эвакуации
1,0
15
1,0
-
<*> Норма аварийного освещения, предусмотренная СанПиН 2.1.2.1188.
<**> Для жилых зданий с высотой менее 22 м установка постоянно включенных эвакуационных указателей и знаков безопасности необязательна.
Примечание - В настоящей таблице применены следующие условные обозначения в последней графе:
- "+" - означает обязательность установки световых эвакуационных указателей;
- "-" - означает, что световые указатели в данном случае необязательны и устанавливаются, при необходимости, по усмотрению проектной организации либо собственника здания.
9.1.3 В зданиях зрелищных учреждений предусматривается освещение путей эвакуации в соответствии с разделом 5 и СП 52.13330.
9.1.4 Аварийное освещение зон повышенной опасности проектируется в помещениях центрального диспетчерского пункта, узла связи, технических, аппаратных, электропомещениях (помещения главного распределительного щита (ГРЩ), вводно-распределительных устройств (ВРУ) и иные помещения с доступом для квалифицированного персонала, в которых размещаются либо источники аварийного электроснабжения, либо электрооборудование, питаемое от системы аварийного электроснабжения), регуляторные, киноаппаратные, диспетчерские, помещения управления сценическим освещением, звуком, механизмами сцены.
9.1.5 В зрительных залах, на сценах (эстрадах, манежах) площадью более 60 м2 при отсутствии факторов повышенной опасности проектируется антипаническое освещение, составляющее не менее 0,5 лк по всей площади помещения, и локализованное освещение путей эвакуации с освещенностью 1,0 лк.
9.1.6 При наличии факторов повышенной опасности (движущиеся транспортные средства и подъемные механизмы, открытый огонь (фейерверк), ванны с водой, дикие животные и т.п.) проектируемое антипаническое освещение, составляющее не менее 0,5 лк по всей площади помещения, дополняется локализованным освещением зон повышенной опасности с освещенностью 15 лк.
9.2 Аварийное освещение на предприятиях общественного питания
9.2.1 Настоящий подраздел распространяется на аварийное освещение предприятий общественного питания, расположенных в отдельно стоящих зданиях, встроенных и пристроенных к зданиям иного назначения, а также предприятий, включенных в состав торговых, общественных и других многофункциональных объектов комплексного обслуживания населения, гостиниц, вокзалов, аэропортов, торговых центров и пр.
9.2.2 Аварийное освещение на предприятиях общественного питания выполняется в соответствии с требованиями, приведенными в позициях 2.1 - 2.6 таблицы 9.1.
9.2.3 На предприятиях общественного питания предусматривается освещение путей эвакуации в соответствии с разделом 5 настоящего свода правил и СП 52.13330.
9.2.4 Аварийное освещение зон повышенной опасности проектируется в технологических помещениях с факторами опасности (электро- и газовые плиты, жаровни, печи, электромеханическое оборудование для обработки пищи и отходов и т.п.).
9.2.5 В обеденных и банкетных залах площадью более 60 м2 с возможностью нахождения в них более 30 человек проектируются антипаническое освещение, составляющее не менее 0,5 лк по всей площади помещения, и локализованное освещение путей эвакуации с освещенностью 1,0 лк.
9.3 Аварийное освещение торговых помещений
9.3.1 Настоящий подраздел распространяется на аварийное освещение предприятий розничной торговли, расположенных в отдельно стоящих зданиях, встроенных и пристроенных к зданиям иного назначения, а также предприятий, которые включены в состав торговых, торгово-общественных и других многофункциональных объектов комплексного обслуживания населения.
9.3.2 Аварийное освещение на предприятиях розничной торговли выполняется в соответствии с требованиями, приведенными в позициях 3.1 - 3.8 таблицы 9.1.
9.3.3 На предприятиях розничной торговли предусматривается освещение путей эвакуации в соответствии с разделом 5 настоящего свода правил и СП 52.13330.
9.3.4 Аварийное освещение зон повышенной опасности проектируется в диспетчерских и электропомещениях (помещения ГРЩ, ВРУ и во всех иных помещениях с доступом для квалифицированного персонала, в которых размещаются либо источники и распределительные щиты аварийного электроснабжения, либо электрооборудование, питаемое от системы аварийного электроснабжения), в зонах применения подъемно-транспортного или иного опасного оборудования, дебаркадерах и зонах разгрузки, а также у входов и сходов на эскалаторы и траволаторы и у предлифтовых площадок.
9.3.5 В торговых залах площадью более 60 м2 с возможностью нахождения в них более 30 человек проектируются антипаническое освещение, составляющее не менее 0,5 лк по всей площади помещения, и локализованное освещение путей эвакуации с освещенностью 1,0 лк.
9.3.6 В кабине лифта должно быть предусмотрено эвакуационное аварийное освещение с автономным источником питания. Согласно пункту 5.5.6.15.2 ГОСТ Р 53780-2010 должен быть предусмотрен аварийный источник питания освещения кабины с автоматической подзарядкой. Освещенность в 1 лк на полу кабины должна обеспечиваться в течение 1 ч в случае прекращения питания рабочего освещения. При отказе питания рабочего освещения аварийное освещение кабины должно включаться автоматически.
9.4 Аварийное освещение спортивных сооружений
9.4.1 Настоящий подраздел распространяется на аварийное освещение спортивных сооружений: физкультурно-спортивные залы, многофункциональные спортивные комплексы, имеющие в составе универсальные спортивные залы, плоскостные спортивные сооружения, ледовые арены, которые соответствуют типам объектов спорта, включенным в [6].
9.4.2 Аварийное освещение в спортивных сооружениях выполняется в соответствии с требованиями, приведенными в позициях 4.1 - 4.3 таблицы 9.1.
9.4.3 В спортивных сооружениях предусматривается аварийное освещение путей эвакуации в соответствии с разделом 5 настоящего свода правил и СП 52.13330. Эвакуационное освещение на лестницах без естественного освещения по маршруту эвакуации рекомендуется проектировать постоянно включенным совместно с рабочим освещением.
9.4.4 На спортивных аренах, в физкультурно-спортивные залах, на крытых трибунах для зрителей предусматривается антипаническое освещение, составляющее не менее 0,5 лк по всей площади помещения, и локализованное освещение путей эвакуации с освещенностью 1,0 лк.
9.5 Аварийное освещение бассейнов для плавания
9.5.1 Настоящий подраздел распространяется на аварийное освещение ванн бассейнов различного назначения: для спортивных занятий и тренировок по плаванию, прыжкам в воду, водному поло, синхронному плаванию и другим видам спорта, для физкультурно-оздоровительных занятий населения, для обучения плаванию детей и взрослых, а также для физкультурно-оздоровительных и реабилитационно-восстановительных занятий инвалидов (включая детей-инвалидов), отраженных в СП 310.1325800.
9.5.2 Аварийное освещение и его нормативные показатели бассейнов для плавания должны проектироваться и выполняться в помещениях, приведенных в позициях 5.1 - 5.7 таблицы 9.1.
9.5.3 В бассейнах площадью зеркала водной поверхности до 100 м2 при отсутствии факторов опасности следует предусматривать эвакуационное освещение в соответствии с требованиями СП 52.13330 и СанПиН 2.1.2.1188. При этом на поверхности воды ванн крытых, а также открытых бассейнов должна быть обеспечена освещенность не менее 5 лк.
9.5.4 В бассейнах с площадью зеркала водной поверхности более 100 м2 при отсутствии факторов опасности следует предусматривать освещение зон повышенной опасности. При этом на поверхности воды ванн бассейнов освещенность должна составлять 15 лк.
9.5.5 В бассейнах с наличием факторов опасности (прыжки в воду с высоты, подводное плавание и тренировки с аквалангом, водные аттракционы, плавание на лодках и т.п.) следует предусматривать освещение зон повышенной опасности. При этом на поверхности воды ванн бассейнов должна быть обеспечена освещенность 10% нормируемой при рабочем освещении.
9.6 Аварийное освещение гостиниц
9.6.1 Настоящий подраздел распространяется на аварийное освещение гостиниц и приравненных к ним по условиям настоящего подраздела помещений, включая апарт-отели, сюит-отели, курортные отели, бутик-отели, мотели (далее - гостиницы), отраженных в СП 257.1325800.
9.6.2 Аварийное освещение гостиниц проектируется в соответствии с требованиями, приведенными в позициях 6.1 - 6.4 таблицы 9.1.
9.6.3 В гостиницах предусматривается освещение путей эвакуации в соответствии с разделом 5 настоящего свода правил и СП 52.13330.
9.6.4 Аварийное освещение зон повышенной опасности проектируется в диспетчерских, электропомещениях (помещениях ГРЩ, ВРУ и всех иных помещениях с доступом для квалифицированного персонала, в которых размещаются либо источники аварийного электроснабжения, либо электрооборудование, питаемое от системы аварийного электроснабжения), помещениях для дезинфекции воды и баллонов с газами.
9.6.5 В кабине лифта должно быть предусмотрено эвакуационное аварийное освещение с автономным источником питания. Согласно пункту 5.5.6.15.2 ГОСТ Р 53780-2010 должен быть предусмотрен аварийный источник питания освещения кабины с автоматической подзарядкой. Освещенность в 1 лк на полу кабины должна обеспечиваться в течение 1 ч в случае прекращения питания рабочего освещения. При отказе питания рабочего освещения аварийное освещение кабины должно включаться автоматически.
9.7 Аварийное освещение жилых домов
9.7.1 Настоящий подраздел распространяется на аварийное освещение многоквартирных жилых зданий, в том числе общежитий квартирного типа, а также жилых помещений, входящих в состав помещений зданий другого функционального назначения, отраженных в СП 54.13330.
9.7.2 Аварийное освещение жилых зданий проектируется в соответствии с требованиями, приведенными в позициях 7.1 и 7.2 таблицы 9.1.
9.7.3 В жилых домах предусматривается освещение путей эвакуации в соответствии с разделом 5 настоящего свода правил и СП 52.13330.
9.7.4 На торговые помещения, предприятия общественного питания, подземные паркинги, бассейны и прочие помещения с иным целевым назначением, расположенные в жилом здании, распространяются требования соответствующих подразделов раздела 9 настоящего свода правил.
9.7.5 В кабине лифта должно быть предусмотрено эвакуационное аварийное освещение с автономным источником питания. Согласно пункту 5.5.6.15.2 ГОСТ Р 53780-2010 должен быть предусмотрен аварийный источник питания освещения кабины с автоматической подзарядкой. Освещенность в 1 лк на полу кабины должна обеспечиваться в течение 1 ч в случае прекращения питания рабочего освещения. При отказе питания рабочего освещения аварийное освещение кабины должно включаться автоматически.
9.8 Аварийное освещение высотных зданий
9.8.1 Настоящий подраздел распространяется на аварийное освещение общественных, жилых зданий, многофункциональных зданий и зданий одного функционального назначения высотой более 50 м.
9.8.2 Аварийное освещение высотных зданий выполняется в соответствии с требованиями, приведенными в позициях 8.1 - 8.4 таблицы 9.1, СП 253.1325800 и СП 267.1325800.
9.8.3 В высотных зданиях предусматривается освещение путей эвакуации в соответствии с разделом 5 настоящего свода правил и СП 52.13330.
9.8.4 Аварийное освещение зон повышенной опасности проектируется в диспетчерских, электропомещениях (помещениях ГРЩ, ВРУ и всех иных помещениях с доступом для квалифицированного персонала, в которых размещаются либо источники аварийного электроснабжения, либо электрооборудование, питаемое от системы аварийного электроснабжения).
9.8.5 В кабине лифта должно быть предусмотрено эвакуационное аварийное освещение с автономным источником питания. Согласно пункту 5.5.6.15.2 ГОСТ Р 53780-2010 должен быть предусмотрен аварийный источник питания освещения кабины с автоматической подзарядкой. Освещенность в 1 лк на полу кабины должна обеспечиваться в течение 1 ч в случае прекращения питания рабочего освещения. При отказе питания рабочего освещения аварийное освещение кабины должно включаться автоматически.
9.9 Аварийное освещение зданий и помещений медицинских организаций
9.9.1 Настоящий подраздел распространяется на аварийное освещение медицинских организаций, а также помещений медицинского назначения, встраиваемых в жилые, общественные и производственные здания, отраженные в СП 158.13330.
9.9.2 Аварийное освещение и его нормативные показатели для медицинских организаций должны проектироваться и выполняться в помещениях, приведенных в позициях 9.1 - 9.6 таблицы 9.1.
9.9.3 В зданиях и помещениях медицинских организаций предусматривается освещение путей эвакуации в соответствии с разделом 5 настоящего свода правил и СП 52.13330. Аварийное эвакуационное освещение лестничных маршей в медицинских организациях и в зданиях с постоянным пребыванием МГН должно обеспечивать освещенность не менее 5 лк.
9.9.4 В помещениях зданий медицинских организаций, приведенных в позициях 9.2 и 9.3 таблицы 9.1, необходимо устройство резервного освещения.
9.9.5 В кабине лифта должно быть предусмотрено эвакуационное аварийное освещение с автономным источником питания. Согласно пункту 5.5.6.15.2 ГОСТ Р 53780-2010 должен быть предусмотрен аварийный источник питания освещения кабины с автоматической подзарядкой. Освещенность в 1 лк на полу кабины должна обеспечиваться в течение 1 ч в случае прекращения питания рабочего освещения. При отказе питания рабочего освещения аварийное освещение кабины должно включаться автоматически.
9.10 Аварийное освещение общеобразовательных организаций и дошкольных образовательных организаций
9.10.1 Настоящий подраздел распространяется на аварийное освещение зданий и комплексов общеобразовательных организаций, отраженных в СП 251.1325800, а также зданий дошкольных образовательных организаций, отраженных в СП 252.1325800.
9.10.2 Аварийное освещение и его нормативные показатели для общеобразовательных организаций и дошкольных образовательных организаций должны проектироваться и выполняться в помещениях, приведенных в позициях 10.1 - 10.8 таблицы 9.1.
9.10.3 В зданиях и помещениях общеобразовательных организаций и дошкольных образовательных организаций предусматривается освещение путей эвакуации в соответствии с разделом 5 настоящего свода правил и СП 52.13330. Аварийное эвакуационное освещение лестничных маршей в общеобразовательных организациях и дошкольных образовательных организациях должно обеспечивать освещенность не ниже 5 лк.
9.10.4 В помещениях приготовления пищи проектируется аварийное освещение зон повышенной опасности.
9.11 Аварийное освещение стоянок автомобилей
9.11.1 Настоящий подраздел распространяется на аварийное освещение зданий, площадок и помещений для стоянки (хранения) автомобилей и других автотранспортных средств, гаражей-стоянок, отраженных в СП 113.13330, в том числе многоярусных.
9.11.2 Аварийное освещение стоянок автомобилей и его нормативные показатели должны проектироваться и выполняться в местах и зонах, приведенных в позициях 11.1 - 11.4 таблицы 9.1.
9.11.3 Знаки безопасности размещаются на высотах 0,5 и 2,0 м от пола во избежание поглощения света дымом, скапливающимся у потолка помещений при пожаре.
9.11.4 Для эвакуационного аварийного освещения стоянок автомобилей следует использовать только знаки безопасности с внутренней подсветкой. Яркость знаков безопасности должна быть не менее 10 кд/м2.
9.11.5 Кроме знаков безопасности к сети эвакуационного аварийного освещения подключаются световые указатели:
а) путей движения автомобилей;
б) мест установки соединительных головок для подключения пожарной техники;
в) мест установки внутренних пожарных кранов;
г) наружных гидрантов (на фасаде сооружения).
9.11.6 Пути движения автомобилей внутри стоянок автомобилей должны быть оснащены ориентирующими водителей световыми указателями, которые устанавливаются у поворотов, в местах изменения уклонов, на рампах, въездах на этажи, выездов с этажей.
9.11.7 Световые указатели направления движения автомобилей устанавливаются на высотах 2,0 и 0,5 м от пола в пределах прямой видимости из любой точки на путях эвакуации и проездов для автомобилей.
9.11.8 При совпадении путей эвакуации людей и автомобилей допускается использовать световые указатели, совмещающие знаки безопасности, указывающие направление эвакуации для людей, и световые указатели, указывающие направление движения автомобилей на выезд из стоянки автомобилей.
9.11.9 Световые указатели мест установки соединительных головок для пожарной техники, мест установки пожарных кранов должны включаться автоматически при срабатывании систем пожарной автоматики.
9.11.10 В кабине лифта должно быть предусмотрено эвакуационное аварийное освещение с автономным источником питания. Согласно пункту 5.5.6.15.2 ГОСТ Р 53780-2010 должен быть предусмотрен аварийный источник питания освещения кабины с автоматической подзарядкой. Освещенность в 1 лк на полу кабины должна обеспечиваться в течение 1 ч в случае прекращения питания рабочего освещения. При отказе питания рабочего освещения аварийное освещение кабины должно включаться автоматически.
9.12 Аварийное освещение производственных зданий, помещений и зон
9.12.1 Настоящий подраздел распространяется на аварийное освещение зданий производственных и лабораторных зданий, производственных и лабораторных помещений, мастерских, а также складских зданий и помещений, предназначенных для хранения веществ, материалов, продукции и сырья (грузов), в том числе встроенных в здания другой функциональной пожарной опасности, отраженных в СП 56.13330.
9.12.2 Аварийное освещение и его нормативные показатели для производственных зданий, помещений и зон должны проектироваться и выполняться в помещениях, приведенных в позициях 12.1 - 12.8 таблицы 9.1.
9.12.3 На предприятиях общественного питания предусматривается освещение путей эвакуации в соответствии с разделом 5 настоящего свода правил и СП 52.13330.
9.12.4 Аварийное освещение зон повышенной опасности проектируется в помещениях и зонах при наличии факторов повышенной опасности, вызванных потенциально опасными процессами, завершение или прекращение которых может потребоваться при отключении рабочего освещения.
9.12.5 В производственных помещениях и зонах площадью более 60 м2 проектируются антипаническое освещение, составляющее не менее 0,5 лк по всей площади помещения, и локализованное освещение путей эвакуации с освещенностью 1,0 лк.
9.13 Аварийное освещение автотранспортных тоннелей
9.13.1 Освещение зон повышенной опасности предусматривается в транспортной зоне тоннелей длиной более 125 м. Оно предназначено для обеспечения необходимых условий видимости для выезда транспорта из тоннеля при аварийном отключении рабочего освещения.
Освещение зон повышенной опасности обеспечивают частью светильников рабочего освещения, в которых все или часть ламп подключают к источнику, независимому от источника питания основного рабочего освещения.
9.13.2 На дорожном покрытии транспортной зоны тоннеля средняя освещенность должна быть не менее 10 лк, а минимальная - не менее 2 лк.
Нормируемая освещенность должна быть обеспечена не более чем через 0,5 с после отключения рабочего освещения.
Для транспортных перемычек между стволами тоннеля применяют нормы освещения, аналогичные нормам для проезжей части в аварийном режиме.
9.13.3 Светильники эвакуационного освещения должны иметь степень защиты от воздействия окружающей среды не менее IP 65 по ГОСТ 14254 и класс защиты от поражения электрическим током I или II по ГОСТ Р МЭК 60598-1.
9.13.4 Освещение и обозначение путей эвакуации предусматривается в транспортной зоне тоннелей длиной 500 м и более в дополнение к освещению зон повышенной опасности.
9.13.5 Необходимые условия видимости путей эвакуации в транспортных зонах, предназначенных для выхода из тоннеля людей, покинувших транспортные средства в аварийной ситуации, должны быть реализованы с применением эвакуационных светильников и световых указателей. Индекс цветопередачи эвакуационных светильников должен быть не менее 60.
9.13.6 Для обозначения путей эвакуации следует использовать статические или динамические световые указатели направления движения людей к ближайшему эвакуационному выходу. Световые указатели устанавливают на стенах тоннеля, имеющих эвакуационные выходы, на высоте до 1 м над уровнем эвакуационного тротуара (банкетки), с шагом не более 25 м. Ближайшие к эвакуационному выходу указатели должны быть расположены с обеих сторон дверного проема эвакуационного выхода на расстоянии не более 2 м.
9.13.7 Статические световые указатели должны быть включены постоянно и показывать направление к ближайшему эвакуационному выходу. Такие указатели могут давать дополнительную информацию о расстоянии до въездного или выездного портала тоннеля.
Динамические световые указатели должны показывать направление к ближайшему эвакуационному выходу, расположенному вне зоны пожара или задымления в тоннеле. Такие указатели следует устанавливать при длине тоннеля свыше 1000 м.
9.13.8 Для предотвращения слепящего действия на водителя транспортного средства в нормальном режиме сила света указателей направления эвакуации, работающих в постоянном режиме, не должна превышать 40 кд в направлениях, по которым водитель видит эти приборы внутри конуса с раскрытием 2 x 15 относительно линии зрения. На рисунке 9.1 показаны в плане области ограничения силы света указателей направления эвакуации.
1 - указатели; 2 - эвакуационный выход
Рисунок 9.1 - Области ограничения слепящего действия
указателей направления эвакуации
9.13.9 В аварийном режиме эвакуационные выходы из транспортной зоны тоннеля должны быть освещены эвакуационными светильниками и обозначены указателями выхода. Для обозначения эвакуационных выходов следует использовать световые указатели со знаком безопасности "Выход". Над эвакуационными выходами из тоннеля на высоте 2,1 - 2,2 м от уровня пола устанавливают эвакуационные светильники, обеспечивающие освещенность не менее 0,5 лк на уровне пола перед дверью эвакуационного выхода. Эвакуационные светильники, указатели выхода и сигнальные огни должны включаться автоматически при включении аварийного режима. Указатели выхода должны быть включены постоянно.
9.13.10 Дополнительно целесообразно устанавливать вокруг двери эвакуационного выхода сигнальные огни зеленого цвета, включаемые в аварийной ситуации и работающие в пульсирующем режиме для привлечения внимания эвакуируемых людей. Пример расположения сигнальных огней показан на рисунке 9.2.
1 - эвакуационный выход; 2 - сигнальные огни
Рисунок 9.2 - Пример расположения сигнальных огней
относительно эвакуационного выхода
9.13.11 Частота пульсации сигнальных огней должна быть в диапазоне от 1 до 2 Гц, а сила света - не менее 150 кд по направлениям, попадающим в поле зрения эвакуируемых людей.
9.13.12 Освещение путей эвакуации от эвакуационного выхода из транспортной зоны тоннеля до зоны безопасности, включая соединительные проходы между тоннелями (сбойки), проходной (сервисный) тоннель для обслуживания инженерных систем тоннеля, галереи доступа аварийно-спасательных служб, должно обеспечивать минимальную освещенность не менее 0,5 лк при равномерности освещенности не менее 1:40.
9.13.13 Питание эвакуационных светильников и световых указателей в транспортной зоне тоннеля осуществляется в нормальном режиме от источника, независимого от сети рабочего освещения, а в аварийном режиме - от третьего независимого источника, для чего должно быть предусмотрено автоматическое переключение на питание от аккумуляторных батарей или другого предназначенного для этой цели источника. Продолжительность работы эвакуационного освещения в аварийном режиме должна быть достаточной для эвакуации людей из тоннеля, но не менее 1 ч.
9.13.14 В притоннельных сооружениях должно быть предусмотрено аварийное освещение, представляющее собой совокупность освещения путей эвакуации и резервного освещения. Резервное освещение, предназначенное для продолжения работы, как при рабочем освещении, следует устанавливать в технических помещениях с оборудованием, обеспечивающим жизнедеятельность тоннеля, таких как центральный диспетчерский пост, электрощитовые, вентиляционные, насосные и т.п.
При проектировании аварийного освещения притоннельных сооружений, служебно-технических и вспомогательных помещений тоннеля следует руководствоваться общими требованиями к аварийному освещению.
10 Электрооборудование систем аварийного освещения
10.1 Общие требования
10.1.1 Категория надежности питания светильников аварийного освещения определяется в зависимости от назначения здания и характера производимых работ в помещениях и требований безопасности в соответствии с [5].
10.1.2 Аварийное освещение должно питаться от источников, независимых от источников питания рабочего освещения.
10.1.3 Для питания аварийного освещения используются следующие источники:
- отдельный ввод системы электроснабжения, который независим от основного ввода (двойная система питания) согласно приложению А ГОСТ Р 50571.5.56-2013;
- аккумуляторные батареи;
- генераторные установки, независимые от основного питания.
10.1.4 Расчетное операционное время источника питания для устройств аварийной сигнализации и знаков безопасности, если иное не оговорено, рекомендуется принимать равным 3 ч, но не менее 1 ч.
10.1.5 При отнесении всех или части светильников аварийного освещения к особой группе первой категории по надежности электроснабжения необходимо предусматривать дополнительное питание этих светильников от третьего независимого источника.
10.1.6 Аварийное эвакуационное освещение, включая знаки безопасности, относится к системам безопасности зданий и должно соответствовать требованиям [2], ГОСТ Р 50571.5.56 и СП 6.13130.
10.1.7 Применение для рабочего освещения, резервного и (или) эвакуационного освещения общих групповых щитков, а также установка аппаратов управления рабочим освещением, резервным и (или) эвакуационным освещением, за исключением аппаратов вспомогательных цепей (например, сигнальных ламп, ключей управления), в общих шкафах не допускается.
Разрешается питание резервного освещения и эвакуационного освещения от общих щитков.
10.1.8 Светильники аварийного освещения должны соответствовать требованиям, изложенным в ГОСТ IEC 60598-2-22.
10.1.9 Для аварийного освещения допускается применять светильники общего назначения, соответствующие ГОСТ Р МЭК 60598-1, в которых для управления одним или несколькими источниками применяется встроенный или независимый аппарат управления с питанием от аккумуляторной батареи и от сети переменного тока. Аппарат управления должен соответствовать ГОСТ IEC 60924.
10.1.10 Зануление и заземление светильников аварийного освещения следует выполнять в соответствии с требованиями [5].
10.2 Сети аварийного освещения
10.2.1 Все электрооборудование сетей аварийного освещения должно быть присоединено к сети, не связанной с сетью рабочего освещения. Использование питающих линий для электроснабжения иных приемников не допускается.
10.2.2 Электропроводки аварийного освещения должны отвечать требованиям [2], СП 256.1325800, ГОСТ Р 50571.5.52, ГОСТ 31565 и [5] в части, не противоречащей [2].
10.2.3 Для эвакуационного освещения должно быть обеспечено применение следующих видов электропроводки:
а) кабели с минеральной изоляцией;
б) огнестойкие кабели, соответствующие требованиям ГОСТ Р МЭК 60331-11, ГОСТ IEC 60331-21 и ГОСТ IEC 60332-1-2;
в) кабели, поддерживающие на необходимом уровне противопожарную защиту и защиту от механических повреждений, например прокладка в стальных трубах, обладающих локализационной способностью и обработанных огнезащитным составом.
10.2.4 Сети питания аварийного освещения не должны проходить транзитом через участки, подверженные опасности возникновения пожара (BE2 согласно таблице 51А ГОСТ Р 50571.5.51-2013), если они по своим характеристикам не обладают высокой огнестойкостью и устойчивостью к физическим повреждениям или должным образом не защищены. Также данные цепи ни в коем случае не должны проходить транзитом через взрывоопасные зоны (BE3 согласно таблице 51А ГОСТ Р 50571.5.51-2013).
10.2.5 Совместная прокладка проводов и кабелей рабочего и аварийного освещения не допускается, за исключением их совместной прокладки на одном монтажном профиле, в одном коробе, лотке при условии, что приняты меры, исключающие возможность повреждения проводов резервного и эвакуационного освещения при неисправности проводов рабочего освещения, в корпусах и штангах светильников.
10.3 Управление и устройства защиты
10.3.1 Аварийное освещение может быть включено как в режиме постоянного действия, так и в режиме непостоянного действия. Данные режимы могут комбинироваться.
10.3.2 В случае комбинирования постоянного и непостоянного режимов каждое устройство соответствующего переключения должно иметь свое независимое устройство контроля и иметь возможность коммутироваться отдельно.
10.3.3 Если рабочее питание восстанавливается в распределительном шкафу или цепи питания, аварийное освещение в режиме непостоянного действия должно автоматически выключиться. Должно быть учтено время, необходимое для набора нормальной яркости лампами обычного освещения. В помещениях, которые были преднамеренно затемнены, прежде чем питание было потеряно, аварийное освещение не должно выключаться автоматически.
10.3.4 Для помещений, в которых постоянно находятся люди или предназначенных для постоянного прохода персонала или посторонних лиц и в которых требуется резервное или эвакуационное освещение, должна быть обеспечена возможность включения указанных видов освещения в течение всего времени, когда включено рабочее освещение, или резервное и эвакуационное освещение должно включаться автоматически при аварийном выключении рабочего освещения.
10.3.5 Аппаратура переключения для управления аварийным освещением должна быть размещена в отдельном помещении, расположена и установлена так, чтобы исключить управление посторонним персоналом.
10.3.6 Защита осветительных сетей должна выполняться согласно требованиям ГОСТ Р 50571.5.56 и [5] с дополнениями, приведенными в 10.3.7 - 10.3.9.
10.3.7 Общая нагрузка от аварийного освещения на одну цепь, защищенную одним устройством защиты от перегрузки, не должна превышать 6 А. При этом устройство защиты от сверхтока должно быть нагружено не более чем на 60% своего номинального значения.
Примечание - Указанные требования не применяются, если используются автономные устройства с аккумуляторными батареями.
10.3.8 При питании светильников аварийного освещения постоянным током защита от сверхтока должна выполняться двухполюсными автоматическими выключателями.
10.3.9 Запрещается установка в цепях питания системы эвакуационного освещения устройств защитного отключения или выключателей, управляемых дифференциальным (остаточным) током, в том числе со встроенной защитой от сверхтоков.
БИБЛИОГРАФИЯ
[1] Федеральный закон от 23 ноября 2009 г. N 261-ФЗ "Об энергосбережении и о повышении энергетической эффективности и о внесении изменений в отдельные законодательные акты Российской Федерации"
[2] Федеральный закон от 22 июля 2008 г. N 123-ФЗ "Технический регламент о требованиях пожарной безопасности"
[3] Постановление Правительства Российской Федерации от 10 ноября 2017 г. N 1356 "Об утверждении требований к осветительным устройствам и электрическим лампам, используемым в цепях переменного тока в целях освещения"
[4] Постановление Правительства Российской Федерации от 16 февраля 2008 г. N 87 "О составе разделов проектной документации и требованиях к их содержанию"
[5] ПУЭ Правила устройства электроустановок (6-е, 7-е изд.)
[6] Приказ Министерства спорта Российской Федерации от 25 февраля 2016 г. N 172 "Об утверждении классификатора объектов спорта"