Главная // Актуальные документы // ГОСТ (Государственный стандарт)СПРАВКА
Источник публикации
В данном виде документ опубликован не был.
Первоначальный текст документа опубликован в издании
М.: Стандартинформ, 2013.
Информацию о публикации документов, создающих данную редакцию, см. в справке к этим документам.
Примечание к документу
Документ включен в
Перечень международных и региональных (межгосударственных) стандартов, а в случае их отсутствия - национальных (государственных) стандартов, содержащих правила и методы исследований (испытаний) и измерений, в том числе правила отбора образцов, необходимые для применения и исполнения требований технического
регламента Евразийского экономического союза "О безопасности продукции, предназначенной для гражданской обороны и защиты от чрезвычайных ситуаций природного и техногенного характера" (ТР ЕАЭС 050/2021) и осуществления оценки соответствия объектов технического регулирования (
Решение Коллегии Евразийской экономической комиссии от 30.05.2023 N 78).
Документ включен в
Перечень международных и региональных (межгосударственных) стандартов, а в случае их отсутствия - национальных (государственных) стандартов, содержащих правила и методы исследований (испытаний) и измерений, в том числе правила отбора образцов, необходимые для применения и исполнения требований технического
регламента Таможенного союза "О безопасности низковольтного оборудования" (ТР ТС 004/2011) и осуществления оценки соответствия объектов технического регулирования (
Решение Коллегии Евразийской экономической комиссии от 11.05.2023 N 55).
Документ включен в
Перечень стандартов, содержащих правила и методы исследований (испытаний) и измерений, в том числе правила отбора образцов, необходимые для применения и исполнения требований технического
регламента Таможенного союза "О безопасности низковольтного оборудования" (ТР ТС 004/2011) и осуществления оценки соответствия объектов технического регулирования (
Решение Комиссии Таможенного союза от 16.08.2011 N 768).
Документ включен в
Перечень национальных стандартов, содержащих правила и методы исследований (испытаний) и измерений, в том числе правила отбора образцов, необходимых для применения и исполнения Федерального
закона от 22.07.2008 N 123-ФЗ "Технический регламент о требованиях пожарной безопасности" и осуществления оценки соответствия (
Распоряжение Правительства РФ от 10.03.2009 N 304-р).
Текст данного документа приведен с учетом
поправки, опубликованной в "ИУС", N 6, 2024.
Название документа
"ГОСТ IEC 60332-1-2-2011. Межгосударственный стандарт. Испытания электрических и оптических кабелей в условиях воздействия пламени. Часть 1-2. Испытание на нераспространение горения одиночного вертикально расположенного изолированного провода или кабеля. Проведение испытания при воздействии пламенем газовой горелки мощностью 1 кВт с предварительным смешением газов"
(введен в действие Приказом Росстандарта от 13.12.2011 N 1426-ст)
(ред. от 20.08.2021)
"ГОСТ IEC 60332-1-2-2011. Межгосударственный стандарт. Испытания электрических и оптических кабелей в условиях воздействия пламени. Часть 1-2. Испытание на нераспространение горения одиночного вертикально расположенного изолированного провода или кабеля. Проведение испытания при воздействии пламенем газовой горелки мощностью 1 кВт с предварительным смешением газов"
(введен в действие Приказом Росстандарта от 13.12.2011 N 1426-ст)
(ред. от 20.08.2021)
агентства по техническому
регулированию и метрологии
от 13 декабря 2011 г. N 1426-ст
МЕЖГОСУДАРСТВЕННЫЙ СТАНДАРТ
ИСПЫТАНИЯ ЭЛЕКТРИЧЕСКИХ И ОПТИЧЕСКИХ
КАБЕЛЕЙ В УСЛОВИЯХ ВОЗДЕЙСТВИЯ ПЛАМЕНИ
ЧАСТЬ 1-2
ИСПЫТАНИЕ НА НЕРАСПРОСТРАНЕНИЕ ГОРЕНИЯ ОДИНОЧНОГО
ВЕРТИКАЛЬНО РАСПОЛОЖЕННОГО ИЗОЛИРОВАННОГО ПРОВОДА
ИЛИ КАБЕЛЯ. ПРОВЕДЕНИЕ ИСПЫТАНИЯ ПРИ ВОЗДЕЙСТВИИ
ПЛАМЕНЕМ ГАЗОВОЙ ГОРЕЛКИ МОЩНОСТЬЮ 1 кВт
С ПРЕДВАРИТЕЛЬНЫМ СМЕШЕНИЕМ ГАЗОВ
Tests on electric and optical fibre cables under fire
conditions. Part 1-2. Test for vertical flame propagation
for a single insulated wire or cable. Procedure
for 1 kW pre-mixed flame
(IEC 60332-1-2:2004, IDT)
ГОСТ IEC 60332-1-2-2011
| | Список изменяющих документов Росстандарта от 20.08.2021 N 732-ст) | |
Дата введения
1 января 2013 года
Цели, основные принципы и порядок проведения работ по межгосударственной стандартизации установлены
ГОСТ 1.0-92 "Межгосударственная система стандартизации. Основные положения" и
ГОСТ 1.2-2009 "Межгосударственная система стандартизации. Стандарты межгосударственные, правила и рекомендации по межгосударственной стандартизации. Правила разработки, принятия, применения, обновления и отмены"
1 ПОДГОТОВЛЕН Федеральным государственным унитарным предприятием "Всероссийский научно-исследовательский институт стандартизации и сертификации в машиностроении" (ФГУП "ВНИИНМАШ")
2 ВНЕСЕН Федеральным агентством по техническому регулированию и метрологии
3 ПРИНЯТ Межгосударственным советом по стандартизации, метрологии и сертификации (протокол от 29 ноября 2011 г. N 40)
За принятие стандарта проголосовали:
Краткое наименование страны по МК (ИСО 3166) 004-97 | Код страны по МК (ИСО 3166) 004-97 | Сокращенное наименование национального органа по стандартизации |
Армения | AM | ЗАО "Национальный орган по стандартизации и метрологии" Республики Армения |
Беларусь | BY | Госстандарт Республики Беларусь |
Казахстан | KZ | Госстандарт Республики Казахстан |
Кыргызстан | KG | Кыргызстандарт |
Российская Федерация | RU | Росстандарт |
Таджикистан | TJ | Таджикстандарт |
4
Приказом Федерального агентства по техническому регулированию и метрологии от 13 декабря 2011 г. N 1426-ст межгосударственный стандарт ГОСТ IEC 60332-1-2-2011 введен в действие непосредственно в качестве национального стандарта Российской Федерации с 1 января 2013 г.
5 Настоящий стандарт идентичен международному стандарту IEC 60332-1-2:2004. Tests on electric and optical fibre cables under fire conditions - Part 1-2: Test for vertical flame propagation for a single insulated wire or cable - Procedure for 1 kW pre-mixed flame (Испытания электрических и оптических кабелей в условиях воздействия пламени. Часть 1-2. Испытание на нераспространение горения одиночного вертикально расположенного изолированного провода или кабеля. Проведение испытания при воздействии пламенем газовой горелки мощностью 1 кВт с предварительным смешением газов).
Перевод с английского языка (en).
Степень соответствия - идентичная (IDT).
Сведения о соответствии межгосударственных стандартов ссылочным международным стандартам приведены в дополнительном
Приложении ДА.
6 ВВЕДЕН ВПЕРВЫЕ
Информация о введении в действие (прекращении действия) настоящего стандарта публикуется в указателе "Национальные стандарты".
Информация об изменениях к настоящему стандарту публикуется в указателе "Национальные стандарты", а текст изменений - в информационных указателях "Национальные стандарты". В случае пересмотра или отмены настоящего стандарта соответствующая информация будет опубликована в информационном указателе "Национальные стандарты"
Настоящий стандарт устанавливает метод испытания на нераспространение горения одиночного вертикально расположенного электрического изолированного провода или кабеля или оптического кабеля в условиях воздействия пламени. Требования к испытательному оборудованию установлены в IEC 60332-1-1.
Примечание 1 - При необходимости испытание по настоящему стандарту можно проводить одновременно с испытанием по IEC 60332-1-3.
Рекомендуемые требования по оценке результатов испытания приведены в
Приложении А.
Настоящий стандарт устанавливает метод испытания при воздействии пламенем газовой горелки мощностью 1 кВт с предварительным смешением газов, который является методом общего применения, но приведенный метод не может быть применен для испытания одиночных изолированных проводов или кабелей небольших размеров (сечением менее 0,5 мм2) из-за возможности плавления токопроводящей жилы или при испытании оптических кабелей небольших размеров из-за возможности обрыва кабеля до окончания испытания. В таких случаях испытание рекомендуется проводить по IEC 60332-2-2.
Примечание 2 - Применение изолированного провода или кабеля, не распространяющего горение в соответствии с требованиями настоящего стандарта, не гарантирует предотвращение распространения огня при всех способах его прокладки, поэтому в тех случаях, когда риск распространения огня велик, например при высоких вертикальных пучках кабелей, следует принимать дополнительные меры предосторожности. Если одиночный образец кабеля соответствует требованиям настоящего стандарта, то нельзя делать вывод, что этот кабель в пучках не будет распространять горение (см. серию стандартов IEC 60332-3).
В настоящем стандарте использованы нормативные ссылки на следующие международные стандарты. Для датированных ссылок применяют только указанное издание ссылочного стандарта, для недатированных - последнее издание (включая все изменения).
(в ред.
Изменения N 1, введенного в действие Приказом Росстандарта от 20.08.2021 N 732-ст)
IEC 60332-1-1:2004 Tests on electric and optical fibre cables under fire conditions - Part 2-1: Test for vertical flame propagation for a single insulated wire or cable - Apparatus (Испытания электрических и оптических кабелей в условиях воздействия пламени. Часть 1-1. Испытание на нераспространение горения одиночного вертикально расположенного изолированного провода или кабеля. Испытательное оборудование).
IEC 60811-203, Electric and optical fibre cables - Test methods for non-materials - Part 203: General tests - Measurement of overall dimensions (Кабели электрические и волоконно-оптические. Методы испытаний неметаллических материалов. Часть 203. Общие испытания. Измерения наружных размеров)
(ссылка введена
Изменением N 1, введенным в действие Приказом Росстандарта от 20.08.2021 N 732-ст)
В настоящем стандарте применены следующие термины с соответствующими определениями:
3.1 источник зажигания (ignition source): Источник энергии, вызывающий горение.
[ISO 13943:2008, 1.489 <*>]
(в ред.
Изменения N 1, введенного в действие Приказом Росстандарта от 20.08.2021 N 732-ст)
--------------------------------
<*> Заменен на ISO 13943:2017.
(сноска введена
Изменением N 1, введенным в действие Приказом Росстандарта от 20.08.2021 N 732-ст)
3.2 обугленная часть (char): Углеродистый остаток в результате пиролиза или неполного сгорания.
[ISO 13943:2008, 4.38 <*>]
(в ред.
Изменения N 1, введенного в действие Приказом Росстандарта от 20.08.2021 N 732-ст)
--------------------------------
<*> Заменен на ISO 13943:2017.
(сноска введена
Изменением N 1, введенным в действие Приказом Росстандарта от 20.08.2021 N 732-ст)
4 Испытательное оборудование
Используют испытательное оборудование по IEC 60332-1-1.
Образец представляет собой отрезок изолированного провода или кабеля длиной (600 +/- 25) мм.
Диаметр образца измеряют с использованием метода, приведенного в IEC 60811-203. Измерение проводят в трех местах, расположенных на расстоянии друг от друга не менее 100 мм.
Наружный диаметр определяют как округленное среднее значение трех полученных значений. Если по результатам расчетов второй десятичной цифрой является 5 или более, то первую десятичную цифру увеличивают на единицу (например, полученное значение 5,75 округляют до 5,8). Если по результатам расчетов второй десятичной цифрой является 4 или менее, то сохраняют первую десятичную цифру (например, полученное значение 5,74 округляют до 5,7).
Полученное значение наружного диаметра используют для выбора времени воздействия пламени на образец.
(подраздел 5.1 в ред.
Изменения N 1, введенного в действие Приказом Росстандарта от 20.08.2021 N 732-ст)
Перед испытанием образцы выдерживают не менее 16 ч при температуре (23 +/- 5) °C и относительной влажности (50 +/- 20)%.
Если изолированный провод или кабель покрыт краской или лаком, перед кондиционированием образец выдерживают в течение 4 ч при температуре (60 +/- 2) °C.
Образец выпрямляют и закрепляют при помощи медной проволоки соответствующего диаметра к двум горизонтальным опорам в вертикальном положении в центре металлической камеры (см. IEC 60332-1-1) так, чтобы расстояние между нижним краем верхней опоры и верхним краем нижней опоры составляло (550 +/- 5) мм. Кроме того, образец должен быть расположен так, чтобы его нижний конец находился на расстоянии около 50 мм от дна камеры (рисунок 1).
(в ред.
Изменения N 1, введенного в действие Приказом Росстандарта от 20.08.2021 N 732-ст)
1 - металлическая камера; 2 - опорный стержень и крепление
медной проволокой; 3 - образец; А - расстояние от дна
камеры до нижнего конца образца (около 50 мм)
Рисунок 1 - Расположение образца в испытательной камере
Вертикальная ось образца должна располагаться в центре камеры (т.е. на расстоянии 150 мм от боковых стенок и 225 мм от задней стенки).
Меры безопасности
Необходимо принять меры, чтобы обезопасить персонал и в процессе проведения испытания не допустить:
a) возникновения пожара или взрыва;
b) вдыхания дыма и/или токсичных продуктов, особенно если горят галогенные материалы;
c) контакта с токсичными остатками сгорания.
5.4.1 Расположение пламени
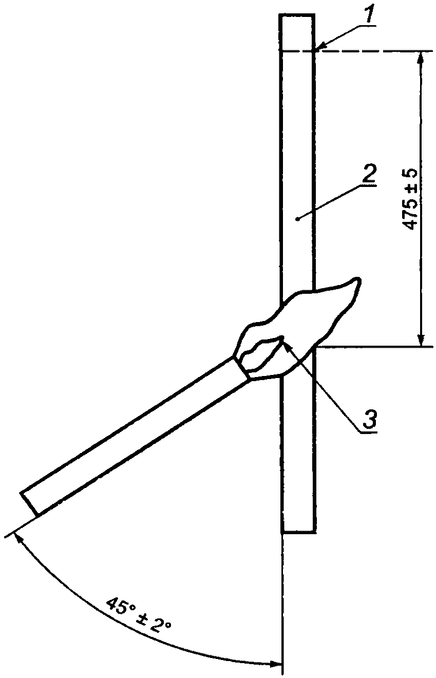
Горелку, соответствующую IEC 60332-1-1, включают и устанавливают требуемые значения скорости потока газа и воздуха. Горелку располагают так, чтобы кончик конуса пламени синего цвета касался поверхности образца на расстоянии (475 +/- 5) мм от нижнего края верхней горизонтальной опоры, при этом ось сопла горелки должна быть под углом (45 +/- 2)° к вертикальной оси образца (см. рисунок 2). Во время воздействия пламени положение горелки должно оставаться неизменным.
1 - нижний край верхней опоры; 2 - образец;
3 - место приложения синего конуса пламени
Рисунок 2 - Приложение пламени горелки к образцу
Для плоских кабелей место воздействия пламени должно быть в средней части плоской стороны кабеля.
Во время испытания изолированного провода или кабеля образец удерживают путем прикрепления груза (из расчета приблизительно 5 Н/мм2 площади поперечного сечения токопроводящей жилы) к нижней части образца таким образом, чтобы расстояние между точкой крепления груза и нижним краем верхней опоры составляло (550 +/- 5) мм. Это обусловлено тем, чтобы не допустить значительного сдвига образца, что делает результат испытания недействительным. В таких случаях образец не прикрепляют к нижней опоре.
(п. 5.4.1 в ред.
Изменения N 1, введенного в действие Приказом Росстандарта от 20.08.2021 N 732-ст)
5.4.2 Продолжительность испытания
Пламя должно действовать на образец непрерывно в течение времени, зависящего от диаметра образца, в соответствии с таблицей 1.
Таблица 1
Время воздействия пламени
Наружный диаметр образца <a>, мм | Время воздействия пламени <b>, с |
D <= 25 | 60 +/- 2 |
25 < D <= 50 | 120 +/- 2 |
50 < D <= 75 | 240 +/- 2 |
D > 75 | 480 +/- 2 |
<a> Для кабелей некруглого сечения, имеющих соотношение большой и малой осей менее 3, номинальное значение малой оси принимают как наружный диаметр (D). Для кабелей некруглого сечения, имеющих соотношение большой и малой осей от 3 до 16, наружный размер (D) определяют как сумму большой и малой осей, деленную на 3,14  . Для кабелей, имеющих соотношение большой и малой осей более 16, критерии испытания указывают в стандарте на конкретное изделие или, если они не указаны, устанавливают по соглашению между изготовителем и потребителем. |
(сноска "a" в ред. Изменения N 1, введенного в действие Приказом Росстандарта от 20.08.2021 N 732-ст) |
<b> Сноска исключена с 01.01.2022. - Изменение N 1, введенное в действие Приказом Росстандарта от 20.08.2021 N 732-ст. |
По истечении времени воздействия пламени горелку удаляют, а пламя горелки гасят.
(в ред.
Изменения N 1, введенного в действие Приказом Росстандарта от 20.08.2021 N 732-ст)
После полного прекращения (завершения) горения образец тщательно протирают тканью.
Допускается наличие сажи на поверхности образца после протирания, если поверхность образца осталась без повреждений. Размягчение или любую деформацию неметаллического материала также не учитывают. Расстояние от нижнего края верхней опоры до начала обугленной части образца сверху и расстояние от нижнего края верхней опоры до начала обугленной части образца снизу измеряют с точностью до одного миллиметра.
Начало обугленной части определяют следующим образом.
На поверхность кабеля нажимают острым предметом, например лезвием ножа. Место, где фиксируется изменение упругой поверхности образца на хрупкую (крошащуюся), считают началом обугленной части.
(справочное)
РЕКОМЕНДУЕМЫЕ ТРЕБОВАНИЯ ПО ОЦЕНКЕ РЕЗУЛЬТАТОВ ИСПЫТАНИЙ
Требования по оценке результатов испытаний для конкретного типа или класса изолированного провода или кабеля должны предпочтительно быть указаны в стандарте или технических условиях на конкретный провод или кабель. В случае отсутствия каких-либо требований рекомендуется в качестве минимально допустимого уровня принять требования, указанные ниже.
Изолированный провод или кабель считают выдержавшим испытание, если расстояние от нижнего края верхней опоры до начала обугленной части более 50 мм.
Кроме того, если обугленная часть протянулась вниз до точки, отстоящей от нижнего края верхней опоры более чем на 540 мм, изолированный провод или кабель считают не выдержавшим испытание.
Если образец не выдержал испытание, проводят еще два испытания. Если в результате двух повторных испытаний получены удовлетворительные результаты, изолированный провод или кабель считают выдержавшим испытание.
(справочное)
СВЕДЕНИЯ О СООТВЕТСТВИИ МЕЖГОСУДАРСТВЕННЫХ
СТАНДАРТОВ ССЫЛОЧНЫМ МЕЖДУНАРОДНЫМ СТАНДАРТАМ
Таблица ДА.1
Обозначение и наименование ссылочного международного стандарта | Степень соответствия | Обозначение и наименование соответствующего межгосударственного стандарта |
IEC 60332-1-1:2004 Испытания электрических и оптических кабелей в условиях воздействия пламени. Часть 1-1. Испытание на нераспространение горения одиночного вертикально расположенного изолированного провода или кабеля. Испытательное оборудование | IDT | ГОСТ IEC 60332-1-1-2011 Испытания электрических и оптических кабелей в условиях воздействия пламени. Часть 1-1. Испытание на нераспространение горения одиночного вертикально расположенного изолированного провода или кабеля. Испытательное оборудование |
IEC 60811-203 | IDT | ГОСТ IEC 60811-203-2015 "Кабели электрические и волоконно-оптические. Методы испытаний неметаллических материалов. Часть 203. Общие испытания. Измерение наружных размеров" |
(позиция введена Изменением N 1, введенным в действие Приказом Росстандарта от 20.08.2021 N 732-ст) |
Примечание - В настоящей таблице использовано следующее условное обозначение степени соответствия стандартов: - IDT - идентичные стандарты. |
IEC 60332-1-3:2004 | Испытания электрических и оптических кабелей в условиях воздействия пламени. Часть 1-3. Испытание на нераспространение горения одиночного вертикально расположенного изолированного провода или кабеля. Проведение испытания на образование горящих капелек/частиц (IEC 60332-1-3:2004 Tests on electric and optical fibre cables under fire conditions - Part 1-3: Test for vertical flame propagation for a single insulated wire or cable - Procedure for determination of flaming droplets/particles) |
IEC 60332-2-2:2004 | Испытания электрических и оптических кабелей в условиях воздействия пламени. Часть 2-2. Испытание на нераспространение горения одиночного вертикально расположенного изолированного провода или кабеля небольших размеров. Проведение испытания диффузионным пламенем (IEC 60332-2-2:2004 Tests on electric and optical fibre cables under fire conditions - Part 2-2: Test for vertical flame propagation for a single small insulated wire or cable - Procedure for diffusion flame) |
IEC 60332-3:2000 (все части) | Испытания электрических кабелей в условиях воздействия пламени. Распространение пламени при групповой вертикальной прокладке кабелей и проводов (IEC 60332-3 (all parts) Tests on electric cables under fire conditions - Test for vertical flame spread of vertically-mounted bunched wires or cables) |
ISO 13943 | Fire safety - Vocabulary (Пожарная безопасность. Словарь) |
(ссылка введена Изменением N 1, введенным в действие Приказом Росстандарта от 20.08.2021 N 732-ст) |
УДК 621.315.2.001.4:006.354 | | | IDT |
Ключевые слова: электрические провода и кабели, оптические кабели, условия воздействия пламени, испытание, нераспространение горения, одиночный вертикально расположенный провод или кабель, газовая горелка, смешение газов |