Главная // Актуальные документы // Методическое пособиеСПРАВКА
Источник публикации
М., 2020
Примечание к документу
Название документа
"Методическое пособие по проектированию оснований и фундаментов на просадочных грунтах"
"Методическое пособие по проектированию оснований и фундаментов на просадочных грунтах"
ПО ПРОЕКТИРОВАНИЮ ОСНОВАНИЙ И ФУНДАМЕНТОВ
НА ПРОСАДОЧНЫХ ГРУНТАХ
| | ИС МЕГАНОРМ: примечание. В официальном тексте документа, видимо, допущена опечатка: имеется в виду СП 24.13330.2011, а не СП 24.13330.2016. | |
Настоящее пособие разработано в развитие положений
СП 22.13330.2016 "СНиП 2.02.01-83* Основания зданий и сооружений",
СП 24.13330.2016 "СНиП 2.02.03-85 Свайные фундаменты" для реализации проектировщиками требований, заложенных в строительных нормах и правилах, и выполнения более грамотного и рационального проектирования зданий и сооружений на просадочных грунтах.
В настоящем методическом пособии приведены указания и рекомендации по проектированию естественных и искусственных оснований, фундаментов на просадочных грунтах, а также рекомендации по геотехническому мониторингу при строительстве.
Методическое пособие разработано с учетом актуализации нормативной базы за последние десять лет, в том числе
ГОСТ 25100 (в части классификации просадочных грунтов),
ГОСТ 23161 (в части методов определения характеристик просадочности), а также нового свода правил
СП 305.1325800.2017 (в части геотехнического мониторинга при строительстве в условиях распространения просадочных грунтов).
Методическое пособие предназначено для инженерно-технических работников проектных и строительных организаций.
Методическое пособие разработано авторским коллективом НИИОСП им. Н.М. Герсеванова - институтом АО "НИЦ "Строительство" (д-р техн. наук
В.И. Крутов - руководитель темы (
разделы 1 -
11), канд. техн. наук
В.К. Когай - ответственный исполнитель (
разделы 1 -
11), канд. техн. наук
И.К. Попсуенко (
разделы 1 -
4,
9), канд. техн. наук
А.М. Дзагов (
разделы 1 -
3,
10), под общей редакцией канд. техн. наук
И.В. Колыбина.
Рекомендации настоящего методического пособия распространяются на проектирование оснований фундаментов зданий и сооружений на просадочных грунтах.
Методические рекомендации не распространяются на проектирование оснований гидротехнических сооружений, дорог, аэродромных покрытий, а также оснований глубоких опор и фундаментов машин с динамическими нагрузками.
В развитие положений
подраздела 6.1 СП 22.13330.2016 методическое пособие содержит указания по особенностям проектирования оснований и фундаментов на просадочных грунтах, приводятся рекомендации по расчету просадок грунтов и фундаментов, мероприятия по проектированию оснований и фундаментов, указания по проектированию фундаментов на естественном и искусственных основаниях (грунтовая подушка, уплотнение просадочных грунтов тяжелыми трамбовками, грунтовыми сваями, предварительным замачиванием, в том числе энергией глубинных взрывов, весом возводимого здания), приводятся указания по проектированию столбчатых и ленточных фундаментов на просадочных грунтах, фундаментов в вытрамбованных котлованах, фундаментов из забивных блоков, рекомендации по специальным мероприятиям (водозащитным и конструктивным), направленным на обеспечение нормативных требований по предельным деформациям с целью снижения чувствительности конструкций зданий к неравномерным осадкам основания.
| | ИС МЕГАНОРМ: примечание. В официальном тексте документа, видимо, допущена опечатка: имеется в виду СП 24.13330.2011, а не СП 24.13330.2016. | |
В развитие положений
раздела 9 СП 24.13330.2016 методическое пособие содержит указания по особенностям проектирования свайных фундаментов на просадочных грунтах, приводятся рекомендации по расчету и проектированию свайных фундаментов на просадочных грунтах I и II типа, рекомендации по расчету сил нагружающего трения на сваи на просадочных грунтах II типа, а также методика расчета сил нагружающего трения на сваи на просадочных грунтах II типа по весу нависающего грунта.
Также в методическом пособии в дополнение к
пункту 6.4.33 СП 22.13330.2016 и
подразделу 8.4 СП 305.1325800.2017 приводятся рекомендации по измерениям общих и послойных осадок основания, горизонтальных перемещений грунтового массива по глубине, наблюдению за уровнем грунтовых вод.
В приложениях приведены: область рационального применения предлагаемых методов уплотнения просадочных грунтов; рекомендации по ускоренному методу замачивания просадочных грунтов, для определения в полевых условиях характеристик просадочности, фактической величины просадки грунтов от собственного веса и типа грунтовых условий по просадочности.
В настоящем пособии приведены ссылки на следующие нормативные документы:
ГОСТ 5180-84 Грунты. Методы лабораторного определения физических характеристик
ГОСТ 12248-2010 Грунты. Методы лабораторного определения характеристик прочности и деформируемости
ГОСТ 19912-2012 Грунты. Методы полевых испытаний статическим и динамическим зондированием
ГОСТ 20522-2012 Грунты. Методы статистической обработки результатов испытаний
| | ИС МЕГАНОРМ: примечание. В официальном тексте документа, видимо, допущена опечатка: имеется в виду ГОСТ 20276-99, а не ГОСТ 20276-96. | |
ГОСТ 20276-96 Грунты. Методы полевого определения характеристик прочности
ГОСТ 22733-2002 Грунты. Метод лабораторного определения максимальной плотности
ГОСТ 23161-2012 Грунты. Методы лабораторного определения характеристик просадочности
ГОСТ 27751-2014 Надежность строительных конструкций и оснований. Основные положения
СП 14.13330.2018 "СНиП II-7-81* Строительство в сейсмических районах" (с изменением N 1)
СП 21.13330.2012 "СНиП 2.01.09-91 Здания и сооружения на подрабатываемых территориях и просадочных грунтах" (с изменением N 1)
СП 22.13330.2016 "СНиП 2.02.01-83* Основания зданий и сооружений" (с изменениями N 1, N 2, N 3)
СП 24.13330.2011 "СНиП 2.02.03-85 Свайные фундаменты" (с изменениями N 1, N 2, N 3)
СП 45.13330.2017 "СНиП 3.02.01-87 Земляные сооружения, основания и фундаменты" (с изменениями N 1, N 2)
СП 47.13330.2016 "СНиП II-02-96 Инженерные изыскания для строительства. Основные положения"
Примечание - При пользовании настоящим Пособием целесообразно проверить действие ссылочных документов в информационной системе общего пользования - на официальном сайте национального органа Российской Федерации по стандартизации в сети Интернет или по ежегодно издаваемому указателю "Национальные стандарты", который опубликован по состоянию на 1 января текущего года, и по соответствующим ежемесячно издаваемым информационным указателям, опубликованным в текущем году. Если ссылочный документ заменен (изменен), то при пользовании следует руководствоваться замененным (измененным) документом. Если ссылочный документ отменен без замены, то положение, в котором дана ссылка на него, применяется в части, не затрагивающей эту ссылку.
В настоящем пособии применены следующие термины с соответствующими определениями:
3.1 армированный грунт: Композитный материал, состоящий из насыпного грунта и армирующих его более прочных элементов.
3.2 армированный массив грунта: Естественный грунтовый массив, усиленный армирующими элементами.
3.3 выравнивание сооружения: Подъем (с помощью домкратов или других приспособлений) или опускание (путем выбуривания грунта и т.п.) сооружения или отдельных его частей при неравномерных деформациях, превышающих предельные.
3.4 геотехническая категория: Категория сложности объекта строительства с точки зрения проектирования оснований и фундаментов, определяемая в зависимости от его уровня ответственности и сложности инженерно-геологических условий площадки строительства.
3.5 геотехнический прогноз: Комплекс работ аналитического и расчетного характеров, цель которых качественная и количественная оценки поведения оснований, фундаментов и конструкций проектируемого сооружения и окружающей застройки в процессе строительства и эксплуатации.
3.6 горизонтальное перемещение: Горизонтальное перемещение грунта или сооружения, возникающее при значительных неравномерных просадках грунта от его собственного веса на участках изменения просадок от минимальных до максимальных значений.
3.7 вертикальные деформации земной поверхности: Деформации земной поверхности в вертикальной плоскости, вызванные неравномерностью вертикальных перемещений.
3.8 допустимые деформации основания сооружений: Деформации, способные вызвать повреждения в сооружениях, при которых для дальнейшей эксплуатации их по прямому назначению достаточно проведения текущих наладочных и ремонтных работ.
3.9 предельные деформации основания сооружений: Деформации, превышение которых может вызвать аварийное состояние сооружений или опасность для жизни людей.
3.10 дополнительная осадка подстилающего слоя: Вертикальная деформация слоя грунта, залегающего ниже просадочной толщи, происходящая от: равномерно распределенной нагрузки от здания или сооружения (включая нагрузки на полы по грунту); повышения собственного веса просадочного грунта при повышении его плотности, влажности; выполнения свай, устройства планировочной насыпи и т.п.
3.11 куст свай: Компактно размещаемая группа свай, объединенная ростверком и передающая нагрузку на основание, как правило, от одиночной колонны или опоры.
3.12 несущая способность сваи: Предельное сопротивление основания одиночной сваи по условию ограничения развития в нем деформаций сдвига в соответствии с заранее заданным условием.
3.13 основание сваи: Часть массива грунта, воспринимающая нагрузку, передаваемую сваей, и взаимодействующая со сваей.
3.14 расчетная нагрузка, передаваемая на сваю: Нагрузка, равная продольному усилию, возникающему в свае от проектных воздействий на фундамент при наиболее невыгодных их сочетаниях.
3.15 ростверк: Распределительная балка или плита, объединяющая головы свай и перераспределяющая на них нагрузку от вышерасположенных конструкций.
3.16 свайное поле: Большая группа свай, объединенная общим ростверком, передающая нагрузку на основание от системы колонн или опор.
3.17 свайный фундамент: Комплекс свай, объединенных в единую конструкцию, передающую нагрузку на основание.
3.18 свая: Погруженная в грунт или изготовленная в грунте вертикальная или наклонная конструкция, предназначенная для передачи нагрузки на основание.
3.19 одиночная свая: Свая, передающая нагрузку на грунт в условиях отсутствия влияния на нее других свай.
3.20 малозаглубленный фундамент: Фундамент с глубиной заложения подошвы выше расчетной глубины сезонного промерзания грунта.
3.21 начальная просадочная влажность: Минимальная влажность, при которой проявляются просадочные свойства грунта, при заданном напряженном состоянии.
3.22 начальное просадочное давление: Минимальное давление, при котором проявляются просадочные свойства грунта, при его полном водонасыщении.
3.23 научно-техническое сопровождение: Комплекс работ научно-аналитического, методического, информационного, экспертно-контрольного и организационного характера, осуществляемых в процессе изысканий, проектирования и строительства в целях обеспечения надежности сооружений с учетом применения нестандартных расчетных методов, конструктивных и технологических решений.
3.24 осадки: Вертикальные составляющие деформаций основания, происходящие в результате внешних воздействий и, в отдельных случаях, от собственного веса грунта, не сопровождающиеся изменением его структуры.
3.25 основание сооружения: Массив грунта, взаимодействующий с сооружением.
3.26 особые условия: Условия, характеризующиеся наличием:
- неблагоприятных геологических и инженерно-геологических процессов (карст, суффозия, горные подработки, оползни и т.д.);
- сейсмических, динамических и других воздействий;
- специфических грунтов (просадочные, набухающие, засоленные и др.).
3.27 относительная просадочность: Отношение изменения толщины слоя грунта без возможности бокового расширения до и после повышения его влажности при заданном давлении к его первоначальной толщине в природном залегании.
3.28 подземное сооружение или подземная часть сооружения: Сооружение или часть сооружения, расположенная ниже уровня поверхности земли.
3.29 просадочный грунт: Преимущественно структурно-неустойчивый, глинистый (лессовый) грунт, в котором при повышении влажности выше определенного уровня происходит потеря его прочности и под воздействием внешней нагрузки и (или) собственного веса происходит его дополнительное уплотнение - просадка грунта.
3.30 просадочная толща: Слой грунта от природной поверхности или уровня планировки до кровли непросадочного грунта.
3.31 просадки: Вертикальные составляющие деформаций основания, происходящие в результате уплотнения грунта и коренного изменения структуры грунта под воздействием как внешних нагрузок и собственного веса грунта, так и дополнительных факторов, таких, например, как замачивание просадочного грунта, оттаивание ледовых прослоек в замерзшем грунте.
3.32 силы отрицательного (негативного) трения: Силы, возникающие на боковой поверхности фундаментов и подземных частей сооружений при перемещении грунтов вниз относительно них.
3.33 специализированные организации: Организации, основное направление деятельности которых - выполнение комплексных инженерных изысканий и проектирование оснований, фундаментов и подземных частей сооружений, располагающие квалифицированным и опытным персоналом, в т.ч. с обязательным привлечением научных кадров, соответствующим сертифицированным оборудованием и программным обеспечением.
3.34 степень изменчивости сжимаемости просадочных грунтов основания: Отношение наибольшего значения приведенного по глубине модуля деформации просадочных грунтов природной влажности к его наименьшему значению при полном водонасыщении (в пределах плана сооружения) или максимальной вертикальной деформации основания к ее минимальному значению.
3.35 уплотненный грунт: Грунт уплотненный одним из известных способов.
3.36 условный радиус кривизны: Кривизна поверхности грунта природного сложения или на уровне подошвы фундамента на криволинейных участках изменения просадки грунта от собственного веса от нуля до максимального значения, представляющего собой отношение квадрата длины криволинейного участка к значению максимальной просадки грунта от собственного веса.
3.37 фундамент сооружения: Часть сооружения, которая служит для передачи нагрузки от сооружения на основание.
4.1 Основания и фундаменты зданий и сооружений на просадочных грунтах должны проектироваться на основе и с учетом:
- результатов инженерных изысканий для строительства;
- инженерной цифровой модели местности (ИЦММ) с отображением подземных и надземных сооружений и коммуникаций;
- данных, характеризующих назначение, конструктивные и технологические особенности сооружения и условия его эксплуатации, включая сведения о наличии водонесущих коммуникаций, и возможности точечного и (или) площадного замачивания просадочных грунтов оснований;
- нагрузок, действующих на фундаменты;
- окружающей застройки и влияния на нее вновь строящихся и реконструируемых зданий и сооружений;
- экологических и санитарно-эпидемиологических требований;
- характера планировки застраиваемой площади планировочной насыпью (время, вид, технология отсыпки грунта, способы его уплотнения и т.п.) или наоборот срезкой грунта.
4.2 Инженерные изыскания для строительства должны производиться в соответствии с требованиями
СП 47.13330 и других нормативных документов по инженерным изысканиям и исследованиям грунтов для строительства, а также с учетом дополнительных требований к инженерно-геологическим изысканиям, позволяющих получать более полные и достоверные значения основных характеристик просадочных грунтов, прогнозу возможных деформаций и расчету оснований и фундаментов.
4.3 К просадочным относятся грунты, в которых при увеличении влажности свыше определенного уровня происходит потеря прочности, вследствие чего возникают дополнительные деформации - просадки - от внешней нагрузки и (или) от собственного веса грунта.
Просадочные деформации чаще всего проявляются: в лессах, в лессовидных глинистых грунтах, реже в некоторых видах покровных суглинков, в рыхлых пылеватых и в мелких песках, обладающих сцеплением, а также в насыпных грунтах, отложениях пепла, отходах промышленных производств и др.
5 Номенклатурные показатели и основные характеристики грунтов и грунтовых условий
5.1 Характеристики грунтов, определяющие склонность их к просадкам и обычно используемые при выполнении инженерно-геологических изысканий:
- показатель П, оценивающий недоуплотненное состояние грунтов по плотности;
- степень влажности Sr <= 0,75 для супесей и Sr <= 0,8 для суглинков;
- степень снижения прочности грунтов

при повышении их влажности.
5.2 Показатель П определяется по формуле
П = (eL - e)/(1 - e), (5.1)
где e - коэффициент пористости грунта природного сложения при естественной влажности;
eL - коэффициент пористости, соответствующий влажности на границе текучести wL и определяемый по формуле

(5.2)
где

- плотность частиц грунта, кН/м
3;

- плотность воды, принимаемая равной 1 кН/м
3.
К просадочным относятся лессы и лессовидные грунты, для которых при числе пластичности: 0,01 <= Ip <= 0,1 показатель П < 0,1; 0,1 <= Ip <= 0,14 показатель П < 0,17; 0,14 <= Ip <= 0,22 показатель П < 0,24; при Sr <= 0,75 для супесей и Sr <= 0,8 для суглинков.
5.3 Показатель снижения прочности грунтов

при их увлажнении определяется по значениям удельного сопротивления при статическом зондировании по формуле

(5.3)
где qe и qw - удельные сопротивления грунта под конусом зонда, соответственно при природной влажности и полном водонасыщении.
К просадочным относятся лессы и лессовидные грунты, для которых показатель снижения прочности

при давлении на грунт 0,3 МПа.
5.4 Основания, сложенные просадочными грунтами, следует проектировать с учетом:
- специфических характеристик просадочных грунтов;
- типа грунтовых условий по просадочности;
- значений просадки грунта от его собственного веса ssl.q;
- возможных источников повышения влажности (замачивания) грунтов;
- видов просадочных деформаций;
- дополнительных нагрузок от сил нагружающего (отрицательного) трения на заглубленные части сооружений;
- дополнительных нагрузок на подстилающие непросадочные грунты.
5.5 Основные специфические характеристики просадочных грунтов:
- относительная деформация просадочности

, т.е. относительное сжатие грунта при повышении его влажности;
- начальное просадочное давление psl, представляющее минимальное давление от внешней нагрузки (фундамента, земляного сооружения и т.п.) и (или) собственного веса грунта, при котором начинает возникать просадка грунта в условиях полного водонасыщения;
- начальная просадочная влажность wsl - влажность просадочного грунта, при которой с учетом напряженного состояния от внешней нагрузки и его собственного веса начинает проявляться просадка грунта.
Основные характеристики просадочных грунтов (

,
psl,
wsl) определяют путем компрессионных испытаний их в лабораторных условиях по
ГОСТ 23161.
5.6 Относительную деформацию просадочности грунта

вычисляют на основе испытаний грунта в лабораторных условиях по формуле

(5.4)
где
hn,p и
hsat,p - высота образца, см, соответственно природной влажности и после его полного водонасыщения (
w =
wsat) при давлении
p, кПа, равном вертикальному напряжению на рассматриваемой глубине от внешней нагрузки и от собственного веса грунта

;
hn,g - высота, см, того же образца природной влажности при
.
Значение

может быть определенно также в полевых условиях путем замачивания опытных котлованов и по испытаниям грунта штампом с замачиванием.
При выполнении инженерно-геологических изысканий относительную просадочность допускается вычислять по формулам:

(5.5)

(5.6)
где

и

- относительные сжатия образцов грунта соответственно в водонасыщенном состоянии и при природной влажности;
en,p и esat,p - коэффициенты пористости образцов грунта соответственно при природной влажности и полном водонасыщении.
5.7 За начальное просадочное давление psl принимают давление:
- при котором относительная просадочность

равна 0,01, при лабораторных испытаниях грунтов в компрессионном приборе;
- точка перегиба на графике "нагрузка-осадка" - при полевых испытаниях штампами предварительно замоченных грунтов;
-

вертикальное напряжение от собственного веса грунта на глубине, начиная с которой происходит просадка грунта от собственного веса при замачивании грунтов в опытных котлованах.
5.8 Начальное просадочное давление psl определяется:
- при лабораторных испытаниях грунтов в компрессионных приборах, выполненных по
ГОСТ 23161 по методам: двух кривых, комбинированному или ускоренному по графику "нагрузка - относительная просадочность";
- при полевых испытаниях штампами по
ГОСТ 20276, выполняемыми, как правило, при природной влажности и полном водонасыщении грунтов.
5.9 Начальная просадочная влажность wsl обычно используется в случаях, когда полностью исключается замачивание грунта, возможно лишь повышение влажности.
Начальная просадочная влажность определяется при расчетах возможных просадочных деформаций в случаях устройства маловодопроницаемых экранов под зданиями и сооружениями.
Начальная просадочная влажность определяется в лабораторных условиях путем испытания 4 - 6 образцов грунта в компрессионных приборах при различной влажности, изменяющейся от минимальной
wmin, равной природной, или установившейся
wp - влажности на пределе раскатывания
wmin =
wp до максимальной
wmax, равной влажности при полном водонасыщении
wmax =
wsat. Остальные образцы испытываются после предварительного повышения влажности до величин, разделяющих предел изменения влажности

на равные интервалы.
За критерий назначения начальной просадочной влажности
wsl, как и начального просадочного давления
psl принимается

.
5.10 Просадочные грунты по относительной просадочности

при условном давлении на грунт
p = 0,3 МПа подразделяются на отдельные виды по таблице 5.1.
Таблица 5.1
Наименование грунтов по степени просадочности | Относительная просадочность  при давлении p = 0,3 МПа |
Непросадочные | < 0,01 |
(Условно просадочные) | |
Слабопросадочные | |
Среднепросадочные | |
Сильнопросадочные | |
Чрезвычайнопросадочные | |
Особенности развития просадочных деформаций
5.11 При проектировании оснований, сложенных просадочными грунтами, а также зданий и сооружений, включая фундаменты, следует учитывать: особенности напряженно-деформируемого состояния основания; развитие просадочных деформаций по глубине грунтового массива
(рисунок 5.1) и в плане; повышение влажности (замачивания) грунтов; виды просадочных деформаций.
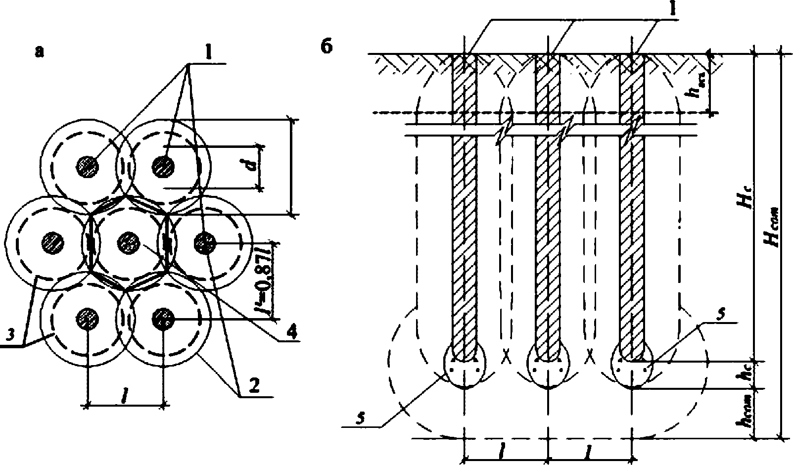
Hsl и H'sl - толщина просадочной толщи соответственно
от природного рельефа без учета и с учетом дополнительных
напряжений

;
Hsl,f и
H'sl,f - соответственно толщина
просадочной толщи при планировке застраиваемой площадки
подсыпкой и срезкой грунта; hsl,p - толщина верхней
(деформируемой) зоны I ssl,p от нагрузки фундамента;
hsl,g - толщина нижней зоны III просадки ssl,p
от собственного веса грунта; h'sl,g - то же, с учетом
дополнительных вертикальных напряжений

и

;
hn - толщина нейтральной зоны II; h'n - то же, с учетом
дополнительных вертикальных напряжений

;
Hul
и H'ul - толщина зоны IV дополнительного сжатия
подстилающего грунта соответственно от природного рельефа
и уровня подсыпки; 1 - вертикальные напряжения
от собственного веса грунта

; 2 - суммарные вертикальные
напряжения от внешней нагрузки

и собственного веса грунта

; 3 - изменение с глубиной начального просадочного
давления psl; 4 - дополнительные вертикальные напряжения

за счет повышения влажности, уплотнения просадочного
грунта, равномерно распределенной нагрузки здания или
сооружения, полов 1-го этажа и т.п.; 5 - то же,

- при
дополнительной нагрузке на грунты основания от веса
планировочной насыпи; 6 и 7 - эпюры изменения по глубине
просадок фундамента, грунта и дополнительного сжатия
подстилающего грунта соответственно без учета и с учетом
дополнительных напряжений

; 8 - 10 - уровни рельефа
соответственно природного, при планировке соответственно
природного, при планировке подсыпкой на высоту hf и срезкой
грунта на глубину dt; 8 - 9 - то же, при планировке
соответственно подсыпкой на высоту и срезкой грунта;
11 - изменение по глубине вертикальных напряжений

при планировке площадки срезкой на глубину ht;
12 и 13 - вертикальные напряжения на глубине
d соответственно от собственного веса грунта
и нагрузки от фундамента
Рисунок 5.1 - Зоны деформации просадочных грунтов
в основании фундаментов (а) и схемы изменения
вертикальных напряжений в грунтовых массивах
при вертикальной планировке подсыпкой (б) и срезкой
(в) грунта (d) - глубина заложения фундамента
5.12 Напряженно-деформируемое состояние основания, сложенного в верхней части просадочным грунтом
(рисунок 5.1) характеризуется
1 - вертикальными напряжениями

от собственного веса грунта при его природной или установившейся влажности;
2 - вертикальными напряжениями

от нагрузки фундаментов в пределах сжимаемой толщи
Hc, определяемой по СП 22.13330.2016 (
5.6.31 -
5.6.41);
3 - дополнительными вертикальными напряжениями

, возникающими при застройке участка;
4 - вертикальными равномерно-распределенными напряжениями

от здания или сооружения ниже условно принимаемой сжимаемой толщи
Hc;
5 - вертикальными напряжениями от веса планировочной насыпи

, равными

- удельный вес грунта, т/м
3, планировочной насыпи в процессе отсыпки (
рисунок 5.1, в);
6 - частичной разгрузкой грунтового массива (
рисунок 5.1, в), приводящего к снижению вертикальных напряжений

и

соответственно на величины

и

,
где kt - коэффициент условий работы, принимаемый равным kf = 1 при срезке грунта, а также устройстве подземных этажей и подвалов шириной B > 1,5 Hsl; при B <= 0,1 Hsl, kf = 0, при 0,1 Hsl <= B <= 1,5 Hse коэффициент kf принимается по интерполяции от 0,1 до 1.
Дополнительные вертикальные напряжения от пригрузки основания планировочной насыпью

допускается не учитывать при высоте ее
hf < 0,2 м, а разгрузку при
hf < 0,5 м.
5.13 При проектировании оснований, сложенных просадочными грунтами, следует учитывать возможность повышения их влажности за счет:
- замачивания грунтов сверху из внешних источников и (или) снизу при подъеме уровня подземных вод;
- накопления влаги в грунте вследствие инфильтрации поверхностных вод и экранирования поверхности.
За расчетное состояние грунтов основания по влажности в большинстве случаев следует принимать возможность замачивания грунтов сверху и (или) снизу, при которых, как правило, происходит повышение их влажности до полного водонасыщения.
Повышение влажности лессов, а также лессовидных суглинков и глин при экранировании поверхности допускается принимать до установившегося значения

- влажности на границе раскатывания.
5.14 Повышение напряженного состояния грунтов основания при застройке происходит вследствие: увеличения влажности грунтов; уплотнения и закрепления грунтов при ликвидации их просадочных свойств; устройства обратных засыпок глубоких котлованов с повышенной плотностью грунтов; применения фундаментов из забивных, набивных, буронабивных свай; устройства фундаментов под технологическое оборудование и полы; нагрузки от веса зданий и сооружений; динамических воздействий от работающих в зданиях и сооружениях кранового, технологического оборудования и других воздействий.
5.15 При наличии нагрузки от фундамента и собственного веса грунтов просадки их по глубине (
рисунок 5.1, б) в общем случае характеризуются наличием четырех зон:
I - верхняя (деформируемая) зона просадки грунта, в пределах которой просадка происходит главным образом под действием нагрузки от фундамента и частично собственного веса грунта, которая распространяется от подошвы фундамента до глубины
hse,p, на которой вертикальные напряжения от нагрузки фундамента

и собственного веса грунта

равняются значению начального просадочного давления
psl,

;
II - пассивная (нейтральная) зона толщиной
hsl,n, в которой деформации грунта при его замачивании практически отсутствуют, так как выполняется условие

;
III - нижняя зона просадки грунта от собственного веса, в пределах которой происходит просадка грунта от собственного веса, которая начинается с глубины
hsl,g, ниже которой выполняется условие

, и заканчивается на нижней границе просадочной толщи
Hsl;
IV - зона сжатия подстилающих просадочную толщу непросадочных грунтов, возникающая при застройке участка под действием: вертикальных и дополнительных напряжений

,

и частично

.
5.16 При проектировании оснований, сложенных просадочными грунтами, следует учитывать особенности развития просадок грунтов по глубине и в плане:
- просадки
ssl,p от внешней нагрузки, происходящие в пределах верхней зоны
hsl,p (см.
пункт 5.12);
- просадки от собственного веса грунта
ssl,g, происходящие в нижней зоне
hsl,g, (см.
пункт 5.12);
- неравномерность просадки грунтов

;
- горизонтальные перемещения основания usl в пределах криволинейной части просадочной воронки при просадке грунтов от собственного веса;
- дополнительные осадки подстилающих просадочную толщу грунтов, происходящие за счет повышения напряженного состояния грунтового массива, а также снижения модуля деформации грунтов при повышении их влажности.
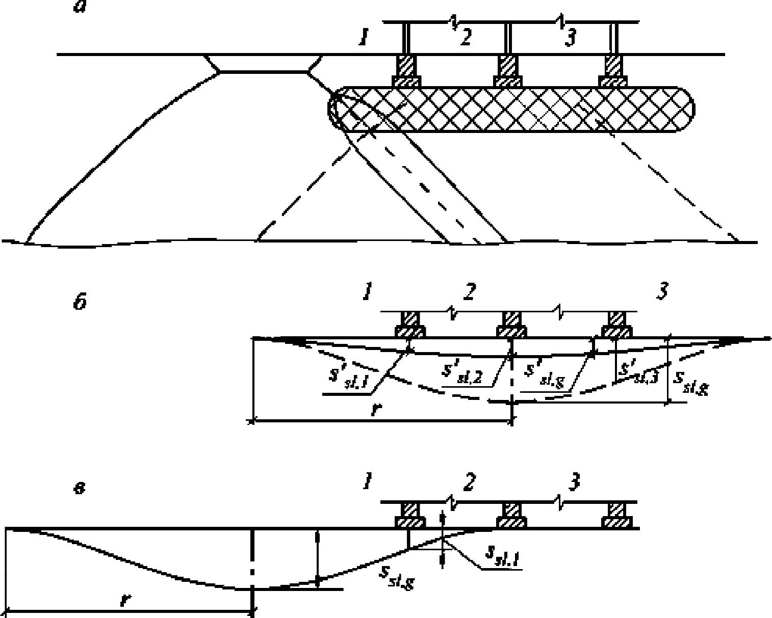
5.17 Просадки грунтов оснований от собственного веса
ssl,q характеризуются
(рисунок 5.2):
- максимальной или возможной просадкой;
- разностью

и относительной разностью просадок

(
L - расстояние между точками по длине участка или между фундаментами);
- наклоном поверхности основания или креном фундаментов сооружения I;
- кривизной изгибаемого участка основания или сооружения или выгибом основания f/L (f - прогиб, L - длина однозначного изгибаемого участка основания или сооружения), или радиусом привязки.
А - линейный источник замачивания; Б - площадной источник
замачивания; а - поперечный разрез зоны увлажнения;
б - кривые просадки поверхности грунта; в - кривые наклонов
(4) и кривизны (5) поверхности; г - кривые горизонтальных
перемещений поверхности грунта; 1 - положение земной
поверхности; 2 - площадь - источник замачивания; 3 - нижняя
граница растекания воды; Bw - ширина замачиваемой площади;
bw - ширина горизонтального участка просадки;

- угол
растекания воды в стороны; Hsl - просадочная толща;
r - расчетная длина криволинейного участка просадки
от собственного веса грунта; lw - ширина зоны растекания
воды; usl - горизонтальные перемещения земной поверхности;
I и II - зоны соответственно разуплотнения и уплотнения
грунта; r0 - ширина зон соответственно уплотнения
и разуплотнения грунта
Рисунок 5.2 - Общий характер развития просадочных
деформаций на поверхности от собственного веса
5.18 Максимальная просадка грунта от собственного веса
ssl.g.max происходит в случаях площадных источников (
рисунок 5.2, б) шириной
Bw >=
Hsl и наблюдается в их средней части шириной
bw.
За пределами ширины bw и длины lw на криволинейных участках r просадка грунта от собственного веса ssl.g.x изменяется от максимальной ssl.g.max до нуля (Ssl.g = 0).
5.19 При отсутствии площадных источников замачивания (
Bw >=
Hsl) и наличии только возможных линейных источников шириной

или точечных источников диаметром
dw.min <
dw <=
Hsl расчет оснований, фундаментов, а также зданий и сооружений рекомендуется выполнять на возможную просадку грунтов от их собственного веса
S'sl.g.
Примечание - При отсутствии результатов замачивания опытных котлованов в полевых условиях минимальную ширину Bmin линейного источника замачивания, при которой начинает проявляться просадка грунта от его собственного веса, допускается принимать Bw.min >= 0,1·Hsl, а точечного - диаметром dw.min >= 0,15·Hsl.
5.20 Длина криволинейного участка просадки грунта от собственного веса определяется по формуле:
r = lsl + (Bw - bw)/2, (5.7)
а в случае А
(рисунок 5.2) при
bw = 0 максимальное значение участка определяется по формуле
rmax = lsl + Bw/2, (5.8)
где lsl - величина распространения просадки грунта в стороны от замачиваемой площади; при отсутствии экспериментальных данных принимается равной для: супесей lsl = 0,8·Hsl; суглинков и глин соответственно Hsl и 1,4·Hsl.
5.21 Изменение просадки поверхности грунта от собственного веса по данным экспериментальных исследований в различных грунтовых условиях на криволинейных участках
r при начале координат в точках 0
(рисунок 5.2) описывается уравнением косинусоиды вида:

(5.9)
Косинусоида имеет перегиб в точке с координатами r/2 и ssl,gx/2, где кривизна ее наибольшая.
5.22 Неравномерные просадки грунтов от их собственного веса

, а также их относительной разности

возникают на криволинейных участках их развития
r, ширины которых зависят от ширины (диаметра) источника замачивания
Bw(
dw), ширины зоны
lw - растекания воды в стороны от него

.
5.23 Наклоны поверхности основания isl и крены фундаментов и сооружений ksl, возникающие при просадке грунтов от их собственного веса, определяются как отношение разности просадок отдельных краев фундаментов к ширине подошвы фундамента или сооружения b в направлении крена

(5.10)
где

и

- максимальные или возможные просадки основания или краев фундамента и сооружения от собственного веса грунта.
5.24 Разность

и относительную разность просадок основания

следует определять для отдельных точек оснований или фундамента и в целом для зданий и сооружений с податливой конструктивной схемой по
СП 22.13330.
Для зданий и сооружений с жесткой конструктивной и комбинированной схемой, а также при податливой конструктивной схеме, возводимых на свайных фундаментах с полной прорезкой просадочных грунтов, рекомендуется вычислять возможные крены зданий и сооружений.
5.25 Радиус кривизны Rsl поверхности основания при просадках грунтов от собственного веса определяется по формуле
Rsl = r2(1 + m)/2·ssl,g, (5.11)
где
r - расчетная длина криволинейного участка
(рисунок 5.2) просадки грунта от собственного веса;
ssl,g - расчетная просадка грунта от собственного веса при полном водонасыщении;
m - коэффициент, численно равный ssl,g.
5.26 Расчетная длина криволинейного участка r определяется по формуле

(5.12)
где Hsl - значение просадочной толщи, определяемое с учетом планировки участка подсыпкой или срезкой грунта;

- коэффициент, учитывающий растекание воды в стороны и принимаемый равным: 0,7 - для лессов, 1,0 и 1,4 - для лессовидных суглинков и глин соответственно, 1,7 - при слоистых напластованиях этих грунтов;

- среднее значение угла растекания воды в стороны.
5.27 Тип грунтовых условий устанавливается по результатам лабораторных испытаний образцов грунтов на просадочность путем вычисления значений просадок грунтов от их собственного веса Sslq или, более достоверным методом замачивания грунтов в опытных котлованах.
Грунтовые условия площадок, сложенных просадочными грунтами, в зависимости от возможности проявления просадки грунтов от собственного веса подразделяют на два типа:
I - грунтовые условия, в которых возможна в основном просадка грунтов от внешней нагрузки, а просадка грунтов от собственного веса отсутствует или не превышает 5 см;
II - грунтовые условия, в которых помимо просадки грунтов от внешней нагрузки возможна их просадка от собственного веса и ее величина превышает 5 см.
5.28 Горизонтальные перемещения проявляются в пределах верхней части просадочной толщи на глубину 0,5Hsl и характеризуются развитием двух зон:
I - зона горизонтального разуплотнения (растяжения) грунта, располагающаяся на периферийных частях участков неравномерной просадки грунтов от собственного веса, в пределах которой горизонтальные перемещения направлены в стороны от источников залегания;
II - зона горизонтального уплотнения (сжатия) грунта возникает вблизи и под источником замачивания, в которой горизонтальные перемещения направлены в сторону источника замачивания.
Глубину зон горизонтального разуплотнения и уплотнения грунтов рекомендуется принимать Hгор = 0,5Hsl - толщина просадочной толщи, а изменение их по глубине по линейному закону от Hsl до нуля.
5.29 При проектировании оснований и фундаментов на просадочных грунтах со II типом грунтовых условий необходимо учитывать особенности влияния просадочных деформаций на заглубленные подземные части зданий и сооружений и особенно свайные фундаменты.
При просадках грунтов от собственного веса, а также дополнительных вертикальных напряжений, при застройке территорий, за счет возникающих сил трения и сцепления по боковой поверхности свай, а также по периметру заглубленной части зданий и сооружений, уплотненных, закрепленных массивов грунтов, происходит нависание на них окружающего просадочного грунта, вследствие чего происходит разгрузка окружающих просадочных грунтов с одновременной пригрузкой основания, дополнительной нагрузкой Pn.
5.30 Горизонтальные перемещения грунтов, возникающие при их просадках от собственного веса, оказывают влияние на подземные конструкции в зонах сжатия и растяжения с передачей на них соответственно дополнительных сжимающих или растягивающих усилий и напряжений, на которые необходимо выполнять расчеты на возможность горизонтального смещения, как отдельных фундаментов колонн каркасных зданий, так и отдельных блоков зданий, а также небольших в плане сооружений.
При проектировании свайных фундаментов следует выполнять расчеты на изгиб от усилий, передающихся на них от горизонтальных перемещений.
5.31 При проектировании зданий и сооружений на просадочных грунтах с типом II грунтовых условий необходимо учитывать дополнительные нагрузки Pn от сил нагружающего (негативного) трения fn, возникающие при просадках грунтов от собственного веса по боковым поверхностям подземных (заглубленных) частей сооружений и отдельных, а также глубоких фундаментов.
5.32 Дополнительные нагрузки Pn от сил нагружающего трения fn по боковой поверхности следует определять:
- для подземных частей сооружений и отдельных фундаментов мелкого заложения по формуле

(5.13)
где

- коэффициент условий работы боковых поверхностей с грунтом, принимаемый равным 0,6;
h и u - соответственно высота и периметр заглубленной подземной части сооружения или фундамента, м;
fn - расчетное сопротивление грунта по боковой поверхности сооружения или фундамента, принимаемое по
СП 24.13330 (со знаком минус) на глубине 0,5
h.
6 Дополнительные требования к инженерно-геологическим изысканиям
6.1 Инженерно-геологические изыскания на площадках, сложенных просадочными грунтами, должны выполняться по специальным заданиям и программам, как правило, специализированными изыскательскими организациями в соответствии с требованиями
СП 446.1325800,
СП 22.13330,
СП 24.13330 с учетом:
- ранее выполнявшихся инженерно-геологических изысканий на площадке, сложенной просадочными грунтами или вблизи ее;
- особенностей, основных характеристик, закономерностей проявления деформаций просадочных грунтов, взаимодействия их с фундаментами, рельефа застраиваемой площадки, наличия на ней просадочных понижений (блюдец);
- возможного характера планировки площадки срезкой и (или) подсыпкой грунтов с устройством планировочных насыпей;
- уровня ответственности, конструктивных особенностей зданий и сооружений (этажности, размера в плане, нагрузок на грунты основания, наличия подвалов, подземных этажей и т.п.);
- возможных видов оснований (естественных или искусственных), методов их выполнения, типов и видов фундамента;
- наблюдавшихся ранее факторов, которые приводили к изменению влажности грунтов и гидрогеологических условий площадки строительства (наличие древнего или современного орошения, утечек воды из водонесущих инженерных коммуникаций, емкостей для воды и т.п.).
6.2 При выполнении инженерно-геологических изысканий на площадках, сложенных просадочными грунтами, должны быть:
определены основные характеристики просадочных грунтов:
- относительная просадочность

;
- начальное просадочное давление psl;
- в отдельных случаях начальная просадочная влажность wsl;
- типы грунтовых условий по просадочности;
- значения просадочной толщи Hsl;
- изменение значения просадочной толщи в плане;
- значения просадки грунта от его собственного веса ssl,g;
должны включать полевые работы по:
- испытанию просадочных грунтов, при их природной влажности и полном водонасыщении, штампом или опытными фундаментами в соответствии с
ГОСТ 30672;
- статическому зондированию просадочных и подстилающих их глинистых грунтов при природной влажности и полном водонасыщении по
приложению А;
- опытному замачиванию просадочных грунтов в котлованах, выполняемых по
приложению А;
- испытанию грунтов натурными сваями по
ГОСТ 5688.
6.3 Относительная просадочность

и начальное просадочное давление
psl должны определяться, как правило, путем компрессионных испытаний по
ГОСТ 23161 по схемам: двух кривых, комбинированной или ускоренному с 2 - 3-кратной повторностью на образцах ненарушенной структуры, отобранных через 1 - 3 м по глубине в пределах каждого инженерно-геологического элемента (ИГЭ).
Результаты компрессионных испытаний должны быть дополнены графиками зависимости

от давления
psl на грунт при изменении его от минимального, с учетом возможной срезки, до максимального, а также данными по изменению

и
psl по глубине по каждой технической скважине-выработке.
6.4 Основные характеристики просадочных грунтов: тип грунтовых условий, Hsl, ssl,g, sul, Hul определяются:
- в первом приближении на основе анализа общего инженерно-геологического строения обследуемой площадки, ранее выполненных инженерно-геологических изысканий на этой площадке или на других вблизи расположенных участках, изучения местного опыта строительства и т.п.;
- расчетом значения просадки грунтов ssl,q по результатам компрессионных испытаний грунтов на просадочность;
- замачиванием грунтов в опытных котлованах, выполняемым по
приложению А.
6.5 При определении типа грунтовых условий по просадочности по результатам компрессионных испытаний путем вычисления возможной просадки грунта от его собственного веса ssl,g рекомендуется относить:
- к I типу грунтовых условий - площадки с расчетной просадкой ssl,g < 5 см;
- ко II типу грунтовых условий - площадки с расчетной просадкой ssl,g > 15 - 20 см.
При расчетной просадке грунтов от собственного веса, изменяющейся от ssl,q = 5 см до ssl,q = 15 см при преобладании лессов и супесей и ssl,q = 20 см - суглинков, возможен как I, так и II тип грунтовых условий. В этих случаях для зданий и сооружений 1 и 2 уровней ответственности, тип грунтовых условий уточняется на основе выполнения работ по замачиванию грунтов в опытных котлованах.
6.6 При выполнении инженерно-геологических изысканий необходимо выполнять комплекс лабораторных исследований по определению основных характеристик и показателей уплотненных грунтов, а также их прочностные и деформационные характеристики.
Основные показатели характеристик уплотненных грунтов - максимальная плотность

и оптимальная влажность
w0 (рисунок 6.1), определяемые по
ГОСТ 22733.
а - зависимость плотности

уплотненного грунта в сухом
состоянии от его влажности w; б - зависимость угла
внутреннего трения

и удельного сцепления
c уплотненных
грунтов до различной плотности (

и
kcom);
в - зависимость
компрессионного модуля деформации Ek (с учетом коэффициента
mk) от плотности (

и
kcom) уплотненного грунта;
1 - кривая стандартного уплотнения грунта; 2 - оптимальная
влажность w0 = 0,18; 3 - максимальная плотность уплотненного
грунта

при
kcom = 1; значения плотности
в сухом состоянии уплотненных грунтов до соответственно:

;

;
Рисунок 6.1 - Графики испытаний уплотненных грунтов
Максимальная плотность

уплотненного грунта в сухом состоянии это максимальное значение плотности, достигаемое при принятых (стандартных) режимах и энергии уплотнения.
6.7 Основные показатели уплотненных грунтов - заданные и полученные значения плотности

, коэффициент уплотнения
kcom, оптимальная влажность
w0 - влажность, при которой достигается максимальная плотность

уплотняемого грунта и при этом требуется минимальная затрата энергии для достижения максимальной плотности

при заданном режиме уплотнения.
Примечание - При уплотнении просадочных грунтов максимальную плотность

и оптимальную влажность
w0 следует определять, как правило, для всех видов глинистых грунтов, а при выполнении грунтовых подушек, планировочных насыпей в основании и др. - дополнительно 2-х - 3-х видов смесей, грунтов с соотношением, например, 1:0,5 и 1:1 или 1:0,3; 1:0,6 и 1:1 и т.п.
6.8 Основные показатели уплотненных грунтов, а также и диапазоны изменения влажности

, соответствующие заданным в проекте коэффициентом уплотнения
kcom.
| | ИС МЕГАНОРМ: примечание. В официальном тексте документа, видимо, допущена опечатка: приложение К отсутствует. | |
Необходимая плотность уплотненного грунта

определяется по приложению К как произведение максимальной плотности

на заданный коэффициент уплотнения
kcom, т.е.

. Диапазон изменения влажности

определяется по кривой стандартного уплотнения путем проведения линии из точки, соответствующей значению требуемого

параллельно оси абсцисс (
рисунок 6.1, а).
При назначении необходимой плотности уплотненного грунта учитывается природная влажность грунта, с учетом которой определяются прочностные и деформационные характеристики уплотненных до различной плотности грунтов.
6.9 Прочностные характеристики уплотненных грунтов (удельное сцепление
c и угол внутреннего трения

) определяют путем испытаний по
ГОСТ 12248 на срез трех-четырех образцов грунтов, уплотненных до коэффициента уплотнения 0,87 - 0,9; 0,92 - 0,95; 0,97 - 0,98.
По результатам сдвиговых испытаний (
рисунок 6.1, б) и полученным значениям удельного сцепления
C и угла внутреннего трения

определяют необходимые коэффициенты уплотнения грунтов
kcom и допустимые пределы снижения плотности уплотненных грунтов.
Если в проекте заданы конкретные значения прочностных характеристик
C и

, то по кривым 7 и 8 с использованием заданных значений
C и

определяются минимально допустимые плотности и коэффициенты уплотнения, при которых обеспечивается выполнение заданных условий.
6.10 Сжимаемость уплотненных до различной степени просадочных грунтов, а также грунтов в грунтовых подушках, планировочных насыпях, определяется:
- при выполнении инженерно-геологических путем компрессионных испытаний по
ГОСТ 12248 образцов при их полном водонасыщении и коэффициенте уплотнения, изменяющемся от 0,87 - 0,9 до 0,98
(приложение А);
- при выполнении опытных работ, а также начальном этапе производственного уплотнения путем испытаний уплотненных грунтов штампами или опытными фундаментами по
ГОСТ 20276.
Примечания
1 По результатам лабораторных испытаний компрессионный модуль вычисляют с учетом корректирующего коэффициента
mk и строят графики зависимости модуля деформации
Ek от плотности

и коэффициента уплотнения
kcom.
2 Степень изменчивости сжимаемости

уплотненных грунтов определяется отношением возможного наибольшего значения модуля деформации
Emax (при
kcom = max) к наименьшему допустимому его значению
Emin (при
kcom = min), т.е.

.
6.11 Число сдвиговых и компрессионных испытаний образцов уплотненных грунтов назначаются с учетом: возможного объема уплотняемого грунта, категории сложности проектируемых зданий и сооружений и др. факторов.
6.12 Статическое зондирование на площадках с просадочными грунтами рекомендуется выполнять по
приложению Б при природной влажности и полном водонасыщении просадочных грунтов, а также подстилающих их грунтов путем их локального замачивания.
6.13 Локальное замачивание просадочного грунта следует проводить на отдельных участках, ограниченных размеров в плане, как правило, приуроченных к участкам выполнения опытных работ, расположения буровых скважин и испытаниям опытных свай.
В случаях выполнения опытного замачивания просадочных грунтов
(приложение А) непосредственно в котлованах или возле них в пунктах полного водонасыщения просадочных и подстилающих природных глинистых грунтов.
6.14 Испытания свай статическими нагрузками следует выполнять по
ГОСТ 5686 при полном водонасыщении просадочных и подстилающих их глинистых грунтов и, целесообразно, с раздельным определенным сопротивлением свай по боковой поверхности и по торцу.
6.15 В просадочных грунтах II типа следует выполнять испытания свай в каждом пункте с раздельным определенным сопротивлением свай по боковой поверхности и по торцу:
- первая l1 = hsl - на выдергивание и затем на вдавливание с определением сваи Fn,b по боковой поверхности;
- вторая свая длиной l испытывается на вдавливание для определения максимальной несущей способности Fn,max проектной сваи в водонасыщенном просадочном грунте при отсутствии его просадки;
- первая свая длиной l = hsl испытывается на выдергивающую вертикальную нагрузку с определением возможной дополнительной нагрузки на нее Pn сил нагружающего трения.
7 Расчет деформаций оснований
Проектирование естественных оснований
7.1 Проектирование оснований и фундаментов на просадочных грунтах выполняется по
СП 22.13330 и
СП 24.13330 и включает выбор:
а) типа естественного основания и его вида или искусственного основания и способа его выполнения (заменой просадочного грунта, способа уплотнения или преобразования просадочного грунта;
в) вида мероприятий по обеспечению нормальной эксплуатации зданий и сооружений в случае отсутствия или возможности развития просадочных деформаций;
г) вида конструктивных и водозащитных мероприятий при выбранных типах и видах оснований, фундаментов и мероприятий по
перечислениям а),
б) и
в);
д) мероприятий по виду и устройству оснований под фундаменты технологического оборудования, а также инженерных коммуникаций и других водонесущих сооружений, при которых полностью или существенно снижается до минимума вероятность замачивания грунтов под ними и на окружающей территории;
е) мероприятий, применяемых для снижения деформаций зданий и сооружений окружающей застройки, направленных на исключение или снижение под ними: возможности замачивания просадочных грунтов; дополнительных деформаций вследствие влияния новой застройки.
7.2 Расчет деформаций оснований, сложенных просадочными грунтами, проводят с учетом особенностей развития просадок грунтов в плане и по глубине в соответствии с требованиями
раздела 5 СП 22.13330.2016.
Деформации основания определяют суммированием по формулам:
s = sp + ssl,p + ssl,g + sul; (7.1)

(7.2)
где
sp и

- осадки и разность осадок основания от нагрузки фундамента, определяемые без учета просадочных свойств грунтов, исходя из деформационных характеристик грунтов при установившейся влажности
w, принимаемой равной природной влажности, если
w >
wp и влажности на границе раскатывания (пластичности)
wp, если
w <
wp;
ssl,p и

- просадка и разность просадок основания фундаментов от его нагрузки в верхней зоне
hsl,p;
ssl,g и

- просадка и разность просадок основания от собственного веса грунта в нижней зоне просадки
hsl,g;
sul и

- дополнительная осадка и разность осадок подстилающих просадочную толщу грунтов в зоне дополнительного их сжатия
Hul.
7.3 При расчете деформаций оснований сложенных просадочными грунтами следует рассматривать четыре основных схемы их развития, приведенные на
рисунке 7.1.
а - просадка от собственного веса ssl,g отсутствует
(не превышает 5 см), возможна только просадка от внешней
нагрузки ssl,p в верхней зоне просадки hsl,p (I тип
грунтовых условий); б, в, г - возможна просадка
от собственного веса ssl,g в нижней зоне просадки hsl,g,
начиная с глубины zg (II тип грунтовых условий); б - верхняя
и нижняя зоны не сливаются, имеется нейтральная зона hn;
в - верхняя и нижняя зоны просадки сливаются; г - просадка
от внешней нагрузки отсутствует; 1 - вертикальные напряжения
от собственного веса грунта

;
2 - суммарные
вертикальные напряжения от внешней нагрузки

и собственного веса грунта

;
3 - изменение
по глубине начального просадочного давления psl;
4 - дополнительные вертикальные напряжения

за счет
возможного повышения влажности, уплотнения просадочного
грунта, нагрузки от полов и фундаментов технологического
оборудования, выполненных на грунте основания и других
дополнительных факторов; Hsl - толщина слоя просадочных
грунтов от поверхности (просадочная толща); Hul - толщина
зоны дополнительного сжатия подстилающих просадочную толщу
Hsl непросадочных грунтов; sul - дополнительная осадка
подстилающих непросадочных грунтов
Рисунок 7.1 - Схемы к расчету просадок грунта
в основании фундамента
В случаях выполнения планировочных насыпей толщиной hf > 1 - 2 м, возможны переходы: схемы а в схему б, а схемы б в схему в.
Расчет просадок грунтов и фундаментов
7.4 При определении просадок грунтов ssl,g и ssl,p и их неравномерности следует учитывать:
- характер планировки территории (наличие выемок и срезки или насыпей и подсыпок, которые оказывают влияние на напряженное состояние грунтов основания, величину просадочной толщи hsl, а также на характер и величину просадок);
- возможные виды, размеры и места расположения источников замачивания грунтов, конструктивные особенности сооружения, в частности наличие тоннелей, подвалов под частью сооружения и т.п.;
- дополнительные нагрузки на глубокие фундаменты, уплотненные и закрепленные массивы от сил негативного трения, возникающих при просадках грунтов от собственного веса.
При замачивании сверху больших площадей (ширина замачиваемой площади Bw >= Hsl) и замачивании снизу за счет подъема уровня подземных вод просадки грунтов от собственного веса ssl,g проявляются полностью, а при замачивании сверху малых площадей (Bw < 0,3 - 0,5 Hsl) проявляется только их часть s'sl,g.
7.5 Просадку грунтов основания ssl,g и ssl,p, см, вследствие замачивания сверху больших площадей, а также замачивания снизу при подъеме уровня подземных вод вычисляют по формуле

(7.3)
где

- относительная просадочность
i-го слоя грунта;
hi - толщина i-го слоя, см;
ksl,i - коэффициент, определяемый в соответствии с
7.6;
n - число слоев, на которое разбита зона просадки hsl.
Примечание - Просадку грунта основания ssl,p от нагрузки фундамента в верхней зоне hsl,p допускается определять из разностей осадок штампов или фундаментов при полном водонасыщении и природной или установившейся влажности.
7.6 Коэффициент
ksl,i, входящий в
формулу 7.3 при
b > 12 м, принимается равным 1, а при
b < 3 м вычисляют по формуле
ksl,i = 0,5 + 1,5(p - psl,i)/p0, (7.4)
где p - среднее давление по подошве фундамента, кПа;
psl,i - начальное просадочное давление грунта i-го слоя, кПа;
p0 - давление, равное 100 кПа.
При 3 м < b < 12 м ksl,i определяют интерполяцией.
При определении просадки грунта от собственного веса следует принимать ksl = 1 при Hsl <= 15 м и ksl = 1,25 при Hsl >= 20 м, при промежуточных значениях Hsl коэффициент ksl определяют интерполяцией.
7.7 Толщину зоны просадки грунта
hsl принимают равной
(рисунок 7.1):
- толщине верхней зоны просадочной толщи
hsl,p при определении просадки грунта от внешней нагрузки
ssl,p, при этом нижняя граница указанной зоны соответствует глубине, где

или глубине, где значение

минимально, если
(рисунок 7.1);
- толщине нижней зоны просадочной толщи
hsl,g при определении просадки грунта от собственного веса
ssl,g, т.е. начиная с глубины
zg, где

или значение

минимально, если

, и до нижней границы просадочной толщи.
7.8 При отсутствии опытных определений начального просадочного давления суммирование по
формуле (7.3) проводят до глубины, на которой относительная просадочность

от давления
pi равна 0,01.
7.9 Для расчета просадок грунта от нагрузки фундамента
ssl,p и в нижней зоне от собственного веса грунта
ssl,q просадочную толщу разбивают на отдельные слои толщиной
hi в соответствии с литологическим разрезом и горизонтами определения

. При этом толщина слоев должна быть не более 2 м, а изменение суммарного напряжения в пределах каждого слоя не должно превышать 100 кПа.
При расчете просадок
ssl,p и
ssl,q по
формуле (7.3) учитывают только слои грунта, относительная просадочность которых при фактическом напряжении от

или только от
(рисунок 7.1) 
.
7.10 Возможную просадку грунта от собственного веса s'sl,g см, при замачивании сверху из точечных или линейных источников (ширина замачиваемой площади Bw меньше размера просадочной толщи Hsl) вычисляют по формуле

(7.5)
где ssl,g - максимальное значение просадки грунта от собственного веса, см.
7.11 При устранении просадочных свойств грунтов уплотнением или закреплением для сооружений геотехнических категорий 2 и 3 необходимо обеспечить, чтобы полное давление на кровлю подстилающего неуплотненного или незакрепленного слоя не превышало начальное просадочное давление psl.
7.12 При наличии испытаний просадочных грунтов штампами или опытными фундаментами просадки грунта ssl,p в верхней зоне от нагрузки фундамента рекомендуется определять по формуле
ssl,p = ssl,p,w - sp, (7.6)
где
ssl,p и
ssl,p,w - расчетные осадки фундаментов по
разделу 5, полученные по модулям деформации
E и
Ew при природной влажности и их полном водонасыщении.
7.13 При устройстве маловодопроницаемых экранов
(рисунок 7.2) просадки грунтов основания в верхней зоне
hp от нагрузки фундаментов в
ssl,p, а также в нижней зоне (
Hsl -
hsl) от собственного веса грунта следует рассчитывать для случаев расположения источника замачивания грунта внутри сооружения и возможности повышения влажности грунта через маловодопроницаемый экран с учетом не полного водонасыщения просадочного грунта.
а - поперечный разрез; б - кривые просадки при инфильтрации
воды через экран; в - то же, из источника, расположенного
за пределами экрана; 1, 2, 3 - фундаменты
Рисунок 7.2 - Схема к расчету просадок грунтов
и фундаментов при наличии маловодопроницаемого экрана
Относительная просадочность

при неполном водонасыщении грунта в случаях расположения источника замачивания внутри здания или сооружения, вычисляется по формуле

(7.7)
где
w - влажность грунта после ее повышения, при которой определяется

;
wsat - влажность, соответствующая полному водонасыщению грунта (P);
wsl - начальная просадочная влажность;

- относительная просадочность при полном водонасыщении.
Примечания
1 При отсутствии данных по непосредственному определению начальной просадочной влажности wsl значение ее допускается принимать по формуле

(7.8)
2 При залегании ниже подошвы фундаментов и источника замачивания глин или суглинков с числом пластичности lp >= 0,15 толщиной слоя h >= 1,5 м и коэффициентом фильтрации kф, не менее, чем в 10 раз меньше kф подстилающих просадочных грунтов при расчете просадок ssl,p и ssl,q допускается рассматривать как маловодопроницаемый экран.
3 При расположении возможного источника замачивания за пределами сооружения допускается учитывать по
схеме 6.1, б снижение за счет экрана ширины
lw зоны растекания воды в сторону сооружения и соответственно возможной просадки грунта.
7.14 Дополнительную осадку грунтов sul, подстилающих просадочную толщу в пределах зоны дополнительного сжатия Hul вычисляют по формуле

(7.9)
где

и

- средние значения вертикальных напряжений в
i-м слое грунта от его собственного веса соответственно при природной влажности и полном водонасыщении, зона дополнительного сжатия
Hul подстилающих грунтов;
hul,i - толщина i-го слоя грунта, на которые разделена зона Hul;

- среднее значение дополнительного вертикального напряжения в
i-м слое подстилающего грунта при полном водонасыщении при суммарных давлениях от собственного веса грунта, веса планировочной насыпи; веса сооружения с учетом нагрузок на полы по грунту; технологического оборудования и т.п., а также увеличение собственного веса просадочного грунта при уплотнении, закреплении, повышении его влажности до полного водонасыщения и влияния других факторов;
E0,i и Ew,i - модули деформаций i-го слоя подстилающего грунта при полном водонасыщении и природной влажности.
7.15 Нижнюю границу зоны дополнительного сжатия Hul подстилающих просадочную толщу грунтов принимают на глубине z = Hul, где выполняется условие:
- модуль деформации подстилающих водонасыщенных грунтов E >= 30 МПа или влажных E >= 25 МПа при условии снижения его при полном водонасыщении не менее Ew = 20 МПа.
7.16 Разность просадок и кренов фундаментов определяется с учетом: типа грунтовых условий по просадочности; возможной величины просадки; толщины слоя просадочных грунтов, их основных физико-механических характеристик; наиболее неблагоприятного расположения источника замачивания по отношению к сооружению; характера распространения увлажнения в толще грунта; расстояния между фундаментами и других факторов.
7.17 На площадках с I типом грунтовых условий разность просадок и крены отдельных фундаментов определяют с учетом замачивания всей или только нижней части деформируемой зоны
hsl,p в пределах глубины
(рисунок 7.3), равной

(7.10)
где d - глубина заложения фундамента от планировочной отметки;
hsl,p - толщина зоны сжатия грунта основания от нагрузки фундамента;
dw - глубина расположения источника замачивания от поверхности планировки;
x - расстояние от края источника замачивания до рассматриваемой точки;

- коэффициент, учитывающий возможное увеличение угла распространения воды в стороны вследствие слоистости грунтов основания;

и

- угол распространения воды в стороны от источника замачивания и коэффициент, учитывающий возможное увеличение угла распространения воды в стороны.
1 и 2 - фундаменты Ф1 и Ф2; 3 - источник замачивания;
4 и 5 - верхняя и нижняя границы увлажненной зоны
Рисунок 7.3 - Схема к расчету просадок грунтов и кренов
фундаментов при I типе грунтовых условий
7.18 Длина участка lw, на котором может проявляться неравномерная просадка грунта, определяется по формуле

(7.11)
Значения просадок основания под отдельными точками ленточного фундамента

на участке длиной
x определяются по формуле

(7.12)
где x - расстояние от края источника замачивания до рассматриваемой точки, изменяющейся от нуля до lw.
Примечание - Разность просадок фундаментов в пределах расположения источника замачивания на ширине
Bw (рисунок 7.3), а также за пределами зоны распространения увлажненной зоны принимается равной нулю.
7.19 На площадках с II типом грунтовых условий раздельно рассчитываются возможные значения разности просадок и кренов фундаментов от нагрузки и от собственного веса грунта.
Расчет кренов и разности просадок фундаментов от собственного веса грунта на площадках с II типом грунтовых условий выполняется на основе общей кривой просадки поверхности грунта при замачивании его сверху на значительной площади.
Значения максимальной

и возможной

просадок поверхности грунтов от их собственного веса в различных точках кривой просадки определяются по формуле

(7.13)
где

- максимальная или возможная просадка грунта от собственного веса в центре замачиваемой площади;
x - расстояние от центра замачиваемой площади или начала горизонтального участка просадки грунта до точки, где определяется значение просадки

, которое изменяется в пределах 0 <
x <
r;
r - расчетная длина криволинейного участка просадки грунта от его собственного веса, определяемая по формуле

(7.14)
7.20 Крены фундаментов
isl, возникающие при просадке грунтов от их собственного веса, определяются как отношение разности просадок отдельных краев фундаментов, вычисляемых по
формуле (7.13), к ширине подошвы фундамента
b в направлении крена

(7.15)
где

и

- максимальные или возможные просадки краев фундамента от собственного веса грунта.
7.21 Горизонтальные перемещения
usl, возникающие на поверхности грунтов при просадках их от собственного веса в случаях интенсивного местного замачивания сверху, определяются на основе экспериментально установленной зависимости горизонтальных перемещений от просадок

и вычисляются по формуле

(7.16)
где

- значение относительного горизонтального перемещения, принимаемое равным

(7.17)

- расчетная полудлина криволинейного участка просадки грунта от собственного веса, определяемая по
формуле (7.14);
x - расстояние от середины криволинейного участка просадки грунта, где горизонтальные перемещения достигают максимальной величины, в которой определяется горизонтальное перемещение грунта, изменяющееся от нуля до

.
С учетом неизбежного искажения плавного изменения значений горизонтальных перемещений допускается принять линейный характер изменения и вычислять горизонтальные перемещения по формуле:

(7.18)
7.22 Глубина зоны h'u развития горизонтальных перемещений в рассматриваемой точке z принимается равной

(7.19)
а ширина зон развития горизонтальных перемещений r'0 на глубине hu

(7.20)
где hu - максимальная глубина развития горизонтальных перемещений на границе зон горизонтального уплотнения и разуплотнения грунта, при hu = 0,5Hsl.
Изменения горизонтальных перемещений по глубине в пределах зоны их развития от hu до 0 определяется по формуле:

(7.21)
где
usl - горизонтальное перемещение грунта на поверхности в рассматриваемой точке
x, определяемое по
формуле (7.16).
8 Проектирование оснований и фундаментов
8.1 При проектировании оснований, сложенных просадочными грунтами, в случае их возможного замачивания следует предусматривать мероприятия исключающие или снижающие до допустимых пределов просадки оснований и (или) уменьшающие их влияние на эксплуатационную надежность сооружений.
8.2 При возможности замачивания грунтов основания следует предусматривать одно из следующих мероприятий:
- устранение просадочных свойств грунтов в пределах всей просадочной толщи или только в ее верхней части;
- прорезку просадочной толщи фундаментами, в том числе свайными и массивами из закрепленного грунта;
- комплекс мероприятий, включающий частичное устранение просадочных свойств грунтов, водозащитные и конструктивные мероприятия.
В грунтовых условиях II типа по просадочности наряду с устранением просадочных свойств грунтов или прорезкой просадочной толщи фундаментами глубокого заложения следует предусматривать водозащитные мероприятия, а также соответствующие компоновку генерального плана и вертикальную планировку застраиваемого участка.
Выбор мероприятия следует выбирать с учетом типа грунтовых условий, вида возможного замачивания, расчетной просадки, взаимосвязи проектируемых сооружений с сооружениями окружающей застройки в соответствии с рекомендациями, приведенными в
приложении В СП 22.13330.2016.
8.3 Устранение просадочных свойств грунтов достигается:
- в пределах верхней зоны просадки или ее части - уплотнением тяжелыми трамбовками, устройством грунтовых подушек, вытрамбованием котлованов;
- в пределах всей просадочной толщи - глубинным уплотнением грунтовыми сваями, предварительным замачиванием грунтов основания, в том числе с глубинными взрывами, химическим или термическим закреплением, а также разгрузкой грунтового массива путем частичной срезки грунта при выполнении вертикальной планировки или устройства под сооружения глубоких подвалов, подземных этажей.
Примечание - Далее вместо термина "основания на уплотненных и закрепленных грунтах" используется термин "искусственные основания".
8.4 Прорезку просадочной толщи грунтов свайными фундаментами, а также столбами и массивами из закрепленного грунта, выполняющих роль глубоких фундаментов, следует выполнять по требованиям
СП 24.13330 с заглублением их в подстилающие грунты с достаточно высокой несущей способностью.
8.5 При применении комплекса мероприятий:
а) устранение просадочных свойств грунтов II типа по просадочности в пределах верхней зоны просадки или ее части путем уплотнения грунтов или заменой их грунтовой подушкой на глубину hcom >= 1,5 м на площади, превышающей площадь здания или сооружения следует рассматривать как:
- искусственное основание под фундаменты технологического оборудования и др. внутренних конструкций;
- маловодопроницаемый экран, исключающий возможность полного водонасыщения просадочного грунта и максимальную просадку его Sslg,N под зданием и сооружением;
б) водозащитные мероприятия предназначаются для предотвращения возможности интенсивного замачивания грунта не только под зданиями и сооружениями, но и на окружающей их территории, а в случаях возможного замачивания быстрого обнаружения и ликвидации его источника;
в) конструктивные мероприятия принимаются на основе расчета конструкций зданий и сооружений на возможные неравномерные деформации основания с обеспечением их нормальной эксплуатации.
8.6 При проектировании заглубленных частей зданий и сооружений, а также свайных фундаментов следует учитывать:
- в грунтовых условиях I типа - сопротивление грунта по боковой поверхности фундаментов при выполнении их в вытрамбованных котлованах из забивных блоков, в глубоких щелях, буровых скважинах, а также для фундаментов в опалубке, в случаях выполнения обратной засыпки котлованов по
СП 45.13330;
- грунтовых условиях II типа - нагружающее (негативное) трение грунта по боковой поверхности фундаментов, возникающее при просадке грунтов от собственного веса.
Снижение нагружающего (негативного) трения по боковой поверхности фундаментов и подземных частей зданий и сооружений достигается путем устройства швов скольжения из эластичных материалов, совмещая их с гидроизоляцией либо глубоких прорезей, заполненных глинистым грунтом (типа пасты) с числом пластичности Ip > 0,17.
8.7 Проектирование конструкций сооружений необходимо выполнять с учетом совместного расчета их с основанием по
СП 21.13330.
8.8 При выборе и проектировании мероприятий по обеспечению нормальной эксплуатации зданий и сооружений на просадочных грунтах следует одновременно рассматривать:
- мероприятия по основаниям и фундаментам, полам и фундаментам технологического оборудования; внутренним и наружным инженерным коммуникациям, выполняемых по грунту;
- взаимовлияние нового строительства и существующей застройки, в том числе инженерных водонесущих коммуникаций с учетом их физического износа как с точки зрения возможности замачивания и просадок грунтов, так и повышения напряженно-деформируемого состояния во времени.
8.9 Водозащитные мероприятия следует применять, как правило, при строительстве зданий и сооружений на просадочных грунтах с грунтовыми условиями II типа с целью: снижения вероятности замачивания грунта основания; исключения интенсивного замачивания на всю величину просадочной толщи, и тем самым полного проявления возможной величины просадки грунта; контроля за состоянием водонесущих сетей, возможности их осмотра, а также обеспечения своевременной локализации возникающих источников замачивания грунтов в основании и быстрого ремонта их и т.п.
В комплекс водозащитных мероприятий входят: компоновка генерального плана; планировка застраиваемой территории; устройство под зданиями и сооружениями маловодопроницаемых экранов; качественная засыпка пазух котлованов и траншей; устройство вокруг зданий отмосток; прокладка внешних и внутренних водонесущих коммуникаций с исключением возможности утечки из них воды и обеспечением их осмотра и ремонта; отвод аварийных вод за пределы зданий в ливнесточную сеть и др.
Примечание - При проектировании зданий и сооружений классов КС-2 и КС-1 с устранением просадочных свойств грунтов или полной их прорезкой глубокими фундаментами допускается предусматривать ограниченный комплекс водозащитных мероприятий, необходимых в основном для обеспечения нормальной эксплуатации фундаментов технологического оборудования с основаниями на грунтах, инженерных коммуникаций, а также для сохранения окружающей застройки.
8.10 Компоновка генеральных планов выполняется с максимальным сохранением естественных условий стока поверхностных вод. Здания и сооружения с мокрым технологическим процессом должны располагаться, как правило, в пониженных частях рельефа застраиваемой площади, на участках с меньшим значением просадочной толщи Hsl, толщиной слоя планировочной насыпи и наличием подстилающего дренирующего слоя, а также на участках срезки грунта при выполнении вертикальной планировки и т.п.
Планировка застраиваемой площадки или участка строительства должна проектироваться с обеспечением стока атмосферных вод. При этом применение песчаных грунтов, строительного мусора и других дренирующих материалов для планировочных насыпей на площадках с грунтовыми условиями II типа по просадочности не допускается.
8.11 Маловодопроницаемые экраны под зданиями должны выполняться с уширением в каждую сторону до 2 - 3 м. Прорезка экранов фундаментами, траншеями под коммуникации на глубину более 1/3 их толщины не допускается. При этом толщина экрана ниже дна траншеи должна быть не менее 1,5 м для зданий и сооружений с мокрым технологическим процессом, а также зданий повышенной этажности и 1 м для остальных зданий и сооружений.
Обратные засыпки котлованов у фундаментов и траншей под коммуникации должны рассматриваться как часть маловодопроницаемого экрана и устраиваться из местных глинистых грунтов. Грунт в обратные засыпки отсыпается отдельными слоями влажностью, близкой к оптимальной, и уплотняется до коэффициента уплотнения kcom > 0,92.
8.12 Вводы водопровода и теплосетей в здания и сооружения, а также выпуски канализации и водостока следует прокладывать в каналах со съемными плитами перекрытия. Каналы целесообразно делать из одного железобетонного лотка и укладывать с уклоном не менее 0,02 в сторону от здания. Примыкание каналов к фундаментам здания должно быть герметичным и выполняться с учетом возможной неравномерной просадки канала и фундамента.
Для контроля за утечкой воды из трубопроводов внутренних сетей, вводов и выпусков, обнаружения аварийных вод следует в конце каналов предусматривать устройство контрольных колодцев. Днище колодцев и стенки их на высоту не менее 1 - 1,5 м от дна следует выполнять водонепроницаемыми. Расстояние от дна канала до днища колодца должно быть не менее 0,5 - 0,7 м.
8.13 Полы в зданиях и сооружениях, запроектированных с применением комплекса мероприятий, устраиваются водонепроницаемыми. Грунт в основании полов выше маловодопроницаемого экрана уплотняется до коэффициента уплотнения kcom >= 0,92 - 0,95. Для возможности стока аварийных вод полы в зданиях и сооружениях с мокрым технологическим процессом целесообразно выполнять с уклоном 0,005 - 0,01 к приямкам. В местах сопряжения полов со стенами делают водонепроницаемые плинтусы на высоту 0,1 - 0,2 м.
8.14 Вокруг каждого здания должны устраиваться водонепроницаемые отмостки. Для организованного отвода воды с крыш и от зданий ширина отмостки зданий и сооружений должна быть не менее 1,5 м для зданий высотой до 20 и 2 м - высотой более 20 м. На площадках с I типом грунтовых условий, а также при полном устранении просадочных свойств грунтов или их прорезке на площадках с грунтовыми условиями II типа ширина отмосток принимается не менее 1 м. Отмостки по периметру зданий должны быть с подготовкой из уплотненного глинистого грунта и устраиваться с уклоном в поперечном направлении не менее 0,03.
Конструктивные мероприятия
8.15 Конструктивные мероприятия в полном объеме применяются обычно только при строительстве зданий и сооружений классов КС-2 и КС-1 просадочных грунтах с грунтовыми условиями II типа по просадочности, возводимых, как правило, с использованием комплекса мероприятий и назначаются по расчету конструкций зданий и сооружений на неравномерные просадки грунтов оснований. Эти мероприятия объединяются в три основные группы, направленные на:
- повышение прочности и общей пространственной жесткости зданий и сооружений.
Мероприятия первой группы, направленные на повышение прочности и общей пространственной жесткости зданий и сооружений, применяются обычно для относительно жестких зданий и сооружений с жесткой или комбинированной конструктивной схемой по
СП 21.13330;
- увеличение податливости зданий и сооружений за счет применения гибких или податливых конструкций.
Мероприятия второй группы, связанные с увеличением податливости зданий и сооружений, применяются, как правило, для гибких зданий с податливой конструктивной схемой;
- обеспечение нормальной эксплуатации зданий и сооружений при возможных неравномерных просадках грунтов оснований.
Мероприятия третьей группы применяются в сочетании с мероприятиями первой или второй группы для зданий и сооружений, оборудованных специальными технологическими устройствами (лифтами, кранами и т.п.), и направлены на обеспечение нормальной эксплуатации этих устройств при возможных неравномерных просадках грунтов в основаниях и, в основном, в случаях необходимости восстановления их нормального эксплуатационного положения.
Выбор одной из групп мероприятий или их сочетания производится в зависимости от конструктивных особенностей зданий и сооружений, технологического назначения и условий эксплуатации.
8.17 Мероприятия по повышению прочности и общей пространственной жесткости зданий и сооружений включают:
- разрезку зданий и сооружений осадочными швами на отдельные отсеки;
- устройство железобетонных поясов или армированных швов;
- повышение вида и степени армирования отдельных железобетонных элементов;
- усиление прочности стыков между отдельными элементами конструкций;
- устройство в уровнях перекрытий жестких горизонтальных диафрагм, выполняемых из сборных железобетонных элементов;
- усиление фундаментно-подвальной части зданий и сооружений применением монолитных или сборно-монолитных стенок-фундаментов, или плит;
- устройство по наружным поверхностям заглубленных подземных частей зданий и сооружений швов и оболочек скольжения.
8.18 Здания и сооружения в плане целесообразно проектировать простой конфигурации, при которой обеспечивается возможность их разрезки осадочными швами на отдельные отсеки прямоугольной формы в плане. Осадочные швы, как правило, должны располагаться в местах резкого изменения высоты зданий и нагрузок на фундаменты, изменения толщины слоя просадочных грунтов и конструкции фундаментов, у поперечных стен и т.п. Расстояние между осадочными швами назначается по расчету на изгиб и ориентировочно принимается равным для жилых, гражданских и промышленных многоэтажных зданий 20 - 40 м, а для промышленных одноэтажных зданий - 40 - 80 м.
8.19 Железобетонные пояса и армированные швы устраиваются для повышения прочности стен и увеличения общей жесткости кирпичных и блочных стен зданий. В крупнопанельных зданиях поэтажные пояса выполняются путем выпуска и стыкования на сварке нижней и верхней обвязочной арматуры панелей, расположенной в надпроемных перемычках.
В крупноблочных зданиях в качестве поэтажных поясов используются поясные и перемычные блоки, соответствующим образом армируемые и соединяемые между собой сваркой арматуры с последующим замоноличиванием стыков. В кирпичных зданиях поэтажные пояса совмещаются с надоконными и наддверными перемычками или устраиваются армированные швы над перемычками.
8.20 Мероприятия по увеличению податливости зданий и сооружений за счет применения гибких и разрезных конструкций включают:
- обеспечение гибкой связи между отдельными элементами конструкций;
- повышение площади опирания отдельных конструктивных элементов;
- увеличение устойчивости элементов конструкций при повышенных деформациях оснований;
- повышение влаго- и водонепроницаемости стыков между отдельными взаимно перемещающимися элементами конструкций.
8.21 При применении комплекса мероприятий обеспечение нормальной эксплуатации зданий и сооружений с расчетом их на возможные просадки и горизонтальные перемещения грунтов в основаниях достигается:
- применением таких конструктивных решений отдельных узлов и деталей, которые позволяют в короткие сроки выправить деформировавшиеся здания и сооружения и восстановить после неравномерных просадок нормальную эксплуатацию кранов, лифтов и т.п.;
- увеличением габаритов между отдельными конструкциями (например, между мостовыми кранами и элементами покрытия, размеров лифтовых шахт и т.п.), обеспечивающими восстановление нормальной эксплуатации оборудования.
Особенности применения закрепления просадочных грунтов
8.22 Закрепление просадочных грунтов применяется для устранения просадочных свойств грунтов или создания закрепленных столбов и массивов для передачи нагрузки от фундаментов на подстилающие непросадочные грунты.
В первом случае закрепленный массив грунта рассматривается как искусственное основание, в котором прочность закрепленного грунта назначается, исходя из условия устранения просадочности и обеспечения требуемых прочностных и деформационных характеристик.
Во втором случае - устройство глубоких фундаментов или отдельных опор, проектирование которых выполняется по
СП 24.13330.
Проектирование фундаментов мелкого заложения
8.23 Проектирование фундаментов мелкого заложения на естественном и искусственном основаниях, сложенных просадочными грунтами следует выполнять в соответствии с требованиями
подразделов 5.1 -
5.5 СП 22.13330.2016, а также с учетом дополнительных рекомендаций, изложенных в
разделах 2 и
3 СП 22.13330.2016.
8.24 На просадочных грунтах наиболее целесообразно применять следующие виды фундаментов:
- по конструкции: столбчатые, ленточные, ленточные перекрестные, плитные;
- по технологии устройства выполнения: в отрытых котлованах и траншеях до подошвы фундаментов; в вытрамбованных котлованах; из забивных блоков; в глубоких щелях (щелевые); в буровых скважинах (буробетонные).
При проектировании фундаментов, выполняемых в котлованах и траншеях, отрытых до подошвы фундаментов, принимается, что вертикальные, горизонтальные и моментные нагрузки передаются на грунт только по подошве.
В фундаментах в вытрамбованных котлованах, из забивных блоков, щелевых и буробетонных изгибающие моменты, горизонтальные, и частично вертикальные нагрузки передаются на боковые поверхности этих фундаментов.
Примечание - Наибольшее применение в практике строительства получили рассматриваемые ниже фундаменты в вытрамбованных котлованах и из забивных блоков.
8.25 Нагрузки и воздействия на основания, сложенные просадочными грунтами передаваемые фундаментами от собственного веса сооружений, полезных и других нагрузок на них следует устанавливать по требованиям
подраздела 5.2 СП 22.13330.2016.
При расчете всех видов просадок ssl,p, ssl,q, дополнительных осадок sul нагрузки на основания, сложенные просадочными грунтами, допускается определять без учета их перераспределения на фундаменты и надфундаментные конструкции.
8.26 Расчетные сопротивления просадочных грунтов в их естественном сложении должны назначаться с учетом особенностей развития фаз напряженного состояния
(рисунок 8.1), которые соответствуют:
R1 - давлению на грунт основания, при котором полностью отсутствует просадка грунта при суммарной нагрузке от фундамента и собственного веса грунта

;
R2 - давлению на грунт основания при котором допускается просадка грунта (при

), но исключается развитие фаз сдвигов и прогрессирующего течения после уплотнения грунта вследствие его просадки.
а - I, II, III как для просадочных при природной влажности,
так и обычных грунтов (кривая а); I' - фаза нормального
уплотнения просадочного грунта при его полном водонасыщении;
II' - фаза просадки грунта; III' - фаза после просадочного
уплотнения; IV' и V' - фазы сдвигов
и прогрессирующего течения
Рисунок 8.1 - Фазы напряженного состояния
8.27 Расчетное сопротивление грунта основания R при возможном замачивании просадочных грунтов принимают равным:
R1 = psl - начальному просадочному давлению при устранении возможности просадки грунтов от внешней нагрузки снижением давления по подошве фундамента;
R2 - значению, вычисленному по
формуле (5.7) СП 22.13330.2016 с использованием расчетных значений прочностных характеристик (

и
cII) в водонасыщенном состоянии.
При невозможности замачивания просадочных грунтов расчетное сопротивление грунта основания
R вычисляют по
формуле (5.7) СП 22.13330.2016 с использованием прочностных характеристик этих грунтов при установившейся влажности.
При определении расчетного сопротивления грунта основания при возможности его замачивания до полного водонасыщения коэффициенты условий работы

и

принимают по
таблице 5.4 СП 22.13330.2016 как для глинистых грунтов с показателем текучести
IL, соответствующим водонасыщенному состоянию грунта, но не менее 0,5.
8.28 Предварительные размеры фундаментов сооружений геотехнических категорий 2 и 3, возводимых на просадочных грунтах, назначают исходя из расчетных сопротивлений грунта основания
R0, принимаемых по
таблице Б.4 приложения Б СП 22.13330.2016.
Указанными значениями R0 допускается пользоваться также для назначения окончательных размеров фундаментов сооружений, при геотехнической категории 1.
Проектирование столбчатых и ленточных фундаментов
8.29 Проектирование столбчатых и ленточных фундаментов мелкого заложения на просадочных грунтах с использованием их в качестве естественных или искусственных оснований выполняется по
СП 22.13330, как и на обычных грунтах с учетом приведенных ниже дополнительных требований.
8.30 Использование просадочных грунтов в качестве естественного основания допускается только на площадках с I типа грунтовыми условиями для легких зданий и сооружений без расчета конструкций на возможные деформации основания и при выполнении в пределах сжимаемой толщи Ha условий:
- центральная нагрузка на столбчатый и ленточный фундамент
p = N/A <= psl; (8.1)
- внецентренная нагрузка на столбчатый и ленточный фундамент
p = N/A +/- Mxy/Jx +/- Myx/Jy <= R1, (8.2)
где p - реактивное давление грунта, кПа;
N - расчетная вертикальная сила нагрузки, кН;
Mx и My - расчетные изгибающие моменты относительно осей фундамента x и y, кН·м;
Jx и Jy - моменты инерции подошвы фундамента относительно осей x и y, м4;
x, y - координаты осей;
R1 - расчетное сопротивление просадочного грунта.
8.31 Расчетное сопротивление грунта основания
R, при внецентренном загружении фундамента рекомендуется определять по
формуле (5.7) СП 22.13330.2016 с использованием прочностных характеристик

и
c, получаемых при сдвиговых испытаниях грунта в водонасыщенном состоянии по методике быстрого сдвига в условиях незавершенной консолидации, т.е. в фазе 1 просадки грунта.
8.32 Форму фундамента в плане при центральной нагрузке рекомендуется принимать квадратную, если этому не препятствуют фундаменты под оборудование.
При внецентренной нагрузке фундамент рекомендуется принимать прямоугольной формы с соотношением сторон подошвы от 0,6 до 0,85.
8.33 На просадочных грунтах с II типа грунтовыми условиями фундаменты мелкого заложения целесообразно применять:
- по конструкции - ленточные, перекрестные ленточные, плитные, и столбчатые фундаменты для зданий и сооружений с жесткой конструктивной схемой;
- в составе комплекса мероприятий при просадках грунтов от собственного веса
ssl,q <=
su - предельное значение осадки основания фундамента здания или сооружения по
пункту 5.6.5 СП 22.13330.2016;
- для зданий и сооружений, относящихся к легким, средним по нагрузкам и к 1 и 2 геотехническим категориям.
8.34 Расчет по деформациям искусственных оснований фундаментов, конструкций фундаментов в составе подземной части, а также конструкций надземной части должен включать выполнение условий:
- по деформациям основания согласно
пункту 5.6.5 СП 22.13330;
- по прочности, устойчивости, трещиностойкости конструкций зданий и сооружений по
СП 21.13330.
Проектирование фундаментов в вытрамбованных котлованах
8.35 Проектирование фундаментов в вытрамбованных котлованах следует выполнять с учетом того, что:
- при вытрамбовывании котлованов вокруг них и дна котлованов создается уплотненный слой грунта, характеризующийся повышенной плотностью, прочностью и несущей способностью. При втрамбовывании жесткого грунтового материала в нижнюю часть котлована образуется практически несжимаемое уширение, которое увеличивает размеры уплотненной зоны;
- нагрузка от фундаментов в вытрамбованных котлованах передается как по подошве, так и по боковым стенкам в начале на уширение из жесткого грунтового материала, затем на уплотненный грунт и далее на грунт природного сложения, т.е. последовательно с очень прочного материала-бетона на менее прочный грунтовый материал. Благодаря этому достигается наиболее полное использование прочности материала фундамента и окружающего его грунта и тем самым повышается несущая способность фундамента по грунту основания.
8.36 Фундаменты в вытрамбованных котлованах следует применять, как правило, на просадочных грунтах с грунтовыми условиями I типа для зданий и сооружений с нагрузками при столбчатых фундаментах N <= 3500 - 5000 кН и ленточных - N <= 660 - 800 кН/м.
На площадках с грунтовыми условиями II типа фундаменты в вытрамбованных котлованах допускается применять:
- при возможных просадках грунтов от собственного веса ssl <= 20 см или ssl,q < 2su;
- при нагрузках на столбчатые фундаменты не более чем в два раза и ленточных 1,5 раза меньших, рекомендуемых при грунтовых условиях I типа по просадочности;
- при конструкциях зданий и сооружений по жесткой конструктивной схеме или комбинированной схеме в случаях применения комплекса мероприятий и вытрамбовывании котлованов через маловодопроницаемый экран.
8.37 Фундаменты в вытрамбованных котлованах выполняются:
а) столбчатыми квадратной, прямоугольной и др. формы в плане
(рисунок 8.2):
- с уплотненной зоной, плоской или заостренной подошвой;
- с уширенным основанием, получаемым путем втрамбовывания в нижнюю часть вытрамбованного котлована жесткого грунтового материала;
- с несущим слоем, создаваемым вытрамбовыванием нескольких котлованов (двух - четырех), заполняемых их жестким грунтовым материалом и последующим вытрамбовыванием между ними еще одного котлована под фундамент с уширенным основанием.
а - без уширенного основания; б - с уширенным основанием
и уширением верхней части; в - с несущим слоем;
1 - фундамент; 2 - стакан для установки железобетонной
колонны; 3 - уплотненная зона; 4 - втрамбованный жесткий
грунтовый материал (уширенное основание);
5 и 6 - котлованы для создания несущего слоя
Рисунок 8.2 - Основные виды фундаментов
в вытрамбованных котлованах
- прерывистыми (а), устраиваемые в близко расположенных один от другого котлованах с учетом взаимовлияния соседних фундаментов;
- сплошными (б), выполняемые в вытрамбованных котлованах-траншеях с перекрытием следов трамбовки;
- арочными непрерывными и прерывистыми (в), выполняемые трамбовкой с консолями-ребрами в верхней части;
- крестообразными в плане, которые могут быть как непрерывными, так и прерывистыми.
а - прерывистые; б - сплошные; в - арочные;
г - крестообразные в плане; 1 - фундамент; 2 - уплотненная
зона; 3 - втрамбованный жесткий грунтовый
материал - уширение; 4 - консоли
Рисунок 8.3 - Виды ленточных фундаментов
в вытрамбованных котлованах
8.38 По глубине заложения фундаменты в вытрамбованных котлованах подразделяются на фундаменты:
- мелкого заложения, у которых dp <= 1,5bm, где dp - высота фундамента, bm - ширина его в среднем сечении;
- удлиненных, у которых dp > 1,5bm.
8.39 Проект фундаментов в вытрамбованных котлованах разрабатывается в соответствии с требованиями
СП 22.13330, а также изложенными ниже рекомендациями на основе следующих материалов:
- планов и разрезов зданий и сооружений, нагрузок на фундаменты;
материалов инженерно-геологических исследований грунтов, содержащих результаты по определению их физико-механических характеристик в природном сложении и после уплотнения до коэффициента уплотнения kcom = 0,92 - 0,98.
8.40 Расположение фундаментов в вытрамбованных котлованах в плане для каркасных зданий принимается в соответствии с планом колонн и действующими от них нагрузками исходя из того, чтобы под каждую колонну с нагрузкой до 2000 - 3500 кН вытрамбовывался отдельный котлован, а при больших нагрузках фундаменты выполнялись из двух-четырех фундаментов, объединенных ростверками.
Под спаренные колонны у деформационных швов котлованы под фундаменты неглубокого заложения с плоской подошвой без уширенного основания целесообразно вытрамбовывать в два следа. Вытрамбовывание котлованов в два следа иногда целесообразно также применять под двухветвевые колонны, когда расстояние между ветвями в плане превышает 1 м.
При применении фундаментов с уширенным основанием или с несущим слоем у деформационных швов допускается применять один фундамент с устройством соответствующего ростверка или консолей под колоннами.
8.41 В бескаркасных зданиях отдельно стоящие и прерывистые фундаменты в вытрамбованных котлованах следует размещать по осям стен на расстояниях один от другого, определяемых исходя из нагрузок на фундаменты, планов расположения стен, длины фундаментных балок, прочности и деформативности цокольных панелей и панелей технического подполья. При этом также учитывается возможность вытрамбовывания котлованов под близко расположенные фундаменты. Во всех случаях эти фундаменты располагаются в местах пересечения стен.
8.42 Минимально допустимые расстояния в свету по верху между отдельными котлованами ленточных прерывистых и спаренных фундаментов принимают исходя из условия ограничения вертикальных и горизонтальных перемещений грунтов при вытрамбовывании котлованов в один этап lmin = 0,8bm, а при вытрамбовывании котлованов и бетонировании в два этапа, т.е. через один фундамент - lmin = 0,5bm (bm - ширина фундамента в среднем по глубине сечения).
8.43 Глубина вытрамбовывания котлованов назначается исходя из необходимой глубины заложения фундаментов с учетом требований
СП 22.13330, а также увязки их с каналами, приямками и инженерными коммуникациями.
Минимальная глубина вытрамбовывания котлованов hmin для фундаментов неглубокого заложения без уширения основания должна быть не менее значения, определяемого из необходимости получения в основании максимально возможной толщины уплотнения зоны по формуле

(8.3)
где hcom - максимально получаемая толщина уплотненного слоя под котлованом, принимаемая равной hcom = 1,5bm при ширине уплотняемой зоны dcom = 2bm, м;

- среднее значение плотности сухого грунта природного сложения в пределах слоя от отметки вытрамбовывания до нижней границы уплотняемой зоны, кНт/м
3;

- среднее значение плотности уплотненного сухого грунта в пределах уплотненной зоны, кНт/м
3, определяемое по формуле

(8.4)
Максимальное значение плотности уплотненного грунта

вычисляется по выражению

(8.5)
где Srw - степень влажности грунтов в пределах уплотненной зоны, принимаемая с учетом возможного защемления пузырьков воздуха в глинистых грунтах Srw = 0,95, а в песчаных Srw = 0,98;

- плотность частиц грунта и воды (
w = 1), т/м
3;
w - влажность грунта при вытрамбовывании котлована, принимаемая равной природной, если w >= 0,8w0, а при w < 0,8w0 с учетом возможного доувлажнения w = 1,2w0, здесь w0 - значение оптимальной влажности грунта.
8.44 Фундаменты в вытрамбованных котлованах выполняются, как правило, монолитными с бетонированием враспор со стенками котлована и устройством опалубки только под колонны или гнезд для фундаментных балок и т.п.
Сопряжение колонн с отдельно стоящими фундаментами осуществляется с помощью стакана, анкерных болтов, анкерной плиты. Для опирания фундаментных балок в верхней части фундаментов устраивают гнезда соответствующих размеров.
Опирание кирпичных и блочных стен на отдельно стоящие столбчатые фундаменты осуществляется через фундаментные балки.
В бескаркасных жилых, гражданских и промышленных зданиях конструкции подземной части проектируются: без ростверков, с низким или высоким расположением ростверков. Безростверковые решения конструкций нулевых циклов применяются в крупнопанельных зданиях при опирании панелей технического подполья и цокольных панелей сразу же на фундаменты в вытрамбованных котлованах. В кирпичных и крупноблочных зданиях целесообразно применять сборные фундаментные блоки, которые устанавливаются на ленточные прерывистые, сплошные, арочные фундаменты.
Расчет фундаментов мелкого заложения без уширения
8.45 Фундаменты мелкого заложения в вытрамбованных котлованах
(dp/
bm <= 1,5) без уширенного основания рассчитываются по
СП 22.13330 по предельному состоянию второй группы - по деформациям.
Расчет выполняется в два этапа.
На первом этапе расчет предусматривает определение
(рисунок 8.4):
- средних вертикальных напряжений по среднему сечению фундамента bm от нагрузки p;
- краевых вертикальных напряжений на уровне подошвы для условного фундамента размерами: по высоте, равным глубине котлована dp и размером подошвы, равным размерам среднего сечения bm;
- расчетного сопротивления уплотненного грунта Rcom в уровне подошвы условного фундамента;
- расчетного сопротивления R1 на грунт естественного сложения, расположенный ниже зоны уплотнения (подстилающий слой).
1 - фундамент; 2 - уплотненная зона грунта; 3 - эпюра
вертикальных напряжений от собственного веса грунта;
4 - то же, от нагрузки фундамента
Рисунок 8.4 - Расчетная схема фундамента
в вытрамбованном котловане мелкого заложения без уширения
На втором этапе по
СП 22.13330 определяются средние осадки, а также разности осадок фундамента от вертикальных нагрузок на него, относительные разности осадок отдельных фундаментов, а также крен фундаментов.
Расчет осадок выполняется по схеме двухслойного основания с шириной уплотненной зоны, равной 2bm и толщиной 1,5bm.
8.46 Определение средних pm и краевых pmax и pmin давлений на уровне подошвы фундамента и на уровне уплотненной зоны pm2 для общего случая внецентренно загруженного в двух направлениях фундамента выполняется по формуле

(8.6)
где pm,max/min - соответственно среднее, максимальное и минимальное значения краевых давлений по подошве фундамента на уплотненный грунт, кН;
N - равнодействующая вертикальных нагрузок, проходящая по главной центральной оси среднего сечения фундамента, кН;
Gф - собственный вес фундамента, кН;
Am - площадь в среднем сечении соответственно фундамента по глубине 0,5dp при определении pm на уплотненный грунт уплотненной зоны на глубине d + 0,5dcom при определении pm2 на подстилающий грунт природного сложения, м2;
Mx, My - моменты сил на уровне обреза фундамента, действующие в направлении осей X и Y, кН·м;
Qx, Qy - горизонтальные силы на уровне обреза фундамента, кН;
dp - высота фундамента, м;
q - реактивный отпор уплотненного грунта по боковым поверхностям фундамента, кН/м
2, определяемый по
формуле (8.7);
bm, am - соответственно ширина и длина в среднем сечении фундамента, м;
Wx, Wy - моменты сопротивлений среднего сечения фундамента (на глубине 0,5dp) относительно осей X, Y, м4;
R1, R2 - расчетные сопротивления соответственно на уплотненный грунт, и подстилающий уплотненную зону, грунт природного сложения.
8.47 Реактивный отпор уплотненного грунта по боковым поверхностям фундамента при бетонировании их враспор принимается не более 300 кН/м2 и определяется по формуле
где a и b - коэффициенты для лессовидных суглинков соответственно равные: a = 60 кН/м2; b = 0,4;
pm - среднее давление в сечении фундамента на глубине 0,5dp, кН/м2, вычисляемое по формуле
pm = (N + Gф)/Am. (8.8)
8.48 Расчетное сопротивление на уплотненный грунт
R1 в уровне подошвы условного фундамента размерами, равными размерам среднего сечения, определяется с использованием прочностных характеристик
сII и

уплотненных грунтов в водонасыщенном состоянии по
формуле (5.7) СП 22.13330.2016.
8.49 Расчетное сопротивление
R2 по подошве фундамента, передаваемое на грунт природного сложения и расположенный ниже зоны уплотнения, определяется для просадочных грунтов из условия устранения просадки грунта ниже зоны уплотнения, а непросадочных - передачи на подстилающий слой давления, не превышающего расчетного давления
Rn, определяемого по
формуле (5.7) СП 22.13330.2016 для условного фундамента с размерами
d =
dp + 1,5
bm,
b = 2
bm и расчетными характеристиками
cII и

в водонасыщенном состоянии.
Для просадочных грунтов расчетное сопротивление R2 рекомендуется определять по формуле

(8.9)
подстилающих непросадочных грунтов

(8.10)
где k - коэффициент, учитывающий повышение значения начального просадочного давления или расчетного сопротивления за счет распространения уплотнения за пределы уплотняемой зоны, принимаемый равным: для просадочных грунтов при определении начального просадочного давления по компрессионным испытаниям k = 1,5; по испытаниям штампами k = 1,2; непросадочных грунтов k = 1,2;
psl - начальное просадочное давление подстилающего слоя, кН/м2;

- природное напряжение грунта в водонасыщенном состоянии на кровлю подстилающего слоя, т.е. на глубине, равной
dp + 1,5
bm, кН/м
2;

- природное напряжение грунта в водонасыщенном состоянии на отметке заложения фундамента, т.е. на глубине, равной
d, кН/м
2;

- коэффициент уменьшения дополнительного давления от фундамента на кровлю подстилающего слоя, определяемый для отдельно стоящих фундаментов по
таблице 5.6 СП 22.13330.2016.
8.50 За расчетное сопротивление основания фундаментов в вытрамбованных котлованах следует принимать минимальное из полученных по
формуле (5.7) СП 22.13330.2016, а также
(8.9) и
(8.10). Максимальные значения расчетных сопротивлений
R1 и
R2 основания фундамента в вытрамбованном котловане не должны превышать:
- для всех видов уплотненных просадочных грунтов, а также: непросадочных супесей и суглинков, мелких и пылеватых песков со степенью влажности Sr <= 0,7; песков средней крупности и крупных при bm <= 0,8 м, R(1,2) <= 500 кПа, а при bm >= 1,4 м, R(1,2) <= 600 кПа;
- для плотных песков средней крупности и крупных со средней плотностью, непросадочных глин при bm <= 0,8 м с Sr < 0,7, R(1,2) <= 600 кПа, а при bm >= 1,4 м, R(1,2) <= 650 кПа;
- супесей, суглинков, мелких и пылеватых песков с Sr > 0,7 R(1,2) <= 350 кПа.
Расчет фундаментов с уширенным основанием
8.51 Фундаменты в вытрамбованных котлованах мелкого заложения с уширенным основанием рассчитываются в два этапа с дополнительным учетом прочностных и деформационных характеристик уширения из жесткого материала. При этом основание принимается трехслойным, состоящим из жесткого материала, уплотненного и подстилающего грунта природного сложения.
В начале учитывается, что при втрамбовывании жесткого материала в дно вытрамбованного котлована создается уширение, в форме шара радиусом
rc или эллипсоида вращения с полуосями 0,5
dc и
rc (рисунок 8.5).
1 - фундамент; 2 - уширенное основание
из жесткого материала; 3 - уплотненная зона
Рисунок 8.5 - Схема к расчету фундамента
мелкого заложения с уширенным основанием
Форма уширения принимается в виде:
- шара (0,5
dc =
rc) для случаев, когда ниже дна котлована залегают песчаные грунты с плотностью

и степенью влажности
Sr < 0,7, для которого
k = 0,62;
- эллипсоида вращения при залегании ниже дна котлована рыхлых песков или глинистых грунтов плотностью

и степенью влажности
Sr > 0,7, для которых значение
k = 0,5 при соотношении 0,5
dc/
rc = 1,8 и
k = 0,55 с соотношением 0,5
dc/
rc = 1,4 для песков плотностью, близкой к средней и рыхлому состоянию, а также глинистых грунтов при

и
Sr <= 0,7.
8.52 Радиус уширения основания rc принимается в форме шара и определяется по формуле

(8.11)
где Vc - объем втрамбованного жесткого материала, м3.
Максимальный диаметр уширения Dc принимается не более 2dн (dн - ширина или диаметр трамбовки в нижнем сечении).
Высота уширения hc при шаровидной форме принимается равной радиусу уширения hc = rc, а при эллипсоидной - в зависимости от соотношения полуосей, умножается hc = (1,4 ... 1,8)rc.
8.53 Радиус уплотненной зоны rcom определяется по формуле

(8.12)
где

- среднее значение плотности сухого грунта в природном состоянии, г/см
3;

- среднее значение плотности сухого грунта в уплотненной зоне, г/см
3.
Высота уплотненной зоны грунта hcom ниже уширения из втрамбованного материала определяется по формуле
dcom = dcom + dc. (8.13)
8.54 Площадь поперечного сечения уширенного основания Ac, см, а из жесткого материала в наибольшем сечении As, см, принимаются равными

(8.14)

(8.15)
8.55 Расчет по деформациям фундаментов мелкого заложения с уширенным основанием выполняется вначале по полученным значениям
Ac и
Acom и средним давлениям на уплотненный грунт
pm,c и
pm,com, затем на ниже залегающий грунт природного сложения, после чего проверяются условия по
формулам (8.9) и
(8.10).
Расчет деформаций основания фундаментов в вытрамбованных котлованах мелкого заложения допускается не выполнять.
Для случаев, если не удовлетворяются условия, приведенные в
пункте 5.6.52 СП 22.13330.2016, при значении модуля деформации уширенного основания из втрамбованного щебня
Eщ = 50 - 40 МПа и песчаного грунта
Eп = 40 - 30 МПа.
Расчет удлиненных фундаментов в вытрамбованных котлованах
8.56 Расчет удлиненных фундаментов в вытрамбованных котлованах с уширенным основанием осуществляется по аналогии с расчетом свай по несущей способности грунта в основании и в общем случае включает определение несущей способности фундамента
(рисунок 8.6):
несущая способность уширения из жесткого материала - Fd1;
несущая способность грунта уплотненной зоны - Fd2;
несущая способность подстилающего уплотненную зону грунта естественной плотности - Fd3.
1 - фундамент; 2 - уширенное основание
из жесткого материала; 3 - уплотненная зона
Рисунок 8.6 - Схема к расчету удлиненного фундамента
в вытрамбованном котловане
При отсутствии уширения несущая способность удлиненных фундаментов в вытрамбованных котлованах будет определяться несущей способностью грунтов уплотненной зоне Fd2 и подстилающего Fd3.
За окончательное значение несущей способности фундамента Fd в этих случаях принимается минимальное значение, полученное по приведенному выше.
При залегании в основании или только ниже подошвы фундамента и уширенного основания плотных песков и глинистых грунтов со степенью влажности
Sr > 0,85 или плотностью

несущую способность
Fd следует определять как для грунтов естественной плотности в природном залегании, а при 0,7 <
Sr <= 0,85 и

с учетом частичного уплотнения глинистого грунта с повышающими значениями коэффициентов

в 1,2 - 1,1 раза.
8.57 Несущая способность фундамента по уширению Fd1 из жесткого материала определяется по формуле

(8.16)
где

- коэффициент условий работы фундамента, принимаемый

;
R1 - расчетное сопротивление жесткого материала под нижним концом фундамента, принимаемое равным для жесткого бетона, щебня, гравия - 10000 кН/м2, крупного песка, песчано-гравийной смеси, шлака - 5000 кН/м2;
Aн - площадь нижнего сечения фундамента, м2, (на глубине d).
8.58 Несущая способность фундамента Fd2 по грунту основания в уплотненной зоне определяется по формуле

(8.17)
- коэффициент условий работы уплотненного грунта под уширением, принимаемый 1;
Rcom - расчетное сопротивление уплотненного грунта под втрамбованным в дно котлована жестким грунтовым материалом, кН/м
2, определяемое по
таблице 7.2 СП 24.13330.2011;
Ac - площадь, м
2, поперечного сечения уширенного основания из жесткого материала (на глубине
d +
dk,
рисунок 8.6), определяемая по
формуле (8.14);
dp - высота фундамента, м;
um - периметр поперечного сечения фундамента в его средней части (на глубине 0,5d), м;
fi - расчетное сопротивление грунта по боковой поверхности наклонной части, принимаемое по
таблице 7.3 СП 24.13330.2011;

- коэффициент условий работы грунта по боковой поверхности фундамента, принимаемый

;
i - уклон боковых стенок фундамента, т.е. при i >= 0,025 следует принимать i = 0,025;
Ek - компрессионный модуль деформации верхнего слоя грунта, залегающего в пределах наклонной части фундамента, принимаемый равным не более Ek <= 0,3 МПа;
k' - коэффициент условий работы, равный 0,5;

- реологический коэффициент, принимаемый 0,8.
8.59 Несущая способность фундамента по грунту естественной плотности Fd3, подстилающего уплотненную зону, определяется по формуле

(8.18)

- коэффициент условий работы подстилающего грунта, равный

;
Rn - расчетное сопротивление подстилающего непросадочного грунта, определяемое при его полном водонасыщении по формуле, а для просадочных - по
формуле (8.9), кН/м
2;
Acom - площадь, поперечного сечения уплотненной зоны в месте наибольшего размера (на глубине
d +
dk), определяемая по
формуле (8.15).
8.61 Несущая способность оснований фундаментов Fdr на воздействие горизонтальных нагрузок и моментов в двух направлениях вычисляется по формуле
| | ИС МЕГАНОРМ: примечание. Нумерация формул дана в соответствии с официальным текстом документа. | |

(2.63)
где

- коэффициент условий работы, равный 0,8;
q - реактивный отпор грунта, принимаемый по
формуле (8.7), кН/м
2;
bm - размер среднего сечения фундамента на глубине 0,5dp, м;
dp - высота фундамента без учета заостренной части, м;

,

- сумма горизонтальных сил, действующих по рассматриваемой оси, кН;

,

- сумма моментов, действующих в плоскости рассматриваемой оси, кН·м.
| | ИС МЕГАНОРМ: примечание. В официальном тексте документа, видимо, допущена опечатка: пункт 5.5.52 в СП 22.13330.2016 отсутствует. Возможно, имеется в виду пункт 5.6.52. | |
8.62 Расчет удлиненных фундаментов в вытрамбованных котлованах по деформациям, как и выше рассмотренных фундаментов мелкого заложения, следует производить лишь в случаях, если не выполняются условия, приведенные в
пункте 5.5.52 СП 22.13330.2016. При выполнении указанных условий осадки удлиненных фундаментов в вытрамбованных котлованах определяются по
СП 24.13330.2011.
8.63 При выполнении уширенных оснований диаметром до dc <= 2dн из бетонной смеси, щебня, крупнообломочных с песчаным заполнителем грунтов, гравелистых щебеночных песков, шлаков с достижением модуля их деформации E >= 50 МПа допускается уширение рассматривать как часть фундамента, а подстилающий их грунт - как двухслойный, состоящий из уплотненного слоя и грунта природного сложения.
Проектирование фундаментов из забивных блоков
8.64 Фундаменты из забивных блоков выполняются отдельно стоящими двух типов: состоящих из сплошных или пустотелых блоков, погруженных чаще всего сваебойным оборудованием.
Фундаменты из забивных сплошных блоков
(рисунок 8.7) в зависимости от способа повышения несущей способности и технологии устройства выполняются:
- с уплотненной зоной и преимущественно применяются в слабо- и среднепросадочных грунтах. При устройстве этих фундаментов вначале трамбовкой или шаблоном тех же размеров и формы, что и забивной блок, вытрамбовывают котлован на глубину 0,5 - 0,7 высоты блока. После чего в котлован устанавливают блок и той же трамбовкой-шаблоном погружают на заданную глубину;
- с уширенным основанием из жесткого материала и применяются в средне и сильно просадочных грунтах. При устройстве таких фундаментов вначале вытрамбовывают котлован на 0,7 - 0,9 высоты блока, после чего для создания уширенного основания в котлован засыпают с втрамбовыванием жесткий грунтовый материал, на него устанавливают фундаментный блок, который забивают на проектную глубину;
- с подушкой из местного глинистого, песчаного и др. грунта и применяются в основном в слабых и переувлажненных грунтах. При выполнении таких фундаментов вначале вытрамбовывается котлован на высоту погружения блока, затем в этот котлован отдельными порциями отсыпается и втрамбовывается до проектной глубины грунтовый материал для создания подушки, после чего в котлован повторно засыпается грунт и через него забивают блок.
а - с уплотненной зоной; б - с уширенным основанием;
в - с подушкой из втрамбованного грунта; 1 - забивной блок;
2 - уплотненная зона грунта; 3 - стакан для установки
железобетонной колонны; 4 - вытрамбованный котлован
(пунктир); 5 - уширенное основание; 6 - подушка
из втрамбованного грунта
Рисунок 8.7 - Фундаменты из забивных сплошных блоков
8.65 Фундаменты из забивных пустотелых блоков чаще всего выполняются трех основных видов
(рисунок 8.8). Забивка блоков для таких видов фундаментов проводится тем же оборудованием, что и сплошных блоков, включающим дополнительно амортизирующий оголовок, запирающий или пробивной сердечник для пробивки скважин под набивную сваю и втрамбовывания в дно их жесткого грунтового материала при создании уширенного основания.
а - с уплотненной зоной; б - с уширенным основанием;
в - с набивной сваей; 1 - забивной блок; 2 - уплотненная
зона грунта; 3 - бетонная пробка; 4 - набивная свая;
5 - уширение из втрамбованного грунта (щебня)
Рисунок 8.8 - Фундаменты из забивных пустотелых блоков
Несущая способность фундаментов из забивных блоков приведенных выше видов с выполненными дополнительными мероприятиями в основании в лессовых грунтах с I типом грунтовых условий по просадочности обычно составляет 900 - 1600 кН, в непросадочных суглинках и супесях - 1500 - 2000 кН.
Забивные пустотелые блоки целесообразно применять в комбинации с забивными призматическими сваями, совместная работа которых обеспечивает передачу значительной части нагрузки на подстилающие более прочные и непросадочные грунты, а оголовок, наряду с устранением просадочности и повышением плотности верхних слоев грунтов обеспечивает повышенную несущую способность на горизонтальную нагрузку, а также выполняет функцию ростверка для опирания колонн, фундаментных балок, панелей.
8.66 В качестве забивных пустотелых балок иногда целесообразно использовать полые круглые сваи и стаканы (рисунок 8.9).
а - забивная свая-блок из полой железобетонной трубы;
б и в - забивные стаканы из труб с одной и двумя
железобетонными призматическими сваями; 1 - полая круглая
свая из железобетонной трубы; 2 - стакан для установки
и заделки железобетонной колонны; 3 - бетонная пробка;
4 - забивные сваи
Рисунок 8.9 - Забивные полые сваи
и стаканы в свайных фундаментах
8.67 Расчет и проектирование фундаментов из забивных блоков следует выполнять по аналогии с расчетом фундаментов в вытрамбованных котлованах.
Фундаменты из забивных блоков мелкого заложения при соотношении
dp/
bm <= 1,5 рассчитываются, как правило, только по деформациям. При расчете их на горизонтальные и моментные нагрузки реактивный отпор
q уплотненного грунта по боковым поверхностям стенок допускается принимать по формуле с повышающим коэффициентом

.
При расчете фундаментов из забивных блоков мелкого заложения с уплотненной зоной и грунтовой подушкой основание принимается двухслойным, состоящим из уплотненного и подстилающего его грунта природного сложения, а с уширенным основанием - трехслойным, включающим уширение из жесткого грунтового материала, уплотненного и подстилающего его грунта природного сложения.
Удлиненные фундаменты из забивных блоков при dp/bm > 1,5, а также с набивными или забивными сваями рассчитываются по несущей способности:
- уширения из жесткого материала Fd1;
- грунта в уплотненной зоне Fd2;
- подстилающего уплотненную зону грунта естественной плотности Fd3;
- дополнительно по несущей способности набивной или забивной сваи Fd4.
Полная несущая способность удлиненных фундаментов из забивных блоков принимается равной сумме минимальных значений первых трех составляющих (Fd1 + Fd2 + Fd3) и несущей способности свай Fd4 при их выполнении.
8.68 Разработка проекта фундаментов из забивных блоков осуществляется по аналогии с фундаментами в вытрамбованных котлованах с учетом особенностей конструкций здания или сооружения, нагрузок на фундаменты, а также материалов инженерно-геологических изысканий площадки строительства.
Забивные блоки для каркасных зданий размещаются в соответствии с планом колонн. Под спаренные колонны и у деформационных швов в зависимости от действующих нагрузок рекомендуется забивать по два блока.
Сопряжение сборных железобетонных колонн с фундаментами из забивных пустотелых блоков осуществляется с помощью "стакана" или с применением анкерных болтов и анкерной плиты.
Для опирания фундаментных балок и установки фахверковых колонн на боковой поверхности и верхней плоскости граней блока необходимо выполнять соответствующие закладные детали.
В бескаркасных зданиях фундаменты из забивных блоков располагаются по осям стен на расстояниях, определяемых исходя из значений погонных нагрузок, планов расположения стен, длины фундаментных балок, прочности стеновых панелей в техническом подполье, с соблюдением минимальных допустимых расстояний между блоками.
Размеры забивных блоков в плане и по высоте определяются размерами поперечного сечения колонн, расчетными нагрузками на фундаменты, грунтовыми условиями строительной площадки и т.п.
Глубина забивки блоков принимается исходя из глубины заложения фундаментов, определяемой по
подразделу 5.5 СП 22.13330.2016. Минимальная глубина забивки блоков
hmin из условия формирования уплотненной зоны грунта должна быть не менее 0,8
bm (
bm - сторона блока в среднем сечении).
9 Проектирование искусственных оснований
9.1 Искусственные основания в зависимости от способа устранения просадочных свойств грунтов подразделяются на три группы:
I - грунтовые подушки, выполненные путем замены просадочного грунта местным глинистым грунтом с последующим его уплотнением до заданной плотности

;
II - уплотненные основания - уплотненные просадочные грунты в их природном сложении до плотности, при которой полностью или частично устраняются их просадочные свойства и структура грунта;
III - преобразованные основания, в которых просадочные свойства грунта устраняются упрочнением существующей структуры грунта закреплением ее или вертикальным армированием основания элементами повышенной прочности.
9.2 Грунтовые подушки подразделяются на следующие виды:
- песчаные (щебеночные, шлаковые и т.п.) подушки, выполняемые из песков, щебня и др. материалов на просадочных грунтах с I типом грунтовых условий верхней части или реже всей толщи;
- грунтовые подушки, выполняемые, как правило, из тех же просадочных грунтов с полным нарушением их природной структуры или привозных глинистых грунтов;
- маловодопроницаемые экраны, устраиваемые из суглинков и глин;
- экологические экраны - практически водо- и газонепроницаемые экраны, выполняемые из жирных (с числом пластичности Ip >= 0,20 - 0,25) или суббентонитовых, бентонитовых глин, толщиной 1 - 0,5 м с уплотнением их до kcom >= 0,98 - 1, при которых обеспечивается коэффициент фильтрации kф <= 1·10-8 м/сут.
Примечание - К песчаным и грунтовым подушкам следует также относить планировочные насыпи, обратные засыпки котлованов, если они являются основаниями фундаментов под оборудование, полы, инженерных коммуникаций и т.п.
9.3 Уплотненные основания - основной вид искусственных оснований при строительстве на просадочных грунтах и они выполняются:
а) поверхностным уплотнением грунта, когда уплотняющее воздействие передается на грунт с поверхности основания или с поверхности слоя:
- послойным уплотнением пневмокатками, груженым автотранспортом, самоходными и другими грунтоуплотняющими машинами;
- трамбовкой тяжелыми, трамбующими машинами в один или 2 - 3 слоя;
- поверхностными взрывами под слоем воды;
б) глубинным уплотнением с приложением уплотняющего воздействия в пределах всей уплотняемой толщи грунта:
- грунтовыми сваями, как правило, из пылевато-глинистого и из песчаного, крупнообломочного грунта, щебня и др. жесткого грунтового материала;
- предварительным замачиванием, в том числе с пригрузкой, отрезкой уплотняемой площади глубокими прорезями;
- глубинными взрывами;
- весом возводимого здания или сооружения.
9.4 Проектирование уплотненных оснований следует выполнять с учетом:
а) основных характеристик уплотняемых грунтов, определяемых по
ГОСТ 22733:
- максимальной плотности

уплотненного грунта, представляющей собой наибольшее значение плотности сухого грунта при принятых режимах, методах и энергии уплотнения;
- оптимальной влажности
w0, при которой достигается максимальная плотность

уплотняемого грунта при заданном режиме на уплотнение. Величину оптимальной влажности
w0 для глинистых грунтов допускается принимать равной влажности на границе раскатывания (
w0 =
wp);
б) основных параметров (характеристик) уплотненных грунтов:
- заданной в проекте или фактически полученной в каждом частном случае плотности уплотненного грунта

, т/м
3, или в общем случае коэффициента уплотнения, равного соотношению
;
| | ИС МЕГАНОРМ: примечание. Текст дан в соответствии с официальным текстом документа. | |
- допустимой

и (или) фактически полученного диапазона изменения влажности уплотняемых грунтов

, принимаемого приближенно по ниже приведенным значениям
A и
B по таблице 9.1;
Таблица 9.1
Вид грунта | Значение коэффициентов A и B при коэффициенте уплотнения kcom |
0,98 | 0,95 | 0,92 |
A | B | A | B | A | B |
Пески крупные, средние, мелкие | Не ограничивается |
Пески пылеватые | 0,6 | 1,35 | 0,5 | 1,45 | 0,4 | 1,6 |
Супеси | 0,8 | 1,2 | 0,75 | 1,35 | 0,55 | 1,4 |
Суглинки | 0,85 | 1,15 | 0,8 | 1,2 | 0,7 | 1,3 |
Глины | 0,9 | 1,1 | 0,85 | 1,15 | 0,75 | 1,2 |
- уплотненная зона - толща грунта
hcom, в которой плотность уплотненного грунта

не ниже заданной
(рисунок 9.1);
- зоны (область) распространения уплотнения h'com - толщи грунта от вокруг уплотняемой зоны до глубины (ширины), на которой плотность грунта не менее чем на 0,02 т/м3 больше по сравнению со значениями ее до уплотнения;
- зоны частичного разуплотнения или недостаточного уплотнения грунта (буферная зона) hdes, возникает в верхней части уплотненного массива грунта под влиянием упругих деформаций, а в случае уплотнения предварительным замачиванием - вследствие недостаточной нагрузки от собственного веса грунта для разрушения существующей его структуры и формирования новой.
1 и 2 - до и после уплотнения; hcom - глубина достаточного
уплотнения; h'com - глубина распространения уплотнения;
hdes - глубина частичного разуплотнения (буферного) слоя
Рисунок 9.1 - График изменения плотности грунта
при поверхностном уплотнении тяжелыми
трамбовками по глубине h
9.5 При поверхностном уплотнении грунтов повышение степени плотности сопровождается понижением уплотняемой поверхности

, которое представляет собой разность ее отметок до и после уплотнения и определяется по результатам опытных работ или вычисляется по формуле

(9.1)
где

и

- среднее значение плотности сухого грунта до уплотнения и в пределах зоны распространения уплотнения
h'com соответственно;
mcom - коэффициент, учитывающий боковое расширение грунта в стороны и выпор его, равный 0,8.
Примечание - Наряду с повышением плотности грунта, формированием уплотненной зоны происходит также продавливание ее с вытеснением (выпором) грунта в стороны, которое учитывается при вытрамбовывании котлованов, пробивке скважин под набивные, грунтовые, бетонные (железобетонные) сваи.
9.6 Проектирование преобразованных оснований путем закрепления просадочных грунтов рекомендуется выполнять по
СП 22.13330 по аналогии с проектированием уплотненных оснований.
Проектирование закрепления просадочных грунтов цементными растворами, силикатизацией, глубокими опорами, а также нижней частью фундаментов следует выполнять по
СП 24.13330.
9.7 При проектировании искусственных оснований и всех видов фундаментов зданий и сооружений повышенного уровня ответственности и относящихся к 3 геотехнической категории, независимо от типа грунтовых условий, толщине планировочной насыпи df, а также геотехнической категории 2 при II типе грунтовых условий и (или) толщине планировочной насыпи df >= 2 м, либо при нагрузках на полы по грунту p >= 4 т/м2 необходимо предусматривать научно-техническое сопровождение строительства.
Научно-техническое сопровождение строительства должно выполняться специализированной организацией в соответствии
п. 4.18 СП 22.13330.2016.
9.8 В состав работ по научно-техническому сопровождению могут быть включены:
- разработка рекомендаций к техническому заданию и программе инженерных изысканий, включая выполнение опытных полевых работ;
- оценка и анализ материалов инженерных изысканий с подготовкой рекомендаций по проектированию;
- прогноз состояния и деформаций оснований и фундаментов проектируемого объекта с учетом всех возможных видов источников замачивания;
- геотехнический прогноз влияния строительства на окружающую застройку, геологическую среду и экологическую обстановку;
- разработка программы геотехнического и экологического мониторинга;
- организация и проведение наблюдений за осадками фундаментов зданий и сооружений, изменением влажности грунтов, положением уровня подземных вод и др.;
- выявление возможных сценариев аварийных ситуаций;
- разработка технологических регламентов или методических рекомендаций на специальные виды работ по возведению новых и вновь осваиваемых видов искусственных оснований фундаментов свай и подземных частей зданий и сооружений;
- выполнение дополнительных опытно-исследовательских работ;
- обобщение и анализ результатов всех видов работ по геотехническому мониторингу, их сопоставление с результатами прогноза;
- оперативная разработка рекомендаций по корректировке проектных решений на основании данных геотехнического мониторинга при выявлении отклонений от прогноза.
9.9 В проекте на устройство грунтовых подушек должны быть указаны: толщина и размеры грунтовой подушки или экрана в плане в пределах отдельных фундаментов или зданий и сооружений в целом; план планировки котлована для устройства грунтовых подушек и экранов; рекомендуемые виды грунтов для возведения грунтовых подушек; значения максимальной плотности и оптимальной влажности рекомендуемых видов грунтов; требуемые значения коэффициентов уплотнения или плотности грунта в подушке или экране; расчетное сопротивление на уплотненный грунт, а также рекомендации по технологии производства работ (толщине отсыпаемых слоев; типам грунтоуплотняющих механизмов и ориентировочному числу их проходов для уплотнения грунтов по каждому слою до требуемой степени плотности) и т.п.
9.10 Толщина грунтовой подушки назначается из условия полного устранения просадочных свойств грунтов в пределах всей верхней зоны просадки грунта или только в пределах ее верхней части на глубину, при которой суммарные осадки и просадки фундаментов не превышают предельных допустимых величин для зданий и сооружений (рисунок 9.2).
а - уплотненной зоны тяжелыми трамбовками; б - грунтовой
подушки; 1 - фундамент; 2 - уплотненная зона грунта
(подушка); bcom - ширина уплотненной зоны; ba и bc - ширина
грунтовой подушки соответственно по верху и по низу
Рисунок 9.2 - Схемы к определению размеров ширины
Для малоэтажных легких зданий и сооружений с нагрузкой на ленточный фундамент до 150 кН/м и столбчатый до 600 кН на площадках с I типом грунтовых условий по просадочности толщина грунтовой подушки h может быть сокращена до hcom >= 0,5 м и определяться по формуле
hcom = (p - psl)b/psl, (9.2)
где psl - значение начального просадочного давления грунта;
b - ширина фундамента, см;
p - давление по подошве фундамента на грунтовую подушку, исходя из исключения просадок грунта в пределах деформируемой зоны, принимаемое равным
p = Psl(hc/b + 1). (9.3)
9.11 В случаях устройства подушек только с целью ликвидации просадочных свойств грунтов в наиболее напряженной зоне основания фундамента рекомендуется ширину грунтовой подушки bc и длину ее lc по низу определять по формулам:
где b и l - соответственно ширина и длина столбчатых и ленточных фундаментов;
kc - коэффициент, учитывающий характер распределения горизонтальных деформаций в основании фундаментов при просадке грунта и принимаемый равным при p = 0,15 - 0,2 МПа kc = 0,3; p = 0,25 - 0,3 МПа kc = 0,35; p = 0,35 - 0,4 МПа kc = 0,4.
Примечания
1 Ширина грунтовой подушки поверху должна быть не менее, чем на 0,6 м больше ширины фундамента, а по низу - не менее, чем на 0,4 м.
2 При ширине столбчатых и ленточных фундаментов
b > 2 м в
формулах 9.4 и
9.5 принимается
b = 3 м.
9.12 Выбор грунта для устройства грунтовых подушек рекомендуется осуществлять с учетом местных грунтовых условий и целевого назначения применения подушек. При возведении грунтовых подушек для создания сплошного водонепроницаемого экрана необходимо применять местные глины и суглинки, так как в этих случаях достигается наименьшая их водопроницаемость.
Дренирующие материалы (песок, щебень, шлак и т.п.) для устройства грунтовых подушек допускается применять на площадках с I типом грунтовых условий по просадочности.
9.13 Грунтовые подушки на площадках с II типом грунтовых условий должны устраиваться, из однородных глинистых или глинисто-песчаных, песчано-глинистых грунтов и т.п. с содержанием органических веществ Ir < 0,03 оптимальной влажности.
9.14 При назначении основных характеристик уплотняемых глинистых грунтов в подушках трамбованием значение оптимальной влажности допускается равным w0 = wp - (0,01 - 0,03), а укаткой w0 = wp - влажности на границе раскатывания.
При влажности грунта, применяемого для возведения подушки, ниже оптимальной более чем на 0,05 - 0,03 (в абсолютном значении) должно предусматриваться доувлажнение его до оптимальной влажности.
9.15 Необходимое количество воды для доувлажнения глинистых грунтов определяется по формуле

(9.6)
где hcom - толщина слоя увлажняемого грунта;

- заданная плотность грунта, г/см
3;

- плотность воды, равная 1 г/см
3;
m - коэффициент, учитывающий частично потерю воды за счет ее испарения, инфильтрацию вниз и в стороны, принимаемый равным m = 1,2.
9.16 При устройстве грунтовых подушек с целью ликвидации просадочных свойств основания коэффициент уплотнения грунта должен быть
kcom > 0,93 - 0,95, который обычно соответствует плотности в сухом состоянии лессового суглинка -

, а супеси и лесса
- 
, но не менее значения, при котором просадка грунта исключается.
При устройстве подушек для создания сплошного маловодопроницаемого экрана коэффициент уплотнения следует принимать
kcom > 0,95 - 0,97

.
Коэффициент уплотнения kcom грунтов при выполнении планировочных насыпей и обратных засыпок котлованов рекомендуется принимать:
- на застраиваемых участках зданиями и сооружениями по аналогии с грунтовыми подушками и экранами;
- в местах расположения проектируемых инженерных коммуникаций kcom > 0,9 - 0,92;
- на незастраиваемых (зеленых зонах) участках kcom > 0,88 - 0,9.
9.17 Толщина отсыпаемых слоев в грунтовых подушках принимается в соответствии с
СП 45.13330 с учетом заданных значений коэффициентов уплотнения
kcom, исходной влажности уплотняемых грунтов, а также уплотняющей способности применяемых механизмов и других факторов.
9.18 Проектирование экологических экранов из глин, а также экранов, выполняемых из специальных (железобетонных) конструкций с принудительным удалением экологических вредных газов и жидкостей под зданиями и сооружениями и примыкающих к ним площадей, должно выполняться, как правило, специализированными организациями в соответствии со специальными требованиями к проектируемому объекту по обеспечению его экологической безопасности.
9.19 Расчетные сопротивления уплотненных грунтов грунтовых подушек определяются по
СП 22.13330 в соответствии с их прочностными характеристиками, размерами фундаментов.
Обобщенные нормативные значения прочностных и деформационных характеристик, уплотненных до различной степени плотности грунтов, приведены в таблице 9.2, которыми рекомендуется пользоваться при предварительных расчетах.
Таблица 9.2
Характеристика грунтов | Значения характеристик уплотненных грунтов при  |
0,93/1,65 | 0,95/1,75 | 0,97/1,85 |
Сцепление c, кПа | 25 | 35 | 45 |
Угол внутреннего трения  , (градусы) | 24 | 25 | 26 |
Модуль деформации E, МПа: | | | |
супесей | 18/12 | 20/15 | 22 |
суглинков | 20/15 | 25/20 | 28 |
Примечания 1 Значения c и  приведены для лессовых грунтов с числом пластичности Ip = 0,05 - 0,18, при степени влажности sr >= 0,9. 2 Значения E приведены над чертой при sr = 0,5 - 0,6 под чертой при sr >= 0,9. |
Уплотнения грунтов тяжелыми трамбовками
9.20 Уплотнение грунтов тяжелыми трамбовками рекомендуется применять:
- на площадках с I типом грунтовых условий для устранения просадочных свойств грунтов в пределах всей или большей части деформируемой зоны путем однослойного поверхностного уплотнения на глубину 2 - 3 м или двухслойного уплотнения грунтов на глубину до 5 - 6 м;
- на площадках с II типом грунтовых условий для полного устранения просадочных свойств грунтов фундаментов в верхней и нижней зонах для большей части просадки грунта ssl,q от его собственного веса, как правило, путем двух- или трехслойного уплотнения.
9.21 Поверхностное уплотнение тяжелыми трамбовками в два или три слоя включает:
а) при двухслойном уплотнении:
- отрывку котлована на глубину 1,5 - 2 м;
- уплотнение грунта на дне открытого котлована тяжелыми трамбовками;
- отсыпку местного грунта до отметки, превышающей подошву фундамента на 0,4 - 0,8 м с последующим его уплотнением тяжелыми трамбовками;
б) при трехслойном уплотнении:
- отрывку котлована на глубину 4 - 6 м;
- уплотнение трамбовками грунта первого слоя на дне открытого котлована;
- отсыпку местного грунта второго слоя толщиной (1,8 - 2)d - диаметра трамбовки с последующим уплотнением его тяжелыми трамбовками;
- отсыпку и уплотнение грунта третьего слоя по аналогии с двухслойным уплотнением.
9.22 На площадках с I типом грунтовых условий при ширине фундаментов до 1,5 - 2 м, поверхностное уплотнение для полной ликвидации просадочных свойств грунтов выполняется однослойным, в пределах всей деформируемой зоны от нагрузки фундаментов.
При большой глубине деформируемой зоны hsl,p, значительно превышающей возможную глубину уплотнения и необходимости устранения возможности просадки грунтов основания фундаментов в пределах всей hsl,p, выполняется двухслойное поверхностное уплотнение.
9.23 На площадках со II типом грунтовых условий поверхностное уплотнение тяжелыми трамбовками обычно целесообразно выполнять:
- для полного устранения просадок грунтов от их собственного веса ssl,q и от нагрузки фундаментов при толщине слоя просадочных грунтов ниже подошвы фундаментов до 5 - 7 м и до 8 - 10 м соответственно в два и три слоя;
- для устранения просадок грунтов только в верхней зоне от нагрузки фундаментов и величин просадок грунтов от собственного веса ssl,q >= 30 см - однослойным в комплексе с водозащитными и конструктивными мероприятиями или в сочетании с предварительным замачиванием, в том числе взрывами, уплотнением грунтовыми сваями, армированием для доуплотнения буферного слоя.
9.24 Проект уплотнения грунта основания тяжелыми трамбовками должен содержать: размеры уплотняемой площади в плане; необходимую глубину уплотнения; величину недобора грунта до проектной отметки; диаметр, массу и высоту сбрасывания трамбовки; требуемую плотность грунта на нижней границе уплотненной зоны или величину отказа при контрольном трамбовании; оптимальную влажность уплотняемого грунта, и при необходимости, требуемое количество воды доувлажнения грунта; основные физико-механические характеристики уплотненного грунта.
Примечание - Отказ - это понижение уплотняемой поверхности от одного удара трамбовки, который наступает после передачи на грунт заданного количества ударов трамбовки, когда понижение поверхности от каждого из них становится практически одинаковым.
9.25 Размеры уплотняемой площади в плане определяются в зависимости от назначения уплотнения, размеров и расположения фундаментов, нагрузок на них и других факторов. При необходимости создания в основании сплошного маловодопроницаемого экрана размеры уплотняемой площади принимаются не менее чем на 2 - 3 м больше размеров здания по наружным граням фундаментов в каждую сторону. При применении уплотнения только с целью устранения просадочных свойств грунтов величина уширения уплотняемой площади с каждой стороны фундамента назначается на величину b', принимаемую равной не менее 0,2 м и определяемую по формуле
b' = 0,5(b - d), (9.7)
где b - ширина фундамента;
d - диаметр трамбовки.
9.26 Необходимая глубина уплотнения определяется из условия полного устранения просадочных свойств грунтов в пределах всей деформируемой зоны или только в верхней ее части на глубину, при которой суммарные осадки и просадки фундаментов не превышают предельных допустимых значений для зданий и сооружений, а также с учетом возможной глубины уплотнения hcom, применяемыми трамбовками диаметром d, принимаемой равной
где mc - коэффициент пропорциональности, принимаемый при коэффициенте уплотнения на нижней границе уплотненной зоны kcom >= 0,92 равным для: просадочных супесей и суглинков mc = 1,8; для глин mc = 1,5, а насыпных глинистых и песчаных грунтов в грунтовых подушках mc = 2.
9.27 Плотность грунта в уплотненном слое назначается, исходя из условия полного устранения просадочных свойств грунтов и обеспечения заданного коэффициента уплотнения
kcom, принимаемого по
СП 45.13330.
9.28 Величина недобора грунта до проектной отметки заложения подошвы фундаментов, используемая при отрывке котлованов, определяется опытным трамбованием.
9.29 Уплотнение просадочных грунтов должно осуществляться при влажности, близкой к оптимальной w0, принимаемой по результатам стандартного уплотнения, или равной w0 = wp - (0,01 - 0,03), где wp - влажность на границе раскатывания.
При пониженной природной влажности
w грунтов следует выполнять предварительное доувлажнение их расчетным количеством воды
Q на 1 м
2 уплотняемого основания, вычисляемого по
формуле 9.6.
9.30 Диаметр и вес трамбовки назначаются в зависимости от требуемой глубины уплотнения по
формуле 9.8, формы и размеров уплотняемых площадей и т.п. При определении веса трамбовок учитывается, что удельное статическое давление по подошве их должно быть не менее 0,015 - 0,02 МПа.
Уплотнение грунтовыми сваями
9.31 Уплотнение основания грунтовыми сваями (глубинное уплотнение грунтов) выполняется путем пробивки скважин с последующим их заполнением, местным, чаще всего, глинистым грунтом и уплотнением каждой отсыпаемой в скважину порции грунта тем же пробивным снарядом.
При втрамбовывании в дно пробитой скважины жесткого грунтового материала (щебня, шлака, крупнообломочного грунта и т.п.) в основании ее создается уширенное основание.
В процессе пробивки скважин с созданием уширенных оснований и заполнения скважин грунтом с уплотнением вокруг них образуются уплотненные зоны диаметром dcom = (2,5 - 3,5)dc (dc - диаметр скважин).
При расположении отдельных скважин в плане на расстояниях меньше
l = (1,5 - 2)
dc, при которых уплотненные зоны сливаются, образуется массив уплотненного грунта
(рисунок 9.3), а верхней части на глубину
ddes частично разуплотненный слой, называемый буферным слоем.
1 - пробитые скважины (грунтовые сваи); 2 - уплотненные зоны
вокруг скважин (свай); 3 - зоны распространения уплотнения
(недостаточного уплотнения); 4 - расчетный шестиугольник;
5 - уширенные основания
Рисунок 9.3 - План расположения пробитых скважин
(а) и разрез уплотненного массива (б)
Заполнение пробитых скважин жестким грунтовым материалом обеспечивает увеличение в 1,1 - 1,2 раза диаметра грунтовых свай и, главное, повышение прочностных и деформационных характеристик уплотненного массива.
Примечание - Скважины, заполненные уплотненным глинистым грунтом, песком, щебнем, шлаком и т.п., условно называют грунтовыми, песчаными, щебеночными, шлаковыми сваями.
9.32 Уплотненные грунтовыми сваями основания наиболее целесообразно применять:
- в глинистых грунтах с влажностью, близкой к оптимальной, и степенью влажности Sr <= 0,7;
- при отсутствии в уплотняемой толще слоев и прослоек плотных глин маловлажных супесей (Sr < 0,4), линз переувлажненных глинистых грунтов со степенью влажности Sr > 0,75;
- при требуемой толщине уплотняемого слоя от 6 - 8 до 20 м;
- для зданий и сооружений классов КС-1 и КС-2, расчетные осадки которых не превышают их предельно-допустимых значений, принимаемых по
СП 22.13330.
9.33 Параметры уплотнения оснований грунтовыми сваями (диаметр, длина, шаг, размеры уширенных оснований свай, вид грунтового материала и др.) должны назначаться из условий достижения требуемой плотности грунта в уплотненном массиве, при которой обеспечивается необходимые прочностные и деформационные характеристики грунтов, а также с учетом технических возможностей применяемого оборудования для пробивки скважин.
Размеры уплотняемой площади в плане и глубина уплотнения принимаются по
пункту 5.1.3 СП 22.13330.2016 исходя из условия обеспечения несущей способности уплотненного массива и подстилающего его грунта как с учетом нагрузок от фундаментов зданий и сооружений, так и от дополнительных нагрузок на возникающих при застройке площадях.
9.34 Грунтовые сваи в уплотняемом основании целесообразно выполнять диаметром 0,5 - 0,8 м и размещать в шахматном порядке по вершинам равностороннего треугольника со сторонами длиной l и высотой l' = 0,87l. Независимо от полученного по расчету числа грунтовых свай, число их рядов по ширине и длине фундамента должно быть не менее трех.
Во всех случаях число свай непосредственно под отдельными фундаментами здания и сооружения должно быть не менее семи.
9.35 Расстояние между центрами скважин для грунтовых свай
l определяется по
формуле (9.9) при

, а для просадочных лессовых и подобных им глинистых грунтов принимается по таблице 9.3.
Таблица 9.3
Среднее значение плотности уплотненного грунта , т/м 3 | Значения l, м, при  , т/м 3 |
1,3 | 1,35 | 1,4 | 1,46 | 1,5 |
1,65 | 2,1dc | 2,2dc | 2,5dc | 2,8dc | 3,3dc |
1,70 | 2,0dc | 2,1dc | 2,3dc | 2,5dc | 2,9dc |
1,75 | 1,9dc | 2,0dc | 2,1dc | 2,3dc | 2,6dc |
1,80 | 1,82dc | 1,92dc | 2,0dc | 2,15dc | 2,4dc |

(9.9)
где

- удельный вес просадочного грунта в сухом состоянии природного сложения, т/м
3;

- среднее значение в сухом состоянии удельного веса уплотненного грунтового массива, т/м
3.
9.36 Среднюю плотность грунта в уплотненном грунтовыми сваями массиве рекомендуется вычислять: с учетом площади расчетного шестиугольника
(рисунок 9.3) по формулам при:
- I типе грунтовых условий, а также II типе для предварительных расчетов или в случаях уплотнения в комбинации с прорезкой просадочных грунтов бетонными сваями;

(9.10)
- II типе грунтовых условий при окончательном расчете оснований и фундаментов

(9.11)
где

,
, 
- плотности грунтов в пределах соответственно грунтовой сваи, уплотненной зоны вокруг нее и грунта природного сложения;
Ap, Aq, Ae - площади соответственно грунтовой сваи, уплотненной зоны и просадочного грунта вокруг нее.
9.37 Проект уплотнения грунтовыми сваями просадочных лессовых и аналогичных им по плотности насыпных глинистых грунтов разрабатывается из расчета достижения средней плотности в уплотненном массиве, вычисляемой по
формулам (9.10) и
(9.11) и соответствующей коэффициенту уплотнения:
- kcom >= 0,95 на площадках, сложенных просадочными грунтами с I типом грунтовых условий по просадочности, а также на глубину Hsl/2 при II типе грунтовых условий в верхней части уплотняемой зоны;
- kcom >= 0,97 при II типе грунтовых условий по просадочности в пределах нижней части уплотняемой зоны на глубине от Hsl/2 до Hsl.
При применении уплотнения грунтовыми сваями для устройства противофильтрационной завесы среднее значение плотности уплотненного грунта принимается при kcom >= 0,97 с заполнением пробитых скважин глинистым грунтом с числом пластичности Ip >= 0,12.
Доуплотнение буферного слоя следует осуществлять до коэффициента уплотнения kcom >= 0,95.
9.38 Количество грунтового материала по весу, т/м, необходимое для заполнения 1 пог. м глубины грунтовой сваи, определяется по формуле

(9.12)
где
Ac - площадь поперечного сечения грунтовой сваи, м
2, при проектном диаметре

;

- плотность уплотненного грунта в теле грунтовой сваи, т/м
2, принимаемая равной ее значению, соответствующему коэффициенту уплотнения
kcom = 0,97;
w0 - значение оптимальной или фактической влажности грунта, засыпаемого в скважину, в долях единицы.
9.39 Количество жесткого грунтового материала по весу, т, для создания уширенного основания грунтовой, в том числе бетонной, сваи определяется по формуле

(9.13)
| | ИС МЕГАНОРМ: примечание. В официальном тексте документа, видимо, допущена опечатка: раздел 2.3 отсутствует. | |
где Vc - объем уширенного основания, вычисляемый с учетом его формы, принимаемый по рекомендациям раздела 2.3;
9.40 При расчете уплотненных оснований грунтовыми сваями по деформациям расчетные сопротивления Rcom и модуль деформации Ecom грунта основания следует принимать в случаях:
- заполнения скважин местным грунтом по средним значениям прочностных характеристик грунтов в уплотненном массиве, по
формуле (5.7) СП 22.13330.2016 (
Rcom) по результатам лабораторных или полевых испытаний уплотненных грунтов;
- заполнения скважин жестким грунтовым материалом расчетами по формулам

(9.14)

(9.15)
где
Rcom и
Rc расчетные сопротивления уплотненных соответственно околосвайных грунтов
Rcom и тела грунтовых свай из жесткого грунтового материала
Rc, определяемые по их физико-механическим характеристикам по
СП 22.13330;
Ac и Acom - площади поперечного сечения соответственно грунтовой сваи Ac и окружающего ее уплотненного грунта Acom, принимаемые равными площади правильного шестиугольника со сторонами, равными l'/2 или 0,435l за вычетом площади Ac', т.е.

(9.16)
здесь Ecom и Ec модули деформации соответственно уплотненных околосвайных грунтов Ecom и жесткого грунтового материала Ec, определяемые по результатам лабораторных или полевых испытаний.
Примечания
1 При определении модулей деформации уплотненных околосвайных грунтов Ecom и в теле грунтовых свай, в том числе из жесткого грунтового материала Ec, следует учитывать, что наиболее достоверные значения их могут быть получены по результатам полевых испытаний штампами, а также статическим или комбинированным зондированием.
| | ИС МЕГАНОРМ: примечание. В официальном тексте документа, видимо, допущена опечатка: приложение в СП 22.13330.2016 отсутствует. Возможно, имеется в виду приложение А. | |
2 Для предварительного назначения размеров фундаментов и расчета их осадок на уплотненных основаниях грунтовыми сваями рекомендуется использовать табличные значения
Ecom и
Rcom по
приложению СП 22.13330.2016, принимаемые для соответствующих видов грунтов естественного сложения в плотном состоянии (
R0 и
E). Значениями
R0 и
E допускается пользоваться для окончательного назначения размеров фундаментов, а также расчета осадок зданий и сооружений класса КС-1, если основание сложено однородными горизонтальными (уклон не более 0,1), выдержанными по толщине слоями грунта, сжимаемость которых, а также основные физико-механические характеристики в пределах двойной ширины фундаментов, считая от его подошвы, изменяется не более чем в 1,2 раза.
Проектирование армированных оснований
9.41 Армированное основание выполняется по аналогии с уплотнением грунтовыми сваями путем пробивки скважины с последующим их заполнением жестким грунтовым материалом и уплотнением каждой отсыпаемой его порции в скважину тем же пробивным снарядом. В качестве жесткого грунтового материала используются щебеночные смеси от крупных до мелких фракций из камня твердых пород; крупнообломочные (галечниковые, гравийные) грунты; отходы от разрушенных строительных конструкций (бетонных, бутовых, кирпичных); гранулированные шлаки с устойчивой от распада структурой; реже - жесткая бетонная смесь на крупном заполнителе и т.п.
В процессе пробивки скважин, создания уширенных оснований и заполнения скважин жестким грунтовым материалом с последующим его послойным уплотнением трамбованием пробивным снарядом вокруг скважин образуются уплотненные зоны диаметром dcom, равным (3 - 4)d (d - диаметр пробивного снаряда).
При расположении отдельных скважин в плане на расстояниях, превышающих dcom и равных (4 ... 6)da, образуется массив армированного грунта, состоящий из:
- армирующих элементов - набивных свай или столбов, выполненных в пробитых скважинах с уширенным основанием и заполненных жестким грунтовым материалом;
- уплотненных зон грунта вокруг армирующих набивных свай;
- грунта природного (или техногенного) сложения, расположенного между уплотненными зонами.
По верху армированного массива при доуплотнении буферного слоя или замене его местным грунтом с уплотнением до коэффициента уплотнения kcom >= 0,95 выполняется грунтовая подушка, которая обеспечивает распределение нагрузки от фундаментов на все элементы армированного массива.
Примечания
1 Армирование грунтов выполняют забивными, буронабивными сваями, столбами из закрепленного грунта. В последних случаях армированный массив состоит соответственно из забивных, буронабивных свай или закрепленных столбов и окружающих их грунтов природного сложения.
2 Армирование грунтов отличается от устройства уплотненных оснований грунтовыми сваями более редким расположением армирующих набивных свай, за счет чего наиболее полно используются прочностные и деформационные характеристики упрочняемых просадочных грунтов природного сложения, а при заполнении пробитых скважин жестким грунтовым материалом достигается более существенное повышение несущей способности упрочняемого основания, особенно при опирании армирующих элементов на достаточно прочные и малосжимаемые подстилающие грунты.
За счет увеличения расстояний между пробитыми скважинами при армировании оснований по сравнению с уплотнением грунтовыми сваями существенно снижаются трудоемкость и сроки выполнения работ.
9.42 Армирование основания вертикальными элементами повышенной прочности выполняется при необходимости:
- повышения прочностных и деформационных характеристик просадочных и других грунтов;
- устранения просадочных свойств грунтов на площадках со II типом грунтовых условий по просадочности.
Армирование грунтов целесообразно применять:
- практически на всех видах недоуплотненных глинистых и рыхлых песчаных, в том числе слабых, грунтах в независимости от степени влажности;
- на глубину от 6 - 8 до 15 - 20 м;
- для зданий и сооружений классов КС-1 и КС-2.
9.43 Параметры армированного основания, включающие: диаметр, длину, шаг, размеры уширений, армирующих набивных свай, должны приниматься с учетом:
- вида и основных характеристик упрочняемых грунтов;
- технических возможностей применяемого оборудования для пробивки скважин;
- вида имеющегося жесткого грунтового материала для выполнения армирующих элементов;
- необходимой несущей способности армированного основания и других факторов.
Размеры армированных оснований в плане и по глубине рекомендуется принимать как и уплотнение грунтовыми сваями исходя из условия обеспечения несущей способности армированного массива и подстилающего его грунта как на нагрузки от фундаментов зданий и сооружений, так и на армированные массивы от дополнительных нагрузок, возникающих, например, при просадках окружающих армированных массивов лессовых грунтов от их собственного веса, а также дополнительных осадках подстилающих их грунтов, развитии других видов деформаций.
9.44 Армирующие набивные сваи в упрочненном основании рекомендуется выполнять, как правило, диаметром 0,5 - 0,8 м и размещать в шахматном порядке по вершинам равностороннего треугольника
(рисунок 9.4).
1 - армирующие набивные сваи; 2 - уплотненные зоны грунта;
3 - железобетонные набивные сваи; 4 - грунт природного
сложения; 5 - уширенные основания из втрамбованного жесткого
грунтового материала; 6 - свайный ростверк; 7 - расчетный
элемент армированного массива (шестиугольник)
Рисунок 9.4 - Комбинированное основание
с упрочнением грунтов армированием
Расстояние между отдельными армирующими набивными сваями принимаются по расчетам армированных оснований и, как правило, не должны превышать (6 ... 7)da (da - диаметр армирующих набивных свай).
На просадочных грунтах со II типом грунтовых условий по просадочности для восприятия дополнительных нагрузок от сил нагружающего трения, возникающих при просадках, окружающих грунтов от собственного веса, в пределах полос b" = 0,2Hsl расстояния между армирующими набивными сваями принимаются в 1,3 - 2 раза меньшими и не превышающими (3 ... 3,5)da.
В армированном массиве должно быть не менее пяти набивных свай.
9.45 Количество жесткого грунтового материала по весу, необходимое для формирования уширенного основания и заполнения пробитой скважины под армирующую набивную сваю, в которой

, принимаемое при
kcom = 0,97, и уточняется по результатам опытных работ.
9.46 Расчет напряженно-деформируемого состояния армированного массива грунта должен выполняться с учетом прочностных и деформационных характеристик составляющих его частей, т.е. армирующих набивных свай, уплотненных зон и грунтов природного сложения и их взаимодействия.
Для расчетов могут быть использованы как известные предложения, основанные на решениях по методу конечных разностей с использованием модели Мора-Кулона и реализованные, например, в программах ARMD, PLAXIS и др., так и инженерный подход, базирующийся на результатах полевых исследований армированных оснований.
9.47 При расчете армированных оснований по деформациям расчетное сопротивление Ra и приведенный модуль деформации Ea рекомендуется принимать по формулам:

(9.17)

(9.18)
где R0, Rcom, Ra - расчетные сопротивления соответственно: грунтов природного сложения, уплотненных при пробивке скважин и уплотненного жесткого грунтового материала в теле армирующих набивных свай;
A0, Acom, Aa - площади поперечного сечения соответственно: грунта природного сложения в пределах отдельного элемента армированного массива; уплотненной зоны вокруг армирующей набивной сваи; набивной сваи в армированном массиве;
E0, Ecom, Ea - модули деформаций соответственно: грунтов природного сложения, уплотненных вокруг армирующих набивных свай и набивных свай в армированном массиве.
9.48 Расчетные сопротивления грунтов природного сложения и уплотненных
Rcom определяются по
СП 22.13330 и по основным их характеристикам
R0.
Расчетные сопротивления грунтового материала набивных армирующих свай рекомендуется принимать в зависимости от его вида, для:
- крупнообломочных грунтов, крупных песков по
СП 22.13330 с повышающим коэффициентом 1,2 - 1,5;
- щебня, отходов от разрушенных бетонных конструкций, гранулированных шлаков и т.п. R0 = 800 ... 1000 кПа;
- жесткой бетонной смеси R0 = 1000 ... 1200 кПа.
9.49 Модули деформации грунтов природного сложения E0, уплотненных Ecom в процессе пробивки скважин и трамбования засыпаемого в них грунта, а также жесткого грунтового материала армирующих набивных свай, принимаются по данных инженерно-геологических изысканий либо по результатам опытных работ и испытаний фрагментов армированных оснований.
Максимальное значение модуля деформации материала армирующих свай, в том числе устраиваемых из жесткой бетонной смеси, следует принимать равным Ea = 100 МПа.
Проектирование уплотнения предварительным замачиванием
9.50 Уплотнение просадочных лессовых грунтов предварительным замачиванием применяется при II типе грунтовых условий и основывается на учете особенности их при замачивании самоуплотняться под действием собственного веса грунта. Уплотнение происходит в результате снижения прочности грунтов при увлажнении и проявляется с глубины, на которой напряжения от собственного веса водонасыщенного грунта превышают величину начального просадочного давления

. При предварительном замачивании обеспечивается уплотнение просадочных грунтов только в пределах нижней части просадочной толщи и тем самым перевод грунтовых условий из II в I тип по просадочности.
9.51 Для полного устранения просадочных свойств грунтов в пределах верхней деформируемой зоны hsl,p от нагрузки фундаментов предварительное замачивание необходимо применять в комбинации с другими методами: уплотнением тяжелыми трамбовками, устройством грунтовых подушек, вытрамбовыванием котлованов и др.
9.52 Для доуплотнения нижних слоев просадочной толщи, особенно под здания и сооружения с относительно небольшими площадью в плане и нагрузками на основания, уплотнение просадочных грунтов предварительным замачиванием целесообразно проводить с дополнительной пригрузкой уплотняемого массива, например, путем отсыпки временной насыпи из местного грунта. Величину пригрузки грунтового массива

в средней части над замачиваемым котлованом рекомендуется определять по формуле

(9.19)
где

- коэффициент условий работы, принимаемый

для легких зданий, для средних

;

и

- вертикальные напряжения на нижней границе деформируемой зоны
hsl,p, т.е. на глубине
hsl,p от подошвы фундамента, соответственно от его нагрузки и собственного веса.
9.53 Уплотнение просадочных грунтов предварительным замачиванием сопровождается водонасыщением массива грунта и проявлением просадки не только в пределах замачиваемого участка, но и на окружающей его территории. При применении предварительного замачивания в застроенных районах должны выполняться мероприятия по исключению замачивания грунтов в основаниях существующих зданий путем увеличения расстояний L от замачиваемых площадей до существующих зданий до трехкратной толщины (L >= 3·Hsl) слоя просадочных грунтов при наличии водоупора и полуторакратной толщины слоя при залегании ниже просадочных песчаных грунтов.
Снижение зоны распространения воды в стороны, а также повышению эффективности уплотнения просадочных грунтов предварительным замачиванием может быть выполнено путем устройства по периметру или части периметра уплотняемой площади глубоких прорезей.
9.54 При устройстве глубоких прорезей за счет снижения сил трения по периметру замачиваемого массива между ним и окружающим его просадочным грунтом достигается более интенсивное уплотнение замачиваемого грунта, особенно в его периферийных областях, снижаются расход воды, сроки замачивания. Заполненная специальным раствором прорезь, вертикальный экран, существенно (до 3 - 5 раз) снижает зону распространения воды в стороны от замачиваемого котлована. Благодаря такой прорези просадки грунтов на замачиваемой площади и тем самым степень их уплотнения становятся более равномерными.
Примечание - Для снижения зоны распространения воды в стороны от замачиваемой площади иногда целесообразно выполнять вокруг нее или на части периметра маловодопроницаемый экран-стенку из уплотняемого грунта, например, из двух-четырех рядов грунтовых свай, полностью прорезающих всю просадочную толщу.
9.55 В целях ускорения промачивания толщи просадочных грунтов, снижения зоны распространения воды в стороны от котлована, а также повышения эффективности уплотнения грунтов предварительное замачивание целесообразно выполнять через дренажные скважины диаметром 150 - 400 мм, пробуренные на глубину 0,6 - 0,9Hsl. Скважины заполняются дренирующим материалом (щебнем, гравийными, галечниковыми грунтами, крупным песком и т.п.). По дну котлована для снижения его кольматации отсыпается песчаный слой толщиной 8 - 15 см.
9.56 С учетом грунтовых условий уплотнение просадочных грунтов предварительным замачиванием наиболее целесообразно применять при возможных просадках грунтов от собственного веса более 20 - 30 см, залегании сверху супесей и легких суглинков, отсутствии водоупорных прослойков в пределах уплотняемой толщи, наличии в нижней ее части дренирующих слоев, обеспечивающих быстрый отток свободной воды.
9.57 В зависимости от конструкции проектируемых зданий и сооружений уплотнение просадочных грунтов предварительным замачиванием рекомендуется применять в основном для легких зданий, относящихся к классам КС-1 и КС-2, когда есть возможность сравнительно простыми методами доуплотнить грунт в пределах большой части деформируемой зоны (буферный слой) от нагрузки фундаментов зданий и сооружений и обеспечить условия их расчетов по деформациям.
9.58 Уплотнение просадочных грунтов предварительным замачиванием проектируется с учетом характера и закономерностей развития просадок лессовых грунтов от собственного веса. В проекте уплотнения следует указывать: размеры уплотняемой площади; план планировки котлованов и отдельных карт для замачивания, план расположения дренажных скважин, их глубину; методику замачивания грунта; необходимое количество воды для замачивания грунта; схему прокладки водоводов для замачивания с указанием пунктов подачи воды на каждую карту; рекомендуемые мероприятия по повышению эффективности уплотнения грунтов замачиванием; ожидаемые значения просадок грунта по отдельным картам или по котловану в целом; план расположения и конструкцию поверхностных и глубинных марок; рекомендации по замачиванию грунта, включающие: ориентировочное время замачивания, значение стабилизации просадки грунта; методы доуплотнения верхнего слоя грунта в пределах деформируемой зоны от нагрузки фундаментов и т.п.
9.59 Размеры замачиваемых котлованов и отдельных, расположенных по периметру карт, должны назначаться, с учетом зависимости просадки грунтов от размеров замачиваемой площади, такими, при которых в пределах участка расположения будущего здания и сооружения практически полностью устраняется просадка грунта от его собственного веса и принимаются равными
bk = bзд + 0,6Hsl; (9.20)
lk = lзд + Hsl, (9.21)
где bзд и lзд - соответственно ширина и длина здания;
Hsl - величина просадочной толщи.
Примечание - На вновь осваиваемых территориях, где возможен подъем уровня подземных вод или промачивание всей толщи просадочных грунтов за пределами зданий (например, за счет орошения), предварительное замачивание грунтов рекомендуется выполнять в пределах всей застраиваемой площади, т.е. не только под зданием, но под дорогами, коммуникациями, арками у зданий и т.п.
9.60 Котлованы для предварительного замачивания отрываются на глубину 0,4 - 1 м за счет снятия растительного слоя и насыпного глинистого грунта. При толщине растительного слоя менее 0,4 м котлован обваловывается местным грунтом с уплотнением. Высота обваловывания назначается из условия, чтобы вода в котловане была на уровне не менее 0,3 - 0,4 м от дна котлована, а ширина из расчета, чтобы границы распространения воды от соседних карт сливались на глубине выше глубины hsl,g, с которой происходит просадка грунтов от собственного веса.
Для удобства производства работ большие котлованы разбиваются с помощью перемычек на отдельные карты длиной до 50 - 100 м и шириной до 40 - 50 м.
9.61 Планировка отдельных карт и котлованов проводится в зависимости от рельефа местности под одну отметку или отдельными террасами. Для получения более равномерной просадки дно котлованов в пределах 10 - 15 м от края планируется с уклоном 0,02 - 0,03 к наружным сторонам котлована по всему периметру в случае квадратного котлована и к двум сторонам - в случае прямоугольного. При одновременном замачивании нескольких карт уклоны делаются только по наружным сторонам карт.
9.62 Замачивание осуществляется до полного промачивания всей толщи просадочных грунтов и достижения условной стабилизации просадки. Время t, необходимое для промачивания всей толщи просадочных грунтов Hsl, определяется по формуле
t = mзHsl/kmin, (9.22)
где kmin - минимальное значение коэффициента фильтрации слоев грунта, входящих в просадочную толщу;
mз - коэффициент, принимаемый равным при замачивании с поверхности дна котлована при наличии дренирующего слоя из песка mз = 1; при отсутствии его - mз = 1,2, а при замачивании через скважины mз = 0,8.
Примечание - За условную стабилизацию просадки грунта допускается принимать просадку его на 1 см в неделю, наблюдаемую в течение последних двух недель.
9.63 Необходимое количество воды для замачивания грунта определяется из условия промачивания всей толщи просадочных грунтов, с учетом того, что:
- повышение влажности грунта по всей площади котлована в результате замачивания грунта в пределах столба происходит до степени влажности Sr = 0,85;
- распространение влажности в стороны от котлована при замачивании с поверхности происходит в лессовых супесях под углом

к вертикали, в лессовидных суглинках и глинах - под углом

и в этих зонах степень влажности грунта после замачивания от
Sr = 0,85 до естественной.
Необходимое количество воды для замачивания вычисляется по формуле

(9.23)
где wsat - влажность полного водонасыщения (Sr >= 0,85);
w - природная влажность грунта;

- средневзвешенное значение плотности грунта, т/м
3, в сухом состоянии после просадки;

- удельный вес воды, принимаемый 1 т/м
3;
V1 - объем грунта в пределах замачиваемого котлована, м3, равный площади котлована, умноженной на толщину промачиваемого слоя грунта;
V2 - суммарный объем грунта в пределах зон распространения воды в стороны от замачиваемого котлована.
9.64 Для наблюдения за просадкой грунтов на дне котлована и за его пределами на расстоянии не менее полуторной толщины просадочного слоя устанавливаются поверхностные марки по двум-трем поперечникам через каждые 3 - 5 м, а в центре карты или отдельного котлована куст глубинных марок, которые закладываются через каждые 2 - 3 м по глубине в пределах всей просадочной толщи.
9.65 В проекте фундаментов зданий и сооружений на основаниях, уплотненных предварительным замачиванием не до полной стабилизации просадок, должно быть предусмотрено превышение отметок заложения фундаментов против проектных, равное возможной величине экстраполируемой просадки грунта до ее полной стабилизации. Экстраполяцию кривой просадки грунта от действия его от собственного веса во времени рекомендуется выполнять по
приложению А с учетом того, что полная просадка грунта во времени наступает через 6 - 12 мес от начала просадки, а замачивание грунта прекращается после наступления условной стабилизации просадки.
Проектирование уплотнения глубинными взрывами
9.66 Уплотнение просадочных грунтов глубинными взрывами включает предварительное повышение влажности уплотняемых грунтов замачиванием до состояния близкого к полному водонасыщению и последующий одновременный взрыв нескольких десятков зарядов взрывчатого вещества (ВВ), расположенных по определенной сетке
(рисунок 9.5), под воздействием которых происходят разрушение существующей структуры грунта и его уплотнение. Предварительное замачивание выполняется для снижения прочности грунта до минимальной и создания благоприятных условий для разрушения существующей структуры грунта, а взрыв ВВ для его уплотнения под одновременным воздействием собственного веса грунта и взрывной волны.
1 - котлован; 2 - уровень воды; 3 - заряды ВВ; 4 - дренажные
скважины; 5 - скважины для взрыва ВВ; 6 - границы зоны
распространения воды в стороны от котлована
Рисунок 9.5 - Схема уплотнения грунтов глубинными взрывами
9.67 Уплотнение глубинными взрывами производится в котлованах глубиной 0,3 - 1 м. Предварительное замачивание грунтов обычно осуществляется через дренажные скважины, реже через дренажные траншеи, за счет чего снижаются время замачивания, расход воды и зоны распространения ее в стороны.
Заряды ВВ устанавливаются в скважинах, или в дренажные траншеи, расположенные через 4 - 10 м.
При глубинном взрыве происходит уплотнение грунта в нижней части грунтовой толщи с понижением уплотняемой поверхности на 0,8 - 2,5 м и образованием по периметру ее просадочных трещин с уступами. Толщина верхнего недоуплотненного слоя обычно на 1 - 3 м больше, чем при уплотнении грунтов предварительным замачиванием без взрывов и составляет 2,5 - 5 м.
9.68 Уплотнение глубинными взрывами, как правило, применяется на площадках со II типом грунтовых условий для устранения просадок грунтов от их собственного веса. Наибольшая эффективность достигается при уплотнении и взрывами супесей и суглинков плотностью в сухом состоянии до 1,45 т/м3 и числом пластичности до 0,12 - 0,15, так как в этих случаях лессовые грунты при влажности, близкой к полному водонасыщению, имеют пониженную прочность, которая практически полностью разрушается при взрывном воздействии. В более плотных грунтах и с большим содержанием глинистых частиц прочность оказывается достаточно высокой, которая при взрывном воздействии полностью не разрушается и возможно образование камуфлетных полостей, не заполненных грунтом.
9.69 При уплотнении грунтов глубинными взрывами необходимо учитывать возникновение опасных зон, влияние их на окружающую застройку, а также зависимость эффективности уплотнения от плотности и других факторов.
Размеры опасных зон, возникающих под действием воздушной взрывной волны, и колебания грунтового массива зависят в основном от массы одновременно взрываемого заряда ВВ и обычно составляют 30 - 50 м.
9.70 Наибольшая эффективность уплотнения взрывами достигается при степени влажности как у уплотняемых, так и выше расположенных грунтов в пределах верхней разуплотненной зоны Sr = 0,7 - 0,8, при которой прочностные характеристики снижаются до минимальных значений и есть часть пор, заполненных воздухом, способствующих интенсивному уплотнению грунта в процессе и после взрыва. Под столбом воды в пределах разуплотненной зоны происходит неизбежное переувлажнение уплотненного грунта, в связи с чем эффективность его уплотнения взрывами снижается.
9.71 При природной степени влажности грунтов sr = 0,6 - 0,75 уплотнение их взрывами иногда можно выполнять без предварительного замачивания с установкой ленточных зарядов ВВ в параллельные отрываемые траншеи глубиной 2 - 3 м с засыпкой их местным грунтом, без его предварительного уплотнения.
9.72 При проектировании уплотнения грунтов глубинными взрывами необходимо учитывать, что:
- основная часть уплотнения, до 70% - 90%, происходит в момент взрыва ВВ под воздействием взрывного воздействия и собственного веса водонасыщенного грунта;
- остальная часть, 30% - 10%, после взрыва в период оттока воды и снижения влажности глинистого грунта от полного водонасыщения, до установившейся влажности w, принимаемой равной w = wp.
Стабилизация уплотнения и просадки грунта наступает через 6 - 12 мес. после взрыва.
9.73 Проектирование уплотнения грунтов глубинными взрывами, включает назначение:
- размеров котлованов с учетом окружающей застройки;
- расположения и основных параметров дренажных и взрывных скважин;
- размеров и видов зарядов ВВ в скважинах, их суммарное значение по отдельным участкам, одновременно взрывным участкам и в целом по зданию и сооружению;
- рекомендаций по технологии производства работ и техники безопасности;
- предположений по доуплотнению верхнего разрыхленного слоя грунта и т.п.
Уплотнение весом возводимого здания
9.74 Уплотнение просадочных грунтов весом возводимого здания и сооружения выполняется регулируемым замачиванием просадочного грунта II типа в процессе строительства и применяется, как правило, при возведении средних и относительно тяжелых зданий и сооружений, запроектированных по жесткой или комбинированной конструктивной схеме с разрезкой их на отдельные отсеки (блоки) по
СП 21.13330.
9.75 Проект уплотнения основания наряду с данными, приведенными выше, должен содержать рекомендации и предложения по:
- подготовке основания под фундаменты с целью устранения просадочных свойств грунтов в пределах большей ее части верхней деформируемой зоны hsl,p путем уплотнения грунта тяжелыми трамбовками или устройства грунтовой подушки;
- расположению, конструкции дренирующих скважин, системы подводки к ним воды и т.п., обеспечивающие регулируемое замачивание просадочных грунтов в пределах расположения отдельных частей и в целом зданий и сооружений;
- установке, конструкции поверхностных и глубинных марок в грунте, стенных марок и маяков и других устройств на возводимых конструкциях зданий и сооружений;
- технологии выполнения регулируемого замачивания с начала и до завершения строительства, включая тампонаж дренажных скважин и возникших вокруг здания и сооружения просадочных трещин, а, при необходимости, исправления возникших кренов в зданиях;
- проведению геодезических наблюдений за осадками фундаментов, просадками грунтов и др. деформациями по стенным маркам, маякам, а также поверхностным и глубинным маркам в грунте;
- выполнению геотехнического мониторинга в соответствии с
СП 305.1325800.
10 Проектирование свайных фундаментов
10.1 Проект свайных фундаментов на просадочных грунтах должен выполняться на основе и с учетом:
- материалов инженерно-геологических изысканий;
- конструкций зданий и сооружений, нагрузок на грунты оснований;
- основных характеристик просадочных грунтов: (

,
psl,
usl) и грунтовых условий (тип,
ssl,q,
Hsl);
- характера развития просадочных деформаций по глубине и в плане, взаимодействия их со сваями;
- возможных дополнительных нагрузок на сваи pn, возникающих при просадках грунтов от их собственного веса за счет сил трения fn по боковой поверхности сваи;
- дополнительных осадок сжатия sul, подстилающих просадочную толщу грунтов Hul;
- а также других факторов, приведенных в
разделах 4 -
8 СП 24.13330.2011, а также разделах настоящего пособия.
10.2 Проектирование свайных фундаментов включает:
- выбор с учетом нагрузок на полы и фундаменты технологического оборудования, выполняемых на грунте, дополнительных мероприятий по снижению возможных значений просадок грунтов от их собственного веса, а также конструктивных и водозащитных мероприятий по обеспечению нормальной эксплуатации зданий и сооружений;
- выбор типов фундаментов (столбчатых, ленточных, перекрестных ленточных, плитных), видов и технологии устройства свай, назначение размеров поперечного сечения, длины сваи, глубины их погружения в подстилающий несущий слой;
- расчет несущей способности свай, свайных фундаментов и их осадок;
- конструирование свайных фундаментов.
10.3 Мероприятия по снижению возможных просадок грунтов от их собственного веса ssl,q на площадках с II типом грунтовых условий до значений, при которых достигается перевод грунтовых условий участка расположения здания и сооружения из II в I тип грунтовых условий по просадочности, или снижение расчетных просадок ssl,q до предельно допустимых значений su целесообразно предусматривать в случаях:
- залегания ниже просадочной толщи на глубину больше (0,5 - 1) Hsl глинистых грунтов текучепластичной консистенции IL > 0,4 низкой несущей способностью для свайных фундаментов;
- возможных значений просадок грунтов от их собственного веса ssl,q, полученных по результатам замачивания опытных котлованов ssl,q >= 30 см или расчетом ssl,q > 50 см;
- возведения зданий и сооружений, относящихся к 3 и 2 геотехнической категориям с повышенными нагрузками на основание, а также с податливой конструктивной схемой;
- необходимости выполнения планировочной насыпи толщиной hf >= 2 м при I типе грунтовых условий, когда неизбежен перевод грунтовых условий из I во II тип с возможным значением просадок грунта ssl,q >= 20 см при жесткой конструктивной схеме и ssl,q >= 15 см при податливой схеме.
10.4 Основные мероприятия по снижению возможных просадок ssl,q:
- глубинное уплотнение грунтовыми сваями по разряженной сетке и заполнение их местным глинистым или щебенистым, гравелистым грунтом с глинистым заполнением;
- армирование просадочных грунтов грунтовыми сваями, выполненными из щебенистого, гравелистого грунта с глинистым заполнителем, шлаком или другим подобным или грунтовым материалом;
- уплотнение просадочных грунтов предварительным замачиванием целесообразно применять на вновь осваиваемых площадках, а при точечной застройке на отдельных участках расположения зданий и сооружений, в том числе с пригрузкой основания временной насыпью, отрезкой уплотняемой площади глубокими прорезями;
- двух-трехслойным уплотнением тяжелыми трамбовками просадочных грунтов при значении просадочной толщи Hsl < 12 - 15 м и расчетной просадке грунта от собственного веса ssl < 30 см;
- уплотнение глубинными взрывами в комплексе с предварительным замачиванием грунтов или частичным их доувлажнением;
- разгрузка грунтового массива путем частичной срезки просадочного грунта при планировке застраиваемого участка или устройства подземных этажей в зданиях и сооружениях;
- выполнение комбинированных оснований, включающее устранение просадочных свойств грунтов грунтовыми сваями или армированием и устройством свайных фундаментов из набивных бетонных свай под основные несущие конструкции зданий и сооружений.
Мероприятия по снижению возможных просадок грунтов ssl,q должны выполняться на площади, превышающей площадь здания и сооружения в каждую сторону на полосу шириной bn >= 0,2Hsl (просадочной толщи).
10.5 Обеспечение прочности конструкций и нормальной эксплуатации зданий и сооружений достигается при:
- жесткой конструктивной схеме повышением прочности и несущей способности отдельных конструкций, главным образом за счет увеличения их армирования;
- податливой конструктивной схеме путем обеспечения возможности выравнивания на любом этапе строительства и эксплуатации зданий и сооружений.
Мероприятия этой группы выполняются на основе расчетов конструкций зданий и сооружений на возможные просадки грунтов основания в соответствии с
СП 21.13330.
10.6 На просадочных грунтах целесообразно применять сваи, относящиеся к одному из двух типов:
I тип - сваи в уплотненном просадочном грунте, при выполнении которых вокруг и под подошвой происходит интенсивное уплотнение грунта с образованием уплотненных зон соответственно шириной до 3d и толщиной под подошвой 1,5d - диаметра (ширины) сваи.
II тип - сваи, в которых при применении специальных мероприятий обеспечивается значительное снижение дополнительных нагрузок на них Pn от сил нагружающего трения fn по боковой поверхности свай, возникающих при просадках окружающих их грунтов от собственного веса.
10.7 К I типу свай, применяемых при I и II типах грунтовых условий, относятся:
- предварительно изготовленные железобетонные забивные (вдавливаемые) сваи без выемки грунта
(СП 24.13330), в том числе сваи с забивными оголовками;
- забивные сваи с уширенным основанием;
- набивные бетонные и железобетонные сваи, основными представителями которых являются набивные сваи в пробитых скважинах.
10.8 К II типу свай относятся:
- буроопускные сваи с уширенным основанием, выполняемые в пробуренных скважинах путем втрамбовывания в дно пробуренного жесткого бетона или жесткого грунтового, каменного материала, камуфляжным взрывом под защитой слоя из литого бетона, отличающиеся от буроинъекционных свай по тем, что после опускания в скважину готовой железобетонной сваи и погружения торца ее в уширение, зазор между стенами скважины и сваи на глубину Hsl заполняется малопрочным глинистым, глинистоцементным, известковым и т.п. раствором, благодаря которому обеспечивается низкая величина трения, сцепления сваи с грунтом;
- забивные составные сваи, состоящие из нижней части повышенного поперечного сечения длиной l1, забиваемой на заданную глубину hsl + l1 и верхней части сваи меньших размеров поперечного сечения погружаемой до верха нижней части, в том числе с разворотом ее площади на 90° по отношению к нижней части и последующем заполнением зазоров между стенами верхней части сваи и скважиной малопрочным раствором;
- буровые сваи без и с уширениями, выполняемыми в пределах верхней части на глубину hsl в эластичных оболочках, например из 3 - 5 слоев пленки, двух пластиковых труб и т.п.;
- забивные сваи с эластичными обмазками в пределах верхней части на глубину hsl.
Сваи II типа рекомендуется применять только на просадочных грунтах со II типом грунтовых условий в случаях:
- небольших (p <= 0,2 т/м2) нагрузок на полы и от фундаментов технологического оборудования, выполняемых по грунту и отсутствия планировочной насыпи;
- вертикальной планировки со срезкой существующей поверхности просадочного грунта на глубину

(

- удельный вес просадочного грунта).
10.9 Забивные железобетонные сваи с оголовком рекомендуется применять в односвайных фундаментах при повышенных горизонтальных и моментных нагрузках на фундаменты, а также для увеличения площади опирания на них, кроме колонн, фундаментных балок или цокольных панелей. Вокруг и под оголовком образуется уплотненная зона просадочного грунта, существенно повышающая несущую способность на вертикальные, горизонтальные и моментные нагрузки.
Оголовки чаще всего выполняются двух видов:
- из железобетонного забивного пустотелого блока, погружаемого в грунт после забивки сваи по аналогии с устройством фундаментов из забивных блоков;
- из монолитного железобетона, выполняемым в вытрамбованном котловане сваебойным оборудованием с помощью металлического пустотелого шаблона с вертикальным отверстием под сваю и бетонированием оголовка по технологии устройства фундаментов в вытрамбованных котлованах.
10.10 Забивные железобетонные сваи в пробитых скважинах с уширенным основанием выполняются следующим образом:
- пробивается (или продавливается) скважина на глубину погружения сваи с помощью сердечника;
- в полученную скважину, для создания уширенного основания, отсыпается отдельными порциями жесткий грунтовый материал (или бетон) с последующим уплотнением его сердечником;
- в скважину отсыпается местный глинистый грунт оптимальной влажности или жесткий грунтовый материал, после чего в нее погружается железобетонная свая с погружением торца ее не менее чем на 0,5b - ширины сваи или до отказа.
а) с уплотненной зоной практически постоянного поперечного сечения по всей высоте сваи при бетонировании их литой бетонной смесью;
а') с дополнительным уплотнением околосвайного грунта при заполнении пробитых скважин жесткой бетонной смесью с послойным ее трамбованием пробивным снарядом;
б) с уширенным основанием, устраиваемым путем втрамбовывания в дно скважины пробивным снарядом жесткого грунтового материала или реже, сухой бетонной смеси при бетонировании ствола литой или жесткой бетонной смесью с уплотнением;
в) с оголовком, выполняемым в вытрамбованном котловане с помощью специального шаблона обычно под односвайные фундаменты, за счет которого существенно возрастает несущая способность свай как на вертикальные, так и главным образом горизонтальные нагрузки;
г) с уширенным основанием и оголовком, устраиваемым по
рисунку 10.1, б, г.
а - с уплотненной зоной; а' - то же, при заполнении сваи
жестким бетоном; б - с уширенным основанием;
в - с оголовком; г - с уширенным основанием и оголовком;
д - с уширением у головы сваи; 1 - набивная свая;
2 - уплотненные зоны грунта вокруг, под сваей и уширением;
3 - уширенное основание; 4 - оголовок; 5 - стакан для
установки железобетонной колонны; 6 - уширение у головы сваи
Рисунок 10.1 - Виды набивных свай в пробитых скважинах
10.12 Свайные фундаменты на территориях с просадочными грунтами при возможности замачивания грунтов следует применять в случаях, когда возможна прорезка сваями всех слоев просадочных и других глинистых грунтов, прочностные и деформационные характеристики которых снижаются при замачивании.
Нижние концы свай должны быть заглублены в скальные грунты, пески плотные и средней плотности, глинистые грунты с показателем текучести в водонасыщенном состоянии:
- IL < 0,6 для всех видов свай в грунтовых условиях I типа;
- IL < 0,4 для забивных свай и IL < 0,2 для буронабивных свай при Ssl,q <= Su в грунтовых условиях II типа;
- IL < 0,2 для забивных свай и IL <= 0 для буронабивных свай при Ssl,q <= Su в грунтовых условиях II типа (где Ssl,q - просадка от собственного веса грунта с учетом подсыпки или другой пригрузки его поверхности).
Заглубление свай в указанные грунты должно назначаться по расчету путем проверки условия, что осадка сваи не превысит предельную осадку Su и условия обеспечения требуемой несущей способности сваи. При этом используется наибольшее из полученных значений заглубления сваи.
Примечания
1 Если прорезка указанных грунтов в конкретных случаях экономически нецелесообразна, то в грунтовых условиях I типа по просадочности для зданий и сооружений классов КС-2 и КС-1 допускается устройство свай (кроме свай-оболочек) с заглублением нижних концов не менее чем на 1 м в слой грунта с относительной просадочностью

(при давлении не менее 300 кПа и не менее давления, соответствующего давлению от собственного веса грунта и нагрузки на его поверхности) при условии, что в этом случае обеспечивается несущая способность свай, а суммарные значения возможных просадок и осадок основания не превышают предельных значений для здания и сооружения при неравномерном замачивании грунтов. При этом должна быть обеспечена несущая способность свай и свайных фундаментов, а возможные недопустимые осадки и просадки грунтов должны быть исключены применением дополнительных мероприятий.
2 Сваи-колонны одноэтажных зданий класса КС-1 в грунтовых условиях I типа допускается опирать нижними концами на грунты с

, если несущая способность свай подтверждена испытаниям.
10.13 В случае если по результатам инженерных изысканий установлено, что погружение свай в просадочные грунты затруднено, в проекте должно быть предусмотрено устройство лидерных скважин, диаметр которых в просадочных грунтах с I типом грунтовых условий следует назначать менее диаметра сечения свай (до 50 мм), а в просадочных грунтах с II типом грунтовых условий - равным ему или менее (до 50 мм). В последнем случае глубина лидерных скважин не должна превышать толщину просадочного от замачивания слоя грунта.
Проектирование свайных фундаментов на просадочных грунтах с I типом грунтовых условий
10.14 Проектирование свайных фундаментов на просадочных грунтах с I типом грунтовых условий, следует выполнять по требованиям
разделов 7 и
8 СП 24.13330.2011 как на обычных (неспецифических) водонасыщенных глинистых грунтах с учетом возможности изменения их физико-механических характеристик и вследствие повышения влажности, в процессе строительства и эксплуатации зданий и сооружений до полного водонасыщения (
sr >= 0,9).
В преобладающем большинстве случаев несущая способность висячих свай определяется с учетом полного водонасыщения грунтов основания (sr >= 0,9), а иногда, при отсутствии источников замачивания грунтов и возможных лишь сезонных изменениях влажности, при ее установившемся значении.
10.15 Расстояние между осями забивных и набивных свай, в том числе в пробитых скважинах, принимается не менее значений lmin, определяемых с учетом исключения влияния уплотнения при изготовлении одной сваи на другие. При этом расстоянии между уширениями должно быть не менее 1,0 м в свету.
Значение lmin определяется по формуле

(10.1)
где

- коэффициент, учитывающий взаимное влияние набивных свай при их изготовлении в обсадных извлекаемых трубах, а также частичное перекрытие уплотненных зон, принимаемый равным для: набивных свай без уширения

, с уширенным основанием в фундаментах: односвайных

; ленточных однорядных и двухрядных соответственно

и

; в виде свайных кустов и полей

;
d - диаметр сваи, принимаемый равным при заполнении скважин: литым бетоном, равным наружному диаметру обсадной трубы d0; при пробивке без нее 1,1dt - диаметра пробивного снаряда; жестким бетоном с уплотнением его пробивным снарядом 1,2dt;

, кН/м
3 - плотность грунта естественного сложения в сухом состоянии;

, т/м
3 - среднее значение плотности уплотненного грунта в пределах уплотненной зоны вокруг и под сваей или уширение, принимаемое равным

(10.2)
где

, кН/м
3 - максимально возможная плотность уплотненного грунта, вычисляемая по формуле

(10.3)
где Srw - степень влажности грунтов в пределах уплотненных зон, принимаемая с учетом возможного защемления пузырьков воздуха в глинистых грунтах Srw = 0,95, а в песчаных Srw = 0,98;

- плотность частиц грунта, кН/м
3;

- плотность воды, равная

.
При слоистом напластовании и наличии неустойчивых грунтов, минимальное расстояние между сваями принимается по отдельным слоям с наибольшей плотностью и влажностью, а в случаях выполнения бурением лидерных скважин - с учетом их диаметра и должно быть не менее 3dt.
10.16 На рисунках, принятых в проекте видов набивных свай в пробитых скважинах, должны быть приведены:
- основные размеры свай с отметками верха и низа;
- ориентировочные размеры уплотненных зон;
- форма и размеры уширений;
- марка бетона сваи, вид материала для создания уширенных оснований;
- принятые расчетные нагрузки на сваи;
- рекомендуемые типы оборудования для погружения забивных свай, а при устройстве набивных свай - для пробивки скважин и создания уширений с указанием форм, размеров, веса, высоты сбрасывания пробивного снаряда, ориентировочного числа ударов для пробивки скважин на 1 м по глубине и втрамбовывания жесткого грунтового материала при создании уширений и другие специфические характеристики свай.
Определение несущей способности набивной сваи в пробитой скважине
10.17 Несущую способность Fd, кН, висячей набивной сваи в пробитой скважине по основным характеристикам грунтов на вертикальную сжимаемую нагрузку в общем случае следует определять как сумму несущих способностей под нижним концом сваи, по ее боковой поверхности и под оголовком, при наличии последнего, по формуле
Fd = FdR + Fdf + F'dR, (10.4)
где FdR - несущая способность, кН, основания под нижним концом сваи, определяемая в зависимости от типа свай;
Fdf - несущая способность, кН, грунта вдоль боковой поверхности сваи;
F'dR - несущая способность, кН, основания под оголовком сваи.
10.18 Несущую способность набивной сваи в пробитой скважине под нижним концом следует определять с учетом вида свай
(рисунок 10.1) как наименьшее из значений, полученных при соблюдении следующих трех условий:
несущая способность
FdR1 жесткого материала, втрамбованного в дно скважин для свай видов
б и
в на
рисунке 10.1;
несущей способности
FdR2 уплотненного грунта в пределах уплотненной зоны под сваей или ее уширением для свай, приведенных на
рисунке 10.1;
несущей способности FdR3 подстилающего уплотненную зону грунта природного сложения и плотности.
10.19 Несущую способность набивной сваи с уширенным основанием FdR1, исходя из несущей способности жесткого грунтового материала, следует определять по формуле

(10.5)
где

- коэффициент условий работы сваи в грунте, принимаемый равным 1,0;

- коэффициент условий работы жесткого грунтового материала уширения под нижним концом сваи, принимаемый по
таблице 10.1 с учетом вида свай и технологии их изготовления;
Rc - расчетное сопротивление жесткого грунтового материала, принимаемое по
таблице 7.2 СП 24.13330.2011 для гравелистых песков с повышающим коэффициентом
k = 1,6, но не более
Rc = 20000 кПа;
A - площадь поперечного сечения сваи на уровне опирания ее на уширенное основание, м2.
| | ИС МЕГАНОРМ: примечание. Таблица дана в соответствии с официальным текстом документа. | |
Вид набивных свай в пробитых скважинах | Значение коэффициента условий работы свай |
Под нижним концом сваи  и оголовка  на грунты | По боковой поверхности  |
естественной плотности  | уплотненной зоны  | уширенного основания  | под оголовком  | в песках и супесях | в суглинках и глинах |
1 | | 3 | | | | |
С уплотненной зоной | 0,8 ---- 0,9 | 0,8 ---- 0,9 | - | - | 0,8 | 0,8 ---- 0,9 |
С уширенным основанием | 0,9 | 0,8 ---- 0,9 | 0,8 ---- 0,9 | - | 0,8 | 0,8 ---- 0,9 |
С оголовком | 0,8 ---- 0,9 | 0,8 ---- 0,9 | 0,8 ---- 0,9 | 0,9 ---- 1,0 | 0,8 | 0,7 ---- 0,9 |
Примечания 1 В графах 2 - 4 над чертой - при заполнении ствола сваи литой бетонной смесью и уплотнением ее глубинными вибраторами, а под чертой - при заполнении скважины жесткой смесью и уплотнением ее пробивным трамбующим снарядом. 2 В графе 5 над чертой - при выполнении оголовка из монолитного железобетона, а под чертой - из забивного железобетонного блока. 3 В графах 6 и 7 со знаком * указаны значения коэффициентов  только в пределах высоты уширения h'c. |
10.20 Несущую способность сваи FdR2 под ее нижним концом, исходя из несущей способности уплотненного грунта в пределах уплотненной зоны под сваей или ее уширением, следует определять по формуле

(10.6)
Rcom - расчетное сопротивление, кПа, уплотненного грунта под сваей или уширением, принимаемое по
таблице 7.2 СП 24.13330.2011, с учетом полного водонасыщения грунта основания и показателя текучести
IL глинистых грунтов; при этом, полученное значение
IL не должно быть меньше показателя текучести, приведенного в отчете по изысканиям для грунтов естественного сложения;
Ac - площадь опирания на уплотненный грунт сваи (без уширения), принимаемая по площади поперечного сечения ее ствола Ac или площади поперечного сечения уширенного основания по его наибольшему диаметру Ac, определяемому в зависимости от объема, втрамбованного в дно скважины жесткого грунтового материала и вида грунта основания.
10.21 Показатель текучести уплотненных глинистых грунтов в пределах уплотненной зоны под и вокруг сваи или уширенного основания следует определять по формуле

(10.7)
где Sr - степень влажности уплотненного глинистого грунта, принимаемая равной Sr = 0,9;

- удельный вес воды;

- удельный вес частиц грунта;
wp и wL - влажности уплотненного грунта на границе раскатывания и на границе текучести;

- плотность частиц грунта;
e - среднее значение коэффициента пористости уплотненного грунта в пределах уплотненной зоны, принимаемое с учетом среднего значения плотности грунта
.
10.22 Площадь поперечного сечения ствола сваи A принимается равной
где r - радиус ствола сваи, принимаемый равным при бетонировании литым бетоном наружному диаметру обсадной трубы или диаметру пробитой скважины, а при заполнении скважины жестким бетоном с трамбованием его пробивным снарядом r' = 1,1r.
Площадь поперечного сечения уширенного основания по его наибольшему горизонтальному сечению определяется по
формуле (10.8), в которой радиус уширенного основания
rc рекомендуется вычислять в зависимости от объема втрамбованного жесткого материала и формы уширения по формуле

(10.9)
где Vc - объем втрамбованного жесткого материала, м3, в дно скважины;
k - коэффициент, учитывающий форму уширения, который при втрамбовывании жесткого материала отдельными порциями высотой (1,5 - 2)d трамбовками с заостренным нижним концом принимается в виде:
- шара (
dc =
hc) для случаев, когда ниже дна скважины залегают песчаные, за исключением пылеватых, грунты плотностью не ниже средней или глинистые грунты плотностью

, степенью влажности
Sr <= 0,7, для которых
k = 0,62;
- эллипсоида вращения с соотношением осей
hc/
dc >= 1,8 при рыхлых песках и глинистых грунтах с

и
Sr > 0,8,
k = 0,5 и
k = 0,55 при
hc/
dc >= 1,4 и плотности

;
- при промежуточных значениях соотношения осей эллипсоида вращения (от 1 до 1,8) значение коэффициента k принимается по интерполяции.
Максимальное значение радиуса уширения при втрамбовывании жесткого грунтового материала в расчете по
формуле (10.9) принимается
dc <= 2
dt (
dt - диаметр трамбовки).
10.23 Несущую способность набивной сваи под ее нижним концом FdR3, кН, исходя из несущей способности подстилающего уплотненную зону грунта природного сложения и плотности, следует определять по формуле

(10.10)
R - расчетное сопротивление грунта природного сложения и плотности, определяемое по указаниям
5.6.25 СП 22.13330.2016 для условного фундамента шириной
b (м) для глубины
z (м), соответствующей толщине уплотненной зоны грунта;
Acom - площадь поперечного сечения уплотненной зоны под сваей Acom или уширенным основанием A'com.
10.24 Площадь поперечного сечения уплотненной зоны вокруг набивной сваи в пробитой скважине по ее торцу (без уширенного основания) определяется по формуле

(10.11)
где rcom - радиус уплотненной зоны вокруг набивной сваи у ее торца без уширенного основания, определяется по формуле

(10.12)
здесь

- коэффициент, учитывающий особенности взаимодействия сваи с грунтом, принимаемый равным

;
10.25 Площадь поперечного сечения уплотненной зоны вокруг уширенного основания набивной сваи в пробитой скважине вычисляется по
формуле (10.8), в которой радиус
r'com уширенной зоны на уровне ее наибольшего размера принимается равным
r'com = r + rc, (10.13)
10.26 Несущую способность набивной сваи в пробитой скважине, опирающейся на слабоуплотняющиеся плотные пески, а также водонасыщенные глинистые грунты и плотности в сухом состоянии

, в которых при пробивке скважин и создании уширенных оснований возможно лишь частичное уплотнение грунтов основания следует определять по
формуле (10.10).
R - расчетное сопротивление плотных песков с повышающим коэффициентом k = 1,1, а водонасыщенных глинистых грунтов k = 1,2 при Sr < 0,9 и k = 1,1 при Sr >= 0,9;
Ac - площадь поперечного сечения сваи при опирании ее на плотные пески; при уширении из жесткого материала или набивной сваи; при выполнении ее в водонасыщенных глинистых грунтах при Sr < 0,9.
10.27 Несущую способность набивной сваи по боковой поверхности Fdf, кН, следует определять по формуле

(10.14)
u - наружный периметр поперечного сечения ствола сваи, м;

- коэффициент условия работы грунта по боковой поверхности сваи, учитывающий влияние способа ее устройства;
| | ИС МЕГАНОРМ: примечание. В официальном тексте документа, видимо, допущена опечатка: имеется в виду СП 24.13330.2011, а не СП 24.13330.2016. | |
fi - расчетное сопротивление
i-го слоя уплотненного грунта основания по боковой поверхности сваи, кПа, в пределах уплотненной зоны, принимаемое по
таблице 7.3 СП 24.13330.2016 с учетом вида и способа устройства сваи при показателе текучести уплотненного грунта, вычисляемого по
формуле (10.7);
hi - толщина i-го слоя уплотненного грунта, м, соприкасающегося с боковой поверхностью сваи.
Примечания
1 В пределах буферного слоя толщиной
hd значение

принимается с понижающим коэффициентом 0,8.
2 При наличии у сваи наклонных граней следует учитывать дополнительное сопротивление грунта по боковой поверхности сваи согласно
формуле (7.9) СП 24.13330.2011, принимая наклон граней
ip <= 0,025.
10.28 Несущую способность грунта F'dR, кН, под оголовком сваи следует определять по формуле

(10.15)
RR - расчетное сопротивление, кПа, уплотненного грунта с учетом ширины
br под подошвой оголовка в среднем поперечном сечении на глубине 0,5 от высоты оголовка
hr, которое следует определять по
формуле (5.7) СП 22.13330.2016 с использованием нормативных значений угла внутреннего трения

и удельного сцепления
ccom уплотненных до средней плотности грунтов, вычисляемых по
формуле (10.2);
AR - расчетная площадь оголовка в среднем его сечении, при квадратной форме в плане

.
10.29 Несущую способность
Fdu, кН, набивных свай в пробитых скважинах, в том числе с уширенным основанием из жесткого грунтового материала, работающих на выдергивающую нагрузку, следует определять в зависимости от типов свай по
формуле (10.14), в которой коэффициент условий работы свай в грунте

следует принимать

при их глубине до 4 м и

при их глубине более 4 м.
Несущую способность на выдергивающую нагрузку свай с уширенными основаниями, выполненными из жесткой бетонной смеси с соответствующим анкерующим армированием уширения, рекомендуется определять по аналогии с расчетом грунтовых анкеров.
10.30 Для свай, нижний конец которых или уширение опираются на рыхлые песчаные или пылевато-глинистые грунты, с показателем JL > 0,6, несущую способность следует определять по результатам статических испытаний.
Определение несущей способности свай по результатам полевых испытаний
10.31 Несущая способность свай на просадочных грунтах с I типом грунтовых условий в полевых условиях определяется путем статических испытаний, а также по результатам испытаний грунтов статическим зондированием.
Примечание - Динамические испытания свай допускается применять в отдельных и редких случаях их применение, когда полностью исключается возможность замачивания просадочных грунтов в процессе строительства и эксплуатации зданий и сооружений.
10.32 Испытания свай статической нагрузкой и обработку полученных результатов следует выполнять в соответствии с требованиями
ГОСТ 5686, а грунтов - статическим зондированием -
ГОСТ 19912, с учетом
подраздела 7.3 СП 24.13330.2011.
10.33 При статических испытаниях набивных свай в пробитых скважинах, а также грунтов статическим зондированием, в целях накопления фактических данных, необходимых для корректировки существующих и разработки новых методов расчета несущей способности свай, испытания их рекомендуется выполнять с раздельным определением несущей способности по боковой поверхности и по подошве свай как без, так и с уширенным основанием.
Примечание - Программу статических испытаний свай и статического зондирования грунтов целесообразно согласовать с ведущей научно-исследовательской или ведущей проектно-изыскательной организацией.
10.34 Несущую способность свай, применяемых в грунтовых условиях I типа, по результатам их статических испытаний, проведенных с локальным замачиванием грунта в пределах всей длины сваи согласно
ГОСТ 5686.
В грунтовых условиях I типа при наличии опыта строительства на застраиваемой территории и результатов ранее выполненных статических испытаний свай в аналогичных условиях испытания свай допускается не проводить.
Не допускается определять несущую способность свай и свай-оболочек, устраиваемых в просадочных грунтах, по данным результатов их динамических испытаний, а также расчетные сопротивления просадочных грунтов под нижним концом и на боковой поверхности сваи по данным результатов полевых испытаний этих грунтов динамическим зондированием.
Статическое зондирование допускается применять:
- ниже границы просадочной толщи - при выборе слоев грунта для опирания свай и для определения расчетных сопротивлений грунтов под нижним концом R и на боковой поверхности сваи fi;
- в грунтовых условиях I типа - для определения расчетных сопротивлений замоченных просадочных грунтов под нижним концом R и на боковой поверхности сваи fi;
- в грунтовых условиях II типа - при определении отрицательной силы трения просадочных грунтов на боковой поверхности сваи.
10.35 Расчет свай и свайных фундаментов по деформациям (расчет по предельным состояниям второй группы) на просадочных грунтах с I типом грунтовых условий следует выполнять, для зданий и сооружений классов КС-3 и КС-2 при полной прорезке просадочных грунтов с опиранием нижних концов свай на непросадочные грунты, а также класса КС-1 в случаях неполной прорезки просадочных грунтов.
При расчете учитывается возможность замачивания сверху просадочных и подстилающих их грунтов. Расчет должен выполняться по
подразделу 7.4 СП 24.13330.2011, предусматривать определение: максимальных осадок
smax односвайных и отдельно стоящих свайных (кустовых, ленточных) фундаментов со столбчатыми и ленточными ростверками; средних осадок

для ленточных перекрестных и плитных фундаментов при жестких конструкциях зданий и сооружений, а также относительных разностей осадок свай

как в пределах одного, так и между и вблизи расположенными фундаментами.
10.36 При расчете по деформациям основания свайных фундаментов рассчитываются с учетом их взаимодействия с конструкцией здания и сооружения. Расчетная схема системы "сооружение - основание" или "фундамент - основание" должна выбираться с учетом: наиболее неблагоприятного расположения источника замачивания по отношению к зданию и сооружению; повышения напряженного состояния и деформации основания; конструкций зданий и сооружений; за счет дополнительных нагрузок от полов, фундаментов технологического оборудования, планировочных насыпей, а также повышения собственного веса грунта при возможном его увлажнении грунтов, уплотнении их в процессе выполнения свай и т.п.
Примечание - При выполнении свайных фундаментов с расположением свай в виде полей, многоленточных при их ширине b > 0,8Hsl, при дополнительных напряжениях возможен перевод грунтовых условий из I во II тип по просадочности. В этих случаях расчет осадок свайных фундаментов следует выполнять как на просадочных грунтах со II типом грунтовых условий.
Проектирование свайных фундаментов на просадочных грунтах с II типом грунтовых условий
10.37 Особенность проектирования свайных фундаментов на просадочных грунтах II типа грунтовых условий - учет дополнительных нагрузок Pn на сваи от сил отрицательного (негативного) трения fn, возникающих при просадках грунтов от их собственного.
Расчетная нагрузка на сваю N с учетом сил негативного трения fn может быть определена по одному из следующих двух вариантов:
- как дополнительная нагрузка
Pn от сил негативного трения
fn, подсчитываемая по
формуле 5.13 настоящего пособия.
При этом значения
Pn и
P'n в расчетах свайных фундаментов должны приниматься не менее значения, полученного по
СП 24.13330.
10.38 Сваи по несущей способности грунтов основания в грунтовых условиях II типа по просадочности следует рассчитывать с учетом сил отрицательного трения исходя из условия

(10.16)
где N - расчетная нагрузка, кН, на одну сваю;
Fd - несущая способность сваи, кН;

,

- коэффициенты, принимаемые по
10.51;

- коэффициент условий работы сваи, значение которого принимают в зависимости от возможного значения просадки грунта
ssl: при
ssl = 5 см

; при
ssl >= 2
su 
; для промежуточных значений
ssl 
определяют интерполяцией;
Pn - отрицательная сила трения.
Примечание - Значение Pn следует определять для полностью водонасыщенного грунта (при возможном замачивании грунтов сверху).
По прочности материала сваи должны быть рассчитаны на нагрузку N + Pn.
10.39 Отрицательную силу трения
Pn в водонасыщенных грунтах и
P'n в грунтах природной влажности, действующую на боковой поверхности сваи, кН, принимают равной наибольшему предельному сопротивлению сваи длиной
hsl по испытаниям выдергивающей нагрузкой согласно
ГОСТ 5686 соответственно в водонасыщенных грунтах и грунтах природной влажности.
До проведения испытаний на выдергивание значение Pn допускается определять
а) по формуле

(10.17)
где u - периметр, м, участка ствола сваи длиной hsl;
hsl - расчетная глубина, м, до которой проводится суммирование сил бокового трения проседающих слоев грунта, принимаемая равной глубине, где значение просадки грунта от действия собственного веса, определенное в соответствии с требованиями
СП 22.13330, равной наименьшему значению допустимой деформации основания здания;

- расчетное сопротивление, кПа, определяемое по формуле

(10.18)
здесь

- экспериментальный параметр, характеризующий боковое давление на контакте сваи с грунтом;
nmax - наибольшее значение пористости просадочных грунтов, принимаемое равным 0,55;
ni - пористость i-го слоя грунта, доли единицы;
Hi - глубина расположения середины расчетного i-го слоя грунта, м;
H0 = 1 м;

- вертикальное напряжение от собственного веса водонасыщенного грунта, кПа;

и
cI - расчетные значения угла внутреннего трения, град., и удельного сцепления
i-го слоя грунта, определяемые в соответствии с
ГОСТ 12248 по методу консолидированного дренированного среза;
hi - толщина, м, i-го слоя просадочного грунта, оседающего при замачивании и соприкасающегося с боковой поверхностью сваи;
б) по результатам статического зондирования водонасыщенных грунтов и грунтов природной влажности на расчетную глубину hsl.
10.40 Несущую способность Fd, кН, свай в грунтовых условиях II типа по просадочности, работающих на сжимающую нагрузку, следует определять:
- по результатам статических испытаний свай с локальным замачиванием - как разность между несущей способностью свай длиной l на вдавливающую нагрузку и несущей способностью свай длиной hsl на выдергивающую нагрузку; в необходимых случаях следует предусматривать проведение испытаний тензометрических свай (с определением усилий и деформаций в их сечениях);
- расчетом в условиях полного водонасыщения грунтов в пределах слоев грунта ниже глубины hsl.
10.41 Несущую способность свай, применяемых в просадочных грунтах с I типом грунтовых условий, следует определять с учетом того, что сопротивления грунтов под нижними концами
R и на боковой поверхности
fi сваи, коэффициент пропорциональности
K, модуль деформации
E, угол внутреннего трения

и удельное сцепление
c должны определяться:
а) при полном водонасыщении грунта, если возможно замачивание грунта, при этом расчетные табличные характеристики следует принимать при показателе текучести, определяемом по формуле

(10.19)
где e - коэффициент пористости грунта природной плотности;

- удельный вес воды;

(1 тс/м
3);

- удельный вес твердых частиц, кН/м
3 (тс/м
3);
k - коэффициент, принимаемый равным: 1,0 - для супесей, 0,9 - для суглинков и глин;
wp,
wL - влажности грунта на границе раскатывания и текучести, доли единицы; при значении
IL < 0,4, полученном при расчете по
формуле (9.1), для супесей и суглинков
IL следует принимать равными 0,4;
б) при влажности w и показателе текучести IL грунта в природном состоянии (когда w < wp принимается wp), если замачивание грунта невозможно.
10.42 Проведение статических испытаний свай в просадочных грунтах со II типом грунтовых условий обязательно при отсутствии фондовых материалов по таким испытаниям.
10.43 Для особо ответственных сооружений и при массовой застройке в районах с неизученными грунтовыми условиями следует проводить испытания свай с длительным замачиванием основания до полного проявления просадок по разработанной программе для конкретных условий.
10.44 Если на боковой поверхности свай возможно появление отрицательных сил трения, то осадку свайного фундамента из висячих свай следует определять как для условного фундамента, но при подсчете нагрузок должны быть добавлены отрицательные силы трения, при периметре u, м, равном периметру ростверка в пределах его высоты и по периметру куста по наружным граням свай.
10.45 Определение неравномерности осадок свайных фундаментов в просадочных грунтах для расчета конструкций зданий и сооружений должно проводиться с учетом прогнозируемых изменений гидрогеологических условий площади застройки и возможных наиболее неблагоприятных вида и расположения источника замачивания по отношению к рассчитываемому фундаменту и сооружению в целом.
10.46 Применение свайных фундаментов не исключает необходимости выполнения водозащитных мероприятий. При этом в просадочных грунтах со II типом грунтовых условий должна быть также предусмотрена разрезка зданий осадочными швами на блоки простой конфигурации. В производственных зданиях промышленных предприятий, оборудованных кранами, кроме того, должны быть предусмотрены конструктивные мероприятия, обеспечивающие возможность рихтовки подкрановых путей на удвоенное значение расчетной осадки свайных фундаментов, но не менее половины просадки грунта от собственного веса. В случаях, когда свайный фундамент не исключает деформации конструкций и крены зданий и сооружений, превышающие значения, допустимые нормативными документами, их допускается проектировать с учетом мероприятий, снижающих их неравномерную осадку и устраняющих их крены, в том числе с применением выравнивания.
10.47 При просадках грунта от собственного веса более 30 см следует учитывать возможность горизонтальных перемещений свайных фундаментов, попадающих в пределы криволинейной части просадочной воронки.
10.48 В грунтовых условиях II типа при определении нагрузок, действующих на свайный фундамент, следует учитывать отрицательные силы трения, которые могут появляться на расположенных выше подошвы свайного ростверка боковых поверхностях, заглубленных в грунт частей здания и сооружения.
10.49 При применении свайных фундаментов планировочные подсыпки грунтов более 1 м на территориях, сложенных просадочными грунтами, допускаются только при специальном обосновании.
10.50
hsl - расчетная глубина, м, до которой производится суммирование сил бокового трения проседающих слоев грунта, принимаемая равной глубине, где значение просадки грунта от действия собственного веса, определенное в соответствии с требованиями
СП 22.13330, равной наименьшему значению допустимой деформации основания здания, то есть имеет ограниченное применение, а именно только для сооружений класса КС-3.
Поэтому далее приведена методика определения сил нагружающего трения для сооружений классов КС-2 и КС-3.
Проектирование свайных фундаментов по предлагаемой методике
10.51 Сваи по несущей способности грунтов основания в грунтовых условиях II типа по просадочности рекомендуется рассчитывать с учетом дополнительной нагрузки
Pn на сваи от сил нагружающего трения
fn, а также возможности возникновения дополнительной осадки
sul подстилающих непросадочных грунтов исходя из условия

(10.20)
где N - расчетная нагрузка на сваю, кН;

,

- коэффициенты, принимаемые по
7.1.11 СП 24.13330.2011;
Fd - несущая способность сваи;
Pn - дополнительная нагрузка на сваю от сил нагружающего трения, в пределах верхней части сваи на глубину до hsl;

- коэффициент условий работы сваи, значение которого принимается в зависимости от возможного значения просадки грунта от собственного веса
ssl,q: при
ssl,q = 5 см

; при
ssl,q = 2
su (
su - предельное значение средней осадки здания или сооружения, принимаемое по
приложению Г СП 22.13330.2016)

, для промежуточных значений
ssl,q и

определяют по интерполяции;

- коэффициент надежности по грунту принимаемый равным:
1,0 - если дополнительная нагрузка Pn на сваю определена по результатам полевых испытаний статической нагрузкой или по массе нависающего на сваи грунта при расположении их внутри свайного куста или поля;
0,8 - если дополнительная нагрузка Pn определена по результатам статического зондирования или по массе нависающего грунта при расположении их по периметру крайних рядов свай в кустах или полях;
0,7 - если дополнительная нагрузка Pn на сваи определена расчетом с использованием основных характеристик грунтов.
10.52 Несущую способность Fd, кН, свай в просадочных грунтах II типа грунтовых условий в пределах глубины ее погружения l - hsl следует определять:
по результатам статических испытаний свай в грунтах природной влажности или с локальным замачиванием просадочных и подстилающих их грунтов;
расчетом по результатам статического зондирования;
расчетом с использованием основных характеристик грунтов основания.
10.53 Расчетная глубина
hsl, м, погружения сваи в просадочный грунт II типа грунтовых условий, до которой учитывается дополнительная нагрузка
Pn от сил нагружающего трения
fn принимается равной глубине, ниже которой суммарное значение просадки грунта
ssl,q и дополнительной осадки подстилающего грунта
sul (
ssl,q +
sul) для зданий и сооружений соответственно уровней ответственности (
sul + 0,5
sul) I - <= 5 см; II - <= 0,5
su; III -
su (
su - среднее значение предельной деформации грунта основания определяется по
СП 22.13330).
10.54 Дополнительная нагрузка Pn от сил негативного трения fn в водонасыщенных грунтах и P'n в просадочных грунтах природной влажности, действующих по боковой поверхности верхней части на глубину до hsl свай, определяется:
| | ИС МЕГАНОРМ: примечание. Текст дан в соответствии с официальным текстом документа. | |
расчетом по с использованием основных характеристик грунтов для предварительного и окончательного назначения величины
Pn и
P'n для зданий и сооружений соответственно классов КС-2 и КС-1 по
ГОСТ 27751;
расчетом по разделу с использованием результатов статистического зондирования грунтов;
по результатам статических испытаний свай длиной hsl выдергивающей или выдергивающей-вдавливающей нагрузкой;
по массе нависающего на каждую сваю грунта в составе свайного фундамента, вычисляемой на завершающем этапе проектирования свайных фундаментов.
10.55 При вычислении расчетных значений несущей способности свай
Fd по
формуле (10.20) следует принимать максимальные значения
Pn и
P'n, получаемые для зданий и сооружений:
классов КС-3 и КС-2 по результатам: статических испытаний свай; статического зондирования, а также по массе нависающего на сваю просадочного грунта;
класса КС-1 по результатам расчетов с использованием: данных статического зондирования грунтов; основных характеристик грунтов, а также по массе нависающего на сваю просадочного грунта.
При определении несущей способности свай
Fd по
формуле (10.20) максимальные значения
Pn и
P'n должны приниматься не более значений, определяемых по
СП 24.13330.
10.56 Дополнительную нагрузку на сваю Pnm, кН, по массе (площади) нависающего на нее окружающего грунта рекомендуется определять по формуле

(10.21)
где

- средневзвешенное значение удельного веса, кН/м
3, просадочного грунта с учетом его уплотнения в верхней части сваи на глубину
hsl, которая под ростверком принимается от его подошвы, а за его пределами от уровня планировки поверхности;
An - площадь, м2, нависающего на сваю или взаимодействующего с ней просадочного грунта, принимаемая в зависимости от расположения их в свайных фундаментах, расстояний между сваями (рисунок 10.2).
а - ленточных однорядных; б - ленточных двухрядных;
в - свайного поля или куста при большом (более 25)
количестве свай; a - расстояние между сваями;
b - расстояние между рядами свай; r - радиус зоны
взаимодействия свай с окружающим грунтом в фундаменте,
принимаемый равным r = 2,5d - диаметра или ширины
поперечного сечения сваи
Рисунок 10.2 - Фрагменты планов свайных фундаментов
Площадь нависающего на сваю просадочного грунта при просадке его от собственного веса рекомендуется принимать равной при:
- одиночной сваи
- 
;
- однорядном ленточном расположении свай An1 = a2r;
- двухрядном - An2 = a(b/2 + r);
- в средней части свайного куста или поля An3 = ab;
- на угловые сваи

.
Примечание - Для свайных кустов с количеством свай 2 - 5 и более площади нависающих на них грунтов назначаются по аналогии на
рисунке 10.2.
Определение расчетных нагрузок на свайные фундаменты
10.57 Расчетные нагрузки Nc на свайные фундаменты в просадочных грунтах II типа грунтовых условий рекомендуется принимать по наибольшему значению Nc, получаемому по двум условиям, отличающихся способом определения дополнительных нагрузок Pn и P'n на сваи от сил негативного трения fn.
10.58 В просадочных грунтах I типа грунтовых условий расчетная нагрузка Nc на сваю определяется расчетом на основе учета дополнительной нагрузки Pn1 и P'n от сил негативного трения fn по ее боковой поверхности. При этом суммарная расчетная нагрузка Nc1 на свайный фундамент определяется по формуле
Nc1 =
Nnn -
Pnr -
Q, (10.22)
n - число свай в свайном фундаменте или ростверке;
Pnr - дополнительная нагрузка на ростверк, кН, от сил негативного трения по его боковой поверхности, вычисляемая по формуле

(10.23)
где

- коэффициент условий работы ростверка в грунте, принимаемый равным

;
h и u - соответственно толщина и периметр ростверка, м;
f - расчетное сопротивление грунта на боковой поверхности ростверка, кПа, принимаемое по
таблице 7.3 СП 24.13330.2011 на глубине 0,5
h от пола;
Q - собственный вес ростверка с грунтом на уступах, кН.
10.59 По второму условию расчетная нагрузка Ni на каждую сваю, входящую в состав свайного фундамента, определяется с учетом дополнительной нагрузки на сваю Pn,i от сил негативного трения fn по массе нависающего на нее окружающего грунта и вычисляется по формуле

(10.24)
Pn,i - дополнительная нагрузка на отдельную или группу свай с одинаковой массой (площадью) нависающего на них окружающего грунта, определяемая по
формуле (10.21), в которой
An означает
Ani.
Расчетная нагрузка на свайный фундамент в Nc2 по второму условию вычисляется по формуле

(10.25)
N2 ... N4 - расчетные нагрузки, кН, на отдельные группы свай с одинаковой массой нависающего грунта;
n2 ... n4 - число свай с одинаковой массой нависающего на них грунта.
Примечание - При расстояниях между сваями a >= 5dc максимальные дополнительные нагрузки на них Pnl принимаются как для одиночных свай.
10.60 Расчет осадок свай и свайных фундаментов в грунтовых условиях II типа по просадочности следует выполнять по
подразделу 7.4 СП 24.13330.2011, относящимся к просадочным грунтам с I типом при замачивании их сверху на всю величину
Hsl с учетом следующих основных дополнений:
- осадки свай и свайных фундаментов рассчитываются на суммарные вертикальные нагрузки от: фундаментов зданий или сооружений N', дополнительных нагрузок Pn от сил негативного трения при просадках грунтов от их собственного веса, а также возможного увеличения собственного веса грунта основания внутри свайного поля за счет повышения влажности и плотности грунта при его уплотнении и др.;
- при определении дополнительных нагрузок
Pn на свайные фундаменты учитываются дополнительные нагрузки от сил негативного трения по периметру ростверка в пределах его высоты, а ниже по периметру свайного поля или куста, или ленты - по наружным поверхностям свай согласно схемам, приведенным на
рисунке 10.2;
- расчет разности просадок свайных фундаментов

зданий и сооружений классов КС-2 и КС-1 по
ГОСТ 27751 выполняется в пределах допустимого изменения
ssl,q соответственно от 0,00 до 0,5
su и от 0,00 до
su. Изменение просадок
ssl,q на этих участках принимается в соответствии с кривой развития просадок грунтов
ssl,q от собственного веса.
10.61 Полевые испытания свай в просадочных грунтах II типа грунтовых условий должны выполняться с раздельным определением:
- возможной дополнительной нагрузки Pn на сваю от сил негативного (отрицательного) трения, возникающих при просадке грунта от его собственного веса в пределах верхней части просадочной толщи расчетной глубиной hsl;
- несущей способности сваи Fd;
- максимальной Fd,max без учета возможности возникновения дополнительной нагрузки Pn на сваи при отсутствии просадки грунта от его собственного веса Ssl,q;
- фактической Fd.f при возможной просадке Ssl,q, т.е. за вычетом дополнительной нагрузки Pn на сваю.
10.62 Полевые испытания свай в просадочных грунтах с определением несущей способности свай Fd.f и расчетной нагрузки N на нее следует выполнять с учетом возможного источника замачивания:
- сверху из внешних источников и при подъеме уровня подземных вод, испытания свай выполняются при определении Pn и Fd полном водонасыщении;
- снизу при подъеме уровня грунтовых вод и отсутствии замачивания сверху испытания свай выполняются с определением Pn при природной влажности, а Fd при полном водонасыщении.
10.63 Полевые испытания в просадочных грунтах II типа по просадочности рекомендуется выполнять по
ГОСТ 5686 и следующим методом, включающим испытание двух свай по методике
ГОСТ 5686, из которых одна свая длиной
Lhsl испытывается на вертикальную выдергивающую нагрузку, а другая длиной
L >=
hsl +
Hul на вертикальную вдавливающую нагрузку.
Свая, предназначенная для определения Fd, выполняется в обсадной трубе или лидерной скважине на глубину hsl и диаметром на 40 - 60 мм больше диаметра буровой сваи или диагонали поперечного сечения забивной железобетонной сваи.
11 Геотехнический мониторинг
11.1 К контролируемым параметрам при строительстве и реконструкции сооружений уровней ответственности КС-3 (повышенный) и КС-2 (нормальный), расположенных на территориях распространения просадочных грунтов, помимо предусмотренных
СП 22.13330, следует отнести:
- просадки грунтов и фундаментов;
- дополнительное сжатие подстилающих непросадочных грунтов от нагрузок, возникающих при застройке площадки с учетом планировочных насыпей, нагрузок от фундаментов и др.;
- горизонтальные перемещения грунтового массива и фундаментов;
- положение уровня подземных вод;
- изменение основных характеристик просадочных грунтов.
11.2 При возведении и реконструкции зданий и сооружений, относящихся к уровням ответственности КС-3 (повышенный) и КС-2 (нормальный), в особенности с новыми конструктивными схемами и техническими решениями, на площадках с II типом грунтовых условий по просадочности при
Ssl,g >= 5 см дополнительно к требованиям
СП 22.13330 необходимо организовать наблюдения за просадками грунтов и фундаментов, горизонтальными перемещениями.
11.3 При выполнении планировки застраиваемой площадки путем подсыпки грунтов с устройством планировочных насыпей высотой более 2 м при II и 4 м при I типе грунтовых условий по просадочности дополнительно к требованиям
СП 22.13330 необходимо организовать наблюдения за просадками грунтов и фундаментов, горизонтальными перемещениями, дополнительным сжатием непросадочных подстилающих грунтов.
11.4 Сооружения окружающей застройки, в т.ч. подземные инженерные коммуникации, подлежат геотехническому мониторингу при их расположении в зоне влияния нового строительства или реконструкции, размеры которой определяются по результатам геотехнического прогноза и не менее 3 Hsl - величины просадочной толщи.
11.5 При устранении просадочных свойств грунтов путем предварительного замачивания, в т.ч. глубинными взрывами, а также при выполнении работ с использованием интенсивных вибраций, сооружения окружающей застройки, в т.ч. подземные инженерные коммуникации, подлежат геотехническому мониторингу при их расположении в зоне влияния, размеры которой определяются по результатам геотехнического прогноза и не менее 1,5 Hsl.
ОПЫТНОЕ ЗАМАЧИВАНИЕ ПРОСАДОЧНЫХ ГРУНТОВ В КОТЛОВАНАХ
А.1 Опытное замачивание просадочных грунтов проводится для определения:
- типа грунтовых условий по просадочности;
- величины просадки грунтов от их собственного веса ssl,q;
- глубины, начиная с которой происходит просадка грунтов от их собственного веса hq;
- величины начального просадочного давления грунта psl при просадке его от собственного веса;
- возможных величин дополнительных осадок ssl и зоны сжатия Hul подстилающих просадочную толщу природных грунтов.
А.2 Опытное замачивание просадочных грунтов выполняется:
а) в реальных условиях просадки грунта от собственного веса - в котлованах с размерами сторон, равными размерам просадочной толщи, но менее 15 x 15 м, глубиной 0,25 - 0,4 м, отрываемых за счет снятия растительного и насыпного слоев;
б) по ускоренной методике - в котлованах площадью 4 - 16 м2.
А.3 Замачивание грунтов в опытном котловане в реальных условиях производится с поверхности дна котлована, а при необходимости ускорения замачивания - дополнительно через дренирующие скважины.
Дренирующие скважины устраиваются диаметром 100 - 250 мм при расстояниях между ними 2 - 5 м. Глубина таких скважин назначается из расчета полной проходки верхних слабофильтрующих слоев грунта и должна составлять не менее 0,4 и не более 0,8 Hsl. Дренажные скважины на всю глубину засыпаются песком, мелким гравием, щебнем или иным хорошо фильтрующим грунтовым материалом.
Для наблюдений за просадкой грунтов на дне котлована и за его пределами на расстоянии до 1,5 Hsl устанавливаются через 2 - 4 м поверхностные марки. В центре котлована, через 2 - 3 м по глубине в пределах грунтовой толщи мощностью 1,25 Hsl, устанавливаются глубинные марки для определения изменений значений деформаций грунтов по глубине.
Замачивание грунтов в опытных котлованах проводится с постоянным поддержанием уровня воды в них до полного промачивания всей толщи просадочных грунтов и условной стабилизации просадки, за которую принимается прирост ее не более 1 см за 15 сут.
В процессе замачивания измеряется количество воды, залитой в опытный котлован, и через каждые 5 - 10 дней (если иное не предусмотрено программой работ) проводится нивелировка поверхностных и глубинных марок относительно системы временных реперов, расположенных за пределами зоны развития просадок.
По результатам замачивания грунта в опытном котловане строятся графики изменения во времени:
- суточного и общего расхода воды;
- просадок глубинных и наиболее характерных поверхностных марок;
- просадок грунтов по отдельным поперечникам.
А.3 Опытное замачивание грунтов по ускоренной методике проводится в котлованах, имеющих форму: квадрата, шестиугольника, восьмиугольника, круга, по периметру которых выполняется отрезка в виде глубокой прорези на глубину 0,8 - 1
Hsl, за счет чего исключается или существенно снижается нависание увлажненного массива грунта на окружающий его просадочный грунт природной влажности.
Отрезка по периметру опытных котлованов от окружающих просадочных грунтов осуществляется путем устройства глубоких прорезей забивкой погружаемого ножа через лидерные скважины (рисунок А.1) или путем проходки часто расположенных скважин
(рисунок А.2).
а - квадратная при четырех погружениях ножей;
б - шестиугольная; в - восьмиугольная; 1 - следы погружения
ножа; 2 - лидерные скважины; 3 - дренажные скважины;
4 - поверхностные марки; 5 - куст глубинных марок
Рисунок А.1 - Опытные котлованы
при различном расположении ножей
а - круга; б - шестигранника; 1 и 2 - скважины;
Рисунок А.2 - Опытные котлованы
с часто расположенными скважинами по периметру
Прорези заполняются глинистым раствором или другим подобным материалом, обеспечивающим низкие значения сцепления увлажняемого грунта с окружающим грунтом.
В котлованах для опытного замачивания грунтов по ускоренной методике выполняются дренажные скважины и устанавливаются поверхностные и (или) глубинные марки.
Замачивание грунта в таких котлованах, а также анализ полученных результатов выполняются по аналогии с
А.3.
ОБЛАСТИ РАЦИОНАЛЬНОГО ПРИМЕНЕНИЯ МЕРОПРИЯТИЙ
ПРИ СТРОИТЕЛЬСТВЕ НА ПРОСАДОЧНЫХ ГРУНТАХ
Б.1 Области рационального применения мероприятий по обеспечению прочности и нормальной эксплуатации зданий и сооружений на просадочных грунтах (таблица Б.1), и основные характеристики уплотненных оснований и области их применения
(таблица Б.2) предназначены для предварительного выбора мероприятий для зданий и сооружений классов КС-3 и КС-2 и окончательного - для объектов класса КС-1.
Области рационального применения мероприятий
по обеспечению прочности и нормальной эксплуатации
зданий и сооружений на просадочных грунтах
Таблица Б.1
Тип грунтовых условий | Вид здания | Устранение просадочных свойств грунтов | Прорезка просадочных грунтов | Комплекс мероприятий |
Hsl, м | Hsl, м | Hsl, м |
<= 10 | 10 - 20 | > 20 | < 10 | 10 - 20 | > 20 | < 10 | 10 - 20 | > 20 |
I | А | + | + | | + | + | | - | - | |
Б | + | + | | + | + | | - | - | |
В | + | + | | + | + | | - | - | |
Г | + | + | | + | + | | - | - | |
Д | + | + | | + | + | | - | - | |
II | А | - | - | - | - | - | - | + | + | + |
Б | + | + | - | + | + | - | + | + | + |
В | + | + | + | + | + | + | + | + | + |
Г | + | + | + | + | + | + | - | - | - |
Д | +/- | +/- | +/- | + | + | + | - | - | - |
Таблица Б.2
Основные характеристики и области применения методов
устройства искусственных оснований
| Метод уплотнения (устранения) просадочных свойств грунтов | Основные характеристики уплотненного грунта | Область рационального применения по |
грунтовым условиям | классу сооружений | группам зданий |
hcom, м | ddes, м | kcom | Ecom, МПа | тип грунтовых условий | Hsl, м | подстилающий слой | А | Б | В |
1 | 1 Вытрамбовывание котлованов | 1 - 4 | - | 0,95 - 1 | 20 - 40 | I | < 10 | С, М, П | КС-2, КС-1 | + | + | + |
2 | Тяжелыми трамбовками в 1 слой | 2 - 4 | 0,1 - 0,2 | 0,95 - 1 | 20 - 30 | I | < 10 | С, М, П | КС-2, КС-1 | + | + | + |
3 | Грунтовые подушки | 1 - 6 | - | 0,95 - 0,98 | 20 - 40 | I | < 10 | С, М, П | КС-2, КС-1 | + | + | + |
4 | Двух-трехслойное уплотнение тяжелыми трамбовками | 6 - 10 | - | 0,93 - 0,98 | 20 - 30 | I - II | < 12 | С, М, П | КС-2, КС-1 | + | + | + |
5 | Грунтовыми сваями | 8 - 20 | 1,0 - 1,5 | 0,92 - 0,97 | 15 - 25 | II | < 18 | С, М, П | КС-1 | + | + | - |
6 | Щебеночными сваями | 8 - 15 | 1,0 - 1,8 | 0,93 - 0,98 | 20 - 30 | II | < 15 | М, П | КС-1 | + | + | - |
7 | Армированием | 10 - 18 | 1,0 - 1,8 | 0,92 - 0,95 | 10 - 20 | II | < 18 | М, П | КС-1 | + | + | + |
8 | Предварительным замачиванием | 10 - 25 | 4 - 8 | 0,90 - 0,95 | 10 - 20 | II | > 12 | Ф | КС-1 | + | + | - |
9 | То же, с: пригрузкой; глубокими прорезями; взрывами | 8 - 25 | 0 - 4 | 0,92 - 0,97 | 15 - 25 | II | > 12 | Ф | КС-1 | + | + | - |
10 | Разгрузка грунтового массива | > 13 | - | - | - | I - II | < 15 | С, М, П | КС-2, КС-1 | + | - | + |
| | ИС МЕГАНОРМ: примечание. Нумерация пунктов дана в соответствии с официальным текстом документа. | |
4.2 Выбор мероприятий рекомендуется выполнять с учетом:
| | ИС МЕГАНОРМ: примечание. В официальном тексте документа, видимо, допущена опечатка: разделы 1.3 и 1.4 отсутствуют. | |
- особенностей и основных характеристик просадочных грунтов (по разделам 1.3 и 1.4), а также свойств грунтов, подстилающих просадочную толщу Hsl;
- основных характеристик зданий и сооружений.
В зависимости от прочностных, деформационных и фильтрационных характеристик грунты, подстилающие просадочную толщу, подразделены условно на 3 вида:
С - сильнодеформируемые грунты с модулем деформации E <= 10 МПа;
М - среднедеформируемые грунты с модулем деформации 10 <= E <= 50 МПа;
П - слабодеформируемые грунты при E >= 50 МПа.
По водопоглощающей способности и водопроницаемости среди подстилающих просадочную толщу грунтов рекомендуется условно выделять два вида:
Ф - водопроницаемые, т.е. пески, супеси и легкие маловлажные суглинки;
Н - водонепроницаемые грунты, к которым следует отнести глины и тяжелые суглинки.
Б.3 По основным ниже приведенным характеристикам здания и сооружений подразделены на пять видов:
А - очень легкие - бескаркасные, малоэтажные высотой до двух этажей гражданские здания, каркасные одноэтажные промышленного назначения здания с нагрузкой от фундаментов стен до 80 кН/пог. м и колонн до 300 кН;
Б - легкие - бескаркасные, каркасно-панельные гражданские 3 - 5-этажные дома, каркасные одноэтажные промышленные здания с нагрузкой от фундаментов стен до 300 кН/пог. м и колонн до 800 кН;
В - средние - бескаркасные, жилые 6 - 12-этажные, каркасные промышленные, административные здания и сооружения с нагрузкой от фундаментов стен до 600 кН/пог. м и колонн до 2000 кН;
Г - тяжелые - бескаркасные, каркасные жилые и административные 8 - 20-этажные здания со средним давлением на грунт основания по площади застройки до 1,5 - 2,5 МПа, а также каркасные промышленные и административные здания и сооружения с нагрузкой на фундаменты от колонн до 100 МН;
Д - сверхтяжелые - каркасные жилые, а также промышленные корпусы со средним давлением по площади застройки или фундаментной плиты более 2,5 МПа или с нагрузкой от колонн более 100 МН.
Примечание - Здания и сооружения повышенной ответственности по
ГОСТ 27751 требуют особого подхода при проектировании и строительстве их на просадочных грунтах, поэтому в настоящем методическом пособии они не рассматриваются.
[1] Абелев Ю.М., Абелев М.Ю. Основы проектирования и строительства на просадочных макропористых грунтах. - М.: Госстройиздат, 1968. 431 с.
[2] Денисов Н.Я. Строительные свойства лесса и лессовидных суглинков. М.: Стройиздат, 1953. 145.
[3] Крутов В.И. Расчет фундаментов на просадочных грунтах. М.: Стройиздат, 1972. - 176 с.
[4] Крутов В.И. Основания и фундаменты на просадочных грунтах. - Киев: Будiвельник, 1982. - 224 с.
[5] В.И. Крутов, А.С. Ковалев, В.А. Ковалев. Проектирование и устройство оснований и фундаментов на просадочных грунтах. ООО Издательство АСН. 2013 г.
[6] Основания, фундаменты и подземные сооружения/М.И. Горбунов-Посадов, В.А. Ильичев, В.И. Крутов и др.; под общей ред. Е.А. Сорочана и Ю.Г. Трофименкова. - М.: Стройиздат, 1985. - 480 с. (Справочник проектировщика)
[7]
Пособие по проектированию оснований зданий и сооружений (к СНиП 2.02.01-83). - М.: Стройиздат, 1986
[8]
Пособие по производству работ при устройстве оснований и фундаментов (к СНиП 3.02.01-83). - М.: Стройиздат, 1986
[9] Крутов В.И. Учет новых результатов по просадочности грунтов при изысканиях, проектировании и строительстве//ОФМГ. - 1995, N 1
[10] Арутюнов И.С., Багдасаров Ю.А., Крутов В.И., Клепиков С.Н., Трегуб Ю.С., Гупаленко В.А., Коваль И.П. Набивные сваи в уплотненном грунте II типа по просадочности//ОФМГ. - 1983, N 1.
[11] Крутов В.И., Капустин В.К., Гинзбург Л.К., Коваль В.Е., Оперштейн В.Л., Гудков Ю.С. Методика и результаты испытаний буронабивных свай в грунтах II типа по просадочности//ОФМГ. - 1984, N 3.
[12] Крутов В.И., Арутюнов И.С. Снижение дополнительных нагрузок на сваи от сил нагружающего трения с помощью антифрикционных покрытий//ОФМГ. - 1989, N 5
[13] Крутов В.И. Совершенствование правил проектирования оснований и фундаментов на просадочных грунтах//ОФМГ. - 2008, N 4
[14] Крутов В.И., Попсуенко И.К. Устранение просадок лессовых грунтов от собственного веса путем армирования лессовой толщи//ОФМГ. 1976, N 6
[15] Рекомендации уплотнению просадочных грунтов с устройством глубоких прорезей и пригрузки. НИИОСП им. Н.М. Гесеванова. - М.: 1982
[16] Ильичев В.А., Григорян А.А. Об осадках сооружений завода Атоммаш в результате длительного замачивания грунтов//ОФМГ. - 1992, N 5
[17] Коханенко М.П., Поляков Г.П., Шевелев В.Б. Восстановление гражданских зданий на просадочных грунтах. - М.: Стройиздат, 1990
[18] Цытович Н.А. Механика грунтов. - М.: Госстройиздат, 1963. - 636 с.
[19] Кругов В.И., Багдасаров Ю.А., Рабинович И.Г. Фундаменты в вытрамбованных котлованах. - М.: Стройиздат, 1985. - 164 с.
[20]
Руководство по проектированию и устройству фундаментов в вытрамбованных котлованах. - М.: Стройиздат, 1981. - 56 с.
[21] Рекомендации по проектированию и устройству фундаментов в вытрамбованных котлованах на глинистых водонасыщенных и песчаных грунтах/НИИОСП им. Н.М. Герсеванова. - М., 1987. - 48 с.
[22] Кругов В.И., Сорочан Е.А., Ковалев В.А. Фундаменты мелкого заложения. - 2009. - 232 с.
[23] Крутов В.И., Троп В.Б. Фундаменты из забивных блоков. - К.: Будiвельник, 1987. - 120 с.
[24]
Рекомендации по уплотнению просадочных грунтов большой мощности гидровзрывным методом/НИИСК Госстроя СССР. - М.: Стройиздат, 1984. - 56 с.
[25] Крутов В.И., Багдасаров Ю.А. Устройство подземных этажей на просадочных и насыпных грунтах//ОФМГ. - 2005, N 5
[26] Клепиков С.Н., Трегуб А.С., Матвеев И.В. Расчет зданий и сооружений на просадочных грунтах. - К.: Будiвельник, 1987
[27] Крутов В.И., Когай В.К., Глухов В.С. Устройство фундаментов из набивных свай в пробитых скважинах//Механизация строительства. - 2010, N 6
[28]
Руководство по устройству обратных засыпок котлованов с подготовкой оснований под технологическое оборудование и полы на просадочных грунтах/НИИОСП им. Н.М. Герсеванова. - М.: Стройиздат, 1980. - 40 с.
[29] Крутов В.И., Ковалев А.С. Испытания фундаментов в вытрамбованных котлованах по ускоренным методикам//ОФМГ. - 2002, N 1
[30] Крутов В.И., Ковалев А.С., Дулаев А.С. Динамические испытания - добивка фундаментов в вытрамбованных котлованах//Механизация строительства. - 1999, N 6
[31] FRANKIPFAHL, "FRANKI" Grundbau Gmbh&CokG.
[32] Frbeitsanweisung. Frankipfahle Type II, Gmbh Grundbau "FRANKI" AA-NAA.9.2 Index 2, 2003
[33] Бахолдин Б.В., Стуров В.И., Бессонов В.М. Метод оперативного контроля несущей способности оснований в вытрамбованных котлованах//ОФМГ. - 1993, N 1
[34] Гончаров Б.В., Галимнурова О.В., Гареева Н.Б. О динамическом методе оценки несущей способности фундаментов в вытрамбованных котлованах//ОФМГ. - 2009, N 1.
[35] СТО 36554501-018-2009 Проектирование и устройство свайных фундаментов и упрочненных оснований из набивных свай в пробитых скважинах
[36] Абелев М.Ю., Кругов В.И. Выправление кренов жилого дома на присадочных лессовых грунтах регулируемым замачиванием//ОФМГ. - 2000, N 5
[37] Крутов В.И., Бахромов Р.Р., Шмульян А.Ю. Выправление промышленного здания регулируемым замачиванием просадочных грунтов//Промышленное строительство. - 1989, N 10
[38] Коновалов П.А. Основания и фундаменты реконструируемых зданий/ВНИИНТПИ. - М., 2000. - 318 с.
[39] Швец В.Б., Феклин В.И., Гинзбург Л.К. Усиление и реконструкция фундаментов. - М.: Стройиздат, 1985. - 272 с.
[40] Крутов В.И., Ковалев А.С., Ковалев В.А. Усиление фундаментов административного здания в Москве//ОФМГ. - 2005, N 2
[41] Гильман Я.Д., Гильман Е.Д. Усиление и восстановление зданий на лессовых просадочных грунтах. - М.: Стройиздат, 1989. - 160 с.