Главная // Актуальные документы // ПравилаСПРАВКА
Источник публикации
В данном виде документ опубликован не был.
Первоначальный текст документа опубликован в издании
М.: Минрегион России, 2011.
Информацию о публикации документов, создающих данную редакцию, см. в справке к этим документам.
Примечание к документу
О порядке применения данного документа при проверке соответствия проектной документации и (или) результатов инженерных изысканий, представленных на первичную или повторную государственную или негосударственную экспертизу, в целях обеспечения соблюдения требований Федерального
закона от 30.12.2009 N 384-ФЗ см.
п. 2 Постановления Правительства РФ от 28.05.2021 N 815.
Отдельные положения данного документа до 01.09.2022 были включены в
Перечень национальных стандартов и сводов правил (частей таких стандартов и сводов правил), в результате применения которых на обязательной основе обеспечивается соблюдение требований Федерального
закона "Технический регламент о безопасности зданий и сооружений" (
Постановление Правительства РФ от 28.05.2021 N 815).
Отдельные положения данного документа включены в
Перечень национальных стандартов и сводов правил (частей таких стандартов и сводов правил), в результате применения которых на обязательной основе обеспечивается соблюдение требований Федерального
закона "Технический регламент о безопасности зданий и сооружений" (
Постановление Правительства РФ от 04.07.2020 N 985).
Документ включен в
Перечень документов в области стандартизации, в результате применения которых на добровольной основе обеспечивается соблюдение требований Федерального
закона от 30.12.2009 N 384-ФЗ "Технический регламент о безопасности зданий и сооружений" (
Приказ Росстандарта от 02.04.2020 N 687).
Документ включен в
Перечень документов в области стандартизации, в результате применения которых на добровольной основе обеспечивается соблюдение требований Федерального
закона от 30.12.2009 N 384-ФЗ "Технический регламент о безопасности зданий и сооружений" (
Приказ Росстандарта от 17.04.2019 N 831).
Документ включен в
Перечень документов в области стандартизации, в результате применения которых на добровольной основе обеспечивается соблюдение требований Федерального
закона от 30.12.2009 N 384-ФЗ "Технический регламент о безопасности зданий и сооружений" (
Приказ Росстандарта от 30.03.2015 N 365).
Отдельные положения данного документа включены в
Перечень национальных стандартов и сводов правил (частей таких стандартов и сводов правил), в результате применения которых на обязательной основе обеспечивается соблюдение требований Федерального
закона от 30.12.2009 N 384-ФЗ "Технический регламент о безопасности зданий и сооружений" (
Постановление Правительства РФ от 26.12.2014 N 1521).
При применении данного документа следует учитывать, что в соответствии с
пунктом 32 Правил разработки и утверждения сводов правил, утв. Постановлением Правительства РФ от 19.11.2008 N 858, для соблюдения требований технических регламентов и оценки соответствия своды правил применяют после внесения их в перечни национальных стандартов и (или) сводов правил, подлежащие утверждению и опубликованию в установленном порядке.
Название документа
"СП 21.13330.2012. Свод правил. Здания и сооружения на подрабатываемых территориях и просадочных грунтах. Актуализированная редакция СНиП 2.01.09-91"
(утв. Приказом Минрегиона России от 29.12.2011 N 624)
(ред. от 10.07.2017)
"СП 21.13330.2012. Свод правил. Здания и сооружения на подрабатываемых территориях и просадочных грунтах. Актуализированная редакция СНиП 2.01.09-91"
(утв. Приказом Минрегиона России от 29.12.2011 N 624)
(ред. от 10.07.2017)
регионального развития
Российской Федерации
от 29 декабря 2011 г. N 624
СВОД ПРАВИЛ
ЗДАНИЯ И СООРУЖЕНИЯ НА ПОДРАБАТЫВАЕМЫХ ТЕРРИТОРИЯХ
И ПРОСАДОЧНЫХ ГРУНТАХ
АКТУАЛИЗИРОВАННАЯ РЕДАКЦИЯ
Buildings and structures on undermined territories
and slumping soils
СП 21.13330.2012
| | Список изменяющих документов Минстроя России от 10.07.2017 N 982/пр) | |
Дата введения
1 января 2013 года
Цели и принципы стандартизации в Российской Федерации установлены Федеральным
законом от 27 декабря 2002 г. N 184-ФЗ "О техническом регулировании", а правила разработки -
Постановлением Правительства Российской Федерации от 19 ноября 2008 г. N 858 "О порядке разработки и утверждения сводов правил".
1. Исполнители - Научно-исследовательский, проектно-изыскательский и конструкторско-технологический институт оснований и подземных сооружений им. Н.М. Герсеванова ОАО "НИЦ "Строительство".
2. Внесен Техническим комитетом по стандартизации ТК 465 "Строительство".
3. Подготовлен к утверждению Департаментом архитектуры, строительства и градостроительной политики.
4. Утвержден
Приказом Министерства регионального развития Российской Федерации (Минрегион России) от 29 декабря 2011 г. N 624 и введен в действие с 1 января 2013 г.
5. Зарегистрирован Федеральным агентством по техническому регулированию и метрологии (Росстандарт). Пересмотр СП 21.13330.2010 "СНиП 2.01.09-91. Здания и сооружения на подрабатываемых территориях и просадочных грунтах".
Информация об изменениях к настоящему своду правил публикуется в ежегодно издаваемом информационном указателе "Национальные стандарты", а текст изменений и поправок - в ежемесячно издаваемых информационных указателях "Национальные стандарты". В случае пересмотра (замены) или отмены настоящего свода правил соответствующее уведомление будет опубликовано в ежемесячно издаваемом информационном указателе "Национальные стандарты". Соответствующая информация, уведомление и тексты размещаются также в информационной системе общего пользования - на официальном сайте разработчика (Минрегион России) в сети Интернет.
Настоящий свод правил устанавливает требования к проектированию зданий и сооружений на подрабатываемых территориях и просадочных грунтах.
Актуализация раздела "Здания и сооружения на подрабатываемых территориях" выполнена НИИОСП им. Н.М. Герсеванова (д-р техн. наук В.П. Петрухин, канд. техн. наук О.А. Шулятьев, д-р техн. наук В.И. Шейнин - руководители темы; инж. Б.Н. Астраханов, кандидаты техн. наук А.М. Дзагов, О.Н. Исаев, инж. А.Н. Пушилин, кандидаты техн. наук А.Л. Смилянский, М.Л. Холмянский, Б.С. Цетлин (ЦНИИСК им. В.А. Кучеренко) при участии докторов техн. наук М.А. Иофиса (ИПКОН РАН) и И.В. Баклашова (МГГУ).
Актуализация раздела "Здания и сооружения на просадочных грунтах" выполнена НИИОСП им. Н.М. Герсеванова (д-р техн. наук В.П. Петрухин, канд. техн. наук О.А. Шулятьев, д-р техн. наук В.И. Крутов - руководители темы; кандидаты техн. наук В.К. Когай, И.К. Попсуенко, А.М. Дзагов, В.А. Ковалев), Б.С. Цетлин (ЦНИИСК им. В.А. Кучеренко).
Изменение N 1 к СП 21.13330.2012 разработано авторским коллективом НИИОСП им. Н.М. Герсеванова (руководители темы - канд. техн. наук И.В. Колыбин, канд. техн. наук О.А. Шулятьев, канд. техн. наук Д.Е. Разводовский, д-р техн. наук В.И. Крутов, д-р техн. наук В.И. Шейнин; исполнители - канд. техн. наук В.К. Когай, канд. техн. наук И.К. Попсуенко, канд. техн. наук А.М. Дзагов, канд. техн. наук В.А. Ковалев, канд. техн. наук О.Н. Исаев, канд. техн. наук М.Л. Холмянский, А.Н. Пушилин).
(абзац введен
Изменением N 1, утв. Приказом Минстроя России от 10.07.2017 N 982/пр)
Настоящий свод правил устанавливает требования к проектированию зданий и сооружений на подрабатываемых территориях и просадочных грунтах.
Требования настоящего свода правил не распространяются на проектирование зданий и сооружений в сейсмических районах, а также на проектирование гидротехнических сооружений, дорог, аэродромных покрытий.
Минстроя России от 10.07.2017 N 982/пр)
В настоящем своде правил приведены нормативные ссылки на следующие документы:
ГОСТ 23161-2012 Грунты. Метод лабораторного определения характеристик просадочности
ГОСТ 27751-2014 Надежность строительных конструкций и оснований. Основные положения
ГОСТ 31937-2011 Здания и сооружения. Правила обследования и мониторинга технического состояния
СП 31.13330.2012 "СНиП 2.04.02-84* Водоснабжение. Наружные сети и сооружения" (с изменениями N 1, N 2)
СП 32.13330.2012 "СНиП 2.04.03-83 Канализация. Наружные сети и сооружения" (с изменением N 1)
СП 42.13330.2016 "СНиП 2.07.01-89* Градостроительство. Планировка и застройка городских и сельских поселений"
СП 47.13330.2016 "СНиП 11-02-96 Инженерные изыскания для строительства. Основные положения"
СП 104.13330.2016 "СНиП 2.06.15-85 Инженерная защита территорий от затопления и подтопления"
СП 116.13330.2012 "СНиП 22-02-2003 Инженерная защита территорий, зданий и сооружений от опасных геологических процессов. Основные положения"
Примечание. При пользовании настоящим сводом правил целесообразно проверить действие ссылочных документов в информационной системе общего пользования - на официальном сайте федерального органа исполнительной власти в сфере стандартизации в сети Интернет или по ежегодному информационному указателю "Национальные стандарты", который опубликован по состоянию на 1 января текущего года, и по выпускам ежемесячного информационного указателя "Национальные стандарты" за текущий год. Если заменен ссылочный документ, на который дана недатированная ссылка, то рекомендуется использовать действующую версию этого документа с учетом всех внесенных в данную версию изменений. Если заменен ссылочный документ, на который дана датированная ссылка, то рекомендуется использовать версию этого документа с указанным выше годом утверждения (принятия). Если после утверждения настоящего свода правил в ссылочный документ, на который дана датированная ссылка, внесено изменение, затрагивающее положение, на которое дана ссылка, то это положение рекомендуется применять без учета данного изменения. Если ссылочный документ отменен без замены, то положение, в котором дана ссылка на него, рекомендуется применять в части, не затрагивающей эту ссылку. Сведения о действии сводов правил целесообразно проверить в Федеральном информационном фонде стандартов.
В настоящем своде правил применены следующие термины с соответствующими определениями:
3.1. выработка горная (mine opening): Полость в земной коре, образуемая в результате осуществления горных работ с целью разведки и добычи полезных ископаемых, проведения инженерно-геологических изысканий и строительства подземных сооружений.
3.2. грунт (soil): Обобщенное наименование всех видов горных пород, являющихся объектом инженерно-строительной деятельности человека.
3.3. горизонтальное перемещение (horizontal displacement),

: Горизонтальное перемещение грунта или сооружения, возникающее при значительных неравномерных просадках грунта от его собственного веса на участках изменения просадок от минимальных до максимальных значений.
3.4. деформации земной поверхности вертикальные (vertical deformations of land surface): Деформации земной поверхности в вертикальной плоскости, вызванные неравномерностью вертикальных перемещений.
3.5. деформации основания сооружений допустимые (admissible structure base deformations): Деформации, способные вызвать такие повреждения в сооружениях, при которых для дальнейшей эксплуатации их по прямому назначению достаточно проведения текущих наладочных и ремонтных работ.
3.6. деформации основания сооружений предельные (ultimate structure base deformations/limit state of fitness): Деформации, превышение которых может вызвать аварийное состояние сооружений или опасность для жизни людей.
3.7. деформации и сдвижения вероятные (virtual deformations and subsidence): Величины деформаций и сдвижений, определяемые в условиях, когда отсутствуют календарные планы развития горных работ.
3.8. деформации и сдвижения ожидаемые (expected deformations and subsidence): Величины сдвижений и деформаций, определяемые в условиях, когда имеются календарные планы развития горных работ и известны необходимые для расчетов исходные данные.
3.9. дополнительная осадка подстилающего слоя (additional settlement of the underlaying stratum),

: Вертикальная деформация слоя грунта, залегающего ниже просадочной толщи, происходящая от: равномерно распределенной нагрузки от здания или сооружения (включая нагрузки на полы по грунту); повышения собственного веса просадочного грунта при повышении его плотности, влажности; выполнения свай, устройства планировочной насыпи и т.п.
3.10. забой (working face): Место, где происходит разработка грунта открытым или закрытым (подземным) способом, перемещающееся в процессе производства работ.
3.11. закрытый способ строительства (trenchless method): Способ строительства подземных сооружений без вскрытия земной поверхности над ними.
3.12. зона влияния подработки (area of undermining influence): Область, за пределами которой негативные воздействия на надежность и эксплуатационную пригодность объектов окружающей застройки пренебрежимо малы.
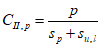
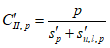
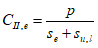
3.13. коэффициент жесткости основания (base rigidity index), C: Характеристика сжимаемости основания, представляющая собой отношение равномерно распределенной нагрузки на основание к его осадке.
3.14. кривизна мульды сдвижения земной поверхности (curvature of subsidence trough): Отношение разности наклонов двух соседних интервалов мульды к полусумме длин этих интервалов.
3.15. мульда сдвижения земной поверхности (surface subsidence trough): Участок земной поверхности, подвергшийся сдвижению в результате подработки территории.
3.16. наклоны интервалов в мульде сдвижения (inclination of subsidence trough intervals): Отношение разности оседаний двух соседних точек мульды к расстоянию между ними.
3.17. начальная просадочная влажность (initial slumping moisture),

: Минимальная влажность, при которой проявляются просадочные свойства грунта при заданном напряженном состоянии.
3.18. начальное просадочное давление (initial slumping pressure),

: Минимальное давление, при котором проявляются просадочные свойства грунта при его полном водонасыщении.
3.19. обделка (lining): Постоянная конструкция, закрепляющая выработку и образующая ее внутреннюю поверхность.
3.20. подрабатываемая застройка (undermined buildings): Существующие здания, сооружения и инженерные коммуникации, расположенные на подрабатываемых территориях.
3.21. оседание земной поверхности (surface subsidence): Вертикальная составляющая вектора сдвижения точки земной поверхности в мульде сдвижения.
3.22. основание сооружения (structure base): Массив грунта, взаимодействующий с сооружением.
3.23. относительная просадочность (relative slumping ability),

: Отношение изменения толщины слоя грунта без возможности бокового расширения до и после повышения его влажности при заданном давлении к его первоначальной толщине в природном залегании.
3.24. относительные горизонтальные деформации растяжения или сжатия земной поверхности (массива горных пород) (horizontal tensile or compressive strain): Деформации земной поверхности (массива горных пород) в горизонтальной плоскости, вызванные неравномерностью горизонтальных сдвижений в мульде сдвижения (массиве горных пород).
3.25. подземное сооружение или подземная часть сооружения (subsurface structure): Сооружение или часть сооружения, расположенная ниже уровня поверхности земли.
3.26. подработка объекта (underworking): Устройство закрытых подземных горных выработок с целью выемки полезных ископаемых или строительства подземных сооружений различного назначения, оказывающих влияние на объект.
3.27. подрабатываемая территория (undermining area): Территория, на которой в результате проведения подземных горных работ могут возникнуть неравномерные оседания или смещения грунта в основании зданий или сооружений.
3.28. провал (mining damage): Участок земной поверхности, подвергшийся обрушению под влиянием подземных горных выработок.
3.29. просадочный грунт (slumping soil): Преимущественно структурно-неустойчивый, глинистый (лессовый) грунт, в котором при повышении влажности выше определенного уровня происходит потеря его прочности и под воздействием внешней нагрузки и (или) собственного веса происходит его дополнительное уплотнение - просадка грунта.
3.30. просадочная толща (slumping stratum),

: Слой грунта от природной поверхности или уровня планировки до кровли непросадочного грунта.
3.31. сдвижение земной поверхности (массива горных пород) (land movement): Перемещение и деформирование земной поверхности (массива горных пород) вследствие нарушения его естественного равновесия при ведении горных работ.
3.32. скашивание в точках мульды сдвижения (skewing): Величина изменения прямого (до деформации) угла квадрата, стороны которого параллельны и перпендикулярны линии простирания пласта. Различают скашивание в направлении простирания (вкрест простирания) пласта и в заданном направлении.
3.33. скручивание в точках мульды сдвижения (twisting): Отношение разности наклонов параллельных до деформаций границ квадратной площадки к ее стороне. При расчете скручивание в направлении простирания (вкрест простирания) определяется как вторая производная функции оседаний по перемещениям x и y (где x - расстояние по направлению простирания от рассматриваемой точки до главного сечения мульды вкрест простирания; y - расстояние по направлению вкрест простирания от рассматриваемой точки до главного сечения мульды по простиранию пласта).
Различают скручивание в направлении простирания (вкрест простирания) и в заданном направлении.
3.34. степень изменчивости сжимаемости основания (level of the base compression variability),

: Отношение приведенного по глубине наибольшего значения модуля деформации грунта к его наименьшему значению или максимальной вертикальной деформации основания к ее минимальной величине.
3.35. степень изменчивости сжимаемости просадочных грунтов основания (level of the base compression variability),

: Отношение наибольшего значения приведенного по глубине модуля деформации просадочных грунтов природной влажности к его наименьшему значению при полном водонасыщении (в пределах плана сооружения) или максимальной вертикальной деформации основания к ее минимальной величине.
3.36. тоннель (tunnel): Горизонтальное или наклонное протяженное подземное сооружение высотой 2 м и более до выступающих конструкций, предназначенное для прокладки железных и автомобильных дорог, пешеходных переходов, коммуникаций и т.д.
3.37. уступы (bench): Сосредоточенные деформации земной поверхности, проявляющиеся в образовании трещин со сдвигом горных пород.
3.38. условный радиус кривизны (relative curvature radius),

: Кривизна поверхности грунта природного сложения или на уровне подошвы фундамента на криволинейных участках изменения просадки грунта от собственного веса от нуля до максимальной величины, представляющий собой отношение квадрата длины криволинейного участка к величине максимальной просадки грунта от собственного веса.
3.39. целик предохранительный (inby rib): Часть залежи полезного ископаемого, оставляемая в недрах в целях предотвращения опасности влияния горных разработок на объекты.
4.1. При проектировании зданий и сооружений, возводимых на территориях залегания полезных ископаемых, следует учитывать требования [
1,
статья 25] и
[2].
(п. 4.1 в ред.
Изменения N 1, утв. Приказом Минстроя России от 10.07.2017 N 982/пр)
4.2. При проектировании зданий и сооружений для строительства на подрабатываемых территориях следует предусматривать:
градостроительную планировку территории, обеспечивающую уменьшение вредного воздействия деформаций земной поверхности на здания и сооружения;
конструктивные меры защиты зданий и сооружений;
мероприятия, снижающие неравномерную осадку и устраняющие крены зданий и сооружений с применением различных методов их выравнивания;
конструктивные мероприятия, снижающие влияние неравномерных осадок на усилия в конструкциях зданий и сооружений;
технологические мероприятия, устраняющие крены зданий и сооружений с применением различных методов их выравнивания;
горные меры защиты, предусматривающие порядок горных работ, снижающий деформации земной поверхности;
инженерную подготовку строительных площадок, снижающую неравномерность деформаций основания;
мероприятия, исключающие возможность образования провалов в зонах старых горных выработок;
ликвидацию (тампонаж, закладку и т.п.) пустот старых горных выработок, выявленных в процессе изыскательских работ;
мероприятия, обеспечивающие нормальную эксплуатацию наружных и внутренних инженерных сетей, лифтов и другого инженерного и технологического оборудования в период проявления неравномерных деформаций основания.
Выполнение указанных мер защиты не исключает возможности появления в несущих и ограждающих конструкциях допускаемых по условиям эксплуатации деформаций и трещин, устранимых при проведении ремонта.
(п. 4.2 в ред.
Изменения N 1, утв. Приказом Минстроя России от 10.07.2017 N 982/пр)
4.3. При подработке эксплуатируемых зданий и сооружений следует предусматривать меры защиты согласно указаниям
Приложения Б.
4.4. Проекты зданий и сооружений, разработанные для обычных условий строительства, не допускается применять для строительства на подрабатываемых территориях без проверки расчетом и переработки их, при необходимости, в соответствии с требованиями настоящих норм.
Типовые проекты зданий и сооружений, возводимых на подрабатываемых территориях, должны быть унифицированы в целях обеспечения возможности их применения на подрабатываемых территориях различных групп.
4.5. Здания и сооружения с новыми или усовершенствованными конструктивными решениями, методами выравнивания и способами подготовки оснований на подрабатываемых территориях допускается применять в массовом строительстве только после получения положительных результатов экспериментальной проверки в натурных условиях.
В отдельных случаях допускается строительство зданий и сооружений I и II уровней ответственности
(ГОСТ 27751) по индивидуальным проектам с новыми конструктивными решениями, разработанными региональными территориальными проектными организациями и согласованными с головными институтами и проектными организациями, по рабочей документации которых возводились подземные конструкции.
(в ред.
Изменения N 1, утв. Приказом Минстроя России от 10.07.2017 N 982/пр)
4.6. При строительстве на подрабатываемых территориях проектами зданий и сооружений следует предусматривать выполнение работ, связанных с инструментальными наблюдениями за деформациями земной поверхности, а также зданиями и сооружениями, включая, при необходимости, и период их строительства.
4.7. Строительство зданий и сооружений, предусмотренных [
2,
статья 48.1] (особо опасные, технически сложные и уникальные объекты), на подрабатываемых территориях, как правило, не допускается.
(в ред.
Изменения N 1, утв. Приказом Минстроя России от 10.07.2017 N 982/пр)
4.8. При проектировании зданий и сооружений на просадочных грунтах следует учитывать:
особенности инженерно-геологических условий площадки строительства (виды просадочных деформаций, возможные источники и режимы замачивания, характеристики грунтов, подстилающих просадочную толщу, и др.);
инженерную подготовку и планировку строительных площадок;
виды мероприятий, применяемых для обеспечения нормальной эксплуатации зданий и сооружений (устранение просадочных свойств грунтов; прорезка просадочных грунтов сваями; комплекс строительных мероприятий);
воздействие на проектируемые конструкции равномерных и неравномерных вертикальных (просадок) и горизонтальных перемещений грунтов оснований;
местные условия строительства и имеющийся опыт проектирования, строительства и эксплуатации зданий и сооружений, включая результаты наблюдений за деформациями их оснований в аналогичных грунтовых условиях;
наличие в зоне влияния нового строительства объектов окружающей застройки и их техническое состояние.
4.9. В грунтовых условиях II типа по просадочности
(6.1.3) при возможной просадке грунтов от собственного веса

в составе проектной документации следует включать раздел "Техническая эксплуатация сооружений" (ТЭС), содержащий следующие указания для эксплуатирующих организаций:
о дополнительных требованиях к приемке в эксплуатацию законченного строительства (реконструкции) сооружения;
по проведению систематического визуального обследования несущих и ограждающих конструкций;
о систематическом контроле состояния водонесущих внутренних и наружных сетей и емкостей для воды и различных водных растворов;
по периодическим наблюдениям за влажностью грунтов в помещениях с мокрым технологическим процессом, а также в местах вводов и выпусков водонесущих коммуникаций;
о необходимых мерах по оперативной ликвидации аварийных утечек воды в случаях их обнаружения.
4.10. В типовых проектах, предназначенных для строительства зданий на просадочных грунтах со II типом грунтовых условий, в том числе и унифицированных для применения, например, на подрабатываемых территориях, в сейсмических и других районах, в целях упрощения расчетов конструкций, а также оснований фундаментов по деформациям при привязке этих проектов к местным грунтовым условиям должны быть приведены следующие критерии допустимости применения проектов в соответствии с данными, приведенными в
разделе 6:
возможная просадка грунтов от собственного веса

, см;
относительная разность суммарных величин осадок и просадок грунтов основания

, см/м;
относительное горизонтальное перемещение

, мм/м;
наклон поверхности основания i, мм/м;
показатель неравномерности деформации основания
K, мм/м, или условный радиус кривизны основания

, м.
4.11. При привязке на просадочных грунтах с I типом грунтовых условий типовых проектов зданий, предназначенных для строительства на обычных (неспецифических) грунтах и в обычных условиях без выполнения соответствующих расчетов конструкций и оснований грунтов по деформациям необходимо, чтобы критерии допустимости применения этих проектов по предельному значению степени изменчивости сжимаемости грунтов

основания и предельной неравномерности деформации основания

не превышали расчетных значений следующих характеристик основания на просадочных грунтах с учетом применяемых методов их подготовки:
а) предельные значения степени изменчивости сжимаемости просадочных грунтов

основания при соответствующем значении среднего модуля деформации

;
б) предельную неравномерность деформации основания, сложенного просадочным грунтом

;
в) среднее значение предельной осадки

.
4.12. При проектировании в грунтовых условиях II типа по просадочности уникальных зданий и сооружений, а также объектов I и II уровней ответственности с применением принципиально новых конструктивных решений, не имевших ранее успешного применения в практике проектирования и эксплуатации, необходимо предусмотреть научно-техническое сопровождение проектирования и строительства в соответствии с требованиями
СП 22.13330.
4.13. В процессе подготовки проектной документации зданий и сооружений I и II уровней ответственности на просадочных грунтах в соответствии с
ГОСТ 27751, следует предусматривать контроль:
(в ред.
Изменения N 1, утв. Приказом Минстроя России от 10.07.2017 N 982/пр)
достаточности выполненных инженерно-геологических изысканий и обоснованности принятых по их результатам выводов и рекомендаций;
выполняемой проектной документации, включая принимаемые технические решения по конструктивным схемам, методы подготовки оснований, использованные расчетные модели и программные комплексы и т.п.
4.14. К проекту здания или сооружения, проектируемого на подрабатываемых территориях, следует прилагать специальный паспорт, в котором необходимо привести:
краткое описание конструктивной схемы, мер защиты, осуществляемых в период строительства и эксплуатации, а также способов выравнивания здания в случае возникновения недопустимых деформаций;
данные о прогнозируемых величинах деформаций земной поверхности и о физико-механических характеристиках грунтов основания;
указания по организации и проведению геотехнического мониторинга, включающего инструментальные наблюдения за деформациями здания или сооружения и земной поверхности;
данные о результатах инструментальных наблюдений при сдаче здания или сооружения в эксплуатацию;
план расположения неподвижных опорных реперов, которые можно использовать при наблюдениях за осадками земной поверхности, зданий и сооружений;
средства оповещения о возникновении недопустимых деформаций по информации, полученной на основании данных мониторинга.
Паспорт должен храниться в эксплуатирующей организации.
4.15. К проекту здания или сооружения, проектируемых на просадочных грунтах, следует прилагать специальный паспорт, в котором необходимо привести:
краткое описание конструктивной схемы, предельно допустимые деформации основания и принятые в проекте мероприятия по обеспечению нормальной эксплуатации сооружения;
указания по выполнению геотехнического мониторинга в процессе строительства объекта и в первые годы после сдачи его в эксплуатацию;
рекомендации по выравниванию в горизонтальном и вертикальном положениях лифтов, подкрановых путей и других транспортных путей в случаях возникновения неравномерных деформаций;
схему застройки квартала или площадки строительства нового сооружения с нанесением на ней: существующих объектов окружающей застройки; существующих и проектируемых водонесущих инженерных коммуникаций (водопровода, канализации, водостоков, теплотрасс и др.) с указанием расположения запорных устройств для аварийного отключения отдельных участков трасс.
4.16. Геотехнический мониторинг следует производить в соответствии с
СП 22.13330,
ГОСТ 31937 с учетом специфических особенностей строительства зданий и сооружений на подрабатываемых территориях и просадочных грунтах.
(в ред.
Изменения N 1, утв. Приказом Минстроя России от 10.07.2017 N 982/пр)
5. Здания и сооружения на подрабатываемых территориях
5.1. Основные предпосылки и исходные данные
для расчета зданий и сооружений
на подрабатываемых территориях
5.1.1. Расчеты конструкций зданий и сооружений на подрабатываемых территориях следует выполнять с использованием аналитических методов, основанных на статистической обработке наблюдений за сдвижениями земной поверхности в районе разработки подземных выработок, и (или) современных компьютерных программных средств, позволяющих прогнозировать деформации грунтового массива и учитывать взаимодействие сооружения, его фундаментной конструкции и деформирующегося основания.
(в ред.
Изменения N 1, утв. Приказом Минстроя России от 10.07.2017 N 982/пр)
Исходными данными для расчетов являются:
(в ред.
Изменения N 1, утв. Приказом Минстроя России от 10.07.2017 N 982/пр)
геометрические параметры (глубина расположения в массиве, форма и размеры) подземных выработок;
конструктивные схемы и физико-механические свойства строительных материалов конструкций здания или сооружения, возводимого или существующего на подрабатываемой территории, включая подземную часть и фундаментную конструкцию сооружения;
метод (технология) ведения подземных горных работ, тип применяемого оборудования и его характеристики;
данные о рельефе местности и напряженном состоянии массива горных пород до начала подработки, оцениваемом с учетом результатов натурных измерений и расчетов, выполняемых специализированными организациями;
данные о строении массива горных пород; о физико-механических свойствах пород и грунтов, слагающих массив пород по разрезу до глубин, не менее нижней отметки подземной выработки, влияние которой предполагается учесть в расчетах сооружения;
данные о временной последовательности возведения здания или сооружения и устройства подземных выработок, вызывающих подработку.
5.1.2. Для оценки влияния подработки на усилия в конструкциях зданий и сооружений допускается использовать приближенные способы, в которых влияние подработки задается как внешнее воздействие в виде перемещений грунтового массива в пределах мульды сдвижения, определяемых без учета рассматриваемого здания или сооружения (глобальные перемещения).
Для расчета глобальных перемещений можно применять как программные средства конечно-элементного моделирования изменения напряженно-деформированного состояния грунтового массива, так и эмпирические формулы, полученные на основе обобщения опыта наблюдений. При этом полные перемещения здания или сооружения следует рассматривать как сумму глобальных перемещений и локальных перемещений, рассчитываемых с учетом глобальных перемещений, деформируемости основания и жесткости здания или сооружения.
В обычно принимаемых для моделирования условий работы сооружения и основания схематизациях в рамках плоской задачи (протяженное сооружение, расположенное вдоль или поперек простирания пластового месторождения или поперек оси протяженной подземной выработки) эти воздействия характеризуются следующим набором параметров:
оседание

, мм;
наклон поверхности основания вдоль оси сооружения i, мм/м;
кривизна (выпуклости, вогнутости)

, 1/км, или радиус кривизны

, км, в вертикальной плоскости, проходящей через ось сооружения;
горизонтальное сдвижение

, мм, вдоль оси сооружения;
относительная горизонтальная деформация растяжения или сжатия

, мм/м, вдоль оси сооружения.
Схемы и виды деформаций земной поверхности приведены в
Приложении А на типовых примерах.
При задании значений

,

во всех точках главной оси (x) мульды, расположенной вдоль оси сооружения, параметры
i(x),

,

определяются через

,

с использованием известных разностных соотношений:

;

;

.
При невозможности использования схемы плоской задачи в качестве исходных данных следует задавать все компоненты вектора перемещений поверхности основания во всех точках мульды и учитывать пространственную работу конструкций зданий и сооружений. Дополнительными параметрами, обобщенно описывающими пространственный характер деформаций земной поверхности в пределах мульды сдвижения, являются:
скручивание s, 1/км;
скашивание

, мм/м.
Если по данным прогноза в рассматриваемых горно-геологических условиях подработки (например, при разработке свиты крутопадающих пластов) возможны нарушения непрерывности изменения формы поверхности мульды, то должны определяться величины уступов h, см, с указанием мест возможной их локализации в пределах мульды.
В случаях, предусмотренных проектом, учитывается скорость нарастания деформаций земной поверхности v, мм/(м x мес).
5.1.3. В качестве исходных данных при проектировании зданий и сооружений на подрабатываемых территориях следует принимать максимальные ожидаемые (при имеющихся календарных планах развития работ по подработке) или вероятные (при отсутствии календарных планов работ по подработке) величины сдвижений и деформаций земной поверхности во всех точках мульды сдвижения или в точках, расположенных на ее предполагаемых главных направлениях.
5.1.4. При строительстве подземных линейных сооружений (тоннелей, коллекторов, трубопроводов и т.п.) различного назначения в условиях существующей застройки необходимо вести расчет деформаций, вызванных строительством (см.
Приложение А).
При расчете допускается учитывать интенсивность воздействия интегральными характеристиками (перебор грунта и др.).
5.1.5. Подрабатываемые территории следует подразделять на группы в зависимости от значений деформаций земной поверхности вдоль главной оси мульды сдвижения в соответствии с таблицей 5.1.
Группа территорий | Деформации земной поверхности подрабатываемых территорий |
относительная горизонтальная деформация  , мм/м | наклон i, мм/м | радиус кривизны R, км |
I | | 20 >= i > 10 | 1 <= R < 3 |
II | | 10 >= i > 7 | 3 <= R < 7 |
III | | 7 >= i > 5 | 7 <= R < 12 |
IV | | 5 >= i > 0 | 12 <= R < 20 |
Подрабатываемые территории, на которых при выемке пластов полезного ископаемого образуются уступы земной поверхности, следует подразделять на группы в соответствии с таблицей 5.2.
Группа территорий | Iк | IIк | IIIк | IVк |
Высота уступа h, см | 25 >= h > 15 | 15 >= h > 10 | 10 >= h > 5 | 5 >= h > 0 |
5.1.6. Расчетные значения деформаций земной поверхности, учитываемые при расчете зданий и сооружений как факторы нагрузки, следует определять умножением ожидаемых (вероятных) значений деформаций земной поверхности на соответствующие коэффициенты n перегрузки, принимаемые по таблице 5.3.
Виды сдвижений и деформаций | Коэффициент n |
обозначение | для расчета деформаций и сдвижений |
ожидаемых | вероятных |
Оседание  | | 1,2 (0,9) | 1,1 (0,9) |
Горизонтальное сдвижение  | | 1,2 (0,9) | 1,1 (0,9) |
Наклон i | ni | 1,4 (0,8) | 1,2 (0,8) |
Относительная горизонтальная деформация растяжения или сжатия  | | 1,4 (0,8) | 1,2 (0,8) |
Кривизна  | | 1,8 (0,6) | 1,4 (0,6) |
Уступ h | nh | 1,4 (0,8) | 1,2 (0,8) |
Скручивание s | ns | 1,8 | 1,4 |
Скашивание  | | 1,4 | 1,2 |
Примечание. Коэффициенты n < 1 следует учитывать при расчете зданий и сооружений на одновременное действие максимальных деформаций земной поверхности двух видов и более, в том случае, когда уменьшение значения деформаций какого-либо вида может ухудшить условия работы конструкций. |
5.1.7. При расчете зданий и сооружений на воздействия деформаций земной поверхности необходимо вводить соответствующие коэффициенты условий работы m, принимаемые по таблице 5.4.
Деформация | Коэффициенты условий работы m |
Обозначение | при величине отношения высоты здания (сооружения) к его длине h/l |
до 0,5 | от 0,5 до 1 | св. 1 |
Относительная горизонтальная  | | 1,0 | 0,8 | 0,7 |
Наклон i | mi | 1,0 | 0,8 | 0,7 |
Кривизна  | | 1,0 | 0,7 | 0,5 |
Скручивание s | ms | 1,0 | 0,7 | 0,5 |
Скашивание  | | 1,0 | 0,8 | 0,7 |
Примечания. 1. При рассмотрении поперечного сечения здания (сооружения) за l следует принимать его ширину. 2. Для круглого в плане здания (сооружения) за l следует принимать его внешний диаметр. 3. Для здания (сооружения) башенного типа при l < 15 м следует принимать mi = 1,5. 4. Для подкрановых путей мостовых кранов, имеющих длину 60 м и более, следует принимать mi = 0,5. |
5.1.8. Если по опыту подработки в горно-геологических условиях, аналогичных тем, в которых необходимо оценить влияние подработки, известными принимаются не графики

,

, а результирующие величины
i,

,

, отнесенные к зданию или его отсеку заданной длины
l, то определяются значения следующих величин:
расчетные разности оседаний

двух точек основания здания (сооружения), вызванные соответственно расчетной кривизной земной поверхности
и равномерным средним наклоном

,
где

,

- расстояния от рассматриваемых точек до центральной оси здания или его отсека;
n,
m - коэффициенты перегрузки и условий работы, определяемые соответственно по
таблицам 5.3 и
5.4;
расчетные перемещения любой точки основания относительно центральной оси здания (сооружения) или его отсека, вызванные горизонтальными деформациями:

.
5.1.9. Расчетное направление и расчетное местоположение уступа следует принимать такими, при которых возникающие в несущей конструкции здания или сооружения усилия будут наибольшими.
5.2. Планировка и застройка подрабатываемых территорий
залегания полезных ископаемых
5.2.1. При выборе для застройки территорий с промышленными запасами полезных ископаемых целесообразность намечаемого строительства должна быть подтверждена расчетами сравнительной экономической эффективности возможных вариантов размещения зданий и сооружений с учетом затрат:
а) на мероприятия по защите зданий и сооружений от воздействий подработки и на расширение строительной производственной базы;
б) на ремонт зданий и сооружений;
в) на обеспечение бесперебойной работы оборудования;
г) в случае необходимости, связанной с корректировкой плана развития горных работ;
(в ред.
Изменения N 1, утв. Приказом Минстроя России от 10.07.2017 N 982/пр)
д) на разработку системы постоянного мониторинга состояния фундаментов и конструкций объектов, подверженных риску воздействия деформаций основания над подземными выработками.
(перечисление "д" введено
Изменением N 1, утв. Приказом Минстроя России от 10.07.2017 N 982/пр)
5.2.2. Картографический материал, необходимый для разработки проектов планировки и застройки городов и других населенных пунктов на подрабатываемых территориях, должен содержать:
а) выкопировку из топографического плана района застройки;
б) выкопировки из гипсометрических планов и геологических разрезов района застройки с указанием вынутых и планируемых к выемке запасов полезных ископаемых;
в) геологическую карту района застройки с указанием выходов под наносы пластов полезного ископаемого и тектонических нарушений и примыкающих к ним опасных зон, не подлежащих застройке.
На картографических материалах должны быть указаны:
а) участки, защищаемые предохранительными целиками;
б) устья старых вертикальных и наклонных выработок;
в) зоны образовавшихся и возможных провалов;
г) зоны возможных затоплений грунтовыми и паводковыми водами;
д) расположение ранее образовавшихся уступов в пределах площадки застройки и примыкающих к ней участков;
е) механические защитные и санитарные зоны от проектных границ породных отвалов шахт, не подлежащие застройке;
ж) контуры территорий различных групп по величинам деформаций земной поверхности или плана площадки застройки с изолиниями деформаций;
з) контуры площадей залегания балансовых и забалансовых запасов полезных ископаемых.
Примечание. Все картографические материалы целесообразно представлять в одном масштабе, но не мельче 1:5000, а для объектов большой протяженности - не мельче 1:10000. В случае отсутствия материалов указанных масштабов допускается применять масштаб 1:25000.
5.2.3. При разработке проектной документации в состав проектов детальной планировки и проектов застройки необходимо включать схемы горно-геологических ограничений, выполненные в масштабе основных чертежей. На схемах должны быть указаны категории территорий по условиям строительства: пригодные, ограниченно пригодные, непригодные, временно непригодные для застройки жилых районов и микрорайонов.
Деление территорий на категории следует осуществлять согласно рекомендуемому
Приложению Ж.
5.2.4. При планировке и застройке городов и населенных пунктов, включающих подрабатываемые территории с величинами деформаций большими, чем для III и IVк групп, следует предусматривать наиболее эффективное использование территорий, пригодных для застройки.
На площадках с различным сочетанием групп территорий, как правило, следует учитывать размещение функциональных зон и отдельных зданий (сооружений), строительство которых может быть обеспечено с применением строительных мер защиты.
5.2.5. Размещение функциональных зон и элементов жилого района по группам подрабатываемых территорий приведено в таблице 5.5.
Таблица 5.5
Функциональные зоны и элементы жилого района | Целесообразное размещение по группам подрабатываемых территорий |
1. Участки школ и детских учреждений | IV, III |
2. Участки учреждений и предприятий обслуживания культурно-бытового назначения | IV, III |
3. Участки коммунально-хозяйственного назначения | IV, III, II |
4. Общественные здания (независимо от этажности) | IV, III |
5. Спортивные сооружения | IV |
6. Участки под жилыми зданиями с этажностью: | |
до 5 | IV, III, II |
от 5 до 9 | IV, III |
7. Магистральные улицы | IV, III |
8. Жилые улицы и проезды | IV, III, II, I |
Участки, не пригодные для строительства, следует отводить под полосы озеленения, скверы, парки и зоны отдыха.
5.2.6. Типовые проекты зданий одной серии должны разрабатываться с таким расчетом, чтобы в них содержались варианты зданий с разными по количеству и протяженности отсеками, обеспечивающими застройку в различных горно-геологических условиях и на возможно большем диапазоне групп территорий.
5.2.7. При разработке проектов планировки и застройки городов и поселков оси здания, а также сетку улиц следует ориентировать параллельно главным осям мульды сдвижения, располагая продольные стороны зданий в направлении действия минимальных деформаций земной поверхности. При этом следует учитывать требования
СП 42.13330.
(в ред.
Изменения N 1, утв. Приказом Минстроя России от 10.07.2017 N 982/пр)
5.2.8. Продольные оси бескаркасных зданий, проектируемых для строительства на площадках, подрабатываемых при добыче пластовых месторождений полезных ископаемых, следует ориентировать, как правило, по простиранию пластов, при условии, что на земной поверхности не образуются уступы. На площадках, где ожидается образование уступов, здания целесообразно размещать между уступами или же ориентировать их продольные оси вкрест простирания пластов. На участках выходов геологических нарушений продольные оси зданий следует ориентировать в направлении падения сместителей.
5.3. Дополнительные требования к инженерным изысканиям
и подготовке проектной и разрешительной документации
для строительства на подрабатываемых территориях
5.3.1. Проекты зданий и сооружений, возводимых на подрабатываемых территориях, следует разрабатывать на основе горно-геологического и геотехнического обоснования, которое должно содержать:
геологические и гидрогеологические данные о подрабатываемой толще;
планы проходки подземных выработок, а при разработке полезных ископаемых - планы горных работ с указанием перспективы разработок полезного ископаемого;
сведения о системах разработки полезного ископаемого;
данные об ожидаемых (вероятных) значениях деформаций земной поверхности;
перечень намечаемых строительных и горных мер защиты;
разрешение на строительство, полученное в органах государственного горного и промышленного надзора Российской Федерации.
5.3.2. Материалы инженерных изысканий для проектирования зданий и сооружений на подрабатываемых территориях должны дополнительно содержать:
а) оценку изменений геоморфологических, гидрогеологических и гидрологических условий участка застройки вследствие оседания земной поверхности (возможность образования провалов, оползней, изменения уровня грунтовых вод с учетом сезонных и многолетних колебаний, возможность подтопления территорий);
б) оценку возможных изменений физико-механических свойств грунтов вследствие изменения гидрогеологических условий площадки;
в) сведения о местах расположения устьев старых вертикальных и наклонных выработок;
г) сведения о старых горных выработках, степени заполнения выработок породами, об их границах (при отсутствии планов горных работ), о покрывающей толще пород (состав пород, положение пустот в толще и их размеры);
д) в случаях, предусмотренных
5.5.8, б - данные испытаний грунтов при возрастании давления и разгрузке, характеризующие нелинейность деформирования основания;
е) в случаях, предусмотренных
5.5.8, в - данные испытаний грунтов с фиксацией деформаций во времени на каждой ступени нагрузки.
5.3.3. При строительстве в районах, где по данным территориальных геологических организаций отмечены выходы пластов или тектонических дизъюнктивных нарушений горных пород под наносы, или находятся отработанные горные выработки и их выходы на поверхность, необходимо выполнять комплекс изыскательских работ по определению точного расположения пустот в выработанном пространстве, выходов нарушений и, по возможности, углов падения плоскости сместителя и амплитуды смещения горных пород.
5.3.4. Строительство зданий и сооружений на подрабатываемых территориях, где по прогнозу возможно образование провалов, а также на участках, где возможно оползнеобразование, не допускается.
Строительство на участках с выходами рабочих и отработанных пластов и тектонических нарушений (включая выходы под наносы), а также в районах со старыми горными выработками допускается при соответствующем технико-экономическом обосновании необходимости строительства и при возможности прогнозирования деформаций земной поверхности по действующим нормативным документам.
5.3.5. Проектирование зданий и сооружений для строительства на участках, опасных по выделению метана и других вредных газов на поверхность земли, следует осуществлять с учетом мер защиты от их проникания.
5.3.6. При строительстве на территориях, где возможно техногенное затопление или подтопление, вызываемое разработкой месторождений полезных ископаемых в соответствии с требованиями
СП 104.13330, должна быть предусмотрена инженерная защита территорий.
Прогноз затопления или подтопления территорий и проектирование соответствующей защиты необходимо осуществлять на основании заключения специализированной организации.
5.3.7. При строительстве на территориях, где возможно проявление опасных геологических процессов, реализуемое как в результате разработки полезных ископаемых, так и по независящим от разработки месторождений полезных ископаемых причинам, в соответствии с требованиями
СП 116.13330 должна быть предусмотрена инженерная защита территорий.
Прогноз вероятности воздействия на территорию опасных геологических процессов и проектирование соответствующей защиты необходимо осуществлять на основании заключения специализированной организации.
(п. 5.3.7 введен
Изменением N 1, утв. Приказом Минстроя России от 10.07.2017 N 982/пр)
5.4. Принципы проектирования зданий и сооружений
на подрабатываемых территориях
5.4.1. Здания и сооружения в зависимости от их назначения и условий работы следует проектировать по жесткой, податливой или комбинированной конструктивным схемам. Вид конструктивной схемы определяет необходимость, характер и состав вводимых конструктивных мер защиты.
5.4.2. При проектировании по жесткой конструктивной схеме следует предусматривать исключение возможности взаимного перемещения отдельных элементов несущих конструкций при деформациях основания за счет:
разделения зданий и сооружений деформационными швами на отдельные отсеки;
усиления отдельных элементов несущих конструкций и связей между ними;
устройства в стенах железобетонных поэтажных поясов;
устройства горизонтальных дисков из железобетонных элементов перекрытия и покрытия;
устройства фундаментов зданий и сооружений в виде сплошных плит, перекрестных балок, балок-стенок и т.п.
При проектировании по податливой конструктивной схеме следует предусматривать возможность приспособления конструкций без появления в них дополнительных усилий к неравномерным деформациям земной поверхности за счет:
устройства в подземной части горизонтальных швов скольжения;
введения шарнирных и податливых связей между элементами несущих и ограждающих конструкций;
снижения жесткости несущих конструкций;
введения гибких вставок и компенсационных устройств;
увеличения зазоров между соседними конструкциями.
Указанные меры необходимо применять с таким расчетом, чтобы обеспечивались:
достаточная площадь опирания элементов конструкций при деформациях основания;
воздухо- и водонепроницаемость стыков между отдельными взаимоперемещающимися элементами конструкций;
устойчивость элементов конструкций при деформациях основания.
При проектировании по комбинированной конструктивной схеме следует предусматривать сочетание жесткой и податливой схем с применением различных конструктивных схем подземной и надземной частей зданий и сооружений.
5.4.3. Здания и сооружения сложной формы в плане разделяются деформационными швами на отсеки. Высоту зданий и сооружений в пределах отсека следует принимать одинаковой, а длину отсеков - по расчету в зависимости от расчетных величин деформаций земной поверхности, физико-механических свойств грунтов основания, принятой конструктивной схемы, технологических требований.
Деформационные швы между отсеками должны обеспечивать свободный наклон или поворот отсека при деформациях основания. Размер деформационного шва следует рассчитывать согласно указаниям
5.5.14.
Деформационные швы должны разделять смежные отсеки зданий и сооружений по всей высоте, включая кровлю и фундаменты.
5.4.4. Фундаменты под несущие стены в зоне деформационных швов устраиваются, как правило, сплошными. В целях уменьшения ширины деформационного шва допускается применение прерывистых фундаментов.
Фундаменты под парные колонны у деформационных швов в каркасных зданиях, выполненных по рамно-связевой или связевой схемам, допускается не разделять, если фундаменты под остальные колонны конструктивно не связаны между собой в горизонтальном направлении плитами, связями-распорками и т.д. При наличии связей допускается устройство несимметричных парных фундаментов на общей бетонной (железобетонной) подушке с устройством шва скольжения.
5.4.5. В случаях, когда строительными мерами защиты и инженерной подготовкой основания не исключаются деформации конструкций и крены зданий (сооружений), превышающие допустимые нормы, здания и сооружения следует проектировать с учетом мероприятий, снижающих неравномерную их осадку и устраняющих их крены, в том числе с применением выравнивания.
Варианты защиты зданий и сооружений и мероприятия по их выравниванию следует принимать на основании технико-экономического сравнения.
5.4.6. Шахты лифтов следует проектировать с учетом наклонов, вызываемых деформациями земной поверхности.
В случаях, когда расчетные отклонения стен шахт от вертикальной плоскости превышают допустимые, установленные стандартами, в проекте следует предусматривать возможность регулирования положения лифтовой шахты.
5.4.7. Примыкающие к зданиям инженерные сооружения следует отделять от зданий деформационными швами согласно указаниям, приведенным в
5.5.14.
5.4.8. Фундаменты под технологическое оборудование следует проектировать, предусматривая в зависимости от типа оборудования и технологических требований к его эксплуатации применение специальных мер защиты, отдавая предпочтение выравниванию оборудования домкратами. Фундаменты в этом случае следует проектировать с учетом указаний рекомендуемого
Приложения Е.
5.5. Основные требования к расчету зданий и сооружений
на подрабатываемых территориях
5.5.1. Конструкции зданий и сооружений, проектируемых для строительства на подрабатываемых территориях, следует рассчитывать в соответствии с
ГОСТ 27751 по первой и второй группам предельных состояний с учетом деформаций:
(в ред.
Изменения N 1, утв. Приказом Минстроя России от 10.07.2017 N 982/пр)
а) основания - от подработки, проявляющейся в виде его вертикальных и горизонтальных перемещений;
б) грунтов - от нагрузок, передаваемых сооружением.
5.5.2. Расчет конструкций на особые сочетания нагрузок, состоящие из постоянных, длительных, возможных кратковременных нагрузок и воздействий от подработки, следует производить на наиболее неблагоприятные сочетания воздействий (5.5.3 -
5.5.5).
5.5.3. Возможными сочетаниями воздействий от подработки являются:
а) относительная горизонтальная деформация растяжения плюс

, кривизна выпуклости плюс

, наклон
i;
б) горизонтальная деформация сжатия минус

, кривизна вогнутости минус

, наклон
i;
в) уступ на земной поверхности (высота уступа
h) и соответствующие ему горизонтальная деформация

и наклон
i.
При плавных вертикальных деформациях земной поверхности (кривизне) следует учитывать сочетания деформаций, указанных в подпунктах а, б, при ступенчатых деформациях (уступе) - сочетание деформаций подпункта в.
При необходимости учета пространственного характера мульды сдвижения, дополнительно следует учитывать деформации скручивания
s и скашивания

.
5.5.4. Отдельные виды деформаций земной поверхности при расчете конструкций допускается не учитывать, если установлено, что усилия от таких видов деформаций достаточно малы по сравнению с усилиями от других видов нагрузок и воздействий.
5.5.5. Расчетные величины деформирования основания, используемые для определения усилий, деформаций и ширины раскрытия трещин в конструкциях зданий (сооружений), возникающих вследствие неравномерных деформаций оснований, допускается принимать согласно формулам, приведенным в
5.1.8.
5.5.6. При определении усилий в конструкциях от воздействий подработки необходимо:
а) при наличии данных, согласно которым отдельные виды деформаций земной поверхности при подработке достигают своих максимальных значений, одновременно вызывая в конструкции усилия одного знака (усилия складываются), два усилия от этих видов деформаций суммировать по формуле (5.1) и три усилия - по формуле (5.2):

; (5.1)

, (5.2)
где

,

,

- усилия от различных видов деформаций земной поверхности;
б) в качестве расчетного усилия принимать наиболее неблагоприятное для работы конструкций сочетание усилий, возникающих от каждого отдельного вида деформаций, если отдельные виды деформаций земной поверхности при подработке достигают своих максимальных значений в разное время.
5.5.7. Расчетные схемы сооружений, используемые для определения усилий и деформаций в их конструкциях, должны отражать с целесообразной степенью точности действительные условия работы сооружений и особенности их взаимодействия с основанием. В необходимых случаях они должны учитывать: пространственную работу, геометрическую и физическую нелинейность, а также ползучесть материалов конструкций.
Нелинейные факторы работы строительных конструкций необходимо учитывать комплексно: физическую и конструктивную нелинейность, переменный характер нагружения и др. Без достоверной оценки степени влияния отдельных факторов на величину усилий в конструкциях односторонний учет какого-либо одного фактора не допускается.
При невозможности учета указанных выше нелинейных факторов с использованием конечно-элементных расчетов, следует применять инженерные методики, основанные на использовании численных методов расчета конструкций сооружений и оценки напряженно-деформированного состояния грунтовых массивов. Указанные методики основаны на использовании "контактных" моделей - для описания взаимодействия конструкции и основания и методов строительной механики - для определения усилий в поверхностных конструкциях. При этом предполагаемую к использованию расчетную модель следует предварительно верифицировать на примере реального здания или сооружения на подрабатываемой территории с имеющимися результатами наблюдений за его осадками в результате деформации основания от подработки.
(в ред.
Изменения N 1, утв. Приказом Минстроя России от 10.07.2017 N 982/пр)
5.5.8. Конструкции следует рассчитывать на воздействия от подработки, исходя из условия совместной работы основания и сооружения.
В зависимости от значений контактных напряжений (нормальных и касательных на контакте основания с фундаментом) модель основания следует принимать в виде:
а) линейно-упругой системы;
б) нелинейно-неупругой системы, отражающей нелинейную связь между деформациями и нагрузками на основание в стабилизированном состоянии грунта, различие в деформационных свойствах основания при нагружении и разгрузке, нарушение контакта между фундаментом и основанием;
в) реологической системы, отражающей деформационные свойства основания для различных моментов времени в течение строительного и эксплуатационного периодов (в нестабилизированном состоянии грунта).
Модели основания для расчета следует выбирать с учетом конструктивных особенностей, назначения здания (сооружения) и указаний, приведенных в 5.5.9.
Деформационные свойства основания на контакте с фундаментами допускается определять одновременно с применением двух коэффициентов жесткости основания: при сжатии - C, при сдвиге - D, либо одного из них.
5.5.9. Для выбора модели основания следует произвести расчет с использованием модели основания в виде линейно-упругой системы.
Если полученные в результате этого расчета значения нормальных
p и касательных

напряжений на отдельных участках контакта основания с фундаментом удовлетворяют условиям:

(5.3)
то расчет допускается производить с использованием линейно-упругой системы.
В формуле (5.3):

- начальное нормальное давление на основание от сооружения, действующее до появления воздействий от подработки;
R - расчетное сопротивление грунта основания, определяемое согласно требованиям
СП 22.13330;

- предельное значение касательного напряжения по подошве фундамента, определяемое согласно требованиям
СП 22.13330;
F - площадь контакта основания с фундаментом, на которой превышены напряжения
p и

;

,

- площади контакта основания с фундаментом, на которых проявляются соответственно нормальные и касательные напряжения.
Если
условия (5.3) не удовлетворяются, то следует произвести расчет с использованием модели основания в виде нелинейно-неупругой системы.
5.5.10. Усилия, возникающие в несущих конструкциях зданий и сооружений от воздействий горизонтальных деформаций основания, следует определять в зависимости от конструктивных особенностей здания (сооружения), глубины заложения его фундамента, площади контакта с грунтом, физико-механических свойств грунтов основания, в том числе и изменения их в процессе подработки, действующих нагрузок с учетом:
а) сдвигающих сил по подошве фундаментов или сил трения по шву скольжения (см.
5.5.11 и таблицу 5.6);
б) сдвигающих сил по боковым поверхностям фундаментов;
в) нормального давления сдвигающегося грунта на лобовые поверхности фундаментов.
Конструкция шва скольжения | Расход материала прослойки, кг/м2 | Коэффициент трения по шву скольжения |
Два слоя пергамина с прослойкой молотого графита | 0,5 | 0,20 |
То же, щипаной слюды | 1,0 | 0,30 |
То же, инертной пыли | 1,0 | 0,40 |
Два слоя полиэтиленовой пленки с прослойкой графита | 0,4 | 0,15 |
Примечание. Плоскость шва скольжения должна быть выровнена. Отклонения размера шва по вертикали допускаются не более 5 мм на 1 м длины шва. |
5.5.11. Коэффициенты трения по шву скольжения допускается принимать в соответствии с
таблицей 5.6.
5.5.12. При проектировании зданий и сооружений с учетом возможности их выравнивания в процессе эксплуатации с помощью домкратов следует выполнять расчет конструкций на воздействие неравномерных деформаций основания и в стадии выравнивания. Расчетом на выравнивание следует проверять несущую способность и устойчивость конструкций фундаментно-подвальной части зданий, воспринимающих сосредоточенную нагрузку от выравнивающих устройств, и глубину заложения фундаментов, включая проверку на устойчивость основания при передаче на него давления от выравнивающих устройств.
5.5.13. При величинах деформаций земной поверхности на подрабатываемых территориях:

,
R >= 20 км,
i <= 3 мм/м и
h <= 1 см меры защиты зданий и сооружений, за исключением железобетонных емкостей для жидкостей и некоторых типов технологического оборудования, как правило, не требуются.
5.5.14. Размеры деформационного шва между отсеками должны удовлетворять условиям:
на уровне подошвы фундамента


; (5.4)
на уровне карниза


; (5.5)

- расстояние между центрами смежных отсеков бескаркасных зданий (сооружений) и каркасных зданий с фундаментами, соединенными связями-распорками или иными конструктивными решениями фундаментов в направлении, перпендикулярном деформационному шву, или расстояние между центрами блоков жесткости каркасных зданий с несвязанными фундаментами
(рисунок 5.1);
H - расстояние от подошвы фундамента до верха стены (в отсеке с меньшей высотой);

- взаимное расчетное угловое перемещение смежных отсеков от деформаций основания, определяемое по формулам:
для площадок с плавными деформациями земной поверхности

, (5.6)
здесь R - радиус кривизны вогнутости земной поверхности;
для площадок, где проявляются сосредоточенные деформации (уступы)

, (5.7)
здесь L' - длина меньшего отсека; значение L' не должно превышать расстояния между уступами.
Рисунок 5.1. Схемы для определения размеров
деформационного шва между отсеками
Размер деформационного шва между отсеками следует принимать не менее 20 см.
5.5.15. Особенности проектирования и расчетов зданий и сооружений с типовыми конструктивными схемами приведены в
Приложениях В - каркасные здания,
Г - бескаркасные здания,
Д - инженерные сооружения и трубопроводы.
5.5.16. Предельные значения совместной деформации поверхности подрабатываемой территории и сооружения устанавливаются исходя из необходимости соблюдения:
а) технологических или архитектурных требований к деформации сооружения (изменение проектных уровней и положений сооружения в целом, отдельных его элементов и оборудования, включая требования к нормальной работе лифтов, кранового оборудования, подъемных устройств элеваторов и т.п.);
б) требований к прочности, устойчивости и трещиностойкости конструкций, включая общую устойчивость сооружения.
6. Здания и сооружения на просадочных грунтах
6.1. Исходные данные по грунтовым условиям
для проектирования
6.1.1. Исходными данными по грунтовым условиям, необходимыми при проектировании зданий и сооружений на просадочных грунтах, наряду с инженерно-геологическим строением, гидрогеологическими условиями, основными физико-механическими характеристиками грунтов и другими являются следующие специфические характеристики:
а) просадочности грунтов (относительная просадочность

, начальное просадочное давление

, начальная просадочная влажность

), см. 6.1.2;
б) характеристики площадок, сложенных просадочными грунтами, согласно
6.1.3;
в) деформационные параметры оснований, представленных просадочными грунтами, согласно
6.1.4,
6.1.5.
(перечисление "в" в ред.
Изменения N 1, утв. Приказом Минстроя России от 10.07.2017 N 982/пр)
6.1.2. Специфическими характеристиками просадочных грунтов, определяемыми по
ГОСТ 23161 являются:
относительная просадочность

, представляющая собой отношение изменения толщины слоя грунта без возможности его бокового расширения до и после его замачивания под заданным давлением к его первоначальной толщине в природном залегании, которая должна определяться при полном водонасыщении грунтов, в интервале изменения давления от минимального

, равного вертикальному напряжению на рассматриваемой глубине от собственного веса

с учетом частичной срезки (насыпи) при вертикальной планировке, до максимального

, равного сумме вертикальных напряжений на той же глубине от собственного веса грунта

с учетом планировочной насыпи и нагрузки от фундаментов, полов, технологического оборудования и т.п.

, т.е.

. К просадочным следует относить грунты при

;
начальное просадочное давление

, представляющее собой минимальное давление на грунт (от

или

), при котором при полном водонасыщении начинает проявляться его просадка. За величину

принимается давление, при котором по результатам компрессионных испытаний

;
начальная просадочная влажность

- эта минимальная влажность, при которой в просадочных грунтах от вертикальных напряжений

или

начинают проявляться просадочные свойства

. Используется в случаях неполного водонасыщения грунтов при экранировании застраиваемой площадки, капиллярного подъема влаги, медленной инфильтрации поверхностных вод, замачивания (увлажнения) грунтов через маловодопроницаемый экран из уплотненного глинистого грунта.
6.1.3. Специфическими характеристиками площадок, сложенных просадочными грунтами, являются:
величина просадочной толщи
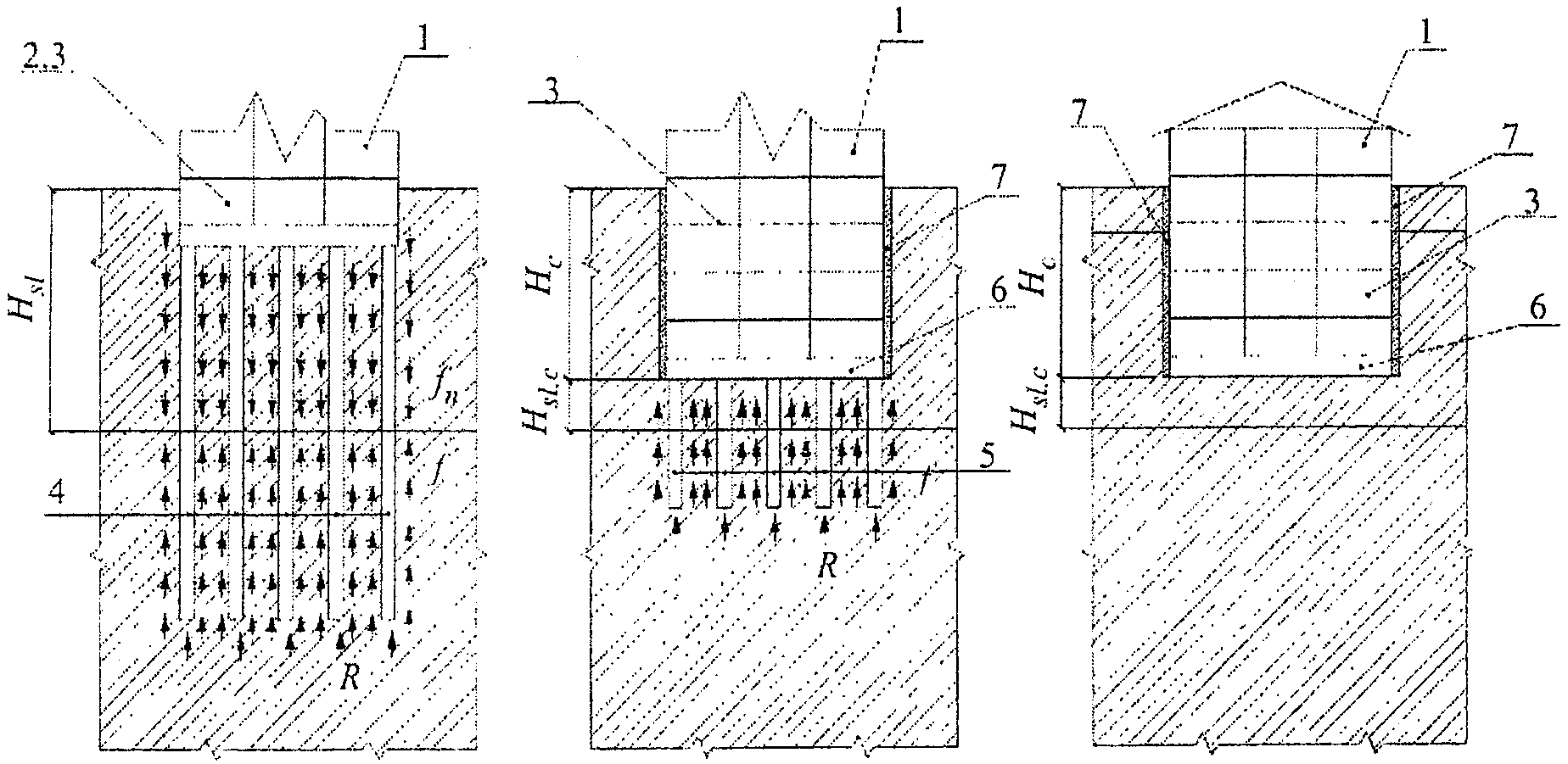
Hsl, определяемая от существующей или спланированной (срезкой либо подсыпкой) поверхности до кровли непросадочного слоя грунта, для которого

;
величина возможной просадки грунта от его собственного веса

в пределах просадочной толщи
Hsl до или после выполнения вертикальной планировки;
тип грунтовых условий по просадочности, который подразделяется на следующие типы:
I тип грунтовых условий, в которых возможна в основном просадка грунтов от внешней нагрузки, а просадка грунтов от собственного веса отсутствует или не превышает 5 см;
II тип грунтовых условий, в которых помимо просадки грунтов от внешней нагрузки возможна их просадка от собственного веса, и величина ее превышает 5 см.
(п. 6.1.3 в ред.
Изменения N 1, утв. Приказом Минстроя России от 10.07.2017 N 982/пр)
6.1.4. Основания, сложенные просадочными грунтами при I типе грунтовых условий, характеризуются следующими деформационными параметрами:
(в ред.
Изменения N 1, утв. Приказом Минстроя России от 10.07.2017 N 982/пр)
степенью изменчивости сжимаемости основания

;
средним значением модуля деформации просадочного грунта

или средней осадкой основания,

;
максимальной осадкой

;
относительной разностью деформации основания

;
коэффициентом жесткости основания при сжатии C.
Примечания. 1. Степень изменчивости сжимаемости основания

определяют отношением наибольшего значения

усредненного по глубине модуля деформации просадочных грунтов при их природной влажности к наименьшему значению

при полном водонасыщении в пределах плана расположения здания или сооружения.
2. Среднее значение модуля деформации просадочных грунтов основания

в пределах плана здания или сооружения определяют по следующей формуле:

.
3. Средняя деформация основания здания или сооружения

определяется суммой величин осадки

и просадки

и площадью фундамента

, т.е.

.
6.1.5. При проектировании зданий и сооружений, возводимых на просадочных грунтах при II типе грунтовых условий, необходимо учитывать следующие виды деформаций (
рисунки 6.1 и
6.2):
просадку

как от собственного веса грунта

, так и от внешней нагрузки

;
горизонтальные перемещения земной поверхности и основания

в пределах криволинейных частей просадочной воронки;
относительные горизонтальные деформации растяжения или сжатия

;
наклон

и кривизну земной поверхности или основания;
дополнительную осадку

в пределах зоны дополнительного сжатия

подстилающих просадочную толщу

непросадочных грунтов, происходящую за счет изменения напряженного состояния и влажности грунтового массива;
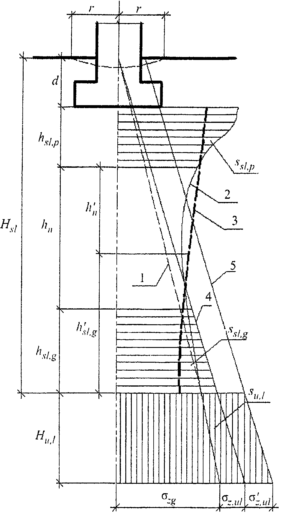
деформации склонов в результате потери их устойчивости.
d - глубина заложения фундамента;

- просадочная толща;

- верхняя (деформируемая) зона просадки

от нагрузки
фундамента;

- нижняя зона просадки

от собственного
веса грунта;

- то же, с учетом дополнительной нагрузки;

- нейтральная зона;

- то же, с учетом дополнительной
нагрузки;

- зона дополнительного сжатия подстилающего
грунта

; 1 - вертикальные напряжения

от собственного
веса грунта природной влажности и сложения; 2 - суммарные
вертикальные напряжения

- от внешней нагрузки
и собственного веса грунта; 3 - изменения с глубиной
начального просадочного давления

; 4 - дополнительные
вертикальные напряжения

- за счет повышения влажности,
уплотнения просадочного грунта и т.п.; 5 - то же,

- при дополнительной нагрузке на грунты основания
от: веса планировочной насыпи; равномерно распределенной
нагрузки здания или сооружения; полов 1-го этажа и т.п.;
r - расчетная длина криволинейного участка просадки
грунта

Рисунок 6.1. Схема к расчету просадок основания фундаментов
А - линейный источник замачивания; Б - площадной источник
замачивания; а - поперечный разрез зоны увлажнения;
б - кривая просадки поверхности грунта; в - кривые
наклонов (4) и кривизны (5) поверхности; г - кривые
горизонтальных перемещений поверхности грунта;
1 - положение земной поверхности; 2 - площадь замачивания;
3 - нижняя граница растекания воды;

- ширина замачиваемой
площади;

- ширина горизонтального участка просадки;

- угол растекания воды;

- просадочная толща;
r - расчетная длина криволинейного участка просадки
от собственного веса грунта; b - ширина зоны растекания
воды;

- наклон земной поверхности;

- горизонтальные
перемещения земной поверхности; I и II - зоны
соответственно разуплотнения и уплотнения грунта;

- ширина зон уплотнения и разуплотнения грунта
Рисунок 6.2. Характер развития просадочных деформаций
на поверхности замачиваемого грунта при его просадке
от собственного веса
6.1.6. Расчетной характеристикой оснований при расчете конструкций зданий и сооружений на просадочных грунтах со II типом грунтовых условий, наряду с приведенными в
6.1.4,
6.1.5, также является радиус кривизны

, вычисляемый по
И.19 Приложения И.
6.2. Планировка и застройка площадок
6.2.1. Площадки, намеченные под строительство, необходимо располагать на участках:
с минимальной глубиной просадочных толщ,

;
с минимальными значениями возможных величин просадок грунтов от их собственного веса

;
с деградированными просадочными грунтами;
с подстилающими просадочную толщу малосжимаемыми грунтами, позволяющими эффективно применять наиболее надежные свайные фундаменты или фундаменты глубокого заложения, обеспечивающие полную прорезку просадочной толщи, а также уплотненные, закрепленные, армированные массивы.
Абзацы исключены с 11 января 2018 года. -
Изменение N 1, утв. Приказом Минстроя России от 10.07.2017 N 982/пр.
6.2.2. Проекты планировки и застройки жилых зданий и промышленных предприятий, а также отдельных зданий и сооружений должны предусматривать максимальное сохранение естественных условий стока поверхностных вод. Размещение сооружений, затрудняющих отвод поверхностных вод, не допускается.
На участках со II типом грунтовых условий по просадочности с повышенными величинами просадочной толщи

следует, как правило, предусматривать планировку срезкой грунтов, особенно в случаях возможности перевода их в I тип по просадочности, или располагать здания и сооружения с глубокими подвалами и подземными этажами.
Планировку застраиваемых площадок и отдельных участков подсыпкой грунтов с выполнением планировочной насыпи следует выполнять только на пониженных участках и местах рельефа, при наличии оврагов, ложбин и т.п. и, как правило, в случаях, когда исключается перевод грунтовых условий из I во II тип по просадочности, а при II типе грунтовых условий не происходит существенного ухудшения условий строительства.
6.2.3. При рельефе местности в виде крутых склонов планировку застраиваемой территории следует осуществлять террасами. Отвод воды с террас необходимо производить как по кюветам, устроенным в основаниях откосов, так и по быстротокам.
6.2.4. Здания и сооружения с мокрыми технологическими процессами следует располагать в пониженных частях застраиваемой территории, на участках с пониженными величинами просадочной толщи

и просадки

, а также на участках с дренирующим слоем, подстилающим просадочную толщу. Указанные сооружения, как правило, должны находиться на расстоянии от других сооружений, равном: не менее 1,5 толщины просадочного слоя в грунтовых условиях I типа по просадочности, а также II типа по просадочности при наличии водопроницаемых подстилающих грунтов; не менее 3-кратной толщины просадочного слоя в грунтовых условиях II типа по просадочности при наличии маловодопроницаемых подстилающих грунтов.
6.2.5. Расстояния от возможных постоянных источников замачивания грунтов до сооружений при II типе грунтовых условий допускается не ограничивать при условии полного устранения просадочных свойств грунтов, в пределах площади расположения зданий и сооружений, включая полосу шириной не менее

вокруг них, а также при условии полной прорезки всей толщи просадочных грунтов сваями, уплотненными, закрепленными массивами или фундаментами глубокого заложения.
6.3. Мероприятия по обеспечению прочности
и нормальной эксплуатации зданий и сооружений
6.3.1. Проектирование зданий и сооружений для строительства на просадочных грунтах при возможности их замачивания необходимо осуществлять с применением одного из следующих мероприятий:
а) устранения просадочных свойств грунтов:
на площадках с I типом грунтовых условий по просадочности - путем уплотнения тяжелыми трамбовками, устройства грунтовых подушек, вытрамбовывания котлованов, закрепления грунтов;
на площадках со II типом грунтовых условий по просадочности - путем глубинного уплотнения грунтовыми сваями, предварительным замачиванием, в том числе с глубинными взрывами, закреплением, армированием грунтовых толщ набивными, забивными сваями, столбами из закрепленного грунта;
б) прорезки просадочной толщи

грунтов забивными, набивными, буровыми сваями и фундаментами глубокого заложения с опиранием их на подстилающие непросадочные грунты повышенной несущей способности, залегающие ниже глубины

и

(см.
рисунок 6.1);
в) комплекса мероприятий, включающего:
устранение просадочных свойств грунтов в пределах зоны

(см.
рисунок 6.1) по аналогии с приведенным выше для площадок с I типом по просадочности;
водозащитные мероприятия, выполняемые с целью снижения вероятности замачивания грунтов основания, исключения интенсивного замачивания на всю просадочную толщу и полного проявления просадки грунта от собственного веса, контроля за состоянием водонесущих коммуникаций, обеспечения своевременного устранения источников замачивания и т.п.;
конструктивные мероприятия, рассматриваемые в
разделе 6.4, направленные на повышение прочности жестких зданий и сооружений или увеличение податливости зданий и сооружений гибкой конструкции, обеспечение нормальной эксплуатации зданий и сооружений в случаях возникновения неравномерных деформаций грунтов оснований.
6.3.2. В состав водозащитных мероприятий входят: соответствующая компоновка генплана; планировка застраиваемой территории; устройство в процессе устранения просадочных свойств грунтов в зоне

маловодопроницаемого экрана под зданиями и сооружениями; качественная засыпка пазух котлованов и траншей; выполнение вокруг зданий и сооружений уширенных отмосток; прокладка внутренних и внешних водоводов с исключением возможности утечек из них воды, обеспечением свободного их осмотра и ремонта; отвод аварийных вод за пределы зданий, сооружений и инженерных коммуникаций и др.
6.3.3. При проектировании зданий и сооружений I и II уровней ответственности, предназначенных для строительства на площадках с грунтовыми условиями I типа по просадочности, следует, как правило, предусматривать полное устранение просадочных свойств грунтов в пределах верхней зоны просадки
(6.3.1, а) или полную прорезку просадочной толщи

методами, указанными в
6.2.1. В этих случаях проектирование конструкций следует осуществлять, как на обычных непросадочных грунтах без дополнительных конструктивных и водозащитных мероприятий.
6.3.4. При проектировании зданий и сооружений, предназначенных для строительства на площадках с грунтовыми условиями II типа по просадочности, в целях уменьшения деформаций оснований следует применять, как правило, полное устранение просадочных свойств грунтов в пределах всей просадочной толщи, мероприятия по переводу грунтовых условий из II в I тип по просадочности, либо прорезку просадочной толщи с применением методов, указанных в
6.2.1,
6.3.1, б.
Размеры и несущую способность уплотненных, закрепленных и армированных массивов грунта, а также свай или фундаментов глубокого заложения при полной прорезке просадочных толщ следует назначать с учетом дополнительных нагрузок от сил отрицательного трения, возникающих при просадке окружающих их грунтов от собственного веса.
При невозможности или нецелесообразности (по технико-экономическим показателям) выполнения мероприятий по переводу грунтовых условий из II в I тип по просадочности (см. примечание), полного устранения просадочных свойств грунтов II типа по просадочности
(6.3.1, а), полной прорезки просадочных грунтов II типа (см.
6.2.1,
6.3.1, б) необходимо применять комплекс мероприятий по
6.3.1, в; объем и состав строительных мер защиты при этом определяются на основе расчета по предельным состояниям конструкций зданий и сооружений с учетом воздействия неравномерных деформаций основания от просадки грунтов (
6.4.1 -
6.4.23).
Примечание. Перевод грунтовых условий из II в I тип по просадочности осуществляется путем уплотнения грунтов предварительным замачиванием, в том числе с глубинными взрывами, а также частичной срезкой толщи просадочных грунтов, устройством подземных этажей, выполняемых по
Приложению К.
6.4. Основные положения по проектированию
Основные положения по конструктивным решениям
6.4.1. При проектировании зданий и сооружений на просадочных грунтах:
а) с полным устранением их просадочных свойств
(6.3.1, а), а также при их полной прорезке с применением методов, указанных в
6.2.1, могут применяться практически любые конструктивные схемы и архитектурно-планировочные решения, используемые при строительстве на непросадочных грунтах и в обычных (не особых) условиях;
б) при II типе грунтовых условий на основе применения комплекса мероприятий (см.
6.3.1, в) наиболее целесообразно применять конструкцию зданий и сооружений, запроектированных:
по жесткой или комбинированной конструктивной схемам, т.е. с несущими стенами и в том числе с внутренним каркасом или каркасные из монолитного железобетона, либо каркасные с фундаментно-подземной частью, запроектированной по жесткой конструктивной схеме, например в виде железобетонной фундаментной плиты, перекрестных ленточных фундаментов с монолитными железобетонными стенами и перекрытием над подвальной (подземной) частью;
(перечисление "б" в ред.
Изменения N 1, утв. Приказом Минстроя России от 10.07.2017 N 982/пр)
в) по податливой конструктивной схеме на основе применения комплекса мероприятий (см.
6.3.1, в) при II типе грунтовых условий допускается только при соответствующем обосновании и, как правило, в случаях, если здания и сооружения относятся к III (пониженному) уровню ответственности или ко II уровню ответственности и при возможной просадке грунтов от собственного веса
ssl,g < 10 см, а также дополнительных осадках подстилающих грунтов
su,l < 10 см.
(в ред.
Изменения N 1, утв. Приказом Минстроя России от 10.07.2017 N 982/пр)
6.4.2. При проектировании зданий и сооружений согласно
6.4.1, б по жесткой конструктивной схеме в случае возможных деформаций оснований следует предусматривать исключение возможности взаимного смещения отдельных элементов несущих конструкций, возникновения трещин в них, а также в ограждающих и других конструкциях за счет:
разделения зданий и сооружений деформационными швами на отдельные отсеки;
усиления отдельных элементов несущих конструкций и связей между ними;
устройства в стенах железобетонных поэтажных поясов;
устройства горизонтальных дисков жесткости из железобетонных элементов в уровне перекрытий и покрытий;
устройства фундаментов зданий и сооружений в виде сплошных плит, перекрестных лент-балок, балок-стен и т.п.
Примечание. Приведенные выше мероприятия частично могут применяться при проектировании зданий и сооружений по
6.4.1, а на просадочных грунтах со II типом грунтовых условий - при

в случаях полного устранения просадочных свойств грунтов и

при полной их прорезке согласно
6.2.1.
6.4.3. При проектировании зданий и сооружений в соответствии с
6.4.1, в по податливой конструктивной схеме следует предусматривать возможность приспособления конструкций без появления в них дополнительных усилий к неравномерным деформациями земной поверхности за счет:
введения шарнирных и податливых связей между элементами несущих и ограждающих конструкций;
снижения жесткости несущих конструкций;
введения гибких вставок и компенсационных устройств;
увеличения зазоров между соединяемыми конструкциями.
Указанные меры необходимо применять с таким расчетом, чтобы обеспечивались:
достаточная площадь опирания элементов конструкций при деформациях основания;
воздухо- и водонепроницаемость стыков между отдельными взаимоперемещающимися элементами конструкций;
устойчивость элементов конструкций при деформациях основания.
6.4.4. При проектировании по комбинированной конструктивной схеме при необходимости следует предусматривать сочетание мероприятий по жесткой (см.
6.4.2) и податливой (см.
6.4.3) схемам с применением различных конструктивных схем подземной и надземной частей, включающим:
для зданий и сооружений, запроектированных по податливой конструктивной схеме, как правило, устройство фундаментов по жесткой конструктивной схеме;
для многоэтажных зданий и сооружений, запроектированных по жесткой конструктивной схеме иногда с устройством фундаментов подземной части по податливой конструктивной схеме.
Части зданий и сооружений, запроектированных по жесткой конструктивной схеме, должны быть рассчитаны на возможные неравномерные просадочные деформации.
6.4.5. Здания и сооружения сложной формы в плане, проектируемые по
6.4.1, б и
6.4.1, в, необходимо разделять деформационными швами на отсеки прямоугольной или близкой к ней, простой формы. Высоту зданий и сооружений в пределах отсека следует принимать одинаковой, а длину отсеков - по расчету в зависимости от расчетных величин просадочных деформаций, физико-механических свойств грунтов основания, принятой конструктивной схемы, технологических требований по эксплуатации зданий и сооружений.
Деформационные швы между отсеками должны разделять смежные отсеки зданий и сооружений по всей высоте, включая кровлю и фундаменты, обеспечивая свободный наклон или поворот отсека при деформациях основания. Ширину деформационного шва следует рассчитывать согласно указаниям 6.4.6 в зависимости от высоты и длины отсека и особенностей грунтовых условий.
Примечание. На просадочных грунтах с I типом грунтовых условий фундаменты под несущие стены и колонны у деформационных швов при разностях нагрузок на них не более чем в 1,2 раза допускается выполнять сплошными без их разрезки.
6.4.6. Ширину деформационного шва между отсеками зданий и сооружений с жесткой конструктивной схемой при проектировании на основе комплекса мероприятий следует определять по формулам:
на уровне подошвы фундамента при r >= L

; (6.1)
на уровне подошвы фундамента при L/2 < r < L

; (6.2)
на уровне карниза

, (6.3)
где

- значение относительной горизонтальной деформации, определяемое по
формуле (И.21) Приложения И;
L - длина отсека здания;
r - расчетная длина криволинейного участка просадки грунта от собственного веса, определяемая по
формуле (И.14) Приложения И;
H - высота здания от подошвы фундамента до верха стены;

- величина просадки грунта от его собственного веса;

- коэффициент условий работы, учитывающий совместную работу здания с основанием, принимаемый равным

при
r <
L и

при
r >=
L.
Ширина деформационного шва между отсеками должна быть не менее:
при
H <= 10 м

;
при
H >= 30 м

;
при

определяется интерполяцией.
6.4.7. Шахты лифтов следует проектировать с учетом возможных наклонов и горизонтальных перемещений, вызываемых просадками грунтов от их собственного веса, возникающих на площадках со II типом грунтовых условий.
В случаях, когда расчетные отклонения стен шахт от вертикальной плоскости превышают допустимые, установленные государственными стандартами для лифтов, проектами следует предусматривать возможность регулирования горизонтального положения лифта в шахте, в связи с чем размеры ее в плане должны быть увеличены на 0,5 ширины деформационного шва, вычисляемой по
формуле (6.3).
6.4.8. Примыкающие к зданиям инженерные сооружения следует отделять от зданий деформационными швами, ширина которых определяется согласно указаниям, приведенным в
6.4.5 и
6.4.6.
6.4.9. Для прокладки вводов и выводов инженерных коммуникаций в фундаментах, стенах подвалов или подземных частей зданий и сооружений, проектируемых на просадочных грунтах со II типом по просадочности на основе применения комплекса мероприятий, следует предусматривать отверстия или проемы высотой, при которой расстояние от их верха до верха трубы составляет не менее

- расчетной величины просадки от собственного веса и не менее

- предельного значения средней осадки проектируемого здания или сооружения, а от низа трубы до подошвы фундамента - не менее 0,2 м.
| | ИС МЕГАНОРМ: примечание. В официальном тексте документа, видимо, допущена опечатка: формула (6.4.3) отсутствует. | |
6.4.10. При проектировании на просадочных грунтах со II типом грунтовых условий на основе применения комплекса мероприятий одноэтажных каркасных зданий и сооружений, оборудованных мостовыми, козловыми и другими кранами, следует предусматривать рихтовку подкрановых путей, подъем металлических колонн на величину

или

в вертикальном направлении, и

- возможного горизонтального перемещения головки кранового рельса, вычисляемого по формуле (6.4.3) с учетом указаний
Приложения К.
6.4.11. Фундаменты под технологическое оборудование на просадочных грунтах со II типом по просадочности следует проектировать с учетом необходимости и возможности коррекции его положения в вертикальном и горизонтальном направлениях на величины, установленные требованиями по его эксплуатации, а также возможных деформаций грунтов оснований с учетом принимаемых по
6.3.1 мероприятий.
6.4.12. В проектах зданий и сооружений, возводимых в грунтовых условиях II типа по просадочности, должны содержаться указания по выполнению геотехнического мониторинга.
Основные требования к расчету
6.4.13. Конструкции зданий и сооружений, проектируемых на просадочных грунтах, следует рассчитывать в соответствии с
ГОСТ 27751 по двум группам предельных состояний: первой - по несущей способности; второй - по деформациям.
(в ред.
Изменения N 1, утв. Приказом Минстроя России от 10.07.2017 N 982/пр)
При этом должны учитываться предельные состояния, вызванные нагрузками на конструкции от здания и сооружения, а также вследствие изменения физико-механических характеристик и развития неравномерных деформаций просадочных грунтов в основании в виде их просадок и горизонтальных перемещений.
6.4.14. Расчет конструкций на особые сочетания нагрузок, состоящие из постоянных, длительных, возможных кратковременных нагрузок и воздействий от просадки грунтов, следует производить на наиболее неблагоприятные сочетания воздействий (6.4.15 -
6.4.17), возникающих при аварийном замачивании сверху из линейных, ограниченных в плане источников замачивания, или площадных, а также при подъеме уровня подземных вод. В случае применения методов и фундаментов, обеспечивающих полную прорезку просадочной толщи: свайных фундаментов, уплотненных, закрепленных, армированных массивов, или фундаментов глубокого заложения следует учитывать дополнительные нагрузки на них от сил отрицательного трения.
Совместные деформации основания и сооружения на просадочных грунтах не должны превышать предельных значений, которые устанавливаются исходя из необходимости соблюдения:
(абзац введен
Изменением N 1, утв. Приказом Минстроя России от 10.07.2017 N 982/пр)
технологических или архитектурных требований к деформации сооружения (включая требования к соблюдению проектных уровней и положения сооружения в целом, нормальной работе лифтов, кранового оборудования, подъемных устройств элеваторов и т.п.) -

;
(абзац введен
Изменением N 1, утв. Приказом Минстроя России от 10.07.2017 N 982/пр)
требований к прочности, устойчивости и трещиностойкости конструкций, включая общую устойчивость сооружений, -

.
(абзац введен
Изменением N 1, утв. Приказом Минстроя России от 10.07.2017 N 982/пр)
6.4.15. Напряженно-деформированное состояние конструкций зданий и сооружений, проектируемых для строительства на просадочных грунтах, должно определяться на основе их совместных расчетов с основанием.
При выборе расчетных схем деформирования основания и выполнении расчетов допускается применять один из следующих методов:
а) с использованием математического моделирования с помощью компьютерных лицензированных программ, позволяющих моделировать просадочные деформации грунтового массива и учитывать взаимодействие фундаментной конструкции с деформирующимся основанием, в том числе свайным;
б) с использованием замкнутых решений и эмпирических формул, основанных на результатах экспериментальных исследований, прошедших проверку в практике проектирования и рекомендованных нормативными документами.
6.4.16. При математическом моделировании следует использовать корректные расчетные схемы и модели определения напряжений и деформаций (МКЭ, МКР, МГЭ), опытные и расчетные данные о распространении воды в просадочных грунтах из линейных, площадных и других источников замачивания, данные о физико-механических характеристиках грунтов и их изменения в результате наложения полей влажности и напряжений. Моделировать просадочные деформации от собственного веса грунта следует в увлажненном массиве грунта, в пределах которого вертикальные напряжения превышают начальное просадочное давление и относительная просадочность превышает 0,01. Размеры и конфигурацию увлажненного массива грунта, в пределах которого моделируются просадки при замачивании грунтов из линейных и площадных источников замачивания, допускается определять по
рисунку 6.2 с учетом данных Приложения И
(И.5).
При этом просадки следует учитывать при замачивании грунтов из линейных и площадных источников замачивания, шириной не менее, соответственно, 1 и 2 м.
Численное моделирование просадок в увлажненном массиве грунта при действующих в нем напряжениях от собственного веса грунтов, нагрузки фундаментов, веса планировочных насыпей и других нагрузок в первом приближении допускается двумя возможными путями:
сопоставительным расчетом напряженно-деформированного состояния массива просадочного грунта с его модулем деформации при природной влажности и в водонасыщенном состоянии (по аналогии с определением просадочности при испытании по методу двух кривых);
заданием в расчетной схеме массива водонасыщенного просадочного грунта объемных деформаций, соответствующих объемным деформациям ожидаемой просадки.
6.4.17. При использовании для определения напряженно-деформируемого состояния оснований, а также конструкций зданий и сооружений, замкнутых решений и эмпирических формул для расчетов оснований по первой и второй группам предельных состояний допускается применять условные расчетные схемы замачивания грунтов и развития просадочных деформаций
(рисунок 6.2), основанные на результатах полевых крупномасштабных исследований и регламентированных действующими нормативными документами.
6.4.18. При выборе схем деформаций основания в результате локального замачивания просадочных грунтов необходимо рассматривать, как правило, два основных случая расположения источника замачивания: первый - под серединой здания или сооружения; второй - под торцом здания и сооружения (рисунки 6.3,
6.4).
а - замачивание основания под серединой здания
или сооружения; б - то же, под торцом
Рисунок 6.3. Схемы изменения жесткости основания
в грунтовых условиях I типа по просадочности
а - расположение источника замачивания под серединой
(прогиб) здания; а' - схема изменения коэффициента
жесткости при прогибе здания; б - расположение источников
замачивания по торцам (выгиб) здания; б' - схема изменения
коэффициента жесткости при выгибе здания; 1 - источники
замачивания грунтов; 2 - кривые просадок грунта
от собственного веса
Рисунок 6.4. Расчетные изменения просадок грунтов
от собственного веса и коэффициентов жесткости
основания при II типе грунтовых условий
6.4.19. В грунтовых условиях I типа по просадочности расчетную схему вертикальных перемещений основания с неустраненной или частично устраненной просадочностью грунтов в верхней деформируемой зоне

(см.
рисунок 6.1) следует принимать с учетом просадки грунтов при совместном воздействии внешней нагрузки, передаваемой фундаментами здания или сооружения, и собственного веса грунтов, а также изменения их физико-механических характеристик ниже зоны

и принимать в виде основания переменной жесткости (с участками неравномерной просадки в зонах замачивания грунтов). Длину участков

(см.
рисунок 6.3) основания переменной жесткости следует определять в зависимости от глубины заложения фундаментов, глубины расположения источника замачивания, зоны просадки грунта

, величины угла растекания

воды в стороны и других факторов по
Приложению И.
Схему изменения жесткости основания при местном его замачивании допускается принимать по линейному закону от минимального

до максимального
C значений коэффициентов жесткости (см.
рисунок 6.3). Значения коэффициентов

и
C определяются согласно
Приложению И.
6.4.20. Здания и сооружения, проектируемые для строительства в грунтовых условиях II типа по просадочности, следует рассчитывать при наиболее неблагоприятном расположении просадочной воронки по отношению к зданию или сооружению (см.
рисунки 6.2,
6.3):
а) под серединой здания или сооружения при
L >= 2
r с кривизной вогнутости и относительными горизонтальными деформациями сжатия минус

в средней части воронки и кривизной выпуклости и относительными горизонтальными деформациями растяжения плюс

на краях воронки;
б) под зданием и сооружением при

с кривизной вогнутости и относительными горизонтальными деформациями сжатия минус

;
в) под торцом здания или сооружения с кривизной выпуклости и относительными горизонтальными деформациями растяжения плюс

.
Примечание. При просадке грунта от собственного веса при

горизонтальные деформации земной поверхности в расчетах конструкций зданий и сооружений, относящихся к III уровню ответственности, допускается не учитывать.
6.4.21. Отдельные виды деформаций земной поверхности (горизонтальные перемещения, наклоны и др.) при расчете конструкций допускается не учитывать, если установлено, что усилия от таких деформаций достаточно малы по сравнению с усилиями от других (основных) видов нагрузок и воздействий.
6.4.22. Расчетные схемы деформаций зданий и сооружений, используемые для определения усилий и деформаций в их конструкциях, должны отражать с требуемой степенью точности действительные условия работы зданий и сооружений и особенности их взаимодействия с основанием. В необходимых случаях они должны учитывать: пространственную работу, геометрическую и физическую нелинейность, а также ползучесть материалов конструкций.
Нелинейные факторы работы строительных конструкций необходимо учитывать комплексно: физическую и конструктивную нелинейность; переменный характер нагружения и др. Без достоверной оценки степени влияния отдельных факторов на величину усилий в конструкциях односторонний учет какого-либо одного фактора не допускается.
6.4.23. Конструкции следует рассчитывать на воздействия от просадки грунтов и изменения их физико-механических характеристик, исходя из условия совместной работы основания здания либо сооружения.
В зависимости от значений нормальных и касательных напряжений, действующих на контакте основания с фундаментом, модель основания допускается принимать в виде:
а) линейно-упругой системы;
б) нелинейно-неупругой системы, отражающей нелинейную связь между деформациями и нагрузками на основание в стабилизированном состоянии грунта, различие в деформационных свойствах основания при нагружении и разгрузке, нарушении контакта между фундаментом и основанием;
в) реологической системы, отражающей деформационные свойства основания для различных моментов времени в течение строительного и эксплуатационного периодов (в нестабилизированном состоянии грунта).
Деформационные свойства основания на контакте с фундаментами допускается определять с применением одного коэффициента жесткости основания при сжатии -
C, а при одновременном учете вертикальных и горизонтальных деформаций дополнительно с применением коэффициента жесткости основания при сдвиге -
G, определяемых согласно
Приложению И.
6.4.24. При определении усилий в конструкциях зданий и сооружений от воздействия просадок грунтов от собственного веса величиной

необходимо:
а) выполнять расчет на совместное воздействие вертикальных (просадок

, относительных разностей их

и др.) и горизонтальных перемещений, принимая при этом в качестве расчетных суммарные усилия, возникающие одновременно в конструкциях от этих перемещений;
б) при наличии данных, согласно которым отдельные виды деформаций поверхности основания достигают своих максимальных значений, одновременно вызывая в конструкциях усилия одного знака (усилия складываются) два усилия от этих видов деформаций суммировать по формуле (6.4) и три усилия по формуле (6.5):

; (6.4)

, (6.5)
где

,

,

- усилия от различных видов деформаций поверхности основания (например, вертикальных и горизонтальных перемещений при просадке, а также от сейсмики, оползней и т.п.).
6.4.25. Расчетные схемы зданий и сооружений, используемые для определения усилий и деформаций в их конструкциях должны отражать с целесообразной степенью точности действительные условия работы зданий и сооружений и особенности их взаимодействия с основанием. В необходимых случаях они должны учитывать: пространственную работу, геометрическую и физическую нелинейность, а также ползучесть материалов конструкций.
Нелинейные факторы работы строительных конструкций необходимо учитывать комплексно: физическую и конструктивную нелинейность, переменный характер нагружения и др. Без достоверной оценки степени влияния отдельных факторов на величину усилий в конструкциях односторонний учет какого-либо одного фактора не допускается.
При невозможности учета указанных выше нелинейных факторов следует применять инженерные методики, основанные на использовании численных методов расчета конструкций зданий и сооружений, и оценки напряженно-деформируемого состояния грунтовых оснований. Указанные методики основаны на использовании "контактных моделей" - для описания взаимодействия конструкций и основания, и методов строительной механики - для определения усилий в конструкциях.
6.4.26. Для выбора модели основания следует произвести расчет с использованием модели основания в виде линейно-упругой системы.
Если полученные в результате этого расчета значения нормальных
p и касательных

напряжений на отдельных участках контакта основания с фундаментом удовлетворяют условиям

; (6.6)
p > 1,5
R на участке

;
то расчет допускается производить с использованием линейно-упругой системы.
В формуле (6.6):

- начальное нормальное давление на основание от сооружения, действующее до появления просадки;
R - расчетное сопротивление грунта основания
R, определенное согласно требованиям
СП 22.13330;

- предельное значение касательного напряжения, кПа, по подошве фундамента, определяемое согласно требованиям
СП 22.13330;
| | ИС МЕГАНОРМ: примечание. Единица измерения площади дана в соответствии с официальным текстом документа. | |
A - площадь, м, контакта основания с фундаментом, на которой превышены напряжения
p и

;
| | ИС МЕГАНОРМ: примечание. Единица измерения площади дана в соответствии с официальным текстом документа. | |

и

- площади, м, контакта основания с фундаментом, на которых проявляются соответственно нормальные и касательные напряжения.
Абзац исключен с 11 января 2018 года. -
Изменение N 1, утв. Приказом Минстроя России от 10.07.2017 N 982/пр.
6.4.27. Усилия, возникающие в несущих конструкциях зданий и сооружений от воздействия горизонтальных деформаций грунтов оснований при просадках их от собственного веса, следует определять в зависимости от конструктивных особенностей подземной части здания или сооружения, глубины заложения их фундаментов, площади контакта с грунтом, физико-механических свойств грунтов основания, в том числе и изменения их в процессе строительства и эксплуатации, действующих нагрузок на фундаменты с учетом:
а) сдвигающих сил по подошве фундаментов;
б) сдвигающих сил по боковым поверхностям фундаментов;
в) нормального давления сдвигающегося грунта на лобовые поверхности фундаментов.
6.4.28. При проектировании зданий и сооружений в необходимых случаях следует учитывать наряду с рихтовкой подкрановых путей, лифтовых шахт и других конструкций, возможность выравнивания отдельных конструкций, отсеков, отрезанных осадочными швами, и в целом зданий и сооружений в процессе их эксплуатации путем подъема их домкратами или наоборот опускания путем частичного выбуривания грунта под фундаментом, либо регулируемым замачиванием просадочных грунтов под всем зданием или сооружением. В связи с этим следует выполнять соответствующие дополнительные расчеты конструкций на неравномерные деформации основания и в стадии выравнивания.
Расчетом на выравнивание следует также проверять несущую способность и устойчивость фундаментно-подвальной части зданий, воспринимающих сосредоточенную нагрузку от выравнивающих устройств (домкратов, включая проверку на устойчивость основания при передаче на него давления от выравнивающих устройств).
Примечание. Расчеты на воздействия просадок грунтов конструкций зданий и сооружений III уровня ответственности, а также объектов массового строительства, по которым имеется достаточный положительный опыт строительства и эксплуатации в местных грунтовых условиях допускается не производить.
(рекомендуемое)
ТИПОВЫЕ ПРИМЕРЫ СДВИЖЕНИЙ И ДЕФОРМАЦИЙ ЗЕМНОЙ ПОВЕРХНОСТИ
а - вертикальный разрез вкрест простирания при наклонном
залегании угольных пластов; б - то же, при крутом залегании
угольных пластов; в - вертикальный разрез по простиранию
пластов; 1 - кривые оседаний; 2 - эпюры наклонов;
3 - эпюры кривизны; 4 - эпюры относительных горизонтальных
деформаций; 5 - эпюры горизонтальных сдвижений; 6 - пласт;
7 - очистная выработка; 8 - положение земной поверхности
до подработки;

- максимальное оседание земной
поверхности;

,

,

- граничные углы сдвижения;

,

,

- углы полных сдвижений;

- угол
максимального оседания;

- угол падения пласта
Рисунок А.1. Иллюстрация видов сдвижений и деформаций
земной поверхности при разработке пластового месторождения

- значение максимального оседания поверхности основания
под влиянием подземной выработки (как правило, над центром
подземной полости); B - ширина мульды, т.е. расстояние
между точками поверхности, в которых "оседание" поверхности
равно нулю или минимальному значению, установленному
в соответствии с проектными требованиями; H - глубина
залегания;

- характерный размер подземной выработки;

- граничный угол сдвижения (угол наклона линий,
соединяющих контур выработки с граничными точками мульды
сдвижения);

- величина технологического перебора
(разница между фактическим диаметром пройденной выработки
и внешним диаметром обделки тоннеля)
Рисунок А.2. Пример расчетной схемы деформирования
основания над подземной тоннельной выработкой
Форму сечения поверхности основания принято описывать "типовой" кривой, например, так называемой "кривой Гаусса".

.
Параметры и вид "типовых" кривых определяются на основе данных натурных наблюдений с учетом технологических особенностей проходки выработки и (при наличии достаточных исходных данных) результатов численных расчетов.
(рекомендуемое)
МЕРЫ ЗАЩИТЫ ЭКСПЛУАТИРУЕМЫХ ЗДАНИЙ И СООРУЖЕНИЙ
НА ПОДРАБАТЫВАЕМЫХ ТЕРРИТОРИЯХ
Б.1. Для эксплуатируемых зданий и сооружений следует предусматривать меры защиты:
а) горные, уменьшающие деформации оснований и фундаментов зданий и сооружений;
б) геотехнические, уменьшающие или устраняющие деформации оснований и фундаментов зданий и сооружений;
в) конструктивные, уменьшающие чувствительность зданий и сооружений к деформациям их основания, а также уменьшающие или устраняющие деформации их конструкций.
Мерами защиты могут также служить: изменение характера эксплуатации подрабатываемого объекта, заранее планируемые ремонтные или наладочные работы.
Б.2. К горным мерам защиты эксплуатируемых зданий и сооружений относятся:
а) полная или частичная закладка выработанного пространства;
б) разработка пластов с разрывом во времени, рассредоточение горных работ в пространстве; разработка пластов в определенной последовательности; одновременное проведение горных работ на отдельных участках, обеспечивающее снижение деформаций в основании объектов;
в) неполная выемка полезных ископаемых по площади и мощности;
г) предварительное усиление и закрепление горных пород в зоне забоя и за контурами обделок (в том числе устройство опережающего защитного свода) горных выработок;
д) применение проходческих комплексов с закрытым забоем и его пригрузом;
е) уменьшение сечений и размеров горных выработок;
ж) увеличение расстояний между горными выработками и фундаментами эксплуатируемых зданий и сооружений;
з) нагнетание тампонажных (твердеющих) растворов в заобделочное пространство одновременно или сразу после перемещения проходческих комплексов;
и) применение монолитной прессбетонной обделки;
к) выбор метода и технологического режима проходки, обеспечивающих уменьшение перебора грунта в забое и наиболее ранее подкрепление выработки, и др.
Б.3. К геотехническим мерам защиты эксплуатируемых зданий и сооружений относятся:
а) мероприятия, предохраняющие грунты основания от ухудшения их строительных свойств;
б) мероприятия, направленные на преобразование строительных свойств грунтов с целью уменьшения деформаций оснований и приспособления их к сдвижениям массива горных пород;
в) усиление фундаментов зданий и сооружений;
г) передача нагрузок от зданий и сооружений на нижележащие слои грунтов;
д) отсечение грунтовых оснований зданий и сооружений от горных выработок путем устройства между ними разделительных стенок;
е) снижение неравномерных осадок и выравнивание зданий и сооружений путем выбуривания грунтов из-под подошвы фундаментов, нагнетания в ограниченный объем грунта твердеющих растворов (компенсационное нагнетание);
ж) отрывка временных компенсационных траншей для уменьшения усилий от горизонтальных деформаций оснований и др.
Б.4. К конструктивным мерам защиты эксплуатируемых зданий и сооружений относятся:
а) разделение зданий и сооружений деформационными швами;
б) усиление отдельных конструктивных элементов или сооружения в целом тяжами или железобетонными поясами;
в) установка связей-распорок;
г) выравнивание зданий и сооружений путем поддомкрачивания и др.
Б.5. Меры защиты должны выбираться на основе технико-экономического сравнения вариантов, с учетом назначения, уровня ответственности, конструктивных особенностей, минимального влияния на режимы эксплуатации защищаемых объектов, результатов прогнозов деформаций их оснований, имеющегося опыта.
Выбор мер защиты должен осуществляться с учетом возможных технологических воздействий от их выполнения. Следует отдавать предпочтение горным мерам защиты, за исключением случаев подработки при выемке полезных ископаемых. Если этих мер недостаточно или они не могут быть реализованы, в первую очередь следует применять геотехнические меры, которые не вызывают нарушения режима эксплуатации защищаемых объектов.
(рекомендуемое)
ОСОБЕННОСТИ ПРОЕКТИРОВАНИЯ И РАСЧЕТОВ КАРКАСНЫХ ЗДАНИЙ
НА ПОДРАБАТЫВАЕМЫХ ТЕРРИТОРИЯХ
В.1. Каркасные здания, возводимые на подрабатываемых территориях, следует, как правило, проектировать по податливым и комбинированным конструктивным схемам.
Примечание. При проектировании зданий на подрабатываемых территориях I, Iк и IIк групп предпочтение следует отдавать зданиям с металлическим каркасом.
В.2. Допускается, при соответствующем технико-экономическом обосновании, проектировать каркасные здания по жестким конструктивным схемам.
В.3. Конструктивные решения каркасных зданий следует выбирать в зависимости от расчетных величин деформаций земной поверхности, инженерно-геологических условий площадки строительства и эксплуатационных требований к объекту.
В.4. Многоэтажные каркасные здания следует проектировать в виде комбинированной конструктивной и связевой систем (рисунок В.1 настоящего приложения).
а - комбинированной конструктивной системы;
б - связевой системы
Рисунок В.1. Схемы рам каркасов многоэтажных зданий
При выборе конструктивных систем многоэтажных каркасных зданий следует отдавать предпочтение каркасам с укрупненными сетками колонн.
В.5. Фундаменты многоэтажных каркасных зданий, выполненных на основе связевой схемы, следует проектировать в виде перекрестных лент, сечение которых необходимо определять расчетом на воздействия неравномерных деформаций основания.
В.6. Шарнирные узлы сопряжений элементов многоэтажных каркасных зданий допускается выполнять с опиранием ригелей на консоли колонн через связевые прокладки-компенсаторы (рисунок В.2).
1 - колонна; 2 - шарнирно-опертый ригель;
3 - закладная деталь ригеля; 4 - нижняя и верхняя
связевые пластины; 5 - закладная деталь колонны
Рисунок В.2. Конструкция узла сопряжения ригелей с колонной
В.7. Многоэтажные каркасные здания следует рассчитывать на воздействие крена, вызванного подработкой, по деформированной схеме, если продольные силы в стойках каркаса от расчетных нагрузок составляют свыше 10% значения критической силы.
В.8. Расчетные схемы соответственно поперечных и продольных рам одноэтажных каркасных зданий (
рисунки В.3,
В.4) следует выбирать в соответствии с
таблицей В.1 настоящего приложения.
а - е - типы соединений элементов каркаса
Рисунок В.3. Схемы поперечных рам одноэтажных
каркасных зданий
а - в - типы соединений элементов каркаса
Рисунок В.4. Схемы продольных рам одноэтажных
каркасных зданий (с применением и без применения кранов)
Группы подрабатываемых территорий | Номер чертежа | Соединения | Дополнительные мероприятия по обеспечению устойчивости здания |
колонн и ригелей | колонн и фундаментов |
А. Поперечные рамы |
IV; IVк; III | | Шарнирно-неподвижное | Жесткое | - |
II; I; IVк | | То же | Для колонн средних рядов - жесткое, крайних - шарнирно-неподвижное | - |
II; I; IVк | | Для части колонн - шарнирно-неподвижное, для части колонн - шарнирно-подвижное | Жесткое | - |
I; IV; IIIк | | Шарнирно-неподвижное | Для колонн средних рядов - жесткое, крайних - шарнирно-неподвижное | Установка связей-распорок в одном уровне |
IIк; Iк | | То же | Для колонн средних рядов - жесткое, крайних - шарнирно-неподвижное | То же, в двух уровнях |
II; I; IVк | | Шарнирно-неподвижное | Шарнирно-неподвижное | Установка в средней части здания вертикальных связей между колоннами и связей-распорок между фундаментами |
Б. Продольные рамы |
IV; IVк; III | | Шарнирно-неподвижное | Жесткое | Установка в средней части здания вертикальных связей между колоннами и связей-распорок между фундаментами |
II; I; IVк | | То же | То же | То же |
I; IIк; IIIк | | Шарнирно-неподвижное | Жесткое | Установка в средней части здания вертикальных связей с применением линейно-подвижных соединений, а между фундаментами - связей-распорок в двух уровнях |
Примечание. В зданиях с мостовыми кранами на подрабатываемых территориях групп Iк и частично IIк целесообразно предусматривать выравнивание каркаса. |
В.9. При проектировании одноэтажных каркасных производственных зданий следует, как правило, применять колонны с шагом 6 и 12 м.
Каркасы с колоннами шагом крайних рядов 6 м и средних 12 - 18 м с применением подстропильных конструкций допускается предусматривать на подрабатываемых территориях групп IV, III и IVк.
В.10. При проектировании одноэтажных каркасных зданий не следует учитывать перемещения оснований фундаментов:
вертикальные, если разность осадок фундаментов колонн при расчете на особое сочетание нагрузок не превышает значений, приведенных в
СП 22.13330;
горизонтальные, если их значения не превышают значений предельных горизонтальных перемещений, приведенных в таблице В.2 настоящего приложения.
Таблица В.2
Вид каркаса | Предельные горизонтальные перемещения оснований фундаментов |
в плоскости рамы | в направлении связей |
Из железобетонных колонн сечением площадью более 0,15 м2 | 0,002 h | 0,004 h |
То же, сечением площадью от 0,1 до 0,15 м2 включительно | 0,004 h | 0,006 h |
Из стальных колонн | 0,010 h | 0,020 h |
Примечание. За величину h принимается высота колонн первого яруса рамы. |
В.11. В случаях, когда несущая способность колонн, опирающихся на отдельно стоящие фундаменты, недостаточна для восприятия усилий от деформаций земной поверхности, а дальнейшее усиление колонн или уменьшение длины отсеков нецелесообразно, следует предусматривать устройство между фундаментами связей-распорок в одном или двух уровнях.
Связи-распорки в двух уровнях целесообразно применять на подрабатываемых территориях групп I, Iк - IIIк.
Для уменьшения в связях-распорках усилий от воздействия сдвижения грунта следует устраивать шов скольжения по площади контакта подошвы фундамента с бетонной подготовкой.
Если перечисленные мероприятия не обеспечивают требуемой несущей способности колонн, следует изменить конструктивную схему здания или предусмотреть устройство фундаментов в виде перекрестных балочных систем, сплошных железобетонных плит и т.д.
В.12. Устойчивость одноэтажных каркасных зданий (отсеков) в поперечном направлении следует обеспечивать защемлением колонн в фундаментах (см.
рисунок В.3 настоящего приложения). В продольном направлении по всем средним рядам колонн необходимо устраивать блоки жесткости с вертикальными связями между колоннами (см.
рисунок В.4 настоящего приложения). В пределах блока жесткости фундаменты колонн необходимо связывать связями-распорками.
Допускается обеспечивать устойчивость каркасов одноэтажных зданий установкой специальных элементов жесткости (диафрагм, колонн увеличенного сечения, многоэтажных пристроек) по продольным и поперечным рядам колонн.
Для снижения усилий в вертикальных связях при неравномерных деформациях основания их следует выполнять с применением линейно-подвижных соединений, допускающих возможность перемещения колонн связевого блока при неравномерных осадках относительно связей (см.
рисунок В.4 настоящего приложения).
Устойчивость многоэтажных зданий в поперечном и продольном направлениях следует обеспечивать защемлением колонн в фундаментах, устройством между колоннами вертикальных связей или выполнением жестких узлов соединений ригелей с колоннами.
Вертикальные связи, обеспечивающие пространственную устойчивость здания или его отсеков, следует группировать в пространственные блоки в средней части здания (отсека). Для обеспечения совместной работы каркаса и пространственных блоков необходимо, чтобы перекрытия имели достаточную жесткость в горизонтальной плоскости.
В.13. Предельные длину и ширину отсека каркасного здания следует определять в зависимости от расчетных величин деформаций земной поверхности.
Деформационные швы между отсеками следует проектировать в виде парных рам или шарнирно-подвижного опирания пролетных конструкций и перекрывать их компенсаторами с заделкой эластичным заполнителем.
(в ред.
Изменения N 1, утв. Приказом Минстроя России от 10.07.2017 N 982/пр)
В.14. Для покрытий одноэтажных каркасных зданий следует, как правило, применять наиболее простые, статически определимые конструкции.
В.15. Целесообразность применения неразрезных систем покрытий следует в каждом случае обосновывать статическим расчетом на неравномерные деформации основания.
В.16. Применение в качестве покрытий складчатых, тонкостенных пространственных конструкций (сводов-оболочек) и т.п. должно быть обосновано статическим расчетом с учетом воздействия неравномерных деформаций основания, динамических воздействий технологического оборудования, подвесных или мостовых кранов, необходимости (в отдельных случаях) выравнивания здания и других факторов.
В.17. Для защиты покрытий каркасных зданий от попадания воды при повреждениях кровли вследствие неравномерных деформаций основания в местах примыкания перекрытия к торцовым и продольным (при внутреннем водостоке) стенам следует устраивать в местах примыкания покрытий соседних пролетов компенсаторы (с теплоизоляцией на деформационных швах), а также предусматривать в местах установки компенсаторов и в швах между плитами покрытия дополнительные слои усиления гидроизоляционного ковра шириной 1 м.
(п. В.17 в ред.
Изменения N 1, утв. Приказом Минстроя России от 10.07.2017 N 982/пр)
В.18. В качестве ограждающих конструкций для каркасных зданий следует применять унифицированные крупноразмерные стеновые панели, обеспечивая их податливое крепление к элементам каркаса здания таким образом, чтобы нагрузки на ограждающие конструкции от деформирования каркаса были минимальными или совсем исключались.
Стеновые ограждающие конструкции следует закреплять в двух углах по горизонтали шарнирно-подвижно, а в двух других - шарнирно-неподвижно. Допускаемую разность осадок смежных колонн здания

следует определять по формуле

,
где

- величина зазора между стеновыми панелями;
l - расстояние между осями смежных колонн;

- высота стеновой панели.
В.19. При применении самонесущих каменных стен следует предусматривать их разрезку у колонн каркаса здания с опиранием на рандбалки и креплением к элементам каркаса. Внутренние стены, проходящие по осям каркаса здания, следует крепить к колоннам гибкими анкерами и предусматривать зазоры не менее 50 мм в местах примыкания к наружным стенам, плитам и ригелям и в местах пересечения их технологическими и санитарно-техническими трубопроводами.
В.20. Жесткие полы по грунту (бетонные, ксилолитовые и др.) необходимо проектировать с разрезкой их на карты со сторонами не более 6 м. Ширину шва между картами следует определять по
формуле (5.4), в которой за величину

следует принимать расстояние между центрами смежных карт в рассматриваемом направлении. Швы между картами следует заделывать эластичным заполнителем. Допускается использовать бетонный армированный пол в качестве связей-распорок. В этом случае его не следует разрезать на карты.
(в ред.
Изменения N 1, утв. Приказом Минстроя России от 10.07.2017 N 982/пр)
В.21. Стены лестничных клеток допускается использовать в качестве блоков жесткости, обеспечивающих пространственную устойчивость здания (отсека).
Размеры проемов в перекрытиях под оборудование и коммуникации следует назначать с учетом их возможных взаимных смещений в горизонтальной плоскости. Необходимо предусматривать возможность рихтовки оборудования в процессе подработки.
В.22. В производственных зданиях в качестве подъемно-транспортных средств следует отдавать предпочтение подвесному и напольному подъемно-транспортному оборудованию.
Для обеспечения нормальной работы кранов следует предусматривать возможность рихтовки подкрановых конструкций, регулировки подвесок.
В.23. В зданиях с мостовыми кранами следует применять разрезные подкрановые балки.
В местах разделения здания на отсеки следует предусматривать консольное опирание подкрановых балок или устройство специальных балок-компенсаторов, деформационную способность которых следует определять в зависимости от ожидаемой величины деформационного шва.
В.24. Габариты приближения кранов к элементам здания необходимо назначать с учетом возможных рихтовок крановых путей. Допускается увеличение высоты надкрановой части колонны или применение металлических подкрановых балок с пониженной опорной частью.
В.25. Величина наклона подкранового пути мостовых кранов, вызванного деформациями земной поверхности, не должна превышать следующие предельные значения:
в поперечном направлении

;
" продольном "

.
Необходимую степень рихтовки путей и габариты приближения кранов следует определять исходя из расчетных деформаций земной поверхности и предельных значений наклонов подкрановых путей.
После окончания активной стадии сдвижения земной поверхности подкрановые пути должны быть отрихтованы в соответствии с
Правилами устройства и безопасной эксплуатации грузоподъемных кранов.
(рекомендуемое)
ОСОБЕННОСТИ ПРОЕКТИРОВАНИЯ И РАСЧЕТОВ БЕСКАРКАСНЫХ ЗДАНИЙ
НА ПОДРАБАТЫВАЕМЫХ ТЕРРИТОРИЯХ
Г.1. Бескаркасные здания на подрабатываемых территориях следует проектировать по жестким или комбинированным конструктивным схемам, не допускающим прогрессирующего обрушения частей зданий при повреждении отдельных несущих конструкций:
с продольными несущими стенами и поперечными диафрагмами жесткости (стены лестничных клеток, лифтовых шахт и др.);
с поперечными и продольными несущими стенами.
Примечание. Надземную часть бескаркасных жилых и общественных зданий следует, как правило, проектировать по жесткой конструктивной схеме.
Г.2. Несущие стены зданий следует располагать, как правило, симметрично относительно продольной и поперечной осей зданий и обеспечивать равномерное распределение жесткостей по длине и ширине здания.
Поперечные стены следует проектировать сквозными на всю ширину здания. В случае, если по планировочным требованиям нарушается сквозное расположение поперечных стен, необходимо предусматривать устройство их связи с внутренней продольной стеной, которое должно обеспечивать совместную работу продольных и поперечных стен как единой перекрестной системы. При этом смещение поперечных стен допускается на величину (в осях) не более 0,6 м.
Величина смещения продольных стен допускается не более 1,8 м, при этом место излома продольных стен должно быть связано с поперечными несущими стенами.
Г.3. Конструкции бескаркасных зданий, в том числе зданий со встроенными помещениями, следует проектировать как элементы единой пространственной системы для восприятия усилий от приходящихся на них нагрузок и воздействий неравномерных деформаций основания. С этой целью необходимо предусматривать:
устройство замкнутых фундаментного и цокольного поясов по всем наружным и внутренним стенам;
устройство в крупноблочных и кирпичных зданиях поэтажных железобетонных поясов, располагаемых в уровне перемычек или перекрытий по всем наружным и внутренним стенам, а в панельных зданиях - поэтажных поясов, совмещенных с конструкциями наружных и внутренних стеновых панелей;
соединение конструкций фундаментов с надфундаментными конструкциями с вертикальными связями;
соединение панелей перекрытий между собой и с несущими стенами, а также заливку швов между панелями цементным раствором марки 100.
В панельных зданиях допускается совмещение фундаментного и цокольного поясов с конструкциями цокольных железобетонных панелей.
Г.4. Типовые проекты зданий должны предусматривать общие объемно-планировочные и конструктивные решения надземной части. Конструктивные решения подземной части следует разрабатывать в нескольких вариантах применительно к различным условиям строительства.
Г.5. Деформационные швы в бескаркасных зданиях следует предусматривать в виде парных поперечных стен. Толщина стен должна отвечать теплотехническим требованиям, предъявляемым к зданиям в зависимости от расчетной температуры наружного воздуха.
Г.6. В крупнопанельных зданиях стыки между элементами следует выполнять одним из следующих способов:
в виде шпонок со сваркой арматурных выпусков и замоноличиванием шпонок бетоном;
сваркой стальных закладных деталей, приваренных к рабочей арматуре;
соединением скобами петлевых выпусков с последующим замоноличиванием.
Сечение соединительных элементов в стыках между элементами стен следует определять расчетом.
В горизонтальных стыках панелей следует предусматривать швы из цементного раствора марки не ниже 100.
Стальные закладные детали и соединительные элементы в стыках должны быть защищены от коррозии.
Г.7. В каменных зданиях углы и пересечения стен следует армировать сетками с ячейками размером 7 x 7 см из арматуры диаметром 4 - 6 мм, укладываемыми в горизонтальных швах по высоте элемента через 1 м и заделываемыми в каждую сторону от пересечений осей стен на 1,2 - 1,5 м.
Глубина опирания панелей перекрытий и покрытий на несущие стены панельных зданий должна быть не менее 12 см.
Г.8. Конструкции, ослабленные каналами, штрабами, нишами, должны быть усилены установкой дополнительной арматуры в соответствии с расчетом или конструктивными требованиями.
Г.9. Конструкции фундаментно-подвальной части бескаркасных зданий следует проектировать преимущественно сборно-монолитными с применением сборных изделий заводского изготовления. В случае если такие решения не обеспечивают достаточной прочности и жесткости, следует подземную часть здания проектировать монолитной. В целях увеличения жесткости допускается также предусматривать устройство в фундаментно-подвальной части здания дополнительных стен.
Г.10. При устройстве лоджий со смещением участков продольных стен на расстояние не более 1,5 м в осях следует предусматривать прямолинейные железобетонные стеновые и фундаментные пояса в плоскости стены, а также по контуру лоджий.
В качестве прямолинейных элементов стеновых поясов допускается использовать конструкции перекрытий над лоджиями, которые должны быть усилены в месте изломов и иметь надежные связи с конструкциями основного пояса.
Одна из стен лоджии должна быть, как правило, продолжением поперечной стены здания.
Балконы и эркеры следует устраивать на консольном выносе перекрытий.
В зданиях, проектируемых с учетом выравнивания, следует предусматривать опирание лоджий на перекрытие.
(рекомендуемое)
ОСОБЕННОСТИ ПРОЕКТИРОВАНИЯ И РАСЧЕТОВ ИНЖЕНЕРНЫХ СООРУЖЕНИЙ
И ТРУБОПРОВОДОВ НА ПОДРАБАТЫВАЕМЫХ ТЕРРИТОРИЯХ
Д.1. Сооружения башенного типа следует проектировать на основе жестких конструктивных схем.
При расчетных кренах башенных сооружений, превышающих предельные, необходимо увеличивать размеры подошвы фундамента, опускать, по возможности, центр тяжести сооружения, предусматривать вантовые устройства, а также мероприятия по выравниванию сооружения в процессе эксплуатации.
Д.2. Транспортерные галереи следует проектировать по податливым схемам.
Для подрабатываемых территорий групп I, Iк и II, IIк (
таблицы 5.1,
5.2) несущие конструкции транспортерных галерей необходимо, как правило, предусматривать металлическими.
Д.3. Транспортерные галереи следует предусматривать разрезной конструкции со швами на опорах, при этом должна обеспечиваться возможность рихтовки галереи на опорах в горизонтальной плоскости по нормали к ее продольной оси.
Опирание транспортерной галереи на здание следует проектировать подвижным. Деформационные швы должны быть перекрыты нащельниками.
Д.4. Опоры транспортерных галерей на подрабатываемых территориях групп Iк - IIIк следует проектировать на общих фундаментах, рассчитанных на воздействие уступов земной поверхности в их основании.
Д.5. Протяженные подземные сооружения (тоннели, каналы, переходы и т.п.) следует проектировать:
в продольном направлении - по податливым схемам с разрезкой деформационными швами на отдельные жесткие отсеки;
в поперечном направлении - по податливым и жестким конструктивным схемам.
Д.6. Длину отсеков протяженных подземных сооружений следует принимать в зависимости от несущей способности конструкции, величин нагрузок и воздействий от деформаций основания.
Деформационные швы между смежными отсеками необходимо защищать от попадания подземных вод с применением упругих заполнений, компенсационных вставок, гидроизоляционных лент, гидрошпонок, герметиков и т.п.
(в ред.
Изменения N 1, утв. Приказом Минстроя России от 10.07.2017 N 982/пр)
Д.7. Продольные уклоны протяженного подземного сооружения, предусматриваемые для отвода аварийных вод, следует устанавливать с учетом возможных наклонов земной поверхности.
Д.8. Для обеспечения нормальной эксплуатации инженерных коммуникаций, проложенных в протяженных подземных сооружениях, следует предусматривать устройство специальных податливых опор и компенсационных устройств.
Д.9. Емкостные заглубленные сооружения, возводимые на подрабатываемых территориях, следует проектировать по податливым, комбинированным или жестким конструктивным схемам с учетом требований
СП 30.13330,
СП 31.13330,
СП 32.13330.
Д.10. При проектировании закрытых емкостных заглубленных сооружений преимущество следует отдавать податливым и комбинированным конструктивным схемам.
Податливая конструктивная схема осуществляется устройством приспособленных к неравномерным деформациям основания податливых водонепроницаемых швов на стыках сборных конструктивных стен, а также в их соединениях с покрытием, днищем и перегородками.
Д.11. При проектировании открытых емкостных заглубленных сооружений предпочтение следует отдавать жестким и комбинированным конструктивным схемам.
Открытые емкостные заглубленные сооружения, имеющие стационарное оборудование, следует проектировать по жестким схемам.
Открытые заглубленные сооружения, не имеющие стационарного оборудования, следует проектировать:
прямоугольными в плане - по жесткой конструктивной схеме;
круглыми - по жесткой конструктивной схеме при наличии подземных вод и по комбинированной - с днищем, отсеченным от стен деформационным швом, при отсутствии подземных вод.
Д.12. При проектировании емкостных заглубленных сооружений для строительства на площадках с высоким уровнем подземных вод конструкции податливых швов должны обеспечивать восприятие двухстороннего гидростатического давления.
Д.13. Трубопроводы на подрабатываемых территориях следует проектировать с соблюдением действующих норм на магистральные трубопроводы, нефтепродуктопроводы, прокладываемые на территориях городов и населенных пунктов; наружные и внутренние сети и системы тепло-, газо-, водоснабжения и канализации в части требований к трассированию, способам прокладки, конструктивным решениям, параметрам транспортированного продукта, защите от коррозии и других воздействий, тепловой изоляции, системам управления, охране окружающей среды и других, не противоречащих настоящим требованиям к обеспечению надежности трубопроводов и безопасности смежных с ними объектов в условиях подработки.
Д.14. Безотказность подрабатываемых стальных трубопроводов устанавливается расчетом на прочность, устойчивость, деформации (самокомпенсацию) при сочетании нагрузок, действующих в обычных условиях строительства, и дополнительных воздействий, обусловленных горизонтальными и вертикальными сдвижениями грунтового массива в результате подработки.
Д.15. Поверочный расчет подрабатываемого трубопровода производится после выбора его трассы, основных размеров, прогнозных расчетов вертикальных и горизонтальных сдвижений грунта на участке подработки.
Расчет напряженно-деформированного состояния трубопроводов следует выполнять преимущественно численными методами. Расчетные модели (схемы) трубопроводов должны отражать конструктивные особенности и условия взаимодействия трубопроводов с деформируемой грунтовой средой.
Д.16. В проектах следует предусматривать конструктивные и технологические меры по предупреждению разгерметизации стальных трубопроводов под влиянием подработок. Краны, задвижки, вентили, клапаны и другая запорная арматура для подрабатываемых трубопроводов должны применяться только стальные вне зависимости от проектного давления. Фланцы (прямые и ответные), прокладки, крепежные детали запорной арматуры должны удовлетворять требованиям герметичности при расчетных усилиях и угловых перемещениях, обусловленных подработкой. Компенсаторы и гибкие вставки должны с гарантированным запасом обеспечивать восприятие продольных и угловых перемещений в зонах плавных деформаций и локальных смещений в зонах уступов, а также иметь ресурс долговечности, равный сроку службы подрабатываемого трубопровода, либо быть ремонтопригодными, т.е. допускать восстановление герметичности без остановки эксплуатации трубопровода. Последнее требование относится только к устройствам, выход из строя которых не вызывает средних и тяжелых повреждений трубопровода и смежных объектов и не опасен для жизни и здоровья людей.
Д.17. В проектах следует предусматривать меры защиты по уменьшению совместного влияния напряжений от внутреннего давления транспортируемой среды, температурных напряжений и напряжений от подработки; частичное или полное вскрытие трубопроводов в зонах опасных напряжений для снижения воздействия грунта при подработке; применение малозащемляющих засыпок ниже глубины промерзания грунта и др.
Д.18. Секционные трубопроводы следует проектировать с обеспечением герметичности стыков в условиях деформаций грунтовой среды. В проектах следует применять трубы секционных трубопроводов с удлиненными раструбами и долговечными уплотнителями, сохраняющими эластичность в течение полного периода эксплуатации трубопроводов.
Д.19. Самотечные трубопроводы следует проектировать исходя из условия сохранения минимально допустимых уклонов.
(рекомендуемое)
ОСОБЕННОСТИ ПРОЕКТИРОВАНИЯ ЗДАНИЙ И СООРУЖЕНИЙ
С УЧЕТОМ ИХ ВЫРАВНИВАНИЯ В ПЕРИОД ЭКСПЛУАТАЦИИ
Е.1. Выравнивание зданий и сооружений, отдельных конструктивных элементов и технологического оборудования следует осуществлять методами, прошедшими достаточную экспериментальную проверку в натурных условиях. Выравнивание допускается осуществлять с помощью специальных устройств (например, гидравлических домкратов); посредством локального изменения деформационной способности основания (выбуриванием грунта в основании, регулируемым замачиванием грунтов основания). Выбор метода выравнивания производится в зависимости от конструктивного решения здания (сооружения), грунтовых условий площадки строительства, величины, а для подрабатываемых территорий - также скорости нарастания деформаций земной поверхности.
Примечания. 1. Выравнивание зданий и сооружений, как мера защиты от воздействия неравномерных деформаций основания не исключает применения других мер защиты (конструктивных, подготовки основания и пр.).
2. Принципиальные конструктивные решения проектов зданий и сооружений, разрабатываемые с учетом их выравнивания, следует согласовывать с организацией, специализирующейся в этой области, и заказчиком.
Е.2. При проектировании бескаркасных зданий и сооружений с возможностью их выравнивания домкратами в фундаментной части следует предусматривать проемы (для размещения домкратов) и горизонтальный разделительный шов между поднимаемой и опорной частями здания (сооружения), а также обеспечивать свободный доступ к местам установки выравнивающих устройств. В местах размещения устройств высота от пола до выступающих конструкций потолка должна быть не менее 1,9 м.
В проектах зданий и сооружений, подлежащих выравниванию, следует предусматривать закладку при строительстве марок для инструментальных наблюдений в период их эксплуатации.
Е.3. Шахты лифтов следует проектировать опирающимися на выравниваемую (поднимаемую) часть здания или обособленными на самостоятельных фундаментах, отделенных от конструкций фундаментов и конструкций надземной части здания разделительным швом и зазорами размерами, достаточными для корректировки отклонений от вертикали лифтовых шахт. В фундаментах лифтовых шахт должны быть предусмотрены проемы для установки выравнивающих устройств.
Е.4. Системы теплоснабжения, внутреннего водопровода и канализации необходимо проектировать с учетом конструктивных мероприятий, обеспечивающих нормальную эксплуатацию трубопроводов в процессе выравнивания здания (сооружения):
прокладки трубопроводов вне проемов, предназначенных для размещения выравнивающих устройств;
крепления стояков и разводящих трубопроводов к конструкциям здания (сооружения), расположенным выше горизонтального разделительного шва, между опорной и поднимаемой частями здания (сооружения);
устройства отверстий для пропуска трубопроводов через стены и фундаменты и обеспечения зазоров между трубопроводами и строительными конструкциями;
устройства компенсаторов, обеспечивающих горизонтальные и вертикальные перемещения трубопроводов;
установки запорных вентилей на всех стояках водопровода холодной и горячей воды.
Е.5. При проектировании каркасных зданий и сооружений с конструктивной схемой в виде каркаса, подлежащего выравниванию, конструктивное решение колонн, фундаментов и узлов крепления связей к колоннам в блоках жесткости должно допускать (в соответствии с технологией выравнивания) установку выравнивающих устройств и опорных приспособлений для них.
Крепления подкрановых балок к колоннам не должны препятствовать их рихтовке в вертикальной и горизонтальной плоскостях.
Крепления к колоннам связей и ограждающих конструкций, а также величина зазора между торцами стеновых панелей должны допускать взаимные вертикальные перемещения конструкций при выравнивании здания.
Крепления плит покрытия здания должны быть податливыми в вертикальной плоскости и жесткими - в плоскости диска покрытия.
Е.6. Плитные и массивные фундаменты под сооружения и оборудование, подлежащие выравниванию домкратами, следует проектировать с устройством:
разделительного шва между нижней (опорной) и верхней цокольной частями фундамента;
проемов в опорной или цокольной части фундамента для размещения домкратов;
страховочных элементов, выполняющих в процессе эксплуатации и во время работ по выравниванию роль связей между цокольной и опорной частями фундамента.
Е.7. Выравнивание зданий и сооружений выбуриванием (частичным извлечением) грунта из-под подошвы фундамента следует, как правило, предусматривать в проектах зданий (сооружений), имеющих высокую пространственную жесткость.
Основания зданий, подлежащие выбуриванию, должны быть сложены грунтами с модулем деформации
E <= 25 МПа. При
E > 25 МПа в проектах следует предусматривать устройство грунтовых подушек, выполняемых в соответствии с указаниями
СП 22.13330.
Е.8. В период выравнивания зданий и сооружений необходимо предусматривать постоянные визуальные и инструментальные наблюдения за состоянием конструкций выравниваемых объектов.
(рекомендуемое)
КАТЕГОРИИ ТЕРРИТОРИЙ ЗАЛЕГАНИЯ ПОЛЕЗНЫХ ИСКОПАЕМЫХ
ПО УСЛОВИЯМ СТРОИТЕЛЬСТВА
Категория территории | Пригодность территории для застройки | Горно- и инженерно-геологические условия строительства | Особые условия строительства |
наличие горных выработок | горные работы в период эксплуатации объекта | деформации земной поверхности соответствуют группе территорий |
1 | Пригодная для застройки - не подрабатываемая | Старые горные выработки отсутствуют | Не планируются | - | Наличие под территорией непромышленных полезных ископаемых |
Старые горные выработки имеются на глубинах, исключающих возможность образования провалов | То же | - | Полезные ископаемые выработаны и процесс деформаций земной поверхности закончился или подработка ожидается после окончания срока амортизации проектируемых объектов |
2 | Пригодная для застройки - подрабатываемая | Старые горные выработки отсутствуют | Планируются на глубинах, исключающих возможность образования провалов | II - IV IIк - IVк | Отсутствуют участки территорий: возможного техногенного затопления и подтопления; выходов - крутопадающих тектонических нарушений и выходов осевых поверхностей синклинальных складок; возможного образования оползней |
Старые горные выработки имеются на глубинах, исключающих возможность образования провалов | III - IV IIIк - IVк |
3 | Ограниченно пригодная для застройки - подрабатываемая | Старые горные выработки отсутствуют или имеются на глубинах, исключающих возможность образования провалов | Планируются на глубинах, исключающих возможность образования провалов | I, Iк | Отсутствуют участки территорий: возможного техногенного затопления и подтопления; выходов - крутопадающих тектонических нарушений и выходов осевых поверхностей синклинальных складок; возможного образования оползней |
Старые горные выработки отсутствуют или имеются на глубинах, исключающих возможность образования провалов | То же | Деформации превышают максимальные величины для групп I и Iк | Имеются участки территорий с деформациями  , чем для групп I и Iк |
4 | Непригодная для застройки | Старые горные выработки отсутствуют или имеются на глубинах, исключающих возможность образования провалов | Планируются на глубинах, при которых возможно образование провалов | Независимо от группы | Возможны провалы и крупные трещины на земной поверхности |
Старые горные выработки имеются на глубинах, при которых возможно образование провалов | Независимо от плани- рования горных работ | То же | То же |
Имеются подготовительные выработки, стволы и шурфы, имеющие выход на земную поверхность, когда в зоне их влияния возможно образование провалов | Независимо от развития горных работ | " | Возможны провалы земной поверхности вокруг выработок |
Независимо от наличия старых горных выработок | Планируются | " | Имеются участки территорий: возможного техногенного затопления и подтопления; выходов крутопадающих тектонических нарушений; выходов осевых поверхностей синклинальных складок; возможного образования оползней |
5 | Временно непригодная для застройки | Непригодные к застройке территории 4-й категории, которые по мере отработки запасов или проведения соответствующих мероприятий переходят в 3, 2 или 1-ю категории условий строительства | - |
(рекомендуемое)
РАСЧЕТ ДЕФОРМАЦИЙ И КОЭФФИЦИЕНТОВ ЖЕСТКОСТИ ОСНОВАНИЙ
НА ПРОСАДОЧНЫХ ГРУНТАХ
I тип грунтовых условий по просадочности
И.1. Просадка грунтов основания при интенсивном замачивании сверху на больших площадях, а также при подъеме уровня подземных вод определяется по формуле

, (И.1)
где

- относительная просадочность
i-го слоя грунта, определяемая при его полном водонасыщении по
ГОСТ 23161;

- толщина
i-го слоя грунта, см;

- коэффициент, определяемый в соответствии с указаниями
И.2;
n - число слоев, на которые разбиты зоны просадки грунтов

и

(см.
рисунок 5.1).
учитываются только слои грунта, имеющие относительную просадочность

, а слои грунта, имеющие

, исключаются из рассмотрения;
просадочную толщу

и зоны просадки

и

следует разбивать на отдельные слои в соответствии с литологическим разрезом толщиной не более 2 м, в пределах которых изменение суммарных вертикальных напряжений

не должны превышать 200 кПа.
И.2. Коэффициент

, входящий в
формулу (И.1), при ширине фундамента
b >= 12 м принимается равным единице для всех слоев грунта в пределах зоны просадки; при
b <= 3 м вычисляется по формуле:

, (И.2)
где p - среднее давление по подошве фундамента, кПа;

- начальное просадочное давление
i-го слоя, кПа, принимаемое равным давлению

, при котором относительная просадочность

;

- давление, равное 100 кПа.
При 3 м <=
b <= 12 м

определяется интерполяцией.
При определении просадки грунта от собственного веса следует принимать

.
И.3. При устранении просадочных свойств грунтов в пределах только верхней части деформируемого слоя

путем уплотнения тяжелыми трамбовками или устройства грунтовой подушки из суглинков или глины с созданием маловодопроницаемого экрана относительную просадочность

ниже залегающего просадочного грунта принимают при неполном водонасыщении

и определяют по формуле

, (И.3)
где w - влажность грунта в природном залегании (эта и последующие влажности в долях единицы);

- влажность, соответствующая полному водонасыщению грунта;

- начальная просадочная влажность;

- относительная просадочность при полном водонасыщении грунта.
И.4. Толщина деформационной зоны просадки

принимается равной (см.
рисунок 6.1) толщине слоя грунта от подошвы фундамента до глубины, на которой суммарные вертикальные напряжения

, или глубине, где значения

.
И.5. Длина участка

, м (см.
рисунок 6.3), на котором просадка грунта

в пределах верхней деформируемой зоны

от нагрузки фундамента изменяется от нуля до ее полной величины, принимается равной:

, (И.4)
где

- толщина зоны, м, водонасыщенного грунта от дна источника замачивания до нижней границы зоны

;

- коэффициент, учитывающий увеличение (или уменьшение) угла распространения воды в стороны от границы источника замачивания, вследствие слоистости грунтов основания и принимаемый равным для:
однородных толщ грунтов

;
неоднородных в случаях залегания:
сверху грунтов с меньшим коэффициентом фильтрации, в том числе при устройстве маловодопроницаемого экрана

, а с большим -

;
при многослойных (более трех слоев)

;

- угол распространения воды в стороны от источника замачивания, принимаемый равным для: лессовидных супесей и лессов 35°; лессовидных суглинков 50°; а в случаях уплотнения их тяжелыми трамбовками или укаткой в грунтовых подушках с повышающим коэффициентом соответственно 1,5 и 1,3.
И.6. Коэффициенты жесткости основания, принимаемого в виде линейно-деформируемого полупространства, определяются по нижеприведенным формулам в случаях выполнения фундаментов на:
а) грунтах естественного сложения при:
природной влажности:

, (И.5)
полном водонасыщении под источником замачивания в пределах деформируемой зоны

:

; (И.6)
б) уплотненных просадочных грунтах в пределах всей деформируемой зоны

при их:
природной влажности:

, (И.7)
полном водонасыщении уплотненных и подстилающих их грунтов:

; (И.8)
в) уплотненных просадочных грунтах в пределах только верхней части деформируемой зоны

на глубину

при:
природной влажности:

, (И.9)
полном водонасыщении уплотненных, просадочных и подстилающих их грунтов:

; (И.10)
г) на участках по
пункту а -
в длиной

при изменении осадок и просадок при увлажнении грунтов основания по линейному закону:

, (И.11)
где
C и

- коэффициенты жесткости оснований на грунтах естественного сложения, соответственно, при природной влажности и полном водонасыщении, кПа/м;
C' и

- то же, на уплотненных просадочных грунтах в пределах всей деформируемой зоны

, соответственно, при природной влажности и полном водонасыщении;
C" и

- то же, на уплотненных просадочных грунтах только в верхней части деформируемой зоны

, соответственно, при природной влажности и полном водонасыщении;
p - среднее давление по подошве фундамента, кПа;
s - осадка фундамента, м, на просадочном грунте естественного сложения при природной влажности, вычисляемая по
СП 22.13330;

- просадка фундамента, м, на грунте естественного сложения вычисляемая по
формуле (И.1);
s' и

- осадка фундамента, м, на уплотненном грунте на глубину

соответственно при его природной влажности и полном водонасыщении;
s" и

- осадка фундамента, м, на уплотненном грунте в пределах верхней части деформационной зоны соответственно при его природной влажности и полном водонасыщении;

- просадка фундамента, м, ниже уплотненного грунта в верхней части деформируемой зоны;

и

- соответственно осадка и просадка фундамента, м, на участке
a в точке, расположенной на расстоянии
x от края источника замачивания.
Примечание. При применении свайных фундаментов с полной прорезкой просадочных грунтов I типа по просадочности расчеты конструкций зданий и сооружений III уровня ответственности на возможные просадки грунтов допускается не выполнять.
II тип грунтовых условий по просадочности
И.7. Расчет оснований и конструкций зданий и сооружений на просадочных грунтах, относящихся ко II типу грунтовых условий, а также I типа в случаях, когда при выполнении планировочной насыпи I тип, переходит во II тип следует выполнять на максимальные величины просадки грунтов

от собственного веса, проявляющиеся при прогнозируемом источнике интенсивного замачивания шириной

или возможные величины просадок

, возникающие при ширине источника замачивания

, но принимаемой не менее 2 м.
Максимальные величины просадки грунтов

от собственного веса вычисляются по
формуле (И.1), в которой коэффициент

принимается равным

, а относительная просадочность

в случае устройства маловодопроницаемого экрана под зданием и сооружением определяется по
формуле (И.3).
Возможную просадку грунта

от собственного веса при прогнозируемом замачивании грунта основания сверху малых площадей определяют по формуле

. (И.12)
И.8. Величина просадки

от собственного веса грунта в различных точках кривой развития (на участках
r) определяется по формуле (см.
рисунки 6.2 и
6.4)

, (И.13)
где
x - расстояние, м, от центра замачиваемой площади (при

) или начала горизонтального участка
B просадки грунта (при

) до точки, в которой определяется величина просадки

(при 0 <=
x <=
r);
r - расчетная длина, м, криволинейного участка просадки грунта от собственного веса, определяемая по формуле

, (И.14)
здесь

- величина просадочной толщи, м, от дна источника замачивания до нижней ее границы;
И.9. Относительные разности просадок

оснований фундаментов от собственного веса грунтов определяются по формулам для зданий и сооружений:
а) с жесткой конструктивной схемой

; (И.15)
б) податливой конструкции

, (И.16)
где

и

- соответственно средние просадки, см, противоположных торцов здания или сооружения, либо отдельных их блоков, разрезанных осадочными швами, вычисляемые с учетом
И.7 и
И.8;

- коэффициент условий работы, учитывающий совместную работу здания и сооружения с его основанием и принимаемый равным

при
L >
r, (И.17)

при
L <=
r;
L - ширина, м, здания или сооружения либо отдельных их блоков;

и

- средние просадки, м, соответственно фундаментов 1 и 2 зданий и сооружений податливой конструкции;
l - расстояние, м, между фундаментами 1 и 2;

- коэффициент, принимаемый равным единице.
И.10. Относительная величина кренов

зданий и сооружений жесткой конструктивной схемы определяется по
формуле (И.15), а абсолютные значения, см, по формуле

, (И.18)
где

- высота, см, здания или сооружения от подошвы фундамента до верхней их точки.
И.11. Относительная величина крена отдельных фундаментов зданий и сооружений податливой конструкции вычисляется по
формуле (И.15), в которой

и

- просадки двух противоположно расположенных точек (торцов) фундамента с расстояниями между ними, равной его ширине или длине.
Абсолютные значения кренов определяются по формуле (И.18), в которой

- высота от подошвы фундамента до рассматриваемой точки столба или стены.
И.12. Условный радиус кривизны

просадочной воронки в случае замачивания грунта сверху из линейного источника (при

), используемый иногда при предварительных расчетах конструкций зданий и сооружений, определяется по формуле

, (И.19)

- коэффициент, принимаемый равным

, м.
И.13. Величина горизонтальных перемещений

, см, на поверхности грунта на расстоянии
x при просадке от собственного веса, вызванной замачиванием грунта по
И.7, на криволинейных участках
r, просадки его (см.
рисунки 6.2 и
6.4), определяется по формуле

, (И.20)
где

- величина относительных горизонтальных деформаций, принимаемая равной

; (И.21)

- расчетная полудлина, м, криволинейного участка просадки грунта (см.
рисунки 6.2 и
6.4), принимаемая равной

;
И.14. Дополнительную осадку

и зону дополнительного сжатия

подстилающих просадочную толщу

водонасыщенных (
Sr > 0,9) глинистых и песчаных грунтов следует определять по требованиям
СП 22.13330.
Дополнительную осадку

маловлажных глинистых грунтов и структурно-связанных пылеватых и мелких песков допускается вычислять по формуле

, (И.22)
где

и

- средние вертикальные напряжения в
i-м слое грунта от его собственного веса соответственно при природной влажности и полном водонасыщении в пределах зоны

;

- толщина
i-го слоя грунта, на которые разбита зона

;
| | ИС МЕГАНОРМ: примечание. В официальном тексте документа, видимо, допущена опечатка: рисунок 1 отсутствует. Возможно, имеется в виду рисунок 6.1. | |

- средние вертикальные дополнительные напряжения в
i-м слое грунта в водонасыщенном состоянии в пределах зоны

(см.
рисунок 1);

и

- модули деформации
i-го слоя подстилающего непросадочного грунта в пределах зоны

соответственно при полном водонасыщении и природной влажности.
Примечания. 1. В
формуле (И.22) первое слагаемое (в скобках) представляет собой дополнительную осадку, происходящую за счет снижения модуля деформации подстилающего грунта при его водонасыщении, а второе - при повышении на подстилающий слой дополнительных напряжений от: равномерно распределенной нагрузки от здания или сооружения; нагрузок на полы первого (подвального) этажа; веса планировочной насыпи; собственного веса просадочного грунта при повышении его влажности и плотности вследствие уплотнения; устройства свай и других факторов.
2. За нижнюю границу зоны дополнительного сжатия

принимают минимальную глубину, получаемую по требованиям
СП 22.13330, или до слоя грунта, имеющего модуль деформации в водонасыщенном состоянии

.
И.15. При II типе грунтовых условий по просадочности коэффициент жесткости
C основания, принимаемого в виде линейно-деформируемого полупространства, в случаях устранения просадок в верхней зоне

уплотнением или прорезкой ее сваями, определяется по формулам:
а) при полном устранении просадочных свойств грунтов в пределах всей просадочной толщи по
6.3.1, а и влажности:
уплотненного грунта

, (И.23)
соответствующей полному водонасыщению

; (И.24)
б) при полной прорезке просадочных грунтов свайными фундаментами и влажности грунтов основания соответствующей:
природному состоянию

, (И.25)
полному водонасыщению

; (И.26)
в) при частичном устранении просадочных свойств грунтов от их собственного веса для каркасных одноэтажных зданий и сооружений податливой конструкции II и III уровней ответственности и влажности:
уплотненного грунта

, (И.27)
соответствующей полному водонасыщению

; (И.28)
г) на участках по
а -
б длиной r, при изменении

от максимального значения при природной влажности до полного водонасыщения

, (И.29)
где обозначения коэффициентов жесткости
C, осадок
s, просадок

, дополнительных осадок подстилающего слоя

соответствуют содержанию данного пункта.
Примечания. 1. Расчеты конструкций на неравномерные просадочные деформации допускается не выполнять при проектировании зданий и сооружений II уровня ответственности при суммарных расчетных деформациях фундаментов

меньших

их предельной величины, принятой в проекте, а при отсутствии подобных требований - по
СП 22.13330, а для зданий и сооружений III уровня ответственности при

.
2. Дополнительную осадку подстилающих просадочную толщу грунтов

при расчетах конструкций зданий и сооружений I и II уровней ответственности следует, как правило, учитывать в случаях, когда выполняется одно из следующих условий:
а) коэффициент изменчивости сжимаемости подстилающих грунтов

в естественном сложении или при их водонасыщении

при среднем значении модуля деформации
E >= 15 МПа или

при
E >= 25 МПа;
б) дополнительная нагрузка

на подстилающие грунты под пятном застройки

при коэффициенте изменчивости ее

или при

и

. Подобные случаи обычно имеют место при:
расположении зданий и сооружений на холмистых и косогорных участках с устройством планировочных насыпей переменной толщины, а также с частичной срезкой грунтов естественного рельефа;
различной высоте зданий и сооружений, в том числе и отдельных блоков, отрезанных осадочными швами;
местных нагрузках на полы первого этажа от складирования сыпучих и других материалов, наличии фундаментов технологического оборудования на площади шириной не менее

и под влиянием других факторов.
3. При суммарных величинах просадок

и дополнительных осадок подстилающих грунтов

на криволинейных участках
r изменение коэффициентов жесткости

принимается по косинусоиде, описываемой
формулой (И.13), а при

коэффициенты жесткости

допускается принимать по линейной зависимости
(рисунок 6.4).
4. Коэффициенты жесткости
G линейно деформируемого основания при сдвиге следует определять исходя из горизонтальных перемещений и поверхности основания от действия среднего касательного напряжения

под подошвой фундамента.
(рекомендуемое)
ОСОБЕННОСТИ ПРОЕКТИРОВАНИЯ ОСНОВАНИЙ ЗДАНИЙ
И СООРУЖЕНИЙ С ЗАГЛУБЛЕННОЙ ПОДЗЕМНОЙ ЧАСТЬЮ
К.1. Проектирование оснований и фундаментов зданий и сооружений с заглубленной подземной частью на просадочных грунтах следует выполнять с учетом разгрузки грунтового массива при отрывке котлована и его основных размеров (глубины и ширины) (см. рисунок К.1).
а - с техническим подпольем (без подземных этажей)
на свайном фундаменте; б - с подземной частью на свайном
фундаменте; в - с подземной частью на естественном основании
и плитном фундаменте ("плавающее здание"); 1 - здания;
2 - техническое подполье; 3 - подземная часть здания;
4 - буронабивные сваи; 5 - забивные сваи; 6 - фундаментная
плита (ростверк); 7 - шов скольжения;

- нагружающие силы
бокового трения просадочного грунта; f - силы сопротивления
по боковой поверхности свай; R - расчетное сопротивление
под нижним концом свай
Рисунок К.1. Схемы зданий на просадочных грунтах
со II типом грунтовых условий по просадочности
Отрывка котлована приводит к снижению величин (см. рисунок К.1):
просадочной толщи

благодаря понижению верхней ее границы, а также часто и подъема ее нижней границы за счет разгрузки нижележащих грунтов;
просадки грунтов от собственного веса

вследствие уменьшения величины просадочной толщи и относительной просадочности грунтов при снижении в них вертикальных напряжений;
дополнительной осадки

подстилающих непросадочных грунтов за счет снижения вертикальных напряжений на них от собственного веса грунта

.
Кроме этого, при устройстве заглубленной подземной части возможен перевод грунтовых условий под зданием или сооружением из I типа в непросадочные грунты, а из II типа - в I тип по просадочности (см.
рисунок К.2).
а - эпюры вертикальных напряжений на глубине

- уровень
дна выемки или котлована; б - то же, на глубине

;
в - кривая просадки грунта и фундамента при подъеме уровня
подземных вод; г - то же, при замачивании через дно выемки
или днища подземной части здания; 1 - глубокая выемка;
2, 3 - соответственно котлован (подземная часть)
и надземная часть здания; 4 - вертикальные напряжения

от собственного веса грунта от уровня планировки; 5 - то же,

от дна выемки 1 или котлована 2; 6 - вертикальные
напряжения

с учетом влияния собственного веса грунта,
расположенного за пределами выемки 1 или котлована 2;
7, 8 - вертикальные напряжения

соответственно от веса
здания и эксплуатационных нагрузок на перекрытия и подземной
части стилобата на глубине

; 9, 10 - суммарные напряжения

от собственного веса грунта и веса здания
и эксплуатационных нагрузок на перекрытия на глубине

соответственно под зданием и стилобатом; 11 - кривая
изменения по глубине начального просадочного давления

Рисунок К.2. Схемы к расчету просадок:
I - грунта при устройстве глубокой выемки;
II - фундамента подземной части здания или сооружения
К.2. При отрывке котлована под подземную часть здания (рисунок К.2):
величина просадочной толщи под зданием

определяется от уровня дна котлована до глубины z, на которой при давлении

на грунт от собственного веса, равного

(здесь

- среднее значение удельного веса просадочного грунта), начиная с отметки дна котлована, относительная просадочность равняется

, или до кровли нелессовых глинистых, а также песчаных и крупнообломочных грунтов;
расчетная просадка грунта

от собственного веса

определяется в пределах оставшейся части просадочной толщи

;
дополнительная осадка

подстилающего просадочную толщу непросадочного грунта, вычисляемая, начиная с глубины

.
Просадка грунтов от собственного веса

рассчитывается с учетом размеров подземной части и возможных источников замачивания, наличия маловодопроницаемого экрана по
И.3, а дополнительные осадки

подстилающих грунтов - по
И.14 Приложения И.
К.3. Перевод грунтовых условий при отрывке котлована обеспечивается:
а) из I и в отдельных случаях из II типа по просадочности в обычные непросадочные грунты при условии, что относительная просадочность

всех слоев (инженерно-геологических элементов - ИГЭ) толщиной более 1 м при давлении от собственного веса грунта, начиная с отметки дна котлована, оказывается меньше

;
б) из II типа в I тип по просадочности при расчетной просадке грунтов от собственного веса

в пределах оставшейся части просадочной толщи

, не превышающей

.
К.4. Минимальную глубину котлована, при которой полностью исключается просадка грунта от его собственного веса и перевод грунтовых условий из II в I тип по просадочности следует определять по формуле

, (К.1)
где

- коэффициент условий работы, принимаемый равным

при прямоугольной форме в плане котлована с соотношением сторон не менее 1:3 и

при квадратной и круглой форме;

- вертикальное напряжение, от собственного веса грунта, равное

;

- средневзвешенное значение удельного веса просадочного грунта в водонасыщенном состоянии, кН/м
3;
d - глубина, м, на которой "дефицит прочности" просадочного грунта имеет максимальное значение, т.е.

;

- начальное просадочное давление, кН, на глубине
d.
отсутствует дополнительная нагрузка на дне котлована;
выполняются свайные фундаменты, на которые передаются все нагрузки от здания или сооружения, включая и от полов первого (подземного) этажа;
просадочные свойства грунтов ниже дна котлована полностью устраняются, например уплотнением.
К.5. При применении плитных и других фундаментов без устранения просадочных свойств грунтов ниже дна котлована, минимальная глубина его

, м, при которой будут полностью отсутствовать просадки грунтов в основании здания или сооружения, определяется по формуле

, (К.2)

- вертикальные напряжения от нагрузки фундаментов, кПа;

- дополнительные вертикальные напряжения в грунте от полов нижнего этажа подвала или подземной части.
При применении формулы (К.2) величину

определяют подбором, задаваясь различными дополнительными напряжениями на различных глубинах в соответствии с эпюрой их распределения.
К.6. Глубины

и

допускается определять графически. Для этого по каждой технической выработке на основе материалов инженерно-геологических изысканий строятся графики изменения по глубине (см.
рисунок К.2): давления грунтов от собственного веса

и начального просадочного давления

, а также при необходимости

. Затем параллельно графику

или

проводится касательная к кривой изменения начального просадочного давления -

. Касательная представляет собой эпюру изменения по глубине давления, при котором просадки грунтов от их собственного веса или при суммарной нагрузке ниже дна котлована (подвала) будут отсутствовать. При этом необходимые глубины

и

определяются по точкам пересечения касательной

с вертикальной осью "0", относительно которой наносятся кривые изменения по глубине

,

,

.
К.7. При проектировании оснований зданий и сооружений с подземной частью глубиной более 4 - 5 м наряду с требованиями, изложенными в данном приложении, необходимо учитывать требования
раздела 9 СП 22.13330.
К.8. Выбор вида оснований и конструкций фундаментов зданий и сооружений с подземной частью следует осуществлять с учетом глубины и размеров ее в плане, типа грунтовых условий по просадочности, величин просадочной толщи

, просадки

и дополнительной осадке

подстилающих непросадочных грунтов, а также конструкций зданий и сооружений, нагрузок на грунты оснований и других факторов, приведенных в
СП 22.13330.
На подстилающих непросадочных, а также на просадочных грунтах с I типом просадочности ниже дна котлована при средних давлениях по подошве фундаментов, при которых в пределах всей сжимаемой толщи суммарные вертикальные напряжения от их нагрузки

и собственного веса грунта

:
оказываются меньше величины начального просадочного давления

(т.е.

) используются грунты дна котлована в качестве естественного основания и фундаменты выполняются как на обычных непросадочных грунтах;
превышают начальное просадочное давление

следует устранять просадочные свойства грунтов в пределах всей или только верхней части деформируемой зоны

путем уплотнения их тяжелыми трамбовками, вытрамбовыванием котлованов или замены слоя просадочных грунтов непросадочными с устройством грунтовой подушки.
К.9. В случаях залегания просадочных грунтов со II типом грунтовых условий по просадочности ниже дна котлована необходимо применять:
уплотнение просадочных грунтов в 1 - 2 слоя тяжелыми трамбовками, грунтовыми сваями, упрочнения вертикальными армирующими сваями из жесткого грунтового материала (щебень, щебенистого, галечного грунта, экологически чистого и прочного шлака и т.д.);
прорезку просадочной толщи

забивными, набивными сваями с погружением их ниже зоны развития возможных дополнительных осадок

.
К.10. При прорезке просадочных грунтов со II типом грунтовых условий сваями, а также полном устранении просадочных свойств грунтов уплотнением в пределах просадочной толщи

дополнительные нагрузки

от сил отрицательного трения на сваи и уплотненные массивы следует учитывать по периметру подземной части зданий и сооружений на контурной полосе шириной

исходя из возможной просадки

, а под средней их частью - исходя из просадки

при величине просадочной толщи

.
При необходимости увеличения несущей способности свай на контурной полосе необходимо увеличивать их количество, длину, а в случаях устройства грунтовых, армирующих свай, кроме этого, выполнять их из более прочного грунтового материала с уширениями повышенных размеров в нижней их части.
К.11. В целях снижения дополнительных нагрузок

от сил отрицательного трения на сваи и уплотненные массивы, а также на подземные конструкции зданий и сооружений по их боковым наружным поверхностям, включая ростверки, фундаментные плиты и другие фундаменты глубокого заложения, необходимо выполнять швы скольжения.
Примечание. Швы скольжения рекомендуется совмещать с гидроизоляцией.
(примечание в ред.
Изменения N 1, утв. Приказом Минстроя России от 10.07.2017 N 982/пр)
Минстроя России от 10.07.2017 N 982/пр)
[1]
Закон Российской Федерации от 21 февраля 1992 г. N 2395-1 "О недрах"
[2] Федеральный
закон от 29 декабря 2004 г. N 190-ФЗ "Градостроительный кодекс Российской Федерации".