Главная // Актуальные документы // Акт (форма)СПРАВКА
Источник публикации
М.: Стройиздат, 1986
Примечание к документу
ИС МЕГАНОРМ: примечание:
Фактически утратил силу с 1 июля 1988 года в связи с изданием
Постановления Госстроя СССР от 04.12.1987 N 280, отменившего СНиП 3.02.01-83.
Название документа
"Пособие по производству работ при устройстве оснований и фундаментов (к СНиП 3.02.01-83)"
(утв. Приказом Госстроя СССР от 20.02.1984 N 22)
"Пособие по производству работ при устройстве оснований и фундаментов (к СНиП 3.02.01-83)"
(утв. Приказом Госстроя СССР от 20.02.1984 N 22)
Приказом Госстроя СССР
от 20 февраля 1984 г. N 22
ПОСОБИЕ
ПО ПРОИЗВОДСТВУ РАБОТ ПРИ УСТРОЙСТВЕ
ОСНОВАНИЙ И ФУНДАМЕНТОВ
(к СНиП 3.02.01-83)
Утверждено Приказом НИИОСП им. Н.М. Герсеванова Госстроя СССР N 22 от 20 февраля 1984 г.
Рекомендовано к изданию решением секции Ученого совета НИИОСП им. Н.М. Герсеванова Госстроя СССР.
Содержит требования, необходимые при составлении проектов производства работ, а также требования по производству и приемке работ при устройстве оснований и фундаментов.
Для инженерно-технических работников, связанных с проектированием, строительством и приемкой работ при возведении оснований, фундаментов и подземных сооружений.
| | ИС МЕГАНОРМ: примечание. Взамен СНиП 3.02.01-83 Постановлением Госстроя СССР от 04.12.1987 N 280 с 1 июля 1988 года введены в действие СНиП 3.02.01-87. | |
Настоящее Пособие разработано к СНиП 3.02.01-83 "Основания и фундаменты". В Пособии приводятся дополнительные требования, соблюдение которых необходимо при составлении проектов производства работ, требования по производству и приемке работ, связанных с устройством оснований и фундаментов. Пособие разработано на основе выполненных за последние годы научных исследований в области фундаментостроения, отечественного и зарубежного опыта применения прогрессивной технологии строительного производства и новых средств механизации строительно-монтажных работ.
Пособие состоит из девяти разделов: общая часть, естественные основания, уплотнение грунтов, строительное водопонижение, закрепление грунтов, сооружения, устраиваемые способом "стена в грунте", свайные фундаменты, шпунтовые ограждения и анкеры, опускные колодцы и кессоны.
В каждом разделе приведены как традиционные способы производства работ, так и новые способы строительства оснований и фундаментов.
В
разделе "Естественные основания" содержатся основные положения по возведению фундаментов мелкого заложения; главное внимание уделено сохранению природного состояния грунта от возможного замачивания, промерзания и т.д.
В
раздел "Уплотнение грунтов" включен материал по новым методам уплотнения слабых и водонасыщенных песчаных грунтов виброустановкой ВУУП-6, а также уплотнения просадочных грунтов предварительным замачиванием с применением энергии глубинных взрывов.
В
разделе "Строительное водопонижение" даны рекомендации по предотвращению возможных вредных последствий в результате осуществления водопонизительных работ, основные параметры трубчатых и каркасно-стержневых фильтров заводского приготовления.
В
разделе "Закрепление грунтов" внесены изменения и дополнения, новые разработки, отвечающие требованиям СНиП 3.02.01-83 и практике строительства.
В Пособии описан способ буросмесительного закрепления илов, получивший в последнее время широкое распространение, а также новые рецептурные варианты силикатизации и смолизации грунтов. В
разделе "Сооружения, устраиваемые способом "стена в грунте" приведены характеристики и марки вновь разработанных и выпускаемых землеройных механизмов, новые способы устройства противофильтрационных завес и уточнены противофильтрационные характеристики материалов заполнения.
В
раздел "Свайные фундаменты, шпунтовые ограждения и анкеры" включен материал по вибрационному погружению и извлечению металлического шпунта, по применению вибрационной технологии изготовления набивных свай. Впервые в этот раздел Пособия включен
подраздел "Инъекционные анкеры".
В
разделе "Опускные колодцы и кессоны" приводится новый материал по опусканию колодцев способом задавливания. Впервые даны рекомендации по снижению сил трений при опускании колодцев с помощью различного рода обмазок и электроосмоса, по применению анкеров для удержания колодцев от всплытия.
Пособие разработано НИИОСП им. Н.М. Герсеванова (доктора техн. наук Смородинов М.И. -
разд. 1,
7,
8,
9; Сорочан Е.А. -
разд. 2; кандидаты техн. наук Галицкий В.Г. -
разд. 3; Федоров Б.С. -
разд. 7; Александровский Ю.В. -
разд. 7,
9; Березницкий Ю.А. -
разд. 9; Бахолдин Б.В. -
разд. 8; Светинский Е.В. -
разд. 8; Четыркин Н.С. -
разд. 8; Таргулян Ю.О. -
разд. 8; инженеры Арсеньев А.А. -
разд. 1,
7,
9; Кацов К.П. -
разд. 7; Мещанский А.Б. -
разд. 4; Курденков Л.И., Мотузов Я.Я. -
разд. 5; Бобровский Я.М. -
разд. 8; Джантимиров Х.А. -
разд. 8; Остюков Б.С. -
разд. 9; Наумкина И.Д. -
разд. 8); ВНИИГС (д-р техн. наук Цейтлин М.Г. -
разд. 7,
8; кандидаты техн. наук Зубков В.М. -
разд. 3; Перлей Е.М. -
разд. 7,
8,
9; Феоктистова Н.В. -
разд. 7; Раюк В.Ф. -
разд. 9; Никольская Г.Н. -
разд. 7; Азбель Г.Г. -
разд. 7; Верстов В.В. -
разд. 8; Серебро А.Я. -
разд. 9; Мишаков В.А. -
разд. 8; инженеры Анисимов В.М. -
разд. 3; Шик С.П. -
разд. 9; Трофимов В.Е. -
разд. 8; Финкельштейн С.Р., Гдалин С.В. -
разд. 8; Придчин К.А. -
разд. 8; Алмазов А.Н. -
разд. 9); ГПИ "Фундаментпроект" (инженеры Моргулис М.Л. -
разд. 4; Рабинович И.С. -
разд. 4; Шароватов В.И. -
разд. 5; Коньков Н.К. -
разд. 7,
9; Ханин Р.Е. -
разд. 8; Леший Г.М. -
разд. 8); ЦНИИС (кандидаты техн. наук Глотов А.М. -
разд. 8; Тюленев Е.А. -
разд. 8; Головачев А.С. -
разд. 8; Школьников И.Е. -
разд. 8); Гидроспецпроект (канд. техн. наук Хасин М.Ф. -
разд. 7; инж. Катульский В.В. -
разд. 5); НИИСП (канд. техн. наук Янкулин М.Г. -
разд. 7); НИИОУС (канд. техн. наук Сорокин В.В. -
разд. 7); ВНИИОМШС (канд. техн. наук Шпарбер А.А. -
разд. 6); ЛИИЖТ (канд. техн. наук Перминов Н.А. -
разд. 9); БТИСМ (канд. техн. наук Ивахнюк В.А. -
разд. 9; инж. Кочерженко В.В. -
разд. 9); НИИСК (канд. техн. наук Рыжов А.М. -
разд. 3; инженеры Курдюцкий Ю.М. - разд. 3; Степура И.В. -
разд. 5); Крымский НИИпроект (канд. техн. наук Кильвандер Э.Я. -
разд. 5); Ростовский ПромстройНИИпроект (канд. техн. наук Голованов А.Н. -
разд. 5; инж. Уснов Ю.А. -
разд. 5).
Пособие разработано под общей редакцией д-ра техн. наук Смородинова М.И. и инж. Арсеньева А.А.
1.1. Требования настоящего Пособия должны соблюдаться при производстве и приемке работ по устройству оснований и фундаментов зданий и сооружений всех видов.
Работы, выполняемые при возведении мостов, автодорог, гидротехнических, мелиоративных и других сооружений, должны производиться с учетом особенностей этих сооружений.
1.2. Земляные, каменные, бетонные и другие работы должны выполняться с учетом требований соответствующих СНиП или других документов, утвержденных Госстроем СССР или с ним согласованных.
1.3. Очередность и способы производства работ по устройству оснований и фундаментов должны быть взаимно увязаны с работами по прокладке подземных инженерных коммуникаций, строительству подъездных дорог на стройплощадках и другими работами нулевого цикла.
1.4. Работы по устройству оснований и фундаментов без проектов производства работ запрещаются. Проект производства работ разрабатывается на основе общего проекта и проектной документации по организации строительства.
1.5. При устройстве подземной части сооружения необходимость водопонижения, уплотнения и закрепления грунта, устройства шпунтовых ограждений, замораживания грунта, возведения фундаментов методом "стена в стене" и проведения других работ устанавливается проектом сооружения, а организация работ - проектом организации строительства.
Необходимость выполнения перечисленных работ может быть установлена и в процессе разработки проекта производства работ по устройству оснований и фундаментов или при вскрытии котлованов и при устройстве оснований и фундаментов. В этих случаях решение об их выполнении принимается проектной и строительной организацией совместно с заказчиком.
1.6. При производстве работ должны соблюдаться правила Госгортехнадзора, технической инспекции и т.д., правила производства работ при прокладке и переустройстве подземных сооружений, благоустройстве городских территорий и устройстве дорожных покрытий, а также положения об охране подземных и надземных инженерных сооружений.
1.7. Строительно-монтажные, погрузочно-разгрузочные и специальные работы должны выполняться с соблюдением правил техники безопасности, пожарной безопасности, производственной санитарии и правил, оговоренных в разделах данного руководства.
1.8. Законченные при устройстве оснований и фундаментов отдельные ответственные конструкции должны приниматься техническим надзором заказчика с составлением актов промежуточной приемки этих конструкций.
1.9. При возведении фундаментов на грунтах с особыми свойствами (просадочные, насыпные, вечномерзлые и др.), а также под особо ответственные сооружения в период строительства должны быть организованы наблюдения за перемещениями фундаментов и деформациями сооружения. Объекты и методика наблюдений устанавливаются в проекте с учетом затрат, необходимых для устройства реперов и марок для осуществления наблюдений.
После окончания строительства наблюдения должны быть продолжены эксплуатирующей организацией.
1.10. При обнаружении несоответствия фактических инженерно-геологических и гидрогеологических условий, принятых в проекте, допускается корректировка проекта производства работ.
На основании уточненных в процессе осуществления строительства объемов работ составляется объектная (локальная) исполнительная смета. Если стоимость фактических объемов указанных работ превышает исчисленную стоимость в сметном расчете, то увеличение сметной стоимости этих работ производится заказчиком в пределах общей сметной стоимости строительства предприятия, сооружения по сводному сметному расчету за счет средств на непредвиденные работы и затраты или за счет уточнения на основании рабочих чертежей сметной стоимости строительства других объектов, входящих в состав предприятия, сооружения.
Раздел 2. ЕСТЕСТВЕННЫЕ ОСНОВАНИЯ
2.1. Перерыв между окончанием разработки котлована и устройством фундамента, как правило, не допускается. При вынужденных перерывах должны быть приняты меры к сохранению природных свойств грунта.
2.2. Сохранение природной структуры грунтов в основании включает:
защиту котлована от попадания поверхностных вод;
ограждение котлована и грунтов основания водонепроницаемой стенкой (шпунтовой, ледогрунтовой и т.п.) с погружением ее на 1 м в слой относительно водоупорного грунта (глина, суглинок);
снятие гидростатического давления путем глубинного водоотлива из подстилающих слоев, содержащих воды;
исключение притока воды в котлован через дно путем временного понижения уровня подземных вод с помощью иглофильтровых установок, водослива из скважин-фильтров при песчаных грунтах или электроосмоса при супесях и глинах и суглинках;
исключение динамических воздействий во время откопки котлованов землеройными машинами с помощью защитного слоя грунта недобора;
защиту грунта основания от промерзания или сохранение мерзлого состояния грунтов на все время эксплуатации сооружения.
2.3. Размеры котлована в плане должны назначаться по проектным габаритам фундамента с учетом конструкции его ограждения и крепления, конструкции опалубки и способов водоотлива и сооружения фундамента.
2.4. В рабочих чертежах котлована должны быть данные о расположении в пределах котлована надземных, подземных сооружений и коммуникаций, указаны горизонты подземных, меженных и высоких вод, а также рабочий горизонт воды.
2.5. До начала разработки котлована должны быть выполнены следующие работы:
разбивка котлована;
планировка территории и устройства для отвода поверхностных и подземных вод;
перенос при необходимости надземных и подземных коммуникаций или сооружений;
ограждение котлована (в необходимых случаях).
2.6. Перенос (переустройство) действующих подземных коммуникаций и разработка грунта в местах их расположения допускаются лишь при наличии письменного разрешения организации, ответственной за эксплуатацию коммуникаций.
2.7. В процессе устройства котлованов и фундаментов должен быть установлен постоянный надзор за состоянием грунта, ограждений и креплений котлована, за фильтрацией воды и соблюдением правил техники безопасности.
2.8. Возведение фундаментов на основаниях из насыпных грунтов допускается в случаях, предусмотренных проектом, после подготовки основания с учетом состава и состояния грунтов и в соответствии с принятым решением по способу их отсыпки и уплотнения.
Использование в качестве основании насыпей из шлака и других негрунтовых материалов допускается при наличии специальных указаний, разработанных в проекте и предусматривающих порядок производства, технологию и контроль качества работ.
2.9. Устройство котлованов и поперечных прорезей, устраиваемых в насыпи и конусах устоев, а также котлованов, располагаемых вблизи существующих насыпей, опор мостов и других надземных и подземных сооружений и коммуникаций, находящихся в пределах призмы обрушения, выполняется по рабочим чертежам, согласованным с заинтересованными организациями.
В рабочих чертежах должны быть детально разработаны конструкция ограждения и крепления стенок котлована или прорези, конструкция перекрытия прорези, способы разработки и осушения (водоотлива) котлована, обеспечивающие сохранность существующих конструкций и сооружений, безопасность движения транспорта и производства работ.
2.10. При разработке котлованов непосредственно около фундаментов существующих зданий и сооружений, а также действующих подземных коммуникаций необходимо принять меры против возможных деформаций и нарушений устойчивости откосов котлованов и существующих сооружений и коммуникаций.
Мероприятия, обеспечивающие сохранность существующих зданий, сооружений и коммуникаций, должны быть разработаны в проекте и согласованы с организациями, которые их эксплуатируют.
2.11. Защиту котлована от поступления подземных вод по мере углубления котлована следует осуществлять методами, изложенными в
разд. 4 настоящего Пособия. При этом мероприятия по отводу воды должны опережать земляные работы.
2.12. Котлованы следует разрабатывать, как правило, участками, не превышающими 1000 м2 в летних условиях и 300 м2 - в зимних.
2.13. Грунт из котлована может складироваться на бровке с обеспечением устойчивости стен котлована.
2.14. Крепления котлованов должны быть, как правило, инвентарными (за исключением случаев крепления небольших котлованов, траншей и приямков сложной конфигурации, разрабатываемых вручную) и выполняться таким образом, чтобы они не препятствовали производству последующих работ по устройству фундаментов. Последовательность разборки креплений должна обеспечить устойчивость стенок котлованов до окончания работ по устройству фундаментов.
2.15. При разработке котлована в водонасыщенных грунтах следует предусматривать меры, исключающие их наплыв в котлован.
2.16. В случае, если основание сложено водонасыщенными мелкими и пылеватыми песками или глинистыми грунтами текучепластичной и текучей консистенции, должны быть приняты меры по защите их от возможных нарушений при движении землеройных и транспортных машин.
2.17. Величина недобора грунта устанавливается проектом и уточняется в процессе работы. Изменение величины недобора грунта должно быть согласовано с проектной организацией.
2.18. Случайные переборы грунта в котловане должны быть восполнены местным или песчаным грунтом с тщательным уплотнением. Заполнение перебора глубиной не более 50 см глинистым грунтом разрешается при его консистенции менее 0,5. Вид грунта заполнения и степень уплотнения необходимо согласовать с проектной организацией.
2.19. Основания, нарушенные при производстве работ в результате промерзания, затопления, перебора грунта и т.д., должны быть восстановлены способом, согласованным с проектной организацией.
2.20. Разработка грунта в котлованах или траншеях при переменной глубине заложения фундаментов должна вестись уступами. Отношение высоты уступа к его длине устанавливается проектом, но должно быть не менее 1:2 - при связных грунтах, 1:3 - при несвязных грунтах.
В случае отрыва котлована при переменной глубине заложения фундаментов грунт должен разрабатываться способами, обеспечивающими сохранение структуры грунта в уступах основания.
2.21. Грунты в основании, не соответствующие в природном залегании требуемой проектом плотности и водонепроницаемости, следует доуплотнять с помощью уплотняющих средств (катков, тяжелых трамбовок и др.).
Степень уплотнения, выражаемая плотностью сухого грунта, должна быть задана в проекте и должна обеспечивать повышение прочностных свойств грунта, уменьшение его деформативности и водопроницаемости.
Методы устройства насыпей, подушек, обратных засыпок, а также уплотнения грунта устанавливаются проектом и уточняются проектом производства работ в зависимости от назначения и требуемой степени уплотнения, вида и состояния грунтов, объема работ, имеющихся средств механизации, сроков производства работ и др.
2.22. Засыпка пазух грунтом и его уплотнение должны выполняться с обеспечением сохранности гидроизоляции фундаментов и стен подвалов, а также расположенных рядом подземных коммуникаций (кабелей, трубопроводов и др.).
2.23. Работы по засыпке пазух следует производить сразу после устройства перекрытий над подвалами; не допускается оставлять открытыми пазухи длительное время.
Засыпку пазух рекомендуется доводить до отметок, гарантирующих надежный отвод поверхностных вод. В зимних условиях грунт для засыпки пазух должен быть талым.
2.24. Устройство фундаментов надлежит производить немедленно после приемки основания комиссией и подписания акта, разрешающего приступить к устройству фундамента.
Не допускаются перерывы более двух суток между окончанием разработки котлованов и устройством фундамента. При более длительных перерывах должны быть приняты меры против обводнения котлованов поверхностными водами, промораживания талых пучинистых грунтов, а также изменения температурного режима основания из вечномерзлых грунтов, если проектом предусмотрено сохранение их в мерзлом состоянии.
2.25. Во время возведения фундамента поступающую в котлован воду надлежит откачивать во избежание затопления свежего слоя бетона или раствора до приобретения ими не менее 30% проектной прочности. Для предупреждения вымывания раствора из бетонной смеси должны быть устроены водосборные колодцы и водоотводные лотки. Водоотлив из котлованов следует выполнять с учетом требований
разд. 4 настоящего Пособия.
В случаях устройства дренажей необходимо соблюдать требования к составу, размерам и свойствам дренирующих материалов, а также к соблюдению заданных уклонов дренажей.
2.26. При особо сильном притоке воды, удаление которой может вызвать вымывание раствора и наплыв грунта в котлован, необходимо устраивать тампонажную подушку из бетона, укладываемого подводным способом. Толщину подушки назначают по проекту производства работ, но не менее 1 м при напоре воды до 3 м.
2.27. Монтаж сборных фундаментов должен выполняться кранами, расположенными за пределами подготовленных участков основания.
Поверхность основания, сложенного глинистыми грунтами, должна быть выровнена подсыпкой из горизонтально спланированного песка (кроме пылеватого) слоем 5 - 10 см. Поверхность песчаного основания планируется с использованием того же песка.
2.28. При возведении монолитных фундаментов, как правило, устраивают подготовку из уплотненного слоя щебня или тощего бетона, обеспечивающую надежную установку арматуры и не допускающую утечки раствора из бетонной смеси бетонируемого фундамента.
2.29. Если основание сложено глинистыми грунтами консистенции выше 0,5 или водонасыщенными песками, уплотнение следует выполнять легкими катками или трамбовками.
2.30. При переменной глубине заложения фундамента возведение его должно вестись начиная с нижних отметок основания. Вышерасположенные участки или блоки фундамента надлежит укладывать на основание с предварительным уплотнением засыпки пазух нижележащих участков или блоков.
2.31. Если грунты основания должны быть сохранены в вечномерзлом состоянии (принцип I), то разработку котлованов и устройство фундаментов следует выполнять, как правило, при устойчивой среднесуточной температуре воздуха ниже 0 °C. В случае разработки котлованов при температуре выше 0 °C необходимо принять меры по защите основания от оттаивания. Производить обогрев возводимых фундаментов способами, которые могут вызвать оттаивание грунта основания, запрещается.
Если грунты основания используются в оттаявшем состоянии (принцип II), то разработка котлована может производиться в любое время года. При этом не должно допускаться промерзание пучинистых грунтов.
2.32. Мероприятия по соблюдению требуемого температурного режима грунтов указываются в проекте оснований и фундаментов и должны выполняться с начала строительных работ. Если таких указаний нет или необходимо изменить календарный график работ, то данные мероприятия следует согласовать с проектной организацией.
При длительной задержке в строительстве или его консервации необходимо обеспечить в соответствии с проектом: при принципе I - воздействие охладительной системы (вентилируемого подполья и т.д.), создающей и поддерживающей проектный температурный режим грунтов основания; при принципе II - тепловое воздействие здания или сооружения.
2.33. После проведения предпостроечных работ по замораживанию или охлаждению основания (при принципе I) или по оттаиванию основания (при принципе II) разрешение на производство работ по возведению фундаментов может быть выдано только при предъявлении материалов контрольных наблюдений <*> и проверки соответствия выполненных работ требованиям проекта по обеспечению температурного состояния грунтов в основании, по осадке основания при предпостроечном оттаивании грунтов и т.п.
--------------------------------
<*> Программа контрольных наблюдений составляется проектной организацией.
2.34. До начала работ по устройству фундаментов подготовленное основание должно быть принято по акту комиссией с участием заказчика и подрядчика, а при необходимости - представителя проектной организации, в том числе геолога.
Комиссия должна установить соответствие расположения, размеров, отметок дна котлована, фактического напластования и свойств грунтов указанным в проекте, а также возможность заложения фундаментов на проектной или измененной отметке.
Проверка отсутствия нарушений природных свойств грунтов основания или количества их уплотнения в соответствии с проектными должна при необходимости сопровождаться отбором образцов для лабораторных испытаний, зондированием, пенетрацией и др.
2.35. В случае, если комиссией установлены значительное расхождение между фактическими и проектными характеристиками грунта основания и необходимость пересмотра проекта, решение о проведении дальнейших работ должно приниматься при обязательном участии представителя проектной организации и заказчика.
2.36. При возведении фундаментов необходимо контролировать глубину их заложения, размеры и расположение в плане, устройство отверстий и ниш, выполнение гидроизоляции и качество примененных материалов и конструкций. На устройство (подготовку) основания и гидроизоляции фундаментов предусмотрено обязательно составление актов освидетельствования скрытых работ.
2.37. Контроль качества и приемка работ должны осуществляться систематически техническим персоналом строительной организации и выполняться представителями авторского надзора и заказчика с привлечением представителя строящей организации, а также геолога для проверки и приемки оснований.
2.38. Результаты контроля следует фиксировать записью в журнале производства работ, актом промежуточной проверки или актом приемки скрытых работ, в том числе актом приемки отдельного подготовленного участка основания.
2.39. Контроль должен включать проверку выполнения требований проекта оснований и фундаментов, проекта производства работ, а также указаний соответствующих глав СНиП.
При проверке следует обратить внимание на:
соблюдение необходимых недоборов грунта, недопущение переборов и нарушения структуры грунта основания;
недопущение нарушения структуры грунта при срезке недоборов, подготовке оснований и укладке блоков фундаментов;
предохранение грунтов оснований от подтапливания подземными и поверхностными водами с размягчением и размывом верхних слоев основания;
соответствие характеристик вскрытых грунтов основания предусмотренным в проекте;
достижение достаточного и однородного уплотнения песчаных подушек, а также обратных засыпок и подготовок под полы;
достаточность примененных мер по защите грунтов основания от промерзания;
соответствие фактической глубины заложения и размеров фундаментов, а также их конструкции и качества примененных материалов предусмотренным в проектах.
2.40. Отсутствие нарушений природных свойств грунтов основания и соответствие этих свойств предусмотренным в проекте допускается проверять визуально. В сомнительных случаях следует применять пенетрацию, зондирование, отбор образцов грунта для испытаний и др.
При больших отклонениях от проектных данных должно быть выполнено, кроме того, испытание грунтов пробными нагрузками и принято решение о необходимости разработки поправок либо к проекту оснований и фундаментов, либо к проекту производства работ.
2.41. Проверку однородности и достаточности выполненного уплотнения грунтов в естественном залегании или грунтовых подушек следует осуществлять полевыми методами (зондированием, радиоизотопными методами и пр.) и выборочным определением плотности сухого грунта по отобранным образцам из каждого уплотненного слоя грунта.
2.42. В актах приемки оснований, составляемых по мере подготовки последних, необходимо:
привести оценку соответствия грунтов основания предусмотренным в проекте;
указать поправки, внесенные в проект оснований и фундаментов, а также в проект производства работ после промежуточных проверок оснований;
дать рекомендации по дальнейшим работам.
2.43. К актам приемки оснований прилагаются следующие документы:
материалы испытаний грунтов, выполненных как в процессе текущего контроля производства работ, так и при приемке основания;
акты промежуточных проверок и приемок скрытых работ;
журналы производства работ;
рабочие чертежи по фактически выполненным работам.
Раздел 3. УПЛОТНЕНИЕ ГРУНТОВ
3.1. Для уплотнения слабых глинистых, рыхлых песчаных и просадочных грунтов необходимо применять следующие способы:
в пределах деформируемой зоны основания или ее части - поверхностное уплотнение тяжелыми трамбовками, устройство грунтовых подушек и вытрамбовывание котлованов заданной формы и глубины;
в пределах всей толщи рыхлых, песчаных, водонасыщенных или просадочных грунтов основания - глубинное уплотнение виброустановкой, глубинное уплотнение грунтовыми сваями, предварительное замачивание и замачивание с глубинными взрывами.
Выбор одного или сочетание нескольких способов уплотнения определяется проектом. Уширение уплотненной зоны по периметру здания или сооружения за наружные грани фундаментов принимается не менее 3 м.
3.2. Поверхностное уплотнение тяжелыми трамбовками производится свободным сбрасыванием трамбовки массой 5 - 15 т с высоты 4 - 8 м. Трамбование производят по всей площади сооружения или в отдельных котлованах, где расположены фундаменты.
3.3. Трамбованием создается уплотненный слой грунта толщиной 2,5 - 8 м в зависимости от веса трамбовки, площади ее рабочей поверхности, высоты сбрасывания, числа ударов, вида грунта, его плотности и влажности.
Поверхностное уплотнение применяется в целях:
увеличения плотности грунта;
обеспечения равномерной осадки зданий и промышленных сооружений, возводимых на слабых глинистых, рыхлых песчаных, а также просадочных грунтах;
уменьшения водопроницаемости глинистых грунтов в основании сооружения (бассейнов, отстойников, резервуаров для воды и т.п.).
3.4. Поверхностное трамбование чаще всего применяется для уплотнения слабых глинистых, рыхлых песчаных грунтов, а также на площадках с I типом грунтовых условий по просадочности.
При этом для сравнительно небольших по ширине фундаментов (до 1,5 - 2 м) оно оказывается, как правило, достаточным для полной ликвидации просадочных свойств грунтов в пределах всей деформируемой зоны от нагрузки фундаментов. При большой глубине деформируемой зоны, значительно превышающей глубину уплотнения, а также при необходимости полного устранения возможности просадки грунтов основания фундаментов поверхностное уплотнение осуществляется в комбинации с устройством грунтовой подушки необходимой толщины.
На площадках с II типом грунтовых условий по просадочности поверхностное уплотнение полностью или частично устраняет просадку грунта только от нагрузки фундаментов и применяется в сочетании с водозащитными и конструктивными мероприятиями. При необходимости устранения просадочных свойств грунтов на всю толщину поверхностное уплотнение применяется для доуплотнения верхнего, разрыхленного (буферного) слоя грунта после предварительного замачивания, уплотнение грунтовыми сваями, предварительного замачивания с использованием глубинных взрывов ВВ.
3.5. Поверхностное уплотнение применяется в глинистых грунтах со степенью влажности G <= 0,75 и производится при их оптимальной влажности. Оптимальная влажность

определяется по формуле

, (1)
где

- влажность на границе раскатывания.
3.6. В настоящем пособии приняты следующие термины:
уплотненный слой - слой, в пределах которого происходит увеличение плотности грунта по сравнению с плотностью его в природном сложении;
толщина достаточно уплотненного слоя, в котором плотность сухого грунта

;
граница достаточно уплотненного слоя, где плотность сухого грунта соответствует требованиям проекта или

;
отказ - предельная величина понижения поверхности уплотняемого грунта от одного удара трамбовки в конце процесса трамбования;
уплотнение до отказа - уплотнение грунта таким числом ударов, при котором практически отсутствует понижение поверхности, т.е. наблюдается отказ.
3.7. Грунтовая подушка - слой уплотненного грунта - устраивается путем послойной отсыпки глинистых, песчаных и других грунтов в пределах деформируемой зоны основания с последующим их уплотнением укаткой или трамбованием.
Отсыпке грунтов предшествует отрыв котлована глубиной, превышающей отметку заложения фундаментов на принятую в проекте толщину грунтовой подушки. Дно котлована планируется под одну отметку или отдельными террасами. Верхний слой дна котлована уплотняется до проектной плотности, после чего производится послойная отсыпка грунта в подушку. Для отсыпки подушек используются как местные, так и привозные глинистые, песчаные, песчано-гравелистые грунты оптимальной влажности. Толщина слоев назначается в зависимости от используемого оборудования.
После уплотнения каждого слоя проверяется качество выполненных работ и при обеспечении проектной плотности производятся отсыпка и уплотнение следующего слоя.
Грунтовые подушки целесообразно устраивать толщиной 1,5 - 5 м.
3.8. Устройство грунтовых подушек обеспечивает создание в основании фундаментов слоя уплотненного грунта с малой сжимаемостью и низкой фильтрационной способностью. В просадочных грунтах подушки устраняют просадку только в пределах деформируемой зоны.
3.9. Грунтовые подушки устраивают в котлованах по всей площади сооружения или под отдельными фундаментами и применяют, когда невозможно осуществить поверхностное уплотнение грунтов трамбованием.
3.10. При устройстве грунтовых подушек в пределах всей толщи деформируемой зоны от нагрузки фундаментов на площадках с I типом грунтовых условий по просадочности здания и сооружения возводятся как на обычных непросадочных грунтах без применения дополнительных мероприятий.
На площадках со II типом грунтовых условий по просадочности устройство грунтовой подушки устраняет просадку грунта только от нагрузки фундаментов в пределах толщины подушки. Для исключения просадки грунта от собственного веса при аварийном замачивании необходимо дополнительно применять водозащитные и конструктивные мероприятия, уплотнение предварительным замачиванием или замачиванием с использованием глубинных взрывов.
3.11. Метод возведения фундаментов в вытрамбованных котлованах состоит в том, что котлованы под отдельные фундаменты не отрываются, а вытрамбовываются на необходимую глубину (0,6 - 3 м) с одновременным уплотнением грунтов вокруг и под дном котлована.
Вытрамбовывание котлованов производится падающей с высоты 4 - 8 м по направляющей штанге трамбовкой, имеющей форму будущего фундамента и массу 1,5 - 7 т.
После вытрамбовывания в котлован заливается враспор монолитный бетон (без опалубки) или устанавливается сборный фундамент, имеющий близкие к котловану форму и размеры.
3.12. Фундаменты в вытрамбованных котлованах применяются в зависимости от следующих грунтовых условий: на просадочных лёссовых грунтах I типа, покровных глинистых, насыпных глинистых грунтах с числом пластичности

; при плотности сухого грунта

. При степени влажности G <= 0,75 для фундаментов неглубокого заложения и G <= 0,65 - для удлиненных фундаментов.
Примечание. В отдельных случаях возможно применение указанных фундаментов: в супесях с числом пластичности

, а также в мелких и пылеватых песках; в глинистых грунтах с плотностью сухого грунта

; в грунтах со степенью влажности G >= 0,75. Однако в этих условиях возможность сохранения формы котлованов и достаточная несущая способность фундаментов определяются опытными работами и испытаниями, выполняемыми в соответствии с требованиями
пп. 3.121 -
3.306; на просадочных грунтах II типа применение таких фундаментов допускается, если суммарная величина просадки грунта от собственного веса и осадки фундаментов от его нагрузки не превышает предельно допустимых величин для проектируемых зданий и сооружений.
3.13. В результате вытрамбовывания вокруг котлована образуется уплотненная зона (рис. 1), в пределах которой происходит повышение плотности сухого грунта, модуля деформации, прочностных характеристик C и

, а также полностью устраняются просадочные свойства грунта.
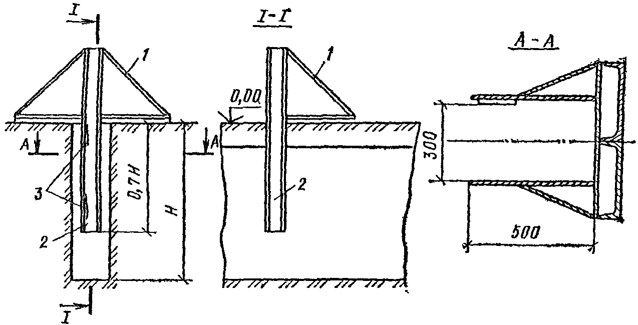
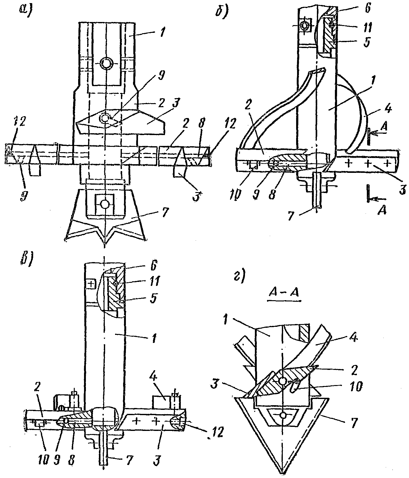
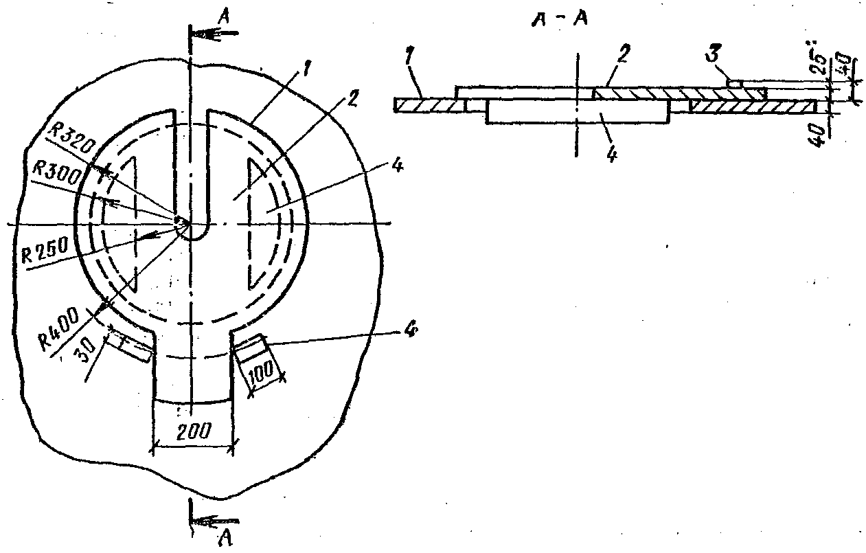
Рис. 1. Фундаменты в вытрамбованных котлованах
а - обычный; б - с уширенным основанием; 1 - фундамент;
2 - втрамбованный жесткий материал; 3 - уплотненная зона
3.14. Фундаменты в вытрамбованных котлованах подразделяются:
по глубине заложения:
на фундаменты мелкого заложения, у которых отношение высоты

к ширине среднего сечения

(см.
рис. 1, а);
на фундаменты удлиненные, у которых

(см.
рис. 1, б);
по способу устройства:
на обычные (без уширения основания) с плоской или клиновидной подошвой (см.
рис. 1, а);
с уширением основания путем втрамбовывания в дно котлована отдельными порциями жесткого материала (щебня, гравия, жесткой бетонной супеси и т.п.) с последующим заполнением верхней части котлована монолитным бетоном (см.
рис. 1, б).
3.15. Фундаменты в вытрамбованных котлованах, исходя из конструктивных особенностей зданий и сооружений, целесообразно применять:
столбчатые для каркасных промышленных, гражданских и сельскохозяйственных зданий при вертикальной нагрузке на них до 2000 кН;
ленточные прерывистые и столбчатые для бескаркасных жилых и промышленных зданий при нагрузке до 300 кН;
с уширенным основанием при нагрузках на столбчатые фундаменты свыше 500 - 800 кН.
3.16. По взаимному расположению и характеру взаимодействия с грунтом основания фундаменты в вытрамбованных котлованах подразделяются на следующие виды:
отдельно стоящие (столбчатые), для которых не сказывается взаимное влияние одного на другой как при вытрамбовывании котлованов, так и при передаче нагрузки на грунт;
ленточные прерывистые фундаменты (рис. 2), устраиваемые в близко расположенных один от другого котлована с учетом взаимного влияния соседних фундаментов.
Рис. 2. Ленточные прерывистые
фундаменты в вытрамбованных котлованах
а - разрез по ленточным прерывистым
фундаментам; б - вид в плане; 1 - ленточный
прерывистый фундамент; 2 - уплотненная зона
3.17. Вытрамбовывание котлованов трамбовками массой 3 - 6 т допускается выполнять при расположении фундаментов на расстоянии не менее 10 м от существующих зданий и сооружений, находящихся в удовлетворительном состоянии и не имеющих трещин; 15 м от зданий и сооружений, имеющих трещины в стенах, а также от инженерных коммуникаций, выполненных из чугунных, керамических, асбестовых и железобетонных труб.
При массе трамбовок менее 3 т указанные расстояния могут быть уменьшены в 1,5 раза.
3.18. Глубинное уплотнение грунтовыми сваями просадочных и насыпных грунтов, обратных засыпок котлованов осуществляется за счет вытеснения грунта в стороны при пробивке скважин или расширении скважин-шпуров энергией взрыва. Полученные скважины засыпают местным глинистым грунтом с послойным уплотнением.
Глубинное уплотнение обеспечивает создание уплотненного слоя толщиной 5 - 25 м.
3.19. Глубинное уплотнение применяется в целях устранения просадочных свойств грунтов со степенью влажности G <= 0,75 и доведения плотности сухого грунта до величины

при одновременном сокращении возможной величины осадки сооружений; получения противофильтрационных завес вокруг отдельных сооружений или фундаментов из уплотненного грунта с плотностью грунта

и значения коэффициента фильтрации

.
Для достижения установленной проектом плотности расстояния между осями (грунтовых свай) l (l = md) для различных значений

; n и

в долях среднего диаметра сечения скважин (грунтовых свай) можно принимать по табл. 1.
───────────┬───────────────────┬───────────────────────────────────────────
Природная │ Коэффициент │ Площадь F, м2, и расстояние между
пористость │ пористости грунта │грунтовыми сваями l, м, при плотности ро ,
грунта n, %│природного сложения│ d
│ │ т/м3
│ ├─────────────────────┬─────────────────────
│ │ 1,65 │ 1,7
│ ├──────────┬──────────┼──────────┬──────────
│ │ F │ l │ F │ l
───────────┼───────────────────┼──────────┼──────────┼──────────┼──────────
55 │ 1,224 │ 0,264 │ 1,8 │ 0,298 │ 1,75
52 │ 1,084 │ 0,224 │ 2 │ 0,286 │ 1,75
50 │ 1 │ 0,182 │ 2,25 │ 0,206 │ 2,1
48 │ 0,92 │ 0,149 │ 2,5 │ 0,175 │ 2,25
46 │ 0,85 │ 0,145 │ 2,75 │ 0,142 │ 2,5
44 │ 0,785 │ 0,084 │ 3,25 │ 0,11 │ 3
3.20. Уплотнение оснований зданий и сооружений предварительным замачиванием, а также замачиванием и глубинными взрывами применяется с целью повышения прочности и несущей способности, устранения просадочных свойств грунтов, снижения их деформативности и коэффициента фильтрации.
3.21. Уплотнение просадочных грунтов предварительным замачиванием, а также замачиванием и глубинными взрывами основывается на способности их самоуплотнения при замачивании под действием собственного веса на площадках со II типом грунтовых условий. Глубинными взрывами вызывается дополнительная просадка замоченного лёссовидного грунта с полным нарушением его первоначальной структуры.
3.22. Для устранения просадочных свойств всей толщи, начиная с отметки заложения фундаментов, методы глубинного уплотнения грунтовыми сваями, предварительным замачиванием, а также замачиванием и глубинными взрывами применяют с доуплотнением верхнего разрыхленного (буферного) слоя грунта тяжелыми трамбовками, устройством грунтовых подушек и т.п.
3.23. Уплотнение грунтов предварительным замачиванием грунта, а также замачиванием и глубинными взрывами наиболее целесообразно применять в тех случаях, когда просадочные грунты представлены лёссовидными суглинками и супесями, пылеватыми песками с относительно высоким коэффициентом фильтрации (не менее 0,2 м/сут) и с низким значением плотности сухого грунта

и нет ограничений по условиям существующей застройки.
3.24. Чтобы устранить влияние замачивания и глубинных взрывов на расположенные вблизи здания и сооружения, возведенные без ликвидации просадочных свойств или без полной их прорезки глубокими фундаментами, расстояние от замачиваемой площади до существующих зданий и сооружений должно составлять не менее трехкратной величины толщины просадочного грунта, а при использовании взрывов - и расчетной сейсмобезопасной зоны.
Примечания. 1. Если существующие здания или сооружения возведены с устранением просадочных свойств грунтов на всю толщу или с полной их прорезкой фундаментами, расстояния уменьшаются вдвое.
2. Если здания и сооружения расположены на расстояниях меньше вышеуказанных, уплотнение выполняется после устройства противофильтрационных завес.
3.25. Применение способов уплотнения грунтов предварительным замачиванием и замачиванием с использованием глубинных взрывов на оползневых склонах не допускается.
3.26. Взрывные работы производятся специализированными организациями "Союзвзрывпрома" и другими при строгом соблюдении техники безопасности и действующих Единых правил безопасности при взрывных работах.
3.27. В процессе проведения предварительного замачивания грунта и замачивания с глубинными взрывами систематически наблюдают за просадкой грунта по поверхностным и глубинным маркам путем их нивелирования относительно неподвижного репера или системы временных реперов, расположенных вне зоны развития просадки на расстоянии не менее двойной толщины слоя просадочного грунта.
3.28. Глубинное уплотнение водонасыщенных песчаных оснований применяется для повышения их несущей способности и осуществляется виброустановкой ВУУП-6.
3.29. Для устройства грунтовых подушек, обратных засыпок котлованов, траншей, планировочных насыпей и подсыпок при строительстве следует использовать местные глинистые и песчаные грунты, а также отвалы отходов различных производств, располагающихся в районе строительства.
Использование привозных грунтов допускается только при соответствующем технико-экономическом обосновании в связи с необходимостью получения повышенных характеристик уплотненных грунтов в случаях, когда местные грунты не могут быть использованы вследствие заторфованности, наличия строительного мусора или органики, высокой природной влажности, превышающей влажность на границе раскатывания.
3.30. Песчаные грунты и аналогичные им отходы производств для устройства грунтовых подушек, обратных засыпок котлованов, траншей, планировочных насыпей и подсыпок допускается использовать только при строительстве на слабых глинистых, водонасыщенных песчаных и просадочных грунтах с I типом грунтовых условий при применении мероприятий по устранению просадочных свойств грунтов или их прорезке свайными фундаментами.
На просадочных грунтах со II типом грунтовых условий в связи с необходимостью выполнения водозащитных мероприятий и создания маловодопроницаемых экранов применение песчаных и других дренирующих зернистых материалов не допускается.
| | ИС МЕГАНОРМ: примечание. Текст дан в соответствии с официальным текстом документа. | |
3.31. Грунты, используемые для уплотнения, не должны содержать мусор, чернозем, отходы строительного производства, органические включения весом более 0,05, комья мерзлого грунта.
При устройстве грунтовых подушек, планировочных насыпей, обратных засыпок котлованов вокруг корпусов, траншей и т.п., если отсутствуют специальные указания в проекте, допускается использовать грунты с содержанием органических включений весом до 0,1 и комьев мерзлого грунта размером до 10 см при общем содержании их не более 15%.
3.32. Грунтовые подушки, обратные засыпки котлованов, траншей, планировочные насыпи и подсыпки возводятся, как правило, из местных грунтов, получаемых при отрыве котлованов и траншей, планировке территории срезкой, а также из специально отводимых резервуаров и карьеров.
Отходы производств для грунтовых подушек, различных подсыпок и насыпей, доставляемые со специально отведенных участков и соответствующие заданным требованиям, характеризуются:
относительно однородным составом по основной массе составляющего материала и наличию включений;
устойчивостью структуры при изменении температурно-влажностного режима (отсутствие разложения, набухания, возгорания и т.п.);
отсутствием включений размером более 20 см и не более 0,3 от толщины отсыпаемого слоя.
3.33. Грунтовые подушки, обратные засыпки котлованов и насыпей возводятся из грунтов оптимальной влажности

, принимаемой для глинистых грунтов при их уплотнении:
трамбованием

;
укаткой

,
где

- влажность на нижнем пределе пластичности (раскатывания).
Для песчаных грунтов и аналогичных им по составу отвалов отходов производств значение оптимальной влажности приближенно принимается:
для крупных и средних песков ............. 0,08 - 0,12;
для мелких пылеватых песков .............. 0,12 - 0,18.
3.34. При вытрамбовывании котлованов, уплотнении лёссовых просадочных грунтов предварительным замачиванием и замачиванием с использованием глубинных взрывов применяются: дренирующие материалы; трубы для водопроводов и крепления стенок скважин, запорная и измерительная арматура (вентили, водомеры); взрывчатые вещества; вода.
3.35. Дно котлована покрывают дренирующим материалом слоем 0,1 - 0,15 м, заполняют мелкие и глубокие узкие траншеи и дренажные скважины, используемые также для создания уширений при вытрамбовывании котлованов.
В качестве дренажных материалов применяются чистые крупнозернистые пески, щебень, мелкий гравий, галька размером фракций 0,5 - 20 мм с коэффициентом фильтрации: для крупнозернистого песка - 30 - 50 м/сут; для мелкого щебня, гальки или гравия - 50 - 20 м/сут.
3.36. Для транспортировки воды используются любые виды тонкостенных труб диаметром 50 - 250 мм, а для крепления скважин от заплывания тонкостенные металлические, пластмассовые, асбоцементные и другие трубы диаметром от 50 до 400 мм. Крепление верха скважин при замачивании через инвентарную разводку производится с помощью оголовков из труб диаметром 400 мм, длиной 0,5 м. Диаметр труб запорной и измерительной арматуры определяется гидравлическим расчетом, исходя из требуемого количества воды, подаваемой на площадку.
3.37. При уплотнении грунтов замачиванием и глубинными взрывами применяются водостойкие взрывчатые вещества: аммонит N 6ЖВ, граммонол, гранутол (МРТУ 3-324-66), зерногранулит 50/50-В, 30/70-В.
Энергетические и другие свойства ВВ приведены в справочных пособиях и руководствах по взрывным работам в строительстве.
3.38. Вода, подаваемая на площадку, должна быть чистой, содержание твердых взвешенных частиц допускается не более 2 г/л.
ТРЕБОВАНИЯ К ПРОЕКТУ ПРОИЗВОДСТВА РАБОТ
3.39. Исходным материалом для разработки проекта организации работ по поверхностному уплотнению грунтов тяжелыми трамбовками при устройстве грунтовых подушек, вытрамбовывании котлованов служат данные инженерно-геологических изысканий на участке расположения зданий и сооружений и результаты определения основных физико-механических характеристик грунтов в природном залегании на глубину не менее 10 м, а при глубинном уплотнении, предварительном замачивании и замачивании с глубинными взрывами просадочных грунтов или гидровиброуплотнении слабых водонасыщенных грунтов - на всю их толщу ниже отметки фундаментов. Кроме того, необходимы данные о конструктивных особенностях зданий с указанием нагрузок на фундаменты, их размеров и т.п.
3.40. Уплотнение просадочных грунтов должно выполняться на основе материалов инженерно-геологических изысканий, содержащих данные о наличии на площадке грунтовых вод, величине просадочной толщи, типе грунтовых условий, возможной величине просадки от нагрузки фундаментов и собственного веса грунта, а также основных физико-механических характеристиках грунтов в природном залегании (влажность на границе раскатывания и границе текучести, относительная просадочность, начальное просадочное давление и т.п.).
3.41. Проектные решения по уплотнению грунтов должны содержать:
а) при поверхностном уплотнении трамбовками - план и разрезы котлована с размерами уплотняемой площади и контурами фундаментов; указания о необходимой глубине уплотнения, требуемой плотности и оптимальной влажности грунта, по выбору типа грунтоуплотняющего механизма, о необходимом количестве ударов трамбовки или проходов уплотняющей машины по одному следу, величине понижения трамбуемой поверхности;
б) при устройстве грунтовых подушек - планы и разрезы котлованов; физико-механические характеристики отсыпаемого грунта; указания по толщине отсыпаемых слоев, рекомендуемым режимам работы механизмов для уплотнения грунта, а также по плотности грунтов в подушках;
в) при вытрамбовывании котлованов - данные по вертикальной планировке застраиваемой территории; план расположения и размеры отдельных котлованов; указания по срезке и использованию существующего плодородного слоя и уплотнению подсыпки, применению навесного оборудования и рекомендуемым режимам работы механизмов;
г) при уплотнении грунтовыми сваями - план размещения свай с указанием их диаметра и глубины; требования к влажности, плотности уплотняемых грунтов; характеристики применяемого оборудования, общий вес грунта и вес отдельных порций, засыпаемых в скважины, а также разрыхленного верхнего (буферного) слоя грунта и способ его уплотнения;
д) при уплотнении предварительным замачиванием и замачиванием с глубинными взрывами - план разбивки уплотняемой площади на отдельные участки (карты) с указанием их глубины и очередности замачивания, расположения поверхностных и глубинных марок; схему сети водовода; данные по среднесуточному расходу воды на 1 м2 уплотняемой площади и времени замачивания каждого котлована или участка (карты), а в случае замачивания через скважины (дополнительно) - план расположения скважин с указанием их глубины, диаметра, способа проходки и вида дренирующего материала для засыпки;
е) при гидровиброуплотнении песчаных грунтов - план площадки с указанием глубины уплотнения; схему сети водовода для искусственного водонасыщения грунта; расстояние от работающей виброустановки до соответствующих зданий и сооружений.
3.42. В проекте поверхностного уплотнения грунтов оснований тяжелыми трамбовками следует указывать:
толщину уплотняемого слоя;
величину недобора грунта до проектной отметки заложения фундаментов при производстве земляных работ;
количество воды, заливаемой на 1 м3 уплотняемого основания (при необходимости доувлажнения);
ориентировочную величину отказа для каждого вида грунта основания;
диаметр рабочей поверхности, высоту сбрасывания и вес трамбовки.
3.43. Размеры уплотняемой площади в плане, величина недобора грунта до проектной отметки заложения фундаментов, требуемая глубина уплотнения и плотность сухого грунта, потребное количество воды для доувлажнения грунта, а также диаметр, высота сбрасывания и вес трамбовки назначаются в соответствии с Руководством по проектированию оснований зданий и сооружений.
3.44. В тех случаях, когда необходимая глубина уплотнения, указанная в проекте, не может быть достигнута используемыми трамбующими механизмами, производится двухслойное или многослойное уплотнение.
При этом глубина отрыва котлована

определяется по формуле

, (2)
где

- проектная толщина уплотненного слоя основания фундаментов, м;

- толщина уплотненного слоя, получаемая при использовании данной трамбовки, м;

- величина недобора грунта до проектной отметки заложения фундаментов.
3.45. В проекте устройства грунтовой подушки должны быть указаны:
толщина грунтовой подушки с привязкой к высотным отметкам здания или сооружения;
размеры грунтовой подушки в плане в пределах отдельных фундаментов или сооружений в целом;
рекомендуемый вид грунта для возведения подушек;
значение оптимальной влажности грунта;
требуемая плотность грунта в подушке.
3.46. Толщину грунтовой подушки в просадочных грунтах назначают в зависимости от деформируемой зоны при замачивании и от нагрузки фундамента в соответствии с требованиями Руководства по проектированию оснований зданий и сооружений (М.: Стройиздат, 1977).
3.47. Толщина грунтовой подушки в зданиях и сооружениях, чувствительных к неравномерным просадкам (например, крупнопанельные жилые, многоэтажные каркасные здания, не рассчитанные на возможные деформации основания), назначается равной глубине деформируемой зоны просадочного грунта при замачивании, но не менее 2 м. Если просадочная толщина меньше деформируемой зоны, толщина грунтовой подушки принимается равной толщине просадочного грунта.
3.48. При устройстве грунтовой подушки в просадочных грунтах используют местные однородные глинистые грунты оптимальной влажности, при которой обеспечивается наилучшее уплотнение.
В проекте производства работ по вытрамбовыванию котлованов должны быть указаны:
план отрыва котлована под здание или сооружение с отметками, с которых должно производиться вытрамбовывание котлованов под фундаменты;
размеры в плане и глубина отдельных вытрамбованных котлованов;
размеры, форма, вес, высота сбрасывания трамбовки и ориентировочное количество ударов для вытрамбовывания котлованов на заданную глубину;
влажность грунтов, при которой рекомендуется осуществлять вытрамбовывание котлованов, а при необходимости повышения природной влажности до оптимального значения - требуемое количество воды;
ориентировочные размеры уплотненной зоны при принятых размерах и режиме трамбования;
минимально допустимые расстояния между котлованами ленточных прерывистых фундаментов;
размеры уширений в основании, объем жесткого материала (бетона, щебня, песчано-гравийной смеси и т.п.), втрамбовываемого в дно котлована, число порций и объем одной порции;
расчетные значения прочностных характеристик и модуля деформации уплотненных грунтов, величина расчетного давления на уплотненный грунт, действующие нагрузки на фундаменты и предельные нагрузки на них;
особые требования по технологии производства работ, контролю качества и практике работ.
3.49. Глубина вытрамбовывания котлована назначается исходя из необходимой глубины заложения фундаментов с учетом требований
СНиП 2.02.01-83.
3.50. Форма и размеры трамбовок назначаются в зависимости от формы и размеров фундаментов.
Форма трамбовок в плане при вытрамбовывании котлованов под обычные фундаменты принимается квадратной, прямоугольной или круглой с плоским или реже заостренным основанием, уклон боковых стенок трамбовок - в зависимости от степени плотности и влажности грунтов, а также от величины горизонтальных нагрузок принимается в пределах от 1:5 до 1:3.
Для вытрамбовывания котлованов под фундаменты с уширенным основанием принимаются трамбовки квадратной, шестигранной или круглой формы в плане с углом заострения нижнего конца равным 60 - 90°.
Вес трамбовки принимается с учетом следующих значений удельного статического напряжения по основанию трамбовки: 0,03 МПа для обычных фундаментов и 0,05 МПа - для фундаментов с уширением.
Высота сбрасывания трамбовок определяется типом применяемого грузоподъемного механизма и принимается равной 4 - 8 м.
3.51. Вытрамбовывание котлованов должно производиться, как правило, при оптимальной или близкой к ней влажности грунтов.
Отклонение от оптимальной влажности допускается не более чем на 0,04 по абсолютному значению.
3.52. Проект глубинного уплотнения основания грунтовыми сваями составляют из расчета достижения в уплотненном массиве плотности сухого грунта

.
Если уплотнение производят в целях устройства противофильтрационной завесы, проект составляют из расчета достижения средней плотности сухого грунта

и коэффициента фильтрации

.
3.53. Глубинное уплотнение станками ударно-канатного бурения допускается при природной влажности, а с использованием энергии взрыва - только при оптимальной их влажности.
3.54. Если глубинное уплотнение производят в непосредственной близости от существующих зданий и сооружений или коммуникаций, безопасное расстояние для производства работ назначается в зависимости от местных условий и применяемой технологии с соблюдением требований действующих Единых правил безопасности при взрывных работах (ЕПБ).
3.55. Проектный диаметр скважин при пробивке их станками ударно-канатного бурения принимается 0,5 м, а при использовании энергии взрыва - 0,4 м.
3.56. Проект производства работ должен составляться в соответствии с действующими нормативными документами и учитывать требования настоящего Пособия в части технологии последовательности производства работ по пробивке скважин и их набивки грунтовым материалом, контроля качества уплотнения и приемки работ.
3.57. Исходными материалами для составления проекта уплотнения просадочных грунтов предварительным замачиванием и замачиванием с применением глубинных взрывов, кроме указанных в
пп. 3.40 и
3.41 настоящего Пособия, служат:
генплан в пределах проектируемых и расположенных вблизи них существующих зданий и сооружений с нанесенными на нем инженерными коммуникациями;
топографическая карта площадки с нанесенными на нее горизонталями через 0,5 м по высоте, которая используется при выборе способа замачивания грунтов, назначении размеров карт, очередности замачивания и т.п.;
физико-механические характеристики всех литологических слоев грунта, входящих в просадочную толщу с выделением дренирующих и водоупорных слоев, а также относительная просадочность грунтов, определяемая через 1 - 2 м по глубине;
расчеты возможных просадок от собственного веса грунта по отдельным шурфам и скважинам и построенная на их основе карта просадочности грунтов площадки с горизонталями через 10 - 25 см расчетной просадки. С учетом расчетных просадок определяют необходимую площадь замачивания, размеры отдельных карт и т.д.
С учетом генерального плана, расположения проектируемых и существующих зданий и сооружений устанавливается возможность влияния предварительного замачивания и замачивания с использованием глубинных взрывов на существующие здания и коммуникации.
3.58. Проект производства работ по уплотнению просадочных грунтов предварительным замачиванием должен содержать:
размеры котлованов и методику замачивания;
технологическую карту земляных работ;
необходимое количество воды для замачивания котлована и отдельных карт;
конструкции, число и расположение глубинных и поверхностных марок;
способы уплотнения верхнего недоуплотненного (буферного) слоя грунта.
3.59. Размеры одновременно замачиваемых площадей, время, количество воды, необходимое для промачивания всей толщи просадочных грунтов, принимаются в соответствии со
СНиП 2.02.01-83.
3.60. При уплотнении просадочных грунтов предварительным замачиванием и глубинными взрывами кроме материалов, перечисленных в
пп. 3.42 и
3.43, должны быть приведены:
технологическая карта взрывных работ;
указания по планировке территории, ее ограждении, обеспечении водой, электроэнергией, организации подъездов, складирования материалов и изделий;
схема охранной зоны, включая пятно застройки, сейсмобезопасное расстояние до существующих зданий, сооружений, коммуникаций и безопасную зону для людей.
3.61. В проекте производства работ по замачиванию необходимо указать:
разбивку котлованов, бурение скважин и засыпку их дренирующим материалом;
разводку воды по всей уплотняемой площади и установку водомеров;
указания по контролю заливаемой воды;
порядок нивелирования поверхностных и глубинных марок, а также проходку контрольных скважин для определения влажности и плотности грунта после окончания замачивания.
3.62. Технологическая карта по взрывным работам должна содержать: противосейсмические защитные мероприятия, если они предусмотрены; указания по технике безопасности и производству взрывных работ, ликвидации возможных отказов, зарядов ВВ.
3.63. Проект производства работ по гидровиброуплотнению водонасыщенных грунтов включает:
схему уплотнения и технологический режим работы виброустановки;
проектную глубину уплотнения;
состав работ по опытному уплотнению;
расчетное значение показателя уплотненного грунта, определяемое расстоянием от работающей установки до существующих зданий, сооружений и коммуникаций;
схему водоподводящих коммуникаций для искусственного водонасыщения грунта при уровне грунтовых вод ниже 0,5 м от поверхности.
3.64. Расстояние от работающих виброустановок ВУУМ-6 до существующих зданий и сооружений должно быть не менее 40 м, а до подземных коммуникаций - 25 м.
ПРИМЕНЯЕМЫЕ МЕХАНИЗМЫ И ИХ ТЕХНИЧЕСКАЯ ХАРАКТЕРИСТИКА
3.65. Для поверхностного уплотнения грунтов тяжелыми трамбовками весом до 4,5 - 7 т используются в основном широко распространенные в строительстве краны-экскаваторы Э-10011 и Э-1252, оборудованные стрелой драглайном, а для трамбовок весом 10 - 15 т карьерные краны-экскаваторы Э-2503 и Э-2505 грузоподъемностью 40 - 50 т. При использовании трамбовок с таким весом обеспечивается нормальная работа кранов-экскаваторов в том же режиме, что и при разработке грунта.
3.66. Основным оборудованием при устройстве грунтовых подушек являются грунтоуплотняющие механизмы. Выбирают их в зависимости от объема, фронта работ, сроков выполнения, вида применяемого грунта.
При больших объемах уплотняемых грунтов и при достаточном фронте работ для маневрирования машин целесообразно применять трамбующие машины Д-1471, тяжелые катки на пневмоколесном ходу.
При ограниченном фронте работ, а также в стесненных условиях для уплотнения грунтов наиболее целесообразны самоходные катки, тракторы, тяжелые трамбовки.
3.67. Толщина уплотненного слоя, типы кранов-экскаваторов и трамбовок, сменная производительность и ориентировочное количество ударов по одному следу для уплотнения грунтов до коэффициента

принимается по табл. 2.
─────────────────────┬───────────┬─────────────────────┬─────────┬─────────
Тип │ Высота │Толщина уплотненного │ Число │Сменная
грунтоуплотняющего │сбрасывания│ слоя, м, на грунтах │ ударов │произво-
механизма │ трамбовки ├─────────┬───────────┤ по │дитель-
│ │глинистых│ песчаных, │ одному │ность, м3
│ │ │гравелистых│ следу │
─────────────────────┼───────────┼─────────┼───────────┼─────────┼─────────
Э-10011, Э-1252, │ 6 - 8 │1,5 - 2,0│ 1,8 - 2,2 │ 12 - 14 │100 - 300
трамбовки диаметром │ │ │ │ │
1,2 м, массой 2,5 т │ │ │ │ │
То же, диаметром │ 6 - 8 │2,0 - 2,3│ 2,3 │ 12 - 14 │100 - 300
1,6 м, массой 3,5 т │ │ │ │ │
То же, диаметром │ 6 - 8 │ 2,5 │ 2,7 - 3,0 │ 12 - 14 │100 - 300
1,8 м, массой 5,5 т │ │ │ │ │
То же, диаметром 2 м,│ 6 - 8 │3,2 - 3,5│ 3,5 - 3,8 │ 12 - 14 │100 - 300
массой 6 - 7 т │ │ │ │ │
Э-2503 и Э-2505, │ 10 - 12 │ 5 - 5,5 │ 6 │ 10 - 12 │300 - 400
трамбовки диаметром │ │ │ │ │
2,4 м, массой 10 т │ │ │ │ │
То же, диаметром 3 м,│ 10 - 12 │ 7 │ 8 │ 8 - 10 │400 - 500
массой 15 т │ │ │ │ │
Толщина отсыпаемых слоев при грунтовых подушках, типы грунтоуплотняющих механизмов и ориентировочное количество проходов для уплотнения грунтов до коэффициента

принимаются по табл. 3. При необходимости уплотнения грунтов до

указанная в табл. 3 толщина слоя снижается на 20 - 25%.
───────────────────────────────┬─────────────────────┬─────────┬───────────
Тип грунтоуплотняющего │Толщина уплотненного │ Число │Сменная
механизма │ слоя, м, на грунтах │проходов │производи-
├───────────┬─────────┤по одному│тельность,
│ песчаных, │глинистых│ следу │м3
│гравелистых│ │ │
───────────────────────────────┼───────────┼─────────┼─────────┼───────────
Пневмокатки массой 25 т │ 0,5 │ 0,5 │ 10 - 12 │ 530
То же, 40 т │ 0,6 │ 0,7 │ 10 - 12 │ 530
Груженые автомашины │ │ │ │
БелАЗ │ 0,6 │ 0,7 │ 10 - 12 │ 300
КраЗ │ 0,5 │ 0,5 │ 10 - 12 │ 200
МАЗ │ 0,4 │ 0,4 │ 10 - 12 │ 200
Тракторы Т-100, Т-140 │ 0,3 │ 0,2 │ 8 - 10 │ 250
Скреперы │ 0,25 │ 0,2 │ 6 - 8 │ 200
Трамбующие машины Д-471 │ 1 │ 1,2 │ 3 - 5 │ 300
Вибрационные катки массой │ 0,7 │ 0,3 │ 3 - 4 │ 100
до 2 т │ │ │ │
То же, массой до 5 т │ 1 │ 0,4 │ 3 - 4 │ 100
Приведенные в
табл. 3 значения толщины уплотненного слоя достигаются при оптимальной влажности отсыпаемых грунтов. При влажности грунтов выше или ниже оптимальной более чем на 0,02 - 0,03 толщина уплотняемого слоя обычно снижается на 20 - 30%.
В процессе послойной отсыпки грунтов учитывается сжатие их при уплотнении, а толщина отсыпаемых слоев в рыхлом состоянии принимается на 20 - 25% больше приведенных в
табл. 3.
3.68. Вытрамбовывание котлованов производится с помощью навесного оборудования, состоящего из трамбовки, направляющей штанги или рамы, обеспечивающих падение трамбовки строго в одно и тоже место, и каретки, с помощью которой трамбовка скользит по направляющей штанге (рис. 3 -
6).
Рис. 3. Схема оборудования для вытрамбования
котлованов на экскаваторе со стрелой драглайн
1 - направляющая штанга; 2 - шарнир;
3 - упорная плита; 4 - зубья; 5 - направляющая
пластина; 6 - трамбовка; 7 - каретка
Рис. 4. Схема оборудования на экскаваторе
с прямой лопатой для вытрамбовывания котлованов
1 - направляющая стойка; 2 - распорка;
3 - опорная плита; 4 - зубья; 5 - серьга;
6 - трамбовка; 7 - каретка; 8 - оголовок
Рис. 5. Основные виды трамбовок
для вытрамбовывания котлованов
а - с плоской подошвой; б - с заостренной подошвой;
в - удлиненное, для устройства фундаментов
с уширенным основанием; г - то же, с уширенной
верхней частью; д - для вытрамбовывания котлованов
с использованием сваебойного оборудования
Рис. 6. Схема оборудования для вытрамбовывания
котлованов на базе трактора
1 - трамбовка; 2 - направляющая рама; 3 - система блоков;
4 - направляющая стойки; 5 - противовес; 6 - каретка;
7 - подвеска; 8 - элементы жесткости; 9 - аутригер
3.69. Оборудование навешивается на кран-экскаватор или трактор. При вытрамбовывании котлованов небольших размеров в плане может использоваться сваебойное оборудование.
Для подъема и сбрасывания трамбовки используется лебедка грузоподъемного механизма. При использовании сваебойного агрегата трамбовка-шаблон забивается в грунт сваебойным молотом.
Грузоподъемность механизма должна превышать массу трамбовки при соответствующем вылете стрелы в 1,2 - 1,3 раза.
3.70. Навесное оборудование на кран-экскаватор может быть двух видов: с шарнирным креплением направляющей штанги к стреле драглайна, обеспечивающим работу с трамбовками массой 3 - 6 т
(рис. 3), и шарнирным креплением направляющей рамы к стреле прямой лопаты для трамбовок массой 6 - 10 т (см.
рис. 4).
3.71. Направляющая штанга длиной 8 - 12 м (см.
рис. 3) обычно имеет коробчатое сечение и состоит из двух швеллеров или четырех уголков, усиленных вертикальным листом, по которому скользит каретка.
В верхней части направляющая штанга заканчивается специальным шарниром, обеспечивающим перемещение ее в двух направлениях и служащим для навески ее на стрелу драглайна.
Для предотвращения горизонтальных смещений в процессе вытрамбовывания котлованов в нижней части направляющая штанга имеет опорную плиту с зубьями длиной 20 - 30 см, которые при установке штанги на место погружаются в грунт.
3.72. Направляющая рама (см.
рис. 4) состоит из направляющей стойки длиной 10 - 15 м и распорки, повышающей жесткость навесного оборудования и ограничивающей вылет стрелы, что позволяет повысить маневренность и более полно использовать грузоподъемность крана-экскаватора.
Конструкция направляющей стойки аналогична описанной в
п. 3.110 и отличается тем, что в верхней части она имеет оголовок, на котором крепятся блоки, и серьгу для крепления стойки к стреле крана-экскаватора.
Узлы крепления направляющей рамы к крану шарнирные, благодаря чему обеспечивается возможность подъема ее на 30 - 40 см и перемещение крана-экскаватора.
3.73. Каретка имеет коробчатое сечение и обычно состоит из двух швеллеров, усиленных накладками и соединенных с трех сторон металлическими листами. Каретка надевается на направляющую штангу и удерживается на ней с помощью соответствующих пазов или полок швеллера. Внутри нее располагаются катки, которые перемещаются по вертикальному листу направляющей штанги.
Крепление каретки к трамбовке осуществляется на болтах.
3.74. Трамбовка заданной в проекте формы (см.
рис. 5) изготавливается из металлического листа толщиной 10 - 16 мм путем сварки отдельных элементов в стыках. Для исключения выступов и неровностей сварные швы зачищаются.
Сверху трамбовка имеет крышку из листа толщиной 20 - 30 мм с болтами диаметром 30 - 60 мм, с помощью которых к ней крепится каретка.
Внутренняя часть трамбовки заполняется бетоном на высоту, при которой обеспечивается ее заданная масса.
3.75. Трамбовка с помощью скобы крепится к рабочему тросу крана-экскаватора через специальную вставку из троса длиной 0,8 - 1 м, благодаря чему в момент удара ее о грунт исключается закручивание рабочего троса и его преждевременный износ.
В целях снижения тягового усилия на лебедку допускается запасовка троса через полиспаст, для чего на крышке трамбовки устанавливается соответствующий блок.
3.76. Навесное оборудование на базе трактора С-100, ТМ-100 обеспечивает возможность работы с трамбовками массой до 2,5 - 3 т и состоит из направляющей рамы, прикрепленной к задней части трактора, системы блоков, подвесок, противовеса, устанавливаемого на передней части (см.
рис. 6).
Направляющая рама высотой 6 - 8 м состоит из двух стоек, по которым движется каретка. Стойки по высоте соединяются элементами жесткости, внутри которых проходит трамбовка. Стойки коробчатого сечения состоят из двух уголков.
3.77. Для повышения устойчивости на период вытрамбовывания котлованов к стойкам направляющей рамы крепятся аутригеры. На время переезда механизма с одного пункта на другой и установки трамбовки на центр будущего котлована аутригеры поднимаются.
3.78. Каретка имеет коробчатое сечение с пазами, которые входят в направляющие стойки. В центре каретки располагается блок, через который проходит рабочий трос от лебедки. Крепление каретки к трамбовке выполняется на болтах. Трамбовка крепится к рабочему тросу лебедки через полиспаст.
3.79. При использовании сваебойного агрегата для вытрамбовывания котлованов в качестве трамбовки используется полый металлический шаблон, жестко закрепленный с помощью болтов на молоте (рис. 7).
Рис. 7. Схема оборудования для вытрамбовывания
котлованов на базе сваебойного агрегата
1 - шаблон трамбовки; 2 - подвеска; 3 - молот
Шаблон сваривается из металлического листа толщиной 12 - 16 мм с расположенными внутри ребрами жесткости. Для извлечения шаблона из грунта он с помощью подвесок крепится к станине молота.
Максимальный размер трамбовки в верхней части по ширине при применении трубчатых дизель-молотов должен быть не более 1 м, а штанговых - 0,9 м.
3.80. Для глубинного уплотнения просадочных грунтов грунтовыми сваями используют станки ударно-канатного бурения типа БС-1М или другие станки, позволяющие применить ударный снаряд массой не менее 3 т, что обеспечивает использование наконечников для пробивки скважин диаметром 0,5 - 0,6 м.
Техническая характеристика станка
Глубина уплотнения ............................... 18 - 20 м
Диаметр скважины ................................. 500 мм
Масса бурового снаряда ........................... 2700 - 3000 кг
Высота подъема бурового снаряда .................. 0,94 - 1,1 м
Число ударов долота о забой ...................... 44 - 52 уд./мин
Скорость подъема бурового снаряда ................ 0,9 м/мин
Высота мачты ..................................... 1,45 м
Ход .............................................. Гусеничный самоходный
Скорость передвижения ............................ 0,9 км/ч
Удельное давление на грунт ....................... 0,7 кг/см2
Габариты станка в рабочем положении:
длина ......................................... 7000 мм
ширина ........................................ 3480 "
высота ........................................ 15050 "
Габариты станка при перевозке:
длина ......................................... 9060 мм
ширина ........................................ 3480 "
высота ........................................ 4300 "
Масса станка без бурового снаряда ................ 90,8 т
Диаметр инструментального каната ................. 26 - 30 мм
Длина каната ..................................... Н + 36 м
Мощность электродвигателя ........................ 32 кВ
Напряжение ....................................... 380/220 В
3.81. Буровой снаряд, входящий в комплект станка, состоит из штанги и долот различной конструкции. Штанга подвешена на канате. Канатный замок скреплен со штангой коническим резьбовым соединением.
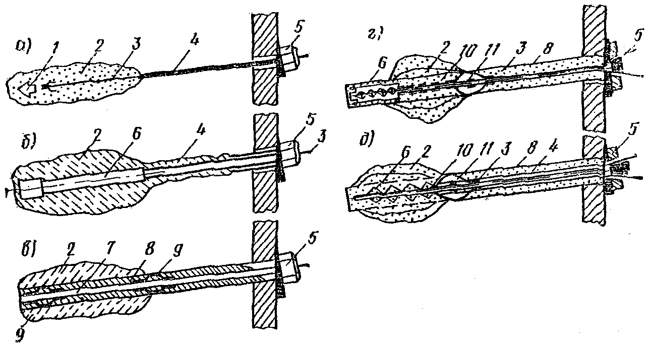
Для уплотнения грунтов станок БС-1М приспосабливают к проходке скважин диаметром 0,5 - 0,6 м и оборудуют его:
наконечником параболоидной формы диаметром 426 мм
(рис. 8);
| | ИС МЕГАНОРМ: примечание. Текст дан в соответствии с официальным текстом документа. | |
стальным цилиндрическим кондуктором диаметром 550 м, длиной 1500 мм, толщиной стенок 10 - 12 мм, предназначенным для исключения расширения устья скважины, а также для более точной ее пробивки;
новой поворотной плитой для свинчивания штанг диаметром 600 мм
(рис. 9).
Рис. 8. Конструктивная схема
наконечника для пробивки скважины
1 - сердечник-долото; 2 - оболочка; 3 - бетон;
4 - сварные швы; 5 - отверстие для подачи
бетонной смеси под оболочку
Рис. 9. Новая поворотная плита
для свинчивания штанг ударного снаряда
1 - поворотная плита; 2 - ключ для свинчивания
штанг; 3 - упоры, приваренные к ключу;
4 - упоры, приваренные к плите
Эти приспособления можно изготовить в любых мастерских.
3.82. Наконечник для проходки скважин изготавливают на месте, используя долото, к которому приваривают оболочку необходимой геометрической формы из листовой стали толщиной 10 - 12 мм. Зазор между долотом и оболочкой заполняют цементным раствором. Наконечник можно изготовить литым из стали.
3.83. Оболочка наконечника имеет форму двух усеченных конусов с цилиндрической частью между ними высотой 150 - 200 мм. Ударная часть сердечника (долота) заточена на конце с углом при вершине 30 - 40°.
3.84. Для засыпки грунта применяется приспособление в виде совка (рис. 10), изготовленного из отрезка трубы диаметром 522 мм, длиной до 500 мм, разрезанного вдоль на две половины. Толщина стенки трубы должна быть не менее 10 мм. Совок приваривают к трубе диаметром 219 мм, длиной 200 см. Полуцилиндрическую часть совка усиливают ребрами жесткости, привариваемыми к выпуклой его стороне.
Рис. 10. Дозатор (совок) емкостью
0,36 м3 для засыпки скважин грунтом
1 - толкатель из трубы диаметром 219 мм, длиной 2 м;
2 - совок; 3 - место крепления гидроподъемника ножа
бульдозера и толкателя; 4 - рама толкателя из швеллера
N 20; 5 - вилка крепления толкателя к раме бульдозера
3.85. При уплотнении просадочных грунтов предварительным замачиванием и замачиванием с глубинными взрывами ВВ применяются различные механизмы: экскаваторы ЭО-3311Г, ЭО-4111Б, Э-10011, Э-1252 и др., бульдозеры ДЗ-29, ДЗ-17, 19, ДЗ-270, автосамосвалы ЗИЛ, МАЗ и др., а также буровые машины УГБ-50 и СО-2.
3.86. Для глубинного уплотнения песчаных грунтов используется виброустановка ВУУП-6.
Техническая характеристика виброустановки ВУУП-6
Толщина уплотняемого слоя ............................. 6 м
Продолжительность цикла уплотнения .................... 15 мин
Производительность .................................... 170 - 210 м3/ч
Тип вибропогружателя .................................. В-401
Мощность электродвигателя ............................. 55 кВт
Частота вращения электродвигателя ..................... 1470 об./мин
Масса уплотнителя ..................................... 920 кг
Высота уплотнителя .................................... 7 м
Диаметр уплотнителя ................................... 1000 мм
Частота вынужденных колебаний ......................... 1500 кол./мин
(25 Гц)
Амплитуда колебании ................................... 5 - 6 мм
Общая высота виброустановки ........................... 8,8 м
Масса виброустановки .................................. 3400 кг
Грузоподъемность механизма ............................ 6 т
Примечание. Рабочие чертежи виброустановки ВУУП-6 имеются во ВНИИГС (193148, Ленинград, ул. Карловская, 4).
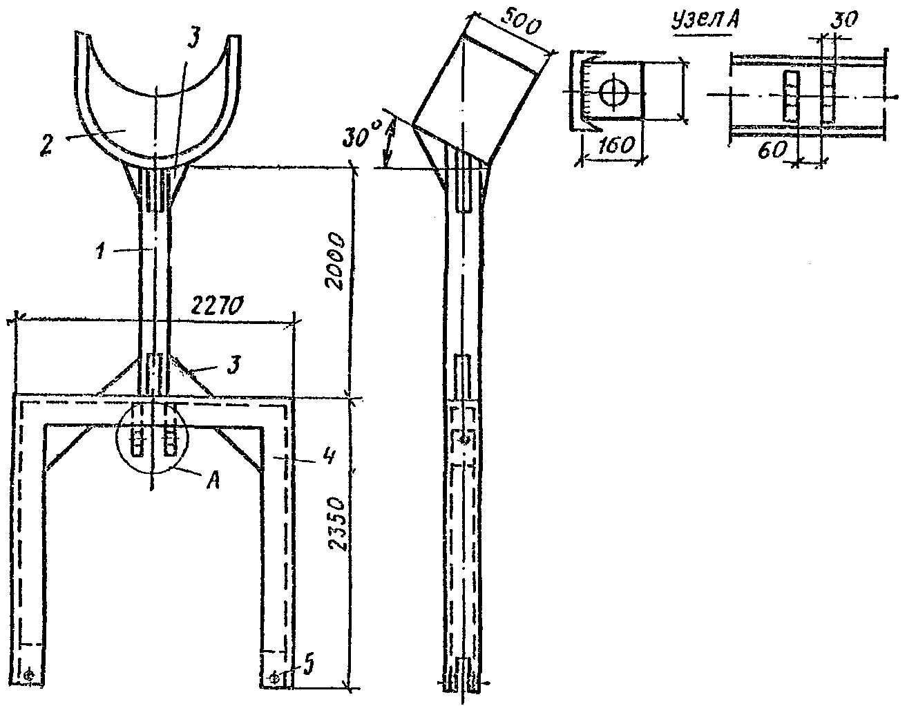
3.87. Уплотнитель представляет собой сварную металлическую пространственную конструкцию (рис. 11), детали которой могут быть изготовлены в любых мастерских.
Рис. 11. Уплотнитель виброустановки ВУУП-6
3.88. Основным работам по уплотнению просадочных грунтов должно предшествовать в процессе строительства опытное уплотнение, которое производится для уточнения отдельных параметров проекта.
Опытное уплотнение при однородном напластовании грунтов производится в одном, а при разнородном напластовании или при значительном изменении влажности грунтов - не менее чем двух характерных пунктах строительной площадки.
Размеры опытных участков принимаются не менее 3 x 3 м диаметра трамбовки или двойной ширины рабочего органа трамбующей машины при уплотнении трамбованием и не менее 6 x 12 м - при уплотнении укаткой.
При глубинном уплотнении просадочных грунтов грунтовыми сваями опытный участок уплотняется не менее чем тремя смежными сваями, расположенными в плане в вершинах равностороннего треугольника на расстоянии согласно проекту.
Опытное уплотнение просадочного грунта предварительным замачиванием и замачиванием с глубинными взрывами осуществляется в котловане глубиной 0,8 м и шириной, равной толщине слоя просадочного грунта, но не менее 20 м.
3.89. В результате опытного глубинного уплотнения песчаного грунта определяется технологический режим виброуплотнения.
3.90. Опытное уплотнение трамбованием производят для уточнения толщины уплотненного слоя, необходимого числа ударов трамбовки по одному следу, а также установления величины понижения уплотняемой поверхности.
3.91. При устройстве грунтовых подушек уточняются толщины отсыпаемых слоев грунта, число проходов трамбующих машин или механизмов по одному следу и средняя объемная масса сухого грунта в уплотняемом слое.
Опытное уплотнение производят в котловане, отрытом в пределах участка строительства здания или сооружения.
Отметку дна опытного котлована с учетом величины недобора грунта назначают по проекту, а впоследствии уточняют по средней величине понижения поверхности дна котлована.
3.92. Опытные работы по вытрамбовыванию котлованов производят с целью определения:
среднего количества ударов трамбовки заданной массы, размеров и оптимальной высоты сбрасывания для вытрамбовывания котлованов необходимой глубины;
для фундаментов с уширенным основанием из жесткого материала - количества и объемов засыпки жесткого материала, а также необходимого числа ударов для втрамбовывания каждой порции засыпки в дно котлована;
для ленточных прерывистых фундаментов - минимально допустимого расстояния между двумя соседними котлованами при различной глубине их вытрамбовывания;
плотности сухого грунта, влажности и прочностных характеристик

и C уплотненного грунта, размеров уплотненной зоны вокруг вытрамбованного котлована, а также размеров уширенного основания при втрамбовывании в дно котлована жесткого материала. Кроме того, в необходимых случаях проводятся испытания опытных фундаментов на вертикальные и горизонтальные нагрузки и определение модулей деформации уплотненных и неуплотненных просадочных грунтов штампами в соответствии с ГОСТ 12374-77 "Грунты, метод полевого испытания статическими нагрузками".
3.93. Опытные работы по вытрамбовыванию котлованов производятся на площадке, расположенной поблизости от строящегося объекта, в котловане, отрытом на проектную глубину.
В том случае, если ранее в подобных грунтовых условиях уже выполнялись опытные работы с аналогичными размерами трамбовок или производилось вытрамбовывание котлованов под здания или сооружения, они могут не выполняться и рекомендуется использовать ранее полученные результаты.
3.94. Количество назначаемых пунктов проведения опытных работ зависит от изменчивости грунтовых условий в соответствии с
п. 3.88.
3.95. Опытные работы производятся для всех видов и размеров трамбовок, применяемых при устройстве фундаментов с вытрамбовыванием котлованов на глубину, предусмотренную проектом фундаментов.
Вытрамбовывание котлованов каждой трамбовкой на заданные глубины производится, как правило, с двухкратной повторностью.
3.96. Опытное глубинное уплотнение просадочных грунтов выполняют перед разбивкой сетки грунтовых свай в основании фундаментов зданий и сооружений. При однородном напластовании грунтов опытное уплотнение производят в одном пункте, а при разнородном напластовании или резком изменении влажности грунтов - не менее чем в двух наиболее характерных местах.
Скважины пробивают с поверхности земли или с принятой в проекте отметки дна котлована, отрытого в пределах участка строительства.
3.97. Опытное глубинное уплотнение грунтовыми сваями осуществляют с целью:
уточнения расстояния между грунтовыми сваями для достижения проектной плотности уплотненного грунта;
установления количества и вида зарядов ВВ при расширении скважин взрывом;
установления фактического расхода грунтового материала на одну грунтовую сваю.
3.98. Опытное уплотнение грунта предварительным замачиванием и замачиванием с глубинными взрывами производят в целях:
установления необходимого количества воды и времени замачивания;
уточнения веса глубинных зарядов ВВ и глубину их погружения;
уточнения фактической величины просадки грунта от собственного веса и действия зарядов ВВ;
определения толщины верхнего недоуплотненного слоя грунта.
Опытное замачивание производят перед отрывом котлована вблизи участка строительства здания или сооружения.
Устройство дренирующего слоя, поглощающих и взрывных скважин и камер, а также планировка дна котлована при опытном уплотнении замачиванием и замачиванием с глубинными взрывами выполняются в соответствии с принятыми в проекте рекомендациями.
3.99. Методика опытного уплотнения грунтов должна предусматривать соблюдение изложенных ниже требований.
При уплотнении трамбовками через каждые два удара трамбовки (прохода трамбующей машины) по забитым в грунт штырям нивелированием определяется понижение уплотняемой поверхности. Для контрольного определения толщины уплотненного слоя в центре уплотненной площади на глубину, равную двум диаметрам трамбовки (через 0,25 м по глубине), должна определяться плотность и влажность грунта.
При устройстве грунтовых подушек опытное уплотнение производится при трех вариантах: числе проходов катков 6, 8 и 10 или ударов трамбовки (проходов трамбующей машины) по одному следу - 8, 10 и 12. Уплотнение производится для всех разновидностей применяемых грунтов не менее чем при трех соответствующих значениях их влажности, равных

,

и

(

- влажность на границе раскатывания).
После уплотнения грунта на опытном участке надлежит определить плотность и влажность уплотненного грунта на двух горизонтах, соответствующих верхней и нижней части уплотненного слоя.
Опытное вытрамбовывание производится с замером понижения дна котлована после каждых двух ударов трамбовки. Нивелирование выполняется по верху трамбовки и в двух диаметрально противоположных точках. Для контрольного определения размеров уплотненной зоны в центре котлована отрывается шурф на глубину, равную двум диаметрам или двойной ширине основания трамбовки, с отбором проб грунта по глубине и в сторону от центра через 0,25 м.
При опытном вытрамбовывании котлованов с уширенным основанием фиксируется объем каждой порции втрамбовываемого материала (щебня, гравия, крупного песка) и размеры (в плане и по глубине) полученного уширения.
Для установления результатов опытного глубинного уплотнения грунтовыми сваями на строительной площадке должен отрываться контрольный шурф на глубину не менее 0,7 просадочной толщи с определением влажности и плотности грунта через каждые 0,5 м на глубину 3 м, а ниже - через каждый 1 м. На каждом горизонте определяется плотность грунта в двух точках в пределах каждой грунтовой сваи и в пределах межсвайного пространства.
Для наблюдения за просадкой уплотняемого грунта в процессе опытного замачивания и замачивания с глубинными взрывами следует устанавливать на дне котлована и за пределами по двум взаимно перпендикулярным сторонам котлована поверхностные марки через 3 м на расстоянии, равном полуторной толщине слоя просадочного грунта, а в центре котлована - куст глубинных марок в пределах всей просадочной толщи через 3 м по глубине.
3.100. Для измерения величины понижения отметки дна опытного котлована под воздействием трамбования забивают металлические штыри диаметром 16 - 20 мм, длиной 500 - 600 мм по оси котлована в центре каждого следа трамбовки заподлицо с поверхностью земли (рис. 12).
Рис. 12. Схема размещения штырей
для определения величины отказа
1 - 3 - номера штырей; 4 - место отбора
монолитов; 5 - контрольный шурф 1 x 2 x 4 м
После забивки штырей производят нивелирование и определяют их отметки относительно неподвижного репера. Результаты отсчетов заносят в журнал трамбования грунта в опытном котловане.
3.101. Трамбование грунта в опытном котловане осуществляют по всему котловану двумя ударами последовательно, переходя от одного следа к другому. По мере трамбования производят нивелирование головок штырей и определяют среднюю величину понижения трамбуемой поверхности.
Трамбование ведут до момента, когда понижение штырей составляет не более 1 - 2 см для глинистых и песчаных грунтов и 4 - 5 см - для крупнообломочных.
3.102. По результатам нивелирования строят график (рис. 13, а) зависимости понижения поверхности от числа ударов (проходов) и график (рис. 13, б) приращения величины понижения дна котлована на каждые два удара трамбовки.
Рис. 13. Графики понижения трамбуемой поверхности
Участок графика, в пределах которого приращение величины понижения имеет постоянное значение, характеризует величину понижения в сантиметрах на два удара.
По графику (см. рис. 13, б) устанавливают участок перехода: кривой понижения поверхности от каждых двух ударов в прямую, параллельную оси абсцисс, что характеризует достижение грунтом "уплотнения до отказа", при котором дальнейшее трамбование становится нецелесообразным, так как приводит к разрушению структуры грунта и разрыхлению верхнего слоя.
3.103. Полученная величина понижения от последних ударов принимается за величину отказа при трамбовании данного вида грунта. Число ударов, соответствующее этой точке на графике, принимается как минимально необходимое.
Средняя величина понижения трамбуемой поверхности при уплотнении до отказа, полученная по графику (см.
рис. 13), принимается за необходимую величину недобора грунта до проектной отметки под фундаменты при разработке котлована.
3.104. Площадки для опытного уплотнения грунтов при устройстве грунтовых подушек выбирают в наиболее характерных грунтовых условиях комплекса сооружений в стороне от застраиваемых участков.
Основание опытной площадки должно быть спланировано и уплотнено до плотности, принятой в проекте.
Опытное уплотнение производят при трех значениях влажности грунтов:

;

;

,
где

- оптимальная влажность грунта, принимаемая равной: для трамбовок

, а укаткой -

;

- влажность грунта на границе раскатывания.
Толщина уплотняемых слоев принимается:

;

;

, где H - величина уплотняемого слоя грунта в зависимости от применяемого оборудования (см.
табл. 2).
3.105. На каждом пункте опытного участка после уплотнения грунта при заданной влажности, толщине слоев и числе проходов механизмов отбирают пробы уплотненного грунта для определения объемной массы сухого грунта и влажности через 0,2 м по глубине.
Пробы отбирают в пределах верхней и нижней зон уплотненного слоя.
3.106. По результатам опытного уплотнения строят графики зависимости плотности от влажности

при различном числе проходов трамбующих механизмов или ударов трамбовки для каждой толщины уплотняемых слоев (рис. 14).
Рис. 14. Графики зависимости удельного веса
сухого грунта от влажности при постоянной
удельной работе A (A = 50, 100, 150 т x см/м)
На графиках через серию кривых проводят горизонтальную линию с ординатой, равной проектной плотности грунта. Участки кривых, расположенные выше горизонтальной линии, указывают, при каком числе проходов уплотняющего механизма и интервалов изменения влажности грунта при данной толщине слоя может быть достигнута плотность не ниже проектной.
Толщину уплотняемого слоя выбирают на основе указанных кривых.
3.107. Опытное вытрамбовывание производится с отметки пола первого этажа или подвала. При разнородном напластовании грунтов (по влажности, плотности, литологии) и при наличии подсыпки вытрамбовывание выполняют не менее чем на двух характерных участках.
3.108. Вытрамбовывание котлованов при выполнении опытных работ производится с замером величин понижения дна котлована после каждых двух ударов трамбовки. Замер понижения делается с помощью нивелирования верха трамбовки или замера погруженной части трамбовки в двух диаметрально противоположных точках. На основе этого строится график понижения дна котлована в зависимости от числа ударов трамбовки (см.
рис. 13).
В процессе вытрамбовывания производятся визуальные наблюдения за состоянием стенок вытрамбованных котлованов. В случае осыпания грунта со стенок котлована отмечается глубина, при которой оно происходит, и производится повышение влажности грунтов путем увлажнения дна и стенок котлованов в процессе вытрамбовывания, а также снижение высоты сбрасывания трамбовок.
3.109. При вытрамбовывании котлованов под ленточные прерывистые фундаменты, а также столбчатые фундаменты при расположении их в осях на расстояниях менее

(

- ширина котлована в среднем сечении) наряду с требованиями
п. 3.92 производится замер вертикальных и горизонтальных перемещений окружающей их поверхности по двум створам.
Замер перемещений выполняется после каждых двух ударов трамбовки по металлическим штырям, представляющим собой обрезки из арматуры (см.
п. 3.100) и забитым в грунт через 20 - 25 см на расстоянии

от грани котлована (см.
рис. 12). Вертикальные перемещения замеряются нивелированием, а горизонтальные - мерной лентой относительно неподвижной точки - репера.
3.110. Для определения минимально допустимых расстояний между котлованами ленточных прерывистых фундаментов вытрамбовываются четыре опытных котлована с расстоянием между ними поверху соответственно

,

и

.
При вытрамбовывании первого котлована замеряются вертикальные и горизонтальные перемещения поверхности грунта по маркам, установленным слева.
При вытрамбовывании последующих котлованов вертикальные и горизонтальные перемещения замеряются как по

грунта между предыдущим и вытрамбовываемым котлованом, так и по дну ранее вытрамбованного котлована.
3.111. Минимально допустимые расстояния между вытрамбованными котлованами ленточных прерывистых фундаментов назначаются исходя из следующих условий:
обязательная сохранность стенок ранее вытрамбованных котлованов;
горизонтальные перемещения верха близрасположенной стенки ранее вытрамбованного котлована не должны превышать 10 см, а низа - 4 см;
вертикальные перемещения (подъем) дна ранее вытрамбованного котлована не должны превышать 4 см.
Минимальные расстояния между котлованами столбчатых фундаментов принимаются при условии, что величины вертикальных и горизонтальных перемещений у ближайшей грани котлована поверху не превышали 4 см.
3.112. Для фундаментов в вытрамбованных котлованах с уширенным основанием опытные работы производятся, как правило, с втрамбовыванием одной, двух и трех порций щебня, песчано-гравийной смеси или другого жесткого материала. При трех порциях засыпки принимается максимальный объем засыпаемого материала V, а объем материала к каждой порции составляет 1/3 V.
В отдельных случаях может меняться объем материала в каждой порции, т.е. высота засыпки котлована, а также вид втрамбованного материала в дно котлована.
В процессе вытрамбовывания котлованов, а также втрамбовывания жесткого материала в его дно строятся графики понижения дна котлованов (рис. 15).
Рис. 15. Понижение дна котлована в процессе
вытрамбовывания и втрамбовывания жесткого материала
1 - вытрамбовывание; 2 - втрамбовывание жесткого
материала; 3 - засыпка жесткого материала
3.113. После вытрамбовывания по оси котлованов отрываются шурфы и траншеи на глубину не менее

ниже его дна с таким расчетом, чтобы одна из его стенок проходила через центр котлованов для определения влажности, плотности сухого грунта, формы и размеров уплотненной зоны, уширенного основания из трамбованного материала, а также для отбора монолитов уплотненного грунта с целью определения его прочностных характеристик

и C.
Отбор проб грунта производится через 20 - 25 см по схемам, приведенным на рис. 16 для различных котлованов.
Рис. 16. Схема отбора проб из шурфа
при проведении опытных работ
1 - вытрамбованный котлован; 2 - шурф; 3 - место
отбора образцов для определения W,

и

;
4 - места отборов монолитов для определения

и C
Размеры уширений в основании замеряются мерной лентой с точностью 1 см через 10 - 15 см по глубине. По полученным результатам замеров строятся графики изменения удельного веса сухого грунта по глубине и в стороны, определяются формы и размеры уплотненных зон и уширенных оснований (рис. 17).
Рис. 17. Уплотненная зона и график изменения
объемного веса скелета уплотненных грунтов
для удлиненных фундаментов с уширенным основанием
I - вытрамбованный котлован; II - уплотненная зона;
III - по горизонтали от оси котлована или от уширения;
IV - по вертикали ниже дна котлована или от уширения;
V, VI - по горизонтали от боковой поверхности;
VII - уширенное основание
3.114. Монолиты уплотненных грунтов для определения их прочностных характеристик отбираются с глубины 0,25 - 0,35 м от дна вытрамбованного котлована, а при устройстве уширенного основания - от нижней его границы. Испытания уплотненных грунтов производятся при их полном водонасыщении по схеме консолидированного сдвига в соответствии с
Руководством по лабораторному определению деформационных и прочностных характеристик просадочных грунтов (М.: Стройиздат, 1974).
3.115. Результаты опытных работ оформляются в виде отчета или акта, на основе которого уточняется технология производства работ по вытрамбовыванию котлованов под фундаменты. К нему прилагаются:
а) схема размещения опытной площадки с вытрамбованными котлованами;
б) графики понижения трамбуемой поверхности в зависимости от количества ударов трамбовок при вытрамбовывании котлованов (см.
рис. 15) и втрамбовывании жесткого материала (см.
рис. 17);
в) характеристики режима вытрамбовывания котлованов (масса, размеры, удельное статическое давление, высота сбрасывания трамбовки);
г) результаты определений вертикальных и горизонтальных перемещений грунтов при вытрамбовывании котлованов под ленточные прерывистые фундаменты, минимально допустимые расстояния между ними;
д) результаты определения плотности сухого грунта уплотненных грунтов, формы и размеров уплотненных зон и уширений в основании (см.
рис. 17);
е) значения прочностных характеристик

и C уплотненных грунтов с указанием плотности сухого грунта, при которой они определены.
3.116. При необходимости выполнения испытаний опытных фундаментов вертикальной и горизонтальной нагрузками в процессе проведения работ в соответствии с программой испытаний вытрамбовываются котлованы для фундаментов. Бетонирование фундаментов выполняется сразу же после вытрамбовывания котлованов.
3.117. Испытания опытных фундаментов выполняются вертикальными статическими нагрузками с целью определения:
расчетной нагрузки на фундамент принятых размеров и конструкций;
расчетного давления на уплотненный грунт основания под фундаментами в вытрамбованном котловане.
Испытания опытных фундаментов выполняются, как правило, для:
новых районов, в которых впервые начинается применение фундаментов в вытрамбованных котлованах;
новых конструкций фундаментов в вытрамбованных котлованах, новых конструктивных схем зданий, а также для фундаментов с нагрузками, в 1,5 - 2 раза превышающими ранее применяемые;
грунтовых условий, в которых ранее фундаменты в вытрамбованных котлованах не применялись и нет данных по статическим испытаниям опытных фундаментов;
всех видов, форм и размеров фундаментов, существенно отличающихся между собой и имеющих массовое применение.
Примечание. При наличии результатов испытаний одинаковых по размерам и конструкциям фундаментов, выполненных по другим районам с аналогичными грунтовыми условиями, испытания опытных фундаментов можно не производить.
3.118. Пункты проведения испытаний опытных фундаментов следует располагать, как правило, в непосредственной близости от наиболее ответственных зданий, а также в наиболее характерных местах, где по предварительным данным ожидаются наибольшие осадки и горизонтальные перемещения фундаментов. При однородном сложении застраиваемой площадки (по составу, состоянию и физико-механическим характеристикам грунтов) по глубине сжимаемой толщи испытания допускается выполнять в одном пункте. При разнородном напластовании грунтов испытания опытных фундаментов должны производиться не менее чем в двух местах.
3.119. При испытании опытных фундаментов в вытрамбованных котлованах вертикальными статическими нагрузками применяется специальное оборудование, включающее упорную установку и реперную систему, и проводится в соответствии с ГОСТ 12374-77.
3.120. После пробивки скважин и набивки их грунтовым материалом отрывается контрольный шурф, из которого отбираются образцы грунта. На каждом горизонте определяется плотность сухого грунта в двух точках в пределах каждой грунтовой сваи, а в междусвайном - в семи точках, расположенных на каждой стороне треугольника, соединяющего оси грунтовых свай (рис. 18).
Рис. 18. Схема отбора образцов грунта
для определения плотности грунта
1 - 21 - места отбора образцов между грунтовыми
сваями; I - VI - места отбора образцов в сваях
В случае, если плотность грунта окажется меньше предусмотренной в проекте, в последний вносят изменения по размещению грунтовых свай и в дальнейшем уплотнение производят по уточненной сетке расположения грунтовых свай.
Примечание. В ответственных случаях (например, для зданий с мокрым технологическим процессом, возводимых на площадках с глубиной просадочной толщи более 15 м), производят испытания уплотненных грунтов статической нагрузкой, руководствуясь ГОСТ 12374-77. Необходимость и методику проведения таких испытаний устанавливает проектная организация.
3.121. Уплотнение просадочных грунтов предварительным замачиванием и замачиванием с использованием глубинных взрывов зарядов ВВ продолжают до полного промачивания всей толщи просадочных грунтов и стабилизации просадки. За стабилизацию просадки принимают просадку не более 10 мм в неделю.
3.122. В процессе замачивания примерно один раз в неделю производят периодическое нивелирование поверхностных и глубинных марок. Марки привязывают к постоянному реперу или системе временных реперов, расположенных на расстоянии, равном не менее чем двум толщинам просадочного слоя грунта замачиваемого участка.
3.123. Марка простейшей конструкции состоит из арматурного стержня диаметром 16 - 24 мм, длиной 80 - 100 см, забитого в грунт на глубину 60 - 80 см с уплотнением грунта вокруг стержня. Такие марки устанавливаются за пределами котлована (рис. 19).
Рис. 19. Конструкции поверхностных марок
а - простейшего типа; б - с бетонной опорой; в - с бетонной
опорой в зимнее время; 1 - арматурный стержень
16 - 24 мм; 2 - уплотненный грунт; 3 - бетонная опора
Основные поверхностные марки, устанавливаемые в пределах котлованов, состоят из бетонной призмы размером 20 x 20 см, толщиной 10 - 20 см, в которую забетонирован стержень диаметром 16 - 24 мм; выступающий на высоту 20 - 30 см.
3.124. Для наблюдения за послойной просадкой грунта в центре котлована устанавливают куст глубинных марок. Марки устанавливают через каждые 2 - 3 м по глубине в пределах всей просадочной толщи. В плане их располагают обычно в шахматном порядке через 0,5 - 0,8 м одна от другой. Глубинная марка состоит из внутренней реперной трубы или стержня, соединенных бетонным анкером с грунтом основания, защитной реперной трубы, исключающей влияние просадки окружающего грунта на реперную трубу, и сальников (рис. 20).
Рис. 20. Конструкция глубинной марки
1 - скважина; 2 - реперная труба;
3 - защитная труба; 4 - анкер из уплотненного
бетона; 5 - сальник из просмоленной пакли
3.125. Опытный участок размером 10 x 10 м при виброуплотнении песчаных грунтов следует располагать в пределах площадки, имеющей наиболее характерные гранулометрический состав и плотность сложения песчаного грунта.
3.126. Уплотнение основания без рыхления следует производить в семи точках, а с рыхлением в шести (рис. 21). После уплотнения необходимо зафиксировать колышками фактические места погружения уплотнителя для последующего зондирования.
Рис. 21. Схемы выполнения работ
на участке опытного уплотнения песка
а - без рыхления; б - с предварительным рыхлением;
1 - точки уплотнения; 2 - точки рыхления; 3 - зондирование
до уплотнения; 4 - зондирование после уплотнения
3.127. Оценка уплотнения основания должна производиться по показателям удельного веса сухого грунта

и относительной плотности

, учитывающей как зерновой состав, так и форму частиц песчаного грунта. Показатели достигнутой плотности грунта по результатам зондирования должны быть сопоставлены с данными плотности сложения грунта образцов, отобранных из шурфов.
3.128. Выполнение опытного уплотнения грунтов должно фиксироваться актами, где указываются рекомендуемые величины отказов при уплотнении грунтов и грунтовых подушек различными грунтоуплотняющими машинами, графики понижения трамбуемой поверхности и дна вытрамбовываемых котлованов в зависимости от режимов работы трамбующих машин, данные по необходимому количеству ударов на одну порцию грунта, загружаемого в скважину при устройстве грунтовых свай, графики просадки глубинных и поверхностных марок, расхода воды при замачивании грунтов и другие результаты опытного уплотнения, регламентирующие технологию основных работ с обеспечением соответствующих показателей по качеству и срокам.
3.129. Результаты опытного уплотнения, используемые в качестве основных документов для уточнения проекта производства работ по уплотнению и их приемке, необходимо заносить в журнал и оформлять актом.
В журнале и акте на опытное уплотнение должны быть указаны: влажность, плотность и вид уплотняемого грунта; толщина уплотняемого слоя грунта; вес, размеры и высота сбрасывания трамбовки; число ударов по одному следу; достигнутая глубина уплотнения; величина отказа и недобора грунта до проектной отметки заложения фундаментов.
3.130. В журнале и акте опытных работ по устройству грунтовых подушек следует указать: вид грунта; толщину отсыпаемого слоя; число проходов грунтоуплотняющего механизма; среднюю плотность грунта в уплотненном слое; оптимальную влажность и предел ее изменения.
Журналы заполняются в процессе производства работ, а акты - после окончания опытного уплотнения. Форма журнала и акта приведена в
Прил. 1,
2. Акты
(Прил. 3) составляются произвольной формы и подписываются производителем работ.
3.131. Результаты опытных работ по вытрамбовыванию котлованов заносят в журнал
(Прил. 4) и оформляют актом. К акту прилагаются:
схема размещения опытной площадки с вытрамбованными котлованами;
графики понижения трамбуемой поверхности в зависимости от количества ударов трамбовок (см.
рис. 13) и втрамбовывания жесткого материала (см.
рис. 15);
характеристики режима вытрамбовывания котлованов (масса, размеры, удельное статическое давление, высота сбрасывания трамбовки);
результаты определений вертикальных и горизонтальных перемещений грунтов при вытрамбовывании котлованов под ленточные прерывистые фундаменты и минимально допустимые расстояния между ними;
результаты определения плотности сухих уплотненных грунтов и размеров уплотненных зон и уширений в основании (см.
рис. 17);
значения прочностных характеристик

и C уплотненных грунтов с указанием плотности сухого грунта, при которой они определялись.
3.132. Результаты опытного уплотнения грунтовыми сваями фиксируются в журнале и оформляются актом (
Прил. 5,
6) проходки и набивки скважин грунтовым материалом. В них должны быть приведены:
глубина уплотнения;
тип оборудования и вес ударного снаряда;
вид и влажность засыпаемого в скважину грунта;
вес и число порций грунта, засыпаемых в скважину;
число ударов на одну порцию грунта;
плотность и влажность уплотненного грунта между сваями и в теле грунтовых свай;
толщина разрыхленного (буферного) верхнего слоя и способ его уплотнения.
3.133. Результаты опытного уплотнения просадочных грунтов предварительным замачиванием оформляют актом, в котором должны быть приведены:
исполнительный чертеж опытного котлована с указанием расположения глубинных и поверхностных марок;
ведомость нивелирования марок;
графики просадки глубинных и прилегающих к ним поверхностных марок во времени;
графики суточного и полного расхода воды;
профили просадки поверхности грунта по сторонам расположения поверхностных марок;
зарисовки просадочных трещин и результаты определения влажности после замачивания в пределах всей толщи.
3.134. Работы, выполненные по опытному уплотнению песчаного грунта, заносятся в журнал
(Прил. 7) и оформляются актом, в котором приводятся:
технологический режим уплотнения;
графики зондирования;
гранулометрический состав грунта;
удельный вес сухого грунта и относительная плотность.
3.135. На основе актов проектная организация уточняет проект производства работ по уплотнению грунтов оснований.
ПРАВИЛА ПРОИЗВОДСТВА РАБОТ
3.136. При поверхностном уплотнении грунтов трамбованием следует:
а) отрывку котлованов и траншей вести отдельными участками, размеры которых назначаются в зависимости от производительности оборудования из расчета сохранения оптимальной влажности грунта в открытом котловане на период трамбования;
б) доувлажнять грунт, заливая расчетное количество воды равномерно по всей площади участка или карты, причем уплотнение грунта начинается только после впитывания заливаемой воды и подсыхания грунта на поверхности до влажности, близкой к оптимальной;
в) уплотнение грунта в пределах отдельных участков производить циклами с последовательным переходом от следа к следу; при различной глубине заложения фундаментов уплотнение грунта следует производить, начиная с более высоких отметок;
г) по окончании поверхностного уплотнения верхний взрыхленный слой грунта доуплотнять при оптимальной влажности ударами трамбовки с высоты 0,5 - 1 м;
д) уплотнение грунта трамбованием в зимнее время вести при талом состоянии грунта и естественной влажности; необходимая глубина уплотнения при влажности грунта ниже оптимальной достигается увеличением веса, диаметра или высоты сбрасывания трамбовки.
3.137. Поверхностное уплотнение грунтов трамбованием включает следующие процессы:
отрыв котлованов или траншей;
подготовку основания для уплотнения, включая планировку и при необходимости доувлажнение грунта до оптимальной влажности;
уплотнение грунта основания;
проверку качества уплотнения.
3.138. Котлован должен быть огражден от попадания атмосферных вод с окружающей территории.
В дождливое время дно котлована планируется с уклоном к приемному колодцу-зумпфу, из которого воду удаляют насосом.
3.139. Заливку котлована водой для придания грунту оптимальной влажности производят равномерно по всей площади отдельными участками с обеспечением спокойного поступления воды.
При больших площадях уплотняемого основания размеры участков назначают из расчета, чтобы обеспечить фронт работ на срок 3 - 4 дня.
3.140. Трамбование производят через сутки после полного впитывания воды в грунт. Когда влажность грунта у поверхности большая и он прилипает к трамбовке, уплотнение следует прекратить и дать возможность грунту подсохнуть. Если по метеорологическим условиям это осуществить практически невозможно, поверхность дна котлована засыпают слоем маловлажного грунта толщиной 10 - 15 см. В отдельных случаях для этих целей можно использовать сухой щебень из кирпича, известняка, способный впитывать воду.
3.141. Уплотнение грунтов тяжелыми трамбовками производят с поверхности отрытого котлована, сбрасывая трамбовку массой 5,5 - 7 т с высоты не менее 6 - 8 м, а массой 10 - 15 т - с высоты 12 - 15 м.
3.142. Трамбовки изготавливают на месте строительства из железобетона или металла в виде усеченного конуса с низким расположением центра тяжести, при котором обеспечивается вертикальность ее падения.
Для обеспечения низкого расположения центра тяжести нижнюю часть железобетонной трамбовки заполняют металлическим ломом.
Трамбовку подвешивают к стреле крана непосредственно на тросе через специальную подвеску, исключающую скручивание рабочего троса. Конструкция железобетонной трамбовки приведена в
Прил. 8.
3.143. Размеры отдельных участков, подвергающихся уплотнению, назначаются равными 1,4 - 1,5 радиуса, действия стрелы крана. Уплотнение производится по технологической схеме, приведенной в
Прил. 9.
Трамбование грунта ведется в последовательности, указанной на рис. 22, а.
Рис. 22. Схема уплотнения в пределах отдельного участка
а - трамбовка массой 10 - 15 т; б - то же, 5 - 7 т
При этом для равномерного уплотнения всей площади по одному следу дается по два-три удара трамбовки массой 5,5 - 7 т (рис. 22, б). Такая последовательность сохраняется до тех пор, пока не будет передано заданное число ударов по уплотнению до отказа.
Уплотнение грунта трамбовками массой 10 - 15 т ведется со смещением следов на расстояние, равное одному диаметру трамбовки (см.
рис. 22, а).
При этом по одному следу дается заданное число ударов по уплотнению до отказа.
3.144. Перестановку крана на новый участок производят после окончания работ по уплотнению предыдущего.
Во время трамбования необходимо соблюдать требования к высоте подъема трамбовки, правильному расположению следов и числу ударов.
3.145. После трамбования необходимо произвести планировку дна котлована и уплотнение верхнего разрыхленного слоя тяжелыми катками в соответствии с указаниями
п. 3.67 и
табл. 2.
3.146. В тех случаях, когда после уплотнения отметка дна всего котлована или в отдельных местах окажется ниже проектной отметки заложения фундаментов, необходимо произвести подсыпку местного грунта с доуплотнением его до требуемой плотности.
3.147. В зимнее время допускается уплотнение только талого грунта при температуре воздуха не ниже минус 10 °C.
Уплотнение должно производиться при естественной влажности. Необходимая глубина уплотнения при влажности ниже оптимальной достигается увеличением высоты сбрасывания, массы трамбовки или числа ударов по одному следу.
3.148. Поверхностное уплотнение грунта трамбованием в зимний период производится с учетом:
глубины промерзания грунта в местных климатических условиях в течение суток по материалам районной метеостанции для оголенной поверхности;
производительности применяемого оборудования для уплотнения и числа смен в сутки;
конструкции фундаментов и способа их возведения.
3.149. Для сохранения талого состояния грунта котлованы отрывают участками, размеры которых устанавливают из среднесуточной производительности применяемого оборудования.
Общую величину недобора грунта до проектной отметки принимают равной величине понижения уплотняемой поверхности при трамбовании с дополнением толщины суточного промерзания грунта.
3.150. В отрытых котлованах, когда уплотнение не может быть осуществлено при положительной температуре, поверхность котлована утепляют и уплотнение производят участками.
3.151. При промерзании грунта основания на значительную глубину грунт перед трамбованием должен быть приведен в талое состояние отогреванием или удалением мерзлого грунта с заменой его талым грунтом с последующим уплотнением.
3.152. В зимних условиях, когда влажность грунта менее оптимальной, уплотнение рекомендуется производить при естественной влажности с увеличением массы или высоты сбрасывания трамбовки.
3.153. При уплотнении грунта тяжелыми трамбовками необходимо соблюдать правила техники безопасности при производстве строительно-монтажных работ в соответствии со
СНиП III-4-80.
При этом запрещается:
работать на неисправном кране;
во время работы крана производить его ремонт или смазку;
менять вылет стрелы с поднятой трамбовкой;
передвигать кран на новую стоянку с трамбовкой, поднятой на высоту более 0,5 м.
При уплотнении не допускается находиться у работающего крана на расстоянии, меньшем длины вылета стрелы.
В темное время места работы должны быть освещены.
При маневре крана следует подавать предупреждающий сигнал; его передвижение допускается после того, как машинист убедится в отсутствии людей в радиусе действия крана.
Прежде чем приступить к работам по уплотнению грунта тяжелыми трамбовками, весь персонал, занятый на этих работах, должен пройти инструктаж по технике безопасности.
3.154. Устройство грунтовых подушек должно производиться в котлованах, отрытых ниже проектной отметки заложения фундаментов на глубину, равную толщине грунтовой подушки, с соблюдением следующих требований:
а) толщина отсыпаемых слоев должна приниматься в зависимости от уплотняющей способности применяемых механизмов;
б) грунт для устройства грунтовой подушки следует доставлять в котлован в состоянии оптимальной влажности или производить доувлажнение его до оптимальной влажности на месте укладки;
в) отсыпка каждого последующего слоя должна производиться только после проверки качества уплотнения и получения удовлетворительных результатов по предыдущему слою;
г) устройство грунтовых подушек в зимнее время допускается из талых грунтов с содержанием мерзлых комьев размером не более 15 см не свыше 15% общего объема при среднесуточной температуре воздуха не ниже минус 10 °C. В случае понижения температуры или перерывов в работе подготовленные, но не уплотненные участки котлована должны укрываться теплоизоляционными материалами или рыхлым сухим грунтом; отсыпка грунта на промороженный слой допускается, как исключение, при толщине мерзлого слоя не более 0,5 м и влажности грунта не выше влажности на границе раскатывания.
3.155. Устройство грунтовых подушек включает:
разработку котлована;
планировку и уплотнение его дна;
отсыпку, планировку и уплотнение каждого слоя до требуемой плотности;
проверку качества уплотнения грунта в каждом слое.
3.156. Грунтовые подушки устраивают по проектам, включающим технологические карты производства работ. Рациональную схему и порядок производства выбирают в зависимости от имеющегося оборудования по уплотнению грунтов, фронта работ и плана расположения здания или сооружения.
3.157. Разработку котлованов осуществляют в зависимости от толщины подушки, размеров и конфигурации фундаментов в соответствии с
п. 3.61 настоящего Пособия. Траншеи под фундаменты отдельно стоящих колонн разрабатывают сплошной лентой основных рядов (рис. 23); грунтовые подушки устраивают также в виде сплошных лент, а не на отдельных участках.
Рис. 23. Последовательность операций по устройству
грунтовой подушки при рытье траншей экскаватором
1 - движение экскаватора: 2 - движение самосвалов;
3 - рытье котлована; 4 - отсыпка грунта слоями;
5 - уплотнение грунта и контроль качества
При разработке котлованов и траншей устраивают съезды для машин. Чтобы предотвратить попадание атмосферных вод с окружающей территории, котлованы ограждают валом высотой не менее 20 - 30 см.
3.158. Для удобства производства работ всю уплотняемую площадь разбивают на отдельные карты, на каждой из которых последовательно чередуются выполнение основных работ по отсыпке грунта и его уплотнению.
3.159. Размеры карт назначают с учетом производительности и числа применяемых механизмов для устройства подушек, а также изменения влажности грунтов за период от начала отсыпки до окончания уплотнения.
Уменьшение влажности грунта в результате испарения в летнее время рекомендуется принимать приближенно в пределах 0,02 за сутки. Для исключения изменения влажности под влиянием атмосферных осадков и испарения отсыпанный грунт сразу же уплотняют до проектной плотности.
3.160. В тех случаях, когда для устройства подушек используют грунты влажностью ниже оптимальной, рекомендуется производить доувлажнение их до оптимальной влажности непосредственно в карьере или резерве. Разработку грунта в карьере или резерве и доставку на место укладки производят только после полного впитывания воды в грунт и достижения им оптимальной влажности.
3.161. При небольшом объеме работ доувлажнение грунта производят после его отсыпки равномерно по всей площади заданным количеством воды из автоцистерны или временного водопровода. К уплотнению приступают после того, как грунт по всей глубине приобретает влажность, близкую к оптимальной.
3.162. Использование переувлажненного грунта допускается только в сухое время, когда возможно подсушивание грунта до оптимальной влажности.
Подсушивание грунта производят послойно путем естественного испарения, для чего после укладки и разравнивания грунт выдерживают установленное опытом время. Чтобы ускорить процесс просушивания грунта, рекомендуется производить его рыхление.
3.163. При необходимости повышения влажности уже уплотненного слоя грунта доувлажнение рекомендуется производить после рыхления верхнего уплотненного слоя на глубину 1/3 его толщины, а укатку производят в соответствии с
п. 3.1 настоящего Пособия.
3.164. В случае значительных объемов работ и при использовании тяжелых катков для предупреждения образования вала перед вальцом катка целесообразно производить предварительную подкатку уплотняемого грунта более легкими катками на пневмоколесном ходу с пониженным давлением воздуха 0,4 - 0,6 МПа (4 - 6 атм) в шинах или тракторами.
3.165. При применении кулачковых катков необходимо учитывать, что эффективность их работы зависит от состояния и чистоты кулачков, т.е. следует обращать внимание на исправность очистных приспособлений.
3.166. Укатку грунта можно производить транспортными средствами, доставляющими грунт. В этом случае их движение необходимо организовать таким образом, чтобы уплотнение производилось равномерно.
Доуплотнение верхнего слоя следует осуществлять тяжелыми катками.
3.167. Если работы по устройству подушек были прерваны на длительное время, то перед возобновлением работ необходимо произвести доуплотнение верхнего, ранее уплотненного слоя.
3.168. Уплотнение грунтов в дождливое время производят сразу после их отсыпки. Перерывы в работах устраивают только после окончания уплотнения грунта, при этом уплотненная поверхность должна иметь уклон для стока воды в приямки-зумпфы, откуда ее удаляют насосами. При отсыпке грунта на мокрую поверхность следует применять грунт влажностью ниже оптимальной на 0,02 - 0,03.
3.169. Отсыпку и уплотнение грунта в зимних условиях производят с учетом:
возможной глубины промерзания грунта за сутки в местных климатических условиях;
производительности применяемого оборудования для уплотнения грунта;
толщины уплотняемого слоя и числа смен в сутки;
конструкции фундаментов и принятого решения по их возведению.
3.170. Чтобы исключить возможность промерзания грунта в процессе его укладки и уплотнения, весь процесс по устройству подушек должен быть организован непрерывным потоком, желательно круглосуточно.
3.171. Укладка грунта на ранее уплотненный промороженный грунт допускается при толщине слоя не более 0,4 м только в тех случаях, когда влажность его не превышает 0,9 влажности на границе раскатывания. В противном случае промороженный грунт должен быть удален.
3.172. Доувлажнение грунта в зимних условиях на месте укладки допускается только водным раствором поваренной соли.
3.173. В процессе производства работ по поверхностному уплотнению трамбованием и укаткой ведут журналы
(Прил. 2), в которых указывают:
вид уплотняемого грунта;
толщину уплотняемого слоя;
вес, размер и высоту сбрасывания трамбовок, тип грунтоуплотняющих механизмов;
число ударов трамбовки или проходов грунтоуплотняющих механизмов;
плотность и влажность уплотняемого грунта.
Журналы подписывает производитель работ или сменный инженер.
3.174. Вытрамбовывание котлованов под фундаменты должно выполняться с соблюдением следующих требований:
а) вытрамбовывание котлованов под отдельно стоящие фундаменты надлежит выполнять сразу на всю глубину котлована без изменения положения направляющей штанги трамбующего механизма;
б) доувлажнение грунта в необходимых случаях должно производиться от отметки дна котлована на глубину не менее полуторной ширины котлована;
в) оттаивание мерзлого грунта необходимо производить на всю глубину промерзания в пределах площади, стороны которой равны полуторным размерам сторон котлована; вытрамбовывание котлованов при отрицательной температуре воздуха рекомендуется выполнять без дополнительного увлажнения грунта;
г) втрамбовывание в дно котлована щебня, гравия, крупного песка для создания уширенного основания производят сразу же после вытрамбовывания котлована.
3.175. Вытрамбовывание котлованов состоит из следующих процессов:
отрывка и подготовка котлована для вытрамбовывания;
вытрамбовывание котлованов;
втрамбовывание жесткого материала в дно котлована;
устройство монолитных фундаментов;
установка сборных фундаментов.
3.176. Котлован вытрамбовывания отрывается на проектную глубину сразу по всей площади или отдельными участками в зависимости от необходимого фронта работ. При этом полностью срезается растительный слой и насыпной грунт, содержащий более 0,05 органических включений по весу.
3.177. Подсыпка дна котлована при срезке растительного слоя с содержанием растительных остатков более 0,05, а также при уклонах местности выполняется из местного глинистого грунта оптимальной влажности отдельными слоями с уплотнением каждого слоя до удельного веса сухого грунта 1,55 - 1,6 т/м3.
Качество уплотнения проверяется путем отбора проб из расчета одной пробы на 100 м3 уплотненного грунта, но не менее трех на каждом участке.
Подсыпку целесообразно производить из глинистых грунтов с более высоким числом пластичности, чем грунты подстилающего слоя, но не ниже 0,8.
Размеры котлована в плане должны обеспечить возможность маневрирования механизмов, выполняющих вытрамбовывание котлованов и бетонирование фундаментов, для чего с одной стороны здания делается уширение котлована, на котором осуществляются проезды и развороты машин.
3.178. В целях исключения попадания атмосферных вод с окружающей территории котлован с верховой стороны обваловывается, а съезды делаются с низовой стороны. Дно котлована в пределах каждого участка должно быть ровным, исключающим скопление атмосферных вод, и планируется с точностью +/- 5 см.
3.179. В тех случаях, когда необходимо доувлажнение грунтов до оптимальной влажности, производится заливка расчетного количества воды на пятно будущего котлована, огражденное грунтовым валиком или специальным шаблоном, вдавливаемым в грунт.
Необходимое количество воды A, м3, для получения оптимальной влажности грунта под каждый котлован определяется по формуле

, (3)
где

- удельный вес воды, равный 1 тс/м3;
F - площадь проекции уплотненной зоны;

- максимальная толщина уплотненного слоя;

- среднее значение плотности сухого грунта естественного сложения;

- значение оптимальной влажности грунта;
W - природная влажность грунта.
При необходимости увлажнения грунтов на глубину более 2,5 - 3 м для замачивания бурятся одна или три расположенные по вершинам равностороннего треугольника скважины диаметром 20 - 30 см, глубиной до 1,2 м, в которые заливается вода.
После полного впитывания воды и подсыхания верхнего слоя грунта до оптимальной влажности производится повторная планировка всей площади котлована.
3.180. При производстве работ в зимнее время, когда толщина промерзающего слоя превышает 30 см, производится оттаивание его на всю толщину промерзания на площади диаметром

(

- размер трамбовки в среднем сечении).
3.181. Перед началом работ по вытрамбовыванию котлованов производится разбивка их центров. Отклонения центров котлованов в каждую сторону не должны превышать 3 см от проектного положения.
Для фундаментов с плоской подошвой относительно их осей по шаблону очерчивается место установки трамбовки.
Для фундаментов с заостренным и уширенным основанием по центрам будущих котлованов устанавливаются соответствующие шаблоны, обеспечивающие необходимую точность установки трамбовки.
3.182. При разбивке осей каждому котловану присваивается порядковый номер, который в дальнейшем используется для технического отчета, и в соответствии с выполненной нивелировкой и требованиями проекта намечается необходимая глубина вытрамбовывания.
3.183. Готовность котлована для производства работ по вытрамбовыванию оформляется актом на скрытые работы. Акт составляется представителями заказчика, технической инспекции, авторского надзора, исполнителя работ после осмотра готовности работ на месте. К акту прилагается исполнительная схема котлована с указанием проектных и фактических размеров и отметок, данных по разбивке осей зданий и центров будущих фундаментов.
3.184. Вытрамбовывание котлованов производится в соответствии с проектом или технологической картой производства работ.
Очередность вытрамбовывания котлованов и схема движения механизма с трамбовкой назначается с таким расчетом, чтобы обеспечить бетонирование фундаментов не позднее, чем через 1 - 2 сут после окончания вытрамбовывания с учетом расстояния между трамбуемой и бетонируемой захватками (не менее 15 м) в целях предохранения свежеуложенного бетона от сотрясений в течение первых трех суток его твердения.
3.185. При расстояниях в свету между отдельными фундаментами менее

(

- ширина трамбовки в среднем сечении) котлованы вытрамбовываются через один фундамент. Вытрамбовывание котлованов под пропущенные фундаменты производится не менее чем через 3 сут после бетонирования фундаментов в ранее вытрамбованных котлованах.
В процессе производства работ обращается особое внимание на сохранность вытрамбованных котлованов и забетонированных фундаментов.
3.186. Вытрамбовывание котлованов начинается с установки трамбовки по центру и осям будущего фундамента. Допускаются отклонения центра трамбовки на величину не более 3 см, а разворот осей на 5°.
Вытрамбовывание котлованов производится последовательным сбрасыванием трамбовки по направляющей штанге с высоты 3 - 8 м, а при применении сваебойного оборудования - забивкой на заданную глубину.
Высота сбрасывания трамбовки принимается при следующих условиях: величина погружения трамбовки за один удар не должна превышать 0,15 глубины котлована, необходимо исключить засасывание трамбовки, обеспечить сохранность стенок котлована и т.п. Для доуплотнения верхнего слоя дна котлована последний удар трамбовки делается с высоты 1 м.
3.187. Вытрамбовывание котлованов на каждой стоянке механизма должно производиться сразу на всю глубину. Перемещение направляющей штанги и механизма во время вытрамбовывания, за исключением случая выправления направляющей в вертикальное положение, не рекомендуется.
Глубина вытрамбованного котлована должна соответствовать проектной с точностью +/- 5 см.
3.188. Вытрамбовывание котлованов под спаренные фундаменты (у осадочных швов и т.п.) должно выполняться последовательно отдельными этапами на 0,2 - 0,4 глубины котлована при каждом положении направляющей штанги (рис. 24).
Рис. 24. Последовательность вытрамбовывания котлована в два
следа под спаренный фундамент у осадочного шва (о. ш.)
I - V - этапы вытрамбовывания
Изменение положения направляющей штанги при вытрамбовывании котлованов под спаренные фундаменты выполняется перемещением механизма или поворотом стрелы.
3.189. Смещение центров вытрамбованных котлованов от проектного положения не должно превышать 0,1 его ширины поверху, а при наличии стакана для установки колонны - 0,05. При невыполнении этих условий перед сдачей котлована производится соответствующая подрезка боковых стенок котлована вручную с удалением или доуплотнением осыпавшегося грунта на дно котлована.
3.190. В процессе вытрамбовывания котлованов инженерно-техническим персоналом участка и лабораторией строительства ведется журнал производства работ в соответствии с формой, приведенной в
Прил. 14.
3.191. Приемка-сдача готовых котлованов под бетонирование фундаментов осуществляется отдельными захватками (секциями). Каждый котлован очищается от рыхлого разуплотненного грунта на дне и стенках котлована и в целях исключения влияния атмосферных воздействий и выполнения требований техники безопасности закрывается крышкой.
Приемка котлованов выполняется комиссией на основе исполнительной схемы с указанием проектных и фактических отметок и расположения котлованов, журнала производства работ (см.
Прил. 4), осмотра состояния котлованов на месте и оформляется актом на скрытые работы с приложением приведенных выше документов.
3.192. Для создания уширенного основания в дно вытрамбованного котлована втрамбовывается жесткий материал (щебень, гравий, крупный песок, жесткий бетон и т.п.).
Вид материала, втрамбованного в дно котлована, указывается в проекте и назначается с учетом конструкции фундамента, нагрузок на него, наличия в районе строительства того или иного материала и т.п. Прочность материала (щебня, гравия, песка) должна быть не ниже 300 кгс/см2.
3.193. Втрамбовывание жесткого материала в дно котлована производится, как правило, сразу же после его вытрамбовывания без изменения положения механизма и направляющей штанги и с занесением необходимых данных в журнал производства работ
(Прил. 10).
При последовательном выполнении работ особое внимание обращается на точность установки направляющей штанги и трамбовки в их первоначальное положение.
3.194. Засыпка и втрамбовывание жесткого материала в вытрамбованный котлован производится отдельными порциями из расчета заполнения котлована на 0,6 - 1,2 м по высоте.
Засыпка выполняется при поднятой трамбовке мерными емкостями, например, ковшом автопогрузчика. Каждая порция материала засыпается после втрамбовывания предыдущей порции до проектной глубины котлована или отметки, указанной в проекте.
3.195. Втрамбовывание жесткого материала в дно котлована производится сбрасыванием трамбовки с высоты 4 - 8 м. При осыпании грунта со стенок котлована высота сбрасывания трамбовки снижается до 3 - 4 м.
При близко расположенных один от другого фундаментах (на расстояниях в свету менее

) втрамбовывание жесткого материала производят через один фундамент.
3.196. Втрамбовывание жесткого материала продолжается до тех пор, пока не будет погружен в грунт заданный в проекте объем жесткого материала. Втрамбовывание последней порции материала допускается прекращать, не доходя до проектной отметки, если после 12 ударов трамбовки понижение трамбуемой поверхности за один удар достигает менее 3 - 4 см, что отмечается в графе "Примечание" журнала производства работ.
3.197. Фундаменты устраиваются сразу же после приемки вытрамбованных котлованов в соответствии с
п. 3.132. Устройство их начинается с установки и закрепления арматурных сеток (каркасов) в соответствии с проектом, а также опалубки выступающих частей, гнезд и закладных деталей фундаментов в соответствии с их расположением по проекту.
3.198. Бетонирование фундаментов производится враспор бетоном марки М 200 или М 150 до заранее установленных отметок на стенках котлована, опалубки стакана или специально устанавливаемых приспособлениях. Бетон уплотняется вибраторами.
Укладка бетона и его уплотнение производятся в соответствии с проектом производства работ, типовыми технологическими картами и требованиями
СНиП III-15-76.
Во избежание засорения бетона грунтом подачу его в котлован целесообразно осуществлять по легким наклонным лоткам, передвигаемым с одного котлована на другой.
3.199. Бетонирование фундаментов производится сразу на всю высоту до проектной отметки верха. Допуски и отклонения верхних поверхностей фундаментов от проектных отметок не должны превышать +/- 10 мм.
В процессе бетонирования ведется журнал бетонных работ.
3.200. Приемка готовых фундаментов производится технической комиссией (см.
п. 3.132) на основе данных об их состоянии на месте, журналов производства работ, исполнительных схем с составлением акта на скрытые работы. К акту прилагаются исполнительные схемы на выполненные фундаменты, журналы производства работ по вытрамбовыванию котлованов и бетонных работ, ведомость испытаний контрольных образцов-кубов бетона.
Монтаж и устройство верхнего строения начинаются после того, как бетон фундаментов достигает прочности не ниже 70% проектной.
3.201. Перед установкой сборных фундаментных башмаков уточняются разбивка центра и осей фундаментов по вытрамбованным котлованам и отметки их дна. При смещении центра осей, а также при повышении отметки дна вытрамбованного котлована более чем на 5 см от проектного положения производится соответствующая подрезка стенок и дна котлована с зачисткой их вручную. После этого закрепляется на месте положение осей фундамента.
3.202. Перед установкой сборных фундаментных башмаков на подготовленной поверхности дна вытрамбованного котлована укладывается выравнивающий слой из цементного раствора толщиной 3 - 5 см. В том случае, если отметка дна котлована окажется ниже проектной, толщина цементной подготовки увеличивается на соответствующую высоту.
3.203. Сборные фундаменты-башмаки устанавливаются строго по осям фундаментов и затем вдавливаются в вытрамбованный котлован путем добивки их легкими ударами трамбовки, падающей с высоты 0,5 - 0,8 м.
Зазоры между фундаментами и стенками котлованов заполняются пластичным бетоном или цементным раствором.
3.204. Отрывка котлованов для вытрамбовывания в зимнее время выполняется отдельными захватками с размерами, при которых с учетом среднесуточных отрицательных температур обеспечивается вытрамбовывание котлована в практически талом грунте.
Подсыпка грунта при планировке дна котлована производится только талым грунтом с уплотнением его до требуемой степени плотности в талом состоянии.
Сразу же после отрыва и планировки дна котлованов поверхность их в местах расположения вытрамбованных котлованов целесообразно утеплять специальными матами.
3.205. Вытрамбовывание котлованов в зимнее время должно производиться при талом состоянии грунта. Промерзание грунта с поверхности допускается на глубину не более 30 см.
При промерзании грунта на глубину более 30 см перед началом работ по вытрамбовыванию котлованов производится его оттаивание на всю толщину мерзлого слоя (см.
п. 3.120). Метод, режим и сроки оттаивания мерзлого грунта принимаются в соответствии с проектом или типовыми технологическими картами производства работ.
3.206. Вытрамбовывание котлованов при отрицательных температурах воздуха производится, как правило, при его естественной влажности без дополнительного увлажнения.
При влажности грунтов ниже оптимальной на 0,06 - 0,08 допускается производить доувлажнение их раствором поваренной соли.
3.207. Перед вытрамбовыванием котлована снег и лед с поверхности грунта в месте их расположения удаляют.
В процессе производства работ по вытрамбовыванию котлована, втрамбовыванию жесткого материала в дно котлована, а также по бетонированию фундаментов не допускается попадание в котлован комьев снега, льда, мерзлого грунта.
3.208. Втрамбовывание жесткого материала в дно котлована в зимних условиях должно производиться только при талом состоянии грунта на дне котлована сразу же после его вытрамбовывания. Разрыв между вытрамбовыванием котлована и втрамбовыванием жесткого материала не должен превышать 4 - 5 ч.
Жесткий материал, используемый для создания уширенного основания, должен находиться в талом или сыпучем состоянии.
3.209. После вытрамбовывания до проектной отметки и втрамбовывания жесткого материала котлованы следует закрывать утепленными крышками. Талое состояние грунта на дне и стенках котлованов должно сохраняться до бетонирования фундаментов.
3.210. Перед бетонированием фундаментов проверяется талое состояние стенок и дна вытрамбованных котлованов, а также готовность их в соответствии с требованиями
п. 3.191. При промерзании грунта внутри котлованов производится оттаивание его.
3.211. Бетонирование фундаментов в зимнее время выполняется в соответствии с требованиями
разд. 5 СНиП III-15-76.
Режим электропрогрева и уплотнения бетона на период его твердения, а также контроль за электропрогревом определяется проектом производства работ.
3.212. Установка сборных фундаментных блоков в зимнее время производится по
пп. 3.243 -
3.245 с электропрогревом бетонной или цементной подготовки под фундаментами и в зазорах между ними и стенками котлованов.
3.213. После бетонирования фундаментов грунт вокруг фундаментов во избежание дополнительного промерзания утепляется на весь период производства работ. Для его утепления применяют опилки, соломенные маты, снег и т.п.
| | ИС МЕГАНОРМ: примечание. В официальном тексте документа, видимо, допущена опечатка: пункт 3.31 в СНиП 2.02.01-83 отсутствует. | |
В тех случаях, когда возможно промерзание грунта и незагруженных фундаментов на величину

(

- нормативная глубина сезонного промерзания, определяемая по п. 3.31
СНиП 2.02.01-83), на фундаментах следует установить марки и проводить систематическое наблюдение за их осадкой и подъемом. При подъемах свыше 2 см до монтажа верхних конструкций фундаменты после оттаивания грунта вокруг них должны быть добиты или пригружены статической нагрузкой с получением осадки: при добивке - 5 см, при пригрузке - осадки, равной величине подъема.
3.214. Глубинное уплотнение грунтов грунтовыми сваями должно выполняться с соблюдением следующих требований:
а) проходка скважин станками ударно-канатного бурения должна осуществляться, как правило, при природной влажности грунта; станки должны быть устойчивы, а штанги ударного снаряда строго вертикальны; проходку скважин надлежит производить с использованием преимущественно ударных снарядов диаметром до 0,45 м и весом не менее 3 т при высоте сбрасывания 0,8 - 1,2 м;
б) устройство скважин с помощью взрыва допускается, если влажность грунта находится на пределе раскатывания, а при меньшей влажности грунт должен быть доувлажнен; в случае отсутствия указаний в проекте шпуры бурятся диаметром 80 мм, а ВВ принимается в виде патронов аммонита N 9 или N 10 весом 50 г от 5 до 10 шт. на 1 м шпура; при проходке скважин взрывом их надлежит устраивать через одну, а пропущенные - только после засыпки и послойного уплотнения ранее пройденных;
в) перед засыпкой каждой скважины, полученной взрывом, должны производиться замеры ее глубины; при образовании завала высотой до 1,5 м он должен быть уплотнен 20 ударами трамбующего снаряда, более 1,5 м - делается новая скважина;
г) для уплотнения грунта в скважинах следует применять станки ударно-канатного бурения, обеспечивающие возможность использования грунтов с отклонением от оптимальной влажности в пределах от 0,02 до -0,06;
д) проходка скважин станками ударно-канатного бурения в зимнее время допускается при промерзании грунта на глубину не более 0,3 м, а при большей глубине - только после оттаивания промерзшего слоя или проходки его бурением; набивку скважин при отрицательной температуре воздуха необходимо производить талым грунтом.
3.215. Глубинное уплотнение грунтовыми сваями состоит из следующих этапов:
вертикальной планировки площадки с удалением растительного слоя;
разбивки сетки грунтовых свай;
пробивки скважин до проектной глубины;
доставки грунта и засыпки его в скважины отдельными порциями с послойным уплотнением до проектной плотности;
поэтапного контроля за пробивкой скважин, толщиной отсыпаемого слоя грунта в скважину и качеством уплотнения. Число одновременно работающих станков принимают исходя из размеров уплотняемой площади.
3.216. Пробивку скважин станками ударно-канатного бурения производят с поверхности спланированной площади или со дна котлована через одну. Пропущенные скважины пробивают после засыпки грунта и его уплотнения в ранее полученных.
Скважины пробивают одним станком с наконечником, используемым также и для уплотнения засыпаемого грунта, или двумя станками с использованием второго станка для изготовления пропущенных грунтовых свай.
3.217. Скважины разрешается пробивать, когда зазор между поверхностью наконечника свободно висящего ударного снаряда и внутренней поверхностью кондуктора (цилиндра) составляет не более 4 см.
3.218. Равномерное уплотнение оснований с использованием энергии взрыва зарядов ВВ обеспечивается при оптимальной влажности грунта.
Когда природная влажность грунта меньше оптимальной, производят его доувлажнение.
3.219. Перед производством работ следует провести контрольное определение влажности грунта по образцам, отобранным из разведочных скважин через 1 м по глубине.
Скважины бурят на всю глубину просадочной толщи в пределах контура возводимого сооружения из расчета одна скважина на 500 м2 уплотняемой площади, но не менее одной в пределах здания.
По образцам, отобранным из скважин, составляют чертежи колонок с указанием результатов определения природной влажности и влажности на границе раскатывания для каждого слоя по глубине.
По полученным послойным среднеарифметическим значениям определяют средневзвешенную влажность грунта в природном залегании и на границе раскатывания по формуле

, (4)
где

- средневзвешенная влажность грунта;

;

;

- среднеарифметические значения влажности отдельных слоев грунта;

;

;

- толщина однородных слоев грунта, м.
3.220. Необходимое количество воды A на 1 м3 грунта определяется по формуле

, (5)
где

- среднее значение плотности сухого грунта, т/м3;

- оптимальная влажность, доли единицы;
W - природная влажность грунта;
K - коэффициент, учитывающий потери воды на испарение и равный 1,1.
Для принятых значений плотности и влажности грунта количество воды может быть определено по табл. 4.
Таблица 4
──────────┬────────────────────────────────────────────────────────────────
Грунт │Количество воды, м3, необходимое для повышения влажности грунта
│до оптимального значения при влажности его в природном состоянии
├──────────┬──────────┬──────────┬──────────┬──────────┬─────────
│ 0,07 │ 0,08 │ 0,09 │ 0,10 │ 0,11 │ 0,12
──────────┼──────────┼──────────┼──────────┼──────────┼──────────┼─────────
Супесь │ 0,144 │ 0,128 │ 0,112 │ 0,096 │ 0,080 │ 0,062
──────────┼──────────┼──────────┼──────────┼──────────┼──────────┼─────────
Суглинок │ 0,176 │ 0,160 │ 0,144 │ 0,128 │ 0,112 │ 0,096
Продолжение табл. 4
──────────┬────────────────────────────────────────────────────────────────
Грунт │Количество воды, м3, необходимое для повышения влажности грунта
│до оптимального значения при влажности его в природном состоянии
├────────────┬────────────┬─────────────┬────────────┬───────────
│ 0,13 │ 0,14 │ 0,15 │ 0,16 │ 0,17
──────────┼────────────┼────────────┼─────────────┼────────────┼───────────
Супесь │ 0,048 │ 0,032 │ 0,016 │ - │ -
──────────┼────────────┼────────────┼─────────────┼────────────┼───────────
Суглинок │ 0,080 │ 0,062 │ 0,048 │ 0,032 │ 0,016
Примечание. Таблица составлена для

при

для супеси и

- для суглинка.
Замачивание грунтов основания производят после удаления растительного слоя, а при наличии насыпных грунтов, состоящих из строительного мусора с органическими остатками, - после их удаления.
Заливку расчетного количества воды при толщине просадочного грунта более 15 м производят в пределах всей уплотняемой площади или отдельными участками через дно котлована и дренажные скважины диаметром 150 - 200 мм.
Дренажные скважины для замачивания пробивают или бурят между запроектированными грунтовыми сваями и заполняют дренирующим материалом (песком или щебнем). Число их назначают из расчета одна скважина на 10 м2 площади уплотняемого основания.
3.221. При производстве работ в зимнее время замачивание грунта производят только через дренажные скважины.
Количество воды, поступающей в котлован, учитывают водомерами или другим способом, обеспечивающим точность расхода воды до 10%.
3.222. После полного просачивания воды в грунт и подсыхания дна котлована производят контрольное бурение с отбором образцов для определения влажности. Если влажность грунта ниже предусмотренной проектом, производится дополнительное увлажнение.
3.223. Скважины-шпуры для установки цепочки патронов ВВ устраивают диаметром 80 - 85 мм. Проходка их осуществляется бурением или пробивкой.
3.224. Для пробивки скважин-шпуров применяют штанги диаметром 48 - 52 мм. Штанги забивают в грунт звеньями длиной 2 - 2,5 м вибратором или молотом весом 350 - 400 кг.
В первое звено штанги ввинчивают конусообразный башмак диаметром 80 - 85 мм, изготовленный из металла, который обеспечивает легкое извлечение штанг после пробивки.
Верх штанги для сохранения резьбы при забивке накрывается наголовником в виде стальной пробки или муфты с деревянной прокладкой.
3.225. Для обеспечения вертикальности скважин-шпуров штанги погружают через кондуктор. Извлечение штанг производят тем же копром, которым производилась пробивка.
Проходка скважин-шпуров производится от периферии котлована к центру через одну. Пробивка оставшихся скважин-шпуров производится после расширения взрывом ранее пройденных и набивки их грунтом и фиксируется в журнале
(Прил. 5).
3.226. Для расширения скважин в просадочных грунтах применяются патроны фабричного изготовления. При их отсутствии патроны можно готовить на месте из плотной водонепроницаемой бумаги, накатанной в два-три слоя на деревянные болванки с последующей закаткой торца. Дно такой гильзы забивается по торцу болванки.
Аммоний или другое ВВ засыпается в гильзы мерными стаканчиками по 50 г с точностью взвешивания до 0,5 г, после чего гильза закрывается. При повышении влажности ВВ в патронах их применение не допускается.
3.227. Для каждого слоя однородного грунта число патронов устанавливается на основе инженерно-геологического разреза, исходя из степени глинистости грунта, характеризуемой числом пластичности и уточняется на основе опытных взрывов:
Число │0,05 │0,06 - 0,08│0,09 - 0,12│0,13 - 0,14│0,15 - 0,16│ 0,17
пластичности │ │ │ │ │ │ и
грунта │ │ │ │ │ │более
Количество │ 5 │ 6 │ 7 │ 8 │ 9 │ 10
патронов на 1 м│ │ │ │ │ │
скважины-шпура │ │ │ │ │ │
3.223. Патроны надежно прикрепляются к одной или двум нитям шпагата или отожженной проволоки и размещаются равномерно по глубине в пределах каждого однородного слоя.
Длина цепочки патронов назначается с таким расчетом, чтобы верхний патрон располагался на 0,5 - 0,7 м ниже поверхности земли (устья шпура) во избежание выброса грунта при взрыве.
До опускания заряда в скважину-шпур должны быть проверены ее вертикальность, глубина, число патронов, их расположение, длина заряда и соответствие их проекту.
Заряд опускается в скважину-шпур непосредственно перед взрывом и должен находиться в натянутом состоянии под действием собственного веса.
3.229. Взрыв осуществляется в каждой скважине отдельно при помощи детонирующего шнура. Интервал между взрывами отдельных зарядов принимается не менее 1 мин. После взрыва и выхода газов измеряются глубина и диаметр полученной скважины.
3.230. При взрыве может образоваться завал части скважины грунтом.
Если высота завала больше 1,5 м, скважина считается бракованной. В этом случае вначале трамбуют обвалившийся грунт, затем засыпают порции грунта с послойным уплотнением и в непосредственной близости изготавливают дополнительную грунтовую сваю.
Если высота завала менее 1,5 м, при необходимости его вначале доувлажняют и утрамбовывают не менее чем 20 ударами снаряда, а затем засыпают первую порцию грунта с последующим уплотнением.
3.231. Скважины заполняют грунтом порциями, каждая из которых уплотняется станком БС-1М. В качестве грунтового материала используются суглинки и супеси (без включения растительных остатков и строительного мусора), имеющие оптимальную влажность. Отклонение от оптимальной влажности допускается в пределах 0,02 - 0,04.
Если влажность предназначенного к засыпке в скважину грунта не отвечает требованию проекта, производят его доувлажнение.
Ориентировочное количество воды, м3, необходимое для увлажнения 1 м3 грунта в зависимости от его влажности, принимается по табл. 5.
──────────────────────────────────────┬────────────────────────────────────
Удельный вес сухого грунта, кН/м3 │ Количество воды, %, от объема
(плотность сухого грунта, г/см3) │ уплотняемого песка
──────────────────────────────────────┼────────────────────────────────────
14,71 (1,5) │ 50
15,2 (1,55) │ 45
15,69 (1,6) │ 40
3.232. Доставленный к месту работ и подготовленный к засыпке грунт должен быть в короткий срок использован для набивки скважин.
Если создается запас грунта, то должны быть приняты меры, предупреждающие возможное его высыхание или переувлажнение (покрытие грунта брезентом, хранение под навесом и т.п.).
3.233. Объем грунта в порции назначают из расчета получения столба рыхлого материала в скважине высотой не более 2 диаметров скважины.
Грунт засыпают в скважину при поднятом ударном снаряде с помощью механизмов, снабженных дозаторами, равными 0,2 м3 (порядка 300 кг) при массе ударного снаряда 3 т.
3.234. Трамбование каждой порции грунта в скважине производится с помощью станка ударно-канатного бурения с массой ударного снаряда не менее 2 т.
3.235. Набивку скважин грунтом ведут до полного ее окончания. В случае перерыва в работе скважину следует закрыть, исходя из условий техники безопасности.
Для набивки 0,8 - 1 м скважины требуется 300 - 400 кг грунта (одна порция), а для уплотнения его до проектной плотности достаточно 20 ударов, т.е. примерно 0,5 мин работы станка.
3.236. В зимнее время основными трудностями, вызывающими снижение производительности работ, являются:
промерзаемость верхних слоев грунта, затрудняющая пробивку скважин и вызывающая отклонение ее оси от проектной;
быстрое смерзание подвозимого грунта для засыпки скважин в процессе его складирования.
Промерзание верхнего слоя грунта на глубину 0,15 - 0,2 м не оказывает существенного влияния на пробивку скважин станками БС-1М.
При глубине промерзания верхнего слоя грунта более 0,2 м необходимо проведение дополнительных работ, обеспечивающих пробивку скважин. К ним относятся:
разработка мерзлого грунта станками шнекового бурения;
электропрогрев мерзлого грунта;
комбинированный способ, который включает в себя электропрогрев с последующим разбуриванием грунта.
3.237. При проходке скважин в мерзлом грунте принимается следующая схема работ. Первоначально буровой машиной (диаметром 325 мм) разбуривается верх скважины до глубины 1,5 - 2 м, после чего на скважину устанавливается станок, который производит дальнейшую пробивку скважин диаметром снаряда 426 мм.
3.238. При устройстве грунтовых свай грунт, засыпаемый в скважины, не должен содержать в себе мерзлых включений грунта.
3.239. Уплотнение грунтов предварительным замачиванием необходимо выполнять с соблюдением следующих требований:
а) котлован или отдельные карты для замачивания должны отрываться в основном за счет удаления растительного и насыпного слоев, дно котлована планируется срезкой грунта;
б) замачивание должно проводиться путем затопления котлована водой с поддержанием уровня на высоте 0,3 - 0,8 м от дна и продолжаться до промачивания всей толщи просадочных грунтов и условной стабилизации просадки, за которую принимается просадка менее 1 см в неделю;
в) в процессе предварительного замачивания должны вестись систематические наблюдения за осадкой поверхностных и глубинных марок, а также за расходом воды; нивелирование марок должно производиться не реже одного раза в 5 - 7 дней;
г) глубину замачивания следует устанавливать по результатам определения влажности грунта через метр по глубине на всю просадочную толщу;
д) при отрицательных температурах воздуха предварительное замачивание должно производиться с сохранением дна затапливаемого котлована в талом состоянии и подачей воды под лед;
е) при уплотнении грунтов замачиванием с применением энергии глубинных взрывов взрывные работы следует выполнять сразу же после подачи в грунт воды.
3.240. При уплотнении просадочных грунтов предварительным замачиванием последовательно выполняются следующие этапы:
подготовка котлованов-карт для замачивания;
замачивание грунта в котлованах;
доуплотнение верхнего разрыхленного слоя грунта после окончания замачивания.
Подготовка котлована для замачивания включает в себя разбивку на карты; подвозку дренирующего материала; разводку временного водопровода; бурение скважины при толщах просадочных грунтов, достигающих 15 м и более, и другие строительные работы.
3.241. Котлованы отрываются бульдозером или скрепером. Вынутый грунт частично идет на обвалование котлована. Стенки котлована устраиваются с минимальными откосами, а обвалование - с откосами в 45° и тщательным уплотнением.
3.242. Планировка котлована или отдельных карт выполняется с точностью +/- 10 см от заданных отметок. В целях предотвращения заиливания грунта по дну котлована отсыпается дренирующий слой из крупнозернистого песка или гравия толщиной 8 - 10 см. При этом дренирующий слой не должен содержать глинистых или пылеватых частиц более 20 - 25% по весу.
На участке, где установлены поверхностные и глубинные марки, разравнивание дренирующего материала производится вручную.
3.243. Дренажные скважины целесообразно устраивать на глубину 0,7 - 0,8 величины просадочной толщи.
Расстояние между скважинами в пределах замачиваемого участка назначается 3 - 7 м и принимается в зависимости от их диаметра и фильтрационной способности грунтов.
В целях обеспечения более равномерного уплотнения грунта по всему котловану и ускорения просадки скважины по периметру котлована располагаются через 2 - 4 м (рис. 25).
Рис. 25. Рекомендуемая схема расположения
скважин для замачивания котлованов
1 - контур котлована; 2 - контур проектируемого здания;
3 - скважины для предварительного замачивания
3.244. При замачивании грунта следует вести наблюдения за:
расходом воды (по водомерам или по величине понижения уровня воды по водомерным рейкам);
временем появления просадочных трещин в грунте и развитием их во времени;
осадкой поверхностных и глубинных марок.
3.245. В результате предварительного замачивания должна быть промочена вся толща просадочных грунтов. Для контроля в пределах котлована пробуриваются 2 - 3 скважины с отбором проб грунта для определения влажности через 1 м по глубине.
3.246. После достижения условной стабилизации просадки все трещины с раскрытием более 2 см должны быть затампонированы раствором из лёссовых грунтов (1 м3 воды на 0,2 - 0,3 м3 грунта).
Дно траншей для прокладки коммуникаций, несущих воду, придорожных кюветов, а также дно и откосы арыков-оросителей в местах пересечения просадочных трещин в грунте следует уплотнять на глубину 50 - 70 см.
3.247. При низких температурах воздуха для бесперебойной подачи воды временные трубопроводы, задвижки, водомеры утепляются.
3.248. Чтобы сохранить грунт дна котлована в талом состоянии, высота столба воды в котловане должна быть больше возможной толщины льда.
3.249. При производстве работ по предварительному замачиванию в зимнее время поверхностные марки устанавливаются заподлицо с дном котлована.
3.250. Нивелирование поверхностных марок в пределах котлована в этом случае производится до и после замачивания.
3.251. К началу производства работ строительная организация должна быть обеспечена согласованной с Госгортехнадзором и местным отделением Взрывпрома проектной документацией.
3.252. При уплотнении просадочных грунтов замачиванием и энергией глубинных взрывов должны последовательно выполняться следующие операции:
срезка растительного слоя и подготовка котлована или распределительных траншей для замачивания;
бурение дренажных, взрывных или совмещенных скважин, а также скважин для глубинных геодезических марок;
устройство взрывных или совмещенных скважин;
засыпка дренажным материалом скважин, траншей и дна котлована;
устройство глубинных и поверхностных марок;
монтаж подводящего водопровода и водомерного узла;
устройство гасителей напора водяной струи в виде приямков, заполненных щебнем или гравием;
нивелирование поверхностных и глубинных марок с привязкой к стационарному реперу;
замачивание уплотняемого массива грунта;
нивелирование марок по окончании замачивания;
производство взрывных работ;
нивелирование марок в течение последующих 15 - 20 сут;
поверхностное осушение территории;
доуплотнение верхнего слоя.
В необходимых случаях, когда уплотнение грунта производится на больших площадях, следует предусматривать устройство песчано-гравийных подушек, позволяющих ускорить начало строительно-монтажных работ на уплотненном участке. По условиям существующей застройки иногда необходимо устраивать водозащитные экраны, препятствующие распространению воды в стороны от замачиваемого участка.
3.253. Котлованы для замачивания выполняются за счет срезки растительного слоя и устройства обвалования из уплотненного местного грунта.
Глубину котлована и распределительных траншей необходимо назначать из условия сохранения слоя воды при замачивании 0,3 - 0,5 м. В зимнее время уровень воды в котловане должен поддерживаться на одной отметке.
Для удобства работ на больших площадях уплотнение должно выполняться по захваткам (картам). Дно котлована или распределительных траншей в пределах захваток необходимо планировать с точностью до +/- 5 см от заданных отметок и покрывать слоем дренажного материала толщиной 0,1 - 0,2 м.
На площадках с пересеченным рельефом замачивание, как правило, следует производить с подачей воды к дренажным скважинам через инвентарную водоразводящую сеть.
3.254. Бурение дренажных, взрывных или совмещенных скважин выполняется до нарезки распределительных траншей. Проходку дренажных и совмещенных скважин, как правило, следует осуществлять установками шнекового бурения, например, УГВ-50М, или навесной установкой СО-2. В случае применения иного бурового оборудования последнее должно полностью исключать уплотнение стенок дренажных скважин.
3.255. Чтобы не засыпать скважины грунтом при нарезке траншей, их закрывают инвентарными затворами. Проходку дренажных траншей следует осуществлять роторными экскаваторами, а также специальными траншеекопателями различных конструкций.
3.256. Установка труб в совмещенные скважины осуществляется кранами. Если для крепления взрывных скважин используются асбоцементные, полиэтиленовые, керамические трубы или сборные элементы, то перед их установкой снизу ставят заглушки или на дно скважины укладывают литую бетонную смесь толщиной не менее 0,3 м, препятствующую проникновению разжиженного грунта во взрывную камеру при замачивании. Для снижения сейсмического эффекта допускается применять различные экранирующие устройства в соответствии с пособием на взрывные работы.
3.257. Установку поверхностных геодезических марок следует выполнять после окончания работ по устройству скважин и засыпке дна котлована или распределительных траншей дренажным материалом.
Установка глубинных геодезических марок ведется параллельно с работами по бурению скважин. Внутренний стержень глубинной марки не должен иметь искривлений и стыков, препятствующих его свободному перемещению в защитной трубе. Каждая глубинная марка должна иметь бирку или четкую маркировку, наносимую несмываемой краской на защитную трубу.
3.258. Перед замачиванием расположение марок с привязкой их к постоянным или системе временных реперов, расположенных за пределами уплотняемого участка, фиксируется на исполнительной схеме.
3.259. Работы по замачиванию основания следует начинать только после завершения всех подготовительных работ в пределах карты и после записи в журналах показаний водомеров и отметок первой нивелировки поверхностных и глубинных марок.
3.260. В процессе замачивания в оголовках скважины необходимо поддерживать постоянный уровень воды при помощи вентилей, установленных на инвентарной разводящей сети у каждой скважины или на подводящей сети при замачивании через распределительные траншеи.
3.261. Расход воды по каждому замачиваемому участку (карте) следует замерять не менее двух раз в сутки по контрольным водомерам и данные заносить в специальный журнал
(Прил. 11).
3.262. Перерывы в замачивании недопустимы. В случае перерывов, вызванных аварийными ситуациями, когда растекание воды за контуры участка не грозит окружающей застройке, следует руководствоваться правилами:
при продолжительности перерыва до 1 сут количество заливаемой воды не меняется;
при продолжительности перерыва более 1 сут и наличии дренирующих подстилающих слоев количество заливаемой воды увеличивается на 20%, а при перерыве 2 сут - на 30%.
3.263. Окончание работ по замачиванию на каждой карте устанавливается по объему воды, залитой в дренажные скважины или в объединяющие их траншеи в соответствии с проектом.
3.264. При погружении зарядных камер на заданную глубину после замачивания площадки можно использовать вибропогружатели и кран соответствующей грузоподъемностью или приспособления для погружения контейнера с подмывом водой.
Зона нарушения структуры водонасыщенного грунта

определяется по формуле

, (6)
где

- коэффициент, определяемый экспериментально (для замоченных лёссовидных супесей и суглинков его значение принимается равным 2,45);
e - коэффициент работоспособности ВВ, принимаемый по ЕПБ;
q - масса сосредоточенного заряда.
В застроенных массивах глубинные заряды не должны превышать 10 кг; а расстояния до существующих зданий должны быть не менее 50 - 70 м.
Шаг между взрывными скважинами, полученный из условия нарушения структуры всего замоченного массива, равен:
по квадратной сетке

;
по шахматной сетке

.
Минимально допустимая глубина размещения заряда ВВ по условию образования камуфлетного взрыва определяется по формуле

, (7)
где

- коэффициент, зависящий от типа ВВ; принимается для тротила и аммонита равным 0,85 и для аммонала - 0,58;

- коэффициент, зависящий от вида грунта, принимается для глин и суглинков 0,24 - 0,3 и для супесей 0,29 - 0,4.
Сейсмобезопасное расстояние определяется по формуле

, (8)
где

- расстояние от эпицентра взрыва, м;

- коэффициент, зависящий от свойств грунта в основании охраняемого сооружения; значение для водонасыщенных глинистых грунтов равно 1,5 x 9 = 13,5;

- коэффициент, принимаемый для камуфлетного взрыва, 1,2.
3.265. Взрывные работы необходимо производить сразу после замачивания. Разрыв между окончанием замачивания и взрывами, в зависимости от размеров площадки, составляет от 3 до 8 ч.
За это время следует выполнить демонтаж инвентарных трубопроводов, зарядку и тампонирование скважин, нивелирование поверхностных и глубинных марок.
3.266. Перед опусканием заряда в скважину необходимо проверить проходимость заряда по транспортной трубе. Заряды водостойкого аммонита в стандартной упаковке (например, ПН-А6-ЖВ) диаметром 90 мм +/- 10 мм, длиной 500 мм +/- 20 мм и массой 3,25 кг +/- 0,15 кг следует опускать в зарядную камеру на шпагате. Опускать заряды на детонирующих шнурах или проводах, идущих к детонаторам, категорически запрещается. При использовании водостойких типов гранулированного ВВ в качестве промежуточных детонаторов следует применять прессованные и литые шашки Т-400 и ТГ-500.
3.267. Забойку подготовленных к взрывам скважин после установки глубинных зарядов ВВ следует выполнять песком и водой. При использовании транспортной трубы диаметром 50 мм и менее забойка должна производиться водой. В случае отказа такая забойка позволит заменить электродетонаторы и произвести глубинный взрыв, не поднимая заряд ВВ на поверхность.
3.268. В целях эффективного уплотнения и снижения сейсмического воздействия замедление между взрывами должно составлять не менее 3 - 5 с. При использовании транспортных труб диаметром 100 мм и более, как правило, применяется огневой способ взрывания, а при диаметре 50 мм и менее инициирование заряда производится только электрическим способом с применением пиротехнических реле.
Примечание. Огневой способ взрывания применительно к данному методу заключается в том, что инициирование взрыва патронированного ВВ, например, 6ЖВ, производится детонирующим шнуром (ДШ), один конец которого закрепляется в самом заряде, а второй выходит на дневную поверхность. К свободному концу ДШ прикрепляется зажигательная трубка, состоящая из капсюля-детонатора и отрезка огнепроводного шнура. Длина огнепроводного шнура принимается из расчета, чтобы взрывник успел зажечь все трубки на скважинах данной серии взрывов и удалиться на безопасное расстояние. Длина зажигательного шнура на всех скважинах каждой серии взрывов (взрывы, как правило, выполняются мелкими сериями по 5 шт.) назначается одинаковой (примерно 1,2 - 1,5 м), поэтому время замедления между взрывами составляет 5 - 10 с и обусловливается временем между двумя последовательными зажиганиями отрезков огнепроводного шнура.
3.269. Для безотказного взрывания следует применять для каждой скважины два электродетонатора с параллельным подключением или две нитки детонирующего шнура при огневом способе взрывания. В грозу взрывные работы не производятся.
3.270. По окончании взрывных работ необходимо как можно раньше произвести извлечение транспортных инвентарных труб.
После извлечения и промывки каждой инвентарной трубы водой ее следует нарастить и повторно использовать в работе. При наращивании трубы необходимо использовать точечную сварку для того, чтобы приваренная часть легко отделялась в момент взрыва. При этом не следует допускать внутренних наплывов металла в стыках, мешающих погружению заряда ВВ в нижнюю часть трубы.
3.271. После проведения взрывных работ вследствие просадок грунта необходимо в некоторых случаях производить наращивание обвалований или грунтовых перемычек между уплотненной и соседней захватками.
3.272. После предварительного замачивания оснований и замачивания с использованием глубинных взрывов ВВ производится уплотнение верхнего слоя грунта тяжелыми трамбовками, укаткой, грунтовыми сваями и т.п.
Для ликвидации просадочных свойств грунтов в пределах деформируемой зоны от нагрузок зданий и сооружений иногда целесообразно применять уплотнение тяжелыми трамбовками в сочетании с устройством грунтовой подушки.
3.273. Нормативное давление на грунты, уплотнение предварительным замачиванием и замачиванием с использованием энергии взрыва, определяется так же, как для естественных грунтов в соответствии с главой
СНиП 2.02.01-83.
3.274. Уплотнение водонасыщенных песчаных грунтов виброустановкой ВУУП-6 включает последовательное выполнение следующих операций:
планировка площадки (удаление растительного слоя грунта);
разбивка точек погружения уплотнения;
водонасыщение песчаного грунта при уровне грунтовых вод ниже 0,5 м от дна котлована;
уплотнение грунта до проектной глубины.
3.275. При гидровиброуплотнении следует принимать равностороннюю треугольную сетку со сторонами, равными: для крупного и средней крупности песка - 3 м, для мелкого песка - 2 м.
3.276. В песчаных грунтах природного сложения необходимо предварительно произвести рыхление грунта на проектную глубину уплотняемой толщи для разрушения структурных связей песка и увеличения зоны уплотнения.
При этом рыхление и уплотнение грунта производится по квадратной сетке со сторонами, равными 2 м (рис. 26).
Рис. 26. Схема расположения точек рыхления и уплотнения
1 - точки уплотнения; 2 - точки рыхления
3.277. При гидровиброуплотнении песчаных грунтов применяются грузоподъемные механизмы, обеспечивающие возможность переноса виброустановки в вертикальном положении (см.
п. 3.86). Скорость извлечения уплотнителя грузоподъемным механизмом из грунта не должна превышать 5 м/мин.
3.278. Соединение уплотнителя с вибропогружателем в процессе уплотнения должно быть жестким и неизменным.
Подъем и перемещение виброустановки ВУУП-6 во избежание ее повреждений производится плавно, без рывков.
Включение вибропогружателя В-401 производится после установки уплотнителя вертикально на поверхность грунта. Запрещается включать вибропогружатель при свободно подвешенном уплотнителе.
3.279. Уплотнение песчаных грунтов на глубину 6 м производится в соответствии с технологическим графиком (рис. 27), который составляется по результатам опытного уплотнения.
Рис. 27. Технологический график уплотнения песчаного грунта
3.280. Полный цикл уплотнения песчаных грунтов на глубину 6 м в одной точке должен продолжаться не менее 15 мин и состоять из 4 - 5 чередующихся погружений и подъемов уплотнителя. На каждой глубине погружения уплотнителя в одном цикле следует соблюдать виброударный режим виброустановки ВУУП-6.
3.281. При погружении уплотнителя в грунт не допускается натяжение троса грузоподъемного механизма и отклонение виброустановки от вертикального положения.
3.282. После полного цикла уплотнения грунта основания в четырех точках на глубину 6 м установка отключается на 15 мин.
3.283. В случае уплотнения грунтов, требующих предварительного глубинного рыхления, работы по рыхлению и уплотнению должны производиться поочередно - сначала в четырех точках сетки по оси рыхления, затем в трех точках по оси уплотнения.
При рыхлении погружение и извлечение уплотнителя производится без установок. Время на рыхление грунта на глубину 6 м в одной точке не должно превышать 2 мин.
3.284. При искусственном водонасыщении песчаного грунта уплотнителем виброустановки ВУУП-6 (см.
рис. 11) сначала включают насос (с напором не менее 80 м) для подачи воды в трубчатую штангу уплотнителя, а затем вибропогружатель. При достижении уплотнителем проектной глубины подачу воды следует прекратить, а работу по уплотнению необходимо продолжить.
Примерное количество воды, %, необходимое для насыщения песчаного грунта, определяется по
табл. 5.
3.285. Технология уплотнения насыпных или намывных песчаных грунтов виброустановками ВУУП-6 аналогична уплотнению естественных песчаных оснований.
3.286. В процессе производства работ по уплотнению на строительной площадке следует вести журнал
(Прил. 7).
3.287. Качество работ по уплотнению грунтов надлежит проверять путем определения плотности грунта при уплотнении трамбованием через 0,25 - 0,5 м по глубине, а при послойном уплотнении укаткой - в середине каждого слоя; количество пунктов определения плотности устанавливается из расчета один пункт на каждые 300 м2 уплотненной площади и берется не менее 2 проб при уплотнении трамбованием и 3 проб в каждом слое при послойном уплотнении укаткой. При уплотнении тяжелыми трамбовками грунтов с оптимальной влажностью качество уплотнения допускается проверять контрольным определением отказа из расчета одно определение на каждые 100 м2 уплотненного грунта.
Качество работ при уплотнении грунтовыми сваями проверяется определением плотности уплотненных грунтов на отметке заложения фундаментов в пределах участков между тремя грунтовыми сваями, расположенными в плане по вершинам равностороннего треугольника; количество пунктов устанавливается из расчета один на каждые 1000 м2 уплотненной площади. Фактическое расстояние и глубина их должны соответствовать проекту. Если расстояние между центрами грунтовых свай окажется больше проектного на 0,4 диаметра, устраиваются дополнительные грунтовые сваи.
Качество работ по предварительному замачиванию, в том числе с применением энергии глубинных взрывов, проверяется наблюдением за просадками поверхностных и глубинных марок и определением плотности грунта через 1 - 2 м в пределах всей уплотняемой его толщи. Количество мест определения влажности и плотности грунта назначается не менее одного на каждые 3000 м2 площади уплотненного основания.
Качество уплотнения грунта при любом способе производства работ признается удовлетворительным, если средняя плотность грунтов в уплотненном основании соответствует проекту. Допустимое отклонение в сторону уменьшения плотности, принятой в проекте, не должно превышать 0,05 т/м3 в количестве не менее 10% общего числа определений.
3.288. Результаты работ по уплотнению просадочных грунтов должны фиксироваться в соответствующих журналах (см.
Прил. 1 -
11).
Приемка работ по уплотнению просадочных грунтов производится по данным определения плотности и влажности уплотненных грунтов с составлением акта.
3.289. Приемка работ по поверхностному уплотнению грунтов тяжелыми трамбовками производится только после дополнительного уплотнения разрыхленного верхнего слоя грунта.
Уплотнение признается удовлетворительным, если понижение отметки дна котлована под действием ударов трамбовки не превышает величины установленного отказа.
Контрольное определение отказа производится двумя ударами трамбовки при сбрасывании ее с высоты, принятой при производстве работ, но не менее 6 м.
Если по данным контрольного трамбования и определения качества выполненных работ уплотнение окажется неудовлетворительным, производится дополнительное уплотнение.
При контрольной проверке качества уплотнения составляется акт приемки работ по уплотнению основания или устройству грунтовой подушки.
3.290. Приемка работ по вытрамбовыванию котлованов и возведению в них фундаментов производится на основе:
акта выполнения опытных работ;
исполнительной схемы расположения котлованов в плане, журнала производства работ (см.
Прил. 10,
11);
двухстороннего акта на скрытые работы.
3.291. Изготовление грунтовых свай в пределах отдельных фундаментов должно сопровождаться составлением технической документации в виде журнала глубинного уплотнения оснований
(Прил. 5).
Для этого необходимо иметь нумерацию свай, позволяющую легко отыскивать и проверять показатели их изготовления.
Журнал заполняется в процессе производства работ.
3.292. По окончании работ но глубинному уплотнению оснований составляется схема фактического расположения грунтовых свай с указанием их порядкового номера и глубины.
3.293. Приемка законченных работ по подготовке оснований должна осуществляться на основании следующих материалов:
журналов и актов производства работ по изготовлению грунтовых свай;
исполнительной схемы расположения грунтовых свай с указанием фактической их глубины;
результатов контроля качества уплотнения по шурфам.
3.294. Приемка работ по уплотнению просадочных грунтов предварительным замачиванием должна осуществляться по результатам:
замера осадки глубинных и поверхностных марок;
контрольного определения влажности грунта в пределах всей замоченной толщи.
Степень влажности промоченного грунта в пределах всей толщи должна быть не менее 0,85 полной влагоемкости грунта.
Определение степени влажности грунта и величины относительной просадочности производится после наступления условной стабилизации.
Относительная просадочность грунта после уплотнения предварительным замачиванием должна быть менее 0,01 при природном давлении.
3.295. В случае, если толща недостаточно увлажнена, производится повторное замачивание до получения условной стабилизации просадки. При необходимости рекомендуется изменить методику замачивания, а именно: изменить число, глубину и расположение дренажных скважин.
3.296. Производство работ по уплотнению грунтов замачиванием и энергией глубинных взрывов следует осуществлять под постоянным контролем строительных лабораторий, которые должны документально фиксировать:
расположение скважин относительно разбивочных осей зданий и сооружений, их глубину и диаметр;
качество дренирующего материала;
конструкцию транспортных труб и взрывных камер и их установку в проектное положение (длина, внутренний диаметр, герметичность);
количество заливаемой воды и сроки замачивания;
глубину расположения заряда, его массу, качество забойки, количество взорванных зарядов;
выполнение в срок и результаты геодезических наблюдений за осадками поверхностных и глубинных марок;
исследование образцов грунта, отобранных до и после уплотнения.
3.297. Расход воды замеряется не менее двух раз в сутки. При этом необходимо осуществлять визуальный контроль за ходом замачивания и общим состоянием замачиваемой площадки. Не допускаются утечки воды за пределы площадки и перерывы в замачивании.
3.298. Степень увлажнения просадочной толщи до глубинных взрывов должна проверяться бурением контрольных скважин с отбором проб на влажность через 1 м по глубине или с помощью радиоизотопных и электрометрических методов.
3.299. Контроль осадки грунта необходимо осуществлять нивелированием глубинных и поверхностных марок относительно неподвижного репера, которое производится до замачивания, перед взрывами и после завершения взрывных работ не реже одного раза в неделю до наступления условной стабилизации осадок.
3.300. При проведении взрывных работ должны контролироваться количество произведенных глубинных взрывов, для чего взрывы следует выполнять сериями по пять штук с интервалом в пределах серии до 5 с. В случае отказа заряда ВВ должны немедленно приниматься меры по его извлечению или уничтожению в строгом соответствии с требованиями ЕПБ. После окончания взрывных работ специализированной организацией "Взрывпром" составляется акт об отсутствии отказов.
3.301. Приемка работ должна производиться согласно СНиП на основании исполнительной документации: актов на скрытые работы, данных об осадках поверхностных и глубинных марок и степени их стабилизации на период начала строительно-монтажных работ; результатов лабораторных исследований грунтов до и после уплотнения; документации о планировочных и подготовительных работах, объеме залитой воды, массе глубинных зарядов, схеме взрывания и ликвидации, верхнего недоуплотненного слоя.
3.302. При строительстве многоэтажных зданий и сооружений на водонасыщенных, уплотненных лёссовых грунтах с давлением по подошве фундаментов более 2 кг/см2, необходимо выполнять поверочный расчет на устойчивость сооружения в условиях незавершенной консолидации.
| | ИС МЕГАНОРМ: примечание. Взамен СНиП III-8-76 Постановлением Госстроя СССР от 04.12.1987 N 280 с 1 июля 1988 года введены в действие СНиП 3.02.01-87. | |
3.303. Контроль качества гидровиброуплотнения песчаных грунтов следует проводить согласно требованиям настоящего Пособия и СНиП III-8-76.
3.304. В качестве основного метода контроля уплотнения песчаного грунта следует применять: для крупных и средней крупности песков - динамическое зондирование, для мелких песков - статическое зондирование, результаты зондирования должны сопоставляться с данными опытного уплотнения. Глубина зондирования устанавливается больше проектной глубины уплотнения на 1 м.
3.305. Допустимое отклонение уменьшения плотности грунта от проектной не должно превышать 0,05 г/см3, при этом количество определений, давших большие значения, не должно превышать 10% их общего числа.
3.306. Акт освидетельствования скрытых работ составляют представители организации, выполнявшей уплотнение, подрядчика, заказчика и авторского надзора в соответствии с требованиями
СНиП 3.01.01-85.
Раздел 4. СТРОИТЕЛЬНОЕ ВОДОПОНИЖЕНИЕ
4.1. Водопонижение - искусственное понижение уровня подземных вод - достигается откачкой или отводом их к пониженным местам. Оно носит название "строительное водопонижение", когда применяется при производстве земляных и других строительных работ по возведению фундаментов, гидротехнических сооружений, различных подземных сооружений и коммуникаций, а также при разработке горных выработок в строительный период.
Сущность метода основывается на том, что при откачке подземных вод, поступающих в скважину, котлован, подземную выработку, поверхность воды в грунте приобретает воронкообразную форму, понижаясь при этом с уклоном к месту откачки. Аналогичный эффект достигается при устройстве дренажа (отводе) подземных вод. При напорном характере подземных вод воронкообразную форму принимает пьезометрическая поверхность, отображающая напоры подземных вод.
Воронкообразная (пониженная) поверхность подземных вод называется депрессионной поверхностью, а осушенное пространство между первоначальной (непониженной) поверхностью подземного потока и депрессионной поверхностью - депрессионной воронкой.
По мере откачки площадь распространения и глубина депрессионной воронки увеличиваются. Если интенсивность откачки остается постоянной, то со временем наступает стабилизация - установившийся режим, при котором не происходит дальнейшего развития депрессионной воронки. При прекращении откачки уровни подземных вод восстанавливаются, и их поверхность (или пьезометрическая поверхность) постепенно приобретает свою первоначальную (природную) форму.
4.2. Задачи строительного водопонижения в общем заключаются в соответствующем развитии и поддержании в течение необходимого времени депрессионной воронки в водоносных грунтах, прорезаемых котлованом (сооружением), а также в снятии избыточного напора в подстилающих водоносных грунтах, отделенных от котлована водоупором.
В том случае, если депрессионная поверхность водного потока в грунтах, прорезаемых котлованом, нигде его не пересекает, представляется возможным вести все подземное строительство насухо, т.е. полностью решается основная задача водопонижения.
Снятие напора в подстилаемых слоях обычно возможно осуществить в заданных пределах, что позволяет избежать нарушения природных свойств оснований сооружений.
4.3. При строительном водопонижении применяются, в основном, временные устройства, а необходимое оборудование и другие средства, предусмотренные для эксплуатации сооружений и предприятий, могут быть использованы временно в течение всего срока данного строительства.
В этом случае водопонизительные средства и устройства наряду с удовлетворением условиям строительного периода должны также отвечать соответствующим требованиям проекта, учитывающим условия их дальнейшей эксплуатации.
Совокупность определенно расположенных и предназначенных для приема, откачки и отвода подземных вод в строительный период устройств и средств и выполняемых планомерно работ по их сооружению, вводу в действие и содержанию составляет систему строительного водопонижения.
Системы строительного водопонижения формируются с применением водоотлива из котлованов и траншей, дренажа, открытых и вакуумных водопонизительных скважин, иглофильтров и электроосушения, применяемых в различных сочетаниях в виде линейных, кольцевых, неполнокольцевых, систематических, групповых и отдельных водопонизительных устройств.
| | ИС МЕГАНОРМ: примечание. Взамен СНиП 3.02.01-83 Постановлением Госстроя СССР от 04.12.1987 N 280 с 1 июля 1988 года введены в действие СНиП 3.02.01-87. | |
Строительное водопонижение должно выполняться по проекту (составляемому как часть основного проекта), который должен отвечать требованиям
СН 202-81* и
СНиП 2.02.01-83 и 3.02.01-83.
4.4. Производство водопонизительных работ влияет на состояние грунтов, их поведение в котловане и в окружающем грунтовом массиве. Уже само понижение уровня воды в грунте приводит к увеличению давления от его собственного веса и к дополнительным осадкам территории и возведенных на ней сооружений. В большинстве случаев эти дополнительные осадки достаточно равномерные и не оказывают существенного влияния на работу сооружений, при относительно неглубоких понижениях уровня воды эти осадки невелики. Но при глубоких понижениях уровня подземных вод дополнительные осадки могут оказаться значительными и должны учитываться в основном проекте, а при производстве крупных водопонизительных работ необходимо вести наблюдения за сдвижением земной поверхности, осадками сооружений и их деформациями. При необходимости, в зависимости от соотношения фактических и определенных в проекте деформаций, следует регулировать режим водопонизительных работ и принимать меры к обеспечению сохранности сооружений и их нормальной эксплуатации.
В процессе бурения скважин ударными способами могут происходить местные уплотнения грунта, способные вызвать дополнительные осадки рядом расположенных фундаментов. Поэтому следует избегать расположения водопонизительных скважин в непосредственной близости от существующих фундаментов.
В процессе производства водопонизительных работ возможно не только уплотнение, но и разрыхление грунтов и нарушение прочностных связей в них. Особенно опасные нарушения природных свойств грунтов происходят, если не принимаются надлежащие меры предосторожности при открытом водоотливе, когда возможна значительная фильтрация через откосы котлована.
Фильтрационный поток создает дополнительное гидродинамическое давление на грунт, ослабляет прочностные связи в нем, может вызвать вынос частиц грунта - все это, во избежание нарушения устойчивости откосов котлована и разуплотнения оснований сооружений, должно учитываться в проекте и при строительстве. В случае фильтрации подземных вод через откосы градиенты напора вблизи их поверхности не должны достигать значений, при которых возможен вынос грунта в котлован. В связи с этим не должны допускаться резкие понижения уровня воды в котловане. Фильтрационный поток при высачивании в котлован должен быть рассредоточен. При обнаружении сосредоточенной фильтрации для борьбы с суффозией следует применять фильтрующие пригрузки; в крупных котлованах возможно применять рыхление грунта на участках сосредоточенной фильтрации бульдозером, которое часто дает положительные результаты по рассредоточению фильтрации и прекращению суффозии. В осушенном котловане весь фильтрационный приток должен каптироваться водосборными канавами и передовыми траншеями. Для этого они должны быть соответственно заглублены относительно дна котлована, фильтрация через которое не допускается.
Разуплотнение грунта возможно также и в процессе бурения, содержания и ликвидации водопонизительных скважин.
При погружении иглофильтров гидравлическим способом без обсыпки грунт вокруг них разуплотняется, некоторое дополнительное разуплотнение грунта происходит и при извлечении иглофильтров. Подобные разуплотнения часто не оказывают существенного влияния на устойчивость откосов и на основания сооружений, но всегда необходимо принимать их во внимание и в каждом отдельном случае определять, допустимы ли они. Как правило, следует применять иглофильтры с песчано-гравийной обсыпкой. Это сводит к минимуму разуплотнение грунта вокруг скважины и повышает эффективность иглофильтрового способа водопонижения.
Разуплотнение грунта вокруг водопонизительных скважин возможно в процессе бурения разными способами из-за вывалов, образования пробок и т.п., а также в процессе откачки - из-за выноса мелких частиц при плохой работе фильтров. Предотвратить подобные явления возможно только соблюдая особую тщательность работ при бурении скважин и оборудований их фильтрами; при бурении в малоустойчивых грунтах следует применить подливку воды в скважины. Конструкция фильтров водопонизительных скважин должна строго соответствовать характеру окружающего скважины грунта.
Мероприятия для предотвращения всех вышеуказанных отрицательных последствий производства работ должны отвечать особенностям застройки и состоянию сооружений в районе работ. Должны приниматься меры защиты и непосредственно для самих сооружений. Для этого перед началом работ по водопонижению необходимо обследовать техническое состояние зданий и сооружений, находящихся в зоне работ, а также уточнить расположение подземных коммуникаций.
4.5. Обследование зданий, сооружений и подземного хозяйства следует производить, в основном, перед составлением проекта водопонижения. В результате должны быть получены сведения, необходимые для принятия решения о мерах по обеспечению сохранности всех промышленных и гражданских объектов в зоне водопонизительных работ в процессе их производства. Надлежащее внимание должно быть уделено и объектам водоснабжения, питающимся подземными водами, уровень которых предполагается понизить.
Одновременно необходимо получить согласие и разрешение соответствующих организаций на производство буровых и водопонизительных работ.
Перед обследованием следует предварительно ознакомиться с проектной и исполнительной документацией по сооружениям в зоне работ. В отдельных случаях могут потребоваться специальные работы для уточнения трасс сетей, некоторых элементов конструкций каких-либо ответственных или ценных в культурно-историческом отношении зданий и сооружений (например, шурфовочные и обмерные работы и т.п.). Проведение указанных обследований и получение разрешения на производство работ входит в обязанности основного заказчика, программу необходимых обследований следует согласовывать с проектной организацией.
Данные, полученные в результате обследования зданий и сооружений, должны приниматься во внимание при составлении проектов производства работ. При этом строительная организация должна проверить соответствие действительного состояния зданий, сооружений и коммуникаций принятому за основу в проекте и установить возможность соблюдения действующих правил техники безопасности, в частности:
а) бурения и прокладки трубопроводов вблизи существующих кабелей и трубопроводов, проложенных в земле;
б) безопасного приближения буровых установок с высокими мачтами к воздушным ЛЭП и др.
Началу производства работ должны предшествовать планировка и расчистка территории (от леса, мусора и т.п.) для возможности свободного применения предусмотренных машин и механизмов.
4.6. Необходимо осуществлять взаимоувязку водопонизительных, земляных и других общестроительных работ так, чтобы обеспечивалась их высокая эффективность. В то же время при комплексной организации строительства следует создавать благоприятные условия для ведения водопонизительных работ. При необходимости внесения изменений в принятую методику тех или других работ приоритет должны иметь более эффективные решения.
Если земляные и другие строительные работы производятся заблаговременно, подготовленные водопонизительные системы должны обеспечить возможность ввода в действие водопонизительных устройств, установок и средств с определенным опережением развития водопонижения по сравнению с развитием земляных и других строительных работ. С другой стороны, при производстве земляных работ должна предусматриваться подготовка, в первую очередь, берм и площадок, на которых производится погружение иглофильтров, забуривание скважин и размещение насосных установок, устройство зумпфов и (после ввода в действие насосных станций открытого водоотлива) разработка передовых траншей и водоотводных канав. Последние разрабатываются обычно драглайнами или канавокопателями в направлении от зумпфов к водораздельным точкам. Эти устройства в крупных и долго существующих котлованах должны совмещаться с сетью ливнестоков и водосборников, предназначающихся для поверхностных вод.
Водопонизительные установки и устройства, включая сеть водостоков, зумпфов и водосборников, должны размещаться так, чтобы не создавать стеснений для работы землеройного и другого строительного оборудования и транспорта, не препятствовать строительству и эксплуатации соседних сооружений, разработкам полезных ископаемых и т.п.
В то же время при устройстве съездов в котлованы, транспортных коммуникаций и размещении строительного оборудования следует учитывать необходимость эффективного расположения водопонизительных устройств.
Во избежание лишних непроизводительных затрат все строительные работы, которые ведутся с применением водопонижения, должны выполняться без перерывов и в минимальные сроки.
При подводной разработке грунтов вместе с ними удаляется то или иное (в зависимости от метода работ) количество воды; это приводит к соответствующему притоку в котлован подземных вод и некоторому снижению их уровня. В глубоких котлованах для обеспечения возможности их разработки зеркало воды в них приходится специально понижать с помощью открытого водоотлива. Необходимость в этом возникает и при осушении котлована для производства дальнейших работ. Такая откачка должна вестись равномерно и соответствовать темпам развития водопонижения в окружающем котлован грунтовом массиве (см.
п. 4.28 и
табл. 26). При необходимости ускорения процесса осушения котлована (понижения зеркала воды в нем) во избежание нарушения устойчивости его откосов и дна следует дополнительно применять иглофильтры, вакуумные или открытые водопонизительные скважины.
Необходимо осуществлять также взаимоувязку работ на соседних объектах, так как при производстве водопонизительных работ понижение уровня подземных вод развивается далеко за пределы того объекта, для которого оно непосредственно предназначено. Это обстоятельство следует по возможности использовать при строительстве соседних подземных сооружений. Но иногда оно может и ухудшить условия строительства смежных объектов, если там, например, будут осушены грунты, разрабатываемые методами гидромеханизации. В другом случае разрабатываемый подводным способом котлован, представляющий собой открытый водоем, может послужить причиной увеличения притока в соседние котлованы, разрабатываемые насухо.
Взаимоувязка работ на соседних объектах необходима и при устройстве водоотводящих коммуникаций, водоснабжения и энергоснабжения.
ПРОЕКТ ПРОИЗВОДСТВА ВОДОПОНИЗИТЕЛЬНЫХ РАБОТ
4.7. Проект производства водопонизительных работ должен разрабатываться организацией, выполняющей эти работы, на базе основного проекта водопонижения во взаимосвязи с проектом производства земляных и других общестроительных работ.
4.8. Проект производства работ должен отвечать требованиям
СНиП 3.01.01-85 и включать:
данные о составе и объемах строительно-монтажных водопонизительных работ;
стройгенплан;
календарный план производства строительно-монтажных водопонизительных работ;
технологические схемы и карты по видам водопонизительных работ, предусмотренных в основном проекте;
программу и техническую документацию для ведения гидрогеологических и геодезических наблюдений в период строительства, а также наблюдений за работой водопонизительных устройств и установок;
проектные решения по необходимым вспомогательным и временным сооружениям, коммуникациям и временному энергоснабжению системы строительного водопонижения;
проектные решения по ликвидации систем строительного водопонижения;
спецификации и графики доставки на площадку необходимых материалов и оборудования для выполнения строительно-монтажных водопонизительных работ.
4.9. Основными материалами для производства водопонизительных работ служат трубы, фильтры и материалы для песчано-гравийных обсыпок и фильтровых покрытий.
4.10. Все материалы должны отвечать требованиям проекта и соответствующих ГОСТов, указанных в проекте.
| | ИС МЕГАНОРМ: примечание. Взамен ГОСТ 6482.0-79 Постановлением Госстроя СССР от 30.09.1988 N 200 с 1 января 1990 года введен в действие ГОСТ 6482-88. | |
| | ИС МЕГАНОРМ: примечание. Взамен ГОСТ 6942.3-80 Постановлением Госстроя РФ от 31.12.1998 N 31 введен в действие с 1 января 1998 года ГОСТ 6942-98. | |
4.11. Для трубчатых дренажей следует применять трубы керамические канализационные
(ГОСТ 286-82), керамические дренажные (
ГОСТ 8411-74 с изм.), асбестоцементные безнапорные
(ГОСТ 1839-80), бетонные ТБ
(ГОСТ 20054-82), железобетонные (
ГОСТ 6482.0-79 с изм.), чугунные канализационные (ГОСТ 6942.3-80), чугунные напорные
(ГОСТ 9583-75) и трубофильтры из пористого бетона (ВСН 13-77 МЭ и Э).
Для приема подземных вод в асбестоцементных и чугунных трубах устраиваются круглые или щелевые отверстия (
рис. 28, а,
рис. 28, б, г), в бетонных и железобетонных - круглые (
рис. 28, г). В керамические канализационные трубы подземные воды поступают через не полностью заделанные стыковые зазоры (
рис. 28, в), в трубофильтры - через поры в материале их стенок. Материал труб выбирается в зависимости от глубины заложения дрены и агрессивности среды. В условиях наличия агрессивных для цемента подземных вод применяются керамические и чугунные трубы. При неагрессивной среде могут применяться трубы из любого указанного выше материала с учетом максимальной глубины заложения дрены
(табл. 6).
Рис. 28. Водоприемные отверстия в дренажных трубах
а - отверстия в верхней части асбестоцементных и чугунных
труб; б - отверстия в боковой части асбестоцементных
и чугунных труб; в - прием воды через стык в керамических
и чугунных трубах; г - отверстия в бетонных
и железобетонных трубах; 1 - муфта; 2 - резиновое кольцо;
3 - труба; 4 - водоприемные отверстия; 5 - просмоленная
пакля; 6 - асфальтовая мастика или жирная глина
──────────────────────┬─────────────────────────────┬──────────────────────
Грунты основания │ Материал труб │ Максимальная глубина
│ │ заложения, м, при
│ │ диаметре труб, мм
│ ├─────┬─────┬─────┬────
│ │ 150 │ 200 │ 250 │300
──────────────────────┼─────────────────────────────┼─────┼─────┼─────┼────
Пески гравелистые, │Бетонные │ - │ 4 │ - │3,5
крупные и средней │Керамические канализационные │ 7,3 │ 5,7 │ 4,7 │4,9
крупности, глины и │Керамические дренажные и │ 3,5 │ 3 │ 2,6 │ -
суглинки полутвердые, │асбестоцементные безнапорные │ │ │ │
тугопластичные │Асбестоцементные напорные: │ │ │ │
│ ВТ-6 │ 9,3 │ 8,4 │ 6,8 │6,5
│ ВТ-9 │16,9 │14,9 │12,3 │12,5
──────────────────────┼─────────────────────────────┼─────┼─────┼─────┼────
Пески мелкие │Бетонные │ - │ 4,1 │ - │3,6
и пылеватые │Керамические канализационные │ 7,6 │ 5,9 │ 4,9 │5,1
│Керамические дренажные и │ 3,6 │ 3,7 │ 3,1 │ -
│асбестоцементные безнапорные │ │ │ │
│Асбестоцементные напорные: │ │ │ │
│ ВТ-6 │ 9,7 │ 9,3 │ 7,1 │6,8
│ ВТ-9 │17,5 │15,5 │12,8 │ 13
│Трубофильтры по ВСН 13-77 │ 6,5 │ 7 │ 7 │ 8
4.12. При бурении водопонизительных скважин используются обсадные трубы согласно
ГОСТ 632-80 с изм. (табл. 7). При бурении скважин диаметром более 500 мм используются сварные трубы (ГОСТ 10704-76 с изм.). Обсадные трубы используются преимущественно и для изготовления фильтров, для которых допускается применение также сварных труб.
Таблица 7
─────────────────┬──────────────────────────┬──────────────────────────────
Условный │ Труба │ Муфта
(наружный) ├─────────────┬────────────┼───────────────────┬──────────
диаметр трубы, мм│ толщина │ масса 1 м, │ наружный диаметр, │ масса,
│ стенки, мм │ кг │ мм │ кг
─────────────────┼─────────────┼────────────┼───────────────────┼──────────
114 │ 7,4 │ 19,4 │ 127 │ 3,7
127 │ 7,5 │ 22,1 │ 141,3 │ 4,6
140 │ 7,7 │ 25,1 │ 153,7 │ 5,2
146 │ 8,5 │ 28,8 │ 166 │ 8
168 │ 8,9 │ 35,1 │ 187,7 │ 9,1
178 │ 9,2 │ 38,2 │ 194,5 │ 8,3
194 │ 9,5 │ 43,3 │ 215,9 │ 12,2
219 │ 10,2 │ 52,3 │ 244,5 │ 16,2
245 │ 10 │ 58 │ 269,9 │ 17,9
273 │ 10,2 │ 65,9 │ 298,5 │ 20,7
299 │ 11,1 │ 78,3 │ 328,9 │ 22,5
324 │ 11 │ 84,8 │ 351 │ 23,4
340 │ 10,9 │ 88,6 │ 365,1 │ 25,5
351 │ 11 │ 92,2 │ 376 │ 29
377 │ 11 │ 99,3 │ 402 │ 31
406 │ 11,1 │ 108,3 │ 431,8 │ 35,9
426 │ 11 │ 112,6 │ 451 │ 37,5
473 │ 11,1 │ 125,9 │ 508 │ 54
508 │ 11,1 │ 136,3 │ 533,4 │ 44,6
530 │ 12 │ 153,3 │ - │ -
630 │ 12 │ 182,89 │ - │ -
720 │ 12 │ 209,5 │ - │ -
820 │ 12 │ 239,1 │ - │ -
920 │ 12 │ 268,7 │ - │ -
1020 │ 14 │ 347,3 │ - │ -
1120 │ 14 │ 381,9 │ - │ -
1220 │ 14 │ 416,4 │ - │ -
1320 │ 14 │ 450,9 │ - │ -
1420 │ 14 │ 485,4 │ - │ -
Примечание. Трубы с условными (наружными) диаметрами от 114 до 508 мм соответствуют
ГОСТ 632-80 с изм., а с диаметрами от 530 до 1420 мм - ГОСТ 10704-76 с изм.
4.13. Для водопонизительных скважин следует применять фильтры, как правило, заводского изготовления, в основном, трубчатые или каркасно-стержневые (табл. 8). Допускается применение гравитационных, корзинчатых, кожуховых, блочных фильтров.
Таблица 8
─────────────────────┬───────────────────────────────────┬─────────────────
Типоразмер секции │ Диаметр, мм │ Масса, кг
├─────────────────┬─────────────────┤
│ наружный │ внутренний │
─────────────────────┴─────────────────┴─────────────────┴─────────────────
Фильтры трубчатые перфорированные
Т-5Ф1В │ 168 │ 132 │ 69
Т-6Ф1В │ 188 │ 152 │ 91
Т-8Ф1В │ 245 │ 203 │ 118
Т-10Ф1В │ 299 │ 255 │ 168
Т-12Ф1 │ 325 │ 307 │ 195
Т-14Ф1 │ 377 │ 259 │ 227
Т-16Ф1 │ 426 │ 408 │ 259
─────────────────────┴─────────────────┴─────────────────┴─────────────────
Фильтры трубчатые с проволочной обмоткой из нержавеющей стали
ТП-5Ф2В │ 168 │ 132 │ 82
ТП-6Ф2В │ 188 │ 152 │ 106
ТП-8Ф2В │ 245 │ 203 │ 136
ТП-10Ф2В │ 299 │ 255 │ 203
ТП-12Ф2 │ 341 │ 307 │ 229
ТП-14Ф2 │ 393 │ 359 │ 266
ТП-16Ф2 │ 442 │ 408 │ 304
─────────────────────┴─────────────────┴─────────────────┴─────────────────
Фильтры трубчатые с просечным листом из нержавеющей стали
ТЛ-5Ф4В │ 168 │ 132 │ 82
ТЛ-6Ф4В │ 188 │ 152 │ 107
ТЛ-8Ф4В │ 245 │ 203 │ 137
ТЛ-10Ф4В │ 299 │ 255 │ 190
ТЛ-12Ф4В │ 339 │ 307 │ 223
ТЛ-14Ф4 │ 391 │ 359 │ 259
ТЛ-16Ф4 │ 440 │ 408 │ 294
─────────────────────┴─────────────────┴─────────────────┴─────────────────
Фильтры стержневые (каркасы)
С-5Ф5В │ 174 │ 132 │ 69
С-6Ф5В │ 196 │ 152 │ 77
С-8Ф5В │ 247 │ 203 │ 88
С-10Ф5В │ 301 │ 255 │ 105
С-12Ф5В │ 352 │ 307 │ 161
С-14Ф5В │ 405 │ 359 │ 178
С-16Ф5В │ 454 │ 408 │ 202
─────────────────────┴─────────────────┴─────────────────┴─────────────────
Фильтры каркасно-стержневые с проволочной обмоткой
из нержавеющей стали
СП-5Ф7В │ 178 │ 132 │ 80
СП-6Ф7В │ 200 │ 152 │ 89
СП-8Ф7В │ 251 │ 203 │ 103
СП-10Ф7В │ 307 │ 255 │ 136
СП-12Ф7В │ 359 │ 307 │ 158
СП-14Ф7В │ 411 │ 359 │ 180
СП-16Ф7В │ 460 │ 408 │ 200
─────────────────────┴─────────────────┴─────────────────┴─────────────────
Фильтры каркасно-стержневые с просечным листом
из нержавеющей стали
СЛ-5Ф11В │ 176 │ 132 │ 81
СЛ-6Ф11В │ 198 │ 152 │ 90
СЛ-8Ф11В │ 249 │ 203 │ 104
СЛ-10Ф11В │ 303 │ 255 │ 122
СЛ-12Ф11В │ 355 │ 307 │ 189
СЛ-14Ф11В │ 407 │ 359 │ 210
СЛ-16Ф11В │ 456 │ 408 │ 237
4.14. В зависимости от возможностей строительства допускается (по согласованию с проектной организацией) замена одного из указанных типов водоприемной части скважин другим при условии соблюдения требований табл. 9.
────┬─────────────────────────────┬────────────────────────────────────────
N │ Тип водоприемной части │ Область применения
п.п.│ скважины │
────┼─────────────────────────────┼────────────────────────────────────────
1 │Водоприемная часть скважины │Прочные трещиноватые скальные породы,
│не оборудуется фильтром │в пределах которых нет опасности вывалов
│ │и выноса заполняющего трещины материала
│ │в полость скважины, при расположении
│ │скважинного насоса выше незакрепленной
│ │части скважины или в скважине,
│ │работающей без насоса; скважины
│ │с уширенной водоприемной полостью,
│ │образованной в результате выноса породы
│ │из водоносного слоя
2 │Трубчатые фильтры - трубы │Трещиноватые скальные и крупнообломочные
│с круглой или щелевой │породы при отсутствии опасности выноса
│перфорацией без обсыпки │грунтового материала из трещин;
│и без водоприемного покрытия │при надлежащем обосновании - гравелистые
│ │грунты
3 │Трубчатые фильтры │При надлежащем обосновании - крупные
│с водоприемным покрытием │и гравелистые пески, крупнообломочные
│из проволочной обмотки, │и трещиноватые скальные породы
│штампованного листа │при отсутствии опасности выноса
│с отверстиями или сетки, │песчаного материала в скважину
│а также фильтры из │
│штампованного листа без │
│опорного каркаса, без обсыпки│
4 │Трубчатые фильтры │Пески и другие горные породы
│с водоприемным покрытием │при опасности выноса мелких частиц
│по
п. 3 настоящей таблицы │в скважину
│и фильтры из штампованного │
│листа с песчано-гравийной │
│обсыпкой │
5 │Каркасно-стержневые фильтры │По
п. 3 настоящей таблицы при условии
│с водоприемным покрытием │расположения скважинного насоса
│по
п. 3 настоящей таблицы │над фильтром, а также в скважинах,
│ │работающих без насоса
6 │Каркасно-стержневые фильтры │По
п. 4 настоящей таблицы
│с водоприемным покрытием │при расположении скважинного насоса
│по
п. 3 настоящей таблицы и │над фильтром, а также в скважинах,
│с песчано-гравийной обсыпкой │работающих без насоса
7 │Гравитационные фильтры │Пески средней крупности
│колокольного или зонтичного │
│типа │
8 │Корзинчатые и кожуховые │Условия, в которых, согласно требованиям
│фильтры │
табл. 3, требуется двухслойная обсыпка и
│ │в которых созданию обсыпки непосредст-
│ │венным погружением в скважину песка
│ │и гравия препятствуют напорные воды
9 │Блочные фильтры │Крупные пески и гравийно-галечниковые
│ │отложения при отсутствии в подземных
│ │водах кольматирующих химических
│ │образований
Примечание. Применение фильтров без обсыпки допускается, если возможные при этом обрушения горных пород не угрожают осложнениями на прилегающей территории.
4.15. При отсутствии фильтров заводского изготовления строительной организацией могут быть выполнены трубчатые или каркасно-стержневые фильтры, руководствуясь данными по разбивке отверстий на трубах (табл. 10), назначению числа стержней в фильтровом каркасе
(табл. 11), и определению скважности фильтрового покрытия из проволочной обмотки
(табл. 12).
Таблица 10
────────┬──────────┬─────────┬─────────┬─────────┬──────────────────┬──────
Диаметр │ Диаметр │ Число │ Число │ Площадь │ Расстояние между │Скваж-
фильтра,│отверстий,│отверстий│ рядов │ сечения │ центрами │ность,
мм │ мм │ в ряду │отверстий│отверстий│ отверстий, мм │%
│ │ │ на 1 м │ на 1 м ├─────────┬────────┤
│ │ │ трубы │трубы, м2│по окруж-│по длине│
│ │ │ │ │ности │ трубы │
────────┼──────────┼─────────┼─────────┼─────────┼─────────┼────────┼──────
100 │ 10 │ 16 │ 60 │ 0,08 │ 22 │ 17 │ 20
│ 13 │ 14 │ 55 │ 0,1 │ 25 │ 18 │ 28
│ 16 │ 10 │ 50 │ 0,1 │ 35 │ 20 │ 28
────────┼──────────┼─────────┼─────────┼─────────┼─────────┼────────┼──────
150 │ 10 │ 23 │ 60 │ 0,11 │ 22 │ 17 │ 22
│ 13 │ 20 │ 55 │ 0,14 │ 25 │ 18 │ 23
│ 16 │ 14 │ 50 │ 0,14 │ 35 │ 20 │ 28
│ 19 │ 12 │ 40 │ 0,14 │ 42 │ 25 │ 28
────────┼──────────┼─────────┼─────────┼─────────┼─────────┼────────┼──────
200 │ 10 │ 28 │ 60 │ 0,13 │ 23 │ 17 │ 19
│ 13 │ 26 │ 55 │ 0,19 │ 25 │ 18 │ 28
│ 16 │ 18 │ 50 │ 0,18 │ 36 │ 20 │ 27
│ 19 │ 16 │ 40 │ 0,19 │ 41 │ 25 │ 28
│ 22 │ 12 │ 40 │ 0,18 │ 55 │ 25 │ 28
────────┼──────────┼─────────┼─────────┼─────────┼─────────┼────────┼──────
250 │ 10 │ 36 │ 60 │ 0,17 │ 23 │ 17 │ 20
│ 13 │ 32 │ 55 │ 0,23 │ 26 │ 18 │ 28
│ 16 │ 26 │ 50 │ 0,26 │ 35 │ 20 │ 31
│ 19 │ 20 │ 40 │ 0,24 │ 42 │ 25 │ 28
│ 22 │ 16 │ 40 │ 0,24 │ 53 │ 25 │ 29
│ 25 │ 14 │ 30 │ 0,2 │ 60 │ 33 │ 29
───────────────────────────────┬─────────────────────┬─────────────────────
Диаметр патрубка, мм │ Диаметр стержней, │ Число стержней
───────────────┬───────────────┤ мм │ по образующей
наружный │ внутренний │ │
───────────────┼───────────────┼─────────────────────┼─────────────────────
219 │ 210 │ 14 │ 12
273 │ 255 │ 14 │ 12
325 │ 305 │ 16 │ 20
377 │ 355 │ 16 │ 24
426 │ 402 │ 16 │ 32
────────────────────┬──────────────────────────────────────────────────────
Ширина просвета, мм │ Скважность, %, при диаметре проволоки, мм
├─────────────┬─────────────┬─────────────┬────────────
│ 1,5 │ 2 │ 3 │ 4
────────────────────┼─────────────┼─────────────┼─────────────┼────────────
0,5 │ 25 │ 20 │ 14 │ 11
0,75 │ 33 │ 27 │ 20 │ 15
1 │ 40 │ 33 │ 25 │ 20
1,5 │ 50 │ 43 │ 33 │ 27
2 │ 57 │ 50 │ 40 │ 33
2,5 │ 62 │ 55 │ 45 │ 36
3 │ 66 │ 60 │ 50 │ 43
3,5 │ 70 │ 63 │ 54 │ 46
4 │ 73 │ 66 │ 57 │ 50
4,5 │ 75 │ 69 │ 60 │ 53,5
5 │ 77 │ 71 │ 62 │ 55,5
5,5 │ 78,5 │ 73 │ 64 │ 57
6 │ 80 │ 75 │ 66 │ 60
4.16. Для обсыпки фильтров водопонизительных скважин и трубчатых дренажей применяется отмытый песок, гравий и песчано-гравийные смеси с частицами крупностью не менее 0,5 мм и не более 7 мм, а также продукты дробления изверженных пород (граниты, сиениты, диориты, габбро, порфириты, липариты, диабазы, базальты) или прочных осадочных пород (кремнистые известняки, хорошо сцементированные невыветрелые песчаники и др. при временном сопротивлении на сжатие не ниже 60 МПа). Материал обсыпки должен быть плотным, нерастворимым в воде, свободным от солевых примесей.
Гранулометрический состав песчано-гравийной обсыпки трубчатых дренажей и водопонизительных скважин может быть уточнен (по согласованию с проектной организацией) по данным о гранулометрическом составе окружающих грунтов в естественном залегании с соблюдением требований, приведенных в
табл. 13, в которой приняты следующие условные обозначения:

- диаметр частиц, мельче которых в подбираемом слое обсыпки содержится 50% по массе, мм;

- диаметр частиц, мельче которых в грунте, прилегающем к подбираемому слою (или в наружном слое обсыпки, или в слое обсыпки, прилегающей к фильтру, дренажной трубе), содержится 50% по массе, мм;

,

,

- крупность частиц, мельче которых в материале каждого слоя обсыпки содержится соответственно 10, 60, 80% по массе, мм;

- толщина одного слоя обсыпки, мм;
D - наружный диаметр фильтра, мм;

- диаметр проходных отверстий (ширина щелей просвета) фильтра (дренажной трубы), мм.
────┬───────────────────┬──────────────────────────────────────────────────
N │ Требования к │ Область распространения требований
п.п.│гранулометрическому│
│ составу обсыпки │
│ │
────┼───────────────────┼──────────────────────────────────────────────────
1 │ 5 <= D /d < 10 │Соотношение крупности частиц материала однослойной
│ 50 50 │обсыпки и прилегающего к ней грунта; то же,
│ │наружного слоя обсыпки и прилегающего к ней
│ │грунта; то же, внутреннего и наружного слоя
│ │обсыпки
2 │ D /D <= 10 │Соотношение частиц различной крупности
│ 60 10 │в материале одного слоя обсыпки
3 │ D /D <= 5 │Соотношение частиц различной крупности в материале
│ 60 10 │обсыпки фильтров водопонизительных скважин
4 │ D /D <= 3 │Соотношение частиц различной крупности в материале
│ 60 10 │обсыпки фильтров водопонизительных скважин при
│ │укладке его сбрасыванием по зазору между обсадкой
│ │и фильтровой колонной трубы
5 │дельта = 10 - 15 см│Минимальная толщина одного слоя обсыпки трубчатых
│ │дренажей
6 │дельта >= 30 D и │Толщина слоя обсыпки фильтров водопонизительных
│ 80 │скважин
│дельта >= 0,25 D │
│ 0 │
7 │ D = d │Соотношение между размером проходного отверстия
│ 0 50 │фильтра (дренажной трубы) и средним диаметром
│ │частиц в обсыпке
Примечания. 1. При пересечении фильтром водопонизительной скважины нескольких водоносных слоев или прослоек

обсыпки следует подбирать по наименьшему значению

, определенному при гранулометрическом анализе всех отобранных образцов породы, но с соблюдением для каждого пересекаемого слоя условия

. Если значения

различных слоев настолько отличаются между собой, что условие невыполнимо, то в порядке исключения следует предусматривать обсыпку с различными значениями

по высоте фильтра.
2. Если условие
п. 1 настоящей таблицы невыполнимо для однослойной обсыпки, то необходимо предусматривать двухслойную обсыпку.
Песчано-гравийная обсыпка фильтров водопонизительных скважин выполняется не менее чем на 2 - 10 м выше верхней кромки фильтра в зависимости от глубины скважины и высоты участка фильтровой колонны, перекрываемого обсыпкой. Расход песчано-гравийной обсыпки (с учетом ее растекания) на 1 м высоты скважины приведен в табл. 14.
Таблица 14
──────────────────────────────────────────┬────────────────────────────────
Условный диаметр, мм │ Объем материала обсыпки, мм
───────────────────┬──────────────────────┤
обсадных колонн │ фильтра │
───────────────────┼──────────────────────┼────────────────────────────────
400 │ 200 │ 0,11
│ 250 │ 0,091
│ 300 │ 0,065
───────────────────┼──────────────────────┼────────────────────────────────
350 │ 150 │ 0,094
│ 200 │ 0,077
│ 250 │ 0,056
───────────────────┼──────────────────────┼────────────────────────────────
300 │ 100 │ 0,075
│ 150 │ 0,068
│ 200 │ 0,048
───────────────────┼──────────────────────┼────────────────────────────────
250 │ 100 │ 0,049
│ 150 │ 0,038
4.17. Проволоку для обмотки фильтровых труб следует применять, как правило, из нержавеющей стали. При невозможности получения нержавеющей стали рекомендуется применять антикоррозийные покрытия.
Сетки используются гладкого (галунного) и квадратного плетения (табл. 15 -
17); штампованные просечные листы - с проходными отверстиями открытого типа
(табл. 18) и типа "мост"
(табл. 19).
Таблица 15
─────────┬─────────────────┬──────────────┬──────────┬─────────┬───────────
Номер │Номинальное число│ Диаметр │ Размер │Материал │Масса 1 м2
сетки │ нитей на 26 мм │ проволок, мм │ячейки, мм│ │сетки, кг
├────────┬────────┼──────┬───────┤ │ │
│ основа │ уток │основа│ уток │ │ │
─────────┼────────┼────────┼──────┼───────┼──────────┼─────────┼───────────
6/70 │ 6 │ 70 │ 0,7 │ 0,4 │ 0,34 │ Л-68 │ 3,79
7/70 │ 7 │ 70 │ 0,6 │ 0,4 │ 0,34 │ Л-68 │ 3,68
8/55 │ 8 │ 55 │ 0,6 │ 0,5 │ - │ Л-68 │ 4,46
8/70 │ 8 │ 70 │ 0,6 │ 0,4 │ - │ Л-80 │ 3,835
8/80 │ 8 │ 80 │ 0,5 │ 0,35 │ - │ Л-80 │ 3,3
10/70 │ 10 │ 70 │ 0,5 │ 0,4 │ 0,32 │ Л-80 │ 3,74
10/80 │ 10 │ 80 │ 0,5 │ 0,33 │ - │ Л-80 │ 3,05
10/90 │ 10 │ 90 │ 0,45 │ 0,3 │ 0,27 │ Л-80 │ 2,75
10/100 │ 10 │ 100 │ 0,45 │ 0,3 │ - │ Л-80 │ 2,68
12/90 │ 12 │ 90 │ 0,45 │ 0,3 │ 0,27 │ Л-80 │ 2,86
14/90 │ 14 │ 90 │ 0,45 │ 0,3 │ - │ Л-80 │ 3,1
14/100 │ 14 │ 100 │ 0,45 │ 0,28 │ 0,23 │ Л-80 │ 3,04
16/100 │ 16 │ 100 │ 0,4 │ 0,25 │ 0,23 │ Л-80 │ 2,825
18/130 │ 18 │ 130 │ 0,32 │ 0,22 │ 0,17 │ Л-80 │ 2,3
20/160 │ 20 │ 160 │ 0,28 │ 0,18 │ 0,14 │ Л-80 │ 2
| | ИС МЕГАНОРМ: примечание. Сноска дана в соответствии с официальным текстом документа. | |
--------------------------------
<*> По ВТУЭ 145-41.
Таблица 16
─────────────┬────────────────────┬──────────────────────┬─────────────────
Номер сетки │Номинальное число │ Номинальный диаметр │ Расчетная масса
│проволок на 26 мм │ проволоки, мм │ 1 м2 сетки, кг
├──────────┬─────────┼───────────┬──────────┤
│ основа │ уток │ основа │ уток │
─────────────┼──────────┼─────────┼───────────┼──────────┼─────────────────
24 │ 24 │ 260 │ 0,7 │ 0,4 │ 3,38
28 │ 28 │ 260 │ 0,6 │ 0,4 │ 3,28
32 │ 32 │ 260 │ 0,6 │ 0,4 │ 3,36
36 │ 36 │ 260 │ 0,5 │ 0,4 │ 3,20
40 │ 40 │ 325 │ 0,5 │ 0,35 │ 3,10
44 │ 44 │ 360 │ 0,45 │ 0,3 │ 2,61
48 │ 48 │ 360 │ 0,45 │ 0,3 │ 2,63
52 │ 52 │ 390 │ 0,45 │ 0,28 │ 2,66
56 │ 56 │ 390 │ 0,4 │ 0,28 │ 2,49
60 │ 60 │ 390 │ 0,4 │ 0,28 │ 2,54
64 │ 64 │ 485 │ 0,35 │ 0,22 │ 2,01
68 │ 68 │ 485 │ 0,35 │ 0,22 │ 2,06
72 │ 72 │ 550 │ 0,3 │ 0,2 │ 1,82
76 │ 76 │ 550 │ 0,3 │ 0,2 │ 1,83
80 │ 80 │ 600 │ 0,28 │ 0,18 │ 1,62
90 │ 90 │ 645 │ 0,28 │ 0,16 │ 1,52
100 │ 100 │ 670 │ 0,25 │ 0,16 │ 1,52
120 │ 120 │ 670 │ 0,22 │ 0,16 │ 1,52
160 │ 160 │ 820 │ 0,2 │ 0,14 │ 1,44
200 │ 200 │ 870 │ 0,18 │ 0,12 │ 1,21
────────┬──────────┬───────────┬───────────┬──────────┬─────────┬──────────
Номер │ Диаметр │ Число │Число ячеек│ Сторона │ Живое │Масса 1 м2
сетки │проволоки,│проволок на│ на 1 см2 │ячейки в │сечение │ латунной
│ мм │26 мм сетки│ сетки │свету, мм │сетки, % │сетки, кг
────────┼──────────┼───────────┼───────────┼──────────┼─────────┼──────────
2,6 │ 0,5 │ 32,3 │ 10,4 │ 2,6 │ 70,3 │ 1,14
2,5 │ 0,5 │ 33,3 │ 11,2 │ 2,5 │ 70 │ 1,18
2 │ 0,5 │ 40 │ 16 │ 2 │ 64 │ 1,41
1,6 │ 0,45 │ 49 │ 23,8 │ 1,6 │ 60,8 │ 1,39
1,25 │ 0,4 │ 59 │ 34,6 │ 1,25 │ 58,5 │ 1,33
1 │ 0,35 │ 74 │ 54,9 │ 1 │ 55 │ 1,23
09 │ 0,35 │ 80 │ 64 │ 0,9 │ 41,3 │ 1,38
08 │ 0,3 │ 91 │ 82,6 │ 0,8 │ 53 │ 1,2
07 │ 0,3 │ 99 │ 98 │ 0,7 │ 48 │ 1,27
063 │ 0,25 │ 114 │ 130 │ 0,63 │ 48 │ 1
06 │ 0,25 │ 118 │ 139 │ - │ 49,8 │ 1,04
056 │ 0,23 │ 126,5 │ 160 │ 0,56 │ 51 │ 0,97
05 │ 0,22 │ 139 │ 193 │ 0,5 │ 48,2 │ 0,94
045 │ 0,18 │ 159 │ 252 │ 0,45 │ 50,9 │ 0,72
042 │ 0,15 │ 125,5 │ 308 │ 0,42 │ 54 │ 0,55
04 │ 0,15 │ 182 │ 331 │ 0,4 │ 53 │ 0,58
0355 │ 0,15 │ 200 │ 400 │ 0,355 │ 49 │ 0,63
0315 │ 0,14 │ 222 │ 494 │ 0,315 │ 46 │ 0,61
028 │ 0,14 │ 238 │ 567 │ 0,28 │ 44,5 │ 0,65
025 │ 0,13 │ 264 │ 694 │ 0,25 │ 43,3 │ 0,62
0224 │ 0,13 │ 278 │ 763 │ 0,224 │ 40,8 │ 0,66
02 │ 0,13 │ 303 │ 918 │ 0,2 │ 36,7 │ 0,72
018 │ 0,13 │ 323 │ 1040 │ 0,18 │ 33,8 │ 0,76
016 │ 0,12 │ 385 │ 1480 │ 0,16 │ 32,7 │ 0,72
015 │ 0,1 │ 400 │ 1600 │ - │ 36 │ 0,56
014 │ 0,09 │ 435 │ 1890 │ 0,14 │ 38 │ 0,56
0125 │ 0,09 │ 465 │ 2130 │ 0,125 │ 33,8 │ 0,54
0112 │ 0,08 │ 515 │ 2630 │ 0,112 │ 34,7 │ 0,46
0105 │ 0,075 │ 566 │ 3140 │ - │ 37 │ 0,43
01 │ 0,07 │ 588 │ 3460 │ 0,1 │ 34,6 │ 0,4
| | ИС МЕГАНОРМ: примечание. Сноска дана в соответствии с официальным текстом документа. | |
| | ИС МЕГАНОРМ: примечание. Взамен ГОСТ 6613-73 Постановлением Госстандарта СССР от 21.09.1986 N 2466 с 1 января 1988 года введен в действие ГОСТ 6613-86. | |
--------------------------------
<*> По ГОСТ 6613-73 с изм.
─────────┬──────────┬─────────────┬──────────────────┬─────────┬───────────
Длина │ Ширина │ Ширина │ Ширина перемычки │ Толщина │Скважность,
щели, │ щели, │перемычки по │по горизонтали, мм│листа, мм│ %
мм │ мм │вертикали, мм│ │ │
─────────┼──────────┼─────────────┼──────────────────┼─────────┼───────────
20 │ 1 │ 6 │ 2 │ 1,5 │ 25,3
│ 1 │ 6 │ 2,5 │ 1,5 │ 21,8
│ 1,5 │ 4 │ 2 │ 2 │ 35,2
│ 2 │ 5 │ 3 │ 2,5 │ 31,3
│ 2,5 │ 5 │ 3 │ 3 │ 35,4
│ 3 │ 4 │ 3 │ 2 │ 40,3
│ 3 │ 6 │ 3 │ 4 │ 37,3
│ 3,5 │ 6 │ 3,5 │ 3 │ 37
│ 4 │ 6 │ 4 │ 5 │ 36,8
│ 4,5 │ 4 │ 3,5 │ 2 │ 44,5
│ 5 │ 5 │ 5 │ 5 │ 37,9
│ 5 │ 6 │ 4 │ 6 │ 40,4
│ 6 │ 7 │ 6 │ 8 │ 34,6
│ 7 │ 6 │ 5 │ 5 │ 41,6
│ 7 │ 7 │ 5 │ 5 │ 40
│ 8 │ 6 │ 5 │ 3 │ 43,3
│ 10 │ 6 │ 5 │ 5 │ 45,7
─────────┼──────────┼─────────────┼──────────────────┼─────────┼───────────
25 │ 1,5 │ 5 │ 2,5 │ 2 │ 30,8
│ 2,5 │ 7 │ 5 │ 4 │ 25,5
│ 3 │ 5 │ 3 │ 4 │ 40,8
│ 3,5 │ 5 │ 5 │ 5 │ 33,2
│ 4 │ 5 │ 5 │ 5 │ 36
│ 4,5 │ 5 │ 5 │ 5 │ 37,9
│ 5 │ 5 │ 4 │ 5 │ 44,4
│ 5,5 │ 5 │ 3,5 │ 2 │ 48,5
│ 6 │ 5 │ 4 │ 2 │ 47,3
─────────┼──────────┼─────────────┼──────────────────┼─────────┼───────────
25 │ 6 │ 7 │ 6 │ 8 │ 37
│ 7 │ 7 │ 6 │ 3 │ 42,8
│ 8 │ 5 │ 5 │ 6 │ 47,7
─────────┼──────────┼─────────────┼──────────────────┼─────────┼───────────
30 │ 5 │ 10 │ 5 │ 5 │ 36,2
│ 6 │ 7 │ 6 │ 6 │ 38,8
│ 8 │ 10 │ 7 │ 8 │ 37,8
│ 9 │ 6 │ 6 │ 2 │ 46,7
│ 10 │ 6 │ 5 │ 6 │ 51,5
─────────┼──────────┼─────────────┼──────────────────┼─────────┼───────────
35 │ 4 │ 5 │ 4 │ 4 │ 42,7
│ 6 │ 5 │ 4 │ 5 │ 50,6
│ 6 │ 5 │ 5 │ 5 │ 46
│ 7 │ 8 │ 7 │ 6 │ 39
│ 9 │ 9 │ 7 │ 6 │ 42,2
│ 10 │ 10 │ 10 │ 8 │ 36,5
─────────┼──────────┼─────────────┼──────────────────┼─────────┼───────────
40 │ 8 │ 8 │ 10 │ 10 │ 35,5
│ 20,8 │ 8 │ 6 │ 10 │ 57,1
─────────┼──────────┼─────────────┼──────────────────┼─────────┼───────────
50 │ 10 │ 10 │ 9 │ 8 │ 42
│ 12 │ 10 │ 9 │ 6 │ 45,2
─────────┼──────────┼─────────────┼──────────────────┼─────────┼───────────
60 │ 12 │ 10 │ 10 │ 6 │ 44
─────────┬────────┬────────┬───────┬──────┬──────────┬────────────┬────────
Ширина │Толщина │ Высота │Средняя│Ширина│Перемычка │Перемычка │Скваж-
моста │стенки, │просвета│ длина │щели, │ щели по │между щелями│ность, %
поверху, │ мм │ моста, │ щели, │ мм │вертикали,│по горизон- │
мм │ │ мм │ мм │ │ мм │тали, мм │
─────────┼────────┼────────┼───────┼──────┼──────────┼────────────┼────────
17 │ 2,5 │ 1 │ 18,5 │ │ 17,5 │ │ 9,78
│ │ 1,5 │ 19,25 │ │ 16,75 │ │ 15,26
│ │ 2 │ 20 │ │ 19 │ │ 19,55
│ │ 2,5 │ 20,75 │ │ 18,25 │ │ 25,42
│ │ 1 │ 18,5 │ │ 20,5 │ │ 9,04
│ 3 │ 1,5 │ 19,25 │ 5 │ 19,75 │ 5,5 │ 14,11
│ │ 2 │ 20 │ │ 22 │ │ 18,14
│ │ 2,5 │ 20,75 │ │ 21,25 │ │ 23,58
│ │ 3 │ 21,5 │ │ 23,5 │ │ 27,33
│ 3,5 │ 1 │ 18,5 │ │ 20,5 │ │ 9,04
│ │ 1,5 │ 19,25 │ │ 19,75 │ │ 14,11
│ │ 2 │ 20 │ │ 22 │ │ 18,14
│ │ 2,5 │ 20,75 │ │ 21,25 │ │ 23,58
│ │ 3 │ 21,5 │ │ 23,5 │ │ 27,33
│ 4 │ 1 │ 18,5 │ │ 23,5 │ │ 8,39
│ │ 1,5 │ 19,25 │ │ 22,75 │ │ 13,08
│ │ 2 │ 20 │ │ 25 │ │ 16,94
│ │ 2,5 │ 20,75 │ │ 24,25 │ │ 22,03
│ 4 │ 3 │ 21,5 │ │ 26,5 │ │ 25,59
│ │ 1 │ 21,5 │ │ 23,5 │ │ 6,58
│ │ 1,5 │ 22,25 │ │ 25,75 │ │ 9,59
│ │ 2 │ 23 │ │ 25 │ │ 13,21
│ │ 2,5 │ 23,75 │ │ 27,25 │ │ 16,05
│ │ 3 │ 24,5 │ │ 26,5 │ │ 19,86
20 │ 5 │ 3,5 │ 25,25 │ │ 28,75 │ │ 22,5
│ │ 4 │ 26 │ │ 28 │ │ 26,56
│ │ 1 │ 21,5 │ 7 │ 26,5 │ 7,5 │ 6,17
│ │ 1,5 │ 22,25 │ │ 28,75 │ │ 9,02
│ │ 2 │ 23 │ │ 28 │ │ 12,43
│ │ 2,5 │ 23,75 │ │ 30,25 │ │ 15,17
│ │ 3 │ 24,5 │ │ 29,5 │ │ 18,77
│ │ 3,5 │ 25,25 │ │ 31,75 │ │ 21,33
│ │ 4 │ 26 │ │ 31 │ │ 25,18
4.18. Использование для фильтров водопонизительных скважин и дренажей покрытий из волокнистых, тканых и других материалов возможно при условии обеспечения необходимого срока службы водопонизительного устройства.
4.19. Основным оборудованием для производства водопонизительных работ, кроме общестроительного, служат насосы, буровые станки, иглофильтровые установки.
4.20. Для водоотлива используются серийно выпускаемые центробежные насосы для воды, при необходимости для загрязненной воды, или погружные электронасосы для загрязненной воды типа ГНОМ. Технические данные насосов типа ГНОМ приведены в табл. 20.
Таблица 20
───────────────────────┬───────────────────────────────────────────────────
Параметры │ Марка насоса
├───────┬────────┬────────┬───────┬────────┬────────
│ ГНОМ │ ГНОМ │ ГНОМ │ ГНОМ │ ГНОМ │ ГНОМ
│ 10-10 │ 15-15 │ 25-20 │40-18Т │ 53-10Т │ 100-25
───────────────────────┼───────┼────────┼────────┼───────┼────────┼────────
Подача, м3/ч │ 10 │ 16 │ 25 │ 40 │ 53 │ 100
Напор, м │ 10 │ 15 │ 20 │ 18 │ 10 │ 25
Мощность │ 1,1 │ 1,7 │ 4 │ 5,5 │ 4 │ 15
электродвигателя, кВт │ │ │ │ │ │
Габариты, мм │278 x │500 x │260 x │327 x │295 x │530 x
│210 x │диаметр │327 x │260 x │260 x │385 x
│450 │240 │600 │660 │600 │820
Масса, кг │ 21 │ 31 │ 58 │ 76 │ 58 │ 180
Допустимый размер │ 6 │ 5 │ 8 │ 6 │ 8 │ 5
твердых включений │ │ │ │ │ │
в воде, мм │ │ │ │ │ │
Допустимое содержание │ 10 │ 10 │ - │ - │ - │ 10
в воде механических │ │ │ │ │ │
примесей, % │ │ │ │ │ │
Допустимая температура │ 35 │ 35 │ 35 │ 60 │ 45 │ 35
воды, °C │ │ │ │ │ │
4.21. При устройстве дренажей используются общестроительное оборудование и машины, применяемые для земляных, санитарно-технических и водопонизительных работ. Технические данные основных типов центробежных насосов, применяемых в насосных станциях дренажных систем, приведены в табл. 21.
Таблица 21
──────────────┬───────┬──────┬─────────┬─────────┬────────────────┬────────
Марка насоса │Подача,│Напор,│Мощность,│ Частота │ Габариты, мм │ Масса,
│ м3/ч │ м │ кВт │вращения,│ │ кг
│ │ │ │ об./мин │ │
──────────────┼───────┼──────┼─────────┼─────────┼────────────────┼────────
НЦС-1 │ 18 │ 20,5 │ 5,79 │ 3000 │1215 x 390 x 655│ 250
НЦС-1 │ 120 │ 11,3 │ 6,96 │ 3000 │1215 x 390 x 655│ 250
НЦС-1 │ 130 │ 8,3 │ 6,91 │ 3000 │1215 x 390 x 655│ 250
НЦС-3 │ 8 │ 21,7 │ 2,38 │ 3000 │1120 x 385 x 540│ 150
НЦС-3 │ 36,4 │ 15,9 │ 3,14 │ 3000 │1120 x 385 x 540│ 150
НЦС-3 │ 60 │ 4,3 │ 3,76 │ 3000 │1120 x 385 x 540│ 150
К 160/30 │ 160 │ 30 │ 30 │ 1500 │1470 x 615 x 575│ 455
К 290/30 │ 290 │ 30 │ 40 │ 1500 │1640 x 710 x 656│ 600
КМ 45/55 │ 45 │ 55 │ 10,5 │ 3000 │ 847 x 385 x 435│ 198
КМ 90/35 │ 90 │ 35 │ 10,8 │ 3000 │ 847 x 403 x 440│ 197
КМ 160/20 │ 160 │ 20 │ 10,9 │ 1500 │ 877 x 472 x 505│ 237
Д200-95 (4НДВ)│ 200 │ 95 │ 100 │ 3000 │ 830 x 640 x 520│ 210
Д200-36 (5НДВ)│ 200 │ 36 │ 40 │ 1500 │ 830 x 800 x 620│ 270
Д320-50 │ 320 │ 50 │ 75 │ 150 │ 830 x 970 x 700│ 380
4.22. Для устройства водопонизительных скважин применяются, в основном, станки ударно-канатного и вращательного бурения (табл. 22,
23).
Таблица 22
─────────────────────────────────────┬─────────────────────────────────────
Параметры │ Типы станков
├───────────┬───────────┬─────────────
│ УГБ-3УК │ УГБ-4УК │БУ-2 "Уралец"
─────────────────────────────────────┼───────────┼───────────┼─────────────
Максимальная глубина бурения, м │ 300 │ 500 │ 250
Максимальный диаметр бурения, мм │ 600 │ 900 │ 300
Грузоподъемность лебедок, кН: │ │ │
талевой │ 20 │ 32 │ -
желоночной │ 12 │ 20 │ 5
инструментальной │ 20 │ 32 │ 12
Высота мачты, м │ 13,5 │ 16 │ 11,6
Грузоподъемность мачты, кН │ 120 │ 250 │ -
Мощность двигателя, кВт │ 22 │ 40 │ 20
Габариты в рабочем положении, м: │ │ │
высота │ 12,75 │ 16 │ 12
длина │ 5,8 │ 7,7 │ 6
ширина │ 2,3 │ 2,64 │ 2,7
Масса станка с мачтой и двигателем, т│ 8 │ 12,8 │ 11,1
───────────────────────┬───────────────────────────────────────────────────
Параметры │ Типы станков вращательного бурения
├───────┬───────┬───────┬──────┬───────┬────────────
│УГБ-50М│УГБ-1ВС│УРБ-3А2│1ВА15В│УРБ-600│ FA-12
───────────────────────┼───────┴───────┼───────┴──────┴───────┼────────────
Основной способ бурения│ Вращательный │ Вращательный │Вращательный
│ │ с промывкой │с обратной
│ │ │промывкой
│ │ │и ударно-
│ │ │канатный
│ │ │250/250
Номинальная глубина │ 50 │ 50 │ 600 │ 500 │ 600 │ -
бурения, м │ │ │ │ │ │
Диаметры бурения, мм: │ │ │ │ │ │
начальный │ 198 │ 198 │ 243 │ 394 │ 490 │ 1270/600
конечный │ 151 │ 151 │ 93 │ 190 │ 214 │ -
Высота мачты, м │ 8 │ 8,65 │ 18,4 │ 18,4 │ 22,4 │ 13,12
Грузоподъемность мачты │ 73 │ 52 │ 100 │ 300 │ 700 │ 125
максимальная, кН │ │ │ │ │ │
Установленная мощность │ 36 │ 44 │ 180 │ 288 │ 520 │ -
главного привода, кВт │ │ │ │ │ │
Габариты станка │ │ │ │ │ │
в транспортном │ │ │ │ │ │
положении, мм: │ │ │ │ │ │
длина │ 8000 │ 6540 │ 10860 │10850 │ 12460 │ 13100
ширина │ 2250 │ 2380 │ 3000 │ 3000 │ 2650 │ 2480
высота │ 3500 │ 2730 │ 3750 │ 3750 │ 4160 │ 3560
4.23. Для откачки воды из скважин применяют насосы с погружным электродвигателем (агрегаты электронасосные центробежные скважинные) и насосы с электродвигателем на поверхности (агрегаты водоподъемные с электродвигателем над скважиной).
Технические данные выпускаемых в Советском Союзе скважинных насосов приведены в
табл. 24, в которой приняты следующие обозначения для типоразмеров агрегатов:
А - артезианский; В - водяной; Г - допускается повышенное содержание твердых механических примесей в воде; Н - насос; Т - турбинный; Тр - допускается повышенная температура воды; Х - допускается химическая активность воды; Ц - центробежный; Э - с приводом от погружного электродвигателя.
────────────────────────────────┬──────────────────────┬───────────────────
Марка насоса │ Мощность │ Длина насоса, мм
│электродвигателя, кВт │
────────────────────────────────┼──────────────────────┼───────────────────
Агрегаты электронасосные центробежные
ЭЦВ5-4-125 │ 2,8 │ 1890
ЭЦВ5-6,3-80 │ 2,8 │ 1620
│ │
1ЭЦВ6-4-130 │ 2,8 │ 1700
1ЭЦВ6-4-190 │ 4,5 │ 2041
│ │
3ЭЦВ6-6,3-85 │ 2,8 │ 1358
4ЭЦВ6-6,3-85 │ 2,8 │ 1484
│ │
3ЭЦВ6-6,3-125 │ 4,5 │ 1564
4ЭЦВ6-6,3-125 │ 4,5 │ 1710
│ │
1ЭЦВ6-10-50 │ 2,8 │ 1361
3ЭЦВ6-10-80 │ 4,5 │ 1415
│ │
1ЭЦВ6-10-110 │ 5,5 │ 1713
1ЭЦВ6-10-140 │ 8 │ 1891
│ │
1ЭЦВ-10-185 │ 8 │ 2222
ЭЦВ6-10-235 │ 11 │ 2799
│ │
3ЭЦВ6-16-50 │ 4,5 │ 1502
3ЭЦВ6-16-75 │ 5,5 │ 1708
│ │
ЭЦВ6-16-75Г │ 5,5 │ 1640
ЭЦВ6-16-110Г │ 8 │ 1860
│ │
ЭЦВ6-25-140ХГ │ 16 │ 3291
ЭЦВ6-25-140ХТрГ │ 16 │ 3291
│ │
3ЭЦВ8-16-140 │ 11 │ 1795
1ЭЦВ8-25-100 │ 11 │ 1832
│ │
2ЭЦВ8-25-100 │ 11 │ 1822
2ЭЦВ8-25-150 │ 16 │ 2128
│ │
1ЭЦВ8-25-150ХТрГ │ 22 │ 2658
ЭЦВ8-25-300 │ 32 │ 4190
│ │
ЭЦВ8-40-60 │ 11 │ 1666
ЭЦВ8-40-180 │ 32 │ 2960
│ │
2ЭЦВ10-63-65 │ 22 │ 1720
2ЭЦВ10-63-110 │ 32 │ 2125
│ │
1ЭЦВ10-63-150 │ 45 │ 2504
2ЭЦВ10-63-150 │ 45 │ 2415
│ │
1ЭЦВ10-63-270 │ 65 │ 3234
ЭЦВ10-120-60 │ 32 │ 2150
│ │
ЭЦВ10-160-35Г │ 22 │ 1867
1ЭЦВ12-160-65 │ 45 │ 1966
│ │
1ЭЦВ12-160-100 │ 65 │ 2157
1ЭЦВ12-210-25 │ 22 │ 1747
│ │
2ЭЦВ12-210-55 │ 45 │ 2330
1ЭЦВ12-210-145 │ 125 │ 3390
│ │
2ЭЦВ12-255-30Г │ 32 │ 1602
ЭЦВ12-375-30Г │ 45 │ 1860
│ │
ЭЦВ14-210-300Х │ 250 │ 5679
ЭЦВ16-375-175Х │ 250 │ 5626
Агрегаты водоподъемные с электродвигателем над скважиной
АТН8-1-7 │ 7,5 │ 33396
АТН8-1-11 │ 10 │ 46154
│ │
АТН-1-16 │ 13 │ 69915
АТН8-1-22 │ 17 │ 93358
│ │
20А-18 x 1-1 │ 75 │ 27210
20А-18 x 3-1 │ 250 │ 83375
│ │
24А-18 x 1-1 │ 250 │ 43797
--------------------------------
<*> Типоразмеры агрегатов ЭЦВ соответствуют ГОСТ 10428-79 с изм.
Примечание. Требуемый подпор для насосов марок ЭЦВ5-4-125 - 1ЭЦВ12-210-25 - 1 м; 2ЭЦВ12-210-55 - 2ЭЦВ12-255-30Г, а также ЭЦВ14-210-300Х - 2 м; ЭЦВ12-375-30Г и ЭЦВ16-375-175Х - 6 м.
Первое число (для насосов типа ЭЦВ - первое после букв) - внутренний диаметр фильтровой колонны, уменьшенный в 25 раз и округленный; второе число - для насосов типа А - быстроходность; АНТ - рабочее колесо; ЭЦВ - производительность, м3/ч; третье число - для насосов типа А - число корпусов насоса; АТН - число рабочих колес; ЭЦВ - напор, м. Для насосов типа ЭЦВ перед буквами ставится порядковый номер модернизации, например: 1ЭЦВ12-160-65.
Характеристики насосов приведены на рис. 29 и
30.
Рис. 29. Характеристика насосов типа ЭЦВ
Рис. 30. Характеристики насосов типа А, АП, АТН, ЭПН
4.24. В Советском Союзе выпускаются и поставляются комплектно иглофильтровые установки следующих типов: ЛИУ; УВВ; ЭИ и ЭВВУ (табл. 25). Все они могут быть использованы для гравитационного водопонижения.
Таблица 25
───────────────────────────────┬───────────────────┬──────┬─────────┬──────
Параметры │ ЛИУ-6Б │УВВ-2 │УВВ-3-6КМ│ЭИ-70
├─────────┬─────────┤ │ │
<*>
│насос N 1│насос N 2│ │ │(ЭВВУ)
───────────────────────────────┼─────────┼─────────┼──────┼─────────┼──────
Максимальная производительность│ 140 │ 65 │ 43 │ 43 │ 150
установки по воде, м3/ч │ │ │ │ │
Напор на выходе, м │ 35 │ 28 │ - │ 20 │ -
Масса насосного агрегата, кг │ 650 │ 470 │ 1320 │ 790 │ 639
Габариты насосного агрегата │1845 x │1680 x │4400 x│1800 x │1500 x
(с электродвигателем) │945 x │735 x │2200 x│780 x │690 x
│1250 │1234 │1900 │1400 │715
Мощность электродвигателя, кВт │ 22 │ 11 │ 30 │ 15 │ 75
Длина коллектора, м: │ │ │ │ │
всасывающего │ - │ 105 │ 54 │ 105 │ -
напорного │ - │ - │ - │ - │ 48
сливного │ - │ - │ - │ - │ 42
Длина одного звена, м │ │ 6 │ 4,5 │ 6 │ 6
Размеры фильтрового звена, м: │ │ │ │ │
наружный диаметр по сетке │ - │ 68,5 │ 70 │ 68,5 │ 70
общая длина │ - │ 1,26 │ 1 │ 1,26 │ 1,12
длина водоприемной части │ - │ 0,8 │ 0,8 │ 0,8 │ 0,8
Общая длина иглофильтра, м │ - │ 8,5 │ 7,5 │ 8,5 │ 12
Масса установки, т │ - │ 7,1 │ 5,08 │ 6,85 │ 10,5
--------------------------------
<*> В комплект установок типа ЭВВУ дополнительно входят фильтровые оболочки, а фильтровые звенья не имеют сетчатого покрытия.
Для вакуумного водопонижения используются установки типов УВВ, ЭИ и ЭВВУ.
ВОДООТЛИВ ИЗ КОТЛОВАНОВ И ТРАНШЕЙ
4.25. Для водоотлива в котлованах и траншеях устраиваются специальные зумпфы (водосборники), к которым вода поступает по канавкам и водостокам (рис. 31), каптирующим фильтрационный приток через откосы и дно выработки. Необходимость устройства канавок и зумпфов приводит к некоторому увеличению объемов земляных работ, что почти не ощущается при разработке больших котлованов и карьеров и более ощутимо при разработке малых котлованов. Вместимость зумпфа рекомендуется принимать не менее 5-минутной максимальной производительности откачивающего из него воду насоса.
Рис. 31. Открытый водоотлив в котловане
1 - дренажная канава; 2 - зумпф; 3 - пониженный уровень
подземных вод; 4 - дренажная пригрузка; 5 - насос
Для применения водоотлива из котлованов и траншей не ставятся ограничения в зависимости от характера грунтов и их фильтрационных свойств. Но в то же время следует учитывать, что в малоустойчивых грунтах возможны затруднения, связанные с необходимостью предохранения от нарушения свойств грунтов в откосах и в основании сооружений и обеспечения надлежащей эффективности большинства методов земляных и строительных работ.
При производстве земляных работ в гравийно-галечниковых и щебенистых грунтах, в полускальных и скальных породах сохранение грунтов в устойчивом состоянии обычно не вызывает затруднений, но и в этих условиях следует уделять организации приема и отвода фильтрационных вод и взаимоувязке с другими работами надлежащее внимание, иначе может быть снижена эффективность использования различного строительного оборудования и транспорта. При этом опасность возможных осложнений возрастает с увеличением глубины выработки и притока подземных вод.
Организация водоотлива облегчается при разработке грунтов методами гидромеханизации, так как откачка подземных вод обычно совмещается с удалением пульпы, а в забое допускается разрыхление грунтов фильтрационным притоком.
4.26. Разработка крупных и глубоких котлованов с водоотливом осуществляется ярусами. Разработка каждого яруса начинается с проходки пионерной (разрезной) траншеи глубиной, несколько превышающей высоту яруса. Уклон траншеи принимается противоположным направлению движения экскаватора. При этом в начале траншеи (вблизи съезда) устраивается водоприемный зумпф для сбора фильтрующей воды. Насосы для откачки воды устанавливаются вблизи зумпфа на дне траншеи или у верхней бровки траншеи на поверхности земли. Последнее рекомендуется при больших притоках. Высота яруса регламентируется фактической высотой всасывания насосов и не превышает 3 - 4 м.
По окончании разработки траншеи на уровне ее дна в месте расположения зумпфа устраивается насосная станция, действующая в течение всего периода разработки яруса.
При большой площади котлована в пределах одного яруса могут устраиваться дополнительные насосные станции. По окончании выемки земли по контуру дна выработки устраиваются водосборные траншеи.
В аналогичном порядке осуществляется водоотлив на последующих ярусах разработки котлована.
4.27. Водоотлив непосредственно из передовых траншей или из котлованов, не имеющих специальных зумпфов, допускается, когда не требуется их полного осушения, например, при подводной разработке грунтов грейферами или земснарядами. Когда требуется полное осушение котлована, должны быть заблаговременно подготовлены зумпфы и обеспечен беспрепятственный сток воды к ним.
Котлованы, разрабатываемые в водоносных глинистых грунтах, которые служат основанием сооружений, рекомендуется переуглублять на 20 - 40 см ниже отметки подошвы фундаментов и выполнять втрамбовку и сплошную подсыпку щебнем или гравием.
4.28. Разработка котлованов подводным способом ведется черпанием грунта из-под воды землечерпательным (землесосным) снарядом или экскаватором, оборудованным грейфером или ковшом драглайна. Обычно она сопровождается снижением уровня воды в выемке.
Скорость снижения уровня подземных вод в грунтовом массиве вблизи откосов меньше скорости снижения уровня воды в самом котловане и еще в большей мере отстает развитие депрессии вдали от котлована. При этом возникает опасность значительного возрастания гидравлического градиента фильтрации в приоткосной зоне.
При определенных для каждого конкретного грунта значениях выходного градиента фильтрации и величины уступа может наступить разрушение грунта в откосах. Для фильтрующих грунтов - это суффозионные явления, которые могут повлечь за собой образование в грунтовом массиве каверн, пещер, пустот, провальных воронок и, наконец, обрушение на отдельных участках откоса. В слабофильтрующих грунтах значительное давление подземных вод изнутри массива в сочетании со взвешивающим воздействием воды может вызвать оплывание и оползание откосов.
Значительные градиенты фильтрации на заключительном этапе разработки котлована - при сниженном уровне воды в котловане - могут вызвать деформацию и разуплотнение грунтов дна котлована, появление выходов воды с выносом грунта (грифонов), вплоть до полного нарушения основания будущего сооружения.
Отсюда вытекают требования тщательной увязки интенсивности понижения уровня воды в котловане, разрабатываемом подводным способом, с грунтовыми и гидрогеологическими условиями и со снижением уровня подземных вод за его пределами.
Допустимая в данных условиях интенсивность понижения уровня, общая величина снижения, методы и объемы необходимых водопонизительных работ, мероприятия по обеспечению устойчивости откосов должны решаться в специальном разделе проекта, рассматривающем этот этап строительства.
Значения допустимых скоростей снижения уровня воды в котловане приведены в табл. 26. Эти значения могут быть уточнены в процессе разработки и осушения котлована.
──────────────┬────────────────────────────────────────────────────────────
Коэффициент │ Допустимые скорости снижения уровня воды в котловане,
фильтрации │см/сут, при глубине, м, уровня воды от непониженного уровня
грунта, │ подземных вод
м/сут ├──────────────┬──────────────┬──────────────┬───────────────
│ до 5 │ 5 - 10 │ 10 - 20 │ св. 20
──────────────┼──────────────┼──────────────┼──────────────┼───────────────
До 2 │ 30 │ 25 │ 20 │ 15
2 - 10 │ 60 │ 40 │ 30 │ 25
10 - 20 │ 100 │ 70 │ 50 │ 40
Св. 20 │ 120 │ 90 │ 60 │ 50
4.29. В насосных станциях для водоотлива из котлованов и траншей устанавливаются резервные насосы в количестве 100% при одном работающем насосе и 50% при количестве работающих насосов более одного.
При этом следует стремиться к тому, чтобы на каждой насосной станции как рабочие насосы, так и резервные были одного типа. Установка разнородных по производительности (и другим параметрам) агрегатов на одной насосной станции не рекомендуется.
4.30. Дренажи того или иного вида, имеющие непрерывное простирание (траншейные, трубчатые, пластовые и др.) могут применяться для различных задач водопонижения в разнообразных природных условиях.
4.31. Простейшим видом траншейных дренажей, применяемых для строительного водопонижения, являются канавки и передовые траншеи, устраиваемые в котлованах при водоотливе из них.
Когда территория позволяет разместить дренажные траншеи вне котлованов сооружений, траншейный дренаж может быть использован для осушения значительных площадей, на которых необходимо вести работы ниже уровня подземных вод на протяжении длительного времени.
В малоустойчивых грунтах нижняя, затопленная часть канав и траншей может быть заполнена фильтрующим материалом (камнем, щебнем, гравием). При необходимости использования площади, занятой канавами или траншеями, последние после укладки фильтрующего материала могут быть засыпаны грунтом с постепенным переходом в материале засыпки от крупных фракций к мелким (т.е. с устройством обратного фильтра) для предохранения от засорения его водопроводящей части, образуя таким образом закрытый беструбчатый дренаж.
4.32. Трубчатые дренажи могут быть использованы для строительного водопонижения в тех случаях, когда они предусматриваются для постоянных дренажных систем. В этом случае они должны быть выполнены заблаговременно с целью защиты заглубленного сооружения не только в период эксплуатации, но и в период его строительства. Однако трубчатые дренажи могут применяться и только на период строительства, например, на откосах долго существующих котлованов (рис. 32) и в других случаях, когда это оправдано экономически.
Рис. 32. Дренаж на откосах котлована
1 - пониженные уровни подземных вод; 2 - песчаная
пригрузка; 3 - дренажная труба; 4 - засыпки гравием
При устройстве трубчатых дренажей, после отрывки траншеи, необходимо отобрать пробы окружающего грунта, уточнить его гранулометрический состав и соответствующий ему состав песчано-гравийной обсыпки, требования к материалу для нее и при необходимости - к материалу фильтровых покрытий согласно
пп. 4.16 и
4.17.
4.33. Дренажи в виде проходных и полупроходных подземных галерей ввиду их значительной стоимости применяются, в основном, в период эксплуатации сооружений и рудников в качестве постоянного средства осушения территорий предприятий, населенных пунктов, для борьбы с оползнями и т.д. Такие дренажи при их заблаговременном исполнении возможно использовать и для водопонижения в строительный период. При их устройстве необходимо руководствоваться действующими нормативными материалами по подземным горным выработкам и гидротехническим тоннелям.
4.34. Работы по устройству траншейных, трубчатых, галерейных дренажей должны начинаться с прокладки сбросных участков от дренажной сети до открытых водоприемников или существующих коллекторов ливневой канализации при самотечном выпуске, а в случае перекачки - со строительства насосной станции и водоотвода.
4.35. Пластовый дренаж (развитый по площади слой фильтрующего материала) применяется в сочетании с трубчатыми дренами (или беструбчатыми закрытыми дренами) при строительном водопонижении на откосах котлованов (см.
рис. 32), а также в основаниях сооружений (например, когда необходимо забетонировать фундаментную плиту и нельзя предотвратить фильтрацию через дно котлована) и в основаниях грунтовых отвалов.
При устройстве пластового дренажа в основаниях грунтовые отвалов отвод воды от них допускается осуществлять с помощью систематически расположенных дрен-канав, устраиваемых под слоем пластового дренажа. Площадь сечения дрен-канав должна быть на менее 0,1 м2. Дрены заполняются каменным или щебеночным материалом или блоками из беспесчаного бетона. По дренам вода отводится в канаву, выполняемую вдоль фронта отвалов.
Устройство пластового дренажа в котловане включает следующие (по порядку выполнения) виды работ: срезку, зачистку и планировку дна котлована до проектных отметок, укладку трубчатых дрен (или устройство беструбчатых дрен-канав), включая подготовку под них и фильтровую обсыпку, укладку по дну котлована песчаного слоя с уплотнением его легкими катками, укладку поверх песчаного слоя гравия или щебня. При выполнении работ нельзя допускать нарушений в сопряжении щебеночного слоя постели со щебеночной обсыпкой труб.
4.36. Каптируемые дренажами подземные воды отводятся к пониженным местам территории, в овраги, речки, водоемы, если есть такие возможности в районе строительства, или к специальным водосборникам (зумпфам), у которых устраиваются перекачные насосные станции.
Устройство заглубленных дренажных насосных станций может выполняться в открытом котловане или способом опускного колодца. Насосные станции глубоких дренажей устраивают в шахтах, проходимых горным способом.
УСТРОЙСТВО И ЭКСПЛУАТАЦИЯ ВОДОПОНИЗИТЕЛЬНЫХ СКВАЖИН
4.37. При строительном водопонижении применяются открытые (сообщающиеся с атмосферой) и вакуумные (герметически закрытые) водопонизительные скважины, оборудованные насосами, самоизливающиеся и водопоглощающие скважины и сквозные фильтры.
4.38. Открытые водопонизительные скважины, оборудованные насосами
(рис. 33), применяются, в основном, при больших (более 4 м) глубинах гравитационного водопонижения в грунтах с коэффициентом фильтрации св. 2 м/сут при достаточной толщине водоносного слоя, при которой может быть обеспечена необходимая производительность водопонизительных скважин. Они могут применяться в грунтах с коэффициентом фильтрации менее 2 м/сут, когда их эффективность подтверждается опытными данными, и при водопонижении менее 4 м, если это оправдывается технико-экономическими соображениями.
Рис. 33. Открытая скважина, оборудованная насосом
1 - кондуктор; 2 - песчано-гравийная обсыпка; 3 - местный
песчаный грунт; 4 - отстойник; 5 - просечной лист;
6 - надфильтровые трубы; 7 - пьезометр для замера уровня
воды в скважине; 8 - пьезометр для замера уровня воды
в обсыпке; 9 - направляющие фонари; 10 - муфта;
11 - насосный агрегат; 12 - водоподъемные трубы
Ряд выпускаемых скважинных насосов (см.
табл. 24) имеет достаточно широкий диапазон характеристик (см.
рис. 29 и
30). Благодаря этому имеются широкие возможности для решения с помощью скважин, оборудованных насосами, задач водопонижения в различных природных условиях.
Применяемые для конкретных объектов насосы должны иметь оптимальные параметры (расход, напор), соответствующие расчетной производительности скважин и требуемой высоте подъема откачиваемой из них воды.
Для контроля за работой скважин каждая десятая - пятнадцатая из них (в зависимости от общего их количества) оборудуется скважинным пьезометром для замера уровня внутри фильтровой колонны, затрубным пьезометром для замера уровней за фильтровой колонной и при подключении скважин к напорному водоотводящему трубопроводу дополнительной задвижкой для замера дебита и взятия проб на пескование. В необходимых случаях дополнительной задвижкой оборудуется каждая скважина.
Для повышения производительности скважины, вскрывающие весь водоносный слой до водоупора, могут выполняться с уширенным основанием - специальной полостью, образуемой в водоупоре и заполняемой фильтрующим материалом.
4.39. Самоизливающиеся скважины (с изливом через устье) применяются тогда, когда возможен излив из них на достаточно более низкую отметку, чем должен иметь пониженный уровень подземных вод.
Самоизливающиеся скважины выполняются вертикальными и под разными углами к вертикали и забуриваются с разных горизонтов: с поверхности земли, с берм на откосах, со дна котлована, из подземных выработок - в зависимости от принятого порядка производства работ и от их назначения. Они могут служить основным средством снятия напора, когда излив из них обеспечивает достаточное снижение пьезометрического уровня подземных вод в водоносном слое, и применяться в качестве резервного мероприятия, когда напор снимается с помощью скважин, оборудованных насосами, на случай аварийных перерывов в их работе (рис. 34), а также использоваться для других целей в различных водопонизительных системах.
Рис. 34. Система водопонижения с применением
резервных самоизливающихся скважин
1 - иглофильтры; 2 - открытые скважины, оборудованные
насосом; 3 - самоизливающиеся резервные скважины
Скважины, предназначенные для работы в качестве резервных, должны поддерживаться все время в работоспособном состоянии. Этому должно уделяться внимание в течение всего периода работы водопонизительной системы. При длительном "простое" (без излива) самоизливающихся скважин целесообразно производить их периодические прокачки с помощью эрлифта.
Самоизливающиеся скважины должны быть заглублены в достаточно водообильную зону водоносного слоя для снятия напора в нем.
Самоизливающаяся скважина, в которой осаждается грунт, должна иметь ниже фильтрового звена отстойник, а устье скважины должно быть защищено от попадания в нее случайных предметов и грунта.
В случае прекращения самоизлива необходимо установить, не связано ли это с засорением или повреждением скважины. При необходимости следует принять срочные меры к ее восстановлению.
Самоизливающиеся горизонтальные или слабо наклонные к горизонту скважины, устраиваемые с берм на откосах (рис. 35) или на природных склонах, предназначаются для забора воды из глубины грунтового массива и устранения открытой фильтрации через грунт. Они иногда оказываются более эффективными или менее сложными в исполнении, чем устройство дренажа, пригрузок на откосах и т.п.
Рис. 35. Схема устройства горизонтальной скважины
1 - фильтровая колонна, оборудованная наконечником
с обратным клапаном; 2 - опорная рама; 3 - домкраты
с зажимным хомутом; 4 - маслостанция; 5 - откидные домкраты
для упора трактора в грунт; 6 - передвижная насосная
станция гидроподмыва; 7 - отстойник для обратной воды
Системы радиальных самоизливающихся скважин, забирающих воду из водоносного слоя и отводящих ее в центральный водосборный колодец, представляют собой лучевые водозаборы (рис. 36), используемые при крупных и длительных водопонизительных работах.
Рис. 36. Лучевой водозабор
1 - шахта; 2 - лучевые скважины; 3 - центробежные насосы
Возможно применение радиальных скважин без специального водосборного колодца, когда лучи направляются в сторону потока подземных вод из одного или нескольких пунктов в котловане (например, из его углов), а вода от них отводится по канавкам.
В подземных выработках самоизливающиеся скважины (рис. 37) применяются любого направления и используются для водопонижения во всех слоях, окружающих выработки. При необходимости повышения их эффективности они могут быть переустроены в вакуумные подключением к ним насосных установок УВВ.
Рис. 37. Восстающая скважина
1 - шарошечное долото; 2 - переходник с обратным клапаном;
3 - фильтр; 4 - оголовок скважины с выпускной задвижкой;
5 - кондуктор; 6 - водоносный слой; 7 - скальная
порода; 8 - подземная выработка
4.40. Водопоглощающие скважины применяются на тех участках, где слой, в котором требуется понизить воду, хорошо ее отдает и имеет достаточную толщину ниже требуемого пониженного уровня подземных вод, а нижележащие слои грунта обладают надлежащей поглощающей способностью.
4.41. Сквозные фильтры
(рис. 38) применяются для строительного водопонижения в сочетании с дренажными галереями (или другими подземными выработками) там, где такие системы предусматриваются для работы в эксплуатационный период.
1 - надфильтровые трубы; 2 - местный песчаный грунт;
3 - песчано-гравийная обсыпка; 4 - фильтровые
звенья; 5 - переходная муфта; 6 - задвижка;
7 - перфорированная труба ограждения
Вода, сбрасываемая по сквозным фильтрам в дренажные галереи и подземные выработки, отводится по ним к устью и далее к наружному водоотводу или к водосборникам подземной насосной станции (рис. 39), откуда откачивается на поверхность.
Рис. 39. Система водопонижения со сквозными фильтрами
1 - сквозные фильтры; 2 - подземные выработки; 3 - шахтный
ствол и подземная насосная станция с водосборниками
4.42. Вакуумные скважины с погружными насосами и герметически закрытым устьем, предусматриваемые для вакуумного водопонижения (при котором в фильтрах скважин поддерживается вакуум до 7 - 8 м водяного столба в грунтах с коэффициентами фильтрации ниже 2 м/сут)
(рис. 40) могут выполняться с поверхности, а также из открытых и подземных горных выработок. Они оборудуются дополнительно наземными вакуум-насосами (или эжекторами) для откачки воздуха.
1 - отстойник; 2 - электродвигатель; 3 - кожух; 4 - насос;
5 - обратный клапан; 6 - стабилизатор динамического уровня;
7 - кабель; 8 - поверхность водоупора; 9 - фильтр;
10 - напорный трубопровод; 11 - трубка прибора для
измерения уровня воды в скважине; 12 - надфильтровая труба;
13 - муфта; 14 - "пояс"; 15 - глиняный тампон; 16 - трубка
вакуумметра; 17 - вентиль; 18 - манометр; 19 - вакуумметр;
20 - крышка; 21 - трубка для подключения вакуум-насоса
Вакуум-скважины должны иметь дополнительные приборы и устройства по сравнению с открытыми скважинами: вакуумметр, устройство для измерения уровня воды в скважине, задвижку и манометр на напорном трубопроводе. Задвижка и манометр должны устанавливаться на каждой вакуум-скважине. Все погружные насосы, установленные в вакуум-скважине, должны иметь обратный клапан, расположенный непосредственно над насосом.
При устройстве и эксплуатации вакуум-скважин необходимо обращать внимание на:
повышенную опасность возникновения пескования скважин, что требует особой тщательности подбора и устройства обсыпки скважин;
необходимость ограничения поступления воздуха в скважины, для чего фильтры вакуум-скважин должны быть достаточно (не менее чем на толщину осушаемого слоя) удалены от откосов выработки, а на верхних участках надфильтровых труб должны выполняться глиняные тампоны;
необходимость тщательной герметизации муфтовых соединений надфильтровых труб, крышки скважины и сальниковых уплотнений в местах пересечения с крышкой всех элементов оборудования, а также точной центровки в скважине фильтровой колонны;
важность ограничения колебаний уровней воды в скважине: наиболее низкий уровень должен обеспечить требуемое заводом-изготовителем подтопление насоса, а наиболее высокий - достаточно малый (отвечающий проектному) напор в пределах фильтра скважины (зона колебаний уровня воды в вакуум-скважине может быть допущена и в пределах отстойника, если это не противоречит требованиям проекта).
4.43. Устройство открытых и вакуумных водопонизительных скважин, оборудуемых насосами; самоизливающихся скважин, забуриваемых с поверхности или из выработок; водопоглощающих скважин и сквозных фильтров возможно с помощью механического и гидравлического бурения с последующим погружением в буровую скважину фильтровой колонны и устройством обсыпки, непосредственно гидравлическим погружением фильтра в грунт, гидропневматическим погружением фильтров и обсадных труб. Допускается задавливание, забивка и вибропогружение труб. Наиболее распространено механическое бурение с применением вращательного способа с прямой и обратной промывками, грейферного и ударного способов.
4.44. Рекомендуется применять следующие виды механического бурения:
ударное бурение (в основном ударно-канатное бурение станками УГБ-ЗУК, УГБ-4УК, Б-2 "Уралец" и др.) - в нескальных грунтах на глубину до 100 - 150 м и на большую глубину в скальных грунтах; при очистке забоя желонкой скорость ее подъема должна исключать подсасывание грунта через нижний конец обсадной трубы; при проходке грунтов, в которых возможно образование пробок, в полости обсадной трубы следует поддерживать уровень воды, превышающий статический уровень подземных вод; допустимо добавлять в скважину жирную пластическую глину, если она не вызывает глинизации водоносного слоя; в нескальных грунтах возможно использование грейферного бурения;
вращательное колонковое бурение с промывкой чистой водой или продувкой воздухом станками ЗИФ-300, ЗИФ-600, ЗИФ-1200 и др. для скважин в скальных грунтах диаметром до 200 мм; при колонковом бурении может быть допущена глинистая промывка: при бурении перекрываемых слоев, в которых водопонижение не требуется, и в случаях, когда опытным путем доказана возможность эффективной разглинизации скважин;
вращательное бурение сплошным забоем с механической подачей разрушенной породы на поверхность - шнековое бурение - станками УГБ-50М, УГБ-1ВС и др. для скважин глубиной до 50 м при отсутствии твердых прослоев, валунов, вязких и липких глинистых грунтов;
вращательное бурение с вращателем у забоя - реактивно-турбинное бурение - с использованием станков УГБ-600, БУ-75Бр, "Уралмаш-125" и других для глубоких скважин (более 100 м) большого диаметра (более 500 мм);
вращательное бурение сплошным забоем с промывкой или продувкой воздухом с вращателем на поверхности - роторное бурение станками УРБ-3АМ, УРБ-3А2, 1БА15В и др.
Роторное бурение возможно с применением нескольких технологий:
а) с прямой промывкой глинистым раствором для бурения скважин диаметром до 500 мм при бурении по перекрываемым слоям и когда опытным путем подтверждена возможность эффективной разглинизации и с обязательным ее выполнением в зоне установки фильтра (применяемый глинистый раствор должен соответствовать свойствам разрабатываемых грунтов);
б) с промывкой чистой водой или продувкой воздухом - в устойчивых грунтах;
в) с обратной промывкой чистой водой (всасывающее бурение) - для скважин глубиной до 300 м и диаметром до 1000 мм и более при отсутствии включений валунов, больших скоплений крупной гальки и при залегании уровня подземных вод на глубине 3 м и ниже от поверхности земли.
При бурении с промывкой в набухающих грунтах должны применяться специальные реагенты, препятствующие набуханию; в крепких грунтах к промывочной жидкости следует добавлять понизители твердости.
В соответствующих условиях вышеуказанные способы могут применяться и в различных сочетаниях.
Диаметр бурения под фильтровую колонну принимается по наружному диаметру предусмотренной проектом фильтрующей обсыпки. При применении фильтров без обсыпки диаметр бурения должен быть больше диаметра фильтра на 50 - 100 мм.
В процессе бурения скважин следует отбирать образцы и определять зерновой состав грунтов, уточнять литологический разрез в месте скважины, а при бурении без крепления выполнять электрокаротаж для уточнения интервалов установки фильтров.
В неустойчивых грунтах скважины при бурении должны закрепляться обсадными трубами. В телескопическом креплении скважин предусматриваются, как правило, следующие колонны обсадных труб: шахтовое направление, кондуктор, технические колонны. Нижняя часть каждой колонны оборудуется короткой утолщенной трубой (0,4 - 0,5 м) с коническим срезом (башмак).
При ударном бурении в неустойчивых грунтах крепление скважин должно производиться одновременно с разработкой грунтов, при этом башмак обсадной колонны должен опережать забой скважины не менее чем на 0,5 м.
При опускании в незакрепленную скважину колонны обсадных труб зазор между ними и грунтом в зависимости от геологического разреза, типоразмеров породоразрушающего инструмента, высоты незакрепленного участка скважины и способа цементирования затрубного пространства (при необходимости в нем) принимается:
при диаметре труб до 700 мм .............. 80 - 100 мм
" " " более 700 мм ............. 100 - 150 "
Конечный диаметр бурения скважин для сквозных фильтров должен назначаться с учетом размещения в скважине прибора для определения координат ее забоя.
В скважинах, предназначенных для установки в них насосов с трансмиссионным валом, отклонение от вертикали не должно превышать 0,005 от глубины скважины.
Колонны обсадных труб для временного закрепления стенок скважины, не предусмотренные на период ее работы в водопонизительной системе, должны извлекаться. В колоннах обсадных труб, предусмотренных проектом для оставления в грунте на период эксплуатации скважины, должна извлекаться их свободная часть. При этом верхний обрез обсадной трубы, остающейся в скважине, должен находиться выше башмака предыдущей колонны не менее чем на 3 м при глубине скважины до 50 м и не менее чем на 5 м при большей глубине скважины; кольцевой зазор между оставшейся частью колонны и предыдущей колонной обсадных труб должен быть зацементирован (так же, как и все затрубное пространство остающейся трубы) или заделан сальником.
Цементирование затрубного пространства остающихся в грунте обсадных труб при вращательном бурении производится при помощи центрального става бурильных труб с цементировочной головкой или через заливочные трубки, опущенные в затрубное пространство.
| | ИС МЕГАНОРМ: примечание. Постановлением Госстроя РФ от 10.04.1998 N 18-31 с 1 октября 1998 года введен в действие ГОСТ 1581-96. | |
Для цементирования применяется тампонажный цемент (ГОСТ 1581-78) плотностью от 3,05 до 3,2 г/см3.
Водоцементное отношение (В/Ц) цементных растворов принимается в пределах 0,4 - 0,5. Для ускорения схватывания цементного раствора применяются добавки специальных ускорителей в количестве 1 - 2% от массы сухого цемента.
В случае агрессивности подземных вод по отношению к цементному камню для цементирования обсадных колонн применяются специальные химически стойкие цементы.
При значительных объемах работ приготовление цементного раствора и цементирование обсадных колонн производится с помощью цементосмесительных машин и цементировочных агрегатов, а при небольших объемах с помощью глиномешалок и насосов буровых установок.
4.45. Гидравлическое погружение в грунт обсадных и непосредственно фильтровых колонн применяется в песках, в том числе и гравелистых, и в супесях.
Эффективность подмыва в сильно поглощающих воду гравелистых грунтах увеличивается, если к воде, размывающей грунт, добавляется сжатый воздух.
Область применения подмыва расширяется, если оборудовать погружаемую колонну разрушающим грунт наконечником и сочетать подмыв с ударным и вращательным действием, подъемом, свободным спуском и вращением труб. В этом случае возможно проходить и более тяжелые грунты. Еще более эффективно сочетание подмыва с вибрационным действием.
Вибропогружение возможно сочетать с удалением грунта из полости погружаемой колонны с помощью эрлифта.
4.46. Обсадные трубы, на которых монтируется оголовок скважины, должны иметь превышение над поверхностью земли не менее чем на 500 мм.
Сквозные фильтры в своей нижней части оборудуются выпуском с задвижкой.
4.47. Выбор способа бурения, бурового оборудования и временного крепления указанных в
п. 4.37 типов водопонизительных скважин производится с учетом вышеприведенных рекомендаций и в зависимости от местных гидрогеологических условий и требований проекта.
4.48. Бурение горизонтальных скважин на откосах котлованов целесообразно производить гидравлическим способом с одновременным задавливанием фильтровой колонны с помощью специальных станков (см.
рис. 35).
Горизонтальные лучевые скважины выполняются задавливанием при помощи гидродомкратов (допускается с вращением) звеньев фильтровых или обсадных труб с одновременным удалением грунта из забойной части скважины. Грунт в виде шлама поступает в отверстия буровой головки, которой оборудуется первое звено труб.
Помимо этого способа могут применяться вращательные, виброударные и другие виды бурения.
Звенья труб лучевых скважин соединяются между собой при помощи сварки, резьбы или захватов (щеколд). Длина звеньев труб может колебаться от 0,5 до 2,5 м, диаметр - от 50 до 300 мм.
Устройство горизонтальных скважин вдавливанием в грунт фильтров (рис. 41, а) применяется преимущественно в разнозернистых песчано-галечных грунтах крупностью

. При этом фильтровые трубы подбираются с учетом их прочности, которая должна быть достаточной для восприятия усилия от домкратов.
Рис. 41. Схемы устройства горизонтальных скважин
а - вдавливание фильтра с удалением грунта перед забоем
под действием гидростатического напора; б - то же,
с применением обсадных труб; в - вдавливание фильтра
под защитой обсадных труб с размывом грунта на забое
и устройством песчано-гравийной обсыпки гидравлическим
способом; г - вдавливание фильтра с толстостенной трубой
при размыве грунта в забое
1 - фильтр; 2 - трубы для транспортировки размываемого
грунта на забое скважины;
3 - обсадная труба; 4 - труба для гидроразмыва грунта;
5 - песчано-гравийная обсыпка; 6 - толстостенная труба
Устройство горизонтальных скважин с использованием обсадных труб (рис. 41, б) применяется в мелких песках, супесчаных и суглинистых грунтах. После обсадки скважины и установки в ней фильтров обсадные трубы извлекаются. Этот способ дает возможность в соответствии с тем или иным составом грунта использовать разнообразные фильтры: тонкостенные стальные, в том числе с антикоррозионным покрытием, пластмассовые, асбестоцементные, гончарные, песчано-гравийные, из пористых материалов и т.д. Одной из модификаций данного метода является устройство песчано-гравийного фильтра путем намыва песчано-гравийной массы в кольцевое пространство между обсадной и фильтровой трубами (
рис. 41, в).
Для удаления грунта от забоя горизонтальной скважины при задавливании фильтровой колонны внутри нее устанавливается труба, по которой разжиженный грунт стекает в шахтный колодец, откуда он впоследствии удаляется.
Возможно задавливание в грунт толстостенной сплошной трубы, установленной внутри фильтровой колонны (
рис. 41, г), при этом внутренняя полость скважины используется для транспортировки грунта.
Устройство скважин может быть выполнено подмывом - подачей в забой по специальной трубе воды под давлением.
Центральный ствол лучевого водозабора сооружается одним из обычных способов, применяемых при строительстве шахт и колодцев.
Количество лучевых гнезд в стенке колодца должно быть в 1,5 - 2 раза больше расчетного числа лучей на случай замены или устройства дополнительных горизонтальных скважин в целях увеличения эффекта водопонижения.
При резкой неоднородности слоев на участке закладки лучевого водозабора направление, число и длины отдельных лучей должны отвечать требованиям рационального решения поставленной задачи водопонижения. При этом возможно наклонное направление лучевых скважин, которые могут быть восходящими и нисходящими.
4.49. Скважины из подземных выработок бурятся специальными станками, например НКР-100. Они могут устраиваться как в скальных, так и в нескальных грунтах. Неглубокие самоизливающиеся скважины в нескальных грунтах могут выполняться забивкой или задавливанием фильтровой колонны в потолок, стенки или дно горной выработки (забивные фильтры).
4.50. Перед установкой фильтра в пробуренную скважину необходимо очистить ее от шлама, промыть водой и произвести контрольный замер глубины скважины. Фильтры должны быть проверены на отсутствие повреждений.
Расположение фильтров по глубине скважины должно отвечать требованиям проекта и геологическому разрезу, уточненному в процессе бурения водопонизительной скважины. При необходимости изготовления фильтров на месте они должны быть выполнены по проекту, разработанному проектной организацией.
4.51. Однослойная песчано-гравийная обсыпка, как правило, устраивается после установки фильтра в скважину.
При двухслойной обсыпке применяются кожуховые или корзинчатые фильтры, в конструкцию которых входит первый (внутренний) слой обсыпки. Второй (наружный) слой обсыпки устраивается после погружения кожухового или корзинчатого фильтра в скважину.
Кожуховые и корзинчатые фильтры могут быть применены при требовании однослойной обсыпки (см.
табл. 9). В этом случае в зоне установки фильтра зазор между ним и стенкой скважины заполняется материалом, по гранулометрическому составу аналогичным примененному в кожуховом или корзинчатом фильтре (см.
примеч. табл. 9).
При устройстве обсыпок после установки в скважине фильтра подача песчано-гравийного материала должна производиться равномерно и непрерывно. После очередного подъема трубы над ее нижним краем должен оставаться слой песчано-гравийного материала высотой не менее 0,5 м.
Устройство обсыпок может выполняться механическим или гидравлическим способами.
При устройстве песчано-гравийной обсыпки в скважинах, пробуренных способом обратной промывки с применением расширителей в фильтровой зоне, гравийную обсыпку следует устраивать гидравлическим способом (рис. 42). Объем гравийной засыпки при этом исчисляется по результатам кавернометрии (по данным каротажа) с введением коэффициента, учитывающего размыв ствола скважины при гидравлической засыпке и устанавливаемого по опытным данным.
Рис. 42. Схема устройства гидравлическим
способом песчано-гравийной обсыпки скважины
1 - обсадные трубы; 2 - надфильтровые трубы;
3 - водоподъемные трубы; 4 - воздушная труба; 5 - фильтр;
6 - песчано-гравийная обсыпка; 7 - бункер для обсыпки
4.52. После установки фильтров и устройства обсыпки скважину следует прокачать с помощью эрлифта до полного осветления откачиваемой воды. Промывку скважины можно считать законченной при содержании в откачиваемой воде твердых частиц грунта не более 0,005% по массе.
Подача воды на поверхность скважинными насосами с погружным электродвигателем осуществляется по колонне водоподъемных труб, состоящей из звеньев длиной 5 - 10 м, соединенных при помощи муфт с конической резьбой или фланцев.
При оборудовании скважин насосами типа АТН с электродвигателем, установленным на поверхности, водоподъемная колонна монтируется из инвентарных труб, поставляемых заводом-изготовителем в комплекте с насосом.
Верхнее звено водоподъемной колонны присоединяется к опорной плите, устанавливаемой над устьем скважины на бетонном фундаменте.
Звенья трансмиссионных валов глубинных насосов перед монтажом должны проверяться на биение, величина которого в середине проверяемого звена не должна превышать 0,2 мм. Соосность напорных труб и вала после монтажа каждого звена контролируется шаблоном. Легкость вращения вала может быть проверена его поворотом от руки. В случае обнаружения "заедания" вала оно должно быть устранено.
Перед спуском в скважину погружного насоса следует проверить величину сопротивления изоляции обмотки электродвигателя, которая должна быть не менее 0,5 МОм, а после окончания монтажных работ установить отсутствие пробоя токоподводящего кабеля.
Монтаж и демонтаж оборудования скважинных насосов должны производиться в соответствии с инструкциями заводов-изготовителей.
4.53. Для водопонизительных скважин всех видов необходимо выполнение ряда условий, обеспечивающих их устойчивую работу во времени. Это особенно важно для длительно работающих водопонизительных скважин. К таким условиям относятся:
а) применение способов бурения, исключающих кольматацию фильтров при бурении (вращательно-всасывающее, ударно-канатное), а в случаях, когда в соответствии с проектом допущена прямая промывка глинистым раствором, - выполнение эффективной разглинизации;
б) применение гравийных фильтров с обсыпкой (одно- или двухслойной), правильно подобранной по гранулометрическому составу для конкретного водовмещающего грунта;
в) применение гравийной обсыпки достаточной толщины (не менее 50 мм с каждой стороны); большая толщина обсыпки увеличивает дебит и устойчивость работы скважины;
г) в нескальных грунтах постепенный ввод в действие каждой скважины медленным увеличением интенсивности откачки до полного осветления откачиваемой воды;
д) выполнение антикоррозионных покрытий труб и фильтровых каркасов или выполнение их из нержавеющих материалов, что препятствует зарастанию фильтров;
е) при использовании вакуум-скважины разрежение в ее внутренней полости должно наращиваться постепенно и достигать расчетной величины через 1 - 2 сут.
Следует также учитывать, что бурение, погружение обсадных колонн, установка фильтров, опытные откачки и пуск в действие всех видов водопонизительных скважин являются, по существу, скрытыми работами, притом такого характера, что исправление допущенных ошибок в большинстве случаев либо чрезвычайно затруднительно, либо оказывается вообще невозможным и влечет за собой значительные затраты. Поэтому при устройстве водопонизительных скважин требуется особая тщательность исполнения работ и соответствующий надзор за ними. По каждой скважине должны своевременно составляться акты на скрытые работы. При этом особое внимание следует уделять выполнению вышеперечисленных условий, обеспечивающих устойчивую работу скважин во времени.
4.54. В процессе работы водопонизительных скважин, а в ряде случаев и перед вводом их в эксплуатацию, необходимо выполнение ряда мероприятий, заключающихся в осуществлении различных способов обработки скважины с целью предотвращения их зарастания и повышения или сохранения производительности.
Для обработки скважин применяются следующие способы: взрывной, реагентный, гидравлический, электрогидравлический, пневмоударный, ультразвуковой и механический.
4.55. Торпедирование (взрыв в полости скважины одной или нескольких нитей детонирующего шнура) следует производить для разглинизации скважин, выполняемых в водоносных слоях, представленных неустойчивыми породами, а также для увеличения или восстановления проницаемости водоносных трещиноватых скальных грунтов. Этот метод допустимо применять для скважин с диаметром фильтровой колонны не менее 146 мм.
Область применения торпед из детонирующего шнура (ТДШ) в зависимости от конструкции фильтра и геологических условий приведена в табл. 27.
Таблица 27
───────────────────────────┬────────────────┬─────────────┬────────────────
Конструкция фильтра │ Водоносные │Максимальное │ Допустимое
│ грунты │число нитей │ количество
│ │ ДШ в одной │ взрывов в
│ │ торпеде │одном интервале
───────────────────────────┼────────────────┼─────────────┼────────────────
Трубчатый с водоприемным │Песок мелкий │ 1 │ 1
покрытием из сетки, │ │ │
без обсыпки │ │ │
То же, с песчано-гравийной │Пески мелкие │ 1 │ 1 - 2
обсыпкой │и средние │ │
Трубчатый с водоприемным │Пески │ 2 │ 1 - 2
проволочным покрытием, │от гравелистых │ │
без обсыпки │до мелких │ │
То же, с песчано-гравийной │То же │ 2 │ 1 - 2
обсыпкой │ │ │
Каркасно-стержневой │ " │ 1 - 2 │ 1 - 2
с проволочным водоприемным │ │ │
покрытием, без обсыпки │ │ │
То же, с песчано-гравийной │ " │ 1 - 2 │ 1 - 2
обсыпкой │ │ │
Трубчатый без покрытия │Гравийно- │ 2 - 3 │ 1
│галечниковые │ │
│и трещиноватые │ │
│скальные грунты │ │
Взрывы сосредоточенных зарядов следует применять для увеличения или восстановления проницаемости водоносных трещиноватых скальных грунтов.
4.56. Обработку реагентным способом скважин для увеличения или восстановления их производительности следует вести с применением реагентных ванн или закачки под давлением растворов в прифильтровую зону.
Реагентные ванны следует применять для очистки поверхности ствола скважины и поверхности забоя от глинистой корки, продуктов коррозии и других загрязнений.
Закачка под давлением растворов реагентов должна применяться для повышения проницаемости самих фильтров и грунтов в прифильтровой зоне, для чего раствор должен задавливаться в трещины и поры пород.
4.57. Гидравлическую обработку для удаления глинистого раствора из полости скважины следует выполнять до начала работ по восстановлению проницаемости водоносного слоя. Этот вид обработки должен выполняться прямой промывкой водой по затрубному пространству, обратной промывкой с откачкой эрлифтом, свабированием.
Удаление глинистой корки может осуществляться размывом струей воды, подаваемой через гидравлические насадки.
4.58. Электрогидравлический, пневмоударный и ультразвуковой методы обработки скважин следует применять для восстановления проницаемости водоприемной поверхности фильтра и материала песчано-гравийной обсыпки (или породы прифильтровой зоны) долгодействующих скважин, подвергающихся зарастанию (кольматации) химическими осадками, осаждающимися из подземных вод.
4.59. Механическая обработка внутренней полости фильтра и надфильтровых труб должна производиться при помощи проволочных ершей, скребков и шарошек.
4.60. Кроме вышеуказанной специальной обработки скважин периодически (через 6 - 12 мес) следует производить чистки скважин от осаждающихся в них механических примесей, содержащихся в откачиваемых водах.
4.61. Как правило, эффективность того или иного способа увеличения производительности скважин определяют экспериментальным путем. Приступать к работам по борьбе со снижением дебитов необходимо сразу же после получения сведений о начале зарастания фильтров, но не позже, чем через год после начала работы скважин.
За состояние всех водопонизительных скважин, особенно не имеющих надземных устройств (самоизливающихся, сквозных фильтров, водопоглощающих), должно отвечать персонально какое-то должностное лицо (ИТР). Скважины должны быть ограждены от возможных повреждений механизмами и от попадания в них через устье посторонних предметов.
УСТРОЙСТВО ИГЛОФИЛЬТРОВЫХ СИСТЕМ
4.62. Иглофильтровый способ водопонижения заключается в использовании для забора воды из грунта часто расположенных скважин с трубчатыми водоприемниками малого диаметра - иглофильтров, соединенных общим всасывающим (в случае легких иглофильтров) или напорным (в случае эжекторных иглофильтров) коллектором с центральной (для группы иглофильтров) насосной установкой. Иглофильтры чаще всего погружаются гидравлическим способом. При этом образуется скважина, диаметр которой значительно больше диаметра иглофильтра. Зазор в скважине между грунтом и иглофильтром, как правило, следует заполнять песчано-гравийной обсыпкой. При гравитационном водопонижении в достаточно крупнозернистых грунтах, не требующих применения обсыпки (с коэффициентом фильтрации более 5 м/сут), допускается заполнение зазора в скважине оплывающим грунтом, если это не опасно для вблизи расположенных сооружений.
При наличии в толще грунта, прорезаемого иглофильтрами, трудноразмываемых слоев, иглофильтры устанавливаются в предварительно пробуренные скважины. Скважины бурятся также для относимых к иглофильтрам вакуум-концентрических водоприемников (см. установки типа ЭВВУ).
Извлечение иглофильтров производится с подмывом для уменьшения сил трения по боковой поверхности иглы. Иглофильтры применяются в виде линейных (рис. 43) и кольцевых
(рис. 44) систем, которые могут быть совершенными (доходящими до водоупора) и несовершенными (не доходящими до водоупора).
Рис. 43. Линейная система иглофильтров
1 - крепление траншеи; 2 - иглофильтры;
3 - соединительный шланг; 4 - всасывающий коллектор;
5 - гофрированный шланг; 6 - насосный агрегат ЛИУ;
7 - напорный трубопровод; 8 - сбросной трубопровод;
9 - пониженный уровень подземных вод
Рис. 44. Контурная система иглофильтров
1 - насосный агрегат; 2 - иглофильтры; 3 - напорный
трубопровод; 4 - сбросной трубопровод; 5 - дренажная
пригрузка; 6 - пониженный уровень подземных вод
Иглофильтры могут примениться для понижения уровня подземных вод в виде ступенчатой схемы с применением ярусных водопонизительных систем при расположении иглофильтров на двух или нескольких уровнях по высоте (рис. 45). Вначале вводится в действие самый верхний (ближайший к поверхности земли) ярус иглофильтров. Под его защитой отрывается первый (верхний) уступ котлована и монтируется второй (считая сверху вниз) ярус иглофильтров, после ввода в действие которого отрывается второй уступ котлована и т.д. Во многих случаях при вводе в действие каждого последующего яруса иглофильтров предыдущий ярус может быть выключен из работы и демонтирован. Иногда, например, при больших расстояниях по горизонтали между рядами иглофильтров разных ярусов или при наличии малопроницаемых прослоек между двумя уровнями установки иглофильтров, приходится содержать в работе одновременно иглофильтры двух и более ярусов.
Рис. 45. Схема ярусного водопонижения иглофильтрами
1 - конечное положение депрессионной
поверхности подземных вод; 2 - иглофильтры
верхнего яруса; 3 - иглофильтры нижнего яруса
Применение иглофильтров может оказаться целесообразным и при необходимости водопонижения в слабопроницаемых грунтах, ниже которых залегает более водопроницаемый слой. В таких случаях иглофильтры следует заглублять в нижний слой (рис. 46) с обязательным выполнением обсыпки по всей высоте скважины.
Рис. 46. Схема понижения иглофильтрами в двухслойной среде
1 - иглофильтры; 2 - песчано-гравийная
обсыпка; 3 - глиняный тампон; 4 - всасывающий
коллектор; 5 - насосный агрегат; 6 - напорный
трубопровод; 7 - сбросной трубопровод;
8 - пониженный уровень подземных вод
4.63. Установлены следующие области эффективного использования иглофильтровых установок отечественного изготовления:
установки типа ЛИУ
(рис. 47), включающие легкие иглофильтры
(рис. 48) и насосы, сагрегированные с вакуум-насосом - гравитационное водопонижение в неслоистых грунтах с коэффициентами фильтрации от 50 до 2 м/сут при требуемой глубине понижения уровня подземных вод одной ступенью 4 - 5 м от оси насоса;
Рис. 47. Насосная установка ЛИУ-6Б
1 - центробежный насос; 2 - вакуум-насос; 3 - колпак;
4 - электродвигатель; 5 - опорная рама;
6 - вакуумметр; 7 - манометр; 8 - фрикционная муфта
Рис. 48. Конструкция иглофильтров
а - с перфорированной трубой, покрытой сеткой;
б - со спиральной проволочной обмоткой;
1 - наконечник; 2 - шаровой клапан; 3 - внутренняя труба;
4 - наружная перфорированная труба; 5 - фильтровая сетка;
6 - стальной крепежный колпачок; 7 - муфта;
8 - переходная муфта; 9 - надфильтровая труба;
10 - муфта; 11 - спиральная проволочная обмотка
установки типа УВВ (рис. 49), включающие легкие иглофильтры и насосные установки, располагаемые на поверхности, для централизованной откачки воды и воздуха из иглофильтров - вакуумное водопонижение в неслоистых грунтах с коэффициентами фильтрации от 2 до 0,1 м/сут при требуемой глубине понижения уровня подземных вод одной ступенью до 6 - 7 м; при необходимости - гравитационное водопонижение в грунтах с коэффициентами фильтрации от 2 до 5 м/сут;
Рис. 49. Схема насосной установки УВВ-3
1 - электродвигатель; 2 - центробежный насос;
3, 4 - напорная и приемная камеры; 5 - напорный
трубопровод; 6 - эжекторы; 7 - сбросная напорная
линия; 8 - регулирующий клапан с поплавком;
9 - циркуляционный бак; 10 - сливной стояк; 11 - сбросной
напорный трубопровод; 12 - линия свободного излива;
13 - иглофильтр; 14, 15 - воздушный и водяной
переходные шланги; 16 - всасывающий коллектор
установки типа ЭИ
(рис. 50), включающие иглофильтры, оборудованные индивидуальными эжекторными водоподъемниками
(рис. 51), и высоконапорные насосы для откачки из иглофильтров с помощью эжекторов воды и воздуха - вакуумное водопонижение в неслоистых грунтах с коэффициентом фильтрации от 2 до 0,1 м/сут на глубину до 10 - 12 м, а при должном обосновании - до 20 м; при необходимости - гравитационное водопонижение в неслоистых грунтах с коэффициентом фильтрации более 2 м/сут;
Рис. 50. Установка ЭИ-70 с эжекторными иглофильтрами
1 - иглофильтры; 2 - глиняный тампон; 3 - пробковые
краны; 4 - распределительный напорный трубопровод;
5 - сбросной коллектор; 6 - центробежный насос;
7 - задвижка; 8 - циркуляционный бак;
9 - пониженный уровень подземных вод
Рис. 51. Эжекторный иглофильтр
а - фильтровое звено; б - общий вид; 1 - наконечник;
2 - шаровой клапан; 3 - седло шарового клапана;
4 - внутренняя труба фильтрового звена;
5 - перфорированная труба; 6 - фильтровая сетка;
7 - проволочная спираль; 8 - седло эжектора; 9 - насадка
эжектора; 10 - надфильтровая труба; 11 - диффузор;
12 - водоподъемная труба; 13 - фильтровое звено
установки типа ЭВВУ, включающие вакуум-концентрические иглофильтры с индивидуальными эжекторными водоподъемниками
(рис. 52) и высоконапорные насосы - вакуумное водопонижение в толще переслаивающихся водоносных и слабопроницаемых грунтов на глубину до 20 м.
Рис. 52. Вакуумная концентрическая скважина
1 - надфильтровые трубы; 2 - эжектор с диффузором;
3 - водоприемное звено; 4 - фильтровая оболочка;
5 - глиняный тампон; 6 - соединительные муфты оболочки;
7 - направляющие фонари; 8 - вакуумметр; 9 - сальник
4.64. Гидравлическое погружение иглофильтров применяется в любых песках: от мелких до крупных и гравелистых.
При наличии гравелистых прослоек, сильно поглощающих воду, к трубе, по которой подается вода для размыва грунта, присоединяют шланг для подачи от компрессора сжатого воздуха.
Перед погружением иглофильтр устанавливают вертикально. При длине иглофильтра до 5 м его установку можно производить вручную, при длине более 5 м - с помощью крана. Для лучшей промывки затрубного пространства рекомендуется периодически несколько замедлять погружение иглофильтра, придерживая его на весу.
Контроль за установкой фильтра осуществляется наблюдением за выносимым из устья скважины грунтом и скоростью погружения иглофильтра.
При гидравлическом погружении иглофильтров и необходимости устройства обсыпки расход подмывной струи и скорость опускания иглофильтра подбирается так, чтобы диаметр каверны по всей высоте был не менее 150 мм. По окончании погружения иглофильтра разработанную размывом каверну вокруг иглофильтра, установленного на проектной глубине, следует промыть в течение нескольких минут. Затем расход воды сокращается до минимально возможного, при котором еще продолжается излив воды из устья, а в затрубный зазор равномерно засыпается песчано-гравийная смесь. Если таким способом выполнить обсыпку не удается, то возможно предварительно погрузить в грунт гидравлическим способом обсадную трубу диаметром не менее 150 мм. В эту трубу опускается собранный иглофильтр, кольцевое пространство между трубой и иглофильтром постепенно заполняется обсыпкой, а затем труба извлекается. Сверху вокруг иглофильтра на глубину 1 м должен быть устроен глиняный тампон.
Верхняя граница обсыпки вакуумной концентрической скважины должна располагаться не более чем на 1 м выше отметки верхней кромки фильтра, а над обсыпкой до поверхности земли должен устраиваться глиняный тампон.
Для проверки годности установленных иглофильтров в них наливают воду и наблюдают за скоростью снижения столба воды. Иглофильтры, уровень воды в которых не понижается, следует извлечь, промыть и снова погрузить в грунт.
4.65. Длина иглофильтров установок ЛИУ и УВВ должна быть подобрана так, чтобы фильтровое звено было расположено на предусмотренной проектом отметке. При сборке должна быть обеспечена герметичность соединений звеньев труб. Перед погружением иглофильтра в грунт проверяется исправность соединений, наличие шарового клапана и целостность фильтровой сетки.
Установленные в грунт иглофильтры присоединяются к всасывающему коллектору с помощью инвентарных соединительных шлангов, имеющих на концах овальные фланцы. Резьбовые соединении уплотняются пенькой и суриком, фланцевые - резиновыми прокладками.
4.66. Установка эжекторных водоподъемников производится после погружения в грунт наружных труб иглофильтров. Трубы с эжекторным устройством на конце опускаются внутрь погруженной колонны с таким расчетом, чтобы опорное кольцо встало на седло, а верхний конец трубы выступал на 0,75 - 1 м над верхом наружной трубы.
После установки внутренней колонны труб зазор между ней и внешней трубой уплотняется сальником. На выступающий конец внутренней трубы надевается резиновый шланг, по которому вода отводится к сливному коллектору.
Перед монтажом водоподъемной части эжекторного иглофильтра должны быть проверены:
соосность насадки с диффузором;
гладкость внутренних поверхностей насадки и диффузора;
герметичность сварных швов и резьбовых соединений;
прямолинейность наружной и внутренней труб.
Циркуляционные баки (для эжекторных установок) и баки для заливки насосов устанавливаются в насосных станциях на деревянные или бетонные основания.
Объем циркуляционного бака должен быть не менее 4,5 м3, его конструкция и габариты назначаются из условия удобства транспортировки и монтажа. До установки баков в здание насосной станции следует провести их гидравлические испытания.
При установке на станции двух и более баков они должны быть соединены трубопроводами с задвижками для использования в случае необходимости воды из них для запуска любого насоса.
Всасывающий трубопровод от насоса к баку монтируется с уклоном не менее 0,005 в сторону бака.
Для заполнения водой циркуляционных баков перед запуском водопонизительной системы к насосной станции проводится водопровод от источника водоснабжения. Время наполнения системы из циркуляционных баков не должно превышать 1 ч.
Центробежный насос для подачи рабочей воды к эжекторным иглофильтрам следует устанавливать так, чтобы ось его рабочего колеса была ниже уровня воды в циркуляционном баке.
Вход всасывающего трубопровода в циркуляционный бак необходимо защищать сеткой с общей площадью отверстий, в 3 - 4 раза превышающей площадь сечения трубы.
В насосных станциях размещаются шкафы питания и электроосвещения, щитки сигнализации и станции управления насосными агрегатами.
4.67. Для контроля работы насосных агрегатов на напорных трубопроводах устанавливаются гидравлические манометры, а в установках ЛИУ и УВВ помимо этого на всасывающей стороне насосов устанавливаются вакуумметры.
4.68. Установки типа ЛИУ обеспечивают вакуум, который распространяется лишь в полостях коллектора и самого иглофильтра, поэтому верх фильтра должен быть обязательно заглублен ниже расчетного пониженного уровня подземных вод.
Насосные установки ЛИУ могут быть использованы для подключения к группе неглубоких водопонизительных скважин, объединенных общим всасывающим коллектором. Это может оказаться целесообразным, в частности, в горных выработках.
4.69. В установках типа УВВ-3 для создания в полостях всасывающего коллектора и иглофильтров устойчивого вакуума используются два водовоздушных эжектора, в основном производящих откачку воздуха, выделяющегося из водовоздушной смеси, поступающей из иглофильтров. При ограниченном поступлении воздуха к водоприемной части иглофильтров в их полости развивается вакуум порядка 5 м вод. ст. и более.
Откачка воды обеспечивается водо-водяным эжектором. Все три эжектора, входящие в одну кассету, питаются рабочей водой, поступающей к ним от центробежного насоса. При значительном содержании в водовоздушной смеси одного из компонентов (воды или воздуха) каждый из эжекторов способен частично принять на себя функции другого.
Установка обеспечивает подъем откачиваемой воды на высоту до 20 м.
4.70. Установки УВВ на линейно-протяженных объектах (каналах, траншеях, тоннелях мелкого заложения и т.п.) следует располагать с одной или с обеих сторон сооружения.
При защите котлованов установки УВВ размещаются по кольцевой схеме.
Коллекторы и насосные агрегаты должны располагаться на высоте не более 7 - 7,5 м над дном котлована при залегании водоупора на глубине до 9 м от поверхности земли и на высоте не более 6,5 - 7,0 м над дном котлована при более глубоком залегании водоупора.
Песчаная обсыпка иглофильтров при вакуумном водопонижении установками УВВ в безнапорных водоносных слоях с коэффициентом фильтрации от 2 до 0,5 м/сут устраивается высотой 2,5 - 3,5 м от забоя скважины, верхняя часть скважины при этом заполняется местным грунтом. В остальных случаях песчаную обсыпку иглофильтров не следует доводить на 1 м до поверхности земли, оставшуюся часть зазора заполняют местным грунтом.
4.71. Установки с эжекторными иглофильтрами (см.
рис. 50) со стоят из иглофильтров с эжекторными водоподъемниками, напорного, распределительного и сбросного трубопроводов, центробежного насоса и циркуляционного резервуара.
Эжекторный иглофильтр состоит из двух колонн труб: наружной - водоприемной, с подсоединенным к ней фильтровым звеном, и внутренней - водоподъемной, к нижнему концу которой присоединен эжектор, состоящий из насадки и диффузора (см.
рис. 51).
По кольцевому зазору между наружной и внутренней трубами центробежным насосом нагнетается "рабочая вода". Проходя через эжектор, нагнетаемая вода создает вакуум, благодаря которому увлекает за собой поступающие через фильтр подземные воды. Смесь рабочей и подземной воды выбрасывается наружу, поступает в циркуляционный резервуар, откуда вода поступает на питание центробежного насоса установки, а излишки воды отводятся к месту сброса.
Гидравлическим способом погружается только наружная труба эжекторного иглофильтра. При достижении ею проектного положения несколько минут производят промывку затрубного зазора, держа трубу на весу.
Зазор между грунтом и иглофильтром, образовавшийся в результате размыва, заполняется песчаной обсыпкой. В верхней части зазор тампонируется глиной для предотвращения прорыва воздуха в прифильтровую зону. При установке иглофильтров в предварительно пробуренные скважины обсыпка выполняется одновременно с извлечением обсадных труб.
После прекращения подачи воды в наружной трубе эжекторного иглофильтра монтируется колонна водоподъемных с труб с эжектором. В начале откачки за счет уменьшения давления в полости фильтра шаровой клапан плотно входит в свое гнездо, перекрывая отверстие наконечника фильтрового звена.
4.72. Эжекторные водопонизительные установки с вакуумными концентрическими скважинами ЭВВУ отличаются от обычных установок с эжекторными иглофильтрами только конструкцией водоприемников (иглофильтров), в которых устроена фильтровая оболочка, закрепленная коаксиально на наружной колонне труб и перекрывающая всю толщину, в которой понижается уровень подземных вод.
Фильтровая оболочка концентрических вакуумных водоприемников изготовляется из профилированной узкой стальной оцинкованной ленты. Скважность оболочек составляет 12 - 15%.
Концентрические вакуумные водоподъемники устанавливаются в заранее пробуренные скважины. Вокруг фильтровых оболочек устраивается песчано-гравийная обсыпка, а в верхней части под обсыпкой устраивается глиняный тампон.
Наличие концентрического зазора между фильтровой оболочкой и наружной колонной труб обеспечивает распространение вакуума вокруг иглофильтра по всей его высоте, что позволяет осуществить отвод воды из всех водоносных прослойков прорезаемой иглофильтром водоносной толщи.
Максимальный дебит концентрической вакуумной скважины не должен превышать 4 - 5 м3/ч, в противном случае эжектор не развивает вакуума.
4.73. Трубопроводы иглофильтровых установок должны укладываться на инвентарных опорах по спланированной поверхности:
напорный распределительный трубопровод установок типа ЭИ и ЭВВУ - с уклоном не менее 0,001 от насоса, а сбросной безнапорный трубопровод - с уклоном не менее 0,005 в сторону циркуляционного резервуара;
всасывающие коллекторы установок ЛИУ и УВВ - с уклоном не менее 0,005 от насосной установки.
Распределительные и сбросные трубопроводы эжекторных иглофильтровых установок должны быть выполнены со штуцерами.
Количество штуцеров должно превышать число установленных иглофильтров не менее чем на 10%. Штуцеры должны иметь пробковые краны.
Звенья трубопроводов эжекторных водопонизительных установок соединяются на фланцах с резиновыми прокладками или при помощи сварки. Трубопроводы перед местом присоединения к насосу следует закреплять на опорах, чтобы при затяжке фланцев усилия не передавались на насос.
Трубопроводы монтируются на подкладках в непосредственной близости от ряда эжекторных иглофильтров. Расстояние между подкладками принимается 3 - 4 м.
Для распределительных трубопроводов применяются стальные трубы, рассчитанные на внутреннее гидравлическое давление не менее 1,6 МПа.
Трубопроводы после их монтажа должны быть продуты воздухом или промыты и испытаны водой под давлением до 1 МПа, которое не должно снижаться в течение 15 мин.
На сбросных (напорных или самотечных) трубопроводах следует устанавливать приборы для измерения расходов насосных агрегатов водопонизительных систем.
Контрольно-измерительные приборы должны подвергаться периодической проверке и регулированию.
4.74. Электроосмотический способ водопонижения - электроосушение - основан на использовании явления электроосмоса, представляющего собой движение воды в порах грунта в поле постоянного электрического тока от анода к катоду. Способ может быть применен в незасоленных грунтах с коэффициентом фильтрации менее 0,1 м/сут и удельным электрическим сопротивлением более 500 Ом x см при ширине котлована до 40 м.
Электроосушение заключается в создании вокруг массива грунта электроосмотической завесы, которая приводит заключенную в нем воду в капиллярно-натяженное состояние и позволяет вскрыть котлован "насухо". С этой целью по периметру будущего котлована устанавливаются два ряда электродов (рис. 53): с внешней стороны иглофильтры (катоды), из которых производят откачку воды, а с внутренней - металлические трубы (аноды).
Рис. 53. Схема электроосушения грунтов
1 - насосный агрегат; 2 - двигатель-генератор;
3 - иглофильтры-катоды; 4 - трубы-аноды; 5 - пониженный
уровень подземных вод; 6 - всасывающий коллектор
Иглофильтры (катоды) устанавливают по периметру котлована на расстоянии 0,75 - 1,5 м друг от друга и на расстоянии 1,5 м от бровки котлована. Глубина погружения иглофильтров должна быть не менее чем на 3 м ниже проектного пониженного уровня подземных вод.
Металлические трубы (аноды) погружаются по периметру котлована с внутренней стороны контура иглофильтров на таком же расстоянии друг от друга, как и иглофильтры (катоды). Расстановка труб (анодов) и иглофильтров (катодов) производится в шахматном порядке.
Расстояние между рядами электродов (иглофильтров и труб) должно быть 0,8 м.
Глубина погружения труб (анодов) должна соответствовать глубине погружения иглофильтров. Трубы должны выступать на 0,2 - 0,4 м над поверхностью земли.
Рабочее напряжение электрической установки, исходя из правил безопасности производства работ, следует устанавливать в пределах 40 - 60 В.
Включение установки и регулирование величины тока производится с помощью реостата.
Время от начала включения электрического тока до начала проходки котлована практически составляет трое суток. Дальнейший период электроосушения соответствует сроку производства строительных работ в котловане. Перечень оборудования для электроосушения приведен в табл. 28.
Таблица 28
───────────────────────────────────────────────────┬───────────┬───────────
Оборудование │ Единица │Количество
│ измерения │
───────────────────────────────────────────────────┼───────────┼───────────
Легкая иглофильтровая установка УВВ-3 │ компл. │ 1
Трубы для анодов диаметром 38 мм, длиной 7 м │ шт. │ 100
Арматурная сталь диаметром 10 - 12 мм │ кг │ 100
Генератор постоянного тока (или выпрямитель) │ шт. │ 1
на 200 А при напряжении выхода до 60 В │ │
Электрощит управления │ " │ 1
Амперметр постоянного тока со шкалой до 1000 А │ " │ 1
Вольтметр постоянного тока со шкалой до 100 В │ " │ 1
Рабочие, обслуживающие установки электроосушения, должны быть снабжены резиновыми перчатками и резиновыми сапогами или галошами.
4.75. При монтаже легкой иглофильтровой установки, применяемой для электроосушения, иглофильтры (катоды) необходимо соединить арматурной сталью диаметром 10 - 12 мм (на сварке) и подключить их к "минусу" источника постоянного электрического тока.
Все трубы (аноды) также соединяются между собой стержнями диаметром 10 - 12 мм и подключаются к "плюсу" источника постоянного тока через электрический щит, оборудованный амперметром и вольтметром.
Срок службы анодов из труб, с учетом их коррозии при напряжении 40 - 60 В, предварительно принимается 6 месяцев и уточняется в процессе работ. Трубы-электроды (аноды), бывшие в употреблении, могут быть использованы вторично, если нижние их концы (сильно коррозированные) отрезать, а к верхним приварить отрезки труб соответствующей длины.
Монтаж электроустановки (двигатель - генератор - распределительный щит) производится в соответствии с действующими нормативными документами на монтаж и эксплуатацию электроустановок.
ЭКСПЛУАТАЦИЯ ВОДОПОНИЗИТЕЛЬНЫХ СИСТЕМ
4.76. До общего пуска перед началом эксплуатации водопонизительных систем производится пробный пуск каждого агрегата в отдельности для проверки его работы, а в иглофильтровых установках - работы присоединенной к насосной установке группы иглофильтров и коммуникаций.
Пробный пуск установок, состоящих из большого числа водопонизительных скважин, следует производить по мере готовности групп первоочередных скважин с тем, чтобы в случае необходимости по результатам откачки внести коррективы в проект. При пробном пуске для наблюдений за понижением уровня подземных вод могут быть временно выделены скважины, предназначенные в дальнейшем для откачки из них воды.
При пробной откачке должны измеряться: расход откачиваемой воды, величина понижения уровня воды в контрольных скважинах и пьезометрах, а также должны фиксироваться показания вакуумметра и манометра на насосе, соответствующие моментам замера расхода и понижения уровня воды. При пробном пуске установок для электроосмотического водопонижения дополнительно должны измеряться напряжение и сила тока, пропускаемого через грунт между электродами.
При пробных откачках в течение первых суток, если проектом не обусловлен меньший срок, допускается некоторый вынос частиц грунта при условии, что содержание их в воде непрерывно уменьшается. Скважины, в которых будет происходить незатухающий вынос частиц, должны быть отремонтированы, заменены или отключены.
На пробный пуск водопонизительных устройств составляется акт, который следует прилагать к акту приемки водопонизительной системы.
4.77. Пуск и эксплуатация насосов и электроаппаратуры должны производиться в соответствии с инструкциями заводов-изготовителей.
В процессе эксплуатации насосной станции необходимо:
не допускать нагрева трущихся частей насосов электродвигателей выше температуры, указанной в действующих инструкциях по эксплуатации насосов и электрооборудования;
не допускать утечки воды в трубопроводах и эжекторных иглофильтрах. При утечке воды из системы необходимо немедленно установить причину и устранить неисправность;
поддерживать заданное давление в системе;
поддерживать установленный режим работы насосной станции и систематически следить за показаниями контрольно-измерительных приборов.
4.78. Насосные установки водопонизительных систем должны быть обеспечены резервными источниками энергопитания.
В зависимости от допустимой продолжительности остановки водопонизительных установок включение резервного источника питания следует предусматривать по ручной или автоматической схеме. Для автоматического включения резервного источника питания рекомендуется применять типовые станции включения резерва.
Резервирование электропитания осуществляется подводкой двух питающих кабелей (рабочего и резервного) с низкой стороны подстанции. Питание может производиться от одной подстанции, если она оборудована АВР (автоматическое включение резерва), имеет не менее двух силовых трансформаторов достаточной мощности, а с высокой стороны - не менее двух независимых вводов. Если все эти условия на одной подстанции не соблюдаются, то питание системы водопонижения должно производиться от двух подстанций с питанием от разных источников.
В отдельных случаях резервирование питания можно обеспечить установкой дизельных передвижных или стационарных электростанций необходимой мощности или других источников электроэнергии.
Данный вопрос в каждом конкретном случае решается на основе оценки всей обстановки в целом.
4.79. В насосной станции должны быть вывешены:
схема расположения водопонизительных скважин, иглофильтров и других устройств и трубопроводов;
схема электрооборудования насосной станции;
инструкция по эксплуатации насосов и электрооборудования;
правила внутреннего распорядка;
график планово-предупредительного ремонта оборудования;
инструкция по технике безопасности;
график выхода на работу обслуживающего персонала.
В период эксплуатации насосной станции следует вести журнал работы насосов
(Прил. 12).
4.80. Исправность отдельных иглофильтров можно проверить по звуку движущейся воды в гибком соединении, температуре гибкого соединения и надфильтровой трубы (летом температура должна быть ниже температуры воздуха, зимой - выше), интенсивности понижения уровня воды при ее наливе в иглофильтры.
Неисправные иглофильтры, а также иглофильтры, не погруженные до проектных отметок, должны быть заменены новыми или отключены. Если неисправные иглофильтры не извлекаются из грунта, то их нужно заглушить.
Герметичность всасывающей системы легких иглофильтровых установок и отсутствие утечек должны проверяться кратковременным нагнетанием воды в иглофильтр и коллектор. Если при этом необходимое давление воды создать не удается из-за больших утечек, то коллектор следует подразделить заглушками на короткие секции. Обнаруженные при испытании неисправности должны быть устранены.
Вакуумметр и манометр на насосе следует включать только на время измерения, после чего соответствующие краны должны быть закрыты. Необходимо наблюдать за правильным положением отверстий трехходового крана по имеющимся на нем рискам во избежание подсоса через него воздуха.
При ремонте насосного оборудования или устранения неисправностей должны включаться резервные насосы. Неисправный насос, не поддающийся ремонту на месте, должен быть заменен.
Проверять герметичность стыка между опорным кольцом водоподъемной колонны и седлом эжекторного иглофильтра следует через 20 - 30 мин после начала откачки. При этом, если в фильтре имелся наплыв грунта, образовавшийся при погружении, и опорное кольцо не доходило до седла, то после откачки и ослабления сальников водоподъемная колонна должна занять правильное положение. После этого сальники и гайки на хомуте следует затянуть.
Правильность монтажа и исправность фильтров рекомендуется проверять по осветлению воды после нескольких часов откачки. Рабочая вода, подаваемая от насоса к эжекторным иглофильтрам, должна быть чистой во избежание засорения сопла эжектора.
Нижний конец приемной трубы насоса следует устанавливать на расстоянии не менее 0,5 м от дна и боковых стенок циркуляционного резервуара.
4.81. Запускать электродвигатель погружного насоса рекомендуется не ранее, чем через 1,5 ч после погружения его в воду скважины.
Включение электродвигателя погружного насоса допускается только через станцию управления. Категорически запрещается включать электродвигатель непосредственно от электросети.
После понижения подземных вод до проектного уровня должен быть составлен акт готовности участка для ведения основных работ.
4.82. В случае применения электроосушения воздействие электрическим током на грунт производится одновременно с работой иглофильтровой установки и продолжается непрерывно как до достижения проектного понижения уровня подземных вод, так и в период производства земляных и строительных работ в котловане.
В процессе работы по электроосушению надлежит непрерывно вести наблюдение за работой электроустановки согласно действующим инструкциям, а также за исправностью электрической сети, соединяющей все электроды, и электроизмерительных приборов (амперметра, вольтметра). При этом ведется журнал, в котором записываются данные о напряжении, силе тока и расходе электроэнергии
(Прил. 13).
4.83. При производстве водопонизительных работ необходимо оперативно регулировать режим работы водопонизительных систем отключением насосных агрегатов по мере снижения расхода откачиваемой воды.
Отключение части насосов рекомендуется в случае постоянного или временного сокращения размеров притока подземных вод при более или менее длительном периоде сокращения работы водопонизительной системы с сокращенным дебитом.
Приток снижается на каждом этапе работ по мере развития депрессионной воронки, потом он может вновь возрасти, когда для последующего этапа понадобится увеличить контур водопонижения или снизить требуемый уровень подземных вод. Снижение притоков может происходить и при уменьшении питания, например в засушливое время года, при снижении уровней воды в реках и т.п.
Когда невозможно установленное оборудование исключать из эксплуатации, в частности при кратковременных колебаниях величины притока, регулирование работы насосов должно производиться с помощью задвижек. С этой целью следует предусмотреть автоматическое регулирование подачи (расхода) насосов. Для этого они могут быть оборудованы на поверхности задвижками с электрическим приводом, которые могут автоматически приводиться в действие в зависимости от неравномерности (пульсации) работы насоса, т.е. давления или скорости выбрасываемой насосом струи воды. При этом автоматика должна обеспечить максимально возможную для данной скважины равномерную подачу насоса.
4.84. При большом числе насосных агрегатов, требующих обслуживания (в частности в системах водопонизительных скважин, оборудованных насосами, при значительном удалении их друг от друга), следует оборудовать их системами автоматизации, сигнализации и дистанционного управления. Должно быть предусмотрено автоматическое включение и выключение насосов в зависимости от уровня воды в водосборниках, приямках, скважинах, оборудованных глубинными насосами, в горных выработках и других любых пунктах, откуда производится отбор воды насосами или где фиксируются уровни, имеющие значение для устойчивости бортов и днища котлована. Для этого в требуемых местах на нескольких уровнях устанавливаются датчики, включающие и выключающие рабочие и резервные насосы в зависимости от подъема или снижения уровня воды в соответствующем водосборнике, приямке и т.п. Наиболее высокий допустимый уровень в каждом пункте носит наименование "аварийного". При этом уровне воды включаются и резервные насосы.
Система автоматизации, кроме указанного выше, должна включать: защиту насосных установок от токов короткого замыкания и перегрузок, от внезапного отключения энергопитания (максимальная и минимальная защита); защиту от перегрева электродвигателей и подшипников насосов; защиту при прекращении подачи воды (на напорной стороне насоса) при нормальной работе электродвигателя.
Система автоматизации должна быть дополнена системой сигнализации (световой или звуковой). На диспетчерский пункт выводятся сигналы: нормальной работы каждого агрегата отдельно (насос и электродвигатель); аварийного отключения агрегата; наиболее важных уровней воды (особенно аварийных) в нескольких точках котлована.
Рекомендуется предусматривать местное и дистанционное (с диспетчерского пункта) включение и выключение насосных агрегатов.
4.85. Для утепления водопонизительной системы в зимнее время принимаются следующие меры:
а) насосы размещаются в будках, имеющих каркасно-засыпную конструкцию или выполненных из панелей с теплоизоляцией. Будки обогреваются постоянно, если в них все время находится обслуживающий персонал, и временно, если пребывание персонала связано с ремонтом или техобслуживанием;
б) для погружных насосов, у которых контрольно-измерительная и пусковая электрическая аппаратура вынесены в специальное отдельное помещение, будки заменяются коробами с утепленными стенками и крышкой, обшитыми водонепроницаемым материалом (толь, пергамин). Внутри короба размещается оголовок скважины, задвижка и обратный клапан, которые обматываются теплоизоляционным материалом (шлаковата и т.п.);
в) вся водопроводная арматура (задвижки, обратные клапаны, краны и т.п.), находящаяся вне будок, также размещается в коробах и обматывается теплоизоляционным материалом;
г) аналогичная теплоизоляция водопроводной арматуры, как указано в
п. 4.85, в, производится во всех необогреваемых будках;
д) всасывающий коллектор иглофильтровых установок (ЛИУ, УВВ) вместе с надземной частью иглофильтров и соединительными рукавами размещается в коробе, имеющем такую же конструкцию, как указано в
п. 4.85, б, и обматывается теплоизоляционным материалом. В зависимости от длительности и характера зимы может проводиться только одно из этих мероприятий, причем, теплоизоляционный материал должен быть покрыт водонепроницаемым слоем пергамина;
е) надземные части эжекторов вместе с кранами на штуцерах и трубами утепляют обмоткой теплоизоляционным и водонепроницаемым материалами;
ж) сбросные трубопроводы, проложенные на поверхности земли, утепляются, как указано в
п. 4.85, е, в случае небольшого расхода и медленного движения воды в трубопроводе;
з) устраняются все подтекания в соединениях трубопроводов и водопроводной арматуры;
и) все трубопроводы оборудуются кранами для слива воды на случай остановки насосов; место слива устраивается таким образом, чтобы образование наледей вблизи трубопровода исключалось; трубопроводы не должны прокладываться непосредственно по земле;
к) перед наступлением зимы необходимо произвести ревизию оборудования и особенно системы электроснабжения, чтобы свести возможность отключения насосов к минимуму;
л) все зимние мероприятия должны проводиться до наступления отрицательных температур, и, если заранее известно, что эксплуатация водопонизительной системы будет вестись в зимний период, то будки для насосов следует сразу выполнять утепленными.
В период эксплуатации установок необходимо тщательно следить за правильностью работы насосных установок, не допускать их длительных остановок. При необходимости кратковременной остановки воду из насоса, трубопроводов и бака следует слить. Кроме того, перед запуском установки необходимо убедиться в том, что в трубопроводе и надфильтровых трубках нет ледяных пробок.
Зимой поглощающую способность установленных иглофильтров проверяют только горячей водой, а после проверки воду из надфильтровой трубы в пределах промерзающего слоя грунта обязательно удаляют.
ДЕМОНТАЖ ОБОРУДОВАНИЯ И ЛИКВИДАЦИЯ ВОДОПОНИЗИТЕЛЬНЫХ СИСТЕМ
4.86. Демонтаж оборудования водопонизительных систем должен производиться поэтапно согласно графику производства работ. При этом следует учитывать необходимость повторного использования демонтируемого оборудования.
Демонтаж оборудования водопонизительных установок подразделяется на демонтаж механического оборудования и трубопроводов; электрооборудования и электросетей.
Демонтаж, консервация и перевозка труб, механического оборудования, электрооборудования и электроматериалов производится в соответствии с заводскими инструкциями, прилагаемыми к каждому виду оборудования.
Все узлы оборудования после демонтажа должны быть разобраны, детали очищены от грязи и промыты.
4.87. При демонтаже иглофильтровых установок извлечение игл рекомендуется производить с помощью крана, тали или других подъемных приспособлений при одновременном подмыве. После извлечения иглофильтра фильтровая сетка промывается сильной струей воды, проверяется исправность шарового клапана и целостность сетки, а также плотность всех соединений. Замеченные дефекты должны быть устранены. После длительной работы насос следует разобрать, осмотреть, а износившиеся детали заменить. Насос после сборки при отправке на склад должен быть густо смазан солидолом.
Демонтаж ярусных систем следует начинать с нижнего яруса.
4.88. При демонтаже погружного насоса разъединяются звенья водосливного трубопровода, снимаются опорная плита насоса, электропусковая станция и контрольные приборы.
Колонна водоподъемных труб и погружной насос извлекаются из скважины автокраном или другим грузоподъемным устройством. После извлечения погружной насос проверяется и готовится к следующему монтажу согласно заводской инструкции.
Извлекать обсадные трубы из скважины следует гидравлическим домкратом или полиспастами. После демонтажа оборудования скважины должны быть затампонированы.
При ликвидации водопонизительной системы должен быть составлен акт о результатах выполненной работы, в который включают основные данные по режиму подземных вод в момент ликвидации.
НАБЛЮДЕНИЯ, КОНТРОЛЬ КАЧЕСТВА,
ДОКУМЕНТАЦИЯ ПРИ ПРОИЗВОДСТВЕ РАБОТ
4.89. В течение всего периода производства строительного водопонижения необходимо вести гидрогеологические, а при долговременном и глубоком водопонижении также гидрологические и геодезические наблюдения по наблюдательным скважинам, постам, реперам и маркам, предусмотренным в проекте. Кроме того, необходимо вести систематические наблюдения за состоянием откосов и дна котлована.
Наблюдения служат для контроля качества работ и при необходимости для внесения в проект корректировок по согласованию с проектной организацией и заказчиком.
4.90. Наблюдения за водоотливом с целью определения притока воды к котловану и водопонизительной системе состоят в измерении расхода всех водопонизительных средств.
Измерение расходов откачиваемой воды может производиться с помощью:
мерных резервуаров при небольших расходах (достаточная точность измерения обеспечивается при наполнении емкости не менее чем за 12 - 15 с и двукратном измерении расхода);
треугольных и трапециевидных водосливов, устанавливаемых на открытых водотоках (лотках, канавах и т.п.);
различных расходометров, устанавливаемых на напорных трубопроводах.
При гидромеханическом способе разработки грунтов о величине водоотлива можно судить по скорости повышения уровня воды в котловане во время отключения средств откачки.
Для того чтобы судить о работе насосов, одновременно с измерением расходов необходимо фиксировать показания манометров и вакуумметров (в период между измерениями вакуумметры и манометры должны быть отключены). Значительные и частые колебания показаний этих приборов свидетельствуют о неправильном режиме работы насосов. Все данные о работе насосов вносятся в журнал (см.
Прил. 13).
4.91. Контроль за положением поверхности подземных вод должен охватывать территорию, на которую распространяется влияние водопонижения. Он ведется путем измерения уровней воды в наблюдательных скважинах, котловане, ближайших водотоках и водоемах.
Попутно с измерениями уровней следует вести наблюдения за температурой и химическим составом подземных вод.
Все эти наблюдения необходимы для получения данных о развитии водопонижения и о влиянии на него различных факторов: атмосферных осадков, изменений уровней в водотоках и водоемах, потерь промышленных и бытовых вод, а также гидравлической взаимосвязи отдельных водоносных слоев между собой. В результате наблюдений устанавливают эффективность работы водопонизительной системы и получают данные для своевременной корректировки ее параметров.
Наблюдательные скважины должны устраиваться во всех водоносных слоях, из которых производится откачка подземных вод. Размещение наблюдательных скважин внутри контура водопонижения, на контуре и за его пределами определяется гидрогеологическими условиями с учетом расчетной схемы фильтрации.
Скважины внутри контура водопонижения располагаются в расчетных точках или створах так, чтобы оценить результаты действия водопонизительной системы в целом или ее отдельных участков.
Наблюдательные скважины на контуре водопонижения располагаются, как правило, в середине между водопонизительными скважинами.
Скважины за пределами водопонизительного контура целесообразно размещать по створам, соответствующим направлению фильтрационного потока следующим образом:
при полого залегающих водоносных слоях - по направлению потока и вкрест потока (природного), в направлении наиболее вероятных областей питания, в направлении соседних систем водопонижения (водоснабжения, водоотлива);
при крутопадающих водоносных слоях - по простиранию и вкрест простирания слоев, в направлении вероятных источников питания и соседних систем водопонижения (водоснабжения, водоотлива).
При протяженных водопонизительных системах (осушение траншей) лучи направляются перпендикулярно оси выработки.
Возможно использование для наблюдений отдельных наблюдательных скважин. Все же при значительных по объему водопонизительных работах следует предусматривать не менее двух лучей наблюдательных скважин.
Минимальное количество скважин на луче - две, из которых одна располагается на контуре, а вторая - вне его в выбранной расчетной точке. В однородных условиях при больших размерах депрессионной воронки количество скважин на луче в интересующем водоносном слое принимается от трех [одна на контуре, две других на расстояниях от него 0,15(R-A) и 0,6(R-A)] до пяти [одна на контуре и другие на расстоянии от него 0,1(R-A), 0,25(R-A), 0,5(R-A) и 0,9(R-A) или вблизи границы области питания (на берегу реки, озера и т.п.)].
Конструкция наблюдательной скважины, приведенная на
рис. 54, предусматривает выполнение ее путем вращательного бурения, с глинистой промывкой и без крепления обсадными трубами. В связи с этим у башмака фильтровой колонны, которая опускается сразу по окончании бурения, устраивается шаровой клапан, открывающийся при нагнетании в скважину воды с целью ее разглинизации. В определенных условиях возможно непосредственное погружение фильтровой колонны указанной конструкции с помощью подмыва. Длина фильтрового звена наблюдательной скважины обычно не превышает 3 м.
Рис. 54. Наблюдательная скважина
1 - кондуктор; 2 - надфильтровая труба;
3 - фильтр; 4 - седло; 5 - шаровой клапан
Для наблюдений за уровнями воды на небольшой глубине могут быть использованы в качестве пьезометров обычные иглофильтры.
Все наблюдательные скважины должны быть снабжены крышками, а при необходимости и защитными ограждениями.
Частота измерений уровней подземных вод должна соответствовать динамике развития водопонижения. При начальном снижении уровня подземных вод, при вводе в действие дополнительных средств водопонижения и в других случаях неустановившегося режима фильтрации измерения производятся один раз в смену или в сутки. При установившемся режиме измерения проводятся реже, например, один раз в неделю, а в дальних скважинах 1 - 2 раза в месяц.
Измерения температуры и химические анализы также выполняются с частотой (обычно устанавливаемой в процессе производства работ), соответствующей динамике их изменений.
Результаты измерений и отбора проб воды заносятся в журнал
(Прил. 14) и оформляются в виде графиков, карт и гидроизогипс и гидрогеологических разрезов на характерные моменты.
Измерения уровня воды в скважинах производятся либо электроуровнемерами, либо так называемыми "хлопушками" - на слух.
Для производства гидрогеологических наблюдений отдельный строительный участок, выполняющий водопонизительные работы, должен иметь в штате участкового гидрогеолога.
4.92. Наблюдения за состоянием откосов и дна котлована должны включать ежесменные осмотры откосов котлована и его дна. Эти наблюдения ведут визуально с верхней бровки котлована, с его откосов и дна. При наблюдениях сверху необходимо обратить внимание на появление закольных трещин, их длину по фронту откоса и скорость раскрытия. При осмотре откосов со стороны котлована (со дна, с берм, с лодки, понтона) главное внимание должно быть обращено на высоту слоя высачивания воды в откосе, на установление участков сосредоточенной фильтрации, на обнаружение явлений суффозии (каверны, пещеры), появление конусов выноса грунта, сопровождающееся образованием оплывин и обрушений в откосах. Все особенности поведения откосов в процессе снижения уровня воды в котловане, в том числе и отсутствие каких-либо неблагоприятных явлений, следует ежесменно фиксировать в журналах наблюдений, а при необходимости фотографировать. Фотографии должны иметь привязку на плане котлована и сопровождаться на снимке каким-либо масштабным предметом (геодезическая рейка или другой предмет известной длины).
По результатам наблюдений необходимо принимать меры для обеспечения устойчивости откосов: уменьшение скорости понижения уровня воды в котловане, укладка дренажных пригрузок на участках суффозии, включение дополнительных водопонизительных установок и т.п.
На последнем этапе земляных работ следует вести наблюдения и за состоянием дна котлована. В случае появления ключей (грифонов) необходимо немедленно принять меры для обеспечения устойчивости дна путем пригрузки грифонов обратными фильтрами, устройства разгрузочных скважин, усиления работы водопонизительной системы по снятию напора на дно котлована и т.п.
4.93. При производстве водопонизительных работ вблизи сооружений следует вести инструментальные наблюдения за осадками грунтов и деформациями конструкций в пределах зоны влияния водопонизительной системы. При обнаружении деформаций, угрожающих нормальной эксплуатации сооружений, предохранительные меры принимаются по согласованию с проектной организацией.
4.94. Приемку водопонизительных работ следует выполнять дважды:
1) перед вводом в действие устройств водопонизительной системы, когда составляется акт о готовности водопонизительного устройства и пригодности его к работе в течение требуемого срока службы;
2) после окончания работ по строительному водопонижению, когда составляется акт о выполненных работах с приложением исполнительной документации, актов на скрытые работы и актов о годности к эксплуатации устройств, остающихся на эксплуатационный период, и данных по режиму подземных вод на момент сдачи работ.
4.95. Исполнительная документация по водопонижению должна включать:
для открытого водоотлива - расположение в плане и отметки водопонизительных и водоотводящих устройств, наблюдательных скважин, характеристики насосных установок;
для горизонтального дренажа - расположение дрен с указанием их типов, нумерация смотровых колодцев, продольные профили дрен, конструкция фильтров и характеристики насосных станций;
для иглофильтровой установки - способ погружения иглофильтров, отметки фильтровых звеньев, способ устройства обсыпки, отметка оси насосного агрегата, расположение наблюдательных скважин, данные пробной откачки;
для эжекторной установки (в том числе с вакуумными концентрическими скважинами) - способ устройства скважин, конструкции фильтра и скважины, способ устройства обсыпки, отметки расположения фильтровой части и рабочих органов эжекторов, расположение контрольно-измерительной аппаратуры, а также пьезометров и наблюдательных скважин с указанием уровня воды в них, данные пробной откачки;
для электроосмотической установки - расположение и способ погружения электродов, отметки фильтровых звеньев, способ устройства обсыпки, отметка оси насосного агрегата, расположение наблюдательных скважин, соответствие монтажа электропроводки требованиям проекта и данные пробной откачки;
для открытых водопонизительных скважин - расположение и отметки скважин, способы их устройства, конструкция фильтров и способ устройства обсыпки, тип насосов и отметки расположения их всасывающих и сливных патрубков, расположение контрольных пьезометров и наблюдательных скважин с указанием уровня воды в них, данные пробной откачки.
4.96. Скрытые работы оформляются двусторонними актами с участием представителей заказчика и подрядчика, выполняющего водопонизительные работы. К актам прилагается исполнительная техническая документация (планы, профили, разрезы по скважинам, таблицы и др.). В актах должны фиксироваться:
а) при строительстве дренажей:
1) исполнительный продольный профиль по лотку труб - нивелировка (или по дну траншеи - для дренажей без труб);
2) тип, диаметр, толщина стенок и ГОСТ (ТУ) дренажных труб, количество и размеры отверстий на одну трубу (1 м трубы);
3) гранулометрический состав материала дренажной обсыпки и заполнителя дрен - анализы следует проводить через 50 м по трассе дренажа;
б) при устройстве иглофильтров:
легких и эжекторных
1) продольный профиль по линии установки игл с указанием отметок верха и низа фильтрового звена для каждой иглы;
2) фактический геологический разрез;
в) при устройстве водопонизительных скважин, оборудованных насосами, и сквозных фильтров:
1) вертикальный геологический разрез с указанием отметок границ слоев и прослоек;
2) результаты измерений кривизны скважины (сквозных фильтров), желательно в зенитном и азимутальном направлениях;
3) погружение обсадных труб с указанием отметок башмаков колонн;
4) установка фильтровых каркасов (с чертежами каркасов и указанием антикоррозионных покрытий, уплотняющих и центрирующих устройств);
5) извлечение обсадных труб;
6) устройство песчано-гравийной обсыпки (данные измерения гранулометрического состава, отметки верхней и нижней границ, объем);
7) прокачка скважины и опытная откачка;
8) установка выпуска (для сквозных фильтров) в подземной выработке;
9) постепенный ввод в строй водопонизительной скважины (сквозного фильтра);
г) при устройстве горизонтальных и наклонных самоизливающихся скважин:
1) геологический разрез скважины, угол наклона ее к горизонту;
2) установка фильтра (в том числе чертеж конструкции фильтра);
3) оборудование устья скважины;
д) при организации электроснабжения водопонизительных установок и устройстве электроосушения:
1) исполнительная схема всех электролиний;
2) расположение на площадке контуров заземления;
3) установка труб (анодов) с приложением продольных профилей, аналогичных составленным для иглофильтров;
е) при демонтаже водопонизительной системы - оформляется акт на скрытые работы по ликвидации скважин с указанием мест заложения скважин (фильтров), способов их ликвидации, объемов работ и т.п., а также акт на скрытые работы по устройству тампонажа.
Раздел 5. ЗАКРЕПЛЕНИЕ ГРУНТОВ
| | ИС МЕГАНОРМ: примечание. Взамен СНиП 3.02.01-83 Постановлением Госстроя СССР от 04.12.1987 N 280 с 1 июля 1988 года введены в действие СНиП 3.02.01-87. | |
5.1. Настоящий раздел Пособия к разд. 5 СНиП 3.02.01-83 распространяется на производство работ по закреплению грунтов в их естественном залегании в различных строительных целях инъекционными химическими способами - силикатизацией, смолизацией, цементацией, а также буросмесительным и термическим способами.
5.2. Как один из видов производства строительных работ закрепление грунтов в самом общем виде представляет собой целенаправленное искусственное преобразование строительных свойств грунтов посредством их химической или физико-химической, механической и термической обработки, с применением соответствующих технологий.
5.3. В зависимости от способа обработки грунтов, в результате которого улучшаются их свойства, закрепление грунтов подразделяется на следующие виды:
химическое - когда его основу составляют химические и физико-химические процессы, возникающие в грунтах в результате введения в них определенных химреагентов;
электрохимическое закрепление, основанное на вторичных химических и физико-химических явлениях электролиза, возникающих в грунтах под действием внешнего поля постоянного электрического тока;
термическое закрепление, когда улучшение свойств грунтов достигается в результате их обжига в скважинах раскаленными газами или электропрогревом;
термоконсолидация глинистых водонасыщенных грунтов, когда улучшение строительных свойств достигается самоуплотнением грунтов, обусловленным их нагревом в пределах 50 - 80 °C.
5.4. Химическое закрепление в зависимости от способа введения в грунты химреагентов имеет два направления:
инъекционное химическое закрепление, когда реагенты в виде растворов или газов вводятся в грунты без нарушения их естественного сложения нагнетанием под давлением;
буросмесительное закрепление грунтов, осуществляемое с нарушением их естественного сложения, механическим перемешиванием с цементами или другими химическими реагентами и добавками при бурении скважин большого диаметра.
К первому направлению относятся способы силикатизации, смолизации, цементации; второе представлено способом буросмесительного закрепления илов и других сопутствующих им грунтов.
В Пособии не рассматриваются электрохимическое закрепление и термоконсолидация глинистых грунтов, а также закрепление глинизацией, учитывая сугубо специальный характер и весьма ограниченное практическое применение этих видов закрепления.
5.5. Каждый из способов закрепления имеет свою область применения, строго ограниченную номенклатурой грунтов и определенными характеристиками, а именно: водопроницаемостью и химическими свойствами для всех грунтов, степенью влажности и емкостью поглощения для глинистых грунтов и др. Основные способы закрепления грунтов и примерные границы их практического применения по номенклатуре, влажности и водопроницаемости приведены в табл. 29.
Таблица 29
────────────────┬──────────────────────────┬─────────────┬─────────────────
Способ │ Вид грунтов │ Природная │ Коэффициент
закрепления │ │ степень │фильтраций, м/сут
│ │ влажности │
────────────────┼──────────────────────────┼─────────────┼─────────────────
Силикатизация │Просадочные лёссы, │Не более 0,7 │Не менее 0,2
│лёссовидные и некоторые │ │
│виды покровных суглинков │ │
" │Песчаные │Независимо от│0,5 - 80
│ │влажности │
Смолизация │ " │ То же │0,5 - 50
Цементация │Пустоты большого размера. │ - │Для скальных 0,01
│Трещиноватые скальные, │ │Для нескальных 50
│крупнообломочные и │ │
│гравелистые песчаные │ │
Буросмесительное│Илы, а также сопутствующие│ - │Независимо от
закрепление │им глины и суглинки │ │водопроницаемости
│мягкопластичной, │ │
│текучепластичной, текучей │ │
│консистенции, рыхлые и │ │
│средней плотности пески │ │
Термическое │Просадочные лёссы и │Не более 0,5 │ То же
закрепление │лёссовидные суглинки, │ │
│непросадочные суглинки │ │
│и глины │ │
Силикатизация и смолизация грунтов, в свою очередь, дифференцируются на ряд конкретных способов, которые различаются между собой химической технологией (рецептурой) и целенаправленно применяются для закрепления определенных разновидностей песчаных и просадочных грунтов сообразно их природным свойствам. Необходимые сведения об этих способах будут приведены ниже в
пп. 5.27 -
5.44 Пособия.
5.6. Закреплением указанными выше способами достигается значительное повышение несущей способности, прочности и устойчивости всех видов грунтов, с одновременным обеспечением их водостойкости, что открывает большие возможности для практического применения этих способов при строительстве в слабых грунтах.
Для всех без исключения фильтрующих грунтов закрепление позволяет уменьшать или практически полностью устранять их водопроницаемость, что расширяет область его практического применения в качестве противофильтрационных мероприятий, а также мероприятий против неустойчивости этих грунтов в водонасыщенном состоянии, при подземных строительных работах.
Наряду с увеличением прочности закрепление устраняет просадочность лёссов, лёссовидных суглинков, а также некоторых видов просадочных покровных суглинков, что во многих случаях разрешает важную проблему строительства на просадочных грунтах.
Достигаемые всеми способами закрепления преобразования строительных свойств грунтов практически необратимы и, следовательно, долговечны.
5.7. Благодаря возможности значительно и необратимо улучшать строительные свойства грунтов в естественном залегании, закрепление может широко применяться в строительстве для:
усиления оснований вновь строящихся и существующих зданий и сооружений;
устройства фундаментов и других заглубленных разного назначения конструкций из закрепленных грунтов;
увеличения несущей способности свай и других опор большого диаметра;
создания противофильтрационных завес в качестве мероприятий по гидроизоляции неглубоких подземных сооружений и конструкций.
Закрепление грунтов может также широко применяться в качестве следующих временно действующих мероприятий для:
укрепления откосов при вскрытии строительных котлованов и других земляных выработок;
устройства подпорных стен и других разного назначения заглубленных защитных конструкций, необходимых при щитовой проходке подземных выработок;
для устранения подвижек слабых, неустойчивых грунтов (в том числе плывунов), при устройстве тоннелей и других неглубоких подземных выработок.
5.8. Выбор конкретного способа закрепления грунтов, а также определение и назначение всех технологических и других параметров и технических условий закрепления осуществляется единым технорабочим проектом закрепления грунтов, который объединяет в себе, кроме того, элементы проектирования организации строительства и проектирования производства работ. Это делается в проекте сообразно характеру выполняемой строительной задачи, инженерно-геологическим условиям территории и требованиям к закрепленным грунтам.
Проектом могут устанавливаться и задаваться также другие специальные требования и указания по производству работ, контролю качества и приемке работ по закреплению грунтов в случаях уникальных сооружений или особо сложных инженерно-геологических условий, если на них не распространяются соответствующие действующие нормы и настоящее Пособие.
5.9. Применение всех способов закрепления естественных грунтов, кроме термического, возможно при температурах закрепляемых грунтов не ниже 0 °C и температурах инъецируемых химических и других вяжущих растворов не ниже 5 °C.
5.10. Для специальных видов работ в сложных инженерно-геологических условиях, к которым относится и закрепление грунтов, разработку проектов производства работ согласно действующим нормам допускается производить как проектным, так и производственным организациям.
На практике, в силу узкоспециального характера технологии закрепления грунтов, проектирование производства этого вида работ, как правило, осуществляется проектной организацией в едином проекте закрепления, совмещающем в себе все три указанных в
п. 5.8 вида проектирования. Вместе с тем, в отдельных случаях проектирование производства работ по закреплению грунтов частично или полностью может осуществляться и производственными организациями.
5.11. При разработке вопросов проектирования производства работ по закреплению грунтов следует руководствоваться Инструкцией по разработке проектов организации строительства и проектов производства работ
(СНиП 3.01.01-85), которая имеет общее значение для всех способов закрепления грунтов. Инструкция, являясь нормативным документом, устанавливает состав, содержание и порядок разработки и утверждения проектов организации и производства работ.
5.12. В прерогативу проектирования производства работ согласно
СНиП 3.01.01-85, применительно к закреплению грунтов, входят следующие основные положения:
а) составление календарного плана производства работ по закреплению грунтов, в котором на основе объемов работ и технологии способов устанавливаются последовательный порядок и сроки выполнения отдельных видов работ, определяются потребности в трудовых и других ресурсах, а также устанавливаются сроки поставки отдельных видов оборудования и материалов;
б) разработка строительного генплана с нанесением на него расположения транспортных путей, сетей водоснабжения, канализации, электроснабжения, теплоснабжения, специальных технологических узлов и установок, складов для материалов и других временных построек и устройств, необходимых для производства работ. Генплан дополняется графиками поступления на объект материалов и специального оборудования, а также графиками потребностей в рабочих кадрах и в основных строительных машинах;
в) составление технологических карт или технологических схем с описанием последовательности и методов производства работ и стоимости трудозатрат и потребности в механизмах и материалах по этапам;
г) проектная проработка решений по технике безопасности, охране труда и охране окружающей среды, а также другие, общие для всех способов закрепления, положения.
5.13. Учитывая, что закрепление грунтов в технологическом отношении представляет собой работы исключительно скрытые, их производство должно сопровождаться мероприятиями по контролю качества закрепления и ведением исполнительной документации, отвечающими самым высоким требованиям к надежности.
Необходимое качество, согласно этим требованиям, обеспечивается указанными в пп. 5.14 -
5.17 разносторонними мероприятиями по контролю качества, осуществляемыми до, во время и после завершения работ по закреплению грунтов и распространяемыми на все способы.
5.14. Для проверки правильности заложенных в проект параметров закрепления на первоначальном этапе работ по закреплению, на определенном ограниченной величины участке, производится вскрытие закрепленного на этом участке массива скважинами и шурфами с обследованием его конфигурации и размеров, сплошности и однородности закрепления и с отбором закрепленных образцов для лабораторных исследований; на отобранных образцах определяют прочностные и деформационные характеристики и водостойкость закрепленных грунтов. По результатам вскрытия и обследования дается оценка соответствия качества закрепления проектным требованиям, а следовательно, и правильности заданных проектом параметров закрепления.
Ввиду отсутствия термина данное мероприятие по контролю качества закрепления предлагается называть контрольным закреплением.
Объем работ по контрольному закреплению устанавливается проектом в зависимости от объема закрепления, однородности грунтовых и других инженерно-геологических условий. К вскрытию закрепленного массива скважинами и шурфами следует приступать с определенной выдержкой во времени, по завершении набора прочности.
Если в результате контрольного закрепления обнаруживается недопустимое несоответствие качества закрепления проектным требованиям, то авторский надзор должен внести в проект закрепления соответствующие коррективы, после чего производятся повторные контрольные закрепления до устранения несоответствия.
5.15. Соответствие применяемых при закреплении грунтов исходных и переработанных (рабочих) материалов (реагентов, цемента, топлива) ГОСТам и проектным требованиям определяется лабораторными работами по определению соответствующих характеристик материалов.
5.16. Для контроля за выполнением заданных проектом параметров и технических условий (от чего особенно сильно зависит качество закрепления) производство работ должно сопровождаться обязательной, хорошо продуманной фиксацией соответствующих технологических данных в рабочих журналах и другой исполнительной документацией.
Рекомендуемые формы журналов производства работ для всех способов закрепления грунтов приведены в
Прил. 21 и
28.
Контроль качества закрепления грунтов в этом случае заключается в систематической проверке соответствия зафиксированных в исполнительной документации данных о производстве работ с проектными данными. При обнаружении несоответствий авторский надзор и производители работ должны оперативно принимать необходимые меры к обязательному выполнению проектных требований, а также меры по закреплению некачественно обработанных участков в закрепляемом массиве.
5.17. Для окончательной приемки работ контроль качества закрепления грунтов по отдельным фрагментам во время производства работ или по закрепляемому массиву в целом, после их завершения, должен производиться путем непосредственного вскрытия закрепляемого массива скважинами и шурфами с отбором образцов и проведением обследований по тем же позициям, что и при контрольном закреплении, согласно
п. 5.14.
При больших объемах закрепительных работ непосредственный контроль качества закрепления бурением или шурфованием может сочетаться с обследованием качества закрепления геоэлектрическим методом. Применительно к закреплению грунтов силикатизацией этот метод изложен в
Прил. 22.
5.18. В число основных мероприятий в части организации работ по закреплению грунтов входят подготовительные работы, материально-техническое обеспечение, механизация, организация работы транспорта, оперативное планирование и организация труда.
Организация работ выполняется по единому проекту закрепления грунтов, который разрабатывается проектной организацией и включает в себя наряду с другими видами проектирования и вопросы организации строительного производства.
Мероприятия по организации работ в приведенном выше составе осуществляются производственной организацией, выполняющей работы по закреплению грунтов, руководствуясь
СНиП 3.01.01-85 "Организация строительного производства" и требованиями проекта. Положения и требования
СНиП 3.01.01-85 имеют общее значение для всех способов закрепления грунтов.
5.19. При производстве работ по закреплению грунтов всеми способами должны строго соблюдаться правила по технике безопасности при строительных и горных работах, а также при работах на паровых, компрессорных, гидравлических и электрических установках согласно
СНиП III-4-80 "Техника безопасности в строительстве".
5.20. При закреплении грунтов способами с применением токсичных материалов или с выделением ядовитых отходов кроме соблюдения правил противопожарной и противовзрывной охраны и указанных в
пункте 5.19 требований техники безопасности должны соблюдаться специальные требования по защите рабочего персонала от вредных влияний, а также по защите почвы, грунтовых вод, атмосферного воздуха, территории и помещений от загрязнений. Эти специальные требования касаются транспортировки, складирования материалов, промывки технологического оборудования, эвакуации технологических отходов, вентиляции рабочих помещений, а также обеспечения персонала средствами индивидуальной защиты.
К способам закрепления, обладающим более или менее значительной токсичностью, при которых необходимо соблюдение специальных требований техники безопасности и охраны окружающей среды, относятся некоторые модификации способов силикатизации и смолизации, а также термическое закрепление, при котором в атмосферу выделяются вредные газы. Требования эти специфичны для каждого из способов и будут полнее изложены ниже, в настоящем разделе Пособия.
5.21. Работы по закреплению грунтов выполняются строго по проекту. Изменения проекта или отклонения от него допускаются лишь с согласия проектной организации, разработавшей проект закрепления, и оформляются актом.
5.22. До начала работ по закреплению грунтов необходимо уточнить и строго учитывать при производстве работ расположение подземных коммуникаций (водопровод, канализация, кабельная сеть, газ и др.), а также расположение и состояние сооружений, находящихся вблизи области закрепления.
5.23. С целью накопления натурных данных об эффективности мероприятий по закреплению грунтов и закономерностях процесса затухания деформаций, за осадками фундаментов зданий и сооружений, возводимых на закрепленном основании или на фундаментах из закрепленных грунтов, желательно устанавливать инструментальное геодезическое наблюдение по маркам в период постройки и после сдачи сооружений в эксплуатацию, до прекращения деформаций.
5.24. Приемкой работ по закреплению грунтов должно быть проверено и установлено соответствие требованиям проекта конфигурации и размеров закрепленного массива или отдельных опор, характеристик прочностных и деформационных свойств закрепленных грунтов, сплошности и однородности закрепления и других показателей качества закрепления грунтов.
5.25. Приемка работ производится комиссией специалистов, укомплектованной представителями заинтересованных организаций и организаций - исполнителей работ.
Приемка осуществляется на основе сопоставления проектной и исполнительной документации по производству работ и данных по контролю качества закрепления, согласно
пп. 5.14 -
5.17, а также визуальным осмотром закрепленных массивов в обнажениях шурфов и закрепленных грунтов в кернах из контрольных скважин.
Для приемки работ должны быть представлены технорабочий проект и следующая исполнительная и контрольная документация:
масштабные планы и профили закрепленных массивов (опор) с обозначениями фактических данных о местоположении в плане инъекторов, инъекционных, термических, буросмесительных, термометрических и контрольных скважин и шурфов, а также с обозначением данных о местоположении элементов (заходок) технологической обработки грунтов по глубине и о выполненных нормах этой обработки;
технические паспорта на использованные для закрепления грунтов материалы;
журналы производства работ по установленной форме;
результаты мероприятий по контролю качества закрепления грунтов.
При обнаружении несоответствия качества закрепления требованиям проекта комиссией назначаются, а строителями выполняются необходимые дополнительные работы по устранению этих несоответствий.
5.26. Кроме требований и положений, изложенных в
пп. 5.9 -
5.25, по основным элементам производства закрепительных работ, имеющих общее значение для всех способов (по проектированию производства работ, контролю качества закрепления, организации производства работ, технике безопасности и охране окружающей среды и по правилам приемки работ), каждый конкретный способ закрепления по указанным выше и другим элементам производства работ может иметь свои собственные требования и положения, обусловленные спецификой этих способов.
О дополнительных специфических требованиях конкретных способов закрепления будет сказано ниже в настоящем разделе Пособия.
Общим правилом в отношении дополнительных требований является то, что во всех случаях они должны уточняться проектом в зависимости от конкретных условий производства работ.
ИНЪЕКЦИОННОЕ ХИМИЧЕСКОЕ ЗАКРЕПЛЕНИЕ
5.27. Химическое закрепление грунтов инъекцией в строительстве в настоящее время осуществляется способами силикатизации, смолизации и цементации согласно закрепляющим реагентам, на основе которых разработаны способы.
5.28. Как один из видов производства работ в строительстве инъекционное химзакрепление представляет собой искусственное, целенаправленное преобразование строительных свойств грунтов обработкой их в естественном залегании различными реагентами. Для силикатизации и смолизации эта обработка основана на реакциях взаимодействия химреагентов между собой или с химически активной частью грунтов; для цементации - на химическом процессе твердения цементных растворов в крупных пустотах, трещинах и порах грунтов. При этом практически во всех случаях обеспечивается необратимость и, следовательно, долговечность приобретенных грунтами свойств.
Нагнетание в грунты химреагентов и их подбор по рецептурам составляют соответственно физико-технологическую и химико-технологическую сущность способов закрепления.
5.29. Инъекционное химзакрепление распространяется на грунты, обладающие более или менее значительной водопроницаемостью, включая песчаные, крупнообломочные, трещиноватые скальные и полускальные грунты, а также просадочные лёссы, лёссовидные суглинки и некоторые виды покровных суглинков.
Закрепление вечномерзлых грунтов, указанных выше литологических видов, возможно лишь после их предварительного оттаивания. Это относится также и к обычным мерзлым грунтам в деятельном слое. Закрепление этими способами ограничено также определенными температурными условиями, приведенными в
п. 5.9 Пособия для грунтов в естественном залегании, для инъецируемых растворов и для газов.
Не подлежат закреплению грунты, пропитанные нефтепродуктами, и водонасыщенные грунты при скоростях грунтовых вод,

, чем установленные для каждого способа величины. Возможность закрепления засоленных грунтов устанавливается специальными исследованиями в лабораториях и натурных условиях.
5.30. Изложенное в
пп. 5.6 и
5.7 о получаемых при закреплении положительных изменениях строительных свойств грунтов и о возможностях практического применения способов их закрепления в полной мере распространяется и на инъекционное химическое закрепление.
По сравнению с другими способами оно имеет два преимущества: одно заключается в том, что осуществляется без нарушения естественной структуры и сложения грунтов, практически исключает их деформации при производстве работ; второе - что под существующими сооружениями оно не нарушает их нормальной эксплуатации.
5.31. Посредством способа цементации, кроме указанного в
п. 5.30, возможно заполнение пустот и полостей больших размеров, образующихся по разным причинам (в том числе карстового происхождения) под фундаментами и в основании существующих сооружений. Этим предотвращается обрушение кровли пустот и обусловленные им недопустимые локальные просадки грунтов, неизбежные при этом повреждения в наземных конструкциях. С помощью цементации крупных пустот в сочетании с силикатизацией и смолизацией грунтов, окружающих эти пустоты, успешно решают такие задачи, как усиление оснований и фундаментов существующих и возводимых вновь зданий и сооружений на закарстованных территориях.
5.32. Для закрепления грунтов в практике строительства следует применять разработанные и опробованные опытом инъекционные химические способы согласно табл. 30. Каждый из способов имеет свою область применения, ограниченную величинами коэффициента фильтрации для песчаных грунтов и значениями коэффициента фильтрации, емкости поглощения в щелочной среде и степени влажности - для просадочных лёссовых грунтов.
────┬────────────────────┬────────┬────────────────────────┬──────────────
N │Инъекционные способы│Реакция │ Область применения │Экстремальные
п.п.│ и исходные │среды ├─────────────┬──────────┤и средние
│химические реагенты │закреп- │номенклатура │коэффици- │значения проч-
│ │ляющих │и некоторые │ент фильт-│ности закреп-
│ │реаген- │характерис- │рации │ления при
│ │тов │тики грунтов │грунтов, │одноосном
│ │ │ │м/сут │сжатии, МПа
────┼────────────────────┼────────┼─────────────┼──────────┼──────────────
1 │Двухрастворная │Щелочная│Пески │ 5 - 80 │ 2 - 8
│силикатизация │ │гравелистые, │ │ -----
│на основе растворов │ │крупные │ │ 5
│силиката натрия и │ │и средней │ │
│хлористого кальция │ │крупности │ │
2 │Однорастворная │ " │Пески средней│ 0,5 - 20 │ 1 - 5
│двухкомпонентная │ │крупности, │ │ -----
│силикатизация на │ │мелкие │ │ 3
│основе растворов │ │и пылеватые, │ │
│силиката натрия │ │в том числе │ │
│и кремнефтористо- │ │карбонатные │ │
│водородной кислоты │ │ │ │
3 │Однорастворная │ " │Просадочные │ Не менее │ 0,5 - 3,5
│однокомпонентная │ │лёссовые │ 0,2
<*> │ ---------
│силикатизация │ │грунты, │ │ 2
│просадочных грунтов │ │обладающие │ │
│на основе одного │ │емкостью │ │
│раствора силиката │ │поглощения │ │
│натрия │ │не менее │ │
│ │ │10 мг/экв │ │
│ │ │на 100 г │ │
│ │ │сухого грунта│ │
│ │ │и степенью │ │
│ │ │влажности не │ │
4 │Газовая │ " │То же, │ Не менее │ 0,5 - 3,5
│силикатизация │ │но степень │ 0,2
<*> │ ---------
│на основе силиката │ │влажности │ │ 2
│натрия и углекислого│ │не более 0,75│ │
│ │ │Пески средней│ │
│ │ │крупности, │ │
│ │ │мелкие │ │
│ │ │и пылеватые, │ │
│ │ │в том числе │ │
│ │ │карбонатные │ │
5 │Однорастворная │ " │То же │ 0,5 - 25 │ 1 - 3
│двухкомпонентная │ │ │ │ -----
│силикатизация │ │ │ │ 2
│на основе раствора │ │ │ │
│силиката натрия и │ │ │ │
│формамида с добавкой│ │ │ │
│кремнефтористоводо- │ │ │ │
│родной кислоты │ │ │ │
6 │Однорастворная │ Кислая │Пески средней│ 0,5 - 10 │ 0,2 - 0,5
│двухкомпонентная │ │крупности, │ │ ---------
│силикатизация │ │мелкие │ │ 0,35
│на основе растворов │ │и пылеватые │ │
│силиката натрия │ │ │ │
│и ортофосфорной │ │ │ │
│кислоты │ │ │ │
7 │Однорастворная │Щелочная│Пески средней│ 0,5 - 10 │ 0,2 - 0,3
│двухкомпонентная │ │крупности, │ │ ---------
│силикатизация │ │мелкие │ │ 0,25
│на основе растворов │ │и пылеватые, │ │
│силиката натрия │ │в том числе │ │
│и алюмината натрия │ │карбонатные │ │
8 │Однорастворная │ Кислая │Пески всех │ 0,5 - 50 │ 2 - 8
│двухкомпонентная │ │видов, кроме │ │ -----
│смолизация на основе│ │карбонатных │ │ 5
│растворов карбамид- │ │ │ │
│ных смол марок М, │ │ │ │
│М-2, М-3 и МФ-17 │ │ │ │
│и соляной кислоты │ │ │ │
9 │Однорастворная │ " │Пески всех │ 0,5 - 50 │ 2 - 8
│двухкомпонентная │ │видов от │ │ -----
│смолизация на основе│ │гравелистых │ │ 5
│растворов карбамид- │ │до пылеватых │ │
│ных смол марок М, │ │ │ │
│М-2, М-3 и МФ-17 │ │ │ │
│и щавелевой кислоты │ │ │ │
10 │Цементация │ " │Пустоты, │Для │ -
│ │ │полости │скальных и│
│ │ │в грунтах │полу- │
│ │ │всех видов. │скальных >│
│ │ │Крупно- │0,01, для │
│ │ │обломочные │прочих │
│ │ │и некоторые │> 50 │
│ │ │гравелистые │ │
│ │ │песчаные, │ │
│ │ │трещиноватые │ │
│ │ │скальные и │ │
│ │ │полускальные │ │
│ │ │грунты │ │
--------------------------------
<*> При других значениях характеристик возможность применения силикатизации устанавливается опытным путем.
Примечание. Экстремальные значения прочностей приведены над чертой; средние - под чертой.
5.33. Выбор способов закрепления для конкретных грунтов производится, руководствуясь указанной
табл. 30 и данными о гранулометрическом составе, номенклатуре, коэффициенте фильтрации и других характеристиках естественных грунтов, а также проектными требованиями к прочностным и деформационным свойствам закрепленных грунтов.
5.34. Кроме указанных в
пп. 5.8,
5.11 и
5.12 положений, имеющих общее значение для всех способов закрепления грунтов, проектом инъекционного химзакрепления устанавливаются и задаются следующие специальные требования, параметры и правила для производства работ по закреплению грунтов этими способами:
технология нагнетания закрепляющих реагентов в грунты посредством погружаемых инъекторов или через инъекционные скважины;
расположение инъекторов (инъекционных скважин) в контуре закрепляемого массива согласно его конфигурации, направление погружения инъекторов (бурения скважин), расстояние между ними и их глубины;
перечень и характеристики применяемых исходных химических и других материалов для приготовления инъецируемых рабочих реагентов (растворов, газов, смесей);
рецептуры (составы) инъецируемых в грунты закрепляющих реагентов и указания по их приготовлению;
способы погружения инъекторов и бурения инъекционных скважин, марки и характеристики применяемого при этом оборудования;
указания по технологии нагнетания, нормам, режиму и последовательности закачек закрепляющих реагентов;
требования и указания по контролю качества закрепления, объемам контрольных работ, а также критерий достаточности выполненных работ.
5.35. В дополнение к положениям, изложенным в
пп. 5.10 -
5.12 о проектах производства работ, имеющих общее значение для всех способов, разработка такого проекта для инъекционного химзакрепления грунтов должна предусматривать:
состав и размещение вспомогательных сооружений на площадке;
обеспечение системами электроснабжения, водоснабжения, теплоснабжения, канализации;
транспортировку материалов;
расчет производительности и интенсивности работ и обеспечения их рабочими кадрами, материалами, механизмами;
составление календарного плана, увязанного с другими строительными работами.
5.36. Для контроля качества инъекционного химзакрепления грунтов под существующими сооружениями кроме общих мероприятий, приведенных в
пп. 5.13 -
5.17, следует в качестве дополнительного и наиболее надежного для этих целей мероприятия применять инструментальные геодезические наблюдения за осадками марок, устанавливаемых снаружи и внутри зданий. Как правило, эти наблюдения должны производиться до, во время и после производства работ по закреплению и продолжаться до прекращения деформаций. Организацию и исполнение наблюдений осуществляют, руководствуясь
ГОСТ 24846-81 "Грунты. Методы измерения деформаций оснований зданий и сооружений",
Руководством по наблюдениям за деформациями оснований и фундаментов зданий и сооружений (М.: Стройиздат, 1975).
СИЛИКАТИЗАЦИЯ И СМОЛИЗАЦИЯ
5.37. Силикатизация и смолизация грунтов, как один из видов производства работ в строительстве, представляет собой химическую обработку грунтов различными реагентами нагнетанием их в закрепляемые грунтовые массивы под давлением. В результате достигается целенаправленное, необратимое и долговечное улучшение строительных свойств грунтов.
5.38. С химической точки зрения основу силикатизации и смолизации грунтов составляет явление конденсации неорганических и органических полимеров (крепителей) при их взаимодействии с коагулянтами (отвердителями) и заключается в отверждении полимеров в порах и трещинах грунтов, чем и обеспечиваются указанные выше положительные изменения их строительных свойств.
В качестве крепителей применяются водные растворы силиката натрия (неорганический полимер), а также растворы карбамидных и других синтетических смол (органические полимеры). В качестве отвердителей применяются различные неорганические и органические кислоты и соли с различными химическими добавками; в отдельных случаях отвердителем может быть химически активная часть самих грунтов.
Закрепление грунтов на основе растворов силиката натрия, независимо от применяемых отвердителей, называется силикатизацией, на основе карбамидных и других смол - смолизацией, на основе цементных растворов - цементацией.
Участвующие в процессе инъекционного химзакрепления грунтов химические вещества в растворах или газы называются закрепляющими реагентами.
Смесь растворов крепителей и отвердителей рабочих концентраций при однорастворном двухкомпонентном закреплении грунтов называется гелеобразующей смесью.
5.39. С технологической точки зрения закрепление силикатизацией и смолизацией заключается в нагнетании под давлением в поры естественных грунтов отверждающихся и закрепляющих грунты химических растворов (двухрастворный способ), или раствора и газа (двухкомпонентный способ), или одного раствора (однокомпонентный способ), или гелеобразующих смесей из двух компонентов (однорастворные двухкомпонентные способы). Нагнетание закрепляющих реагентов в грунты осуществляется насосами или сжатым воздухом из специальных емкостей через заглубляемые в грунты специальные перфорированные трубы (инъекторы) или через инъекционные скважины. Задаваемые проектом расстановка инъекторов или скважин в плане, углы наклона и нормы закачки химреагентов по глубине должны обеспечивать сплошность массива закрепленного грунта или его заданную конфигурацию и размеры согласно назначенной проектом конструктивной схеме закрепления
(рис. 55). На
рисунках 56 и
57 показаны принципиальные технологические схемы организации работ по силикатизации и смолизации грунтов в двух вариантах, с применением инъекторов и инъекционных скважин.

Рис. 55. Конструктивные схемы
инъекционного закрепления грунтов
а - сплошное закрепление; б - армированное
закрепление; в - комбинированное закрепление
Рис. 56. Схема организации работ
по закреплению грунтов через инъекторы
1 - место складирования химреагентов; 2 - пневмоустановки
(или насосы); 3 - верстак; 4 - емкость с водой;
5 - компрессор; 6 - емкость для приготовления рабочих
растворов; 7 - насос; 8 - погруженные инъекторы;
9 - нагнетание закрепляющих растворов; 10 - закрепленный
грунт; В - вода; РС - закрепляющие растворы или смеси
Рис. 57. Схема организации работ по закреплению
просадочных лёссовых грунтов через инъекционные скважины
1 - силикаторазварка и растворный узел; 2 - растворовод;
3 - бурение скважин; 4 - закрепление грунтов; 5 - отрытие
котлованов; 6 - установка колонн; 7 - колонна
5.40. Для повышения эффективности (увеличения прочности и радиуса) закрепления грунтов однорастворными способами силикатизации и смолизации, за исключением однокомпонентной силикатизации просадочных лёссовых грунтов, во многих случаях бывает необходимо или целесообразно производить предварительную химическую обработку (активизацию) грунтов отвердителями.
Необходимость предварительной обработки грунтов отвердителем и нормы его закачки устанавливаются и задаются проектом по результатам специальных лабораторных исследований и опытных работ по закреплению грунтов в натурных условиях. Обычно норму закачки отвердителя для активизации принимают из расчета заполнения им половины объема пор грунта.
5.41. При закреплении грунтов силикатизацией и смолизацией под существующими сооружениями с ветхими трещиноватыми фундаментами (например, под архитектурными памятниками) в качестве вспомогательного мероприятия против вероятных утечек закрепляющих реагентов через полости и трещины в кладке проектом может предусматриваться предварительная уплотнительная цементация фундаментов на контакте подошвы с основанием, называемая вспомогательной цементацией.
Необходимые параметры и данные для вспомогательной цементации и соответствующие рекомендации по производству работ даются в проекте. Работы выполняются согласно правилам, изложенным в
пп. 5.98 -
5.103.
5.42. Закрепление грунтов способами силикатизации и смолизации производится преимущественно посредством вертикально и наклонно погружаемых в грунты сверху вниз инъекторов или забуриваемых инъекционных скважин - с дневной поверхности, с отмостки или изнутри здания.
Если в силу стесненных условий или по иным причинам закрепление грунтов по технологии с вертикальным заглублением инъекторов и скважин невозможно, то инъекционные работы при закреплении грунтов под существующими сооружениями следует производить по технологии с горизонтальным заглублением инъекторов и скважин из специально пройденных и оборудованных технологических выработок (колодцев, траншей и штолен) и с предварительным химическим закреплением их стенок для предупреждения возможных деформаций сооружений. Данные о конструкции и размерах технологических выработок, а также другие рекомендации по их устройству должны содержаться в проекте.
5.43. Кроме указанных в
пп. 5.9 и
5.29 и в
табл. 30 температурных ограничений по водопроницаемости и другим свойствам грунтов, применение силикатизации и смолизации в водоносных грунтах лимитировано также скоростью грунтовых вод до 5 м/сут.
5.44. При производстве работ по силикатизации и смолизации грунтов с применением токсичных материалов необходимо строго соблюдать общие требования по охране труда, технике безопасности и охране окружающей среды, изложенные в
пп. 5.19,
5.20, а также специальные требования и положения согласно
пп. 5.127 -
5.154.
ХИМИЧЕСКАЯ ТЕХНОЛОГИЯ СИЛИКАТИЗАЦИИ И СМОЛИЗАЦИИ
И ПРИМЕНЯЕМЫЕ ХИМИЧЕСКИЕ МАТЕРИАЛЫ
5.45. При двухрастворной силикатизации в грунты в последовательном порядке нагнетают два водных раствора: раствор силиката натрия (крепитель) и раствор хлористого кальция (отвердитель).
Плотность раствора силиката натрия назначают в зависимости от коэффициента фильтрации грунтов согласно табл. 31.
Таблица 31
─────────────────────────┬─────────────────────────────────────────────────
Коэффициент фильтрации, │ Плотность раствора силиката натрия
м/сут │ при температуре 18 °C, г/см3
─────────────────────────┼─────────────────────────────────────────────────
2 - 10 │ 1,35 - 1,38
10 - 20 │ 1,38 - 1,41
20 - 80 │ 1,41 - 1,44
Раствор хлористого кальция должен иметь плотность 1,26 - 1,28 г/см3, а величину pH не менее 5,5. Для безводного хлористого кальция указанным величинам плотности соответствуют 28 - 30% значения концентрации.
5.46. При однорастворной силикатизации и смолизации в качестве основных химических материалов применяются водные растворы силиката натрия и карбамидных смол, а в качестве отвердителей или добавок - соляная, щавелевая и кремнефтористоводородная кислоты, углекислый газ, алюминат натрия, азотнокислый аммоний, сульфитно-спиртовая барда, ортофосфорная кислота, формамид, этилацетат, контакт Петрова и другие химреагенты.
Растворы-крепители, используемые при силикатизации и смолизации грунтов, должны удовлетворять следующим требованиям: величина модуля силиката натрия допускается в пределах от 2,7 до 3, его плотность - от 1,2 до 1,45 г/см3 при закреплении песчаных грунтов и от 1,1 до 1,2 г/см3 при закреплении просадочных грунтов; плотность карбамидной смолы - от 1,08 до 1,18 г/см3.
5.47. При однорастворной двухкомпонентной силикатизации песчаных грунтов в настоящее время применяют способы, приведенные в табл. 32.
Таблица 32
────┬───────────────────────────────────┬────────┬────────────┬────────────
N │ Компоненты гелеобразующей смеси │Объемные│Время │Порядок
спо-├─────────┬──────┬───────────┬──────┤отно- │гелеобразо- │приготов-
соба│крепитель│плот- │отвердитель│плот- │шения │вания │ления смеси
по │ │ность,│ │ность,│отверди-│ │
ре- │ │г/см3 │ │г/см3 │теля к │ │
цеп-│ │ │ │ │крепи- │ │
туре│ │ │ │ │телю │ │
────┼─────────┼──────┼───────────┼──────┼────────┼────────────┼────────────
I │Силикат │1,25 -│Кремнефто- │1,1 - │0,12 - │При 20 °C - │Отвердитель
│натрия │ 1,3│ристоводо- │ 1,08│ 0,2│10 - 20 мин,│добавляют к
│ │ │родная │ │ │при 5 °C - │крепителю
│ │ │кислота │ │ │60 мин │
II │То же │ 1,15 │Алюминат │ 1,05 │0,2 - │60 - 180 мин│То же
│ │ │натрия │ │ 0,25│ │
III │ " │ 1,19 │Ортофосфор-│1,025 │3,4 - 6 │60 - 600 мин│Крепитель
│ │ │ная кислота│ │ │ │добавляют к
│ │ │ │ │ │ │отвердителю
IV │Силикат │1,28 -│50%-ный │1,073 │0,25 - │15 - 180 мин│Отвердитель
│натрия │ 1,30│раствор │ │ 0,50│ │добавляют к
│модуля │ │формамида │ │ │ │крепителю
│3,3 - 3,4│ │ │ │ │ │
V │Силикат │1,28 -│Этилацетат,│1,073 │0,02 - │0,5 - 1,2 ч │Крепитель
│натрия │ 1,30│контакт │ │ 0,04│ │смешивают с
│модуля │ │Петрова │ │0,04 - │ │контактом
│3,3 - 3,4│ │
<**> │ │ 0,06│ │Петрова и в
│ │ │ │ │ │ │полученную
│ │ │ │ │ │ │смесь
│ │ │ │ │ │ │добавляют
│ │ │ │ │ │ │этилацетат
--------------------------------
<*> Раствор силиката повышенного модуля получают обработкой силиката обычного модуля 2,5 - 3 кремнефтористоводородной кислотой плотностью 1,1 - 1,08 в количестве 5 - 6% по объему.
<**> Контакт Петрова предварительно разбавляют водой в соотношении 1:3.
5.48. Закрепление просадочных лёссовых грунтов осуществляют однорастворным однокомпонентным способом силикатизации на основе одного раствора силиката натрия, имеющего характеристики согласно
п. 5.46.
5.49. Для газовой силикатизации в настоящее время разработаны и применяются два отличающиеся рецептурой способа закрепления песчаных и просадочных лёссовых грунтов (табл. 33).
Таблица 33
────────────────┬──────────────────────────────────────────┬───────────────
N способа │ Компоненты газовой силикатизации │Порядок закачки
по рецептуре ├───────────────────────┬──────────────────┤ компонентов
│ крепитель │ наименование │ в грунты
├────────┬──────┬───────┼──────────┬───────┤
│наимено-│плот- │ норма │отверди- │ норма │
│вание │ность,│закачки│тель │закачки│
│ │г/см3 │ │ │на 1 м3│
│ │ │ │ │грунта,│
│ │ │ │ │ кг │
────────────────┼────────┼──────┼───────┼──────────┼───────┼───────────────
VI │Силикат │1,19 -│ 0,8 │Углекислый│4 - 6,5│Углекислый газ
для песков │натрия │ 1,3│объема │газ в │ │2 - 2,5 кг,
│ │ │ пор │баллонах │ │силикат натрия,
│ │ │ │ │ │углекислый газ
│ │ │ │ │ │2 - 4 кг
VII │То же │1,10 -│ 0,8 │Углекислый│5 - 7,5│Углекислый газ
для просадочных │ │ 1,17│объема │газ в │ │2 - 3 кг,
лессовых грунтов│ │ │ пор │баллонах │ │силикат натрия,
│ │ │ │ │ │углекислый газ
│ │ │ │ │ │3 - 4,5 кг
5.50. Химические материалы, применяемые для закрепления грунтов способами силикатизации, должны удовлетворять требованиям и техническим условиям действующих стандартов на силикат натрия (жидкое стекло), хлористый кальций, ортофосфорную, кремнефтористоводородную кислоты, алюминат натрия, формамид, этилацетат, контакт Петрова.
ГОСТы и ТУ на некоторые технические материалы, применяемые при химическом закреплении грунтов способами силикатизации, приведены в табл. 34.
Таблица 34
────┬────────────────────────────────┬──────────────────────┬───────────────
N │ Реагенты │ ГОСТ │ Физическое
п.п.│ │ │ состояние
────┼────────────────────────────────┼──────────────────────┼───────────────
ИС МЕГАНОРМ: примечание.
Взамен ГОСТ 13079-81 Постановлением Госстандарта РФ от 02.12.1992 N 1523
1 │Силикат натрия растворимый │ГОСТ 13079-81 │Глыба
4 │Кремнефтористоводородная кислота│
ГОСТ 10678-76 с изм. │Жидкость
ИС МЕГАНОРМ: примечание.
Взамен ГОСТ 8050-76 Постановлением Госстандарта СССР от 29.07.1985
6 │Углекислый газ │ГОСТ 8050-76 с изм. │Сжиженный газ
5.51. Применяемый при силикатизации грунтов силикат натрия

доставляется к месту работы либо в виде силикат-глыбы, либо в виде раствора плотностью 1,4 - 1,5 г/см3.
В зависимости от исходных материалов силикат натрия выпускается содовый и содово-сульфатный.
Силикатный модуль является главной характеристикой силиката натрия, определяющей его состав.
Под модулем подразумевается отношение числа грамм-молекул кремнезема

к числу грамм-молекул окиси натрия

.
В процессе производства работ модуль употребляемых растворов силиката натрия (каждая партия) подлежит контрольным определениям
(Прил. 15).
Раствор силиката натрия должен отвечать требованиям
ГОСТ 13078-81.
По физико-химическим показателям раствор силиката натрия должен отвечать нормам, указанным в табл. 35.
Таблица 35
────┬──────────────────────┬───────────────────────────────────────────────
N │ Показатели │ Нормы для видов силиката натрия
п.п.│ ├────────────────────────┬──────────────────────
│ │ содового │ содово-сульфатного
────┼──────────────────────┼────────────────────────┼──────────────────────
1 │Внешний вид │Густая жидкость желтого │Густая жидкость от
│ │или серого цвета без │желтого до коричневого
│ │механических включений, │цвета без механических
│ │видимых невооруженным │включений, видимых
│ │глазом │невооруженным глазом
2 │Содержание кремнезема,│ 31 - 33 │ 28,5 - 29,5
│% │ │
3 │Содержание окиси │ 0,25 │ 0,4
│железа и окиси │ │
│алюминия, %, не более │ │
4 │Содержание окиси │ 0,2 │ 0,25
│кальция, %, не более │ │
5 │Содержание серного │ 0,06 │ 0,4
│ангидрида в пересчете │ │
│на серу, %, не более │ │
6 │Содержание окиси │ 10 - 12 │ 10 - 11
│натрия, % │ │
7 │Силикатный модуль │ 2,65 - 3,4 │ 2,65 - 3,4
8 │Плотность, г/см3 │ 1,36 - 1,5 │ 1,43 - 1,5
5.52. Применяемый при однорастворной силикатизации в качестве отвердителя (коагулянта) силиката натрия алюминат натрия должен удовлетворять следующим требованиям:
каустический модуль - 1,5 - 1,7 (отношение

);
крупность дробления - 5 - 6 мм;
наличие нерастворимых взвесей - 1 - 2%.
Коагулянт - кремнефтористоводородная кислота - является побочным продуктом производства суперфосфата и фосфорной кислоты и поставляется в виде раствора плотностью 1,1 - 1,2 г/см3.
5.53. При однорастворной смолизации песчаных грунтов в настоящее время разработаны и могут применяться девять отличающихся рецептурой способов согласно табл. 36, в которой приведены данные для получения соответствующих гелеобразующих смесей.
────┬───────────────────────────────────────┬─────────┬──────┬─────────────
N │ Компоненты гелеобразующей смеси │Объемное │Время │ Порядок
спо-├────────────┬───────┬───────────┬──────┤отношение│геле- │приготовления
соба│ крепитель │плот- │отвердитель│плот- │отверди- │обра- │ смеси
по │ │ность │ │ность,│теля к │зова- │
ре- │ │при │ │г/см3 │крепителю│ния, │
цеп-│ │18 °C, │ │ │ │мин │
туре│ │г/см3 │ │ │ │ │
│ │ │ │ │ │ │
────┼────────────┼───────┼───────────┼──────┼─────────┼──────┼─────────────
VIII│Карбамидная │1,08 │5%-ная │1,023 │0,05 - │180 - │В смолу при
│смола │ │соляная │ │ 0,06│ 40 │тщательном
│марки М │ │кислота │ │ │ │перемешивании
│ │ │ │ │ │ │добавляют
│ │ │ │ │ │ │кислоту
IX │То же, │1,09 - │5%-ная │1,023 │0,012 - │180 - │То же
│марки М-2 │ 1,1│щавелевая │ │ 0,14│ 60│
│ │ │кислота │ │ │ │
X │То же │1,09 - │5%-ная │1,023 │0,07 - │150 - │ "
│ │ 1,1│соляная │ │ 0,08│ 50│
│ │ │кислота │ │ │ │
XI │То же, │1,08 - │То же │1,09 -│0,08 - │150 - │ "
│марки МФ-17 │ 1,09│ │ 1,1│ 0,1│ 40│
XII │То же, │1,12 - │ " │1,023 │0,03 - │150 - │ "
│марки М-3 │ 1,13│ │ │ 0,05│ 25│
XIII│То же │1,178 -│Азотно- │1,1 - │ 1 - 2 │150 - │Вначале
│ │ 1,18│кислый │ 1,2│ │ 30│смешивают
│ │ │аммоний │ │ │ │крепитель с
│ │ │5%-ная │1,023 │0,25 - │ │азотнокислым
│ │ │соляная │ │ 0,35│ │аммонием,
│ │ │кислота │ │ │ │а затем
│ │ │ │ │ │ │добавляют
│ │ │ │ │ │ │кислоту
XIV │ " │ │Сульфитно- │1,15 -│ 1 - 2 │180 - │К сульфитно-
│ │ │спиртовая │ 1,16│ │ 30│спиртовой
│ │ │барда │ │ │ │барде прили-
│ │ │5%-ная │1,023 │0,25 - │ │вают кислоту,
│ │ │соляная │ │ 0,35│ │а затем
│ │ │кислота │ │ │ │кислый рас-
│ │ │ │ │ │ │твор сульфит-
│ │ │ │ │ │ │ной барды
│ │ │ │ │ │ │смешивают
│ │ │ │ │ │ │с крепителем
XV │ " │1,178 -│Сульфитно- │1,2 - │0,55 - │150 - │Сульфитно-
│ │ 1,18│спиртовая │ 1,22│ 2,15│ 60│спиртовую
│ │ │барда │ │ │ │барду
│ │ │Азотно- │1,25 -│0,25 - │ │смешивают с
│ │ │кислый │ 1,26│ 0,50│ │азотнокислым
│ │ │аммоний │ │ │ │аммонием,
│ │ │5%-ная │1,023 │0,20 - │ │в полученную
│ │ │соляная │ │ 0,35│ │смесь добав-
│ │ │кислота │ │ │ │ляют кислоту
│ │ │ │ │ │ │и смешивают
│ │ │ │ │ │ │с крепителем
XVI │ " │1,15 - │Сульфитно- │1,2 - │0,58 - 2 │120 - │Приготовлен-
│ │ 1,16│спиртовая │ 1,22│ │ 30│ную по
│ │ │барда │ │ │ │рецептуре VI
│ │ │Азотно- │ - │0,24 - │ │смесь при
│ │ │кислый │ │ 0,67│ │перемешивании
│ │ │аммоний │ │ │ │добавляют
│ │ │5%-ная │1,023 │0,18 - │ │к крепителю
│ │ │соляная │ │ 0,33│ │
│ │ │кислота │ │ │ │
5.54. Преимуществом смолизации перед однорастворной силикатизацией является возможность значительно более прочного закрепления грунтов. Так, временное сопротивление при сжатии закрепленных смолизацией некоторых видов песчаных грунтов может достигать 7 - 10 МПа. Недостатком смолизации является выделение карбамидными смолами токсичного формальдегида, поэтому при закреплении грунтов под существующими сооружениями, когда работы ведутся в закрытых помещениях, следует применять усиленную приточно-отточную вентиляцию.
5.55. Для глубинного закрепления грунтов смолизацией, не связанного с последующим вскрытием закрепленных массивов (например, при усилении оснований, устройстве фундаментов или других подземных конструкций), следует применять способы смолизации на основе карбамидных смол марок М, М-2, МФ-17 и УКС.
При смолизации грунтов с целью проходки подземных выработок допускается применять способы на основе смолы марки М-3, содержащей наименьшее количество свободного формальдегида (0,3 - 0,5%).
5.56. В связи с изменением во времени физико-химических свойств смолы для каждой партии смол в процессе инъекционных работ требуется уточнять соотношение компонентов в гелеобразующей смеси, обеспечивающее заданный период времени гелеобразования.
5.57. Разведение смолы водой до рабочих концентраций производится в следующих приближенных соотношениях:
крепитель М-2 разбавляется водой в соотношении 1:0,8 до плотности раствора 1,09 г/см3, являющейся нижним пределом разбавления;
крепитель М-3 разбавляется водой в соотношении 1:0,5 до плотности раствора 1,12 г/см3;
крепитель МФ-17 разбавляется водой в соотношении 1:2 до плотности раствора 1,08 г/см3.
При разбавлении смолы растворами азотнокислого аммония или сульфитно-спиртовой барды раствор получается более стабильным.
5.58. Применяемые при смолизации в качестве крепителя растворы карбамидных смол по своим физическим и химическим характеристикам должны удовлетворять нормам согласно табл. 37, а щавелевая (кристаллогидрат) и соляная (жидкость) кислоты должны удовлетворять соответственно нормам ТУ 11-1391-5 и ГОСТ 13282-76 с изм.
Таблица 37
────┬───────────────────┬──────────────────────────────────────────────────
N │ Технические │ Нормы для смол марок
п.п.│ характеристики ├───────────┬───────────┬───────────┬──────────────
│ │ М │ М-2 │ М-3 │ МФ-17
│ │ (МРТУ │ (МРТУ │ (ВТУ │ (МРТУ
│ │05-1101-67)│05-1101-67)│1Г-151-70) │ 6-05-10-56)
│ │ │ │Кусковского│
│ │ │ │ химзавода │
────┼───────────────────┼───────────┴───────────┴───────────┼──────────────
1 │Внешний вид │Сиропообразная жидкость, однотонная│Однородная
│ │по цвету. Допускается появление │вязкая жид-
│ │мути в виде устойчивых кристаллов │кость белого
│ │ │или светло-
│ │ │коричневого
│ │ │цвета.
│ │ │Допускается
│ │ │появление мути
2 │Плотность │1,15 - 1,2 │1,15 - 1,2 │1,15 - 1,2 │ 1,25 - 1,27
│при 20 °C, г/см3 │ │ │ │
3 │Вязкость при 20 °C │ 4 - 10 │ 4 - 10 │ 4 - 35 │ 40 - 100
│по вискозиметру │ │ │ │
│ВЗ-1, с │ │ │ │
4 │Концентрация водо- │ 7,2 - 9 │ 7,2 - 9 │ 7 - 9 │ 7,5 - 8,5
│родных ионов (pH) │ │ │ │
5 │Содержание свобод- │Не опреде- │ 2 │ 0,5 │ 3
│ного формальдегида,│ляется │ │ │
│%, не более │ │ │ │
6 │Растворимость │Растворяет-│Не опреде- │В соотноше-│При смешивании
│в воде │ся, допус- │ляется │нии 1:1 │воды и смолы
│ │кается лег-│ │ │раствор
│ │кий осадок │ │ │не должен
│ │на дне │ │ │коагулировать
Примечание. Сроки хранения смол М, М-2, М-3 не более трех месяцев, МФ-17 - не более двух месяцев.
При приготовлении и применении гелеобразующих смесей необходимо соблюдать следующие правила:
а) измерение заданных объемов крепителя и отвердителя рабочих концентраций перед их смешиванием должно выполняться с необходимой точностью, которая устанавливается на основе экспериментальной зависимости времени гелеобразования от объемного соотношения компонентов
(Прил. 16) и указывается в проекте; при определении точности измерения погрешность в получении заданного периода гелеобразования не должна превосходить 10%;
б) при смешивании компонентов смеси отвердитель следует постепенно добавлять к крепителю (а не наоборот) при непрерывном и тщательном перемешивании;
в) заданное время гелеобразования в процессе инъекции должно контролироваться отбором проб смеси и фиксации момента ее загустевания.
ПРАВИЛА ПРОИЗВОДСТВА РАБОТ И ПРИМЕНЯЕМЫЕ МЕХАНИЗМЫ
И ОБОРУДОВАНИЕ ПРИ СИЛИКАТИЗАЦИИ И СМОЛИЗАЦИИ
5.59. Работы по силикатизации и смолизации грунтов должны выполняться специально обученной бригадой исполнителей при наличии предусмотренных проектом оборудования и материалов, и только после опробования в производственных условиях всего комплекта оборудования, установок и коммуникаций.
5.60. Продолжение работ после выполнения предусмотренного проектом на первоначальном этапе контрольного закрепления согласно
пункту 5.14 допускается лишь при получении положительных результатов этого мероприятия. В противных случаях в проект вносятся необходимые коррективы, а контрольное закрепление повторяется.
5.61. Производство работ по силикатизации и смолизации грунтов последовательно включает следующие основные элементы:
подготовительные и вспомогательные работы, включая приготовление растворов;
работы по погружению в грунты инъекторов или бурение и оборудование инъекционных скважин;
нагнетание закрепляющих реагентов в грунты;
извлечение инъекторов и ликвидация инъекционных скважин;
работы по контролю качества закрепления.
Подготовительные и вспомогательные работы
5.62. До начала основных работ на площадке выполняются подготовительные и вспомогательные работы.
5.63. Разбивку мест размещения скважин и забивных инъекторов следует производить от основных осей сооружений с допустимыми отклонениями +/- 5 см.
В период подготовительных работ следует:
выполнить подготовку и планировку территории;
подвести электроэнергию, водопровод, а при необходимости и паропровод, обеспечить канализацию;
при необходимости закрепить аварийные конструкции во избежание обрушения;
при необходимости установить инструментальные наблюдения за осадками фундаментов;
выполнить другие мероприятия, обеспечивающие производство работ и контроль качества закрепления.
Состав и объем подготовительных работ уточняется проектом.
5.64. В последующий период вспомогательных работ следует:
разместить на площадке химические реагенты и материалы, обеспечив их правильное складирование и хранение;
смонтировать оборудование и подводящие коммуникации, подключив их к электросети, водопроводу и горячему водоснабжению, а в зимний период утеплив водо- и растворонесущие магистрали;
при объеме закрепления более 10 тыс. м3 грунта оборудовать стационарный узел приготовления растворов;
выполнить разметку мест погружения инъекторов или бурения инъекционных скважин, обеспечив их плановую и высотную привязку;
согласовать безопасность производства работ с электронадзором и лицами, ответственными за подземные коммуникации;
произвести приготовление закрепляющих растворов рабочих концентраций;
выполнить контрольные работы по закреплению грунтов согласно указаниям проекта.
5.65. Емкости для приготовления растворов при силикатизации и смолизации грунтов следует изготавливать с таким расчетом, чтобы их количество и объемы обеспечивали бесперебойную работу участка согласно графику. Емкости должны быть оборудованы устройствами для подогрева и перемешивания растворов.
При работе с кислотами внутренние поверхности емкостей должны быть гуммированы или защищены каким-либо другим способом от воздействия кислот. Возможно применение емкостей из пластика.
Для приготовления растворов могут быть использованы железнодорожные цистерны емкостью 40 - 60 м3, где перемешивание ведется с помощью сжатого воздуха.
5.66. Для контроля качества приготавливаемых химических растворов на площадке необходимо иметь следующие измерительные приборы:
термометры с градуировкой шкалы от 0 до 100 °C и ценой деления в 1 °C;
стеклянные мерные цилиндры для отбора проб раствора емкостью 250 - 500 мл;
ареометры для определения плотности растворов с диапазоном измерений от 1,01 до 1,5 г/см3 и ценой деления 0,001 г/см3.
5.67. Химические растворы рабочих концентраций приготавливаются разведением растворов исходных концентраций чистой водой до плотности, указанной в проекте или назначенной после контрольного закрепления. Разведение растворов осуществляется согласно формуле

, (9)
где

- количество исходного раствора закрепляющего химреагента, л;

- количество раствора рабочей концентрации, л;

- плотность исходного раствора, г/см3;

- плотность раствора рабочей концентрации, г/см3;

- плотность воды, г/см3, принимаемая равной 1.
Количество воды, добавляемое к раствору исходной концентрации при приготовлении раствора рабочей концентрации, находится как разность объемов этих растворов.
Приготовленные растворы целесообразно до их нагнетания отстаивать в течение 1 - 3 ч, после чего перекачивать в рабочую емкость.
Конструкции инъекторов
5.68. Выбор инъекционного оборудования должен производиться с учетом удельных расходов, давлений и степени агрессивности химических растворов. Для инъекторов, погружаемых забивкой, должны применяться стальные цельнотянутые трубы с внутренним диаметром от 25 до 50 мм. Для нагнетания кислых растворов следует предусматривать применение кислотоупорных насосов.
5.69. Инъекторы представляют собой внедряемые тем или иным способом в грунты специальные устройства, посредством которых осуществляется нагнетание закрепляющих реагентов в грунты под давлением. Для всех способов инъекторы являются наиболее ответственным элементом оборудования, применяемого при инъекционном закреплении грунтов.
5.70. В настоящее время в практике инъекционного химзакрепления грунтов широко применяются инъекторы следующих трех типов конструкций:
забивные инъекторы, предназначенные для силикатизации и смолизации песчаных грунтов одного и того же сечения (
рис. 58 и
59), для силикатизации просадочных лёссовых грунтов инъекторы переменного сечения
(рис. 59);
инъекторы-тампоны, предназначенные для силикатизации просадочных лёссовых грунтов на большие глубины и для укрепительной цементации грунтов через инъекционные скважины (
рис. 60 и
61);
инъекторы манжетно-тампонного типа (
рис. 62 и
63), предназначенные для закрепления грунтов через скважины в особо сложных геологических и гидрогеологических условиях.
Рис. 58. Конструкция забивного инъектора
для силикатизации и смолизации песчаных грунтов
а - общий вид; б - перфорированные звенья с резиновыми
клапанами; в - то же, с резиновыми кольцами;
1 - наконечник; 2 - перфорированное звено;
3 - соединительный ниппель; 4 - глухое звено;
5 - наголовник; 6 - ниппель наголовника; 7 - прижимная
гайка; 8 - штуцер; 9 - хомутик; 10 - заглушка; 11 - шланг
Рис. 59. Конструкция забивного инъектора переменного
сечения для силикатизации просадочных лёссовых грунтов
1 - наконечник; 2 - перфорированное звено;
3 - переходной ниппель; 4 - глухое звено;
5 - ниппель для соединения глухих звеньев
Рис. 60. Инъектор-тампон гидравлический, одинарный
для силикатизации просадочных лёссовых грунтов в скважинах
1 - шайба; 2 - кольцо уплотнительное; 3 - гайка;
4 - штуцер; 5 - хомут; 6 - шланг для подачи закрепляющих
растворов; 7 - резиновая прокладка; 8 - крышка; 9 - муфта
опорная; 10 - манжета из вулканизированной резины;
11 - труба перфорированная; 12 - шайба из резины;
13 - головка клапана; 14 - корпус клапана
Рис. 61. Инъекторы-тампоны пневматические
а - одинарный; б - двойной; 1 - заглушка; 2 - гайка;
3 - шайба; 4 - муфта; 5 - штуцер; 6 - шланг для раствора;
7 - шланг для воздуха; 8 - хомут; 9 - хомут;
10 - прокладка; 11 - штуцер; 12 - крышка верхняя;
13 - кольцо уплотнительное; 14 - муфта опорная верхняя;
15 - манжета из вулканизированной резины; 16 - труба;
17 - перфорированная труба; 18 - муфта опорная нижняя
Рис. 62. Схема манжетно-тампонного инъектора
1 - манжетный тампон с перфорированной частью 6; 2 - стенка
скважины; 5 - колонна труб с отверстиями 3 и резиновыми
кольцами 4; 7 - обойменный глиноцементный раствор
Рис. 63. Конструкции манжетных тампонов
а - четырехманжетный; б - двухманжетный щелевой;
в - двухманжетный; 1 - ниппель на резьбе;
2, 3 - резиновые или кожаные манжеты;
4 - перфорированная часть; 5 - заглушка
5.71. При закреплении грунтов по горизонтальной технологии с задавливанием инъекторов из технологических выработок
(рис. 64) применяется несколько измененный вариант манжетно-тампонного инъектора, конструктивно приспособленный к задавливанию в грунты колонны труб.
Рис. 64. Схема гидравлического задавливания
манжетно-тампонных инъекторов из технологических
выработок при силикатизации и смолизации
грунтов по горизонтальной технологии
а - вид сбоку; б - вид сверху; 1 - упорная плита;
2 - гидравлические цилиндры; 3 - стальная рама;
4 - подвижная каретка; 5 - инъекторные
перфорированные трубы; 6 - резиновые кольца
с проколами; 7 - крепление стенок выработки
5.72. Забивной инъектор для закрепления песчаных грунтов состоит из наголовника, колонны глухих звеньев труб, перфорированного звена, наконечника и соединительных частей.
Колонну глухих труб инъектора составляют из звеньев длиной 1 - 1,5 м, имеющих на концах внутреннюю метрическую резьбу на длине 35 мм. Звенья труб соединяют ниппелем. Перфорированное звено инъектора обычно имеет длину 0,5 - 1,5 м и отверстия диаметром 2 - 3 мм.
На
рис. 58 показаны инъекторы двух видов:
а) инъектор первого вида изготовлен из цельнотянутой толстостенной трубы, по периметру которой выполнены отверстия диаметром 3 мм, расположенные четырьмя рядами в шахматном порядке из расчета 60 - 80 отверстий на 1 м длины. Отверстия защищены от засорения грунтом резиновыми клапанами, состоящими из резинового кольца толщиной 1 - 1,5 мм и металлической шайбы толщиной 1,5 мм;
б) инъектор второго вида, получивший наибольшее распространение, состоит из толстостенной трубы диаметром 32 - 42 мм, на боковой поверхности ее проточены круговые канавки, в которых просверлены отверстия диаметром 2 - 3 мм. Отверстия закрыты резиновыми кольцами, уложенными в канавки на глубину 2 - 3 мм (ширина канавки 8 - 10 мм).
Толщина стенок цельнотянутых труб не менее 8 мм.
Погружение и извлечение инъекторов, бурение
и оборудование инъекционных скважин
5.73. При погружении инъекторов в грунты и бурении скважин следует принимать меры, предупреждающие отклонения инъекторов и скважин от проектного направления установкой кондукторов. Максимальные отклонения не должны превышать при глубине до 40 м - 1%, а при большей глубине - 0,5%.
5.74. При силикатизации и смолизации грунтов оснований существующих сооружений в стесненных условиях погружение инъекторов согласно
п. 5.42 можно производить из специально пройденных технологических колодцев.
5.75. Погружение инъекторов в грунты для последующей инъекции закрепляющих реагентов может производиться забивкой, задавливанием и установкой в предварительно пробуренные инъекционные скважины.
Выбор способа погружения зависит от вида грунтов, естественно-исторических условий территории и глубины закрепления.
Способ погружения инъекторов в грунты назначается проектом.
5.76. Погружение инъекторов в грунты забивкой применяют при силикатизации и смолизации песчаных грунтов, а также при закреплении лёссовых грунтов на глубинах менее 15 м.
Способом задавливания обычно осуществляется внедрение инъекторов при химзакреплении грунтов с применением горизонтальной технологии из специальных технологических выработок
(рис. 64).
Погружение и установку инъекторов-тампонов в инъекционные скважины применяют при силикатизации просадочных лёссовых грунтов на глубины более 15 м
(рис. 65), а также при вспомогательной цементации.
Примечание. При закреплении просадочных грунтов на глубину более 15 м инъекторы могут забиваться в предварительно пробуренные скважины.
Рис. 65. Технологическая схема силикатизации
просадочных лёссовых грунтов через скважины
1 - стенки скважины; 2 - шланг для подачи
закрепляющего раствора; 3 - инъектор-тампон;
4 - грунтовый массив, закрепленный двумя заходками
5.77. Для забивки инъекторов следует применять ударный инструмент или вибропогружатели, марки и характеристики которых приведены в
Прил. 18 и Прил. 19 (
табл. 1 и
2).
Забивка осуществляется по заходкам в последовательности, заданной проектом.
При затруднениях в забивке следует предварительно бурить лидирующие скважины.
При забивке инъекторов через железобетонные плиты фундаментов, стяжки и т.п. в них предварительно бурятся отверстия перфораторами, характеристики которых приведены в Прил. 19
(табл. 2).
5.78. Перед забивкой инъекторов следует проверять соосность звеньев, надежность их соединения, а при закреплении водонасыщенных грунтов плотность прилегания резиновых колец в выточках перфорированной части. Применение искривленных звеньев не допускается.
В процессе забивки нельзя допускать расшатывания инъектора, так как это приводит к образованию затрубного пространства и выбиванию раствора на поверхность.
Для забивки инъекторов под наклоном следует применять шаблоны или специальные кондукторы, обеспечивающие заданный угол погружения.
5.79. При закреплении грунтов через предварительно пробуренные инъекционные скважины последние могут быть пройдены с использованием бурового оборудования, характеристики которого приведены в Прил. 19 (
табл. 2 и
5).
Инъекционные скважины должны быть строго ориентированы относительно вертикали, не иметь трещин и глубоких борозд на стенках. По окончании бурения скважины следует очистить ее от насыпного грунта до проектной глубины с помощью специального стакана типа грунтоноса и закрыть деревянной пробкой. Выдаваемый шнеками грунт должен убираться с таким расчетом, чтобы обеспечить использование его в последующем для тампонирования.
Отклонения скважин и инъекторов в плане и по глубине не должны превышать величин, указанных в
п. 5.73.
5.80. Для предупреждения выбивания раствора при нагнетании скважины необходимо бурить на двойном расстоянии друг от друга в плане, т.е. через одну. После завершения инъекций по первой группе скважин производится бурение скважин и инъецирование растворов в скважины второй очереди.
5.81. Бурение инъекционных скважин для вспомогательной цементации контакта фундамента с основанием при силикатизации и смолизации грунтов под существующими сооружениями рекомендуется производить колонковыми станками, сплошным забоем с продувкой воздухом. В стесненных условиях допускается бурение пневмоударными станками.
Бурение ведется наклонными скважинами через обратную засыпку с установкой обсадной трубы, затем по фундаменту с небольшим заглублением в грунты основания.
Расстояние между скважинами 2 - 3 м. Проектом должна быть определена очередность, в соответствии с которой допускается одновременное бурение и инъекция скважины.
Нагнетание закрепляющих реагентов в грунты
5.82. Для нагнетания закрепляющих растворов в грунты следует применять пневматические баки, насосы, либо установки, смонтированные на базе дозировочных агрегатов (рис. 66 -
68). Последние позволяют осуществлять непрерывное приготовление и нагнетание раствора с регулировкой его плотности и расхода.
Рис. 66. Технологическая схема приготовления гелеобразующей
смеси при однорастворной силикатизации и смолизации грунтов
1 - автоцистерна; 2 - емкость для отвердителя исходной
концентрации; 3 - емкость для отвердителя рабочей
концентрации; 4 - дозатор для отвердителя; 5 - емкости
для гелеобразующей смеси; 6 - насосы для нагнетания
закрепляющих растворов в грунты; 7 - дозатор для крепителя;
8 - емкость для крепителя рабочей концентрации; 9 - насосы
для перекачки растворов; 10 - емкость для крепителя
исходной концентрации; 11 - компрессор для перемешивания
растворов сжатым воздухом; 12 - хранилище для крепителя
Рис. 67. Технологические схемы нагнетания
закрепляющих растворов в грунты
а - с использованием пневмобака; б - насоса;
в - дозировочного агрегата; 1 - пневмобак;
2 - насос; 3 - дозировочный агрегат;
4 - емкость с раствором; 5 - смеситель;
6 - распределитель; 7 - счетчики расхода; 8 - инъекторы
Рис. 68. Схема пневматической установки
для нагнетания закрепляющих растворов в грунты
1 - патрубок с вентилем для подачи раствора к инъекторам;
2 - люк для осмотра и чистки емкости; 3 - патрубок
с вентилем для подачи сжатого воздуха; 4 - вентиль,
регулирующий давление; 5 - манометр; 6 - предохранительный
клапан; 7 - контрольный вентиль; 8 - корпус емкости;
9 - шкала расхода; 10 - водомерное стекло; 11 - патрубок
с вентилем для отбора проб растворов; 12 - салазки
Применяемое оборудование должно обеспечивать поддержание требуемого режима нагнетания (плавное нарастание расхода раствора во времени с фиксацией давления). Режим нагнетания отрабатывается в процессе контрольных работ.
5.83. Оборудование для нагнетания растворов должно быть оснащено следующей контрольно-измерительной аппаратурой:
обычными либо электроконтактными манометрами, рассчитанными на давление до 0,6 - 1 МПа с ценой деления шкалы 0,01 МПа;
счетчиками расхода с погрешностью измерения до +/- 2% и ценой деления не более 0,005 м3;
секундомером или часами.
Шланги для подачи раствора должны быть рассчитаны на рабочее давление 0,6 - 1 МПа и иметь условный проход не менее 20 - 25 мм.
5.84. Нагнетание рабочего раствора должно производиться по заходкам в объеме и в технологической последовательности, предусмотренной проектом. Количество раствора и его плотность, порядок нагнетания и величина заходок, а также диаметр скважин могут быть изменены проектной организацией по результатам контрольного закрепления.
5.85. Перед нагнетанием реагентов в грунты инъектор должен быть промыт водой или продут воздухом под давлением, не превышающим предельно допустимого давления, указанного в проекте. Количество подаваемой воды должно назначаться таким образом, чтобы обеспечить освобождение от раствора перфорированной части инъектора или действующей части скважины.
Порядок нагнетания растворов по глубине зависит от способа погружения, характера и степени однородности грунта по водопроницаемости. Очередность устанавливается проектом.
5.86. При двухрастворной силикатизации грунтов в сплошном массиве жидкое стекло и раствор хлористого кальция нагнетаются рядами с чередованием инъекторов через один ряд. Раствор хлористого кальция следует нагнетать как можно быстрее после нагнетания жидкого стекла. Перерывы между нагнетанием жидкого стекла и хлористого кальция не должны быть более указанных в табл. 38.
Таблица 38
────┬─────────────────────────────────────────┬────────────────────────────
N │ Скорость грунтовых вод, м/сут │ Перерывы, ч
п.п.│ │
────┼─────────────────────────────────────────┼────────────────────────────
1 │ 0 │ 24
2 │ 0,5 │ 6
3 │ 1,5 │ 2
4 │ 3 │ 1
Примечание. При промежуточных значениях скорости грунтовых вод длительность перерывов определяется по интерполяции.
При двухрастворном способе силикатизации песчаных грунтов каждый раствор нагнетается отдельным насосом. Смешения растворов в баках, шлангах, насосах и инъекторах допускать нельзя. Оборудование, использованное для нагнетания жидкого стекла, может использоваться и для нагнетания раствора хлористого кальция (или наоборот) только после тщательной промывки его горячей водой.
5.87. При сплошном закреплении песков однорастворными способами силикатизации и смолизации растворы нагнетаются рядами инъекторов последовательно, т.е. в первый ряд, затем во второй и т.д. В рядах растворы нагнетаются через один инъектор.
5.88. Давление при нагнетании растворов в грунты устанавливается проектом и корректируется по результатам контрольного закрепления.
При закреплении грунтов под существующими сооружениями оно не должно превосходить нагружающего давления по подошве фундаментов.
5.89. Закрепление песчаных грунтов однорастворными двухкомпонентными способами силикатизации и смолизации рекомендуется производить по технологической схеме организации инъекционных работ, согласно
рис. 66, составленной для случая смолизации.
Химические реагенты по этой схеме хранятся в специально отведенных для этой цели складах. Раствор смолы рабочей концентрации готовится попеременно в одной из двух частей емкости 8. Смола подается со склада насосом, затем готовый раствор смолы самотеком поступает в один из дозаторов, оборудованных водомерными стеклами с тарированной шкалой. В этот же дозатор самотеком поступает кислота из мерной емкости 4 в заданном количестве. Приготовленный гелеобразующий раствор поступает к насосу и закачивается в инъектор.
По мере расходования гелеобразующего раствора из первой половины емкости во второй половине готовится новый объем раствора.
Рис. 69. Переносной распределитель, применяемый
при нагнетании химических растворов в грунты
1 - краны для регулирования расхода; 2 - расходомер;
3 - манометры; 4 - сифоны, заполненные маслом;
5 - подставка; 6 - напорные шланги
Для приготовления рабочего раствора кислоты из цистерны концентрированная кислота самотеком переливается в емкость 2, заглубленную в землю и предварительно наполненную водой в расчетном количестве. Отсюда кислота перекачивается насосом в емкость, установленную на эстакаде. В этой емкости производят окончательную доводку плотности кислоты до заданной величины. Из емкости через систему кранов рабочий раствор кислоты самотеком поступает в дозатор, служащий для подачи заданного объема кислоты в смесь с крепителем.
5.90. Величина расхода при нагнетании закрепляющих растворов или смесей от одного инъектора или действующей части скважины назначается проектом и уточняется при контрольном закреплении. В процессе нагнетания величина расхода жидких реагентов контролируется по расходомерной шкале или счетчику-расходомеру.
5.91. При закреплении грунтов под вновь строящиеся здания для предупреждения выбивания раствора на поверхность над закрепляемым массивом должен быть оставлен защитный слой грунта толщиной не менее 1 м. Вместо защитного слоя из грунта можно устраивать бетонную плиту толщиной 10 - 15 см марки не менее 50. Для бурения скважин или забивки инъекторов в плите оставляются отверстия.
5.92. При нарушении нормального хода процесса нагнетания раствора в грунт нагнетание следует прекратить и возобновить только после устранения причин, вызвавших нарушения.
Нагнетание растворов допускается производить при температуре грунта в зоне закрепления не ниже 0 °C.
5.93. Для обеспечения качественной пропитки грунта при радиусах закрепления 0,7 м и более вязкость растворов силиката может быть снижена добавкой пластификатора или подогрева до температуры 40 - 60 °C.
5.94. При газовой силикатизации порядок нагнетания растворов устанавливается проектом и уточняется в процессе контрольного закрепления в следующей последовательности: углекислый газ, раствор силиката натрия и снова газ.
Количество углекислого газа, кг, при газовой силикатизации для предварительной активизации грунтов и отверждения раствора силиката натрия в общем случае рассчитывается соответственно по формулам:

; (10)

, (11)
где

- объем закрепляемого грунта, м3;
n - пористость грунта в долях единицы;

- плотность углекислого газа, кг/м3;
b - коэффициент, равный 2,5;
c - коэффициент, равный: для песчаных грунтов - 8, для просадочных - 4.
5.95. Для нагнетания углекислого газа в грунт применяются следующее оборудование и контрольно-измерительная аппаратура:
баллоны для газа;
углекислотные редукторы, оборудованные электрообогревательным элементом
(рис. 70);
манометры высокого и низкого давления (цена деления не более 0,01 МПа);
весы для определения расхода газа с пределом взвешивания до 150 кг и с точностью не менее 0,1 кг;
понижающий трансформатор, обеспечивающий на низкой стороне напряжение 12 В;
напорные шланги с внутренним диаметром 12 - 19 мм, рассчитанные на давление до 1 МПа.
Нагнетание углекислого газа в грунт производится плавно в режиме заданного проектом давления, определенного при контрольных работах по закреплению грунтов.
Рис. 70. Схема нагнетания углекислого
газа в грунты при газовой силикатизации
с использованием электрообогревательного элемента
1 - напольные весы; 2 - баллон с углекислым газом;
3 - редуктор; 4 - электрообогревательный элемент;
5 - патрубок; 6 - корпус; 7 - электроизоляционная
набивка; 8 - спираль; 9 - клеммы; 10 - инъектор
5.96. Баллон с углекислым газом, оборудованный редуктором, устанавливается на весах. После взвешивания баллона газ через редуктор подается по шлангу к инъектору или инъектору-тампону. Во избежание промерзания редуктора последний прогревается в процессе работ электронагревательным элементом. По разнице массы баллона до и после нагнетания определяется расход газа.
Давление при нагнетании газа для активизации грунта не должно превышать 0,15 - 0,2 МПа, а при подаче газа для отверждения силикатного раствора находится в пределах 0,4 - 0,5 МПа.
Нарушение режима подачи газа и превышение предельных значений давлений может привести к разрывам грунта, а следовательно, к нарушению однородности закрепления.
Перерыв во времени между нагнетанием силиката и газа не должен превышать 30 мин.
Расстояние между инъекторами или скважинами, через которые одновременно производится нагнетание газа, должно быть не менее 6 радиусов закрепления.
5.97. При инъекционном закреплении грунтов всеми способами сбрасывание давления в нагнетательных системах при окончании нагнетания должно производиться постепенно и медленно. Резкое сбрасывание давления может вызывать пробковое засорение перфорированной части инъекторов, значительно осложняющее производство работ.
После окончания инъекционных работ инъекторы извлекаются из грунта при помощи гидравлических, реечных домкратов или других приспособлений грузоподъемностью 5 - 10 т.
Во избежание выбивания растворов через использованные скважины последние тампонируются грунтом, смешанным с цементом в соотношении 8:1.
В конце смены все оборудование, находящееся в соприкосновении с растворами, промывается горячей водой и продувается сжатым воздухом.
Вспомогательная цементация при силикатизации и смолизации
5.98. Цементация выполняется густыми растворами с В:Ц 1 - 0,8. Для улучшения свойств, а также в целях получения минимального водоотделения в раствор добавляются бентонит в количестве до 10% от массы цемента. Марка цемента не ниже 300.
Рабочий раствор приготавливается в следующей последовательности: вода - бентонит - цемент. Время перемешивания бентонита с водой в зависимости от его качества 20 - 60 мин. Время перемешивания цемента - 5 мин.
Раствор должен отвечать следующим требованиям: плотность 1,48 - 1,52 г/см3, расплыв по конусу АзНИИ 16 - 20, водоотделение не более 2 - 3%.
В течение смены должны отбираться образцы раствора для определения его характеристик, а также кубиковой прочности на 7-е и 28-е сутки.
5.99. Цементация производится через тампоны, разжимаемые в фундаментах.
В тех случаях, когда выполнение этой операции затруднительно: глубокое заложение фундаментов, их незначительная мощность (плита), плохое состояние кладки - допускается установка тампона в обсадной трубе. С этой целью проектом должна быть предусмотрена цементация затрубного пространства обсадной трубы. После выстойки скважина разбуривается вновь.
5.100. Цементация должна производиться до условного отказа, за который принимается установившийся в течение 5 - 10 мин расход 0,5 л/мин при установленном проектом максимальном давлении.
Однако учитывая, что в условиях цементации под существующими сооружениями всегда существует опасность вывода подземных коммуникаций из строя из-за случайных выходов в них растворов, объемы закачиваемого раствора в скважину на практике ограничиваются обычно нормой в 3 - 6 м3. С этой же целью удельный расход снижается до 50 л/мин.
Службы эксплуатации сооружения обязаны следить за возможными выходами цементных растворов в систему подземных коммуникаций и каналов и в случаях выходов своевременно извещать об этом исполнителей цементационных работ.
Рабочее давление уточняется в ходе производства работ и обычно не превышает 0,2 - 0,3 МПа.
5.101. Нагнетание растворов выполняется, как правило, без перерывов.
Остановки в процессе нагнетания допускаются в следующих необходимых случаях:
раствор обходит тампон и изливается из скважины;
раствор изливается из соседних скважин;
при выходе раствора через трещины на поверхность;
при выходе раствора в подземные коммуникации, каналы.
Во всех этих случаях тампон извлекается, скважине дается выстойка в течение 1 сут, после чего цементный камень разбуривается и нагнетание производится повторно.
5.102. После завершения работ на отдельных фрагментах обсадные трубы извлекаются и скважины ликвидируются глиноцементным или цементно-песчаным раствором. Ликвидация скважин производится через опущенную на забой и постепенно поднимаемую трубу.
5.103. После инъекции тампон промывается водой. Непременное условие промывки - слив промывных вод в емкости, из которых они перекачиваются в общую емкость или зумпф на растворном узле, откуда жидкость вывозится автоцистернами в установленное заказчиками место слива. Эти же требования распространяются на промывку всей цементационной системы. Для этого проектом предусматриваются технологические линии перекачки промывных вод.
В ходе работ по данным исполнительной документации назначаются контрольные, а при необходимости и дополнительные рабочие скважины.
Дополнительные, более подробные данные о технологии и производстве работ для вспомогательной цементации содержатся также в
подразделе "Цементация" настоящего Пособия, где говорится о цементации пустот и трещин в грунтах.
КОНТРОЛЬ КАЧЕСТВА РАБОТ ПО СИЛИКАТИЗАЦИИ И СМОЛИЗАЦИИ
5.104. В условиях исключительной скрытости производства работ по химзакреплению грунтов силикатизацией и смолизацией и естественной неоднородности грунтовой среды существуют определенные, нередко значительные, трудности в обеспечении необходимого качества закрепления. Учитывая это, действующие нормы и правила предъявляют повышенные требования к контролю качества работ по закреплению грунтов.
5.105. Качество работ по силикатизации и смолизации грунтов, отвечающее соответствующим требованиям нормативных документов и проекта к их закреплению в части форм и размеров закрепленных массивов, их сплошности и однородности, прочностных, деформационных и других физико-механических свойств закрепленных грунтов, определяется:
правильностью выбора конкретного способа закрепления;
соответствием требованиям проекта качества исходных химических и других применяемых материалов и рабочих (переработанных) закрепляющих реагентов (растворов, гелеобразующих смесей, газов);
правильностью заложенных в проект расчетных параметров и технических условий на производство работ;
наконец, качеством исполнения проектных расчетных параметров и технических условий при производстве работ.
5.106. Для обеспечения необходимого качества закрепления грунтов производство работ должно сопровождаться комплексом соответствующих контрольных мероприятий с обязательным ведением исполнительной документации по этим мероприятиям.
| | ИС МЕГАНОРМ: примечание. Взамен СНиП 3.02.01-83 Постановлением Госстроя СССР от 04.12.1987 N 280 с 1 июля 1988 года введены в действие СНиП 3.02.01-87. | |
5.107. Согласно СНиП 3.02.01-83 контроль качества закрепления грунтов способами силикатизации и смолизации достаточно надежно обеспечивается выполнением следующих контрольных мероприятий:
проверкой качества исходных химических материалов;
операционной проверкой качества рабочих закрепляющих реагентов при производстве работ;
опытной проверкой заложенных в проект расчетных параметров закрепления и технических условий на производство работ;
контролем исполнения при производстве работ заложенных в проект расчетных параметров закрепления и заданных им технических условий;
проверкой соответствия требованиям проекта характеристик физико-механических свойств закрепленных грунтов, а также однородности закрепления;
проверкой проектных форм и размеров закрепленных массивов, а также сплошности закрепления;
наконец, при усилении или устройстве оснований и фундаментов зданий и сооружений из закрепленных грунтов, инструментальными геодезическими наблюдениями за осадками фундаментов.
5.108. Мероприятия по контролю качества работ по закреплению грунтов должны быть заложены в проект.
5.109. Для проверки требований ГОСТов и проекта к качеству применяемых при силикатизации и смолизации грунтов исходных и рабочих реагентов (растворов гелеобразующих смесей, газов) на месте работ должны быть организованы систематические лабораторные определения соответствующих характеристик материалов.
5.110. Проверка качества исходных материалов осуществляется до начала инъекционных работ лабораторными определениями следующих характеристик:
для раствора силиката - плотности и модуля;
для карбамидных смол - плотности, вязкости и содержания свободного формальдегида.
Предназначенные к применению указанные и другие химреагенты и материалы должны, кроме того, удовлетворять требованиям соответствующих ГОСТов.
Лабораторные определения характеристик исходных химических материалов выполняются согласно
Прил. 15 (модуль силиката), а в остальных случаях по соответствующим ГОСТам.
Проверка качества исходных материалов должна производиться для каждой новой поступающей на стройплощадку партии материала.
5.111. Операционная проверка качества рабочих закрепляющих реагентов осуществляется путем измерений и определений соответствующих характеристик непосредственно в процессе инъекционных работ, перед их нагнетанием в грунты:
плотности и температуры растворов силиката и хлористого кальция при двухрастворной силикатизации песков и одного силиката при однорастворной однокомпонентной силикатизации просадочных лёссовых грунтов;
времени гелеобразования закрепляющих смесей при однорастворной двухкомпонентной силикатизации и смолизации.
Время гелеобразования контролируется непрерывно в процессе инъекционных работ отбором проб из каждой приготовленной для закачки порции закрепляющей смеси на заходку.
5.112. Проверка правильности заложенных в проект расчетных параметров закрепления и технических условий на производство работ при силикатизации и смолизации грунтов (радиуса, величины заходки по глубине, единичного объема химреагента на одну заходку, величины расхода и давления при нагнетании, данных для предварительной активизации грунтов, прочностных, деформационных и других характеристик закрепленных грунтов) осуществляется посредством контрольного закрепления непосредственно при производстве работ, на их начальной стадии и по ходу дальнейших работ.
5.113. Контрольное закрепление грунтов осуществляют на ограниченных участках объекта, строго соблюдая при этом все проектные параметры и технические условия, при тщательном выполнении мероприятий по контролю качества исходных материалов и рабочих закрепляющих химреагентов. После завершения на каждом контрольном участке инъекционных работ производят вскрытие закрепленных массивов контрольными шурфами и скважинами, с последующим обследованием, отбором проб и лабораторными определениями физико-механических характеристик закрепленных грунтов.
При выявлении несоответствия результатов контрольного закрепления с проектными требованиями в расчетные параметры и технические условия авторским надзором вносятся необходимые коррективы, после чего контрольные закрепления повторяются до устранения несоответствия.
Объем работ по контрольному закреплению устанавливается проектом в зависимости от объема закрепления, однородности грунтовых и других инженерно-геологических условий.
5.114. Для контроля за исполнением проектных расчетных параметров и технических условий производство работ по химзакреплению грунтов должно сопровождаться обязательной фиксацией указанных в
п. 5.111,
5.112 и других технологических данных в рабочем журнале и исполнительной документации. Рекомендуемые формы журналов производства работ для всех инъекционных способов химзакрепления грунтов приведены в Прил. 21 (
табл. 1 -
4).
Контроль качества исполнения проекта в этом случае заключается в систематической проверке соответствия зафиксированных в исполнительной документации технологических данных при производстве работ с соответствующими проектными данными, а также в периодической проверке достоверности ведения исполнительной документации, сопоставлении записей с действительностью.
При вскрытии каких-либо отступлений от проекта авторский надзор и производители работ должны оперативно принять необходимые меры к их устранению, а также меры по восстановлению некачественно обработанных участков в закрепляемом грунтовом массиве.
5.115. Контроль заданных проектом форм и размеров закрепленных грунтовых массивов, а также требований в отношении сплошности и однородности закрепления может осуществляться посредством следующих контрольных мероприятий, выполняемых по завершении всех инъекционных работ на объекте:
вскрытием области закрепления контрольными шурфами и скважинами и соответствующим обследованием качества закрепления грунтов;
прощупыванием и фиксацией контуров закрепленных массивов способами статического или динамического зондирования, руководствуясь соответствующими ГОСТами на испытания;
обследованием области закрепления геофизическими методами (радиометрическим, электрометрическим или сейсмоакустическим): описание техники контроля качества закрепления геоэлектрическим методом применительно к силикатизации приведено в
Прил. 22.
Применение для этих целей геофизических методов экономически целесообразно при больших объемах закрепления грунтов в комплексе с бурением и шурфованием.
При обнаружении несоответствий с требованиями проекта в части формы, размеров и сплошности закрепленных массивов, а также качества закрепленных грунтов, авторским надзором назначаются, а производителями работ выполняются дополнительные инъекционные работы, результаты которых проверяются повторно до устранения дефектов.
5.116. Пространственное расположение всех средств контроля качества закрепления в закрепляемом массиве осуществляется исходя из необходимости равномерного охвата области закрепления во всех трех измерениях.
5.117. Основная роль в оценке качества инъекционного химзакрепления грунтов принадлежит вскрытию и обследованию закрепленных массивов шурфами и скважинами с отбором проб и лабораторным определением физико-механических характеристик закрепленных грунтов, поэтому контроль качества закрепления с помощью этих мероприятий обязателен при любом назначении закрепления и при любом способе закрепления.
5.118. Характеристики физико-механических свойств закрепленных грунтов, необходимые для оценки и контроля качества закрепления выбираются в зависимости от назначения закрепления и применяемого способа.
При устройстве основания или фундаментов из закрепленных грунтов, независимо от применяемого способа, определяют весь комплекс прочностных и деформационных характеристик закрепленных грунтов, предусмотренный для расчета по предельным состояниям, а также водоустойчивость.
В отдельных случаях может быть назначено и другое сочетание характеристик, однако испытание закрепленных грунтов на прочность при одноосном сжатии и на водостойкость во всех случаях является обязательным.
Определение прочности при одноосном сжатии, одной из важнейших характеристик закрепленных грунтов, выполняется согласно
Прил. 17; другие характеристики закрепленных грунтов определяют согласно действующим нормам и пособиям (руководствам) на изыскания и проектирование оснований и фундаментов сооружений и соответствующим ГОСТам.
5.119. Количество и расположение контрольных скважин и шурфов, мест геофизических исследований или мест зондирования, количество и качество отбираемых при бурении или шурфовании проб закрепленных грунтов, состав определяемых в лаборатории физико-механических характеристик закрепленных грунтов, а также другие необходимые дополнительные рекомендации по контролю качества закрепления грунтов назначаются проектом. При необходимости места расположения контрольных выработок могут устанавливаться также представителями авторского надзора непосредственно на месте работ.
Количество контрольных скважин ориентировочно должно составлять 3 - 5% общего количества инъекционных скважин, а число шурфов назначается примерно из расчета один шурф на 2 - 3 тыс. м3 закрепленного грунта, но не менее двух шурфов на объект.
5.120. К вскрытию контрольных шурфов и бурению контрольных скважин следует приступить не менее чем через семь суток после окончания инъекционных работ.
Проходка шурфов должна производиться с обязательным креплением стенок, руководствуясь действующими нормами и пособием на изыскательские работы в строительстве.
При проходке шурфов производится отбор проб закрепленных грунтов и делается описание характера и особенностей закрепления с зарисовками и с визуальной оценкой качества закрепления.
5.121. Контрольное бурение осуществляется колонковыми способами, диаметр скважин должен быть не менее 84 мм. При бурении делается описание извлекаемых кернов из закрепленных грунтов с визуальной оценкой качества закрепления; образцы (керны) закрепленных грунтов для лабораторных исследований отбираются приблизительно через каждые 0,8 - 1 м по глубине.
5.122. При отборе, упаковке и хранении образцов закрепленных грунтов из шурфов и скважин следует руководствоваться
ГОСТ 12071-84.
5.123. Шурфы после обследования и отбора закрепленных образцов засыпают вынутым грунтом при поливе водой и тщательном трамбовании. Отверстия, оставшиеся после бурения контрольных скважин, ликвидируются тампонированием цементным раствором.
5.124. При закреплении грунтов с целью усиления или устройства оснований и фундаментов сооружений качество закрепления, его результат и эффективность окончательно оцениваются по результатам инструментальных геодезических наблюдений за осадками фундаментов, которые выполняются руководствуясь
ГОСТ 24846-81.
5.125. Приемка законченных работ по закреплению грунтов должна установить соответствие фактически полученных результатов закрепления с требованиями проекта. Учитывая скрытый характер работ, установление этого соответствия при приемке работ осуществляется на основании сопоставления проектной, исполнительной и контрольной документаций.
5.126. При сдаче-приемке законченных работ кроме проекта должна быть предъявлена следующая исполнительная документация:
технические паспорта и документы с результатами проверки качества исходных химических материалов;
документы с результатами проверки качества рабочих реагентов;
журналы погружения инъекторов, бурения скважин и нагнетания реагентов;
планы, профили и сечения закрепленного грунтового массива с указанием действительного расположения инъекторов и инъекционных скважин и с нанесением исполнительных данных нагнетания химреагентов, а также с указанием расположения контрольных выработок;
акты вскрытия контрольных шурфов, журналы контрольного бурения и результаты определения физико-механических характеристик закрепленных грунтов;
журналы наблюдений за скоростью движения и уровнем грунтовых вод по пьезометрам;
ведомости или графики с результатами инструментальных наблюдений за осадками фундаментов сооружений.
Примечание. При условии непрерывного наблюдения за производством работ со стороны авторского надзора, состав предъявляемых при приемке работ материалов может быть ограничен рабочими журналами и актами освидетельствования скрытых работ согласно документации контрольных мероприятий.
На основании анализа содержащихся в перечисленных документах данных и результатов и сопоставления их с требованиями проекта составляется акт-заключение о качестве выполненных работ и их приемке.
В случае если при приемке работ будут выявлены те или иные несоответствия с требованиями проекта, проектная организация назначает необходимые дополнительные инъекционные работы. После выполнения дополнительных инъекционных работ при соответствующих мероприятиях по контролю качества производится повторная приемка работ.
ТЕХНИКА БЕЗОПАСНОСТИ И ОХРАНА ОКРУЖАЮЩЕЙ
СРЕДЫ ПРИ СИЛИКАТИЗАЦИИ И СМОЛИЗАЦИИ
5.127. При закреплении грунтов способами силикатизации и смолизации должны неукоснительно соблюдаться общие требования по технике безопасности, охране труда и окружающей среды на строительных и других работах согласно
п. 5.19,
5.20. Особенно строго при этом должны выполняться соответствующие этим способам специальные требования и правила, обусловленные применением химических материалов, в особенности наиболее токсичных химреагентов.
5.128. При организации и производстве работ необходимо строго выполнять мероприятия, исключающие загрязнение почвы, подземных вод и атмосферного воздуха. В частности, должны выполняться изложенные в предыдущем разделе требования: по транспортировке химреагентов, их складированию; приготовлению рабочих растворов; производству инъекционных работ; промывке технологического оборудования; эвакуации технологических отходов.
5.129. До начала производства работ рабочие и инженерно-технический персонал должны пройти курс обучения безопасным методам труда по программе, включающей:
общестроительные работы - 2 ч;
электрические устройства и электросети - 2 ч;
правила устройства, содержание и обслуживание воздушных компрессоров, сосудов и воздуховодов, работающих под давлением, - 4 ч;
техника безопасности в условиях действующих предприятий - 2 ч.
После проверки знаний техники безопасности каждому работнику выдается удостоверение.
5.130. Категорически запрещается допускать рабочих к работе по химическому закреплению грунтов без специального обучения безопасным методам труда, инструктажа на рабочем месте и медицинского освидетельствования.
Знание и соблюдение требований техники безопасности обязательны для всех исполнителей работ.
5.131. Все рабочие, занятые на работах по химическому закреплению грунтов, должны иметь спецодежду (хлопчатобумажные плотные костюмы или комбинезоны, а при работе с кислотами - суконные костюмы), резиновые перчатки и обувь, защитные очки, каски, в случае необходимости респираторы. Запрещается даже кратковременное пребывание без спецодежды и средств индивидуальной защиты в атмосфере, содержащей пыль, туман и пары химических продуктов.
5.132. Подходы и подъезды к складу химматериалов и растворным узлам должны быть свободными от материалов и оборудования. В зимнее время проходы и проезды должны быть своевременно очищены от снега и льда и посыпаны песком или шлаком.
В местах интенсивного движения автотранспорта участок, где ведутся инъекционные работы, должен быть огражден и оборудован предупредительными табличками и световыми сигналами.
При работах в темное время суток растворный и инъекционные узлы, подходы, участок работы и трасса напорных магистралей обеспечиваются освещением.
5.133. Хранение химических реагентов и других материалов должно осуществляться в специально отведенных местах. Резервуары для хранения химических реагентов должны быть снабжены надежными крышками с запорами.
5.134. Организация рабочего места должна обеспечивать безопасность выполнения работ. Доступ посторонних лиц к месту работ категорически запрещается, о чем должны предупреждать таблички с соответствующей надписью.
Рабочее место должно быть обеспечено индивидуальными средствами защиты, а также полевой аптечкой для оказания первой помощи, с бинтами, растворами аммиака, йода, соды и борной кислоты. Аптечку следует установить в непосредственной близости от рабочего места.
В помещениях должны быть вывешены основные правила безопасности эксплуатации механизмов, содержащие сведения о предельно допустимых давлениях, системе сигнализации, о работе с химическими материалами.
Перед началом работ по химзакреплению грунтов в закрытых помещениях необходимо проверить состав воздуха, состояние вентиляционных устройств и освещение рабочего места.
5.135. Производство работ в стесненных закрытых помещениях должно производиться с применением принудительной вентиляции. Расчет вентиляции производится по нормам для горных выработок. Содержание углекислого газа в воздухе не должно превышать на рабочих местах 0,5%. Для определения содержания углекислого газа при работе в закрытых помещениях рекомендуется использовать предохранительную (шахтную) лампу. Нормальное горение бензиновой лампы, поставленной в нижней части помещения, указывает на отсутствие опасной для людей концентрации углекислого газа.
5.136. Содержание свободного формальдегида в воздухе на рабочих местах при смолизации грунтов не должно превышать 0,5 мг/м3. Для контроля состояния воздуха на растворных и инъекционных узлах, а также в помещениях, где производятся работы, следует привлекать районные эпидемические станции.
5.137. Помещение растворного узла обеспечивается вытяжной вентиляцией, отапливается, имеет внутренние вводы канализации и воды, естественное освещение.
Растворный и инъекционные узлы должны иметь хорошую звуковую или телефонную связь с рабочими местами, для хранения спецодежды в помещении растворного узла оборудуют шкафы, устраиваемые на растворном узле, "приямки" для растворов ограждаются и закрываются щитами.
5.138. Механическое оборудование и емкости устанавливаются на прочных фундаментах.
При монтаже электросилового оборудования необходимо, чтобы электрические рубильники были закрыты кожухами и запирались. Кожухи рубильников и все электромеханизмы должны быть надежно заземлены. Прокладка электропитающих линий по земле не допускается. Все работы, связанные с подключением и ремонтом электромеханизмов, должны выполняться ответственным лицом, имеющим индивидуальные средства защиты.
5.139. Электродвигатели и пусковая аппаратура на растворном и инъекционных узлах должны быть наделено защищены от попадания на них растворов. Пусковые кнопки необходимо располагать на отдельном щите в непосредственной близости от мастера и иметь надписи с указанием включаемого механизма. Кнопки отключения электродвигателей имеют красный цвет и надпись "Стоп".
5.140. Рабочие емкости для приготовления закрепляющих растворов и смесей должны герметически закрываться.
Применение нагнетательных шлангов разрешается только после их испытания при давлении, в 1,5 раза превышающем рабочее. Испытание оформляется актом и отмечается в паспорте.
Перед погружением инъектора в грунт или опусканием инъектора-тампона в скважину необходимо убедиться в их исправности. Нахождение рабочих непосредственно вблизи скважин во время нагнетания раствора не допускается.
5.141. Воздушные компрессоры должны быть оборудованы манометрами, предохранительными клапанами, маслоотделителями и воздушными фильтрами на всасывающем патрубке.
Воздухосборники и сосуды, работающие под давлением, должны быть зарегистрированы в соответствующих республиканских и ведомственных органах котлонадзора. На каждом сосуде после его регистрации должны быть нанесены краской на видном месте или на специальной табличке следующие данные:
регистрационный номер;
допускаемое давление;
дата (месяц, год) следующего технического осмотра и гидравлического испытания.
Разрешение на пуск в работу сосудов, подлежащих регистрации в органах котлонадзора, выдается инспектором Госгортехнадзора после их технического освидетельствования.
Сосуды должны устанавливаться так, чтобы был обеспечен свободный доступ к ним для осмотра, очистки и ремонта. Установка сосудов должна исключать их опрокидывание.
Обслуживание сосудов и баллонов с газом может быть поручено лицам, достигшим 18-летнего возраста, прошедшим производственное обучение, аттестацию в квалификационной комиссии и инструктаж по безопасным методам труда.
5.142. Баллоны с углекислым газом должны быть снабжены стальными колпаками, исправным редукционным вентилем с предохранительным клапаном и заглушкой, навернутой на боковой штуцер вентиля. Они должны иметь в верхней сферической части клеймо с указанием марки завода-изготовителя, номера, года изготовления, массы баллона, рабочего и пробного давления в МПа, штамп ОТК, штамп инспектора о сроке следующего испытания.
5.143. Перевозка порошкообразных химреагентов должна быть обеспечена упаковкой, исключающей их потери во время транспортировки.
Жидкие химреагенты, поставляемые в железных бочках и в стеклянной таре, перевозятся в заводской упаковке. Другие жидкие химреагенты должны перевозиться в автоцистернах или в специально подготовленных герметически закрываемых емкостях.
Баллоны с углекислым газом транспортируются в вертикальном положении. При этом платформа, на которой устанавливаются баллоны, должна иметь устройства, предохраняющие их от падения.
5.144. Помещение склада должно отапливаться, иметь внутренние вводы водопровода и канализации, вытяжную принудительную вентиляцию, а также естественное и электрическое освещение.
Полы складских помещений должны иметь ровную гладкую и легко моющуюся поверхность, а также уклон для стока и отвода промывной воды.
Склад обеспечивается средствами индивидуальной защиты работающих, аптечкой для первой помощи и телефонной связью. Работники склада обеспечиваются спецодеждой в соответствии с установленными нормами.
5.145. Баллоны с углекислым газом надлежит хранить в помещениях с температурой не выше 25 °C в вертикальном положении. При временном хранении на открытом воздухе они должны быть закрыты от непосредственного воздействия солнечных лучей.
Места хранения баллонов оборудуются ограждением, предохраняющим их от падения. Порожние баллоны должны храниться отдельно от баллонов, заполненных газом. Вентили баллонов должны быть закрыты предохранительными клапанами. Приемка, хранение и отпуск баллонов для использования без предохранительных клапанов запрещается.
Баллоны с углекислым газом запрещается держать вблизи паровых труб, радиаторов отопления, электропроводов и нагревательных приборов. Расстояние от таких источников тепла должно быть не менее одного метра, а от сильных источников - 5 м.
Для перемещения баллонов на стройплощадке следует применять ручные тачки.
5.146. Особого внимания требует хранение сильнодействующих ядовитых веществ (СДЯВ), к которым, в частности, относятся серная и соляная кислоты. Эти вещества должны храниться в отдельном складе с двумя входами, обеспечивающими сквозное проветривание.
Хранение таких материалов под открытым небом, навесом, в сырых помещениях и подвалах запрещается.
Помещение для хранения и разлива СДЯВ должно быть обеспечено кроме постоянно действующей вентиляции и естественного притока воздуха еще и аварийной принудительной вентиляцией.
Отпуск и хранение СДЯВ производится в заводской таре. Для транспортировки этих материалов на стройплощадке используются ручные тачки.
Трубопроводы, предназначенные для жидких СДЯВ, изготавливаются из стальных цельнотянутых труб, соединяемых сваркой, с минимальным количеством фланцев.
Помещение склада для хранения СДЯВ должно быть обеспечено средствами пожаротушения в соответствии с установленными нормами.
5.147. При бурении скважин, проходке шурфов и отборе монолитов из зон закрепления необходимо выполнять требования техники безопасности на инженерно-геологических работах.
5.148. В процессе приготовления и нагнетания закрепляющих растворов нельзя допускать проливания их на землю. В случае утечек смоченный химическим раствором участок следует присыпать слоем грунта толщиной 5 - 10 см, рабочее место должно быть сухим и чистым. Во время перемешивания растворов при их приготовлении входное отверстие емкости необходимо закрыть.
5.149. При нагнетании химреагентов в грунты необходимо ежедневно в начале смены тарировать манометры на насосах и в случае неисправности их заменять. Запрещается ремонтировать насосы под давлением, а также затягивать сальники и фланцевые соединения.
Отсоединение шлангов от инъектора разрешается производить только после сброса давления в системе. Перегибать шланги под давлением категорически запрещается. Для их соединения необходимо применять только хомуты на болтах, использование стяжек из проволоки категорически запрещается.
5.150. Для подачи углекислого газа при газовой силикатизации вентиль баллона необходимо открывать плавным движением, не допуская ударов. Если вентиль не проворачивается рукой, для его открытия следует пользоваться специальным ключом. Если вентиль не открывается с помощью ключа, то такие баллоны подлежат возврату на базу с надписью "Полный, вентиль не работает".
Категорически запрещается самостоятельно исправлять вентиль баллона и резьбовые соединения, а также ремонтировать газопроводы и арматуру под давлением.
5.151. При нагнетании закрепляющих растворов с использованием пневмоустановок запрещается производить ремонт и устранять неисправности соединений отдельных элементов сосуда, находящегося под давлением.
Запрещаются работы с пневматическими установками при следующих обстоятельствах:
если давление в сосуде поднимается выше допустимого;
при неисправности предохранительного клапана;
при обнаружении в основных элементах сосуда трещин, выпучин, утоньшения стенок, разрыва прокладок, пропуска или потения в сварных швах, течи в заклепочных и болтовых соединениях;
при возникновении пожара, непосредственно угрожающего сосуду, находящемуся под давлением;
при неисправности манометра и невозможности измерения давления другим прибором.
5.152. При производстве работ в действующих цехах промышленных предприятий необходимо:
всем лицам, занятым на работах по закреплению грунтов, пройти дополнительный инструктаж в кабинете по технике безопасности этого предприятия;
иметь наряд-допуск на производство буровых и инъекционных работ на конкретном участке предприятия;
перед бурением скважин и забивкой инъекторов тщательно уточнить и учитывать расположение подземных коммуникаций и каналов.
5.153. Промывочные воды и технические отходы должны перекачиваться в специальные емкости, размещенные вне рабочей зоны. Емкости с отходами вывозятся и разгружаются в установленном месте.
5.154. В случае попадания химических растворов на слизистую оболочку глаз необходимо немедленно промыть их чистой водой, 2%-ным раствором борной кислоты, после чего обязательно обратиться к врачу.
5.155. Цементация грунтов, как способ производства строительных работ, представляет собой заполнение пустот и трещин в грунтах цементным или цементно-глинистым раствором, превращающимся со временем в твердый цементный или цементно-глинистый камень. Инъекционные растворы вводятся в пустоты грунта через пробуренные скважины.
5.156. В результате заполнения пустот повышается несущая способность основания, предотвращающая возможные обрушения кровли пустот и недопустимые осадки сооружения, вызванные обрушениями. В основаниях, где пустоты имеют карстовое происхождение, их заполнение вызывает ослабление интенсивности карстовых процессов, если эти процессы имеют место в современный период.
5.157. Применение цементации возможно и целесообразно в скальных и полускальных основаниях сооружений при наличии пустот большого размера, обрушение кровли которых ведет к значительным деформациям грунта и заполнение которых требует больших количеств инъекционных материалов.
Как правило, крупные пустоты в скальных и полускальных основаниях сооружений встречаются:
в закарстованных грунтах, где образование пустот вызвано растворением карбонатных горных пород (известняков, доломитов), гипса, каменной соли;
в пузырчатых лавах молодого возраста.
Размер пустот, подлежащих заполнительной цементации, определяется проектом.
5.158. Применение цементации возможно для повышения несущей способности крупнообломочных и крупнопористых нескальных грунтов. Ввиду недостаточного опыта цементации этих грунтов производство работ в этих грунтах допускается только на основе положительных результатов опытных работ, выполненных в натурных условиях.
5.159. Крупные пустоты, подлежащие цементации, встречаются также в нескальных грунтах оснований под подошвой фундаментов сооружений и в самих фундаментах, рекомендации по производству вспомогательной цементации в этих случаях рассмотрены в
п. 5.98 -
5.103 настоящего пособия.
5.160. Цементация неприменима в водоносных грунтах, в которых действительная скорость движения воды в пустотах превышает 2400 м/сут.
В этих случаях требуется предварительное проведение мероприятий по снижению скорости движения грунтовых вод устройством временных преград, откачкой или отводом водного потока.
5.161. Производство цементационных работ выполняется по проекту, в котором кроме общих требований, изложенных в
п. 5.34, должны быть указаны следующие специальные данные и рекомендации для цементации грунтов:
ожидаемый объем пустот, подлежащих заполнению, с вероятными допусками (ввиду невозможности точного определения объема пустот в проекте);
способ проходки скважин и тип бурового инструмента при бурении в зоне цементации и в нецементируемых грунтах, залегающих над зоной цементации;
длина цементируемых интервалов скважин, последовательность обработки скважин;
конструкция верхней части скважин;
места добычи, способы разработки и транспортировки местных инъекционных материалов, потребность в количестве материалов;
способы нагнетания растворов, порядок изменения состава растворов.
5.162. Для цементации следует применять следующие инъекционные растворы: цементный (Ц); цементно-песчано-глинистый (ЦПГ); цементно-песчаный (ЦП); цементно-глинистый (ЦГ).
5.163. Цементные растворы с водоцементным отношением (В:Ц) от 1 до 0,4 следует применять в случаях:
заполнения пустот, содержащих несвязный заполнитель в текучем состоянии, разрываемый и уплотняемый при внедрении цементного раствора;
завершающего уплотнения пустот после введения в грунт инъекционного раствора на глинистой основе, обладающего повышенной усадкой;
вспомогательного закрепления трещиноватых скальных пород, окружающих пустоты.
Цементные растворы следует использовать также для вспомогательной цементации основания фундаментов, рассмотренной в
п. 5.98 -
5.103 настоящего Пособия.
5.164. Во всех случаях, не указанных в
п. 5.161, для цементации следует применять экономичные трехкомпонентные цементно-песчано-глинистые или двухкомпонентные цементно-песчаные или цементно-глинистые растворы.
Применение трехкомпонентных растворов предпочтительнее вследствие того, что:
цементно-песчаные растворы, обладая повышенной расслаиваемостью, могут образовывать неравномерное заполнение пустот;
цементно-глинистые растворы, обладая повышенной усадочностью, могут вызвать со временем образование остаточных полостей.
5.165. Выбор оптимального типа и состава инъекционного раствора для цементации следует предварительно производить по физико-механическим характеристикам используемых материалов с обязательным подтверждением этого выбора лабораторными исследованиями свойств раствора, обеспечивающих заданные требования к результатам цементации при минимальной стоимости раствора.
5.166. Для приготовления инъекционных растворов, как правило, должен применяться обыкновенный портландцемент, обеспечивающий наибольшую плотность цементного камня. Допускается также применение сульфатостойкого и тампонажного цементов.
Допустимость применения других видов цемента: шлакопортландцемента, пуццоланового портландцемента и глиноземистого цемента должна быть подтверждена исследованиями характера твердения и плотности цементного камня, приготовленного на указанных цементах в условиях цементируемой среды.
5.167. Цемент, используемый для инъекционных растворов, должен удовлетворять требованиям соответствующих ГОСТов.
Соответствие цемента требованиям ГОСТа должно определяться для каждой партии цемента, поступающей на строительную площадку, независимо от заводских паспортных данных.
5.168. В качестве глинистых материалов для составления инъекционных растворов могут использоваться различные виды глинистых материалов: тяжелые и легкие глины, тяжелые и легкие суглинки, тяжелые супеси, не содержащие в своем составе зерен крупнее 2 мм.
Оптимальными для инъекции следует считать глинистые материалы, представляющие легкие пылеватые глины и пылеватые суглинки, удовлетворяющие следующим требованиям:
преобладающей фракцией являются частицы размером 0,05 - 0,005 мм;
содержание частиц размером менее 0,005 мм не более 20%.
5.169. В качестве удешевляющего заменителя части цемента и глины в инъекционном растворе следует использовать золу-унос, являющуюся отходом тепловых электростанций при сухом золоудалении. Размер добавки золы-уноса в растворе определяется на основе лабораторных исследований.
5.170. При отсутствии специальных указаний в проекте крупность песка, используемого для инъекционных растворов, не должна превышать 2 мм.
При заполнении отдельных особо крупных пустот допускается применение в цементно-песчано-глинистых растворах крупнозернистого песка и гравия при условии обеспечения требуемого водоотделения инъекционного раствора.
5.171. Цементно-песчаные, цементно-глинистые и цементно-песчано-глинистые инъекционные растворы должны обладать следующими характеристиками:
подвижность раствора по конусу АзНИИ 10 - 18 мм;
водоотделение в течение двух часов - 0 - 4%;
прочность на сжатие после твердения в водной среде в течение 28 сут 0,5 - 2 МПа (5 - 20 кгс/см2).
5.172. По имеющемуся опыту экономичные цементно-песчано-глинистые инъекционные растворы содержат в 1 м3: цемента 100 - 250 кг, песка 900 - 1500 кг, глинистого материала 300 - 400 кг, воды 400 - 700 л.
Плотность растворов, как правило, находится в пределах 1,6 - 1,85 кг/л.
5.173. В тех случаях, когда из-за особых свойств местных глинистых материалов и песка подбор инъекционного раствора с оптимальными параметрами затруднителен, следует вводить в растворы химические и поверхностно-активные добавки, влияющие на свойства глинистых материалов и цемента в растворах.
В зависимости от свойств основных материалов в качестве добавок рекомендуется применять: соду каустическую, соду кальцинированную, тринатрийфосфат, гексаметафосфат натрия, силикат натрия, бентонит.
5.174. Для цементации грунтов следует использовать буровое, растворосмесительное и насосное оборудование, перечисленное в Прил. 20 (
табл. 1 -
5).
5.175. Инъекционные скважины должны размещаться согласно проекту, предусматривающему, как правило, расположение скважин по углам квадратной или ромбической сетки, перекрывающей площадь основания сооружения, содержащего пустоты.
5.176. Намеченные проектом инъекционные скважины следует бурить и инъецировать в порядке, определяемом способом последовательного сближения скважин - очередями.
Площадь основания, соответствующая одной скважине I очереди следует назначать в пределах 36 - 144 м2; с каждой новой очередью скважин площадь, приходящуюся на одну скважину, следует сократить в 2 раза. При цементации скважин, расположенных в один ряд, расстояние между скважинами I очереди обычно выбирается в пределах 6 - 12 м; при каждой новой очереди расстояние между скважинами сокращается в 2 раза.
5.177. Способ бурения скважин следует выбирать в зависимости от категории грунтов по буримости, глубины скважин, наклона скважин, характера трещиноватости грунтов и их устойчивости в стенках скважины; выбор способа бурения должен быть подтвержден технико-экономическим расчетом или опытом бурения в аналогичных грунтах.
5.178. В тех случаях, когда толща цементируемых скальных или полускальных грунтов покрыта толщей нескальных грунтов, бурение скважин в нескальных грунтах следует, как правило, производить с обсадкой скважины трубами.
5.179. Бурение скважины и ее инъецирование следует производить одной зоной в пределах мощности цементируемых грунтов, установленной проектом, за исключением случаев, указанных ниже.
Разделение скважин на зоны и поочередное нагнетание раствора в каждую из зон (зональную цементацию) следует производить:
при наличии нескольких горизонтов распространения пустот в грунтах;
при наличии разного характера пустот (по размерам, форме, составу заполнителя) на различных уровнях толщи цементируемых грунтов;
при наличии мелких пустот, рассеянных в грунте;
при цементации трещиноватых скальных пород, окружающих пустоты.
5.180. После бурения скважина в пределах цементируемой части скальных или полускальных пород должна быть очищена от шлама и завалов и промыта вплоть до появления осветленной воды у устья скважины.
В случае поглощения промывочной воды нагнетание воды в скважину производится в течение 10 мин при полной подаче насоса (100 - 300 л/мин).
5.181. Для подачи раствора пробуренные скважины должны оборудоваться:
обсадной трубой, если цементируемые скальные грунты покрыты толщей несвязных грунтов;
кондуктором, заделанным в скальный грунт, если покровные отложения отсутствуют.
5.182. Подача раствора в полости большого размера без давления (у устья скважины) производится через внутреннюю нагнетательную трубу (или буровой став), опущенную через обсадные трубы или кондуктор до забоя скважины.
Подача раствора под давлением в грунт, содержащий или сохранивший (после заполнения крупных пустот) мелкие пустоты, производится через нагнетательную трубу после закрытия устья скважины или установки тампона в обсадной трубе или кондукторе.
5.183. Начатое нагнетание инъекционного раствора в пустоты грунта должно продолжаться непрерывно (за исключением профилактических перерывов) до заполнения цементируемых пустот раствором и появления "отказа" в поглощении раствора.
За отказ следует принимать снижение расхода инъекционного раствора до 5 - 10 л/мин при избыточном давлении раствора у устья скважины, назначаемом проектом.
Как правило, избыточное давление у устья скважины при отказе принимается в размере 0,1 - 0,5 МПа (1 - 5 кгс/см2).
Профилактические перерывы для проверки и промывки оборудования следует назначать через каждые 4 - 8 ч нагнетания раствора.
5.184. Если нагнетание раствора производилось без избыточного давления (у устья скважины), в случае появления давления следует произвести кратковременную промывку инъекционной системы водой, с целью предотвращения получения "ложного отказа" (закупорки системы), после чего нагнетание раствора возобновляется.
5.185. В случае длительного нагнетания раствора без избыточного давления (у устья скважины), наблюдаемого при обработке скважин, расположенных по внешнему контуру области грунта, содержащей цементируемые пустоты, допускается прекращать нагнетание раствора до наступления отказа после введения 10 - 20 м3 раствора.
5.186. После достижения отказа путем промывки системы и повторного нагнетания раствора следует убедиться в том, что отказ не является ложным. После этого полость скважины заливается густым цементно-песчаным раствором.
5.187. В период нагнетания раствора должны производиться наблюдения за возможными выходами нагнетаемого раствора на поверхность.
Если заделка выхода раствора снаружи или уменьшение интенсивности подачи раствора являются безуспешными, нагнетание раствора следует прекратить и возобновить его через рядом расположенную или дублирующую скважину.
5.188. Первичная техническая документация при бурении скважин для цементации заключается в ведении бурового журнала, в котором фиксируются по каждой скважине или зоне (при зональной цементации):
номер, место расположения и диаметр (конструкция) скважины;
пройденные грунты по глубинам;
встреченные пустоты по глубинам с указанием их размера (по высоте провала инструмента) и характера заполнителя пустот;
конечная глубина скважины (или глубина низа пробуренной зоны);
другие особенности пробуренных грунтов или подземных вод согласно указаниям проекта.
5.189. Первичная техническая документация при проведении нагнетания раствора состоит из журнала инъекции, в котором фиксируются по каждой скважине или зоне (при зональной цементации):
номер скважины, ее глубина и диаметр, глубина низа обсадных труб или кондуктора, глубина установки тампона;
текущие данные, записываемые по мере инъекции;
время измерения, состав нагнетаемого раствора, количество введенного раствора, давление, отклонения от нормального хода инъекции;
общее количество израсходованных материалов.
5.190. По данным первичной документации работ должны составляться отчетные документы о проделанной работе, включающие:
технический отчет, составляемый по каждой скважине (или зоне скважины в случае зональной цементации) и включающий основные показатели результатов выполненной инъекции;
исполнительные профили (разрезы) по участку инъекционных работ с указанием результатов инъекции в графическом исполнении.
5.191. Операционный контроль, выполняемый в процессе производства инъекционных работ, должен включать:
входной контроль качества исходных материалов, поступающих для цементации;
контроль свойств приготовленного инъекционного раствора, проводимый не реже двух раз в рабочую смену, если приготовление раствора не автоматизировано;
контроль за соблюдением методов производства буровых и инъекционных работ, предусмотренных проектом и настоящим Пособием.
5.192. Методы контроля результатов выполненных инъекционных работ должны быть установлены проектом в зависимости от природных особенностей цементируемых грунтов и их пустот и назначения цементации, определяемого характером и конструкцией сооружения, в основании которого проводится цементация.
Как правило, контроль результатов работ следует проводить бурением контрольных скважин и оценкой размеров остаточных незаполненных пустот по провалам бурового инструмента. Число контрольных скважин следует назначать в пределах 5 - 10% числа основных цементационных скважин.
5.193. При отсутствии специальных указаний в проекте работы по заполнительной цементации пустот следует признать достаточными, если размер остаточных пустот, по результатам контрольного бурения, не превышает 0,2 м для 95% случаев обнаружения пустот, при этом пустоты, имеющие размеры свыше 0,2 м, должны быть заполнены раствором через контрольные и дополнительно пробуренные скважины.
5.194. При цементации грунтов, обладающих средней и высокой скоростью растворения (гипса, каменной соли) или при наличии в окружении пустот легко размываемых нескальных грунтов, подверженных суффозионно-карстовым процессам, в качестве способа оценки достаточности выполненных цементационных работ следует предусматривать определение удельного водопоглощения грунтов по контрольным скважинам после цементации.
Допускаемая величина удельного водопоглощения устанавливается проектом.
5.195. При приемке законченных инъекционных работ исполнитель работ обязан представить приемочной комиссии:
технический отчет о выполненных работах с приложением первичной (буровых журналов и журналов инъекции) и отчетной (технические отчеты и исполнительные чертежи) документации;
акты обследования грунтов при бурении и испытании контрольных скважин;
заключение проектной организации о достаточности выполненных работ.
БУРОСМЕСИТЕЛЬНОЕ ЗАКРЕПЛЕНИЕ ИЛОВ
5.196. Буросмесительный способ закрепления илов заключается в механическом перемешивании и последующем химическом взаимодействии цемента с илом, в результате чего обеспечивается существенное необратимое улучшение строительных свойств закрепляемого грунта в естественном залегании.
Процесс перемешивания вяжущего с грунтом, являющийся основным элементом технологии, осуществляется вращательным бурением без извлечения ила на поверхность при дозированном нагнетании цементного раствора через буровые трубы к специальному рабочему органу (буросмесителю), обеспечивающему надежное перемешивание ила с непрерывно поступающим в грунт раствором.
С помощью буросмесительной технологии в толще слабого водонасыщенного глинистого грунта (на суше и под водой) изготавливаются цилиндрические илоцементные сваи (опоры) диаметром до 1000 мм и конструкции из них.
5.197. Илоцементные сваи могут располагаться в виде полей, кустов и рядов. При низкой закрепляемости ила и значительных нагрузках допускается касание и сплочение илоцементных свай в стенки, массивы или ячеистые конструкции.
5.198. Буросмесительный способ следует применять для закрепления оснований на суше и под водой, а также для устройства фундаментов заложением илоцементных свай под вновь строящимися зданиями и сооружениями, подкрановыми путями и различного вида дорогами, грузовыми площадками кратковременного и длительного складирования грузов, включая тыловые зоны причалов, контейнерные терминалы и т.п., при проходке подземных выработок, устройстве подпорных и защитных стенок.
5.199. Применение буросмесительного способа недопустимо:
а) при расположении свай в зоне сезонного замораживания-оттаивания или в неоттаявших грунтах;
б) при угле наклона вектора внешних нагрузок относительно оси одиночной сваи более 6°;
в) при динамических нагрузках, не погашаемых распределительным слоем;
г) для устройства комбинированных оснований, включающих другие типы свай, шпунт и т.п.;
д) в почвенно-растительных слоях, торфах или грунтах с содержанием органических примесей более 6%.
| | ИС МЕГАНОРМ: примечание. Взамен ГОСТ 10178-76 Постановлением Госстроя СССР от 10.07.1985 N 116 с 1 января 1987 года введен в действие ГОСТ 10178-85. | |
| | ИС МЕГАНОРМ: примечание. Взамен ГОСТ 22266-76 Постановлением Минстроя РФ от 03.05.1995 N 18-40 с 1 января 1996 года введен в действие ГОСТ 22266-94. | |
5.200. Для буросмесительного закрепления илов следует применять портландцемент, портландцемент с минеральными добавками и шлакопортландцемент (ГОСТ 10178-76 с изм.) марки не ниже 400, а при наличии сульфатной агрессии сульфатостойкий портландцемент, сульфатостойкий портландцемент с минеральными добавками, сульфатостойкий шлакопортландцемент и пуццолановый портландцемент (ГОСТ 22266-76 с изм.) также марки не ниже 400.
5.201. Вид, марка и количество цемента, вводимое в грунт и определяемое как отношение массы цемента к массе ила естественной влажности, устанавливаются в зависимости от конкретных условий (агрессивность среды, требуемая прочность закрепления) путем лабораторных исследований и технико-экономических расчетов, при этом необходимо учитывать назначение сооружения, нагрузки и условия его работы.
В первом приближении может быть рекомендовано для устойчивого закрепления грунта введение от 160 до 250 кг портландцемента марки 400 - 500 на 1 м3 закрепляемого ила, а при сульфатной агрессии - введение сульфатостойкого цемента при повышенной дозировке (200 - 270 кг на 1 м3 закрепляемого грунта).
5.202. Цемент вводится в грунт в виде водного цементного раствора, консистенцию которого определяет водоцементное отношение (В:Ц), представляющее собой отношение массы воды к массе цемента.
Водоцементное отношение раствора вяжущего устанавливается в процессе опытных работ в зависимости от конкретных условий перевозки (если таковая предусматривается проектом организации работ) и закачки в грунт (тип и производительность насоса, сечение и длина раствороводов и т.д.). Закрепляющий раствор по своей консистенции и устойчивости против расслоения должен обеспечивать нормальную работу насоса и раствороводов.
5.203. Наименьшее время начала расслоения или схватывания цементного раствора должно превышать суммарную продолжительность цикла его приготовления и нагнетания в грунт не менее чем на 15%. Как правило, цементные растворы, применяемые при буросмесительном способе закрепления илов, имеют водоцементное отношение, равное 0,5 - 0,6.
5.204. Во избежание засорения технологических линий цементный раствор должен быть освобожден от включений размером более 3 мм.
5.205. Вода для приготовления цементного раствора должна удовлетворять требованиям
ГОСТ 23732-79. Недопустимо, в частности, применение воды с вредными примесями (нефтепродукты, жиры, сахар, масла, растворимые соли) в количествах, отрицательно влияющих на процессы твердения илоцементной смеси.
5.206. Для определения закрепляемости грунтов и проверки их коррозионной стойкости в закрепленном состоянии при бурении скважин производится отбор проб грунта нарушенного сложения с сохранением естественной влажности в пределах напластований, пересекаемых сваями. Пробы грунта отбирают из каждой грунтовой разности, но не реже, чем через 1 м проходки. Масса каждой пробы грунта должна быть достаточной для изготовления необходимого числа образцов илоцемента (как правило, не менее 5 кг). Изготовление лабораторных образцов илоцемента должно производиться, по возможности, сразу же после отбора проб грунта и, во всяком случае, не позднее, чем через 1 мес после отбора при условии сохранения первоначальной естественной влажности грунта.
5.207. Закрепляемость грунта характеризуется прочностью образцов илоцемента (грунтоцемента - для нижней части висячих свай) влажного хранения на сжатие при одноосном раздавливании

в возрасте 28 сут.
Для предварительной оценки закрепляемости грунтов допускается испытывать образцы илоцемента (грунтоцемента) в возрасте 7 и 14 сут. Образцы илоцемента рекомендуется изготавливать цилиндрической формы диаметром не менее 40 мм при отношении высоты к диаметру 1,5. В качестве расчетного значения прочности принимается среднее арифметическое результатов одновременного испытания не менее 5 одинаковых образцов при исключении из рассмотрения наименьшего и наибольшего результатов.
5.208. Коррозионную стойкость илоцемента следует определять в соответствии с положением
Руководства по определению скорости коррозии цементного камня, раствора и бетона в жидких агрессивных средах (М.: Стройиздат, 1975), а также
СНиП II-28-73*.
5.209. Допускается при экспериментальном и технико-экономическом обосновании применение различных модифицирующих добавок, обеспечивающих улучшение характеристик илоцемента (повышение прочности, морозостойкости, коррозионной стойкости и т.д.) и добавок, стабилизирующих или пластифицирующих нагнетаемый в ил раствор цемента.
5.210. Проект производства работ по закреплению основания или устройству фундамента буросмесительным способом должен содержать:
а) перечень состава подготовительных работ, включающий указания по проведению горизонтальной и вертикальной планировки строительной площадки, отсыпке и укатке перекрывающего илы слоя из качественного грунта или укладке инвентарных дорожных покрытий для обеспечения перемещения буросмесительной техники, устройству системы поверхностного водоотвода, разбивке осей свайных рядов и закреплению их на местности;
б) плановое и высотное расположение илоцементных свай (полей, кустов и рядов из свай) или закрепленных ими массивов с указанием размеров, отметок, расчетных схем и нагрузок;
в) инженерно-геологические условия и характеристики грунтов в естественном и закрепленном состоянии;
г) технологические карты, содержащие указания по организации и технологии проведения работ, в том числе рекомендации по проходке перекрывающего илы слоя, по конструктивному решению оголовков и сопряжения нижних концов илоцементных свай с несущим слоем, ведомости потребных материалов, основного и вспомогательного оборудования, календарный график производства работ;
д) чертежи нестандартного оборудования;
е) указания по контролю качества закрепления.
5.211. Изменения в проект устройства основания или фундамента из илоцементных свай может внести проектная организация по согласованию с разработчиками способа и заказчиком.
5.212. В зависимости от конкретных условий строительства буросмесительный способ закрепления илов может осуществляться:
буровой установкой с работающим в непосредственной близости от него подвижным растворонасосным узлом (Прил. 25,
рис. 1);
полностью автономным агрегатом, на транспортной базе которого смонтировано буровое, растворосмесительное и растворонасосное оборудование (Прил. 25,
рис. 2);
буровой установкой, снабжаемой готовым раствором с расположенного вблизи центрального растворного узла (Прил. 25,
рис. 3); для доставки раствора могут применяться автобетоновозы, авторастворовозы и автобетоносмесители, технические характеристики которых приведены в Прил. 23
(табл. 4).
5.213. Независимо от принятого варианта производства работ последний должен удовлетворять условию

, (12)
где

- продолжительность приготовления цементного раствора, ч;

- продолжительность транспортировки раствора (при приготовлении раствора на месте

), ч;

- продолжительность буросмесительного процесса, ч;

- время начала схватывания цемента, ч.
5.214. Буросмесительное закрепление илов ведется по зонам захватками, с применением поточной технологии одним или несколькими комплектами машин. Примерный маршрут передвижения механизмов при производстве работ показан в
Прил. 24.
5.215. Для производства работ по закреплению илов буросмесительным способом применяются станки вращательного бурения (Прил. 23,
табл. 1).
При выборе буровой установки следует пользоваться следующими рекомендациями:
а) привод установки должен обеспечивать (при отсутствии труднопроходимых перекрывающих илы слоев) вращающий момент не менее 2,5 кН x м при изготовлении свай (опор) диаметром до 0,7 м и глубине заложения до 10,0 м; не менее 5,0 кН x м - при диаметре свай до 1,0 м и глубине заложения до 10,0 м и не менее 7,0 кН x м при диаметре свай свыше 1,0 м и глубине заложения более 10,0 м;
б) установка должна обеспечивать регулируемую частоту вращения буросмесителя в пределах 30 - 150 об/мин, при этом предпочтительнее станки с бесступенчатым регулированием частоты вращения в процессе бурения;
в) максимальный принудительный (желательно фиксированный) ход подачи буросмесителя должен соответствовать длине изготавливаемой сваи, что соответствует наиболее оптимальному технологическому варианту, при котором обеспечивается изготовление илоцементной сваи (опоры) непрерывным движением буросмесителя;
г) допустимо применение буровых установок с ходом подачи, меньшим длины сваи, при этом должна обеспечиваться оперативная стыковка-расстыковка буровых труб, достаточная механическая прочность буровых соединений на осевые усилия и вращающие моменты любого знака, а также их герметичность при давлении раствора до 2 МПа;
д) шаг подачи буросмесителя регулируемый (желательно фиксированный) и в целях обеспечения высокого качества перемешивания не должен превышать 20 мм/об;
е) конструкция установки должна обеспечивать возможность применения буросмесителя большого (до 1 м) диаметра, в том числе при холостом вращении над поверхностью земли;
ж) предпочтительнее установки колонкового бурения, система промывки забоя которых используется для нагнетания цементного раствора.
5.216. Для приготовления водоцементного раствора допускается использование любых выпускаемых промышленностью растворосмесителей при условии обеспечения ими однородности закрепляющего раствора (Прил. 23,
табл. 2). Предпочтительнее использовать высокооборотные турбинные растворосмесители (типа РМ-750), обеспечивающие более высокую степень гидратации цементных зерен.
5.217. Для нагнетания в грунт водоцементного раствора могут применяться строительные диафрагменные растворонасосы, буровые (грязевые) плунжерные, развивающие давление не менее 0,5 - 0,7 МПа (Прил. 23,
табл. 3).
Регулировка производительности диафрагменных растворонасосов типа СО-50 осуществляется либо введением в напорную систему перепускного трехходового вентиля, либо регулированием частоты вращения вала привода растворонасоса, например, заменой электрического привода на гидродвигатель. В этой связи более целесообразно использование насосов с регулируемой производительностью (типа НБЗ 120/40).
5.218. Изготовление илоцементных свай (опор) рекомендуется производить буросмесителем конструкции НИИОСП-ЛИВТ с периферийным выпуском цементного раствора в грунт через сверления в лопастях. Такая подача вяжущего обеспечивает его повышенную концентрацию, более высокую прочность и коррозионную стойкость илоцемента в наиболее ответственных периферийных зонах поперечного сечения сваи. Очертание лопастей буросмесителя в поперечном сечении таково, что обеспечивает отказ от левого вращения при выглублении и тем самым более высокое качество перемешивания цементного раствора с грунтом. Схематический чертеж буросмесителя НИИОСП-ЛИВТ приведен на
рис. 71, в. При наличии плотных перекрывающих илы слоев могут быть рекомендованы буросмесители конструкции ВНИИстройдормаш с винтовыми перемешивающими лопатками (рис. 71, а) и поворотными перемешивающими лопатками (рис. 71, б).
Рис. 71. Схемы буросмесителей
а - с винтовыми перемешивающими лопатками и плоским
забурником; б - с поворотными перемешивающими лопатками
и плоским забурником; в - с периферийным выпуском раствора
вяжущего; г - разрез А - А; 1 - корпус; 2 - режущая
лопасть; 3 - нож; 4 - перемешивающая лопатка;
5 - соединительная муфта; 6 - буровая штанга; 7 - плоский
забурник; 8 - радиальный канал; 9 - выходное отверстие;
10 - клапан; 11 - соединительный палец; 12 - заглушка
5.219. В качестве напорного трубопровода для подачи раствора вяжущего от растворонасоса к сальнику-вертлюгу буровой установки рекомендуется применять напорные резиновые шланги (ТУ 38.105557-73,
ГОСТ 6286-73 с изм.) без промежуточных соединений. При невозможности соблюдения этого требования следует применять соединения шлангов, обеспечивающие минимальное гидравлическое сопротивление. Минимальный внутренний диаметр шлангов 38 - 40 мм.
5.220. Производство работ по закреплению илов буросмесительным способом состоит из двух основных операций:
приготовления закрепляющего водоцементного раствора;
собственно закрепления путем нагнетания цементного раствора в грунт и перемешивания его с последним с помощью буросмесителя.
5.221. В зависимости от инженерно-геологических условий, закрепляемости илов, их температуры и глубины закрепления проектом может быть предусмотрен один из трех технологических вариантов: нагнетание цементного раствора при погружении буросмесителя, при его извлечении или в процессе всего технологического цикла перемешивания ила, т.е. как при погружении, так и при извлечении рабочего органа.
5.222. Технологический вариант нагнетания цементного раствора "сверху вниз" рекомендуется:
при производстве работ без промежуточных стыковок бурильных труб;
при относительно небольшой глубине закрепления (до 10 м);
при низкой активности ила (начало схватывания илоцементной массы более двух часов).
5.223. Нагнетание цементного раствора "снизу вверх" рекомендуется:
при значительной глубине закрепления (более 10 м) и большом числе стыковок бурильных труб;
при высокой активности ила (начало схватывания илоцементной массы менее двух часов).
5.224. Нагнетание цементного раствора в процессе всего технологического цикла можно рекомендовать:
при наличии труднопроходимых линз и прослоек грунта;
для уменьшения вероятности засорения грунтом выходных отверстий буросмесителя;
при работе с растворонасосом низкой производительности.
5.225. При пересечении стволом илоцементной сваи грунтов разной закрепляемости прочность закрепления выравнивается увеличением дозировки вяжущего в пределах слоев с меньшей закрепляемостью и перекрытием на соседние слои не менее чем на 0,3 м. Дозировка вяжущего для слоев разной закрепляемости уточняется экспериментальным путем.
5.226. Для более равномерного распределения цемента в грунте рекомендуется дополнительное перемешивание илоцементной массы без нагнетания раствора вяжущего путем погружения-извлечения буросмесителя (с вращением) либо сразу на всю глубину закрепления, либо последовательными захватками.
5.227. Оптимальное соотношение цемента с грунтом, состав закрепляющего раствора, частота вращения и линейная скорость перемещения буросмесителя, технологический вариант нагнетания закрепляющего раствора, производительность растворонасоса, количество дополнительных (перемешивающих) проходок буросмесителя назначаются проектом по результатам опытных работ.
5.228. Расчетная производительность растворонасоса в зависимости от скорости осевого перемещения буросмесителя, диаметра сваи, дозировки вяжущего и водоцементного отношения определяется по номограмме
(Прил. 26), либо рассчитывается по формуле

, (13)
где П - производительность насоса, м3/ч;
d - диаметр сваи, м;
V - скорость осевого перемещения буросмесителя, м/мин;

- дозировка цемента, в тоннах на 1 м3 закрепляемого грунта;
m - водоцементное отношение;

- плотность частиц цемента

.
5.229. Перевод дозировки цемента в процентах от массы грунта естественной влажности (n) к дозировке относительно геометрического объема закрепляемого массива производится по формуле

, (14)
где

- плотность грунта естественной влажности.
5.230. Распределение избытка илоцемента, объем которого ориентировочно составляет 50 - 80% объема нагнетаемого в грунт цементного раствора, в виде капителей-уширений (рис. 72, а), балок (рис. 72, б) или сплошных плит (72, в) производится в соответствии с проектом. Форма оголовка уточняется в зависимости от способа проходки перекрывающего ил слоя, инженерно-геологических условий и т.п.
Рис. 72. Схемы устройства оголовков
илоцементных свай в виде:
а - капителей; б - балок; в - плиты
5.231. При укреплении основания с различными расчетными нагрузками

и
(рис. 73) границы зон закрепляемого основания с большими нагрузками смещаются в пределы зон меньших нагрузок на расстояние, равное длине илоцементной сваи

.
Рис. 73. Относительное расположение границ зон действующих
нагрузок и свайных полей с различной несущей способностью
а - поперечный разрез; б - план;
1 - внешняя граница грузовой площадки;
2 - распределительный слой; 3 - ось внешнего ряда свай;
4 и 5 - границы зон расчетных нагрузок
5.232. Обеспечение качества закрепления илов буросмесительным способом достигается контролем:
соответствия вида и марки цемента предусмотренным в проекте;
точности соблюдения проектного состава закрепляющего раствора;
режима работы растворонасоса;
параметров работы буросмесителя (частоты вращения и скорости линейного перемещения);
качества илоцементной массы и несущей способности свай.
5.233. Для предварительного контроля качества перемешивания вяжущего с илом тотчас после изготовления сваи, но не позднее начала схватывания илоцементной массы, на всю глубину закрепления через каждый метр производят отбор проб илоцементной смеси грунтоносами типа ОВГУ конструкции Гидропроекта.
5.234. Смесь без трамбовки укладывают в формы. Через определенный интервал времени, устанавливаемый опытным путем, образцы извлекают из форм, дальнейший порядок испытания изложен в
п. 5.207.
5.235. Контроль качества материала проводят также путем испытания кернов на одноосное сжатие, выбуренных из тела сваи не ранее, чем через 28 сут после ее изготовления.
| | ИС МЕГАНОРМ: примечание. Взамен ГОСТ 5686-78 Постановлением Минстроя РФ от 23.02.1995 N 18-20 введен в действие с 1 января 1996 года ГОСТ 5686-94. | |
5.236. Испытание илоцементных свай осевой сжимающей нагрузкой производится в соответствии с действующими нормативными документами (ГОСТ 5686-78 с изм. и
СНиП II-17-77).
5.237. Количество и расположение свай, намеченных для испытаний, назначается проектной организацией, но не менее двух на каждые сто свай.
5.238. Контроль качества производства работ обеспечивается также обязательным ведением журнала, в котором указывается:
дата, время начала и окончания работы на скважине;
диаметр буросмесителя и глубина закрепления (длина илоцементной сваи);
расход цемента (кг/м3 на сваю);
водоцементное отношение по массе;
линейная скорость погружения и подъема буросмесителя (м/мин);
частота вращения буросмесителя при погружении и подъеме (об/мин);
кратность перемешивания;
производительность растворонасоса при погружении и подъеме буросмесителя (л/мин);
порядок нагнетания раствора цемента (при погружении или подъеме).
5.239. Для безопасного производства работ по буросмесительному закреплению илов кроме соблюдения правил техники безопасности, изложенных в
пп. 5.19 и
5.20, должны выполняться также некоторые дополнительные требования:
а) запрещается выполнять работы при скорости ветра 10 - 12 м/с (6 баллов);
б) недопустимо удерживать руками во время работы буровой установки напорный шланг от закручивания или раскачивания, который должен фиксироваться специальными креплениями;
в) категорически запрещается брать через горловину растворомешалок пробы закрепляющего раствора; пуск растворонасоса при закрытых задвижках; продавливать растворонасосом пробки, образовавшиеся в напорном шланге;
г) тотчас по окончании работ на данной точке илоцементная свая (опора) в течение двух недель должна быть надежно укрыта для обеспечения прохода машин по участку и безопасности людей.
5.240. Приемка работ по закреплению грунтов буросмесительным способом проводится в соответствии с требованиями, изложенными в
пп. 5.24 -
5.26 Пособия.
В числе материалов, представляемых приемочной комиссии, кроме указанных в
п. 5.26 Пособия должны быть:
результаты испытания кернов, выбуренных из тела свай
(п. 5.235).
5.241. Сущность метода глубинного обжига заключается в целенаправленном воздействии на грунтовый массив теплового потока, параметры которого обеспечивают образование упрочненных оснований, массивов и конструкций с наперед заданными свойствами и сохранение этих свойств во времени на заданный эксплуатационный период.
5.242. Метод глубинного обжига грунтов применяется для ликвидации просадочных и пучинистых свойств грунтовых оснований и массивов, укрепления откосов выемок и насыпей, устройства из упрочненных грунтов фундаментов, подпорных стенок и обделок подземных выработок.
5.243. Глубинный обжиг грунтов производится через загерметизированные или открытые нагревательные скважины. Массивы и конструкции из упрочненных грунтов образуются соответствующим размещением нагревательных скважин и смыканием закрепленных объемов грунта друг с другом.
5.244. Обжиг просадочных грунтов II типа необходимо производить на всю глубину просадочной толщи, а остальных - на глубину, определяемую расчетом на прочность и деформативность.
5.245. Фронт термообработки грунта определяется длиной факела горения топлива.
Если мощность укрепляемой толщи грунта превышает длину факела горения топлива, обжиг грунтов осуществляется по заходкам.
5.246. Метод глубинного обжига следует применять преимущественно в лёссовых и глинистых грунтах с содержанием глинистых частиц не менее 7% и степени влажности не более 0,8. Целесообразность применения метода в иных геотехнических условиях обосновывается анализом экономической эффективности.
5.247. Внешний контур закрепленного грунта ограничивается изотермой минимальной температуры обжига, назначаемой в зависимости от его цели по табл. 39. Продолжительность обжига грунтов при минимальной температуре должна быть не менее двух часов.
Таблица 39
────────────────────────────────────────────────────┬───────────────────────
Цель глубинного обжига грунтов │Минимальная температура
│ обжига, °C
────────────────────────────────────────────────────┼───────────────────────
Укрепление откосов, ликвидация просадочных свойств │ 300 - 400
грунтов │
Борьба с морозным пучением грунтов │ 500 - 600
Устройство термогрунтовых конструкций │ 800 - 900
5.248. Выбору способа глубинного обжига должен предшествовать анализ данных инженерно-геологических изысканий, характеристик строящихся или реконструируемых зданий и сооружений, методов их возведения или реконструкции, условий эксплуатации, с учетом цели обжига грунтов, возможных вариантов применяемого оборудования, вида топлива или источников энергии, контрольно-измерительной аппаратуры, а также опыта работ по термической обработке грунтов в данном регионе.
5.249. Для способов глубинного обжига грунтов с применением газа и электроэнергии в предпроектный период необходимо иметь технические условия на проектирование временных газопроводов и линий электропередач, с согласованием в установленном порядке с соответствующими организациями мест и способов подключения, трассировкой сетей, потребляемой мощности, состава проектов и исполнительной документации.
5.250. При розжиге топливной смеси в скважине материал нагревательного элемента электрозапальника должен обладать высоким омическим сопротивлением и стойкостью в окислительной среде при температуре до 1500 °C. Таким материалом может быть карбидкремниевый стержень. Для электрических нагревателей используются железохромоаммониевые сплавы сопротивления Х23Ю5, Х23Ю5Т, Х30Ю5Т.
5.251. В качестве источников тепла могут использоваться все виды топлива и электроэнергия.
5.252. В проект производства работ (ППР) необходимо включать: расчет технологических параметров; проект временного газопровода; проект на временную линию электросети; технико-экономическое обоснование; технологические карты; график производства работ; методику контроля качества термической обработки грунтов; мероприятия по технике безопасности.
5.253. При производстве работ в действующих цехах или эксплуатируемых зданиях и сооружениях в проекте технологии обжига грунтов должны предусматриваться мероприятия, учитывающие стесненность, увязку работ по обжигу грунтов с технологическим процессом производства и условиями эксплуатации, технику безопасности при работе в закрытых помещениях. Эти мероприятия должны быть согласованы с заказчиком.
5.254. На весь комплекс процессов принятого к производству способа глубинного обжига должны быть разработаны технологические карты или технологические схемы.
5.255. В проекте производства работ указываются основные технологические параметры: длина факела горения топливных смесей, радиус термического закрепления, продолжительность закрепления, расход топливно-энергетических ресурсов.
Длина факела горения принимается при использовании газообразного топлива 10 - 12 м; жидкого - 6 - 8 м. При использовании электроэнергии длина заходки определяется размерами электронагревателя.
5.256. Радиус рабочей зоны обжига

должен быть не менее расчетного из условий прочности и деформативности определяется по формуле

, (15)
где

- радиус нагревательной скважины, м;
H - высота ствола скважины или заходки, м;

- опытный коэффициент средней скорости обжига грунтов, м3/ч, величина которого зависит от температуры на внешнем контуре:
───────────────────────────────┬─────────────┬─────────────┬───────────────
Температура на внешнем контуре │ 400 │ 600 │ 800
термогрунтового массива Т, °C │ │ │
───────────────────────────────┼─────────────┼─────────────┼───────────────
Коэффициент средней скорости │0,066 - 0,208│0,052 - 0,138│0,0215 - 0,0754
обжига a , м3/ч │ │ │
р │ │ │

- продолжительность обжига, вычисляемая из эмпирической зависимости, ч

, (16)
где

- тепловая мощность скважины, которая составляет 10 - 20 МДж/ч на метр глубины скважины;
34461 - эмпирический коэффициент, МДж/м;

- эмпирический коэффициент, м;
W - весовая влажность грунтов, %.
5.257. Для бурения скважин на открытых площадках следует применять буровое оборудование, указанное в Прил. 27
(табл. 1).
5.258. Бурение скважин в труднодоступных местах, стесненных условиях, подвальных и полуподвальных помещениях целесообразно осуществлять с помощью станков, приведенных в Прил. 27
(табл. 2).
5.259. Для подачи воздуха в скважины следует применять воздуходувное оборудование, технические характеристики и экономические показатели которых даны в Прил. 27
(табл. 3).
5.260. Для производства работ по глубинному обжигу грунтов применяются (
рис. 74,
75):
устройства для генерации тепла (форсунки, горелки, электрические нагреватели);
затворы, экраны и отсекатели, обеспечивающие герметизацию и экранирование отдельных участков нагревательных скважин и обработку их по заходкам;
разводящие сети и трубопроводы, емкости для топлива, трансформаторные и другие установки;
контрольно-измерительная аппаратура, включающая комплекты термопар и измерительных приборов, манометры, датчики температуры, сигнальные реле, а также оптические пирометры и устройства для визуального наблюдения за процессами внутри нагревательных скважин.
Рис. 74. Схема термического закрепления грунтов
с применением многоспайной термопары и винтообразного
отсекателя рабочего объема скважины
1 - нагревательная скважина; 2 - отсекатель;
3 - форсунка; 4 - удлинитель форсунки; 5 - факел
горения смесей; 6 - термопары; 7 - запальник
Рис. 75. Схема термического закрепления грунтов
с применением термопары передвижного
действия и отсекателя рабочего объема
скважины с раздвижными ножами
1 - нагревательная скважина; 2 - отсекатель;
3 - форсунка; 4 - удлинитель форсунки;
5 - факел горения смесей; 6 - термопара
5.261. Процесс производства по глубинному обжигу грунтов включает три основных периода: подготовительный, основной, заключительный.
5.262. В подготовительном периоде осуществляется инженерное освоение участка, разбивка и бурение нагревательных и вспомогательных скважин, монтаж оборудования, инженерных сетей и коммуникаций и подключение их к внешним источникам энергии, монтаж затворов, экранов и отсекателей, опробование всей системы, монтаж средств контроля и оповещения.
5.263. Разбивку осей под нагревательные скважины следует производить от основных осей зданий и сооружений. Отклонение не должно превышать +/- 5 см.
5.264. Бурение нагревательных скважин должно производиться по захваткам. При этом бурение скважин на последующих захватках следует выполнять в процессе обжига грунта на предыдущих захватках.
5.265. Для бурения скважин могут применяться буровые установки, указанные в Прил. 27
(табл. 1), или другие установки, обеспечивающие необходимый диаметр скважин. Проходка скважин производится одним или несколькими диаметрами.
5.266. Испытание дебитов скважин должно производиться нагретыми газами с применением принятого к производству способа обжига грунта, оборудования и режима технологической обработки. Управление газопропускной способностью нагревательных скважин осуществляется уплотнением или рыхлением стенок, устройством в них различных полостей, герметизацией слабопроницаемых слоев грунта и его предварительной продувкой, устройством вспомогательных скважин и полостей вокруг нагревательных скважин, применением экранов и отсекателей.
5.267. Перед монтажом оборудования из стволов скважин должны быть удалены остатки грунта, проверено соответствие размеров скважин проектным. Приемка скважин для обжига должна быть отмечена в журнале работ по форме
Прил. 28.
5.268. Последовательность монтажа оборудования, сетей и коммуникаций, затворов, экранов и отсекателей, средств контроля и оповещения должна быть предусмотрена в проекте производства работ или в технологических схемах (Прил. 29,
рис. 1 -
3).
Для герметизации устья скважин применяются винтовые затворы, диаметр которых больше диаметра скважин на 3 - 4 см. Завинчиваются они в грунт буровыми установками.
5.269. В основном периоде термической обработки грунта осуществляется вывод нагревательных скважин на проектный режим и поддержание его до образования обожженного массива требуемых форм и размеров.
5.270. Вывод нагревательных скважин на проектный режим при сжигании топливных смесей после зажигания факела начинается с прогревания дна скважин до температуры воспламенения горючих смесей и последующего увеличения температуры до максимальной, назначаемой проектом из условий исключения спекания грунта. Затем регулируют параметры факела - его длину, температурное поле, расстояние от форсунки или ее удлинителя - изменением давления в скважине, концентрации горючей смеси и скорости ее истечения, положения удлинителя форсунки.
5.271. Величина давления, расход топливно-энергетических ресурсов контролируются по показаниям манометров, установленных на затворе и подающих трубопроводах, расходомеров на газопроводах и уровнемерах, смонтированных на топливных емкостях.
5.272. При достижении заданных форм и размеров обожженного объема грунта обязательно составление акта на скрытые работы в присутствии представителя технического надзора заказчика.
5.273. После обжига первой заходки и составления акта на скрытые работы ствол нагревательной скважины на высоту заходки должен быть затампонирован предусмотренным в проекте материалом.
5.274. При ведении журнала работ на его титульном листе указываются фамилии должностных лиц, ответственных за производство работ, состав бригад и даты получения исполнителями разрешений на допуск к таким работам.
В журнале должны отмечаться все отклонения от проектного режима, время и продолжительность отключения форсунок и горелок, факты прорыва нагретых газов и принятые меры. При работе скважин в проектном режиме запись в журнале работ производится один раз за смену, после ее окончания, старшим оператором. Одновременно в журнале должна быть произведена запись о приеме-сдаче дежурства оператором с соответствующими замечаниями.
5.275. Заключительный период включает демонтаж затворов, экранов и отсекателей, оборудования, аппаратуры и разводящих сетей и трубопроводов, передислоцирование их на другие захватки или объекты, сдачу работ представителю заказчика, заполнение стволов скважин.
5.276. Контроль качества глубинного обжига грунтов должен проводиться на всех этапах работ. Его основная цель - обеспечение проектных форм, размеров и прочности термогрунтовых образований в заданные сроки. Основными задачами контроля являются:
соблюдение предусмотренных проектом технологических параметров обжига: давления и температур газов в скважинах, температур грунта в контрольных точках массива, расхода топливно-энергетических ресурсов;
соблюдение режима обработки грунта: выводы нагревательных скважин на проектный режим, соотношения температур внутри скважины и грунта в ее стенках во времени;
проверка герметичности нагревательных скважин, исключение утечки нагретых газов в атмосферу через трещины вокруг герметизирующих скважин устройств своевременной их заделкой;
корректировка проектных решений при несоответствии реальных геологических условий принятым в части напластования грунтов и их свойств, применяемых для обжига оборудования, устройств и контрольной аппаратуры.
5.277. Все отклонения от проектных должны вноситься в журналы работ и включаться затем в исполнительную документацию.
5.278. Проверка прочности закрепленного грунта должна производиться испытанием образцов, отобранных из обожженного массива в соответствующих его точках, контрольным бурением, а иногда, вскрытием термогрунтовых свай и массивов шурфами.
5.279. Форма и размеры термогрунтовых свай и массивов определяются по показаниям термопар и длительности обжига в режиме минимальной температуры, а также по контрольному бурению в радиальном направлении от нагревательной скважины. Образование закрепленного массива следует считать законченным, если установленные в расчетном контуре термопары зафиксировали достижение расчетной температуры, но не менее 300 °C.
5.280. Испытания штампом должны предусматриваться проектом на термогрунтовых образованиях, размещенных в пределах строящегося объекта, в заданном проектом количестве.
5.281. Выполненные скрытые работы по глубинному обжигу грунтов оформляются актом приемки для передачи работ заказчику с обязательной фиксацией в журнале производства работ.
5.282. Контроль температурного режима внутри нагревательной скважины должен обеспечивать измерение температуры по глубине каждой заходки не менее чем в трех точках с помощью односпайных передвижных или многоспайных комплектов термопар, соединенных с самопишущими приборами.
Для нагревательных скважин глубиной до 8 м допускается применение визуального способа контроля через контрольный глазок с использованием оптических пирометров или без них. При этом температура грунта в стенках скважин должна оцениваться по шкале цветов. Для большинства лёссовых и глинистых грунтов она имеет вид, приведенный в табл. 40.
Таблица 40
──────────────────────┬────────────────────────────────────────────────────
Температура грунта, °C│ Изменение цвета грунта
──────────────────────┼────────────────────────────────────────────────────
550 - 600 │Начало свечения грунта - темно-красный цвет
600 - 900 │От темно-красного до красного
900 - 1000 │От красного до светло-красного
1000 - 1200 │От светло-красного до светло-желтого
5.283. Для скважин, оборудованных комплектами термопар, должна предусматриваться звуковая или световая сигнализация, оповещающая о предельных значениях температур.
5.284. Контроль температурного поля вокруг скважин должен обеспечиваться системой термопар (многоспайных или односпайных передвижных), размещаемых в шпурах на всю глубину обжигаемого массива грунта через 1 - 2 м, но не менее одного спая на каждый разнородный горизонт на расчетной границе каждого массива.
5.285. Для эффективности оперативного контроля число операторов должно назначаться из расчета двух человек на 15 - 30 одновременно обжигаемых скважин.
5.286. Исполнительная документация в составе журналов производства работ и актов на скрытые работы термического закрепления грунтов является основанием для учета и списания топливно-энергетических ресурсов на производство работ.
5.287. Приемка выполненных работ производится проверкой соответствия контуров обожженного грунта, его прочностных и деформационных свойств проектным. Работы по обжигу сдаются представителю технадзора перед заполнением стволов скважин по захваткам с оформлением актов на скрытые работы, а затем и по всему объекту в целом.
5.288. Приемка работ по глубинному обжигу грунтов в целом по объекту должна производиться на основании:
проекта производства работ;
актов на скрытые работы, составленных на каждую скважину и отражающих фактические размеры и форму термогрунтовых образований и данные о материалах, использованных для заполнения стволов;
актов геодезической разбивки осей фундаментов, подпорных стен из обожженного грунта;
исполнительных схем устройства термогрунтовых массивов;
журналов производства работ по обжигу грунта. Особое внимание обращается на такие показатели, как температура, давление в скважинах, расход горючего и сжатого воздуха, продолжительность обработки каждой скважины; кроме того, контролируется запись оплавления внутренних поверхностей скважин и принятых мерах;
актов лабораторных испытаний образцов обожженного в массивах грунта (если это предусмотрено проектом);
акта испытания термогрунтовых массивов и образований пробными нагрузками (если это предусмотрено проектом).
5.289. Производство работ по устройству надфундаментных и других конструкций зданий и сооружений, возводимых на обожженных грунтах, без предварительной сдачи работ представителю технического надзора заказчика запрещается.
5.290. Глубинный обжиг грунтов осуществляется при высоких температурах и давлениях, являющихся факторами повышенной опасности и требующих строгого соблюдения техники безопасности и противопожарной техники. Основными задачами соблюдения техники безопасности являются:
обеспечение безопасных условий труда;
создание противопожарной защиты участка работ;
исключение доступа в рабочую зону посторонних.
5.291. К производству работ по глубинному обжигу грунтов допускаются лица с медицинским обследованием, не моложе 18 лет, прошедшие специальное обучение и получившие удостоверение на право работ, общий инструктаж и вводный или повторный инструктаж на рабочем месте.
5.292. Удостоверение на право работ по глубинному обжигу грунтов действительно в течение одного года, по истечении которого оно должно быть продлено или заменено с соответствующей проверкой правил техники безопасности.
5.293. Место производства работ должно быть ограждено и освещено. Размещение источников энергии: баков с жидким топливом, компрессорных установок, газопроводов, трансформаторов, а также разводящих трубопроводов и шлангов - должно исключать возможность взрыва и загорания. Эти меры должны быть предусмотрены в проекте производства работ.
5.294. До начала работ должны быть проверены исправность механизмов, оборудования, приборов контроля давления и температуры, герметичность всех соединений, запорных вентилей и нагревательных скважин.
5.295. Розжиг форсунок в начале работ и при повторном зажигании является наиболее ответственной операцией. Он должен производиться только в средствах индивидуальной защиты: брезентовых костюмах, масках электросварщика с жаропрочными стеклами, резиновых перчатках и сапогах с применением резиновых ковриков - при использовании электрозапальников.
В холодное время года операторы должны быть обеспечены теплой одеждой и обувью.
5.296. Во время работы операторам запрещается: подавать в скважины топливо и сжатый воздух при давлениях, превышающих проектные; смотреть в контрольный глазок без защитных очков. Их основная обязанность - это постоянный контроль за устойчивой работой электронагревателей, форсунок, положением факела, величинами давления и температуры в стволе нагревательных скважин, расходом топлива и воздуха, герметичностью скважин и всей системы. В случае каких-либо неисправностей оператор должен немедленно отключить от форсунки подачу топлива, а после этого - воздух. Операторам категорически запрещается отлучаться одновременно и оставлять установки без присмотра. Обслуживание установок для глубинного обжига грунтов должно производиться из расчета не менее двух человек, один из которых назначается старшим.
5.297. Продолжение работ после устранения неисправностей разрешает только старший оператор. О всех неисправностях, их причинах и мерах по устранению, результатах контрольной проверки старший оператор делает записи в журнале работ.
5.298. При работе в закрытых помещениях, в узких и глубоких вспомогательных выработках и котлованах должна быть обеспечена надежная вентиляция. После вынужденной остановки форсунок, перед их последующим включением ствол нагревательной скважины также должен быть провентилирован.
5.299. При производстве работ по закреплению грунтов оснований на действующих предприятиях без остановки производства помимо тщательной вентиляции помещений необходимо производить контроль воздушной среды на содержание газа CO, а в случае применения природного газа и на

, особенно тщательно в подвальных и полуподвальных помещениях, расположенных в радиусе 20 - 25 м от зоны обжига. В случае обнаружения в помещениях угарного газа в дозах, превышающих допустимые нормы, необходимо срочно принять меры по эвакуации людей и осуществить более тщательную вентиляцию помещений.
5.300. Участок работ по глубинному обжигу грунтов должен быть обеспечен средствами пожаротушения, первого медицинского обслуживания, телефонной связью. В темное время суток вся территория участка работ должна быть хорошо освещена.
5.301. Питающая электросеть должна размещаться так, чтобы исключался случайный обрыв ее людьми и механизмами, места соединений электрокабелей и проводов должны быть изолированы патрубками из резиновых шлангов и изоляционной ленты. Рубильники на распределительных щитках должны быть размещены в кожухах, а возможность их включения не ответственными за это лицами должна быть полностью исключена. Вся электроаппаратура и распределительный щит должны располагаться в закрытом помещении вблизи места работ.
5.302. Производственная инструкция по технике безопасности при глубинном обжиге грунтов разрабатывается строительной организацией, утверждается ее главным инженером и должна находиться непосредственно на месте работ.
Инструкция должна включать документы, согласовывающие применение принятого оборудования и технологии с районными инспекциями Госкотлонадзора и Госхимзащиты.
Раздел 6. ИСКУССТВЕННОЕ ЗАМОРАЖИВАНИЕ ГРУНТОВ
6.1. Искусственное замораживание грунтов следует предусматривать в сложных гидрогеологических условиях преимущественно как способ временного укрепления водонасыщенных грунтов путем образования прочного и водонепроницаемого ледогрунтового ограждения с замкнутым контуром при строительстве подземных сооружений и устройстве фундаментов глубокого заложения.
Сущность способа искусственного замораживания заключается в образовании ограждения (кругового, прямоугольного или иного очертания) из замороженного грунта, препятствующего прониканию грунтовой воды или водонасыщенных неустойчивых грунтов в выработку при производстве горных или строительных работ. Это искусственное ограждение воспринимает давление окружающего грунта, а также гидростатическое давление грунтовых вод.
6.2. По контуру выработки через толщу водоносных грунтов бурят скважины с заглублением в водоупорный слой на 2 - 3 м. В скважины опускают замораживающие трубы (колонки). Нижний конец их, имеющий форму конуса, герметически заваривают. В колонку опускают трубы меньшего диаметра (называемые питающими трубами) с открытым нижним концом, не доходящим до дна замораживающих колонок на 40 - 50 см.
При отсутствии естественного водоупорного слоя его создают искусственным путем - замораживанием слабых водонасыщенных грунтов внутри контура выработки с помощью колонок локального замораживания.
6.3. Искусственное замораживание грунтов производят холодоносителем (рассолом) циркулирующим в рассолопроводах и замораживающих колонках.
Вид, концентрация и температура холодоносителя должны быть определены проектом в зависимости от засоленности, скорости и температуры грунтовых вод. Как правило, в качестве холодоносителя следует использовать раствор хлористого кальция, обладающего способностью оставаться жидким при отрицательных температурах. На замораживающей станции рассол охлаждают и затем насосом нагнетают в распределитель. Отсюда холодный рассол равномерно расходится по питающим трубам замораживающих колонок. Достигнув дна колонки, рассол под давлением, создаваемым насосом, поднимается вверх по кольцевому пространству между питающей трубой и замораживающей колонкой, омывая внутренние стенки замораживающих колонок. При этом происходит теплообмен: рассол отнимает тепло у грунта, окружающего колонку, понижает его температуру и постепенно замораживает грунт. Затем рассол поступает в коллектор, а из него - на замораживающую станцию, где происходит его охлаждение, и цикл повторяется.
6.4. С течением времени вокруг каждой колонки образуется массив замороженного грунта цилиндрической формы. При дальнейшем замораживании объем замороженных цилиндров увеличивается, и они смерзаются между собой в сплошной массив вокруг выработки. Чтобы массив не размораживался, холодильная станция работает в течение всего периода, необходимого для окончания всех строительно-монтажных работ под его защитой.
6.5. Время, необходимое для образования замороженного массива, зависит от гидрогеологических условий, числа замораживающих колонок, мощности холодильной установки, температуры циркулирующего рассола, требуемой проектной толщи массива из замороженного грунта, скорости движения подземных вод и других факторов. Таким образом, технологическая сущность способа замораживания грунтов заключается в искусственном изменении некоторых физических свойств грунтов (прочности, устойчивости, водонепроницаемости и др.).
ОБОРУДОВАНИЕ, МАТЕРИАЛЫ, ПРОИЗВОДСТВО РАБОТ.
БУРЕНИЕ СКВАЖИН
6.6. Бурение скважин должно производиться в строгом соответствии с проектом.
Разбивку осей скважин под замораживающие колонки следует производить от основных осей сооружения. Допустимое отклонение от проекта +/- 5 см.
Для бурения скважины под замораживающие колонки могут применяться установки ударного и вращательного способов бурения. При вращательном способе бурения с глинистым раствором скважина должна быть ниже глубины замораживания на величину отстоя шлама, но не менее 1 м.
В процессе бурения скважин под замораживающие колонки необходимо принимать меры для предупреждения отклонений скважины от проектного направления установкой кондукторов и соблюдением режима бурения. Максимальные отклонения скважин, a, устанавливаются проектом, но не должны превышать:
для вертикальных скважин глубиной до 50 м - 1% их глубины H;
при глубине свыше 50 м по формуле a = 0,5 + 0,002H;
для наклонных - 2%.
Замер кривизны производится через каждые 30 м.
При глубине скважин до 50 м для измерения кривизны можно пользоваться теодолитом с эксцентренной трубой, а глубже - инклинометрами ВНИМИ-И-447Д и ВДГ <*>.
--------------------------------
<*> Николаенко В.Г., Соловьев В.Н. Маркшейдерские работы при сооружении вертикальных стволов. - М.: Недра, 1977.
В случае отклонения скважины от проектного направления свыше допустимого надлежит исправить кривизну с применением кривых переводников или пробурить скважину вновь. Как исключение допускаются к приемке скважины, пробуренные с отклонением от проектного направления, если фактическое положение смежных, также отклонившихся скважин, обеспечит своевременное смыкание и проектную толщину ледогрунтовой стенки.
В проекте может быть предусмотрено бурение дополнительных замораживающих скважин в количестве не более 10% их общего числа при глубине замораживания до 100 м и не более 20% при глубине замораживания свыше 100 м, для наклонных - соответственно 20 и 25%.
Для бурения скважин вращательным способом преимущественно пользуются станками ЗИФ-650А, ТУНБ-150 и др. Эти станки удобны для бурения скважин под любым углом к горизонту.
Для бурения вертикальных замораживающих скважин вращательным способом с промывкой скважин глинистым раствором применяют станки УРБ-ЗАМ, СБУ-150-ЗИВ, ЗИФ-650А, ЗИФ-300М и др.
При бурении вертикальных скважин большое распространение получил станок вращательного бурения со сплошным и кольцевым забоем и промывкой глинистым раствором марки УРБ-ЗАМ (установка разведочного бурения). Технические характеристики станков вращательного бурения приведены в Прил. 30
(табл. 1).
Установка УРБ-ЗАМ представляет собой компактный агрегат, основные механизмы которого смонтированы на грузовой автомашине марки МАЗ-200.
6.7. Ударный способ применяют для бурения вертикальных скважин. Грунты в забое скважины при ударном способе бурения разрушаются ударами долота, присоединяемого к бурильным трубам и канатам.
Для бурения замораживающих скважин ударным способом применяют преимущественно станки типа УКС-22М, УКС-30М и др. Техническая характеристика ударно-канатных станков приведена в Прил. 30
(табл. 2).
6.8. При бурении замораживающих скважин вид и параметры промывочной жидкости определяются проектом производства работ в зависимости от характеристики пересекаемых пород.
Одним из основных условий для успешного ведения буровых работ является высокое качество глинистого раствора, который должен:
выносить на поверхность разбуренные частицы грунта;
удерживать разбуренные частицы грунта во взвешенном состоянии, препятствуя осаждению их и как следствие прихватку инструмента (бурового снаряда);
глинизировать стенки скважины для поддержания их устойчивости, особенно при прохождении слабых грунтов;
оказывать гидростатическое давление на стенки скважины для предохранения их от обвала;
удерживать гидростатическое давление воды в породах;
охлаждать режущий инструмент;
задерживать выпадение частиц грунта в скважине при остановке циркуляции.
6.9. Глинистый раствор при температуре плюс 15 °C должен иметь следующие свойства:
удельный вес - 1,15 - 1,25 г/см3 по ареометру;
вязкость - 20 - 25 с по стандартному полевому вискозиметру типа СПВ-5;
коллоидальность - 95 - 97% по градуированному стеклянному цилиндру емкостью 100 см3;
содержание песка не выше 4 - 5% по отстойнику Лысенко.
6.10. Для приготовления глинистого раствора используют глиномешалки горизонтальные вместимостью 1 - 4 м3 и вертикальные вместимостью 0,3 - 0,7 м3. Частота вращения глиномешалки не должна превышать 35 - 40 об/мин.
Соотношение глины и воды на 1 м3 глинистого раствора указано в табл. 41.
Таблица 41
────────────────────┬────────────────┬─────────────────────────────────────
Удельный вес │Содержание глины│Потребное количество на 1 м3 раствора
глинистого раствора,│ в растворе, % ├──────────────────────┬──────────────
г/см3 │ │глины в воздушно-сухом│ воды, л
│ │ состоянии │
────────────────────┼────────────────┼──────────────────────┼──────────────
1,14 │ 20 │ 230 │ 910
1,17 │ 25 │ 290 │ 880
1,2 │ 30 │ 360 │ 840
1,24 │ 35 │ 430 │ 810
1,29 │ 40 │ 520 │ 770
При бурении скважин очень часто используют естественные промывочные жидкости, которые образуются в процессе бурения. При этом возможны два случая: когда перед бурением приготавливают некоторое количество (20 - 30 м3) промывочной жидкости, которая в процессе бурения обогащается разбуренной породой и дальнейшее бурение осуществляется на естественном растворе, и когда в верхней части геологического разреза залегают глины.
В последнем случае бурение начинается на воде, а промывочная жидкость образуется в процессе бурения.
Применение бурения на естественных промывочных жидкостях обусловливается наличием в геологическом разрезе значительных пластов глин, суглинков, глинистых мергелей, глинистых сланцев и других им подобных пород.
Важным требованием при бурении с естественными промывочными жидкостями является обеспечение хорошего контроля за их качеством и осуществление при необходимости регулировки свойств промывочной жидкости добавлением в нее воды и обработкой химреагентами.
Кроме того, в процессе и после окончания бурения необходимо следить за состоянием каждой скважины.
Если стенки скважины устойчивы, не обрушаются и спуск труб замораживающей колонки на проектную глубину проходит нормально, без остановок (что возможно при качественной глинистой корке), то состав жидкости является приемлемым.
В противном случае необходимо срочно принимать меры по улучшению качества промывочной жидкости обработкой ее химреагентами или заменой на искусственную жидкость из хороших глин.
6.11. Скважины разбивают по контуру выработки (окружности или прямоугольнику). Для создания правильного направления при бурении скважин в устье каждой скважины устанавливают и надежно закрепляют в грунте направляющие трубы-кондукторы. Все работы должны производиться под наблюдением геодезиста (маркшейдера).
6.12. Скорость восходящего потока глинистого раствора принимают в пределах 0,3 - 0,5 м/с и более в зависимости от увеличения скорости бурения. Количество глинистого раствора, требуемого при бурении скважин, определяется проектом.
6.13. При бурении скважин следует руководствоваться Производственной инструкцией по безопасным методам работ для рабочих, обслуживающих буровые установки при бурении замораживающих и технических скважин (М.: Изд-во Шахтспецстроя, 1976).
Производство работ по бурению скважин должно осуществляться в соответствии с геолого-техническим нарядом, а его отработка выполняется на первых 3 - 5 скважинах.
ЗАМОРАЖИВАЮЩИЕ КОЛОНКИ И ИХ МОНТАЖ
6.14. По окончании бурения скважины следует немедленно погружать замораживающую колонку. В скважинах, пробуренных с обсадными трубами, извлечение последних необходимо производить после опускания замораживающих колонок.
Тип труб и конструкция замораживающих колонок должны быть определены проектом.
6.15. После маркшейдерского определения глубины скважины и подтверждения того, что искривление скважины не превышает допустимой величины, приступают к монтажу и опусканию колонок в скважины.
Каждую трубу замораживающей колонки перед спуском в скважину необходимо проверить, нет ли в ней каких-либо дефектов, а также очистить внутреннюю поверхность от грязи.
Каждое соединение труб обязательно подвергается опрессовке.
6.16. Порядок опускания и монтажа замораживающих колонок следующий: в скважину опускают первое звено труб, имеющее на нижнем конце башмак, на верхнем конце трубы под муфтой закрепляют хомут, который после опускания первого звена опирается на кондуктор. К первому звену с помощью муфты, навинчиваемой из резьбовой смазке Р-2, присоединяют следующее звено.
6.17. Трубы следует соединять на полную длину резьбы, с тем чтобы их торцы соприкасались. Затем к свободному концу трубы присоединяют переходную муфту, а к ней ручной пресс и колонку наполняют водой. Давление воды должно быть доведено до 2,5 МПа (25 ат) и не должно падать в течение 5 мин. В зимний период для испытаний колонки применяют 10%-ный водный раствор хлористого кальция.
6.18. После опрессовки тщательно осматривают соединения. Если осмотр показал полную водонепроницаемость соединения, то пресс отключают и проверенное звено опускают в скважину.
Указанный процесс монтажа и испытания производится при опускании каждого следующего звена труб.
6.19. Контрольный осмотр соединений труб выполняет сменный инженер (или механик), который дает разрешение бригаде монтажников опускать очередное звено труб.
Результаты опрессовки соединений труб заносят в специальный журнал и паспорт данной колонки.
6.20. Несмотря на предварительную опрессовку соединений, во время спуска колонки в скважину могут произойти частичные ее нарушения. Поэтому после опускания колонки производят еще одно испытание на водонепроницаемость соединений.
С этой целью после сборки колонку заливают водой на полную ее глубину (в зимнее время - 10%-ным раствором хлористого кальция). Уровень жидкости в колонке замеряет маркшейдер, чтобы жидкость не испарялась, колонку плотно закрывают деревянной пробкой и обмазывают глиной. Замер колебаний уровня жидкости в колонке производят ежедневно в течение трех суток. Все замеры фиксируют в специальном журнале и паспорте. Если уровень жидкости в колонке в течение трех суток снизился более чем на 3 мм на каждые 50 м глубины, то колонку извлекают из скважины и опускают ее после вторичной опрессовки.
6.21. Гидрологические и термометрические скважины бурят тем же способом, что и скважины для замораживания. Гидрологическую скважину используют для контроля за процессом смыкания отдельных ледогрунтовых цилиндров в замкнутое ограждение.
В процессе промерзания водоносных грунтов объем льда увеличивается на 9%, вода, находящаяся в грунтах замкнутого пространства, начинает вытесняться, вследствие чего уровень воды в гидрологической скважине поднимается, что свидетельствует о смыкании ледогрунтового ограждения.
Конструкция гидрологической скважины определяется проектом.
В термометрическую скважину опускают трубу с конусом и соединение последующего звена испытывают на водонепроницаемость аналогично замораживающей колонке.
На буровые работы и работы по опусканию и испытанию замораживающих колонок составляются паспорта скважин и замораживающих колонок (см.
Прил. 31).
ХОЛОДИЛЬНЫЕ УСТАНОВКИ И ИХ МОНТАЖ
6.22. Для искусственного замораживания грунтов применяют холодильные установки с использованием в качестве хладагента преимущественно аммиак. При соответствующем технико-экономическом обосновании допускается использовать фреон и жидкий азот.
Холодильная установка должна быть снабжена контрольно-измерительными приборами, в том числе мановакуумметрами, термометрами, дистанционными указателями уровня хладагента и холодоносителя, предохранительными клапанами.
При монтаже трубопроводов нагнетательные линии должны иметь уклон 1 - 2% в сторону конденсатора, а всасывающие линии - уклон 0,5% в сторону испарителей.
6.23. В процессе монтажа холодильной установки должно быть проведено индивидуальное гидравлическое или пневматическое испытание устанавливаемых аппаратов с освидетельствованием и регистрацией их в соответствии с
правилами устройства и безопасной эксплуатации сосудов, работающих под давлением.
6.24. Совокупность холодильной машины и вспомогательного оборудования и устройств, предназначенных для искусственного замораживания грунтов, представляет собой холодильную установку.
В холодильной промышленности применяют аммиачные, фреоновые и другие установки в зависимости от используемого хладагента.
Для искусственного замораживания грунтов при сооружении фундаментов, коллекторов и др. подземных сооружений пользуются преимущественно аммиачными холодильными установками, так как необходимая температура охлаждения рассола часто не превышает минус 20 - 25 °C. В особых случаях применяют низкотемпературное замораживание до температуры минус 40 - 45 °C.
6.25. Холодильная машина состоит из компрессора, испарителя, конденсатора и регулирующего вентиля.
Схема работы холодильной установки представлена на рис. 76.
Рис. 76. Схема работы замораживающей станции
1 - рассольный насос; 2 - испаритель;
3 - грязеуловитель; 4 - компрессор;
5 - маслоотделитель; 6 - регулирующий вентиль;
7 - манометрическая станция; 8 - конденсатор;
9 - циркуляционный насос; 10 - замораживающая
колонка; 11 - питающая труба; 12 - коллектор;
13 - распределитель; 14 - рассолопровод
По трубе "а" из конденсатора течет жидкий аммиак, имеющий высокое давление (обычно 0,8 - 1,2 МПа) и температуру 20 - 30 °C после прохода через узкое отверстие регулирующего вентиля давление аммиака снижается до 0,15 - 0,2 МПа и он попадает в испаритель, где за счет теплопритока от рассола кипит при низкой температуре (-20 - -25 °C), а рассол охлаждается.
Пары аммиака отсасываются по трубе "в" компрессором, сжимаются им до давления 0,8 - 1,2 МПа и температуры 100 - 130 °C и по трубе "г" выталкиваются в конденсатор, где за счет охлаждения водой превращаются в жидкость и по трубе "а" снова поступают к регулирующему вентилю и процесс повторяется.
Охлажденный рассол забирается насосом и направляется по магистральному рассолопроводу в распределитель, а из него по питающей трубе в замораживающую колонку, после отнятия тепла от грунта он возвращается в коллектор и далее в испаритель для повторного охлаждения.
6.26. Аммиачная холодильная установка имеет три самостоятельных цикла: аммиачный, рассольный и водяной.
Водяной цикл служит для конденсации паров аммиака и охлаждения цилиндров компрессора. В целях экономии воды применяется оборотная схема водоснабжения с охлаждением воды в градирнях, за работой которых необходимо организовать тщательный контроль.
Рассол может быть охлажден до минус 25 °C одноступенчатыми компрессорами, а до минус 40 °C - двухступенчатыми.
6.27. Паспортная холодопроизводительность машин определяется в стандартных килокалориях (подразумевается холодопроизводительность при стандартных условиях: температуре кипения хладагента

, температуре конденсации

и перед регулирующим вентилем

).
Под рабочей холодопроизводительностью машины понимают ее холодопроизводительность при температурах, отличных от стандартных.
Для определения выработанного компрессорами холода механик может воспользоваться характеристиками, помещенными в инструкции завода-изготовителя.
6.28. Широкое распространение для замораживания грунтов получили компрессоры одноступенчатого сжатия, реже двухступенчатого сжатия. Характеристики компрессоров приведены в Прил. 30 (
табл. 3 и
4).
Выбор компрессоров и аппаратов к ним производится в соответствии с проектом.
6.29. Холодильная установка должна быть оснащена следующими контрольно-измерительными приборами:
манометр на нагнетательной стороне компрессора, конденсаторе и ресивере, мановакуумметр на всасывающей стороне компрессора, испарителе, промежуточном сосуде и маслосборнике;
термометрами, установленными на нагнетательной и всасывающей стороне компрессоров, испарителях, перед регулирующими вентилями, а также на линии подачи воды в конденсатор и линии ее отвода;
водомерами на линии подачи свежей воды в конденсаторы;
дистанционными указателями уровня жидкого хладагента в испарителях и промежуточных сосудах;
дистанционными указателями уровня рассола в системе со звуковым и световым сигналами, включающимися при падении уровней ниже установленной отметки;
расходомерами рассола.
6.30. Контрольно-измерительные приборы устанавливают в следующих местах:
на замораживающей станции для контроля работы и регулирования режима холодильных агрегатов и насосов;
в форшахте на рассольной сети для контроля за правильной и равномерной циркуляцией рассола;
в зоне замораживаемых грунтов для контроля за процессом образования ледогрунтового ограждения.
6.31. В каждом компрессоре устанавливают масляный манометр со шкалой от 0 до 6 кгс/см2.
Аммиачные манометры должны иметь шкалу "Вакуум до 760 мм рт. ст. 0 - 25 кгс/см2", мановакуумметры "Вакуум до 750 мм рт. ст. 0 - 12 кгс/см2", а также шкалу температур, ртутные термометры со шкалой показаний от 30 до 165 °C на нагнетательной стороне компрессора и конденсаторе;
спиртовые термометры со шкалой показаний от 30 до минус 60 °C устанавливают на всасывающей стороне компрессора, на испарителе и регулирующей станции при двухступенчатом цикле.
6.32. В форшахте на рассольной сети устанавливают следующие контрольно-измерительные приборы:
манометры по одному на нагнетательной линии у рассольного насоса, на рассолопроводах и коллекторах;
термометры на рассолопроводе и коллекторе, распределителе и на замораживающих колонках из расчета не менее одного термометра на пять колонок с учетом их перестановки;
дифференциальные манометры для замеров количества циркулирующего рассола или рассоломеры.
6.33. В зоне замораживаемых грунтов устанавливают следующие контрольно-измерительные приборы:
измерители уровня грунтовых вод в гидрологических скважинах;
термодатчики в каждой термометрической скважине в соответствии с проектом.
Толщину и сплошность ледогрунтового ограждения определяют ультразвуковыми приборами.
Форшахту связывают с замораживающей станцией, электрической и звуковой сигнализацией.
6.34. На замораживающей станции в электрораспределительном устройстве на распределительном щите устанавливают электрические и контрольно-измерительные приборы в соответствии с проектом.
Все установленные электрические приборы должны быть щитового исполнения и подвергаться проверке и регулированию.
6.35. Монтаж оборудования и приборов в замораживающей станции производится в строгом соответствии с проектом, заводскими инструкциями и Правилами устройства и безопасной эксплуатации аммиачных холодильных установок (М.: ВНИКТИхолодпром, 1981).
6.36. Перед вводом в эксплуатацию аппараты (сосуды), подлежащие регистрации в местных органах Госгортехнадзора, должны быть предъявлены инженеру-контролеру Госгортехнадзора для освидетельствования.
Аппараты (сосуды), не подлежащие регистрации в органах Госгортехнадзора, должны быть освидетельствованы администрацией предприятия в соответствии с
Правилами устройства безопасной эксплуатации сосудов, работающих под давлением.
6.37. К началу монтажа оборудования должны быть закончены все строительные работы по зданию замораживающей станции, фундаментам под машины и аппараты; устроены форшахты для рассолопроводов, каналы для водопроводов, канализации и электрокабелей. О правильности разбивки осей фундаментов, качестве бетона и соответствии фундаментов проектным размерам составляют акт.
Перед укладкой бетона при устройстве бетонных и железобетонных фундаментов для компрессоров и аппаратов проверяют надежность закрепления закладных частей, металлического каркаса, опорных плит опалубки колодцев, анкерных болтов. Возле закладных частей, служащих для ответственных частей компрессора (подшипников и др.), бетон уплотняют с особой тщательностью.
Кладку фундамента (бетонную, каменную) не доводят до проектной отметки на 30 - 50 мм, что необходимо для подливки рамы или станины машины после их выверки.
Анкерные болты заливают бетоном марки не ниже 150 с применением мелкого гравия. Перед бетонированием колодцы для анкерных болтов тщательно очищают от остатков опалубки, мусора и промывают.
Подливку рамы (станины) компрессора производят бетоном марки не ниже 140. При толщине подливки менее 40 мм применяют бетон с мелким заполнителем или цементно-песчаный раствор той же марки. Верхнюю поверхность фундамента перед подливкой насекают, очищают и промывают. Перед началом монтажа компрессора проверяют по чертежу правильность расположения отверстия для фундаментных болтов и глубину заложения анкерных плит.
Каждый смонтированный компрессор, бывший ранее в работе, перед опробованием подвергают ревизии на месте. Новые компрессоры, полученные непосредственно с завода, только разбирают и осматривают без полной ревизии.
6.38. По окончании сборки для проверки, регулировки и наладки работы деталей производят холостую обкатку компрессора без нагрузки с открытыми крышками и без нагнетательных клапанов в течение 10 - 15 ч. После холостой обкатки, устранения обнаруженных дефектов и приработки деталей компрессоры проверяют под нагрузкой воздушным давлением 0,5 - 0,6 МПа (5 - 6 ат) в течение 3 ч. При этом производят продувку всей аммиачной системы, включая конденсатор и испаритель, и проверяют ее герметичность.
6.39. При монтаже конденсаторов все фланцевые соединения собирают на клингеритовых или паронитовых прокладках, смазанных графитовой мастикой.
6.40. Конденсатор по окончании монтажа испытывают на плотность:
в аммиачной части - сжатым до 1,8 МПа (18 ат) воздухом в течение 18 ч, при этом допускается падение давления в течение первых 6 ч испытания до 0,12 МПа (1,2 ат);
в водяной части - гидравлическим испытанием водой с постоянным давлением 0,6 МПа (6 ат) в течение 15 мин.
При испытании утечку воздуха проверяют обмыливанием соединений и швов.
Выявленные недостатки устраняют после снижения давления до атмосферного.
6.41. Кожухотрубный горизонтальный конденсатор устанавливают строго горизонтально.
6.42. Секции и бак испарителя перед монтажом предварительно осматривают.
Секции испарителя испытывают гидравлическим давлением 2,5 МПа (25 ат) и сжатым воздухом до 1,2 МПа (12 ат), бак испарителя - наполнением водой.
Бак испарителя устанавливают на деревянном или бетонном основании.
Секции испарителя соединяют коллекторами посредством фланцев с уплотнением соединений клингеритовыми или паронитовыми прокладками. Секции к баку крепят полосовым железом на болтах.
6.43. Кожухотрубные испарители в аммиачной части испытывают сжатым воздухом при давлении 1,2 МПа (12 ат).
При этом давление не должно падать в течение первых 6 ч более чем на 10%.
Перед испытанием необходимо сжатым воздухом удалить загрязнения.
6.44. Маслоотделитель, промежуточный сосуд, ресивер, маслосборник перед монтажом осматривают и испытывают по заводской инструкции.
6.45. Аммиачный нагнетательный трубопровод в местах прохода через сгораемые стены и перекрытия изолируют несгораемой изоляцией.
Для аммиачных трубопроводов применяют только стальные бесшовные трубы (
ГОСТ 8731-74 с изм.).
Трубопроводы с арматурой и аппаратурой соединяют:
с помощью резьбового штуцера труб диаметром до 6 - 10 мм;
с помощью специальных аммиачных фланцев труб диаметром свыше 10 мм;
соединением труб сваркой встык.
Фасонные части, вентили и сварные стыки располагают не ближе 200 мм от стен.
Запорные вентили устанавливают так, чтобы аммиак входил под клапан.
6.46. Для предупреждения повышения давления аммиака сверх допустимого (более 1,5 МПа) в кожухотрубных конденсаторах и испарителях, промежуточных сосудах и ресиверах предусматривают выпуск аммиака в атмосферу через предохранительные клапаны по выкидной трубе выше конька крыши станции на 2 - 3 м.
6.47. Аммиачные трубопроводы после монтажа продувают воздухом для удаления песка, окалины и других загрязнений.
6.48. Испарители, отделители жидкого аммиака, промежуточные сосуды, а также трубопровод холодильного агента с низкими температурами и рассольные трубопроводы теплоизолируют.
Теплоизоляцию аппаратов и трубопроводов выполняют в соответствии с проектом после генерального испытания замораживающей станции.
После просушки трубопроводы окрашивают в условные цвета (табл. 42).
Таблица 42
────────────────────────┬───────────────────────────┬──────────────────────
Трубопровод │ Назначение │ Цвет окраски
────────────────────────┼───────────────────────────┼──────────────────────
Аммиачный │Всасывающий │Синий
" │Жидкостный │Желтый
" │Нагнетательный │Красный
Рассольный │Нагнетательный │Зеленый
" │Обратный сливной │Коричневый
Водопроводный │Нагнетательный │Голубой
" │Обратный сливной │Фиолетовый
6.49. Трубопроводы жидкого и газообразного аммиака при нижней разводке прокладывают под полом в каналах и изолируют шлаком, антисептированными опилками или другими теплоизоляционными материалами.
6.50. Над испарителями, расположенными вне здания замораживающей станции, устраивают навес.
РАССОЛЬНАЯ СЕТЬ И ЕЕ МОНТАЖ
6.51. Рассольная сеть должна быть выполнена из прямого и обратного рассолопроводов, распределителя и коллектора с обеспечением равномерного питания замораживающих колонок, как правило, по незамкнутому контуру.
Тип труб и их размеры определяются проектом.
Распределители и коллектор должны быть размещены в специальной форшахте, расположение и размеры которой определяются проектом. Замораживающие колонки соединяются с коллектором и распределителем с помощью гибких шлангов (рис. 77).
Рис. 77. Расположение рассольных коммуникаций в форшахте
1 - питающая труба; 2 - головка замораживающей колонки;
3 - соединительная труба; 4 - кран; 5 - коллектор;
6 - распределитель; 7 - подвески; 8 - толь; 9 - шлак
6.52. При длине рассолопроводов, превышающей 100 м, устанавливают компенсаторы. Во всех высоких точках рассольной сети устанавливают воздухоспускные вентили.
6.53. При заполнении рассольной сети рассолом из замораживающих колонок и трубопроводов должна быть удалена вода, оставшаяся после гидравлического испытания. Рассол необходимо пропускать через сетку с отверстиями 0,5 - 1 мм.
6.54. На рассолопроводе устанавливают задвижки, с помощью которых осуществляют необходимые переключения движения рассола. Трассу рассолопроводов от станции до места потребления холода выбирают наиболее короткую с наименьшим количеством поворотов.
6.55. Для уменьшения потерь холода форшахту хорошо теплоизолируют. Изоляционным материалом служат сухие опилки, которыми заполняют пространство между верхняками крепления. Закрепляют стенки форшахты деревом или бетоном.
В случае устройства форшахты на поверхности также необходима теплоизоляция труб и боковых стенок.
6.56. Система трубопроводов, располагаемых в форшахте, состоит из замораживающих колонок, распределителя, коллектора, подводящих и отводящих рассолопроводов.
6.57. Замораживающая колонка
(рис. 78) состоит из наружной трубы, питающей трубы башмака конусной формы, а в верхней части крышки (головки), к которой присоединены подводящая и отводящая трубки.
Рис. 78. Замораживающая колонка
1 - башмак замораживающей трубы; 2 - питающая труба;
3 - замораживающая труба; 4 - крышка (оголовник);
5 - соединительная подводящая труба; 6 - соединительная
отводящая труба; 7 - рассоломер; 8 - запорный кран;
9 - коллектор; 10 - термометр; 11 - распределитель
Качество труб, плотность их соединения, тщательность монтажа рассольной сети определяют успешность замораживания грунтов. Утечка рассола в замораживаемый грунт является следствием неплотности в соединениях труб. При наличии рассола в грунте участок не может быть заморожен - образуется "окно", через которое может произойти прорыв плывуна в проходимую выработку. Непосредственное соприкосновение ледогрунтового ограждения с рассолом вызывает оттаивание его.
6.58. Распределитель служит для распределения рассола по колонкам и связан с ними гибкими шлангами с питающими трубами.
Давление рассола в распределителе колеблется в пределах 0,2 - 0,45 МПа и увеличивается с глубиной колонок.
6.59. Коллектор служит для сбора рассола, идущего из замораживающих колонок. Отводящие трубы служат для отвода рассола от замораживающих колонок в коллектор.
Применение гибких шлангов для подвода и отвода рассола к колонкам предотвращает разрывы труб и выпуск рассола в случае осадок или вспучивания поверхности земли в галерее (форшахте).
6.60. В тупиковых концах коллектора и распределителя устанавливают краны, через которые выпускают воздух, скапливающийся в трубах.
6.61. Распределитель и коллектор прикрепляют к деревянным стойкам форшахты или подвешивают к потолочным перекладинам форшахты на железных хомутах.
6.62. Подводящие и отводящие трубы присоединяют одним концом к головке замораживающей колонки, а другим - к распределителю и коллектору.
Для этого в последних должны быть вварены патрубки-штуцеры, диаметр которых соответствует диаметру подводящих и отводящих труб.
6.63. Число штуцеров с пробковыми кранами должно быть больше числа запроектированных колонок на 10 - 15% на случай присоединения к системе дополнительных колонок. Штуцеры располагают равномерно по всей длине распределителя и коллектора на равных расстояниях один от другого.
6.64. Гибкие подводящие и отводящие трубы присоединяют к штуцерам хомутами или проволочными скрутками.
6.65. Перед спуском питающие трубы испытывают воздухом для проверки их качества (возможны засорения и повреждения сварных швов).
6.66. Все соединения труб не должны пропускать воздух и рассол. При соединении труб сваркой места соединений их должны иметь внутри совершенно гладкую поверхность (сварочный шов не должен уменьшать сечение трубы), в противном случае увеличивается сопротивление движению рассола.
6.67. Трубы разных диаметров соединяют специальными переходными муфтами.
6.68. После окончания монтажа все рассолопроводы тщательно промывают водой, нагнетаемой в сеть насосом. Вслед за промывкой производят опрессовку всей рассольной сети водой под давлением 1 - 1,5 МПа. При обнаружении неплотностей их необходимо устранить.
6.69. После устранения утечек испытание следует повторить и при положительных результатах составить акт.
6.70. При ведении работ необходимо осуществлять тщательный маркшейдерский контроль глубины и монтажа замораживающих колонок.
6.71. В качестве холодоносителя применяют водный раствор технического хлористого кальция (
ГОСТ 450-77 с изм.).
Раствор хлористого кальция

имеет желтоватый цвет, соленый на вкус, запах хлора, испаряется раствор плохо, в сильных концентрациях разъедает кожу и ткани.
6.72. Температура замерзания рассола зависит от концентрации хлористого кальция в растворе. Наинизшую температуру замерзания рассол имеет при

,

.
6.73. При замораживании грунтов применяют рассол, имеющий концентрацию 27 - 30° Be (по Боме) или

, при которой температура его замерзания составляет минус 50 °C. Концентрацию рассола определяют ареометром, деления на котором показывают градусы Боме. При повышении концентрации выше 30° Be температура замерзания рассола повышается.
6.74. Систему наполняют рассолом после всех испытаний.
ИСПЫТАНИЕ ХОЛОДИЛЬНЫХ УСТАНОВОК И РАССОЛЬНОЙ СЕТИ
6.75. При испытании холодильной установки необходимо руководствоваться Правилами устройства и безопасной эксплуатации аммиачных холодильных установок (М.: ВНИКТИхолодпром, 1981).
6.76. Все аппараты и трубопроводы аммиачной системы после монтажа подвергают генеральному испытанию на плотность при давлении воздуха 1,8 МПа (18 ат) - сторону нагнетания (от нагнетательного запорного вентиля на компрессоре через маслоотделитель, конденсатор, ресивер и жидкостной трубопровод до регулирующей станции); 1,2 МПа (12 ат) - сторону всасывания (испаритель и трубопроводы - всасывающие и за регулирующим вентилем).
Одновременно предохранительные клапаны аппаратов (сосудов) должны быть отрегулированы до начала открывания при избыточном давлении на нагнетательной стороне 1,8 МПа (18 ат), на всасывающей стороне 1,2 МПа (12 ат).
6.77. Испытания системы после монтажа производят до теплоизоляции трубопроводов и аппаратов.
6.78. В аппараты воздух нагнетают аммиачным компрессором в несколько приемов с интервалом 0,4 - 0,6 МПа (4 - 6 ат) во избежание перегрева компрессора. Воздух нагнетают следующим образом: открывают запорный нагнетательный вентиль на компрессоре, открывают пробку на всасывающем коллекторе при закрытом всасывающем вентиле и включают компрессор, доводят давление по всей системе до 1,2 МПа (12 ат), закрывают запорный вентиль на регулирующей станции и разъединяют нагнетательную и всасывающую линии и продолжают нагнетать воздух в маслоотделитель, конденсатор, ресивер, доводя давление до 1,8 МПа (18 ат). Систему оставляют под давлением в течение 18 ч и фиксируют давление через каждый час.
6.79. Систему считают выдержавшей испытания на герметичность, если после истечения первых 6 ч давление в системе снизится не более чем на 10%, а в течение остального времени останется постоянным. При удовлетворительных результатах генерального испытания составляют акт и систему подготавливают к заполнению аммиаком.
6.80. Перед заполнением системы аммиаком ее необходимо отсосать на вакуум.
6.81. Количество жидкого аммиака, необходимое для заполнения системы, определяют проектом или по следующим нормам в процентах от емкости аппарата
<*>:
Испарители:
кожухотрубные . . . . . . . . . . . . . . . 80
вертикально-трубные . . . . . . . . . . . . 80
панельные . . . . . . . . . . . . . . . . . 50
Конденсаторы:
кожухотрубные . . . . . . . . . . . . . . . Полный объем ресиверной
части обечайки
испарительные . . . . . . . . . . . . . . . Полный объем сборников
жидкого аммиака
Ресиверы:
линейные . . . . . . . . . . . . . . . . . 50
дренажные . . . . . . . . . . . . . . . . . -
Промежуточные сосуды (вертикальные) . . . . . 30
Маслоотделители барботажного типа . . . . . . 30
Трубопроводы жидкого аммиака . . . . . . . . 100.
--------------------------------
<*> Правила устройства и безопасной эксплуатации аммиачных холодильных установок. - М.: ВНИКТИхолодпром, 1981.
Для пересчета объема аммиака в количество по массе средний удельный вес аммиака принимают равным 0,65 кг/л.
Расход аммиака на восполнение потерь при эксплуатации станции принимают от 2,5 до 10% в месяц.
6.82. Аммиак для заполнения системы доставляют на замораживающую станцию в специальных баллонах. Он должен отвечать требованиям ГОСТ 6221-82 Е с изм.
При зарядке системы баллоны с аммиаком присоединяют к регулирующей станции с помощью трубки диаметром 6 мм с накидными гайками, причем баллоны устанавливают в наклонном положении головками вниз. Количество фактически заряженного аммиака определяют взвешиванием баллонов в процессе зарядки.
При зарядке дополнительно проверяют плотность соединений трубопроводов и арматуры на утечку аммиака специальным химическим индикатором - полоской бумаги, пропитанной раствором фенолфталеина. При утечке аммиака белые полоски бумаги краснеют.
6.83. После перехода жидкого аммиака из первых баллонов в систему, компрессор пускают в работу, чтобы понизить давление в испарителе и обеспечить дальнейшее наполнение системы. Конденсатор при зарядке системы аммиаком охлаждают водой, как при обычной работе холодильной установки.
Запрещается подогревать баллоны для ускорения выхода аммиака. При зарядке системы следует соблюдать меры предосторожности и иметь наготове аммиачные противогазы.
После наполнения системы аммиаком приблизительно на 90% его расчетного количества производят пробную работу замораживающей станции для проверки достаточности наполнения, при этом рассольная система должна быть заполнена рассолом.
6.84. После соединения всех рассольных труб и установки на них предусмотренных проектом приборов и кранов, промывки водой производят гидравлическое испытание рассольной сети давлением, в 1,5 раза превышающим рабочее давление и не меньшим 0,6 МПа (6 ат).
Сеть считают пригодной для эксплуатации, если в течение 15 мин давление опрессовки не изменяется и при осмотре сети не обнаружено течи в трубах и их соединениях.
6.85. Количество кристаллического хлористого кальция для приготовления рассола заданной концентрации определяется проектом или по формуле

, (17)
где V - емкость (объем) рассольной системы, подлежащей заполнению, м3;

- количество по массе соли на 1 м3 воды, необходимое для получения раствора заданной концентрации.
6.86. Акт генерального испытания установки и сдачи ее в эксплуатацию составляют при наличии следующей документации:
исполнительных схем аммиачной, рассольной и водяной систем холодильной установки и погоризонтных планов расположения замораживающих скважин, выполненных через каждые 30 м по глубине;
журнала бурения скважин;
паспортов замораживающих колонок;
протокола сушки всех высоковольтных электродвигателей с замером сопротивлений изоляции обмоток ротора и статора;
протокола испытания на пробой трансформаторного масла в маслонаполнительной высоковольтной аппаратуре;
протокола проверки и испытания защиты высоковольтного электродвигателя и сопротивления изоляции кабельной проводки компрессорной установки;
протокола осмотра и замера переходного сопротивления заземления электродвигателей и распределительного устройства;
шнуровых книг на все сосуды, установленные на холодильной установке, с регистрацией в них результатов испытаний местной инспекцией Госгортехнадзора (в шнуровой книге должны быть заводские паспорта и чертежи на сосуды);
технического акта на опрессовку сжатым воздухом холодильной установки;
технического акта на испытание рассольной сети и промывку замораживающих колонок;
графика планово-предупредительного ремонта холодильной установки;
инструкции по технике безопасности при эксплуатации всех агрегатов (вывешивается в здании замораживающей станции);
списка лиц, допущенных к эксплуатации холодильной и высоковольтных установок, сдавших техминимум по ПТЭ и ПТБ;
журналов и книг для учета работы холодильной установки;
разрешения пожарной инспекции на эксплуатацию холодильной установки.
ЭКСПЛУАТАЦИЯ ЗАМОРАЖИВАЮЩЕЙ СТАНЦИИ
6.87. Режим работы замораживающей станции должен обеспечивать постепенное понижение температуры холодоносителя до достижения заданной проектом температуры, во избежание прорыва труб.
При эксплуатации замораживающих колонок должен быть установлен контроль питания их рассолом. Температура выходящего из колонки рассола при установившемся режиме не должна отличаться более чем на 2 - 3 °C от температуры рассола, измеренной в распределителе (при глубине замораживания до 100 м), к концу процесса замораживания она может отличаться на 1 °C.
Работа замораживающей станции и подача рассола в замораживающие колонки должна быть непрерывной в течение всего периода активного замораживания грунта.
Работа замораживающей станции после образования ледогрунтового ограждения должна обеспечивать его сохранение по специальному режиму (пассивному), установленному проектом.
6.88. При эксплуатации замораживающей станции и рассольной сети необходимо поддерживать холодильное и прочее оборудование в хорошем состоянии, следить за экономным расходованием электроэнергии, воды, смазочных материалов, своевременно проводить профилактический ремонт.
6.89. Температуру всасываемых паров аммиака, определяемую по показаниям термометра, установленного перед запорным всасывающим вентилем компрессора, поддерживают на 5 - 10 °C выше температуры испарения аммиака.
Температуру нагнетаемого аммиака при выходе из компрессора следует поддерживать в соответствии с инструкциями заводов-изготовителей, но не выше 150 °C, во избежание возгорания смазочного масла.
6.90. В процессе эксплуатации замораживающей станции не допускают превышения давления конденсации аммиака сверх 1,4 МПа (14 ат), своевременно (по графику) спускают масло из маслоотделителя, конденсатора, испарителя, промежуточного сосуда и ресивера, а также выпускают воздух из воздухоотделителей, поддерживают перепад температур охлаждающей воды, выходящей из конденсатора и конденсации аммиака в пределах 4 - 6 °C, наблюдают за правильной подачей воды и работой градирни. При хорошей работе градирни расход свежей воды не превышает 10%.
Перепад температур испарения аммиака и рассола в испарителе не должен превышать 5 °C.
При эксплуатации замораживающей станции поддерживают установленный проектом режим работы ее и систематически следят за показаниями контрольно-измерительных приборов.
6.91. Не реже одного раза в месяц вскрывают и прочищают всасывающий и нагнетательный масляные фильтры.
В течение первого месяца после монтажа и включения компрессора в эксплуатацию фильтры вскрывают и очищают через каждые 5 - 6 дней.
6.92. Заправку масла в компрессор следует производить в строгом соответствии с заводской инструкцией.
6.93. При внезапном прекращении циркуляции рассола компрессоры останавливают. Пуск, остановку и эксплуатацию холодильных машин, градирен и насосов производят в соответствии с инструкциями завода-изготовителя, которые должны быть вывешены в здании замораживающей станции.
6.94. Планово-предупредительный ремонт холодильного и другого оборудования выполняют по графику, утвержденному главным инженером стройуправления.
6.95. Замораживающие колонки включают в работу для замораживания грунтов в строгом соответствии с проектом.
При обслуживании рассольной сети и замораживающих колонок следят за тем, чтобы не происходило утечки рассола, при появлении желтых пятен надлежит немедленно устранить причину. Скрытые утечки рассола обнаруживают по снижению уровня рассола в испарителях или расширительном баке по показаниям дистанционного указателя уровня или визуально.
6.96. Первоначально в течение суток рассол пускают в сеть с температурой не более минус 5 °C с доведением до рабочей температуры минус 20 - 25 °C в течение последующих пяти суток.
6.97. При обслуживании рассольной сети следят за бесперебойной циркуляцией рассола во всех подключенных колонках. Для этого не реже одного раза в сутки очищают от инея участок соединительного шланга длиной 10 - 15 см на каждой колонке и следят за скоростью нарастания инея.
6.98. Воздух из коллектора и распределителя выпускают через воздушные краны ежедневно, не допуская образования воздушных мешков в шлангах, соединяющих колонки с коллектором и распределителем. Температуру обратного рассола в колонках измеряют термометрами, установленными в гильзах, вваренных в колонки ниже обратного патрубка.
6.99. При эксплуатации следят за тем, чтобы не было обрыва питающей трубы в колонке, вследствие чего образуется короткий ток рассола и "окно" в ледогрунтовом ограждении. Признаком обрыва служит очень малая разность температур прямого и обратного рассола (< 1 °C). В этом случае колонку вскрывают и восстанавливают питающую трубу.
6.100. На замораживающей станции вывешивают аммиачную и рассольную схему, инструкцию по эксплуатации холодильных машин и электрооборудования, правила внутреннего распорядка и техники безопасности, график планово-предупредительного ремонта оборудования.
6.101. В течение всего периода эксплуатации замораживающей станции ведут специальный журнал ее работы.
Показатели работы замораживающей станции записываются через каждые 2 ч.
6.102. Температуру рассола, циркулирующего в каждой колонке, в прямом и обратном рассолопроводах фиксируют в журнале работы замораживающих колонок
(Прил. 32). Замер температур рассола производится не реже одного раза в смену.
6.103. Температуры грунтов в контрольных скважинах замеряют термодатчиками (тип и схема расстановки определяется проектом) один раз в сутки и записывают в журнал
(Прил. 33).
Данные наблюдений за уровнем грунтовых вод записывают в журнал
(Прил. 34).
6.104. Проектные размеры и сплошность ледогрунтового ограждения должны устанавливаться по следующим данным:
наличию отрицательных температур на разных глубинах во всех термометрических скважинах, расположенных в пределах ледогрунтового ограждения, а также с помощью ультразвукового прибора УКЛЦ конструкции ВНИИОМШС;
подъему уровня воды в гидрологических наблюдательных скважинах в замкнутом контуре;
стабильности температуры рассола.
После достижения проектных размеров и температуры ледогрунтового ограждения составляют акт готовности участка для ведения основных работ.
6.105. В начале замораживания температура грунта вокруг колонки понижается быстро, затем вследствие увеличения термического сопротивления замороженных грунтов скорость понижения температуры замедляется.
6.106. По данным практики по замораживанию грунтов скорость замораживания (по радиусу) в песчаных грунтах в среднем составляет 0,025 м/сут, в глинистых - 0,01 - 0,015 м/сут.
Установлено, что скорость нарастания ледогрунтового ограждения прямо пропорциональна теплопроводности, понижению температуры замораживания.
6.107. При отсутствии гидрологической скважины возможны случаи, когда грунтовая вода, заключенная между ледогрунтовым ограждением и двумя водонепроницаемыми глинистыми прослойками, не находит свободного выхода и в результате развивающегося внутреннего давления может нарушиться уже образовавшееся ледогрунтовое ограждение.
В таких случаях в контуре выработки необходимо бурить специальную разгрузочную скважину с заглублением в водоносный слой не менее 1 - 1,5 м для свободного выхода воды, заключенной в нем.
КОНТРОЛЬ КАЧЕСТВА И ПРИЕМКА РАБОТ
6.108. Искусственное замораживание грунтов включает сложный комплекс работ, требующих тщательного выполнения и контроля.
Контроль работ обеспечивает высокое качество замораживания грунтов и предотвращает возможность аварий.
6.109. Приемка работ по замораживанию грунта осуществляется в три этапа.
На первом этапе производят приемку следующих работ: бурения замораживающих скважин, монтажа замораживающих колонок, замораживающей станции и рассольной сети; кроме того, определяют результаты измерения отклонений скважин, производят пробный пуск замораживающей установки.
На втором этапе устанавливают готовность объекта для ведения основных строительных и горных работ. Этот этап включает опробование при нормальной работе системы замораживающей станции, установление образования ледогрунтового ограждения или массива проектной толщины и температуры грунта (период активного замораживания грунта).
Приемка ледогрунтового ограждения включает проверку соответствия размеров и температур ледогрунтового ограждения проектным на основании журналов работ, измерений уровня грунтовых вод в гидрологических наблюдательных скважинах и температур грунта в термометрических скважинах (см.
Прил. 33 и
34), ультразвукового контроля.
Одновременно должен быть уточнен режим работы замораживающей станции и рассольной сети для поддержания проектных размеров и температур ледогрунтового ограждения (ЛГО) на срок окончания всех работ, производимых под его защитой.
На третьем этапе производят приемку окончания работ по замораживанию грунтов и демонтажу оборудования. В этот этап входят окончание работ по возведению сооружения под защитой ЛГО, искусственное оттаивание грунтов (если оно предусмотрено проектом), демонтаж холодильного оборудования и рассольной сети, извлечение замораживающих колонок и тампонаж скважин.
Приемку работ оформляют актом. К акту прилагают исполнительную документацию, а также перечень недоделок с указанием сроков их устранения.
6.110. Промежуточной приемкой на первом этапе устанавливают:
правильность расположения замораживающих колонок, их глубины и направления и необходимость бурения дополнительных скважин;
готовность всей замораживающей системы (станции и сети) к пуску, т.е. возможность приступить к процессу замораживания грунтов с составлением акта о пуске в эксплуатацию замораживающей системы.
Промежуточную приемку производят осмотром выполненных работ на месте, проверкой исполнительной технической документации в соответствии с паспортами скважин и замораживающих колонок, и технической документацией, необходимой для сдачи холодильной установки (замораживающей станции) и рассольной сети.
6.111. При приемке замораживающих установок генподрядчик должен предъявить акт, подтверждающий выполнение всех подготовительных работ.
6.112. Строительная организация, осуществляющая замораживание грунтов, в процессе работы составляет исполнительные графики работы замораживающего оборудования, распространения зоны замораживания грунтов и количества включенных в работу колонок.
После окончания строительных работ составляют акт на прекращение работ по замораживанию и дается разрешение на производство демонтажных работ. Демонтаж скважин (извлечение замораживающих колонок и обсадных труб) оформляют актом с указанием мест заложения скважин, способов их ликвидации, объема работ и т.д., а также актом на скрытые работы по проведению тампонажа.
Все технические акты подписывают ответственные представители строительной организации и генерального подрядчика по строительству.
6.113. Производство строительно-монтажных работ в пределах ледогрунтового ограждения разрешается при тщательном контроле за его состоянием и корректировке работы замораживающей станции с целью сохранения размеров ограждения и его температуры.
Все строительно-монтажные работы надлежит производить в строгом соответствии с проектом.
Выемку грунта из открытого котлована при положительных температурах воздуха необходимо производить с защитой ледогрунтовых стенок от действия атмосферных осадков и солнечных лучей.
6.114. Глинистые грунты плохо поддаются промораживанию - они остаются мягкими и пластичными, поэтому выемочные работы в них следует выполнять с большой осторожностью, так как в результате смещения глинистых грунтов замораживающие трубы подвергаются напряжению изгиба и соединительные стыки труб становятся неплотными. Через неплотности рассол будет вытекать из труб и размораживать ледогрунтовое ограждение.
6.115. Грунт, заключенный в пределах ледогрунтового ограждения, обычно находится в талом состоянии. Выемку песков производят лопатами, гравелистые породы, мел и мергель отбивают кайлами, отбойными молотками и пневмоломами, глины и суглинки - пневматическими лопатами.
6.116. Мерзлые грунты, обладающие большой влагоемкостью до замерзания (глина, суглинок, мергель, торф, лёсс, растительные грунты), разрабатываются труднее, чем грунты с малой водоудерживающей способностью (песок, гравий, галька и др.), их разрабатывают отбойным молотком.
Работы по выемке грунта выполняют следующим образом: сначала вынимают грунт из незамороженного ядра, а затем производят отбойку замороженных грунтов отбойными молотками и пневмоломами по всему сечению выработки.
6.117. При разработке грунтов взрывным способом необходимо соблюдать меры предосторожности, не допуская деформации ледогрунтового ограждения и повреждения замораживающих колонок, особенно когда последние находятся близко к габариту выработки из-за отклонения их.
Буровзрывные работы следует выполнять строго в соответствии с проектом и соблюдением правил безопасности.
6.118. При разработке котлованов с использованием искусственно замороженных грунтов в качестве ограждающих несущих конструкций временное крепление котлованов (металлическое или деревянное) не применяют. В этом случае обнаженные замороженные стены котлована должны быть теплоизолированы с помощью специальных матов.
6.119. При строительстве подземных сооружений способом замораживания выработка отделена от внешних подземных вод непроницаемым ледогрунтовым ограждением, поэтому никакие специальные водоотливные средства не применяются. Вода, остающаяся в незамороженном ядре, собирается в небольшом зумпфе, откуда ее удаляют в бадью.
По мере продвигания забоя выработки зумпф углубляют и забой осушается.
Поступление в забой значительного количества воды указывает на наличие "окна" в ледогрунтовом ограждении. Если приток воды появляется в слабых грунтах (песок, ил, глина, мергель, мел и др.), организация водоотлива недопустима, так как движущаяся вода разрушит ледогрунтовое ограждение, что может привести к серьезным осложнениям. В таком случае необходимо прекратить работы, выработку залить водой из водопровода до нормального гидростатического уровня, а затем произвести дополнительное замораживание грунтов. Способ замораживания "окна" определяется специальным проектом.
6.120. Правильное использование способа искусственного замораживания грунтов при строительстве подземных сооружений в любых условиях дает положительные результаты.
Однако в ряде случаев несоблюдение или неправильный учет ряда факторов, влияющих на процесс замораживания (отсутствие уточненных геологических и гидрогеологических данных участка строительства, несоблюдение технических указаний при проектировании и производстве работ, отступление от проекта, неудовлетворительный контроль за всем комплексом работ по замораживанию и др.) приводит к осложнениям.
ОТТАИВАНИЕ ГРУНТОВ И ПОГАШЕНИЕ СКВАЖИН
6.121. Способ оттаивания замороженного грунта, порядок выполнения работ и контроля за размерами и температурами ледогрунтового ограждения в процессе оттаивания должен быть определен проектом.
6.122. Оттаивание замороженных грунтов может происходить естественным путем или производиться искусственно.
6.123. Искусственное оттаивание замороженных грунтов осуществляют нагретым рассолом, циркулирующим в замораживающих колонках.
Во избежание повреждений колонок рассол нагревают постепенно на 2 - 3 °C в сутки и доводят до 50 - 70 °C. Рассол подогревают паром, циркулирующим в секциях труб, опущенных в бак с рассолом.
6.124. Контроль за оттаиванием грунтов можно осуществлять через одну из колонок, не включенных в рассольную сеть, а также через температурно-контрольные скважины.
6.125. Холодильную установку до конца оттаивания грунтов демонтировать не следует.
6.126. Извлечение замораживающих колонок следует производить после окончания оттаивания и всех работ, выполнение которых было намечено произвести под защитой ледогрунтового ограждения.
Скважины по мере извлечения из них замораживающих колонок или трубы замораживающих колонок в случае невозможности их извлечения должны быть затампонированы.
6.127. Число подлежащих извлечению колонок и способ их извлечения устанавливаются проектом в зависимости от застроенности площадки и доступа к колонкам, степени ожидаемых осадок поверхности и сохранности наземных и подземных сооружений при извлечении колонок.
6.128. Извлечение замораживающих колонок из скважин после оттаивания грунтов должно производиться после демонтажа рассольной сети и удаления из колонок рассола.
6.129. Извлечение замораживающих колонок из скважин, до естественного оттаивания грунта, выполняют искусственным оттаиванием слоя грунта толщиной 3 - 5 см вокруг трубы, для чего через колонки прокачивают подогретый рассол.
Раздел 7. СООРУЖЕНИЯ, УСТРАИВАЕМЫЕ
СПОСОБОМ "СТЕНА В ГРУНТЕ"
7.1. Способ "стена в грунте" следует применять для строительства стен подземных сооружений, фундаментов и противофильтрационных завес.
Способ включает два основных этапа работ:
разработку траншеи под защитой глинистого раствора;
заполнение траншеи материалами и конструкциями, сопровождающееся одновременным вытеснением ими глинистого раствора из заполняемой полости.
7.2. Способ "стена в грунте" может применяться при сооружении стен, фундаментов и противофильтрационных завес как в обводненных, так и в необводненных грунтах: супесчаных и песчаных, суглинках и глинах. Выполнение стен и противофильтрационных завес в виде замкнутого контура с заделкой их нижней части в водоупорный слой грунта предотвращает поступление грунтовых вод внутрь сооружения, что позволяет отказаться от водопонизительных работ.
7.3. Использование способа "стена в грунте" возможно при строительстве в стесненных условиях и вблизи существующих зданий, сооружений и коммуникаций, в том числе при реконструкции и расширении промышленных предприятий.
7.4. Применение способа "стена в грунте" может быть ограничено следующими условиями:
наличием грунтов с кавернами и пустотами, илов и рыхлых насыпных грунтов;
включением обломков бетонных и железобетонных плит, железа и других препятствий на трассе траншеи;
малой глубиной сооружения (до 3 - 5 м) при условиях, позволяющих вести строительство объекта в открытом котловане;
наличием грунта или его прослоек, разрабатываемость которых выше группы, максимально допустимой для имеющегося оборудования.
7.5. Процесс строительства подземных сооружений с применением способа "стена в грунте" состоит из следующих операций:
сооружения крепления верха траншеи для удержания грунта от обвалов и направления рабочего органа землеройного оборудования;
приготовления глинистого раствора;
заполнения глинистым раствором пространства между стенками крепления верха траншеи;
разработки под глинистым раствором траншеи на глубину, равную глубине заложения подземной стены;
пополнения объема глинистого раствора в траншее по мере разработки грунта;
установки арматурных каркасов и бетонирования секций-захваток, монтажа в траншее сборных элементов с последующим тампонажем пазух или заполнением траншеи противофильтрационным материалом;
поярусной разработки грунтового ядра внутри сооружения с устройством временных или постоянных креплений, если они предусмотрены проектом;
поярусной или на всю высоту заделкой стыков между сборными элементами;
устройством днища сооружения.
7.6. Применение способа "стена в грунте" позволяет избежать повреждения зданий, сооружений и подземных коммуникаций, расположенных в зоне строительства, значительно снизить уровень шума и исключить вибрации грунта, сократить площади разрытий, получить значительную экономию стального шпунта, металлопроката, бетона и пиломатериалов, полностью исключить или ограничить применение дорогостоящих специальных способов строительства, таких, как водопонижение, искусственное замораживание грунтов и др., использовать стену на время строительства для крепления котлована, а в законченном сооружении - в качестве несущей или ограждающей конструкции, полностью механизировать работы в стесненных условиях строительной площадки, сократить сроки работ и снизить стоимость строительства.
7.7. Применение способа "стена в грунте" должно быть обосновано технико-экономическими расчетами путем сравнения вариантов строительства подземных сооружений, устраиваемых с применением способа "стена в грунте", с их строительством в открытых котлованах (в том числе с использованием шпунтовых ограждений), с применением опускных колодцев и с другими способами, а варианта строительства противофильтрационных завес способом "стена в грунте" - с завесами других конструкций и другими средствами защиты от подземных вод.
7.8. Приступать к строительству подземных сооружений способом "стена в грунте" следует только при наличии проекта производства работ (ППР), разработанного в соответствии с Инструкцией по разработке проектов организации строительства и проектов производства работ
(СНиП 3.01.01-85). Проект производства работ на строительство способом "стена в грунте" кроме техдокументации, предусмотренной упомянутой инструкцией, должен включать:
указания, устанавливающие состав и параметры глин и глинистого раствора, а также рекомендации по контролю их качества, проект глинистого хозяйства, включающий рабочие чертежи узлов для приготовления и регенерации глинистого раствора;
технологические карты на выполнение отдельных видов работ: устройство крепления верха траншеи, разработку траншеи, установку армокаркасов и укладку бетонной смеси, монтаж конструкций из сборного железобетона и тампонаж пазух и стыков, разработку грунта внутри сооружения, устройство днища и укладку противофильтрационного материала в траншею, указания, устанавливающие состав и параметры тампонажного раствора (при применении конструкций из сборного железобетона), параметры противофильтрационных материалов для заполнения траншей противофильтрационных завес.
7.9. Инженерно-геологическое строение площадки при строительстве способом "стена в грунте" должно быть изучено для несущих стен - на глубину 1,5H + 5 м (где H - глубина заложения основного сооружения), для противофильтрационных завес - на глубину залегания водоупора плюс 5 м.
Разведочные геологические скважины на площадке возведения сооружения должны быть размещены по сетке не более 20 x 20 м или по трассе сооружения не реже, чем через 20 м.
Материалы инженерно-геологических изысканий должны содержать:
разрезы и буровые колонки с количественной и качественной оценкой встречаемых крупных включений;
физико-механические характеристики грунтов, в том числе удельный вес, угол внутреннего трения, коэффициент пористости, коэффициент фильтрации; кроме того, для песчаных грунтов - гранулометрический состав, а для глинистых - пластичность, консистенцию и сцепление;
данные об уровнях и режимах подземных вод, степени их агрессивности и отметках залегания водоупорных слоев грунта.
7.10. Подготовительные работы, выполняемые на строительной площадке и предшествующие основным работам, состоят из:
работ по подготовке строительной площадки, перенесению всех конструкций и коммуникаций, расположенных в зоне возводимого сооружения, устройству ограждений, подведению линий временного водоснабжения, канализации, энергоснабжения, устройству временных автодорог, устройству площадок для складирования и размещения оборудования.
7.11. Перед началом работ на стройплощадке должна быть проведена проверка готовности строительного оборудования к работе.
Необходимо опробовать на холостом ходу смонтированное оборудование по частям и в комплексе с устранением выявленных неполадок и опробовать оборудование в рабочих режимах.
7.12. Параметры глинистых растворов должны подбираться исходя из конкретных гидрогеологических условий строительства, глубины траншеи, способа ее разработки и других условий производства работ, при этом подбор рецептуры глинистого раствора и исследование образцов глиноматериалов должны производиться в лабораториях глинистых растворов и грунтовых лабораториях.
Параметры глинистых растворов следует определять по приборам, входящим в комплект переносной полевой лаборатории глинистых растворов ЛГР-3 (изготовитель: Бакинский приборостроительный завод).
При постоянных больших объемах работ на рассредоточенных объектах может быть использована передвижная лаборатория глинистых растворов ЛГР-69 (изготовитель: Мытищинский приборостроительный завод, г. Мытищи Московской обл.), смонтированная в кузове автобуса.
7.13. Условная вязкость раствора "T" характеризует его подвижность, способность проникать в поры грунта и трещины и определяется в приборе СПВ-5, имеющем вид воронки с проходным отверстием диаметром 5 мм, которую заполняют 700 см3 раствора и замеряют в секундах время истечения 500 см3 раствора из прибора.
Суточный отстой воды "О" характеризует устойчивость раствора, т.е. способность его не расслаиваться на воду и осадок глинистых частиц и определяется в мерном цилиндре, вмещающем 100 см3 раствора.
По прошествии 24 ч измеряют толщину слоя воды, определяющего суточный отстой в процентах.
Содержание песка в растворе "П" характеризует его загрязненность песком и другими частицами, выпадающими в осадок. Для определения их содержания в отстойник ОМ-2 наливают 50 см3 раствора и 450 см3 воды, закрывают пробкой и интенсивно взбалтывают. Через 3 мин выдерживания отстойника в покое замеряют объем осадка и эту величину умножают на два. Полученная величина характеризует содержание песка в процентах.
Водоотдача раствора условно определяется в приборе ВМ-6 как количество воды, отфильтровавшейся за 30 мин через бумажный фильтр диаметром 7,5 см при перепаде давления 0,1 МПа.
На этом же приборе определяется толщина глинистой корки. Она является аналогом глинистой корки, которая образуется на стенках траншеи в результате фильтрации глинистого раствора в поры грунта.
Для определения качества корки бумажный фильтр с осадком вынимают из прибора ВМ-6 после определения в нем водоотдачи, омывают слабой струей воды рыхлый осадок глинистых частиц и замеряют точной линейкой толщину корки. Плотность и прочность корки определяют визуально.
Тонкодисперсные глины образуют тонкую, плотную и малопроницаемую корку толщиной менее 3 мм за 30 мин. Пленка грубодисперсных растворов получается толстой, рыхлой и непрочной.
Вода для приготовления глинистых растворов должна быть пресной, иметь жесткость не более 12° и отвечать требованиям ГОСТ 4795-68.
7.14. Для приготовления глинистых растворов применяются бентонитовые глины в виде глины-сырца или молотого порошка либо комовые глины. Бентонитовые глинопорошки заводского изготовления, применяемые также для буровых растворов, должны отвечать техническим условиям "Глинопорошки для бурения".
В целях определения пригодности глин для приготовления глинистых растворов с требуемыми параметрами необходимо отбирать пробы глин из местных карьеров для лабораторных исследований. Пробы глин следует отбирать не менее чем из трех разных точек карьера; вес каждой пробы должен быть не менее 5 кг.
7.15. Для улучшения параметров глинистых растворов применяются в необходимых случаях следующие химические реагенты и добавки в виде неорганических химических минеральных и высоко молекулярных веществ:
кальцинированная сода

- эффективный, наиболее дешевый и широко применяемый химреагент, который улучшает качество раствора, переводя кальциевые глины в хорошо набухаемые и легко диспергируемые натриевые, а также используется для смягчения жесткой воды;
фосфаты - щелочные соли различных фосфорных кислот - применяются для тех же целей, что и

, но являются более дорогостоящими и требуют специальных мер предосторожности при обращении;
каустическая сода NaOH - замещает ионы кальция ионами натрия, "разжижает" раствор;
жидкое стекло (силикат натрия или калия)

или

, (где n - число молекул кремнезема) значительно повышает вязкость и pH глинистого раствора;
поваренная соль (хлористый натрий) NaCl - в небольших количествах (до нескольких процентов от веса глины) повышает структурно-механические свойства растворов.
Высокомолекулярные вещества в связи с их высокой стоимостью и дефицитностью следует применять для приготовления растворов с особыми свойствами - незамерзающих, повышенной вязкости, морозостойкости и др.
К высокомолекулярным веществам относятся: карбоксиметилцеллюлоза (КМЦ), углещелочной реагент (УЩР), торфощелочной реагент (ТЩР), сульфитно-спиртовая барда (ССБ), концентрированная сульфитно-спиртовая барда (КССБ), окзил, лигнин, сумил, полифенольный лесохимический реагент (ПФЛХ), крахмал, гипан, метас и др.
Введение этих веществ снижает водоотдачу и повышает вязкость растворов.
В случае невозможности достигнуть требуемых параметров глинистых растворов, приготовленных из местных глин, в состав раствора можно вводить бентонитовые глинопорошки заводского изготовления или бентонитовую комовую глину-сырец.
7.16. Глинопорошок заводского изготовления следует хранить на складе, под навесом или в передвижном вагончике, в таре предприятия-поставщика, в условиях, предотвращающих его замачивание или увлажнение.
Комовые глины можно хранить под навесом или открыто, на бетонированной огороженной площадке.
Химические реагенты в обязательном порядке должны храниться в отдельном запираемом помещении, в таре предприятия-поставщика. В случае порчи тары они немедленно должны быть переложены в другую исправную тару, а просыпавшиеся и непригодные к использованию должны быть ликвидированы.
7.17. Приготовление глинистых растворов и их очистка производятся на технологическом комплексе, включающем: узел приготовления глинистого раствора, емкости для хранения приготовленного глинистого раствора, узел перекачки глинистого раствора, емкости-отстойники для раствора, бывшего в употреблении, склады для хранения глины и химреагентов, узел очистки глинистого раствора.
Пример схемы комплекса для приготовления и очистки глинистого раствора приведен на рис. 79.
Рис. 79. Пример схемы комплекса для приготовления
и очистки глинистого раствора
7.18. Для приготовления глинистых растворов из комовых глин следует применять механические, а из глинопорошков - механические, турбинные или гидравлические смесители. Технические характеристики этих смесителей приведены в табл. 43.
Таблица 43
───────────────────┬───────────────────────────────────────────────────────
Технические │ Тип и марка растворосмесителя
характеристики ├────────────────────────┬──────────────────────────────
│ лопастные │ турбинные
├────────┬───────┬───────┼──────┬──────┬────────┬───────
│ МГ-2-4 │ГКА-2М │Г2-П2-4│РМ-750│РМ-500│ БС-2К │Диспер-
│ │ │ │ │ │ │гатор
│ │ │ │ │ │ │НИИСП
───────────────────┼────────┼───────┼───────┼──────┼──────┼────────┼───────
Емкость, м3 │ 4 │ 2 │ 4 │ 0,75 │ 0,5 │ 4 │ 0,6
Производительность,│ До 12 │ 4 - 5
м3/ч │ │
Частота вращения │ 95 │ 100; │ 95 │ 750 │От 960│ От 960 │ 1500
смесительного │ │ 182 │ │ │до 500│до 1500 │
органа, об./мин │ │ │ │ │ │ │
Мощность электро- │ 14,0 │ 14,0 │ 14 │7 - 10│ 4,5 │ 55 │ 10
двигателя, кВт │ │ │ │ │ │ │
Габариты, м: │ │ │ │ │ │ │
длина │ 3890 │ 2450 │ - │ 2000 │ 1500 │ - │ 1760
ширина │ 3015 │ 2150 │ - │ 1100 │ 1400 │ - │ 400
высота │ 1455 │ 1500 │ - │ 1000 │ 1300 │ - │ 600
Масса, Н │ 35560 │ 19500 │ - │ 5100 │ 3500 │ - │ 3050
Изготовитель │Бакинс- │Выпус- │ - │ВО Гидро- │ПКО │НИИСП
или разработчик │кий з-д │кается │ │спецстрой │Гидро- │Гос-
│им. Сар-│серийно│ │Минэнерго │проекта │строя
│дарова │ │ │ │ │УССР
Продолжение табл. 43
─────────────────────┬─────────────────────────────────────────────────────
Технические │ Тип и марка растворосмесителя
характеристики ├─────────────────────────────────────┬───────────────
│ фрезерные │ гидравлические
├───────┬─────┬────────┬──────┬───────┼──────┬────────
│ЛРМ-350│С-868│ ФСМ-7А │ФСМ-3 │АППЖ-4 │СПП-70│Гидромо-
│ │ │ │ │ │ │ниторный
│ │ │ │ │ │ │ГСТ
─────────────────────┼───────┼─────┼────────┼──────┼───────┼──────┼────────
Емкость, м3 │ 0,35 │0,65 │ - │ - │ - │ - │ 14,0
Производительность, │ - │ - │120, 300│12, 25│ До 15 │От 24 │ До 40
м3/ч │ │ │ │ │ │до 70 │
Частота вращения │ 56 │ 600 │ 500 │ 500 │ 600 │ - │ -
смесительного органа,│ │ │ │ │ │ │
об/мин │ │ │ │ │ │ │
Мощность │ 1 │ 2,8 │ 28 │ 28 │ 20 │ 56 │ -
электродвигателя, кВт│ │ │ │ │ │ │
Габариты, м: │ │ │ │ │ │ │
длина │ 1200 │1475 │ 2425 │ 1980 │ 3300 │ 2155 │ 1177
ширина │ 1200 │ 595 │ 1960 │ 153 │ 1670 │ 1500 │ 3700
высота │ 1200 │ 815 │ 1520 │ 1410 │ 1800 │ 1816 │ 2400
Масса, Н │ 2000 │1340 │ 1,75 │ 1,4 │ 0,2 │ 1,99 │ 8,39
Изготовитель │ - │ - │ Выпускаются серийно
или разработчик │ │ │
7.19. Емкости для хранения приготовленного глинистого раствора представляют собой закрытые сверху баки или резервуары объемом 10 м3 и более, оборудованные штуцерами, задвижками и вентилями для подачи и перекачки глинистого раствора и указателями уровня раствора в емкости. Как правило, емкости выполняются из листового металла, прямоугольной или цилиндрической формы, прочность и габариты которых обеспечивают их перевозку автотранспортом. В верхней части емкостей должны быть предусмотрены лазы с крышками для осмотра и очистки внутренней полости.
Для хранения и перевозки глинистого раствора при строительстве в городе и в стесненных условиях рекомендуется использовать прицепные автоцистерны.
7.20. Для перекачки глинистого раствора и подачи его в траншею рекомендуется использовать грязевые и центробежные насосы, технические характеристики которых приведены в табл. 44.
Таблица 44
─────────────────────┬─────────────────────────────────────────────────────
Технические │ Марка насоса
характеристики ├──────────┬────────┬───────────┬──────┬──────┬───────
│НГР 250/50│ 11 ГР │ 9 МГР │НШ-150│ШН-200│С-317 А
─────────────────────┼──────────┼────────┼───────────┼──────┼──────┼───────
Производительность, │ 18 │18; 13,5│22; 36; 60 │ 150 │ 200 │ 6
м3/ч │ │ │ │ │ │
Давление, МПа │ 5 │ 5; 6,3 │10; 6; 3,5 │ 0,3 │ 0,4 │ 1,5
Мощность │ 38 │ 48 │ 100 │ 28 │ - │ 7
электродвигателя, кВт│ │ │ │ │ │
Габариты, мм: │ │ │ │ │ │
длина │ 1444 │ 1870 │ 2630 │ 685 │ - │ 1040
ширина │ 876 │ 990 │ 1040 │ 610 │ - │ 560
высота │ 932 │ 1510 │ 1630 │ 640 │ - │ 1000
Масса, Н │ 7380 │ 11500 │ 17600 │ 2220 │ - │ 3900
7.21. Трубопроводы для перекачки глинистого раствора выполняют из труб диаметром 100 - 150 мм секциями длиной от 2 до 5 м, соединяемыми между собой, с насосами, задвижками, вентилями и штуцерами, фланцевыми или быстроразъемными соединениями.
Гибкие трубопроводы должны иметь жесткие наконечники с фланцевыми или быстроразъемными соединениями. На концах гибких трубопроводов, опускаемых в траншею для откачки раствора, должны быть сетчатые фильтры с размером ячеек сетки до 15 x 15 мм.
Трубопроводы должны быть защищены и предохраняться от повреждений проезжающим транспортом.
7.22. В качестве временных и резервных емкостей для отстоя глинистого раствора могут применяться приямки, отрываемые в грунте (если позволяют размеры строительной площадки и она расположена в удалении от жилых массивов). Вокруг приямков обязательно должно быть устроено ограждение.
Заполнение приямков может производиться самотеком, а откачка из них - насосами. Удаление осадка из приямка следует производить экскаватором. По окончании использования приямки должны быть засыпаны грунтом.
7.23. При очистке глинистого раствора для выделения из него частиц крупностью 2 мм и более применяют вибросита, для более тонкой очистки - до частиц крупностью 0,06 мм - гидроциклоны.
Технические характеристики этих механизмов приведены в табл. 45 и
46.
Таблица 45
────────────────────────────────────────┬──────────────────────────────────
Технические характеристики │ Марка вибросита
├───────────┬───────────┬──────────
│ СВ-1 │ СВС-2 │ СВ-2
────────────────────────────────────────┼───────────┼───────────┼──────────
Пропускная способность, л/с │ 20 │ 50 - 55 │ 50 - 60
Рабочая площадь сетки, м2 │ 1,25 │ 2,5 │ 2,6
Число отверстий на 1 дюйм при диаметре: │ │ │
0,25 мм │ 40 │ 40 │ 40
0,35 мм │ 30 │ 30 │ 30
Число колебаний в 1 мин │1400; 1420;│1400; 1600;│1600; 2000
│ 1600 │1800; 2000 │
Мощность электродвигателя, кВт │ 2,8 │ 2,8 x 2 │ 2,8 x 2
──────────────────────────────┬────────────────────────────────────────────
Технические характеристики │ Марка ситогидроциклонной установки
├──────────┬──────────┬─────────┬────────────
│ 2 СГУ │ 4 СГУ │ ОГХ-8Б │ ОГХ-8А
──────────────────────────────┼──────────┼──────────┼─────────┼────────────
Производительность, л/с │ 30 │ 60 │ 5 │ 2,5
Число сит │ 1 │ 2 │ - │ -
Число гидроциклонов │ 2 │ 4 │ 1 │ 1
Насосная установка: │ │ │ │
тип │ ВШН-150 │ ВШН-150 │ ВН-4 │ВНМ-18 x 30
мощность, кВт │ 28 │ 28 │ 4,5 │ 3,5
Габариты, мм; │ │ │ │
длина │ 2100 │ 2175 │ 1670 │ 1435
ширина │ 1700 │ 2250 │ 420 │ 850
высота │ 2465 │ 2150 │ 1425 │ 1450
Масса, Н │ 22500 │ 19500 │ 2800 │ 2950
7.24. Приготовление глинистого раствора из глинопорошков в механических мешалках и смесителях следует производить в следующей последовательности:
заполнение смесителя водой из расчета 0,75 объема готового глинистого раствора;
засыпка в смеситель, если это предусмотрено, расчетного количества химреагента (кальцинированной соды или других добавок) и растворение его в воде при перемешивании в течение 8 - 10 мин;
загрузка смесителя расчетным количеством глинопорошка частями при кратковременных перемешиваниях;
доливка воды до полного объема готового глинистого раствора;
перемешивание глинистого раствора в течение 20 - 30 мин;
слив приготовленного глинистого раствора в емкость.
Приготовление глинистого раствора из комовых глин в глиномешалках и смесителях должно производиться в той же последовательности с окончательным перемешиванием раствора в течение 40 - 50 мин.
Для сокращения времени приготовления глинистого раствора из комовой глины рекомендуется предварительное замачивание глины из расчета 100 вес. ед. глины на 50 вес. ед. воды.
При наличии в приготовленном глинистом растворе песчаных и других частиц размером более 2 мм их необходимо удалять путем его слива через металлическую сетку или отстаиванием в емкости.
7.25. Периодический контроль плотности и других параметров приготовленного глинистого раствора следует производить отбором проб из глиномешалки и накопительных емкостей.
Перемешивание загустевших или расслоившихся глинистых растворов в емкостях следует производить принудительной циркуляцией с помощью насоса или подачей в емкость по шлангу сжатого воздуха.
Периодически, не менее одного раза в смену, следует производить контроль параметров глинистого раствора в траншее (во время разработки грунта, перед установкой арматурных каркасов, сборных элементов и бетонированием, после перерыва в работе свыше 1 сут) путем отбора и исследования проб.
7.26. Разработку траншей под глинистым раствором следует производить в соответствии с рабочими чертежами строящегося сооружения и проектом производства работ.
Во всех случаях разработка траншей под глинистым раствором производится в следующей последовательности:
устройство крепления верха траншеи в соответствии с проектом
(рис. 80);
разметка крепления верха траншеи по длине на участки (захватки) в соответствии с принятой в ППР схемой разработки, длины захвата применяемого грейфера, длины армокаркасов или сборных элементов;
разработка под глинистым раствором грунта захватки в определенной ППР последовательности;
погрузка и вывозка извлеченного грунта от места разработки, удаление отработанного глинистого раствора;
установка и крепление в траншее предусмотренных проектом ограничительных, направляющих и разделительных элементов (труб, свай и т.п.) для разделения захваток и предотвращения проникновения глинистого раствора из одной захватки в другую.
Рис. 80. Конструкции крепления верха траншей
а - переносная; б - Г-образная;
в - Г-образная перевернутая; г - баночная
7.27. В некоторых случаях для облегчения работы грейферного оборудования в местах стыка разрабатываемых захваток производится бурение лидерных скважин под глинистым раствором. Бурение лидерных скважин следует применять лишь в тех случаях, когда они являются необходимым условием для нормальной работы землеройного оборудования и предусмотрены в ППР.
7.28. Крепление верха траншеи должно отвечать следующим требованиям:
продольная ось крепления должна совпадать с продольной осью стены;
расстояние между вертикальными стенками должно быть на 50 мм больше рабочего органа землеройного оборудования;
для предупреждения возможных смещений вертикальных стенок между ними следует устанавливать временные деревянные распорки;
начинать разработку траншеи допускается только после набора бетоном крепления верха траншеи проектной прочности.
7.29. Оборудование и механизмы для разработки траншей, получившие распространение в практике строительства, можно разделить на два следующих типа: экскавационное; бурофрезерное.
Для экскавационного оборудования характерно наличие ковша, которым производится копание грунта, удаление его из траншеи и выгрузка в виде компактной массы, мало насыщенной глинистым раствором.
Оборудование бурофрезерного типа разрабатывает грунт стружками; при этом измельченный грунт смешивается с глинистым раствором, образуя пульпу. Пульпа откачивается из забоя эрлифтом или шламовым насосом и по трубопроводу подается на ситогидроциклонную установку либо в отстойники, в которых производится разделение пульпы на шлам, идущий в отвал, и глинистый раствор, возвращаемый в траншею.
Из землеройного оборудования экскавационного типа наибольшее распространение получили специальные грейферы на канатной подвеске и штанговые грейферы. Канатная подвеска грейфера не ограничивает глубины копания, но в силу небольшой массы рабочего органа его использование ограничивается II категорией грунта. Штанговые грейферы более сложны в изготовлении и требуют более мощной базовой машины-экскаватора. В то же время применение штанговых грейферов облегчает управление ими и позволяет разрабатывать более тяжелые грунты.
При разработке траншей грейферами обычно применяются следующие схемы разработки:
разработка траншей захватками длиной, равной ширине захвата грейфера, "через одну", т.е. с оставлением целиков между захватками первой очереди и разработкой этих целиков во вторую очередь;
последовательная разработка траншеи захватками с установкой ограничителей между разрабатываемыми и бетонируемыми захватками.
Выбор схемы и последовательность разработки траншеи определяются гидрогеологическими условиями площадки, конструктивными и технологическими особенностями оборудования для разработки траншей (в том числе шириной захвата грейфера), конструктивными особенностями сооружаемых подземных стен, размерами применяемых армокаркасов, сборных элементов, грузоподъемностью применяемого для монтажа оборудования, обеспеченностью стройплощадки строительными материалами и другими факторами.
Кроме грейферов известны и другие виды землеройного оборудования, которые можно характеризовать как специальные экскаваторы. К ним относятся штанговый экскаватор НИИСП, обратные лопаты с удлиненной рукоятью и узким ковшом и др.
Технические характеристики землеройных механизмов приведены в табл. 47.
Таблица 47
──────┬──────────────┬─────────┬───────┬─────┬──────┬──────┬─────┬─────┬──────────┬──────────
Вид │ Наименование │ Базовая │Группа │Глу- │Ширина│Ем- │Длина│Масса│Разработ- │Изготови-
обору-│ оборудования │ машина │грунтов│бина │тран- │кость │за- │обо- │чик техдо-│тель
дова- │ │ │ │тран-│шеи, м│ковша,│хват-│рудо-│кументации│
ния │ │ │ │шеи, │ │м3 │ки, м│ва- │ │
│ │ │ │м │ │ │ │ния, │ │
│ │ │ │ │ │ │ │т │ │
──────┼──────────────┼─────────┼───────┼─────┼──────┼──────┼─────┼─────┼──────────┼──────────
Буро- │Буровой станок│ - │I - IV │ 100 │0,5 - │ - │0,5 -│ - │ВНИИстрой-│Минстрой-
фре- │УКС-30М │ │ │ │ 0,9│ │ 0,9│ │дормаш │дормаш
зерное│Буровая │Э-10011 │I - IV │ 20 │0,4 - │ - │0,4 -│ - │ПКО Гид- │ -
│установка СО-2│ │ │ │ 0,8│ │ 0,8│ │ропроекта │
│ │ │ │ │ │ │ │ │Минэнерго │
│ │ │ │ │ │ │ │ │СССР │
│СВД-500Р │Специ- │I - IV │До 50│0,5 - │ - │0,5 -│ 45 │То же │Зуевский
│ │альная │ │ │ 0,7 │ │ 0,7│ │ │з-д
│ │ │ │ │ │ │ │ │ │Минэнерго
│ │ │ │ │ │ │ │ │ │СССР
│Барражная │ " │I - III│До 50│ 0,5 │ - │ - │ 25 │ВИОГЕМ │ -
│машина │ │ │ │ │ │ │ │Минчермета│
│БМ-0,5/50-2М │ │ │ │ │ │ │ │СССР │
──────┼──────────────┼─────────┼───────┼─────┼──────┼──────┼─────┼─────┼──────────┼──────────
Грей- │Грейферный │ЭО-4121 │I - IV │10,4;│0,50 -│ 0,65 │ 1,8 │20,9 │ВНИИстрой-│Ковровский
фер- │гидравлический│ │ │14,2 │ 0,8│ │ │ │дормаш │экскава-
ное, │экскаватор │ │ │ │ │ │ │ │ │торный з-д
гид- │ЭО-4121 │ │ │ │ │ │ │ │ │
равли-│Грейферный │ЭО-5123 │I - IV │20,0 │0,6 - │0,6 - │ 2,5 │48,0 │ │Воронежс-
ческое│гидравлический│ │ │ │ 1,0│ 1,0│ │ │ │кий экс-
│экскаватор │ │ │ │ │ │ │ │ │каваторный
│ЭО-5123 │ │ │ │ │ │ │ │ │з-д
│Штанговый │ЭО-10011 │I - IV │20,3 │0,4 - │0,5 - │ 2,0 │3,5; │СКБ │ -
│гидравлический│ │ │ │ 0,6│ 0,8│ │ 5,0 │Главмос- │
│грейфер │ │ │ │ │ │ │ │тостроя │
│ │ │ │ │ │ │ │ │НИИОСП │
│ │ │ │ │ │ │ │ │Госстроя │
│ │ │ │ │ │ │ │ │СССР │
│Штанговый │Э-1252 │I - IV │25,0 │ 0,6 │ 0,7 │ 2,5 │ 3,5 │Гидроспец-│ -
│гидравлический│ │ │ │ │ │ │ │проект │
│грейфер │ │ │ │ │ │ │ │ │
│Экскаватор │ЭО-4121 │I - IV │До 10│ 0,4; │ 0,6 │ - │ 22 │НИИОСП │ -
│обратная │ │ │ │ 0,6 │ │ │ │Госстроя │
│лопата (гид- │ │ │ │ │ │ │ │СССР │
│равлическая) │ │ │ │ │ │ │ │ │
──────┼──────────────┼─────────┼───────┼─────┼──────┼──────┼─────┼─────┼──────────┼──────────
Грей- │Оборудование │Э-10011 │I - II │ 12 │ 0,6; │ 0,6 │ - │ 2,5 │НИИСП │ -
фер- │штангового │Э-1252 │ │ │ 0,8 │ │ │ │Госстроя │
ное, │экскаватора │ │ │ │ │ │ │ │УССР │
канат-│ЭК-800 │ │ │ │ │ │ │ │ │
ное │Грейфер ГПИ │Э-10011 │I - III│ 18 │ 0,4; │ 0,4; │ 3,2 │ 5,1 │ГПИ │ -
│"Фундаментпро-│Э-1252 │ │ │ 0,6 │ 0,6 │ │ │"Фунда- │
│ект" │ │ │ │ │ │ │ │мент- │
│ │ │ │ │ │ │ │ │проект" │
│Широкозахват- │Э-10011 │I - III│До 20│0,6; 1│0,6; 1│ 5 │ 3,5 │НИИСП │ -
│ный грейфер │Э-1252 │ │ │ │ │ │ │Госстроя │
│НИИСП │ │ │ │ │ │ │ │УССР │
│Плоский │Э-10011 │I - III│До 25│0,6 - │ 0,7 │ 3,5 │ 5 │ЭКБ ЦНИИСК│Опытный
│грейфер НИИОСП│Э-1252 │ │ │ 0,8│ │ │ │Госстроя │завод
│Госстроя СССР │ │ │ │ │ │ │ │СССР │ЗОКИО
│ │ │ │ │ │ │ │ │ │ЦНИИСК
│ │ │ │ │ │ │ │ │ │Госстроя
│ │ │ │ │ │ │ │ │ │СССР
│Экскаватор │Э-100011 │I - IV │До 12│0,4 - │0,4 - │ - │ - │НИИОСП │Собствен-
│обратная │Э-1252 │ │ │ 0,6│ 0,6│ │ │Госстроя │ными
│лопата │ │ │ │ │ │ │ │СССР │силами
7.30. При выборе машин для разработки траншей необходимо учитывать, что:
круглые или ломаные в плане траншеи следует разрабатывать механизмами с вертикально перемещающимся рабочим органом (штанговые экскаваторы и грейферы, установки СВД-500, буровое оборудование);
прямолинейные в плане и линейные траншеи можно разрабатывать любыми машинами;
при строительстве линейных противофильтрационных завес рекомендуется применять экскаваторы, оборудованные обратной лопатой;
при строительстве в городах и на промышленных площадках рекомендуется применение специализированных ковшовых машин;
при проходке скальных и полускальных грунтов и прослоек следует применять буровые и бурофрезерные агрегаты.
СООРУЖЕНИЯ ИЗ МОНОЛИТНОГО ЖЕЛЕЗОБЕТОНА
7.31. Сущность технологии строительства монолитных стен в грунте заключается в разработке траншеи, разделение ее на отдельные участки (захватки), монтаже арматурных каркасов на этих участках и бетонировании стены отдельными секциями-захватками последовательно или через одну с обеспечением надлежащей плотности сопряжения секций стены между собою.
Работы по возведению монолитных стен в грунте должны быть максимально механизированы, выполняться поточным методом с максимальным совмещением работ во времени.
7.32. Основным материалом конструкций подземных инженерных сооружений, возводимых способом "стена в грунте", является бетон. Состав бетонной смеси должен подбираться таким образом, чтобы он соответствовал условиям производства работ при бетонировании методом вертикально перемещаемой трубы.
Траншеи, заполненные глинистым раствором, следует бетонировать методом вертикально перемещаемой трубы (ВПТ). Бетонирование и приготовление бетонной смеси должно производиться в соответствии с указаниями главы
СНиП III-15-76 и настоящего Пособия. Состав бетонной смеси подбирается согласно указаниям главы
СНиП III-15-76, исходя из требуемой прочности бетона и условий его удобоукладываемости, и должен удовлетворять следующим требованиям:
иметь связность, обеспечивающую свободное прохождение по бетонолитной трубе и распределение по площади захватки без расслоения;
относительное водоотделение смеси, характеризующее ее связность, должно находиться в пределах 0,01 - 0,02;
иметь в период бетонирования осадку стандартного конуса 16 - 20 см;
сохранять подвижность в течение времени, необходимого для транспортировки и укладки ее в траншею;
водоцементное отношение - не более 0,6;
срок схватывания бетонной смеси - не менее 2 ч.
Для повышения пластичности бетона и его удобоукладываемости без увеличения расхода цемента рекомендуется применять пластифицирующие добавки [сульфитно-спиртовую барду (ССБ) и др.].
Вид и дозировку добавок следует устанавливать по данным лабораторных исследований, в зависимости от вида и качества цемента, а также требований, предъявляемых к бетону. Запрещается вводить в бетонную смесь химические ускорители твердения бетона (хлористый кальций, поваренную соль и др.).
Размеры фракций крупного заполнителя не должны превышать 50 мм.
В некоторых случаях бетонирование возможно производить полужесткими бетонными смесями (с осадкой конуса 7 - 10 см) и с применением вибратора, прикрепленного к нижней части бетонолитной трубы.
7.33. Арматурные каркасы должны быть на 10 - 15 см меньше ширины траншеи и иметь специальные катки (салазки), расположенные по обе стороны каркаса в трех точках по горизонтали и через 3 - 4 м по высоте, но не менее чем в трех сечениях.
Эти катки (салазки) обеспечивают правильную установку каркаса в траншее и создание защитного бетонного слоя между арматурой и грунтом, составляющего 5 - 7 см с каждой стороны.
В местах установки бетонолитных труб в армокаркасе проектом должны быть предусмотрены специальные проемы с направляющими из продольных гладких стержней, обеспечивающие опускание и подъем бетонолитных труб без зацепления фланцев за арматуру. Хранение готовых армокаркасов на стройплощадке следует осуществлять под навесом на деревянных подкладках.
7.34. Оборудование для бетонирования траншей под глинистым раствором методом вертикально перемещаемой трубы (ВПТ) должно состоять из:
комплекта металлических бетонолитных труб с длиной звеньев 1 - 6 м для подачи бетонной смеси в траншею;
загрузочной воронки на трубе;
приспособлений для изоляции бетонной смеси от глинистого раствора при первоначальном заполнении трубы;
приспособлений для подвешивания, подъема и опускания труб;
подмостей для размещения оборудования и людей;
автобетоносмесителей, бетононасосов и других приспособлений и устройств для транспортирования бетонной смеси к установке ВПТ.
Оборудование и механизмы для бетонирования должны обеспечивать непрерывность укладки бетонной смеси в траншею с равномерным заполнением бетонной смесью всей бетонируемой захватки.
7.35. Для подачи бетонной смеси в траншею следует применять круглые металлические цельнотянутые трубы диаметром 250 - 300 мм с толщиной стен 8 - 10 мм без вмятин и наплывов на стенках.
Загрузочная воронка должна изготовляться из листовой стали толщиной 3 - 5 мм с металлической обвязкой уголковой стали и иметь уклон примерно 45°. Объем воронки должен быть не менее объема бетонолитной трубы, рассчитанной на максимальную глубину бетонирования.
Длина всей бетонолитной трубы должна приниматься равной высоте бетонируемой стены. Зазор между нижним концом бетонолитной трубы и дном траншеи должен быть 6 - 10 см.
Стыки бетонолитных труб следует выполнять прочными, плотными и быстроразъемными. Замки между секциями труб не должны иметь выступающих частей, которые могли бы задевать за арматурный каркас при подъеме и опускании труб. До начала работ собранную бетонолитную трубу необходимо проверить на герметичность водой под давлением 0,02 - 0,03 МПа. Для контроля за заглублением трубы в траншее на ней следует нанести яркой краской деления через 10 см, начиная с нижнего звена, а цифры, обозначающие длину трубы, следует наносить через 1 м.
7.36. Для предохранения бетонной смеси, поступающей в начальный период в бетонолитную трубу, от смешивания с глинистым раствором должны применяться скользящие пробки из мешковины, пакли и др. При этом в горловине воронки над пробкой должен устанавливаться съемный клапан, удерживающий бетонную смесь в воронке.
7.37. Длина отдельных захваток бетонируемой секции обычно принимается от 2 до 6 м, при этом в торцах захватки необходимо устанавливать ограничители, служащие опалубкой и придающие торцу требуемую форму для устройства принятого стыка между захватками.
Ограничитель следует устанавливать в траншею при помощи крана, в створ стыка между смежными захватками. При этом под действием собственного веса ограничитель должен врезаться на 3 - 5 см в вертикальные стены траншеи и погружаться ниже дна траншеи на 30 - 50 см. Верх ограничителя должен надежно закрепляться на креплении верха траншеи. Этими мероприятиями обеспечиваются герметичность ограничителя и его устойчивость в горизонтальном направлении от сдвигов под воздействием давления бетонной смеси.
При наличии плотных грунтов в дне траншеи для заглубления ограничителя рекомендуется пробуривать скважину глубиной 0,5 м на дне траншеи. В целях предотвращения обвалов грунтовых стен траншеи устанавливать ограничители способом вибропогружения не рекомендуется.
Ограничители в виде металлических инвентарных труб устраиваются диаметром на 3 - 5 см менее ширины траншеи с приваренными уголками (рис. 81). Через 3 - 5 ч после бетонирования ограничители должны извлекаться.
Рис. 81. Трубчатый ограничитель
7.38. Вибронабивной стык выполняется при помощи инвентарных труб, которые после начала схватывания бетонной смеси первой захватки отрываются от схватывающегося бетона и оставляются в траншее. После бетонирования смежной захватки полость инвентарной трубы заполняется бетоном, а сама труба извлекается.
Неизвлекаемые железобетонные ограничители (рис. 82) используют при отрывке и бетонировании захваток через одну.
Рис. 82. Неизвлекаемый железобетонный ограничитель
7.39. Учитывая, что в процессе разработки траншеи происходит загрязнение глинистого раствора и выпадение шлама на дно траншеи, необходимо перед началом бетонирования очистить дно захватки и заменить загрязненный глинистый раствор на свежеприготовленный.
Для очистки дна траншеи от шлама применяются погружные насосы или эрлифтные установки.
7.40. После отрывки траншеи установка ограничителей арматурных каркасов и бетонирование захватки должны выполняться в наиболее короткий срок, который не должен превышать суток.
7.41. Каркасы следует вывешивать на крепление верха траншеи с помощью поперечных балок, при этом стержни арматурных каркасов не должны опираться на дно траншеи.
При значительной глубине траншеи арматурные каркасы должны собираться по высоте из отдельных блоков, соединяемых друг с другом сваркой по мере монтажа их в траншее.
7.42. По мере бетонирования трубу вместе с воронкой поднимают краном и укорачивают посекционно, но так, чтобы ее нижний конец всегда был заглублен в ранее уложенную бетонную смесь не менее чем на 1 - 2 м. Перерывы в бетонировании допускаются не более 1 - 1,5 ч. Вытесняемый из траншеи глинистый раствор в процессе бетонирования отводится по лотку из траншеи в разрабатываемую захватку или запасную емкость.
Количество бетонолитных труб для бетонирования захватки устанавливается исходя из радиуса надежного растекания бетонной смеси - радиуса действия труб.
7.43. Бетонирование следует производить до уровня, превышающего проектную отметку на 2% высоты конструкций, но не менее 40 см, с последующим удалением верхнего слоя бетона толщиной не менее 20 см, загрязненного глинистыми частицами.
СООРУЖЕНИЯ ИЗ СБОРНОГО ЖЕЛЕЗОБЕТОНА
7.44. При строительстве способом "стена в грунте" с применением сборных элементов их запас на площадке должен соответствовать длине участка стены, равной сменной производительности агрегата, разрабатывающего траншею. Запрещается разработка траншеи без наличия необходимого запаса сборных элементов.
7.45. Монтаж сборных элементов должен начинаться только при наличии готовой траншеи длиной 6 - 7 м и вестись с интенсивностью, соответствующей скорости разработки траншеи. Разрыв между рабочим органом разрабатывающей траншею машины и монтируемым элементом должен быть не менее 2 - 3 м.
Монтаж сборных элементов может производиться стреловыми, башенными или козловыми кранами соответствующей грузоподъемности и вылета, находящимися, как правило, с наружной стороны возводимого сооружения за пределами призмы обрушения траншеи.
7.46. Перед установкой сборного элемента должна замеряться глубина траншеи. Разработка траншеи должна быть произведена с перебором дна на 200 - 250 мм. Глубина траншей замеряется по отношению к горизонтальным плитам крепления верха траншеи лотом с бирками на тросе через 0,1 м.
7.47. Проектная отметка верха стеновых панелей достигается их подвеской на крепление верха траншеи или отсыпкой в траншею слоя щебня или гравия. По мере подсыпки осуществляют промеры глубин не менее чем в трех точках по краям проектного положения плиты в центре.
7.48. Установка первой стеновой панели в ряду должна осуществляться с тщательной выверкой ее положения как в плане, так и по высоте при помощи жесткого направляющего кондуктора (рис. 83).
Рис. 83. Кондуктор для монтажа стеновых панелей
1 - опорная рама; 2 - кондуктор; 3 - прижимная пружина
Монтаж второй и последующих панелей производится при помощи специальных направляющих - съемных (инвентарных) и постоянных (несъемных).
Съемные направляющие применяются преимущественно при стыках открытой формы, когда полость стыка достаточна для размещения направляющей.
Постоянные направляющие применяются при стыках с малой полостью.
Съемные направляющие (рис. 84 и
85) выполняются в виде стержня-шаблона любого симметричного сечения - двутавра, рельса, трубы и т.д., и соединяются со сборным элементом при помощи фиксаторов-коротышей длиной 150 - 200 мм. Форма фиксаторов должна соответствовать форме направляющей.
Рис. 84. Съемная (инвентарная) направляющая
1, 2 - направляющие уголки; 3 - закладные
детали; 4 - рабочая арматура; 5 - шаблон
Рис. 85. Стык панелей с прямоугольной разделкой шва
1 - съемные направляющие; 2 - фиксаторы-коротыши
Постоянные направляющие (рис. 86) состоят из шаблона и двух фиксаторов и выполняются в виде накладных частей, привариваемых к закладным частям панели перед ее установкой в проектное положение. При этом фиксаторы устанавливаются на задней (по направлению монтажа) грани монтируемой панели, а шаблон - на передней грани.
Рис. 86. Стационарная направляющая
На первой монтируемой панели в сооружениях круглой или овальной формы в плане шаблоны устанавливаются на передней и задней гранях. Передняя и задняя грани последней монтируемой панели оснащаются фиксаторами.
7.49. Монтаж панелей со съемными направляющими производится путем заводки и закрепления направляющей в фиксаторы передней грани сборного элемента, лежащего в горизонтальном положении. После переведения сборного элемента в вертикальное положение он заводится в траншею сверху так, чтобы фиксаторы задней грани монтируемого элемента вошли в зацепление с направляющей ранее установленного элемента. После этого сборный элемент опускается краном в траншею до тех пор, пока верхние фиксаторы не войдут в зацепление с направляющей.
После установки элемента в проектное положение направляющая, находящаяся между смонтированными элементами, извлекается краном для заводки в очередной элемент.
Для обеспечения бесперебойного монтажа необходимо наличие двух направляющих.
Сборные элементы со стационарными направляющими следует монтировать так же, как и элементы со съемными направляющими.
7.50. Высотное положение верхнего торца сборного элемента следует проверять после его погружения в траншею. При этом если панель подвешивается на крепление верха траншеи, то ее высотное положение следует изменять путем установки подкладок различной толщины под балку, на которой подвешен сборный элемент.
В случае, когда элемент опирается на дно траншеи, выверку по высоте нужно осуществлять путем изменения толщины щебеночного основания. Если верх сборной панели расположен ниже проектной отметки, ее следует приподнять краном и в траншею подсыпать щебень.
Если отметка верхнего торца стеновой панели выше проектной, сборный элемент следует приподнять краном, а затем резко опустить вниз, втрамбовывая щебень в дно траншеи.
7.51. Заполнение пазух между панелью и стенками траншеи в зависимости от природных условий, габаритов сооружения, метода разработки грунта и устройства днища выполняется инъекцией цементно-глинопесчаным раствором, внутренней пазухи - гравийно-песчаным материалом, а наружной - низкомарочным цементно-глинопесчаным раствором или гравийно-песчано-глинистой смесью.
7.52. Состав тампонажного раствора должен приниматься таким, чтобы его прочность была не менее прочности окружающего грунта. При этом применяемые для заполнения пазух тампонажные растворы должны обладать следующими свойствами:
Прочность на сжатие на 28 сут, МПа ............... не менее 0,1
-8
Коэффициент фильтрации, см/с ..................... не более 10
Время начала схватывания раствора, ч ............. не менее 8
Расплыв по конусу АзНИИ, см ...................... не менее 4
Подбор составов следует производить в каждом конкретном случае из имеющихся в наличии материалов в соответствии с Руководством по применению глинистых и тампонажных растворов при строительстве способом "стена в грунте".
Заполнение пазух траншеи следует производить захватками. Длина захватки принимается в зависимости от грунтовых условий в пределах 3 - 6 м. При этом чем менее устойчивые грунты, тем короче принимается захватка. Следует ограничить захватки торцевой опалубкой ограничителями.
Тампонажный раствор должен подаваться по инъекционным трубкам диаметром 50 - 60 мм, длина которых равна глубине траншеи. Верхний конец должен быть загнут под углом 90° и оборудован фланцем, а также петлями для подвески к крюку крана.
Инъекционная труба переставляется кранам с шагом 1,5 м вдоль траншеи. Подача раствора в трубу осуществляется растворонасосами типа С-853, С-938, С-745А через бункер, оборудованный ситом.
7.53. Гравийно-песчано-глинистые смеси составляются из гравия или щебня и крупного или средней крупности песка в объемном соотношении 1:1. Размер фракций щебня или гравия должен быть не более 10 - 15 мм. Их подают в пазуху бадьями емкостью до 1 м3. Разгрузка производится в одно место до тех пор, пока конус материала не покажется из-под глинистого раствора. Следующая порция материала подается на откос конуса.
7.54. В том случае, если наружная и внутренняя пазухи заполняются одним и тем же материалом, интенсивность подачи его должна приниматься одинаковой для обеих пазух. В случае заполнения наружной пазухи цементно-песчаным раствором интенсивность подачи материала во внутреннюю пазуху должна быть выше, чем интенсивность инъекции в наружную.
7.55. После окончания заделки пазух и закрытых шпоночных стыков (в случае их наличия) все сборные стеновые панели соединяются поверху путем устройства железобетонной обвязочной балки. Арматурный каркас балки должен включать выпуски арматуры из верхних торцов панелей.
7.56. Разработка грунта изнутри сооружения должна производиться равномерно по всей площади с устройством, в случае необходимости, поддерживающих панели конструкций (распорок, грунтовых анкеров, перегородок). Эти работы должны сопровождаться постоянными наблюдениями за состоянием и возможным перемещением стен сооружений. Работы должны производиться в строгом соответствии с ППР.
7.57. Выбор способа разработки грунта внутри сооружения должен осуществляться одновременно с выбором способа осушения котлована и конструктивно-технологическими решениями по обеспечению устойчивости стен сооружения.
В табл. 48 приведены рекомендуемые способы производства работ в осушении котлована и дана рекомендуемая область их применения, а в
табл. 49 приведены рекомендуемые схемы разработки грунта в сооружениях.
Таблица 48
───────────────────────┬─────────────────────────┬─────────────────────────
Способ защиты котлована│Схема производства работ │ Рекомендуемая область
от поступления │ │ применения
грунтовых вод │ │
───────────────────────┴─────────────────────────┴─────────────────────────
Производство работ При расположении
без водопонижения путем водоупора выше днища
врезки стен в водоупор сооружения или ниже
основания днища
на 2 - 3 м
───────────────────────────────────────────────────────────────────────────
Производство работ При расположении
без водопонижения путем водоупора ниже днища
устройства совершенной на 3 - 6 м
противофильтрационной
завесы
───────────────────────────────────────────────────────────────────────────
Производство работ При глубинах сооружения
без водопонижения путем до 10 - 12 м и размерах
разработки грунта в плане до 10 м
из-под воды и
устройства бетонного
основания под днище
методом подводного
бетонирования
───────────────────────────────────────────────────────────────────────────
Производство работ При глубинах сооружения
с открытым водоотливом до 12 - 15 м, отсутствии
путем устройства или глубоком залегании
в основании стен водоупора и суффозионно-
противофильтрационных устойчивых грунтах
несовершенных завес
───────────────────────────────────────────────────────────────────────────
Производство работ При незначительных
с открытым водоотливом притоках подземных вод и
в процессе выемки выполнении выемки грунта
грунта из сооружения из сооружения средствами
гидромеханизации
───────────────────────────────────────────────────────────────────────────
Производство работ При грунтах допускается
с глубинным водопони- глубинное водопонижение
жением, с расположением
скважин в пределах
контура сооружения
───────────────────────────────────────────────────────────────────────────
Производство работ При грунтах, допускающих
с глубинным водопони- глубинное водопонижение,
жением, с расположением и размере сооружения
скважин в пределах в плане до 15 м
контура сооружения
───────────────────────────────────────────────────────────────────────────
Производство работ Наличие суффозионно-
с открытым водоотливом устойчивых грунтов,
допускающих производство
работ с открытым
водоотливом
───────────────────────────────────────────────────────────────────────────
Производство работ При глубинах сооружений
с разработкой грунта до 10 - 12 м и размерах
из-под воды, устройст- в плане до 20 м
вом подводным способом
обратного фильтра
с проницаемым пригрузом
и последующей откачкой
воды изнутри сооружения
───────────────────────────┬──────┬──────────────┬─────────────────────────
Схема производства работ │Группа│Геометрические│ Применяемые машины
│грунта│ размеры │ и механизмы
│ │сооружения, м │
│ ├──────┬───────┤
│ │размер│глубина│
│ │ в │ │
│ │плане │ │
───────────────────────────┴──────┴──────┴───────┴─────────────────────────
I - II До 18 До 15 Экскаваторы канатные с
грейферным оборудованием
Э-10011, Э-1252 с ковшом
вместимостью 1 - 1,5 м3
───────────────────────────────────────────────────────────────────────────
I - II До 12 До 15 То же
───────────────────────────────────────────────────────────────────────────
I - II 12 - До 15 То же, бульдозеры ДЗ-42,
30 ДЗ-53
───────────────────────────────────────────────────────────────────────────
I - IV 12 - До 30 Экскаваторы
30 гидравлические с ковшом
вместимостью 0,15; 0,25;
0,5; 0,65 м3 и краны
гусеничные на базе
экскаваторов Э-10011,
Э-1252, Э-2505
───────────────────────────────────────────────────────────────────────────
I - IV Более До 12 Экскаваторы-драглайны
50 с ковшом вместимостью
0,5 - 2,5 м3
───────────────────────────────────────────────────────────────────────────
I - IV Более До 50 Гидромониторы ГМ-2,
20 ГМИН-250С, землесос 4НДа,
кран грузоподъемностью
5 т
Разработку грунта внутри сооружения разрешается производить только после набора инъекционным раствором 75%-ной прочности и консолидации материала забутовки в течении 3 сут.
7.58. Заделка стыков (кроме инъекционных) между сборными элементами должна осуществляться поярусно по мере разработки грунта внутри сооружения. Высота яруса 1 - 2 м.
Перед началом работ по заделке открытых стыков их полость следует очистить стальными щетками, промыть водой из шланга под напором и продуть сжатым воздухом.
7.59. В случае, если просачивается вода в стык между стеновыми панелями, щель между ними зачеканивается жестким раствором, жгутами, пропитанными битумом.
В местах просачивания воды или суффозионных выносов грунта из застенного пространства должны быть установлены патрубки диаметром 20 - 25 мм для последующего нагнетания тампонажного раствора в застенное пространство.
7.60. Заполнение открытых стыков бетонной смесью должно осуществляться нанесением набрызгбетона или торкрета послойно.
При торкретировании заделку стыка следует производить в 3 - 4 слоя, а при применении набрызгбетона - в 1 - 2 слоя.
ПРОТИВОФИЛЬТРАЦИОННЫЕ ЗАВЕСЫ
7.61. При устройстве противофильтрационных завес (ПФЗ) способом "стена в грунте" могут быть использованы следующие заполнители:
твердеющие - бетон и глиноцементный раствор;
нетвердеющие - глины, суглинки, глиногрунтовые смеси и другие материалы, удовлетворяющие требованиям качества и технологии сооружения противофильтрационной завесы.
При подборе материала заполнителя ПФЗ следует учитывать назначение и характер завесы, прочность завесы при заданном напоре и ожидаемых деформациях.
Бетон, используемый в качестве твердеющего заполнителя противофильтрационных завес, должен отвечать всем требованиям, предъявляемым к бетону, применяемому для устройства монолитных стен в грунте. Требования по водонепроницаемости к бетону должны определяться проектом.
Для приготовления глиноцементных заполнителей следует использовать:
глины и суглинки с преобладанием пылеватых частиц (0,05 - 0,005 мм) и содержанием глинистых частиц (менее 0,005 мм) не более 30%, хорошо распускающиеся в воде;
пески мелкие или средней крупности;
цементы марки не ниже 300 (обычный и пластифицированный портландцемент, шлакопортландцемент, пуццолановый, сульфатостойкий); применение быстросхватывающихся цементов не рекомендуется в связи с быстрой потерей подвижности раствора.
Пригодность исходных материалов для приготовления глиноцементного заполнителя и его рецептуру следует устанавливать лабораторными исследованиями.
Используемый для ПФЗ глиноцементный заполнитель должен иметь подвижность не ниже 15 см по конусу АзНИИ, прочность не более 3 МПа с выходом камня при затвердевании не менее 98%. Приготовленный заполнитель должен иметь начало твердения не ранее чем через 8 ч.
Нетвердеющие заполнители ПФЗ в виде комовой глины или суглинка должны быть плотными и медленноразмокаемыми в воде и иметь выраженную комовую структуру, максимальный размер комьев не должен превышать 1/3 ширины траншеи.
Заглинизированный грунт, который представляет собой смесь извлеченного из траншеи грунта с глинистым раствором, или специально приготовленные глиногрунтовые пасты, применяемые в качестве заполнителя ПФЗ, должны содержать по весу не менее 15% глинистых частиц с равномерным распределением их по весу объема и не иметь органических примесей. Консистенция заглинизированного грунта и глиногрунтовой пасты должна обеспечивать их укладку в траншею по заданной технологии.
7.62. Для улучшения свойств глиноцементных растворов и нетвердеющих заполнителей применяют химические добавки.
Техническая кальцинированная сода

служит для улучшения смачиваемости глинистых частиц, увеличения их диспергации в водной среде и уменьшения водоотделения. Она пригодна практически для всех видов глин и суглинков и вводится в количестве 0,5 - 2% веса твердой фазы заполнителя.
Силикат натрия

(жидкое стекло) в виде водного раствора плотностью 1,4 - 1,5 т/м3 применяется для повышения стабильности и улучшения структурно-механических свойств заполнителя. Его наличие увеличивает содержание высокодисперсных кремнеземистых и алюмосиликатных составляющих в грунтовых смесях и вводится в количестве 1,5 - 3% веса твердой фазы.
Подбор нетвердеющего заполнителя ПФЗ должен осуществляться и обосновываться специальными лабораторными исследованиями, а в некоторых случаях и опытными работами.
7.63. Особенностью работ по строительству ПФЗ является линейная протяженность фронта работ, что накладывает свой отпечаток на технологию.
7.64. В некоторых случаях при строительстве ПФЗ не следует предусматривать крепление верха траншей ввиду большой его стоимости.
В целях предохранения верхней части бортов траншеи, не имеющей крепления, поверхность земли по обе стороны от траншеи должна иметь уклоны, препятствующие стоку в траншею поверхностных вод. Кроме того, возможно применять инвентарное крепление верха траншей (см.
рис. 80, а).
7.65. Подготовку карьеров, определенных проектом для добычи материала заполнителя ПФЗ, вскрышные работы и строительство подъездов следует производить до начала основных работ. Одновременно следует выполнить водоотводные работы для защиты их от затопления поверхностными водами.
7.66. Монтаж оборудования глинистого хозяйства следует производить до начала основных работ по возведению завесы, а наращивание трубопроводов для подачи в траншею чистого глинистого раствора и откачки зашламованного - в процессе проходки траншеи. При строительстве противофильтрационных завес, имеющих большую протяженность, могут быть применены передвижные глинорастворные узлы.
7.67. Приготовление глиноцементного заполнителя и глиногрунтовых паст следует осуществлять в специальных стационарных или передвижных растворных узлах.
7.68. Бетонные противофильтрационные завесы следует устраивать теми же способами, что и бетонные и железобетонные несущие конструкции, выполняемые способом "стена в грунте".
7.69. Заполнение траншеи глиноцементным заполнителем или глиногрунтовой пастой должно производиться по секциям (захваткам) путем закачки их грязевыми насосами через трубы, опущенные до дна траншеи (рис. 87), или способом ВПТ.
Рис. 87. Схема заполнения секции
траншеи глиноцементным раствором
1 - труба диаметром 50 мм; 2 - глинистая
суспензия; 3 - глиноцементный раствор
Число подающих труб на секцию определяется проектом производства работ из условия растекания раствора и интенсивности заполнения секции. Длина секции должна составлять 5 - 7 м. Подачу в траншею глиноцементного заполнителя и глиногрунтовой пасты следует осуществлять непрерывно и прекращать только после их выхода на поверхность траншеи.
При закачке раствора подающие трубы рекомендуется оставлять опущенными до дна выработки в течение всего процесса заполнения. В случае возрастания давления закачки до недопустимых величин подающие трубы могут быть подняты таким образом, чтобы низ труб находился ниже уровня глиноцементного раствора не менее чем на 1 м.
Подача глиноцементного раствора или бетона должна осуществляться непрерывно. Вынужденные перерывы исходя из сроков схватывания раствора или бетонной смеси не должны превышать 4 - 5 ч. В противном случае секция траншеи или скважина считается выполненной некачественно и по ней должны быть разработаны мероприятия по предотвращению повышенной фильтрации.
Вытесняемый заполнителем проходческий глинистый раствор с удовлетворительными свойствами рекомендуется подавать в соседние секции или специальные емкости для последующего использования. Часть глинистого раствора, содержащая материал заполнителя, не пригодна для повторного использования и удаляется.
7.70. Заглинизированный грунт следует приготавливать на бровке траншеи путем обогащения (перемешивания) вынутого из траншеи грунта глинистым раствором или глинистым грунтом, доставленным из карьера. Перемешивание производится бульдозером.
7.71. Заполнение траншеи комовым материалом или заглинизированным грунтом следует производить экскаватором, оборудованным грейфером или бульдозером.
Подача заполнителя должна производиться на небольшом участке траншеи малыми порциями.
При заклинивании комового заполнителя в траншее следует производить штыкование этих участков металлической балкой с вибратором.
7.72. При заполнении непрерывной траншеи нетвердеющим материалом, образующим откос, расстояние между местом подачи материала в траншею и проходческим механизмом (его рабочим органом) должно быть на 3 - 5 м больше горизонтальной проекции откоса. Для сокращения этого расстояния может быть применена установка в траншее временных или постоянных разделительных шаблонов.
7.73. Для устройства прямолинейных траншей большой протяженности глубиной до 10 - 15 м целесообразнее использовать серийные гидравлические экскаваторы "обратная лопата" с удлиненной стрелой и рукоятью и зауженным ковшом.
7.74. Строительство тонких противофильтрационных завес толщиной 10 - 15 см можно осуществлять с использованием высоконапорной водовоздушной струи.
Комплекс оборудования включает буровой станок для устройства лидерных скважин диаметром 150 - 200 мм, струйный монитор, насосно-растворный узел и компрессор.
Струйный монитор монтируется на гусеничном кране с копровой направляющей.
Разрушение грунта осуществляется водяной струей при давлении 10 - 70 МПа с расходом 3 - 12 м3/ч. Диаметр водяного сопла на мониторе 1 - 5 мм. Монитор может быть оснащен двумя диаметрально расположенными соплами. Противофильтрационный заполнитель подается через отверстие в нижней части струйного монитора под давлением 3 - 6 МПа.
Для улучшения работы водяной струи, особенно в обводненных грунтах, водяное сопло монитора охватывается вторым кольцевым соплом шириной 1 - 3 мм, через которое подается сжатый воздух под давлением 0,6 - 0,7 МПа с расходом 2 - 4 м3/мин. Образующаяся при этом воздушная рубашка отделяет водяную струю от грунтовой воды и пульпы, увеличивая тем самым дальность ее действия.
Струйный монитор опускают на дно направляющей скважины с ориентировкой водяного сопла по заданному направлению и по мере разрушения грунта поднимают вверх по скважине со скоростью 0,5 - 2 м/мин. Одновременно с подъемом монитора начинают подачу противофильтрационного заполнителя.
7.75. Строительство тонких ПФЗ без выемки грунта основано на погружении в грунт инвентарного металлического элемента толщиной 100 мм, снабженного вибратором. Рациональная глубина сооружаемой таким способом завесы - до 10 м.
ПФЗ, сооружаемые с помощью вибрационного оборудования, целесообразно устраивать в водонасыщенных песчаных и супесчаных грунтах с прослойками глин и суглинков текучей и мягкопластичной консистенции без крупных включений.
Работы осуществляются тремя-пятью инвентарными элементами, соединяемыми между собой шпунтовыми замками. Производство работ осуществляется в следующей последовательности: в грунт последовательно погружают все инвентарные элементы с одновременной подачей глиноцементного раствора под давлением 0,2 - 0,3 МПа с целью облегчения процесса погружения и предохранения инъекционных отверстий от забивания грунтом. Затем извлекают первый погруженный элемент с заполнением образующейся в грунте полости глиноцементным раствором при давлении не менее 0,2 МПа и перемещают его в замок крайнего погруженного элемента. В дальнейшем операции повторяются.
Работы осуществляются с помощью крана на гусеничном ходу грузоподъемностью не менее 16 т с копровой стойкой.
Для погружения и извлечения элементов используется вибропогружатель В-401 (ВПП-2), жестко крепящийся в верхней части элемента.
Технические характеристики вибропогружателя В-401 (ВПП-2)
Вынуждающая сила, т .................................. 25
Статический момент массы дебалансов, кг x см ......... 1000
Частота, Гц .......................................... 25
Мощность двигателя, кВт............................... 55
Металлический инвентарный элемент имеет коробчатое сечение, снизу к которому крепится заостренный башмак с трубкой для подачи раствора, проходящей внутри элемента. Элемент по длине снабжен шпунтовыми замками.
7.76. При производстве работ в зимних условиях (до -15 °C) следует предусматривать следующие мероприятия:
утепление оборудования для приготовления, перекачки и очистки глинистого раствора;
закрытие разработанных участков траншей утепленными щитами;
устройство тепляков над секциями.
7.77. Во избежание замерзания воды и глинистого раствора в шлангах, трубопроводах и насосах работы в зимний период рекомендуется вести круглосуточно по скользящему графику без выходных дней.
7.78. При бетонировании в зимних условиях бетонная смесь подается в бункер подогретой. Температура ее в момент укладки должна быть не ниже 5 °C. Для верхней части конструкции может применяться электропрогрев.
7.79. В процессе возведения подземных сооружений способом "стена в грунте" должны контролироваться:
геометрические размеры траншеи;
наличие осадка на дне траншеи и его удаление;
качество глинистого раствора, заполняющего траншею;
правильность установки арматурных каркасов и ограничителей между захватками;
состав и подвижность бетонной смеси;
режим бетонирования (в порядке, установленном для метода вертикально-перемещающейся трубы - ВПТ);
качество уложенного бетона или противофильтрационного заполнителя.
7.80. Глубина траншеи должна проверяться в процессе ее разработки сразу же после проходки рабочего органа землеройной машины.
7.81. Показатели глинистого раствора должны проверяться один раз в смену с отбором проб из глиномешалки, накопительной емкости и траншеи.
7.82. Приемка законченных бетонных и железобетонных конструкций должна осуществляться в соответствии со
СНиП III-15-76.
7.83. При строительстве противофильтрационных завес контролю дополнительно подлежат:
заглубление завесы в водоупорные грунты;
соблюдение технологии заполнения траншеи противофильтрационным материалом;
качество противофильтрационного материала.
Фильтрационные свойства материала заполнителя противофильтрационных завес должны определяться отбором образцов из тела завесы и испытанием их в лабораторных условиях.
Допускается определение фильтрационных свойств заполнителя противофильтрационных завес радиоизотопными плотномером или влагомером. В последнем случае используется предварительно установленная корреляционная зависимость коэффициента фильтрации от плотности материала заполнителя.
Вопросы контроля качества противофильтрационной завесы должны определяться проектом с учетом результатов работ по
п. 7.85.
7.84. Составной частью контрольных работ в процессе возведения и эксплуатации сооружений является геодезический контроль, который должен включать наблюдения:
при разработке траншеи;
в период бетонирования или установки панелей;
во время тампонажа и снятия панелей с подвесок;
по маркам, установленным на стенах, в процессе возрастания нагрузок;
в период эксплуатации (продолжительность наблюдений и цикличность устанавливаются проектом).
Наблюдения должны производиться как за вертикальными деформациями, так и за горизонтальными смещениями строящегося объекта и существующих зданий и сооружений (в случае их близкого расположения).
Примерное расположение марок для наблюдений за вертикальными и горизонтальными деформациями в период разработки траншей и устройства подземного помещения из сборных панелей приведено на рис. 88.
Рис. 88. Примерное расположение марок для наблюдения
за вертикальными и горизонтальными деформациями в период:
а - разработки траншеи; б - монтажа панелей; в - тампонажа;
г - разработки грунта внутри помещения; д - эксплуатации;
1 - стенки форшахты; 2, 5 - геодезические марки;
3 - траншея; 4 - колонна; 6 - панель;
7 - тампонажный раствор; 8 - распорные блоки
Результаты геодезических наблюдений заносятся в специальный журнал.
7.85. До начала устройства противофильтрационных завес с целью уточнения технологической схемы, предусмотренной проектом производства работ, и уточнения проектных характеристик материала-заполнителя строительной организации следует выполнить опытные работы в соответствии с техническим заданием (программой), составленным проектной организацией.
Раздел 8. СВАЙНЫЕ ФУНДАМЕНТЫ, ШПУНТОВЫЕ ОГРАЖДЕНИЯ И АНКЕРЫ
8.1. Правила и требования настоящего раздела распространяются на производство и приемку следующих видов работ по устройству свайных фундаментов и шпунтовых ограждений: погружение свай и свай-оболочек, устройство набивных свай, погружение, извлечение шпунта и устройство анкеров.
8.2. Настоящие правила должны распространяться на устройство и приемку свайных фундаментов для жилищно-гражданских промышленных и сельскохозяйственных зданий и сооружений, а также для транспортных и гидротехнических сооружений, включающее погружение забивных свай, свай-оболочек и шпунта забивкой, вибрированием без подмыва и с подмывом, изготовление набивных свай и устройство ростверков и анкеров.
8.3. Устройство свайных фундаментов и шпунтовых ограждений должно осуществляться по проекту производства работ в соответствии с
СН 47-74.
В проекте производства работ на акватории дополнительно приводятся сведения о гидрометеорологических условиях района строительства, подводных и надводных сооружениях и коммуникациях, указания по защите свайных конструкций в период строительства от воздействия волн, ледоходов, паводков, приливов, навала судов и т.п.
Проект производства работ должен также содержать рабочие чертежи всех вспомогательных устройств, связанных с выполнением свайных работ (эстакады, подмости, направляющие конструкции и т.д.); проект внутренних коммуникаций, питающих оборудование, применяемое на свайных работах; проект временных сооружений.
Для одиночных несложных объектов небольшой площади вместо проекта производства работ допускается ограничиться описанием производства свайных работ. При погружении свай, свай-оболочек и шпунта на незащищенной от волнения акватории конструкция направляющих устройств разрабатывается проектной организацией, осуществляющей проектирование возводимого фундамента или ограждения. Проектная организация разрабатывает также мероприятия по защите железобетонных свай-оболочек от трещинообразования и разрушения от действия гидродинамического давления в их полости при вибропогружении.
В составе проекта производства работ должны быть сведения: о глубине разведанной толщи грунтов не менее 5 м ниже проектной отметки подошвы свай или свай-оболочек, наличии скальных прослоек или включений валунов с их характеристиками (размеров и прочности), о физико-механических характеристиках грунтов, о характерных уровнях поверхностных и грунтовых вод. Предельная отрицательная температура, при которой допускается производство работ по погружению стального шпунта, устанавливается проектной организацией в зависимости от марки стали и способа производства работ.
8.4. Основным работам по устройству свайных фундаментов должны предшествовать подготовительные работы:
а) приемка строительной площадки, оформленная актом;
б) выбор оборудования для погружения свай, свай-оболочек и шпунта (см.
Прил. 37 -
39);
в) детальная разбивка свайного фундамента или шпунтового ограждения;
г) завоз и складирование свай, свай-оболочек и шпунта;
д) проверка соответствия технической документации и маркировки доставленных к месту работы свай, свай-оболочек и шпунта, а также проверка замков шпунтин протаскиванием по ним шаблона длиной не менее 2 м;
е) полная или частичная сборка свай, свай-оболочек, укрупнительная сборка шпунтин в пакете;
ж) нанесение антикоррозионных покрытий;
з) разметка свай, свай-оболочек и шпунта по длине.
8.5. Разбивка осей свайных фундаментов, а также шпунтовых рядов должна производиться от базисной линии. За основные линии разбивки должны приниматься оси сооружений, а в набережных - линии кордона. В качестве реперов для зданий и сооружений следует, как правило, использовать забивные сваи, расположенные на расстоянии от наружных осей не ближе 10 м.
Разбивка осей фундамента или опоры из свай и свай-оболочек, или шпунтового ограждения должна производиться с надежным закреплением на местности положений осей всех рядов свай, свай-оболочек и шпунтового ряда.
Разбивка рядов свай при забивке их с подмостей должна сопровождаться закреплением их осей на подмостях.
Положение осей рядов свай, свай-оболочек и шпунтовых рядов на местности, покрытой водой, закрепляется путем установки необходимых знаков на берегу или с помощью каркасов.
Разбивка осей фундамента или опоры из свай и свай-оболочек, свайного или шпунтового ряда должна оформляться актом, к которому прилагаются схемы расположения знаков разбивки, данные о привязке к базисной и высотной опорной сети.
8.6. Правильность разбивки осей должна систематически проверяться в процессе производства работ, а также в каждом случае смещения точек, закрепляющих оси.
Отклонения разбивочных осей свайных и шпунтовых рядов и рядов из свай-оболочек от проектных не должны превышать 1 см на каждые 100 м ряда.
8.7. Кантовка свай, перемещение их волоком и сбрасывание с высоты не допускаются. Сбрасывание шпунта с платформ или автомобильных прицепов не допускается. При хранении и перевозке железобетонные сваи следует укладывать на деревянные подкладки, размещенные строго под объемными петлями.
ПОГРУЖЕНИЕ СВАЙ, СВАЙ-ОБОЛОЧЕК И ШПУНТА
8.8. Выбор молота для забивки свай длиной до 25 м включительно разрешается производить исходя из указанной в проекте расчетной нагрузки, допускаемой на сваю, и массы сваи. Необходимая при этом минимальная энергия ударов молота Э, Дж, определяется по формуле
где a - коэффициент, равный 25 Дж/кН;
P - расчетная нагрузка, допускаемая на сваю (по данным проекта), кН.
Принятый тип молота с расчетной энергией удара

должен удовлетворять условию

, (19)
где

- коэффициент, приведенный в
табл. 50;

- полный вес молота, Н;
q - вес сваи (включая вес наголовника и подбабка), Н;

- расчетная энергия удара принятого молота, Дж.
───────────────────────────────────────────┬───────────────────────────────
Тип молота │ Коэффициент K для материалов
│ п
│ свай и шпунта
├─────────┬─────────┬───────────
│ дерево │ сталь │железобетон
───────────────────────────────────────────┼─────────┼─────────┼───────────
Трубчатые дизель-молоты и молоты двойного │ 5 │ 5,5 │ 6
действия │ │ │
Молоты одиночного действия и штанговые │ 3,5 │ 4 │ 5
дизель-молоты │ │ │
Подвесные молоты │ 2 │ 2,5 │ 3
Расчетное значение энергии удара принимается:
Для подвесного и паровоздушного молотов одиночного действия ....

Для трубчатых дизель-молотов ...................................

Для штанговых дизель-молотов ...................................

Для паровоздушных молотов двойного действия ..................... Согласно
паспортным данным
Здесь: Q - вес ударной части молота, Н;
H - фактическая высота падения ударной части молота, м, принимаемая на стадии окончания забивки свай для трубчатых, H = 2,8 м, а для штанговых при массе ударных частей 1250, 1800 и 2500 кг - соответственно 1,7; 2 и 2,2 м.
8.9. Расчетная нагрузка P при выборе молота для забивки шпунта определяется по
СНиП II-17-77, как для сваи аналогичного сечения с коэффициентом надежности

.
8.10. Для стального шпунта, а также при погружении свай любого типа с подмывом указанные в
табл. 50 значения коэффициентов увеличиваются в 1,5 раза.
Принятый тип молота и высоту падения его ударной части следует дополнительно проверить на максимальные сжимающие напряжения, допустимые в железобетонной свае при забивке.
Максимальные сжимающие напряжения при ударе молота (с учетом обжатия бетона в преднапряженных сваях) не должны, как правило, превышать 60% марки бетона по прочности на сжатие для свай, находящихся в неагрессивной среде, и 50% - для свай, подверженных воздействию агрессивной среды, и свай транспортных сооружений, возводимых на акваториях.
Значения максимальных сжимающих напряжений в железобетонных сваях от удара молота рекомендуется определять в соответствии с
Прил. 40.
При выборе молота для забивки стального шпунта или стальных свай и назначении режима его работы по высоте падения ударной части необходимо соблюдать условие:

, (20)
где m - масса ударной части, кг;
F - площадь поперечного сечения шпунтины (пакета шпунтин) или свай, см2;

- коэффициент, принимаемый равным для плоского, зетового и корытных профилей шпунта соответственно 0,7; 0,8 и 0,9, а для трубчатых свай - 1;

- коэффициент, принимаемый в зависимости от типа молота и высоты падения ударной части по
табл. 51;

- расчетное сопротивление стали забиваемого элемента по пределу текучести (МПа), принимаемое по
СНиП II-23-81*;

- показатель степени, принимаемый равным для плоского, зетового и корытного профилей шпунта соответственно 1; 1,2 и 1,4, а для трубчатых свай - 1,7.
─────────────────────────────────────┬──────────────────────┬──────────────
Тип молота │Высота падения ударной│ Коэффициент
│ части молота, м │ альфа
─────────────────────────────────────┼──────────────────────┼──────────────
Паровоздушный одиночного действия или│ 0,4 │ 75
подвесной │ 0,8 │ 45
│ 1,2 │ 30
Паровоздушный двойного действия │ - │ 20
Дизельный трубчатый │ 2 │ 45
│ 2,5 │ 30
│ 3 │ 20
Дизельный штанговый │ - │ 50
8.11. Выбор молота для забивки свай длиной более 25 м производится проектной организацией, одновременно с разработкой проекта свайного фундамента, как правило, с использованием специальных программ, алгоритмы которых основаны на волновой теории удара. Выбор молота осуществляется на основе решения на ЭВМ вариантов задач, в которых, задаваясь конкретными параметрами системы "молот - наголовник - свая - грунт", вычисляют отказ сваи и динамические напряжения в ней от удара молота. Варьируя массой ударной части молота, его высотой падения, параметрами свай, наголовников и амортизаторов, параметрами, характеризующими сопротивление грунта, на основе полученных результатов по отказам и динамическим напряжениям определяют приемлемость того или иного молота для данной сваи и грунтовых условий.
Расчет отказов и динамических напряжений при забивке стальных трубчатых свай, в том числе и диаметром свыше 800 мм, паровоздушным молотом рекомендуется выполнять по программе GIA SI (разработчик - ЦНИИС Минтрансстроя, номер программы в Госфонде алгоритмов и программ - П006029).
8.12. Забивка деревянных свай, снабженных бугелем, допускается без наголовника.
8.13. При необходимости пробивки прослоек плотных грунтов следует применять молоты с энергией удара большей, чем указано в
формулах (18) и
(19), соблюдая при этом требование, указанное в
формуле (20), или забивать сваи с применением лидерных скважин.
Примечания. 1. При выборе молотов для забивки наклонных свай энергию удара, вычисленную по
формуле (20), следует умножить на повышающий коэффициент

, приведенный в
табл. 52.
2. При наличии разных молотов с одинаковой энергией удара предпочтение следует отдавать молоту с большей массой ударной части, обладающему большей погружающей способностью и вызывающему более низкие динамические напряжения в свае при забивке.
3. Для облегчения погружения свай через пласты глинистых грунтов, залегающих выше уровня грунтовых вод, допускается применять подачу небольших количеств воды в образующийся при забивке зазор между грунтом и сваей с целью смазки ее боковой поверхности.
─────────────────────────────────────┬─────────────────────────────────────
Наклон сваи │ Коэффициент K
│ 1
─────────────────────────────────────┼─────────────────────────────────────
5:1 │ 1,1
4:1 │ 1,15
3:1 │ 1,25
2:1 │ 1,4
1:1 │ 1,7
8.14. Забивка свай в набухающие и просадочные грунты может производиться с лидером или без него. Глубина лидерной скважины назначается опытным путем, но должна быть не более 0,9 длины сваи.
8.15. Забивка железобетонных свай и шпунта молотами должна производиться с применением наголовников, оснащенных верхним и нижним амортизаторами; зазоры между боковой гранью сваи и стенкой наголовника не должны превышать 1 см с каждой стороны.
Забивка стальных свай и шпунта молотами одиночного действия производится с применением наголовников, оснащенных только верхним амортизатором.
Амортизаторы наголовника служат для трансформации резкого ударного импульса в более пологий и длинный с целью более рационального использования энергии удара молота на погружение сваи в грунт и снижения ударных нагрузок на сваю, а также на молот и сам наголовник. Параметры амортизаторов назначаются из условия ограничения экстремальных динамических напряжений в свае при забивке в соответствии с
п. 8.8. Начальная толщина нижнего амортизатора, выполненного из досок, в любом случае должна быть не менее 10 см. В процессе забивки свай и шпунта следует вести контроль состояния амортизаторов и производить их своевременную замену (
Прил. 40,
41).
Крепление вибропогружателя или вибромолота (за исключением вибромолотов со свободным наголовником) со сваей, сваей-оболочкой или шпунтом должно быть жестким в процессе погружения. Рекомендуется применять гидравлические наголовники. Для погружения наращенных или пакетных деревянных свай применение вибропогружателей не допускается.
8.16. Прочность соединения секций с помощью замков на болтовых и сварных фланцевых стыках должна быть не меньше суммарной прочности приведенного железобетонного поперечного сечения сваи или сваи-оболочки при работе на продольную силу и на изгиб. Стыки свай-оболочек до погружения должны быть покрыты гидроизоляцией согласно проекту. При стыковании секций свай и свай-оболочек должна быть обеспечена их соосность.
8.17. Укрупнительная сборка свай-оболочек на строительной площадке должна производиться на болтах или сваркой в соответствии с проектом сооружения и проектом производства работ.
8.18. Для обеспечения проектного положения свай, свай-оболочек и шпунта, погружаемых в пределах акватории, следует применять преимущественно инвентарные направляющие устройства в виде кондукторов, каркасов, смонтированных на понтонах или на баржах, временно закрепляемых якорями. Окончательное закрепление направляющих устройств должно осуществляться вертикальными сваями или сваями-оболочками. Только после этого можно погружать наклонные сваи и сваи-оболочки, если они предусмотрены в конструкции фундамента.
Максимальная балльность волнения, при которой разрешается производство работ по погружению свайных элементов, устанавливается проектом производства работ в зависимости от технических характеристик основной несущей машины (самоподъемной платформы, плавучего копра, плавучего крана) и параметров погружаемых свайных элементов. Для плавучих копров и кранов она не должна превышать двух баллов.
8.19. Механические или гидравлические способы разработки (рыхления) и удаления грунта ниже ножа полых свай и свай-оболочек рекомендуется применять для облегчения их погружения в нескальные грунты.
8.20. Механические способы разработки и удаления грунта грейферами или вращательным бурением рекомендуется применять при погружении свай-оболочек диаметром 1 м и более.
Наибольший размер грейфера в плане (в раскрытом состоянии) должен быть на 0,3 м меньше диаметра полости сваи-оболочки.
Габаритный размер ковшового бура с резцами в плане должен быть на 0,1 м, а цилиндрической части бура - на 0,3 - 0,5 м меньше диаметра полости сваи-оболочки.
8.21. Удаление из свай-оболочек песчаных грунтов и супесей допускается производить эрлифтами или гидроэлеваторами с предварительным рыхлением грунта струей напорной воды.
При разработке грунтов эрлифтами или гидроэлеваторами во избежание наплыва грунта в сваю-оболочку следует долить в нее воду в количестве, обеспечивающем уровень воды в свае-оболочке на 4 - 5 м выше естественного уровня вне ее. На последнем этапе погружения сваи-оболочки в целях предотвращения разуплотнения грунта основания в полости свай-оболочек необходимо оставлять грунтовое ядро, высота которого устанавливается в проекте свайного фундамента.
8.22. При сезонном промерзании грунта забивка призматических свай может производиться при условии, что глубина промерзания не превышает 0,5 м. В случаях большей глубины промерзания грунта необходимы мероприятия по облегчению условий погружения (устройство лидерных скважин, оттаивание и др.).
Диаметры лидирующих скважин при погружении свай через сезонно-мерзлый грунт должны быть следующие:
для призматических свай - не более диагонали и не менее стороны поперечного сечения;
для трубчатых свай - не менее диаметра сваи.
8.23. Выбор типа вибропогружателя следует производить исходя из предусмотренной проектом несущей способности сваи или сваи-оболочки (или расчетной глубины погружения шпунта) с учетом грунтовых условий.
Для низкочастотных вибропогружателей с частотой вращения дебалансов до 550 в 1 мин значение необходимой вынуждающей силы вибропогружателя

, кН, определяется по формуле

, (21)
где Ф - расчетная несущая способность сваи, кН, по проекту;

- вес вибросистемы, включая вибропогружатель, сваю и наголовник, кН;

- коэффициент снижения бокового сопротивления грунта во время вибропогружения, принимаемый для различных грунтов:
Песчаные грунты средней плотности
Коэффициент

гравелистые ..................................................... 2,5
крупные ......................................................... 3,2
средней крупности ............................................... 4,9
пылеватые ....................................................... 5,7
мелкие .......................................................... 6,2
Глинистые грунты при показателе консистенции

:
0 ............................................................... 1,6
0,1 ............................................................. 2
0,2 ............................................................. 2,6
0,3 ............................................................. 3,3
0,4 ............................................................. 3,9
0,5 ............................................................. 4,4
0,6 ............................................................. 4,9
0,7 ............................................................. 5,4
0,8 ............................................................. 5,8
Примечания. 1. Для водонасыщенных крупных песков значения

увеличиваются в 1,2 раза, средних - в 1,3 раза, мелких - в 1,5 раза.
2. Для заиленных песков значения

снижаются в 1,2 раза, что не исключает применение повышающих коэффициентов при водонасыщении.
3. Для промежуточных значений консистенций

глинистых грунтов значения

определяются интерполяцией.
4. При слоистом напластовании грунтов коэффициент

определяется как средневзвешенный по глубине.
Необходимое значение максимальной вынуждающей силы вибропогружателя

окончательно принимается не ниже

при погружении свай-оболочек (с возможным извлечением грунта из внутренней полости и в ходе погружения) и

при погружении свай сплошного сечения и полых свай, погружаемых без извлечения грунта.
Из числа вибропогружателей, обеспечивающих развитие необходимой вынуждающей силы, выбирается тот вибропогружатель наименьшей мощности, у которого статический момент массы дебалансов

(или максимальное значение момента дебалансов

для вибропогружателей с регулируемыми параметрами), кг x см, удовлетворяет условию

, (22)
где

- суммарная масса вибропогружателя, сваи и наголовника, кг;

- амплитуда колебаний при отсутствии сопротивлений, см, принимаемая по табл. 53.
Таблица 53
────────────────────────────────────────────────┬──────────────────────────
Характеристика прорезаемых грунтов │ Амплитуда колебаний А ,
по трудности вибропогружения │ 0
│см, при расчетной глубине
│ погружения, м
├──────────────┬───────────
│ до 20 │ более 20
────────────────────────────────────────────────┼──────────────┼───────────
Легкие │ │
Водонасыщенные пески, илистые, мягко- │ 0,8 │ 1
и текучепластичные глинистые грунты │ │
Средние │ │
Влажные пески, супеси, тугопластичные глинистые │ 1,1 │ 1,2
грунты │ │
Тяжелые │ │
Полутвердые и твердые глинистые грунты, │ 1,4 │ 1,6
гравелистые сухие плотные пески │ │
Примечание. При выборе типа вибропогружателя для погружения полых свай стальных труб и свай-оболочек с извлечением грунта из внутренней полости указанные значения

понижаются в 1,2 раза. При слоистом напластовании грунтов значение

принимается наибольшее, т.е. для слоя самого тяжелого грунта из числа прорезаемых слоев.
Определенные необходимые значения статического момента массы дебалансов

и вынуждающей силы

при выборе типа вибропогружателя с фиксированными или ступенчато изменяемыми значениями этих параметров должны обеспечиваться на одной из ступеней частоты вращения, а для более предпочтительных вибропогружателей с регулируемыми на ходу параметрами находиться в пределах диапазона регулирования.
При этом следует учитывать, что при равной вынуждающей силе большей погружающей способностью обладает режим работы с большим статическим моментом дебалансов.
8.24. При вибропогружении свай-оболочек следует принимать следующие меры против возможного затруднения их погружения, их разрушения или появления трещин:
во избежание повышения давления воздуха в полости сваи вследствие ее герметизации и затруднений в погружении применять наголовники со сквозными отверстиями площадью не менее 0,5% площади поперечного сечения сваи-оболочки;
во избежание возникновения опасных динамических воздействий столба воды и грунтового ядра в полости сваи-оболочки при ее погружении на водоемах применять меры защиты железобетонных свай-оболочек от трещинообразования в соответствии с табл. 54.
Таблица 54
───────────────────────────────────┬───────────────────────────────────────
Способы, обеспечивающие сохранность│ Грунты
сваи-оболочки в процессе ├───────────────────┬───────────────────
вибропогружения │ плотные │ слабые
├──────────┬────────┼──────────┬────────
│водонепро-│водопро-│водонепро-│водопро-
│ницаемые │ницаемые│ницаемые │ницаемые
───────────────────────────────────┼──────────┼────────┼──────────┼────────
Подача воздуха в полость │ + │ + │ + │ +
сваи-оболочки │ │ │ │
Откачка воды из полости │ + │ - │ - │ -
сваи-оболочки │ │ │ │
Погружение свай-оболочек │ - │ - │ + │ -
с защитным нижним концом │ │ │ │
(с разрушающимся или скользящим │ │ │ │
наконечником) │ │ │ │
Примечания. 1. Знак "+" рекомендуется применять; знак "-" не рекомендуется применять.
2. При погружении свай-оболочек с поверхности грунта следует применять подачу воздуха в грунтовой сердечник.
Применению принятого к производству работ способа защиты свай-оболочек должна предшествовать опытная его проверка в условиях конкретной строительной площадки.
Мероприятия по подаче воздуха в полость свай-оболочек способствуют также уменьшению сопротивления погружению.
8.25. Для подачи воздуха в полость сваи-оболочки в зависимости от условий конкретной строительной площадки могут быть использованы пневмоинъектор или устройство непрерывной воздухоподачи УНВ (см.
Прил. 42).
8.26. В целях предупреждения возможных разрушений свай-оболочек при вибропогружении следует вести наблюдение за расходом мощности вибропогружателя (или силой тока) на пульте управления и амплитудами колебаний оболочки. Если повышение мощности (или силы тока) и амплитуд сопровождается уменьшением скорости погружения, а жесткость крепления вибропогружателя к свае не нарушена, это свидетельствует о возникновении виброударного режима движения оболочки с ударами по твердому препятствию. В этом случае погружение следует прекратить до выбора грунта из-под ножа оболочки, его подмыва или удаления жестких включений.
При окончании погружения оболочки в песчаных грунтах и супесях следует ее провибрировать при пониженном моменте дебалансов или частоте колебаний вибропогружателя на проектной отметке в течение 7 - 10 мин для уплотнения грунта ядра и вокруг оболочки.
8.27. Питание электродвигателя вибропогружателя должно быть от самостоятельной сети, не имеющей нагрузок. Выбор источника питания вибропогружателя должен производиться с учетом перегрузки его электродвигателей на 30 - 50%.
В процессе работы вибропогружателя должно проверяться напряжение на всех трех фазах электрической сети. Падение напряжения в сети во время работы вибропогружателя не должно превышать 5% номинального.
8.28. В процессе погружения свай-оболочек при постоянных параметрах вибропогружателя и при отсутствии твердых препятствий скорость погружения, амплитуда колебаний, величина тока и потребляемая двигателем мощность постепенно снижаются с глубиной ввиду возрастания сил бокового трения грунта.
Для увеличения глубины погружения сваи-оболочки целесообразно принудительно повышать к концу погружения потребляемую мощность двигателя до номинальной, используя для этого конструктивные особенности применяемых вибропогружателей (увеличение момента дебалансов, переход на более высокие ступени их вращения), а также использовать пневмоинъекторы или УНВ.
Грунт из полости свай-оболочек следует извлекать при затруднении дальнейшего погружения и снижения скорости до 2 - 5 см/мин или же в связи с необходимостью удаления жестких препятствий из-под ножа оболочки. О возможности дальнейшего погружения сваи-оболочки без выемки грунта, подаче воздуха или подмыва можно судить по величине амплитуды колебаний оболочки. Если амплитуда колебаний становится равной порядка 5 мм, не следует ожидать дальнейшего погружения. В этом случае нужно применять подачу воздуха в ядро при песчаных грунтах, подмыв или выемку грунта из полости сваи-оболочки, а в вибропогружателях ВРП с регулируемыми параметрами увеличивать статический момент дебалансов, а затем скорость их вращения, повышая потребляемую мощность до номинальной.
8.29. При выборе способа погружения стального шпунта предпочтение, как правило, следует отдавать вибропогружению как наиболее производительному и наименее опасному для повреждения шпунта способу. Забивку шпунта молотами одиночного действия следует применять в тех случаях, когда по тяжелым грунтовым условиям (гравийные грунты, гравелистые пески, твердые и полутвердые глинистые грунты и т.п.) вибропогружение становится неэффективным (скорость погружения менее 10 см/мин), а также для добивки шпунта после вибропогружателя или вибромолота, если последними не удалось достигнуть проектных отметок (за исключением случаев попадания шпунта на какое-либо препятствие, например валун, топляк и т.д.).
При выборе оборудования следует, как правило, ориентироваться на погружение шпунта пакетами. Шпунт зетового профиля погружается только пакетами. Увеличение количества шпунтин в пакете способствует увеличению производительности труда, снижает вероятность повреждения и чрезмерного отклонения шпунта от проектного положения.
Количество шпунтин в пакете назначается в зависимости от типа шпунта, мощности грузоподъемного и погружающего оборудования, ширины погружающей машины (молота, вибропогружателя) и наголовника, грунтовых условий и составляет при вибропогружении от 2 до 11, а при забивке - от 2 до 4.
Тип вибропогружателя для пакетного погружения шпунта следует подбирать в соответствии с указаниями
п. 8.23.
Расчетная несущая способность грунта определяется при этом в соответствии с указаниями
СНиП II-17-77, как для сваи аналогичного шпунту сечения.
Выбор вибропогружателя и вибромолота для погружения шпунта одиночными элементами рекомендуется производить по данным
Прил. 39.
8.30. Погружение шпунта в сооружении следует, как правило, выполнять захватками, на которых предварительно полностью выставляется шпунт. Длина захваток назначается в зависимости от местных условий (производительности, длины направляющих, защищенности от волнения и т.д.) в пределах от 10 до 30 м.
Операцию подъема и перемещения шпунтины (пакета) к месту установки во избежание большой раскачки следует производить плавно, без рывков, не допуская ударов шпунтины о направляющие и ранее установленный шпунт. Для подъема шпунтин (пакетов) краном следует применять строповочный захват с дистанционным расцеплением, а для заводки шпунтин в замок - специальные ловильные приспособления.
Погружение шпунта на каждой захватке следует выполнять, как правило, периодическими последовательными поступательно-возвратными проходками от концов захватки к ее середине и обратно таким образом, чтобы разница в отметках низа соседних шпунтин (в том числе и на границах с соседними захватками) в зависимости от степени трудности погружения (тяжелой, средней и легкой) соответственно не превышала следующих значений: для плоского шпунта - 0,5; 1 и 2 м; для других профилей - 1,5; 3 и 5 м.
Степень трудности погружения шпунта при правильном подборе погружающего механизма, в соответствии с указаниями
пп. 8.8;
8.9;
8.29, характеризуется скоростью погружения, см/мин, при вибропогружении или количеством ударов молота, затрачиваемых на 0,5 м погружения шпунта в грунт:
Тяжелое погружение ............. менее 50 см/мин или более 25 ударов
Погружение средней трудности ... от 50 до 200 см/мин или от 5 до 25 ударов
Легкое погружение .............. более 200 см/мин или менее 5 ударов
Пакеты из 8 - 11 шпунтин корытного профиля допускается погружать в прямолинейных стенках на глубину до 10 м за одну проходку вибропогружателем, если отклонения при этом не превышают допустимых.
Если ширина погружающей машины превышает ширину шпунтины или пакета, следует применять вставку-удлинитель наголовника, длина которой назначается из условия обеспечения свободного погружения шпунтины или пакета на требуемую глубину, принятую в проходке.
8.31. При погружении первых шпунтин (или пакетов) необходимо обратить особое внимание на строгую вертикальность их направления. Вертикальность проверяется по отвесу. Проверку вертикальности погружения шпунтин в обеих плоскостях следует производить не реже чем через каждые 5 шпунтин.
При производстве шпунтовых работ необходимо принимать меры, исключающие отклонение шпунта от проектного положения свыше допускаемых. Виды отклонений шпунта при погружении и способы их предотвращения и устранения приведены в
Прил. 43.
В процессе вибропогружения необходимо следить за состоянием троса и крюка крана, к которому подвешена вибромашина.
При работе с вибромашинами, оснащенными амортизаторами, скорость опускания крюка крана должна быть такой, чтобы вибропогружение частично тормозилось краном. Этим обеспечивается вертикальность погружения шпунта. На последнем этапе погружения (1,5 - 2 м) трос можно ослабить и погружение вести без торможения.
При погружении шпунта вибропогружателем без амортизатора скорость спуска крюка крана должна быть такой, чтобы кран не тормозил погружение шпунтины (пакета).
Для преодоления твердых прослоек грунта, а также отдельных препятствий, например бревен в грунте, рекомендуется при использовании вибромашины с амортизатором несколько раз повторить операции извлечения (на 0,8 - 1 м) с минимальной скоростью и погружения с максимальной скоростью (при свободном подъемном тросе).
Для уменьшения риска повреждения шпунта и его замков забивку молотами одиночного действия следует, как правило, прекращать при отказах менее: для плоского шпунта - 15 мм; для других видов шпунта - 10 мм.
Значение минимального отказа при заделке шпунта в скальные и крупнообломочные грунты на последнем этапе погружения назначается проектной организацией.
Не допускается добивка молотами одиночного действия шпунта, попавшего на препятствие при вибропогружении, которое легко распознается по резкому замедлению и остановке вибропогружения и по появлению характерного стука. Большой ударный импульс молота одиночного действия вместо разрушения препятствия может привести в данном случае к повреждению шпунта и разрыву замков.
8.32. Для ячеистых шпунтовых конструкций в проекте производства работ, как правило, следует предусматривать проверку и отработку принятой технологии погружения шпунта на первой ячейке. После погружения шпунта этой ячейки до ее засыпки следует произвести тщательный осмотр (при производстве работ на воде - водолазами) шпунта по всему периметру с откопкой на предельно возможную глубину в местах, где встречались затруднения в погружении. В случае положительных результатов осмотра, подтвердивших правильность погружения шпунта в ячейке, по согласованию с проектной организацией, разрешается возведение последующих ячеек.
При возведении ячеистых конструкций должна быть обеспечена особая тщательность устройства шаблонов для сборки ячеек, разбивки и разметки мест установки отдельных шпунтин или пакетов для обеспечения точности при замыкании ячеек.
Набор шпунтин в ячейку или секцию должен производиться строго в соответствии с предварительной разметкой положения шпунтин на направляющем шаблоне. Особое внимание необходимо обращать на установку угловых фасонных шпунтин, к которым примыкают козырьки или поперечные диафрагмы.
Погружение шпунта в цилиндрической ячейке следует производить, как правило, в одну захватку после предварительной сборки шпунта и полного замыкания контура ячейки.
В случае если район возведения цилиндрических ячеек подвержен чрезмерному волнению, рекомендуется производить предварительную сборку ячеек на специальном стенде-шаблоне, сооруженном на закрытой акватории (или на берегу в пределах радиуса действия крана), и в готовом виде плавкраном соответствующей грузоподъемности транспортировать и устанавливать собранную ячейку на штатное место.
Шаблоны для сборки и погружения шпунта в цилиндрические ячейки выполняются из стальных профильных элементов в виде стальной пространственной конструкции с жесткими верхними и нижними направляющими ярусами, расстояние между которыми должно быть не менее половины длины шпунта.
Сборку шпунта в ячейке следует начинать с установки направляющих шпунтин, равномерно распределенных по контуру ячейки через 10 - 15 шпунтин. Каждая направляющая шпунтина выверяется в плане и по вертикали и временно закрепляется к шаблону. После закрепления направляющих шпунтин в секторах между ними выполняется установка всех остальных промежуточных шпунтин.
Погружение шпунтин (пакетов) рекомендуется выполнять последовательными проходками по диаметрально противоположным секторам. Первая проходка на каждом секторе производится от направляющих шпунтин к середине сектора и обратно с соблюдением требований
п. 8.30 по глубине погружения за одну проходку. После первой проходки по всем секторам производится погружение направляющих шпунтин.
8.33. При выборе способа извлечения шпунта предпочтение следует отдавать виброударному и вибрационным способам, а также применению молотов двойного действия. Допускается применение кранов и лебедок с полиспастами.
Сопротивление шпунта выдергиванию может быть определено в соответствии с указаниями
СНиП II-17-77, как для сваи аналогичного шпунту сечения с учетом коэффициента снижения бокового сопротивления грунта во время вибропогружения (см.
п. 8.23).
При определении сопротивления шпунта выдергиванию учитывается сопротивление в смежных замках, находящихся в грунте, равное (из расчета на 1 м длины замка) 50 кН при статическом извлечении и 10 кН при использовании вибрации, а также вес шпунта и извлекающего механизма (вибропогружателя, шпунтовыдергивателя и т.п.).
Все выдергивающие устройства должны быть рассчитаны с коэффициентом перегрузки не менее 1,5. При виброизвлечении шпунта подвеска вибромашины к грузоподъемному механизму должна выполняться только через амортизатор.
При извлечении шпунта с применением вибрации для срыва шпунтины, т.е. нарушения ее сцепления с грунтом, и связи в смежных замках шпунтину следует вначале осадить вниз на 3 - 5 см вибромашиной при свободном положении подъемного троса, а затем приступить к выдергиванию. В необходимых случаях для нарушения сцепления шпунта с грунтом и связи в замках можно осадить шпунтины молотом.
Скорость подъема крюка крана при извлечении шпунта с применением вибрации не должна превышать 3 м/мин в песчаных и 1 м/мин в глинистых грунтах.
8.34. В процессе производственного погружения свай, свай-оболочек и шпунта должны вестись журналы по формам, приведенным в
Прил. 44 -
49.
Для части свай, равномерно распределенных по всей строительной площадке, из расчета 2% общего количества свай в сооружении, но не менее 5 шт., должна производиться регистрация количества ударов молота на каждый метр забивки или регистрация величины погружения в грунт для каждой минуты работы вибропогружателя или молота двойного действия.
При возведении транспортных сооружений (мосты, транспортные гидротехнические сооружения) с применением свай-оболочек и свай диаметром 600 мм и более, а также при предельной нагрузке на сваю 1000 кН и более подобная регистрация хода погружения производится для всех свайных элементов.
8.35. В конце забивки каждой сваи и сваи-оболочки молотом производится определение контрольного отказа для сравнения его с расчетным, указанным в проекте, для заданного молота и высоты его падения, а при вибропогружении - скорости погружения на последней минуте, мощность, амплитуда колебаний.
Значение контрольного отказа при производственной забивке определяется при стабилизированном режиме работы молота как среднеарифметическое значение отказа от последних 10 ударов молота одиночного действия или дизельного либо как частное от деления осадки сваи на последней минуте работы молота двойного действия на количество ударов в минуту, которое при номинальном давлении пара или воздуха берется по паспортным данным.
| | ИС МЕГАНОРМ: примечание. Взамен ГОСТ 5686-78 Постановлением Минстроя РФ от 23.02.1995 N 18-20 введен в действие с 1 января 1996 года ГОСТ 5686-94. | |
Определение контрольного отказа свай после "отдыха" и назначение продолжительности "отдыха" производится в соответствии с требованиями ГОСТ 5686-78. Измерение осадок свай при определении отказов производится с точностью до 1 мм.
При регистрации количества ударов молота на каждый метр забивки, а также при определении контрольного отказа фиксируется средняя высота падения ударной части молота.
8.36. Контроль погружения свай-колонн следует вести по заданным проектным отметкам.
8.37. В случае изменения при производстве работ указанных в проекте параметров молота или сваи контрольной остаточный отказ e для свай длиной до 25 м включительно при забивке и добивке должен удовлетворять нижеприведенным
формулам (23) или
(24), а для свай длиной свыше 25 м новое значение расчетного отказа определяется с использованием программ по волновой теории удара (см.
п. 8.11)

; (23)

, (24)
где e - остаточный отказ, см, равный величине погружения сваи от одного удара при забивке ее молотом;
c - упругий отказ сваи (упругие перемещения грунта и сваи), см, определяемый с помощью отказомера;
n - коэффициент, кН/м2, принимаемый для типа свай:
Железобетонная с наголовником ..................... 150
Деревянная:
без подбабка .................................... 100
с подбабком ..................................... 80
Стальная с наголовником ........................... 500;
F - площадь, ограниченная наружным контуром сплошного или полого поперечного сечения ствола сваи (независимо от наличия или отсутствия у сваи острия), м2;

- расчетная энергия удара, Дж, принимаемая для дизель-молотов
(п. 8.8), для молотов подвесных и одиночного действия равной QH, для молотов двойного действия - по паспортным данным;
Q - вес ударной части молота, кН;
H - фактическая высота падения ударной части, м;

- коэффициент надежности, принимаемый равным 1,4 в
формуле (21) и 1,25 в
формуле (22), а для молотов при количестве свай в опоре более 20 - 1,4; при 11 - 20 - 1,6; при 6 - 10 - 1,65; при 1 - 5 - 1,75;
P - несущая способность сваи, указанная в проекте, кН;

- коэффициент восстановления удара, принимаемый при забивке железобетонных и стальных свай молотами ударного действия с применением наголовников с деревянным вкладышем

;
q - вес сваи и наголовника, кН;

- вес подбабка, кН;
h - высота, принимаемая для дизель-молотов, h = 50 см, а в остальных случаях h = 0;

- площадь боковой поверхности сваи, м2;

,

- коэффициенты, учитывающие необходимость перехода от динамического сопротивления к статическому сопротивлению грунта и равные

;

;
g - ускорение силы тяжести (g = 0,0981 см/с2).
8.38. Несущая способность свай и свай-оболочек, погружаемых с помощью низкочастотных вибропогружателей и не опирающихся на скальное или полускальное основание, определяется при средней скорости вибропогружения от 2 до 30 см/мин на контрольном залоге по формуле
| | ИС МЕГАНОРМ: примечание. Формула дана в соответствии с официальным текстом документа. | |

, (25)
где Ф - достигнутая фактическая несущая способность сваи или сваи-оболочки, кН;

- коэффициент надежности по грунту, принимаемый равным 1,4;

- вес вибросистемы, равный суммарному весу сваи, наголовника и вибропогружателя, кН;
A - фактическая амплитуда колебаний, принимаемая равной половине полного размаха колебаний сваи и сваи-оболочки на последней минуте погружения, см;

- частота колебаний вибросистемы в 1 мин, равная фактической частоте вращения дебалансов вибропогружателя в 1 мин;

- коэффициент снижения бокового сопротивления грунта в ходе вибропогружения
(п. 8.23);

- коэффициент влияния вибропогружения на несущую способность сваи по боковой поверхности, принимаемый по
табл. 55;

- коэффициент влияния вибропогружения на несущую способность сваи под острием или нижним торцом, принимаемый по
табл. 56;

- мощность, расходуемая электродвигателем на движение вибросистемы, кВт, определяемая по формуле

, (26)
где

- потребляемая из сети активная мощность в последнем залоге, кВт;

- мощность холостого хода, принимаемая равной 25% номинальной мощности электродвигателя, кВт;

- КПД электродвигателя, принимаемый по паспортным данным в размере 0,85 - 0,95 в зависимости от нагрузки.
────────────────────────────────────────────────────────────┬──────────────
Вид грунта по боковой поверхности сваи или сваи-оболочки │Коэффициент M
│ б
────────────────────────────────────────────────────────────┼──────────────
Пески и супеси твердые │ 1
Супеси пластичные, суглинки и глины твердые │ 0,95
Суглинки и глины: │
полутвердые │ 0,8
тугопластичные │ 0,7
мягкопластичные │ 0,6
Примечание. При прорезании сваей слоистых грунтов коэффициент

определяется как средневзвешенный.
────────────────────────────────────────────────────────────┬──────────────
Вид грунта под острием сваи или сваи-оболочки │Коэффициент M
│ л
────────────────────────────────────────────────────────────┼──────────────
Гравийный с песчаным заполнителем │ 1,3
Пески: │
средней крупности и крупные, средней плотности и супеси │ 1,2
твердые │
мелкие средней плотности │ 1,1
пылеватые средней плотности │ 1,0
Супеси пластичные, суглинки и глины твердые │ 0,9
Суглинки и глины: │
полутвердые │ 0,8
тугопластичные │ 0,7
мягкопластичные │ 0,6
В случае изменения в процессе производства работ параметров вибропогружателя, предусмотренного проектом, или проведения регулирования режима вибрации по частоте или амплитуде при погружении сваи или сваи-оболочки, или, если в проекте поставлено требование о получении в конце вибропогружения амплитуды не выше расчетной

, см, значение последней проверяют при средней скорости вибропогружения от 2 до 30 см/мин на последнем залоге продолжительностью не менее 2 мин и не более 5 мин по формуле:

, (27)
где

- расчетная нагрузка на сваю или сваю-оболочку по проекту, кН.
Расчетную амплитуду

не разрешается назначать ниже 0,4 см.
8.39. При вибропогружении полых круглых свай и свай-оболочек, не опирающихся в конце погружения на скальные и полускальные грунты, для обеспечения несущей способности свай Ф по проекту необходимо, чтобы фактическая измеренная амплитуда колебаний сваи A в конце погружения не превосходила расчетную амплитуду

, определяемую правой частью
формулы (27). Если

, что свидетельствует о недостаточной величине сопротивления грунта, погружение сваи должно быть продолжено до тех пор, пока не будет выполнено требование
формулы (27) 
, обеспечивающее достижение несущей способности сваи по проекту.
При использовании
формулы (27) и
п. 8.38 определение амплитуды колебаний A, равной половине полного размаха колебаний вибросистемы, и частоты вращения дебалансов

рекомендуется производить с помощью вибрографов, например, типа ВР-1 или другого самопишущего прибора. При отсутствии таких приборов величина

принимается равной номинальному числу оборотов дебалансов для вибропогружателей с фиксированной скоростью вращения дебалансов, что идет в запас несущей способности свай. При отсутствии вибрографов амплитуду колебаний можно определять с помощью нивелира, теодолита или путем быстрого прочерчивания горизонтальной линии на листе бумаги, прикрепленном к поверхности сваи-оболочки. Полученная на бумаге кривая колебаний используется для определения амплитуды следующим образом. Все соседние пики кривой соединяют отрезками прямых линий. То же повторяют для нижних циклов кривой. В результате получается ломаная полоса, высота которой характеризует размахи колебаний, равные двойной амплитуде. Измеряя высоту полосы с точностью до 0,1 см, находят наиболее широкий ее участок и делят эту величину пополам, получая искомое значение A.
Определение потребляемой электродвигателями мощности

в конце погружения производится по показаниям ваттметра на пульте управления вибропогружателя, а при отсутствии этого прибора - по показаниям амперметра и вольтметра по формуле

, (28)
где I - сила тока, А;
U - напряжение, В;

- определяется фазометром или принимается равным 0,7. Величины

,

, A, входящие в формулу, определяются на заключительном этапе погружения в течение контрольного залога продолжительностью 2 мин. После заключительного залога вибропогружения необходимо проверить жесткость присоединения вибропогружателя к свае или свае-оболочке, так как при наличии люфтов величина

и достигнутая несущая способность завышаются. В случае обнаружения люфтов в наголовнике или переходнике необходимо ликвидировать их затяжкой соответствующих болтов и повторить контрольный залог, заново фиксируя показатели A,

,

.
При контроле фактически достигнутой несущей способности свай и свай-оболочек, погружаемых сочетанием вибрирования с пригрузом в суммарный вес сваи, наголовника и вибропогружателя, включается также усилие от пригруза.
Примеры определения несущей способности свай и свай-оболочек приведены в
Прил. 50.
8.40. При применении подмыва для погружения свай и свай-оболочек в сочетании с каким-либо другим способом погружения на последних 2 м до проектной отметки подмыв прекращается, после чего свая должна быть добита до проектного отказа.
Применять подмыв при погружении свай рекомендуется преимущественно в песчаных грунтах.
8.41. При погружении подмывом шпунта установленные в стенку шпунтины или пакеты из них должны опускаться сразу на всю глубину. Подмывные трубы при погружении шпунта необходимо располагать по бокам шпунтовой сваи симметрично относительно продольной оси шпунтового ряда ближе к пазу для создания более плотного их прижатия к погруженным ранее шпунтинам.
Для погружения с подмывом свай допускается применять как центральный, так и боковой подмыв. При большой глубине погружения, особенно при погружении свай с наклоном, рекомендуется применять центральный подмыв. Для железобетонных свай сплошного сечения разрешается укреплять одну боковую подмывную трубу с центральным выходным соплом, забетонировав его в тело сваи около острия. Боковая подмывная труба после погружения сваи должна вывинчиваться и вытаскиваться из грунта для повторного использования.
Для контроля положения наконечников по отношению к длине сваи следует подмывные трубы размечать по длине, начиная от сопла наконечника.
Необходимые величины напора и расхода воды, выходящей из наконечника подмывной трубы, в зависимости от сечения сваи и глубины погружения в различных грунтах приведены в табл. 57.
Таблица 57
────────────────────┬──────────┬───────────┬───────────────────────────────
Вид грунта │ Глубина │Необходимый│Внутренние диаметры центральных
│погружения│ напор у │ подмывных труб (над чертой),
│ сваи в │наконечника│ мм, и расход воды на сваю
│ грунт, м │ │ (под чертой), л/мин, при
│ │ │диаметральной сечении сваи, см
────────────────────┼──────────┼───────────┼───────────────┬───────────────
│ │ │ 30 - 50 │ 50 - 70
────────────────────┼──────────┼───────────┼───────────────┼───────────────
Илы, супеси текучие │ 5 - 15 │ 4 - 8 │ 37 │ 50
│ │ │ ---------- │ -----------
│ │ │ 400 - 1000 │ 1000 - 1500
│ │ │ │
Пески мелкие или │ 15 - 25 │ 8 - 10 │ 68 │ 80
пылеватые, текучие, │ │ │ ----------- │ -----------
текучепластичные │ │ │ 1000 - 1500 │ 1500 - 2000
или мягкопластичные │ │ │ │
Суглинки и глины │ 25 - 35 │ 10 - 15 │ 80 │ 106
│ │ │ ----------- │ -----------
│ │ │ 1000 - 1500 │ 2000 - 3000
│ │ │ │
Пески средней │ 5 - 15 │ 6 - 10 │ 50 │ 68
крупности, крупные │ │ │ ----------- │ -----------
и гравелистые │ │ │ 1000 - 1500 │ 1500 - 2000
│ │ │ │
Супеси пластичные │ 15 - 25 │ 10 - 15 │ 80 │ 106
│ │ │ ----------- │ -----------
│ │ │ 1500 - 2000 │ 2000 - 3000
│ │ │ │
Суглинки и глины │ 25 - 35 │ 15 - 20 │ 106 │ 106 - 131
тугопластичные │ │ │ ----------- │ -----------
│ │ │ 2500 - 3000 │ 2500 - 4000
Примечание. Для более полного использования энергии удара молота при добивке свай большой длины после прекращения работы центрального подмыва рекомендуется применять дополнительный наружный подмыв в верхней части ствола. Для этой цели целесообразно использовать две подмывные трубы с внутренним диаметром 50 - 68 мм.
Диаметр парных подмывных труб должен соответствовать принятым величинам расхода и напора воды.
Подмывные трубы должны быть снабжены коническими наконечниками. Для достижения наибольшего эффекта действия струи воды необходимо, чтобы диаметр выходного отверстия наконечника составил от 0,4 до 0,45 внутреннего диаметра подмывной трубы. При необходимости увеличения интенсивности погружения наконечник помимо центрального отверстия должен быть снабжен рядом боковых, направленных под углом 30 - 45° к вертикали. Диаметр боковых отверстий принимается равным 6 - 10 мм.
В целях уменьшения потери давления в трубопроводах необходимо располагать насосную установку возможно ближе к месту работы.
Напорный трубопровод должен иметь предохранительный клапан. Для уменьшения напора, расхода воды и мощности насосных средств необходимо сочетать подмыв с забивкой или пригрузкой сваи молотом.
При погружении свай на глубину свыше 20 м подмыв рекомендуется сопровождать нагнетанием в зону подмыва сжатого воздуха в объеме порядка 2 - 3 м3/мин.
Нижние концы воздухопроводных трубок следует располагать на 1 м выше подмывных.
ПОГРУЖЕНИЕ СВАЙ В ВЕЧНОМЕРЗЛЫЕ ГРУНТЫ
8.42. При буроопускном способе погружения свай в вечномерзлые грунты сваи погружаются в предварительно пробуренные скважины, диаметр которых должен превышать (на 5 см и более) наибольший размер поперечного сечения сваи, с заполнением скважины грунтовым раствором.
При средней температуре грунтов выше -0,5 °C погружение буроопускных свай следует осуществлять при искусственном охлаждении грунтов.
Для круглых свай диаметром от 60 см и выше диаметр скважины должен быть на 10 см больше диаметра сваи.
Недобур скважины по сравнению с проектной глубиной допускается не более 5 см при монолитном и 3 см при сборном ростверке.
Для заполнения пазух между стенками скважины и сваей следует применять песчано-глинистые, песчано-известковые, песчано-зольные и другие грунтовые растворы (см.
табл. 58), а также спецрастворы (например, песчано-цементный), заливаемые в скважину перед погружением сваи. Заполнение пазух песчаным раствором должно выполняться после погружения свай с обязательным вибрированием. Состав раствора, его температура и качество подбираются и контролируются строительной лабораторией.
─────────────────┬─────────────────────────────┬───────────────────────────
Наименование │ Состав на 1 м3 раствора │ Рекомендуемые условия
раствора │ │ применения
─────────────────┼─────────────────────────────┼───────────────────────────
Песчано- │1. Песок воздушно-сухой │Во всех случаях, кроме
известковый │средней крупности 820 л, │высокотемпературных
(основной) │известковое тесто объемным │вечномерзлых грунтов
│весом 1,4 г/см3 - 300 л, │
│вода - 220 - 320 л. │
│2. Песок воздушно-сухой - │
│1750 кг, известковое │
│молоко - 180 л, вода │
│добавляется до получения │
│требуемой осадки конуса │
Песчано-глинистый│1. Глина молотая высушенная -│При высокотемпературных
│300 л, песок - 900 л, │вечномерзлых грунтах
│вода - 410 л. │основания
│2. Мелкий песок и глина в │(Для предотвращения отстоя
│соотношении 5:1 - 10:1 при │воды в скважинах применяют
│консистенции, соответствующей│бентонитовую глину 1 - 2%
│осадке конуса 10 - 16 см │или сухой цемент).
│и влажности 0,35 - 0,5. │Разрешается только
│3. Раствор, приготовляемый │в теплое время года.
│на месте с использованием │Рекомендации по составу
│бурового шлама │раствора и разрешению
│ │на его применение даются
│ │строительной лабораторией
│ │на основании определения
│ │состава грунтов площадки
Песчано-цементный│Портландцемент М300 - 450 кг,│При наличии погруженных
(марка раствора │вода - 410 л, песок │на большую глубину
100 и выше) │воздушно-сухой - 830 л. │неизвлекаемых обсадных труб
│При устройстве висячих свай │при высокотемпературных,
│в вечномерзлых грунтах, │вечномерзлых грунтах
│используемых по принципу I, │основания; при наличии
│применение химических │грунтовых вод, талых
│добавок, понижающих │прослоек.
│температуру замерзания, │При наличии расчетного
│недопустимо │стыка в зоне действия
│ │изгибающего момента
Температура раствора, заливаемого в скважину в теплое время года, может соответствовать температуре наружного воздуха, но должна быть не ниже 5 °C. При отрицательных температурах наружного воздуха температура грунтового раствора при его укладке должна быть не менее 20 - 40 °C при осадке конуса 12 - 14 см (при подготовке раствора на строительной площадке осадка конуса допускается от 10 до 16 см).
Растворы для заполнения пазух, как правило, следует заливать перед погружением сваи. В тех случаях, когда в скважине имеется вода, которую трудно удалить, грунтовый раствор подается по бетонолитной трубе. Объем раствора назначают из расчета полного заполнения пазух между сваей и стенками скважин. Контролем качества заполнения пазух является отжатие раствора на поверхность при погружении свай.
Сваи следует погружать в скважины непосредственно после заливки раствора.
При длине свай более 12 м допускается заливка в скважину перед установкой сваи части раствора из расчета заполнения пазух на глубину 10 м от дна скважины. Остальную часть раствора следует доливать в пазухи после ее установки.
Сваи перед погружением следует очищать от намерзших к ее поверхности комьев грунта, льда и снега, жировых пятен.
В отдельных случаях, при достаточной ширине пазух, допускается устанавливать сваи на проектную отметку в сухую скважину с заполнением пазух раствором закачиванием его растворонасосом по шлангам.
Летом промежуток времени между подготовкой скважины и установкой сваи не должен превышать 4 ч. В зимнее время допускается заблаговременная проходка скважин при условии осуществления мероприятий по предохранению от попадания в скважины снега или воды, образования инея и наледей на стенках скважины и принятия необходимых мер по технике безопасности.
Летом и осенью устье скважин при необходимости обсаживают на глубину, равную толщине оттаявшего слоя грунта.
Во всех случаях недопустимо замерзание попавшей в скважину воды перед установкой сваи. Образовавшийся в скважине лед должен быть удален перед установкой сваи.
В случае использования вечномерзлых грунтов в оттаивающем и в оттаявшем состоянии (принцип II) при погружении буроопускным способом свай-стоек, передающих нагрузку нижним концом на практически несжимаемые при оттаивании грунты, диаметр скважин должен превышать наибольший размер поперечного сечения сваи не менее чем на 15 см. При этом минимальное заглубление дна скважины под сваи-стойки в практически несжимаемые при оттаивании грунты определяется проектом, но должно быть не менее 0,5 м. Зазор между стенкой скважины и боковой поверхностью сваи-стойки в пределах заглубления ее в практически несжимаемые грунты заполняется раствором, определяемым проектом.
8.43. При опускном способе погружения свай в вечномерзлые грунты сваи погружаются в оттаянные зоны грунта, при этом диаметр зоны оттаивания должен быть не более 2b, где b - размер наибольшей стороны поперечного сечения сваи.
Примечание. Во всех случаях, когда в проекте предусмотрено погружение свай в вечномерзлые грунты опускным способом, рекомендуется для улучшения качества и повышения производительности свайных работ погружать сваи с проходкой скважин паровым вибролидером.
Оттаивать вечномерзлый грунт следует открытыми или закрытыми нагревателями с помощью пара, воды, электрического тока и др.
Рекомендуется применять нагреватели открытого типа, в которых источником тепла является пар, поступающий из наконечника нагревателя (паровая игла) непосредственно в грунт. Паровая игла представляет собой стальную трубу диаметром 19 - 25 мм с наконечником, имеющим выходные отверстия диаметром 3 - 8 мм.
Для ведения работ по оттаиванию скважин паром необходимо подготовить следующее оборудование и материалы:
паровой котел;
магистральные и распределительные паропроводы; паровые иглы с наконечниками;
распределительную гребенку со шлангами для подводки пара к иглам;
инвентарные подмости для установки игл и поддерживания их в вертикальном положении.
Магистральный и распределительный паропроводы следует прокладывать на низких козлах или деревянных прокладках с уклоном в сторону котельной. Для удобства монтажа распределительный паропровод должен состоять из отдельных секций и присоединяться к магистральному паропроводу с установкой вентиля в месте присоединения. На магистральном паропроводе в местах присоединения распределительных линий ставятся заглушки. Обязательно устройство теплоизоляции труб магистральных и распределительных паропроводов.
При производстве работ необходимо следить за исправностью паропроводов, своевременно ликвидировать утечки пара и не допускать выпуска конденсата пара в пределах застраиваемой территории.
Распределительная гребенка должна иметь одинаковый с распределительным паропроводом диаметр; к ней привариваются отводы для подключения паровых игл. На отводах распределенной гребенки устанавливаются вентили.
Перед распределительной гребенкой устанавливается манометр для регистрации давления пара, поступающего в паровые иглы. Паровые иглы соединяются с распределительной гребенкой посредством гибких шлангов высокого давления.
Для работы с паровыми иглами следует применять шланги (рукава, изготовленные из резинотканевых паропроводных рукавов для подачи насыщенного пара с температурой до 175 °C, рассчитанные на рабочее давление пара до 0,8 МПа). Шланги должны быть работоспособны при температурах наружного воздуха от минус 50 до 50 °C.
Для фиксации правильного положения паровой иглы следует отрывать в местах установки игл лунки или применять шаблоны. Поверхностный слой из насыпных грунтов, если пробными попытками будет установлена невозможность проходки через него паровых игл, необходимо пробурить или пройти траншеей на всю глубину.
Оттаивание мерзлого грунта в месте погружения сваи должно производиться одной или несколькими одновременно действующими паровыми иглами. Число одновременно оттаиваемых скважин определяется с учетом того, что на одну паровую иглу необходимо иметь 4 - 5 м2 поверхности нагрева котла. Для эффективного оттаивания грунта на каждую иглу следует подавать не менее 300 кг пара в 1 ч.
Давление пара на распределительной гребенке следует устанавливать равным: 0,3 - 0,4 МПа для глинистых грунтов без крупнообломочного материала; 0,4 - 0,6 МПа для песчаных грунтов; 0,6 - 0,8 МПа для песчаных грунтов; 0,6 - 0,8 МПа для песчаных грунтов с включением гравия и гальки.
В начале погружения иглы в грунт давление пара должно быть минимальным (0,3 - 0,4 МПа), а после погружения увеличивается до максимального (0,5 - 0,8 МПа).
При содержании в мерзлых грунтах гальки и гравия более 15% (до 20%), а также при небольших валунах рекомендуется применять утяжеленную паровую иглу, имеющую более толстые стенки и прочный наконечник.
При содержании крупнообломочного материала более 20% необходимо вначале в мерзлом грунте пробуривать скважину диаметром 100 - 150 мм и затем через эту скважину паровой иглой оттаивать грунт.
Глубина оттаянной скважины в глинистых грунтах должна быть равна проектной глубине погружения сваи.
В грунтах песчаных и содержащих крупнообломочный материал скважину следует оттаивать на глубину, превышающую проектную глубину погружения свай на 0,5 - 1 м в зависимости от толщины слоя крупнообломочного материала, валунов и песка, оседающих на дно скважины и располагающихся под нижним концом сваи. При этом необходимо учитывать, что грунт под наконечником иглы оттаивает еще на 0,3 - 0,5 м в песках и илах, на 0,2 - 0,3 м - в глине и на 0,1 - 0,2 м в щебенистых грунтах.
Длительность выдержки паровой иглы зависит от размеров оттаиваемой скважины и льдонасыщенности грунта.
Иглу выдерживают, как правило, последовательно на глубине 0,5 м в процессе погружения и далее через 0,5 м от поверхности земли в течение 10 - 20 мин на каждой отметке в зависимости от состава грунта.
В однородных глинистых грунтах рекомендуется быстро погружать паровую иглу до проектной глубины, а оттаивание грунта производить в процессе извлечения иглы из грунта с последовательной выдержкой ее на отметках, кратных 0,5 м.
Для того чтобы поперечные размеры скважины были равномерными, необходимо иглу дольше выдерживать на отметках, соответствующих залеганию более льдонасыщенных грунтов. Время выдерживания иглы следует назначать пропорционально влажности мерзлого грунта.
В грунтах песчаных или содержащих крупнообломочный материал погруженную на заданную глубину иглу, превышающую глубину погружения сваи на 0,5 - 1 м, следует выдерживать в течение 10 - 15 мин, чтобы в нижней части оттаиваемой скважины образовалось уширение диаметром, близким к заданному диаметру скважины.
Примечание. Хорошее качество скважин, не имеющих уширений вверху или внизу, с относительно ровными стенками может быть получено при следующей технологии оттаивания. Оттаивание начинают с центра скважины, а затем для ускорения оттаивания и выравнивания стенок иглу погружают в нескольких точках в пределах намеченного контура скважины. Количество дополнительных погружений и длительность выдержки иглы зависит от состава грунтов и размеров скважины (в песках до 4 - 5 погружений иглы, в глинистых грунтах - 5 - 7 погружений иглы, в торфах - 6 - 8 погружений иглы).
Скорость погружения и сроки выдерживания иглы на различных глубинах следует устанавливать в каждом конкретном случае пробным оттаиванием грунта и погружением сваи.
С целью облегчения погружения опускных свай в песчаные грунты рекомендуется после их оттаивания в процессе погружения сваи к нижней части скважины подавать воздух, который перемешивает и рыхлит оттаянный песок.
Для погружения сваи используются стреловые или башенные краны. Свая в оттаянный грунт резко опускается с высоты 2 - 3 м. Погружение свай в оттаянные песчаные грунты наиболее эффективно с помощью вибропогружателей.
Если по какой-либо причине свая опускается ниже проектной отметки, в скважину следует подсыпать щебень, и сваю до вмерзания поддерживать краном или закреплять в проектном положении.
Погружать сваи в предварительно оттаянный грунт зимой и весной следует не позже чем через сутки после окончания оттаивания; летом и осенью - не позже чем через 2 сут. При этом железобетонные сваи не допускается погружать ранее чем через 12 ч (летом) и 20 ч (зимой) после окончания оттаивания скважин.
Погружение свай в оттаянные скважины допускается также применять на площадках с температурой грунта от минус 1 до минус 1,5 °C при условии, что диаметр протаянной зоны назначается уменьшенным (равным диагонали поперечного сечения сваи), а сваи погружаются сваебойными машинами.
8.44. При бурозабивном способе погружения свай в вечномерзлые грунты сваи забиваются в предварительно пробуренные скважины-лидеры, диаметр которых менее (на 1 - 2 см) наименьшего размера поперечного сечения сваи.
Если бурозабивные сваи погружаются в зимнее и весеннее время, скважина на глубину 1,5 - 3 м должна иметь диаметр, превышающий диагональ поперечного сечения свай.
Перед погружением бурозабивной сваи скважину следует тщательно очистить от попавших в нее воды, грязи, льда и снега.
Типы сваебойных машин для погружения свай должны выбираться с учетом технико-экономических показателей в зависимости от мерзлотно-грунтовых условий строительной площадки, размеров и веса свай и намеченного способа погружения.
Во всех случаях следует применять сваебойные машины с весом ударной части, превышающим вес сваи с наголовником.
Стенки скважины во всех случаях должны быть ровными, в связи с чем бурение скважин производят только вращательным и паровибролидерным способами.
При бурозабивном способе погружения свай искусственное понижение температуры вечномерзлых грунтов основания допускается проводить только после погружения свай.
8.45. Способ бурения скважин под сваи выбирается с учетом мерзлотно-грунтовых условий строительной площадки и технологических показателей (табл. 59 -
61), технических возможностей строительной организации. В таблицах приводятся также условия для рационального применения способа подготовки скважин оттаиванием паром.
─────────────────────────┬─────────────────────────────────────────────────
Способ бурения │ Мерзлотно-грунтовые условия для рационального
│ применения способа подготовки скважин при
├────────────────────┬────────────────────────────
│температуре мерзлого│ содержании включений
│ грунта, °C │ на скважину
├──────────┬─────────┼───────────────┬────────────
│песчаного │глинис- │крупно- │валунов
│ │того │обломочных, % │диаметром
│ │ │ │100 - 250 мм
─────────────────────────┼──────────┼─────────┼───────────────┼────────────
Ударно-канатный │Ниже -0,5 │Ниже -0,3│30 - 70, в том │Большое
│ │ │числе забурива-│количество
│ │ │ние в скальные │
│ │ │породы │
Вращательный: │ │ │ │
резцово-шнековый │Без огра- │Ниже -0,2│До 30 │ 1 - 2
│ничений │ │ │
шарошечный │То же │Ниже -0,2│Свыше 30, в том│Большое
│ │ │числе чисто │количество
│ │ │скальные породы│
Огневой термомеханический│Ниже -1 │Ниже -0,5│До 20 │ 1 - 2
Паровибролидерный │Ниже -0,5 │Ниже -0,2│До 30 │ 2 - 4
Протаивание скважин │Ниже -1,5 │Ниже -1,0│До 15 │ 2 - 4
паровой иглой │ │ │ │
Таблица 60
───────────────────────────┬───────────────┬───────────────────────────────
Способ бурения │ Размеры │ Скорость бурения скважин
│ скважин, м │ диаметром 0,4 - 0,5 м, м/ч,
│ │ в грунтах
├───────┬───────┼─────────┬─────────┬───────────
│глубина│диаметр│песчаных │глинистых│песчаных и
│ │ │ без │ без │глинистых с
│ │ │включений│включений│крупнообло-
│ │ │ │ │мочными
│ │ │ │ │включениями
───────────────────────────┼───────┼───────┼─────────┼─────────┼───────────
Ударно-канатный │ Более │До 0,9 │2,5 - 3,5│ 1,5 - 2 │ 1 - 1,5
│ 200 │ │ │ │
Вращательный: │ │ │ │ │
резцово-шнековый │8 - 20 │До 0,65│ До 15 │ До 10 │ До 5
шарошечный │ До 15 │До 0,5 │ До 15 │ До 12 │ До 10
Огневой термомеханический │ До 12 │До 0,5 │ До 8 │ До 10 │ До 4
Паровибролидерный │ До 10 │До 0,5 │ 30 - 40 │ 20 - 30 │ 20
Протаивание скважин │ До 10 │До 0,8 │ До 20 │ 8 - 12 │ 8 - 16
паровыми иглами │ │ │ │ │
─────────────────┬─────────────────────────────────────────────────────────
Способ бурения │ Продолжительность вмерзания свай, сутки, при способах
│ нагружения свай
├──────────────────────────────┬──────────────────────────
│ буроопускной │ бурозабивной
├──────────────────────────────┴──────────────────────────
│ Среднегодовая температура грунтов, °C
├───────┬──────┬───────┬───────┬───────┬──────┬─────┬─────
│ -0,5 │ -1 │ -1,5 │ -3 │ -0,5 │ -1 │-1,5 │ -3
─────────────────┼───────┼──────┼───────┼───────┼───────┼──────┼─────┼─────
Ударно-канатный │50 - 70│50 - │15 - 25│6 - 12 │ - │ - │ - │ -
│ │ 40│ │ │ │ │ │
Вращательный │30 - 45│15 - │8 - 12 │ 4 - 5 │ 2 - 3 │1 - 2 │ - │ -
│ │ 25│ │ │ │ │ │
Огневой │ - │120 - │80 - │40 - 60│10 - 20│8 - 10│5 - 7│2 - 4
термомеханический│ │ 140│ 100│ │ │ │ │
Паровибролидерный│40 - 60│20 - │12 - 20│6 - 10 │8 - 12 │5 - 10│3 - 6│1 - 2
│ │ 40│ │ │ │ │ │
Протаивание │ - │ - │120 - │50 - 70│ - │ - │ - │ -
скважин паровой │ │ │ 140│ │ │ │ │
иглой (опускной │ │ │ │ │ │ │ │
способ нагружения│ │ │ │ │ │ │ │
сваи) │ │ │ │ │ │ │ │
Примечание. Первые числа в таблице показывают продолжительность вмерзания при погружении свай зимой и весной, вторые - летом и осенью.
8.46. Контроль качества работ по устройству свайных фундаментов должен производиться на всех этапах, включая бурение скважин, и осуществляться производителем работ и представителями авторского надзора и заказчика.
В процессе выполнения работ по бурению скважин под сваи производителем работ должен вестись журнал, в котором фиксируется номер скважины, месяц, число и время ее бурения, диаметр рабочего инструмента, диаметр обсадной трубы и глубину ее погружения, отметки устья и дна скважины (проектная и фактическая), наличие или отсутствие в ней воды, а также краткая характеристика проходимых грунтов, определяемая по удаляемому из скважины буровому шламу. Записи в журнале должны производиться производителем работ, контролироваться и подписываться представителями авторского надзора и заказчика.
При бурении скважин под сваи-стойки дополнительно с проектной глубины скважины отбираются образцы грунта, которые маркируются и сохраняются до оформления акта приемки скважин.
В случае несоответствия полученных результатов проектным данным по согласованию с проектной организацией может быть изменена проектная глубина скважины.
По окончании бурения должна быть проконтролирована глубина скважины и качество зачистки ее дна путем опускания на забой специально размеченного бурового снаряда, мерной штанги или лота. Этот вид контроля должен периодически проверяться представителем авторского надзора.
Глубина скважины при буроопускном способе погружения свай должна быть равна проектной глубине погружения сваи. Отклонения фактической глубины скважины по сравнению с проектной глубиной в сторону уменьшения допускаются 5 см при монолитном ростверке и 3 см при сборном ростверке. Перебур скважины не должен превышать 20 см.
Примечание. Глубину скважин под сваи-стойки следует корректировать в соответствии с глубиной залегания практически несжимаемых грунтов.
При перерыве между окончанием бурения и погружением свай более 4 ч должны быть приняты меры по ограждению скважин от попадания в них поверхностных и грунтовых вод, при этом при погружении сваи скважина должна быть вторично проконтролирована и при необходимости дополнительно зачищена.
После погружения сваи должно проверяться соответствие отметки нижнего конца сваи отметке дна скважины, а также правильность расположения сваи в плане и по вертикали.
Погруженные сваи должны быть приняты по акту комиссией. В акте указываются данные о сваях (марка, завод-изготовитель, номер сваи, номер партии, номер паспорта, размеры сваи по проекту и фактические), месяц, число и время погружения сваи, глубина погружения (проектная и фактическая), характеристики раствора (температура, осадка конуса во время заливки в скважину), установка температурных трубок (длина, диаметр, количество).
Разрешение на загрузку свайных фундаментов из висячих свай дается на основании оценки несущей способности сваи при температурном режиме вечномерзлых грунтов оснований на день приемки. Полная расчетная загрузка свайных фундаментов разрешается только после достижения расчетного температурного режима грунтов оснований.
ИЗГОТОВЛЕНИЕ БУРОНАБИВНЫХ СВАЙ
8.47. Состав глинистого раствора должен назначаться лабораторией в зависимости от связности проходимых грунтов. Содержание песка в глинистом растворе должно быть не более 10%.
В процессе бурения свай надлежит производить периодическую проверку основных показателей глинистого раствора: вязкости, удельного веса и содержания песка.
По окончании бурения следует проверить фактические размеры и отметки устья, забоя и расположение скважины в плане, а также соответствие грунта основания данным инженерно-геологических изысканий.
8.48. Армирование свай следует производить заранее изготовленными каркасами, устанавливаемыми перед бетонированием.
Перед установкой арматурного каркаса и бетонированием необходимо очистить забой скважины.
В целях предотвращения подъема и смещения в плане арматурного каркаса укладываемой бетонной смесью и в процессе извлечения бетонолитной или обсадной трубы, а также во всех случаях армирования не на полную глубину скважины его необходимо закрепить в проектном положении.
8.49. Для предотвращения обрушения устья скважины перед установкой арматурного каркаса его следует закрепить с помощью трубы-кондуктора длиной не менее 1 м с наружным диаметром, равным диаметру скважины.
Способы подъема, строповки, перемещения и опускания арматурного каркаса в скважину должны исключать появление остаточных деформаций каркаса или отдельных его стержней, а также повреждение ствола скважины.
8.50. Для контроля положения каркаса по глубине скважин после его установки и в процессе укладки бетонной смеси необходимо к одному из продольных стержней (в начальный период опускания каркаса в скважину) приварить стальной прут такой длины, чтобы его верх возвышался на 10 - 20 см над обсадной трубой или оболочкой.
В целях предотвращения подъема арматурного каркаса в процессе бетонирования свай методом ВПТ его необходимо заанкерить. Для этого в сваях к двум диаметрально расположенным стержням каркаса приварить два стержня, имеющих длину до дна скважины и снабженных на нижнем конце опорными коротышами из уголков, приваренных непосредственно к нижнему кольцу жесткости.
8.51. Доставка бетонной смеси должна осуществляться преимущественно автобетоновозами или автобетономешалками. Укладываемая в набивные сваи бетонная смесь должна иметь осадку конуса 18 - 20 см.
Бетонную смесь следует укладывать в скважину через бетонолитную трубу (диаметром не менее 250 мм), имеющую приемный вибробункер.
Бетонолитные трубы, предназначенные для бетонирования скважин под водой или под глинистым раствором, должны иметь приемный бункер емкостью не менее объема бетонолитной трубы и клапан, закрывающий доступ бетона и бетонолитную трубу в период загрузки бункера бетоном. Загрузка бункера должна производиться непосредственно с транспортных средств без перегрузки.
При подъеме бетонолитной трубы в процессе бетонирования нижний конец ее должен быть всегда заглублен в бетонную смесь не менее чем на 1 м.
При бетонировании необходимо обеспечить укладку качественного бетона по всей глубине скважины, в том числе в голове сваи.
При изготовлении набивных свай в зимнее время необходимы мероприятия по предохранению бетона от промораживания.
8.52. Стыки бетонолитной трубы должны быть герметичны.
8.53. Бурение скважин для набивных свай, изготавливаемых с применением обсадных труб, должно выполняться в соответствии с
Прил. 53. Изготовление пропущенных свай допускается не ранее достижения бетоном смежных свай 25% проектной прочности.
8.54. Проверку подвижности бетонной смеси следует производить непосредственно перед загрузкой ее в трубу.
8.55. В процессе бетонирования труба на всю высоту должна быть постоянно заполнена бетонной смесью. Перерывы в подаче отдельных порций бетонной смеси не должны превышать срока схватывания, установленного лабораторией при данной марке цемента и температуре окружающей среды.
При бетонировании свай в зимних условиях бетонную смесь следует подавать в бункер подогретой до температуры, гарантирующей температуру бетона в скважине в момент укладки не менее 5 °C.
При температуре воздуха минус 20 °C и ниже рекомендуется обогревать приемный бункер и верхнюю часть трубы при помощи электронагревателей или устраивать объемлющий тепляк.
По окончании изготовления буронабивных свай с применением глинистого раствора верхний слой бетона следует удалить на высоту загрязнения его грунтом и глинистым раствором.
8.56. Общие требования, предъявляемые к материалам для изготовления свай:
крупность гравия и щебня, применяемого для изготовления железобетонных свай, должна быть не более 30 мм;
крупность гравия для изготовления свай должна быть не более 50 мм и щебня 40 мм;
прочность гравия или щебня должна быть не менее 600 кг/см3;
песок и вода для бетонной смеси должна отвечать требованиям действующих ГОСТов.
Для изготовления набивных свай должны применяться цементы со сроком начала схватывания не менее 2 ч. Подвижность и связность бетонной смеси следует обеспечить подбором ее состава и введением в смесь поверхностно-активных пластифицирующих добавок.
8.57. Интенсивность укладки бетонной смеси устанавливается в проекте производства работ. При заполнении полостей полых круглых свай и свай-оболочек и отсутствии в их полостях воды допускается непосредственное сбрасывание бетона через приемный бункер независимо от высоты сбрасывания.
8.58. В процессе изготовления буронабивных свай контроль осуществляется в соответствии с указаниями
Прил. 54. Кроме того, должны составляться акты на приемку буровых скважин, арматурных каркасов и свайного поля в соответствии с
Прил. 55,
56. Рекомендации по изготовлению буронабивных свай в инвентарных трубах приведены в
Прил. 57. Изготовление набивных свай по вибрационной технологии производится в соответствии с
Прил. 58.
УСТРОЙСТВО КАМУФЛЕТНЫХ УШИРЕНИЙ
8.59. Для образования камуфлетного уширения набивных свай вес заряда ВВ определяется по формуле

, (29)
где C - вес заряда ВВ, кгс;

- коэффициент сопротивления грунта взрыву, принимаемый при тугопластичных глинистых грунтах равным 1,2, а при полутвердых - 1,4;
D - диаметр камуфлетного уширения, м.
Для образования камуфлетного уширения у полых забивных свай величину сосредоточенного заряда ВВ необходимо ориентировочно принимать, руководствуясь указаниями табл. 62. В процессе производства работ вес заряда ВВ должен уточняться из условий получения камуфлетного уширения проектных размеров свай.
Таблица 62
───────────────────────┬───────────────────────────────────────────────────
Вес заряда ВВ, кгс │Средний расчетный диаметр камуфлетного уширения, м
───────────────────────┼───────────────────────────────────────────────────
1 │ 0,8
4 │ 1,1
8 │ 1,5
12 │ 1,9
Каждый заряд должен иметь по четыре электродетонатора, присоединенных по два к основной и дублирующей двухпроводным электросетям. Провода сетей должны иметь гидроизоляцию.
8.60. Заряд ВВ упаковывается в жесткую тару (стальной, деревянный или пластмассовый ящик). Заряд из неводостойких ВВ должен иметь водонепроницаемую (резиновую, полиэтиленовую и т.п.) оболочку. Конструкции заряда должны иметь объемную массу не менее 1,5 т/см3, чтобы исключались случаи его всплывания и взрыва на отметках выше проектных.
Для предохранения электросети от повреждения при укладке бетонной смеси, подаваемой в скважину или обсадную трубу в бадьях, провода пропускаются в стальные трубки или резиновые шланги, нижние концы которых заводятся и надежно закрепляются в таре заряда.
После установки заряда на место проверяют целостность и общее сопротивление всей электровзрывной сети. При этом разница в расчетном и измеренном сопротивлениях не должна превышать 10%.
Заряд ВВ, опущенный в забой на тросике или специальном проводе, устанавливается по центру скважины или сваи-оболочки. При больших диаметрах скважины или сваи-оболочки положение заряда фиксируется прикрепленными к зарядному ящику направляющими планками.
Заряд ВВ, опущенный в забой, перед подачей бетонной смеси должен быть засыпан слоем песка толщиной 10 - 15 см.
8.61. Диаметр образовавшегося камуфлетного уширения D следует проверять по формуле

, (30)
где V - объем бетона, вышедшего из полости оболочки в камуфлетное, м3; определяется по разности отметок верхней поверхности бетона, уложенного в оболочку до и после взрыва.
УСТРОЙСТВО КОТЛОВАНОВ ДЛЯ СВАЙНЫХ РОСТВЕРКОВ
8.62. Котлованы без укреплений разрешается применять, как правило, на суше и на глубине выше уровня грунтовых вод. Крутизна откосов должна быть обусловлена родом грунта, глубиной котлована и характером нагрузки, располагаемой на его берегах. В котлованах небольшой ширины (менее 4 м), устраиваемых выше уровня грунтовых вод в устойчивых грунтах, могут быть применены закладные крепления из досок и распорок, устанавливаемых в процессе извлечения грунта.
8.63. При неустойчивых и водоносных грунтах устройство котлованов необходимо производить под защитой шпунтового ограждения во всех случаях, когда шпунт может быть забит без повреждения на необходимую глубину.
8.64. На местности, покрытой водой, для защиты котлована в пределах глубины воды рекомендуется применять деревянные шпунтовые ограждения с наружной грунтовой перемычкой или с заполнением грунта между двумя шпунтовыми рядами, металлические шпунтовые ограждения, щитовые перемычки и бездонные ящики.
8.65. Размеры котлована должны определяться проектными размерами фундамента в плане с учетом увеличения их в каждую сторону, которые назначаются в соответствии с принятыми способами водоотвода, установки опалубки и креплений, бетонирования, распалубки и изоляции кладки. Запасы в размерах должны обеспечивать возможность устройства фундамента с заданными по проекту размерами.
При комбинированной разработке котлована (верхняя часть до уровня грунтовых вод - с откосами; нижняя часть - в шпунтовом ограждении) размеры его в уровне верха шпунтового ограждения должны определяться размерами последнего в плане, но с запасом в плане в каждую сторону, обеспечивающим установку копра для забивки угловых шпунтин.
8.66. Устройство котлованов в теле конуса насыпи существующего земляного полотна или в непосредственной близости от нее, равно как и устройство в насыпи поперечных прорезей для производства работ, должны выполняться по специальным проектам с детально разработанными конструкциями креплений стенок и перекрытий прорези, обеспечивающими полную безопасность движения поездов или автомобильного транспорта.
Рабочие чертежи и порядок организации указанных работ должны быть согласованы с заинтересованными организациями.
8.67. Разработка котлованов в местах, где имеются действующие подземные коммуникации, допускается лишь при наличии письменного разрешения организации, ответственной за эксплуатацию коммуникаций, и должна производиться с принятием мер против их повреждения, а в местах расположения электрических кабелей в присутствии представителя организации, эксплуатирующей кабельную сеть.
8.68. При устройстве котлованов на суше в естественном однородном грунте или в плотно слежавшемся насыпном грунте крутизну откосов без креплений при кратковременных сроках производства работ и естественной влажности грунтов следует назначать согласно табл. 63.
Таблица 63
────────────────────────────────────┬──────────────────────────────────────
Наименование грунтов │ Отношение высоты откоса к заложению
│ при глубине котлована, м
├───────────────────┬──────────────────
│ до 3 │ от 3 до 6
────────────────────────────────────┼───────────────────┼──────────────────
Насыпные, песчаные, крупнообломочные│ 1:1,25 │ 1:1,5
Супеси │ 1:0,67 │ 1:1
Суглинки │ 1:0,67 │ 1:0,75
Глины │ 1:0,5 │ 1:0,67
Лёссовидные (сухие) │ 1:0,5 │ 1:0,75
В суглинках и глинах при возможном увлажнении их в результате дождей или снеготаяния крутизна откосов не должна превышать 1:1.
Супеси, лёссы и лёссовидные грунты, имеющие степень влажности более 0,5, разрабатывать без креплений запрещается.
Для защиты грунтовых откосов от дождевых вод с нагорной стороны котлованов необходимо устраивать отводные канавы. В случаях, когда откосы котлована без креплений подвергнутся увлажнению после полной или частичной разработки, мерами предосторожности против обрушения или сползания грунта могут являться временное прекращение работ до осушения откосов, уменьшение крутизны откосов, постановка креплений.
ШПУНТОВЫЕ ОГРАЖДЕНИЯ И ЩИТОВЫЕ ПЕРЕМЫЧКИ И БЕЗДОННЫЕ ЯЩИКИ
8.69. Деревянное шпунтовое ограждение может применяться при отсутствии в грунтах включений в виде камней, затонувших деревьев и т.п.
Рекомендуемая глубина забивки в грунт деревянного шпунтового ограждения не должна превышать 6 м.
Способы погружения деревянного шпунта должны обеспечивать плотное, без щелей сопряжение шпунтин между собой на всю высоту шпунтового ограждения.
Ширину между рядами двойного шпунтового ограждения необходимо принимать не менее 1 м, а шпунт наружного ряда погружать в дно реки на глубину не менее 2 м. Кроме того, наружный ряд шпунта должен быть достаточно плотным, исключающим возможность вымывания засыпки.
8.70. При глубине воды 3 - 4 м пазухи между стенками деревянного двойного шпунтового ограждения рекомендуется заполнять супесями или суглинками с содержанием глинистых частиц до 20%.
8.71. Ограждение из стального шпунта следует применять при глубине забивки более 6 м, а также при плотных и прочных грунтах.
Стальной шпунт должен быть инвентарным и его, как правило, необходимо использовать только для ограждения сооружения в процессе строительства, после чего шпунт должен быть извлечен для повторного использования.
Порядок погружения стального шпунта должен обеспечивать замыкание всех шпунтин по всему периметру ограждения.
8.72. Верх шпунтового ограждения необходимо располагать выше максимально возможного уровня грунтовых вод на 0,2 - 0,4 м и выше принятого рабочего горизонта воды в реке не менее чем на 0,7 м.
8.73. Шпунтовые ограждения должны быть раскреплены путем постановки горизонтальных поясов-обвязок по контуру котлована и системы поперечных продольных и угловых распорок, назначаемых по проекту. Конструкция крепления должна быть увязана с принятым методом разработки грунта.
Установку креплений необходимо производить по мере углубления котлована.
8.74. Взамен прямоугольных в плане ограждений в ряде случаев для упрощения и значительного облегчения распорных креплений целесообразно применять цилиндрические ограждения из стального шпунта с устройством кольцевых поясов-обвязок без поперечных распорок. Количество поясов, их конструкция и места установки по высоте котлована должны определяться расчетом.
8.75. Шпунтовые ограждения котлованов следует рассчитывать на устойчивость положения и на прочность по материалу их элементов не только на стадии полного удаления грунта и воды из котлована, но и в процессе разработки котлована и установки распорных креплений, а также обратной засыпки грунта и снятия креплений.
Для шпунтовых ограждений, заглубленных в пески или супеси, кроме указанных расчетов, необходимо проверить глубину забивки шпунта ниже проектного уровня дна котлована исходя из условия предотвращения возможности выноса (наплыва) грунта в котлован при откачивании из него воды без устройства водозащитной подушки и принимать (независимо от результатов расчетов) не менее 2 м, а в остальных грунтах или при устройстве бетонной водозащитной подушки в котловане - не менее 1 м.
8.76. В качестве ограждения котлованов для устройства высоких ростверков рекомендуется применять сборно-разборные перемычки из деревометаллических или металлических щитов, из стальных шпунтин, из понтонов типа КС, расположенных по периметру распорного крепления, которое одновременно должно использоваться в качестве направляющего устройства для погружаемых свай или свай-оболочек.
Днище таких перемычек вследствие разового его использования следует изготовлять деревянными или деревометаллическими с отверстиями для пропуска свай или свай-оболочек. Диаметр отверстий должен превышать диаметр свай или оболочек на 4 - 5 см.
8.77. Щиты или понтоны следует опирать на консоли днища, которое должно быть прикреплено к распорному креплению перемычки таким образом, чтобы его можно было легко отсоединить и оставить на месте после окончания работ по устройству ростверка.
Для уменьшения сил сцепления щитов или понтонов с тампонажным слоем подводного бетона (при разработке перемычки) рекомендуется устраивать обязательную изоляцию нижней части перемычки.
8.78. В качестве одного из мероприятий по устранению веерных отклонений стального шпунта в плоскости шпунтовой стенки, обусловленных разными сопротивлениями погружаемых шпунтин в замках со стороны уже погруженной стенки (замок в замок) и со свободной стороны, рекомендуется свободный замок закрывать снизу заглушкой, в значительной мере защищающей его от засорения грунтом и одновременно создающей восстанавливающий момент шпунтине.
8.79. С целью защиты от коррозии стального шпунта рекомендуются его покрывать следующими видами грунтов и эмалей:
для переменного уровня и подводной зоны - эмалью ЭП-5116 (ТУ 6-10-1369-73) в два слоя;
для надводной зоны - грунтом ЭП-057 (ТУ 10-1117-71) в один слой и эмалью ЭП-1155 (ТУ 6-50-73) в два слоя.
8.80. Бездонные ящики для ограждения котлованов должны иметь водонепроницаемые стенки и внутреннее крепление, обеспечивающее прочность и устойчивость стенок.
При деревянных ящиках рекомендуется выполнять стенки по типу водонепроницаемой надкессонной обшивки наплавных кессонов.
Для сокращения притока воды в месте контакта ящика с дном реки следует производить обсыпку ящика снаружи песком, укладку грунта в мешках по периметру, а также подводное бетонирование фундаментной подушки.
8.81. Бездонные ящики разового использования следует применять в случаях оставления их в качестве защитных устройств ростверков абразивного и агрессивного воздействия среды. В остальных случаях необходимо применять ящики многократного использования. В качестве таких ящиков целесообразно использовать цельноустанавливаемые заранее смонтированные (без днища) с направляющим каркасом перемычки из щитов или из понтонов типа КС.
Ящики можно применять как для устройства заглубленных в грунт ростверков, так и для ростверков, подошва которых возвышается на 3 - 4 м над дном водоема. В последнем случае перед устройством тампонажной подушки из подводного бетона после окончания погружения всех свай или свай-оболочек в ящик засыпают до требуемого уровня песок или щебень.
8.82. Распорные крепления перемычек и бездонных ящиков, воспринимающих давление воды, следует, как правило, одновременно использовать в качестве направляющих устройств для погружаемых свай или оболочек, а также несущих элементов рабочих подмостей.
8.83. При конструировании съемных распорных креплений необходимо учитывать последовательность их разборки или перестановки по мере бетонирования ростверка и надфундаментной части опоры.
8.84. При проектировании перемычек и бездонных ящиков должны быть выполнены следующие расчеты:
прочности под воздействием давления воды, бетонной смеси ростверка и собственного веса конструкций;
плавучести и устойчивости при транспортировании на плаву к месту установки;
прочности конструкции при установке краном;
мощности и грузоподъемности средств для транспортирования, опускания и закрепления на месте перемычек или ящиков.
ВЫЕМКА ГРУНТОВ И ВОДООТЛИВ
8.85. Грунт, выдаваемый из котлована, следует транспортировать на такое расстояние, при котором не возникает опасности обрушения стенок котлована или какого-либо другого препятствия для производства работ.
При выдаче грунта из котлована в реку стеснение грунтом живого сечения реки не должно вызывать увеличения скорости течения до предела, выше которого может произойти размыв перемычки и дна реки.
Кроме того, выдаваемый грунт не должен создавать препятствий для судоходства.
Обратная засыпка должна производиться слоями с плотным трамбованием каждого слоя.
8.86. Работы по выемке грунта, зачистке дна и освидетельствованию котлована, возведению фундамента и обратной засыпке котлована следует производить в предельно сжатые сроки, чтобы исключить возможность разуплотнения (летом) или промерзания (зимой) поверхности несущего слоя основания.
Разработку с водоотливом котлованов, расположенных вблизи действующих сооружений, следует выполнять в строгом соответствии с проектом производства работ по возведению фундаментов.
Воду следует откачивать из приямков, заглубленных ниже дна разрабатываемого котлована. Стены приямков должны быть укреплены деревянным или металлическим ящиком, опускаемым по мере углубления котлована.
УСТРОЙСТВО СВАЙНЫХ РОСТВЕРКОВ
8.87. Ростверки надлежит возводить только после документальной приемки работ по погружению свай.
Отметка положения ростверка, его конструкции, размеры и применяемые материалы должны соответствовать требованиям проекта.
Применяемые материалы и сборные конструкции должны соответствовать также требованиям СНиП и действующих ГОСТов. При устройстве ростверков на акватории конструкция их ограждения и способ устройства определяются проектом производства работ.
Размеры в плане ограждения ростверка гидротехнического сооружения определяются очертанием фундамента сооружений с запасом не менее 0,5 м на каждую сторону, высота ограждения определяется глубиной воды при рабочем горизонте плюс 0,7 м для возвышения его над водой. В необходимых случаях должна быть учтена высота волны.
8.88. За рабочий горизонт при сооружении фундаментов принимается наивысший возможный в период производства работ уровень воды, соответствующий расчетному расходу с вероятностью превышения 10%. В процессе откачки воды из ограждения надлежит производить своевременную и обязательную установку распорных креплений, предусмотренных проектом.
УСТРОЙСТВО МОНОЛИТНЫХ РОСТВЕРКОВ
8.89. При бетонировании ростверков на суходоле с устройством опалубки откачка воды производится с таким расчетом, чтобы не допустить заливания водой укладываемого бетона. При окончании бетонирования откачка воды прекращается и бетон покрывается водой, что благоприятствует набору прочности бетонных массивов фундаментов.
Ключи, обнаруженные на дне котлована, должны быть заглушены или каптированы с отводом воды за пределы ростверка.
Бетонирование ростверков, расположенных на акватории, надлежит производить после укладки в ограждении ростверка тампонажного слоя. Тампонажный слой следует укладывать из бетона по методу ВПТ.
8.90. Марка бетона и толщина тампонажного слоя грунтового тампонажа устанавливается проектом.
Тампонажный слой надлежит укладывать:
при низких свайных ростверках - непосредственно на грунт;
при высоких свайных ростверках - на песчаную отсыпку, засыпаемую в ограждение (шпунтовым или бездонном ящике) до отметки низа тампонажного слоя или на деревянное днище, устроенное заранее в необходимом уровне в каркасе для погружения свай или свай-оболочек или в плавучем понтоне. Отверстия в днище для погружения свай или свай-оболочек в этом случае должны соответствовать их диаметру с припуском по 2 см на каждую сторону.
Откачку воды из ограждения и бетонирование свайного ростверка производят после приобретения бетоном тампонажного слоя прочности, указанной в проекте, но не менее 25 кг/см2. Прочность уложенного бетона устанавливается построечной лабораторией.
Допускается применение грунтовых тампонов из мятой глины с песком при небольших глубинах воды, малом напоре и скоростях течения, исключающих размыв дна у ограждения.
8.91. При значительной площади ростверка, а также при малой производительности бетонного завода, не обеспечивающего укладку монолитного бетона горизонтальными слоями всей площади, укладку бетонной смеси следует вести наклонными слоями или разбивать ростверк на блоки бетонирования.
Число и отбор контрольных бетонных кубиков предусматриваются в соответствии с действующими СНиП на бетонные работы.
8.92. При сооружении монолитных массивных ростверков с модулем поверхности


, (31)
где

- сумма площадей охлаждаемой поверхности;
V - объем ростверка.
В период прохождения в бетоне экзотермических процессов в них могут возникать значительные перепады температуры, которые вызывают напряжения в ростверке и сваях и, как следствие, разрушение конструкции либо появление трещин в бетоне.
Поэтому устройство массивных монолитных ростверков, особенно в зимний период, следует выполнять с учетом заданных расчетом допустимых температурных перепадов по высоте и длине блока, определяемых из условий прочности, трещиностойкости или допускаемой ширины раскрытия трещин в сваях и ростверке.
Для снижения температурных напряжений в сваях и ростверке в период протекания экзотермических процессов в бетоне плиты необходимо проводить специальные мероприятия по выравниванию температуры по высоте и длине ростверка, предусмотренные проектом производства работ. К таким мероприятиям относятся электро- или паропрогрев верхней поверхности ростверка:
применение греющей опалубки, матов и щитов;
снижение тепловыделения бетона охлаждением, например водой, пропускаемой по трубам, или применение малотермических цементов;
назначение оптимальных размеров блоков бетонирования и перерывов в укладке горизонтальных слоев (3 - 10 сут).
8.93. После окончания бетонирования блока (ростверка) необходимо вести контроль температуры бетона и наружного воздуха с помощью дистанционных датчиков температуры либо технических термометров. Датчики температуры устанавливаются в специальные температурные скважины.
УСТРОЙСТВО СБОРНЫХ РОСТВЕРКОВ
8.94. Монтаж сборных железобетонных ростверков осуществляется в соответствии с рабочими чертежами фундаментов, проектом производства работ.
Для точной установки оголовков следует применять инвентарные металлические рамки, предварительно монтируемые на головы свай по геодезическим отметкам.
Укладывать элементы ростверка по слою замерзающего грунта запрещается.
8.95. Монтаж конструкции сборного железобетонного ростверка должен производиться только после достижения бетоном замоноличивания оголовков не менее 70% проектной прочности в летнее время и 100% - в зимнее время.
Замоноличивание оголовков в зимнее время при отрицательных температурах воздуха должно осуществляться бетоном с обязательным электроподогревом или с применением бетона с добавкой.
8.96. Приемка работ по устройству свайных фундаментов и шпунтовых ограждений должна производиться на основании:
проектов свайных фундаментов или шпунтовых ограждений;
паспортов заводов-изготовителей на сваи, сваи-оболочки, шпунт, товарный бетон и арматурные каркасы;
актов лабораторных испытаний контрольных бетонных образцов и актов на антикоррозионную защиту конструкций;
актов геодезической разбивки осей фундаментов и шпунтовых ограждений;
исполнительных схем расположения свай и шпунтовых ограждений с указанием их отклонений в плане и по высоте;
сводных ведомостей и журналов забивки или погружения свай, свай-оболочек и шпунта, журналов бурения и бетонирования скважин для набивных свай;
результатов динамических испытаний свай и свай-оболочек;
результатов статических испытаний свай, свай-оболочек (если они были предусмотрены);
актов освидетельствования арматурных каркасов и скважин перед бетонированием.
Отклонения проектного положения свай, забиваемых на акватории для причальных и оградительных сооружений, не должны превышать величин, приведенных в табл. 64.
Таблица 64
───────────────────────────────────────────┬───────────────────────────────
Вид отклонения и тип свайного элемента │ Допускаемое отклонение
───────────────────────────────────────────┼───────────────────────────────
I. Отклонение голов свайных элементов │
в плане: │
а) сваи квадратные и круглые диаметром │0,5d, но не более 20 см
до 800 мм включительно, погружаемые │(d - диаметр или сторона
на защищенной от волнения акватории │поперечного сечения)
б) железобетонные сваи-оболочки и стальные │
трубчатые сваи диаметром │
более 800 мм, погружаемые на защищенной │
от волнения акватории при глубине воды: │
до 10 м │25 см
более 10 м │0,025H (H - глубина воды)
в) свайные элементы, погружаемые │
на незащищенной от волнения акватории │
при глубине воды: │
до 10 м │40 см
более 10 м │0,04H
II. Тангенс угла отклонения продольной оси │
свайного элемента от проектного положения │
при погружении: │
а) вертикально и с наклоном до 5:1 │0,02
включительно │
б) с наклоном положе чем 5:1 │0,03
Примечания. 1. Измерения отклонения свайных элементов следует производить до их выправления. Отклонения свайных элементов в плане должны замеряться на уровне проектного положения их голов.
2. При определении отклонений наклонных свайных элементов следует принимать во внимание несвязанные с технологией производства работ дополнительные отклонения под действием собственного веса. Эти дополнительные отклонения следует определять расчетом с учетом взвешивающего влияния воды, рассматривая условно свайный элемент как консольную балку, жестко защемленную в грунте на глубине 5d.
8.97. Недобивки свай, вызываемые сложными грунтовыми условиями, допускаются (при обязательном условии достижения расчетного отказа) при глубине забивки от поверхности планировки: до 10 м не более 0,5 м; более 10 м до 1 м.
В дополнение к вышеуказанному для мостов и транспортных гидротехнических сооружений недопогружение не должно также превышать 5% проектной глубины погружения.
Отклонения свай-колонн от проектного положения не должны превышать приведенных в табл. 65
Таблица 65
───────────────────────────────────────────────────────┬───────────────────
Наименование отклонения │Величина отклонения
───────────────────────────────────────────────────────┼───────────────────
Отклонения свай-колонн от проектных осей в плане │ +/- 3
Отклонения верха голов свай-колонн от проектной │ -3
горизонтали │
8.98. Отклонение от вертикальной оси забитых свай (кроме свай стоек) не должно, как правило, превышать 2%, а буронабивных свай - 1%.
8.99. Отклонения размеров скважины и уширенной полости при устройстве набивных свай не должны превышать следующих величин, мм: по глубине скважины - +/- 100; по диаметру - +/- 50; по диаметру уширения - +/- 100. Для буронабивных свай фундаментов опор мостов отклонения фактических размеров скважины и уширения от проектных не должны превышать величин: по глубине скважины и месту расположения уширения - +/- 50 см; по диаметру скважины - +/- 0,1, но не более 20 и - 10 см; по диаметру уширения - +/- 0,1, но не более 50 и - 10 см; по высоте цилиндрической части уширения - +/- 5 см; по наклону оси вертикальной скважины - 2°; то же, наклонной скважины - +/- 4°; по расположению оси скважины в плане 25 см.
8.100. Тангенс угла отклонения шпунта от вертикали в любом направлении не должен превышать 0,005. Прогиб замков в плоскости стенки шпунта не должен превышать 3 мм на 1 м ее длины. Выход стального шпунта из замков не допускается.
8.101. Вывод сваебойного оборудования со стройплощадки до приемки свайного поля и оформления исполнительных актов запрещается.
8.102. При приемке работ производится составление акта, в котором должны быть отмечены все дефекты, выявленные в процессе приемки, указан срок их устранения и дана оценка качества работ.
8.103. Контроль погружения свай-колонн с несущей способностью до 30 тс ведется по заданным в проекте отметкам. Выбор отметок нижних концов производится по отказам 3 - 5 пробных свай, погружаемых в местах площадки, имеющих наименьшие прочностные характеристики грунта.
8.104. Разворот вокруг оси сваи-колонны, погруженной в грунт, не допускается.
8.105. Минимальная глубина забивки свай-колонн не должна быть менее 2,5 м от отметки планировки или отметки дна проходящего вблизи канала. При планировке площади подсыпкой глубина забивки свай-колонн должна быть не менее 2,5 м плюс высота подсыпки.
8.106. Контроль погружения свай-колонн ведется по проектным отметкам. При этом отказ сваи-колонны не должен превышать контрольной величины, установленной в соответствии с необходимой ее несущей способностью. Контрольный отказ регистрируется для трех свай, погружаемых в местах залегания наиболее слабых грунтов в пределах площадки по данным зондирования.
УСТРОЙСТВО БУРОИНЪЕКЦИОННЫХ СВАЙ
8.107. Буроинъекционные сваи - одна из разновидностей буронабивных свай. Усиление оснований и фундаментов буроинъекционными сваями обычно включает два основных этапа, каждый из которых в ряде случаев имеет самостоятельное значение. Это - укрепительная цементация, при которой производится усиление кладки существующих фундаментов инъекцией в них цементного раствора, а также заполнение раствором имеющихся пустот на контакте фундамент-грунт, устройство собственно буроинъекционных свай, служащих для передачи нагрузок от сооружения на нижележащие, малосжимаемые грунты основания. В новом строительстве цементация не выполняется.
8.108. Для устройства буроинъекционных свай используются различные типы растворов (мелкозернистых бетонов), применяемые в зависимости от условий строительства и характера работы свай в конструкции. К ним относятся цементно-песчаные, цементно-бентонитовые и цементные растворы. В необходимых случаях возможно также применение растворов других специальных составов.
Для приготовления растворов из мелкозернистых бетонов применяются:
цемент активностью не ниже 400, соответствующий заданной марке раствора, которая должна быть не менее 200, агрессивности среды, требуемому сроку схватывания, который должен быть не менее 2 ч. Применяемые цементы должны соответствовать ГОСТу;
бентонитовый глинопорошок в качестве пластифицирующей добавки в растворы (ТУ 39-01-08-658-81);
песок мелко- и среднезернистый в качестве инертного заполнителя в растворах крупностью не более 1 мм.
Подбор состава растворов (мелкозернистых бетонов) при устройстве буроинъекционных свай должен выполняться лабораторией в соответствии с заданной маркой раствора и условиями строительства.
8.109. При применении цементно-песчаных растворов рекомендуется следующее соотношение компонентов по весу (цемент, песок, вода) 1,0; 1,0 - 1,5; 0,4 - 0,7.
Для цементно-бентонитовых растворов соотношение компонентов по весу (цемент, бентонит, вода) находится в пределах 1,0:0,03:0,6.
8.110. Растворы, применяемые для изготовления буроинъекционных свай, должны иметь плотность в пределах 1,73 - 1,75 г/см3, подвижность по конусу АзНИИ не менее 17 см и водоотделение не более 2%.
Прочность растворов по испытаниям стандартных кубиков размером 7 x 7 x 7 см при нормальных условиях вызревания должна быть не менее 15 МПа в семидневном возрасте и 30 МПа - в 28-дневном.
8.111. Глинистый раствор для заполнения скважин при бурении должен иметь состав, удельный вес и другие показатели, обеспечивающие устойчивость стенок скважин от оплывания и обрушения. Удельный вес глинистого (бентонитового) раствора следует принимать равным 1,05 - 1,15 гс/см3, в конкретном случае параметры растворов должны подбираться лабораторией.
8.112. Технологический цикл устройства буроинъекционных свай включает бурение скважины в грунте, заполнение скважины твердеющим раствором, установку в нее арматурного каркаса, опрессовку.
8.113. Бурение скважины при устройстве буроинъекционных свай выполняется станками вращательного бурения
(Прил. 59). При проходке неустойчивых, обводненных грунтов бурение ведется с промывкой скважин глинистым (бентонитовым) раствором или под защитой обсадных труб.
Для укрепления устья скважины и сбора промывочной жидкости устанавливается труба-кондуктор длиной не менее 2 м, выступающая над забоем скважины не менее чем на 300 мм. Установку трубы-кондуктора с внутренним диаметром, равным диаметру сваи или большим, производят в ранее пробуренную скважину соответствующей длины и заполненную цементным раствором.
Разбуривание цементного камня в трубе-кондукторе следует начинать не ранее чем после двухсуточной выдержки трубы-кондуктора в скважине. Бурение ведется с продувкой сжатым воздухом. По окончании разбуривания цементного камня бурение скважины ведется до проектной отметки нижнего конца сваи.
8.114. Отклонение от заданного угла бурения не должно превышать +/- 2°. Отклонения по длине свай не должны превышать +/- 30 см проектных величин.
По окончании бурения скважина через буровой став промывается свежим буровым раствором от шлама в течение 3 - 5 мин.
8.115. Заполнение скважины твердеющим (цементным или другим) раствором производится через буровой став или трубку-инъектор от забоя скважины снизу вверх до полного вытеснения глинистого раствора и появления в устье скважины чистого цементного раствора.
8.116. Установка арматуры в скважину производится отдельными секциями с помощью инвентарной треноги или вышки бурового станка. Длина секций определяется условиями производства работ; при устройстве свай усиления в помещениях - их высотой (но не более 4,5 м). Конструкция стыка секций рабочей арматуры должна обеспечивать равнопрочность и удобство производства работ по инъектированию цементного раствора.
Арматура корневидных свай должна иметь фиксирующие элементы, центрирующие ее в скважине и обеспечивающие требуемую толщину защитного слоя. Фиксирующие элементы приваривают с четырех сторон арматурного стержня или каркаса на расстоянии один от другого, равном шести диаметрам скважины.
Арматурный каркас допускается устанавливать в скважину, уже заполненную цементным раствором. В этом случае время сборки и монтажа арматурного каркаса должно обеспечивать его установку в проектное положение до начала схватывания цементного раствора. Стыковка отдельных секций армокаркаса производится с помощью сварки.
После установки армокаркаса в проектное положение и при отсутствии утечек раствора из скважины (снижение уровня раствора в скважине не более чем на 0,5 м) производится опрессовка сваи. Для опрессовки в верхней части трубы-кондуктора устанавливается тампон (обтюратор) с манометром и через инъектор производится нагнетание раствора под давлением 0,2 - 0,3 МПа в течение 1 - 3 мин.
8.117. Технологический цикл цементационно-укрепительных работ включает бурение в грунте или теле существующего фундамента инъекционных скважин, цементацию фундамента и контакта "фундамент - грунт", опрессовку скважин.
8.118. Бурение цементационных скважин выполняется станками вращательного бурения с продувкой сжатым воздухом. Диаметр скважин назначается в зависимости от условий работы, состояния кладки существующего фундамента и его размеров и обычно не превышает 100 мм.
8.119. При усилении существующих фундаментов цементация выполняется, как правило, в два этапа.
На первом этапе цементационная скважина бурится в пределах фундамента, не доходя до его подошвы на 0,5 м. В устье скважины устанавливается тампон (обтюратор) и производится цементация фундаментов. По окончании цементации скважина выдерживается в течение 2 - 3 сут.
На втором этапе производится повторная разборка ствола скважины или тела фундамента до его подошвы и далее в грунт на 0,4 - 0,5 м и цементируется контакт "фундамент - грунт". В этом случае тампон разжимается в кладке фундамента на уровне 0,5 м выше подошвы.
8.120. Давление нагнетания при цементации фундаментов не более 0,1 МПа, при цементации контакта "фундамент - грунт" - до 0,2 МПа.
8.121. За отказ нагнетания принимается расход цементационного раствора 1 л/мин в течение 10 мин при давлении 0,2 МПа.
8.122. Вид и состав цементационных растворов зависит от конструкции, материала, состояния существующих фундаментов, геологических и гидрогеологических условий площадки. Опрессовка может быть прекращена, если расход раствора в процессе ее не превышает 200 л. При большем расходе раствора необходимо произвести выстойку сваи в течение суток, после чего опрессовку повторить.
8.123. Вид и состав твердеющих растворов, применяемых при изготовлении буроинъекционных свай, зависят от условий их применения, и в каждом конкретном случае параметры раствора должны подбираться лабораторией.
8.124. Устройство буроинъекционных свай должно производиться в строгой технологической последовательности, которая должна быть отражена в проекте производства работ (ППР). Ведение работ без ППР не допускается.
8.125. Приемка выполненных работ по изготовлению буроинъекционных свай может производиться на отдельных захватках (зонах) объекта по очередям выполнения по мере завершения работ до срубки голов и заделки свай в ростверки.
8.126. Приемка выполненных работ должна производиться на основании следующих документов:
проекта свайных фундаментов;
актов приемки материалов;
актов лабораторных испытаний контрольных бетонных образцов, изготовленных на площадке строительства;
акта и заключения по проведенным статическим испытаниям опытных свай (если они предусматривались проектом);
плана-расположения свай с привязкой к разбивочным осям;
исполнительной схемы расположения осей выполненных буроинъекционных свай с указанием отклонения от проектного положения в плане, фактических углов наклона и результатов нивелировки голов свай;
актов на скрытые работы;
журналов изготовления буроинъекционных свай.
8.127. При приемке изготовленных буроинъекционных свай должно проверяться соответствие выполненных работ требованиям проекта и настоящего Пособия.
8.128. Приемка оформляется актом, в котором должны быть отмечены все выявленные дефекты и предусмотрены способы их устранения.
8.129. Настоящие требования следует распространять на устройство и приемку анкеров, закрепление в нескальных грунтах которых осуществляется инъекцией цементного раствора, а пригодность к эксплуатации, как правило, проверяется в процессе их устройства нагрузкой, превышающей расчетную.
Принципиальные схемы анкеров приведены в
Прил. 61.
8.130. Устройство грунтовых анкеров должно производиться в соответствии с проектом и ППР, которые должны содержать:
данные об инженерно-геологических и гидрогеологических условиях площадки;
сведения о подземных коммуникациях;
стройгенплан с указанием мест изготовления и складирования анкеров;
данные о закрепляемом сооружении;
расположение анкеров с указанием их конструкции, глубины заложения заделки, угла наклона к горизонту, длины анкеров, диаметров скважин и допустимых отклонений по направлениям;
данные пробных испытаний анкеров;
перечень бурового, инъекционного, смесительного и другого оборудования для производства работ, а также оборудования для натяжения анкеров;
технологическую последовательность выполнения работ по устройству анкеров с указанием параметров инъекции (общее количество закачиваемого раствора, расход, давление и т.п.);
программу испытаний анкеров с указанием расчетной нагрузки, допускаемой на анкер, максимальной испытательной нагрузки и блокировочной нагрузки, при которой следует закреплять анкер на конструкции;
мероприятия по обеспечению техники безопасности, включая работы по натяжению анкеров при испытаниях.
8.131. Материалы, изделия и конструкции, применяемые при изготовлении и устройстве анкеров, должны соответствовать проекту, требованиям ГОСТ и ТУ. Замена материалов, изменения конструкции должны производиться только по согласованию с проектной организацией.
8.132. Все работы по изготовлению и устройству анкеров следует выполнять в соответствии с действующими СНиП и ТУ с составлением актов на скрытые работы.
8.133. Во время транспортировки, хранения, подъема и установки анкеров следует надежно предохранять их от возможных повреждений.
8.134. Способы бурения скважин должны исключать возможность разуплотнения грунта стенок скважин.
В зависимости от инженерно-геологических условий площадки, конструкции и технологии устройства анкеров бурение скважин следует выполнять с использованием инвентарных обсадных труб или под глинистым раствором.
Бурение скважин в устойчивых грунтах допускается выполнять без крепления стенок скважин.
8.135. Бурение скважин следует выполнять станками, специально предназначенными для устройства анкеров, а также буровым оборудованием, обеспечивающим устройство скважин в соответствии с проектом.
Выбор бурового оборудования следует производить, руководствуясь данными табл. 66.
Таблица 66
──────────────┬────────────────────────────────────────────────────────────
Показатель │ Станок
├────────┬───────┬───────┬───────┬──────┬──────┬──────┬──────
│ЗИФ-300М│СБА-500│СБА-800│ УКВ- │ БСК- │СВБ-2 │ УЛБ- │МГБ-2
│ │ │ │200-300│2М-100│(шнек)│ 130 │
│ │ │ │ │ │ │(шнек)│
──────────────┼────────┼───────┼───────┼───────┼──────┼──────┼──────┼──────
Глубина │ 300 │ 500 │ 800 │ 300 │ 100 │ 25 │до 130│ 100
бурения, м │ │ │ │ │ │ │ │
Диаметр │ 132 │ 141 │ 151 │ 132 │ 93 │ 150 │ 200 │ 180
бурения, мм │ │ │ │ │ │ │ │
Угол наклона │75 - 90 │0 - 360│45 - 90│0 - 360│0 - │60 - │ +10 │0 - 15
скважины к │ │ │ │ │ 360│ 90│ │
горизонту, │ │ │ │ │ │ │ │
град │ │ │ │ │ │ │ │
Диаметр │ 42; 50 │ 33,5; │42; 50;│42; 50 │33,5; │ - │ - │ -
бурильных │ │ 42; 50│ 63,5 │ │ 42 │ - │ - │ -
труб, мм │ │ │ │ │ │ │ │
Ход шпинделя, │ 430 │ 400 │ 500 │ 500 │ 450 │ - │ 900 │ -
мм │ │ │ │ │ │ │ │
Мощность │ 37 │ 32 │ 55 │ 30 │ - │ - │ 30 │Трак-
двигателя, кВт│ │ │ │ │ │ │ │тор
│ │ │ │ │ │ │ │ТДТ-75
Буровой насос │НГР- │ГРИ- │ГРИ- │ НБ-11 │2НБ-79│ - │ - │ -
│250/50 │16/40 │16/40 │ │ │ │ │
Габариты, мм: │ │ │ │ │ │ │ │
длина │ 2336 │ 1670 │ 2150 │ 2290 │ 1710 │ - │ 2500 │ 7200
ширина │ 1100 │ 1130 │ 1100 │ 890 │ 710 │ - │ 1000 │ 3500
высота │ 1944 │ 1620 │ 1890 │ 1485 │ 1400 │ - │ 1450 │ 3300
Масса станка, │ 13,8 │ 1,11 │ 1,97 │ 1,11 │ 0,48 │ 1,0 │ 4,0 │ 14,8
т │ │ │ │ │ │ │ │
8.136. Перед установкой арматуры анкера скважина должна быть очищена от шлама.
8.137. Опускание арматуры анкера в скважину следует производить плавно, без рывков. После установки арматуры анкера в проектное положение она должна быть закреплена по центру устья скважины.
8.138. В анкерах с манжетной трубой для образования обоймы следует применять, как правило, глиноцементный раствор, прочность которого в возрасте 7 дней должна составлять 1 - 2 МПа.
Использование цементного раствора для образования обоймы допускается только по согласованию с проектной организацией.
8.139. Цементный раствор для образования заделки, как правило В/Ц = 0,4 - 0,6, следует приготавливать на строительной площадке непосредственно перед нагнетанием в скважину. Во избежание расслаивания раствор в течение всего периода нагнетания должен периодически перемешиваться.
8.140. Составы растворов, соответствующих требованиям проекта, должны подбираться и контролироваться строительной лабораторией с изготовлением из каждой порции 9 кубиков размером 7 x 7 x 7 см и испытанием их в возрасте 1, 3 и 7 сут.
8.141. Выбор оборудования для приготовления раствора следует производить, руководствуясь данными табл. 67.
Таблица 67
────────────────────────────────────┬──────────────────────────────────────
Показатель │ Растворосмеситель
├──────┬─────┬─────┬─────┬──────┬──────
│С-334 │С-772│С-635│С-588│С-220А│С-289А
────────────────────────────────────┼──────┼─────┼─────┼─────┼──────┼──────
Объем готового замеса, л │ 65 │ 65 │ 65 │ 85 │ 125 │ 250
Вместимость смесительного барабана │ 80 │ 80 │ 80 │ 110 │ 150 │ 325
по загрузке, л │ │ │ │ │ │
Мощность электродвигателя, кВт │ 1,7 │ 1,5 │ 2,2 │ 1,5 │ 2,8 │ 4,5
Габариты, мм: │ │ │ │ │ │
длина │ 2895 │1860 │2975 │1800 │ 1340 │ 1775
ширина │ 730 │ 725 │ 730 │ 706 │ 1495 │ 2180
высота │ 1115 │1105 │1105 │1000 │ 1690 │ 2140
Масса, кг │ 325 │ 210 │ 360 │ 140 │ 840 │ 1430
Средняя производительность │ 1,5 │ 1,5 │ 1,5 │ 1,5 │ 2,5 │ 5,0
по готовому раствору, м3/ч │ │ │ │ │ │
8.142. При закреплении арматуры анкера в скважине - образовании заделки анкера - следует обеспечивать нагнетание проектного объема раствора с обязательной регистрацией расхода и давления. В случае резкого подъема давления инъекция должна быть прекращена. Допускается подъем давления в начале инъекции при прорыве обоймы в случае инъектирования раствора через манжетную трубу.
8.143. При устройстве анкеров, заделка которых образуется путем многократной инъекции через манжетную трубу при помощи инъектора с двойным тампоном при глиноцементной обойме, каждая последующая инъекция должна выполняться не ранее чем через 16 ч после окончания предыдущей.
При цементной обойме интервал времени между инъекциями должен определяться проектом.
8.144. Выбор оборудования для нагнетания раствора следует производить, руководствуясь данными табл. 68.
Таблица 68
────────────────────┬──────────────────────────────────────────────────────
Показатель │ Растворонасос
├────┬──────┬─────┬──────┬─────┬─────┬─────┬─────┬─────
│РН-1│С-210А│С-211│С-211А│С-232│С-251│С-256│С-263│С-317
────────────────────┼────┼──────┼─────┼──────┼─────┼─────┼─────┼─────┼─────
Производительность, │ 2 │ 6 │ 3 │ 3 │ 6 │ 1 │ 2 │ 3 │ 6
м3/ч │ │ │ │ │ │ │ │ │
Рабочее давление, │ 1,5│ 1,5 │ 1,5 │ 1,5 │ 1,5 │ 1 │ 1,5 │ 1,5 │ 1,5
МПа │ │ │ │ │ │ │ │ │
Мощность │ 7 │ 7 │ 3,7 │ 3,5 │ 7 │ 1,7 │ 2,2 │ 2,2 │ 7
электродвигателя, │ │ │ │ │ │ │ │ │
кВт │ │ │ │ │ │ │ │ │
Габариты, мм: │ │ │ │ │ │ │ │ │
длина │2950│ 2870 │2015 │ 2080 │2000 │1240 │1240 │1240 │1200
ширина │1130│ 900 │ 830 │ 800 │ 800 │ 445 │ 445 │ 445 │ 560
высота │1450│ 1300 │1200 │ 1300 │1300 │ 760 │ 760 │ 760 │1000
Вместимость бункера,│ 120│ 120 │ 120 │ 120 │ 120 │ 120 │ 120 │ 120 │ 120
л │ │ │ │ │ │ │ │ │
Масса, кг: │ │ │ │ │ │ │ │ │
растворонасоса │1450│ 1120 │ 800 │ 750 │ 750 │ 180 │ 180 │ 180 │ 400
растворопровода │ 450│ 450 │ 300 │ 300 │ 300 │ 20 │ - │ 130 │ 250
8.145. Несущая способность каждого анкера, как правило, должна быть проверена до включения его в работу совместно с закрепляемой конструкцией путем контрольных или приемочных испытаний на максимальную испытательную нагрузку.
8.146. Контрольным испытаниям следует подвергать не менее одного из каждых десяти установленных анкеров.
Приемочным испытаниям следует подвергать все анкеры, кроме анкеров, подвергнутых контрольным испытаниям.
8.147. Контрольные испытания следует выполнять по программе пробных испытаний, проводимых на опытных анкерах до начала производства работ.
Оценка несущей способности анкеров должна производиться сравнением результатов контрольных испытаний с показателями, полученными при пробных испытаниях.
8.148. Приемочные испытания следует выполнять бесступенчатым нагружением до максимальной испытательной нагрузки.
Оценка несущей способности анкеров должна производиться путем сравнения результатов приемочных испытаний с показателями, полученными при контрольных испытаниях.
8.149. После окончания контрольных или приемочных испытаний анкеры должны быть закреплены на конструкции под блокировочной нагрузкой.
8.150. Испытания анкеров следует производить только после достижения заинъектированным раствором проектной прочности.
8.151. Примеры технологий устройства анкеров и методики проведения контрольных и приемочных испытаний приведены в
Прил. 62 и
63.
8.152. Результаты контрольных и приемочных испытаний следует заносить в "Сводные ведомости установленных анкеров" (
Прил. 64 и
65).
8.153. Выбор оборудования для натяжения анкеров следует производить, руководствуясь данными табл. 69.
Таблица 69
────┬────────────┬────────────────────────────────────────────────────────────────────────
N │ Показатель │ Домкрат
п/п │ ├───────┬──────────┬─────────┬─────────┬───────┬────────┬────────┬───────
│ │6280С │ДГС-63-315│ДП-63-315│ДС-30-200│СМ-537 │МДГ-150У│МГД-240У│НоР-100
────┼────────────┼───────┼──────────┼─────────┼─────────┼───────┼────────┼────────┼───────
1 │ 2 │ 3 │ 4 │ 5 │ 6 │ 7 │ 8 │ 9 │ 10
────┼────────────┼───────┼──────────┼─────────┼─────────┼───────┼────────┼────────┼───────
1 │Максимальное│ 1000 │ 630 │ 630 │ 300 │ 560 │ 1550 │ 2450 │ 1000
│тяговое │ │ │ │ │ │ │ │
│усилие, кН │ │ │ │ │ │ │ │
2 │Ход поршня, │ 150 │ 315 │ 315 │ 200 │ 150 │ 370 │ 370 │ 200
│мм │ │ │ │ │ │ │ │
3 │Диаметр │16 - 40│ 28 - 40 │ 5 - 7 │ 20 - 28 │16 - 42│ 15 │ 15 │ 40
│натягиваемой│ │ │ │ │ │ │ │
│арматуры, мм│ │ │ │ │ │ │ │
4 │Арматура, │Стерж- │Стержне- │Прово- │Стерж- │Стерж- │Пря- │Прядевая│Стерж-
│рекомендо- │невая, │вая, │лочная │невая │невая │девая │ │невая
│ванная для │пряде- │прядевая │ │ │ │ │ │
│натяжения │вая │ │ │ │ │ │ │
│Габариты, │ │ │ │ │ │ │ │
│мм: │ │ │ │ │ │ │ │
5 │ длина │ 1580 │ 1000 │ 1000 │ 735 │ 266 │ 1040 │ 1190 │ 490
6 │ ширина │ 1090 │ 230 │ 252 │ 157 │ 370 │ 415 │ 460 │ 260
│(диаметр) │ │ │ │ │ │ │ │
7 │ высота │ 2400 │ 250 │ 219 │ 223 │ 600 │ - │ - │ 475
│проходного │ │ │ │ │ │ │ │
│отверстия │ │ │ │ │ │ │ │
8 │Масса, кг │ 765 │ 84 │ 82 │ 31 │ 69 │ 350 │ 488 │ 69
9 │Захваты │ - │ - │ 24 │ - │ - │ 7 │ 12 │ -
│клиновые, │ │ │ │ │ │ │ │
│шт. │ │ │ │ │ │ │ │
Раздел. 9. ОПУСКНЫЕ КОЛОДЦЫ И КЕССОНЫ
9.1. Работы по устройству опускных колодцев и кессонов должны выполняться по соответствующим проектам сооружений, организации строительства и производства работ с соблюдением действующих правил Гостехнадзора СССР и техники безопасности.
Состав проекта производства работ (ППР) по возведению и опусканию колодцев и кессонов, определяемый действующими положениями, должен включать следующие основные документы:
чертежи строительных площадок, искусственных островков или подмостей с размещением оборудования и механизмов, необходимых для возведения и опускания колодцев и кессонов;
описание технологии возведения и опускания в грунт колодцев и кессонов с необходимыми рабочими чертежами временного основания под нож, вспомогательных конструкций, оборудования, водопонижения и временных сооружений;
мероприятия (с чертежами необходимых устройств) по обеспечению техники безопасности работ.
9.2. Для составления ППР заказчиком должны быть представлены:
а) топографический план площадки в горизонталях через 1 - 0,5 м с указанием планировочных отметок и привязочных данных. На плане должны быть нанесены подъездные пути, инженерные коммуникации, сети и точки подключения к ним;
б) геологическое строение площадки на глубину не менее 5 м ниже проектной отметки банкетки ножа. Геологическое строение площадки выдается в виде геологических колонок и разрезов, причем в описании грунтов должна быть дана оценка наличия в них крупных включений, валунов и т.п. с их качественной характеристикой (размеры, прочность и др.). Число геологических скважин должно быть не менее трех на колодец D >= 15 м. При наличии просадочных грунтов они должны быть охарактеризованы на всю толщу.
Гидрогеологические условия должны содержать отметки расчетного уровня грунтовых вод и их режим (по временам года).
Физико-механические характеристики грунтов должны содержать:
для несвязных грунтов - зерновой состав, удельный вес, угол внутреннего трения, пористость, коэффициент фильтрации;
для глинистых грунтов - удельный вес, угол внутреннего трения, пористость, характеристики пластичности и консистенции, сцепление и коэффициент фильтрации. Определение коэффициентов фильтрации для всех видов грунтов должно производиться методами пробных откачек или наливов;
в) источники водоснабжения с указанием их минимальных и максимальных расходов;
г) места возможных отвалов грунта;
д) источники энергоснабжения с указанием напряжения, мощности и мест возможного подключения;
е) гидрологические данные водоемов (для сооружений, возводимых вблизи рек или озер);
ж) цены на местные строительные материалы.
Рабочие чертежи проекта заглубленного помещения, выполняемого методами опускного колодца или кессона, должны содержать основные элементы ППР в части последовательности, способа строительства, технологии разработки грунта и т.д.
Общестроительные работы по возведению и опусканию колодцев и кессонов следует выполнять по указаниям соответствующих СНиП.
Материалы, применяемые для колодцев и кессонов, должны удовлетворять требованиям проекта соответствующих СНиП и действующих стандартов.
Основные оси опускных колодцев или кессонов должны быть закреплены на местности посредством обносок (рис. 89). Положение каждой основной оси колодца или кессона следует нанести на четырех обносках - по две обноски с каждой из четырех сторон сооружения, чтобы обеспечить возможность постоянного контроля реек, укрепленных на наружной боковой поверхности сооружения (по его основным осям). Контроль положения каждой рейки осуществляется визированием по меткам двух обносок.
Рис. 89. Схема закрепления основных осей
опускного колодца или кессона на местности
1 - колодец или кессон; 2 - обноски; 3 - рейки,
закрепленные на колодце; 4 - границы призмы обрушения
Обноски должны быть установлены на площадках, расположенных вне зоны возможных подвижек грунта в вертикальном и горизонтальном направлениях (за пределами призм обрушения), а на акваториях - вне мест приливно-отливных колебаний и волновых воздействий.
9.3. Устройство фундаментов капитальных сооружений, подводящих и отводящих коллекторов, а также монтаж трубопроводов и других коммуникаций в пределах призмы обрушения допускается только после завершения опускания колодца (кессона) бетонирования днища, полного закрепления колодца на проектной отметке, отключения системы осушения и восстановления естественного состояния окружающего грунтового массива (восстановления естественного уровня грунтовых вод, оттаивания грунта после замораживания и т.п.).
Размещение в пределах призмы обрушения временных сооружений и оборудования для строительства опускных колодцев и кессонов (бетонорастворный и глинорастворный узлы, компрессорная станция, краны и т.п.) допускается при условии принятия мер по обеспечению их нормальной работы в случае возможного перемещения грунта.
9.4. В связи с тем, что при опускании колодцев и кессонов не исключена возможность подвижек и оползания грунта в пределах их призм обрушения, не допускается в указанной зоне строительство капитальных сооружений в период опускания и до окончания устройства днища и отключения водопонижения, а в колодцах, погружаемых в тиксотропных рубашках, - до завершения работ по тампонажу полости тиксотропной рубашки.
При эксплуатации башенных кранов на рельсовом ходу, используемых при опускании колодцев и кессонов, ежедневно должна производиться нивелировка рельсовых путей с соответствующей рихтовкой.
9.5. Для уменьшения и равномерной передачи на поверхность грунта давления от первого яруса опускного колодца (кессона) до начала работ по его бетонированию (монтажу) под ножевую часть сооружения должно быть подготовлено специальное временное основание в виде песчано-щебеночных призм, деревянных или железобетонных подкладок, бетонных или железобетонных монолитных или сборных колец или других опорных конструкций.
При сооружении колодца на площадке, сложенной на глубину опускания слабыми грунтами, или грунтами, разнородными по периметру колодца, необходимо предусмотреть до начала его опускания мероприятия, обеспечивающие его равномерное опускание, например, устройство под банкеткой ножа буровых песчаных или гравийных свай (рис. 90).
Рис. 90. Устройство песчаных свай под ножом
по периметру колодца в слабых грунтах
1 - опускной колодец; 2 - песчаные сваи
При слабых грунтах на предварительно спланированную площадку следует отсыпать песчаную подушку, толщину которой рекомендуется принимать в зависимости от расчетной несущей способности грунта R в уровне его поверхности:
──────────────────────┬────────────┬────────────┬────────────┬─────────────
R, МПа │ 0,12 │ 0,14 │ 0,16 │ 0,20
──────────────────────┼────────────┼────────────┼────────────┼─────────────
Толщина подушки, м │ 0,6 │ 0,5 │ 0,4 │ 0,3
──────────────────────┴────────────┴────────────┴────────────┴─────────────
Наличие подушки способствует более равномерному распределению давления на грунт и облегчает в дальнейшем удаление опорных колец, лежней и подкладок из-под ножа колодца или кессона.
Место изготовления наплавных колодцев или кессонов следует выбирать с учетом принятых способов спуска их на воду.
Искусственные островки без ограждений в пределах акваторий допускается отсыпать при глубине воды до 2 м из песчаных или гравелистых грунтов, которые не размываются при следующих значениях средних скоростей течения, м/с (с учетом стеснения живого сечения реки):
песок мелкий - 0,3; крупный - 0,8; гравий средний - 1,2; крупный - 1,5.
При глубине воды до 5 м островки можно сооружать в ограждениях как из деревянного, так и стального шпунта. При глубине воды 5 м и более для ограждения островков следует использовать стальной шпунт или другие конструкции. Опорное кольцо для изготовления колодца или кессона должно быть выполнено разрезным, участками длиной не более 1,5 м.
9.6. Временное основание под нож колодца может быть выполнено в виде грунтовых или щебеночных призм (рис. 91, а), траншей (рис. 91, б), поперечных деревянных подкладок (рис. 91, в), железобетонного опорного кольца (рис. 91, г).
Рис. 91. Конструкции временного основания под нож колодца
а - грунтовая или щебеночная призма;
б - в траншее; в - на деревянных подкладках;
г - опорное кольцо; 1 - форшахта;
l - длина подкладки;

- толщина стены колодца
Грунтовые призмы и опорная часть основания в траншее должны устраиваться из песчаных или гравелистых (щебеночных) материалов с послойным их уплотнением.
Поперечные деревянные подкладки укладываются по периметру ножа колодца или кессона на предварительно выполненную песчаную подушку. Подкладки могут быть выполнены из окантованных бревен или брусьев. Длина подкладок принимается в зависимости от толщины стен опускного сооружения и должна быть

,
где

- толщина стены опускного сооружения.
Железобетонное опорное кольцо выполняется разрезным (участками не более 1,5 м) по песчаной подушке. Ширина железобетонного кольца составляет 0,8 - 1,2 м.
9.7. В качестве опалубки для сооружения монолитных опускных колодцев и кессонов могут применяться: разборно-переставная опалубка, железобетонные тонкостенные плиты-оболочки, оставляемые в конструкции колодца; переставная металлическая опалубка, стационарная деревянная опалубка.
Плиты-оболочки, выполняющие роль опалубки и входящие в состав конструкции опускного колодца, должны удовлетворять требованиям, предъявляемым к бетону стен колодца в отношении прочности, водонепроницаемости и морозостойкости.
При использовании в качестве опалубки металлической гидроизоляции и железобетонных плит-оболочек необходимо обеспечить надежное сцепление элементов опалубки с монолитной частью стен опускного колодца или кессона; элементы опалубки должны обладать прочностью и устойчивостью, достаточными для восприятия усилий, передающихся на опалубку. Элементы крепления решаются в конструктивных чертежах.
Распалубливание нижнего (опорного) яруса стен разрешается после приобретения бетоном 70%-ной проектной прочности.
Для повышения водонепроницаемости и морозостойкости поверхностного слоя бетона стен опускного колодца рекомендуется применять водопоглощающую опалубку. В этом случае поверхность опалубки, прилегающая к укладываемому бетону, должна быть покрыта слоем пористого непроклеенного картона толщиной 4 - 6 мм.
9.8. Арматура конструкций железобетонных опускных колодцев и кессонов должна изготовляться и монтироваться в полном соответствии с рабочими чертежами согласно требованиям соответствующих СНиП.
Арматура должна изготовляться, как правило, в виде укрупненных элементов: армокаркасов, армосеток или армоблоков в арматурных цехах или мастерских.
Габариты и вес укрупненных элементов арматуры (армокаркасов, армостенок и армоблоков) должны соответствовать грузоподъемности имеющихся транспортных средств и подъемно-транспортного оборудования.
9.9. В зависимости от местных условий приготовление бетонной смеси может производиться как на бетонном узле, расположенном в непосредственной близости от сооружаемого опускного колодца или кессона, так и на центральном бетонном заводе. Транспортирование бетонной смеси от места ее приготовления к строящемуся сооружению может производиться в бадьях, самосвалах или бетононасосом.
Вертикальный транспорт бетонной смеси осуществляется бетононасосами или башенными (гусеничными) кранами в бадьях.
Бетонирование стен опускных колодцев и кессонов производится по ярусам. Высота одного яруса бетонирования назначается в зависимости от нормативного давления на грунт, конструкции временного основания под ножом. Высота ярусов бетонирования должна быть указана в рабочих чертежах.
Бетонирование стен опускных сооружений может выполняться как отдельными блоками, так и последовательно по всему периметру. В обоих случаях бетонирование должно производиться послойно, слоями толщиной 25 - 50 см, но не больше чем 1,25 длины рабочей части вибратора. Толщина слоев должна также выбираться в зависимости от интенсивности бетонирования и своевременного перекрытия слоев бетонирования.
Укладка бетонной смеси в стены опускных сооружений производится следующими способами:
при толщине бетонируемых стен до 0,5 м смесь подается на площадки лесов и затем по лоткам - к месту укладки. В этом случае одна из сторон опалубки наращивается по мере бетонирования. Высота наращиваемой опалубки не должна быть более 2 м.
При толщине бетонируемых стен 0,5 - 1,2 м и высоте бетонирования более 3 м через металлические звеньевые хоботы устанавливаются через 3 м по периметру стен. Оттягивание нижних звеньев в сторону разрешается не более 0,25 м на каждый метр высоты с оставлением при этом двух нижних звеньев вертикальными.
При толщине бетонируемых стен более 1,2 м и малой насыщенности конструкции арматурой разгрузку бадей можно производить непосредственно у места укладки.
При бетонировании стен опускных сооружений отдельными блоками бетонирование замыкающих блоков следует выполнять в соответствии с ППР только после усадки и охлаждения смыкаемых блоков.
Замораживание бетона при бетонировании стен опускных сооружений в зимних условиях допускается: ножевой части (1-го яруса, камеры кессона) - не ранее достижения бетоном полной проектной прочности; последующих ярусов - не ранее достижения бетоном 70%-ной проектной прочности.
9.10. Гидроизоляция стен опускных сооружений должна выполняться до начала их опускания.
Гидроизоляция, кроме металлической, должна выполняться по наружной поверхности стен.
Металлическая гидроизоляция стен должна выполняться с внутренней стороны опускного сооружения и при бетонировании служить опалубкой.
Торкрет-гидроизоляция должна выполняться слоями в соответствии с "Указаниями по проектированию гидроизоляции подземных частей зданий и сооружений".
Для нанесения торкрет-гидроизоляции рекомендуется применять сухую смесь состава 1:4,4 (соотношение цемента и песка по весу).
Цемент для торкретирования должен быть того же сорта, что для основных железобетонных конструкций колодца, но не ниже марки 400.
Расход воды, подаваемой к соплу цемент-пушки, при торкретировании устанавливается опытным путем исходя из условия, что нанесенный слой торкрета не должен оплывать и на нем не должно образовываться сухих пятен.
Для увеличения непроницаемости торкрет-гидроизоляции рекомендуется при приготовлении растворов применять гидрофобизирующие кремнийорганические добавки ГКЖ-10 или ГКЖ-94 в количествах, установленных лабораторией в соответствии с требованиями проекта.
Перед нанесением торкрет-гидроизоляции бетонные поверхности должны быть очищены от грязи, масляных пятен и краски металлическими щетками или обработкой пескоструйным аппаратом; раковины в бетоне расчищены; участки слабого бетона и наплывы цементного молока срублены отбойным молотком. Обработанные поверхности перед нанесением торкрета должны быть промыты струей воды под давлением 0,15 - 0,2 МПа.
Первый слой гидроизоляции, выполняемой методом торкретирования, должен наноситься по захваткам полосами шириной 1,5 - 2 м; последующие слои наносятся полосами той же ширины с перекрытием швов на величину половины ширины полосы (рис. 92).
Рис. 92. Порядок нанесения слоев торкрет-гидроизоляции
1 - 1-й слой торкрета; 2 - 2-й слой торкрета;
3 - битумный слой
Второй и последующий слои торкрета следует наносить через сроки, определяемые опытным путем, исходя из условия, что под действием струи свежей смеси не разрушался ранее уложенный слой и не превышал срока, который обеспечивает хорошее сцепление между слоями.
Конкретные величины перерывов в нанесении слоев торкрета устанавливаются лабораторией.
9.11. Снятие колодца или кессона с временного основания (опорных конструкций) производится для перевода сооружения на естественное основание и опускания.
Снятие колодца или кессона с временного основания должно быть оформлено актом, в котором должны быть зафиксированы осадки и деформации конструкции, являющиеся результатом выполнения указанной работы.
Последовательность разборки временного основания под нож колодца или кессона решается в ППР.
Разборка временного основания в виде песчано-щебеночных призм производится по всему контуру банкетки ножа, исключая расчетные зоны опирания, размеры которых определяются проектом. В прямоугольных колодцах, в первую очередь, должны разрабатываться участки под углами и торцовыми стенами (рис. 93).
Рис. 93. Схемы разработки опорных
песчано-щебенистых призм при снятии опускного
колодца или кессона с временного основания
а - круглый колодец; б - прямоугольный
колодец; А, Б, В, Г - оси фиксированных зон;
1 - 6 - места начала разработки фиксированных зон
Деревянные подкладки удаляются участками в диаметрально-противоположных местах периметра банкетки ножа. Удаление подкладок производится путем подкапывания их с боков и снизу и вытаскивания внутрь опускного сооружения. После удаления каждой подкладки банкетка ножа немедленно должна быть подбита песком как снаружи, так и изнутри (рис. 94).
Рис. 94. Последовательность снятия
колодцев с деревянных подкладок
а - круглый колодец; б - прямоугольный колодец;
1 - 5 - последовательность снятия подкладок
Разборка временного основания в виде железобетонного опорного кольца производится поэлементно тем же способом (рис. 95).
Рис. 95. Последовательность снятия
колодцев с опорного кольца
1 - 5 - последовательность разборки опорного кольца
9.12. Систематический контроль посадок следует производить с помощью рисок, нанесенных на поверхность стен, или нивелировочных контрольных реек, закрепленных на наружной поверхности стен по концам двух взаимноперпендикулярных диаметров колодца, совмещенных с осями фиксированных зон, а в прямоугольных и овальных колодцах - закрепленных на осях фиксированных зон и на торцовых стенах по продольной оси колодца.
Проверка фактического положения колодца по вертикали должна производиться непосредственно перед и после каждой посадки сооружения.
Крены колодца или кессона должны немедленно выправляться соответствующей разработкой грунта в ножевой части.
Результаты геодезического контроля фиксируются в журнале работ объекта и систематически должна вестись графическая документация.
В особо сложных случаях при опускании колодцев площадью более 700 м2 следует осуществлять контроль напряжений в арматуре сооружения в соответствии с проектом.
При опускании колодцев и кессонов вблизи существующих сооружений за последними должен быть установлен систематический инструментальный контроль. В случае обнаружения перемещений указанных сооружений необходимо незамедлительно прекратить работы, связанные с опусканием, и по согласованию с проектной организацией принять меры, предотвращающие развитие опасных деформаций (силикатизация, цементация, устройство ограждающих конструкций методом "стена в грунте" и т.п.).
9.13. При погружении колодцев в тиксотропной рубашке необходимо соблюдать следующие требования:
не допускать разработки грунта ниже уровня банкетки ножа;
не допускать посадок колодца за один прием более 30 см;
особенно тщательно выполнять земляные работы в условиях встречающихся прослоек водонасыщенных пылеватых грунтов, плохо отдающих воду, обеспечивая в этих случаях максимально возможное заглубление ножа в грунт;
при обнаружении утечек или прорывов глинистого раствора тиксотропной рубашки принимать незамедлительные меры к их устранению с закупоркой протоков глиной и волокнистыми материалами; дальнейшие работы выполнять по согласованию с проектной организацией;
при понижении уровня глинистого раствора в полости тиксотропной рубашки из-за прорывов последняя должна быть немедленно восстановлена дополнительной заливкой раствора (после ликвидации прорыва).
9.14. Способ транспортирования и опускания колодцев или кессонов на плаву следует применять при необходимости возведения сооружений или фундаментов в пределах водоемов, когда затраты по устройству искусственных островков или подмостей превышают затраты, связанные с использованием наплавных колодцев и кессонов.
Транспортирование железобетонных колодцев и кессонов на плаву разрешается после достижения бетоном проектной прочности и водонепроницаемости.
На период транспортирования и опускания на дно акватории должна быть обеспечена плавучесть колодцев и кессонов, для чего используется водонепроницаемая обшивка (опалубка) стен или инвентарные понтоны закрытой конструкции, устройство временных крышек или днищ.
Фактический вес наплавного колодца или кессона и водонепроницаемой обшивки не должен отличаться больше чем на 10% их проектного веса, принятого в расчетном графике опускания. При несоблюдении этого условия необходимо составить новый расчетный график опускания.
9.15. Толщина слоев разработки грунта по периметру ножевой части колодца или кессона в процессе его опускания должна назначаться с учетом его деформативных свойств.
На участках ножа, опираемых на слабые грунты, толщину слоя разработки следует принимать большей, чем на участках более плотных грунтов.
При опускании кессона или колодца необходимо вести зондирование грунта под банкеткой ножа для обнаружения в грунте ниже ножевой части валунов, топляков и других препятствий и принимать меры по своевременному удалению их для предупреждения перекосов. Встреча ножевой части с препятствием особенно опасна при форсированных посадках кессонов.
9.16. Опускание колодцев или кессонов в скальных грунтах производится взрывным методом по всей площади колодца или кессона на глубину предполагаемой посадки подборкой рыхленного скального грунта экскаватором, погрузкой его в бадьи и выдачей на поверхность земли.
Разработку скального грунта следует выполнять не только в пределах контура, но и за контуром наружных граней ножа. Толщина образуемых пазух должна быть не менее 10 см. Пазухи и банкетка ножа в процессе разработки подбиваются глинистым грунтом.
Буровзрывные работы при опускании колодцев или кессонов в прослойках скальных грунтов должны выполняться в строгом соответствии с требованиями "Единых правил безопасности при взрывных работах по проекту производства работ".
9.17. При сооружении сборно-монолитных опускных колодцев из пустотных блоков ножевая часть должна выполняться монолитной.
Перед началом монтажа пустотных блоков горизонтальную поверхность ножевой части и паз в ней следует тщательно очистить от строительного мусора, грязи, масляных пятен и промыть напорной струей воды. На горизонтальной поверхности следует произвести разбивку расположения сборных блоков с нанесением рисок масляной краской.
Монтаж стен опускного колодца из пустотных блоков следует производить гусеничными или башенными кранами соответствующей грузоподъемности (рис. 96).
Рис. 96. Монтаж сборно-монолитного
колодца из пустотных блоков
После окончания монтажа второго ряда блоков их пустоты следует заполнить бетоном марки М200 на высоту 400 - 500 мм.
Дальнейший монтаж блоков следует производить на цементно-песчаном растворе марки 100. После окончания монтажа блоков яруса должны производиться монтаж арматуры стыков и горизонтальных монолитных поясов, а также их бетонирование.
Опускание колодца следует производить только после достижения бетоном стыков и монолитных поясов проектной прочности.
9.18. Монтаж сборных элементов колодцев из железобетонных панелей должен производиться с применением специальных кондукторов. Кондукторы могут быть стационарного (рис. 97) и консольно-поворотного
(рис. 98) типов.
Рис. 97. Кондуктор стационарного типа
Рис. 98. Кондуктор консольного типа
1 - растяжки; 2 - ось колодца; 3 - консоль кондуктора;
4 - обойма; 5 - сборный элемент колодца;
6 - опорное кольцо; 7 - основание стойки
кондуктора; 8 - стойка кондуктора
Монтаж сборных элементов следует производить кранами
(рис. 99) на заранее выполненном временном бетонном основании, которое должно быть строго горизонтальным и иметь монтажную разметку.
Рис. 99. Монтаж сборного колодца из панелей
1 - подмости; 2 - кондуктор; 3 - сборная панель
После установки в кондукторе двух соседних элементов работы производятся в следующем порядке:
устанавливается в проектное положение арматура стыков;
привариваются временные металлические накладки через 3 - 4 м по высоте с наружной стороны колодца;
навариваются внутренние накладки;
производится бетонирование стыков (или нагнетание цементно-песчаного раствора).
9.19. Способ уменьшения сил трения при опускании колодцев устанавливается ППР. При этом учитываются гидрогеологические условия площадки строительства, размещение постоянных сооружений и коммуникаций у колодца, наличие механизмов у строительной организации, особенности конструкции колодца и т.д.
С целью уменьшения сил трения колодцев по наружной поверхности стен следует, как правило, применять способ их опускания в тиксотропной рубашке из глинистого раствора (суспензии). Применение для этой же цели полимерных покрытий и обмазок допускается при условии обеспечения мероприятий против всплытия после устройства днища и технико-экономическом обосновании, а гидравлического и гидропневматического подмыва грунта - при отсутствии в пределах призмы обрушения постоянных сооружений, их фундаментов и инженерных коммуникаций.
Применение твердеющих глинистых растворов допускается при условии обеспечения их пластических свойств на весь период опускания колодцев до проектной отметки.
9.20. Для создания полости между грунтом и наружной поверхностью опускного сооружения стены его в ножевой части должны быть с наружной стороны на 10 - 15 см шире вышерасположенной части стен.
Строительной организации, осуществляющей погружение опускного сооружения в тиксотропной рубашке, следует иметь на строительной площадке полевую переносную лабораторию (типа ЛГР-3 или других типов) для контроля показателей качества глинистого раствора в процессе погружения.
9.21. До начала опускания колодцев с использованием тиксотропной рубашки должно быть смонтировано и опробовано необходимое технологическое оборудование для выполнения таких работ.
Конструкция ограждения форшахты разрабатывается в ППР, и, как правило, выполняется металлической или деревянной (рис. 100). Для обеспечения своевременной подачи глинистой суспензии в полость между грунтовой стенкой и опускным колодцем на стройплощадке следует иметь резервные емкости с готовой глинистой суспензией. Объем резервных емкостей определяется ППР.
Рис. 100. Конструкция ограждения форшахты
При опускании колодцев в тиксотропных рубашках в зимнее время года глинорастворный узел должен быть утеплен. Склады глины и резервная емкость устраиваются только в утепленном помещении. Для предупреждения замерзания глинистого раствора в полости колодца в форшахте их необходимо утеплить, подавая пар в примыкающий к колодцу короб. Кроме того, в ряде случаев возможно применение электропрогрева глинистого раствора в форшахте.
9.22. Конструкция горизонтального замкового уплотнения должна исключать возможность прорыва глинистого раствора в колодец. Его высота должна быть не менее 1 - 1,5 м (пример конструкции замкового уплотнителя показан на
рис. 101). Замковый уплотнитель должен быть эластичным и при перекосах колодца расширяться, не допуская проникание глинистого раствора ниже уступа ножа.
Рис. 101. Пример конструкции замкового уплотнителя
1 - брезент; 2 - глинистая суспензия; 3 - глинистая
паста; 4 - гравий с глиняной пастой; 5 - пакля
9.23. В случае опускания колодца в тиксотропной рубашке запрещается разрабатывать грунт под банкеткой ножа; при наличии стального резца грунт под банкеткой может быть разработан только до низа резца.
В процессе опускания колодца в тиксотропной рубашке не допускается навал колодца на грунтовую стенку и ограждение форшахты.
9.24. Установление потребного количества глины, химических реагентов и воды производится по объему глинистого раствора, потребного для заполнения полости тиксотропной рубашки, трубопроводов и емкости.
Объем глинистого раствора должен рассчитываться с учетом возможных местных расширений щели, а также ухода раствора в грунт, поэтому объем раствора, потребный для заполнения подающей системы и полости тиксотропной рубашки, должен приниматься с коэффициентом запаса 1,3.
9.25. Погружение опускного колодца в тиксотропной рубашке должно производиться в соответствии с проектом производства работ.
В периоды, когда погружение колодца не производится, необходимо не реже одного раза в сутки прокачивать инъекционные трубы глинистым раствором во избежание их засорения.
9.26. Для проведения работ в зимнее время необходимо:
предусмотреть меры для утепления складов глины и глинопорошков, помещений для глиносмесительных установок и растворонасосов, запасной емкости с глинистым раствором, а также магистрального трубопровода и кольцевого коллектора;
глину перед употреблением измельчать и пропаривать острым паром или размешивать в глиномешалке с подогретой водой при температуре 30 - 40 °C. Для ускорения получения в зимнее время из глинопорошка качественных глинистых растворов с хорошими тиксотропными свойствами необходимо употреблять для затворения воду, подогретую до температуры 20 - 30 °C.
9.27. За последнее время вместо глинистых растворов были разработаны составы твердеющих паст, которые могут быть использованы для снижения сил трения, при гарантировании проведения работ по погружению опускных колодцев в течение 25 - 30 сут, считая от момента начала подачи пасты в полость, образующуюся между грунтовыми стенками и боковой поверхностью опускаемого сооружения.
Для приготовления паст следует использовать бентонитовый порошок, воду, портландцементы М300 - М400 и натрий - фосфорнокислый двухзамещенный

.
При подборе составов твердеющих паст рекомендуется принимать соотношение между весом цемента и бентонита (Ц:Б), указанное в табл. 70.
Таблица 70
────┬──────────────────────────┬───────────────┬───────────────────────────
N │ Сроки твердения пасты, │ Отношение Ц:Б │ Сопротивление сдвигу
п.п.│ сут │ │ затвердевшей пасты, МПа
────┼──────────────────────────┼───────────────┼───────────────────────────
1 │ 10 │ 2:3 │ 0,01 - 0,015
2 │ 20 │ 1:3 │ 0,0075 - 0,01
3 │ 20 и более │ 1:6 │ Менее 0,01
Натрий фосфорнокислый двухзамещенный следует вводить в количестве 3% массы (Ц + Б).
Количество воды для приготовления пасты должно выбираться из условия получения пасты с плотностью до 1,2 г/см3 в зависимости от грунтов, в которые погружается колодец.
Свежеприготовленная паста, предназначенная для заполнения полости между грунтом и стенкой погружаемого колодца, представляет собой раствор с расплывом по конусу АзНИИ от 16 до 25 см и водоотделением через сутки не более 3%. В течение последующих 24 - 48 ч в результате увеличения вязкости пасты, ее расплыв по конусу АзНИИ становится равным 7 - 10 см.
Твердеющие пасты, кроме снижения сил трения между грунтом и боковой поверхностью опускного колодца, вследствие своих вязкопластических свойств не обладают способностью размывать грунт в зоне контакта с боковой поверхностью ножа и уходить в больших количествах в котлован.
В зависимости от состава и свойств применяемых компонентов паста может иметь различные сроки твердения, прочностные и гидроизоляционные свойства.
Твердеющие пасты в качестве антифрикционного мероприятия следует применять только при опускании небольших колодцев в плане с глубиной погружения до 10 м при гарантированном опускании их в сроки, обусловленные сроком твердения пасты.
9.28. Для различных антифрикционных покрытий в качестве исходных материалов следует принимать лак "этиноль" и кубовые остатки синтетических жирных кислот (КОСЖК) с добавками к исходным материалам в виде латекса, скипидара, графита, дизтоплива, СЖК и др., а также инден-кумароновые смолы.
Покрытия на основе КОСЖК, наносимые по гладкой бетонной поверхности, обработанной лаком "этиноль", снижают силы трения, возникающие при опускании колодцев на 45 - 50%.
9.29. При погружении опускных колодцев в разнопрочные и несимметричные напластования глинистых и мелкопесчаных грунтов в некоторых случаях может применяться электроосмос, с помощью которого создается уменьшение сил трения. Применение электроосмоса рационально в грунтах с коэффициентом фильтрации менее 0,05 м/сут и удельным электрическим сопротивлением более 500 Ом x см.
Применение электроосмоса для снижения трения состоит в периодическом привлечении к наружной поверхности колодца воды, которая содержится в свободном и связном состояниях в массиве грунта вокруг оболочки колодца и электроосмотически перемещается от анода к катоду при наложении на массив постоянного электрического поля. В этих целях погружаемое сооружение оборудуется системой электродов: одни - в виде металлических поясов (катоды) крепятся на наружной поверхности колодца; другие - в виде металлических перфорированных труб забиваются на определенном расстоянии вокруг погружаемого сооружения.
Электроосмос как самостоятельное средство снижения трения может использоваться при погружении колодцев диаметром не более 18 м и глубиной до 20 м. При больших размерах колодцев целесообразно совместное использование электроосмоса и тиксотропной рубашки. В этих целях электродный пояс оборудуется только на наружной поверхности ножевой части колодца.
Применение электроосмоса дает снижение сил трения на 25 - 30%.
9.30. Работы по опусканию колодцев должны производиться по специальному проекту производства работ.
Опускание колодцев в песчаных и глинистых грунтах может осуществляться (при соответствующем обосновании):
без водоотлива, с подводной разработкой грунта (преимущественно в песчаных грунтах);
с применением средств гидромеханизации для разработки грунта и водоотлива;
с открытым водоотливом при применении машин и механизмов для разработки грунта насухо;
при глубинном водопонижении с разработкой грунта насухо или средствами гидромеханизации.
При опускании колодцев без водоотлива разработка грунта производится из-под воды экскаватором, оборудованным грейфером. Тип грейфера подбирается в зависимости от грунтов и должен быть указан в ППР. Разработка грунта производится равномерно по всей площади колодца, начиная от центра колодца к его краям, причем поверхность разрабатываемого грунта должна иметь уклон от ножа колодца к центру, чтобы грунт под воздействием веса колодца равномерно обрушался под банкеткой ножа.
Для предотвращения возможности наплыва несвязных грунтов в полость опускаемого колодца необходимо, чтобы его нож был заглублен в грунт на 0,5 - 1 м. В этом случае уровень воды в колодце должен быть не ниже уровня воды вне его. Если по условиям опускания требуется разрабатывать грунт ниже ножа колодца (в случае его зависания или при встрече с препятствием), в колодец необходимо постоянно доливать воду до уровня на 4 - 5 м, превышающего отметку поверхности воды вокруг колодца.
Для повышения веса затертого силами трения колодца разрешается понижение в нем уровня воды по сравнению с отметкой воды вокруг колодца только при нахождении его ножа в устойчивых, не угрожающих наплывом грунтах.
9.31. Разработка грунта насухо в опускном колодце должна производиться равномерно по всей его площади (в прямоугольных колодцах - начиная от торцовых стен) с оставлением расчетных зон опирания. При очередной посадке колодца все зоны опирания должны разрабатываться одновременно.
Разработка грунта расчетных зон опирания производится одновременно по всем зонам вертикальными слоями толщиной до 50 мм. В некоторых случаях при опускании круглых в плане колодцев (диаметром до 15 м) разрешается производить разработку грунта по всей площади опускного колодца с оставлением у ножа колодца бермы шириной 1 - 1,5 м. Разработка грунта бермы и посадка колодца осуществляются постепенным размывом гидромониторами грунта слоями (по периметру колодца толщиной до 50 мм).
Если низ ножа опускного колодца по проекту находится в водоупорных грунтах, а ниже, в водоносных грунтах, имеются напорные подземные воды, производится проверка основания днища колодца на возможность его прорыва напорными водами.
В случае попадания валунов под нож опускаемого колодца они должны быть удалены.
При обнаружении перекосов колодцев производить разработку грунта по всей площади колодца до выправления перекоса категорически запрещается.
В грунтах, исключающих по своим свойствам наплывы из-под ножа, опускание колодцев может производиться с открытым водоотливом. При этом для разработки грунта могут быть использованы как средства гидромеханизации, так и механизмы для его разработки насухо.
При опускании колодцев с применением механизмов для разработки грунта насухо открытый водоотлив осуществляется отрывом траншей по контуру колодца и ряда траншей для сбора воды в приямки, расположенные на контурной траншее (рис. 102). Глубина контурной траншеи не должна превышать полуторной глубины предполагаемой посадки колодца за один раз. Ширину траншеи понизу следует принимать 0,4 - 0,5 м. Расстояние от края траншеи до ножа должно быть не менее ширины расчетной зоны опирания.
Рис. 102. Схема открытого водоотлива
1 - насосы; 2 - радиальные траншеи;
3 - кольцевая траншея; 4 - берма
При притоках воды в опускной колодец, затрудняющих выполнение работ по опусканию колодцев с открытым водоотливом, а также при грунтах, не исключающих наплывов из-под ножа в колодец, опускание колодцев рекомендуется производить с применением водопонижения.
Водопонижение осуществляется бурением водопонизительных скважин за контуром опускного колодца с установкой глубинных насосов и откачкой воды в течение всего срока проведения работ по опусканию колодца и бетонированию днища. Все работы по понижению уровня подземных вод должны выполняться по проекту водопонижения.
Разработку грунта в колодце насухо рекомендуется производить по следующим схемам:
бульдозерами с последующим транспортом грунта на поверхность земли башенными или гусеничными кранами (с погрузкой экскаваторами) или кранами, оборудованными грейфером. Для обеспечения безопасности грейферных работ при работе в колодце бульдозеров загрузка грейферов должна производиться на участках площади опускного колодца, удаленных от места работы бульдозера. При данной схеме работ бульдозер должен транспортировать разрыхленный грунт к указанным выше участкам. Одновременная работа на одном участке бульдозера и грейфера запрещается (рис. 103);
экскаваторами
(рис. 104), оборудованными прямой или обратной лопатой с выдачей грунта на поверхность земли гусеничными или башенными кранами в бадьях.
Рис. 103. Схема разработки грунта в колодцах
с использованием бульдозера и грейфера
H - высота колодца
Рис. 104. Разработка грунта экскаватором
1 - башенный кран; 2 - бункер; 3 - экскаватор
Во всех случаях разработка грунта должна выполняться равномерно по всей площади колодца с оставлением расчетных зон опирания. Разработка зон опирания должна производиться одновременно.
В колодце при работе механизмов с дизельным двигателем рекомендуется предусматривать вентиляцию.
При работе башенных кранов вблизи опускаемого колодца исправность состояния подкрановых путей должна проверяться после каждой посадки, но не реже одного раза в сутки. При обнаружении просадок немедленно производить выравнивание и рихтовку путей.
Опускание колодцев при разработке грунта способом гидромеханизации рекомендуется производить по следующим схемам:
разработка грунта гидромониторами с транспортировкой пульпы гидроэлеваторами (при глубине опускания колодцев 10 - 15 м);
разработка грунта гидромониторами с транспортировкой пульпы землесосами (рис. 105).
Рис. 105. Разработка грунта землесосом
1 - водовод; 2 - пульповод; 3 - землесос
Разработка грунта производится от приямка под всасом землесоса или гидроэлеватора с постепенным перемещением струи гидромонитора к ножу колодца. У ножа оставляют расчетные зоны опирания. Величина одного слоя размыва грунта должна быть 5 - 10 см, а общая глубина разработки грунта по всей площади колодца на одну посадку не должна превышать 0,3 - 0,5 м.
Транспортировка пульпы от забоя до приямка производится самотеком, уклоны русла потока пульпы и необходимые напоры воды приведены в табл. 71.
Таблица 71
──────────────────────────────┬─────────────┬─────────────┬────────────────
Грунт │ Необходимый │ Объем воды │ Уклон
│ напор воды, │ для размыва │транспортируемой
│ м │ 1 м3 грунта │ пульпы, %
──────────────────────────────┼─────────────┼─────────────┼────────────────
Песок крупный │ 40 │ 8 - 10 │ 6 - 8
Песок гравелистый │ 40 - 50 │ 12 - 14 │ 6 - 8
с содержанием 40% гравия │ │ │
То же, свыше 40% │ 50 - 80 │ 20 │ 10 - 12
Песок средней крупности │ 30 - 40 │ 6 - 8 │ 3 - 5
Супеси плотные │ 60 - 70 │ 9 - 11 │ 3 - 5
" пластичные │ 40 - 50 │ 7 - 9 │ 2,3 - 3,5
" текучие │ 30 - 40 │ 6 - 8 │ 2,3 - 3,5
Суглинки пластичные │ 50 - 60 │ 8 - 12 │ 2 - 3
" текучие │ 40 - 50 │ 7 - 9 │ 1,5 - 2,5
Глины мягкопластичные │ 80 - 100 │ 12 │ 1,5 - 2
Глины текучепластичные │ 60 - 80 │ 10 │ 1,5 - 2
Поверхность размываемого грунта должна периодически очищаться от отдельных крупных включений (камней, валунов), удаляемых из колодца в бадьях.
Землесосы могут устанавливаться как на специальные площадки, укрепленные на консолях в стены или перегородки опускного колодца, так и непосредственно на грунт. При установке землесосов на грунт их следует ставить на понтоны (на случай затопления колодца).
9.32. Примерзание колодцев к грунту возможно при длительных вынужденных перерывах опускания в случаях высокого стояния уровня грунтовых вод или при верховодке.
В качестве мероприятий, предотвращающих примерзание колодцев к грунту, следует применять:
устройство с наружной стороны по периметру стен колодца защитного покрытия в виде кольцевого воротника высотой 25 - 30 см, шириной 1,5 - 2 м из древесных опилок, укрытия соломенными матами, фашинными тюфяками, войлоком или другими теплоизоляционными материалами. Толщина слоя и вид покрытия устанавливаются с учетом минимальной температуры;
электропрогрев грунта по наружному контуру колодца в зоне кольца шириной до 1 м на глубину до 1,5 - 2 и более в зависимости от температуры наружного воздуха и категории грунта;
паропрогрев окружающего колодец грунта полосой шириной 1 - 1,5 м, осуществляемый подачей пара в перфорированные трубки, заглубляемые в грунт на 1,5 - 2 м от поверхности;
насыщение грунта, окружающего верхнюю часть колодца, водным раствором поваренной соли через систему скважин необходимой глубины, диаметром до 10 см, в которые заливается упомянутый раствор.
Выбор того или иного конкретного мероприятия должен производиться с учетом геологических и климатических условий, возможностей строительной организации и экономического обоснования.
9.33. В зависимости от способа опускания колодцев днище может быть выполнено как в виде одной железобетонной плиты, так и в виде конструкции, состоящей из железобетонной плиты и бетонной подушки, выполненной способом ВПТ, или дренажной пригрузки.
До начала работ по устройству днища колодца, опущенного с водоотливом, необходимо зачистить, выровнять ложе под него, удалить илистые и пылеватые фракции с поверхности, уложить щебеночную или гравийно-щебеночную дренажную подготовку и обеспечить полный водоотлив из дренирующего слоя.
В дренажном слое необходимо предусматривать приямки (зумпфы), оборудованные металлическими патрубками (рис. 106).
Рис. 106. Устройство для откачки грунтовых вод из-под днища
1 - резиновая прокладка; 2 - заглушка; 3 - закладной
патрубок; 4 - реборда; 5 - перфорированная часть
патрубка; 6 - дренажный слой; 7 - гидроизоляция
Размеры и число блоков бетонирования днища следует назначать с учетом его объема и возможности окончания его бетонирования без перерывов.
При разбивке на блоки бетонирования необходимо обеспечить перевязку швов бетонирования блоков в плане и по высоте. Начинать бетонирование следует с блоков, примыкающих к внутреннему периметру ножевой части колодца. В качестве опалубки между блоками рекомендуется принимать стальную сетку.
Схема подачи бетонной смеси при бетонировании блоков должна обеспечивать возможность ее доставки в любую точку колодца.
9.34. Подводное бетонирование подушек днища колодцев, опущенных без водоотлива, следует выполнять методами вертикально перемещающейся трубы (ВПТ) или укладки пеноцементного раствора.
Устройство подушек допускается методом ВПТ с вибрацией при использовании малоподвижной бетонной смеси.
Бетонирование должно осуществляться по всей площади колодца одновременно без перерыва; при наличии внутренних перегородок в колодце - последовательно по отсекам.
Все работы по подводному бетонированию подушек колодцев должны выполняться согласно проекту производства работ, разработанному в соответствии с требованиями СНиП.
Перед началом подводного бетонирования подушки днища должна быть произведена промежуточная приемка основания колодца с составлением акта.
9.35. Откачка воды из дренажного слоя под днищем должна производиться в течение всего периода выполнения работ по бетонированию днища и далее до достижения бетоном днища проектной прочности. Горизонт воды во время откачки должен поддерживаться не выше уровня верха дренажного слоя. По достижении бетоном днища проектной прочности откачка воды из патрубков прекращается, их отверстия тампонируются, закрываются металлическими заглушками и заделываются бетоном.
Кроме того, в тех случаях, когда колодец погружается в тиксотропной рубашке, откачка воды из зумпфов должна производиться до полного схватывания тампонажного раствора, заменившего глинистый раствор в полости тиксотропной рубашки.
Вместо откачки воды разрешается по окончании бетонирования днища заливать опускной колодец водой до отметки уровня грунтовых вод. Откачку воды из залитого колодца следует производить не ранее достижения бетоном днища и тампонажным раствором проектной прочности.
9.36. Укладку рулонной гидроизоляции днища опускных колодцев следует производить полосами от нижних точек к более высоким, причем продольные швы должны быть выполнены внахлестку на 10 см, а поперечные - на 20 см с тщательной промазкой мастикой и затиркой. Продольные швы последующего слоя должны сдвигаться по отношению к швам предыдущего слоя на половину ширины наклеиваемого полотнища.
При наклейке рулонного материала необходимо промазать мастикой как наклеиваемую сторону полотнища, так и изолируемую поверхность. Полотнище должно быть плотно прижато при помощи разглаживания шпателем или укатки катком. Признаком хорошего уплотнения являются ясно выраженные перегибы полотнищ и швов внахлестку.
Монтаж металлической гидроизоляции днища должен производиться после полного погружения колодца и бетонирования днища, причем в днище должны быть забетонированы закладные части для крепления листов гидроизоляции, которые должны крепиться к ним при помощи сварных швов или проплавных заклепок.
После монтажа металлической гидроизоляции днища через специально оставленные трубки в пространство между гидроизоляцией и железобетонной конструкцией днища нагнетается цементно-песчаный раствор состава 1:1 под давлением, указанным в проекте. По окончании этой работы трубки срезаются и отверстия в гидроизоляции завариваются металлическими накладками. При нагнетании часть трубок служит для выпуска воздуха и наблюдения за распространением раствора.
9.37. Способ погружения опускных колодцев задавливанием (рис. 107) может применяться как при наращивании стен сборными железобетонными или чугунными элементами, так и монолитным железобетоном, его следует применять для сооружения колодцев глубиной более 20 м в различных геологических условиях, кроме скальных и полускальных грунтов, а также грунтов с валунными включениями размером более 200 мм.
Рис. 107. Технологическая схема погружения
колодца способом задавливания
1 - опорный воротник; 2 - двухконсольная
балка; 3 - гидроцилиндры; 4 - ножевая
часть; 5 - крепь ствола; 6 - полок
Для обеспечения необходимого врезания ножа в забой при применении тиксотропной рубашки суммарную нагрузку задавливания, состоящую из веса колодца, нагрузки, создаваемой домкратами, за вычетом взвешивающей силы при погружении колодца без водоотлива, следует принимать: в песках - 40 - 60 т; в супесях, в глинах - 30 - 40 т; в плывунах - 40 - 50 т на 1 м окружности режущей кромки ножа.
9.38. Опорная конструкция, как правило, выполняется в виде круговой контрфорсной подпорной стенки, возводимой в открытом котловане из монолитного железобетона или сборных железобетонных элементов. Внутренний диаметр подпорной стенки должен на 0,5 - 0,75 м превышать наружный диаметр задавливаемого колодца.
Для уменьшения величины углубления опорной конструкции в грунт и увеличения ее несущей способности возможно устраивать грунтовые анкеры (инъекционные или с камуфлетным уширением).
9.39. Стены колодцев из монолитного железобетона бетонируются ярусами, используя опорную конструкцию в качестве наружной опалубки. При этом внутренняя опалубка монтируется на подвесной полке. Ножевая часть колодцев обычно выполняется из металла с заполнением полости бетоном. Угол заострения ножа принимается 16 - 18°, а ширина режущей кромки (банкетки) 5 - 7 см (рис. 108).
Рис. 108. Ножевая часть опускного колодца
1 - отверстия для заливки бетона;
2 - полость заполнения бетоном
9.40. Устройства для задавливания колодцев должны обеспечивать их многократное использование и пригодность для их использования при задавливании колодцев различных размеров. Это устройство включает комплект двухконсольных балок, закрепленных шарнирно в опорной конструкции (рис. 109, а), причем одна консоль каждой балки должна быть обращена внутрь колодца и взаимодействовать с гидравлическим домкратом, а противоположная консоль - жестко оперта на грунт.
Рис. 109. Устройство для задавливания опускного колодца
Для удобства производства работ устройство для задавливания может быть снабжено шарниром, дающим возможность поворачивать двухконсольные балки вокруг вертикальной оси (рис. 109, б).
Кроме того, для удобства исправления перекосов колодца и перемещения домкратов двухконсольными балками по периметру колодца возможно размещение шарнирного крепления балок в желобчатой направляющей, закрепленной на верхнем торце опорной конструкции (рис. 109, в). Возможно также применение устройства внутренней плоскости опорной конструкции посредством шарнира (рис. 110).
Рис. 110. Задавливание колодца посредством угловых упоров
1 - опорная конструкция; 2 - угловой упор;
3 - домкрат; 4 - сборные стены колодца
9.41. Для погружения опускных колодцев способом задавливания в тиксотропной рубашке необходимо иметь оборудование, обеспечивающее выполнение следующих работ:
разработку грунта в забое колодца с выдачей его на поверхность;
погружение колодца задавливанием;
монтаж стен колодца или их бетонирование;
приготовление и транспортирование глинистого раствора.
Для задавливания опускных колодцев необходимо применять гидравлические домкраты грузоподъемностью 50 - 150 т с величиной хода штока 800 - 1200 мм, причем гидравлическая схема домкратной системы должна предусматривать независимое включение и отключение каждого отдельного домкрата.
Подвеску домкрата к консольным балкам следует выполнять строго вертикально для предотвращения внецентренного приложения нагрузок.
К погружению колодца можно приступать только после заполнения глинистой суспензией зазора между опорной конструкцией и стенами колодца.
При подводной грейферной разработке грунта в некоторых случаях необходимо создавать искусственную пригрузку воды путем превышения уровня воды в колодце на 1 м над уровнем подземных вод.
Откачку воды из колодца при подводной разработке грунта разрешается производить лишь после заглубления колодца в водоупорный грунт на глубину 1,5 м или устройства бетонной пригрузки, при этом должна быть обеспечена возможность срочного затопления колодца в случае прорыва плывунных грунтов или глинистого раствора из-под ножевой части.
9.42. Для закрепления опускного колодца от всплытия могут применяться инъекционные анкеры.
9.43. При опускании кессонов схема воздухопроводов должна обеспечивать возможность подключения в сеть или отключения от сети каждого компрессорного агрегата.
На компрессорной станции должен быть предусмотрен резервный компрессор, производительность которого должна быть равна или больше самого мощного из работающих. Резервный компрессор в период выполнения кессонных работ должен постоянно находиться в состоянии, готовом для немедленного пуска и подключения в сеть.
Компрессорная станция должна иметь питание от двух независимых источников электроэнергии.
Сжатый воздух должен поступать из коллектора компрессорной станции в наружный воздуховод не менее чем через два последовательно поставленных воздухосборника, общий объем которых определяется в зависимости от количества всасываемого компрессорами воздуха, согласно табл. 72.
Таблица 72
────┬───────────────────────────────┬──────────────────────────────────────
N │ Количество всасываемого │ Минимальный объем воздухосборников,
п.п.│ воздуха, м3/мин │ м3
────┼───────────────────────────────┼──────────────────────────────────────
1 │ 5 │ 3
2 │ 10 │ 5
3 │ 20 │ 7
4 │ 30 │ 9
5 │ 50 │ 11
6 │ 70 │ 13
7 │ 90 │ 15
8 │ 100 │ 16
9 │ 120 │ 18
10 │ 140 │ 19
11 │ 160 │ 20
12 │ 180 │ 21
13 │ 200 │ 22
14 │ 220 │ 23
15 │ 240 │ 24
16 │ 250 │ 25
Наружный воздухопровод следует укладывать не меньше, чем в две нитки и защищать от воздействия наружной температуры. Воздухоподающие трубы должны быть равномерно распределены по площади кессона. Число воздухоподающих труб, идущих от сборного воздухопровода к кессону, назначается из расчета одной трубы на 100 м2 площади кессона в плане, но должно быть не менее двух.
Воздух в шлюзовые аппараты следует подавать по отдельным трубам.
Число и размеры сифонных труб для обмена воздуха и удаления его излишков следует определять из условия, чтобы их площадь сечения составляла не менее 20% суммарной площади воздухоподающих труб (но не менее двух сифонных труб).
При опускании кессона потребность в сжатом воздухе увеличивается, поэтому типы и число компрессоров на компрессорной станции необходимо подбирать так, чтобы питание кессона сжатым воздухом было равномерно возрастающим - от минимума, соответствующего начальному периоду опускания, до максимума, соответствующего проектному положению кессона.
В связи с этим комплект компрессоров на компрессорной станции подбирается из компрессоров различной производительности.
В то же время производительность самого мощного компрессора должна быть не более 50% общей производительности компрессорной станции.
9.44. Количество сжатого воздуха, подаваемого в кессон, должно обеспечивать воздушное давление, при котором создаются оптимальные условия для производства работ. На каждого работающего в кессоне следует подавать не менее 25 м3 сжатого воздуха в 1 ч.
Температура воздуха в рабочей камере при давлении до 0,2 МПа должна быть 16 - 20 °C, до 0,25 МПа - 17 - 23 °C, выше 0,25 МПа - 18 - 26 °C.
Воздушное давление в кессонах, погружаемых без применения гидромеханизации, должно быть достаточным, чтобы исключить приток воды из-под ножа, но не превышать больше чем на 0,02 МПа гидростатическое давление на уровне ножа.
9.45. Количество и давление сжатого воздуха, подаваемого в камеру кессона, должно обеспечивать:
а) обмен воздуха в опускаемом кессоне, отвечающий требованиям действующих правил безопасности производства кессонных работ;
б) возможность осуществления в кессоне оптимального режима воздушного давления, соответствующего принятому методу разработки грунта при опускании кессона до проектной отметки;
в) условия, исключающие возможность наплыва грунта вследствие понижения давления воздуха при гидромеханической разработке грунтов.
9.46. Расчетное количество воздуха, необходимое по правилам безопасности при кессонных работах, должно составлять

, где

- количество сжатого воздуха, подаваемого компрессором, м3/ч; n - полная численность людей, занятых на работе в рабочей камере и шлюзовом аппарате.
Расчетное количество воздуха, необходимое для опускания кессона по производственным требованиям, следует определять по формуле

, (32)
где

- количество сжатого воздуха, подаваемого компрессором, м3/ч;
F - суммарная внутренняя поверхность стен и потолка кессона, м2;
U - периметр кессона, м;

- часовая потеря воздуха, приходящаяся на 1 м периметра ножа и принимаемая для плотных и мягких грунтов 1 - 3 м3/ч и для скальных грунтов 4 - 6 м3/ч;

- часовая потеря воздуха через 1 м2 стен и потолка, принимаемая равной от 0,67 до 0,35 м3/ч в зависимости от плотности бетона (0,35 м3/ч - при торкретированной поверхности);

- коэффициент, учитывающий расход воздуха на шлюзование грунта и в среднем принимаемый равным 1,25, при применении гидромеханизации в кессоне

.
Для подбора производительности компрессорной станции в формулы следует ввести множитель (1/10) [(1 + H/10,33)].
Расчетное избыточное воздушное давление в камере кессона

, МПа, следует принимать:
а) при разработке грунта без применения гидромеханизации

;
б) при разработке грунта с применением гидромеханизации

,
где H - гидростатический напор, м, водяного столба на уровне ножа кессона;

- допускаемая разность гидростатического и воздушного давления, МПа, зависящая от физических свойств грунтов, окружающих кессон.
Принимают следующие наименьшие значения величины

, МПа:
Для песчаных грунтов .................... 0,01
Для супесей ............................. 0,02
Для суглинков ........................... 0,03
Для глин ................................ 0,04
Наибольшая величина допускаемой разности давлений должна уточняться опытным путем в процессе опускания кессона, причем при правильно назначенной величине

должны исключаться наплыв грунта и приток фильтрующейся воды, при котором невозможно обеспечить баланс пульпы в зумпфе.
9.47. Для предотвращения резких посадок кессонов при проходке слабых грунтов необходимо вследствие недостаточности сил бокового трения погружать их с применением шпальных клеток или же клеток из других материалов.
При опускании кессонов на шпальные клетки в проекте производства работ предусматривается последовательность их перестановки по мере разработки грунта между форсированными зонами. Пример размещения клеток и последовательность их перестановки приведены на рис. 111.
Рис. 111. Последовательность перестановки шпальных клеток
1 - первоначальное положение клеток;
2 - последующее положение клеток
Когда кессон опущен на большую глубину, силы трения, развивающиеся между его боковой поверхностью и грунтом, могут стать настолько большими, что действия собственного веса кессона для погружения его в грунт будет недостаточно. В этом случае прибегают к так называемым форсированным посадкам кессона. Сущность форсированных посадок кессона состоит в том, что, выкопав траншею по периметру кессонной камеры и удалив грунт из-под ножевой части, снижают давление воздуха в кессоне. Вследствие уменьшения давления воздуха на потолок кессонной камеры сопротивление погружению в грунт значительно уменьшается, и кессон быстро опускается на глубину выработки грунта. Форсированные посадки кессона разрешается производить на глубину не более 0,5 м при снижении воздушного давления не больше чем на 50%.
Так как при форсированных посадках не исключена возможность наплыва грунта в кессонную камеру, то их нельзя допускать в тех случаях, когда в пределах призмы обрушения грунта имеются сооружения.
В этих условиях, чтобы облегчить погружение кессона, зажатого силами трения, следует применять другие способы, например, дополнительную пригрузку его.
Подборка грунта под банкеткой перед форсированной посадкой на глубину больше чем 0,5 м запрещается.
Разработку грунта в камере кессона, как правило, для всех грунтов ведут в два приема: сначала выбирают грунт в средней части камеры, не трогая участков, расположенных под консолями, и только после этого, удалив грунт из-под консолей, сажают кессон. Таким образом, опускание кессона происходит не непрерывно, а отдельными ступенями.
Разработка грунта на первых метрах погружения кессона производится в такой последовательности: грунт снимают ровными слоями по всей площади кессона до уровня банкетки, берму шириной около 0,5 м оставляют у консолей (рис. 112). После того как грунт в средней части кессона будет выбран вровень с банкеткой, разрабатывается оставленная берма. Разработка бермы производится от середины продольных сторон к углам и одновременно от углов (или фиксированных зон) к середине коротких сторон
(рис. 113). По мере разработки бермы кессон постепенно садится. После того как берма будет удалена вровень с поверхностью грунта, на остальной площади кессона возобновляется выборка грунта в средней части кессона, и описанные выше операции повторяются.
Рис. 112. Схема бермы у консоли
кессона при разработке грунта
Рис. 113. Схема удаления берм у консоли кессона
1 - шахтная труба
При опускании кессона в полускальных и скальных породах в результате соприкосновения наружных поверхностей стен кессона с поверхностью скалы кессон может быть зажат. Чтобы избежать этого, необходимо при разработке грунта под ножевой частью захватывать и грунт, находящийся вне кессонной камеры на расстоянии 10 - 15 см от наружной поверхности ножевой части.
Разработку слабых, несвязных грунтов следует вести в центральных частях кессонной камеры, тогда под тяжестью кессона грунт от ножевой части будет сползать к центральным выработкам, а вследствие этого кессон по мере разработки грунта будет постепенно опускаться.
9.48. Затопление камеры кессона (в случае вынужденного перерыва в производстве работ) должно производиться постепенным понижением воздушного давления. Вытеснение воды из затопленной камеры должно производиться под давлением, не превышающим проектное.
9.49. Камеры кессона должны заполняться материалом, предусмотренным в проекте, с плотной подбивкой материала под потолок кессона. Оставшиеся пустоты должны быть заполнены цементно-песчаным раствором нагнетанием его через закладные трубки под давлением не менее 0,1 МПа.
Посадка потолка кессона непосредственно на грунт допускается только по решению проектной организации.
9.50. Затопление кессонов, оборудованных гидромеханизированными установками, должно производиться подачей воды в рабочую камеру с одновременным постепенным снижением давления воздуха. Обратное удаление воды из кессона должно осуществляться вытеснением ее сжатым воздухом и одновременной откачкой гидроэлеватором.
9.51. Заполнение рабочей камеры кессона бетонной смесью, бутобетоном или песком должно производиться в строгом соответствии с проектом производства работ. Бетон, применяемый для заполнения камер, должен обладать достаточной пластичностью. Заполнение камеры начинается с укладки по всей площади кессона слоя песка или бетона такой толщины, чтобы оставшаяся высота рабочей камеры допускала вполне удобное производство работ по дальнейшей забутовке. Толщина предварительно укладываемого слоя принимается равной около 0,5 м.
Вначале производят подбивку под скошенную часть консоли, затем заполняют среднюю часть площади кессона. Укладку заполнителя все время ведут симметрично относительно продольной и поперечной осей кессона. Принятая в проекте последовательность заполнения камеры кессона бетоном или песком должна обеспечивать равномерную его укладку, в первую очередь, вдоль консолей, а затем из центра камеры к внешней линии монорельса.
Помимо заполнения камеры кессона бетоном, бутобетоном, песком в некоторых случаях в целях экономии может применяться заполнение камеры кессона местными грунтовыми материалами (глинами, суглинками).
9.52. В процессе возведения и опускания колодцев и кессонов приемке подлежат:
закрепленные в натуре геодезическими знаками основные оси сооружений;
искусственные островки, площадки и временное основание под нож;
арматура, закладные части и детали;
стыки и швы между элементами сборных конструкций;
сооружения, подготовленные к снятию с временных оснований и опусканию (спуску на воду);
установка наплавных кессонов или колодцев на дно;
заполнение пазух колодца, погруженного в тиксотропной рубашке (тампонаж полости тиксотропной рубашки).
9.53. В процессе работ по возведению и опусканию колодцев и кессонов надлежит вести журналы работ, формы которых даны в
Прил. 66 и
67.
9.54. В ходе строительства инженерно-технические работники обязаны оформлять исполнительные документы - журналы производства работ, бетонных работ, опускания сооружений, температурный журнал и др.
Все журналы должны быть пронумерованы, прошиты и скреплены печатью; не реже одного раза в месяц они должны проверяться руководством строительных организаций. По окончании работ на участке последнюю запись в каждом журнале делает начальник участка, который подписывает журнал на титульном листе.
Акты на скрытые работы должны составляться на все конструктивные элементы и работы, скрытые в процессе последующего производства, например, гидроизоляция, арматура, омоноличиваемые стыки сборных железобетонных элементов, закладные части и др.
Приемка скрытых работ раньше достижения применяемыми материалами проектной прочности допускается при условии отбора и испытания образцов (после твердения).
Акты на скрытые работы должны составляться в трех экземплярах: один передается представителю технадзора, два других хранятся в строительной организации (один из них при сдаче работ прилагается к акту сдачи).
Исполнительные чертежи подписываются геодезистом, руководителем объекта и представителем заказчика.
Строительная организация, выполнившая работы не по объекту в целом, а только по отдельному виду работ или части сооружения (опускной колодец, кессон), должна сдавать эти работы генподрядной организации (в присутствии представителя заказчика) под монтаж и для дальнейшего производства работ по акту.
9.55. При сдаче законченных работ на объекте строительная организация в любом случае должна предъявить следующие документы:
перечень и краткую техническую характеристику подлежащих сдаче сооружений;
комплект рабочих чертежей, соответствующих выполненным работам или с внесенными в них изменениями, если последние имели место в процессе строительства, с подписью лиц, ответственных за строительство;
акты промежуточной приемки ответственных конструкций и акты на все работы, скрываемые последующими работами и конструкциями (скрытые работы);
акты испытания установленного оборудования;
документы, характеризующие качество использованных материалов (сертификаты, акты и паспорта на испытание материалов и т.д.);
документы, характеризующие качество выполненных работ (результаты испытания сварных стыков, арматуры, образцов бетона и др.);
журналы работ;
акты геодезической разбивки основных осей сооружений, а также ведомости реперов и осевых знаков.
Вся документация в одном экземпляре после окончания работы рабочей комиссии передается заказчику.
ЖУРНАЛ ТРАМБОВАНИЯ ГРУНТОВ В ОПЫТНОМ КОТЛОВАНЕ
Наименование строительной организации
Наименование и местонахождение строительства
Толщина слоя просадочных грунтов, залегающих в основании, м
Отметка заложения дна котлована до трамбования, м
Влажность грунта основания в природном сложении от ___ до ___%
Площадь уплотненного опытного котлована, м2
Количество воды, залитой в опытный котлован для достижения грунтом
основания оптимальной влажности, м3
Масса трамбовки, т
Диаметр рабочей поверхности трамбовки, м
────┬──────────┬─────────┬────────┬───────────────────┬─────────┬──────────
N │ Дата │ Средняя │ Число │ Погружение │ Средняя │Примечание
п.п.│увлажнения│ высота │ ударов │ штырей, м │величина │
│котлована │ подъема │в каждом├──────┬─────┬──────┤на осадки│
│ │трамбовки│ пункте │ N 1 │ N 2 │ N 3 │ дна │
│ │ │ ├──────┼─────┼──────┤котлована│
│ │ │ │ │ │ │ │
────┼──────────┼─────────┼────────┼──────┼─────┼──────┼─────────┼──────────
1 │ 2 │ 3 │ 4 │ 5 │ 6 │ 7 │ 8 │ 9
────┼──────────┼─────────┼────────┼──────┼─────┼──────┼─────────┼──────────
│ │ │ │ │ │ │ │
│ │ │ │ │ │ │ │
Старший инженер ________________________________
(или производитель работ) (подпись)
Сменный техник _________________________________
(подпись)
УЧЕТА РЕЗУЛЬТАТОВ КОНТРОЛЬНЫХ НАБЛЮДЕНИЙ
ПО УПЛОТНЕНИЮ ГРУНТА
Наименование строительной организации
Наименование и местонахождение строительства
Толщина грунтовой подушки
Абсолютная отметка низа ______ верха ______ подушки
Вид применяемого грунта _________________ оптимальная влажность ___________
Способ уплотнения грунта, тип грунтоуплотняющей машины:
масса ________ диаметр _________ высота сбрасывания _______________________
Число проходов (ударов) механизма по одному следу
─────┬──────┬──────┬────────────┬─────────┬───────────┬─────────┬──────────
Дата │ N │Место │ Абсолютная │Плотность│Влажность, │Плотность│Примечание
-----│пробы │взятия│ отметка │влажного │ % │ сухого │
Смена│грунта│пробы │места взятия│ грунта, │ │ грунта, │
│ │грунта│пробы грунта│ т/м3 │ │ т/м3 │
─────┼──────┼──────┼────────────┼─────────┼───────────┼─────────┼──────────
1 │ 2 │ 3 │ 4 │ 5 │ 6 │ 7 │ 8
─────┴──────┴──────┴────────────┴─────────┴───────────┴─────────┴──────────
Старший инженер ________________________________
(или производитель работ) (подпись)
Сменный мастер _________________________________
(подпись)
ПО ПОВЕРХНОСТНОМУ УПЛОТНЕНИЮ ОСНОВАНИЯ
Наименование строительной организации
Наименование и местонахождение строительства
Наименование вида грунта в уплотненном основании
Сооружение и тип фундамента ______________
Глубина заложения фундамента _____________ м
N уплотненного участка ______ и его площадь ______ м2
Величина понижения дна котлована в результате уплотнения, м
Дата начала ___________ и окончания уплотнения ___________
Атмосферные условия (дождливая или сухая погода)
Масса трамбовки ______ т, диаметр рабочей поверхности трамбовки ______ м
Число ударов трамбовки в одном пункте ______ м, величина принятого отказа
______ см
Величина контрольного отказа ______ см
Сменный инженер ________________________________
(или производитель работ) (подпись)
Сменный техник _________________________________
(подпись)
Представитель заказчика ________________________
(подпись)
Наименование строительной организации _____________________________________
Объект ____________________________________________________________________
ПО ВЫТРАМБОВЫВАНИЮ КОТЛОВАНОВ
Отметка дна котлована (абсолютная или относительная) ______________ м
Наименование грунта _______________________________________________
Влажность грунта __________________________________________________
Проектная глубина вытрамбовывания _________________________________ м
Количество воды, залитой на 1 м2 дна котлована, ___________________ м3
Размеры трамбовки ________________ м; масса _________________ т
Высота подъема трамбовки ____________________________________ м
Результаты вытрамбовывания
──────┬────────────┬────────────┬──────────────────┬────────────┬──────────
Дата │N котлована │Число ударов│ Фактическая │Исполнитель,│Примечание
----- │ │ по одному │ глубина │ Ф.И.О. │
Смены │ │ следу │вытрамбовывания, м│ │
──────┼────────────┼────────────┼──────────────────┼────────────┼──────────
1 │ 2 │ 3 │ 4 │ 5 │ 6
──────┴────────────┴────────────┴──────────────────┴────────────┴──────────
Сменный инженер ________________________________
(или производитель работ) (подпись)
Сменный техник _________________________________
(подпись)
Наименование строительной организации _____________________________________
Объект ____________________________________________________________________
ПО УПЛОТНЕНИЮ ОСНОВАНИЯ ГРУНТОВЫМИ СВАЯМИ
Проектная глубина уплотнения ________________________________
Наименование грунта _________________________________________
Влажность грунта в массиве __________________________________
Оборудование для пробивки скважин ___________________________
Масса ударного снаряда
а) для пробивки скважин _________________________________ т
б) для трамбования отсыпного в скважину грунта __________ т
Характеристика засыпаемого грунта
а) наименование грунта __________________________________
б) оптимальная влажность ________________________________
Расчетный вес грунта на сваю ________________________________
─────┬───────────────────────┬─────────────────────────────────────────────
N │ Пробивка скважин │ Набивка скважин
грун-├─────┬─────┬─────┬─────┼─────┬──────┬─────┬──────┬─────┬────────┬────
товой│Дата,│Время│Глу- │Диа- │Дата,│Объем │Число│Факти-│Число│Исполни-│При-
сваи │смена│про- │бина │метр,│смена│порции│пор- │ческая│уда- │тель, │ме-
│ │бив- │про- │м │ │засы- │ций │влаж- │ров │Ф.И.О. │ча-
│ │ки, │бив- │ │ │паемо-│ │ность │на │ │ние
│ │мин │ки, м│ │ │го │ │засы- │одну │ │
│ │ │ │ │ │грун- │ │паемо-│пор- │ │
│ │ │ │ │ │та, м3│ │го │цию │ │
│ │ │ │ │ │ │ │грунта│грун-│ │
│ │ │ │ │ │ │ │ │та │ │
─────┼─────┼─────┼─────┼─────┼─────┼──────┼─────┼──────┼─────┼────────┼────
1 │ 2 │ 3 │ 4 │ 5 │ 6 │ 7 │ 8 │ 9 │ 10 │ 11 │ 12
─────┴─────┴─────┴─────┴─────┴─────┴──────┴─────┴──────┴─────┴────────┴────
Сменный мастер (или производитель работ) ___________________
(подпись)
Сменный техник _____________________________________________
(подпись)
Наименование строительной организации __________________________________
Место и объект строительства ___________________________________________
ЖУРНАЛ ПРОИЗВОДСТВА РАБОТ
ПО ГЛУБИННОМУ УПЛОТНЕНИЮ ОСНОВАНИЙ С ПОМОЩЬЮ ЭНЕРГИИ ВЗРЫВА
Проектная глубина уплотнения грунта ______________________________ м
Проектная отметка, до которой пробиваются скважины-шпуры _________
Количество залитой воды __________________________________________ т/м2
Наименование ВВ __________________________________________________
Число патронов на 1 м заряда _____________________________________
Тип и марка станка _______________________________________________
Масса ударного снаряда ___________________________________________ т
Характеристика засыпаемого грунта
а) вид засыпаемого грунта (супесь, суглинок) _________________
б) оптимальная влажность засыпаемого грунта __________________ %
Объем ковша дозирующего устройства при засыпке скважин ___________ м3
Расчетное количество грунта на сваю ______________________________ т
──────┬───────┬─────────┬───────┬──────┬──────┬─────────┬──────┬───────────
N │Глубина│Последнее│Глубина│Вели- │Дата │Влажность│Число │Температура
грун- │сква- │измерение│сква- │чина │набив-│засыпае- │порций│воздуха
товой │жины, м│отклоне- │жины │завала│ки │мого │грунта│(при произ-
сваи │ │ния │после │грун- │грунта│грунтово-│ на │водстве
по │ │штанги от│взрыва,│та, м │ │го мате- │ сваю │работ
схеме │ │вертика- │м │ │ │риала, % │ │в зимнее
│ │ли, см │ │ │ │ │ │время), °C
──────┼───────┼─────────┼───────┼──────┼──────┼─────────┼──────┼───────────
1 │ 2 │ 3 │ 4 │ 5 │ 6 │ 7 │ 8 │ 9
──────┴───────┴─────────┴───────┴──────┴──────┴─────────┴──────┴───────────
Ответственный за выполнение работ, прораб (мастер) ___________________
(подпись)
Работы контролировали представители технадзора заказчика _____________
(подпись)
Наименование строительной организации _________________________________
Объект ________________________________________________________________
ЖУРНАЛ РАБОТ ПО ГЛУБИННОМУ УПЛОТНЕНИЮ
ВОДОНАСЫЩЕННОГО ПЕСЧАНОГО ОСНОВАНИЯ
Глубина уплотнения ____________________________________________________
Вид песчаного грунта __________________________________________________
Уровень грунтовых вод _________________________________________________
Оборудование для уплотнения песчаного грунта __________________________
Оборудование для водонасыщения песка __________________________________
Размер сетки уплотнения _______________________________________________
─────┬──────┬────────────┬──────┬────────────┬────────────┬───────┬────────
Дата,│Плани-│ N точек │Коли- │Глубина │Продолжи- │Объем │Исполни-
смена│ровоч-│ │чество│погружения │тельность │уплот- │тель
│ная │ │воды, │уплотните- │цикла, мин │ненно- │(Ф.И.О.)
│отмет-│ │пода- │ля, м │ │го за │
│ка, м ├─────┬──────┤ваемой├─────┬──────┼─────┬──────┤смену │
│ │рых- │уплот-│для │при │при │при │при │грунта,│
│ │ления│нения │насы- │рых- │уплот-│рых- │уплот-│м3 │
│ │ │ │щения │лении│нении │лении│нении │ │
│ │ │ │грун- │ │ │ │ │ │
│ │ │ │та, м3│ │ │ │ │ │
─────┼──────┼─────┼──────┼──────┼─────┼──────┼─────┼──────┼───────┼────────
1 │ 2 │ 3 │ 4 │ 5 │ 6 │ 7 │ 8 │ 9 │ 10 │ 11
─────┴──────┴─────┴──────┴──────┴─────┴──────┴─────┴──────┴───────┴────────
Примечания. 1. Гр. 3, 6 и 8 заполняют при уплотнении песчаного грунта с
предварительным рыхлением.
2. Гр. 5 заполняют при уплотнении песчаного грунта с искусственным
водонасыщением.
Прораб (подпись) __________________ Мастер (подпись) __________________
ТРАМБОВАНИЕ ДЛЯ ПОВЕРХНОСТНОГО
УПЛОТНЕНИЯ ПРОСАДОЧНЫХ ГРУНТОВ
Конструкция железобетонной трамбовки
диаметром 1,6 м, массой 4,5 т
1 - металлическая накладка толщиной 10 мм; 2 - болт
диаметром 38 мм; 3 - шайба диаметром 60 мм;
4 - металлические пластины (концы приварить
к металлическому листу) толщиной 20 мм;
5 - 7 - арматурные стержни диаметром 16 мм;
8 - металлический лист толщиной 10 мм;
9 - металлический лист толщиной 20 мм.
Толщина сварных швов 6 мм
ПРОИЗВОДСТВА РАБОТ ПО ПОВЕРХНОСТНОМУ УПЛОТНЕНИЮ ГРУНТОВ
Технологическая карта производства работ
по поверхностному уплотнению грунтов
1 - направления движения крана; 2 - железобетонная
трамбовка; 3 - проектная отметка; 4 - отметка дна котлована
перед трамбовкой; 5 - направление рабочего хода и ось
движения крана; 6 - первый цикл (два удара); 7 - второй
цикл (два удара); 8 - полоса, уплотняемая с одной стоянки
крана; 9 - стоянка крана через 0,9d; 10 - уплотненный грунт
ЖУРНАЛ ПРОИЗВОДСТВА РАБОТ
ПО ВЫТРАМБОВЫВАНИЮ ЩЕБНЯ В ДНО КОТЛОВАНА
Объект (здание) _________________________________________________
Наименование организации ________________________________________
Начало производства работ ______________________________________
Окончание работ _________________________________________________
Глубина заложения фундаментов ___________________________________
Размер трамбовки ________________________________________________
Масса трамбовки _________________________________________________
Высота сбрасывания ______________________________________________
Марка механизма _________________________________________________
────────┬──────┬──────┬───────┬──────────────────────────────────────┬─────
N │N │Глуби-│Состоя-│ Засыпка щебня │При-
захватки│котло-│на │ние ├────────────┬────────────┬────────────┤меча-
(секции)│вана │котло-│стенок │ первая │ вторая │ третья │ние
│ │вана, │котло- ├─────┬──────┼─────┬──────┼─────┬──────┤
│ │м │вана │высо-│коли- │высо-│коли- │высо-│коли- │
│ │ │ │та, м│чество│та, м│чество│та, м│чество│
│ │ │ │ │ударов│ │ударов│ │ударов│
────────┼──────┼──────┼───────┼─────┼──────┼─────┼──────┼─────┼──────┼─────
1 │ 2 │ 3 │ 4 │ 5 │ 6 │ 7 │ 8 │ 9 │ 10 │ 11
────────┴──────┴──────┴───────┴─────┴──────┴─────┴──────┴─────┴──────┴─────
___________________________________________________________________________
___________________________________________________________________________
Представитель исполнителя работ __________________________
(подпись)
Представитель лаборатории ________________________________
(подпись)
ЖУРНАЛ УЧЕТА ВОДЫ ПРИ ЗАМАЧИВАНИИ
─────┬──────┬──────┬─────────────────────────┬─────────────────────┬───────
Дата │Время │Время │ Показания водомеров │ Расход воды │Коли-
заме-│замера│между │ │по водомерам за время│чество
ра │ │заме- │ │ между замерами, м3 │залитой
│ │рами, ├──────┬──────┬──────┬────┼────┬─────┬─────┬────┤воды,
│ │ч │ N 1 │ N 2 │ N 3 │N 4 │N 1 │ N 2 │ N 3 │N 4 │м3
│ │ │ │ │ │ │ │ │ │ │
─────┼──────┼──────┼──────┼──────┼──────┼────┼────┼─────┼─────┼────┼───────
│ 45 │ │ │ │ │ │ │ │ │ │
17/VI│15 │ - │ 6,4 │110,5 │ - │ - │ - │ - │ - │ - │ -
─────┼──────┼──────┼──────┼──────┼──────┼────┼────┼─────┼─────┼────┼───────
│ 45 │ │ │ │ │ │ │ │ │ │
│18 │ 3 │ 34 │142,1 │ - │ - │27,6│31,6 │ - │ - │ 31,6
─────┼──────┼──────┼──────┼──────┼──────┼────┼────┼─────┼─────┼────┼───────
│ 00 │ │ │ │ │ │ │ │ │ │
18/VI│6 │11,15 │ 132 │ 243 │ - │ - │98,5│100,9│ - │ - │ 132,5
─────┼──────┼──────┼──────┴──────┼──────┼────┼────┼─────┼─────┼────┼───────
│ 00 │ │ Отключены │ │ │ │ │ │ │
│7 │ 1 │ на ремонт │ 10,4 │ 60 │ - │ - │ - │ - │ 132,5
─────┼──────┼──────┤ ├──────┼────┼────┼─────┼─────┼────┼───────
│ 00 │ │ │ │ │ │ │ │ │
│19 │ 12 │ │250,4 │301 │ - │ - │ 240 │241 │ 373,5
─────┼──────┼──────┼──────┬──────┼──────┼────┼────┼─────┼─────┼────┼───────
│ 00 │ │ │ │ │ │ │ │ │ │
19/VI│6 │ 11 │ - │ - │ 560 │611 │ - │ - │309,6│310 │ 683,5
─────┼──────┼──────┼──────┼──────┼──────┼────┼────┼─────┼─────┼────┼───────
.....│......│......│......│......│..... │....│....│.....│.....│....│.......
─────┼──────┼──────┼──────┼──────┼──────┼────┼────┼─────┼─────┼────┼───────
.....│......│......│......│......│..... │....│....│.....│.....│....│.......
─────┼──────┼──────┼──────┼──────┼──────┼────┼────┼─────┼─────┼────┼───────
│ 00 │ │ │ │ │ │ │ │ │ │
27/VI│6 │ 12 │3266,4│3380,6│ - │ - │218 │ 220 │ - │ - │ 3270
─────┼──────┼──────┼──────┼──────┼──────┼────┼────┼─────┼─────┼────┼───────
│ 00 │ │ │ │ │ │ │ │ │ │
│10 │ 4 │3327,4│3442,5│ 2 │ - │61,0│ 62 │ - │ - │ 3332
─────┴──────┴──────┴──────┴──────┴──────┴────┴────┴─────┴─────┴────┴───────
Окончание замачивания -

Итого 3332
Примечание. По проекту на захватке требовалось залить 3300 м3 воды,
фактически залито 3332 м3.
Исполнитель работы (подпись) ___________________________
Представитель заказчика (подпись) ______________________
Название строительной организации ___________________________________
Объект ______________________________________________________________
ЖУРНАЛ РАБОТЫ НАСОСНОЙ СТАНЦИИ
Название, N
Оборудование станции (количество насосов, их типы, двигатели, отметки оси,
присвоенные номера агрегатов)
Водоприемные устройства (зумпф, водосборник, скважина, группа иглофильтров,
их количество и т.п.)
Водоотводящие устройства (напорный трубопровод, открытый или закрытый
самотечный водоотвод и т.п.)
─────┬──────┬──────┬────────────────────────────────────┬────┬─────┬───────
Дата,│Завод-│Время │ Работа агрегатов │При-│Опе- │Сдача,
смена│ской │пуска,├────────────────────────┬──────┬────┤чина│ра- │приемка
│номер │оста- │ Показатели приборов │Про- │По- │ос- │тив- │(Ф.И.О.
│насо- │новки ├─────┬─────┬─────┬──────┤дол- │да- │та- │ные │испол-
│са и │или │мано-│ваку-│ам- │вольт-│жи- │ча, │нов-│ука- │нителя)
│двига-│проме-│мет- │ум- │пер- │метр, │тель- │м3/ч│ки │зания│(под-
│теля │жуточ-│ра, │мет- │метр,│В │ность │ │ │по │пись)
│ │ного │МПа │ра, │А │ │рабо- │ │ │эксп-│
│ │конт- │ │МПа │ │ │ты без│ │ │луа- │
│ │роля │ │ │ │ │пере- │ │ │тации│
│ │ │ │ │ │ │рыва, │ │ │ │
│ │ │ │ │ │ │ч │ │ │ │
│ │ │ │ │ │ │ │ │ │ │
│ │ │ │ │ │ │ │ │ │ │
─────┼──────┼──────┼─────┼─────┼─────┼──────┼──────┼────┼────┼─────┼───────
1 │ 2 │ 3 │ 4 │ 5 │ 6 │ 7 │ 8 │ 9 │ 10 │ 11 │ 12
─────┼──────┼──────┼─────┼─────┼─────┼──────┼──────┼────┼────┼─────┼───────
│ │ │ │ │ │ │ │ │ │ │
ЖУРНАЛ ЭКСПЛУАТАЦИИ ЭЛЕКТРИЧЕСКОЙ УСТАНОВКИ
────┬────────────────────┬───────┬────────────┬─────────────────┬──────────
Дата│ Время, ч - мин │ Сила │ Напряжение,│ Время простоя, │ Подпись
├──────────┬─────────┤тока, А│ В │ ч - мин │моториста
│наблюдения│работы │ │ │ │
│ │установки│ │ │ │
────┴──────────┴─────────┴───────┴────────────┴─────────────────┴──────────
Наименование строительной организации _________________________________
Объект ________________________________________________________________
ЖУРНАЛ ГИДРОЛОГИЧЕСКИХ НАБЛЮДЕНИЙ
──────┬────────┬──────┬────────────────┬──────────────┬──────────┬─────────
Дата, │Погода │Номера│ Статический │ Динамический │Отметка │Ф.И.О.
смена,│(осадки,│сква- │ уровень, м │ уровень, м │уровня │исполни-
час │темпера-│жин, ├────────┬───────┼──────┬───────┤отбора │теля
│тура │пьезо-│Глубина │Абсо- │Глуби-│Абсо- │проб воды │(подпись)
│воздуха)│метров│от риски│лютная │на от │лютная │на │
│ │ │ │отметка│риски │отметка│химанализ,│
│ │ │ │ │ │ │м, темпе- │
│ │ │ │ │ │ │ратура, °C│
──────┼────────┼──────┼────────┼───────┼──────┼───────┼──────────┼─────────
1 │ 2 │ 3 │ 4 │ 5 │ 6 │ 7 │ 8 │ 9
──────┴────────┴──────┴────────┴───────┴──────┴───────┴──────────┴─────────
ОПРЕДЕЛЕНИЕ МОДУЛЯ РАСТВОРА СИЛИКАТА НАТРИЯ
Определение проводится следующим образом.
1 мл раствора силиката натрия с плотностью 1,07 - 1,10 г/см3 вводится в стеклянную колбу объемом не менее 120 мл, добавляется 30 - 50 мл воды и несколько капель смешанного индикатора, состоящего из смеси метилового красного и бромтимолового синего, приготовленного в весовом отношении 1:1 по общепринятой методике.
Затем производится титрование щелочи приблизительно 0,5 нормальным раствором HCl до появления красного окрашивания. В нейтрализованный раствор добавляется 4 - 5 г кристаллического фтористого натрия и дополнительно 4 - 5 капель смешанного индикатора. При активном перемешивании производится вторичное титрование для определения кремниевой кислоты. Титрование заканчивается в тот момент, когда две последние капли кислоты окрасят раствор в красный цвет.
Модуль раствора силиката натрия М рассчитывается по следующей формуле:
количество мл HCl, пошедшее на второе титрование
М = ------------------------------------------------ 0,5.
количество мл HCl, пошедшее на первое титрование
Коэффициент 0,5 выводится из отношения 1,032 x 15/31 = 0,4992 = 0,5, где 15 - эквивалент

; 31 - эквивалент

; коэффициент 1,032 выражает отношение молекулярного веса

к молекулярному весу

.
ОПРЕДЕЛЕНИЕ ЗАВИСИМОСТИ НАЧАЛА ВРЕМЕНИ ГЕЛЕОБРАЗОВАНИЯ
ОТ ОБЪЕМНОГО СООТНОШЕНИЯ КОМПОНЕНТОВ ЗАКРЕПЛЯЮЩИХ СМЕСЕЙ
ПРИ ОДНОРАСТВОРНОЙ ДВУХКОМПОНЕНТНОЙ СИЛИКАТИЗАЦИИ
И СМОЛИЗАЦИИ ГРУНТОВ
Методика указанного определения приводится на примере однорастворной смолизации на основе крепителя - карбамидной смолы марки М и 3%-ного раствора соляной кислоты в качестве отвердителя.
В 4 - 5 стаканчиков емкостью 150 - 200 см3 наливают заранее приготовленный раствор крепителя М

. В стаканчики с раствором из бюретки при тщательном перемешивании стеклянной палочкой приливают разные количества 3%-ного раствора соляной кислоты

. Количества эти должны соответствовать объемным соотношениям, приведенным в
табл. 36 разд. 5 Пособия. Примерная дозировка соляной кислоты и порядок записи при определении времени гелеобразования приведены в таблице.
Пример
───────┬───────────────────────────┬───────┬─────────┬──────────┬──────────
N │ Объем закрепляющих │Начало │Окончание│Время │Темпера-
опреде-│ растворов, см3 │опыта, │ опыта, │гелеоб- │тура, °C
лений ├──────────┬────────────────┤ч - мин│ ч - мин │разования,│
│смолы ро =│ 3% HCl, │ │ │мин │
│1,08 г/см3│ро = 1,013 г/см3│ │ │ │
───────┼──────────┼────────────────┼───────┼─────────┼──────────┼──────────
1 │ 100 │ 6 │12 - 00│ 12 - 10 │ 10 │ 20
2 │ 100 │ 5 │12 - 05│ 12 - 40 │ 35 │ 20
3 │ 100 │ 4 │12 - 10│ 13 - 30 │ 80 │ 20
4 │ 100 │ 3 │12 - 15│ 15 - 20 │ 185 │ 20
За время гелеобразования принимают промежуток времени между окончанием введения нужного количества кислоты в смолу и моментом перехода приготовленной смеси из жидкого состояния в желеобразное.
Тот же порядок определения времени гелеобразования сохраняется и при подборе рецептур однорастворной силикатизации с той только разницей, что в качестве крепителя берется рабочий раствор силиката натрия, а за коагулирующие компоненты - соответствующие отвердители рабочих концентраций. Исключение составляет гелеобразующий раствор, получаемый на основе силиката натрия и ортофосфорной кислоты, когда порядок смешения растворов обратный, к раствору кислоты (100 мл) приливают разные количества раствора силиката натрия. Объемные соотношения компонентов закрепляющих смесей для разных инъекционных способов приведены в
табл. 36 разд. 5 Пособия.
ОПРЕДЕЛЕНИЕ ПРОЧНОСТИ ПРИ ОДНООСНОМ СЖАТИИ
ЗАКРЕПЛЕННЫХ СИЛИКАТИЗАЦИЕЙ И СМОЛИЗАЦИЕЙ ГРУНТОВ
Образцы должны иметь цилиндрическую форму с соотношением высоты к диаметру В:Д = 1,5:1. В качестве нормы рекомендуется цилиндр с диаметром 40 - 50 мм. Отклонение от этих рекомендаций допускается в пределах +/- 2 мм (диаметр) и до 10% (отношение высоты к диаметру). Допускается производить испытание закрепленных грунтов и на образцах кубической и призматической формы.
Торцовые поверхности образца должны быть параллельны друг другу (небольшая непараллельность - до 1,5 мм по диаметру - допускается в случае испытания образцов на прессе с легкоподвижным шарниром).
Торцовые поверхности не должны иметь выпуклости более 0,1 мм. Влажность и плотность образцов должны соответствовать естественному состоянию в месте взятия пробы.
Испытание на сжатие может производиться на любой пригодной для этой цели испытательной машине (прессе). Мощность пресса выбирается исходя из ожидаемых усилий разрушения, причем шкала силоизмерителя выбирается так, чтобы разрушающие нагрузки фиксировались во второй и третьей четвертях, где точность показаний манометра более высокая.
Плиты пресса должны быть хорошо отшлифованными, абсолютно сухими, не загрязненными маслами и остатками грунта. Одна из плит (желательно верхняя) должна быть самоустанавливающейся и иметь сферическую "плавающую" опору.
Точность работы пресса должна периодически контролироваться тарировочными приспособлениями.
Образцы устанавливаются на нижнюю плиту пресса с тонкими рисками в виде концентрических окружностей с диаметром, равным диаметру испытываемых образцов, что обеспечивает простоту центрирования образцов.
Скорость нагружения должна быть 0,01 МПа в минуту.
Расчет. По максимальной нагружающей P, кг, определяется предел прочности грунта на одноосное сжатие, МПа
R = P/F,
где F - площадь нагружаемой грани образца, см2.
В том случае, если образцы имеют отношение высоты к диаметру, отличное от 1,5, необходимо провести перерасчет по формуле

,
где

- прочность при сжатии, определенная на образцах с соотношением высоты к диаметру, не равным 1,5;
K - поправочный коэффициент, принимаемый по таблице.
─────────────────────────────────────┬─────────────────────────────────────
Отношение высоты образца │ Значение поправочного коэффициента
к его диаметру │ K
─────────────────────────────────────┼─────────────────────────────────────
0,5 │ 0,54
│ ----
│ 0,63
│
0,75 │ 0,66
│ ----
│ 0,78
│
1 │ 0,82
│ ----
│ 0,9
│
1,25 │ 0,9
│ ----
│ 0,96
│
1,5 │ 1
│ -
│ 1
1,75 │ 1,03
│ ----
│ 1,02
│
2 │ 1,06
│ ----
│ 1,03
Примечание. Над чертой приведены значения K при действии нагружающих сил перпендикулярно к преимущественному направлению пор просадочных лессовых грунтов, под чертой - параллельно направлению пор.
Для закрепления песчаных и крупнообломочных грунтов за величину K допускается принимать среднеарифметическое значение приведенных в таблице величин в числителе и знаменателе.
ОБОРУДОВАНИЯ, ПРИМЕНЯЕМОГО ПРИ СИЛИКАТИЗАЦИИ
И СМОЛИЗАЦИИ ГРУНТОВ
────┬──────────────────────┬───────────────┬───────────────────────────────
N │ Наименование │ Марка │ Завод-изготовитель
п.п.│ │ │
────┼──────────────────────┼───────────────┼───────────────────────────────
1 │Бетонолом │С-358 │Свердловск, з-д
│ │ │"Пневмостроймашина"
2 │Перфоратор │ПР-24 │ -
3 │Инъектор переменного │ИПС-1 │ -
│сечения │ │
4 │Инъекторы-тампоны │ИТГ-58 │ -
│гидравлические │ИТГ-124 │
5 │Инъекторы-тампоны │ИТП-58 │ -
│пневматические │ИТП-124 │
6 │Установки для бурения │ - │Свердловск, машиностроительный
│скважин │ │з-д им. Воровского
7 │Компрессор │ДК-9 │ -
8 │Центробежный насос │ЗК 45/55 (ЗК-6)│Ереван, з-д гидроаппаратуры
9 │Пневмоустановка │ - │Таганрог, з-д "Красный
│ │ │котельщик"
10 │Домкрат ручной │ДР-7 │Армавир, з-д железнодорожного
│ │ │машиностроения
11 │Углекислотный редуктор│УР-2 │ -
12 │Электрообогревательный│Э-12 │ -
│элемент к углекислот- │ │
│ному редуктору │ │
13 │Весы напольные │РП-150-МГ │ -
ХАРАКТЕРИСТИКИ ОБОРУДОВАНИЯ, ПРИМЕНЯЕМОГО
ПРИ СИЛИКАТИЗАЦИИ И СМОЛИЗАЦИИ ГРУНТОВ
Таблица 1
─────────────────────────────────────┬─────────┬───────────────────────────
Наименование характеристик │ Единица │ Технические данные
│измерения│ бетоноломов марки
│ ├─────────┬────────┬────────
│ │ ПЛ-1М │ИП-4602 │ИЭ-4601
│ │ │(С-358) │(С-850)
─────────────────────────────────────┼─────────┼─────────┼────────┼────────
Рабочее давление воздуха │ МПа │0,5 - 0,7│ 0,6 │ -
Расход воздуха │ м3/мин │ 1,2 │ 1,6 │ -
Число ударов │ уд./мин │ 1250 │ 850 │ 1000
Масса │ кг │ 31,7 │ 16,7 │ 20
Длина │ мм │ 635 │ 670 │ 655
Диаметр шланга │ " │ 16 │ 18 │ -
Мощность электродвигателя АП-42В │ кВт │ - │ - │ 1,2
Напряжение │ В │ - │ - │ 220
Таблица 2
──────────────────────────────┬─────────┬──────────────────────────────────
Наименование характеристик │ Единица │ Технические данные
│измерения│ перфораторов марки
│ ├─────────┬─────────┬────────┬─────
│ │ ПР-24Л │ ОМ-506Л │ПРО-24ЛУ│ПР-19
──────────────────────────────┼─────────┼─────────┼─────────┼────────┼─────
Глубина бурения │ м │ 5 │ 5 │ 4 │ 4
Рабочее давление воздуха │ МПа │0,4 - 0,6│0,4 - 0,6│ 0,4 │ 0,4
Число ударов │ уд./мин │ 3000 │ 1700 │ 2600 │1850
Расход воздуха │ м3/мин │ 3,5 │ 2,2 │ 3,5 │ 2,5
Диаметр шланга │ мм │ 25 │ 19 │ 25 │ 25
Масса │ кг │ 30 │ 29 │ 28,8 │ 20
Наибольший диаметр коронки │ мм │ 56 │ 56 │ 56 │ 40
Примечание. Перфораторы марки ПРШ-24Л выпускаются с глушителем шума.
Таблица 3
Инъекторы
───────────────────────┬────────┬──────────────────────────────────────────
Наименование │Единица │ Марка инъектора
характеристик │измере- ├───────────┬───────┬───────┬──────┬───────
│ния │ ИПС-2 │ИТГ-58 │ИТГ-124│ИТП-58│ИТП-124
│ │ (инъектор │ │ │ │
│ │переменного│ │ │ │
│ │ сечения) │ │ │ │
───────────────────────┼────────┼───────────┼───────┼───────┼──────┼───────
Диаметр скважины │ мм │ - │ 68 │ 130 │ 68 │ 130
Диаметр перфорированной│ " │ 32 │ 32 │32 - 38│ 32 │32 - 38
части │ │ │ │ │ │
Длина перфорированной │ " │ 500 │ 500 │ 500 │ 500 │ 500
части │ │ │ │ │ │
Длина запорной части │ " │ 1000 │ 2000 │ 2000 │ 2000 │ 2000
Рабочее давление при │ МПа │ - │0,12 - │0,12 - │0,3 - │0,3 -
запоре скважины │ │ │ 0,35│ 0,45│ 0,35│ 0,45
Таблица 4
Компрессорные станции
──────────────────┬────────┬───────────────────────────────────────────────
Наименование │Единица │ Марка компрессора
характеристик │измере- ├───────┬────────┬──────┬─────┬─────┬─────┬─────
│ния │ПКС-3,5│ПКС-5,25│ПКС-6М│ПВ-10│ПР-10│ПК-10│6-БКМ
──────────────────┼────────┼───────┼────────┼──────┼─────┼─────┼─────┼─────
Производительность│ м3/мин │ 3,5 │ 5,25 │ 6 │10,0 │10,0 │10,5 │25,6
Рабочее давление │ МПа │ 0,7 │ 0,7 │ 0,7 │ 0,7 │ 0,7 │ 0,7 │ 0,8
Таблица 5
Станки для бурения инъекционных скважин
────┬────────────┬─────────────────────┬────────┬───────┬───────────────┬────────
N │ Параметры │ Станки колонкового │Станок │Станок │Станки ударно- │Механи-
п.п.│ установок │ бурения │враща- │шнеко- │ вращательного │ческий
│ │ │тельного│вого │ бурения │пробо-
│ ├──────┬──────┬───────┤бурения │бурения├────────┬──────┤отбор-
│ │КБУ-50│КБУ-80│СБА-500│ПВБОМ-15│УКБ-25 │НКР-100М│НМК-4М│ник МП-1
────┼────────────┼──────┼──────┼───────┼────────┼───────┼────────┼──────┼────────
1 │Диаметр │ 52; │65; 75│59 - │ 70 │62; 70;│ 105 │ 105 │60 -
│скважин, мм │60; 65│ │ 151│ │ 102 │ │ │ 92
2 │Глубина │ 25 │ 30 │ 500 │ - │ - │До 50 │До 35 │1,5 -
│бурения, м │ │ │ │ │ │ │ │ 7,0
│То же, │ 25 │ 30 │ - │ 15 │ 15 │ - │ - │ -
│шнеками │ │ │ │ │ │ │ │
│То же, │ - │ - │ - │ - │ 25 │ - │ - │ -
│колонковым │ │ │ │ │ │ │ │
│снарядом │ │ │ │ │ │ │ │
3 │Длина штанги│1000 │ 1220 │ - │ 1000 │ - │ 1213 │ - │ -
│или шнеков, │ │ │ │ │ │ │ │
│мм │ │ │ │ │ │ │ │
4 │Масса │ Не │ Не │ │ 90/ │90 кг │0,36 т │0,46 т│14 кг
│установки │более │более │ │ 165 кг │ │ │ │
│без бурового│0,5 т │0,68 т│ │ │ │ │ │
│станка │ │ │ │ │ │ │ │
5 │Габариты │ │ │ │ │ │ │ │
│станка, мм: │ │ │ │ │ │ │ │
│длина │ - │ - │ 1670 │ │ 1775 │ 1500 │ 2550 │ 565
│ширина │ - │ - │ 1130 │ 540 │ 1090 │ 655 │ 1000 │ 355
│высота │ - │ - │ 1620 │ 1770 │ 2600 │ 672 │850 - │ 485
│ │ │ │ │ │ │ │ 2200│
Таблица 6
Оборудование для нагнетания растворов в грунты
─────────────────┬────┬─────┬──────┬──────┬──────┬─────┬─────┬─────┬───────
Наименование │Мас-│Высо-│Давле-│Произ-│Высота│Мощ- │Диа- │Число│Услов-
механизма │са, │та, │ние, │води- │всасы-│ность│метр │ходов│ный
│кг │мм │МПа │тель- │вания,│дви- │плун-│плун-│проход
│ │ │ │ность,│м вод.│гате-│жера,│жера │патруб-
│ │ │ │м3/ч │ст. │ля, │мм │в мин│ков, мм
│ │ │ │ │ │кВт │ │ │
─────────────────┼────┼─────┼──────┼──────┼──────┼─────┼─────┼─────┼───────
Пневмоустановка │613 │1970 │ 0,6 │ 4,8 │ - │ - │ - │ - │ -
с баком диаметром│ │ │ │ │ │ │ │ │
1220 мм и рабочим│ │ │ │ │ │ │ │ │
объемом 1,5 м3 │ │ │ │ │ │ │ │ │
Центробежные │ │ │ │ │ │ │ │ │
насосы марки: │ │ │ │ │ │ │ │ │
2К20/30 (2К-6) │ 72 │ 180 │ 0,3 │ 19,8 │ 6,0 │ 4,5 │ - │ - │50/40
3К45/55 (3К-6) │294 │ 260 │ 0,5 │ 45 │ 6,0 │ 14 │ - │ - │80/50
4К90/85 (4К-6) │570 │ 260 │ 0,6 │ 90 │ 5,0 │ 55 │ - │ - │100/70
Насосы-дозаторы │ │ │ │ │ │ │ │ │
марки: │ │ │ │ │ │ │ │ │
НЛ-1000/10 │150 │ 726 │ 0,1 │ 1,0 │ 3,0 │ 2,2 │ 60 │ 100 │ 32
НД-160/10 │239 │ 840 │ 0,1 │ 1,6 │ 3,0 │ 3,0 │ 80 │ 100 │ 32
НД-2500/10 │245 │ 840 │ 0,1 │ 2,5 │ 3,0 │ 3,0 │ 100 │ 100 │ 40
2ДА │509 │1190 │ 0,1 │0,945 │ 3,0 │ 1,7 │ 25; │ 150 │ 20
│ │ │ │ │ │ │ 40 │ │
4ДА │733 │1610 │ 0,1 │ 3,4 │ 3,0 │ 2,8 │ 32; │ 150 │ 32
│ │ │ │ │ │ │ 55 │ │
6ДА │1165│2035 │ 0,1 │ 8,28 │ 3,0 │ 4,5 │ 40; │ 150 │ 45
│ │ │ │ │ │ │ 70 │ │
Таблица 7
Углекислотные редукторы для газовой силикатизации грунтов
────────────────────┬────────┬─────────────────────────────────────────────
Наименование │Единица │ Технические данные углекислотных редукторов
характеристик │измере- │ марки
│ния ├───────────────┬──────────────┬──────────────
│ │ ДЗД-139М │ УР-1 │ УР-2
────────────────────┼────────┼───────────────┼──────────────┼──────────────
Давление на входе │ МПа │ 15 │ 12 │ 12,5
Давление на выходе │ " │ 0,1 │ 0,6 │ 0,3
Производительность │ л/мин │ 6 │ 0 │ 100
при давлении 0,5 МПа│ │ │ │
Габаритные размеры │ мм │190 x 135 x 140│150 x 94 x 165│176 x 94 x 165
Масса │ кг │ 1,74 │ 1,1 │ 1,27
Примечание. Чертежи электрообогревательного элемента к углекислотному редуктору имеются в Бюро внедрения Ростовского ПромстройНИИпроекта и высылаются по просьбе производителя работ.
Таблица 8
Напольные весы для газовой силикатизации
─────────────────────────────────────┬────────────┬────────────────────────
Наименование характеристик │ Единица │Технические данные весов
│ измерения │ парки РП-150-МГ
─────────────────────────────────────┼────────────┼────────────────────────
Пределы взвешивания │ кг │ 10 - 150
Погрешность взвешивания │ " │ +/- 0,15
Размер платформы │ мм │ 350 x 280
Габариты │ " │ 495 x 510 x 1300
Масса │ кг │ 30
Таблица 9
Механизмы для извлечения инъекторов
────────────────────────────┬─────────┬────────────────────────────────────
Наименование характеристик │ Единица │ Технические данные домкрата
│измерения│ и автопогрузчика марки
│ ├────────────────┬───────────────────
│ │ ДР-7 │Автопогрузчик 4046
────────────────────────────┼─────────┼────────────────┼───────────────────
Грузоподъемность │ т │ 7 │ 4,5
Высота подъема │ мм │ 350 │ 4000
Габариты │ " │514 x 230 x 940 │5945 x 2250 x 3400
ПЕРЕЧЕНЬ
И ХАРАКТЕРИСТИКИ ОБОРУДОВАНИЯ,
ПРИМЕНЯЕМОГО ПРИ ЦЕМЕНТАЦИИ ГРУНТОВ
─────────────────────┬─────────────────────────────────────────────────────
Показатели │ Марки станков ударно-вращательного
│ и ударно-поворотного бурения
├──────┬────────┬──────────┬───────────────┬──────────
│БМК-4 │СБУ-100Г│ БП-100 │ КБУ-50 │ ПР-30
│ │(СБМК-5)│(НКР-100М)│ │
─────────────────────┼──────┼────────┼──────────┼───────────────┼──────────
Наибольшая глубина │ 35 │ 35 │ 80 │ 25 │ 5
бурения, м │ │ │ │ │
Диаметр бурения, мм: │ │ │ │ │
максимальный │ 105 │ 105 │ 130 │ 65 │ 56
минимальный │ 105 │ 105 │ 105 │ 52 │ 36
Мощность │ 2,8 │ 24 │ 2,8 │Пневмодвигателя│Перфоратор
электродвигателя, кВт│ │ │ │1,4 - 0,14 кВт │
Расход сжатого │ 3,5 │ 6 - 7 │ 7 - 8 │ 10 - 12 │ 3,5
воздуха, м3/мин │ │ │ │ │
Масса станка, т │ 0,34 │ 3,2 │ 0,76 │ 0,68 │ 0,03
Таблица 2
──────────────────────────────────┬────────────────────────────────────────
Показатели │ Марки станков ударно-канатного бурения
├─────────────┬────────────┬─────────────
│ СБ-1М │ УГБ-3УК │ УГБ-4УК
│ │ (УКС-22М) │ (УКС-30М)
──────────────────────────────────┼─────────────┼────────────┼─────────────
Глубина бурения, м │ 300 │ 300 │ 500
Наибольший диаметр бурения, мм │ 300 │ 600 │ 900 - 920
Мощность электродвигателя, кВт │ 55,75 │ 22 │ 40
Высота мачты, м │ 15 │ 12,7 │ 16,3
Габариты в рабочем положении, мм: │ │ │
длина │ 7065 │ 5800 │ 8400
ширина │ 3460 │ 2290 │ 2640
высота │ 15050 │ 12700 │ 16300
Масса, т │ 24 │ 7,6 │ 12,7
Таблица 3
──────────────────────────────┬────────────────────────────────────────────
Показатели │ Марки станков колонкового бурения
├──────────┬──────┬────────┬────────┬────────
│БСК-2М-100│ ГП-1 │СБА-500 │ СКБ-4 │ЗИФ-650М
│ │ │ (Э) │ (Э) │ (Э)
──────────────────────────────┼──────────┼──────┼────────┼────────┼────────
Наибольшая глубина бурения, м │ 100 │ 100 │ 500 │ 500 │ 500
Диаметр бурения, мм: │ │ │ │ │
начальный │ 93 │ 93 │ 151 │ 131 │ 200
конечный │ 36 │ 46 │ 59 │ 59 │ 91
Установленная мощность, кВт │ 7,5 │ 4,5 │ 22 │ 22 │ 30
Габариты, мм: │ │ │ │ │
длина │ 1720 │ 1500 │ 1670 │ - │ 2725
ширина │ 675 │ 600 │ 1130 │ - │ 1180
высота │ 1400 │ 2490 │ 1620 │ - │ 1880
Масса, т │ 0,49 │0,475 │ 1,318 │ 1,443 │ 4,205
Таблица 4
────────────────┬──────────────────────────────────────────────────────────
Показатели │ Типы растворомешалок
├──────────────┬──────────────┬──────────────┬─────────────
│ РМ-500 │ РМ-750 │ МГ2-4Х │ СМ-243Б
────────────────┼──────────────┼──────────────┼──────────────┼─────────────
Емкость, л │ 500 │ 750 │ 4000 │ 4000
Скорость │ 500 │ 570 │ 95 │ 250
вращения │ │ │ │
рабочего органа,│ │ │ │
об./мин │ │ │ │
Электро- │ │ │ │
двигатель: │ │ │ │
тип │ АО-52-6 │ АО-52-4 │ - │ -
мощность, кВт │ 4,5 │ 7,0 │ 14 │ 3
Габариты, мм │1500x1400x1300│2000x1100x1000│3890x3015x1455│2200x3055x700
Масса, т │ 0,35 │ 0,512 │ 3,565 │ 0,525
─────────────────────────┬─────────────────────────────────────────────────
Показатели │ Марки насосов
├────────┬───────────────────┬────────────────────
│диафраг-│ грязевые │ буровые
│менный │ двухцилиндровые │ трехплунжерные
│С-317А ├──────┬──────┬─────┼─────┬───────┬──────
│ │Гр- │НГр- │11Гр │9МГр │НБЗ- │НБ4-
│ │216/40│250/50│ │ │120/40 │320/63
─────────────────────────┼────────┼──────┼──────┼─────┼─────┼───────┼──────
Производительность, м3/ч │ 6 │ 16 │ 18 │ 18 │ 60 │ 7,2 │ 19,2
Максимальное давление, │ 1,5 │ 4 │ 5 │ 6,3 │ 10 │ 4 │ 6,3
МПа │ │ │ │ │ │ │
Приводная мощность, кВт │ 7 │ 22 │ 28 │ 35 │ 96 │ 7,5 │ 22
Габариты, мм: │ │ │ │ │ │ │
длина │ 1200 │ 1340 │ 1444 │1870 │2630 │ 1970 │ -
ширина │ 560 │ 1080 │ 876 │ 990 │1040 │ 990 │ -
высота │ 1000 │ 980 │ 932 │1510 │1630 │ 980 │ -
Масса, т │ 0,39 │0,740 │0,738 │1,150│1,760│ 0,600 │0,885
ФОРМЫ ЖУРНАЛОВ ПРОИЗВОДСТВА РАБОТ
Журнал работ по силикатизации и смолизации грунтов
Способ закрепления ___________________________________
Объект _______________________________________________
Проект _______________________________________________
Заказчик _____________________________________________
Подрядчик ____________________________________________
───────────────────────────┬───────────────────────┬───────────────────────────────────────────────────────────────────
Забивка инъекторов │ Состав раствора │ Нагнетание раствора
│ (силиката или смолы) │
─────┬─────┬────┬────┬─────┼───────────┬───────────┼─────┬─────┬───────┬───────┬──────┬────┬─────┬─────┬────────┬──────
Дата,│N │N │Глу-│Дата,│ Силикат │Кислота или│Тем- │Время│Начало,│Конец, │Про- │Объ-│Рас- │Дав- │Ответ- │Приме-
смена│сква-│за- │бина│смена│ или смола │ хлористый │пера-│геле-│ч - мин│ч - мин│должи-│ем │ход │ление│ствен- │чание
│жины │ход-│за- │ │ │ кальций │тура │обра-│ │ │тель- │рас-│раст-│наг- │ный │
│ │ки │ход-│ ├──────┬────┼──────┬────┤раст-│зова-│ │ │ность,│тво-│вора,│нет.,│испол- │
│ │ │ки, │ │плот- │объ-│плот- │объ-│вора,│ния, │ │ │мин │ра, │л/мин│МПа │нитель │
│ │ │м │ │ность,│ем, │ность,│ем, │град │мин │ │ │ │л │ │ │(Ф.И.О.)│
│ │ │ │ │г/см3 │л │г/см3 │л │ │ │ │ │ │ │ │ │ │
─────┼─────┼────┼────┼─────┼──────┼────┼──────┼────┼─────┼─────┼───────┼───────┼──────┼────┼─────┼─────┼────────┼──────
1 │ 2 │ 3 │ 4 │ 5 │ 6 │ 7 │ 8 │ 9 │ 10 │ 11 │ 12 │ 13 │ 14 │ 15 │ 16 │ 17 │ 18 │ 19
─────┴─────┴────┴────┴─────┴──────┴────┴──────┴────┴─────┴─────┴───────┴───────┴──────┴────┴─────┴─────┴────────┴──────
Представитель подрядчика (подпись) ______________________
Представитель заказчика (подпись) _______________________
Журнал работ по газовой силикатизации грунтов
Объект ___________________________________
Проект ___________________________________
Заказчик _________________________________
Подрядчик ________________________________
─────┬─────────────┬────────────────────────────────────────────────────────┬────┬─────
Дата,│ Привязка │ Параметры и расходы закрепляющих реагентов │До- │При-
смена│ инъектора │ │бав-│меча-
├───┬────┬────┼──────────────────────────┬─────────────────────────────┤ки, │ние
│ось│инъ-│N │ Силикат натрия │ Углекислый газ │кг │
│ │ек- │за- ├──────┬────┬────┬────┬────┼──────────────┬──────────────┤(л) │
│ │ция │ход-│плот- │тем-│объ-│дав-│вре-│Для предвари- │ Для │ │
│ │ │ки │ность,│пе- │ем, │ле- │мя, │тельной │ отверждения │ │
│ │ │ │г/см3 │ра- │л │ние,│мин │активизации │ силиката │ │
│ │ │ │ │ту- │ │МПа │ │грунта │ │ │
│ │ │ │ │ра, │ │ │ ├────┬────┬────┼────┬────┬────┤ │
│ │ │ │ │°C │ │ │ │мас-│дав-│вре-│мас-│дав-│вре-│ │
│ │ │ │ │ │ │ │ │са, │ле- │мя, │са, │ле- │мя, │ │
│ │ │ │ │ │ │ │ │кг, │ние,│мин │кг, │ние,│мин │ │
│ │ │ │ │ │ │ │ │на │МПа │ │на │МПа │ │ │
│ │ │ │ │ │ │ │ │за- │ │ │за- │ │ │ │
│ │ │ │ │ │ │ │ │ход-│ │ │ход-│ │ │ │
│ │ │ │ │ │ │ │ │ку │ │ │ку │ │ │ │
─────┼───┼────┼────┼──────┼────┼────┼────┼────┼────┼────┼────┼────┼────┼────┼────┼─────
1 │ 2 │ 3 │ 4 │ 5 │ 6 │ 7 │ 8 │ 9 │ 10 │ 11 │ 12 │ 13 │ 14 │ 15 │ 16 │ 17
─────┴───┴────┴────┴──────┴────┴────┴────┴────┴────┴────┴────┴────┴────┴────┴────┴─────
Представитель подрядчика (подпись) ______________________________
Представитель заказчика (подпись) _______________________________
Журнал работ по цементации грунтов
Способ закрепления __________________________________
Объект ______________________________________________
Проект ______________________________________________
Заказчик ____________________________________________
Подрядчик ___________________________________________
────┬─────────┬─────┬───┬───────┬─────┬─────┬─────────────────────┬──────────────────────────────┬────────┬─────
Да- │Продолжи-│N │Зо-│Глубина│Диа- │Кон- │ Инъекции │ Выдерживание скважины под │Исполни-│При-
та, │тельность│сква-│на │ зоны │метр │сис- │ │ давлением │тель │меча-
сме-│цемента- │жины │ │ │сква-│тен- ├─────┬────┬─────┬────┼───────┬────┬────┬────────────┤(Ф.И.О.)│ние
на │ции │ │ │ │жины │ция │пока-│пол-│рас- │рас-│продол-│по- │рас-│удельное │ │
├────┬────┤ │ ├───┬───┤в │раст-│зания│ное │ход │ход │житель-│ка- │ход │водопоглоще-│ │
│ ч │мин │ │ │от │до │зоне,│вора │мано-│дав-│раст-│це- │ность, │за- │во- │ние, │ │
│ │ │ │ │ │ │мм │по │мет- │ле- │вора,│ме- │ч - мин│ния │ды, │л/(мин x м2)│ │
│ │ │ │ │ │ │ │объе-│ров, │ние,│л │нта,│ │ма- │л │ │ │
│ │ │ │ │ │ │ │му │МПа │м │ │кг │ │но- │ │ │ │
│ │ │ │ │ │ │ │(В/Ц)│ │вод.│ │ │ │мет-│ │ │ │
│ │ │ │ │ │ │ │ │ │ст. │ │ │ │ра, │ │ │ │
│ │ │ │ │ │ │ │ │ │ │ │ │ │МПа │ │ │ │
────┼────┼────┼─────┼───┼───┼───┼─────┼─────┼─────┼────┼─────┼────┼───────┼────┼────┼────────────┼────────┼─────
1 │ 2 │ 3 │ 4 │ 5 │ 6 │ 7 │ 8 │ 9 │ 10 │ 11 │ 12 │ 13 │ 14 │ 15 │ 16 │ 17 │ 18 │ 19
────┴────┴────┴─────┴───┴───┴───┴─────┴─────┴─────┴────┴─────┴────┴───────┴────┴────┴────────────┴────────┴─────
Представитель подрядчика (подпись) _________________________
Представитель заказчика (подпись) __________________________
Журнал авторского надзора
Наименование объекта ______________________________________________________
Адрес _____________________________________________________________________
Проект ____________________________________________________________________
Начало работ _____________ 19___ г. Окончание работ ______________ 19___ г.
Заказчик __________________________________________________________________
Подрядчик _________________________________________________________________
N договора на осуществление авторского надзора и срок его действия ________
──────┬───────┬────┬───────────┬───────────┬────────┬───────────┬──────────
N │ N │Дата│Выявленные │Указания об│ Запись │С записями │Отметка о
участ-│записей│ │отступления│устранении │произвел│ознакомлены│выполнении
ка на │ │ │от проекта │выявленных │(Ф.И.О.)│(подписи) │указаний
объек-│ │ │или другие │отступлений│ │а) подряд- │(подписи)
те │ │ │допущенные │и сроки их │ │чик │а) подряд-
│ │ │ дефекты │выполнения │ │б) заказчик│чик
│ │ │ │ │ │ │б) заказ-
│ │ │ │ │ │ │чик
──────┼───────┼────┼───────────┼───────────┼────────┼───────────┼──────────
1 │ 2 │ 3 │ 4 │ 5 │ 6 │ 7 │ 8
──────┴───────┴────┴───────────┴───────────┴────────┴───────────┴──────────
ГЕОЭЛЕКТРИЧЕСКИЙ МЕТОД КОНТРОЛЯ КАЧЕСТВА
СИЛИКАТИЗАЦИИ И СМОЛИЗАЦИИ ГРУНТОВ
Геоэлектрические методы в каждом конкретном случае выбираются исходя из реальной геолого-геофизической обстановки и экономической целесообразности их применения. Для этого в период специальных изысканий и исследований грунтов на образцах изучаются электрические свойства грунтов площадки до и после закрепления, устанавливаются количественные связи между электросопротивлением закрепленных грунтов и их механическими или фильтрационными свойствами.
При значительных колебаниях засоленности и влажности природных грунтов в пределах площадки геоэлектрические исследования выполняются в два этапа - до и после инъекционного закрепления грунтов.
Геоэлектрические исследования с поверхности земли могут производиться как для установления границ закрепленного массива, так и для приближенной оценки влажности грунтов, удельного расхода закрепляющих реагентов, механических и фильтрационных свойств закрепленных грунтов.
Контуры закрепленных массивов в плане при силикатизации рекомендуется определять методом электропрофилирования трехэлектродными или комбинированными установками, а закрепленных смолизацией - симметричными четырехэлектродными установками. Размеры установок должны назначаться в зависимости от требуемой глубины исследований и превышать ее в 3 - 7 раз. Для получения геоэлектрических разрезов выполняется профилирование на 2 - 3 разносах.
Шаг наблюдений выбирается в зависимости от требуемой точности измерений и над закрепленным массивом должен быть меньше его поперечных размеров и глубины залегания верхней его кромки.
Профилирование производится либо по отдельным направлениям, либо по системе параллельных профилей. Расстояние между профилями должно быть в 2 - 3 раза меньше предполагаемых поперечных размеров закрепленного массива.
После определения размеров закрепленных массивов в одном направлении установку располагают перпендикулярно, после чего повторяют съемку.
Результаты наблюдений записываются в журнал. Параллельно вычерчиваются графики, экстремумы которых соответствуют положению боковых граней закрепленного массива.
Для определения верхней и нижней границ закрепленных массивов, с развитыми в плане размерами, может быть использован метод вертикального электрического зондирования (ВЭЗ). Исследования рекомендуется вести при помощи четырехэлектродной установки. Максимальная величина разносов электродов определяется необходимостью получения отчетливого проявления на кривой зондирования слоя, находящегося под закрепленным массивом. Точки на кривой ВЭЗ по линии разносов питающих электродов должны располагаться равномерно, начальную длину установки следует выбирать такой, чтобы на кривой зондирования выделялся верхний слой незакрепленного грунта. Отношение величины последующего разноса к величине предыдущего не должно превышать 1,5 - 1,7. Отношение величины разносов питающих электродов к расстоянию между приемными должно быть не менее трех. Максимальное их отношение определяется наименьшим значением разности потенциалов, допустимым для измерения в конкретном случае.
При переходе от одной линии к другой нужно обязательно перекрывать кривую ВЭЗ в двух точках.
Осложняющими факторами в электроразведке являются различные помехи, которые могут вызываться утечками тока в линиях и приборах, процессами становления поля, блуждающими и теллурическими токами.
Чтобы уменьшить влияние утечек, провода приемной и питающей линий следует располагать друг от друга на расстоянии не меньше 1 - 5 м. Не допускается их перекрещивание.
Все предполагаемые источники утечек (измерительный прибор с соединительными проводами, источник тока, катушки питающих линий) необходимо располагать по возможности дальше от приемных электродов. Источник тока следует помещать около питающего заземления или в центре приемной линии (лучше в 2 - 3 м от нее перпендикулярно к линии разносов).
Влияние утечки в линиях определяют путем измерения разности потенциалов в приемной цепи при поперечном отключении питающих заземлений (поднимая в воздух концы проводов питающих линий). Оно считается допустимым, если сумма двух разностей потенциалов не превышает 5% измеряемой разности потенциалов при включенных питающих заземлениях.
Все наблюдения необходимо вести с высокой точностью; чтобы исключить возможность ошибок, оператор должен постоянно следить за исправностью аппаратуры, правильностью соединений схем и величиной питающих и приемных электродов, контролировать отсчеты измеряемых величин.
Правильность наблюдений проверяется путем повторных измерений, которые можно выполнять, изменяя или не изменяя режим тока в питающих линиях. Проверка производится систематически, через определенное число точек и при аномальных, не согласующихся с другими наблюдениями изменениях электросопротивления.
Электрометрические исследования в скважинах (каротаж) производятся с целью определения верхней и нижней границ закрепления, удельного расхода закрепляющих реагентов и радиусов их распространения, прочностных и фильтрационных свойств закрепленных грунтов.
Измерения рекомендуется производить в сухих, свободных от закрепляющего раствора скважинах при помощи зондов с прижимными электродами, обеспечивающими надежный контакт с грунтом. Верхняя и нижняя границы закрепленных массивов, однородность закрепления, участки нарушения сплошности закрепления устанавливаются по замерам кажущегося сопротивления однополюсными градиент-зондами, а в тех случаях, когда интенсивность электрических полей-помех невелика, идеальными потенциал-зондами.
Радиус закрепления определяется путем электрического зондирования закрепленного массива грунта из инъекционных или специальных каротажных скважин, а количественную интерпретацию измерений производят при помощи существующих двухслойных палеток. Контроль качества выполненных измерений осуществляется повторными замерами не менее чем в 10% обследованных скважин. Расхождения в значениях электросопротивлений при повторных замерах не должны превышать 10%.
Основной аппаратурой при работе геоэлектрическими методами являются потенциометры, электронные компенсаторы, электроразведочные станции, аппаратура низкой частоты, измерители кажущегося сопротивления. Из них наиболее предпочтительными являются последние.
В качестве источников питания могут применяться сухие батареи, аккумуляторы, генераторы переменного и постоянного тока. Важным и необходимым условием их использования является неизменность силы тока в процессе работы (изменения не должны превышать 2 - 3%).
Микроэлектрические измерения производятся на обнаженных поверхностях или на образцах закрепленного грунта с целью определения истинных значений удельного электрического сопротивления и установления его количественных взаимосвязей с механическими и фильтрационными параметрами. Измерения рекомендуется выполнять четырехэлектродными микроустановками при помощи аппаратуры ИКС-1. Одновременно определяется температура грунта.
Удельный расход силиката натрия закрепленных лессовых грунтов определяется по данным электрометрических исследований грунтов до и после закрепления, либо водных вытяжек из них.
Удельное электрическое сопротивление водных вытяжек измеряется при помощи электронного резистивиметра ПР-1 или реохордного моста Р-38.
По измеренной его величине определяют количество солей в грунте, пользуясь известными зависимостями между удельным электросопротивлением и концентрацией растворов.
При наличии данных химического анализа водных вытяжек закрепленных и незакрепленных лессовых грунтов замеры удельного электрического сопротивления не производятся, а концентрацию солей определяют, заменяя условно все растворенные соли хлористым натрием. С этой целью содержание других (кроме Na и Cl') ионов приводится к их весовому содержанию умножением на следующие коэффициенты: K' - 1; Ca" - 0,95; Mg" - 2;

;

;

.
При проведении замеров удельного электросопротивления грунтов

количество водорастворимых солей в грунте устанавливается по величине удельного сопротивления водной вытяжки, которая определяется по формуле

, (1)
где 1,8 - коэффициент, учитывающий дисперсность породообразующего материала и его глинистость;

,

,

- параметры, учитывающие влияние соответственно пористости, влажности и температуры.
Затем по разности содержания солей закрепленного и незакрепленного лессового грунта судят об удельном расходе жидкого стекла, считая, что введение 1 кг силиката натрия приводит к повышению количества солей в этом грунте на величину, эквивалентную 48 г хлористого натрия.
Прочность при одноосном сжатии для силикатированных лессовых грунтов

можно определить при наличии данных геоэлектрических измерений по формуле

, (2)
а для песчаных грунтов

, закрепленных смолизацией, по формуле

, (3)
где a, k, b, c - эмпирические коэффициенты, зависящие от свойств грунта и устанавливаемые при лабораторных исследованиях.
Коэффициент фильтрации силикатированных лессовых грунтов можно определить, используя его корреляционную связь с удельным электросопротивлением по формуле

, (4)
где A и N - эмпирические коэффициенты, зависящие от свойств грунта и устанавливаемые аналогично коэффициентам в
формулах (2) и
(3).
Для учета температурного влияния на замеры удельного электросопротивления в скважинах при использовании
зависимостей (2) -
(4) все результаты измерений приводятся к температуре 20 °C по формуле

, (5)
где

и

- удельное электросопротивление грунтов соответственно при температурах 20 и t °C.
ПЕРЕЧЕНЬ
И ХАРАКТЕРИСТИКИ ОБОРУДОВАНИЯ
ДЛЯ БУРОСМЕСИТЕЛЬНОГО ЗАКРЕПЛЕНИЯ ИЛОВ
Таблица 1
Технические характеристики буровых установок
───────────────────┬───────────────────────────────────────────────────────
Наименование │ Марки буровых установок
показателей ├───────┬───────┬───────┬───────┬───────┬───────┬───────
│1БА-15В│2БА-15 │1БА-15К│ РА-15 │УГБ-50М│УГБ-1ВС│ЛБУ-50М
───────────────────┼───────┼───────┼───────┼───────┼───────┼───────┼───────
Мощность, │ 80 │2 x 80 │ 75 │ 75 │ 35 │ 44 │ 75
используемая для │ │ │ │ │ │ │
бурения, кВт │ │ │ │ │ │ │
Вращающий момент, │ 7,0 │ 10,0 │ 10,0 │ 7,0 │ 2,5 │ 5,0 │ 10,0
кН x м │ │ │ │ │ │ │
Ход подачи штанги, │ 12000 │ 13500 │ 8000 │ 8000 │ 1500 │ 3250 │ 3250
мм │ │ │ │ │ │ │
Осевая нагрузка, кН│ 35,0 │ 50,0 │ 50,0 │ - │ 52,0 │ 30,0 │ 56,5
Тип подачи │Свобод-│Гидрав-│Лебедка│Лебедка│Гидрав-│Гидрав-│Гидрав-
│ная │личес- │ │ │личес- │личес- │личес-
│ │кая │ │ │кая │кая │кая
Число оборотов │ 65; │ 65; │9 - 245│52 - 30│ 70; │33; 45;│14; 38;
вращателя (ротора),│ 130; │ 130; │ │ │ 125; │ 82; │63; 101
об./мин │ 245 │ 245 │ │ │ 200 │ 125; │
│ │ │ │ │ │ 145; │
│ │ │ │ │ │ 225 │
Габариты в │ │ │ │ │ │ │
транспортном │ │ │ │ │ │ │
положении, мм: │ │ │ │ │ │ │
длина │ 10800 │ 13600 │ 12700 │ 12700 │ 8000 │ 9050 │ 8350
ширина │ 3000 │ 3400 │ 3000 │ 3000 │ 2300 │ 2380 │ 2500
высота │ 3750 │ 3800 │ 4000 │ 4000 │ 3500 │ 2750 │ 2600
Масса установки, т │ 14,7 │ 14,8 │ 14,7 │ 25,0 │ 6,3 │ 6,10 │ 8,54
Транспортная база │МАЗ-500│МАЗ-500│МАЗ-500│МАЗ-500│ГАЗ-66 │ГАЗ- │ЗИЛ-
│ │ │ │ │ │66-02 │157К
Продолжение табл. 1
───────────────────┬───────────────────────────────────────────────────────
Наименование │ Марки буровых установок
показателей ├───────┬───────┬───────┬───────┬───────┬───────┬───────
│УРБ-2А2│УРБ-3АМ│КШК-30А│УБВ-600│СБУДМ- │ СО-2 │СО-1200
│ │ │ │ │1503ИВ │ │
───────────────────┼───────┼───────┼───────┼───────┼───────┼───────┼───────
Мощность, │ 50 │ 60 │ 75 │ 110 │ 35 │ 55 │ 75
используемая │ │ │ │ │ │ │
для бурения, кВт │ │ │ │ │ │ │
Вращающий момент, │ 1,6 │ 3,5 │ 0,45 │ 17,0 │ 1,5 │ 12,25 │ 31,8
кН x м │ │ │ │ │ │ │
Ход подачи штанги, │ 7000 │ 8000 │ 1500 │ - │ 4500 │ 16000 │ -
мм │ │ │ │ │ │ │
Осевая нагрузка, кН│ 20,0 │ - │ 20,0 │ - │ 10,0 │ 5,8 │ 13,7
Тип подачи │Цепная │Свобод-│Винто- │Свобод-│Диффе- │Лебедка│Лебедка
│ │ная │вая │ная │ренци- │ │
│ │ │ │ │альная │ │
Число оборотов │10; 20;│ 46 │11; 22 │10; 50 │ 88 │ 45 │ 23
вращателя (ротора),│30; 40 │ │ │ │ │ │
об./мин │ │ │ │ │ │ │
Габариты в │ │ │ │ │ │ │
транспортном │ │ │ │ │ │ │
положении, мм: │ │ │ │ │ │ │
длина │ 10800 │ 10700 │ 7600 │ 12500 │ 7800 │ - │ -
ширина │ 2200 │ 2800 │ 2700 │ 2650 │ 2300 │ - │ -
высота │ 3300 │ 3400 │ 3550 │ 4160 │ 3300 │ - │ -
Масса установки, т │ 10,0 │ 13,6 │ 5,98 │22 и 20│ 10,2 │ 56 │ 57
Транспортная база │ЗИЛ-157│МАЗ-500│Прицеп │КрАЗ- │ЗИЛ-131│Э-12525│
│ │ │42-АП-3│258 │ │ │
Таблица 2
Технические характеристики растворосмесителей
─────────────────────────┬─────────────────────────────────────────────────
Наименование показателей │ Марки растворосмесителей
├────────┬───────┬───────┬───────┬───────┬────────
│ РМ-750 │РМ-500 │ СБ-81 │ СБ-8 │СБ-31А │ СБ-43
─────────────────────────┼────────┼───────┼───────┼───────┼───────┼────────
Емкость, м3 │ 0,75 │ 0,5 │ 0,8 │ 0,325 │ 0,25 │ 0,065
Производительность, м3/ч │ 15 │ До 10 │ 40 │ 8,3 │ 4,5 │ 2,8
Мощность привода, кВт │ 7 (10) │ 4,5 │ 4 │ 4,5 │ 4,5 │ 2,8
Габариты, мм: │ │ │ │ │ │
длина │ 2000 │ 1500 │ 2700 │ 2450 │ 1910 │ 1480
ширина │ 1100 │ 1400 │ 2100 │ 2040 │ 1550 │ 600
высота │ 1000 │ 1300 │ 2300 │ 2130 │ 2030 │ 910
Масса, т │ 0,512 │ 0,35 │ 2,4 │ 1,26 │ 1,12 │ 0,16
Таблица 3
Технические характеристики насосов
для нагнетания водоцементной суспензии
────────────────┬──────────────────────────────────────────────────────────
Наименование │ Марки насосов
показателей ├──────┬──────┬─────┬──────┬──────┬──────┬─────┬─────┬─────
│НГр- │ 9МГр │Гр- │11-ГрБ│НБ3- │НБ4- │СО-69│СО-49│СО-50
│250/50│ │16/40│ │120/40│320/63│ │ │
────────────────┼──────┼──────┼─────┼──────┼──────┼──────┼─────┼─────┼─────
Производитель- │ 15 │13,2 -│1,9 -│13,5; │ 0,9; │ 1,9; │ 1 │ 4 │ 6
ность, м3/ч │ │ 60│ 16│ 18 │ 1,1; │ 3,3; │ │ │
│ │ │ │ │ 2,4; │ 6,3; │ │ │
│ │ │ │ │ 4,2; │ 7,5; │ │ │
│ │ │ │ │ 7,2 │10,8; │ │ │
│ │ │ │ │ │ 19,2 │ │ │
Давление, МПа │ 5,0 │16,0 -│ 4,0 │6,3; │ 4,0 │ 6,3 │ - │ - │ -
│ │ 3,5│ │ 5,0 │ │ │ │ │
Мощность │ 22 │ 60 │ 22 │ 30 │ 7,5 │ 22 │ 1,0 │ 4,5 │ 7,0
привода, кВт │ │ │ │ │ │ │ │ │
Габариты, мм: │ │ │ │ │ │ │ │ │
длина │ 1400 │ 2600 │1340 │1830 │ 1970 │ 1320 │ 750 │3000 │ 800
ширина │ 900 │ 1000 │ 930 │ 750 │ 910 │ 1110 │ 450 │ 800 │ 520
высота │ 940 │ 1600 │1080 │1410 │ 980 │ 870 │ 480 │1200 │ 470
Масса, т │0,738 │ 1,76 │0,55 │1,15 │ 0,68 │ 0,95 │ 0,1 │0,59 │ 0,4
Таблица 4
Технические характеристики автобетоновозов,
авторастворовозов и автобетоносмесителей
────────────────┬───────────────┬───────┬──────────────────────────────────
Параметры │Автобетоновозы │Авто- │ Автобетоносмесители
├───────┬───────┤раство-├────────┬────────┬───────┬────────
│СБ-113 │СБ-124 │ровоз │ СБ-69Б │ СБ-92 │СБ-92-1│ СБ-130
│ │ │СБ-89Б │ │ │ │
────────────────┼───────┼───────┼───────┼────────┼────────┼───────┼────────
Объем перевози- │ 1,6 │ 4 │ 1,6 │ 2,6 │ 4 │ 4 │ 8
мой смеси, м3 │ │ │ │ │ │ │
Геометрический │ 3 │ 7,3 │ 2,5 │ 6,1 │ 6,1 │ 6,1 │ 14
объем (кузова) │ │ │ │ │ │ │
барабана, м3 │ │ │ │ │ │ │
Высота загрузки │ 2,67 │ - │ 2,35 │ 3,42 │ 3,52 │ 3,52 │ 3,86
материала, м │ │ │ │ │ │ │
Высота │ 1,6 │ 1,2 │ 1,1 │ до 2 │ до 2 │ до 2 │ до 2
разгрузки, м │ │ │ │ │ │ │
Вместимость бака│ - │ - │ - │ 0,63 │ 0,85 │ 0,85 │ 1,7
воды, м3 │ │ │ │ │ │ │
Частота вращения│ - │ - │ - │ 6 - 12 │6,5 - │6,5 - │ 4 - 14
барабана, │ │ │ │ │ 14,5│ 14,5│
об./мин │ │ │ │ │ │ │
Тип базового │ЗИЛ- │КамАЗ │ЗИЛ- │МАЗ-503А│КрАЗ-258│КамАЗ- │КамАЗ-
автомобиля │ММЗ- │ │130АМ │ │ │5511 │54112
│555К │ │ │ │ │ │
Наибольшая │ - │ - │ 80 │ 60 │ 60 │ 60 │ 60
скорость │ │ │ │ │ │ │
передвижения на │ │ │ │ │ │ │
прямых участках │ │ │ │ │ │ │
дороги с │ │ │ │ │ │ │
покрытием, км/ч │ │ │ │ │ │ │
Габариты, мм: │ │ │ │ │ │ │
длина │ 5800 │ 6600 │ 7100 │ 6630 │ 8030 │ 6630 │ 11720
ширина │ 2500 │ 2500 │ 2350 │ 2630 │ 2650 │ 2630 │ 2500
высота │ 2745 │ 2680 │ 2350 │ 3420 │ 3520 │ 3420 │ 3700
Масса в: │ │ │ │ │ │ │
незагруженном │5,23 т │10,35 т│ 6,4 т │ 9,1 кг │12,3 кг │10,1 кг│12,2 кг
состоянии │ │ │ │ │ │ │
загруженном │ 9,3 т │19,15 т│9,525 т│15,3 кг │22,2 кг │19,2 кг│29,8 кг
состоянии │ │ │ │ │ │ │
ВАРИАНТЫ ДВИЖЕНИЯ МАШИН ПРИ ПРОИЗВОДСТВЕ РАБОТ
ПО УКРЕПЛЕНИЮ ОСНОВАНИЙ БУРОСМЕСИТЕЛЬНЫМ СПОСОБОМ
Варианты движения машин при производстве работ
по укреплению оснований буросмесительным способом
1 - растворонасосный узел; 2 - буровая установка;
3 - бурильно-канатная установка БКМА-1/3,5;
4 - агрегат типа К-203; 5 - агрегат типа КС-256Е;
6 - агрегат К-104. Растворонасосный узел со складом
цемента и водой размещается в центре захватки
и с этой позиции ведется изготовление свай. Перед
началом работ производится геодезическая
разбивка осей свайных рядов по сетке
с закреплением их на местности
УКРЕПЛЕНИЕ ОСНОВАНИЙ БУРОСМЕСИТЕЛЬНЫМ СПОСОБОМ
С ИСПОЛЬЗОВАНИЕМ СЕРИЙНОЙ БУРОВОЙ УСТАНОВКИ
Рис. 1. Укрепление основания буросмесительным способом
с использованием серийной буровой установки с работающим
в непосредственной близости от нее растворонасосным
узлом, смонтированным на передвижном шасси
1 - авторастворовоз типа СБ-89; 2 - передвижной
растворонасосный узел; 3 - буровая установка
типа УГБ-1ВС; 4 - кран автомобильного типа
КС-2561Е; 5 - фронтальный погрузчик; 6 - буровая
установка типа КШС-40; 7 - автосамосвал ЗИЛ-ММЗ-555;
8 - разбивочная сетка для илоцементных свай;
9 - перекрывающий слой; 10 - ил; 11 - твердые глины
I. Перед началом работ производится геодезическая разбивка осей свайных рядов по сетке с закреплением их на местности.
II. Работы по устройству ИЦС выполняются комплектами машин поточно захватками. Маршрут передвижения механизмов в пределах обслуживания 1 комплектом машин приведен в
Прил. 24.
III. Марки машин и механизмов комплектов, схема их передвижения по площадке уточняются в проекте производства работ.
IV. Нагнетание цементной суспензии производится снизу вверх при выглублении рабочего органа.
V. Бурение в перекрывающем слое скважин установкой БКМА-1/3,5 (или установкой типа КШС-40 с одновременной перегрузкой извлеченного материала транспортерами типа ТК-13 в самосвалы).
VI. Частичная засыпка скважин качественным грунтом - сортированной карьерной мелочью (2/3 глубины скважины) с использованием агрегата типа К-104 с виброжелобом.
VII. Закрытие скважин металлическими инвентарными крышками-люками с применением автомобильного крана типа КС-2561Е.
VIII. Уборка извлеченного из скважин материала агрегатом типа КО-203 с последующей погрузкой его в автосамосвалы марки ЗИЛ-ММЗ-555 (при применении для бурения скважин установки типа КШС-40 операция уборки материала транспортерами типа ТК-13 с погрузкой в автосамосвалы).
IX. Изготовление ИЦС с помощью буровой установки типа УГБ-1ВС и передвижного растворонасосного узла.
X. Промывка оборудования пресной водой с помощью промывочного насоса, установленного на буровом агрегате УГБ-1ВС.
Рис. 2. Укрепление основания буросмесительным способом
с использованием серийной буровой установки с передвижным
растворонасосным узлом, с центральной буровой установки
с передвижным растворонасосным узлом, снабжаемым цементным
раствором с центрального бетонорастворного узла
1 - авторастворовоз типа СБ-89; 2 - передвижной
растворонасосный узел; 3 - буровая установка типа
УГБ-1ВС; 4 - автосамосвал ЗИЛ-ММЗ-555; 5 - фронтальный
погрузчик; 6 - автомобильный кран типа КС-2561Е;
7 - спецмашина; 8 - буровая установка; 9 - разбивочная
сетка для илоцементных свай; 10 - перекрывающий
слой; 11 - ил; 12 - твердые глины
Рис. 3. Укрепление основания буросмесительным способом
с использованием серийной установки, с передвижным
растворонасосным узлом, снабжаемым готовым цементным
раствором с центрального бетонорастворного узла
1 - передвижной склад цемента типа СБ-74; 2 - передвижной
растворонасосный узел; 3 - растворомешалка типа РМ-750;
4 - растворонасос; 5 - водяной насос; 6 - буровая установка
типа УГБ-1ВС; 7 - промывочный насос; 8 - автосамосвал типа
ЗИЛ-ММЗ-555; 9 - кран автомобильнЫЙ типа КС-2561Е;
10 - фронтальный погрузчик; 11 - спецмашина; 12 - буровая
установка типа КШС-40; 13 - разбивочная сетка для
илоцементных свай; 14 - перекрывающий слой; 15 - ил
НОМОГРАММА ДЛЯ ОПРЕДЕЛЕНИЯ ПРОИЗВОДИТЕЛЬНОСТИ
НАСОСА В ЗАВИСИМОСТИ ОТ СКОРОСТИ ОСЕВОГО ПЕРЕМЕЩЕНИЯ
БУРОСМЕСИТЕЛЯ, ДИАМЕТРА СВАИ (d), ДОЗИРОВКИ
ЦЕМЕНТА

И ВОДОЦЕМЕНТНОГО ОТНОШЕНИЯ (m)
Номограмма для определения производительности
насоса в зависимости от скорости осевого перемещения
буросмесителя, диаметра сваи (d), дозировки
цемента

и водоцементного отношения (m)
ТЕХНОЛОГИЧЕСКОЕ ОБОРУДОВАНИЕ
ПРИ ТЕРМИЧЕСКОМ ЗАКРЕПЛЕНИИ ГРУНТОВ
Таблица 1
Буровое оборудование для бурения скважин
на открытых площадках при термическом закреплении грунтов
─────────────────────┬─────────┬───────────────────────────────────────────
Технические параметры│ Единица │ Буровые установки
│измерения├─────────┬─────────┬─────────┬─────────────
│ │ УГБ-50М │ ЛБУ-50А │ УРБ-2А │СБУДМ-150-ЗИВ
─────────────────────┼─────────┼─────────┼─────────┼─────────┼─────────────
Глубина бурения │ м │ 50 │ 50 │ 200 │ 200
Диаметр бурения │ м │ 230/135 │ 200 │ 240/118 │ 250/75
Транспортная база │ - │ Шасси │ Шасси │ Шасси │Шасси ЗИЛ-131
│ │ГАЗ-77-02│ ЗИЛ-131 │ЗИЛ-157КЕ│
Силовой привод │ - │ Дизель │Двигатель│Двигатель│ Двигатель
│ │ Д-65 │ ЗИЛ-131 │ЗИЛ-157КЕ│ Д-48Л
Мощность │ кВт │ 37 │ 44 │ 37 │ 36
Таблица 2
Буревое оборудование для бурения скважин в труднодоступных
местах при термическом закреплении грунтов
───────────────┬─────────┬─────────────────────────────────────────────────
Технические │ Единица │ Буровые установки марки
параметры │измерения├────────────────┬────────────────┬───────────────
│ │ СБА-500Е │ НКР-100 │ БВУ-1
───────────────┼─────────┼────────────────┼────────────────┼───────────────
Глубина бурения│ м │ 35 │ 25 │ 20
Диаметр бурения│ мм │ 240/75 │ 240/90 │ 200/250
Транспортная │ Тележка индивидуального изготовления
база │
Силовой привод │ - │Электродвигатели│Механизм │Пневмодвигатели
│ │ │вращателя - │
│ │ │электродвигатель│
│ │ │Механизм осевой │
│ │ │подачи - │
│ │ │пневмодвигатель │
Мощность │ кВт │Два двигателя │Механизм │Два двигателя
│ │по 30 кВт │вращателя - │при давлении
│ │ │25 кВт; давление│0,3 МПа;
│ │ │осевой подачи │об./мин - 2000;
│ │ │воздуха 0,5 МПа;│усилие подачи -
│ │ │усилие подачи │15 кН
│ │ │20 кН │
Таблица 3
Воздуходувное оборудование
при термическом закреплении грунтов
──────────────────┬───────┬─────────┬──────────┬─────────────┬─────────────
Технические │Единица│Компрес- │Компрес- │Центробежные │ Ротационные
параметры │измере-│сорная │сорная │воздуходувки │ газодувки
и экономические │ния │станция │установка ├──────┬──────┼──────┬──────
показатели │ │ДК-9М │6ВКМ-25/3 │ТВ-50-│ТВ-50-│1А32- │1А34-
│ │ │ │ 1,4 │ 1,6 │80-4А │80-4А
──────────────────┼───────┼─────────┼──────────┼──────┼──────┼──────┼──────
Давление │ МПа │ 0,6 │ 0,8 │ 0,04 │ 0,06 │ 0,08 │ 0,08
Потребляемая │ кВт │ 69 │ 165 │ 46 │ 71 │ 20 │ 40
мощность │ │ │ │ │ │ │
Производительность│ м3/ч │ 600 │ 1500 │ 2500 │ 3000 │ 1200 │ 2400
Оптовая цена │ руб. │ 4100 │ 10000 │ 2950 │ 3290 │ 1900 │ 2100
Себестоимость │ руб. │ 14,73 │ 29,97 │ 9,63 │13,31 │ 5,17 │ 6,58
машино-смены │ │ │ │ │ │ │
ФОРМЫ ЖУРНАЛОВ ПРОИЗВОДСТВА РАБОТ
ПО ТЕРМИЧЕСКОМУ ЗАКРЕПЛЕНИЮ ГРУНТОВ
────┬────┬─────────────────────┬──────────────┬───────────────────┬────────
Дата│Вре-│ Давление, МПа │Израсходовано,│ Показания │Показа-
│мя │ │ м3 или кг │ температур │ния тем-
│за- │ │ │ в скважине │ператур
│мера│ │ │ │в конт-
│ │ │ │ │рольных
│ │ │ │ │шурфах
│ │ │ ├───────────────────┼────────
│ │ │ │ Глубина спая │Глубина
│ │ │ │ термопар │и радиус
│ ├─────┬─────┬────┬────┼────┬────┬────┼────┬────┬────┬────┼────────
│ │в │выше │на │газа│газа│воз-│топ-│1-го│2-го│3-го│4-го│ -
│ │рабо-│отсе-│ре- │на │на │духа│лива│спая│спая│спая│спая│
│ │чем │кате-│си- │ГРП │ре- │ │ │ │ │ │ │
│ │объе-│ля │вере│ │си- │ │ │ │ │ │ │
│ │ме │ │воз-│ │вере│ │ │ │ │ │ │
│ │сква-│ │духа│ │ │ │ │ │ │ │ │
│ │жины │ │ │ │ │ │ │ │ │ │ │
ТЕХНОЛОГИЧЕСКАЯ КАРТА
ГЛУБИННОГО ОБЖИГА ЛЕССОВЫХ И ГЛИНИСТЫХ ГРУНТОВ
II ТИПА ПРОСАДОЧНОСТИ
Рис. 1. Технологическая карта глубинного обжига
и глинистых грунтов II типа просадочности
Рис. 2. Технологическая схема
выполнения основных этапов 1 - 3
Рис. 3. Технологическая схема
выполнения основных этапов 4 - 5
1 - буровой станок; 2 - затвор; 3 - электролиния;
4 - газодувка; 5 - воздухопровод; 6 - газопровод;
7 - обожженный массив грунта; 8 - нагревательная
скважина; 9 - контрольная скважина; 10 - буровая
штанга; 11 - уширитель; 12 - уширение; 13 - форсунка;
14 - труба-удлинитель; 15 - воздухонесущая труба;
16 - крышка затвора; 17 - грузоподъемный механизм;
18 - отсекатель; 19 - контрольные термопары;
20 - регулятор давления; 21 - запальник;
22 - потенциометры; 23 - закрепляемый массив грунта
Состав и последовательность выполнения основных этапов
──────────────┬───────────────┬──────────────────────────┬──────────────┬───────────────────
1-й этап │ 2-й этап │ 3-й этап │ 4-й этап │ 5-й этап
──────────────┼───────────────┼──────────────────────────┼──────────────┼───────────────────
1. Установка │5. Крепление │10. Монтаж воздуходувок │15. Подача │18. Демонтаж крышки
станка 1 │к буровой │(компрессоров) 4, │горючей смеси │затвора 16,
на отметку │штанге 10 │агрегатов подачи │из форсунки 13│извлечение
бурения │уширителя 11. │и регулирования │по ее трубе- │воздухонесущей
скважин. │6. Опускание │топлива (газодувок │удлинителю 14 │трубы 15 с
2. Бурение │уширителя 11 │и регуляторов давления 20 │в скважину 8. │отсекателем 18 и
нагревательной│в забой │для газа или │16. Розжиг │трубы-удлинителя
скважины 8 и │скважины 8. │насосных станций для │горючей смеси │14.
контрольной │7. Разбуривание│жидкого топлива), │от запальника │19. Тампонирование
скважины 9. │щелевидного │топливо- и воздухопроводов│21 при выходе │скважины (нижней
3. Подъем │уширения 12. │6, 5, электролинии 3. │ее из сопла │части).
бурового │8. Очистка │11. Посекционный монтаж │трубы- │20. Монтаж крышки
снаряда и │скважины от │воздухонесущей трубы │удлинителя 14 │затвора 16,
очистка его │грунта. │15 с отсекателем 18 на │с образованием│укороченной трубы-
от выбуренной │9. Контроль и │глубину 1/2 H скважины 8. │факела и вывод│удлинителя 15
породы. │приемка │12. Установка крышки │его на режим │форсунки 13
4. Ввинчивание│скважины │затвора 16 и ее │горения. │и термопары 19.
затвора 2 │ │крепление. │17. Обжиг │Далее повторение
станком │ │13. Посекционный монтаж │грунта 23 │операций
в грунт │ │трубы-удлинителя 17, │до расчетной │по пп. 14 - 17.
стенок устья │ │форсунки 13, многоспайных │температуры │21. Демонтаж
скважины 8 │ │термопар 19, приборов 24. │ │оборудования
│ │14. Подключение к форсунке│ │и контрольно-
│ │13 и к поддувам крышки │ │измерительных
│ │затвора 16 топливо- │ │приборов.
│ │и воздуховодов 6, 5 │ │22. Охлаждение
│ │ │ │скважин холодным
│ │ │ │воздухом
ОБОРУДОВАНИЕ, ПРИМЕНЯЕМОЕ ПРИ ИСКУССТВЕННОМ
ЗАМОРАЖИВАНИИ ГРУНТОВ
────────────────────┬──────────────────────────────────────────────────────
Показатели │ Буровые станки марки
├───────┬────────┬─────────┬─────────┬────────┬────────
│УРБ-ЗАМ│СБУ-150-│ АВБ-400 │ЗИФ-300М │ЗИФ-650А│ СБГ-1М
│ │ ЗИВ │ │ │ │
────────────────────┼───────┼────────┼─────────┼─────────┼────────┼────────
Тип буровой │ Самоходная │ Стационарная │Подзем-
установки │ │ │ного
│ │ │бурения
Начальный диаметр │ 295 │ 146 │ 243 │ 131 │ 250 │ 280
бурения, мм │ │ │ │ │ │
Глубина бурения │ 300; │ 150 │ 400 │ 300 │ 650 │ 300
(расчетная), м │ 500 │ │ │ │ │
Диаметр бурильных │ 60,3; │ 42 │ 60,3; │ 42; 50 │50; 53; │ -
труб, мм │ 73 │ │ 73; 89 │ │ 5 │
Диаметр проходного │ 250 │ 68 │ 385 │ - │ - │ -
отверстия ротора, мм│ │ │ │ │ │
Грузоподъемность │ 2,8 │ 2 │ 5 │ 2 │ 3 │ 3
лебедки (натяжного │ │ │ │ │ │
каната), т │ │ │ │ │ │
Рекомендуемый │ 15,5 │ 13 │ 21,5 │ 15,5 │ 19,5 │ -
диаметр каната, мм │ │ │ │ │ │
Привод установки │Дизель │ГАЗ- │ЗИЛ-120; │ Электродвигатель
│Д-54 │МК-30 │ЯАЗ-204 │ 14 кВт 28 кВт 15 кВт
Число двигателей │ 1 │ 1 │ 2 │ 1 │ 1 │ 1
Общая мощность │ 40 │ 22 │ 148 │ 14 │ 18 │ 15
двигателя, кВт │ │ │ │ │ │
Тип подъемного │ Мачта │Вышка или тренога │ -
устройства │ │ │
Высота, м │ 16 │ 9,4 │ 12,4 │ - │ - │ -
Грузоподъемность, т │ 10 │ 8,5 │ 12 │ - │ - │ -
Тип грязевого │ 11ГР │ 11ГР │НГ-200/30│ ЗИФ-Р- │ ЗИФ-Р- │ 11ГР
устройства │ │ │ │ 200/40 │ 200/40 │
Число │ 1 │ 1 │ 2 │ 1 │ 2 │ 1
Производительность, │ 18 │ 12 │ 12 │ 12 │ 12 │ 18
м3/ч │ │ │ │ │ │
Давление расчетное, │ 5 │ 4 │ 3 │ 4 │ 4 │ 5
МПа │ │ │ │ │ │
Габариты установки, │ │ │ │ │ │
мм: │ │ │ │ │ │
длина │ 10700 │ 9125 │ 124000 │ 4216 │ 5075 │ 1900
ширина │ 2800 │ 2350 │ 3350 │ 1675 │ 2420 │ 900
высота │ 34000 │ 3760 │ 4100 │ 1944 │ 2260 │ 2000
Масса установки, т │ 6,85 │ 8,5 │ 14,8 │ - │ - │ -
│без автомашины │с авто- │ │ │
│ │машиной │ │ │
Угол наклона к │ 90 │ 90 │ 90 │ 90 - 75 │90 - 45 │0 - 360
горизонту, град │ │ │ │ <*> │ │
--------------------------------
<*> При изменении соединения гидравлических трубок угол бурения может изменяться от 0 до 360 град.
───────────────────────────────────────────┬───────────────────────────────
Показатели │ Буровые станки
├───────────────┬───────────────
│ УКС-22М │ УКС-30М
───────────────────────────────────────────┼───────────────┼───────────────
Максимальная глубина бурения, м │ 300 │ 5000
Максимальный диаметр бурения, мм │ 600 │ 900
Максимальный вес бурового снаряда, т │ 1,3 │ 2,5
Грузоподъемность барабана, т: │ │
инструментального │ 2 │ 3
желоночного │ 1,3 │ 2
талевого │ 1,5 │ 3
Высота подъема бурового снаряда, м │ 0,35 - 1 │ 0,5 - 1
Число ударов снаряда в 1 мин │ 40, 45, 50 │ 40, 45, 50
Диаметр каната, мм: │ │
инструментального │ 21,5 │ 26
желоночного │ 15,5 │ 17,5
талевого │ 15,5 │ 21,5
Электродвигатель: │ │
тип │ АО-73-6 │ АОГ-93-8
мощность, кВт │ 20 │ 40
Мачта: │ │
высота (до оси роликов), м │ 12,25 │ 16
грузоподъемность, т │ 12 │ 25
Габариты станка, мм: │ │
длина │ 8,5 │ 10
ширина │ 2,29 │ 2,64
высота │ 2,75 │ 3,5
Масса станка (с канатами, мачтой и │ 7,6 │ 12,7
электродвигателем), т │ │
Токопроводящий кабель воздушной линии │ │
к станку: │ │
марка │ ГРШС │ ГРШС
сечение │3 x 25 + 1 x 10│3 x 35 + 1 x 10
────────────────┬──────────────────────────────────────────────────────────
Показатели │ Типы одноступенчатых компрессоров и агрегатов
├─────────────┬─────┬──────┬─────┬───────┬──────┬──────────
│Агрегаты │Комп-│Агре- │Комп-│Перед- │Перед-│Горизон-
│компрессор- │рес- │гат │рес- │вижная │вижная│тальные
│ные │сор │комп- │сор │холо- │холо- │оппозитные
│ │АУ200│рес- │АУУ- │диль- │диль- │компрес-
│ │ │сорный│400 │ная │ная │соры
├──────┬──────┤ │А220-7│ │стан- │уста- ├────┬─────
│А110-3│А110-2│ │ │ │ция │новка │АО- │АО-
│ │ │ │ │ │ПХС-100│ПХУ-50│600П│1200П
────────────────┼──────┼──────┼─────┼──────┼─────┼───────┼──────┼────┼─────
Холодопроизводи-│ 92,8 │139,2 │ 232 │ 278 │ 464 │ 116 │ 58 │677 │ 1334
тельность, кВт │ │ │ │ │ │ │ │ │
Температура │ -15 │ -15 │ -15 │ -15 │ -15 │ -40 │ -40 │-15 │ -15
кипения, °C │ │ │ │ │ │ │ │ │
Хладагент │ аммиак │хладан-│ аммиак
│ │22 │
│ │(фреон-│
│ │22) │
Температура │ +30 │ +30 │ +30 │ +30 │ +30 │ +30 │ +30 │+30 │ +30
конденсации, °C │ │ │ │ │ │ │ │ │
Диаметр │ 115 │ 115 │ 150 │ 150 │ 150 │ 150 │ 150 │280 │ 280
цилиндра, мм │ │ │ │ │ │ │ │ │
Ход поршня, мм │ 82 │ 82 │ 130 │ 130 │ 130 │ 130 │ 130 │220 │ 220
Число цилиндров │ 4 │ 4 │ 4 │ 4 │ 8 │ 2 x 4 │ 4 │ 2 │ 4
Частота │16,66 │ 25 │ 16 │ 24,7 │ 16 │ 24,5 │ 24,5 │8,33│ 8,33
-1 │ │ │ │ │ │ │ │ │
вращения, с │ │ │ │ │ │ │ │ │
Мощность элект- │ 40 │ 55 │ 75 │ 132 │ 160 │ 210 │ 105 │315 │ 630
родвигателя, кВт│ │ │ │ │ │ │ │ │
Масса, т │ 2,3 │ 2,3 │ 4,2 │ 4,2 │ 4,5 │ 2,8 │ 1,4 │9,4 │ 16,6
─────────────────┬─────────────────────────────────────────────────────────────────────
Показатели │ Типы двухступенчатых компрессоров и агрегатов
├────────────┬─────────┬─────────┬───────┬────────┬─────────┬─────────
│ АД-90-3 │АД130-7-4│АД260-7-4│ДАУ50/А│ДАО-275П│ДАОН-175П│ДАОН-350П
├────────────┼─────────┼─────────┼───────┼────────┼─────────┴─────────
│компрессоры │I ст. - │I ст. - │комп- │горизон-│низкотемпературные
│I ст. - РБ90│ВХ350-7-4│ВХ260-7-4│рессор │тальный │ горизонтальные
│II ст. - │II ст. - │II ст. - │V-об- │(оппо- │ (оппозитные)
│П110 │П110-7-0 │П220-7-0 │разный │зитный) │
─────────────────┼────────────┼─────────┼─────────┼───────┼────────┼─────────┬─────────
Холодопроизводи- │ 110 │ 157 │ 302 │ 58 │ 319 │ 203 │ 406
тельность, кВт │ │ │ │ │ │ │
Температура │ -40 │ -40 │ -40 │ -40 │ -50 │ -50 │ -50
кипения, °C │ │ │ │ │ │ │
Температура │ +35 │ +35 │ +35 │ +35 │ +35 │ +35 │ +35
конденсации, °C │ │ │ │ │ │ │
─────────────────┼────────────┼─────────┼─────────┼───────┼────────┼─────────┼─────────
Число цилиндров: │ │ │ │ │ │ │
I ступени │ 1 ротор │ 2 винта │ 2 винта │ 3 │ 1 │ 1 │ 2
II ступени │ 4 ротора │ 4 винта │8 винтов │ 1 │ 1 │ 1 │ 2
─────────────────┼────────────┼─────────┼─────────┼───────┼────────┼─────────┼─────────
Диаметр цилиндра,│ │ │ │ │ │ │
мм: │ │ │ │ │ │ │
I ступени │ - │ 200 │ 250 │ 150 │ 450 │ 500 │ 500
│ │ (винт) │ (винт) │ │ │ │
II ступени │ 115 │ 115 │ 115 │ 150 │ 280 │ 280 │ 280
─────────────────┼────────────┼─────────┼─────────┼───────┼────────┼─────────┼─────────
Ход поршня, мм │ 82 │ 82 │ 82 │ 130 │ 220 │ 220 │ 220
─────────────────┼────────────┼─────────┼─────────┼───────┼────────┼─────────┼─────────
Частота вращения,│I ст. - 25 │ 50 │ 50 │ 16 │ 8,33 │ 8,33 │ 8,33
-1 │II ст. - 25 │ 25 │ 25 │ │ │ │
с │ │ │ │ │ │ │
─────────────────┼────────────┼─────────┼─────────┼───────┼────────┼─────────┼─────────
Электродвигатели:│ │ │ │ │ │ │
мощность, кВт │ 115 │ 130 │ 292 │ 55 │ 315 │ 315 │ 500
напряжение, В │ 220/380 │ 220/380 │ 220/380 │220/380│ 6000 │ 6000 │ 6000
─────────────────┼────────────┼─────────┼─────────┼───────┼────────┼─────────┼─────────
Масса компрессора│ 4,07 │ 6,4 │ 8,5 │ 2 │ 10,95 │ 11 │ 17,5
с электродвига- │ │ │ │ │ │ │
телем, т │ │ │ │ │ │ │
Наименование строительной организации .....................................
Объект ....................................................................
ПАСПОРТ СКВАЖИНЫ И ЗАМОРАЖИВАЮЩЕЙ КОЛОНКИ N
I. Бурение
Начато ....................................................................
Закончено .................................................................
Конструкция скважины ......................................................
Абсолютная отметка устья скважины .........................................
Глубина скважины от устья:
проектная .................................................................
фактическая ...............................................................
Азимут отклонения скважины ................................................
Величина отклонения вертикальной плоскости ................................
Разрешается опустить колонку ..............................................
Начальник смены ................................................. (подпись)
(Ф.И.О.)
II. Опускание замораживающей колонки и ее испытание
──────────┬───────┬───────────────┬──────────┬───────────────────────┬──────────
Дата/смена│ Номер │ Размеры звена │ Способ │ Испытание стыков │Примечание
│ звена ├──────┬────────┤соединения├─────────┬─────────────┤ (течи,
│колонки│длина,│диаметр,│ стыков │давление,│продолжитель-│ меры их
│ │ м │ мм │ │ МПа │ность, мин │устранения
│ │ │ │ │ │ │ и пр.)
──────────┼───────┼──────┼────────┼──────────┼─────────┼─────────────┼──────────
..... │.......│......│........│..........│.........│.............│..........
..... │.......│......│........│..........│.........│.............│..........
..... │.......│......│........│..........│.........│.............│..........
Длина замораживающей колонки от устья скважины ............................
Сварку производил сварщик .................................................
(Ф.И.О.)
Испытание производилось в присутствии .....................................
(Ф.И.О.)
III. Наблюдения за уровнем воды в колонке
1. Расстояние поверхности жидкости от устья колонки
а) начальное на .............. (дата) .............................. мм
б) конечное на ............... (дата) .............................. мм
2. Заключение о результатах наблюдений
Геодезист .................................................................
(Ф.И.О.)
IV. Опускание питающих труб
Дата ......................................................................
Длина звеньев труб ..................................................... м
Диаметр ................................................................ мм
Примечание ................................................................
Нижний конец трубы не доведен до башмака колонки
Общая длина питающей трубы ................................................
Монтаж питающей трубы производила бригада слесарей ........................
(Ф.И.О. бригадира)
Начальник смены ................................................. (подпись)
Механик ......................................................... (подпись)
Проверил начальник участка ...................................... (подпись)
Контрольные измерения производил геодезист ...................... (подпись)
Наименование строительной организации .....................................
Объект ....................................................................
ЖУРНАЛ РАБОТЫ ЗАМОРАЖИВАЮЩИХ КОЛОНОК
──────────┬────┬────────────────────┬──────────────────┬──────┬────────┬──────
Дата/смена│Часы│ Температура, °C, │ Температура, °C │Давле-│Исполни-│Приме-
│ │ обратного рассола │ │ние в │тель │чание
│ │ в колонках N ... │ │кол- │(Ф.И.О.)│
│ ├─┬─┬─┬─┬─┬─┬─┬─┬─┬──┼──────┬─────┬─────┤лекто-│ │
│ │1│2│3│4│5│6│7│8│9│10│рассо-│рас- │воз- │ре, │ │
│ │ │ │ │ │ │ │ │ │ │ │ла в │сола │духа │МПа │ │
│ │ │ │ │ │ │ │ │ │ │ │рас- │в │в │ │ │
│ │ │ │ │ │ │ │ │ │ │ │преде-│кол- │фор- │ │ │
│ │ │ │ │ │ │ │ │ │ │ │лителе│лек- │шахте│ │ │
│ │ │ │ │ │ │ │ │ │ │ │ │торе │ │ │ │
──────────┴────┴─┴─┴─┴─┴─┴─┴─┴─┴─┴──┴──────┴─────┴─────┴──────┴────────┴──────
Наименование строительной организации .....................................
Объект ....................................................................
ЖУРНАЛ ТЕМПЕРАТУР В КОНТРОЛЬНЫХ
ТЕРМОМЕХАНИЧЕСКИХ СКВАЖИНАХ НА РАЗЛИЧНЫХ ГОРИЗОНТАХ
ПРИ ИСКУССТВЕННОМ ЗАМОРАЖИВАНИИ ГРУНТОВ
──────────┬──────────┬──────────┬──────────┬──────────┬───────────┬────────
Дата/смена│ Скважина │ Скважина │ Скважина │ Скважина │Исполнитель│Приме-
│ N ... │ N ... │ N ... │ N ... │ (Ф.И.О.) │чание
├──────────┼──────────┼──────────┼──────────┤ │
│ Отметка │ Отметка │ Отметка │ Отметка │ │
│горизонта,│горизонта,│горизонта,│горизонта,│ │
│ м │ м │ м │ м │ │
──────────┴──────────┴──────────┴──────────┴──────────┴───────────┴────────
Проверил ___________________________ (подпись)
(Ф.И.О.)
Наименование строительной организации .....................................
Объект ....................................................................
ЖУРНАЛ НАБЛЮДЕНИЙ ЗА УРОВНЕМ ГРУНТОВЫХ
ВОД В ГИДРОЛОГИЧЕСКИХ СКВАЖИНАХ
ПРИ ИСКУССТВЕННОМ ЗАМОРАЖИВАНИИ ГРУНТОВ
──────────┬──────┬────────────────┬────────────────┬────────────────┬──────
Дата/смена│Время │ Скважина │ Скважина │ Скважина │Приме-
│взятия│ N ... │ N ... │ N ... │чание
│отсче-├────────────────┼────────────────┼────────────────┤
│та │Абсолютная │Абсолютная │Абсолютная │
│ │отметка замерен-│отметка замерен-│отметка замерен-│
│ │ной точки, м │ной точки, м │ной точки, м │
│ ├───────┬────────┼───────┬────────┼───────┬────────┤
│ │Глубина│Абсолют-│Глубина│Абсолют-│Глубина│Абсолют-│
│ │уровня,│ная │уровня,│ная │уровня,│ная │
│ │ м │отметка │м │отметка │ м │отметка │
│ │ │уровня, │ │уровня, │ │уровня, │
│ │ │м │ │м │ │м │
──────────┴──────┴───────┴────────┴───────┴────────┴───────┴────────┴──────
Проверил ___________________________ (подпись)
(Ф.И.О.)
Наименование строительной организации .....................................
Объект ....................................................................
ЖУРНАЛ РАЗРАБОТКИ ТРАНШЕИ ПРИ ВОЗВЕДЕНИИ
СООРУЖЕНИЙ СПОСОБОМ "СТЕНА В ГРУНТЕ"
Землеройное оборудование ..................................................
Проектная глубина траншеи .................................................
──────────┬─────┬────────────┬──────┬─────────────┬───────┬─────────┬──────
Дата/смена│N за-│ Время │Объем │ Глубина │Высота │Исполни- │Приме-
│хват-│ разработки │разра-│ захватки │ слоя │тель │чания
│ки │ захватки │ботан-│ │осадка,│(Ф.И.О.) │
│ ├─────┬──────┤ного ├──────┬──────┤ м │(подпись)│
│ │нача-│окон- │грунта│ в │ в │ │ │
│ │ло, │чание,│за │начале│конце │ │ │
│ │ч, │ч, мин│смену,│смены,│смены,│ │ │
│ │мин │ │м3 │ м │ м │ │ │
│ │ │ │ │ │ │ │ │
──────────┴─────┴─────┴──────┴──────┴──────┴──────┴───────┴─────────┴──────
Наименование строительной организации .....................................
Объект ....................................................................
ЖУРНАЛ КОНТРОЛЯ КАЧЕСТВА ГЛИНИСТОГО РАСТВОРА (СУСПЕНЗИИ)
Тип глиномешалки ..........................................................
Наименование и характеристика глин ........................................
Состав раствора:
на 1 м3 на 1 замес
───────────────────────────────────────────────────────────────────────────
глина, кг .................................................................
вода, л ...................................................................
химреагенты, кг ...........................................................
──────────┬─────┬────────────────────────────────────────────────┬────────┬────
Дата/смена│Место│ Показатели качества раствора │Исполни-│При-
│отбо-├──────┬──────┬─────┬──────┬────┬───┬────┬───────┤тель │ме-
│ра │плот- │вяз- │от- │ста- │со- │во-│тол-│стати- │(Ф.И.О.)│ча-
│пробы│ность,│кость,│стой,│биль- │дер-│до-│щина│ческое │подпись │ния
│раст-│г/см │с │% │ность,│жа- │от-│гли-│напря- │ │
│вора │ │ │ │г/см3 │ние │да-│нис-│жение │ │
│ │ │ │ │ │пес-│ча,│той │сдвига,│ │
│ │ │ │ │ │ка, │см3│кор-│мгс/см2│ │
│ │ │ │ │ │% │ │ки, │ │ │
│ │ │ │ │ │ │ │мм │ │ │
──────────┴─────┴──────┴──────┴─────┴──────┴────┴───┴────┴───────┴────────┴────
ТЕХНИЧЕСКИЕ ХАРАКТЕРИСТИКИ МОЛОТОВ ДЛЯ ПОГРУЖЕНИЯ СВАЙ
Таблица 1
─────────────────────────────┬─────────────────────────────────────────────
Основные характеристики │ Трубчатые дизель-молоты
─────────────────────────────┼─────┬─────┬─────┬─────┬────┬────┬─────┬─────
Масса ударной части, кг │ 500 │ 600 │1250 │1800 │2500│3500│5000 │7500
Масса молота, кг │1200 │1500 │2600 │3700 │5800│8000│11500│17000
Расчетная энергия удара, кДж │1200 │1500 │3100 │4500 │6300│8800│12600│18800
Таблица 2
─────────────────────────────┬─────────────────────────────────────────────
Основные характеристики │ Штанговые дизель-молоты
─────────────────────────────┼──────────────┬───────────────┬──────────────
Масса ударной части, кг │ 1250 │ 1800 │ 2500
Масса молота, кг │ 2200 │ 3100 │ 4400
Расчетная энергия удара, кДж │ 850 │ 1400 │ 2200
Таблица 3
─────────────────────────────────────┬─────────────────────────────────────
Основные характеристики │ Молоты паровоздушные типа СССМ
├─────┬─────┬─────┬─────┬──────┬──────
│ 570 │ 750 │ 582 │ 680 │ 3000 │ 4250
─────────────────────────────────────┼─────┼─────┼─────┼─────┼──────┼──────
Масса ударной части, кг │1800 │1800 │3000 │6000 │ 3000 │ 4250
Масса молота, кг │2700 │2700 │4300 │8647 │ 4250 │ 5100
Частота ударов, мин │ 30 │ 30 │ 30 │ 30 │ 10 │4 - 8
Высота молота в рабочем положении, мм│ - │4840 │4635 │4950 │ 2850 │ 2820
Продолжение табл. 3
───────────────────────────┬───────────────────────────────────────────────
Основные характеристики │ Молоты паровоздушные типа СССМ
├───────┬───────┬───────┬───────┬───────┬───────
│ 6500 │ 8200 │ 1800 │С-276А │С-811А │С-812А
───────────────────────────┼───────┼───────┼───────┼───────┼───────┼───────
Масса ударной части, кг │ 6500 │ 8200 │ 1800 │ 3000 │ 6000 │ 8000
Масса молота, кг │ 7300 │ 8695 │ 2185 │ 4250 │ 8200 │ 11000
Частота ударов, мин │4 - 10 │ 4 - 5 │ 30 │40 - 50│40 - 45│35 - 40
Высота молота в рабочем │ 3125 │ 2580 │ 2435 │ 4650 │ 4730 │ 4730
положении, мм │ │ │ │ │ │
КОНСТРУКЦИЯ НАГОЛОВНИКОВ
Для забивки железобетонных свай паровоздушными молотами одиночного действия и трубчатыми дизель-молотами рекомендуется применять Н-образные литые и сварные наголовники с верхней и нижней выемками. При забивке свай штанговыми дизель-молотами и паровоздушными молотами двойного действия разрешается применять П-образные наголовники с одной нижней выемкой (см. рисунок).
Схемы наголовников
а - для трубчатого дизель-молота; б - для штангового
дизель-молота; в - для паровоздушного молота одиночного
действия; г - для забивки трубчатых железобетонных свай;
1 - молот; 2 - верхняя выемка наголовника; 3 - верхний
амортизатор; 4 - верхний обруч; 5 - диафрагма наголовника;
6 - нижний обруч; 7 - нижний амортизатор; 8 - нижняя
выемка наголовника; 9 - обечайка; 10 - выемка
в амортизаторе под шток молота; 11 - цилиндр с конусом
Наголовник должен иметь проушины или крюки для подвески его к стационарной части дизель-молота или ударной части паровоздушного молота для подъема наголовника совместно с молотом в верхнее положение перед установкой сваи на место забивки. Длина подвесных тросов при работе с дизель-молотом принимается с запасом на величину максимального хода шабота или пяты с подпятником. Верхняя выемка наголовника выполняется круглой в плане и глубиной 100 - 150 мм при паровоздушных молотах и 200 - 300 мм при дизель-молотах. В верхнюю выемку вставляется верхний амортизатор, роль которого заключается в снижении динамических нагрузок как на молот, так и на сам наголовник.
Диаметр верхней выемки в наголовниках под трубчатый дизель-молот назначается на 10 - 15 мм больше диаметра шабота, а для наголовников под паровоздушный молот - не больше наименьшего размера торцовой части молота.
Верхний амортизатор следует изготовлять из обрезка ствола дерева твердой породы (дуб, бук, граб, клен, комлевая часть сосны) с прямыми вертикально расположенными волокнами и строго перпендикулярным к оси торцом. Высота верхнего амортизатора назначается в зависимости от веса ударной части молота и должна быть: для трубчатых дизель-молотов с массой ударной части 1250, 1800, 2500, 3500 и 5000 кг не менее 150, 200 и 250 мм соответственно, для паровоздушных молотов - не менее 250 - 300 мм, причем в первом случае верхняя полость амортизатора должна быть не менее чем на 50 мм ниже верхней кромки бортов выемки наголовника для фиксации последним положения шабота молота. Для паровоздушных молотов, наоборот, амортизатор должен выступать под бортами верхней выемки наголовника на 150 - 200 мм. С целью уменьшения размочаливания верхнего амортизатора в последнем случае верхний конец амортизатора укрепляют стальным кольцом (бугелем). В зависимости от типа применяемого паровоздушного молота в верхнем амортизаторе устраивают выемку глубиной 30 - 40 мм под шток или упорную лапу молота.
Запрещается работать с размочаленным верхним амортизатором, при котором возможен прямой удар молота по корпусу наголовника.
Нижняя выемка наголовника служит для удержания головы сваи в соосном положении с молотом и для размещения в ней нижнего амортизационного блока.
Плановые размеры наголовника назначаются таким образом, чтобы между боковой гранью сваи и стенкой наголовника оставался зазор порядка 1 см с каждой стороны.
При плановых размерах нижней выемки наголовника более указанных выше и при необходимости забивки свай с меньшими поперечными размерами лишний зазор необходимо выбрать посредством приварки временных упоров-ограничителей или посредством обмотки головы сваи мешковиной.
Глубина нижней выемки наголовника назначается 500 - 600 мм. Нижний амортизатор может выполняться из следующих материалов: древесины, пенькового каната, войлока, асбеста и т.п. (см.
табл. 9 Прил. 40).
Амортизаторы из древесины выполняются как с волокнами вдоль направления удара, так и с волокнами поперек направлении удара. В последнем случае амортизаторный блок выполняется в виде накрест расположенных слоев досок толщиной 4 - 6 см. Амортизатор из древесины с волокнами вдоль направления удара целесообразно изготовлять из 4 - 8 отдельных, одинаковых по высоте торцовых деревянных шашек квадратного или секторного поперечного сечения (в зависимости от общего планового очертания амортизатора), выпиливаемых из древесины нижней (комлевой) части ствола. Верхний амортизатор, собранный из отдельных торцовых шашек, скрепляется бугелем. При этом достигается экономия в древесине за счет использования короткомерных отходов, отпадает необходимость в толстоствольной древесине, облегчается работа по удалению размочаленных амортизаторов из наголовника при их замене.
Амортизаторы из войлока собирают из отдельных слоев, амортизаторы из пенькового каната и асбестового шнура собирают также из отдельных слоев, уложенных в плоскую бухту каната или шнура. Для защиты амортизаторов из пенькового каната, войлока или асбеста между ними и головкой сваи укладывается прокладка из досок толщиной 5 - 6 см, которая периодически заменяется по мере разрушения. Наиболее длительно сохраняют сваи упругие свойства амортизаторы из асбеста. Наименее долговечны амортизаторы из древесины с волокнами поперек направления удара. Толщина нижнего амортизатора при забивке железобетонных свай зависит от материала амортизатора, технических характеристик молота и сваи, грунтовых условий и определяется расчетом (см.
Прил. 40). Ориентировочные (с точностью +/- 15%) значения сжимающих напряжений от удара в сплошных железобетонных сваях или забивке паровоздушными молотами одиночного действия, штанговыми и трубчатыми дизель-молотами в зависимости от толщины амортизатора из сосновых досок в нижней выемке наголовника при разных высотах падения ударной части молота приведены в таблице.
Примечание. Для определения начальных толщин амортизаторов из сосновых досок до уплотнения значения толщин, приведенные в таблице, следует разделить на 0,4.
─────────────┬──────┬─────────┬────────────────────────────────────────────
Тип молота │Высота│Толщина │ Ориентировочные значения сжимающих
│паде- │нижнего │ напряжений, МПа, от удара в железобетонных
│ния │аморти- │сваях сплошного сечения при отношении массы
│удар- │затора из│ ударной части молота к площади поперечного
│ной │сосновых │ сечения, кг/см2, равном
│части │досок, ├────┬────┬────┬────┬────┬────┬────┬────┬────
│моло- │уплот- │ 1 │1,5 │ 2 │2,5 │ 3 │3,5 │ 4 │4,5 │ 5
│та, м │ненного │ │ │ │ │ │ │ │ │
│ │100 │ │ │ │ │ │ │ │ │
│ │ударами, │ │ │ │ │ │ │ │ │
│ │см │ │ │ │ │ │ │ │ │
─────────────┼──────┼─────────┼────┼────┼────┼────┼────┼────┼────┼────┼────
Штанговый │ 1,5 │ 4 │8,8 │10,3│11,5│12,3│13,1│ - │ - │ - │ -
дизель-молот │ │ 8 │7,2 │8,5 │9,4 │10,1│10,7│ - │ - │ - │ -
│ │ 12 │6,7 │7,9 │8,7 │9,4 │ 10 │ - │ - │ - │ -
│ 2 │ 4 │12,8│15,1│16,7│17,9│ 19 │ - │ - │ - │ -
│ │ 8 │11,7│13,8│15,3│16,4│17,5│ - │ - │ - │ -
│ │ 12 │9,7 │11,4│12,6│13,5│14,4│ - │ - │ - │ -
│ 1,5 │ 4 │11,1│ 13 │14,4│15,5│16,4│ - │ - │ - │ -
│ │ 8 │ 9 │10,6│11,7│12,6│13,4│ - │ - │ - │ -
│ │ 12 │ 8 │9,5 │10,5│11,2│ 12 │ - │ - │ - │ -
Трубчатый │ 2 │ 4 │ 16 │18,8│20,9│22,4│23,8│ - │ - │ - │ -
дизель-молот │ │ 8 │13,1│15,3│17,0│18,3│19,4│ - │ - │ - │ -
│ │ 12 │11,6│13,7│15,2│16,3│17,3│ - │ - │ - │ -
│ 2,5 │ 4 │19,1│22,5│24,9│26,7│28,4│ - │ - │ - │ -
│ │ 8 │15,5│18,3│20,3│21,7│23,1│ - │ - │ - │ -
│ │ 12 │13,9│16,3│18,1│19,4│20,7│ - │ - │ - │ -
│ 3 │ 4 │22,2│ 26 │28,9│ 31 │ 33 │ - │ - │ - │ -
│ │ 8 │ 18 │21,2│23,6│25,3│26,9│ - │ - │ - │ -
│ │ 12 │16,1│ 19 │21,1│22,6│ 24 │ - │ - │ - │ -
│ 0,4 │ 4 │9,8 │11,4│12,7│13,5│14,5│15,3│16,0│16,6│17,2
│ │ 8 │7,8 │9,1 │10,1│10,7│11,5│12,2│12,7│13,2│13,6
│ │ 12 │ 7 │8,1 │ 9 │9,6 │10,2│10,8│11,4│11,8│12,1
Паровоздушный│ 0,8 │ 4 │14,9│17,3│19,2│20,5│21,9│23,2│24,3│25,2│25,9
молот │ │ 8 │11,8│13,8│15,3│16,3│17,4│18,4│19,3│20,0│20,6
одиночного │ │ 12 │10,6│12,3│13,7│14,6│15,6│16,5│17,3│17,9│18,4
действия │ 1,2 │ 4 │18,4│21,4│23,7│25,3│27,1│28,6│ 30 │ 31 │ 32
│ │ 8 │14,7│17,1│18,9│20,1│21,6│22,8│23,9│24,7│25,5
│ │ 12 │13,1│15,3│16,9│ 18 │19,3│20,4│21,4│22,1│22,8
Забивка стальных трубчатых свай производится с применением наголовников, оснащенных только одним верхним амортизатором. При этом отношение массы ударной части к площади поперечного сечения трубчатой сваи (нетто) не должно превышать для паровоздушных молотов одиночного действия 30 кг/см2, а для трубчатых дизель-молотов - 20 кг/см2. В противном случае необходимо уменьшать высоту падения ударной части молота.
Форма нижней поверхности стальной плиты наголовника должна соответствовать профилю стальной сваи, шпунтины или пакета и обеспечивать их надежную фиксацию в процессе погружения. Глубина выемки или высоты выступов (ограничителей), фиксирующих положение забиваемых стальных элементов, должна быть не менее 50 мм для шпунта и не менее 100 мм для трубчатых свай. Размеры плиты наголовника назначаются из условия равномерного распределения давления ударного импульса по всей площади торца стального элемента за исключением крайних замков шпунтовых пакетов.
Деревянные сваи разрешается забивать без наголовника. Головы деревянных свай укрепляют при этом стальным кольцом (бугелем).
При забивке деревянных свай паровоздушным молотом одиночного действия без наголовника в верхнем торце сваи устраивают выемки глубиной 30 - 40 мм под шток или лапу молота.
При забивке деревянных свай дизель-молотом в нижнюю плоскость шабота дизель-молота ввертывают специально предусмотренный конструкцией молота наконечник-фиксатор. В случае размочаливания головы сваи поврежденную верхушку сваи срезают, насаживают снова бугель, и процесс забивки продолжается.
ТЕХНИЧЕСКИЕ ХАРАКТЕРИСТИКИ ОБОРУДОВАНИЯ
ДЛЯ ПОГРУЖЕНИЯ СВАЙ И СТАЛЬНОГО ШПУНТА
Таблица 1
Технические характеристики вибропогружателей
для погружения свай и свай-оболочек
─────────────┬───────────┬────────────┬───────────┬───────────┬────────────
Марка вибро- │Номинальная│Статический │ Частота │Вынужденная│Масса вибро-
погружателя │мощность │момент массы│ вращения │ сила, кН │погружателя
│электро- │дебалансов │дебалансов │ │без
│двигателей │K , кг x см │n , об./мин│ │наголовника,
│N, кВт │ 0 │ в │ │кг
─────────────┼───────────┼────────────┼───────────┼───────────┼────────────
С-1003 │ - │ - │ - │ - │ -
(ВП-1)* │ 60 │ 9300 │ 420 │ 190 │ 4500
ВРП-15/60 │ 60 │0 - 15000 │ 300 - 500 │ 0 - 400 │ 5500
ВП-3М* │ 100 │ 23600 │ 408 │ 445 │ 7500
ВРП-30/120 │ 132 │0 - 30000 │ до 500 │ 0 - 960 │ 10200
ВУ-1,6* │ 2 x 90 │ 34500 │ 498 │ 950 │ 11000
ВПМ-170** │ 200 │ 51000 │ 475 - 550 │1250 - 1700│ 12500
ВРП-70/200 │ 200 │0 - 70000 │ до 500 │ 0 - 1700 │ 12500
ВУ-3** │ 2 x 200 │ 99400 │ 500 - 550 │2800 - 3400│ 27600
Примечания. 1. Индексом "*" обозначены вибропогружатели с постоянными параметрами, индексом "**" - со ступенчато изменяемыми параметрами.
2. Вибропогружатели ВУ-1,6 и ВУ-3 имеют проходное отверстие для извлечения грунта из полости оболочек.
3. Вибропогружатели марки ВРП обеспечивают бесступенчатое регулирование момента дебалансов и скорости их вращения в процессе погружения шпунта, сваи или сваи-оболочки в соответствии с проходимыми грунтами.
4. При необходимости погружения оболочек больших диаметров возможно применение спаренных вибропогружателей, смонтированных на общем переходнике.
Таблица 2
Технические характеристики вибропогружателей и вибромолотов
для погружения и извлечения стального шпунта
──────────┬────────┬───────────────────────────────────────────────────────
Ориентиро-│Марка │ Основные параметры
вочная │вибро- ├────────┬───────┬───────┬────────┬───────┬─────────────
глубина │погружа-│мощность│момент │частота│вынуж- │масса │максимальное
погружения│теля или│электро-│деба- │враще- │дающая │вибро- │усилие сжатия
или │вибро- │двигате-│лансов,│ния, │сила │машины,│пружин
извлече- │молота │ля, кВт │кг x см│об./мин│макси- │т │амортизатора
ния, м │ │ │ │ │мальная,│ │при виброиз-
│ │ │ │ │кН │ │влечении, кН
──────────┼────────┼────────┼───────┼───────┼────────┼───────┼─────────────
До 12 м │ВПП-2 │ 55 │ 1000 │ 1000, │ До 250 │ 2,2 │ 120
│(В401) │ │ │ 1500 │ │ │
│В401А │ │ │ │ │ │
│В401Б │ 45 │ 1100 │ 1300 │ 200 │ 2,2 │ 120
До 15 м │ВРП-3/44│ 2 x 30 │До 3000│До 970 │ До 310 │ 3 │ 200
До 15 м │МШ-2М │ 2 x 30 │ 910, │ 970 │94, 117 │ 4,1 │ 245
│ │ │ 1130 │ │ │ │
│В1-809 │ 2 x 17 │ 940 │ 1440 │ 213 │ 4,4 │ 196
До 20 м │ВШ-1 │ 2 x 30 │ 2500 │ 800, │ 400 │ 4 │ 230
│ │ │ │ 1000, │ │ │
│ │ │ │ 1200 │ │ │
│В1-633А │ 2 x 30 │ 3000 │ 970 │ 310 │ 6,75 │ -
Примечания. 1. Вибропогружатели и вибромолоты В401А, В401Б, ВРП-3/44 и МШ-2М имеют гидравлические наголовники.
2. Вибропогружатели В401Б и ВРП-3/44 снабжены системой динамического торможения электродвигателей.
3. Вибропогружатель ВШ-1 при необходимости настраивается на ударно-вибрационный режим с ударами вверх и вниз.
4. Вибромолоты МШ-2М и В1-809 предназначены, в основном, для извлечения.
5. Вибромолот В1-633А предназначен только для погружения.
ОПРЕДЕЛЕНИЕ ДИНАМИЧЕСКИХ НАПРЯЖЕНИЙ
В ЖЕЛЕЗОБЕТОННЫХ СВАЯХ ПРИ ЗАБИВКЕ
| | ИС МЕГАНОРМ: примечание. Взамен СНиП 3.02.01-83 Постановлением Госстроя СССР от 04.12.1987 N 280 с 1 июля 1988 года введены в действие СНиП 3.02.01-87. | |
Приведенное ниже решение разработано на основе волновой теории удара, впервые примененной Н.М. Герсевановым к решению задач, связанных с ударом молота о сваю. При составлении алгоритма был использован упрощенный метод Каншина - Плуталова - Смита. Сущность этого метода заключается в следующем. Свая делится на ряд жестких отрезков, соединенных друг с другом определенными связями, учитывающими деформационные характеристики материала сваи. Для каждого элемента условной системы, включающей ударную часть молота, шабот (для дизель-молота), наголовник и отрезки свай, составляется система уравнений, описывающая состояние этого элемента на весьма малом интервале времени t, в течение которого скорость движения элемента и действующие на элемент силы со стороны соседних элементов и внешней среды (грунта) принимаются постоянными. При последовательном цикличном решении для каждого элемента указанной системы уравнений можно определить усилия на границах элементов, а следовательно и напряжения в любой момент времени в период удара. При математическом описании характера сил, действующих на элементы условной системы, учтены все основные особенности реальной системы "молот - свая - грунт", а именно: влияние рабочего процесса в цилиндре дизель-молота, упруговязкая работа амортизаторов и упруговязкопластическое поведение грунта при динамических нагрузках. По составленным таким образом программам для ЭВМ было решено около 2 тыс. задач по определению напряжений в железобетонных сваях, в которых варьировались параметры свай, молотов и грунтовые условия. В результате статистической обработки результатов решений частных задач были получены упрощенные формулы для определения максимальных и растягивающих напряжений в сплошных железобетонных сваях с коэффициентом продольного армирования до 0,05 при условии соосного центрального удара в пределах допусков, приведенных в СНиП 3.02.01-83. Величины максимальных сжимающих напряжений в голове и максимальных растягивающих напряжений в стволе железобетонных свай, возникающие при ударе трубчатого дизель-молота или паровоздушного молота одиночного действия, определяются по формуле

, (1)
где

- сжимающие или растягивающие напряжения в свае, МПа;
K - коэффициент надежности, принимаемый для сжимающих напряжений K = 1,1, для растягивающих напряжений K = 1,3;

- коэффициент, зависящий от величины отношения массы ударной части молота к площади поперечного сечения (нетто) сваи Q/F, кг/см2;

- коэффициент, зависящий от расчетной высоты падения ударной части молота H;

- коэффициент, зависящий от жесткости амортизатора в нижней выемке наголовника;

- коэффициент, зависящий от длины сваи L и расчетного сопротивления грунта под ее концом R, определяемого в соответствии с указаниями главы
СНиП II-17-77.
Значения коэффициентов

,

,

,

принимаются соответственно: для трубчатых дизель-молотов - по
табл. 1 -
4; для паровоздушных молотов одиночного действия - по
табл. 5 -
8.
──────────────┬─────────┬─────────┬─────────┬──────────┬─────────┬─────────
Q/F, кг/см2 │ 0,8 │ 1 │ 1,2 │ 1,4 │ 1,6 │ 1,8
──────────────┼─────────┼─────────┼─────────┼──────────┼─────────┼─────────
K , МПа │ 13,1 │ 14,8 │ 16,1 │ 17,0 │ 17,8 │ 18,6
1 │ ---- │ ---- │ ---- │ ---- │ ---- │ ----
│ 7,3 │ 6,5 │ 5,8 │ 5,1 │ 4,5 │ 3,9
Продолжение табл. 1
──────────────┬─────────┬─────────┬─────────┬──────────┬─────────┬─────────
Q/F, кг/см2 │ 2 │ 2,2 │ 2,4 │ 2,6 │ 2,8 │ 3
──────────────┼─────────┼─────────┼─────────┼──────────┼─────────┼─────────
K , МПа │ 19,3 │ 19,9 │ 20,5 │ 21,0 │ 21,5 │ 22,0
1 │ ---- │ ---- │ ---- │ ---- │ ---- │ ----
│ 3,3 │ 2,8 │ 2,3 │ 1,9 │ 1,6 │ 1,3
──────────────────────────┬──────┬──────┬──────┬──────┬──────┬──────┬──────
Расчетная высота падения │ 150 │ 175 │ 200 │ 225 │ 250 │ 275 │ 300
ударной части молота H, см│ │ │ │ │ │ │
──────────────────────────┼──────┼──────┼──────┼──────┼──────┼──────┼──────
K │ 0,58 │ 0,76 │ 0,84 │ 0,92 │ 1,00 │ 1,08 │ 1,16
2 │ ---- │ ---- │ ---- │ ---- │ ---- │ ---- │ ----
│ 0,35 │ 0,45 │ 0,55 │ 0,75 │ 1,00 │ 1,25 │ 1,55
─────────────────────────────────┬─────┬─────┬─────┬─────┬─────┬─────┬─────
Жесткость амортизатора K , МПа/см│ 5 │ 10 │ 15 │ 20 │ 30 │ 40 │ 50
ж │ │ │ │ │ │ │
─────────────────────────────────┼─────┼─────┼─────┼─────┼─────┼─────┼─────
K │0,58 │0,78 │0,87 │0,94 │1,05 │1,14 │1,22
3 │---- │---- │---- │---- │---- │---- │----
│0,20 │0,40 │0,60 │0,80 │1,16 │1,36 │1,50
Продолжение табл. 3
─────────────────────────────────┬─────┬─────┬─────┬─────┬─────┬─────┬─────
Жесткость амортизатора K , МПа/см│ 60 │ 70 │ 80 │ 90 │ 100 │ 110 │ 120
ж │ │ │ │ │ │ │
─────────────────────────────────┼─────┼─────┼─────┼─────┼─────┼─────┼─────
K │1,29 │1,35 │1,41 │1,47 │1,52 │1,57 │1,62
3 │---- │---- │---- │---- │---- │---- │----
│1,60 │1,67 │1,72 │1,76 │1,80 │1,83 │1,85
───────────────┬───────────────────────────────────────────────────────────
Длина сваи L, м│ Коэффициент K при расчетном сопротивлении грунта
│ 4
│ под нижним концом сваи R, кПа
├───────┬───────┬───────┬───────┬──────┬──────┬──────┬──────
│ 11000 │ 8000 │ 6000 │ 5000 │ 2500 │ 1500 │ 1000 │ 500
───────────────┼───────┼───────┼───────┼───────┼──────┼──────┼──────┼──────
25 │ 1,03 │ 1,03 │ 1,02 │ 1,02 │ 1,01 │ 1,01 │ 1,00 │ 1,00
│ ---- │ ---- │ ---- │ ---- │ ---- │ ---- │ ---- │ ----
│ 0,44 │ 0,66 │ 0,88 │ 1,10 │ 1,37 │ 1,65 │ 1,93 │ 2,58
│ │ │ │ │ │ │ │
20 │ 1,02 │ 1,01 │ 1,01 │ 1,00 │ 1,00 │ 0,99 │ 0,98 │ 0,98
│ ---- │ ---- │ ---- │ ---- │ ---- │ ---- │ ---- │ ----
│ 0,40 │ 0,60 │ 0,80 │ 1,00 │ 1,25 │ 1,50 │ 1,75 │ 2,25
│ │ │ │ │ │ │ │
16 │ 1,01 │ 1,00 │ 1,00 │ 0,99 │ 0,98 │ 0,97 │ 0,96 │ 0,95
│ ---- │ ---- │ ---- │ ---- │ ---- │ ---- │ ---- │ ----
│ 0,35 │ 0,53 │ 0,70 │ 0,88 │ 1,10 │ 1,32 │ 1,54 │ 2,0
│ │ │ │ │ │ │ │
12 │ 0,99 │ 0,99 │ 0,98 │ 0,97 │ 0,96 │ 0,94 │ 0,92 │ 0,91
│ ---- │ ---- │ ---- │ ---- │ ---- │ ---- │ ---- │ ----
│ 0,30 │ 0,44 │ 0,59 │ 0,74 │ 0,93 │ 1,11 │ 1,29 │ 1,70
│ │ │ │ │ │ │ │
8 │ 0,98 │ 0,97 │ 0,96 │ 0,95 │ 0,93 │ 0,92 │ 0,88 │ 0,86
│ ---- │ ---- │ ---- │ ---- │ ---- │ ---- │ ---- │ ----
│ 0,20 │ 0,30 │ 0,40 │ 0,50 │ 0,63 │ 0,75 │ 0,88 │ 1,30
───────────────┬───────┬───────┬───────┬───────┬──────┬──────┬──────┬──────
Q/F, кг/см2 │ 1,5 │ 2,0 │ 2,5 │ 3,0 │ 3,5 │ 4,0 │ 4,5 │ 5,0
───────────────┼───────┼───────┼───────┼───────┼──────┼──────┼──────┼──────
K , МПа │ 14,0 │ 15,5 │ 16,5 │ 17,7 │ 18,5 │ 19,6 │ 20,3 │ 20,9
1 │ ---- │ ---- │ ---- │ ---- │ ---- │ ---- │ ---- │ ----
│ 8,2 │ 6,4 │ 4,8 │ 3,6 │ 2,8 │ 2,2 │ 1,8 │ 1,5
───────────────┴───────┴───────┴───────┴───────┴──────┴──────┴──────┴──────
───────────────────────────┬───────┬───────┬───────┬───────┬───────┬───────
Расчетная высота падения │ 20 │ 40 │ 60 │ 80 │ 100 │ 120
ударной части молота H, см │ │ │ │ │ │
───────────────────────────┼───────┼───────┼───────┼───────┼───────┼───────
K │ 0,50 │ 0,71 │ 0,87 │ 1,00 │ 1,12 │ 1,23
2 │ ---- │ ---- │ ---- │ ---- │ ---- │ ----
│ 0,47 │ 0,67 │ 0,84 │ 1,00 │ 1,14 │ 1,27
Таблица 7
─────────────────────────────────┬─────┬─────┬─────┬─────┬─────┬─────┬─────
Жесткость амортизатора K , МПа/см│ 5 │ 10 │ 15 │ 20 │ 30 │ 40 │ 50
ж │ │ │ │ │ │ │
─────────────────────────────────┼─────┼─────┼─────┼─────┼─────┼─────┼─────
K │0,65 │0,78 │0,87 │0,94 │1,05 │1,14 │1,2
3 │---- │---- │---- │---- │---- │---- │----
│0,20 │0,40 │0,60 │0,80 │1,21 │1,48 │1,65
Продолжение табл. 7
─────────────────────────────────┬─────┬─────┬─────┬─────┬─────┬─────┬─────
Жесткость амортизатора K , МПа/см│ 60 │ 70 │ 80 │ 90 │ 100 │ 110 │ 120
ж │ │ │ │ │ │ │
─────────────────────────────────┼─────┼─────┼─────┼─────┼─────┼─────┼─────
K │1,32 │1,40 │1,48 │1,56 │1,64 │1,72 │1,79
3 │---- │---- │---- │---- │---- │---- │----
│1,76 │1,84 │1,90 │1,95 │2,00 │2,04 │2,08
───────────────┬───────────────────────────────────────────────────────────
Длина сваи L , │ Коэффициент K при расчетном сопротивлении грунта
1 │ 4
м │ под нижним концом сваи R, кПа
├───────┬───────┬───────┬───────┬──────┬──────┬──────┬──────
│ 11000 │ 8000 │ 6000 │ 5000 │ 2500 │ 1500 │ 1000 │ 500
───────────────┼───────┼───────┼───────┼───────┼──────┼──────┼──────┼──────
25 │ 1,04 │ 1,03 │ 1,03 │ 1,02 │ 1,02 │ 1,01 │ 1,01 │ 1,01
│ ---- │ ---- │ ---- │ ---- │ ---- │ ---- │ ---- │ ----
│ 0,52 │ 0,78 │ 1,04 │ 1,30 │ 1,56 │ 1,82 │ 2,03 │ 2,40
│ │ │ │ │ │ │ │
20 │ 1,03 │ 1,02 │ 1,02 │ 1,01 │ 1,01 │ 1,01 │ 1,00 │ 1,00
│ ---- │ ---- │ ---- │ ---- │ ---- │ ---- │ ---- │ ----
│ 1,47 │ 0,70 │ 0,94 │ 1,17 │ 1,41 │ 1,64 │ 1,87 │ 2,20
│ │ │ │ │ │ │ │
16 │ 1,02 │ 1,02 │ 1,02 │ 1,01 │ 1,01 │ 1,01 │ 1,00 │ 1,00
│ ---- │ ---- │ ---- │ ---- │ ---- │ ---- │ ---- │ ----
│ 0,40 │ 0,60 │ 0,94 │ 1,17 │ 1,41 │ 1,64 │ 1,87 │ 2,20
│ │ │ │ │ │ │ │
12 │ 1,00 │ 0,99 │ 0,98 │ 0,97 │ 0,97 │ 0,97 │ 0,96 │ 0,96
│ ---- │ ---- │ ---- │ ---- │ ---- │ ---- │ ---- │ ----
│ 0,30 │ 0,44 │ 0,59 │ 0,74 │ 0,89 │ 1,03 │ 1,18 │ 1,50
│ │ │ │ │ │ │ │
8 │ 0,96 │ 0,95 │ 0,94 │ 0,93 │ 0,93 │ 0,93 │ 0,92 │ 0,92
│ ---- │ ---- │ ---- │ ---- │ ---- │ ---- │ ---- │ ----
│ 0,16 │ 0,24 │ 0,32 │ 0,40 │ 0,48 │ 0,56 │ 0,64 │ 0,90
Примечания. 1. Для определения максимальных сжимающих напряжений в железобетонных сваях при забивке штанговым дизель-молотом по
формуле (1) значение коэффициента надежности принимается равным 1; значения коэффициентов

,

,

,

принимаются, так же как и для трубчатого дизель-молота, по
табл. 1 -
4.
2. В
табл. 5 -
8 приведены значения коэффициентов: над чертой относятся к сжатию; под чертой - к растяжению.
3. Для промежуточных значений вводных параметров в
табл. 1 -
8 значения коэффициентов

,

,

,

определяют интерполяцией по соответствующим таблицам.
4. Потери энергии в конструкции молота приняты равными: 15% - для трубчатых дизель-молотов и 10% - для паровоздушных молотов одиночного действия. При вышеуказанных значениях потерь энергии в молотах расчетная высота ударной части молота, указанная в
табл. 2 и
6, совпадает с фактической высотой падения.
При других значениях потерь энергии в молоте расчетная высота падения ударной части молота определяется по формуле

, (2)
где H,

- расчетная и фактическая высоты падения ударной части молота, см;

- коэффициент фактических потерь энергии в молоте, практически он колеблется в пределах: для трубчатых дизель-молотов -

, для паровоздушных молотов -

;
m - коэффициент расчетных потерь энергии в молоте (в расчетах), принят равным: для трубчатых дизель-молотов - m = 0,85; для паровоздушных молотов m = 0,90.
5. Жесткость амортизатора

в МПа/см определяется по формуле

, (3)
где

- расчетный модуль упругости амортизационного материала, МПа. Принимается по
табл. 9 в зависимости от задаваемых максимальных сжимающих напряжений

в свае. Если значение

, найденное по
формуле (1), отличается от принятого значения

более чем на 10%, необходимо принять

и повторить расчет;

- коэффициент уплотнения амортизационного материала, принимается по табл. 9;

- начальная толщина амортизационного материала в наголовнике до уплотнения, см.
────┬────────────────────────┬───────────┬─────────────────────────────────
N │Амортизационный материал│Коэффициент│ Расчетный модуль упругости E ,
п.п.│ │уплотнения,│ н
│ │ K │ МПа, при уровне максимальных
│ │ уп │сжимающих напряжений сигма, МПа,
│ │ │ равном
│ │ ├──────┬──────┬──────┬──────┬─────
│ │ │ 5 │ 10 │ 15 │ 20 │ 25
────┼────────────────────────┼───────────┼──────┼──────┼──────┼──────┼─────
1 │Сосна с любым │ 0,40 │ 90 │ 170 │ 250 │ 320 │ 360
│расположением волокон │ │ │ │ │ │
│относительно направления│ │ │ │ │ │
│сжатия │ │ │ │ │ │
2 │Дуб с волокнами, │ 0,60 │ 260 │ 340 │ 410 │ 460 │ 480
│перпендикулярными к │ │ │ │ │ │
│направлению сжатия │ │ │ │ │ │
3 │Фанера березовая │ 0,70 │ 280 │ 380 │ 410 │ 460 │ 480
4 │Войлок технический │ 0,40 │ 80 │ 200 │ 300 │ 380 │ 400
│грубошерстный │ │ │ │ │ │
ИС МЕГАНОРМ: примечание.
Взамен ГОСТ 483-75 Постановлением Госстандарта РФ от 02.06.1994 N 159
5 │Пеньковый бельный канат │ 0,45 │ 210 │ 370 │ 510 │ 640 │ 690
│(ГОСТ 483-75 с изм.) │ │ │ │ │ │
6 │Асбест шнуровой │ 0,30 │ 160 │ 270 │ 380 │ 500 │ 550
Жесткость амортизатора, состоящего из нескольких разнородных слоев материала, определяется с помощью формулы

, (4)
где

- суммарная жесткость всего амортизатора;

- жесткость каждого отдельного слоя, определяемая по
формуле (3).
6. В необходимых случаях
формулу (1) можно использовать для решения обратных задач.
Пример расчета. Железобетонная свая с поперечным сечением 40 x 40 см, длиной 16 м забивается молотом УР-1-3500 в тугопластичные глинистые грунты

на глубину 15 м.
Амортизатор в наголовнике выполнен из досок с волокнами поперек направления удара. Общая толщина амортизатора до уплотнения составляет 20 см. Допускаемое число ударов до смены амортизатора не более 1000. Определить максимальные сжимающие напряжения в голове сваи и максимальные растягивающие напряжения в стволе сваи в начале забивки при высоте падения ударной части молота равной 170 см; определить максимальные сжимающие напряжения в голове сваи в конце погружения при высоте падения ударной части молота, равной 220 см. Масса ударной части молота 3500 кг. Общая масса молота 7200 кг, масса наголовника - 500 кг, конструктивные потери энергии в молоте составляют 15%.
1. Определяем необходимые для расчета величины:
а) Q/F = 3500/40 x 40 = 2,2 кг/см2;
б) в начале забивки сваи сопротивление грунта под острием равно суммарному весу молота, наголовника и сваи, деленному на площадь поперечного сечения сваи:

;
в) в конце забивки сопротивление грунта под острием сваи, согласно
табл. 1 главы СНиП II-17-77, равно

.
2. Определяем максимальные сжимающие напряжения в голове сваи в начале забивки:
а) определяем при Q/F = 2,2 кг/см2 по
табл. 1 настоящего Пособия коэффициент

;
б) определяем при H = 170 см по
табл. 2 коэффициент

;
в) определяем по
формуле (3) жесткость амортизатора наголовника, предполагая, что максимальные сжимающие напряжения

:

;
г) определяем по
табл. 3 величину коэффициента

. Принимаем

;
д) определяем по
табл. 4 коэффициент

;
е) определяем предварительную величину сжимающих напряжений в голове сваи по
формуле (1):

.
Полученная величина максимальных сжимающих напряжений незначительно отличается от ранее предположенной в п. "в" величины

, поэтому окончательно принимаем максимальное напряжение в голове сваи в начале забивки равным

.
3. Определяем максимальные растягивающие напряжения в свае в начале забивки:
а) определяем по
табл. 1 величину коэффициента

при Q/F = 2,2;

;
б) определяем при H = 170 см по
табл. 2 коэффициент

;
в) определяем по
табл. 9 величину модуля упругости амортизатора: при

;

;
д) определяем по
табл. 3 величину коэффициента

;

;
е) определяем по
табл. 4 при L = 16 м и

величину коэффициента

;

;
ж) по
формуле (1) находим максимальные растягивающие напряжения в свае в начале забивки

.
4. Определяем максимальные сжимающие напряжения в голове сваи в конце погружения:
а) значение

определялось ранее в
п. 1 и равно

;
б) определяем по
формуле (3) жесткость амортизатора наголовника, предполагая, что максимальные сжимающие напряжения в голове сваи в конце забивки


;
в) определяем по
табл. 3 величину коэффициента

:
при

по интерполяции находим

;
г) определяем по
табл. 2 величину коэффициента

:
при H = 220 см;

;
д) определяем по
табл. 4 при L = 16 и

величину коэффициента

;
е) определяем предварительную величину сжимающих напряжений в голове сваи:

;
ж) для уточнения значения

определяем новое значение

при


;
з) определяем по
табл. 3 коэффициент

: при

находим

;
и) определяем уточненную величину максимальных сжимающих напряжений в голове сваи:

.
ПОВРЕЖДЕНИЯ ЖЕЛЕЗОБЕТОННЫХ СВАЙ ПРИ ЗАБИВКЕ
При забивке железобетонных свай, отвечающих требованиям существующих норм на их изготовление, возможны следующие основные виды повреждений, связанные с нарушением технологии забивки:
местные растрескивания и околы в голове сваи;
продольные трещины, могущие возникнуть в любом месте по стволу сваи, но чаще всего в голове сваи;
поперечные трещины, возникающие обычно в средней и верхней третях сваи;
поперечные трещины, переходящие в наклонные под углом 45°, возникающие чаще всего в надземной части сваи.
Причиной разрушения первого вида является большая концентрация местных напряжений в голове сваи, вызванная нецентральностью удара молота или неудовлетворительным состоянием амортизаторов наголовника.
Поэтому в процессе производства свайных работ необходимо постоянно контролировать соосность положения молота, наголовника и сваи; состояние скользящих поверхностей и величину зазоров в направляющих пазах и гребнях молота, наголовника и копровой стрелы; общее состояние верхнего и нижнего амортизаторов наголовника, особенно перпендикулярность верхней плоскости верхнего амортизатора оси сваи и однородность и равномерность распределения прокладочного материала в нижнем амортизаторе.
Появление продольных трещин в железобетонных сваях связано с общим превышением действующих сжимающих напряжений при повторяющихся динамических нагрузках. Разрушения такого рода наиболее вероятны от чрезмерных для данных условий высоты падения ударной части молота или жесткости амортизатора. Другой причиной появления продольных трещин может явиться встреча нижнего конца свай с плотным и жестким грунтовым слоем или каким-либо препятствием. При этом формируется отраженная волна сжатия, которая накладывается на приемную волну сжатия и значительно повышает уровень сжимающих напряжений в свае. Для снижения величин напряжений в прямой и отраженной волнах сжатия необходимо уменьшить высоту падения ударной части молота или заменить нижний амортизатор наголовника более упругим (или новым при чрезмерном уплотнении или подгорании старого), причем уменьшение жесткости амортизатора более предпочтительно, так как мало снижает погружающую способность (отказ) одиночного удара молота. Максимальные сжимающие напряжения в сваях при забивке определяются согласно методике, приведенной в
Прил. 40.
При чрезмерном снижении отказа свай в результате указанных мер (менее 0,2 см) и необходимости достижения сваями проектной отметки следует переходить на более тяжелый молот или применять средства для снижения сопротивления грунта (подмыв, лидерное бурение и т.п.). Одной из причин появления поперечных трещин в железобетонных сваях является изгиб ствола сваи, возникающий из-за отклонения ее острия от первоначального направления при встрече с препятствием или из-за изменения положения копровой стрелы и ее качаний. Изменение первоначального положения копровой стрелы и ее раскачка при производстве работ возможны в результате неравномерной осадки копровой установки на слабом основании от сотрясений грунта; при работе на воде в результате действия ветра и волн, поднимаемых проходящими судами, и вследствие общего смещения всей копровой установки при слабых якорях; а также от передачи усилия на копровую стрелу при работе лебедки механического молота или при подъеме ударной части дизель-молота при его пуске.
Наличие изгиба, связанного с отклонением сваи или копровой установки от первоначального положения, обычно легко обнаруживается по отходу головы сваи в сторону после снятия с нее молота с подвешенным к нему наголовником. Другой причиной появления поперечных трещин являются волны растяжения, которые могут возникнуть в свае в начале забивки, а также при нахождении ее нижнего конца в зоне слабых грунтов, при забивке с применением подмыва или лидерного бурения.
Свидетельством слабого сопротивления грунта является большой отказ сваи, поэтому в случаях, когда поперечные трещины не допускаются, необходимо ограничивать максимальный отказ во время погружения железобетонных свай следующими величинами для свай длиной: до 10 м - 5 - 6 см; 10 - 15 м - 4 - 5 см; 15 - 20 м - 3 - 4 см; св. 20 м - 2 - 3 см.
При отказах более указанных следует уменьшить высоту падения ударной части молота. При этом разрешается ограничивать снижение высоты падения для паровоздушных молотов до 0,3 - 0,4 м, а для штанговых и трубчатых дизель-молотов - до 1,5 м вне зависимости от величины последующих отказов. Другой мерой снижения растягивающих напряжений в свае при забивке является применение менее жестких амортизаторов в наголовнике.
Максимальные растягивающие напряжения в сваях при забивке определяются согласно методике, приведенной в настоящем приложении.
Наклонные трещины (обычно под углом, близким к 45°) в железобетонных сваях появляются в результате действия скручивающих усилий, возникающих при некоторых обстоятельствах из-за препятствия, создаваемого наголовником свободному повороту сваи вокруг своей оси, или совместного действия скручивающих усилий и растягивающих напряжений. Крутящий момент возникает в результате попадания одной из граней сваи на твердое препятствие или вследствие непараллельности направляющих и усугубляется чрезмерной плотностью насадки наголовника на голову сваи. Признаком действия крутящего момента являются поворот головы сваи после подъема наголовника и наличие следов трения от углов головы сваи на внутренней стороне выемки наголовника. При обнаружении поворота сваи необходимо развернуть копровую стрелу или всю копровую установку вокруг сваи; при забивке свай трубчатым дизель-молотом в наголовнике без хвостовика достаточно отсоединить подвеску наголовника к молоту. При частных случаях повреждений такого рода рекомендуется применять наголовники специальной конструкции, не препятствующие свободному повороту сваи вокруг своей оси, или сваи с круглым поперечным сечением головы.
При погружении предварительно напряженных призматических свай ударным способом значительно чаще, чем при погружении ненапряженных, имеют место случаи образования в головной части свай продольных трещин, которые в дальнейшем способствуют разрушению здесь бетона.
Кроме известных причин разрушения свай из обычного железобетона при их забивке, разрушению бетона преднапряженных свай способствуют начальные сжимающие напряжения, возникающие при обжатии бетона растягиваемой арматурой при изготовлении свай.
При забивке преднапряженных свай динамические напряжения в бетоне головной части, составляющие около 70% от общей величины, суммируются с напряжениями от обжатия бетона арматурой (около 30%), в результате чего общие напряжения, как правило, достигают или даже превышают предельные величины и происходит разрушение бетона.
ПНЕВМОИНЪЕКТОР И УСТРОЙСТВО
ДЛЯ НЕПРЕРЫВНОЙ ВОЗДУХОПОДАЧИ (УНВ)
1. Пневмоинъектор (рис. 1) включает две трубы: наружную и внутреннюю, соединенные в нижней части наконечником, который имеет отверстие для выпуска воздуха и сопла для воды. В верхней части трубы гибкими шлангами соединяются соответственно с воздушным компрессором и водяным насосом.
Рис. 1. Схема вибропогружения сваи-оболочки
с применением пневмоинъектора
1 - крюк плавкрана; 2 - строп к крюку плавкрана;
3 - гибкий шланг к водяному насосу; 4 - гибкий шланг
к воздушному компрессору; 5 - вибропогружатель;
6 - свая-оболочка; 7 - воздуховод; 8 - подмывная
труба; 9 - соединительный наконечник с соплами;
10 - отверстия для выхода воздуха; 11 - сопла для воды
Погружение свай-оболочек с применением пневмоинъектора производится следующим образом. На свае-оболочке устанавливается и закрепляется вибропогружатель с проходным отверстием. Пневмоинъектор, подвешенный стропом к крюку плавкрана, через отверстие в вибропогружателе заводится в полость сваи-оболочки.
При одновременной подаче воды и воздуха наконечник погружается в грунт. При погружении сваи-оболочки наконечник должен постоянно находиться выше на расстоянии, равном 2 - 2,5 диаметрам сваи-оболочки.
Для обеспечения необходимой несущей способности сваи-оболочки при работе на вертикальные нагрузки на последней стадии погружения, когда свая-оболочка еще не дошла до проектного положения на расстояние, равное ее 2 диаметрам, подача воды прекращается. Подача воздуха не прекращается до окончания погружения и извлечения пневмоинъектора из полости сваи-оболочки.
Определение условий необходимости применения пневмоинъектора и его параметров производится в соответствии с Руководством по обеспечению трещиностойкости железобетонных свай-оболочек в период их погружения и эксплуатации.
2. Устройство непрерывной воздухоподачи (УНВ) (рис. 2) представляет собой систему воздухоподающих трубок, размещенных в стенках сваи-оболочки. На расстоянии 2,5D от ножа воздухоподводящая трубка изгибается и располагается параллельно спиральной арматуре на длину несколько больше 0,5 длины окружности.
Рис. 2. Схема вибропогружения сваи-оболочки
с устройством воздухоподачи
1 - воздухопроводящая трубка; 2 - гибкий шланг
к компрессору; 3 - вибропогружатель; 4 - гак плавкрана;
5 - свая-оболочка; 6 - коллектор с отверстиями для воздуха;
7 - муфта; 8 - трубка-вставка; 9 - заглушка; 10 - клапан;
11 - резиноманжет; 12 - отверстие; 13 - прорези;
14 - скрутки из вязальной проволоки
Торец воздухоподводящей трубки заглушен деревянной пробкой, закрепленной проволочной скруткой. Для выпуска воздуха устраиваются клапаны, расположенные диаметрально противоположно по отношению к свае-оболочке. Клапан представляет собой следующее: в полиэтиленовой воздухоподводящей трубке прорезаются клиновидные щели не более чем 0,5 диаметра трубки. Затем трубки в этих местах обертываются резиновой манжетой так, чтобы нахлестка была с противоположной от отверстия стороны, и закрепляются проволочными скрутками. Для выхода воздуха в манжете делаются прорези на половину диаметра.
При стыковании звеньев сваи-оболочки после сварки стыковых фланцев выводятся концы трубок длиной 150 - 200 мм, выходящие из одного и другого звена через круглые прорези в наружных кольцах стыкового фланца. Концы трубок соединяются по кратчайшему расстоянию отрезком трубы. На стыки надевают втулки из термоусаживающегося полиэтилена длиной 100 мм и нагревают. Места соединения трубок защищаются стальными накладками на сварке.
3. В процессе погружения свай-оболочек и проведения мероприятий, обеспечивающих их сохранность, следует организовать систематическое наблюдение за погружением с регистрацией всех условий и параметров погружения в соответствии с формой журнала (см.
Прил. 47,
48).
Каждая погруженная свая-оболочка подлежит водолазному обследованию, которое оформляется актом с приложением к нему схемы сваи-оболочки, с нанесенными на ней обнаруженными повреждениями с указанием их расположения и размеров.
Примечание. Вопрос о замене или ремонте поврежденной сваи-оболочки решается строительной организацией совместно с заказчиком или проектной организацией.
4. Температурные напряжения в зоне переменного уровня воды и надводной зоне свай-оболочек, являющиеся следствием климатических изменений температуры воздуха и воды, колебаний уровня воды, тепловыделения бетона, уложенного в полость свай-оболочек в узлах омоноличивания, и других температурных воздействий, могут быть причиной появления трещин.
Способы и устройства, обеспечивающие трещиностойкость свай-оболочек в период их эксплуатации, назначаются в соответствии с табл. 1 на основании технико-экономического расчета с учетом конкретных гидрометеорологических условий эксплуатации сооружения.
Таблица 1
────────────────────────────────────────────────────┬──────────────────────
Технические решения, направленные │ Условия службы
на обеспечение трещиностойкости свай-оболочек │ сооружений
при эксплуатации сооружений ├───────┬───────┬──────
│тяжелые│средние│легкие
────────────────────────────────────────────────────┼───────┼───────┼──────
Сваи-оболочки с верхним стальным звеном │ + │ x │ x
Капители из монолитного железобетона │ - │ + │ x
Теплоизоляционный экран │ + │ x │ x
Контактная теплогидроизоляция │ + │ + │ x
Амортизирующий слой в узлах омоноличивания │ - │ + │ x
Рекомендации по конструкции и технологии выполнения │ + │ + │ +
омоноличивающих железобетонных пробок <*> │ │ │
--------------------------------
<*> Осуществляются для сооружений в тяжелых условиях службы в комплексе с рекомендуемыми конструкциями, решениями.
Примечание. Знак "+" означает рекомендуемую область применения решения; знак "-" - применять решение не рекомендуется; знак "x" - рекомендуется применять решение, более экономичное в данных условиях.
5. В период эксплуатации сооружений на сваях-оболочках участки их в зоне переменного уровня воды и надводной зоне являются наиболее уязвимыми с точки зрения образования в них трещин. (Составлено по материалам ЛО Гипрорыбпрома).
Конструктивным мероприятием, исключающим образование трещин в сваях-оболочках, является замена железобетонного звена металлическим в зоне переменного уровня воды и надводной зоне.
В качестве верхнего звена комбинированной сваи-оболочки используют стальную трубу с толщиной стенки 10 - 12 мм и наружным диаметром, близким к наружному диаметру железобетонной сваи-оболочки (рис. 3).
Рис. 3. Свая-оболочка со стальным
верхним звеном, бетонируемым "насухо"
1 - песок заполнения; 2 - бетон; 3 - сборная
капитель; 4 - верхнее строение; 5 - стальная
труба; 6 - армированный каркас; 7 - свая-оболочка
Длина стального звена определяется проектом при условии, что отметка низа его должна быть на 0,5 - 0,7 м ниже расчетного низкого уровня воды.
Примечание. В сложных геологических условиях основания, когда свая-оболочка нижним концом должна войти в плотные грунты, отметка кровли которых по площади не постоянная, следует длину стального звена увеличить для возможности компенсации разности в отметках кровли.
К торцу стальной трубы в месте стыковки с железобетонным звеном сваи-оболочки приваривается фланец.
Соединение стального звена сваи-оболочки с железобетонным производится перед погружением и осуществляется с помощью ручной электродуговой сварки фланцев электродами Э-42.
После погружения комбинированной сваи-оболочки производится откачка воды и бетонирование полости. Укладка бетона с вибрированием производится на подвесной герметичный поддон.
Отметка низа бетонного заполнения должна быть на 0,5 м ниже отметки стыкового соединения стального и железобетонного звеньев.
Марка бетона заполнения определяется проектом.
Укладка бетона заполнения определяется проектом.
Укладка бетона в стальное звено должна осуществляться при положительной температуре. Замерзание бетона заполнения допускается по достижении им не менее 70% проектной прочности.
При применении комбинированных свай-оболочек необходимо предусмотреть мероприятия по защите стальных звеньев от коррозии в соответствии с Руководством по антикоррозионной защите металлоконструкций морских гидротехнических сооружений лакокрасочными покрытиями (РМС 42-75, СМНИИП).
6. Для сооружений на сваях-оболочках в бассейнах, где агрессивность среды очень высока, могут быть использованы сваи-оболочки с монолитной капителью (рис. 4) (Составлено по материалам ЛО Фундаментпроекта).
Рис. 4. Свая-оболочка с монолитной железобетонной капителью
1 - армированный каркас; 2 - песок заполнения; 3 - верхнее
строение; 4 - монолитная капитель; 5 - свая-оболочка
Отметка низа монолитной капители должна быть на 0,7 м ниже расчетного низкого уровня воды.
Свая-оболочка заделывается в капитель на высоту, равную 0,5 диаметра сваи.
Для выполнения монолитной капители на погруженную сваю-оболочку устанавливают деревянную или железобетонную опалубку с герметичным уплотнением.
После откачки воды производят срубку голов свай-оболочек под одну отметку.
Производят установку арматурного каркаса с приваркой его стержней к арматуре сваи-оболочки и бетонирование "насухо" капители с вибрированием. Отметка низа бетонной пробки должна быть на 0,5 м ниже низа капители.
Марка бетона капители определяется проектом.
Замерзание бетона монолитной капители допускается по достижении им не менее 70% проектной прочности.
7. В зависимости от типа гидротехнических сооружений теплоизоляция их в зоне переменного уровня воды осуществляется путем устройства теплоизоляционного экрана с одной или нескольких сторон сооружения на некотором расстоянии от свай-оболочек.
Теплоизоляция выполняется в виде монолитного экрана путем заливки в опалубку горячей битумно-минеральной смеси (БМС) или путем установки в опалубку готовых плит из битумно-минеральной смеси. В обоих случаях по окончании работ опалубка должна быть оставлена на месте в качестве поддерживающего устройства.
Конструкция и толщина защитного экрана находятся в зависимости от вида сооружения и агрессивности среды и указываются в проекте сооружения. Состав и технология приготовления битумно-минеральной смеси приведены в Указаниях по обеспечению долговечности бетонных и железобетонных конструкций морских гидротехнических сооружений (ВСН 6/118-74, Минтрансстрой, Минморфлот).
8. При контактной защите свай-оболочек должно быть обеспечено плотное примыкание теплогидроизоляции к поверхности свай-оболочек.
Теплогидроизоляционное контактное покрытие (пояс) должно состоять из слоя битумно-минеральной смеси (БМС), поддерживаемого в пределах защищаемого участка сваи-оболочки металлической или деревянной опалубкой. Конструкция и толщина защитного пояса находятся в зависимости от вида сооружения и агрессивности среды и указываются в проекте сооружения.
Теплогидроизоляционная защита железобетонных свай-оболочек в металлической опалубке приведена на
рис. 5. Металлический сварной кожух навешивают на оболочку за подвески при помощи подъемного крана. Эта конструкция предназначена для защиты железобетонных оболочек в процессе строительства сооружения как с заливкой битумно-минеральной смеси за металлическую опалубку на месте установки, так и готовыми кожухами, заполненными смесью на полигоне. Возможны варианты конструкции кожухов с одним продольным разъемом или вообще безразъемной (неразрезных). На рис. 5 приведена конструкция с одним разъемом.
Рис. 5. Теплогидроизоляционная защита
из битумно-минеральной смеси (БМС)
железобетонных свай-оболочек
1 - стенка кожуха; 2 - БМС; 3 - свая-оболочка; 4 - стальной
уголок; 5 - стяжные болты; 6 - верхнее строение;
7 - бетономоноличивание; 8 - железобетонный диск толщиной
6 см; 9 - ребро жесткости; 10 - фиксирующая планка;
11 - днище кожуха; 12 - подвеска кожуха диаметром 16 мм
Снаружи металлический кожух обязательно следует покрыть антикоррозионной краской.
В случае отсутствия листового металла возможно изготовление защиты в деревянной разъемной опалубке.
Состав и технология приготовления битумно-минеральной смеси приведены в Указаниях по обеспечению долговечности бетонных и железобетонных конструкций морских гидротехнических сооружений (ВСН 6/118-74, Минтрансстрой, Минморфлот).
9. Для предотвращения трещинообразования в надводной части свай-оболочек при их эксплуатации в районах со средними условиями службы рекомендуется для защиты отдельных свай-оболочек специальная конструкция узла омоноличивания с включением в него амортизирующего слоя. Он воспринимает опасные деформации бетонной пробки и сваи-оболочки во время температурных колебаний.
Амортизирующий слой располагается в кольцевой полости бетонного заполнения пробки и соприкасается с внутренней поверхностью оболочки в пределах наиболее опасной зоны (переменный уровень воды), опускаясь на 20 см ниже отметки уровня воды с обеспеченностью не менее 98%.
Амортизирующий слой обладает большой пластичностью, поэтому горизонтальные усилия от ростверка на сваю передаются через специальную железобетонную пробку, имеющую форму "катушки", жестко связанную с оболочкой выше и ниже амортизирующего слоя. Величина армирования, размеры и марка бетона "катушки" задаются в проекте.
Амортизирующий слой изготовляется из материалов, обладающих, по сравнению с бетоном, повышенными деформативными способностями и коэффициентом температурного расширения. К таким материалам относятся: битумно-минеральная смесь, некоторые виды резины и пластмасс, другие термопластичные материалы.
В качестве проверенного в производственных условиях материала для амортизирующего слоя рекомендуется применять битумно-минеральные смеси (БМС) с легкими или искусственными заполнителями (шлак, керамзитовый гравий, шунгизит и др.) на нефтяном битуме в качестве вяжущего.
Амортизирующий слой образуется путем заливки горячей битумно-минеральной смеси в пространство между оболочкой и временной металлической опалубкой (кондуктором). После полного остывания смеси кондуктор удаляется, а амортизирующий слой, сохраняя цилиндрическую форму, остается на внутренней стороне сваи-оболочки (рис. 6). Толщина амортизирующего слоя составляет в среднем 8 см.
Рис. 6. Схема устройства
амортизирующего слоя на свае-оболочке
1 - сборная капитель; 2 - железобетонная пробка;
3 - свая-оболочка; 4 - амортизирующий слой
Временная опалубка (кондуктор) изготовляется из стального листа толщиной 2 - 3 мм на сварке в виде жесткого полого усеченного конуса с конусностью книзу 1 - 1,3%. Перед установкой в оболочку кондуктор необходимо обильно смазать техническим вазелином и обернуть слоем толя, рубероида или двумя слоями пергамина.
Конусность кондуктора и смазка его поверхности позволяет без особых усилий извлекать кондуктор из оболочки после остывания битумно-минеральной смеси.
Состав и технология приготовления битумно-минеральной смеси амортизирующего слоя приведены в Указаниях по обеспечению долговечности бетонных и железобетонных конструкций морских гидротехнических сооружений (ВСН 6/118-74, Минтрансстрой, Минморфлот).
Изготовление узла омоноличивания, с включенным в него амортизирующим слоем, состоит из следующих последовательных операций:
установка арматурного каркаса до отметки, указанной в проекте;
бетонирование нижней части железобетонной пробки до отметки, указанной в проекте, в случае необходимости с предварительной откачкой воды из оболочки для обеспечения укладки бетона насухо;
смазка, обертывание толем или рубероидом кондуктора и установка его внутрь оболочки на сухое бетонное основание расширенной частью кверху с тщательным центрированием и закреплением деревянными клиньями;
приготовление и заливка битумно-минеральной смеси в зазор между оболочкой и кондуктором;
остывание смеси до температуры наружного воздуха и извлечение кондуктора при помощи подъемного крана;
окончательное бетонирование после извлечения кондуктора.
Для заливки горячей битумно-минеральной смеси следует использовать металлическую воронку, исключающую пролив смеси.
Попадание смеси на бетонную пробку вне амортизирующего слоя не допускается.
Изготовление амортизирующего слоя следует производить при положительной температуре воздуха. При этом не допускается попадание влаги внутрь оболочки и в битумно-минеральную смесь.
Изготовление амортизирующего слоя допускается на оболочках, погруженных до проектной отметки и с подготовленной для бетонирования головной частью.
10. Железобетонные омоноличивающие пробки в сваях-оболочках в зоне их заделки в верхнее строение рекомендуется устраивать с конической, пирамидальной или ступенчатой полостью внизу для обеспечения перехода от кольцевого к сплошному сечению на длине не менее 0,2 ее диаметра (Рекомендации составлены по материалам ЦНИИС).
Если омоноличивающая пробка в сваях-оболочках расположена в зоне переменного уровня воды (нижней границей зоны переменного уровня является нижняя поверхность льда при самом низком уровне воды в грунтовое ядро, оставляемое в полости свай-оболочек после погружения), то в каждой свае-оболочке в подводной зоне следует выполнить отверстие диаметром 10 - 15 см, а в узле омоноличивания - такого же диаметра канал, соединяющие полость свай-оболочек с внешней средой (водой или воздухом соответственно).
Отверстие может быть выполнено в стенке звена сваи-оболочки при его изготовлении и в стыке звеньев при стыковании. Необходимые конструктивные решения следует предусмотреть в проекте сооружения.
В случаях, когда соединение свай-оболочек с элементами верхнего строения осуществляется с использованием выпусков продольной арматуры, для образования которых требуется срубка бетона свай, в конструкции узла следует предусмотреть заделку верха свай в бетон омоноличивания.
Для срезки свай-оболочек под проектную отметку следует применять установку с алмазным режущим диском. Срубка свай-оболочек отбойными молотками допускается с обязательной постановкой наружных стальных бандажей.
Примечание. Если в полости верхних звеньев свай-оболочек имеются наплывы-сегменты шлама, образовавшиеся после центрифугирования, то их следует удалить до стыкования звеньев.
Для укладки в полость свай-оболочек следует применять гидротехнический бетон согласно ГОСТ 4795-68, Указаниям по обеспечению долговечности бетонных и железобетонных конструкций морских гидротехнических сооружений (ВСН 6/118-74, Минморфлот, Минтрансстрой) и настоящему Пособию.
Проектная марка бетона омоноличивания должна быть равна или на одну ступень ниже марки бетона сваи-оболочки.
Однородность бетона определяется согласно ГОСТ 18105.2-80 по результатам испытаний контрольных образцов, отобранных на месте укладки и хранившихся в условиях, аналогичных условиям твердения бетона в конструкции. Значение общего коэффициента вариации прочности бетона не должно превышать 20%.
Материалы для бетона должны удовлетворять
ГОСТ 10268-80,
СНиП III-15-76, Указаниям по обеспечению долговечности сооружений (ВСН 6/118-74, Минморфлот, Минтрансстрой) и Руководству по обеспечению трещиностойкости железобетонных свай-оболочек в период их погружения и эксплуатации.
| | ИС МЕГАНОРМ: примечание. Взамен ГОСТ 22266-76 Постановлением Минстроя РФ от 03.05.1995 N 18-40 с 1 января 1996 года введен в действие ГОСТ 22266-94. | |
| | ИС МЕГАНОРМ: примечание. Взамен ГОСТ 10178-76 Постановлением Госстроя СССР от 10.07.1985 N 116 с 1 января 1987 года введен в действие ГОСТ 10178-85. | |
Для приготовления бетона следует применять портландцемент по ГОСТ 10178-76 или сульфатостойкий портландцемент по ГОСТ 22266-76. Применение быстротвердеющего портландцемента не допускается.
Тепловыделение цемента должно быть не выше нормируемого.
Следует принимать минимально возможный расход цемента. Для бетона рекомендуется применять щебень той же горной породы, что и щебень, использованный при изготовлении звеньев свай-оболочек, или щебень соответствующих физико-механических характеристик.
Работы по подаче бетонной смеси в полость свай-оболочек, ее укладке и уплотнению следует осуществлять в соответствии со
СНиП III-15-76 и настоящим Пособием.
В зоне переменного уровня и надводной зоне свай-оболочек должна быть гарантирована укладка бетона заполнения "насухо". Перед укладкой бетона воду из полости свай-оболочек следует удалить до отметки, обеспечивающей выполнение этого требования. При наличии значительной фильтрации воды следует предварительно уложить на указанной отметке подводную бетонную пробку-тампон.
В случаях, когда полость свай-оболочек в подводной зоне заполняется бетоном одним из методов подводного бетонирования (ВПТ, БР), подводную укладку бетона следует прекратить на нижней границе зоны переменного уровня. Дальнейшее заполнение полости может быть продолжено только насухо.
При производстве работ в зимних условиях бетон, уложенный в полость свай-оболочек, следует выдержать при положительной температуре по способу термоса или в тепляках до приобретения им не менее 70% проектной прочности.
Установку теплоизоляции или устройство тепляков следует осуществлять при среднесуточной температуре воздуха ниже 5 °C. Эти работы должны быть выполнены до начала укладки бетона.
В случае выдерживания бетона по способу термоса его укладку допускается производить при среднесуточной температуре воздуха не ниже минус 10 °C. При среднесуточной температуре воздуха от 0 до минус 10 °C требуется прогрев полости свай-оболочек перед укладкой бетона. Прогрев следует производить теплым воздухом, температура которого не превышает 10 °C. Прогрев оболочек паром не допускается.
Для заблаговременной оценки внешних температурных условий производства работ следует использовать метеорологический прогноз и данные многолетних наблюдений гидрометеослужбы.
После погружения, но до начала работ по омоноличиванию свай-оболочек с верхним строением, следует произвести их осмотр. Данные о состоянии свай-оболочек после погружения заносятся в сводную ведомость погружения свай-оболочек.
Контроль качества бетона, укладываемого в полость свай-оболочек, осуществляется по
СНиП III-15-76. Условия производства работ и результаты контроля заносятся в журналы и отражаются в актах на приемку скрытых работ.
ОТКЛОНЕНИЯ ШПУНТА И СПОСОБЫ ИХ УСТРАНЕНИЯ
При погружении шпунта могут наблюдаться следующие отклонения от проектного положения:
а) отклонение шпунта от вертикали в плоскости створа (веерность);
б) отклонение шпунта от вертикали в направлении, перпендикулярном створу (уход из створа);
в) погружение шпунтины ниже проектной отметки вследствие увода ее смежной погружаемой шпунтиной;
г) недопогружение шпунтины до проектной отметки из-за отдельных препятствий, встречаемых шпунтиной в грунте, или чрезмерного трения в замках.
Отклонение шпунта от вертикали в плоскости створа (веерность) с наклоном вперед в сторону направления забивки стенки обычно происходит при забивке каждой шпунтины (или пакета) сразу на полную глубину и обусловлено действием на погружаемую шпунтину неуравновешенного момента от дополнительных сил трения в смежном замке, вызывающего увеличение и уменьшение зазоров соответственно в верхней и нижней частях замка по высоте стенки. Веерность возрастает по мере забивки последующих шпунтин (пакетов).
Для предотвращения веерности погружающий снаряд (молот, вибропогружатель) рекомендуется устанавливать со сдвижкой от центра тяжести погружаемой шпунтины (или пакета в сторону, противоположную отклонению на величину, равную примерно 10 - 20% от ширины шпунтины или пакета).
Необходимая величина смещения оси погружающего снаряда уточняется опытным путем.
Постепенное устранение веерности при небольших отклонениях достигается оттяжкой шпунтин в процессе погружения в направлении, противоположном отклонению, а при отклонении, превышающем допуски, и невозможности его выправления оттяжкой - погружением клиновидных шпунтин. Клинообразность или перекос (отношение разности ширины клиновидной шпунтины поверху и понизу к ее длине) не должно превышать 0,5%.
Отклонение шпунта от створа (уход из створа) обычно обусловливается следующими причинами: недостаточным надзором за вертикальным положением шпунта в его начальной стадии погружения, когда он имеет наибольшую свободную длину; недостаточной жесткостью направляющих устройств; появлением горизонтальной составляющей усилия, действующего на верхний конец шпунта со стороны несущего троса крана, поддерживающего через амортизатор вибропогружатель или подвесную направляющую молота при отклонении троса от вертикали наличием в грунте каких-либо препятствий.
Выправка наметившегося наклона шпунтовой стенки, если он не превышает допустимой величины, выполняется постепенно при погружении последующих шпунтин посредством отклонения в противоположную сторону несущего троса крана, поддерживающего вибропогружатель или подвесную направляющую молота, или усилием специальных оттяжек.
Если наклон шпунта превышает допустимый, его следует выдернуть и погрузить вновь. При невозможности извлечения шпунта вопрос о его выправлении решается по согласованию с проектной организацией.
Уход ранее погруженной шпунтины ниже проектной отметки при погружении соседней шпунтины объясняется чрезмерным сопротивлением в смежном замке. Для предотвращения этого явления шпунтины, погруженные до проектных отметок, следует объединять между собой с помощью сварки или временными накладками на болтах.
Уход шпунтины ниже проектной отметки исправляется ее наращиванием отрезком шпунта с соединением с помощью сварки с накладками.
Недопогружение шпунта до проектной отметки, вызванное возрастанием сопротивления в замке, рекомендуется устранять путем одно-, двухрядного подъема шпунтины на 0,5 - 0,8 м и последующего ее нового погружения. Если недопогружение вызвано встречей с препятствием, что характеризуется резким замедлением процесса погружения, следует прекратить погружение данной шпунтины и перейти к погружению соседних шпунтин, характер погружения которых может позволить установить причину и степень случайности данного явления. В случае, если погружение последующей шпунтины не встретило затруднений, следует вернуться к остановившейся шпунтине и попытаться допогрузить ее по двум соседним направляющим шпунтинам.
Если недопогружение шпунта устранить не удалось, вопрос о дальнейших мероприятиях решается совместно с проектной организацией.
При погружении железобетонного шпунта необходимо принимать меры, исключающие отклонение шпунта в плоскости стенки (веерные) и в плане.
В качестве одного из мероприятий, устраняющих эти отклонения, является погружение железобетонного шпунта ударным или вибрационным способом с использованием прижимной тележки (см. рисунок).
Погружение железобетонного шпунта
с использованием прижимной тележки
1 - прижимная тележка; 2 - погружаемая шпунтина;
3 - маячные сваи; 4 - направляющие; 5 - сжимы
Работа с тележкой производится следующим образом:
а) погружение шпунтин производится гребнем и скосом (в нижнем торце) вперед;
б) перед заведением сверху в направляющие очередной шпунтины прижимной трос ослабляется, и тележка отказывается на длину, несколько большую ширины шпунтины;
в) после заведения шпунтины в направляющие она на весу прижимается тележкой к предыдущей шпунтине и в таком положении опускается нижним торцом на грунт. Этим исключается возможность заклинивания грунта между погружаемой шпунтиной и предыдущей;
г) производится погружение установленной шпунтины, причем сила натяжения прижимного троса регулируется в зависимости от хода погружения (излишне сильное прижатие увеличивает сопротивление трения и замедляет погружение).
Наименование строительной организации _____________________________________
Объект ____________________________________________________________________
(с N _____ по N _____)
Начало _____________________________ Окончание ____________________________
Система копра (или направляющего оборудования) ____________________________
Тип молота ________________________________________________________________
Масса ударной части молота _____________________________________________ кг
Давление ______________________________________________________________ МПа
Тип и масса наголовника ________________________________________________ кг
Свая N ___________________________________________ (по плану свайного поля)
Дата забивки ______________________________________________________________
Марка сваи ________________________________________________________________
Абсолютная отметка поверхности грунта у сваи ______________________________
Абсолютная отметка нижнего конца сваи _____________________________________
Проектный отказ, см _____________________ при высоте падения ударной части,
см ________________________________________________________________________
────────┬──────────────┬────────┬───────────────┬───────────────┬──────────
N залога│Высота подъема│ Число │ Глубина │Отказ от одного│Примечание
│ударной части │ударов в│погружения сваи│ удара, см │
│ молота, см │ залоге │ от залога, см │ │
────────┴──────────────┴────────┴───────────────┴───────────────┴──────────
Исполнитель _____________________ Подпись __________________
(Ф.И.О.)
Наименование строительной организации _____________________________________
Объект ____________________________________________________________________
СВОДНАЯ ВЕДОМОСТЬ ЗАБИТЫХ СВАЙ
(с N 1 по N _____)
Начало ___________________________ Окончание ___________________________
────┬─────────┬────┬─────┬───────────┬──────┬──────┬───────────────┬───────
N │ N свай │Тип │Дата │ Глубина │ Тип │Общее │ Отказ от │Приме-
п.п.│ │сваи│ │ забивки │молота│коли- │ одного удара, │чание
│ │ │ │ свай, см │ │чество│ см │
├─────────┤ ├─────┼────┬──────┤ │ударов├───────┬───────┤
│по плану │ │смена│по │факти-│ │ │ при │ при │
│свайного │ │ │про-│ческая│ │ │забивке│добавке│
│ поля │ │ │екту│ │ │ │ │ │
────┴─────────┴────┴─────┴────┴──────┴──────┴──────┴───────┴───────┴───────
Исполнитель _______________________________ Подпись __________________
(Ф.И.О.)
Приложение. Исполнительная схема расположения свай с указанием их
отклонений в плане и по высоте.
Наименование строительной организации _____________________________________
Объект ____________________________________________________________________
ЖУРНАЛ ПОГРУЖЕНИЯ ШПУНТА
(с N _____ по N _____)
Начало ___________________________ Окончание ___________________________
Система копра (или крана и направляющего оборудования) ____________________
Тип молота (вибропогружателя) _____________________________________________
Масса ударной части молота ________________________________________________
Тип и масса наголовника ___________________________________________________
Материал и сортамент шпунта _______________________________________________
Длина шпунта ______________________________________________________________
Абсолютная отметка поверхности грунта _____________________________________
Абсолютная отметка уровня грунтовых вод ___________________________________
────┬───────┬──────┬───────────┬───────────┬───────┬───────┬─────────┬─────
N │ N │Дата, │Абсолютная │Абсолютная │Вели- │Глубина│Исполни- │При-
п.п.│шпунтин│смена │ отметка │ отметка │чина │погру- │тель │меча-
│ по │ │ верха │низа шпунта│срезки │жения │(Ф.И.О.),│ние
│ плану │ │ шпунта │ │(или │шпунта │ подпись │
│ │ ├────┬──────┼────┬──────┤нара- │(от │ │
│ │ │по │факти-│по │факти-│щива- │проект-│ │
│ │ │про-│ческая│про-│ческая│ния) │ного │ │
│ │ │екту│ │екту│ │шпун- │обреза)│ │
│ │ │ │ │ │ │тины, м│ │ │
│ │ │ │ │ │ │ │ │ │
│ │ │ │ │ │ │ │ │ │
────┴───────┴──────┴────┴──────┴────┴──────┴───────┴───────┴─────────┴─────
Наименование строительной организации _____________________________________
Объект ____________________________________________________________________
ЖУРНАЛ ВИБРОПОГРУЖЕНИЯ СВАЙ ИЛИ СВАЙ-ОБОЛОЧЕК
(с N _____ по N _____)
Начало ___________________________ Окончание ____________________________
Тип вибропогружателя _____________ Тип и масса наголовника ______________
Свая-оболочка или свая N ____
Наружный диаметр _________________ Абсолютная отметка поверхности грунта
Толщина стенки ___________________ у сваи или сваи-оболочки (или отметка
Длина ____________________________ дна акватории) _______________________
Количество и длина каждой секции Абсолютная отметка низа оболочки:
шт. ____________________________ м проектная ____________________________
Тип стыка секций _________________ фактическая __________________________
Способ извлечения грунта Высота грунтовой пробки в оболочке ___
из полости сваи или сваи-оболочки Способ защиты от гидравлического удара
__________________________________ ______________________________________
Скорость погружения при последнем
залоге _______________________________
Даты: начало погружения ______________
окончание погружения _________________
───────────────────────────────────────────────────────────────────────────────────────────────
Данные о работе вибропогружателя
─────┬────┬─────┬─────┬─────┬─────┬───────┬────┬─────┬─────────┬───────┬────────┬─────────┬────
Дата,│N │Про- │По- │Отдых│Вы- │Частота│На- │Сила │Показание│Ампли- │Абсолют-│ Отметка │При-
смена│за- │дол- │гру- │после│нуж- │враще- │пря-│тока,│счетчика,│туда │ная │грунта в │ме-
│лога│жи- │жение│оче- │ден- │ния де-│же- │ А │ кВт x ч │колеба-│отметка │ полости │ча-
│ │тель-│от │ред- │ная │балан- │ние,│ │ │ния │нижнего │ сваи- │ние
│ │ность│зало-│ного │сила,│сов, │В │ │ │сваи- │конца │оболочки │
│ │зало-│га, │зало-│т │об./мин│ │ ├────┬────┤оболоч-│сваи- ├────┬────┤
│ │га, │см │га, │ │ │ │ │в │в │ки │оболочки│до │пос-│
│ │мин │ │мин │ │ │ │ │на- │кон-│(сваи),│(сваи) │уда-│ле │
│ │ │ │ │ │ │ │ │чале│це │см │после │ле- │уда-│
│ │ │ │ │ │ │ │ │за- │за- │ │залога, │ния │ле- │
│ │ │ │ │ │ │ │ │лога│лога│ │см │ │ния │
─────┴────┴─────┴─────┴─────┴─────┴───────┴────┴─────┴────┴────┴───────┴────────┴────┴────┴────
Исполнитель _____________________________ Подпись _________________
(Ф.И.О.)
Наименование строительной организации _____________________________________
Объект ____________________________________________________________________
СВОДНАЯ ВЕДОМОСТЬ ПОГРУЖЕННЫХ ВИБРИРОВАНИЕМ СВАЙ
ИЛИ СВАЙ-ОБОЛОЧЕК
(с N _____ по N _____)
Начало ___________________________ Окончание ____________________________
────┬────┬────┬─────┬─────┬─────────┬──────┬─────┬──────┬─────┬──────┬────────┬───────┬─────
N │Дата│N по│Тол- │На- │Длина, м │Тип │Воз- │По- │Ско- │Ампли-│Высота │Частота│При-
п.п.│по- │пла-│щина │руж- ├────┬────┤вибро-│муща-│треб- │рость│туда │грунто- │враще- │меча-
│гру-│ну │стен-│ный │по │фак-│погру-│ющая │ляемая│по- │коле- │вого │ния │ние
│же- │ │ки, │диа- │про-│ти- │жателя│сила │мощ- │гру- │бания │ядра │деба- │
│ния │ │мм │метр,│екту│чес-│ │виб- │ность,│же- │сваи- │в свае- │лансов,│
│ │ │ │мм │ │кая │ │ропо-│кВт │ния, │оболо-│оболочке│об./мин│
│ │ │ │ │ │ │ │гру- │ │м/мин│чки, │в конце │ │
│ │ │ │ │ │ │ │жате-│ │ │см │погру- │ │
│ │ │ │ │ │ │ │ля, т│ │ │ │жения, м│ │
────┴────┴────┴─────┴─────┴────┴────┴──────┴─────┴──────┴─────┴──────┴────────┴───────┴─────
Исполнитель _____________________________ Подпись _________________
(Ф.И.О.)
Приложение. Исполнительная схема расположения свай-оболочек (свай) с
указанием их отклонений в плане и по высоте.
АКТ ДИНАМИЧЕСКОГО ИСПЫТАНИЯ ПРОБНОЙ СВАИ
Дата составления акта _____________________________________________________
Наименование и местонахождение строительства ______________________________
___________________________________________________________________________
Наименование строительной организации _____________________________________
___________________________________________________________________________
1. Условия погружения пробной сваи
/Деревянная, железобетонная (ненужное зачеркнуть)/
Свая N _______________________ Изготовление ______________________198 __ г.
сечением (диаметром) _________________ см, длиной ______________________ м,
массой _________________________ кг, была погружена ______________198 __ г.
Забивка произведена около геологической скважины (шурфа) N ________________
в пункте с координатами ___________________________________________________
молот (вибропогружатель) массой ударной части __________________________ т,
высотой падения (ходом поршня) ________________________________________ см,
частотой ударов (для молота двойного действия) ________________________ мин
при давлении пара (воздуха) в цилиндре _______________________________ МПа.
Материал и толщина прокладок в наголовнике ________________________________
______________________ с башмаком или без башмака _________________________
(ненужное зачеркнуть)
Особенности погружения (подмыва, лидер и др.) _____________________________
Свая погружена на ___________ м от дна котлована до отметки.
Конечный отказ сваи и упругие перемещения грунта и сваи
(замеряются по диаграмме отказа).
Отказ сваи и упругие перемещения грунта и сваи
при забивке (в см)
─────────────┬──────────────────┬─────────────────────────────────────────
N удара │ Отказ │ Упругие перемещения грунта и сваи
─────────────┼──────────────────┼─────────────────────────────────────────
1 │ │
2 │ │
3 │ │
2. Условия и результаты добивки
Контрольная добивка произведена ___________________________ 198 __ г., т.е.
через _____________ дней (часов) после забивки.
Добивка производилась молотом типа _______________________________________,
массой ________________________ т с высотой падения ____________________см,
с наголовником ____________________________________________________________
(описание наголовника, пробки и прокладки)
Отказ и упругие перемещения грунта и сваи от трех ударов при контрольной
добивке (замеряется по диаграмме отказа).
Отказ сваи и упругие перемещения грунта и сваи при контрольной добивке
(в см).
─────────────┬──────────────────┬──────────────────────────────────────────
N удара │ Отказ │ Упругие перемещения грунта и сваи
─────────────┼──────────────────┼──────────────────────────────────────────
1 │ │
2 │ │
3 │ │
─────────────┴──────────────────┴──────────────────────────────────────────
Во время забивки и добивки сваи имели место следующие явления:
___________________________________________________________________________
(описание явлений, наблюдений при испытании)
___________________________________________________________________________
3. Приложения
Журнал забивки свай.
Диаграмма отказов и упругих перемещений грунта и сваи, записанные при
забивке и добивке.
Подписи:
ПРИМЕРЫ ОПРЕДЕЛЕНИЯ НЕСУЩЕЙ СПОСОБНОСТИ СВАЙ
И СВАЙ-ОБОЛОЧЕК, ПОГРУЖАЕМЫХ С ПОМОЩЬЮ ВИБРОПОГРУЖАТЕЛЕЙ
Пример 1. Железобетонная свая с поперечным сечением 30 x 30 см, длиной 8,4 м, погружавшаяся на последнем залоге вибропогружателем ВП-1 (С-1003) со скоростью 2,3 см/мин и амплитудой 1 см, достигла глубины 7,3 м. При этом сила тока составляла 125 напряжение 380 В. Определить достигнутую несущую способность этой сваи, если до глубины 4 м залегает тугопластичный суглинок с консистенцией

, а далее среднезернистый влажный песок. Номинальная мощность вибропогружателя 60 кВт, масса с наголовником 50 кН, n = 420 об./мин.
1. Определяем потребляемую из сети мощность

.

.
2. Определяем мощность

, расходуемую на движение вибросистемы
| | ИС МЕГАНОРМ: примечание. Формула дана в соответствии с официальным текстом документа. | |

.
3. Коэффициент

определяем как средневзвешенный для двух слоев грунта по
п. 8.23.

.
Для суглинка

.
Для песка

.

.
| | ИС МЕГАНОРМ: примечание. Формула дана в соответствии с официальным текстом документа. | |

.

.
6. Массу вибросистемы

вычисляем по формуле

.
7. По
формуле (25) находим достигнутую несущую способность сваи
Пример 2. Железобетонная свая-оболочка диаметром 1,6 м погружалась в однородный водонасыщенный среднезернистый песок на последнем залоге со скоростью 3 см/мин с помощью вибропогружателя ВПМ-170 на первой ступени скорости. При этом напряжение сети было 370 В, сила тока 480 А, амплитуда колебаний 0,4 см. Расчетная несущая способность сваи-оболочки

, масса вибросистемы 60000 кг. Можно ли прекратить погружение сваи-оболочки?
Для ответа на этот вопрос можно непосредственно определить достигнутую несущую способность сваи-оболочки по
формуле (25) и сравнить с расчетной.
Можно пойти иным путем, сравнив амплитуду с ее расчетным значением по
формуле (27):

.
1. Для водонасыщенного среднего песка по
п. 8.23

.
Мощность

определяется формулой

;

;

для ВП-170 с номинальной мощностью

составит

;

.
4. Коэффициент

, определяемый по
табл. 56, равен 1,2.
5. Согласно
Прил. 39 на первой скорости ВПМ = 170

.
6. Расчетная амплитуда

в данном случае равна

.
Поскольку фактическая амплитуда на 0,4 см меньше расчетной, погружение можно прекратить, так как несущая способность оболочки уже выше расчетной.
ТИПОРАЗМЕРЫ БУРОНАБИВНЫХ СВАЙ ДЛЯ ЖИЛИЩНО-ГРАЖДАНСКОГО
И ПРОМЫШЛЕННОГО СТРОИТЕЛЬСТВА
Таблица 1
─────────┬────────────────────────┬───────────┬──────────┬───────┬─────────
Тип свай │ Способы изготовления │ Диаметры, │ Марка │ Длина │Оборудо-
│ буронабивных свай │ мм │ бетона │свай L,│вание
│ ├─────┬─────┤ │ м │
│ │ство-│уши- │ │ │
│ │ла d │рите-│ │ │
│ │ │ля D │ │ │
─────────┼────────────────────────┼─────┼─────┼──────────┼───────┼─────────
ВССd/D-L │Установкой вращательного│ 500 │1200 │200 - 300 │10 - 30│Станки
│бурения в устойчивых │ 500 │1400 │200 - 300 │ │СО-2,
│грунтах без закрепления │ 500 │1600 │200 - 300 │ │СО-1200,
│стенок скважин │ 600 │1600 │200 - 300 │ │УГБХ-150,
│ │ 800 │1800 │200 - 300 │ │НБО-1
│ │1000 │ - │ 200 │ │
│ │1200 │ - │ 200 │ │
БСВ d/D-L│Установкой вращательного│ 600 │1600 │200 - 300 │10 - 30│ -
г │бурения в неустойчивых │ │ │ │ │
│грунтах с закреплением │ │ │ │ │
│стенок скважин глинистым│ │ │ │ │
│раствором │ │ │ │ │
ВСВ d/D-L│Установкой вращательного│ 600 │1600 │200 - 300 │10 - 30│Станки
о │и ударно-канатного │ 800 │1800 │200 - 300 │ │УРБ-ЗАМ,
│бурения в неустойчивых │ │ │ │ │УКС
│грунтах с закреплением │ │ │ │ │
│стенок скважины трубами,│ │ │ │ │
│оставляемыми в грунте │ │ │ │ │
ВСИd-L │Установкой СП-45 │ 800 │ - │ 200 │10 - 50│Установки
│и станками зарубежных │ 980 │ - │ 200 │ │СП-45
│фирм с извлекаемыми │1080 │ - │ 200 │ │и станки
│инвентарными обсадными │1180 │ - │ 200 │ │зарубеж-
│трубами │ │ │ │ │ных фирм
ВСС d-L │Станками вращательного │ 500 │ - │ 200 │3 - 10 │Ямобуры
м │бурения без закрепления │ 400 │ - │ 200 │ │при сваях
│стенок скважин │ │ │ │ │длиной
│для малонагруженных │ │ │ │ │до 4 м
│сельскохозяйственных │ │ │ │ │
│и других зданий в сухих │ │ │ │ │
│устойчивых грунтах │ │ │ │ │
Примечания. 1. В обозначениях типов свай буквы означают: ВС - буронабивная свая; С - изготавливаемая в устойчивых глинистых грунтах (сухих);

- изготавливаемая в неустойчивых грунтах (водонасыщенных с закреплением стенок скважины глинистым раствором);

- изготавливаемые в неустойчивых грунтах (водонасыщенных с закреплением стенок скважины трубами, оставляемыми в грунте); И - изготавливаемые станками иностранных фирм с инвентарными трубами;

- изготавливаемые в устойчивых глинистых грунтах (сухих) для малонагруженных зданий и сооружений. Например: свая

- буронабивная свая диаметром 600 мм с уширением 1600 мм, длиной 12 м, изготавливаемая в неустойчивых грунтах с закреплением стенок скважин глинистым раствором.
2. К устойчивым глинистым грунтам отнесены грунты, при которых стенки скважин не требуют закрепления (глинистые грунты твердые, полутвердые, тугопластичные с показателем консистенции I = 0,3), и просадочные грунты. К неустойчивым грунтам отнесены грунты, при которых стенки скважин закрепляют в процессе бурения (глинистые грунты мягкопластичной, текучепластичной, текучей консистенции, пески).
3. В таблице указаны наиболее употребительные длины свай.
4. Диаметры стволов свай БСИ приняты в соответствии с имеющимся в наличии в СССР оборудованием.
Таблица 2
───────┬────────────────┬─────────────────────────────────────────────────────────────────────────────┬───────
Условия│ Область │ Рекомендуемые длины свай, м, при следующих типах по номенклатуре │Приме-
приме- │ применения ├──────────────────────────────────┬─────────┬─────────┬─────────┬────────────┤чание
нения │ │ БСС │ БСВ │ БСВ │ ВСИ │ ВСС │
│ │ │ г │ о │ │ м │
│ ├────┬────┬────┬────┬────┬────┬────┼────┬────┼────┬────┼────┬────┼────┬───┬───┤
│ │500/│500/│500/│600/│800/│1000│1200│600/│600/│800/│880 │980 │1080│1180│400│500│
│ │1200│1400│1600│1600│1800│ │ │1600│1600│1800│ │ │ │ │ │ │
───────┼────────────────┼────┴────┴────┴────┴────┴────┴────┴────┴────┴────┴────┴────┴────┴────┴───┴───┴───────
- │Во всех случаях,│Выбор типа свай производится в соответствии
│когда имеются │с данной таблицей и таблицей по номенклатуре свай
│преимущества │
│перед другими │
│видами │
│фундаментов │
│по технико- │
│экономическим │
│показателям │
По │При действии │ 10 │ 10 │ 10 │ 10 │ 10 │ 10 │ 10 │ - │ - │ 10 │ 20 │ 20 │ 20 │ 20 │ - │ - │ -
нагруз-│на сваю больших │ 30 │ 30 │ 30 │ 30 │ 30 │ 30 │ 30 │ │ │ 30 │ 50 │ 50 │ 50 │ 50 │ │ │
кам │горизонтальных, │ │ │ │ │ │ │ │ │ │ │ │ │ │ │ │ │
│в том числе │ │ │ │ │ │ │ │ │ │ │ │ │ │ │ │ │
│сейсмических, │ │ │ │ │ │ │ │ │ │ │ │ │ │ │ │ │
│нагрузок │ │ │ │ │ │ │ │ │ │ │ │ │ │ │ │ │
│(более 5 т) │ │ │ │ │ │ │ │ │ │ │ │ │ │ │ │ │
│При строитель- │ - │ - │ - │ - │ - │ 10 │ 10 │ 10 │ 10 │ 10 │ 10 │ 10 │ 10 │ 10 │ 10│ - │ -
│стве на ополз- │ │ │ │ │ │ 30 │ 30 │ 20 │ 30 │ 30 │ 30 │ 30 │ 30 │ 30 │ │ │
- │Для фундаментов │ - │ - │ - │ - │ - │ - │ - │ - │ - │ До │ До │ │ До │ До │ 3 │ 3 │ -
│под оборудование│ │ │ │ │ │ │ │ │ │ 20 │ 20 │ │ 20 │ 20 │ 10│ 10│
│и малонагружен- │ │ │ │ │ │ │ │ │ │ │ │ │ │ │ │ │
│ные конструкции │ │ │ │ │ │ │ │ │ │ │ │ │ │ │ │ │
По │При отсутствии │Выбор типа свай производится в соответствии
произ- │базы │с данной таблицей и по номенклатуре свай
водству│стройиндустрии │
работ │для изготовления│
│забивных свай │
│и оборудования │
│по их погружению│
│на стесненных │
│площадках, │
│где сложно с │
│транспортировкой│
│и установкой │
│забивных свай │
- │При производстве│ 10 │ 10 │ 10 │ 10 │ 10 │ 10 │ 10 │ 10 │ 10 │ 10 │ 10 │ 10 │ 10 │ 10 │ - │ - │Исполь-
│работ вблизи │ 30 │ 30 │ 30 │ 30 │ 30 │ 30 │ 30 │ 30 │ 30 │ 30 │ 50 │ 50 │ 50 │ 50 │ │ │зование
│зданий и │ │ │ │ │ │ │ │ │ │ │ │ │ │ │ │ │ударно-
│сооружений, где │ │ │ │ │ │ │ │ │ │ │ │ │ │ │ │ │канат-
│при забивке свай│ │ │ │ │ │ │ │ │ │ │ │ │ │ │ │ │ных
│могут возникнуть│ │ │ │ │ │ │ │ │ │ │ │ │ │ │ │ │станков
│недопустимые │ │ │ │ │ │ │ │ │ │ │ │ │ │ │ │ │
│деформации, │ │ │ │ │ │ │ │ │ │ │ │ │ │ │ │ │
│не допускается │ │ │ │ │ │ │ │ │ │ │ │ │ │ │ │ │
│шум или вибрация│ │ │ │ │ │ │ │ │ │ │ │ │ │ │ │ │
│в ближайших │ │ │ │ │ │ │ │ │ │ │ │ │ │ │ │ │
│зданиях │ │ │ │ │ │ │ │ │ │ │ │ │ │ │ │ │
│(больницы и др.)│ │ │ │ │ │ │ │ │ │ │ │ │ │ │ │ │
│При необходи- │ - │ - │ - │ - │ - │ - │ - │ - │ До │ До │ - │ - │ - │ - │ - │ - │ -
│мости усиления │ │ │ │ │ │ │ │ │ 15 │ 15 │ │ │ │ │ │ │
│фундаментов │ │ │ │ │ │ │ │ │ │ │ │ │ │ │ │ │
│существующих │ │ │ │ │ │ │ │ │ │ │ │ │ │ │ │ │
│зданий │ │ │ │ │ │ │ │ │ │ │ │ │ │ │ │ │
- │В пределах │Выбор типа свай производится в соответствии
│контура строяще-│с данной таблицей и по номенклатуре свай
│гося здания │
│или сооружения │
│кровли несущего │
│слоя имеет │
│значительные │
│перепады │
│(более 2 м на │
│расстоянии 10 м)│
По │При опирании на │
грунтам│грунты твердой, │
│полутвердой и │
│тугопластичной │
│консистенции; │
│на скальные │
│и полускальные │
│грунты │
│При прорезании: │ │ │ │ │ │ │ │ │ │ │ │ │ │ │ │ │
│ слоя насыпи │ - │ - │ - │ - │ - │ - │ - │ - │ До │ До │ 20 │ 20 │ 20 │ 20 │ - │ - │При
│с твердыми │ │ │ │ │ │ │ │ │ 30 │ 30 │ 50 │ 50 │ 50 │ 50 │ │ │обосно-
│включениями │ │ │ │ │ │ │ │ │ │ │ │ │ │ │ │ │вании
│ слоя просадоч- │ 12 │ 12 │ 12 │ 12 │ 12 │ 12 │ 12 │ 12 │ │ │ │ │ │ │ │ │тех-
│ных грунтов │ 30 │ 30 │ 30 │ 30 │ 30 │ 30 │ 30 │ 30 │ │ │ │ │ │ │ │ │нико-
│мощностью │ │ │ │ │ │ │ │ │ │ │ │ │ │ │ │ │эконо-
│более 10 м │ │ │ │ │ │ │ │ │ │ │ │ │ │ │ │ │мичес-
│ слоя грунтов │ - │ - │ - │ - │ - │ - │ - │ 12 │ 12 │ 20 │ 20 │ 20 │ 20 │ 20 │ - │ - │кими
│мягкопластичной │ │ │ │ │ │ │ │ 20 │ 30 │ 30 │ 30 │ 50 │ 50 │ 50 │ │ │сравне-
│и текучепластич-│ │ │ │ │ │ │ │ │
<**>│
<**>│ │ │ │ │ │ │ниями с
│ной консистенции│ │ │ │ │ │ │ │ │ │ │ │ │ │ │ │ │другими
│мощностью более │ │ │ │ │ │ │ │ │ │ │ │ │ │ │ │ │вариан-
│10 м │ │ │ │ │ │ │ │ │ │ │ │ │ │ │ │ │тами
│ то же, │ - │ - │ - │ - │ - │ - │ - │ - │ 10 │ 10 │ 20 │ 20 │ 20 │ 20 │ - │ - │
│с прослойками │ │ │ │ │ │ │ │ │ 30 │ 30 │ 50 │ 50 │ 50 │ 50 │ │ │
│и супесями │ │ │ │ │ │ │ │ │ │ │ │ │ │ │ │ │
│ слоя набухающих│ 10 │ 10 │ 10 │ 10 │ 10 │ - │ - │ - │ - │ - │ - │ - │ - │ - │ - │ - │
│грунтов │ 30 │ 30 │ 30 │ 30 │ 30 │ │ │ │ │ │ │ │ │ │ │ │
--------------------------------
<*> Применяются без уширений.
<**> Применяется вращательный способ бурения.
ПРИМЕРЫ ТЕХНОЛОГИЧЕСКОЙ ПОСЛЕДОВАТЕЛЬНОСТИ
ИЗГОТОВЛЕНИЯ БУРОНАБИВНЫХ СВАЙ И РЕКОМЕНДАЦИИ
ПО ЭЛЕМЕНТАМ ТЕХНОЛОГИИ ИХ ИЗГОТОВЛЕНИЯ
1. Устройство скважин установками вращательного бурения с применением ковшового бура или шнека (
рис. 1 и
2). Устройство скважин состоит из двух основных этапов: I этап - бурение скважины; II этап - разбуривание уширений. Бурение скважины ковшовым буром (
рис. 1,
2) состоит из следующих операций:
1) установка направляющего кондуктора;
2) установка станка на точку;
3) бурение скважины роторным ковшом до наполнения его выбуренной породой;
4) подъем роторного ковша;
5) очистка роторного ковша от выбуренной породы;
6) опускание роторного ковша в скважину. Далее повторение операций 3 - 6;
7) зачистка забоя скважины ножом роторного ковша.
Рис. 1. Бурение скважины шнеком
1 - буровой станок; 2 - кондуктор; 3 - опалубка
головы сваи; 4 - ковшовый бур; 5 - привод ротора;
6 - штанги; 7 - буровой уширитель;
8 - электролампа для осмотра скважины
Рис. 2. Разбуривание уширения скважины
1 - буровой станок; 2 - шнек; 3 - штанги;
4 - буровой уширитель; 5 - обсадной кондуктор;
6 - электролампа для осмотра скважины
Разбуривание уширения скважины, пробуренной ковшовым (см.
рис. 1) буром, состоит из следующих операций:
1) монтаж бурового уширителя;
2) опускание бурового уширителя в скважину;
3) разбуривание уширения;
4) подъем бурового уширителя;
5) очистка приемной бадьи бурового уширителя от выбуренной породы. Далее повторение операций 2 - 3 до получения проектных размеров уширения;
6) проверка размеров уширений по тарировочным отметкам на штанге;
7) подготовка забоя скважины к бетонированию;
8) проверка готовой скважины электролампой;
9) уборка и отвозка от скважины выбуренной породы.
Бурение скважины шнеком (см.
рис. 2) состоит из следующих операций:
1) установка кондуктора;
2) установка станка на точку;
3) бурение скважины шнеком;
4) подъем шнека;
5) очистка шнека от выбуренной породы с помощью шнекоочистителя;
6) опускание шнека в скважину. Далее повторение операций 2 - 5 до достижения забоем скважины проектной отметки;
7) демонтаж шнека.
Разбуривание уширения скважины, пробуренной шнеком (см.
рис. 2), состоит из следующих операций:
1) монтаж бурового уширителя;
2) опускание бурового уширителя в скважину;
3) разбуривание уширения;
4) подъем бурового уширителя;
5) очистка приемной бадьи бурового уширителя от выбуренной породы. Далее повторение операций 1 - 3 до получения проектных размеров уширения;
6) проверка размеров бурового уширения по отметкам тарировочной штанги, фиксирующим раскрытие лопастей уширителя;
7) зачистка забоя скважины ножом приемной бадьи уширителя или другим методом;
8) контроль уширения по величине погружения штанги и приемника скважины;
9) уборка выбуренной породы от скважины;
10) погрузка выбуренной породы и отвозка автосамосвалами.
2. Устройство скважин станком ударно-канатного бурения
(рис. 3) с одновременной обсадкой труб. Бурение скважины с одновременной обсадкой труб состоит из следующих операций:
1) установка кондуктора;
2) установка станка на точку;
3) разрыхление верхнего слоя грунта и его извлечение (начало бурения скважины);
4) установка обсадной трубы;
5) забивка обсадной трубы;
6) разрыхление грунта внутри обсадочной трубы;
7) извлечение грунта из внутренней полости трубы желонкой;
8) забивка обсадной трубы до уровня верха кондуктора;
9) монтаж следующего звена обсадной трубы на торце звена, погруженного в скважину;
10) сварка обсадных труб. Далее повторение операций 6 - 10 до достижения проектной отметки;
11) подготовка забоя скважины к бетонированию.
Рис. 3. Устройство скважин станком ударно-канатного бурения
1 - буровая установка; 2 - кондуктор; 3 - долото;
4 - обсадные трубы; 5 - штанга для желонки;
6 - желонка; 7 - штанга для долота
3. Устройство скважин буровыми станками типа УРБ-ЗАМ под глинистым раствором (рис. 4). Устройство скважин состоит из двух основных этапов: I этап - бурение скважины; II этап - разбуривание уширения.
Рис. 4. Устройство скважины буровым
станком под глинистым раствором
1 - буровой станок типа УРБ-ЗАМ; 2 - шланг, подающий
глинистый раствор; 3 - буровые штанги; 4 - направляющий
кондуктор; 5 - шарошечное долото; 6 - буровой
уширитель (для скважин с глинистым раствором)
Бурение скважин состоит из следующих операций:
1) установка станка на точку;
2) монтаж бурового снаряда (шарошечное долото);
3) монтаж системы, подающей глинистый раствор;
4) разбуривание скважины до проектной отметки с непрерывной подачей глинистого раствора;
5) подъем бурового наконечника (шарошечное долото);
6) демонтаж бурового наконечника.
Разбуривание уширения скважины состоит из следующих операций:
1) монтаж бурового уширителя;
2) опускание бурового уширителя на забой скважины;
3) разбуривание уширения до проектных размеров с непрерывной подачей глинистого раствора;
4) контроль размеров бурового уширения по величине погружения штанги;
5) уплотнение забоя скважины;
6) контроль и приемка скважины;
7) отклонение системы, подающей глинистый раствор.
4. Устройство скважин буровыми станками типа СП-45, "Супер-ЕДФ", 20-ТН
(рис. 5). Бурение скважин с лидирующим бурением и последующей обсадкой состоит из следующих операций:
1) установка станка на точку;
2) монтаж ротора;
3) опускание ротора на точку;
4) бурение ротором;
5) подъем ротора;
6) разгрузка грунта из ротора в автосамосвал;
7) опускание ротора в скважину. Далее повторяются операции 4 - 6 до отметки, соответствующей погружению второго звена обсадной трубы;
8) отведение ротора в сторону;
9) монтаж первого звена обсадной трубы;
10) вдавливание первого звена до уровня стола станка;
11) подъем ротора в исходное положение перед началом бурения;
12) опускание ротора в скважину. Далее повторение операций от 4 - 6 до отметки, соответствующей погружению второго звена обсадной трубы;
13) монтаж второго звена;
14) сболчивание первого и второго звеньев;
15) вдавливание второго звена до уровня ствола станка. Далее повторяются операции 13, 14, 4, 5, 6, 8 до достижения проектной отметки.
Рис. 5. Устройство скважин буровыми станками типа СП-45
1 - станок типа супер EDF ("Беното"); 2 - обсадные
трубы; 3 - ковшевой бур; 4 - телескопические штанги
5. Рекомендуемые мероприятия по предупреждению искривления скважины при проходке грунтов с твердыми включениями
(рис. 6). Данные мероприятия сводятся к выполнению следующих операций:
1) бурение скважины и обсадка трубами;
2) подъем бурового инструмента. Погружение в скважину трубок для подачи воды и промывка грунта в забое скважины;
3) заполнение нижней части трубы цементом или тощим бетоном;
4) опускание бурового инструмента и разбуривание скважины.
Рис. 6. Рекомендуемые мероприятия
по предупреждению искривлений скважин
1 - бурение скважины и обсадка трубами до вскрытия
препятствия в виде камня или плотного включения;
2 - подъем бурового инструмента (погружение
в скважину трубок для подачи воды и промывка грунта
в забое скважины); 3 - заполнение нижней части
трубы цементом или тощим бетоном; 4 - опускание
бурового инструмента и разбуривание скважины
6. Рекомендуемые схемы взаимного расположения забоя и режущего наконечника в зависимости от устойчивости грунта. В зависимости от устойчивости грунта оно может быть представлено по одной из четырех основных схем, приведенных на рис. 7. При этом следует отметить, что в устойчивых глинистых грунтах возможно применение бурового наконечника роторного типа, в обводненных песчаных грунтах - бурового клапана (желонка).
Рис. 7. Рекомендуемые схемы взаимного
расположения забоя и режущего наконечника
1 - обсадная труба
7. Бетонирование скважин для свай методом ВПТ. Бетонирование скважин для свай методом ВПТ производится в три этапа (
рис. 8, а): I этап - установка ВПТ; II этап - бетонирование; III этап - оформление головы сваи. При установке телескопической ВПТ (
рис. 8, б) выполняются следующие операции:
установка опорного патрубка для бункера;
установка бункера с трубой длиной 5 - 6 м;
установка внутренней трубы меньшего диаметра;
установка разделительной воронки во внутреннюю трубу перед укладкой первой порции бетона (теряемый клапан).
Рис. 8. Бетонирование скважин для свай методом ВПТ
а - установка ВПТ; б - бетонирование скважин;
в - оформление головы сваи; 1 - кондуктор (направляющий
патрубок); 2 - опорный патрубок для установки ВПТ;
3 - вибробункер с бетонолитной трубой; 4 - бетонолитная
труба меньшего диаметра; 5 - автобетономешалка;
6 - разъемная опалубка для головы сваи;
7 - бадья для бетона; 8 - теряемый клапан
Бетонирование скважины (
рис. 8, в) ведется в следующей последовательности:
1) выгрузка бетона из автобетономешалки в бункер (доставка бетона в скважине непосредственно в автобетономешалке или перегрузка его в скважину из автосамосвала, как показано на схеме). Объем первой порции бетонной смеси должен соответствовать уровню 1,1, когда верхняя труба погружена в бетон на 1,5 м;
2) подъем внутренней бетонолитной трубы меньшего диаметра;
3) выгрузка второй порции бетонной смеси, объем которой должен соответствовать полному заполнению скважины;
4) подъем бункера с бетонолитной трубой большего диаметра.
После бетонирования скважины ведутся:
1) демонтаж опорного патрубка и кондуктора. Установка инвентарной опалубки и добетонирование головы сваи;
2) распалубка головы после выдерживания 16 - 20 ч. В зимнее время производятся утепление и электропрогрев бетона головы сваи.
Наименование строительной организации _____________________________________
Объект ____________________________________________________________________
ЖУРНАЛ ИЗГОТОВЛЕНИЯ БУРОНАБИВНЫХ СВАЙ
(с N ___ по N ___)
Бурение:
Начало
Окончание
Бетонирование:
Начало
Окончание
Начало _______________________________ Окончание __________________________
Тип бурового станка _______________________________________________________
Тип уширителя _____________________________________________________________
Вид взрывчатого вещества __________________________________________________
────┬─────┬─────┬─────┬─────────────────┬─────┬────┬─────┬─────────────┬────┬────────────────┬─────┬─────────┬──────
N │Дата,│Диа- │Абсо-│ Бурение ствола │Наи- │Дли-│Марка│Бетонирова- │Мас-│ Уровень бетона │Абсо-│Исполни- │Приме-
п.п.│смена│метр │лют- │ │мено-│на │бето-│ние способом │са │ в трубе │лют- │тели │чание
свай│ │сква-│ная │ │вание│ар- │на и │ВПТ │за- │ │ная │(Ф.И.О.),│
по │ │жины,│от- ├────┬─────┬──────┤грун-│ма- │осад-├─────┬───────┤ря- ├─────┬─────┬────┤от- │подпись │
пла-│ │м │метка│Глу-│Абсо-│Разбу-│тов │тур-│ка │Объем│Мини- │да, │До │После│Об- │метка│ │
ну │ │ │по │би- │лют- │рива- │на │ного│кону-│уло- │мальное│кг │взры-│взры-│щий │голо-│ │
│ │ │по- │на, │ная │ние │уров-│кар-│са │жен- │заглуб-│ │ва │ва │рас-│вы │ │
│ │ │верх-│м │от- │ушире-│не │ка- │ │ного │ление │ │ │ │ход │сваи │ │
│ │ │ности│ │метка│ния │забоя│са, │ │бето-│низа │ │ │ │бе- │ │ │
│ │ │грун-│ │забоя│(ко- │ │м │ │на, │бетоно-│ │ │ │то- │ │ │
│ │ │та │ │сква-│личес-│ │ │ │м3, │литной │ │ │ │на, │ │ │
│ │ │ │ │жины │тво │ │ │ │вклю-│трубы в│ │ │ │м3 │ │ │
│ │ │ │ │ │циклов│ │ │ │чая │бетон, │ │ │ │ │ │ │
│ │ │ │ │ │и диа-│ │ │ │уши- │м │ │ │ │ │ │ │
│ │ │ │ │ │метр),│ │ │ │рение│ │ │ │ │ │ │ │
│ │ │ │ │ │м │ │ │ │ │ │ │ │ │ │ │ │
────┼─────┼─────┼─────┼────┼─────┼──────┼─────┼────┼─────┼─────┼───────┼────┼─────┼─────┼────┼─────┼─────────┼──────
1 │ 2 │ 3 │ 4 │ 5 │ 6 │ 7 │ 8 │ 9 │ 10 │ 11 │ 12 │ 13 │ 14 │ 15 │ 16 │ 17 │ 18 │ 19
────┴─────┴─────┴─────┴────┴─────┴──────┴─────┴────┴─────┴─────┴───────┴────┴─────┴─────┴────┴─────┴─────────┴──────
Примечание. В гр. 19 обязательно указать способ закрепления стенок
скважин (глинистым раствором или обсадными трубами).
СПОСОБЫ КОНТРОЛЯ ПРИ БУРЕНИИ СКВАЖИН РАЗЛИЧНЫХ ТИПОВ
────┬────────────────┬──────┬──────────────────────────────┬───────────────
N │ Наименование │N спо-│Наименование способа контроля │ Тип сваи
п.п.│контролируемого │соба │ │
│ параметра │ │ │
────┼────────────────┼──────┼──────────────────────────────┼───────────────
1 │Состояние │ 1 │Визуальный контроль │БСС; БСС ;
│скважины │ │с лампочкой │ м
│ │ │ │ о
│ │ 2 │Сравнение объема грунта │БСВ
<*>
│ │ │выбуренной породы с │ о
│ │ │геометрическим объемом свай │
│ │ 3 │По расходу глинистого раствора│БСВ
│ │ │ │ г
2 │Вертикальность │ 4 │Отвес, инклинометр │БСС; БСС ;
│скважины │ │ │ м
│ │ │ │БСВ ; БСВ ; БСИ
│ │ │ │ о г
│ │ 5 │По длине троса бурового │БСС; БСС ;
│ │ │снаряда; ЛОТ │ м
│ │ │ │БСВ ; БСВ ; БСИ
│ │ │ │ о г
3 │Размеры скважины│ 6 │Шаблон │БСС; БСС ; БСВ
│ │ │ │ м г
│ │ 7 │По диаметру обсадной трубы │БСВ ; БСИ
│ │ │ │ о
│ │ 8 │По раскрытию лопастей бурового│БСС; БСС ; БСВ
│ │ │уширителя │ м
4 │Состояние забоя │ 9 │Стальной щуп │БСС; БСС ;
│скважины │ │ │ м
│ │ │ │БСВ ; БСИ
│ │ │ │ о
│ │ 10 │Осветление воды, используемой │БСВ ; БСИ;
│ │ │при промывке │ о
│ │ │ │БСВ
│ │ │ │ г
--------------------------------
АКТ ОСВИДЕТЕЛЬСТВОВАНИЯ И ПРИЕМКИ БУРОВОЙ СКВАЖИНЫ
И АРМАТУРНОГО КАРКАСА ДЛЯ БЕТОНИРОВАНИЯ СВАИ
" ___ " 19___ г. Мы, нижеподписавшиеся, ___________________________________
___________________________________________________________________________
___________________________________________________________________________
(представители заказчика, генподрядчика и исполнителей работ)
произвели освидетельствование буровой скважины с арматурным каркасом для
бетонирования буронабивной сваи N ____ на строительной площадке.
___________________________________________________________________________
(наименование объекта)
При этом установлено:
1. Отметка низа сваи, м ___________________________________________________
2. Отметка низа уширения, м _______________________________________________
3. Отметка поверхности грунта, м __________________________________________
4. Отметка горизонта грунтовых вод, м _____________________________________
5. Отметка верха каркаса в скважине, м ____________________________________
6. Диаметр ствола сваи, м _________________________________________________
7. Диаметр уширения, м ____________________________________________________
8. Уширение имеет проектную геометрическую форму __________________________
9. Уширение сваи произведено в ____________________________________________
(наименование грунта)
10. Конструкция каркаса: количество стержней, шт. _________________________
диаметр стержней, мм _____________________ класс __________________________
диаметр каркаса в осях рабочих стержней, мм _______________________________
На основании рассмотренных данных постановили:
1. Размеры уширения и ствола скважины соответствует проектным.
2. Считать скважину с арматурным каркасом готовыми к бетонированию.
3. Начать бетонирование не позднее " ___ " __________________198__ г.
Подписи: ___________________
___________________
___________________
АКТ ПРИЕМКИ СВАЙНОГО ПОЛЯ ДЛЯ БЕТОНИРОВАНИЯ РОСТВЕРКОВ
" ___ " 19___ г. Мы, нижеподписавшиеся, ___________________________________
___________________________________________________________________________
___________________________________________________________________________
___________________________________________________________________________
(представители заказчика, генподрядчика и исполнителей работ)
___________________________________________________________________________
___________________________________________________________________________
установили, что буронабивные сваи на строительной площадке
___________________________________________________________________________
(наименование объекта)
выполнены в соответствии с проектом и дополнительными указаниями проектного
института.
Свайные работы выполнены с отметки ________________________________________
На данной строительной площадке разрешается приступить к устройству
ростверков.
Приложения к акту: 1. Акт приемки котлована до начала работ со схемой
геодезической разбивки и закреплением осей фундамента.
2. Журналы изготовления буронабивных свай.
3. Сводная ведомость буронабивных свай ______ листов ______
4. Паспорта на бетонную смесь __________ шт.
5. Акты лабораторных испытаний контрольных бетонных кубиков ___________ шт.
6. Акты освидетельствования скважин и арматурных каркасов _____________ шт.
7. Исполнительная схема изготовленных свай _______________ шт.
Подписи: ____________________
____________________
ОСНОВНЫХ ЭЛЕМЕНТОВ ТЕХНОЛОГИИ ИЗГОТОВЛЕНИЯ
БУРОНАБИВНЫХ СВАЙ, ПОДЛЕЖАЩИХ ОБЯЗАТЕЛЬНОМУ КОНТРОЛЮ
НА ПЛОЩАДКЕ СТРОИТЕЛЬСТВА
─────────┬────┬────────────────────┬─────────────┬──────────┬──────────────
Элементы │ N │ Что подлежит │Кто выполняет│ Кому │Исполнительная
техно- │п.п.│ обязательному │ │передаются│ документация
логии │ │ контролю │ │материалы │
─────────┼────┼────────────────────┼─────────────┼──────────┼──────────────
Бурение │ 1 │Планово-высотная │Геодезическая│СУ │Акты разбивки
скважин │ │привязка свайных │группа │ │
│ │кустов и отдельных │ │ │
│ │свай │ │ │
│ 2 │Фактическое │СУ │Технадзор,│Исполнительная
│ │положение свайных │ │авторский │съемка
│ │кустов и свай │ │надзор │
│ 3 │Бурение скважины │СУ │Технадзор,│Исполнительная
│ │(диаметр ствола, │Контрольный │авторский │ведомость
│ │уширения, │пост │надзор │
│ │вертикальность. │ │ │
│ │Способ бурения, │ │ │
│ │параметры глинистого│ │ │
│ │раствора, │ │ │
│ │если последний │ │ │
│ │применяется) │ │ │
│ 4 │Соответствие │Строительная │Технадзор,│Журнал работ,
│ │фактических данных │лаборатория -│авторский │акты
│ │по геологии принятым│группа │надзор │
│ │в проекте │геологов │ │
│ 5 │Наличие воды │Строительная │То же │Журнал работ,
│ │в скважине │лаборатория -│ │акты
│ │ │группа │ │
│ │ │геологов │ │
│ 6 │Наличие вывалов │Строительная │ " │То же
│ │грунта при бурении │лаборатория -│ │
│ │ │группа │ │
│ │ │геологов. │ │
│ │ │Контрольный │ │
│ │ │пост │ │
│ 7 │Состояние забоя │То же │ │
│ │скважины после │ │ │
│ │очистки │ │ │
│ 8 │Соответствие │Завод по │Технадзор,│Паспорт, акты
│ │фактической │изготовлению │авторский │
│ │конструкции │армокаркасов.│надзор, СУ│
│ │армокаркасов │Контрольный │ │
│ │принятым в проекте │пост │ │
│ 9 │Фактическое │СУ, │Технадзор,│Исполнительная
│ │положение (в плане │контрольный │авторский │съемка
│ │и по высоте) │пост │надзор │
│ │армокаркаса │ │ │
│ │в скважине │ │ │
│ 10 │Порядок бурения │СУ, │Технадзор,│Журнал работ
│ │скважин при кустовом│контрольный │авторский │
│ │или рядовом │пост │надзор │
│ │расположении в плане│ │ │
│ │(недопущение бурения│ │ │
│ │в задел) │ │ │
Укладка │ 11 │Перерывы между │СУ, │Технадзор,│Журнал работ,
бетонной │ │окончанием бурения │контрольный │авторский │акты
смеси в │ │и началом │пост при │надзор, │
скважину │ │бетонирования │участии │служба │
│ │ │технадзора │обеспече- │
│ │ │ │ния │
│ 12 │Перерывы в процессе │То же │То же │То же
│ │бетонирования │ │ │
│ 13 │Паспорта на бетонную│Бетонный │СУ, │Заводские
│ │смесь │завод │контроль- │паспорта
│ │ │ │ный пост, │
│ │ │ │технадзор │
│ 14 │Способ доставки │СУ, │То же │Журнал работ
│ │бетонной смеси │контрольный │ │
│ │ │пост при │ │
│ │ │участии │ │
│ │ │технадзора │ │
│ 15 │Фактическая │СУ, │ " │ "
│ │интенсивность │контрольный │ │
│ │бетонирования │пост при │ │
│ │ │участии │ │
│ │ │технадзора │ │
│ 16 │Фактический объем │То же │СУ, │Журнал работ,
│ │бетонной смеси, │ │контроль- │паспорта
│ │уложенной в скважину│ │ный пост, │на сваи
│ │ │ │технадзор │
│ 17 │Температура воздуха │ " │То же │То же
│ │в скважине │ │ │
│ │(для зимних условий)│ │ │
│ 18 │Температура │ " │ " │ "
│ │окружающего воздуха │ │ │
│ │(для зимних условий)│ │ │
│ 19 │Температура бетонной│Бетонный │ " │ "
│ │смеси при отгрузке │завод │ │
│ │на бетонном заводе │ │ │
│ 20 │Температура бетонной│СУ, │ " │ "
│ │смеси перед укладкой│контрольный │ │
│ │в скважину │пост │ │
│ │ │при участии │ │
│ │ │технадзора │ │
│ 21 │Электропрогрев │То же │ " │ "
│ 22 │Отбор бетонных │ " │ " │ "
│ │кубиков и условия │ │ │
│ │их хранения │ │ │
│ 23 │Осадка конуса │ " │ " │ "
│ │бетонной смеси перед│ │ │
│ │укладкой в скважину │ │ │
ИЗГОТОВЛЕНИЕ НАБИВНЫХ СВАЙ ПО ВИБРАЦИОННОЙ ТЕХНОЛОГИИ
1. Применение вибрационной технологии позволяет эффективно осуществлять все основные операции при устройстве набивных свай, в том числе погружение обсадных труб, выемку грунта из их полости, а также извлечение трубы после заполнения ее бетоном. Вибрационное воздействие обеспечивает высокое качество бетона формуемых свай.
Использование вибрационной технологии изготовления набивных свай открывает пути для существенной экономии металла и цемента при устройстве свайных фундаментов.
2. Набивные сваи, изготавливаемые по вибрационной технологии, следует применять в рыхлых и средней плотности песчаных грунтах, в глинистых грунтах, в том числе лессовидных, полутвердой, туго- и мягкопластичной консистенции, а также при прорезании указанных грунтов и опирании свай на твердые глинистые, плотные песчаные, крупнообломочные, полускальные и скальные грунты.
3. Параметры свай, изготавливаемых по вибрационной технологии, в зависимости от вида грунта и способа образования скважин принимаются по табл. 1.
Таблица 1
───────────┬─────────┬────────────────────────┬────────────────────────────
Диаметр │ Длина │ Вид грунта │ Способ образования скважин
сваи, мм │ сваи, м │ │
───────────┼─────────┼────────────────────────┼────────────────────────────
325 - 377 │ 3 - 15 │Неустойчивые песчаные │С извлекаемыми обсадными
426 - 530 │ 5 - 15 │и глинистые грунты
<*> │трубами без выемки грунта
│ 5 - 12 │ │
───────────┼─────────┤ ├────────────────────────────
720, 820 │ 8 - 14 │ │С извлекаемыми обсадными
630 │ 5 - 15 │ │трубами и с выемкой грунта
1020 │ 10 - 20 │ │
───────────┼─────────┼────────────────────────┼────────────────────────────
377 │ 3 - 15 │Устойчивые глинистые │Без обсадных труб и выемки
426 │ 5 - 15 │грунты <*> │грунта
───────────┼─────────┤ ├────────────────────────────
380 │ 3 - 15 │ │Без обсадных труб с выемкой
530 │ 5 - 20 │ │грунта
820 │ 8 - 25 │ │
1020 │ 10 - 25 │ │
--------------------------------
<*> Имеется в виду устойчивость стенок скважины.
4. Для изготовления набивных свай по вибрационной технологии следует применять вибрационное оборудование: виброустановки типа ПВН-1 и ПВН-2, виброгрейферы ПВ-380, ПВ-530 и ПВ-820, вибропогружатели типа В-401, ВП-1, вибромолот БВС-1 или другие вибрационные машины направленного действия, параметры которых близки к оборудованию перечисленных марок.
5. Выбор вибрационного оборудования следует производить по табл. 2 в зависимости от грунтовых условий площадки и размеров свай. Техническая характеристика вибрационного оборудования, применяемого при изготовлении набивных свай, представлена в
табл. 3 и
4.
Таблица 2
────────────┬──────────┬───────┬───────┬───────────────────────────────────
Вид грунта │ Диаметр │ Длина │Тип │ Технология изготовления свай
│ сваи, мм │сваи, м│обору- ├──────────────┬────────────────────
│ │ │дования│ Способ │ Способ
│ │ │ │ образования │ бетонирования
│ │ │ │ скважин │
────────────┼──────────┼───────┼───────┼──────────────┼────────────────────
Неустойчивые│325 - 377 │3 - 10 │ В-401 │С извлекаемыми│Насухо,
песчаные │ │3 - 12 │ ВП-1 │обсадными │малоподвижными или
и глинистые │ │3 - 15 │ ПВН-1 │трубами без │умеренно жесткими
грунты │ │ │ │выемки грунта │бетонными смесями,
│ │ │ │ │уплотняемыми в
│ │ │ │ │процессе извлечения
│ │ │ │ │обсадных труб
│ 426 │5 - 10 │ │ │
│ │5 - 15 │ │ │
│ 530 │5 - 12 │ │ │
│ 630 │5 - 15 │ БВС-1 │С извлекаемыми│То же, или способом
│ │5 - 20 │ ВП-1 │обсадными │ВПТ с вибрированием
│ │ │ │трубами и │
│ │ │ │выемкой грунта│
│720 - 1020│8 - 14 │ ВП-1 │ │
│ │10 - 20│ ПВН-2 │ │
Устойчивые │ 426 │5 - 15 │ │Без обсадных │Насухо,
глинистые │ 377 │3 - 16 │ ПВН-1 │труб и без │малоподвижными или
грунты │380 - 500 │3 - 15 │ПВ-380 │выемки грунта │умеренно жесткими
│530 - 800 │5 - 20 │ПВ-530 │Без обсадных │бетонными смесями
│820 - 1220│8 - 25 │ПВ-820 │труб с выемкой│с послойным
│ │ │ │грунта │уплотнением
│ │ │ │ │виброгрейфером или
│ │ │ │ │глубинным вибратором
──────────────────────────────────────┬──────────┬────────────┬────────────
Характеристика оборудования │ ПВ-380 │ ПВ-530 │ ПВ-820
──────────────────────────────────────┼──────────┼────────────┼────────────
Вид воздействия: │ │ │
при погружении │продольные│продольные │продольные
│колебания │колебания │колебания
при извлечении │поперечные│вращательные│вращательные
│колебания │колебания │колебания
Статический момент массы дебалансов, │ 650 │ 1000 │ 2400
кг x см │ │ │
Частота колебаний, Гц │ 15,2 │ 16,6 │ 12,9
Амплитуда вынуждающей силы, кН │ 61 │ 110 │ 161
Амплитуда крутящего момента от │ - │ 16 │ 28
вынуждающей силы, кН x м │ │ │
Средняя скорость заглубления в грунт │ 0,8 │ 1,0 │ 1,0
(набора грунта), м/мин │ │ │
Среднее время разгрузки │ 15 │ 10 │ 10
грунтозаборника, с │ │ │
Габариты, мм: │ │ │
минимальный диаметр │ 380 │ 530 │ 820
высота с грунтозаборником │ 3800 │ 2950 │ 3100
емкость грунтозаборника минимального │ 0,17 │ 0,3 │ 0,75
диаметра, м3 │ │ │
Масса виброгрейфера без грунта, кг │ 1000 │ 1300 │ 3000
Мощность приводного электродвигателя, │ 11 │ 30 │ 30
кВт │ │ │
───────────────┬────────────┬──────────┬────────┬─────────┬─────────┬────────
Характеристика │ ПВН-1 │ ПВН-2 │ ПВН-2Б │ ВП-1 │ В-401 │ БВС-1
оборудования │ │ │ │ │ ------ │
│ │ │ │ │ В-401А │
───────────────┼────────────┼──────────┼────────┴─────────┴─────────┴────────
Вид воздействия│Продольно- │Продольно-│ Продольные колебания
при погружении │вращательные│вращатель-│
│колебания │ные │
│или продоль-│колебания │
│ные удары │ │
│в сочетании │ │
│с враща- │ │
│тельными │ │
│колебаниями │ │
При извлечении │Продольно- │Продольно-│Враща- │ Продольные колебания
│вращательные│вращатель-│тельные │
│колебания │ные │колеба- │
│ │колебания │ния │
Статический │ 6000 │ 1000 │ 6500 │ 9300 │ 1000 │ 2500
момент массы │ │ │ │ │ │
дебалансов, │ │ │ │ │ │
кг x см │ │ │ │ │ │
Частота │ 8,7 │ 8,3/10 │ 12 │ 7 │ 25/16 │ 7 - 15
колебаний, Гц │ │ │ │ │ │
Максимальная │ 180 │ 400 │ 375 │ 185 │ 250 │ 225
вынуждающая │ │ │ │ │ │
сила, кН │ │ │ │ │ │
Максимальный │ 40 │ 200 │ 190 │ - │ - │ -
крутящий момент│ │ │ │ │ │
от вынуждающей │ │ │ │ │ │
силы, кН x м │ │ │ │ │ │
Тип наголовника│Фланцевый │Клиновой │Гидрав- │Фланцевый│Клиновой │Свобод-
│ │ │лический│ │гидравли-│ный
│ │ │ │ │ческий │клиновой
Вид │Подвесной │Подвесной │Встроен-│Подвесной│Встроен- │Подвес-
амортизатора │ │ │ный │ │ный │ной
Количество │ 1 │ 4 │ 4 │ 1 │ 1 │ 1
приводных │ │ │ │ │ │
электро- │ │ │ │ │ │
двигателей │ │ │ │ │ │
Мощность │ 60 │ 88 │ 88 │ 60 │ 55 │ 30
приводных │ │ │ │ │ │
электродви- │ │ │ │ │ │
гателей, кВт │ │ │ │ │ │
Габариты, мм: │ │ │ │ │ │
длина │ 1650 │ 1955 │ 2140 │ 1300 │ 1270 │ 876
ширина │ 1300 │ 1990 │ 2105 │ 1240 │ 800 │ 870
высота │ 3100 │ 1665 │ 3700 │ 2100 │ 2255 │ 1640
Масса, кг │ 5000 │ 5500 │ 6000 │ 4500 │ 2200 │ 2400
6. В качестве грузоподъемного оборудования для работ по устройству набивных свай вибрационными машинами могут быть использованы копры и стреловые самоходные краны с соответствующей грузоподъемностью, высотой подъема крюка и канатоемкостью лебедки, а также станки ударно-канатного бурения.
При работе с виброустановками типа ПВН и вибропогружателем ВП-1 грузоподъемность крана на рабочем вылете должна быть не менее удвоенного веса вибросистемы (вибропогружатель, амортизатор, наголовник, обсадная труба). Для работы с виброгрейфером ПВ-380 и ПВ-530 грузоподъемность крана на рабочем вылете стрелы или копра должна быть не менее 8 т, а с виброгрейфером ПВ-820 и вибропогружателем типа В-401 - не менее 16 т.
При использовании вибромолота БВС-1 в качестве грузоподъемного оборудования применяются станки ударно-канатного бурения УГБ-3УК (УКС-22) и УГБ-4УК (УКС-30).
7. Мощность трансформаторной подстанции и подводящей сети должна составлять не менее 50 кВА для виброгрейфера ПВ-380, 100 кВА для работы виброгрейферов ПВ-530, ПВ-820 и вибромолота БВС-1 и не менее 200 кВА для работы вибрационных установок типа ПВН, вибропогружателей В-401 и ВП-1.
Напряжение питающей сети должно быть не ниже 380 В. Допустимое падение напряжения в сети при работе вибрационного оборудования не должно превышать 10%.
8. При изготовлении набивных свай без выемки грунта с помощью виброустановки ПВН-1 или вибропогружателей типа В-401 используются обсадные трубы диаметром 325 - 530 мм с толщиной стенки не менее 8 - 10 мм по
ГОСТ 8732-78, а также теряемые башмаки.
Диаметры обсадных труб, применяемых при работе с вибромолотом БВС-1 и виброустановками ПВН-2 и ВП-1, выбираются соответственно 325 - 630 мм с толщиной стенки не менее 7 мм и 720 - 1020 мм с толщиной стенки не менее 10 мм по
ГОСТ 8732-78.
При подборе виброгрейфера для извлечения грунта из обсадных труб следует учитывать, что диаметр его грунтозаборника должен быть не менее, чем на 100 мм меньше внутреннего диаметра обсадной трубы.
Грунтозаборники виброгрейферов оснащаются сменными насадками, сечение которых должно выбираться в зависимости от ее диаметра и вида разрабатываемого грунта.
9. Бетонирование набивных свай, изготавливаемых по вибрационной технологии, следует производить малоподвижными бетонными смесями.
ИЗГОТОВЛЕНИЕ НАБИВНЫХ СВАЙ С ПОМОЩЬЮ ВИБРОГРЕЙФЕРОВ
10. Работы по изготовлению набивных свай должны осуществляться в соответствии с технологической схемой, приведенной на рис. 1.
Рис. 1. Изготовление набивных свай с помощью виброгрейферов
Проходку скважины следует начинать с установки направляющего устройства, в котором располагается виброгрейфер, погружающийся в грунт под действием продольных колебаний, при этом необходимо ослаблять натяжение стропа, на котором подвешен виброгрейфер, а крюк крана в процессе погружения постепенно опускать.
Время включения вибратора при погружении не должно превышать 1,5 - 2 мин.
На начальной стадии извлечения виброгрейфера до отрыва грунтового керна скорость подъема грузового крюка должна быть минимальной. При недостаточной грузоподъемности оборудования необходимо включать вращательные колебания, снижающие усилие извлечения виброгрейфера.
ИЗГОТОВЛЕНИЕ НАБИВНЫХ СВАЙ С ВЫЕМКОЙ
ГРУНТА ПОД ЗАЩИТОЙ ОБСАДНЫХ ТРУБ
11. Изготовление набивных свай с выемкой грунта под защитой обсадных труб следует выполнять с использованием установок типа ПВН-2 в комплекте с виброгрейфером. Для погружения обсадных труб также могут быть использованы вибропогружатель ВП-1 и вибромолот БВС-1.
12. Работы по изготовлению набивных свай с выемкой грунта и под защитой скважины обсадными трубами на всю глубину должны выполняться в соответствии с технологической схемой, приведенной на рис. 2.
Рис. 2. Изготовление набивных свай с выемкой
грунта под защитой обсадных труб
При включении установки и постепенном опускании крюка грузоподъемного средства производится погружение обсадной трубы до проектной отметки или снижения скорости погружения трубы до 0,1 м/мин, что свидетельствует об образовании грунтовой пробки.
В тех случаях, когда верхние слои грунта обеспечивают устойчивость стенок скважины без обсадки, перед погружением обсадной трубы следует осуществлять проходку лидерной скважины виброгрейфером на всю глубину устойчивой зоны.
При достижении проектной отметки или существенном снижении скорости погружения обсадной трубы извлечение грунта из ее внутренней полости следует производить виброгрейфером.
Извлечение грунта из обсадных труб, погруженных установкой ПВН-2, производится через проходное отверстие, предусмотренное в ее конструкции.
При работе с установкой ПВН-2Б, вибропогружателем ВП-1 или вибромолотом БВС-1 перед извлечением грунта вибровозбудитель необходимо снять с обсадной трубы.
Перед установкой арматурного каркаса следует зачистить поверхность обсадной трубы и забой скважины. В том случае, если в забое отсутствует вода, оставшийся разрыхленный грунт подбирается виброгрейфером. При наличии в основании скважины разуплотненного песчаного грунта его необходимо уплотнить, в глинистый грунт следует втрамбовать гравийную или щебеночную смесь. Если на забое имеется незначительный слой воды (0,5 - 1,5 м), ее необходимо откачать или в основание скважины уложить тощую бетонную смесь.
Если уровень воды на забое свыше 1,5 м и ее невозможно откачать или удалить иным способом, заполнение оболочки бетонной смесью необходимо производить способом ВПТ с вибрированием в соответствии с требованиями, изложенными в
СНиП III-15-76.
Бетонная смесь должна загружаться в обсадную трубу либо сразу на всю высоту при длине сваи до 10 м, либо порциями при большой длине сваи.
Скорость подъема обсадной трубы при включенных электродвигателях виброустановки принимается в пределах 1 - 2 м/мин.
Каждому циклу извлечения обсадной трубы должна предшествовать ее вибрация без подъема до тех пор, пока на поверхности бетона не появится слой цементного молока.
В тех случаях, когда основная нагрузка на сваю воспринимается боковой поверхностью, извлечение обсадной трубы следует производить с периодическим осаживанием.
ИЗГОТОВЛЕНИЕ НАБИВНЫХ СВАЙ БЕЗ ВЫЕМКИ
ГРУНТА ПОД ЗАЩИТОЙ ОБСАДНЫХ ТРУБ
13. Набивные сваи без выемки грунта под защитой обсадных труб следует изготавливать с использованием установок типа ПВН-1, вибропогружателей типа В-401 и ВП-1.
14. Работы по изготовлению набивных свай без выемки грунта с теряемым башмаком должны выполняться в соответствии с технологической схемой, приведенной на рис. 3.
Рис. 3. Изготовление набивных свай без выемки грунта
При устройстве свай с теряемым башмаком перед погружением на его цилиндрическую часть необходимо намотать несколько витков просмоленного каната, исключающего попадание воды в обсадную трубу.
Предварительно собранную вибросистему с помощью грузоподъемного средства следует установить вертикально на теряемый башмак.
При работе с установкой ПВН-1 на начальной стадии обсадную трубу следует погружать в вибрационном режиме. При снижении скорости погружения до 0,1 м/мин дальнейшее погружение обсадной трубы следует производить в ударно-вибрационном режиме.
После погружения обсадной трубы на проектную отметку и отсоединения вибропогружателя во внутреннюю полость трубы следует установить арматурный каркас.
В обсадную трубу должна быть уложена на всю высоту бетонная смесь, после чего трубу следует извлечь с вибрированием (при этом теряется башмак).
15. Вибронабивные сваи с теряемым башмаком могут изготовляться также с уширенной пятой (рис. 4).
Рис. 4. Схема устройства вибронабивных свай
с теряемым башмаком, с уширенной пятой
а - вибропогружение обсадной трубы с теряемым башмаком;
б - заполнение трубы бетоном для устройства уширенной
пяты; в - устройство уширенной пяты вибротрамбованием;
г - заполнение трубы бетоном до отметки низа арматурного
каркаса; д - установка арматурного каркаса и заполнение
трубы бетоном на всю высоту; е - формование ствола сваи
с виброизвлечением обсадной трубы; 1 - теряемый башмак;
2 - обсадная труба; 3 - вибропогружатель; 4 - бункер
с бетоном; 5 - воронка; 6 - бетон; 7 - трамбовка;
8 - уширенная пята; 9 - арматурный каркас; 10 - готовая
вибронабивная свая с уширенной пятой;
11 - фланец; 12 - башмак трамбовки
ПРИМЕНЯЕМОЕ ОБОРУДОВАНИЕ ДЛЯ БУРОИНЪЕКЦИОННЫХ СВАЙ
Бурение скважин в кирпичной и каменной кладке, бетоне и железобетоне и других материалах существующих фундаментов, а также грунтах любой категории при производстве работ по укрепительной цементации и устройстве буроинъекционных свай выполняется буровыми станками вращательного бурения, такими как СБА-500, СКБ-4, СБУ-100 ГН, БМК, СБУ-300 ЗИВ, БТС-150 и т.п.
Бурение в пределах существующих фундаментов выполняется пневмоударными буровыми станками типа НКР-100, СБУ-100 и т.п. или ручными перфораторами типа ПР-18, ПР-32 и т.п. с продувкой скважин сжатым воздухом. При этом используются компрессоры типа ДК-9.
Техническая характеристика бурового станка СБУ-100 Н приведена в табл. 1.
Таблица 1
Рекомендуемый парк буровых станков для устройства
скважин под буроинъекционные сваи
─────────────────────────────────┬─────────────────────────────────────────
Показатели │ Марка станка
├────────────┬─────────┬─────────┬────────
│СБУ-100-Н-35│ СБА-500 │ СКБ-4 │ЗИФ-300М
─────────────────────────────────┼────────────┼─────────┼─────────┼────────
Диаметр бурения, мм │ 100 - 151 │151 - 250│151 - 250│ 151
Глубина бурения, м │ 25 │ 50 │ 50 │ 50
Угол бурения к вертикали, град │ 0 - 45 │ 0 - 45 │ 0 - 360 │ 0 - 45
Мощность привода, кВт │ 4,0 │ 22,0 │ 22,0 │ 14,0
Грузоподъемность лебедки, т │ - │ 2,0 │ 2,0 │ 2,0
Габариты, см: │ │ │ │
длина │ 218 │ 167 │ 180 │ 422
ширина │ 100 │ 113 │ 102 │ 422
высота │ 273 │ 162 │ 160 │ 194
Масса установки, т │ 0,5 │ 1,32 │ 1,8 │ 1,38
Для приготовления буровых и цементных растворов используются растворомешалки турбинного типа.
Технические характеристики растворомешалок приведены в табл. 2.
Таблица 2
Рекомендуемый парк растворосмесителей
| | ИС МЕГАНОРМ: примечание. Марки растворосмесителя в шапке таблицы даны в соответствии с официальным текстом документа. | |
─────────────────────────────────┬─────────────────────────────────────────
Показатели │ Марка растворосмесителя
├─────────────┬─────────────┬─────────────
│ РМ-300 │ РМ-300 │ РМ-750
─────────────────────────────────┼─────────────┼─────────────┼─────────────
Полезная вместимость, л │ 300 │ 500 │ 750
Частота вращения турбины, об./мин│ 350 │ 475 │ 570
Мощность электродвигателя, кВт │ 4,5 │ 4,5 │ 7,5
Габаритные размеры, м: │ │ │
высота │ 1431 │ 1544 │ 2000
ширина │ 1110 │ 1158 │ 1100
длина │ 1393 │ 1672 │ 1450
Масса, т │ 0,28 │ 0,35 │ 0,51
Для подачи и нагнетания буровых и цементных растворов применяются шламовые насосы типов НГР 250/50, НГР 120/40 и НБ-30, растворонасосы типа СО-48/СО-49/, С-317 А.
Технические характеристики насосов СО-48 и СО-49 приведены в табл. 3.
Таблица 3
Рекомендуемый парк растворонасосов
─────────────────────┬─────────────────────────────────────────────────────
Показатели │ Марка насоса
├──────────┬────────┬─────────┬───────┬────────┬──────
│НГР 250/50│ НГР │ 9МГР │С-317 А│ГР 16/40│НБ-179
─────────────────────┼──────────┼────────┼─────────┼───────┼────────┼──────
Производительность, │ 18 │18; 13,5│ 22; 36; │ 6 │1,9 - 16│1,8; 3
м3/ч │ │ │ 60 │ │ │
Давление, МПа │ 5,0 │5,0; 6,3│ 10,0; │ 1,5 │ 4,0 │до 4,0
│ │ │6,0; 3,5 │ │ │
Мощность привода, кВт│ 38 │ 35 │ 73 │ 7 │ 22 │ 3
Габариты, мм: │ │ │ │ │ │
длина │ 1444 │ 1870 │ 2630 │ 1040 │ 1340 │ 1310
ширина │ 876 │ 990 │ 1040 │ 560 │ 930 │ 750
высота │ 932 │ 1510 │ 1630 │ 1000 │ 1080 │ 500
Масса, т │ 0,73 │ 1,15 │ 1,76 │ 0,39 │ 0,56 │ 0,25
Очистка буровых растворов при замкнутом цикле буровых работ выполняется ситогидроциклонной установкой типа 4 СГУ-2.
Техническая характеристика установок приведена в табл. 4.
Таблица 4
Рекомендуемый парк оборудования
для очистки бурового раствора
─────────────┬────────────────────────┬─────────────┬──────────────────────
Показатели │ Марка вибросита │ Показатели │Марка ситогидро-
│ │ │циклонной установки
├─────┬──────────┬───────┤ ├───────┬───────┬──────
│СВ-1 │ СВС-1 │ СВ-2 │ │ 2СГУ │ 4СГУ │ОГХ-86
─────────────┼─────┼──────────┼───────┼─────────────┼───────┼───────┼──────
Пропускная │ 20 │ 50 - 55 │50 - 60│Производи- │ 30 │ 60 │ 5
способность, │ │ │ │тельность, │ │ │
л/с │ │ │ │л/с │ │ │
│ │ │ │Число сит │ 1 │ 2 │ -
Рабочая │1,25 │ 2,5 │ 2,6 │Число │ 2 │ 4 │ 1
площадь сетки│ │ │ │гидроциклонов│ │ │
Число │ │ │ │ │ │ │
отверстий при│ │ │ │ │ │ │
диаметре, мм:│ │ │ │ │ │ │
0,25 │ 40 │ 40 │ 40 │Насосная │ │ │
│ │ │ │установка: │ │ │
│ │ │ │Тип │ВШН-150│ВШН-150│ ВН-4
0,35 │ 30 │ 30 │ 30 │ │ │ │
│ │ │ │Габариты, мм:│ │ │
│ │ │ │ длина │ 2100 │ 2175 │ 1670
Частота │1400 │1400 - │ 1600, │ ширина │ 1700 │ 2250 │ 420
колебаний │ │ 2000│ 2000 │ высота │ 2465 │ 2150 │ 1425
в минуту │ │ │ │ │ │ │
Мощность │2,8 │ 2,8 x 2 │2,8 x 2│ │ │ │
электродвига-│ │ │ │ │ │ │
теля, кВт │ │ │ │Мощность, кВт│ 28 │ 28 │ 45
ПОГРУЖЕНИЕ СВАЙ ВДАВЛИВАНИЕМ
1. Вдавливание свай может осуществляться в тех же грунтовых условиях, в которых выполняется их погружение другими способами (ударным, вибрационным и т.д.).
При вдавливании свай в плотные грунты (или при прохождении прослоек таких грунтов) рекомендуется применять различные способы снижения сопротивления погружению (например, устройство лидерных скважин). При их назначении необходимо учитывать такие факторы, как возможное снижение несущей способности погружаемых свай, а также негативное влияние этих мероприятий на состояние и несущую способность существующих фундаментов соседних зданий и сооружений (в том числе подземных).
2. Для вдавливания свай могут быть использованы различные типы установок самоходных (на базе тракторов, экскаваторов и кранов) или несамоходных. Выбор установки следует производить, исходя из следующих условий:
стесненности условий строительства (габариты);
допускаемого удельного давления на грунт;
оснащенности строительной организации, выполняющей свайные работы.
ПРИМЕРЫ ПРИНЦИПИАЛЬНЫХ СХЕМ АНКЕРОВ
Основные определения
Заделка (корень) - часть анкера, обеспечивающая передачу усилий от сооружения грунтовому основанию.
Оголовок - часть анкера, обеспечивающая возможность натяжения и блокировки анкера на конструкции.
Тяга - напрягаемая арматура анкера.
Замок - устройство, обеспечивающее передачу усилия от анкерной тяги на цементный камень заделки.
Манжетная труба - труба с отверстиями, перекрытыми резиновыми клапанами-манжетами.
Пакер - уплотняющее устройство, препятствующее выходу раствора по скважине при инъецировании заделки анкера.
Инъектор с двойным тампоном - устройство, обеспечивающее поинтервальную подачу раствора через отверстия манжетной трубы.
Обойма - затвердевающий раствор между манжетной трубой и стенками скважины.
Принципиальные схемы анкеров
Анкер с теряемым башмаком (рисунок а) включает заделку, тягу с изолирующей оболочкой, оголовок и теряемый башмак.
Принципиальные схемы анкеров
а - анкер с теряемым башмаком; б - анкер с опорной трубой;
в - анкер с инъекционной трубкой; г - анкер
с манжетной трубой при внутреннем расположении тяги;
д - анкер с манжетной трубой при наружном расположении
тяги; 1 - теряемый башмак; 2 - заделка (корень); 3 - тяга;
4 - изолирующая оболочка; 5 - оголовок; 6 - замок;
7 - инъекционная трубка; 8 - обойма; 9 - фиксатор;
10 - манжетная труба; 11 - пакер
Анкер с опорной трубой (рисунок б) включает заделку, тягу с изолирующей оболочкой, замок из стальной трубы с пятой, приваренной к тяге, и оголовок.
Анкер с инъекционной трубкой (рисунок в) включает заделку, тягу с изолирующей оболочкой, инъекционную трубку с резиновыми клапанами в пределах заделки, цементную обойму и оголовок.
Анкер с манжетной трубой при внутреннем расположении тяги
(рисунок г) включает заделку, манжетную трубу с замком и пакером, тягу с изолирующей оболочкой, обойму и оголовок.
Анкер с манжетной трубой при наружном расположении тяги
(рисунок д) включает заделку, манжетную трубу с пакером, тягу, имеющую на нижнем конце замок, с изолирующей оболочкой, обойму и оголовок.
Анкер вертикальный с вибропогружателем, анкер с цементной пробкой и др.
ПРИМЕРЫ ТЕХНОЛОГИИ УСТРОЙСТВА АНКЕРОВ
1. Технология устройства анкера с теряемым башмаком (рис. 1) включает:
бурение скважины забивкой обсадных труб с теряемым башмаком;
установку тяги с изолирующей оболочкой внутрь обсадных труб и высаживание ею теряемого башмака в грунт;
поинтервальное, начиная с забоя, нагнетание цементного раствора через обсадные трубы по мере их извлечения (ориентировочный расход цементного раствора - 75 - 150 литров на 1 метр заделки);
полное извлечение обсадных труб с заполнением скважины цементным раствором;
натяжение анкера (после набора цементным раствором проектной прочности);
блокировку анкера на строительной конструкции.
Рис. 1. Технология устройства анкера с теряемым башмаком
а - бурение скважины; б - погружение анкера;
в - нагнетание цементного раствора в скважину;
г - натяжение анкера и блокировка его на конструкции
2. Технология устройства анкера с опорной трубой (рис. 2) включает:
бурение скважины с применением обсадных труб и внутренней промывкой;
погружение анкера в скважину, закрепленную обсадными трубами;
поинтервальное, начиная с забоя, нагнетание цементного раствора через обсадные трубы по мере их извлечения;
полное извлечение обсадных труб с заполнением скважины цементным раствором;
натяжение анкера (после набора цементным раствором проектной прочности);
блокировку анкера на строительной конструкции.
Рис. 2. Технология устройства анкера с опорной трубой
а - бурение скважины; б - погружение анкера в обсадные
трубы; в - нагнетание цементного раствора в скважину;
г - натяжение анкера и блокировка его конструкции
3. Технология устройства анкера с инъекционной трубкой (рис. 3) включает:
бурение скважины;
погружение анкера с инъекционной трубкой в скважину;
заполнение скважины цементным раствором;
технологическое ожидание в течение суток (твердение раствора в скважине);
нагнетание воды под давлением по инъекционной трубке для прорыва цементной обоймы;
нагнетание цементного раствора по инъекционной трубке;
натяжение анкера (после набора цементным раствором проектной прочности);
блокировку анкера на строительной конструкции.
Рис. 3. Технология устройства анкера с инъекционной трубкой
а - бурение скважины; б - погружение анкера с инъекционной
трубкой в скважину; в - заполнение скважины цементным
раствором; г - нагнетание цементного раствора (спустя
сутки) по инъекционной трубке; д - натяжение
анкера и блокировка его на конструкции
4. Технология устройства анкера с манжетной трубой при внутреннем расположении тяги (рис. 4) включает:
бурение скважины;
погружение манжетной трубы в скважину;
установку инъектора с двойным тампоном в манжетную трубу против нижних выпускных отверстий и замещение бурового раствора на обойменный;
установку инъектора с двойным тампоном против манжеты пакера и нагнетание обойменного раствора в пакер под давлением 0,2 - 0,5 МПа;
поинтервальную, начиная с нижней манжеты, инъекцию с ориентировочным расходом цементного раствора на каждой манжете 50 - 150 литров;
заполнение нижней части манжетной трубы цементным раствором, установку тяги с изолирующей оболочкой внутрь манжетной трубы;
натяжение анкера (после набора цементным раствором проектной прочности);
блокировку анкера на строительной конструкции.
Рис. 4. Технология устройства анкера
с манжетной трубой при внутреннем
расположении тяги с двухкратной инъекцией
а - бурение скважины; б - погружение манжетной трубы
в скважину; в - замещение бурового раствора на обойменный;
г - нагнетание раствора в пакер; д - нагнетание цементного
раствора через манжеты при помощи инъектора с двойным
тампоном; е - повторное нагнетание цементного раствора
через манжеты при помощи инъектора с двойным тампоном;
ж - установка тяги на цементном растворе в манжетную
трубу; натяжение анкера и блокировка его на конструкции
5. Технология устройства анкера с манжетной трубой при наружном расположении тяги (рис. 5) включает:
бурение скважины, погружение манжетной трубы в скважину и образование заделки в последовательности, указанной в
п. 4;
натяжение анкера (после набора цементным раствором проектной прочности);
блокировку анкера на строительной конструкции.
Рис. 5. Технология устройства анкера
с манжетной трубой при наружном расположении
тяги с двухкратной инъекцией
а - бурение скважины; б - погружение анкера в скважину;
в - замещение бурового раствора на обойменный;
г - нагнетание раствора в пакер; д - нагнетание цементного
раствора через манжеты при помощи инъектора с двойным
тампоном; е - повторное нагнетание цементного раствора
через манжеты при помощи инъектора с двойным тампоном;
ж - натяжение анкера и блокировка его на конструкции
6. Технология устройства вертикального инъекционного анкера с вибропогружателем включает:
погружение вибропогружателем В-401 обсадных труб с теряемым башмаком на проектную глубину;
подъем обсадных труб на 0,3 - 0,5 м, отсоединение вибратора, заполнение обсадных труб цементным раствором, установка тяги в обсадные трубы и высаживание ею теряемого башмака;
присоединение вибратора с головным патрубком к обсадным трубам;
подключение растворонасоса и нагнетание цементного раствора в обсадные трубы по мере их извлечения на высоту, равную длине заделки. Полное извлечение обсадных труб из скважины.
ПРИМЕР МЕТОДИКИ ПРОВЕДЕНИЯ КОНТРОЛЬНЫХ
И ПРИЕМОЧНЫХ ИСПЫТАНИЙ АНКЕРОВ
Контрольные испытания анкеров
1. Контрольные испытания анкеров следует выполнять статическими ступенчато возрастающими выдергивающими нагрузками. Величина возрастания нагрузки на каждой ступени должна, как правило, составлять 1/10 максимальной испытательной нагрузки.
2. Перемещения оголовка анкера следует измерять с точностью 0,01 мм через 1; 3; 5; 7,5; 10,5; 15; 21; 30; 42 и 60 мин с момента достижения номинальной нагрузки ступени.
3. После выдержки на максимальной испытательной нагрузке необходимо провести разгрузку до первой ступени нагружения и после натяжения анкера усилием, равным блокировочной нагрузке, закрепить его на конструкции.
4. По результатам испытаний необходимо построить графики S = f(p); S = f(lg t) и

, по которым следует устанавливать величину критической нагрузки

(рис. 1).
Рис. 1. Контрольные испытания анкеров
а - график S = f(P); б - график
S = f(lg t); в - график

5. Анкер следует считать пригодным к эксплуатации, если удовлетворяется условие

,
где

- отношение максимальной испытательной к критической нагрузке в контрольных испытаниях;

- отношение испытательной к критической нагрузке, задаваемое в проекте на основании пробных испытаний опытных анкеров.
Приемочные испытания
6. После выдержки на максимальной испытательной нагрузке с соблюдением требований
п. 2 необходимо произвести разгрузку до первой ступени нагружения и после натяжения анкера усилием, равным блокировочной нагрузке

, закрепить его на конструкции.
7. По результатам испытаний необходимо построить графики S = f(P) и S = f(lg t) (рис. 2).
Рис. 2. Приемочные испытания анкеров
а - график S = f(P); б - график S = f(lg t)
8. Анкер следует считать пригодным к эксплуатации, если: при выдержке на максимальной испытательной нагрузке в течение 60 мин наступает стабилизация перемещений, т.е. приращение перемещений
(п. 2) в двух последовательных интервалах времени составляет 0,01 мм и менее;
удовлетворяется условие

,
где

- общая величина перемещений оголовка анкера в приемочных испытаниях;

- общая величина перемещений оголовка анкера в контрольных испытаниях.
9. Решение по анкерам, когда не соблюдаются требования
п. 4 и
8, должно быть принято проектной организацией.
Наименование строительной организации _____________________________________
Объект ____________________________________________________________________
СВОДНАЯ ВЕДОМОСТЬ УСТАНОВЛЕННЫХ АНКЕРОВ
(с N по N )
Начало _______________________________ Окончание ________________________
Тип испытаний - контрольные __________ Типы анкеров _____________________
N 1 _____________________
N 2 _____________________
N 3 _____________________
────┬────┬────┬────┬──────┬─────┬─────┬───────┬─────┬───────────┬──────────
N │Тип │Дата│Дата│Отмет-│Глу- │Угол │Наиме- │Вид │ Длина │ Длина
ан- │ан- │из- │ис- │ка │бина │нак- │нование│анти-│ анкера, м │ тяги, м
ке- │кера│го- │пы- │устья │сква-│лона │грунтов│кор- ├───┬───────┼───┬──────
ров │ │тов-│та- │сква- │жины,│к │в пре- │рози-│Об-│Рабочая│Об-│Задел-
│ │ле- │ния │жины │м │гори-│делах │онной│щая│часть -│щая│ка
│ │ния │ │(ярус)│Диа- │зон- │рабочей│защи-│ │заделка│ │Сво-
│ │ │ │ │метр │ту, │части -│ты │ │Свобод-│ │бодная
│ │ │ │ │сква-│град │заделки│ │ │ная │ │длина
│ │ │ │ │жины,│ │анкера │ │ │часть │ │
│ │ │ │ │мм │ │ │ │ │ │ │
│ │ │ │ │ │ │ │ │ │ │ │
────┼────┼────┼────┼──────┼─────┼─────┼───────┼─────┼───┼───────┼───┼──────
1 │ 2 │ 3 │ 4 │ 5 │ 6 │ 7 │ 8 │ 9 │10 │ 11 │12 │ 13
────┴────┴────┴────┴──────┴─────┴─────┴───────┴─────┴───┴───────┴───┴──────
Продолжение Приложения 64
──────┬───────────────────────────────────┬──────┬───────┬────────┬────────
Мате- │ Количество закачанного раствора │ Вид │Расчет-│Испыта- │Блокиро-
риал ├───────────────────────────────────┤обоймы│ная на-│тельная │вочная
тяги │ Фазы инъекции │ │грузка │нагрузка│нагрузка
├─────────┬─────────┬─────────┬─────┤ │P, кН │P , кН │P , кН
│ 1-я │ 2-я │ 3-я │Всего│ │ │ и │ бл
├───┬─────┼───┬─────┼───┬─────┤зака-│ │ │ │
│В:Ц│Объем│В:Ц│Объем│В:Ц│Объем│чано │ │ │ │
──────┼───┼─────┼───┼─────┼───┼─────┼─────┼──────┼───────┼────────┼────────
14 │15 │ 16 │17 │ 18 │19 │ 20 │ 21 │ 22 │ 23 │ 24 │ 25
──────┴───┴─────┴───┴─────┴───┴─────┴─────┴──────┴───────┴────────┴────────
Продолжение Приложения 64
───────────────────────────────────────┬──────┬───────┬─────┬───────┬──────
Перемещение анкера во времени │Общее │Крити- │(P / │(P / │Приме-
на ступенях нагрузки P /P , см │пере- │ческая │ и │ и │чание
и и │меще- │нагруз-│P ) │P ) │
───┬───┬───┬───┬───┬───┬───┬───┬───┬───┤ние │ка P ,│ кр │ кр │
0,1│0,2│0,3│0,4│0,5│0,6│0,7│0,8│0,8│1,0│анке- │ кр │ │проект-│
│ │ │ │ │ │ │ │ │ │ра, см│кН │ │ное │
───┼───┼───┼───┼───┼───┼───┼───┼───┼───┼──────┼───────┼─────┼───────┼──────
26 │27 │28 │29 │30 │31 │32 │33 │34 │35 │ 36 │ 37 │ 38 │ 39 │ 40
───┴───┴───┴───┴───┴───┴───┴───┴───┴───┴──────┴───────┴─────┴───────┴──────
Наименование строительной организации _____________________________________
Объект ____________________________________________________________________
СВОДНАЯ ВЕДОМОСТЬ УСТАНОВЛЕННЫХ АНКЕРОВ
(с N по N )
Начало _______________________________ Окончание ________________________
Тип испытаний - приемочные ___________ Типы анкеров _____________________
N 1 _____________________
N 2 _____________________
N 3 _____________________
────┬────┬────┬────┬──────┬─────┬─────┬───────┬─────┬───────────┬──────────
N │Тип │Дата│Дата│Отмет-│Глу- │Угол │Наиме- │Вид │Длина │Длина
ан- │ан- │из- │ис- │ка │бина │нак- │нование│анти-│анкера, м │тяги, м
ке- │кера│го- │пы- │устья │сква-│лона │грунтов│кор- ├───┬───────┼───┬──────
ров │ │тов-│та- │сква- │жины,│к │в пре- │рози-│Об-│Рабочая│Об-│Задел-
│ │ле- │ния │жины │м │гори-│делах │онной│щая│часть -│щая│ка
│ │ния │ │(ярус)│Диа- │зон- │рабочей│защи-│ │заделка│ │Сво-
│ │ │ │ │метр │ту, │части -│ты │ │Свобод-│ │бодная
│ │ │ │ │сква-│град │заделки│ │ │ная │ │длина
│ │ │ │ │жины,│ │анкера │ │ │часть │ │
│ │ │ │ │мм │ │ │ │ │ │ │
────┼────┼────┼────┼──────┼─────┼─────┼───────┼─────┼───┼───────┼───┼──────
1 │ 2 │ 3 │ 4 │ 5 │ 6 │ 7 │ 8 │ 9 │10 │ 11 │12 │ 13
────┴────┴────┴────┴──────┴─────┴─────┴───────┴─────┴───┴───────┴───┴──────
Продолжение Приложения 65
──────┬───────────────────────────────────┬──────┬───────┬────────┬────────
Мате- │ Количество закачанного раствора │ Вид │Расчет-│Испыта- │Блокиро-
риал ├───────────────────────────────────┤обоймы│ная на-│тельная │вочная
тяги │ Фазы инъекции │ │грузка │нагрузка│нагрузка
├─────────┬─────────┬─────────┬─────┤ │P, кН │P , кН │P , кН
│ первая │ вторая │ третья │Всего│ │ │ и │ бл
├───┬─────┼───┬─────┼───┬─────┤зака-│ │ │ │
│В:Ц│Объем│В:Ц│Объем│В:Ц│Объем│чано │ │ │ │
──────┼───┼─────┼───┼─────┼───┼─────┼─────┼──────┼───────┼────────┼────────
14 │15 │ 16 │17 │ 18 │19 │ 20 │ 21 │ 22 │ 23 │ 24 │ 25
──────┴───┴─────┴───┴─────┴───┴─────┴─────┴──────┴───────┴────────┴────────
Продолжение Приложения 65
───────────────────────────────────────────────────┬───────────┬───────────
Перемещение анкера, см, при нагрузке P │ Общее │ Общее
и │перемещение│перемещение
во времени, мин │ │ при
────┬─────┬────┬────┬────┬────┬────┬────┬────┬─────┤ │контрольных
1 │ 3 │ 5 │7,5 │10,5│ 15 │ 21 │ 30 │ 42 │ 60 │ │испытаниях
────┼─────┼────┼────┼────┼────┼────┼────┼────┼─────┼───────────┼───────────
26 │ 27 │ 28 │ 29 │ 30 │ 31 │ 32 │ 33 │ 34 │ 35 │ 36 │ 37
────┼─────┼────┼────┼────┼────┼────┼────┼────┼─────┼───────────┼───────────
│ │ │ │ │ │ │ │ │ │ │
Наименование строительной организации _____________________________________
Объект ____________________________________________________________________
ЖУРНАЛ РАБОТ ПО ОПУСКАНИЮ КОЛОДЦА
1. Размеры колодца в плане ________________________________________________
2. Даты:
снятия с временного основания _________________________________________
начала опускания ______________________________________________________
окончания опускания ___________________________________________________
3. Отметки ножа
в начале опускания ____________________________________________________
в конце опускания _____________________________________________________
проектная _____________________________________________________________
4. Материалы конструкции:
стен колодца __________________________________________________________
ножа __________________________________________________________________
5. Оборудование:
а) краны: тип _________________, грузоподъемность ___________________ т
б) экскаваторы: тип ________________, емкость ______________________ м3
в) гидроэлеваторы (землесосы) _________________________________________
─────┬──────┬──────┬──────┬──────┬───────────┬───────────┬──────────┬──────
Дата/│Способ│Вид │Объем │Вели- │ Глубина │ Отметка │Исполни- │Приме-
смена│разра-│разра-│разра-│чина │погружения │ горизонта │тель │чание
│ботки │баты- │ботан-│погру-│колодца по │ воды │Ф.И.О. │
│грунта│ваемо-│ного │жения │ точкам, м │ │(подпись) │
│ │го │грун- │колод-├───────────┼─────┬─────┤ │
│ │грунта│та, м3│ца за │ Номера │в ко-│вне │ │
│ │ │ │смену,│ точек │лодце│ко- │ │
│ │ │ │м ├──┬──┬──┬──┤ │лодца│ │
│ │ │ │ │1 │2 │3 │4 │ │ │ │
─────┼──────┼──────┼──────┼──────┼──┼──┼──┼──┼─────┼─────┼──────────┼──────
1 │ 2 │ 3 │ 4 │ 5 │6 │7 │8 │9 │ 10 │ 11 │ 12 │ 13
─────┴──────┴──────┴──────┴──────┴──┴──┴──┴──┴─────┴─────┴──────────┴──────
Наименование строительной организации _____________________________________
Объект ____________________________________________________________________
ЖУРНАЛ РАБОТ ПО ОПУСКАНИЮ КЕССОНА
1. Размеры кессона в плане ________________________________________________
2. Даты:
снятия с временного основания _________________________________________
начала опускания ______________________________________________________
окончания опускания ___________________________________________________
3. Отметки ножа:
в начале опускания ____________________________________________________
в конце опускания _____________________________________________________
проектная _____________________________________________________________
4. Материалы конструкции:
кессона _______________________________________________________________
ножа __________________________________________________________________
5. Оборудование:
а) шлюзовые аппараты системы _________ шт. _________
б) гидроэлеваторы (эрлифты) __________ шт. _________
в) гидромониторы _____________________ шт. _________
──────────┬──────┬──────┬────────┬────────┬─────┬──────┬───────────┬─────────┬───────
Дата/смена│Способ│Вид │Давление│Давление│Вели-│Объем │ Глубина │Исполни- │Приме-
│разра-│разра-│воздуха │воздуха │чина │разра-│погружения │тель │чание
│ботки │баты- │в │ в │по- │ботан-│кессона по │Ф.И.О. │
│грунта│ваемо-│кессоне │кессоне │сад- │ного │ точкам, м │(подпись)│
│ │го │перед │ после │ки, м│грун- ├──┬──┬──┬──┤ │
│ │грунта│посад- │посадки,│ │та, │1 │2 │3 │4 │ │
│ │ │кой, МПа│ МПа │ │м3 │ │ │ │ │ │
──────────┼──────┼──────┼────────┼────────┼─────┼──────┼──┼──┼──┼──┼─────────┼───────
1 │ 2 │ 3 │ 4 │ 5 │ 6 │ 7 │8 │9 │10│11│ 12 │ 13
──────────┴──────┴──────┴────────┴────────┴─────┴──────┴──┴──┴──┴──┴─────────┴───────