Главная // Актуальные документы // ГОСТ (Государственный стандарт)СПРАВКА
Источник публикации
В данном виде документ опубликован не был.
Первоначальный текст документа опубликован в издании
М.: Стандартинформ, 2011.
Информацию о публикации документов, создающих данную редакцию, см. в справке к этим документам.
Примечание к документу
Документ утратил силу на территории Российской Федерации с 01.06.2021 в связи с изданием
Приказа Росстандарта от 14.10.2020 N 831-ст.
Документ утратил силу в части
подразд. 5.1,
5.2,
5.3,
5.4,
5.5,
5.6,
6.1,
6.2,
6.3,
6.4,
6.5 с 01.06.2021 в связи с изданием Приказов Росстандарта от 14.10.2020
N 821-ст,
822-ст,
823-ст,
824-ст,
825-ст,
826-ст,
827-ст,
828-ст,
829-ст,
830-ст,
831-ст. Взамен введены в действие
ГОСТ 12248.1-2020,
ГОСТ 12248.2-2020,
ГОСТ 12248.3-2020,
ГОСТ 12248.4-2020,
ГОСТ 12248.5-2020,
ГОСТ 12248.6-2020,
ГОСТ 12248.7-2020,
ГОСТ 12248.8-2020,
ГОСТ 12248.9-2020,
ГОСТ 12248.10-2020,
ГОСТ 12248.11-2020 соответственно.
Документ был включен в
Перечень документов в области стандартизации, в результате применения которых на добровольной основе обеспечивается соблюдение требований Федерального
закона от 30.12.2009 N 384-ФЗ "Технический регламент о безопасности зданий и сооружений" (
Приказ Росстандарта от 02.04.2020 N 687).
Документ включен в
Перечень документов в области стандартизации, в результате применения которых на добровольной основе обеспечивается соблюдение требований Федерального
закона от 30.12.2009 N 384-ФЗ "Технический регламент о безопасности зданий и сооружений" (
Приказ Росстандарта от 17.04.2019 N 831).
Документ включен в
Перечень документов в области стандартизации, в результате применения которых на добровольной основе обеспечивается соблюдение требований Федерального
закона от 30.12.2009 N 384-ФЗ "Технический регламент о безопасности зданий и сооружений" (
Приказ Росстандарта от 30.03.2015 N 365).
Текст данного документа приведен с учетом
поправки, опубликованной в "ИУС", N 12, 2012.
Документ
введен в действие с 1 января 2012 года.
Название документа
"ГОСТ 12248-2010. Межгосударственный стандарт. Грунты. Методы лабораторного определения характеристик прочности и деформируемости"
(введен в действие Приказом Росстандарта от 19.04.2011 N 46-ст)
(ред. от 14.10.2020)
"ГОСТ 12248-2010. Межгосударственный стандарт. Грунты. Методы лабораторного определения характеристик прочности и деформируемости"
(введен в действие Приказом Росстандарта от 19.04.2011 N 46-ст)
(ред. от 14.10.2020)
от 19 апреля 2011 г. N 46-ст
МЕЖГОСУДАРСТВЕННЫЙ СТАНДАРТ
ГРУНТЫ
МЕТОДЫ ЛАБОРАТОРНОГО ОПРЕДЕЛЕНИЯ ХАРАКТЕРИСТИК
ПРОЧНОСТИ И ДЕФОРМИРУЕМОСТИ
Soils. Laboratory methods for determining
the strength and strain characteristics
ГОСТ 12248-2010
| | Список изменяющих документов Приказом Росстандарта от 14.10.2020 N 821-ст, Приказом Росстандарта от 14.10.2020 N 822-ст, Приказом Росстандарта от 14.10.2020 N 823-ст, Приказом Росстандарта от 14.10.2020 N 824-ст, Приказом Росстандарта от 14.10.2020 N 825-ст, Приказом Росстандарта от 14.10.2020 N 826-ст, Приказом Росстандарта от 14.10.2020 N 827-ст, Приказом Росстандарта от 14.10.2020 N 828-ст, Приказом Росстандарта от 14.10.2020 N 829-ст, Приказом Росстандарта от 14.10.2020 N 830-ст, Приказом Росстандарта от 14.10.2020 N 831-ст) | |
Группа Ж39
МКС 93.020
Дата введения
1 января 2012 года
Цели, основные принципы и основной порядок проведения работ по межгосударственной стандартизации установлены
ГОСТ 1.0-92 "Межгосударственная система стандартизации. Основные положения" и МСН 1.01-01-96 "Система межгосударственных нормативных документов в строительстве. Основные положения".
1. РАЗРАБОТАН Научно-исследовательским, проектно-изыскательским и конструкторско-технологическим институтом оснований и подземных сооружений (НИИОСП) им. Н.М. Герсеванова - институтом Открытого акционерного общества "Научно-исследовательский центр "Строительство" (ОАО "НИЦ "Строительство") при участии ОАО "ВНИИГ им. Б.Е. Веденеева", ОАО "Союздорнии", ОАО "Фундаментпроект", Института геоэкологии им. Е.М. Сергеева РАН (ИГЭ РАН), ООО "НПП "Геотек", геологического факультета Московского государственного университета им. М.В. Ломоносова (МГУ).
2. ВНЕСЕН Техническим комитетом по стандартизации ТК 465 "Строительство".
3. ПРИНЯТ Межгосударственной научно-технической комиссией по стандартизации, техническому нормированию и сертификации в строительстве (дополнение к приложению Д Протокола N 37 от 6 - 7 октября 2010 г.).
За принятие стандарта проголосовали:
Краткое наименование страны по МК (ИСО 3166) 004-97 | Код страны по МК (ИСО 3166) 004-97 | Сокращенное наименование органа государственного управления строительством |
Республика Армения | AM | Министерство градостроительства |
Республика Казахстан | KZ | Агентство по делам строительства и жилищно-коммунального хозяйства |
Кыргызская Республика | KG | Госстрой |
Республика Молдова | MD | Министерство строительства и регионального развития |
Российская Федерация | RU | Департамент регулирования градостроительной деятельности Министерства регионального развития |
Республика Узбекистан | UZ | Госархитектстрой |
Республика Таджикистан | TJ | Агентство по строительству и архитектуре при Правительстве |
4.
Приказом Федерального агентства по техническому регулированию и метрологии от 19 апреля 2011 г. N 46-ст межгосударственный стандарт ГОСТ 12248-2010 введен в действие в качестве национального стандарта Российской Федерации с 1 января 2012 г.
Информация о введении в действие (прекращении действия) настоящего стандарта публикуется в указателе "Национальные стандарты".
Информация об изменениях к настоящему стандарту публикуется в указателе "Национальные стандарты", а текст изменений - в информационных указателях "Национальные стандарты". В случае пересмотра или отмены настоящего стандарта соответствующая информация будет опубликована в информационном указателе "Национальные стандарты".
Настоящий стандарт устанавливает методы лабораторного определения характеристик прочности и деформируемости полускальных, дисперсных и мерзлых грунтов при их исследовании для строительства.
В настоящем стандарте использованы ссылки на следующие стандарты:
ГОСТ 2789-73. Шероховатость поверхности. Параметры и характеристики
ГОСТ 5180-84. Грунты. Методы лабораторного определения физических характеристик
ГОСТ 9378-93. Образцы шероховатости поверхности (сравнения). Общие технические условия
ГОСТ 12071-2000. Грунты. Отбор, упаковка, транспортирование и хранение образцов
ГОСТ 12536-79. Грунты. Методы лабораторного определения гранулометрического (зернового) и микроагрегатного состава
ГОСТ 22733-2002. Грунты. Метод лабораторного определения максимальной плотности
ГОСТ 23161-78. Грунты. Методы лабораторного определения характеристик просадочности
ГОСТ 25584-90. Грунты. Методы лабораторного определения коэффициента фильтрации
Примечание. При пользовании настоящим стандартом целесообразно проверить действие ссылочных стандартов на территории государств по соответствующему указателю стандартов, составленному по состоянию на 1 января текущего года, и по соответствующим информационным указателям, опубликованным в текущем году. Если ссылочный стандарт заменен (изменен), то при пользовании настоящим стандартом следует руководствоваться заменяющим (измененным) стандартом. Если ссылочный стандарт отменен без замены, то положение, в котором дана ссылка на него, применяется в части, не затрагивающий эту ссылку.
В настоящем стандарте применены термины по
ГОСТ 25100 и
ГОСТ 30416, а также следующие термины с соответствующими определениями:
3.1 эффективное напряжение: Напряжение, действующее в скелете грунта, определяемое как разность между полным напряжением в образце грунта и поровым давлением.
3.2 поровое давление: Давление в поровой жидкости грунта.
3.3 противодавление: Внешнее давление, повышающее поровое давление в образце грунта в процессе испытания.
3.4
девиатор напряжений: Разность между главными эффективными напряжениями

.
3.5 реконсолидация: Восстановление природной плотности и двухфазного состояния образца грунта, разуплотненного в результате паро-газовыделения в процессе его отбора при сохранении природной влажности.
3.6
бытовое давление 
: Вертикальное эффективное напряжение в массиве грунта на данной глубине от веса вышележащих слоев грунта.
3.7
среднее давление в условиях природного залегания 
: Среднее напряжение в массиве грунта на данной глубине, обусловленное воздействием бытового давления и бокового давления и вычисляемое по формуле

, где

- коэффициент бокового давления покоя.
3.8 сопротивление недренированному сдвигу: Максимальное касательное напряжение при нагружении грунта в условиях отсутствия дренирования.
3.9 структурная прочность грунта на сжатие: Прочность, обусловленная наличием структурных связей и характеризуемая напряжением, до которого образец грунта при его нагружении вертикальной нагрузкой практически не деформируется.
3.10
коэффициент фильтрационной
и вторичной
консолидации: Показатели, характеризующие скорость деформации грунта при постоянном напряжении за счет фильтрации воды

и ползучести грунта

.
3.11 ползучесть: Процесс развития деформаций грунта (сдвиговых, объемных) во времени при действии постоянного напряжения.
3.12 стадия незатухающей ползучести: Процесс деформирования грунта с постоянной или увеличивающейся скоростью при постоянном напряжении.
3.13 оттаивающий грунт: Грунт, в котором при переходе от мерзлого состояния в талое разрушаются криогенные структурные связи.
3.14 граница оттаивания: Граница раздела оттаивающего и мерзлого грунта, движущаяся сверху вниз в процессе оттаивания.
3.15 приконтактный слой грунта: Тонкий (2 - 4 мм) слой оттаявшего грунта вблизи границы оттаивания, имеющий наибольшие влажность, разуплотнение, водопроницаемость и поровое давление.
4.1. Настоящий стандарт устанавливает следующие методы лабораторных испытаний грунтов для определения их характеристик прочности и деформируемости:
- полускальных - одноосное сжатие;
- дисперсных - одноплоскостной срез, одноосное сжатие, трехосное сжатие, компрессионное сжатие, суффозионное сжатие, испытание на набухание и усадку;
- мерзлых - испытание шариковым штампом, одноплоскостной срез по поверхности смерзания, одноосное сжатие, компрессионное сжатие, одноплоскостной срез оттаивающего грунта.
Примечание. По специальному заданию могут применяться другие методы испытаний и конструкции приборов, обеспечивающие моделирование процесса нагружения грунта и условий его работы в основании, составе инженерного сооружения или в качестве среды его вмещающей.
4.2. Общие требования к лабораторным испытаниям грунтов, оборудованию и приборам, лабораторным помещениям, способы изготовления образцов для испытаний приведены в
ГОСТ 30416. Дополнительные требования приводятся в отдельных методах испытаний.
4.3. Способы отбора монолитов и подготовки образцов для испытаний должны обеспечить практически полное сохранение их структуры и влажности в соответствии с
ГОСТ 12071 и
ГОСТ 30416.
4.4. Для испытываемых грунтов должны быть определены физические характеристики по
ГОСТ 5180: влажность (суммарная влажность для мерзлых грунтов), плотность, плотность частиц, влажности на границах текучести и раскатывания, гранулометрический состав грунтов по
ГОСТ 12536, а также вычислены плотность сухого грунта, коэффициент пористости, коэффициент водонасыщения (степень заполнения объема пор льдом и незамерзшей водой), число пластичности и показатель текучести (для связных дисперсных грунтов).
Дополнительные необходимые характеристики грунтов приводятся в отдельных методах испытаний настоящего стандарта.
4.5. Испытания мерзлых грунтов проводят при температурах ниже температуры начала замерзания: на 0,5 °C - для незасоленных и на 1 °C - для засоленных.
4.6. В процессе испытаний грунтов ведут журналы, формы приведены в
Приложении А, а при автоматизации процесса испытаний и обработки данных с помощью компьютерных программ результаты опыта выводятся на компьютер в форме паспорта (протокола) испытания.
4.7. Отчет об испытании должен включать в себя:
- идентификацию образца (номер буровой скважины, номер пробы, номер испытания, глубину отбора, номер инженерно-геологического элемента и т.п.);
- метод подготовки образца (ненарушенный или нарушенного сложения, предварительное водонасыщение);
- начальные размеры образца;
- физические характеристики грунта;
- использованный метод испытания;
- таблицу результатов испытания (нагрузки-деформации);
- графики испытаний;
- числовые значения полученных характеристик грунта.
При необходимости допускается приводить и другую дополнительную информацию.
5. Методы определения характеристик прочности
и деформируемости полускальных и дисперсных грунтов
5.1. Метод одноплоскостного среза
Подраздел 5.1 утратил силу с 01.06.2021. -
ГОСТ 12248.1-2020, введенный в действие Приказом Росстандарта от 14.10.2020 N 821-ст.
5.2. Метод одноосного сжатия
Подраздел 5.2 утратил силу с 01.06.2021. -
ГОСТ 12248.2-2020, введенный в действие Приказом Росстандарта от 14.10.2020 N 822-ст.
5.3. Метод трехосного сжатия
Подраздел 5.3 утратил силу с 01.06.2021. -
ГОСТ 12248.3-2020, введенный в действие Приказом Росстандарта от 14.10.2020 N 823-ст.
5.4. Метод компрессионного сжатия
Подраздел 5.4 утратил силу с 01.06.2021. -
ГОСТ 12248.4-2020, введенный в действие Приказом Росстандарта от 14.10.2020 N 824-ст.
5.5. Метод суффозионного сжатия
Подраздел 5.5 утратил силу с 01.06.2021. -
ГОСТ 12248.5-2020, введенный в действие Приказом Росстандарта от 14.10.2020 N 825-ст.
5.6. Метод определения набухания и усадки
Подраздел 5.6 утратил силу с 01.06.2021. -
ГОСТ 12248.6-2020, введенный в действие Приказом Росстандарта от 14.10.2020 N 826-ст.
6. Методы определения характеристик прочности
и деформируемости мерзлых грунтов
6.1. Метод испытания шариковым штампом
Подраздел 6.1 утратил силу с 01.06.2021. -
ГОСТ 12248.7-2020, введенный в действие Приказом Росстандарта от 14.10.2020 N 827-ст.
6.2. Метод одноплоскостного среза по поверхности смерзания
Подраздел 6.2 утратил силу с 01.06.2021. -
ГОСТ 12248.8-2020, введенный в действие Приказом Росстандарта от 14.10.2020 N 828-ст.
6.3. Метод одноосного сжатия
Подраздел 6.3 утратил силу с 01.06.2021. -
ГОСТ 12248.9-2020, введенный в действие Приказом Росстандарта от 14.10.2020 N 829-ст.
6.4. Метод компрессионного сжатия
Подраздел 6.4 утратил силу с 01.06.2021. -
ГОСТ 12248.10-2020, введенный в действие Приказом Росстандарта от 14.10.2020 N 830-ст.
6.5. Метод определения сопротивления срезу оттаивающих грунтов
Подраздел 6.5 утратил силу с 01.06.2021. -
ГОСТ 12248.11-2020, введенный в действие Приказом Росстандарта от 14.10.2020 N 831-ст.
(рекомендуемое)
ФОРМЫ ПЕРВОЙ И ПОСЛЕДУЮЩИХ СТРАНИЦ ЖУРНАЛОВ
ЛАБОРАТОРНЫХ ИСПЫТАНИЙ ГРУНТОВ
Форма первой страницы журнала
Организация (лаборатория) _________________________________________________
Журнал испытаний грунта методом ___________________________________________
Объект (пункт) ____________________________________________________________
Сооружение ________________________________________________________________
Шурф (скважина) N _________________________________________________________
Глубина отбора образца, м _________________________________________________
Лабораторный номер образца ________________________________________________
Наименование грунта _______________________________________________________
Сложение грунта ___________________________________________________________
Визуальное описание грунта в лаборатории __________________________________
Вид испытания _____________________________________________________________
Прибор (тип, номер) _______________________________________________________
Схема испытания ___________________________________________________________
Схема фильтрации __________________________________________________________
Сведения о замачивании ____________________________________________________
Жидкость для замачивания (фильтрации) _____________________________________
Дата испытаний: начало ______________________ окончание ___________________
Данные о рабочем кольце (образце): ________________________________________
Высота, мм ________________________________________________________________
Диаметр, мм _______________________________________________________________
Площадь, см2 ______________________________________________________________
Объем, см3 ________________________________________________________________
Масса, г __________________________________________________________________
Масса с грунтом, г ________________________________________________________
Масса образца, г __________________________________________________________
Физические характеристики грунта
Характеристика | Значение | Примечание |
до опыта | после опыта |
| | | |
испытаний для определения сопротивления дисперсного
грунта одноплоскостному срезу, сопротивления мерзлого
грунта срезу по поверхности смерзания с материалом
фундамента и сопротивления срезу оттаивающего грунта
Предварительное уплотнение дисперсных и оттаивающих грунтов
Номер образца ______________ |
Дата испытания | Давление на образец p, МПа | Время снятия отсчета ti, ч | Показания индикатора вертикальных деформаций | Вертикальная деформация образца  , мм | Относительное сжатие (набухание)  | Примечание |
| | | | | | |
Срез грунта
Номер образца ______________ |
Дата испытания | Температура испытания T, °C | Время снятия отсчета ti, ч | Время от начала опыта t, ч | Вертикальное давление на образец грунта p, МПа | Горизонтальная срезающая нагрузка Q, кН | Касательное напряжение  , МПа | Абсолютная деформация среза l, мм | Абсолютная деформация среза с учетом поправки на трение в приборе  , мм | Относительная деформация среза, % | Скорость деформации среза V, мм/ч | Температура контрольного образца T0, °C | Примечание |
| | | | | | | | | | | | |
Примечание. Температуру испытаний и контрольного образца, а также
скорость деформации среза указывают при испытании мерзлых грунтов.
испытания грунта методом одноосного сжатия
Журнал N 1 | Номер образца ______________ |
Дата испытания | Разрушающая сила F, МПа | Относительная вертикальная деформация в момент разрушения  | Предел прочности образца грунта на одноосное сжатие R, МПа, в состоянии | Примечание |
при природной влажности | в воздушно-сухом состоянии | в водонасыщенном состоянии | природной влажности | воздушно-сухом | водонасыщенном |
| | | | | | | | |
Журнал N 2 | Номер образца ______________ |
Нагрузка P, кН | Напряжение  , МПа | Показания датчиков деформаций | Средние значения показаний датчиков деформаций | Приращение показаний датчиков деформаций | Относительные деформации образцов  |
продольные | поперечные | продольные | поперечные | продольные | поперечные | продольные | поперечные |
h1 | h2 | hn | d1 | d2 | dn | | | | | | |
| | | | | | | | | | | | | |
испытания грунта методом трехосного сжатия
Номер образца ______________ |
Дата испытания | Время снятия отсчета ti, ч | Время t, мин | Давление в камере  , МПа | Вертикальная нагрузка | Поровое давление u, МПа | Вертикальные деформации |
Осевая нагрузка F, кН | Площадь образца Ai, см2 | Давление pi, МПа | Показания по прибору | Деформация с поправкой  , мм | Относительная деформация  |
| | | | | | | | | | |
Окончание |
Объемные деформации | Вертикальное напряжение  , МПа | Примечание |
Показания по прибору | Объемная деформация с поправкой  , см 3 | Относительная деформация  |
| | | | |
испытания грунта методом компрессионного сжатия
Номер образца ______________ |
Дата испытания | Температура испытания T, °C | Время снятия отсчета ti, ч | Время от начала опыта t, ч | Номер ступени нагружения | Давление на образец грунта pi, МПа | Давление pstr, МПа | Показание индикаторов деформаций | Абсолютная деформация образца  , мм | Поправка на деформацию прибора  , мм | Абсолютная деформация с учетом поправки  , мм | Относительная деформация образца  | Примечание |
n1 | n2 | среднее |
| | | | | | | | | | | | | | |
Обработка кривой консолидации методом
"корень квадратный из времени"
Давление pi, МПа | Высота образца h, мм | Общая деформация  , мм | Деформация за ступень нагрузки  , мм | Относительная деформация за ступень нагрузки  | Время от начала приложения ступени нагрузки t, мин | Корень квадратный из времени  , мин | Время, соответствующее 90% фильтрационной консолидации t90, мин | Время, соответствующее 100% фильтрационной консолидации t100, мин | Коэффициент фильтрационной консолидации cv, см2/мин (см2/год) |
| | | | | | | | | |
Обработка кривой консолидации логарифмическим методом
Давление pi, МПа | Высота образца h, мм | Общая деформация  , мм | Деформация за ступень нагрузки  , мм | Относительная деформация за ступень нагрузки  | Время от начала приложения ступени нагрузки t, мин | Деформация, соответствующая 50% первичного уплотнения  | Время, требуемое для 50% первичного уплотнения t50, мин | Коэффициент фильтрационной консолидации cv, см2/мин (см2/год) | Вторичная консолидация |
Деформация | Время | Коэффициент вторичной консолидации  |
| | lg(t1) | lg(t2) |
| | | | | | | | | | | | | |
испытания засоленного грунта на суффозионное сжатие
Номер образца ______________ |
Дата испытания | Температура испытания T, °C | Время снятия отсчета ti, ч | Время от начала опыта t, ч | Номер ступени нагружения | Давление на образец грунта pi, МПа | Показание индикаторов деформаций | Абсолютная деформация образца  , мм | Поправка на деформацию прибора  , мм | Абсолютная деформация с учетом  ,  , мм | Относительное сжатие (набухание) образца  | Объем профильтровавшейся воды Vw, л | Плотный остаток фильтрата X, г/л | Градиент напора I, МПа/см | Примечание |
n1 | n2 | среднее |
| | | | | | | | | | | | | | | | |
Обработка результатов испытания
Давление pi, МПа | Абсолютная деформация образца  , мм | Относительная деформация  | Относительная просадочность  | Относительное набухание  | Относительное суффозионное сжатие  | Начальное давление суффозионного сжатия psf, МПа | Приращение относительной суффозионной осадки  | Степень выщелачивания солей  , д.е. | Примечание |
В процессе опыта | Приращение степени выщелачивания  | Откорректированное значение  |
| | | | | | | | | | | |
испытания грунта на набухание и усадку
Результаты испытаний набухания в ПНГ
Номер образца ______________ |
Дата испытания | Время ti, ч | Показание индикатора деформаций | Абсолютная деформация образца  , мм | Относительное свободное набухание  | Примечание |
| | | | | |
Результаты испытаний набухания
под нагрузкой в компрессионном приборе
Номер образца ______________ |
Дата испытания | Время ti, ч | Давление на образец p, МПа | Показания индикаторов деформаций | Абсолютная деформация образца  , мм | Поправка на деформацию прибора  , мм | Абсолютная деформация с учетом  ,  , мм | Относительное набухание образца  | Примечание |
n1 | n2 | среднее |
| | | | | | | | | | |
Результаты испытаний на усадку
Номер образца ______________ |
Дата испытания | Время ti, ч | Масса образца, г | Влажность образца, % | Высота образца, см | Диаметр образца, см | Объем образца, V, см3 | Относительная усадка образца | Примечание |
d1 | d2 | d3 | средний | по высоте  | по диаметру  | по объему  |
| | | | | | | | | | | | | |
испытания мерзлого грунта шариковым штампом
Номер образца ______________ |
Дата испытания | Температура испытания T, °C | Время снятия отсчета ti, ч | Время от начала опыта t, ч | Нагрузка F, кН | Диаметр шарикового штампа d, см | Отсчет по датчику деформаций | Глубина погружения шарикового штампа Sb, мм | Восьмичасовое значение эквивалентного сцепления  , МПа | Предельно длительное значение эквивалентного сцепления ceq, МПа | Примечание |
| | | | | | | | | | |
испытания мерзлого грунта методом одноосного сжатия
1. Испытание при непрерывном быстром возрастании нагрузки
Номер образца ______________ |
Дата испытания | Температура испытания T, °C | Время снятия отсчета ti, ч | Время от начала испытания t, ч | Характер деформирования образца | Разрушающая нагрузка F, кН | Значения диаметра образца после испытания d, мм | Средняя площадь сечения образца после испытания A, см2 | Высота образца в момент разрушения h, мм | Условно-мгновенное сопротивление одноосному сжатию Roc, МПа | Примечание |
1-е | 2-е | 3-е | среднее |
| | | | | | | | | | | | | |
2. Испытание на ползучесть
Номер образца ______________ |
Дата испытания | Температура испытания T, °C | Время снятия отсчета ti, ч | Время от начала опыта t, ч | Номер ступени нагружения | Давление на образец pi, МПа | Отсчеты по приборам для измерения деформаций |
продольных | поперечных |
1 | 2 | среднее | 1 | 2 | 3 | 4 | 5 | 6 | среднее |
| | | | | | | | | | | | | | | |
Продолжение |
Продольная деформация h, мм | Поперечная деформация sx, мм | Относительная продольная деформация  | Относительная поперечная деформация  | Средняя площадь поперечного сечения образца A, см2 | Приращение площади поперечного сечения  , см 2 | Время между отсчетами ti - ti-1, ч | Приращение продольной деформации  , мм | Скорость продольной деформации v, мм/ч | Скорость относительной продольной деформации  , 1/ч | Примечание |
| | | | | | | | | | |
(рекомендуемое)
ОБРАЗЕЦ ГРАФИЧЕСКОГО ОФОРМЛЕНИЯ РЕЗУЛЬТАТОВ
ИСПЫТАНИЯ ГРУНТА МЕТОДОМ ОДНОПЛОСКОСТНОГО СРЕЗА
Результаты испытания грунта оформляют в соответствии с рисунками Б.1 и
Б.2.
График

Рисунок Б.1
График

(рекомендуемое)
ОПРЕДЕЛЕНИЕ ПЛОЩАДИ ДЕФОРМИРОВАННЫХ
ОБРАЗЦОВ ГЛИНИСТЫХ ГРУНТОВ
В.1. Если относительная вертикальная деформация образца в момент разрушения

, то необходимо при расчете предела прочности на одноосное сжатие учитывать увеличение площади образца.
Площадь A определяют непосредственно измерением диаметра образца штангенциркулем с погрешностью 0,1 мм и расчетом.
В.2. В предположении о постоянстве объема грунта при испытании

отношение

может быть определено по относительной вертикальной деформации

.
При сохранении цилиндрической формы


. (В.1)
Если образец после сжатия приобретает форму бочки, причем диаметр торца бочки сохраняется равным начальному диаметру образца, то

. (В.2)
(рекомендуемое)
ОБРАЗЕЦ ГРАФИЧЕСКОГО ОФОРМЛЕНИЯ РЕЗУЛЬТАТОВ ИСПЫТАНИЯ
ГРУНТА МЕТОДОМ ОДНООСНОГО СЖАТИЯ ПОЛУСКАЛЬНЫХ ГРУНТОВ
ДЛЯ ОПРЕДЕЛЕНИЯ ДЕФОРМАЦИОННЫХ ХАРАКТЕРИСТИК
Результаты испытания грунта оформляют в соответствии с рисунком Г.1.
Рисунок Г.1
(рекомендуемое)
ПРИНЦИПИАЛЬНАЯ СХЕМА УСТАНОВКИ ТРЕХОСНОГО СЖАТИЯ
И ТАРИРОВКИ ПРИБОРА
Д.1. Принципиальная схема установки для испытания грунта методом трехосного сжатия (см.
рисунок Д.1)
1 - основание камеры; 2 - корпус камеры; 3 - вентиль
для выпуска воздуха; 4 - шток; 5 - образец грунта
в оболочке; 6 - верхний штамп; 7 - нижний штамп;
8, 9 - магистрали системы дренажа, противодавления
и измерения порового давления; 10 - магистраль
давления в камере; 11 - индикатор перемещений;
12 - уплотняющее кольцо; F - нагрузка
Д.2. Блок-схема установки для трехосных испытаний грунтов (см. рисунок Д.2)
1 - камера прибора трехосного сжатия; 2 - блок измерения
порового давления; 3 - блок противодавления;
4 - блок дренажа; 5 - блок давления в камере
Рисунок Д.2
Д.3. Тарировки камеры трехосного сжатия
Д.3.1. Тарировка камеры на сжатие
Для тарировки между штампами, покрытыми влажными бумажными фильтрами, помещают металлический вкладыш размерами, равными размерам образца грунта. Штамп нагружают ступенями вертикального давления 0,01; 0,025; 0,05; 0,10 МПа и далее по 0,10 МПа, выдерживая их по 5 мин до максимального давления, определяемого предельными нагрузками при испытаниях грунта. На каждой ступени давления записывают показания прибора для измерения вертикальной деформации грунта.
Тарирование проводят при трехкратном нагружении и разгрузке, каждый раз с заменой фильтров на новые.
По среднеарифметическим значениям из трех опытов составляют таблицу деформаций камеры при различных давлениях.
Д.3.2. Тарировка камеры на расширение
Для тарирования на металлический вкладыш и штампы (см.
Д.3.1) надевают резиновую оболочку и закрепляют ее на боковых поверхностях штампов резиновыми или металлическими кольцами.
Камеру заполняют рабочей жидкостью и создают в ней всестороннее давление такими же ступенями, как и при тарировке на сжатие (см.
Д.3.1), выдерживая их по 30 мин. На каждой ступени давления записывают показания волюмометра. Затем сбрасывают давление в том же порядке.
По среднеарифметическим значениям из трех опытов составляют таблицу объемных деформаций камеры при различных всесторонних давлениях.
Д.3.3. Определение трения штока во втулке камеры
При наличии зазора между штоком и штампом в камере создают давление до момента, когда начнется движение стрелки прибора, измеряющего вертикальные деформации образца грунта. В этот момент записывают показания манометра и вычисляют усилие на 1 см2 площади поперечного сечения штока.
(обязательное)
РЕКОНСОЛИДАЦИЯ И ВОДОНАСЫЩЕНИЕ ОБРАЗЦОВ ГРУНТА
И ОПРЕДЕЛЕНИЕ СКОРОСТИ РАЗРУШЕНИЯ ОБРАЗЦОВ
ПРИ ТРЕХОСНОМ СЖАТИИ
Е.1. Реконсолидация образцов грунта путем восстановления двухфазного состояния - метод ВФС
Е.1.1. Метод восстановления фазового состава (ВФС) используется при проведении трехосных испытаний водонасыщенных в условиях природного залегания глинистых, органо-минеральных и органических грунтов.
Е.1.2. Метод предназначен для восстановления природной плотности и двухфазного состояния (при сохранении природной влажности) образцов, разуплотненных в результате парогазовыделения в процессе их отбора.
Е.1.3. Процедура восстановления фазового состава заключается в следующем:
Е.1.3.1. В камеру прибора трехосного сжатия устанавливают образец грунта.
Е.1.3.2. Дренаж системы противодавления перекрывают, что исключает возможность оттока поровой жидкости в процессе реконсолидации.
Е.1.3.3. Путем поднятия давления в камере производят обжатие образца всесторонним давлением ступенями:
- для грунтов мягкопластичной и текучей консистенции не более 25 кПа,
- для грунтов тугопластичной и пластичной консистенции не более 50 кПа,
- для грунтов полутвердой и твердой консистенции от 100 до 200 кПа.
Е.1.3.4. В процессе обжатия на каждой ступени с интервалом 15 мин измеряют поровое давление. При повторяемости показаний достигнутое значение порового давления фиксируют и прикладывают следующую ступень давления.
Е.1.3.5. В процессе испытания строят кривую зависимости порового давления от всестороннего давления

. Критерием завершения восстановления фазового состава является выход указанной кривой на прямую, проходящую под углом 45° не менее чем через три точки.
Е.1.3.6. Если график

не вышел на прямую под 45°, а давление в камере уже достигло значения полного среднего бытового давления, то для НН испытания водонасыщение считается завершенным, а для КН и КД испытаний водонасыщение продолжают по методу противодавления (см. Е.2).
Е.2. Водонасыщение образца грунта противодавлением
Е.2.1. Метод водонасыщения образца противодавлением предназначен для КН и КД трехосных испытаний глинистых, органо-минеральных и органических грунтов, водонасыщенных в условиях природного залегания.
Е.2.2. Метод является вспомогательным и используется как дополнительный в случае, когда водонасыщение методом ВФС (см.
Е.1) не было достигнуто.
Е.2.3. Водонасыщение образца противодавлением проводят попеременным приложением к образцу полного давления и противодавления.
Е.2.4. Перед началом водонасыщения образца противодавлением необходимо перекрыть дренаж системы противодавления, подведенный к одному или двум торцам образца.
Е.2.5. Проводят обжатие образца дополнительной ступенью всестороннего давления 50 кПа.
Е.2.6. В процессе обжатия на ступени проводят измерение порового давления u с интервалом 15 мин. При повторяемости показаний достигнутое значение u фиксируют.
Е.2.7. Рассчитывают коэффициент порового давления B, равный отношению приращения порового давления на ступени

к приращению всестороннего давления

.
Е.2.8. В системе противодавления при перекрытом дренаже поднимают давление, равное давлению в камере минус выбранное значение "дифференциального давления" (эффективного напряжения в образце в процессе его водонасыщения противодавлением), дренаж открывается.
Примечание. Значение дифференциального давления рекомендуется назначать равным значению эффективного напряжения, достигнутого на этапе реконсолидации по методу ВФС.
Е.2.9. После выравнивания порового давления с давлением противодавления все процедуры повторяются, начиная с
Е.2.4.
Е.2.10. Водонасыщение считается завершенным при достижении значения коэффициента порового давления B - значений от 0,95 до 1,0 - при этом значение порового давления должно быть не ниже 300 кПа, в противном случае процедуры поднятия противодавления в соответствии с
Е.2.4 -
Е.2.8 повторяются до достижения указанного значения порового давления.
Е.3. Методика определения скорости деформации образца грунта при разрушении
Е.3.1. Скорость деформации образца грунта на стадии разрушения при трехосных испытаниях определяют, используя данные, полученные на стадии консолидации образца.
Е.3.2. Скорость v, мм/мин, деформации для КН и КД испытаний определяют по формуле
[2]:

, (Е.1)
где h - начальная высота образца грунта, мм;

- изменение в высоте образца в конце консолидации, мм;

- ожидаемая относительная вертикальная деформация при разрушении, д.е. (принимается по результатам первого разрушения, для которого скорость рассчитывают при

);
F - коэффициент, зависящий от типа испытаний и условий дренирования;

- время, требуемое для 50% фильтрационной консолидации образца грунта, мин (см.
5.3.5.5,
5.3.5.6).
Значения F, соответствующие 95% диссипации порового давления, приведены в таблице Е.1.
Таблица Е.1
Значения коэффициента F
[2]:
Условия дренирования в течение уплотнения (консолидации) | Значения F для  |
КН испытание | КД испытание |
Одностороннее | 2,1 | 34 |
Двухстороннее | 8,4 | 34 |
Радиальное и одностороннее | 7,2 | 56 |
Радиальное и двухстороннее | 9,2 | 64 |
Примечания 1 Одностороннее дренирование осуществляется с одного торца образца, двухстороннее - с двух торцов. 2 Условия дренирования в течение консолидации и дренированного сдвига должны быть одинаковыми для всех значений F. 3 Радиальное дренирование - при наличии на боковой поверхности образца полос фильтровальной бумаги (см. 5.3.3.2). |
(рекомендуемое)
ОПРЕДЕЛЕНИЕ КОЭФФИЦИЕНТА НЕРАВНОМЕРНОСТИ
РАСШИРЕНИЯ ОБРАЗЦА ГРУНТА ПРИ ТРЕХОСНОМ СЖАТИИ
Ж.1. Коэффициент неравномерности расширения образца b при трехосных испытаниях определяют по формуле

, (Ж.1)
где

- площадь поперечного сечения образца в конце этапа реконсолидации для НН испытаний и этапа консолидации для КН и КД испытаний, см2;

- площадь поперечного сечения в средней части образца после испытания, см2;

- высота образца в конце этапа реконсолидации для НН испытаний и этапа консолидации для КН и КД испытаний, см;

- полная деформация образца после испытания, см.
Ж.2. Площадь поперечного сечения образца

при (НН) испытаниях допускается принимать равной площади начального поперечного сечения образца

.
Ж.3. Площадь поперечного сечения образца

для КН и КД испытаний рассчитывают по формуле

, (Ж.2)
где

- изменение объема образца в конце этапа консолидации, см3;
V - начальный объем образца, см3.
Ж.4. Площадь поперечного сечения в средней части образца

при отсутствии системы контроля изменения поперечного сечения образца в процессе испытания допускается определять по результатам прямых измерений диаметра образца после испытания штангенциркулем, при этом диаметр вычисляют как среднеарифметическое значение трех измерений в центральной части образца под углом в 120°.
Примечание. Метод не может быть использован при неограниченных деформациях образца, поэтому при разрушении необходимо контролировать максимальные деформации образца, в особенности для статического нагружения, не допуская их превышения более чем на 15%.
(рекомендуемое)
ОБРАЗЕЦ ГРАФИЧЕСКОГО ОФОРМЛЕНИЯ РЕЗУЛЬТАТОВ
ИСПЫТАНИЯ ГРУНТА МЕТОДОМ ТРЕХОСНОГО СЖАТИЯ
И.1. Образец графического оформления результатов испытания при определении характеристик прочности (см.
рисунок И.1)
График 1

График 2

Диаграмма Кулона-Мора
График 3

И.2. Образец графического оформления результатов испытания грунта при определении характеристик деформируемости (см. рисунок И.2)
График 1

Рисунок И.2
(обязательное)
ОПРЕДЕЛЕНИЕ КОЭФФИЦИЕНТОВ ФИЛЬТРАЦИОННОЙ
(ПЕРВИЧНОЙ) И ВТОРИЧНОЙ КОНСОЛИДАЦИИ
К.1. Для определения коэффициента фильтрационной (первичной) консолидации

кривую консолидации (см. К.2) следует обработать методом "квадратного корня из времени" или логарифмическим методом, а при одновременном определении коэффициентов фильтрационной

и вторичной

(за счет ползучести грунта) консолидации - логарифмическим методом.
На кривой консолидации выделяют участки фильтрационной и вторичной консолидации, а для насыпных грунтов с заданными значениями влажности и плотности - еще участок дофильтрационной консолидации.
К.2. Для определения коэффициента фильтрационной консолидации

методом "квадратного корня из времени" по результатам испытаний грунта под постоянным давлением строят кривую консолидации в координатах: относительная деформация

(ордината) - корень квадратный из времени в минутах (абсцисса) (см. рисунок К.1).
Рисунок К.1. График обработки кривой консолидации
методом "корень квадратный из времени"
Проводят прямую наилучшего приближения ab к начальной линейной части кривой (обычно в пределах первых 50% сжатия) и из точки пересечения ab с осью ординат проводят вторую прямую ac, абсциссы которой равны 1,15 соответствующих абсцисс прямой ab.
Пересечение прямой ac с экспериментальной кривой определяет время

, соответствующее степени фильтрационной консолидации 0,90.
К.3. Коэффициент фильтрационной консолидации

, см2/мин (см2/год), вычисляют по формуле

, (К.1)
где

- коэффициент (фактор времени), соответствующий степени консолидации 0,90, равный 0,848;
h - высота образца (средняя между начальной высотой и высотой после завершения опыта на консолидацию), см. При двухсторонней фильтрации принимается высота, равная h/2;

- время, мин;

- температурный поправочный коэффициент (см.
К.4).
Для определения времени 100% фильтрационной консолидации

предварительно вычисляют деформацию сжатия

. Из точки

проводят горизонтальную прямую до пересечения с кривой консолидации и находят соответствующее значение

.
К.4. Если температура в лаборатории значительно отличается от 20 °C, необходимо вводить температурную поправку

для приведения результатов к 20 °C в соответствии с таблицей К.1.
Таблица К.1
Значения температурной поправки
Температура, °C | 10 | 15 | 20 | 25 | 30 |
Температурная поправка fT | 1,3 | 1,15 | 1,0 | 0,9 | 0,8 |
К.5. Для определения значений

и

логарифмическим методом строят кривую консолидации в координатах: относительная деформация

(ордината) - время t, мин, откладываемое на логарифмической шкале (абсцисса) (см. рисунок К.2).
Рисунок К.2. График обработки кривой консолидации
логарифмическим методом
К.6. На кривой консолидации следует найти значение относительной деформации, соответствующее нулевому первичному сжатию (откорректированный ноль компрессии

). Для этого на начальной части кривой выбирают точки с абсциссами 0,1 и 0,4. Разность ординат данных точек, отложенная выше начальной точки графика, определит приведенный ноль

.
К.7. По кривой консолидации находят деформацию, соответствующую 100%-му фильтрационному сжатию при заданной нагрузке. Для этого проводят и продлевают две касательных: к самой крутой части кривой (т.е. в точке перегиба) и к конечному линейному участку кривой. Точка пересечения этих касательных соответствует 100%-му первичному сжатию грунта. Сжатие, следующее за 100%-ным первичным сжатием, определяется как вторичное сжатие за счет деформаций ползучести.
К.8. Для определения коэффициента фильтрационной консолидации

логарифмическим методом определяют время, требуемое для 50%-го первичного сжатия. Для этого вычисляют деформацию, соответствующую 50%-му первичному сжатию

, равную среднеарифметическому значению деформаций, соответствующих нулевому

и 100%-му сжатию

. Точку

проецируют на кривую и тем самым находят соответствующее время

.
Коэффициент фильтрационной консолидации

, см2/мин (см2/год), вычисляют по формуле

, (К.2)
где

- коэффициент (фактор времени), соответствующий степени консолидации 0,5, равный 0,197;

- время, соответствующее 50%-му первичному сжатию, мин.
К.9. Коэффициент вторичной консолидации (безразмерная величина)

определяют по тангенсу угла между линейным отрезком кривой на участке вторичной консолидации и прямой, параллельной оси абсцисс (см.
рисунок К.2) по формуле

, (К.3)
где

и

- значения деформации образца на участке вторичной консолидации;

и

- время, соответствующее деформациям

и

, мин.
К.10. Для насыпных грунтов с заданными значениями влажности и плотности кривая консолидации в зависимости от свойств грунтов может иметь три (кривая а) или два (кривая б) участка: дофильтрационной консолидации, фильтрационной консолидации и вторичной консолидации (см. рисунок К.3).
Рисунок К.3. Графики кривых консолидации для насыпных
грунтов с заданными значениями влажности и плотности
Коэффициент дофильтрационной консолидации

(кривые а и б) вычисляют по тангенсу угла наклона касательной к первому участку кривых

, окончание которого определяется пересечением касательных к первому и второму участкам кривой, по
формуле (К.3), в которой разность деформаций в числителе заменяют на

, соответствующую времени t' и

.
Коэффициент фильтрационной консолидации (кривая а) вычисляют по
формуле (К.2), в которой

, (К.4)
где

соответствует времени

, а

- времени

.
Коэффициент вторичной консолидации вычисляют по
формуле К.3, в которой:
- для кривой а разность деформаций

соответствует времени

и

;
- для кривой б разность деформаций

соответствует времени

и

.
(рекомендуемое)
ОБРАЗЕЦ ГРАФИЧЕСКОГО ОФОРМЛЕНИЯ РЕЗУЛЬТАТОВ ИСПЫТАНИЯ
ГРУНТОВ МЕТОДОМ КОМПРЕССИОННОГО СЖАТИЯ (СМ.
РИСУНОК Л.1)
График 1

График 2

График 3

(рекомендуемое)
ПРИНЦИПИАЛЬНЫЕ СХЕМЫ КОМПРЕССИОННО-ФИЛЬТРАЦИОННЫХ ПРИБОРОВ
И ОФОРМЛЕНИЕ РЕЗУЛЬТАТОВ ИСПЫТАНИЯ ЗАСОЛЕННОГО ГРУНТА
М.1. Принципиальные схемы компрессионно-фильтрационных приборов (см.
рисунок М.1)
а) Для испытаний по схеме нисходящего потока воды
б) Для испытаний по схеме восходящего потока воды
1 - корпус; 2 - поддон корпуса; 3 - основание корпуса;
4 - рабочее кольцо; 5 - направляющее кольцо;
6 - перфорированный вкладыш; 7 - перфорированный штамп;
8 - крышка; 9 - втулка; 10 - шток; 11 - спускная пробка;
12 - штуцер; 13 - резиновая прокладка; 14 - заглушка;
15 - верхнее прижимное кольцо; 16 - нижнее прижимное
кольцо; 17 - гайка; 18 - стойка; 19 - шланг;
20 - стеклянная трубка; 21 - индикатор;
22 - держатель индикатора; 23 - опорная пятка
индикатора; 24 - шарик; 25 - образец грунта
М.2. Образец графического оформления результатов испытания засоленного грунта в компрессионно-фильтрационном приборе (см.
рисунок М.2)
График 1

(по схеме "одной кривой")
График 2

(по схеме "трех кривых")
1, 2, 3 - относительное сжатие

грунта природной влажности
в водонасыщенном состоянии и выщелоченного без нагрузки
в зависимости от давления соответственно; 4 - относительное
сжатие грунта в результате замачивания (относительная
просадочность) при заданном давлении p; 5 - относительное
суффозионное сжатие грунта при фильтрации воды и заданном
давлении p; 6 - деформация грунта при набухании

;
7 - зависимость относительного суффозионного сжатия

от давления (

- начальное давление суффозионного сжатия)
График 3

1 - зависимость относительного суффозионного сжатия
от степени выщелачивания солей, получаемая в процессе
проведения испытания при

; 2 - то же, при

;
3 - откорректированная зависимость
(рекомендуемое)
ОБРАЗЦЫ ГРАФИЧЕСКОГО ОФОРМЛЕНИЯ РЕЗУЛЬТАТОВ
ИСПЫТАНИЯ ГРУНТА НА НАБУХАНИЕ И УСАДКУ
Н.1. Образец графического оформления результатов испытания грунта на набухание (см. рисунок Н.1)

- установленное значение давления
набухания (график 1); предполагаемое
значение давления набухания (график 2)
Рисунок Н.1
Н.2. График зависимости изменения объема образца грунта V при изменении влажности w в процессе усадки (см. рисунок Н.2)
V = f(w)
I - первый этап сушки; II - второй этап сушки;

- влажность глинистого грунта на пределе усадки
Рисунок Н.2
(рекомендуемое)
ПРИНЦИПИАЛЬНАЯ СХЕМА УСТАНОВКИ ДЛЯ ИСПЫТАНИЯ
МЕРЗЛОГО ГРУНТА ШАРИКОВЫМ ШТАМПОМ (СМ. РИСУНОК П.1)
1 - шариковый штамп; 2 - подвижной стержень с держателем
шарика; 3 - ручка стопорного винта; 4 - стойки;
5 - рычажный пресс (с соотношением плеч рычага 5:1);
6 - опорная плита; 7 - подвижной столик; 8 - уравнительные
винты; 9 - контргруз; 10 - гири; 11 - индикатор
деформаций; 12 - образец грунта
Рисунок П.1
(рекомендуемое)
ПРИНЦИПИАЛЬНАЯ СХЕМА УСТАНОВКИ И РЕКОМЕНДАЦИИ
ПО ИЗГОТОВЛЕНИЮ ОБРАЗЦОВ ДЛЯ ИСПЫТАНИЯ МЕРЗЛОГО ГРУНТА
МЕТОДОМ ОДНОПЛОСКОСТНОГО СРЕЗА ПО ПОВЕРХНОСТИ СМЕРЗАНИЯ
И ОБРАЗЕЦ ГРАФИЧЕСКОГО ОФОРМЛЕНИЯ РЕЗУЛЬТАТОВ ИСПЫТАНИЯ
Р.1. Принципиальная схема установки для испытания мерзлого грунта методом одноплоскостного среза по поверхности смерзания (см. рисунок Р.1)
1 - мерзлый грунт; 2 - материал; 3 - рабочее
кольцо; 4 - срезная каретка; 5 - корпус прибора;
6 - боковой штамп; 7 - опорная плита; 8 - динамометр;
9 - обойма шариков; Q - вертикальная нагрузка;
F - горизонтальная нагрузка
Рисунок Р.1
Р.2. Рекомендации по изготовлению образцов материала и грунта для испытания методом одноплоскостного среза по поверхности смерзания
Р.2.1. Изготовление образцов материала фундамента или других твердых материалов (скальных и полускальных горных пород, строительных материалов и др.) следует проводить так, чтобы их шероховатость по поверхности смерзания соответствовала требованиям задания. При отсутствии задания шероховатость поверхности образца материала должна соответствовать шероховатости материала в естественных условиях.
Образцы материала фундамента с такой же шероховатостью поверхности, как у фундамента (не подвергнутой специальной обработке), должны изготовляться с учетом следующих требований:
- деревянные образцы должны быть изготовлены из необработанной древесины, и их поверхность должна быть остругана; при замораживании образцов древесина должна быть в водонасыщенном состоянии;
- стальные образцы должны иметь "горячекатаную" или "холоднокатаную" поверхность в зависимости от вида проката, используемого для изготовления образцов на токарных, фрезерных или строгальных станках без шлифования их поверхности, если образцы применяют взамен горячекатаной стали, и со шлифованием - взамен холоднокатаной;
- бетонные образцы должны быть изготовлены с виброуплотнением в гладкой металлической опалубке, поверхность которой перед бетонированием покрывают известковым или глинистым раствором; на поверхности образцов, смерзающихся с грунтом, не должно быть раковин и зажелезненных участков.
При изготовлении образцов материала фундамента, поверхности которого подвергают специальной обработке каким-либо способом, поверхность образцов следует обрабатывать таким же способом.
Применение других способов обработки поверхностей образцов для придания им такой же шероховатости, как у боковой поверхности фундамента, допускается при условии инструментальной оценки класса шероховатости в соответствии с
ГОСТ 2789. Шероховатость допускается оценивать сравнением с эталонной поверхностью, изготовленной в соответствии с требованиями
ГОСТ 9378.
Р.2.2. Образец вида "грунт (грунтовый раствор)-материал" готовят в следующей последовательности: в опорное кольцо формы первого типа помещают материал, затем на него устанавливают рабочее кольцо срезного прибора, на которое помещают защитное кольцо формы. Рабочее кольцо заполняют заранее подготовленным грунтом или грунтовым раствором заданного состава и влажности. При заполнении рабочего кольца грунтом нарушенного сложения добиваются требуемой плотности грунта. Крышку формы устанавливают в положение в зависимости от заданных условий промораживания, а именно: при промораживании через грунт - снизу; при промораживании через материал - сверху. При отсутствии данных образец промораживают через материал.
Р.2.3. Образец вида "лед-материал" подготавливают в следующей последовательности: образец материала помещают в опорное кольцо формы первого типа, на него устанавливают рабочее кольцо срезного прибора, на которое помещают защитное кольцо формы и снизу устанавливают крышку формы. Форму переносят в помещение с заданной отрицательной температурой, где после ее охлаждения намораживают лед на материал.
Лед намораживают слоями толщиной до 5 мм, причем каждый новый слой намораживается после полного замерзания предыдущего.
Для намораживания применяют воду, охлажденную до температуры замерзания.
Если заданием требуется испытать лед природного сложения или лед, образованный в условиях, моделирующих природные, то образец льда вырезают из монолита по форме рабочего кольца срезного прибора, закладывают его в рабочее кольцо и смораживают с материалом через слой охлажденной до температуры замерзания воды толщиной до 3 мм, налитой на охлажденную контактную поверхность.
Р.2.4. Образец вида "грунт-грунтовый раствор (грунт)" подготавливают в следующей последовательности:
- для грунта ненарушенного сложения - вырезают из монолита грунта образец по форме рабочего кольца срезного прибора и помещают его в рабочее кольцо;
- для грунта нарушенного сложения - рабочее кольцо прибора заполняют заранее подготовленным грунтом заданного состава и влажности, добиваясь требуемой плотности грунта, после чего грунт замораживают через верхний или нижний торец. Условия охлаждения образца при замораживании определяются заданием;
- мерзлый грунт в рабочем кольце срезного прибора устанавливают в опорное кольцо формы второго типа. На это рабочее кольцо устанавливают второе такое же рабочее кольцо и на него помещают защитное кольцо формы второго типа. Верхнее рабочее кольцо заполняют предварительно охлажденным до температуры замерзания грунтовым раствором или грунтом заданного состава и влажности и проводят смораживание образца через верхний или нижний торец.
Р.2.5. Образец вида "грунт-лед" подготавливают в следующей последовательности: сборку формы второго типа, подготовку и промораживание образца грунта проводят в соответствии с
6.2.2.3. Лед намораживают на мерзлый грунт во втором кольце срезного прибора слоями толщиной до 5 мм или примораживают образец природного льда через слой, охлажденной до температуры замерзания воды толщиной до 3 мм.
Р.2.6. Для среза мерзлого грунта ненарушенного сложения из монолита вырезают образец высотой, соответствующей размерам смороженных колец в формах по типу I или по типу II (см.
рисунок Р.2). Образец перемещают в рабочие кольца и устанавливают в срезной прибор. Выдерживают при температуре испытания 12 ч или 24 ч в зависимости от диаметра образца. Все операции проводят в помещении с отрицательной температурой.
а) Форма типа I для приготовления образцов вида
"грунт (грунтовый раствор, лед)-материал"
б) Форма типа II для приготовления образцов вида
"грунт-грунтовый раствор (лед, грунт)"
1 - рабочее кольцо срезного прибора; 2 - материал;
3 - грунт (лед, грунтовый раствор); 3а - грунт;
4 - опорное кольцо; 5 - крышка формы;
6 - защитное кольцо формы
Р.2.7. Во время промораживания измеряют температуру контрольного образца грунта, в который помещают термодатчик термоизмерительного устройства.
Промораживание заканчивают, когда температура контрольного образца достигнет значения температуры воздуха в помещении. После этого образец извлекают из формы, герметизируют и сохраняют до испытаний.
Р.3. Образец графического оформления результатов испытания грунта методом одноплоскостного среза по поверхности смерзания (см. рисунки Р.3 и Р.4)
Рисунок Р.3
Рисунок Р.4
(рекомендуемое)
ПРИНЦИПИАЛЬНАЯ СХЕМА УСТАНОВКИ ДЛЯ ИСПЫТАНИЯ МЕРЗЛОГО ГРУНТА
МЕТОДОМ ОДНООСНОГО СЖАТИЯ (СМ. РИСУНОК С.1)
1 - образец грунта; 2 - неподвижная платформа;
3 - подвижная платформа; 4 - шток; 5 - направляющее
устройство; 6 - верхний штамп; 7 - нижний штамп;
8 - паровлагонепроницаемая оболочка; 9 - резиновое
прижимное кольцо; 10 - динамометр; 11 - измеритель
продольных деформаций; 12 - измеритель поперечных
деформаций; 13 - продольная тяга; F - нагрузка
Рисунок С.1
(рекомендуемое)
РАСЧЕТНЫЕ СОПРОТИВЛЕНИЯ МЕРЗЛОГО ГРУНТА R
ПОД ПОДОШВОЙ ФУНДАМЕНТА
Расчетные значения сопротивления мерзлого грунта R под подошвой фундамента представлены в таблице Т.1.
Таблица Т.1
Расчетные значения сопротивления мерзлого грунта
в зависимости от льдистости грунтов и температуры испытаний
Грунты | Значения сопротивления мерзлого грунта R, МПа, при температуре испытаний T, °C |
-0,3 | -0,5 | -1 | -1,5 | -1 | -2,5 | -3 | -3,5 | -4 | -6 | -8 | -10 |
При льдистости грунтов ii < 0,2 |
1 Пески средней крупности | 0,55 | 0,95 | 1,25 | 1,45 | 1,6 | 1,8 | 1,95 | 2,0 | 2,2 | 2,6 | 2,95 | 3,3 |
2 Пески мелкие и пылеватые | 0,45 | 0,7 | 0,9 | 1,1 | 1,3 | 1,4 | 1,6 | 1,7 | 1,8 | 2,2 | 2,55 | 2,86 |
3 Супеси | 0,3 | 0,5 | 0,7 | 0,8 | 1,05 | 1,15 | 1,30 | 1,40 | 1,5 | 1,9 | 2,25 | 2,5 |
| 0,25 | 0,45 | 0,55 | 0,65 | 0,8 | 0,9 | 1,0 | 1,1 | 1,2 | 1,55 | 1,9 | 2,2 |
При льдистости грунтов ii >= 0,2 |
Все виды грунтов, указанные в 1 - 4 | 0,2 | 0,3 | 0,4 | 0,5 | 0,6 | 0,7 | 0,75 | 0,85 | 0,95 | 1,25 | 1,55 | 1,75 |
(рекомендуемое)
ОБРАЗЕЦ ГРАФИЧЕСКОГО ОФОРМЛЕНИЯ РЕЗУЛЬТАТОВ
ИСПЫТАНИЯ МЕРЗЛОГО ГРУНТА МЕТОДОМ ОДНООСНОГО
СЖАТИЯ (СМ. РИСУНКИ У.1 И У.2)
Рисунок У.1
Рисунок У.2
(рекомендуемое)
ОПРЕДЕЛЕНИЕ ХАРАКТЕРИСТИК ДЕФОРМИРУЕМОСТИ МЕРЗЛОГО
ГРУНТА ПО РЕЗУЛЬТАТАМ ИСПЫТАНИЯ МЕТОДОМ ОДНООСНОГО СЖАТИЯ
Ф.1. Модуль линейной деформации

и коэффициент нелинейной деформации

определяют по зависимости, устанавливающей связь между относительными продольными деформациями

, напряжениями

и временем действия нагрузки t

, (Ф.1)
где

- функция напряжений

для времени

их действия, равного 1 ч,

которую принимают в виде:

- для модели линейно деформируемого основания;

- для модели нелинейно деформируемого основания,
где

и

- параметры функции

;
m - коэффициент нелинейности по напряжениям.
Ф.2. Предельно длительные значения E и A вычисляют по формулам:

; (Ф.2)

, (Ф.3)
где

- время, равное сроку службы сооружения, или принимаемое равным

;

- коэффициент нелинейности во времени.
Ф.3. Для установления
зависимости (Ф.1) исходные данные испытаний (см.
6.3.5) обрабатывают в соответствии с теорией наследственной ползучести. Используя кривую ползучести (см.
6.3.5.7), последовательно вычисляют ряд значений

, имеющих смысл деформаций, которые развились бы под действием постоянного напряжения (i = 1, 2, ...), соответствующего напряжению i-й ступени нагружения, за время

. Вычисления проводят по формуле

, (Ф.4)
где

- полная относительная продольная деформация предшествующей ступени нагружения в момент времени

, вычисленная по этой формуле ранее при

;

- приращение относительной деформации, определяемое по кривой ползучести (см.
6.3.5.7) и представляющее собой разность между деформацией, накопленной к моменту, когда i-я ступень нагрузки действовала в течение времени

, и деформацией, накопленной к началу действия i-й ступени нагрузки.
Моменты времени

назначают одинаковыми для каждой ступени нагружения с учетом требований
6.1.4.3.
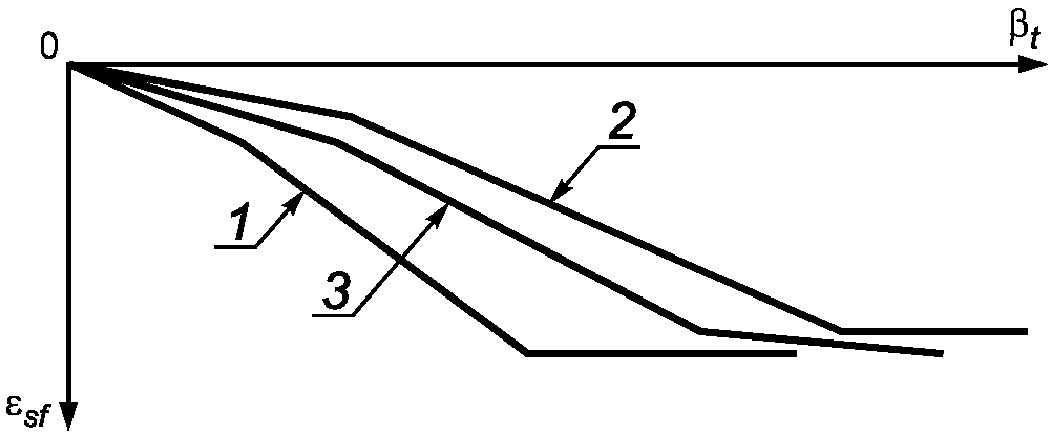
Результаты представляют в виде семейства кривых ползучести при постоянных напряжениях

(см. рисунок Ф.1).
Рисунок Ф.1
Ф.4. Для определения параметра

и набора значений

полученные значения представляют в виде семейства параллельных прямых в координатах: ln t - ось абсцисс,

- ось ординат (см.
рисунок Ф.2). Далее значения

и

вычисляют по формулам:

; (Ф.5)

, (Ф.6)
где

и b - параметры, определяемые графически (см.
Ф.8) или способом наименьших квадратов.
Ф.5. Для модели линейно деформируемого основания набор значений

аппроксимируют прямой в координатах:

- ось абсцисс,

- ось ординат (см.
рисунок Ф.3) и вычисляют значение

по формуле

, (Ф.7)
где c - параметр, определяемый графически (см.
Ф.9) или способом наименьших квадратов.
Ф.6. Для модели нелинейно деформируемого основания набор значений

аппроксимируют прямой в координатах

- ось абсцисс,

- ось ординат (см.
рисунок Ф.4) и вычисляют значения

и m по формулам:

; (Ф.8)
m = 1/b, (Ф.9)
где a и b - параметры, определяемые графически (см.
Ф.10) или способом наименьших квадратов.
Ф.7. Коэффициент поперечного расширения

определяют из зависимости, устанавливающей связь между относительными продольными

и поперечными

деформациями

. (Ф.10)
Для определения

экспериментальные данные (относительные продольные и поперечные деформации) в конце каждой ступени нагружения представляют в координатах

- ось абсцисс,

- ось ординат и аппроксимируют прямой, проходящей через начало координат. Значение

равно тангенсу угла наклона этой прямой к оси абсцисс.
Ф.8. При графическом способе определения параметров

и b уравнения семейства параллельных прямых (см.
рисунок Ф.2) эти параметры равны:

- в масштабе чертежа равен отрезку, отсекаемому на оси ординат j-й из семейства параллельных прямых наилучшего приближения к экспериментальным точкам;
b - в масштабе чертежа равен тангенсу угла наклона семейства параллельных прямых к оси абсцисс.
Ф.9. Параметр c при графическом способе определения в масштабе чертежа равен тангенсу угла наклона к оси абсцисс прямой наилучшего приближения к экспериментальным точкам, проходящей через начало координат (см.
рисунок Ф.3).
Ф.10. При графическом способе определения параметров a и b (см.
рисунок Ф.4) эти параметры равны:
a - в масштабе чертежа равен отрезку, отсекаемому на оси ординат прямой наилучшего приближения к экспериментальным точкам;
b - в масштабе чертежа ранен тангенсу угла наклона этой прямой к оси абсцисс.
Ф.11. Исходные данные и результаты расчета записывают в таблицу Ф.1.
Таблица Ф.1
Исходные данные и результаты расчета
характеристик деформируемости
Номер ступени нагружения j | Напряжение  , МПа | Время отсчета деформаций t, ч | Относительные продольные деформации  | Приращение относительных продольных деформаций  | Относительные продольные деформации от постоянных напряжений  | Относительные поперечные деформации  | Приращение относительных поперечных деформаций  | Относительные поперечные деформации от постоянных напряжений  | Функции напряжений  |
| | | | | | | | | |
Окончание таблицы Ф.1
Коэффициент нелинейности во времени  | Модуль линейной деформации E0, МПа | Коэффициент нелинейной деформации A0, МПа·ч | Модуль предельно длительной деформации E, МПа | Коэффициент предельно длительной нелинейной деформации A, МПа | Коэффициент нелинейности по напряжениям m | Коэффициент поперечного расширения  | Условно-мгновенное сопротивление Roc, МПа | Предел длительной прочности Rc, МПа | Примечание |
| | | | | | | | | |
(рекомендуемое)
ПРИНЦИПИАЛЬНЫЕ СХЕМЫ КОМПРЕССИОННЫХ ПРИБОРОВ ДЛЯ ИСПЫТАНИЯ
МЕРЗЛЫХ ГРУНТОВ И ОФОРМЛЕНИЕ РЕЗУЛЬТАТОВ ИСПЫТАНИЯ
Х.1. Принципиальные схемы компрессионных приборов для испытания грунта в мерзлом состоянии и при оттаивании (см.
рисунок Х.1)
а) Для испытаний грунтов в мерзлом состоянии
1 - образец грунта; 2 - поддон корпуса;
3 - рабочее кольцо; 4 - нижний штамп;
5 - верхний штамп; 6 - корпус; F - нагрузка
б) Для испытаний грунтов при оттаивании
1 - образец грунта; 2 - поддон корпуса; 3 - рабочее
кольцо; 4 - перфорированный нижний штамп;
5 - перфорированный верхний штамп; 6 - корпус; F - нагрузка
Х.2. Образец графического оформления результатов испытания мерзлого грунта методом компрессионного сжатия (см. рисунки Х.2 и
Х.3)
Рисунок Х.2
(рекомендуемое)
ПРИНЦИПИАЛЬНАЯ СХЕМА УСТАНОВКИ ДЛЯ ОПРЕДЕЛЕНИЯ СОПРОТИВЛЕНИЯ
СРЕЗУ ОТТАИВАЮЩЕГО ГРУНТА НА КОНТАКТЕ С МЕРЗЛЫМ ГРУНТОМ
И СХЕМА ФОРМЫ ДЛЯ ПРИГОТОВЛЕНИЯ ОБРАЗЦА МЕРЗЛОГО ГРУНТА
НАРУШЕННОЙ СТРУКТУРЫ
Ц.1. Принципиальная схема установки для определения сопротивления срезу оттаивающего грунта на контакте с мерзлым грунтом (см. рисунок Ц.1)
1 - индикатор часового типа для измерений деформаций
сдвига; 2 - подвижная обойма; 3 - неподвижная обойма;
4 - устройство для создания и регулирования температуры
теплового штампа; 5 - индикаторы часового типа для
измерения деформации осадки; 6 - тепловой штамп;
7 - оттаявший грунт; 8 - плоскость среза; 9 - приконтактный
слой (оттаивающий грунт); 10 - граница раздела
оттаивающего и мерзлого грунта; 11 - мерзлый грунт;
F - вертикальная нагрузка; P - сдвигающая нагрузка
Рисунок Ц.1
Ц.2. Схема формы для приготовления образца мерзлого грунта нарушенной структуры (см. рисунок Ц.2)
1 - рабочее кольцо; 2 - грунт; 3 - крышка формы;
4 - защитное кольцо формы; 5 - кольцевая прокладка;
6 - опорное кольцо формы; 7 - диск-вкладыш
Рисунок Ц.2
[1] ИСО/ТУ 17892-10:2004. Геотехнические исследования и испытания. Лабораторные испытания грунтов. Часть 10. Испытания на прямой срез
(ISO/TS 17892-10:2004) (Geotechnical investigation and testing - Laboratory testing soil - Part 10: Direct shear tests)
[2] ИСО/ТУ 17892-9:2004. Геотехнические исследования и испытания. Лабораторные испытания грунтов. Часть 9. Испытания на консолидированное трехосное сжатие водонасыщенных грунтов
(ISO/TS 17892-9:2004) (Geotechnical investigation and testing - Laboratory testing of soil - Part 9: Consolidated triaxial compression tests on water-saturated soils)
[3] ИСО/ТУ 17892-5:2004. Геотехнические исследования и испытания. Лабораторные испытания грунтов. Часть 5. Одометрические испытания со ступенчатым нагружением
(ISO/TS 17892-5:2004) (Geotechnical investigation and testing - Laboratory testing of soil - Part 5: Incremental loading oedometr test).