Главная // Актуальные документы // ГОСТ (Государственный стандарт)СПРАВКА
Источник публикации
М.: Издательство стандартов, 1980
Примечание к документу
Утратил силу с 1 января 2012 года в связи с изданием
Приказа Росстандарта от 19.04.2011 N 46-ст. Взамен введен в действие
ГОСТ 12248-2010.
Документ включен в
Перечень национальных стандартов, в результате применения которых на добровольной основе обеспечивается соблюдение требований Федерального
закона от 30.12.2009 N 384-ФЗ "Технический регламент о безопасности зданий и сооружений" (
Приказ Ростехрегулирования от 01.06.2010 N 2079).
С 1 июля 2003 года до вступления в силу технических регламентов акты федеральных органов исполнительной власти в сфере технического регулирования носят рекомендательный характер и подлежат обязательному исполнению только в части, соответствующей целям, указанным в
пункте 1 статьи 46 Федерального закона от 27.12.2002 N 184-ФЗ.
Введен в действие с 1 января 1980 года.
Название документа
"ГОСТ 24143-80. Грунты. Методы лабораторного определения характеристик набухания и усадки"
(утв. Постановлением Госстроя СССР от 22.04.1980 N 55)
"ГОСТ 24143-80. Грунты. Методы лабораторного определения характеристик набухания и усадки"
(утв. Постановлением Госстроя СССР от 22.04.1980 N 55)
Утвержден и введен в действие
Постановлением Госстроя СССР
от 22 апреля 1980 г. N 55
ГОСУДАРСТВЕННЫЙ СТАНДАРТ СОЮЗА ССР
ГРУНТЫ
МЕТОДЫ ЛАБОРАТОРНОГО ОПРЕДЕЛЕНИЯ ХАРАКТЕРИСТИК
НАБУХАНИЯ И УСАДКИ
Soils. Laboratory methods for determination of swelling
and shrinking characteristics
ГОСТ 24143-80
Срок введения
1 января 1981 года
Разработан Ордена Трудового Красного Знамени научно-исследовательским институтом оснований и подземных сооружений имени Н.М. Герсеванова Госстроя СССР;
Производственным и научно-исследовательским институтом по инженерным изысканиям в строительстве.
Исполнители: Е.А. Сорочан, д-р техн. наук; Л.Н. Теренецкий, канд. техн. наук; А.Р. Горлова; Р.С. Зиангиров, д-р геол.-минер. наук; Б.А. Снежкин, канд. геол.-минер. наук; Л.Е. Темкин.
Внесен Ордена Трудового Красного Знамени научно-исследовательским институтом оснований и подземных сооружений Н.М. Герсеванова Госстроя СССР.
Зам. директора В.В. Михеев.
Настоящий стандарт распространяется на глинистые грунты природного и нарушенного сложения и устанавливает методы лабораторного определения их набухания и усадки.
Стандарт не распространяется на глинистые грунты, содержащие крупнообломочные включения размерами зерен более 5 мм, и на глинистые грунты в мерзлом состоянии.
1.1. Характеристики набухания и усадки грунта следует определять по относительной деформации: набухание - в условиях, исключающих возможность бокового расширения при насыщении грунта водой или химическим раствором; усадку - в условиях свободной трехосной деформации при высыхании грунта. Испытание для определения характеристик набухания следует производить до прекращения поглощения образцом грунта воды (или раствора), а усадки - до полной потери им влажности.
1.2. За показатели, характеризующие набухание грунта, принимаются свободное набухание

, набухание под нагрузкой

, давление набухания

, влажность грунта после набухания

; за показатели, характеризующие усадку грунта, принимаются величины усадки по высоте

, диаметру

, объему

и влажность на пределе усадки

.
1.3. Образцы грунта природного сложения для испытаний свободного набухания, набухания под нагрузкой, давления набухания и усадки следует вырезать из одного монолита грунта; образцы грунта нарушенного сложения следует приготовлять с заданными величинами плотности и влажности.
Свободное набухание определяется испытанием одиночного образца грунта.
Набухание под нагрузкой и давление набухания определяется испытанием серии образцов-близнецов, вырезаемых из одного монолита грунта, путем обжатия их давлением и последующего водонасыщения.
Величины ступеней давления и их количество должны быть определены заданием и программой исследований.
При отсутствии таких данных испытания надлежит производить в диапазоне полуторакратных величин условных расчетных давлений на глинистые грунты, руководствуясь
табл. 2 и
4 Приложения 4 к главе СНиП II-15-74.
1.4. Образцы грунта при испытании на набухание следует заливать грунтовой водой, взятой с места отбора грунта, водной вытяжкой или водой питьевого качества. В случаях, определяемых программой исследований, допускается применение дистиллированной воды и искусственно приготовленных растворов заданного химического состава.
При усадке испарение воды (или раствора) из образца грунта не должно вызывать образование на нем усадочных трещин.
| | ИС МЕГАНОРМ: примечание. С 1 июля 2001 года Постановлением Госстроя РФ от 20.12.2000 N 129 введен в действие ГОСТ 12071-2000. | |
1.5. Монолиты грунтов для определения показателей набухания и усадки следует отбирать из открытых горных выработок: шурфов, котлованов, расчисток и пр., а их отбор, транспортирование и хранение надлежит производить по ГОСТ 12071-72.
Отбор образцов из скважин допускается производить при помощи грунтоносов, обеспечивающих сохранение природного сложения и влажности грунта.
2.1. Приборы для определения свободного набухания грунтов (ПНГ) должны включать следующие основные узлы и детали:
рабочее кольцо внутренним диаметром не менее 50 мм, высотой не менее 20 мм;
вкладыш, обеспечивающий высоту образца в кольце не менее 10 мм;
перфорированный верхний штамп;
перфорированный поддон;
ванночки для жидкости;
основания прибора и держателя индикатора;
индикатор часового типа с ценой деления шкалы 0,01 мм для измерения вертикальных деформаций образца грунта.
2.1.1. Конструкция ПНГ должна быть выполнена из материалов, стойких против коррозии, и обеспечивать:
неподвижность рабочего кольца при испытании;
подачу воды к образцу снизу и отвод ее;
величину вертикального давления от штампа, измерительного оборудования, расположенного на нем, и других неуравновешенных деталей не более 0,0006 МПа (0,006 кгс/см2).
2.2. Показатели набухания грунта под нагрузкой и давления набухания следует определять в компрессионных приборах, состоящих из следующих основных узлов и деталей:
рабочего кольца внутренним диаметром более 71 мм и высотой более 20 мм с соотношением высоты к диаметру 1:3,5;
цилиндрической обоймы;
перфорированного штампа;
поддона с емкостью для воды и перфорированного вкладыша под кольцо;
двух индикаторов с ценой деления шкалы 0,01 мм для измерения вертикальных деформаций образца грунта; допускается применение одного индикатора при условии установки его в центре штампа;
механизма вертикальной нагрузки на образец грунта.
2.2.1. Конструкция компрессионного прибора должна быть выполнена из материалов, стойких против коррозии, и обеспечивать:
подачу воды к образцу снизу и отвод ее;
центрированную передачу нагрузки на штамп (образец грунта);
передачу на образец грунта давления ступенями от 0,0125 МПа (0,125 кгс/см2);
постоянство давления на каждой ступени;
неподвижность рабочего кольца при испытаниях;
измерение вертикальных деформаций грунта с погрешностью 0,01 мм;
давление на образец, создаваемое штампом и закрепленным на нем измерительным оборудованием и другими неуравновешенными деталями, не более 0,0025 МПа (0,025 кгс/см2).
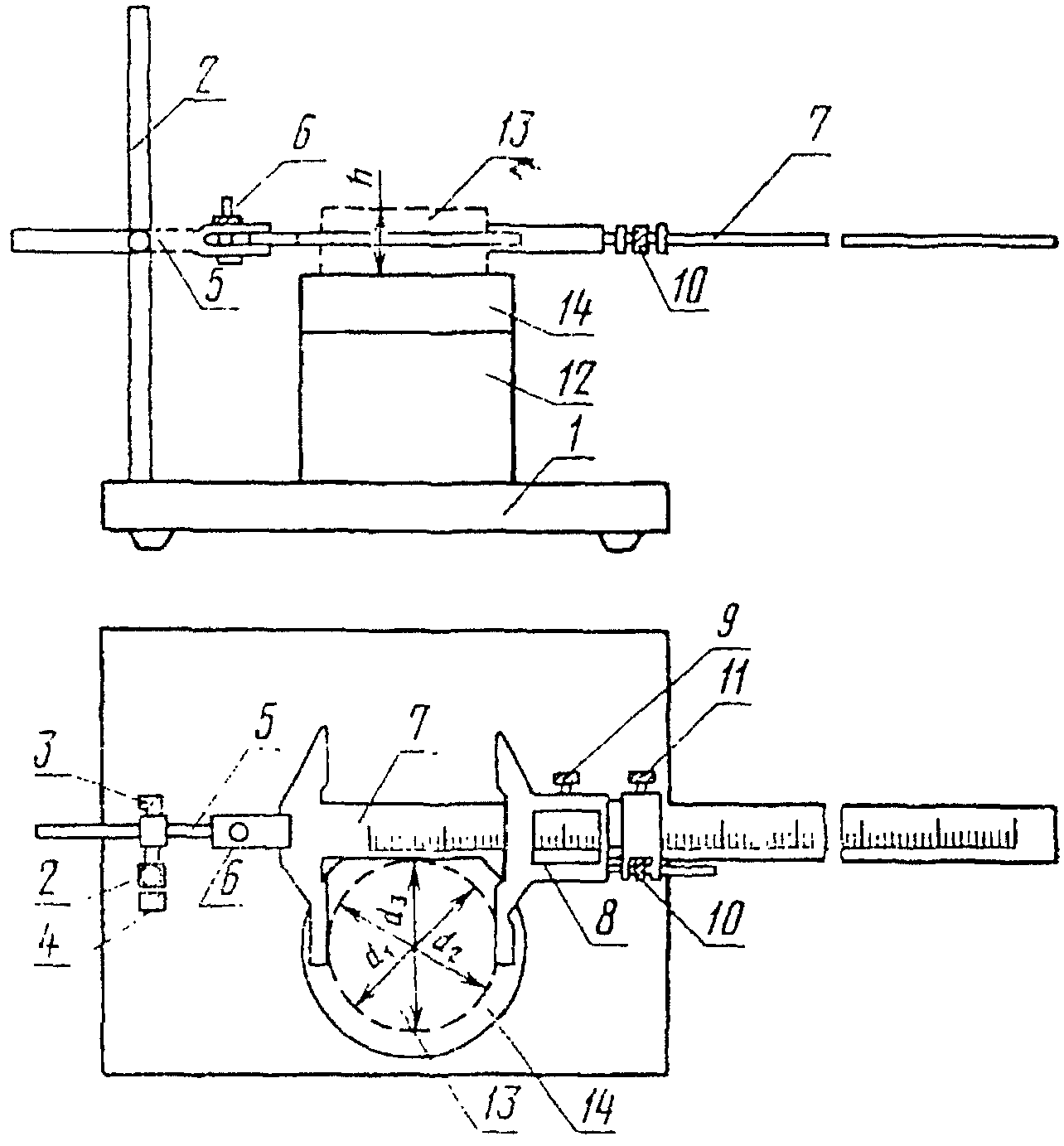
2.3. Для определения усадки грунтов необходимо иметь:
рабочее кольцо компрессионного прибора внутренним диаметром более 71 мм и высотой более 20 мм с соотношением высоты к диаметру 1:3,5;
предметное стекло, покрытое тонким и ровным слоем парафина;
емкость с крышкой (стеклянный колпак или эксикатор) объемом не более 1 л для сушки образцов;
шпатель;
штангенциркуль с погрешностью измерения 0,05 мм и приспособление для измерений, показанное в рекомендуемом
Приложении 2;
микрометр.
3. ПОДГОТОВКА К ИСПЫТАНИЯМ
3.1. Приборы для проведения испытаний должны устанавливаться на жестком основании, исключающем вибрацию. Горизонтальность установки приборов проверяют по уровню. В помещении во время испытаний должна поддерживаться положительная температура.
Не допускается попадание прямых солнечных лучей на образцы грунта во время испытаний усадки.
3.2. Тарировку ПНГ и компрессионных приборов необходимо производить не реже одного раза в год для учета деформаций фильтров и собственных деформаций приборов (m) при определении деформаций грунта.
Для тарировки ПНГ в рабочее кольцо следует заложить два бумажных фильтра, установить индикатор и замочить фильтры. По индикатору зарегистрировать деформацию (m). Для данной партии фильтров тарировочную поправку принимают как среднее арифметическое значение деформаций трех пар фильтров.
3.2.1. При тарировке компрессионного прибора в рабочее кольцо следует заложить специальный металлический вкладыш, покрытый с двух сторон бумажными фильтрами, смоченными водой, и нагружать его ступенями давления 0,05 МПа (0,5 кгс/см2), выдерживая их по 2 мин, до максимального давления на вкладыш 1 МПа (10 кгс/см2), замеряя по индикаторам деформации прибора.
Тарировку производят при трехкратном нагружении прибора, каждый раз с заменой фильтров на новые.
По результатам тарировки компрессионного прибора следует составить таблицу величин деформаций (m) при различных давлениях.
3.3. Для каждого прибора следует определять: высоту и диаметр рабочего кольца, толщину предметного стекла, покрытого тонким слоем парафина (с погрешностью +/- 0,05 мм), их массу (с погрешностью +/- 0,01 г) и удельное давление от штампа, расположенного на нем измерительного оборудования и неуравновешенных деталей, +/- 0,0001 МПа (+/- 0,001 кгс/см2).
3.4. Образец грунта для испытания на набухание или усадку вырезают режущим кольцом в соответствии с требованиями ГОСТ 5182-78, при этом зазоры между грунтом и стенкой рабочего кольца не допускаются.
Для испытываемых грунтов должны быть определены плотность (объемный вес) по ГОСТ 5182-78, плотность минеральной части (удельный вес) по ГОСТ 5181-78, влажность по ГОСТ 5180-78, границы текучести и раскатывания по ГОСТ 5183-77 и гранулометрический состав по
ГОСТ 12536-79. Результаты записывают в журнал испытаний (см. рекомендуемые
Приложения 3 -
5).
3.5. Грунт в кольце следует покрыть с двух сторон фильтрами и поместить:
а) при определении свободного набухания - в ПНГ;
б) при определении набухания под нагрузкой и давления набухания - в компрессионные приборы.
В журнале испытаний следует записать начальные показания индикаторов

.
3.6. При испытании грунта на усадку образец грунта следует извлечь из кольца и поместить на предметное стекло, покрытое тонким ровным слоем парафина. Затем измеряют высоту в центре образца, а его диаметр - по трем заранее размеченным направлениям. Результаты измерений записывают в журнале испытаний (см. рекомендуемое
Приложение 5).
3.7. Характеристики набухания глинистого грунта нарушенного сложения следует определять на образцах с заданной величиной коэффициента пористости (e), вычисляемого по формуле

, (1)
где

- плотность минеральной части грунта, г/см3;

- плотность скелета грунта, г/см3, определяемая по формуле

, (2)
где

- плотность грунта, г/см3;

- заданная влажность грунта в долях единицы.
3.8. При определении характеристик усадки грунта нарушенного сложения следует применять образец грунта влажностью на 5 - 10% больше влажности грунта на границе текучести. Грунт следует выдержать в пустом эксикаторе в течение суток. Затем при помощи шпателя заполняют грунтом рабочее кольцо, внутренняя поверхность которого предварительно смазана тонким слоем технического вазелина. Образование пустот при подготовке образца не допускается.
Приготовленный образец на предметном стекле следует поместить под стеклянный колпак или в емкость с крышкой. За начальные размеры образца принимаются размеры кольца по высоте и внутреннему диаметру.
4.1. В ПНГ следует налить жидкость и наблюдать за развитием деформаций во времени, записывая показания индикаторов в журнал испытаний (см. рекомендуемое
Приложение 3).
4.2. Ступени давления при определении набухания грунта под нагрузкой и давления набухания должны быть: на первом компрессионном приборе - около 0,0025 МПа (0,025 кгс/см2), что соответствует давлению от массы штампа и смонтированного на нем измерительного оборудования; на втором - 0,025 МПа (0,25 кгс/см2); на третьем - 0,05 МПа (0,5 кгс/см2); на четвертом - 0,1 МПа (1 кгс/см2) и далее с интервалом 0,1 - 0,2 МПа (1 - 2 кгс/см2) на каждый прибор до необходимых пределов.
После нагружения образцов грунта в компрессионных приборах их следует выдержать до условной стабилизации деформаций, после чего образцы надлежит замочить.
4.3. Как при свободном набухании, так и в компрессионных приборах после замачивания образцов следует регистрировать деформации через 5; 10; 30; 60 мин, далее через 2 ч в течение рабочего дня, а затем в начале и конце рабочего дня до достижения условной стабилизации деформаций.
В случае отсутствия набухания замачивание производят в течение трех суток.
За начало набухания следует считать относительную деформацию

, превышающую 0,001.
4.4. За критерий условной стабилизации деформаций свободного набухания глинистых грунтов или деформаций набухания под нагрузкой при данной ступени давления в компрессионных приборах следует принимать деформацию не более 0,01 мм за 16 ч.
4.5. После завершения набухания образца грунта необходимо: слить воду (или раствор) из прибора; кольцо с влажным грунтом (без фильтров) взвесить и произвести контрольное измерение высоты образца грунта в кольце; грунт из кольца высушить в термостате при температуре 105 +/- 2 °С. Все результаты измерений надлежит записать в соответствующий журнал испытаний (см. рекомендуемые
Приложения 3 и
4).
4.6. Испытание усадки грунта следует проводить в три этапа.
На первом и втором этапах испытания измерение высоты, диаметра и массы образца грунта, помещенного в эксикаторе, следует производить не реже двух раз в сутки и результаты заносить в журнал испытаний (см. рекомендуемое
Приложение 5).
Критерием условного завершения испытания на первом этапе является отсутствие изменений в линейных размерах образцов в двух последовательных измерениях.
На втором этапе сушка образца грунта производится на воздухе.
Критерием условного завершения испытания на втором этапе, после 5 - 6 измерений, является отсутствие изменений в массе образца грунта.
На третьем этапе сушку образца грунта производят в термостате при температуре 105 +/- 2 °С в соответствии с требованиями ГОСТ 5180-78 до постоянной массы и в конце испытания производят контрольное измерение линейных размеров образца грунта.
5. ОБРАБОТКА РЕЗУЛЬТАТОВ ИСПЫТАНИЙ
5.1. На основании записей в журналах испытаний грунта в ПНГ или компрессионных приборах (см. рекомендуемые
Приложения 3 и
4) следует определить:
а) величину абсолютной деформации грунта

в мм, вычисленную как разность среднеарифметических значений конечных

и начальных

показаний индикаторов за вычетом поправки на деформацию приборов и фильтров при набухании согласно
п. 3.2;
б) величину относительной деформации образца

с погрешностью 0,001 по формуле

. (3)
5.2. По величинам относительной деформации следует построить график зависимости относительных деформаций от вертикального давления

= f(p) (см. обязательное
Приложение 6). Точки графика, соответствующие ступеням давления, следует соединить лекальной кривой.
Величина давления набухания

соответствует точке пересечения кривой с осью давления (p) (см.
график 1 Приложения 6) или точке предполагаемого пересечения продолжения кривой графика

= f(p) с осью давления (p) (см.
график 2 Приложения 6).
5.3. По результатам испытаний усадки на основании записей испытаний грунта (см. рекомендуемое
Приложение 5) следует:
а) определить объем грунта на каждый момент измерения по формуле

, (4)
где

- диаметр образца в момент измерения, определенный как среднее арифметическое значение измерений в трех направлениях, см;

- высота образца в момент измерения, см;
б) рассчитать влажность грунта на каждый момент измерения по формуле

, (5)
где

- масса образца грунта на момент измерения, г;
g - масса образца сухого грунта, г;
в) рассчитать усадку по высоте, диаметру и объему по формулам соответственно:

; (6)

; (7)

, (8)
где h, d, V и

,

,

- соответственно начальные и конечные значения высоты, диаметра, см, и объема образца грунта, см3.
5.4. По величинам объема и влажности на каждый момент времени следует построить график зависимости изменения объема образца от влажности V = f(W) (см. обязательное
Приложение 7).
За величину влажности на пределе усадки

следует принять влажность, соответствующую точке перегиба графика V = f(W) (см.
график 1 Приложения 6). Допускается нахождение точки перегиба путем восстановления перпендикуляра к графику из точки пересечения касательных к двум ветвям кривой (см.
график 2 Приложения 6), соответствующим первому и второму этапам сушки образца.
Справочное
ПОЯСНЕНИЯ ТЕРМИНОВ, ИСПОЛЬЗУЕМЫХ В СТАНДАРТЕ
─────────────────────┬────────────────────────────────────────────
Термины и обозначения│ Определения
─────────────────────┼────────────────────────────────────────────
Влажность набухания │Влажность, полученная после завершения набу-
(W ), доли единицы │хания образца грунта, обжимаемого в услови-
н │ях, исключающих возможность бокового расши-
│рения, заданным давлением
Влажность на пределе │Влажность грунта в момент резкого уменьшения
усадки (W ), доли │усадки, определяемая по точке перегиба кри-
у │вой графика зависимости изменения объема об-
единицы │разца грунта (V) от изменения влажности (W)
│при высыхании
Давление набухания │Давление на образец грунта, возникающее при
(p ), МПа (кгс/см2) │замачивании жидкостью и обжатии в условиях,
н │исключающих возможность бокового расширения,
│при котором деформации набухания или сжатия
│грунта равны нулю
Давление на образец │Отношение величины нагрузки, приложенной
грунта (p), МПа │через штамп прибора, к площади штампа
(кгс/см2) │
Набухание грунта │1. Свойство глинистого грунта увеличивать
│свой объем при взаимодействии с водой или
│другой жидкостью
│2. Процесс изменения объема грунта во време-
│ни при взаимодействии его с водой или другой
│жидкостью
Набухание грунта аб- │Увеличение высоты образца грунта в процессе
солютное (Дельта h), │испытаний при взаимодействии грунта с водой
см │или другой жидкостью
Набухание грунта от- │Отношение абсолютного набухания к начальной
носительное (дельта =│высоте образца грунта
= Дельта h / h │
Набухание грунта под │Относительное набухание грунта при данном
нагрузкой (дельта ), │давлении на образец
н │
доли единицы │
Набухание грунта сво-│Относительное набухание грунта, полученное в
бодное (дельта ), │приборах типа ПНГ, когда давлением от массы
0 │штампа и измерительного оборудования, не
доли единицы │превышающем 0,006 МПа (0,06 кгс/см2), пре-
│небрегают
Ступень давления на │Величина приращения давления при передаче
образец грунта │нагрузки через штамп на образец грунта во
│время испытаний
Усадка грунта │1. Свойство глинистого грунта уменьшать свой
│объем при испарении из него влаги
│2. Процесс изменения линейных размеров и
│объема образца грунта во времени при испаре-
│нии из него влаги.
Усадка грунта абсо- │Уменьшение высоты (h), диаметра (d), объема
лютная по: высоте │(V) образца грунта во время испытаний
(Дельта h), см; диа- │
метру (Дельта d), см;│
объему (Дельта V), │
см3 │
Усадка грунта относи-│Отношение абсолютной усадки образца грунта
тельная по высоте │по высоте, диаметру, объему к их начальным
(дельта ), диаметру │размерам соответственно
h │
(дельта ), объему │
d │
(дельта ) │
V │
Рекомендуемое
ПРИСПОСОБЛЕНИЕ ДЛЯ ИЗМЕРЕНИЯ ДИАМЕТРА И ВЫСОТЫ
ОБРАЗЦОВ ПРИ УСАДКЕ
1 - основание; 2 - стойка; 3 - стопор горизонтального
перемещения держателя; 4 - стопор вертикального
перемещения держателя; 5 - держатель штангенциркуля;
6 - крепежный винт; 7 - штангенциркуль с погрешностью
измерения 0,05 мм; 8 - нониус; 9 - стопор нониуса;
10 - микрометрический винт; 11 - стопор
микрометрического механизма; 12 - подкладка;
13 - образец грунта; 14 - предметный столик.
Рекомендуемое
ЖУРНАЛ ИСПЫТАНИЙ СВОБОДНОГО НАБУХАНИЯ ГРУНТА В ПНГ
Организация _____________ Объект ___________ Сооружение __________
(лаборатория) (пункт)
Лабораторный ______________ Прибор (тип, номер и т.д.) ___________
номер образца
Шурф N __________ глубина от ______ до ______ м Структура ________
(скважина)
Визуальное описание грунта в лаборатории _________________________
__________________________________________________________________
Условия проведения испытаний _____________________________________
(условия замачивания, вид жидкости, химический состав,
концентрация и т.д.) _____________________________________________
─────────────────────────────────────┬─────────────────────┬──────
Наименование определяемых параметров │Величина определяемых│Приме-
│ параметров │чание
├───────────┬─────────┤
│ до │ после │
│ испытания │испытания│
─────────────────────────────────────┼───────────┼─────────┼──────
Масса образца грунта с кольцом, г │ │ │
Масса кольца, г │ │ │
Масса образца грунта, г │ │ │
Высота кольца, см │ │ │
Высота образца грунта, см │ │ │
Диаметр кольца, см │ │ │
Площадь кольца, см2 │ │ │
Объем кольца, см3 │ │ │
Плотность грунта, г/см3 │ │ │
Влажность, доли единицы │ │ │
Плотность скелета грунта, г/см3 │ │ │
Плотность минеральной части грунта, │ │ │
г/см3 │ │ │
Коэффициент пористости │ │ │
Масса сухого грунта, г │ │ │
Влажность на границе текучести, доли │ │ │
единицы │ │ │
Влажность на границе раскатывания, │ │ │
доли единицы │ │ │
Число пластичности, доли единицы │ │ │
Показатель консистенции │ │ │
Лабораторный номер образца ___________________
Результаты испытаний в ПНГ
──────────────────────┬─────┬─────┬────┬────┬────┬────┬────┬───┬──
Дата испытаний │ │ │ │ │ │ │ │ │
──────────────────────┼─────┼─────┼────┼────┼────┼────┼────┼───┼──
Время (мин, ч) │ │ │ │ │ │ │ │ │
──────────────────────┼─────┼─────┼────┼────┼────┼────┼────┼───┼──
Показание индикатора│ │ │ │ │ │ │ │ │
──────────────────────┼─────┼─────┼────┼────┼────┼────┼────┼───┼──
Деформация образца │ │ │ │ │ │ │ │ │
грунта │ │ │ │ │ │ │ │ │
──────────────────────┼─────┼─────┼────┼────┼────┼────┼────┼───┼──
Набухание образца │ │ │ │ │ │ │ │ │
грунта │ │ │ │ │ │ │ │ │
Исполнитель ______________________________________________________
(должность, фамилия, имя, отчество, подпись)
Журнал проверил "______" ________________198 г.
__________________________________________________________________
(должность, фамилия, имя, отчество, подпись)
Рекомендуемое
ЖУРНАЛ ИСПЫТАНИЙ НАБУХАНИЯ ГРУНТА ПОД НАГРУЗКОЙ
В КОМПРЕССИОННОМ ПРИБОРЕ
Организация _____________ Объект ___________ Сооружение __________
(лаборатория) (пункт)
Лабораторный ___________________ Компрессионный __________________
номер образца прибор (тип, N)
Шурф N __________ глубина от ______ до ______ м Структура ________
(скважина)
Визуальное описание грунта в лаборатории _________________________
__________________________________________________________________
Условия проведения испытаний _____________________________________
(условия замачивания, вид жидкости, химический состав,
концентрация и т.д.) _____________________________________________
─────────────────────────────────────┬─────────────────────┬──────
Наименование определяемых параметров │Величина определяемых│Приме-
│ параметров │чание
├───────────┬─────────┤
│ до │ после │
│ испытания │испытания│
─────────────────────────────────────┼───────────┼─────────┼──────
Масса образца грунта с кольцом, г │ │ │
Масса кольца, г │ │ │
Масса образца грунта, г │ │ │
Высота кольца, см │ │ │
Высота образца грунта, см │ │ │
Диаметр кольца, см │ │ │
Площадь кольца, см2 │ │ │
Объем кольца, см3 │ │ │
Плотность грунта, г/см3 │ │ │
Влажность, доли единицы │ │ │
Плотность скелета грунта, г/см3 │ │ │
Плотность минеральной части грунта, │ │ │
г/см3 │ │ │
Коэффициент пористости │ │ │
Масса сухого грунта, г │ │ │
Влажность на границе текучести, доли │ │ │
единицы │ │ │
Влажность на границе раскатывания, │ │ │
доли единицы │ │ │
Число пластичности, доли единицы │ │ │
Показатель консистенции │ │ │
Лабораторный номер образца ___________________
Результаты испытаний
───┬────┬──────┬──────┬─────────────┬─────────┬──────┬───────┬────
Да-│Вре-│Масса │Давле-│ Показания │Деформа- │Поп- │Относи-│При-
та │мя, │груза │ние на│ индикаторов │ция об- │равка │тельное│ме-
ис-│мин,│на │обра- ├──┬──┬───────┤разца │на де-│набуха-│ча-
пы-│ч │под- │зец р,│n │n │n + n │Дельта h,│форма-│ние об-│ние
та-│ │веске │МПа │ 1│ 2│ 1 2│мм │цию │разца │
ний│ │рычага│(кгс/ │ │ │-------│ │прибо-│грунта │
│ │прибо-│см2) │ │ │ 2 │ │ра m, │дельта │
│ │ра, кг│ │ │ │ │ │мм │ │
│ │(кгс) │ │ │ │ │ │ │ │
───┼────┼──────┼──────┼──┼──┼───────┼─────────┼──────┼───────┼────
│ │ │ │ │ │ │ │ │ │
│ │ │ │ │ │ │ │ │ │
Обработка результатов испытаний
─────────┬─────────┬──────────┬─────────────────┬───────┬─────────
Давление │Деформа- │Набухание,│ Набухание │Коэффи-│Давление
р, МПа │ция │определен-│ Дельта h│циент │набухания
(кгс/см2)│Дельта h,│ное по │дельта = --------│порис- │р , МПа
│мм │кривой, │ h │тости e│ н
│ │дельта │ │ │(кгс/см2)
─────────┼─────────┼──────────┼─────────────────┼───────┼─────────
│ │ │ │ │
│ │ │ │ │
Исполнитель ______________________________________________________
(должность, фамилия, имя, отчество, подпись)
Журнал проверил "______" ________________ 198 г.
__________________________________________________________________
(должность, фамилия, имя, отчество, подпись)
Рекомендуемое
ЖУРНАЛ ИСПЫТАНИЙ ГРУНТА ПРИ УСАДКЕ
Организация _____________ Объект ___________ Сооружение __________
(лаборатория) (пункт)
Лабораторный ___________________ Номер стекла ____________________
номер образца
Шурф N __________ глубина от ______ до ______ м Структура ________
(скважина)
Визуальное описание грунта в лаборатории _________________________
__________________________________________________________________
Условия проведения испытаний _____________________________________
(условия испарения и т.д.) _______________________________________
─────────────────────────────────────┬─────────────────────┬──────
Наименование определяемых параметров │Величина определяемых│Приме-
│ параметров │чание
├───────────┬─────────┤
│ до │ после │
│ испытания │испытания│
─────────────────────────────────────┼───────────┼─────────┼──────
Масса образца грунта со стеклом, г │ │ │
Масса стекла, г │ │ │
Масса образца грунта, г │ │ │
Высота образца грунта, см │ │ │
Диаметр образца грунта, см │ │ │
Площадь сечения образца грунта, см2 │ │ │
Объем образца грунта, см3 │ │ │
Плотность грунта, г/см3 │ │ │
Влажность, доли единицы │ │ │
Плотность скелета грунта, г/см3 │ │ │
Плотность минеральной части грунта, │ │ │
г/см3 │ │ │
Коэффициент пористости │ │ │
Масса сухого грунта, г │ │ │
Влажность на границе текучести, доли │ │ │
единицы │ │ │
Влажность на границе раскатывания, │ │ │
доли единицы │ │ │
Число пластичности, доли единицы │ │ │
Показатель консистенции │ │ │
Лабораторный номер образца____________________
Результаты испытаний и их обработка
───┬────┬─────┬─────┬─────────────────────────────────┬───────────────────────┬────
Да-│Вре-│Мас- │Влаж-│ Определение объема образца │ Усадка образца │При-
та │мя, │са │ность├─────┬─────────────────────┬─────┼───────┬───────┬───────┤ме-
ис-│мин,│об- │об- │Высо-│ Диаметр образца, см │Объем│ По │По диа-│ По │ча-
пы-│ч │раз- │разца│та ├──┬──┬──┬────────────┤об- │высоте │метру │объему │ния
та-│ │ца │грун-│об- │d │d │d │Средний │разца│дельта │дельта │дельта │
ний│ │грун-│та, │разца│ 1│ 2│ 3│d + d + d │грун-│ n│ d│ v│
│ │та, г│доли │грун-│ │ │ │ 1 2 3│та V,│ │ │ │
│ │ │еди- │та, │ │ │ │------------│см3 │ │ │ │
│ │ │ницы │см │ │ │ │ 3 │ │ │ │ │
───┼────┼─────┼─────┼─────┼──┼──┼──┼────────────┼─────┼───────┼───────┼───────┼────
│ │ │ │ │ │ │ │ │ │ │ │ │
│ │ │ │ │ │ │ │ │ │ │ │ │
Исполнитель ______________________________________________________
(должность, фамилия, имя, отчество, подпись)
Журнал проверил "_________" ________________________________198 г.
__________________________________________________________________
(должность, фамилия, имя, отчество, подпись)
Обязательное
ГРАФИКИ ЗАВИСИМОСТИ НАБУХАНИЯ ГРУНТА

ОТ ДАВЛЕНИЯ Р ПРИ ИСПЫТАНИИ ОБРАЗЦА ГРУНТА
В КОМПРЕССИОННОМ ПРИБОРЕ
Масштаб графиков следует принимать:
для давления p (по горизонтали): 0,025 или 0,05 МПа
(0,25 или 0,5 кгс/см2) - 10 мм;
для набухания

(по вертикали): 0,01 или 0,02 - 10 мм.

- установленная величина давления набухания
(график 1);
Обязательное
ГРАФИКИ ЗАВИСИМОСТИ ИЗМЕНЕНИЯ ОБЪЕМА ОБРАЗЦА ГРУНТА V
ПРИ ИЗМЕНЕНИИ ВЛАЖНОСТИ W В ПРОЦЕССЕ УСАДКИ
Масштаб графиков следует принимать:
для влажности (по горизонтали): 0,05 - 10 мм;
для объема (по вертикали): 2 см3 - 10 мм.
График 1
График 2
I - первый этап сушки; II - второй этап сушки;

- влажность глинистого грунта на пределе усадки.