Главная // Актуальные документы // Методические рекомендацииСПРАВКА
Источник публикации
М., 2017
Примечание к документу
Документ утратил силу в связи с изданием
Распоряжения Росавтодора от 05.05.2022 N 1414-р.
Документ рекомендован к применению с 25.09.2017
Распоряжением Росавтодора от 25.09.2017 N 2678-р.
Название документа
"ОДМ 218.2.090-2017. Отраслевой дорожный методический документ. Методические рекомендации по применению трубчатых сварных шпунтов при строительстве автомобильных дорог"
(издан на основании Распоряжения Росавтодора от 25.09.2017 N 2678-р)
"ОДМ 218.2.090-2017. Отраслевой дорожный методический документ. Методические рекомендации по применению трубчатых сварных шпунтов при строительстве автомобильных дорог"
(издан на основании Распоряжения Росавтодора от 25.09.2017 N 2678-р)
дорожного агентства
от 25 сентября 2017 г. N 2678-р
ОТРАСЛЕВОЙ ДОРОЖНЫЙ МЕТОДИЧЕСКИЙ ДОКУМЕНТ
МЕТОДИЧЕСКИЕ РЕКОМЕНДАЦИИ
ПО ПРИМЕНЕНИЮ ТРУБЧАТЫХ СВАРНЫХ ШПУНТОВ
ПРИ СТРОИТЕЛЬСТВЕ АВТОМОБИЛЬНЫХ ДОРОГ
ОДМ 218.2.090-2017
1 РАЗРАБОТАН ООО "Центр-Дорсервис"
2 ВНЕСЕН Управлением научно-технических исследований и информационного обеспечения и Управлением проектирования и строительства автомобильных дорог
3 ИЗДАН на основании
распоряжения Федерального дорожного агентства от 25.09.2017 N 2678-р
4 ИМЕЕТ РЕКОМЕНДАТЕЛЬНЫЙ ХАРАКТЕР
5 ВВЕДЕН ВПЕРВЫЕ
Отраслевой дорожный методический документ "Методические рекомендации по применению трубчатых сварных шпунтов при строительстве автомобильных дорог" (далее - методический документ) является актом рекомендательного характера.
Методический документ адресован специализированным организациям, участвующим в дорожной деятельности на территории Российской Федерации.
Методический документ применяется при проектировании, экспертизе проектов, строительстве, реконструкции и содержании инженерных сооружений из трубчатого сварного шпунта (ШТС) в составе автомобильных дорог, относящихся к классам сооружений КС-2, КС-1 нормального и пониженного уровней ответственности в соответствии с
ГОСТ 27751: мостовых устоев, дорожных подпорных стенок, ограждающих и засыпных сооружений.
В настоящем методическом документе использованы нормативные ссылки на следующие документы:
Градостроительный
кодекс Российской Федерации от 29 декабря 2004 г.
Федеральный
закон "О техническом регулировании" N 184-ФЗ.
ГОСТ 9.402-2004 Единая система защиты от коррозии и старения. Покрытия лакокрасочные. Подготовка металлических поверхностей к окрашиванию.
ГОСТ 12.3.009-76 Система стандартов безопасности труда. Работы погрузочно-разгрузочные. Общие требования безопасности.
ГОСТ 5264-80* Ручная дуговая сварка. Соединения сварные. Основные типы, конструктивные элементы и размеры.
ГОСТ 6713-91 Прокат низколегированный конструкционный для мостостроения. Технические условия.
ГОСТ 8696-74 Трубы стальные электросварные со спиральным швом общего назначения. Технические условия.
ГОСТ 8732-78* Трубы стальные бесшовные горячедеформированные. Сортамент.
ГОСТ 10704-91 Трубы стальные электросварные прямошовные. Сортамент.
ГОСТ 10706-76 Трубы стальные электросварные прямошовные. Технические требования.
ГОСТ 12248-2010 Грунты. Методы лабораторного определения характеристик прочности и деформируемости.
ГОСТ 14098-2014 Соединения сварные арматуры и закладных изделий железобетонных конструкций. Типы, конструкции и размеры
ГОСТ 14771-76 Дуговая сварка в защитном газе. Соединения сварные. Основные типы. Конструктивные элементы и размеры.
ГОСТ 15150-69 Машины, приборы и другие технические изделия. Исполнения для различных климатических районов. Категории, условия эксплуатации, хранения и транспортирования в части воздействия климатических факторов внешней среды.
ГОСТ 19281-2014 Прокат из стали повышенной прочности. Общие технические условия.
ГОСТ 20295-85 Трубы стальные сварные для магистральных газонефтепроводов. Технические условия.
ГОСТ 20522-2012 Грунты. Методы статистической обработки результатов испытаний.
ГОСТ 27751-2014 Надежность строительных конструкций и оснований. Основные положения.
ГОСТ 32960-2014 Дороги автомобильные общего пользования. Нормативные нагрузки. Расчетные схемы нагружения.
ГОСТ 33178-2014 Дороги автомобильные общего пользования. Классификация мостов.
ГОСТ 33384-2015 Дороги автомобильные общего пользования. Проектирование мостовых сооружений. Общие требования.
ГОСТ 33390-2015 Дороги автомобильные общего пользования. Мосты. Нагрузки и воздействия
ГОСТ 33391-2015 Дороги автомобильные общего пользования. Мостовые сооружения. Габариты приближения конструкций
ГОСТ Р 55374-2012 Прокат из стали конструкционной легированной для мостостроения. Общие технические условия
СП 14.13330.2014 Строительство в сейсмических районах. Актуализированная редакция СНиП II-7-81* (с изменением 1).
СП 16.13330.2011 Стальные конструкции. Актуализированная редакция СНиП II-23-81* (с изменением 1).
СП 22.13330.2011 Основания зданий и сооружений. Актуализированная редакция СНиП 2.02.01-83* (с изменением 1).
СП 24.13330.2011 Свайные фундаменты. Актуализированная редакция СНиП 2.02.03-85 (с изменением 1).
СП 28.13330.2012 Защита строительных конструкций от коррозии. Актуализированная редакция СНиП 2.03.11-85 (с изменением 1, 2).
СП 34.13330.2012 Автомобильные дороги. Актуализированная редакция СНиП 2.05.02-85*.
СП 35.13330.2011 Мосты и трубы. Актуализированная редакция СНиП 2.05.03-84* (с изменением 1).
СП 45.13330.2012 Земляные сооружения, основания и фундаменты. Актуализированная редакция СНиП 3.02.01-87.
СП 46.13330.2012 Мосты и трубы. Актуализированная редакция СНиП 3.06.04-91 (с изменением 1).
СП 48.13330.2011 Организация строительства. Актуализированная редакция СНиП 12-01-2004 (с изменением 1).
СП 63.13330.2012 Бетонные и железобетонные конструкции. Основные положения Актуализированная редакция СНиП 52-01-2003. (с изменением 1, 2)
СП 70.13330.2012 Несущие и ограждающие конструкции. Актуализированная редакция СНиП 3.03.01-87 (с изменением 1).
СНиП 3.01.04-87 Приемка в эксплуатацию законченных строительством объектов. Основные положения.
СНиП 12-03-2001 Безопасность труда в строительстве. Часть 1. Общие требования.
СНиП 12-04-2002 Безопасность труда в строительстве. Часть 2. Строительное производство.
В настоящих Методических рекомендациях применены следующие термины с соответствующими определениями:
3.1 активное и пассивное давление грунта на стенку: Виды давления грунта засыпки на стенку (в том числе подпорную стенку шпунтового типа), формирующиеся при перемещении стенки в сторону от засыпки (а. д.) и в сторону засыпки (п. д.). А. и п. д. соответствуют состоянию предельного равновесия грунтовой среды в соответствии законом Кулона и уравнением Мора-Кулона.
3.2 грунтовое ядро: Грунт, сохраняющийся или оставляемый во внутренней полости трубы трубчатой шпунтовой сваи во время или после ее погружения.
3.3 дисперсные грунты: Класс грунтов с физическими (водно-коллоидными), физико-механическими и механическими (структурными) связями: пески, крупнообломочные, глинистые (супеси, суглинки, глины) грунты.
3.4 дорожная деятельность: Деятельность по проектированию, строительству, реконструкции, капитальному ремонту, ремонту и содержанию автомобильных дорог.
3.5 закон Кулона: Соотношение между касательным

и нормальным

напряжениями, действующими на площадках возможного начала скольжения. З. К. записывается в виде:

, где

- коэффициент трения,

- угол внутреннего трения,
c - удельное сцепление.
3.6 континуальный конечный элемент: Термин из теории метода конечных элементов, фрагмент плоской или пространственной расчетной области в совокупности с заданными функциями, описывающими перемещения точек внутри и на внешних границах.
3.7 напряженное состояние в точке: Совокупность нормальных и касательных напряжений, действующих по всем возможным площадкам, пересекающимся в этой точке.
3.8 подпорная стенка шпунтового типа: Разновидность стальных или железобетонных изгибаемых подпорных стенок, состоящих из воспринимающей горизонтальное давление грунта надземной части и заделанной в основание подземной (заглубленной) части.
3.9 сварной трубчатый шпунт: Шпунтовая стена, состоящая из стальных трубчатых сварных шпунтовых свай. Трубчатая сварная шпунтовая свая состоит из стальной трубы и приваренных к ней замковых соединений.
3.10 слабые глинистые грунты: Грунты с сопротивляемостью сдвигу менее 0,075 МПа или модулем деформации менее 5 МПа. К слабым грунтам относятся текучепластичные глины и суглинки, пластичные супеси с показателем текучести более 0,5.
3.11 структурно-неустойчивые грунты: Грунты, при приложении к которым даже незначительных по величине нагрузок происходит нарушение структурных связей с резким ухудшением механических свойств. К структурно-неустойчивым грунтам относятся илы, торфы, заторфованные грунты, техногенные отложения.
3.12 уравнение Мора-Кулона: Соотношение компонентов напряжений, описывающее предельное напряженное состояние в точке (элементарном объеме) грунтовой среды.
3.13 устои с совмещенными функциями: Устои мостовых сооружений, совмещающие функции восприятия горизонтального давления грунта засыпки и опирания пролетного строения.
3.14 устои с раздельными функциями: Устои мостовых сооружений, состоящие из подпорной стенки, воспринимающей горизонтальное давление грунта, и опоры, на которую опирается пролетное строение.
Термины надежность строительного объекта (безотказность), предельное состояние, срок службы строительного объекта применяются в соответствии с определениями, принятыми в
ГОСТ 27751, термин долговечность - в соответствии с определением, принятым в
ГОСТ 33178.
4. Основные обозначения и сокращения
Обозначения в
разделе 8 "Долговечность и антикоррозийная защита"

- проектная толщина стенок стальных труб (мм);

- расчетная толщина стенок стальных труб (мм);

- уменьшение толщины стенок стальных труб в результате коррозии (мм).
Обозначения в
разделе 9 "Расчет конструкций из ШТС"
A, I, W - расчетные геометрические характеристики сечения, приведенные к 1-му погонному метру трубошпунта: площадь, момент инерции, момент сопротивления крайнего волокна (см2/м, см4/м, см3/м);
AD, ID, WD - геометрические характеристики сечений полых труб с учетом коррозионного износа (см2, см4, см3);
D - внешний диаметр трубы (мм);
a - расстояние в свету между трубами (мм);
Ared, Ired - приведенные к стали площадь и момент инерции сечений труб, заполненных железобетоном (см2, см4);
Es - модуль упругости стали и арматуры (МПа);
Eb - модуль упругости бетона заполнения внутренней полости труб (МПа);
nsb - отношение модулей упругости стали и бетона;
Atot - площадь сечения рабочей арматуры железобетона заполнения внутренней полости труб (см2);

- удельный вес грунта (кН/м
3);

- угол внутреннего трения грунта (градус);
c - удельное сцепление грунта (кПа);
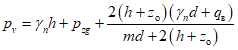
pv - вертикальное давление грунта за задней гранью подпорной стенки (кПа);
pzg - природное давление грунта основания со стороны передней грани подпорной стенки (кПа);
pа - активное давление грунта на заднюю грань подпорной стенки (кПа);
pп - пассивное давление грунта на переднюю грань подпорной стенки (кПа);
pz - контактные давления шпунтовой стенки (сваи) и грунтового основания (кПа);
yz - совместные перемещения шпунтовой стенки (сваи) и грунтового основания (м);
Cz - коэффициент постели, выражающий отношение контактных давлений и совместных перемещений шпунтовой стенки (сваи) и грунтового основания (кН/м3);
K - коэффициент пропорциональности с размерностью кН/м4, принимаемый в зависимости от вида грунта;
zO - координата длины стенки, отсчитываемая от поверхности основания (м);
P - расчетная вертикальная нагрузка на 1 погонный метр трубошпунтовой подпорной стенки (кН/м);
N - расчетная вертикальная нагрузка на трубу в составе трубошпунтовой подпорной стенки (кН).
Основные сокращения
ИГЭ - инженерно-геологический элемент грунтового основания;
КЭ - конечный элемент;
МКЭ - метод конечных элементов;
ПОС - проект организации строительства;
ППР - проект производства работ;
ПС - предельное состояние;
СТО - стандарт организации;
ТУ - технические условия;
ШТС - шпунт трубчатый сварной.
5.1 Стальные трубчатые сварные шпунты (ШТС) состоят из стальной трубы и приваренных к ней замковых соединений. Внутренняя полость трубы заполняется песчано-цементной смесью, монолитным железобетоном или на части длины трубы в пределах основания сохраняется грунтовое ядро.
В Российской Федерации освоено производство ШТС в соответствии с национальный стандартом
ГОСТ Р 52664. Сортамент конструкций ШТС включает набор вариантов профилей, обеспечивающий эффективное использование их несущей способности и геометрической формы применительно к условиям различных проектов.
Конструкции ШТС обеспечивают экономичность и технологичность инженерных решений в связи с высокой эффективностью использования стали, высоким уровнем заводской готовности и антикоррозийной защиты, прочностью и простотой выполнения стыковых соединений, пригодностью к скоростному строительству и производству работ в стесненных условиях.
5.2 Настоящие Методические рекомендации предназначены для использования при применении ШТС в качестве элементов капитальных инженерных сооружений в составе автомобильных дорог, относящихся к классам сооружений КС-2, КС-1 в соответствии с
ГОСТ 27751, 1-й и 2-й геотехнической категории сложности проектирования в соответствии с
СП 22.13330, на территориях (площадках проектирования) с сейсмичностью до 9 баллов в соответствии с
СП 14.13330.
Надежность, безотказность, безопасная эксплуатация, долговечность дорожных инженерных сооружений с конструкциями из ШТС обеспечиваются следующими средствами:
- разработкой и математическим описанием расчетных схем, отражающих условия восприятия действующих нагрузок и силовых воздействий;
- видами и критериями предупреждаемых расчетами предельных состояний, отражающими формы разрушения и деформирования;
- применением коэффициентов надежности, условий работы, сочетаний нагрузок в соответствии с действующими ГОСТами и сводами правил;
- соблюдением норм проектирования и конструктивных требований в соответствии с действующими ГОСТами и сводами правил;
- требованиями к прочности грунтов оснований, в которых допускается устройство фундаментных конструкций ШТС;
- техническими требованиями к конструкциям заводского изготовления, описаниями рекомендуемых конструктивно-технологических решений, антикоррозийной защиты, строительных технологий, системы наблюдений и содержания эксплуатируемых объектов.
6. Конструкции заводского изготовления. Технические требования
| | ИС МЕГАНОРМ: примечание. В официальном тексте документа, видимо, допущена опечатка: имеется в виду ГОСТ Р 52664-2010, а не ГОСТ 52664. | |
6.1 Профили ШТС изготавливаются из стальных бесшовных горячекатаных труб по
ГОСТ 8732 и электросварных прямошовных труб по
ГОСТ 10704,
ГОСТ 10706,
ГОСТ 20295, к которым сварными соединениями крепят шпунтовые замки. Сортамент труб диаметром 530 - 1420 мм принимается в соответствии с
ГОСТ 52664.
Применение электросварных спиральношовных труб в соответствии с
ГОСТ 8696 и
ГОСТ 20295 допускается в сортаменте в соответствии с
ГОСТ 52664 для строительства дорожных подпорных стенок и подпорных стенок в составе устоев с раздельными функциями.
Маркировка шпунта состоит из следующих позиций: ШТС, D - диаметр в мм,

- толщина стенки в мм, марка замка, ГОСТ или Технические условия на изготовление трубошпунта. Например: ШТС-820x10-ЗСГ1** ТУ 5264-017-13512256-2016.
Диаметры, толщины стенок и геометрические характеристики сечений труб представлены в
таблице А1 приложения А.
Замковые соединения могут располагаться в соответствии со схемами на рисунке 1 в диаметральной плоскости или в радиальных плоскостях под требуемым углом.
а - положение замков при диаметральном расположении;
б - положение замков в радиальных плоскостях;
1 - замок; 2 - труба; O-O - ось шпунтового ряда;

- угол поворота шпунтового ряда
Рисунок 1 - Положение замков на обычном
и угловом шпунтовых профилях
Замковые соединения могут привариваться к трубам на части их длины.
6.2 Для изготовления труб в составе ШТС мостовых и дорожных сооружений допускается применение сталей марок, предусмотренных в
ГОСТ 52664.
Для элементов замковых соединений следует применять стали марок предусмотренных в
СП 35.13330.
Тип исполнения стальных конструкций (обычное, северное А, северное Б) следует назначать в зависимости от минимальной расчетной температуры согласно
п. 8.1 (таблица 8.1) СП 35.13330.
Прокат из стали всех марок, применяемых для изготовления конструкций ШТС, должен поставляться с гарантией свариваемости.
Качество применяемых конструкций ШТС должно удостоверяться сертификатом (паспортом) предприятия-изготовителя.
6.3 Рекомендуемый сортамент замковых соединений для изготовления ШТС представлен в
таблице Б1 приложения Б.
Допускается применение замковых соединений, не приведенных в
приложении Б, при условии обеспечения несущей способности на разрыв не менее 1500 кН/м.
6.4 Величину разрывного усилия в замковых соединениях ШТС следует определять по результатам заводских испытаний. В замковых соединениях, соответствующих схеме на
рисунке 2, допускается определять величину расчетного разрывного усилия
Pразр (кН) на участке длиной
L = 1 м = 1000 мм по формуле, полученной из условия отгиба головок,

(1)
где Ry, МПа - расчетное сопротивление стали замкового соединения, hГ - минимальная толщина концов головок профилей, образующих замковое соединение (hГ = 12; 10; 8 мм), s, мм - расстояние от линии действия силы, P = 1/2Pразр до сечения толщиной hГ.
z - раскрытие зева замка
Рисунок 2 - Схема к расчету
разрывного усилия замкового соединения
Сечения сварных швов, соединяющих трубы и замковые соединения, определяются по условию равенства их сопротивления срезу величине разрывного усилия в замке.
6.5 Отклонение размеров и формы шпунтовых профилей от номинальных значений не должны превышать предельных значений, указанных в
ГОСТ Р 52664.
6.6 Допускается использовать трубы и прокат для замков с поперечными стыками. Число поперечных стыков в трубе шпунтовой сваи не должно превышать:
- одного при длине профиля менее 12 м,
- двух при длине профиля от 12 до 24 м,
- четырех при длине от 24 до 42 м,
- пяти при длине от 42 до 48 м.
Минимальное расстояние от торца трубы до ближайшего к нему стыка 1 м. Расстояние между стыками должно быть не менее 3 м.
При наличии поперечного шва продольные швы стыкуемых частей прямошовных труб должны быть смещены один относительно другого в соответствии с
ГОСТ 10706.
6.7 Для сооружения дорожных подпорных стен и подпорных стенок в составе устоев с раздельными функциями допускается использовать трубы по
ГОСТ 10704,
ГОСТ 10706,
ГОСТ 8732,
ГОСТ 20295, бывшие в употреблении и прошедшие входной контроль в соответствии с требованиями ГОСТ Р 52664 (
п.п. 5.7,
6.3,
7.1).
6.8 Сварочные материалы, требования к качеству сварных соединений, методы и объем контроля сварных соединений при изготовлении шпунтовых замков и ШТС назначаются в соответствии с
[1].
6.9 Антикоррозионное покрытие конструкций ШТС выполняется в соответствии с указаниями
раздела 8 настоящих Методических рекомендаций.
6.10 В рабочей документации (чертежи КМ) на конструкции ШТС должны содержаться следующие данные:
- полные длины, толщины стенок и участки труб по длине, на которых крепятся (привариваются) замковые соединения;
- конструкции замковых соединений, их длина и положение по высоте трубы и в радиальных плоскостях
(рисунок 1);
- марки сталей труб и замковых соединений;
- категория и тип сварных швов по классификации
[1];
- места расположения поперечных швов и указания по взаимному смещению продольных швов прямошовных труб в соответствии с
ГОСТ 10706;
- описание антикоррозионного покрытия;
- схема и конструкция строповочных приспособлений.
| | ИС МЕГАНОРМ: примечание. В официальном тексте документа, видимо, допущена опечатка: имеется в виду ГОСТ Р 52664-2010, а не ГОСТ 52664. | |
6.11 Каждая партия шпунтовых свай, поступающая на строительную площадку, должна сопровождаться документацией (паспортом) согласно требованиям
ГОСТ 52664 и иметь сертификаты соответствия согласно требованиям Федерального закона "О техническом регулировании" (N 184-ФЗ,
глава 4).
Партией считают профили, отгружаемые на неделимую единицу транспортных средств (баржу, сцеп платформ, тягач с прицепом и т.д.).
Документ о качестве ШТС должен содержать:
- наименование предприятия-изготовителя и его товарный знак;
- наименование предприятия-потребителя;
- номер заказа или контракта;
- дату выписки документа о качестве;
- обозначение стандарта или ТУ, в соответствии с которым выполнено изделие;
- условное обозначение шпунта;
- информацию о химическом составе и механических свойствах стали (по данным предприятия-поставщика или по результатам испытаний образцов стали);
- длину и массу одного шпунтового профиля;
- общее число и массу поставленных шпунтовых профилей;
- тип антикоррозионного покрытия и его характеристики;
- штамп службы технического контроля.
К документу о качестве прилагают:
- ведомость документов о качестве материалов, примененных для изготовления шпунта;
- опись дипломов (удостоверений) о квалификации газорезчиков и сварщиков, изготовивших шпунт;
- ведомость результатов контроля качества сварных соединений.
7. Конструктивно-технологические решения. Указания по проектированию
7.1 В настоящих Методических рекомендациях рекомендуются устои мостовых сооружений и дорожные подпорные стенки однорядных систем со следующими высотами и схемами на
рисунке 3:
- устои мостовых сооружений с высотой подходной насыпи до 8 м с совмещенными и раздельными функциями опирания крайнего пролетного строения и удержания в вертикальном положении передней грани засыпки (подходной насыпи);
- подпорные стенки высотой до 8 м, ограничивающие горизонтальное заложение откоса конуса мостового сооружения;
- дорожные подпорные стенки высотой до 8 м, ограничивающие заложение откоса насыпи земляного полотна;
- подпорные стенки высотой до 8 м рамповых участков тоннелей;
- засыпные сводчатые водопропускные сооружения с опорами из ШТС, устраиваемые в насыпях высотой до 8 м.
а, б - мостовые устои с совмещенными и раздельными
функциями; в - подпорная стенка, ограничивающая заложение
конуса моста; г - дорожная подпорная стенка; д - подпорная
стенка рампового участка тоннеля; е - водопропускное
сооружение из гофрированной стали;
1 - трубошпунт, заполненный железобетоном;
2 - трубошпунтовая подпорная стенка; 3 - заполнение
песчано-цементной смесью; 4 - грунтовое ядро; 5 - опора
(устой) моста; 6 - земляное полотно дороги, засыпка
за устоем; 7 - оголовок устоя, железобетонная насадка;
8, 9 - пролетное строение и дорожная одежда;
10 - переходная плита; 11 - проезжая часть;
12 - водоотводной лоток; 13 - временная нагрузка;
14 - конструкции из гофрированного металла
Рисунок 3 - Схемы дорожных инженерных сооружений из ШТС
Указанные выше высоты сооружений из ШТС могут быть увеличены с 8 до 10 м в случае устройства на части высоты подпорной стенки армогрунтовой системы в соответствии с
п. 7.2.
Высота подпорной стенки, удерживающей вертикальную грань дорожной выемки, может доводиться до 12 м при условии, что борт выемки сложен связными грунтами, и грунт за счет сцепления удерживает вертикальную свободную от активного давления грань на высоту (hс) не менее половины общей высоты стенки:

, (2)
где

- расчетный удельный вес,

- расчетный угол внутреннего трения,
cI - расчетное удельное сцепление грунта борта выемки.
На рисунке 4 приведены варианты компоновки конструкций мостовых устоев из ШТС: с устройством непрерывных и прерывистых (включающих незаглубленные элементы) фундаментных частей, назначаемых по расчету в соответствии с действующими нагрузками и в зависимости от высоты сооружения.
а - устой с непрерывными фундаментными частями;
б - устой с прерывистыми фундаментными частями;
1 - несущие (заглубленные) ШТС; 2 - незаглубленные элементы
ШТС; 3 - оголовок устоя; 4 - железобетонная стенка;
5 - открылок; 6 - деформационный шов; 7 - железобетонная
насадка; 8 - переходная плита; 9 - пролетное строение;
10 - дорожная одежда; 11 - заполнение железобетоном;
12 - заполнение песчано-цементной смесью;
13 - грунтовое ядро; 14 - дренаж
Рисунок 4 - Примеры (общие виды) устоев
мостовых сооружений с применением ШТС
Незаглубленные элементы ШТС должны быть погружены в основание на расчетную глубину промерзания, но не менее 1,5 м.
Допускается устройство подпорных стенок с использованием ШТС с трубами разных диаметров.
7.2 При необходимости (или целесообразности) уменьшения горизонтального давления грунта на заднюю грань подпорной стенки из ШТС рекомендуется устройство армогрунтовой системы, состоящей из заполненных песком объемных оболочек из геотекстиля (рисунок 5).
1 - конструкции ШТС; 2 - объемные оболочки из геотекстиля;
3 - засыпка из дренирующего грунта; 4 - дренаж;
5 - основание из щебня h = 0,2 м; 6 - зазор шириной
100 - 150 мм; 7 - "снятая" часть эпюры горизонтального
давления; 8 - эпюра горизонтального давления
Рисунок 5 - Способ уменьшения горизонтального давления
грунта на конструкции ШТС при помощи армогрунтовой системы
Использование армогрунтовых систем в соответствии с
рисунком 5 рекомендуется в качестве сейсмоизолирующих элементов.
Примечание - В настоящих Методических рекомендациях не рассматриваются вопросы проектирования опоры мостового сооружения в составе устоя с раздельными функциями и армирования грунта насыпей за подпорными стенками.
7.3 Внутренние полости труб в составе ШТС должны быть заполнены. Заполнение внутренней полости может быть образовано грунтовым ядром, оставляемым в нижней части трубы после погружения до проектной отметки, песчано-цементной смесью (в соотношении 5:1), монолитным бетоном или железобетоном.
Арматурные каркасы при заполнении внутренней полости железобетоном должны иметь кольца жесткости в соответствии с требованиями
СП 24.13330 и фиксаторы, обеспечивающие проектное положение каркаса в трубе.
Конструкция и высота каждого вида заполнения, в том числе высота грунтового ядра, назначается по расчету и должна быть описана в проекте с указанием отметок верхних и нижних границ слоев. Не допускается оставление пустот и заполнение внутренней полости насыпным грунтом (в том числе песком) вместо песчано-цементной смеси.
7.4 При переломах осей подпорных стенок (в плане) вертикальная ось угловой трубы (с замковыми соединениями на радиальных плоскостях, см.
рисунок 1) должна располагаться на пересечении плоскостей симметрии участков подпорной стенки.
7.5 В соответствии с
п. 5.74 СП 35.13330 отсыпку насыпей за устоями мостовых сооружений на длину поверху не менее высоты насыпи плюс 2 м и понизу на уровне поверхности основания - не менее 2 м следует предусматривать из песчаного или другого дренирующего грунта с коэффициентом фильтрации (после уплотнения) не менее 2-х метров в сутки с обеспечением коэффициента уплотнения 0,98.
Для отсыпки насыпей за трубошпунтовыми дорожными подпорными стенками следует использовать грунты с допустимой влажностью в соответствии с
таблицей В.12 приложения В СП 34.13330. Грунт не должен содержать органических водорастворимых включений.
Для засыпки пазух за дорожными подпорными стенками следует использовать песчаные грунты с коэффициентом фильтрации не менее 0,5 метра в сутки с обеспечением коэффициента уплотнения 0,95.
7.6 Подпорные стенки, сооружаемые с применением конструкций ШТС должны иметь застенный трубчатый или кучевой дренаж, предназначенный для отвода воды с целью исключения гидростатического давления на стенку, уменьшения влажности грунтов засыпки и предупреждения развития коррозии.
Трубчатый дренаж (рисунок 6, а) устраивается в виде перфорированной трубы (коллектора) диаметром

(в зависимости от ожидаемого расхода воды), проложенной в крупнозернистой засыпке. Длина трубчатого дренажа не должна превышать 50 м. Коллектор должен располагаться на хорошо уплотненном основании из песка с продольным уклоном от 0,002 до 0,003.
1 - разнофракционный щебень; 2 - гравелистый песок;
3 - геотекстиль; 4 - коллектор (перфорированная труба
диаметром

); 5 - основание из дренирующего
грунта; 6 - насыпь (засыпка за устоем); 7 - подпорная
стенка (устой моста); 8 - жирная глина; 9 - дренажное
отверстие; 10 - железобетонный лоток
Рисунок 6 - Поперечные сечения
трубчатого (а) и кучевого (б) дренажа
Кучевой дренаж (
рисунок 6, б) устраивается в виде призмы из слоев щебенистого, галечникового, дресвяного грунта различной крупности, укладываемой с продольным уклоном не менее 0,04. В основании дренажа должна быть устроена подготовка из слоя жирной глины. Для предотвращения заиливания крупнозернистую засыпку следует отделять геотекстилем.
Вода отводится через отверстия в пластинчатых элементах замковых соединений трубошпунта при помощи трубок диаметром 40 мм. Отверстия устраиваются с шагом

на расстоянии по высоте не менее 0,5 м от дна кювета или от планировочной поверхности.
7.7 Верхние концы ШТС в составе подпорных стенок объединяются монолитными железобетонными насадками с поперечными сечениями и схемами армирования в соответствии с рисунком 7. Деформационные швы в монолитных железобетонных насадках следует устраивать над замковыми соединениями не реже, чем через 20 м.
1 - трубошпунт; 2 - арматурный каркас; 3 - бетон;
4 - заполнение песчано-цементной смесью; 5 - арматурные
стержни; 6 - армирование оголовка; d - диаметр арматуры
Рисунок 7 - Примеры оголовка устоя моста
с совмещенными функциями (а), железобетонной
насадки подпорной стенки (б, в)
7.8 Относительное смещение по высоте поперечных сварных швов соседних труб должно быть не менее 2-х метров, а положение поперечных швов на одном уровне допускается не чаще, чем в каждой третьей трубе (шпунтовой свае) ряда.
7.9 При наличии подпора воды более 0,5 м следует предусматривать герметизацию замковых соединений путем инъектирования битумных или полиуретановых герметиков.
Допускаются другие способы герметизации замковых соединений, в том числе сваривание замковых соединений.
Герметизацию замковых соединений рекомендуется производить с тыловой стороны шпунтового ряда, начиная с уровня на 0,25 м ниже планировочной отметки земли, до уровня на 0,25 м выше уровня расчетного подпора воды.
При обеспеченности отвода воды герметизация замковых соединений не производится.
7.10 Для улучшения архитектурного вида сооружений из трубошпунта рекомендуется применение облицовок из керамогранита, железобетона или композитных алюминиевых панелей. Пример крепления облицовки к конструкциям ШТС приведен на рисунке 8.
1 - трубошпунт; 2 - облицовка из композитных алюминиевых
панелей; 3 - профилированная труба; 4 - кронштейн несущей
системы; 5 - направляющая несущей системы
Рисунок 8 - Пример выполнения облицовки
из композитных алюминиевых панелей
7.11 При погружении ШТС в труднопроходимые грунты нижние концы труб усиливаются внутренними кольцами из дугообразных элементов трубы того же диаметра в соответствии с рисунком 9.
1 - трубошпунт; 2 - усиливающая накладка
Рисунок 9 - Усиление нижнего конца ШТС
7.12 При проектировании конструкций ШТС необходимо обеспечить надежное соединение частей замкового соединения соседних шпунтовых свай. Свободная от замковых соединений нижняя часть труб (если она предусмотрена проектом) должна быть короче надземной части ШТС не менее чем на 1,0 м (рисунок 10).
1 - трубошпунт; 2 - планировочная поверхность земли;
Hнз - высота надземной части сваи; Hсв - высота свободной
от замков части погружаемой сваи
Рисунок 10 - Погружение шпунтовой сваи
8. Долговечность и антикоррозийная защита
8.1 При проектировании дорожных инженерных сооружений из ШТС следует руководствоваться требованиями прочности (безотказности) и безопасной эксплуатации (долговечности) в соответствии с
ГОСТ 33178.
8.2 Выполнение требований безотказности и долговечности обеспечивается сочетанием следующих мероприятий:
- увеличением толщины стенки (уменьшением расчетной толщины стенки по сравнению с проектной) элементов ШТС с учетом коррозионного износа;
- применением защитных антикоррозионных лакокрасочных покрытий;
- применением электрохимической (катодной) защиты.
8.3 Проектная толщина стенок

(мм) стальных труб принимается с учетом коррозионного износа за период эксплуатации после истечения срока службы антикоррозионного покрытия:

, (3)
где

- расчетная толщина стенок,

- уменьшение толщины стальных труб в результате коррозии.
При заполненной внутренней полости труб бетоном, железобетоном, песчано-цементной смесью, грунтовой пробкой допускается считать коррозию односторонней - только с внешней стороны.
Уменьшение толщины стальных труб в результате коррозии

за период времени после истечения срока службы антикоррозионного покрытия допускается принимать равным 1 мм.
8.4 Антикоррозионное покрытие внешних поверхностей труб и замковых соединений должно наноситься на подготовленные поверхности с использованием лакокрасочных материалов, обеспечивающих срок службы не менее 15 лет.
Лакокрасочная система и требования к подготовке окрашиваемой поверхности в соответствии с
ГОСТ 9.402 должны быть описаны в рабочей документации.
Антикоррозионное покрытие должно быть выполнено без пропусков, трещин сколов, пузырей, морщин и других дефектов, оказывающих влияние на защитные свойства.
В случае повреждения антикоррозионного покрытия, выполненного в заводских условиях, допускается его восстановление на объекте при обеспечении подготовки окрашиваемой поверхности в соответствии с требованиями завода-изготовителя и использования лакокрасочных материалов, обеспечивающих требуемый срок службы.
8.5 Электрохимическая защита может предусматриваться в конструкциях из трубошпунта совместно с лакокрасочными покрытиями. Проектирование и выполнение электрохимической защиты поручается специализированным предприятиям.
9. Расчеты конструкций из ШТС
9.1 Расчеты при проектировании конструкций из ШТС в составе инженерных сооружений на автомобильных дорогах выполняются по методам, описание которых содержится в
приложениях В и
Г:
- по инженерному методу с расчетной схемой, сочетающей теории предельного напряженного состояния грунта и метода местных упругих деформаций с треугольной формой распределения коэффициента постели;
- по методу конечных элементов с использованием упругопластической модели грунта.
Расчет по инженерному методу следует применять в качестве основного при проектировании всех дорожных инженерных сооружений с использованием ШТС. Метод расчета с применением МКЭ и упругопластической модели грунта рекомендуется применять дополнительно к расчетам по инженерному методу при проектировании мостовых устоев с совмещенными функциями, в других случаях в качестве контрольных расчетов.
- уравнение закона Кулона и условие прочности грунтов Мора-Кулона,
- расчетная модель метода местных упругих деформаций с треугольной формой распределения коэффициента постели.
При расчетах активного и пассивного давления грунта трение на контактных поверхностях вертикальных граней трубошпунтовой подпорной стенки и грунта засыпки и основания не учитывается. Касательные напряжения на указанных поверхностях принимаются равными нулю.
9.3 Расчеты по методам, указанным в
п. 9.1, выполняются в соответствии с условиями плоской задачи (плоской деформации). Расчетная область (рисунок 11), представляет собой фрагмент проектируемого сооружения шириной 1 м, ограниченный боковыми вертикальными гранями.
а - расчетная схема устоя мостового сооружения;
б - расчетная схема дорожной подпорной стенки;
1 - устой (подпорная стенка); 2 - плоский стержень;
3 - засыпка за устоем, земляное полотно дороги;
4 - переходная плита; 5 - временная вертикальная нагрузка
на переходной плите; 6 - временная дорожная вертикальная
нагрузка; 7 - распределение коэффициента постели
в однородном и слоистом основаниях, Cz = KzO;
8 - границы геологических слоев
Рисунок 11 - Расчетные схемы дорожных
инженерных сооружений из ШТС
На расчетных схемах трубошпунтовые подпорные стенки 1 заменяются плоскими стержнями конечной жесткости 2. Геометрические характеристики площади сечения (A, см2/м), момента инерции (I, см4/м), момента сопротивления (W, см3/м) в пересчете на 1 погонный метр трубошпунтовой стенки определяются в зависимости от геометрических характеристик сечений труб.
При заполнении труб песчано-цементной смесью или грунтовым ядром

, (4)
где
AD,
ID,
WD - геометрические характеристики сечений полых труб с толщиной стенок

с учетом коррозионного износа
(п. 8.3),
D и
a - размеры (мм) на рисунке 12, а.
а - конструкция ШТС с трубой, заполненной
песчано-цементной смесью или грунтовым ядром;
б - конструкция ШТС с трубой, заполненной железобетоном
D - диаметр шпунтовых свай; a - расстояние
между трубами в свету;

- толщина стенки трубы;
O-O - ось шпунтового ряда;
1 - конструкция ШТС; 2 - песчано-цементная смесь (грунтовое
ядро); 3 - монолитный железобетон, 4 - арматурный каркас
Рисунок 12 - Схемы сечений трубошпунтовых стенок
При заполнении труб монолитным бетоном или железобетоном

(5)
где Ared, Ired - приведенные к стали площадь и момент инерции сечений труб, определяемые по следующим формулам

, (6)
nsb =
Es/
Eb - отношение модулей упругости стали и бетона,
Atot - площадь сечения рабочей арматуры железобетона заполнения,
r - радиус арматурного каркаса (
рисунок 12, б).
9.4 Условие прочности в соответствии с уравнением Мора-Кулона устанавливает следующие соотношения напряжений в точке (элементарном объеме) грунта

, (7)
где

,

- главные напряжения в точках (элементарных объемах) грунта насыпи (засыпки за подпорной стенкой) и основания,

,
c - характеристики сопротивления грунта сдвигу: угол внутреннего трения и удельное сцепление.
Примечание - В
уравнении (7) главные напряжения,

являются сжимающими и учитываются со знаком "+".
9.5 Активное
pа и пассивное
pп давление грунта на вертикальные грани шпунтовой подпорной стенки определяются на основании
уравнения (7) в зависимости от вертикального давления
pv грунта за задней гранью подпорной стенки и природного давления
pzg грунта основания со стороны передней грани подпорной стенки.
При определении активного давления

заменяется на
pа,

- на
pv:

, (8)
При определении пассивного давления со стороны передней грани подпорной стенки из ШТС в основании

заменяется на
pп,

- на природное давление
pzg:

. (9)
Формулы, описывающие вертикальное давление
pv и природное давление
pzg, содержатся в
приложении В.
9.6 Расчетная модель метода местных упругих деформаций основана на решении контактной задачи со следующими допущениями:
- плоский стержень, заменяющий на расчетной схеме трубошпунтовую подпорную стенку, изгибается (деформируется) совместно с грунтом основания;
- силовое взаимодействие плоского стержня (трубошпунтовой подпорной стенки) и грунта основания описывается функцией коэффициента постели Cz в соответствии с уравнением
Cz = KzO, (10)
где
K - коэффициент пропорциональности с размерностью кН/м
4, принимаемый в зависимости от вида грунта в соответствии с указаниями в
приложения В,
zO - координата длины стенки, отсчитываемая от поверхности основания (планировочной поверхности).
Коэффициент постели выражает отношение контактных давлений pz и совместных горизонтальных перемещений yz сваи и грунтового основания:

. (11)
Коэффициент пропорциональности K может менять свои значения на границах геологических слоев в основании.
9.7 Основания дорожных инженерных сооружений с применением ШТС, удерживающих вертикальные грани насыпей, выемок, засыпок за устоями мостовых сооружений, должны удовлетворять следующим требованиям:
- не допускается наличие в основаниях следующих инженерно-геологических элементов: структурно неустойчивых грунтов; текучих глинистых грунтов; прослоек толщиной более 1,5 м, состоящих из слабых глинистых грунтов, пылеватых песков с коэффициентом пористости более 0,80;
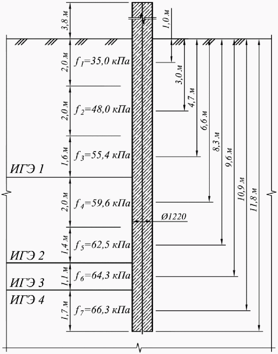
- слои оснований в нижней части ШТС на высоту 5 м (считая от нижнего конца труб) и подстилающие слои на разведанную глубину должны быть сложены скальными, полускальными или дисперсными грунтами с минимальными расчетными значениями прочностных характеристик (

,
c) в соответствии с диаграммами на рисунке 13.
Рисунок 13 - Диаграммы минимальных расчетных значений углов
внутреннего трения

и удельного сцепления
c грунтов
нижних и подстилающих слоев оснований подпорных стенок
с применением ШТС высотой до 6 м (кривая 1),
от 6 до 8 м (кривая 2), более 8 м (кривая 3)
9.8 Расчет несущей способности по грунту подпорных стенок из ШТС, воспринимающих вертикальные нагрузки, выполняется в соответствии с указаниями
СП 24.13330. При этом следует руководствоваться следующими положениями, отражающими особенности конструкций из ШТС и условий их погружения.
9.8.1 Несущая способность висячих трубошпунтовых свай, погружаемых с открытым нижним концом, определяется в соответствии с СП 24.13330,
п. 7.2.10а с использованием расчетного сопротивления грунта под нижними концами труб по
п. 7.2.7.
Площадь опирания на грунт трубошпунтовых свай, усиленных стальными кольцами с внутренней стороны, принимается равной площади сечения трубы и стальных колец с учетом потерь от коррозии (сечение "нетто"). При этом трение по боковой поверхности с внутренней стороны стенок трубы учитывается только в пределах высоты колец.
Площадь опирания на грунт нижнего конца висячей трубошпунтовой сваи, погружаемой с открытым нижним концом, заполненной бетоном или железобетоном на полную высоту, принимается равной полной площади сечения трубы, ограниченной его внешним периметром (сечение "брутто").
При определении несущей способности грунта на вертикальных поверхностях трубошпунтовой сваи, погружаемой с открытым нижним концом, допускается включать в периметр сечения боковые поверхности пластин заглубленной части замковых соединений.
9.8.2 Несущая способность трубошпунтовых свай, погружаемых с закрытым нижним концом, определяется в соответствии с
п. 7.2.2 СП 24.13330 с коэффициентом условий работы, учитывающим расположение труб в плоскости шпунтовой стенки на расстоянии
D +
a < 3
D,

, (12)
где
D и
a - обозначают то же, что в
п. 9.3.
9.8.3 Определение несущей способности трубошпунтовых свай, опирающихся на скальный или слабодеформируемый грунт, по
п. 7.2.1 СП 24.13330 (по аналогии со сваями-стойками) допускается при условии заполнения внутренней полости бетоном или железобетоном на полную высоту.
9.8.4 При расчете несущей способности грунта основания в соответствии с
п. 7.1.11 СП 24.13330 расчетная нагрузка
N в
соотношении (7.2) определяется в зависимости от вертикальной нагрузки
P на 1 погонный метр трубошпунтовой подпорной стенки по формуле

. (13)
Коэффициент

, принимаемый для фундаментов опор мостов и гидротехнических сооружений в размере 1,4 - 1,75 (1,25 - 1,6), выбирается в зависимости от числа труб (трубошпунтовых свай) в составе подпорной стенки, воспринимающих вертикальную нагрузку.
9.9 Расчеты по предельным состояниям (ПС) конструкций из ШТС в составе устоев мостовых сооружений и дорожных подпорных стенок включают следующие проверки.
По ПС первой группы:
- расчет поперечных сечений на изгиб или внецентренное сжатие (если шпунтовая стенка воспринимает кроме горизонтального давления продольную силу);
- расчет сечений трубы на поперечную силу путем сравнения расчетных и предельных касательных напряжений;
- расчет прочности при сложном напряженном состоянии точек в сечениях трубы, в которых одновременно действуют нормальные и касательные напряжения;
- расчет прочности круглых сечений железобетонного заполнения на изгиб, внецентренное сжатие и поперечную силу;
- проверка трубошпунтовой сваи по несущей способности грунта основания;
- проверка конструкций деформационных швов и опорных частей на способность восприятия горизонтальных перемещений устоев в сопряжениях со шкафными стенками и узлах опирания пролетных строений мостовых сооружений.
По ПС второй группы:
- проверка горизонтального перемещения верхнего конца ШТС, которое должно быть не более 1/75 от высоты надземной части подпорной стенки;
9.10 Расчет конструкций ШТС по особым ПС с учетом сейсмических нагрузок выполняется в соответствии с указаниями
СП 14.13330.
Дорожные инженерные сооружения с применением ШТС являются объектами, в которых не допускаются повреждения или неупругие деформации, связанные с сейсмическими явлениями.
10. Возведение конструкций из ШТС. Строительные технологии, механизмы, техническое оборудование
10.1 Строительство дорожных инженерных сооружений с применением ШТС должно выполняться в соответствии с требованиями
СП 45.13330,
СП 46.13330,
СП 48.13330, настоящих Методических рекомендаций, рабочей документации, ПОС, ППР.
10.2 Возведение конструкций из ШТС состоит из следующих видов работ:
- подготовительные работы;
- погружение трубошпунта;
- извлечение грунта из внутренних полостей труб;
- заполнение внутренних полостей труб;
- герметизация замковых соединений, восстановление повреждений антикоррозионного покрытия ШТС;
- водоотвод и дренаж за задней гранью шпунтовой стенки;
- устройство засыпки за устоем (насыпи за подпорной стенкой), засыпка грунтом пазух;
- устройство шапочного бруса, оголовков устоев и других элементов обстройки, предусмотренных проектом.
Работы по возведению конструкций ШТС выполняются по схемам на рисунке 14.
а - погружение ШТС гидромолотом (вибропогружателем);
б - извлечение грунта из внутренней полости; в - установка
арматурного каркаса; г - укладка бетонной смеси;
1 - ШТС; 2 - копровая установка; 3 - кран на гусеничном
ходу; 4 - грунтовое ядро; 5 - гидромолот;
6 - вибропогружатель; 7 - направляющий каркас;
8 - грейфер; 9 - подвесные рабочие подмости;
10 - арматурный каркас; 11 - бетонолитная труба;
12 - уложенная бетонная смесь; 13 - бадья
Рисунок 14 - Технологическая схема устройства ШТС
с заполнением трубы монолитным железобетоном
10.3 Подготовительные работы выполняются в следующем составе:
- проверка наличия комплекта проектно-сметной документации на объекте, ознакомление инженерно-технического персонала с рабочей документацией и ППР;
- разбивка и закрепление главных осей сооружения, вынос в зону работ высотного репера, создание строительной сети, закрепление в натуре строительной площадки;
- устройство строительной площадки: планировка территории, подготовка внутренних проездов, служебно-бытовых помещений, площадок складирования, линий электроснабжения, наружного освещения; устройство подъездных дорог в соответствии с ППР;
- приемка (входной контроль) и складирование ШТС и других элементов на приобъектном складе;
- подготовка и опробование механизмов и машин (грузоподъемных средств, молотов, вибропогружателей) и вспомогательных устройств (шаблонов, направляющих, кондукторов);
- подготовка грунтового основания (снятие и складирование растительного слоя), обследование грунтового массива на наличие камней, валунов (в том числе геофизическими методами) в створе погружения ШТС.
При производстве работ в зимнее время рекомендуется устройство траншеи с удалением грунтов, препятствующих погружению или на глубину промерзания.
С целью отработки технологии производства работ, уточнения конструкций строповочных приспособлений, шаблонов, кондукторов, режима работы основного и вспомогательного оборудования рекомендуется выполнять пробное погружение по программе, разрабатываемой в составе ППР.
10.4 Транспортирование и хранение конструкций ШТС осуществляется с учетом воздействия климатических факторов в соответствии с требованиями
ГОСТ 15150.
Конструкции ШТС могут перевозиться транспортом всех видов в соответствии с действующими (для каждого вида транспорта) правилами перевозок.
Допускается хранение ШТС на открытом воздухе. ШТС следует хранить в штабелях высотой не более чем в три ряда по высоте при диаметре 630 мм и один или два ряда при диаметре труб 720 и более.
При хранении, погрузке, транспортировке и разгрузке ШТС должны применяться прокладки и строповочные приспособления, обеспечивающие сохранность их формы, исключающие повреждение замков и антикоррозионного покрытия.
При хранении ШТС должна быть обеспечена хорошая видимость маркировки конструкций.
10.5 При приемке (входном контроле) ШТС следует учитывать требования, изложенные в
п. п. 6.11 и
8.4 настоящих Методических рекомендаций.
Геометрические размеры замков ШТС проверяются на стенде с применением шаблонов длиной не менее 2 м (протяжка замков). Выявленные дефекты замков ШТС (изгибы, вмятины) надлежит исправлять механической правкой. Для одной шпунтины допускается замена одного дефектного участка замка длиной не более 0,5 м.
Каждая ШТС должна быть оборудована строповочными приспособлениями (петлями или отверстиями) для выполнения погрузочно-разгрузочных работ, подъема и подачи к месту погружения.
Перед погружением необходимо доставить необходимое количество ШТС с приобъектного склада в зону ведения работ.
На каждой шпунтине должен быть нанесен несмываемой краской порядковый номер и указана длина, а также глубина погружения в грунт и шкала делений с шагом 0,5 м.
Для снижения трения в замках рекомендуется предварительно обработать их бентонитовым раствором или другой смазкой. Передние по ходу погружения обоймы шпунтовых замков рекомендуется закрывать снизу стальной заглушкой.
В замковые соединения перед погружением сваи наносятся герметики (Akila Sealing Sistem и др.) в случаях, если это предусмотрено соответствующими технологиями.
10.6 При возведении сооружений из ШТС погружение шпунтовых свай осуществляется забивкой, вибропогружением или вдавливанием. Допускается также комбинированная схема погружения (вибропогружение с добивкой молотом).
При выборе оборудования для погружения ШТС необходимо отдавать предпочтение способам погружения и механизмам, оказывающим наименьшее динамическое воздействие (вдавливание, безрезонансные вибропогружатели, молоты с изменяемой энергией удара).
Динамические воздействия от погружения шпунтовых свай следует оценивать на основе результатов расчетов и проверки их пробными забивками ШТС, число которых устанавливается проектом.
Выбор оборудования для погружения шпунтовых свай выполняется в соответствии с требованиями
приложений Д,
Е СП 45.13330. При выборе оборудования для погружения расчет несущей способности шпунтовых свай (
N и
Fd) необходимо выполнять с коэффициентами условий работы g
c, g
R,R, g
R,f равными 1,0. Трение по боковой поверхности внутренней полости трубы ШТС необходимо учитывать по всей высоте грунтовой пробки. Для облегчения погружения ШТС рекомендуется удаление грунтовой пробки.
При забивке шпунтовой сваи в замок ранее забитой сваи сопротивление погружению рекомендуется дополнительно увеличивать на величину трения в замке в размере 25 кН на 1 м длины замка.
Для конструкций из ШТС, воспринимающих значительные вертикальные нагрузки, значение контрольного отказа при забивке следует определять с помощью компьютерных программ, в которых методы расчета забивки свай основаны на волновой теории удара.
Максимальные динамические напряжения сжатия

в стальной шпунтовой свае при забивке молотом не должны превышать значений

, (14)
где
Ry - расчетное сопротивление стали сжатию по пределу текучести,

- коэффициент условий работы шпунта при забивке.
Минимальный отказ рекомендуется принимать eмин = 0,5 см, но не менее значения, установленного заводом-изготовителем и приведенного в паспорте молота.
10.7 Погружение ШТС рекомендуется выполнять с применением направляющего каркаса. Направляющий каркас представляет собой устройство из двух параллельных балок из деревянных брусьев или стальных профилей, расположенных на расстоянии, равном диаметру труб плюс 1 - 3 см. Пример направляющего каркаса приведен на рисунке 15.
1 - трубошпунт; 2 - маячные сваи; 3 - удерживающий профиль
направляющего каркаса; 4 - опорный столик; 5 - перильное
ограждение; 6 - деревянный настил
Рисунок 15 - Направляющий каркас
Направляющий каркас может быть одно-, двух- или многоуровневым в зависимости от длины шпунта. Если длина ШТС при забивке превышает в два раза расстояние от поверхности земли до направляющих, их устраивают в два ряда и более. Расстояние между ярусами принимают не менее 3 м.
Многоуровневые каркасы необходимо объединять системой связей в неизменяемую пространственную конструкцию.
Для обеспечения сохранности антикоррозийного покрытия каждую трубошпунтовую сваю рекомендуется оснащать переставными обрезиненными роликами или устанавливать на направляющем каркасе деревянные прокладки.
10.8 ШТС, как правило, погружают захватками. Длина захватки зависит от производительности оборудования и обычно составляет от 10 до 30 м.
При погружении первой ШТС необходимо особое внимание уделять соблюдению вертикальности. Правильность погружения шпунтовой сваи контролируют в двух плоскостях и повторяют не реже, чем через каждую вторую шпунтину, геодезическими приборами или уровнями длиной 2 м.
Погружающий механизм необходимо устанавливать с предотвращением веерности шпунтового ряда.
При погружении ШТС вибропогружателем необходимо обеспечить жесткую и постоянную связь шпунтины и вибромашины. Для погружения ШТС предпочтение следует отдавать вибропогружателям с гидравлическими наголовниками. Пример гидравлического наголовника приведен на рисунке 16.
1 - трубошпунт; 2 - гидрозажимы;
3 - подводящие трубки; 4 - жесткий корпус
Рисунок 16 - Гидравлический наголовник для вибропогружателя
10.9 Забивку ШТС молотами следует производить с применением специальных наголовников (рисунок 17) в виде распределительной плиты, снабженной в верхней части кольцевой обоймой, для размещения в ней амортизатора, а в нижней части - системой выпусков для фиксации головы шпунтины в определенном положении относительно оси молота.
1 - распределительная плита; 2 - фиксирующие уступы;
3 - обойма для размещения амортизатора; 4 - косынки
для крепления наголовника к молоту; 5 - трубошпунт
Рисунок 17 - Пример наголовника для ШТС
Плановые размеры плиты наголовника и ее нижняя поверхность должны обеспечивать плотный контакт с торцевой поверхностью трубы шпунта по всей ее площади. Толщина плиты наголовника должна быть не менее 0,15D, где D - внутренний диаметр трубы. Высота упорной части уступов, фиксирующих положение шпунтины относительно оси наголовника, должна быть не менее 50 мм, их количество не менее 4 шт. Фиксирующие выступы должны снабжаться ловильными выступами высотой не менее 150 мм.
Амортизаторы могут быть выполнены из дерева, пластмассы или резины. Материал и размеры амортизаторов зависят от типа, массы ударной части и рекомендаций завода-изготовителя молота. Подбор амортизаторов рекомендуется выполнять в соответствии с
[2] и руководствами по эксплуатации применяемых молотов.
10.10 При погружении ШТС в труднопроходимые грунты допускается применение лидерного бурения с последующей добивкой молотом до расчетного отказа или погружения вибропогружателем до требуемой скорости на последнем залоге. Диаметр лидирующей скважины должен быть не более 0,9 от внешнего диаметра трубы (Dштс).
При погружении ШТС в составе дорожных инженерных сооружений применение подмыва не допускается.
10.11 Допускается наращивание шпунтовых свай по длине в ходе погружения при условии сохранения прямолинейности шпунтовой сваи, обеспечения равной прочности поперечного стыка и основного металла сваи с обязательным контролем качества сварного шва. Сварку выполнять по
ГОСТ 5264 и
ГОСТ 14771. Поперечные стыки рекомендуется усиливать стальными накладками (в количестве не менее 4 штук) из трубы такого же диаметра. Усилия на участках расположения поперечных стыков не должны превышать 50% предельно допустимых. Стыки должны располагаться в соответствии с требованием
п. 7.8 настоящих рекомендаций.
10.13 Минимальная отрицательная температура, при которой допускается погружение ШТС, устанавливается проектной организацией в зависимости от марки стали, способа погружения и свойств грунта.
10.14 Извлечение грунта из внутренней полости может вестись механическими и гидромеханическими способами.
В качестве механических способов извлечения грунта из внутренней полости рекомендуется применять грейферы, шнековое бурение. Нельзя допускать образования грунтовых пробок, трудно поддающихся разработке, поэтому погружение ведется ступенями, величина которых зависит от диаметра сваи и грунтовых условий.
При извлечении грунта грейфером наибольший размер грейфера (в раскрытом состоянии) должен быть на 0,3 м меньше диаметра полости трубошпунтовой сваи.
Гидромеханические способы заключаются в периодическом гидравлическом рыхлении грунта подмывными трубками и удалении его при помощи эрлифтов (рисунок 18, а), гидроэлеваторов (рисунок 18, б) или гидрожелонок
(рисунок 19). Эти способы рекомендуется применять при наличии доступных источников водоснабжения и возможности отведения воды для всех категорий грунта, за исключением скальных и твердых глинистых, которые не поддаются гидравлическому рыхлению.
1 - форсунка; 2 - приемная камера;
3 - решетка; 4 - конфузор; 5 - диффузор
Рисунок 18 - Конструктивные схемы
эрлифта (а) и гидроэлеватора (б)
1 - трубка для подачи напорной воды; 2 - решетка;
3 - барабан; 4 - отверстия в барабане для выхода воды;
5 - кольцевая щель; 6 - направляющий каркас;
7 - всасывающая труба; 8 - монтажная петля
Рисунок 19 - Конструктивная схема гидрожелонки
Для удаления песчаных и других слабосвязных грунтов применяют эрлифты с диаметрами всасывающих труб 150 - 200 мм, а для удаления гравелисто-галечниковых грунтов - 200 - 250 мм. При этом необходимо, чтобы высота нагнетания пульпы составляла не более 50% глубины погружения эрлифта. Преимущество гидроэлеватора заключается в возможности работы без поддержания в шпунтовой свае повышенного уровня воды.
Для извлечения грунта с большим содержанием крупного гравия и мелких валунов применяются гидрожелонки
(рисунок 19).
10.15 Внутренняя полость трубы шпунтовой сваи на свободном участке и участке извлечения грунтового ядра должна быть заполнена в соответствии с указаниями
п. 7.3 настоящих методических рекомендаций.
Заполнение осуществляется после освидетельствования скважины на наличие в забое рыхлого грунта, воды и шлама.
Технология заполнения внутренней полости бетоном и применяемые материалы должны обеспечивать предъявляемые к материалу заполнения требования по прочности и морозостойкости. При необходимости обеспечить проектную марку по морозостойкости бетона внутренней полости бетонирование необходимо осуществлять "насухо" на всю высоту бетонного ядра или методом ВПТ литыми бетонными смесями от отметки не выше половины глубины промерзания грунта.
Для подачи жесткой бетонной смеси рекомендуется применять виброхоботы, обеспечивающие укладку без расслоения. Допускается заполнение бетоном "насухо" методом свободного сброса с высоты до 6 м.
Во избежание расслоения бетонной смеси не допускается попадание ее на арматурный каркас и стенки ШТС.
Установка арматурных каркасов может осуществляться как до укладки бетонной смеси, так и после. Арматурный каркас перед установкой должен быть проверен на соответствие проекту, очищен от случайно налипшего на него грунта. Строповка каркаса при погружении в скважину должна обеспечивать его проектное положение. Запрещается опускать каркас в наклонном положении.
10.16 После завершения операций по погружению шпунта и заполнению внутренней полости необходимо восстановить антикоррозионное покрытие ШТС в соответствии со схемами окраски, указанными в рабочей документации.
В случае если в проекте заложена герметизация замковых соединений сваркой, антикоррозионное покрытие следует восстанавливать после выполнения этой операции.
Герметизация замковых соединений (сваркой, инъектированием гидроактивных полиуретановых герметиков), если это возможно, выполняется с тыловой стороны шпунтового ряда.
10.17 Земляные работы по заполнению пазух грунтом должны производиться в соответствии с указаниями
СП 45.13330,
СП 46.13330, настоящих Методических рекомендаций, рабочей документации, в которой указаны требования к грунтам засыпки, их физические и механические свойства, коэффициенты уплотнения в соответствии с
разделом 7. В ППР должны быть указаны способы и очередность заполнения пазух.
Перед заполнением пазух грунтом следует освидетельствовать и отразить в акте на скрытые работы соответствие проекту конструкций из ШТС, дренажа, антикоррозионного покрытия тыловой части стенки, герметизации замковых соединений. Перед засыпкой грунта пазухи должны быть очищены от строительного мусора, снега и льда.
До начала земляных работ рекомендуется выполнить опытное уплотнение грунтов на строительной площадке с целью установления максимальной плотности грунта, оптимальной влажности, рекомендуемой толщины уплотняемого слоя, уточнения параметров и режимов работы уплотняющих машин.
Не допускается уплотнение грунта засыпки устоев мостов и пазух подпорных стенок на расстоянии менее 3 м самоходными и прицепными машинами.
Проверка вертикальности, положения ШТС плане и по высоте производится до срезки или какой-либо выправки шпунтовых стен. Точность измерений плановых измерений плановых отклонений должна составлять 5 мм, а отклонений от вертикали - 0,1%.
Допускаемые отклонения от требований норм и показателей проектов принимаются в соответствии с таблицей 1.
Таблица 1
Допускаемые отклонения ШТС
от требований норм и показателей проектов
Технические требования | Допускаемое отклонение | Метод и объем контроля |
Мостовые устои с совмещенными функциями | Дорожные подпорные стенки и мостовые устои с раздельными функциями |
Величина отказа забиваемых шпунтовых свай | Соответствие расчетной величине | Не нормируется | Для каждой шпунтовой сваи |
Амплитуда колебаний в конце вибропогружения | Соответствие расчетной величине | Не нормируется | Для каждой шпунтовой сваи |
Смещение в плане центров шпунтовых свай от проектного положения в уровне низа ростверка или насадки не должны превышать | 100 мм без применения направляющих устройств | 150 мм | Геодезический метод, 20% всех шпунтовых свай |
50 мм при использовании направляющего каркаса |
Отклонение стены от вертикали | 0,02 | Геодезический метод, 20% всех шпунтовых свай |
Недобивка ШТС до проектных отметок при условии достижения расчетного отказа | 250 мм | Нивелирование всех шпунтовых свай |
Клиновидность (веерность подпорной стены) | 0,01 | Измерительный, 10% всех шпунтовых свай |
Выход ШТС из замков | Не допускается | Обследование всех ШТС |
Проектная организация, при соответствующем обосновании, имеет право корректировать допуски и отклонения шпунтовых свай, отличающиеся от приведенных в
таблице 1.
10.19 При производстве работ по строительству устоев мостовых сооружений и дорожных подпорных стенок с применением ШТС должны соблюдаться требования по технике безопасности и охране окружающей среды в соответствии с
ГОСТ 12.3.009,
СНиП 12-03,
СНиП 12-04 и
[3].
11. Эксплуатация и содержание ШТС в составе дорожных сооружений
11.1 Комплекс мероприятий по техническому содержанию дорожных инженерных сооружений включает в себя мониторинг (текущие, периодические осмотры) и работы, выполняемые в соответствии с
[4], отраслевыми дорожными методическими документами
[5],
[6],
[7],
[8].
Работы по мониторингу (2 раза в год), периодической диагностике (в среднем 1 раз в 5 лет) и обследованиям (1 раз в 10 лет) конструкций из ШТС в составе дорожных инженерных сооружений выполняются со следующими целями:
- обеспечение безопасной эксплуатации в период, предусмотренный требованиями к долговечности сооружения;
- предотвращение и ликвидация возможных повреждений и деформаций;
- определение объемов, сроков и способов необходимых ремонтов, капитальных ремонтов.
Указанные виды мониторинга и обследований конструкций ШТС включают в себя внешние осмотры, исследования неразрушающими методами и геодезические измерения.
11.2 Результаты работ по мониторингу, диагностике и обследованиям оформляются в соответствии с требованиями указанных выше документов технического регулирования и внутренних документов эксплуатирующей организации.
Обращается внимание на тщательность хранения проектной документации (рабочих чертежей), документации строительства (в том числе паспортов конструкций), документов о согласованиях, полученных в ходе строительства.
11.3 Внешним осмотром конструкций ШТС выявляют наличие участков коррозии металла, дефекты и повреждения элементов, стыков и креплений; погнутости, вмятины, местные ослабления, трещины, разрывы и неплотности. Внутренние дефекты сварных швов выявляют с помощью неразрушающих методов исследования: ультразвуковой дефектоскопии, радиографических и акустических методов.
Наибольшую опасность представляют трещины в стальных конструкциях и сварных соединениях. Следует обращать внимание на выявление причин образования трещин, степень их влияния на безотказность и долговечность сооружения.
Вероятными причинами образования трещин являются: концентрация напряжений, остаточные напряжения от сварки, усталостные явления, повышенная хладноломкость металла.
11.4 При наличии коррозии металла непосредственными замерами устанавливают степень ослабления сечения элемента конструкции, а также интенсивность или скорость протекания коррозии (миллиметров в год).
Следует выявлять недостатки конструкции стен из ШТС, способствующие интенсификации процессов коррозии: участки с застоем избыточной влаги, недостатками работы дренажа и систем водоотвода, пазухи и щели.
11.5 Следует проверять состояние окраски стальных конструкций подпорных стен, выявлять количество и качество слоев, сцепление с металлом и состояние металла под краской, фиксировать дефекты в окраске стали, механические повреждения, трещины, пузыри, участки шелушения.
11.6 Геодезические измерения включают разбивку и установку геодезической наблюдательной сети, проведение периодических (циклических) наблюдений за планово-высотными деформациями конструкций ШТС.
При диагностике и обследованиях устоев с совмещенными функциями наряду с геодезическими измерениями (или независимо от них) следует вести наблюдения за перемещениями опорных частей, деформационных швов, зазоров между торцами балок пролетных строений и шкафными стенками устоев, соответствием колебаний размеров этих параметров (перемещений, зазоров) сезонным изменениям температуры воздуха.
Геодезические измерения, наблюдение за техническим состоянием опорных частей, деформационных швов являются средством контроля силового взаимодействия подземных частей конструкций ШТС с основаниями, сохранения несущей способности грунтов в соответствии с данными проекта и своевременного выявления ее снижения в процессе эксплуатации.
Указанные виды измерений и контроля направлены на своевременное выявление дефектов и неисправностей подземных частей и задних граней подпорных стенок из ШТС.
В случаях отклонений в плане и по высоте (фиксирование наклонов, горизонтальных перемещений), превышающих допустимые (предусмотренные проектом) значения, следует определять причины их возникновения, оценивать опасность прогрессирования перемещений путем проведения контрольных расчетов, при необходимости разрабатывать рекомендации (в том числе проектную документацию), направленные на предупреждение аварийных ситуаций.
11.7 Рекомендации по ремонту конструкций из ШТС:
- незначительные повреждения стальных шпунтовых свай устраняются при помощи электросварки;
- дефектные участки ограниченных размеров рекомендуется заменять приваренными накладками толщиной не менее толщины ремонтируемого элемента;
- дефектные участки значительных размеров рекомендуется удалять с заменой новыми конструкциями.
СОРТАМЕНТ И ГЕОМЕТРИЧЕСКИЕ ХАРАКТЕРИСТИКИ
ТРУБ В СОСТАВЕ ТРУБОШПУНТОВЫХ СТЕНОК
Таблица А1
Сортамент и геометрические характеристики
труб в составе трубошпунтовых стенок
Наружный диаметр, D, мм | Проектная толщина стенки,  , мм | Расчетная толщина стенки,  , мм | Расчетная площадь сечения <*>, см 2 | Расчетный момент инерции <*>, см 4 | Расчетный момент сопротивления <*>, см 3 | Периметр сечения трубы <**>, см |
630 | 10 | 9 | 175 | 83843 | 2670 | 390 |
11 | 10 | 194 | 92713 | 2953 | 389 |
12 | 11 | 213 | 101495 | 3232 | 388 |
720 | 10 | 9 | 200 | 125983 | 3509 | 446 |
11 | 10 | 222 | 139395 | 3883 | 445 |
12 | 11 | 244 | 152692 | 4253 | 445 |
13 | 12 | 266 | 165875 | 4620 | 444 |
820 | 10 | 9 | 229 | 187155 | 4576 | 509 |
11 | 10 | 254 | 207186 | 5066 | 508 |
12 | 11 | 279 | 227067 | 5552 | 508 |
13 | 12 | 304 | 246798 | 6034 | 507 |
920 | 10 | 9 | 257 | 265483 | 5784 | 572 |
11 | 10 | 285 | 294015 | 6406 | 571 |
12 | 11 | 313 | 322358 | 7023 | 571 |
13 | 12 | 342 | 350511 | 7636 | 570 |
14 | 13 | 370 | 378476 | 8246 | 569 |
1020 | 10 | 9 | 285 | 363087 | 7133 | 635 |
11 | 10 | 317 | 402239 | 7903 | 634 |
12 | 11 | 348 | 441157 | 8667 | 633 |
13 | 12 | 379 | 479840 | 9427 | 633 |
14 | 13 | 410 | 518291 | 10183 | 632 |
1120 | 11 | 10 | 348 | 534213 | 9557 | 697 |
12 | 11 | 383 | 586055 | 10484 | 696 |
13 | 12 | 417 | 637614 | 11406 | 696 |
14 | 13 | 451 | 688890 | 12324 | 695 |
1220 | 12 | 11 | 417 | 759645 | 12474 | 759 |
13 | 12 | 455 | 826658 | 13574 | 758 |
14 | 13 | 492 | 893336 | 14669 | 758 |
16 | 15 | 567 | 1025689 | 16842 | 756 |
1420 | 12 | 11 | 486 | 1203265 | 16971 | 885 |
13 | 12 | 530 | 1309872 | 18475 | 884 |
14 | 13 | 574 | 1416020 | 19972 | 883 |
16 | 15 | 661 | 1626948 | 22947 | 882 |
--------------------------------
<*> Расчетные значения геометрических характеристик сечений приняты по расчетной толщине стенки.
<**> Под периметром сечения трубы понимается сумма длин окружностей внутренней и внешней поверхностей.
РЕКОМЕНДУЕМЫЙ СОРТАМЕНТ ЗАМКОВЫХ СОЕДИНЕНИЙ
Таблица Б1
Рекомендуемый сортамент замковых соединений
N пп | Наименование профилей, разработчик замкового соединения | Масса замкового соединения, кг/м | Толщина замкового соединен., мм | Минимальное разрывное усилие, кН/м | Эскиз |
1 | N 2400, N 2401 ТУ 14-1-3602, группа компаний "Северсталь-метиз" | 16,2 + 22,6 | 12 | 3670 | |
2 | N 2415, N 2416 ТУ 14-1-3602, группа компаний "Северсталь-метиз" | 14,3 + 20,8 | 12 | 3670 | |
3 | N 2417, N 2418 ТУ 14-1-3602, группа компаний "Северсталь-метиз" | 12,2 + 18,7 | 12 | 3670 | |
4 | N 2420, N 2421 ТУ 14-1-3602, группа компаний "Северсталь-метиз" | 7,8 + 15,9 | 12 | 3670 | |
5 | N 2453, N 2454 ТУ 14-1-3602, группа компаний "Северсталь-метиз" | 8,8 + 17,1 | 10 | 1960 | |
6 | N 2424, N 2425 ТУ 14-1-3602, группа компаний "Северсталь-метиз" | 5,6 + 10,2 | 8 | 1630 | |
7 | N 2443, N 2444 ТУ 14-1-3602, группа компаний "Северсталь-метиз" | 8,5 + 12,1 | 10 | 1540 | |
8 | ЗСГ1ог ТУ 5264-014-01393674-2012, ООО "Трест Запсибгидрострой" | 13,6 + 21,6 | 12; 10 | 4598 | |
9 | ЗСГ1* ТУ 5264-017-13512256-2016, группа компаний "Северсталь-метиз" по техническому заданию ООО "Трест Запсибгидрострой" | 21,5 + 13,0 | 12 | 4650 | |
10 | ЗСГ1** ТУ 5264-017-13512256-2016, группа компаний "Северсталь-метиз" по техническому заданию ООО "Трест Запсибгидрострой" | 23,3 + 17,5 | 12 | 4650 | |
ИНЖЕНЕРНЫЙ МЕТОД РАСЧЕТА КОНСТРУКЦИЙ ИЗ ШТС
h(z) - высота (вертикальная координата оси) устоя мостового сооружения, отсчитываемая от нижней грани переходной плиты до уровня планировочной поверхности (м);
высота (вертикальная координата оси) дорожной подпорной стенки, отсчитываемая от ее верхней грани (точки пересечения откоса,
рисунок В2) до уровня планировочной поверхности (м);
d - высота откосной части земляного полотна над уровнем верхней грани подпорной стенки,
рисунок В2 (м);

- нормативный (расчетный) удельный вес грунта засыпки за устоем (насыпи земляного полотна) (кН/м
3);

- удельный вес слоев (инженерно-геологических элементов) основания, считая от уровня планировочной поверхности (кН/м
3);

- удельный вес водопроницаемого грунта с учетом взвешивания водой (кН/м
3);

- удельный вес воды (кН/м
3);
h1,2,3 - высоты слоев основания, считая от уровня планировочной поверхности (м);
P, H, M - равнодействующие нагрузок, приложенных к оголовку устоя моста: вертикальная, горизонтальная составляющие, момент (кН/м, кН/м, кН·м/м);
lпп - длина переходной плиты (м);
qпп - интенсивность нормативной временной нагрузки на переходной плите (кН/м2);
qв - интенсивность нормативной временной нагрузки на земляном полотне (кН/м2);
m - заложение откоса;

- коэффициент надежности по нагрузке;

- коэффициент условий работы;
t - шаг членения на конечные элементы вертикального стержня, заменяющего на расчетной схеме шпунтовую подпорную стенку (м);
Fаi = pаi x t x 1 м - сила активного давления в i-м узле надземной части подпорной стенки (кН);
zO - координата i-го узла подземной части трубошпунтовой подпорной стенки, отсчитываемая от уровня планировочной поверхности (м);
Pz = pz x 1 м - нагрузка на 1 погонный метр подпорной стенки, определяемая как произведение контактных давлений (pz) на 1 м длины стенки (кН/м);
Pпред = (pп - pа) x 1 м - предельная нагрузка на 1 погонный метр подпорной стенки, определяемая по условию устойчивости основания (кН/м);
Bzi = Czit x 1 м - жесткость горизонтальной упругоподатливой связи в i-м узле (кН/м);
Rzi = Pzit - сила в упругоподатливой связи в i-м узле (кН);
Fпред,i = Pпред,i x t - сила предельного давления грунта в i-м узле (кН).
Примечание - Пояснения к обозначениям
pа,
pп,
pz содержатся в
разделе 4 "Основные обозначения и сокращения".
В1. Нормативные и расчетные нагрузки. Силовые воздействия
В1.1 В расчетах мостовых устоев из ШТС учитываются следующие нагрузки и силовые воздействия
(рисунок В1):
- горизонтальное активное давление на заднюю грань трубошпунтовой подпорной стенки и одностороннее вертикальное давление на основание от веса грунта насыпи за мостовым устоем;
- собственный вес конструкций ШТС, включая заполнение внутренней полости труб;
- постоянные, временные и прочие нагрузки, приложенные к оголовку устоя;
- временная вертикальная нагрузка на переходной плите за мостовым устоем.
а - устой с совмещенными функциями;
б - устой с раздельными функциями;
1 - горизонтальное активное давление грунта;
2 - вертикальное давление от веса насыпи на основание;
3 - временная вертикальная нагрузка на переходной плите;
4 - собственный вес конструкций ШТС; P, H, M -
равнодействующие нагрузок, приложенных к оголовку устоя
Рисунок В1 - Схема приложения нагрузок
к мостовым устоям из ШТС
В1.2 В расчетах дорожных подпорных стенок из ШТС учитываются следующие нагрузки и силовые воздействия
(рисунок В2):
- горизонтальное активное давление на заднюю грань трубошпунтовой подпорной стенки и одностороннее вертикальное давление на основание от веса грунта земляного полотна;
- собственный вес конструкций ШТС, включая заполнение внутренней полости труб;
- временная вертикальная нагрузка на земляном полотне.
1 - горизонтальное активное давление грунта;
2 - вертикальное давление отвеса насыпи на основание;
3 - временная вертикальная нагрузка на земляном полотне
Рисунок В2 - Схема приложения нагрузок
к дорожной подпорной стенке из ШТС
В1.3 При расчете вертикального и горизонтального давления от веса грунта насыпи за мостовым устоем и земляного полотна принимается нормативный удельный вес грунта

, нормативный угол внутреннего трения дренирующих грунтов

, связных грунтов

; коэффициенты надежности по нагрузке: вертикального давления грунта

и

, горизонтального давления грунта

. Для грунтов дорожных выемок, удерживаемых ШТС, нормативные и расчетные значения удельного веса, углов внутреннего трения и удельного сцепления принимается по данным инженерно-геологических изысканий.
Вертикальные координаты
z насыпи за устоем отсчитывается от нижней грани переходной плиты в узле ее опирания на шкафную стенку устоя до уровня планировочной поверхности, где
z =
h (см.
рисунок В1).
Вертикальные координаты
z дорожной насыпи за подпорной стенкой отсчитываются от точки пересечения откоса земляного полотна с осью подпорной стенки до уровня планировочной поверхности, где
z =
h (см.
рисунок В2).
В геометрическую форму насыпей земляного полотна автомобильных дорог включается дорожная одежда. Вес дорожной одежды учитывается совместно с весом грунта насыпей с теми же значениями удельного веса и коэффициентов надежности.
В1.4 Нормативная нагрузка от собственного веса конструкций ШТС состоит из веса конструкций стальных труб, определяемого в соответствии с сортаментом
(приложение А), веса замковых соединений и веса заполнения:
- песчано-цементной смесью с нормативным удельным весом 19 кН/м3;
- железобетоном с удельным весом 24,5 кН/м3;
- неармированным бетоном с нормативным удельным весом 23,6 кН/м3.
В водопроницаемых грунтах гидростатическое давление (взвешивающее действие грунтовых вод ниже их уровня) учитывается путем уменьшения веса подводной части трубошпунтовых конструкций.
Коэффициенты надежности по нагрузке конструкций ШТС

и

.
В1.5 При проектировании мостовых устоев с совмещенными функциями, учитываются постоянные и временные нагрузки, приложенные к оголовку, в соответствии с
таблицей В1 и рисунком В3.
Рисунок В3 - Схема приложения нагрузок к оголовку устоя:
1 -
12 - номера нагрузок в таблице В1
Таблица В1
Нагрузки, приложенные к оголовку устоя
NN нагрузок | Наименование нормативных нагрузок (воздействий) | Коэфф. надежности -------------------- динамический коэфф. |
| Вес конструкций пролетного строения | 1,1; 0,9 |
2 | Вес выравнивающего слоя, гидроизоляции, защитного слоя, дорожной одежды | 1,3, 1,5; 0,9 |
3 | Вес переходной плиты | 1,1; 0,9 |
4 | Вес щебеночной засыпки на переходной плите | 1,3; 0,9 |
5 | Вес дорожной одежды на переходной плите | 1,5; 0,9 |
6 | Вес оголовка устоя (шкафная стенка, насадка) | 1,1; 0,9 |
7 | Горизонтальное давление грунта на оголовок | 1,4 |
8 | Временная вертикальная нагрузка АК | |
9 | Временная вертикальная нагрузка НК | 1,1 ----- 1,0 |
| Тормозная сила или сила тяги | 1,15 |
| Температурная деформация пролетных строений | 1,2 |
| Горизонтальная поперечная нагрузка от ударов автомобильной нагрузки АК | 1,15 |
Горизонтальная поперечная нагрузка от ударов автомобильной нагрузки АК
(нагрузка N 12, таблица В1) учитывается при расчетах устоев косых мостов (с учетом синуса угла косины) в сочетаниях нагрузок, в которых отсутствует тормозная сила или сила тяги
(нагрузка N 10).
Нагрузки, коэффициенты надежности, динамические коэффициенты, указанные в
таблице В1, сочетания нагрузок, коэффициенты условий работы, коэффициенты сочетаний нагрузок принимаются в соответствии с нормами
ГОСТ 33390.
Для устоев с совмещенными функциями при опирании крайнего пролетного строения на резино-металлические опорные части горизонтальные нагрузки от торможения или силы тяги
(нагрузка N 10) и от температурной деформации пролетных строений
(нагрузка N 11) определяются в соответствии с указаниями
[9] и
[10].
Нагрузки, приложенные к оголовку устоя, приводятся к 1-му погонному метру трубошпунтовой подпорной стенки.
В1.6 Временная вертикальная нагрузка на переходной плите за мостовым устоем учитывается в соответствии с указаниями
приложения М СП 35.13330 в следующем порядке. На переходной плите (в плане) выделяется площадка, на которой действует временная вертикальная нагрузка Н14, с размерами
(рисунок В4): в продольном (параллельном оси моста) направлении 1/2
lпп, где
lпп - длина переходной плиты, в поперечном (перпендикулярном оси моста) - 3,5 м. Интенсивность нормативной временной вертикальной нагрузки на переходной плите
qпп = 5,4K, при K = 14
qпп = 75,6 кН/м
2. Коэффициент надежности

.
Схема приложения временной вертикальной нагрузки принимается в соответствии с рисунком В4.
1 - переходная плита длиной lпп; 2 - временная нагрузка
на переходной плите qпп = 5,4K кН/м2; 3, 4 - передняя
и задняя грани переходной плиты; 5 - граница проезжей
части; 6 - оголовок устоя; 7 - трубошпунт
Рисунок В4 - Схема приложения временной
нагрузки Н14 на переходной плите
Допускается определение вертикального давления за задней гранью устоя в соответствии с указаниями
п. В2.1 с
таблицей В2.
В1.7 Временная вертикальная нормативная нагрузка на земляном полотне учитывается в соответствии с указаниями
п. 4.3.2 ГОСТ 32960 по формуле

, (В1)
где n, K - число полос и класс нагрузки АК, Bзп - ширина земляного полотна на уровне его верхней грани.
Коэффициент надежности

.
В1.8 Нормативные и расчетные значения удельного веса, углов внутреннего трения и удельного сцепления грунтов (инженерно-геологических элементов) основания принимаются по данным материалов инженерно-геологических изысканий.
Распределение вертикального давления
pzg от веса грунтов основания принимается в соответствии со схемами на
рисунке В5. В верхнем слое, а также случае, если основание сложено однородными грунтами с равномерно распределенным удельным весом

,

, (В2)
где zO - координата, отсчитываемая от поверхности основания (уровня планировочной поверхности).
а - в однородных основаниях, б - в слоистых основаниях
с переменным по глубине удельным весом при наличии подземных
вод; в - в основаниях, частично взвешенных грунтовыми
водами, при наличии водоупорного слоя;
1 - водопроницаемый грунт; 2 - водоупорный слой
основания; WL - уровень подземных вод
Рисунок В5 - Эпюры распределения вертикального
давления pzg от собственного веса грунтов
В слоистых основаниях с переменным по глубине удельным весом и водопроницаемыми грунтами при наличии подземных вод

, (В3)
где
h1,
h2 - толщина слоев основания в пределах глубины
zO,

,

- удельные веса грунтов слоев основания выше уровня грунтовых вод,

- удельный вес слоя водопроницаемого грунта, определяемый, как вес минеральных частиц, взвешенных водой,

, (В4)

- удельный вес частиц грунта,

- удельный вес воды,
e - коэффициент пористости грунта (отношение объема пор к объему минеральной части).
В водоупорном слое основания следует учитывать вес вышележащих слоев и вес слоя воды в соответствии со схемой на
рисунке В5, в:

, (В5)
где

- удельный вес водоупорного слоя.
Формулы (В1) -
(В5) используются для расчетов нормативных и расчетных давлений в основании.
В2. Распределение вертикальных и горизонтальных давлений
на поверхностях граней подпорных стенок
В2.1 Распределение нормативного и расчетного вертикальных давлений
pv за задней гранью подпорной стенки устоя мостового сооружения определяется по следующим формулам:
- в пределах насыпи за устоем (выше уровня планировочной поверхности)

, (В6)
где

- нормативный удельный вес грунта насыпи,
z - вертикальная координата, отсчитываемая от верха насыпи за устоем в соответствии с указаниями
п. В1.3,
pпп - вертикальное давление за задней гранью подпорной стенки от временной вертикальной нагрузки
qпп = 5,4K, при K = 14
qпп = 75,6 кН/м
2 на переходной плите, принимаемое по таблице В2;
Таблица В2
Вертикальное давление
pпп (кН/м
2)
z, м | 1 | 2 | 4 | 6 | 8 | 10 | 15 | 20 |
Длина переходной плиты lпп, м | 4 | 1,9 | 6,9 | 9,8 | 7,7 | 5,5 | 4,0 | 2,0 | 1,2 |
6 | - | 2,7 | 6,6 | 6,9 | 5,9 | 4,7 | 2,7 | 1,7 |
8 | - | 1,1 | 4,0 | 5,3 | 5,3 | 4,7 | 3,1 | 2,0 |
- в пределах основания (ниже уровня планировочной поверхности)

, (В7)
где
h - высота насыпи
(рисунок В1),
pzg - давление от веса грунтов основания, определяемое в соответствии с указаниями
п. В1.8.
В2.2 Распределение вертикального давления
pv за задней гранью дорожной подпорной стенки определяется по следующим формулам (см.
рисунок В2):
- в пределах насыпи (выше уровня дневной поверхности)

, (В8)
где
z,
d - вертикальная координата и высота откосной части насыпи в соответствии со схемой на
рисунке В2,
qв - временная вертикальная нагрузка на земляном полотне в соответствии с
п. В1.7,
m - заложение откосной части насыпи;
- в пределах основания (ниже уровня планировочной поверхности)

. (В9)
В2.3 Распределение горизонтального активного pа давления на заднюю грань шпунтовой подпорной стенки в пределах насыпи и оснований определяются по формуле:

, (В10)
Распределение пассивного давления в пределах оснований на переднюю грань шпунтовой подпорной стенки определяются по формулам:

, (В11)
В
формулах (В10) и
(В11) значения
pv,
pzg принимаются по
формулам (В2) -
(В9), значения углов внутреннего трения и удельного сцепления в пределах насыпей - в соответствии с указаниями
п. В1.3, в пределах оснований -

,
c =
ci, где

,
ci - углы внутреннего трения и удельные сцепления слоев оснований (ИГЭ), пересекаемых подпорной стенкой.
Распределение давлений за задней и передней гранями шпунтовой стенки приведено на рисунке В6.
Рисунок В6 - Распределение давлений pv (1), pа (2)
на задней (5) и pzg (3), pп (4) на передней (6)
гранях шпунтовой подпорной стенки
Значения
pа, полученные отрицательными по
формуле (В10), принимаются равными нулю.
Давления pv, pа, pп определяются в нормативных и расчетных значениях.
В3. Расчет шпунтовых подпорных стенок
В3.1 Расчетная схема ШТС в составе устоя мостового сооружения и дорожной подпорной стенки представляет собой плоский изгибаемый вертикальный стержень (пластинку) расчетной шириной 1 м, заглубленный в своей нижней части в основание. Жесткостные характеристики ШТС: при растяжении-сжатии
EsA, при изгибе
EsI, где
Es - модуль упругости стали,
A и
I - площадь сечения и момент инерции (с учетом коррозионных потерь), пересчитанные на 1 погонный метр шпунтовой стенки в соответствии с указаниями
п. 9.3. Действующие нагрузки принимаются в соответствии с указаниями
п.п. В1.1 и
В1.2.
В3.2 В расчетных схемах шпунтовой подпорной стенки
(рисунок В7) выделяются два участка по высоте: надземный и заглубленный в основание.
Надземный участок
AB воспринимает активное давление грунта со стороны задней грани шпунтовой подпорной стенки и собственный вес конструкций подпорной стенки. Если подпорная стенка является устоем "с совмещенными функциями", то в расчете учитываются нагрузки, приложенные к оголовку (см.
рисунок В7, а). Активное давление со стороны задней грани подпорной стенки определяется по
формуле (В10). Давление
pv в
формуле (В10) при расчете устоя определяется по
формуле (В6), при расчете дорожной подпорной стенки по
формуле (В8).
1 - активное давление pа; 2 - эпюры Cz = Kz;
3 - границы геологических слоев
Рисунок В7 - Схемы приложения нагрузок к надземной части
устоя (а) и подпорной стенки шпунтового типа (б)
Заглубленная нижняя часть стенки BC является рабочим участком, взаимодействующим с основанием, передающим на него горизонтальную и моментную нагрузку. Для описания силового взаимодействия грунта и заглубленной конструкции используются расчетная схема, сочетающая теорию метода местных упругих деформаций с треугольной формой распределения коэффициента постели и предельного напряженного состояния грунта.
В3.3 Расчет шпунтовой подпорной стенки выполняется по предельным состояниям (ПС) двух групп:
- по ПС первой группы (по прочности и несущей способности) с использованием расчетных значений нагрузок и прочностных характеристик грунтов;
- по ПС второй группы (по перемещениям) с нормативными значениями нагрузок и прочностных характеристик грунтов.
В3.4 Расчетная модель метода местных упругих деформаций основана на решении контактной задачи со следующими допущениями:
- плоский стержень, заменяющий на расчетной схеме трубошпунтовую подпорную стенку, изгибается (деформируется) совместно с грунтом основания;
- отношения между контактными давлениями pz и совместными горизонтальными перемещениями yz описываются линейными соотношениями
pz = Czyz, (В12)
где
Cz = KzO, (В13)
где Cz - коэффициент постели, K - коэффициент пропорциональности с размерностью кН/м4, принимаемый по таблице В3 в зависимости от вида грунта, где IL - показатель текучести глинистых грунтов, e - коэффициент пористости песков, zO - координата длины стенки, отсчитываемая от поверхности основания.
Таблица В3
Коэффициенты пропорциональности K, кН/м4
Виды грунтов | K, кН/м4 |
Мягкопластичные супеси, суглинки и глины (0,5 <= IL <= 0,75); супеси пластичные (0 <= IL <= 0,5); пылеватые пески (0,6 <= e <= 0,8), а также рыхлые пески | 2000 - 4000 |
Тугопластичные и полутвердые суглинки, глины (0 <= IL <= 0,5); пески мелкие (0,6 <= e <= 0,75) и средней крупности (0,55 <= e <= 0,70) | 4000 - 6000 |
Твердые суглинки, глины; пески крупные (0,55 <= e <= 0,70) | 6000 - 10000 |
Пески гравелистые (0,55 <= e <= 0,70), гравий, гальки | 10000 - 20000 |
Коэффициент пропорциональности может менять свои значения на границах геологических слоев основания (см.
рисунок В7).
При расстоянии в свету между трубами a > 1,0 м, коэффициент пропорциональности умножается на коэффициент условий работы

(В14)
Погонная горизонтальная нагрузка pz на 1 погонный метр ширины подпорной стенки определяется по соотношению
Pz = pz x 1 м = Czyz x 1 м. (В15)
В3.5 Предельное сопротивление грунта в основании со стороны передней грани шпунтовой подпорной стенки определяется как разность пассивного
pп и активного
pа давлений, определяемых по
формулам (В11) и
(В10). Предельная погонная горизонтальная нагрузка на основание
Pпред = (pп - pа) x 1 м. (В16)
По расчету требуется выполнение условия pz <= pп - pа или
Pz <= Pпред
на всей высоте заглубленной части шпунтовой стенки.
По расчету заглубленная часть ШТС разделяется на две части: верхнюю, в пределах которой силовое взаимодействие шпунтовой стенки и основания описывается погонной нагрузкой Pпред, и нижнюю - защемленную, изгибаемую в соответствии с решением контактной задачи, где Pz < Pпред.
Расчет выполняется методом последовательных приближений с пошаговым смещением границы между частями шпунтовой подпорной стенки. При этом устанавливается требование о том, чтобы в конце расчета по прочности (ПС первой группы) высота защемленной части была не менее 1/3 общей высоты заглубленной части шпунтовой сваи и не менее 5 м, а в конце расчета по перемещениям (ПС второй группы) - не менее 1/2 общей высоты заглубленной части шпунтовой сваи.
Расчет шпунтовой подпорной стенки рекомендуется выполнять методом конечных элементов (МКЭ) в излагаемом ниже порядке.
Для выполнения расчетов рекомендуется использовать программы LIRA, SCAD, MicroFe, Midas Civil или другие верифицированные (протестированные) программы, рекомендованные для применения на территории РФ.
В4.1 Создание конечно-элементной схемы путем членения (в надземной и подземной частях) вертикального стержня, изображающего шпунтовую подпорную стенку, на конечные элементы (КЭ) с шагом t не более 1 м и не более 0,1 высоты надземной (подземной) части.
При выполнении расчета используются две системы отсчета координат:
- отсчет координат, нумерации КЭ и узлов на их границах, начиная с нижнего конца подпорной стенки
(рисунок В8);
- отсчет координат при определении значений коэффициентов постели Cz = KzO от планировочной поверхности.
а - первый шаг расчета (граница защемленной
части на уровне планировочной поверхности);
б - второй и последующие шаги расчета;
1 - шпунтовая подпорная стенка; 2 - эпюра pа и силы Fаi
в надземной части подпорной стенки; 3, 4 - эпюра
коэффициента постели Cz = KzO и ее замена условными
"пружинами" с жесткостью Bzi = KjzOit x 1 м; 5, 6 - погонная
нагрузка Pпред,i и ее замена узловыми силами узловые силы
Rzi; 7 - граница защемленной части ШТС; 8 - граница
геологических слоев;

- номера узлов,

- номера КЭ
Рисунок В8 - Расчетные схемы шпунтовой подпорной стенки
В4.2 Замена треугольной или ступенчатой эпюры распределения коэффициента постели условными горизонтальными "пружинами" длиной 1 м с жесткостью при растяжении-сжатии Bz = Czt x 1 м. Условные "пружины" помещаются в узлы конечно-элементной системы. Жесткость условной пружины в i-м узле
Bzi = KjzOit x 1 м, (В17)
где zOi - координата zO i-го узла, Kj - коэффициент пропорциональности j-го слоя основания, в котором находится i-й узел.
В4.3 Приложение горизонтального давления pа к узлам надземной части задней грани шпунтовой подпорной стенки. Нагрузка pа преобразуется в узловые силы Fаi по формулам
Fаi = pаit x 1 м, (В18)
где pаi - давление pа на уровне i-го узла надземной части подпорной стенки.
Определение равнодействующих: горизонтальной силы H и момента M нагрузок, приложенных к оголовку устоя и приложение их верхнему узлу рассчитываемой системы. В расчете дорожной подпорной стенки эта операция отсутствует.
В4.4 Определение предельной погонной горизонтальной нагрузки Pпред,i в узлах защемленной части
Pпред,i = (pпi - pаi) x 1 м, (В19)
где pпi, pаi - погонные нагрузки pп и pа на уровне i-го узла защемленной части шпунтовой подпорной стенки.
В4.5 Первый (начальный) шаг расчета. Граница защемленной части шпунтовой подпорной стенки принимается на уровне планировочной поверхности.
Составление и решение системы уравнений МКЭ, выражающих равновесие узлов. Решением являются горизонтальные перемещения
yzi и углы поворота

шпунтовой подпорной стенки в узлах.
Определение погонной нагрузки в узлах по формулам
Pzi = pzi x 1 м = yziKjzOi x 1 м (В20)
и узловых сил в условных "пружинах"
Rzi = Pzit. (В21)
Сравнение Pzi и Pпред,i в узлах системы, выявление узлов, в которых Pzi > Pпред,i. Нахождение узла, в котором Pzi <= Pпред,i и перемещение границы защемленной части шпунтовой подпорной стенки на этот уровень.
В4.6 Второй и последующие шаги расчета. Уровень защемленной части шпунтовой подпорной стенки по результатам предыдущего шага расчета установлен в узле, в котором получено Pzi <= Pпред,i. В вышерасположенных узлах вместо Rzi прикладываются нагрузки
Fпред,i = Pпред,i x t = (pпi - pаi)t x 1 м. (В22)
Повторение расчетов и логических действий предыдущего шага с новым уровнем защемления и откорректированными нагрузками.
Последним считается приближение, на котором получены соотношения Pzi <= Pпред,i во всех узлах системы.
Выполняются следующие проверки:
- высоты защемленной части, которая должна соответствовать требованиям
п. В3.5;
- условия Pzi <= Pпред,i на всех уровнях защемленной части ШТС.
В4.7 Расчет по ПС первой группы завершает получение узловых сил Rzi = Pzit в условных "пружинах", построение эпюр поперечных сил и моментов для каждого сочетания нагрузок.
Расчет по ПС второй группы завершает построение изогнутой оси шпунтовой подпорной стенки и определение горизонтального перемещения в узле опирания пролетного строения на устой (с совмещенными функциями) мостового сооружения для каждого сочетания нагрузок.
В5. Проверки по предельным состояниям
В5.1 Расчеты по предельным состояниям конструкций из ШТС в составе устоев мостовых сооружений и дорожных подпорных стенок включают проверки, указанные в
п. 9.9 настоящих Методических рекомендаций.
В5.2 Расчет поперечных сечений на изгиб или внецентренное сжатие выполняется по формулам

, (В23)

, (В24)
где

- расчетные напряжения в сечении трубы,
M,
N - момент и продольная сила в сечении трубы,

- коэффициент, учитывающий ограниченное развитие пластических деформаций, принимаемый в соответствии с указаниями
п. 8.26 СП 35.13330;
An,
Wn - площадь и момент сопротивления сечения трубы с учетом потерь толщины стенки от коррозии;
Ry - расчетное сопротивление стали трубы по пределу текучести;
m = 1,0 - коэффициент условий работы.
В5.3 Расчет сечений трубы на поперечную силу выполняется по следующим формулам

(В25)
где Q, Qпред - расчетная и предельная поперечные силы в сечении трубы;
Rs = 0,58
Ry - расчетное сопротивление стали сдвигу;
In,
Sn - момент инерции и статический момент половины сечения трубы относительно серединной плоскости с учетом потерь толщины стенки от коррозии;

- толщина стенки трубы.
В5.4 Расчет прочности при сложном напряженном состоянии точек в сечениях трубы выполняется по формуле

, (В26)
где

- касательное напряжение в проверяемой точке сечения.
| | ИС МЕГАНОРМ: примечание. В официальном тексте документа, видимо, допущена опечатка: имеется в виду СП 35.13330.2011, а не СП 35.1330. | |
В5.5 Расчет прочности круглых сечений железобетонного заполнения на изгиб, внецентренное сжатие и поперечную силу выполняется в соответствии с указаниями
СП 35.1330 и
СП 63.13330. Сечение стенок трубы (с учетом коррозионных потерь) учитываются в качестве рабочей арматуры в составе круглого сечения.
В5.6 Проверка конструкций деформационных швов в сопряжениях со шкафными стенками и опорных частей в узлах опирания разрезных и температурно-неразрезных пролетных строений мостовых сооружений на способность восприятия горизонтальных перемещений устоев "с совмещенными функциями" относится к предельным состояниям первой группы. Расчет выполняется в следующем порядке.
Определение исходных параметров:
- горизонтального перемещения

и угла поворота

трубошпунтовой стенки в узле опирания пролетного строения, полученных в результате расчетов по
п. В4 на расчетные нагрузки без учета тормозной силы или силы тяги и температурной деформации;
- предельных горизонтальных перемещений

при сдвиге РОЧ в соответствии с указаниями
[9],
п. 7.1.3 -
7.1.6;
- предельных горизонтальных перемещений в деформационных швах

по паспортным данным проекта деформационных швов;
- горизонтальных перемещений

при повороте опорных сечений балок при воздействии временной вертикальной нагрузки АК на пролетном строении, принимаемых равными:

при расчете опорных частей,

при расчете деформационных швов.
Определение горизонтального перемещения РОЧ от воздействия тормозной силы или силы тяги по формуле

, (В27)
где
T - тормозная сила или сила тяги, действующая в пределах температурной секции (участка) мостового сооружения между проектируемым устоем и ближайшим деформационным швом, определяемая в соответствии с указаниями
п. В1.5,

- знак суммы, охватывающий все РОЧ пролетных строений температурной секции,
G - модуль сдвига резины, определяемый в соответствии с указаниями
[9],
AРОЧ,
hРОЧ - площади и толщины слоев резины РОЧ.
Определение горизонтального перемещения РОЧ от температурной деформации пролетного строения по формуле

, (В28)
где

- коэффициент линейного расширения железобетонного пролетного строения,
L - расстояние между осью опирания пролетного строения и центром температурного расширения (сжатия) температурной секции, определяемое в соответствии с
[9],

- разность температур замыкания пролетного строения и расчетной температурой воздуха в теплое и холодное время года.
Проверка горизонтальных перемещений РОЧ

, (В29)
где hр - высота ригеля устоя.
Проверка раскрытия деформационных швов

, (В30)
где

- перемещение от усадки бетона железобетонных пролетных строений.
Проверка закрытия деформационных швов

, (В31)
где hШС - высота шкафной стенки (включая высоту ригеля) устоя.
Примечание - В
формулах (29) -
(31) перемещения

от температурной деформации пролетных строений,

- от торможения и силы тяги учитываются с коэффициентами сочетаний с соответствии с
приложением Д СП 35.13330.
В5.7 Проверка трубошпунтовой сваи по несущей способности свай грунта основания выполняется в соответствии с указаниями
п. 7.1.11 СП 24.13330 по условию

, (В32)
где
P - вертикальная нагрузка на 1 погонный метр трубошпунтовой подпорной стенки,
D и
a - размеры на
рисунке 12 в мм: диаметр трубы и ширина замкового соединения,
Fd - несущая способность трубошпунтовой сваи, определенная в соответствии с указаниями
СП 24.13330 и
п. 9.8 настоящих Методических рекомендаций,

,

- коэффициенты в соответствии с
п. 7.1.11 СП 24.13330.
В6. Примеры расчета сооружений из ШТС
Расчет дорожной подпорной стенки. На рисунке В9, а показано сечение подпорной стенки из ШТС общей высотой 23 м, высотой надземной части 6,7 м, удерживающей грунт в дорожной выемке глубиной 10 м. Марка трубошпунта ШТС-820x13-ЗСГ1 (рисунок В9, б), внешний диаметр труб 820 мм, толщина стенок 13 мм, геометрические характеристики (с учетом уменьшения толщины стенок на 1 мм на потери от коррозии):
A = 307 см
2/м,
I = 2,5 x 10
5 см
4/м, W = 6095 см
3/м. Марка стали 09Г2С-12 по
ГОСТ 19281, расчетное сопротивление
Ry = 295 МПа, модуль упругости
E = 2,06 x 10
5 МПа. Несущая способность ШТС: по моменту
Mпред = 1798 кН·м/м, по поперечной силе
Qпред = 2727 кН/м. Описание инженерно-геологических элементов борта выемки и основания содержится в
таблице В4.
1 - конструкции ШТС; 2 - заполнение
песчано-цементной смесью; 3 - грунтовое ядро;
4 - замок ЗСГ1г; 5 - труба 820 x 13 мм
Рисунок В9 - Поперечное сечение
стенки (а) и сечение ШТС в плане (б)
Таблица В4
Механические характеристики грунтов
N ИГЭ | Наименование грунтов | нормативные -------------------- расчетные |
Удельное сцепление cнорм./cрасч, кПа | Угол внутреннего трения  , град. | Удельный вес,  , кН/м 3 | K, кН/м4 |
1 | Суглинок твердый | 26,2/17,5 | 23,2/20,2 | 18,2/20,0 | 6000 |
2 | Суглинок мягкопластичный | 15,0/14,0 | 17,0/16,0 | 18,8/18,7 | 2560 |
3 | Глина тугопластичная | 33,0/32,0 | 18,0/17,0 | 18,6/18,6 | 4680 |
4 | Глина полутвердая | 36,0/36,0 | 19,0/18,0 | 18,7/18,6 | 5720 |
Расчеты выполнялись дважды:
- по ПС первой группы (по прочности) с применением расчетных значений нагрузок и механических характеристик грунтов;
- по ПС второй группы (по перемещениям) с применением нормативных значений нагрузок и механических характеристик грунтов.
Расчетная схема подпорной стенки принята в виде плоского стержня с жесткостью 1-го погонного метра ШТС EI = 514 МН·м2/м. Надземная часть разделена на 10 частей высотой 0,67 м, подземная часть - на 20 частей длиной 0,82 м. В узлах надземной части приложены силы Fаi, моделирующие активное давление насыпи на стенку. Распределение коэффициента постели заменено связями конечной жесткости, моделирующими взаимодействие шпунтовой сваи с грунтом.
Расчеты выполнены методом последовательных приближений с пошаговым смещением границы защемленной части шпунтовой подпорной стенки в соответствии с указаниями
п. В4. В конце каждого шага расчета выполнялся анализ результатов, заключавшийся в сравнении расчетных
Pzi =
pzi x 1 м и предельных
Pпред,i = (
pпi -
pаi) x 1 м значений погонной нагрузки в
i-х узлах защемленной части стенки. При определении
Pпред,i коэффициент надежности для удельного веса грунта ИГЭ 1 был принят

, удельные веса ИГЭ 2 - 4 были приняты в соответствии с данными инженерно-геологических изысканий.
Начальные и конечные результаты расчета по прочности представлены в
таблице В5, на схемах и эпюрах на 1-м и последнем (5-м) шагах на рисунке В10.
а - расчетная схема и результаты расчета
на первом шаге; б - расчетная схема и результаты
расчетов на последнем (пятом) шаге;
в - эпюры изгибающих моментов и поперечных сил;
1 - эпюра активного давления и узловые силы Fаi в надземной
части подпорной стенки; 2 - погонная нагрузка Pпред и ее
замена узловыми силами Fпред,i; 3 - погонная нагрузка
Pz = Czyz x 1 м; 4 - планировочная поверхность;
5 - граница защемления; 6 - эпюра изгибающих
моментов; 7 - эпюра поперечных сил
Рисунок В10 - Схемы к расчету подпорной
стенки по первой группе предельных состояний
В таблице В5 жирным шрифтом выделены контактные давления в узлах превышающие предельные значения, что требует замены узловой связи на предельную узловую силу Fпред,i = Pпред,i x t = (pпi - pаi)t x 1 м. Граница защемленной части перемещалась до выполнения соотношений Pzi < Pпред,i (или Rzi < Fпред,i) во всех узлах защемленной части стенки.
Таблица В5
Результаты расчета по первой группе ПС
NN узлов | Глубина zO, м | Жесткость связей, Bz, кН/м | Pпред.i, кН/м | Pzi, кН/м | Эпюры контактных погонных нагрузок на 1 и 5 шагах расчета |
1-й шаг | 2-й шаг | 3-й шаг | 4-й шаг | 5-й шаг |
|
20 | 0.41 | 1993 | -12.0 | 50.1 | | | | |
19 | 1.22 | 6002 | 12.7 | 108.9 | | | | |
18 | 2.04 | 10012 | 37.5 | 122.4 | | | | |
17 | 2.85 | 14022 | 62.4 | 105.0 | | | | |
16 | 3.67 | 14372 | 87.4 | 56.4 | 257.2 | | | |
15 | 4.48 | 9404 | 36.5 | 13.5 | 103.6 | | | |
14 | 5.30 | 11115 | 44.7 | -1.7 | 65.6 | | | |
13 | 6.11 | 12826 | 53.0 | -13.1 | 30.4 | 170.1 | | |
12 | 6.93 | 14537 | 61.4 | -19.9 | 2.2 | 105.4 | | |
11 | 7.74 | 22165 | 69.8 | -30.1 | -22.9 | 68.3 | 153.5 | |
10 | 8.56 | 32831 | 168.4 | -37.8 | -49.0 | 15.3 | 92.6 | 137.4 |
9 | 9.37 | 43575 | 285.0 | -37.5 | -64.8 | -40.9 | 12.2 | 48.9 |
8 | 10.19 | 47772 | 305.4 | -27.5 | -59.3 | -71.4 | -50.0 | -29.0 |
7 | 11.00 | 51594 | 325.8 | -17.3 | -47.1 | -78.7 | -79.3 | -70.8 |
6 | 11.82 | 55417 | 346.1 | -8.9 | -33.0 | -71.0 | -84.2 | -84.1 |
5 | 12.63 | 59240 | 366.9 | -2.7 | -19.8 | -55.4 | -73.6 | -78.3 |
4 | 13.45 | 63062 | 387.4 | 1.3 | -8.8 | -36.9 | -54.8 | -61.4 |
3 | 14.26 | 66885 | 407.9 | 3.6 | -0.1 | -18.1 | -32.5 | -39.1 |
2 | 15.08 | 70708 | 428.4 | 4.9 | 7.0 | 0.3 | -8.7 | -14.2 |
1 | 15.89 | 74530 | 449.0 | 5.8 | 13.8 | 19.4 | 16.7 | 12.8 |
В результате последовательного перемещения границы защемления ШТС и замены связей конечной жесткости на узловые силы, соответствующие предельному сопротивлению грунта, получена расчетная схема, в которой обеспечена устойчивость грунта, окружающего шпунт:
Rzi <
Fпред,i. Граница защемления, определилась на уровне 8,15 м от планировочной поверхности и 8,15 м от нижнего конца ШТС. Эпюры изгибающих моментов и поперечных сил в стенке показаны на
рисунке В10, в, г.
Расчет по перемещениям был закончен на первом шаге, так как было получено соотношение Pzi < Pпред,i = (pпi - pаi) x 1 м (рисунок В11).
а - расчетная схема и результаты расчета
на первом шаге; б - изогнутая ось ШТС;
1 - эпюра активного давления и узловые силы Fаi в надземной
части подпорной стенки; 2 - контактное давление Pz = Czyz x
1 м; 3 - погонная нагрузка Pпред; 4 - планировочная
поверхность; 5 - изогнутая ось шпунтовой стенки
Рисунок В11 - Схемы к расчету подпорной
стенки по второй группе предельных состояний
Результаты расчета по ПС второй группы представлены в таблице В6 на схемах и эпюрах на
рисунке В11.
Таблица В6
Результаты расчета по второй группе ПС
NN узлов | Глубина zo, м | Жесткость связей, Bz, кН/м | Pпред.i, кН/м | Pzi, кН/м | Эпюра контактных погонных нагрузок по результатам расчета по перемещениям |
|
20 | 0.41 | 1993 | 48.0 | 21.5 |
19 | 1.22 | 6002 | 75.0 | 47.2 |
18 | 2.04 | 10012 | 102.0 | 53.7 |
17 | 2.85 | 14022 | 129.1 | 46.8 |
16 | 3.67 | 14372 | 156.3 | 25.9 |
15 | 4.48 | 9404 | 55.3 | 6.8 |
14 | 5.30 | 11115 | 64.4 | 0.2 |
13 | 6.11 | 12826 | 73.5 | -4.8 |
12 | 6.93 | 14537 | 82.6 | -7.9 |
11 | 7.74 | 22165 | 91.8 | -12.3 |
10 | 8.56 | 32831 | 190.7 | -15.7 |
9 | 9.37 | 43575 | 308.0 | -15.8 |
8 | 10.19 | 47772 | 330.0 | -11.7 |
7 | 11.00 | 51594 | 351.9 | -7.5 |
6 | 11.82 | 55417 | 374.0 | -4.0 |
5 | 12.63 | 59240 | 395.9 | -1.3 |
4 | 13.45 | 63062 | 418.0 | 0.4 |
3 | 14.26 | 66885 | 440.0 | 1.4 |
2 | 15.08 | 70708 | 462.0 | 2.0 |
1 | 15.89 | 74530 | 484.0 | 2.5 |
Горизонтальное перемещение (33 мм) верхнего конца стенки из ШТС не превысило 1/75 высоты надземной части подпорной стенки.
Расчет устоя путепровода. На рисунке В12 показан общий вид устоя с совмещенными функциями путепровода по схеме 1 x 15,0 м с габаритом 2xГ-14,75. Временные нагрузки А14, Н14 в соответствии с
ГОСТ 33390 и
ГОСТ 32960. Передняя стенка устоя в соответствии со схемой на рисунке В12 состоит из шпунта ШТС-1220x12-ЗСГ1ог* по ТУ 5264-017-13512256 с трубами, заполненными железобетоном и песчано-цементной смесью. Шаг несущих свай 2,8 м. Сталь конструкций ШТС марки 09Г2С-12 по
ГОСТ 19281, расчетное сопротивление
Ry = 295 МПа, модуль упругости
Es = 2,06 x 10
5 МПа. Железобетонное заполнение состоит бетона класса по прочности на сжатие B25 и арматурного каркаса из продольных стержней

(A
tot = 91,2 см
2) спирали

с шагом 200 мм.
а - фасад опоры ОК1; б - план опоры ОК1
1 - несущие ШТС опоры путепровода; 2 - заглубленные элементы
ШТС откосной части насыпи; 3 - ненесущие элементы ШТС;
4 - оголовок устоя; 5 - железобетонная стенка;
6 - железобетонная насадка; 7 - открылок;
8 - переходная плита
Рисунок В12 - Общий вид устоя
Геометрические характеристики (с учетом уменьшения толщины стенок на 1 мм на потери от коррозии): Ared = 2144 см2, Ired = 2,35 x 106 см4, A = 766 см2/м, I = 8,4 x 105 см4/м. Несущая способность ШТС: по моменту Mпред = 2196 кН·м/м, по поперечной силе (без учета трубы и продольной арматуры) Qпред = 394 кН/м. Жесткостные характеристики EA = 15777 МН/м; EI = 1732 МН·м2/м.
Описание инженерно-геологических элементов основания и насыпи содержится в
таблице В7.
1 - трубошпунт ШТС-1220x12-ЗСГ1ог**; 2 - бетон B25;
3 - песчано-цементная смесь; 4 - арматурный
каркас

; 5 - замковое соединение ЗСГ1ог**;
Рисунок В13 - Фрагмент шпунтового ряда устоя
Таблица В7
Механические характеристики грунтов
N ИГЭ | Наименование грунтов | нормативные -------------------- расчетные |
Удельное сцепление cнорм./cрасч, кПа | Угол внутреннего трения  , град. | Удельный вес,  , кН/м 3 | K, кН/м4 |
| Засыпка за устоем | 0 | 35/- | 19,5/17,7 | |
1 | Пески средней крупности | 1/1 | 35/32 | 17,8/17,5 | 4667 |
2 | Пески гравелистые | 0 | 38/31 | 17,3/17,0 | 13300 |
3 | Супесь песчанистая твердая | 21/14 | 30/26 | 22,1/21,9 | 4000 |
4 | Супесь пылеватая твердая | 21/14 | 33/33 | 21,9/21,7 | 4000 |
Расчеты выполнялись в три этапа:
- по ПС первой группы (по прочности) с применением расчетных значений нагрузок и механических характеристик грунтов;
- по ПС первой группы с применением расчетных значений нагрузок и механических характеристик грунтов на воздействие постоянных и временных вертикальных нагрузок, для определения перемещений оголовка устоя и расчета опорных частей и деформационных швов;
- по ПС второй группы (по перемещениям) с применением нормативных значений нагрузок и механических характеристик грунтов.
Схема и сочетания нагрузок, приложенных к оголовку устоя, приведены на
рисунке В1 и в таблице В8. Номера нагрузок приняты в соответствии с
таблицей В1, п. В1.5. В качестве расчетного принято сочетание нагрузок 3: P = 356,7 кН/м, H = 24,0 кН/м, M = -154,6 кН·м/м.
Таблица В8
Сочетания нагрузок, приложенных к оголовку устоя
N пп | Наименование нагрузок (воздействий) | Нормативные нагрузки, кН/м, кН·м/м | | Расчетные нагрузки, кН/м, кН·м/м |
| Постоянные нагрузки: | P = 207.0 H = 10.8 My = -112.1 | | P = 246.0 H = 15.2 My = -131.5 |
1 | Постоянные нагрузки + 8 | P = 285.8 H = 10.8 My = -142.8 | | P = 384.4 H = 15.2 My = -185.5 |
2 | Постоянные нагрузки + 9 | P = 331.5 H = 10.8 My = -160.7 | | P = 382.9 H = 15.2 My = -185.0 |
3 | Постоянные нагрузки + 0,8 * 8 + 0,8 * 10 + 0,7 * 11 | P = 270.1 H = 18.4 My = -119.2 | | P = 356.7 H = 24.0 My = -154.6 |
4 | Постоянные нагрузки + 0,7 * 8 + 0,7 * 10 + 0,8 * 11 | P = 262.2 H = 18.0 My = -117.6 | | P = 342.9 H = 23.6 My = -150.9 |
5 | Постоянные нагрузки + 11 | P = 207.0 H = 13.8 My = -108.5 | | P = 246.0 H = 18.7 My = -127.2 |
Расчетная схема устоя (рисунок В14) принята в виде плоского стержня с жесткостью 1-го погонного метра ШТС EI = 1732 МН·м2/м. Надземная часть разделена на 10 частей высотой 0,38 м, подземная часть - на 20 частей длиной 0,59 м. В узлах надземной части приложены силы Fаi, моделирующие активное давление насыпи на стенку. Распределение коэффициента постели заменено связями конечной жесткости, моделирующими взаимодействие шпунтовой сваи с грунтом.
а - сечение устоя; б - расчетная схема и результаты расчета
на первом шаге; в - расчетная схема и результаты расчетов
на последнем (четвертом) шаге; г - эпюры изгибающих
моментов и поперечных сил в трубошпунте;
1 - конструкции устоя из ШТС; 2 - пролетное строение;
3 - эпюра активного давления и узловые силы Fаi в надземной
части подпорной стенки; 4 - погонная нагрузка Pпред и ее
замена узловыми силами Fпред,i; 5 - погонная нагрузка
Pz = Czyz x 1 м; 6 - планировочная поверхность;
7 - граница защемления; 8 - эпюра изгибающих
моментов; 9 - эпюра поперечных сил
Рисунок В14 - Схемы к расчету устоя по ПС первой группы
Расчеты выполнены методом последовательных приближений с пошаговым смещением границы защемленной части шпунтовой подпорной стенки в соответствии с указаниями
п. В4. В конце каждого шага расчета выполнялся анализ результатов, заключавшийся в сравнении расчетных
Pzi =
pzi x 1 м и предельных
Pпред,i = (
pпi -
pаi) x 1 м - значений погонной нагрузки в
i-х узлах защемленной части стенки. При определении
Pпред,i коэффициент надежности для удельного веса грунта насыпи был принят

, удельные веса ИГЭ 1 - 4 были приняты по данным инженерно-геологических изысканий.
Начальные и конечные результаты расчета по прочности (на 1-м и 4-м шагах) представлены в
таблице В9, на схемах и эпюрах на
рисунке В14, б, в, г.
В таблице В9 жирным шрифтом выделены контактные давления в узлах превышающие предельные значения, что требует замены узловой связи на предельную узловую силу Fпред,i = Pпред,i x t = (pпi - pаi)t x 1 м. Граница защемленной части перемещалась до выполнения соотношений Pzi < Pпред,i (или Rzi < Fпред,i) во всех узлах защемленной части стенки.
Таблица В9
Результаты расчета по ПС первой группы
NN узлов | Глубина zO, м | Жесткость связей, Bz, кН/м | Pпред.i, кН/м | Pzi, кН/м | Эпюры погонных нагрузок на 1 и 4 шагах расчета |
1-й шаг | 2-й шаг | 3-й шаг | 4-й шаг |
|
20 | 0.3 | 634 | -23.1 | 8.7 | | | |
19 | 0.89 | 1903 | -6.4 | 22.6 | | | |
18 | 1.48 | 3172 | 10.4 | 32.3 | | | |
17 | 2.07 | 4441 | 27.1 | 38.0 | | | |
16 | 2.66 | 5710 | 43.8 | 40.3 | 59.8 | | |
15 | 3.25 | 6979 | 60.6 | 39.8 | 59.5 | 62.4 | |
14 | 3.84 | 8248 | 77.3 | 36.9 | 55.8 | 58.6 | 59.0 |
13 | 4.43 | 9517 | 94.1 | 32.3 | 49.5 | 52.1 | 52.5 |
12 | 5.02 | 10786 | 110.8 | 26.6 | 41.3 | 43.7 | 44.0 |
11 | 5.61 | 25035 | 113.6 | 42.0 | 66.6 | 70.7 | 71.2 |
10 | 6.2 | 38068 | 129.4 | 38.8 | 63.8 | 68.2 | 68.8 |
9 | 6.79 | 41693 | 145.2 | 20.3 | 36.1 | 39.2 | 39.6 |
8 | 7.38 | 45319 | 161.0 | 2.6 | 9.5 | 11.2 | 11.5 |
7 | 7.97 | 48944 | 176.8 | -14.0 | -15.8 | -15.4 | -15.3 |
6 | 8.56 | 52570 | 192.6 | -29.6 | -39.8 | -40.7 | -40.7 |
5 | 9.15 | 27096 | 421.6 | -21.5 | -30.4 | -31.4 | -31.5 |
4 | 9.74 | 17946 | 449.7 | -17.7 | -25.7 | -26.8 | -26.9 |
3 | 10.33 | 19034 | 690.1 | -22.1 | -32.7 | -34.1 | -34.3 |
2 | 10.92 | 20122 | 729.7 | -26.7 | -39.9 | -41.7 | -42.0 |
1 | 11.51 | 21209 | 769.4 | -31.5 | -47.5 | -49.8 | -50.1 |
В результате последовательного перемещения границы защемления ШТС и замены связей конечной жесткости на узловые силы, соответствующие предельному сопротивлению грунта, получена расчетная схема, в которой обеспечена устойчивость грунта, окружающего шпунт:
RZi <
Fпред,i. Граница защемления, определилась на уровне 3,5 м от планировочной поверхности и 8,3 м от нижнего конца ШТС. Эпюры изгибающих моментов и поперечных сил в стенке показаны на
рисунке В14, г.
Для оценки возможности восприятия опорными частями и деформационными швами горизонтальных перемещений был выполнен расчет устоя по первой группе ПС на воздействие постоянных и временных вертикальных нагрузок в той же последовательности, что предыдущий расчет. Результаты расчета приведены в таблице В10.
Таблица В10
Результаты расчета по первой группе ПС на действие
постоянных и временных вертикальных нагрузок
NN узлов | Глубина zO, м | Жесткость связей, Bz, кН/м | Pпред.i, кН/м | Pzi, кН/м | Эпюры погонных нагрузок на 1 и 3 шагах расчета |
1-й шаг | 2-й шаг | 3-й шаг |
|
20 | 0.3 | 634 | -23.1 | 8.0 | | |
19 | 0.89 | 1903 | -6.4 | 21.0 | | |
18 | 1.48 | 3172 | 10.4 | 29.9 | | |
17 | 2.07 | 4441 | 27.1 | 35.3 | | |
16 | 2.66 | 5710 | 43.8 | 37.4 | 55.5 | |
15 | 3.25 | 6979 | 60.6 | 36.9 | 55.3 | 57.4 |
14 | 3.84 | 8248 | 77.3 | 34.3 | 51.8 | 53.9 |
13 | 4.43 | 9517 | 94.1 | 30.1 | 46.0 | 47.9 |
12 | 5.02 | 10786 | 110.8 | 24.7 | 38.4 | 40.1 |
11 | 5.61 | 25035 | 113.6 | 39.0 | 61.8 | 64.8 |
10 | 6.2 | 38068 | 129.4 | 36.2 | 59.2 | 62.5 |
9 | 6.79 | 41693 | 145.2 | 19.0 | 33.5 | 35.8 |
8 | 7.38 | 45319 | 161.0 | 2.5 | 8.8 | 10.1 |
7 | 7.97 | 48944 | 176.8 | -12.9 | -14.7 | -14.3 |
6 | 8.56 | 52570 | 192.6 | -27.4 | -37.0 | -37.6 |
5 | 9.15 | 27096 | 421.6 | -19.9 | -28.2 | -29.0 |
4 | 9.74 | 17946 | 449.7 | -16.4 | -23.9 | -24.7 |
3 | 10.33 | 19034 | 690.1 | -20.5 | -30.3 | -31.4 |
2 | 10.92 | 20122 | 729.7 | -24.8 | -37.0 | -38.4 |
1 | 11.51 | 21209 | 769.4 | -29.2 | -44.1 | -45.8 |
Граница защемления, определилась на уровне 3,0 м от планировочной поверхности и 9,8 м от нижнего конца ШТС. Горизонтальное перемещение верхнего конца ШТС составило 20 мм, угол поворота - 2,2 x 10
-3 рад. Наибольшие перемещения, рассчитанные в соответствии с требованиями
п. В5.6 с учетом коэффициентов сочетания временных нагрузок для опорных частей и деформационных швов составили 35 мм.
Расчет по перемещениям был закончен на третьем шаге, так как было получено соотношение Pzi < Pпред,i = (pпi - pаi) x 1 м (рисунок В15). Горизонтальное перемещение верхнего конца ШТС составило 13 мм.
а - расчетная схема и результаты расчета на первом шаге;
б - расчетная схема и результаты расчета на втором шаге;
в - изогнутая ось трубошпунта;
1 - эпюра активного давления и узловые силы Fаi в надземной
части подпорной стенки; 2 - погонная нагрузка Pпред и ее
замена узловыми силами Fпред,i; 3 - контактное давление
Pz = Czyz x 1 м; 4 - планировочная поверхность; 5 - граница
защемления; 6 - изогнутая ось трубошпунта
Рисунок В15 - Схемы к расчету устоя по ПС второй группы
Начальные и конечные результаты расчета по ПС второй группы представлены в таблице В11 на схемах на
рисунке В15.
Таблица В11
Результаты расчета по второй группе ПС
NN узлов | Глубина zO, м | Жесткость связей, Bz, кН/м | Pпред.i, кН/м | Pzi, кН/м | Эпюры погонных нагрузок на 1 и 3 шагах расчета |
1-й шаг | 2-й шаг | 3-й шаг |
|
20 | 0.3 | 634 | -23.1 | 8.0 | | |
19 | 0.89 | 1903 | -6.4 | 21.0 | | |
18 | 1.48 | 3172 | 10.4 | 29.9 | | |
17 | 2.07 | 4441 | 27.1 | 35.3 | | |
16 | 2.66 | 5710 | 43.8 | 37.4 | 55.5 | |
15 | 3.25 | 6979 | 60.6 | 36.9 | 55.3 | 57.4 |
14 | 3.84 | 8248 | 77.3 | 34.3 | 51.8 | 53.9 |
13 | 4.43 | 9517 | 94.1 | 30.1 | 46.0 | 47.9 |
12 | 5.02 | 10786 | 110.8 | 24.7 | 38.4 | 40.1 |
11 | 5.61 | 25035 | 113.6 | 39.0 | 61.8 | 64.8 |
10 | 6.2 | 38068 | 129.4 | 36.2 | 59.2 | 62.5 |
9 | 6.79 | 41693 | 145.2 | 19.0 | 33.5 | 35.8 |
8 | 7.38 | 45319 | 161.0 | 2.5 | 8.8 | 10.1 |
7 | 7.97 | 48944 | 176.8 | -12.9 | -14.7 | -14.3 |
6 | 8.56 | 52570 | 192.6 | -27.4 | -37.0 | -37.6 |
5 | 9.15 | 27096 | 421.6 | -19.9 | -28.2 | -29.0 |
4 | 9.74 | 17946 | 449.7 | -16.4 | -23.9 | -24.7 |
3 | 10.33 | 19034 | 690.1 | -20.5 | -30.3 | -31.4 |
2 | 10.92 | 20122 | 729.7 | -24.8 | -37.0 | -38.4 |
1 | 11.51 | 21209 | 769.4 | -29.2 | -44.1 | -45.8 |
Расчет несущей способности свай по грунту был выполнен в соответствии с
СП 24.13330. Погонные нагрузки на устой путепровода из
таблицы В8 были приложены к свае устоя в соответствии с шагом расположения свай. Основные расчетные параметры свай и основания представлены в таблице В12 и на
рисунке В16.
Таблица В12
Основные параметры сваи
Наружный диаметр | D | м | 1,22 |
Площадь поперечного сечения | A | м2 | 1,17 |
Периметр поперечного сечения | u | м | 3,83 |
Коэффициент условия работы сваи в грунте | gc | | 0,8 |
Коэффициент условия работы грунта под острием | gR,R | | 1,0 |
Коэффициент условия работы грунта по боковой поверхности | gR,f | | 0,7 |
Коэффициент надежности | | | 1,65 |
Коэффициент надежности по ответственности | gn | | 1,0 |
Рисунок В16 - Схема геологического разреза
P = 384,4 x 2,8 = 1076 кН - вертикальная нагрузка на голову сваи.
N = 1076,3 + 1,1 x (3,8 + 11,8) x 1,17 x 24,53 = 1569 кН
Несущая способность сваи по грунту обеспечена.
ПО РАСЧЕТУ ДОРОЖНЫХ ИНЖЕНЕРНЫХ СООРУЖЕНИЙ
ИЗ ШТС МЕТОДОМ КОНЕЧНЫХ ЭЛЕМЕНТОВ (МКЭ)
С ИСПОЛЬЗОВАНИЕМ УПРУГОПЛАСТИЧЕСКОЙ МОДЕЛИ ГРУНТА
Г.1 Для расчетов следует выбирать верифицированную или протестированную программу, допущенную к применению (или широко применяемую) на территории Российской Федерации. Примерами таких программ являются PLAXIS 2D, Midas GTS. К выполнению расчетов следует привлекать специалистов, знакомых с методами выполнения нелинейных расчетов геотехнических объектов или прошедших специальную подготовку.
Г.2 Расчеты выполняются по ПС первой (по прочности и устойчивости) и второй (по перемещениям) групп.
Задача расчета решается как плоская (плоская деформация). Форма и размеры расчетной области, граничные условия принимаются в соответствии со схемой на рисунком Г1. Размеры расчетной области определяются в зависимости от высоты h засыпки за устоем или высоты дорожной подпорной стенки. На контакте шпунтовой стенки и грунта засыпки учитываются только горизонтальные связи (неразрывность по горизонтали) и не учитываются вертикальные связи. На контакте грунта и заглубленной части шпунтовой стенки учитываются горизонтальные связи, а вертикальные связи - в размере, не превышающем сопротивление грунта основания по боковой поверхности ШТС. Вертикальная связь нижнего конца шпунтовой стенки с основанием неразрывная.
а - устой мостового сооружения;
б - дорожная подпорная стенка;
1 - подпорная стенка из ШТС; 2 - оголовок устоя;
3 - переходная плита; 4 - нагрузка на переходной
плите (временная нагрузка на земляном полотне);
5 - связи по направлению X; 6 - связи по направлениям
X и Z; 7 - границы геологических слоев;
8 - плоскость симметрии земляного полотна
Рисунок Г1 - Размеры расчетных областей и граничные условия
Г.3 Из моделей грунта, содержащихся в программах, для расчетов подпорных стенок из ШТС следует выбирать модель, сочетающую физические уравнения закона Гука и условия прочности Мора-Кулона.
Примечание - В алгоритмах и программах МКЭ сжатие считается отрицательным направлением напряжений. В связи с этим в описаниях и решениях упругопластических задач уравнение Мора-Кулона используется в записи

, (Г1)
где

- меньшее (большее) по абсолютной величине отрицательное (сжимающее) главное напряжение

.
Стенка из ШТС моделируется на расчетной схеме упругими плоскими стержневыми конечными элементами с жесткостью при изгибе
EsI, при растяжении сжатии
EsA, где
Es - модуль упругости стали конструкций ШТС,
A,
I - площадь и момент инерции сечения 1-го погонного метра шпунтовой стенки, определяемые в соответствии с указаниями
п. 9.3.
Континуальные конечные элементы (КЭ), изображающие на расчетной схеме грунты насыпи (засыпки за устоем) и основания описываются следующими механическими характеристиками: удельным весом, углом внутреннего трения, удельным сцеплением, модулем деформации, коэффициентом поперечной деформации, параметром дилатансии.
В постановке упругопластической задачи принято, что деформации грунтов насыпи (засыпки за устоем) и основания включают линейную (по закону Гука) и пластическую части в соответствии с диаграммой Прандтля. Пластическая составляющая деформаций конечных элементов, моделирующих грунт, возникает после достижения напряженным состоянием предела прочности в соответствии с уравнением Мора-Кулона
(Г1). Математическая процедура упругопластического расчета является итерационным процессом.
Г.4 Входная информация включает следующие группы исходных данных:
- общую информацию: единицы измерения, типы КЭ;
- границы и размеры расчетной области, граничные условия, указания к построению конечно-элементной сетки;
- описание грунта засыпки за устоем (земляного полотна дороги), инженерно-геологического строения основания;
- описание стержневых КЭ (координаты, размеры, жесткостные характеристики EsA, EsI);
- описание нагрузок, вес засыпки за устоем, земляного полотна;
- природное давление в основании (задается распределенным по гидростатическому закону):
pxg = pzg, (Г2)
где
pzg - вертикальное давление (напряжение) в основании, определяемое по
формулам (В2) -
(В5) п. В4 приложения В,
pxg - горизонтальное напряжение;
- задание этапов (стадий) изменения размеров расчетной области и приложения нагрузок.
Г.5 Программа выполняет две группы расчетов:
- описание напряженно-деформированного состояния расчетной области, построение деформированной оси ШТС, изополей перемещений в континуальных КЭ, пластических областей;
- расчет устойчивости системы по методу понижающей редукции прочностных характеристик

грунтов с построением изополей пластических деформаций континуальных КЭ, моделирующих грунт; определение коэффициентов устойчивости.
Показателем исчерпания несущей способности подпорной стенки из ШТС совместно с насыпью (засыпкой за устоем) и основанием является завершение расчета с несходящейся итерацией.
Требуемые значения коэффициентов устойчивости грунтово-стержневой системы с подпорными стенками из ШТС: с мостовым устоем

, с дорожной подпорной стенкой из ШТС

.
Г.6 В расчетах по ПС первой группы выполняются следующие проверки и определения:
- проверки прочности стенок из ШТС по изгибающим моментам и поперечным силам в соответствии с изложенным в
приложении В;
- определение продольной силы в трубах шпунтовой подпорной стенки.
По результатам расчетов по ПС второй группы выполняется построение деформированной оси шпунтовой стенки, определяется горизонтальное перемещение и угол поворота верхнего конца стенки. В соответствии с указаниями
приложения В выполняются проверки конструкций деформационных швов и опорных частей в узлах опирания пролетных строений мостовых сооружений на способность восприятия горизонтальных перемещений устоев.
[1] СТО-ГК "Транстрой"-012-2007 | Стальные конструкции мостов. Заводское изготовление |
| Гидротехнические морские и речные транспортные сооружения |
| Правила по охране труда при сооружении мостов (1991 г.) |
| Приказ министерства транспорта РФ N 402 от 16.11.2012 г. "Классификация работ по капитальному ремонту, ремонту и содержанию автомобильных дорог" |
| Методика оценки технического состояния мостовых сооружений на автомобильных дорогах |
| Рекомендации по определению параметров и назначению категорий дефектов при оценке технического состояния мостовых сооружений на автомобильных дорогах |
| Методические рекомендации по организации обследования и испытания мостовых сооружений на автомобильных дорогах |
| Рекомендации по мониторингу и обследованию подпорных стен и удерживающих сооружений на оползневых участках автомобильных дорог |
| Рекомендации по проектированию и установке полимерных опорных частей мостов |
| Методические рекомендации по применению конструкций температурно-неразрезных пролетных строений |
Руководитель организации-разработчика
ООО "Центр-Дорсервис"
Генеральный директор
М.А.КАРПОВИЧ