Главная // Актуальные документы // ГОСТ (Государственный стандарт)
СПРАВКА
Источник публикации
М.: ИПК Издательство стандартов, 1999
Примечание к документу
С 1 июля 2003 года до вступления в силу технических регламентов акты федеральных органов исполнительной власти в сфере технического регулирования носят рекомендательный характер и подлежат обязательному исполнению только в части, соответствующей целям, указанным в пункте 1 статьи 46 Федерального закона от 27.12.2002 N 184-ФЗ.

Документ введен в действие с 1 января 1971 года.
Название документа
"ГОСТ 15975-70. Межгосударственный стандарт. Вазелин кремнийорганический марки КВ-3/10Э. Технические условия"
(утв. и введен в действие Постановлением Госстандарта СССР от 19.05.1970 N 724)
(ред. от 01.03.1990)


"ГОСТ 15975-70. Межгосударственный стандарт. Вазелин кремнийорганический марки КВ-3/10Э. Технические условия"
(утв. и введен в действие Постановлением Госстандарта СССР от 19.05.1970 N 724)
(ред. от 01.03.1990)


Содержание


Утвержден и введен в действие
Постановлением Государственного
комитета стандартов
Совета Министров СССР
от 19 мая 1970 г. N 724
МЕЖГОСУДАРСТВЕННЫЙ СТАНДАРТ
ВАЗЕЛИН КРЕМНИЙОРГАНИЧЕСКИЙ МАРКИ КВ-3/10Э
ТЕХНИЧЕСКИЕ УСЛОВИЯ
Silicon grease type КВ-3/10Э. Specifications
ГОСТ 15975-70
Список изменяющих документов
(в ред. Изменения N 1, утв. в декабре 1977 г.,
Изменения N 2, утв. в мае 1981 г.,
Изменения N 3, утв. в декабре 1984 г.,
Изменения N 4, утв. в марте 1990 г.)
Группа Л93
ОКП 22 5733 0303
Дата введения
1 января 1971 года
ИНФОРМАЦИОННЫЕ ДАННЫЕ
1. РАЗРАБОТАН И ВНЕСЕН Министерством химической промышленности СССР
РАЗРАБОТЧИКИ
А.А. Соловьев, В.В. Северный, Д.А. Уклонский, Н.В. Мухоперец, В.И. Зайцева, М.М. Зубова, М.А. Шелест
2. УТВЕРЖДЕН И ВВЕДЕН В ДЕЙСТВИЕ Постановлением Государственного комитета стандартов Совета Министров СССР от 19.05.70 N 724
3. ВВЕДЕН ВПЕРВЫЕ
4. ССЫЛОЧНЫЕ НОРМАТИВНО-ТЕХНИЧЕСКИЕ ДОКУМЕНТЫ
Обозначение НТД, на который дана ссылка
Номер пункта
ИС МЕГАНОРМ: примечание.
Взамен ГОСТ 9980.4-86 Постановлением Госстандарта России от 24.12.2002 N 500-ст с 1 сентября 2003 года введен в действие ГОСТ 9980.4-2002.
ГОСТ 9980.4-86
ГОСТ 22372-77
5. Ограничение срока действия снято по протоколу N 5-94 Межгосударственного Совета по стандартизации, метрологии и сертификации (ИУС 11-12-94)
6. ПЕРЕИЗДАНИЕ (март 1999 г.) с Изменениями N 1, 2, 3, 4, утвержденными в декабре 1977 г., мае 1981 г., декабре 1984 г., марте 1990 г. (ИУС 2-78, 8-81, 3-85, 6-90)
Настоящий стандарт распространяется на кремнийорганический вазелин марки КВ-3/10Э, который представляет собой высоковязкую пасту, полученную путем загущения диметилсилоксановой жидкости аэросилом.
Вазелин марки КВ-3/10Э применяют в промышленности полупроводниковых приборов.
Вазелин марки КВ-3/10Э может быть использован при температурах от минус 60 до плюс 200 °C.
Вазелин КВ-3/10Э химически инертен, взрывобезопасен, не токсичен.
(Измененная редакция, Изм. N 4).
1. ТЕХНИЧЕСКИЕ ТРЕБОВАНИЯ
1.1. Вазелин кремнийорганический марки КВ-3/10Э должен быть изготовлен в соответствии с требованиями настоящего стандарта по технологическому регламенту, утвержденному в установленном порядке.
1.2. По физико-химическим показателям вазелин марки КВ-3/10Э должен соответствовать требованиям и нормам, указанным в таблице.
Наименования показателей
ОКП 22 5733 0303
норма для марки КВ-3/10Э
1. Внешний вид
Пастообразный однородный продукт от светло-серого до серо-голубоватого цвета
2. Механические примеси
Отсутствие
3. Пенетрация в условных единицах:
а) до перемешивания, не менее
215
б) после перемешивания
230 - 300
4. Коллоидная стабильность после выдержки при (200 +/- 5) °C в течение 24 ч, %, не менее
92
5, 6. (Исключены, Изм. N 3).
7. Электрическая прочность при частоте 50 Гц в кВ/мм, не менее:
а) при (20 +/- 5) °C
15
б) при (150 +/- 2) °C
10
в) после воздействия воздуха с относительной влажностью 95 - 98% в течение 24 ч при (20 +/- 1) °C
10
8. Удельное объемное электрическое сопротивление Ом·см, не менее:
а) при (20 +/- 5) °C
1014
б) при (150 +/- 2) °C
1012
в) после воздействия воздуха с относительной влажностью 95 - 98% в течение 24 ч при (20 +/- 1) °C
1012
9. Тангенс угла диэлектрических потерь при частоте 1 мГц, не более:
а) при (20 +/- 5) °C
0,005
б) при (150 +/- 2) °C
0,007
в) после воздействия воздуха с относительной влажностью 95 - 98% в течение 24 ч при (20 +/- 1) °C
0,007
10. Диэлектрическая проницаемость при частоте 1 мГц, не более:
а) при (20 +/- 5) °C
2,8
б) при (150 +/- 2) °C
2,8
в) после воздействия воздуха с относительной влажностью 95 - 98% в течение 24 ч при (20 +/- 1) °C
2,8
(Измененная редакция, Изм. N 1, 2, 3, 4).
1.3. (Исключен, Изм. N 1).
2. ПРАВИЛА ПРИЕМКИ
2.1. Для контрольной проверки качества продукции, а также соответствия тары, упаковки и маркировки требованиям настоящего стандарта должны применяться правила отбора проб и методы испытаний, указанные ниже.
2.2. Партией считают количество продукта, полученное от одной операции и сопровождаемое одним документом о качестве.
(Измененная редакция, Изм. N 4).
2.3. Для проверки качества вазелина отбирают 5% банок, но не менее чем от трех единиц продукции при малых партиях.
(Измененная редакция, Изм. N 2).
2.4. Пробу отбирают шпателем по высоте банки в трех местах. Отобранные пробы соединяют вместе, тщательно перемешивают и среднюю пробу в количестве не более 600 г помещают в чистую сухую стеклянную широкогорлую банку с навинчивающейся крышкой.
На банку со средней пробой наклеивают этикетку с обозначениями: наименования продукта, номера партии, даты отбора пробы. Перед каждым испытанием среднюю пробу тщательно перемешивают.
(Измененная редакция, Изм. N 4).
2.5. При получении неудовлетворительных результатов испытаний хотя бы по одному из показателей должны проводиться повторные испытания средней пробы, отобранной вторично от той же партии. Результаты повторных испытаний являются окончательными.
2.6. Показатели по пп. 4, 8, 9 и 10 таблицы определяют периодически не реже одного раза в три месяца.
(Введен дополнительно, Изм. N 2, 4).
3. МЕТОДЫ ИСПЫТАНИЙ
3.1. Определение внешнего вида и механических примесей.
(Измененная редакция, Изм. N 1).
3.1.1. Определение внешнего вида
Вазелин наносят шпателем на стеклянную пластинку размером 90 x 120 мм равномерным слоем толщиной 1 - 2 мм по всей поверхности пластинки и рассматривают на белом фоне в отраженном свете.
3.1.2. Определение механических примесей
20 г вазелина, взвешенного на весах с пределом взвешивания 200 г в стаканчике для взвешивания (ГОСТ 25336), помещают на сетку N 05 по ГОСТ 6613 диаметром рабочей поверхности 120 - 150 мм и растирают шпателем до полного прохождения массы вазелина через ячейки сетки.
Продукт соответствует требованиям настоящего стандарта, если на сетке будут отсутствовать механические примеси, видимые невооруженным глазом.
(Измененная редакция, Изм. N 3, 4).
3.1.1, 3.1.2. (Введены дополнительно, Изм. N 1).
3.2. Определение пенетрации
Пенетрацию вазелина при (20 +/- 5) °C определяют по ГОСТ 5346 со следующими дополнениями:
3.2.1. Определение пенетрации до перемешивания
Вазелин шпателем помещают в стакан, не перемешивая, выдерживают его при (20 +/- 0,5) °C в течение 2 ч, после чего не позднее чем через 5 мин определяют пенетрацию.
3.2.2. Определение пенетрации после перемешивания
Вазелин после определения пенетрации перемешивают в стакане пенетрометра со скоростью 60 движений штока за 1,5 - 2 мин попеременным поднятием и опусканием штока. Пенетрацию определяют не позднее чем через 5 мин после перемешивания.
За результат анализа принимают среднее арифметическое трех параллельных определений, округленное до значений, кратных пяти.
Допускаемые расхождения между параллельными определениями не должны превышать 10 единиц при определении одним лаборантом на одном приборе и 20 единиц при определении двумя лаборантами на двух приборах.
(Измененная редакция, Изм. N 2, 4).
3.3. Определение коллоидной стабильности
Во взвешенный конусный мешочек, приготовленный из медной или полутомпаковой сетки N 025 К (ГОСТ 6613), углом между образующими 60° и длиной образующей 85 мм помещают 10 г вазелина, взвешенного на весах с пределом взвешивания 200 г.
Мешочек с навеской помещают в стакан вместимостью 100 см3 (ГОСТ 25336), взвешенный на весах с пределом взвешивания 200 г так, чтобы он не касался дна стакана, и выдерживают в термостате при (200 +/- 5) °C в течение 24 ч, после чего охлаждают до (20 +/- 5) °C. Затем сетчатый мешочек с остатком вынимают из стакана и взвешивают.
Величину коллоидной стабильности оценивают количеством жидкости, выделившейся в стакан после испытания.
Коллоидную стабильность (X) в процентах вычисляют по формуле:
где m1 - масса выделившейся жидкости в стакане, г;
m2 - масса навески анализируемого вазелина, г.
За результат испытания принимают среднее арифметическое двух параллельных определений, допускаемые расхождения между которыми при доверительной вероятности P = 0,95 не должны превышать 15% относительно меньшего результата испытаний.
(Измененная редакция, Изм. N 2, 3, 4).
3.4. (Исключен, Изм. N 3).
3.4.1, 3.4.2. (Исключены, Изм. N 2).
3.5. Определение электрической прочности при частоте 50 Гц
Для определения электрической прочности применяют электроды по ГОСТ 6581.
При этом один из электродов закреплен неподвижно, второй электрод (подвижный) находится в крайнем левом положении под действием сжатой пружины.
Расстояние между электродами должно быть (0,2 +/- 0,05) мм.
Подготовку электродов к испытанию проводят по ГОСТ 6581, используя в качестве растворителя толуол по ГОСТ 14710.
Пробу вазелина около 0,5 г закладывают в электроды при удерживаемом подвижном электроде в крайнем правом положении. После закладки пробы электрод возвращают в исходное положение.
Пробы подвергают вакуумированию при (20 +/- 5) °C и остаточном давлении не ниже 1,33 Па (10-2 мм рт. ст.) в течение 2 ч.
Электрическую прочность при (20 +/- 5) °C, (150 +/- 2) °C и после воздействия влажного воздуха определяют по ГОСТ 6581. Воздействие влажного воздуха на образцы, заложенные в электроды, производят по ГОСТ 10315.
За результат испытания принимают среднее арифметическое пяти определений.
3.6. Определение удельного объемного электрического сопротивления
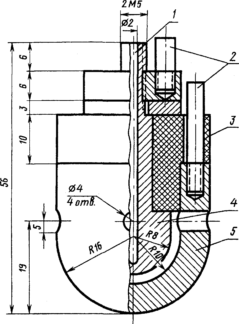
Для определения удельного объемного электрического сопротивления применяют полусферические электроды (см. чертеж), изготовленные из латуни (ГОСТ 17711).
Подготовку электродов к испытанию проводят по ГОСТ 6581, используя в качестве растворителя толуол по ГОСТ 14710.
Пробу вазелина наносят на рабочую поверхность внешнего электрода равномерным слоем толщиной 2 - 3 мм и подвергают вакуумированию без внутреннего электрода при (20 +/- 5) °C и остаточном давлении не ниже 1,33 Па (10-2 мм рт. ст.) в течение 2 ч.
Затем вставляют внутренний электрод до упора.
Удельное объемное электрическое сопротивление при (20 +/- 5) °C, (150 +/- 2) °C и после воздействия влажного воздуха определяют по ГОСТ 6581. Воздействие влажного воздуха на образцы, заложенные в электроды, производят по ГОСТ 10315, при этом внутренний электрод вставляют после окончания воздействия.
За результат испытания принимают среднее арифметическое трех определений.
3.7. Тангенс угла диэлектрических потерь и диэлектрическую проницаемость при частоте 1 мГц при (20 +/- 5) °C, (150 +/- 2) °C и после воздействия влажного воздуха определяют по ГОСТ 22372 в электродах, указанных на чертеже.
1 - отверстие для термопары; 2 - измерительные контакты;
3 - изолятор (фторопласт-4); 4 - внутренний электрод;
5 - внешний электрод
Определение при (150 +/- 2) °C производят после того, как температура электрода с образцом, заложенного в электрод, будет оставаться постоянной в течение 5 мин.
(Температура считается постоянной, если отклонение от заданной не превышает +/- 2 °C).
Температуру измеряют с точностью до +/- 1 °C.
Воздействие влажного воздуха на образцы, заложенные в электроды, производят по ГОСТ 10315, при этом внутренний электрод вставляют после окончания воздействия влажного воздуха.
Подготовку электродов к испытанию производят по п. 3.6.
За результат испытания принимают среднее арифметическое трех определений.
4. УПАКОВКА, МАРКИРОВКА, ТРАНСПОРТИРОВАНИЕ И ХРАНЕНИЕ
4.1. Вазелин марки КВ-3/10Э упаковывают в стеклянные широкогорлые, герметично закрывающиеся банки с винтовой крышкой или притертой пробкой вместимостью 500, 750, 1000, 2000, 3000, 5000 см3.
Горловину банки обертывают пергаментом (ГОСТ 1341), подпергаментом (ГОСТ 1760), целлюлозной пленкой (ГОСТ 7730) или полиэтиленовой пленкой (ГОСТ 10354, марки Т, Н), обвязывают нитью "корд" и пломбируют или ставят штамп отдела технического контроля.
Укупорка банок должна обеспечивать сохранность качества продукта на весь период транспортирования и хранения.
Банки помещают в деревянные ящики (ГОСТ 18573). Для уплотнения используют картонные прокладки.
ИС МЕГАНОРМ: примечание.
Взамен ГОСТ 9980.4-86 Постановлением Госстандарта России от 24.12.2002 N 500-ст с 1 сентября 2003 года введен в действие ГОСТ 9980.4-2002.
4.2. Маркировка, транспортирование и хранение вазелина - по ГОСТ 9980.4 и ГОСТ 9980.5.
4.1, 4.2. (Измененная редакция, Изм. N 3).
4.3. Укрупнение грузовых мест в транспортные пакеты проводят по ГОСТ 26663.
Применяются следующие средства пакетирования: поддоны плоские по ГОСТ 9078, ГОСТ 9557 или другой нормативно-технической документации.
Скрепление тарно-штучных грузов в транспортные пакеты проводят по ГОСТ 21650.
Средства скрепления: металлическая лента, проволока с применением картонных прокладок, металлические пояса.
Вазелин хранят в таре изготовителя в закрытых складских помещениях.
(Измененная редакция, Изм. N 3, 4).
5. ГАРАНТИИ ИЗГОТОВИТЕЛЯ
5.1. Изготовитель гарантирует соответствие вазелина требованиям настоящего стандарта при соблюдении условий транспортирования и хранения.
5.2. Гарантийный срок хранения вазелина - один год со дня изготовления.
5.1, 5.2. (Измененная редакция, Изм. N 3).