Главная // Актуальные документы // ГОСТ (Государственный стандарт)СПРАВКА
Источник публикации
М.: Стандартинформ, 2008
Примечание к документу
С 1 июля 2003 года до вступления в силу технических регламентов акты федеральных органов исполнительной власти в сфере технического регулирования носят рекомендательный характер и подлежат обязательному исполнению только в части, соответствующей целям, указанным в
пункте 1 статьи 46 Федерального закона от 27.12.2002 N 184-ФЗ.
Документ
введен в действие с 1 января 1977 года.
Взамен ГОСТ 6581-66.
Название документа
"ГОСТ 6581-75. Межгосударственный стандарт. Материалы электроизоляционные жидкие. Методы электрических испытаний"
(утв. и введен в действие Постановлением Госстандарта СССР от 09.04.1975 N 393)
(ред. от 01.06.1987)
"ГОСТ 6581-75. Межгосударственный стандарт. Материалы электроизоляционные жидкие. Методы электрических испытаний"
(утв. и введен в действие Постановлением Госстандарта СССР от 09.04.1975 N 393)
(ред. от 01.06.1987)
Утвержден и введен в действие
Постановлением Государственного
комитета стандартов
Совета Министров СССР
от 9 апреля 1975 г. N 393
МЕЖГОСУДАРСТВЕННЫЙ СТАНДАРТ
МАТЕРИАЛЫ ЭЛЕКТРОИЗОЛЯЦИОННЫЕ ЖИДКИЕ
МЕТОДЫ ЭЛЕКТРИЧЕСКИХ ИСПЫТАНИЙ
Liquid electrical insulating materials.
Electric test methods
ГОСТ 6581-75
| | Список изменяющих документов (в ред. Изменения N 1, утв. в феврале 1982 г., Изменения N 2, утв. в октябре 1984 г., Изменения N 3, утв. в июне 1987 г.) | |
ОКСТУ 3409 <1>
--------------------------------
Дата введения
1 января 1977 года
1. РАЗРАБОТАН И ВНЕСЕН Министерством электротехнической промышленности
2. УТВЕРЖДЕН И ВВЕДЕН В ДЕЙСТВИЕ Постановлением Государственного комитета стандартов Совета Министров СССР от 09.04.75 N 393
3. ВЗАМЕН ГОСТ 6581-66
4. Стандарт полностью соответствует СТ СЭВ 3166-81, СТ СЭВ 4130-83, стандарту МЭК 250
В стандарт введены международные стандарты: МЭК 156 (1963 г.), МЭК 247 (1978 г.), МЭК 475 (1974 г.)
5. ССЫЛОЧНЫЕ НОРМАТИВНО-ТЕХНИЧЕСКИЕ ДОКУМЕНТЫ
Обозначение НТД, на который дана ссылка | Номер пункта |
| |
| |
| |
| |
| |
| |
| |
6. Ограничение срока действия снято Постановлением Госстандарта от 10.09.92 г. N 1157
7. ИЗДАНИЕ (апрель 2002 г.) с Изменениями N 1, 2, 3, утвержденными в феврале 1982 г., октябре 1984 г., июне 1987 г. (ИУС 5-82, 1-85, 10-87)
Переиздание (по состоянию на апрель 2008 г.)
Настоящий стандарт распространяется на жидкие электроизоляционные материалы нефтяного или растительного происхождения и синтетические, находящиеся при температуре испытания в текучем состоянии (вязкость менее 5000·10-6 м2/с), и устанавливает для этих материалов методы определения следующих характеристик в диапазоне температур 15 - 250 °C:
а) тангенса угла диэлектрических потерь

и диэлектрической проницаемости

при частоте 50 Гц;
б) удельного объемного электрического сопротивления

при напряжении постоянного тока;
в) пробивного напряжения Uпр при частоте 50 Гц.
(Измененная редакция, Изм. N 3).
1. МЕТОДЫ ОТБОРА ПРОБ И ПОДГОТОВКА К ИСПЫТАНИЮ
1.1. За пробу принимают объем жидкого электроизоляционного материала, одновременно отобранный в один сосуд из емкости (емкостей) для хранения, аппарата и т.д.
Порцией жидкого материала считают часть пробы, которую заливают в измерительную ячейку.
(Введен дополнительно, Изм. N 3).
1.2. Количество определений каждой из характеристик испытываемого жидкого электроизоляционного материала и необходимая для проведения определений порция пробы (без учета количества жидкого материала, необходимого для промывок) должны быть не менее указанных в табл. 1.
Таблица 1
Определяемая характеристика | Объем, требуемый для одного определения (порция), мл | Минимальное количество определений при |
периодических типовых испытаниях | приемо-сдаточных испытаниях, входном контроле |
Тангенс угла диэлектрических потерь Диэлектрическая проницаемость Удельное объемное электрическое сопротивление | Около 50 | 2 | 1 |
Пробивное напряжение | 300 | 6 <*> | 6 <*> |
--------------------------------
<*> В одной порции жидкости (см. также
п. 1.3).
Примечания:
1. Объем порции уточняется в зависимости от объема рабочей части измерительной ячейки.
2. Число порций для испытаний указывается в стандартах на конкретные виды жидких электроизоляционных материалов.
1.3. Для жидких материалов с вязкостью более 50·10
-6 м
2/с при 20 °C, определяемой по
ГОСТ 33, объем пробы должен быть достаточным для определения пробивного напряжения в шести отдельных порциях жидкости, если об этом не имеется других указаний в стандартах на конкретные виды жидких электроизоляционных материалов.
1.4. Условия подготовки жидкого электроизоляционного материала, продолжительность воздействия среды на жидкость, а также среда, в которой проводится испытание, и температура жидкости в момент определения характеристик должны быть указаны в стандартах на конкретные виды жидких электроизоляционных материалов.
Если нет таких указаний, то при определениях выше 0 °C тангенса угла диэлектрических потерь, диэлектрической проницаемости и удельного объемного электрического сопротивления жидкостей температуры выбираются из следующего ряда: 15 - 35; 50; 70; 90 (100); 110 и далее до 250 °C через каждые 20 °C.
Определение тангенса угла диэлектрических потерь и удельного объемного электрического сопротивления жидкостей при 15 - 35 °C допускается только в случае маловязких (менее 50·10-6 м2/с при этих температурах) материалов. Допускается определение диэлектрической проницаемости жидкостей любой вязкости при упомянутых температурах.
Пробивное напряжение жидких электроизоляционных материалов определяется при температуре 15 - 35 °C.
Перед испытанием плотно закрытый сосуд с пробой жидкости должен быть выдержан в помещении, в котором будут проводиться испытания, до приобретения жидкостью температуры помещения, но не менее 30 мин. При этом сосуд с жидкостью должен быть защищен от воздействия дневного света.
(Измененная редакция, Изм. N 1).
1.5. Определение характеристик при температуре, заданной в стандартах на конкретные виды жидкого электроизоляционного материала и отличающейся от температуры помещения, где проводится испытание, должно проводиться после того, как испытываемая жидкость примет эту температуру, но не позднее чем через 30 мин.
2. МЕТОДЫ ОПРЕДЕЛЕНИЯ ТАНГЕНСА УГЛА ДИЭЛЕКТРИЧЕСКИХ ПОТЕРЬ
И ДИЭЛЕКТРИЧЕСКОЙ ПРОНИЦАЕМОСТИ ПРИ ЧАСТОТЕ 50 Гц
2.1. Измерительная ячейка и аппаратура
2.1.1. Ячейки для определения тангенса угла диэлектрических потерь и диэлектрической проницаемости
2.1.1.1. Конструкция ячейки должна быть удобной для ее разборки и тщательной очистки. Электроды должны сохранять первоначальное положение относительно друг друга (т.е. собственная емкость ячейки должна воспроизводиться с погрешностью не более +/- 3%). Типы измерительных ячеек с указанием габаритных размеров представлены на
черт. 1,
1а,
2 и
2а.
2.1.1.2. Материалы, применяемые при изготовлении ячеек, должны выдерживать требуемые температуры, а изменение температуры не должно влиять на взаимное расположение электродов.
Для изготовления электродов измерительной ячейки должны применяться металлы, устойчивые против коррозии, вызываемой испытуемой жидкостью или промывочным составом, и не оказывающие каталитического влияния на окисление испытуемой жидкости.
2.1.1.3. Шероховатость рабочих поверхностей электродов по
ГОСТ 2789 Ra не должна превышать 0,20 мкм на базовой длине
l = 0,25 мм.
2.1.1.4. Твердые электроизоляционные материалы, применяемые в конструкции ячейки, не должны адсорбировать испытываемые жидкости, а также промывочные составы, растворяться в них или оказывать влияния на испытуемые жидкости и результаты измерений.
В качестве твердого электроизоляционного материала применяются плавленый кварц, фторопласт-4 или керамика, отвечающие указанным выше требованиям.
2.1.1.1 - 2.1.1.4. (Измененная редакция, Изм. N 1).
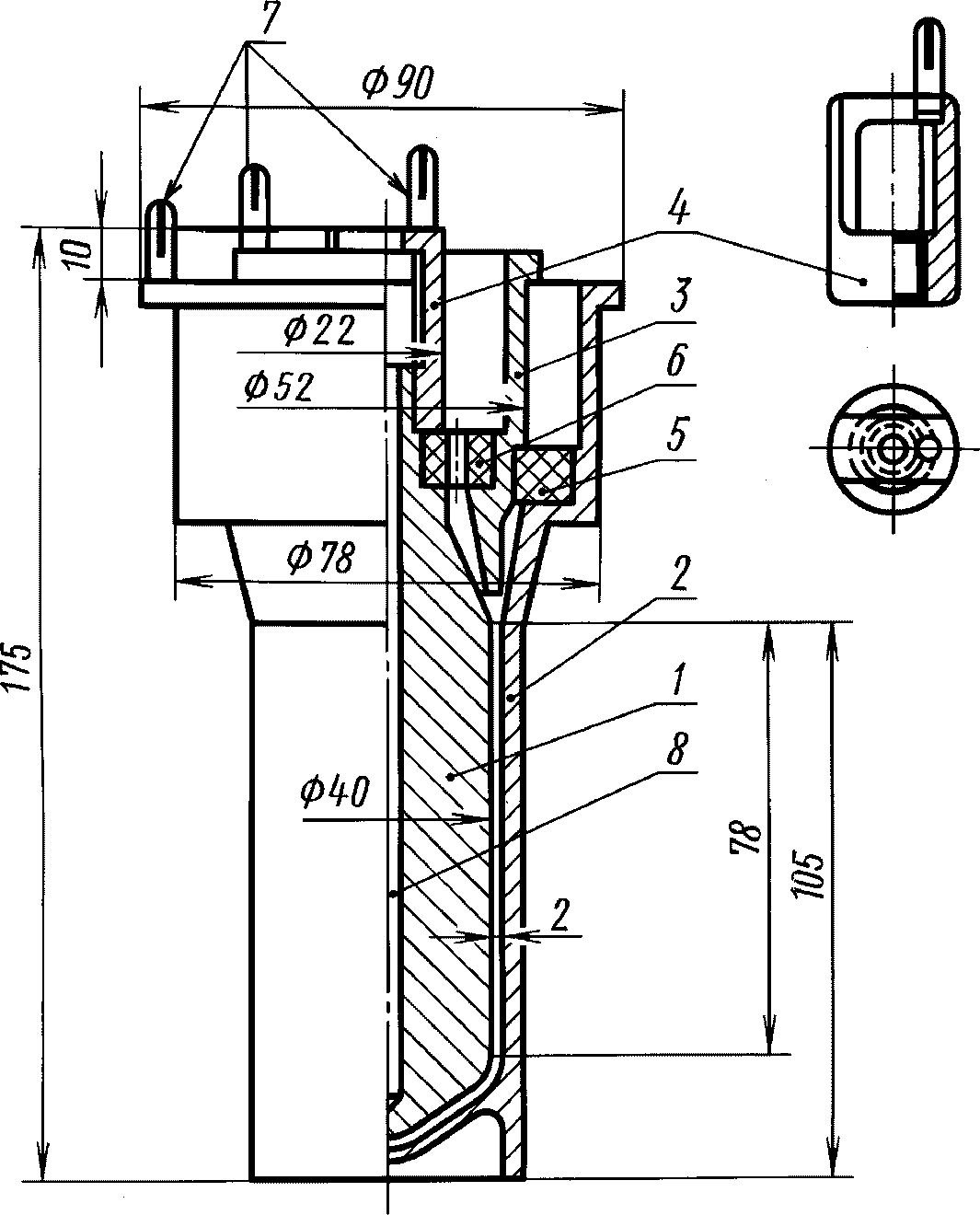
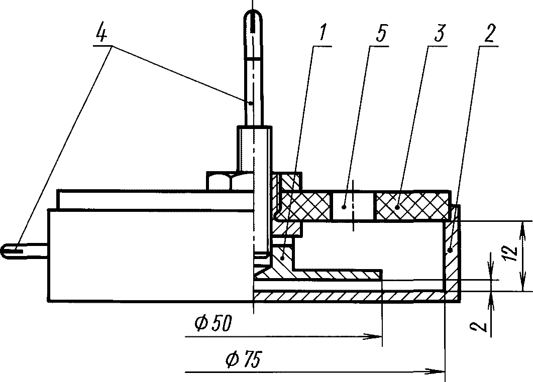
Схема цилиндрической измерительной ячейки трехзажимного
типа, применяемой при определении тангенса угла
диэлектрических потерь, диэлектрической проницаемости
и удельного объемного электрического сопротивления
1 - измерительный электрод (внутренний); 2 - высоковольтный
электрод (внешний); 3 - охранный электрод; 4 - экранирующий
колпачок; 5, 6 - прокладка из твердого изоляционного
материала с высоким электрическим сопротивлением;
7 - зажимы для соединения с измерительной схемой;
8 - карман для термометра (термопары)
Черт. 1
Схема плоской измерительной ячейки трехзажимного типа,
применяемой при определении тангенса угла диэлектрических
потерь, диэлектрической проницаемости и удельного объемного
электрического сопротивления
1 - измерительный электрод (внутренний); 2 - высоковольтный
электрод (внешний); 3 - охранный электрод; 4, 5 - прокладки
из твердого изоляционного материала с высоким электрическим
сопротивлением; 6 - зажимы для соединения
с измерительной схемой
Черт. 1а
Схема цилиндрической измерительной ячейки двухзажимного
типа, применяемой при определении тангенса угла
диэлектрических потерь, диэлектрической проницаемости
и удельного объемного электрического сопротивления
1 - измерительный электрод (внутренний); 2 - высоковольтный
электрод (внешний); 3 - прокладка из твердого изоляционного
материала с высоким электрическим сопротивлением; 4 - зажимы
для соединения с измерительной схемой; 5 - карман
для термометра (термопары)
Черт. 2
Схема плоской измерительной ячейки двухзажимного типа,
применяемой при определении тангенса угла диэлектрических
потерь, диэлектрической проницаемости и удельного объемного
электрического сопротивления
1 - измерительный электрод (внутренний); 2 - высоковольтный
электрод (внешний); 3 - прокладка из твердого изоляционного
материала с высоким электрическим сопротивлением; 4 - зажимы
для соединения с измерительной схемой; 5 - отверстие
для термометра (термопары)
Черт. 2а
2.1.1.5. Для измерения тангенса угла диэлектрических потерь и диэлектрической проницаемости допускается использовать измерительные ячейки различных типов (плоскую или цилиндрическую двух- или трехзажимного типа), которые отвечают указанным выше требованиям. Тип измерительной ячейки указывается в стандартах или технических условиях на конкретные виды жидких электроизоляционных материалов.
Ячейки двухзажимного типа допускается использовать при проведении приемо-сдаточных испытаний, входном и периодическом контроле, если такое указание имеется в стандарте на материал. В остальных случаях должны применяться ячейки трехзажимного типа.
2.1.1.6. Обязательными размерами в конструкции измерительной ячейки являются: зазор между измерительными и высоковольтными электродами, который должен быть равен (2 +/- 0,1) мм; зазор между измерительным и охранным электродами, который должен быть равен (2 +/- 0,1) мм.
2.1.1.7. Электроды ячейки должны иметь контактные зажимы, обеспечивающие надежное соединение электродов с соответствующими элементами схемы. Все соединения ячейки с измерительным прибором выполняются экранированным кабелем. При этом охранный электрод трехзажимного типа ячейки должен быть присоединен к заземлению и экрану кабеля, соединяющего внутренний (измерительный) электрод с измерительным прибором. При применении ячейки двухзажимного типа экран высоковольтного кабеля должен быть присоединен к заземленной клемме.
2.1.1.6, 2.1.1.7. (Измененная редакция, Изм. N 1).
2.1.2. Требования к измерительной аппаратуре
2.1.2.1. Общие требования к установкам для измерения тангенса угла диэлектрических потерь и диэлектрической проницаемости
а) Измерительная установка или прибор состоит из источника (генератора) напряжения, измерительного устройства и индикатора.
б) Источник напряжения должен обеспечивать получение практически синусоидальной формы кривой напряжения (коэффициент амплитуды в пределах

или 1,34 +/- 1,48; колебания напряжения не более 1%; изменение частоты не более 0,5%).
в) Чувствительность нулевого индикатора должна быть не менее 1 мкВ на одно деление.
г) Установка должна обеспечивать измерение емкости от 20·10
-12 до 1000·10
-12 Ф с погрешностью не более +/- (0,01
Cx + 1·10
-12) Ф, измерение тангенса угла диэлектрических потерь - от 0,0001 до 1,0 с погрешностью не более

.
(Измененная редакция, Изм. N 1).
2.1.2.2. Напряженность электрического поля при измерении должна быть указана в стандартах или технических условиях на конкретный материал. Если таких указаний не имеется, измерение производят при напряженности 1 МВ·м-1 +/- 3%.
2.2. Проведение испытаний
2.2.1. Подготовка измерительной ячейки
2.2.1.1. Перед проведением измерения ячейка должна быть полностью демонтирована и все ее детали должны быть дважды тщательно промыты растворителем.
Растворитель, используемый для очистки измерительной ячейки, должен быть технически чистым и храниться в стеклянных сосудах, защищенных от дневного света.
При испытании хлорированных углеводородов для очистки ячейки должны быть использованы хлорированные растворители.
При испытании нефтяных масел для очистки ячейки должны быть использованы углеводородные растворители (петролейный эфир, толуол и др.).
После промывки растворителями все детали ячейки ополаскивают ацетоном и промывают мыльным раствором или детергентом и кипятят в 5%-ном растворе фосфата натрия в дистиллированной воде не менее 5 мин. Затем несколько раз детали промывают и кипятят в дистиллированной воде в течение 1 ч.
Для удаления влаги детали ячейки сушат при температуре 105 - 110 °C в течение 60 - 90 мин. Если после сушки и охлаждения ячейку сразу не используют для измерения, ее хранят в эксикаторе с сухим воздухом.
(Измененная редакция, Изм. N 1, 2).
2.2.1.2. (Исключен, Изм. N 1).
2.2.1.3. После сушки детали измерительной ячейки следует охладить до температуры, которая на 5 - 7 °C выше комнатной, а затем смонтировать ячейку, избегая прикосновения незащищенными руками к рабочей поверхности электродов (например, производят эту операцию руками в чистых хлопчатобумажных или капроновых перчатках).
2.2.1.4. Собранную ячейку присоединяют к измерительной схеме и определяют емкость пустой ячейки (
C0). Одновременно с этим определяют тангенс угла диэлектрических потерь пустой ячейки. При температуре 15 - 35 °C для трехзажимных ячеек измеренное значение тангенса угла диэлектрических потерь не должно превышать 0,0001, а для двухзажимных - 0,0003. На основании этих измерений оценивают чистоту изоляционных прокладок ячейки. При больших значениях тангенса угла диэлектрических потерь ячейку следует разобрать и вновь тщательно промыть согласно требованиям
п. 2.2.1.1.
2.2.1.5. В тех случаях, когда ежедневно проводят испытания жидкого электроизоляционного материала, а значение тангенса угла диэлектрических потерь не выше установленных норм, обработку испытательной ячейки допускается производить трехкратным ополаскиванием испытываемой жидкостью.
(Введен дополнительно, Изм. N 3).
В тех случаях, когда электрофизические показатели определяют в пробе жидкости, взятой из электрических аппаратов, или в пробе жидкости, подготовленной для заполнений таких аппаратов, предварительную обработку пробы не осуществляют.
В случае испытания жидких материалов после их транспортировки или хранения на складе необходимо определять электрофизические показатели сухой жидкости. При этом производят предварительную сушку. Способ сушки пробы жидкости указывается в стандартах на конкретные виды жидких электроизоляционных материалов. В тех случаях, когда такого указания не имеется, жидкий материал пропускают через фильтрующую воронку типа ВФ ПОР-40 или ВФ ПОР-10 по
ГОСТ 25336 диаметром 35 мм при температуре 60 - 80 °C (в зависимости от вязкости жидкости) при давлении 1333 - 2666 Па (10 - 20 мм рт. ст.) с последующей выдержкой при таких условиях в тонком (5 - 10 мм) слое в течение 50 мин. В случае маловязких (менее 50·10
-6 м
2/с при 20 °C) жидкостей допускается производить их сушку в эксикаторе в тонком слое (5 - 10 мм) в течение 20 ч над твердым осушителем (хлористым кальцием, пятиокисью фосфора, перхлоратом магния и др.). Слой осушителя в эксикаторе 5 - 10 мм.
2.2.3. Проведение определения тангенса угла диэлектрических потерь и диэлектрической проницаемости
2.2.3.1. Перед измерением ячейку заполняют испытываемой жидкостью. Не проводя измерения, жидкость выливают из ячейки и повторно заполняют ячейку до уровня, превышающего не менее чем на 3 - 5 мм нижний край охранного электрода.
Примечание. При использовании высоковязких жидких материалов (вязкость при 20 °C более 50·10-6 м2/с) последние предварительно нагревают до температуры 40 - 60 °C.
2.2.3.2. Заполненную измерительную ячейку помещают в предварительно нагретый до температуры испытания термостат, присоединяют к электрической схеме и после достижения ячейкой заданной температуры проводят измерение. Для измерения при комнатной температуре термостат не используют. Порции жидкости под напряжением выдерживают только в процессе определения тангенса угла диэлектрических потерь и диэлектрической проницаемости жидкости. Отсчет значений тангенса угла диэлектрических потерь проводят не позже чем через 3 мин после включения напряжения.
При определении тангенса угла диэлектрических потерь и диэлектрической проницаемости вязких (более 50·10-6 м2/с при 20 °C) жидкостей, например, жидкостей на основе хлорированных ароматических углеводородов (типа совола, совтола 10) и других при одном значении температуры (выше комнатной) процедура заполнения ячейки указывается в стандартах на конкретные виды жидких электроизоляционных материалов. Если такого указания не имеется, применяют следующую методику. Чистую собранную ячейку нагревают до температуры, на 5 - 10 °C превышающей заданную температуру измерения, и заполняют порцией предварительно нагретой жидкости. Для промывки ячейки жидкость выливают и ячейку вновь заполняют порцией нагретой жидкости. Затем ячейку с жидкостью выдерживают 20 мин при заданной температуре, после чего проводят определение тангенса угла диэлектрических потерь и диэлектрической проницаемости.
2.2.3.3. При проведении двух определений тангенса угла диэлектрических потерь (или диэлектрической проницаемости) жидкостей измерение предпочтительно осуществлять в двух отдельных ячейках. Допускается последовательное использование одной ячейки при условии обработки ячейки после первого определения по
п. 2.2.1.
Расхождение между результатами двух определений не должно превышать:
а) при измерении тангенса угла диэлектрических потерь жидкости - 15% от значения большего результата +0,0002;
б) при измерении диэлектрической проницаемости жидкости - 5% от значения большего результата. В противном случае проводят повторно еще два определения на вновь подготовленных по
п. 2.2.1 ячейках с двумя порциями жидкости, взятыми из той же пробы.
Если расхождения между результатами измерений при повторном определении характеристик превышают допустимые пределы, то продолжают измерения на новых порциях диэлектрика до получения результатов, удовлетворяющих требованиям настоящего стандарта.
2.2.3.2, 2.2.3.3. (Измененная редакция, Изм. N 1).
2.2.3.4. В тех случаях, когда в стандартах на конкретные виды жидких электроизоляционных материалов предусмотрено определение тангенса угла диэлектрических потерь и диэлектрической проницаемости этих материалов при нескольких температурах, эти измерения должны проводиться, начиная от температуры, ближайшей к температуре помещения.
2.2.3.5. (Исключен, Изм. N 1).
2.2.3.6. Тангенс угла диэлектрических потерь и диэлектрическую проницаемость вычисляют по формулам, приведенным в табл. 1а.
Таблица 1а
Вид измерительной ячейки | Формула для расчета |
| |
Трехзажимная ячейка | | |
|  (1) |  (2) |
| |  (3) |
Двухзажимная ячейка | | |
|  (4) |  (5) |
|  (6) |  (7) |
где
C0,

- соответственно емкость (Ф) и тангенс угла диэлектрических потерь измерительной ячейки с воздухом;
C1,

- соответственно емкость (Ф) и тангенс угла диэлектрических потерь измерительной ячейки, заполненной испытуемым диэлектриком;
Cп - паразитная емкость ячейки, обусловленная наличием твердых электроизоляционных прокладок, пустот, емкости проводов и т.д., Ф.

(8)
где
Cк - емкость измерительной ячейки, заполненной жидкостью с известным значением

(калибровочной жидкостью) и

, Ф.
2.2.3.7. За результат измерения тангенса угла диэлектрических потерь принимают меньшее из двух измеренных значений.
Среднее арифметическое значение диэлектрической проницаемости при испытании нескольких порций одной пробы вычисляют по формуле

(9)
где

- результаты отдельных измерений;
n - количество измерений.
2.2.3.6, 2.2.3.7. (Измененная редакция, Изм. N 1).
2.2.4. Оформление протокола испытания
Протокол испытания должен содержать следующие данные:
а) наименование материала; обозначение стандарта; наименование объекта, из которого взята проба (аппарат, емкость); дата взятия пробы, внешний вид жидкости (цвет, наличие включений);
б) условия подготовки порции пробы (сушка, фильтрация и т.д.);
в) тип измерительного оборудования;
г) температура порции пробы при измерении, °C;
д) тип измерительной ячейки;
е) значение средней напряженности электрического поля при измерении, МВ·м-1;
ж) минимальное значение тангенса угла диэлектрических потерь и среднее арифметическое значение диэлектрической проницаемости, для диэлектрической проницаемости - число измерений на порциях одной пробы;
з) температура и влажность окружающей среды.
(Измененная редакция, Изм. N 1).
3. МЕТОД ОПРЕДЕЛЕНИЯ УДЕЛЬНОГО ОБЪЕМНОГО ЭЛЕКТРИЧЕСКОГО
СОПРОТИВЛЕНИЯ ПРИ НАПРЯЖЕНИИ ПОСТОЯННОГО ТОКА
3.1. Измерительная ячейка и аппаратура
3.1.1. Требования к измерительной ячейке и ее конструкции должны соответствовать указанным в
п. 2.1.
3.1.2. Общие требования к установке для измерения удельного объемного электрического сопротивления жидких материалов
Измерение удельного объемного электрического сопротивления жидкости должно производиться при напряжении постоянного тока, стабильность которого должна быть не менее 1% при токе не более 1 мА. Напряжение должно быть измерено с погрешностью не более 1,5%. При применении выпрямительных устройств пульсация не должна превышать 1,0%.
Для определения удельного объемного электрического сопротивления применяют приборы или установки, погрешность измерения на которых не должна превышать указанной в табл. 2.
Таблица 2
Измеряемое сопротивление, Ом | Максимальная погрешность, % |
До 109 | +/- 5 |
Св. 109 до 1013 | +/- 10 |
Св. 1013 | +/- 20 |
Все соединения измерительной части установки должны быть экранированы.
В случае плавного подъема напряжения должна быть оговорена скорость подъема.
Примечание. Измерение сопротивления методом зарядки конденсатора неприменимо для испытания жидких материалов с высоким сопротивлением, у которых ток проводимости в течение 1 мин после начала измерения будет изменяться более чем на 10%.
(Измененная редакция, Изм. N 1).
3.1.3. Подготовка измерительной ячейки к испытанию
3.1.3.1. Подготовка ячейки к испытаниям - согласно требованиям
пп. 2.2.1.1 -
2.2.1.3. Собранную ячейку присоединяют к измерительной схеме и проверяют чистоту прокладок ячейки, измеряя сопротивление пустой ячейки. Значение этого сопротивления должно быть не менее чем на один-два порядка выше, чем сопротивление ячейки, заполненной испытываемым жидким материалом. В противном случае ячейку следует разобрать и промыть в соответствии с требованием
п. 2.2.1.
При невозможности контролировать чистоту прокладок ячейки по значению электрического сопротивления допускается ее проверка по
п. 2.2.1.4.
3.2. Проведение испытаний
3.2.1. Удельное объемное электрическое сопротивление жидких материалов допускается определять в той же заполненной ячейке, которая использовалась до этого для определения тангенса угла диэлектрических потерь и диэлектрической проницаемости жидкости. При этом должна быть сохранена указанная последовательность измерения.
3.2.2. При необходимости проведения определений удельного объемного электрического сопротивления жидкого материала с повышенной точностью, что должно быть указано в стандарте на жидкость, это испытание проводится в отдельной порции жидкости данной пробы. Порядок подготовки измерительной ячейки, порции пробы жидкости и проведения испытания сохраняются такими же, как и при определениях тангенса угла диэлектрических потерь и диэлектрической проницаемости.
3.2.3. При определении удельного объемного электрического сопротивления испытательное напряжение должно быть указано в стандартах или технических условиях на конкретные виды жидких диэлектриков. При отсутствии специальных указаний измерение проводят при напряженности поля 0,25 МВ·м-1. При соединении ячейки с источником напряжения положительный потенциал должен быть на внешнем электроде.
Время выдержки образца под напряжением должно быть указано в стандартах или технических условиях на конкретные виды жидких диэлектриков. При отсутствии указания значения сопротивления отсчитывают через 1 мин после подачи напряжения.
3.2.4. При необходимости двух определений удельного объемного электрического сопротивления диэлектрика измерения проводят в двух ячейках. Допускается использовать одну ячейку при условии обработки ее после первого измерения по
п. 2.2.1.1.
Расхождение между результатами двух измерений не должно превышать 35% от большей измеренной величины сопротивления. При получении больших расхождений проводят еще два определения на вновь подготовленных
(п. 2.2.1) ячейках с двумя порциями диэлектрика, взятых из той же пробы.
Измерения проводят до получения результатов, удовлетворяющих требованиям настоящего стандарта.
3.2.5. Удельное объемное электрическое сопротивление вычисляют по формуле

(10)
где Rv - измеренное значение объемного электрического сопротивления, Ом;
C0 - емкость пустой измерительной ячейки, измеренная при температурах испытания
(п. 2.1.2.1 г), Ф.
3.2.6. За результат измерения принимают большее из двух измеренных значений.
3.3. Оформление протокола испытания
Протокол испытания должен содержать следующие данные:
а) наименование материала; обозначение стандарта; наименование объекта, из которого взята проба (аппарат, емкость); дату взятия пробы, внешний вид жидкости (цвет, наличие включений);
б) условия подготовки порции пробы;
в) тип измерительного прибора или установки, метод измерения;
г) температура пробы при измерении;
д) тип измерительной ячейки;
е) напряженность электрического поля в МВ·м-1 и время выдержки под напряжением при измерении в мин;
ж) значение удельного объемного электрического сопротивления жидкого материала в случае одного определения или потенцированное среднее десятичных логарифмов значений удельного объемного электрического сопротивления в случае измерения нескольких порций одной пробы, Ом·см;
з) температура и относительная влажность окружающей среды.
3.2.6 - 3.3. (Измененная редакция, Изм. N 1).
4. МЕТОД ОПРЕДЕЛЕНИЯ ПРОБИВНОГО НАПРЯЖЕНИЯ
ПРИ ЧАСТОТЕ 50 Гц
4.1. Аппаратура, измерительная ячейка
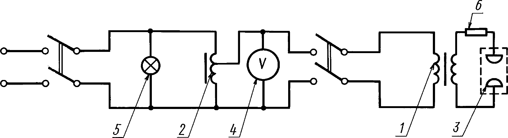
4.1.1. Для определения пробивного напряжения жидких электроизоляционных материалов используют установку, принципиальная схема которой приведена на черт. 3.
Принципиальная схема установки для определения
пробивного напряжения жидких электроизоляционных материалов
при промышленной частоте
1 - высоковольтный испытательный трансформатор;
2 - регулировочный трансформатор; 3 - измерительная ячейка;
4 - вольтметр; 5 - сигнальная лампа;
6 - защитное сопротивление
Черт. 3
4.1.1.1. Источник питания
Источником питания установки служит испытательный трансформатор с регулятором напряжения, обеспечивающий получение при промышленной частоте на электродах испытательной ячейки напряжения, характеризуемого практически синусоидальной формой кривой напряжения. Коэффициент амплитуды (отношение максимального значения напряжения к эффективному испытательному напряжению) должен быть в пределах

или от 1,34 до 1,48. Трансформатор должен быть выбран так, чтобы:
а) среднее пробивное напряжение жидкого материала составляло не менее 15% значения номинального напряжения трансформатора;
б) мощность трансформатора была достаточной для обеспечения при пробое на стороне высокого напряжения тока не менее 20 мА во всем диапазоне используемых при испытаниях напряжений, превышающих 15 кВ.
4.1.1.2. Защитная аппаратура
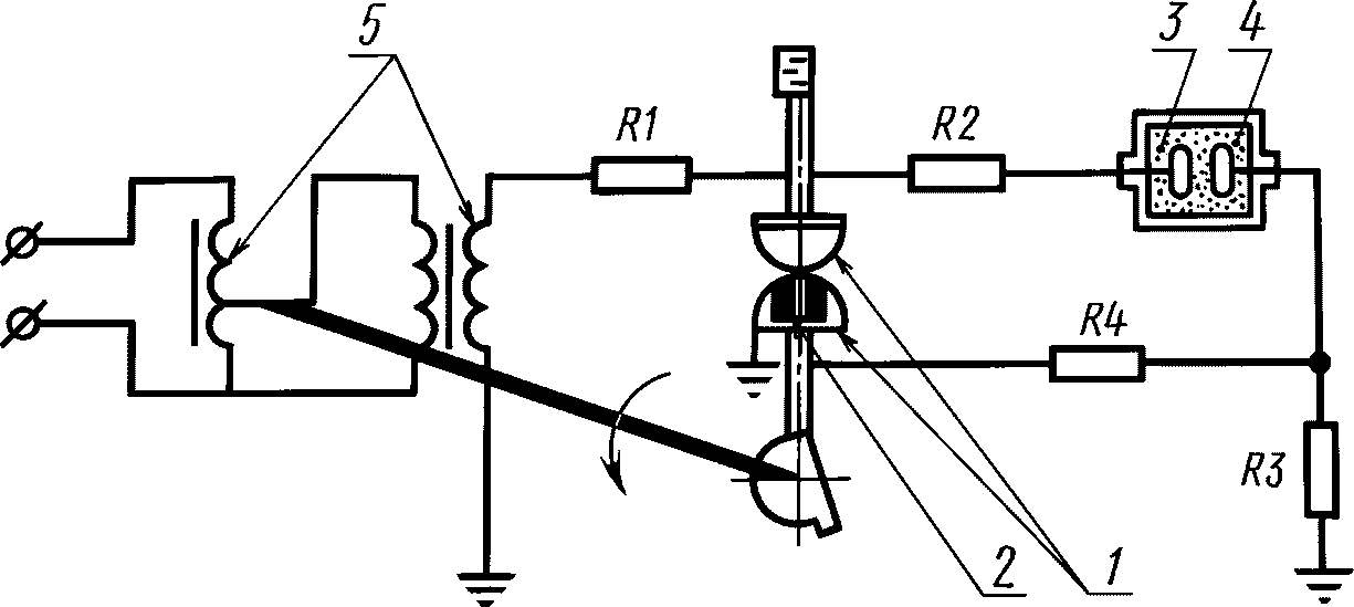
Для защиты обмоток трансформатора от перегрузок, связанных с воздействием токов короткого замыкания при пробоях в жидкостях, и уменьшения разложения жидкого материала в момент пробоя необходимо обеспечить минимально короткое время горения дуги и ограничить силу тока при пробое. Для выполнения первого условия в цепи обмотки низкого напряжения трансформатора предусматривается автоматический выключатель, время срабатывания которого не должно превышать 0,02 с. Ограничение силы тока при пробое образца жидкости может быть достигнуто за счет выбора трансформатора с соответствующим реактансом или включением токоограничивающего сопротивления из расчета 0,2 - 1 Ом на 1 В высокого напряжения испытательного трансформатора для напряжений до 110 кВ включительно. При определении пробивного напряжения синтетических жидких материалов на основе хлорированных ароматических углеводородов, кремнийорганических веществ и др. продукты разложения, образующиеся при первых пробоях в жидкости, существенно снижают пробивное напряжение жидкости при последующих пробоях. Для устранения этого влияния для таких случаев может быть использована установка, выполненная по схеме
черт. 4. При этом продолжительность пробоя становится настолько малой (порядка 5 мкс), что практически разложением материала можно пренебречь, и средняя квадратическая ошибка результатов определения пробивного напряжения жидкого материала при последовательных пробоях в одной порции составляет не более +/- 2,5%.
Устройство действует по принципу отсечки напряжения, при этом основным элементом является шаровой разрядник 1 с поджигающим электродом 2. По мере подачи напряжения на образец жидкости 3 и на разрядник нижняя полусфера (при помощи механического приспособления, действующего синхронно с регулировочным трансформатором) удаляется от верхней на такое расстояние, которое обеспечивает сохранение электрической прочности воздушного зазора.
Принципиальная схема установки для быстрого отключения
образца жидкого электроизоляционного материала после пробоя
1 - шаровой разрядник; 2 - поджигающий электрод;
3 - сосуд с жидким диэлектриком; 4 - электроды в жидкости;
5 - повышающий и регулировочный трансформаторы
R1 - R4 сопротивления
Черт. 4
Значение сопротивлений R в схеме подбирают таким образом, чтобы в момент пробоя жидкости обеспечивался пробой поджигающего промежутка. При этом напряжение на разряднике падает до значения, недостаточного для повторного пробоя образца жидкости, дуга в которой до этого момента горела лишь за счет стекания зарядов с емкости между электродами.
4.1.1.3. Регулирование напряжения
Регулирующее устройство должно обеспечивать плавный подъем напряжения с постоянной скоростью, равной 2 кВ/с +/- 20%. Предпочтительно применение автоматической системы подъема напряжения.
4.1.1.4. Измерение испытательного напряжения
Напряжение должно измеряться амплитудным вольтметром или вольтметром иного типа, который присоединяют к обмотке высокого или низкого напряжения испытательного трансформатора или к специальной измерительной обмотке трансформатора. Применяемые приборы, если они установлены на стороне ВН испытательного трансформатора, должны быть отградуированы по шаровому разряднику в воздухе по
ГОСТ 17512 на все значения напряжения, которые желательно измерить. Снятие соответствующих градуировочных кривых при применении шарового разрядника должно проводиться совместно с включенной в схему измерительной ячейкой. Шаровой разрядник может отключаться во время проведения обычных испытаний, если известно, что наличие разрядника не оказывает существенного влияния на отношение значений напряжения, полученного при помощи шарового разрядника, к показанию вторичного (показывающего) прибора (вольтметра). Приборы, применяемые при измерении напряжения, должны иметь класс точности не ниже 1,5.
Применяют регистрирующие приборы или приборы с цифровой системой отсчета в сочетании со счетно-печатающим устройством.
4.1.2. Измерительная ячейка
4.1.2.1. Сосуд для жидкости
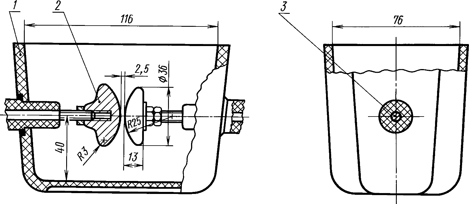
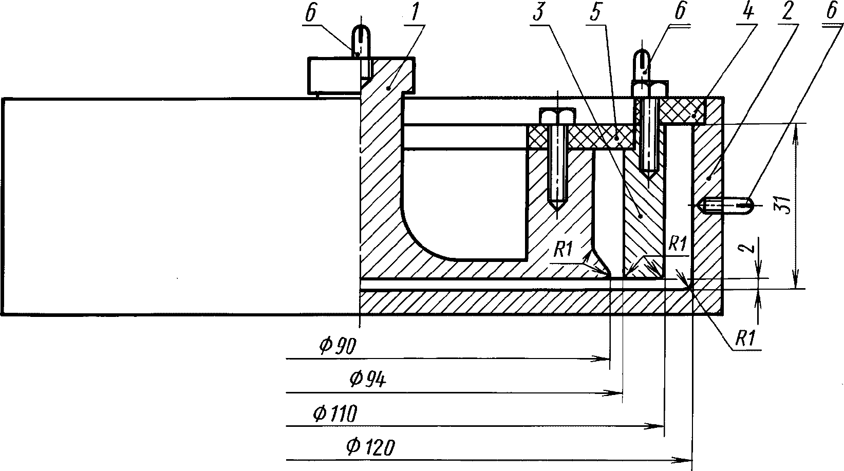
Сосуд для жидкости должен быть изготовлен из материала, который не растворяется в жидких электроизоляционных материалах (и применяемых для очистки ячейки растворителях), а также не оказывает влияния на испытываемые жидкости, например, из электроизоляционного стекла, кварца, электроизоляционной пластмассы. Сосуд должен иметь такую форму, чтобы его стенки во всех случаях находились не менее чем на 12 мм от поверхности электродов. Верхний край сосуда должен находиться примерно на расстоянии 40 мм от горизонтальной плоскости, проходящей через центр электродов. Глубина погружения электрода в жидкий материал должна быть не менее 15 мм. Конструкция измерительной ячейки должна обеспечивать возможность быстрого и простого демонтажа электродов для их очистки и полировки, а также точной юстировки зазора между электродами при повторном монтаже электродов. Примерная конструкция измерительной ячейки, удовлетворяющая указанным требованиям, приведена на черт. 5.
Измерительная ячейка для определения пробивного напряжения
1 - сосуд для жидкости; 2 - электрод; 3 - вводы электродов
Черт. 5
4.1.2.2. Электроды
Электроды по форме, указанной на черт. 5, должны быть изготовлены из металлов, соответствующих требованиям
п. 2.1.1.2 с шероховатостью рабочих поверхностей по
п. 2.1.1.3. Электроды должны быть смонтированы так, чтобы их оси располагались на одной горизонтальной линии, лежащей в плоскости, параллельной нижней поверхности испытательной ячейки. Зазор между электродами должен составлять (2,5 +/- 0,05) мм. Проверка зазора должна осуществляться шаблоном калибром: шаблон с номинальным размером 2,45 мм должен проходить между электродами, а шаблон с номинальным размером 2,55 мм не должен проходить между электродами.
(Измененная редакция, Изм. N 1).
4.2. Проведение испытания
4.2.1. Подготовка измерительной ячейки
При применении новой измерительной ячейки или после длительного ее хранения, при изменении типа испытываемой жидкости или после испытания сильно загрязненной жидкости ячейку следует обработать растворителями.
Для промывки ячейки, заполненной нефтяным изоляционным маслом, применяют последовательно керосин по нормативно-технической документации и петролейный эфир с пределами кипения 80 - 120 °C; ячейки, заполненной хлорированными или фторированными углеводородами, а также кремнийорганическими жидкостями, - последовательно толуол по
ГОСТ 9880, трихлорбензол или ацетон; ячейки, заполненной касторовым маслом, - ацетон по
ГОСТ 2603. При применении легкокипящих растворителей, в результате быстрого испарения последних, электроды могут охладиться и на их поверхности возможна конденсация влаги. В таких случаях ячейку следует слегка нагреть. Для периодической очистки поверхности электродов следует применять полировочные составы, следы которых после окончания полировки необходимо тщательно удалять, промывая указанными растворителями.
В тех случаях, когда визуально обнаружено потемнение поверхности электродов, эти электроды должны быть предварительно демонтированы, отполированы замшей, промыты растворителем и вновь смонтированы. После обработки, указанной выше, ячейку ополаскивают испытываемой жидкостью и затем заполняют порцией жидкости, предназначенной для испытания. В тех случаях, когда ежедневно проводят контрольные, приемо-сдаточные и др. испытания жидкого электроизоляционного материала, а значения пробивного напряжения жидкости не ниже установленных норм, обработка испытательной ячейки сводится к ее ополаскиванию испытываемой жидкостью. В нерабочем состоянии измерительную ячейку необходимо хранить заполненной жидким материалом. При этом пробивное напряжение такой жидкости должно быть в пределах норм на этот показатель для данного типа жидкости.
(Измененная редакция, Изм. N 2).
4.2.2. Подготовка пробы
4.2.2.1. Условия отбора и подготовки пробы испытываемой жидкости в соответствии с разд. 1.
4.2.2.2. (Исключен, Изм. N 1).
4.2.2.3. Сосуд с пробой жидкого материала несколько раз осторожно переворачивают вверх дном с тем, чтобы содержащиеся в пробе случайные загрязнения равномерно распределились по всему объему жидкости. При этом избегают интенсивного встряхивания во избежание попадания в жидкость пузырьков воздуха. Непосредственно после этого небольшим количеством жидкости ополаскивают ячейку, в том числе электроды, затем медленно заполняют ячейку, следя за тем, чтобы струя жидкости стекала по ее стенке и не образовывалось пузырьков воздуха.
При наличии в жидкости пузырьков воздуха их следует удалить осторожным перемешиванием жидкости стеклянной палочкой.
(Измененная редакция, Изм. N 1).
4.2.2.4. Температура пробы жидкости при испытании не должна отличаться от температуры помещения и должна находиться в пределах 15 - 35 °C.
4.2.2.5. (Исключен, Изм. N 1).
4.2.3. Через 10 мин после заполнения ячейки на образец подают электрическое напряжение, плавно поднимают до пробоя и фиксируют значение пробивного напряжения.
(Измененная редакция, Изм. N 1).
4.2.4. При одном заполнении ячейки жидким электроизоляционным материалом осуществляют шесть последовательных пробоев с интервалами между каждым из них, равными 5 мин. После каждого пробоя при помощи стеклянной палочки жидкость между электродами осторожно перемешивают для удаления продуктов разложения из межэлектродного пространства, не допуская при этом образования воздушных пузырьков.
4.2.5. При испытании при комнатной температуре жидких материалов с вязкостью более 50·10
-6 м
2/с при 20 °C, когда удаление твердых продуктов разложения из межэлектродного пространства после пробоя затруднено, каждый последующий пробой осуществляют в отдельной порции жидкости, взятой из одной и той же пробы. Перед испытанием вязкая жидкость в закрытом сосуде должна принять температуру помещения (или прогрета в том же сосуде до температуры не выше 40 °C, если при температуре помещения вязкость жидкости настолько велика, что ее перемешать нельзя) и после этого должна быть перемешана путем 30-минутной выдержки сосуда с пробой в положении "пробкой вниз". Непосредственно перед заполнением ячейки сосуд возвращают в обычное положение. Жидкость, предварительно нагретая для ее перемешивания, перед определением должна быть охлаждена в ячейке до окружающей температуры или дополнительно нагрета до той температуры испытания, которая указана в стандарте на данный жидкий электроизоляционный материал. При испытании нагретой жидкости, вязкость которой при температуре испытания менее 50·10
-6 м
2/с, допускается проводить все шесть пробоев в одной порции жидкости в соответствии с
п. 4.2.4.
4.2.6. При проведении испытаний при повышенной температуре продолжительность нагревания ячейки с жидкостью до температуры испытания должна быть указана в стандарте на испытуемый материал.
Температура жидкости при испытании должна поддерживаться с погрешностью +/- 2 °C.
4.2.7. (Исключен, Изм. N 1).
4.3. Обработка результатов испытания
4.3.1. Среднее арифметическое значение пробивного напряжения

в кВ вычисляют по формуле

(11)
где

- величина, полученная при последовательных пробоях, кВ;
n - число пробоев.
Среднюю квадратическую ошибку

среднего арифметического значения пробивного напряжения вычисляют по формуле

(12)
4.3.2. Оценка достоверности результатов испытаний
4.3.2.1. Значение пробивного напряжения должно отвечать нормированному значению коэффициента вариации V, вычисленного по формуле

(13)
Если значение коэффициента вариации превышает 20%, то в этом случае дополнительно производят еще одно заполнение испытательной ячейки порцией жидкости из того же сосуда с пробой жидкости (после перемешивания последней по
п. 4.2.2.3), проводят еще шесть определений пробивного напряжения и для расчета по
формулам (12) и
(13) число пробоев (
n) берут равным 12.
Если коэффициент вариации превышает 20%, качество диэлектрика следует считать неудовлетворительным.
(Измененная редакция, Изм. N 1).
4.4. Оформление протокола испытания
Протокол испытания должен содержать следующие сведения:
а) наименование жидкого электроизоляционного материала, наименование стандарта, наименование объекта, из которого взята проба (аппарат, емкость и т.д.), дата взятия пробы, внешний вид жидкости (цвет, наличие включений);
б) температура жидкости и помещения при испытании, влажность окружающего воздуха;
в) количество отдельных значений пробивного напряжения, среднее арифметическое значение

, средняя квадратическая ошибка;
из шести значений, если они удовлетворяют нормированному коэффициенту вариации;
из двенадцати значений при двух заполнениях испытательной ячейки, если они не удовлетворяют нормированному коэффициенту вариации;
г) условия подготовки порции пробы (сушка, фильтрация и т.д.);
д) дата проведения испытания;
е) тип измерительной установки.
Приложение 1. (Исключено, Изм. N 1).
Справочное
ОБОЗНАЧЕНИЯ И ОПРЕДЕЛЕНИЯ, ПРИМЕНЯЕМЫЕ В СТАНДАРТЕ
Объемное сопротивление Rv (Ом) - отношение напряжения к току, протекающему через толщину слоя электроизоляционной жидкости между двумя приложенными электродами.
Удельное объемное сопротивление

(Ом·м) - отношение постоянной напряженности электрического поля в направлении, параллельном протеканию тока в порции испытываемой жидкости, к плотности тока.
Пробивное напряжение
Uпр (кВ) - минимальное напряжение (пиковое значение, деленное на

), измеренное при испытании в момент возникновения первого искрового разряда между электродами.
(Измененная редакция, Изм. N 1).
ПРИМЕЧАНИЕ ФГУП "СТАНДАРТИНФОРМ"
На первой странице дополнить кодом: МКС 29.040 (указатель "Национальные стандарты", 2008)