Главная // Актуальные документы // ГОСТ (Государственный стандарт)СПРАВКА
Источник публикации
В данном виде документ опубликован не был.
Первоначальный текст документа опубликован в издании
М.: Издательство стандартов, 1982
Информацию о публикации документов, создающих данную редакцию, см. в справке к этим документам.
Примечание к документу
С 1 июля 2003 года до вступления в силу технических регламентов акты федеральных органов исполнительной власти в сфере технического регулирования носят рекомендательный характер и подлежат обязательному исполнению только в части, соответствующей целям, указанным в
пункте 1 статьи 46 Федерального закона от 27.12.2002 г. N 184-ФЗ.
Ограничение срока действия снято по Протоколу N 3-93 Межгосударственного Совета по стандартизации, метрологии и сертификации ("ИУС", N 5 - 6, 1993).
Изменение N 1, утв. Постановлением Госстандарта СССР от 21.09.1987 N 3582, введено в действие с 1 апреля 1988 года.
Взамен ГОСТ 17512-72.
Название документа
"ГОСТ 17512-82 (СТ СЭВ 2732-80). Электрооборудование и электроустановки на напряжение 3 кВ и выше. Методы измерения при испытаниях высоким напряжением"
(утв. Постановлением Госстандарта СССР от 12.04.1982 N 1496)
(ред. от 21.09.1987)
"ГОСТ 17512-82 (СТ СЭВ 2732-80). Электрооборудование и электроустановки на напряжение 3 кВ и выше. Методы измерения при испытаниях высоким напряжением"
(утв. Постановлением Госстандарта СССР от 12.04.1982 N 1496)
(ред. от 21.09.1987)
Утвержден и введен в действие
Постановлением Госстандарта СССР
от 12 апреля 1982 г. N 1496
ГОСУДАРСТВЕННЫЙ СТАНДАРТ СОЮЗА ССР
ЭЛЕКТРООБОРУДОВАНИЕ И ЭЛЕКТРОУСТАНОВКИ
НА НАПРЯЖЕНИЕ 3 КВ И ВЫШЕ
МЕТОДЫ ИЗМЕРЕНИЯ ПРИ ИСПЫТАНИЯХ ВЫСОКИМ НАПРЯЖЕНИЕМ
Electric equipment and installations for 3 kV and higher.
Measuring methods during high-voltage tests
ГОСТ 17512-82
(СТ СЭВ 2732-80)
| | Список изменяющих документов Госстандарта СССР от 21.09.1987 N 3582) | |
Взамен
ГОСТ 17512-72
Срок действия
с 1 января 1984 года
до 1 января 1989 года
Разработан Министерством электротехнической промышленности.
Исполнители: В.П. Белотелов (руководитель темы), С.А. Гуров, Г.А. Владимиров, С.П. Илюхина.
Внесен Министерством электротехнической промышленности.
Член Коллегии А.С. Джаноян.
Утвержден и введен в действие Постановлением Государственного комитета СССР по стандартам от 12 апреля 1982 г. N 1496.
Настоящий стандарт распространяется на электрооборудование и электроустановки постоянного и переменного тока частоты 50 и 60 Гц на напряжение 3 кВ и выше и устанавливает методы измерения постоянных и переменных напряжений, напряжений грозовых и коммутационных импульсов при испытании изоляции электрооборудования и электроустановок, а также предельные значения погрешностей измерения и методы их определения.
Абзац исключен с 1 апреля 1988 года. -
Изменение N 1, утв. Постановлением Госстандарта СССР от 21.09.1987 N 3582.
| | ИС МЕГАНОРМ: примечание. Взамен ГОСТ 1516.2-76 Постановлением Госстандарта РФ от 07.04.1998 N 109 с 1 января 1999 года введен в действие ГОСТ 1516.2-97. | |
Термины, применяемые в настоящем стандарте, и их пояснения указаны в справочном
Приложении 1, а также в
ГОСТ 1516.1-76 и ГОСТ 1516.2-76.
| | ИС МЕГАНОРМ: примечание. Взамен ГОСТ 1516.2-76 Постановлением Госстандарта РФ от 07.04.1998 N 109 с 1 января 1999 года введен в действие ГОСТ 1516.2-97. | |
1.1. Условия и методы испытания изоляции электрооборудования высоким напряжением регламентированы
ГОСТ 1516.1-76 и ГОСТ 1516.2-76.
Не установленные в настоящем стандарте другие методы измерений при необходимости указываются в стандартах на специальные методы испытаний или в стандартах на отдельные виды электрооборудования.
1.2. Измерительная система высокого напряжения должна включать:
1) один из следующих элементов: делитель напряжения, трансформатор напряжения, добавочный резистор или добавочный конденсатор;
2) подводку для подключения к испытуемому объекту;
3) кабель с согласующими элементами;
4) провода заземления;
5) измерительные приборы.
Примечание. Допускается применять также измерительные системы, включающие только некоторые из указанных компонентов или основанные на других принципах измерений при условии, что они удовлетворяют указанным в настоящем стандарте требованиям к погрешностям измерений.
1.3. Погрешность измерительной системы не должна превышать значений, указанных в настоящем стандарте. Погрешность определяется частными погрешностями в соответствии с обязательным
Приложением 2.
1.4. Соответствие измерительной системы требованиям настоящего стандарта должно проверяться в объеме требований
п. 1.6 перед вводом в эксплуатацию. Если измерительная система значительно изменяется или ее характеристики вызывают сомнение, проверка должна быть повторена полностью или частично.
Проверка должна проводиться для измерительной системы в целом. Допускается поэлементная проверка, если это не влияет на погрешность измерительной системы в целом. Методы и результаты проверки измерительной системы в целом, как и результаты поэлементной проверки должны быть внесены в техническую документацию на измерительную систему.
1.5. Характеристики измерительной системы допускается проверять прямым сравнением с образцовой измерительной системой, погрешность которой не превышает 1/3 погрешности проверяемой системы.
1.6. При проверке измерительной системы должны определяться следующие характеристики:
1) коэффициент трансформации трансформатора напряжения или коэффициент деления делителя напряжения.
| | ИС МЕГАНОРМ: примечание. Взамен ГОСТ 8.216-76 Постановлением Госстандарта СССР от 19.07.1988 N 2684 с 1 января 1989 года введен в действие ГОСТ 8.216-88. | |
Коэффициент трансформации определяется по ГОСТ 8.216-76, коэффициент деления определяется в соответствии с обязательным
Приложением 3;
2) реакция на ступенчатый импульс или частотные характеристики измерительной системы с делителем напряжения. Реакция на ступенчатый импульс и ее параметры определяются в соответствии с обязательным
Приложением 4 и справочным
Приложением 5;
3) влияние взаимного расположения измерительной системы и заземленных или находящихся под потенциалом объектов с учетом допустимых минимальных расстояний до них;
4) влияние значения и формы измеряемых напряжений на погрешность измерения;
5) влияние атмосферных условий и при необходимости - загрязнения поверхности;
6) работоспособность измерительной системы при номинальных напряжениях.
Примечание. Характеристики по
подпунктам 1 -
3 могут проверяться при низких напряжениях при условии, что погрешности из-за нелинейности, например, вследствие образования короны, пренебрежимо малы вплоть до номинальных напряжений.
Характеристики по
подпунктам 3 -
5 могут проверяться на основании измерений на аналогичных измерительных системах.
1.7. Техническая документация на измерительную систему, кроме результатов испытаний, указанных в
пп. 1.6 и
1.8, должна включать описание измерительной системы и отдельных ее элементов, ее основные размеры, порядок выполнения работ, а также следующую информацию:
1) пределы измеряемых величин;
2) номинальные коэффициенты деления делителя напряжения или коэффициенты трансформации трансформатора напряжения;
3) погрешность коэффициентов деления делителя напряжения или коэффициентов трансформации трансформатора напряжения;
4) масштабный коэффициент измерительной системы;
5) принципиальную схему с указанием входящих в нее элементов;
6) вид, размеры и положение подводки к делителю;
7) описание контура и проводов заземления;
8) тип и длина кабеля, а также значения полных сопротивлений присоединенных к нему элементов;
9) тип и метрологические характеристики измерительных приборов, входящих в измерительную систему;
10) характеристики измерительных устройств, используемых при проверке измерительной системы;
11) частотные или временные характеристики и указание наибольшей частоты

, либо наименьшего времени реакции Т, на которые предусмотрена система;
12) возможность различных вариантов соединений элементов измерительной системы и параметры варьируемой системы.
1.8. Измерительные системы периодически не реже одного раза в два года должны подвергаться следующему контролю:
1) исправности всех элементов измерительной системы;
2) погрешности коэффициентов деления или трансформации, которая не должна превышать допускаемых пределов;
3) уровня электромагнитных помех.
2. МЕТОДЫ ИЗМЕРЕНИЯ ПОСТОЯННЫХ НАПРЯЖЕНИЙ
2.1. Параметры измеряемых напряжений и допускаемые погрешности
2.1.1. Параметры постоянных напряжений должны измеряться с допускаемой погрешностью, указанной ниже:
1) значения постоянного напряжения с погрешностью не более 3%;
2) амплитуда пульсаций с погрешностью, не превышающей большего из двух значений: 10% от амплитуды допускаемой пульсации или 1% от среднего арифметического значения постоянного напряжения.
2.2. Измерение напряжения
2.2.1. Измерение постоянных напряжений следует проводить одним из следующих методов:
1) измерительным прибором с делителем напряжения;
2) измерительным прибором с добавочным резистором;
3) непосредственно измерительным прибором;
4) шаровым измерительным разрядником.
Примечание. Погрешность измерения постоянного напряжения шаровым измерительным разрядником может достигать 5%.
2.2.2. Измерение амплитуды пульсаций следует проводить одним из следующих методов:
1) измерительной системой с делителем напряжения и осциллографом, имеющей амплитудно-частотную характеристику, удовлетворяющую требованию
п. 2.3.4;
2) измерительным прибором, подключенным к схеме высокого напряжения через добавочный конденсатор, блокирующий постоянную составляющую тока. Параллельно измерительному прибору должен быть подключен резистор;
3) измерительным прибором, подключенным к схеме высокого напряжения через добавочный конденсатор и выпрямитель.
2.3. Требования к измерительным системам и допускаемые погрешности
2.3.1. Требования по
п. 2.1 считаются выполненными, если измерительная система отвечает общим требованиям соответствующих пунктов
разд. 1 и требованиям пп. 2.3.2 и
2.3.4.
2.3.2. Коэффициент деления делителя или сопротивление добавочного резистора должны быть стабильны и определены с погрешностью не более 1%.
2.3.3. Класс точности прибора, применяемого в измерительной системе для измерения постоянного напряжения, должен быть не хуже 0,5. Если метрологические характеристики прибора заданы погрешностью, то она с учетом нелинейности и нестабильности не должна превышать 1%.
2.3.4. Амплитудно-частотная характеристика системы, используемой для измерения амплитуды пульсаций, должна находиться в пределах +/- 10% по амплитуде для частотного диапазона, начиная с частоты основной гармоники пульсаций до пятикратного значения этой частоты.
3. МЕТОДЫ ИЗМЕРЕНИЯ ПЕРЕМЕННЫХ НАПРЯЖЕНИЙ
3.1. Параметры измеряемых напряжений и допускаемые погрешности
3.1.1. Параметры переменных напряжений должны измеряться с допускаемой погрешностью, указанной ниже:
1) амплитуда напряжения с погрешностью не более 3%;
2) действующее значение напряжения с погрешностью не более 3%;
3) амплитуда высших гармоник с погрешностью, не превышающей большего из двух значений: 10% амплитуды высших гармоник или 1% основной гармоники напряжения;
4) частота основной гармоники напряжения с погрешностью не более 2%.
3.2. Измерение напряжения
3.2.1. Измерение амплитуды напряжения следует проводить одним из следующих методов:
1) амплитудным вольтметром с делителем или трансформатором напряжения;
2) измерительным прибором, подключенным к схеме высокого напряжения через добавочный конденсатор и схему выпрямления;
3) шаровым измерительным разрядником.
3.2.2. Измерение действующего значения напряжения следует проводить одним из следующих методов:
1) вольтметром, определяющим действующее значение напряжения, подключенным к делителю или трансформатору напряжения;
2) электростатическим киловольтметром.
3.2.3. Отклонение формы напряжения от синусоидальной следует определять с помощью прибора для измерения коэффициента гармоник или гармонического анализатора, подключаемого к схеме высокого напряжения через делитель или трансформатор напряжения.
Допускается упрощенный контроль формы напряжения по результатам измерения амплитудного и действующего значения напряжения.
В этом случае с помощью осциллографа должен проводиться контроль формы измеряемого переменного напряжения; форма напряжения не должна существенно отличаться от синусоидальной.
3.2.4. Измерение частоты напряжения следует проводить частотомером или осциллографом с делителем или трансформатором напряжения.
3.3. Требования к измерительным системам и допускаемые погрешности
3.3.1. Требования по
п. 3.1 считаются выполненными, если измерительная система отвечает общим требованиям соответствующих пунктов
разд. 1 и требованиям пп. 3.3.2 -
3.3.4.
3.3.2. Коэффициент деления делителя напряжения, коэффициент трансформации трансформатора напряжения или эквивалентная емкость добавочного конденсатора должны быть стабильны и определены с погрешностью не более 1%.
3.3.3. Класс точности прибора, применяемого в измерительной системе для измерения переменного напряжения, должен быть не хуже 0,5. Если метрологические характеристики прибора заданы погрешностью, то она с учетом нелинейности и нестабильности не должна превышать 1%.
3.3.4. Амплитудно-частотная характеристика системы, используемой для измерения гармоник, должна находиться в пределах +/- 5% по амплитуде для частот от основной до седьмой гармоники. Для систем, в которых используется измерение емкостного тока через конденсатор, верхняя граница амплитудно-частотной характеристики должна быть расширена до двадцатой гармоники.
3.3.5. На элементах измерительной системы до номинального напряжения не должны возникать незавершенные разряды.
4. МЕТОДЫ ИЗМЕРЕНИЯ ИМПУЛЬСНЫХ НАПРЯЖЕНИЙ
4.1. Параметры измеряемых напряжений и допускаемые погрешности
4.1.1. Параметры импульсных напряжений должны измеряться с допускаемой погрешностью, указанной ниже.
1) Значение напряжения полного и срезанного стандартного грозового импульса, если разряд возник на максимуме напряжения или за ним, с погрешностью не более 3%.
2) Значение напряжения полного и срезанного коммутационного импульса с погрешностью не более 3%.
3) Значение напряжения срезанного грозового импульса с предразрядным временем

2 мкс с погрешностью не более 3%.
4) Значение напряжения срезанного грозового импульса с предразрядным временем 0,5 мкс

2 мкс с погрешностью не более 5%.
5) Временные параметры грозовых и коммутационных импульсов с погрешностью не более 10%, если стандартами на конкретные виды электрооборудования не оговорено иначе.
| | ИС МЕГАНОРМ: примечание. Взамен ГОСТ 1516.2-76 Постановлением Госстандарта РФ от 07.04.1998 N 109 с 1 января 1999 года введен в действие ГОСТ 1516.2-97. | |
6) Амплитуда наложенных на импульс колебаний с погрешностью, обеспечивающей выполнение требований ГОСТ 1516.2-76.
4.2. Измерение напряжения
4.2.1. Измерение значения напряжения полных стандартных грозовых импульсов, а также коммутационных импульсов следует проводить одним из следующих методов:
1) измерительным прибором с делителем напряжения;
2) шаровым измерительным разрядником.
4.2.2. Измерение значения напряжения срезанных грозовых импульсов, а также измерение временных параметров импульсов следует проводить измерительным прибором с делителем напряжения.
4.3. Требования к измерительным системам и допускаемые погрешности
4.3.1. Требования по
п. 4.1 считаются выполненными, если измерительная система удовлетворяет общим требованиям соответствующих пунктов
разд. 1 и требованиям пп. 4.3.2 -
4.3.7.
4.3.2. Коэффициент деления делителя должен быть стабилен и определен с погрешностью не более 1%.
4.3.3. Масштабный коэффициент измерительного прибора (включая аттенюаторы, усилители, соединительные и согласующие элементы) должен быть стабилен и определен с погрешностью не более 2%.
4.3.4. Временная шкала осциллографа должна быть стабильна и определена с погрешностью не более 2%.
4.3.5. Масштабный коэффициент прибора для измерения времени должен быть стабилен и определен с погрешностью не более 3%.
4.3.6. Входное сопротивление измерительного прибора должно быть таким, чтобы при подключении измерительного прибора к делителю емкостного типа изменение коэффициента деления не превышало 1% к моменту времени, когда измеряемое импульсное напряжение достигает своего максимального значения. Изменение коэффициента деления не должно также превышать 5% к моменту времени, когда измеряемое импульсное напряжение понизилось до половины максимального значения.
4.3.7. Требуемое значение времени реакции измерительной системы в зависимости от вида измеряемого импульсного напряжения приведено в табл. 1.
────────────────────────────────────┬─────────────────────────────
Измеряемое импульсное напряжение │ Требуемое значение времени
│ реакции Т, мкс
────────────────────────────────────┼─────────────────────────────
1. Полные грозовые импульсы 1,2/50 │ |Т| <= 0,2
и импульсы, срезанные на максимуме │
или спаде │
2. Импульсы с линейным фронтом, │ |Т| <= 0,05Т и |Т| <= 0,2
срезанные на фронте с предразрядным │ с
временем Т │ U
с │ макс
3. Грозовые импульсы с нелинейным │ |Т| <= 0,05 -----
фронтом, срезанные на фронте при │ S
напряжении U , и конечной │ L
макс │
скорости нарастания S │
L │
4. Коммутационные импульсы │ |Т| <= 0,03Т
с временем подъема Т │ п
п │
Примечания. 1. Грозовой импульс с нелинейным фронтом условно заменяется несколькими отрезками прямых линий, воспроизводящими форму фронта импульса. Если при срезе последний отрезок прямой линии перекрывает не менее 10% фронта импульса, наклон

этой линии вместе с измеренным максимальным значением

используется для определения требований к времени реакции Т.
| | ИС МЕГАНОРМ: примечание. Взамен ГОСТ 1516.2-76 Постановлением Госстандарта РФ от 07.04.1998 N 109 с 1 января 1999 года введен в действие ГОСТ 1516.2-97. | |
2. Определение

и

- по ГОСТ 1516.2-76.
3. Время начального искажения

, определяемое по
п. 3.7 обязательного Приложения 4, не должно превышать 0,005

.
4. При измерении искажений, вызванных незавершенными разрядами во время коммутационных импульсов, время реакции измерительной системы должно быть меньше указанного в
табл. 1.
5. Реакция на ступенчатый импульс должна достигнуть практически установившегося значения к моменту времени, при котором определяются параметры измеряемых импульсов напряжений.
4.4. Определение динамической погрешности, введение поправок
4.4.1. Динамическая погрешность может быть определена применением интеграла Дюамеля для заданной формы измеряемого напряжения на входе измерительной системы и ее реакции на ступенчатый импульс, полученной в соответствии с обязательным
Приложением 4.
4.4.2. Если при измерении срезанного на фронте грозового импульса измерительная система не удовлетворяет требованиям
п. 4.3.7, а реакция на ступенчатый импульс к моменту среза успевает принять практически установившееся значение, допускается введение приближенной поправки для измеряемого испытательного напряжения

, (1)
где U - измеряемое максимальное значение импульсного напряжения с учетом поправки, кВ;

- измеренное максимальное значение импульсного напряжения, кВ;

- скорость нарастания измеренного напряжения, которая для импульсов с нелинейным фронтом определяется в соответствии с
п. 4.3.7, кВ/мкс.
Применение поправки допускается только в том случае, если она не превышает 20% измеряемого напряжения. Погрешность определения поправки должна быть учтена при оценке погрешности измерения.
4.4.3. При определении искажений формы импульсного напряжения, вызванных наложенными колебаниями, не требуется введения поправок, если:
2) частичное время реакции

, определяемое по
п. 3.4 обязательного Приложения 4, не превышает значений, вычисляемых по формуле

, (2)
где

- частичное время реакции, мкс;

- максимальная частота колебаний схемы высокого напряжения, МГц;
с = 300 м/мкс - скорость распространения электромагнитных волн в воздухе;

- высота используемой части импульсного генератора, м;

- высота фронтового конденсатора, м;
3) измеряемая частота колебаний f не превышает значений, вычисляемых по формуле

, (3)
где f - частота колебаний, МГц;

- частичное время реакции, мкс.
4.4.4. Если при измерении апериодического импульса с наложенными колебаниями измерительная система не отвечает требованиям
п. 4.4.3, то оценка амплитуды колебания выполняется умножением измеренной амплитуды колебания на коэффициент

, который вычисляется по формуле

. (4)
Применение поправки допускается при

5.
Примечание. Если реакция на ступенчатый импульс имеет значительные резонансные колебания, то

берется равным единице для частот ниже и в пределах диапазона резонансных частот. Для частот выше этого диапазона следует пользоваться формулой (4).
5. МЕТОД ИЗМЕРЕНИЯ ВЫСОКОГО НАПРЯЖЕНИЯ ШАРОВЫМИ
ИЗМЕРИТЕЛЬНЫМИ РАЗРЯДНИКАМИ
5.1. Общие указания
5.1.1. Шаровые измерительные разрядники используются для измерения:
1) постоянного напряжения;
2) амплитуды переменного напряжения частотой не более 400 Гц;
3) максимального значения полного стандартного грозового импульса;
4) максимального значения полного стандартного коммутационного импульса.
Значения разрядных напряжений указанной формы от 2,8 до 2350 кВ в зависимости от расстояния между шарами с диаметром от 2 до 200 см приведены в
табл. 1 -
2 обязательного Приложения 6.
5.1.2. Для измерений напряжения должны применяться шаровые измерительные разрядники вертикального или горизонтального типов с диаметрами шаров 2; 5; 6,25; 10; 12,5; 15; 25; 50; 75; 100; 150; 200 см.
Допускается использование шаровых измерительных разрядников с диаметром шаров 250 и 300 см, если для них установлены с требуемой в
п. 5.3 точностью зависимости разрядного напряжения от расстояния между шарами.
Шаровые измерительные разрядники должны быть выполнены в соответствии с требованиями обязательного
Приложения 7. Они должны быть снабжены документацией с описанием и инструкцией по их использованию.
В документации должны быть приведены:
1) основные конструктивные особенности шарового измерительного разрядника;
2) таблицы или график зависимости разрядного напряжения от расстояния между шарами;
3) погрешность определения расстояния между шарами по дистанционному указателю (согласно методике предприятия, производящего измерения);
4) скорость перемещения шара (для шаров с электродвигательным приводом).
5.1.3. Предельные размеры основных элементов вертикального и горизонтального шаровых измерительных разрядников и расстояния до заземленных объектов указаны на черт. 1 -
2.
Вертикальный шаровой измерительный разрядник
1 - изоляционная подвеска, диаметр которой
не должен быть более 0,5D в пределах зоны R;
2 - стержень, на который насажен шар;
3 - механизм управления и его максимальные размеры;
4 - провод высокого напряжения
с последовательно включенным защитным резистором;
5 - экран для выравнивания поля и его максимальный размер;
S - расстояние между шарами в свету;
Р - геометрическая точка на шаре высокого напряжения
в месте пересечения его поверхности с осью симметрии шаров;
А - расстояние точки Р от заземленной плоскости;
R - радиус сферы, внутри которой не должны
находиться посторонние предметы;
Х - горизонтальная плоскость, отстоящая от точки Р
на расстоянии 2D, за которую провод не должен переходить
в пределах сферы радиуса R, имеющей центр в точке Р
Черт. 1
Горизонтальный шаровой разрядник
1 - изоляционная опора;
2 - стержень, на который насажен шар;
3 - механизм управления и его максимальные размеры;
4 - провод высокого напряжения
с последовательно включенным защитным резистором;
S - расстояние между шарами в свету;
Р - геометрическая точка на шаре высокого напряжения
в месте пересечения его поверхности с осью симметрии шаров;
А - высота точки Р над заземленной плоскостью;
R - радиус сферы, внутри которой не должны находиться
посторонние предметы; Х - вертикальная плоскость,
отстоящая от точки Р на расстоянии 2D,
за которую провод не должен переходить в пределах
сферы радиуса R, имеющей центр в точке Р
Черт. 2
Шаровой измерительный разрядник должен быть установлен над горизонтальной заземленной поверхностью, например проводящей сеткой в полу лаборатории или проводящей поверхностью стола. Расстояние А от точки Р (
черт. 1 -
2) на шаре высокого напряжения до заземленной плоскости должно соответствовать размерам, указанным в табл. 2. Это указание относится к вертикальным и горизонтальным шаровым измерительным разрядникам.
───────────────┬────────────────┬────────────────┬────────────────
D, см │ А │ А │ R
│ наименьшее │ наибольшее │ наименьшее
───────────────┼────────────────┼────────────────┼────────────────
До 6,25 │ 7D │ 9D │ 14S
от 10 до 15 │ 6D │ 8D │ 12S
25 │ 5D │ 7D │ 10S
50 │ 4D │ 6D │ 8S
75 │ 4D │ 6D │ 8S
100 │ 3,5D │ 5D │ 7S
150 │ 3D │ 4D │ 6S
200 │ 3D │ 4D │ 6S
Примечание. Для шаровых измерительных разрядников с шарами диаметром 150 и 200 см, при отсутствии технической возможности выдержать расстояние R

6S по
табл. 2 при наибольшем раздвижении шаров, допускается при S > 0,5D ограничить это расстояние условием R

3D, при этом точность измерения снижается.
Если шаровой измерительный разрядник устанавливается так, что заземленный шар располагается ближе к потолку, и если другие поверхности, например стены и пол, удалены на более значительное расстояние, то потолок может рассматриваться как горизонтальная плоскость, от которой следует выдержать расстояние А.
5.1.4. Расстояния от точки Р шара высокого напряжения до заземленных поверхностей, частей здания и всех видов оборудования (стен, потолков, баков трансформаторов, импульсных генераторов, вводов и других объектов), а также до основания шарового измерительного разрядника, если оно выполнено из проводящего материала, должны быть не менее R по
табл. 2, но они не должны быть менее 2D независимо от расстояния между шарами.
Шаровой измерительный разрядник должен быть установлен в помещении так, чтобы расстояние от точки Р до одной стены было не менее R, а до остальных стен, - по возможности, более R.
Расстояния до посторонних объектов, находящихся под напряжением и имеющих большие размеры или сильно коронирующих, должны быть, по возможности, больше размеров R, указанных в
табл. 2. Это правило не распространяется на опорные рамы для шаров или другие конструкции, выполненные из изоляционного материала, при условии, что они будут сухими и чистыми. Расстояние между точкой Р шара высокого напряжения и рамой или изоляционной конструкцией может быть в этом случае меньше R, но оно не должно быть менее 1,6D.
5.1.5. В зоне разрядов поверхность шаров должна быть очищена от лаков, смазки и других защитных покрытий. Поверхность должна быть чистой и сухой. Если шары вследствие их применения становятся шероховатыми или повреждены точечной коррозией, они должны быть вновь отшлифованы мелкой шлифовальной шкуркой.
5.1.6. При измерении напряжения (
п. 5.1.1) ниже 50 кВ шаровыми измерительными разрядниками любого диаметра, а также при измерении напряжения шарами с диаметром 12,5 см и менее, независимо от напряжения, для получения достоверных и устойчивых результатов искровой промежуток должен облучаться радиоактивным препаратом с интенсивностью не менее 0,2 мКи (предпочтительно около 0,6 мКи) или ртутно-кварцевой лампой мощностью не менее 35 Вт при токе не менее 1 А, питающейся предпочтительно от источника постоянного тока.
Ампула с радиоактивным препаратом вводится в шар вблизи от точки Р.
Ртутно-кварцевая лампа должна быть помещена на расстоянии А (
табл. 2) от шарового измерительного разрядника, и свет должен облучать разрядный промежуток.
При измерении импульсных напряжений допускается облучение при его достаточности, создаваемое разрядами на искровых промежутках генератора импульсов. В этом случае промежуток шарового измерительного разрядника должен быть расположен в прямой видимости от промежутков генератора, а расстояние от шарового измерительного разрядника до генератора импульсов должно быть выдержано в соответствии с
п. 5.1.4. Достаточность интенсивности этого вида облучения должна быть подтверждена опытным путем.
Примечание. При обращении с радиоактивными веществами должны быть приняты соответствующие меры предосторожности.
5.1.7. Провод высокого напряжения, в том числе всякий включенный последовательно с ним резистор, если только он не находится на самом стержне шара, должен быть присоединен к шаровому измерительному разряднику в точке, отстоящей от точки Р на шаре высокого напряжения не менее чем на 2D.
В области, где расстояние от провода до точки Р менее размера R, находящийся под напряжением провод не должен пересекать плоскость Х, нормальную к оси шаров и расположенную на расстоянии 2 от точки Р на шаре высокого напряжения. Эта плоскость и расположение провода и резистора показаны на
черт. 1 -
2.
5.1.8. Один из двух шаров измерительного разрядника, как правило, должен быть заземлен наглухо. Однако он может быть заземлен через резистор, если будет установлено, что принятый способ заземления не повлияет на точность измерений, и если это будет допустимо по условиям безопасности для обслуживающего персонала.
5.2. Измерение постоянного и переменного напряжения
5.2.1. При измерении напряжения должны быть приняты меры предосторожности для того, чтобы свести к минимуму оплавления поверхности шаров и устранить появление в измерительной цепи высокочастотных колебаний, вызываемых незавершенными разрядами.
В качестве одной из мер последовательно с шаровым измерительным разрядником должен быть включен малоиндуктивный защитный резистор, как указано на
черт. 1 -
2. Его сопротивление при постоянном и переменном напряжении промышленной частоты не должно превышать значений, указанных в табл. 3.
────────────────────────┬─────────────────────────────────────────
Параметр │ Диаметр шара D, см
├──────┬──────┬──────┬──────┬──────┬──────
│ от 2 │от 12 │ 25 │от 50 │ 100 │от 150
│до 10 │до 15 │ │до 75 │ │до 200
────────────────────────┼──────┼──────┼──────┼──────┼──────┼──────
Сопротивление резисто- │ 10 │ 5 │ 3 │ 1,5 │ 1,0 │ 0,5
ра на 1 В наибольшего │ │ │ │ │ │
значения измеряемого │ │ │ │ │ │
напряжения, Ом │ │ │ │ │ │
Для переменного напряжения с частотой f > 50 Гц указанные в
табл. 3 сопротивления должны быть уменьшены пропорционально значению 50/f.
5.2.2. При измерении напряжения шары шарового измерительного разрядника, предварительно установленные на расстояние несколько больше ожидаемого разрядного расстояния, сближаются до возникновения на них разряда и регистрируется расстояние между шарами в момент разряда.
Допускается измерять напряжение при фиксированном расстоянии между шарами. При этом напряжение поднимается до 1/3 от разрядного с произвольной скоростью. Затем напряжение плавно повышается со скоростью, позволяющей произвести отсчет показания измерительного прибора в момент разряда на шарах.
Измеряемое напряжение определяется из
табл. 1 -
2 обязательного Приложения 6 по расстоянию между шарами с учетом атмосферных условий (
п. 5.4).
5.2.3. Перед измерением напряжения шаровыми измерительными разрядниками следует поочередно произвести несколько разрядов на шарах до получения стабильных значений разрядного напряжения.
5.2.4. При измерении напряжения проводят не менее трех разрядов с интервалом не менее 60 с.
Среднее арифметическое значение из полученных отсчетов считается соответствующим разрядному напряжению, на которое установлен шаровой измерительный разрядник.
Значения разрядного напряжения не должны отличаться от среднего арифметического значения более 3%. Если это условие не будет соблюдено, следует произвести еще три измерения.
Когда при повторных измерениях не будет достигнута требуемая точность, то должны быть приняты меры для выяснения причины нестабильности разрядных напряжений и ее устранения, после этого измерения должны быть повторены.
5.3. Измерение импульсных напряжений
5.3.1. При измерении импульсных напряжений последовательно с шаровым измерительным разрядником включается демпфирующий резистор, сопротивление которого не должно превышать 500 Ом для шаров диаметром до 150 см включительно и 250 Ом для шаров диаметром 200 см. Для уменьшения колебаний необходимо, чтобы индуктивность резистора была не выше 30 мкГн; если осциллографированием установлено отсутствие колебаний, то индуктивность резистора может быть и выше. Резистор должен быть расположен в соответствии с
п. 5.1.7.
5.3.2. Измерение импульсного напряжения должно быть выполнено методом 50%-ного разрядного напряжения. При этом за разрядное напряжение принимают напряжение, при котором вероятность разряда на промежутке шарового измерительного разрядника составляет 50%. Это достигается изменением расстояния между шарами шарового измерительного разрядника при неизменном значении зарядного напряжения импульсного генератора или изменением зарядного напряжения импульсного генератора при неизменном расстоянии между шарами шарового измерительного разрядника. Изменения проводятся ступенями не более 5% ожидаемого значения измеряемого напряжения или соответствующего ему зарядного напряжения импульсного генератора.
На каждой ступени напряжения или расстояния между шарами должно быть приложено 10 импульсов с интервалами не менее 5 с.
50%-ное напряжение определяется интерполяцией результатов, полученных на двух ступенях, из которых на одной ступени произошло от 1 до 4 разрядов, а на другой от 6 до 9 разрядов. Если на одной ступени получено 5 разрядов из 10, то напряжение этой ступени считается 50%-ным.
Допускается менее точный способ определения 50%-ного разрядного напряжения, который заключается в регулировании напряжения импульсного генератора при неизменном расстоянии между шарами шарового измерительного разрядника или регулировании расстояния между шарами при неизменном напряжении генератора до значения, при котором между шарами возникает от 4 до 6 разрядов из 10 приложений импульсов.
При обоих методах измерение должно начинаться с приложения 10 импульсов, не вызывающих разрядов.
Измеряемое напряжение определяется из
табл. 1 -
2 обязательного Приложения 6 по расстоянию между шарами с учетом атмосферных условий (п. 5.4).
5.4. Погрешность измерения
5.4.1. Для расстояний между шарами до 0,5D данные, приведенные в
табл. 1 -
2 обязательного Приложения 6, считаются точными в пределах 3%. Для расстояний от 0,5D до 0,75D они являются менее точными и поэтому заключены в скобки. При расстоянии между шарами менее 0,05D пользоваться таблицами не следует.
При измерении импульсных напряжений данные
табл. 1 -
2 обязательного Приложения 6 действительны для полных импульсов с длиной фронта не менее 0,86 мкс.
Разрядные напряжения в
табл. 1 -
2 обязательного Приложения 6 указаны для нормальных атмосферных условий - атмосферное давление

= 101300 Па (1013 мбар или 760 мм рт. ст.), температура окружающего воздуха

= 293 К (20 °С). Если при измерении напряжения атмосферные условия отличаются от нормальных, то к значению измеренного напряжения должна быть введена поправка на атмосферные условия в соответствии с п. 5.4.2.
5.4.2. Разрядные напряжения при атмосферных условиях, отличающихся от нормальных, указанных в
п. 5.4.1, могут быть получены умножением значений напряжений, указанных в
табл. 1 -
2 обязательного Приложения 6, на поправочный коэффициент

, который зависит от относительной плотности воздуха

(табл. 4).
Таблица 4
─────────────────┬────┬────┬────┬────┬────┬────┬───┬────┬────┬────
Относительная │0,70│0,75│0,80│0,85│0,90│0,95│1,0│1,05│1,10│1,15
плотность воздуха│ │ │ │ │ │ │ │ │ │
ро │ │ │ │ │ │ │ │ │ │
─────────────────┼────┼────┼────┼────┼────┼────┼───┼────┼────┼────
Поправочный │0,72│0,77│0,82│0,86│0,91│0,95│1,0│1,05│1,09│1,13
коэффициент К │ │ │ │ │ │ │ │ │ │
п │ │ │ │ │ │ │ │ │ │
Относительная плотность воздуха

, (5)
где Р - атмосферное давление, Па;
t - температура окружающего воздуха, °С.
Если давление выражено в миллибарах,

, (6)
и, если давление выражено в миллиметрах ртутного столба,
(в ред.
Изменения N 1, утв. Постановлением Госстандарта СССР от 21.09.1987 N 3582)

. (7)
Справочное
ТЕРМИНЫ, ПРИМЕНЯЕМЫЕ В НАСТОЯЩЕМ СТАНДАРТЕ, И ИХ ПОЯСНЕНИЯ
───────────────────────────┬──────────────────────────────────────
Термин │ Пояснение
───────────────────────────┼──────────────────────────────────────
1. Измерительная система │Функционально объединенные средства
│измерений и вспомогательные устройства
│высокого и низкого напряжения, имеющие
│определенное размещение и соединенные
│каналами связи, предназначенные для
│преобразования и определения
│параметров высокого напряжения
2. Масштабный коэффициент │Коэффициент, на который умножается
│показание прибора на выходе средства
│измерения с целью определения значения
│измеряемой входной величины. Это
│значение принимается постоянным для
│определенного диапазона времени или
│частоты измеряемой величины
3. Коэффициент деления │Коэффициент, на который умножается
│напряжение на выходе делителя с целью
│определения значения измеряемого
│напряжения на его входе. Это значение
│принимается постоянным для
│определенного диапазона времени или
│частоты измеряемой величины
4. Реакция на ступенчатый │Зависимое от времени нормированное
импульс (переходная │напряжение на выходе измерительной
характеристика) │системы при подаче на ее вход
│ступенчатого импульса напряжения.
│Нормирование напряжения на выходе
│выполняется путем деления на его
│установившееся значение
5. Ступенчатый импульс │Импульс, определяемый выражением
напряжения │ / U при t > 0
│ U (t) = < с ,
│ с \ О при t < 0
│где U - постоянная величина.
│ с
│Обычно ступенчатый импульс напряжения
│нормируется делением на U
│ с
6. Время реакции Т │Время, определяемое для измерительных
│систем с реакцией на ступенчатый
│импульс g(t) уравнением
7. Частотная │Зависимость от частоты отношения
характеристика │напряжения на выходе измерительной
│системы к напряжению на входе,
│выраженное в комплексной форме
8. Амплитудно-частотная │Зависимость от частоты модуля
характеристика │частотной характеристики. Обычно
│амплитудно-частотная характеристика
│нормируется делением на ее значение,
│которое остается постоянным для
│определенного диапазона частот
Обязательное
ОПРЕДЕЛЕНИЕ ПОГРЕШНОСТИ ИЗМЕРИТЕЛЬНОЙ СИСТЕМЫ
Погрешность измерительной системы при доверительной вероятности 0,95 в предположении нормального вероятного закона распределения частных случайных погрешностей и при отсутствии корреляционной зависимости между ними должна вычисляться по формуле

, (1)
где

(i = 1; 2; ...; k) - частные систематические погрешности;

(j = 1; 2; ...; n) - границы частных случайных погрешностей для доверительной вероятности 0,95.
Обязательное
ОПРЕДЕЛЕНИЕ КОЭФФИЦИЕНТОВ ДЕЛЕНИЯ ДЕЛИТЕЛЯ НАПРЯЖЕНИЯ
1. Для определения коэффициента деления должны применяться следующие методы:
1) вычисление на основе измеренных полных сопротивлений отдельных плечей делителя;
2) одновременное измерение напряжений на входе и выходе делителя или измерение их отношения;
3) сравнение с образцовым измерительным устройством;
4) мостовой метод.
2. Определение коэффициента деления должно проводиться при постоянном напряжении, или напряжении промышленной и более высокой частоты (например от 500 до 1000 Гц), или при импульсных напряжениях.
Выбор вида и значения напряжения должны определяться типом делителя.
3. В делителях емкостного типа на коэффициент деления влияют частичные емкости плеча высокого напряжения, поэтому определение коэффициента деления должно проводиться в условиях эксплуатации измерительной системы.
4. Если предусмотрены различные варианты соединений элементов измерительного устройства, они должны быть учтены при определении коэффициента деления.
5. Сопротивление демпфирующего резистора в подводке к омическому делителю напряжения должно учитываться при определении коэффициента деления.
6. С целью учета влияния на коэффициент деления входного полного сопротивления измерительного прибора и полных сопротивлений согласующих элементов определение коэффициента деления должно проводиться в комплектной измерительной системе.
Примечание. Влияние кабеля на коэффициент деления может проявляться в зависимости от типа делителя, длины кабеля и полного сопротивления нагрузки на выходе кабеля. Поэтому, определяя коэффициент деления, при необходимости, нужно учитывать емкость кабеля и сопротивление его жилы и оболочки.
Обязательное
ОПРЕДЕЛЕНИЕ РЕАКЦИИ НА СТУПЕНЧАТЫЙ ИМПУЛЬС И ЕЕ ПАРАМЕТРОВ
ДЛЯ ИЗМЕРИТЕЛЬНОЙ СИСТЕМЫ С ДЕЛИТЕЛЕМ НАПРЯЖЕНИЯ
1.1. Определение динамических характеристик измерительной системы выполняется с помощью измерения реакции на ступенчатый импульс и перечисленных в табл. 1 ее параметров, выбор которых определяется видом измеряемого напряжения.
Таблица 1
────────────────────────────────┬─────────────────────────────────
Параметр │ Применение параметра
────────────────────────────────┼─────────────────────────────────
Время реакции Т │ При определении погрешности при
│измерении импульсов, срезанных
│на фронте; поправки
Частичное время реакции Т │ При измерении наложенных
альфа │колебаний
Экспериментальное время │ При определении Т
реакции Т │
n │
Время начального искажения Т │ При измерении импульсов,
0 │срезанных на фронте
Условная начальная точка О' │ При определении параметров
│реакции на ступенчатый импульс
1.2. Для определения реакции на ступенчатый импульс и ее параметров применяется метод ступенчатого импульса.
Для определения времени реакции может быть применен также метод шарового измерительного разрядника или вычислительный метод, который используется для нерегулируемых омических делителей.
2. Экспериментальная методика определения реакции
на ступенчатый импульс
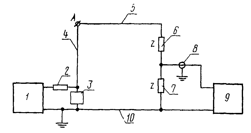
2.1. Реакция на ступенчатый импульс определяется для условий эксплуатации измерительной системы по схеме, указанной на черт. 1. Допускается применять для определения реакции на ступенчатый импульс другие схемы, в которых должны быть учтены вид и длина подводки высокого напряжения и провода заземления измерительной системы.
Схема для экспериментального определения реакции
измерительной системы на ступенчатый импульс
1 - источник напряжения; 2 - токоограничивающий резистор;
3 - коммутатор; 4 - вертикальный провод;
5 - горизонтальная подводка к делителю;
6 - плечо высокого напряжения делителя;
7 - плечо низкого напряжения делителя;
8 - кабель; 9 - осциллограф; 10 - провода заземления
Черт. 1
По схеме черт. 1 входной зажим А измерительной системы соединяется с коммутатором 3 вертикальным проводом 4 того же диаметра, что и подводка к делителю 5.
Коммутатор должен иметь близкое к нулю внутреннее сопротивление и обеспечивать фронт ступенчатого импульса, по меньшей мере, в пять раз короче ожидаемого частичного времени реакции

. Пригодными коммутаторами являются реле с ртутными контактами или разрядные промежутки с однородным полем, помещенные в изоляционное масло или сжатый газ. Расстояние между электродами в искровом промежутке не должно превышать 3 мм.
Если для коммутатора 3 используется реле с ртутными контактами, следует применять источник низкого постоянного напряжения 1, присоединяемый к измерительной системе через токоограничивающий резистор 2. В этом случае вместо импульсного осциллографа, предназначенного для работы с делителем высокого напряжения, необходимо применять осциллограф с усилителем. Динамические характеристики и входное полное сопротивление осциллографа с усилителем должны быть такими, чтобы замена осциллографа не влияла на форму реакции на ступенчатый импульс.
При использовании для коммутатора 3 разрядного промежутка в зависимости от типа делителя следует применять источник постоянного, переменного или импульсного напряжения с фронтом не менее 10 мкс. Разряд должен происходить вблизи максимума напряжения, ток источника напряжения 1 должен быть ограничен резистором 2. В этом случае напряжение ступенчатого импульса на входе измерительной системы должно обеспечивать возможность измерения реакции импульсным осциллографом, предназначенным для работы с делителем высокого напряжения.
3. Определение параметров реакции на ступенчатый импульс
3.1. Типичные осциллограммы реакции, полученные методом ступенчатого импульса, показаны на черт. 2. На осциллограммах черт. 2, б, в, г, е начальная часть сглажена, на осциллограммах черт. 2, д, е в начальной части имеются искажения, которые влияют на оценку погрешности срезанных на фронте грозовых или линейно нарастающих импульсов напряжения.
Типичные осциллограммы реакций на ступенчатый импульс
Черт. 2
Поэтому для определения параметров реакции следует принять условную начальную точку О', которая считается начальной точкой реакции и ступенчатого импульса напряжения.
3.2. Условная начальная точка О' определяется пересечением оси времени с касательной к наиболее крутой части фронта реакции (черт. 2).
Если реакция имеет колебания на фронте (черт. 2, г), то проводится усредненная кривая, которая используется для определения касательной.
При определении О' начальными искажениями

(черт. 2, д, е) пренебрегают.
3.3. Установившееся значение реакции определяется как значение, к которому стремится реакция на ступенчатый импульс или колеблется около него.
При наличии колебаний в реакции рекомендуется для определения установившегося значения включать демпфирующий резистор в провод вблизи генератора ступенчатого импульса.
Для определения установившегося значения может потребоваться использование различных по времени разверток осциллографа.
3.4. Частичное время реакции

определяется площадью между ступенчатым импульсом, перемещенным к точке О', и осциллограммой реакции на ступенчатый импульс до момента, когда она впервые достигает единичного значения (
черт. 2).
3.5. Экспериментальное время реакции

определяется с учетом вертикального провода от генератора ступенчатого напряжения к горизонтальной подводке и делителю.

. (1)
Площади

,

,

и т.д. показаны на
черт. 2 штриховкой. Они ограничены реакцией и ступенчатым импульсом в предположении, что обе характеристики начинаются с О'. При определении

начальными искажениями

пренебрегают и рассматривают прямую линию, используемую для определения О', как реакцию для этой части (
черт. 2, д, е).
3.6. Время реакции Т определяется как сумма из

и поправки на действие вертикального провода

, (2)
где Т - время реакции, мкс;

- время пробега импульса по вертикальному проводу длиной h в метрах со скоростью 300 м/мкс;
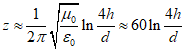
R - активное сопротивление плеча высокого напряжения делителя, которое равно бесконечности для емкостных и демпфированных делителей, Ом;
z - волновое сопротивление вертикального провода, которое с приближением может быть принято равным полному сопротивлению горизонтального провода, помещенного на высоте равной длине вертикального провода:

, (3)
где z - волновое сопротивление, Ом;
d - диаметр провода, м;

- магнитная проницаемость вакуума, равная

Гн/м;

- электрическая постоянная вакуума, равная

Ф/м.
3.7. Время начального искажения

определяется площадью, ограниченной реакцией от момента ее первого отклонения от нулевой линии до пересечения с прямой линией, используемой для определения О' (
черт. 2, д, е).
4. Определение времени реакции методом
шарового измерительного разрядника
Для данного метода применяется шаровой измерительный разрядник с шарами диаметром 250 мм вертикальной установки. Промежуток между шарами должен быть ионизирован.
Между шарами должно быть установлено расстояние 60 мм, для которого на черт. 3 показана вольт-секундная характеристика при отрицательной полярности импульсного напряжения с линейным фронтом.
Вольт-секундная характеристика шарового измерительного
разрядника с шарами диаметром 250 мм, расстоянием
между шарами 60 мм при температуре 293 К (20 °С)
и атмосферном давлении 101,3 кПа
(1013 мбар или 760 мм рт. ст.).
Полярность напряжения отрицательная
Черт. 3
Время реакции испытуемой измерительной системы вычисляется по формуле:

, (4)
где

- время реакции измерительной системы при k-ом измерении, нс;

- разность между разрядным напряжением, определенным по
черт. 3 и средним значением измеренного разрядного напряжения с учетом введения поправок на атмосферные условия, кВ;

- скорость нарастания напряжения, кВ/нс.
Если измеренное разрядное напряжение выше отсчитанного по
черт. 3, то время реакции - отрицательное.
Определение времени реакции испытуемого устройства проводится следующим образом:
1) к шаровому измерительному разряднику с установленным расстоянием между шарами 60 мм, следует приложить три одинаковых импульса отрицательной полярности с фронтом, который возрастает практически линейно в конечной его части (выше 0,8 ожидаемого напряжения в момент разряда);
2) для каждой осциллограммы измеренного разрядного напряжения определяются его значение и скорость нарастания, а также определяются их средние арифметические значения.
Среднее значение измеренного разрядного напряжения приводится к нормальным атмосферным условиям и по
черт. 3 находится значение

. Время реакции вычисляется на основе этого значения

и скорости нарастания напряжения по
формуле (4).
Аналогично находятся значения времен реакций для двух других скоростей нарастания напряжения и за время реакции испытуемой системы Т принимается среднее арифметическое значение из трех полученных времен реакций.
Справочное
РЕКОМЕНДАЦИИ ПО ВЫПОЛНЕНИЮ ИЗМЕРИТЕЛЬНЫХ СИСТЕМ
С ДЕЛИТЕЛЯМИ НАПРЯЖЕНИЯ
1. Подводка к делителю, а также провод заземления, соединяющие делитель с испытуемым объектом, должны быть минимально короткими и иметь малую индуктивность.
2. Сторона низкого напряжения измерительной системы должна быть экранирована с целью ослабления помех, создаваемых испытательной схемой высокого напряжения.
3. Расположение элементов измерительной системы, испытательной схемы и испытуемого объекта должны быть выполнены таким образом, чтобы ограничить взаимное влияние.
4. Как правило, делитель должен присоединяться непосредственно к испытуемому объекту. Допускается присоединение делителя к проводу между генератором напряжения и объектом, если при измерении полных стандартных и срезанных на спаде грозовых импульсов выполняется условие

0,05 мкс, где L - индуктивность провода между делителем и испытуемым объектом в микрогенри, которая может быть принята равной 1 мкГн/м; С - емкость испытуемого объекта в микрофарадах. В этом случае провод между делителем напряжения и испытуемым объектом рассматривается как подводка к делителю.
Обязательное
РАЗРЯДНЫЕ НАПРЯЖЕНИЯ В КИЛОВОЛЬТАХ
ШАРОВЫХ ИЗМЕРИТЕЛЬНЫХ РАЗРЯДНИКОВ ПРИ ЗАЗЕМЛЕНИИ
ОДНОГО ИЗ ШАРОВ ДЛЯ НОРМАЛЬНЫХ АТМОСФЕРНЫХ УСЛОВИЙ -
ДАВЛЕНИЕ

= 101,3 кПа (1013 мбар или 760 мм рт. ст.),
ТЕМПЕРАТУРА ОКРУЖАЮЩЕГО ВОЗДУХА 293 К (20 °С)
Разрядные значения постоянного напряжения обеих полярностей,
амплитуды переменного напряжения частотой до 400 Гц,
а также разрядные значения напряжений полных грозовых
и более длинных импульсов отрицательной полярности
(50%-ные разрядные напряжения)
─────┬─────────────────────────────────────────────────────────────────────────────
Рас- │ Разрядное напряжение, кВ
стоя-├─────────────────────────────────────────────────────────────────────────────
ние │ Диаметр шаров, см
между├──────┬──────┬──────┬─────┬─────┬─────┬─────┬─────┬─────┬──────┬──────┬──────
шара-│ 2 │ 5 │ 6,25 │ 10 │12,5 │ 15 │ 25 │ 50 │ 75 │ 100 │ 150 │ 200
ми, │ │ │ │ │ │ │ │ │ │ │ │
см │ │ │ │ │ │ │ │ │ │ │ │
─────┼──────┼──────┼──────┼─────┼─────┼─────┼─────┼─────┼─────┼──────┼──────┼──────
0,05 │2,8 │ │ │ │ │ │ │ │ │ │ │
0,10 │4,7 │ │ │ │ │ │ │ │ │ │ │
0,15 │6,4 │ │ │ │ │ │ │ │ │ │ │
0,20 │8,0 │8,0 │ │ │ │ │ │ │ │ │ │
0,25 │9,6 │9,6 │ │ │ │ │ │ │ │ │ │
0,30 │11,2 │11,2 │ │ │ │ │ │ │ │ │ │
0,40 │14,4 │14,3 │14,2 │ │ │ │ │ │ │ │ │
0,50 │17,4 │17,4 │17,2 │16,8 │16,8 │16,8 │ │ │ │ │ │
0,60 │20,4 │20,4 │20,2 │19,9 │19,9 │19,9 │ │ │ │ │ │
0,70 │23,2 │23,4 │23,2 │23,0 │23,0 │23,0 │ │ │ │ │ │
0,80 │25,8 │26,3 │26,2 │26,0 │26,0 │26,0 │ │ │ │ │ │
0,90 │28,3 │29,2 │29,1 │28,9 │28,9 │28,9 │ │ │ │ │ │
1,0 │30,7 │32,0 │31,9 │31,7 │31,7 │31,7 │31,7 │ │ │ │ │
1,2 │(35,1)│37,6 │37,5 │37,4 │37,4 │37,4 │37,4 │ │ │ │ │
1,4 │(38,5)│42,9 │42,9 │42,9 │42,9 │42,9 │42,9 │ │ │ │ │
1,5 │(40,0)│45,5 │45,5 │45,5 │45,5 │45,5 │45,5 │ │ │ │ │
1,6 │ │48,1 │48,1 │48,1 │48,1 │48,1 │48,1 │ │ │ │ │
1,8 │ │53,0 │53,5 │53,5 │53,5 │53,5 │53,5 │ │ │ │ │
2,0 │ │57,5 │58,5 │59,0 │59,0 │59,0 │59,0 │59,0 │ │ │ │
2,2 │ │61,5 │63,0 │64,5 │64,5 │64,5 │64,5 │64,5 │64,5 │ │ │
2,4 │ │65,5 │67,5 │69,5 │70,0 │70,0 │70,0 │70,0 │70,0 │ │ │
2,6 │ │(69,0)│72,0 │74,5 │75,0 │75,0 │75,5 │75,5 │75,5 │ │ │
2,8 │ │(72,5)│76,0 │79,5 │80,0 │80,5 │81,0 │81,0 │81,0 │ │ │
3,0 │ │(75,5)│79,5 │84,0 │85,0 │85,0 │86,0 │86,0 │86,0 │86,0 │ │
3,5 │ │(82,5)│(87,5)│95,0 │97,0 │98,0 │99,0 │99,0 │99,0 │99,0 │ │
4,0 │ │(88,5)│(95,0)│105 │108 │110 │112 │112 │112 │112 │ │
4,5 │ │ │(101) │115 │119 │122 │125 │125 │125 │125 │ │
5,0 │ │ │(107) │123 │129 │133 │137 │138 │138 │138 │138 │
5,5 │ │ │ │(131)│138 │143 │149 │151 │151 │151 │151 │
6,0 │ │ │ │(138)│146 │152 │161 │164 │164 │164 │164 │
6,5 │ │ │ │(144)│(154)│161 │173 │177 │177 │177 │177 │
7,0 │ │ │ │(150)│(161)│169 │184 │189 │190 │190 │190 │
7,5 │ │ │ │(155)│(168)│177 │195 │202 │203 │203 │203 │
8,0 │ │ │ │ │(174)│(185)│206 │214 │215 │215 │215 │
9,0 │ │ │ │ │(185)│(198)│226 │239 │240 │241 │241 │
10 │ │ │ │ │(195)│(209)│244 │263 │265 │266 │266 │266
11 │ │ │ │ │ │(219)│261 │286 │290 │292 │292 │292
12 │ │ │ │ │ │(229)│275 │309 │315 │318 │318 │318
13 │ │ │ │ │ │ │(289)│331 │339 │342 │342 │342
14 │ │ │ │ │ │ │(302)│353 │363 │366 │366 │366
15 │ │ │ │ │ │ │(314)│373 │387 │390 │390 │390
16 │ │ │ │ │ │ │(326)│392 │410 │414 │414 │414
17 │ │ │ │ │ │ │(337)│411 │432 │438 │438 │438
18 │ │ │ │ │ │ │(347)│429 │453 │462 │462 │462
19 │ │ │ │ │ │ │(357)│445 │473 │486 │486 │486
20 │ │ │ │ │ │ │(366)│460 │492 │510 │510 │510
22 │ │ │ │ │ │ │ │489 │530 │555 │560 │560
24 │ │ │ │ │ │ │ │515 │565 │595 │610 │610
26 │ │ │ │ │ │ │ │(540)│600 │635 │655 │660
28 │ │ │ │ │ │ │ │(565)│635 │675 │700 │705
30 │ │ │ │ │ │ │ │(585)│665 │710 │745 │750
32 │ │ │ │ │ │ │ │(605)│695 │745 │790 │795
34 │ │ │ │ │ │ │ │(625)│725 │780 │835 │840
36 │ │ │ │ │ │ │ │(640)│750 │815 │875 │885
38 │ │ │ │ │ │ │ │(655)│(775)│845 │915 │930
40 │ │ │ │ │ │ │ │(670)│(800)│875 │955 │975
45 │ │ │ │ │ │ │ │ │(850)│945 │1050 │1080
50 │ │ │ │ │ │ │ │ │(895)│1010 │1130 │1180
55 │ │ │ │ │ │ │ │ │(935)│(1060)│1210 │1260
60 │ │ │ │ │ │ │ │ │(970)│(1110)│1280 │1340
65 │ │ │ │ │ │ │ │ │ │(1160)│1340 │1410
70 │ │ │ │ │ │ │ │ │ │(1200)│1390 │1480
75 │ │ │ │ │ │ │ │ │ │(1230)│1440 │1540
80 │ │ │ │ │ │ │ │ │ │ │(1490)│1600
85 │ │ │ │ │ │ │ │ │ │ │(1540)│1660
90 │ │ │ │ │ │ │ │ │ │ │(1580)│1720
100 │ │ │ │ │ │ │ │ │ │ │(1660)│1840
110 │ │ │ │ │ │ │ │ │ │ │(1730)│(1940)
120 │ │ │ │ │ │ │ │ │ │ │(1800)│(2020)
130 │ │ │ │ │ │ │ │ │ │ │ │(2100)
140 │ │ │ │ │ │ │ │ │ │ │ │(2180)
150 │ │ │ │ │ │ │ │ │ │ │ │(2250)
Примечания. 1. Значения в скобках даны с меньшей точностью.
2. При измерении шаровыми измерительными разрядниками постоянного напряжения обеих полярностей погрешность данных, приведенных в
табл. 1, не превышает 5% для расстояний между шарами до 0,4D.
Разрядные значения напряжений полных грозовых
и более длинных импульсов положительной полярности
(50%-ное разрядное напряжение)
─────┬──────────────────────────────────────────────────────────────────────────────
Рас- │ Разрядное напряжение, кВ
стоя-├──────────────────────────────────────────────────────────────────────────────
ние │ Диаметр шаров, см
между├──────┬──────┬──────┬─────┬─────┬─────┬─────┬─────┬──────┬──────┬──────┬──────
шара-│ 2 │ 5 │ 6,25 │ 10 │12,5 │ 15 │ 25 │ 50 │ 75 │ 100 │ 150 │ 200
ми, │ │ │ │ │ │ │ │ │ │ │ │
см │ │ │ │ │ │ │ │ │ │ │ │
─────┼──────┼──────┼──────┼─────┼─────┼─────┼─────┼─────┼──────┼──────┼──────┼──────
0,30 │11,2 │11,2 │ │ │ │ │ │ │ │ │ │
0,40 │14,4 │14,3 │14,2 │ │ │ │ │ │ │ │ │
0,50 │17,4 │17,4 │17,2 │16,8 │16,8 │16,8 │ │ │ │ │ │
0,60 │20,4 │20,4 │20,2 │19,9 │19,9 │19,9 │ │ │ │ │ │
0,70 │23,2 │23,4 │23,2 │23,0 │23,0 │23,0 │ │ │ │ │ │
0,80 │25,8 │26,3 │26,2 │26,0 │26,0 │26,0 │ │ │ │ │ │
0,90 │28,3 │29,2 │29,1 │28,9 │28,9 │28,9 │ │ │ │ │ │
1,0 │30,7 │32,0 │31,9 │31,7 │31,7 │31,7 │31,7 │ │ │ │ │
1,2 │(35,1)│37,8 │37,6 │37,4 │37,4 │37,4 │37,4 │ │ │ │ │
1,4 │(38,5)│43,3 │43,2 │42,9 │42,9 │42,9 │42,9 │ │ │ │ │
1,5 │(40,0)│46,2 │45,9 │45,5 │45,5 │45,5 │45,5 │ │ │ │ │
1,6 │ │49,0 │48,6 │48,1 │48,1 │48,1 │48,1 │ │ │ │ │
1,8 │ │54,5 │54,0 │53,5 │53,5 │53,5 │53,5 │ │ │ │ │
2,0 │ │59,5 │59,0 │59,0 │59,0 │59,0 │59,0 │59,0 │59,0 │ │ │
2,2 │ │64,0 │64,0 │64,5 │64,5 │64,5 │64,5 │64,5 │64,5 │ │ │
2,4 │ │69,0 │69,0 │70,0 │70,0 │70,0 │70,0 │70,0 │70,0 │ │ │
2,6 │ │(73,0)│(73,5)│75,5 │75,5 │75,5 │75,5 │75,5 │75,5 │ │ │
2,8 │ │(77,0)│78,0 │80,5 │80,5 │80,5 │81,0 │81,0 │81,0 │ │ │
3,0 │ │(81,0)│82,0 │85,5 │85,5 │85,5 │86,0 │86,0 │86,0 │86,0 │ │
3,5 │ │(90,0)│(91,5)│97,5 │98,0 │98,0 │99,0 │99,0 │99,0 │99,0 │ │
4,0 │ │(97,5)│(101) │109 │110 │111 │112 │112 │112 │112 │ │
4,5 │ │ │(108) │120 │122 │124 │125 │125 │125 │125 │ │
5,0 │ │ │(115) │130 │134 │136 │138 │138 │138 │138 │138 │
5,5 │ │ │ │(139)│145 │147 │151 │151 │151 │151 │151 │
6,0 │ │ │ │(148)│155 │158 │163 │164 │164 │164 │164 │
6,5 │ │ │ │(156)│(164)│168 │175 │177 │177 │177 │177 │
7,0 │ │ │ │(163)│(173)│178 │187 │189 │190 │190 │190 │
7,5 │ │ │ │(170)│(181)│187 │199 │202 │203 │203 │203 │
8,0 │ │ │ │ │(189)│(196)│211 │214 │215 │215 │215 │
9,0 │ │ │ │ │(203)│(212)│233 │239 │240 │241 │241 │
10 │ │ │ │ │(215)│(226)│254 │263 │265 │266 │266 │266
11 │ │ │ │ │ │(238)│273 │287 │290 │292 │292 │292
12 │ │ │ │ │ │(249)│291 │311 │315 │318 │318 │318
13 │ │ │ │ │ │ │(308)│334 │339 │342 │342 │342
14 │ │ │ │ │ │ │(323)│357 │363 │366 │366 │366
15 │ │ │ │ │ │ │(337)│380 │387 │390 │390 │390
16 │ │ │ │ │ │ │(350)│402 │411 │414 │414 │414
17 │ │ │ │ │ │ │(362)│422 │435 │438 │438 │438
18 │ │ │ │ │ │ │(374)│442 │458 │462 │462 │462
19 │ │ │ │ │ │ │(385)│461 │482 │486 │486 │486
20 │ │ │ │ │ │ │(395)│480 │505 │510 │510 │510
22 │ │ │ │ │ │ │ │510 │545 │555 │560 │560
24 │ │ │ │ │ │ │ │540 │585 │600 │610 │610
26 │ │ │ │ │ │ │ │570 │620 │645 │655 │660
28 │ │ │ │ │ │ │ │(595)│660 │685 │700 │705
30 │ │ │ │ │ │ │ │(620)│695 │725 │745 │750
32 │ │ │ │ │ │ │ │(640)│725 │760 │790 │795
34 │ │ │ │ │ │ │ │(660)│755 │795 │835 │840
36 │ │ │ │ │ │ │ │(680)│785 │830 │880 │885
38 │ │ │ │ │ │ │ │(700)│(810) │865 │925 │935
40 │ │ │ │ │ │ │ │(715)│(835) │900 │965 │980
45 │ │ │ │ │ │ │ │ │(890) │980 │1060 │1090
50 │ │ │ │ │ │ │ │ │(940) │1040 │1150 │1190
55 │ │ │ │ │ │ │ │ │(985) │(1100)│1240 │1290
60 │ │ │ │ │ │ │ │ │(1020)│(1150)│1310 │1380
65 │ │ │ │ │ │ │ │ │ │(1200)│1380 │1470
70 │ │ │ │ │ │ │ │ │ │(1240)│1430 │1550
75 │ │ │ │ │ │ │ │ │ │(1280)│1480 │1620
80 │ │ │ │ │ │ │ │ │ │ │(1530)│1690
85 │ │ │ │ │ │ │ │ │ │ │(1580)│1760
90 │ │ │ │ │ │ │ │ │ │ │(1630)│1820
100 │ │ │ │ │ │ │ │ │ │ │(1720)│1930
110 │ │ │ │ │ │ │ │ │ │ │(1790)│(2030)
120 │ │ │ │ │ │ │ │ │ │ │(1860)│(2120)
130 │ │ │ │ │ │ │ │ │ │ │ │(2200)
140 │ │ │ │ │ │ │ │ │ │ │ │(2280)
150 │ │ │ │ │ │ │ │ │ │ │ │(2350)
Примечание. Значения в скобках даны с меньшей точностью.
Обязательное
ТРЕБОВАНИЯ, ПРЕДЪЯВЛЯЕМЫЕ К ШАРОВЫМ
ИЗМЕРИТЕЛЬНЫМ РАЗРЯДНИКАМ
1. Шары измерительных разрядников должны изготовляться из меди или латуни. Допускается изготовление шаров, у которых только часть поверхности, в местах возникновения разрядов выполнена из меди или латуни, а для шаровых разрядников диаметром до 50 мм допускается использование шаров из подшипниковой стали.
2. Отклонение диаметра каждого шара от номинального размера не должно быть более 2%.
3. Поверхность шаров в области разрядов должна быть гладкой и сферической. Эта поверхность определяется окружностью с центром в точке Р и радиусом, равным 0,3D (
черт. 1 -
2 разд. 5).
Сферичность поверхности проверяется с помощью сферометра, расстояние между ножками которого должно быть в пределах (0,125 - 0,25)D.
Сферометр измеряет расстояние h его центральной точки от плоскости, проходящей через три ножки прибора, которые образуют равносторонние треугольники со стороной

.
Для сферической поверхности с радиусом D/2 это расстояние равно:

(1)
или с достаточной точностью:

. (2)
(в ред.
Изменения N 1, утв. Постановлением Госстандарта СССР от 21.09.1987 N 3582)
Различие между измеренным и вычисленным по формулам (1) или (2) значениями h не должно превышать 0,1%, если диаметр шара менее или равен 100 см, и 0,2%, если диаметр шара более 100 см.
При отсутствии сферометра для проверки сферичности поверхности шаров можно применить предельные минимальный и максимальный калибры, изготовленные в соответствии с чертежом из тонколистовой стали или алюминиевого сплава.
Калибры должны быть изготовлены так, чтобы поверхности выступов А, В и С минимального калибра располагались на окружности диаметром

, а максимального калибра - на окружности

.
Размеры калибров должны соответствовать значениям, приведенным в табл. 1.
Таблица 1
───────────────────┬──────────────┬────────────┬──────────────────
Предельный калибр │ D <= 100, см │D > 100, см │Расстояние между
│ │ │ выступами А и С
───────────────────┼──────────────┼────────────┼──────────────────
Минимальный (D ) │ 0,941D │ 0,891D │ 0,25D
1 │ │ │
Максимальный (D ) │ 1,064D │ 1,138D │ 0,25D
2 │ │ │
При контроле используются три измерительных выступа - А, В, С.
Минимальный калибр измерительными выступами А и С, а максимальный калибр выступом В накладываются поочередно на поверхность шара и перемещением выступа В калибров по поверхности проверяемого сегмента диаметром 0,2D определяется сферичность шара в области разрядов. Допускаемое отклонение от номинального значения оценивается по отсутствию просвета: для минимального калибра - между выступом В и поверхностью шара, а для максимального калибра - между выступами А и С и поверхностью шара.
При наличии просвета между поверхностью шара и выступом В для минимального калибра и вместе с тем при наличии просветов между выступами А и С и поверхностью шара для максимального калибра (см. чертеж) считается, что проверяемая поверхность выполнена с меньшими отклонениями от сферичности, чем допускается согласно
п. 3 обязательного Приложения 7.
Предельные калибры
Минимальный
Максимальный
4. Стержни шарового измерительного разрядника не должны иметь острых краев и углов, диаметр стержней не должен превышать 0,2D.
Если на конце стержня установлен экран, то диаметр экрана не должен превышать 0,5D. Расстояние экранов от точки касания шаров не должно быть меньше 2D.
5. Стержни шаров должны быть расположены на одной прямой.
6. Шаровые измерительные разрядники должны быть снабжены указателем разрядного промежутка s. Цена деления шкалы указателя должна соответствовать значениям, приведенным в табл. 2.
Таблица 2
─────────────────┬─────────┬─────────────┬────────────┬─────────────
Диаметр шаров, см│от 2 до 5│от 6,25 до 25│от 50 до 100│от 150 до 200
─────────────────┼─────────┼─────────────┼────────────┼─────────────
Цена деления, мм │ 0,01 │ 0,1 │ 0,5 │ 1,0
Проверка шкалы указателя выполняется непосредственно измерением длины промежутка с помощью шаблонов или концевых мер длины для трех расстояний 20, 50 и 80% от наибольшего расстояния между шарами, указанного в
табл. 1 -
2 обязательного Приложения 6.
Допускается за наибольшее принимать расстояние между шарами, для которого в
табл. 1 и
2 обязательного Приложения 6 приведено наибольшее значение напряжения, не заключенное в скобки.
Разность между отсчетом по указателю и непосредственно измеренным значением длины разрядного промежутка должна быть не более цены деления указателя.
7. Шаровые измерительные разрядники с двигательным приводом должны иметь дистанционный указатель расстояний между шарами (разрядного промежутка).
Скорость при уменьшении расстояния между шарами, применяемыми для непосредственного измерения напряжения, должна быть для шаров диаметром до 100 см не более 1 мм/с, а для шаров диаметром 100 см и выше - не более 2 мм/с. При раздвижении шаров скорость не нормируется.