Главная // Актуальные документы // ГОСТ (Государственный стандарт)
СПРАВКА
Источник публикации
М.: Стандартинформ, 2006
Примечание к документу
С 01.07.2003 года до вступления в силу технических регламентов акты федеральных органов исполнительной власти в сфере технического регулирования носят рекомендательный характер и подлежат обязательному исполнению только в части, соответствующей целям, указанным в п. 1 ст. 46 Федерального закона от 27.12.2002 N 184-ФЗ.

Ограничение срока действия снято Постановлением Госстандарта СССР от 29.03.1991 N 356.

Документ введен в действие с 01.01.1979.

Взамен ГОСТ 5346-50.
Название документа
"ГОСТ 5346-78. Межгосударственный стандарт. Смазки пластичные. Методы определения пенетрации пенетрометром с конусом"
(введен Постановлением Госстандарта СССР от 13.03.1978 N 655)
(ред. от 01.01.1981)

"ГОСТ 5346-78. Межгосударственный стандарт. Смазки пластичные. Методы определения пенетрации пенетрометром с конусом"
(введен Постановлением Госстандарта СССР от 13.03.1978 N 655)
(ред. от 01.01.1981)


Содержание


Введен Постановлением
Государственного комитета стандартов
Совета Министров СССР
от 13 марта 1978 г. N 655
МЕЖГОСУДАРСТВЕННЫЙ СТАНДАРТ
СМАЗКИ ПЛАСТИЧНЫЕ
МЕТОДЫ ОПРЕДЕЛЕНИЯ ПЕНЕТРАЦИИ ПЕНЕТРОМЕТРОМ С КОНУСОМ
Plastic lubricants. Methods for determination of penetration
with the conical penetrometer
ГОСТ 5346-78
Список изменяющих документов
(в ред. Изменения N 1, утв. в январе 1981 г.)
Группа Б39
МКС 75.100
Взамен
ГОСТ 5346-50
Постановлением Государственного комитета стандартов Совета Министров СССР от 13 марта 1978 г. N 655 дата введения установлена
1 января 1979 года
Ограничение срока действия снято Постановлением Госстандарта СССР от 29.03.91 N 356
Настоящий стандарт устанавливает три метода определения пенетрации пластичных смазок: А, Б и В.
Пенетрацию определяют у ненарушенной, неперемешанной, перемешанной, продолжительно перемешанной и брикетированной пластичных смазок.
Методом А определяют пенетрацию до 400 единиц, методом Б - до 475 единиц. Методом В определяют пенетрацию до 400 единиц при отсутствии в нормативно-технической документации на смазки ссылок на другие методы.
Сущность метода заключается в определении глубины погружения в испытуемую смазку стандартного конуса за 5 с при 25 °C при общей нагрузке 150 г, выражаемой целым числом десятых долей миллиметра по шкале пенетрометра.
Стандарт полностью соответствует СТ СЭВ 755-77.
(Измененная редакция, Изм. N 1).
Метод А
1а. АППАРАТУРА И МАТЕРИАЛЫ
1а.1. Прибор по ГОСТ 1440-78 для определения пенетрации от 0 до 400 единиц. Узел конуса или стол пенетрометра должны регулироваться так, чтобы при показаниях индикатора "0" острие конуса располагалось точно на поверхности пробы. При свободном падении конус должен опускаться без особого трения не менее чем на 40 мм. Вершина конуса не должна касаться дна стакана. Для обеспечения оси конуса в вертикальном положении прибор должен иметь винты для горизонтальной регулировки. Контроль положения оси осуществляется ватерпасом.
Общая масса конуса должна составлять (102,5 +/- 0,5) г, а масса плунжера (47,5 +/- 0,05) г. Для достижения заданной массы может быть изменен материал, содержащийся внутри конуса, при условии, чтобы общий вид и распределение массы не изменились.
Смеситель для перемешивания смазок.
Смеситель можно конструировать как для ручного, так и для механического перемешивания. Скорость поршня должна быть 60 +/- 10 двойных тактов в минуту при минимальной длине хода перфорированной пластинки 67 мм. Через выпускной кран вводится термометр, калиброванный при температуре 25 °C.
Нож с острым прямым, жестко закрепленным лезвием для разрезания брикетированной смазки (черт. 1).
Нож для разрезания брикетированной смазки
1 - трубка; 2 - лезвие; 3 - фанерная прокладка;
4 - кольцевое основание
Черт. 1
Нож изготовляется из закаленной стали для разрезания брикетированной смазки, с острым прямым жестко закрепленным лезвием.
Обе поверхности и нижнюю кромку лезвия шлифуют до 1,2 (3/64). Поверхность фанерной прокладки должна располагаться перпендикулярно лезвию.
Баня водяная с температурой (25 +/- 0,5) °C, обеспечивающая необходимую температуру в смесителе. При измерении пенетрации ненарушенной и неперемешанной смазок должно быть устройство для защиты поверхности смазки от воды. Следует также применять крышку для поддержания над образцом или пробой температуры воздуха 25 °C. Для определения пенетрации брикетированной смазки используют воздушную баню с температурой (25 +/- 0,5) °C. Этим требованиям отвечает герметичный сосуд, опущенный в водяную баню.
Вместо водяной бани допускается применять воздушную баню или проводить испытания в комнате с постоянной температурой.
Шпатель коррозионно-стойкий с лезвием шириной 32 мм и длиной не менее 150 мм.
Секундомер с погрешностью измерения не более 0,1 с.
1а.2. Определение пенетрации ненарушенной смазки
1а.2.1. Подготовка к испытанию
Испытуемую смазку оставляют в производственной таре, в которую была упакована смазка сразу после изготовления. Ровная поверхность смазки должна быть на уровне верхнего края тары.
Допускается проводить испытание в производственной таре, диаметр которой больше диаметра стакана смесителя.
Поверхность смазки при этом может быть ниже верхнего ее края.
Смазку погружают на 1 ч в закрытую водяную баню так, чтобы верхний край производственной тары находился на расстоянии 25 мм от уровня воды, и доводят температуру бани до (25 +/- 0,5) °C. Следует избегать контакта воды с поверхностью смазки. Через 1 ч тару со смазкой вынимают из бани и удаляют с поверхности тары воду.
Примечания:
1. Если температура смазки ниже или выше 25 °C более чем на 8 °C или если используется другой способ доведения смазки до температуры 25 °C, то смазку выдерживают в бане достаточно продолжительное время для того, чтобы температура достигла (25 +/- 0,5) °C. Если масса смазки в производственной таре превышает 0,5 кг, ее также выдерживают дополнительное время в бане для того, чтобы ее температура достигла (25 +/- 0,5) °C. Испытания продолжают, если температура в любой части испытуемой смазки составляет (25 +/- 0,5) °C.
2. Допускается выравнивать поверхность смазки удалением верхнего слоя приблизительно на 3 мм ниже самой низкой точки поверхности смазки, не нарушая оставшегося слоя смазки.
Перед проведением каждого испытания конус и ось пенетрометра тщательно очищают, при этом ось должна быть поднята. Не допускается попадание смазки или масла на ось пенетрометра, так как это может привести к торможению оси при проведении испытания. Конус не следует вращать, так как это приводит к изнашиванию механизма выключателя.
1а.2.2. Проведение испытания
Производственную тару со смазкой помещают на столе пенетрометра таким образом, чтобы она была устойчива. Устанавливают конус в положение "0" и регулируют аппарат. Если пенетрация смазки более 200 единиц, острие конуса должно касаться поверхности испытуемой смазки в центре тары (смазку используют только для одного определения). Если пенетрация 200 или менее единиц, проводят три определения в трех точках, расположенных на радиусах под углом 120 °C. Точки должны находиться в середине каждого радиуса. При определении конус не должен касаться стенок сосуда или поврежденной предыдущим определением поверхности смазки (наблюдение за тенью острия конуса помогает скорректировать установку). Быстро опускают ось конуса и дают ей возможность свободно падать в течение (5,0 +/- 0,1) с. Механизм выключателя не должен тормозить движение оси. После этого ось индикатора опускают, мягко прижимая, пока она не остановится на оси конуса, и записывают показание индикатора.
1а.2.3. Обработка результатов
За результат испытания принимают среднеарифметическое значение результатов трех определений (из трех производственных тар - при пенетрации более 200 единиц, из одной тары - при пенетрации 200 или менее единиц), записывают с точностью до одной единицы, соответствующей 0,1 мм, и указывают метод определения.
1а.3. Определение пенетрации неперемешанной смазки
1а.3.1. Подготовка к испытанию
Масса смазки, взятой для испытания, должна быть не менее 0,5 кг.
Если пенетрация превышает 200 единиц, масса смазки должна быть 1,5 кг.
Собранный смеситель или металлический стакан, имеющий такие же внутренние размеры, как и стандартный смеситель, а также смазку соответствующей массы в металлической таре помещают в водяную баню, доводят температуру смазки до (25 +/- 0,5) °C. Часть смазки переносят из тары в стакан смесителя или в металлический стакан. Смазку переносят одной порцией, чтобы смазка подвергалась по возможности меньшему механическому воздействию. Стакан встряхивают для удаления пузырьков воздуха. Смазку выше края стакана снимают шпателем, под углом 45° к направлению движения и немедленно определяют пенетрацию.
Во время измерений не следует выравнивать и сглаживать поверхность смазки.
1а.3.2. Проведение испытания - по пп. 1а.2.2. и 1а.2.3.
1а.3.3. За результат испытания принимают среднеарифметическое значение с точностью до единицы, соответствующей 0,1 мм, и указывают метод определения.
1а.4. Определение пенетрации перемешанной смазки
1а.4.1. Подготовка к испытанию
Отбирают объединенную пробу смазки массой не менее 0,5 кг. Уровень смазки в центре стакана смесителя должен превышать край стакана приблизительно на 13 мм.
С помощью шпателя удаляют пузырьки воздуха. Периодически встряхивают содержимое стакана. Собирают смеситель и при открытом выпускном кране прижимают поршень ко дну. Через кран вводят термометр, чтобы его конец находился в центре смазки. Помещают собранный смеситель в водяную баню с температурой 25 °C и доводят температуру смесителя и его содержимое до (25 +/- 0,5) °C. Вынимают смеситель из бани, удаляют остатки воды с поверхности, вынимают термометр из аппарата и закрывают выпускной кран. В течение 60 с перемешивают смазку плунжером со скоростью 60 +/- 10 двойных тактов. Возвращают плунжер в верхнее положение, открывают клапан, снимают крышку с плунжером. Часть смазки, оставшейся на поршне, возвращают в смеситель. Испытания проводят немедленно.
Если требуется погрузить смеситель в водяную баню ниже уровня воды в ней, то необходимо обеспечить герметичность смесителя.
Структура перемешанной смазки должна быть однородной. Для заполнения пространства, оставленного поршнем, стакан резко встряхивают, ударяя его о подставку или пол. Большую часть смазки вынимают шпателем и возвращают ее в стакан таким образом, чтобы смазка со дна оказалась на поверхности и наоборот. Если поверхность смазки все же будет неоднородной, операцию следует повторять, но не очень длительно.
Снимают избыток смазки, выходящей за край стакана, шпателем, наклоненным к направлению движения под углом 45°, и эту часть смазки в стакан не возвращают.
Примечания:
1. Стакан встряхивают так, чтобы удалить пузырьки воздуха без выплескивания смазки. При этом должно быть минимальное количество движений, чтобы количество двойных тактов поршня не превышало 60.
2. При испытании мягких смазок следует сохранять смазку, снятую при очистке стакана, для последующих испытаний. Наружная поверхность у края стакана должна быть чистой, чтобы смазка, выдавливаемая конусом пенетрометра за пределы стакана, могла быть возвращена обратно в аппарат для следующего опыта.
1а.4.2. Проведение испытания - по пп. 1а.2.2 и 1а.2.3.
Испытание проводят на одной и той же пробе три раза, возвращая выдавленную часть смазки в стакан.
1а.4.3. Обработка результатов
Пенетрацию перемешанной смазки определяют как среднеарифметическое результатов трех испытаний, с точностью до одной единицы, соответствующей 0,1 мм, и указывают метод определения.
1а.5. Определение пенетрации продолжительно перемешанной смазки
1а.5.1. Подготовка к испытанию
Температура в помещении для испытания должна быть от 15 до 30 °C.
Температура смазки должна быть от 15 до 30 °C.
Чистый смеситель заполняют и соединяют с остальными его частями, как указано в п. 1а.4.1. Объединенную пробу перемешивают при определенном количестве двойных тактов поршня.
1а.5.2. Проведение испытания
После окончания перемешивания смеситель помещают на 1,5 ч в водяную или воздушную баню с температурой (25 +/- 0,5) °C. Затем вынимают смеситель из бани и перемешивают смазку 60 +/- 10 двойными тактами поршня. Подготовку смазки к испытанию и определение пенетрации проводят - по пп. 1а.4.1 и 1а.4.2.
1а.5.3. Обработка результатов
За результат испытания принимают среднеарифметическое результатов трех определений, при этом указывают количество двойных тактов поршня и метод определения.
1а.6. Определение пенетрации брикетированной смазки
1а.6.1. Подготовка к испытанию
Отбирают образец смазки соответствующих размеров. Смазка должна быть достаточно твердой и сохранять свою форму.
При комнатной температуре ножом для резания смазки (черт. 1) вырезают для испытания из образца кубик с размером ребра 50 мм. Держа этот кубик таким образом, чтобы незаостренный конец ножа был направлен к нему, отрезают от каждой из трех граней, прилегающих к одному и тому же углу, слой толщиной 1,5 мм.
Угол, образованный этими тремя гранями, может быть срезан, что позволит не ошибиться в выборе поверхности, подготовленной для испытания. К этим поверхностям не следует прикасаться.
Температуру образца доводят до (25 +/- 0,5) °C, помещая его не менее чем на 1 ч в воздушную баню с температурой 25 °C.
Необходимо испытать три поверхности образца, чтобы уменьшить влияние направления волокон смазки на окончательный результат. У неволокнистых смазок и смазок с гладкой текстурой можно испытывать только одну поверхность.
1а.6.2. Проведение испытания
Испытуемый образец помещают на стол пенетрометра одной из подготовленных поверхностей вверх и зажимают по углам. Устанавливают конус в положение "0" и регулируют аппарат таким образом, чтобы вершина конуса слегка касалась центра поверхности испытуемого образца. Пенетрацию определяют как указано в пп. 1а.2.1 и 1а.2.2. Проводят три определения на поверхности образца подготовленной для определения пенетрации.
Испытания проводят на расстоянии не менее 6 мм от края образца, в точках, находящихся на возможно большем расстоянии одна от другой, чтобы избежать соприкосновения с уже нарушенной порцией смазки, воздушным пузырьком или другим дефектом на поверхности смазки. Если результат хотя бы одного определения отличается от других результатов более чем на три единицы, проводят дополнительные определения до тех пор, пока значения не будут отличаться более чем на три единицы. Вычисляют среднеарифметическое значение пенетрации для испытуемой поверхности.
Повторяют определение на каждой из обработанных поверхностей образца.
1а.6.3. Обработка результатов
За результат испытания пенетрации брикетированной смазки принимают среднеарифметическое средних значений, полученных для каждой поверхности, с точностью до одной единицы, соответствующей 0,1 мм, и указывают метод определения.
1а.7. Точность определения (при доверительной вероятности 95%)
1а.7.1. Сходимость
Результаты двух испытаний, полученные на одном и том же аппарате одним и тем же лаборантом, следует считать удовлетворительными, если расхождения между ними не превышают указанных в табл. 1.
1а.7.2. Воспроизводимость
Результаты испытаний, полученные в разных лабораториях, следует считать удовлетворительными, если расхождения между ними не превышают указанных в табл. 1.
Таблица 1
Вид смазки
Диапазон пенетрации
Сходимость
Воспроизводимость
0,1 мм
Ненарушенная
От 85 до 400
-
-
Неперемешанная
" 85 " 400
6
18
Перемешанная
" 130 " 400
5
14
Продолжительно перемешанная
" 130 " 400
7 <*>
23 <*>
Брикетированная
" 85
3
7
--------------------------------
<*> Определена при 60 000 двойных тактов поршня при температуре воздуха от 21 °C до 29 °C.
Разд. 1а. (Введен дополнительно, Изм. N 1).
Метод Б
1б. АППАРАТУРА И МАТЕРИАЛЫ
1б.1. Прибор по ГОСТ 1440-78 для определения пенетрации от 0 до 630 единиц. Конус или стол пенетрометра следует регулировать так, чтобы при показании индикатора "С" вершина конуса соприкасалась с горизонтальной поверхностью. При свободном падении конус должен опускаться без значительного трения не менее чем на 62 мм. Вершина конуса не должна касаться дна стакана. Прибор должен иметь винты для горизонтальной установки и ватерпас для обозначения оси конуса в вертикальном положении.
Оси пенетрометра и рейки, находящейся в зацеплении с измерительным диском, должны быть соответствующих размеров для определения пенетрации смазки до 620 единиц.
Конус сплошной, состоящий из конической части, изготовленной из магния или любого другого подходящего материала со съемной крышкой из закаленной стали. Общая масса конуса должна быть (102,5 +/- 0,5) г, а масса оси втулки задерживающего кольца должна быть (47,5 +/- 0,05) г.
Ось должна представлять собой твердый, гладкий стержень со стопором наверху и соответствующим устройством для нижнего соединения с конусом. Внутреннее устройство может быть изменено для достижения заданной массы при условии, что общий вид и распределение массы не будут изменяться. Наружная поверхность должна быть гладко отполирована.
Смеситель, перепускное кольцо которого используется для возвращения выплеснувшейся смазки в стакан смесителя. При измерении пенетрации перепускное кольцо следует помещать на 13 мм и более ниже края стакана.
1б.2. Определение пенетрации ненарушенной смазки
Испытание проводят по методу, указанному в п. 1а.2.
Если пенетрация образца более 400 единиц, то расстояние между центром поверхности производственной тары и острием корпуса должно быть не более 0,25 мм.
1б.3. Определение пенетрации неперемешанной смазки
Испытание проводят по методу, указанному в п. 1а.3, выполняя дополнительное требование, приведенное в п. 1б.2 для образцов с пенетрацией более 400 единиц.
1б.4. Определение пенетрации перемешанной смазки
Испытание проводят по методу, указанному в п. 1а.4.
Если пенетрация смазки более 400 единиц, то стакан центрируют, применяя центрирующее устройство. Допускается использовать контрольную пластинку.
1б.5. Определение пенетрации продолжительно перемешанной смазки
Испытание проводят по методу, указанному в п. 1а.5, выполняя дополнительные требования, приведенные в п. 1б.4 для смазки с пенетрацией более 400 единиц.
1б.6. Определение пенетрации брикетированной смазки
Испытание проводят по методу, указанному в п. 1а.6.
1б.7. Точность определения
1б.7.1. Сходимость
Результаты испытаний, полученные на одном и том же аппарате одним и тем же лаборантом, следует считать удовлетворительными, если расхождения между ними не превышают указанных в табл. 2.
1б.7.2. Воспроизводимость
Результаты испытаний, полученные в разных лабораториях, следует считать удовлетворительными, если расхождения между ними не превышают указанных в табл. 2.
Таблица 2
Вид смазки
Диапазон пенетрации
Сходимость
Воспроизводимость
0,1 мм
Ненарушенная
От 85 до 475
-
-
Неперемешанная
" 85 " 475
6
18
Перемешанная
" 130 " 475
5
14
Продолжительно перемешанная
" 130 " 475
7 <*>
23 <*>
Брикетированная
" 85
3
7
--------------------------------
<*> Определена при 60 000 двойных тактов поршня при температуре воздуха от 21 °C до 29 °C.
Разд. 1б. (Введен дополнительно, Изм. N 1).
Метод В
1. АППАРАТУРА И МАТЕРИАЛЫ
1.1. Прибор по ГОСТ 1440-78 для определения пенетрации от 0 до 400 единиц или пенетрометр типа Ричардсона с конусом, общая масса которого с плунжером должна быть (150 +/- 0,25) г.
Конус, изготовленный из коррозионно-стойкой латуни или стали, со съемным наконечником из твердой стали. Подвижная часть представляет собой жесткую ось со стопором в верхней части и устройством для закрепления конуса в нижней части. Внешняя поверхность должна быть тщательно отполирована.
Смеситель к пенетрометру ручного или автоматического действия. В последнем случае конструкция должна быть рассчитана на 60 +/- 10 тактов в 1 мин.
Водяная баня с крышкой, обеспечивающая проведение испытания при температуре (25 +/- 0,5) °C. Размеры бани произвольные в зависимости от количества определений и количества мешалок. Форма бани прямоугольная. Температуру регулируют термостатом типа ТС-15 или вручную. Допускается использовать вместо водяной бани воздушную или проводить испытания в специальном помещении, в котором поддерживается постоянная температура.
Коробка металлическая с крышкой, с квадратным основанием внутренней длиной стороны 100 + 5 мм и высотой 70 + 5 мм.
Нож с прямым и острым лезвием для твердых и брикетированных смазок.
Шпатель из коррозионно-стойкого материала с квадратным краем и твердым резцом.
Термометр ртутный стеклянный по ГОСТ 400-80, ГОСТ 28498-90 или любой другой лабораторный термометр с интервалом измеряемых температур от 0 до 100 °C и ценой деления шкалы 1 °C.
Секундомер по НД или аналогичный с погрешностью измерения не более 0,1 с.
Вата или обтирочный материал.
Разд. 1. (Измененная редакция, Изм. N 1).
2. ПОДГОТОВКА К ИСПЫТАНИЮ
2.1. Пенетрацию определяют после механической обработки (перемешивания) пластичных смазок или без перемешивания.
2.2. Перед приготовлением проб смазку следует выдержать при комнатной температуре не менее 10 ч.
2.3. Для смазок с пенетрацией менее 200 готовят одну объединенную пробу, с пенетрацией более 200 - пять объединенных проб. Для одной пробы берут 250 - 300 г смазки.
2.4. При определении пенетрации без перемешивания смазку загружают вмазыванием в стакан смесителя при возможно меньшем механическом воздействии, не допуская образования воздушных карманов. Затем стакан закрывают крышкой, погружают в водяную баню с температурой (25 +/- 0,5) °C и выдерживают в течение 1 ч. При этом вода не должна соприкасаться с поверхностью смазки и верхний край стакана может выступать из воды не более чем на 10 мм. Водяную баню закрывают крышкой.
Через 1 ч стакан со смазкой вынимают из бани, поверхность смазки сглаживают шпателем (шпатель держат под углом 45° к поверхности и передвигают в горизонтальном направлении в сторону руки, в которой шпатель находится).
2.5. При определении пенетрации углеводородных смазок пробу смазки и стакан для испытания помещают в сушильный шкаф и выдерживают при температуре (80 +/- 5) °C до тех пор, пока смазка не расплавится и не примет указанную температуру. После этого смазку заливают в стакан для испытания таким образом, чтобы ее уровень был ниже края стакана на 6 мм, и оставляют в выключенном сушильном шкафу для охлаждения до (25 +/- 5) °C. Если углеводородная смазка имеет склонность к изменению структуры после расплавления, стакан со смазкой после охлаждения в сушильном шкафу закрывают крышкой и выдерживают 16 - 18 ч при комнатной температуре.
2.6. При определении пенетрации с перемешиванием смазку загружают вмазыванием в стакан смесителя в таком количестве, чтобы она заполнила весь объем и выступала в виде шарового сектора высотой 15 мм (общий объем в стакане смесителя должен быть приблизительно на 15% больше объема стакана). При заполнении стаканом периодически постукивают по столу для полного удаления воздуха.
Собирают смеситель. Собранный смеситель с закрытой крышкой помещают в водяную баню с температурой (25 +/- 0,5) °C и выдерживают его в течение 1 ч. При этом вода должна полностью покрывать стакан смесителя, включая и крышку, но не более чем на 10 мм ниже отверстия в крышке, через которое проходит шток диска.
Вынимают смеситель из бани и вытирают воду, оставшуюся на его стенках. Стакан прикрепляют к подставке, а рукоятку смесителя к рычагу и приступают к перемешиванию смазки.
Смазку перемешивают попеременным поднятием и опусканием рукоятки 60 раз в течение (60 +/- 10) с, возвращают плунжер в верхнее положение и снимают крышку.
Примечание. Твердые брикетированные смазки испытывают без предварительного перемешивания, если это оговорено в стандарте или технических условиях на испытуемую смазку. В этом случае вырезают брусок смазки размером 100·100·60 мм и помещают его в металлическую коробку, которую закрывают крышкой. Закрытую коробку со смазкой помещают в водяную баню, в которой ее выдерживают в течение 1 ч при температуре (25 +/- 0,5) °C.
По истечении 1 ч снимают крышку с коробки и оставляют коробку в бане в таком положении, чтобы вода была близко к краю коробки, но не выше его.
3. ПРОВЕДЕНИЕ ИСПЫТАНИЯ
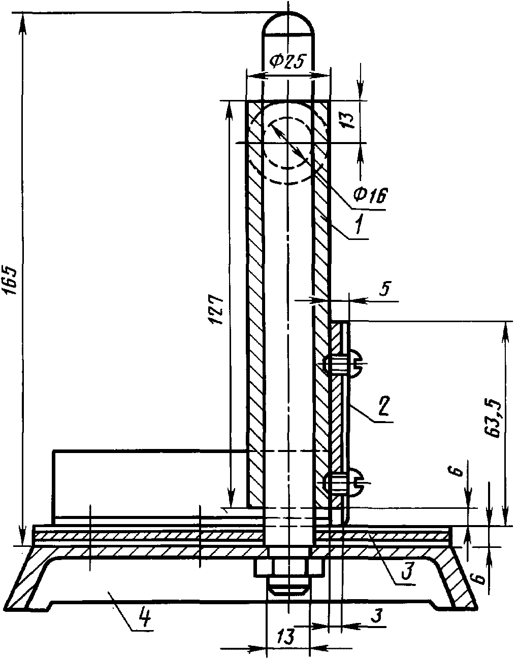
3.1. Стакан с пробой смазки, приготовленной по пп. 2.1 - 2.6, помещают на столик пенетрометра (поверхность столика должна быть строго горизонтальной) и приступают к измерениям. Общий вид пенетрометра приведен на черт. 2.
Примечание. Необходимо начинать измерения сразу по окончании приготовления проб во избежание изменений консистенции смазки. (Для пластичных смазок, изготовленных на комплексных кальциевых, бариевых, литиевых и алюминиевых мылах, рекомендуется проводить определение пенетрации сразу после перемешивания).
1 - конус; 2 - кремальера; 3 - стрелка циферблата;
4 - циферблат; 5 - пусковая кнопка
Черт. 2
3.1.1. При испытании неперемешанной пробы смазки, если ожидаемое значение пенетрации менее 200, измерения проводят в точках, находящихся на половине радиуса окружности стакана, на угловом расстоянии 120° друг от друга.
3.1.2. При испытании неперемешанной пробы смазки, если ожидаемое значение пенетрации будет 200 или выше, то измерение проводят в центре окружности стакана. Испытание проводят на пяти пробах, приготовленных аналогичным способом.
3.1.3. При испытании перемешанной пробы смазки измерение проводят аналогично определению пенетрации без перемешивания с той разницей, что конус пенетрометра устанавливают на середину стакана для испытаний. Последующие измерения проводят сразу же после первого измерения на той же пробе. Перед следующими измерениями поверхность смазки выравнивают, замазывают, не подвергая ее механической обработке.
3.1.4. Конус устанавливают так, чтобы наконечник касался поверхности смазки, при этом конус не должен касаться стенок стакана.
Перед каждым испытанием конус тщательно очищают. Во время чистки конус должен занимать самое высокое положение во избежание кручения оси. Не допускается попадание смазки или масла на ось - это может затруднить ее движение. Не допускается вращение конуса, так как при этом изнашивается спусковой механизм.
3.1.5. После установки конуса опускают кремальеру до соприкосновения с плунжером, в котором закреплен хвостовик конуса, и ставят стрелку циферблата на нуль.
Одновременно пускают секундомер и нажимают пусковую кнопку пенетрометра, давая конусу свободно погружаться в смазку в течение 5 с, после чего отпускают кнопку. Затем снова опускают кремальеру до соприкосновения с плунжером. При этом вместе с кремальерой передвигается и стрелка на циферблате.
3.1.6. После отсчета показаний на шкале циферблата приподнимают кремальеру и плунжер с конусом, тщательно очищают конус от смазки обтирочным материалом, подготовив таким образом пенетрометр к повторному испытанию. При необходимости конус очищают обтирочным материалом, смоченным бензином.
4. ОБРАБОТКА РЕЗУЛЬТАТОВ
4.1. За результат испытания принимают среднеарифметическое результатов трех определений для смазок с пенетрацией до 200 и пяти определений для смазок с пенетрацией 200 или выше, округленное до значений, кратных пяти.
4.2. Допускаемые расхождения между параллельными определениями не должны превышать значений, указанных в табл. 3.
Таблица 3
Вид испытания
Допускаемое расхождение, 0,1 мм, при испытании
одним лаборантом на одном приборе
двумя лаборантами на двух приборах
Без перемешивания смазки
12
20
С перемешиванием смазки
8
15
Приложение
Справочное
ТЕРМИНЫ, ПРИМЕНЯЕМЫЕ В СТАНДАРТЕ, И ПОЯСНЕНИЯ К НИМ
Термин
Пояснение
Пенетрация смазки
Глубина, на которую конус пенетрометра погружается в смазку при определенных массе конуса, времени его погружения и температуре смазки, выраженная в единицах, соответствующих десятым долям миллиметра Процесс обработки смазки в смесителе
Перемешивание
Процесс обработки смазки в смесителе
Пенетрация ненарушенной смазки
Пенетрация смазки, доведенной до температуры 25 °C и находящейся в производственной таре в ненарушенном состоянии
Пенетрация неперемешанной смазки
Пенетрация смазки, доведенной до температуры 25 °C, которая подвергается минимальным изменениям при осторожном перенесении из тары в стакан смесителя или в другой стакан соответствующих размеров
Пенетрация перемешанной смазки
Пенетрация объединенной пробы смазки, доведенной до температуры 25 °C, затем перемешанной в стандартном смесителе поршнем, совершившим 60 +/- 10 двойных тактов в течение 60 с
Пенетрация продолжительно перемешанной смазки
Пенетрация объединенной пробы смазки после ее перемешивания в стандартном смесителе поршнем, совершившим более 60 двойных тактов.
Примечание. Пенетрация мягких смазок зависит от диаметра производственной тары. Поэтому ненарушенные и неперемешанные смазки с пенетрацией свыше 265 единиц следует испытывать в производственной таре, диаметр которой равен диаметру стакана смесителя. Если пенетрация смазки не превышает 265 единиц, разница между диаметрами тары и стакана смесителя не оказывает заметного влияния на результаты определения
Пенетрация брикетированной смазки
Пенетрация доведенного до температуры 25 °C, образца смазки с консистенцией, обеспечивающей сохранение формы образца
Объединенная проба
Производственная тара
--------------------------------
<*> На территории Российской Федерации действуют ГОСТ Р 50779.10-2000 и ГОСТ Р 50779.11-2000.
ПРИЛОЖЕНИЕ. (Введено дополнительно, Изм. N 1).