Главная // Актуальные документы // ГОСТ (Государственный стандарт)СПРАВКА
Источник публикации
М.: Стандартинформ, 2016
Примечание к документу
Текст данного документа приведен с учетом
поправки, опубликованной в "ИУС", N 12, 2021.
Документ
введен в действие с 01.01.2017.
Название документа
"ГОСТ 20901-2016. Межгосударственный стандарт. Изделия огнеупорные для кладки воздухонагревателей и воздухопроводов горячего дутья доменных печей. Технические условия"
(введен в действие Приказом Росстандарта от 10.06.2016 N 611-ст)
"ГОСТ 20901-2016. Межгосударственный стандарт. Изделия огнеупорные для кладки воздухонагревателей и воздухопроводов горячего дутья доменных печей. Технические условия"
(введен в действие Приказом Росстандарта от 10.06.2016 N 611-ст)
агентства по техническому
регулированию и метрологии
от 10 июня 2016 г. N 611-ст
МЕЖГОСУДАРСТВЕННЫЙ СТАНДАРТ
ИЗДЕЛИЯ ОГНЕУПОРНЫЕ ДЛЯ КЛАДКИ ВОЗДУХОНАГРЕВАТЕЛЕЙ
И ВОЗДУХОПРОВОДОВ ГОРЯЧЕГО ДУТЬЯ ДОМЕННЫХ ПЕЧЕЙ
ТЕХНИЧЕСКИЕ УСЛОВИЯ
Refractory and high-refractory products for laying
of stoves and hot blast mains of blast furnaces.
Specifications
ГОСТ 20901-2016
КП 15 3400,
15 6400
Дата введения
1 января 2017 года
| | ИС МЕГАНОРМ: примечание. В официальном тексте документа, видимо, допущена опечатка: имеется в виду ГОСТ 1.0-2015, а не ГОСТ 1.0-2. | |
Цели, основные принципы и основной порядок проведения работ по межгосударственной стандартизации установлены
ГОСТ 1.0-2 "Межгосударственная система стандартизации. Основные положения" и
ГОСТ 1.2-2009 "Межгосударственная система стандартизации. Стандарты межгосударственные, правила и рекомендации по межгосударственной стандартизации. Правила разработки, принятия, применения, обновления и отмены"
1 РАЗРАБОТАН Обществом с ограниченной ответственностью "Научно-технический центр "Огнеупоры" (ООО "НТЦ "Огнеупоры")
2 ВНЕСЕН Федеральным агентством по техническому регулированию и метрологии (Росстандарт)
3 ПРИНЯТ Межгосударственным советом по стандартизации, метрологии и сертификации (протокол от 29 февраля 2016 г. N 85-П)
За принятие проголосовали:
Краткое наименование страны по МК (ISO 3166) 004-97 | Код страны по МК (ISO 3166) 004-97 | Сокращенное наименование национального органа по стандартизации |
Армения | AM | Минэкономики Республики Армения |
Беларусь | BY | Госстандарт Республики Беларусь |
Казахстан | KZ | Госстандарт Республики Казахстан |
Киргизия | KG | Кыргызстандарт |
Россия | RU | Росстандарт |
Туркмения | TM | Главгосслужба "Туркменстандартлары" |
Узбекистан | UZ | Узстандарт |
4
Приказом Федерального агентства по техническому регулированию и метрологии от 10 июня 2016 г. N 611-ст межгосударственный стандарт ГОСТ 20901-2016 введен в действие в качестве национального стандарта Российской Федерации с 1 января 2017 г.
Информация об изменениях к настоящему стандарту публикуется в ежегодном информационном указателе "Национальные стандарты", а текст изменений и поправок - в ежемесячном информационном указателе "Национальные стандарты". В случае пересмотра (замены) или отмены настоящего стандарта соответствующее уведомление будет опубликовано в ежемесячном информационном указателе "Национальные стандарты". Соответствующая информация, уведомление и тексты размещаются также в информационной системе общего пользования - на официальном сайте Федерального агентства по техническому регулированию и метрологии в сети Интернет (www.gost.ru)
Настоящий стандарт распространяется на огнеупорные изделия для кладки воздухонагревателей, воздухопроводов горячего дутья и фурменных зон доменных печей (далее - изделия).
В настоящем стандарте использованы нормативные ссылки на следующие межгосударственные стандарты:
ГОСТ 12.1.005-88 Система стандартов безопасности труда. Общие санитарно-гигиенические требования к воздуху рабочей зоны
ГОСТ 12.1.007-76 Система стандартов безопасности труда. Вредные вещества. Классификация и общие требования безопасности
ГОСТ 12.3.009-76 Система стандартов безопасности труда. Работы погрузочно-разгрузочные. Общие требования безопасности
ГОСТ 17.0.0.01-76 Система стандартов в области охраны природы и улучшения использования природных ресурсов. Основные положения
ГОСТ 17.2.3.02-2014 Правила установления допустимых выбросов загрязняющих веществ промышленными предприятиями
ГОСТ 2211-65 (ИСО 5018-83) Огнеупоры и огнеупорное сырье. Методы определения плотности
ГОСТ 2409-2014 Огнеупоры. Метод определения кажущейся плотности, открытой и общей пористости, водопоглощения
ГОСТ 2642.0-2014 Огнеупоры и огнеупорное сырье. Общие требования к методам анализа
ГОСТ 2642.3-2014 Огнеупоры и огнеупорное сырье. Методы определения оксида кремния (IV)
ГОСТ 2642.4-2016 Огнеупоры и огнеупорное сырье. Методы определения оксида алюминия
ГОСТ 2642.5-2016 Огнеупоры и огнеупорное сырье. Методы определения оксида железа (III)
ГОСТ 2642.10-86 Огнеупоры и огнеупорное сырье. Методы определения пятиокиси фосфора
ГОСТ 4069-69 Огнеупоры и огнеупорное сырье. Методы определения огнеупорности
ГОСТ 4070-2014 Изделия огнеупорные. Метод определения температуры деформации под нагрузкой
ГОСТ 4071.1-94 (ИСО 10059-1-92) Изделия огнеупорные с общей пористостью менее 45%. Метод определения предела прочности при сжатии при комнатной температуре
ГОСТ 5402.1-2000 (ИСО 2478-87) Изделия огнеупорные с общей пористостью менее 45%. Метод определения остаточных изменений размеров при нагреве
ГОСТ 7875.0-94 Изделия огнеупорные. Общие требования к методам определения термической стойкости
ГОСТ 7875.1-94 Изделия огнеупорные. Метод определения термической стойкости на кирпичах
ГОСТ 8179-98 (ИСО 5022-79) Изделия огнеупорные. Отбор образцов и приемочные испытания
ГОСТ 24717-2004 Огнеупоры и огнеупорное сырье. Маркировка, упаковка, транспортирование и хранение
ГОСТ 30762-2001 Изделия огнеупорные. Методы измерений геометрических размеров, дефектов формы и поверхностей
Примечание - При пользовании настоящим стандартом целесообразно проверить действие ссылочных стандартов в информационной системе общего пользования - на официальном сайте Федерального агентства по техническому регулированию и метрологии в сети Интернет или по ежегодному информационному указателю "Национальные стандарты", который опубликован по состоянию на 1 января текущего года, и по выпускам ежемесячного информационного указателя "Национальные стандарты" за текущий год. Если ссылочный стандарт заменен (изменен), то при пользовании настоящим стандартом следует руководствоваться заменяющим (измененным) стандартом. Если ссылочный стандарт отменен без замены, то положение, в котором дана ссылка на него, применяется в части, не затрагивающей эту ссылку.
В настоящем стандарте применены термины по
ГОСТ 28833,
ГОСТ 28874, а также следующие термины с соответствующими определениями:
3.1 клиновое изделие (клин): Изделие с шестью гранями, из которых две противолежащие имеют форму трапеции, а остальные - прямоугольника.
3.2 клин ребровой двусторонний: Клиновое изделие, у которого торцовые грани имеют форму равнобедренной трапеции.
3.3 клин трапецеидальный двусторонний: Клиновое изделие, у которого наибольшие (ложковые) грани имеют форму равнобедренной трапеции.
4.1 Изделия подразделяют на марки, указанные в таблице 1.
Таблица 1
Характеристика марок изделий
Марка | Характеристика | Применение |
ДВ | Динасовые изделия для воздухонагревателей (воздухопроводов) | В кладке насадки, стен, купола, верха камеры горения, штуцеров и воздухопроводов горячего дутья при температуре не выше и нагрузке, не более: 1100 °C и 2 Н/мм2; 1500 °C и 0,5 Н/мм2; 1550 °C и 0,2 Н/мм2 |
ШВ-28 | Шамотные изделия для воздухонагревателей с массовой долей Al2O3 не менее 28% | В кладке насадки и стен при температуре не выше 700 °C и нагрузке не более 2 Н/мм2 |
ШВУ-28 | Шамотные изделия для воздухонагревателей упрочненные с массовой долей Al2O3 не менее 28% |
ШВ-37 | Шамотные изделия для воздухонагревателей (воздухопроводов) с массовой долей Al2O3 не менее 37% | В кладке насадки и стен, штуцеров и воздухопроводов при температуре не выше и нагрузке не более: 700 °C и 3 Н/мм2; 900 °C и 1 Н/мм2 |
ШВ-42 | Шамотные изделия для воздухонагревателей (воздухопроводов) с массовой долей Al2O3 не менее 42% | В кладке насадки при температуре не выше и нагрузке не более: 900 °C и 1,5 Н/мм2; 1200 °C и 0,5 Н/мм2. В кладке стен, штуцеров и воздухопроводов горячего дутья при температуре не выше 1300 °C и нагрузке не более 0,2 Н/мм2 |
ШВУ-42 | Шамотные изделия для воздухонагревателей (воздухопроводов) упрочненные с массовой долей Al2O3 не менее 42% | В кладке насадки при температуре не выше и нагрузке не более: 900 °C и 1,5 Н/мм2; 1200 °C и 0,5 Н/мм2. В кладке стен, штуцеров и воздухопроводов горячего дутья при температуре не выше 1300 °C и нагрузке не более 0,2 Н/мм2 |
МКРВ-50 | Муллитокремнеземистые изделия для воздухонагревателей (воздухопроводов) с массовой долей Al2O3 не менее 50% | В кладке насадки и камеры горения при температуре не выше и нагрузке не более: 1200 °C и 0,5 Н/мм2; 1350 °C и 0,1 Н/мм2. В кладке стен, штуцеров и воздухопроводов горячего дутья при температуре не выше 1350 °C и нагрузке не более 0,2 Н/мм2 |
МКРФВ-52 | Муллитокремнеземистые изделия на фосфатной связке для воздухонагревателей с массовой долей Al2O3 не менее 52% | Для кладки форкамер бесшахтных воздухонагревателей при температуре не выше 1450 °C |
МКВ-72 | Муллитокорундовые изделия для воздухонагревателей (воздухопроводов) с массовой долей Al2O3 свыше 72% | В кладке насадки при температуре от 1100 до 1200 °C и нагрузке не более 0,6 Н/мм2. В кладке стен, купола, камеры горения и тракта горячего дутья при температуре 1450 °C и нагрузке не более 0,3 Н/мм2 |
МКВУ-72 | Муллитокорундовые изделия для воздухонагревателей (воздухопроводов) упрочненные с массовой долей Al2O3 свыше 72% | В кладке насадки при температуре от 1100 до 1200 °C и нагрузке не более 0,6 Н/мм2. В кладке стен, купола, камеры горения и тракта горячего дутья при температуре 1450 °C и нагрузке не более 0,3 Н/мм2 |
МКФВ-80 | Муллитокорундовые изделия на фосфатной связке для воздухонагревателей с массовой долей Al2O3 не менее 80% | Для кладки воздухонагревателей горячего дутья доменных печей при температуре не выше 1650 °C |
Примечание - Нагрузка определяется массой вышележащих изделий. |
5. Форма и размеры изделий
5.1 Форма и размеры изделий для воздухонагревателей доменных печей должны соответствовать указанным на
рисунках 1 -
11 и в
таблицах 2 -
6; для воздухопроводов горячего дутья, штуцеров воздухонагревателей и фурменной зоны доменных печей - на
рисунках 12,
13 и в
таблицах 7,
8.
Рисунок 1 - Прямоугольное изделие
(стеновое и насадочное)
В миллиметрах
Номер изделия | L | H | S | Номер изделия | L | H | S |
| 230 | 150 | 75 | 6 | 450 | 100 | 100 |
2 | 345 | 150 | 75 | | 230 | 130 | 40 |
3 | 450 | 150 | 75 | 76 | 170 | 150 | 50 |
4 | 230 | 150 | 100 | 77 | 230 | 170 | 50 |
5 | 345 | 150 | 100 | | 230 | 150 | 50 |
|
Рисунок 2 - Трапецеидальный двусторонний клин
(стеновое изделие)
Таблица 3
В миллиметрах
Номер изделия | L | S | S1 | H |
| 230 | 150 | 135 | 75 |
8 | 230 | 150 | 120 | 75 |
9 | 345 | 150 | 125 | 75 |
10 | 345 | 150 | 110 | 75 |
| 450 | 150 | 115 | 75 |
12 | 230 | 150 | 135 | 100 |
13 | 230 | 150 | 125 | 100 |
14 | 345 | 150 | 120 | 100 |
15 | 345 | 150 | 110 | 100 |
| 450 | 150 | 115 | 100 |
Примечание - Допускается по согласованию сторон изготовлять алюмосиликатные изделия номеров 7 - 11 размером H, равным 100 мм. |
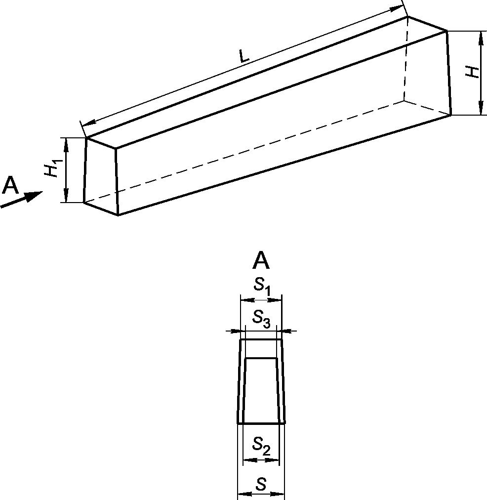
Рисунок 3 - Фасонное изделие (купольное)
Таблица 4
В миллиметрах
Номер изделия | L | H | H1 | S | S1 | S2 | S3 |
| 450 | 150 | 117 | 84 | 84 | 65 | 65 |
18 | 450 | 150 | 117 | 84 | 74 | 65 | 57 |
19 | 450 | 150 | 117 | 84 | 64 | 65 | 49 |
20 | 450 | 150 | 125 | 84 | 84 | 70 | 70 |
21 | 450 | 150 | 125 | 84 | 79 | 70 | 66 |
22 | 450 | 150 | 125 | 84 | 74 | 70 | 62 |
23 | 450 | 150 | 125 | 84 | 69 | 70 | 58 |
24 | 450 | 150 | 125 | 84 | 64 | 70 | 53 |
25 | 450 | 150 | 129 | 84 | 84 | 73 | 73 |
26 | 450 | 150 | 129 | 84 | 79 | 73 | 69 |
27 | 450 | 150 | 129 | 84 | 74 | 73 | 64 |
28 | 450 | 150 | 129 | 84 | 69 | 73 | 60 |
29 | 450 | 150 | 129 | 84 | 64 | 73 | 56 |
30 | 450 | 150 | 133 | 84 | 84 | 75 | 75 |
31 | 450 | 150 | 133 | 84 | 80 | 75 | 71 |
32 | 450 | 150 | 133 | 84 | 74 | 75 | 66 |
33 | 450 | 150 | 133 | 84 | 70 | 75 | 63 |
34 | 450 | 150 | 133 | 84 | 64 | 75 | 57 |
35 | 450 | 150 | 136 | 84 | 84 | 76 | 76 |
36 | 450 | 150 | 136 | 84 | 80 | 76 | 72 |
37 | 450 | 150 | 136 | 84 | 74 | 76 | 67 |
38 | 450 | 150 | 136 | 84 | 70 | 76 | 63 |
39 | 450 | 150 | 136 | 84 | 64 | 76 | 58 |
40 | 450 | 150 | 140 | 84 | 84 | 76 | 76 |
41 | 450 | 150 | 140 | 84 | 84 | 79 | 79 |
42 | 450 | 150 | 140 | 84 | 74 | 79 | 70 |
43 | 450 | 150 | 140 | 84 | 64 | 79 | 60 |
44 | 450 | 150 | 150 | 84 | 84 | 68 | 68 |
45 | 450 | 150 | 150 | 84 | 74 | 68 | 58 |
46 | 450 | 150 | 150 | 84 | 84 | 70 | 70 |
47 | 450 | 150 | 150 | 84 | 74 | 70 | 60 |
48 | 450 | 150 | 150 | 84 | 84 | 79 | 79 |
49 | 450 | 150 | 150 | 84 | 74 | 79 | 69 |
50 | 450 | 150 | 150 | 84 | 84 | 77 | 77 |
51 | 450 | 150 | 150 | 84 | 74 | 77 | 67 |
52 | 450 | 150 | 150 | 84 | 84 | 75 | 75 |
53 | 450 | 150 | 150 | 84 | 74 | 75 | 65 |
54 | 450 | 150 | 150 | 84 | 84 | 73 | 73 |
55 | 450 | 150 | 150 | 84 | 74 | 73 | 63 |
56 | 450 | 150 | 150 | 110 | 110 | 103 | 103 |
57 | 450 | 150 | 150 | 110 | 100 | 103 | 93 |
58 | 450 | 150 | 140 | 110 | 110 | 103 | 103 |
59 | 450 | 150 | 140 | 110 | 100 | 103 | 94 |
| 450 | 150 | 140 | 110 | 90 | 103 | 84 |
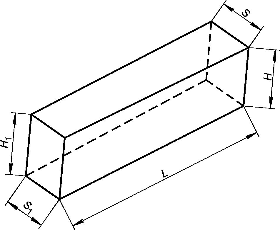
Рисунок 4 - Фасонное изделие (опорное)
Таблица 5
В миллиметрах
Номер изделия | L | S | S1 | H | H1 |
61 | 450 | 100 | 90 | 129 | 136 |
62 | 450 | 100 | 90 | 147 | 150 |
63 | 450 | 84 | 76 | 143 | 136 |
Рисунок 5 - Фасонное изделие (для лаза купола)
В миллиметрах
Номер изделия | L | R1 | R2 | R3 | R4 |
64 | 450 | 480 | 300 | 400 | 252 |
65 | 450 | 480 | 300 | 412 | 252 |
66 | 450 | 480 | 300 | 425 | 252 |
67 | 450 | 480 | 300 | 429 | 252 |
68 | 450 | 480 | 300 | 433 | 253 |
69 | 450 | 450 | 300 | 420 | 280 |
70 | 450 | 450 | 300 | 390 | 260 |
Рисунок 6 - Фасонное изделие номер 71
(для пробки купола)
Рисунок 7 - Фасонное изделие номер 72
(для пробки купола)
Рисунок 8 - Фасонное изделие номер 73
(для пробки купола)
Рисунок 9 - Фасонное изделие номер 74
(для пробки купола)
Рисунок 10 - Фасонное изделие номер 79
(насадочное)
Примечание - Допускается по согласованию сторон изготовлять изделия толщиной 120, 160 мм и более.
Рисунок 11 - Фасонное изделие номер 80
(насадочное шестигранное)
Рисунок 12 - Прямоугольное изделие
В миллиметрах
Номер изделия | L | H | S |
| 230 | 65 | 65 |
82 | 230 | 85 | 65 |
83 | 230 | 113 | 65 |
84 | 250 | 123 | 65 |
Рисунок 13 - Ребровый двусторонний клин
В миллиметрах
Номер изделия | L | H | S | S1 |
85 | 230 | 65 | 65 | 45 |
86 | 230 | 85 | 65 | 45 |
87 | 230 | 113 | 65 | 55 |
88 | 230 | 113 | 65 | 45 |
89 | 250 | 123 | 65 | 55 |
90 | 250 | 120 | 75 | 70 |
91 | 250 | 120 | 75 | 65 |
92 | 250 | 120 | 75 | 60 |
93 | 250 | 140 | 75 | 70 |
94 | 250 | 140 | 75 | 65 |
95 | 250 | 140 | 75 | 60 |
96 | 250 | 160 | 75 | 70 |
97 | 250 | 160 | 75 | 65 |
98 | 250 | 160 | 75 | 60 |
99 | 250 | 180 | 75 | 55 |
100 | 250 | 180 | 75 | 60 |
101 | 250 | 180 | 75 | 65 |
102 | 250 | 180 | 75 | 70 |
103 | 250 | 200 | 75 | 55 |
104 | 250 | 200 | 75 | 60 |
105 | 250 | 200 | 75 | 65 |
| 250 | 200 | 75 | 70 |
5.1.1 Изделия для воздухонагревателей доменных печей
Изделия, применяемые для кладки воздухонагревателей доменных печей, в зависимости от мест кладки и формы подразделяют на:
- стеновые (прямоугольные и клиновые);
- купольные (фасонные);
- опорные (фасонные);
- насадочные (прямоугольные и фасонные).
5.1.2 Изделия для воздухопроводов горячего дутья, штуцеров воздухонагревателей и фурменных зон доменных печей
Изделия, применяемые для кладки воздухопроводов горячего дутья, штуцеров воздухонагревателей и фурменных зон доменных печей, в зависимости от формы подразделяют на прямоугольные и клиновые.
5.2 Допускается по согласованию сторон изготовлять:
- изделия, соответствующие по форме и размерам другим нормативным документам;
- изделия по чертежам заказчика с указанием предельных отклонений размеров и мест кладки в доменной печи.
5.3 Расчетные объем и масса изделий приведены в
приложении А.
Расчетная масса изделий не является браковочным признаком.
5.4 Пределы допускаемых отклонений размеров изделий приведены в таблицах 9 и
10.
В миллиметрах
Размеры | Предел допускаемых отклонений размеров изделия номеров |
| |
Длина: | | |
до 230 включ. | +/- 2 | -2 |
св. 230 " 350 " | +/- 3 | - |
" 350 " 450 " | +/- 4 | - |
Ширина | +/- 2 | -2 |
Толщина | +/- 1 | +/- 1 |
Примечание - По согласованию сторон устанавливают односторонний предел допускаемых отклонений по толщине изделий номеров 7 - 16, 81 - 106 в партии (со знаком плюс или минус). |
В миллиметрах
Размеры | Предел допускаемых отклонений размеров насадочного шестигранного изделия номер 80 |
Расстояние между параллельными гранями | -2 |
Толщина | +/- 2 |
Диаметр отверстий | +/- 2 |
Примечания 1 Расстояние между параллельными гранями соответствует размеру по верхней плоскости прессования изделия. 2 Предельное отклонение по толщине изделий в партии должно быть односторонним (со знаком плюс или минус). |
5.5 Пределы допускаемых отклонений размеров изделий, изготовляемых по другим нормативным документам, устанавливают по соглашению сторон. При отсутствии иных указаний пределы допускаемых отклонений размеров изделий, изготовляемых по другим нормативным документам и чертежам заказчика, не должны превышать указанных в таблице 11.
Таблица 11
В миллиметрах
Размеры изделий | Предел допускаемых отклонений размеров |
До 100 включ. | +/- 2 |
Св. 100 до 300 " | +/- 2 |
" 300 | +/- 3 |
6. Технические требования
6.1 Изделия по физико-химическим показателям должны соответствовать требованиям, указанным в таблицах 12 и
13.
Таблица 12
Физико-химические показатели динасовых
и шамотных изделий
Наименование показателя | Значение показателя для марки |
ДВ | ШВ-28 | ШВУ-28 | ШВ-37 | ШВ-42 | ШВУ-42 |
1 Массовая доля, %: | | | | | | |
SiO2, св. | 93 | - | - | - | - | - |
Al2O3, не менее | - | 28 | 28 | 37 | 42 | 42 |
Fe2O3 | Не менее 2,0 | - | - | - | Не более 1,7 | Не более 1,7 |
2 Огнеупорность, °C, не ниже | 1690 | 1670 | 1670 | 1730 | 1750 | 1750 |
3 Открытая пористость, %, для изделий насадочных: | | | | | | |
не более | 22 | 25 | 24 | 23 | - | - |
в пределах | - | - | - | - | 14 - 20 | 14 - 20 |
для изделий стеновых, купольных, для воздухопроводов, штуцеров, фурменных зон: | | | | | | |
не более | 24 | 27 | 25 | 25 | - | - |
в пределах | - | - | - | - | 14 - 20 | 14 - 20 |
4 Плотность, г/см3, не более | 2,37 | - | - | - | - | - |
5 Предел прочности при сжатии, Н/мм2, не менее, для изделий: | | | | | | |
насадочных | 30 | 15 | 20 | 20 | 40 | 40 |
стеновых, купольных, для воздухопроводов, штуцеров, фурменных зон | 27,5 | 15 | 20 | 20 | 30 | 40 |
6 Остаточные изменения размеров, %, не более, при температуре, °C: | | | | | | |
1350 | - | -0,5 | -0,5 | -0,2 | - | - |
1450 | +0,4 | - | - | - | -0,4 | -0,4 |
7 Температура начала размягчения, °C, не ниже | 1620 | 1270 | 1270 | 1330 | 1500 | 1500 |
Таблица 13
Физико-химические показатели муллитокремнеземистых
и муллитокорундовых изделий
Наименование показателя | Значение показателя для марки |
МКРВ-50 | МКРФВ-52 | МКВ-72 | МКВУ-72 | МКФВ-80 |
1 Массовая доля, %: | | | | | |
Al2O3 | Не менее 50 | Не менее 52 | Св. 72 | Св. 72 | Не менее 80 |
Fe2O3, не более | 1,4 | - | 1,2 | 1,2 | 1,0 |
P2O5 | - | Не менее 1,5 | - | - | Не более 2,5 |
2 Открытая пористость, %, не более, для изделий: | | | | | |
насадочных | 21 | - | 21 | 21 | - |
стеновых, купольных, для воздухопроводов, штуцеров, фурменных зон | 23 | 22 (25) | 24 | 24 | 23 (25) |
3 Предел прочности при сжатии, Н/мм2, не менее, для изделий: | | | | | |
насадочных | 40 | - | 50 | 50 | - |
стеновых, купольных, для воздухопроводов, штуцеров, фурменных зон | 30 | 40 (30) | 30 | 40 | 40 (30) |
4 Остаточные изменения размеров, %, не более, при температуре, °C: | | | | | |
1450 | - | -0,4 | - | - | - |
1500 | -0,4 | - | - | - | -0,8 |
1600 | - | - | -0,8 | -0,8 | - |
5 Температура начала размягчения, °C, не ниже | 1540 | 1400 | 1550 | 1550 | 1620 |
6 Термическая стойкость, число теплосмен, не менее | - | 35 | - | - | 20 |
Примечание - Значения показателей, заключенные в круглые скобки, соответствуют изделиям, изготовленным способом виброформования. |
6.2 Изделия по показателям внешнего вида должны соответствовать требованиям, указанным в таблице 14.
Таблица 14
Показатели внешнего вида изделий
В миллиметрах
Наименование показателя | Значение показателя |
1 Кривизна изделия, не более: | |
для воздухопровода, штуцера, фурменной зоны | 1 |
для воздухонагревателя: | |
купольного, насадочного | 2 |
стенового, опорного размером: | |
до 250 включ. | 1 |
св. 250 " 350 " | 2 |
" 350 " 450 " | 3 |
2 Отбитость углов и ребер глубиной, не более, для изделий: | |
воздухопровода, штуцера, фурменной зоны и воздухонагревателя (насадочные) | 5 |
воздухонагревателя (стеновые, опорные, купольные) | 8 |
3 Выплавки диаметром, не более | 5 |
4 Посечки шириной св. 0,3 до 0,5 включ., длиной, не более | 50 |
5 Трещины | Не допускаются |
Примечание - По согласованию сторон устанавливают кривизну купольного изделия в партии менее 1 мм или от 1 до 2 мм включительно. |
6.3 Изделие в изломе (разрезе) должно иметь однородное строение.
Не допускается наличие трещин, пустот, выкрошенности зерен.
6.3.1 Цвет изделия не является браковочным признаком.
6.4.1 При маркировке шестигранных насадочных изделий на одну из боковых граней наносят полосу водостойкой краской:
- красного цвета (при предельном отклонении по толщине изделия со знаком минус);
- синего цвета (при предельном отклонении по толщине изделия со знаком плюс).
6.4.2 Стеновые изделия для воздухонагревателей, изделия для воздухопроводов, сформированные в партии в соответствии с примечанием к
таблице 9, маркируют по
6.4.1.
6.4.3 Допускается маркировать изделия наклеиванием на поверхность изделия этикетки с маркировочными знаками.
6.5 Упаковка изделий - по
ГОСТ 24717 с дополнением по 6.5.1.
6.5.1 По согласованию сторон допускаются другие материалы и способы упаковывания, обеспечивающие сохранность изделий при транспортировании и хранении.
7. Требования безопасности и охраны окружающей среды
7.1 Изделия пожаро- и взрывобезопасны.
7.2 Изделия не являются радиоактивными. Максимальное значение эффективной удельной активности природных радионуклидов в изделиях не превышает 740 Бк/кг по нормативным документам, действующим на территории государства, применяющего стандарт
<1>.
7.3 При транспортировании, хранении и применении изделия не выделяют вредных и токсичных веществ. По степени воздействия на организм человека пыль алюмосиликатных изделий относится к четвертому классу опасности (ПДК - 6 мг/м
3), а динасовых - к третьему классу опасности (ПДК - 1 мг/м
3) по
ГОСТ 12.1.005 и по нормативным документам, действующим на территории государства, применяющего стандарт
<2>.
--------------------------------
<1> На территории Российской Федерации действует
СанПиН 2.6.1.2800-2010 "Гигиенические требования по ограничению облучения населения за счет природных источников ионизирующего излучения".
<2> На территории Российской Федерации действует
ГН 2.2.5.1313-2003 "Гигиенические нормативы. ПДК вредных веществ в воздухе рабочей зоны".
7.4 При погрузочно-разгрузочных работах следует соблюдать общие требования безопасности по
ГОСТ 12.3.009.
7.5 Общие требования безопасности и контроля содержания вредных веществ в воздухе рабочей зоны - по
ГОСТ 12.1.005 и
ГОСТ 12.1.007.
8.1 Правила приемки изделий - по
ГОСТ 8179 с дополнением по 8.2 -
8.6.
8.2 Изделия поставляют партиями. Каждая партия должна состоять из изделий одной марки и одного назначения.
Масса партии изделий не должна превышать 225 т, для изделий марок МКРФВ-52 и МКФВ-80 - 70 т.
8.3 При приемке изделий применяют план контроля номер 3 или 3а.
8.4 При проверке соответствия качества изделий требованиям настоящего стандарта категория и периодичность проведения испытаний должны соответствовать требованиям таблицы 15.
Таблица 15
Наименование показателя | Периодичность проведения испытаний | Категория испытаний |
1 Показатели внешнего вида, размеры изделий | От каждой партии | Приемо-сдаточные |
2 Строение в изломе (разрезе) | От каждой партии |
3 Массовая доля (SiO2, Al2O3, Fe2O3, P2O5): | |
для марок МКРФВ-52 и МКФВ-80 | От каждой партии |
остальных марок | От каждой третьей партии |
4 Открытая пористость | От каждой партии |
5 Плотность | От каждой партии |
6 Предел прочности при сжатии изделий: | |
фасонных номер 80 | От каждой третьей партии |
остальных номеров | От каждой партии |
7 Остаточные изменения размеров при нагреве | От каждой третьей партии |
8 Температура начала размягчения | От каждой третьей партии |
9 Термическая стойкость | От каждой партии |
10 Огнеупорность | В соответствии с примечанием 1 | Периодические |
Примечания 1 Периодические испытания проводят при изменении технологии и применяемого сырья, но не реже одного раза в полугодие. 2 Очередным периодическим испытаниям подвергают партию, прошедшую приемо-сдаточные испытания. При этом образцы для проведения периодических и приемо-сдаточных испытаний берут из одной выборки. 3 При несоответствии партии по результатам периодических испытаний последующие партии подвергают контролю по всем показателям качества, установленным в нормативном документе. После получения положительных результатов на трех последовательно принятых партиях периодические испытания проводят в установленном порядке. |
8.5 При проверке размеров изделия радиусы закругления
R3
(рисунок 10),
R5 и
R20
(рисунок 11), углы (
рисунки 5 -
9,
11) и радиусы (
рисунки 5 -
9) контролю не подлежат, их точность обеспечивается пресс-оснасткой и технологией производства.
8.6 Для купольных
изделий номеров 17 -
60 в документе о качестве дополнительно указывают значение кривизны, установленной по согласованию сторон.
Допускается применение других аттестованных методов анализа, обеспечивающих требуемую точность определения.
9.2 Огнеупорность изделий определяют по
ГОСТ 4069 или по нормативным документам, действующим на территории государства, применяющего стандарт <1>.
--------------------------------
<1> На территории Российской Федерации действует
ГОСТ Р 53788-2010 "Огнеупоры и огнеупорное сырье. Методы определения огнеупорности".
При возникновении разногласий арбитражным является метод по
ГОСТ 4069.
9.3 Открытую пористость изделий определяют по
ГОСТ 2409.
Примечание - Для клиновых изделий образцы для проведения испытаний по 9.3 -
9.8 вырезают (отсекают) со стороны наименьшей грани изделия.
9.4 Плотность динасовых изделий определяют по
ГОСТ 2211.
9.5 Предел прочности при сжатии изделий определяют по
ГОСТ 4071.1 или по нормативным документам, действующим на территории государства, применяющего стандарт <2> с дополнением по 9.5.1 -
9.5.3.
--------------------------------
<2> На территории Российской Федерации действует
ГОСТ Р 53065.2-2008 "Изделия огнеупорные с общей пористостью менее 45%. Метод определения предела прочности при сжатии при комнатной температуре. Часть 2. Испытание с применением прокладок".
9.5.1 Для насадочных шестигранных изделий предел прочности при сжатии определяют на образцах:
- в форме цилиндра диаметром 80 мм и высотой 65 мм со сквозным отверстием из изделий толщиной 80 мм;
- в форме цилиндра диаметром 80 мм и высотой 80 мм со сквозным отверстием из изделий толщиной 120, 160 мм и более.
Допускается изготовлять образцы в форме куба с длиной ребра 60 мм со сквозным отверстием.
Пределы допускаемых отклонений всех размеров образцов - +/- 2 мм.
9.5.2 Образец для испытания вырезают или высверливают из центра изделия с одним отверстием по центру.
9.5.3 Площадь поперечного сечения образца в форме цилиндра
S, мм
2, вычисляют по формуле:

(1)
где D - наружный диаметр образца, мм;
d - диаметр отверстия образца, мм.
Площадь поперечного сечения образца в форме куба со сквозным отверстием S, мм2, вычисляют по формуле:

(2)
где l - длина ребра нагружаемого основания образца, мм;
d - диаметр отверстия образца, мм.
При возникновении разногласий арбитражными являются методы по
ГОСТ 4071.1 с дополнением по
9.5.1 -
9.5.3.
9.6 Остаточные изменения размеров изделий при нагреве определяют по
ГОСТ 5402.1 или по нормативным документам, действующим на территории государства, применяющего стандарт <1>.
--------------------------------
<1> На территории Российской Федерации действует
ГОСТ Р 54528-2011 "Изделия огнеупорные с общей пористостью менее 45%. Метод определения остаточных изменений размеров при нагреве".
При возникновении разногласий арбитражным является метод по
ГОСТ 5402.1.
9.7 Температуру начала размягчения изделий определяют по
ГОСТ 4070 с дополнением по 9.7.1 -
9.7.2.
9.7.1 Для насадочных шестигранных изделий температуру начала размягчения определяют на образцах в форме цилиндра высотой (42 +/- 1) мм и диаметром (30 +/- 1) мм. Образцы для испытания вырезают из периферийной части шестигранного насадочного изделия. Из насадочных изделий толщиной 40 мм вырезают образцы со стороны ребра (по ширине) высотой (50 +/- 1) мм и диаметром (36 +/- 1) мм.
9.7.2 Температуру начала размягчения изделий, изготовленных по чертежам заказчика, из которых невозможно изготовить образцы в соответствии с
ГОСТ 4070 и
9.7.1, не определяют.
9.8.1 Термическую стойкость клиновых изделий размером
L менее 230 мм и изделий, изготовленных по чертежам заказчика, из которых невозможно изготовить образцы в соответствии с
ГОСТ 7875.1, не определяют.
9.9 Размеры изделий, кривизну, длину и ширину посечки (трещины), диаметр выплавки, глубину отбитости углов и ребер измеряют по ГОСТ 30762 с дополнением по 9.9.1 -
9.9.7.
9.9.1 Измерение геометрических размеров изделий выполняют с использованием средств измерений и вспомогательных устройств по ГОСТ 30762 (раздел 4), а также штангенглубиномером по
ГОСТ 162, штангенрейсмасом по
ГОСТ 164.
Выбор средств измерений зависит от требуемой точности результатов измерений.
9.9.2 Геометрические размеры прямоугольных и клиновых изделий измеряют два раза: по одному измерению на двух параллельных поверхностях ориентировочно по середине каждой поверхности с пределами допускаемых отклонений +/- 10 мм от продольной или поперечной осевой линии или ориентировочно на расстоянии примерно 10 мм от соответствующих ребер.
Измерение геометрического размера, совпадающего с направлением прессования, рекомендуется выполнять более двух раз.
9.9.3 Внутренние или наружные диаметры изделий измеряют на торцовых поверхностях или в местах, указанных на чертеже, в двух взаимно перпендикулярных направлениях по двум точкам на окружности (внешней кромке контролируемой торцовой поверхности), максимально удаленным друг от друга.
9.9.4 Диаметр выплавки измеряют металлической линейкой или приспособлением для контроля глубины и диаметров поверхностных дефектов по ГОСТ 30762 в месте его максимального размера.
9.9.5 Высоту изделий измеряют один раз одним из следующих способов:
- измерительную металлическую линейку вводят в канал изделия и проводят отсчет высоты по шкале с использованием вспомогательных устройств, например, нижней грани поверочной стальной линейки, которую устанавливают на верхнюю торцовую поверхность изделия с противоположной стороны измерительной металлической линейки;
- штангенглубиномер вводят в канал изделия, прижимают рамку к верхней торцовой поверхности, опускают измерительную штангу до соприкосновения с плитой и проводят отсчет;
- изделие устанавливают на основание штангенрейсмаса, опускают рамку до соприкосновения измерительной ножки с верхней торцовой поверхностью изделия и проводят отсчет.
9.9.5.1 Высоту шестигранных насадочных изделий измеряют по центральному отверстию.
9.9.6 Высоту буртика и глубину паза изделия измеряют два раза по обе стороны от оси симметрии измерительной металлической линейкой и вспомогательными устройствами по ГОСТ 30762, раздел 4.
Допускается проводить измерения по ГОСТ 30762, используя приспособления для контроля глубины диаметров поверхностных дефектов.
9.9.7 Кривизну измеряют с использованием клина (при норме по кривизне от 1,0 мм и выше) или щупа (при норме по кривизне менее 1,0 мм).
Допускается использовать калиброванный щуп-шаблон шириной 10 мм и толщиной, превышающей норму на 0,10 мм.
Изделие посередине слегка прижимают к поверочной плите и клин или щуп (щуп-шаблон) вводят без усилия в зазор между поверочной плитой и изделием путем скольжения по плите вдоль всей длины изделия. Выполняют одно измерение на контролируемой поверхности.
При использовании поверочной стальной линейки ее устанавливают на измеряемую поверхность изделия ребром по диагонали измеряемой поверхности, слегка прижимают посередине и клин или щуп (щуп-шаблон) вводят без усилия в зазор между изделием и линейкой путем скольжения по изделию вдоль всей длины изделия. Длина поверочной стальной линейки должна превышать длину диагонали изделия. Выполняют не менее двух измерений при различных положениях линейки на поверхности изделия, в том числе по диагоналям изделия.
Размер максимального зазора между изделием и плитой или поверочной стальной линейкой измеряют по показанию клина относительно грани изделия, перпендикулярной к плите или вертикальной грани линейки, если используют щуп (щуп-шаблон), то он не должен входить в зазор.
9.10 Строение в изломе (разрезе), маркировку и упаковку изделий оценивают визуально. Поверхность излома (разреза) получают приложением ударной нагрузки или резкой.
10. Транспортирование и хранение
10.1 Транспортирование и хранение - по
ГОСТ 24717.
10.2 Срок хранения изделий не ограничен.
11. Гарантии изготовителя
11.1 Готовые изделия должны быть приняты отделом технического контроля предприятия-изготовителя.
11.2 Изготовитель гарантирует соответствие выпускаемых изделий требованиям настоящего стандарта при соблюдении правил транспортирования и хранения.
(справочное)
И СРЕДНЯЯ КАЖУЩАЯСЯ ПЛОТНОСТЬ ИЗДЕЛИЙ
А.1 Расчетные объем, масса и средняя кажущаяся плотность изделий приведены в таблице А.1.
Таблица А.1
Номер изделия | Объем, см3 | Масса, кг, для марки |
ДВ | ШВ-28, ШВУ-28 | ШВ-37 | ШВ-42, ШВУ-42 | МКРВ-50 | МКРФВ-52 | МКВ-72, МКВУ-72 | МКФВ-80 |
Средняя кажущаяся плотность, г/см3 |
1,90 | 2,00 | 2,25 | 2,30 | 2,40 | 2,45 | 2,55 | 2,70 |
1 | 2590 | 4,9 | 5,2 | 5,4 | 5,9 | 6,2 | - | 7,0 | - |
2 | 3880 | 7,4 | 7,7 | 8,1 | 8,9 | 9,3 | 8,9 | 10,5 | 10,5 |
3 | 5060 | 9,6 | 10,1 | 10,6 | 11,6 | 12,1 | 11,6 | 13,7 | 13,7 |
4 | 3450 | 6,6 | - | - | - | - | - | - | - |
5 | 5175 | 9,8 | - | - | - | - | - | - | - |
6 | 6750 | 12,8 | - | - | - | - | - | - | - |
7 | 2460 | 4,7 | 4,9 | 5,2 | 5,7 | 5,9 | - | 6,6 | - |
8 | 2330 | 4,4 | 4,7 | 4,9 | 5,4 | 5,6 | - | 6,3 | - |
9 | 3560 | 6,8 | 7,1 | 7,5 | 8,2 | 8,5 | - | 9,6 | - |
10 | 3360 | 6,4 | 6,7 | 7,1 | 7,7 | 8,1 | 7,7 | 9,1 | 9,1 |
11 | 4470 | 8,5 | 8,9 | 9,4 | 10,3 | 10,7 | 10,3 | 12,1 | 12,1 |
12 | 3280 | 6,2 | - | - | - | - | - | - | - |
13 | 3160 | 6,0 | - | - | - | - | - | - | - |
14 | 4660 | 8,9 | - | - | - | - | - | - | - |
15 | 4480 | 8,5 | - | - | - | - | - | - | - |
16 | 5960 | 11,3 | - | - | - | - | - | - | - |
17 | 4480 | 8,5 | - | - | - | - | - | 12,1 | - |
18 | 4190 | 8,0 | - | - | - | - | - | 11,3 | - |
19 | 3900 | 7,4 | - | - | - | - | - | 10,5 | - |
20 | 4760 | 9,1 | - | - | - | - | | 12,9 | - |
21 | 4630 | 8,8 | - | - | - | - | | 12,5 | - |
22 | 4490 | 8,5 | - | - | - | - | | 12,1 | - |
23 | 4330 | 8,2 | - | - | - | - | | 11,7 | - |
24 | 4190 | 8,0 | - | - | - | - | | 11,3 | - |
25 | 4930 | 9,4 | - | - | - | - | 11,3 | 13,3 | 13,3 |
26 | 4770 | 9,1 | - | - | - | - | - | 12,9 | - |
27 | 4630 | 8,8 | - | - | - | - | 10,6 | 12,5 | 12,5 |
28 | 4470 | 8,5 | - | - | - | - | - | 12,1 | - |
29 | 4330 | 8,2 | - | - | - | - | 10,0 | 11,7 | 11,7 |
30 | 5060 | 9,6 | - | - | - | - | - | 13,7 | - |
31 | 4960 | 9,4 | - | - | - | - | - | 13,4 | - |
32 | 4760 | 9,0 | - | - | - | - | - | 12,9 | - |
33 | 4660 | 8,9 | - | - | - | - | - | 12,6 | - |
34 | 4460 | 8,5 | - | - | - | - | - | 12,0 | - |
35 | 5150 | 9,8 | - | - | - | - | - | 13,9 | - |
36 | 5020 | 9,5 | - | - | - | - | - | 13,6 | - |
37 | 4840 | 9,2 | - | - | - | - | - | 13,1 | - |
38 | 4710 | 8,9 | - | - | - | - | - | 12,7 | - |
39 | 4540 | 8,6 | - | - | - | - | - | 12,3 | - |
40 | 5260 | 10,0 | - | - | - | - | - | 14,2 | - |
41 | 5320 | 10,1 | - | - | - | - | - | 14,4 | - |
42 | 5000 | 9,5 | - | - | - | - | - | 13,5 | - |
43 | 4700 | 8,9 | - | - | - | - | - | 12,7 | - |
44 | 5130 | 9,7 | - | - | - | - | - | 13,9 | - |
45 | 4800 | 9,1 | - | - | - | - | - | 13,0 | - |
46 | 5200 | 9,9 | - | - | - | - | - | 14,0 | - |
47 | 4890 | 9,3 | - | - | - | - | - | 13,2 | - |
48 | 5500 | 10,5 | - | - | - | - | - | 14,9 | - |
49 | 5180 | 9,8 | - | - | - | - | - | 14,0 | - |
50 | 5430 | 10,3 | - | - | - | - | - | 14,7 | - |
51 | 5110 | 9,7 | - | - | - | - | - | 13,8 | - |
52 | 5370 | 10,2 | - | - | - | - | - | 14,5 | - |
53 | 5050 | 9,6 | - | - | - | - | - | 13,6 | - |
54 | 5300 | 10,1 | - | - | - | - | - | 14,3 | - |
55 | 4980 | 9,5 | - | - | - | - | - | 13,4 | - |
56 | 7190 | 13,7 | - | - | - | - | - | 19,4 | - |
57 | 6850 | 13,0 | - | - | - | - | - | 18,5 | - |
58 | 6950 | 13,2 | - | - | - | - | - | 18,8 | - |
59 | 6630 | 12,6 | - | - | - | - | - | 17,6 | - |
60 | 6320 | 12,0 | - | - | - | - | - | 17,1 | - |
61 | 5660 | 10,8 | - | - | - | - | - | 15,3 | - |
62 | 6350 | 12,1 | - | - | - | - | - | 17,1 | - |
63 | 5025 | 9,5 | - | - | - | - | - | 13,6 | - |
64 | 20700 | 39,3 | - | - | - | - | 47,6 | 55,8 | 55,9 |
65 | 21710 | 41,2 | - | - | - | - | - | 58,6 | - |
66 | 22720 | 43,2 | - | - | - | - | - | 61,3 | - |
67 | 23030 | 43,8 | - | - | - | - | - | 62,2 | - |
68 | 23300 | 44,3 | - | - | - | - | - | 63,0 | - |
69 | 18700 | 35,5 | - | - | - | - | - | 50,5 | - |
70 | 17300 | 32,9 | - | - | - | - | - | 46,7 | - |
71 | 19370 | 36,8 | - | - | - | - | - | 52,3 | - |
72 | 20040 | 38,1 | - | - | - | - | - | 54,1 | - |
73 | 17050 | 32,4 | - | - | - | - | - | 46,0 | - |
74 | 29700 | 56,4 | - | - | - | - | - | 80,2 | - |
75 | 1200 | 2,3 | 2,4 | 2,5 | 2,9 | - | - | 3,2 | - |
76 | 1275 | 2,4 | 2,5 | 2,7 | 3,1 | - | - | 3,4 | - |
77 | 1950 | 3,7 | 3,9 | 4,1 | 4,7 | - | - | 5,3 | - |
78 | 1725 | 3,3 | 3,5 | 3,6 | 4,1 | - | - | 4,7 | - |
79 | 1775 | 3,4 | 3,6 | 3,7 | 4,3 | - | - | 4,8 | - |
80 | 2450 | 4,7 | 4,9 | 5,1 | 5,9 | - | - | 6,6 | - |
81 | 970 | 1,8 | - | 2,0 | 2,3 | - | - | 2,6 | - |
82 | 1270 | 2,4 | - | 2,7 | 2,9 | 3,0 | 2,9 | 3,4 | 3,4 |
83 | 1680 | 3,2 | - | 3,5 | 3,9 | 4,0 | - | 4,5 | - |
84 | 1990 | 3,8 | - | 4,2 | 4,6 | 4,8 | - | 5,4 | - |
85 | 820 | 1,6 | - | 1,7 | 1,9 | 2,0 | - | 2,2 | - |
86 | 1070 | 2,0 | - | 2,2 | 2,5 | 2,6 | 2,5 | 2,9 | 2,9 |
87 | 1560 | 3,0 | - | 3,3 | 3,6 | 3,7 | 3,6 | 4,2 | 4,2 |
88 | 1430 | 2,7 | - | 3,0 | 3,3 | 3,4 | - | 3,9 | - |
89 | 1845 | 3,5 | - | 3,9 | 4,2 | 4,4 | - | 5,0 | - |
90 | 2175 | 4,1 | - | - | - | - | - | 5,9 | - |
91 | 2100 | 4,0 | - | - | - | - | - | 5,7 | - |
92 | 2025 | 3,8 | - | - | - | - | - | 5,5 | - |
93 | 2540 | 4,8 | - | - | - | - | - | 6,9 | - |
94 | 2450 | 4,7 | - | - | - | - | - | 6,6 | - |
95 | 2365 | 4,5 | - | - | - | - | - | 6,4 | - |
96 | 2900 | 5,5 | - | - | - | - | - | 7,8 | - |
97 | 2800 | 5,3 | - | - | - | - | - | 7,6 | - |
98 | 2700 | 5,1 | - | - | - | - | - | 7,3 | - |
99 | 2925 | 5,6 | - | - | - | - | - | 7,9 | - |
100 | 3035 | 5,8 | - | - | - | - | - | 8,2 | - |
101 | 3150 | 6,0 | - | - | - | - | - | 8,5 | - |
102 | 3260 | 6,2 | - | - | - | - | - | 8,8 | - |
103 | 3250 | 6,2 | - | - | - | - | - | 8,8 | - |
104 | 3375 | 6,4 | - | - | - | - | - | 9,1 | - |
105 | 3500 | 6,7 | - | - | - | - | - | 9,5 | - |
106 | 3625 | 6,9 | - | - | - | - | - | 9,8 | - |