Список изменяющих документов (в ред. Изменения N 1, утв. в марте 1981 г., Изменения N 2, утв. в ноябре 1983 г., Изменения N 3, утв. в октябре 1986 г., Изменения N 4, утв. в октябре 1988 г., Изменения N 5, утв. в декабре 1991 г.) |
Обозначение НТД, на которые дана ссылка | Номер пункта | ||||
| |||||
ГОСТ 2642.0-86 | |||||
ГОСТ 4072.2-94 | |||||
| |||||
ГОСТ 24717-94 | |||||
Тип изделия | Марка | Характеристика изделия | Применение |
Динасовые | ДВ | Динасовые с массовой долей SiO2 не менее 93% | В интервале температур 1100 - 1550 °C: при 1100 °C и нагрузке не более 2 Н/мм2; при 1500 °C и нагрузке не более 0,5 Н/мм2; при 1550 °C и нагрузке до 0,2 Н/мм2 в кладке насадки, стен, купола, верха камеры горения, штуцеров и воздухопроводов горячего дутья |
Алюмосиликатные | МКВ-72 | Муллитокорундовые с массовой долей Al2O3 не менее 72% | В интервале температур 1100 - 1450 °C: при 1100 - 1200 °C и нагрузке не более 0,6 Н/мм2 в кладке насадки; при 1450 °C и нагрузке не более 0,3 Н/мм2 в кладке стен, купола, камеры горения и тракта горячего дутья |
То же | В интервале температур 1100 - 1200 °C и нагрузке не более 0,7 Н/мм2 в кладке насадки | ||
МКРВ-50 | Муллитокремнеземистые с массовой долей Al2O3 не менее 50% | В интервале температур 1200 - 1350 °C: при 1200 °C и нагрузке не более 0,5 Н/мм2; при 1350 °C и нагрузке не более 0,1 Н/мм2 в кладке насадки, камеры горения; при 1350 °C и нагрузке не более 0,2 Н/мм2 в кладке стен, штуцеров и воздухопроводов горячего дутья | |
ШВ-42 | Шамотные с массовой долей Al2O3 не менее 42% | В интервале температур 900 - 1300 °C: при 900 °C и нагрузке не более 1,5 Н/мм2; при 1200 °C и нагрузке не более 0,5 Н/мм2 в кладке насадки; при 1300 °C и нагрузке не более 0,2 Н/мм2 в кладке стен, штуцеров и воздухопроводов горячего дутья | |
ШВ-37 | Шамотные с массовой долей Al2O3 не менее 37% | В интервале температур 700 - 900 °C: при 700 °C и нагрузке не более 3 Н/мм2; при 900 °C и нагрузке не более 1 Н/мм2 в кладке насадки и стен, штуцеров и воздухопроводов горячего дутья | |
ШВ-1-37 | То же | В интервале температур 700 - 900 °C: при 700 °C и нагрузке не более 2,5 Н/мм2; при 900 °C и нагрузке не более 0,8 Н/мм2 в кладке насадки, стен, штуцеров и воздухопроводов | |
ШВ-29 | Шамотные с массовой долей Al2O3 не менее 29% | При температуре не выше 700 °C и нагрузке не более 2,5 Н/мм2 в кладке насадки | |
ШВ-28 | Шамотные с массовой долей Al2O3 не менее 28% | При температуре не выше 700 °C и нагрузке не более 2 Н/мм2 в кладке насадки и стен |

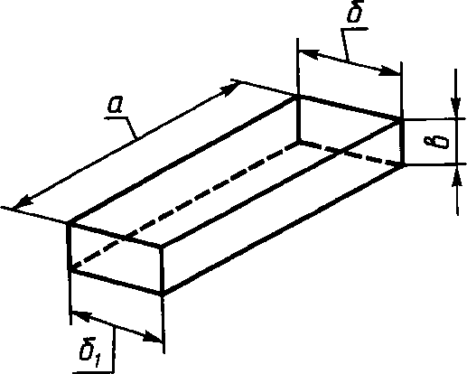
Номер изделия | а | б | в |
мм | |||
1 | 230 | 150 | 75 |
2 | 345 | 150 | 75 |
3 | 450 | 150 | 75 |
4 | 230 | 150 | 100 |
5 | 345 | 150 | 100 |
6 | 450 | 150 | 100 |

Номер изделия | а | б | б1 | в | Номер изделия | а | б | б1 | в |
мм | мм | ||||||||
7 | 230 | 150 | 135 | 75 | 12 | 230 | 150 | 135 | 100 |
8 | 230 | 150 | 120 | 75 | 13 | 230 | 150 | 125 | 100 |
9 | 345 | 150 | 125 | 75 | 14 | 345 | 150 | 120 | 100 |
10 | 345 | 150 | 110 | 75 | 15 | 345 | 150 | 110 | 100 |
11 | 450 | 150 | 115 | 75 | 16 | 450 | 150 | 115 | 100 |

Номер изделия | а | б | в | г | д | е | ж |
мм | |||||||
17 | 450 | 150 | 117 | 84 | 84 | 65 | 65 |
18 | 450 | 150 | 117 | 84 | 74 | 65 | 57 |
19 | 450 | 150 | 117 | 84 | 64 | 65 | 49 |
20 | 450 | 150 | 125 | 84 | 84 | 70 | 70 |
21 | 450 | 150 | 125 | 84 | 79 | 70 | 66 |
22 | 450 | 150 | 125 | 84 | 74 | 70 | 62 |
23 | 450 | 150 | 125 | 84 | 69 | 70 | 58 |
24 | 450 | 150 | 125 | 84 | 64 | 70 | 53 |
25 | 450 | 150 | 129 | 84 | 84 | 73 | 73 |
26 | 450 | 150 | 129 | 84 | 79 | 73 | 69 |
27 | 450 | 150 | 129 | 84 | 74 | 73 | 64 |
28 | 450 | 150 | 129 | 84 | 69 | 73 | 60 |
29 | 450 | 150 | 129 | 84 | 64 | 73 | 56 |
30 | 450 | 150 | 133 | 84 | 84 | 75 | 75 |
31 | 450 | 150 | 133 | 84 | 80 | 75 | 71 |
32 | 450 | 150 | 133 | 84 | 74 | 75 | 66 |
33 | 450 | 150 | 133 | 84 | 70 | 75 | 63 |
34 | 450 | 150 | 133 | 84 | 64 | 75 | 57 |
35 | 450 | 150 | 136 | 84 | 84 | 76 | 76 |
36 | 450 | 150 | 136 | 84 | 80 | 76 | 72 |
37 | 450 | 150 | 136 | 84 | 74 | 76 | 67 |
38 | 450 | 150 | 136 | 84 | 70 | 76 | 63 |
39 | 450 | 150 | 136 | 84 | 64 | 76 | 58 |
40 | 450 | 150 | 140 | 84 | 84 | 76 | 76 |
41 | 450 | 150 | 140 | 84 | 84 | 79 | 79 |
42 | 450 | 150 | 140 | 84 | 74 | 79 | 70 |
43 | 450 | 150 | 140 | 84 | 64 | 79 | 60 |
44 | 450 | 150 | 150 | 84 | 84 | 68 | 68 |
45 | 450 | 150 | 150 | 84 | 74 | 68 | 58 |
46 | 450 | 150 | 150 | 84 | 84 | 70 | 70 |
47 | 450 | 150 | 150 | 84 | 74 | 70 | 67 |
48 | 450 | 150 | 150 | 84 | 84 | 79 | 79 |
49 | 450 | 150 | 150 | 84 | 74 | 79 | 69 |
50 | 450 | 150 | 150 | 84 | 84 | 77 | 77 |
51 | 450 | 150 | 150 | 84 | 74 | 77 | 67 |
52 | 450 | 150 | 150 | 84 | 84 | 75 | 75 |
53 | 450 | 150 | 150 | 84 | 74 | 75 | 65 |
54 | 450 | 150 | 150 | 84 | 84 | 73 | 73 |
55 | 450 | 150 | 150 | 84 | 74 | 73 | 63 |
56 | 450 | 150 | 150 | 110 | 110 | 103 | 103 |
57 | 450 | 150 | 150 | 110 | 100 | 103 | 93 |
58 | 450 | 150 | 140 | 110 | 110 | 103 | 103 |
59 | 450 | 150 | 140 | 110 | 100 | 103 | 94 |
60 | 450 | 150 | 140 | 110 | 90 | 103 | 84 |

Номер изделия | а | б | б1 | в | в1 |
мм | |||||
61 | 450 | 100 | 90 | 129 | 136 |
62 | 450 | 100 | 90 | 147 | 150 |
63 | 450 | 84 | 76 | 143 | 136 |

Номер изделия | а | R1 | R2 | R3 | R4 |
мм | |||||
64 | 450 | 480 | 300 | 400 | 252 |
65 | 450 | 480 | 300 | 412 | 252 |
66 | 450 | 480 | 300 | 425 | 252 |
67 | 450 | 480 | 300 | 429 | 252 |
68 | 450 | 480 | 300 | 433 | 253 |
69 | 450 | 450 | 300 | 420 | 280 |
70 | 450 | 450 | 300 | 390 | 260 |





Номер изделия | а | б | в |
мм | |||
75 | 230 | 130 | 40 |
76 | 170 | 150 | 50 |
77 | 230 | 170 | 50 |
78 | 230 | 150 | 50 |



Номер изделия | а | б | в |
мм | |||
81 | 230 | 65 | 65 |
82 | 230 | 85 | 65 |
83 | 230 | 113 | 65 |
84 | 250 | 123 | 65 |

Номер изделия | а | б | в | в1 | Номер изделия | а | б | в | в1 |
мм | мм | ||||||||
85 | 230 | 65 | 65 | 45 | 96 | 250 | 160 | 75 | 70 |
86 | 230 | 85 | 65 | 45 | 97 | 250 | 160 | 75 | 65 |
87 | 230 | 113 | 65 | 55 | 98 | 250 | 160 | 75 | 60 |
88 | 230 | 113 | 65 | 45 | 99 | 250 | 180 | 75 | 55 |
89 | 250 | 123 | 65 | 55 | 100 | 250 | 180 | 75 | 60 |
90 | 250 | 120 | 75 | 70 | 101 | 250 | 180 | 75 | 65 |
91 | 250 | 120 | 75 | 65 | 102 | 250 | 180 | 75 | 70 |
92 | 250 | 120 | 75 | 60 | 103 | 250 | 200 | 75 | 55 |
93 | 250 | 140 | 75 | 70 | 104 | 250 | 200 | 75 | 60 |
94 | 250 | 140 | 75 | 65 | 105 | 250 | 200 | 75 | 65 |
95 | 250 | 140 | 75 | 60 | 106 | 250 | 200 | 75 | 70 |
Размеры | Пред. откл. для изделий, мм | |
насадочных | стеновых, купольных и для воздухопроводов | |
Длина и радиус изделий: | ||
- до 230 мм | -2 | +/- 2 |
- св. 230 до 350 мм | - | +/- 3 |
- св. 350 до 450 мм | - | +/- 4 |
Ширина | -2 | +/- 2 |
Толщина | +/- 1 | +/- 1 |
Размеры | Пред. откл., мм |
Расстояние между параллельными гранями | -2 |
Толщина | +/- 2 |
Диаметр отверстий | +/- 2 |
Наименование показателя | Нормы для изделий марок | ||||||||
ШВ-37 | МКВ-72 | МКВН-72 | ДВ | ШВ-28 | ШВ-29 | ШВ 1-37 | ШВ-42 | МКРВ-50 | |
1. Массовая доля SiO2, %, свыше | - | - | - | 93 | - | - | - | - | - |
2. Массовая доля Al2O3, %, не менее | 37 | 72 | 72 | - | 28 | 29 | 37 | 42 | 50 |
3. Массовая доля Fe2O3, %: | |||||||||
- не более | Не нормируется | 1,2 | 1,1 | - | Не нормируется | 1,7 | 1,4 | ||
- не менее | - | - | - | 2,0 | - | - | - | - | - |
4. Огнеупорность, °C, не ниже | 1730 | - | - | 1690 | 1670 | 1670 | 1730 | 1750 | - |
5. Дополнительная линейная усадка при выдержке 2 ч, %, не более, при температуре, °C: | |||||||||
1350 | 0,2 | - | - | - | 0,5 | 0,4 | 0,3 | - | - |
1450 | - | - | - | - | - | - | - | 0,4 | - |
1500 | - | - | - | - | - | - | - | - | 0,4 |
1600 | - | 0,8 | 0,8 | - | - | - | - | - | - |
6. Дополнительный рост при выдержке 2 ч и температуре 1450 °C, %, не более | - | - | - | 0,4 | - | - | - | - | - |
7. Температура начала размягчения, °C, не ниже | 1330 | 1550 | 1580 | 1620 | 1270 | 1300 | 1320 | 1500 | 1540 |
8. Плотность, г/см3, не более | - | - | - | 2,37 | - | - | - | - | - |
9. Пористость открытая, %, не более, для изделий: | |||||||||
- насадочных | 23 | 21 | 23 | 22 | 25 | 24 | 24 | 14 - 20 | 21 |
- стеновых, купольных и для воздухопроводов | 25 | 24 | - | 24 | 27 | - | 26 | 14 - 20 | 23 |
10. Предел прочности при сжатии, Н/мм2, не менее, для изделий: | |||||||||
- насадочных | 20,0 | 50,0 | 40,0 | 30,0 | 15,0 | 20,0 | 17,5 | 40,0 | 40,0 |
- стеновых, купольных и для воздухопроводов | 20,0 | 30,0 | - | 27,5 | 15,0 | - | 17,5 | 30,0 | 30,0 |
11. Кривизна изделий, мм, не более: | |||||||||
- для кладки насадки, куполов | 2 | ||||||||
- для кладки стен: | |||||||||
при длине изделия до 345 мм | 2 | ||||||||
при длине изделия св. 345 до 450 мм | 3 | ||||||||
- для кладки воздухопроводов | 1 | ||||||||
12. Отбитость на углах и ребрах глубиной, мм, не более, для изделий: | |||||||||
- насадочных и для воздухопровода | 5 | ||||||||
- стеновых и купольных | 8 | ||||||||
13. Выплавки отдельные диаметром (по впадине), мм, не более | 5 | ||||||||
14. Посечки шириной св. 0,3 до 0,5 мм | Допускаются длиной не более 50 мм | ||||||||
15. Трещины | Не допускаются | ||||||||

ИС МЕГАНОРМ: примечание. Взамен ГОСТ 24717-94 Приказом Ростехрегулирования от 30.03.2005 N 66-ст с 1 января 2006 года введен в действие ГОСТ 24717-2004. |
Марка изделия | Средняя кажущаяся плотность, г/см3 |
ШВ-29, ШВ-28 | 2,0 |
ШВ-37, ШВ 1-37 | 2,1 |
ШВ-42 | 2,3 |
МКРВ-50 | 2,4 |
МКВ-72, МКВН-72 | 2,7 |
ДВ | 1,9 |
Номер изделия | Объем, см3 | Масса, кг, для измерения марок | ||||||||
ШВ-29 | ШВ-37 | ШВ-42 | МКВ-72 | МКВН-72 | ДВ | ШВ-28 | ШВ 1-37 | МКРВ-50 | ||
1 | 2590 | - | 5,4 | 5,9 | 7,0 | - | 4,9 | 5,2 | 5,4 | 6,2 |
2 | 3880 | - | 8,1 | 8,9 | 10,5 | - | 7,4 | 7,7 | 8,1 | 9,3 |
3 | 5060 | - | 10,6 | 11,6 | 13,6 | - | 9,6 | 10,1 | 10,6 | 12,1 |
4 | 3450 | - | - | - | - | - | 6,6 | - | - | - |
5 | 5175 | - | - | - | - | - | 9,8 | - | - | - |
6 | 6750 | - | - | - | - | - | 12,8 | - | - | - |
7 | 2460 | - | 5,2 | 5,6 | 6,6 | - | 4,7 | 4,9 | 5,2 | 5,9 |
8 | 2330 | - | 4,9 | 5,4 | 6,3 | - | 4,4 | 4,7 | 4,9 | 5,6 |
9 | 3560 | - | 7,5 | 8,2 | 9,6 | - | 6,8 | 7,1 | 7,5 | 8,5 |
10 | 3360 | - | 7,0 | 7,7 | 9,1 | - | 6,4 | 6,7 | 7,0 | 8,0 |
11 | 4470 | - | 9,3 | 10,5 | 12,1 | - | 8,5 | 8,9 | 9,3 | 10,7 |
12 | 3280 | - | - | - | - | - | 6,2 | - | - | - |
13 | 3160 | - | - | - | - | - | 6,0 | - | - | - |
14 | 4660 | - | - | - | - | - | 8,9 | - | - | - |
15 | 4480 | - | - | - | - | - | 8,5 | - | - | - |
16 | 5960 | - | - | - | - | - | 11,3 | - | - | - |
17 | 4480 | - | - | - | 12,1 | - | 8,5 | - | - | - |
18 | 4190 | - | - | - | 11,3 | - | 8,0 | - | - | - |
19 | 3900 | - | - | - | 10,5 | - | 7,4 | - | - | - |
20 | 4760 | - | - | - | 12,8 | - | 9,1 | - | - | - |
21 | 4630 | - | - | - | 12,5 | - | 8,9 | - | - | - |
22 | 4490 | - | - | - | 12,1 | - | 8,5 | - | - | - |
23 | 4330 | - | - | - | 11,7 | - | 8,2 | - | - | - |
24 | 4190 | - | - | - | 11,3 | - | 8,0 | - | - | - |
25 | 4930 | - | - | - | 13,3 | - | 9,5 | - | - | - |
26 | 4770 | - | - | - | 12,9 | - | 9,1 | - | - | - |
27 | 4630 | - | - | - | 12,5 | - | 8,9 | - | - | - |
28 | 4470 | - | - | - | 12,1 | - | 8,2 | - | - | - |
29 | 4330 | - | - | - | 11,7 | - | 8,2 | - | - | - |
30 | 5060 | - | - | - | 13,6 | - | 9,7 | - | - | - |
31 | 4960 | - | - | - | 13,4 | - | 9,5 | - | - | - |
32 | 4760 | - | - | - | 12,8 | - | 9,1 | - | - | - |
33 | 4660 | - | - | - | 12,6 | - | 8,9 | - | - | - |
34 | 4460 | - | - | - | 12,0 | - | 8,5 | - | - | - |
35 | 5150 | - | - | - | 13,9 | - | 9,8 | - | - | - |
36 | 5020 | - | - | - | 13,5 | - | 9,6 | - | - | - |
37 | 4840 | - | - | - | 13,1 | - | 9,2 | - | - | - |
38 | 4710 | - | - | - | 12,7 | - | 8,9 | - | - | - |
39 | 4540 | - | - | - | 12,3 | - | 8,6 | - | - | - |
40 | 5260 | - | - | - | 14,2 | - | 10,0 | - | - | - |
41 | 5320 | - | - | - | 14,3 | - | 10,1 | - | - | - |
42 | 5000 | - | - | - | 13,5 | - | 9,5 | - | - | - |
43 | 4700 | - | - | - | 12,7 | - | 8,9 | - | - | - |
44 | 5130 | - | - | - | 13,9 | - | 9,8 | - | - | - |
45 | 4800 | - | - | - | 13,0 | - | 9,2 | - | - | - |
46 | 5200 | - | - | - | 14,0 | - | 9,9 | - | - | - |
47 | 4890 | - | - | - | 13,3 | - | 9,3 | - | - | - |
48 | 5500 | - | - | - | 14,8 | - | 10,5 | - | - | - |
49 | 5180 | - | - | - | 14,0 | - | 9,9 | - | - | - |
50 | 5430 | - | - | - | 14,7 | - | 10,3 | - | - | - |
51 | 5110 | - | - | - | 13,8 | - | 9,7 | - | - | - |
52 | 5370 | - | - | - | 14,5 | - | 10,2 | - | - | - |
53 | 5050 | - | - | - | 13,6 | - | 9,6 | - | - | - |
54 | 5300 | - | - | - | 14,3 | - | 10,1 | - | - | - |
55 | 4980 | - | - | - | 13,5 | - | 9,5 | - | - | - |
56 | 7190 | - | - | - | 20,0 | - | 13,7 | - | - | - |
57 | 6850 | - | - | - | 18,5 | - | 13,0 | - | - | - |
58 | 6950 | - | - | - | 18,7 | - | 13,2 | - | - | - |
59 | 6630 | - | - | - | 17,6 | - | 12,6 | - | - | - |
60 | 6320 | - | - | - | 15,7 | - | 12,0 | - | - | - |
61 | 5660 | - | - | - | 15,3 | - | 10,8 | - | - | - |
62 | 6350 | - | - | - | 17,1 | - | 12,1 | - | - | - |
63 | 5025 | - | - | - | 13,5 | - | 9,5 | - | - | - |
64 | 20700 | - | - | - | 55,8 | - | 39,3 | - | - | - |
65 | 21710 | - | - | - | 58,5 | - | 41,2 | - | - | - |
66 | 22720 | - | - | - | 61,0 | - | 43,2 | - | - | - |
67 | 23030 | - | - | - | 62,0 | - | 43,8 | - | - | - |
68 | 23300 | - | - | - | 63,0 | - | 44,3 | - | - | - |
69 | 18700 | - | - | - | 50,5 | - | 35,5 | - | - | - |
70 | 17300 | - | - | - | 46,7 | - | 32,9 | - | - | - |
71 | 19370 | - | - | - | 52,0 | - | 36,8 | - | - | - |
72 | 20040 | - | - | - | 54,0 | - | 38,1 | - | - | - |
73 | 17050 | - | - | - | 45,9 | - | 32,4 | - | - | - |
74 | 29700 | - | - | - | 80,0 | - | 56,4 | - | - | - |
75 | 1200 | 2,4 | 2,5 | 2,8 | 3,0 | 3,0 | 2,3 | 2,4 | 2,5 | 2,9 |
76 | 1275 | 2,5 | 2,7 | 2,9 | 3,2 | 3,2 | 2,4 | 2,5 | 2,7 | 3,0 |
77 | 1950 | 3,9 | 4,1 | 4,5 | 4,9 | 4,9 | 3,7 | 3,9 | 4,1 | 4,7 |
78 | 1725 | 3,5 | 3,6 | 4,0 | 4,3 | 4,3 | 3,3 | 3,5 | 3,6 | 4,1 |
79 | 1775 | 3,5 | 3,7 | 4,1 | 4,8 | 4,8 | 3,4 | 3,5 | 3,7 | 4,3 |
80 | 2450 | 4,9 | 5,1 | 5,6 | 6,6 | 6,6 | 4,7 | 4,9 | 5,1 | 5,9 |
81 | 970 | - | 2,0 | 2,2 | 2,6 | 2,6 | 1,8 | - | 2,0 | 2,3 |
82 | 1270 | - | 2,7 | 2,9 | 3,4 | 3,4 | 2,4 | - | 2,7 | 3,0 |
83 | 1680 | - | 3,5 | 3,9 | 4,5 | 4,5 | 3,2 | - | 3,5 | 4,0 |
84 | 1990 | - | 4,2 | 4,6 | 5,4 | 5,4 | 3,8 | - | 4,2 | 4,8 |
85 | 820 | - | 1,7 | 1,9 | 2,2 | 2,2 | 1,6 | - | 1,7 | 2,0 |
86 | 1070 | - | 2,2 | 2,4 | 2,9 | 2,9 | 2,0 | - | 2,2 | 2,5 |
87 | 1560 | - | 3,3 | 3,6 | 4,2 | 4,2 | 3,0 | - | 3,3 | 3,7 |
88 | 1430 | - | 3,0 | 3,3 | 3,8 | 3,8 | 2,7 | - | 3,0 | 3,4 |
89 | 1845 | - | 3,9 | 4,2 | 5,0 | 5,0 | 3,5 | - | 3,9 | 4,4 |
90 | 2175 | - | - | - | 5,9 | 5,9 | 4,1 | - | - | - |
91 | 2100 | - | - | - | 5,7 | 5,7 | 4,0 | - | - | - |
92 | 2025 | - | - | - | 5,5 | 5,5 | 3,8 | - | - | - |
93 | 2540 | - | - | - | 6,9 | 6,9 | 4,8 | - | - | - |
94 | 2450 | - | - | - | 6,6 | 6,6 | 4,7 | - | - | - |
95 | 2365 | - | - | - | 6,4 | 6,4 | 4,5 | - | - | - |
96 | 2900 | - | - | - | 7,8 | 7,8 | 5,5 | - | - | - |
97 | 2800 | - | - | - | 7,6 | 7,6 | 5,3 | - | - | - |
98 | 2700 | - | - | - | 7,3 | 7,3 | 5,1 | - | - | - |
99 | 2925 | - | - | - | 7,9 | 7,9 | 5,6 | - | - | - |
100 | 3035 | - | - | - | 8,2 | 8,2 | 5,8 | - | - | - |
101 | 3150 | - | - | - | 8,5 | 8,5 | 6,0 | - | - | - |
102 | 3260 | - | - | - | 8,8 | 8,8 | 6,2 | - | - | - |
103 | 3250 | - | - | - | 8,8 | 8,8 | 6,2 | - | - | - |
104 | 3375 | - | - | - | 9,1 | 9,1 | 6,4 | - | - | - |
105 | 3500 | - | - | - | 9,5 | 9,5 | 6,6 | - | - | - |
106 | 3625 | - | - | - | 9,8 | 9,8 | 6,9 | - | - | - |