Главная // Актуальные документы // ГОСТ (Государственный стандарт)СПРАВКА
Источник публикации
В данном виде документ опубликован не был.
Первоначальный текст документа опубликован в издании
М.: Издательство стандартов, 1983.
Информацию о публикации документов, создающих данную редакцию, см. в справке к этим документам.
Примечание к документу
С 1 июля 2003 года до вступления в силу технических регламентов акты федеральных органов исполнительной власти в сфере технического регулирования носят рекомендательный характер и подлежат обязательному исполнению только в части, соответствующей целям, указанным в
пункте 1 статьи 46 Федерального закона от 27.12.2002 N 184-ФЗ.
Изменение N 1, утв. Постановлением Госстандарта СССР от 27.10.1988 N 3567, введено в действие с 1 апреля 1989 года.
Название документа
"ГОСТ 25714-83. Контроль неразрушающий. Акустический звуковой метод определения открытой пористости, кажущейся плотности, плотности и предела прочности при сжатии огнеупорных изделий"
(утв. Постановлением Госстандарта СССР от 13.04.1983 N 1757)
(ред. от 27.10.1988)
"ГОСТ 25714-83. Контроль неразрушающий. Акустический звуковой метод определения открытой пористости, кажущейся плотности, плотности и предела прочности при сжатии огнеупорных изделий"
(утв. Постановлением Госстандарта СССР от 13.04.1983 N 1757)
(ред. от 27.10.1988)
Утвержден и введен в действие
Постановлением Госстандарта СССР
от 13 апреля 1983 г. N 1757
ГОСУДАРСТВЕННЫЙ СТАНДАРТ СОЮЗА ССР
КОНТРОЛЬ НЕРАЗРУШАЮЩИЙ
АКУСТИЧЕСКИЙ ЗВУКОВОЙ МЕТОД
ОПРЕДЕЛЕНИЯ ОТКРЫТОЙ ПОРИСТОСТИ,
КАЖУЩЕЙСЯ ПЛОТНОСТИ, ПЛОТНОСТИ И ПРЕДЕЛА
ПРОЧНОСТИ ПРИ СЖАТИИ ОГНЕУПОРНЫХ ИЗДЕЛИЙ
Non-destructive control.
Acoustic sound method of open porosity,
apparent density, density and compression
strength testing of refractory articles
ГОСТ 25714-83
| | Список изменяющих документов Госстандарта СССР от 27.10.1988 N 3567) | |
Постановлением Государственного комитета СССР по стандартам от 13 апреля 1983 г. N 1757 срок действия установлен с 01.07.1984 до 01.07.1989.
Разработан Министерством черной металлургии СССР.
Исполнители: Ю.А. Полонский, В.Н. Боричева, Н.К. Сенявин, Г.Я. Зелигер, А.С. Норкина.
Внесен Министерством черной металлургии СССР.
Член коллегии В.Г. Антипин.
Утвержден и введен в действие Постановлением Государственного комитета СССР по стандартам от 13 апреля 1983 г. N 1757.
Настоящий стандарт устанавливает акустический звуковой метод определения открытой пористости, кажущейся плотности, плотности и предела прочности при сжатии огнеупорных изделий.
Сущность метода состоит в использовании статистической связи резонансных частот основного тона изгибных или продольных вынужденных механических колебаний огнеупорных изделий с их открытой пористостью, кажущейся плотностью, плотностью и пределом прочности при сжатии определяемых с помощью уравнений регрессии или номограмм, построенных на их основе.
(в ред.
Изменения N 1, утв. Постановлением Госстандарта СССР от 27.10.1988 N 3567)
Статистическая связь устанавливается для изделий одной марки, одного типоразмера и одинакового способа изготовления.
Стандарт не распространяется на бетонные, безобжиговые, мелкоштучные, фасонные особо сложной конфигурации (кроме сталеразливочных пробок, плит для шиберных затворов), рулонные, листовые, блочные массой свыше 50 кг, пропитанные, оплавленные, кассетированные огнеупорные изделия.
Термины, применяемые в стандарте, и их определения приведены в справочном
Приложении.
| | ИС МЕГАНОРМ: примечание. С 1 июля 2002 года Постановлением Госстандарта РФ от 26.10.2001 N 439-ст введен в действие ГОСТ 24104-2001. | |
| | ИС МЕГАНОРМ: примечание. Взамен ГОСТ 23676-79 Постановлением Госстандарта РФ от 27.03.1992 N 294 с 1 января 1994 года введен в действие ГОСТ 29329-92. | |
Весы лабораторные общего назначения 4-го класса точности по ГОСТ 24104-80 или весы для статического взвешивания среднего 3-го класса точности по ГОСТ 23676-79. Допускается использовать другие весы, обеспечивающие требуемую точность измерения;
(в ред.
Изменения N 1, утв. Постановлением Госстандарта СССР от 27.10.1988 N 3567)
генератор низкочастотный измерительный, генерирующий немодулированные синусоидальные сигналы с нижней границей измеряемых частот не более 0,2 кГц и верхней границей не менее 20,0 кГц с выходным напряжением не менее 30 В;
(в ред.
Изменения N 1, утв. Постановлением Госстандарта СССР от 27.10.1988 N 3567)
частотомер электронно-счетный с нижней границей измеряемых частот не более 0,01 кГц и верхней границей не менее 100,0 кГц;
(в ред.
Изменения N 1, утв. Постановлением Госстандарта СССР от 27.10.1988 N 3567)
осциллограф электронно-лучевой с минимальным коэффициентом отклонения не более 2 мВ/см, имеющий вход на усилитель горизонтального отклонения или горизонтальные пластины (используется как индикатор);
приемоизлучающие системы (черт. 1,
2) с излучающими и приемными преобразователями, способные возбуждать и регистрировать в контролируемых изделиях механические колебания с нижней границей измеряемых частот не более 0,2 кГц и верхней границей не менее 20,0 кГц.
(в ред.
Изменения N 1, утв. Постановлением Госстандарта СССР от 27.10.1988 N 3567)
Приемоизлучающая система для изделий нормальных размеров,
фасонных простой и сложной конфигурации
1 - раздвижные опоры; 2 - передвижные кронштейны;
3 - излучающий преобразователь для возбуждения в изделиях
изгибных колебаний; 4 - излучающий преобразователь
для возбуждения в изделиях продольных колебаний;
5 - приемный преобразователь продольных колебаний;
6 - переносный приемный преобразователь
Госстандарта СССР от 27.10.1988 N 3567)
Черт. 1
Приемоизлучающая система для сталеразливочных пробок
1 - основание; 2 - колонна; 3 - обойма;
4 - кольцевая опора; 5 - излучающий преобразователь;
6 - приемный преобразователь
Черт. 2
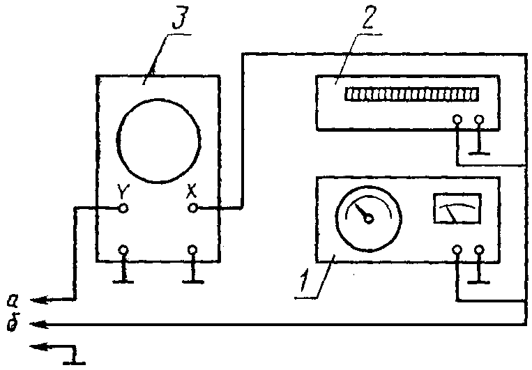
Блок-схема соединения радиотехнических приборов для определения резонансной частоты изгибных или продольных колебаний изделия приведена на черт. 3.
Блок-схема соединения радиотехнических приборов
для определения резонансной частоты изгибных
или продольных колебаний изделия
1 - генератор низкочастотный измерительный;
2 - частотомер электронно-счетный;
3 - осциллограф электронно-лучевой;
а - к приемному преобразователю;
б - к излучающему преобразователю
Черт. 3
| | ИС МЕГАНОРМ: примечание. С 1 июля 2000 года Постановлением Госстандарта РФ от 27.07.1999 N 220-ст введен в действие ГОСТ 7502-98. | |
Линейка металлическая по
ГОСТ 427-75 или рулетка по ГОСТ 7502-80 с ценой деления шкалы 1 мм.
(абзац введен
Изменением N 1, утв. Постановлением Госстандарта СССР от 27.10.1988 N 3567)
Допускается использовать другие аттестованные приборы, предназначенные для определения резонансной частоты изделия методом вынужденных колебаний с параметрами, удовлетворяющими указанным выше требованиям.
2.1. Для расчета уравнений регрессии и построения номограмм в процессе приемочного контроля, проводимого разрушающими методами, отбирается не менее 50 изделий, причем от каждой партии - не более 5 изделий.
2.2. Количество изделий, отбираемых для контроля продукции, предусматривается нормативно-технической документацией на огнеупорные изделия.
3. ПОДГОТОВКА К ИСПЫТАНИЯМ
3.1. Определяют массу и резонансную частоту основного тона изгибных или продольных колебаний каждого изделия, отобранного по
п. 2.1. Погрешность при определении массы - не более +/- 1%, при определении резонансной частоты - не более +/- 0,5%.
(в ред.
Изменения N 1, утв. Постановлением Госстандарта СССР от 27.10.1988 N 3567)
3.2. Определение резонансной частоты основного тона изгибных колебаний изделий
(в ред.
Изменения N 1, утв. Постановлением Госстандарта СССР от 27.10.1988 N 3567)
3.2.1. Раздвигают или снимают с приемоизлучающей системы преобразователи, предназначенные для возбуждения и регистрации в изделиях продольных колебаний.
3.2.2. Раздвигают опоры приемоизлучающей системы на расстояние, равное половине длины (наибольшего линейного размера) испытуемого изделия. Допускаемое отклонение при установке расстояния между опорами не должно превышать +/- 10%.
(в ред.
Изменения N 1, утв. Постановлением Госстандарта СССР от 27.10.1988 N 3567)
3.2.3. Устанавливают изделие на опоры приемоизлучающей системы.
3.2.4. Подводят переносный приемный преобразователь к верхней плоскости изделия в точке, удаленной от торца на (10 +/- 1) мм.
(в ред.
Изменения N 1, утв. Постановлением Госстандарта СССР от 27.10.1988 N 3567)
3.2.5. Перестраивают частоту генератора до появления на экране осциллографа фигуры Лиссажу в виде круга (эллипса), которая свидетельствует о совпадении частоты генератора с частотой собственных колебаний изделия.
(в ред.
Изменения N 1, утв. Постановлением Госстандарта СССР от 27.10.1988 N 3567)
3.2.6. Переставляют приемный преобразователь вдоль верхней поверхности изделия по его длине, одновременно наблюдая на экране осциллографа за изменением амплитуды и фазы колебаний. На резонансной частоте основного тона изгибных колебаний амплитуда колебаний максимальна в центре и на концах изделия, а в узловых линиях имеет минимальное значение. При переносе датчика-приемника через узловые линии фаза колебаний должна меняться на 180° (черт. 4).
а, в - максимальные значения амплитуды колебаний изделия;
б - минимальные значения амплитуды колебаний изделия;
А - узловая линия
Черт. 4
3.2.7. При отсутствии у найденной резонансной частоты изделия характерных признаков основного тона изгибных колебаний (
п. 3.2.6) проводят повторно поиск резонансной частоты (
п. 3.2.5) до нахождения основного тона.
3.3. Определение резонансной частоты основного тона продольных колебаний изделий
(в ред.
Изменения N 1, утв. Постановлением Госстандарта СССР от 27.10.1988 N 3567)
3.3.1. Снимают с приемоизлучающей системы излучающий преобразователь, предназначенный для возбуждения в изделиях изгибных колебаний.
3.3.2. Устанавливают изделие на опоры приемоизлучающей системы, предварительно сдвинутые вплотную друг к другу своими основаниями (черт. 5).
а, в - максимальные значения амплитуды колебаний изделия;
б - минимальные значения амплитуды колебаний изделия;
А - узловая линия
3.3.3. Излучающий и приемный преобразователи, находящиеся на кронштейнах, вплотную придвигают к торцам изделия.
3.3.4. Определяют резонансную частоту изделия по
п. 3.2.5.
3.3.5. Заменяют стационарный приемный преобразователь переносным приемным преобразователем (см.
черт. 1).
(в ред.
Изменения N 1, утв. Постановлением Госстандарта СССР от 27.10.1988 N 3567)
3.3.6. Переставляют переносный преобразователь вдоль верхней поверхности изделия по его длине, одновременно наблюдая на экране осциллографа за изменением амплитуды и фазы колебаний. На резонансной частоте основного тона продольных колебаний амплитуда колебаний максимальна на концах изделия и минимальна в средней части. При переносе приемного преобразователя через узловую линию фаза колебаний должна меняться на 180° (
черт. 5).
3.3.7. При отсутствии у найденной резонансной частоты изделия характерных признаков основного тона продольных колебаний (
п. 3.3.6) проводят повторно поиск резонансной частоты (
п. 3.2.5) до нахождения основного тона.
3.4. Определение резонансной частоты основного тона продольных колебаний сталеразливочных пробок
3.4.1. Устанавливают пробку на опоры приемоизлучающей системы.
3.4.2. Подводят приемный преобразователь перпендикулярно к поверхности пробки как показано на черт. 6.
а, в - максимальные значения амплитуды колебаний пробки;
б - минимальные значения амплитуды колебаний пробки;
А - узловая линия; ЦТ - центр тяжести
3.4.3. Определяют резонансную частоту по
п. 3.2.5.
3.4.4. Переставляют приемный преобразователь по высоте и окружности пробки, одновременно наблюдая на экране осциллографа за изменением амплитуды и фазы колебаний. На резонансной частоте основного тона амплитуда колебаний максимальна у сферической части пробки и у буртика и минимальна в ее средней части. При переносе приемного преобразователя через узловую линию фаза колебаний должна меняться на 180° и оставаться постоянной при перемещении преобразователя по окружности пробки (
черт. 6).
3.4.5. При отсутствии у найденной резонансной частоты пробки характерных признаков основного тона продольных колебаний (
п. 3.4.4) проводят повторно поиск резонансной частоты (
п. 3.2.5) до нахождения основного тона.
3.5. Определяют диапазон изменений массы и резонансной частоты изделий, отобранных по
п. 2.1, устанавливая их минимальное и максимальное значения.
| | ИС МЕГАНОРМ: примечание. Взамен ГОСТ 2409-80 Постановлением Госстандарта РФ от 19.03.1996 N 178 с 1 января 1997 года введен в действие ГОСТ 2409-95. | |
3.6. На изделиях с измеренными значениями массы и резонансной частоты определяют открытую пористость и кажущуюся плотность по ГОСТ 2409-80, плотность по
ГОСТ 2211-65, предел прочности при сжатии по ГОСТ 4071-80. Определения проводят не менее чем на двух образцах, изготовленных из противоположных концов изделий с измеренной резонансной частотой и массой. За окончательный результат принимают среднее значение двух определений.
(в ред.
Изменения N 1, утв. Постановлением Госстандарта СССР от 27.10.1988 N 3567)
3.7. Проводят расчеты линейных уравнений регрессии, построение номограммы и расчеты границ допустимых расхождений между результатами, полученными неразрушающим и разрушающим методами.
(в ред.
Изменения N 1, утв. Постановлением Госстандарта СССР от 27.10.1988 N 3567)
3.8. Проводят корректировку используемых регрессионных уравнений и номограмм путем сопоставления результатов разрушающего и неразрушающего методов определения для каждой десятой партии контролируемой продукции.
Правила расчета уравнений регрессии, границ допустимых расхождений, проведения их периодического контроля, корректировки и построения номограмм утверждаются в установленном порядке.
(в ред.
Изменения N 1, утв. Постановлением Госстандарта СССР от 27.10.1988 N 3567)
4.1. Определяют массу и резонансную частоту (
пп. 3.1 -
3.5) изделий, отобранных по
п. 2.2.
4.2. По измеренным значениям массы и резонансной частоты с помощью уравнений регрессии или построенных на их основе номограмм определяют открытую пористость, кажущуюся плотность, плотность и предел прочности при сжатии. При значениях массы и частоты контролируемого изделия, выходящих за пределы соответствующих диапазонов их изменений (
п. 3.5), определение показателей свойств этого изделия проводят разрушающими методами.
4.3. Результаты испытаний изделий заносят в протокол испытаний, указывая:
обозначение настоящего стандарта;
наименование, марку изделия и номер партии;
результаты испытания каждого изделия;
место и дату испытаний;
подпись исполнителя.
Форма записи результатов испытаний изделий приведена в
Приложении 2.
(абзац введен
Изменением N 1, утв. Постановлением Госстандарта СССР от 27.10.1988 N 3567)
Справочное
(в ред.
Изменения N 1, утв. Постановлением Госстандарта СССР от 27.10.1988 N 3567)
ТЕРМИНЫ, ПРИМЕНЯЕМЫЕ В СТАНДАРТЕ, И ИХ ОПРЕДЕЛЕНИЯ
Термин | Определение |
Акустический неразрушающий контроль | |
Резонансный метод | |
Границы допустимых значений | Значения X1 и X2 определяемого параметра X, между которыми лежит заданная доля всех возможных результатов наблюдений значений параметра |
(в ред. Изменения N 1, утв. Постановлением Госстандарта СССР от 27.10.1988 N 3567) |
Рекомендуемое
ЗАПИСИ РЕЗУЛЬТАТОВ ИСПЫТАНИЙ ОТКРЫТОЙ ПОРИСТОСТИ,
КАЖУЩЕЙСЯ ПЛОТНОСТИ, ПЛОТНОСТИ И ПРЕДЕЛА
ПРОЧНОСТИ ПРИ СЖАТИИ
Госстандарта СССР от 27.10.1988 N 3567)
| | ИС МЕГАНОРМ: примечание. Взамен ГОСТ 2409-80 Постановлением Госстандарта РФ от 19.03.1996 N 178 с 1 января 1997 года введен в действие ГОСТ 2409-95. | |
Дата испытания | Номер партии | Наименование и марка изделия | Номер образца | Масса М, г | Резонансная частота F, Гц | Открытая пористость Потк, % | Кажущаяся плотность  , г/см3 | Плотность  , г/см3 | Предел прочности при сжатии  , Н/мм2 | Примечание |
по номограмме | по ГОСТ 2409-80 | | по номограмме | по ГОСТ 2409-80 | | по номограмме | | | по номограмме | по ГОСТ 4071-80 | |
фактически | по толерантной зоне | фактически | по толерантной зоне | фактически | по толерантной зоне | фактически | по толерантной зоне |
1 | 2 | 3 | 4 | 5 | 6 | 7 | 8 | 9 | 10 | 11 | 12 | 13 | 14 | 15 | 16 | 17 | 18 | 19 | 20 | 21 | 22 | 23 |
Примечания. 1.

- разность между значениями показателей, определенными по номограмме и по ГОСТ 2409-80,
ГОСТ 2211-65, ГОСТ 4071-80.
2. Графы 8, 9, 10, 12, 13, 14, 16, 17, 18, 20, 21, 22 заполняются для каждой 10-й партии при проверке стандартными разрушающими методами.