Главная // Актуальные документы // ГОСТ (Государственный стандарт)
СПРАВКА
Источник публикации
М.: Издательство стандартов, 1995
Примечание к документу
Документ утратил силу с 1 апреля 2019 года в связи с изданием Приказа Росстандарта от 09.11.2018 N 977-ст. Взамен введен в действие ГОСТ 7875.0-2018.

Документ введен в действие с 1 января 1996 года.

Взамен ГОСТ 7875-83 в части общих требований к методам определения термической стойкости для огнеупорных изделий.
Название документа
"ГОСТ 7875.0-94. Межгосударственный стандарт. Изделия огнеупорные. Общие требования к методам определения термической стойкости"
(введен в действие Постановлением Госстандарта России от 09.03.1995 N 113)

"ГОСТ 7875.0-94. Межгосударственный стандарт. Изделия огнеупорные. Общие требования к методам определения термической стойкости"
(введен в действие Постановлением Госстандарта России от 09.03.1995 N 113)


Содержание


Введен в действие
Постановлением Комитета
Российской Федерации
по стандартизации,
метрологии и сертификации
от 9 марта 1995 г. N 113
МЕЖГОСУДАРСТВЕННЫЙ СТАНДАРТ
ИЗДЕЛИЯ ОГНЕУПОРНЫЕ
ОБЩИЕ ТРЕБОВАНИЯ К МЕТОДАМ ОПРЕДЕЛЕНИЯ ТЕРМИЧЕСКОЙ СТОЙКОСТИ
Refractory products. Basic-requirements for procedures
of thermal shock resistance determination
ГОСТ 7875.0-94
Группа И29
ОКС 73.080
ОКСТУ 1509
Дата введения
1 января 1996 года
Предисловие
1 РАЗРАБОТАН Всероссийским институтом огнеупоров (СПИО), Техническим комитетом ТК 9 "Огнеупоры"
ВНЕСЕН Госстандартом России
2 ПРИНЯТ Межгосударственным Советом по стандартизации, метрологии и сертификации по переписке - отчет Технического секретариата N 4-94 от 21.07.94
За принятие проголосовали:
Наименование государства
Наименование национального органа стандартизации
Республика Азербайджан
Азгосстандарт
Республика Армения
Армгосстандарт
Республика Беларусь
Белстандарт
Республика Грузия
Грузстандарт
Республика Казахстан
Казгосстандарт
Республика Молдова
Молдовастандарт
Российская Федерация
Госстандарт России
Республика Узбекистан
Узгосстандарт
Украина
Госстандарт Украины
Кыргызстан
Кыргызстандарт
3 Постановлением Комитета Российской Федерации по стандартизации, метрологии и сертификации от 09.03.95 N 113 межгосударственный стандарт ГОСТ 7875.0-94 введен в действие непосредственно в качестве государственного стандарта Российской Федерации с 1 января 1996 г.
4 ВЗАМЕН ГОСТ 7875-83 в части общих требований к методам определения термической стойкости для огнеупорных изделий
1. ОБЛАСТЬ ПРИМЕНЕНИЯ
Настоящий стандарт устанавливает общие требования к методам определения термической стойкости обожженных, не взаимодействующих с водой огнеупорных изделий с общей пористостью менее 45%.
2. НОРМАТИВНЫЕ ССЫЛКИ
В настоящем стандарте использованы ссылки на следующие стандарты:
ГОСТ 12.1.019-79 ССБТ. Электробезопасность. Общие требования и номенклатура видов защиты
ИС МЕГАНОРМ: примечание.
Взамен ГОСТ 12.2.007.9-88 Постановлением Госстандарта России от 02.06.1994 N 160 с 1 января 1995 года введен в действие ГОСТ 12.2.007.9-93.
ГОСТ 12.2.007.9-88 ССБТ. Оборудование электротермическое. Требования безопасности
ГОСТ 12.4.021-75 ССБТ. Системы вентиляционные. Общие требования
ГОСТ 427-75 Линейки измерительные металлические. Технические условия
ИС МЕГАНОРМ: примечание.
Взамен ГОСТ 7502-89 Постановлением Госстандарта России от 27.07.1999 N 220-ст с 1 июля 2000 года введен в действие ГОСТ 7502-98.
ГОСТ 7502-89 Рулетки измерительные металлические. Технические условия
ГОСТ 7875.1-94 Изделия огнеупорные. Метод определения термической стойкости на кирпичах
ГОСТ 7875.2-94 Изделия огнеупорные. Метод определения термической стойкости на образцах
ИС МЕГАНОРМ: примечание.
Взамен ГОСТ 8179-85 Постановлением Госстандарта России от 02.11.1998 N 386 с 1 июля 1999 года введен в действие ГОСТ 8179-98.
ГОСТ 8179-85 Изделия огнеупорные. Правила приемки
ИС МЕГАНОРМ: примечание.
Взамен ГОСТ 23711-79 Постановлением Госстандарта России от 27.03.1992 N 294 с 1 января 1994 года введен в действие ГОСТ 29329-92.
ГОСТ 23711-79 Весы для статистического взвешивания. Общие технические требования
ИС МЕГАНОРМ: примечание.
Взамен ГОСТ 24104-88 с 1 июля 2002 года Постановлением Госстандарта России от 26.10.2001 N 439-ст введен в действие ГОСТ 24104-2001.
ГОСТ 24104-88 Весы лабораторные общего назначения и образцовые. Общие технические условия
3. ОПРЕДЕЛЕНИЕ
Термическая стойкость огнеупорных изделий - сопротивляемость разрушению, происходящему в результате резкой смены температур, при поочередном нагреве и охлаждении.
4. ПОДГОТОВКА ОБРАЗЦОВ
ИС МЕГАНОРМ: примечание.
Взамен ГОСТ 8179-85 Постановлением Госстандарта России от 02.11.1998 N 386 с 1 июля 1999 года введен в действие ГОСТ 8179-98.
4.1 Порядок отбора изделий и количество образцов для испытаний - по ГОСТ 8179.
4.2 Образцы, на поверхности которых после резки обнаружены трещины, пустоты или раковины, не испытывают, а заменяют другими из той же выборки.
4.3 Перед испытанием образцы высушивают при температуре 110 - 130 °C до постоянной массы. Массу считают постоянной, если после повторной сушки результат взвешивания отличается от предыдущего не более чем на 1% по ГОСТ 7875.1 или на 0,1% по ГОСТ 7875.2.
Кирпичи, хранившиеся после обжига в помещении, не сушат.
5. АППАРАТУРА
5.1 Печь электрическая для нагрева образцов до температуры 1300 °C с двумя нагревателями из карбида кремния диаметром 25 - 30 мм.
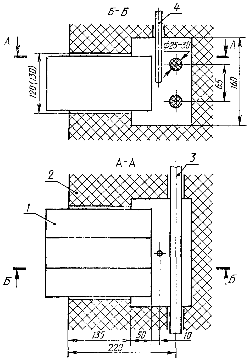
Схема расположения образцов и термоэлектрического преобразователя в печи приведена в приложении А (рисунки 1 - 4).
Допускается применять большее число нагревателей меньшего диаметра при условии сохранения площади излучающей поверхности и мощности печи.
Рабочее пространство печи рассчитано на одновременное испытание трех - пяти образцов.
5.2 Преобразователь термоэлектрический для измерения температуры до 1300 °C с измерительным прибором 1-го или более высокого класса точности. Преобразователь устанавливают в печь в защитном чехле.
5.3 Устройство регулирующее для поддержания температуры рабочего пространства печи во время выдержки в ней образцов в пределах +/- 20 °C.
ИС МЕГАНОРМ: примечание.
Взамен ГОСТ 23711-79 Постановлением Госстандарта России от 27.03.1992 N 294 с 1 января 1994 года введен в действие ГОСТ 29329-92.
ИС МЕГАНОРМ: примечание.
Взамен ГОСТ 24104-88 с 1 июля 2002 года Постановлением Госстандарта России от 26.10.2001 N 439-ст введен в действие ГОСТ 24104-2001.
5.4 Весы для статического взвешивания по ГОСТ 24104 или ГОСТ 23711.
5.5 Секундомер или другой прибор для измерения времени с ценой деления не более 1 мин (механические, электрические часы и др.).
5.6 Бачок для охлаждения образцов проточной водой.
ИС МЕГАНОРМ: примечание.
Взамен ГОСТ 7502-89 Постановлением Госстандарта России от 27.07.1999 N 220-ст с 1 июля 2000 года введен в действие ГОСТ 7502-98.
5.7 Линейка металлическая по ГОСТ 427 с ценой деления шкалы 1 мм, рулетка по ГОСТ 7502 или соответствующий шаблон (для образцов кубической формы).
5.8 Щипцы металлические (для образцов кубической формы).
6. ТРЕБОВАНИЯ БЕЗОПАСНОСТИ
ИС МЕГАНОРМ: примечание.
Взамен ГОСТ 12.2.007.9-88 Постановлением Госстандарта России от 02.06.1994 N 160 с 1 января 1995 года введен в действие ГОСТ 12.2.007.9-93.
6.1 Требования безопасности к электропечи, применяемой для испытания, должны соответствовать ГОСТ 12.2.007.9.
6.2 Эксплуатация электроустановок и электроприборов должна осуществляться в соответствии с ГОСТ 12.1.019, правилами технической эксплуатации и техники безопасности электроустановок потребителей.
6.3 Помещение, в котором проводят испытания, должно быть оборудовано вентиляцией в соответствии с ГОСТ 12.4.021.
Приложение А
(справочное)
СХЕМА РАСПОЛОЖЕНИЯ ОБРАЗЦОВ
И ТЕРМОЭЛЕКТРИЧЕСКОГО ПРЕОБРАЗОВАТЕЛЯ В ПЕЧИ
1 - образец; 2 - футеровка печи; 3 - карбидкремниевый
электронагреватель; 4 - термоэлектрический преобразователь
Рисунок 1
Примечание - Размеры на рисунках даны для справок.
1 - образец; 2 - футеровка печи; 3 - карбидкремниевый
электронагреватель; 4 - термоэлектрический преобразователь
Рисунок 2
1 - образец; 2 - футеровка печи; 3 - карбидкремниевый
электронагреватель; 4 - термоэлектрический преобразователь;
5 - дверца печи; 6 - подставка
Рисунок 3
1 - образец; 2 - футеровка печи; 3 - карбидкремниевый
электронагреватель; 4 - термоэлектрический преобразователь;
5 - дверца печи; 6 - подставка
Рисунок 4