Главная // Актуальные документы // ГОСТ (Государственный стандарт)СПРАВКА
Источник публикации
М.: Издательство стандартов, 1990
Примечание к документу
С 1 июля 2003 года до вступления в силу технических регламентов акты федеральных органов исполнительной власти в сфере технического регулирования носят рекомендательный характер и подлежат обязательному исполнению только в части, соответствующей целям, указанным в
пункте 1 статьи 46 Федерального закона от 27.12.2002 N 184-ФЗ.
Ограничение срока действия снято по Протоколу N 5-94 Межгосударственного совета по стандартизации, метрологии и сертификации ("ИУС", N 11 - 12, 1994).
Введен в действие с 1 января 1991 года.
Взамен ГОСТ 162-80.
Название документа
"ГОСТ 162-90 (СТ СЭВ 704-77, СТ СЭВ 708-77, СТ СЭВ 1309-78). Штангенглубиномеры. Технические условия"
(утв. Постановлением Госстандарта СССР от 25.01.1990 N 86)
"ГОСТ 162-90 (СТ СЭВ 704-77, СТ СЭВ 708-77, СТ СЭВ 1309-78). Штангенглубиномеры. Технические условия"
(утв. Постановлением Госстандарта СССР от 25.01.1990 N 86)
Утвержден и введен в действие
Постановлением Госстандарта СССР
от 25 января 1990 г. N 86
ГОСУДАРСТВЕННЫЙ СТАНДАРТ СОЮЗА ССР
ШТАНГЕНГЛУБИНОМЕРЫ
ТЕХНИЧЕСКИЕ УСЛОВИЯ
Depth gauges. Specifications
ГОСТ 162-90
(СТ СЭВ 704-77, СТ СЭВ 708-77,
СТ СЭВ 1309-78)
Срок действия
с 1 января 1991 года
до 1 января 1996 года
1. Разработан и внесен Министерством станкостроительной и инструментальной промышленности.
Разработчики: М.Б. Шабалина, канд. техн. наук (руководитель темы); А.Н. Ильина.
2. Утвержден и введен в действие Постановлением Государственного комитета СССР по управлению качеством продукции и стандартам от 25.01.90 N 86.
3. Срок проверки - III кв. 1994 г., периодичность - 5 лет.
4. Стандарт полностью соответствует СТ СЭВ 704-77, СТ СЭВ 708-77, СТ СЭВ 1309-78.
5. Взамен ГОСТ 162-80.
6. Ссылочные нормативно-технические документы
────────────────────────────────┬─────────────────────────────────
Обозначение НТД, на который │ Номер пункта
дана ссылка │
────────────────────────────────┼─────────────────────────────────
ИС МЕГАНОРМ: примечание.
Взамен ГОСТ 2.601-68 Постановлением Госстандарта РФ
от 29.02.1996 N 130 с 1 июля 1996 года введен в действие
ИС МЕГАНОРМ: примечание.
Взамен ГОСТ 8.001-80 на территории Российской Федерации
Порядок проведения испытаний и утверждения типа средств измерений"
ИС МЕГАНОРМ: примечание.
Взамен ГОСТ 8.383-80 на территории Российской Федерации
Порядок проведения испытаний и утверждения типа средств измерений"
Настоящий стандарт распространяется на штангенглубиномеры, предназначенные для измерения глубины.
1. ТИПЫ. ОСНОВНЫЕ ПАРАМЕТРЫ И РАЗМЕРЫ
1.1. Штангенглубиномеры должны изготовляться следующих типов:
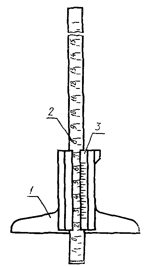
ШГ - с отсчетом по нониусу (
черт. 1);
ШГК - с отсчетным устройством с круговой шкалой (
черт. 2);
ШГЦ - с электронным цифровым отсчетным устройством (
черт. 3).
1.2. Диапазон измерений, значение отсчета по нониусу, цена деления круговой шкалы и шаг дискретности цифрового отсчетного устройства и длина измерительной поверхности рамки должны соответствовать указанным в табл. 1.
Таблица 1
мм
─────────────────────┬──────────┬───────────┬────────────┬─────────────────
Диапазон измерения │Значения │ Цена │Шаг дискрет-│Длина измеритель-
│отсчета │ деления │ного цифро- │ной поверхности
│по нониусу│ круговой │вого отсчет-│рамки, не менее
│ │ шкалы │ного │
│ │отсчетного │устройства │
│ │устройства │ │
─────────────────────┼──────────┼───────────┼────────────┼─────────────────
0 - 160 │ 0,05 и │ 0,02 и │ 0,01 │ 120
0 - 200 │ 0,10 │ 0,05 │ │
0 - 250 │ │ │ │
0 - 300 │ │ │ │
0 - 400 │ │ │ │
│ ├───────────┼────────────┼─────────────────
0 - 630 │ │ - │ - │ 175
0 - 1000 │ │ │ │
Тип ШГ
1 - рамка; 2 - штанга; 3 - нониус
Тип ШГК
1 - круговая шкала отсчетного устройства; 2 - штанга
Тип ШГЦ
1 - цифровое отсчетное устройство; 2 - штанга
Примечание.
Черт. 1 - 3 не определяют конструкцию штангенглубиномера.
Пример условного обозначения штангенглубиномера типа ШГ с диапазоном измерения 0 - 630 мм и значением отсчета по нониусу 0,05 мм:
Штангенглубиномер ШГ-630 - 0,05 ГОСТ 162
То же, штангенглубиномера типа ШГК с диапазоном измерения 0 - 250 мм и ценой деления 0,02 мм:
Штангенглубиномер ШГК-250 - 0,02 ГОСТ 162
То же, штангенглубиномера типа ШГЦ с диапазоном измерения 0 - 200 мм и шагом дискретности 0,01 мм:
Штангенглубиномер ШГЦ-200 - 0,01 ГОСТ 162
1.3. По заказу потребителя штангенглубиномеры следует изготовлять с микрометрической подачей рамки.
1.4. Длину нониуса следует выбирать из ряда:
9; 19; 39 мм - при значении отсчета по нониусу 0,1 мм;
19; 39 мм - при значении отсчета по нониусу 0,05 мм.
Длинные штрихи нониуса допускается отмечать целыми числами.
Конструкция штангенглубиномеров должна допускать возможность регулировки нониуса.
1.5. Штангенглубиномер типа ШГЦ должен обеспечивать выполнение функций, характеризующих степень автоматизации в соответствии с перечнем, приведенным в Приложении.
1.6. Питание штангенглубиномера типа ШГЦ должно производиться от автономного источника питания.
Питание штангенглубиномера, имеющего вывод результатов измерений на внешние устройства, должно быть от автономного встроенного источника питания и (или) от сети общего назначения через блок питания.
1.7. Конструкция штангенглубиномера типа ШГЦ должна обеспечивать правильность показаний при наибольшей допустимой скорости перемещения рамки не менее 0,5 м/с.
1.8. Масса штангенглубиномера типа ШГЦ с диапазоном измерения до 1000 мм должна быть не более 1,0 кг.
2. ТЕХНИЧЕСКИЕ ТРЕБОВАНИЯ
2.1. Штангенглубиномеры следует изготовлять в соответствии с требованиями настоящего стандарта по рабочим чертежам, утвержденным в установленном порядке.
2.2. Предел допускаемой погрешности штангенглубиномера как при незатянутом, так и при затянутом зажиме рамки при температуре окружающей среды (20 +/- 10) °С, относительной влажности не более 80% при температуре 25 °C должен соответствовать указанному в табл. 2.
мм
──────────────────┬────────────────────────────────────────────────────────
Участки шкалы │Предел допускаемой погрешности штангенглубиномера (+/-)
├──────────────────┬──────────────────┬──────────────────
│ со значением │ с ценой деления │с шагом дискрет-
│отсчета по нониусу│ круговой шкалы │ности цифрового
│ │ отсчетного │отсчетного
│ │ устройства │устройства
├─────────┬────────┼─────────┬────────┼──────────────────
│ 0,05 │ 0,1 │ 0,02 │ 0,05 │ 0,01
──────────────────┼─────────┼────────┼─────────┼────────┼──────────────────
До 100 │ 0,05 │ 0,05 │ 0,03 │ 0,05 │ 0,03
Св. 100 " 200 │ │ │ │ │
│ │ ├─────────┤ ├──────────────────
" 200 " 300 │ │ │ 0,04 │ │ 0,04
│ ├────────┤ │ │
" 300 " 400 │ │ 0,10 │ │ │
├─────────┤ ├─────────┼────────┼──────────────────
" 400 " 600 │ 0,010 │ │ - │ - │ -
│ ├────────┤ │ │
" 600 " 800 │ │ 0,15 │ │ │
├─────────┤ │ │ │
" 800 " 1000 │ 0,15 │ │ │ │
Примечание. Погрешность штангенглубиномера не должна превышать значений, указанных в табл. 2, при поверке их по плоскопараллельным концевым мерам длины из стали.
2.3. Допуск плоскостности измерительной поверхности штанги штангенглубиномера - 0,004 мм.
2.4. Диск плоскостности измерительной поверхности рамки штангенглубиномеров типов ШГ и ШГК - 0,006 мм, типа ШГЦ - 0,005 мм.
По краям измерительных поверхностей в зоне шириной не более 0,2 мм допускаются завалы.
2.5. Мертвый ход микрометрической пары микрометрической подачи рамки не должен превышать 1/3 оборота.
2.6. Рамка не должна перемещаться по штанге под действием собственного веса при вертикальном положении штанги.
Штангенглубиномер должен иметь устройство для зажима рамки, обеспечивающее ее стопорение в любом положении в пределах диапазона измерения.
2.7. Измерительная поверхность штанги должна изготовляться из твердого сплава. (Твердый сплав по
ГОСТ 3882).
По заказу потребителя измерительную поверхность штанги допускается не оснащать твердым сплавом.
Штанга штангенглубиномера должна иметь твердость не менее 30

.
2.8. По заказу потребителя штангенглубиномер должен обеспечивать измерение размеров канавок, проточек и глубины отверстий диаметром не менее 2 мм.
2.9. Требования к шкалам штанги и нониуса (тип ШГ)
2.9.1. Расположение плоскости шкалы нониуса относительно плоскости шкалы штанги указано на черт. 4.
Черт. 4
2.9.2. Расстояние а от верхней кромки края нониуса до поверхности шкалы штанги не должно превышать 0,25 мм для штангенглубиномеров со значением отсчета по нониусу 0,05 мм и 0,30 мм для штангенглубиномеров со значением отсчета 0,1 мм.
2.9.3. Размеры штрихов шкал штанги и нониуса должны соответствовать указанным ниже:
ширина штрихов - 0,08 - 0,20 мм;
разность ширины штрихов в пределах одной шкалы и штрихов шкал штанги и нониуса одного штангенглубиномера не более 0,03 мм при отсчете по нониусу 0,05 мм; 0,05 мм при отсчете по нониусу 0,1 мм.
2.10. Требования к круговой шкале отсчетного устройства (тип ШГК)
2.10.1. Длина деления шкалы должна быть не менее 1 мм.
2.10.2. Ширина штрихов шкалы 0,15 - 0,25 мм. Разность ширины соответствующих штрихов в пределах одной шкалы должна быть не более 0,05 мм.
2.10.3. Ширина стрелки над делениями шкалы должна быть 0,15 - 0,20 мм. Конец стрелки должен перекрывать короткие штрихи не более чем на 0,8 их длины. Расстояние между концом стрелки и циферблатом не должно превышать 0,7 мм.
2.10.4. Отсчетное устройство должно обеспечивать возможность совмещения стрелки с нулевой отметкой круговой шкалы.
2.11. Требования к штангенглубиномерам типа ШГЦ
2.11.1. Высота цифр должна быть не менее 4 мм.
2.11.2. Штангенглубиномеры типа ШГЦ дополнительно допускается оснащать интерфейсом для вывода результата измерения на внешнее устройство.
2.12. Твердость закаленных измерительных поверхностей штангенглубиномера должна быть:
из инструментальной и конструкционной сталей - не менее 59

;
из высоколегированной стали - не менее 51,5

.
2.13. Параметр шероховатости измерительных поверхностей по
ГОСТ 2789:
рамки - Ra <= 0,08 мкм;
штанги - Ra <= 16 мкм.
2.14. Наружные поверхности (за исключением измерительных поверхностей рамки и штанги) штангенглубиномеров, изготовленных из инструментальной или конструкционной сталей, должны быть хромированными.
2.15. Шкалы штанги и нониуса штангенглубиномеров, изготовленных из нержавеющей стали, должны иметь матовую поверхность.
2.16. Штангенглубиномер должен быть размагничен.
2.17. Средняя наработка на отказ штангенглубиномера - 30000 условных измерений.
Под условным измерением понимают перемещение рамки по штанге до контакта измерительных поверхностей с объектом измерения. При этом перемещение рамки должно быть не менее 1/3 верхнего предела измерения штангенглубиномера.
2.18. Установленная безотказная наработка штангенглубиномеров типов ШГ и ШГК - не менее 6000 условных измерений;
штангенглубиномера типа ШГЦ - не менее 9000 условных измерений.
Критерием отказа является нарушение работоспособности штангенглубиномера, приводящее к невыполнению требований
пп. 2.2 и (или)
2.6.
2.19. Полный средний срок службы штангенглубиномера - не менее 5 лет.
2.20. Установленный полный срок службы штангенглубиномера типа ШГ - не менее 1,5 лет; типа ШГК - не менее 2,0 лет; типа ШГЦ - не менее 2,5 лет.
Критерием предельного состояния является износ элементов штангенглубиномеров, приводящий к невыполнению требований
пп. 2.2 и (или)
2.6 и характеризуемый невозможностью или нецелесообразностью восстановления изношенных поверхностей.
2.21. Среднее время восстановления штангенглубиномера с нониусом - не более 2 ч, с круговой шкалой и с цифровым отсчетным устройством - не более 4 ч.
2.22. Средний срок сохраняемости должен быть не менее 4 лет при условии переконсервации через 2 года.
| | ИС МЕГАНОРМ: примечание. Взамен ГОСТ 2.601-68 Постановлением Госстандарта РФ от 29.02.1996 N 130 с 1 июля 1996 года введен в действие ГОСТ 2.601-95. | |
К каждому штангенглубиномеру должен быть приложен паспорт по ГОСТ 2.601.
2.24. Маркировка
2.24.1. На каждом штангенглубиномере должно быть нанесено:
товарный знак предприятия-изготовителя;
порядковый номер по системе нумерации предприятия-изготовителя;
условное обозначение года выпуска;
значение отсчета по нониусу или цена деления круговой шкалы.
Наименование или условное обозначение штангенглубиномера наносят только на жестком футляре.
2.25. Упаковка
2.25.1. Методы и средства для обезжиривания и консервации штангенглубиномера - по
ГОСТ 9.014.
2.25.2. Штангенглубиномер должен быть упакован в футляр, изготовленный из материала по
ГОСТ 13762. Для штангенглубиномера с нониусом с верхним пределом измерения до 400 мм включительно допускается мягкая упаковка.
3.1. Для проверки соответствия штангенглубиномера требованиям настоящего стандарта проводят государственные испытания, приемочный контроль, периодические испытания и испытания на надежность.
| | ИС МЕГАНОРМ: примечание. Взамен ГОСТ 8.001-80 и ГОСТ 8.383-80 на территории Российской Федерации с 1 декабря 2001 года введены в действие ПР 50.2.009-94 "ГСИ. Порядок проведения испытаний и утверждения типа средств измерений" (Постановление Госстандарта России от 27.09.2001 N 394-ст). | |
3.2. Государственные испытания - по ГОСТ 8.001 и ГОСТ 8.383.
3.4. Периодические испытания проводят не реже раза в 3 года не менее чем на трех штангенглубиномерах каждого типоразмера из числа прошедших приемочный контроль, на соответствие всем требованиям настоящего стандарта, кроме
пп. 2.17 -
2.22.
Результаты испытаний считают удовлетворительными, если все испытываемые штангенглубиномеры соответствуют всем проверяемым требованиям.
3.5. Подтверждение показателей надежности (
пп. 2.17 -
2.22) проводят не реже раза в 3 года по программам испытаний на надежность, разработанным в соответствии с
ГОСТ 27.410 и утвержденным в установленном порядке. Допускается совмещение испытаний на надежность с периодическими испытаниями.
4. МЕТОДЫ КОНТРОЛЯ И ИСПЫТАНИЙ
4.1. Проверка штангенглубиномера- по
ГОСТ 8.163 и МИ 965.
4.2. При определении влияния транспортной тряски используют ударный стенд, создающий тряску с ускорением 30 м/с2 при частоте 80 - 120 ударов в минуту.
Штангенглубиномер в упаковке крепят к стенду и испытывают при общем числе ударов 15000. После испытаний погрешность штангенглубиномера не должна превышать значений, указанных в
табл. 2.
Допускается проводить испытания штангенглубиномеров транспортированием на грузовой машине со скоростью 20 - 40 км/ч на расстояние не менее 100 км по грунтовой дороге.
4.3. Воздействие климатических факторов внешней среды при транспортировании определяют в климатических камерах в следующих режимах: при температуре минус (50 +/- 3) °C, плюс (50 +/- 3) °C и при относительной влажности (95 +/- 3)% при температуре (35 +/- 5) °C. Выдержка в климатической камере по каждому из трех видов испытаний - 2 ч. После испытаний погрешность штангенглубиномеров не должна превышать значений, указанных в
табл. 2.
Допускается после выдержки штангенглубиномера в каждом режиме выдерживать его в нормальных условиях в течение 2 ч.
5. ТРАНСПОРТИРОВАНИЕ И ХРАНЕНИЕ
Транспортирование и хранение штангенглубиномера - по
ГОСТ 13762.
6. УКАЗАНИЕ ПО ЭКСПЛУАТАЦИИ
Штангенглубиномер допускается эксплуатировать при температуре окружающей среды от 10 до 40 °C и относительной влажности воздуха - не более 80% при температуре 25 °C.
Изготовитель гарантирует соответствие штангенглубиномеров требованиям настоящего стандарта при соблюдении условий транспортирования, хранения и эксплуатации.
Гарантийный срок эксплуатации штангенглубиномеров - 18 мес со дня ввода в эксплуатацию.
Обязательное
ПЕРЕЧЕНЬ
ФУНКЦИЙ, ХАРАКТЕРИЗУЮЩИХ СТЕПЕНЬ АВТОМАТИЗАЦИИ
1. Выдача цифровой информации в прямом коде (с указанием знака и абсолютного значения).
2. Установка начала отсчета в абсолютной системе координат.
3. Запоминание результата измерения <*>.
4. Гашение памяти с восстановлением текущего результата измерения <*>.
5. Вывод результатов измерения на внешнее устройство <*>.
6. Предварительная установка нуля.
7. Предварительная установка числа (ввод констант) <*>.
8. Сравнение результатов измерения с пороговыми границами <*>.
9. Арифметические действия с результатами измерения и константами <*>.
--------------------------------
<*> По заказу потребителя.