Главная // Актуальные документы // ГОСТ (Государственный стандарт)СПРАВКА
Источник публикации
М.: ФГБУ "РСТ", 2021
Примечание к документу
Отдельные положения данного документа включены в
Перечень международных и региональных (межгосударственных) стандартов, а в случае их отсутствия - национальных (государственных) стандартов, в результате применения которых на добровольной основе обеспечивается соблюдение требований технического
регламента Таможенного союза "О безопасности железнодорожного подвижного состава" (ТР ТС 001/2011) (
Решение Коллегии Евразийской экономической комиссии от 29.03.2022 N 48).
Текст данного документа приведен с учетом
поправки, опубликованной в "ИУС", N 8, 2022;
поправки, опубликованной в "ИУС", N 9, 2022.
Документ
введен в действие с 01.02.2022 с правом досрочного применения.
Название документа
"ГОСТ 34763.1-2021. Межгосударственный стандарт. Тележки трех- и четырехосные грузовых вагонов железных дорог. Общие технические требования"
(введен в действие Приказом Росстандарта от 06.10.2021 N 1063-ст)
"ГОСТ 34763.1-2021. Межгосударственный стандарт. Тележки трех- и четырехосные грузовых вагонов железных дорог. Общие технические требования"
(введен в действие Приказом Росстандарта от 06.10.2021 N 1063-ст)
по техническому регулированию
и метрологии
от 6 октября 2021 г. N 1063-ст
МЕЖГОСУДАРСТВЕННЫЙ СТАНДАРТ
ТЕЛЕЖКИ ТРЕХ- И ЧЕТЫРЕХОСНЫЕ ГРУЗОВЫХ ВАГОНОВ ЖЕЛЕЗНЫХ ДОРОГ
ОБЩИЕ ТЕХНИЧЕСКИЕ ТРЕБОВАНИЯ
Three- and four-axle bogies of freight cars.
General technical requirements
ГОСТ 34763.1-2021
Дата введения
1 февраля 2022 года
с правом досрочного применения
Цели, основные принципы и общие правила проведения работ по межгосударственной стандартизации установлены
ГОСТ 1.0 "Межгосударственная система стандартизации. Основные положения" и
ГОСТ 1.2 "Межгосударственная система стандартизации. Стандарты межгосударственные, правила и рекомендации по межгосударственной стандартизации. Правила разработки, принятия, обновления и отмены"
1 РАЗРАБОТАН Обществом с ограниченной ответственностью "Всесоюзный научно-исследовательский центр транспортных технологий" (ООО "ВНИЦТТ")
2 ВНЕСЕН Межгосударственным техническим комитетом по стандартизации МТК 524 "Железнодорожный транспорт"
3 УТВЕРЖДЕН И ВВЕДЕН В ДЕЙСТВИЕ Межгосударственным советом по стандартизации, метрологии и сертификации (протокол от 26 августа 2021 г. N 142-П)
За принятие проголосовали:
Краткое наименование страны по МК (ИСО 3166) 004-97 | Код страны по МК (ИСО 3166) 004-97 | Сокращенное наименование национального органа по стандартизации |
Армения | AM | ЗАО "Национальный орган по стандартизации и метрологии" Республики Армения |
Беларусь | BY | Госстандарт Республики Беларусь |
Казахстан | KZ | Госстандарт Республики Казахстан |
Киргизия | KG | Кыргызстандарт |
Россия | RU | Росстандарт |
Таджикистан | TJ | Таджикстандарт |
Узбекистан | UZ | Узстандарт |
Украина | UA | Минэкономразвития Украины |
4
Приказом Федерального агентства по техническому регулированию и метрологии от 6 октября 2021 г. N 1063-ст межгосударственный стандарт ГОСТ 34763.1-2021 введен в действие в качестве национального стандарта Российской Федерации с 1 февраля 2022 г. с правом досрочного применения
5 ВВЕДЕН ВПЕРВЫЕ
6 Межгосударственный совет по стандартизации, метрологии и сертификации не несет ответственности за патентную чистоту настоящего стандарта. Патентообладатель может заявить о своих правах и направить в национальный орган по стандартизации своего государства аргументированное предложение о внесении в настоящий стандарт поправки для указания информации о наличии в стандарте объектов патентного права и патентообладателе
Информация о введении в действие (прекращении действия) настоящего стандарта и изменений к нему на территории указанных выше государств публикуется в указателях национальных стандартов, издаваемых в этих государствах, а также в сети Интернет на сайтах соответствующих национальных органов по стандартизации.
В случае пересмотра, изменения или отмены настоящего стандарта соответствующая информация будет опубликована на официальном интернет-сайте Межгосударственного совета по стандартизации, метрологии и сертификации в каталоге "Межгосударственные стандарты"
Настоящий стандарт распространяется на трех- и четырехосные тележки (тележки), применяемые в конструкции грузовых вагонов (вагоны), предназначенных для обращения на железнодорожных путях общего и необщего пользования колеи 1520 мм, и устанавливает общие технические требования.
В настоящем стандарте использованы нормативные ссылки на следующие межгосударственные стандарты:
ГОСТ 2.601 <*> Единая система конструкторской документации. Эксплуатационные документы
--------------------------------
<*> В Российской Федерации действует
ГОСТ Р 2.601-2019 "Единая система конструкторской документации. Эксплуатационные документы".
ГОСТ 1452 Пружины цилиндрические винтовые тележек и ударно-тяговых приборов подвижного состава железных дорог. Технические условия
ГОСТ 4686 Триангели тормозной рычажной передачи тележек грузовых вагонов. Технические условия
ГОСТ 4835 Колесные пары железнодорожных вагонов. Технические условия
ГОСТ 7409-2018 Вагоны грузовые. Требования к лакокрасочным покрытиям и противокоррозионной защите и методы их контроля
ГОСТ 9238 Габариты железнодорожного подвижного состава и приближения строений
ГОСТ 9246-2013 Тележки двухосные трехэлементные грузовых вагонов железных дорог колеи 1520 мм. Общие технические условия
ГОСТ 15150 Машины, приборы и другие технические изделия. Исполнения для различных климатических районов. Категории, условия эксплуатации, хранения и транспортирования в части воздействия климатических факторов внешней среды
ГОСТ 22235-2010 Вагоны грузовые магистральных железных дорог колеи 1520 мм. Общие требования по обеспечению сохранности при производстве погрузочно-разгрузочных и маневровых работ
ГОСТ 23170 Упаковка для изделий машиностроения. Общие требования
ГОСТ 32400-2013 Рама боковая и балка надрессорная литые тележек железнодорожных грузовых вагонов. Технические условия
ГОСТ 32700-2014 Железнодорожный подвижной состав. Методы контроля сцепляемости
ГОСТ 32894-2014 Продукция железнодорожного назначения. Инспекторский контроль. Общие положения
ГОСТ 33211-2014 Вагоны грузовые. Требования к прочности и динамическим качествам
ГОСТ 34385-2018 Буксы и адаптеры для колесных пар тележек грузовых вагонов. Общие технические условия
ГОСТ 34387-2018 Скользуны тележек грузовых вагонов. Общие технические условия
ГОСТ 34468 Пятники грузовых вагонов железных дорог колеи 1520 мм. Общие технические условия
ГОСТ 34503 Клинья фрикционные тележек грузовых вагонов. Общие технические условия
ГОСТ 34717-2021 Рама боковая и балка надрессорная литые трехосных тележек грузовых вагонов. Технические условия
ГОСТ 34759 Железнодорожный подвижной состав. Нормы допустимого воздействия на железнодорожный путь и методы испытаний
ГОСТ 34767-2021 Балансир трехосных тележек грузовых вагонов. Технические условия
ГОСТ 34768-2021 Балка соединительная четырехосных тележек грузовых вагонов. Технические условия
ГОСТ 34769-2021 Балка шкворневая трехосных тележек грузовых вагонов. Технические условия
Примечание - При пользовании настоящим стандартом целесообразно проверить действие ссылочных стандартов и классификаторов на официальном интернет-сайте Межгосударственного совета по стандартизации, метрологии и сертификации (www.easc.by) или по указателям национальных стандартов, издаваемым в государствах, указанных в
предисловии, или на официальных сайтах соответствующих национальных органов по стандартизации. Если на документ дана недатированная ссылка, то следует использовать документ, действующий на текущий момент с учетом всех внесенных в него изменений. Если заменен ссылочный документ, на который дана датированная ссылка, то следует использовать указанную версию этого документа. Если после принятия настоящего стандарта в ссылочный документ, на который дана датированная ссылка, внесено изменение, затрагивающее положение, на которое дана ссылка, то положение применяется без учета данного изменения. Если ссылочный документ отменен без замены, то положение, в котором дана ссылка на него, применяется в части, не затрагивающей эту ссылку.
В настоящем стандарте применены следующие термины с соответствующими определениями:
3.1 адаптер: Деталь или сборочная единица буксового узла - опорный переходник незамкнутой формы, устанавливаемый на подшипник и предназначенный для передачи на него нагрузки от боковой рамы либо балансира средней колесной пары (для трехосных тележек).
3.2 база боковой рамы четырехосной тележки: Расстояние между наружными упорами боковой рамы, ограничивающими перемещения буксы или адаптера колесной пары в продольном относительно оси пути направлении.
3.3 база боковой рамы трехосной тележки: Расстояние между наружным упором боковой рамы, ограничивающим перемещение буксы или адаптера колесной пары в продольном относительно оси пути направлении, и центром опоры на балансир.
3.4
база вагона: Номинальное расстояние в продольном направлении между центрами наружных пятников кузова вагона. |
3.5 база трехосной тележки: Расстояние в продольном направлении между центрами цилиндрических поверхностей шеек осей крайних колесных пар, установленных в тележке.
3.6 база четырехосной тележки: Расстояние в продольном направлении между центрами крайних пятников соединительной балки тележки.
3.7 балансир: Составная часть (деталь или сборочная единица) трехосной тележки - опорный переходник с установленными подшипниками, предназначенный для передачи и равномерного распределения нагрузки от боковых рам на шейку оси средней колесной пары.
3.8 балка надрессорная: Составная часть (деталь или сборочная единица) несущей конструкции тележки, передающая нагрузки от кузова вагона на боковые рамы через рессорное подвешивание.
3.9
боковое направление: Перпендикулярное продольному направление в плоскости пути. |
3.10 боковой скользун: Составная часть тележки, расположенная на средней части соединительной или шкворневой балки и предназначенная для ограничения угловых перемещений между кузовом вагона и тележкой относительно продольной оси пути.
3.11
букса: Сборочная единица буксового узла - опорный переходник замкнутой формы с установленными подшипниками, предназначенный для передачи нагрузки от боковой рамы на шейку оси колесной пары. |
3.12
буксовый узел: Узел колесной пары и/или тележки, обеспечивающий передачу нагрузок от боковой рамы на шейку оси колесной пары. |
3.13 вагон: Грузовой вагон, установленный на трехосные или четырехосные тележки.
3.14 [ведущий] вертикальный рычаг: Вертикальный рычаг тормозной рычажной передачи тележки с нажатием тормозных колодок на поверхность катания колес [к которому прикладывается сила от тормозной рычажной передачи на кузове вагона].
3.15
вертикальное направление: Направление, перпендикулярное к плоскости пути. |
3.16
грузовые вагоны: Вагоны, предназначенные для перевозки грузов, такие, как крытые вагоны, полувагоны, платформы, вагоны-цистерны, вагоны бункерного типа, изотермические вагоны, зерновозы, транспортеры, контейнеровозы, специальные вагоны грузового типа. |
3.17
длина вагона по осям сцепления: Расстояние в продольном направлении между плоскостями зацепления автосцепки. |
3.18
завышение фрикционного клина: Положение опорной поверхности фрикционного клина выше опорной поверхности надрессорной балки. |
3.19
занижение фрикционного клина: Положение опорной поверхности фрикционного клина ниже опорной поверхности надрессорной балки. |
3.20
конический подшипниковый узел (taper bearing unit): Подшипниковый узел ресурсного смазывания, состоящий из базового подшипника, упорного кольца, уплотнений, полимерной прокладки, передней крышки, компенсационных колец, болтов торцевого крепления, стопорной шайбы и заглушки. Примечание - В зависимости от вариантов исполнения конический подшипниковый узел может не включать какие-либо составляющие: переднюю крышку, полимерную прокладку, компенсационные кольца, упорное кольцо, болты торцевого крепления, стопорную шайбу и заглушку. |
3.21 конструкционная скорость вагона: Наибольшая скорость движения вагона, заявленная в технической документации на проектирование.
Примечания
1 Тележка при движении грузового вагона со скоростями, вплоть до конструкционной, на прямом горизонтальном участке пути (с отступлениями, не требующими снижения скоростей движения в соответствии с национальным законодательством <*>) обеспечивает показатели прочности своих составных частей и показатели динамических качеств вагона (с учетом изменения его массы от тары до брутто) в соответствии с нормативами, установленными в настоящем стандарте (с учетом износов тележки, не превышающих указанных в эксплуатационных документах на нее).
--------------------------------
<*> В Российской Федерации применяют "
Правила технической эксплуатации железных дорог Российской Федерации", утвержденные Министерством транспорта Российской Федерации 21 декабря 2010 г. N 286, а также "
Правила технического обслуживания тормозного оборудования и управления тормозами железнодорожного подвижного состава", утвержденные Министерством транспорта Российской Федерации 3 июня 2014 г.
N 151.
2 Значения конструкционной скорости вагона в зависимости от применения тележек в вагонах, эксплуатируемых на путях общего и необщего пользования, могут быть различными. При этом вагон может эксплуатироваться на путях общего пользования или путях необщего пользования с проследованием по путям общего пользования в порожнем состоянии. При проектировании тележек для вагонов с проследованием по путям общего пользования в порожнем состоянии конструкционную скорость вагона при движении по путям общего пользования в конструкторской документации на тележку указывают для порожнего вагона.
3.22
коэффициент динамической добавки: Отношение амплитуды вертикальной динамической силы (напряжения от действия вертикальной динамической силы), действующей при движении вагона по рельсовому пути, к силе тяжести (напряжению от действия силы тяжести). |
3.23
коэффициент относительного трения: Отношение средней на ходе растяжения и ходе сжатия силы трения, создаваемой фрикционными гасителями колебаний тележки в вертикальном направлении, к статической нагрузке на ее рессорное подвешивание. |
3.24
максимальная расчетная статическая осевая нагрузка: Максимальный вес вагона брутто, передаваемый на рельсы одной колесной парой. |
3.25
максимальная расчетная масса вагона: Масса вагона брутто при максимальной расчетной статической осевой нагрузке. |
3.26 минимальная расчетная масса вагона: Масса порожнего вагона, при установке под кузов которого двух трехосных или четырехосных тележек соответствующего типа должны быть обеспечены требования к расстоянию от уровня верха головок рельсов до опорной поверхности подпятника тележки, разности полных статических прогибов рессорного подвешивания, коэффициенту относительного трения рессорного подвешивания, приведенные в настоящем стандарте.
3.27
необрессоренные части тележки: Составные части несущей конструкции тележки, не имеющие опоры на рессорное подвешивание, а также колесные пары. |
3.28 несущая конструкция тележки: Составные части тележки, которые воспринимают силы от действия на тележку кузова вагона, тормозной системы вагона и передают их на подшипники колесных пар.
Примечание - К несущей конструкции трехосной или четырехосной тележки, как правило, относят шкворневую балку, соединительную балку, надрессорную балку и боковую раму, балансир.
3.29 обрессоренные части тележки: Составные части несущей конструкции тележки, расположенные выше рессорного подвешивания.
3.30
опорная поверхность надрессорной балки: Поверхность, расположенная в концевой части надрессорной балки, предназначенная для опирания на упругие элементы рессорного подвешивания. |
3.31 опорная поверхность подпятника: Поверхность подпятника, предназначенная для передачи веса кузова вагона и других вертикальных сил на тележку или ее составные части (надрессорные балки, соединительную балку, шкворневую балку).
3.32 опорный скользун: Составная часть тележки, расположенная на надрессорной балке и предназначенная для ограничения угловых перемещений между соединительной балкой и надрессорной балкой относительно продольной оси пути.
3.33 упорная поверхность подпятника: Боковая поверхность подпятника, предназначенная для передачи горизонтальных сил от кузова вагона на тележку или ее составные части (надрессорные балки, соединительную балку, шкворневую балку).
3.34
передаточное число тормозной рычажной передачи тележки: Отношение расчетной суммы действительных сил нажатия тормозных колодок, без учета потерь, к входящей силе. |
3.35 подвеска триангеля: Составная часть тормозной рычажной передачи тележки, которая служит для соединения триангеля с кронштейном боковой рамы тележки.
3.36
продольное направление: Направление в плоскости пути вдоль его оси. |
3.37 подпятник: Составная часть тележки, предназначенная для опирания пятника кузова вагона или пятника (пятникового места) соединительной балки на тележку и/или ее составные части, допускающая поворот пятника (пятникового места) вокруг вертикальной оси и ограничивающая его горизонтальные перемещения.
Примечание - Подпятник тележки включает в себя прокладки, вкладыши и другие износостойкие элементы, установленные на его поверхности.
3.38
полный статический прогиб: Статический прогиб упругих элементов рессорного подвешивания, соответствующий их деформации от свободного состояния до состояния под нагрузкой без учета сил трения. |
3.39 пятник соединительной балки: Составная часть соединительной балки тележки, выполняющая функцию опоры между соединительной балкой и надрессорной балкой, передающая нагрузку от рамы вагона на надрессорные балки тележек и обеспечивающая возможность поворота надрессорных балок тележек вокруг вертикальной оси при прохождении грузового вагона по кривым участкам пути.
Примечание - Пятник может быть съемным и несъемным (пятниковое место).
3.40 рабочая поверхность бокового [опорного] скользуна: Поверхность, предназначенная для восприятия вертикальных нагрузок и горизонтальных сил трения от кузова вагона [соединительной или шкворневой балки] на соединительную или шкворневую [надрессорную] балку тележки.
3.41 рама боковая: Составная часть (деталь или сборочная единица) несущей конструкции тележки, передающая нагрузки от надрессорной балки на шейки двух смежных осей колесных пар через буксовые узлы.
3.42
рамная сила: Боковая сила, действующая от несущей конструкции тележки на колесную пару. |
3.43
расчетный статический прогиб: Статический прогиб упругих элементов рессорного подвешивания, эквивалентный подвешиванию с линейной зависимостью силы от деформации (постоянной жесткостью) без учета сил трения. |
3.44 рессорное подвешивание: Детали тележки, обеспечивающие восприятие и амортизацию нагрузок от кузова вагона.
Примечание - Детали рессорного подвешивания в зависимости от конструкции тележки могут располагаться:
а) между боковыми рамами и надрессорной балкой;
б) между боковыми рамами и буксовым узлом;
3.45 соединительная балка: Составная часть (сборочная единица) несущей конструкции четырехосной тележки, передающая нагрузку от рамы вагона на надрессорные балки тележки, оборудованная пятниками и допускающая поворот надрессорных балок вокруг вертикальной оси.
Примечание - Соединительная балка может быть применена в трехосной тележке в зависимости от ее конструктивных особенностей.
3.46
тормозная рычажная передача тележки: Передаточный механизм исполнительной части тормоза вагона, расположенный на тележке, преобразующий силу, передаваемую от тормозной рычажной передачи, расположенной на кузове вагона, в нажатие тормозных колодок на поверхность катания колес. |
3.47 тормозная система тележки: Комплекс устройств, расположенный на трехосной (четырехосной) тележке и предназначенный для создания тормозной силы с целью остановки вагона или его удержания на заданном уклоне.
Примечание - В тормозною систему тележки могут входить тормозной цилиндр или цилиндр со встроенным регулятором (ТЦР), устройство автоматического регулирования давления сжатого воздуха (авторежим), автоматический регулятор тормозных рычажных передач (авторегулятор), рычажная передача, тормозная балка, соединительный рукав, тормозной башмак и колодка.
3.48 трехосная [четырехосная] тележка грузового вагона: Отдельная сборочная единица грузового вагона, обеспечивающая его движение и выполняющая функции опоры кузова на рельсы, содержащая три [четыре] колесные пары.
Примечания
1 Тележка грузового вагона обеспечивает передачу, восприятие и амортизацию динамических нагрузок между кузовом вагона и рельсами, создание тормозной силы.
2 Как правило, трехосная тележка включает в себя следующие основные элементы конструкции: три колесные пары, четыре боковые рамы, две надрессорные балки и шкворневую или соединительную балку. Четырехосная - четыре колесные пары, четыре боковые рамы, две надрессорные балки, соединительную балку.
3.49
тип тележки: Группа тележек, имеющих одинаковые технические характеристики. |
3.50 установочная высота бокового [опорного] скользуна: Расстояние от опорной поверхности съемного бокового [опорного] скользуна на соединительной или шкворневой [надрессорной] балке тележки до рабочей поверхности скользуна, прижатой к ответной поверхности на кузове вагона [соединительной или шкворневой балке тележки].
3.51
фрикционный гаситель колебаний: Демпфирующее устройство в рессорном подвешивании, обеспечивающее гашение колебаний силами сухого трения. |
3.52
фрикционный клин: Составная часть фрикционного гасителя колебаний, обеспечивающая силы трения в рессорном подвешивании за счет прижатия упругими элементами рессорного подвешивания ее вертикальной поверхности непосредственно или через промежуточные детали к боковой раме, а наклонной поверхности - непосредственно или через промежуточные детали к надрессорной балке. |
3.53 шкворневая балка: Составная часть (деталь или сборочная единица) несущей конструкции трехосной тележки, передающая нагрузку от рамы вагона на надрессорные балки тележки.
4 Классификация, основные параметры и размеры
4.1 Тележки классифицируют по типам.
4.2 Технические характеристики трехосных тележек должны соответствовать
таблице 1.
Наименование технической характеристики | Значение технической характеристики для тележки типа |
3.1 | 3.2 | 3.3 | 3.4 |
1 Максимальная расчетная статическая осевая нагрузка, кН (тс) | 216 (22) | 230,5 (23,5) | 245 (25) | 265 (27) |
2 Конструкционная скорость вагона, км/ч, не более: | | | | |
- при движении по путям общего пользования | 120 | 120 | 120 | 100 |
- при движении по путям необщего пользования | 80 | 80 | 80 | 60 |
3 Минимальная расчетная масса вагона, 103 кг | 40 | 45 | 50 | 50 |
Примечания 1 Значения конструкционной скорости вагона при движении по путям общего и необщего пользования в соответствии с ограничениями, установленными в настоящей таблице, конкретизируют в конструкторской документации на трехосную тележку. 2 При проектировании трехосных тележек для вагонов с проследованием по путям общего пользования в порожнем состоянии конструкционную скорость вагона при движении по путям общего пользования в конструкторской документации на тележку указывают для порожнего вагона. |
4.3 Технические характеристики четырехосных тележек должны соответствовать
таблице 2.
Наименование технической характеристики | Значение технической характеристики для тележки типа |
4.1 | 4.2 | 4.3 | 4.4 |
1 Максимальная расчетная статическая осевая нагрузка, кН (тс) | 196 (20) | 230,5 (23,5) | 245 (25) | 265 (27) |
2 Конструкционная скорость вагона при движении по путям общего пользования, км/ч, не более | 120 | 120 | 120 | 100 |
3 Минимальная расчетная масса вагона, 103 кг | 43 | 45 | 48 | 51 |
4.4 Условное обозначение тележек должно состоять из наименования изделия, подгруппы и индекса по руководящему техническому материалу
[1], обозначений типа и стандарта.
Примеры
1 Трехосную тележку (подгруппа 18 по [1]), (индекс 102 по [1]), тип 3.1 следует обозначать следующим образом:
Тележка трехосная 18-102, тип 3.1 ГОСТ 34763.1-2021.
2 Четырехосную тележку (подгруппа 18 по [1]), (индекс 101 по [1]), тип 4.2 следует обозначать:
Тележка четырехосная 18-101, тип 4.2 ГОСТ 34763.1-2021.
4.5 Основные параметры и размеры должны соответствовать
таблице 3.
Таблица 3
Основные параметры и размеры трехосных и четырехосных
тележек
Основные параметры и размеры | Значение для тележек типа |
| 3.2 | 3.3 | | | 4.2 | 4.3 | |
1 Масса тележки, 10 3 кг, не более | 10,5 | 11,0 | 12,7 | 13,6 | 14,2 | 14,6 |
| 02-ВМ |
3 Размеры подпятника с конусностью упорной поверхности 1:12,5 <*>: | | | | | |
- диаметр на уровне опорной поверхности, мм | 402+1,6 | | | | 452+1,6 |
- глубина, мм | 42 - 48 | 31 - 37 | 31 - 37 | 38 - 42 | |
4 Расстояние от уровня верха головок рельсов до опорной поверхности подпятника тележки в вагоне с минимальной расчетной массой, мм | От 780 до 830 включ. | От 855 до 910 <**> включ. |
5 Разность полных статических прогибов рессорного подвешивания тележки в вагонах с максимальной и минимальной расчетной массой, мм, не более | |
6 База тележки, мм, не менее | 3000 | 3200 |
7 Расстояние между продольными осями боковых скользунов, мм | 1524 +/- 6 | 1210 +/- 6 1524 +/- 6 | 1524 +/- 6 |
8 Расстояние между продольными осями опорных скользунов, мм | - | | 1524 +/- 6 |
9 Расстояние от опорной поверхности подпятника шкворневой (соединительной) балки до рабочей поверхности бокового скользуна, не более: | | | | |
- зазорного типа, мм | 348 | 214 | 220 | 146 |
- постоянного контакта (в поджатом состоянии), мм | - | 210 | 240 | 164 |
10 Расстояние от опорной поверхности подпятника надрессорной балки до рабочей поверхности опорного скользуна, не более | | 130 |
<*> Допускается использование иной конструкции подпятника при обеспечении совместимости с пятником вагона по ГОСТ 34468. Размеры таких подпятников устанавливают в конструкторской документации на тележку. <**> Указанные значения приведены для соединительной балки тележки. Размеры для надрессорной балки должны соответствовать ГОСТ 9246-2013 ( показатели 3 и 4 таблицы 2). <***> Для тележек типов 3.1, 3.4, 4.1, 4.4 допускается применение иного значения при обеспечении устойчивости вагона от опрокидывания по ГОСТ 33211-2014 ( подразделы 5.3, 7.4), обеспечении сцепления и прохождения в сцепленном состоянии нормативных кривых по ГОСТ 32700-2014 (пункт 4.3) с указанной в конструкторской документации разностью высот продольных осей автосцепок. <*4> Размеры указаны для случая применения в конструкции тележки опорных скользунов. Примечание - Знак "-" в таблице означает, что для данного сочетания параметров отсутствуют известные конструкции, значения параметров устанавливают в конструкторской документации. |
4.6 В соответствии с ограничениями на основные параметры и размеры, установленными в
таблице 3, в технических условиях на тележку конкретизируют значения следующих параметров:
б) расстояние от уровня верха головок рельсов до опорной поверхности подпятника в свободном состоянии;
г) расстояние от опорной поверхности подпятника до рабочей поверхности бокового скользуна, взаимодействующего с кузовом вагона
(показатель 9 таблицы 3);
д) расстояние от опорной поверхности подпятника надрессорной балки до рабочей поверхности опорного скользуна (если применен), взаимодействующего с соединительной или шкворневой балкой
(показатель 10 таблицы 3).
В состав трехосной или четырехосной тележки должны входить:
- колесные пары с буксовыми узлами и/или балансирами;
- адаптеры, применяемые при установке в тележке колесных пар с коническими подшипниковыми узлами без использования букс;
- рамы боковые;
- балки надрессорные;
- балка шкворневая для трехосной тележки;
- балка соединительная для четырехосной или трехосной тележки;
- скользуны боковые (размещаемые на шкворневой или соединительной балке трехосной тележки или соединительной балке четырехосной тележки);
- скользуны опорные (размещаемые на балке надрессорной двухосной тележки, применяемой в составе четырехосной тележки, или надрессорных балках трехосной тележки);
- рессорное подвешивание (с гасителями колебаний);
- тормозная рычажная передача или тормозная система тележки;
- шкворень (шкворни).
5.2 Показатели назначения
5.2.1 Тележка должна быть изготовлена в климатическом исполнении УХЛ1 по
ГОСТ 15150 с обеспечением работоспособного состояния в диапазоне рабочих температур от минус 60 °C до плюс 50 °C.
5.2.2 Элементы несущей конструкции тележки должны обладать статической прочностью и запасом сопротивления усталости в соответствии с
5.6 и
5.7.
5.2.3 Конструкция тележки при движении вагона по путям общего пользования должна обеспечивать показатели динамических качеств вагонов не ниже уровня оценки "допустимый" по ГОСТ 33211-2014 (
показатели 1 -
4 таблицы 14).
Конструкция тележки при движении вагона по путям необщего пользования должна обеспечивать следующие показатели динамических качеств:
- максимальное отношение рамной силы к статической осевой нагрузке не более 0,40 для вагона с минимальной расчетной массой, не более 0,38 для вагона с максимальной расчетной массой;
- максимальный коэффициент динамической добавки обрессоренных частей не более 0,80 для вагона с минимальной расчетной массой, не более 0,65 для вагона с максимальной расчетной массой;
- минимальный коэффициент запаса устойчивости от схода колеса с рельса не менее 1,15.
5.2.4 Оценку показателей динамических качеств проводят в соответствии с ГОСТ 33211-2014
(раздел 5).
Приближенные расчетные значения максимальных коэффициентов динамической добавки и рамной силы для составных частей вагонов с максимальной и минимальной расчетной массой на трехосных или четырехосных тележках определяют в соответствии с
приложением А.
5.2.5 Конструкция тележки должна обеспечивать стабильность действительной силы нажатия тормозных колодок при всех допускаемых в эксплуатации износах тормозных колодок (накладок) и колес (дисков). Изменение максимальной силы тормозного нажатия при новых и предельно изношенных тормозных колодках, при отрегулированной рычажной передаче, как при действии автоматического, так и при действии стояночного тормозов, не более 10%.
5.2.6 Конструкция тележки при движении по путям общего пользования должна обеспечить показатели воздействия вагонов на железнодорожный путь, установленные ГОСТ 34759.
5.3 Конструктивные требования к составным частям трехосной и четырехосной тележки
5.3.1 Тележки должны быть оборудованы колесными парами по
ГОСТ 4835.
5.3.2 Разность диаметров по кругу катания колес одной тележки должна быть не более 6 мм.
5.3.3 При применении в рессорном подвешивании тележки в качестве упругих элементов цилиндрических пружин их следует выполнять по
ГОСТ 1452.
5.3.4 Допустимую разность высот упругих элементов рессорного подвешивания в свободном состоянии, изготавливаемых по одной номинальной высоте, устанавливаемых с каждой стороны тележки и в тележке, указывают в технических условиях на тележку.
5.3.5 Запас прогиба рессорного подвешивания тележек под нагрузкой, соответствующей установке в вагон с максимальной расчетной массой, должен обеспечивать отсутствие смыкания упругих элементов подвешивания в режимах по ГОСТ 33211-2014
(подраздел 5.1) при движении по путям общего пользования.
5.3.6 Значение расчетного статического прогиба рессорного подвешивания тележки в вагоне с минимальной расчетной массой должно составлять не менее 8 мм. Конкретное значение в вагоне с минимальной и максимальной расчетной массой устанавливают в технических условиях на тележку.
5.3.7 В рессорном подвешивании должны быть установлены гасители вертикальных и горизонтальных колебаний.
5.3.8 При применении фрикционных гасителей колебаний, включающих опирающиеся на упругие элементы рессорного подвешивания фрикционные клинья, в сборочном чертеже и технических условиях на тележку указывают:
а) диапазон значений завышения и/или занижения фрикционного клина;
б) значение коэффициента относительного трения в рессорном подвешивании тележки при статической нагрузке, соответствующей кузову вагона с минимальной и максимальной расчетной массой.
5.3.9 Фрикционные клинья должны соответствовать требованиям
ГОСТ 34503.
5.3.10 Коэффициент относительного трения при применении фрикционных гасителей колебаний в рессорном подвешивании тележки должен быть не менее 0,07.
5.3.11 Поверхности пар трения, подвергающиеся контролю износа в эксплуатации или при ремонте, рекомендуется оборудовать визуальными индикаторами предельного состояния. Места расположения визуальных индикаторов предельного состояния устанавливают в конструкторской и эксплуатационной документации на тележку.
5.3.12 Боковые рамы, надрессорные балки, шкворневые (соединительные) балки следует выполнять литыми или сварными.
При выполнении боковых рам и надрессорных балок четырехосных тележек методом литья они должны соответствовать
ГОСТ 32400.
При выполнении боковых рам и надрессорных балок трехосных тележек методом литья они должны соответствовать
ГОСТ 34717.
Технические требования к шкворневым балкам - по
ГОСТ 34769.
Технические требования к соединительным балкам - по
ГОСТ 34768.
На несущих конструкциях тележки в зависимости от назначения должны быть предусмотрены:
- опорные поверхности для установки рессорного подвешивания с ограничителями положения упругих элементов рессорного подвешивания;
- проемы для установки колесных пар;
- площадки или приливы для размещения боковых и/или опорных скользунов;
- кронштейны для установки и соединения с тормозной рычажной передачей;
- подпятник (подпятники);
- пятники (пятниковые места);
- опорные поверхности для опорных скользунов.
5.3.13 Конструкцией проема для колесных пар совместно с конструкцией буксы, балансира или адаптера должно быть предусмотрено ограничение горизонтальных перемещений колесной пары относительно боковой рамы. Зазоры между одной буксой (адаптером) колесной пары и проемом для колесной пары в боковой раме в продольном и поперечном направлениях должны быть указаны в технических условиях на тележку.
5.3.14 Буксы и адаптеры должны соответствовать требованиям, установленным в ГОСТ 34385-2018
(раздел 5). Требования к балансирам трехосных тележек - по
ГОСТ 34767.
5.3.15 В случае применения в колесной паре конического подшипникового узла с адаптером конструкцией тележки должны быть исключены:
а) возможность выхода подшипника колесной пары из адаптера и/или проема для колесной пары в боковой раме тележки;
б) возможность выхода адаптера из балансира.
5.3.16 Подпятник (пятник), боковые и опорные скользуны могут быть встроенными или съемными.
5.3.17 Боковые и опорные скользуны должны соответствовать требованиям, установленным в ГОСТ 34387-2018
(раздел 5).
5.3.18 Регулировку высоты бокового (опорного) скользуна зазорного типа выполняют пластинами, устанавливаемыми в скользун. Регулировку установочной высоты бокового (опорного) скользуна постоянного контакта осуществляют пластинами на шкворневой балке кузова вагона (соединительной или шкворневой балке тележки).
5.3.19 Крепление съемного бокового (опорного) скользуна к площадке на шкворневой или соединительной балке (надрессорной балке) следует осуществлять двумя болтами М24 с гайками. Расстояние между центрами отверстий под крепежные детали скользуна на опорной площадке надрессорной балки (балки шкворневой или соединительной) должно составлять (216 +/- 1) мм, а диаметр отверстий - 26,00+0,33 мм. Допускается на соединительной балке четырехосной тележки устанавливать иное расстояние между центрами отверстий под крепежные детали бокового скользуна на опорной площадке из диапазона от 180 до 300 мм.
5.3.20 Установочная высота съемного бокового или опорного скользуна постоянного контакта должна быть не более 130 мм (под вагоном). Допустимый диапазон установочной высоты указывают в технических условиях на тележку.
5.3.21 Динамический прогиб бокового и опорного скользунов постоянного контакта должен быть ограничен жестким упором.
5.3.22 Отношение суммарной статической нагрузки на боковые скользуны постоянного контакта к весу кузова вагона с минимальной расчетной массой должно быть не более 85%.
5.3.23 При применении в тормозной рычажной передаче тележки триангелей - они должны соответствовать
ГОСТ 4686.
5.3.24 При применении тормозной рычажной передачи в конструкции четырехосных тележек в технических условиях на тележку приводят ее схему с указанием ее полного передаточного числа.
5.3.25 При применении тормозной рычажной передачи в конструкции трехосных тележек в технических условиях на тележку приводят ее схему с указанием передаточного числа до пары колодок крайней оси, передаточного числа до пары колодок средней оси и полного передаточного числа всей тележки.
5.3.26 Тормозная рычажная передача четырехосных тележек должна обеспечивать равномерное распределение сил нажатия колодок на колеса. Разница силы нажатия на каждое колесо тележки при отрегулированной тормозной рычажной передаче не должна превышать 10%.
5.3.27 Тележки должны быть оборудованы предохранительными устройствами, исключающими падение деталей тормозной рычажной передачи (триангелей, затяжки, осей, подвесок триангелей и осей вертикальных рычагов при их применении) на путь.
Конструкция тележек и/или тормозной системы должна исключать падение составных частей тормозной системы на железнодорожный путь.
5.3.28 Шарнирные соединения и подвески тормозной рычажной передачи или тормозной системы тележки должны быть оборудованы втулками, обеспечивающими долговечность на срок не менее, чем между плановыми ремонтами вагона.
5.3.29 Способ защиты пар трения тележки от износа должен быть указан в технических условиях на тележку.
5.3.30 При применении в полувагоне конструкция тележки должна обеспечивать отсутствие выпадения деталей тележки при разгрузке вагонов на вагоноопрокидывателе.
5.3.31 Конструкция тележки должна обеспечивать отвод статического электричества от кузова вагона на рельсы.
Для обеспечения отвода статического электричества от кузова вагона на рельсы заземляющими проводниками следует оборудовать:
- тележки, имеющие неэлектропроводные вкладыши между подшипниками и боковыми рамами;
- тележки, имеющие неэлектропроводные вкладыши опорной поверхности подпятника одновременно с боковыми или опорными скользунами постоянного контакта с неэлектропроводными упругими элементами;
- тележки, имеющие неэлектропроводные вкладыши опорной поверхности подпятника одновременно с боковыми или опорными скользунами зазорного типа.
5.3.32 Пятники соединительных и шкворневых балок должны соответствовать требованиям, установленным в
ГОСТ 34468.
5.3.33 Диаметр отверстия рычага, предназначенного для соединения с тормозной рычажной передачей вагона, при применении тормозной рычажной передачи тележки с нажатием тормозных колодок на поверхность катания колес должен составлять

.
5.3.34 При применении тормозной рычажной передачи тележки с нажатием тормозных колодок на поверхность катания колес рекомендуется ее оборудовать устройствами направленного отвода тормозных колодок от поверхности колес в отпущенном состоянии тормоза.
5.3.35 При применении тормозной рычажной передачи тележки с нажатием тормозных колодок на поверхность катания колес при приложении силы к отверстию рычага, предназначенного для соединения с тормозной рычажной передачей вагона, сила нажатия колодки на колесо должна составлять не менее 0,9 от расчетного значения с учетом передаточного числа тормозной рычажной передачи.
5.3.36 При применении тормозной системы тележки с нажатием тормозных колодок на поверхность катания колес сила нажатия колодки на колесо должна составлять не менее 0,9 от расчетного значения.
5.3.37 Тормозная рычажная передача тележки должна обеспечивать возможность ее регулировки для использования с колесами диаметром от 848 до 964 мм. Тормозная рычажная передача тележки с нажатием тормозных колодок на поверхность катания колес должна обеспечивать возможность ее регулировки для использования с тормозными колодками толщиной от 50 до 70 мм с учетом допускаемого износа в эксплуатации.
5.3.38 Передаточное число рычажной передачи тележек должно быть выбрано исходя из условия обеспечения максимально возможного диапазона перемещений оси отверстия для присоединения тяги тормозной рычажной передачи вагона в диапазоне 300 мм.
5.3.39 Размеры и конструкция шкворней тележек должны быть приведены в конструкторской документации. Рекомендуемая конструкция и размеры шкворней тележек приведены в
приложении Б.
5.4 Конструктивные требования к составным частям трехосной тележки
5.4.1 Передаточное число тормозной рычажной передачи (тормозной системы) тележки должно быть указано в технических условиях на тележку.
5.4.2 При применении в тормозной системе вагона устройств автоматического регулирования давления в силовом пневматическом органе на тележке должно быть предусмотрено место для размещения опорной площадки или место для их установки.
5.4.3 Разность баз боковых рам в тележке должна быть не более 2 мм.
5.5 Конструктивные требования к составным частям четырехосной тележки
5.5.1 Разность баз боковых рам, опирающихся на две смежные колесные пары, должна быть не более 2 мм.
5.5.2 Сумма зазоров между одной буксой (адаптером) колесной пары и проемом для колесной пары в боковой раме в продольном к оси пути направлении должна быть не более 12 мм.
5.5.3 Расстояние от опорной поверхности пятника соединительной балки до опорной поверхности подпятника соединительной балки должно быть не более 92 мм.
5.5.4 На соединительной балке четырехосной тележки должны располагаться кронштейны для крепления тормозной рычажной передачи.
В зависимости от конструкции на соединительной балке четырехосной тележки может быть расположен кронштейн для торсиона, обеспечивающего поворот автосцепки при прохождении кривых участков пути.
5.5.5 Передаточное число тормозной рычажной передачи (тормозной системы) тележки должно быть указано в технических условиях на тележку.
5.6 Основные требования к прочности несущей конструкции тележки
5.6.1 Прочность несущей конструкции тележки определяют при действии сил, указанных в
таблице 4, для случая установки в вагоне двух трехосных тележек (для шестиосного вагона) или двух четырехосных тележек (для восьмиосного вагона).
Таблица 4
Силы, действующие на тележку при проверке на прочность ее
несущей конструкции
Силы | Значение силы |
| | |
Вертикальные: | | | |
- сила тяжести | | | |
- составляющая силы инерции | | - | |
Продольные: | | | |
- сила инерции | | - | |
- сила при торможении | - | - | |
- сила от действия горочного вагонного замедлителя | - | | - |
Боковые | - | - | |
Примечание - Режиму Iа соответствует сочетание сил, действующих на тележку при соударении вагона при роспуске с сортировочной горки, режиму Iб - при проходе горочного вагонного замедлителя при роспуске вагона с сортировочной горки, режиму Iв - при торможении состава, двигающегося в кривом участке пути. |
Действующие на несущую конструкцию тележки вертикальные, продольные и боковые силы должны быть уравновешены реакциями в опорах тележки на подшипниковые узлы колесных пар.
Силы, действующие на составные части тележки, определяют из условия статического равновесия с учетом устройства их соединения.
Пример расчета сил, действующих на боковую раму трехосной тележки с применением клинового фрикционного гасителя колебаний, приведен в
приложении В. Пример расчета сил, действующих на соединительную балку четырехосной тележки (в случае ее комплектования двухосными тележками) при использовании боковых и опорных скользунов постоянного контакта в конструкции соединительной и надрессорных балок тележки, приведен в
приложении Г.
5.6.2 При оценке прочности несущей конструкции тележки устанавливают следующие схемы приложения продольных сил к кузову вагона и их значения:
а) сила, направленная внутрь вагона, приложена к опорной поверхности заднего упора автосцепного устройства с одной стороны вагона и уравновешена продольными силами инерции масс кузова вагона, тележек, автосцепных устройств и груза. Для шестиосных вагонов принимают значение продольной силы 2,5 МН, для восьмиосных вагонов - 2,0 МН;
б) силы, направленные внутрь вагона, приложены к опорным поверхностям задних упоров автосцепного устройства с двух сторон вагона. Для шестиосных вагонов принимают значение продольной силы 2,5 МН, для восьмиосных вагонов - 2,0 МН.
5.6.3 Действие силы тяжести на тележку и ее составные части учитывают при определении прочности расчетными методами приложением к объему ускорения свободного падения 9,81 м/с
2.
Действие на составную часть тележки силы тяжести от массы опертых на нее кузова вагона с грузом и составных частей самой тележки определяют, исходя из максимальной расчетной статической осевой нагрузки при ускорении свободного падения 9,81 м/с2. Сила тяжести кузова вагона с грузом приложена к опорной поверхности подпятника шкворневой или соединительной балки тележки и рабочим поверхностям боковых скользунов при использовании скользунов постоянного контакта.
5.6.4 Вертикальную составляющую силы инерции, действующую на тележку или ее составную часть от опертых на нее частей вагона (кузова вагона с грузом, шкворневой или соединительной балки тележки и т.п.), P
N, Н, вычисляют по формуле

, (5.1)
где
NИ - продольная сила инерции по
формуле (5.2) для кузова вагона с максимальной расчетной массой и составных частей тележки, опертых на рассматриваемую часть тележки, при продольной силе по
5.6.2, перечисление а), Н;
HЦТ - расчетное расстояние от центра тяжести кузова вагона до уровня подпятника тележки, м (определяют с учетом высоты центра тяжести кузова вагона над центрами осей колесных пар равной 2,0 м);
2lВ - база вагона, м (принимают для вагона на трехосных тележках 2lВ = 8,9 м, для вагона на четырехосных тележках 2lВ = 13,79 м).
Вертикальная составляющая силы инерции кузова вагона с грузом приложена к опорной поверхности подпятника шкворневой или соединительной балки тележки.
5.6.5 Продольную силу инерции составной части вагона (кузова вагона с грузом, тележки, колесной пары и т.п.)
NИ, Н, имеющей массу
m кг, вычисляют по формуле

, (5.2)
m - масса составной части вагона, кг;
mваг - максимальная расчетная масса вагона, кг.
Продольная сила инерции тележки приложена к упорной поверхности подпятника шкворневой или соединительной балки и уравновешена продольными силами инерции масс составных частей тележки, приложенными в их центре масс. Допускается учитывать продольную силу инерции массы составной части тележки приложением распределенного по ее объему ускорения.
5.6.7 Продольную силу, действующую при торможении на ограничители продольных перемещений колесной пары в проеме для ее установки, принимают равной действительной силе нажатия тормозных колодок и определяют по
5.6.10.
Дополнительно должны быть учтены силы реакции, возникающие на кронштейнах подвеса тормозной рычажной передачи тележки, вызванные действием действительной силы нажатия тормозных колодок.
5.6.8 Продольную силу, действующую на тележку от горочного вагонного замедлителя, принимают равной 240 кН. Продольная сила приложена к упорной поверхности подпятника шкворневой или соединительной балки тележки и уравновешена реакциями в ограничителях продольных перемещений крайней колесной пары с одной стороны проема для ее установки (наружной или внутренней).
При этом сила 240 кН соответствует действию горочного вагонного замедлителя на одну колесную пару тележки.
5.6.9 Боковую силу P
N1, Н, действующую на тележку при взаимодействии между вагонами при движении состава в кривом участке пути, определяют по формуле

, (5.3)

- возможное одностороннее боковое перемещение шкворневого сечения кузова вагона за счет зазоров колесной пары в рельсовой колее, зазоров между буксой (адаптером) колесной пары и проемом для колесной пары в боковой раме, зазоров между пятником и подпятником, упругих боковых деформаций рессорного подвешивания, м (при расчете тележек грузовых вагонов принимают

);
2L - расстояние между задними опорными поверхностями упоров автосцепных устройств, м (для вагона на трехосных тележках 2L = 12,47 м, для вагона на четырехосных тележках - 2L = 17,87 м);
2lВ - база вагона, м (принимают для вагона на трехосных тележках 2lВ = 8,9 м, для вагона на четырехосных тележках 2lВ = 13,79 м);

- расчетная длина корпуса автосцепки, м (принимают

при действии сил внутрь вагона);
2Lс - длина вагона по осям сцепления, м (принимают для вагона на трехосных тележках 2lс = 15,72 м, для вагона на четырехосных тележках 2lс = 21,12 м);
R - радиус кривой, м (принимают R = 250 м).
Боковая сила приложена к упорной поверхности подпятника шкворневой или соединительной балки тележки.
5.6.10 Составные части тележки, тормозную рычажную передачу и кронштейны ее крепления, воспринимающие действие сил в тормозной системе вагона, проверяют расчетными методами на прочность при действии максимальной силы на штоке поршня тормозного цилиндра, определяемой без учета жесткости отпускной пружины и без учета потерь (при коэффициенте полезного действия, равном единице).
5.6.11 Обеспечение прочности несущей конструкции проверяют в соответствии с ГОСТ 33211-2014 (
пункты 6.1.1 -
6.1.4).
5.7 Основные требования к сопротивлению усталости несущей конструкции тележки
5.7.1 Сопротивление усталости составных частей несущей конструкции тележки оценивают по коэффициенту запаса сопротивления усталости в соответствии с ГОСТ 33211-2014 (
пункты 6.3.1 -
6.3.7). При этом предел выносливости по амплитуде составных частей несущей конструкции тележки определяют экспериментально или по справочным данным, приведенным в технической литературе для применяемых марок стали.
5.7.2 Сопротивление усталости несущей конструкции тележки определяют для случая установки в вагоне двух тележек (трехосных или четырехосных) при действии сил по
5.7.3 и
5.7.4.
Пример расчета сопротивления усталости соединительной балки четырехосной тележки приведен в
приложении Д.
Для предварительной оценки сопротивления усталости несущей конструкции тележки рекомендуется применять расчетный режим, описанный в
приложении А, а также проводить проверку отсутствия резонанса по результатам расчетного определения собственных частот колебаний несущей конструкции в сравнении с характерными частотами колебаний на рессорном подвешивании.
5.7.3 Динамические силы, действующие на тележку при движении вагона, и их частоты определяют в соответствии с ГОСТ 33211-2014 (
пункт 4.7.2 и
раздел 5) с учетом распределения скоростей движения, приведенного в ГОСТ 33211-2014
(таблица 6). При этом среднее вероятное значение рамной силы

, Н, для вагонов на трехосных или четырехосных тележках следует определять с учетом коэффициента влияния числа осей в тележке по формуле

, (5.4)
где

- коэффициент для определения среднего вероятного значения рамной силы, с/м (принимают

);
PО - максимальная расчетная статическая осевая нагрузка, Н;
b - коэффициент, учитывающий влияние числа осей
n в тележке, определяемый по ГОСТ 33211-2014
(пункт 4.6.2);
V - средняя скорость интервала движения вагона по ГОСТ 33211-2014
(таблица 6), м/с;
V1 - начальное значение скорости движения вагона для определения среднего вероятного значения рамной силы, м/с (принимают V1 = 5 с/м).
5.7.4 Вертикальную составляющую силы инерции, действующую на тележку, определяют по
5.6.4. При этом в
формуле (5.2) учитывают продольную силу, действующую на вагон по ГОСТ 33211-2014
(таблица 5). Одновременно с вертикальной составляющей силы инерции действует продольная сила инерции тележки по
5.6.5 при продольной силе по ГОСТ 33211-2014
(таблица 5).
Примечание - При применении
таблицы 5 ГОСТ 33211-2014 для вагона на четырехосных тележках следует исключить средние значения силы 2,1 МН и 2,4 МН и принять для среднего значения силы 1,9 МН число приложений сжимающей силы за один год, равное 60.
5.8 Требования надежности
5.8.1 Наработка тележки от изготовления вагона до первого планового ремонта вагона, наработка тележки между последующими плановыми ремонтами вагона и назначенный ресурс должны быть указаны в технических условиях, эксплуатационной и ремонтной документации на тележку.
5.8.2 Наработка деталей тележки должна быть указана в эксплуатационной документации на тележку и должна соответствовать (кроме сменных элементов) наработке тележки до одного из плановых видов ремонта вагона.
5.8.3 Критерии опасного отказа и предельного состояния деталей и узлов тележки должны быть указаны в эксплуатационной и ремонтной документации. Критериями предельного состояния являются:
- признаки деградации (трещина, излом) боковой рамы, надрессорной балки, шкворневой балки, соединительной балки, составных частей колесной пары, адаптера (в случае применения), составных частей рессорного подвешивания и боковых и/или опорных скользунов;
- нарушение (ослабление) предусмотренных конструкторской документацией соединений;
- смятие или предельный износ сопряженных поверхностей.
5.9 Требования к покрытиям
5.9.1 Подготовка поверхностей тележки к окрашиванию и окрашивание следует выполнять по
ГОСТ 7409. Допускается применять другие способы и материалы для окрашивания тележек при выполнении требований ГОСТ 7409-2018
(раздел 7).
5.9.2 Применяемое покрытие должно соответствовать климатическому исполнению УХЛ1 по
ГОСТ 15150 и выдерживать воздействия по ГОСТ 22235-2010
(пункт 4.1.5).
5.9.3 Допускается не окрашивать в труднодоступных местах внутренние полости боковых рам, надрессорных балок, шкворневых балок, соединительных балок.
5.10 Комплектность тележек
5.10.1 В комплект поставки тележек должна входить эксплуатационная документация (руководство по эксплуатации и паспорт) по
ГОСТ 2.601. По согласованию с заказчиком комплект прилагаемых документов может быть дополнен. Документация должна быть упакована герметично по
ГОСТ 23170.
5.10.2 Допускается по согласованию с заказчиком прилагать к партии тележек, отправляемых по одному адресу, комплект документации в одном экземпляре.
5.11.1 Маркировку тележки наносят на наружной стороне каждой боковой рамы.
5.11.2 Маркировка тележки должна содержать:
- тип тележки (обозначается арабскими цифрами);
- индекс изделия по руководящему техническому материалу
[1] (обозначается арабскими цифрами);
- код государства-собственника по классификатору
[2];
- условный номер изготовителя по справочнику
[3];
- порядковый номер по системе нумерации изготовителя (обозначается арабскими цифрами);
- месяц (обозначается римскими цифрами), год (обозначается арабскими цифрами, две последние цифры) изготовления;
- знак обращения на рынке.
Пример - Маркировка тележки типа 3.2 с индексом изделия 9999, изготовленная для поставки в Российскую Федерацию (код 20) на предприятии с условным номером 5, имеющая порядковый номер 20085 в августе 2017 года:
3.2 9999 20 5 20085 VIII 17
5.11.3 Маркировка боковых рам, надрессорных балок, шкворневых балок и соединительных балок должна содержать:
- две последние цифры года окончания назначенного ресурса;
- условный номер организации-изготовителя в рамке по справочнику
[3];
- две последние цифры года изготовления;
- порядковый номер детали по системе нумерации организации-изготовителя;
- марку стали. Допускается маркировать условное обозначение марки стали, если оно установлено в соответствующих стандартах на боковые рамы, надрессорные балки, шкворневые балки и соединительные балки.
5.11.4 Маркировка литых боковых рам и надрессорных балок четырехосных тележек - в соответствии с ГОСТ 32400-2013
(подраздел 4.7).
5.11.5 На наружной стороне каждой боковой рамы наносят приемочные клейма службы технического контроля изготовителя и инспектора-приемщика в соответствии с требованиями ГОСТ 32894-2014
(пункт 7.4.1).
5.11.6 Маркировка должна быть отлита или нанесена ударным способом и иметь четкие контуры независимо от способа нанесения. Высота знаков от 10 до 12 мм, глубина от 1 до 3 мм. Знаки маркировки наносят с промежутками.
5.11.7 Сведения о маркировке должны быть приведены в руководстве по эксплуатации.
5.11.8 Место на боковой раме с нанесенной маркировкой и клеймением тележки должно быть окантовано белой краской.
(справочное)
РАСЧЕТНЫЙ РЕЖИМ ДЛЯ ПРЕДВАРИТЕЛЬНОЙ ОЦЕНКИ СОПРОТИВЛЕНИЯ
УСТАЛОСТИ НЕСУЩЕЙ КОНСТРУКЦИИ
А.1 Предварительную оценку сопротивления усталости несущей конструкции осуществляют расчетными методами при действии сил, указанных в
таблице А.1, для случая установки в вагоне двух трехосных тележек (для шестиосного вагона) или двух четырехосных тележек (для восьмиосного вагона).
Действующие на несущую конструкцию тележки вертикальные, продольные и боковые силы должны быть уравновешены реакциями в опорах тележки на подшипниковые узлы колесных пар.
Силы, действующие на составные части тележки, определяют из условия статического равновесия с учетом устройства их соединения.
Таблица А.1
Силы, действующие на тележку, для предварительного расчета
сопротивления усталости ее несущей конструкции
Силы | Значение силы в режиме III |
Вертикальные: | |
- сила тяжести | |
- динамическая сила | |
- кососимметричные силы | |
Продольные: | |
- силы инерции | |
Боковые | |
Примечание - Режиму III соответствует сочетание сил, действующих на тележку при движении состава в кривом участке пути для предварительной оценки сопротивления усталости несущей конструкции тележки. |
А.2 При предварительной оценке сопротивления усталости несущей конструкции тележки устанавливают следующую схему приложения продольных сил к кузову вагона и их значения: сила, направленная внутрь вагона, приложена к опорной поверхности заднего упора автосцепного устройства с одной стороны вагона и уравновешена продольными силами инерции масс кузова вагона, тележек, автосцепных устройств и груза. Для шестиосных вагонов значение продольной силы принимают 0,8 МН, для восьмиосных вагонов - 0,5 МН.
А.3 Вертикальную динамическую силу, действующую на несущую конструкцию тележки, определяют умножением силы тяжести по
5.6.3 (или напряжений от ее действия) на наибольшее вероятное значение коэффициента динамической добавки
KД, вычисляемое по формуле

, (А.1)
где

- коэффициент для определения наибольшего вероятного значения коэффициента динамической добавки (принимают

);

- среднее вероятное значение коэффициента динамической добавки, которое определяют по ГОСТ 33211-2014
(пункт 4.7.2) при конструкционной скорости вагона;

- параметр распределения (принимают для вагона с максимальной расчетной массой

);

- расчетная односторонняя вероятность (принимают

).
Примечание - При приближенной оценке значений максимальных коэффициентов динамической добавки для составных частей вагонов на трехосных и четырехосных тележках принимают:
- среднее вероятное значение коэффициента динамической добавки

для обрессоренных частей кузова по ГОСТ 33211-2014
(пункт 4.6.2);
- расчетный статический прогиб рессорного подвешивания в вагоне с минимальной расчетной массой f1 = 0,015 м при значении расчетного статического прогиба менее 0,015 м;
- параметр распределения для вагона с минимальной расчетной массой

.
А.4 Продольную силу инерции тележки и ее составных частей определяют по
формуле (5.2) при продольной силе, действующей на вагон по
А.2.
Продольная сила инерции тележки приложена к упорной поверхности подпятника шкворневой или соединительной балки тележки и уравновешена продольными силами инерции масс составных частей тележки, приложенными в их центре масс. Допускается учитывать продольную силу инерции массы составной части тележки приложением распределенного по ее объему ускорения.
А.5 Вертикальные кососимметричные силы, представляющие собой систему взаимно уравновешенных вертикальных сил, возникающих вследствие различного уровня положения опорных точек пути под колесами тележки, различной жесткости и высоты пружин и рессор буксового подвешивания (или рессорных комплектов центрального подвешивания), отклонений по плоскости опорных поверхностей рам тележек и других неточностей, учитывают для трехосных и четырехосных тележек, имеющих жесткую раму, а также для частей трехосных и четырехосных тележек, передающих нагрузки от пятника на надрессорные балки и имеющих жесткое соединение элементов (шкворневая балка трехосной тележки, соединительная балка четырехосной тележки). Система кососимметричных сил состоит из четырех равных сил, из которых две силы, расположенные по диагонали, действуют вверх, а две другие - вниз.
Для шкворневой балки трехосной тележки, имеющей четыре точки опоры на две надрессорные балки, кососимметричные силы прикладывают к местам опоры шкворневой балки тележки на надрессорные балки.
Для трехосной тележки, не имеющей опорных скользунов в конструкции надрессорных балок, кососимметричную силу PК, Н, приложенную к одному месту опоры шкворневой балки тележки, определяют по формуле

, (А.2)
где z - вертикальное эквивалентное смещение в месте приложения кососимметричной силы, соответствующее вертикальному отводу одной рельсовой нитки, равному 6,7 мм/м (для расстояния между центрами нажатия рессорных комплектов 2lРК, м, в продольном относительно оси пути направлении: z = 0,0067·2lРК), м;
2b - расстояние между местами опоры шкворневой балки тележки на надрессорные балки тележки в боковом относительно оси пути направлении, м;
2S - расстояние между кругами катания колес одной колесной пары, м (принимают 2S = 1,58 м);
cРК - жесткость рессорного комплекта, расположенного под одним концом надрессорной балки трехосной тележки, Н/м;
cШБ - жесткость шкворневой балки трехосной тележки при кососимметричной нагрузке (на 1/4 шкворневой балки), Н/м.
Для соединительной балки четырехосной тележки кососимметричные силы прикладывают к местам опоры соединительной балки тележки на опорные скользуны надрессорных балок.
Действие вертикальных кососимметричных сил на соединительную балку четырехосной тележки учитывают, если выполнено условие

, (А.3)
где z - вертикальное эквивалентное смещение, м, в месте приложения кососимметричной силы, соответствующее вертикальному отводу одной рельсовой нитки, равному 6,7 мм/м;
2lТ - база четырехосной тележки, м;

- минимальное значение динамического прогиба опорного скользуна постоянного контакта при его применении или зазора при применении опорных скользунов зазорного типа, предусмотренное конструкторской документацией на четырехосную тележку, м.
Кососимметричную силу PК, Н, приложенную к одному месту опоры соединительной балки тележки, вычисляют по формуле

, (А.4)
где 2b - расстояние между продольными осями опорных скользунов надрессорных балок четырехосной тележки, м;
2S - расстояние между кругами катания колес одной колесной пары, м (принимают 2S = 1,58 м);
cРК - жесткость рессорного комплекта, расположенного под одним концом надрессорной балки четырехосной тележки, Н/м;
cСБ - жесткость соединительной балки четырехосной тележки при кососимметричной нагрузке (на 1/4 соединительной балки), Н/м.
Примечание - Вертикальные кососимметричные силы действуют на соединительную балку четырехосной тележки при условии замыкания расположенных по диагонали опорных скользунов между соединительной и надрессорными балками тележки.
А.6 Боковую рамную силу H
Р, Н, действующую от колесной пары на раму тележки вычисляют по формуле

, (А.5)
где

- среднее вероятное значение рамной силы, Н, вычисляемое по
формуле (5.4) при конструкционной скорости вагона;

- расчетная односторонняя вероятность (принимают

).
(справочное)
КОНСТРУКЦИЯ И ОСНОВНЫЕ РАЗМЕРЫ ШКВОРНЯ
Б.1 Конструкция и размеры шкворня в узле соединения пятника соединительной балки с подпятником надрессорной балки в четырехосной тележке грузового вагона приведены на
рисунке Б.1.
Б.2 Конструкция и размеры шкворня, применяемого в соединениях пятника кузова грузового вагона со шкворневой или соединительной балкой трехосной и соединительной балкой четырехосной тележек грузовых вагонов приведены на
рисунке Б.2.
(справочное)
ПРИМЕР РАСЧЕТА СИЛ, ДЕЙСТВУЮЩИХ НА БОКОВУЮ РАМУ ТРЕХОСНОЙ
ТЕЛЕЖКИ ПРИ ПРОВЕРКЕ НА ПРОЧНОСТЬ И ПРЕДВАРИТЕЛЬНОЙ ОЦЕНКЕ
СОПРОТИВЛЕНИЯ УСТАЛОСТИ
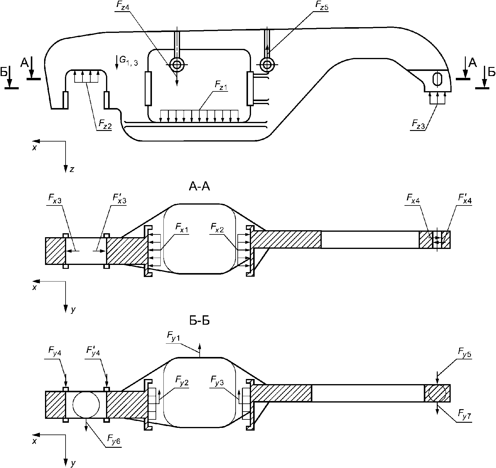
В.1 Схема сил, действующих при проверке на прочность и предварительной оценке сопротивления усталости на боковую раму трехосной тележки с клиновым фрикционным гасителем колебаний по типу тележки модели 18-100, с односторонним нажатием тормозных колодок на крайние оси и двухсторонним нажатием на среднюю ось приведена на
рисунке В.1.
Рисунок В.1 - Схема сил, действующих на боковую раму
трехосной тележки
В.1.1 G1,3 - ускорение, приложенное к боковой раме в вертикальном направлении.
В.1.2 Сила Fz1 действует в вертикальном направлении на опорную поверхность боковой рамы для установки упругих элементов рессорного подвешивания.
В.1.3 Сила Fz2 действует в вертикальном направлении на опорную поверхность проема для крайней колесной пары в боковой раме.
В.1.4 Сила Fz3 действует в вертикальном направлении на опорную поверхность боковой рамы на балансир средней колесной пары.
В.1.5 Силы Fz4, Fz5 действуют в вертикальном направлении на кронштейны боковой рамы для установки тормозной рычажной передачи.
В.1.6 Силы Fx1, Fx2 действуют в продольном направлении на поверхности боковой рамы, взаимодействующие с фрикционными клиньями рессорного подвешивания.
В.1.7 Сила Fx3 действует в продольном направлении на наружную упорную поверхность проема для крайней колесной пары в боковой раме, ограничивающую горизонтальное продольное перемещение крайней колесной пары.
В.1.8 Сила

действует в продольном направлении на внутреннюю упорную поверхность проема для крайней колесной пары в боковой раме, ограничивающую горизонтальное продольное перемещение крайней колесной пары.
В.1.9 Сила Fx4 действует в продольном направлении на наружную поверхность отверстия в боковой раме для установки балансира средней колесной пары, ограничивающую горизонтальное продольное перемещение средней колесной пары.
В.1.10 Сила

действует в продольном направлении на внутреннюю поверхность отверстия в боковой раме для установки балансира средней колесной пары, ограничивающую горизонтальное продольное перемещение средней колесной пары.
В.1.11 Сила Fy1 действует в боковом направлении на опорную поверхность боковой рамы для установки упругих элементов рессорного подвешивания.
В.1.12 Силы Fy2, Fy3 действуют в боковом направлении на поверхности боковой рамы, взаимодействующие с фрикционными клиньями рессорного подвешивания.
В.1.13 Сила Fy4 действует в боковом направлении на наружную упорную поверхность проема для крайней колесной пары в боковой раме, ограничивающую горизонтальное боковое перемещение крайней колесной пары.
В.1.14 Сила

действует в боковом направлении на внутреннюю упорную поверхность проема для крайней колесной пары в боковой раме, ограничивающую горизонтальное боковое перемещение крайней колесной пары.
В.1.15 Сила Fy5 действует в боковом направлении на поверхность боковой рамы, взаимодействующую с балансиром средней колесной пары и ограничивающую горизонтальное боковое перемещение средней колесной пары.
В.1.16 Сила Fy6 действует в боковом направлении на опорную поверхность проема для крайней колесной пары в боковой раме.
В.1.17 Сила Fy7 действует в боковом направлении на опорную поверхность боковой рамы на балансир средней колесной пары.
В.2 Силы, действующие на боковую раму, при проверке на прочность в
режиме Iа по 5.6, приведены в
таблице В.1.
Таблица В.1
Силы, действующие на боковую раму, при проверке на прочность
Обозначение | Метод расчета |
Вариант 1 | Вариант 2 |
G1 | G1 = g, где g = 9,81 м/с2 - ускорение свободного падения |
Fz1 | Fz1 = P + PN, где P = 0,025·( n· PО - ( PТ - PШ - n1· PН - PП - PТС)) - сила тяжести, действующая на боковую раму, по 5.6.3; n - число осей в тележке; PО - максимальная расчетная статическая осевая нагрузка; PТ - сила тяжести тележки; PШ - сила тяжести шкворневой балки; n1 - количество надрессорных балок в тележке; PН - сила тяжести надрессорной балки; PП - сила тяжести рессорного подвешивания тележки; PТС - сила тяжести обрессоренной массы тормозной системы тележки;  - вертикальная составляющая силы инерции по 5.6.4; HЦТ - расчетное расстояние от центра тяжести кузова вагона до уровня подпятника тележки (определяют с учетом высоты центра тяжести кузова вагона над центрами осей колесных пар 2,0 м); 2lВ - база вагона (принимают 2lВ = 8,9 м) |
Fx1, Fx2 | Fx1 = FКЛ, | Fx1 = 0,25·NТ1 + FКЛ, |
Fx2 = 0,25·NТ1 + FКЛ, | Fx2 = FКЛ, |
где FКЛ - сила, действующая от вертикальной поверхности фрикционного клина на боковую раму при силе Fz1, действующей на рессорное подвешивание;  - продольная сила инерции тележки в режиме I по 5.6.6; QТ - масса тележки; QШ - масса шкворневой балки; QН - масса надрессорной балки; QВ - максимальная расчетная масса вагона |
Fx3,  ,  , Fx4, | Fx3 = 0,5·Nкр.кп1, | Fx3 = 0, |
 , |  , |
 , |  , |
Fx4 = 0, | Fx4 = 0,25·Nср.кп1, |
где  - продольная сила инерции крайней колесной пары в режиме I по 5.6.6;  - продольная сила инерции средней колесной пары в режиме I по 5.6.6; Qкр.кп - масса крайней колесной пары; Qср.кп - масса средней колесной пары |
Fz2, Fz3 | Силы реакции от действия G1, Fz1, Fx1, Fx2, Fx3,  , Fx4,  |
В.3 Силы, действующие на боковую раму, при проверке на прочность в
режиме Iб по 5.6, приведены в
таблице В.2.
Таблица В.2
Силы, действующие на боковую раму, при проверке на прочность
Обозначение | Метод расчета |
Вариант 1 | Вариант 2 |
G1 | G1 = g |
Fz1 | Fz1 = P |
Fx1, Fx2 | Fx1 = FКЛ, | Fx1 = FКЛ + Q, |
Fx2 = FКЛ + Q, | Fx2 = FКЛ, |
где FКЛ - сила, действующая от вертикальной поверхности фрикционного клина на боковую раму при силе Fz1, действующей на рессорное подвешивание; Q - половина продольной силы, действующей на тележку от горочного вагонного замедлителя (силу, соответствующую действию горочного вагонного замедлителя на одну колесную пару, принимают равной 2 Q = 240 кН по 5.6.8) |
Fx3,  | Fx3 = Q, | Fx3 = 0, |
| |
Fz2, Fz3 | Силы реакции от действия G1, Fz1, Fx1, Fx2, Fx3,  |
В.4 Силы, действующие на боковую раму, при проверке на прочность в
режиме Iв по 5.6, приведены в
таблице В.3.
Таблица В.3
Силы, действующие на боковую раму, при проверке на прочность
Обозначение | Метод расчета |
Вариант 1 | Вариант 2 |
G1 | G1 = g |
Fz1 | Fz1 = P + 0,5 PN |
Fx3,  | Fx3 = KДТК1 + 0,5·Nкр.кп1,  , где  - действительная сила нажатия тормозной колодки на колесо крайней колесной пары; PТР1 - максимальная расчетная нагрузка на триангель крайней колесной пары тележки при торможении |
Fz4, Fz5 | Fz4 = PКР1, Fz5 = PКР2, где PКР1 и PКР2 - силы, действующие на кронштейнах подвеса тормозной рычажной передачи тележки, вызванные действием KДТК1 и KДТК2;  - действительная сила нажатия тормозной колодки на колесо средней колесной пары; PТР2 - расчетная нагрузка на триангель средней колесной пары тележки при торможении |
Fx1, Fx2 | Fx1 = FКЛ - Fx3, Fx2 = FКЛ + Fx3. В случае, если при расчете полученное значение Fx1 <= 0, следует принять Fx1 = 0 |
Fy1, Fy2, Fy3 | Fy1 + Fy2 + Fy3 = H,  ,  , где H = 0,25 PN1 - боковая сила, действующая на боковую раму;  - боковая сила, действующая на тележку при движении вагона в кривом участке пути по 5.6.9;  - возможное одностороннее боковое перемещение шкворневого сечения кузова вагона за счет зазоров колесной пары в рельсовой колее, зазоров между буксой (адаптером) колесной пары и проемом для колесной пары в боковой раме, зазоров между пятником и подпятником, упругих боковых деформаций рессорного подвешивания (при расчете грузовых вагонов принимают  ); 2L - расстояние между задними опорными поверхностями упоров автосцепных устройств (принимают 2L = 12,47 м);  - расчетная длина корпуса автосцепки (принимают  при действии сил внутрь вагона); 2Lc - длина вагона по осям сцепления (принимают 2Lc = 15,72 м); R - радиус кривой (принимают R = 250 м);  - сила, равная произведению четверти горизонтальной жесткости рессорного подвешивания тележки Ж Г на номинальное значение перемещения a надрессорной балки относительно боковой рамы в боковом направлении до ограничения |
Fy6, Fy7, | Fy6 = 0, Fy7 = 0. |  ,  , где  - коэффициент трения между опорными поверхностями боковой рамы на буксу (адаптер) и балансир соответственно с буксой (адаптером) и балансиром. Приближенно силы Fz2, Fz3 определяют из соотношений:  , где l2 - расстояние от центра нажатия рессорного комплекта на опорной поверхности боковой рамы до середины опорной поверхности проема для крайней колесной пары в продольном к оси пути направлении; l3 - расстояние от центра нажатия рессорного комплекта на опорной поверхности боковой рамы до середины опорной поверхности боковой рамы на балансир средней колесной пары в продольном к оси пути направлении |
Fz2, Fz3, Fy4,  , Fy5 | Fz2, Fz3,  , Fy5 - силы реакции от действия G1, Fz1, Fz4, Fz5, Fx1, Fx2, Fx3,  , Fy1, Fy2, Fy3 | Fz2, Fz3, Fy4, Fy5 - силы реакции от действия G1, Fz1, Fz4, Fz5, Fx1, Fx2, Fx3,  , Fy1, Fy2, Fy3, Fy6, Fy7 |
В.5 Силы, действующие на боковую раму, для предварительной оценки сопротивления усталости в режиме III в соответствии с
приложением А, приведены в
таблице В.4.
Таблица В.4
Силы, действующие на боковую раму, для предварительной
оценки сопротивления усталости в режиме III
Обозначение | Метод расчета |
G3 | G3 = g·(1 + KД), где  - наибольшее вероятное значение коэффициента динамической добавки;  - коэффициент для определения наибольшего вероятного значения коэффициента динамической добавки (принимают для тележки  );  - среднее вероятное значение коэффициента динамической добавки; A - коэффициент для необрессоренных частей тележки (принимают A = 0,15); B - коэффициент для определения среднего вероятного значения коэффициента динамической добавки [принимают B = 0,00036 м/(м/с)]; V - конструкционная скорость вагона; V0 - скорость движения вагона для определения среднего вероятного значения коэффициента динамической добавки (принимают V0 = 15 м/с);  - коэффициент, учитывающий влияние числа осей n в тележке; f1 - расчетный статический прогиб рессорного подвешивания в вагоне с максимальной расчетной массой; f2 - наибольший статический прогиб несущей конструкции вагона под действием силы тяжести груза (принимают для тележки f2 = 0);  - параметр распределения (принимают  );  - расчетная односторонняя вероятность (принимают  ) |
Fz1 | Fz1 = P + PД, где PД = P·KД - вертикальная динамическая сила, действующая на боковую раму в режиме III |
Fx1, Fx2 | Fx1 = FКЛ, Fx2 = 0,25·NТ3 + FКЛ, где FКЛ - сила, действующая от вертикальной поверхности фрикционного клина на боковую раму при силе Fz1, действующей на рессорное подвешивание;  - продольная сила инерции тележки в режиме III по А.4; N3 = продольная сила удара в режиме III (принимают N3 = 800 кН по А.2) |
Fx3,  | Fx3 = 0,5·Nкр.кп3,  , где  - продольная сила инерции крайней колесной пары в режиме III по А.4;  - продольная сила инерции средней колесной пары в режиме III по А.4 |
| | ИС МЕГАНОРМ: примечание. Формула во втором столбце дана в соответствии с официальным текстом документа. | |
|
Fy4,  | Fy4 = 0,5 HР,  , где  , - рамная сила, действующая от колесной пары на боковую раму тележки по А.6;  - среднее вероятное значение рамной силы;  - коэффициент для определения среднего вероятного значения рамной силы (принимают  ); V1 - начальное значение скорости движения вагона для определения среднего вероятного значения рамной силы (принимают V1 = 5 м/с) |
Fz2, Fz3, Fy5 | Силы реакции от действия G3, Fz1, Fx1, Fx2, Fx3,  , Fy4,  |
(справочное)
ПРИМЕР РАСЧЕТА СИЛ, ДЕЙСТВУЮЩИХ НА СОЕДИНИТЕЛЬНУЮ БАЛКУ
ЧЕТЫРЕХОСНОЙ ТЕЛЕЖКИ ПРИ ПРОВЕРКЕ НА ПРОЧНОСТЬ
И ПРЕДВАРИТЕЛЬНОЙ ОЦЕНКЕ СОПРОТИВЛЕНИЯ УСТАЛОСТИ
Г.1 Схема сил, действующих при проверке на прочность и предварительной оценке сопротивления усталости на соединительную балку четырехосной тележки, оборудованную скользунами постоянного контакта, приведена на
рисунке Г.1.
Рисунок Г.1 - Схема сил, действующих на соединительную балку
четырехосной тележки
Г.1.1 G1,3 - ускорение, приложенное к соединительной балке в вертикальном направлении.
Г.1.2 Сила Fz1 действует в вертикальном направлении на опорную поверхность подпятника соединительной балки.
Г.1.3 Силы Fz2, Fz3 действуют в вертикальном направлении на рабочие поверхности боковых скользунов постоянного контакта, расположенных на соединительной балке.
Г.1.4 Силы Fz4, Fz5 действуют в вертикальном направлении на опорные поверхности пятников соединительной балки, взаимодействующие с опорными поверхностями подпятников надрессорных балок.
Г.1.5 Силы Fz6 - Fz9 действуют в вертикальном направлении в местах опирания соединительной балки на опорные скользуны надрессорных балок.
Г.1.6 Сила Fx1 действует в продольном направлении на упорную поверхность подпятника соединительной балки.
Г.1.7 Силы Fx2, Fx3 действуют в продольном направлении на упорные поверхности пятников соединительной балки, взаимодействующие с упорными поверхностями подпятников надрессорных балок.
Г.1.8 Сила Fy1 действует в боковом направлении на упорную поверхность подпятника соединительной балки.
Г.1.9 Силы Fy2, Fy3 действуют в боковом направлении на упорные поверхности пятников соединительной балки, взаимодействующие с упорными поверхностями подпятников надрессорных балок.
Г.2 Силы, действующие на соединительную балку, при проверке на прочность в
режиме Iа по 5.6, приведены в
таблице Г.1.
Таблица Г.1
Силы, действующие на соединительную балку, при проверке
Обозначение | Метод расчета |
G1 | G1 = g, где g = 9,81 м/с2 - ускорение свободного падения |
Fz1 | Fz1 = P + PN, где P = n· PО - PТ - 2· PСК.СБ - сила тяжести, действующая на соединительную балку по 5.6.3; n - число осей в тележке; PО - максимальная расчетная статическая осевая нагрузка; PТ - сила тяжести тележки; PСК.СБ - вертикальная нагрузка, действующая на рабочую поверхность бокового скользуна постоянного контакта соединительной балки;  - вертикальная составляющая силы инерции по 5.6.4; HЦТ - расчетное расстояние от центра тяжести кузова вагона до уровня подпятника тележки (определяют с учетом высоты центра тяжести кузова вагона над центрами осей колесных пар 2,0 м); 2lВ - база вагона (принимают 2lВ = 13,79) |
Fz2, Fz3 | Fz2, Fz3 = PСК.СБ |
Fz6, Fz7, Fz8, Fz9 | Fz6, Fz7, Fz8, Fz9 = PСК.НБ, где PСК.НБ - вертикальная нагрузка, действующая на соединительную балку от опорного скользуна постоянного контакта на надрессорной балке |
Fx1 | Fx1 = NИ1, где NИ1 - продольная сила инерции тележки в режиме I по 5.6.6 |
Fz4, Fz5, Fx2, Fx3 | Силы реакции от действия сил Fz1, Fz2, Fz3, Fx1, Fz6, Fz7, Fz8, Fz9 |
Г.3 Силы, действующие на соединительную балку, при проверке на прочность в
режиме Iб по 5.6, приведены в
таблице Г.2.
Таблица Г.2
Силы, действующие на соединительную балку, при проверке
Обозначение | Метод расчета |
G1 | G1 = g |
Fz1 | Fz1 = P |
Fz2, Fz3 | Fz2, Fz3 = PСК.СБ |
Fx1 | Fx1 = 2Q, где 2 Q - продольная сила, действующая на тележку от горочного вагонного замедлителя (силу, соответствующую действию горочного вагонного замедлителя на одну колесную пару, принимают равной 2 Q = 240 кН по 5.6.8) |
Fz6, Fz7, Fz8, Fz9 | Fz6, Fz7, Fz8, Fz9 = PСК.НБ |
Fz4, Fz5, Fx2, Fx3 | Силы реакции от действия сил Fz1, Fz2, Fz3, Fx1, Fz6, Fz7, Fz8, Fz9 |
Г.4 Силы, действующие на соединительную балку, при проверке на прочность в
режиме Iв по 5.6, приведены в
таблице Г.3.
Таблица Г.3
Силы, действующие на соединительную балку, при проверке
Обозначение | Метод расчета |
G1 | G1 = g |
Fz1 | Fz1 = P + 0,5 PN |
Fz2, Fz3 | Fz2, Fz3 = PСК.СБ |
Fz6, Fz7, Fz8, Fz9 | Fz6, Fz7, Fz8, Fz9 = PСК.НБ |
Fy1 | Fy1 = PN1, где PN1 - боковая сила, действующая на тележку при взаимодействии между вагонами при движении состава в кривом участке пути по 5.6.9 |
Fx1 | Fx1 = NИ1 |
Fz4, Fz5, Fx2, Fx3, Fy2, Fy3 | Силы реакции от действия сил Fz1, Fz2, Fz3, Fx1, Fy1, Fz6, Fz7, Fz8, Fz9 |
Г.5 Силы, действующие на соединительную балку, при предварительной оценке сопротивления усталости в режиме III в соответствии с
приложением А, приведены в
таблице Г.4.
Таблица Г.4
Силы, действующие на соединительную балку, при
предварительной оценке сопротивления усталости в режиме III
Обозначение | Метод расчета |
G3 | G3 = g·(1 + KД), где  - наибольшее вероятное значение коэффициента динамической добавки;  - коэффициент для определения наибольшего вероятного значения коэффициента динамической добавки (принимают для тележки  );  - среднее вероятное значение коэффициента динамической добавки; A - коэффициент для обрессоренных частей тележки (принимают A = 0,1); B - коэффициент для определения среднего вероятного значения коэффициента динамической добавки [принимают B = 0,00036 м/(м/с)]; V - конструкционная скорость вагона; V0 - скорость движения вагона для определения среднего вероятного значения коэффициента динамической добавки (принимают V0 = 15 м/с);  - коэффициент, учитывающий влияние числа осей n в тележке; f1 - расчетный статический прогиб рессорного подвешивания в вагоне с максимальной расчетной массой; f2 - наибольший статический прогиб несущей конструкции вагона под действием силы тяжести груза (принимают для тележки f2 = 0);  - параметр распределения (принимают  );  - расчетная односторонняя вероятность (принимают  ) |
Fz1 | Fz1 = P + PД, где PД = P·KД - вертикальная динамическая сила, действующая на соединительную балку в режиме III |
Fz2, Fz3 | Fz2, Fz3 = PСК.СБ |
Fz6, Fz8 | Fz6, Fz8 = PК, где PК - вертикальная кососимметричная сила, действующая на соединительную балку в режиме III по А.4 |
Fz7, Fz9 | Fz7, Fz9 = -PК |
Fx1 | Fx1 = NИЗ, где NИЗ - продольная сила инерции тележки в режиме III по А.4 |
Fz4, Fz5, Fx2, Fx3 | Силы реакции от действия сил Fz1, Fz2, Fz3, Fx1, Fz6, Fz7, Fz8, Fz9 |
Примечание - Знак "-" обозначает направление силы, противоположное указанному на рисунке Г.1. |
(справочное)
ПРИМЕР РАСЧЕТА НА СОПРОТИВЛЕНИЕ УСТАЛОСТИ СОЕДИНИТЕЛЬНОЙ
БАЛКИ ЧЕТЫРЕХОСНОЙ ТЕЛЕЖКИ
Д.1 Сопротивление усталости несущей конструкции тележки определяют при действии сил по
5.7.
Д.2 Сопротивление усталости соединительной балки тележки оценивают по коэффициенту запаса n, вычисляемому по формуле

, (Д.1)
где

- предел выносливости по амплитуде, МПа, составной части при базовом числе циклов
N0 = 10
7;

- приведенная амплитуда динамического напряжения, МПа, эквивалентная по повреждающему действию распределению амплитуд напряжений за расчетный ресурс составной части;
[n] - минимально допустимый коэффициент запаса сопротивления усталости за расчетный ресурс.
Д.3 Расчетное значение

вычисляют по формуле

, (Д.2)
где

- значение предела выносливости базового материала (листа, проката) при базовом числе циклов
N0 = 10
7 (определяют экспериментально или по справочным данным, приведенным в технической литературе для марок сталей, применяемых в вагоностроении);

- коэффициент снижения предела выносливости, определяемый для различных типов сварных соединений согласно ГОСТ 33211-2014
(таблица 10).
Д.4 Приведенную амплитуду динамического напряжения, эквивалентную по повреждающему действию распределению амплитуд напряжений за расчетный ресурс соединительной балки,

, МПа, вычисляют по формуле

, (Д.3)
где m1 - показатель степени первой ветви кривой выносливости, для сварных соединений принимают m1 = 3;
m2 - показатель степени второй ветви кривой выносливости, для сварных соединений принимают m2 = 5;

- амплитуда динамического напряжения, МПа,

;
ni - количество циклов амплитуд динамического напряжения

;

- амплитуда динамического напряжения, МПа

;
nj - количество циклов амплитуд динамического напряжения

.
Д.5 Количество циклов nk амплитуд динамического напряжения для случая действия продольных сил и вертикальной составляющей силы инерции, действующей на тележку, вычисляют по формуле
nk = Tk·Mk, (Д.4)
где k - счетчик номеров уровней значения силы;
Tk - расчетный ресурс соединительной балки четырехосной тележки, выраженный в годах;
Mk - количество приложений силы уровня k в год.
Д.6 Количество циклов nk амплитуд динамического напряжения для случая действия динамических сил вычисляют по формуле
nk = Tр·fэ·pk.·pуч.k, (Д.5)
где k - счетчик номеров уровней значения скорости движения;
Tр - расчетное время действия динамических напряжений в соединительной балке четырехосной тележки, с;
fэ - частота изменения динамического напряжения, Гц;
pk - вероятность реализации значения скорости уровня k;
Д.7 Расчетное время действия динамических напряжений рассчитывают по формуле

, (Д.6)
где Tk - расчетный ресурс, выраженный в сутках;

- расчетный среднесуточный пробег, м/сут;

- средняя техническая скорость движения вагона, м/с, согласно ГОСТ 33211-2014
(таблица 12).
Д.8 Амплитуды динамического напряжения определяют методами, указанными в ГОСТ 33211-2014
(пункт 6.3.7). Допускается при использовании расчетных методов определять амплитуды динамического напряжения в соответствии с ГОСТ 33211-2014
(пункт 4.7.2).
Д.9 Минимально допустимый коэффициент запаса сопротивления усталости соединительной балки должен быть не менее 1,6.
| Руководящий технический материал РТМ 24.050.32-74 | Порядок присвоения индексов конструкторским документам изделий основного производства и система обозначения вагонов |
| Классификатор "Железнодорожные администрации" КЖА 1001 05 (утвержден на 33-м заседании комиссии специалистов по информатизации железнодорожного транспорта государств - участников Содружества Независимых Государств от 20 - 21 сентября 2005 г.) |
| Справочник "Условные коды предприятий" СЖА 1001 17 (утвержден на 60-м заседании комиссии специалистов по информатизации железнодорожного транспорта государств - участников Содружества Независимых Государств от 4 - 6 апреля 2017 г.) |
УДК 629.4.027.25:006.354 | |
Ключевые слова: грузовой вагон, тележка трехосная, тележка четырехосная, тип тележки, параметры и размеры тележек, технические требования |